Крупнейшая бесплатная информационно-справочная система онлайн доступа к полному собранию технических нормативно-правовых актов РФ. Огромная база технических нормативов (более 150 тысяч документов) и полное собрание национальных стандартов, аутентичное официальной базе Госстандарта. GOSTRF.com - это более 1 Терабайта бесплатной технической информации для всех пользователей интернета. Все электронные копии представленных здесь документов могут распространяться без каких-либо ограничений. Поощряется распространение информации с этого сайта на любых других ресурсах. Каждый человек имеет право на неограниченный доступ к этим документам! Каждый человек имеет право на знание требований, изложенных в данных нормативно-правовых актах!

  


 

РОССИЙСКОЕ АКЦИОНЕРНОЕ ОБЩЕСТВО ЭНЕРГЕТИКИ И ЭЛЕКТРИФИКАЦИИ "ЕЭС РОССИИ"

ОБЩИЕ ТЕХНИЧЕСКИЕ ТРЕБОВАНИЯ К ПРОГРАММНО-ТЕХНИЧЕСКИМ КОМПЛЕКСАМ ДЛЯ АСУ ТП ТЕПЛОВЫХ ЭЛЕКТРОСТАНЦИЙ

РД 153-34.1-35.127-2002

Москва 2002

Разработано Открытым акционерным обществом "Фирма по наладке, совершенствованию технологии и эксплуатации электростанций и сетей ОРГРЭС" при участии ОАО "ВТИ", ОАО "ВНИИЭ" и ОАО "Институт Теплоэлектропроект"

Исполнители А.Д. ШМЕЛЬКИН, В.А. ГРИШИН (ОАО "Фирма ОРГРЭС"), Е.Н. СЕРГИЕВСКАЯ (ОАО "ВТИ"), Л.П. ФОТИН (ОАО "ВНИИЭ"), В.Ф. МАРКОВ (ОАО "Институт Теплоэлектропроект")

Утверждено Департаментом научно-технической политики и развития РАО "ЕЭС России" 12.04,2002 г.

Первый заместитель начальника А. П. ЛИВИЙСКИЙ

Настоящие Общие технические требования (ОТТ) разработаны по поручению Департамента научно-технической политики и развития в 1993 г. ОТТ пересмотрены в 2001 г. в соответствии с поручением РАО "ЕЭС России" с учетом отечественного и зарубежного опыта создания и эксплуатации АСУ ТП тепловых электростанций, а также специфических требований, предъявляемых к ПТК при создании АСУ ТП общестанционного уровня управления и электротехнического оборудования ТЭС.

С выходом настоящих ОТТ ранее действующие "Общие технические требования к программно-техническим комплексам (ПТК) для АСУ ТП тепловых электростанций: РД 34.35.127-93" (М.: СПО Союзтехэнерго, 1995) считаются утратившими силу.

Срок первой проверки настоящего РД - 2007 г., периодичность проверки - один раз в 5 лет.

Ключевые слова: система, функция, программно-технический комплекс, задача, обмен информацией, параметр, программное обеспечение

 

ОБЩИЕ ТЕХНИЧЕСКИЕ ТРЕБОВАНИЯ К ПРОГРАММНО-ТЕХНИЧЕСКИМ КОМПЛЕКСАМ ДЛЯ АСУ ТП ТЕПЛОВЫХ ЭЛЕКТРОСТАНЦИЙ

РД 153-34.1-35.127-2002

Взамен РД 34.35.127-93

Дата введения 2002 -10 –01

год─месяц–число

Общие технические требования (ОТТ) распространяются на программно-технические комплексы (ПТК) для АСУ ТП ТЭС ЕЭС России и предназначены для разработчиков и изготовителей ПТК при создании новых или модернизации программно-технических средств, а также для организаций, применяющих ПТК отечественного и зарубежного производства в энергосистемах Российской Федерации.

Материалы справочного и рекомендательного характера приведены в приложениях А-Ж.

Содержание

ВВЕДЕНИЕ

1 ОБЩИЕ ПОЛОЖЕНИЯ

2 СТРУКТУРА И ФУНКЦИИ ПТК АСУ ТП ТЭС

2.1 Общие положения

2.2 Классификация функций ПТК АСУ ТП ТЭС

3 ТРЕБОВАНИЯ К ВИДАМ ОБЕСПЕЧЕНИЯ

3.1 Общие требования

3.2 Требования к техническому обеспечению

3.2.1 Контроллеры

3.2.2 Устройства связи с объектом

3.2.3 Системы и средства передачи информации

3.2.4 Информационно-вычислительная подсистема

3.2.5 Сервисные средства и ЗИП

3.2.6 Устройства электропитания

3.2.7 Подсистема единого времени

3.3 Требования к лингвистическому обеспечению

3.3.1 Общие требования и состав

3.3.2 Требования к конфигурационному языку программирования

3.3.3 Требования к языкам описания типовых информационных задач

3.3.4 Требования к языкам описания нетиповых задач

3.4 Требования к информационному обеспечению

3.4.1 Общие требования

3.4.2 Кодирование информации

3.5 Требования к программному обеспечению

3.5.1 Общие требования

3.5.2 Требования к базовому (фирменному) программному обеспечению

3.5.3 Требования к прикладному программному обеспечению

3.6 Требования к метрологическому обеспечению

4 ТРЕБОВАНИЯ К ХАРАКТЕРИСТИКАМ ПТК

4.1 Требования к безопасности и условиям работы персонала

4.2 Требования к надежности

4.3 Требования к быстродействию

4.4 Требования к достоверности информации

4.5 Требования к точности

5 ТРЕБОВАНИЯ К ПОСТАМ УПРАВЛЕНИЯ И ОБСЛУЖИВАНИЯ

6 ТРЕБОВАНИЯ К ЭКСПЛУАТАЦИИ ПТК

7 ТРЕБОВАНИЯ ПО СТАНДАРТИЗАЦИИ И УНИФИКАЦИИ

8 ТРЕБОВАНИЯ К ПРИЕМКЕ ПТК

8.1 Общие положения

8.2 Гарантии

Приложение А (справочное) КРАТКИЕ СВЕДЕНИЯ ПО АСУ ТП ТЭС

Приложение Б (справочное) ОБЩАЯ ХАРАКТЕРИСТИКА ОБЪЕКТОВ АВТОМАТИЗАЦИИ

Приложение В (рекомендуемое) ПРИНЦИПЫ ОРГАНИЗАЦИИ ОБМЕНА (ПЕРЕСЫЛКИ) ИНФОРМАЦИЕЙ В АСУ ТП И АСУ П ТЭС

Приложение Г (рекомендуемое) КРАТКИЕ ОПИСАНИЯ И ХАРАКТЕРИСТИКИ ФУНКЦИЙ ПТК АСУ ТП ТЭС

Г.1 ИНФОРМАЦИОННЫЕ ФУНКЦИИ

Г.1.1 Сбор и первичная обработка информации

Г.1.2 Сбор и первичная обработка аналоговых сигналов

Г.1.3 Сбор и обработка дискретных сигналов

Г.1.4 Отображение информации оператору-технологу

Г.1.5 Технологическая сигнализация

Г.1.6 Регистрация событий

Г.1.7 Регистрация электротехнических параметров технологического процесса

Г.1.8 Регистрация аварийных ситуаций

Г.1.9 Контроль действия защит и противоаварийной автоматики (КДЗ и КПА)

Г.1.10 Расчет оперативных технико-экономических показателей

Г.1.11 Оперативный расчет оптимальных графиков активной мощности и тепловой нагрузки энергоблоков ТЭС

Г.1.12 Оперативная диагностика состояния оборудования и систем автоматического управления

Г.1.13 Анализ экологических показателей энергоблока и ТЭС в целом

Г.1.14 Архивация (накопление данных в архиве)

Г.1.15 Протоколирование информации (составление отчетов)

Г.2 УПРАВЛЯЮЩИЕ ФУНКЦИИ

Г.2.1 Общие положения

Г.2.2 Дистанционное управление

Г.2.3 Автоматическое регулирование и программное управление

Г.2.4 Автоматическое логическое управление и технологические блокировки

Г.2.5 Технологические защиты и защитные блокировки

Г.3 ВСПОМОГАТЕЛЬНЫЕ (СЕРВИСНЫЕ) ФУНКЦИИ

Приложение Д (справочное) ТРЕБОВАНИЯ К ПОСТАМ УПРАВЛЕНИЯ И ОБСЛУЖИВАНИЯ

Д.1 ЦЕНТРАЛЬНЫЙ ЩИТ УПРАВЛЕНИЯ

Д.2 БЛОЧНЫЙ ЩИТ УПРАВЛЕНИЯ

Д.З ЩИТЫ УПРАВЛЕНИЯ ОБЩЕСТАНЦИОННЫМИ ТЕХНОЛОГИЧЕСКИМИ УСТАНОВКАМИ И ОТКРЫТЫМ РАСПРЕДЕЛИТЕЛЬНЫМ УСТРОЙСТВОМ ВЫСОКОГО НАПРЯЖЕНИЯ ТЭС

Д.4 ЩИТ ОПЕРАТИВНОГО ОБСЛУЖИВАНИЯ И НАЛАДКИ ПТК

Д.5 МЕСТНЫЕ ЩИТЫ УПРАВЛЕНИЯ

Приложение Е (рекомендуемое) ПРИЕМКА ПТК В СОСТАВЕ АСУ ТП ТЭС

Е.1 ИСПЫТАНИЯ ОТДЕЛЬНЫХ ПОДСИСТЕМ В ПРОЦЕССЕ НАЛАДКИ ПТК В СОСТАВЕ АСУ ТП ТЭС

Е.2 ПРЕДВАРИТЕЛЬНЫЕ ИСПЫТАНИЯ АСУ ТП ТЭС

Е.3 ОПЫТНАЯ ЭКСПЛУАТАЦИЯ АСУ ТП

Е.4 ПРИЕМОЧНЫЕ ИСПЫТАНИЯ АСУ ТП

Приложение Ж (справочное) ПРИМЕРЫ КОМАНД И ИНФОРМАЦИИ, ВОСПРИНИМАЕМЫХ И ФОРМИРУЕМЫХ РАЗЛИЧНЫМИ БИБЛИОТЕЧНЫМИ ПРОГРАММНЫМИ МОДУЛЯМИ

Приложение З (справочное) Список принятых сокращений

Список использованной литературы

ВВЕДЕНИЕ

1 Общие технические требования (ОТТ) к ПТК разработаны на основании РД 34.35.127-93 с учетом отечественного и зарубежного опыта создания и эксплуатации АСУ ТП тепловых электростанций (АСУ ТП ТЭС).

2 В ОТТ излагаются требования к ПТК, обусловленные особенностями применения ПТК в энергетике для создания АСУ ТП ТЭС.

Настоящие ОТТ по сравнению с ранее действовавшим РД 34.35.127-93учитывают специфические требования, предъявляемые к ПТК при создании АСУ ТП общестанционного уровня управления и электротехнического оборудования ТЭС, по быстродействию, помехозащищенности и т.п.

Введение ОТТ в действие должно установить единые требования к оценке ПТК с точки зрения их применения в АСУ ТП ТЭС. Общие технические требования направлены на улучшение потребительских характеристик ПТК, сокращение сроков разработки и внедрения АСУ ТП, а также совершенствование уровня их эксплуатации.

3 Общие технические требования распространяются на серийно выпускаемые и вновь разрабатываемые ПТК и предназначены для специалистов энергетических проектных, научно-исследовательских, производственных и наладочных организаций, занимающихся вопросами разработки и внедрения АСУ ТП, а также разработчиков, проектировщиков и поставщиков ПТК, персонала ТЭС и энергосистем.

4 В состав ПТК АСУ ТП ТЭС в общем случае входят:

- устройства верхнего уровня (устройства связи оперативного персоналом ТЭС с АСУ ТП и обслуживающего персонала с ПТК), например, операторские станции, вычислительная (расчетная), архивная, инженерная станции, экран коллективного пользования, серверы и т.п.;

- устройства нижнего уровня, например, контроллеры, устройства связи с объектом управления, в том числе источники электропитания входных и выходных каналов приема аналоговых и дискретных сигналов и выходных каналов выдачи управляющих сигналов, шкафы для размещения различных устройств нижнего уровня ПТК и клеммных колодок (досок выводов) для подключения кабелей от объекта, дополнительные кроссовые шкафы и шкафы промежуточных реле-усилителей, а также устройства цифровой связи с внешними, по отношению к ПТК, автономными подсистемами автоматического управления, интеллектуальными датчиками (первичными преобразователями сигнала) и исполнительными механизмами объекта управления;

- устройства и линии связи, обеспечивающие обмен информацией в цифровом виде и командами с другими ПТК и между различными устройствами одного ПТК;

- устройства цифровой связи с устройствами телемеханики, устанавливаемыми на ТЭС для приема команд от вышестоящего уровня управления АСДУ и передачи ин-

формации в АСДУ (как правило, только для ПТК АСУ ТП общестанционного уровня управления ТЭС);

- устройства цифровой связи для передачи информации в АСУ П ТЭС (как правило, только для ПТК АСУ ТП общестанционного уровня управления ТЭС);

- устройства электропитания ПТК, например, вторичные источники питания ПТК и устройства для подключения внешних силовых кабелей электропитания и т.п.;

- сервисная аппаратура и ЗИП;

- базовое (фирменное) и прикладное (пользовательское) программное обеспечение;

- документация.

4.1 В состав автономных систем (подсистем) автоматического управления входят подсистемы, реализующие отдельные функции контроля и управления теплоэнергетическим оборудованием (например, ЭЧСР), а также специализированные микропроцессорные подсистемы электротехнического оборудования, в том числе поставляемые в комплекте с оборудованием:

- микропроцессорная система (подсистема) возбуждения (МП СВ);

- микропроцессорная система (подсистема) синхронизации (МП СС);

- микропроцессорная система (подсистема) технологического контроля генератора (МП АСТКГ);

- микропроцессорная подсистема релейных защит и автоматики (МП РЗА);

- микропроцессорная подсистема противоаварийной автоматики (МП ПА) (как правило, только для ПТК АСУ ТП общестанционного уровня управления ТЭС);

- микропроцессорная автоматизированная система (подсистема) коммерческого учета электроэнергии и тепла (МП АСКУЭ) (как правило, только для ПТК АСУ ТП общестанционного уровня управления ТЭС) и т.п.

4.2 Автономные системы (подсистемы) автоматического управления, датчики, исполнительные механизмы, традиционные средства контроля, а также сборки задвижек и КРУ в состав ПТК не входят.

5 При разработке ОТТ использованы:

- технические требования к АСУ ТП, разработанные ОАО "ВТИ", ОАО "Фирма ОРГРЭС", ОАО "Институт Теплоэлектропроект" и ОАО "ВНИИЭ" для различных энергетических объектов: Нижневартовской ГРЭС, Северо-Западной ТЭЦ С.-Петербурга, ТЭЦ-27 Мосэнерго, Рефтинской ГРЭС, ТЭС Суйчжунь, Щекинской ГРЭС и др.;

- материалы РД 153-34.2-35.520-99;

- материалы проектов ОТТ для ПТК АСУ ТП электротехнического оборудования ТЭС, разработанные ВНИИЭ в 1998 г. и ОАО "Фирма ОРГРЭС" в 1999 г.;

- государственные стандарты России и стандарты МЭК.

1 ОБЩИЕ ПОЛОЖЕНИЯ

1.1 Настоящие ОТТ распространяются на ПТК АСУ ТП тепловых электростанций (ТЭС).

1.2 Программно-технические комплексы - совокупность средств вычислительной техники, программного обеспечения и средств создания и заполнения машинной информационной базы при вводе системы в действие и при эксплуатации, достаточных для выполнения одной или более функций АСУ ТП.

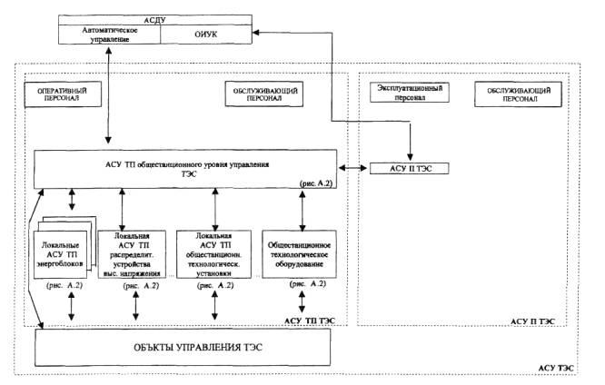
1.3 Программно-технические комплексы должны обеспечивать возможность создания АСУ ТП ТЭС, которая в общем случае является многоуровневой системой управления, включающей АСУ ТП общестанционного уровня управления и локальные АСУ ТП. Краткие сведения об АСУ ТП ТЭС приведены в приложении А.

1.4 В составе АСУ ТП (локальной или общестанционного уровня управления) могут функционировать один или несколько ПТК, в том числе ПТК различных разработчиков. Каждый из ПТК выполняет свои (свою) функции автономно либо во взаимодействии с другими ПТК.

В составе одной АСУ ТП (локальной или общестанционного уровня управления) для теплоэнергетического оборудования ТЭС могут быть использованы ПТК одного типа,

а для электротехнического оборудования - ПТК того же или иного типа, обеспечивающие специфические требования по быстродействию, помехозащищенности и другие за счет использования в их составе специализированных технических и программных средств.

1.5 Программно-технические комплексы АСУ ТП ТЭС совместно с другими техническими средствами, в состав которых могут входить и другие ПТК, должны способствовать:

- обеспечению эффективного управления процессами выработки электрической и тепловой энергии;

- повышению безопасности работы автоматизируемого оборудования (энергоблока, ТЭС или отдельных технологических систем);

- эффективному управлению параметрами автоматизируемого оборудования;

- эффективному управлению экономичностью автоматизируемого оборудования;

- повышению надежности работы автоматизируемого оборудования;

- обеспечению эффективного участия автоматизируемого оборудования в управлении параметрами режима энергосистемы;

- повышению комфортности работы оперативного и обслуживающего персонала;

- информационному обеспечению производственно-технической деятельности эксплуатационного персонала;

- объективной оценке эффективности использования оборудования ТЭС и действий персонала.

1.6 Программно-технический комплекс должен обеспечивать возможность создания одноуровневых и многоуровневых, иерархических систем распределенного управления и централизованного контроля, соответствующих структуре технологического объекта и характера управления им.

1.7 Программно-технический комплекс должен позволять потребителю создавать проектным путем АСУ ТП ТЭС для любой комбинации энергетических объектов ТЭС или их частей. Общая характеристика объектов автоматизации приведена в приложении Б.

1.8 Технические и программные средства ПТК должны обеспечивать возможность создания АСУ ТП, открытых для модернизации и развития, в том числе и с использованием ПТК других разработчиков, отвечающих настоящим ОТТ, без необходимости изменения ранее реализованных технических решений.

1.9 Средства ПТК должны обеспечивать необходимый уровень надежности реализации отдельных функций АСУ ТП, соответствующий требованиям технического задания по конкретной АСУ ТП.

1.10 Аппаратные и программные средства ПТК должны иметь модульную структуру и развитое системное программное обеспечение, допускающие широкий диапазон их использования: от минимального набора для управления одним агрегатом или выполнения одной функции до максимального, обеспечивающего выполнение всех предусмотренных ОТТ функций для всех уровней управления ТЭС.

1.11 Обмен информацией и командами между ПТК, входящими в одну АСУ ТП (локальную или АСУ ТП общестанционного уровня управления ТЭС), может выполняться с использованием единой для системы локальной сети, по выделенным цифровым каналам связи (например, типа RS 232) или с использованием устройств типа "шлюз"*, обеспечивающих контролируемый обмен между устройствами, в том числе, имеющими различные интерфейсы. В качестве устройств типа "шлюз", входящих в состав ПТК, могут использоваться специализированные программно - технические средства, либо персональные компьютеры, оснащенные соответствующим фирменным программным обеспечением и сетевыми картами с необходимым уровнем гальванического разделения.

* Специализированная станция локальной сети.

1.12 Обмен информацией между ПТК, входящими в разные АСУ ТП, должен выполняться с использованием устройств типа "шлюз", либо по кабельным связям в виде аналоговых и (или) дискретных сигналов.

Рекомендации по организации обмена информацией в АСУ ТП ТЭС и между АСУ ТП ТЭС и АСУ П ТЭС приведены в приложении В.

1.13 Обмен информацией между ПТК (локальных АСУ ТП и АСУ ТП общестанционного уровня управления ТЭС) с автономными подсистемами автоматического управления, включая подсистемы типа МП ПА, МП РЗА, МП АСКУЭ, ЭЧСР, МП АСТКГ, МП СВ, МП СС и т.п., осуществляется по кабельным связям в виде аналоговых и (или) дискретных сигналов, по выделенным цифровым каналам связи или с использованием устройств типа "шлюз".

Типы каналов связи и протоколы обмена определяются технологическими требованиями к времени доставки (обновления) информации и команд различного вида и назначения, характеристиками и возможностями микропроцессорных подсистем.

Обмен информацией с автономными подсистемами автоматического управления типа МП ПА, МП СС, МП РЗА и другими может быть двусторонним или односторонним.

1.14 Обмен информацией между ПТК АСУ ТП общестанционного уровня управления ТЭС с АСДУ должен выполняться с использованием устройства типа "шлюз".

Должен предусматриваться прием команд управления от АСДУ и их оперативная отработка, а также формирование и передача технологической информации в АСДУ.

2 СТРУКТУРА И ФУНКЦИИ ПТК АСУ ТП ТЭС

2.1 Общие положения

2.1.1 Функциональная структура ПТК АСУ ТП ТЭС определяется сложившейся технологией управления оборудованием ТЭС.

В функциональной структуре ПТК АСУ ТП ТЭС с позиций пользователя могут выделяться следующие функциональные подсистемы:

- сбора, первичной обработки и распределения информации, получаемой от датчиков теплотехнических и электротехнических параметров в виде аналоговых, дискретных и цифровых сигналов, включая прием-передачу информации от других ПТК АСУ ТП ТЭС, АСДУ, автономных подсистем автоматического управления, а также формирования массивов текущей информации для дальнейшего использования другими подсистемами;

- представления информации и взаимодействия пользователей с ПТК (оператор-технолог, обслуживающий персонал ПТК);

- дистанционного управления приводом исполнительных механизмов (устройств) задвижек, регулирующих органов, электродвигателей, высоковольтных выключателей, разъединителей, управления системами типа МП системы возбуждения генератора, МП СС, МП РЗА и т.п.;

- автоматического регулирования, автоматического логического и программного управления и технологических блокировок, защит и защитных блокировок, реализующие соответствующие алгоритмы управления;

- информационно-вычислительная, реализующая алгоритмы расчетных функций, накопления, усреднения, архивации информации и т.п.;

- обмена информацией с АСДУ и АСУ П ТЭС (как правило, только для ПТК АСУ ТП общестанционного уровня управления ТЭС), а также с другими ПТК АСУ ТП ТЭС;

- самоконтроля и самодиагностики ПТК, подстройки прикладных программ и заполнения информационной базы, сбора и обработки информации по технической диагностике ПТК (инструментальная подсистема);

- реализации алгоритмов сервисных функции.

Примечания

1 Функции АСТКГ (по согласованию с заводом - изготовителем генераторов) могут быть реализованы ПТК, которые отвечают требованиям настоящих ОТТ.

2 Если характеристики ПТК удовлетворяют требованиям, предъявляемым к МП РЗА, МП ПА (РД 34.35.310-97), то функции этих специализированных подсистем могут быть возложены на ПТК. Однако, в связи с отсутствием достаточного опыта внедрения и эксплуатации МП РЗА и МП ПА, в данные ОТТ не включены соответствующие требования к ПТК для реализации этих функций.

3 Поскольку реализация функций системы возбуждения генератора, системы синхронизации и АСКУЭ, в составе ПТК АСУ ТП ТЭС в настоящее время не являются бесспорными, в данные ОТТ не включены требования к их реализации.

2.2 Классификация функций ПТК АСУ ТП ТЭС

2.2.1 Функции ПТК АСУ ТП ТЭС с позиции пользователя подразделяются на информационные, управляющие и вспомогательные (сервисные).

2.2.1.1 В состав информационных функций входят:

- сбор, первичная обработка и распределение информации, получаемой от различных источников;

- представление информации на средствах отображения и печатных документах;

- информационно-вычислительные и расчетные;

- архивация информации и т.п.

2.2.1.2 В состав управляющих функций входят:

- дистанционное управление;

- автоматическое регулирование и программное управление;

- автоматическое логическое управление и технологические блокировки;

- технологические защиты и защитные блокировки и т.п.

2.2.1.3 В состав вспомогательных (сервисных) функций могут быть включены:

- контроль и самодиагностика программных и технических средств ПТК;

- контроль работы функций ПТК и АСУ ТП;

- создание нормативно-справочной информационной базы;

- метрологический контроль и аттестация информационных каналов АСУ ТП;

- другие функции, обеспечиваемые в том числе ПО инструментальных средств разработки, отладки и документирования ПТК и прикладного ПО АСУ ТП.

2.2.2 Программно-технические комплексы, на базе которых создается конкретная локальная АСУ ТП или АСУ ТП станционного уровня управления, должны обеспечивать возможность реализации необходимого набора функций АСУ ТП, перечень и требования к которым должны устанавливаться техническим заданием на систему и техническим проектом АСУ ТП, утверждаемым заказчиком.

Проектирование и настройка функций АСУ ТП должны базироваться на использовании инструментальных средств разработки, которые должны входить в состав ПТК, при минимальном объеме работ, связанных с разработкой новых программных средств (например, при необходимости стыковки ПТК с внешними устройствами, имеющими нестандартный интерфейс).

Краткие описания и характеристики функций ПТК АСУ ТП ТЭС приведены в приложении Г. Этот состав функций следует рассматривать как минимально необходимый для АСУ ТП крупных ТЭС. В АСУ ТП для конкретной ТЭС некоторые технологические функции могут быть не актуальны, а в отдельных случаях может потребоваться реализация дополнительных технологических функций, вызванная спецификой объекта. При рассмотрении функций ПТК, приведенных в приложении Г, следует обратить внимание на требования к различным временным характеристикам.

3 ТРЕБОВАНИЯ К ВИДАМ ОБЕСПЕЧЕНИЯ

3.1 Общие требования

Технические средства и программное обеспечение (ПО) используемые в составе ПТК, должны иметь открытую архитектуру и соответствовать отечественным и международным стандартам.

Все цифровые устройства и ПО ПТК должны выполнять функции самодиагностики. Диагностика должна выявлять возникновения отказа с точностью до типового элемента замены.

В составе ПТК должны быть предусмотрены средства для обеспечения высокой живучести и надежного функционирования системы при возможных отказах оборудования, ошибках персонала и возникновении непредвиденных ситуаций. Должна обеспечиваться возможность замены отказавших устройств ПТК в "горячем" режиме (без отключения электропитания).

Технические средства и ПО ПТК должны обеспечивать автоматическую синхронизацию всех процессов так, чтобы все технологические события, какими бы контроллерами или интеллектуальными УС О они не были зафиксированы, были бы привязаны к единой временной шкале. Для этого все ПТК, входящие в локальные и АСУ ТП общестанционного уровня управления ТЭС, должны быть синхронизированы между собой и привязаны к единой временной шкале, например, путем привязки системного времени каждого из ПТК к астрономическому времени (см. п. 3.2.7). Метки времени (с минимальной задержкой от момента возникновения событий) должны присваиваться событиям как можно ближе к месту фиксации событий и использоваться после этого без какой-либо коррекции на всех уровнях и во всех ПТК АСУ ТП ТЭС.

В комплексе технических средств должны использоваться унифицированные средства серийного производства со сроком службы не менее 10 - 15 лет. Должна существовать возможность замены вышедших из строя или морально устаревших технических средств ПТК однотипными. Эта замена не должна повлечь за собой внесения каких-либо изменений или перестройки других технических средств, входящих в ПТК, и, по возможности, обеспечиваться минимальными изменениями программного обеспечения.

3.2 Требования к техническому обеспечению

Программно-технический комплекс должен представлять собой иерархическую, рассредоточенную, распределенную микропроцессорную систему, состоящую из аппаратно и программно совместимых технических средств, перечисленных в п. 4. Введения и объединенных локальными вычислительными сетями. Отдельные технические средства могут реализовывать функции нескольких устройств.

Большинство модулей ПТК на лицевой панели должны иметь световую сигнализацию об их исправности и (или) неисправности.

Программно-технические комплексы и их составные элементы должны быть приспособлены к непрерывно-дискретному режиму работы в жестких условиях промышленной эксплуатации на ТЭС (низкая или высокая температура, наличие пыли, влаги, вибрации и другое, см. разд. 6).

Количество ПТК, контроллеров, УСО, кроссовых шкафов и других технических и программных средств ПТК для конкретной АСУ ТП определяется разработчиком АСУ ТП в техническом проекте на АСУ ТП, утверждаемым заказчиком.

3.2.1 Контроллеры

3.2.1.1 В составе ПТК, как правило, должны использоваться контроллеры, реализованные на базе современных микропроцессоров в соответствии с общепринятыми в мировой практике промышленными стандартами, с развитой системой команд, позволяющие реализовать в реальном времени предусмотренные алгоритмы контроля и управления технологическим процессом. Контроллеры должны также эффективно (оперативно и без потерь) обрабатывать внутренние и внешние события и обмениваться информацией и командами с другими элементами системы.

3.2.1.2 Контроллеры должны иметь модульную структуру, позволяющую путем изменения набора и количества модулей заказывать контроллеры различной информационной мощности (производительность, объем памяти, количество каналов ввода-вывода информации и т.д.), а также изменять характеристики контроллера во время эксплуатации. Входящие в состав контроллеров модули и программное обеспечение должны позволять при заказе выбирать различные виды резервирования для обеспечения оптимальной экономически обоснованной степени надежности.

3.2.1.3 В контроллерах различного назначения одного ПТК должны использоваться модули с однотипными методами тестирования с целью максимального облегчения наладки, обслуживания и обучения персонала.

3.2.1.4 Разработка прикладного программного обеспечения контроллеров должна осуществляться с использованием инструментальных средств ПТК на обычном персональном компьютере или на специализированной рабочей станции.

3.2.1.5 Обязательным элементом контроллера является постоянное запоминающее устройство (ПЗУ), позволяющее использовать его при загрузке и запуске операционной системы и пользовательских программ, а также рестарте при включении питания.

3.2.1.6 Контроллеры должны иметь возможность обработки внешних прерываний при поступлении инициативных дискретных сигналов или обладать необходимым быстродействием для фиксации времени поступления (изменения) дискретных сигналов (потенциальных) с погрешностью по отношению к системному времени ПТК не более 10 мс. Более высокая точность фиксации времени поступления (изменения) инициативных сигналов (с погрешностью по отношению к системному времени ПТК не более 0,5-1,0 мс), как правило, должна обеспечиваться интеллектуальными модулями УСО или специализированными контроллерами, входящими в состав ПТК.

3.2.1.7 Контроллеры должны иметь модули, обеспечивающие возможность цифрового обмена с другими устройствами ПТК (например, Industrial Ethernet в соответствии с требованиями стандарта ISO Ethernet IEEE 802/3 и т.п.). При необходимости контроллеры должны иметь модули, обеспечивающие подключение и управление цифровыми магистралями нижнего уровня - "полевыми шинами" (например, типа Profibus и т.п.) для подключения и обмена информацией и командами с интеллектуальными выносными модулями УСО, интеллектуальными исполнительными механизмами и интеллектуальными датчиками.

3.2.1.8 Как правило, должны предусматриваться две модификации контроллеров:

- для размещения в помещении ЩУ;

- выносные для размещения на объекте вблизи источников информации.

3.2.1.9 Для создания высоконадежных подсистем ТЗ и АР должна обеспечиваться возможность резервирования контроллеров. Контроллеры, предназначенные для реализации функций ТЗ теплоэнергетического оборудования должны удовлетворять требованиям РД 153-34.1-35.137-00.

3.2.2 Устройства связи с объектом

3.2.2.1 Устройства связи с объектом (УСО) представляют собой совокупность модулей, обеспечивающих сопряжение с разнообразным оборудованием (датчиками, исполнительными механизмами и другими устройствами) и позволяющих принимать, обрабатывать, выдавать сигналы различного типа в широком диапазоне значений напряжения, тока, мощности, длительности импульсов и т.п.

3.2.2.2 Устройства связи с объектом могут быть пассивными и выполнять операции по сбору информации и выдаче управляющих команд под управлением центрального микропроцессора контроллера. В этих модулях как минимум должны выполняться фильтрация и аналого-цифровое преобразование сигналов и при необходимости гальваническое разделение. Могут быть интеллектуальные УСО, которые имеют собственные встроенные микропроцессоры, обеспечивающие выполнение функций первичной обработки, контроля достоверности, коррекции значений, присвоения меток времени событиям и других функций, требующих использования вычислительных ресурсов.

В состав ПТК могут входить специализированные интеллектуальные модули УСО, предназначенные для реализации функций цифрового регулирования (управления). Эти модули, позволяющие реализовать требуемые алгоритмы автоматического управления, должны обеспечивать прием определенного количества аналоговых, дискретных сигналов, а также формирование и выдачу управляющих сигналов.

Целесообразно также наличие в составе ПТК специализированных интеллектуальных управляющих модулей,

имеющих аппаратно-программный контроль выходных управляющих сигналов, например, за счет их приема этими же модулями в качестве входных сигналов.

3.2.2.3 Устройства связи с объектом в виде специализированных модулей могут входить в состав контроллеров, либо выполняться как отдельные конструктивы.

Для УСО, выполненных в виде отдельных конструктивов, должно предусматриваться две модификации:

- для размещения в помещении ЩУ;

- выносные для размещения на объекте вблизи источников информации.

3.2.2.4 Выносные модули УСО должны надежно работать в жестких условиях промышленной эксплуатации и обеспечивать надежный прием информации и команд из контроллера и передачу информации в контроллер (см. разд. 6).

Передача информации должна выполняться после преобразования значений входных сигналов в устройствах удаленного сбора в цифровую форму по каналам связи с обеспечением требуемого уровня защиты информации.

3.2.2.5 В составе ПТК должны быть устройства ввода-вывода аналоговых и дискретных сигналов искро- и взрывобезопасного исполнения, а также устройства ввода-вывода аналоговых и дискретных сигналов, имеющие требуемый уровень гальванического разделения отдельных каналов между собой, а также системы и входных-выходных каналов, исключающее обратное воздействие от источников электропитания, от системы и от смежных каналов. Уровень гальванического разделения для цепей измерительных трансформаторов тока и напряжения должен быть не менее 2,5 кВ. Для остальных цепей в составе ПТК должны быть устройства ввода-вывода аналоговых и дискретных сигналов, имеющие различные уровни гальванического разделения от 0,5 кВ до 1,5 кВ.

В ПТК для модулей УСО, имеющих групповое гальваническое разделение, должно быть обеспечено диагностирование и определение неисправности (например, короткое замыкание) с точностью до гальванически связанной группы.

В состав ПТК должны входить барьеры искробезопасности, позволяющие использовать устройства ввода-вывода обычного исполнения, устанавливаемые вне взрывоопасных помещений.

3.2.2.6 Устройства связи с объектом для ввода аналоговых сигналов должны воспринимать сигналы от источников, применяемых в теплоэнергетике. Перечень и технические характеристики этих сигналов приведены в таблице Б.1 приложения Б.

3.2.2.7 Для реализации функции РАС электротехнического оборудования в составе ПТК должны быть предусмотрены специализированные устройства (модули) приема входных аналоговых сигналов переменного тока, формируемых измерительными трансформаторами тока и напряжения.

Специализированные устройства ввода ограниченного количества аналоговых сигналов переменного тока и напряжения должны обеспечивать прием сигналов от ТТ и ТН. Специализированные УСО для приема сигналов переменного тока от ТТ должны обеспечивать:

- номинальный ток IH 1 и 5 А;

- измеряемый диапазон тока (0-20)IH.

Должна обеспечиваться термическая устойчивость:

- длительная - при 4IH;

- длительностью до 10 с - при 20 IH

- длительностью до 1 с - при 100IH. Динамическая устойчивость (импульс продолжительностью до 10 мс) должна обеспечиваться при 250 IH

Специализированные УСО для приема сигналов переменного напряжения от ТН должны обеспечивать номинальное напряжение UH - 100 В.

Должна обеспечиваться термическая устойчивость:

- длительная - при 1,4 UH

- длительностью до 1 с - при 1,9UH.

Эти специализированные устройства должны иметь таймер и быстродействие, обеспечивающие периодичность опроса и погрешность времени фиксации значений сигналов по отношению к системному времени ПТК в пределах 0,5-1,0 мс.

3.2.2.8 Для реализации функции РАС электротехнического оборудования и приема инициативных сигналов от устройств релейной защиты и противоаварийной автоматики в составе ПТК должны быть предусмотрены специализированные устройства (модули), обеспечивающие погрешность фиксации времени поступления инициативных дискретных сигналов по отношению к системному времени ПТК в пределах 0,5- 1,0 мс.

3.2.2.9 Во всех устройствах ввода аналоговых сигналов ПТК должна быть обеспечена фильтрация (подавление) электромагнитных помех общего и нормального вида в соответствии с требованиями к общепромышленным средствам обработки информации и устойчивость к помехам импульсного типа амплитудой до 1,5 кВ (передний фронт длительностью 1,2 мкс, задний фронт - плавный спад до 0,75 кВ за 50 мкс).

Электрическое сопротивление изоляции входных цепей ПТК от термоэлектрических преобразователей (термопар) и термопреобразователей сопротивления (термометров сопротивления) должно быть не менее 1 МОм.

В требуемых случаях входные цепи измерительных каналов устройств ввода аналоговых сигналов должны обеспечивать подавление помехи промышленной частоты не менее 80 дБ и прочих помех - не менее 60 дБ.

Устройства связи с объектом для приема токовых аналоговых сигналов должны обеспечивать фильтрацию помехи поперечного вида с уровнем 20 мВ.

Максимальное значение напряжения помехи общего вида частотой 50 Гц между измерительной цепью и заземлением устройства ПТК может достигать 220 В.

3.2.2.10 Устройства связи с объектом для приема сигналов от термопреобразователей сопротивления для измерения температур стали, меди, газа и реализации функции температурного контроля генератора должны обеспечивать фильтрацию помехи поперечного вида с уровнем 300 мВ, продольного вида - 100 В.

Прием сигналов от термопреобразователей сопротивления должен обеспечиваться по четырех- или по трехпроводной линии связи.

3.2.2.11 Устройства связи с объектом для ввода сигналов от термоэлектрических преобразователей (термопар) должны допускать их заземление в местах установки на объекте (например, при измерении температуры металла точка соединения двух элементов термопары приваривается к поверхности трубопровода и т.п.).

3.2.2.12 Дискретные сигналы (информация), характеризующие состояние технологического оборудования, должны восприниматься УСО ввода дискретной информации и преобразовываться в двоичные сигналы "0" и "1".

Источниками дискретных сигналов (информации) являются:

- концевые выключатели электрифицированной арматуры;

- блок-контакты контакторов и электромагнитов включения механизмов;

- контакты или реле-повторители кнопок и ключей управления;

- сигнализаторы предельных значений аналоговых сигналов;

- дискретные датчики (реле расхода, давления, уровня, электроконтактные манометры и др.).

В качестве сигнала "1" должны применяться:

- напряжение переменного тока 220 В ( + 10, - 15%);

- напряжение постоянного тока 220 В (+10, -20%), 48 В и 24 В (не более ±3%);

- замкнутое состояние контактов, рассчитанных на коммутацию указанных напряжений (сопротивление не более 50 Ом).

В качестве сигнала "0" - отсутствие напряжения или напряжение меньше 0,1 сигнала, соответствующего "1", либо сопротивление не менее 500 кОм.

Должен максимально использоваться ввод информации в виде перекидного контакта по трехпроводной линии связи.

При необходимости должна обеспечиваться возможность ввода дискретных сигналов от замыкающих (нормально открытых) контактов. В требуемых случаях должен выполняться контроль линий связи за счет установки шунтирующих сопротивлений в непосредственной близости от контактов.

При необходимости ввод ограниченного количества ответственных дискретных сигналов должен обеспечиваться с контролем линий связи за счет установки в непосредственной близости от контактов шунтирующих сопротивлений и последовательно с контактами - нагрузочных сопротивлений.

При вводе дискретных сигналов должны быть приняты меры по защите от "дребезга" контактов (защита от импульсов во время переключения контактов).

3.2.2.13 Устройство связи с объектом для вывода управляющих сигналов должны формировать аналоговые, дискретные и импульсные сигналы.

Модули вывода аналоговых сигналов должны как минимум формировать:

- унифицированные сигналы тока: ±5 мА; 0 - 5 мА; ±20 мА; 0-20 мА; 4-20 мА;

- унифицированные сигналы напряжения: ±10 В; 0-10 В; 2-10 В.

Выходы модулей вывода дискретных сигналов ПТК должны быть представлены:

- дискретно изменяющимся активным сопротивлением выходной цепи при питании напряжением 24 В постоянного тока до 0,25 А;

- состоянием контактов с коммутационными возможностями по напряжению до 220 В и току не менее 0,5 А, а также 24 В и току не менее 5 А (как при питании со стороны нагрузки, так и при питании от внутренних источников питания ПТК).

При использовании выходных дискретных сигналов для управления исполнительными механизмами (регулирующим органом, задвижкой, электродвигателем), пусковые устройства которых потребляют мощность больше, чем указано, следует использовать силовые преобразователи 24/220 В с выходным током до 5 А, входящие в состав аппаратуры ПТК.

В необходимых случаях должен быть предусмотрен контроль исправности выходных каналов. При обнаружении повреждения выходной сигнал должен блокироваться.

3.2.2.14 Выходные каналы УСО для управления коммутационными аппаратами (выключателями) должны обеспечивать замыкание (коммутировать) цепи с током 5,0 А длительностью до 1,0 с в цепях постоянного тока напряжением 220 В с индуктивной нагрузкой и постоянной времени 0,05 с, а также размыкание цепи с током 0,25 А, с коммутационной износостойкостью не менее 3000 циклов.

Выходные контакты управления задатчиками, внешними цепями блокировок должны коммутировать не менее 30 Вт в цепях постоянного тока с индуктивной нагрузкой и с постоянной времени 0,02 с при напряжениях от 24 до 250 В или при токе до 1,0 А, с коммутационной износостойкостью не менее 10000 циклов.

Выходные контакты управления элементами электрооборудования на переменном токе должны коммутировать цепи с индуктивной нагрузкой с током до 2,0 А, длительностью до 1,0 с, с коммутационной износостойкостью не менее 10000 циклов.

3.2.2.15 Целесообразно обеспечивать электропитание датчиков аналоговых и дискретных сигналов от внутренних источников электропитания ПТК.

3.2.2.16 Устройства связи с объектом для ввода аналоговых и дискретных сигналов должны воспринимать сигналы, сформированные выходными модулями УСО, для организации скоростной передачи команд и данных между ПТК.

3.2.2.17 Каналы УСО для ввода аналоговых токовых и дискретных сигналов постоянного напряжения, а также каналы УСО вывода управляющих команд напряжением 24 и 220 В постоянного тока должны иметь защиту от перенапряжений, возникающих в цепях ввода-вывода при размыкании контактов в цепях мощных электромагнитов.

3.2.3 Системы и средства передачи информации

3.2.3.1 Все элементы ПТК должны быть объединены многоуровневой сетью связи, по которой производится обмен информацией между этими элементами.

3.2.3.2 Системы передачи данных должны быть отказоустойчивы по отношению к объединенным техническим

средствам, защищены от единичных отказов или разрушения аппаратуры собственно (средств) передачи данных (кабелей, ответвителей, связных процессоров, "мастеров сети", файл-серверов и т.п.), например, резервированием и реконфигурированием.

3.2.3.3 В системах передачи данных между ПТК, входящими в одну или разные АСУ ТП ТЭС, должны применяться помехозащищенные протоколы передачи данных. Максимальная протяженность линии связи может достигать 4 - 5 км (например, при связи ПТК АСУ ТП общестанционного уровня управления и ПТК локальной АСУ ТП открытого распределительного устройства высокого напряжения).

Сетевые средства ПТК должны обеспечивать требуемый уровень гальванического разделения территориально рассредоточенных устройств (от 500 В до 2,5 кВ и более), различный для отдельных сегментов сети, определяемый протяженностью сегментов и внешними факторами. В необходимых случаях должен использоваться оптоволоконный сетевой кабель.

3.2.3.4 Связь ПТК с автономными подсистемами автоматического управления, сбора информации или с другими ПТК, как правило, должна обеспечиваться при использовании современных сетевых средств и протоколов обмена, нашедших широкое применение, либо принятых в качестве международного стандарта.

Связи с внешними по отношению к ПТК устройствами (например, автономными подсистемами автоматического управления или сбора информации, другими ПТК), имеющими нестандартный интерфейс, в необходимых случаях должны обеспечиваться разработчиком АСУ ТП и (или) поставщиком ПТК по отдельной заявке заказчика.

3.2.3.5 Отказ не дублированной магистрали не должен приводить к отказам или отключению подключенных к ней контроллеров. Отказ магистрали должен быть идентифицирован контроллерами и другими устройствами, выходящими на магистраль. При этом контроллеры должны переходить в автономный режим работы, в котором при необходимости может изменяться состав реализованных в них алгоритмов в соответствии с требованиями режима автономного функционирования. Операторские станции, инженерная станция и другие устройства должны зарегистрировать факты отказа и восстановления работоспособности магистрали.

В случае дублированной магистрали отказ одной из двух магистралей не должен влиять на работоспособность устройств, подключенных одновременно к двум магистралям.

3.2.3.6 Связи ПТК с источниками сигналов, силовыми коммутационными устройствами, пультами и панелями ЦЩУ, БЩУ и других пунктов управления могут выполняться кабелями внешних связей через клеммники устройств ПТК, либо через кроссовые шкафы, которые включаются в объем поставки ПТК. В этом случае в объем поставки ПТК должны входить и кабели связи от кроссовых шкафов до клеммников УСО ПТК. Необходимость применения кроссовых шкафов определяет разработчик ПТК. Клеммники кроссовых шкафов, а при их отсутствии входные клеммники УСО ПТК должны быть пригодны для подключения кабелей внешних связей (одна жила сечением до 2,5 мм2 или не менее двух жил каждая сечением 1,5 мм2). При использовании клеммников типа Waga в требуемых случаях должны применяться клеммники с попарно соединенными клеммами.

3.2.3.7 Количество кроссовых колодок в устройствах ПТК или в кроссовых шкафах для ввода сигналов должно выбираться из условия, что от всех аналоговых и дискретных датчиков в ПТК заводятся две жилы (за исключением перекидных контактов, от которых идет три жилы, и термопреобразователей сопротивлений, от которых может идти до четырех жил). Необходимо также предусмотреть дополнительные кроссовые колодки (5-10%) для возможности объединения на них общих проводников при организации питания групп датчиков типа "сухой контакт" и монтажа шунтирующих диодов при организации ввода токовых сигналов в несколько устройств.

Количество кроссовых колодок в устройствах ПТК или в кроссовых шкафах для подключения выходных управляющих сигналов должно выбираться из условия, что от ПТК к каждому элементу управления должны идти по две жилы. Необходимо предусмотреть возможность монтажа защитных диодов выходных ключей модулей УСО, коммутирующих напряжение постоянного тока на индуктивную нагрузку.

3.2.3.8 ПТК должен обеспечивать возможность подключения следующих кабелей для:

- связи с источниками аналоговой информации и передачи выходных аналоговых сигналов унифицированного тока и напряжения;

- ввода сигналов от термоэлектрических преобразователей (термопар);

- ввода сигналов от термопреобразователей сопротивления;

- ввода сигналов типа "сухой контакт";

- ввода-вывода сигналов напряжения 24 В;

- ввода-вывода сигналов напряжения 220 В;

- организации обмена информацией по сетям данных.

3.2.3.9 Связи аппаратуры ПТК с источниками дискретной информации 24 В (12-30 В), с источниками аналоговых унифицированных сигналов, с термопреобразователями сопротивления и термоэлектрическими преобразователями должны выполняться кабелями с общим экраном.

Связи с термоэлектрическими преобразователями должны выполняться компенсационным кабелем до устройства ввода ПТК, либо до коробки холодных спаев (с установкой термопреобразователя сопротивления в месте подключения компенсационного кабеля для измерения температуры холодных спаев и вводом сигнала от термопреобразователя сопротивления в ПТК для возможности программной коррекции значений температуры).

3.2.3.10 Все связи ПТК с источниками аналоговой и дискретной информация, со сборками задвижек, панелями и пультами БЩУ и другими системами должны выполняться кабелем с медными жилами и изоляцией, не поддерживающей горение.

3.2.4 Информационно-вычислительная подсистема

3.2.4.1 Информационно-вычислительная подсистема (ИВС) ПТК, как правило, состоит из рабочих станций и серверов, оснащенных фирменным (базовым) программным обеспечением.

Рабочие станции и серверы относятся к устройствам верхнего уровня ПТК. В составе рабочих станций ПТК могут быть, например, операторская, сигнальная, архивная, вычислительная, инженерная и другие станции.

Рабочие станции и серверы предназначены для:

- представления, хранения и обработки технологической информации;

- выполнения функций и задач расчетного характера (например, расчета ТЭП);

- реализации общесистемных функций ПТК (например, службы единого времени, мониторинга технических и программных средств и т.п.);

- организации связи пользователей с системой и ПТК и т.п.

3.2.4.2 Каждая из станций (операторская, сигнальная и др.) может быть построена на базе специализированного устройства или персонального компьютера промышленного либо (по требованию заказчика) офисного исполнения. В состав станций кроме системного блока и монитора могут быть включены печатающие устройства, обычная и (или) функциональная клавиатуры, манипуляторы, оптическая "мышь" или "мышь" традиционного исполнения, "трек-бол", "световое перо" и т.п. Функциональные клавиатуры должны быть промышленного исполнения.

Один персональный компьютер (или специализированное устройство) может совмещать в себе функции нескольких станций (например, операторской и сигнальной) с оперативным переключением режимов работы по команде пользователя.

3.2.4.3 На базе одной или нескольких операторских станций и сигнальной станции могут создаваться автоматизированные рабочие места (АРМ) для оперативного персонала ТЭС. На базе инженерной и архивной станций могут создаваться АРМ для обслуживающего и эксплуатационного персонала ТЭС.

Автоматизированные рабочие места для оперативного персонала ТЭС устанавливаются в оперативном контуре щитов управления, а автоматизированные рабочие места для обслуживающего и эксплуатационного персонала ТЭС и инженерная станция - в неоперативном контуре щитов управления (например, в неоперативном контуре БЩУ или ЦЩУ) либо в специально выделенных помещениях.

3.2.4.4 При необходимости в состав устройств верхнего уровня ПТК могут входить также экраны коллективного пользования. Они используются для отображения в большом масштабе символьной и графической информации. Эти экраны могут комплектоваться собственными средствами вызова на экраны требуемой информации (например, функциональными клавиатурами, которые должны располагаться в оперативном контуре ЩУ], либо для этих целей могут использоваться аналогичные средства одной из операторских станций.

3.3.4.5 Сигнальная (событийная) станция предназначена для оперативного персонала. Эта станция должна обеспечивать отображение аварийных, предупредительных и информационных сообщений. На монитор этой станции информация при возникновении каких-либо событий выводится без запроса пользователя. Должна обеспечиваться возможность квитирования оперативным персоналом аварийных и предупредительных сообщений.

3.2.4.6 Расчетная станция предназначена для реализации различных расчетов по отдельным функциям и задачам (например, расчет ТЭП, диагностика оборудования и т.п.), а также для ведения информационной технологической базы данных.

3.2.4.7 Архивная станция предназначена для хранения всей необходимой информации о предыстории протекания технологического процесса. Должно обеспечиваться накопление, хранение и отображение по запросам пользователя информации о значениях аналоговых и дискретных параметров.

3.2.4.8 Инженерная станция (инженерный пульт системы может быть отнесен к сервисным средствам ПТК) предназначена для контроля работы ПТК и АСУ ТП, а также возможности коррекции и внесения изменений в действующую систему. Для обеспечения последнего станция должна быть оснащена инструментальными средствами разработки, отладки и документирования.

3.2.4.9 В составе инженерной станции должны предусматриваться инструментальные средства для проектирования и коррекции различных задач АСУ ТП, включая задачи расчетного характера, а также средства создания и хранения базы нормативно-справочной информации. В нее должны входить:

- исходные нормативно-справочные документы по основному оборудованию и его эксплуатации;

- исходные нормативно-справочные документы по ПТК и АСУ ТП в целом;

- различные справочные таблицы тепло- и электротехнического назначения.

База создается на стадии проектирования АСУ ТП. Должна предусматриваться возможность дополнения и коррекции нормативно-справочной базы по специальным процедурам доступа.

3.2.4.10 В состав расчетной, архивной и инженерной станций может быть включен расширенный комплект запоминающих устройств, включая магнитооптические или лазерные записывающие дисководы для организации долговременной базы данных и архива.

3.2.4.11 Мониторы (дисплеи) операторских и событийных станций, как правило, являются основными средствами отображения оперативной информации пользователям. В рабочих станциях должны применяться цветные графические дисплеи высокого разрешения (1024x768, 1200x800 или 1600x1200, размер пикселя не более 0,28, частота вертикальной развертки 85-100 Гц). Наработка на отказ дисплеев должна составлять не менее 20 тыс. ч.

При необходимости должны использоваться мониторы с экранами диагональю от 32 см. По согласованию с заказчиком могут применяться офисные мониторы.

Рекомендуется также применение плоскопанельных дисплеев, отличающихся низким энергопотреблением, безопасностью использования и большим сроком службы (около 50000 ч).

3.2.4.12 Для получения печатных копий экранов мониторов и распечатки ретроспективной информации (ведения протоколов, составления отчетов, отображения результатов расчетов и т.п.) в составе рабочих станций должны быть предусмотрены принтеры (в необходимых случаях лазерные или струйные цветные).

3.2.4.13 Номенклатура АРМ и рабочих станций, их состав и расположение на ТЭС для конкретной АСУ ТП определяется разработчиком системы в техническом проекте АСУ ТП, утверждаемом заказчиком.

3.2.5 Сервисные средства и ЗИП

3.2.5.1 В состав сервисных средств ПТК кроме инженерной станции при необходимости должны входить:

- стенды для проверки функциональных модулей ПТК с контрольно-измерительной аппаратурой;

- переносные инженерные пульты для обслуживания контроллеров, выносных модулей УСО и т.п.;

- перемещаемые метрологические пульты для аттестации и поверки измерительных каналов.

Количество и состав сервисной аппаратуры определяет разработчик ПТК.

3.2.5.2 Объем и состав ЗИП должен быть достаточным для эксплуатации ПТК в течение гарантийного срока. Восстановление ЗИП производится поставщиком по договору сервисного обслуживания. В комплект поставки ЗИП могут входить шкафы для его хранения.

3.2.6 Устройства электропитания

3.2.6.1 Электропитание всех устройств ПТК должно производиться от собственных источников (модулей) электропитания, получающих энергию от электросети ТЭС.

3.2.6.2 Первичными источниками электропитания ПТК могут являться две независимые сети, каждая из которых

является трехфазной сетью переменного тока 380/220 В,

частотой 50±1 Гц.

Характеристики первичных сетей электропитания:

- номинальное линейное напряжение - 380 В (+10,-15%)

- номинальное фазное напряжение - 220 В (+10, -15%);

- число фаз - 3.

Первичными источниками электропитания ПТК могут также являться две независимые сети, одна из которых является трехфазной сетью переменного тока напряжением 380/220 В, частотой (50±1) Гц, а другая - сетью постоянного тока напряжением 220 В.

Источники электропитания устройств нижнего уровня ПТК (например, контроллерных шкафов) могут быть предназначены для получения электропитания от двух независимых сетей (по одному из указанных выше вариантов), либо только от одной сети. В этом случае устройства нижнего уровня ПТК должны получать электропитание от агрегатов бесперебойного питания (АБП). Электропитание АБП должно выполняться от двух независимых сетей (две сети переменного тока или одна сеть переменного, другая - постоянного тока). Предпочтительным является включение АБП в состав поставки ПТК.

3.2.6.3 Технические средства должны сохранять работоспособность при:

- независимых или одновременных изменениях напряжения сетей переменного и постоянного тока на ±25% длительностью до 100 мс при электропитании ПТК от сети переменного и постоянного тока;

- при длительных перерывах электропитания в одной из сетей переменного или постоянного тока при электропитании ПТК от сети переменного и постоянного тока;

- при длительных перерывах электропитания в одной из двух сетей переменного тока при электропитании ПТК от двух сетей переменного тока;

- при одновременных перерывах электропитания длительностью не более 20 мс в двух сетях.

Основным принципом организации электропитания должно быть распределение оперативного тока по группам потребителей таким образом, чтобы отдельная неисправность или ремонт элемента сети электропитания не приводили к полному выходу ПТК из строя.

3.2.6.4 Устройства ПТК должны иметь защиту от подачи напряжения постоянного тока обратной полярности. Устройства ПТК не должны повреждаться или ложно срабатывать при подключении и (или) отключении одной из двух сетей первичного электропитания.

3.2.6.5 Электропитание устройств ПТК, которые реализуют функции технологических защит, должно осуществляться в соответствии с РД 153-34.1-35.137-00, с наивысшей надежностью от источника переменного тока напряжением 380/220 В, частотой (50 ±1) Гц с резервированием от аккумуляторной батареи.

Работоспособность устройств, реализующие функции технологических защит, должна обеспечиваться при наличии напряжения указанного качества хотя бы на одном из двух вводов, а также при кратковременных (до 5,0 с) отклонениях напряжения питания в пределах (+ 15, -30%) и частоты до ±5 Гц.

При АВР питающего напряжения с потерей напряжения на время не менее 0,5 с не должно возникать ложных срабатываний защит.

3.2.6.6 Электропитание дублированных устройств ПТК должно производиться от независимых источников.

3.2.6.7 Электропитание технических средств верхнего уровня ПТК, достаточных для безаварийного останова оборудования, должно осуществляться от устройств бесперебойного питания (УБП) с внутренней аккумуляторной поддержкой (до 30 мин). Электропитание этих УБП может осуществляться от источника переменного тока напряжением 220 В, частотой 50 Гц бесперебойного электропитания (через АВР), либо от двух независимых сетей переменного тока напряжением 220 В, частотой 50 Гц. Устройства бесперебойного питания должны входить в объем поставки ПТК. Электропитание УБП операторских станций, входящих в одно АРМ и резервирующих друг друга, должно осуществляться от независимых источников первичного электропитания. В этом случае допускается электропитание УБП от одного источника первичного электропитания напряжением 220 В, частотой 50 Гц.

3.2.7 Подсистема единого времени

В состав ПТК должна входить подсистема единого времени, предназначенная для синхронизации таймеров всех вычислительных средств комплекса. Подсистема единого времени должна настраиваться по сигналам точного времени (например, от энергосистемы). Программно-технические комплексы должны иметь технические и программные средства, обеспечивающие прием сигналов от стандартных устройств, формирующих сигналы точного времени на основе сигналов внешнего источника (например, от радиосети). Эти стандартные устройства точного времени по требованию заказчика должны быть включены в объем поставки ПТК. Подсистема единого времени должна обеспечивать автоматическую синхронизацию таймеров всех устройств ПТК, включая таймеры интеллектуальных УСО.

Погрешность привязки системного времени ПТК в составе локальной АСУ ТП ОРУ к астрономическому времени должна быть не более ±0,5 мс, в составе других локальных АСУ ТП и АСУ ТП общестанционного уровня управления - не более ±0,5 с, расхождение между показаниями таймеров одного ПТК не должно превышать 0,5 и 5 мс соответственно.

3.3 Требования к лингвистическому обеспечению

3.3.1 Общие требования и состав

3.3.1.1 Лингвистическое обеспечение представляет собой совокупность средств и правил, используемых при общении разработчиков, пользователей и эксплуатационного персонала с комплексом средств ПТК при разработке АСУ ТП, монтаже и эксплуатации системы.

Лингвистическое обеспечение должно быть рассчитано на пользователя, специалиста в своей предметной области, не владеющего универсальными языками программирования или описания алгоритмов.

3.3.1.2 Лингвистическое обеспечение оператора-технолога должно сводиться к системе видеограмм и текстовых сообщений, снабженных необходимыми "меню", "подсказками" и "помощью", при организации его диалога с системой. Вся текстовая информация должна быть выполнена на русском языке.

В ПТК, которые планируются к поставке на экспорт (например, в комплекте с основным технологическим оборудованием ТЭС), целесообразно обеспечить возможность выбора языка разработки и языка интерфейса с пользователем АСУ ТП.

3.3.1.3 Лингвистическое обеспечение разработчиков, наладчиков и обслуживающего персонала ПТК и АСУ ТП в целом должно содержать:

- инструментальные средства проектирования системы и разработки программного обеспечения;

- средства формирования и ведения баз данных;

- способы описания (языки описания) характерных задач управления: сбор и первичная обработка информации, дистанционное управление, автоматическое регулирование и т.п.;

- способы формирования и включения в систему видеограмм, отчетов (протоколов), ведомостей и архивов;

- способы формирования и включения в систему прикладных информационных функций и задач: технологической сигнализации, регистрации событий, регистрации аварийных ситуаций, анализа действия технологических защит и противоаварийной автоматики;

- способы включения в систему информационно-вычислительных задач, требующих индивидуального подхода при их решении (расчет технико-экономических показателей, диагностика и пр.);

- способы программирования и включения в систему особо быстрых или других специальных задач управления и обработки информации;

- способы автоматизированного создания документации в процессе разработки, проектирования и модернизации ПТК и АСУ ТП.

Языки технологического программирования должны обладать средствами документирования, позволяющими совмещать собственно программирование функций и задач ПТК и АСУ ТП с получением эксплуатационной документации.

3.3.1.4 Лингвистическое обеспечение наладочного и эксплуатационного персонала ПТК и АСУ ТП должно также обеспечивать возможность проведения (с помощью простейших операций) тестирования, диагностирования, других регламентных работ и настройки системы.

3.3.2 Требования к конфигурационному языку программирования

3.3.2.1 Основой надежного функционирования программного обеспечения управляющей части системы является конфигурационный язык программирования.

Конфигурационный язык программирования должен обеспечивать реализацию всех задач прямого цифрового управления (автоматического регулирования, логического управления, защит), а также задач первичной и статистической обработки информации путем представления их в виде структурных схем преобразования информации или блок-схем пошагового логического управления. Алгоритмические блоки, соответствующие определенному закону преобразования информации или одному шагу программ, должны быть в пределах ПТК стандартизованы, а связи между блоками - унифицированы.

3.3.2.2 Конфигурационный язык должен иметь модульную иерархическую структуру, позволяющую описывать различные объекты и манипулировать ими.

3.3.2.3 Для реализации программ логического управления (ЛУ) в конфигурационном языке должны быть предусмотрены унифицированные средства:

- управления программами;

- реализации шаговых программ;

- реализации логических и других преобразований.

3.3.2.4 Библиотека стандартных алгоритмических модулей должна включать в себя следующие группы алгоритмов:

- П-, ПИ- и ПИД-законов регулирования аналогового и импульсного типа различных модификаций:

- динамического преобразования;

- алгебраических и других статических преобразований;

- импульсного преобразования с временной зависимостью, задаваемой на стадии проектирования;

- логических преобразований и связанных с ними операций, а также шагов логической программы;

- стандартных алгоритмов управления приводами, механизмами и другими подобными объектами, а также регуляторами, программами (шага, защиты, блокировки, АВР и др.), группами оборудования и т.п., включая приоритетную обработку команд от различных подсистем (ДУ, АР, ПЛУ и ТЗ);

- первичной и статистической обработки информации.

3.3.3 Требования к языкам описания типовых информационных задач

3.3.3.1 Система описания типовых информационных задач должна включать подсистемы:

- генерации видеограмм;

- генерации отчетов (ведомостей, журналов);

- генерации архивов.

Подсистема генерация видеограмм должна содержать:

- редактор изображений;

- средства организации библиотек изображений;

- библиотеки типовых изображений объектов, включая изображения виртуальных блоков управления исполнительными механизмами и устройствами автоматики;

- средства описания "меню";

- средства описания способа формирования, условий вывода и задания текста технологических сообщений различного класса и т.п.

3.3.3.2 Подсистема генерации отчетов должна содержать средства:

- формирования форматов отчетов;

- описания данных, включаемых в отчет;

- задания операций (вычислений) над данными;

- описания условий формирования (вывода) отчета.

 3.3.3.3 Подсистема генерации архивов, а также ввода и получения информации из архива должна содержать средства:

- описания архива (название, глубина хранения, условия уничтожения и т.п.);

- описания информации, вводимой в архив, и условий ее записи;

- защиты информации от несанкционированного доступа и т.п.

3.3.4 Требования к языкам описания нетиповых задач

Программирование нетиповых задач должно как минимум осуществляться на одном из универсальных языков программирования с расширенными возможностями доступа к данным, определенным в АСУ ТП, условиями работы в реальном времени и запуска по событию.

3.4 Требования к информационному обеспечению

3.4.1 Общие требования

3.4,1.1 В основу построения информационного обеспечения ПТК (так же, как и АСУ ТП в целом) должны быть положены следующие принципы:

- как правило, однократного ввода и многократного использования информации внутри системы;

- преобразование входной информации в цифровую форму как можно ближе к месту ее получения;

- преобразование выходной информации из цифровой формы в физическую форму как можно ближе к месту ее использования;

- защита от недостоверной и несанкционированной информации, а также защита отдельных пользователей от излишней информации;

- помехоустойчивое кодирование и защита от разрушения и несанкционированного доступа.

3.4.1.2 Во всех случаях многократного ввода или получения информации должны предусматриваться меры по предотвращению расхождения информации в системе, выдачи оператору недостоверной информации, сигнализации о существенном расхождении информации в разных частях системы.

3.4.1.3 Должны предусматриваться меры по выделению полезных составляющих информации при вводе и первичной обработке сигналов.

3.4.2 Кодирование информации

3.4.2.1 Для кодирования технологического оборудования, технических средств ПТК и АСУ ТП в целом, физических или виртуальных автоматических устройств, алгоритмов и программ должна быть использована система кодирования единая в пределах АСУ ТП и входящих в нее ПТК (например, типа KKS).

3.4.2.2 Для удобства восприятия информации, выводимой на мониторы, экраны коллективного пользования и принтеры, допускается использование технологического смыслового кодирования при помощи терминов и сокращений, общепринятых в энергетике. При отображении информации в табличной форме и печати документов допускается применение двух видов кодирования (например, в системе KKS и технологическое смысловое кодирование).

3.4.2.3 Должны соблюдаться следующие основные принципы кодирования информации в АСУ ТП ТЭС:

- набор мнемознаков и их цветовое кодирование должны быть едины для всей системы и отражать функциональное технологическое содержание;

- нормальная, предупредительная, аварийная и недостоверная информация должна кодироваться различными цветами. Эти цвета не должны использоваться для других целей (системные цвета). Для предупредительной сигнализации, например, может использоваться желтый цвет, для аварийной сигнализации - красный;

- для привлечения внимания пользователя (оператора-технолога) вновь появляющаяся информация, носящая предупредительный или аварийный характер, должна выделяться миганием, например, обозначения (Р, G, Н и т.п.) технологического параметра, значение которого превысило значение уставки, либо цвета подложки значения этого технологического параметра и т.п. Мигание снимается квитированием. До возвращения параметра в норму индикация осуществляется ровным цветом. Мигание должно сопровождаться звуковыми сигналами соответствующего тона;

- недостоверная информация может индицироваться белым цветом, либо помечается белым (или черным, если цвет основного фона белый) мигающим символом (звезда, крест или др.);

- тексты сообщений должны быть лаконичными, исчерпывающими по содержанию и едиными по форме. Предписывающие сообщения должны иметь форму: "Глагол с определением + объект с определением + адрес с определением". Информационные, предупредительные и аварийные сообщения должны иметь форму: - "Объект с определением + адрес с определением + глагольная форма".

3.5 Требования к программному обеспечению

3.5.1 Общие требования

3.5.1.1 Программное обеспечение (ПО) должно базироваться на международных стандартах и отвечать следующим принципам:

- модульность построения всех составляющих;

- иерархичность собственно ПО и данных;

- эффективность (минимальные затраты ресурсов на создание и обслуживание ПО);

- простота интеграции (возможность расширения и модификации);

- гибкость (возможность внесения изменений и перенастройки);

- надежность (соответствие заданному алгоритму, отсутствие ложных действий), защита от несанкционированного доступа и разрушения как программ, так и данных;

- живучесть (выполнение возложенных функций в полном или частичном объемах при сбоях и отказах, восстановление после сбоев);

- унификация решений;

- простота и наглядность состава, структуры и исходных текстов программ.

3.5.1.2 Должно предусматриваться разделение ПО на базовое (фирменное), поставляемое разработчиком ПТК, и прикладное (пользовательское), которое может разрабатываться как поставщиком ПТК, так и разработчиком АСУ ТП.

Должны быть предусмотрены меры по защите информации и недопущению внесения изменений в базовое ПО без привлечения разработчика ПТК. Должна иметься возможность задания паролей и установления границ санкционированного доступа при внесении изменений в прикладное ПО АСУ ТП.

Фирменное ПО должно сопровождаться эксплуатационной документацией.

3.5.2 Требования к базовому (фирменному) программному обеспечению

3.5.2.1 Базовое ПО подразделяется на системное ПО и ПО инструментальных средств разработки, отладки и документирования (САПР).

Системное ПО включает в себя:

- стандартные операционные системы;

- пакеты программной поддержки обмена данными;

- системы управления локальными и распределенными базами данных.

Программное обеспечение инструментальных средств разработки, отладки и документирования включает в себя:

- средства настройки базового ПО, диагностики и самодиагностики работоспособности ПТК;

- средства создания и отладки прикладного ПО.

3.5.2.2 Операционные системы устройств верхнего уровня ПТК должны удовлетворять следующим требованиям:

- высокая производительность, поддержка многозадачного режима;

- высокая степень устойчивости и надежности;

- поддержка обменов информации по используемым в ПТК локальным сетям;

- удобный и понятный пользователю графический интерфейс, простота и эффективность использования;

- возможность работы с мультимедиа;

- возможность конфигурирования под конкретные условия использования.

3.5.2.3 На нижнем уровне ПТК должны использоваться высокопроизводительные операционные системы (ОС).

Операционные системы нижнего уровня должны обеспечивать:

- поддержку многозадачного или псевдомногозадачного режима;

- модульность, гибкую конфигурируемость, возможность 100%-го размещения в ПЗУ контроллера;

- малое время реакции, многоуровневую, основанную на приоритетах, обработку прерываний и присвоение меток времени зафиксированным событиям;

- развитые средства коммуникации (поддержка стандартных сетей, а также различных промышленных интерфейсов ввода-вывода);

- возможность (при необходимости) стыковки с техническими средствами сторонних разработчиков (по отдельной заявке заказчика).

Допускается использование ОС общего назначения в комплекте с приложениями, обеспечивающими реализацию свойств, характерных для мультизадачных систем реального времени.

3.5.2.4 Программное обеспечение инструментальных средств разработки, отладки, документирования и проектирования АСУ ТП (только в части ПТК) является неотъемлемой частью ПО ПТК. Инструментальные средства должны базироваться на действующих стандартах и обеспечивать решение наиболее сложных вопросов, связанных с автоматизацией процессов создания АСУ ТП и прикладных программ: прием и обработка сигналов, организация автоматического управления исполнительными устройствами, визуализация измеренных величин (в том числе в виде графиков, гистограмм и т.п.), ведение архивов и генерации отчетов. Результатом проектирования должны быть компоненты системы управления, полностью готовые к запуску.

Инструментальные средства должны, как правило, совмещать в себе функции разработки и тестирования.

Инструментальное ПО должно включать следующие программные средства:

- компоновки и генерации технических и программных средств ПТК;

- библиотеку программных модулей стандартных алгоритмов сбора и обработки технологической информации, управления, регулирования и технологических защит;

- автоматизированного формирования исполняемых программных модулей на основе технологических заданий, представленных в виде БД и технологических алгоритмов, разработанных с использованием технологических языков и библиотеки стандартных алгоритмов;

- пакеты программ создания фрагментов и их отдельных элементов;

- организации и обслуживания баз данных;

- проведения самодиагностики и тестирования аппаратуры и программного обеспечения;

- разработки и включения в состав математического обеспечения ПТК и АСУ ТП программ, написанных на универсальных языках программирования;

- средства разработки ПО (редакторы, линкеры, отладчики, трансляторы и т.п.);

- средства автоматизированного проектирования ПТК в составе АСУ ТП, включая средства автоматизированного распределения и расположения модулей УСО в контроллерах и распределения входных-выходных каналов ПТК по контроллерным шкафам и их клеммникам.

3.5.2.5 Комплект инструментального ПО должен содержать также следующий набор программ:

- редактор схем логического управления и технологических защит;

- редактор схем автоматического регулирования и программного управления;

- редактор видеограмм;

- редактор проектной документации на ПТК.

Инструментальные средства предназначены для максимального упрощения и облегчения процесса разработки и проектирования ПТК и АСУ ТП в целом.

Инструментальные средства, помимо перечисленных выше, должны также включать средства контроля и диагностики функционирования ПТК, а также его коррекции, модернизации и наладки на объекте.

3.5.2.6 Программно-технические комплексы для АСУ ТП отечественных ТЭС должны иметь полностью русифицированный интерфейс пользователя (проектировщика, разработчика, наладчика, оперативного и обслуживающего персонала).

3.5.3 Требования к прикладному программному обеспечению

3.5.3.1 Прикладное (пользовательское) программное обеспечение должно обеспечивать реализацию ПТК всех функций управления и обработки информации, включенных в техническое задание на конкретную АСУ ТП.

3.5.3.2 Все типовые задачи, оговоренные в настоящих ОТТ, связанные со сбором, обработкой, передачей, хранением и представлением информации, а также с выдачей управляющих воздействий и информации на исполнительные и другие внешние устройства, должны программироваться на технологических языках или с помощью других программных средств, не требующих знаний в области применения универсальных языков программирования.

3.5.3.3 Должна предусматриваться возможность сохранения исходных пользовательских программ на магнитных носителях и при необходимости загрузки пользовательских программ через интерфейсные каналы в память контроллеров. Аналогичная возможность должна предусматриваться и для программного обеспечения верхнего уровня ПТК.

3.5.3.4 Должна предусматриваться (в случае необходимости) возможность подготовки, изменения или коррекции (в допустимых пределах, предусмотренных при создании АСУ ТП) пользовательских программ в процессе работы ПТК в составе АСУ ТП и технологического оборудования. При этом, как правило, должна быть исключена необходимость привлечения разработчиков или профессиональных программистов. Корректировка отдельных программ должна быть локальной и не должна требовать вмешательства в остальные программы,

3.6 Требования к метрологическому обеспечению

3.6.1 Метрологическое обеспечение ПТК должно включать в себя совокупность организационных мероприятий, технических средств, требований, положений, правил, норм и методик, необходимых для обеспечения единства измерений и требуемой точности измерений и вычислений.

3.6.2 Метрологическое обеспечение должно охватывать все стадии создания ПТК, проектирования АСУ ТП и эксплуатации ПТК в составе АСУ ТП на ТЭС и проводиться в соответствии с РД 153-34.0-11.117-2001.

3.6.3 Метрологическое обеспечение ПТК отечественного производства осуществляется в процессе:

- проектирования - проведением метрологической экспертизы конструкторской документации;

- изготовления - проведением испытаний ПТК с целью утверждения типа ПТК и новых средств измерения, входящих в состав ПТК, в соответствии с МИ 2441-97;

- внедрения ПТК в составе АСУ ТП на ТЭС - приемкой из монтажа и наладки, проведения метрологической аттестации (МА) измерительных каналов (ИК) ПТК;

- эксплуатации ПТК в составе АСУ ТП - путем поверки и (или) калибровки ИК, осуществлением метрологического надзора.

Метрологическое обеспечение ПТК, импортируемых в Россию, осуществляется в процессе:

- экспертизы технических характеристик и целесообразности импорта - проведением метрологической экспертизы технической документации ПТК, испытаний ПТК с целью утверждения типа ПТК и средств измерения, входящих в состав ПТК, в соответствии с МИ 2441-97;

- внедрения ПТК в составе АСУ ТП на ТЭС - приемкой из монтажа и наладки, проведением МА измерительных каналов ПТК;

- эксплуатации ПТК в составе АСУ ТП - путем поверки и (или) калибровки ИК, осуществлением метрологического надзора.

3.6.4 Метрологическое обеспечение распространяется на информационно-измерительные каналы, линии связи и датчики, реализуемые ПТК алгоритмы контроля технологического процесса и оборудования объекта, включая расчетные алгоритмы.

3.6.5 Организационно-технические мероприятия по метрологическому обеспечению должны предусматривать:

- проведение метрологической экспертизы конструкторской документации на ПТК;

- проведение испытаний и утверждение типа ПТК и его отдельных элементов в соответствии с МИ 2441-97;

- проведение метрологической экспертизы проектной документации на ПТК в составе АСУ ТП;

- определение обобщенных метрологических характеристик измерительных каналов ПТК в составе АСУ ТП по метрологическим характеристикам агрегатных средств измерений в соответствии с РД 153-34.0-11.201-97 и средств обработки информации в соответствии с Р 50.2.004-2000;

- проверку соответствия реализации ПТК в составе АСУ ТП проектным решениям;

- проведение приемки из наладки измерительных каналов ПТК в соответствии с РД 153-34.0-11.204-97 и метрологическую аттестацию ИК ПТК в составе АСУ ТП на ТЭС, включая линии связи и датчики в соответствии с РД 34.11.202-95;

- оснащение ПТК программными и аппаратными средствами метрологического контроля, а обслуживающей ПТК лаборатории - высокоточной аппаратурой для проведения поверок и градуировок (поставляется в составе ПТК по отдельной заявке заказчика);

- периодическую поверку (калибровку) измерительных каналов ПТК в составе АСУ ТП на ТЭС, а также линий связи и датчиков в соответствии с:

1) поверка ПР 50.2.006-96

2) калибровка - РД 153-34.0-11.204-97 или методикой, разработанной в соответствии с ПР 50.2.006-96, МИ 2526-99 и РД 153-34.0-11.204-97.

3.6.6. Для повышения точности измерений могут быть использованы алгоритмы повышения точности, использующие избыточную информацию, имеющуюся в системе управления.

3.6.7 Поставщик ПТК должен представить перечень программного обеспечения, стендов, эталонов и сервисной аппаратуры, необходимых для аттестации, поверки и калибровки измерительных каналов и устройств ПТК, контроля и условий их эксплуатации на объекте. Специальные стенды, приборы и устройства, которые не выпускаются отечественной промышленностью, должны поставляться по отдельному заказу изготовителем ПТК.

3.6.8 Метрологическая аттестация измерительных каналов ПТК в составе АСУ ТП на ТЭС должна проводиться после приемки из монтажа и наладки в условиях эксплуатации.

3.6.9 Алгоритм и программы расчетов, выполняемые ПТК в составе АСУ ТП, должны быть аттестованы (при необходимости) в порядке, установленном МИ 2441-97 и МИ 2174-91.

4 ТРЕБОВАНИЯ К ХАРАКТЕРИСТИКАМ ПТК

4.1 Требования к безопасности и условиям работы персонала

4.1.1 Требования безопасности являются приоритетными по отношению к другим требованиям. Программно-технический комплекс должен быть построен таким образом, чтобы ошибочные действия оперативного персонала или отказы технических средств не приводили к ситуациям, опасным для жизни и здоровья людей. Требования к безопасности ПТК должны соответствовать требованиям разд. 2 ГОСТ 24.104-85, а также ПТБ.

Технические средства ПТК по требованиям защиты человека от поражения электрическим током относятся к классу 1 и должны выполняться в соответствии с ГОСТ 12.2.007.0-75.

4.1.2 Оборудование ПТК, требующее осмотра или обслуживания при работе энергоблока, должно устанавливаться в местах, безопасных для пребывания персонала. Конструкция и размещение стоек (шкафов) ПТК должны удовлетворять требованиям электро- и пожаробезопасности в соответствии с ПТЭ (РД 34.20.501-95), ГОСТ 12.2.003-91 ССБТ, ГОСТ 12.2.007.6-75 ССБТ, ГОСТ 12.1.044-89 ССБТ и ГОСТ 12.1.004-91.

Стойки (шкафы) должны быть оснащены механическими блокираторами дверей (крышек), исключающими их самопроизвольное или несанкционированное открытие.

4.1.3. Все внешние элементы технических средств ПТК, находящиеся под напряжением, должны быть защищены от случайного прикосновения к ним обслуживающего персонала, а также иметь предупредительные надписи и гравировки на русском языке.

Технические средства ПТК должны быть заземлены. Заземление территориально рассредоточенных технических средств ПТК должно выполняться по месту их установки. Должна быть исключена необходимость организации автономного защитного контура заземления для устройств ПТК. На видном месте устройств ПТК должны быть предусмотрены четко различимые устройства (болты) для подключения защитного заземления по ГОСТ 12.1.030-81 к общему контуру заземления. Электрическое сопротивление между болтом и любой металлической частью устройства (шкафа), подлежащей заземлению, не должно превышать 0,1 Ом.

Сопротивление изоляции цепей в пределах одного устройства должно быть не менее 100 МОм. Допускается организация автономного логического (информационного) контура заземления по техническим условиям поставщиков ПТК.

Контроль состояния заземляющих устройств должен выполняться в соответствии с РД 153-34.0-20.525-00.

4.1.4 Инструкции по эксплуатации технических средств ПТК должны включать специальные разделы требований по безопасности установки, заземления и технического обслуживания.

4.1.5 Условия работы оперативного и обслуживающего персонала при эксплуатации ПТК должны соответствовать требованиям санитарных норм и требованиям безопасности персонала. Входящие в состав ПТК операторские станции, персональные компьютеры, на базе которых создаются АРМ, должны иметь гигиенический сертификат, а также сертификаты, гарантирующие соблюдение стандартов по электрической, механической и пожарной безопасности (ГОСТ Р 50377-92), уровню создаваемых радиопомех (ГОСТ Р 51318.22-99), уровню электростатических полей (ГОСТ 12.1.045-84 ССБТ), работоспособности в условиях электромагнитных помех (ГОСТ Р 50628-2000) и уровню создаваемого шума (ГОСТ 12.1.003-83 ССБТ) и вибрации (ГОСТ 12.1.012-90 ССБТ).

Предпочтительными являются мониторы, отвечающие нормам MPR II 1990:* (Шведский национальный комитет по защите от излучений) и стандарту ТСО 95 (Шведская конференция профсоюзов), мониторы с маркировкой Low Radiation (слабое излучение), мониторы с жидкокристаллическим экраном и мониторы с установленной защитой по методу замкнутого металлического экрана.

4.2 Требования к надежности

4.2.1 Программно-технический комплекс в части требований по надежности должен соответствовать ГОСТ 4.148-85, ГОСТ 24.701-86 и ГОСТ 27.003-90. Программно-технический комплекс должен создаваться как восстанавливаемая и ремонтопригодная система, рассчитанная на длительное функционирование. Требования к показателям надежности технических средств ПТК и АСУ ТП выбираются из условия, что суммарный коэффициент недоиспользования мощности энергоблока и установленной мощности электростанции из-за отказов АСУ ТП не должен превышать 1%. Периодичность и продолжительность остановов ПТК должны регламентироваться графиком ремонтов энергооборудования.

4.2.2 Должны быть использованы следующие основные способы повышения надежности ПТК и АСУ ТП:

- повышение аппаратной надежности технических средств;

- резервирование технических средств и программного обеспечения, наличие аппаратной, информационной, функциональной и алгоритмической избыточности, обеспечивающей работоспособность деградированных систем при единичных отказах без останова оборудования;

- применение отказоустойчивых структур;

- диагностика технических средств и программного обеспечения;

- защита от выдачи ложных команд и использования недостоверной информации;

- рациональное распределение функций управления между техническими средствами и персоналом;

- использование рационального человеко-машинного интерфейса, позволяющего быстро и однозначно идентифицировать и устранять нарушения;

- передача и обработка информации в цифровой форме, использование специальных кодов для защиты информации в процессе обмена и при необходимости контроль доставки информации;

- контроль информации на входе, использование избыточности "два из двух", "два из трех" в наиболее ответственных случаях;

- хранение наиболее важной информации и программ в энергонезависимом запоминающем устройстве;

- защита данных и программного обеспечения от несанкционированного вмешательства;

- облегченный режим работы элементов ПТК;

- гальваническое разделение каналов, модулей, шин и т.п.;

- рациональная эксплуатация ПТК и обеспечение запасными частями;

- повышение уровня квалификации обслуживающего персонала ПТК.

Для повышения надежности технических средств на стадии разработки и изготовления должны быть приняты следующие меры:

- должны использоваться только высококачественные элементы в промышленном исполнении и должен проводиться по возможности 100%-ный контроль всех элементов;

- технические средства должны быть ориентированы на продолжительное (до 48 ч) предельные эксплуатационные условия, т.е. на воздействие максимально допустимой температуры окружающего воздуха, максимально допустимой влажности, вибрации и пр.;

- используемые элементная и конструктивная базы должны надежно работать без принудительной вентиляции;

- технические средства должны обладать высокой помехозащищенностью от различных внешних воздействий (см. разд. 6);

- на аналоговых входах в требуемых случаях должны быть предусмотрены настраиваемые фильтры;

- в процессе изготовления должна выполняться проверка функционирования элементов, входящих в состав модулей, самих модулей и завершенных изделий;

- должна проводиться приработка модулей при повышенной температуре и при циклическом изменении температуры.

4.2.3 Надежность устройства ПТК, используемых в реализации функций технологических защит и защитных блокировок, должна соответствовать РД 153-34.1-35.137-00.

4.2.4 Показателями аппаратной надежности отдельных подсистем (за исключением устройства ПТК, используемых в реализации функций технологических защит и защитных блокировок) являются средняя наработка на отказ и ложное срабатывание, а также средняя продолжительность восстановления устройств, реализующих конкретную подсистему. Значения этих показателей, зависящих не только от ПТК, но и от технических решений по АСУ ТП, сведены в таблицу А. 1 приложения А.

Приведенные в таблице А.1 значения показателей аппаратной надежности не учитывают показатели надежности датчиков, линий связи от датчиков до ПТК и т.п.

4.2.5 ПТК должен позволять создавать АСУ ТП, обладающие требуемыми показателями надежности, готовности и живучести.

4.3 Требования к быстродействию

Требования к быстродействию ПТК для АСУ ТП теплоэнергетического и электротехнического оборудования приведены в таблице 4.1.

Таблица 4.1

Наименование параметра

Значение для ПТК АСУ ТП

теплоэнергетического оборудования ТЭС

электротехнического оборудования ТЭС

1

2

3

1. Периодичность опроса сигналов, обеспечивающая требования по точности фиксации событий и значений аналоговых сигналов по отношению к системному времени ПТК (в зависимости от динамических свойств параметра):

- дискретных пассивных

- дискретных инициативных

- аналоговых

- аналоговых для температурных параметров

 

 

0,5 с

10мс

 0,1-2 с

 0,1-30 с

 

 

0,5 с

 0,5-1,0мс

 0,5-1,0 мс

 0,1-30 с

2. Задержка от подачи оператором команды вызова информации до начала вывода/до окончания вывода соответственно:

- на экран монитора

- на экран коллективного пользования

 

 

1/(2-2,5) с

 2/(3-4) с

 

 

1,0-2,0 с

 2,0-3,0 с

3. Периодичность обновления информации:

- на экране монитора

- на экране коллективного пользования

 

1,0-2,5 с

2,0-3,0 с

 

1,0-2,0 с

2,0-3,0 с

4. Задержка в отображении спонтанно появляющихся сигналов предупредительной и аварийной сигнализации на экранах мониторов операторских станций и экране монитора событийной станции

0,5-1,0 с

0,5-1,0 с

5, Задержка представления аварийных сигналов на световых табло в случае управления табло от ПТК

- 0,5-1,0 с

0,5-1,0 с

6. Периодичность обновления информации на обобщенной мнемосхеме в случае управления мнемосхемой от ПТК:

- для аналоговой информации

- для дискретной информации

 

1,0-2,0 с

 0,5-1,0 с

 

1,0-2,0 с

 0,5-1,0 с

7. Время выдачи управляющего воздействия по каналам ТЗ после обнаружения аварийной ситуации (для ТЗ, не имеющих выдержки времени) в пределах

0,1-0,2 с

-

8. Время прохождения команды от момента нажатия оператором-технологом кнопки виртуального блока управления до появления сигнала на выходных цепях ПТК, не более

1,0с

1,0с

9. Задержка от момента выдачи оператором команды дистанционного управления до отображения на мониторе результатов выполнения команды без учета времени отработки команды объектом управления в пределах

1,5-2,0 с

1,5-2,0 с

10. Цикл расчета и выдачи команд для контуров регулирования и в большинстве штатных блокировок (в зависимости от динамических свойств объекта) должен находиться в пределах

0,02-3,0 с

00,2-0,25 с

11. Импульсы, подаваемые на исполнительный механизм (настраиваемый параметр):

- минимальная длительность

- шаг изменения, не более

 

0,125 с

 0,1с

 

0,125 с

 0,1с

12. Задержка от момента приема команды от АСУ ТП вышестоящего уровня до начала ее отработки, не более

0,25 с

0,25 с

13, Задержка от момента приема команды управления от систем противоаварийного управления до начала ее отработки, не более

25 мс

25 мс

4.4 Требования к достоверности информации

4.4.1 Для оценки достоверности вводимой аналоговой информации должны применяться:

- диагностирование наличия питающего напряжения и исправности всех устройств, входящих в канал прохождения информации: датчика, соединительных линий, модулей ввода (вывода), аналого-цифрового преобразователя и т.п.;

- проверка того, что значение сигнала находится в пределах допустимого диапазона:

1) по его крайним значениям;

2) по технологическим границам, которые могут зависеть от текущего состояния энергоблока;

- проверка того, что скорость изменения значения сигнала находится в допустимых пределах, определяемых с учетом текущего состояния объекта управления;

- проверка наличия (отсутствия) начального значения сигнала 4 мА для датчиков унифицированного сигнала 4 - 20 мА.

4.4.2. Для определения достоверности ряда сигналов может использоваться проверка соответствия значения сигнала расчетному значению, вычисленному с использованием значений других параметров.

4.4.3. При невыполнении одного из условий п.п. 4.4.1 и 4.4.2 сигнал считается недостоверным.

4.4.4 Выявление недостоверной информации должно вызывать формирование предупредительного сигнала. Управляющие воздействия, связанные с данной информацией, должны блокироваться. При отображении на видеомониторах и экране коллективного пользования недостоверные значения параметров должны индицироваться соответствующим цветом (например, белым).

4.4.5 Контроль достоверности входных дискретных сигналов в большинстве случаев заключается в выявлении недопустимых сочетаний логически связанных сигналов (например, сигналов от двух конечных выключателей или альтернативных сигналов "включен" - "отключен"). В отдельных случаях достоверность сигнала определяется специальными алгоритмами и аппаратно-программными методами контроля обрыва и короткого замыкания во внешних цепях дискретного датчика.

4.5 Требования к точности

4.5.1 Требования к погрешности каналов измерения основных технологических параметров должны соответствовать нормам РД 34.11.321-96.

Дополнительная погрешность, вносимая в информацию при ее первичной обработке в ПТК (при вводе и преобразовании в цифровую форму), должна быть не более 0,15% от шкалы для унифицированных сигналов тока и напряжения, 0,2% от шкалы для сигналов от термопар и термометров сопротивлений.

Погрешность сигналов по положению (степени открытия) исполнительных механизмов не нормируется.

4.5.2 Погрешность отображения информации должна соответствовать следующим требованиям:

- значения параметров, отображаемые в цифровом виде при необходимости должны иметь четыре значащих цифры;

- значения параметров, изображаемых на видеотерминалах в графической форме (графики процессов, диаграммы), должны отображаться с точностью до одной растровой строки экрана и обеспечивать "читаемость" результатов.

4.5.3 Точность регистрации процессов на бумажном носителе должна соответствовать классу 0,5 или 1,0.

4.5.4 Точность при записи данных в архив (фиксации) должна быть достаточна для их последующего использования в расчетах; величина квантования по уровню, определяющая условия записи должна быть достаточна для воспроизводства характера процесса.

4.5.5 Погрешность задания коэффициентов, установки значений констант, уставок сигнализации должна быть не более 0,2% от диапазона изменения параметра.

4.5.6 Погрешность регистрации времени событий (в системе единого времени ПТК) должна находиться в пределах 0,5-10 мс, в зависимости от периода опроса входных аналоговых и дискретных сигналов (см. таблицу 4.1).

4.5.7 Основная приведенная погрешность модулей вывода унифицированных аналоговых сигналов тока и напряжения должна находиться в пределах 0,25 - 0,5%.

4.5.8 Погрешность привязки системного времени ПТК в составе локальной АСУ ТП ОРУ к астрономическому времени должна быть не более ±0,5 мс, в составе других локальных АСУ ТП ТЭС и АСУ ТП общестанционного уровня управления - не более ±0,5 с.

5 ТРЕБОВАНИЯ К ПОСТАМ УПРАВЛЕНИЯ И ОБСЛУЖИВАНИЯ

5.1 Для оперативного управления технологическим процессом, обслуживания, наладки и сопровождения ПТК и АСУ ТП ТЭС при эксплуатации на ТЭС предусматриваются следующие посты, на которых размещаются технические средства ПТК:

- центральный щит управления ТЭС;

- блочные щиты управления энергоблоками ТЭС (БЩУ), а также щиты управления другими локальными АСУ ТП: щиты управления общестанционными технологическими установками и открытым распределительным устройством высокого напряжения ТЭС, водоподготовительной установкой, топливоподачей и т.п.;

- щиты оперативного обслуживания и наладки ПТК соответствующей АСУ ТП;

- местные щиты управления.

5.2 Посты управления оснащаются одним или несколькими автоматизированными рабочими местами (АРМ). Каждое АРМ может содержать одну или несколько рабочих станций требуемого типа (например, операторскую, событийную, архивную). Оснащение постов автоматизированными рабочими местами и их состав определяются разработчиком АСУ ТП в техническом проекте АСУ ТП, утверждаемом заказчиком.

5.3 Оборудование постов управления проектируется генпроектировщиком АСУ ТП с привлечением разработчика АСУТП.

Дополнительные сведения о постах управления приведены в приложении Д.

6 ТРЕБОВАНИЯ К ЭКСПЛУАТАЦИИ ПТК

6.1 Требования к условиям эксплуатации устройств верхнего уровня ПТК, устанавливаемых в оперативном и неоперативном контурах управления БЩУ и ЦЩУ и специально подготовленных помещениях с постоянным присутствием оперативного персонала (ПЭВМ, видеомониторы, принтеры, клавиатуры и др.), должны соответствовать ГОСТ 15150-69, исполнение УХЛ, категория размещения 4.1 и техническим условиям на используемые технические средства.

Технические средства, устанавливаемые в этих помещениях, должны соответствовать ГОСТ 12997-84, группа В 4 и надежно функционировать при следующих условиях:

- рабочая температура окружающей среды 15 - 25°С;

- предельная температура (на период не более 2 ч) 10-40°С;

- относительная влажность воздуха 30 - 75% при температуре 25°С;

- предельная влажность воздуха 20 - 80% при температуре 25°С;

- атмосферное давление (группа Р1) 84,6-106,7 кПа;

- вибрация в диапазоне частот 0,5 - 50 Гц с амплитудой 0,15 мм (группа N1);

- напряженность внешних магнитных полей постоянного и переменного тока с частотой 50 Гц - до 40 А/м;

- напряженность внешних электрических полей до 10 кВ/м;

- содержание пыли (размер частиц не более 3 мкм) в помещениях не более 1,0 мг/м3.

6.2 Технические средства нижнего уровня ПТК, устанавливаемые в специально подготовленных для этого помещениях, должны соответствовать ГОСТ 12997-84, группа В 4 и иметь степень защиты IP54 (по требованию заказчика) и надежно функционировать при следующих условиях:

- рабочая температура окружающей среды 10 -40°С;

- относительная влажность воздуха 30 - 75% при температуре 25°С;

- предельная влажность воздуха 20 - 80% при температуре 25°С;

- атмосферное давление (группа Р1) 84,6-106,7 кПа;

- вибрация в диапазоне частот 0,5 - 50 Гц с амплитудой 0,15 мм (группа N1);

- напряженность внешних магнитных полей постоянного и переменного тока с частотой 50 Гц до 400 А/м;

- напряженность внешних электрических полей до 10 кВ/м;

- содержание пыли в помещениях - в соответствии с требованиями для электротехнических помещений.

6.3 Технические средства, устанавливаемые вблизи технологического оборудования, должны соответствовать ГОСТ 12997-84, группа ДЗ, иметь степень защиты IP54 и надежно функционировать при следующих условиях:

- атмосферное давление 84-106,7 кПа;

- вибрация в диапазоне частот 0,5 - 50 Гц с амплитудой 0,1 мм;

- напряженность магнитных полей постоянного и переменного тока до 400 А/м;

- напряженность переменных электрических полей до 10 кВ/м;

- наличие индустриальных радиопомех;

- рабочая температура окружающей среды в нормальных условиях 10 - 50°С;

- относительная влажность не более 90%.

В аварийных режимах допускается температура 75°С и относительная влажность 100%.

6.4 Конструктивное исполнение технических средств, устанавливаемых открыто в машинном зале, котельном отделении, должно обеспечивать защиту от несанкционированного вмешательства в их работу посторонних лиц.

6.5 Условия эксплуатации технических средств, предназначенных для реализации функций подсистемы технологических защит, должны соответствовать требованиям РД 153-34.1-35.137-00.

6.6 Условия эксплуатации технических средств нижнего уровня ПТК, предназначенные для размещения в непосредственной близости от электротехнического оборудования ТЭС, должны соответствовать требованиям, предъявляемым (РД 34.35.310-01) к аппаратуре МП РЗА.

7 ТРЕБОВАНИЯ ПО СТАНДАРТИЗАЦИИ И УНИФИКАЦИИ

7.1 В составе ПТК должны использоваться технические средства, производимые в соответствии с общепринятыми международными и отечественными стандартами, что обеспечивает конструктивную, информационную и программную совместимость изделий различных разработчиков и создает предпосылки к достижению конкурентоспособности на мировом рынке.

7.2 В ПТК, как правило, должны использоваться современные ОС. Допускается применение двух различных ОС на верхнем и нижнем уровнях ПТК. Должна предусматриваться возможность настройки ОС в соответствии с конфигурацией ПТК и его программного обеспечения.

7.3 Средства коммуникации с внешними системами (типа "шлюз") должны обеспечивать поддержку стандартных сетевых протоколов и общепринятых сетевых протоколов.

7.4 В "шлюзах" должна обеспечиваться поддержка стандартов открытого доступа к данным, имеющимся в конкретном "шлюзе" в момент поступления запроса, с помощью механизмов межзадачного обмена (например, ОРС, DDE/NetDDE, ODBC/SQL, OLE/OCX и др.).

7.5 Программирование прикладных программ нижнего уровня, работающих в реальном времени, должно производиться с использованием современных графических языков программирования или стандартных языков программирования (например, в соответствии с IEC1131-3), позволяющих описывать автоматизируемый процесс в наиболее легкой и понятной форме.

7.6 Для кодирования информации в ПТК должна обеспечиваться возможность использования единой системы кодирования (например, типа KKS).

7.7 Формы представления информации на ЦЩУ, БЩУ и других пунктах управления на средствах ПТК должны быть приближены к проектным изображениям технологических схем и их элементов.

7.8 Базовые конструкции (стойки, каркасы, навесные шкафы и т.п.) должны выполняться в соответствии с общепринятыми стандартами (например, "Евромеханика"). В конструкциях ПТК должна быть сведена к минимуму номенклатура используемых субблоков (крейтов). Конструктивы шкафов, рам, функциональных модулей должны быть унифицированы во всех устройствах ПТК. Должно использоваться минимальное количество номинальных значений питающих напряжений.

7.9 В УСО вне зависимости от типа используемых входных и выходных сигналов должны использоваться стандартные (унифицированные) интерфейсы.

7.10 При документировании результатов однотипных работ (например, при описании прикладных алгоритмов и программ различных технологических контуров управления) в ПТК должна применяться единая форма документации в соответствии с ГОСТ 34.201-89.

8 ТРЕБОВАНИЯ К ПРИЕМКЕ ПТК

8.1 Общие положения

8.1.1 Программно-технический комплекс должен пройти следующие виды испытаний:

- предпоставочные заводские испытания;

- испытания отдельных подсистем в процессе наладки;

- предварительные испытания;

- опытную эксплуатацию;

- приемочные испытания.

Все виды испытаний, кроме заводских, проводятся на объекте в составе испытаний АСУ ТП. В актах о проведении этих испытаний отдельно фиксируются результаты испытаний ПТК. Краткие сведения о испытаниях АСУ ТП ТЭС приведены в приложении Е.

8.1.2 Предпоставочные (заводские) испытания ПТК проводятся поставщиком на полномасштабном полигоне в присутствии заказчика и разработчика АСУ ТП. Целью испытаний является подтверждение соответствия скомплексированного ПТК установленным (утвержденным разработчиком и поставщиком ПТК) техническим требованиям. Допускается проведение предпоставочных испытаний ПТК на полигоне, создаваемом на площадке разработчика АСУ ТП или на площадке заказчика.

8.1.3 К приемке должен быть предъявлен комплект ПТК, включающий:

- комплекс технических средств (КТС), смонтированных и соединенных в соответствии с рабочими чертежами монтажа КТС и подготовленных к эксплуатации с сервисной аппаратурой и инструментами для обслуживания;

- эксплуатационную документацию, содержащую все сведения о ПТК и системе, необходимые для освоения ПТК и обеспечения его нормальной эксплуатации;

- программное обеспечение в виде программ на машинных носителях информации и сопровождающая его программная документация;

- алгоритмы прикладных программ, разработанные и поставляемые поставщиком ПТК;

- техническую документацию для службы эксплуатации ПТК и перечень необходимых технических средств для оснащения этих служб;

- ЗИП, приборы и устройства для проверки работоспособности и наладки технических средств и контроля метрологических характеристик измерительных каналов ПТК в объеме, согласованном со службой метрологии пользователя.

8.2 Гарантии

8.2.1 Поставщик ПТК должен гарантировать надежную и эффективную работу ПТК в целом (включая средства, используемые им как комплектующие изделия) в соответствии с техническими условиями на ПТК, которые должны соответствовать оговоренным в ОТТ показателям.

8.2.2 Гарантийный срок на ПТК должен быть не менее 18 мес после изготовления и готовности к поставке ПТК заказчику при условии хранения ПТК на площадке заказчика в соответствии с требованиями поставщика. В этот период поставщик ПТК должен производить гарантийный ремонт. В дальнейшем, на весь срок службы ПТК поставщик должен гарантировать поставку за отдельную плату ЗИП в необходимом объеме.

Приложение А
(справочное)
КРАТКИЕ СВЕДЕНИЯ ПО АСУ ТП ТЭС

АСУ ТП ТЭС - система, состоящая из персонала и комплекса средств автоматизации, осуществляющая управление технологическим процессом на оборудовании ТЭС в реальном времени.

АСУ ТП ТЭС в общем случае является многоуровневой системой управления, содержащей (рисунок А1):

- АСУ ТП общестанционного уровня управления ТЭС;

- локальные АСУ ТП (АСУ ТП энергоблоков, АСУ ТП открытого (закрытого) распределительного устройства высокого напряжения и другого общестанционного технологического оборудования).

Основными системами управления на ТЭС являются АСУ ТП энергоблоков, взаимодействующие с вышестоящей АСУ ТП - АСУ ТП общестанционного уровня управления ТЭС (при ее наличии), а при необходимости и с другими смежными, локальными АСУ ТП ТЭС.

АСУ ТП общестанционного уровня управления ТЭС взаимодействует с АСУ вышестоящего уровня управления (АСДУ) и локальными АСУ ТП ТЭС, подготавливает и пересылает информацию в АСУ П ТЭС, а также сравнительно редко получает из АСУ П необходимую информацию (например, результаты расчетов по диагностике оборудования и т.п.).

Обобщенная структура АСУ ТП энергетического объекта ТЭС показана на рисунке А.2.

Различные значения показателей аппаратной надежности (таблица А.1.) для вариантов ответственности подсистем позволяют при разработке и проектировании АСУ ТП ТЭС применять обоснованное и дифференцированное дублирование сетей, сетевых средств, контроллеров и других устройств ПТК для различных сегментов сети и частей оборудования ТЭС (например, топливоподача, водоподготовительная установка, ОРУ и т.п.).

Рисунок А.1 Обобщенная структурная схема АСУ ТП ТЭС

Рисунок А.2 Обобщенная структурная схема АСУ ТП энергетического объекта ТЭС

Таблица А.1

Показатели аппаратной надежности отдельных подсистем

Подсистема, формулировка отказа

Средняя наработка на отказ, тыс. ч, не менее

Средняя продолжительность восстановления, ч, не более

Вариант ответственности подсистемы

Обычный

Повышенной надежности

Высокой надежности

1

2

3

4

5

1. Сбор и предварительная обработка аналоговой информации:

- отказ одного канала

- одновременный отказ двух или более каналов в одной УСО

- одновременный отказ всех каналов одного УСО

 

10,0

30,0

100,0

 

20,0

 70,0

150,0

 

30,0

 100,0

200,0

 

1

1

1

2. Сбор и предварительная обработка дискретной информации:

- отказ одного канала

- одновременный отказ всех каналов одного УСО

 

10,0

100,0

 

20,0

150,0

 

30,0

200,0

 

1

1

3. Передача данных по интерфейсным каналам:

- невозможность обмена данными между двумя любыми контроллерами

- невозможность обмена данными между тремя или более контроллерами

- невозможность обмена данными между любым из контроллеров и устройствами верхнего уровня (сервер, операторские и другие станции ПТК)

 

20,0

30,0

100

 

30,0

50,0

200

 

50,0

100,0

400

 

1

1

1

4. Предупредительная и аварийная сигнализация:

- отказ одного канала

- отказ более чем одного канала

 

10,0

50,0

 

20,0

 80,0

 

30,0

 100,0

 

1

1

5. Автоматическое регулирование:

-отказ одного контура АР

- одновременный отказ всех контуров АР в пределах одного контроллера

- ложное срабатывание по одному каналу

 

10,0

30,0

100,0

 

15,0

40,0

200,0

 

20,0

50,0

300,0

 

1

1

0,5

6. Логическое и программное управление ЛУ и ПУ:

- отказ одной программы ЛУ, ПУ

- одновременный отказ всех программ одного контроллера

- ложное срабатывание по одному каналу

 

10,0

15,0

100,0

 

15,0

30,0

200,0

 

20,0

50,0

300,0

 

1

1

0,5

7. Отображение информации оператору-технологу:

- невозможность вызова одного видеокадра

- отсутствие динамической информации по одному каналу

- невозможность вызова всех видеокадров на одной операторской станции

- невозможность вызова всех видеокадров на всех операторских станциях

 

3,0

3,0

20,0

200

 

8,0

5,0

30,0

300

 

10,0

10,0

100,0

400

 

1

1

1

1

8. Дистанционное управление:

- невозможность управления по одному каналу

-невозможность управления по двум и более каналам

-ложное срабатывание по одному каналу

 

50,0

100,0

500,0

 

100,0

200,0

750,0

 

200,0

300,0

1000,0

 

1

1

0,5

9. Регистрация аварийных ситуаций РАС:

- отказ по одному параметру РАС

- полный отказ РАС

 

3,0

30,0

 

10,0

50,0

 

20,0

100,0

 

1

1

10. Расчетные функции: - отказ функции

1,0

2,0

3,0

4,0

Примечание - В данную таблицу не входят показатели надежности устройств ПТК, используемых при реализации функций технологических защит и защитных блокировок.

Приложение Б
(справочное)
ОБЩАЯ ХАРАКТЕРИСТИКА ОБЪЕКТОВ АВТОМАТИЗАЦИИ

Б.1 Автоматизированные системы управления технологическими процессами, которые создаются на базе ПТК, отвечающих настоящим ОТТ, предназначаются для автоматизации ТЭС или их отдельных частей (установок, агрегатов, технологических узлов и т.п.) как вновь создаваемых, так и модернизируемых вне зависимости от типов, мощности, параметров и других характеристик оборудования.

Б.2 Электрическая станция (ЭС) - крупное промышленное предприятие, производящее электрическую и (или) тепловую энергию. Основным типом ЭС являются ТЭС на органическом топливе. На ТЭС используется твердое (уголь, торф, сланцы и лигнит), жидкое (мазут) и газообразное (преимущественно природный газ) топливо. Электроэнергия производится вращающимися машинами - электрогенераторами (ЭГ). Для привода ЭГ на ТЭС применяются паровые и газовые турбины (ПТ и ГТ). В зависимости от применяемого привода ЭГ существуют два типа ТЭС - паротурбинные и парогазовые (ПТУ и ПГУ).

Паротурбинные ТЭС, вырабатывающие только электрическую энергию, оснащаются турбинами конденсационного типа и называются конденсационными электростанциями (КЭС). На электростанциях, вырабатывающих как электрическую, так и тепловую энергию, устанавливаются паровые турбины с конденсацией и регулируемыми отборами пара или с противодавлением. Такие электростанции называются теплоэлектроцентралями (ТЭЦ), а их турбины - теплофикационными. Тепловая энергия может производиться также и на чисто теплофикационных установках, как правило, котельных. В ПГУ производится комбинированная выработка энергии во взаимосвязанных газо- и паротурбинных установках, в большинстве случаев вырабатывающих оба вида энергии. Современные ТЭС имеют преимущественно блочную структуру. В состав каждого энергоблока входят основные агрегаты - паровая турбина с электрогенератором, паровой котел и связанное с ними вспомогательное оборудование. В настоящее время сооружаются ТЭС с моноблочной структурой - один котел, одна турбина. На КЭС устанавливаются моноблоки мощностью 150 и 200 МВт с барабанными котлами и параметрами пара перед турбиной 13 МПа, 540/540°С; 300, 500 и 800 МВт с прямоточными котлами и параметрами пара 24 МПа, 540/540°С. На ТЭЦ используются моноблоки с теплофикационными турбинами 100, 130 и 175 МВт, барабанными котлами на параметры 13 МПа, 555° С и блоки мощностью 250 МВт с прямоточными котлами 24 МПа, 540/540°С.

В настоящее время наиболее перспективными и экономичными являются ТЭС, укомплектованные ПГУ. При большом разнообразии ПГУ можно выделить следующие основные технологические схемы.

В состав энергоблока ПГУ входят: одна или две высокотемпературных газовых турбины, выхлопные газы которых используются для получения пара в одном или двух котлах-утилизаторах, как правило, барабанных двух давлений 8,0 МПа и 0,7 МПа, а также паровая турбина с теплофикационными регулируемыми и нерегулируемыми отборами пара. Прорабатываются схемы ПГУ с внутрицикловой газификацией твердого топлива. Такие ПГУ являются наиболее сложными и трудно управляемыми объектами.

В комплекте с паровыми и газовыми турбинами поставляются их локальные системы регулирования и автоматического управления, различные вспомогательные установки. Программно-технические комплексы этих систем должны удовлетворять требованиям настоящих ОТТ.

В состав общеблочного оборудования входят конденсатная, деаэраторная и бойлерная установки, главные паропроводы и пуско-сбросные устройства, трубопроводы пара собственных нужд.

Основное оборудование энергоблоков КЭС должно удовлетворять "Требованиям к оборудованию энергетических блоков мощностью 300 МВт и выше, определяемые условиями их автоматизации" (М.: СПО ОРГРЭС, 1976), "Техническим требованиям к маневренности энергетических блоков тепловых электростанций с конденсационными турбинами" (Минэнерго-Минэнергомаш-Минэлектротехпром, 1986), "Техническим требованиям к маневренности энергетических полупиковых блоков тепловых электростанций с конденсационными турбинами" (Минэнерго-Минэнергомаш-Минэлектротехпром, 1988) - для вновь строящихся и проектируемых электростанций и "Нормам минимально допустимых уровней и предельно допустимых скоростей изменения нагрузок энергоблоков 150-1200 МВт (М.: СПО "Союз-техэнерго", 1987) - для действующих электростанций.

Основное оборудование энергоблоков ТЭЦ должно удовлетворять "Техническим требованиям к маневренным характеристикам проектируемых и модернизируемых энергоблоков теплоэлектроцентралей" (Минэнерго-Минэнергомаш-Минэлектротехпром, 1980).

Электротехническое оборудование энергоблоков содержит генераторы с автономными регуляторами напряжения (для ГТУ с тиристорной пусковой установкой) и различными вспомогательными системами (возбуждения, охлаждения, маслоснабжения, гашения поля, пожаротушения).

Генераторы присоединяются к энергосистеме через трансформаторы и высоковольтные выключатели, также оборудованные автономными и вспомогательными установками; трансформаторы - устройством регулирования напряжения под нагрузкой и системами охлаждения, маслоснабжения, газовой защиты и пожаротушения, а выключатели - компрессорной установкой воздухоснабжения, системой подогрева масла, приводами.

В состав электротехнического оборудования энергоблока входят:

- генератор и его вспомогательные системы;

- тиристорная пусковая установка для ГТУ;

- блочный трансформатор и его вспомогательные системы;

- высоковольтные коммутационные выключатели, разъединители, разъединители-заземлители;

- электрооборудование схемы электропитания собственных нужд 6 и 0,4 кВ (трансформаторы, РПН, коммутационные аппараты);

- электрооборудование установок оперативного постоянного тока (АБ, ЩПТ, распределительная сеть).

Кроме того, в состав энергоблока входят автономные системы и устройства:

- система возбуждения генератора;

- релейной защиты и автоматика главной схемы и схемы с.н. энергоблока;

- системы управления вспомогательным оборудованием генераторов, трансформаторов, выключателей и разъединителей высокого напряжения;

- система управления активной и реактивной мощностью электростанции, реализованная на блочном уровне;

- информационно-измерительная система для контроля и коммерческого учета выработанной и' отпущенной электроэнергии (АСКУЭ);

- системы рабочего и аварийного освещения и пожаротушения;

- система охранного освещения.

Электротехническое оборудование энергоблоков должно удовлетворять ПУЭ и ПТЭ (РД 34.20.501-95).

Б.3 В состав оборудования блочных ТЭС входят различные общестанционные (общеблочные) технологические установки:

- основное и вспомогательное электротехническое оборудование распределительных устройств (ОРУ, ЗРУ) высшего напряжения;

- основное и вспомогательное электротехническое оборудование схемы электроснабжения общестанционных собственных нужд, резервирования собственных нужд энергоблоков;

- общестанционное электрооборудование оперативного постоянного (переменного) тока;

- технологически обособленное оборудование общестанционных технологических установок (ОТУ) - комплексов и хозяйств, представляющих собой отдельные сооружения на ТЭС; топливного хозяйства, общестанционного теплофикационного оборудования, системы технического водоснабжения, испарительной установки, водоподготовительной установки, очистных сооружений;

- оборудование административного, инженерного и других вспомогательных корпусов и сооружений ТЭС, получающих электропитание от системы электроснабжения общестанционных собственных нужд;

- оборудование электрического освещения помещений и территории ТЭС;

- оборудование системы пожаротушения ТЭС. Электротехническое оборудование общестанционных

технологических установок должно удовлетворять ПУЭ и ПТЭ, а технологическое оборудование ОТУ - соответствующим требованиям к этим установкам.

Б.4 Состояние оборудования ТЭС и ход технологического процесса оценивается по значениям непосредственно измеренных или вычисленных параметров. Информация о значениях параметров разбивается на аналоговую и дискретную. Аналоговая информация включает следующие группы измерений:

- теплотехнические:

1) температура (400 - 600);

2) давление и разности давлений (250 - 300);

3) расход жидкостей, газа, пара (50-100);

4) уровень жидкостей и сыпучих тел (50 - 80);

- электрические:

1) мощность активная и реактивная (10 - 20);

2) ток (100-200)*;

3) напряжение (100-200)*;

4) частота (5-10)*;

5) выработка и потребление энергии (30-100);

- состава газов (концентрация отдельных составляющих в смеси газов);

- контроль качества воды, пара, конденсата, концентрации и состава растворов:

1) электропроводность (10-15);

2) рН(5-10);

3) Na (5-10);

4) растворенный кислород (3 - 5);

5) жесткость*;

6) содержание водорода*;

7) содержание соединений кремния (1-2);

8) мутность*;

9) содержание нефтепродуктов*;

10) солесодержание (1-3);

- механические: вибрация, относительные перемещения и т.п. (30-50)*.

* Измерения не освоены

Примечание - В скобках приведены усредненные по ряду проектов данные о количестве точек каждого вида измерений в пределах энергоблока без учета вспомогательных систем оборудования.

Измерение всех перечисленных выше параметров производятся приборами, преобразующими измеряемый параметр в электрический выходной сигнал. Преимущественно используются унифицированные электрические сигналы. Технические параметры наиболее употребительных сигналов приведены в таблице Б.1.

Таблица Б.1

Технические параметры аналоговых сигналов

Сигналы

Технические характеристики сигналов и каналов ввода информации

Диапазон измерения

Значение сигнала

1

2

3

4

1. Унифицированные токовые

Входное сопротивление каналов ввода не более 500 Ом

Максимально допустимое сопротивление нагрузки датчиков и нормирующих преобразователей 2000-2500 Ом

-

±5мА

0-5 мА

Входное сопротивление каналов ввода не более 250 Ом

Максимально допустимое сопротивление нагрузки датчиков и нормирующих преобразователей 1000-1500 Ом

-

+20 мА

0-20 мА

4-20 мА

2. Унифицированные напряжения

Входное сопротивление не менее 10 кОм,

Минимальное сопротивление нагрузки 2000 Ом

-

±5 В

0-5 В

±10 В

0-10 В

2-10 В

3. От термопар по ГОСТ Р 8.585-2001 и ГОСТ 6616-94

ХА(К)

XK(L)

ПП(S)

ПР(В)

-200-1000°С

-200-600°С

0-1300°С

300-1600°С

0,04 мВ/°С

0,07 мВ/°С

0,006 мВ/°С

0,014мВ/°С

4. От термометров сопротивления по ГОСТ 6651-94

50 М

 

 

 

100 М

 

50 П

100 П

±50°С

0-50°С

0-100°С

0-50°С

0-100°С

0-200°С

0-600°С

0-600°С

-

5. От трансформаторов тока

Входная мощность нагрузки, не менее:

0,1 VA при Iн = 1 А

0,3VA при Iн = 5А

4Iн – длительная ТУ;

20Iн -ТУ10с;

100Iн - ТУ 1 с;

250Iн - ТУ при импульсном воздействии длительностью не более 10мc

0-1 А

0-5 А

6. От трансформаторов напряжения

Входная мощность нагрузки, не

менее:

0,25 VA

1,4Uн - длительная ТУ;

1,9Uн -ТУ1с

0-100 В

Примечание- ТУ - термическая устойчивость.

Общее количество аналоговых сигналов, используемых в АСУ ТП энергоблока, составляет 1500-2000.

Б.5 Дискретные сигналы используются в основном для сообщений о состоянии ("включено" - "выключено") или положении ("открыто" - "закрыто") исполнительных органов и объектов управления.

Общее количество исполнительных органов и других объектов управления на одном энергоблоке ТЭС может достигать нескольких тысяч единиц. Они отличаются большим разнообразием, но могут по назначению быть разбиты на три группы: отсечная запорная арматура (задвижки, вентили и шиберы) 600 - 700 единиц, регулирующая арматура (регулирующие клапаны) 100-150 шт. и механизмы собственных нужд, включая нагреватели, до 200 шт., выключатели, разъединители на электротехническом оборудовании - 20 - 60 шт. Кроме устройств технологического оборудования в состав объектов управления входят также автоматические устройства ПТК, такие как регуляторы, логические автоматы, защиты и т.п.

Задвижки и механизмы являются (в основном) двухпозиционными органами. Задвижки могут находиться в открытом или закрытом состоянии, которое должно индицироваться на средствах отображения. Кроме того, для них, как правило, необходимо отображать направление движения и наличие (отсутствие) электропитания. Для механизмов индицируется включенное или отключенное состояние. Дополнительно индицируется наличие (отсутствие) электропитания. По регулирующей арматуре должна сообщаться также информация о степени ее открытия, которая по сути своей является аналоговой информацией, а также состояние регулятора ("Вкл.", "Авт.", "Ручн."). Общее количество входных дискретных сигналов в зависимости от типа энергоблока может составлять 2-10 тыс. и более.

Общее количество управляющих сигналов может составлять:

- аналоговых - 50 - 200;

- дискретных - 500-2000.

Количество входных-выходных аналоговых и дискретных сигналов различных общестанционных технологических установок может варьироваться в очень широких пределах в зависимости от состава оборудования и намеченных к реализации функций АСУ ТП.

Количество входных-выходных аналоговых и дискретных сигналов основного и вспомогательного оборудования открытых распределительных устройств (ОРУ) высокого напряжения также зависит от количества ОРУ на ТЭС, состава оборудования ОРУ, количества линий высокого напряжения и т.п.

Ориентировочное количество входных-выходных аналоговых и дискретных сигналов для ОРУ 500 кВ (4 энергоблока, работающих на напряжение 500 кВ, две линии 500 кВ, один автотрансформатор 500/220/10 кВ) может составлять:

входные:

- токовые 4 - 20 мА (0 - 5 мА) - 30 - 40;

- токовые сигналы 1А, 5А - 30 - 50;

- сигналы напряжения 100 В - 20 - 30;

- дискретные сигналы 220 В - 450 - 600; выходные дискретные - 250 - 400.

Приложение В
(рекомендуемое)
ПРИНЦИПЫ ОРГАНИЗАЦИИ ОБМЕНА (ПЕРЕСЫЛКИ) ИНФОРМАЦИЕЙ В АСУ ТП И АСУ П ТЭС

В.1 Объем пересылаемых между ПТК АСУ ТП информации и команд должен быть по возможности минимизирован.

В АСУ ТП ТЭС, исходя из объемов пересылаемой информации и команд, имеется практически однонаправленный обмен информацией: от каждой из локальных АСУ ТП к АСУ ТП общестанционного уровня управления ТЭС. От ПТК АСУ ТП общестанционного уровня управления ТЭС в ПТК локальных АСУ ТП, как правило, пересылаются только команды управления. Эта пересылка должна, в основном, выполняться в виде аналоговых и (или) дискретных сигналов по кабельным связям между ПТК АСУ ТП общестанционного уровня управления ТЭС и ПТК локальных АСУ ТП. Пересылка команд управления с использованием устройств типа "шлюз" допустима, если при этом обеспечиваются требования к времени доставки и отработки команд управления.

Обмен информацией между ПТК смежных (локальных) АСУ ТП ТЭС, как правило, не должен требоваться. В отдельных случаях этот обмен информацией может быть организован аналогично приведенному выше.

В.2 Пересылка информации между АСУ ТП ТЭС и АСУ П ТЭС также имеет практически однонаправленный характер: от АСУ ТП ТЭС в АСУ П ТЭС. АСУ ТП общестанционного уровня управления ТЭС подготавливает и регулярно, а при необходимости и спорадически пересылает информацию в АСУ П ТЭС. Из АСУ П в АСУ ТП общестанционного уровня сравнительно редко (один раз в сутки, неделю или месяц) могут пересылаться результаты расчетов, выполняемых функциями и задачами АСУ П (например, результаты расчетов по диагностике оборудования, по распределению нагрузок и т.п.).

Пересылка информации между АСУ ТП ТЭС и АСУ П ТЭС должна быть буферированной и только с использованием устройства типа "шлюз". Программно-технический комплекс АСУ ТП общестанционного уровня управления ТЭС подготавливает и пересылает в АСУ П ТЭС информацию, предусмотренную проектом на АСУ ТП ТЭС.

Информация, предназначенная к пересылке в АСУ П, должна пополняться в "шлюзе" ПТК АСУ ТП общестанционного уровня управления ТЭС с заданной периодичностью (с периодом не менее 15,0-30,0 мин) и по событию (например, по поступлению в архив соответствующей информации, например, об аварийной ситуации) в фоновом режиме (с наименьшим уровнем приоритета исполнения).

После поступления информации в "шлюз" ПТК АСУ ТП общестанционного уровня управления ТЭС она должна пересылаться в АСУ П ТЭС с задержкой не более 1 - 5 мин.

Объем и состав пересылаемой информации из ПТК АСУ ТП общестанционного уровня управления ТЭС в АСУ П могут быть (при необходимости временно, например, на период проведения испытаний основного оборудования) расширены при эксплуатации систем по решению руководства ТЭС и после согласования с разработчиком АСУ ТП, при условии что это расширение не приведет к перегрузке ПТК АСУ ТП.

Состав информации, пересылаемой из ПТК АСУ ТП общестанционного уровня управления ТЭС в АСУ П, включает информацию от всех локальных АСУ ТП и информацию, формируемую непосредственно в АСУ ТП общестанционного уровня управления ТЭС. Это предполагает, что ПТК локальных АСУ ТП ТЭС через соответствующие "шлюзы" пересылают информацию для АСУ П в архив ПТК АСУ ТП общестанционного уровня управления ТЭС, которая затем пересылается в "шлюз" этой системы и уже из него передается (по одной линии связи) в АСУ П ТЭС.

Для эксплуатационного персонала в ПТК АСУ ТП общестанционного уровня управления ТЭС накапливаются и периодически (с периодом не менее 15 или 30 мин) пересылаются в АСУ П данные, необходимые для информационного обеспечения эксплуатации оборудования и производственно-технической деятельности эксплуатационного персонала (административно-техническое руководство ТЭС, персонал производственных цехов и производственно-технического отдела).

Основной объем в этой информации составляют массивы усредненных и накопленных на 15(30)-минутных интервалах значений технологических параметров, данные сменной, суточной ведомостей и т.п. Объем спорадически пересылаемой информации составляют сигналы предупредительной и аварийной сигнализации, а также другая информация, зафиксированная функциями "Регистрация событий", "Регистрация аварийных ситуаций" и т.п. Архивная информация об аварийных ситуациях, пусках и остановах основного оборудования по инициативе ПТК должна пересылаться в АСУ П ТЭС после окончания аварии, пуска или останова с задержкой в пределах 1,0 - 5,0 мин.

По окончании суток вся архивная информация за истекшие сутки по инициативе ПТК АСУ ТП общестанционного уровня управления ТЭС может дополнительно пересылаться по цифровой линии связи в АСУ П ТЭС.

Формирование в АСУ П произвольных запросов (например, от пользователей АСУ П) на получение какой-либо информации из АСУ ТП ТЭС, не предусмотренной к пересылке в "шлюзе" при разработке АСУ ТП, должно быть запрещено, а в "шлюзе" - программно заблокировано.

При отсутствии на ТЭС АСУ П в состав ПТК АСУ ТП общестанционного уровня управления ТЭС по требованию заказчика может быть включено устройство типа "шлюз" для временной организации на его базе АРМ для работы эксплуатационного персонала ТЭС.

Информация, поступающая в АРМ ("шлюз") может переписываться в специально организованную базу данных, которая должна быть доступна для эксплуатационного персонала. В АРМ (в "шлюзе") должны быть предусмотрены все необходимые меры по блокированию передачи в ПТК АСУ ТП ТЭС команд или запросов на получение дополнительной информации. После создания АСУ П ТЭС данный "шлюз" может быть использован по назначению.

Приложение Г
(рекомендуемое)
КРАТКИЕ ОПИСАНИЯ И ХАРАКТЕРИСТИКИ ФУНКЦИЙ ПТК АСУ ТП ТЭС

Г.1 ИНФОРМАЦИОННЫЕ ФУНКЦИИ

Г.1.1 Сбор и первичная обработка информации

Г.1.1.1 Программно-технический комплекс должен обеспечивать;

- прием и первичную обработку аналоговой и дискретной информации от традиционных датчиков аналоговых и дискретных сигналов;

- прием (обмен) и первичную обработку значений аналоговых параметров, дискретной информации и команд по цифровым линиям связи от интеллектуальных датчиков и исполнительных механизмов, а также от других ПТК, входящих в АСУ ТП ТЭС, и от АСДУ;

- прием (обмен) и первичную обработку информации и команд от приемопередающих устройств телемеханической связи, установленных на ТЭС;

- прием (при необходимости обмен) и первичную обработку информации и команд от автономных подсистем автоматического управления.

Г.1.1.2 Должны быть предусмотрены автоматическая диагностика технических и программных средств ПТК и проверка достоверности входной информации с выдачей соответствующих сигналов предупредительной сигнализации и сообщений, а также возможность автоматического вывода из работы сигналов от неисправных датчиков, используемых в контурах управления (ТЗ, АР, ЛУ). При отказах модулей УСО (и после их устранения), выявленных алгоритмами самодиагностики, должны формироваться соответствующие признаки недостоверности (достоверности) входной информации.

Г.1.2 Сбор и первичная обработка аналоговых сигналов

Г.1.2.1 Программно-технический комплекс должен обеспечивать сбор и обработку аналоговых сигналов от датчиков и других источников информации, а также выходных каналов УСО других ПТК.

Перечень и характеристики входных аналоговых сигналов приведены в таблице Б. 1 приложения Б. Аналоговая информация должна включать следующие группы измерений:

- теплоэнергетические (температура, давление, разность давлений, расход и количество жидкости, газа, пара уровень жидкости);

- механические (вибрация, относительные перемещения, положения исполнительных механизмов);

- электрические (активная и реактивная мощность, ток, напряжение, частота, выработка и потребление электроэнергии);

- состава газов (концентрация отдельных составляющих в смеси газов);

- контроль качества воды, пара, конденсата, концентрации и состава растворов (электрическая проводимость, рН и т.п.).

Как правило, должен осуществляться однократный ввод аналоговых сигналов через соответствующие УСО с различными циклами опроса датчиков (от 1,0 мс до 30,0 с) в зависимости от технологической значимости и динамических свойств сигналов (параметров).

Г.1.2.2 Производится:

- опрос датчиков и других источников информации;

- проверка достоверности информации и сглаживание измеренных значений в соответствии с требованиями технологических алгоритмов;

- масштабирование, линеаризация и вычисление неизмеряемых значений параметров (например, извлечение квадратного корня и коррекция расхода по температуре и давлению среды);

- формирование массивов достоверной аналоговой информации;

- проверка выхода достоверных значении параметров за значения уставок срабатывания технологических защит;

- формирование сигналов технологической сигнализации при выходе измеренных параметров за значения уставок срабатывания технологических защит;

- формирование признаков существенных изменений значений аналоговых параметров (например, более ±1...5% по отношению к значению параметра в предыдущем цикле опроса).

Для сигналов термопреобразователей производится лианеризация характеристик в соответствии со стандартными градуировками и вводится поправка на изменение температуры холодных спаев.

Г.1.2.3 По обеспечению надежности результатов все измерения, как правило, подразделяются на три группы:

- измерения высшей группы надежности, для которых используются три датчика с последующим выделением достоверного значения;

- измерения повышенной группы надежности, для которых используются два датчика с последующим выделением достоверного значения;

- прочие измерения, для которых используется один датчик.

Для ввода в ПТК измерений высшей и повышенной групп датчики должны подключаться к разным контроллерам и (или) модулям УСО, которые в требуемых случаях должны получать электропитание от независимых источников.

Г.1.2.4 Контроль достоверности аналоговой информации может производиться по следующим критериям:

- снижение значения токового сигнала ниже 4 мА - для унифицированных токовых сигналов 4-20 мА;

- достижение предельных значений измеряемых параметров (границы шкалы датчика и канала);

- функциональная зависимость между значениями аналоговых параметров и логической связи между аналоговыми и дискретными параметрами;

- сопоставление сигналов от дублированных или троированных датчиков аналоговых параметров;

- превышение скорости изменения отдельных параметров заданных значений.

Контроль достоверности, как правило, должен проводиться с циклом ввода аналоговых сигналов. Для каждого из дублированных или троированных каналов должны предусматриваться процедуры выявления недостоверных значений. Недостоверность фиксируется индивидуально по каждому каналу, квалифицируется как событие и регистрируется функцией "Регистрация событий" (PC).

В случае недостоверности по всем каналам (одному, двум или трем) одного параметра должен быть сформирован обобщенный признак недостоверности параметра, который квалифицируется как событие и регистрируется функцией PC.

На основе достоверных значений одного параметра, полученных по двум или трем каналам, в каждом цикле опроса формируется текущее результирующее значение параметра. Это результирующее значение должно вычисляться в соответствии с техническим заданием на АСУ ТП.

Г.1.2.5 Контроль отклонения достоверных сигналов за технологические уставки, как правило, должен выполняться с циклом их ввода, либо с периодом запуска программы проверки на достоверность. Для каждого сигнала должна предусматриваться возможность задания четырех и более технологических уставок (на повышение или понижение в любой комбинации). Значения аналоговых параметров, для которых существуют технологические уставки, должны контролироваться на выход за установленные пределы и возвращение к норме. Должны формироваться признаки выхода за уставку и возвращения к норме с исключением "дребезга" за счет ввода зоны возврата, которая задается при разработке системы и ее настройке. Признаки отклонения за уставку фиксируются, квалифицируются как события и регистрируются функцией PC.

Г.1.2.6 Коррекция значений параметров для отдельных сигналов, перечисляемых в задании на конкретную АСУ ТП, выполняется расчетным путем с циклом их ввода в ПТК.

Г.1.2.7 Для формирования признаков существенных изменений значений аналоговых параметров, которые регистрируются функцией PC и могут использоваться в различных функциях (например, в функции "Регистрация электротехнических параметров технологического процесса"), должна быть предусмотрена возможность задания значения апертуры:

- отдельно для каждого параметра;

- отдельно для каждого из типов параметров (ток, напряжение, частота, температура, расход, давление и т.п.);

- общей для всех параметров.

Г.1.3 Сбор и обработка дискретных сигналов

Программно-технический комплекс должен обеспечивать сбор и обработку дискретных сигналов от контактных устройств (например, в схемах управления коммутационных аппаратов, запорных и регулирующих органов, механизмов собственных нужд, двухпозиционных датчиков, а также выходных каналов УСО других ПТК) без дополнительных преобразователей.

Дискретные сигналы подразделяются на пассивные и инициативные.

Пассивные дискретные сигналы вводятся в ПТК с циклом опроса 0,5 с и более. Привязка этих дискретных сигналов к системному времени ПТК обеспечивается с точностью не менее периода запуска программы обработки.

Инициативные сигналы вводятся в ПТК с малым циклом опроса и обработки (0,5 - 10 мс), либо специализированными модулями. Должна обеспечиваться высокая точность привязки времени поступления инициативных сигналов к системному времени ПТК и незамедлительная соответствующая обработка каждого из поступивших инициативных сигналов.

Г.1.3.1 Сбор и обработка пассивных сигналов

Данная функция выполняется периодически. Циклы опроса задаются разработчиком АСУ ТП и могут быть изменены в процессе эксплуатации. Ввод дискретных сигналов должен производиться соответствующими модулями УСО по перечню, составляемому разработчиком АСУ ТП.

Значения пассивных дискретных сигналов ("0" или "1") в каждом цикле сбора записываются во входном информационном массиве, проверяются на достоверность и обрабатываются.

Первичная обработка дискретных сигналов заключается в анализе сочетаний отдельных сигналов, характеризующих текущее состояние объектов контроля, и формировании кодов текущих состояний этих объектов.

Контроль достоверности в большинстве случаев заключается в выявлении недопустимых сочетаний сигналов (например, от двух концевых выключателей задвижки). При необходимости должна обеспечиваться возможность контроля достоверности отдельных дискретных сигналов по специальным алгоритмам, разрабатываемым при создании АСУ ТП.

При необходимости аппаратно-программными средствами производится контроль обрыва и (или) короткого замыкания линии связи от наиболее ответственных датчиков.

Признак недостоверности сигнала рассматривается как событие и должен регистрироваться функцией PC.

Г.1.3.2 Сбор и обработка инициативных сигналов

Перечень и количество инициативных сигналов задается разработчиком АСУ ТП.

При появлении любого инициативного сигнала от устройств, относящихся к теплоэнергетическому оборудованию, он фиксируется меткой времени с разрешающей способностью 10 мс. После этого с задержкой не более 50 мс должна запускаться программа отработки, соответствующая данному инициативному сигналу (в соответствии с технологическими алгоритмами функций АСУ ТП).

Появление инициативного сигнала от устройств электротехнического оборудования должно фиксироваться меткой времени с разрешающей способностью 1,0 мс. Запуск специальной программы отработки прерывания в этом случае должен выполняться с задержкой не более 5,0 мс.

Появление инициативного сигнала от традиционных устройств противоаварийной автоматики (не микропроцессорных)

при регистрации аварийной ситуации должно фиксироваться меткой времени с разрешающей способностью 0,5 мс. Запуск специальной программы отработки в этом случае должен выполняться с задержкой не более 5,0 мс, а продолжительность программы отработки прерываний до выдачи соответствующих управляющих команд не должна превышать 20 мс.

В ПТК должны быть предусмотрены меры, подавляющие "дребезг" контактных источников инициативных дискретных сигналов,

Г.1.4 Отображение информации оператору-технологу

Г.1.4.1 Основной способ представления информации пользователю в ПТК

Основным способом является отображение на экране цветных мониторов видеокадров: мнемосхем, гистограмм, графиков, "рабочей точки", таблиц и др. Могут быть также использованы экраны коллективного пользования (ЭКП) для отображения мнемосхем, звуковые сигналы и (по требованию заказчика) световые табло, управляемые ПТК.

При отображении информации на экранах мониторов обязательно использование многооконности, выпадающих "меню" и т.п.

Как правило, на экранах мониторов отображение информации должно выполняться по вызову оператора-технолога с задержкой в пределах 1 - 2 с.

Информация на вызванном видеокадре о значениях технологических параметров, положениях запорной и регулирующей арматуры и исполнительных механизмов должна обновляться с периодом 1 -2 с. Спонтанно появляющиеся индивидуальные, групповые сигналы предупредительной и аварийной сигнализации должны с задержкой в пределах 0,5- 1,0 с отображаться на предусмотренных для этого частях видеокадра и (или) на экране специально выделенного сигнального (событийного) монитора или событийной станции (функция ТС).

Должна также быть предусмотрена возможность перевода любого из мониторов ПТК (либо специального "окна" на одном из мониторов) в режим отображения информации по инициативе ПТК, например, для отображения оперативной информации о срабатывании защит и (или) ПА (функция "Контроль действия защит и противоаварийной автоматики"). Переведенный в этот режим монитор должен быть доступен оператору-технологу для получения информации по вызову до момента автоматического вывода на этот монитор оперативной информации. После этого дальнейшая работа этого монитора по вызову должна блокироваться до момента выдачи пользователем специальной команды, либо до окончания аварии. На ЭКП информация отображается по вызову оператора-технолога. Исключения составляют групповые и индивидуальные сигналы сигнализации, которые с минимальной задержкой должны автоматически отображаться на всех мониторах и ЭКП (в зоне системных сообщений всех видеокадров и в рабочей области отображаемых видеокадров с мнемосхемами, графиками и т.п.).

Г.1.4.2 Отображение информации в виде мнемосхем

Мнемосхемы разрабатываются при создании и эксплуатации АСУ ТП. Требуемые видеокадры вызываются на экраны мониторов по запросам пользователя.

Информация может вызываться с помощью выбора из "меню" и (или) представляется по принципу "от общего к частному". В последнем случае информация, позволяющая оценить ситуацию в целом, должна содержаться на обзорных видеокадрах. При возникновении неисправностей и отклонений параметров к ним должно быть привлечено внимание оператора и обеспечена возможность представления детальных видеокадров. Если видеокадр с мнемосхемой не может быть размещен на одном формате, то для него должно быть отведено несколько форматов, просматриваемых отдельно, либо путем смещения или "листания".

Для каждого видеокадра обязательным являются:

- наименование и его идентификатор;

- признак обновления аналоговой, дискретной и другой динамической информации;

- текущее время.

На видеокадрах отображаются:

- текущие значения технологических параметров;

- состояния исполнительных органов;

- состояния механизмов собственных нужд и других объектов управления;

- состояния автоматических устройств (регуляторов, логических автоматов и т.п.);

- состояния линий связи электротехнического оборудования (с динамическим изменением цвета линии в зависимости от их текущих состояний);

- параметры автоматических систем, реализуемых и контролируемых ПТК;

- сигналы индивидуальной и групповой сигнализации;

- сообщения о недостоверности информации;

- результаты расчетов;

- информация о состоянии (выполнении - не выполнении) управляющих функций, инициированных как оператором, так и автоматических.

Динамическая информация на фрагментах представляется в следующих форматах:

- цифровых значений технологических параметров и степени (в процентах) открытия регулирующих органов;

- расположения точки или ее траектории в плоскости (например, график, "рабочая точка" насоса в соответствующем семействе кривых и т.п.);

- изменения линейных или угловых размеров изображения и (или) его цвета (или цвета подложки) или интенсивности свечения;

- текстовых надписей, например, "вкл.", "откл.";

- текстовых сообщений.

По вызову на экран монитора должны вызываться "окна" (одновременно не менее четырех) с виртуальными панелями управления различными объектами, а также "окна" с дополнительной информацией.

Все текстовые сообщения и надписи должны быть на русском языке.

Г.1.4.3 Отображение гистограмм

Гистограммы (в одном "окне" одновременно 10- 16 параметров) отображаются в соответствии со списком, составленным при проектировании конкретной системы, либо во время ее эксплуатации. В последнем случае гистограмма после завершения просмотра может сохраняться для повторного использования, однако общее количество свободно компонуемых гистограмм должно быть ограничено (например, не более 50). Параметры отображаются горизонтальной линией или вертикальной (столбиком) с погрешностью отображения не более 2,5% от шкалы. Вертикальная (или горизонтальная) шкала для всех параметров гистограммы, как правило, должна маркироваться в процентах номинального значения. Для гистограмм, в которых все технологические параметры имеют одинаковую шкалу, должна быть обеспечена возможность маркировки шкалы в физических единицах. На гистограмме отображаются численные значения параметров и уставки заранее оговоренным символом (способом). Недостоверные параметры отображаются специальными символами или цветом.

Г.1.4.4 Отображение графиков изменения параметров во времени

Предусматривается возможность вызова графиков текущих и усредненных значений параметров, зафиксированных в архиве. По заданию оператора-технолога должен обеспечиваться выбор диапазона границ отображения графиков ("растяжка" шкалы) как для оси параметра, так и для оси времени.

При вызове графиков, построенных на основе архивных значений, в запросе оператора задаются начало и конец времени просмотра.

В одно "окно" вызываются от одного до десяти графиков разного цвета. Горизонтальная ось времени должна иметь отметки времени. На одном видеокадре при необходимости отображается не менее трех "окон" с графиками.

Время отображения значений параметров при необходимости должно быть не менее 24 ч. При достижении графиком границы экрана график должен сдвигаться.

Предусматривается возможность приостановления и возобновления построения графиков. В точки останова и возобновления помещаются значения двух меток астрономического времени, соответствующих моментам останова и возобновления построения графиков (часы, минуты, секунды). Ось времени в этом случае маркируется в относительных единицах. Прогнозные графики помещаются на видеокадр в виде статических кривых (например, графиков заданий при пуске энергоблока из различных тепловых состояний).

Ось параметров маркируется в процентах или в физических единицах на нескольких осях.

Должна быть обеспечена возможность оцифровки графиков в любом месте с помощью цифровой линейки (визира).

Погрешность отображения параметра не должна превышать 2,5% от шкалы.

Списки графиков составляются при проектировании, либо пользователем во время работы. В последнем случае графики после просмотра могут сохраняться в ПТК для повторного использования. Общее количество свободно компонуемых видеокадров с графиками может быть ограничено (например, не более 50).

Г.1.4.5 Отображение информации в виде "рабочей точки"

"Рабочая точка" отображается в системе координат, например, для режима генератора: Y - активная мощность, X -реактивная мощность.

"Рабочая точка" может отображаться в виде светящейся точки, звездочки или светящимся вектором, идущим из начала координат до "рабочей точки".

Допустимая зона работы может быть ограничена статическими и (или) динамическими линиями, которые могут задаваться уравнениями. Когда "рабочая точка" расположена в допустимой зоне, точка (вектор) светятся ровным цветом. При выходе за допустимую зону точка (вектор) должны быть обозначены другим цветом с миганием и сформирован сигнал предупредительной сигнализации, который должен быть зафиксирован функцией PC.

Допустимые зоны, координаты "рабочей точки", запасы и превышения, должны быть указаны значениями каждого из параметров.

Г.1.4.6 Отображение информации в виде таблиц текущих и архивных значений параметров, результатов расчетов или другой информации, указанной в задании на АСУ ТП

Помимо возможности вызова на экран монитора любой из предусмотренных проектом таблиц (не менее 128), содержащих требуемую текущую и (или) архивную информацию, в ПТК должно обеспечиваться оперативное формирование и отображения не менее 64 таблиц с произвольным набором параметров по заданию пользователей. Сформированные видеокадры с таблицами после просмотра могут быть сохранены для последующего использования.

Г.1.4.7 Справочная информация

Справочная информация отображается по вызову оператора и выводится на специально выделенное место на экране монитора, либо в дополнительное "окно", наложенное на отображаемый фрагмент.

Предусмотрена возможность получения справочной информации по аналоговым и дискретным параметрам, объектам контроля и управления, а также другой информации, указанной в техническом задании на АСУ ТП.

По аналоговым параметрам на экран монитора по запросу пользователя вызывается следующая справочная информация: технологический шифр (идентификатор), размерность, уставки, диапазон, адрес и наименование.

По дискретным параметрам по запросу пользователя выводятся: технологический шифр (идентификатор), адрес и наименование.

Полная справочная информация по аналоговым и дискретным параметрам и объектам контроля и управления представляется по запросу пользователя в виде соответствующего паспорта на экране монитора.

По требованию оператора справочная информация должна выводиться на печать.

Г.1.5 Технологическая сигнализация

Г.1.5.1 Технологическая сигнализация (ТС) предназначена для инициативного извещения оперативного персонала о возникновении нарушений в технологическом процессе, изменений в составе работающего оборудования и обнаруженных неисправностях. Вся ТС автоматически выводится на экраны мониторов, включая сигнальный (событийный) экран коллективного пользования (при наличии последнего) и сигнальное печатающее устройство.

Г.1.5.2 Технологическая сигнализация подразделяется на аварийную и предупредительную, а также на индивидуальную и групповую.

Технологическая сигнализация должна предусматривать:

- аварийную сигнализацию при аварийных отклонениях параметров, срабатывании технологических и электрических защит, действии противоаварийной автоматики энергосистемы;

- предупредительную сигнализацию об отклонении за установленные пределы технологических параметров и изменении состояния автономных подсистем автоматического управления;

- предупредительную сигнализацию о действии АВР механизмов и источников электроснабжения;

- предупредительную сигнализацию об обнаруженных неисправностях различных устройств, отключении автоматов электропитания в электрических сборках и других устройствах, автоматическом включении и отключении защит, прекращении (приостанове) отработки алгоритмов логического управления и др.;

- предупредительную сигнализацию, сформированную функцией оперативной диагностики состояния оборудования и систем автоматического управления.

Г.1.5.3 Извещение о появлении каждого нового сигнала системы сигнализации, форма его представления и выделения среди существующих, принцип приема оператором и индексация исчезновения должны решаться на основании общих принципов представления информации на мониторах и ЭКП, определяемых на стадии разработки АСУ ТП, и в соответствии с настоящими ОТТ.

Г.1.5.4 Любой вид индивидуальной сигнализации в требуемых случаях должен вызывать включение соответствующего звукового и светового (или светосимвольного) сигналов (изменение цвета изображения или появление изображения нужного цвета и вида). Звуковой сигнал снимается оперативным персоналом путем подачи команды кнопкой "квитирование" (на функциональной клавиатуре или на экране монитора с помощью устройства "мышь" и виртуальной кнопки), либо автоматически по истечении заданного времени (в пределах 3-15 с). Предупредительные и аварийные световые и звуковые сигналы должны различаться.

Индивидуальные сигналы должны быть "квитированы" оператором одним действием. Если на экране монитора, за которым наблюдает оператор-технолог, в этот момент единовременно отображается один или несколько индивидуальных сигналов, "квитирование" должно отрабатываться только в части этих сигналов. Отработка команды "квитирование" должно заключаться в изменении изображения одного или нескольких квитированных сигналов сигнализации на экране данного и всех остальных мониторов системы и ЭКП (например, отмена мигания).

Г.1.5.5 Кроме индивидуальной сигнализации в ПТК должна быть возможность формирования и вывода на различные технические средства ПТК (монитор, экран коллективного пользования, функциональная клавиатура) сигналов групповой сигнализации. Групповая сигнализация отражает технологический принцип деления всего оборудования объекта на отдельные участки. Появление любого индивидуального сигнала, относящегося к какому-либо технологическому участку объекта, должно автоматически формировать соответствующий ему групповой сигнал.

Групповая сигнализация указывает на одно или несколько нарушений и (или) неисправностей в каком-либо участке объекта, что обеспечивает оперативный персонал дополнительной информацией.

Групповая сигнализация подразделяется на аварийную, предупредительную и системную. Последняя должна свидетельствовать о нарушениях в работе аппаратных и программных средств ПТК.

Г.1.5.6 Возникновение каждой новой причины включения группового сигнала должно сопровождаться повторным его появлением. Квитирование группового сигнала выполняется квитированием оператором-технологом всех индивидуальных сигналов, вызвавших появление группового сигнала.

Г.1.5.7 Для отдельных сигналов должна быть предусмотрена возможность программной задержки появления светового и звукового сигналов.

Г.1.5.8 Программно-технический комплекс должен обеспечивать автоматическое формирование и отображение на экранах мониторов видеокадра с текстовыми сигнальными сообщениями. Эти сообщения должны хронологически добавляться в список и при необходимости вытеснять квитированные, по которым отсутствует причина их формирования. Если список заполнен сообщениями, которые еще не квитированы, новое сообщение запоминается, а на экране должно появиться служебное сообщение и звуковой сигнал. На видеокадре отображается не менее 20 сигнальных сообщений и предоставляется возможность просмотра всех сообщений за последние сутки.

Сообщение должно содержать:

- метку времени с точностью до миллисекунд;

- идентификатор сообщения - идентификатор мнемосхемы оборудования, на которой отображено нарушение, вызвавшее формирование данного сигнального сообщения;

- сокращенное наименование сообщения;

- признак квитирования сообщения;

- признак наличия (продолжения действия) причины возникновения сообщения;

- дополнительную информацию (например, текущее значение параметра, значение уставки и т.п.).

Должна быть обеспечена возможность фильтрации сигнальных сообщений при их выводе на любой из мониторов ПТК (например, для вывода на монитор сигнальных сообщений одного типа или по определенному оборудованию - котел, турбина и т.п.), а также временного запрета вывода отдельных сигнальных сообщений. Фильтрация и запрет вывода сообщений должны устанавливаться с инженерного пульта ПТК при наладке и эксплуатации системы.

Г.1.5.9 В отдельных случаях по требованию заказчика сигналы могут дублироваться на индивидуальных световых табло.

Г.1.6 Регистрация событий

Г.1.6.1 Функция "Регистрация событий" (PC) предназначается для регистрации происходящих на объекте, в ПТК и в АСУ ТП событий, накопления в архиве и последующего представления этой информации на устройствах отображения по запросам оператора.

В архив заносятся:

- изменения состояний дискретных пассивных и инициативных сигналов;

- информация о появлении и исчезновении предупредительных и аварийных сигналов и их квитировании;

- информация о выдаче команд управления (кроме команд подсистемы АР) с указанием источников команд;

- информация о включении, отключении электродвигателей механизмов, изменении состояния арматуры, достижении конечных положений регулирующими клапанами, изменении состояния автономных подсистем автоматического управления;

- признаки существенных изменений значений аналоговых параметров (например, более ±1-5% по отношению к значению параметра в предыдущем цикле опроса);

- информация о появлении и исчезновении недостоверной информации;

- сведения об отказах и сбоях в работе аппаратных и программных средств ПТК.

Г.1.6.2 Всем событиям присваиваются метки времени (дата, время): событиям, связанным с работой релейных защит электротехнического оборудования, - с погрешностью не более 1,0 мс по отношению к системному времени ПТК, событиям, связанным с работой традиционной подсистемы ПА - с погрешностью не более 0,5-1,0 мс, остальным событиям - с погрешностью не более 10 мс.

Ретроспективная информация должна быть защищена от искажения и разрушения.

По запросу оператора протокол событий должен представляться на экране монитора и (или) распечатываться. Регистрация событий не производится на оборудовании и устройствах, выведенных в ремонт. По заданию пользователя должна обеспечиваться возможность подготовки и получения протоколов всех событий по заданному агрегату или узлу, а также для определенного события по заданному объекту контроля.

Г.1.7 Регистрация электротехнических параметров технологического процесса

Г.1.7.1 Функция предназначается для регистрации значений в основном электротехнических параметров технологического процесса, накопления и последующего представления информации на устройствах отображения по запросам оператора.

Для регистрации, обработки и оперативного отображения параметров режима периодичность опроса аналоговых сигналов должна быть не более 100 мс. Значения параметров, регистрируемых с этим периодом (10 значений по каждому параметру) накапливаются в памяти в течение 1,0 с.

Каждые 1,0 с, 10 с, 60 с, 15 мин, 60 мин производится подсчет средних значений за указанные периоды. Средние значения за 1,0 с хранятся в течение 6-10 мин, за 10 с - 60 мин, за 60 с - сутки, за 15 мин - в течение 10 дней и за 60 мин - месяц. В процессе эксплуатации ПТК по согласованию с разработчиком АСУ ТП периоды усреднения и хранения могут изменяться. Возможно более длительное хранение данных (до одного года).

Г.1.7.2 Перечень параметров, подлежащих регистрации, задается при проектировании. Обеспечивается возможность включения в список параметров, регистрация которых ведется ограниченное время (например, до 15 мин), начинается по событию (например, по появлению сигнала срабатывания технологической сигнализации или признака существенного изменения значения аналогового параметра), а накопленные значения сохраняются в течение суток.

Г.1.7.3 На экран по запросу оператора выводятся тренды-графики зарегистрированных параметров и их средних значений.

Протокол "Регистрации параметров" может выводиться на печать и (или) на экран монитора в виде таблиц по запросу с указанием начала и конца времени регистрации. Каждая строка таблицы должна содержать следующую информацию по параметру: технологический идентификатор, сокращенное наименование, физическую единицу измерения, текущее значение в цифровой форме и метку времени опроса.

Г.1.7.4 Вся информация, формируемая функцией и по запросам оперативного персонала отображаемая на средствах представления информации, помимо этого заносится в архив.

Г.1.8 Регистрация аварийных ситуаций

Г.1.8.1 Функция "Регистрация аварийных ситуаций" (РАС) предназначена для накопления и представления на экранах и (или) печати данных о процессе возникновения, развития и ликвидации аварийных ситуаций. Функция РАС должна обеспечить регистрацию, как правило, достоверных технологических данных за период, предшествующий аварии и после ее возникновения, о работе основного и вспомогательного оборудования, действии защит, блокировок, устройств автоматического управления и персонала.

Г.1.8.2 Вся информация, участвующая в РАС, условно подразделяется на три группы:

- А - аналоговые и дискретные сигналы, характеризующие состояния объектов управления, цикл регистрации которых соответствует циклу обновления информации на экранах мониторов;

- Б - аналоговые и дискретные сигналы, характеризующие состояния объектов управления, требующие регистрации с высокой разрешающей способностью;

- В - инициативные сигналы срабатывания электрических и технологических защит, сигналы о событиях, связанные с воздействием персонала на объекты управления, на которые также распространяются действия технологических и электрических защит, сигналы о событиях, связанные с выходом аналоговых параметров за уставки сигнализации или срабатывания защит, а также значения аналоговых параметров по электротехническому оборудованию, требующие регистрации со сверх высокой разрешающей способностью.

Г.1.8.3 Следует иметь различные по временным характеристикам регистраторы для:

- теплоэнергетического оборудования;

- электротехнического оборудования;

- электротехнического оборудования, связанный с поступлением сигналов ПА.

Функция РАС для теплоэнергетического оборудования должна обеспечивать продолжительность регистрации 20-30 мин (по 10-15 мин на доаварийном и послеаварийном периодах). Периодичность и погрешность регистрации инициативных сигналов в РАС для теплоэнергетического оборудования должны быть не более 10 мс по отношению к системному времени ПТК. Периодичность и погрешность регистрации аналоговых сигналов группы А должны быть не более 1,0 с, группы Б - не более 100 мс. Периодичность и погрешность регистрации дискретных сигналов групп А и Б должны быть не более 10 мс.

Целесообразно наличие в ПТК нескольких (например, 32) независимых регистраторов аварийных ситуаций (АС), для агрегатов и узлов ТЭС. Регистраторы могут работать одновременно и независимо и регистрировать произвольные наборы параметров, задаваемые на стадиях разработки и эксплуатации системы.

Г.1.8.4 Функция РАС для электротехнического оборудования должна обеспечивать продолжительность регистрации 10,0 с (по 5,0 с на доаварийном и послеаварийном периодах). Погрешность регистрации инициативных сигналов по отношению к системному времени ПТК должна быть не более 1,0 мс. Периодичность и погрешность регистрации аналоговых и дискретных сигналов группы В должна быть не более 1,0 мс. Минимальное количество последовательно происходящих аварий (с минимальными промежутками времени между авариями), которые должны быть зарегистрированы, должно быть не менее 3.

Г.1.8.5 Функция РАС для электротехнического оборудования, связанная с поступлением сигналов ПА, должна обеспечивать продолжительность регистрации на доаварийном и послеаварийном периодах 1,0 с и 6,0 с, соответственно. Погрешность регистрации инициативных сигналов по отношению к системному времени ПТК должна быть не более 0,5-1,0 мс. Периодичность и погрешность регистрации дискретных сигналов группы В должны быть не более 0,5-1,0 мс.

Г.1.8.6 Функция РАС, связанная с поступлением сигналов от релейных защит, помимо последних, включает ориентировочно до 20 аналоговых сигналов от одного объекта (выключатель, трансформатор и т.п.), а РАС, связанная с поступлением сигналов ПА - до 4 аналоговых сигналов для каждого из объектов контроля.

Сигналы релейных защит и ПА, а также наиболее важные аналоговые и дискретные сигналы, включаемые в РАС по электротехническому оборудованию, включаются также в РАС для теплоэнергетического оборудования.

Г.1.8.7 Должен быть предусмотрен следующий укрупненный алгоритм РАС. До поступления сигнала о начале аварийной ситуации должно происходить постоянное скользящее накопление данных на предаварийном интервале.

При появлении инициативного сигнала, характеризующего аварию, все накопленные данные "замораживаются" и начинается процесс регистрации развития и локализации аварии на послеаварийном интервале.

Г.1.8.8 Функция РАС не должна учитывать реальные состояния защит (введена, включена в информационном режиме - выведена на сигнал). Регистраторы в режим послеаварийной регистрации информации не должны переводиться, если сработавшая защита выведена на сигнал.

Г.1.8.9 Предусматривается имитация начала АС для проверки работоспособности функции при испытании оборудования.

Г.1.8.10 Информация об аварии заносится в архив.

Г.1.9 Контроль действия защит и противоаварийной автоматики (КДЗ и КПА)

Г.1.9.1 Функция КДЗ и КПА заключается в обработке поступающих во время аварии сигналов срабатывания защит и сигналов ПА и формировании информации для оперативного персонала в темпе процесса. Эта обработка поступающих сигналов срабатывания защит и сигналов ПА заключается в выделении сигналов, требующих останова или наиболее глубокой разгрузки основного оборудования, и сигналов срабатывания локальных защит. По выделенным сигналам (для технологических защит - в темпе процесса) функция должна выполнять проверку полноты действия технологических защит, включая локальные, и системы противоаварийной автоматики в части выполнения необходимых технологических операций, предписанных алгоритмами указанных систем (ТЗ и ПА).

Г.1.9.2 Проверяются полнота и последовательность выполнения операций, выявляются невыполненные операции, оперативному персоналу на экран монитора выдается информация по невыполненным операциям. Функция КДЗ и КПА запускается при аварии по сигналам срабатывания защит и (или) пусковых органов ПА.

Г.1.9.3 Выдача информации на экран монитора по результатам работы функции КДЗ и КПА при срабатывании технологических защит происходит автоматически по факту возникновения аварийной ситуации с задержкой в пределах 1,0-2,0 с.

Вся информация, сформированная функцией КДЗ и КПА, с метками времени заносится в архив.

Г.1.9.4 Результаты проверок полноты выполнения защитных технологических операций по завершению аварийной ситуации в виде соответствующих протоколов выводятся на печать по запросам пользователя.

Г.1.10 Расчет оперативных технико-экономических показателей

Г.1.10.1 Расчет технико-экономических показателей (ТЭП) предназначен для:

- представления оперативному и эксплуатационному персоналу данных о текущей эффективности работы оборудования, что позволяет проводить коррекцию режимов работы оборудования;

- использования при оперативных расчетах энергетических характеристик оборудования и автоматизации распределения электрических и тепловых нагрузок между параллельно работающими источниками электрической и тепловой мощности (только для ПТК АСУ ТП общестанционного уровня управления ТЭС).

Г.1.10.2 Расчет ТЭП выполняется с периодом 15 - 30 мин (оперативные ТЭП).

Алгоритм расчета ТЭП должен включать задачу распознавания технологической ситуации и специальный контроль достоверности входной, усредненной и накопленной на оперативном интервале входной информации.

Результаты расчетов оперативных ТЭП по вызову оператора-технолога отображаются в виде таблиц на экранах мониторов, протоколируются и заносится в архив.

Оперативные ТЭП должны включать в себя расчетные фактические и нормативные значения, а также значения перерасхода топлива, полученных в результате отклонения фактических значений технологических параметров от нормативных.

Г.1.10.3 Таблица, отображаемая на экране монитора, должна содержать расчетные нормативные и фактические значения ТЭП, а также данные по перерасходу топлива за предшествующий вызову оперативный интервал. По дополнительному запросу оператора-технолога в таблицу могут быть добавлены значения расчетных ТЭП за несколько последовательных интервалов, предшествующих запросу (2 - 4 интервала).

Г.1.10.4 Помимо расчетных данных оперативных ТЭП оператору-технологу по вызову на экранах мониторов должны отображаться в графической и (или) табличной формах усредненные и накопленные на оперативных интервалах значения параметров за период не менее 24 ч.

Г.1.10.5 Расчет неоперативных ТЭП (сменных, суточных и месячных), как правило, должен выполняться в АСУ П ТЭС. При разработке алгоритмов расчета ТЭП для конкретных объектов рекомендуется использовать типовые алгоритмы расчета ТЭП [113, 114].

Г.1.11 Оперативный расчет оптимальных графиков активной мощности и тепловой нагрузки энергоблоков ТЭС

Г.1.11.1 Данная функция реализуется в ПТК АСУ ТП общестанционного уровня управления ТЭС.

Расчет ведется на основе задаваемых ТЭС суммарных графиков активной мощности и тепловой нагрузки с учетом экологических и технологических ограничений:

- допустимых вредных выбросов в окружающую среду;

- допустимых значений и скорости изменения активной мощности энергообъектов;

- по режиму и условиям работы тепловых отборов и схемы сетевой воды ТЭЦ;

- по режиму и условиям работы общестанционных технологических комплексов ТЭС и пр.

Г.1.11.2 Оперативный расчет оптимальных графиков активной мощности и тепловой нагрузки энергообъектов ТЭС может учитывать результаты расчета эквивалентных эколого-энергетических и экономических характеристик ТЭС, соответствующих различному составу включенного оборудования и различным прогнозируемым условиям работы ТЭС. Расчет ведется с периодом 60 мин и по факту получения от АСДУ заданий на изменение мощности.

Результаты расчетов по запросу оператора отображаются на экране монитора.

Г.1.12 Оперативная диагностика состояния оборудования и систем автоматического управления

Г.1.12.1 Средствами ПТК осуществляются оперативная диагностика состояния оборудования и систем автоматического управления. Перечень задач оперативной диагностики задается в техническом задании на АСУ ТП.

Функция диагностики должна обеспечить возможность:

- получения комплексной наглядной информации о температурном и механическом (включая вибродиагностику и моторесурс) состоянии основного оборудования и ответственных механизмов ТЭС при всех режимах их работы и остывания;

- формирования сообщений оператору о температурном состоянии контролируемого оборудования для использования при управлении переходными режимами;

- автоматической идентификации режимов (например, пусковых);

- архивации изменений параметров работы и показателей состояния оборудования при нормальной работе и при пусках для последующего анализа, планирования профилактических и ремонтных работ;

- автоматического определения места повреждения оборудования (например, на электрическом присоединении при коротких замыканиях);

- диагностики текущего состояния оборудования (например, выключателей, трансформаторов, устройств РПН трансформаторов и т. д.).

Перечень задач оперативной диагностики задается в техническом задании на АСУ ТП.

Г.1.12.2 Данные оперативной диагностики используются оперативным персоналом наряду с данными оперативного контроля.

При обнаружении функцией диагностики угрозы возникновения аварийной ситуации должен быть выработан и с задержкой в пределах 1,0 - 2,0 с передан на экран монитора сигнал предупредительной сигнализации.

Информация об угрозе возникновения аварийной ситуации и возможной необходимости останова любого вида оборудования, вытекающей из результатов решения задач оперативной диагностики, должна быть доступна оператору-технологу для вызова на экран монитора.

Г.1.12.3 Решение задач оперативной диагностики генераторов, силовых трансформаторов и высоковольтных выключателей должно осуществляться с периодом не более 60 с.

Г1.12.4 Решение задач оперативной диагностики систем автоматического управления должно осуществляться с периодом в пределах 1 -5 с.

Информация о дефектах работы систем автоматического управления, выявленных средствами самодиагностики и функционального контроля, в виде дискретных пассивных или инициативных сигналов либо по цифровым линиям связи (например, от МП РЗА, МП ПА и т.д.) должна передаваться в ПТК и по этой информации с задержкой в пределах 1,0 - 2,0 с должны формироваться и автоматически отображаться на мониторах и ЭКП (при его наличии) сигналы групповой и индивидуальной сигнализации. Более полная информация о нарушениях, если в ПТК имеются необходимые данные для ее формирования, должна по вызову оператора-технолога и (или) обслуживающего персонала ПТК отображаться на экранах мониторов, протоколироваться и заноситься в архив.

Г.1.12.5 Информация о результатах периодического тестового контроля оборудования релейной защиты должна при необходимости дополняться информацией о режимах работы и направлениях (адресации) воздействия релейной защиты ближнего и дальнего резервирования. Пересылка этой информации в ПТК должна выполняться с периодом 5 - 30 с и по вызову оперативного персонала отображаться на экране монитора. Один раз в смену данная информация должна протоколироваться.

Г.1.12.6 Информация о результатах диагностики состояния генераторов и силовых трансформаторов, включающая ретроспективный анализ, а также о работе выключателей, находящихся на специальном контроле в связи с выявленными неисправностями, должна формироваться с периодом не более 8 ч. По вызову оператора-технолога эта информация должна отображаться на экранах монитора, протоколироваться и заноситься в архив.

Г.1.13 Анализ экологических показателей энергоблока и ТЭС в целом

Г.1.13.1 Контроль вредных выбросов в атмосферу и содержание вредных компонентов в сточных водах ТЭС предусматривает определение количества выбросов, их учет и ведение отчетности по контролю. Мгновенные значения выбросов, зафиксированные датчиками и приборами контроля, вводятся и накапливаются в ПТК на интервале 30 - 60 мин и суммируются. Производится расчет выбросов нарастающим итогом за смену, сутки, месяц. Определяются максимальные значения выбросов за смену, сутки и месяц.

Г.1.13.2 Текущая и ретроспективная информация, сформированная функцией, по вызову оператора-технолога отображается на экранах мониторов и заносится в архив.

Г.1.14 Архивация (накопление данных в архиве)

Г.1.14.1 Функция предназначена для накопления и последующего представления пользователям данных об истории протекания технологических процессов, работе автоматики, действиях оператора, работе технических и программных средств ПТК. Количество и состав параметров, значения которых регистрируются и накапливаются в архиве, задается в техническом задании на АСУ ТП. Как правило, должен формироваться текущий и долговременный архив.

Г.1.14.2 В ПТК АСУ ТП в текущий архив должна поступать информация:

- о текущих значениях любых аналоговых и дискретных сигналов и кодов состояний объектов контроля и управления, выбираемых с заданным циклом и (или) при превышении заданной апертуры из базы данных ПТК, на интервале не менее двух суток;

- о событиях (функция регистрации событий PC) на интервале не менее одного месяца;

- об усредненных на различных интервалах значениях основных технологических параметров (функция "Регистрации электротехнических параметров технологического процесса") на интервале не менее двух суток;

- об аварийных ситуациях (функция "Регистрации аварийных ситуаций") - не менее чем по 5 аварийным ситуациям;

- о результатах расчетов оперативных ТЭП за двое суток;

- о пусках и остановах основного оборудования ТЭС в течение месяца (данные пусковой ведомости и ведомости останова), включая мгновенные значения основных аналоговых и дискретных сигналов во время пусков и остановов (продолжительность накопления для одного пуска до 24 ч, останова - до 1,0 ч);

- об усредненных и накопленных на 15-минутных интервалах значениях аналоговых параметров за последние сутки, участвующих в функции расчета ТЭП, на интервале не менее двух суток;

- сменных, суточных и других типов ведомостей за один месяц;

- об изменении состояния автоматических устройств с указанием источника команды (протокол состояния автоматики) на интервале не менее одного месяца;

- о работе защит и противоаварийной автоматики (функция КДЗ и КПА) на интервале не менее трех месяцев;

- о работе технических и программных средств ПТК, в том числе об изменениях, вносимых в состав средств и программ (протокол работы системы) за все время работы ПТК;

- о появлении и исчезновении недостоверной информации на интервале не менее двух суток;

- о данных оперативной диагностики электротехнического и теплоэнергетического оборудования ТЭС и ПТК АСУ ТП на интервале не менее двух суток;

- о данных по контролю и управлению потреблением и сбытом электрической и тепловой энергии на интервале не менее одного месяца при условии поступления этой информации от АСКУЭ;

- о данных контроля вредных выбросов в окружающую среду на интервале не менее двух суток;

- другой информации в соответствии с техническим заданием на конкретную АСУ ТП.

Часть перечисленной информации по заданию пользователя с заданным периодом (например, один раз в сутки) должна переноситься в долговременный архив, где она может храниться в течение длительного времени,

Г.1.14.3 Информация из архива должна представляться в виде мнемосхем, таблиц, графиков, протоколов и других форм на мониторе архивной станции и (или) на мониторе инженерного пульта ПТК, а также при необходимости выводиться на печатающие устройства этих станций. Часть информации из текущего архива должна быть доступна для использования в расчетных и других задачах.

Небольшая часть информации из текущего архива (например, о событиях), определяющаяся при разработке АСУ ТП, должна быть доступна оператору-технологу в оперативном режиме (при работающем основном оборудовании). К такой информации относится например, перечень аварийных и (или) предупредительных сигналов (сообщений) сигнализации. Вывод этой информации на любой монитор и печатающее устройство ПТК должен выполняться по специальным запросам.

Г.1.14.4 Ретроспективное отображение информация в виде мнемосхем, таблиц, графиков, гистограмм должно обеспечиваться программными средствами, аналогичными тем, которые в ПТК реализуют функцию отображения информации для оперативного персонала. Ретроспективная информация в темпе процесса должна изменяться в соответствии с архивными текущими значениями всех аналоговых и дискретных сигналов и кодов состояний объектов контроля и управления за последние сутки. Для просмотра ретроспективной информации в требуемом виде необходимо указать время начала просмотра, выбрать нужный вид отображения и требуемый фрагмент (мнемосхема, график и т.п.). Этот вид отображения в оперативном режиме должен быть доступен только на мониторах архивной станции и инженерного пульта, а в неоперативном режиме - на всех мониторах ПТК.

Г1.14.5 Следует предусмотреть процедуры периодического дублирования и сверки информации в архиве. Устаревшие данные должны удаляться специальными, в том числе автоматическими процедурами.

Г1.14.6 В ПТК должны предусматриваться меры по исключению несанкционированного доступа к архивной информации и ее сохранности.

Г.1.15 Протоколирование информации (составление отчетов)

Г.1.15.1 Протоколирование информации производится в виде печати бланков. Должен быть предусмотрен вывод бланков по вызову и автоматический вывод по событию, в том числе и периодический вывод:

- бланков из библиотеки (бланки сменной и суточной ведомостей, ведомостей пуска и останова, бланки наработки ресурса механизмами и другими устройствами и т.д.);

- бланков, составленных оператором. Эти бланки не входят в библиотеку, и после составления могут быть сохранены в ПТК для последующего использования. Однако общее количество таких бланков не должно превышать 64. Оператор должен иметь возможность составлять бланки размером не менее 10 строк с символами в строке;

- списка недостоверных значений параметров и (или) выведенных из работы параметров на данный момент;

- списка параметров, отклонившихся за уставки на момент запроса.

При необходимости этот список дополняется требуемой справочной информацией по отклонившимся параметрам.

Г.1.15.2 В неоперативном режиме должна быть доступна вся информация, содержащаяся в архиве АСУ ТП.

Архивные значения аналоговых и дискретных параметров, а также списки выведенных из работы аналоговых и дискретных параметров, как правило, вызываются и выводятся на отдельные бланки.

Форматы бланков с периодическим запуском разрабатываются при создании АСУ ТП, Как минимум должна быть предусмотрена печать бланков с циклами: один час, одна смена, одни сутки.

Г.2 УПРАВЛЯЮЩИЕ ФУНКЦИИ

Г.2.1 Общие положения

Г.2.1.1 Программно-технические комплексы реализуют следующие функции управления энергетическим оборудованием:

- дистанционное управление;

- автоматическое регулирование и программное управление;

- автоматическое логическое управление и технологические блокировки;

- технологические защиты и защитные блокировки.

Программно-технический комплекс должен иметь настраиваемые программные библиотечные модули управления имеющимися на ТЭС объектами управления, в состав которых входят:

- приводы механизмов собственных нужд;

- запорные и регулирующие органы;

- выключатели коммутационных аппаратов;

- электронагреватели и запальные устройства;

- автономные подсистемы автоматического управления.

Г.2.1.2  Программные библиотечные модули управления

обеспечивают:

- прием управляющих команд от различных источников, включая автономные подсистемы автоматического управления, ПТК АСУ ТП вышестоящего или смежного уровней управления;

- формирование команд на включение (отключение) коммутационных аппаратов, выключателей электродвигателей собственных нужд, исполнительных механизмов запорных и регулирующих органов в соответствии с установленными приоритетами подсистем, выдавших управляющие команды;

- формирование команд для автономных подсистем автоматического управления;

- прием и выдачу информации о состоянии объекта управления.

Приоритетное выполнение команд управления от различных подсистем (ДУ, АР, ПЛУ и ТЗ) должно обеспечиваться соответствующим программным обеспечением ПТК, а также учитывать требования РД 153-34.1-35.137-00.

Примеры команд и информации, воспринимаемых и формируемых различными библиотечными программными модулями, приведены в приложении Ж.

Г.2.2 Дистанционное управление

Г.2.2.1 Дистанционное управление предназначено для реализации команд оператора-технолога по управлению оборудованием.

Дистанционное управление производит оператор-технолог, обеспечивая:

- выполнение неавтоматизированных предпусковых и пусковых операций;

- выбор эксплуатационного режима установки;

- запуск программ пуска (останова);

- дублирование управляющих воздействий на арматуру и механизмы средствами дистанционного управления при отказе средств автоматизации;

- опробование схем технологических защит при подготовке оборудования ТЭС к вводу в действие;

- выбор очередности работы механизмов под АВР;

- корректировку графиков пуска и останова;

- выполнение послеостановочных операций;

- установку заданий автоматическим регуляторам и т.п.

Г.2.2.2 Должны быть предусмотрены:

- избирательное дистанционное управление всеми исполнительными органами, регуляторами и логическими устройствами;

- групповое дистанционное управление;

- индивидуальное дистанционное управление для наиболее ответственных исполнительных органов.

Избирательное дистанционное управление должно являться основным видом управления. Оно должно осуществляться с АРМ, установленных на пультах оперативных контуров ЩУ. Для избирательного управления должны использоваться экраны мониторов, функциональные клавиатуры или устройства типов "световое перо", "мышь", "трекбол", сенсорный экран и т.п. Выбор объекта управления должен осуществляться при минимальном количестве действий со стороны оператора.

Групповое дистанционное управление должно использоваться для управления несколькими объектами одной командой. Для отдельных входящих в группу объектов управления не предусматривается ни индивидуальное, ни избирательное управление. Однако целесообразно обеспечить возможность временного разбора группы по команде оперативного персонала и перехода к избирательному дистанционному управлению любым из объектов группы. Информация о выполнении поданной команды может выдаваться по отдельным органам управления, либо по группе в целом.

Индивидуальное дистанционное управление является резервным по отношению к избирательному и групповому. Индивидуальное дистанционное управление реализуется с помощью средств, независимых от микропроцессорной аппаратуры верхнего уровня ПТК и средств цифровой связи между устройствами ПТК (в отдельных случаях от всей микропроцессорной аппаратуры ПТК), с закреплением за каждым объектом управления отдельного, относящегося только к нему, аппарата подачи команд (кнопок или ключей).

Г.2.2.3 Дистанционное управление большинством исполнительных органов, регуляторами, логическими устройствами и другими устройствами с терминалов рабочих мест ЩУ должно производиться при выполнении следующих операций:

- выбор оператором требуемого объекта управления путем задания шифра или с помощью курсора на видеокадре (как правило, сопровождается появлением на экране виртуального блока управления выбранным объектом);

- выдача требуемой команды (например, курсором и "мышью").

При выборе объекта управления его символ на мнемосхеме должен быть выделен яркостью, цветом или фоном.

Одновременно на экран может быть вызвано несколько (не менее 6) виртуальных блоков управления выбранными объектами, однако каждая выдаваемая оператором команда управления должна относиться только к одному конкретному выбранному объекту (кроме группового управления).

Выбор объекта и отображение виртуального блока управления при необходимости должны автоматически отменяться через 15-20 с, если не последовало команды управления.

Г.2.2.4 Дистанционное управление коммутационными аппаратами электротехнического оборудования с терминалов рабочих мест ЩУ должно производиться в соответствии с п. Г.2.2.3 и, как правило, с дополнительными требованиями, определяемыми конкретным технологическим назначением аппарата (например, обязательным подтверждением оператором выбранной команды управления).

Г.2.2.5 Перевод электроснабжения секции 6,0 или 0,4 кВ с рабочего источника на резервный и наоборот должен проводиться в соответствии с заданным алгоритмом (автоматически) с учетом предварительно заданного направления перевода электропитания секции и способа (с перерывом или без перерыва электроснабжения) перевода. Разрешение (команда) на запуск программы автоматического перевода электропитания секции выдается оператором. Программы автоматического перевода электропитания секции относятся к классу задач пошагового логического управления. Алгоритмами автоматического перевода питания секций предусматриваются контроль выполнения каждого из этапов (шагов) и необходимые действия (например, блокирование (отмена) команды, сигнализация и т.д.). Перевод должен проводиться при минимальном времени перерыва электроснабжения или при минимальном времени параллельной работы рабочего и резервного источников.

Г.2.2.6 При дистанционном управлении одним и тем же исполнительным механизмом с двух и более рабочих мест должна предусматриваться блокировка, позволяющая управлять только с одного рабочего места. При управлении исполнительным механизмом с резервных постов на мониторах операторских станций, установленных на основном посту управления (на БЩУ, ЦЩУ или на щите управления общестанционным технологическим оборудованием ТЭС), должна отображаться информация о месте выдачи команды управления.

Г.2.3 Автоматическое регулирование и программное управление

Г.2.3.1 Подсистема автоматического регулирования предназначена для управления непрерывными процессами и должна обеспечивать поддержание заданных значений параметров технологического процесса и нагрузки энергоустановки.

Автоматическое регулирование должно осуществляться, как правило, по стандартным законам регулирования (П, ПИ, ПИД) с необходимыми преобразованиями входной и выходной информации.

Схемы автоматического регулирования любого уровня управления должны предусматривать:

- самобалансировку и безударное включение АР в работу по командам оператора или логических устройств;

- самодиагностику АР с автоматическим отключением и сигнализацией при неисправности;

- индикацию включенного и отключенного состояний. Структура средств, реализующих АР, должна допускать

выделение контуров регулирования с возможностью выполнения в каждом контуре:

- формирования аналогового или импульсного (совместно с исполнительным механизмом) ПИ- и ПИД- закона регулирования;

- математической обработки сигналов (линеаризация, усреднение);

- динамического преобразования сигналов (фильтрация, демпфирование, дифференцирование и др.):

- нелинейного и аналого-дискретного преобразования сигналов;

- логического преобразования дискретных сигналов. В каждом контуре должны также предусматриваться:

- контроль регулируемого параметра, задания, рассогласования и положения регулирующего органа;

- возможность изменения сигнала задания, ручного управления выходным сигналом регулятора, а также структуры регуляторов;

- контроль и изменение режима управления (автоматическое, дистанционное);

- сигнализация достижения регулирующим органом крайних положений;

- сигнализация отключения электропитания исполнительных механизмов и цепей управления.

При отказах (при недостоверности значения регулируемого параметра, превышении рассогласования заданного значения и т.п.) должно выполняться автоматическое отключение контура, регулятора и формироваться сигнал предупредительной сигнализации, который должен быть квитирован оператором и зарегистрирован функцией PC.

Для каждого контура регулирования должна быть предусмотрена возможность взаимодействия с подсистемами логического управления и технологических защит, в том числе осуществления блокировок, обеспечивающих:

- отключение автоматических воздействий на регулирующий орган как в сторону "больше", так и в сторону "меньше";

- принудительное перемещение регулирующего органа до заданного значения или до крайнего положения.

Г.2.3.2 Программно-технический комплекс должен обеспечить реализацию всех необходимых алгоритмов автоматического регулирования в том числе:

- ввод опережающих сигналов по возмущающим воздействиям;

- двух- и многоконтурные схемы регулирования (каскадные, со скоростными опережающими сигналами);

- динамические связи между контурами регулирования для компенсации связей через объект регулирования;

- автоподстройка;

- оптимизация настроек;

- изменение структуры регуляторов при переходе объекта на другой режим работы, возникновении технологических ограничений, изменении динамических характеристик объекта.

Г.2.3.3 При необходимости должны выполняться предусматриваемые алгоритмами АР дискретные операций, обеспечивающие свойства всережимности (изменение структуры регуляторов, параметров их настройки, переключение входов и выходов). Эти операций должны выполняться без отключения регуляторов по простейшим алгоритмам на основании информации о положении регулирующих органов, состоянии регулятора, достижении пороговых значений технологических параметров и т.д.

Г.2.3.4 Контуры автоматического регулирования должны обслуживаться в цикле реального времени. Должна иметься возможность установки времени цикла в пределах 0,2-5,0 с.

Г.2.3.5 Цена деления шкалы настройки коэффициента пропорциональности должна быть не более 0,05. Цена изменения масштабных коэффициентов должна быть не более 0,01.

Диапазон изменения постоянных времени дифференцирования и интегрирования должен быть в пределах 0,5- 1000 с, шаг изменения - не более 0,5 с.

Диапазон изменения минимальной длительности импульсов, подаваемых от регулятора на исполнительный механизм, должен быть в пределах 0,125 - 3,0 с, шаг изменения - не более 0,1 с.

Г.2.3.6 В ПТК АСУ ТП энергоблока программное управление (ПУ) должно реализовывать задачи программаторов для формирования непрерывных программ изменения параметров технологического процесса (например, при пусках энергоблока из различных тепловых состояний). Должна также обеспечиваться возможность приема текущих заданий от вышестоящего уровня управления и формирования управляющих воздействий на регулирующие органы турбоагрегатов, в том числе для их кратковременной разгрузки (или набора нагрузки) по командам, получаемым от устройств противоаварийной автоматики.

Формирование текущих заданий регуляторам должно выполняться с использованием специальных алгоритмов расчета управляющих воздействий на основе получаемой информации о составе и режимах работы оборудования.

Цикл расчета и отработки управляющих воздействий на общестанционном уровне управления для задач ведения нормальных режимов эксплуатации энергосистемы не должен превышать 0,2 с, а при работе противоаварийной автоматики - 0,02 с.

Цикл расчета и формирования управляющих воздействий на блочном уровне управления для задач ведения нормальных и послеаварийных режимов эксплуатации энергосистемы не должен превышать 0,2 с. Для решения задач противоаварийной автоматики общая задержка в передаче команд управления от общестанционного уровня АСУ ТП до исполнительных устройств не должна превышать 0,02 с.

Управляющее воздействие на регулирующий орган турбины должно быть сформировано в виде импульсного воздействия с заданной временной зависимостью.

Г.2.4 Автоматическое логическое управление и технологические блокировки

Г.2.4.1 Логическое управление предназначено для автоматического или автоматизированного управления оборудованием и автоматическими устройствами оборудования ТЭС по заранее заданным алгоритмам.

Алгоритмы функций логического управления в зависимости от режима их использования делятся на 2 группы:

- алгоритмы всережимных функций, вводимые в работу автоматически;

- алгоритмы функций, вводимых в работу оператором-технологом.

По функциональному признаку алгоритмы логического управления подразделяются на алгоритмы функций:

- всережимного управления и регулирования;

- связанных с изменением состояния оборудования и контуров управления.

Г.2.4.2 Должно реализовываться функционально-групповое управление (ФГУ), которое осуществляет координированное пошаговое логическое управление (ПЛУ) отдельными технологически связанными функциональными группами оборудования, агрегатами и энергоблоками в целом.

Система ФГУ строится по иерархическому принципу и включает:

- верхний уровень - блочное координирующее устройство (БКУ), общее для подсистем АР и ЛУ;

- уровень управления отдельными функциональными группами;

- уровень управления подгруппами;

- уровень управления исполнительными устройствами, а также автоматическими регуляторами и программаторами.

Блочное координирующее устройство должно выполнять:

- формирование команд подчиненным устройствам на выполнение выбранной программы пуска или останова энергоблока;

- контроль технологических ограничений и формирование команд на задержку выполнения программ или перевод оборудования в безопасное состояние при их возникновении.

Функциональная группа включает один или несколько узлов технологического оборудования, которые связаны единством технологического процесса и для которых могут быть однозначно определены;

- начальное состояние;

- одна или несколько программ пуска (останова), по завершении которых устанавливается состояние, при котором технологическое оборудование группы может работать длительное время;

- условия нормальной работы;

- технологические ограничения и действия при их возникновении;

- наличие надежного автоматического контроля органов управления (состояний и положения), обеспечивающих выполнение программ.

Алгоритмы ФГУ включают в себя программы действия, зависящие от исходного состояния оборудования как самой группы, так и энергоблока в целом.

Функционально-групповое управление является средством задания (изменения) режима работы технологического оборудования посредством единого органа управления - виртуального блока управления ФГ. Обобщенное задание оператора-технолога развертывается в последовательность дискретных команд управления, которые переводят оборудование в заданный режим.

Программы ФГУ строятся по шаговому принципу (пошаговое логическое управление - ПЛУ) таким образом, чтобы отказ в выполнении любой команды внутри шага не приводил к аварийной ситуации на энергоблоке и у оператора имелся бы резерв времени для принятия решения.

Алгоритмы ПЛУ должны представлять собой последовательность элементарных операций, которые необходимо выполнить для решения какой-либо технологической задачи (например, включение системы пылеприготовления, пуск турбины и т.п.).

В пределах одного шага объединяются команды, которые могут быть выданы и исполнены одновременно. Переход к выполнению команд следующего шага и их выдача допускается при наличии разрешающих условий, в число которых входит сигнал об отработке предшествующего шага или разрешении оператора-технолога.

Выполнение команд шага и наличие разрешающих условий должно контролироваться по времени. Если в течение контрольного времени не собираются разрешающие условия или не выполняется одна или несколько команд шага, дальнейшая отработка алгоритма должна прекращаться, а оператору выдаваться информация о причинах приостанова.

Подгруппа включает в себя часть оборудования, алгоритм управления которым при всех режимах работы энергоблока однозначен. К ним относятся всережимные ("жесткие") блокировки, реализуемые последовательными логическими зависимостями. Управление подгруппами выполняется независимо от пошагового логического управления, в котором только контролируются состояния АВР и блокировок и результаты их действия.

Г.2.4.3 Алгоритмы функционирования отдельных уровней ПЛУ должны строиться таким образом, чтобы отключение любого вышестоящего уровня управления не приводило к потере работоспособности нижестоящих уровней.

На каждом уровне ПЛУ должна предусматриваться возможность отключения автоматики и воздействия оператора. Функции отключенного уровня или устройства управления должен брать на себя оператор.

В подсистемах пошагового логического управления должна быть предусмотрена возможность выполнения как всей программы, так и ее части, заданной оператором. Должна быть предусмотрена возможность многократного прерывания программы логического управления с обязательным протоколированием.

Контроль за работой ПЛУ должен предусматривать следующую индикацию:

- готовности программы (этапа) к выполнению;

- номера и наименования выполняемого шага программы (этапа) в текущий момент времени;

- состояния выполняемого шага (превышено время выполнения команды, не собрано одно или несколько разрешающих условий);

- процесса выполнения программы ("идет выполнение программы", шага - этапа);

- факта приостанова программы с расшифровкой первопричины приостанова;

- принудительного пуска или приостанова программы от логических автоматов вышестоящего уровня, технологических защит и т.п., если это предусмотрено алгоритмами;

- завершения выполнения программы (ФГ, шага-этапа).

Г.2.4.4 Блокировки технологического оборудования должны решать задачи:

- автоматического управления переключениями и запретами на переключения в технологической схеме объекта при изменениях условий или режима работы оборудования;

- автоматического управления пуском и остановом технологических узлов, для которых не требуется использование пошаговых алгоритмов.

Особую группу алгоритмов блокировок образуют алгоритмы аварийного включения резерва (АВР). Они обеспечивают подключение резервного механизма при аварийном отключении работающего или при недопустимом отклонении параметра при работающем механизме. Выбор рабочего и резервного механизмов и отключение АВР должно производиться оператором-технологом.

Г.2.5 Технологические защиты и защитные блокировки

Г.2.5.1 Реализация ПТК функций технологических защит и защитных блокировок допускается при безусловном выполнении всех требований РД 153-34.1-35.137-00.

Г.2.5.2 Технологические защиты должны выявлять факт возникновения аварийной ситуации и формировать управляющие воздействия на исполнительные устройства (исполнительные механизмы и коммутационные аппараты) с целью защиты персонала, предотвращения повреждения оборудования и локализации последствий аварий. Должна быть предусмотрена возможность автоматического ввода (вывода) защит при появлении (исчезновении) технологических условий для их правильного функционирования.

Г.2.5.3 Технологические защиты должны выполняться по техническим условиям и алгоритмам, разрабатываемым при создании АСУ ТП заводами - изготовителями технологического оборудования и проектными организациями с учетом действующих отраслевых нормативных документов и требований изготовителей технологического оборудования.

Г.2.5.4 Защиты должны иметь наивысший приоритет по отношению к другим дискретным воздействиям. Должна быть исключена возможность отключения защит оператором. Отключение активного действия защит и вывод их на сигнал должны осуществляться неоперативными средствами раздельно для каждой защиты. Состояние защиты по вызову оператора-технолога должно отображаться на экране монитора. Изменении состояния защиты ("введена", "выведена") представляется предупредительной сигнализацией и регистрируется функцией PC.

Г.2.5.5 Команды защит должны формироваться в результате логической обработки входной информации в соответствии с технологическими требованиями.

Г.2.5.6 Действие защит должно быть односторонним: изменение состава работающего оборудования, положения (состояния) объектов управления и ввод оборудования в работу после отключения его защитой должны производиться оперативным персоналом после устранения причин, вызвавших срабатывание защиты.

Г.2.5.7 При одновременном действии защит, требующих разной степени разгрузки оборудования, должны выполняться те операции управления, которые обусловлены действием более "сильной" защиты, вызывающей большую степень разгрузки.

Г.2.5.8 Действие защит (защитные команды) должно сохраняться на время, достаточное для выполнения наиболее длительной операции по управлению.

Г.2.5.9 Срабатывание защит должно сопровождаться светозвуковой сигнализацией.

Г.2.5.10 Должна быть предусмотрена возможность опробования каждой из защит как на работающем, так и на остановленном оборудовании без подачи выходных команд на объект в соответствии с РД 153-34.1-35.142-00.

При опробовании защит на действующем оборудовании (в объеме, достаточном для проверки автоматически не диагностируемых элементов защиты) срабатывание любой неопробуемой защиты должно приводить к немедленной и полной отмене опробования.

Г.3 ВСПОМОГАТЕЛЬНЫЕ (СЕРВИСНЫЕ) ФУНКЦИИ

Вспомогательные функции включают: метрологический контроль, аттестацию, тестирование и самодиагностику устройств ПТК, а также создание нормативно-справочной информационной базы. Перечень и алгоритмы вспомогательных функций уточняются заказчиком в техническом задании на конкретный объект и разработчиком в документации на ПТК.

Приложение Д
(справочное)
ТРЕБОВАНИЯ К ПОСТАМ УПРАВЛЕНИЯ И ОБСЛУЖИВАНИЯ

Д.1 ЦЕНТРАЛЬНЫЙ ЩИТ УПРАВЛЕНИЯ

Д.1.1 Основным постом оперативного управления ТЭС в целом является центральный щит управления (ЦЩУ). С ЦЩУ производится управление оборудованием, находящимся в оперативном управлении:

- частью электротехнического оборудования энергоблока;

- оборудованием главной схемы электрических соединений ТЭС в случае отсутствия оперативного персонала на щите управления открытым распределительным устройством высокого напряжения ТЭС;

- оборудованием общестанционных технологических установок в случае отсутствия оперативного персонала на щите управления установкой;

- электротехническим оборудованием общестанционных собственных нужд и резервного электропитания собственных нужд ТЭС;

- системами пожаротушения и наружного освещения территории электростанции;

- электрооборудованием оперативного постоянного тока.

Д.1.2 Для оперативного персонала ЦЩУ АСУ ТП должна предоставлять возможность:

- текущего технологического контроля работы ТЭС в целом, состояния ее технологического оборудования и работы систем автоматики;

- предупредительной и аварийной технологической сигнализацией в зонах оперативной ответственности персонала ЦЩУ;

- дистанционного управления оборудованием, находящимся в зонах оперативной ответственности персонала ЦЩУ.

Д.1.3 На ЦЩУ должны быть предусмотрены два автоматизированных рабочих места: начальника смены электростанции и оператора-электрика.

По требованию заказчика может предусматриваться автоматизированное рабочее место для оператора-обходчика и экран коллективного пользования.

Д.1.4 Каждое рабочее место должно быть оборудовано средствами управления режимом технологического процесса в соответствующей зоне оперативной ответственности, средствами информационного доступа и представления информации.

Д.2 БЛОЧНЫЙ ЩИТ УПРАВЛЕНИЯ

Д.2.1 Основным постом оперативного управления энергоблока является блочный щит управления (БЩУ). С БЩУ должно производиться управление всем оборудованием, входящим в состав энергоблока и всеми вспомогательными системами и механизмами в режимах пуска, нормальной эксплуатации, планового останова и аварийных ситуациях. При этом оператор должен иметь доступ ко всей информации, необходимой для контроля и управления и возможность воздействия на любые исполнительные устройства.

На БЩУ, как правило, должны быть предусмотрены два вида АРМ: постоянно используемые - операторов-технологов и периодически используемое - оператора-электрика.

По требованию заказчика может предусматриваться АРМ для начальника смены энергоблока (двух энергоблоков) и экран коллективного пользования.

Д.З ЩИТЫ УПРАВЛЕНИЯ ОБЩЕСТАНЦИОННЫМИ ТЕХНОЛОГИЧЕСКИМИ УСТАНОВКАМИ И ОТКРЫТЫМ РАСПРЕДЕЛИТЕЛЬНЫМ УСТРОЙСТВОМ ВЫСОКОГО НАПРЯЖЕНИЯ ТЭС

Д.3.1 При наличии оперативного персонала на щитах управления общестанционными технологическими установками и открытым распределительным устройством высокого напряжения ТЭС соответствующие функции оперативного управления исключаются из числа функций оперативного персонала ЦЩУ.

Д.3.2. Реализация функций оперативного персонала на щитах управления общестанционными технологическими установками и открытым распределительным устройством высокого напряжения ТЭС осуществляется с помощью АРМ, оборудованных аналогично АРМ ЦЩУ и БЩУ.

Д.4 ЩИТ ОПЕРАТИВНОГО ОБСЛУЖИВАНИЯ И НАЛАДКИ ПТК

Д.4.1 Посты обслуживания и наладки соответствующих ПТК в составе АСУ ТП должны включать в себя технические средства контроля функционирования ПТК и АСУ ТП в целом, средства коррекции программного обеспечения и документации, средства наладки ПТК и АСУ ТП и располагаться, как правило, в соответствующих неоперативных контурах (ЦЩУ, БЩУ и т.п.).

Д.4.2 Пост должен обеспечивать:

- тестирование аппаратуры ПТК, в том числе модулей ввода-вывода;

- прием, отображение на экранах видеотерминалов и подробное документирование сообщений о повреждениях в ПТК и АСУ ТП. Сообщения должны быть представлены на русском языке в четкой форме, позволяющей обслуживающему персоналу АСУ ТП легко идентифицировать неисправности и устранять их, в том числе путем замены соответствующего сменного элемента (модуля; блока и т.п.);

- отображение и документирование сигналов, контролируемых и формируемых АСУ ТП, в том числе сигналов, характеризующих состояние АСУ ТП и технологического объекта;

- структурирование систем автоматического управления и регулирования в режиме диалога;

- коррекцию и дополнение прикладного программного обеспечения как на уровне контроллеров, так и операторских станций;

- имитацию сигналов (например, сигнала срабатывания технологической защиты, состояния концевого выключателя) .

Д.5 МЕСТНЫЕ ЩИТЫ УПРАВЛЕНИЯ

Д.5.1 Местные щиты могут быть предусмотрены для проведения пусков после капитальных ремонтов и для выполнения части предпусковых подготовительных операций после длительного простоя, а также для испытаний оборудования. В нормальных режимах на местных щитах персонал, как правило, отсутствует.

Д.5.2 Местные щиты разрабатываются генеральным проектировщиком и поставляются по его спецификациям. На этих щитах может устанавливаться аппаратура ПТК (например, контроллеры и (или) выносные интеллектуальные УСО), которая при необходимости временно может дополняться какими-либо дополнительными переносными устройствами (например, пультами для настройки и контроля).

Приложение Е
(рекомендуемое)
ПРИЕМКА ПТК В СОСТАВЕ АСУ ТП ТЭС

Е.1 ИСПЫТАНИЯ ОТДЕЛЬНЫХ ПОДСИСТЕМ В ПРОЦЕССЕ НАЛАДКИ ПТК В СОСТАВЕ АСУ ТП ТЭС

Е.1.1 Испытания отдельных подсистем проводятся на объекте одновременно с опробованием и вводом в действие основного оборудования. Целью испытаний является наладка аппаратных и программных средств ПТК в рабочих условиях и приведение их характеристик в соответствие с реальными свойствами объекта управления.

Е.1.2 Испытания организует заказчик совместно с поставщиком ПТК. Испытания проводятся по программе, составленной поставщиком ПТК и согласованной с заказчиком и наладочной организацией.

Е.1.3 Приемка из наладки в эксплуатацию измерительных каналов ПТК должна выполняться в соответствии с РД 153-34.0-11.204-97. Должна быть предусмотрена аттестация измерительных каналов в соответствии с РД 34.11.202-95.

Е.1.4 Испытания ПТК АСУ ТП в части функций, связанных с получением управляющих воздействий от энергосистемы, должны проводиться с помощью имитаторов этих воздействий.

Е.2 ПРЕДВАРИТЕЛЬНЫЕ ИСПЫТАНИЯ АСУ ТП ТЭС

Е.2.1 Предварительные испытания проводятся для определения работоспособности АСУ ТП в целом (и ПТК в ее составе) и решения вопроса о возможности приемки системы управления в опытную эксплуатацию.

Е.2.2 Программа предварительных испытаний разрабатывается разработчиком АСУ ТП совместно с поставщиками ПТК и утверждается заказчиком. Программа должна предусматривать проведение испытаний в нормальных условиях и при типовых нарушениях (ошибки персонала, отказ отдельных устройств, нарушение электропитания и др.). Испытания организуются заказчиком и проводятся совместно представителями разработчика АСУ ТП, поставщика ПТК и заказчика на действующем оборудовании.

Е.2.3 По результатам предварительных испытаний составляется заключение о возможности приемки АСУ ТП (и ПТК в ее составе) в опытную эксплуатацию, а также перечень необходимых доработок и сроков их выполнения.

Е.3 ОПЫТНАЯ ЭКСПЛУАТАЦИЯ АСУ ТП

Е.3.1 Опытная эксплуатация проводится для проверки правильности функционирования АСУ ТП и ПТК в ее составе на действующем оборудовании при выполнении каждой автоматизированной функции.

Е.3.2 Продолжительность опытной эксплуатации:

- для функций, выполняемых непрерывно - не менее 1 мес;

- для функций РАС и КДЗ, а также функций, реализующих автоматизацию пусковых операций - не менее 3 мес. При необходимости может быть предусмотрено проведение не менее 5 успешных автоматизированных пусков (остановов) энергоблока из разных состояний и продемонстрирована надежная работа системы автоматического управления мощностью в нормальных режимах и при имитации аварийной ситуации.

Е.3.3 По результатам опытной эксплуатации составляется акт о завершении работ по проверке АСУ ТП и ПТК в режиме опытной эксплуатации, а также перечень необходимых доработок и сроков их выполнения.

Е.4 ПРИЕМОЧНЫЕ ИСПЫТАНИЯ АСУ ТП

Е.4.1 Приемочные испытания АСУ ТП проводятся для определения возможности ввода системы в работу и соответствия ее характеристик требованиям технического задания или другого регламентирующего документа.

Е.4.2 По результатам приемочных испытаний комиссия составляет протокол испытаний и акт о вводе АСУ ТП (и ПТК в ее составе) в эксплуатацию.

Е.4.3 Определение фактических значений показателей технико-экономической эффективности и надежности АСУ ТП производится после ее ввода в действие.

Приложение Ж
(справочное)
ПРИМЕРЫ КОМАНД И ИНФОРМАЦИИ, ВОСПРИНИМАЕМЫХ И ФОРМИРУЕМЫХ РАЗЛИЧНЫМИ БИБЛИОТЕЧНЫМИ ПРОГРАММНЫМИ МОДУЛЯМИ

Ж.1 Устройства управления электродвигателями механизмов с.н. получают команды на включение (отключение) от:

- технологических защит и защитных блокировок;

- дистанционного управления с БЩУ, ЦЩУ, местных постов управления и от кнопки аварийного останова по месту;

- логического управления.

Устройства управления электродвигателями с.н. принимают сигналы:

- "включен", "отключен" от блок-контактов выключателя (контактора) механизма;

- "управляется дистанционно", "управляется автоматически", "выбран в резерв";

- "неисправность в схеме управления". Оператору-технологу выводится следующая информация:

- "включен в работу";

- "выбран в резерв";

- "отключен оператором";

- "отключен автоматически";

- "включен автоматически";

- "ток электродвигателя";

- способ управления: "дистанционно", "автоматически" (от ЛУ);

- "неисправность".

Автоматическое включение и отключение электродвигателя должно сопровождаться звуковым и световым сигналами.

Ж.2 Устройства управления запорными задвижками принимают команды типа "открыть", "закрыть", "стоп" от:

- технологических защит и защитных блокировок;

- дистанционного управления;

- логического управления.

Устройства управления задвижками принимают сигналы:

- "открыта", "закрыта" от концевых выключателей;

- "управляется дистанционно", "управляется автоматически", "выбран в резерв";

- "отсутствует электропитание".

Должны быть предусмотрены блокировки, запрещающие прохождение команд от ЛУ при дистанционном управлении и запрещающие прохождение команд от ДУ при автоматическом управлении.

Оператору-технологу выводится следующая информация:

- "закрыта";

- "открыта";

- "стоит в промежуточном положении";

- "открывается";

- "закрывается";

- "неисправность";

- о способе управления: "дистанционно", "автоматически".

Ж.3 Устройство управления предохранительными и отсечными клапанами с электромагнитным приводом принимает команды "открыть", "закрыть" от:

- технологических защит и защитных блокировок;

- дистанционного управления;

- логического управления.

Устройство управления предохранительными и отсечными клапанами принимает сигналы:

- "открыт", "закрыт" от концевых выключателей клапана;

- о способе управления: "дистанционно", "автоматически".

Оператору-технологу выводится следующая информация:

- "открыт";

- "закрыт";

- "неисправность";

- о способе управления: "дистанционно", "автоматически".

Ж.4 Устройство управления регулирующим органом с электроприводом принимает команды "прибавить", "убавить" от:

- технологических защит и защитных блокировок,

- дистанционного управления;

- автоматического управления;

- логического управления.

Устройство управления регулирующим органом принимает сигналы:

- положение клапана (степень открытия);

- "открыт", "закрыт" - от концевых выключателей;

- о способе управления: "дистанционно", "автоматически" - от устройства выбора способа управления.

Оператору- технологу выводится следующая информация:

- степень открытия (как правило, в процентах от максимальной) с индикацией крайних положений;

- о способе управления: "дистанционно", "автоматически";

- "неисправность".

Приложение З
(справочное)
Список принятых сокращений

АБ - аккумуляторная батарея;

АБП - агрегат бесперебойного питания;

АВР - автоматическое включение резерва;

АР - автоматическое регулирование;

АС - аварийная ситуация;

АСУ - автоматизированная система управления;

АСУ П - автоматизированная система управления производством;

АСУ ТП - автоматизированная система управления технологическим процессом;

АСДУ - автоматизированная система диспетчерского управления;

АСТКГ - автоматизированная система температурного контроля генератора;

АСКУЭ - автоматизированная система коммерческого учета электроэнергии и тепла;

АРВ - автоматическое регулирование возбуждения;

АРМ - автоматизированное рабочее место;

АР - автоматическое регулирование;

БД - база данных;

БЩУ - блочный щит управления;

БКУ - блочное координирующее устройство;

ГТ - газовая турбина;

ГЭС - гидроэлектростанция;

ДУ - дистанционное управление;

ЗИП - запасные части и инструменты;

ЗРУ - закрытое распределительное устройство;

ИВС - информационно-вычислительная система;

ИК - измерительный канал;

ИМ - исполнительный механизм;

КДЗ - контроль действия защит;

КПА - контроль противоаварийной автоматики;

КТС - комплекс технических средств;

КРУ - комплектное распределительное устройство;

КЭС - конденсационная электростанция;

ЛУ - логическое управление;

МА - метрологическая аттестация;

МП - микропроцессорная подсистема;

МП АСКУЭ - микропроцессорная автоматизированная подсистема коммерческого учета электроэнергии и тепла;

МП ПА - микропроцессорная подсистема противоаварийной автоматики;

МП РЗА - микропроцессорная подсистема релейных защит и автоматики;

МП СВ - микропроцессорная подсистема возбуждения;

МП СС - микропроцессорная подсистема синхронизации;

ОИУК - общесистемный информационно-управляющий комплекс;

ОК - оперативный контур управления;

ОРММ - отраслевые руководящие методические материалы;

ОРУ - открытое распределительное устройство;

ОС - операционная система;

ОТТ - общие технические требования;

ОТУ - общестанционные технологические установки;

ПА - противоаварийная автоматика;

ПГУ - парогазовая установка;

ПЗУ - постоянное запоминающее устройство;

ПИД - пропорционально - интегрально-дифференциальный;

ПИ - пропорционально - интегральный;

ПК - персональный компьютер;

ПЛУ - пошаговое логическое управление;

ПО - программное обеспечение;

ППО - прикладное программное обеспечение;

ПТБ - правила техники безопасности;

ПТ - паровая турбина;

ПТК - программно - технический комплекс;

ПТУ - паротурбинная установка;

ПУ - программное управление;

РАС - регистрация аварийных ситуаций;

РЗА - релейные защиты и автоматика;

РПН - регулирование под нагрузкой;

PC - регистрация событий;

РТЗО - шкаф распределительный трехфазный закрытый одностороннего обслуживания;

САПР - система автоматизированного управления;

СС - система синхронизации;

СУБД - система управления базами данных;

ТЗ - технологическая защита;

ТН - трансформатор напряжения;

ТС - технологическая сигнализация;

ТТ - трансформатор тока;

ТЭП - технико-экономические показатели;

ТЭС - тепловая электростанция;

ТЭЦ - теплоэлектроцентраль;

УБП - устройство бесперебойного электропитания;

УСО - устройство связи с объектом;

ФГ - функциональная группа;

ФГУ - функционально-групповое управление;

ЦЩУ - центральный щит управления;

ЩПТ - щит постоянного тока;

ЩУ - щит управления;

ЭГ - электрогенератор;

ЭКП - экран коллективного пользования;

ЭС - электростанция;

ЭЧСР - электрическая часть подсистемы регулирования турбины.

Список использованной литературы

1. Общеотраслевые руководящие методические материалы по созданию и применению автоматизированных систем управления технологическими процессами в отраслях промышленности (ОРММ-3 АСУ ТП).- М.: ГКНТ, 1986.

2. Комплекс стандартов и руководящих документов на автоматизированные системы "Информационная технология" ГОСТ 34.201-89, ГОСТ 34.602-89, РД 50-682-89, РД 50-680-88, ГОСТ 34.601-90, РД 50-34.698-90, ГОСТ 34.003-90, Р 50-34.119-90.

3. Комплекс стандартов "Система технической документации на АСУ".

4. РД 34.20.501-95. Правила технической эксплуатации электрических станций и сетей Российской Федерации. - М.: СПО ОРГРЭС, 2002.

5. РД 34.35.101-88. Методические указания по объему технологических измерений, сигнализации и автоматического регулирования на тепловых электростанциях. - М.: СПО Союзтехэнерго, 1988.

6. Ц-02-94 (Т). Циркуляр о внесении изменений в объем технологических измерений, сигнализации и автоматического регулирования на тепловых электростанциях. - М.: СПО ОРГРЭС, 1994.

7. Концепция развития интегрированных АСУ энергосистем в условиях перехода к рыночным отношениям. - М.: Минэнерго СССР, 1992.

8. Типовые технические требования к общестанционной части АСУ ТП блочной ТЭС.- М.: Минтопэнерго СССР, 1993.

9. Типовые технические требования к АСУ ТП электрической части энергоблока ТЭС. - М.: Минтопэнерго СССР, 1993.

10. Типовые технические требования к АСУТП распределительного устройства высокого напряжения ТЭС- М.: Минтопэнерго СССР, 1993.

11. РД 153-34.1-35.137-00. Технические требования к подсистеме технологических защит, выполненных на базе микропроцессорной техники М.: СПО ОРГРЭС, 2000.

12. РД 153-34.2-35.520-99. Общие технические требования к программно-техническим комплексам для АСУ ТП гидроэлектростанций. - М.: СПО ОРГРЭС, 1999.

13. Закон Российской Федерации "Об обеспечении единства измерений".

14. ГОСТ 8.009-84 ГСИ. Нормируемые метрологические характеристики средств измерений.

15. ГОСТ 8.207-76 ГСИ. Прямые измерения с многократными наблюдениями. Методы обработки результатов наблюдений. Основные положения.

16. ГОСТ 8.395-80 ГСИ. Нормальные условия измерений при поверке. Общие требования.

17. ГОСТ Р 8.563-96.ГСИ. Методики выполнения измерений.

18. РМГ 29-99 ГСИ. Метрология. Основные термины и определения.

19. ПР 50.2.006-94 ГСИ. Порядок проведения поверки средств измерений.

20. ПР 50.2.009-94 ГСИ. Порядок проведения испытаний и утверждения типа, средств измерений.

21. ПР 50.2.014-96 ГСИ. Правила проведения аккредитации метрологических служб юридических лиц на право поверки средств измерений.

22. ПР 50.2.016-94 ГСИ. Требования к выполнению калибровочных работ.

23. МИ 222-80 ГСИ. Методика расчета метрологических характеристик измерительных каналов информационно-измерительных систем по метрологическим характеристикам компонентов.

24. МИ 1314-86 ГСИ. Порядок проведения метрологической экспертизы технических заданий на разработку средств измерений.

25. МИ 1317-86 ГСИ. Результаты измерений и характеристики погрешности измерений. Формы представления. Способы использования при испытаниях образцов продукции и контроле параметров.

26. МИ 2174-91 ГСИ. Аттестация алгоритмов и программ обработки данных при измерениях. Основные положения.

27. МИ 2438-97 ГСИ. Системы измерительные. Метрологическое обеспечение. Основные положения.

28. МИ 2439-97 ГСИ. Метрологические характеристики измерительных систем. Номенклатура. Принципы регламентации, определения и контроля.

29. МИ 2440-97 ГСИ. Методы экспериментального определения и контроля характеристик погрешности измерительных каналов измерительных систем и измерительных комплексов.

30. МИ 2441-97 ГСИ. Испытания для целей утверждения типа измерительных систем. Общие требования.

31. МИ 2526-99 ГСИ. Нормативные документы на методики поверки средств измерений. Основные положения.

32. РД 34.11.103-95. Рекомендации по составлению перечня рабочих средств измерений, применяемых на энергопредприятиях, для наблюдения за технологическими параметрами, точность измерения которых не нормируется. - М: СПО ОРГРЭС, 1997.

33. РД 34.11.106-95. Положение о порядке аккредитации метрологических служб энергопредприятий на право проведения калибровочных работ. - М.: СПО ОРГРЭС, 1997.

34. РД 34.11.112-96. Методические указания. Порядок аттестации персонала метрологических служб (калибровочных лабораторий) предприятий электроэнергетики на право выполнения калибровочных работ. - М,: СПО ОРГРЭС, 1996.

35. РД 34.11.113-95. Методические указания. Метрологический контроль и надзор, осуществляемые головными и базовыми организациями метрологических служб на энергопредприятиях электроэнергетики. - М.: СПО ОРГРЭС, 1998.

36. РД 34.11.114-95. Автоматизированные системы контроля и учета электроэнергии и мощности. Основные нормируемые метрологические характеристики. Общие требования. - М.; РАО "ЕЭС России", 1998.

37. Типовые технические требования к средствам автоматизации контроля и учета электроэнергии и мощности для АСКУЭ энергосистем. Утв. РАО "ЕЭС России" 10.11.94.

38. РД 153-34.0-11.201-97. Методика определения обобщенных метрологических характеристик измерительных каналов ИИС и АСУ ТП по метрологическим характеристикам агрегатных средств измерений. - М.: СПО ОРГРЭС, 1999.

39. РД 34.11.202-95. Методические указания. Измерительные каналы информационно-измерительных систем. Организация и порядок проведения метрологической аттестации. - М.: СПО ОРГРЭС, 1997.

40. РД 153-34.0-11.204-97. Методика приемки из наладки в эксплуатацию измерительных каналов информационно-измерительных систем. - М: СПО ОРГРЭС, 1999.

41. РД 153-34.0-11.205-98. Методические указания. Измерительные каналы информационно-измерительных систем. Организация и порядок проведения калибровки. - М.: СПО ОРГРЭС, 2000.

42. РД 34.11.206-94. Методические указания. Информационно-измерительные системы. Методика обработки экспериментальных данных метрологической аттестации. - М.: СПО ОРГРЭС, 1995.

43. РД 34.11.321-96. Нормы погрешности измерений технологических параметров тепловых электростанций и подстанций. - М.: ВТИ, 1997

44. РД 34.11.208-94. Методика. Обследование состояния метрологического обеспечения информационно-измерительных систем предприятий электроэнергетики. - М.: СПО ОРГРЭС, 1996.

45. РД 34.11.409-92. Типовые алгоритмы автоматизированной обработки экспериментальных данных метрологической аттестации и поверки измерительных каналов ИИС,- М.: СПО ОРГРЭС, 1993.

46. РД 34.11.410-95. Методические указания по установлению номенклатуры эксплуатируемых на энергопредприятиях электроэнергетики средств измерений, подлежащих поверке. - М.: СПО ОРГРЭС, 1997.

47. РД 34.11.502-95. Методические указания. Организация и порядок проведения метрологической экспертизы документации на стадии разработки и проектирования. - М.: СПО ОРГРЭС, 1997.

48. РД 153-34.0-11.117-2001. Информационно-измерительные системы. Метрологическое обеспечение. Основные положения, - М.: СПО ОРГРЭС, 2001.

49. РД 34.11.408-91. Типовая программа метрологической аттестации каналов телеизмерений оперативно-информационного комплекса автоматизированной системы диспетчерского управления. - М: СПО ОРГРЭС, 1993.

50. РД 153-34.0-11.209-99. Рекомендации. Автоматизированные системы контроля и учета электроэнергии и мощности. Типовая методика выполнения измерений электроэнергии и мощности. - М: РАО "ЕЭС России", 1999.

51. ГОСТ Р 50514-93. Реле электрические. Испытание изоляции.

51. ГОСТ Р 50648-94. Совместимость технических средств электромагнитная. Устойчивость к магнитному полю промышленной частоты. Технические требования и методы испытаний.

52. ГОСТ Р 50649-94. Совместимость технических средств электромагнитная. Устойчивость к импульсному магнитному полю. Технические требования и методы испытаний.

53. ГОСТ Р 50652-94. Совместимость технических средств электромагнитная. Устойчивость к затухающему колебательному магнитному полю. Технические требования и методы испытаний.

54. ГОСТ Р 51317.4.4-99. Совместимость технических средств электромагнитная. Устойчивость к наносекундным импульсным помехам. Требования и методы испытаний.

55. ГОСТ Р 51317.4.2-99. Совместимость технических средств электромагнитная. Устойчивость к электростатическим разрядам. Требования и методы испытаний.

56. ГОСТ Р 51317.4.5-99. Совместимость технических средств электромагнитная. Устойчивость к микросекундным импульсным помехам большой энергии. Требования и методы испытаний.

57. ГОСТ Р 51317.4.3-99. Совместимость технических средств электромагнитная. Устойчивость к радиочастотному электромагнитному полю. Требования и методы испытаний.

58. ГОСТ Р 51317.4.1-2000. Совместимость технических средств электромагнитная. Испытания на помехоустойчивость. Виды испытаний.

59. ГОСТ Р 50648-94. Совместимость технических средств электромагнитная. Устойчивость к магнитному полю промышленной частоты. Технические требования и методы испытаний.

60. МЭК 61000-5-2-97. Электромагнитная совместимость. Ч. 5. Руководящие указания по установке устройств защиты и подавлению помех. Разд. 2. Заземление и проводка кабеля.

61. МЭК 61000-4-29. Электромагнитная совместимость. Методы испытаний и измерений. Устойчивость к динамическим изменениям напряжения электропитания постоянного тока.

62. ГОСТ Р 51317.4.17-2000. Совместимость технических средств электромагнитная. Устойчивость к пульсациям напряжения электропитания постоянного тока. Требования и методы испытаний.

63. ГОСТ Р 51317.4.11-99. Совместимость технических средств электромагнитная. Устойчивость к динамическим изменениям напряжения электропитания. Требования и методы испытаний.

64. МЭК 61000-4-8 (1993). Электромагнитная совместимость, ч. 4. Методики испытаний и измерений. Разд. 8. Испытания на помехоустойчивость в условиях магнитного поля промышленной частоты. Основная публикация по электромагнитной совместимости.

65. ГОСТ 12.1.006-84. ССБТ. Электромагнитные поля радиочастот. Допустимые уровни на рабочих местах и требования к проведению контроля.

66. ГОСТ 12.1.002-84. ССБТ. Электрические поля промышленной частоты. Допустимые уровни напряженности и требования к проведению контроля на рабочих местах.

67. ГОСТ 12.1.045-84. ССБТ. Электростатические поля промышленной частоты. Допустимые уровни напряженности и требования к проведению контроля на рабочих местах.

68. ГОСТ 4.148-85. СПКП. Устройства комплектные низковольтные. Номенклатура показателей.

70. ГОСТ Р 51318.22-99. Совместимость технических средств электромагнитная. Радиопомехи индустриальные от оборудования информационных технологий. Нормы и методы испытаний.

71. ГОСТ Р 50628-2000. Совместимость технических средств электромагнитная. Устойчивость машин электронных вычислительных персональных к электромагнитным помехам. Требования и методы испытаний.

72. ГОСТ Р 50377-92. Безопасность оборудования информационной технологии, включая электрическое конторское оборудование.

73. ГОСТ 12.1.004-91. ССБТ. Пожарная безопасность. Общие требования.

74. ГОСТ 12.1.044-89. ССБТ. Пожаровзрывоопасность веществ и материалов. Номенклатура показателей и методы их определения.

75. ГОСТ 12.1.030-81. ССБТ. Электробезопасность. Защитное заземление, зануление.

76. ГОСТ 12.1.003-83. ССБТ. Шум. Общие требования безопасности.

77. ГОСТ 12.1.012-90. ССБТ. Вибрационная безопасность. Общие требования.

78. ГОСТ 12.2.007.6-75. ССБТ. Аппараты коммутационные низковольтные. Требования безопасности. ,

79. ГОСТ 12.2.003-91. ССБТ. Оборудование производственное. Общие требования безопасности.

80. ГОСТ 12.2.007.0-75. ССБТ. Изделия электротехнические. Общие требования безопасности.

81. ГОСТ 12.1.010-76. ССБТ. Взрывобезопасность. Общие требования.

82. ГОСТ 14254-96. Степени защиты, обеспечиваемые оболочками (код IP).

83. ГОСТ 15150-69. Машины, приборы и другие технические изделия. Исполнения для различных климатических районов. Категории, условия эксплуатации хранения и транспортирования в части воздействия климатических факторов внешней среды.

84. ГОСТ 15543.1-89Е. Изделия электротехнические. Общие требования в части стойкости к климатическим внешним воздействующим факторам.

85. ГОСТ 16962-71. Изделия электронной техники и электротехники. Механические и климатические воздействия. Требования и методы испытаний.

86. ГОСТ 17516.1-90Е. Изделия электротехнические. Общие требования в части стойкости к механическим внешним воздействующим факторам.

87. ГОСТ 23216-78. Изделия электротехнические. Хранение, транспортирование, консервация, упаковка. Общие требования и методы испытаний.

88. ГОСТ 27.003-90. Надежность в технике. Состав и общие правила задания требований по надежности.

89. РД 153-34.3-35.613-00. Правила технического обслуживания устройств релейной защиты и электроавтоматики электрических сетей 0,4-35 кВ. - М.: СПО Союзтехэнерго, 2000.

90. РД 153-34.0-35.617-2001. Правила технического обслуживания устройств релейной защиты, электроавтоматики, дистанционного управления и сигнализации электростанций и подстанций 110-750 кВ. - М.: СПО Союзтехэнерго, 2001.

91. ГОСТ 24.701-86. Единая система стандартов автоматизированных систем управления.

Надежность автоматизированных систем управления. Основные положения.

92. Правила устройства электроустановок (ПУЭ). - М.: ЗАО "Энергосервис", 1998.

93. ГОСТ 12.2.049-80. ССБТ. Оборудование производственное. Общие эргономические требования.

94. ГОСТ 22269-76. Система "человек-машина". Рабочее место оператора. Взаимное расположение элементов рабочего места. Общие эргономические требования.

95. ГОСТ 20.39.108-85. КСОТТ. Требования к эргономике, обитаемости и технической эстетике. Номенклатура и порядок выбора.

96. ГОСТ 24.104-85. ЕССАСУ. Автоматизированные системы управления. Общие требования.

97. ГОСТ 12997-84. Изделия ГСП. Общие технические условия.

98. ГОСТ Р 8.585-2001. Термопары. Ч. 1. Номинальные статические характеристики преобразования.

99. ГОСТ 6616-94. Преобразователи термоэлектрические. Общие технические условия.

100. ГОСТ 6651-94. Термопреобразователи сопротивления. Общие технические требования и методы испытания.

101. РД 35.310-97. Общие технические требования к микропроцессорным устройствам защиты и автоматики энергосистем. - М.: СПО ОРГРЭС, 1997.

102. ГОСТ 34.603-92. Информационная технология. Виды испытаний автоматизированных систем.

103. ГОСТ 34.201-89. Информационная технология. Комплекс стандартов на автоматизированные системы. Виды, комплектность и обозначение документов при создании автоматизированных систем.

104. ГОСТ 6.10.4-84.УСД. Придание юридической силы документам на машинном носителе и машинограмме, создаваемым средствами вычислительной техники. Основные положения.

105. ГОСТ 14691-69. Устройства исполнительные для систем автоматического регулирования.

106. ГОСТ 7192-89. Механизмы исполнительные электрические постоянной скорости ГСП.

107. ГОСТ Р 50356-92. Преобразователи измерительные для термоэлектрических преобразователей и термопреобразователей сопротивления. Общие технические требования и методы испытаний.

108. ГОСТ 12.2.020-76. Система стандартов безопасности труда. Энергооборудование взрывозащищенное. Термины и определения. Маркировка.

109. РД 34.49.101-87. Инструкция по проектированию противопожарной защиты энергетических предприятий. - М.: Информэнерго, 1987.

110. РД 34.35.310-97. Общие технические требования к микропроцессорным устройствам защиты и автоматики энергосистем. - М.: СПО ОРГРЭС, 1997.

111. ГОСТ 12997-84. Изделия ГСП. Общие технические условия.

112. РД 153-34.0-20.525-00. Методические указания по контролю состояния заземляющих устройств электроустановок. - М.: СПО ОРГРЭС, 2000.

113. "Типовой алгоритм расчета технико-экономических показателей конденсационных энергоблоков мощностью 300, 500, 800 и 1200 МВт". - М.: СПО ОРГРЭС, 1991. Ч. 1 и 2.

114. "Типовой алгоритм расчета технико-экономических показателей мощных отопительных ТЭЦ".- М: СПО ОРГРЭС, 1983.

115. Правила техники безопасности (ПТБ) при эксплуатации тепломеханического оборудования электростанций и тепловых сетей. - М.: НЦ ЭНАС, 2001.

116. РД 153-34.0-03.150-00. Межотраслевые правила по охране труда (правила безопасности) при эксплуатации электроустановок (ПОТ РМ-116-2001).- М.: НЦ ЭНАС, 2001.

117. РД 153-34.1-35.142-00. Методические указания по эксплуатации технологических защит, выполненных на базе микропроцессорной техники. - М.: СПО ОРГРЭС, 2001.

118. Р 50.2.004-2000 ГСП. Определение характеристик математических моделей зависимостей между физическими величинами при решении измерительных задач. Основные положения.

119. ГОСТ 6616-94. Преобразователи термоэлектрические. Общие технические требования.

 




ГОСТЫ, СТРОИТЕЛЬНЫЕ и ТЕХНИЧЕСКИЕ НОРМАТИВЫ.
Некоммерческая онлайн система, содержащая все Российские Госты, национальные Стандарты и нормативы.
В Системе содержится более 150000 файлов нормативно-технической документации, действующей на территории РФ.
Система предназначена для широкого круга инженерно-технических специалистов.

Рейтинг@Mail.ru Яндекс цитирования

Copyright © www.gostrf.com, 2008 - 2026