Крупнейшая бесплатная информационно-справочная система онлайн доступа к полному собранию технических нормативно-правовых актов РФ. Огромная база технических нормативов (более 150 тысяч документов) и полное собрание национальных стандартов, аутентичное официальной базе Госстандарта. GOSTRF.com - это более 1 Терабайта бесплатной технической информации для всех пользователей интернета. Все электронные копии представленных здесь документов могут распространяться без каких-либо ограничений. Поощряется распространение информации с этого сайта на любых других ресурсах. Каждый человек имеет право на неограниченный доступ к этим документам! Каждый человек имеет право на знание требований, изложенных в данных нормативно-правовых актах!

  


 

РОССИЙСКОЕ АКЦИОНЕРНОЕ ОБЩЕСТВО ЭНЕРГЕТИКИ И ЭЛЕКТРИФИКАЦИИ "ЕЭС РОССИИ"

ДЕПАРТАМЕНТ НАУКИ И ТЕХНИКИ

МЕТОДИЧЕСКИЕ УКАЗАНИЯ ПО ОБСЛЕДОВАНИЮ КОНСТРУКЦИЙ ПЕРЕКРЫТИЙ ГЛАВНЫХ КОРПУСОВ ТЭС

РД 34.21.622-96

Москва

ЦПТИиТО ОРГРЭС

2006

СОДЕРЖАНИЕ

1. ОБЩИЕ ПОЛОЖЕНИЯ

2. КОНСТРУКТИВНЫЕ ОСОБЕННОСТИ СТРОИТЕЛЬНЫХ КОНСТРУКЦИЙ ПЕРЕКРЫТИЙ ГЛАВНЫХ КОРПУСОВ ТЭС

3. ПОДГОТОВИТЕЛЬНЫЕ РАБОТЫ

4. НАТУРНОЕ ОБСЛЕДОВАНИЕ КОНСТРУКЦИЙ ПЕРЕКРЫТИЙ, ВЫЯВЛЕНИЕ ДЕФЕКТОВ И ПОВРЕЖДЕНИЙ

5. ОЦЕНКА ПРОЧНОСТИ БЕТОНА МЕХАНИЧЕСКИМИ, УЛЬТРАЗВУКОВЫМИ И ЛАБОРАТОРНЫМИ МЕТОДАМИ

5.1. Механический метод определения прочности бетона

5.2. Ультразвуковой метод определения прочности бетона

5.3. Лабораторный метод определения прочности бетона

6. ВЫЯВЛЕНИЕ И АНАЛИЗ ТРЕЩИН В КОНСТРУКТИВНЫХ ЖЕЛЕЗОБЕТОННЫХ ЭЛЕМЕНТАХ ПЕРЕКРЫТИЯ

7. ВЫЯВЛЕНИЕ ФАКТИЧЕСКОГО АРМИРОВАНИЯ ЖЕЛЕЗОБЕТОННЫХ ЭЛЕМЕНТОВ ПЕРЕКРЫТИЙ

8. ОБСЛЕДОВАНИЕ ДИНАМИЧЕСКОГО СОСТОЯНИЯ СТРОИТЕЛЬНЫХ КОНСТРУКЦИЙ ПЕРЕКРЫТИЙ

Приложение 1 ВЕДОМОСТЬ ДЕФЕКТОВ СТРОИТЕЛЬНЫХ КОНСТРУКЦИЙ ПЕРЕКРЫТИЯ

Приложение 2 РЕЗУЛЬТАТЫ ВСКРЫТИИ АРМАТУРЫ ИЗГИБАЕМЫХ ЭЛЕМЕНТОВ

Приложение 3 ПЕРЕЧЕНЬ НОРМАТИВНО-ТЕХНИЧЕСКИХ ДОКУМЕНТОВ

 

Разработано                     АО "Фирма ОРГРЭС"

Исполнитель                    В.В. ДЕТКОВ

Утверждено                     Департаментом науки и техники

РАО "ЕЭС России" 10.01.96 г.

Начальник А.П. БЕРСЕНЕВ

МЕТОДИЧЕСКИЕ УКАЗАНИЯ ПО ОБСЛЕДОВАНИЮ КОНСТРУКЦИЙ ПЕРЕКРЫТИЙ ГЛАВНЫХ КОРПУСОВ ТЭС

РД 34.21.622-96
Введены впервые

Срок действия установлен с 01.10.97 г.

Настоящие Методические указания устанавливают порядок организации визуального и инструментального обследования, прочностных и вибрационных исследований строительных конструкций перекрытий главных корпусов ТЭС и предназначены для специализированных организаций, занимающихся обследованиями строительных конструкций зданий и сооружений, и персонала служб эксплуатации производственных зданий энергопредприятий.

Методические указания составлены на основе действующих нормативно-технических документов по проектированию, изготовлению и монтажу элементов конструкций перекрытий главных корпусов ТЭС с учетом специфики их эксплуатации.

Методическими указаниями следует руководствоваться при обследовании состояния эксплуатируемых строительных конструкций перекрытий.

1. ОБЩИЕ ПОЛОЖЕНИЯ

1.1. Настоящие Методические указания содержат основные положения по организации обследования железобетонных и металлических конструкций перекрытий деаэраторного, бункерного, котельного и турбинного отделений ТЭС, выявлению дефектов и повреждений в них и оценке пригодности к дальнейшей эксплуатации.

1.2. Материалы обследования являются исходными данными для составления заключения о состоянии конструкций и для разработки при необходимости проекта по восстановлению, усилению или реконструкции перекрытий.

1.3. Объем и программа обследования строительных конструкций перекрытий определяются в каждом конкретном случае техническим заданием на обследование и зависят от состояния элементов конструкций.

1.4. Методические указания должны помочь эксплуатационному и ремонтному персоналу наиболее квалифицированно произвести обследование, определить причину образования того или иного дефекта или повреждения и выбрать наиболее эффективный способ защиты, ремонта и усиления или восстановления поврежденных железобетонных и металлических конструкций перекрытий.

1.5. При обследовании строительных конструкций необходимо руководствоваться требованиями СНиП III-4-80 "Техника безопасности в строительстве", местных инструкций и правил по технике безопасности.

2. КОНСТРУКТИВНЫЕ ОСОБЕННОСТИ СТРОИТЕЛЬНЫХ КОНСТРУКЦИЙ ПЕРЕКРЫТИЙ ГЛАВНЫХ КОРПУСОВ ТЭС

2.1. Для междуэтажных перекрытий главных корпусов характерны значительные монтажные нагрузки (1000 - 1500 кгс/м2), а также наличие большого числа отверстий и проемов для пропуска различных коммуникаций. Кроме того, перекрытия, как правило, работают в условиях воздействия на них агрессивной среды, паровлажностной среды и вибрационных воздействий от технологического оборудования.

2.2. До массового применения сборного железобетона перекрытия выполнялись в виде монолитных или сборных железобетонных плит типа ППЖ, уложенных по металлическим или железобетонным балкам. Пролет плиты принимался 1,5 - 2,0 м с толщиной плиты 80 - 100 мм.

2.3. В соответствии с более поздними проектами сборные железобетонные перекрытия стали выполняться из ребристых крупнопанельных плит типов ПМЖН, ПНРС и ПНРП. В главных корпусах панели уложены по верху ригелей.

При шаге 6 м размер панели 1490×5970×400 мм, при шаге 12 м размеры – 1490×11970×600 мм и 2990×11970×600 мм. Швы между панелями согласно проектным требованиям должны быть залиты цементным раствором или бетоном на мелком гравии или щебне. Толщина полки крупнопанельной ребристой плиты составляет 40, 60 или 70 мм.

2.4. При передаче на перекрытия горизонтальных нагрузок от оборудования, например от приводных станций конвейеров, а также в случае выполнения перекрытием функций диафрагм жесткости перекрытия усиливают установкой арматурных каркасов в швы между панелями, а также устройством выпусков (штырей) из ригелей, которые препятствуют сдвигу панелей.

2.5. Мелкие отверстия в перекрытии допускается проектом пробивать или прорезать в панели между ребрами с помощью терморезака.

Для устройства больших проемов (близких к расстояниям между продольными и поперечными ребрами) производится раздвижка панелей на величину проема, а участки между проемами перекрывают плоскими плитами типа ППЖ.

2.6. На отдельных участках перекрытий, где не могли быть уложены сборные унифицированные плиты, выполняется рифленый настил.

2.7. Железобетонные балки для междуэтажных перекрытий приняты, как правило, предварительно напряженные типа СБН сечением 300×400 мм, 400×600 мм и двутаврового сечения 400×800 мм.

2.8. При проектировании перекрытий учитывается необходимость крепления к элементам перекрытий оборудования и коммуникаций. Оборудование, не вызывающее динамических нагрузок, а также опоры под конвейеры крепят к перекрытиям с помощью монтажных деталей, закладываемых в швы между панелями.

Оборудование, обусловливающее динамические нагрузки или вырывающие усилия, например электродвигатели приводных станций конвейеров, крепят с помощью хомутов или анкерных болтов, охватывающих балки или ребра панелей.

Крепление трубопроводов, коробов, монорельсов и других элементов к перекрытиям производят с помощью подвесок, которые крепят в швы между панелями и балками или к полке панели вблизи ребра.

Для крепления подвесок к железобетонным балкам и ригелям в них предусматривают отверстия, в которые закладывают болты.

2.9. Особое требование предъявляется к перекрытиям в первую очередь деаэраторной этажерки в части качества и долговечной гидроизоляции и проблеме восприятия несущими конструкциями вибрационных (динамических) нагрузок.

3. ПОДГОТОВИТЕЛЬНЫЕ РАБОТЫ

3 1. Работам по обследованию конструкций перекрытий главного корпуса предшествует подбор и ознакомление с проектно-технической и эксплуатационной документацией.

3.2. В распоряжении персонала, проводящего обследование, должна находиться следующая проектно-техническая документация, касающаяся перекрытий:

рабочие чертежи и пояснительная записка к ним с данными по проектным нагрузкам и воздействиям, расчетные схемы и результаты статических и динамических расчетов на проектные нагрузки;

данные по технологии изготовления элементов конструкций перекрытий и производству строительно-монтажных работ;

данные о материалах, примененных при монтаже перекрытий (составе бетона, проектных марках бетона и арматурной стали, металлоконструкциях несущих главных и второстепенных балок, составе полов и гидроизоляции:

акты на скрытые работы;

журналы авторского надзора, содержащие сведения о дефектах смонтированных элементов;

акты обследования, отражающие состояние конструкций перекрытий и содержащие сведения о повреждениях конструкций и причинах их вызвавших, сведения о фактических воздействиях и нагрузках и технических изменениях в конструкциях в результате их ремонта в процессе эксплуатации;

сведения о контроле за вибрациями конструкций перекрытия;

исходные данные по агрессивности среды в зоне конкретных перекрытий.

3.3. Сведения, которые невозможно установить по документам, выявляются по опросам персонала служб эксплуатации, а также непосредственно при обследовании конструкций.

При отсутствии чертежей конструкций перекрытий составляются эскизы по измерениям в натуре.

3.4. В процессе ознакомления с документацией обязательно должна быть выявлена и проанализирована статическая схема работы всех элементов конструкций перекрытий, намеченных к обследованию.

3.5. При подготовке к обследованию заготавливаются рабочие схемы перекрытия, включая планы и разрезы. Рабочие схемы необходимы для нанесения на них натурных размеров конструкций, мест вскрытия, повреждении и дефектов. На схемах показывается привязка обследуемых элементов к осям объекта, обозначения осей и элементов следует по возможности принимать такими же, как в чертежах проекта.

3.6. Перед детальным обследованием конструкций перекрытия необходимо:

произвести предварительный общий (рекогносцировочный) осмотр с целью определения объема, специфики и направленности обследования. При отсутствии непосредственного доступа к конструкциям предварительный осмотр производят с помощью бинокля;

изменить мероприятия по подготовке инструкций к обследованию (изготовление подмостей и других приспособлений для обеспечения доступа к элементам перекрытия);

наметить мероприятия по очистке поверхностей элементов, подлежащих обследованию;

определить вид и места контрольных вскрытий железобетонных элементов конструкций и полов,

выявить необходимость проведения специальных исследований (измерение вибрационных воздействий на перекрытие, геодезических съемок и т.д.).

3.7. В процессе подготовительных работ оценивается (по внешним признакам) степень опасного состояния отдельных элементов конструкций перекрытия, после чего принимаются меры по ограничению нагрузок, а при предельном состоянии конструкции немедленно назначаются временные страховочные крепления.

На трещинах, обнаруженных во время предварительного осмотра, необходимо установить маяки, для того чтобы проследить за развитием трещин.

3.8. Во время предварительного осмотра намечаются места для измерения температур и влажности, а при наличии агрессивных газов - места для определения их концентрации в намеченных для детального обследования районах.

3.9. При предварительном осмотре намечают и наносят на плане конкретного перекрытия (чаще в бункерных и котельных отделениях) места отбора проб осевшей пыли и места максимального их отложения для последующих определений дополнительных нагрузок

При обнаружении признаков пролива агрессивных жидкостей из перекрытиях деаэраторных этажерок и в местах промывки котлов и турбоагрегатов необходимо на планы перекрытия нанести зоны постоянного и периодического воздействия жидкостей с указанием концентрации водородных ионов (показателя рН).

3.10. На основании информации, полученной при ознакомлении с техническим заданием заказчика, результатов проведения предварительного осмотра и изучения проектной, исполнительной и эксплуатационной документации исполнителем разрабатывается техническая рабочая программа и календарный план работы по обследованию и утверждается заказчиком.

3.11. При составлении рабочей программы обследование конструкций перекрытий следует учитывать полноту представленной проектно-технической документации, а также требования задания, составленного заказчиком.

4. НАТУРНОЕ ОБСЛЕДОВАНИЕ КОНСТРУКЦИЙ ПЕРЕКРЫТИЙ, ВЫЯВЛЕНИЕ ДЕФЕКТОВ И ПОВРЕЖДЕНИЙ

4.1. В процессе обследования оценка состояния несущих железобетонных и металлических конструкций перекрытий осуществляется с помощью:

визуального осмотра всех конструктивных элементов перекрытия;

натурных контрольных измерений геометрических размеров и сечений элементов конструкций;

выявления и анализа дефектов и повреждений железобетонных и металлических конструкции перекрытия, включая наличие прогибов и деформаций;

инструментальной проверки прочностных характеристик бетона железобетонных конструкций перекрытия, на определенных участках (разд. 5);

выявления фактического армирования железобетонных элементов перекрытий (разд. 7);

выявления степени коррозионного износа несущих металлоконструкций перекрытия;

проведения и анализа вибрационных исследований;

анализа проектно-технической документации, отражающей особенности конструкций перекрытия и условия их эксплуатации.

4.2. При визуальных осмотрах строительных конструкций перекрытий необходимо устанавливать их физическое состояние и выявлять дефекты, повреждения, в том числе общие и местные деформации конструкций: появившиеся в результате:

ошибок при проектировании;

нарушений, допущенных при изготовлении сборных железобетонных и металлических элементов перекрытий;

нарушений условий монтажа и транспортировки;

эксплуатации конструкций (нагрузки и воздействия на конструкции, специфика технологии производства в обследуемом помещении деаэраторного, бункерного, котельного или турбинного отделений, наличие агрессивных сред и качество антикоррозионной зашиты, соблюдение правил эксплуатации инструкций и пр.).

4.3. Выявленные визуальным осмотром повреждения, в том числе деформации конструкций, фиксируются в Ведомости дефектов (приложение 1) в виде подробного описания или в виде контурных схем конструкций или их элементов, на которых в соответствующем масштабе наносятся обнаруженные дефекты и повреждения с записью необходимых пояснений (табл. 1).

4.4. Общие и местные деформации несущих железобетонных и металлических элементов перекрытий (прогибы, выгибы, искривления, выпучивания, погнутости, вмятины и т.п.) следует определять путем натяжения тонкой проволоки между концами конструкции или элемента и измерения максимального расстояния между проволокой и конструкцией или элементом.

При измерении местных деформаций (прогибов, вмятин и т.п.) допускается применять вместо проволоки металлическую линейку, прикладываемую к элементу конструкции.

В отдельных случаях при измерении отклонений следует использовать геодезические методы.

4.5. При обследовании особое внимание следует обращать на дефекты и повреждения железобетонных и металлических конструкций перекрытия, которые выявляются в процессе эксплуатации и влияют на снижение их эксплуатационной надежности.

4.6. При обследовании железобетонных несущих конструкций перекрытия необходимо выявлять видимые дефекты и повреждения:

деформации отдельных элементов или конструкций перекрытий в целом;

нарушение геометрических размеров сечений;

Таблица 1

Условные обозначения и характеристика дефектов железобетонных конструкций фундаментов

Условное обозначение дефекта или повреждения

Характеристика дефекта или повреждения

Выход арматуры на поверхность (строительный дефект). Обнаженная арматура не погнута. Цифрами показано количество стержней: сверху - вертикальных, сбоку - горизонтальных.

Арматура на поверхности бетона. Выгиб или выпучивание отдельных стержней, количество стержней (в одном или двух направлениях) и длина участка (1-3 - количество стержней)

Поверхностное разрушение бетона (на глубину менее защитного слоя) - отслаивание лещадками, шелушение и т.п.

Отслаивание защитного слоя бетона. Количество оголенных стержней (3 и 7) и размеры поврежденного участка. Средняя глубина повреждения бетона (в скобках)

Подтеки конденсата без признаков выщелачивания со значком в скобках - с признаками выщелачивания

Масляные пятна. Средняя глубина проникновения в бетон (в скобках)

Трещина, средняя ширина раскрытия, мм

Волосяные трещины

Крупнопористый бетон, недостаточно провибрированный в процессе строительства или с малым количеством цементного камня

Участки с низкой прочностью бетона и наличием отслоений крупного заполнителя от цементного камня

Примечание. Цифрами указаны размеры поврежденных участков, мм.

дефекты бетонирования (раковины, слабая связь между инертными составляющими бетона);

механические повреждения;

трещины различного характера;

смещения и деформации в узлах сопряжений конструкций;

растрескивание и отслоение защитных слоев бетона;

коррозию арматуры;

нарушение сцепления арматуры с бетоном;

увлажнения, высолы;

недостаток или ослабление армирования при разрушении защитного слоя.

4.6.1. При определении причин прогибов железобетонных элементов перекрытий необходимо учитывать, что прогиб элемента, вызванный нагрузками или недостаточной несущей способностью, сопровождается раскрытием трещин на внешней стороне кривой прогиба, а прогиб без трещин, как правило, является изначальным искривлением, полученным при изготовлении элемента.

4.6.2. Коррозионный износ арматуры железобетонных конструкций перекрытия следует определять в местах с разрушенным защитным слоем, а при необходимости производить вскрытие на требуемых участках.

4.6.3. Трещины в железобетонных конструкциях перекрытия следует выявлять, как правило, путем визуального обследования поверхностей конструкций. При этом необходимо фиксировать характер и расположение трещин, а также величину их раскрытия и т.д. (разд. 6).

4.6.4. Разрушение защитных покрытий, раковины, отколы, несоответствие проекту площадей опирания элементов, отверстия и т.п. в железобетонных конструкциях перекрытий следует устанавливать визуальным осмотром и измерением геометрических размеров дефектных или поврежденных участков.

4.6.5. При обследовании железобетонных конструкций перекрытия и выявлении внешних повреждений необходимо определить внутренние дефекты и в частности, прочностные характеристики бетона.

Методы оценки прочности бетона изложены в разд. 5.

4.6.6. Степень опасности и меры по устранению прогибов, трещин, внешних дефектов и повреждений железобетонных элементов конструкций перекрытия, коррозионных повреждений арматуры, а также внутренних дефектов и повреждений должны определяться на основе поверочных расчетов в соответствии с требованиями действующих нормативно-технических документов. При определении степени опасности трещин в железобетонных конструкциях перекрытия, а также повреждений защитных покрытий следует учитывать степень агрессивности эксплуатационной среды.

Все повреждения защитных слоев бетона железобетонных конструкций, распространяющиеся до арматуры, должны устраняться своевременно (с усилением в случае необходимости поврежденной арматуры).

4.7. При обследовании металлических конструкций перекрытий необходимо выявлять видимые дефекты и повреждения:

деформации отдельных элементов или конструкции в целом;

смещение от проектного положения отдельных элементов или конструкции в целом;

отсутствие отдельных элементов в конструкции;

искажение формы или нарушение геометрических размеров сечений или профиля элементов;

механические или температурные повреждения металла;

трещины в металле различного характера;

дефекты и разрушения стыковых соединений (сварных, заклепочных);

смещения в узлах сопряженных конструкций;

дефекты и разрушения узловых соединений (сварных, болтовых, заклепочных);

разрушение антикоррозионных защитных покрытий и коррозионные повреждения металла и соединений в спаренных элементах вследствие расширения зазоров между профилями при скоплении продуктов коррозии.

4.7.1. Коррозионный износ металлоконструкций перекрытий необходимо определять измерением толщин каждого конкретного элемента в разных точках с помощью ультразвуковых толщиномеров (УТ-93П, Кварц-15), а также микрометров или штангенциркулем.

Для измерения коррозионного износа элементы металлоконструкций необходимо предварительно очистить от загрязнений и продуктов коррозии.

4.7.2. Трещины в металле должны выявляться, как правило, визуальным осмотром, а ширина их раскрытия - с помощью градуированной лупы или мерительного микроскопа.

Перед обследованием места возможного наличия трещин должны быть очищены от коррозии и зачищены.

4.7.3. Внешние дефекты и повреждения (неполномерность шва, резкие переходы от основного металла к наплавленному, наплывы и натеки наплавленного металла, неравномерная ширина и перерывы шва, кратеры, поры, трещины в шве и околошовной зоне, подрезы и прожоги основного металла) следует выявлять, как правило, визуальным осмотром с предварительной очисткой шва и прилегающего к нему металла от шлака и металлических брызг, в случае необходимости следует применять лупу.

При необходимости швы с предполагаемым скрытым дефектом или повреждением следует проверять дефектоскопом.

4.7.4. При болтовых и заклепочных соединениях неплотная затяжка болтов, дрожание н подвижность заклепок, неплотное заполнение отверстий телом заклепки должны устанавливаться путем простукивания молотком массой 300 - 400 г.

4.7.5. Степень опасности дефектов и повреждений, таких как отклонение металлических конструкций от проектного положения, деформации отдельных элементов, а также потери площади сечения элементов в результате коррозии, механического износа, наличия надрезов и вырезов, должна устанавливаться на основе поверочных расчетов в соответствии с требованиями действующих нормативно-технических документов.

4.7.6. В случае выявления недопустимых дефектов и повреждений в процессе обследования должны быть приняты неотложные меры по временному закреплению аварийных конструкций перекрытия. К числу недопустимых дефектов и повреждений, требующих немедленного устранения, относятся:

трещины в основном металле элементов или сварных швах;

отсутствие или перерывы сварных швов в узловых соединениях или элементах металлоконструкций перекрытия;

отсутствие болтов, заклепок, гаек или средств их фиксации в соединениях;

искривление элементов вследствие потери устойчивости;

отсутствие или разрушение элементов несущих или связевых конструкций.

4.8: При обследовании полов межэтажных перекрытий деаэраторных этажерок, перекрытий бункерного отделения и полов площадок обслуживания турбоагрегатов и котельных установок следует учитывать, что наиболее часто повреждаются и быстрее выходят из строя полы, подверженные воздействию агрессивных жидкостей и горячей воды и особенно в зонах сопряжения гидроизоляционных слоев с фундаментами под оборудование, со стенками различного рода лотков, технологических проемов и других выступающих конструкций и трубопроводов, проходящих через перекрытия, а также участки пола, используемые для складирования в период ремонтов и в процессе эксплуатации.

4.8.1. Натурные обследования полов должны включать следующие виды работ:

выявление условий эксплуатации:

определение конструктивных составов полов на основании ознакомления с технической документацией или при ее отсутствии - путем вскрытия;

исследование состояния полов.

4.8.2. При выявлении условий эксплуатации полов необходимо определять характер и интенсивность механических, тепловых и агрессивных воздействий.

4.8.3. На обследуемых участках полов конкретного перекрытия необходимо выявлять:

расположение и размеры зон распространения механических воздействий при возможных ударах, перемещениях ремонтного оборудования и т.п.;

расположение зон возможных разливов горячей воды на полы перекрытий деаэраторных этажерок и воздействий горячих жидкостей при ремонтах пароводяных трубопроводов;

систему организованного отвода воды с перекрытий при ремонте и протечках в оборудовании:

состояние и состав гидроизоляционных слоев, наличие уклонов для водостоков и водоприемных воронок;

размеры зазоров в деформационных швах.

4.8.4. Обследование состояния пола необходимо производить визуальным и инструментальным методами.

При визуальном обследовании надлежит фиксировать места и характер видимых разрушений (выбоин, выщербин, отверстий, пробоин, трещин, отслоений, примыканий и т.п.). При этом определяются размеры разрушенных участков состава пола, глубины повреждений, состояние узлов примыкания полов к другим строительным конструкциям, трубопроводам и технологическому оборудованию, участки застоя жидкостей, а также причины возникновения дефектов или деформаций. Для покрытий полов из штучных материалов визуально определяется также состояние швов: степень заполнения, разрыхление и наличие отслоения материалов шва от верхнего покрытия и нижележащих слоев.

При инструментальном обследовании следует определять физико-математические характеристики каждого слоя пола (для этого слои обнажают вскрытием): прочность, адгезию, степень стойкости в конкретной агрессивной среде и т.п.

4.8.5. Полученные результаты натурных обследований должны сопоставляться с положениями СНиП 2.03.13-88 "Полы. Нормы проектирования", СНиП 3.04.01-87 "Изоляционные и отделочные покрытия". При необходимости разрабатываются рекомендации по повышению эксплуатационной надежности полов, а следовательно и несущих конструкций перекрытий.

5. ОЦЕНКА ПРОЧНОСТИ БЕТОНА МЕХАНИЧЕСКИМИ, УЛЬТРАЗВУКОВЫМИ И ЛАБОРАТОРНЫМИ МЕТОДАМИ

5.1. Механический метод определения прочности бетона

5.1.1. Для оценки прочности бетона конструкций перекрытий механическими методами применяются приборы, принцип действия которых основан на гипотезе о связи между прочностью бетона и его твердостью

Из приборов механического действия наибольшее применение при обследовании железобетонных конструкций перекрытий находят: шариковый молоток Физделя, склерометр ОМШ-1, молоток Кашкарова.

5.1.1.1. Шариковый молоток Физделя

Шариковый молоток Физделя применяется для неразрушающего контроля прочности бетона как в монолитных, так и в сборных железобетонных конструкциях. Этот метод позволяет осуществить проверку прочности бетона на труднодоступных участках и в условиях, когда не предоставляется возможным выполнить обследование другими неразрушающими методами контроля. Поверхность бетона, подвергаемая испытанию, должна быть сухой и тщательно очищенной. Перед простукиванием бетона намечаются зоны выборочных проверок. В каждой зоне наносится 6 - 8 лунок. Диаметры лунок измеряют штангенциркулем или градуированными лупами с 10-кратным увеличением по двум перпендикулярным направлениям. Прочность бетона определяют по среднему измеренному диаметру отпечатка с использованием тарировочного графика.

При повреждениях или разрушениях бетона оценка прочности производится в разных точках обследуемых участков перекрытия, при этом проверка производится на расстоянии 20 - 25 см от мест повреждений.

При ударе бойком шарикового молотка улавливается также и звук. Менее прочный бетон характеризуется глухим звуком.

5.1.1.2. Склерометр ОМШ-1

Определение прочности бетона на сжатие железобетонных элементов перекрытий склерометром ОМШ-1 основано на методе упругого отскока по ГОСТ 22690-88. Принцип действия склерометра основан на ударе с нормированной энергией бойка о поверхность бетона и измерении высоты его отскока в условных единицах шкалы прибора, являющейся косвенной характеристикой прочности бетона на сжатие.

Места испытания выбираются согласно ГОСТ 22690-88. Обработка результатов измерений проводится согласно требованиям ГОСТ 22690-88.

5.1.1.3. Молоток Кашкарова

Прочность бетона с помощью молотка Кашкарова определяется по отношению диаметров одновременных отпечатков на поверхности бетона и на поверхности металлического эталона, при этом предполагается, что отношение отпечатков не зависит от силы удара.

Для измерения отпечатков на бетоне и эталонных стержнях применяют угловой масштаб, состоящий из двух стальных измерительных линеек, склепанных под углом.

На намеченном участке поверхности конструкции наносят молотком с размаху удары со средней силой, чтобы получились достаточно крупные отпечатки на бетоне и эталонном стержне. В момент нанесения удара ось головки эталонного молотка должна быть строго перпендикулярна поверхности испытуемой конструкции.

Расстояние между отдельными отпечатками на бетоне должно быть не менее 30 мм.

Расстояние между центрами диаметров двух соседних отпечатков на эталонном стержне должно быть не менее 10 мм.

Диаметр отпечатка на бетоне или эталонном стержне определяют по делению, совпадающему с точками касания окружности отпечатка.

Для определения среднего значения прочности бетона (например, для десяти пар отпечатков) необходимо сложить отдельно диаметры отпечатков на бетоне и эталонном стержне и вычислить отношение сразу для всех десяти пар.

5.1.2. При определении прочности бетона приборами механического действия на участках элементов конструкций перекрытий, где бетон достаточно однороден, фактическую прочность бетона можно оценить усредненным значением показание прибора, уменьшенным на погрешность каждого конкретного типа прибора.

5.1.3. В отдельных случаях появляется необходимость определения влажности бетона (например, для введения поправочных коэффициентов при определении прочности бетона молотком Кашкарова). При этом пробы отбираются на требуемых участках массой 20 - 30 г в закрывающиеся пробирки с притертыми пробками или полиэтиленовые мешочки и должны быть взвешены в течение одних суток со времени их отбора из конструкций.

5.2. Ультразвуковой метод определения прочности бетона

5.2.1. Ультразвуковой метод определения прочности бетона основывается на измерении скорости распространения ультразвукового импульса в железобетонных конструкциях перекрытия.

5.2.2. Выбор контрольных зон для проведения инструментальных испытаний бетона железобетонных элементов перекрытий осуществляется исходя из условий доступности к ним.

5.2.3. Перед проведением испытаний в выбранных зонах проводятся подготовительные работы, а именно:

размечается сеть контрольных точек;

удаляется штукатурные и другие защитные слои;

обрабатывается абразивным материалом открытая поверхность бетона;

наносится контактная смазка на обработанную поверхность в зоне размеченных точек.

5.2.4. Натурные испытания бетона с использованием акустических приборов проводятся, как правило, комбинированным методом, основанным на двойной информации о бетоне: скорости распространения ультразвука и показателе отскока склерометра, измеренных на одном и том же участке бетона.

5.2.5. После проведения натурных испытаний полученные результаты обрабатываются. Обработка результатов включает в себя следующие этапы:

подсчет скоростей распространения ультразвукового импульса в бетоне;

установление градуировочных зависимостей "скорость-прочность" и "отскок-прочность";

определение значения фактической прочности бетона;

определение показателей изменчивости прочности.

5.2.6. Подсчет скоростей распространения ультразвукового импульса в бетоне производится по формуле

                                                                          (1)

где V - скорость распространения импульса, м/с;

К - поправочный коэффициент, зависящий от базы прозвучивания;

l - база прозвучивания, м;

t - время распространения импульса, мкс.

5.2.7. Градуировочные зависимости "скорость-прочность" и "отскок-прочность" устанавливаются по формулам ГОСТ 17624-87, при этом используются результаты испытаний бетона комбинированным методом.

5.2.8. Значения фактической прочности бетона определяются с помощью полученных градуировочных зависимостей и представляются в табличной форме.

5.2.9. Показатель изменчивости прочности, характеризующий однородность проконтролированного бетона, вычисляется по формуле

                                            (2)

где α - коэффициент, учитывающий влияние статического характера тарировочных связей;

β - коэффициент, учитывающий влияние осреднения результатов при прозвучивании бетона толщиной более 0,2 м;

Rср - средняя прочность бетона в зоне контроля, кг/см2;

R1 - частные значения прочности бетона в зоне контроля, кг/см2;

п - число частных значений.

5.3. Лабораторный метод определения прочности бетона

В процессе обследования при определенных условиях с целью определения фактической прочности бетона перекрытий необходимо использовать лабораторный метод с предварительным выбуриванием кернов.

Керны выбуриваются с помощью бурового станка с применением алмазных коронок диаметром 92 мм. Образцы из выбуренных кернов подготавливаются для испытания на камнерезном станке. Подготовленные образцы испытываются по ГОСТ 10180-90, ГОСТ 12730.0-78, ГОСТ 17624-87, ГОСТ 22690-88 с получением прочности на сжатие, объемной массы и водопоглощения (пористости).

Кроме прочностных характеристик выбуренные керны позволяют также оценить фактическую толщину перекрытий, так как последняя постоянно наращивается при проведении ремонтных работ в процессе эксплуатации.

Прочность бетона в первую очередь следует определять в тех элементах и на тех участках, где согласно схеме работы конструкции перекрытия она имеет наиболее важное значение - опорные участки и сжатые зоны продольных и поперечных балок, зона анкеровки арматуры.

6. ВЫЯВЛЕНИЕ И АНАЛИЗ ТРЕЩИН В КОНСТРУКТИВНЫХ ЖЕЛЕЗОБЕТОННЫХ ЭЛЕМЕНТАХ ПЕРЕКРЫТИЯ

6.1. Трещины выявляются путем осмотра открытых поверхностей конструктивных элементов перекрытий и узлов их соединения (поперечных и продольных балок, полок плит).

Более детально при выявлении трещин обследуются участки и отдельные элементы, подверженные максимальным вибрационным и динамическим воздействиям, повышенным температурам, интенсивным увлажнениям и воздействиям агрессивной среды.

6.2. Для уточнения причин происхождения трещин в конкретных элементах конкретного участка (пролета) одновременно обследуются соседние пролеты, не подверженные деформациям.

6.3. При обнаружении трещин любого вида необходимо определить их положение, форму, направление, распространение по длине, ширину раскрытия, глубину, время и причину возникновения, а также установить, продолжается или прекратилось их развитие.

6.4. При выявлении причин появления трещин необходимо отличать эксплуатационные трещины от трещин, появившихся при изготовлении и монтаже элементов конструкций перекрытий. Кроме того, следует различать трещины, не влияющие на надежность работы перекрытия, и опасные трещины, снижающие несущую способность конструкций.

6.5. Все обнаруженные на поверхности элементов перекрытия трещины при наличии вибрационных колебаний необходимо прощупать пальцами. Особо следует выделить "вибрирующие" трещины, т.е. трещины, края которых вибрируют в разных режимах.

6.6. В случае обнаружения в процессе обследования трещин в конструкциях перекрытия, а также ощутимо больших колебаний следует произвести инструментальное измерение вибрации отдельных участков перекрытия.

Вибрационные исследования железобетонных перекрытий, подверженных динамическим воздействиям, представлены в разд. 8.

6.7. Величина раскрытия трещин при обследовании измеряется с помощью специальных оптических приборов - трубки Бринеля. отсчетного микроскопа МПБ-2 (с 24-кратным увеличением), градуированных луп Польди, визирных луп, щупов.

6.8. Глубина трещин определяется с помощью щупов или ультразвуковых приборов, например УКБ-1М, Бетон-12, "Бетон-транзистор".

При применении ультразвукового метода глубина трещины устанавливается по изменению времени прохождения импульсов как при сквозном прозвучивании, так и методом продольного профилирования при условии, что плоскость трещинообразования перпендикулярна линии прозвучивания. Глубина трещин (рис. 1) определяется из соотношений:

;                                                                     (3)

,                                                                                  (4)

где h - глубина трещины, см;

V - скорость распространения ультразвука на участке без трещин, см/мкс:

t1 - время прохождения ультразвука на участке с трещиной, мкс;

ta - время прохождения ультразвука на участке без трещины. .мкс:

l - база измерений для обоях участков, см

Рис. 1. Определение глубины трещин в конструкции:

1 - излучатель; 2 - приемник

6.9. Время появления трещин необходимо установить в процессе анализа эксплуатационной документации или (в случае отсутствия соответствующих записей) путем опроса эксплуатационного персонала. Старые трещины обычно загрязнены, новые имеют свежий вид.

6.10. Если в процессе обследования перекрытия возникает предположение, что обнаруженные трещины продолжают развиваться, то за ними необходимо установить наблюдение с помощью маяков (гипсовых, пластинчатых или рычажных).

6.11. При обследовании железобетонных конструкций перекрытий необходимо фиксировать трещины, оказывающие вредное воздействие на состояние перекрытий:

трещины, ширина раскрытия которых превышает значения, предусмотренные нормами, в частности нормальные трещины в растянутой зоне поперечных и продольных главных и второстепенных балок и полок плит;

наклонные трещины в растянутой зоне от поперечных сил;

поперечные и наклонные трещины по всей высоте сечения элементов;

продольные трещины в сжатой зоне балок и полок плит;

продольные трещины вдоль продольной и поперечной арматуры.

6.12. При анализе трещин следует знать, что по своим свойствам, характеристикам, размерам, геометрической форме и направлениям трещины могут быть стабилизировавшимися и нестабилизировавшимися во времени, раскрытыми и сквозными, волосяными (до 0,1 мм), мелкими (до 0,3 мм), развитыми (0,3 - 0,5 мм), поверхностными, вертикальными и горизонтальными, поперечными и продольными.

6.13. При установлении причин увеличенного раскрытия трещин и образования недопустимых трещин следует исходить из того, что, как правило, они могут являться следствием:

увеличения усилий в элементах перекрытия, вызванных различными причинами (статические и динамические перегрузки, температурные деформации, перераспределение усилий в связи с деформациями оснований и пр.);

снижения прочностных характеристик бетона при систематических увлажнениях перекрытий при нарушении гидроизоляции, замасливании и агрессивных воздействиях среды;

несоблюдения требований технологии изготовления железобетонных элементов как заводского изготовления, так и при монолитном исполнении;

потери сцепления арматуры с бетоном.

6.14. Трещины в защитном слое бетона, ориентированные вдоль стержней продольной и поперечной арматуры, образуются вследствие распирания бетона продуктами коррозии арматуры.

6.15. Характерными трещинами в элементах перекрытий являются трещины, образовавшиеся в результате переармирования железобетонных конструкций. Усадка бетона в данном случае является причиной появления трещин.

Идентичные трещины появляются в железобетонных конструкциях от влияния на них температуры.

6.16. Вертикальные трещины в пролетных изгибаемых элементах (ригелях, балках) перекрытий раскрытием выше допустимых пределов (свыше 0,3 - 0,5 мм) могут служить признаком перегрузки конструкции или недостаточной несущей способности по изгибающему моменту.

Раскрытие трещин в изгибаемых конструкциях до 0,5 - 1 мм может свидетельствовать об образовании пластических деформаций вследствие перегрузки, а раскрытие трещин до значений, измеряемых несколькими миллиметрами, является признаком предельного состояния.

6.17. Продольные трещины некоррозионного и неусадочного характера в сжатых зонах изгибаемых элементов перекрытий особенно в сочетании с отслоениями, лещадками и отколами бетона служат признаком разрушения сжатого бетона.

6.18. Усадочные трещины, как правило, появляются в защитных слоях бетона, а также в местах "исправлений" раковин в бетоне, что происходит вследствие высокого содержания в этих слоях влаги и ее последующего быстрого высыхания.

Данные трещины не следует смешивать с трещинами в самой конструкции, к несущей способности которой они отношения не имеют.

6.19. Трещины от неравномерных осадок колонн рамных конструкций каркаса бункерно-деаэраторной этажерки возникают обычно в сжатых зонах неразрезных конструкций перекрытий (поперечных рам, продольных балок). При этом косые трещины в пределах неравномерно осевшей опоры получают направление, обратное обычному. В этих случаях следует выяснить причины осадок и принять меры по их устранению.

6.20. При появлении продольных трещин в растянутых зонах железобетонных элементов перекрытий для установления наличия и степени коррозии арматуры производится вскрытие.

7. ВЫЯВЛЕНИЕ ФАКТИЧЕСКОГО АРМИРОВАНИЯ ЖЕЛЕЗОБЕТОННЫХ ЭЛЕМЕНТОВ ПЕРЕКРЫТИЙ

7.1. Для выявления армирования железобетонных конструкций существует несколько способов:

вскрытие арматуры ответственных сечений;

сквозное просвечивание конструкций;

электромагнитный способ.

В условиях эксплуатации перекрытий главных корпусов наиболее приемлемо вскрытие арматуры на заранее намеченных расчетных сечениях.

7.2. Места вскрытия должны быть выбраны с учетом напряженного состояния элементов конструкций перекрытий. При определении мест вскрытия следует максимально использовать имеющиеся дефектные участки с наличием отслоений защитного слоя, продольных трещин, сколов, участков с механическими повреждениями и т.д.

7.3. Вскрытие арматуры производится в следующей последовательности:

намечаются места вскрытий;

прорубаются штрабы в намеченных местах;

измеряются диаметры арматуры, толщина защитного слоя, геометрические размеры вскрытых сечений;

вырезаются стержни арматуры для изготовления образцов, подлежащих испытанию (с предварительным усилением ослабляемых стержней);

заделываются места вскрытий цементным раствором не ниже марки 200 с предварительной их расчисткой и промывкой водой.

Для обнажения стержней арматуры с целью измерений их диаметров и расположения в сечении необходимо удалить слой бетона.

7.4. В изгибаемых многопролетных балках перекрытий необходимо вскрывать:

продольную арматуру в середине пролета (снизу);

продольную арматуру над опорами;

поперечную арматуру у опор.

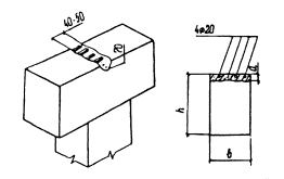
Места вскрытий арматуры в многопролетной балке и характер вскрытий представлены на рис. 2-5.

Рис. 2. Места вскрытий арматуры в многопролетной балке:

1 - продольной арматуры в середине пролета; 2 - продольной арматуры над опорами; 3 - поперечной арматуры у опор

7.5. Вскрытие продольной арматуры изгибаемых элементов перекрытий следует производить лишь в растянутых зонах, поскольку в изгибаемых железобетонных элементах работа бетона при расчете на прочность по сечениям, нормальным к продольной оси элемента, учитывается лишь в сжатых зонах.

7.6. Поперечная арматура (хомуты) вскрывается на боковой поверхности элемента в соответствующей растянутой зоне либо посередине у нейтральной оси.

7.7. Пробивку борозд в бетоне необходимо производить вручную с помощью стальных зубил и молотков средней массы во избежание нанесения конструкциям опасных повреждений.

7.8. Результаты вскрытий арматуры рекомендуется оформлять в табличной форме, представленной в приложении 2.

7.9. В отдельных случаях необходимо при обследовании установить фактическую прочность арматуры, обследуемых конструкций перекрытия. Образцы для испытания вырезаются непосредственно из конструкций.

Рис. 3. Продольная арматура в середине пролета

Рис. 4. Продольная арматура над опорой

Рис. 5. Поперечная арматура у опор

Размеры заготовок обусловливаются количеством и размерами подлежащих изготовлению образцов, а также возможностью вырезки стержней арматуры из железобетонного элемента без ущерба для его несущей способности.

Выбор мест вырезки заготовок и их количество намечаются исходя из результатов вскрытий арматуры. Для того чтобы не ослабить элемент вырезкой заготовки, стержень арматуры, из которого вырезается заготовка, необходимо усилить согласно рис. 6.

Рис. 6. Усиление стержня арматуры в конструкции

Усиление производится перед вырезкой заготовки. Вырезка заготовок производится механическим холодным способом во избежание перегрева, изменяющего свойства металла арматуры.

8. ОБСЛЕДОВАНИЕ ДИНАМИЧЕСКОГО СОСТОЯНИЯ СТРОИТЕЛЬНЫХ КОНСТРУКЦИЙ ПЕРЕКРЫТИЙ

8.1. В процессе эксплуатации перекрытий главных корпусов ТЭС последние подвергаются динамическим нагрузкам, которые вызывают дополнительные напряжения в элементах перекрытий.

Определение допустимых уровней вибрации конструкций перекрытия обусловливается не только необходимостью обеспечения несущей способности конструкций при совместном действии статических и динамических нагрузок, но и пределами, которые исключают возможность вредного влияния на эксплуатационный персонал и технологический процесс.

Санитарные нормы по ограничению вибрации рабочих мест представлены в табл. 2.

8.2. Оценка вибрационного состояния конструкций перекрытия производится путем сопоставления результатов измерений с нормативными значениями соответствующих показателей.

8.3. На перекрытии, где наблюдаются повышенные вибрации, необходимо проводить комплексные измерения вибраций элементов перекрытия и технологического оборудования - источника вибрации в различных эксплуатационных режимах.

8.4. Перед началом измерения вибраций строительных конструкций с целью определения динамического состояния предварительно необходимо иметь сведения, характеризующие расчетную схему конструкций перекрытия:

размеры пролетов и поперечных сечений несущих элементов;

конструкции узлов соединений элементов;

состав перекрытия, включая подготовку под полы, гидроизоляцию и пр.;

другие конструктивные характеристики, влияющие на жесткость и массу конструкций;

характеристики технологического оборудования возможного источника вибраций.

8.5. Последовательность измерений устанавливается в соответствии со схемой расположения точек измерений, а также с учетом дополнительных сведений о состоянии перекрытия, полученных по результатам визуального осмотра его элементов.

8.6. При выполнении вибрационных измерений рекомендуется следующая последовательность:

вначале регистрируются колебания при каком-то определенном (по возможности наиболее типичном) динамическом воздействии, которые обеспечивают выявление формы колебаний конструкции и спектра частот колебаний;

по результатам измерений, выполненных на первом этапе, следует выделить точки и направление регистрации вибраций, наиболее характерные для данного конкретного динамического процесса;

установив приборы в этих характерных точках, получают зависимости измеряемых параметров (амплитуды, частоты и т.д.) от режимов источников вибрации;

в дополнение к измерениям вибрации при фактических режимах работы данных конструкций перекрытия, определенных условиями их эксплуатации, необходимо регистрировать параметры вибрации конструкций при изменении ступенями режимов источников вибрации (по согласованию со службой эксплуатации).

8.7. В качестве характерных точек на элементах конструкций перекрытий принимают середины пролетов несущих балок и плит, а также узлы соединений этих элементов.

8.8. Измерение основного тона свободных затухающих колебаний элементов конструкций перекрытия следует выполнять в пределах пролетов несущих элементов. Установление частот свободных (собственных) колебаний необходимо при наличии резонансных явлений (при совпадении частот собственных колебаний конструкции с вынужденными колебаниями от источников вибрации).

Свободные затухающие колебания возбуждаются ударом через деревянную прокладку толщиной 3 - 4 см по инструкции в средней части ее пролета. Сила удара должна обеспечить в начальных 2 - 3 периодах колебаний размах перемещений конструкций не менее допустимых параметров вибрации для технологического оборудования, а также эксплуатационного персонала.

Прилегающее к строительным конструкциям перекрытий технологическое оборудование во время измерений свободных колебаний должно быть по возможности полностью или частично отключено.

Резонансные зоны элементов конструкций перекрытий можно установить при включении или отключении прилегающего оборудования по характерным всплескам амплитуд на графике амплитудно-частотной характеристике, построенном по результатам измерений вибрации конструкций при наборе (сбросе) номинальной частоты вращения оборудования - источника вибрации.

8.9. В случае, если к колебаниям конкретного перекрытия не предъявляются требования, определяемые санитарными нормами или технологией производственных процессов, то помимо ограничений колебаний по несущей способности должны предъявляться требования по ограничению динамических прогибов.

Рекомендации по ограничению динамических прогибов конструкций представлены в табл. 3.

8.10. При оценке прочности и выносливости колебания конструкций перекрытия можно считать безопасными, если наибольшее динамическое перемещение балки или плиты перекрытия, совершающей колебания, связанные с изгибом, не превышает 1/50000 длины пролета. В этом случае при проверке несущей способности конструкций перекрытия можно не учитывать динамические нагрузки.

8.11. При проведении вибрационных измерений следует иметь в виду, что в случае выявления резонансных зон на перекрытии, недопустимых величин колебаний снижение уровня вибраций строительных конструкций перекрытия можно осуществить следующим образом:

отстройкой элементов конструкции перекрытия от резонанса посредством изменения их жесткости, массы или конструктивной схемы перекрытия (введением жестких узлов, превращением разрезных конструкций в неразрезные, изменением величин пролетов и т.д.);

 


Таблица 2

Санитарные нормы по ограничению вибрации рабочих мест (СИ 245-71)

Среднегеометрические и граничные (даны в скобках) частоты октавных полос. Гц

____2____

(1,4÷2,8)

____4____

(2,8÷5,6

_____8_____

5,64÷11.2)

Частота Гц

1,4

1,6

2,0

2,5

2,8

3,2

4,0

5,0

5,6

6,3

8,0

10,0

11,2

Амплитуда (пиковое значение) перемещения при гармонических колебаниях, мм

3,11

2,22

1,28

0,73

0,61

0,44

0,28

0,16

0,13

0,09

0,05о

0,045

0,041

Среднеквадратичное значение колебательной скорости

мм/с

11,2

5

2

дБ относительно 5 - 10-5 мм/с

107

100

92

Среднегеометрические и граничные (даны в скобках) частоты октавных полос, Гц

____16____

(11,2÷22,4)

___31,5___

(22,4÷45,0)

___63,0___

15,0÷ 90,0)

Частота, Гц

11,2

12,5

16,0

20,0

22,4

25,0

31,5

40,0

45,0

50,0

63,0

80,0

90,0

Амплитуда (пиковое значение) перемещения при гармонических колебаниях, мм

0,041

0,036

0,022

0,225

0,02

0,018

0,014

0,0113

0,0102

0,009

0,0072

0,0056

0,005

Среднеквадратичное значение колебательной скорости

мм/с

2

2

2

дБ относительно 5 - 10-5 мм/с

92

92

92

 


Таблица 3

Амплитуды колебаний конструкций покрытия, соответствующие предельно допустимому динамическому прогибу

Частота, Гц

Амплитуда, мм

Частота, Гц

Амплитуда, мм

1

10,000

10

0,100

2

2,500

15

0,067

3

1,111

20

0,050

4

0,625

25

0,040

5

0,400

50

0,020

6

0,278

75

0,013

8

0,156

100

0,010

Примечание. Для промежуточных значений частот колебаний амплитуды определяются по формулам:

ао = 10/по2 для частот колебаний от 1 до 10 Гц;

ао = 1/по2 для частот колебаний от 10 до 100 Гц,

где ао - амплитуда колебаний конструкции от нормативной нагрузки, мм;

по - частота вынужденных колебаний, Гц.

изменением условий опирания изгибаемых конструкций с установкой отжимно-прижимных приспособлений в их опорных узлах, повышением рассеивания энергии колебаний изгибаемых конструкций введением демпферных устройств.

8.12. Для проведения измерений вибраций элементов перекрытий используются балансировочные измерительные приборы БНП-5, БНП-6, БНП-7, позволяющие измерять параметры вибрации в пределах 15 - 20 Гц, и низкочастотная многоканальная аппаратура.

Виброизмерительные комплекты включают в себя вибродатчики Н-001 и гальванометры МОО2, обеспечивающие синхронную регистрацию виброперемещений в диапазоне от 2 до 200 Гц.

Регенерация виброперемещений производится светолучевыми осциллографами Н-041. Перед началом измерений комплекты виброизмерительной аппаратуры тарируются.

Приложение 1
ВЕДОМОСТЬ ДЕФЕКТОВ СТРОИТЕЛЬНЫХ КОНСТРУКЦИЙ ПЕРЕКРЫТИЯ

Предприятие_______________________Объект_________________________________

№ п.п.

Наименование обследуемой конструкции

Наименование элемента

Обозначение по схеме

Эскиз дефекта

Описание дефекта

Примечание

Оси

Ряды

1

2

3

4

5

б

7

8

 

 

 

 

 

 

 

 

Составитель_________________________________

ф.и.о.

"____"_______________19____ г.


Приложение 2
РЕЗУЛЬТАТЫ ВСКРЫТИИ АРМАТУРЫ ИЗГИБАЕМЫХ ЭЛЕМЕНТОВ

Предприятие _______________________Объект _______________________

№ п.п.

Отметка этажа

Наименование конструкции

Эскиз сечения

Размеры сечения, мм

Продольная арматура в растянутой зоне сечения

Поперечная арматура

Примечание

над крайней опорой

над средней опорой

в пролете

Диаметр, мм

Шаг, мм

Диаметр, мм

Количество

Диаметр, мм

Количество

Диаметр, мм

Количество

1

2

3

4

5

6

7

8

9

10

11

12

13

14

 

 

 

 

 

 

 

 

 

 

 

 

 

 

Составитель______________________________________

ф.и.о.

"____"____________________19___ г.


Приложение 3
ПЕРЕЧЕНЬ НОРМАТИВНО-ТЕХНИЧЕСКИХ ДОКУМЕНТОВ

1. СНиП 2.03.13-88. Полы. Нормы проектирования.

2. СНиП 3.04.01-87. Изоляционные и отделочные покрытия.

3. СНиП 2.03.01-84. Бетонные и железобетонные конструкции.

4. СНиП 2.01.07-85, Нагрузки и воздействия.

5. СНиП 3.03.01-87. Несущие и ограждающие конструкции.

6. СНиП III 13-75. Правила производства и приемки работ. Металлические конструкции,

7. СНиП II-23-81*. Нормы проектирования. Стальные конструкции.

8. СНиП II-22-81. Каменные и армокаменные конструкции.

9. СН 245-71. Санитарные нормы проектирования промышленных предприятий. - М: Издательство литературы по строительству, 1972.

10. ГОСТ 12.4.012-83. ССБТ. Вибрация. Средства измерения и контроля вибрации на рабочих местах. Технические требования.

11. ГОСТ 12.1.012-90. ССБТ. Вибрационная безопасность. Общие требования.

12. ГОСТ 22690-88. Бетоны. Определение прочности механическими методами неразрушающего контроле.

13. ГОСТ 17624-87. Бетоны. Ультразвуковой метод определения прочности.

14. ГОСТ 12730.0-78. Бетоны. Общие требования к методам определения плотности, влажности, водопоглощения, пористости и водонепроницаемости.

15. ГОСТ 10180-90. Бетоны. Методы определения прочности по контрольным образцам.

16. ГОСТ 27.002-89. Надежность в технике. Основные понятия. Термины и определения.

17. Методические указания по обследованию строительных конструкций производственных зданий и сооружений тепловых электростанций. Ч. 1. Железобетонные и бетонные конструкции. - М: СПО Союзтехэнерго, 1981.

18. Методические указания по обследованию строительных конструкций производственных зданий и сооружений тепловых электростанций. Ч 2. Металлические конструкции. - М.: СПО Союзтехэнерго, 1981.

19. Типовая инструкция по технической эксплуатации производственных зданий и сооружений энергопредприятий. Ч. 1. Организация эксплуатации зданий и сооружений: РД 34.21.521-91. - М.: СПО ОРГРЭС, 1992.

20. Руководство по эксплуатации строительных конструкции производственных зданий промышленных предприятий.  - М.: Стройиздат, 1981.

21. Измерение вибраций сооружений. - Л.: Стройиздат, 1974.

22. Справочник по динамике сооружений. - М.: Стройиздат, 1972.

23. Физдель Н. А. Дефекты в конструкциях, сооружениях и методы их устранения. - М: Стройиздат, 1987.

24. Филонидов A.M., Третьяков А.К. Контроль бетона ультразвуком в гидротехническом строительстве. - М.: Энергия, 1969.

 

 




ГОСТЫ, СТРОИТЕЛЬНЫЕ и ТЕХНИЧЕСКИЕ НОРМАТИВЫ.
Некоммерческая онлайн система, содержащая все Российские Госты, национальные Стандарты и нормативы.
В Системе содержится более 150000 файлов нормативно-технической документации, действующей на территории РФ.
Система предназначена для широкого круга инженерно-технических специалистов.

Рейтинг@Mail.ru Яндекс цитирования

Copyright © www.gostrf.com, 2008 - 2026