Крупнейшая бесплатная информационно-справочная система онлайн доступа к полному собранию технических нормативно-правовых актов РФ. Огромная база технических нормативов (более 150 тысяч документов) и полное собрание национальных стандартов, аутентичное официальной базе Госстандарта. GOSTRF.com - это более 1 Терабайта бесплатной технической информации для всех пользователей интернета. Все электронные копии представленных здесь документов могут распространяться без каких-либо ограничений. Поощряется распространение информации с этого сайта на любых других ресурсах. Каждый человек имеет право на неограниченный доступ к этим документам! Каждый человек имеет право на знание требований, изложенных в данных нормативно-правовых актах!

  


 

МИНИСТЕРСТВО ВНУТРЕННИХ ДЕЛ РОССИЙСКОЙ ФЕДЕРАЦИИ

ГОСУДАРСТВЕННАЯ ПРОТИВОПОЖАРНАЯ СЛУЖБА

Нормы Государственной противопожарной службы МВД России

ИЗВЕЩАТЕЛИ
ПОЖАРНЫЕ АВТОНОМНЫЕ

Общие технические требования. Методы испытаний

НПБ 66-97

DETECTORS AUTONOMOUS

Specifications. Test Methods

Дата введения 31.08.1997 г.

Разработаны Филиалом Всероссийского научно-исследовательского института противопожарной обороны (ВНИИПО) МВД России в г. Санкт-Петербурге.

Внесены и подготовлены к утверждению нормативно-техническим отделом Главного управления Государственной противопожарной службы (ГУГПС) МВД России.

Утверждены главным государственным инспектором Российской Федерации по пожарному надзору.

Введены в действие приказом ГУГПС МВД России № 56 от 25.08.1997 г.

Дата введения в действие 31.08.1997 г.

Содержание

1. ОБЛАСТЬ ПРИМЕНЕНИЯ

2. НОРМАТИВНЫЕ ССЫЛКИ

3. ОПРЕДЕЛЕНИЯ

4. ОБЩИЕ ТЕХНИЧЕСКИЕ ТРЕБОВАНИЯ

4.1. Требования назначения

4.2. Требования устойчивости к внешним воздействиям

4.3. Требования помехоустойчивости и помехоэмиссии

4.4. Требования надежности

4.5. Требования к конструкции

4.6. Требования к маркировке

4.7. Требования к комплектности

4.8. Требования к упаковке

4.9. Требования безопасности

5. ПРИЕМКА

6. МЕТОДЫ ИСПЫТАНИЙ

6.1. Общие положения

6.2. Аппаратура, оборудование и вспомогательные средства

6.3. Проведение испытаний

7. ТРАНСПОРТИРОВАНИЕ И ХРАНЕНИЕ

8. ГАРАНТИИ ИЗГОТОВИТЕЛЯ

Приложение 1 (рекомендуемое) ИСПЫТАТЕЛЬНАЯ КАМЕРА. ОСНОВНЫЕ ПАРАМЕТРЫ И РАЗМЕРЫ

Приложение 2 (рекомендуемое) УСТРОЙСТВО ДЛЯ ОПРЕДЕЛЕНИЯ УДЕЛЬНОЙ ОПТИЧЕСКОЙ ПЛОТНОСТИ ПРОДУКТОВ ГОРЕНИЯ (АЭРОЗОЛЯ)

Приложение 3 (обязательное) УСТРОЙСТВО ДЛЯ ПРОВЕРКИ СОХРАНЕНИЯ РАБОТОСПОСОБНОСТИ АВТОНОМНЫХ ОПТИЧЕСКИХ ИЗВЕЩАТЕЛЕЙ ПРИ ВОЗДЕЙСТВИИ ФОНОВОЙ ОСВЕЩЕННОСТИ

Приложение 4 (обязательное) УСТАНОВКА ДЛЯ ПРОВЕРКИ УСТОЙЧИВОСТИ АВТОНОМНЫХ ПОЖАРНЫХ ИЗВЕЩАТЕЛЕЙ К ПРЯМОМУ МЕХАНИЧЕСКОМУ УДАРУ (УДАР МОЛОТКОМ). ОСНОВНЫЕ ПАРАМЕТРЫ И РАЗМЕРЫ

1. ОБЛАСТЬ ПРИМЕНЕНИЯ

Настоящие нормы пожарной безопасности распространяются на автономные пожарные извещатели, предназначенные для применения в качестве автоматических средств обнаружения пожара и сигнализации о пожаре в помещениях зданий и сооружений различного назначения (и том числе жилых) самостоятельно или в составе автономной системы пожарной сигнализации.

Стандарт устанавливает общие требования, предъявляемые к автономным пожарным извещателям, условия эксплуатации извещателей, требования к их надежности, безопасности, а также методы соответствующих испытаний, обеспечивающие контроль технических характеристик автономных пожарных извещателей при производстве и всех видах испытаний (включая сертификационные).

Автономные пожарные извещатели не являются средствами измерения.

Нормы пожарной безопасности не распространяются на автономные пожарные извещатели с принудительной доставкой среды (с пробоотбором ) и извещатели специального назначения.

2. НОРМАТИВНЫЕ ССЫЛКИ

В настоящих нормах используются ссылки на следующие стандарты:

ГОСТ Р 50898-96 Извещатели пожарные. Огневые испытания.

ГОСТ 28199-89 Основные методы испытаний на воздействие внешних факторов (Часть 2. Испытания. Испытание А: Холод).

ГОСТ 28200-89 Основные методы испытаний на воздействие внешних факторов (Часть 2. Испытания. Испытание В: Сухое тепло).

ГОСТ 28201-89 Основные методы испытаний на воздействие внешних факторов (Часть 2. Испытания. Испытание Са: Влажное тепло, постоянный режим).

ГОСТ 28213-89 Основные методы испытаний на воздействие внешних факторов (Часть 2. Испытания. Испытание Еа и руководство: Одиночный удар).

ГОСТ 28203-89 Основные методы испытаний на воздействие внешних факторов (Часть 2. Испытания. Испытание Fc и руководство: Вибрация /синусоидальная/).

ГОСТ Р 50009-92 Совместимость технических средств охранной, пожарной и охранно-пожарной сигнализации электромагнитной.

ГОСТ 2.601-68 ЕСКД. Эксплуатационные документы.

ГОСТ 14192-77 Маркировка грузов.

ГОСТ 12.2.003-91 ССБТ. Оборудование производственное. Общие требования безопасности.

ГОСТ 12.2.007.0-75 ССБТ. Изделия электротехнические. Общие требования безопасности.

ГОСТ 27.410-87 Надежность в технике. Методы контроля показателей и планы контрольных испытаний на надежность.

ГОСТ 14254-96 Степени защиты, обеспечиваемые оболочками (код IP).

ГОСТ 9.014-78 ЕСЗКЗ. Временная противокоррозионная защита изделий. Общие требования.

ГОСТ 17925-72 Знак радиационной опасности.

ГОСТ 22522-91 Извещатели радиоизотопные пожарные. Общие технические условия.

НПБ 57-96 Приборы и аппаратура автоматических установок пожаротушения и пожарной сигнализации. Помехоустойчивость и помехоэмиссия. Общие технические требования. Методы испытаний.

ГОСТ 3935-81 Сигареты. Общие технические условия.

ГОСТ 15150-69 Машины, приборы и другие технические изделия. Исполнения для различных климатических районов.

3. ОПРЕДЕЛЕНИЯ

В настоящих нормах применены следующие термины и соответствующие им определения.

Автономный пожарный извещатель - пожарный извещатель, реагирующий на определенный уровень концентрации аэрозольных продуктов горения (пиролиза) веществ и материалов и, возможно, других факторов пожара, в корпусе которого конструктивно объединены автономный источник питания и все компоненты, необходимые для обнаружения пожара и непосредственного оповещения о нем.

Автономный дымовой пожарный извещатель - автономный пожарный извещатель, реагирующий на определенный уровень концентрации аэрозольных продуктов (в твердой, жидкой или газообразной фазе), образующихся при горении (пиролизе) веществ и материалов.

Автономный комбинированный извещатель пожарный - автономный пожарный извещатель, реагирующий не только на аэрозольные продукты горения (пиролиза) веществ и материалов, но и дополнительно на другие (один или несколько) факторы, сопутствующие начальной стадии пожара: газообразные продукты, температуру, оптическое излучение пламени и др.

Сигнал "Тревога" - сигнал, формируемый автономным пожарным извещателем, предназначенный для индикации достижения контролируемым фактором пожара определенного значения, соответствующего чувствительности автономного извещателя.

Внешний источник питания - источник питания, расположенный вне корпуса автономного извещателя.

Внутренний источник питания - источник питания, расположенный внутри корпуса автономного извещателя.

Взаимосоединяемый автономный пожарный извещатель - автономный пожарный извещатель, который может быть включен в локальную сеть совместно с другими автономными пожарными извещателями.

Локальная сеть автономных пожарных извещателей - электрическое соединение группы взаимосоединяемых автономных пожарных извещателей, находящихся в одном или нескольких помещениях защищаемого объекта, обеспечивающее дублирующую сигнализацию (оповещение) о пожаре в случае срабатывания любого из них.

4. ОБЩИЕ ТЕХНИЧЕСКИЕ ТРЕБОВАНИЯ

Извещатели пожарные автономные должны соответствовать требованиям настоящих Норм и технической документации на конкретный автономный пожарный извещатель.

4.1. Требования назначения

4.1.1. По функциональным возможностям автономные пожарные извещатели разделяют на два типа:

- автономные дымовые пожарные извещатели;

- автономные комбинированные пожарные извещатели.

4.1.2. По принципу обнаружения пожара автономные дымовые пожарные извещатели разделяют на два типа:

- автономные пожарные извещатели оптико-электронные;

- автономные пожарные извещатели радиоизотопные.

4.1.3. Автономный пожарный извещатель при срабатывании должен выдавать звуковой сигнал "Тревога", уровень громкости которого (измеренный на расстоянии 1 м от автономного пожарного извещателя) по крайней мере, в течение 4 мин должен быть не менее 85 дБ.

Примечание. Если в автономном пожарном извещателе предусмотрена возможность звукового оповещения о наличии неисправности, то такой сигнал должен отличаться от сигнала "Тревога".

4.1.4. Чувствительность оптико-электронных дымовых автономных пожарных извещателей должна быть в пределах 0,05 - 0,2 дБ×м-1:

4.1.5. Порог срабатывания радиоизотопных дымовых автономных пожарных извещателей должен выбираться из ряда: 0,25; 0,5; 0,75; 1,0; 1,5; 2,0; 3,0 в соответствии с ГОСТ 22522.

4.1.6. Значение чувствительности (порога срабатывания) автономного пожарного извещателя не должно зависеть от количества срабатываний.

4.1.7. Значение чувствительности (порога срабатывания) автономного пожарного извещателя не должно зависеть от ориентации к направлению воздушного потока.

4.1.8. Значение чувствительности (порога срабатывания) автономных пожарных извещателей не должно меняться от образца к образцу.

4.1.9. Значение чувствительности (порога срабатывания) автономного пожарного извещателя не должно зависеть от напряжения питания в пределах диапазона напряжений, указанного в технической документации на конкретный извещатель или в пределах допустимого разряда внутреннего источника питания.

4.1.10. Чувствительность (порог срабатывания) автономного пожарного извещателя не должна зависеть от воздействия воздушных потоков со скоростями 0,2 и 1,0 м×с-1.

4.1.11. При значении скорости воздушного потока (10±0,5) м×с-1 автономный пожарный извещатель не должен выдавать ложных сигналов "Тревога".

4.1.12. Значение тока, потребляемого автономным пожарным извещателем от внутреннего источника питания в дежурном режиме, должно быть не более 50 мкА;

4.1.13. Комбинированный автономный пожарный извещатель, конструктивно объединяющий дымовой с тепловым, газовым, извещателем пламени или другим типом пожарных извещателей, должен иметь номинальные значения температуры срабатывания, пороговой чувствительности по индикаторному газу, чувствительности и т.д., установленные для соответствующих типов пожарных извещателей действующими нормативными документами.

Примечание. Если комбинированный автономный пожарный извещатель выполнен совместно с тепловым, значение номинальной температуры срабатывания для извещателей пожарных тепловых максимальных должно быть 54, 62 или 72 °C.

4.1.14. В автономном пожарном извещателе, в котором предусмотрены один или более сигнальных элементов (индикаторов), сигнал "Тревога" должен иметь приоритет по отношению к другим сигналам.

4.1.15. Автономные пожарные извещатели должны соответствовать требованиям ГОСТ Р 50898.

4.2. Требования устойчивости к внешним воздействиям

4.2.1. Автономный дымовой оптико-электронный пожарный извещатель должен сохранять работоспособность при воздействии фоновой освещенности от искусственного или естественного источника света величиной не менее 12000 лк.

4.2.2. Автономный пожарный извещатель должен сохранять работоспособность при воздействии повышенной температуры, значение которой установлено в технических условиях на извещатели конкретных типов, но не ниже плюс 55 °С.

4.2.3. Автономный пожарный извещатель должен сохранять работоспособность при воздействии пониженной температуры, значение которой установлено в технических условиях на извещатели конкретных типов, но не выше минус 10 °С.

4.2.4. Автономный пожарный извещатель должен сохранять работоспособность при воздействии относительной влажности воздуха (95±3) % при температуре плюс 40 °С.

4.2.5. Автономный пожарный извещатель должен сохранять работоспособность при воздействии механических ударов со следующими характеристиками:

форма ударного импульса - полусинусоида;

длительность ударного импульса - 6 мс;

пиковое ускорение - (100-20М)g, где М - масса извещателя в кг; g - стандартное ускорение, обусловленное земной гравитацией;

число направлений - 6;

число импульсов в каждом направлении - 3.

4.2.6. Автономный пожарный извещатель должен сохранять работоспособность после нанесения удара с энергией 1,9 Дж.

4.2.7. Извещатель пожарный автономный должен сохранять работоспособность при воздействии синусоидальной вибрации с амплитудой смещения не менее 0,35 мм в диапазоне частот от 10 до 55 Гц.

4.2.8. Автономный пожарный извещатель должен быть прочным к изменению полярности источника питания.

4.3. Требования помехоустойчивости и помехоэмиссии

По устойчивости к электрическим помехам в цепи основного источника электрического питания и по помехоэмиссии извещатели пожарные автономные должны соответствовать требованиям норм Государственной противопожарной службы МВД России НПБ 57-96 "Приборы и аппаратура автоматических установок пожаротушения и пожарной сигнализации. Помехоустойчивость и помехоэмиссия. Общие технические требования. Методы испытаний" (не ниже 2-й степени жесткости по ГОСТ 50009).

Примечание. В технической документации на автономный пожарный извещатель должны быть внесены требования по устойчивости к электрическим помехам в цепи основного источника электрического питания и по помехоэмиссии согласно требованиям НПБ 57-96.

4.4. Требования надежности

4.4.1. Автономный пожарный извещатель должен быть рассчитан на круглосуточную непрерывную работу.

4.4.2. Средняя наработка на отказ автономных пожарных извещателей должна быть не менее 60000 часов.

Примечание. Условия, для которых нормируются показатели безотказности, сохраняемости и долговечности, должны быть указаны в технической документации на конкретный автономный пожарный извещатель.

4.5. Требования к конструкции

4.5.1. Автономный пожарный извещатель должен быть снабжен устройством для проверки его работоспособности.

4.5.2. Электрическое питание автономного пожарного извещателя должно осуществляться от внутреннего источника питания.

Допускается использование внешнего источника питания в качестве основного при условии наличия внутреннего резервного источника питания. При этом автономный пожарный извещатель должен иметь устройство, обеспечивающее автоматическое переключение с основного питания на резервное и обратно с выдачей звукового сигнала, отличного от сигнала «Тревога», параметры которого устанавливаются в технической документации на конкретный автономный пожарный извещатель.

4.5.3. Номинальное значение напряжения источника питания автономного пожарного извещателя должно выбираться из ряда: 3,0; 4,5; 6,0 и 9,0 В постоянного тока и не более 36 В переменного тока.

Допускается питание автономного пожарного извещателя от внешнего источника питания с напряжением, превышающим 36 В переменного тока при условии, что автономный пожарный извещатель соответствует установленным требованиям электробезопасности бытовых приборов при эксплуатации потребителем (ПУЭ).

4.5.4. Автономный пожарный извещатель, подключаемый к внешнему источнику питания, должен быть снабжен отдельным индикатором наличия питания (зеленого цвета).

4.5.5. Клеммные соединения электронной схемы автономного пожарного извещателя, а также источника питания должны быть обозначены знаками, соответствующими полярности ("плюс" или "минус").

4.5.6. Электрическое соединение с выводами (клеммами) внутреннего источника питания автономного пожарного извещателя должно обеспечивать устойчивость к воздействию силы не менее 6,6 Н на каждый вывод (клемму) источника питания.

4.5.7. При уменьшении напряжения внутреннего источника питания автономного пожарного извещателя до минимально допустимого значения (или ином объективном критерии достижения предельно допустимого разряда внутреннего источника питания) не реже одного раза в минуту должен подаваться звуковой сигнал, отличный от сигнала "Тревога", параметры которого устанавливаются в технической документации на конкретный автономный пожарный извещатель.

4.5.8. Удаление внутреннего источника питания должно сопровождаться явной визуальной индикацией.

4.5.9. В автономном пожарном извещателе может быть предусмотрена возможность подключения его к различным вспомогательным приборам (дистанционным индикаторам, реле управления, другим взаимосоединяемым автономным пожарным извещателям и пр.). При этом должна быть обеспечена возможность функционирования автономного извещателя при условии обрыва или короткого замыкания во внешней цепи.

4.5.10. Каждый провод и их соединения, используемые как для подключения внешних устройств (например, резервного питания), так и для внутренних связей, должны выдерживать механическую нагрузку 44,5 Н (без рывков).

4.5.11. Проводники, используемые для подключения источника питания, должны быть выполнены многожильными проводами сечением не менее 0,21 мм2 и с толщиной изоляции не менее 0,4 мм.

4.5.12. Средства калибровки, не предназначенные для использования потребителем при установке и эксплуатации автономного пожарного извещателя на объекте, должны быть недоступны для изменения их положения, установленного на предприятии-изготовителе при выпуске.

4.5.13. Степень защиты автономного пожарного извещателя должна соответствовать ГОСТ 14254. При этом первая цифра обозначения (характеризующая защиту от проникновения внутрь оболочки твердых тел) должна быть не менее 4.

4.5.14. Наносная крышка автономного пожарного извещателя должна обеспечивать возможность свободного открывания / закрывания автономного извещателя с подключенным источником питания.

4.5.15. Автономный пожарный извещатель не должен иметь других деталей, заменяемых или ремонтируемых пользователем, кроме внутреннего источника питания и предохранителей.

4.5.16. Масса и габаритные размеры автономных пожарных извещателей должны соответствовать значениям, установленным, в технической документации на конкретный автономный пожарный извещатель.

4.6. Требования к маркировке

4.6.1. Маркировка автономных пожарных извещателей должна содержать:

условное обозначение;

степень зашиты оболочки извещателя по ГОСТ 14254;

товарный знак изготовителя.

Дополнительные надписи должны оговариваться в технической документации на конкретный извещатель.

4.6.2. Место и способ нанесения маркировки должны быть указаны в чертежах на конкретный извещатель.

4.6.3. Содержание и место нанесения транспортной маркировки должны соответствовать ГОСТ 14192.

4.7. Требования к комплектности

Комплект поставки автономного пожарного извещателя должен обеспечивать его монтаж, проведение пусконаладочных работ и эксплуатацию без применения нестандартного оборудования и нестандартных инструментов (кроме кабельных изделий, предназначенных для выполнения соединительных линий).

4.8. Требования к упаковке

4.8.1. Извещатели пожарные автономные должны быть упакованы в потребительскую упаковку в соответствии с требованиями ГОСТ 9.014.

4.8.2. Извещатели пожарные автономные должны быть упакованы в транспортную упаковку, с целью защиты от повреждений при транспортировании и хранении.

Извещатели пожарные автономные следует упаковывать в закрытых вентилируемых помещениях с температурой от плюс 15 до плюс 40 °С и относительной важности воздуха до 80 % при отсутствии в окружающей среде агрессивных примесей.

4.9. Требования безопасности

4.9.1. Автономные пожарные извещатели должны быть безопасными в эксплуатации, а также при монтаже, ремонте и регламентных работах в соответствии с требованиями ГОСТ 12.2.003, ГОСТ 12.2.007.0 и ПУЭ-86.

4.9.2. Извещатели пожарные автономные радиоизотопные должны соответствовать требованиям "Норм радиационной безопасности НРБ-76", "Основных санитарных правил работы с радиоактивными веществами и другими источниками ионизирующих излучений ОСП-72/87", а также Санитарным правилам устройства и эксплуатации радиоизотопных приборов.

На поверхность корпуса радиоизотопного автономного извещателя должен быть нанесен знак радиационной опасности согласно ГОСТ 17925.

Мощность экспозиционной дозы рентгеновского и гамма-излучений на поверхности извещателей пожарных автономных радиоизотопных должна нормироваться по возможному действительному значению и не должна быть более 0,3 мР×ч-1.

5. ПРИЕМКА

5.1. Для контроля соответствия автономного пожарного извещателя требованиям настоящих Норм и технической документации (технических условий) на извещатель или другой действующей нормативной документации устанавливают следующие виды испытаний: приемосдаточные, периодические, типовые, контрольные испытания на надежность и сертификационные испытания.

5.2. Приемосдаточные испытания проводятся с целью контроля соответствия автономного пожарного извещателя требованиям, установленным в технической документации на изделие, и принятия решения о пригодности автономного пожарного извещателя к поставке потребителю. Контроль соответствия автономного пожарного извещателя требованиям технической документации на них проводится службой технического контроля предприятия-изготовителя методом сплошного контроля в объеме, установленном в технической документации.

5.3. Если в процессе приемосдаточных испытаний будет обнаружено несоответствие автономного пожарного извещателя хотя бы одному требованию, этот автономный пожарный извещатель считается не выдержавшим испытания и приемке не подлежит. Такой извещатель должен быть возвращен для устранения дефекта. После устранения дефекта этот извещатель должен пройти повторные приемосдаточные испытания.

Результаты повторных испытаний являются окончательными.

5.4. Периодические испытания следует проводить не реже одного раза в год.

Испытаниям должны подвергаться не менее 10 извещателей пожарных автономных, произвольно выбранных из предъявленной партии и прошедших приемосдаточные испытания.

5.5. Если при периодических испытаниях будет обнаружено несоответствие автономного пожарного извещателя требованиям технической документации на конкретный извещатель, должны быть проведены испытания в полном объеме на удвоенном количестве извещателей.

5.6. Контрольные испытания на надежность проводят один раз в три года, начиная с установочной серии, а также в случае модернизации, влияющей на показатели надежности, на партии не менее чем из 10 автономных пожарных извещателей.

Исходные данные для планирования контрольных испытаний на надежность устанавливают в технической документации на конкретный автономный пожарный извещатель в соответствии с ГОСТ 27.410.

5.7. Извещатели пожарные автономные, предъявляемые на контрольные испытания на надежность, должны пройти приемосдаточные испытания.

5.8. Контрольные испытания на надежность и оценку их результатов, проводят по программе и методике испытаний, разработанным предприятием-изготовителем извещателей пожарных автономных в соответствии с ГОСТ 27.410 и согласно технической документации на автономный пожарный извещатель.

5.9. Извещатели пожарные автономные, выдержавшие контрольные испытания на надежность, подлежат поставке потребителям с указанием в паспорте количества наработанных часов.

5.10. Результаты испытаний должны оформляться актом испытаний.

5.11. Объем и рекомендуемая последовательность контроля и испытаний, которым подвергают извещатели пожарные автономные при приемосдаточных, периодических и сертификационных испытаниях, приведены в табл. 1.

Таблица 1

Контролируемый параметр и характеристика

Номер пунктов методов испытаний

Вид испытаний

Приемосдаточные

Периодические

Сертификационные

Проверка уровня громкости звукового сигнала

6.3.1

+

+

+

Проверка повторяемости значений чувствительности (порога срабатывания)

6.3.2

-

+

+

Устойчивость к изменению направления воздушного потока

6.3.3

-

+

+

Проверка стабильности значений чувствительности (порога срабатывания)

6.3.4

-

+

+

Проверка устойчивости к изменению напряжения питания

6.3.5

+

-

+

Проверка устойчивости к воздушным потокам

6.3.6

-

+

+

Проверка значения потребляемого тока

6.3.7

+

-

+

Проверка соответствия комбинированного извещателя требованиям, предъявляемым к тепловым, газовым извещателям (или извещателям, использующим иной принцип обнаружения пожара)

6.3.8

-

+

+

Проверка приоритетности сигнала «Тревога»

6.3.9

-

+

+

Проверка чувствительности к дымам различной природы (огневые испытания)

6.3.10

-

-

+

Проверка устойчивости к воздействию низких температур (холод)

6.3.13

-

+

+

Проверка устойчивости к воздействию высоких температур (влажное тепло)

6.3.14

-

+

+

Проверка устойчивости к механическому удару

6.3.15

-

+

+

Проверка устойчивости к механическому удару (прямой удар)

6.3.16

-

+

+

Проверка устойчивости к синусоидальной вибрации

6.3.17

-

+

+

Проверка прочности к изменению полярности питающего напряжения

6.3.18

-

+

+

Проверка помехоустойчивости и помехоэмиссии

6.3.19

-

+

+

Проверка наличия устройства для проверки работоспособности

6.3.20

-

+

+

Проверка возможности автоматического переключения с основного питания на резервное

6.3.21

-

+

+

Проверка возможности подключения к различным вспомогательным приборам

6.3.25

-

+

+

Проверка прочности проводов и соединений

6.3.26

-

+

+

Проверка защитной оболочки извещателя

6.3.27

-

+

+

Проверка прочности крепления навесной крышки

6.3.28

-

+

+

Определение веса и габаритных размеров

6.3.29

+

-

+

6. МЕТОДЫ ИСПЫТАНИЙ

Методы контроля требований назначения (п. 4.1), требований к устойчивости к внешним воздействиям (п. 4.2), помехоустойчивости и помехоэмиссии (п. 4.3), к надежности (п. 4.4), к конструкции (п. 4.5), к маркировке (п. 4.6), требований к комплектности (п. 4.7) и упаковке (п. 4.8), а также требований безопасности (п. 4.9) должны быть изложены в технической документации (технических условиях) на конкретный оптический извещатель, введенной в установленном порядке.

6.1. Общие положения

6.1.1. Для проведения испытаний на соответствие требованиям данных норм берется восемь извещателей пожарных автономных.

Для проведения испытаний на соответствие требованиям п. 4.3 необходимое количество извещателей определяется требованиями НПБ 57-96.

Для проведения испытаний ни соответствие требованиям п. 4.1.15 необходимое количество извещателей определяется требованиями ГОСТ Р 50898.

Извещатели с перестраиваемой чувствительностью (порогом срабатывания) испытываются при минимальном и максимальном устанавливаемом значении чувствительности (порога срабатывания).

6.1.2. Нормальные условия при проведении испытаний.

Проверку извещателя пожарного автономного в нормальных условиях проводят при:

температуре окружающего воздуха (23±5) °С;

относительной влажности от 30 до 80 %;

атмосферном давлении от 98 до 104 кПа.

6.1.3. По умолчанию погрешность измерений не должна превышать 5 %.

6.1.4. Испытания автономных извещателей проводятся в соответствии с программой испытаний, приведенной в табл. 2.

Примечание. Испытываемые извещатели пожарные автономные произвольно нумеруются с 1 по 8 номер.

Таблица 2

ПРОГРАММА ИСПЫТАНИЙ

Контролируемый параметр

Номер пункта требований

Номер пункта испытаний

Номер извещателя

1

2

3

4

5

6

7

8

Проверка уровня громкости звукового сигнала «Тревога»

4.1.3

6.3.1

 

 

 

 

 

 

 

 

Проверка стабильности значений чувствительности (порога срабатывания)

4.1.6

6.3.2

 

 

 

 

 

 

 

 

Устойчивость к изменению направления воздушного потока

4.1.7

6.3.3

 

 

 

 

 

 

 

 

Проверка повторяемости значений чувствительности (порога срабатывания)

4.1.8

6.3.4

 

 

 

 

 

 

 

 

Проверка устойчивости к изменению напряжения питания

4.1.9

6.3.5

 

 

 

 

 

 

 

 

Проверка устойчивости к воздушному потоку

4.1.10, 4.1.11

6.3.6

 

 

 

 

 

 

 

 

Проверка значения потребляемого тока

4.1.12

6.3.7

 

 

 

 

 

 

 

 

Проверка соответствия параметров комбинированного извещателя требованиям, предъявляемым к соответствующим типам извещателей (тепловой, пламени и т.п.)

4.1.13

6.3.8

 

 

 

 

 

 

 

 

Проверка приоритетности сигнала «Тревога»

4.1.14

6.3.9

 

 

 

 

 

 

 

 

Проверка чувствительности к дымам различной природы (огневые испытания)

4.1.15

6.3.10

В соответствии с ГОСТ Р 50898

Проверка устойчивости к фоновой освещенности

4.2.1

6.3.11

 

 

 

 

 

 

 

+

Проверка устойчивости к воздействию высоких температур (сухое тепло)

4.2.2

6.3.12

+

 

 

 

 

 

 

 

Проверка устойчивости к воздействию низких температур (холод)

4.2.3

6.3.13

 

+

 

 

 

 

 

 

Проверка устойчивости к воздействию низких температур (влажное тепло)

4.2.4

6.3.14

 

 

+

 

 

 

 

 

Проверка устойчивости к механическому удару

4.2.5

6.3.15

 

 

 

 

+

 

 

 

Проверка устойчивости к механическому удару (прямой удар)

4.2.6

6.3.16

 

 

 

 

 

+

 

 

Проверка устойчивости к синусоидальной вибрации

4.2.7

6.3.17

 

 

 

 

 

 

+

 

Проверка прочности к изменению полярности питающего напряжения

4.2.8

6.3.18

 

 

 

 

 

 

 

+

Проверка помехоустойчивости и помехоэмиссии

4.3

6.3.19

В соответствии с НПБ 57-96

Проверка наличия устройства для проверки работоспособности

4.5.1

6.3.20

+

 

 

 

 

 

 

 

Проверка возможности автоматического переключения с основного питания на резервное и обратно

4.5.2

6.3.21

+

 

 

 

 

 

 

 

Определение значения силы, прикладываемой для подключения источника питания

4.5.6

6.3.22

 

+

 

 

 

 

 

 

Проверка выдачи звукового сигнала при уменьшении напряжения внутреннего источника питания до минимально допустимого значения

4.5.7

6.3.23

 

 

+

 

 

 

 

 

Проверка наличия визуальной индикации отсутствия одного из питающих напряжений

4.5.8

6.3.24

 

 

 

+

 

 

 

 

Проверка возможности подключения к различным вспомогательным приборам

4.5.9

6.3.25

 

 

 

 

+

 

 

 

Проверка прочности проводов и их соединений

4.5.10

6.3.26

 

 

 

 

 

+

 

 

Проверка защитной оболочки

4.5.13

6.3.27

 

 

 

 

 

 

+

 

Проверка прочности крепления навесной крышки

4.5.14

6.3.28

 

 

 

 

 

 

 

+

Проверка веса и габаритных размеров извещателя

4.5.16

6.3.29

 

 

 

 

 

 

 

+

6.2. Аппаратура, оборудование и вспомогательные средства

Контрольно-измерительная аппаратура, оборудование и вспомогательные средства, применяемые при испытаниях автономных пожарных извещателей, должны соответствовать стандартам и технической документации на них и быть поверены или аттестованы в установленном порядке.

6.2.1. Для испытаний автономных пожарных извещателей должна применяться испытательная камера, размеры и технические характеристики которой представлены в приложении 1 к настоящим Нормам пожарной безопасности.

6.2.2. Чувствительность оптических автономных пожарных извещателей при испытаниях определяют по удельной оптической плотности среды (m) из следующего выражения:

m = (10/d)×lg(P0/P),                                                                                           (1)

где т - удельная оптическая плотность, дБ×м-1; d - оптическая длина пути луча в контролируемой среде, м; Р0 - мощность регистрируемого излучения, прошедшего через незадымленную среду; Р - мощность регистрируемого излучения, ослабленного средой при ее задымлении.

6.2.3. Для определения удельной оптической плотности дыма (аэрозоля) в испытательной камере должно применяться измерительное устройство, технические характеристики которого представлены в приложении 2 к настоящим Нормам пожарной безопасности.

6.2.4. Порог срабатывания радиоизотопных автономных пожарных извещателей при испытаниях определяют по относительному изменению тока контрольной ионизационной камеры, определяемому по формуле

Y = (I0/I) ‑ (I/I0),                                                                                                 (2)

где I0 - ток контрольной ионизационной камеры в чистом воздухе, А; I - ток контрольной ионизационной камеры при наличии в нем аэрозоля, А.

6.2.5. Для определения концентрации дыма (аэрозоля) в испытательной камере должна применяться контрольная ионизационная камера по ГОСТ 22522.

6.2.6. При проведении испытаний автономных извещателей в качестве материала дымообразования должен использоваться хлопчатобумажный фитиль или сигаретный табак по ГОСТ 3935.

Допускается применение генератора аэрозоля, использующего в качестве материала дымообразования парафиновое масло, со средним диаметром частиц аэрозоля от 0,5 до 1,0 мкм и показателем преломления частиц 1,4±0,1.

Характеристики частиц генерируемого аэрозоля должны быть стабильны в течение времени проведения испытаний.

6.3. Проведение испытаний

6.3.1. Проверку уровня громкости выходного сигнала "ТРЕВОГА" (п. 4.1.3.) проводят методом непосредственного измерения (при помощи шумомера, например, марки "ШУМ-1 М") в следующем порядке.

6.3.1.1. Автономный пожарный извещатель с подключенным источником питания установить на расстоянии 1 м от измерительного прибора.

6.3.1.2. Перевести автономный пожарный извещатель в режим "ТРЕВОГА".

6.3.1.3. Выдержать извещатель в режиме "ТРЕВОГА" в течение четырех минут и замерить уровень громкости сигнала.

6.3.1.4. Повторить п. 6.3.1.1-6.3.1.3 для других автономных пожарных извещателей.

6.3.1.5. Автономный пожарный извещатель считается выдержавшим испытания, если значение уровня громкости сигнала "ТРЕВОГА" всех испытываемых автономных пожарных извещателей превышает 85 дБ.

6.3.2. Проверку зависимости чувствительности (порога срабатывания) автономного пожарного извещателя от количества срабатываний (повторяемость) по п. 4.1.6. необходимо проводить в следующем порядке.

6.3.2.1. Проверяемый автономный пожарный извещатель установить в испытательную камеру в рабочем положении и выдержать во включенном состоянии в течение 15 мин.

Ориентация автономного пожарного извещателя относительно направления воздушного потока в испытательной камере выбирается произвольной (одинаковой для всех испытаний).

6.3.2.2. В испытательной камере установить нормальные условия и установить скорость воздушного потока (0,2±0,04) м×с-1.

6.3.2.3. Создать нарастающую концентрацию продуктов горения (аэрозоля):

- для извещателей пожарных автономных оптико-электронных:

0,015 £ Dm×Dt-1 £ 0,1,                                                                                       (3)

где Dm - величина изменения значения оптической плотности, дБ×м-1; Dt - промежуток времени между измерениями, мин.

- для извещателей пожарных автономных радиоизотопных:

0,015 £ DY×Dt-1 £ 0,3,                                                                                        (4)

где DY - величина изменения значения концентрации продуктов горения, о.е.; Dt - промежуток времени между измерениями, мин.

6.3.2.4. В момент срабатывания автономного пожарного извещателя определить значение удельной оптической плотности продуктов горения (аэрозоля), рассчитываемое по формуле (1), или значение порога срабатывания, рассчитываемое по формуле (2).

6.3.2.5. Повторить испытания шесть раз.

6.3.2.6. Определить наибольшее (тmax или Ymax) и наименьшее (mmin или Ymin) значение чувствительности (порога срабатывания) автономного пожарного извещателя и определить отношение тmax/mmin или Yтах/Ymin.

6.3.2.7. Автономный пожарный извещатель считается выдержавшим испытания, если отношение тmax/mmin или Yтах/Ymin не превышает 1,3.

Примечание. Наибольшее значение чувствительности извещателя автономного оптико-электронного не должно превышать 0,2 дБ×м-1, ее наименьшее значение должно быть не менее 0,05 дБ×м-1, а наименьшая величина порога срабатывания автономного пожарного извещателя радиоизотопного должна быть не менее 0,2.

6.3.3. Проверку чувствительности (порога срабатывания) в зависимости от ориентации к воздушному потоку (п. 4.1.7) необходимо проводить в следующем порядке.

6.3.3.1. Подключить автономный пожарный извещатель в соответствии с п. 6.3.2.1.

6.3.3.2. По методике, изложенной в пп. 6.3.2.2-6.3.2.4, определить восемь раз чувствительность (порог срабатывания) автономного пожарного извещателя. Перед каждым определением чувствительности (порога срабатывания) извещатель повернуть на (45±3)° вокруг вертикальной оси.

6.3.3.3. Определить наибольшее (тmax или Ymax) и наименьшее (mmin или Ymin) значение чувствительности (порога срабатывания) автономного пожарного извещателя и определить отношение тmax/mmin или Yтах/Ymin.

6.3.3.4. Автономный пожарный извещатель считается выдержавшим испытания, если отношение тmax/mmin или Yтах/Ymin не превышает 2,0.

Примечание 1. Наибольшее значение чувствительности автономного пожарного извещателя оптико-электронного не должно превышать 0,2 дБ×м-1, ее наименьшее значение должно быть не менее 0,05 дБ×м-1, а наименьшая величина порога срабатывания автономного пожарного извещателя радиоизотопного должна быть не менее 0,2.

Примечание 2. В последующих испытаниях положение автономного пожарного извещателя, для которого зафиксировано наибольшее значение удельной оптической плотности или концентрации продуктов горения (аэрозоля), считается положением с минимальной чувствительностью, положение автономного пожарного извещателя, для которого зафиксировано наименьшее значение удельной оптической плотности или концентрации продуктов горения (аэрозоля), - положением с максимальной чувствительностью.

6.3.4. Проверку стабильности чувствительности (порога срабатывания) извещателей пожарных автономных (п. 4.1.8) необходимо проводить в следующем порядке.

6.3.4.1. Установить автономный пожарный извещатель в испытательную камеру в положении с минимальной чувствительностью. По методике, изложенной в пп. 6.3.2.2-6.3.2.4, определить чувствительность (порог срабатывания) всех испытываемых извещателей пожарных автономных.

6.3.4.2. Определить наибольшее (тmax или Ymax) и наименьшее (mmin или Ymin) значение чувствительности (порога срабатывания) и среднее арифметическое значение чувствительности (порога срабатывания) испытываемых извещателей пожарных автономных (тср или Yсp).

Автономный пожарный извещатель считается выдержавшим испытания, если отношение тmax/тср или Ymax/Yср не превышает 1,6, а отношение тср/mmin или Yср/ Ymin не превышает 2,0.

Примечание. Наибольшее значение чувствительности автономного пожарного извещателя оптико-электронного не должно превышать 0,2 д×Бм-1,ее наименьшее значение должно быть не менее 0,05 дБ×м-1, а наименьшая величина порога срабатывания автономного пожарного извещателя радиоизотопного должна быть не менее 0,2.

6.3.5. Проверку устойчивости извещателя пожарного автономного к изменению напряжения питания (п. 4.1.9) необходимо проводить в следующем порядке.

6.3.5.1. Автономный пожарный извещатель установить в испытательную камеру в положении с минимальной чувствительностью, установить номинальное значение напряжения питания и выдержать во включенном состоянии в течение 15 мин.

6.3.5.2. Установить напряжение питания извещателя пожарного автономного, соответствующее верхнему пределу напряжения питания, указанного в технической документации. Выдержать в течение 5 мин.

6.3.5.3. По методике, изложенной в пп. 6.3.2.2-6.3.2.4, определить чувствительность (порог срабатывания) извещателя пожарного автономного.

5.3.5.4. Определить наибольшее (тmax или Ymax) и наименьшее (mmin или Ymin) значение чувствительности (порога срабатывания) извещателя пожарного автономного и определить отношение тmax/mmin или Yтах/Ymin.

6.3.5.5. Установить напряжение питания извещателя пожарного автономного, соответствующее нижнему пределу напряжения питания, указанного в технической документации на конкретный автономный пожарный извещатель, и повторить испытания по пп. 6.3.5.3-6.3.5.4. При этом автономный пожарный извещатель, использующий внутренний источник питания, должен выдавать звуковой сигнал, отличный от сигнала "Тревога", свидетельствующий об уменьшении напряжения питания до минимально допустимого уровня.

6.3.5.6. Автономный пожарный извещатель оптико-электронный считается выдержавшим испытания, если отношение тmax/mmin или Yтах/Ymin не превышает 2,0.

Примечание 1. При этом наибольшее значение чувствительности извещателя пожарного автономного оптико-электронного не должно превышать 0,2 дБ×м-1, ее наименьшее значение должно быть не менее 0,05 дБ×м--1, а наименьшая величина порога срабатывания извещателя пожарного автономного радиоизотопного должна быть не менее 0,2.

Примечание 2. Если пределы изменения напряжения не указаны в технической документации, то испытания проводить с напряжением питания 110 и 85 % от номинального.

6.3.6. Проверку устойчивости извещателя пожарного автономного к воздушным потокам (пп. 4.1.9, 4.1.10) необходимо проводить в следующем порядке.

6.3.6.1. Подключить автономный пожарный извещатель в соответствии с п. 6.3.2.1.

6.3.6.2. По методике, изложенной в пп. 6.3.2.2-6.3.2.4, определить чувствительность (порог срабатывания) извещателя пожарного автономного для положения с минимальной m(0,2)min или Y(0,2)min и максимальной т(0,2)max или Y(0,2)max чувствительностью.

6.3.6.3. Установить значение скорости воздушного потока в испытательной установке равным (1±0,2) м×с-1.

6.3.6.4. По методике, изложенной в пп. 6.3.1.2-6.3.1.4, определить чувствительность (порог срабатывания) извещателя пожарного автономного для положения с минимальной m(1,0)min или Y(1,0)min и максимальной т(1,0)max или Y(1,0)max чувствительностью.

6.3.6.5. Образец извещателя пожарного автономного радиоизотопного, установленный в испытательной камере в наиболее чувствительной ориентации, должен быть подвергнут воздействию потока воздуха (без аэрозоля), скорость которого составляет (10±0,5) м×с-1,в течение 5 мин.

6.3.6.6. Автономный пожарный извещатель считается выдержавшим испытания, если выполняется отношение:

- для извещателей пожарных автономных оптико-электронных

0,67 £ [m(0,2)min + т(0,2)max]×[m(1,0)min + т(1,0)max ]-1 £. 1,5,                                   (5)

- для извещателей пожарных автономных радиоизотопных

0,67 £ [Y(0,2)min + Y(0,2)max]×[Y(1,0)min + Y(1,0)max ]-1 £. 1,5.                                        (6)

Кроме того, автономный пожарный извещатель радиоизотопный не должен выдавать сигналов "Тревога" при воздействии на него потока воздуха (по п. 6.3.6.5) без аэрозоля.

6.3.7. Проверка значения потребляемого тока (п. 4.1.12) осуществляется методом непосредственных измерений путем последовательного включения в плюсовую цепь источника питания микроамперметра. Измерения проводить и дежурном режиме и в режиме "Тревога". Автономный пожарный извещатель считается выдержавшим испытания если измеренные значения токов соответствуют значениям, указанным в технической документации на конкретное изделие, но не превышают 50 мкА.

6.3.8. Проверка соответствия комбинированного автономного пожарного извещателя требованиям, предъявляемым к тепловым, газовым и другим извещателям (п. 4.1.13), осуществляется по методикам, регламентированным соответствующими государственными стандартами или НПБ на конкретные типы пожарных извещателей.

6.3.9. Проверка приоритетности сигнала "Тревога" по отношению к другим сигналам (п. 4.1.14), а также проверка выдачи звукового сигнала при уменьшении напряжения внутреннего источника питания (или иного объективного критерия достижения предельно допустимого разряда внутреннего источника питания) до минимально допустимого значения (п. 4.5.7) осуществляется следующим образом.

6.3.9.1. Подключить автономный пожарный извещатель к регулируемому источнику питания, напряжение на котором соответствует номинальному.

6.3.9.2. Уменьшая напряжение на выходных клеммах источника питания (со скоростью, не превышающей 0,5 В×мин-1), добиться наличия звукового сигнала, свидетельствующего о достижении минимально допустимого значения напряжения питания.

6.3.9.3. Зафиксировать значение напряжения, при котором появился звуковой сигнал.

6.3.9.4. Перевести автономный пожарный извещатель в режим "Тревога" (например, при помощи встроенного устройства для проверки на срабатывание).

6.3.9.5. Автономный пожарный извещатель считается выдержавшим испытания, если:

- значение напряжения, при котором появился звуковой сигнал, свидетельствующий об уменьшении напряжения питания внутреннего источника до минимально допустимого уровня, соответствует требованиям технических условий на конкретное изделие;

- извещатель выдает звуковой сигнал, соответствующий режиму "Тревога".

6.3.10. Огневые испытания автономных извещателей (п. 4.1.15) проводить в соответствии с методами испытаний, регламентируемыми ГОСТ Р 50898.

6.3.11. Испытания по сохранению работоспособности извещателя пожарного автономного оптического при воздействии фоновой освещенности (п. 4.2.1) проводить в испытательной камере, описание которой представлено в приложении 3 к настоящим нормам пожарной безопасности.

6.3.11.1. Автономный пожарный извещатель оптико-электронный (во включенном состоянии) установить в испытательную камеру в положении с минимальной чувствительностью и выдержать во включенном состоянии в течение 15 мин.

6.3.11.2. Включить на 10 с первую лампу, затем выключить ее на 10 с и повторить эту процедуру 10 раз. Испытания провести для каждой из остальных трех ламп.

6.3.11.3. Одновременно включить лампы, расположенные противоположно, в порядке, изложенном в п. 6.3.11.2.

6.3.11.4. Одновременно включить все четыре лампы на время не менее (60±1) с и (не выключая ламп) по методике, изложенной в пп. 6.3.2.2-6.3.2.4, определить чувствительность извещателя пожарного автономного оптико-электронного.

6.3.11.5. Выключить все лампы и повернуть извещатель на 90° относительно вертикальной оси в любом направлении. Повторить испытания по пп. 6.3.11.2-6.3.11.4.

6.3.11.6. Определить наибольшее тmax и наименьшее mmin значения чувствительности извещателя и определить их отношение.

6.3.11.7. Автономный пожарный извещатель оптико-электронный считается выдержавшим испытания, если в процессе испытаний отсутствовали сигналы "Неисправность", "Тревога", а отношение тmax/mmin не превышает 2,0.

6.3.12. Проверку сохранения работоспособности извещателя пожарного автономного при воздействии повышенной температуры (сухое тепло) по п. 4.2.2 проводить в соответствии с методом испытания В по ГОСТ 28200 в следующем порядке.

6.3.12.1. Автономный пожарный извещатель установить в испытательную камеру в положении с минимальной чувствительностью и выдержать во включенном состоянии в течение 15 мин.

6.3.12.2. Повысить температуру в испытательной камере до (55±2) °С со скоростью не более 1 °С мин-1 и выдержать автономный пожарный извещатель в течение 2 ч.

6.3.12.3. По методике, изложенной в пп. 6.3.2.2-6.3.2.4, определить чувствительность (порог срабатывания) автономного пожарного извещателя при температуре (55±2) °С и отношение тmax/mmin или Yтах/Ymin, для расчета которого берутся значения чувствительности (порога срабатывания), измеренные при данных испытаниях и при испытаниях по п. 6.3.3.

6.3.12.4. Автономный пожарный извещатель считается выдержавшим испытания, если в процессе испытаний отсутствовали сигналы "Неисправность", "Тревога" и отношение тmax/mmin или Yтах/Ymin не превышает 2,0.

6.3.13. Проверку сохранения работоспособности автономного пожарного извещателя при воздействии окружающей среды с пониженной температурой (холод) по п. 4.2.3 следует проводить в соответствии с методом испытания А по ГОСТ 28199.

6.3.13.1. Автономный пожарный извещатель во включенном состоянии поместить в камеру холода, температура в которой соответствует нормальным условиям.

6.3.13.2. Понизить температуру в камере до нижнего предела, указанного в технической документации, со скоростью не более 1 °С мин-1 и поддерживать температуру в указанных пределах в течение 2 ч.

6.3.13.3. После окончания выдержки автономный пожарный извещатель должен оставаться в камере, температура в ней должна постепенно повышаться до значения, указанного в п. 6.1.2.

6.3.13.4. Выдержать автономный пожарный извещатель при условиях, указанных в п. 6.1.5, в течение 1 ч.

6.3.13.5. Установить автономный пожарный извещатель в испытательную камеру в положении с минимальной чувствительностью. По методике, изложенной в пп. 6.3.2.2-6.3.2.4, определить чувствительность (порог срабатывания) автономного извещателя и отношение тmax/mmin или Yтах/Ymin, для расчета которого берутся значения чувствительности (порога срабатывания), измеренные при данных испытаниях и при испытаниях по п. 6.3.3.

6.3.13.6. Автономный пожарный извещатель считается выдержавшим испытания, если в процессе испытаний отсутствовали сигналы "Неисправность", "Тревога" и отношение тmax/mmin или Yтах/Ymin не превышает 2.0.

6.3.14. Проверку сохранения работоспособности автономного извещателя при воздействии повышенной влажности (влажное тепло) по п. 4.2.4 проводить в соответствии с методом испытаний Са по ГОСТ 28201 следующим образом.

6.3.14.1. Автономный пожарный извещатель во включенном состоянии поместить в камеру тепла и влаги, температура в которой соответствует нормальным условиям. Выдержать во включенном состоянии в течение 15 мин.

6.3.14.2. Довести относительную влажность в камере до значения (93±3) % при температуре плюс (40±2) °С и выдержать автономный пожарный извещатель при данных условиях в течение 4 суток.

6.3.14.3. По окончании периода выдержки автономный пожарный извещатель выдерживают в нормальных условиях (п. 6.1.5) в течение не менее 1 ч.

6.3.14.4. Установить автономный пожарный извещатель в испытательную камеру в положении с минимальной чувствительностью. По методике, изложенной в пп. 6.3.2.2-6.3.2.4, определить чувствительность (порог срабатывания) автономного извещателя и отношение тmax/mmin или Yтах/Ymin, для расчета которого берутся значения чувствительности (порога срабатывания), измеренные при данных испытаниях и при испытаниях по п. 6.3.3.

6.3.14.5. Автономный пожарный извещатель считается выдержавшим испытания, если в процессе испытаний отсутствовали сигналы "Неисправность", "Тревога" и отношение тmax/mmin или Yтах/Ymin не превышает 2,0.

6.3.15. Проверку сохранения работоспособности автономного пожарного извещателя при воздействии механических ударов (п. 4.2.5) проводить в соответствии с методом испытаний по ГОСТ 28213 следующим образом.

6.3.15.1. Визуально осмотреть составные части извещателя автономного и убедиться в отсутствии механических повреждений.

6.3.15.2. Выдержать извещатель во включенном состоянии в течение 15 мин.

6.3.15.3. Приложить по три последовательных удара в шести направлениях по трём взаимно перпендикулярным осям с параметрами, указанными в п. 4.2.6.

6.3.15.4. Установить автономный пожарный извещатель в испытательную камеру в положения с минимальной чувствительностью. По методике, изложенной в пп. 6.3.2.2-6.3.2.4, определить чувствительность (порог срабатывания) автономного извещателя и отношение тmax/mmin или Yтах/Ymin, для расчета которого берутся значения чувствительности (порога срабатывания), измеренные при данных испытаниях и при испытаниях по п. 6.3.3.

6.3.15.5. Автономный пожарный извещатель считается выдержавшим испытания, если в процессе испытаний отсутствовали сигналы "Неисправность", "Тревога" и отношение тmax/mmin или Yтах/Ymin не превышает 2.0.

6.3.16. Проверку устойчивости автономного пожарного извещателя к воздействию прямого механического удара (удар молотка) в соответствии с п. 4.2.6 проводить в следующем порядке.

6.3.16.1. Визуально осмотреть составные части извещателя и убедиться в отсутствии механических повреждений.

6.3.16.2. Закрепить извещатель пожарного автономный с подключенным источником питания на опорной горизонтальной плите с помощью фиксирующих устройств.

Примечание. При проведении испытаний используется устройство для проверки устойчивости автономных пожарных извещателей к прямому механическому удару (удар молотком) - см. рисунок в приложении 4 к настоящим Нормам пожарной безопасности.

6.3.16.3. Подвергнуть извещатель пожарный автономный механическому удару с энергией удара 1,9 Дж и линейной скоростью движения ударного элемента в момент касания оптического извещателя, равной (1,5±0,125) м×с-1.

6.3.16.4. Установить автономный пожарный извещатель в испытательную камеру в положении с минимальной чувствительностью. По методике, изложенной в пп. 6.3.2.2-6.3.2.4, определить чувствительность (порог срабатывания) извещателя и отношение тmax/mmin или Yтах/Ymin для расчета которого берутся значения чувствительности (порога срабатывания), измеренные при данных испытаниях и при испытаниях того же извещателя по п. 6.3.3.

6.3.16.5. Автономный пожарный извещатель считается выдержавшим испытания, если в процессе испытаний отсутствовали сигналы "Неисправность", "Тревога", отношение тmax/mmin или Yтах/Ymin не превышает 2,0 и отсутствовали механические повреждения.

6.3.17. Проверку сохранения работоспособности автономного пожарного извещателя при воздействии синусоидальной вибрации (п. 4.2.7) проводить в соответствии с методами испытаний по ГОСТ 28203 следующим образом.

6.3.17.1. Визуально осмотреть составные части автономного извещателя и убедиться в отсутствии механических повреждений.

6.3.17.2. Подвергнуть извещатель во включенном состоянии воздействию вибрации с параметрами, указанными в п. 4.2.7, в трех взаимно перпендикулярных направлениях, причём одна из осей должна быть перпендикулярна к нормальной плоскости монтажа.

6.3.17.3. Установить извещатель в испытательную камеру в положении с минимальной чувствительностью. По методике, изложенной в пп. 6.3.2.2-6.3.2.4, определить чувствительность (порог срабатывания) автономного извещателя и отношение тmax/mmin или Yтах/Ymin, для расчета которого берутся значения чувствительности (порога срабатывания), измеренные при данных испытаниях и при испытаниях того же извещателя по п. 6.3.3.

6.3.17.4. Автономный пожарный извещатель считается выдержавшим испытания, если в процессе испытаний отсутствовали сигналы "Неисправность", "Тревога" и отношение тmax/mmin или Yтах/Ymin не превышает 2,0.

6.3.18. Проверку прочности автономного пожарного извещателя к изменению полярности питающего напряжения (п. 4.2.8) проводить в следующем порядке.

6.3.18.1. Подключить извещатель в соответствии с п. 6.3.2.1.

6.3.18.2. Изменить полярность напряжения питания на обратную и выдержать извещатель в течение 5 мин.

6.3.18.3. Восстановить прямую полярность напряжения питания.

6.3.18.4. Установить извещатель в испытательную камеру в положении с минимальной чувствительностью. По методике, изложенной в пп. 6.3.2.2-6.3.2.4, определить чувствительность (порог срабатывания) автономного извещателя и отношение тmax/mmin или Ymax/Ymin, для расчета которого берутся значения чувствительности (порога срабатывания), измеренные при данных испытаниях и при испытаниях того же извещателя по п. 6.3.3.

6.3.18.5. Автономный пожарный извещатель считается выдержавшим испытания, если в процессе испытаний отсутствовали сигналы "Неисправность", "Тревога" и отношение тmax/mmin или Ymax/Ymin не превышает 2,0.

6.3.19. Испытания по проверке устойчивости автономных пожарных извещателей к воздействию электрических помех в цепи электропитания и помехоэмиссии (п. 4.3) проводить, в соответствии с методами испытаний, регламентированными НПБ 57-96.

6.3.20. Проверку наличия устройства для проверки работоспособности (п. 4.5.1) производить следующим образом.

6.3.20.1. Подключить извещатель в порядке, изложенном в п. 6.3.2.1.

6.3.20.2. Привести в действие устройство для проверки работоспособности.

6.3.20.3. Извещатель считается выдержавшим испытания, если при приведении в действие устройства для проверки работоспособности автономный пожарный извещатель выдает сигнал "Тревога".

6.3.21. Проверка возможности автоматического переключения с основного питания на резервное (п. 4.5.2) осуществляется следующим образом.

6.3.21.1. Подключить извещатель к основному и резервному источникам питания.

6.3.21.2. Отключить основной источник питания.

6.3.21.3. Привести в действие устройство для проверки работоспособности автономного пожарного извещателя.

6.3.21.4. Извещатель считается выдержавшим испытания, если при отключении основного источника питания автономный пожарный извещатель автоматически переключался на питание от резервного источника питания (с выдачей звукового сигнала, параметры которого установлены в технических условиях на конкретный извещатель), при этом, при приведении в действие устройства для проверки работоспособности, автономный пожарный извещатель выдавал сигнал "Тревога".

6.3.22. Проверку механической прочности проводов и их соединений с электрической частью извещателя и клеммами для подключения источника питания (п. 4.5.6) проводить путем осуществления соответствующих воздействий (параметры механической нагрузки указаны в п. 4.5.6). Контроль значений силы осуществлять с помощью динамометра, например типа ДПУ-001-2.

Автономный пожарный извещатель считается выдержавшим испытания, если после осуществления соответствующих воздействий извещатель оставался работоспособным (выдавался сигнал "Тревога", например, при задействовании встроенного устройства для проверки работоспособности), при этом должны отсутствовать видимые надрывы на протяжении всей длины проводов и в местах соединений с монтажной платой и клеммами для подключения источника питания.

6.3.23. Прочерку выдачи звукового сигнала при уменьшении напряжения питания (или иного объективного критерия достижения предельно допустимого разряда внутреннего источника питания) автономного пожарного извещателя до минимально допустимого значения (п. 4.5.7) осуществлять следующим образом.

6.3.23.1. Подключить к входным клеммам для подключения внутреннего источника питания регулируемый источник постоянного напряжения. Установить номинальное значение питающего напряжения.

6.3.23.2. Уменьшать напряжение питания автономного пожарного извещателя до появления звукового сигнала, параметры которого соответствуют значениям, указанным в технических условиях на конкретный извещатель.

6.3.23.3. Проверить работоспособность автономного пожарного извещателя (например, от встроенного устройства для проверки работоспособности), замерить уровень громкости звукового сигнала "Тревога".

6.3.23.4. Автономный пожарный извещатель считается выдержавшим испытания, если значение напряжения, при котором подается звуковой сигнал, свидетельствующий об уменьшении напряжения питания до минимально допустимого уровня, а также параметры самого звукового сигнала соответствуют значениям, указанным в технических условиях на конкретный автономный пожарный извещатель.

6.3.24. Проверку наличия визуальной индикации отсутствия внутреннего источника питания (п. 4.5.8) проводить следующим образом.

Для проверки наличия визуальной индикации отсутствия внутреннего источника питания вынуть внутренний источник питания из автономного пожарного извещателя. При этом извещатель считается выдержавшим испытания, если имеет место визуальная индикация отсутствия внутреннего источника питания (оптический и/или звуковой сигналы или иные конструктивные решения, указанные в технических условиях на конкретный пожарный извещатель).

6.3.25. Проверка возможности подключения автономного пожарного извещателя к различным вспомогательным приборам (п. 4.5.9) осуществляется путем подключения к извещателю пожарному автономному конкретных вспомогательных приборов (дистанционных индикаторов, реле управления и пр.), перечень которых указан в технической документации на конкретный автономный пожарный извещатель.

Автономный пожарный извещатель считается выдержавшим испытания, если он, во-первых, при подключении к вспомогательным приборам оставался, работоспособным (выдавал сигнал "Тревога" при задействовании встроенного устройства для проверки работоспособности) и при этом реализовал соответствующие функциональные возможности (подавал сигнал на включение дистанционных индикаторов, реле управления и пр.) и, во-вторых, оставался работоспособным при обрыве или коротком замыкании соединительных линий.

6.3.26. Определение прочности проводов и их соединений (п. 4.5.10) осуществлять методом непосредственного измерения при помощи динамометра, например типа ДПУ-001-2.

Автономный пожарный извещатель считается выдержавшим испытания, если значение силы, требуемой для подсоединения каждого контакта источника ко входным клеммам, превышает 6,6 Н.

6.3.27. Определение степени защиты автономного пожарного извещателя по ГОСТ 14254 осуществляется в соответствии с методами испытаний, регламентированными указанным стандартом.

Автономный пожарный извещатель считается выдержавшим испытания, если проведенные испытания подтвердили соответствие степени защиты оболочки требованиям, указанным в технических условиях на конкретный автономный пожарный извещатель. При этом первая цифра обозначения степени зашиты должна быть не менее 4 (для обеспечения защиты автономного пожарного извещателя от доступа насекомых).

6.3.28. Проверку прочности крепления навесной крышки (п. 4.5.15) осуществлять путем многократного (50 раз) открывания/закрывания крышки автономного пожарного извещателя.

Автономный пожарный извещатель считается выдержавшим испытания, если после осуществления указанных воздействий на креплении крышки отсутствуют видимые нарушения (трещины, разрывы и пр.).

6.3.29. Определение веса и габаритных размеров автономного пожарного извещателя (п. 4.5.17) осуществляется методом непосредственных измерений, например, с помощью электронных весов типа УВСЭ-10кг (погрешность измерения 0,3 г) и штангенциркуля (предел измерения - 200 мм, погрешность измерения - 0,05 мм).

Автономный пожарный извещатель считается выдержавшим испытания, если вес и габаритные размеры автономного пожарного извещателя соответствуют указанным в технических условиях на конкретный извещатель.

7. ТРАНСПОРТИРОВАНИЕ И ХРАНЕНИЕ

7.1. Транспортирование автономных извещателей в транспортной упаковке должно осуществляться всеми видами наземного транспорта в закрытых транспортных средствах.

7.2. Хранение автономных извещателей в упаковке должно осуществляться на закрытых складах, обеспечивающих защиту от влияния влаги, солнечной радиации, вредных испарений и плесени. Температурный режим хранения должен соответствовать условиям хранения по ГОСТ 15150.

8. ГАРАНТИИ ИЗГОТОВИТЕЛЯ

8.1. Изготовитель должен гарантировать соответствие автономных извещателей требованиям настоящих Норм и технической документации при соблюдении потребителем требований транспортирования, хранения, монтажа и эксплуатации.

8.2. Гарантийный срок эксплуатации автономных извещателей должен быть не менее 18 месяцев с момента ввода в эксплуатацию или 24 месяцев с момента изготовления.

Начальник Филиала

ВНИИПО МВД России

в г. Санкт-Петербурге                                                      В.С. Махин

Заместитель начальника

отдела № 3 Филиала ВНИИПО                                       С.В. Михайлов

ИСПОЛНИТЕЛИ:

Руководитель темы

старший научный сотрудник

отдела № 3 Филиала ВНИИПО                                       С.В. Сычев

Младший научный сотрудник

отдела № 3 Филина ВНИИПО                                        Н.А. Беляков

Приложение 1
(рекомендуемое)

ИСПЫТАТЕЛЬНАЯ КАМЕРА.
ОСНОВНЫЕ ПАРАМЕТРЫ И РАЗМЕРЫ

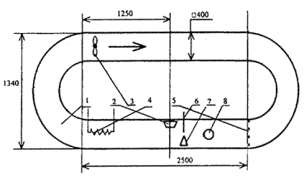
1. Испытательная камера состоит из аэродинамической трубы замкнутого типа, снабженной специальным устройством ввода продуктов горения (аэрозоля); применяется при определении чувствительности (порога срабатывания) автономных пожарных извещателей.

2. Форма испытательной камеры, а также размещение измерительной аппаратуры и испытуемых, оптических извещателей показаны на рисунке.

В измерительной зоне испытательной камеры 1 устанавливается испытываемый автономный пожарный извещатель 2. Воздушный поток в объеме камеры создается с помощью вентилятора 3. Подъем температуры в объеме испытательной камеры обеспечивается электронагревателем 4. Сетка 5 предназначена для равномерного распределения продуктов горения (аэрозоля) по поперечному сечению и выравниванию воздушного потока. Контроль температуры осуществляется датчиком температуры 6, контроль скорости воздушного потока - с помощью измерителя скорости воздушного потока 7, удельная оптическая плотность определяется устройством для измерения удельной оптической плотности 8, а концентрация продуктов горения - с помощью камеры ионизационной контрольной 9.

3. Поперечное сечение аэродинамической трубы испытательной камеры - не менее 380´380 мм.

4. Длина измерительной зоны испытательной камеры должна быть не менее 750 мм.

5. Испытательная камера должна обеспечивать возможность повышения температуры контролируемой среды до плюс 55 °С со скоростью не более 1 °С мин-1.

Испытательная камера должна обеспечивать создание скорости воздушного потока от 0,2±0,04 до (1,0±0,04) м×с-1.

Приложение 2
(рекомендуемое)

УСТРОЙСТВО ДЛЯ ОПРЕДЕЛЕНИЯ УДЕЛЬНОЙ ОПТИЧЕСКОЙ ПЛОТНОСТИ ПРОДУКТОВ ГОРЕНИЯ (АЭРОЗОЛЯ)

Устройство для определения удельной оптической плотности продуктов горения (аэрозоля) должно иметь следующие характеристики:

длина волны излучателя (приемника) - от 850 до 950 нм;

диапазон измеряемой удельной оптической плотности от 0 до 2 дБ×м-1;

погрешность измерения - не более 0,02 дБ×м-1;

длина зоны измерения оптической плотности - не более 1,1 м.

Приложение 3
(обязательное)

УСТРОЙСТВО ДЛЯ ПРОВЕРКИ СОХРАНЕНИЯ РАБОТОСПОСОБНОСТИ АВТОНОМНЫХ ОПТИЧЕСКИХ ИЗВЕЩАТЕЛЕЙ ПРИ ВОЗДЕЙСТВИИ ФОНОВОЙ ОСВЕЩЕННОСТИ

Устройство устанавливается в испытательной камере.

Размеры устройства соответствуют размерам испытательной установки. Устройство имеет форму куба, у которого четыре замкнутые поверхности выложены алюминиевой фольгой с хорошей отражающей способностью, а две противоположные открыты для свободного прохождения дыма (аэрозоля).

На поверхностях устройства устанавливаются кольцевые люминесцентные лампы, обеспечивающие цветовую температуру на уровне (3800±300) К.

Проверяемый автономный оптический извещатель устанавливается в центре верхней поверхности куба таким образом, чтобы свет попадал на него сверху, снизу и с двух боковых сторон.

Конструкция устройства представлена на рисунке.

Приложение 4
(обязательное)

УСТАНОВКА ДЛЯ ПРОВЕРКИ УСТОЙЧИВОСТИ АВТОНОМНЫХ ПОЖАРНЫХ ИЗВЕЩАТЕЛЕЙ К ПРЯМОМУ МЕХАНИЧЕСКОМУ УДАРУ (УДАР МОЛОТКОМ). ОСНОВНЫЕ ПАРАМЕТРЫ И РАЗМЕРЫ

Установка (см. рисунок) состоит из качающегося молотка, включающего в себя прямоугольную головку (ударник) со скошенной под углом 60 ° толчковой поверхностью 1, закрепленный на ручке молотка 2. Молоток зафиксирован в стильном цилиндре 3, который свободно вращается на подшипниках 4 на фиксированном стальном столбе 5, установленном на жесткой стальной раме 6. Конструкция жесткой рамы такова, что позволяет смонтированному молотку совершать полный оборот при отсутствии испытуемого извещателя 7.

Ударник выполнен из алюминиевого сплава AICu4SiMg и имеет габариты 76´50´94 мм. Ручка молотка выполнена из стальной трубки, которая имеет внешний диаметр (25±0,1) мм и стенки толщиной (1,6±0,1) мм.

Продольная ось ударника находится на расстоянии 305 мм от оси вращения конструкции, эти оси взаимно перпендикулярны. Стальной цилиндр имеет внешний диаметр 102 мм, длину 200 мм и установлен соосно на фиксированном стальном столбе диаметром 25 мм (диаметр стального столба зависит от диаметра используемых подшипников).

Диаметрально противоположно молотку к стальному цилиндру прикреплены две стальных ручки 8 с внешним диаметром 20 мм и длиной 185 мм. Ручки ввинчиваются в стальной цилиндр. На ручки устанавливается стальной противовес 9 таким образом, что можно сбалансировать вес молотка и противовеса. На конце стального цилиндра установлен ворот 10 шириной 12 мм и диаметром 150 мм, выполненный из алюминиевого сплава. На порот накручена нерастяжимая нить, один конец которой зафиксирован в вороте. На другом конце нити прикрепляется рабочий груз 11.

К жесткой раме крепится плита 12, на которую нормальным образам устанавливается испытуемый извещатель. Плита устанавливается таким образом, что центр ударной поверхности ударника попадает в извещатель тогда, когда молот, движется горизонтально.

При подготовке к испытаниям извещатель устанавливается на плиту, после чего доска крепится к жесткой раме. Затем молоток тщательно балансируется путем подстройки противовеса при удаленном рабочем весе. После этого молоток отводится от извещателя на угол 3/2p (ручка молота переводится в горизонтальное положение) и устанавливается рабочий вес. При освобождении сборки рабочий вес вращает молот на угол 3/2p. Масса рабочего веса, необходимая для создания энергии удара 1,9 Дж, равна 0,388/3 r, где r - радиус ворота в метрах.

Для достижения скорости ударника (1,5±0,125) м×с-1 масса ударника должна быть приближенно равна 0,56 кг, но этот параметр должен быть дополнительно определен на опыте.

 

 




ГОСТЫ, СТРОИТЕЛЬНЫЕ и ТЕХНИЧЕСКИЕ НОРМАТИВЫ.
Некоммерческая онлайн система, содержащая все Российские Госты, национальные Стандарты и нормативы.
В Системе содержится более 150000 файлов нормативно-технической документации, действующей на территории РФ.
Система предназначена для широкого круга инженерно-технических специалистов.

Рейтинг@Mail.ru Яндекс цитирования

Copyright © www.gostrf.com, 2008 - 2026