Крупнейшая бесплатная информационно-справочная система онлайн доступа к полному собранию технических нормативно-правовых актов РФ. Огромная база технических нормативов (более 150 тысяч документов) и полное собрание национальных стандартов, аутентичное официальной базе Госстандарта. GOSTRF.com - это более 1 Терабайта бесплатной технической информации для всех пользователей интернета. Все электронные копии представленных здесь документов могут распространяться без каких-либо ограничений. Поощряется распространение информации с этого сайта на любых других ресурсах. Каждый человек имеет право на неограниченный доступ к этим документам! Каждый человек имеет право на знание требований, изложенных в данных нормативно-правовых актах!

  


 

ГОСТ Р 52078-2003

ГОСУДАРСТВЕННЫЙ СТАНДАРТ РОССИЙСКОЙ ФЕДЕРАЦИИ

ПЛИТЫ ДРЕВЕСНО-СТРУЖЕЧНЫЕ, ОБЛИЦОВАННЫЕ ПЛЕНКАМИ НА ОСНОВЕ ТЕРМОРЕАКТИВНЫХ ПОЛИМЕРОВ

Технические условия

Wood particle boards, laminated with paper impregnated with thermosetting resins

ГОССТАНДАРТ РОССИИ

Москва

Предисловие

1 РАЗРАБОТАН Государственным унитарным предприятием «Научно-исследовательский и проектно-конструкторский институт промышленности древесных плит»

ВНЕСЕН Техническим комитетом по стандартизации ТК 121 «Плиты древесные»

2 ПРИНЯТ И ВВЕДЕН В ДЕЙСТВИЕ Постановлением Госстандарта России от 6 июня 2003 г. № 187-ст

3 ВВЕДЕН ВПЕРВЫЕ

Настоящий стандарт не может быть полностью или частично воспроизведен, тиражирован и распространен в качестве официального издания без разрешения Госстандарта России

СОДЕРЖАНИЕ

1 Область применения

2 Нормативные ссылки

3 Размеры и классификация

4 Технические требования

5 Требования безопасности и охрана окружающей среды

6 Правила приемки

7 Методы контроля

8 Транспортирование и хранение

9 Гарантии изготовителя

ПРИЛОЖЕНИЕ А (обязательное) Типовые дефекты поверхностей облицованных плит

ПРИЛОЖЕНИЕ Б (обязательное) Определение гидротермической стойкости поверхности

ПРИЛОЖЕНИЕ В (обязательное) Определение стойкости поверхностей к повышенной температуре воздуха

ПРИЛОЖЕНИЕ Г (обязательное) Определение термической стойкости поверхности

ПРИЛОЖЕНИЕ Д (рекомендуемое) Определение твердости защитно-декоративного покрытия

ПРИЛОЖЕНИЕ Е (справочное) Библиография 

Дата введения 2004-01-01

1 Область применения

Настоящий стандарт распространяется на древесно-стружечные плиты, облицованные пленками на основе термореактивных полимеров (далее - плиты) и предназначенные для производства мебели и других товаров народного потребления, использования в качестве конструкционных отделочных материалов в строительстве в условиях, защищенных от увлажнения, в машиностроении и радиоприборостроении.

Положения настоящего стандарта распространяются на плиты, выпускаемые и применяемые предприятиями (организациями) любых форм собственности, а также индивидуальными изготовителями.

2 Нормативные ссылки

В настоящем стандарте использованы ссылки на следующие стандарты:

ГОСТ 12.1.004-91 Система стандартов безопасности труда. Пожарная безопасность. Общие требования

ГОСТ 12.3.042-88 Система стандартов безопасности труда. Деревообрабатывающее производство. Общие требования безопасности

ГОСТ 12.4.009-83 Система стандартов безопасности труда. Пожарная техника для защиты объектов. Основные виды. Основные виды. Размещение и обслуживание

ГОСТ 12.4.011-89 Система стандартов безопасности труда. Средства защиты работающих. Общие требования и классификация

ГОСТ 61-75 Кислота уксусная. Технические условия

ГОСТ 577-68 Индикаторы часового типа с ценой деления 0,01 мм. Технические условия

ГОСТ 2603-79 Ацетон. Технические условия

ГОСТ 2718-74 Гетинакс электротехнический листовой. Технические условия

ГОСТ 2910-74 Текстолит электротехнический листовой. Технические условия

ГОСТ 3560-73 Лента стальная упаковочная. Технические условия

ГОСТ 3749-77 Угольники поверочные 90°. Технические условия. Допуски углов

ГОСТ 6709-72 Вода дистиллированная. Технические условия

ГОСТ 7502-98 Рулетки измерительные металлические. Технические условия

ГОСТ 8026-92 Линейки поверочные. Технические условия

ГОСТ 9784-75 Стекло органическое светотехническое листовое

ГОСТ 10632-2007 Плиты древесно-стружечные. Технические условия

ГОСТ 10634-88 Плиты древесно-стружечные. Методы определения физических свойств

ГОСТ 10635-88 Плиты древесно-стружечные. Методы определения предела прочности и модуля упругости при изгибе

ГОСТ 10636-90 Плиты древесно-стружечные. Метод определения предела прочности при растяжении перпендикулярно пласти плиты

ГОСТ 10905-86 Плиты поверочные и разметочные. Технические условия

ГОСТ 11358-89 Толщиномеры и стенкомеры индикаторные с ценой деления 0,01 и 0,1 мм. Технические условия

ГОСТ 14192-96 Маркировка грузов

ГОСТ 14705-83 Электрокипятильники погружные бытовые. Технические условия

ГОСТ 14919-83 Электроплиты, электроплитки и жарочные электрошкафы бытовые. Общие технические условия

ГОСТ 18321-73 Статистический контроль качества. Методы случайного отбора выборок штучной продукции

ГОСТ 19720-74 Детали и изделия из древесины и древесных материалов. Метод определения стойкости лакокрасочных покрытий к воздействию переменных температур

ГОСТ 20400-80 Продукция мебельного производства. Термины и определения

ГОСТ 23234-78 Плиты древесно-стружечные. Метод определения удельного сопротивления при нормальном отрыве наружного слоя

ГОСТ 23683-89 Парафины нефтяные твердые. Технические условия

ГОСТ 24053-80 Плиты древесно-стружечные. Детали мебели. Метод определения покоробленности

ГОСТ 25336-82 Посуда и оборудование лабораторные стеклянные. Технические условия

ГОСТ 25706-83 Лупы. Типы, основные параметры. Общие технические требования

ГОСТ 27326-87 Детали и изделия из древесины и древесных материалов. Методы определения твердости защитно-декоративных покрытий царапаньем

ГОСТ 27627-88 Детали и изделия из древесины и древесных материалов. Метод определения стойкости защитно-декоративных покрытий к пятнообразованию

ГОСТ 27680-88 Плиты древесно-стружечные и древесно-волокнистые. Методы контроля размеров и формы

ГОСТ 27820-88 Детали и изделия из древесины и древесных материалов. Метод определения стойкости защитно-декоративных покрытий к истиранию

ГОСТ 28498-90 Термометры жидкостные стеклянные. Общие технические требования. Методы испытаний.

ГОСТ 30255-95 Мебель, древесные и полимерные материалы. Метод определения выделения формальдегида и других вредных летучих химических веществ в климатических камерах

ГОСТ Р ИСО 2859-1-2007 Статистические методы. Процедуры выборочного контроля по альтернативному признаку. Часть I. Планы выборочного контроля последовательных партий на основе приемлемого уровня качества

(Измененная редакция, Изм. № 1).

3 Размеры и классификация

3.1 Номинальные размеры плит должны соответствовать указанным в таблице 1.

Таблица 1

В миллиметрах

Длина

Ширина

Толщина*

Номинальный размер

Предельное отклонение

Номинальный размер

Предельное отклонение

Номинальный размер

Предельное отклонение

1830

2440

2750

3500

3660

5500

±5,0

1220

1500

1750

1830

±5,0

До 20 включ. с градацией через 1 мм

От 20 - с градацией через 1 мм

±0,3 мм

±0,5 мм

*Как в пределах одной плиты, так и между плитами.

Примечание - По согласованию с потребителем плиты могут быть других размеров.

(Измененная редакция, Изм. № 1).

3.2 Классификация

3.2.1 Плиты по физико-механическим свойствам подразделяют на три группы качества - А, Б, У (таблица 2). К группе У относят плиты с улучшенными эксплуатационными свойствами.

3.2.1а Плиты по выделению формальдегида подразделяют на два класса - Е1 и Е2 (таблица 3а).

(Введен дополнительно, Изм. № 1).

3.2.2 В зависимости от показателей внешнего вида покрытия плиты подразделяют на два класса (таблица 3).

3.2.3 Плиты могут иметь поверхности различных классов покрытия на лицевой и оборотной пластях.

По требованию потребителя плиты могут иметь одну облицованную пласть для дальнейшего покрытия необлицованной пласти у потребителя другими материалами.

3.2.4 По степени блеска покрытия подразделяют на глянцевые (Г) и матовые (М).

3.2.5 По виду печати покрытия подразделяют на одноцветные (Оц) и с печатным рисунком (Пр).

3.2.6 В зависимости от фактуры поверхности покрытия подразделяют на гладкие (Гл) и рельефные (Р).

3.2.7 Характеристики покрытий плит, указанные в 3.2.4-3.2.6, устанавливают в спецификации потребителя в соответствии с договором поставки.

3.2.8 Внешний вид покрытия, вид рисунка, при его наличии, цвет, имитация текстуры и породы древесины, степень блеска, фактура поверхности должны соответствовать образцам-эталонам, утвержденным в установленном порядке.

3.2.9 Условное обозначение плит должно состоять из обозначения покрытия (класса покрытия, степени блеска, вида печати, фактуры поверхности, индекса цвета и рисунка), группы качества, класса плит по выделению формальдегида и номера настоящего стандарта.

Классы покрытия обозначают дробно, где в числителе указывают класс покрытия лицевой пласти, а в знаменателе - класс покрытия оборотной пласти. Для плит с одной облицованной пластью класс покрытия обозначают дробно с проставлением в знаменателе прочерка.

Пример обозначения плит, изготовленных из древесностружечных плит, облицованных бумагой, пропитанной термореактивными полимерами, с покрытием 1-го класса на лицевой пласти и 2-го класса на оборотной пласти (1/2), с матовым (М), одноцветным (Оц) покрытием, с гладкой фактурой поверхности (Гл), группы качества А:

Плита 1/2 М-Оц-Гл-А - ГОСТР 52078-2003

То же для плит, облицованных бумагой, пропитанной термореактивными полимерами, с покрытием 20-го класса на обеих пластях, для глянцевых (Г), с печатным рисунком (Пр) покрытий группы качества А:

Плита 2/2-Г-Пр-Р-А - ГОСТ Р 52078-2003

(Измененная редакция, Изм. № 1).

4 Технические требования

4.1 Характеристики

4.1.1 Отклонение от прямолинейности кромок не должно быть более 2,0 мм на один погонный метр.

4.1.2 Отклонение от перпендикулярности кромок плит не должно быть более 2 мм на один погонный метр.

Перпендикулярность кромок может определяться разностью длин диагоналей пласти, которая не должна быть более 0,2 % длины плиты.

4.1.3 Для производства плит применяют:

- для групп А и Б - плиты древесностружечные марок П-А и П-Б по ГОСТ 10632 первого сорта с мелкоструктурной поверхностью, шлифованные;

- для группы У - плиты древесностружечные марки П-А по ГОСТ 10632 первого сорта с мелкоструктурной поверхностью, шлифованные:

плотностью не более: 720 кг/м3 - для толщины 13 мм и более,

800 кг/м3 - для толщины до 13 мм;

разбуханием по толщине за 2 ч - не более 16 %.

Допускается применять древесностружечные плиты по нормативной и технической документации, соответствующие по качеству плитам указанных марок:

- пленки декоративные на основе термореактивных полимеров по нормативной и технической документации.

4.2 Показатели качества плит должны соответствовать нормам, указанным в таблице 2.

Таблица 2

Наименование показателя

Норма для групп качества

А

Б

У

Приемосдаточные показатели

Предел прочности при изгибе, МПа, не менее, для плит толщиной:

от 8 до 12 мм

« 13 » 19 мм

« 20 » 30 мм

« 31 » 38 мм

18,0

16,0

14,0

12,0

16,0

14,0

12,0

10,0

18,0

16,0

14,0

12,0

Покоробленность, мм, не более:

- для плит с двухсторонней облицовкой

1,2

2,0

1,2

- для плит с односторонней облицовкой

-

-

-

Гидротермическая стойкость покрытия

Допускаются незначительные: потеря блеска, цвета, проявление структуры плиты-основы

Не допускается изменение внешнего вида покрытия

Предел прочности при растяжении перпендикулярно пласти, МПа, не менее, для плит толщиной:

от 8 до 12 мм

« 13 » 19 мм

« 20 » 30 мм

« 31 » 38 мм

0,35

0,30

0,25

0,25

0,30

0,30

0,25

0,22

0,35

0,30

0,25

0,25

Удельное сопротивление при нормальном отрыве покрытия, МПа, не менее

0,80

0,60

0,80

Периодические испытания

Твердость защитно-декоративного покрытия:

- по ГОСТ 27326 при массе груза 1,5 Н (метод 1), мкм, не более

80,0

100,0

60,0

- по приложению Д, Н, не менее

2,0

1,5

2,5

Типовые испытания

Стойкость покрытия к повышенной температуре воздуха

Изменение внешнего вида покрытия не допускается

Термическая стойкость покрытия

Не допускается изменение внешнего вида покрытия, за исключением незначительной потери блеска, цвета

Стойкость покрытия к истиранию, обороты, не менее

65

Не нормируется

100

Стойкость поверхности к пятнообразованию

Изменение внешнего вида покрытия не допускается

Допускается незначительное изменение внешнего вида

Изменение внешнего вида покрытия не допускается

Стойкость покрытия к воздействию переменных температур, %, не менее

100

Примечание - Показатель «гидротермическая стойкость» контролируют (по требованию потребителей) только для элементов мебели, подвергающихся воздействию водяного пара.

4.3 Требования к внешнему виду покрытия по классам представлены в таблице 3. Перечень типовых дефектов покрытий облицованных плит приведен в приложении А.

Таблица 3

Наименование дефекта

Класс

1

2

Вмятины*):

- количество, шт./м2, не более

1

3

- наибольший размер на поверхности, мм, не более

5,0

5,0

- глубина, мм, не более

0,2

0,4

Включения*):

- количество, шт./м, не более

Не допускаются

2

- наибольший размер на поверхности, мм, не более

20,0

Серебристость пор, не более (рассеянная)

Не допускается

5 % поверхности

Пятно:

- количество, шт./м, не более

Не допускается

1

- наибольший размер на поверхности, мм, не более

30,0

Риски отдельные волосяные*) количество, шт./м, не более

Не допускаются

4

Царапина*):

- количество, шт./м2, не более

Не допускается

1

- размер, мм, не более

200

Перекос рисунка

Не допускается

Непропечатка рисунка

Не допускается

Допускается незначительная, не портящая внешний вид

Проявление:

- включений крупной стружки, шт./м2, не более

1

3

- наибольший размер на поверхности, мм, не более

5,0

15,0

- волнистости древесно-стружечной плиты

Не допускается

Допускается незначительная при отсутствии серебристости

Блесткость

Не допускается

Допускается не более 1 % поверхности

*) Суммарное количество одновременно присутствующих дефектов на квадратный метр для покрытий 2-го класса не должно быть более 5 шт.

Примечания

1 Для плит конкретного формата количество допускаемых дефектов на фактическую площадь вычисляют с точностью до целого числа.

2 Плиты с двумя облицованными пластами, имеющие на одной из сторон дефекты, превышающие указанные в таблице 3, переводят в плиты с одной облицованной пластью. Сортность плит в этом случае устанавливают по качественным показателям лучшей стороны. Дефекты на оборотной стороне в этом случае не регламентируют.

4.4 Маркировка

Каждая партия (пакет) плит должна сопровождаться документом о качестве, содержащим:

- наименование, товарный знак (при его наличии) и место нахождения предприятия-изготовителя;

- условное обозначение плит;

- размеры (в квадратных метрах) и количество плит (в штуках);

- дату изготовления плит;

- штамп отдела технического контроля;

- обозначение настоящего стандарта.

4.5 Упаковка

4.5.1 Пакеты формируют из плит одного размера, класса покрытия, сорта, рисунка и цвета текстуры облицовки.

(Измененная редакция, Изм. № 1).

4.5.2 Пакеты формируют на поддоне, как правило, из некондиционной древесностружечной плиты, сверху пакет также закрывают аналогичной древесностружечной плитой. Размеры верхней и нижней обкладочной плиты должны быть не менее размеров облицованных плит.

4.5.3 Предельная высота сформированного пакета устанавливается исходя из наличия грузоподъемных механизмов, грузоподъемности транспортных средств, но, как правило, не более одного метра.

4.5.4 Каждый пакет должен быть скреплен поперечными обвязками из стальной упаковочной ленты шириной не менее 16 мм и толщиной не менее 0,5 мм по ГОСТ 3560. Количество обвязок должно быть не менее двух (при высоте пакета до 500 мм) и до шести (при высоте пакета более 500 мм).

По согласованию с потребителем допускается другой вид упаковки.

5 Требования безопасности и охрана окружающей среды

5.1 Содержание химических веществ, выделяющихся при эксплуатации изделий из плит, в воздухе жилых помещений не должно превышать предельно допустимые концентрации и безопасные уровни воздействия веществ, установленные для атмосферного воздуха в нормативной документации Минздрава России [1], [2].

Эксплуатация изделий из плит возможна только при наличии санитарно-эпидемиологического заключения на продукцию, оформленного органами Госсанэпиднадзора Минздрава России.

5.2 Синтетические материалы для изготовления плит можно применять только при наличии санитарно-эпидемиологического заключения, выданного органами Госсанэпиднадзора Минздрава России.

5.2а Классификация плит по выделению формальдегида представлена в таблице 3а.

Таблица 3а

Класс плит по выделению формальдегида

Метод испытания

Норма выделения формальдегида в воздухе

Назначение испытаний

Е1

Камерный метод по ГОСТ 30255-95

До 0,124 мг/м3 воздуха включ.

Квалификационные и контрольные испытания

Е1

Газоаналитический метод по [4]

До 3,5 мг/м2·ч включ.

Производственный контроль

Е2

Камерный метод по ГОСТ 30255-95 и газоаналитический метод по [4]

Св. 0,124 мг/м3 воздуха

Св. 3,5 до 8,0 мг/м2·ч включ.

Квалификационные и контрольные испытания

Газоаналитический метод по [4]

Св. 3,5 до 8,0 мг/м2·ч включ.

Производственный контроль

(Введен дополнительно, Изм. № 1).

5.3 Содержание химических веществ в воздухе производственных помещений не должно превышать ПДК для рабочей зоны согласно нормативной документации Минздрава России [3].

5.4 Производство плит должно отвечать требованиям безопасности, установленным ГОСТ 12.1.014 и ГОСТ 12.3.042.

5.5 Лица, связанные с изготовлением плит, должны быть обеспечены средствами индивидуальной защиты по ГОСТ 12.4.011 (специальной одеждой, защитными очками, для защиты рук - комбинированными рукавицами).

5.6 Обеспечение пожарной безопасности должно соответствовать требованиям ГОСТ 12.1.004. Виды пожарной техники - по ГОСТ 12.4.009.

6 Правила приемки

6.1 Плиты предъявляют к приемке партиями. Партией считается количество плит одного размера, одной группы качества и класса покрытия, изготовленных по одному технологическому режиму за ограниченный период времени, и оформленное одним документом о качестве.

6.2 На стадии производства на участке сортировки у изготовителя каждая плита подвергается осмотру для определения класса покрытия.

По периметру плиты допускаются свесы покрытия, а также полоса шириной не более 20 мм в пределах формата плиты с дефектами покрытия, например дефекты рисунка, сколы кромок, вырывы и отслоение покрытия, недопрессовка, выкрашивание углов.

Плиты могут изготовлять без свесов с использованием облицовочной пленки шириной менее ширины облицовываемой плиты не более чем на 12 мм.

6.3 Отбор плит для контроля и испытаний проводят методом случайного отбора «вслепую» по ГОСТ 18321.

6.4 Для контроля длины, ширины, толщины, перпендикулярности кромок, а также внешнего вида плит применяют статистический приемочный контроль по альтернативному признаку по ГОСТ Р 50779.71.

Объем выборки определяют в соответствии с требованиями таблицы 4.

Таблица 4

Объем партии, шт.

Объем выборки при проверке, шт.

Число годных плит от объема выборки, при котором партия принимается при проверке, шт., не менее

длины, ширины, толщины перпендикулярности кромок

внешнего вида покрытия

длины, ширины, толщины перпендикулярности кромок

внешнего вида покрытия

До 500

От 501 » 1200

» 1201 » 3200

8

13

13

13

20

32

7

11

11

11

17

27

(Измененная редакция, Изм. № 1).

6.5. Для контроля показателей качества отбирают не менее трех плит.

6.6 Для оценки качества партии плит по показателям: предел прочности при изгибе, предел прочности при растяжении перпендикулярно пласти плиты, удельное сопротивление при нормальном отрыве покрытия, твердость защитно-декоративного покрытия, стойкость покрытия к истиранию - вычисляют выборочное среднеарифметическое значение Xt по всем испытанным образцам по формуле:

,

(1)

где Хij - значение показателя выборки j-го образца, i-й плиты выборки из n-плит;

m - число образцов, отбираемое от каждой плиты.

6.7 Партию считают соответствующей требованиям настоящего стандарта и принимают, если:

- по показателям: покоробленность, предел прочности при изгибе, предел прочности при растяжении перпендикулярно пласти плиты и удельное сопротивление при нормальном отрыве покрытия, твердости защитно-декоративного покрытия и стойкости покрытия к истиранию сред неарифметическое значение по всем образцам - не более (менее) нормы, указанной в таблице 2;

- по показателям: гидротермическая стойкость покрытия, стойкость покрытия к повышенной температуре воздуха, стойкость поверхности к пятнообразованию, термическая стойкость покрытия и стойкость покрытия к воздействию переменных температур - каждый образец соответствует требованиям таблицы 1;

- результаты контроля размеров, прямоугольности и внешнего вида покрытия соответствуют требованиям таблицы 4.

6.8 Периодически контролируемый показатель

Твердость защитно-декоративного покрытия определяют не реже одного раза в неделю, а также при изменении в технологических процессах производства или при изменении применяемых материалов.

Результаты распространяют на весь объем продукции, выпускаемой в период до следующих периодических испытаний.

6.9 Показатели для типовых испытаний: стойкость покрытия к повышенной температуре воздуха, термическая стойкость покрытия, стойкость покрытия к истиранию, стойкость покрытия к воздействию переменных температур, стойкость покрытия к пятнообразованию определяют при изменении в технологических процессах производства или при изменении применяемых материалов.

7 Методы контроля

7.1 Внешний вид плит контролируют визуально без применения увеличительных приборов при освещенности не ниже 1000 до 5000 люкс на расстоянии приблизительно (300-500) мм от поверхности под углом от 30° до 60°. Источником света может быть либо рассеянный дневной, либо рассеянный искусственный свет.

7.2 Класс покрытия определяют в соответствии с требованиями таблицы 3.

7.24 Выделение формальдегида из плит определяют по ГОСТ 30255-95 и [1].

(Введен дополнительно, Изм. № 1).

7.3 Матовость и блеск покрытий определяют визуально путем сопоставления с утвержденным образцом-эталоном.

7.4 Размеры плит проверяют предельными калибрами и универсальными измерительными инструментами, обеспечивающими требуемую точность.

7.5 Толщину плит проверяют толщиномером по ГОСТ 11358 или другим измерительным инструментом, обеспечивающим погрешность измерения не более ±0,1 мм.

Измерение проводят на расстоянии не менее 25 мм от кромки плиты в шести точках: в двух точках от каждой длинной стороны плиты с расстоянием между точками измерения около 1/3 длины плиты и по одной точке в середине коротких сторон плиты.

7.6 Отклонение от прямолинейности кромок определяют по ГОСТ 27680 при помощи приспособления или поверочной линейки по ГОСТ 8026 длиной 1000 мм не ниже второго класса точности и набора щупов.

7.7 Отклонение перпендикулярности смежных кромок определяют по ГОСТ 27680 с помощью угольника по ГОСТ 3749 и набора щупов или по разности длины диагоналей по пласти, измеряемых металлической рулеткой с ценой деления 1 мм по ГОСТ 7502.

При арбитражных испытаниях продукции отклонение перпендикулярности смежных кромок определяют по ГОСТ 27680.

7.8 Отбор образцов для определения показателей качества и общие требования к испытаниям

7.8.1 Из каждой плиты-выборки в соответствии с 6.3 на расстоянии не менее 150 мм от поперечной кромки вырезают полосу шириной не менее 700 мм, из которой согласно номенклатуре контролируемых показателей таблицы 2 вырезают образцы в количестве не менее указанного в таблице 5.

Таблица 5

Вид испытания

Количество образцов, шт.

Определение предела прочности при изгибе

Определение покоробленности

Определение гидротермической стойкости покрытия

Определение предела прочности при растяжении перпендикулярно пласти плиты

Определение удельного сопротивления при нормальном отрыве

Твердость защитно-декоративного покрытия

Определение стойкости к повышенной температуре воздуха

Определение термической стойкости покрытия

Определение стойкости покрытия к истиранию

Определение стойкости поверхности к пятнообразованию

Определение стойкости покрытия к воздействию переменных температур

8

1

2

8

8

2

2

2

2

2

4

7.8.2 При вырезании образцов необходимо предварительно от каждой попавшей в выборку плиты учитывать следующее:

- образцы для каждого вида испытаний должны вырезаться из крайних и средней частей полосы;

- расстояние между образцами для определения одного и того же показателя должно быть не менее 50 мм;

- пласти и кромки образцов должны быть взаимно перпендикулярны, а кромки попарно параллельны;

стороны образцов должны быть параллельны сторонам плиты.

7.8.3 Отклонения размеров образцов, которые не входят в формулу расчета результатов испытаний, не должны превышать ±3 мм.

7.8.4 Испытания образцов проводят не ранее чем через 24 ч после облицовки плит на линии, выдержав их в нормальных условиях.

7.9 Размеры вмятин (углублений) на поверхности плиты определяют при помощи индикатора часового типа марки ИЧ-10 по ГОСТ 577, закрепленного в металлической П-образной скобе с цилиндрическими опорными поверхностями с радиусом (5 ±1) мм и пролетом между опорами 60 - 100 мм.

Установку шкалы индикатора в нулевое положение производят при установке скобы на поверочную линейку по ГОСТ 8026 или на поверочную плиту по ГОСТ 10905. Ход штока в обе стороны от опорной плоскости должен быть не менее 2 мм.

7.10 Плотность и разбухание по толщине плиты-основы определяют по ГОСТ 10634.

7.11 Удельное сопротивление нормальному отрыву наружного слоя плиты-основы определяют по ГОСТ 23234.

7.12 Предел прочности при изгибе определяют по ГОСТ 10635.

7.13 Покоробленность определяют по ГОСТ 24053.

7.14 Гидротермическую стойкость покрытия определяют по приложению Б.

7.15 Предел прочности при растяжении перпендикулярно пласти плиты определяют по ГОСТ 10636.

7.16 Удельное сопротивление при нормальном отрыве покрытия определяют по ГОСТ 23234.

7.17 Стойкость покрытия к повышенной температуре воздуха определяют по приложению В.

7.18 Термическую стойкость покрытия определяют по приложению Г.

7.19 Твердость защитно-декоративного покрытия определяют при массе груза 1,5 Н по ГОСТ 27326 (метод I) или по приложению Д.

При контрольных испытаниях продукции показатель «твердость защитно-декоративного покрытия» определяют по ГОСТ 27326.

7.20 Стойкость покрытия к истиранию определяют по ГОСТ 27820 (метод определения числа сошлифовки) с периодичностью оценки степени истирания испытуемого образца, равной 10 оборотам.

За результат определения степени истирания образца принимают число оборотов поворотного стола п, определяемое по формуле:

,

(2)

где IP - количество оборотов, соответствующее начальной точке истирания покрытия;

FP - количество оборотов, соответствующее конечной точке истирания покрытия (момент удаления более 95 % рисунка).

7.21 Стойкость поверхности к пятнообразованию определяют по ГОСТ 27627 с применением реагентов и временем их воздействия на испытуемые покрытия, указанных в таблице 6.

Таблица 6

Наименование реагентов воздействия

Время действия реагентов

Вода дистиллированная по ГОСТ 6709

24 ч

Химические жидкости-растворители:

 

- ацетон по ГОСТ 2603

10 мин

- спирт этиловый с массовой долей 96 %

24 ч

- бензин

24 ч

Пищевые продукты:

 

- уксусная кислота по ГОСТ 61 (раствор с массовой долей 10 %)

24 ч

- кофе (12 г на 100 см3)

24 ч

- масло растительное

24 ч

Дезинфицирующее вещество:

 

хлорамин Б

24 ч

7.22 Стойкость покрытия к воздействию переменных температур определяют по ГОСТ 19720.

7.23 Уровни летучих химических веществ, выделяющихся при эксплуатации плит в воздух жилых помещений, определяют по ГОСТ 30255 и нормативным документам, утвержденным Минздравом России.

8 Транспортирование и хранение

8.1 Плиты перевозят всеми видами транспорта в соответствии с Правилами перевозки грузов, действующими на данном виде транспорта с обязательным предохранением их от атмосферных осадков и механических повреждений.

8.2 Транспортная маркировка - по ГОСТ 14192.

8.3 Плиты должны храниться в сухих, чистых, закрытых помещениях при температуре не ниже 5ºС и относительной влажности воздуха не выше 65 %.

8.4 Плиты должны храниться в горизонтальном положении в стопах, уложенных на ровных подстойных местах.

Высота стопы должна быть не более 3300 мм для пачек плит, упакованных стальной упаковочной лентой, разделенных между собой брусками-прокладками размером сечения не менее (80´80) мм и длиной не менее ширины плиты, расположенными друг от друга не более чем на 700 - 800 мм. Высота стопы для неупакованных пачек плит не должна превышать 1700 мм. Расстояние от крайних брусков-прокладок до торцов плиты не должно превышать 250 мм.

Допускаются другие условия хранения плит при обеспечении необходимых условий безопасности труда, утвержденных руководителем предприятия.

9 Гарантии изготовителя

9.1 Предприятие-изготовитель гарантирует соответствие плит требованиям настоящего стандарта при соблюдении условий хранения и транспортирования в течение 12 мес. с момента изготовления.

ПРИЛОЖЕНИЕ А (обязательное)
Типовые дефекты поверхностей облицованных плит

Таблица А.1

Дефект

Определение

Вмятина на поверхности

По ГОСТ 20400, (6.1)

Включения

По ГОСТ 20400, (6.13)

Пятна

По ГОСТ 20400, (6.21)

Риска

По ГОСТ 20400, (6.24)

Царапина

По ГОСТ 20400, (6.25)

Перекос рисунка

По ГОСТ 20400, (6.30)

Серебристость пор

Побеление поверхности детали из-за недостаточной растекаемости смолы в поверхностном слое пленки

Непропечатка рисунка

Отдельный участок печатного рисунка на детали, отличающийся по цвету и фактуре от идентичного рисунка покрытия

Проявление структуры древесно-стружечной плиты (подложки)

Проявление стружки наружного слоя древесностружечной плиты на поверхности плиты

Волнистость поверхности древесно-стружечной плиты

Наличие продольных или поперечных полос по всей поверхности плиты с равномерным шагом

Блесткость

Точечные участки повышенного глянца

Свесы покрытия

Технологическое превышение размеров формата отвержденной пленки над размерами плиты-основы для обеспечения качества конечной продукции

Примечание - Другие дефекты поверхности - не допускаются.

ПРИЛОЖЕНИЕ Б (обязательное)
Определение гидротермической стойкости поверхности

Б.1 Аппаратура

Для проведения испытания применяют следующую аппаратуру:

- колбу коническую вместимостью 250 см3 по ГОСТ 25336;

- лупу с пятикратным увеличением по ГОСТ 25706;

- плиту электронагревательную бытовую по ГОСТ 14919.

Допускается применение другой аппаратуры, обеспечивающей требуемую погрешность измерения.

Б.2 Отбор образцов

Отбор образцов проводят в соответствии с 7.8 настоящего стандарта. Образцы должны иметь форму квадрата со стороной 75 мм. Допускается использовать образцы размерами 100´100 мм.

Б.3 Проведение испытаний

Образец помещают на колбу с кипящей водой и подвергают в течение 1 ч воздействию паров кипящей воды, после чего образец осушают фильтровальной бумагой.

Образцы осматривают при комнатной температуре сразу после испытания, отмечают следующие изменения на поверхности: наличие трещин (при помощи лупы), вздутий, расслоения, потери блеска, цвета (невооруженным глазом).

Б.4 Обработка результатов испытаний

Если изменения внешнего вида покрытия и расслоения не произошли или указанные изменения внешнего вида (при отсутствии расслоения) исчезли в течение 24 ч, то результаты испытаний считаются положительными.

ПРИЛОЖЕНИЕ В (обязательное)
Определение стойкости поверхностей к повышенной температуре воздуха

В.1 Аппаратура

В. 1.1 Для проведения испытания применяют следующую аппаратуру: термошкаф, обеспечивающий поддержание температуры (70 ± 5)°С.

В.2 Отбор образцов

Отбор образцов проводят в соответствии с 7.8 настоящего стандарта. Образцы должны иметь форму квадрата со стороной 250 мм.

В.3 Проведение испытаний

Острые кромки образцов зачищают абразивной шкуркой так, чтобы отсутствовали сколы покрытия. Образцы помещают в термошкаф при температуре (70 + 5)°С на 24 ч.

После испытания образцы выдерживают 24 ч при (20 + 5)°С и осматривают декоративную поверхность невооруженным глазом с целью обнаружения трещин на поверхности.

Осмотр образцов производят под углом 20°-30° к плоскости поверхности с расстояния 250 мм.

В.4 Обработка результатов испытаний

При отсутствии на покрытиях трещин образцы считают выдержавшими испытание и результат распространяют на всю партию плит.

ПРИЛОЖЕНИЕ Г (обязательное)
Определение термической стойкости поверхности

Г.1 Аппаратура, материалы

Для проведения испытания применяют следующие аппаратуру и материалы:

- стакан алюминиевый цилиндрический с плоским дном внутренним диаметром (100 ±5) мм, высотой (115 ±1,5) мм и толщиной дна (2,5 ±0,5) мм;

- термометр ртутный стеклянный лабораторный до 250°С по ГОСТ 28498;

- пластину из гетинакса по ГОСТ 2718, текстолита по ГОСТ 2910 или другого термостойкого материала размерами (150´150´18) мм с отверстиями для электрокипятильника и термометра;

- воск или парафин нефтяной по ГОСТ 23683;

- электрокипятильник мощностью до 300 Вт по ГОСТ 14705.

Г.2 Отбор образцов

Отбор образцов проводят в соответствии с 7.8 настоящего стандарта.

Образцы должны иметь форму квадрата со стороной 250 мм.

Г.3 Проведение испытаний

В алюминиевый стакан помещают около 400 г воска (парафина), закрывают пластиной, нагревают его при помощи электрокипятильника до 180°С. Температуру контролируют ртутным термометром на расстоянии не менее 6 мм от дна стакана. При достижении температуры выше требуемой отключают электрокипятильник, стакан ставят на асбест и доводят температуру воска (парафина) до необходимой с точностью до ±1°С.

Стакан с разогретым воском (парафином) ставят на испытуемый образец. Через 20 мин, в течение которых воск (парафин) не нагревается, стакан снимают.

Через 30 мин после проведения испытания осматривают поверхность образца, отмечая наличие трещин (при помощи лупы), вздутий и потери блеска (невооруженным глазом).

Г.4 Обработка результатов испытаний

Если изменения внешнего вида покрытия не произошло, за исключением незначительной потери блеска, цвета, то результаты испытаний считают положительными и распространяют на всю партию плит.

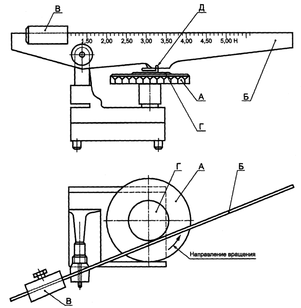
ПРИЛОЖЕНИЕ Д (рекомендуемое)
Определение твердости защитно-декоративного покрытия

(гармонизировано с ISO 4586-2-91 и EN 438-2-97 в части метода определения стойкости к царапанью)

Д.1 Аппаратура

Для проведения испытания применяют следующую аппаратуру:

установку для населения царапин (см. рисунок Д.1) типа 413/Е фирмы «Erichsen», состоящую из следующих частей:

- устройства для определения горизонтальной плоскости;

- опорного диска А для размещения испытуемого образца, свободно вращающегося без люфта вдоль вертикальной оси, предпочтительно с помощью двигателя. Число оборотов (5 ±1) об/мин. Допускается равно мерное вращение опорного диска вручную;

- рычага Б, перемещающего держатель алмазной головки, установленный на шарикоподшипнике с горизонтальной осью. Высота оси регулируется так, чтобы рычаг находился строго горизонтально, когда алмазная головка покоится на испытуемом образце;

- приспособления для изменения нагрузки на алмазную головку с точностью ±0,1 Н с грузом В;

- головки алмазной полусферической царапающей Д радиусом (0,090 + 0,003) мм, расположенной в конусе с углом 90° ±1° (см. рисунок Д.2). Головка монтируется в передней части держателя плоской стороной на основании удерживающей полости. Используется алмаз, сертифицированный изготовителем в органах метрологии и откалиброванный в соответствии с Д.3 настоящего приложения;

- зажимного диска Г, удерживающего испытуемый образец в плоском положении;

- смотровой камеры с черной матовой поверхностью и закрепленным сверху источником света. При проведении испытаний образец находится на расстоянии 600 мм по вертикали от источника света. Отверстие в передней стенке камеры позволяет осматривать испытуемый образец под разными углами на расстоянии (400 ±10) мм. Смотровая камера изображена на рисунке Д.3. Источником света является матовая лампа 100 Вт, установленная в белом отражателе диаметром 140 мм, создающая освещенность на поверхности образца 800-1000 лк;

- маски для наблюдения (см. рисунок Д.4) из плоского непрозрачного материала, например листа металла или пластика.

Д.2 Отбор образцов

Отбор образцов проводят в соответствии с 7.8 настоящего стандарта. Образцы должны иметь форму квадрата со стороной 100 мм; в центре каждого образца должно быть отверстие диаметром 6,5 мм.

Кондиционирование образцов - по ГОСТ 27820.

Д.3 Калибровка алмазной головки

Для калибровки используют диск, вырезанный из органического светотехнического листового стекла по ГОСТ 9784 (полиметилметакрилата) минимальной толщиной 3 мм (предпочтительно 4 мм). Закрепляют диск на опорном диске. Увеличивают нагрузку от 1,5 до 4 Н шагом 0,5 Н, вращая диск со скоростью (5 ±1) об/мин.

Высокомолекулярный литой полиметилметакрилат, высушенный в вакууме 24 ч при температуре 80°С, должен иметь теплостойкость по ВИКА не менее 112°С.

Выполняют один полный оборот при каждой нагрузке. Измеряют глубину проникания в четырех точках, отстоящих на 90° друг от друга на одной и той же царапине и вычисляют среднеарифметическое значение глубины для каждой нагрузки.

Проникающие при нагрузке 4,0 Н на глубину 4 мкм и более алмазные головки считаются непригодными. Для испытаний используют алмазные головки, имеющие глубину проникания, соответствующую предельным кривым (рисунок Д.5).

Алмазные головки с неравномерной кривизной отбраковывают. Алмазные головки проверяют после каждой 1000 испытаний.

Д.4 Проведение испытаний

Убеждаются в горизонтальном расположении испытательной установки.

Регулируют высоту рычага Б так, чтобы он располагался горизонтально при соприкосновении алмазной головки с испытуемым образцом.

Начинают испытания с нагрузки 5,0 Н. Перемещают рычаг Б в вертикальное положение. Фиксируют образец зажимным диском Г так, чтобы образец не скользил при испытаниях.

Опускают рычаг Б и помещают алмазную головку на образец, избегая удара.

Поворачивают опорный диск на один оборот против часовой стрелки со скоростью вращения (5 ±1) об/мин.

Останавливают опорный диск и проверяют образец.

Если при нагрузке 5,0 Н остается заметный на глаз непрерывный след, продолжают испытания, нанося концентрические окружности, отстоящие от предыдущей не менее чем на 2,0 мм. Нагрузку понижают до 2,0 Н шагом 0,5 Н.

Если непрерывный след остается при нагрузке 2,0 Н, испытания продолжают, уменьшая нагрузку шагом 0,20 Н; при нагрузке менее 1,0 Н шаг уменьшения нагрузки 0,1 Н.

Если количество царапин слишком велико для определения момента окончания испытаний, продолжают испытания на втором образце, взятом из того же листа. Перед окончательной проверкой помещают образец с царапинами на 24 ч в условия кондиционирования, определенные по Д.2.

Очищают поверхность испытанного образца. Кладут маску на поверхность образца и помещают их на место осмотра в смотровой камере. Одно из отверстий маски устанавливается в положение, соответствующее 12 ч. Наклоняют под различными углами, не поворачивая образец или маску, и просматривают все отверстия невооруженным глазом.

Примечание - Минимальной нагрузкой, образующей непрерывный след, считается такая, при которой царапина видна во всех восьми щелях маски. Следует избегать воображаемого соединения следов от головки.

Д.5 Обработка результатов

Записывают значение усилия, создающего непрерывную царапину, видную невооруженным глазом после выдержки в течение 24 ч в установленных в Д.2 условиях. Пример результатов испытаний с нагрузкой 2,5 Н приведен на рисунке Д.4.

В спорных случаях образец осматривают три наблюдателя и представляют отчет независимо друг от друга. За окончательный результат принимают среднеарифметическое значение трех наблюдений.

Д.6 Отчет о результатах определения твердости защитно-декоративного покрытия

Отчет о результатах определения твердости защитно-декоративного покрытия включает следующие сведения:

- дату проведения испытаний;

- ссылку на настоящий стандарт;

- результаты испытаний в соответствии с рисунком Д.5;

- отклонения от установленного метода испытаний.

Рисунок Д.1 - Установка для нанесения царапин

Примечание - Оптическая ось алмазного кристалла параллельна оси держателя.

Рисунок Д.2 - Алмазная головка

Рисунок Д.3 - Пример смотровой камеры

 

Примечание - Результат соответствует 2,5 Н.

Рисунок Д.4 - Пример испытаний на твердость защитно-декоративного покрытия 4,0

Рисунок Д.5 - Область рассеяния при калибровке алмазных головок

ПРИЛОЖЕНИЕ Е (справочное)
Библиография

[1] ГН 2.1.6.695-98 Атмосферный воздух закрытых помещений, санитарная охрана воздуха. Предельно допустимые концентрации (ПДЕ) загрязняющих веществ в атмосферном воздухе населенных мест

[2] ГН 2.1.6.696-98 Ориентировочные безопасные уровни воздействия (ОБУВ) загрязняющих веществ в атмосферном воздухе населенных мест

[3] ГН 2.2.5.686-98 ПДК вредных веществ в воздухе рабочей зоны

[4] ЕН 717-2-1995* Плиты древесные. Определение выделения формальдегида. Часть 2. Определение выделения формальдегида методом с применением газового анализа

(Введен дополнительно, Изм. № 1).

Ключевые слова: плиты древесностружечные, пленки, полимеры термореактивные, размеры, классификация, требования технические, требования безопасности, правила приемки, методы контроля, транспортирование, хранение.

 




ГОСТЫ, СТРОИТЕЛЬНЫЕ и ТЕХНИЧЕСКИЕ НОРМАТИВЫ.
Некоммерческая онлайн система, содержащая все Российские Госты, национальные Стандарты и нормативы.
В Системе содержится более 150000 файлов нормативно-технической документации, действующей на территории РФ.
Система предназначена для широкого круга инженерно-технических специалистов.

Рейтинг@Mail.ru Яндекс цитирования

Copyright © www.gostrf.com, 2008 - 2026