Крупнейшая бесплатная информационно-справочная система онлайн доступа к полному собранию технических нормативно-правовых актов РФ. Огромная база технических нормативов (более 150 тысяч документов) и полное собрание национальных стандартов, аутентичное официальной базе Госстандарта. GOSTRF.com - это более 1 Терабайта бесплатной технической информации для всех пользователей интернета. Все электронные копии представленных здесь документов могут распространяться без каких-либо ограничений. Поощряется распространение информации с этого сайта на любых других ресурсах. Каждый человек имеет право на неограниченный доступ к этим документам! Каждый человек имеет право на знание требований, изложенных в данных нормативно-правовых актах!

  


 

ОСТ 24.125.165-01

СТАНДАРТ ОТРАСЛИ

ОПОРЫ КАТКОВЫЕ ПРУЖИННЫЕ
ТРУБОПРОВОДОВ ТЭС И АЭС

КОНСТРУКЦИЯ И РАЗМЕРЫ

Предисловие

1 РАЗРАБОТАН открытым акционерным обществом «Научно-производственное объединение по исследованию и проектированию энергетического оборудования им. И. И. Ползунова» (ОАО «НПО ЦКТИ») и открытым акционерным обществом «Белгородский завод энергетического машиностроения» (ОАО «Белэнергомаш»)

ИСПОЛНИТЕЛИ: от ОАО «Белэнергомаш» ЗАВГОРОДНИЙ Ю.В., СЕРГЕЕВ О.А., РОГОВ В.А.; от ОАО «НПО ЦКТИ» ПЕТРЕНЯ Ю.К., д-р физ.-мат. наук; СУДАКОВ А.В., д-р техн. наук; ДАНЮШЕВСКИЙ И.А., канд. техн. наук; ИВАНОВ Б.Н., канд. техн. наук; ТАБАКМАН М.Л.; ГЕОРГИЕВСКИЙ Н.

2 ПРИНЯТ И ВВЕДЕН В ДЕЙСТВИЕ Департаментом промышленной и инновационной политики в машиностроении Министерства промышленности, науки и технологий Российской Федерации письмом № 10-1984 от 31.10.2001 г.

3 ВВЕДЕН ВПЕРВЫЕ

СТАНДАРТ ОТРАСЛИ

ОПОРЫ КАТКОВЫЕ ПРУЖИННЫЕ
ТРУБОПРОВОДОВ ТЭС И АЭС

Конструкция и размеры

Дата введения 2002-01-01

1 Область применения

Настоящий стандарт распространяется на опоры катковые пружинные трубопроводов ТЭС и АЭС:

- из хромомолибденованадиевых сталей наружным диаметром от 194 до 630 мм;

- из углеродистой и кремнемарганцовистых сталей наружным диаметром от 194 до 630 мм;

- из коррозионностойкой стали аустенитного класса наружным диаметром от 219 до 325 мм. Стандарт устанавливает конструкцию и размеры катковых пружинных опор.

2 Нормативные ссылки

В настоящем стандарте использованы ссылки на следующие стандарты:

ОСТ 24.125.154-01 Опоры скользящие трубопроводов ТЭС и АЭС. Конструкция и размеры

ОСТ 24.125.160-01 Блоки катковые направляющие для опор трубопроводов ТЭС и АЭС. Конструкция и размеры

ОСТ 24.125.163-01 Блоки катковые двухрядные для опор трубопроводов ТЭС и АЭС. Конструкция и размеры

ОСТ 24.125.166-01 Блоки пружинные для опор трубопроводов ТЭС и АЭС. Конструкция и размеры

ОСТ 24.125.170-01 Детали и сборочные единицы опор, подвесок, стяжек для линзовых компенсаторов и приводов дистанционного управления арматурой трубопроводов ТЭС и АЭС. Общие технические условия

3 Конструкция и размеры

3.1 Конструкция опор и спецификация должны соответствовать указанным на рисунках 1, 2 и в таблицах 1 - 3.

3.2 Маркировка и остальные технические требования по ОСТ 24.125.170.

3.3 Пример условного обозначения катковой пружинной опоры исполнения 01:

ОПОРА КАТКОВАЯ ПРУЖИННАЯ 01 ОСТ 24.125.165

3.4 Пример маркировки: 01 ОСТ 24.125.165

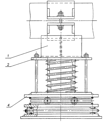
1 - скользящая хомутовая опора; 2 - пружинный блок; 3 - катковый направляющий блок

Рисунок 1.

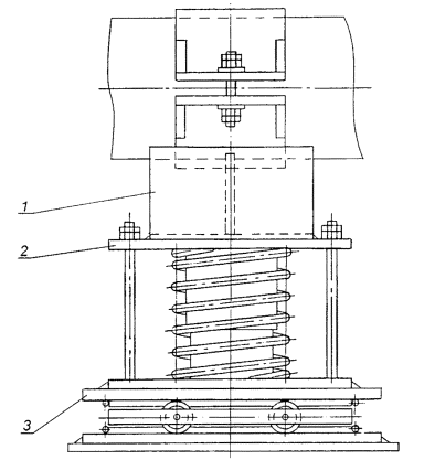
1 - скользящая хомутовая опора; 2 - пружинный блок; 4 - двухрядный катковый блок

Рисунок 2.

Таблица 1

Спецификация катковых пружинных опор трубопроводов из хромомолибденованадиевых сталей

Исполнение

Наружный диаметр трубопровода Da, мм

Опора скользящая хомутовая, поз. 1, 1 шт. по ОСТ 24.125.154

Блок пружинный, поз. 2, 1 шт. по ОСТ 24.125.166

Блок катковый направляющий, поз. 3, 1 шт.

Блок катковый двухрядный поз. 4, 1 шт.

01

194

06

02

01 ОСТ 24.125.160

-

02

08

03

219

07

02

04

08

05

245

08

03

06

09

07

273

09

03

08

09

09

325

10

03

10

09

11

377

11

03

12

09

13

426

12

04

02 ОСТ 24.125.160

14

10

15

465

13

04

16

10

17

530

14

05

18

11

19

630

15

06

20

12

21

194

06

02

-

01 ОСТ 24.125.163

22

08

23

219

07

02

24

08

25

245

08

03

26

09

27

273

09

03

28

09

29

325

10

03

30

09

31

377

11

03

32

09

33

426

12

04

02 ОСТ 24.125.163

34

10

35

465

13

04

36

10

37

530

14

05

38

11

39

630

15

06

40

12

Таблица 2

Спецификация катковых пружинных опор трубопроводов из углеродистых и кремнемарганцовистых сталей

Исполнение

Наружный диаметр трубопровода Da, мм

Опора скользящая хомутовая, поз. 1, 1 шт. по ОСТ 24.125.154

Блок пружинный, поз. 2, 1 шт. по ОСТ 24.125.166

Блок катковый направляющий, поз. 3, 1 шт.

Блок катковый двухрядный поз. 4, 1 шт.

41

194

24

02

01 ОСТ 24.125.160

-

42

08

43

219

25

02

44

08

45

245

26

03

46

09

47

273

27

03

48

09

49

325

28

03

50

09

51

377

29

03

52

09

53

426

30

04

02 ОСТ 24.125.160

54

10

55

465

31

04

56

10

57

530

32

05

58

11

59

630

33

06

60

12

61

194

24

02

-

01 ОСТ 24.125.163

62

08

63

219

25

02

64

08

65

245

26

03

66

09

67

273

27

03

68

09

69

325

28

03

70

09

71

377

29

03

72

09

73

426

30

04

02 ОСТ 24.125.163

74

10

75

465

31

04

76

10

77

530

32

05

78

11

79

630

33

06

80

12

Таблица 3

Спецификация катковых пружинных опор трубопроводов из коррозионно-стойких сталей аустенитного класса

Исполнение

Наружный диаметр трубопровода Da, мм

Опора скользящая хомутовая, поз. 1, 1 шт. по ОСТ 24.125.154

Блок пружинный, поз. 2, 1 шт. по ОСТ 24.125.166

Блок катковый направляющий, поз. 3, 1 шт.

Блок катковый двухрядный поз. 4, 1 шт.

81

219

42

02

02 ОСТ 24.125.160

-

82

08

83

245

43

03

84

09

85

273

44

03

86

09

87

325

45

03

88

09

89

219

42

02

-

02 ОСТ 24.125.163

90

08

91

245

43

03

92

09

93

273

44

03

94

09

95

325

45

03

96

09

Ключевые слова: опоры, трубопроводы, конструкция, размеры, маркировка.

СОДЕРЖАНИЕ

 

 




ГОСТЫ, СТРОИТЕЛЬНЫЕ и ТЕХНИЧЕСКИЕ НОРМАТИВЫ.
Некоммерческая онлайн система, содержащая все Российские Госты, национальные Стандарты и нормативы.
В Системе содержится более 150000 файлов нормативно-технической документации, действующей на территории РФ.
Система предназначена для широкого круга инженерно-технических специалистов.

Рейтинг@Mail.ru Яндекс цитирования

Copyright © www.gostrf.com, 2008 - 2026