Крупнейшая бесплатная информационно-справочная система онлайн доступа к полному собранию технических нормативно-правовых актов РФ. Огромная база технических нормативов (более 150 тысяч документов) и полное собрание национальных стандартов, аутентичное официальной базе Госстандарта. GOSTRF.com - это более 1 Терабайта бесплатной технической информации для всех пользователей интернета. Все электронные копии представленных здесь документов могут распространяться без каких-либо ограничений. Поощряется распространение информации с этого сайта на любых других ресурсах. Каждый человек имеет право на неограниченный доступ к этим документам! Каждый человек имеет право на знание требований, изложенных в данных нормативно-правовых актах!

  


 

МИНИСТЕРСТВО ТРАНСПОРТНОГО СТРОИТЕЛЬСТВА СССР

ВСЕСОЮЗНЫЙ ОРДЕНА ОКТЯБРЬСКОЙ РЕВОЛЮЦИИ
НАУЧНО-ИССЛЕДОВАТЕЛЬСКИЙ ИНСТИТУТ
ТРАНСПОРТНОГО СТРОИТЕЛЬСТВА

«УТВЕРЖДАЮ»

Зам. директора института

__________ Г.Д. Хасхачих

30 марта 1990 г.

МЕТОДИЧЕСКИЕ РЕКОМЕНДАЦИИ
ПО ПРОЕКТИРОВАНИЮ УСТОЕВ
АНКЕРНО-КОНТРФОРСНОГО ТИПА
ДЛЯ МАЛЫХ И СРЕДНИХ МОСТОВ
НА АВТОДОРОГАХ НЕЧЕРНОЗЕМНОЙ ЗОНЫ РСФСР

Москва 1990

ПРЕДИСЛОВИЕ

Настоящие Методические рекомендации разработаны в соответствии с заданием ИС-01-12 «Программы по достижению мирового уровня в транспортном строительстве» на основе экспериментальных и теоретических исследований, проведенных в ЦНИИСе, опытного проектирования, осуществленного институтами Союздорпроект и Гипростроймост.

Применение устоев анкерно-контрфорсного типа позволяет значительно снизить стоимость и упростить технологию строительства мостов.

Рекомендации предназначены для проектирования опытных автодорожных мостов и путепроводов при реализации «Государственной программы строительства и реконструкции автомобильных дорог в Нечерноземной зоне РСФСР».

Методические рекомендации разработаны инж. А.Д. Соколовым. При этом использованы материалы кандидатов техн. наук Л.Р. Мороза, Э.А. Балючика, В.И. Руденко, инженеров М.М. Зуевой, З.А. Титовой (ЦНИИС); инженеров И.Г. Прохорова, Е.В. Мухиной, А.Т. Васина (Союздорпроект), Л.С. Новолодского (Гипростроймост).

Замечания и предложения направлять по адресу: 129329, Москва, ул. Кольская, д. 1, Всесоюзный научно-исследовательский институт транспортного строительства.

Зав. отделением мостов                                                                               И.Д. Рассказов

1. ОБЩИЕ ПОЛОЖЕНИЯ

1.1. Методические рекомендации составлены в развитие СНиП 2.05.03-84, «Региональных норм на проектирование и строительство автомобильных дорог в Нечерноземной зоне РСФСР» и «Рекомендаций по проектированию и строительству устоев диванного типа для малых и средних автодорожных мостов» (М., ЦНИИС, 1988).

1.2. Приведенные в Рекомендациях методы расчета устоев анкерно-контрфорсного типа основаны на простых и апробированных многолетней практикой проектирования моделях грунтовой среды. Они сочетают простоту инженерных расчетов с достаточной для обеспечения требуемой надёжности сооружения точностью.

1.3. Нагрузки и воздействия (кроме давления грунта), их сочетания, коэффициенты надежности должны приниматься в соответствии с требованиями разд. 2 СНиП 2.05.03-84.

1.4. Габариты проезжей части и временные нагрузки должны приниматься в соответствии с указаниями «Региональных норм на проектирование и строительство автомобильных дорог в Нечерноземной зоне РСФСР».

2. КОНСТРУКТИВНЫЕ СХЕМЫ УСТОЕВ АНКЕРНО-КОНТРФОРСНОГО ТИПА

2.1. В конструкцию устоя анкерно-контрфорсного типа входят (рис. 1):

сборный, монолитный или комбинированный железобетонный диванный блок уголкового или таврового сечения, состоящий из фундаментной плиты, на которую опирается пролетное строение, шкафной стенки и открылков;

ограждающая конструкция, состоящая из лицевой вертикальной стенки и заанкеренных в грунте обратной засыпки контрфорсов, обеспечивающих устойчивость конструкции;

переходные плиты, опирающиеся одним концом на шкафную стенку дивана, а другим на лежень с подготовкой из утрамбованного щебня или гравия;

обратная засыпка ограждающей конструкции из уплотненного дренирующего грунта и расположенная над верхом контрфорсов распределительная подушка из утрамбованного щебня или гравия, на которую опирается диванный блок.

Рис. 1. Схема устоя анкерно-контрфорсного типа:

1 - контрфорс; 2 - лицевая стенка; 3 - крепление от размыва в виде каменной рисбермы; 4 - распределительная подушка из щебня или гравия; 5 - пролетное строение; 6 - диванный блок; 7 - переходные плиты; 8 - лежень переходных плит; 9 - подготовка из щебня или гравия; 10 - дренирующий грунт обратной засыпки

2.2. Секции лицевой стенки ограждающей конструкции между собой и с контрфорсами могут быть соединены жестко или шарнирно, либо вся ограждающая конструкция может быть собрана из объемных Т-образных блоков (рис. 2). Для шарнирного соединения элементов целесообразно использовать прокатные профили в виде шпунтовых замков.

Примечание. Стальные прокатные профильные элементы в виде шпунтовых замков выпускаются заводом «Азовсталъ» (ТУ-14-2-566-84); прокатные профили из высокопрочных пластиковых материалов могут изготавливаться НПО «Композит».

2.3. Расположенная над верхом контрфорсов подушка из щебня или гравия, необходимая для равномерного распределения и передачи нагрузки от диванного блока на грунт обратной засыпки, может удерживаться со стороны пролета возвышающейся над контрфорсами лицевой стенкой (рис. 3, а), уголковой стенкой (рис. 3, б), объединяющей по верху секции ограждающей конструкции, или консольной стенкой Т-образного объемного блока (рис. 3, в).

Рис. 2. Варианты соединения элементов ограждающей конструкции устоя анкерно-контрфорсного типа:

а - жесткое соединение из объемных Т-образных блоков; б - шарнирное соединение между секциями с помощью шпунтовых замков; в - шарнирное соединение между секциями, лицевой стенкой и контрфорсами; 1 - лицевая стенка; 2 - выпуски арматуры для омоноличивания стыка; 3 - контрфорс; 4 - шарнирное соединение

2.4. Ограждающая конструкция может быть выполнена из целых плит или с разделением лицевой стенки и контрфорсов по высоте на блоки, монтируемые поярусно (см. рис. 3, б), что определяется наличием соответствующих грузоподъемных и транспортных средств и высотой подходной насыпи; при этом соединение между блоками ярусов ограждающей конструкции должно обеспечивать устойчивость их положения на сдвиг.

2.5. Контрфорсы должны выполняться в виде ребристой или сквозной конструкции для обеспечения их надежного защемления в грунте и максимальной реализации сил трения между боковыми поверхностями контрфорсов и грунтом.

2.6. Лицевая стенка ограждающей конструкции анкерно-контрфорсного устоя может выполняться прямолинейной в плане (рис. 4, а), полигональной (рис. 4, б) или с обратными стенками (рис. 4, в).

Рис. 3. Варианты конструктивных решений устоев анкерно-контрфорсного типа:

а - лицевая стенка и контрфорсы из целых по высоте ребристых плит; б - конструкция с поярусной разрезкой по высоте устоя на блоки и контрфорсами в виде сквозных элементов; в - конструкция из Т-образных объемных блоков; 1 - ребристая плита контрфорса; 2 - ребристая плита лицевой стенки; 3 - распределительная подушка из гравия или щебня; 4 - диванный блок; 5 - переходная плита; 6 - лежень переходной плиты; 7 - подготовка из гравия или щебня; 8 - дренирующий грунт; 9 - ребристые блоки лицевой стенки; 10 - уголковая стенка для удержания распределительной подушки; 11 - сквозные блоки контрфорсов; 12 - Т-образный объемный блок; 13 - грунт подходной насыпи

2.7. Внутреннюю, обращенную к грунту сторону лицевой стенки, желательно проектировать ребристой, что даст возможность учесть силы трения между грунтом обратной засыпки и лицевой стенкой (см. рис. 3, а, б)

Рис. 4. Варианты выполнения лицевой стенки ограждающей конструкции анкерно-контрфорсного устоя:

а - прямолинейная лицевая стенка; б - лицевая стенка полигонального очертания в плане; в - конструкция с обратными стенками

2.8. Длина контрфорсов должна быть достаточной для их защемления в запризменной части грунтовой засыпки по условиям устойчивости положения конструкции на сдвиг и опрокидывание.

2.9. Расстояние между контрфорсами назначается из условий возможности уплотнения грунта обратной засыпки в зависимости от вида применяемых для этого механизмов, а также из условий оптимального пролета элементов лицевой стенки; соотношение между высотой лицевой стенки Н, ее пролетом В и длиной контрфорса С назначается для предварительного расчета примерно равным 1,0 : 0,8 : 0,8.

2.10. Швы между секциями или блоками ограждающей конструкции должны быть перекрыты полосами дорнита или аналогичного материала для предотвращения суффозии грунта обратной засыпки через эти швы.

2.11. Соединение между блоками лицевой стенки и контрфорсов может осуществляться с помощью зуба в блоке контрфорса и ответного отверстия в полке блока лицевой стенки. Такое соединение не требует сварных или иных трудоемких работ при монтаже устоя. Вариант такой конструкции запроектирован институтом Союздорпроект (рекомендуемое приложение 1).

3. УСЛОВИЯ И ОБЛАСТЬ ПРИМЕНЕНИЯ УСТОЕВ АНКЕРНО-КОНТРФОРСНОГО ТИПА

3.1. Применение устоев анкерно-контрфорсного типа, обеспечивающих бесконусное сопряжение моста с подходной насыпью, дает возможность изменить схему моста, значительно сократив его длину, число пролетов и промежуточных опор (рис. 5). Данную конструкцию устоев целесообразно применять для однопролетных мостов, что позволяет унифицировать технологию их строительства, отказавшись от применения дефицитной сваебойной или буровой техники, используя простейший парк машин, имеющийся в строительных подразделениях не только мостостроительного профиля.

3.2. Устои анкерно-контрфорсного типа целесообразно применять для пролетов высотой не более 24 м и подходных насыпей высотой не более 7 м.

3.3. При естественном основании устоя, сложенном гравелистыми, песчаными или другими непучинистыми грунтами, ограждающая конструкция может не заглубляться в грунт основания на глубину промерзания; при этом для устоев мостов должны быть предусмотрены необходимые конструктивные мероприятия по их защите от размыва (рис. 6).

3.4. При залегании в основании устоя пучинистых грунтов низ ограждающей конструкции заглубляется ниже уровня промерзания грунта на 0,25 м. При этом контрфорсы могут не заглубляться, или заглубляться на меньшую величину при условии устройства под их подошвой подушки из щебня или гравия до уровня заложения подошвы лицевой стенки.

3.5. Анкерно-контрфорсные ограждающие конструкции в диванных устоях мостов могут применяться в сочетании с армированием грунта обратной засыпки и концевой части подходной насыпи геотекстильными материалами для повышения их устойчивости положения на плоский сдвиг или по круглоцилиндрической поверхности.

Рис. 5. Сравнение вариантов путепроводов:

а - трехпролетный путепровод по типовому проекту с обсыпными устоями и опорами на свайных фундаментах; б - однопролетный путепровод с устоями анкерно-контрфорсного типа

Рис. 6. Конструктивные мероприятия по защите устоев от размыва:

а - устройство каменной рисбермы с обратным фильтром; б - крепление решетчатыми блоками с заполнением ячеек камнем или гравием; в - крепление с помощью гибких железобетонных покрытий; г - устройство завес с помощью струйной технологии

4. ОСНОВНЫЕ ПОЛОЖЕНИЯ РАСЧЕТА

4.1. Расчеты устоев анкерно-контрфорсного типа приводятся по двум группам предельных состояний.

По первой группе предельных состояний выполняются расчеты:

устойчивости положения на сдвиг по подошве ограждающей конструкции устоя;

устойчивости положения на опрокидывание ограждающей конструкции устоя;

устойчивости конструкции на сдвиг по круглоцилиндрической поверхности вместе с грунтом засыпки;

устойчивости на сдвиг по подошве и на опрокидывание диванного блока;

устойчивости на сдвиг отдельных ярусов ограждающей конструкции; прочности по материалу всех элементов конструкции; прочности основания по подошве диванного блока.

По второй группе предельных состояний проверяется:

положение равнодействующей внутренних сил в сечении по подошве диванного блока;

трещиностойкость железобетонных элементов конструкции.

4.2. Расчеты устойчивости положения на сдвиг и опрокидывание выполняются для одной секции сооружения, включающей контрфорс и два примыкающих к нему полупролета лицевой стенки (рис. 7)

Рис. 7. Расчетная секция устоя, состоящая из контрфорса и двух примыкающих к нему полупролетов лицевой стенки

4.3. Расчет железобетонных элементов устоя должен выполняться в соответствии с требованиями разд. 3 СНиП 2.05.03-04.

4.4. Расчеты оснований, а также принимаемые характеристики грунтов должны соответствовать требованиям СНиП 2.02.01-83 и разд. 7 СНиП 2.05.03-84.

5. МЕТОДИКА ОПРЕДЕЛЕНИЯ ДАВЛЕНИЯ ГРУНТА

5.1. Давление грунта на лицевую стенку ограждающей анкерно-контрфорсной конструкции устоя диванного типа определяется как активное с учетом его снижения за счет вертикальных сил трения 2Тв, развивающихся по боковым поверхностям контрфорсов и контактирующих с ними основаниям призмы обрушения грунта.

Примечание. Давление грунта и вызываемые этим давлением силы трения, определяемые в соответствии с настоящими Рекомендациями, являются нормативными и в расчет должны включаться с учетом коэффициента надежности по нагрузке.

5.2. Равнодействующая давления грунта Еg от его собственного веса g в расчете на 1 м длины пролета лицевой стенки определяется по формуле

                                                         (1)

где  - равнодействующая активного давления грунта на 1 м длины пролета лицевой стенки, определяемая по теории Кулона:

                                                          (2)

DЕg - равнодействующая снижения давления грунта на 1 м длины пролета лицевой стенки за счет сил трения призмы обрушения по боковым поверхностям контрфорсов, определяемая по формуле

                                                      (3)

где l - коэффициент активного давления грунта, определяемый для вертикальных лицевых стенок при горизонтальной поверхности засыпки по формуле

                                        (4)

 - коэффициент снижения активного давления на 1 м длины пролета лицевой стенки, определяемый по формуле

                                                (5)

e - коэффициент бокового давления грунта на контрфорсы в условиях стесненной ими деформации, определяемый по формуле

                      (6)

Н - высота лицевой стенки до верха контрфорсов;

В - длина пролета лицевой стенки, равная расстоянию в свету между контрфорсами;

g - удельный вес грунта;

j - нормативный угол внутреннего трения грунта;

d - угол внешнего трения грунта по поверхности лицевой стенки, который может быть принят равным j, если ее внутренняя поверхность, обращенная к грунту, выполнена ребристой;

dк - угол внешнего трения грунта по боковым поверхностям контрфорсов, который может быть принят равным j, если контрфорсы выполнены в виде ребристых или сквозных конструкций.

Коэффициент бокового давления грунта на контрфорсы e может определяться по графику на рис. 8, а коэффициент снижения активного давления h - по графику на рис. 9.

Рис. 8. График зависимости коэффициента e бокового давления грунта на контрфорсы от нормативных значений углов внутреннего трения j и внешнего трения грунта о контрфорсы dк.

Рис. 9. График зависимости коэффициента h снижения давления грунта на лицевую стенку от нормативных значений углов внутреннего трения j и внешнего трения грунта о контрфорсы dк.

5.3. Интенсивность давления на 1 м длины пролета лицевой стенки от собственного веса грунта g, определяется по формуле

                                                  (7)

где  - интенсивность активного давления на 1 м длины пролета лицевой станки по теории Кулона

                          (8)

 - интенсивность снижения давления на 1 м длины пролета лицевой стенки за счет сил трения призмы обрушения по боковым поверхностям контрфорсов, равная

                                              (9)

где h - заглубление точки от верха контрфорса.

Остальные величины см. п. 5.2.

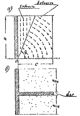
Эпюры интенсивности давления грунта и ее снижения показаны на рис. 10. Там же показаны точки приложения и направления равнодействующих давления грунта  и .

Рис. 10. Давление грунта от собственного веса g на секцию анкерно-контрфорсного устоя:

1 - эпюра интенсивности давления грунта для плоской задачи по теории Кулона; 2 - эпюра интенсивности снижения давления за счет сил трения по боковым поверхностям контрфорсов

5.4. Равнодействующая давления грунта Еq от равномерно распределенной нагрузки q на поверхности засыпки, приложенной в уровне верха контрфорсов, в расчете на 1 м длины пролета лицевой стенки определяется по формуле

                                                           (10)

где Еq - равнодействующая активного давления грунта на 1 м длины пролета лицевой стенки от равномерно распределенной нагрузки q на поверхности засыпки по теории Кулона

                              (11)

 - равнодействующая снижения давлении грунта от равномерно распределенной нагрузки на 1 м длины пролета лицевой стенки за счет сил трения призмы обрушения грунта по боковым поверхностям контрфорсов, определяемая по формуле

                                            (12)

5.5. Интенсивность давления грунта на 1 м длины пролета лицевой станки от равномерно распределенной нагрузки q на поверхности засыпки определяется по формуле

                                                (13)

где  - интенсивность истинного давления грунта от нагрузки q по теории Кулона, равная

                                                       (14)

 - интенсивность снижения давления грунта на 1 м длины пролета лицевой стенки от нагрузки q, определяемая по формуле

                         (15)

Эпюры интенсивности давления грунта от нагрузки q и ее снижения показаны на рис. 11. Там же показаны точки приложения и направления равнодействующих  и  давления грунта от нагрузки q.

5.6. При частичном загружении поверхности засыпки равномерно распределенной нагрузкой qc, сдвинутой на расстояние Cq от лицевой стенки, дополнительное давление грунта  на 1 м длины пролета лицевой стенки рекомендуется определять в соответствии с приемом, показанным на рис. 12:

Рис. 11. Давление грунта от нагрузки q на поверхности засыпки на секцию анкерно-контрфорсного устоя:

1 - эпюра интенсивности давления грунта для плоской задачи по теории Кулона; 2 - эпюра интенсивности снижения давления за счет сил трения по боковым поверхностям контрфорсов

Рис. 12. Давление грунта на лицевую стенку устоя анкерно-контрфорсного типа при частичном загружении призмы обрушения нагрузкой qc:

1 - эпюра интенсивности активного давления от нагрузки qc для плоской задачи по теории Кулона; 2 - эпюра интенсивности снижения давления от нагрузки qc за счет сил трения по боковым поверхностям контрфорсов

                                                         (16)

где  - давление грунта от нагрузки qc на 1 м длины пролета лицевой стенки, определяемое по теории Кулона как сумма сил  и .

                            (17)

где

                                                 (18)

                                                (19)

где

                                                           (20)

                                                           (21)

q - угол наклона к горизонтали плоскости обрушения грунта, определяемый по формуле

                                                    (22)

                                                          (23)

или по графику, приведенному на рис. 13;

 - равнодействующая снижения давления грунта от нагрузки qc, определяемая как сумма сил:

                          (24)

Эпюры интенсивности давления грунта, интенсивности его снижения за счет сил трения, точки приложения равнодействующих и их направления показаны на рис. 12

Для приближенных расчетов допускается использовать упрощенный прием, представленный на рис. 14. В соответствии с этим приемом будем иметь:

                                                (25)

Рис. 13. График зависимости tg q от углов внутреннего j и внешнего d трения грунта (q - угол наклона к горизонтали плоскости обрушения грунта)

                                           (26)

5.7. При загружении поверхности засыпки в уровне верха контрфорсов полосовой равномерно распределенной нагрузкой qa на расстоянии cq от лицевой стенки рекомендуется пользоваться приемом, показанным на рис. 15. При этом давление грунта на 1 м длины пролета лицевой стенки от полосовой нагрузки определяется по формуле

                                                 (27)

где  - равнодействующая давления грунта на 1 м длины пролета лицевой стенки от полосовой нагрузки, определяемая по формуле

                                             (28)

 - равнодействующая снижения давления грунта за счет сил трения, определяемая по формуле

              (29)

где a - ширина полосы загружения поверхности засыпки нагрузкой qa.

Рис. 14. Давление грунта на лицевую стенку устоя анкерно-контрфорсного типа при частичном загружении призмы обрушения нагрузкой qc:

1 - эпюра интенсивности активного давления от нагрузки для плоской задачи по теории Кулона; 2 - эпюра интенсивности снижения давления от нагрузки qc за счет сил трения по боковым поверхностям контрфорсов

Рис. 15. Давление грунта на лицевую стенку устоя анкерно-контрфорсного типа при загружении призмы обрушения полосовой нагрузкой qa:

1 - эпюра интенсивности активного давления от нагрузки qa для плоской задачи по теории Кулона; 2 - эпюра интенсивности снижения давления от нагрузки qa за счет сил трения по боковым поверхностям контрфорсов

Рис. 16. Давление грунта на лицевую стенку устоя анкерно-контрфорсного типа при загружении призмы обрушения полосовой нагрузкой qa:

1 - эпюра интенсивности активного давления от полосовой нагрузки qa для плоской задачи по теории Кулона; 2 - эпюра интенсивности снижения давления от нагрузки qa за счет сил трения по боковым поверхностям контрфорсов

Эпюра интенсивности давления грунта, интенсивности его снижения за счет сил трения и их равнодействующие показаны на рис. 15. Точки приложения равнодействующих расположены на уровнях центров тяжести соответствующих эпюр. Для приближенных расчетов допускается использование упрощенного приема, приведенного на рис. 16. В соответствии с этим приемом будем иметь

                                                    (30)

                                        (31)

5.8. При наличии в обратной засыпке слоя водонасыщенного грунта на глубине H1 от верха контрфорсов равнодействующая давления грунта определяется в соответствии со схемой, представленной на рис. 17, как сумма сил:

Рис. 17. Определение давления грунта на лицевую стенку устоя анкерно-контрфорсного типа при наличии водонасыщенного слоя грунта:

1 - эпюра интенсивности активного давления грунта для плоской задачи по теории Кулона; 2 - эпюра интенсивности снижения давления от собственного веса грунта g за счет сил трения по боковым поверхностям контрфорсов; 3 - отрицательная поправка к эпюре интенсивности снижения давления

                                        (32)

где  - равнодействующая давления грунта в верхнем неводонасыщенном слое, определяемая в соответствии с п. 5.2 по формуле (2);

 - равнодействующая давления водонасыщенного грунта, определяемая по теории Кулона:

                                (33)

где gвзв - удельный вес грунта с учетом взвешивающего влияния грунтовой воды, определяемый по формуле

                                                    (34)

gв - удельный вес воды;

n - пористость грунта, которая связана с коэффициентом пористости e зависимостью:

                                                             (35)

H2 - толщина слоя водонасыщенного грунта;

Нпр - приведенная высота, определяемая по формуле

                                                         (36)

DЕg - равнодействующая снижения давления грунта за счет сил трения, определяемая в соответствии с п. 5.2 по формуле (3);

 - отрицательная поправка к равнодействующей снижения давления, определяемая по формуле

                                          (37)

Эпюры интенсивности давления грунта, интенсивности его снижения, интенсивности отрицательной поправки, а также соответствующие равнодействующие, точки их приложения и направления показаны на рис. 17.

5.9. Для различных конструктивных решений устоев анкерно-контрфорсного типа по п. 1.4 эпюры интенсивности давления грунта и интенсивности его снижения за счет сил трения строятся:

при устройстве консольной части лицевой стенки, возвышающейся над верхом контрфорсов, для удержания распределительной подушки под диванным блоком - по схемам, приведенным в справочном приложении 2 (табл. 1, пп. 7 - 10);

при устройстве уголковой стенки над верхом контрфорсов - по схемам, приведенным в справочном приложении 2, учитывающим экранирующее влияние горизонтальной полки уголковой стенки, аналогично известному приему учета влияния разгружающих плит на напорных гранях подпорных стен (см. табл. 1, пп. 11, 11*)

5.10. Расстояние сq от лицевой стенки до диванного блока и фронта полосовой нагрузки qa, передаваемой на засыпку, следует назначать так, чтобы давление от полосовой нагрузки не передавалось на консольный участок лицевой стенки или вертикальную плиту уголковой стенки, т.е. чтобы выполнялось условие

                                                                (38)

где Н1 - высота консольной части лицевой станки или высота уголковой стенки над верхом контрфорсов.

5.11. Давление грунта на заднюю вертикальную торцевую грань контрфорса определяется с учетом особенностей пространственной задачи как для узких граней по формуле

                                                        (39)

где Екул - активное давление, определяемое по теории Кулона для плоской задачи по формуле

                                         (40)

a - ширина задней торцевой грани контрфорса;

n - коэффициент снижения активного давления, принимаемый для узких граней () равным 0,25.

Эпюра интенсивности давления грунта на заднюю торцевую грань контрфорса, равнодействующая давления Ез.г. - ее положение и направление показаны на рис. 18.

Рис. 18. Давление грунта на заднюю торцевую грань контрфорса

6. ПРОВЕРКА УСТОЙЧИВОСТИ ПОЛОЖЕНИЯ НА СДВИГ СЕКЦИИ УСТОЯ АНКЕРНО-КОНТРФОРСНОГО ТИПА ПО ЕГО ПОДОШВЕ

6.1. Устойчивость положения на сдвиг по подошве секции устоя анкерно-контрфорсного типа проверяется по формуле

                                                      (41)

где Qсд - сдвигающая сила, равная сумме проекций сдвигающих сил на направление возможного сдвига, к которым относятся:

сумма горизонтальных проекций активного давления грунта с учетом его снижения за счет сил трения по боковым поверхностям контрфорсов;

взятая с обратным знаком сила трения по основанию, вызванная вертикальными силами трения призмы обрушения по боковым поверхностям контрфорсов 2 Тв и вертикальными проекциями давления грунта на лицевую стенку

                         (42)

Qуд - удерживающая сила, равная сумме проекций удерживающих сил на направление возможного сдвига, к которым относятся:

силы трения по основанию секции сооружения, вызванные весом секции и пригрузкой ее вышележащим грунтом и временной нагрузкой на нем, с учетом гидростатического противодавления;

горизонтальные удерживающие силы трения по боковым поверхностям контрфорсов за пределами призмы обрушения;

                                   (43)

где f - коэффициент трения бетона по грунту основания;

Wу - равнодействующая гидростатического противодавления на подошву секции сооружения;

 - суммарный вес элементов секции;

 - вес пригрузки секции вышерасположенным слоем грунта с учетом временной нагрузки на нем;

m - коэффициент условий работы, принимаемый равным 0,9;

gn - коэффициент надежности по назначению, принимаемый равным 1,1 при расчетах в стадии постоянной эксплуатации и 1,0 - при расчетах в стадии строительства.

6.2. Вертикальные силы трения, действующие по двум боковым поверхностям контрфорсов в пределах призмы обрушения грунта 2ТВ определяются в зависимости от схемы загружения по формулам, приведенным в справочном приложении 2.

6.3. Горизонтальные удерживающие силы трения, развивающиеся по двум боковым поверхностям контрфорса за пределами призмы обрушения грунта 2Туд рис. 19), определяются по формуле

                                                   (44)

где St - площадь эпюры касательных напряжений t, действующих на боковой поверхности контрфорса за пределами призмы обрушения, определяемая по формулам:

при загружении собственным весом грунта g

                                                         (45)

при загружении поверхности грунта равномерно распределенной нагрузкой q

                                                            (46)

zo - размер боковой поверхности контрфорса за пределами призмы обрушения грунта на уровне ho;

ho - расстояние от подошвы контрфорса до центра тяжести эпюры t , равное  при загружении собственным весом, и  - при загружении равномерно распределенной нагрузкой q

                                                         (47)

где c - полная длина контрфорса.

Рис. 19. Эпюры касательных напряжений t на боковой поверхности контрфорса за пределами призмы обрушения:

а - от собственного веса грунта g, б - от равномерно распределенной нагрузки q на поверхности засыпки

7. ПРОВЕРКА УСТОЙЧИВОСТИ ПОЛОЖЕНИЯ НА ОПРОКИДЫВАНИЕ СЕКЦИИ УСТОЯ АНКЕРНО-КОНТРФОРСНОГО ТИПА

7.1. Устойчивость положения на опрокидывание секции устоя анкерно-контрфорсного типа проверяется по формуле

                                                   (48)

где Моп - момент опрокидывающих сил относительно оси возможного поворота (опрокидывание) конструкции, к которым относятся:

сумма горизонтальных проекций активного давления грунта на лицевую стенку с учетом его снижения за счет сил трения по боковым поверхностям контрфорсов;

давление грунта на заднюю торцевую грань контрфорса;

Муд - момент удерживающих сил относительно той же оси, к которым относятся:

суммарный вес элементов секции устоя с учетом гидростатического противодавления;

вес пригрузки элементов секции вышерасположенным грунтом засыпки с временными нагрузками на нем;

вертикальные силы трения, действующие по двум боковым поверхностям контрфорса в пределах призмы обрушения грунта 2Тв

силы трения, действующие по двум боковым поверхностям контрфорсов за пределами призмы обрушения грунта и направленные в каждой из точек перпендикулярно радиусу-вектору этой точки, проведенному от оси опрокидывания;

m - коэффициент условий работы, принимаемый равным 0,9 для скальных оснований и 0,8 - для нескальных оснований сооружения.

Примечание. Методика определения сил, относящихся к опрокидывающим, изложена в разд. 5 настоящих Рекомендаций.

7.2. За ось возможного опрокидывания секции устоя анкерно-контрфорсного типа принимается нижнее внутреннее ребро лицевой стенки (т. 0 на рис. 20).

Рис. 20. Удерживающие силы по боковым поверхностям контрфорсов при расчете секции устоя на опрокидывание:

а - вертикальный разрез; б - план секции; «0» - ось возможного опрокидывания; I область - контакт с призмой обрушения; II область - защемление в запризменной части грунтовой засыпки

7.3. При проверке устойчивости положения на опрокидывание под действием нагрузок от собственного веса грунта g момент удерживающих сил, действующих по боковым поверхностям контрфорсов относительно принятой оси опрокидывания, определяется по формуле

                                          (49)

где           (50)

                                 (51)

 - отношение длины контрфорса С к его высоте Н;                   (52)

h - коэффициент, определяемый по графику на рис. 9 (п. 5.2);

q - угол наклона к горизонтали плоскости обрушения грунта, определяемый по формуле (22) или графику на рис. 13.

Функция  может определяться по графику на рис. 21, а. Функция  - по графику на рис. 21, б или упрощенной формуле

                                          (53)

Рис. 21. Графики зависимости функции  от соотношения  (a), функции  от угла наклона к горизонтали (q) плоскости обрушения грунта (б), функции  от соотношения  (в).

7.4. При загружении поверхности грунта сплошной равномерно распределенной нагрузкой q в уровне верха контрфорса момент удерживающих сил, вызванных нагрузкой q, определяется по формуле

                                           (54)

где

        (55)

Функция  может определяться по графику на рис. 21, в.

7.5. При частичном загружении поверхности грунта равномерно распределенной нагрузкой qc в уровне верха контрфорса, смещенной на расстояние cq от лицевой стенки (см. рис. 14) момент удерживающих сил, вызванных нагрузкой qc, определяется по формуле

                                   (56)

где  и может определяться по формуле (55) или графику на рис. 21, в

                             (57)

т.е. функция  может определяться по формуле (51) или графику на рис. 21, б.

7.6. При загружении поверхности грунта в уровне верха контрфорса полосовой нагрузкой qa на полосе шириной а, смещенной на расстояние cq от лицевой стенки (см. рис. 16) момент удерживающих сил, вызванных этой нагрузкой, определяется по формуле

                                      (58)

7.7. Удерживающий момент, определяемый по пп. 7.3 - 7.6, учитывает только силы трения по боковым поверхностям контрфорса, как в пределах призмы обрушения грунта, так и в запризменной части.

Приложение 1

(рекомендуемое)

КОНСТРУКЦИЯ ДИВАННОГО УСТОЯ АНКЕРНО-КОНТРФОРСНОГО ТИПА ИЗ СБОРНЫХ ЖЕЛЕЗОБЕТОННЫХ ЭЛЕМЕНТОВ, РАЗРАБОТАННАЯ ИНСТИТУТОМ СОЮЗДОРПРОЕКТ

Рис. 1. Конструкция анкерно-контрфорсного устоя из сборных железобетонных элементов:

а - разрез вдоль оси моста; б - план расположения элементов устоя; 1 - блок контрфорса; 2 - уголковый блок лицевой стенки; 3 - распределительная подушка из щебня или гравия; 4 - диванный блок; 5 - переходные плиты; 6 - дренирующий грунт обратной засыпки; 7 - засыпка из утрамбованного щебня или гравия

Рис. 2. Конструкция ребристого железобетонного блока контрфорса с зубом для соединения с блоком лицевой стенки:

1 - строповочное отверстие dВН = 60 мм; 2 - зуб контрфорса; 3 - сквозное отверстие dВН = 60 мм для монтажной штанги

Рис 3. Конструкция и общий вид железобетонного уголкового блока лицевой стенки с ответным отверстием в полке под зуб контрфорса:

1 - строповочное отверстие dВН = 60 мм; 2 - водопропускные отверстия dВН = 60 мм; 3 - ответное отверстие в полке под зуб контрфорса

Приложение 2 (справочное)

Формулы для расчета давления грунта и устойчивости положения диванных устоев анкерно-контрфорсного типа

Таблица 1

Продолжение табл. 1

Продолжение табл. 1

Продолжение табл. 1

Продолжение табл. 1

Продолжение табл. 1

Продолжение табл. 1

Таблица 2

Таблица 3

Давление грунта на заднюю грань контрфорса

Таблица 5

СПИСОК РЕКОМЕНДУЕМОЙ ЛИТЕРАТУРЫ

1. СНиП 2.05.03-84. Строительные нормы и правила. Мосты и трубы. М., ЦИТП Госстроя СССР, 1985.

2. СНиП 2.02.01-83. Строительные нормы и правила. Основания зданий и сооружений. М., Стройиздат, 1985.

3. Технические указания по проектированию подпорных стен для транспортного строительства. ВСН 167-70, М., Минтрансстрой СССР, 1970.

4. Рекомендации по проектированию и строительству устоев диванного типа для малых и средних автодорожных мостов. М., ЦНИИС, 1988.

5. Методические рекомендации по проектированию и строительству гибких железобетонных покрытий откосов транспортных сооружений. М., ЦНИИС, 1984.

6. Соколов А.Д. Особенности взаимодействия с грунтом при расчете сооружений контрфорсного типа. В сб. научн. трудов ЦНИИСа «Исследование и применение безростверковых опор мостов», М., ЦНИИС, 1988.

7. Соколов А.Д. Давление грунта на контрфорсные сооружения от временных нагрузок. Депонировано во ВНИИИС Госстроя СССР, 09.06.87, рег. № 8033.

8. Соколов А.Д. Резервы несущей способности конструкций контрфорсного типа. М., Транспортное строительство, № 9, 1987.

9. Соколов А.Д. Расчет подпорных сооружений контрфорсного типа с учетом неравномерности распределения давления грунта по поверхности напорной грани. Депонировано во ВНИИИС Госстроя СССР, 29.06.87, рег. № 7998.

10. Соколов А.Д. Методика расчета устойчивости положения на опрокидывание анкерно-контрфорсных конструкций мостов. Депонировано во ВНИИНТПИ Госстроя СССР, вып. 10, 1989, рег. № 10119.

11. Соколов А.Д. Анкерно-контрфорсные конструкции в устоях диванного типа автодорожных мостов. Депонировано во ВНИИНТПИ Госстроя СССР, вып. 10, 1989, рег. № 10120.

12. Зенков Р.Л. Механика насыпных грузов. М., «Машиностроение», 1964.

13. Бобриков Б.В. Активное давление сыпучего тела на подпорные стенки ограниченной длины. Труды МИИТа, вып. 77, «Мосты и строительные конструкции», М, Трансжелдориздат, 1952.

14. Клейн Г.К. Строительная механика сыпучих тел. М., Государственное издательство литературы по строительству и архитектуре. 1956.

15. Клейн Г.К. Расчет подпорных стен. М., «Высшая школа», 1964.

СОДЕРЖАНИЕ

Предисловие. 1

1. Общие положения. 1

2. Конструктивные схемы устоев анкерно-контрфорсного типа. 2

3. Условия и область применения устоев анкерно-контрфорсного типа. 5

4. Основные положения расчета. 7

5. Методика определения давления грунта. 8

6. Проверка устойчивости положения на сдвиг секции устоя анкерно-контрфорсного типа по его подошве. 18

7. Проверка устойчивости положения на опрокидывание секции устоя анкерно-контрфорсного типа. 20

Приложение 1 Конструкция диванного устоя анкерно-контрфорсного типа из сборных железобетонных элементов, разработанная институтом Союздорпроект. 24

Приложение 2 Формулы для расчета давления грунта и устойчивости положения диванных устоев анкерно-контрфорсного типа. 26

Список рекомендуемой литературы.. 30

 

 




ГОСТЫ, СТРОИТЕЛЬНЫЕ и ТЕХНИЧЕСКИЕ НОРМАТИВЫ.
Некоммерческая онлайн система, содержащая все Российские Госты, национальные Стандарты и нормативы.
В Системе содержится более 150000 файлов нормативно-технической документации, действующей на территории РФ.
Система предназначена для широкого круга инженерно-технических специалистов.

Рейтинг@Mail.ru Яндекс цитирования

Copyright © www.gostrf.com, 2008 - 2026