Крупнейшая бесплатная информационно-справочная система онлайн доступа к полному собранию технических нормативно-правовых актов РФ. Огромная база технических нормативов (более 150 тысяч документов) и полное собрание национальных стандартов, аутентичное официальной базе Госстандарта. GOSTRF.com - это более 1 Терабайта бесплатной технической информации для всех пользователей интернета. Все электронные копии представленных здесь документов могут распространяться без каких-либо ограничений. Поощряется распространение информации с этого сайта на любых других ресурсах. Каждый человек имеет право на неограниченный доступ к этим документам! Каждый человек имеет право на знание требований, изложенных в данных нормативно-правовых актах!

  


 

МИНИСТЕРСТВО ТОПЛИВА И ЭНЕРГЕТИКИ
РОССИЙСКОЙ ФЕДЕРАЦИИ

ОТКРЫТОЕ АКЦИОНЕРНОЕ ОБЩЕСТВО
АКЦИОНЕРНАЯ КОМПАНИЯ ТРУБОПРОВОДНОГО
ТРАНСПОРТА НЕФТЕПРОДУКТОВ
«ТРАНСНЕФТЕПРОДУКТ»

РУКОВОДЯЩИЙ ДОКУМЕНТ

ПРАВИЛА
КАПИТАЛЬНОГО РЕМОНТА
МАГИСТРАЛЬНЫХ НЕФТЕПРОДУКТОПРОВОДОВ,
ПРОЛОЖЕННЫХ ПО ТЕРРИТОРИИ ГОРОДОВ,
НАСЕЛЕННЫХ ПУНКТОВ
И ЗАХОДЯЩИХ НА ТЕРРИТОРИИ НЕФТЕБАЗ
И ПЕРЕКАЧИВАЮЩИХ СТАНЦИЙ

РД 153-39.4-044-99

МОСКВА

Издательство «Нефть и газ»

РГУ нефти и газа им. И.М. Губкина

2000

Настоящие Правила предназначены для подразделений ОАО «АК «Транснефтепродукт» и сторонних организаций, занимающихся разработкой проектов и выполнением работ по капитальному ремонту магистральных нефтепродуктопроводов.

Правила разработаны Институтом проблем транспорта энергоресурсов (ИПТЭР) при участии специалистов МНПФ «Санретро».

Разработчики: А.Г. Гумеров, М.Г. Векштейн, Р.С. Гумеров, В.А. Гараева, М.X. Султанов, Г.К. Ермилина, Г.Р. Бадритдинова, Р.Ф. Гайфуллин.

Правила согласованы с Госгортехнадзором России (письмо от 09.08.1999 г. № 10-03/526)

Введены в действие приказом ОАО «АК «Транснефтепродукт» от 13 октября 1999 г. № 56.

Вводятся впервые.

ПРИНЯТЫЕ В ПРАВИЛАХ СОКРАЩЕНИЯ

ВОХР      - Военизированная охрана

ВПО        - Ведомственная пожарная охрана

ГПС        - Государственная противопожарная служба

ГСМ        - Горюче-смазочные материалы

КИП        - Контрольно-измерительный пункт

КР           - Капитальный ремонт

ЛПДС     - Линейно-производственная диспетчерская станция

ЛЭП        - Линия электропередач

МНПП    - Магистральный нефтепродуктопровод

МЧС       - Министерство по делам гражданской обороны, чрезвычайным ситуациям и ликвидации последствий стихийных бедствий

НТД        - Нормативно-техническая документация

ОАО       - Открытое акционерное общество

ПД           - Пожарная дружина

ПДВК     - Предельно допустимая взрывобезопасная концентрация

ПО          - Производственное отделение

ПОС        - Проект организации строительства

ППР        - Проект производства работ

ПС           - Перекачивающая станция

ПСД        - Проектно-сметная документация

РСК        - Ремонтно-строительная колонна

РСУ        - Ремонтно-строительное управление

ЭХЗ         - Электрохимическая защита

СОДЕРЖАНИЕ

1. Общие положения. 3

2. Оценка технического состояния нефтепродуктопровода. 4

3. Виды и способы капитального ремонта нефтепродуктопроводов. 5

4. Организационно-техническая подготовка капитального ремонта. 14

5. Земляные работы.. 19

6. Подъем и укладка трубопроводов. 29

7. Очистка наружной поверхности трубопровода. 33

8. Сварочные работы.. 33

9. Противокоррозионная изоляция. 39

10. Монтаж защитного кожуха. 43

11. Испытание отремонтированного участка нефтепродуктопровода. 44

12. Порядок сдачи и ввод отремонтированного участка в эксплуатацию.. 46

13. Меры безопасности. 47

14. Пожарная безопасность. 50

15. Охрана окружающей среды.. 53

Литература. 54

Приложение 1 Перечень рекомендуемых машин и механизмов. 56

Приложение 2 Передача рекультивированных земель землевладельцам.. 59

Приложение 3 Исполнительная документация, представляемая при сдаче отремонтированного участка нефтепродуктопровода в эксплуатацию.. 61

РУКОВОДЯЩИЙ ДОКУМЕНТ

ПРАВИЛА КАПИТАЛЬНОГО РЕМОНТА
МАГИСТРАЛЬНЫХ НЕФТЕПРОДУКТОПРОВОДОВ,
ПРОЛОЖЕННЫХ ПО ТЕРРИТОРИИ ГОРОДОВ,
НАСЕЛЕННЫХ ПУНКТОВ И ЗАХОДЯЩИХ НА ТЕРРИТОРИИ
НЕФТЕБАЗ И ПЕРЕКАЧИВАЮЩИХ СТАНЦИЙ

Дата введения 1999-11-01

В Правилах изложены основные положения механизированного ремонта магистральных нефтепродуктопроводов, проложенных по территории городов, населенных пунктов и заходящих на территории нефтебаз и перекачивающих станций по замене изоляционного покрытия, восстановления стенки трубы или полной замене дефектного участка.

Правила разработаны с учетом опыта проведения капитального ремонта нефтепродуктопроводов, а также замечаний и предложений акционерных обществ магистральных нефтепродуктопроводов и Центрального округа Госгортехнадзора России по улучшению содержания указанного документа.

1. ОБЩИЕ ПОЛОЖЕНИЯ

1.1. Требования настоящих Правил распространяются на капитальный ремонт магистральных нефтепродуктопроводов (далее МНПП), проложенных по территории городов, населенных пунктов и заходящих на территории нефтебаз и перекачивающих станций.

Специфическими условиями капитального ремонта являются: близость строений, насаждений и деревьев; ограниченная величина полосы отвода земли; наличие сооружений и сетей, пересекающих МНПП или проходящих в одном техническом коридоре, а также другие факторы.

1.2. Настоящие Правила разработаны в дополнение и развитие «Правил капитального ремонта МНПП диаметром 100 - 720 мм без остановки перекачки» [1]. В Правилах устанавливаются основные требования по капитальному ремонту МНПП с заменой труб, а также с заменой изоляционного покрытия с восстановлением или без восстановления стенки трубы, не содержащиеся в [1].

Капитальный ремонт МНПП с заменой труб - это комплекс операций по замене дефектного участка трубопровода с целью восстановления его исправности до состояния, определенного проектными технико-экономическими показателями и характеристиками.

Капитальный ремонт МНПП с заменой изоляционного покрытия с восстановлением стенки трубы - это комплекс операций по замене поврежденного (не соответствующего требуемым техническим характеристикам) изоляционного покрытия и проведение, при необходимости, сварочных и других работ по устранению дефектов стенки трубы с целью восстановления его исправности до состояния, определенного проектными технико-экономическими показателями и характеристиками.

1.3. Целью капитального ремонта МНПП с заменой труб является приведение его технического состояния в соответствие требованиям проекта и действующих на момент строительства нормативных документов (ГОСТ, СНиП, ВСН и др.) путем замены дефектных труб и других конструкций на новые.

Экономическая и техническая целесообразность замены, приводящая к изменению технических характеристик ремонтируемого участка трубопровода должна быть обоснована в рабочем проекте на капитальный ремонт (пояснительной записке).

1.4. Целью капитального ремонта МНПП с заменой изоляционного покрытия с восстановлением или без восстановления стенки трубы является приведение его технического состояния в соответствие требованиям проекта и действующих нормативных документов путем замены старого изоляционного покрытия на новое, а при наличии дефектов стенки трубы - ремонт путем шлифовки, заварки (наплавки), приварки накладных элементов (муфт) или другими методами.

1.5. Ответственность за обеспечение безопасных условий производства ремонтных работ при производстве работ хозспособом несет должностное лицо акционерного общества АК «Транснефтепродукт», назначенное соответствующим приказом.

При производстве ремонтных работ подрядным способом такая ответственность возлагается на должностное лицо подрядной организации, оформленное соответствующим приказом.

1.6. Ответственность за соблюдение требований НТД по охране труда, пожарной безопасности и охране окружающей среды при выполнении ремонтных работ несет инженерно-технический работник организации, производящей ремонт (РСУ или подрядной организации), назначенный соответствующим приказом.

1.7. Для осуществления технического надзора за качеством ремонта, выполнением работ в соответствии с рабочим проектом и проектом производства работ, приемки выполненных работ, приказом по производственному отделению (ПО) акционерного общества АК «Транснефтепродукт» или акционерному обществу АК «Транснефтепродукт» назначается лицо из числа работников, прошедших обучение и аттестацию на право осуществления технадзора с привлечением, при необходимости, представителей специализированных организаций.

2. ОЦЕНКА ТЕХНИЧЕСКОГО СОСТОЯНИЯ НЕФТЕПРОДУКТОПРОВОДА

2.1. Для оценки технического состояния МНПП необходимо провести следующие мероприятия:

- выявить наиболее опасные участки МНПП в отношении:

а) внешней коррозии;

б) внутренней коррозии;

в) напряженного состояния МНПП;

- осуществить ревизию наиболее опасных участков МНПП;

- осуществить ревизию запорной арматуры, установок электрохимзащиты (ЭХЗ), защитных противопожарных средств, линий технологической связи, сооружений линейной производственно-диспетчерской службы;

- провести испытания МНПП на прочность и проверку их на герметичность в соответствии с ВСН 011-88;

- принять решение по отбраковке труб и деталей и ремонту МНПП.

2.2. Критериями опасности в отношении внешней коррозии являются:

- значение разности потенциалов «труба - земля», не удовлетворяющая требованиям ГОСТ 9.602-89;

- высокая коррозионная агрессивность среды (грунт, грунтовые и другие воды) по ГОСТ 9.602-89;

- наличие дефектов изоляционного покрытия по результатам обследования;

- для МНПП, проложенных в зоне действия блуждающих токов, опасное (по ГОСТ 9.602-89) смещение разности потенциалов между трубопроводом и электродом сравнения;

- величина замеренного коррозионного износа по данным толщинометрии или определенного с помощью внутритрубной диагностической аппаратуры;

- отказы по причине наружной коррозии.

2.3. Наиболее вероятными местами проявления внутренней коррозии являются:

- пониженные места по рельефу МНПП со скоростью течения рабочей среды (V), не обеспечивающей вынос водных скоплений. Скорость течения (Vкр), достаточная для выноса водных скоплений, определяется по следующей формуле [46]:

где i - геометрический уклон восходящего участка, град.;

l - коэффициент гидравлического сопротивления;

r - плотность перекачиваемой жидкости, кг/м3;

D - разность плотностей воды и перекачиваемой жидкости, кг/м3;

k - коэффициент поправки к теоретической формуле;

g = 9,8 м/с2 - ускорение свободного падения;

D - внутренний диаметр трубы, м.

Коэффициент поправки определяется по формуле:

k = 0,564 - 0,133×ln(n) + (2,437 - (i)0,272 - 1)×(0,06×ln(n) - 0,278),

где п - отношение кинематических вязкостей перекачиваемого продукта и воды.

Формула применима при 0,02 < n < 4,93.

Условие коррозионной опасности искривленного участка:

V < Vкр;

- места возможных донных скоплений перед термокомпенсаторами, участками с пониженной скоростью течения и др., где возможно развитие сульфатвосстанавливающих бактерий (СВБ);

- места, где происходили аварии по причине внутренней коррозии;

- места, где величина замеренного коррозионного износа по данным толщинометрии или определенная с помощью внутритрубной диагностической аппаратуры превышает средние по МНПП значения.

2.4. Наиболее опасными в отношении действия напряженного состояния являются участки МНПП, подвергаемые перенапряжению металла трубы по следующим причинам:

- в результате действия неучтенных нагрузок. К таким нагрузкам относятся силовое воздействие оползающих грунтов при укладке МНПП, размыв подводных МНПП, колебания размытых участков под воздействием потока;

- в результате нарушения проектных решений или ошибок в проекте. Характерными примерами такого рода являются дополнительное к проектному искривление МНПП в вертикальной и горизонтальной плоскостях вплоть до образования гофр и др.

2.5. Выявленные наиболее опасные участки МНПП подвергаются ревизии. Для этого производят: шурфование, осмотр трубопровода, контроль изоляционного покрытия, толщины стенки трубы и качества сварных швов принятыми способами контроля.

Обнаруженные неисправности заносятся в рабочие журналы и оформляются в виде сводных таблиц и актов.

2.6. По результатам ревизии опасных участков производят оценку технического состояния и отбраковку труб и деталей МНПП. Критериями оценки технического состояния труб при их отбраковке является следующее:

- если в результате ревизии окажется, что толщина стенки не удовлетворяет расчету на прочность по СНиП 2.05.06-85*;

- если в результате коррозии до планового срока капитального ремонта толщина стенки выйдет за пределы, допускаемые по расчету на прочность;

- если во время ревизии обнаружатся дефекты в стенке труб в виде сферических, цилиндрических язв, трещин, свищей, пробоин, вмятин, гофр, рисок, царапин, наличие которых по критериям РД 39-0147103-334-86 [44] требует отбраковки и ремонта элемента МНПП;

- если механические свойства материала изменились и не удовлетворяют требованиям проекта;

- если при обследовании сварных швов обнаружены следующие дефекты, не подлежащие исправлению:

- трещины длиной более 50 мм в сварном шве или околошовной зоне основного металла;

- непровары размером более 10 % толщины стенки.

2.7. На основе анализа данных проведенных обследований по указанным выше критериям оценки технического состояния МНПП технические службы эксплуатирующей организации осуществляют:

- уточнение местоположения дефектного участка МНПП;

- планирование мероприятий по предотвращению возможных нарушений работы МНПП;

- выбор вида и способа ремонта, установление сроков проведения ремонта в зависимости от характера дефекта с учетом загруженности нефтепродуктопровода на рассматриваемый момент и перспективу;

- разработку перспективного и текущего планов ремонта МНПП.

3. ВИДЫ И СПОСОБЫ КАПИТАЛЬНОГО РЕМОНТА НЕФТЕПРОДУКТОПРОВОДОВ

3.1. На МНПП, проложенных по территории городов, населенных пунктов, ПС и нефтебаз, выполняются следующие виды капитального ремонта:

- с заменой труб;

- с заменой изоляционного покрытия с восстановлением или без восстановления стенки трубы;

- с заменой труб на участках МНПП, проложенных внутри защитного кожуха или футляра.

3.1.1. Ремонт с заменой труб производится следующими способами:

- путем укладки в совмещенную траншею вновь прокладываемого участка трубопровода рядом с заменяемым с последующим демонтажем последнего (ввиду значительной опасности выполнения работ этот способ может применяться в виде исключения);

- путем укладки в отдельную траншею, в пределах существующего технического коридора коммуникаций, вновь прокладываемого участка трубопровода с последующим демонтажем заменяемого;

- путем демонтажа заменяемого трубопровода и укладки вновь прокладываемого трубопровода в прежнее проектное положение.

3.1.2. Капитальный ремонт с заменой изоляционного покрытия производится [1]:

- с подъемом трубопровода в траншее;

- с подъемом и укладкой трубопровода на лежки в траншее.

3.1.3. Капитальный ремонт участков МНПП, проложенных внутри защитного кожуха или футляра (участков МНПП в зоне селитебной территории поселения, переходов через трамвайные пути, автомобильные дороги, улицы, проезды и другие препятствия), выполняется следующими способами [10]:

- с заменой дефектного участка трубопровода перехода на новый внутри эксплуатируемого защитного кожуха (футляра);

- с полной заменой перехода (дефектного трубопровода и кожуха (футляра) в старой траншее);

- путем строительства нового перехода параллельно действующему (при невозможности замены дефектного участка).

3.2. Выбор вида и способа капитального ремонта зависит от диаметра МНПП, технического состояния, конкретных условий его пролегания и других требований, предъявляемых к обеспечению безопасности и сохранности, а также технических условий сторонних и других организаций.

3.3. Технологические операции капитального ремонта с заменой труб путем укладки в совмещенную траншею вновь прокладываемого трубопровода рядом с заменяемым с последующим демонтажем последнего выполняются в два этапа (рис. 3.1.).

Первый этап включает следующие операции:

- уточнение положения МНПП;

- снятие плодородного слоя почвы, перемещение его во временный отвал;

- разработка совмещенной траншеи с размещением отвалов грунта с одной или двух сторон траншеи;

- демонтаж балластных грузов;

- демонтаж контрольно-измерительного пункта (КИП) с отключением средств ЭХЗ;

- планировка отвала грунта со стороны движения РСК;

- сварка одиночных труб в секции;

- раскладка секций труб или отдельных труб на бровке траншеи;

- сварка отдельных труб или секций труб в нитку с контролем качества монтажных сварных швов;

- очистка, нанесение и контроль качества изоляционного покрытия;

- укладка трубопровода в траншею;

- установка балластных грузов;


Рис. 3.1. Технологическая схема капитального ремонта трубопроводов с заменой труб путем укладки в совмещенную траншею:

1 - прибор для уточнения положения трубопровода; 2 - бульдозер; 3 - экскаватор; 4 - заменяемый участок трубопровода; 5 - сварочная установка; 6 - трубоукладчик; 7 - очистная машина; 9 - передвижная электростанция; 10 - троллейная подвеска; 11 - изоляционная машина; 12 - труборез; 13 - вновь прокладываемый участок трубопровода; 14 - отвал минерального грунта


- частичная засыпка трубопровода грунтом;

- установка КИП с подключением к трубопроводу средств ЭХЗ;

- промывка и очистка внутренней полости трубопровода от посторонних предметов;

- испытание на прочность и герметичность;

- контроль состояния изоляции катодной поляризацией;

- отключение заменяемого и подключение (врезка) нового участка к действующему МНПП.

На втором этапе выполняются следующие операции:

- опорожнение, промывка заменяемого трубопровода;

- подъем, очистка от старого изоляционного покрытия и укладка трубопровода на бровку траншеи;

- засыпка траншеи минеральным грунтом;

- резка трубопровода на части;

- транспортирование труб к месту складирования;

- техническая и биологическая рекультивация плодородного слоя почвы.

3.4. Технологические операции КР с заменой труб путем укладки в отдельную траншею вновь прокладываемого трубопровода, в пределах существующего технического коридора выполняются в два этапа (рис. 3.2.).

Первый этап включает следующие операции:

- закрепление трассы вновь прокладываемого трубопровода на местности;

- снятие плодородного слоя почвы, перемещение его во временный отвал;

- сварка одиночных труб в секции;

- раскладка секций труб или отдельных труб вдоль будущей траншеи;

- сварка секций труб или отдельных труб в нитку с контролем качества монтажных сварных швов;

- разработка траншеи;

- очистка, нанесение и контроль качества изоляционного покрытия;

- укладка трубопровода в траншею;

- установка КИП с подключением к трубопроводу средств ЭХЗ;

- засыпка трубопровода минеральным грунтом;

- промывка и очистка внутренней полости трубопровода от посторонних предметов;

- испытание на прочность и герметичность;

- контроль состояния изоляции катодной поляризацией;

- отключение заменяемого и подключение (врезка) нового участка к действующему МНПП.

На втором этапе выполняются следующие операции:

- уточнение положения заменяемого МНПП;

- опорожнение, промывка отключенного трубопровода;

- снятие плодородного слоя почвы и перемещение его во временный отвал;

- вскрытие трубопровода до нижней образующей;

- демонтаж КИП с отключением средств ЭХЗ;

- подъем, очистка от старого изоляционного покрытия и укладка трубопровода на бровку траншеи;

- засыпка траншеи минеральным грунтом;

- резка трубопровода на части;

- транспортировка труб к месту складирования;

- техническая и биологическая рекультивация плодородного слоя почвы.


Рис. 3.2. Технологическая схема капитального ремонта трубопроводов с заменой труб путем укладки в отдельную траншею:

1 - прибор для уточнения положения трубопровода; 2 - бульдозер; 3 - экскаватор; 4 - отвал минерального грунта; 5 - заменяемый участок трубопровода; 6 - сварочная установка; 7 - трубоукладчик; 9 - дефектоскопическая лаборатория; 10 - передвижная электростанция; 11 - троллейная подвеска; 12 - изоляционная машина; 13 - вновь прокладываемый участок трубопровода; 14 - труборез


3.5. Технологические операции КР с заменой труб путем демонтажа заменяемого трубопровода и укладки нового в прежнее проектное положение выполняются в два этапа (рис. 3.3.).

Первый этап включает следующие операции:

- уточнение положения заменяемого трубопровода;

- снятие плодородного слоя почвы, перемещение его во временный отвал;

- вскрытие трубопровода до нижней образующей;

- отключение трубопровода;

- опорожнение, промывка заменяемого трубопровода;

- демонтаж балластных грузов;

- демонтаж КИП с отключением средств ЭХЗ;

- подъем, очистка от старого изоляционного покрытия и укладка трубопровода на бровку траншеи;

- резка трубопровода на части;

- транспортирование труб к месту складирования;

Одновременно с демонтажем трубопровода проводится сварка одиночных труб в секции.

На втором этапе выполняются следующие операции:

- доработка или разработка траншеи;

- раскладка секций труб или отдельных труб на бровке траншеи;

- сварка секций труб или отдельных труб в нитку с контролем качества монтажных сварных швов;

- очистка, нанесение и контроль качества изоляционного покрытия;

- укладка трубопровода в траншею;

- установка балластных грузов;

- установка КИП с подключением к трубопроводу средств ЭХЗ;

- засыпка трубопровода минеральным грунтом;

- промывка и очистка внутренней полости трубопровода;

- испытание на прочность и герметичность;

- контроль состояния изоляции катодной поляризацией;

- подключение (врезка) нового участка к действующему МНПП;

- техническая и биологическая рекультивация плодородного слоя почвы.

 


Рис. 3.3. Технологическая схема капитального ремонта трубопроводов с заменой труб путем укладки на существующее ложе:

1 - прибор для уточнения положения трубопровода; 2 - бульдозер; 3 - экскаватор; 4 - заменяемый участок трубопровода; 5 - трубоукладчик; 6 - труборез; 7 - сварочная установка; 8 - дефектоскопическая лаборатория; 9 - очистная машина; 10 - передвижная электростанция; 11 - троллейная подвеска; 12 - изоляционная машина; 13 - вновь прокладываемый участок трубопровода; 14 - отвал минерального грунта


3.6. Технологические операции КР с подъемом трубопровода в траншее и с подъемом и укладкой трубопровода на лежки в траншее рассмотрены в Правилах [1] и в данной работе не приводятся.

3.7. При КР перехода МНПП с заменой дефектного участка на новый внутри эксплуатируемого защитного кожуха (футляра) выполняются следующие технологические операции:

- уточнение профиля трубопровода;

- снятие плодородного слоя почвы с обеих сторон прилегающих к переходу МНПП участков, перемещение его во временный отвал;

- сооружение рабочего и приемного котлованов;

- вскрытие дорожного покрытия (при ремонте переходов МНПП через автодороги, улицы, проезды);

- подготовка новой плети трубопровода (очистка, сварка, изоляция, контроль) на бровке траншеи или в базовых условиях;

- вскрытие рабочей траншеи;

- остановка перекачки нефтепродукта;

- отсечение участка задвижками;

- вырезка дефектной плети;

- герметизация внутренней полости трубопровода;

- ремонт защитного кожуха или футляра (снятие старой изоляции, очистка, ремонт стенки трубы кожуха с применением сварки, нанесение и контроль новой изоляции;

- подготовка концов трубопровода под монтаж и сварку;

- протаскивание плети нового трубопровода с помощью роликовых опорных устройств внутри защитного кожуха (футляра);

- подгонка новой плети к основному трубопроводу;

- приварка нового трубопровода в приемном котловане;

- вварка нового трубопровода в рабочем котловане;

- уплотнение концов защитного кожуха (футляра);

- устройство уплотнений колодца отводной канавы с присыпкой и подбивкой грунта;

- засыпка траншеи;

- восстановление участка полотна дороги гравием с послойным уплотнением и конструкции дороги (насыпи, покрытия);

- рекультивация плодородного слоя почвы участков с прилегающих сторон перехода.

3.8. Капитальный ремонт перехода МНПП с заменой дефектного трубопровода и защитного кожуха или футляра (в той же траншее) состоит из следующих операций:

- уточнение положения трубопровода;

- снятие плодородного слоя почвы с прилегающих сторон к переходу, перемещение его во временный отвал и планировка полосы трассы в зоне движения машин (при необходимости);

- сооружение приемного и рабочего котлованов;

- вскрытие дорожного покрытия;

- подготовка новой плети трубопровода и нового защитного футляра (очистка, сварка, изоляция) на бровке траншеи или в базовых условиях;

- остановка перекачки;

- отсечение участка задвижками;

- опорожнение от нефтепродукта;

- демонтаж старого защитного кожуха (футляра) газорезкой;

- вырезка дефектного участка;

- герметизация внутренней полости трубопровода;

- подготовка концов трубопровода под монтаж и сварку;

- установка и монтаж нового защитного кожуха (футляра);

- протаскивание (прокладка) плети нового трубопровода с помощью роликовых опорных устройств внутри защитного кожуха (футляра);

- подгонка новой плети к основному трубопроводу;

- приварка нового трубопровода в приемном котловане;

- вварка нового трубопровода в рабочем котловане;

- устройство уплотнений колодца, отводной канавы;

- уплотнение концов защитного кожуха (футляра);

- присыпка защитного кожуха (футляра) с подбивкой грунта;

- засыпка траншеи;

- восстановление участка полотна дороги гравием с послойным уплотнением и конструкции дороги (насыпи, покрытия);

- рекультивация плодородного слоя почвы с прилегающих сторон перехода.

3.9. При выполнении КР нефтепродуктопроводов, проложенных внутри защитного кожуха (футляра), перечисленными выше способами наряду с общими требованиями к производству работ, изложенными в разделах 5 - 7 настоящих Правил, следует соблюдать следующие правила и рекомендации.

3.9.1. Способ вырезки дефектного участка МНПП должен назначаться в зависимости от конкретных условий, наличия соответствующих технических средств и применяемой технологии ремонта. Для МНПП, проложенных в условиях городов и населенных пунктов, могут быть рекомендованы:

- холодная резка (с помощью специальных машинок для резки труб во взрывобезопасном исполнении типа МРТ, «файн»);

- газовая резка (резка пламенем от сгорания пропано-кислородной смеси).

3.9.2. При выборе способа вырезки следует иметь в виду, следующее:

- холодная резка требует обеспечения свободного вращения вокруг трубопровода двигателя с редуктором, т.е. соответствующей подготовки котлована, а также охлаждения рабочего органа (фрезы) смазочно-охлаждающей жидкостью с целью обеспечения пожарной безопасности;

- газовая резка возможна только при условии выполнения всех противопожарных требований, предъявляемых к ведению огневых работ во взрывоопасных условиях (т.е. трубопровод должен быть опорожнен и загерметизирован).

3.9.3. Рабочий котлован должен иметь размеры, позволяющие установить в нем необходимые машины и механизмы, выполнять работы, связанные с вытаскиванием поврежденного трубопровода из кожуха (футляра) и прокладкой внутри него нового или отремонтированного трубопровода.

3.9.4. Приемный котлован должен иметь размеры, позволяющие выполнять демонтаж поврежденного участка трубы, сдвиг поврежденного участка трубопровода относительно кожуха (футляра) в случае заклинивания и монтаж (приварку) плети трубопровода, герметизацию соединения кожуха (футляра) и трубы.

3.9.5. Протаскивание трубопровода из кожуха (футляра) или в него производится тросами. Крюки троса с одной стороны цепляют за приваренные к трубопроводу заранее серьги (ушки) или вырезанные в нем «окна», с другой стороны - к трактору или лебедке.

Количество тросов и их характеристики определяются потребным тяговым усилием.

Для облегчения протаскивания трубопровода (в случае заклинивания) возможно применение предварительной его сдвижки методом одновременного проворачивания со стороны рабочего и приемного котлована с одновременной вытяжкой из рабочего котлована.

При необходимости на трубопроводе закрепляют роликовые и другие опорные устройства, облегчающие процесс протаскивания трубопровода в кожухе (футляре) и фиксацию его положения таким образом, чтобы исключался контакт между кожухом (футляром) и трубопроводом.

В случае невозможности вытаскивания трубопровода из защитного кожуха (футляра) или значительной сдвижки его вместе с кожухом (футляром) производят ремонт путем сооружения нового перехода.

3.9.6. Перед вырезкой дефектного участка во избежание создания опасной разности потенциалов между концами разрезаемого трубопровода последние шунтируются перемычкой. При вырезке необходимо следить за тем, чтобы перемычка не нарушалась.

3.9.7. При ремонте переходов МНПП через дороги, улицы, трамвайные пути и другие препятствия следует по возможности применять трубы с изоляционными покрытиями, нанесенными в заводских или базовых условиях. Изоляционные работы в этом случае заключаются в нанесении покрытий в зоне сварных стыков и ремонте участков изоляции, поврежденных при погрузочно-разгрузочных, транспортных и монтажных работах.

3.10. Технологические операции должны выполняться механизированной ремонтной колонной, оснащенной согласно «Перечню рекомендуемых машин и механизмов» (прил. 1).

3.11. В зависимости от оснащения производящей ремонт организации, условий пролегания трубопровода по населенному пункту или объекту и дополнительных требований местных органов власти, МЧС, надзорных органов, в том числе экологических организаций, в проекте капитального ремонта могут быть предусмотрены дополнительные требования по мерам обеспечения безопасности населения и окружающей природной среды при их выполнении, контроля за ходом выполнения работ, а также их приемки.

3.12. Контроль состояния изоляции методом катодной поляризации выполняется по требованиям Инструкции [27].

4. ОРГАНИЗАЦИОННО-ТЕХНИЧЕСКАЯ ПОДГОТОВКА КАПИТАЛЬНОГО РЕМОНТА

4.1. Организационно-техническая подготовка капитального ремонта включает организационные мероприятия и подготовительные работы.

Организационные мероприятия

4.2. Организационные мероприятия, поэтапно выполняемые заказчиком (ПО ОАО или ОАО АК «Транснефтепродукт»):

- проведение комплексной диагностики технического состояния МНПП;

- определение участков, подлежащих капитальному ремонту на основании анализа результатов обследования технического состояния МНПП;

- составление перспективного и текущего планов капитального ремонта МНПП;

- проведение изыскательских работ на участках, планируемых к ремонту;

- уточнение положения в плане вантузов, задвижек, сооружений и сетей в техническом коридоре по проектной и эксплуатационной документации;

- составление ведомости пересечений или приближений сооружений и сетей с указанием пикетов пересечений или приближений, глубины заложения, владельцев и других данных, имеющихся в документации и, при необходимости, уточнение на месте мест пересечений совместно с представителями владельцев коммуникаций;

- получение технических условий на проведение работ по капитальному ремонту от владельцев сооружений и сетей, пересекающих МНПП или проходящих в одном техническом коридоре, местных органов власти и других заинтересованных организаций;

- разработка и утверждение задания на проектирование капитального ремонта;

- выполнение проектных работ в соответствии с заданием, экспертиза и утверждение проекта в установленном порядке;

- оформление документов по отводу земель с согласованием условий рекультивации;

- определение субподрядной организации и заключение договора на выполнение капитального ремонта переходов через естественные и искусственные преграды;

- оформление финансирования;

- передача всей технической и проектной документации на капитальный ремонт РСУ или подрядной организации, с которой заключен договор.

4.3. При капитальном ремонте трубопровода применяется одностадийное проектирование - рабочий проект. Рабочий проект разрабатывается проектной организацией с привлечением в необходимых случаях специализированных организаций. Все организации должны иметь соответствующую лицензию.

4.4. Состав рабочего проекта назначается с учетом особенностей трубопровода как линейного объекта и требований настоящих Правил. Дополнительные требования к проекту могут быть оговорены в договоре на проектирование.

4.5. Рабочий проект должен состоять из следующих разделов:

- общая пояснительная записка;

- план и профиль ремонтируемого участка МНПП;

- расчет технологических параметров ремонтной колонны;

- проект организации строительства (ПОС);

- проект рекультивации земель;

- мероприятия по охране водоемов, почвы и атмосферного воздуха от загрязнений;

- сметная документация;

- рабочие чертежи.

В приложении к общей пояснительной записке рабочего проекта должны быть представлены копии технических условий на проведение работ по капитальному ремонту от владельцев сооружений и сетей, пересекающих МНПП или проходящих в одном техническом коридоре, и других организаций.

Состав рабочего проекта может отличаться от приведенного выше, если это оговорено в договоре на проектирование или в особых условиях задания на проектирование.

В условиях пролегания трубопроводов в границах городов, поселков и т.д. по требованиям местных органов власти и надзорных организаций в рабочий проект и его сметную часть могут быть включены дополнительные объемы работ и затраты, оговоренные в технических условиях и других документах.

4.6. Проект рекультивации земель должен определять порядок восстановления земель, предоставленных во временное пользование, для сельскохозяйственных, лесохозяйственных и других целей или предусматривать выполнение требований технических условий землевладельцев на проведение нарушенных земель в состояние, пригодное для их последующего использования, и соответствующих объемов работ.

4.7. Разработке проекта рекультивации земель предшествует получение от землевладельцев технических условий на приведение нарушенных земель в состояние, пригодное для последующего использования.

4.8. В проекте рекультивации земель в соответствии с техническими условиями должны быть определены:

- границы угодий по трассе трубопровода, в пределах которых необходимо проведение рекультивации;

- мощность снимаемого плодородного слоя почвы по каждому нарушенному участку;

- ширина зоны рекультивации в пределах полосы отвода;

- срок нанесения плодородного слоя почвы с учетом уплотнения грунта, уложенного в траншею;

- место расположения отвала для временного хранения плодородного слоя почвы;

- способ снятия, хранения, транспортировки и нанесения плодородного слоя;

- мощность наносимого плодородного слоя и потенциально плодородных пород;

- меры по восстановлению плодородия земель;

- план отведенного под ремонт МНПП земельного участка с планировочными данными, позволяющими определить объем земляных работ по рекультивации земель и их сметную стоимость.

4.9. Проект рекультивации земель должен быть представлен в государственную экологическую экспертизу на рассмотрение и получение положительного заключения и согласован с местными органами Минприроды России и Роскомзема.

4.10. Выдача Разрешений на проведение работ, связанных с нарушением почвенного покрова, осуществляется в порядке, устанавливаемом соответствующими органами исполнительной власти субъектов Российской Федерации.

4.11. При наличии параллельно действующего или пересекающего трубопровода необходимо разработать и включить в рабочий проект решения, обеспечивающие сохранность трубопровода и безопасность производства работ в соответствии с РД 102-011-89 [5].

4.12. Работы по капитальному ремонту МНПП выполняются согласно проекту производства работ (ППР), который разрабатывается организацией, производящей ремонт (РСУ или сторонней организацией) и согласовывается заказчиком (акционерным обществом АК «Транснефтепродукт»). ППР в целом или отдельные его разделы могут быть разработаны подрядными организациями. При разработке ППР следует руководствоваться СНиП 3.01.01-85* [3].

4.13. Исходными документами для разработки ППР являются:

- задание на разработку ППР;

- рабочий проект на капитальный ремонт;

- сведения о количестве и типах намечаемых к использованию ремонтных машин и механизмов, а также о рабочих кадрах по профессиям;

- материалы топографо-геодезических изысканий по трассе ремонтируемого трубопровода;

- сведения об условиях использования существующих дорог;

- ведомость пересечений ремонтируемого участка МНПП с подземными коммуникациями, искусственными и естественными препятствиями;

- сведения об условиях безопасного производства ремонтных работ.

4.14. При разработке ППР следует руководствоваться следующими нормативными документами:

- Правила капитального ремонта магистральных нефтепродуктопроводов диаметром 100 - 720 мм без остановки перекачки [1];

- РД 153-39.4-041-99. Правила технической эксплуатации магистральных нефтепродуктопроводов [6];

- СНиП 3.01.01-85*. Организация строительного производства;

- СНиП 3.02.01-87. Земляные сооружения, основания и фундаменты;

- СНиП III-42-80*. Магистральные трубопроводы. Правила производства работ;

- ВСН 012-88. Контроль качества и приемка работ;

- СНиП 2.05.13-90. Нефтепродуктопроводы, прокладываемые на территории городов и других населенных пунктов;

- СНиП III-4-80*. Правила производства и приемки работ. Техника безопасности в строительстве;

- ГОСТ 12.3.003-86. ССБТ. Работы электросварочные. Общие требования безопасности;

- ПОТ РО 112-002-98. Правила по охране труда при эксплуатации магистральных нефтепродуктопроводов [28].

4.15. В состав ППР должны входить:

- пояснительная записка;

- профиль ремонтируемого МНПП с ситуационным планом;

- график производства ремонта МНПП;

- график поступления материалов, машин и механизмов;

- технологические карты (схемы производства работ) на сложные работы и работы, выполняемые новыми методами.

4.16. Ситуационный план ремонтируемого МНПП должен включать трассу МНПП с указанием границ населенных пунктов, перекачивающих станций, узлов связи, линейной арматуры, вдольтрассовых дорог и других объектов. На ситуационном плане и профиле трассы должны быть обозначены пересечения и приближения всех коммуникаций (подземных и наземных). Кроме того, на профиль трассы должны быть нанесены глубины заложения ремонтируемого и близлежащих трубопроводов и других коммуникаций.

4.17. График производства ремонта МНПП составляется на весь ремонтный сезон с учетом климатических, гидрогеологических условий и особенностей эксплуатации конкретного МНПП, а также других условий. График составляют с разбивкой по месяцам для каждого ремонтируемого участка с указанием плановых сроков выполнения основных работ.

4.18. График поступления материалов, машин и механизмов на ремонтируемый участок составляют с разбивкой по месяцам. Корректируют графики в связи с последующим уточнением поставки необходимых материалов, машин и механизмов.

4.19. Пояснительная записка включает:

- расчет продолжительности ремонта МНПП;

- расчет потребности в ресурсах;

- порядок и методы производства ремонта МНПП по отдельным видам работ;

- основные технико-экономические показатели;

- мероприятия по охране труда, технике безопасности и пожарной безопасности;

- мероприятия по охране окружающей среды;

- ведомость пересечений или приближений сооружений и сетей.

4.20. Проекты на капитальный ремонт МНПП должны быть зарегистрированы в региональных отделениях Госгортехнадзора России.

4.21. Взаимоотношения Заказчика (ПО ОАО или ОАО) и подрядных организаций (выполняющих проектные или ремонтные работы), права, обязанности и ответственность сторон регламентируются договором подряда.

4.22. Организационные мероприятия по подготовке и заключению договора подряда и осуществлению в соответствии с ним подготовки к КР МНПП подразделяются на три этапа:

- преддоговорный;

- последоговорный, выполняемый одновременно с разработкой рабочего проекта КР;

- этап подготовки КР, осуществляемый на основе рабочего проекта КР.

4.23. На преддоговорном этапе осуществляется подготовка договора подряда, распределение обязанностей между заказчиком и генеральным подрядчиком.

4.24. На преддоговорном этапе в качестве исходной информации используются: протокол о намерениях заказчика и генерального подрядчика, технико-экономический расчет, действующие методические документы по определению договорных цен, прейскуранты, расчетная стоимость КР и др.

4.25. На преддоговорном этапе генеральный подрядчик выполняет:

- проверку технико-экономического расчета;

- оценку возможности использования для КР собственных средств механизации и оснастки, необходимость привлечения средств со стороны и определение затрат на эти цели;

- согласование и подписание протоколов с субподрядчиками, поставщиками основных материалов, конструкций и изделий с организацией, которая будет разрабатывать ППР (при необходимости);

- уточнение перечня взаимных обязательств заказчика и генподрядчика;

- разработку обоснования и предложения по сумме договорной цены;

- подготовку, согласование и подписание договора подряда.

4.26. Генеральный подрядчик вправе заключить договор субподряда на выполнение части работ с другими организациями. Ответственность перед заказчиком за выполнение всех работ, в т.ч. проводимых субподрядчиком, несет генеральный подрядчик.

4.27. На последоговорном этапе выполняются:

- разработка рабочего проекта;

- выявление необходимости наращивания собственных производственных мощностей;

- заключение договоров (контрактов) с субподрядными организациями, поставщиками средств механизации, материалов, конструкций, изделий, оснастки, оборудования.

4.28. На этапе подготовки КР генеральный подрядчик должен выполнить:

- приемку от исполнителей, регистрацию и передачу непосредственным исполнителям (прорабам) ППР рабочих чертежей;

- объявить и произвести набор недостающих работников, заключить с ними контракты;

- не позднее чем за 10 дней до начала подготовительных работ принять от заказчика подготовленную трассу МНПП с оформлением акта передачи;

- издать совместно с заказчиком и проектной организацией приказ о назначении лиц, осуществляющих технический, технологический контроль КР МНПП;

- открыть журнал выполнения работ по КР МНПП.

Подготовительные работы

4.29. Подготовительные работы, выполняемые генеральным подрядчиком (РСУ или сторонней организацией), включают:

- обследование дорог, мостов для выяснения возможности перебазировки машин и механизмов;

- оборудование пунктов погрузки и выгрузки;

- перебазировка ремонтных колонн к месту работы;

- организация пунктов хранения горюче-смазочных материалов, согласно требованиям СНиП 2.11.03.-93 [13];

- строительство временных складов;

- оборудование пунктов технического обслуживания машин и механизмов;

- сооружение вдольтрассовых дорог;

- подготовка трассы трубопровода;

- обеспечение связью РСК с диспетчерской службой и ближайшей ПС.

4.30. Подготовка трассы включает:

- определение оси трассы и глубины заложения МНПП;

- обозначение на местности километража и пикетов трассы и всех пересечений МНПП с инженерными коммуникациями, места установки вантузов, а также всех параллельно пролегающих коммуникаций;

- планировку трассы;

- восстановление вдольтрассовых дорог;

- другие условия, оговоренные в технических условиях и других согласующих документах.

4.31. Положение МНПП определяют трассоискателями и шурфованием.

4.32. Результаты измерений фактической глубины заложения трубопровода (от поверхности земли или дорожного или иного покрытия до нижней образующей трубы) наносят на вешки высотой 1,5 - 2,0 м, забиваемые по оси трубопровода через 50 м, а при неровном рельефе через 25 м.

Вешки следует также установить в местах изменений рельефа, в вершине углов поворотов трассы и в местах пересечения с другими подземными коммуникациями, а также на границах разработки грунта вручную, перед началом и концом вскрышных работ, у линейных задвижек и в опасных местах (недостаточное заглубление и т.д.).

4.33. Планировочные работы заключаются в срезке валика, бугров, неровностей, подсыпке низинных мест, удалении растительности и валунов.

4.34. Сдача трассы нефтепродуктопровода производится заказчиком - акционерным обществом АК «Транснефтепродукт» (ПС, ЛПДС, эксплуатирующей данный участок), подрядчику (РСУ или сторонней организации) с оформлением акта передачи до начала ремонтных работ.

4.35. Производство ремонтных работ разрешается начинать после завершения организационно-технической подготовки и получения письменного разрешения от руководства Акционерного общества АК «Транснефтепродукт» или ПО ОАО на право производства работ.

4.36. Перед началом ремонтного сезона исполнитель работ должен поставить в известность местные органы исполнительной власти, Госгортехнадзора и ГПС МВД о сроках проведения работ по капитальному ремонту МНПП.

5. ЗЕМЛЯНЫЕ РАБОТЫ

Общие требования

5.1. Земляные работы при КР МНПП выполняются в соответствии с требованиями действующей НТД [1, 7, 15, 40].

5.2. Земляные работы в пределах охранных зон линий и сооружений технологической связи, телемеханики и электрических сетей должны выполняться с соблюдением требований [31, 32].

5.3. Разработка грунта в местах пересечения трубопровода с другими подземными коммуникациями допускается лишь при наличии письменного разрешения и в присутствии представителя организации, эксплуатирующей эти подземные коммуникации (трубопроводы, линии связи и др.). Вызов представителя возлагается на исполнителя работ. К разрешению должен быть приложен план (схема) с указанием расположения и глубины залегания коммуникаций, составленный на основании шурфовки.

5.4. При обнаружении на месте производства работ подземных коммуникаций и сооружений, не указанных в проектной документации, исполнитель работ должен поставить в известность заказчика и принять меры по защите обнаруженных коммуникаций и сооружений от повреждений.

5.5. Вантузы, задвижки и другие узлы должны быть предварительно открыты и обозначены.

5.6. Способы выполнения земляных работ и типы используемых механизмов определяются проектом с учетом физико-механических свойств грунта и напряженного состояния ремонтируемого участка МНПП.

5.7. Земляные работы при КР МНПП в условиях городов, населенных пунктов, ПС и нефтебаз следует выполнять по технологическим картам, входящим в состав ППР.

В технологических картах приводятся последовательность выполнения земляных работ и указания по организации и методам труда ремонтников, технико-экономические показатели и особенности применяемых машин, другие указания в соответствии с конкретными условиями и выбранным применительно к ним способом производства земляных работ.

Снятие и восстановление плодородного слоя почвы

5.8. Работы по снятию и восстановлению плодородного слоя почвы должны производиться в соответствии с проектом рекультивации земель, входящим в состав рабочего проекта.

5.9. Минимальная ширина полосы, с которой снимается плодородный слой почвы, должна равняться ширине траншеи по верху плюс 0,5 м в каждую сторону, максимальная - ширине полосы отвода, определяемой по СН 452-73 [14].

Толщина плодородного слоя почвы и места снятия его по трассе должны устанавливаться рабочим проектом на основании материалов изысканий в соответствии с ГОСТ 17.5.3.06-85 [15] и указываться в ППР.

5.10. Плодородный слой почвы должен быть снят и перемещен во временный отвал.

5.11. Снятие плодородного слоя почвы рекомендуется производить на всю глубину, по возможности за один проход или послойно за несколько проходов землеройной техники. Не допускается смешивание плодородного слоя почвы с минеральным грунтом.

Разработка траншеи

5.12. При пересечении трассы с действующими подземными коммуникациями разработка грунта механизированным способом разрешается на расстоянии не ближе 2 м от боковой стенки и не менее 1 м над верхом коммуникаций (трубы, кабели и др.). Оставшийся грунт должен дорабатываться вручную без применения ударных инструментов и с принятием мер, исключающих возможность повреждения этих коммуникаций. Во избежание недопустимого провисания вскрытого кабеля следует установить обязательную подвеску.

5.13. Участки защемленного трубопровода, а также примыкающие к линейным задвижкам, тройниковым соединениям, отводам и др. после вскрытия экскаватором дорабатываются вручную без применения ударных инструментов. Длина такого участка в одну сторону должна быть не менее 30 м.

5.14. Для устойчивой и надежной работы машин и механизмов полоса трассы в зоне движения должна быть спланирована и по оси трубопровода вновь забиты вешки в тех же местах, которые указаны в п. 4.33.

5.15. Поперечный профиль и размеры разрабатываемой траншеи должны устанавливаться в проектной документации в зависимости от принятого вида и способа ремонта, диаметра ремонтируемого трубопровода, ширины режущей кромки рабочего органа землеройной машины. Во избежание повреждения трубопровода размеры траншеи должны обеспечить расстояние между стенкой трубы и ковшом работающего экскаватора не менее 0,15 - 0,2 м.

5.16. При капитальном ремонте с заменой труб путем укладки в отдельную траншею заглубление трубопровода до верха трубы, а также ширину траншеи по низу, следует принимать согласно СНиП 2.05.06-85* «Магистральные трубопроводы» [4].

5.17. При ремонте с заменой труб путем укладки в совмещенную траншею существующий трубопровод вскрывается до верхней образующей. Новая траншея разрабатывается параллельно на безопасном расстоянии от оси существующего трубопровода. Размеры траншей назначаются исходя из требований СНиП 2.05.06-85* [4]. Профиль траншеи показан на рис. 5.1.

Если заглубление заменяемого трубопровода не отвечает требованиям СНиП 2.05.06-85* и участок трубопровода прокладывается ниже существующего, то при ремонте по способу, описанному в п. 3.3, может произойти сползание существующего трубопровода в разработанную траншею. Для предотвращения сползания (за исключением болотистых участков) необходимо оставлять перемычки (рис. 5.2), расстояние между которыми составляет 15 - 20 м. Длина перемычки - 1 м. Перед укладкой трубопровода грунт перемычек последовательно разрабатывается до уровня траншеи экскаватором или вручную. После укладки трубопровода перемычка незамедлительно восстанавливается.

5.18. При ремонте путем вскрытия и демонтажа заменяемого трубопровода вскрытие трубопровода производят до нижней образующей. Размеры траншеи должны быть достаточными для свободного перемещения по трубе очистных и изоляционных машин, ширина траншеи по низу должна быть не менее Дтр ± 1,0 м.

5.19. При ремонте с заменой изоляционного покрытия с подъемом трубопровода в траншее, с подъемом и укладкой трубопровода на лежки в траншее, трубопровод должен быть вскрыт до нижней образующей и расположен по оси траншеи.

5.20. Минимальная ширина траншеи по низу:

B = D + 2K + 2d;

где D - диаметр трубопровода;

К - не менее 0,5 м - ширина режущей кромки рабочего органа машины;

Рис. 5.1. Профиль траншеи при ремонте с заменой труб путем укладки в совмещенную траншею:

1 - заменяемый участок трубопровода; 2 - траншея; 3 - вновь прокладываемый участок трубопровода

Рис. 5.2. Профиль траншеи при ремонте с заменой труб путем укладки в совмещенную траншею ниже существующего трубопровода:

1 - заменяемый участок трубопровода; 2 - траншея; 3 - вновь прокладываемый участок трубопровода; 4 - перемычка; h - величина заглубления

d = 0,15 ¸ 0,20 м - минимальное расстояние между стенкой трубы и работающим органом машины.

5.21. Траншеи с вертикальными стенками без крепления разрабатываются в грунтах естественной влажности с ненарушенной структурой при отсутствии грунтовых вод на глубину, м:

в насыпных песчаных и гравелистых грунтах                 - не более 1,00

в супесях                                                                              - не более 1,25

в суглинках и глинах                                                           - не более 1,50

в особо плотных нескальных грунтах                               - не более 2,00

5.23. Для крепления стенок траншеи следует применять инвентарные и неинвентарные крепления (рис. 5.3.). Рекомендации по применению инвентарных траншейных креплений приведены в табл. 5.1. и представлены на рис. 5.4.

Таблица 5.1

Рекомендации по применению инвентарных траншейных креплений

Инвентарные крепления

Глубина траншеи, м

Ширина траншеи, м

Условия применения

Консольное безраспорное

До 4,1

Произвольная

Механизированные работы в траншее

Шпунтовое

До 4,1

-"-

Работы в переувлажненных грунтах

Анкерное

До 7,6

-

Продолжительные работы на дне выемки

Консольно-распорное со стальными щитами

До 7,6

До 5,1

Рассредоточенные объемы работ в переувлажненных грунтах

5.24. При невозможности использования инвентарных креплений применяют неинвентарные.

Рекомендации по применению неинвентарных креплений в зависимости от вида грунта представлены в табл. 5.2.

Таблица 5.2

Рекомендации по применению неинвентарных креплений

Вид неинвентарного крепления

Грунтовые условия

Горизонтальное с прозорами через одну доску

Грунты естественной влажности (за исключением сыпучих)

Сплошное вертикальное или горизонтальное

Грунты сыпучие и повышенной влажности

Шпунтовое ограждение

Грунты всех видов при сильном притоке грунтовых вод

В пределах городов и населенных пунктов должны предусматриваться дополнительные меры по укреплению стенок траншеи, ее ограждению, установке предупредительных плакатов, мостков, освещению и т.д.

5.25. В зимнее время разработку грунта (за исключением сухого песчаного) на глубине промерзания разрешается проводить без крепления. При дальнейшем углублении необходимо устанавливать крепления.

За состоянием траншеи должно быть установлено постоянное наблюдение.

5.26. При сильном притоке грунтовых вод необходимо предусмотреть работы по искусственному понижению уровня подземных вод с применением дренажа и иглофильтровых установок, водопонизительных систем, которые должны выполняться согласно требованиям СНиП 3.02.01-87 [7].

5.27. Применяемые способы водопонижения должны исключить снижение несущей способности грунтов и обеспечивать сохранность расположенных в охранной зоне МНПП наземных и подземных сооружений.

5.28. При выборе способа водопонижения должны учитываться:

- свойства и условия залегания грунтов;

- условия питания грунтовых вод;

Рис. 5.3. Схемы консольных креплений:

а - безраспорное; б - анкерное; в - консольно-распорное;

1 - затяжки; 2 - сваи; 3 - растяжки; 4 - анкер; 5 - распорки

Рис. 5.4. Неинвентарные крепления траншеи:

а - простейшее; б - анкерное;

1 - крепежные доски; 2 - стойка; 3 - распорка; 4 - бобышка; 5 - оттяжка; 6 - анкер

- водопроницаемость (коэффициент фильтрации) осушаемых грунтов;

- способ производства земляных работ;

- размеры осушаемой зоны в грунте;

- продолжительность работ.

5.29. Режим водоотлива должен быть таким, чтобы постоянно поддерживать уровень воды ниже нижней образующей трубы до окончания ремонтных работ, включая засыпку отремонтированного МНПП.

5.30. Водоотлив должен осуществляться механизированным способом с помощью безнапорных и напорных диафрагмовых и центробежных насосов и водоотливных установок.

5.31. В водонасыщенных фильтрующих грунтах, обильно насыщенных водой, где открытый водоотлив не достигает цели, рекомендуется водоотлив иглофильтровыми установками типа ЛИУ-3, ЛИУ-5, ЛИУ-6.

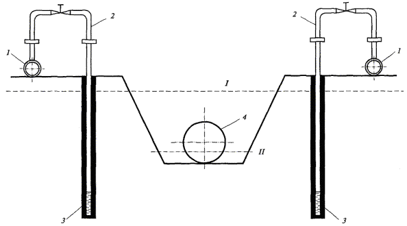
Схема искусственного водопонижения с применением иглофильтровой установки при двух рядах иглофильтров представлена на рис. 5.5.

Сброс откачиваемой из траншеи воды в местную канализацию, ручьи или в водоемы должен быть согласован с местными заинтересованными органами.

5.32. Расположение рабочих зон и отвалов минерального грунта и плодородного слоя почвы на полосе отвода при ремонте по способам, указанным в п. 3.7, представлена на рис. 5.6, а их параметры указаны в табл. 5.3 (без рекультивации) и в табл. 5.4 (с рекультивацией).

Ввиду отсутствия места для размещения зоны проезда автотранспорта, доставка изоляционных и др. материалов осуществляется трубоукладчиком.

5.33. Сокращение размеров полосы отвода земли при КР МНПП в стесненных условиях возможно за счет следующих мероприятий:

- исключение зоны для размещения плодородного слоя почвы: почва вывозится за пределы участка и складируется в местах, указанных землевладельцами, с возвращением на место после засыпки траншеи минеральным грунтом;

- исключение зоны для размещения минерального грунта: минеральный грунт также вывозится за пределы участка и возвращается на место после укладки трубопровода;

- сокращение размера зоны разработки траншеи: вместо устройства откосов траншеи устанавливаются крепления (инвентарные или неинвентарные) вертикальных стенок траншеи.

Таблица 5.3

Параметры рабочих зон на полосе отвода земли (без рекультивации)

№ п/п

Диаметр, мм

Глубина траншеи, м

Заложение откосов

Параметры зон, м

Полоса отвода земли, м

Зона работы грузоподъемных машин

Зона разработки траншеи

Зона работы бульдозера при засыпке траншеи

минимальная

расчетная

1

До 426

1,2

1:0,00

6,0

7,8

4,5

6,2

20,0

2

До 426

1,2

1:0,50

6,0

9,4

4,5

4,6

20,0

3

До 426

1,5

1:0,00

6,0

8,3

4,5

5,7

20,0

4

426 - 530

1,4

1:0,00

6,0

8,2

5,2

8,8

23,0

5

426 - 530

1,4

1:0,50

6,0

10,1

5,2

6,9

23,0

6

426 - 530

1,4

1:0,67

6,0

10,8

5,2

6,2

23,0

7

426 - 530

1,7

1:0,00

6,0

8,7

5,2

8,3

23,0

8

426 - 530

1,7

1:0,50

6,0

11,0

5,2

6,0

23,0

5.34. Размещение отвалов минерального и плодородного грунта относительно оси трубопровода может быть одностороннее или двухстороннее. Схема размещения грунта выбирается в зависимости от взаимного расположения параллельно проложенных трубопроводов и других коммуникаций, возможного направления движения ремонтной колонны, с учетом местности.

Рис. 5.5. Схема искусственного водопонижения при двух рядах иглофильтров:

I - уровень грунтовых вод; II - уровень воды в траншее;

1 - водоотливной коллектор; 2 - надфильтровая труба; 3 - фильтр; 4 - нефтепродуктопровод

Рис. 5.6. Варианты размещения отвалов минерального и плодородного грунта относительно оси трубопровода:

а - без рекультивации земли; б, в - с рекультивацией земли

Таблица 5.4

Параметры рабочих зон на полосе отвода земли (с рекультивацией)

№ п/п

Диаметр, мм

Глубина траншеи, м

Заложение откосов

Параметры зон, м

Полоса отвода земли, м

Зона работы грузоподъемных машин

Зона разработки траншеи

Зона работы бульдозера при засыпке траншеи

Зона расположения отвала плодородного слоя почвы

Зона работы бульдозера при рекультивации

минимальная

расчетная

1

До 426

1,0

1:0,00

6,0

7,4

4,5

1,9

4,5

8,2

28,0

2

До 426

1,0

1:0,50

6,0

8,7

4,5

2,2

4,5

6,6

28,0

3

До 426

1,0

1:0,67

6,0

9,2

4,5

2,2

4,5

5,5

28,0

4

До 426

1,0

1:1,00

6,0

10,0

4,5

2,4

4,5

5,1

28,0

5

До 426

1,3

1:0,00

6,0

8,0

4,5

2,0

4,5

7,5

28,0

6

До 426

1,3

1:0,50

6,0

9,7

4,5

2,2

4,5

5,6

28,0

7

До 426

1,3

1:0,67

6,0

10,3

4,5

2,3

4,5

4,9

28,0

8

426 - 530

1,2

1:0,00

6,0

7,9

5,2

2,0

5,2

11,9

33,0

9

426 - 530

1,2

1:0,50

6,0

9,5

5,2

2,2

5,2

10,1

33,0

10

426 - 530

1,2

1:0,67

6,0

10,0

5,2

2,3

5,2

9,5

33,0

11

426 - 530

1,2

1:1,00

6,0

11,0

5,2

2,4

5,2

8,4

33,0

12

426 - 530

1,2

1:0,00

6,0

8,5

5,2

2,0

5,2

11,3

33,0

13

426 - 530

1,2

1:0,50

6,0

10,4

5,2

2,3

5,2

9,1

33,0

14

426 - 530

1,2

1:0,67

6,0

11,1

5,2

2,4

5,2

8,3

33,0

15

426 - 530

1,2

1:1,00

6,0

12,4

5,2

2,5

5,2

6,9

33,0

Засыпка траншей

5.35. До начала работ по засыпке уложенного трубопровода необходимо проверить качество изоляционного покрытия и в случае необходимости его отремонтировать, выполнить работы по предохранению изоляционного покрытия от механического повреждения, а также восстановить устройства электрохимзащиты.

5.36. Засыпать траншею следует непосредственно после укладочных работ (в течение одной смены). При засыпке трубопровода необходимо обеспечить плотное прилегание трубопровода ко дну траншеи.

5.37. В щебенистых грунтах, а также сухих комковатых и мерзлых грунтах трубопроводы укладывают в траншею на подсыпку из мягкого грунта толщиной не менее 10 см над выступающими неровностями основания траншеи, и таким же грунтом присыпают над верхней образующей на 20 см.

5.38. Засыпку траншеи осуществляют бульдозером (траншеезасыпателем). В тех случаях, когда работа бульдозера со стороны отвала невозможна, засыпку выполняют одноковшовым экскаватором, оборудованным ковшом - обратная лопата или драглайном. Экскаватор устанавливают со стороны траншеи, противоположной отвалу, а грунт для засыпки берется из отвала и ссыпается в траншею.

5.39. В местах с уменьшенной полосой отвода засыпку выполняют косоперекрестными или косопоперечными параллельными проходами бульдозера (рис. 5.7). После искусственного или естественного уплотнения грунта в траншее выполняют техническую рекультивацию, которая заключается в возвращении плодородного слоя почвы на нарушенную площадь с насыпкой и планировкой.

5.40. После завершения технической рекультивации выполняют биологическую рекультивацию, включающую проведение комплекса агротехнических и фитомелиоративных мероприятий, предусмотренных техническими условиями соответствующих заинтересованных организаций и включенных в проектно-сметную документацию.

5.41. Восстановление земельных участков с плодородным слоем почвы (улиц, скверов и т.д.) производят в ходе работ, а при невозможности этого в течение одного года после завершения работ или срока, оговоренного в технических условиях.

После рекультивации и восстановления отведенные участки сдаются землевладельцам (прил. 2).

5.42. Подключение нового участка трубопровода к средствам ЭХЗ производится не позднее 30 дней после укладки и засыпки.

Рис. 5.7. Схемы производства работ по засыпке уложенного трубопровода бульдозером:

а - прямолинейными проходами; б - косопоперечными параллельными проходами

Контроль качества и приемка земляных работ

5.43. Контроль качества земляных работ заключается в систематическом наблюдении и проверке соответствия выполняемых работ проектной документации, требованиям СНиП III-42-80* [8], ВСН 004-88 [16], соблюдением допусков, приведенных в табл. 5.5 (и дополнительным условиям, при их наличии).

5.44. Пооперационный контроль (планировка полосы трассы в зоне движения РСК, снятие и восстановление плодородного слоя почвы, разработка траншеи, присыпка и засыпка траншеи и др.) осуществляется исполнителем работ.

Результаты контроля заносятся в журнал производства земляных работ.

При наличии дополнительных условий такой контроль может осуществляться также представителями заказчика, привлеченной специализированной организации или надзорных органов.

5.45. По окончании земляных работ оформляется «Акт на засыпку (обваловку) уложенного трубопровода».

Таблица 5.5

Пооперационный контроль выполнения земляных работ

Операция

Периодичность

Метод контроля

Допуски

1

2

3

4

Снятие плодородного слоя почвы

Толщина снимаемого плодородного слоя почвы

Непрерывно, в местах, вызывающих сомнение

Визуально мерным штырем

По проекту +100/0 мм

Ширина полосы снимаемого плодородного слоя почвы

Непрерывно, в местах, вызывающих сомнение

Визуально стальной мерной лентой

По проекту +300/-300 мм

Разработка траншеи

Ширина траншеи по дну

Непрерывно выборочно

Визуально стальной мерной лентой

1/2 ширины траншеи (относительно оси трубопровода) +200/-50 мм

Глубина траншеи

Непрерывно в местах, вызывающих сомнение

Визуально, мерной рейкой

По проект + 100/0 мм

Крутизна откосов

Непрерывно в местах, вызывающих сомнение

Визуально шаблоном

По проекту

Засыпка траншеи

Толщина слоя подсыпки и присыпки нефтепродуктопровода мягким грунтом

Непрерывно

Визуально

По проекту +100/0 мм

Ширина валика грунта над трубопроводом

Непрерывно

Визуально

По проекту +200/ 0 мм

Высота валика над трубопроводом

Выборочно в местах, вызывающих сомнение

Визуально стальной мерной лентой, мерным штырем

По проекту 200/ 0 мм

Толщина слоя грунта над трубопроводом (в уплотненном состоянии)

Выборочно в местах, вызывающих сомнение

Визуально мерной рейкой, мерным штырем

По проекту 200/ 0 мм

6. ПОДЪЕМ И УКЛАДКА ТРУБОПРОВОДОВ

6.1. Работы по подъему и укладке трубопроводов разрешается производить только в присутствии лица, ответственного за производство работ.

6.2. Перед подъемом должны быть выполнены все организационные и технические мероприятия, предусмотренные в проекте производства работ, обеспечивающие безопасность его проведения и предотвращения аварийных ситуаций.

6.3. В случае капитального ремонта МНПП с заменой труб работы по подъему и укладке заменяемого нефтепродуктопровода разрешается выполнять после полного освобождения его от перекачиваемого продукта и получения разрешения диспетчера.

6.4. Подъем и укладку нефтепродуктопровода следует осуществлять плавно, без рывков и резких колебаний, осуществляя контроль значений расчетных усилий на крюках грузоподъемных механизмов динамометрами.

6.5. На время длительных остановок и в конце смены нефтепродуктопровод следует укладывать на лежки, земляные тумбы и установить боковые упоры для предотвращения горизонтальных смещений.

6.6. При укладке трубопровода в траншею должны обеспечиваться:

- правильный выбор количества и расстановки трубоукладчиков и минимально необходимая для производства работ высота подъема трубопровода над землей с целью предохранения трубопровода от перенапряжения, изломов и вмятин;

- сохранность изоляционного покрытия;

- плотное прилегание трубопровода по дну траншеи по всей его длине;

- проектное положение трубопровода.

6.7. Работы по очистке, изоляции и укладке трубопровода производятся, как правило, совмещенным способом (рис. 6.1). Расстояние от ремонтных машин до трубоукладчиков не должно превышать 10,0 м.

6.8. Раздельный способ производства изоляционно-укладочных работ следует применять в условиях холмистого рельефа местности (рис. 6.2).

6.9. На сложных участках трассы МНПП, во избежание опрокидывания трубоукладчиков, необходимо использовать дополнительный трубоукладчик.

6.10. Если трубопровод содержит большое количество кривых вставок или протяженность отдельных его участков невелика, укладку следует выполнять методом последовательного наращивания, ведя его монтаж из отдельных труб или секций непосредственно в проектном положении.

6.11. При капитальном ремонте с заменой изоляционного покрытия с восстановлением или без восстановления стенки трубы при подъеме и укладке трубопровода должны выполняться все требования, указанные в разделе 6 Правил [1], а также дополнительные требования, отраженные в рабочем проекте и проекте производства работ.


Рис. 6.1. Расстановка машин и механизмов при совмещенном способе изоляционно-укладочных работ:

1 - отвал минерального грунта; 2 - заменяемый участок трубопровода; 3 - отвал плодородного слоя почвы; 4 - очистная машина; 5 - трубоукладчик; 6 - резервный трубоукладчик; 7 - электростанция; 8 - вновь прокладываемый участок трубопровода; 9 - изоляционная машина; 10 - бульдозер; 11 - прибор для контроля качества изоляционного покрытия

Рис. 6.2. Расстановка машин и механизмов при раздельном способе изоляционно-укладочных работ:

1 - отвал минерального грунта; 2 - заменяемый участок трубопровода; 3 - вновь прокладываемый участок трубопровода; 4 - инвентарные лежки; 5 - трубоукладчик; 6 - бульдозер; 7 - отвал плодородного слоя почвы


7. ОЧИСТКА НАРУЖНОЙ ПОВЕРХНОСТИ ТРУБОПРОВОДА

7.1. При капитальном ремонте трубопроводов очистку наружной поверхности следует выполнять ремонтными очистными машинами.

7.2. Очистка заключается в удалении с наружной поверхности трубопровода остатков земли, старого изоляционного покрытия и продуктов коррозии.

7.3. Очистка трубопровода в зоне наличия заплат, вантузов, хомутов и других препятствий выполняется вручную.

7.4. Ручную очистку следует производить скребками, изготовленными из углеродистой инструментальной стали (УИС). Не допускается нанесение глубоких царапин, рисок, сколов основного металла и срезания сварных швов.

7.5. Степень очистки поверхности труб перед нанесением покрытий отечественного производства должна соответствовать требованиям рабочего проекта и ВСН 008-88 [11]. Для изоляционных покрытий импортного производства в рабочем проекте должны быть учтены требования технических условий фирм-изготовителей на эти покрытия.

8. СВАРОЧНЫЕ РАБОТЫ

8.1. Сварочные работы при капитальном ремонте МНПП подразделяются на сварочно-монтажные при ремонте с заменой труб и ремонтные сварочные работы при восстановлении стенки труб.

8.2. Специальные сварочные работы (сварка захлестов, вварка запорной и распределительной арматуры и др.), термообработку сварных швов при капитальном ремонте с заменой труб следует выполнять в соответствии с [18]. На работы, не вошедшие в [18], следует разработать отдельные технологические инструкции, утвержденные в установленном порядке.

8.3. Перед началом проведения работ по капитальному ремонту МНПП следует провести аттестацию выбранной технологии сварки.

Технологический процесс сварки считается аттестованным, если по данным визуального и радиографического контроля, результатам испытаний механических свойств сварные соединения удовлетворяют требованиям нормативной документации.

По результатам испытаний сварных соединений должен быть составлен акт приемки технологии сварки.

8.4. К выполнению сварочных работ следует допускать сварщиков, прошедших ежегодную проверку квалификации с целью определения способности сварщика выполнить качественное сварное соединение.

По результатам испытаний сварных соединений составляется акт проверки квалификации сварщиков (допускной лист).

8.5. Сварочно-монтажные работы при капитальном ремонте МНПП с заменой труб включают:

- подготовку к сборочным и сварочным работам;

- сборку и сварку труб в трубные секции на трубосварочной базе или в полевых условиях;

- сборку и сварку отдельных труб или секций в сплошную нитку на трассе;

- контроль качества сварочных соединений трубопроводов.

8.6. При сборке и сварке секций труб в нитку в условиях городов, населенных пунктов и т.д. должны быть выполнены следующие подготовительные работы:

- развезены и уложены секции труб на расстояние не более 1,5 м от бровки траншеи под углом 15 - 20° к проектной оси траншеи;

- размещены в зоне производства работ трубоукладчики, сварочные агрегаты, бульдозер, центратор, емкость ГСМ, инвентарные лежки и другое необходимое оборудование и инструменты;

- установлены на полосе отвода вагончики для обогрева людей, хранения инвентаря и сварочных материалов.

Объем и порядок проведения работ определяются рабочим проектом на капитальный ремонт и проектом производства работ и в зависимости от специфики объекта могут отличаться от приведенного выше перечня.

8.7. При выполнении сварочно-монтажных работ необходимо руководствоваться требованиями СНиП III-42-80* [8]; ВСН 006-89 [18] и нижеследующими требованиями.

8.7.1. Свариваемые трубы обрезаются со скосом кромок и притупляются на 1,5 - 2,5 мм.

8.7.2. Края свариваемых участков трубопровода должны зачищаться до металлического блеска на ширину не менее 10 мм. Зачистка должна производиться шлифовальными машинками, напильниками или металлическими щетками.

8.7.3. Типы и марки применяемых электродов по своим механическим свойствам и назначению должны соответствовать маркам сталей свариваемых труб и обеспечивать свойства сварного соединения не ниже свойств основного металла.

8.7.4. Электродуговую сварку следует выполнять качественными электродами, удовлетворяющими требованиям ГОСТ 9466-75* [20], позволяющими выполнять сварку в любых пространственных положениях на постоянном токе обратной полярности (плюс на электроде). Каждая партия электродов должна иметь сертификат. Запрещается применение электродов неизвестной марки.

8.7.5. Перед применением электроды должны быть прокалены (просушены) и проверены на качество состояния их покрытия. Не должно быть повреждений покрытия, растрескивания. Покрытие должно быть постоянной толщины относительно стержня, а при ударе о твердый предмет и при изгибе - не отставать от стержня. При обнаружении следов ржавчины на стержне под покрытием электроды отбраковываются.

8.7.6. При применении электродов с целлюлозным покрытием необходимо соблюдать дополнительные требования к методу сварки (следует выполнять методом «замочной скважины» (окна), технология выполнения которого приведена в [42]).

8.7.7. В процессе сварки должны соблюдаться требования и к сварочному току, установленные в зависимости от типов (марок) и диаметров электродов, а также от пространственного положения и направления сварки.

8.7.8. В зависимости от толщины стенок труб сварка должна производиться в несколько слоев. Минимальное число слоев сварного шва при сварке неповоротного стыка приведено в табл. 8.1.

8.7.9. Сварной шов облицовочного слоя должен перекрывать основной металл в каждую сторону от шва на 2,5 - 3,5 мм и иметь усиление высотой 1 - 3 мм.

8.8. Устранение дефектов в сварных швах, выявленных при проведении сварочно-монтажных работ, допускается в следующих случаях:

Таблица 8.1

Минимальное допустимое число слоев шва при ручной дуговой сварке

Толщина стенки трубы, мм

Минимальное число слоев шва при сварке корневого слоя шва электродами с разным видом покрытия

Целлюлозный

Основной

1

2

3

До 10

3

2

10 - 15

4

3

15 - 20

5

4

1

2

3

20 - 25

5

5

25 32

7

6

- суммарная длина дефектных участков не превышает 1/6 длины шва;

- суммарная длина выявленных в сварном шве трещин не превышает 50 мм.

При наличии трещин суммарной длиной более 50 мм сварные швы должны быть вырезаны.

8.9. Дефекты в сварных швах устраняются следующими способами:

- наплавкой ниточных валиков высотой не более 3 мм при ремонте подрезов;

- вы шлифовкой и последующей заваркой участков швов со шлаковыми включениями и порами.

Обнаруженные при внешнем осмотре недопустимые дефекты должны быть устранены до проведения контроля физическими методами.

8.10. Ремонтные сварочные работы на МНПП проводятся без остановки перекачки или при остановленной перекачке с целью устранения дефектов стенки труб и сварных швов путем установки усилительных элементов (муфт) или наплавки металла. Сварочные работы на МНПП под давлением проводятся также при приварке штуцеров, катодных выводов и др.

8.11. Давление в МНПП при проведении сварочных работ не должно превышать 2,5 МПа.

8.12. Запрещается проводить сварочные работы на участках МНПП, работающих при неполном заполнении сечения трубы перекачиваемым продуктом.

Заполнение МНПП продуктом следует определять гидравлическим расчетом (с учетом перевальных точек) и контролировать ультразвуковым методом по амплитуде эхо-сигнала от внутренней поверхности трубы (при полном заполнении трубы продуктом амплитуда эхо-сигнала на 15 - 20 % меньше, чем при частичном заполнении).

8.13. Перед выполнением сварочных работ обязательно проведение следующих мероприятий:

- назначение лиц, ответственных за подготовку МНПП к проведению сварочных работ (от заказчика);

- назначение лиц, ответственных за проведение сварочных работ (от подрядчика);

- оформление наряда-допуска на ведение огневых работ;

- определение перечня противопожарных мероприятий.

В процессе сварки должны выполняться следующие операции:

- проверка состояния воздушной среды на месте проведения сварочных работ;

- внешний осмотр, классификация дефектов, измерение толщины стенки труб МНПП в местах предполагаемой сварки;

- подготовка поверхности свариваемых мест (снятие фаски, зачистка поверхности);

- выполнение сварочных работ;

- контроль качества сварки.

8.14. В зависимости от вида, размера и взаимного расположения повреждений используются следующие методы ремонта стенки трубы сваркой:

- заварка дефектов (наплавка металла);

- приварка накладных элементов (муфт).

8.15. Непосредственная заварка дефектов стенки трубы производится после зачистки дефектов до металлического блеска и замеров остаточной толщины стенки.

8.16. Заварку дефектов разрешается вести ниточными швами (без поперечных колебаний электрода). Швы накладываются по периметру дефекта навстречу друг другу. Наиболее глубокая часть дефекта заваривается в последнюю очередь.

8.17. При заварке незначительных повреждений (диаметром 3 - 8 мм) электрод должен оставаться в одной точке не более 7 с (во избежание прожога стенки). Затем следует прервать заварку, выводя кратер на наплавленный металл. Последующий шов можно накладывать после остывания наплавленного металла и удаления шлака.

8.18. Дефекты завариваются с усилением 1,5 - 2,0 мм с таким расчетом, чтобы края наплавленного металла заходили за края повреждения не более чем на 2 - 3 мм.

8.19. При остаточной толщине стенки менее 5 мм восстановление несущей способности труб (участка нефтепродуктопровода) производится путем приварки накладных усилительных элементов (заплат, муфт).

8.20. На поперечные и продольные сварные швы заплаты привариваются с технологическими сегментами, устанавливаемыми на нефтепродуктопроводе и охватывающими заплату по периметру.

8.21. Накладные элементы без технологических сегментов, колец привариваются угловыми швами, имеющими форму неравнобедренного треугольника с основанием не менее 1,5 толщины накладных элементов. Переход от шва к поверхности трубы должен быть плавным и образовывать угол не менее 150°.

8.22. Продольные и поперечные сварные швы муфты и технологических колец, а также круговой шов заплаты и технологических сегментов должны перекрывать основной металл в каждую сторону от шва на 2 - 3 мм и иметь усиление высотой 1 - 2 мм с плавным переходом к основному металлу. Если усиление больше 2 мм, то оно должно сниматься до необходимой величины шлифовкой.

8.23. Продольные кромки половин муфты и колец должны быть обработаны под стандартную V-образную разделку с углом скоса кромок 30 ± 5° и выборкой под металлическую прокладку (рис. 8.1). При выполнении сварного шва вдоль боковой образующей трубопровода скос нижней кромки следует уменьшить до 10 ± 2°.

8.24. Поперечные кромки муфты, технологических колец должны быть обработаны под углом 20 - 25° без притупления. Кольца обрабатываются с одной стороны.

Рис. 8.1. Схема монтажа и сборки муфты с технологическими кольцами

8.25. Приварка продольных швов муфты и колец к стенке трубопровода запрещена. Для этого в местах сборки продольных швов на поверхность трубопровода следует наклеить с помощью жидкого стекла полоску стеклоткани или асбеста либо металлическую пластину толщиной 1,5 - 2 мм, шириной 20 мм.

8.26. Непосредственно перед сваркой должна быть определена толщина стенки трубы ультразвуковым толщиномером в зоне будущих кольцевых швов «муфта - труба».

8.27. После сварки продольных швов муфты и колец должны быть заварены поперечные швы с обязательным оплавлением всех трех элементов - стенки трубопровода, кромок муфты и колец. Необработанные поперечные кромки колец не должны завариваться.

8.28. Для ведения сварочных работ с учетом требований настоящих Правил и [12, 18, 20] должны быть разработаны операционно-технологические карты:

- по сборке и ручной дуговой сварке односекционной муфты с технологическими кольцами и без них;

- по сборке и ручной дуговой сварке многосекционной муфты с технологическими кольцами и без них;

- по контролю качества сборки и сварки муфт.

В операционно-технологических картах должны быть указаны: характеристика трубы и муфты, требования по подготовке профилей сварного шва и кромок, перечень и содержание операций (подготовительных и сварочных), оборудование и инструмент, сварочные материалы, режимы прокалки и сварки.

В операционно-технологической карте работ по контролю качества сборки и сварки должны быть указаны: вид контроля, содержание работ по контролю качества, средства контроля.

8.29. В условиях пролегания МНПП в границах городов, населенных пунктов и в стесненных условиях вблизи действующих сооружений, трубопроводов и т.д. техническими условиями и рабочим проектом на капитальный ремонт могут быть предусмотрены дополнительные ограничения и условия установки накладных элементов на трубопровод, в том числе по технологии монтажа, контролю за качеством и ходом выполнения работ, а также, учитывая особую опасность объекта, вообще возможности выполнения ремонта трубопровода таким способом.

Контроль качества сварочных работ

8.30. Контроль качества сварочных работ включает:

- проверку квалификации сварщика;

- входной контроль сварочных материалов;

- входной контроль труб, трубных заготовок, запорной и распределительной арматуры;

- проверку исправности применяемого оборудования, инструмента;

- проверку качества подготовки труб;

- систематический операционный контроль процесса подготовки и проведения сварочных работ;

- визуальный контроль (внешний осмотр) и обмер геометрических размеров готовых сварных соединений;

- проверку сварных швов неразрушающими методами контроля.

8.31. Аттестацию и проверку квалификации сварщиков осуществляет постоянно действующая комиссия под председательством главного инженера Акционерного общества АК «Транснефтепродукт». В состав комиссии должны быть включены инженерно-технические работники служб сварки, контроля, охраны труда и техники безопасности.

Аттестация производится в соответствии с «Правилами аттестации сварщиков» [43].

8.32. Все сварочные материалы по мере их поступления должны проходить входной контроль, включающий:

- проверку наличия сертификатов качества фирмы (завода-изготовителя);

- проверку сохранности упаковки электродов, флюсов и проволок;

- проверку соответствия электродов требованиям спецификаций на электроды (технических условий);

- проверку сварочно-технологических свойств электродов.

8.33. Все трубы, детали трубопроводов, элементы запорной (распределительной) арматуры могут быть приняты в монтаж только после прохождения приемки и (или) освидетельствования на соответствие их требованиям ВСН 012-88 [9], ВСН 006-89 [18].

8.34. Проверку исправности применяемого оборудования, инструмента проводят согласно инструкциям по эксплуатации, а качество подготовки труб и режимы сварки - согласно требованиям СНиП III-42-80* [8] и ВСН 006-89 [18].

8.35. Операционный контроль осуществляют мастера и производители работ. При этом контролируются соблюдение режимов сварки, порядок наложения слоев и их количество, применяемые сварочные материалы и другие требования по ВСН 006-89 [18]. В условиях прохождения трубопроводов по территории городов, населенных пунктов и т.д. контроль может осуществляться иным способом, оговоренным в соответствующих документах.

8.36. Визуальный осмотр и обмер проводят работники службы контроля (ПИЛ, спецуправлений по контролю и т.п.).

8.37. Визуальному осмотру подвергаются все сварные швы после их очистки от шлака, брызг металла, при этом наплавленный металл не должен иметь трещин, подрезов глубиной более 0,5 мм, незаплавленных кратеров и выходящих на поверхность пор. Наплавка металла шва должна обеспечивать плавное сопряжение его поверхности с поверхностью трубы. Не допускаются наплывы и бугристость, грубая чешуйчатость, пористость шва.

8.38. Результаты обмера сварных соединений, выполненных дуговыми методами, должны удовлетворять требованиям СНиП III-42-80*, п. 4.26 - 4.28 [8], ВСН 012-88. Строительство магистральных и промысловых трубопроводов. Контроль качества и приемка работ п. 5.18, 5.20, 5.90 [9] и других НТД.

8.39. Сварные швы при ремонте МНПП с заменой труб должны подвергаться согласно СНиП 2.05.13-90 100 %-му неразрушающему контролю радиографическим методом.

8.40. При контроле неразрушающим методом сварных швов муфт и технологических колец годными следует считать сварные соединения, в которых:

- отсутствуют трещины любой глубины и протяженности;

- глубина шлаковых включений не превышает 10 % толщины стенки трубы при их суммарной длине не более 1/6 периметра стыка;

- наибольший из размеров пор в процентном отношении к толщине стенки трубы не превышает 20 % при расстоянии между соседними порами не менее 3 толщин стенки; 15 % при расстоянии между соседними порами не менее 2 толщин стенки; 10 % при расстоянии между соседними порами менее 2 толщин стенки, но не менее 3-кратного размера поры; 10 % при расстоянии между соседними порами менее 3-кратного размера поры на участках общей длиной не более 30 мм на длине 500 мм шва;

- местный непровар в корне шва глубиной до 10 % толщины стенки трубы, но не более 1 мм, суммарной длиной до 1/6 периметра стыка;

- суммарная глубина непровара и шлаковых включений, расположенных в одной плоскости, не должна превышать 10 % толщины стенки трубы, но не более 1 мм, при этом длина дефектного участка не должна превышать 50 мм на участке шва длиной 350 мм.

Во всех случаях максимальный размер поры не должен превышать 2,7 мм.

8.41. Неразрушающий контроль должен быть выполнен специалистом, имеющим право давать заключение, в соответствии с требованиями Инструкции [45].

8.42. Контроль сварных швов должен выполняться в соответствии с требованиями ВСН 012-88 «Контроль качества и приемка работ» [9].

8.43. Недопустимые дефекты в сварных швах необходимо ремонтировать вышлифовкой или путем сверления и заваркой этих участков или другими методами с последующим повторным контролем в соответствии с требованиями СНиП III-42-80* [8].

9. ПРОТИВОКОРРОЗИОННАЯ ИЗОЛЯЦИЯ

9.1. Изоляционные работы следует выполнять в соответствии с требованиями рабочего проекта и действующей НТД (ГОСТ 25812-83* [21] и ГОСТ 9.602-89* [22]).

9.2. Для защиты нефтепродуктопроводов от коррозии применяются покрытия усиленного типа на битумной основе и из полимерных материалов. Могут также применяться и другие виды покрытий в соответствии с техническими требованиями и рабочим проектом на капитальный ремонт.

При выборе видов и конструкций противокоррозионных покрытий, а также технологии их нанесения на трубопровод руководствуются ВСН 008-88 «Строительство магистральных и промысловых трубопроводов. Противокоррозионная и тепловая изоляция» [17].

9.2.1. Для ремонта МНПП с заменой труб можно применять трубы с изоляционным покрытием, нанесенным в заводских или базовых условиях. В этих случаях непосредственно на месте производства капитального ремонта МНПП выполняются работы по очистке и изоляции сварных стыков, а также по ремонту поврежденных мест изоляционного покрытия.

Вид и конструкция защитных покрытий, условия их нанесения и толщина слоев приведены в табл. 9.1.

Таблица 9.1

Вид и конструкция изоляционных покрытий усиленного типа

Вид покрытия

Условия нанесения

Конструкция изоляционного покрытия

Толщина слоев, мм

1

2

3

4

Битумное

Трассовое или базовое

Грунтовка битумно-бензиновая или битумно-полимерная типа ГТ-760ИН или ГТ-831НИ, ГПБ-1

0,1

Мастика битумно-резиновая или битумно-полимерная «ИЗОБИТЭП» со слоем стеклохолста типа ВВ-К или ВВ-Г

3,0

Мастика битумно-резиновая или битумно-полимерная «ИЗОБИТЭП» со слоем стеклохолста типа ВВ-К или ВВ-Г

2,5

Обертка защитная типа ПЭКОМ или ПЭКОМ-М, ПДБ - в один слой

0,6

Битумное

Трассовое

Грунтовка битумно-бензиновая или битумно-полимерная типа ГТ-760ИН или ГТ-831НИ, ГПБ-1

0,1

Мастика битумно-резиновая или битумно-полимерная «ИЗОБИТЭП» со слоем стеклохолста типа ВВ-К или ВВ-Г

5,5

Обертка защитная типа ПЭКОМ или ПЭКОМ-М, ПДБ - в один слой

0,6

Пластобит-40

Трассовое или базовое

Грунтовка битумно-бензиновая или битумно-полимерная типа ГТ-760ИН или ГТ-831НИ или дизельное топливо

0,1

Мастика МБР-90, МБР-100 или «ИЗОБИТЭП», пластифицированные дизельным топливом, или «ИЗОБИТ»

3,0

Лента поливинилхлоридная без подклеивающего слоя - в один слой

0,4

Обертка защитная типа ПЭКОМ или ПЭКОМ-М, ПДБ - в один слой

0,6

Покрытие на основе ленты ЛИБ

Трассовое или базовое

Дизельное топливо или ГПБ-1

0,1

Лента изоляционная битумная ЛИБ - в два слоя

2,4

Обертка защитная типа ПЭКОМ или ПЭКОМ-М, ПБД - в один слой

0,6

Покрытия на основе полимерных изоляционных материалов отечественного или импортного производства

Трассовое

Грунтовка ГТ-76- ИН или ГТ-831НИ, П-001, НК-50, ГПБ-1 или соответствующая отечественного или импортного производства

0,1

Изоляционная полимерная лента на основе поливинилхлорида или полиэтилена отечественного или импортного производства в два слоя

1,2

Обертка защитная типа ПЭКОМ, ПЭКОМ-М, ПДБ или импортного производства - в один слой

 

Огрунтование поверхности

9.3. Грунтовки приготовляются непосредственно перед нанесением.

9.4. Очищенную поверхность трубопровода следует сразу же огрунтовать. Поверхность трубопровода при нанесении грунтовки должна быть сухой, наличие влаги в виде пленки, капель, наледи или инея, а также следов копоти и масла не допускается.

9.5. Нанесенный слой грунтовки должен быть сплошным ровным и не иметь сгустков, подтеков и пузырей.

9.6. Для каждого типа изоляционной ленты применяют соответствующие клеевую грунтовку и обертку. Допускается применение других грунтовок, если они обеспечивают получение нормированной величины адгезии. Замена импортных клеевых грунтовок запрещается.

9.7. Температурные пределы нанесения грунтовок и покрытий из полимерных лент должны соответствовать требованиям технических условий на данный вид ленты или другого вида изоляционного покрытия.

Изоляция битумными покрытиями

9.8. Битумное покрытие наносят на трубопровод сразу же после высыхания грунтовки «до отлипа».

9.9. Битумную мастику следует наносить по периметру и длине трубопровода ровным слоем заданной толщины без пузырей и посторонних включений.

9.10. Армирование битумного покрытия стеклохолстом и обертку защитными рулонными материалами необходимо производить без гофров, морщин и складок.

9.11. При использовании рулонного материала для изоляции его ширина должна составлять 0,5 - 0,7 диаметра трубопровода, но не более 50 см.

9.12. Толщина наносимого битумного изоляционного слоя, его сплошность и прилипаемость, степень погружения стеклохолста в мастичный слой в основном зависят от вязкости мастики, которую регулируют изменением температуры в ванне изоляционной машины в зависимости от температуры окружающего воздуха.

Изоляция трубопроводов полимерными лентами

9.13. Изоляцию трубопроводов полимерными изоляционными лентами следует наносить на трубопровод по свеженанесенной невысохшей грунтовке с соблюдением требований действующей НТД [17, 21]. При температуре окружающего воздуха ниже плюс 10 °С рулоны ленты и обертки перед нанесением необходимо выдерживать не менее 48 ч в теплом помещении с температурой не ниже плюс 15 °С (но не выше плюс 45 °С) [17, 21].

9.14. Изоляционные ленты и обертки необходимо наносить без гофр, перекосов, морщин, отвисаний, с величиной нахлеста: для однослойного покрытия - не менее 10 % ширины рулона; для двухслойного - 50 % ширины рулона плюс 25 мм.

9.15. При изоляции трубопроводов в околошовной зоне допускается, как исключение, наличие узкой (1 - 1,5 см) полосы с неплотным прилеганием изоляционной ленты (неплотности после засыпки трубопровода исчезнут).

Нанесение изоляционного покрытия «Пластобит-40»

9.16. Покрытие «Пластобит-40» следует наносить в соответствии с требованиями Инструкции [23] при температуре окружающего воздуха не ниже минус 25 °С.

9.17. Пластифицированная битумная мастика должна наноситься на трубу по свеженанесенной грунтовке, мастичный слой должен быть заданной толщины без пузырей и посторонних включений.

9.18. Намотка поливинилхлоридной ленты должна проводиться сразу по слою горячей мастики без гофр, морщин, перекосов и отвисаний.

Нанесение изоляционного покрытия на основе ленты ЛИБ

9.19. Покрытие на основе ленты ЛИБ следует наносить в соответствии с требованиями Инструкции [24] на свежеогрунтованную поверхность. Нанесение ленты по просохшей грунтовке не допускается. Перед нанесением один торец рулона обрабатывается грунтовочным составом для обеспечения адгезии в местах нахлеста.

Контроль качества противокоррозионных покрытий

9.20. При выполнении изоляционных работ проводятся контроль качества применяемых материалов, операционный контроль качества изоляционных работ и контроль качества готового покрытия.

9.21. При контроле качества изоляционных материалов следует руководствоваться требованиями ГОСТ 25812-83*[21].

9.22. Материалы, применяемые для противокоррозионной изоляции трубопроводов, должны иметь сертификаты (технические паспорта). Импортные изоляционные материалы проверяют по параметрам, оговоренным в контракте.

9.23. При приготовлении грунтовки в полевых условиях необходимо проверить дозировку компонентного состава, однородность, вязкость, плотность.

Однородность контролируется визуально: грунтовка не должна иметь сгустков, нерастворимого осадка, посторонних включений. При обнаружении сгустков или примесей грунтовку следует профильтровать через сетку с отверстиями 0,1 мм2.

Вязкость грунтовки определяют вискозиметром ВЗ-4, плотность - ареометром.

9.24. При разогреве и приготовлении битумной мастики необходимо контролировать: правильность дозировки и порядок введения компонентов, продолжительность варки, тщательность перемешивания.

Физико-механические показатели мастик МБР должны проверяться по ГОСТ 15836-79 [25] или техническим условиям изготовителя.

9.25. Температура мастики контролируется: во время приготовления и подогрева, при перевозке, особенно тщательно при нанесении ее на трубопровод. Для этого в битумоварочных котлах, битумовозах и ванне изоляционной машины должны быть встроенные термометры или термопары.

При укладке вновь изолированного трубопровода следует контролировать температуру слоя битумной мастики; не допускается укладка трубопровода при температуре покрытия выше 30 °С.

9.26. У полимерных изоляционных лент проверяют отсутствие телескопических сдвигов в рулонах; возможность разматывания рулона при температуре применения; отсутствие перехода клеевого слоя на другую сторону ленты.

9.27. Армирующие и оберточные рулонные материалы проверяют на возможность разматывания рулонов при температуре применения, плотность намотки в рулоне и ровность торцов. При необходимости рулоны перематывают или отторцовывают.

9.28. При нанесении на трубопровод изоляционного покрытия проверяют: сплошность, толщину, адгезию (прилипаемость), число слоев, натяжение и ширину нахлеста витков рулонных материалов. Результаты проверки оформляют актом.

9.29. Сплошность защитного покрытия контролируют непрерывно визуально, а также после нанесения покрытия перед укладкой в траншею дефектоскопами. Контролю на сплошность подлежат все покрытия трубопроводов.

Сплошность защитных покрытий устанавливают по отсутствию пробоя при электрическом напряжении, значение которого для различных видов покрытий регламентирована ГОСТ 25812-83* [21].

9.30. В случае пробоя защитного покрытия проводят ремонт дефектных мест согласно требованиям НТД на соответствующий вид защитного покрытия. Отремонтированные участки следует повторно проконтролировать на сплошность по всему участку с поврежденным покрытием, по остальным показателям (толщина, адгезия к стальной поверхности, переходное сопротивление) - в местах, вызывающих сомнение.

9.31. Толщину битумного покрытия без его разрушения контролируют с помощью толщиномера. Замер толщины проводят через каждые 100 м трубопровода, а в местах, вызывающих сомнение, в четырех точках сечения.

9.32. Адгезию покрытия на основе битума контролируют через каждые 500 м, а также в местах, вызывающих сомнение.

Испытание проводят в трех точках через 0,5 м. Среднее арифметическое трех измерений с точностью до 1 Н/см2 принимают за величину адгезии.

9.33. Адгезия покрытия на основе битумных мастик к поверхности трубопровода определяется адгезиметром по методу Б ГОСТ 25812-83* [21], полимерных ленточных покрытий к поверхности трубопровода и адгезия нахлеста ленты к ленте - по методу А ГОСТ 25812-83* [21]. Проверку ленточных покрытий выполняют в местах, вызывающих сомнение.

9.34. Адгезию можно также проверить вырезом треугольника с углом около 60° и сторонами 3 - 5 см с последующим снятием покрытия ножом от вершины угла надреза.

Адгезия покрытия на битумной основе считается удовлетворительной, если вырезанный треугольник не отслаивается, а при отрыве значительная часть грунтовки и мастики остается на поверхности трубы.

9.35. Методы, показатели и последовательность контроля качества противокоррозионных покрытий трубопроводов приведены в табл. 9.2.

Таблица 9.2

Методы, показатели и последовательность контроля качества противокоррозионных покрытий трубопроводов

Наименование показателя

Периодичность контроля

Метод контроля

Норма

1

2

3

4

Нанесение грунтовки

Внешний вид

Непрерывно

Визуально

Ровный слой без пропусков, подтеков, сгустков, пузырей

Нанесение битумной изоляции

Сплошность

По всей поверхности после нанесения покрытия

Визуально и дефектоскопом

5 кВ на 1 мм толщины покрытия

Толщина общая (не менее чем в 3 сечениях по длине трубы и в 4 точках каждого сечения)

Через 100 м при нанесении на трассе и в сомнительных местах

Толщиномером

4,5 мм (нормальный тип); 6,0 мм (усиленный тип)

Число слоев армирования

В процессе работы

Визуально

По проекту

Число слоев защитной обертки

То же

То же

То же

Прилипаемость (адгезия) к праймированной поверхности стали

Через 500 м при нанесении на трассе и в сомнительных местах

По ГОСТ 25812-83* приложение 4 (метод Б) адгезиметром

0,20 (2,0) МПа (кгс/см2)

Нахлест витков (армирования и обертки)

В процессе работы

Мерной линейкой

Однослойное - 3 см; двухслойное - 50 % ширины плюс 3 см

Нанесение полимерных изоляционных лент

Ширина ленты, ширина обертки

Каждая партия

Мерной линейкой

По ТУ или сертификатам

Число слоев ленты и обертки

В процессе работы

Визуально

По проекту

Нахлест витков, см, не менее

То же

Мерной линейкой

Однослойное - 3 см двухслойное- 50 % ширины плюс 3 см

Сплошность, кВ

По всей поверхности

Визуально и дефектоскопом

5 кВ на 1 мм толщины покрытия

Прилипаемость (адгезия к праймированной стали) кГс/см2, не менее

В местах, вызывающих сомнение

По ГОСТ 25812-83* (приложение 4 метод А) адгезиметром

По ТУ или сертификатам на ленту

Температура подогрева поверхности трубопровода и рулонов ленты и оберток

В процессе производства работ

Термопарой

Температура поверхности трубопровода не ниже 15 °С (но не выше 50 °С); температура рулонов лент и оберток не ниже 10 °С

Все выявленные дефекты должны быть устранены и после засыпки снова проконтролированы прибором УКИ-1М или аналогичным.

9.36. Результаты контроля, осуществляемого при выполнении изоляционных работ, должны заноситься в журнал производства работ и проверяться при сдаче выполненных работ приемочной комиссией. Журнал должен заполняться лицом, ответственным за выполнение работ.

10. МОНТАЖ ЗАЩИТНОГО КОЖУХА

10.1. Изолированный участок МНПП в месте установки кожуха должен быть защищен футеровкой из деревянных реек или футеровочными матами.

10.2. Футеровочные маты приготавливают из сосновых досок длиной 2 - 6 м и брусков той же длины. Маты собирают по чертежу проволокой, пропущенной через скобу, забитую в доску или брус.

10.3. Ширина мата равна длине окружности трубы плюс 100 мм.

10.4. Доски и бруски следует обработать антисептированной обмазкой.

10.5. Футеровочные маты устанавливают на трубопровод по всей длине кожуха и закрепляют проволокой.

10.6. Монтаж кожуха включает следующие операции:

- резку трубы кожуха на две половины газорезкой;

- резку обеих половин трубы пополам вдоль образующей (в горизонтальной плоскости);

- прихватку подкладных полос по краям двух половинок труб;

- установку нижней половины первой трубы защитного кожуха на МНПП и устройство под ней временных опор;

- установку верхней половины первой трубы, сборку, центровку и сплошную приварку ее к нижней половине ручной дуговой сваркой;

- перемещение средней технологической опоры под край первой трубы кожуха;

- приварку подкладных колец к торцу первой трубы кожуха;

- установку нижней половины второй трубы кожуха на МНПП и устройство под ней временных опор;

- установку верхней половины второй трубы, сборку, центровку и сплошную приварку ее к нижней половине ручной дуговой сваркой;

- сборку, центровку и приварку второй трубы к первой.

10.7. Концы защитного кожуха следует уплотнить водонепроницаемой набивкой и залить мастикой (в условиях пролегания нефтепродуктопроводов в городах, населенных пунктах и т.д. концы защитного кожуха могут выполняться в соответствии с иными требованиями).

10.8. Очистку защитного кожуха от ржавчины и окалины рекомендуется выполнять электрической шлифовальной машинкой (насадка - круглая проволочная щетка).

10.9. Новое изоляционное покрытие (усиленного типа) наносится на защитный кожух с помощью ручных приспособлений.

10.10. По окончании работ измеряют переходное сопротивление «МНПП - защитный кожух». Измерения выполняют по приложению 6, п. 1. ГОСТ 25812-83* [21].

10.11. Завершающий этап - демонтаж технологических и временных опор.

11. ИСПЫТАНИЕ ОТРЕМОНТИРОВАННОГО УЧАСТКА НЕФТЕПРОДУКТОПРОВОДА

Общие положения

11.1. При капитальном ремонте МНПП с заменой труб вновь прокладываемый участок перед его подключением в основную магистраль подлежит испытанию на прочность и проверке на герметичность согласно [8].

Перед проведением испытаний полость трубопровода должна быть очищена.

11.2. Способы, параметры и схемы проведения очистки полости трубопровода и испытания трубопровода устанавливаются в рабочем проекте с учетом местных условий работ. В проекте должна быть предусмотрена очистка загрязненной воды (или жидкости) после промывки полости трубы, а также включен проверочный расчет на устойчивость трубопровода против всплытия на обводненных участках.

11.3. Очистку полости трубопровода, а также испытание МНПП следует осуществлять по специальной инструкции и под руководством комиссии, состоящей из представителей заказчика (ОАО) или органов его технадзора, генерального подрядчика, подрядчика (исполнителя работ).

11.4. На основании принятых решений по очистке и испытанию МНПП подрядчик (исполнитель работ) должен разработать специальную инструкцию, устанавливающую:

- способы, параметры и последовательность выполнения работ;

- методы и средства выявления и устранения отказов (застревание очистных устройств, утечки, разрывы и т.п.);

- схему организации связи;

- требования пожарной, газовой, технической безопасности и указания о размерах охранной зоны.

11.5. Специальная инструкция согласовывается с проектной организацией, разработавшей рабочий проект, и утверждается председателем комиссии.

11.6. При проведении очистки полости трубопровода и испытания МНПП должна быть установлена бесперебойная связь.

Очистка полости трубопровода

11.7. При очистке полости трубопровода необходимо:

- удалить случайно попавшие внутрь грунт, воду, различные предметы, а также окалину и грат;

- проверить путем пропуска поршня проходное сечение трубопровода и тем самым обеспечить возможность многократного беспрепятственного пропуска очистных, инспекционных или других устройств при дальнейшей эксплуатации;

- достигнуть качество очистки полости, обеспечивающее заполнение участка трубопровода транспортируемым продуктом без его загрязнения и обводнения.

11.8. Очистка полости трубопровода должна проводиться после укладки и засыпки одним из следующих способов:

- промывкой с пропуском очистных поршней или поршней-разделителей;

- продувкой с пропуском очистных поршней (при необходимости) и поршней-разделителей;

- продувкой без пропуска очистных поршней.

Очистка полости трубопровода, как правило, должна выполняться продувкой воздуха с пропуском поршня-разделителя. При продувке пропуск и выпуск загрязнений, очистных поршней через линейную арматуру запрещается.

11.9. На трубопроводах, монтируемых без внутренних центраторов, следует производить предварительную очистку полости протягиванием очистных устройств в процессе сборки и сварки отдельных труб или секций в нитку.

11.10. Промывке с пропуском очистных поршней или поршней-разделителей следует подвергать трубопроводы, испытание которых предусмотрено в рабочем проекте гидравлическим способом. Промывку совмещают с удалением воздуха при заполнении трубопровода водой или другой жидкостью.

Движение очистного или разделительного устройства осуществляется давлением жидкости. Для смачивания и размыва загрязнений перед устройством заливают воду в количестве 10 - 15 % объема полости очищаемого участка трубопровода. Скорость перемещения устройств при промывке должна быть не менее 1 км/ч для обеспечения его безостановочного движения.

11.11. Очистка полости считается законченной, если после выхода очистного устройства из трубопровода не выходит загрязненный воздух или вода. Для достижения этого очистные устройства пропускают повторно.

11.12. При застревании в трубопроводе очистного устройства, его следует извлечь, а участок трубопровода подлежит повторной продувке или промывке.

11.13. После очистки полости трубопровода на концах очищенного участка следует установить временные инвентарные заглушки.

Испытание трубопровода

11.14. Испытание отремонтированного с заменой труб участка МНПП на прочность и проверку на герметичность следует проводить после полной готовности участка (установки арматуры и приборов, приварки катодных выводов, засыпки минеральным грунтом).

11.15. Испытание участка МНПП на прочность и проверку на герметичность следует производить гидравлическим способом (водой или незамерзающей жидкостью).

11.16. Участок МНПП должен подвергаться циклическому гидравлическому испытанию на прочность. Количество циклов должно быть не менее 3, а значение испытательного давления в каждом цикле в нижней точке трубопровода не более гарантированного заводом испытательного давления (Рзав. = 0,9sт), а в верхней точке не менее Рисп = 1,1Рраб.

Время выдержки участка под испытательным давлением должно быть не менее 24 ч.

11.17. Проверку на герметичность участка МНПП необходимо проводить после испытания на прочность и снижения испытательного давления до максимального рабочего (по проекту).

11.18. Участок МНПП считается выдержавшим испытание на прочность и проверку на герметичность, если за время испытания трубопровода на прочность давление остается неизменным, а при проверке на герметичность не будут обнаружены утечки.

11.19. При разрыве, обнаружении утечек визуально, по звуку или с помощью приборов, участок МНПП подлежит ремонту и повторному испытанию на прочность и проверке на герметичность.

11.20. После окончания испытаний воду следует удалить из трубопровода с помощью поршней-разделителей, перемещаемых под давлением транспортируемого продукта.

11.21. О выполненных работах и результатах испытаний необходимо составить соответствующие акты.

12. ПОРЯДОК СДАЧИ И ВВОД ОТРЕМОНТИРОВАННОГО УЧАСТКА В ЭКСПЛУАТАЦИЮ

12.1. Сдача отремонтированного участка МНПП заказчику выполняется после полной готовности участка (засыпки, обвалования, установки арматуры и приборов, восстановления средств ЭХЗ, пикетных и километровых указателей, проведения контроля состояния изоляции методом катодной поляризации, проведения испытания на прочность и проверки на герметичность).

12.2. Приемка отремонтированного участка МНПП осуществляется приемочной комиссией, назначенной приказом руководителя предприятия-заказчика.

В состав приемочной комиссии должны входить:

председатель комиссии - представитель заказчика (эксплуатирующей организации);

члены комиссии - представители генерального подрядчика и субподрядчиков;

- представители проектной организации;

- представители трубопроводной инспекции Госгортехнадзора, технического надзора и других привлеченных организаций.

Порядок и продолжительность работы приемочной комиссии определяются заказчиком по согласованию с генеральным подрядчиком.

12.3. При приемке в эксплуатацию отремонтированного участка МНПП комиссия должна руководствоваться проектом, нормами, правилами, техническими условиями и другими нормативными документами, действующими в период проектирования и проведения капитального ремонта.

12.4. Запрещается приемка в эксплуатацию отремонтированного участка с недоделками, препятствующими безопасной эксплуатации, с отступлениями от проекта, без проверки качества выполненных работ и проведения испытаний.

12.5. В процессе сдачи отремонтированного участка генеральный подрядчик (РСУ) должен представить комиссии комплект приемо-сдаточной документации:

- перечень организаций, участвовавших в ремонте МНПП, с указанием вида выполненных ими работ и фамилий лиц, ответственных за выполнение этих работ;

- сертификаты, технические паспорта и другие документы, удостоверяющие качество материала труб, конструкций, деталей, применяемых при ремонте;

- исполнительную проектную документацию - комплект рабочих чертежей на ремонт предъявляемого к приемке участка нефтепродуктопровода с записями о соответствии выполненных в натуре работ по этим чертежам или внесенным в них изменениям и оформленными в установленном порядке (прил. 3);

- комплект исполнительной производственной документации - акты об освидетельствовании скрытых работ и о промежуточной приемке отдельных ответственных конструкций (узлов линейной арматуры, камеры приема и пуска очистных устройств), журналы производства работ, материалы обследования и проверок в процессе ремонтных работ органами государственного и другого надзора, акты об индивидуальных испытаниях ремонтных участков и т.д.

12.6. Акт приемки отремонтированного участка МНПП подлежит утверждению руководителем организации- заказчика (ОАО, ПО ОАО).

Датой ввода в эксплуатацию отремонтированного участка МНПП считается дата подписания акта приемочной комиссией.

12.7. После окончания работы приемочной комиссии приемосдаточная документация передается заказчику и хранится наравне с документацией по строительству МНПП.

13. МЕРЫ БЕЗОПАСНОСТИ

Общие требования

13.1. Руководители работ по капитальному ремонту МНПП должны обеспечить выполнение требований следующих документов:

- ПОТ РО 112-002-98. Правила по охране труда при эксплуатации магистральных нефтепродуктопроводов [28];

- РД 102-011-89. Охрана труда. Организационно-методические документы [5];

- Система управления охраной труда в системе ГК «Роснефтепродукт» [29];

- ППБ-01-93. Правила пожарной безопасности в Российской Федерации [35];

- ВППБ-01-03-96. Правила пожарной безопасности для предприятий АК «Транснефтепродукт» [36];

- СНиП III-4-80*. Техника безопасности в строительстве [11];

- разделов техники безопасности в инструкциях по эксплуатации машин, по приготовлению мастик, грунтовок, красок, применению материалов, инструмента и т.д., используемых при ремонте;

- нормативных документов по капитальному ремонту нефтепродуктопроводов;

- инструкций по охране труда.

13.2. Работы по капитальному ремонту МНПП могут быть начаты после выполнения всех мероприятий по обеспечению безопасности населения и домашних животных в соответствии с ППР и предупреждения населения о начале ремонтных работ.

13.3. Ответственность за соблюдение требований безопасности при эксплуатации машин (инструмента, инвентаря, технологической оснастки, оборудования), а также средств коллективной и индивидуальной защиты работающих возлагается:

- за техническое состояние машин и средств защиты - на организацию, на балансе которой они находятся;

- за проведение обучения и инструктажа по безопасности труда - на организацию, в штате которой состоят работающие;

- за соблюдение требований безопасности труда при производстве работ - на организацию, осуществляющую работы.

13.4. Контроль воздушной среды должен производиться каждый раз перед началом, в процессе и после окончания сварочных, огневых и изоляционных работ в траншеях.

13.5. При производстве работ в охранных зонах действующих коммуникаций следует руководствоваться:

- ПОТ РО 112-002-98. Правила по охране труда при эксплуатации МНПП [28];

- РД 102-011-89 «Охрана труда. Организационно-методические документы» [5];

- «Правилами охраны магистральных трубопроводов» [30];

- «Правилами охраны линий электропередач и сооружений связи» [31];

- «Правилами охраны электрических сетей» [32];

- ГОСТ 12.1.013-78. ССБТ. Строительство. Электробезопасность. Общие требования [33].

13.6. При обнаружении на месте производства работ подземных коммуникаций и сооружений, не указанных в проектной документации, должны быть поставлены в известность заинтересованные организации и вызваны их представители. Одновременно должны быть приняты меры к защите от повреждений обнаруженных коммуникаций и сооружений.

13.7. На месте производства работ должна быть организована круглосуточная охрана вскрытого участка МНПП.

13.8. Переезд землеройных и других машин над действующими коммуникациями допускается только по специально оборудованным переездам, в местах, указанных эксплуатирующей организацией. Эти переезды устраивают из сборных железобетонных плит. На участках, где действующие коммуникации заглублены менее 0,8 м, должны быть установлены знаки с надписями, предупреждающими об особой опасности.

Земляные работы

13.9. Земляные работы на территории городов, населенных пунктов, нефтебаз и перекачивающих станций следует начинать при наличии плана территории с нанесенными наземными и подземными коммуникациями, согласованного с руководителями организаций и служб, в ведении которых находятся подземные коммуникации, и оформления наряда на производство земляных работ.

13.10. При производстве земляных работ в местах движения транспорта и пешеходов, перед траншеей должны устанавливаться ограждения с предупредительными дорожными знаками (надписями) освещаемыми в ночное время.

13.11. Для проезда транспорта и перехода пешеходов через траншею должны быть устроены временные объезды или мосты. Инвентарные мостики для пешеходов должны быть шириной не менее 0,8 м с перилами высотой 1 м и иметь не менее одной промежуточной опоры. Промежуточная опора не должна опираться на трубу и задевать ее.

13.12. Если в процессе работы в стенках траншеи появятся трещины, грозящие обвалом, то рабочие должны немедленно покинуть ее и должны быть приняты меры против обрушения грунта (укрепления стенок траншеи, срезание грунта для увеличения откосов и др.).

13.13. Перед засыпкой трубопровода руководитель работ должен убедиться в отсутствии людей в траншее.

Подъем и укладка трубопровода

13.14. Запрещается нахождение посторонних лиц в зоне действия грузоподъемных механизмов.

13.15. Запрещается выполнять работы по подъему и укладке нефтепродуктопровода во время гололеда, тумана, ветра со скоростью свыше 6 м/с. После ливня, затяжных дождей или сильного ветра руководитель работ обязан убедиться в отсутствии опасных нарушений устойчивости откосов, образования подмывов и только после этого начинать работы.

Работы грузоподъемных машин в охранной зоне ЛЭП разрешается при наличии у машинистов наряд-допуска и при полностью снятом напряжении организацией, эксплуатирующей данную линию электропередачи.

В случае невозможности снятия напряжения работа в охранной зоне ЛЭП допускается по требованиям, указанным в разделе 8 РД 102-011-89 [5].

13.16. При возникновении аварийной ситуации руководитель работ докладывает о случившемся (по телефону или радио) диспетчеру ЛПДС и руководство ЛПДС организует закрытие ближайших линейных задвижек, отключающих ремонтируемый участок, и приступает к ликвидации нарушения герметичности нефтепродуктопровода в соответствии с планом ликвидации возможных аварий.

Сварочные работы

13.17. Все сварочные работы должны выполняться с соблюдением требований ГОСТ 12.3.003-86. ССБТ. Работы электросварочные. Требования безопасности [12] и при наличии «Наряд-допуска на проведение работ повышенной опасности».

13.18. Ответственными за подготовку трубопровода к проведению сварочных работ должны быть назначены инженерно-технические работники ПО, а за проведение сварочных работ на нефтепродуктопроводе - инженерно-технические работники РСУ.

13.19. Допускается назначение одного лица, ответственным за подготовку и проведение сварочных работ на нефтепродуктопроводе из числа инженерно-технических работников ПО, РСУ, знающих правила безопасного ведения сварочных работ в условиях взрывобезопасного, взрыво- и пожароопасного и пожароопасного производств.

13.20. Перечень должностных лиц, имеющих право совмещать обязанности ответственных за подготовку и проведение сварочных работ на МНПП, должен быть определен приказом по акционерному обществу АК «Транснефтепродукт», ПО ОАО.

13.21. Сварочные работы при ремонте МНПП должны, как правило, проводиться только в светлое время суток.

При освещенности менее 150 лк на поверхности трубы на месте производства сварочных работ следует применять переносные взрывозащищенные светильники, рассчитанные на взрывоопасные смеси категорий II АТЗ с уровнем взрывозащиты не менее взрывобезопасного, напряжением не более 12 В.

13.22. Запрещается проводить сварочные работы во время грозы, дождя, снегопада и при сильном ветре.

Очистка и противокоррозионная изоляция

13.23. Перед началом очистки и изоляции необходимо:

- проверить степень загазованности траншеи через каждые 100 м с помощью газоанализатора;

- проверить отсутствие обрывов и целостность изоляции на силовом кабеле машины;

- заземлить передвижную электростанцию;

- проверить надежность контакта клеммы «Земля» на машине с нулевой жилой силового кабеля;

- проверить крепление и правильность установки предохранительных щитков рабочей части машин;

- во избежание нарушения целостности трубопровода и поломки машины тщательно осмотреть наружную поверхность трубы и сделать отметки хомутов, накладок, латок, вантузов и других препятствий на трубопроводе.

13.24. Не допускается нахождение рабочих в траншее во время работы ремонтных машин.

13.25. При нанесении грунтовки вручную на наружную поверхность нефтепродуктопровода производить какую-либо работу на этом участке запрещается.

13.26. Категорически запрещается курить и производить действия, ведущие к появлению искр в местах приготовления, хранения, нанесения грунтовки, а также при нанесении изоляции.

13.27. Рабочая площадка для приготовления битумной мастики выбирается из расчета установки котлов на расстоянии 150 - 200 м от построек и не менее 50 м от траншей и оборудуется удобными подъездными путями.

Вокруг котлов на расстоянии до 5 м не должно быть легковоспламеняющихся материалов, а также посторонних предметов.

13.28. В месте приготовления битумной мастики должен постоянно находиться комплект противопожарных средств: ящик с сухим песком (объемом не менее 1 м3), лопаты, технический войлок, брезент или асбестовое полотно, углекислотный или порошковый огнетушитель (один на каждый котел).

13.29. При загорании в котле битумной мастики необходимо плотно закрыть котел крышкой и потушить топку (прекратить подачу топлива), а затем приступить к тушению горящей битумной мастики, пользуясь огнетушителями или песком.

Запрещается тушить воспламеняющуюся битумную мастику водой или снегом.

13.30. При использовании полимерных пленок запрещается:

- разводить открытый огонь в местах хранения пленки и грунтовки, а также у изоляционной машины;

- перевозить людей в кузовах транспортных средств вместе с изоляционными материалами.

13.31. Во время очистки и изоляции нефтепродуктопровода в траншее необходимо:

- при обнаружении утечки нефтепродукта из трубопровода немедленно отключить кабель, питающий очистную и изоляционную машины, и остановить работу передвижной электростанции;

- выключить рабочую часть машины при проходе препятствий (хомуты, планки, вантузы и др.);

- следить, чтобы силовой электрокабель был достаточно удален от вращающихся деталей и узлов машины;

- замену резцов и прочие наладочные и ремонтные и регулировочные работы на машине производить только после остановки очистной и изоляционной машин, укладки трубопровода на лежки и отключения питающего кабеля, при этом необходимо вывесить плакат: «Не включать - работают люди!».

Испытание нефтепродуктопровода

13.32. Весь персонал, привлекаемый к гидравлическим испытаниям нефтепродуктопровода, должен пройти внеочередной инструктаж по технике безопасности и пожарной безопасности, ознакомиться с приказом по испытанию МНПП, с целями, задачами и особенностями предстоящих испытаний, а также с порядком действий и обязанностей при возникновении аварийных ситуаций при испытаниях.

13.33. При испытаниях МНПП всех диаметров должна устанавливаться охранная зона в 50 м по обе стороны от оси трубопровода.

Охранная зона должна быть обозначена на местности знаками безопасности и плакатами, запрещающими вход в нее людей и въезд техники.

В процессе испытания персонал, механизмы и оборудование должны находиться за пределами охранной зоны.

13.34. Для контроля за процессом испытаний необходимо предусмотреть наземные посты наблюдения, расположение которых устанавливается комиссией в наиболее низкой точке профиля трассы, в начале и конце испытываемого участка, а также в местах переходов через водные преграды, железные и автомобильные дороги, со стороны возможного появления людей, скота и т.д. Посты наблюдения должны иметь связь с пунктом управления испытаниями.

На весь период испытаний на постах наблюдения должно быть обеспечено круглосуточное дежурство наблюдателей. В состав каждой дежурной смены должно входить не менее двух наблюдателей. Отлучаться с поста без разрешения запрещается.

13.35. Замер параметров испытания должен производиться дистанционными приборами, вынесенными за пределы охранной зоны.

Допускается установка манометров вблизи нефтепродуктопровода над поверхностью земли. В этом случае для снятия показаний могут применяться оптические средства.

13.36. При проведении испытаний в темное время суток рабочие площадки, посты наблюдения, приборы должны быть освещены.

13.37. Осмотр нефтепродуктопровода с целью выявления дефектов и повреждений разрешается только после снижения давления до рабочего.

14. ПОЖАРНАЯ БЕЗОПАСНОСТЬ

14.1. Противопожарные организационно-технические мероприятия при проведении капитального ремонта МНПП должны выполняться с соблюдением требований следующих документов:

- ГОСТ 12.1.004-91* «Пожарная безопасность. Общие требования» [34];

- ППБ 01-93. Правил пожарной безопасности в Российской Федерации [35];

- ВППБ 01-03-96. Правил пожарной безопасности для предприятий АК «Транснефтепродукт» [36].

14.2. В ППР должны быть отражены противопожарные мероприятия, подлежащие выполнению при размещении и планировке временных жилых городков, стоянок автотранспортной техники, складской зоны, площадки приготовления мастик и грунтовок, полосы трассы в зоне движения машин и механизмов и обеспечивающие проезд к водоемам, предназначенным для использования при пожаротушении.

14.3. В ППР следует предусмотреть мероприятия, исключающие возможность разлива нефтепродукта при аварии в сторону жилых и общественных зданий, промышленных и сельскохозяйственных предприятий, расположенных по рельефу местности ниже трубопровода.

14.4. Начальник РСУ обязан:

- организовать в подведомственных подразделениях изучение и выполнение требований выше перечисленных документов;

- создать из числа работников РСУ пожарные дружины (ПД);

- организовать проведение противопожарного инструктажа и занятий по пожарно-техническому минимуму;

- установить на ремонтных участках противопожарный режим в соответствии с требованиями правил пожарной безопасности (определить места для курения, установить места размещения и допустимое количество горючих материалов, порядок проведения огневых работ и т.п.) и контроль за их неукоснительным выполнением;

- лично проводить оперативный контроль за состоянием пожарной безопасности в местах проведения ремонтных работ, проверять наличие и исправность технических средств предупреждения и тушения пожаров, боеспособность ПД;

- выделять необходимые ассигнования для приобретения средств пожаротушения и выполнения противопожарных мероприятий;

- организовать проведение с населением, проживающим вблизи МНПП, разъяснительную работу о соблюдении мер пожарной безопасности в охранной зоне МНПП, а также действиях при выявлении утечки нефтепродуктов.

14.5. Ответственность за пожарную безопасность на ремонтном участке возлагается на руководителя работ (прораба), который наряду с выполнением общих требований пожарной безопасности обязан:

- обеспечить обучение рабочих специфическим требованиям пожарной безопасности на их рабочих местах;

- руководить подготовкой ПД и ее действиями по тушению возникших пожаров;

- обеспечить исправность и готовность к действию, замену использованных и пришедших в негодность средств пожаротушения, находящихся в колонне;

- обеспечить наличие, исправность и проверку средств связи;

- обеспечить исправное состояние дорог, проездов и путей следования пожарной техники на участок;

- обеспечить немедленный вызов пожарных подразделений в случае пожара или опасности его возникновения при аварии; одновременно приступить к ликвидации пожара или аварии имеющимися в наличии силами и средствами.

14.6. Ответственность за соблюдение установленных противопожарных мероприятий на каждом рабочем месте возлагается на непосредственных исполнителей работ.

14.7. Все лица, поступающие на работу в РСК, должны пройти инструктаж по вопросам пожарной безопасности на рабочем месте.

14.8. При введении в эксплуатацию нового оборудования, оказывающего влияние на пожарную опасность данного участка, с рабочими данного участка проводится дополнительный инструктаж.

14.9. На каждом ремонтном участке должна быть инструкция «О мерах пожарной безопасности», планы ликвидации аварий и тушения пожара, разработанные с учетом конкретных условий проведения ремонтных работ.

14.10. РСК должна иметь в своем составе или привлекать от ОАО (ПО) следующие первичные средства пожаротушения:

- пожарную автоцистерну объемом не менее 2000 л или цистерну с мотопомпой МП-1600, заполненные 5 - 6 %-ным раствором пенообразователя и укомплектованные рукавами, стволами и пеногенераторами;

- кошму войлочную или асбестовое полотно размером 2 ´ 2 м - 10 шт.;

- огнетушители порошковые ОП-50 или пенные емкостью по 10 л или углекислотные ОУ-8 - 10 шт.;

- лопаты, топоры, ломы - по 5 шт.;

- ведра - 10 шт.

Перечисленные средства пожаротушения должны перемещаться вместе с РСК. Они должны быть окрашены в соответствии с требованиями ГОСТ 12.4.026-76 [37].

14.11. Двигатели внутреннего сгорания машин и механизмов должны быть оборудованы искрогасителями, исключающими возможность выброса искр с выхлопными газами.

14.12. До проведения сварочных работ следует сделать обваловку труб путем поперечной засыпки траншеи землей, мятой глиной и т.п. с обеих сторон места сварочных работ. Площадь траншеи между перемычками не должна превышать 75 м2. Место сварочных работ между перемычками должно быть очищено от горючих материалов.

14.13. Если концентрация горючих паров в траншее превышает предельно-допустимую взрывобезопасную концентрацию (ПДВК), которая составляет 5 % от нижнего концентрационного предела распространения пламени (НКПРП), то должны быть прекращены все виды работ, люди оповещены о возникновении опасной ситуации (при необходимости отведены в безопасные места), средства пожаротушения приведены в готовность, выявлена и устранена причина загазованности. Огневые и изоляционные работы могут быть возобновлены только после снижения концентрации горючих паров ниже ПДВК.

14.14. Контроль за соблюдением противопожарных требований на ремонтных участках производится представителем подразделения пожарной охраны объекта (ВПО, ВОХР или ГПС МВД) или соответствующей службы, который особое внимание должен обращать:

- на обеспеченность ремонтного участка средствами пожаротушения и их исправности;

- на состояние дорог, проездов и подъездов для пожарной техники;

- на наличие на рабочих местах инструкций по мерам пожарной безопасности;

- на боеспособность пожарных дружин.

14.15. Результаты проверки представителем ВОХР противопожарного состояния ремонтных участков оформляются актами, в которых указывают мероприятия, необходимые для устранения выявленных недочетов, сроки выполнения и ответственных лиц. Сроки и ответственные за выполнение мероприятий согласуются с начальником участка.

14.16. В случае разгерметизации МНПП и выхода нефтепродукта при проведении сварочных работ необходимо ликвидировать горение (с помощью кошмы, огнетушителя, пеногенератора), прекратить выход нефтепродукта из трубопровода, очистить место сварки от остатков нефтепродуктов и произвести замер концентрации паров с помощью газоанализаторов. Лицо, ликвидирующее горение кошмой или огнетушителем, находясь в траншее, должно иметь страховку, а при необходимости работать под прикрытием водяных струй.

Возобновление сварочных работ разрешается только при снижении концентрации горючих паров в траншее ниже ПДВК.

14.17. В случае возникновения пожара при более сложных аварийных ситуациях начальник РСК должен:

- сообщить о случившемся диспетчеру, который высылает к месту пожара команду ВПО (при необходимости команды ВПО соседних ПС, пожарные подразделения ГПС МВД);

- принять меры к быстрому перекрытию задвижек на МНПП;

- принять меры к предотвращению растекания горящего нефтепродукта;

- осуществлять тушение пожара пеной с помощью пеногенераторов, пожарной техники.

После тушения пожара траншею (место аварии) надо очистить от остатков нефтепродуктов и произвести замер концентрации паров газоанализатором.

14.18. На ремонтных участках должны быть передвижные вагончики для отдыха, обогрева рабочих и принятия пищи. Металлическая облицовка и рама вагончика, а также все электрооборудование должны быть надежно заземлены. Подача электроэнергии в незаземленные вагончики запрещается.

14.19. Для местного освещения вагончика следует применять светильники взрывозащищенного исполнения.

14.20. В помещении вагончика запрещается:

- хранить смазочные масла и горючие жидкости;

- сушить спецодежду на нагревательных приборах;

- хранить обтирочный материал, одежду и другие предметы, пропитанные легковоспламеняющимися и горючими жидкостями.

15. ОХРАНА ОКРУЖАЮЩЕЙ СРЕДЫ

15.1. Охрана окружающей среды при капитальном ремонте МНПП осуществляется путем выполнения природоохранных мероприятий.

15.2. К природоохранным мероприятиям относятся все виды хозяйственной деятельности отрасли, направленные на снижение или ликвидацию отрицательного воздействия на природную среду, сохранение, улучшение и рациональное использование природных ресурсов:

- рекультивация земель и меры борьбы с эрозией;

- борьба с пожарами или утечками транспортируемого продукта;

- уменьшение вредных выбросов в атмосферу и борьба с шумами;

- применение природосберегающих ремонтных технологий и специальных машин и механизмов, оказывающих минимальное воздействие на природу;

- мероприятия по охране памятников природы, заповедных зон и др.

15.3. При составлении рабочего проекта и ППР на капитальный ремонт МНПП должны учитываться требования действующих стандартов, норм, правил, законов в области охраны окружающей природной среды, рационального использования природных ресурсов и обеспечения экологической безопасности жизнедеятельности человека, а также санитарных и строительных норм и правил.

15.4. Запрещается ремонт нефтепродуктопроводов до утверждения проекта и отвода земельного участка в натуре. Не допускается изменение утвержденного проекта или стоимости проектных работ в ущерб требованиям экологической безопасности.

15.5. Нарушение природоохранных требований влечет за собой приостановление ремонтных работ до устранения отмеченных недостатков по предписанию органов надзора.

15.6. Организация, выполняющая капитальный ремонт МНПП, несет ответственность за соблюдение проектных решений, связанных с охраной окружающей среды, а также за соблюдение законодательства по охране природы.

15.7. Представленные ОАО (ПО) АК «Транснефтепродукт» во временное пользование сельскохозяйственные и лесные угодья должны быть возвращены владельцам рекультивированные в состояние, пригодное для дальнейшего использования.

15.8. Для уменьшения вредного влияния автотранспорта на освоенные земли грузоперевозки следует осуществлять по существующим дорогам районного и республиканского масштаба.

15.9. Все ремонтные работы должны выполняться в пределах полосы отвода. Не допускается захламление ландшафта строительным мусором, горюче-смазочными материалами и отработанными маслами.

Воду, вытесненную из трубопровода при испытаниях, не допускается сливать в реки, озера, другие водоемы или на открытый грунт без предварительной очистки.

После завершения основных работ должны быть восстановлены водосборные канавы, дренажные системы, снегозадерживающие сооружения и дороги, расположенные в пределах полосы отвода земель. Местности должен быть придан проектный или восстановлен природный ландшафт.

ЛИТЕРАТУРА

1. Правила капитального ремонта магистральных нефтепродуктопроводов диаметром 100 - 720 мм без остановки перекачки. - Уфа: ВНИИСПТнефть, 1991.

2. СНиП 11-01-95. Инструкция о порядке разработки, согласования, утверждения и составе проектно-сметной документации на строительство предприятий, зданий и сооружений. - М.: Минстрой России,1995.

3. СНиП 3.01.01-85*. Организация строительного производства. - М.: Госстрой СССР, пост. 140, 02.09.85.

4. СНиП 2.05.06-85*. Магистральные трубопроводы. - М.: Минстрой России, ГУП ЦПП, 1997.

5. РД 102-011-89. Охрана труда. Организационно-методические документы. - М.: ВНИИСТ, 1990.

6. РД 153-39.4-041-99. Правила технической эксплуатации магистральных нефтепродуктопроводов.

7. СНиП 3.02.01-87. Земляные сооружения, основания и фундаменты. - М.: Стройиздат, 1987.

8. СНиП III-42-80*. Магистральные трубопроводы. Правила производства и приемки работ. - М.: Минстрой России, ГУП ЦПП, 1997.

9. ВСН 012-88. Контроль качества и приемки работ. - М.: Миннефтегазстрой, 1990.

10. СНиП 2.05.13-90. Нефтепродуктопроводы, прокладываемые на территории городов и других населенных пунктов. - М.: Госстрой СССР, 1990.

11. СНиП III-4-80*. Правила производства и приемки работ. Техника безопасности в строительстве. - М.: Стройиздат, 1980.

12. ГОСТ 12.3.003-86*. ССБТ. Работы электросварочные. Требования безопасности.

13. СНиП 2.11.03-93. Склады нефти и нефтепродуктов. Противопожарные нормы. - М.: Госстрой России, 1993.

14. СН 452-73. Нормы отвода земель для магистральных трубопроводов. - М.: ВНИИСТ, 1973.

15. ГОСТ 17.5.3.06-85. Охрана природы. Требования к определению норм снятия плодородного слоя почвы при производстве земляных работ.

16. ВСН 004-88. Строительство магистральных трубопроводов. Технология и организация. - М.: Миннефтегазстрой, 1990.

17. ВСН 008-88. Строительство магистральных и промысловых трубопроводов. Противокоррозионная и тепловая изоляция. - М.: Миннефтегазстрой, 1990.

18. ВСН 006-89. Строительство магистральных и промысловых трубопроводов. Сварка. - М.: Миннефтегазстрой, 1990.

19. Правила по отбраковке нефтепромысловых трубопроводов. - М.: НТБ НОТ, 1997.

20. ГОСТ 9466-75* (СТ СЭВ 6568-89). Электроды покрытые металлические для ручной дуговой сварки сталей и наплавки. Классификация и общие технические условия.

21. ГОСТ Р 51164-98. Трубопроводы стальные магистральные. Общие требования к защите от коррозии.

22. ГОСТ 9.602-89*. Сооружения подземные. Общие требования к защите от коррозии.

23. РД 39-00147105-004-94. «Инструкция по применению и нанесению покрытия «Пластобит-40» на наружную поверхность магистральных нефтепроводов и нефтепродуктопроводов при строительстве и капитальном ремонте». - Уфа: ИПТЭР, 1994.

24. РД 39-00147103-003-94. «Инструкция по нанесению ленты изоляционной битумной ЛИБ». - Уфа: ИПТЭР, 1994.

25. ГОСТ 15836-79. Мастика битумно-резиновая изоляционная. Технические условия.

26. ВСН 011-88. Строительство магистральных и промысловых трубопроводов. Очистка полости и испытание. - М.: Миннефтегазстрой, 1990.

27. Инструкция по контролю состояния изоляции законченных строительством участков трубопроводов катодной поляризацией. - М.: ВНИИСТ, 1995.

28. ПОТ РО 112-002-98. Правила по охране труда при эксплуатации магистральных нефтепродуктопроводов.

29. Система управления охраной труда в системе ГК «Роснефтепродукт», 1992.

30. Правила охраны магистральных трубопроводов. - Уфа: ВНИИСПТнефть, 1991.

31. Правила охраны линий электропередач и сооружений связи. - М.: Связь, 1995.

32. Правила охраны электрических сетей. - М.: Энергоиздат, 1972.

33. ГОСТ 12.1.013-78. ССБТ. Строительство. Электробезопасность. Общие требования.

34. ГОСТ 12.1.004-91*. ССБТ. Пожарная безопасность. Общие требования.

35. ППБ-01-93. Правила пожарной безопасности в Российской Федерации. - М.: МВД России, 1993.

36. ВППБ 01-03-96. Правила пожарной безопасности для предприятий АК «Транснефтепродукт».

37. ГОСТ 12.4.026-76. ССБТ. Цвета сигнальные и знаки безопасности.

38. ВСН 014-89. Строительство магистральных и промысловых трубопроводов. Охрана окружающей среды. - М.: Миннефтегазстрой, 1989.

39. Российская Федерация, Закон «Об охране окружающей природной среды». - М.: 1992.

40. Основные положения о рекультивации земель, снятии, сохранении и рациональном использовании плодородного слоя почвы. - М.: Приказ Минприроды России и Роскомзема от 22.12.95. № 525/67.

41. ПБ 03-108-96. Правила устройства и безопасной эксплуатации технологических трубопроводов. - М.: НПО ОБТ, 1997.

42. РД 153-112-014-97. Инструкция по ликвидации аварий и повреждений на магистральных нефтепродуктопроводах. - М.: Нефть и газ, 1997.

43. Правила аттестации сварщиков. Утв. Госгортехнадзором РФ 16.03.93.

44. РД 39-0147103-334-86. Инструкция по отбраковке труб при капитальном ремонте нефтепроводов. - Уфа: ВНИИСПТнефть, 1986.

45. ВСН 2-47-81. Инструкция по ультразвуковому контролю сварных соединений трубопроводов на строительстве объектов нефтяной и газовой промышленности. - М.: Миннефтегазстрой, ВНИИСТ, 1982.

46. Сборник трудов ВНИИСПТнефть, 1989.

ПРИЛОЖЕНИЕ 1

ПЕРЕЧЕНЬ РЕКОМЕНДУЕМЫХ МАШИН И МЕХАНИЗМОВ

1. Перечень рекомендуемых машин и механизмов для выполнения капитального ремонта с заменой изоляционного покрытия

№ п/п

Наименование машины

Рекомендуемая марка машины

Количество на одну РСК, шт.

Диаметр ремонтируемого трубопровода, мм

1

2

3

4

5

1

Бульдозер на базе трактора мощностью до 228 кВт (310 л. с.)

Б170М.01ЕР или

Д3-182.2,

КАТ Д-7х,

Комацу Д-85А

2

219 - 530

2

Экскаватор одноковшовый на гусеничном ходу с емкостью ковша 0,65 - 1,0 м3

ЭО-4225А или

Комацу РС-200,

Хитачи ЕХ-200

2

219 - 530

3

Трубоукладчик грузоподъемностью:

 

 

 

 

до 10,0 т

20,0 - 40,0 т

ТГ-61,

ТГ-321 или

Комацу Д-85С,

КАТ-572

3

3

4

219 - 377

426

530

4

Полотенце мягкое грузоподъемностью:

 

 

 

 

8,0 т

МП 300 или ПМ-322Р

3

219 - 325

 

16,0 т

МП-500 или ПМ-524Р

3

4

377 - 426

530

5

Подвеска троллейная, роликоканатная грузоподъемностью:

 

 

 

 

12,5 т

РТП-377PC

3

325 - 377

 

15,0 т

РТП-529РС

4

530

6

Машина очистная

МПП-325

ОМГ-530 или

МПП-530

2**

2**

219 - 325

377 - 530

7

Машина изоляционная

МИ-325*

ИМГ-530* или

МИ-530*

2**

2**

219 - 325

377 - 530

8

Установка битумных котлов

УБК-81А*

2

219 - 530

9

Битумозаправщик на базе автомобиля высокой проходимости (6 ´ 6)

БВ-46*

2

219 - 530

10

Агрегат сварочный

АДД-2х2502 или

АДД-3123

1

2

219 - 530

219 - 530

11

Газорежущая машина

«Файн»

1

250 - 530

12

Передвижная электростанция мощностью:

 

 

 

 

100 кВт,

ЭСД-100Т/400-А1РК

2

219 - 530

 

60 кВт

АД-60С-Р

1

219 - 530

13

Станок для резки и перемотки рулонных материалов

СРМ501

1

219 - 530

14

Сигнализатор горючих газов и паров

СГГ-4М

1

219 - 530

15

Мобильная радиостанция

-

10

219 - 530

16

Мобильная радиостанция в стационарном варианте

-

1

219 - 530

17

Портативная радиостанция

-

11

219 - 530

* - технические средства, применяемые при приготовлении и нанесении изоляционного покрытия на битумной основе;

** - одна машина резервная.

2. Перечень рекомендуемых машин и механизмов для выполнения капитального ремонта с заменой труб

№ п/п

Наименование машины

Рекомендуемая марка машины

Количество на одну РСК, шт.

Диаметр ремонтируемого трубопровода, мм

1

2

3

4

5

1

Бульдозер на базе трактора мощностью до 240 кВт (325 л. с.)

Б170М.01ЕР или

Д3-171.1,

Д3-182.2,

КАТ Д-7х,

Комацу Д-85А

4

219 - 530

2

Экскаватор одноковшовый на гусеничном ходу с емкостью ковша 0,65 - 1,2 м3

ЭО-4225А

Хитачи ЕХ-200

Комацу РС-200

3

219 - 530

3

Трубоукладчик грузоподъемностью 20,0 - 40,0 т

ТГ-321 или

Комацу Д-85,

КАТ-572

3

4

219 - 377

426 - 530

4

Полотенце мягкое грузоподъемностью:

 

 

 

 

8,0 т

МП 300 или

ПМ-322Р

3

219 - 325

 

16,0 т

МП-500 или

ПМ-524Р

3

4

377

426 - 530

5

Подвеска троллейная роликоканатная грузоподъемностью:

 

 

 

 

12,5 т

РТП-377 PC

3

325 - 377

 

15,0 т

РТП-529РС

4

530

 

или подвеска

ТП-371ХЛ или

3

219 - 277

 

троллейная

ТПМ421П

 

 

 

 

ТП-822ХЛ или

4

426 - 530

 

 

ТПМ631П

 

 

6

Клещевой захват

КЗ-221

2

219

 

 

КЗ-321

2

325

 

 

КЗ-371

2

377

 

 

КЗ-422

2

426

 

 

КЗ-531А

2

530

7

Сварочный агрегат

УСТ-22 (УСТ-23)

1

219 - 530

8

Газорежущая машина

«Файн»

1

250 - 530

9

Центратор внутренний

ЦВ32

1

325

 

 

ЦВ54

1

530

10

Центратор наружный

ЦЗН211

2

219

 

 

ЦЗН271

2

273

 

 

ЦЗН321

2

325

 

 

ЦЗН371

2

377

 

 

ЦЗН421

2

426

 

 

Ц351А или

 

 

 

 

ЦЗН531, ЦНГ-51

2

530

11

Машина очистная

МПП-325

2*

219 - 325

 

 

ОМГ-530 или

2*

377 - 530

 

 

МПП-530

 

 

12

Машина изоляционная

МИ-325

2*

219 - 325

 

 

ИМГ-530 или

2*

377 - 530

 

 

МИ-530

 

 

13

Машина для очистки изоляции пленками трубопроводов

ОМ-522ПА**

2

325 - 530

14

Установка битумных котлов

УБК-81А

2

219 - 530

15

Битумозаправщик с емкостью цистерны 4 м3 на базе автомобиля высокой проходимости (6 ´ 6)

БВ-46

2

219 - 530

16

Передвижная электростанция мощностью:

 

 

 

 

100 кВт,

ЭСД-100Т/400-

2

219 - 530

 

60 кВт

А1РК АД-60Р

1

219 - 530

17

Станок для резки и перемотки рулонных материалов

СРМ502

1

219 - 530

18

Агрегат наполнительный или передвижной насосный агрегат

АН-501А*** или

АН-501Б***,

ПНУ-1***

1

219 - 530

19

Опрессовочный агрегат

АО161*** или

АО 181***

1

219 - 530

20

Эластичные разделители

ДЗК-РЭМ***

5

219 - 530

21

Трубосварочная база, в т.ч.

 

 

 

21.1

- стеллаж

 

1

219 - 325

 

- линия сборки труб

ЛСТ81

1

325 - 530

21.2

- полевая автосварочная установка

ПАУ-601

1

325 - 530

21.3

- выпрямитель сварочный

ВДУ-506 или

2

219 - 530

 

то же

ВДМ-4Х301

1

219 - 530

21.4

- передвижная электростанция

ЭСД-100Т/400-А1РК

1

219 - 530

21.5

- машина для очистки и намотки проволоки

МОН-52

1

219 - 530

21.6

- компрессор

ДК-9М

1

219 - 530

21.7

- электропечь для сушки и прокалки электродов

-

1

219 - 530

21.8

- трубоукладчик грузоподъемностью 20,0 т

ТГ-321

2

219 - 530

21.9

- траверса

ТРВ41

2

273 - 355

 

 

ТРВ61

2

377 - 820

21.10

- газорежущая машина

«Файн»

1

250 - 530

21.11

- центратор

ЦВ32

1

325

 

внутренний

ЦВ54

1

530

22

Сигнализатор горючих газов и паров

СГТ-4М

1

219 - 530

23

Мобильная радиостанция

-

10

219 - 530

24

Мобильная радиостанция в стационарном варианте

-

1

219 -530

25

Портативная радиостанция

-

11

219 - 530

* - одна машина резервная;

** - машина применяется взамен очистной и изоляционной машин того же диаметра;

*** - технические средства, находящиеся в ПО ОАО, ОАО

3. Перечень рекомендуемых машин и механизмов для выполнения вспомогательных операций

№ п/п

Наименование машины

Рекомендуемая марка машины

Количество на одну РСК, шт.

Диаметр ремонтируемого трубопровода, мм

1

7

3

4

5

1

Автомобиль бортовой высокой проходимости (6 ´ 6)

УРАЛ 4320-10 или

КамАЗ-4310

1

219 - 530

2

Автомобиль-самосвал (6 ´ 4)

КамАЗ-5511 или

УРАЛ-555711-30

1

219 - 530

3

Автомобиль бортовой высокой проходимости (4 ´ 4)

ГАЗ-66-01

1

219 - 530

4

Автобус специальной модели

Модель 42112,

Модель 4208

1

219 - 530

5

Грузопассажирский автомобиль (4 ´ 4)

УАЗ-3909 «Фермер»

1

219 - 530

6

Автоцистерна для перевозки топлива

АЦТ мод. 46102,

АЦТ мод. 56151

1

219 - 530

7

Прицеп-цистерна для перевозки нефтепродуктов типа

ПЦТ мод. 86361

4

219 - 530

8

Автомобиль-мастерская

ПРМ мод. ЛВ-8Б-01

1

219 - 530

9

Автомобиль-цистерна для перевозки воды, типа

АЦВ-5,0

1

219 - 530

10

Прицеп-цистерна «Вода» емкостью 5600 л

Модель 8308

1

219 - 530

11

Автоцистерна пожарная или прицеп-цистерна «Вода» емк. 5600 л и мотопомпа

АЦ-40

Модель 8308

МП-1600

1

1

1

219 - 530

219 - 530

219 - 530

12

Кран автомобильный

КС-3574,

КС-4574А,

КС-35714

1

219 - 530

13

Бурильно-крановая машина

БМ-308*

1

219 - 530

14

Плетевоз

ПВ-96*

2

219 - 530

15

Полуприцеп-тяжеловоз грузоподъемностью 42,6 т

ЧМЗАП-83981*

2

219 - 530

16

Трактор-тягач к прицепу-тяжеловозу

К-701* или «Тетрам»

2

219 - 530

17

Агрегат водоотливной или установка водоотливная

АВ-701 или УОВ-4

1

219 - 530

18

Насос

НЦС-2

1

219 - 530

19

Насос погружной

ГНОМ-100-25

2

219 - 530

20

Передвижная лаборатория для контроля качества сварки магистральных трубопроводов или лаборатория для контроля качества трубопроводов

ПЛУК** или

ЛКС-95М**,

ЛКТ-97**

1

1

219 - 530

219 - 530

21

Вагон-контора (административное помещение)

-

1

219 - 530

22

Вагон-общежитие

-

13

219 - 530

23

Вагон-столовая

ПС-24

1

219 - 530

24

Вагон-душевая (баня)

-

1

219 - 530

25

Вагон-склад

-

1

219 - 530

* - технические средства, находящиеся в РСУ.

** - технические средства, находящиеся в ПО ОАО, ОАО или РСУ.

ПРИЛОЖЕНИЕ 2

ПЕРЕДАЧА РЕКУЛЬТИВИРОВАННЫХ ЗЕМЕЛЬ ЗЕМЛЕВЛАДЕЛЬЦАМ

1. Приемка (передача) рекультивированных земель осуществляется после письменного извещения о завершении работ по рекультивации в органы местного самоуправления. (Постоянной Комиссии по вопросам рекультивации земель).

2. К извещению прилагаются следующие материалы:

- копии Разрешений на проведение работ, связанных с нарушением почвенного покрова, а также документов, удостоверяющих право пользования землей и недрами;

- выкопировка с плана землепользования с нанесенными границами рекультивированных участков;

- проект рекультивации земель, заключение по нему государственной экологической экспертизы;

- данные почвенных, инженерно-геологических, гидрогеологических и других необходимых обследований до проведения работ, связанных с нарушением почвенного покрова, и после рекультивации нарушенных земель;

- схема расположения наблюдательных скважин и других постов наблюдения за возможной трансформацией почвенно-грунтовой толщи рекультивированных участков (гидрогеологический, инженерно-геологический мониторинг) в случае их создания;

- проектная документация (рабочие чертежи) на мелиоративные, противоэрозионные, гидротехнические и другие объекты, лесомелиоративные, агротехнические и иные мероприятия, предусмотренные проектом рекультивации, или акты об их приемке (проведении испытаний);

- материалы проверок выполнения работ по рекультивации осуществленных контрольно-инспекционными органами или специалистами проектных организаций в порядке авторского надзора, а также информация о принятых мерах по устранению выявленных нарушений;

- сведения о снятии, хранении, использовании, передаче плодородного слоя, подтвержденные соответствующими документами;

- отчеты о рекультивации нарушенных земель по форме № 2-тп (рекультивация) за весь период проведения работ, связанных с нарушением почвенного покрова на сдаваемом участке.

Перечень материалов может уточняться и дополняться в зависимости от характера нарушения земель и дальнейшего использования рекультивированных участков.

3. Приемку рекультивированных участков с выездом на место осуществляет рабочая комиссия, которая утверждается Председателем Постоянной Комиссии в 10-дневный срок после поступления письменного извещения от юридических (физических) лиц, сдающих земли.

4. При приемке рекультивированных земельных участков рабочая комиссия проверяет:

- соответствие выполненных работ утвержденному проекту рекультивации;

- качество планировочных работ;

- мощность и равномерность нанесения плодородного слоя почвы;

- наличие и объем неиспользованного плодородного слоя почвы, а также условия его хранения;

- полноту выполнения требований экологических, агротехнических, санитарно-гигиенических, строительных и других нормативов, стандартов и правил в зависимости от вида нарушения почвенного покрова и дальнейшего целевого использования рекультивированных земель;

- качество выполненных мелиоративных, противоэрозионных и других мероприятий, определенных проектом или условиями рекультивации земель (договором);

- наличие на рекультивированном участке строительных и других отходов;

- наличие и оборудование пунктов мониторинга рекультивированных земель, если их создание было определено проектом или условиями рекультивации нарушенных земель.

5. Объект считается принятым после утверждения Председателем Постоянной Комиссии акта приемки-сдачи рекультивированных земель.

6. По результатам приемки рекультивированных земель постоянная комиссия вправе продлить (сократить) срок восстановления плодородия почв (биологический этап), установленный проектом рекультивации, или внести в органы местного самоуправления предложения об изменении целевого использования сдаваемого участка в порядке, установленным земельным законодательством.

7. В случае, если сдаваемые рекультивированные земельные участки требуют восстановления плодородия почв, утверждение акта производится после полного или частичного (в случае поэтапного финансирования) перечисления необходимых средств для этих целей на расчетные (текущие счета) собственников земли, землевладельцев, землепользователей, арендаторов, которым передаются указанные участки.

ПРИЛОЖЕНИЕ 3

ИСПОЛНИТЕЛЬНАЯ ДОКУМЕНТАЦИЯ, ПРЕДСТАВЛЯЕМАЯ ПРИ СДАЧЕ ОТРЕМОНТИРОВАННОГО УЧАСТКА НЕФТЕПРОДУКТОПРОВОДА В ЭКСПЛУАТАЦИЮ

При сдаче отремонтированного МНПП в эксплуатацию приемочной комиссии представляется следующая исполнительная документация, комплектуемая РСУ:

- проектно-сметная документация;

- комплект рабочих чертежей с надписями о соответствии выполненных в натуре работ или внесенными изменениями;

- паспорта на оборудование и изделия и сертификаты на изоляционные материалы, трубы, электроды и другие материалы;

- перечень организаций и ответственных лиц, участвующих в капитальном ремонте;

- реестр исполнительной документации;

- ведомость установленной арматуры и оборудования;

- ведомость изменений проекта капитального ремонта;

- документы о проведении рекультивации на участке ремонта;

- разрешение на право производства работ;

- акты приемки узла запорной арматуры, узла приема и пуска очистных устройств и других монтажных узлов под наладку и засыпку;

- разрешение на очистку полости и испытание уложенного участка трубопровода;

- акт на очистку полости трубопровода;

- акт испытания на прочность, проверки на герметичность.

Также в состав приемо-сдаточной документации должны быть включены следующие документы:

а) составленные производственной службой ОАО (ПО) АК «Транснефтепродукт»:

- ведомость недоделок;

- справка об устранении недоделок, выявленных рабочей комиссией;

- справка о сметной и фактической стоимости капитального ремонта участка МНПП;

- документы об отводе земельных участков;

б) составленные службой главного сварщика ОАО (ПО) АК «Транснефтепродукт»:

- список сварщиков;

в) составленные исполнителем работ (РСУ):

- журнал замечаний и предложений по ведению работ по капитальному ремонту МНПП;

- журнал производства земляных работ;

- журнал сварочных работ;

- журнал очистных, грунтовочных и изоляционных работ и ремонта изоляции;

- журнал проверки сварных соединений физическими методами контроля;

- журнал регистрации результатов механических испытаний допускных и контрольных сварных соединений;

г) составленные службами контроля качества:

- заключение по проверке качества сварных соединений физическими методами контроля;

- заключение о результатах механических испытаний, контрольных и допускных сварных соединений;

- акт о контроле сплошности изоляционного покрытия засыпанного трубопровода;

- акт оценки качества изоляции отремонтированных подземных участков трубопровода методом катодной поляризации.

Текущая документация, составляемая исполнителем работ (РСУ), представляемая по требованию приемочной комиссии:

- акт на геодезическую подготовку трассы, площадки (при выполнении земляных работ субподрядной организацией);

- допускной лист сварщика;

- акт о результатах проверки изделий на соответствие техдокументации;

- акт на засыпку (обваловку) уложенного трубопровода;

- разрешение на вывозку секций (звеньев) труб на трассу. Формы перечисленной документации приведены в ВСН 012-88. Ч.2 «Контроль качества и приемка работ» ПП.

 




ГОСТЫ, СТРОИТЕЛЬНЫЕ и ТЕХНИЧЕСКИЕ НОРМАТИВЫ.
Некоммерческая онлайн система, содержащая все Российские Госты, национальные Стандарты и нормативы.
В Системе содержится более 150000 файлов нормативно-технической документации, действующей на территории РФ.
Система предназначена для широкого круга инженерно-технических специалистов.

Рейтинг@Mail.ru Яндекс цитирования

Copyright © www.gostrf.com, 2008 - 2026