Крупнейшая бесплатная информационно-справочная система онлайн доступа к полному собранию технических нормативно-правовых актов РФ. Огромная база технических нормативов (более 150 тысяч документов) и полное собрание национальных стандартов, аутентичное официальной базе Госстандарта. GOSTRF.com - это более 1 Терабайта бесплатной технической информации для всех пользователей интернета. Все электронные копии представленных здесь документов могут распространяться без каких-либо ограничений. Поощряется распространение информации с этого сайта на любых других ресурсах. Каждый человек имеет право на неограниченный доступ к этим документам! Каждый человек имеет право на знание требований, изложенных в данных нормативно-правовых актах!

  


 

ГОСТ 14256-2000

МЕЖГОСУДАРСТВЕННЫЙ СТАНДАРТ

ЛЕНТЫ ТКАНЫЕ ЭЛЕКТРО-
И ТЕПЛОИЗОЛЯЦИОННЫЕ

ТЕХНИЧЕСКИЕ УСЛОВИЯ

МЕЖГОСУДАРСТВЕННЫЙ СОВЕТ
ПО СТАНДАРТИЗАЦИИ, МЕТРОЛОГИИ И СЕРТИФИКАЦИИ

Минск

Предисловие

1 РАЗРАБОТАН Межгосударственным Техническим комитетом по стандартизации МТК 73 «Асбестовые и безасбестовые фрикционные, уплотнительные, теплоизоляционные материалы и изделия», ОАО «НИИАТИ - фирма ТИИР»

ВНЕСЕН Госстандартом России

2 ПРИНЯТ Межгосударственным Советом по стандартизации, метрологии и сертификации (протокол № 17-2000 от 22.06.2000 г.)

За принятие проголосовали:

Наименование государства

Наименование национального органа по стандартизации

Азербайджанская Республика

Азгосстандарт

Республика Армения

Армгосстандарт

Республика Беларусь

Госстандарт Республики Беларусь

Республика Казахстан

Госстандарт Республики Казахстан

Кыргызская Республика

Кыргызстандарт

Республика Молдова

Молдовастандарт

Российская Федерация

Госстандарт России

Республика Таджикистан

Таджикгосстандарт

Туркменистан

Главгосинспекция «Туркменстандартлары»

Республика Узбекистан

Узгосстандарт

Украина

Госстандарт Украины

3 Постановлением Государственного комитета Российской Федерации по стандартизации и метрологии от 15 декабря 2000 г. № 361-ст межгосударственный стандарт ГОСТ 14256-2000 введен в действие непосредственно в качестве государственного стандарта Российской Федерации с 1 января 2002 г.

4 ВЗАМЕН ГОСТ 14256-78

ГОСТ 14256-2000

МЕЖГОСУДАРСТВЕННЫЙ СТАНДАРТ

ЛЕНТЫ ТКАНЫЕ ЭЛЕКТРО- И ТЕПЛОИЗОЛЯЦИОННЫЕ

Технические условия

Electro- and heat insulating tapes.
Specifications

Дата введения 2002-01-01

1 Область применения

Настоящий стандарт распространяется на асбестовые и безасбестовые тканые ленты, предназначенные для электро- и теплоизоляции.

Обязательные требования к качеству продукции изложены в 3.2 (таблица 2, показатель толщины), 4.3.7 (таблица 4, разрывная нагрузка по основе на ширину ленты, электрическое сопротивление единицы площади), разделе 6, 7.2.1, 7.4, 7.6.

2 Нормативные ссылки

В настоящем стандарте использованы ссылки на следующие стандарты:

ГОСТ 12.1.005-88 Система стандартов безопасности труда. Общие санитарно-гигиенические требования к воздуху рабочей зоны

ГОСТ 12.4.028-76 Система стандартов безопасности труда. Респираторы ШБ-1 «Лепесток». Технические условия

ГОСТ 12.4.068-79 Система стандартов безопасности труда. Средства индивидуальной защиты дерматологические. Классификация и общие требования

ГОСТ 166-89 (ИСО 3599-76) Штангенциркули. Технические условия

ГОСТ 427-75 Линейки измерительные металлические. Технические условия

ГОСТ 503-81 Лента холоднокатаная из низкоуглеродистой стали. Технические условия

ГОСТ 2199-78 Клей резиновый. Технические условия

ГОСТ 3560-73 Лента стальная упаковочная. Технические условия

ГОСТ 5632-72 Стали высоколегированные и сплавы коррозионно-стойкие жаростойкие и жаропрочные. Марки

ГОСТ 7183-93 Пеносмесители. Технические условия

ГОСТ 9078-84 Поддоны плоские. Общие технические условия

ГОСТ 9557-87 Поддон плоский деревянный размером 800×1200 мм. Технические условия

ГОСТ 11358-89 Толщиномеры и стенкомеры индикаторные с ценой деления 0,01 и 0,1 мм. Технические условия

ГОСТ 14192-96 Маркировка грузов

ГОСТ 15841-88 Ящики деревянные для продукции сельскохозяйственного и тракторного машиностроения. Технические условия

ГОСТ 15846-79 Продукция, отправляемая в районы Крайнего Севера и труднодоступные районы. Упаковка, маркировка, транспортирование и хранение

ГОСТ 16536-90 Ящики деревянные для продукции автомобильной промышленности. Технические условия

ГОСТ 17308-88 Шпагаты. Технические условия

ГОСТ 18573-86 Ящики деревянные для продукции химической промышленности. Технические условия

ГОСТ 22030-91 Изделия и материалы асбестовые технические. Методы определения влаги, потери вещества при прокаливании и содержания асбеста

ГОСТ 24634-81 Ящики деревянные для продукции, поставляемой для экспорта. Общие технические условия

ГОСТ 26663-85 Пакеты транспортные. Формирование с применением средств пакетирования. Общие технические требования

3 Основные параметры и размеры

3.1 В зависимости от назначения ленты изготовляют четырех марок, указанных в таблице 1.

Таблица 1

Наименование ленты

Марка

Назначение

Лента асбестовая электроизоляционная

ЛАЭ-1

Электроизоляция проводов, кабелей, элементов электрических машин; защита катушек электрических машин от механических и тепловых повреждений, в качестве полупроводящих покрытий высоковольтных обмоток, работающих до 400 °С, и как подложки (основание) для нанесения полупроводящих эмалей (покрытий) на высоковольтные обмотки

 

ЛАЭ-2

Защита катушек электрических машин от механических и тепловых повреждений и в качестве полупроводящих покрытий высоковольтных обмоток, работающих до 400 °С

Лента асболавсановая электроизоляционная

ЛАЛЭ-1

Полупроводящее покрытие высоковольтных обмоток турбо- и гидрогенераторов и крупных машин переменного тока высокого напряжения, работающих до 200 °С и в качестве подложки (основания) для нанесения полупроводящих эмалей (покрытий) на высоковольтные обмотки

Лента асбестовая теплоизоляционная

ЛАТ

Теплоизоляция трубопроводов, кабельных стволов и других элементов приборов и машин, работающих до 400 °С

3.2 Размеры лент должны соответствовать указанным в таблице 2.

Таблица 2

В миллиметрах

Марка

Код ОКП

Толщина

Ширина

Номин.

Пред. откл.

Номин.

Пред. откл.

ЛАЭ-1

25 7431 0102

25 7431 0105

0,40

±0,05

20

25

+2

-1

25 7431 0103

25 7431 0106

25 7431 0109

0,50

20

25

30

ЛАЭ-2

25 7431 0202

25 7431 0205

0,40

±0,05

20

25

+2

-1

25 7431 0203

25 7431 0206

25 7431 0209

0,50

20

25

30

ЛАЛЭ-1

25 7431 0504

25 7431 0507

25 7431 0511

0,35

±0,05

25

30

35

±1

ЛАТ

25 7432 0703

25 7432 0706

25 7432 0709

0,50

±0,10

20

25

30

±2

25 7432 0716

±0,05

175

Пример условного обозначения ленты марки ЛАЭ-1, толщиной 0,4 мм и шириной 20 мм:

Лента ЛАЭ-1 0,4×20 ГОСТ 14256

То же для ленты, изготовленной для тропического климата:

Лента ЛАЭ-1 Т 0,4×20 ГОСТ 14256

4 Технические требования

4.1 Ленты должны изготовлять в соответствии с требованиями настоящего стандарта по технологическому регламенту, утвержденному в установленном порядке.

4.2 Ленты выпускают рулонами.

Длина ленты в рулоне для марки ЛАЛЭ-1 должна быть  м, для остальных марок -  м.

Для лент марки ЛАЛЭ-1 допускается не более двух отрезков длиной каждого не менее 3 м, для остальных марок - не более пяти отрезков длиной каждого не менее 2,5 м.

По согласованию с потребителем допускается поставлять ленты длиной менее 3 м в рулонах большей длины.

4.3 Характеристики

4.3.1 Ленты должны выпускаться с цветной хлопчатобумажной нитью в середине. Допускается использовать полиамидную нить линейной плотностью 15,6 текс.

4.3.2 На лентах не должно быть загрязнений и масляных пятен. Допускаются точечные бурые пятна окрашенного асбеста.

4.3.3 Ленты не должны содержать металлических включений.

4.3.4 На лентах не допускается нарушения кромок лент и петли размером более 1,5 мм.

4.3.5 Количество пороков (близн, недосек и забоин) не должно превышать указанных в таблице 3.

Таблица 3

Наименование порока

Количество пороков для марок

ЛАЭ-1, ЛАЭ-2, ЛАЛЭ-1 , ЛАТ (кроме ширины 175 мм)

ЛАТ (шириной 175 мм)

1 Близны в одну и две нити длиной не более 15 мм на 1 м длины

3

4

2 Недосеки и забоины в две и три нити на 1 м длины

3

2

4.3.6 Ленты марки ЛАЛЭ-1 допускается применять в условиях тропического климата. Ленты остальных марок для условий тропического климата должны быть изготовлены с применением лавсана вместо хлопка при соблюдении остальных требований настоящего стандарта.

4.3.7 По физико-механическим показателям ленты должны соответствовать значениям, указанным в таблице 4.

Таблица 4

Обозначение марки

Толщина, мм

Ширина, мм

Разрывная нагрузка по основе на ширину ленты, Н (кгс), не менее

Массовая доля влаги, %, не более

Потеря вещества при прокаливании, %, не более

Электрическое сопротивление единицы площади, Ом

ЛАЭ-1

0,40

20

25

100 (10)

120 (12)

3

34

107 - 1,5×108

0,50

20

25

30

100 (10)

140 (14)

160 (16)

ЛАЭ-2

0,40

20

25

80 (8)

100 (10)

3

34

106 - 107

0,50

20

25

30

80 (8)

130 (13)

140 (14)

ЛАЛЭ-1

0,35

25

30

35

110 (11)

150 (15)

170 (17)

3

36

307 - 1,5×108

ЛАТ

0,50

20

25

30

115 (11,5)

145 (14,5)

160 (16)

3

34

Не определяется

 

175

Не определяется

Дополнительные характеристики и физико-механические показатели приведены в приложении А.

4.4 Маркировка

На каждое грузовое место прикрепляют ярлык, маркированный в соответствии с ГОСТ 14192, с указанием следующих данных:

товарного знака и (или) наименования предприятия-изготовителя;

размера (ширины, толщины);

наименования и марки ленты;

номера партии;

даты изготовления;

общей длины;

обозначения настоящего стандарта;

буквы Т для лент в тропическом исполнении.

Для сертифицированной продукции на ярлык и (или) тару, упаковку, сопроводительную техническую документацию дополнительно наносят изображение знака соответствия.

4.5 Упаковка

Ленту марки ЛАТ шириной 175 мм наматывают в рулоны и перевязывают вдоль основы шпагатом по ГОСТ 17308 или шпагатом из химических волокон по технической документации.

Ленты остальных марок наматывают в рулоны, конец лент приклеивают резиновым клеем по ГОСТ 2199. Рулоны связывают по 10 шт. в пачки.

Рулоны и пачки упаковывают в ящики по ГОСТ 16536, ГОСТ 18573 или ГОСТ 15841; мешки или ткань по ГОСТ 7183 или технической документации. Ленты, поставляемые на экспорт и в тропическом исполнении, упаковывают в деревянные ящики по ГОСТ 24634. По согласованию с потребителем допускается другой вид упаковки, обеспечивающий сохранность лент.

Масса брутто одного грузового места не должна быть более 80 кг.

Упакованные ленты допускается формировать в транспортные пакеты в соответствии с правилами перевозки грузов с применением плоских поддонов по ГОСТ 9557, ГОСТ 9078 и стальной ленты по ГОСТ 3560, ГОСТ 503.

Пакеты на плоских поддонах формируют по ГОСТ 26663.

Ленты, предназначенные для районов Крайнего Севера и труднодоступных районов, упаковывают в соответствии с ГОСТ 15846.

5 Требования безопасности

5.1 При работе с асбестовыми электро- и теплоизоляционными лентами в воздух рабочей зоны возможно выделение асбестосодержащей пыли. Пыль обладает преимущественно фиброгенным действием и может привести к заболеванию дыхательных путей.

5.2 Предельно допустимая концентрация асбестосодержащей пыли в воздухе рабочей зоны 2 мг/м3 (максимально разовая) и 0,5 мг/м3 (среднесменная), класс опасности III (Ф, К) по ГОСТ 12.1.005.

5.3 Контроль за содержанием пыли в воздухе рабочей зоны осуществляют в соответствии с требованиями ГОСТ 12.1.005.

5.4 Участки, где проводятся работы с лентами, должны быть оборудованы приточно-вытяжной вентиляцией, фиксированные места выделения пыли - местным отсасывающим устройством.

Воздух, удаленный с участка обработки лент, перед выбросом в атмосферу должен подвергаться очистке в соответствии с требованиями нормативной документации.

5.5 Работающие с лентами обеспечиваются специальной одеждой и индивидуальными средствами защиты органов дыхания - респираторами типа ШБ-1 «Лепесток» по ГОСТ 12.4.028. Для защиты кожи рук применяют защитные дерматологические средства марки Пн по ГОСТ 12.4.068.

5.6 Асбестовые электро- и теплоизоляционные ленты не горючи, не взрывоопасны.

5.7 Захоронение отходов лент (класс опасности IV) должно проводиться в котлованах с соблюдением мер, исключающих пыление при транспортировании и выгрузке, в соответствии с требованиями санитарных правил.

6 Правила приемки

6.1 Ленты принимают партиями. Партией считают ленту одной марки и одного размера длиной не более 10000 м, оформленную одним документом о качестве, содержащим:

товарный знак и (или) наименование предприятия-изготовителя;

наименование и марку ленты;

размер (ширину, толщину);

номер партии;

дату изготовления;

количество мест;

общую длину;

штамп службы технического контроля;

результаты испытаний партии и подтверждение о соответствии лент требованиями настоящего стандарта;

обозначение настоящего стандарта.

6.2 Каждую партию лент подвергают приемосдаточным испытаниям в следующем объеме:

загрязнения, масляные пятна, металлические включения, нарушения кромок, петли - 100 %;

близны, недосеки, забоины - три рулона от партии;

размеры и физико-механические показатели - три рулона от партии.

6.3 При получении неудовлетворительных результатов испытаний хотя бы по одному показателю по нему проводят повторные испытания на удвоенном объеме выборки ленты, взятой от той же партии.

Результаты повторных испытаний распространяют на всю партию.

7 Методы испытаний

7.1 Загрязнения, масляные пятна, металлические включения определяют визуально.

Размеры нарушения кромок, петель и близн измеряют штангенциркулем с ценой деления 0,1 мм по ГОСТ 166 или измерительной металлической линейкой по ГОСТ 427.

7.2 Контроль размеров

7.2.1 Толщину ленты измеряют с погрешностью не более 0,01 мм в пяти местах каждого отобранного рулона на расстоянии не менее 1 м толщиномером ТР-10 по ГОСТ 11358.

За результат принимают среднее арифметическое пяти измерений по каждому рулону, округленное до второго десятичного знака. За результат испытания партии принимают среднее арифметическое результатов испытаний всех отобранных рулонов.

7.2.2 Ширину ленты измеряют с погрешностью не более 1 мм в пяти местах каждого отобранного рулона на расстоянии не менее 1 м измерительной линейкой по ГОСТ 427, при этом ленту укладывают на ровную поверхность без растягивания.

За результат принимают среднее арифметическое пяти измерений по каждому рулону, округленное до целого числа. За результат испытания партии принимают среднее арифметическое результатов испытаний всех отобранных рулонов.

7.3 Отбор рулонов

Для определения физико-механических показателей от каждого отобранного рулона отрезают 1,5 м ленты. От каждого отобранного отрезка отрезают по три образца для каждого вида испытаний и один образец для испытаний по 7.5.

Отобранные образцы лент не должны иметь пороков, указанных в таблице 3.

7.4 Определение разрывной нагрузки по основе ленты

7.4.1 Отбор образцов

Для определения разрывной нагрузки от каждого отрезка, отобранного по 7.3, отрезают образцы длиной не менее 160 мм.

7.4.2 Проведение испытания

Разрывную нагрузку по основе ленты определяют на разрывной машине с относительной погрешностью силоизмерителя ±1,0 % при расстоянии между зажимами (100 ± 1,0) мм и скорости подвижного зажима (150 ± 7,5) мм/мин. Образец должен быть заправлен в зажимы без перекоса.

Если разрушение образца произошло на расстоянии менее 10 мм от зажима, то этот показатель не учитывают и повторяют испытание на новом образце.

За результат испытания одного рулона принимают среднее арифметическое результатов испытаний трех образцов, округленное до целого числа, при этом минимальная разрывная нагрузка отдельного образца не должна быть менее 80 % значения, указанного в таблице 4.

За результат испытания партии принимают минимальное значение результатов испытания всех рулонов.

7.5 Определение массовой доли влаги и потери вещества при прокаливании

Массовую долю влаги и потерю вещества при прокаливании определяют по ГОСТ 22030. От каждого отобранного по 7.3 образца отрезают образцы массой 3 - 5 г и делают по одному определению массовой доли влаги, а затем потери вещества при прокаливании, при этом образцы прокаливают в течение (120 ± 5) мин при температуре (750 ± 50) °С в муфельной печи.

7.6 Определение электрического сопротивления

7.6.1 Отбор образцов

От каждого отрезка, отобранного по 7.3, отрезают образцы длиной (200 ± 2) мм.

7.6.2 Аппаратура

Приборы типа УГЭ-2, УГЭ-2М или СЛ-87, обеспечивающие определение электрического сопротивления единицы площади (rпл) электроизоляционной ленты с погрешностью не более 3 % при напряженности электрического поля по длине ленты 1000 В/см, температуре (20 ± 5) °С и относительной влажности не более 30 %. Схемы приборов приведены в приложении Б.

7.6.3 Подготовка и проведение испытания

Перед испытанием ленты просушивают при температуре (130 ± 5) °С не менее 3 ч, подвесив их за один конец в держателях так, чтобы обе поверхности подвергались воздействию сухого воздуха, затем охлаждают в гигротермостате до температуры (20 ± 5) °С и помещают в электродное устройство.

Испытуемый образец укладывают на нижние электроды, распрямляют и устанавливают на него верхние электроды.

Вращая рукоятку мегаомметра в течение 10 - 30 с, определяют наименьшее электрическое сопротивление образца R.

7.6.4 Обработка результатов

Электрическое сопротивление единицы площади ленты rпл, Ом, вычисляют по формуле

                                                            (1)

где R - электрическое сопротивление образца, Ом;

b - ширина образца, мм;

l - расстояние между электродами, мм.

За результат испытания одного рулона принимают среднее арифметическое результатов испытаний трех образцов.

За результат испытания партии принимают среднее арифметическое результатов испытаний рулонов.

8 Транспортирование и хранение

8.1 Ленты транспортируют любым видом транспорта в крытых транспортных средствах в соответствии с правилами перевозки грузов, действующими на данном виде транспорта.

8.2 Ленты должны храниться в упакованном виде в закрытых помещениях.

9 Гарантии изготовителя

9.1 Изготовитель гарантирует соответствие лент требованиям настоящего стандарта при соблюдении условий хранения и транспортирования.

9.2 Гарантийный срок хранения ленты марки ЛАЛЭ-1 - 10 лет, лент остальных марок - 3 года со дня их изготовления.

ПРИЛОЖЕНИЕ А

(справочное)

Дополнительные характеристики и физико-механические показатели ленты

Таблица А.1

Обозначение марки

Толщина, мм

Ширина, мм

Количество нитей по основе на ширину ленты

Количество нитей по утку на 100 мм ленты

Масса 1 м длины, г, не более

Номин.

Пред. откл.

Номин.

Пред. откл.

ЛАЭ-1

0,40

20

25

23

27

±2

60

±2

12

14

0,50

20 25 30

23

27

33

12

14

16

ЛАЭ-2

0,40

20 25

23

27

±2

60

±2

12

14

0,50

20 25 30

23

27

33

12

14

16

ЛАЛЭ-1

0,35

25 30 35

27

33

37

±2

65

±2

10

12

14

ЛАТ

0,50

20 25 30

23

27

33

±2

60

±2

12

14

16

175

123

70

84

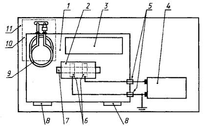
ПРИЛОЖЕНИЕ Б

(рекомендуемое)

Схемы приборов для определения электрического сопротивления

Приборы типов УГЭ-2, СЛ-87 или других, обеспечивающие условия испытания по 7.6.2, состоят из гигростатируемой измерительной камеры, электродного устройства, помещенного в измерительную камеру, и мегаомметра типа МС-0,5, или М-4100/1-5, или Ф 4102/2 или другого, обеспечивающего рабочее напряжение 2500 В.

1 - гигростатируемая измерительная камера; 2 - электродное устройство; 3 - устройство для сушки (стабилизации влажности) воздуха; 4 - мегаомметр; 5 - проходные изоляторы; 6 - электроды (4 шт.), соединенные попарно (верхний с нижним) гибкими проводами в две группы, подключаемые к мегаомметру; 7 - образец ленты, помещенный в электродное устройство; 8 - окна с укрепленными резиновыми перчатками для выполнения работ в измерительной камере без нарушения ее герметичности

Рисунок Б.1 - Схема прибора УГЭ-2

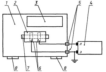
1 - гигростатируемая измерительная камера; 2 - электродное устройство; 3 - устройство для осушения (стабилизации влажности) воздуха; 4 - мегаомметр; 5 - проходные изоляторы (клеммные); 6 - электроды, соединенные попарно (верхний с нижним) гибкими проводами в две группы, подключаемые к мегаомметру; 7 - образец ленты, помещенный в электродное устройство; 8 - окна с укрепленными резиновыми перчатками для выполнения работ в измерительной камере без нарушения ее герметичности; 9 - змеевик-охладитель; 10 - автоматический агрегат; 11 - стол

Рисунок Б.2 - Схема прибора УГЭ-2М

1 - образец ленты; 2 - электроды; 3 - изолирующие пластины (фторопласт-4 или оргстекло); 4 - основание устройства; 5 - зажим образца; 6 - пружина зажима; 7 - втулка из фторопласта; 8 - опора втулки; 9 - рукоятка для подъема зажима 5 при закладке и снятии образцов; 10 - стержни; 11 - пластина с отверстиями для стержней; 12 - деталь для крепления изолирующей пластины 3 с верхними электродами к пластине 11; 13 - гибкий провод, соединяющий верхний электрод с нижним; 14 - провода, соединяющие группы электродов с мегаомметром; 15 - мегаомметр

Рисунок Б.3 - Электродное устройство

К образцу ленты 1 электроды 2 прижимаются давлением не менее 2 Н/см2 (200 гс/см2), которое создается массой верхней съемной части электродного устройства, состоящего из пластины 11, детали 12, верхней изолирующей пластины 3 и верхних электродов 2.

Электроды 2, нижние и верхние, укрепляют строго напротив друг друга на изолирующих пластинах 3 на расстоянии 1 = 25,0 ± 0,2 мм; электроды изготовляют из стали 12Х18Н9Т по ГОСТ 5632 в виде плоскопараллельных пластин с рабочей поверхностью длиной 40 мм и шириной 15 мм, толщина электродов 5 мм.

Электросопротивление изоляции и измерительной цепи без образца должно быть не менее 1010 Ом (проверяют мегаомметром).

Относительную влажность воздуха в измерительной камере определяют волосяным гигрометром.

СОДЕРЖАНИЕ

Ключевые слова: электро- и теплоизоляционные тканые ленты, отрезки лент

 




ГОСТЫ, СТРОИТЕЛЬНЫЕ и ТЕХНИЧЕСКИЕ НОРМАТИВЫ.
Некоммерческая онлайн система, содержащая все Российские Госты, национальные Стандарты и нормативы.
В Системе содержится более 150000 файлов нормативно-технической документации, действующей на территории РФ.
Система предназначена для широкого круга инженерно-технических специалистов.

Рейтинг@Mail.ru Яндекс цитирования

Copyright © www.gostrf.com, 2008 - 2026