Крупнейшая бесплатная информационно-справочная система онлайн доступа к полному собранию технических нормативно-правовых актов РФ. Огромная база технических нормативов (более 150 тысяч документов) и полное собрание национальных стандартов, аутентичное официальной базе Госстандарта. GOSTRF.com - это более 1 Терабайта бесплатной технической информации для всех пользователей интернета. Все электронные копии представленных здесь документов могут распространяться без каких-либо ограничений. Поощряется распространение информации с этого сайта на любых других ресурсах. Каждый человек имеет право на неограниченный доступ к этим документам! Каждый человек имеет право на знание требований, изложенных в данных нормативно-правовых актах!

  


 

ВСЕСОЮЗНЫЙ НАУЧНО-ИССЛЕДОВАТЕЛЬСКИЙ ИНСТИТУТ
ТРАНСПОРТНОГО СТРОИТЕЛЬСТВА

УТВЕРЖДАЮ:

Зам. директора института
/Г. ХАСХАЧИХ/

РЕКОМЕНДАЦИИ

ПО ПРОЕКТИРОВАНИЮ ЗЕМЛЯНОГО
ПОЛОТНА ДОРОГ В СЛОЖНЫХ
ИНЖЕНЕРНО-ГЕОЛОГИЧЕСКИХ
УСЛОВИЯХ

Москва 1974

ПРЕДИСЛОВИЕ

Рекомендации по проектированию земляного полотна дорог в сложных инженерно-геологических условиях разработаны в развитие «Указаний по проектированию железных и автомобильных дорог», СН-449-72 и соответствующих глав СНиП по проектированию железных и автомобильных дорог. Такой документ выпускается впервые.

Работа выполнена на основе опыта проектирования, строительства и эксплуатации железных и автомобильных дорог в различных природных условиях. При этом были использованы методические пособия, рекомендации литературных источников, результаты научно-исследовательских работ, решения соответствующих совещаний Комитета по земляному полотну Научно-технического совета Министерства путей сообщения и Министерства транспортного строительства, а также замечания и предложения СоюздорНИИ, ДИИТа, МАДИ, МИИТа и других организаций.

В рекомендации не включены вопросы, относящиеся к проектированию насыпей на слабых основаниях, потому что они рассмотрены в «Методических указаниях по проектированию земляного полотна на слабых грунтах», разработанных СоюздорНИИ и ЦНИИСом и опубликованных в 1968 г.

Настоящие рекомендации разработаны ЦНИИСом, (д-р техн. наук Н.А. Перетрухин, кандидаты техн. наук А.С. Бутов, А.Ф. Высоцкий, В.В. Гулецкий, П.П. Дьяков, А.И. Песов, П.Г. Пешков, Б.И. Цвелодуб, Ф.И. Целиков, Е.А. Яковлева), при участии СоюздорНИИ (канд. техн. наук В.Д. Казарновский, инженеры Н.И. Вельмакина, Ю.М. Львович), Ленгипротранса (А.П. Кудрявцев, И.К. Аникин, Н.И. Басалаев, М.И. Богдановский, К.В. Васильев, А.А. Верещагин, С.В. Гальперин, Н.К. Котельников, В.Д. Ошерович, Л.Л. Перковский), Мосгипротранса (Н.М. Гродский, С.Н. Махлис, Н.А. Чернякова), Томгипротранса (канд. техн. наук В.П. Огоноченко), ХабИИЖТа (канд. техн. наук И.И. Бахарев, инж. Ю.Г. Супрунов), ГипродорНИИ Минавтодора РСФСР (инж. Л.Ф. Чурсина), МАДИ (канд. техн. наук В.А. Александров), МГУ (д-р техн. наук С.М. Флейшман), под общей редакцией д-ра техн. наук Н.А. Перетрухина.

Рекомендации рассмотрены и одобрены секцией строительства железных дорог совместно с секцией изысканий и проектирования автомобильных дорог научно-технического совета, а также Техническим управлением Минтрансстроя.

Авторы выражают глубокую благодарность д-ру техн. наук, профессору Г.М. Шахунянцу за детальное рассмотрение данной работы при ее подготовке к изданию и за ценные замечания и предложения, направленные на улучшение содержания рекомендаций.

Замечания и предложения по содержанию рекомендаций и результаты их применения просим направлять по адресу: Москва, 129329, Игарский проезд, 2, отделению земляного полотна и верхнего строения пути ЦНИИСа.

ЗАМ. ДИРЕКТОРА ИНСТИТУТА

Г. ХАСХАЧИХ

РУКОВОДИТЕЛЬ ОТДЕЛЕНИЯ ЗЕМЛЯНОГО ПОЛОТНА И ВЕРХНЕГО СТРОЕНИЯ ПУТИ

Б. ЦВЕЛОДУБ

1. Общие положения

1.1. Земляное полотно и водоотводные устройства железных и автомобильных дорог необходимо проектировать индивидуально на участках со сложными инженерно-геологическими, гидрологическими и природными условиями, когда устойчивость, прочность и нормальная работа типовых конструкций земляного полотна в условиях эксплуатации дорог не может быть обеспечена.

1.2. Назначение объектов для индивидуального проектирования обосновывается материалами инженерно-геологических изысканий на стадии разработки технического проекта. Состав и содержание проектов приведены в приложении 16.

1.3. Разработка рабочих чертежей по объектам индивидуального проектирования выполняется на основе материалов детального обследования инженерно-геологических, гидрогеологических, климатических условий и, при необходимости, условий промерзания - оттаивания грунтов на участках размещения проектируемых объектов.

1.4. Задачей индивидуального проектирования является разработка и обоснование технико-экономическими расчетами конструкций земляного полотна и дополнительных мероприятий, обеспечивающих устойчивость, прочность, долговечность земляного полотна и нормальное движение транспорта в данных природных условиях.

1.5. За основу индивидуальных проектов принимаются соответствующие типовые поперечные профили насыпей, выемок, водоотводных устройств, ограждающих или других проектируемых объектов.

В состав работ по индивидуальному проектированию входят:

проверка расчетом устойчивости откосов насыпей и выемок типовых конструкций с учетом местных условий;

обоснованный выбор мероприятий по обеспечению устойчивости откосов земляного полотна типовой конструкции, если по расчету они окажутся неустойчивыми;

проверка общей и местной устойчивости земляного полотна;

обоснованное назначение противодеформационных мероприятий по результатам расчетов отдельных элементов земляного полотна (устойчивости, прочности, величины осадки и т.д.).

1.6. Расчет земляного полотна, его основания и поддерживающих сооружений (подпорных стен, контрбанкетов и т.д.) на воздействие постоянной и временной нагрузок, определяющих напряженное состояние и деформативность грунта в откосах и основании полотна, производится по предельным состояниям.

Предельным является состояние, при котором земляное полотно в целом или его отдельные элементы (откосы, основание, поддерживающие сооружения) перестают удовлетворять предъявляемым к ним эксплуатационным требованиям - теряют способность сопротивляться внешним воздействиям, получают недопустимые деформации или местные повреждения.

1.7. Требуемая надежность расчета и необходимая гарантия от возникновения предельных состояний земляного полотна или его отдельных элементов обеспечиваются учетом условий и особенностей действительной работы земляного полотна и его основания, обоснованным выбором расчетных схем и предпосылок расчета, а также введением в расчеты возможных минимальных значений прочностных характеристик грунтов и наибольших нагрузок и воздействий.

Нагрузки и воздействия

1.8. Расчеты устойчивости земляного полотна, его основания и поддерживающих сооружений следует выполнять на основное сочетание действующих нагрузок и воздействия:

веса и давления грунтов;

веса сооружений и их частей, в том числе верхнего строения пути (для железных дорог), подпорных стен и т.п.;

подвижной, временной нагрузки;

воды на участках подтопления.

При этом необходимо учитывать сопротивляемость грунтов силовым воздействиям.

В сейсмических районах расчеты следует выполнять на особое сочетание постоянных и временных нагрузок, реакций и сейсмического воздействия.

1.9. Вес и давление грунтов следует принимать в соответствии с положениями глав СНиП [1 - 3], а в районах сейсмического воздействия - [4].

1.10. Нормативная удельная нагрузка на земляное полотно от веса верхнего строения пути железных дорог  принимается равной 0,15 кГ/см2 для железных дорог I и II категорий и 0,10 кГ/см2 - III - IV категорий.

Для автомобильных дорог величину  следует определять с учетом принятой по проекту дорожной одежды.

1.11. Нормативное удельное значение временной нагрузки на земляное полотно железных дорог  определяется в зависимости от типа локомотива и толщины балластного слоя, принятых для проектируемой линии по формуле

,                                                            (1)

где 2,7 - длина шпал, м;

hб - толщина балластного слоя, м;

 - нагрузка на 1 пог. м пути от веса поездов, т, определяемая по формуле

                                                             (2)

ΣР - суммарное давление на одну тележку локомотива;

жб - длина жесткой базы тележки локомотива.

Для железнодорожных линий I и II категорий, а также для вторых путей удельное значение временной нагрузки на земляное полотно целесообразно принимать равным предельно допускаемому давлению на основную площадку или, при установленных нормах уплотнения грунта верхней части насыпей, ориентировочно равным 0,8 кГ/см2.

Нормативное удельное значение временной нагрузки на земляное полотно автомобильных дорог  при расчетах устойчивости откосов определяется по формуле

                                                                    (3)

где  - нормативная нагрузка на одну гусеницу расчетной машины НГ-60, т/пог. м;

a - ширина базы нормативной нагрузки.

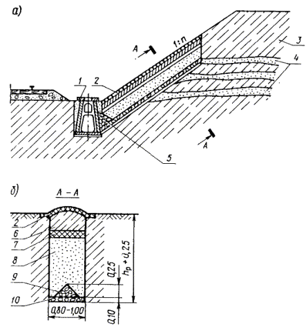
1.12. Воздействие на земляное полотно временной нагрузки, веса верхнего строения пути железных дорог и дорожной одежды, автомобильных дорог учитывается посредством введения в расчет условного слоя высотами hз и hза, определяемыми по формулам:

для земляного полотна железных дорог

                                                                 (4)

для земляного полотна автомобильных дорог

                                                             (5)

где γн - объемный вес грунта верхней части тела насыпи, кг/см3.

1.13. Расчетные схемы размещения условного слоя грунта, заменяющего временную и постоянную нагрузки приведена на рис. 1.

Для двухпутных и многопутных участков железнодорожных линий эквивалентную нагрузку на расчетных схемах следует показывать отдельно для каждого пути.

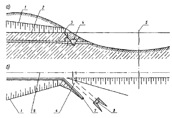
Рис. 1. Расчетная схема действия временной нагрузки на основную площадку земляного полотна дорог:

а - железных; б - автомобильных

1.14. Основными характеристиками сопротивления грунтов силовым воздействиям являются нормативные сопротивления (сцепление - С, угол внутреннего трения - j, модуль деформации - Е и др.), устанавливаемые по результатам статистической обработки данных непосредственных испытаний грунтов (приложение 1) или, для расчетов на стадии разработки технического проекта, по данным СНиП [2].

1.15. Устойчивость и прочность земляного полотна следует проверять расчетами с использованием расчетной характеристики Ар грунтов, определяемой по формуле

                                                              (6)

где  - расчетное значение характеристики на период испытания грунта (см. приложение 1);

m - коэффициент условий залегания грунта в теле, откосах или основании земляного полотна, учитывающий возможность ухудшения характеристик вследствие сезонных изменений состояния и свойств грунта, а также работу земляного полотна, как конструкции в целом, которая не может быть отражена в расчетах прямым путем; величина коэффициента устанавливается в соответствии с экспериментальными данными или данными о действительной работе земляного полотна и его основания в аналогичных условиях строительства и эксплуатации. Значения m = 1 рекомендуется принимать для дренирующих грунтов, а также для других грунтов, при условии, что их состояние и свойства после возведения земляного полотна не будут приобретать худшие физико-технические характеристики по сравнению с показателями этих характеристик, полученными на период изысканий. Значения m = 0,75 рекомендуется принимать для сильнонабухающих грунтов, если такие грунты после возведения земляного полотна будут непосредственно подвержены интенсивному увлажнению, высыханию и промерзанию-оттаиванию. Промежуточные значения m от 1 до 0,75 следует принимать в зависимости от свойств и условий нахождения грунта в земляном полотне.

1.16. Силовое воздействие воды необходимо учитывать в случаях постоянного подтопления откоса проектируемого земляного полотна и спада горизонта подтопления, а также при вскрытии откосами выемки водоносных горизонтов путем уменьшения значений объемного веса грунта, соответствующего снижения расчетных сдвиговых характеристик и введения сил, характеризующих гидродинамическое воздействие.

2. Устойчивость откосов, склонов и поддерживающих сооружений

2.1. Оценка степени устойчивости и обоснование мероприятий, обеспечивающих необходимую устойчивость откосов земляного полотна и естественных склонов, в пределах которых размещаются проектируемые сооружения, являются основными задачами проектирования земляного полотна в сложных инженерно-геологических условиях.

2.2. Расчет устойчивости сооружений или их элементов необходимо выполнять при проектировании:

насыпей высотой более 12 м на прочном основании;

насыпей любой высоты на слабом основании;

насыпей подтопляемых;

насыпей высотой более 6 м из глинистых переувлажненных грунтов;

выемок глубиной более 12 м;

выемок глубиной менее 12 м, прорезающих массивы переувлажненных глинистых грунтов, грунтов со слоистой текстурой, с наличием водоносных слоев и в других неблагоприятных природных условиях;

выемок с высотой откосов более 16 м в скальных породах;

земляного полотна на крутых и неустойчивых косогорах.

2.3. Следует различать общую устойчивость откосов, склонов и сооружений и местную устойчивость откосов и склонов.

Нарушение общей устойчивости выражается в смещении большого объема грунтового массива, включающего весь откос или склон, или значительную их часть, а также сооружение в целом; нарушение местной устойчивости проявляется в смещении поверхностных слоев откоса или склона.

2.4. Оценка общей устойчивости откоса, склона или сооружения заключается в сопоставлении расчетных значений показателей устойчивости Кр с их нормативными значениями .

Общую устойчивость можно считать обеспеченной при соблюдении условия

Кр ³ .                                                                    (7)

2.5. За нормативный показатель общей устойчивости следует принимать обобщенный коэффициент устойчивости , определяемый по формуле

 = К1 ´ К2 ´ К3 ´ К4 ´ К5 ´ Км,                                             (8)

где К1 - коэффициент, учитывающий надежность данных о прочностных и деформативных характеристиках грунтов рассматриваемого массива (табл. 1); при малом числе исследованных образцов, когда расчетные параметры грунта получены с использованием коэффициентов, понижающих (ухудшающих) фактические значения рассматриваемых характеристик, целесообразно принимать К1 = 1;

К2 - коэффициент, учитывающий категорию линии (дороги), для которой проектируется данный объект (табл. 2);

К3 - коэффициент, учитывающий класс (ответственность) проектируемого объекта (табл. 3);

К4 - коэффициент, учитывающий соответствие расчетной схемы естественным инженерно-геологическим условиям (табл. 4);

К5 - коэффициент, учитывающий вид грунта и его назначение (табл. 5);

Км - коэффициент, учитывающий особенности метода расчета; его величину рекомендуется принимать по табл. 6 на основе имеющихся фактических материалов по учету степени устойчивости возведенных сооружений и результатов расчета этих сооружений на стадии проектирования в пределах от 0,8 до 1,1; в случае применения метода Терцаги-Крея рекомендуется принимать Км = 1.

2.6. Расчетные значения Кр показателя общей устойчивости откоса, косогора или сооружения определяются из основных уравнений статики:

                                                    (9)

где ΣРсд, ΣМсд - сумма проекций сил на принятые оси координат и моментов сил, вызывающих нарушение устойчивости;

ΣРуд, ΣМуд - сумма проекций сил на принятые оси координат и моментов сил, способствующих сохранению устойчивости.

Таблица 1

Степень изученности грунта

Величина К1

Отличная: грунт исследован большим числом опытов; изучена работа аналогичных сооружений, построенных с использованием данного вида грунта и сохраняющих устойчивость не менее 10 лет

1,0

Хорошая: число исследованных образцов грунта не менее 5; в природных условиях грунт изучен мало; имеются отдельные сведения о нормальном состоянии сооружений, построенных с использованием данного грунта

1,05

Удовлетворительная: число исследованных образцов грунта не менее 3; о работе сооружений в аналогичных условиях сведений не имеется

1,1

Таблица 2

Дороги

Категории

Величина К2

Железные

I и II

1,05

Железные

III и IV

1,03

Автомобильные

I и II

1,03

Железные

V

1,00

Автомобильные

III - V

1,00

Таблица 3

Степень ответственности проектируемого объекта

Величина К3

Очень высокая: нарушение устойчивости объекта может создать непосредственную угрозу движению транспорта или вызвать перерыв движения на срок более 1 суток

1,2

Большая: нарушение устойчивости объекта может вызвать перерыв движения транспорта сроком до 1 суток

1,1

Малая: при нарушении устойчивости объекта потребуется снижение скорости движения транспорта, будет нарушена нормальная работа водоотводных устройств

1,0

Таблица 4

Соответствие расчетной схемы местным условиям

Величина К4

Полное: плоскости ослабления грунтового массива явно выражены, грунт однородный

1,0

Приближенное: не имеется достаточного обоснования для выбора расчетной схемы, задача решается методом попыток

1,05

Таблица 5

Вид грунта

Величина K5

основания

насыпи

массива в естественном залегании

Песок

Дренирующий

Дренирующий

1,0

Песок

Глинистый

То же

1,03

Глинистый

Песок

- " -

1,03

Глинистый

Глинистый

Глинистый

1,05

Таблица 6

Метод расчета

Величина Км

Маслова-Берера [5]

0,8

Терцаги-Крея, Шахунянца [6, 7 и др.]

1,0

Другие методы

Примечание. ,  - расчетные величины коэффициента устойчивости рассматриваемого объекта, установленные по методу соответственно Терцаги-Крея и другому методу при одних и тех же расчетных характеристиках грунтов.

Оценка общей устойчивости

2.7. Для оценки общей устойчивости откоса, склона или сооружения необходимо:

выбрать расчетную схему на основе анализа материалов, характеризующих инженерно-геологические и другие местные природные условия, а также возможную форму нарушения общей устойчивости грунтового массива или проектируемого сооружения;

выполнить расчет устойчивости грунтового массива или проектируемого сооружения.

2.8. Расчетные схемы рекомендуется принимать с учетом возможных форм нарушения общей устойчивости проектируемого сооружения или грунтового массива. При этом поверхности смещения грунтового массива могут быть приняты круглоцилиндрическими или ломаными.

Круглоцилиндрические поверхности скольжения следует принимать при однородном строении грунтового массива, а также при слоистом залегании в случаях горизонтального расположения слоев или их падения в сторону, противоположную поверхности откоса или склона.

Методы расчета с ломаными поверхностями скольжения необходимо применять при наличии фиксированных плоскостей ослабления в грунтовом массиве.

В тех случаях, когда возможную форму нарушения устойчивости определить затруднительно, необходимо выполнять расчеты по нескольким вероятным схемам. За основу проектных решений следует принимать ту расчетную схему, при которой расчетный коэффициент устойчивости массива или проектируемого сооружения окажется минимальным.

2.9. Расчеты следует выполнять с привязкой к поперечным, по отношению к оси полотна, створам, исходя из условий плоской задачи для элемента проектируемого сооружения протяженностью 1 м вдоль трассы.

За расчетный необходимо принимать створ с наиболее неблагоприятным сочетанием факторов, влияющих на устойчивость сооружения (большая высота и крутизна откоса, большая мощность водоносных и переувлажненных слоев пород, низкие расчетные характеристики грунта, наклон слоев и т.д.).

Исходными материалами для расчетов являются:

данные, характеризующие инженерно-геологические и гидрогеологические условия участка размещения проектируемого сооружения, геологические разрезы;

расчетные значения физико-механических характеристик грунтов, слагающих грунтовый массив и его основание;

схема проектируемого сооружения, в том числе очертание откоса;

величина расчетных временных нагрузок.

2.10. Расчет устойчивости заключается в определении расчетного значения коэффициент устойчивости при заданных размерах проектируемого сооружения и временных нагрузок или подборе размеров сооружения или его элементов, при которых удовлетворяется условие обеспечения общей устойчивости (7).

2.11. Для определения численного значения расчетного коэффициента устойчивости можно применять методы расчета, известные по литературным источникам [5, 6, 7 и др.], а также методы, разработанные или уточненные проектными организациями (например, «Метод МРС» Перковского Л.Л., используемый в Ленгипротрансе, и т.п.).

В целях накопления сопоставимых результатов расчетов, выполняемых различными организациями, рекомендуется делать контрольные расчеты по методу Терцаги-Крея, и в проектах приводить численные значения расчетного коэффициента, полученного по этому методу и по методу, обычно используемому в данной организации. Для наиболее ответственных сооружений такие контрольные расчеты необходимо выполнять в обязательном порядке.

Трудоемкие работы, связанные с нахождением критической поверхности смещения и определением расчетного коэффициента устойчивости, целесообразно выполнить с применением ЭВМ.

2.12. Проверку устойчивости насыпей на слабом основании рекомендуется выполнять согласно [10].

Мероприятия по обеспечению общей устойчивости откосов

2.13. Мероприятия по обеспечению общей устойчивости откосов необходимо предусматривать в случаях, если при расчете окажется, что для типовых конструкций земляного полотна не соблюдается условие (7).

2.14. Противодеформационные мероприятия следует назначать с расчетом на снижение величины сил и моментов, способствующих нарушению устойчивости откосов или на повышение величины сил и моментов, способствующих сохранению устойчивости откосов в соответствии с уравнениями (9).

В качестве таких мероприятий могут быть использованы:

уменьшение крутизны откосов;

устройство разгрузочных берм на откосах выемок и склонах;

устройство пригрузочных берм или контрбанкетов в нижней части откосов насыпей или склонов;

применение подпорных стен;

полное или частичное удаление грунта основания или другие мероприятия, направленные на повышение прочности слабого основания земляного полотна.

2.15. Противодеформационные мероприятия и их параметры можно назначать конструктивно, учитывая местные условия, с обязательной проверкой общей устойчивости земляного полотна согласно положения пп. 2.4. - 2.12. Принимаемые к исполнению мероприятия следует обосновывать данными технико-экономического сравнения возможных вариантов с учетом эксплуатационных расходов и надёжности расчетов устойчивости.

2.16. Устройство системы водоотводных и дренажных сооружений является одним из обязательных противодеформационных мероприятий, назначаемых в зависимости от местных условий (разделы 5 - 7).

3. Выемки в переувлажненных глинистых грунтах

3.1. К переувлажненным следует относить мягкопластичные, текучепластичные и текучие глинистые грунты в природном залегании или переходящие в такое состояние в периоды производства работ по сооружению выемки или ее эксплуатации.

3.2. При проектировании выемок в переувлажненных глинистых грунтах необходимо устанавливать по данным расчетов:

крутизну и конструкцию откосов выемки;

мероприятия по обеспечению прочности и устойчивости основной площадки земляного полотна;

величину осадки основания вследствие его уплотнения.

3.3. Устойчивость откосов и деформативность основной площадки земляного полотна зависит от степени увлажнения глинистого грунта, поэтому проекты выемок необходимо разрабатывать с учетом:

состояния и свойств глинистого грунта в природном сложении;

изменений состояния и свойств грунта в процессе сооружения выемки, а также в условиях будущей эксплуатации земляного полотна;

назначения крутизны и очертания откосов, а также способов укрепления их поверхности соответственно состоянию грунтов в расчетный период;

выбора конструкции основной площадки земляного полотна и мероприятий по обеспечению ее прочности и устойчивости соответственно состоянию грунтов основания в расчетный период.

3.4. Конструкцию выемок в переувлажненных глинистых грунтах следует принимать в соответствии с [11].

Устойчивость проектируемых откосов высотой более 4 м и стабильность основной площадки земляного полотна необходимо проверять расчетами. При этом расчетные характеристики действующих факторов должны с возможно большим приближением отражать условия работы земляного полотна и его отдельных элементов в расчетный период.

За расчетный следует принимать период, соответствующий условиям нормальной эксплуатации земляного полотна, в течение которого состояние и свойства глинистого грунта с учетом их сезонных изменений характеризуются худшими показателями при условии, что строительные работы (в том числе по сооружению противодеформационных устройств) выполнены в соответствии с установленными техническими требованиями.

Строительный период, в течение которого состояние и свойства грунтов являются переменными вследствие изменения условий воздействия на них природных факторов, а также транспортных и строительных машин, принимать за расчетный, как правило, не рекомендуется.

3.5. Расчетные характеристики грунтов следует устанавливать по данным инженерно-геологического обследования проектируемых объектов в соответствии с пп. 1.14 - 1.16 и приложением 1, а также с учетом вероятных изменений состояния и свойств грунтов вследствие изменения условий их залегания.

При неоднородном сложении и увлажнении грунтового массива расчетные характеристики грунта следует уточнять по данным, получаемым в процессе производства земляных работ по устройству выемок.

Для расчетов на стадии разработки технического проекта разрешается использовать расчетные характеристики грунтов, приведенные в нормативных документах [2 и др.].

3.6. При разработке проектов земляного полотна, способов и технологии сооружения необходимо предусматривать мероприятия, способствующие повышению прочностных и деформативных характеристик грунта по сравнению с их значениями, полученными в период изысканий, в том числе:

надежную систему осушительных и водоотводных устройств;

правильное размещение кавальеров;

соответствующее и своевременное укрепление откосов;

недопущение движения транспорта по спланированной основной площадке земляного полотна до отсыпки на нее слоя дренирующего грунта расчетной толщины;

своевременное выполнение противодеформационных мероприятий с соблюдением установленных технических требований и т.д.

3.7. Расчеты устойчивости откосов высотой от 4 до 6 м, глубины замены грунта в пределах основной площадки и назначение конструкций противодеформационных мероприятий разрешается выполнять в пределах проектируемой линии для групп грунтов, однородных по генезису и условиям увлажнения.

3.8. Рабочие чертежи выемок глубиной более 6 м (в том числе, типы укрепления откосов) ширину закюветной полки, глубину замены грунтов в пределах основной площадки полотна и другие противодеформационные мероприятия при неоднородном сложении грунтового массива и наличии локальных источников увлажнения грунта необходимо корректировать в процессе производства земляных работ с учетом местных условий.

Расчет местной устойчивости откосов

3.9. Возможность появления сплывов и оползания поверхностных слоев грунта необходимо определять для откосов выемок в массивах, сложенных глинистыми грунтами:

переувлажненными в естественном залегании (В > 0,25);

с числом пластичности Wn £ 12, состояние и прочность которых резко изменяются даже при незначительном (1 - 3 %) различии во влажности;

средне- и сильнонабухающими (а > 0,10);

особых разновидностей (сильнозасоленные, содержащие закисные соединения железа и т.д.), склонные к активному химическому выветриванию.

3.10. Количественной оценке местной устойчивости откосов должно предшествовать определение:

мощности зоны выветривания;

характера возможного изменения состава, состояния и свойств грунта по глубине зоны выветривания в критических (расчетных) ситуациях;

расчетных показателей состояния или прочности грунта с учетом возможности их ухудшения за длительный период при изменении естественных условий залегания грунтового массива.

3.11. При определении мощности зоны выветривания необходимо учитывать ее ограничение глубиной сезонного промерзания с учетом характера снежного покрова на откосе (для всех глинистых грунтов) и усадочного трещинообразования (для средне- и сильнонабухающих грунтов).

3.12. Местную устойчивость откоса можно считать обеспеченной, если выполнены условия:

Wо £ Wт;                                                                  (10)

Ко ΣРсдв £ ΣРуд,

где Wо - ожидаемая влажность грунтов в поверхностном слое откоса с учетом их разуплотнения после набухания и морозного пучения;

Wт - влажность на границе текучести;

Рсдв, Руд - силы, соответственно сдвигающие и удерживающие откосную часть рассматриваемого массива грунта;

Ко - обобщенный коэффициент, учитывающий изменчивость во времени, состояние и неоднородность грунтов в массиве, условия работы грунта в откосе, приближенность метода расчета.

3.13. Расчетные показатели влажности и прочности грунтов следует определять в соответствии с п. 1.14 и приложениями 1 и 2.

3.14. В случае, когда условия (10) не выполняются, необходимо предусматривать согласно п. 3.23 и [12] мероприятия, направленные на повышение устойчивости откоса.

Проектирование основной площадки

3.15. Переувлажненные глинистые грунты в природном сложении имеют недостаточную несущую способность, подвергаются морозному пучению, а также разжижению при динамическом воздействии, поэтому при разработке проекта необходимо:

проверять расчетом прочность грунтов в пределах основной площадки;

предусматривать мероприятия, устраняющие неравномерные деформации основной площадки в период эксплуатации земляного полотна или сокращающие равномерные деформации до допустимых размеров.

3.16. Проверка прочности глинистого грунта в пределах основной площадки железнодорожного земляного полотна может быть выполнена сопоставлением:

фактической плотности скелета грунта под балластным слоем  с нормативной плотностью грунта ;

фактических напряжений, возникающих от действия подвижной нагрузки sф с величиной критического давления ркр, которое не вызовет неравномерных деформаций грунта основания (приложение 3).

3.17. Мероприятия по обеспечению прочности и устойчивости основной площадки железнодорожного земляного полотна следует назначать с учетом необходимости выполнения условий:

                                                             (11)

sф £ ркр,

а также условий, устраняющих возникновение неравномерного пучения грунта при его промерзании в пределах основной площадки.

Мероприятия по обеспечению прочности и устойчивости автодорожного земляного полотна следует предусматривать в соответствии с [11, 13, 31].

3.18. В качестве основного средства повышения прочности и устойчивости основной площадки железнодорожного земляного полотна в пределах выемок и нулевых мест следует применять замену глинистого переувлажненного грунта в пределах основной площадки дренирующим.

Величину замены необходимо определять расчетом в зависимости от состояния и свойств заменяемого грунта (см. приложение 3).

Ширину бермы между подошвой слоя замены и внутренней бровкой кювета следует назначать с запасом на размещение откосной части слоя замены при его увеличении за счет последующих осадок, возникающих вследствие уплотнения глинистого грунта основания.

Полную ширину обочины ℓоб можно определять по формуле

об = т + 1,5Sо,                                                            (12)

где ℓт - ширина обочины при типовом поперечном профиле, м;

Sо - величина осадки основания, м, определяемая по формуле

                                            (13)

2 - глубина, м, на которую практически распространяются напряжения от временной нагрузки;

hз - толщина слоя замены грунта (см. приложение 3), м;

Wp - влажность грунта на границе раскатывания, в долях единицы.

В проектах необходимо отмечать, что запас на осадку, возникающую при уплотнении глинистого грунта основания, следует создавать заблаговременно при отсыпке слоя дренирующего грунта во избежание последующих досыпок балласта в условиях эксплуатации дороги.

При этом общая толщина слоя дренирующего грунта hд c учетом запаса на осадку основания будет равна

hд = hз + So.                                                           (14)

Значения hз и So приведены в формулах 12 и 13.

3.19. В проекте производства работ по устройству основной площадки при замене глинистого грунта необходимо предусматривать:

применение для слоя замены дренирующего материала с коэффициентом фильтрации 1 м/сутки и более; размещение в нижней части слоя замены материала с более мелкими размерами частиц, например, песка средней крупности;

запрещение проезда автомашин по основной площадке, подготовленной для отсыпки слоя замены;

послойную отсыпку дренирующего грунта замены с соответствующим уплотнением.

3.20. Прочность основной площадки может быть повышена также путем соответствующей механической обработки слоя глинистого грунта с применением вяжущих материалов (цемента, извести и др.) и химических реагентов.

Выбор способов обеспечения прочности и устойчивости основной площадки требуется обосновывать технико-экономическими расчетами.

Противодеформационные мероприятия

3.21. Для отвода поверхностной воды из выемок целесообразно рассматривать варианты устройства углубленных кюветов или лотков, способствующих осушению и упрочнению грунтов основания земляного полотна.

При наличии в пределах выемки выходов грунтовой воды следует предусматривать ее перехват, каптаж и отвод от земляного полотна по кратчайшему расстоянию.

3.22. Кавальеры следует размещать с низовой стороны выемок или удалять грунт из выемок в локальные понижения местности. С нагорной стороны выемок кавальеры размещать не рекомендуется.

Возможность размещения кавальеров с нагорной стороны должна быть обоснована расчетами общей устойчивости нагорного откоса выемки с кавальером.

3.23. Из числа возможных мероприятий, направленных на обеспечение местной устойчивости откосов, могут быть применены:

уменьшение крутизны откосов или устройство раздельных берм, обоснованное расчетами;

устройство кюветных полок с укреплением их поверхности;

дренажные устройства, способствующие осушению переувлажненных слоев грунта, в том числе с применением трубофильтров, накладных дренажей в виде контрфорсов и др.;

укрепление откосов с целью защиты грунта от местных размывов и переувлажнения поверхностной водой, в том числе с применением железобетонной обрешетки;

покрытие поверхности откосов материалами, снижающими интенсивность процесса промерзания-оттаивания грунта, слагающего откос.

Выбор мероприятий следует проводить с учетом местных условий, на основе технико-экономического сравнения возможных вариантов.

4. Земляное полотно в скальных породах

Выемки и полувыемки в скальных породах

4.1. Индивидуальное проектирование поперечного очертания скальных откосов выемок и полувыемок сводится к определению степени общей и местной устойчивости откосов с учетом топографических и инженерно-геологических условий, способа производства работ и к обоснованию принятой конструкции технико-экономическими расчетами.

4.2. Индивидуальное проектирование скальных откосов следует осуществлять:

при устройстве выемок в пределах склонов, являющихся самостоятельными источниками скально-обвальных процессов;

в случае невыдержанности инженерно-геологических условий в пределах площади проектируемых откосов;

при неблагоприятном расположении поверхностей ослабления;

при благоприятном расположении поверхностей ослабления и высоте откосов свыше 16 м, если сцепление пород в образце С < 100 кг/см2 (приложение 4, табл. 1).

4.3. Неблагоприятным следует считать расположение поверхностей ослабления в сторону откоса под углом, превышающим угол внутреннего трения ρтр по контактам поверхностей ослабления, в том числе в случаях расположения их вкрест простирания с поверхностью откоса, под углом, меньшим 30°.

Благоприятным считается следующее расположение поверхностей ослабления: горизонтальное, наклонное в сторону массива (запрокинутое), вертикальное, наклонное в сторону откоса под углом, меньшим угла внутреннего трения по поверхности ослабления.

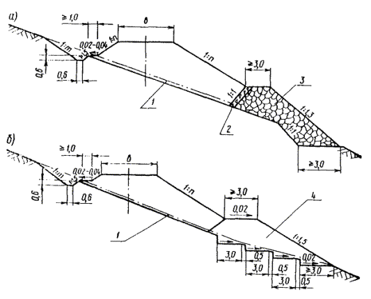
4.4. При установлении рациональных очертаний откосов в скальных породах возможны следующие конструктивные решения:

пологие откосы крутизною, равной углу естественного откоса, образующихся на них продуктов выветривания (1:1,25 - 1:1,5), с закюветной полкой или кювет-траншеей, представляющей собой расширенный кювет, глубиною не менее 0,6 м, шириной не менее 3,0 м и продольным уклоном не менее 2 ‰;

крутые откосы (1:0,2 - 1:1) с улавливающей траншеей или стеной для сбора продуктов выветривания и улавливания отдельных обломков;

крутые откосы, защищенные покрытиями от выветривания с кюветом или лотком у подошвы откоса;

крутые откосы (вплоть до вертикальных) с полками шириной, достаточной для размещения продуктов выветривания породы в течение всего срока службы сооружения;

комбинированные конструкции - откосы ломаного очертания (выпуклого или вогнутого) в зависимости от состава пород и их расположения по высоте откоса; участки откосов, защищенные от выветривания, чередующиеся с незащищенными.

Выбор рациональных вариантов из перечисленных конструктивных решений осуществляется на основе технико-экономических сравнений с учетом результатов оценки общей местной устойчивости проектируемых откосов.

Нагорные канавы на крутых косогорах целесообразно не предусматривать, если работы по устройству канав и наличие канав в условиях эксплуатации будут способствовать нарушению общей или местной устойчивости земляного полотна.

4.5. Расчеты общей устойчивости скальных откосов осуществляются с учетом направления поверхностей ослабления, характера и состояния пород (приложение 4).

4.6. Для размягчаемых легковыветривающихся скальных пород, отличающихся слабой водостойкостью (распадающихся на мелкие фракции после 10 - 12 циклов попеременного высушивания-увлажнения), расчеты общей и местной устойчивости откосов рекомендуется осуществлять по методам, принятым для оценки устойчивости нескальных грунтов.

Оценка местной устойчивости откосов, сложенных водостойкими разновидностями легковыветривающихся пород, сводится к выявлению возможности интенсивного образования осыпей и, вследствие этого, уположения откосов в условиях эксплуатации.

Насыпи из скальных грунтов легковыветривающихся пород

4.7. Скальные грунты из легковыветривающихся размягчаемых пород (аргиллитов, алевролитов и др.) можно применять для насыпей сооружаемых как в летних, так и в зимних условиях без ограничений по высоте, при условии обязательного соблюдения технологии производства работ.

4.8. Насыпи высотой до 12 м на прочном основании [11] при возведении их из скальных грунтов легковыветривающихся пород, не распадающихся на мелкие фракции после 10 - 12 циклов попеременного высушивания-увлажнения, можно проектировать с откосами крутизной 1:1,5. Насыпи из скальных грунтов легковыветривающихся не размягчаемых пород следует проектировать в соответствии с установленными нормами [11].

4.9. Откосы насыпей из скальных грунтов легковыветривающихся размягчаемых и не размягчаемых пород необходимо укреплять. Наиболее целесообразным способом укрепления откосов является посев многолетних трав по слою растительного грунта.

4.10. Оценку общей и местной устойчивости откосов насыпей их скальных грунтов легковыветривающихся размягчаемых и не размягчаемых пород следует производить с учетом снижения расчетных параметров грунта в поверхностных слоях насыпей.

4.11. Для аргиллито-алевролитовых грунтов слабой водостойкости в качестве расчетных могут быть ориентировочно приняты следующие величины параметров (табл. 7).

Таблица 7

Местонахождение слоев грунта в насыпи

Расчетные характеристики грунтов

Содержание, %

аргиллитов ³ 60

алевролитов ³ 60

Сцепление С, кг/см2

Угол внутреннего трения j, град

Сцепление С, кг/см2

Угол внутреннего трения j, град

В приоткосной части с общей мощностью до

 

 

 

 

2 м

0,20

20

0,15

25

В ядре

0,45

40

0,15

45

Примечание. Приведенные в таблице величины даны с учетом уплотнения грунтов в насыпях в соответствии с установленной технологией.

4.12. Запас на осадку насыпей, возводимых из скальных грунтов легковыветривающихся пород при соблюдении установленных требований по технологии производства работ, принимается 3 %.

5. Выемки на участках с наличием грунтовых вод

5.1. Основными материалами для проектирования земляного полотна на участках с наличием грунтовых вод являются:

топографический план с указанием выходов источников и мест отвода воды;

поперечные и продольные инженерно-геологические разрезы с уровнями грунтовых вод, выявленных при разведке, и прогнозируемых;

физико-механические свойства грунтов, слагающих выемку (объемный вес, пористость, влажность, коэффициент фильтрации, гранулометрический состав, данные испытаний на сдвиг и др.);

пояснительная записка с указанием вида вод, их агрессивных свойств, источников питания, соображений по отводу вод, времени действия источников, данные о местных строительных материалах.

При обследовании существующих выемок необходимо приводить сведения о деформациях, связанных с выходом грунтовых вод, и об имеющихся противодеформационных мероприятиях.

5.2. Для защиты земляного полотна от вредного воздействия грунтовых вод необходимо предусматривать устройства для перехвата воды, понижения ее уровня и отвода за пределы земляного полотна (табл. 8) с учетом дебита источника, глубины и характера залегания водоносного слоя, общей устойчивости косогора, рельефа местности и других местных условий, а также согласно положениям [11].

При этом необходимо различать следующие возможные случаи размещения водоносных слоев и мест выхода грунтовой воды относительно проектируемого земляного полотна:

водоносные слои, линзы или отдельные трещины вскрываются выемкой;

грунтовая вода в выемке залегает ниже основной площадки;

имеются выходы воды на дневную поверхность в виде ключей в основании проектируемой насыпи.

5.3. В сложных инженерно-геологических условиях, а также в массивах глинистых грунтов, точное установление путей перемещения грунтовой воды при обычных объемах работ по гидрогеологической разведке в пределах трассы проектируемой дороги весьма затруднительно, поэтому рабочие чертежи земляного полотна, водоотводных и противодеформационных устройств на участках с наличием грунтовых вод необходимо корректировать в процессе производства земляных работ по сооружению выемок и водоотводных устройств.

Таблица 8

Грунты водоносного слоя

Рекомендуемые мероприятия по защите земляного полотна от воздействия грунтовых вод

Водоносный слой

выходит на откос

залегает ниже основной площадки или имеет выходы в основании насыпей

Скальные

Каптаж и отвод воды

Каптаж и отвод воды

Щебень, галька, гравий, песок крупный

Откосные и ограждающие дренажи, каптаж и отвод воды

Лотки, продольные дренажи

Песок мелкий, супесь или глинистые грунты с крупнообломочными включениями

Откосные и ограждающие дренажи, поперечные контрфорсные дренажи, каптаж и отвод воды

Замена глинистых грунтов основания дренирующим грунтом, подкюветные закюветные или путевые ограждающие дренажи, лотки

5.4. В случае сосредоточенных выходов воды на откосы скальной выемки целесообразно применять каптажи-водоприемники и, при необходимости, предусматривать мероприятия по предохранению породы от выщелачивания.

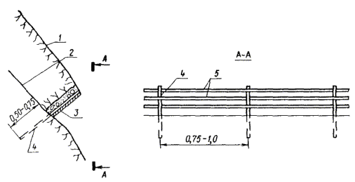
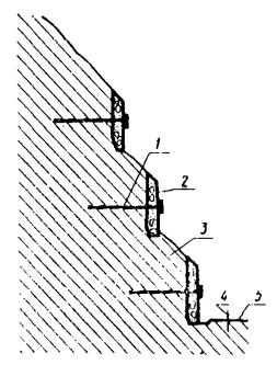
5.5. В пределах откосов, имеющих выход воды из отдельных водоносных слоев, следует применять откосные дренажи применительно к рис. 2.

Рис. 2. Схема устройства откосного дренажа:

а - продольный разрез дренажа; б - поперечный разрез дренажа; 1 - лоток; 2 - укрепление поверхности откоса; 3 - глинистый грунт; 4 - слои водоносного грунта; 5 - фильтр из крупнообломочного материала; 6 - засыпка глинистым грунтом; 7 - водонепроницаемая прослойка; 8 - дренирующий грунт (средний или крупный песок); 9 - глухая дрена из щебня; 10 - слой щебня, втрамбованного в дно траншеи; hр - расчетная глубина промерзания грунта

Траншеи дренажа необходимо располагать в местах наибольшего увлажнения грунта на откосе, перпендикулярно к оси полотна, на расстоянии 15 - 20 м между траншеями.

Глубину траншей, измеряемую нормально к поверхности откоса, необходимо назначать на 0,25 м ниже расчетной глубины промерзания определяемой согласно [2].

В качестве фильтрующего заполнителя следует принимать крупный и средний песок, а при необходимости предусматривать устройство глухой дрены из щебня или камня (см. рис. 2).

5.6. В местах выхода на откос выемки рассредоточенных источников грунтовых вод, имеющих дебит менее 0,5 м3 с 1 пог. м откоса в сутки, рекомендуется:

покрывать откос дренирующим грунтом толщиной слоя не менее 0,5 м (рис. 3, а);

укреплять откос решетчатыми конструкциями с заполнением их ячеек дренирующим материалом.

Рис. 3. Способы осушения грунта в откосах:

а - покрытием дренирующим грунтом; б - накладным дренажом; 1 - расчетная кривая депрессии уровня грунтовых вод; 2 - дренирующий грунт; 3 - укрепление откосов и дна кюветов; 4 - водоносный слой; 5 - обсыпка из щебня; 6 - дренажная труба

Для каптажа и отвода выходов грунтовых вод с дебитом более 0,5 м3 с 1 пог. м откоса в сутки целесообразно применять:

врезные дренажи контрфорсного типа (см. рис. 3, б), если водоносные слои имеют выход в нижней части откоса;

присыпные (прислоненные) откосные дренажи, размещаемые на откосной полке, если водоносные слои имеют выход в средней части высоких откосов.

В случаях использования трубофильтров, обратный фильтр из щебня устраивать не требуется, а дренирующий материал в присыпном дренаже можно принимать однородным.

5.7. Для отвода воды, имеющей сосредоточенный выход на откосы выемок из глинистых грунтов, в случаях, когда исключено образование наледей, можно применять открытые водоспуски применительно к рис. 4.

Укрепление водоспусков следует назначать в зависимости от предполагаемого расхода воды и скорости ее течения.

5.8. На участках со значительным дебитом грунтовой воды необходимо проектировать ограждающие дренажи, размещаемые с нагорной стороны (рис. 5, а).

При этом, расстояние от земляного полотна до дренажа устанавливается из условий получения наименьшей глубины дренажа, размещения его в пределах устойчивости толщи и сохранения устойчивости земляного массива после устройства дренажа.

При устойчивом земляном массиве в целях сокращения глубины траншей ограждающий дренаж можно располагать в пределах откоса (см. рис. 5, б). При этом необходимо предусматривать устройство полок, ширина которых назначается с учетом габаритов применяемых землеройных механизмов.

Для перехвата и отвода воды, поступающей к откосу, следует проектировать, как правило, дренажи совершенного типа, прорезающие полностью водоносные слои грунта.

5.9. Штольни целесообразно применять для сбора и отвода грунтовых вод в случаях залегания водоупора на глубине более 5 м, при необходимости сохранения целостности сильно обводненного массива косогора. Они применяются как самостоятельные сооружения, так и в сочетании с вертикальными дренами, и располагаются с расчетом отвода воды из самых пониженных обводненных пластов косогора применительно к рис. 6.

Рис. 4. Схема устройства открытого водоспуска:

а - продольный разрез водоспуска; б - деталь устройства водоприемника; 1 - укрепление поверхности откоса; 2 - водоносный слой; 3 - водоприемник в месте выхода воды; 4 - бетонные плиты или монолитный бетон; 5 - слой песка или гравия; 6 - сухая кладка из камня с обратным фильтром

Рис. 5. Схема устройства ограждающего дренажа:

а - глубокого; б - системы дренажей; 1 - ось полотна; 2 - водоносный слой грунта; 3 - водоупорный слой грунта; 4 - дренаж; 5 - дренажная труба; 6 - укрепление откоса

5.10. Для перехвата или понижения уровня грунтовых вод в пределах основной площадки выемки необходимо проектировать подкюветные, закюветные или путевые ограждающие дренажи (рис. 7). При выраженном поперечном направлении потока грунтовых вод дренажи следует проектировать односторонними. В остальных случаях вопрос о сторонности или о применении двустороннего дренажа решается технико-экономическим сравнением вариантов.

Подкюветные дренажи (см. рис. 7, а) рекомендуется применять в существующих выемках при условии обязательного сохранения откосов или в случаях минимального продольного уклона дренажной траншеи. Закюветные дренажи (см. рис. 7, б) целесообразно применять в случаях, когда нецелесообразно размещать дренаж под кюветом, а также, если по условиям устойчивости откосов проектируется закюветная полка (см. рис. 7, в). Ширина полки в случае устройства на ней дренажа определяется габаритом механизма, применяемого для рытья траншеи.


Рис. 6. Схема применения штольни для осушения откоса выемки:

а - поперечный разрез выемки; б - продольный разрез по оси штольни; 1 - ось пути; 2 - слой сплывшего грунта; 3 - скважина; 4 - смотровой колодец; 5 - водоносные слои грунта; 6 - фильтрующий шахтный колодец; 7 - штольня; 8 - водонепроницаемая порода

Рис. 7. Поперечный разрез дренажа:

а - подкюветного несовершенного с дренажной трубой; б - то же с трубофильтром; в, г - закюветного с дренажной трубой; д - то же с трубофильтром; е - путевого с дренажной трубой; 1 - уровень грунтовых вод до устройства дренажа; 2 - слой водоносного грунта; 3 - укрепление откоса; 4 - уплотненный глинистый грунт; 5 - гидроизоляция; 6 - песок средний; 7 - песок крупный; 8 - щебень, галька или гравий; 9 - слой щебня, втрамбованного в дно траншеи; 10 - дренажная труба; 11 - трубофильтр


Если не предусматривается устройство закюветных полок, можно применять ограждающий дренаж, размещая его между подошвой балластной призмы и кюветом (см. рис. 7, г).

Расчет дренажей рекомендуется выполнять в соответствии с рекомендациями [7 и др.].

Выбор типа дренажей, а также устройств, осушающих или стабилизирующих откос, должен быть обоснован технико-экономическими расчетами.

5.11. Для отвода воды из капотажных, дренажных устройств или штолен следует проектировать закрытые и утепленные водоотводы в районах, где возможно перемерзание источника или образование наледей; в районах, где возможность перемерзания источника или образования наледи отсутствует, целесообразно применять открытые водоотводы.

5.12. Продольный уклон дна дренажей должен быть в пределах 0,005 - 0,03. При необходимости применения больших уклонов следует предусматривать устройство перепадов, совмещаемых со смотровыми колодцами. В условиях равнинной местности, продольный уклон дренажей может быть уменьшен до 0,002.

5.13. Ширина дренажной траншеи назначается в зависимости от ее глубины, типа фильтра и параметров землеройного механизма (табл. 9).

5.14. Горизонтальный дренаж следует проектировать с применением трубчатых дрен и приспособлениями для их прочистки. Беструбные дренажи могут быть применены при их длине не более 50 м, расходе воды - не более 0,1 л/сек и продольном уклоне не менее 0,005.

Таблица 9

Глубина дренажа, м

Рекомендуемая ширина траншей, м

< 1

0,6

1 - 2

0,8 - 1,0

2 - 5

1,0 - 1,5

> 5

1,5 - 2,0

5.15. При проектировании совершенного дренажа необходимо предусматривать укладку труб по подготовке из втрамбованного щебня. Для дренажей траншейного типа можно применять (с учетом агрессивности грунтовой воды) трубы дренажные керамические (ГОСТ 8411-62), бетонные, железобетонные или асбестобетонные, а также трубофильтры [14, 15].

Диаметр дренажных труб назначается в зависимости от расчетного расхода воды, но не менее 150 мм. Состав дренажного заполнителя назначается по расчету в зависимости от зернового состава грунта водоносного слоя; использование пылеватых песков в качестве дренажных заполнителей не допускается.

Применение трубофильтров позволяет максимально механизировать строительные работы и полностью исключать работы по подбору дренирующего материала и устройству засыпки непосредственно над трубчатыми дренами, выполняемые преимущественно вручную.

5.16. На всех переломах, как в плане, так и в профиле, но не реже чем через 50 м при трубчатом дренаже и 100 м при галерее, необходимо предусматривать смотровые колодцы. Для этой цели, как правило, применяются колодцы из сборных железобетонных изделий (ГОСТ 8020-68).

Смотровые колодцы подкюветного дренажа следует размещать на откосе выемки или на закюветной полке и предусматривать наклонные лазы из железобетонных колец диаметром 1,25 м для осмотра дренажа.

Верх смотрового колодца необходимо располагать на 0,2 - 0,5 м выше уровня земли. Низ дренажной трубы следует размещать, как правило, на 0,3 м выше дна колодца. В колодцах, совмещаемых с перепадами, необходимо проектировать отстойники глубиной 0,3 - 0,4 м от низа выходной трубы.

5.17. Отвод воды из дренажной системы следует обеспечивать: по трубам - до выхода на дневную поверхность; по канавам или лоткам - в пониженные места или к искусственным сооружениям. В пределах водоотвода следует применять трубы (ГОСТ 286-64; ГОСТ 1839-48 или ГОСТ 6482-71), не имеющие отверстий, предусматривая укладку их без зазоров и без устройства фильтров.

Сопряжение трубы с канавой обеспечивается устройством оголовка. В проекте водоотводного устройства необходимо предусмотреть меры, предотвращающие возникновение непосредственно у оголовка трубы наледи, нарушающей нормальную работу дренажа:

придавать водоотводу уклон, максимально возможный по местным условиям (для труб - до 0,01);

покрывать трубу в месте выхода отепляющим материалом;

размещать низ трубы в месте ее вывода на 0,2 - 0,3 м выше дна водоотводной канавы;

отводить воду от выходного оголовка в пониженные места по кратчайшему расстоянию с концентрацией потока.

6. Земляное полотно на крутых устойчивых косогорах

6.1. К устойчивым в естественных условиях крутым косогорам относятся склоны с поперечным уклоном круче 1:3, сложенные плотными не обводненными грунтами или с наличием водоносных слоев.

6.2. В пределах крутых косогоров рекомендуется:

- трассу размещать преимущественно на склонах южной экспозиции; в верхней части косогора, если земляное полотно проектируется выемкой; в нижней части косогора, если земляное полото проектируется насыпью;

- проектировать земляное полотно преимущественно на полке; избегать подрезки косогоров в случаях, когда породы, слагающие косогор, имеют падение к подошве склона;

- учитывать возможность нарушения общей устойчивости косогора при устройстве в его пределах земляного полотна.

6.3. Проверка расчетом устойчивости земляного полотна и склона необходима только в случае подрезки склонов глубокими выемками или на участках с высокими насыпями, а также при естественном состоянии косогора, близком к предельному равновесию, когда возведение земляного полотна может нарушить установившийся режим косогора.

6.4. Ширину полотна по верху и крутизну откосов земляного полотна необходимо назначать в зависимости от используемого грунта [11].

6.5. Для насыпей на косогорах следует применять преимущественно дренирующие грунты, а также другие местные грунты, удовлетворяющие установленным требованиям [11].

В основании насыпей на косогорах круче 1:3 необходимо проектировать устройство уступов и удаление растительного покрова. Размеры уступов следует назначать в зависимости от крутизны косогора и габаритов землеройных и уплотняющих машин. Уступы можно не предусматривать в случаях:

расположения насыпи у основания косогора, когда ширина основания насыпи больше или равна ее высоте от бровки до подошвы низового откоса;

обеспечения устойчивости земляного полотна посредством устройства подпорной стенки, контрбанкета, упорных призм.

6.6. В пределах косогоров с поперечным уклоном 1:1,5 и круче конструкцию низового откоса насыпи следует принимать на основе сравнения вариантов присыпки на полную высоту к косогору или устройства подпорной стенки.

В пределах косогоров крутизной от 1:3 до 1:2 целесообразно рассматривать варианты с устройством контрбанкетов и упорных призм.

Крутизну откосов полувыемок можно увеличивать по сравнению с установленными нормами [11] в случаях, когда высота откоса не превышает 4 м и предусматривается устройство подпорных стен. Подпорные стены в зависимости от местных условий можно проектировать бетонными, каменными или железобетонными монолитными, сборными или сборно-монолитными.

Размещение, размеры и конструкцию подпорных, поддерживающих и откосных сооружений следует принимать на основе результатов расчетов, выполняемых с учетом местных условий по специальным методическим пособиям, и данных по сравнению возможных вариантов.

6.7. Подпорные стены рекомендуется проектировать длиной секций не более 10 м. Для приема и отвода грунтовой воды необходимо предусматривать застенный дренаж и дренажные окна в стенах. В сборно-блочных стенках выпуск воды из застенного дренажа осуществляется через швы между секциями.

В отдельных случаях, при значительном притоке воды и в районах с суровым климатом, следует предусматривать утепленный дренаж с трубчатой дреной и, при необходимости, со смотровыми колодцами; выходная часть дренажного устройства в этих случаях также должна быть утепленной.

Глубину заложения фундаментов подпорных стен следует назначать с проверкой расчетом на устойчивость в зависимости от вида грунтов основания, но не менее:

0,25 м - в скальных породах;

0,5 м - в дренирующих неводонасыщенных грунтах;

половины нормативной глубины промерзания - в глинистых переувлажненных и водонасыщенных дренирующих грунтах; в последнем случае необходимо проверить расчетом устойчивость стены на выпучивание.

На участках со значительной глубиной промерзания грунтов, подверженных морозному пучению, подпорные стены применять не рекомендуется, в этом случае целесообразно применять контрбанкеты и упорные призмы.

При неглубоком залегании коренных пород основание стены рекомендуется заглублять в них, с удалением верхних разрушенных слоев пород.

6.8. Размеры подпорных стен определяются расчетами 1 пог. м длины стенки по предельному состоянию на устойчивость и прочность. Расчеты следует выполнять для основного сочетания нагрузок, составляемого из постоянных нагрузок (веса подпорной стены и ее фундамента, веса и давления грунта насыпи и засыпки) и кратковременной (от воздействия транспорта).

В сейсмических районах расчет подпорных стен необходимо выполнять, кроме того, на особое сочетание нагрузок с учетом сейсмического воздействия [4].

6.9. Расчеты устойчивости подпорных стен выполняются на сдвиг по основанию и на опрокидывание вокруг внешнего ребра с коэффициентом устойчивости, принимаемым по данным табл. 10.

Напряжения в основании подпорной стены не должны превышать допускаемого давления на грунт.

Таблица 10

Сочетания нагрузок и воздействий

Минимальные значения коэффициентов устойчивости подпорных стен

на сдвиг

на опрокидывание

Дороги и их категории

Железные I, II

Железные III - V, автомобильные I - V

Железные I, II

Железные III - V, автомобильные I - V

Основные

1,25

1,15

1,35

1,20

Особые

1,10

1,05

1,10

1,10

6.10. Расчеты прочности подпорных стен следует выполнять в зависимости от материала, используемого для стен [1, 16].

6.11. Упорные призмы (рис. 8, а) в зависимости от местных условий можно проектировать из каменной наброски, с крутизной наружного откоса 1:1,3; или, при необходимости, из каменной наброски, с выкладкой камня по наружной поверхности откоса крутизной 1:1. По плоскости внутреннего откоса упорной призмы следует предусматривать отсыпку промежуточного слоя из камня мелких размеров, щебня и других хорошо дренирующих материалов.

Для контрбанкетов (см. рис. 8, б) может быть применен песок, гравий и другие дренирующие материалы.

Размеры призм и контрбанкетов предварительно назначаются равными: высота - 1/3 высоты откоса поддерживаемой насыпи, ширина бермы - не менее 3 м, и уточняются после проверки расчетом общей устойчивости всего сооружения.

При мощности рыхлых отложений до 3 м нижнюю часть контрбанкета следует заглублять в коренные породы в виде зуба.

6.12. Кавальеры на косогорных участках разрешается размещать только с низовой стороны, по возможности, у подошвы склона. При расположении кавальера в пределах косогора необходимо проверять общую устойчивость склона.

6.13. В пределах косогоров, где возможны инфильтрация атмосферных вод и нарушение устойчивости склона, необходимо предусматривать в нагорной его части:

общую планировку поверхности с ликвидацией бессточных западин;

укрепление поверхности растительными или искусственными водонепроницаемыми покрытиями;

устройство системы осушительных водоотводов и др.

6.14. Размеры поперечного сечения нагорных, водоотводных канав и кюветов (рис. 9, а) следует определять по расчетному расходу воды с установленной вероятностью превышения [11].

6.15. В пределах местных понижений рельефа для сохранения соответствующей глубины нагорной канавы допускается устройство валиков из хорошо уплотненного глинистого грунта применительно к рис. 9, б.

При этом глубина канавы в грунте естественного сложения должна быть не менее расчетной глубины воды, а низовой откос канавы и поверхность валика - укреплены.

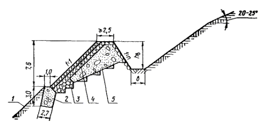
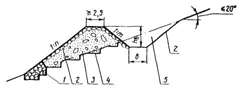
Рис. 8. Поперечные профили насыпей с упорными устройствами на крутых косогорах:

а - с упорной призмой; б - с контрбанкетом; 1 - растительный слой, подлежащий удалению; 2 - крупнообломочный материал; 3 - упорная призма (наброска из камня); 4 - контрбанкет, возводимый из дренирующего материала

Рис. 9. Поперечные профили нагорных канав:

а - заглубленных в грунт естественного сложения; б - частично заглубленных; 1 - валик из местного грунта; 2 - уступы в основании валика; 3 - поверхность косогора до устройства выемки; 4 - ось проектируемого полотна

6.16. В случаях, когда продольный уклон косогора окажется более уклона канавы, соответствующего допустимой скорости течения воды при принятом типе ее укрепления, необходимо предусматривать устройство перепадов, быстротоков и водобойных колодцев или ярусное размещение канав [11].

6.17. В пределах косогоров круче 1:2, а также в других случаях, когда устройство нагорной канавы окажется нецелесообразным, разрешается перехват воды, поступающей с косогора, осуществлять посредством углубленных кюветов (рис. 10, а, б).

При этом размеры кюветов необходимо назначать по расчетному расходу с установленной вероятностью превышения [11]; бровку кювета со стороны полотна размещать выше расчетного уровня воды не менее чем на 0,20 м, а возвышение бровки земляного полотна над бермой - не менее чем на 0,30 м; берму следует проектировать шириной не менее 2,0 м; укрепление откосов кюветов назначается в зависимости от расчетного расхода и скорости течения воды, и, при необходимости, предусматриваются соответствующие водоспускные устройства; верхняя часть нагорного откоса подлежит укреплению [11] в зависимости от вида грунта.

Рис. 10. Поперечные профили водоотводных канав, размещаемых в непосредственной близости от земляного полотна:

а - углубленная канава у насыпи; б - углубленный кювет в полувыемке; 1 - поверхность откоса до устройства земляного полотна; 2 - укрепление откоса; 3 - укрепление канавы (кювета); 4 - растительно-дерновый покров, подлежащий удалению; 5 - ось проектируемого полотна.

Рис. 11. Поперечные профили насыпей с дренажными устройствами в местах выхода грунтовых вод:

а - с подготовкой основания насыпи; б - с устройством продольного дренажа в основании насыпи; в - то же с ограждающим дренажом; 1 - поверхность склона до устройства земляного полотна; 2 - углубленная водоотводная канава; 3 - водоносный слой грунта; 4 - нижняя часть насыпи, возводимая из дренирующего грунта; 5 - продольный дренаж; 6 - смотровой колодец; 7 - засыпка местным грунтом; hp - расчетная глубина промерзания

Рис. 12. Поперечные профили насыпей с каптирующими дренажными устройствами:

а - с каптажным устройством в основании насыпи; б - план размещения каптажного устройства и дренажа; в - с ограждающим каптажным устройством; г - план размещения ограждающего каптажного устройства; 1 - поверхность откоса до возведения земляного полотна; 2 - углубленная водоотводная канава; 3 - водоносный слой грунта; 4 - каптажное устройство (дренирующий грунт); 5 - дренажная труба или трубофильтр; 6 - обратный фильтр; 7 - выходной оголовок; 8 - засыпка местным грунтом; 9 - каптажное устройство с дренажной трубой или трубофильтром

Рис. 13. Схема устройства дренажа-преградителя:

а - продольный разрез по оси полотна; б - план отвода кювета и дренажа; 1 - откос выемки; 2 - бровка земляного полотна; 3 - водоносный слой грунта; 4 - дренаж; 5 - ось водопропускного сооружения; 6 - ось пути; 7 - кювет; 8 - оголовок выпуска дренажа

6.18. При наличии в пределах косогора грунтовых вод необходимо устанавливать их возможное влияние на состояние земляного полотна, и в случае необходимости, предусматривать их перехват и отвод в низовую сторону.

Если грунтовые воды имеют выход на дневную поверхность в пределах основания насыпи, следует всю насыпь или ее нижнюю часть проектировать из дренирующего грунта применительно к рис. 11, а.

Если дебит грунтовой воды окажется значительным, и возникнет вероятность выхода воды с нагорной стороны насыпи, перехват и отвод грунтовой воды необходимо осуществлять посредством продольного дренажа, размещаемого в зависимости от глубины залегания водоносного слоя применительно к рис. 11, б, в.

В случае выхода грунтовой воды в пределах основания насыпи в виде родников необходимо проектировать устройства по каптажу грунтовой воды и отводу ее в низовую сторону полотна применительно к рис. 12, а, б.

При выходе грунтовой воды в месте перехода выемки в насыпь необходимо предусматривать перехват воды дренажом-преградителем и отвод ее от земляного полотна применительно к рис. 13, б.

7. Земляное полотно на неустойчивых косогорах

7.1. К неустойчивым косогорам относятся: оползневые склоны, подверженные смещениям значительных объемов земляных масс; склоны, подверженные неглубоким сплывам переувлажненного грунта. Классификация оползней приведена в приложении 5.

7.2. Естественными факторами, обуславливающими возникновение и активизацию оползневых явлений, являются: неблагоприятные геологические условия, в частности, неблагоприятное залегание пород; поверхностные и грунтовые воды, суффозионные и карстовые процессы, эрозионные или абразионные процессы, процессы выветривания и т.п.

7.3. Дополнительными факторами, вызывающими развитие или усиление оползневых процессов, следует считать: подрезку склонов при устройстве выемок, карьеров и других сооружений; пригрузку активных зон оползневых склонов насыпями, отвалами и другими сооружениями; размыв берегов при подтоплении склонов водоемами и водотоками; повышение уровня грунтовых вод; переувлажнение грунтов и оврагообразование вследствие неупорядоченного отвода поверхностных вод от водопропускных сооружений, канализационных устройств и т.п.

7.4. При проектировании мероприятий по обеспечению устойчивости земляного полотна на оползневых косогорах следует предусматривать устранение или снижение вредного влияния на оползневые массивы как естественных, так и искусственных факторов, определяющих возникновение и развитие оползневых процессов и сплывов с учетом местных условий. Основными мероприятиями, направленными на обеспечение устойчивости земляного полотна в пределах оползневых склонов являются:

обход оползневого косогора посредством переноса трассы или пересечения оползневого цирка эстакадой или тоннелем;

поддерживающие сооружения: контрбанкеты, подпорные стены, контрфорсы, шпоны;

разгрузка оползневых склонов посредством срезки головы оползня, уположения склона террасированием, полной срезки неустойчивой части косогора;

водоотводные устройства в пределах оползневой зоны с целью ограждения оползневой территории;

отвод подземных вод посредством ограждающих сооружений (дренажей ограждающих, вертикальных или комбинированных, штолен);

сооружений, осушающих оползневую зону косогора (откосные дренажи, прорези, каптажные устройства);

защита нижней части от размыва водотоком или водоемом;

агролесомелиорация, создание охранной зоны и другие инженерные мероприятия с целью сохранения естественных условий в пределах оползневого склона и его предохранения от развития эрозии и абразии.

7.5. Основными данными для выбора проектного решения являются:

геоморфологическая характеристика поверхности оползня;

геологическое строение склона, условия залегания несмещенных пород и структура оползневых накоплений;

очертания поверхностей или зон скольжения;

характеристики физико-механических свойств оползневых масс и пород в несмещенной зоне;

условия циркуляции и режима подземных и грунтовых вод с учетом трещиноватости пород коренного склона;

сведения о режиме поверхностного стока с учетом инфильтрации;

общая характеристика режима открытых водотоков и водоемов, оказывающих влияние на устойчивость данного объекта;

сведения о естественных и искусственных факторах воздействия на склон, вызывающих возникновение оползней (абразия, эрозия, строительные подрезки, пригрузки и т.п.)

Выбор местоположения трассы

7.6. Проектированию противооползневых мероприятий должно предшествовать рассмотрение вариантов трассы в обход оползневого косогора или пересечения оползневого склона в более благоприятном месте, в том числе с применением эстакады или тоннеля.

Размещение трассы в пределах неустойчивых косогоров разрешается только в случаях невозможности или технико-экономической нецелесообразности обхода этих косогоров.

7.7. Пересечение оползня эстакадой целесообразно рассматривать в случаях перехода узких контактных оползней и расположения трассы перпендикулярно к оси оползня. При этом опоры эстакады следует размещать в прочных, устойчивых коренных породах, за пределами оползневого цирка. В случаях незначительной мощности рыхлых отложений допускается размещать промежуточные опоры обтекаемой формы непосредственно в теле оползня с соответствующим обоснованием технико-экономическими расчетами. В зоне тектонического разлома переход оползня с применением тоннеля или эстакады, как правило, не разрешается.

7.8. Насыпь, размещаемая в подошвенной части оползневого косогора (рис. 14), как правило, влияет положительно на общую устойчивость склона. Устройство выемки в нижней части оползневого массива, как правило, не допускается.

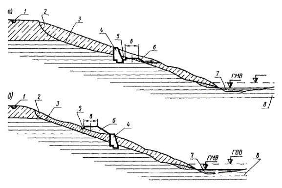
Рис. 14. Поперечный профиль насыпей с противодеформационными устройствами на оползневом косогоре:

а - выемка в нижней части косогора; б - насыпь; 1 - ограждающая водоотводная канава; 2 - водоносный слой; 3 - оползневой массив; 4 - вероятная поверхность скольжения оползневого массива; 5 - грунт оползневого массива, подлежащий удалению; 6 - контрбанкет; 7 - укрепление; 8 - водоток (водоем); 9 - скальная порода

Рис. 15. Схема размещения земляного полотна в головной части оползневого массива и противооползневых устройств:

а - насыпь; б - выемка; 1 - нагорная (водоотводная) канава; 2 - водоносный слой; 3 - оползневой массив; 4 - вероятная поверхность скольжения оползневого массива; 5 - проектируемое земляное полотно; 6 - контрбанкет с размерами, назначаемыми по данным расчетов; 7 - укрепление откоса; 8 - водоток (водоем); 9 - скальная порода

Рис. 16. Схема размещения земляного полотна в средней части оползневого массива и противооползневых устройств:

а - насыпь; б - выемка; 1 - нагорная (водоотводная) канава; 2 - водоносный слой; 3 - оползневой массив; 4 - вероятная поверхность скольжения оползневого массива; 5 - проектируемое земляное полотно; 6 - контрбанкет; 7 - укрепление откоса; 8 - водоток (водоем); 9 - скальная порода

В качестве основных противооползневых мероприятий в этом случае целесообразно применять поддерживающие сооружения и водоотводные устройства. При определенных условиях целесообразно предусматривать разгрузку склона посредством террасирования и частичной срезки грунта с перемещением его на низовую часть склона, а в необходимых случаях - мероприятия и устройства, предотвращающие развитие процессов эрозии или абразии.

7.9. При размещении трассы дороги в верхней части оползневого склона (рис. 15) наиболее надежным решением является устройство земляного полотна в выемке, врезанной в коренные породы. В этом случае целесообразно применять полную или частичную срезку рыхлых оползневых накоплений выше трассы, а также обеспечивать отвод поверхностных вод.

Если земляное полотно в выемке размещается не на устойчивых коренных, а на оползневых грунтах, дополнительно следует предусматривать подпорную стену, врезаемую в коренные породы.

Насыпи в верхней части оползневого косогора проектировать не рекомендуется; при необходимости размещения насыпи в верхней части косогора следует предусматривать устройство контрбанкета.

7.10. В случае размещения трассы в средней части оползневого склона (рис. 16) необходимо предусматривать отвод поверхностных и грунтовых вод, поддерживающие сооружения, разгрузку склона посредством террасирования или срезки грунта с перемещением его в пассивную зону оползневого склона и т.п., а при необходимости противоэрозионные или противоабразионные мероприятия и устройства.

Поддерживающие сооружения

7.11. Поддерживающие сооружения следует применять с целью предотвращения возникновения оползней, а также для укрепления склонов, подверженных активным оползням.

Тип, конструкция, размеры, материал и расположения поддерживающих сооружений назначаются с учетом типа и размеров оползня, мощности покровных отложений, состояния и характера залегания коренных пород, гидрогеологических условий, наличия местных строительных материалов и способа производства работ в соответствии с положениями раздела 6.

Поддерживающие сооружения можно применять как самостоятельные, так и в комплексе с другими противооползневыми сооружениями.

7.12. Контрбанкеты, располагаемые в пассивной зоне оползня, являются одними из наиболее распространенных и надежных противооползневых сооружений. Они препятствуют смещению оползневых масс и могут обеспечить быструю стабилизацию мощных оползневых отложений. Контрбанкеты можно проектировать из грунтов, удовлетворяющих установленным требованиям [11], предпочтение следует отдавать дренирующим грунтам, в обоснованных случаях допускается проектировать контрбанкет в виде призм из камня. Для пропуска воды с вышележащего склона через контрбанкет необходимо предусматривать устройство водопропускного сооружения.

Основание контрбанкета рекомендуется, по возможности, врезать в коренные породы, если это не вызовет при строительстве нарушения устойчивости оползневого склона и тем самым не будет способствовать активизации оползневых процессов. Крутизну откосов контрбанкетов следует назначать в зависимости от используемого материала и способов производства работ. Для защиты откосов контрбанкетов от воздействия волн и водотоков необходимо предусматривать укрепление в соответствии с положениями раздела 13.

Размеры поперечного сечения контрбанкетов назначаются конструктивно с проверкой расчетом общей устойчивости склона с проектируемыми сооружениями (земляным полотном, контрбанкетом и другими противооползневыми сооружениями), а также устойчивости откосов и основания контрбанкета.

Нормативные значения коэффициента устойчивости контрбанкетов  следует принимать в пределах 1,10 - 1,25 в зависимости от категории дороги, размеров и протяженности оползневого склона, степени достоверности данных о грунтах, входящих в расчет, вида используемого грунта и надежности методов расчета согласно п. 2.5.

7.13. Подпорные стены являются одним из наиболее распространенных видов поддерживающих сооружений, применяемых чаще всего в комплексе с другими противооползневыми мероприятиями.

7.14. Подпорные стены допускается применять в случаях, когда в качестве основания стен могут быть использованы ненарушенные прочные породы (рис. 17). Высоту противооползневых стен, считая по задней грани, воспринимающей давление, назначать более 6 м нецелесообразно

Рис. 17. Схема размещения земляного полотна с подпорными стенами на оползневом косогоре:

а - выемка; б - насыпь; 1 - нагорная канава; 2 - оползневой массив; 3 - вероятная поверхность скольжения оползневого массива; 4 - подпорная стена; 5 - лоток; 6 - проектируемое земляное полотно; 7 - водоток (водоем); 8 - скальная порода

7.15. Размеры противооползневых стен, назначаемые по конструктивным соображениям, должны быть уточнены в соответствии с данными проверок расчетом устойчивости стены на опрокидывание относительно лицевой кромки подошвы, величины напряжений в основании стены, устойчивости на выпирание основания стены [16].

Нормативное значение коэффициента устойчивости противооползневых подпорных стен  рекомендуется принимать в пределах 1,10 - 1,15, с учетом рекомендаций п. 2.5.

В проектах организации работ необходимо предусматривать, чтобы разработка котлованов под фундаменты подпорных стен с подрезкой оползневого склона выполнялась посекционно, при длине секций не более 5 м, и не допускалось производство земляных работ одновременно на соседних секциях.

7.16. Контрфорсы, в виде отдельных столбов или лент вдоль оползневого склона, размещаемых главным образом в нижней части последнего, рекомендуется применять в случаях, когда оползневой массив имеет сравнительно небольшую мощность, и нарушение естественных условий в пределах косогора должно быть минимальным.

Контрфорсы следует проектировать в зависимости от наличия местных материалов каменными, из бутовой или сухой кладки, бетонными, бутобетонными или железобетонными. В водонасыщенных грунтах, обладающих достаточной водоотдачей, следует предусматривать дренажные контрфорсы из сухой каменной кладки и, при необходимости, в их основании размещать дренажные трубы и обратный фильтр.

Применение контрфорсов в пределах оползневых массивов, сложенных глинистыми грунтами мягкопластичной консистенции не допускается. Подошва контрфорса должна быть заглублена в устойчивые породы, ниже поверхности скольжения. Размеры контрфорсов и их размещение на оползневом массиве в плане устанавливаются расчетом устойчивости их, при условии недопущения выпирания грунта между контрфорсами и смещения оползневого грунта по плоскостям, проходящим выше и ниже верха и подошвы контрфорсов в соответствии со специальными пособиями.

7.17. Шпоны рекомендуется применять, как правило, для предотвращения возникновения структурных оползней 1 типа при сравнительно небольшой мощности зоны возможного сдвига. Они представляют собой железобетонные столбы или призмы, устанавливаемые через шурфы или скважины, с размещением их верхней части в оползневом массиве, а нижней части - в устойчивой, прочной породе ниже поверхности скольжения.

В плане шпоны рекомендуется располагать в шахматном порядке. Расстояние между шпонами, глубина заделки их в прочные, подстилающие породы устанавливаются расчетами из условия недопущения перемещения грунта между шпонами, их среза, а также образования поверхностей смещения ниже их концов.

Положение верха шпон устанавливается из условия обеспечения устойчивости массива выше их голов. В проектах необходимо предусматривать заделку выработок над шпонами местным глинистым грунтом с хорошим уплотнением последнего.

Разгрузка оползневых склонов

7.18. Разгрузка оползневых склонов является одним из наиболее эффективных мероприятий по ликвидации существующих оползней и по предотвращению их возникновения. Она предусматривается в большинстве случаев в комплексе с другими противооползневыми мероприятиями. Разгрузка оползневого косогора обеспечивается частичной или полной срезкой грунта в активной части оползня с перемещением его в пассивную зону (рис. 18), а также террасированием склона. Удаление грунта из пассивной части склона следует запрещать. Профиль проектируемого откоса должен быть обоснован расчетами на устойчивость.

Рис. 18. Схема проектного решения по обеспечению устойчивости земляного полотна на оползневом косогоре:

а - с частичным удалением оползневого массива и устройством контрбанкета; б - с частичным удалением оползневого массива и устройством волноотбойной стены; 1 - скважины; 2 - контрбанкет; 3 - проектируемое земляное полотно; 4 - оползневой массив; 5 - вероятная поверхность скольжения оползневого массива; 6 - часть оползневого массива, намеченная к удалению; 7 - поверхность террасированного откоса, подлежащая укреплению от инфильтрации поверхностных вод; 8 - нагорная канава; 9 - скальные породы; 10 - водоем (водоток); 11 - волноотбойная стена; 12 - лоток

Одноярусное и многоярусное положение оползневого склона (рис. 19) целесообразно предусматривать в случаях небольших оползней, а также при использовании территории для строительства. На террасах должны быть предусмотрены продольные водоотводные канавы или лотки, а также укрепление поверхности посевом трав или другими видами покрытий. Поперечные уклоны площадок рекомендуется назначать в пределах 0,05 - 0,01. Профиль проектируемых склонов при их положении следует назначать с учетом крутизны устойчивых естественных склонов, имеющих аналогичные геологические и гидрогеологические условия, и обосновывать расчетами.

Рис. 19. Схема устройства земляного полотна с частичным удалением оползневого массива и террасированием откоса:

1 - нагорная канава; 2 - скважины; 3 - часть оползневого массива, намеченная к удалению; 4 - лотки; 5 - проектируемое земляное полотно; 6 - оползневой массив; 7 - вероятная поверхность скольжения оползневого массива

При незначительных объемах оползневых рыхлых отложений в ряде случаев целесообразно предусматривать полную срезку всего неустойчивого массива применительно к рис. 20. Производство работ по разгрузке оползня целесообразно предусматривать гидросмывом при условии принятия мер против излишнего обводнения грунта оползневого массива.

7.19. Срезку грунта с необходимым положением откосов и устройством хорошей водоотводной системы целесообразно предусматривать также в пределах склонов, имеющих поверхностные сплывы. Срезаемый грунт следует размещать в виде контрбанкета у подошвы склона или насыпи.

В пределах косогоров, подверженных сплывам, выемки рекомендуется проектировать с закюветными полками шириной 2,0 м и более; устройство кавальеров в этих случаях запрещается.

Рис. 20. Схема устройства земляного полотна с удалением оползневого массива:

1 - проектируемое земляное полотно; 2 - скважины; 3 - оползневой массив, намеченный к удалению; 4 - поверхность откоса, подлежащая укреплению от инфильтрации поверхностной воды; 5 - нагорная канава; 6 - поверхность скольжения оползневого массива; 7 - скальные породы

Отвод поверхностных вод

7.20. Атмосферная и грунтовая воды, попадающая в рыхлые оползневые отложения, является одним из факторов, способствующих возникновению новых и активизации существующих оползней.

Снижение устойчивости оползневого склона происходит за счет:

изменения физико-механического состояния грунтов на склоне (снижения угла внутреннего трения и сцепления, увеличения объемного веса грунта) в результате их обводнения;

увеличения гидродинамических сил при повышении уровня грунтовых вод;

развития суффозионных и карстовых процессов.

Поэтому перехват и отвод поверхностной воды за пределы оползневого склона являются обязательными в любом комплексе противооползневых мероприятий.

Ограждение оползневой территории от притока поверхностной воды, поступающей с вышерасположенного водосброса, обеспечивается нагорными канавами, проектируемыми в соответствии с [11].

7.21. При размещении нагорных канав, выборе их конструкции и типа укрепления необходимо учитывать, что устройство водоотводных канав не должно способствовать усиленной инфильтрации воды в оползневой массив и нарушать устойчивость оползневого склона. Поэтому пропуск воды из нагорных канав через оползневую территорию, как правило, не разрешается.

Дно и низовой откос нагорных канав следует покрывать водонепроницаемым или мало водопроницаемым материалом, а верховой откос - укреплением, допускающим выход грунтовой воды в канаву.

7.22. Оползневой участок следует ограждать основной нагорной канавой, достаточно удаленной от верхней границы оползня. Основную нагорную канаву целесообразно проектировать с земляным валом из грунта, получаемого при разработке канавы.

Для перехвата и отвода воды с площади между основной нагорной канавой и границей оползня следует предусматривать дополнительные ограждающие канавы.

Ярусное размещение нагорных канав не допускается. В случае необходимости следует предусматривать перепады, быстротоки и водобойные колодцы в соответствии с [11] и приложением 6.

7.23. В пределах оползневого массива следует предусматривать наиболее совершенную систему водоотводных устройств для сбора и отвода поверхностной воды за пределы оползня, которая должна обеспечить резкое сокращение инфильтрации атмосферных вод в оползневой массив, а также защиту последнего от размыва неорганизованно стекающими по склону поверхностными водами.

Водоотводные канавы на поверхности оползневого склона в зависимости от рельефа местности, грунтов, слагающих склон, и гидрогеологических условий предназначаются:

для отвода воды из понижений, а также от каптажа местных выходов грунтовой воды на дневную поверхность; в этом случае канавы необходимо проектировать с максимально допустимым уклоном и направлять по кратчайшему расстоянию к магистральным канавам;

для сбора дождевой воды непосредственно с поверхности оползня и отвода ее к магистральным канавам.

Магистральные канавы в зависимости от рельефа местности следует располагать в центральной части оползневой территории, применительно к рис. 21, а, или у ее границ, применительно к рис. 21, б.

Рис. 21. Схемы размещения водоотводных канав в пределах оползневого массива:

а - «елочное»; б - параллельное; 1 - нагорная (ограждающая) канава; 2 - граница оползневого массива; 3 - канавы-собиратели; 4 - магистральная водоотводная канава; 5 - ось пути; 6 - водопропускное сооружение

7.24. В случаях необходимости пропуска по территории оползня транзитных вод из ограждающих нагорных канав, магистральные водоотводы следует размещать по наиболее устойчивой части склона и проектировать в виде лотков из сборных железобетонных элементов гибкой конструкции, сохраняющих водонепроницаемость при некоторых продольных смещениях.

7.25. Поперечное сечение водоотводных канав, предназначенных для сбора поверхностной воды в пределах оползневой территории, а также дополнительных нагорных канав, расположенных между верхней границей оползневого массива и основной нагорной канавой, можно назначать конструктивно.

Размеры поперечного сечения основной нагорной и магистральной водоотводной канавы необходимо устанавливать по расчетному расходу воды согласно [26] и приложению 7.

7.26. Укрепление дна и откосов канав, располагаемых в пределах оползневой территории, должно предохранять их от размыва (приложение 8) и исключать возможность инфильтрации воды из канав в оползневой массив. Этому назначению наиболее соответствуют гибкие покрытия: мощение камнем по подготовке из промазученного песка или гравия; асфальтовые покрытия, покрытие шлакоглинобетоном, грунтом, обработанным вяжущими материалами и т.п.

7.27. Кроме водоотводных устройств, необходимо предусматривать планировку, а при необходимости, и гидроизоляцию поверхности оползневого склона.

Планировка заключается в срезке бугров, засыпке пониженных мест, придания уклона бессточным площадкам, заделке трещин и т.п.

Засыпку пониженных мест и заделку трещин необходимо производить только глинистыми грунтами с тщательным уплотнением. Лишний грунт подлежит удалению за пределы оползневого массива или укладке в пассивной зоне последнего.

Для гидроизоляции поверхности оползневых склонов можно применять покрытие ее смесью глины и котельного шлака, пропиткой грунта отходами нефтепродуктов и шлаком, втрамбованным в грунт, одерновкой и т.п. Покрытия целесообразно устраивать в виде отдельных полос, располагаемых вдоль падения склона.

Отвод подземных вод

7.28. Вредное воздействие грунтовых вод на устойчивость земляного полотна на оползневых склонах может быть устранено дренажными сооружениями (табл. 11).

Таблица 11

Наименование дренажных устройств

Назначение

Канавы, лотки открытые

Перехват грунтовых вод, залегающих на глубине до 2 м и отвод их в пониженные места

Лотки закрытые

То же в суровых климатических условиях

Дренажи траншейного типа (беструбные, трубчатые, с трубофильтрами)

Перехват грунтовых вод, залегающих на глубине от 2 до 5 м

Галереи

То же

Штольни, дренажи «кротовые»

То же при залегании грунтовых вод, на глубине более 5 м

Колодцы (буровые, шахтные)

Вертикальный дренаж

Сочетание различных дренажных устройств

Перехват и отвод грунтовых вод при сложных гидрогеологических условиях

По назначению и характеру работы следует различать:

дренажи, ограждающие оползневые массивы от попадания в них грунтовых вод из внешних подземных бассейнов; в качестве ограждающих устройств можно применять закрытые, вертикальные и комбинированные дренажи, штольни;

дренажи, осушающие рыхлые отложения в пределах оползневого массива;

в качестве осушающих устройств можно применять дренажные прорези и откосные дренажи открытого типа, каптажные устройства.

Типы, конструкцию и размеры ограждающих и осушающих дренажей следует назначать с использованием [44], альбома водоотводных устройств и специальных пособий.

7.29. При проектировании ограждающего дренажа необходимо:

размещать его вне оползневого массива за бровкой оползневого срыва применительно к рис. 22 на расстоянии, предохраняющем дренаж от разрушения в результате возможного возникновения одного или двух оползневых смещений с учетом интенсивности отрыва блоков;

заглублять лоток дренажных устройств в водоупорную породу;

назначать тип и конструкции дренажа с учетом гидрогеологических, геолого-литологических условий, рельефа склона, характера оползневых смещений и других природных факторов;

размещать водосбросные устройства, как правило, на устойчивых участках склона, с укреплением и изоляцией их дна и откосов.

7.30. При проектировании осушающих дренажей следует предусматривать:

расположение дренажей в направлении вероятного смещения земляных масс;

осушение грунтового массива ниже поверхности скольжения;

перехват отдельных источников-родников временными каптажными устройствами с самостоятельными выпусками или с выпусками в сооружения поверхностного водоотвода.

7.31. Для перехвата и отвода грунтовых вод на глубине от 2 до 5 м следует применять закрытые дренажи траншейного типа. Верхнюю часть траншеи необходимо заполнять водонепроницаемым глинистым грунтом толщиной слоя не менее 0,5 м с укладкой между ним и фильтрующим заполнителем изоляции из битума, дерна и других местных материалов.

Рис. 22. Схема устройства земляного полотна на укрепляемом оползневом косогоре:

1 - водоотводная канава; 2 - скважины; 3 - водоносный слой с напорной грунтовой водой; 4 - дренаж; 5 - поверхность откоса, укрепляемая от инфильтрации поверхностных вод; 6 - проектируемое земляное полотно; 7 - оползневой массив; 8 - вероятная поверхность скольжения оползневого массива; 9 - скальная порода

7.32. Перехват грунтовых вод, залегающих на глубине более 5 м, целесообразно осуществлять дренажами штольневого типа.

Размеры штолен следует назначать с учетом обеспечения нормальных условий эксплуатации сооружений. Дренажные штольни в качестве ограждающих сооружений следует применять в случаях, когда применение дренажей окажется невозможным или нецелесообразным по технико-экономическим соображениям.

Применение штолен целесообразно на склонах главным образом с оползневыми массивами 1 типа, (см. приложение 5) при наличии выраженного потока грунтовых вод и водоупора, залегающего на большой глубине.

Штольни следует размещать в коренных породах у нижней границы зоны распространения трещин выветривания применительно к рис. 23.

Рис. 23. Схема размещения противооползневых устройств:

1 - нагорная канава; 2 - скважины; 3 - напорный уровень подземных вод; 4 - оползневой массив; 5 - поверхности скольжения оползневого массива; 6 - проектируемое земляное полотно; 7 - контрбанкет; 8 - укрепление подтопляемого откоса; 9 - коренная горная порода (водоупорная); 10 - трещиноватая водоносная скальная порода; 11 - штольня

Проходку штолен можно проектировать щитовым или горным способом. В случае щитовой проходки следует применять круглое сечение штолен с обделкой железобетонными блоками. При горном способе проходки обычно предусматривается овоидальное, реже - трапецеидальное сечение с креплением из «бетонитов».

Сечение штолен в свету крепления должно быть не менее 1,7 м. Конструкцию обделки штолен следует назначать согласно специальным пособиям [44], а расчет постоянной обделки штолен выполнять с учетом вертикального и бокового горного давления, в том числе, горного давления на уровне подошвы выработки штолен.

Выходы из штолен должны иметь запирающиеся решетчатые ворота, а в местностях, где возможны заносы их снегом или образование наледей, кроме того, и сплошные ворота.

7.33. Вертикальный дренаж в виде водоспускных скважин или шахтных колодцев необходимо применять при наличии нескольких водоносных горизонтов, залегающих на глубине более 5 м, когда использование отдельных дренажных прорезей и штолен окажется нецелесообразным по технико-экономическим соображениям или неэффективным, и потребуется устройство комбинированного дренажа.

Вертикальный дренаж может быть эффективным в случаях выпуска из него воды в штольни или в водопоглощающие горизонты, залегающие ниже водоупора. Перед проектированием водоспускных скважин и колодцев необходимо проверять поглощающую способность водоносного слоя, в который намечен выпуск воды из водоносного слоя.

7.34. Комбинированный или смешанный дренаж в виде сочетания горизонтального и вертикального дренажа следует применять при наличии нескольких глубоко залегающих водоносных горизонтов, расчлененных водоупорными прослоями, применительно к рис. 24.

Рис. 24. Схема комплексного размещения противооползневых устройств:

1 - нагорная канава; 2 - скважина вертикальной дренажной завесы; 3 - разведочная скважина; 4 - установившийся уровень напорных подземных вод; 5 - оползневой массив; 6 - поверхности скольжения оползневого массива; 7 - проектируемое земляное полотно; 8 - контрбанкет; 9 - укрепление подтопляемого откоса; 10 - скальная водонепроницаемая порода; 11 - трещиноватая водоносная скальная порода; 12 - штольня

Для усиления водоотдачи из водоносных горизонтов с водоупорами, расположенными на небольшом расстоянии от верха штолен, целесообразно применять забивные фильтры.

Смотровые и вентиляционные колодцы, а также скважины вертикальной дренажной завесы необходимо доводить до потолка штолен. Дренажные скважины должны быть оборудованы фильтрами. Расстояние между скважинами вертикальной дренажной завесы, назначаемое обычно в пределах 25 - 50 м, должно быть уточнено расчетами.

В этих расчетах необходимо учитывать водопроницаемость осушаемых грунтов, режим грунтовых вод, их дебит, мощность водоносных горизонтов, а также радиусы влияния одиночных колодцев и взаимодействие последних с группой колодцев.

Целесообразность и необходимость применения комбинированного дренажа (учитывая неопределенность его работы, высокую стоимость, сложность и трудоемкость производства работ) должна быть доказана технико-экономическими расчетами, подтверждающими его преимущество перед комплексом других возможных противооползневых мероприятий и обоснованы данными результатов детальных полевых исследований с использованием опытных гидрогеологических скважин.

7.35. Дренажные прорези и откосные дренажи следует закладывать вдоль возможного смещения земляных масс. Лучшее осушение оползневых суглинистых накоплений достигается при расстоянии между дренами не более 15 м и заглублении лотков дренажей в коренные породы.

Конструкцию дренажных прорезей и откосных дренажей следует принимать согласно специальным пособиям с учетом местных условий.

7.36. Мероприятия по защите оползневых склонов на берегах морей следует назначать согласно [17] с соблюдением требований, изложенных в данном разделе и разделе 13.

Агролесомелиорация поверхности склонов

7.37. Посадка кустарниково-древесной растительности в сочетании с посевом многолетних, дернообразующих трав как самостоятельное противооползневое мероприятие следует применять на склонах, подверженных поверхностным сплывам.

На оползневых склонах агролесомелиорацию целесообразно предусматривать как дополнение к комплексу основных противооползневых мероприятий.

Для закрепления поверхности оползневых склонов рекомендуется применять посадку деревьев со стержневой корневой системой, проникающей на значительную глубину, в сочетании с деревьями, имеющими стелющуюся корневую систему, обладающими высокой кроной, густой тенистой листвой и способностью сохранять ее до наступления заморозков.

Одновременно с посадкой саженцев рекомендуется предусматривать посев в междурядьях многолетних трав, хорошо приживающихся в местных условиях и способных к образованию хорошего дернового покрова.

Подбор растительности и древесных пород необходимо выполнять с учетом климатических условий района и в соответствии с требованиями агротехники, учитывая, что сплошная распашка оползневого склона запрещается.

На склонах с развитием оврагов необходимо, кроме того, предусматривать противооползневые мероприятия (раздел 9).

7.38. С целью обеспечения устойчивости земляного полотна на оползневых склонах в условиях эксплуатации необходимо предусматривать отвод земель под охранную зону, ширина которой устанавливается в зависимости от природных условий и требований строительного и эксплуатационного режимов, контроль за которыми должны осуществлять противооползневая инспекция или представители дистанции пути.

В пределах охранной зоны должны быть запрещены взрывные работы, неорганизованный полив угодий, распашка склона, вырубка древесной растительности, срезка дерна, выпас скота, подсечка и пригрузка склонов, производство различных строительных работ без согласования проектов с противооползневой инспекцией. Кроме того, в охранной зоне должна быть обеспечена нормальная эксплуатация местными организациями водопроводных магистралей, сантехнических устройств, водостоков, оросительных устройств.

7.39. Сдача в эксплуатацию земляного полотна на участках оползней допускается только при выполнении всех противооползневых сооружений, агролесомелиоративных и других мероприятий, предусмотренных проектом.

8. Земляное полотно в районах с развитием карста

8.1. К карстовым относятся районы, в пределах которых в толще горных пород имеются пустоты в виде полостей и пещер, возникших в результате растворения или механического разрушения пород подземными водами.

По активности развития процесса необходимо разделять карст на деятельный и неразвивающийся.

Степень современной активности карста можно оценивать качественно по комплексу инженерно-геологических данных о причинах его формирования и скорости развития.

Для количественной оценки следует применять показатель современной активности карста

                                                           (15)

где υ - объем растворенной породы, выносимой подземными водами из карстового массива за 1000 лет, который устанавливается по данным режимных гидрогеологических наблюдений в период изысканий;

V - общий объем карстующихся пород.

При А > 0,01 % карст необходимо считать деятельным, при А £ 0,01 % карст относится к неразвивающимся.

8.2. Размещение дорог на участках с развитием карста допускается только в случае невозможности или технико-экономической нецелесообразности обхода этих участков.

8.3. Земляное полотно на участках с наличием карста следует проектировать преимущественно насыпями на основе материалов специальных инженерно-геологических работ, в том числе:

топографического плана участка в масштабе не мельче 1:2000 с изображением всех карстовых форм рельефа;

карстовой инженерно-геологической карты участка в масштабе 1:2000 с изображением всех поверхностных и проекций подземных карстовых форм;

продольных и поперечных инженерно-геологических разрезов;

данных о подземных водах (происхождение, степень минерализации, дебит, направление и скорость течения и т.д.);

схем и описаний типичных карстовых пустот;

показателей, характеризующих залегание породы (физико-механические свойства, минералогический и химический составы карстующейся толщи, трещиноватость, пористость и т.д.);

сведений о мощности карстующихся пород и активности карстового процесса, а также с учетом инженерно-геологического заключения о рекомендуемых мероприятиях по обеспечению устойчивости проектируемого земляного полотна в пределах рассматриваемого участка.

8.4. Противокарстовые мероприятия в зависимости от степени опасности карста, гидрогеологических и других природных условий назначаются с целью:

прекращения или замедления процесса карстообразования;

изменения направления развития карста в сторону от земляного полотна;

сохранения, а при необходимости, и повышения несущей способности кровли пород над развитыми формами карста в пределах основания земляного полотна.

При проектировании противокарстовых мероприятий следует учитывать зону влияния карстовых полостей (приложение 9).

8.5. Для прекращения или замедления процесса карстообразования в зависимости от гидрогеологических условий рекомендуется предусматривать комплекс следующих мероприятий:

планировку территории для ликвидации мест застоя воды; заделку карстовых воронок водонепроницаемым материалом и цементацию породы;

устройство гидроизоляционных покрытий;

регулирование поверхностного стока с устройством водоотводов, исключающих возможность инфильтрации воды через их дно и стенки;

каптаж и отвод выходящих на поверхность грунтовых вод;

агролесомелиорацию прилегающей территории;

создание охраны зон с особым режимом землепользования - при развитии карстовых процессов под воздействием поверхностных вод;

перехват водотоков или понижение их уровня (дренажами, галереями, штольнями и т.д.); ограждение участка водонепроницаемыми завесами; каптаж грунтовой воды вертикальными дренажными скважинами с выпуском в нижележащие водовмещающие слои при карстообразовании под воздействием агрессивных грунтовых вод.

8.6. В качестве мероприятий, предотвращающих деформацию земляного полотна в пределах зоны влияния карстовых полостей с недостаточной несущей способностью их сводов, могут быть использованы:

заполнение полостей инертным материалом;

снижение давления на кровлю полостей посредством разгружающих устройств (перекрытий, эстакад и т.п.);

обрушение взрывами неустойчивой кровли породы над полостями;

на участках с наличием карстовых полостей в обоснованных случаях следует предусматривать устройство предупредительной сигнализации.

8.7. Конструкция дренажей, глубина их заложения, количество и взаимное расположение устанавливаются расчетом в соответствии с положениями раздела 5.

8.8. Заполнение карстовых полостей инертными материалами и водонепроницаемые завесы следует проектировать в соответствии с [18].

8.9. При проектировании заполнения карстовых полостей инертным материалом, водонепроницаемых завес или обрушения сводов над полостями необходимо учитывать возможность изменения режима грунтовых вод и повышение интенсивности развития карста на прилегающих участках.

8.10. Перекрытия, эстакады и другие сооружения, предусматриваемые с целью разгрузки свода над карстовыми полостями, следует проектировать в соответствии с [19].

8.11. Проект противокарстовых мероприятий должен включать проект организации строительных работ с учетом их механизации. В проектах организации работ должны быть установлены порядок, последовательность и способы выявления состояния пород, уровня подземных вод до выполнения подземных работ, контроль за выполнением проектных решений и эффективностью осуществленных мероприятий.

9. Земляное полотно в районах с интенсивным развитием оврагов

9.1. Участки с интенсивным развитием оврагов выделяются на стадии разработки технического проекта по основным вариантам трассы. К ним следует относить участки с наличием:

отдельных оврагов или развитой овражной сети, независимо от стадии ее формирования;

легко размываемых грунтов, покрытых защитным слоем более прочного грунта, дерна или растительности, который будет нарушен при сооружении земляного полотна.

Условия оврагообразования необходимо учитывать при сравнении вариантов трассы.

9.2. На выделенных участках проводятся топографическая съемка и инженерно-геологические обследования, а также сбор метеорологических данных с целью изучения местных условий, способствующих возникновению оврагов. При этом на участках с наличием оврагов или в местах их возможного возникновения устанавливают:

размеры и основные характеристики водосборного бассейна каждого оврага или тальвега на основании плана масштаба 1:2000 и крупнее;

расчетный расход воды в овраге или в тальвеге, определяемый согласно [30] и приложению 7;

продольный профиль дна оврага или тальвега и поперечные профили в характерных местах;

геологическое строение откосов и дна оврагов;

гранулометрический состав грунтов, плотность и степень размокаемости;

характеристика защитного покрова на откосах, дне оврага, а также на прилегающей местности в полосе не менее 50 м в каждую сторону от края оврага;

характер и интенсивность роста оврагов на обследуемом участке.

9.3. При пересечении трассой местности, в пределах которой возможно оврагообразование или имеются овраги на разных стадиях развития, в проектах необходимо предусматривать мероприятия, имеющие целью:

предотвратить возникновение новых оврагов в связи с изменением режима поверхностного стока и нарушением защитного покрова легкоразмываемых грунтов при строительстве дороги;

не допустить возобновления процесса развития имеющихся оврагов;

приостановить дальнейшее развитие имеющихся оврагов, если они угрожают устойчивости проектируемого земляного полотна.

9.4. Для предотвращения возникновения новых и возобновления роста существующих оврагов следует предусматривать:

регуляцию поверхностного стока с соответствующим укреплением участков водоотводов с повышенной скоростью течения, в том числе выходов водоотводных сооружений, а также дна и откосов оврагов на длине, определяемой гидравлическим расчетом;

восстановление нарушенного при строительстве защитного (дернового и растительного) покрова;

создание защитной зоны с особыми условиями землепользования, в том числе с запрещением рубки кустарника и леса, выпаса скота, распахивания склонов и т.д.

9.5. Для прекращения дальнейшего развития оврага можно применять:

ограждение оврага водоотводными устройствами от притекающей воды;

укрепление головной части дна и откосов оврага;

устройство запруд.

9.6. Ограждение оврага от притекающей воды может быть обеспечено посредством каменных барьеров, валов и канав, перехватывающих и отводящих воду к укрепленному водоспуску.

Головную часть и дно оврага можно закреплять посредством устройства быстротоков, водосбросов и перепадов, водоспусков, укрепленных насаждениями, барражей, обсева семенами трав, посадки деревьев и кустарников на дне оврага, наброски камня и т.д.

9.7. Откосы оврагов можно закреплять посредством: планировки, уположения откосов; плетневых заборов на откосах круче 25°, которые располагаются через 3 м по вертикали, пространство между ними засевается травами; обсеменения травами, а также посадки кустарников и деревьев.

Посадка на склонах и откосах крутизной, меньше 1:2, производится рядами под углом 45° к горизонту. На крутых склонах посадки производятся на террасах, располагаемых горизонтально. Террасы следует проектировать шириной примерно 0,7 м на расстоянии 2 - 3 м друг от друга.

С наружной стороны террасы необходимо проектировать валик шириной и высотой 0,3 м.

9.8. Устройство запруд может быть применено в случаях, когда:

повышение уровня грунтовых вод не будет нарушать устойчивость дорожных сооружений;

инженерно-геологические условия обеспечивают стабильное сохранение воды в водохранилище.

10. Земляное полотно в районах с развитием селей

10.1. При трассировании новых железных и автомобильных дорог в районах с развитием селей (грязекаменных потоков) необходимо рассматривать варианты обхода селеопасных участков.

В случае неизбежности пересечения селевого бассейна оптимальным является переход его в низовой части транзитной зоны. Если транзитный пропуск селей окажется невозможным или нерациональным, в проектах необходимо предусматривать мероприятия, направленные на ослабление мощности селевых потоков до подхода к мостовому переходу и на защиту его элементов от динамического воздействия селей.

При проектировании противоселевых мероприятий необходимо учитывать интересы других отраслей народного хозяйства в рассматриваемом районе.

10.2. Основными противоселевыми мероприятиями, направленными на предотвращение образования и развития селевых потоков являются: агролесомелиоративные (посадка деревьев и кустарников), организация охранных зон, защитные инженерные сооружения, в том числе устройства для поверхностного водоотвода (канавы, валики).

10.3. К защитным инженерным сооружениям относятся: селепропускные (мосты, селеспуски), селезадерживающие (запруды, котлованные наносоуловители) и селеотводящие, а также - селенаправляющие устройства (дамбы, каналы).

10.4. При верховом пересечении селевых русел следует применять мосты отверстием не менее 4 м без промежуточных опор или с минимальным количеством их. Применять водопропускные трубы на селевых руслах запрещается.

10.5. Мостовые переходы следует размещать на прямых участках трассы, русла водотока или лога; на участках с достаточно крутым уклоном русла, обеспечивающим транзитный пропуск всего потока.

10.6. Величину продольного уклона русла i можно определять по условию

                                                                    (16)

где d - расчетный максимальный размер камней в селевом потоке;

С - коэффициент шероховатости;

R - гидравлический радиус русла.

10.7. Селепропускное отверстие следует рассчитывать на пропуск максимального расхода селевой волны, определяемого по формуле

                                                            (17)

где Во, Но - соответственно ширина и высота наибольшей волны селевого потока на подходном участке, устанавливаемые в период изысканий, м;

υср - средняя скорость селевого потока, принимаемая в пределах 4 - 3 м/сек в зависимости от продольного уклона русла и глубины потока.

10.8. Минимальную высоту отверстия селепропускных мостов, м, можно определять по формулам:

Н = Но + 1,5;                                                                (18)

Н = μ Но + 1,5;                                                               (19)

Н = Hо + n ho + 1,5;                                                         (20)

Н = μ Но + n ho + 1,5,                                                      (21)

где  - коэффициент стеснения по ширине селевого потока, принимается в зависимости от насыщенности потока, но не менее 0,6;

В - ширина отверстия моста, м;

1,5 - запас высоты отверстия, м;

n - среднее число селей за расчетный период;

ho - мощность отложения в русле при проходе одного селя, м.

Формулы (18) и (19) следует использовать для расчета отверстия мостов соответственно без стеснения русла отверстием и со стеснением, размещаемых на участках русла, где обеспечивается транзитный пропуск селей.

Формулы (20) и (21) следует использовать для расчета отверстия мостов соответственно без стеснения русла отверстием и со стеснением на участках русла, где не полностью обеспечивается транзитный пропуск селей. Стеснение потока по высоте отверстия не допускается.

10.9. Стеснение потока отверстием по ширине допускается в пределах, не превышающих 40 % расчетной ширины потока Во при обязательном условии сопряжения потока с подмостовым отверстием регуляционными направляющими сооружениями.

10.10. Регуляционные сооружения на расстоянии 150 - 200 м с верховой и низовой сторон мостового перехода необходимо проектировать с плавными и небольшими (до 12°) поворотами.

Селевые потоки значительной мощности можно пропускать через несколько искусственных сооружений, для чего следует предусматривать деление потока дамбами, размещаемыми у выхода ущелья в долину.

10.11. Селеспуски, размещаемые над земляным полотном в виде лотков - галерей целесообразно применять в случаях размещения оси полотна на расстоянии 20 - 30 м от подножья склона, когда возможно проектирование селеспуска с продольным уклоном не менее 0,15 и плавным вписыванием входных оголовков селеспуска в берега. При этом разность сопрягающихся уклонов русла и лотка селеспуска не должна превышать 0,04 - 0,05. Следует предусматривать также отвод лотка селеспуска с низовой стороны земляного полотна с продольным уклоном не менее 0,20.

10.12. Запруды (барражи) размещаются в селевых логах поперек направления потока в виде стен из каменной наброски, каменной кладки на цементном растворе и других материалов.

Учитывая, что одиночные барражи не обеспечивают затухания селевой деятельности, рекомендуется проектировать систему барражных стен с очередностью строительства вверх по течению до селеобразующих очагов в верховьях логов.

Стены целесообразно размещать в суженных местах русла и создавать селехранилища возможно большего объема. Сроки строительства барражей следует назначать в зависимости от срока заноса селехранилищ.

При статическом расчете стен на скольжение коэффициент трения следует принимать не более 0,4 кг/см2; нормативный коэффициент устойчивости на скольжение и опрокидывание от динамической нагрузки коэффициент следует принимать с учетом положений п. 2.4; при динамическом расчете барражных стен следует учитывать удары камней максимального размера.

В целях исключения бокового размыва заграждения необходимо предусматривать заделку барражных стен в береговые склоны.

10.13. Полузапруды в виде траверсов и шпор можно применять при необходимости отжатия потока с целью предотвращения непосредственного воздействия ударной волны на сооружения.

10.14. Котлованные наносоуловители можно применять в целях уменьшения мощности и задержания наносов селевого потока. Их следует размещать на пути движения селевого потока в виде отдельных глубинных селеприемников. Количество и размеры котлованных наносоуловителей следует определять в зависимости от селеносности бассейна.

10.15. Селеотводящие каналы следует применять для защиты станций, населенных пунктов и других объектов от воздействия селевых потоков.

Размеры каналов необходимо назначать в зависимости от расчетного расхода селевого потока; повороты каналов следует проектировать плавными с углами поворота не более 15°; продольный уклон должен обеспечивать транзитный пропуск селевого потока.

На участках транзитного пропуска селевых потоков дно и стенки каналов, селеспусков, лотков, а также откосы насыпей и каналов необходимо укреплять в зависимости от скорости селевого потока и содержания в нем крупнообломочного материала. Для увеличения скорости селевого потока в подмостовом русле целесообразно проектировать бесступенчатые лотки с крутыми уклонами.

11. Земляное полотно на участках скальных обвалов

11.1. Предотвращение скально-обвальных явлений, уменьшение их последствий и обеспечение безопасности движения на горных дорогах достигается посредством: рациональной укладки трассы, применения укрепительных и защитных сооружений, использования различных сигнальных устройств и других мероприятий.

11.2. Рациональная укладка трассы заключается в полном или частичном обходе скально-обвальных участков открытой трассой или тоннелем. К тоннельному обходу следует прибегать в случаях, когда прохождение через скально-обвальный участок или обход его открытой трассой практически невозможны или в технико-экономическом отношении нецелесообразны.

11.3. Укрепительные сооружения и мероприятия включают в себя комплекс методов, придающих откосу или склону большую устойчивость и предотвращающих образование скально-обвальных явлений. В этот комплекс входят: стены (поддерживающие, подпорные, одевающие или облицовочные, подпорно-одевающие), контрфорсы, пломбы, опояски, закрепление неустойчивых блоков анкерами (штангами, болтами) и металлическими сетками, укрепление откосов и склонов вяжущими материалами (покрытием или инъекцией), агролесомелиоративные мероприятия (укрепление склонов древесно-кустарниково-травяной растительностью).

11.4. Противообвальные защитные сооружения включают: улавливающие грунтовые сооружения (рвы, траншеи, валы), улавливающие стены, улавливающие полки, заградительные сети, надолбы, противообвальные галереи.

11.5. Организация сигнальных устройств и мероприятий сводится к созданию различных сигнальных противообвальных автоматических устройств, предупреждающих о падении камней на путь, и противообвальных постов, выполняющих аналогичную роль.

Условия применения противообвальных мероприятий и сооружений

11.6. На участках, характеризующихся устойчивыми в природных условиях горными склонами, предпочтение следует отдавать вариантам размещения трассы без нарушения целостности пород коренного склона, особенно если скальный косогор сложен сильно дислоцированными трещиноватыми породами, имеющими неблагоприятное направление слоистости и наклона по отношению к проектируемой дороге.

В пределах косогоров круче 60° при высоком расположении трассы над урезом воды в пределах прижимных участков рек рекомендуется рассматривать варианты устройства земляного полотна с применением балконов и полубалконов без нарушения устойчивости косогора.

11.7. Срезку склонов разрешается предусматривать на обвальных участках в случаях, когда из-за стесненных условий окажется невозможным или нецелесообразным уложить трассу за пределами обвального косогора, выполнять укрепительные мероприятия или защитить дорогу противообвальными сооружениями. Срезку можно осуществлять по всей высоте или части склона или откоса с устройством террас. В случае проектирования срезки необходимо предусматривать также размещение улавливающих устройств в соответствии с п. 11.21.

11.8. Укрепление обвальных косогоров целесообразно осуществлять в тех случаях, когда трасса размещается в стесненных условиях у подошвы крутых откосов и склонов.

11.9. Поддерживающие стены (рис. 25) следует применять в местах наличия нависающих карнизов, когда удаление последних трудно осуществимо или требует выполнения значительного объема работ. Поддерживающие стены особенно целесообразны в случаях, когда карниз сложен менее выветриваемыми породами, чем породы нижележащих слоев.

11.10. Подпорные стены (рис. 26) целесообразно применять для удержания слоев горной породы, подсекаемых откосом выемки, когда уборка этих слоев затруднена или экономически нецелесообразна.

Рис. 25. Поддерживающая стена:

1 - ось пути; 2 - проектируемое земляное полотно

Рис. 26. Подпорная стена:

1 - ось пути; 2 - проектируемое земляное полотно

При большой высоте откоса могут быть применены подпорные стены, заанкеренные в устойчивых слоях скалы (рис. 27). Проектирование подпорных стен, в том числе выбор конструкций и способов расчета, следует выполнять согласно [16].

11.11. Облицовочные стены (рис. 28) предназначаются для устранения выветривания пород в откосах при наличии на них глубоких впадин. Внутреннюю часть стен, заполняющих впадины, целесообразно делать из бутобетона, а по выровненной поверхности наносить наружный слой небольшой толщины из вяжущего материала повышенной прочности. Проектировать облицовочные стены из сухой каменной кладки не разрешается.

Рис. 27. Заанкеренные подпорные стены:

1 - анкер; 2 - подпорные стены; 3 - скальная порода; 4 - ось пути; 5 - проектируемое земляное полотно

Рис. 28. Облицовочные стены:

1 - легковыветривающиеся скальные породы; 2 - облицовочная стена; 3 - лоток; 4 - ось пути; 5 - проектируемое земляное полотно

11.12. Подпорно-облицовочные стены следует применять в случаях необходимости удержания и защиты от выветривания откосов скального массива.

11.13. Контрфорсы из бетонной или каменной кладки (рис. 29) назначаются для подпирания неустойчивых слабо разбитых трещинами скальных массивов, удаление которых может вызвать нарушение устойчивости скального откоса или косогора в целом.

Рис. 29. Схема устройства контрфорса:

1 - неустойчивый скальный массив; 2 - контрфорс; 3 - ось пути; 4 - проектируемое земляное полотно

Рис. 30. Схема устройства пломбы:

1 - пломба; 2 - ось пути; 3 - проектируемое земляное полотно

11.14. Пломбы (рис. 30) являются разновидностью поддерживающих и одевающих стен, незначительных по протяжению и высоте. Они предназначаются для заполнения местных углублений в откосах и склонах с целью уменьшения интенсивности выветривания пород.

11.15. Опояски (рис. 31) следует применять для поддержания неустойчивых наклонных слоев породы, когда использование подпорных стен, контрфорсов или уборка массива нецелесообразны по технико-экономическим соображениям.

11.16. Анкеры (рис. 32) целесообразно применять для прикрепления крупноглыбовых отдельностей к достаточно прочному скальному массиву. При мелкоглыбовой раздробленности скального откоса или склона и близости залегания к поверхности прочной породы укрепление откоса может быть обеспечено применением относительно коротких анкеров в совокупности с металлической сеткой, прикрепляемой этими анкерами к поверхности откоса.

11.17. Защиту от выветривания откосов и склонов при помощи покрытия их поверхности вяжущими, в том числе аэрированными растворами, рекомендуется предусматривать в случаях, если общая устойчивость откоса или склона по данным расчетов или по аналогии со смежными склонами является обеспеченной, а использование облицовочных стен и других средств защиты будет затруднительным, неэффективным или экономически нецелесообразным. При этом в проектах необходимо предусматривать работы по предварительному выравниванию и расчистке от камней или отдельностей породы, которые могут подвергаться произвольным вывалам.

Проектирование защитных покрытий из аэрированных растворов и технология производства работ по их устройству изложены в [20].

Рис. 31. Схема устройства опояски:

1 - поддерживаемый массив породы; 2 - трещина; 3 - бетонная облицовка; 4 - металлические штыри диаметром 20 - 30 мм; 5 - арматура

11.18. Укрепление откосов посредством инъекции вяжущих целесообразно применять при наличии сквозной системы трещиноватости, позволяющей раствору, нагнетаемому через скважины, проникнуть во все или в большинство прилегающих трещин. Наиболее рационально проводить инъекцию в породах, разбитых на относительно крупные блоки. В качестве инъектируемых веществ, помимо цементных растворов, могут быть применены различные фтористые соединения (фтористый цинк, фтористый магний, фтористый алюминий), растворимое стекло, эпоксидные смолы и другие вещества, если это окажется экономически целесообразным.

Рис. 32. Схема закрепления неустойчивых пластов породы:

1 - скальная порода; 2 - анкеры; 3 - ось пути; 4 - проектируемое земляное полотно

11.19. Укрепление склонов древесно-кустарниково-травяной растительностью местных пород следует применять при наличии на склоне поверхностного выветрившегося слоя мощностью не менее 0,5 м.

11.20. Противообвальные защитные сооружения следует проектировать для защиты железных и автомобильных дорог от падения одиночных камней, а также от осыпей и небольших скальных обвалов в случаях, когда укрепительные сооружения не обеспечивают необходимую степень безопасности движения транспорта, например, вследствие большой удаленности друг от друга или слабой выраженности неустойчивых участков, большой протяженности или высоты склонов и откосов и т.д.

Грунтовые улавливающие сооружения, стены и сети можно располагать непосредственно у подошвы откоса или склона (путевые улавливающие сооружения) и на склоне (склоновые или нагорные улавливающие сооружения). Улавливающие полки и противообвальные галереи целесообразно располагать только у подошвы откосов и склонов, а надолбы - на склонах.

11.21. Путевые улавливающие траншеи (рис. 33), полки с барьером (рис. 34) или бордюром (рис. 35) следует проектировать для защиты дороги от падения камней с откосов высотой до 60 м и крутизной не менее 35°. Их применение целесообразно на участках со склонами, не являющимися в природных условиях опасными в отношении возникновения скально-обвальных явлений вследствие залесенности и других причин. Их можно применять также около скально-обвальных склонов при наличии достаточного расстояния от подошвы склона до земляного полотна.

Откосы скальных выемок и полувыемок в устойчивых породах в случаях устройства путевых улавливающих траншей и полок целесообразно проектировать крутизной от 1:0,2 до 1:0,5.

Дну улавливающих траншей следует придавать продольный уклон, равный уклону пути, но не менее 2 ‰. В необходимых случаях путевой откос траншеи должен быть укреплен от размыва.

Рис. 33. Схема устройства путевой улавливающей траншеи:

L - ширина и hт - высота траншеи, назначаемые по расчету; 1 - ось пути; 2 - проектируемое земляное полотно

Рис. 34. Схема устройства путевой улавливающей полки с барьерной стенкой:

L - ширина полки, назначаемая по расчету; hc - высота барьерной стенки, назначаемая по расчету; 1 - стенка; 2 - лоток; 3 - ось пути; 4 - проектируемое земляное полотно

Рис. 35. Схема устройства путевой улавливающей полки с бордюрной стенкой:

L - ширина полки, назначаемая по расчету; hб - высота бордюрной стенки, назначаемая по расчету; 1 - стенка; 2 - ось пути; 3 - проектируемое земляное полотно

11.22. Путевые улавливающие валы и рвы (рис. 36) целесообразно применять при размещении полотна у подошвы затяжных оголенных склонов, являющихся самостоятельными источниками скально-обвальной опасности, когда расстояние между подошвой склона и защищаемой дорогой окажется достаточным. Путевые рвы отличаются от путевой траншеи большими размерами. Они предназначаются для задержания скальных обломков, падающих с затяжных склонов с большой скоростью.

Рис. 36. Схема защиты полотна, размещенного у подошвы скально-обвального затяжного косогора:

а - посредством рва с валом; б - посредством рва без вала; 1 - ров; 2 - вал; 3 - ось пути; 4 - проектируемое земляное полотно; hв - глубина рва с валом и hp - то же без вала, назначаемые по расчету

11.23. Нагорные улавливающие рвы и валы (рис. 37) целесообразно проектировать на склонах крутизной до 25° на высоте не более 30 м и над полотном дороги. При крутизне склонов до 20° и достаточно мощном делювиальном покрове валы целесообразно возводить из местных грунтов применительно к рис. 38.

При крутизне склонов от 20 до 25° откосу земляного вала следует придавать крутизну 1:1, укрепляя его каменной выкладкой на цементном растворе. При этом у подошвы низового откоса вала необходимо проектировать упор из бутовой кладки на цементном растворе (рис. 39).

На участках с осыпями можно применять улавливающие валы, сооружаемые из крупных постелистых камней без раствора.

Рис. 37. Схема устройства улавливающего рва с валом в пределах косогора:

1 - ров; 2 - вал; hв - глубина рва с валом

11.24. Улавливающие стены (рис. 40), как правило, целесообразно размещать у подошвы скально-обвальных склонов крутизной от 25 до 35°. Улавливающие стены можно также проектировать при необходимости вместо путевых улавливающих валов. Улавливающие стены на склонах следует проектировать для защиты земляного полотна в пределах полувыемок на относительно пологом участке скально-обвального склона и располагать их на 20 - 30 м выше бровки земляного полотна.

Рис. 38. Схема устройства улавливающего рва на косогоре крутизной до 20°:

1 - упор из каменной кладки; 2 - укрепление откоса; 3 - вал из местного грунта; 4 - уступы в основании вала; 5 - ров

Рис. 39. Схема устройства улавливающего рва на косогоре крутизной от 20 до 25°:

1 - поверхность косогора до устройства вала; 2 - подпорная стенка; 3 - каменная кладка; 4 - укрепление откоса; 5 - вал из местного грунта

Барражные улавливающие стены следует применять для перекрытия наиболее узкой части тальвегов, ложбин и распадков, по которым вероятно движение обломков горных пород.

Барьерные улавливающие стены целесообразно размещать у подошвы крутых, относительно невысоких откосов и склонов для улавливания отдельных камней (см. рис. 35) или для задержания осыпи при выветривании в откосе скальной породы (рис. 41).

Улавливающие стены можно проектировать монолитными из бутовой кладки, сборно-монолитными или из сборного железобетона.

Рис. 40. Схема устройства улавливающей стены с застенной засыпкой:

1 - ров; 2 - засыпка; 3 - проектируемое земляное полотно; 4 - ось пути; 5 - стена

Выбор конструкции необходимо обосновывать технико-экономическими расчетами.

11.25. Размеры улавливающих пазух противообвальных улавливающих сооружений назначаются по результатам расчетов (приложение 10), с учетом обеспечения возможности механизации работ по сооружению пазух, а также по их очистке в условиях эксплуатации.

Рис. 41. Схема размещения барьерной улавливающей стены:

1 - стена; 2 - местный грунт; 3 - легко выветривающаяся скальная порода

При этом в выемках и полувыемках значительного протяжения следует предусматривать временные переезды, располагаемые через 250 - 300 м один от другого для перехода механизмов и перемещения грунта из траншеи через путь.

Очертания амортизирующих откосов улавливающих пазух рекомендуется назначать при скоростях движения камней до 20 м/сек применительно к рис. 42, а, при скоростях движения камней более 20 м/сек - применительно к рис. 42, б, в.

В стесненных условиях крутизну откосов пазух можно увеличивать до 1:0,75, но предусмотреть его укрепление, например, выкладкой камней в один ряд. При ломаном очертании (см. рис. 42 б, в) откос амортизирующей отсыпки можно проектировать крутизной 1:1,25 - 1:1,5 без укрепления. В этом случае в верхней части откоса необходимо размещать стенку из сухой кладки, высоту которой можно назначать по табл. 7 приложения 10. На участках, где склон покрыт подвижными осыпями, эта стенка будет ограничителем для задержания камней.

Рис. 42. Схемы улавливающих устройств:

а - при расчетных скоростях движения камней до 20 м/сек; б, в - то же свыше 20 м/сек; 1 - стена; 2 - укрепление поверхности откоса; 3 - поверхность косогора до возведения улавливающих устройств; 4 - амортизирующая застенная засыпка; 5 - застенный дренаж; 6 - стенка из сухой кладки; ho - высота застенной засыпки; h - высота стенки-ограничителя; в - ширина по дну улавливающей траншеи

11.26. При проектировании улавливающих сооружений необходимо:

в плане и продольном профиле не допускать резких переломов и углов поворота сооружений;

в сооружениях оставлять через каждые 50 - 100 м разрывы шириной до 4 м, облегчающие очистку пазух от задержанных обломков горной породы и осыпей;

в местах разрывов противообвальных сооружений, предусматривать устройство дополнительных ограждающих сооружений;

концы смежных по высоте склона сооружений размещать с перекрытием на длину от 5 до 10 м;

дну улавливающих пазух придавать уклон не менее 2 ‰ по направлению к разрыву или к концам сооружения.

11.27. Заградительные сети целесообразно использовать на склонах и откосах с ограниченной площадью, учитывая, что для их размещения необходимо значительно меньшее пространство, чем для других улавливающих сооружений. Сетями можно покрывать склон или откос с закреплением их верхнего и нижнего концов. Сети можно также устанавливать вертикально на стойках в пределах склонов или у подошвы откосов. При этом сечение и прочность закрепления концов необходимо обосновывать расчетом.

11.28. Надолбы (рис. 43) целесообразно применять в комплексе с другими улавливающими сооружениями (рвами, валами, стенами, сетями и др.) на затяжных склонах крутизной до 30°. Надолбы можно проектировать деревянными, железобетонными или металлическими высотой 1,5 - 2,0 м, вставляемыми в гнезда в фундаменте. Надолбы целесообразно располагать в плане в шахматном порядке.

Рис. 43. Схема размещения надолбов:

1 - надолбы; 2 - вал; а, в - размеры, назначаемые по расчету

11.29. Противообвальные галереи следует применять при размещении трассы на крутых косогорах, если другие, более простые противообвальные сооружения, практически неосуществимы или экономически нецелесообразны.

Противообвальные галереи рекомендуется проектировать в соответствии с [21]. Выбор конструкции галерей должен быть обоснован технико-экономическими расчетами.

11.30. В проектах противообвальных защитных сооружений необходимо предусматривать работы по очистке перед началом строительства поверхностей косогоров от неустойчивых камней.

11.31. Сигнальные противообвальные автоматические устройства (проволочные или сетчатые) следует применять в случаях, когда строительство капитальных противообвальных сооружений не может быть выполнено к сроку сдачи линии в эксплуатацию или переносится на более отдаленное время.

На крутых обвальных откосах и склонах необходимо предусматривать устройство сигнальных ограждений в горизонтальной и вертикальной плоскостях. В пределах откосов и склонов крутизной до 50° можно предусматривать только вертикальные ограждения.

11.32. Противообвальные посты необходимо предусматривать в случаях, когда применение укрепительных и защитных противообвальных сооружений является нецелесообразным в технико-экономическом отношении, а автоматическая скально-обвальная сигнализация не организована.

Проектирование противообвальных сооружений

11.33. Проектирование противообвальных сооружений включает:

определение размеров сооружений, достаточных для задержания обвалов и осыпей, а также отдельных камней;

расчет прочности и устойчивости сооружений или их элементов.

11.34. Расчетные параметры для определения размеров противообвальных сооружений необходимо устанавливать по всем характерным поперечным профилям склонов.

Для сооружений небольшой длины и при однообразном рельефе склона следует принимать одинаковые размеры и один тип сооружения на всем протяжении.

11.35. Размеры улавливающих сооружений следует определять расчетом на перелет и на выскакивание камней за пределы сооружения.

Расчетом на перелет можно определять: высоту улавливающих стен или валов, ширину рвов, полок и путевых улавливающих траншей, а также обосновывать выбор конструкций и местоположения сооружений, при которых не будет перелета камней через сооружение при обвалах.

Расчетом на выскакивание устанавливаются глубина застойных пазух и улавливающих рвов, высота заградительных и бордюрных стен.

Прочность и устойчивость противообвальных сооружений следует проверять расчетом на статическую нагрузку от амортизирующей засыпки и обвальных масс, а также на удар камня расчетной величины.

11.36. Проектирование противообвальных сооружений рекомендуется выполнять в такой последовательности:

определяются размеры противообвального улавливающего сооружения (приложения 10, 11);

устанавливаются основные размеры несущей конструкции сооружения, а также необходимая толщина амортизирующей отсыпки (приложение 12) при условии, что принятые по статическому расчету основные размеры несущей конструкции обеспечивают достаточную устойчивость сооружения при динамической нагрузке.

11.37. Основными исходными величинами при определении размеров улавливающих сооружений являются расчетная скорость движения камней по горным склонам и угол отражения камня при последнем его скачке перед сооружением (см. приложения 10 и 11).

11.38. При статическом расчете распор от обломков горной породы, задержанных улавливающих сооружением, следует определять в предположении полного завала ими улавливающей пазухи, принимая ограничение завала сверху плоскостью с наклоном к горизонту под углом 20°. При глубине улавливающей пазухи более 3,5 м можно принимать ограничение завала сверху горизонтальной плоскостью.

Распор от задержанных обломков горной породы следует определять по формулам давления грунта на подпорные стены; угол внутреннего трения обвалившейся горной породы можно принимать равным 40°.

При проверке устойчивости сооружения на скольжение и на опрокидывание от статической нагрузки нормативное значение коэффициента устойчивости следует принимать согласно пп. 2.4 - 2.6, но не более 1,4.

11.39. Динамический расчет улавливающих стен и валов, имеющих амортизирующую отсыпку, следует производить на удар одиночным камнем расчетной величины, устанавливаемой по данным обследования обвального участка. При отсутствии достаточно точных данных расчет следует производить на удар камнем объемом 1 м3.

Статическое давление амортизирующей отсыпки при расчете на удар можно не учитывать, но напряжения в кладке и грунте увеличивать на 20 %.

При проверке устойчивости сооружения на скольжение и опрокидывание от динамической нагрузки нормативные значения коэффициента устойчивости следует принимать согласно п. 2.5.

11.40. Галереи следует рассчитывать на воздействие статической нагрузки от обвальной породы, веса амортизирующей засыпки, бокового давления породы с нагорной стороны на стену галереи. Расчет галереи на удар одиночного камня объемом 1 м3 следует вести в случаях, когда от места расположения галереи до очагов скальных обвалов имеется достаточно большое расстояние и исключена возможность непосредственного обрушения на перекрытие галереи крупных скальных глыб. Методика расчета галерей приведена в [2] и приложении 12.

12. Особенности проектирования и расчета устойчивости земляного полотна в сейсмических районах

12.1. Сейсмическое воздействие на земляное полотно и расчетную сейсмичность района строительства необходимо учитывать и устанавливать согласно [4].

12.2. Уположение откосов земляного полотна требуется предусматривать в районах с расчетной сейсмичностью, равной или превышающей 9 баллов. При этом крутизну откосов земляного полотна из нескальных грунтов при высоте насыпей и глубине выемок более 4 м следует уполаживать на 1:0,25 по сравнению с соответствующей крутизной, принятой для несейсмических районов. Откосы, имеющие для обычных условий крутизну, равную или меньшую 1:2,25, в сейсмических районах дополнительно не уполаживаются.

12.3. В выемках или полувыемках, расположенных в скальных грунтах, а также в насыпях, отсыпанных из крупнообломочных грунтов, дополнительное уположение откосов, с целью обеспечения их сейсмической устойчивости, не предусматривается.

12.4. При устройстве земляного полотна на склонах, подверженных осыпям и курумам, имеющих крутизну свыше 25°, в районах с расчетной сейсмичностью более 7 баллов следует предусматривать мероприятия для предотвращения попадания на путь внезапно смещающихся в процессе землетрясения отдельных крупных глыб и каменного материала. В качестве защитных мероприятий в этих условиях рекомендуется устройство между основной площадкой и верховым откосом или склоном уширенной и заглубленной улавливающей полки, траншеи или рва, объем которых следует определять с учетом мощности осыпи или курума.

При соответствующем технико-экономическом обосновании могут использоваться и другие противообвальные сооружения и мероприятия (подпорно-улавливающие стены, галереи и т.п.) из числа применяемых для защиты земляного полотна в скально-обвальных районах (см. раздел 11).

12.5. Расчетную сейсмичность в косогорных условиях рельефа при крутизне склона от 1:1,5 до 1:3 следует увеличивать по сравнению с сейсмичностью по карте сейсмического районирования на 1 балл.

12.6. В районах с расчетной сейсмичностью 8 баллов и более, на косогорах круче 1:2 (25°) низовые откосы насыпей следует укреплять подпорными стенами или заменять насыпи эстакадами. На более пологих косогорах замена насыпей эстакадами осуществляется при соответствующем технико-экономическом обосновании, при высоте насыпей свыше 20 м.

При устройстве земляного полотна на косогорах основную площадку его, как правило, необходимо размещать или полностью на полке, врезанной в склон с устройством полувыемки, или целиком на насыпи с устройством полунасыпи.

12.7. Расчеты устойчивости земляного полотна с учетом сейсмического воздействия можно выполнять в соответствии с [7 и др.].

13. Особенности проектирования насыпей на участках подтопления

13.1. Насыпи в зоне периодического или постоянного подтопления, на участках пересечения пойм рек, староречий, озер или при размещении дорог вдоль рек и водоемов следует проектировать с учетом местных условий.

В районах распространения легкоразмываемых грунтов (лессовидных, засоленных и др.) на участках возможного подтопления земляного полотна необходимо предусматривать водопропускные сооружения, исключающие подпор воды или снижающие его величину и время действия, а также соответствующее укрепление откосов.

13.2. Насыпи, используемые как плотины, размещаемые на морских берегах или берегах водохранилищ, подверженных переработке, следует проектировать на основании действующих нормативных документов [17, 22 и др.].

13.3. Прочность и устойчивость подтопляемых насыпей необходимо проверять расчетами, учитывающими воздействие внешних нагрузок, особенности гидрологического и метеорологического режимов, инженерно-геологические условия в пределах рассматриваемого участка и свойства грунтов тела насыпи.

В сложных случаях, когда расчетные схемы и расчеты не могут отразить весь комплекс факторов, действующих на земляное полотно в рассматриваемых условиях, целесообразно проводить испытание моделей конструкций проектируемых сооружений.

13.4. Расчетами должны быть установлены величина осадки основания и степень уплотнения грунтов насыпи, а также проверены устойчивость откосов и основания насыпи, устойчивость и прочность элементов укрепления откосов.

13.5. Основными материалами и данными для расчета прочности и устойчивости насыпей на участках подтопления являются:

продольный и поперечные разрезы основания с нанесенными на них слоями грунта с однородными свойствами; литологическое описание слоев грунта;

расчетные характеристики грунтов (объемный вес, объемный вес скелета, угол внутреннего трения, сцепление, пористость, коэффициент фильтрации, естественная влажность и пр.) каждого расчетного слоя основания, а также карьерных грунтов, используемых для возведения насыпи, с приложением графиков стандартного уплотнения грунтов, компрессионных кривых и пр.;

материалы, характеризующие гидрологический режим водотока и водоема (данные об уровнях, расходах, ледовом режиме и т.д.);

справки о наличии местных строительных материалов, потребных для выполнения укрепительных работ.

Проектирование насыпей

13.6. Минимальное возвышение hб бровки земляного полотна насыпей, незатопляемых берм, а также незатопляемых регуляционных сооружений над расчетным статическим уровнем воды следует определять по формуле

hб = а + hн + Dh + hподп,                                                           (22)

где а - запас, принимаемый, согласно действующим СНиП по проектированию железных и автомобильных дорог, не менее 0,5 м - для железнодорожных и автодорожных насыпей; 0,25 м - для незатопляемых берм и регуляционных сооружений;

hн - высота наката ветровой или судовой волны на откос (принимается большая из них), м;

Dh - высота подъема уровня от ветрового нагона воды, м;

hподп - величина повышения уровня воды над расчетным статическим за счет стеснения русла насыпью, м.

13.7. За расчетный статический уровень воды следует принимать уровень, соответствующий наибольшему расходу с вероятностью превышения, устанавливаемому согласно [13, 36].

При расположении земляного полотна в зоне постоянного подпора плотиной расчетный статический уровень для железных и автомобильных дорог принимается равным нормальному подпорному статическому уровню.

Для железных дорог, кроме того, требуется проверять возвышение бровки полотна для условий форсированного статического уровня при наибольшем расходе и в расчет принимать наибольшее возвышение.

13.8. Высота наката ветровых волн принимается обеспеченностью 1 % и определяется согласно [17].

13.9. Расчетная высота ветровых волн обеспеченностью 1 % в их системе определяются согласно [22], причем расчетная скорость ветра принимается:

среднемноголетней максимальной, вычисленной по данным наблюдений в паводковый период не менее чем за 10 лет, при условии наибольшего расхода и соответствующего ему уровня (на водохранилищах - форсированного уровня);

для условий расчетного расхода и соответствующего ему уровня при паводках - согласно табл. 12.

для условий нормального подпорного уровня в зоне водохранилищ вероятностью превышения максимальной скорости ветра за период стояния открытой водной поверхности 2 % - для железных дорог, 4 % - для автомобильных.

Таблица 12

Категория дорог

Расход расчетной вероятности превышения, %

Вероятность превышения максимальной скорости ветра за период стояния высоких уровней, %

I и II

1

20

III

2

30

IV и V

3

30

13.10. Высота наката судовых волн и их расчетная высота определяется по [22].

13.11. Высоту подъема уровня от ветрового нагона следует определять по формуле

                                                             (23)

где К - параметр, принимаемый равным 6·10-3;

υ10 - расчетная максимальная скорость ветра, измеренная на высоте 10 м над статическим уровнем, м/сек, определяемая по [22];

L - длина разгона ветровой волны, км, определяемая по [22];

a - угол между продольной осью насыпи и направлением ветра;

g - ускорение свободного падения, м/с2;

Н - глубина, м.

13.12. Величина повышения расчетного статического уровня воды за счет стеснения русла насыпью hподп устанавливается с учетом величины подпора перед мостом, определяемого при возможном размыве русла под мостом, но не более 50 % площади наибольшего расчетного размыва; уклона потока вдоль земляного полотна с верховой стороны подходов к мосту, а также наличия и размещения мостовых струенаправляющих дамб. При пересечении трассой водохранилищ учитывается только величина подпора перед мостом.

13.13. Бровка земляного полотна на подходах к мостам на малых водотоках и у труб должна быть выше отметки подпорного уровня, определяемого по расходам согласно п. 13.7, не менее чем на 0,50 м для мостов и труб при безнапорном режиме и не менее чем на 1,0 м для труб отверстием 2,0 м и более при напорном и полунапорном режимах.

13.14. Конструкцию насыпи, в том числе крутизну откосов и размеры берм, следует назначать по условиям устойчивости земляного полотна, способов производства работ и типа укрепления откосов.

В отдельных случаях, при соответствующем обосновании, вместо укрепления откосов допускается их уположение.

При проектировании насыпей на слабых основаниях необходимо учитывать их осадку в соответствии с [10, 11].

13.15. При косом пересечении поймы трассой или при прямом пересечении реки с широкими поймами, а также в случаях долинных ходов по пойме, при разности уровней воды с верховой и низовой сторон более 1,0 м, необходимо проверять расчетами работу насыпей, как плотин.

13.16. В основании насыпей при поперечном уклоне круче 1:10 на участках со стоячей водой и круче 1:20 в пределах водотоков необходимо предусматривать устройство уступов. Если в основании насыпи залегает слой ила, следует предусмотреть его удаление или отжатие весом насыпи.

В случаях, когда удаление ила и нарезка уступов в основании насыпи невозможны или нецелесообразны по технико-экономическим соображениям, нижнюю часть насыпи следует проектировать из камня с устройством контрбанкеты, а в проекте производства работ необходимо предусматривать поперечную отсыпку нижней части насыпи, начиная с верховой стороны полотна.

При возведении насыпи на участках с проточной водой можно проектировать предварительную отсыпку призм из камня, с обязательной отсыпкой промежуточного слоя из камня мелкого размера. Участки насыпи между призмами допускается возводить при помощи регулирования.

Гидравлический расчет фильтрующих насыпей рекомендуется выполнять в соответствии с приложением 13.

13.17. Нижнюю подтопляемую часть насыпей следует проектировать в соответствии с [11] из дренирующих грунтов или легких супесей; не разрешается использовать для этой цели грунты меловые, тальковые и трепельные; жирные, мергелистые и сланцевые глины, котельные шлаки, а также засоленные грунты, в том числе с содержанием гипса более 5 %.

Верхнюю надводную часть насыпи разрешается проектировать из не дренирующих грунтов.

13.18. Расчет устойчивости откосов подтопляемых насыпей следует выполнять согласно положениям раздела 2 с учетом гидродинамического давления в наиболее неблагоприятный период работы насыпей.

13.19. Расчет устойчивости подтопляемых насыпей на слабом основании следует выполнять в соответствии с разделом 2 и [10].

Укрепление откосов

13.20. Укрепления откосов подтопляемых насыпей должны быть:

- прочными и устойчивыми при воздействии на них водотока, волн, отдельных льдин и ледового покрова, наносов и климатических факторов;

- конструктивно простыми, требующими наименьших первоначальных и эксплуатационных затрат, как правило, индустриальными, или позволяющими максимально механизировать работы по их изготовлению и укладке.

13.21. В зависимости от срока службы укрепления разделяются на временные, применяемые в период строительства земляного полотна, и постоянные.

13.22. Все виды строительных материалов и изделий для укрепления откосов должны удовлетворять требованиям соответствующих глав СНиП и государственных стандартов.

13.23. Выбор типа укреплений следует производить в зависимости от следующих факторов:

вида и размеров укрепляемых сооружений;

необходимого срока службы укрепления;

вида и свойств грунта, из которого возводится сооружение;

вида и свойств грунта основания сооружения, в том числе величины возможных осадок;

местных климатических условий (температуры воздуха, осадков, ветра и др.);

местных гидрологических условий (продолжительности подтопления, амплитуды колебания уровней воды, скорости подъема и спада уровня воды при паводках, скорости и направления течений, высоты и длины ветровой или судовой волны, ледового режима, ледохода, корчехода и пр.);

наличия на месте строительных материалов;

условий производства работ и сроков их выполнения;

объема укрепительных работ.

13.24. Сборные железобетонные плиты, укладываемые на слой гравийной или щебеночной подготовки на откосе, с омоноличиванием их по контуру допускается применять на участках с волнами высотой до 3 м.

Сборные железобетонные шарнирно-соединенные между собой плиты, укладываемые на обратном фильтре с оставлением швов открытыми, рекомендуется применять в случаях, когда не укрепленные откосы могут подвергаться значительным деформациям при воздействии волн высотой до 2 м.

Укрепление монолитными железобетонными плитами рекомендуется применять на участках с высотой волн более 3 м, а также на заглублениях сооружений, где сборные плиты прямоугольной формы в плане образуют уширяющиеся открытые швы. Применять монолитные плиты в случаях необходимости выполнения укрепительных работ в зимнее время не рекомендуется.

Целесообразность применения монолитных плит на участках с волнами высотой менее 3 м должна быть обоснована.

13.25. Сборные бетонные плиты можно применять для защиты откосов периодически подтопляемых насыпей от воздействия водотока и волн высотой до 1,0 м на участках со слабым ледоходом.

13.26. Сборные асфальтобетонные плиты можно применять для защиты откосов периодически подтопляемых насыпей при скоростях течения до 2 м/сек, на участках с волнами высотой до 1 м и слабым ледоходом.

Асфальтобетонные плиты могут иметь преимущественное перед другими типами укреплений применение на откосах, подверженных деформациям.

13.27. Каменную наброску рекомендуется применять для защиты откосов насыпей от размыва, подмыва водотоков и воздействия волн в районах с наличием местного камня; при этом допускается применение наброски из несортированного камня согласно [17].

13.28. Габионы могут быть применены при соответствующем обосновании на участках водотоков со скоростью течения воды от 4 до 6 м/сек в случаях отсутствия камня с требуемыми по расчету размерами.

13.29. Мощение откосов камнем допускается применять только в исключительных случаях, при наличии местного камня и незначительных объемах укрепительных работ.

13.30. Посадку кустарника для защиты периодически подтапливаемых откосов насыпей от воздействия водотока и слабого волнения рекомендуется применять в благоприятных климатических условиях, особенно в бесснежных или малоснежных районах.

13.31. Фашины и хворостяная выстилка могут быть использованы в качестве временных укреплений подтопляемых откосов.

13.32. Укрепление откоса по высоте рекомендуется применять различной капитальности: в зоне наиболее интенсивного воздействия волн и льда более капитальным - основным, выше этой зоны - облегченным.

13.33. Максимальное возвышение верхней границы основного или облегченного укрепления откосов насыпей, а также незатопляемых регуляционных сооружений над расчетным статическим уровнем воды, определяется по формуле, подобной (22) и при значениях, входящих в эту формулу величин, указанных в пп. 13.6 - 13.12, за исключением того, что для всех категорий железных и автомобильных дорог обеспеченность высоты наката ветровой волны на откос следует принимать равной для основного крепления 50, для облегченного - 10 %, а расчетную скорость ветра для автомобильных дорог всех категорий - вероятностью превышения максимальной скорости ветра за период стояния паводковых уровней - 50 %.

13.34. Нижнюю границу основного укрепления откоса, находящегося в постоянном подтоплении и подвергающегося воздействию волн, следует назначать на глубине Н = 2h1%, считая от минимального навигационного уровня в водоеме (h1% - высота волны обеспеченностью 1 % в данной системе), но не выше нижней кромки припая ледяного покрова.

Поверочные расчеты нижней границы основного укрепления следует выполнять также для других возможных расчетных уровней. За расчетную отметку нижней границы укрепления принимается меньшее значение.

Нижнюю границу облегченного укрепления или основного, когда облегченное отсутствует, следует назначать, исходя из условий неразмываемости грунтов откосов и дна донными волновыми скоростями в соответствии с [17].

13.35. Расчетную высоту ветровых волн при установлении нижней границы основного или облегченного укреплений следует определять по [22]; при этом вероятность превышения максимальной скорости ветра принимается по табл. 13. Расчетные обеспеченности ветровой волны в данной системе следует принимать по [17].

Таблица 13

Расчетные уровни воды

Вероятность превышения максимальной скорости ветра за период открытого русла, %

Дороги

железные

автомобильные

Категории дорог

I, II

III - V

I - III

IV, V

Минимальный навигационный уровень

20

30

30

50

Уровень воды по ряду ежедневных наблюдений уровней за период открытого русла вероятностью превышения, %

 

 

 

 

75

8

10

10

20

50

4

5

5

10

25

2

3

3

5

13.36. Толщину сборных асфальтобетонных плит, подвергающихся воздействию волн, следует назначать из условия их устойчивости под действием взвешивающего давления, а также из условия прочности асфальтобетонного покрытия на упругом основании.

13.37. Расчет укреплений на воздействие волнения и течения следует выполнять для условий уровня, соответствующего расчетному расходу вероятностью превышения, приведенной в табл. 12 и расчетной скорости ветра, принимаемой с вероятностью превышения согласно табл. 14.

Для условий нормального подпорного уровня в зоне водохранилищ расчетная скорость ветра принимается вероятностью превышения максимальной скорости ветра за период стояния открытой водной поверхности: для железных дорог всех категорий - 2, для автомобильных всех категорий - 4 %.

Таблица 14

Категории дорог

Расход расчетной вероятности превышения, %

Вероятность превышения максимальной скорости ветра за период высоких уровней, %

Железные

 

 

I, II

1

30

III - V

2

50

Автомобильные

 

 

I, II

1

50

III

2

50

IV, V

3

50

13.38. Воздействие льда на укрепления откосов следует определять по [23].

14. Земляное полотно вторых путей и реконструируемых линий железных дорог

14.1. Земляное полотно второго пути в неблагоприятных инженерно-геологических условиях и на участках земляного полотна существующего пути, подверженного деформациям, следует проектировать с соблюдением установленных требований [11].

14.2. На участках, где существующее земляное полотно подвержено деформациям, необходимо предусматривать его лечение.

В пределах участков, где возведение земляного полотна под второй путь может нарушить устойчивость существующего полотна или вызвать его частичную деформацию, необходимо рассматривать варианты применения оздоровительных и противодеформационных мероприятий и размещения второго пути на общем полотне с существующим с вариантами однопутного и двухпутного обходов.

14.3. Проектирование земляного полотна второго пути и противодеформационных мероприятий для существующего полотна необходимо выполнять по материалам инженерно-геологического обследования существующего земляного полотна. Эти данные должны характеризовать состояние земляного полотна, историю развития и протекания имеющихся деформаций во времени, связь деформаций с выпадением атмосферных осадков и другими природными факторами, а также выводы о причинах деформаций; при наличии противодеформационных устройств требуется приводить данные об их состоянии и эффективности действия.

14.4. В пределах оползневых косогоров большое значение имеет выбор сторонности второго пути. Сооружение второго пути должно быть использовано как мероприятие, в той или иной мере способствующее укреплению оползневого участка.

Сторонность необходимо принимать на основе изучения инженерно-геологических условий, определяющих строение оползневого склона и причины подвижек.

14.5. В случаях, когда строительная стоимость сооружений и мероприятий по стабилизации крупного оползневого склона при размещении в его пределах второго пути окажется высокой, необходимо рассматривать варианты переноса трассы в обход оползневого массива.

14.6. При размещении земляного полотна под второй путь на оползневом склоне необходимо проверять достаточность существующего комплекса противодеформационных мероприятий. В случае необходимости следует предусматривать усиление существующих противодеформационных сооружений и устройств, а также разработку новых в соответствии с разделом 7.

Мероприятия по устранению деформаций существующего полотна

14.7. Работы по проектированию противодеформационных мероприятий существующего земляного полотна первого пути должны выполнять по отдельным заданиям заказчика. Проектно-сметную документацию на осуществление оздоровительных мероприятий следует оформлять как на самостоятельный объект капитального ремонта существующего пути.

Выбор противодеформационных и оздоровительных мероприятий необходимо осуществлять в зависимости от вида, размеров деформаций и других местных условий в соответствии с [24].

14.8. На участках с наличием балластных корыт или лож, способствующих возникновению неравномерного пучения грунтов земляного полотна, рекомендуется применять сплошную срезку бугров и планировку верха существующего полотна.

Это мероприятие является радикальным, но оно экономически целесообразно только в случае сооружения второго пути одновременно с выполнением капитального ремонта или реконструкции существующего пути, при которых заменяется все верхнее строение.

Сплошную срезку следует назначать на глубину 0,15 - 0,20 м ниже дна балластных корыт, а верх полотна проектировать одно- или двухскатным, в зависимости от очертания корыт, с поперечным уклоном не менее 0,05. Для замены срезаемого следует применять преимущественно дренирующий грунт.

14.9. Сплошная срезка полотна под обочинами является более простым и экономичным мероприятием. Ее рекомендуется проектировать на глубину 0,15 - 0,20 м ниже дна корыт. Для замены следует применять хорошо дренирующий грунт или назначать другие конструктивные решения, обеспечивающие надежный отвод воды с основной площадки земляного полотна.

14.10. Для ликвидации балластных корыт небольшой протяженности рекомендуется проектировать вырезку разжиженного грунта с заменой его глинистым хорошо уплотняемым грунтом. В обоснованных случаях можно предусматривать закрепление разжиженного грунта посредством инъекции растворов вяжущих веществ или обработки соответствующими химическими реагентами.

14.11. В пониженных местах дна лож, а также на участках с наличием балластных мешков и карманов целесообразно предусматривать устройство односторонних и двухсторонних дренажных прорезей. Положение прорезей в плане, их глубину и конфигурацию следует назначать в зависимости от продольного и поперечного профилей ложа, мешков и карманов.

В случаях сложного очертания балластных мешков, гнезд и карманов допускается применение разведочных прорезей с поэтапным производством строительных работ. При этом корректировку рабочих чертежей и состав работ второго и последующих этапов следует назначать с учетом результатов эффективности осуществленных мероприятий.

В этих же случаях целесообразно рассматривать варианты применения дренажных труб или трубофильтров, внедряемых через буровые скважины в балластные мешки, гнезда и карманы со стороны откосов насыпи.

14.12. В состав противодеформационных мероприятий, разрабатываемых для существующего земляного полотна в пределах выемок и нулевых мест, необходимо включать работы по приведению в порядок и улучшению системы водоотводных и дренажных устройств в соответствии с разделами 3 и 5 и действующими инструктивными документами по содержанию пути.

Насыпи под второй путь

14.13. При использовании существующих насыпей в пределах косогоров следует учитывать состояние и свойства грунтов основания существующего полотна и проектируемой присыпки для второго пути.

Если грунты основания или контакт насыпи с основанием окажутся обводненными, необходимо предусматривать дренажные и водоотводные устройства (нагорные и дренажные канавы, дренажи и т.д.) в соответствии с разделом 7.

14.14. В сложных инженерно-геологических условиях вариант осушения насыпи с пристройкой к ней земляного полотна под второй путь необходимо сравнивать с вариантами устройства второго пути на раздельном земляном полотне и выноса двухпутного земляного полотна на новую трассу.

14.15. Проектирование земляного полотна под второй путь с использованием существующих насыпей на болотах допускается в случаях отсутствия вероятности возникновения деформаций земляного полотна первого пути после сооружения второго пути и не рекомендуется, как правило, при наличии неравномерных осадок существующего полотна, на участках с поперечным уклоном минерального дна болота без осуществления необходимых противодеформационных мероприятий, а также при расположении существующих насыпей на сланях или на песчаных сваях - дренах.

В подобных случаях необходимо рассматривать вариант размещения второго пути на раздельном земляном полотне или осуществление мероприятий по упрочнению основания, например, устройство свайного основания.

14.16. При проектировании второго пути на болотах необходимо учитывать мероприятия по обеспечению устойчивости насыпи и безопасность движения поездов по существующему пути в период выполнения строительных работ. В связи с этим в проектах и сметах следует предусматривать проведение по специальной программе регулярных наблюдений за состоянием первого пути до испытания и приемки земляного полотна второго пути.

14.17. В случаях использования существующих насыпей на слабом основании, подверженных осадке в течение длительного времени, необходимо учитывать возможность образования продольных трещин по контакту между откосом существующей насыпи и присыпкой под второй путь, и предусматривать противодеформационные мероприятия, в том числе:

для земляного полотна под второй путь использовать преимущественно дренирующий грунт;

в случае применения глинистого грунта обеспечивать отвод воды с основной площадки существующего полотна в противоположную сторону от второго пути.

14.18. При наличии контрбанкетов у существующего земляного полотна необходимость уширения их со стороны сооружаемой присыпки должна быть обоснована расчетом.

14.19. В проектах производства работ необходимо предусматривать послойную отсыпку грунта с соответствующим уплотнением на полную ширину присыпки с контрбанкетом; отсыпку или уширение контрбанкета после возведения тела земляного полотна следует запрещать.

14.20. В целях сокращения объема привозных дренирующих грунтов для насыпей второго пути рекомендуется:

предусматривать использование притрассовых месторождений дренирующего грунта с ограниченными запасами (10 - 15 тыс. м3 и более);

использовать, при соответствующем технико-экономическом обосновании, отходы местных щебеночных заводов;

использовать местные грунты, коэффициент фильтрации которых не менее чем коэффициент фильтрации грунта в шлейфах, если работы по срезке шлейфов можно выполнять только при длительных перерывах движения поездов по существующему пути;

использовать местные грунты, удовлетворяющие установленных требованиям [11], независимо от вида грунта, из которого возведена существующая насыпь в районах с засушливым климатом.

Выемки для второго пути

14.21. При проектировании земляного полотна вторых путей в выемках необходимо предусматривать мероприятия по обеспечению устойчивости откосов и прочности основной площадки полотна.

14.22. Земляное полотно под второй путь, противодеформационные устройства и их конструкцию необходимо проектировать с учетом состояния земляного полотна и противодеформационных устройств существующего пути, а также опыта эксплуатации дорог в аналогичных природных условиях. Мероприятия по обеспечению устойчивости откосов выемки, а также водоотводные и дренажные устройства следует проектировать в соответствии с разделами 3 и 5.

14.23. Односторонний дренаж целесообразно проектировать на участках с явно выраженным односторонним направлением потока грунтовых вод и залегании водоупора на глубине до 4 м.

При глубоком залегании водоупора и отсутствии направленного потока грунтовых вод целесообразно проектировать дренажи или полузакрытые лотки с обеих сторон полотна.

14.24. Существующие дренажи со стороны проектируемого пути подлежат ликвидации. Дренирующий заполнитель и трубы при этом должны быть удалены полностью, а траншея тщательно затрамбована местным грунтом.

14.25. В выемках со скально-обвальными явлениями необходимо предусматривать уширение выемок по дну с расчетом сдвижки существующего пути от обвального откоса на расстояние, обеспечивающее безопасность движения поездов. При соответствующем технико-экономическом обосновании могут быть приняты и другие решения в соответствии с разделом 11.

Второй путь следует размещать со стороны более устойчивого откоса скальных выемок; на участках с крутым падением слоев породы в сторону полотна второй путь следует размещать с низовой стороны.

Конструкцию земляного полотна и крутизну откосов следует принимать с учетом состояния существующего полотна и опыта эксплуатации последнего, в соответствии с разделом 4 и 11.

14.26. В выемках с недостаточной шириной закюветной полки устройство улавливающих траншей необходимых размеров между бровкой существующего земляного полотна и подошвой откоса выемки, может быть обеспечено: приданием большей крутизны нижней части откоса выемки; подъемкой пути на балласт на величину расчетной глубины траншеи; сдвижкой пути в низовую сторону.

При этом величину уширения существующей выемки следует устанавливать с учетом способов производства земляных работ, размещения машин и механизмов в соответствии с требованиями по обеспечению безопасности движения поездов в строительный период.

Окончательное решение следует принимать на основе результатов расчета и технико-экономического сравнения возможных вариантов.

14.27. Дну улавливающих траншей следует придавать продольный уклон, равный продольному уклону пути, но не менее 2 . В необходимых случаях земляное полотно со стороны улавливающей траншеи должно быть укреплено от размыва.

15. Земляное полотно на участках курумов, россыпей и осыпей

15.1. При проектировании земляного полотна необходимо различать курумы действующие, замирающие и установившиеся.

15.2. Действующие курумы - беспорядочное нагромождение каменных глыб и крупного щебня общей мощностью более 1,5 м. Источником их питания являются крутые скальные обнажения, расположенные выше по склону. Поверхность курума не задернована и не залесена, только отдельные глыбы покрыты мхом и лишайником. Пустоты между глыбами не заполнены. Заметны следы скатывания и передвижения отдельных камней и участков курума в виде свежих сколов на гранях и ребрах глыб; встречаются полузасыпанные и поврежденные стволы деревьев. Угол наклона логов и склонов, по которым движутся курумы, обычно превышает 25°.

15.3. Замирающие курумы - каменно-глыбовые и щебневые навалы, частью задернованные и частью заросшие лесом. Пустоты между глыбами частично заполнены мелким щебнем, дресвой, песком и суглинком. Поступления обломочного материала в курумы с вершины склона не отмечается. Над склоном нет выветривающихся утесов или других крупных естественных обнажений. Угол наклона лога или склона обычно колеблется в пределах от 12 до 25°.

15.4. Установившиеся курумы - каменная россыпь, поверхность которой задернована или покрыта растительностью. Пустоты между глыбами и щебнем заполнены дресвой, песком, суглинком. Отсутствуют признаки подвижки курума или поступления в него камней. Склон выше курума задернован и не имеет скальных обнажений. Угол наклона логов и склонов менее 12°.

15.5. Проектированию железных и автомобильных дорог на участках курумов должны предшествовать детальные инженерно-геологическая и топографическая съемки, а также изучение геоморфологии района, процессов выветривания и перемещения обломочного материала в зоне питания, определения типа курума и скорости его перемещения.

Условия трассирования и рекомендуемые инженерные мероприятия при проектировании земляного полотна, зависящие от типа курума и положения трассы, сведены в табл. 15.

15.6. В пределах россыпей, представляющих собой неподвижное скопление глыб прочных изверженных или метаморфических пород, располагающихся на горизонтальной или слабо наклонной поверхности, целесообразно проектировать насыпи из щебня и обломков глыб.

При этом отдельные глыбы, выступающие над осредненной поверхностью на высоту 2 - 3 м, требуется подрывать или скалывать и, вместе с тем, предусматривать необходимые объемы местного грунта (щебня или дресвы) для заполнения пустот между глыбами в основании насыпи.

Таблица 15

Положение трассы

Профиль земляного полотна

Рекомендуемые мероприятия при проектировании земляного полотна на курумах

действующих

замирающих

установившихся

У вершины курума

Насыпь

Курум необходимо разобрать, и земляное полотно возводить на прочном основании. Для удержания курума с нагорной стороны следует предусматривать устройство подпорнозащитной стенки

По обычным нормам с уширением полотна с нагорной стороны не менее 1 м

По обычным нормам

Выемка

Необходимо предусматривать устройство подпорной стенки с нагорной стороны. Как вариант - перекрытие пути галереей

С закюветной полкой с нагорной стороны шириной не менее 1 м

По обычным нормам

В средней части курума

Насыпь

Курум необходимо удалять, земляное полотно проектировать на прочном основании. Предусматривать с нагорной стороны подпорно-улавливающую стенку

Следует увеличивать ширину насыпи по верху в нагорную сторону не менее чем на 1 м;

насыпи высотой менее 1,5 м необходимо ограждать улавливающей стенкой

По обычным нормам

Выемка

Не допускается

С закюветной полкой, шириной 2,0 м и подпорной стенкой, с нагорной стороны

С закюветной полкой с нагорной стороны

У основания курума

Насыпь

Курум необходимо разобрать, и земляное полотно возводить на прочном основании. Для удержания курума с нагорной стороны, следует предусматривать устройство подпорной стенки

Земляное полотно следует проектировать как на участках действующего курума

Дополнительные мероприятия можно не предусматривать

Выемка

Не допускается

С нагорной стороны необходимо предусматривать устройство подпорно-улавливающей стенки

При мощности до 3 м - по обычным нормам, более 3 м необходимо предусматривать с нагорной стороны устройство подпорной стенки и закюветной полки

15.7. Земляное полотно на участках осыпей, представляющих собой неподвижное скопление дресвы, щебня, мелкозема и глыб объемом не более 1 м3 на склоне или в его подошве, не получающих пополнения от камнепадов и обвалов, можно проектировать как в обычных условиях.

На участках осыпей с наличием камнепадов и скальных обвалов земляное полотно и защитные сооружения следует проектировать согласно разделу 11.

16. Земляное полотно на участках снежных лавин

16.1. Снежной лавиной называются пришедшие в движение (скользящие и падающие) снежные массы. Лавины возникают в горных районах, где количество осадков, выпадающих в виде снега, превышает 200 мм, на участках с крутизной склона от 20 до 55°.

Возникновение лавин зависит от свойств снега и климатических факторов, характера подстилающей поверхности, экспозиции склона, землетрясений, деятельности человека. Классификация лавин по генетическим признакам приведена в приложении 14.

16.2. Мероприятия по защите от лавин необходимо рассматривать на первых этапах изысканий и проектирования.

При изысканиях в лавиноопасных районах по каждому варианту трассы следует выяснять степень подверженности склонов снежным обвалам и принимать меры по максимальному сокращению длины необходимых противолавинных сооружений или по обходу лавиноопасных участков.

16.3. Противолавинные защитные мероприятия следует назначать на основе технико-экономического сравнения вариантов в соответствии с данными обследования трассы и рекомендациями, приведенными в табл. 16.

16.4. Мероприятия I группы (см. табл. 16) целесообразно применять на участках, где решающее значение в формировании снежных отложений имеют метели и соответствующий рельеф местности, наличие плато, пологих наветренных склонов и т.д.

Таблица 16

Группы

Назначение мероприятий

Возможные варианты

I

Предотвращение снегонакопления в лавиносборах

Залесение наветренных плато или склонов, постоянные аккумулирующие заборы, переносные аккумулирующие щиты

II

Предотвращение соскальзывания снега со склонов

Подпорные стены, удерживающие щиты, сетки, плетни, канавы, террасирование склона, свайные ряды, сваи в шахматном порядке, залесение лавиносборов

III

Защита сооружений от движущихся лавин

Лавинорезы, направляющие дамбы, стены и рвы, отбойные дамбы и стены, лавинозащитные заборы, тормозящие клинья, галереи, навесы или эстакады

IV

Искусственное обрушение снежного покрова

Артиллерийский и минометный обстрел, подпиливание и подрывание снежных карнизов

16.5. Мероприятия II группы целесообразно применять при относительно небольших площадях лавиносборов и сравнительно пологих склонах в районах с наличием влажного, плотного снега, отложения которого обладают достаточной прочностью.

Наиболее экономичными сооружениями этой группы являются сборные удерживающие щиты, свайные конструкции и террасирование склонов. Расположение сооружений и их конструкция определяются расчетом.

Террасы следует применять на устойчивых склонах крутизной до 30°, сложенных малоразмываемыми грунтами.

Подпорные стены целесообразно применять при наличии на месте материала для кладки и при незначительной мощности отложений нескальных грунтов.

Лесонасаждение может быть применено как самостоятельное мероприятие в местах восстановления уничтоженного леса, а также в комплексе с плетневыми заграждениями или деревянными заборами.

16.6. Мероприятия III группы разделяются на устройства: отводящие, задерживающие и пропускающие лавины над защищаемым объектом.

Для отвода лавин в сторону от защищаемого одиночного объекта можно применять лавинорезы, направляющие дамбы или стены (рис. 44). Эти сооружения не защищают объекты от действия воздушной волны.

К сооружениям, задерживающим лавину, относятся отбойные стены и дамбы (рис. 45), лавинозащитные заборы, тормозящие клинья (рис. 46). Их следует размещать примерно нормально к направлению движения лавины. Рабочая грань дамб должна быть укреплена бетонными или каменными стенами или железобетонными плитами.

Для пропуска лавин над защищаемым объектом можно применять навесы (рис. 47), галереи и тоннели. Эти сооружения являются самым надежным, но дорогим способом защиты. Их целесообразно применять на участках действия узких по фронту, крупных, а также «прыгающих» лавин.

Навесы и галереи необходимо проектировать с расчетом на то, чтобы лавина не ударялась, а скользила по кровле. Навесы и галереи следует проектировать согласно [21].

16.7. В проектах необходимо обуславливать, что строительство противолавинных сооружений II и III групп должно быть полностью закончено до прохода первых осенних лавин.

Рис. 44. Схемы устройств для отвода снежных лавин:

а - план расположения сооружений; б - план ряжевого лавинореза; в - план лавинореза из камня; 1 - направления движения лавины; 2 - контуры конусов выноса; 3 - направляющая дамба; 4 - лавинорез; 5 - направляющая стена; 6 - защищаемые объекты

Рис. 45. Схема сооружений для задержания лавин:

а - стена; б - дамба со стеной; в - дамба со рвом; 1 - каменная наброска; 2 - стена; 3 - дамба из местного грунта; 4 - стены из бетонных блоков; 5 - поверхность склона до устройства рва; 6 - ров

16.8. Искусственное обрушение снежного покрова с целью периодической разгрузки склонов, является одним из действенных противолавинных мероприятий. Эти работы следует предусматривать проектами в местах, где экономически нецелесообразно строительство дорогостоящих противолавинных сооружений, и где имеется возможность временных перерывов в эксплуатации защищаемого объекта.

Искусственное обрушение не рекомендуется применять в случаях:

когда возможно образование больших снежных завалов пути, работы, по расчистке которых будут продолжаться длительное время;

один очаг вызывает образование нескольких лавин в течение сезона;

в рассматриваемом районе имеется мало лавинных очагов.

Для выполнения работ по обрушению снежного покрова необходимо предусматривать организацию специальных противолавинных служб.

В основе работы противолавинной службы должен лежать надежный метод прогноза наступления лавинной опасности. Ввиду того, что в настоящее время еще не существует единой для всех горных районов методики прогнозирования времени наступления лавинной опасности, ее следует разрабатывать в процессе эксплуатации защищаемых объектов. Методика расчета противолавинных сооружений приведена в приложении 15.

Рис. 46. Схема устройства тормозящих клиньев:

а - общий вид клина; б - размещение в плане клиньев; 1 - клин, 2 - направление движения лавины; 3 - защищаемый объект

Рис. 47. Схема устройства железобетонного навеса над земляным полотном:

1 - навес; 2 - ось пути; 3 - проектируемое земляное полотно

17. Особенности проектирования земляного полотна, сооружаемого с применением гидромеханизации

17.1. Средствами гидромеханизации могут быть выполнены:

разработка выемок и намыв насыпей земляного полотна железных и автомобильных дорог, и других земляных сооружений (регуляционных сооружений, площадок, дамб и др.);

намыв грунта в тело насыпей на болотах, уширение существующих насыпей и намыв резервов.

17.2. Возможность выполнения земляных работ способом гидромеханизации определяется наличием:

грунтов, пригодных для возведения земляного полотна, поддающихся разработке, транспортированию и укладке в насыпь средствами гидромеханизации в соответствии с п. 17.6;

источника воды с дебитом, достаточным для обеспечения потребности гидромеханизации.

Целесообразность применения гидромеханизации устанавливается в зависимости от технико-экономических показателей - необходимого объема земляных работ, подлежащих выполнению; соотношения мощности вскрыши и полезной толщи грунта в карьере, источника электроэнергии, дальности транспортирования воды и пульпы и других данных, характеризующих местные условия.

17.3. Карьеры грунта должны быть расположены от подошвы намываемых насыпей на расстоянии не менее произведения глубины карьера на коэффициент заложения откоса.

Целесообразность использования карьеров с грунтами, пригодными для намыва насыпи только после их обогащения или рассортировки, устанавливается технико-экономическими расчетами.

17.4. Мощность слоя полезного грунта в карьере, разрабатываемом гидромоторами, должна быть не менее 3 м.

17.5. При проектировании разработки обводненного грунтового карьера плавучими землесосными снарядами наибольшую глубину разработки карьера от уровня воды рекомендуется принимать по табл. 17.

Необходимый запас грунта в карьере должен быть в 1,3 - 1,5 раза больше проектного объема грунта в насыпи.

17.6. Для насыпей, возводимых средствами гидромеханизации, следует применять дренирующие грунты; использование мелких, пылеватых песков и супесей разрешается при условии, что содержание в теле возведенной насыпи частиц размером менее 0,1 мм будет не более 15 %, в том числе менее 0,05 мм - не более 8 %.

Таблица 17

Земснаряды производительностью по пульте, м3

Наименьшая глубина забоя от уровня воды, м

Наибольшая глубина разработки, м, в случаях применения

механических рыхлителей

свободного всаса

Грунты

гравелистые

песчаные

до 1000

1,5

6,0

10,0

15,0

до 2000

2,0

7,0

11,0

20,0

более 2000

2,5

11,0

12,0

25,0

Грунты, разрабатываемые в карьере, не должны содержать свыше 1 % крупных включений с размерами более приходного сечения рабочего колеса землесоса и более 5 % валунов - при разработке грунтов гидромониторами.

17.7. Средства гидромеханизации могут быть применены для возведения насыпей под второй путь, запроектированных в виде присыпок к существующему полотну с использованием дренирующих грунтов.

17.8. Земляное полотно, возведенное с применением средств гидромеханизации, должно удовлетворять установленным требованиям [11] в отношении основных конструктивных параметров полотна; при этом плотность грунта в теле насыпей не нормируется, поскольку необходимая плотность грунта достигается в процессе производства работ по намыву земляного полотна.

17.9. Расчет устойчивости насыпей и откосов выемок в случае применения гидромеханизации следует выполнять на основе материалов детального обследования инженерно-геологических условий. Расчетную схему и метод расчета следует принимать с учетом ожидаемого режима работы земляного полотна как в период строительства, так и при эксплуатации согласно разделам 1 и 2.

Устойчивость необходимо проверять для поперечных профилей насыпей, отражающих наиболее неблагоприятные сочетания различных факторов, отрицательно влияющих на устойчивость откосов. В частности, необходимо учитывать:

геологическое строение основания насыпи (наличие, мощность и характер расположения прослоек грунта со слабой несущей способностью, наличие наклона слоев);

наличие грунтовых вод;

глубину водоема или водотока в случае подтопления насыпи;

конструкцию покрытия откосов насыпи для защиты их от размыва волновыми воздействиями или течением воды и др.

Расчетные параметры следует принимать с учетом состояния и свойств используемых грунтов.

17.10. Средства гидромеханизации могут быть использованы для устройства присыпок к существующему земляному полотну при условии, что устойчивость и нормальная работа существующего земляного полотна будут обеспечены при строительстве и в период эксплуатации.

Насыпи из мелких и пылеватых песков, а также присыпки из песков крупных и средней крупности к существующему земляному полотну при ширине присыпок менее 6 м возводятся средствами гидромеханизации на неполную высоту.

Верхнюю часть таких насыпей и присыпок возводят сухим способом. При этом запас грунта, необходимый для верхней части насыпи и присыпки, может создаваться намывом и размещаться на откосах, бермах или нижней части полотна (рис. 48).

Форму и размеры размещения запаса грунта следует принимать по условиям удобства работ по намыву и наименьших затрат при последующем перемещении грунта в тело верхней части насыпи.

Рис. 48. Поперечные профили насыпей из дренирующих грунтов с размещением запасов грунта:

а - на откосах; б - на берме; в - в нижней части полотна; г - то же в случае присыпки к существующему полотну; 1 - запас грунта; 2 - контуры части насыпи, возводимой механическими средствами из запасов; 3 - ось пути; 4 - ширина земляного полотна

17.11. В нижней части насыпей на болотах 1 типа необходимо предусматривать устройство подушек со свободными откосами (рис. 49, а). Крутизну свободных откосов, формирующихся при намыве наземной части насыпей, следует определять в зависимости от средней крупности частиц грунта и удельных расходов потока пульпы с учетом консистенции последней.

Рис. 49. Поперечные профили насыпи:

а - на болотах 1 типа; б - при пересечении водоемов; 1 - подушка, намываемая со свободными откосами; 2 - тело насыпи с откосами заданной крутизны; 3 - ось пути; 4 - торфяные отложения; 5 - водоем

На участках пересечения водоемов, водотоков или затопляемых болот (рис. 49, б) откосам подводной части подушек следует придавать крутизну в соответствии с табл. 18.

Таблица 18

Наименование грунта

Крутизна откосов

Водоемы, болота

Водотоки

Песчано-гравийный

1:1,5 - 1:2,0

1:2,0 - 1:2,5

Пески средние

1:3,0 - 1:3,5

1:4,0 - 1:6,0

Пески мелкие

1:5,0 - 1:6,0

1:5,0 - 1:8,0

17.12. Варианты применения «пляжных» откосов следует рассматривать при проектировании пойменных насыпей на участках с непригодными для народохозяйственных целей или малоценными землями. Крутизну пляжных откосов следует устанавливать в зависимости от состава применяемого для насыпи грунта и скорости течения воды. Для предохранения пляжных откосов от ветровой эрозии в необходимых случаях следует предусматривать укрепление поверхности откосов травяным покровом.

Приложение 1

Рекомендации по определению расчетных значений прочностных и деформативных характеристик грунтов

нормативные значения характеристик следует назначать на основе статистической обработки данных непосредственного испытания грунтов, полученных по единой методике (например, быстрый сдвиг, медленный сдвиг и т.п.), на приборах одной конструкции, для одного вида грунтов.

Расчетные значения показателя  на период испытаний грунта определяются по формуле

                                                         (1)

где  - среднеарифметическое значение показателя, определяемое по формуле

                                                                 (2)

Аi - результат по данным отдельного испытания;

N - количество результатов, взятых для обработки;

ta - коэффициент, учитывающий стадию проектирования и количество результатов испытаний N, принимается по таблице при надежности a = 0,95;

s - среднеквадратическое отклонение определяемого показателя.

Количество результатов, N

Значения ta

3

4,30

4

3,18

5

2,78

6

2,57

7

2,45

8

2,37

9

2,30

10

2,46

15

2,14

20

2,09

25

2,06

30

2,05

Нормативные характеристики грунтов могут быть также определены с использованием общих правил статистической обработки опытных данных [8, 9 и др.].

Приложение 2

МЕТОДИКА РАСЧЕТА МЕСТНОЙ УСТОЙЧИВОСТИ ОТКОСОВ ВЫЕМОК

1. Ожидаемая влажность грунта Wo определяется по формуле

                                           (1)

где G - степень водонасыщения грунта после набухания и пучения, принимается равной 0,9;

gв - объемный вес воды;

D - удельный вес скелета грунта, принимается по результатам лабораторных опытов или по данным литературных источников;

gск - объемный вес скелета грунта принимается по данным инженерно-геологических изысканий;

j - интенсивность набухания грунта в долях единицы, принимается по данным лабораторных испытаний образцов с ненарушенной структурой и естественной влажностью, под нагрузкой, равной бытовому давлению грунта на рассматриваемой глубине от поверхности откоса;

f - интенсивность пучения грунта, принимается по данным полевых или лабораторных определений, а при их отсутствии - по табл. 1.

В случае использования данных табл. 1 значение влажности грунта определяется с учетом набухания его при увлажнении водой дождевых осадков по формуле (1), принимая f = 0. Если естественная влажность We грунта в откосе больше расчетной влажности его после набухания, для определения интенсивности пучения используется значение We.

Устойчивость поверхностных слоев грунта на откосе в отношении разжижения и стенания грунта считается обеспеченной, если

Wo < Wт,                                                                   (2)

где Wт - влажность грунта на пределе текучести.

Таблица 1

W - Wp, %

Интенсивность пучения глинистых грунтов

Влажность грунта в слое промерзания, W, %

 

16

18

20

22

24

26

28

30

32

34

36

1

0,015

0,018

0,021

0,025

0,028

0,031

0,034

0,037

0,041

0,044

0,047

2

0,022

0,025

0,029

0,032

0,035

0,038

0,041

0,045

0,048

0,051

0,054

3

0,034

0,037

0,040и

0,044

0,047

0,050

0,053

0,056

0,060

0,063

0,066

4

0,050

0,054

0,057

0,060

0,063

0,066

0,070

0,073

0,076

0,079

0,082

5

-

0,075

0,078

0,081

0,084

0,088

0,091

0,094

0,097

0,100

0,103

6

-

0,097

0,100

0,104

0,107

0,110

0,113

0,116

0,120

0,123

0,126

7

-

-

0,130

0,133

0,136

0,139

0,143

0,146

0,149

0,152

0,155

8

-

-

0,164

0,167

0,170

0,173

0,176

0,180

0,183

0,186

0,189

9

-

-

-

0,205

0,208

0,212

0,215

0,218

0,221

0,224

0,227

10

-

-

-

0,248

0,251

0,254

0,258

0,261

0,264

0,267

0,270

ПРИМЕЧАНИЯ: 1. Величины интенсивности пучения, приведенные в табл. 1 определены расчетом [24] для грунта с объемным весом скелета gск = 1,6 г/см3. Интенсивность пучения грунтов с другим значением gск можно определять по формуле , где fi,  - соответственно интенсивность пучения и объемный вес скелета исследуемого грунта.

2. W - большая из величин влажностей грунта: Wo, вычисленной по формуле (1), или Wр (естественной), установленной по данным замеров в природных условиях.

3. Wр - влажность данного грунта на границе раскатывания.

При Wo ³ Wт проектом необходимо предусматривать мероприятия по защите грунта от увлажнения и промерзания.

2. Возможность сплыва в виде смещения отдельных «блоков» грунта по поверхности ослабления устанавливается в зависимости от величины коэффициента местной устойчивости К, определяемого по формуле

                                                        (3)

где g - объемный вес грунта;

jр, Ср - расчетные показатели угла внутреннего трения и сцепления грунта;

a, n = сtg a - соответственно угол и коэффициент заложения откоса;

А, B - безразмерные коэффициенты, определяемые по графику рис. 1, в зависимости от величины ;

Рис. 1. График для определения значений коэффициентов А и В

hp - расчетная глубина зоны возможного сплывообразования;

Н - полная высота откоса (рис. 2, б).

Возможность сплыва исключается, и местную устойчивость откоса можно считать обеспеченной, если К ³ 1,3 (в случаях использования расчетных показателей, полученных при заданной надежности в результате статистической обработки данных экспериментальных определений), или К ³ 1,5 (в случаях использования обобщенных значений расчетных показателей по данным нормативных и литературных источников, а также результатов единичных испытаний грунта).

В качестве расчетной мощности зоны возможного сплывообразования hp принимается глубина, на которую фактически распространяется влияние природных факторов - увлажнения, высушивания, промерзания.

Для районов с преобладающим влиянием на устойчивость откоса фактора промерзания за расчетную глубину активной зоны ориентировочно может быть принята расчетная глубина промерзания грунта.

Для районов с преобладающим влиянием на устойчивость откосов процессов набухания - усадки (с учетом уменьшения набухания с глубиной по мере возрастания бытового давления) за расчетную глубину активной зоны принимается глубина сезонного изменения влажности, но не более 2 м.

Физико-химическое выветривание грунтов (выщелачивание, окислительные процессы, дезагрегация минеральных частиц и т.д.) наблюдается обычно при действии инфильтрующихся поверхностных вод. Поэтому зона активного физико-химического выветривания принимается равной большей из глубин сезонного промерзания или сезонного изменения влажности. Влияние физико-химического выветривания учитывается при назначении расчетных показателей прочности грунта.

Рис. 2. Схемы к расчету местной устойчивости откосов:

а, б, в - при значениях коэффициента  соответственно менее 0,1; 0,1 - 0,2 и более 0,2

Расчетные показатели прочности (Cp, jр) могут быть определены испытанием ненарушенных образцов грунта в лабораторных условиях с имитированием природных процессов физико-химического выветривания. Следует учитывать, что проведение таких испытаний весьма трудоемко, требует значительных затрат времени и специального оборудования (холодильных камер, приборов для выщелачивания и т.д.). Поэтому приведенная ниже методика рекомендуется только для определения прочности грунтов на особо ответственных объектах (глубоких выемках или насыпях), а также при большом числе однотипных объектов на проектируемой линии, если не представляется возможным вынести суждение об устойчивости откосов по существующим земляным сооружениям, находящимся в аналогичных условиях с проектируемым объектом.

Перед определением прочности образцы грунта подлежат специальной обработке, имитирующей воздействие процессов физико-химического выветривания (табл. 2).

В зависимости от основных процессов выветривания в конкретных условиях для проектируемого объекта возможны и другие сочетания подготовки образцов к испытаниям, кроме указанных в табл. 2.

Испытания на прочность проводятся в соответствии с указаниями по определению прочности слабых грунтов в приборах трехосного сжатия, сдвиговых приборах или с помощью микропенетрации образцов. При использовании приборов трехосного сжатия испытания проводят по закрытой системе, продолжительность опыта в зависимости от консистенции грунта должна составлять 1 - 7 мин. При испытаниях прочности грунта на сдвиговых приборах в зависимости от консистенции используется методика быстрого сдвига (продолжительность опыта 0,5 - 1 мин) и ускоренного сдвига (продолжительность опыта 5 - 6 мин). Обжимающие нагрузки, как правило, принимаются равными 0; 0,5 и 1 кг/см2.

Для особо ответственных объектов земляного полотна рекомендуется использовать обе методики. В этом случае для оценки устойчивости используют данные опыта, дающие меньшее значение коэффициента устойчивости.

Таблица 2

Характеристика грунтов

Порядок подготовки образцов грунта из слоев, расположенных

в пределах глубины сезонного промерзания

ниже глубины сезонного промерзания

Водонеустойчивые, средне и слабоустойчивые пучинистые глинистые грунты

Циклическое промораживание и оттаивание

Насыщение водой под бытовой нагрузкой с последующим испытанием прочности

Сильнонабухающие пучинистые глинистые грунты

Циклическое набухание-высушивание, чередующееся с промораживанием набухавшего образца и последующим оттаиванием и высушиванием

Циклическое набухание и высушивание

Грунты, подверженные химическому выветриванию

Диффузионное рассоление грунта или окисление его кислородом воздуха с последующим циклическим промораживанием и оттаиванием водонасыщенных образцов

Диффузионное выщелачивание или окисление образцов с последующим насыщением их водой и испытанием прочности

Для ориентировочной оценки местной устойчивости откосов выемок, при отсутствии данных лабораторных определений Ср и jр допускается использование нормативных значений Сн и jн, приведенных на рис. 3, согласно [2]. При этом значение коэффициента пористости Ер определяют с учетом набухания и пучения промерзающего грунта по формуле

                                                    (4)

Расчетные значения величины сцепления Ср определяются с учетом снижения прочности грунта после оттаивания по формуле

                                                                    (5)

где Км - коэффициент морозной чувствительности, определяемый по формуле

                                          (6)

Кwp - коэффициент морозной чувствительности при влажности грунта на пределе раскатывания, определяемый по формуле

Kwp = 1,14 + 0,024Wn,                                                    (7)

Wn - число пластичности в пределах от 10 до 28.

В тех случаях, когда предварительной оценкой будет установлено, что откос не обладает достаточной устойчивостью против разжижения грунта и образовании сплывов, необходимо провести уточнение расчетных характеристик прочности грунта, а при подтверждении результатов предварительной оценки - применить мероприятия для предотвращения деформаций.

ПРИМЕРЫ РАСЧЕТА

ПРИМЕР 1

Дано. Выемка сооружается в суглинках, имеющих характеристики:

gск = 1,56 г/см3; Wp = 20 %; Wт = 34 %; Wе = 25 %; Н = 6 м; hp = 0,8 м; j = 0.

Решение. Расчетная влажность грунта после набухания перед промерзанием определяется по формуле (1)

Поскольку значение Wо > Wт, к дальнейшему расчету принимается естественная влажность грунта. Из табл. 1 по разности Wе - Wр и значению Wе находим f = 0,086.

По формуле (1) определяем влажность грунта после промерзания

Учитывая, что Wо < Wт, можно полагать, что возможность перехода грунта в текучее состояние и отекания грунта в откосах отсутствуют.

Проверим устойчивость откоса на сплыв, используя формулу (3). Предварительно определяем физические характеристики грунта с учетом его разуплотнения при пучении:

плотность

коэффициент пористости

пористость ;

объемный вес g = 1,44 + 0,9 ´ 0,47 ´ 1 = 1,86 г/см3.

По формуле (7) определяем значение Кwр = 1,48.

По формуле (6) определяем коэффициент морозной чувствительности грунта

По номограмме рис. 3 находим нормативные значения прочностных характеристик грунта Сн = 0,23; jн = 18°, используя которые определяем расчетные значения

jр = jн - 2 = 16°; tg j = 0,286;

Для откоса крутизной 1:1,5 при , по графику рис. 1 находим А = 17; В = 1,025.

По формуле (3) определяем значение коэффициента устойчивости  > 1,5. Следовательно, в рассматриваемых условиях откос крутизной 1:1,5 будет устойчив.

Рис. 3. Номограмма для определения значений нормативных характеристик глинистых грунтов

ПРИМЕР 2

Дано. Выемка сооружается в суглинистых грунтах, имеющих следующие значения характеристик:

gск = 1,62 г/см3; j = 0,06; Wp = 18; Wт = 29; D =2,72 г/см3; Wе = 23.

РЕШЕНИЕ

По формуле (1) определяем влажность грунта перед промерзанием

По табл. 1 определяем значение интенсивности пучения

f = 0,173.

Определяем ожидаемую влажность после промерзания и пучения

Wо > Wт,

В данном случае необходимо предусмотреть мероприятия для защиты грунта от промерзания и пучения.

ПРИМЕР 3

Дано. Выемка глубиной 6 м сооружается в глинистых грунтах, имеющих следующие значения характеристик:

gск = 1,60 г/см3; j = 0,10; Wp = 22; Wт = 40; D = 2,72 г/см3; hр = 0,8 м; We = 24,2;

G = 0,9.

РЕШЕНИЕ

Определяем влажность грунта перед промерзанием

По табл. 1 находим значение f = 0,144

Учитывая, что Wо < Wт производим проверку на устойчивость откоса против сплыва.

По формуле (4) определяем расчетный коэффициент пористости

По графику рис. 3 определяем нормативные значения сцепления и угла внутреннего пучения

СH = 0,17 кг/см2; j = 15°.

По формуле (6) определяем коэффициент морозной чувствительности грунта. Для этого предварительно определяем:

пористость     ;

объемный вес     g = D (1 - n) + Gngв = 2,72 (1 - 0,53) + 0,9 ´ 0,53 ´ 1 = 1,76 г/см3.

По формуле (7) определяем Кwp = 1,58.

По формуле (6) определяем коэффициент морозной чувствительности грунта

Определяем расчетные значения показателей прочности:

;

jр = jн - 2 = 15° - 2° = 13°; tg jp = 0,230.

По формуле (3) с использованием графика рис. 1 определяем коэффициенты устойчивости при различных заложениях откоса.

При ; для крутизны откоса, равной 1:1,5, А = 17 и В = 1,025.

Учитывая эти значения, получаем

При крутизне откоса равной 1:2; А = 21; В = 1,015;

При крутизне откоса равной 1:2,5; А = 25; В = 1,01,

По вычисленным значениям К оказывается, что в рассматриваемых условиях устойчивым будет откос крутизной 1:2,5.

Приложение 3

МЕТОДИКА РАСЧЕТА ТОЛЩИНЫ СЛОЯ ЗАМЕНЫ СЛАБОГО И ПУЧИНИСТОГО ГРУНТА ДРЕНИРУЮЩИМ

Величина замены определяется расчетами, исходя из условий:

обеспечения заданной прочности основной площадки;

ограничения величины деформации пути под воздействием морозного пучения.

Расчет величины замены с целью обеспечения прочности основной площадки производится в следующей последовательности:

1. Устанавливается величина нормативного давления под подошвой шпалы от воздействия поездной нагрузки в соответствии с [34].

2. Производится расчет и составляется график распределения нормальных напряжений s по глубине h от действия постоянной и поездной нагрузок, или используются кривые распределения напряжений по глубине s = f (h), соответствующие давлению под шпалой 2; 4; 6 кг/см2 (рис. 1).

3. Определяются величины критического давления Ркр для двух значений h, например, h = 0, h = 1 м по формуле

                                                        (1)

где А и Б - параметры, значения которых устанавливаются по номограмме рис. 2, в зависимости от сдвиговых характеристик грунта С и j.

Значения критического давления при h = 0 и h = 1 м наносятся на график j = f (h) и через них проводится прямая Ркр = j (h), характеризующая закономерность изменения критического давления по глубине.

4. По точке пересечения соответствующей кривой j = f (h) и прямой Pкр = j (h) устанавливается глубина hкр, на которой величина действующих напряжений равна величине критического давления для данного грунта. На этой и больших глубинах исключается возможность возникновения остаточных деформаций грунта в пределах основной площадки при действии заданной нагрузки. Поэтому глубину замены следует назначать по условию

h3 ³ hкр,                                                                (2)

Рис. 1. Кривые распределения по глубине нормальных напряжений в грунтах основания:

1; 2; 4 - при давлении под шпалой, равном соответственно 2, 4 и 6 кг/см2; 3 - прямая изменения бытового давления - Ркр от веса грунта при С = 0,15 кг/см2; j = 10° (к примеру расчета)

Рис. 2. Кривые зависимости параметров А и Б от прочностных характеристик грунта:

1 - А = f (j); 2, 3, 4, 5, 6, 7 - кривые зависимости параметра Б от j при С, равном соответственно 0,5; 1,0; 1,5; 2,0; 2,5; 3,0 т/м2

5. Расчет величины замены данного грунта с целью ограничения деформаций пути под воздействием морозного пучения при сезонном промерзании грунта выполняется по формуле

                                                (3)

где Н - глубина сезонного промерзания;

hA - допустимая высота пучения промерзающих грунтов основания, табл. 1;

Таблица 1

Скорость движения поездов, км/ч

Допустимая величина суммарного пучения hд, мм

< 50

50

51 - 70

35

71 - 120

25

121 - 180

20

f - интенсивность пучения грунтов естественного основания (табл. 2), в долях единицы;

λ, λдр - коэффициенты теплопроводности, соответственно, мерзлого грунта и дренирующего грунта замены (табл. 3), ккал/м·град·ч.

6. Толщину слоя замены целесообразно назначать равной большей из величин, полученных по формулам 1 - 3, но не более 1,5 м.

Примеры расчета

Дано. При инженерно-геологических изысканиях установлено, что основание выемки сложено пылеватыми суглинками, с влажностью Wp + 0,5 ´ Wп, имеющими следующие физико-механические и теплофизические характеристики:

g = 2 т/м3; С = 1,5 т/м2; j = 10°;

глубина сезонного промерзания Н = 240 см.

Решение. Выполним расчет по условиям прочности основной площадки.

Строим график распределения напряжений по глубине s = f (h). Для построения прямой  по номограмме, приведенной на рис. 2, находим значения А = 0,32 м3/т и Б = 2,0 м в зависимости от С и j.

Задаваясь значениями h = 0 и h = 1, получаем точки прямой:

По этим точкам на графике распределения напряжений (рис. 1) строится прямая и находится точка пересечения ее с кривой 2. Ордината точки пересечения соответствует глубине hкр. В данном примере hкр = 90 см.

Выполним расчет по условиям воздействия морозного пучения.

Из табл. 1 находим hд = 35 мм при скорости движения до 70 км/ч. Интенсивность пучения f = 0,15 (см. табл. 2) при влажности Wp + 0,5Wп. Теплопроводность пылеватого суглинка при этой влажности λ = 1,75 ккал/м·град·ч, теплопроводность дренирующего грунта λдр = 1,35 ккал/м·град·ч (песок g = 1,6 т/м3 при влажности W = 10 %).

Подставляя приведенные данные в формулу (3) получим

В данном случае , поэтому величину вырезки требуется назначать по величине . Но учитывая, что она больше 1,5 м, назначаем толщину слоя замены равной 1,5 м, и одновременно предусматриваем мероприятия, направленные на осушение глинистых грунтов основания в зависимости от гидрогеологических, топографических и других природных условий.

Таблица 2

Грунты

Интенсивность пучения грунтов f

Основания выемок и естественные основания

Насыпи высотой более 2 м

сухие [II]

сырые [II]

мокрые [II]

Влажность глинистых грунтов

от Wр + 0,10Wn до Wр + 0,25Wn

от Wр + 0,25Wn до Wр + 0,50Wn

от Wр + 0,5Wn до Wр + 0,75Wn

> Wр + 0,75Wn

от Wр + 0,10Wn до Wр + 0,25Wn

от Wр + 0,25Wn до Wр + 0,50Wn

Суглинки и глины пылеватые

0,03 - 0,05

0,10 - 0,15

0,15 - 0,20

0,20 - 0,30

0,02 - 0,03

0,04 - 0,07

Суглинки, глины, пылеватые супеси

0,02 - 0,04

0,08 - 0,12

0,12 - 0,18

0,18 - 0,25

0,01 - 0,02

0,03 - 0,06

Супеси

0,01 - 0,03

0,06 - 0,10

0,10 - 0,15

0,15 - 0,20

0,01 - 0,02

0,02 - 0,05

Песок пылеватый и мелкий

0,00 - 0,01

0,02 - 0,05

0,05 - 0,10

0,05 - 0,10

-

-

Крупнообломочные с пылевато-глинистым заполнителем более 30 % по весу

0,01 - 0,02

0,03 - 0,05

0,05 - 0,07

0,07 - 0,10

0,01 - 0,02

0,02 - 0,03

Таблица 3

Объемный вес g, т/м3

Суммарная влажность грунта W, %

Значения коэффициента теплопроводности λ, ккал/м·град·ч

мерзлые грунты

пески

супеси

суглинки и глины

1,2

0,05

0,52

-

-

1,2

0,10

0,79

0,45

-

1,4

0,05

0,69

-

-

1,4

0,10

1,08

0,69

0,68

1,4

0,15

1,25

0,88

0,84

1,4

0,20

-

1,05

0,94

1,4

0,25

-

1,16

1,00

1,6

0,05

0,91

-

-

1,6

0,10

1,35

-

-

1,6

0,15

1,60

1,10

0,98

1,6

0,20

1,73

1,29

1,12

1,6

0,25

1,82

1,44

1,24

1,6

0,30

1,93

1,55

1,30

1,6

0,35

-

1,65

1,35

1,6

0,40

-

1,72

1,41

1,6

0,60

-

-

1,50

1,8

0,10

1,60

-

-

1,8

0,15

1,90

1,31

0,98

1,8

0,20

2,10

1,52

1,12

1,8

0,25

2,23

1,70

1,24

1,8

0,30

2,32

1,82

1,30

1,8

0,35

-

1,93

1,35

1,8

0,40

-

2,00

1,41

1,8

0,60

-

-

1,58

2,0

0,15

2,20

1,50

-

2,0

0,20

2,42

1,75

1,50

2,0

0,25

2,72

1,93

1,63

2,0

0,30

-

2,10

1,75

2,0

0,35

-

-

1,86

Приложение 4

Методика расчета предельной высоты устойчивых откосов выемок в скальных породах

Выбор расчетной схемы осуществляется на основании результатов инженерно-геологических обследований массива, в том числе данных о характере и расположении поверхностей ослабления (трещиноватости и слоистости) по отношению к поверхности откоса и значений расчетных параметров.

Расчетные характеристики многослойного массива определяются как средневзвешенные по мощности слоев, пересекаемых возможной поверхностью обрушения.

Если вероятно обводнение массива, в котором проектируется выемка, следует учитывать гидростатическое давление и снижение общей устойчивости откосов.

1. При благоприятном расположении поверхностей ослабления (рис. 1, а - г) предельную высоту устойчивого вертикального откоса Н90 можно определять по формулам

                                                           (1)

                                                           (2)

                                                 (3)

где См - сцепление породы в массиве, т/м2;

g - объемный вес породы, т/м3, принимаемый по табл. 1;

ρ - угол внутреннего трения породы в образце, град, принимаемый по данным испытаний или (ориентировочно) по табл. 1;

С - сцепление породы в образце, т/м2, принимаемое по данным испытаний или по табл. 1;

а - коэффициент, значения которого можно принимать, в зависимости от величины С, по графику (рис. 2);

Стр - сцепление по контактам поверхностей ослабления, т/м2, принимаемое по результатам испытаний или по табл. 2;

Н - высота проектируемого откоса, м;

М - параметр, характеризующий трещиноватость породы;

ℓ - среднее расстояние, м, между плоскостями ослабления;

1, ℓ2, ... ℓn - расстояния, м, между плоскостями ослабления I, II, n - й систем.

Рис. 1. Расчетные схемы вертикальных откосов:

а, б, в, г - благоприятное расположение плоскостей ослабления; д - неблагоприятное; 1 - контур вероятной поверхности обрушения

Расчет по указанной схеме осуществляется методом последовательного приближения: задаваясь произвольными значениями Н в формуле (2), определяют соответствующее значение См, а по нему, по формуле (1), - вычисляют Н = Н90; последнее вновь подставляют в формулу (2) и заново вычисляют См, и H90 и т.д., пока разница между последовательными значениями Н = Н90 не окажется близкой к нулю.

Таблица 1

Физико-механические характеристики скальных пород

Наименование горных пород

Объемный вес g, т/м3

Удельный вес gу, т/м3

Влажность W, %

Сцепление в образце С, кг/см2

Угол внутреннего трения ρ, град.

Размер элементарного структурного блока, см

 

1. Крепкие породы

 

Изверженные

Гранитоиды

2,62

 

 

425

36,5

 

Кварцевые порфиры

2,56

2,64

0,36

395

37,0

40

Сиениты

2,76

 

0,37

363

37,0

40

Гранодиориты

2,63

2,78

0,39

560

32

50

Порфириты

3,02

 

0,50

365

33

45

Габбро-диориты

2,70

 

 

373

35,5

 

Габбро

3,11

 

 

300

36

 

Габбро-диабазы

2,86

 

 

353

32

80

Диабазы

2,95

 

 

460

30

 

Перидотиты

2,80

 

 

323

36

70

Пироксениты

3,23

 

 

350

35,5

 

 

Метаморфические и осадочные

Кварциты

2,64

2,84

0,50

350 - 700

36

50 - 70

Джеспилиты

3,43

 

 

360

36

40

Роговики

2,58

 

 

305

35

40

Роговики гидрогематитовые

3,17

 

 

300

32

40

Сланцы кремнисто-глинистые

2,82

 

0,24

380

33,5

30

Сланцы кварцево-хлорито-серицитовые

2,73

 

 

210

33

30

Филлиты, туффиты

2,87

 

 

300

28

40

Серпентиниты

2,7 - 3,1

 

0,40

230 - 300

35

60 - 100

Скарны

2,75

 

0,28

587

31

40 - 50

Кварцевые песчаники

2,50

2,65

2,50

250

35

50 - 150

Известняки

2,70

2,77

0,14

220

33

30 - 100

 

II. Породы средней крепости

 

Изверженные слабовыветрелые

Гранитоиды

2,56

 

 

220

36,5

30 - 50

Кварцевые порфиры

2,50

2,64

0,20

227

34

30 - 50

Сиениты, сиенитодиориты, диориты

2,50

2,66

1,00

205

32

30 - 50

Гранодиориты, гранодиорит - порфиры

2,57

2,75

1,05

285

36,5

50

Порфириты

3,00

 

 

260

37,0

 

Габбро-диориты

3,00

 

 

210

36

 

Габбро

2,83

 

 

275

35

 

Габбро-диабазы

2,98

 

 

260

36,5

 

Диабазы

2,75

 

 

200 - 260

36 - 37

 

Спилиты

 

 

 

240

36

70

 

Изверженные выветрелые

Сиенито-диориты

 

 

 

120

32

 

Кератофиры

 

 

 

165

33

 

Гранодиорит - порфиры

2,40

2,74

0,90

180

36

30 - 50

Порфириты

 

 

 

170

31

 

Габбро-диориты

2,66

 

 

180

36

 

Диабазы

 

 

 

70

34

 

 

Метаморфические

Кварциты

2,61

2,78

0,40

165

34

50 - 70

Кварциты - каолинизированные

2,24

2,59

0,94

48

30

20 - 30

Сланцы песчано-глинистые

2,78

 

180

37

40

 

Сланцы хлористо-кварцевые и хлоритовые

2,86

 

140

35

30

 

Филлиты

 

 

152

27

30

 

Тальково-карбонатная порода

2,89

 

115

30

 

 

Магнетиты

4,32

 

 

190

34

20 - 30

Серпентиниты выветрелые

2,50

 

 

84

34

20 - 30

Серпентиниты рассланцованные, сильно выветрелые

2,50

 

 

23

33

5,0 - 30

 

Осадочные

Известняки

2,44 - 267

2,83

0,1 - 4,0

140 - 165

27 - 32

30 - 80

Известняки выветрелые

2,37

 

 

73

32

 

Песчаники аркозовые

2,46

 

 

175

38

 

Песчаники глинистые

2,67

 

 

170

37

 

Песчаники с карбонатным цементом

2,57

2,68

2,27

170.

36

40

Песчаники с глинисто-железистым цементом

2,31

2,70

2,70

87

36

30

Песчаники

2,53

2,75

-

50 - 90

35

30 - 80

Алевролиты

2,51

2,72

4,00

35 - 70

33

35 - 70

Аргиллиты

2,45

2,80

8,00

40

29

20 - 45

Уголь

1,26 - 1,58

 

5,00

28

36

3,0 - 60

 

III. Слабые породы

 

Сильновыветрелые

Габбро-диориты

2,40

 

 

14,3

36

 

Сланцы

2,12

 

18,0

1,2 - 13,6

26 - 30

 

Песчаники

 

 

 

7,5

36

 

Диабазы

2,07

 

19,6

3,2

34

 

Доломиты, сидериты

2,00

 

31,6

1,39

32

 

 

Осадочные

Песчаники

2,11

2,65

11,0

11,0

35

 

Алевролиты

2,13

2,48

20,0

3 - 17

31

 

Аргиллиты

2,02

2,67

18,0

3 - 10

29

 

Мел трещиноватый

1,90

2,64

31

1 - 40

35

 

Примечание. Для получения расчетных величин С и ρ необходимо значения этих величин, приведенные в табл. 1, умножать на 1/3.

При неблагоприятном расположении поверхностей ослабления (см. рис. 1, д) предельную высоту устойчивого вертикального откоса  можно определять по формуле

                                                     (4)

где b - угол наклона поверхностей ослабления к горизонту, град;

ρтр - угол внутреннего трения по контактам поверхностей ослабления, град, принимаемый по результатам испытаний или по табл. 3.

Рис. 2. График зависимости коэффициента а от сцепления породы в образце

3. При неблагоприятном расположении поверхностей ослабления (рис. 3, а) предельная высота Hпр устойчивого откоса различной крутизны определяется по формуле

                                                           (5)

где a - угол наклона проектируемого откоса, град.

4. При неблагоприятном расположении поверхностей ослабления (b > ρтр) и совпадении угла наклона откоса с углом наклона поверхностей ослабления (a = b, Рис. 3, б) предельная высота устойчивого откоса Hпр определяется по формулам:

                                                           (6)

                                                              (7)

                                                          (8)

Рис. 3. Расчетная схема наклонного откоса при неблагоприятном расположении плоскостей ослабления:

а - поверхность проектируемого откоса с поверхностями ослабления не совпадает; б - совпадает; 1 - контур вероятной поверхности скольжения

Таблица 2

Поверхности ослабления

Породы

Величина сцепления Стр, кг/см2

 

Осадочные дислоцированные

0,2 - 0,5

 

Осадочные неуплотненные, недислоцированные, слаборассланцованные

50 % от сцепления под углом к наслоению

По контактам слоев

Осадочные уплотненные, слаборассланцованные

1,0 - 1,8

 

Осадочные метаморфизованные

0,5 - 1,0

По сплошным неровным трещинам и тектоническим нарушениям

Изверженные и метаморфические

0,5 - 1,0

Примечания. 1. Величины Стр действительны для необводненных пород, при отсутствии в трещинах заполнителя из глинистых грунтов.

2. Для получения расчетных значений Стр необходимо величины, приведенные в табл. 2, умножать на 1/3.

Таблица 3

Группы пород по характеру поверхностей ослабления

Угол внутреннего трения ρтр, град.

I - неровные шероховатые

26

II - ровные шероховатые

23

III - неровные гладкие

20

IV - ровные гладкие

17

Примечания: 1. Величины ρтр действительны для необводненных пород, при отсутствии в трещинах заполнителя из глинистых грунтов.

2. Для получения расчетных значений ρтр необходимо величины, приведенные в табл. 3, умножать на 1/3

Таблица 4

Угол наклона откоса, a, град.

Предельная высота откосов

вертикального H90, м

наклонного Hпр, м

90

 

16

80

 

28

70

16

40

60

 

56

90

 

20

80

20

32

70

 

48

90

 

30

80

 

48

70

30

72

60

 

100

90

 

40

80

40

60

70

 

100

Таблица 5

Угол наклона откоса a, град

Предельная высота вертикальных откосов H90, м

Предельная высота откоса при наклоне плоскостей ослабления до 10°

Hпр, м

Поверхности ослабления

Наклонные в сторону, противоположную откосу

Горизонтальные

Наклонные в сторону откоса

45

16

72

60

41

60

16

50

42

33

45

30

129

104

63

60

30

91

73

54

5. При благоприятном расположении поверхностей ослабления, (рис. 4), когда угол между поверхностью откоса и поверхностью ослабления более (90° - ρтр), предельную высоту устойчивого откоса Нпр различной крутизны можно принимать по табл. 4 в зависимости от Н90, определяемой по формуле (1).

Рис. 4. Расчетная схема наклонного откоса при благоприятном расположении плоскостей ослабления:

1 - контур вероятной поверхности обрушения

6. При благоприятном расположении поверхностей ослабления (рис. 5), когда угол между поверхностью откоса и поверхностью ослабления менее (90 - ρтр), предельную высоту устойчивого откоса различной крутизны можно принимать по табл. 5, в зависимости от Н90, определяемой по формуле (1).

Рис. 5. Расчетная схема наклонного откоса при незначительном наклоне поверхностей ослабления:

1 - контур вероятной поверхности обрушения

Примеры определения предельной высоты устойчивых скальных откосов

ПРИМЕР 1

Исходные данные. Массив скальных пород представлен песчаниками, имеющими горизонтальную слоистость и следующие физико-механические характеристики:

g = 2,39 т/м3; С = 1010 т/м2; ρ = 34°; ℓср = 0,42 м; Стр = 5 т/м2.

Требуется определить, какую максимальную высоту можно придать откосу проектируемой в этом массиве выемки, при условии придания ему вертикального очертания.

Решение. Коэффициент запаса принимаем равным 1,3.

С учетом этого определяем расчетные значения:

;

;

; .

По выражению (3) определяем

По графику (рис. 5), при С = 776 т/м2 определяем значение коэффициента а = 47.

В рассматриваемом массиве расположение поверхностей ослабления соответствует рис. 1, б. Для определения искомой высоты откоса используем расчетные формулы (1) и (2), применяя метод последовательного приближения.

Задаемся произвольным значением высоты откоса H = 50 м и подставляем в формулу (2) для вычисления сцепления в массиве

Величина устойчивого вертикального откоса

Полученное значение высоты откоса вновь подставляем в формулу (2) и получаем

Еще раз подставляя полученное значение высоты вертикального откоса в формулу (2), будем иметь:

Расхождение между двумя последними значениями H90 незначительно, поэтому принимаем максимальную высоту H90 = 12 м.

Вывод. В рассматриваемом скальном массиве откосам проектируемой выемки можно придавать вертикальное очертание при высоте их до 12 м. Откосы в этом случае будут иметь необходимую степень безопасности, обусловленную коэффициентом запаса, равным 1,3.

ПРИМЕР 2

Исходные данные. Известняковый массив имеет падение поверхностей ослабления в сторону проектируемой дороги под углом b = 40° (см. рис. 1, д) и следующие физико-механические характеристики: g = 2,60 т/м2; Стр = 10 т/м2; ρтр = 25°.

Требуется вычислить максимально возможную высоту устойчивого вертикального откоса.

Решение. Расчетные значения  и  определяем с учетом коэффициента запаса, равного 1,3:

;

;     .

Искомую высоту определяем по формуле (4)

Вывод. В рассматриваемом массиве максимальная высота отвесного устойчивого откоса должна быть не более 10 м.

ПРИМЕР 3

Исходные данные. Для массива с характеристиками из примера 2 вычислить максимальную высоту устойчивого откоса при угле наклона a = 60° (см. рис. 3, а).

Решение. Расчет производим по формуле (5)

Вывод. Высота откоса с углом наклона 60° в данной породе должна быть не более 35 м.

ПРИМЕР 4

Исходные данные. Известняковый массив, имеющий направление поверхностей ослабления в сторону проектируемой дороги под углом b = 60° (см. рис. 3, б), имеет следующие характеристики:

g = 2,60 т/м2; Стр = 5 т/м2; ρтр = 25°.

Требуется определить максимальную высоту устойчивого откоса, совпадающего с поверхностями ослабления (b = a = 60°).

Решение. Расчет осуществляем по формуле (6). Предварительно по формуле (1) вычисляем Н90, в предположении благоприятного направления поверхностей ослабления (по аналогии с решением, приведенным в примере 1, принимая значения С, ρ и Стр по табл. 1 или по данным инженерно-геологического обследования).

Предположим, получили при этом Н90 = 40 м; задаваясь коэффициентом запаса, равным 1,3, определяем расчетные значения Стр и ρтр:

;

;     .

По формуле (8) получим

sср = 0,3 ´ 2,60 ´ 40 ´ соs 60° = 16 т/м2.

По выражению (7) определяем

По формуле (6) вычисляем

Вывод. В данном массиве откос под углом 60° может быть запроектирован высотой до 61 м.

Приложение 5

Классификация оползней

1. По условиям развития и формам проявления, зависящим от геологической среды и характера ее залегания, оползни можно подразделять на два основных типа, каждый из которых включает в себя оползни рыхлых, покровных отложений и коренных пород (рис. 1 и 2).

Рис. 1. Классификационная схема оползней

Поверхностью скольжения оползней I типа являются геологические контакты, имеющие наклон к подошве склона.

Для покровных отложений на склонах такими контактами являются наклонные поверхности подстилающих коренных пород (см. рис. 1, а), а для коренных пород - наклонные плоскости наслоений или зоны тектонических нарушений (см. рис. 2, б).

Поверхность скольжения оползней I типа имеет форму поверхности геологического контакта.

Оползни II типа характерны тем, что поверхность скольжения у них не совпадает с геологическими контактами, а образуется в разнородной геологической среде и имеет, как правило, криволинейное вогнутое очертание (см. рис. 2, в, г).

Рис. 2. Схемы образования оползней:

а - контактный оползень I типа; б - структурный оползень I типа; в - консистентный оползень II типа; г - скалывающий оползень II типа; 1 - оползневой пассив; 2 - поверхность скольжения

Иные формы проявления оползневых процессов, получившие названия оползней выдавливания, пластических оползней, являются разновидностью, преимущественно оползней II типа.

В процесс движения оползней I типа в языке и голове их могут возникать отдельные блоки оползней II типа.

Основными условиями для возникновения оползней являются:

для I типа - наличие геологических контактов, наклонных в сторону подошвы склона, а также - соответствующий литологический состав грунтов и пород;

для II типа - соответствующий литологический состав и консистенция рыхлых грунтов, трещиноватость и степень выветрелости коренных пород.

Приложение 6

Основные положения по проектированию быстротоков и перепадов

Быстротоки

1. Быстротоком называется водоотводное сооружение, продольный уклон которого больше допускаемого для данных грунтовых условий. Быстротоки проектируются на крутых спусках, в местах выпуска водоотводных канав в овраги, суходолы и другие пониженные места к водопропускным сооружениям и т.п. при расходе воды, Q, превышающем 1 м3/сек. Быстроток состоит из лотка с расширенной приемной частью и гасителя энергии. Уклон дна в пределах быстротока может быть постоянным или переменным.

Быстротоки проектируются также в случаях, когда водный поток несет большое количество наносов.

2. Поперечное сечение быстротока обычно проектируется прямоугольным или трапецеидальным. Наивыгоднейшая ширина лотка при прямоугольном сечении может быть определена по формуле

                                                            (1)

Для улучшения условий протекания воды в быстротоках лотки рекомендуется проектировать с продольным профилем параболического очертания.

3. Глубина воды в приемной части быстротоков принимается не более 1 м. Быстротоки значительной длины могут иметь сечения различных размеров в зависимости от изменения глубины протекающей воды. Изменение размеров сечения осуществляется за счет изменения высоты стенок. Наибольшую высоту стенок имеет входной участок быстротока, где глубина воды больше. По мере увеличения уклона быстротока скорость увеличивается, и глубина воды уменьшается.

Высота стенок принимается на 20 - 25 см выше расчетного уровня воды.

Ориентировочные размеры лотков быстротоков, рассчитанных на пропуск расхода воды от 1 до 3 м3/сек, приведены в табл. 1.

Таблица 1

Типы быстротоков

Ширина по дну, м

Высота стенки, м

Длина звена или блока, м

Толщина стенки, см

Монолитный бетонный, прямоугольного сечения

1,0

0,6 - 1,25

не более 4,0

20 - 30

То же, трапецеидального сечения

1,0

0,6 - 1,0

не более 4,0

20

Железобетонный сборный по всему контуру, прямоугольного сечения

1,0

0,6 - 1,25

2,0

8 - 11

То же из отдельных блоков

1,0

0,6 - 1,25

2,0

8 - 9

4. Понижение скорости воды в быстротоках можно обеспечить повышением шероховатости стенок и дна (табл. 2).

Таблица 2

Тип обделки

Продольный уклон, ‰

Средства повышения шероховатости быстротоков

Бетонная или каменная

До 20

Ступенчатое очертание дна в продольном направлении

 

 

Втапливание камней неправильной формы в бетонную кладку дна

Бетонная и железобетонная

До 60

Ребристое дно с бетонными выступами, расположенными нормально к продольной оси лотка

 

 

Бетонные выступающие шашки, располагаемые по дну в шахматном порядке

5. Если в потоке будут крупные твердые частицы, рекомендуется:

не применять для гашения скорости водобойные колодцы и быстротоки с дном повышенной шероховатости (см. табл. 2);

принимать ширину быстротока не менее 2 м;

обеспечивать, чтобы скорость течения воды на всем протяжении быстротока была не меньше скорости на подходе к быстротоку;

увеличивать толщину дна и стенок на 20 - 30 % в зависимости от крупности твердых частиц;

принимать при расчете скорости в пределах быстротоков повышенный коэффициент шероховатости, определяемый по формуле

nн = nр (1 + b),                                                           (2)

где nр - расчетный коэффициент шероховатости без наличия в потоке твердых частиц;

b - объемное содержание в потоке твердых частиц.

6. На крутых косогорах для гашения энергии воды и снижения скорости ее течения применяются водобойные устройства. Тип и конструкция таких сооружений определяются скоростью воды на выходе из водоотводного устройства. Наиболее простым и экономичным типом гасителя энергии воды являются расширяющиеся лотки, рекомендуемые во всех случаях, когда рельеф местности допускает их размещение.

Расширяющие лотки, как правило, устраивают трапецеидального сечения с расширением по дну под углом 14°. Кроме того, дну лотка в поперечном профиле придается выпуклая форма, способствующая рассеиванию струй и гашению скоростей. Длина расширяющегося лотка назначается в зависимости от расхода протекающей воды и выходной скорости.

При большой скорости течения и значительном расходе воды, а также в узких логах с крутыми бермами, когда размещение выходных расширяющихся лотков требует весьма значительных земляных работ, для гашения энергии воды устраивают водобойные колодцы, уступы и стенки.

Эти типы гасителей основаны на изменении режима протекания воды вследствие резкого изменения уклона лотка и наличия водобойного порога того или иного очертания. Их высоты и длина определяются гидравлическим расчетом.

Перепады

7. Перепады устраивают для уменьшения скорости течения в кюветах, канавах, резервах, подводящих и отводящих руслах. Они состоят из ступени падения и укрепляемой части перед ступенью и после нее, являясь простейшими гасителями кинетической энергии воды.

8. Перепады в кюветах, водоотводных и нагорных канавах назначают при уклонах местности 0,04 - 0,06.

Высоту перепада задают из соображений выполнения минимума земляных работ и обеспечения сохранности укреплений при падении струи. Обычно высота перепадов принимается не более 0,6 м. Расстояние между ними определяется по формуле

                                                                     (3)

где h - высота перепада, м;

i1 - продольный уклон местности, выраженный в десятичных дробях;

i0 - продольный уклон канавы между перепадами.

9. Перепады применяют бетонные и железобетонные, а при наличии местных каменных материалов - бутобетонные.

10. В кюветах перепады следует проектировать с переменной шириной по дну между двумя стенками падения, размещаемыми в пределах ширины кювета по верху, при расходах протекающей воды до 0,5 м3/сек и глубине заполнения не более 0,5 м.

11. В водоотводных и нагорных канавах целесообразно проектировать перепады с постоянной шириной по дну, при расходах протекающей воды до 1,0 м3/сек.

12. За ступенью перепада, в пределах падения струи и участка гашения скорости, дно и откосы водоотводного устройства необходимо укреплять, учитывая высокую скорость и удары при падении воды, а также вихревые движения водяных струй. Протяжение участка прыжка и неравномерного движения воды определяется гидравлическим расчетом.

Длина укрепляемой части водоотвода перед перепадом назначается равной двух - трехкратной глубине воды над перепадом, но не менее 0,8 м.

13. Продольный уклон дна водоотвода между перепадами назначается в зависимости от грунтов и принятого типа укрепления; при этом следует иметь в виду, что с увеличением продольного уклона канавы увеличивается длина укрепляемого участка русла после перепада.

14. Для укрепления дна и стенок водоотвода в зависимости от скорости течения воды можно принимать сборные бетонные и железобетонные плиты, монолитный бетон, а при наличии местного камня и небольших объемов работ - мощение.

При выборе типа укрепления предпочтение следует отдавать укреплению, имеющему больший коэффициент шероховатости, что значительно сокращает длину укрепления водоотвода после перепада.

15. При больших уклонах местности и расходах воды более 1,0 м3/сек в канавах необходимо устраивать многоступенчатые перепады или быстротоки со специальными устройствами для гашения энергии потока.

Многоступенчатые перепады с водобойными устройствами укрепляются на всем протяжении обычно бетоном, сборным или монолитным. Гашение скорости осуществляется затоплением прыжка воды, образующегося в колодце при падении в него водной струи. Применение таких перепадов допустимо, если водоток не несет большого количества твердых частиц.

Приложение 7

Методические указания по расчету стока для водоотводов

1. Расчет стока для водоотводов производится в соответствии с [30].

2. В качестве водосборных площадей для водоотводов принимаются те части бассейнов, вода с которых будет поступать не к водопропускному сооружению, а непосредственно к земляному полотну. При устройстве перепусков воды из соседних бассейнов в общее водопропускное сооружение, на участке перепускного канала, водоотводов назначать не требуется, так как на этом участке вода, поступающая с бассейна к террасе, будет перехватываться перепускным каналом.

Водосборные площади водоотводов определяются по планам местности в горизонталях или съемкой в натуре.

3. Бассейны водосборов - односкатные. При расчетах за длину главного лога принимается длина водоотвода от водораздела до водопропускного сооружения, куда направляется вода из проектируемого водоотвода.

4. Средняя длина вс без русловых склонов водосбора определяется по формуле

                                                                       (1)

где F - площадь водосбора водоотвода, км2;

L - длина водоотвода, км.

5. За уклон главного лога Jл, %, принимается средний уклон водоотвода от водораздела до водопропускного сооружения.

6. Средний уклон склонов Jс, %, определяется по плану местности линии в горизонталях или съемкой в натуре. При этом за расчетную величину уклона склонов принимается его средняя арифметическая из 2 - 3 определений.

7. Заложение откосов a главного русла определяется по поперечному сечению водоотвода, на середине его длины по формуле

                                                        (2)

где a1 и a2 - заложение соответственно левого и правого откосов водоотвода;

h1 и h2 - высота соответственно левого и правого откосов канавы;

n1 и n2 - заложение наклонных прямых, соединяющих бровки канавы с серединой дна.

8. Коэффициент гидравлической шероховатости принимается mл = 0,25.

9. Коэффициент гидравлической шероховатости mс и категории почвы по впитыванию принимаются такими же, какие приняты при расчете стока по основному водотоку бассейна для ближайшего водопропускного сооружения.

10. Расчеты стока производятся по 4 - 6 бассейнам на участках с однообразной почвой и уклонами склонов, не различающимися друг от друга более чем на 50 %. По результатам расчетов строятся графики зависимости расходов от площади бассейнов Q = f (F). Расчеты стока для других водоотводов в аналогичных условиях разрешается производить с использованием этих графиков.

11. При расчете стоков по [30] для площадей бассейнов менее 0,2 км2 безразмерная характеристика λ принимается равной 0,01.

12. Значения интенсивности водоотдачи, для необходимых при проектировании водоотвода повторяемости превышения, если их нет в соответствующих таблицах [30], следует определять по интерполяции или экстраполяции величин, имеющихся в таблицах [30].

13. Значения расходов для промежуточных сечений определяются линейной интерполяцией величин, приведенных в таблицах [30], соответственно площади бассейна до рассматриваемого сечения водоотвода.

Приложение 8

МЕТОДИКА ОПРЕДЕЛЕНИЯ РАСЧЕТНОЙ ДОПУСКАЕМОЙ СКОРОСТИ ТЕЧЕНИЯ ВОДЫ В КАНАВАХ

Допускаемая средняя по живому сечению потока скорость Vд определяется по формуле

Vд = д,

где υд - допускаемая местная скорость потока в точках, отстоящих от дна и откосов на расстоянии, соответствующем высоте выступов шероховатости стенки;

К - коэффициент перехода от значений местной к средней по сечению скорости потока.

Значения υд, в зависимости от характеристик грунта на рассматриваемом участке канавы или укрепления, уложенного на этом участке, определяются по табл. 1.

Значения коэффициента К зависят от условий протекания потока в пределах рассматриваемого участка канавы при расходе расчетной обеспеченности.

Для прямолинейных в плане участков канав, каналов и т.д. прямоугольного и трапецеидального сечения значения коэффициента К определяются по графикам рис. 1, 2 в зависимости от крутизны откосов канавы, а также отношений  и ,

где Н - глубина потока;

D - высота выступов шероховатости грунта или рассматриваемого типа укрепления, определяемая по табл. 1;

в - ширина канавы по дну.

Для участков канав на повороте, при спокойном режиме течения и отношении , значения К определяются по номограмме (рис. 3).

Для случая, когда отношение глубины потока в канаве к ширине по верху превышает  ³ 0,12, следует определять значения коэффициента К в зависимости от отношений, , , , и величины θ.

где rср - расстояние от центра закругления до оси потока;

В - ширина потока по верху;

rmin - расстояние от центра закругления до внутренней границы потока;

θ - угол поворота канавы.

Рис. 1. График изменения коэффициента К:

(---) - для откосов канав прямоугольного поперечного сечения; (-) - для дна тех же канав; 1; 2; 3 и 4 при  соответственно равном 0,5; 2,5; 5 и 10

При этом для участка у дна канавы значения коэффициента К определяются последовательно по I - III квадрантам номограммы. Для участка у откосов канавы значения К определяются по этим же квадрантам при

 и .

Рис. 2. График изменения значений коэффициента К:

1; 2; 3 и 4 - для откоса крутизной 1:1 при  - соответственно равном 0,5; 1,0; 2,5 и 5,0; 5 - для откоса крутизной 1:2,5 при  равном 0,5; 6 - для дна.

Если отношение глубины потока к ширине  < 0,12, значения К для участка дна канавы определяются по графику (см. рис. 3) в зависимости: от величины отношения

где rmax отк - расстояние от центра закругления до середины смоченной поверхности откоса внешней стороны;

от значения θ, обуславливающего величину коэффициента , а также от отношения .

Для откосов канавы значения К в этом случае определяются тем же способом при ()отк = 0,5 .

Рис. 3. Номограмма для определения значений коэффициента К для канав на закруглениях:

1; 2; 3; 4 и 5 - при  соответственно равном 1,0; 0,8; 0,6; 0,4 и 0,2; 6; 7; 8; 9; 10; 11 и 12 - при θ соответственно равном 90; 75; 60; 45; 30; 15 и 0°; 13 - 22 - при  соответственно равном 10; 25; 50; 102; 2,5 · 102; 5 · 102; 103; 2,5 · 103; 5 · 103 и 104; 23 - указатель последовательности операций; I, II и III - номера квадрантов

Таблица 1

№№ пп

Наименование грунта или укрепления

Характеристика грунта или укрепления

Высота выступов шероховатости, мм, или формула ее определяющая

Значение допускаемой скорости, м/сек, или формула для ее определения

1

Песок мелкий

d50 = 0,05 мм

0,035

 

 

d50 = 0,25 мм

0,175

d50 = 1,0 мм

0,7

2

Песок средней крупности и крупный

d50 ³ 1,5 мм

D = 0,7 d

D = 0,7 d

3

Глинистый грунт

Структура грунта не нарушена. Грунт максимально водонасыщен. Инородные включения в грунте и растительность на поверхности грунта отсутствуют

3,0

υд = 0,17 + 2,5С

4

Конгломерат, мергель, сланцы

 

50

1,5

5

Пористый известняк, плотный конгломерат, слоистый известняк, известковый песчаник

при грубой поверхности породы

50

2,2

при гладкой поверхности

20

2,5

6

Доломитовый песчаник, не слоистый известняк, мрамор

при грубой поверхности породы

50

3,1

при гладкой поверхности

20

3,5

7

Граниты, диабазы, базальты, андезиты, кварциты, порфиры

-

50

12,0

8

Каменная наброска

D = 0,7 d

9

Хворостяные выстилки

Толщина не менее 20 см

100

1,65

10

Фашинные тюфяки

Толщина не менее 50 см

100

2,30

11

Габиона

Размером не менее

50

3,15

0,5 ´ 0,5 ´ 1,0 м

12

Бутовая кладка

Предел прочности на сжатие 100 кг/см2

50

2,4

300 кг/см2

50

5,3

13

Бетон

Марка бетона

 

 

100

5

2,65

200

5

3,10

300

5

3,60

14

Сборные покрытия из бетонных блоков

Блоки сочленены по всей поверхности защищаемого объекта

 

 

Марка бетона 100

25

2,65

150

25

3,10

200

25

3,60

15

Бетонные водоводы с гладкой поверхностью

Марка бетона

 

 

100

2

4,75

150

2

5,50

200

2

6,30

Примечания. 1. В формулах, приведенных в таблице, приняты обозначения:

d5, d15, d50, d95 - размеры частиц грунта, равные величине отверстия сит, на которых задерживается соответственно 5; 15; 50 и 95 % от веса пробы;

m - заложение откоса канавы;

m0 - заложение естественного откоса грунта;

g - ускорение силы тяжести;

g1, g - удельный вес соответственно грунта и воды;

С - сцепление грунта, кг/см2 (табл. 2);

d - средний размер камней.

2. В формулах п/п №№ 1 и 2 член 0,075 учитывается только для случаев определения υд у откосов при условии обеспечения общей устойчивости последних.

3. При наличии трещиноватости или выветрелости скальных пород значения допускаемых скоростей, приведенных в №№ п/п 4 - 7 должны быть уменьшены. Для сильно разрушенных пород допустимые скорости следует принимать как для несвязного грунта соответствующей крупности.

4. Конструкции укреплений должны обеспечить отсутствие вымывания частиц грунта основания через промежутки между элементами укреплений.

Таблица 2

Влажность на границе раскатывания Wр, %

Расчетные значения удельного сцепления глинистых грунтов С, кг/см2

величина коэффициента пористости

0,41 - 0,50

0,51 - 0,60

0,61 - 0,70

0,71 - 0,80

0,81 - 0,95

0,96 - 1,1

9,4

0,02

0,01

0,01

-

-

-

9,5 - 12,4

0,03

0,01

0,01

-

-

-

12,5 - 15,4

0,14

0,07

0,04

0,02

-

-

15,5 - 18,4

-

0,19

0,11

0,08

0,04

0,02

18,5 - 22,4

-

-

0,28

0,19

0,10

0,06

22,5 - 26,4

-

-

-

0,36

0,25

0,12

26,5 - 30,4

-

-

-

-

0,40

0,22

Приложение 9

Методика расчета зоны влияния карстовых полостей

Расчет зоны безопасности по глубине

Расчет выполняется в соответствии с расчетной схемой (рис. 1), исходя из формы карстовой полости в виде полуэллипсоида или эллиптического параболоида, по формулам:

у0 = z0 + x0;                                                                        (1)

z0 = z - H - ρt;                                                                     (2)

                                                                 (3)

                                                     (4)

                                                           (5)

                                                           (6)

                                                              (7)

                                                          (8)

                                                                (9)

где у0 - глубина безопасного расположения карстовой полости;

z0 - высота зоны обрушения над верхом первоначального положения пустоты;

x0 - мощность ненарушенной породы над верхом контура пещеры к исходу, t, лет, выдерживающей собственный вес Q и вес земляного полотна и временной нагрузки Q0;

z - зона обрушения над верхом первоначального положения пещеры;

t - срок работы земляного полотна;

D - толщина слоя породы, растворяемого за единицу времени агрессивной водой, см/год;

f - коэффициент внутреннего трения породы;

g - объемный вес породы после осушения;

L и ω - соответственно длина и площадь пещеры в плане к исходу времени t, лет;

С - удельное сцепление породы;

К - коэффициент запаса принимается равным 1,25 или менее;

r0 - предельно-возможное содержание растворенной породы, мг/л; определяется опытным путем или, ориентировочно, по литературным данным;

r - фактическое содержание растворенной породы, мг/л; определяется по данным инженерно-геологических изысканий;

ρ0 - максимально возможная интенсивность роста карстовых пустот, см/год, при r0 max и r = 0; определяется опытным путем или ориентировочно по данным литературных источников.

Расчет размеров в плане карстового провала

Расчет выполняется в соответствии с расчетной схемой (рис. 2, б) по формуле

S = L · 2ℓ,                                                                (10)

где S - размер провала в плане;

L - длина или ширина полости в плане;

ℓ = K ´ H - расстояние на уровне поверхности земли от края карстовой полости в плане до контуров провала;

К - коэффициент, учитывающий свойства горной породы, определяемый по графику (рис. 2, а);

Н - глубина залегания дна карстовой полости.

Рис. 1. Расчетная схема карстовой полости:

1 - насыпь; 2 - карстовая полость

Рис. 2. Расчетная схема карстового провала:

а - разрез провала; б - график для определения коэффициента К; 1 - карстовая полость; 2 - расчетная плоскость обрушения; H, ℓ - расчетные параметры призмы обрушения

Приложение 10

Методика расчета габаритов улавливающих сооружений на участках камнепадов

1. Определение расчетной скорости движения камней в створе проектируемого сооружения

Скорость движения камней по склону зависит от типа поперечных профилей горных склонов.

Тип 1. Склоны однообразной крутизны и уступчатого профиля при высоте уступов до 5 м, а также ломаные склоны с длиной отдельных участков менее 10 м или при разнице в углах крутизны до 5°.

Расчетные скорости движения камней по склонам однообразной крутизны определяются по формулам:

                                                    (1)

                                                      (2)

где  - коэффициент, зависящий от крутизны склона; его значения можно принимать по табл. 1;

H - высота падения камня, м;

g - ускорение силы тяжести;

К - коэффициент, учитывающий комплексное влияние на скорость движения камней всех факторов, не поддающихся учету в отдельности (размеры, форма и вращательное движение камней, микрорельеф склона, воздушное сопротивление, характер поверхностного покрова и др.), определяемый по формуле

К = 0,00443a + 0,416,                                                          (3)

a - угол наклона склона, град;

υо - начальная скорость камня, упавшего на пологий участок склона, м/сек.

Формулу (1) следует применять для крутых склонов (a > 30°), формулу (2) - для пологих склонов (a £ 30°).

Для склонов с растительным покровом, в виде густого мелкого кустарника или леса, значения скоростей, вычисленные по формулам (1) и (2), следует уменьшать на 20 - 40 % в зависимости от плотности растительного покрова. Для склонов без растительного покрова, с выступающими скальными обнажениями, расчетные скорости следует увеличивать на 10 - 20 %.

Тип 2. Ломаные склоны с углами наклона от 30 до 60° при длине участков более 10 м и при разнице в углах наклона смежных элементов 5° (рис. 1, а).

Расчетные скорости камней υк на таких склонах определяются по формуле

                                                    (4)

где n - количество участков склона.

Значения коэффициентов Ei в зависимости от угла наклона определяются по табл. 1.

Тип 3. Ломаные склоны с отдельными пологими участками при углах наклона a < 30° и крутыми участками с a £ 60°, при длине отдельных участков более 10 м и разнице в углах наклона смежных участков более 5° (см. рис. 1, б).

У подошвы верхнего крутого участка склона скорость движения камней следует определять по формуле (1).

В конце каждого нижележащего участка скорость камня можно определять по формуле

                                                         (5)

где υ0(i) = υк(i-1) cos (ai-1 - ai) в случаях ai-1 > ai

и υ0(i) = υк(i-1), если ai-1 < ai.

υ0(i) и υк(i-1) - скорости соответственно в начале и конце рассматриваемого участка склона. Значения Еi можно принимать по табл. 1.

Рис. 1. Расчетные схемы склонов:

а, б, в - склоны соответственно типов 2; 3 и 4; 0 - место вывала камня, А - место расположения защитного сооружения, Б - место отражения падающего камня; 1 - траектория полета и направление качения камня

Таблица 1

a, град

Е

a, град

Е

a, град

Е

a, град

Е

30

1,11

46

2,63

61

3,19

76

3,67

31

1,33

47

2,70

62

3,23

77

3,69

32

1,51

48

2,75

63

3,25

78

3,72

33

1,68

49

2,79

64

3,28

79

3,76

34

1,77

50

2,83

65

3,30

80

3,81

35

1,86

51

2,88

66

3,32

81

3,85

36

1,99

52

2,92

67

3,35

82

3,90

37

2,03

53

2,96

68

3,37

83

3,94

38

2,12

54

3,00

69

3,41

84

4,00

39

2,21

55

3,03

70

3,43

85

4,06

40

2,30

56

3,06

71

3,45

86

4,13

41

2,35

57

3,10

72

3,50

87

4,20

42

2,43

58

3,12

73

3,54

88

4,27

43

2,43

59

3,14

74

3,58

89

4,34

44

2,55

60

3,17

75

3,62

90

4,43

45

2,58

-

-

-

-

-

-

Тип 4. Ломаные склоны с очень крутыми участками при a > 60° и высотой более 10 м (рис. 1, в).

Расчетная скорость в месте расположения защитного сооружения (точка А) определяется по формуле

                                                       (6)

где υt(0) - тангенциальная составляющая скорости отражения в точке Б, определяемая по формуле

                                               (7)

где  - скорость падения камня в точке Б;

λ - коэффициент мгновенного трения, принимаемый по табл. 2.

E и Е1 - определяются по табл. 1, в зависимости от a и a1, (см. рис. 1, в).

Таблица 2

Характер поверхности склона

Значения коэффициентов

мгновенного трения λ

восстановления скорости ρ

Скальные обнажения

0,1

0,7

Плотный крупнообломочный делювий

0,3

0,5

Одернованная гладкая поверхность

0,1

0,3

Рыхлый делювий, застрявшие камни, осыпь и т.п.

0,4

0,3

При залегании коренных пород на глубине до 0,5 м от поверхности склона

0,3

0,5

2. Определение расчетных отклонений траектории движения камня

Расчеты выполняются по формулам:

                                                         (8)

аmax = max ´ tg a,                                                               (9)

где аmax и max - расчетные отклонения траектории полета камня от поверхности склона соответственно в вертикальном и горизонтальном направлениях (рис. 2), принимаемые по табл. 3 и 4;

υк - расчетная скорость полета камня в створе сооружения, определяемая по формулам (1) - (6) в зависимости от типа склона;

b - угол отражения (см. рис. 2), принимаемый по табл. 5.

3. Построение расчетной траектории движения камня

Расчетной траекторией определяется положение опасной точки удара камня о склон М (р) перед сооружением для минимальной подрезки склона при устройстве улавливающей пазухи (рис. 3).

Рис. 2. Расчетная траектория движения камня после удара о наклонную плоскость:

1 - расчетная поверхность склона; 2 - траектория полета камня

Рис. 3. Схема расчета ограждающего сооружения на перелет камня:

1 - улавливающая стена; 2 - амортизирующая засыпка из местного грунта; 3 - улавливающая траншея; 4 - расчетная траектория полета камня; 5 - поверхность склона

Таблица 3

Расчетная скорость полета камня υк, м/сек

Расчетные горизонтальные отклонения траектории полета камней max, м

Углы наклона откосов a, град.

20

23

25

28

30

33

35

38

40

42

45

52

60

10

4,7

4,95

5,0

5,2

5,3

5,35

5,4

5,45

5,5

5,55

5,6

5,7

5,8

11

4,8

5,1

5,2

5,5

5,6

5,7

5,9

5,95

6,0

6,1

6,2

6,3

6,4

12

4,8

5,15

5,35

5,7

5,9

6,1

6,3

6,4

6,5

6,6

6,7

6,9

7,0

13

4,8

5,2

5,4

5,9

6,1

6,4

6,6

6,75

6,9

7,0

7,1

7,5

7,6

14

4,8

5,2

5,45

5,95

6,2

6,6

6,8

7,1

7,3

7,4

7,5

8,0

8,15

15

4,8

5,2

5,5

6,0

6,3

6,8

7,0

7,4

7,55

7,8

7,9

8,45

8,7

16

4,8

5,2

5,5

6,0

6,35

6,8

7,15

7,6

7,8

8,2

8,3

8,9

9,2

16,5

4,8

5,2

5,5

6,0

-

-

-

-

-

-

-

-

-

17

4,8

5,2

5,5

6,0

6,35

6,95

7,3

7,8

8,0

8,4

8,7

9,3

9,7

18

4,8

5,2

5,5

6,0

6,35

6,97

7,4

8,0

8,2

8,6

9,0

9,7

10,2

19

4,8

5,2

5,5

6,0

6,35

7,0

7,45

8,05

8,4

8,8

9,25

10,1

10,7

19,5

4,8

5,2

5,5

6,0

6,35

7,0

-

-

-

-

-

-

-

20

4,8

5,2

5,5

6,0

6,35

7,0

7,5

8,1

8,6

9,0

9,5

10,4

11,1

21

4,8

5,2

5,5

6,0

6,35

7,0

7,5

8,15

8,7

9,2

9,65

10,7

11,5

22

4,8

5,2

5,5

6,0

6,35

7,0

7,5

8,18

8,8

9,35

9,8

11,0

11,9

23

4,8

5,2

5,5

6,0

6,35

7,0

7,5

8,2

8,9

9,4

10,0

11,2

12,2

24

4,8

5,2

5,5

6,0

6,35

7,0

7,5

8,2

8,9

9,45

10,15

11,35

12,5

25

4,8

5,2

5,5

6,0

6,35

7,0

7,5

8,2

8,9

9,5

10,25

11,5

12,8

26

4,8

5,2

5,5

6,0

6,35

7,0

7,5

8,2

8,9

9,55

10,25

11,8

13,35

30

4,8

5,2

5,5

6,0

6,35

7,0

7,5

8,2

8,9

9,55

10,5

12,2

14,1

35

4,8

5,2

5,5

6,0

6,35

7,0

7,5

8,2

8,9

9,55

10,5

12,5

15,5

40

4,8

5,2

5,5

6,0

6,35

7,0

7,5

8,2

8,9

9,55

10,5

12,5

15,6

Таблица 4

Расчетная скорость полета камня υк, м/сек

Расчетные вертикальные отклонения траектории полета камней Сmax, м

Углы наклона откосов a, град.

20

23

25

28

30

33

35

38

40

42

45

10

1,7

2,1

2,33

2,8

3,1

3,5

3,8

4,25

4,6

4,95

5,6

11

1,75

2,16

2,42

2,9

3,3

3,7

4,1

4,65

5,1

5,5

6,2

12

1,75

2,18

2,50

3,0

3,4

3,9

4,4

5,0

5,5

6,0

6,7

13

1,75

2,2

2,53

3,1

3,5

4,1

4,6

5,25

5,8

6,35

7,1

14

1,75

2,2

2,55

3,15

3,6

4,3

4,75

5,5

6,1

6,7

7,5

15

1,75

2,2

2,56

3,2

3,65

4,4

4,9

5,8

6,3

7,05

7,9

16

1,75

2,2

2,56

3,2

3,7

4,5

5,0

6,0

6,5

7,35

8,3

16,5

1,75

2,2

2,56

3,2

3,7

-

-

-

-

-

-

17

1,75

2,2

2,56

3,2

3,7

4,51

5,1

6,2

6,7

7,6

8,7

18

1,75

2,2

2,56

3,2

3,7

4,52

5,2

6,25

6,9

7,75

9,0

19

1,75

2,2

2,56

3,2

3,7

4,53

5,25

6,3

7,1

7,9

9,25

19,5

1,75

2,2

2,56

3,2

3,7

4,53

5,25

-

-

-

-

20

1,75

2,2

2,56

3,2

3,7

4,53

5,25

6,35

7,2

8,1

9,50

21

1,75

2,2

2,56

3,2

3,7

4,53

5,25

6,35

7,3

8,25

9,65

22

1,75

2,2

2,56

3,2

3,7

4,53

5,25

6,4

7,35

8,4

9,8

23

1,75

2,2

2,56

3,2

3,7

4,53

6,25

6,4

7,45

8,45

10,0

24

1,75

2,2

2,56

3,2

3,7

4,53

5,25

6,4

7,45

8,5

10,15

25

1,75

2,2

2,56

3,2

3,7

4,53

5,25

6,4

7,45

8,35

10,25

27

1,75

2,2

2,56

3,2

3,7

4,53

5,25

6,4

7,45

8,6

10,35

30

1,75

2,2

2,56

3,2

3,7

4,53

5,25

6,4

7,45

8,6

10,5

35

1,75

2,2

2,56

3,2

3,7

4,53

5,25

6,4

7,45

8,6

10,5

40

1,75

2,2

2,56

3,2

3,7

4,53

5,25

6,4

7,45

8,6

10,5

Таблица 5

Расчетная скорость полета камня υк, м/сек

Величины углов отражения b

Углы наклона откосов a, град.

20

23

25

28

30

33

10

103°

103°

103°

102°30'

102°

101°

11

100°

100°

100°

99°30'

99°

98°

12

97°11'

97°

97°

96°30'

96°30'

95°

13

95°

94°30'

94°30'

94°

93°45'

92°50'

14

93°06'

92°33'

92°15'

91°40'

91°20'

90°15'

15

91°30'

90°52'

90°20'

89°40'

89°10'

88°15'

16

90°04'

89°12'

88°48'

88°

87°20'

86°30'

16,5

-

-

-

86°58'

-

-

17

88°50'

87°66'

87°15'

86°27'

85°35'

84°40'

18

87°50'

86°37'

85°53'

84°58'

84°

83°05'

19

86°50'

85°36'

84°50'

83°47'

82°46'

81°35'

19,5

-

-

-

-

-

80°52'

20

86°

84°38'

83°47'

82°35'

81°31'

80°21'

21

85°08'

83°47'

82°49'

81°35'

80°28'

79°14'

22

84°28'

83°03'

82°02'

80°41'

79°31'

78°08'

23

83°54'

82°19'

81°15'

79°51'

78°24'

77°13'

24

83°16'

81°38'

80°34'

79°01'

77°49'

76°17'

25

82°45'

81°05'

79°54'

78°25'

77°06'

75°32'

27

81°45'

80°01'

78°48'

77°09'

75°50'

74°06'

30

80°34'

78°41'

77°24'

75°35'

74°10'

72°20'

32

79°54'

78°08'

76°37'

74°44'

73°18'

71°19'

35

79°

77°

75°35'

73°37'

72°08'

70°06'

38

78°20'

76°11'

74°45'

72°41'

71°07'

69°03'

40

77°55'

75°45'

74°17'

72°10'

70°36'

68°25'

Продолжение таблицы 5

Расчетная скорость полета камня υк, м/сек

Величины углов отражения b

Углы наклона откосов a, град.

35

38

40

42

45

52

60

10

100°

98°20'

96°55'

95°30'

92°52'

85°20'

74°15'

11

97°

95°15'

94°

92°30'

90°

82°50'

72°

12

94°10'

92°30'

91°15'

90°10'

87°25'

80°20'

70°

13

91°45'

90°10'

89°

87°30'

85°12'

78°25'

68°15'

14

89°25'

87°50'

86°40'

85°20'

83°20'

76°20'

66°28'

15

87°20'

86°

84°42'

83°25'

81°

74°34'

64°58'

16

85°30'

84°20'

82°50'

81°31'

79°25'

73°

63°30'

16,5

-

-

-

-

-

-

-

17

83°45'

82°30'

81°15'

80°

70°50'

71°35'

62°10'

18

82°15'

81°

79°55'

78°30'

76°25'

70°15'

61°10'

19

80°45'

79°25'

78°20'

77°

75°

69°

60°

19,5

-

-

-

-

-

-

-

20

79°30'

78°

77°

75°50'

73°50'

67°40'

59°

21

78°10'

76°47'

75°44'

74°32'

72°30'

66°38'

58°

22

77°

75°36'

74°33'

74°26'

71°22'

65°40'

57°10'

23

76°11'

74°30'

73°26'

72°18'

70°20'

64°39'

56°15'

24

75°16'

73°37'

72°30'

71°16'

69°21'

63°44'

55°29'

25

74°28'

72°40'

71°35'

70°20'

68°24'

62°38'

54°43'

27

72°59'

71°07'

70°06'

68°54'

67°07'

61°18'

53°10'

30

71°05'

69°09'

68°

66°49'

64°49'

59°11'

51°20'

32

70°06'

68°

66°50'

65°38'

63°32'

57°55'

50°24'

35

68°42'

66°39'

65°24'

64°05'

61°54'

56°13'

48°55'

38

67°39'

65°25'

64°08'

62°45'

60°32'

54°42'

47°35'

40

66°59'

64°46'

63°26'

62°05'

59°40'

53°46'

46°47'

Уравнение расчетной траектории движения камня после удара о склон перед сооружением (см. рис. 2) имеет вид

                                                        (10)

Для построения расчетной траектории камня расчетная скорость определяется по одному из вышеизложенных способов в зависимости от типа склона, а значения угла отражения b находятся по табл. 3.

Уравнения расчетных траекторий камней в зависимости от расчетной скорости их υк и угла крутизны склона a сооружения приведены в табл. 6.

4. Определение габаритов улавливающих пазух

Габариты улавливающих пазух определяются расчетными отклонениями траектории движения камня ℓmax и аmax, из которых после прибавления технического запаса, принимаемого равным 0,5 - 1,0 м, получаются значения ширины поверху и глубины пазух.

После этого осуществляется проверка полученных размеров на выскакивание камня и на емкость пазух.

При расчете на выскакивание камня, при трапецеидальной улавливающей пазухе, высота его набега на откос вала или амортизирующей отсыпки определяется по графикам (рис. 4).

Расчетное значение угла падения камня на дно пазухи j можно принимать равным углу крутизны склона.

При проверке емкости улавливающей пазухи за расчетный удельный объем обваливающейся массы пород принимается 15 м3 на 1 пог. м сооружения.

Расчетную площадь поперечного сечения пазухи следует считать от отметки на 1 м ниже верха стены, вала или верхней бровки путевого откоса улавливающего рва с расположением обвалившейся массы в пазухе под углом 20° к горизонту (в сторону склона).

В случае, если по условиям проверки на выскакивание камня или проверки на емкость размеры пазухи оказываются недостаточными, то следует их габаритные размеры соответственно увеличить.

Рис. 4. Графики для определения высоты набега камней на откос:

а, б - крутизной 1:0,75, в - 1:0,5, г - 1:1; сплошные линии - для дна и откоса траншей при ρ = 0,3; λ = 0,3; пунктирные линии - для дна при ρ = 0,50; λ = 0,3 и откоса траншей при ρ = 0,3; λ = 0,3; штрих-пунктирные - для дна при ρ = 0,3; λ = 0,3 и откоса траншеи при ρ = 0,5; λ = 03; 1; 2; 3; 4; 5 и 6 - при скоростях соответственно 35, 30, 25, 20, 15 и 40 м/сек

При применении улавливающей пазухи с ломаным очертанием внешнего откоса (рис. 5) размеры отдельных элементов ее поперечного профиля следует назначать по табл. 7.

Проверка на выскакивание камня в этом случае не требуется. Проверка емкости осуществляется также, как и для пазухи трапецеидального очертания.

Рис. 5. Расчетная схема улавливающей траншеи:

1 - естественная поверхность склона; в, с, h, h0, m, n, - расчетные параметры

Таблица 6

υк, м/сек

Уравнения расчетных траекторий

Углы наклона откосов a, град.

20

25

30

10

У = 0,0516x2 - 0,231х

У = 0,0516x2 - 0,231х

У = 0,0512x2 - 0,213х

15

У = 0,0218x2 - 0,262х

У = 0,0218x2 - 0,0058х

У = 0,0218x2 + 0,0145х

20

У = 0,01235x2 + 0,07х

У =0,01245x2 + 0,109х

У = 01255x2 + 0,149х

25

У = 0,008x2 + 0,127х

У = 0,0081x2 + 0,178х

У = 0,00825x2 + 0,229х

30

У = 0,056x2 + 0,166х

У = 0,00572x2 + 0,224х

У = 0,0059x2 + 0,284х

35

У = 0,0416x2 + 0,194х

У = 0,00426x2 + 0,257х

У = 0,00442x2 + 0,322х

40

У = 0,00321х2 + 0,214х

У = 0,00331x2 + 0,281х

У = 0,00345x2 + 0,352х

 

35

40

45

10

У = 0,0505x2 - 0,176х

У = 0,0497x2 - 0,121х

У = 0,0491x2 - 0,05х

15

У = 0,02185x2 + 0,0466х

У = 0,022x2 + 0,0928х

У = 0,0223x2 - 0,158х

20

У = 0,0127x2 + 0,185х

У = 0,013x2 + 0,231х

У = 0,134x2 + 0,29х

25

У = 0,00848x2 + 0,278х

У = 0,00872x2 + 0,333х

У = 0,00908x2 + 0,396х

30

У = 0,0061x2 + 0,343х

У = 0,00635x2 + 0,404х

У = 0,00665x2 + 0,47х

35

У = 0,00461x2 + 0,39х

У = 0,00485x2 + 0,458х

У = 0,00515x2 + 0,534х

40

У = 0,00363x2 + 0,425х

У = 0,00384x2 + 0,5х

У = 0,00413x2 + 0,585х

Таблица 7

Крутизна откосов

Размеры улавливающих пазух

В

С

h

ho

1:1,5

2,0

2,5

 

4,0

2,5

1:1,25

2,0

2,5

 

4,0

2,5

Примечания: 1. Приведенные данные можно использовать при расчете пазух в глыбовых (валунных) грунтах с глинистым заполнителем; при расчете пазух в скальных грунтах с использованием этих данных необходимо предусматривать устройство по дну пазух амортизирующей подушки толщиной не менее 0,5 м из местных глинистых или песчаных грунтов.

2. Табличные значения h следует увеличивать на 0,2 - 0,6 м в зависимости от расчетного объема камней; при объеме 1 м3 - не менее 0,6 м.

Приложение 11

Методика расчета габаритов путевых улавливающих траншей и полок с бордюрами и барьерами

1. Ширина улавливающей траншеи или полки (с бордюрами или барьерами) по низу z, м, определяется из выражения

z = ℓ + 0,5,                                                                      (1)

где ℓ - дальность падения камня от подошвы откоса, м, определяется по графикам на рис. 1.

2. Глубина траншеи и высота барьера или бордюра полки определяется по формуле

hт = hc + 1,0,                                                                    (2)

где hc - высота подскакивания камня, определяемая по графику (рис. 2) или по формуле hc = AHd, в которой А и d - параметры, принимаемые по таблице.

Дороги

Категории

Значения параметров

А

d

Железные

I, II

0,00611

1,490

 

III - IV

0,00382

1,545

Автомобильные

I - IV

0,00382

1,545

Глубина траншеи должна быть проверена расчетом на выскакивание камня по способу, изложенному в п. 4 приложения 10.

При вертикальном путевом относе, вертикальной грани бордюрной, барьерной или заградительной стены проверку на выскакивание камня можно выполнять по формуле

                                                               (3)

где hmax - расчетная высота подскакивания камня при падении на улавливающую полку, или на дно путевой улавливающей траншеи, м;

Рис. 1. Графики для определения дальности падения камней от подошвы откосов:

а, б, в - при наклоне откосов, равном соответственно 59 - 90; 45 - 58 и 33 - 44°; 1 - для железных дорог I и II категорий; 2 - для железных дорог III - V категорий и автомобильных дорог

υк - скорость падения камня определяется по формулам (1) или (2) приложения 10;

j - угол падения, принимается равным углу наклона откоса;

ρ - коэффициент восстановления, принимается по табл. 2 приложения 10.

Глубина траншеи или высота барьера hт должна удовлетворять условию

hт ³ hmax.                                                                        (4)

Рис. 2. График для определения высоты подскока камней:

1 - для железных дорог I и II категорий; 2 - для железных дорог III - V категорий и автомобильных дорог

Приложение 12

Методика расчета на удар одиночным камнем

1. Глубина х проникания камня объемом 1 м3 в свежеотсыпанную из грунта амортизирующую подушку определяется по таблице.

Скорость падения камня υ, м/сек

Глубина проникания камня х, м

Вес камня, т

2,2

2,5

10

0,37

0,39

15

0,55

0,59

20

0,73

0,78

25

0,91

0,98

30

1,09

1,16

35

1,28

1,36

2. Минимальную толщину амортизирующей подушки можно принимать равной 1,0 м при скорости падения камней до 15 м/сек и 1,5x - при скорости свыше 15 м/сек.

3. Расчетная ударная сила определяется по формуле

где g - объемный вес амортизирующей отсыпки, т/м3;

х - глубина проникания, м;

j - угол внутреннего трения амортизирующей отсыпки, град;

F - площадь диаметрального сечения камня условной шаровой формы, м2.

Проверка на удар производится в предположении свежеотсыпанной амортизирующей засыпки с углом внутреннего трения грунта j = 40°.

Влияние ударной силы на сооружение следует рассчитывать с учетом распределения сил в упругой среде и угла наклона амортизирующей отсыпки.

Для участков, где по достаточно точным сведениям ожидается падение камней объемом меньше 1 м3, разрешается вести расчет по среднемаксимальному фактическому объему падающих камней.

При расчете на удар статическое давление амортизирующей отсыпки можно не учитывать, а допускаемые напряжения в кладке и на грунт увеличивать на 20 %.

При проверке устойчивости сооружения на скольжение и опрокидывание с учетом динамической нагрузки коэффициент запаса можно принимать равным 1,2.

Приложение 13

Гидравлический расчет фильтрующих насыпей

Напорные фильтрующие насыпи

1. В зависимости от высоты земляного полотна, грунта основания и рельефа местности назначается допускаемая глубина воды перед фильтрующей насыпью (рис. 1), исходя из условий

hв £ Hбр - 0,5;                                                                    (1)

hв £ ,                                                                            (2)

где Hбр - высота насыпи до бровки с нагорной стороны полотна, м;

L - длина фильтрующей насыпи понизу, м;

С - коэффициент устойчивости основания (табл. 1).

Рис. 1. Продольный разрез фильтрующих насыпей:

а - напорных; б - безнапорных; 1 - земляное полотно; 2 - изоляционный слой; 3 - фильтрующая часть насыпи; 4 - укрепление основания; 5 - кривая депрессии

Дли дальнейшего расчета принимается наименьшее значение hв из двух величин, определенных по условиям (1) и (2).

Таблица 1

Вид грунта

Коэффициент устойчивости основания

с обратным фильтром

без обратного фильтра

Ил

12

8

Песок мелкий

9 - 10

6

Песок средний и крупный

8

5 - 4

Лёссовидный

8 - 7

4 - 3,5

Глинистый

7 - 6

3,5 - 3

Торф (в зависимости от степени разложения)

7 - 12

8 - 5

Гравелистый

7

4 - 3,5

Галечниковый

6

3

2. Гидравлический уклон фильтрационного потока Jo определяется по формуле

                                                               (3)

где hб - глубина потока в отводящем русле, м;

io - продольный уклон лога.

Бытовой глубиной hб в расчетах можно пренебрегать, так как она мало влияет на размеры фильтрующих насыпей.

3. При заданном расходе водотока назначается размер камня для наброски, и определяется необходимая площадь живого сечения фильтрующей прослойки ω по формуле

                                                                    (4)

где Q - расчетный расход, м3/сек;

К - коэффициент фильтрации каменной наброски в теле фильтрующей насыпи, значения которого можно принимать по табл. 2.

4. В зависимости от очертания лога назначается форма поперечного сечения фильтрующей прослойки, и по площади, определенной по формуле (4), подбирается высота и ширина прослойки.

Ширину фильтрующей прослойки рекомендуется задавать из условия удельного расхода в пределах от 0,25 до 1,0 м3/сек на 1 м поперечного сечения и определять ее высоту расчетом. При этом верх фильтрующей прослойки на входе должен быть ниже уровня воды, чтобы обеспечить напорное и равномерное движение потока.

5. Расчетная (размывающая) скорость движения фильтрационного потока на выходе из насыпи определяется по формуле

                                                              (5)

где n - пористость каменной наброски принимается по табл. 2.

Таблица 2

Средний диаметр камней, приведенных к шару, см

Коэффициент фильтрации К, м/сек

Форма поверхности камней

округлая n = 0,40

промежуточная n = 0,46

остроугольная n = 0,50

5

0,15

0,17

0,19

10

0,23

0,26

0,29

15

0,30

0,33

0,37

20

0,35

0,39

0,43

25

0,39

0,44

0,49

30

0,43

0,48

0,53

35

0,46

0,52

0,58

40

0,50

0,56

0,62

45

0,53

0,60

0,66

50

0,56

0,63

0,70

В зависимости от величины υр принимается тип укрепления русла по нормам для открытых русел.

Безнапорные фильтрующие насыпи

6. Назначается глубина воды перед фильтрующей насыпью hв (см. рис. 1, б), исходя из условий (1) и (2).

7. В зависимости от очертания лога принимается форма поперечного сечения фильтрующей насыпи, и определяется расчетная глубина фильтрационного потока на выходе (рис. 2) по формулам:

для прямоугольного сечения

                                                          (6)

для параболического сечения

                                                        (7)

для треугольного сечения

                                                       (8)

где ηв - относительная глубина потока, определяемая по табл. 3, 4 и 5 в зависимости от

                                                                (9)

S = L-mhB

m - заложение откоса (см. рис. 2).

Для трапецеидального сечения hр определяется путем построения кривой свободной поверхности (см. рис. 2) и определения глубины потока на выходе из насыпи h1, которая и принимается за расчетную глубину (см. примеры расчетов).

Для приближенных расчетов фильтрующих насыпей трапецеидального сечения могут быть использованы формулы прямоугольного сечения.

Рис. 2. Схема к гидравлическому расчету фильтрующих насыпей

8. Определяется критическая глубина турбулентного фильтрационного потока по формуле

                                                              (10)

9. По свободной поверхности потока при критической глубине определяется ширина фильтрующей наброски вк с учетом формы поперечного сечения по формуле

                                                            (11)

10. По известному расходу Q определяется расчетная скорость движения фильтрационного потока по формуле (5), в которую для определения ωр подставляются значения hр и вк. По расчетной скорости выбирается тип укрепления русла.

11. Если тип укрепления русла известен, то по допускаемой скорости движения υд можно определить необходимую площадь живого сечения потока на выходе из насыпи и ширину каменной наброски в нижнем бьефе по формулам:

                                                            (12)

                                                             (13)

Ширина каменной наброски в верхнем бьефе, где глубина воды равна hв, определяется с учетом формы поперечного сечения и одинаковом заложении откосов по всей длине фильтрующего сооружения.

12. Высота каменной наброски в верхнем бьефе назначается на 0,5 м выше уровня воды, а в нижнем определяется из условия  (см. рис. 1, б). Вертикальные размеры фильтрующей наброски между начальным и конечным сечениями определяют после построения кривой свободной поверхности фильтрационного потока. При этом верх каменной наброски должен быть выше кривой свободной поверхности не менее чем на 0,5 м.

Таблица 3

Значения функции А (ηв) для прямоугольного сечения

hВ

А (ηВ)

hВ

А В)

ηВ

А В)

0,15

0,0073

0,70

0,2390

0,900

0,6358

0,20

0,0135

0,71

0,2496

0,905

0,6565

0,25

0,0216

0,72

0,2605

0,910

0,6786

0,30

0,0317

0,73

0,2723

0,915

0,7040

0,35

0,0440

0,74

0,2838

0,920

0,7272

0,40

0,0590

0,75

0,2873

0,925

0,7542

0,45

0,0771

0,76

0,3108

0,930

0,7827

0,50

0,0986

0,77

0,3248

0,935

0,8147

0,55

0,1251

0,78

0,3402

0,940

0,8489

0,60

0,1552

0,79

0,3563

0,945

0,8866

0,61

0,1621

0,80

0,3730

0,950

0,9282

0,62

0,1693

0,81

0,3913

0,955

0,9745

0,63

0,1762

0,82

0,4107

0,960

1,0269

0,64

0,1843

0,83

0,4315

0,965

1,0869

0,65

0,1923

0,84

0,4538

0,970

1,1673

0,66

0,2005

0,85

0,4776

0,975

1,2407

0,67

0,2100

0,86

0,5038

0,980

1,3439

0,68

0,2191

0,87

0,5323

0,985

1,4795

0,69

0,2279

0,88

0,5634

0,990

1,6227

 

 

0,89

0,5976

0,995

2,0100

 

 

 

 

1,000

00

Таблица 4

Значения функции А (ηв) для параболического сечения

ηВ

А (ηВ)

ηВ

А В)

ηВ

А В)

0,15

0,0006

0,71

0,1140

0,905

0,3668

0,20

0,0020

0,72

0,1205

0,910

0,3813

0,25

0,0036

0,73

0,1272

0,915

0,3967

0,30

0,0066

0,74

0,1346

0,920

0,4130

0,35

0,0108

0,75

0,1422

0,925

0,4308

0,40

0,0165

0,76

0,1505

0,930

0,4494

0,45

0,0240

0,77

0,1590

0,935

0,4695

0,50

0,0336

0,78

0,1679

0,940

0,4925

0,55

0,0462

0,79

0,1776

0,945

0,5774

0,60

0,0618

0,80

0,1877

0,950

0,5444

0,61

0,0654

0,81

0,1993

0,955

0,5448

0,62

0,0693

0,82

0,2112

0,960

0,6093

0,63

0,0733

0,83

0,2241

0,965

0,6487

0,64

0,0775

0,84

0,2384

0,970

0,6948

0,65

0,0820

0,85

0,2529

0,975

0,7507

0,66

0,0866

0,86

0,2698

0,980

0,8193

0,67

0,0916

0,87

0,2873

0,985

0,9088

0,68

0,0967

0,88

0,3079

0,990

1,0373

0,69

0,1023

0,89

0,3292

0,995

1,2613

0,70

0,1080

0,90

0,3533

1,000

00

Таблица 5

Значения функции А (ηв) для треугольного сечения

ηВ

А (ηВ)

ηВ

А В)

ηВ

А В)

0,15

0,0000

0,71

0,0595

0,905

0,2346

0,20

0,0005

0,72

0,0636

0,910

0,2449

0,25

0,0008

0,73

0,0679

0,915

0,2557

0,30

0,0017

0,74

0,0727

0,920

0,2675

0,35

0,0031

0,75

0,0776

0,925

0,2801

0,40

0,0052

0,76

0,0829

0,930

0,2936

0,45

0,0084

0,77

0,0885

0,935

0,3083

0,50

0,0124

0,78

0,0947

0,940

0,3242

0,55

0,0193

0,79

0,1013

0,945

0,3415

0,60

0,0280

0,80

0,1084

0,950

0,3606

0,61

0,0300

0,81

0,1159

0,955

0,3830

0,62

0,0323

0,82

0,1241

0,960

0,4093

0,63

0,0346

0,83

0,1330

0,965

0,4369

0,64

0,0370

0,84

0,1427

0,970

0,4678

0,65

0,0395

0,85

0,1532

0,975

0,5041

0,66

0,0425

0,86

0,1648

0,980

0,5456

0,67

0,0455

0,87

0,1776

0,985

0,5942

0,68

0,0487

0,88

0,1917

0,990

0,6414

0,69

0,0522

0,89

0,2074

0,995

0,7200

0,70

0,0557

0,90

0,2249

1,000

-

Примеры гидравлических расчетов фильтрующих насыпей

ПРИМЕР 1

Определить размеры поперечного сечения прямоугольной напорной фильтрующей насыпи для пропуска расхода Q = 5 м3/сек.

Дано. Продольный уклон лога i0 = 0,02; грунт основания - суглинок; средний диаметр остроугольного камня, приведенного к шару d = 45 см; пористость n = 0,50; коэффициент фильтрации каменной наброски (по табл. 2) К = 0,66. Ширина земляного полотна по верху в = 6 м, высота до бровки Hбр = 5 м, заложение откосов насыпи m = 1,5. При этом длина фильтрующей насыпи по низу будет равна

L = В + 2Hбр ´ m = 6 + 2 ´ 5 ´ 1,5 = 21 м.

Решение. Назначаем глубину воды перед фильтрующей насыпью:

а) из условия не затопляемости бровки земляного полотна

hв £ Hбр - 0,5 £ 5 - 0,5 £ 4,5 м;

б) из условия устойчивости основания, защищенного обратным фильтром, при С = 3,5:

Принимаем hв = 4 м.

Определяем гидравлический уклон потока, пренебрегая бытовой глубиной

Определяем необходимую площадь живого сечения

Задаемся шириной фильтрующей насыпи в = 6 м и определяем ее высоту

Определяем расчетную скорость движения фильтрационного потока

Тип укрепления русла выбирается соответственно расчетной допускаемой скорости течения воды (приложение 8) с учетом использования местных материалов.

ПРИМЕР 2

Определить размеры поперечного сечения прямоугольной безнапорной фильтрующей насыпи.

Дано. Расчетный расход Q = 2 м3/сек; высота земляного полотна до бровки Hбр = 6 м; ширина основной площадки в = 6 м; заложение откосов m = 1,5; продольный уклон лога i0 = 0,01; грунт основания - суглинок; камень наброски имеет угловатую форму и средний диаметр d =40 см; пористость наброски n = 0,50.

Решение. Определяем длину фильтрующей насыпи по низу

L = в + 2mHбр = 6 + 2 ´ 1,5 ´ 6 = 24 м.

Назначаем глубину воды перед фильтрующей насыпью из условия незатопляемости бровки земляного полотна и устойчивости основания

hв £ Hбр - 0,5 £ 6 - 0,5 £ 5,5 м,

Принимаем hв = 2 м из условия уменьшения площади затопления местности. Тогда

S = L - mhв = 24 - 2 ´ 1,5 ´2 = 18 м.

Определяем функцию

По табл. 3 находим значение ηв = 0,50.

Определяем расчетную глубину потока на выходе из фильтрующей насыпи

Принимаем тип укрепления русла - одиночное мощение камнем (песчаник) с грубой поверхностью.

По табл. 1 приложения 8 определяем допускаемую скорость течения воды при таком укреплении русла

υд = 3,1 м/сек.

Определяем расчетную площадь живого потока на выходе из фильтрующей насыпи

Определяем: ширину каменной наброски

высоту фильтрующей части насыпи в верхнем бьефе

hфв = hв + 0,5 = 2,5 м,

в нижнем бьефе

ПРИМЕР 3

Определить максимальный расход Q.

Дано. Фильтрующая насыпь из рваного камня средним диаметром d = 45 см, прямоугольная, безнапорная, шириной в = 6 м, высотой в верхнем бьефе hфв = 2,7 м, в нижнем hфн = 1,6 м, высота земляного полотна до бровки Hбр = 5 м, ширина основной площадки в = 6 м; продольный уклон лога i0 = 0,02; грунт основания - суглинок, укрепление русла - камнем с грубой поверхностью.

Решение. Определяем длину фильтрующей насыпи по низу:

L = в + 2mHбр = 6 + 2 ´ 1,5 ´ 5 = 21 м.

Находим максимально допустимый расход из условия неразмываемости русла

По табл. 1 приложения 8 находим υд = 3,1 м/сек. Для определения расчетной площади живого сечения потока принимаем глубину на выходе

hн = hфн - 0,5 = 1,6 - 0,5 = 1,1 м.

Тогда

hp = 0,8 ´ hн = 0,8 ´ 1,1 = 0,88 м,

ωр = в ´ hp = 6 ´ 0,88 = 5,28 м2

Расход

Найденный расход может создавать напор воды перед фильтрующей насыпью, значительно превышающий ее высоту.

Поэтому необходимо определить максимальный расход из условия допустимой глубины воды перед насыпью hв при безнапорном режиме движения.

Допускаемые глубины воды во входном и выходном сечениях:

hв = hсрв - 5 = 2,7 - 0,5 = 2,2 м,

hн = hфн - 0,5 = 1,6 - 0,5 = 1,1 м.

Определяем длину пути фильтрации потока S (см. рис. 1)

S = L - mhв = 21 - 1,5 ´ 2,2 = 17,7 м.

Находим нормальную глубину потока ho, решая последовательным приближением уравнение

где ηв и ηн - относительные глубины во входном и выходном сечениях

   

Б(ηв) и Б(ηн) - функции относительных глубин, определяемые по табл. 6.

Назначаем h0 = 3,5. Тогда

     Б(ηв) = 0,741;

     Б(ηн) = 0,325;

Знак минус свидетельствует о снижении глубины потока в каменной наброске в направлении течения.

Полученное значение S близко к расчетному. Это означает, что при h0 = 3,5 м перед насыпью установится глубина воды, равная примерно 2,2 м.

Максимальный расход будет равен

Таблица 6

η

Значения функции Б (η) при i0 > 0

Форма поперечного сечения

прямоугольная у0 = 2,0

параболическая у0 = 3,0

треугольная у0 = 4,0

0

0

0

0

0,05

0,05

0,05

0,05

0,10

0,10

0,10

0,10

0,15

0,151

0,15

0,15

0,20

0,203

0,2

0,2

0,25

0,255

0,251

0,25

0,30

0,309

0,302

0,3

0,35

0,365

0,354

0,351

0,40

0,424

0,407

0,402

0,45

0,485

0,461

0,454

0,50

0,549

0,517

0,507

0,55

0,619

0,575

0,561

0,60

0,693

0,637

0,617

0,61

0,709

0,65

0,628

0,62

0,725

0,663

0,64

0,63

0,741

0,676

0,652

0,64

0,758

0,689

0,664

0,65

0,775

0,703

0,676

0,66

0,792

0,717

0,688

0,67

0,81

0,731

0,7

0,68

0,829

0,746

0,713

0,69

0,848

0,761

0,726

0,70

0,867

0,776

0,739

0,71

0,887

0,791

0,752

0,72

0,907

0,807

0,766

0,73

0,928

0,823

0,78

0,74

0,95

0,84

0,794

0,75

0,972

0,857

0,808

0,76

0,996

0,874

0,823

0,77

1,02

0,892

0,838

0,78

1,045

0,911

0,854

0,79

1,071

0,93

0,87

0,80

1,098

0,95

0,887

0,82

1,156

0,993

0,922

0,84

1,221

1,04

0,96

0,86

1,293

1,092

1,002

0,88

1,375

1,151

1,049

0,90

1,472

1,318

1,103

0,95

1,831

1,467

1,297

1,01

2,652

1,419

0,936

1,02

2,307

1,193

0,766

1,03

2,107

1,061

0,668

1,04

1,966

0,967

0,6

1,05

1,857

0,896

0,548

1,06

1,768

0,838

0,506

1,07

1,693

0,79

0,471

1,08

1,629

0,749

0,441

1,09

1,573

0,713

0,415

1,10

1,522

0,68

0,392

1,2

1,199

0,48

0,252

Примечание. у0 - параметр, характеризующий поперечное сечение фильтрующей насыпи.

Приложение 14

Генетическая классификация лавин

Классы лавин

Типы лавин

Причины возникновения лавин

Характер движения лавин, структура снега и морфологии лавинных отложений

Сухие

Свежевыпавшего снега

Суммарная сила давления снега направленная вниз по склону, превышает: сумму сил сцепления слоя с подстилающей поверхностью, сил статического трения и сил сцепления в сечении слоя, нормальном к поверхности снежного покрова и проходящем по линии наибольшего растягивающего напряжения

Лавины представляют собой снежное облако, движущееся вниз по склону с огромной скоростью. Отложения в основном состоят из массы уплотненных обломков снежинок. Поверхность отложения относительно ровная

Метелевого снега

Большая скорость приращения суммарной силы давления снега сравнительно с суммой приращения трех последних сил

Беспорядочное движение вниз по склону снежных глыб, плит и комьев различных размеров. Структура снега, зернистая, чаще - мелкозернистая; иногда встречаются обломки снежинок. Лавинные отложения представляют собой скопление комьев, глыб, плит. Поверхность отложений - неровная

Сублимационного диафтореза

Ослабление связей в снежном покрове, вызываемое процессом сублимационного диафтореза

Характер движения может быть как в первом, так и во втором типе, иногда смешанным. Структура отложений - мелкозернистая или обломки снежинок различных типов снега. Лавинные отложения представляют собой нагромождения плит, глыб и комьев различных размеров, в которых иногда прослеживается слоистость. Иногда отложения состоят из уплотненных обломков снежинок

 

Температурного сокращения

Уменьшение объема снежной толщи, вызываемое понижением ее температуры

Возможны различные варианты, свойственные первым трем типам лавин

Мокрые

Инсоляционные

Ослабление связей в результате таяния частиц льда в контактных зонах или в припочвенном слое, вызываемое проникающей солнечной радиацией

Лавины носят характер движения вязкой массы. Структура - зернистая или фирновая.

Лавинные отложения представляют собой нагромождения окатанных комьев мокрого снега

Адвекционные

Ослабление связей в результате размыва водой, поступающей с поверхности снега и в результате других процессов

То же

Промежуточные

Ослабление связей в результате совместного воздействия на снежный покров солнечной радиации и адвективных масс воздуха

- '' -

Приложение 15

Методика расчета противолавинных сооружений

Расчет сооружений противолавинной защиты производится по расчетным условиям (мощность снежного покрова, объем лавины, дальность выброса ее), вероятность превышения, %, которых принимается равной для:

железных и автомобильных дорог I - III категорий, населенных пунктов и крупных зданий - 1;

прочих объектов постоянного характера - 2;

зданий и сооружений временного характера, требующих устройства противолавинных мероприятий - 3.

Удерживающие сооружения с вертикальной или перпендикулярной склону рабочей гранью

Количество удерживающих сооружений зависит от площадки лавиносброса, угла наклона склона и прочности снега.

Целесообразное размещение сооружений в плане приведено на рис. 1.

Длину отдельных секций сооружения ℓ, м, можно определять по формуле

,                                               (1)

где a - угол наклона поверхности склона, град;

j - угол внутреннего трения снега, град;

С - сцепление снега;

g - объемный вес снега, т/м3;

h - мощность снежного покрова у сооружения, м;

В - расстояние между секциями вдоль склона, м; принимается от 10 до 20 м в зависимости от крутизны склона и мощности снежного покрова;

b - горизонтальный угол скалывания снежного пласта у конца сооружения (см. рис. 1), принимается равным от 30 до 40°, в зависимости от плотности снега.

Ркр - критическая нагрузка, при которой ближайший к сооружению снег способен выдержать давление от лежащего выше по склону снега (рис. 2), определяемое из условия скалывания снежного массива по формуле

,                                                (2)

где j - угол скола снега перед сооружением.

Рис. 1. Расчетные схемы удерживающих сооружений:

а - размещение в плане; б - в разрезе; 1 - удерживающие сооружения; 2 - линии вероятного склона снежного пласта; 3 - снежный пласт между двумя секциями сооружения

Расчетное значение критической силы устанавливается нахождением ее минимума при переменном угле скола φ.

Значения физико-механических характеристик снега для предварительных расчетов можно принимать по табл. 1.

Рис. 2. Расчетная схема к определению критической нагрузки:

1 - сдвигаемая часть снежного массива

Таблица 1

Сдвиговые характеристики

Объемный вес g, кг/м3

Сопротивление разрыву n, кг/м2

Условия сдвига

Сцепление С, кг/м2

Коэффициент трения f

Свежевыпавший снег по слежавшемуся

36,2

0,44

100

300

Снег при плотности g = 250 по снегу при g = 400

262

0,49

250

900

Снег при плотности g = 400 по более плотному снегу

1390

0,53

400

900

Фирновый снег по фирновому

400

0,54

500

240

Мокрый фирновый снег по поверхности земли

125

0,59

500

200

Для расчетов на стадии разработки рабочих чертежей значения расчетных характеристик следует определять по данным испытаний снега на участках размещения проектируемых объектов. Конструкция сооружения рассчитывается на силу Ркр по общим правилам строительной механики.

Полная нагрузка на одно сооружение Р определяется по формуле

Р = 2В(ℓ + Вtg b)(ghsin a - ghcos atg j - C).                                       (3)

Высоту сооружения следует принимать на 0,5 м выше максимальной мощности снежного покрова.

Удерживающие сооружения свайной конструкции

Количество свай, располагаемых в шахматном порядке, зависит от площади лавиносбора, угла наклона склона и прочности снега.

Значения критической нагрузки Рc, которую можно допустить на сваю по условиям несущей способности снега, определяется по формуле

                                                                 (4)

где в - ширина сваи, м;

Нс - высота сваи над поверхностью склона, м;

hi - мощность отдельных слоев снежного покрова с постоянной плотностью, м;

si - несущая способность отдельных слоев снега, кг/м2, вычисляемая на основании данных испытания снега копровым зондом по формуле

                                                         (5)

где R - вес гири копра, используемого для определения сопротивления проникновению зонда в снег, при упругом ударе, кг;

Q - собственный вес зонда, кг;

S - высота падения груза, м;

Dh - глубина проникновения зонда в снег от каждого удара, м;

F - площадь проекции конуса зонда, м2.

Расстояние между сваями (рис. 3) определяется по формуле

                                             (6)

Глубина заделки свай рассчитывается на действие Ркр по общим правилам строительной механики. Количество свай в ряду определяется по формуле

,                                                                 (7)

где Р - давление на свайный ряд, определяемое по формуле (3) при ℓ = 0.

Террасы

Расстояние В между террасами (рис. 4) определяется по условию сопротивления снега скалыванию над террасой по формуле

                                     (8)

и проверяется по условию скалывания снежного покрова перед террасой по формуле

                                                (9)

где в - ширина полки террасы, м;

m - заложение откоса террасы;

a - угол наклона склона;

ja, j0 - углы внутреннего трения снега соответственно в плоскостях, расположенных под углом a к направлению напластования снежного покрова и параллельных напластованию;

Сa, С0 - сцепление снега, соответствующее тем же плоскостям;

Ркр - критическая сила, определяемая по формуле (2).

При различных углах наклона склона между террасами в расчет следует вводить больший из углов. Для дальнейших расчетов следует принимать меньшее значение В, определяемое по формулам (8) и (9).

Сооружения для пропуска лавин

Скорость движения лавины определяется из уравнения

                                                   (10)

Рис. 3. Расчетная схема размещения свай в плане:

1 - сваи; 2 - линии вероятного скола снежного пласта

где S - дальность выброса лавины, м;

a = g(sin a - fcos a) - ускорение равноускоренного движения, м/сек2;

g = 9,81 м/сек2 - ускорение силы тяжести;

a - угол наклона пути лавины;

f - коэффициент трения движения;

К = 0,042F0,55 - коэффициент сопротивления;

F - площадь снегосбора, га; в извилистых логах, при поворотах на 30° и более расчетная величина площади снегосбора увеличивается на 10 - 20 %;

V0 = Vn-1cos (a - an-1) - скорость движения лавины в начале участка, м/сек;

Vn-1 - скорость движения лавины в конце предыдущего участка, м/сек;

an, an-1 - углы склона соответственно предыдущего и данного участков;

V - скорость движения лавины в конце участка, м/сек.

Рис. 4. Расчетная схема размещения террас:

1 - снежный пласт; 2 - террасы

Для вычисления скорости движения лавины по формуле (10) путь лавины расчленяется на участки с примерно одинаковым уклоном (рис. 5). Расчет скоростей производится последовательно по участкам до места остановки лавины, где V = 0.

Полученная по расчету дальность выброса лавины S должна быть уточнена с учетом местных признаков (геоморфологических, геоботанических и др.). Если расхождение значений дальности выброса, полученных по расчету и установленных по местным признакам, превысит 10 %, величины скоростей движения лавины следует откорректировать обратным расчетом.

Максимальная скорость пылевидных и прыгающих лавин Vmax не зависит от уклона пути и определяется по формуле

                                                            (11)

где h - высота снежного покрова, образующего лавину, м;

g - объемный вес снега, т/м3;

gв - плотность воздуха; она принимается равной 1,25 кг/м3.

Рис. 5. Схема определения скоростей лавин:

а - эпюра скоростей; б - поперечный профиль склона; 1 - линия размещения проектируемого сооружения; 2 - номера участков; 3 - расстояние между точками переломов поверхности склона

Удельное давление лавины на сооружение определяется по формуле

                                                         (12)

где рд - нормальная составляющая давления от удара лавины на сооружение, кг/м2;

g - объемный вес лавинного снега, кг/м3;

υ - скорость движения в момент удара, м/сек;

b - угол между направлением удара и плоскостью, воспринимающей удар.

При определении по формуле (12) удельного давления лавины на решетчатое сооружение величина рд уменьшается на 50 %.

Ориентировочная оценка давления воздушной волны рд производится по формуле

Dрд = a'υ2,                                                                 (13)

где υ - скорость движения лавины, м/сек;

a' - коэффициент; его значение принимается равным 0,125 для сооружений, имеющих сплошные, не решетчатые поверхности.

До разработки более совершенных методов определения скоростей движения лавин и силы динамического воздействия лавины на сооружение, в целях накопления фактического материала рекомендуется применять другие формулы расчета, приведенные в табл. 2 и 3 при обязательном сопоставлении результатов расчетов по формулам (12) и (13).

Высоту сооружений для защиты от лавин следует назначать на 1,0 м выше высоты лавины для решетчатых сооружений и на 2,0 м - для сплошных. Высоту лавиноотводящих сооружений можно назначать равной высоте лавин по данным табл. 4.

В местностях, где установлена вероятность схода в один год двух и более крупных лавин, высоту противолавинных сооружений следует назначать в два раза выше расчетных величин.

Плоскость сооружений, воспринимающую удар, следует располагать нормально к направлению движения лавины. Отклонения не должны превышать ± 10° по вертикали, ± 20° - по горизонтали.

Расчет навесов и галерей, проектируемых для пропуска лавин, следует выполнять в соответствии с [21].

Таблица 2

Авторы

СУЩЕСТВУЮЩИЕ ФОРМУЛЫ ДЛЯ ОПРЕДЕЛЕНИЯ СКОРОСТЕЙ ДВИЖЕНИЯ СНЕЖНЫХ ЛАВИН

Обозначения

Формулы

Принятые теоретические предпосылки

Закавказский институт сооружений 1932; Саатчан, 1936

υ2 = υ02 + 2aS; a = g(sin α - fcos α);

f = tg φ - коэффициент трения

Лавина - материальная точка; сопротивление движению - величина постоянная (учитывается только сухое трение)

υ0 - скорость в начале участка;

υ - то же в конце участка;

υmax - предельная скорость равномерного движения;

S - длина участка пути равномерного уклона;

α - крутизна склона;

g - ускорение свободного падения;

h - высота снежного покрова на склоне;

h0 - то же в начале участка;

H - высота фронта лавины;

δ - плотность снежного покрова;

δ0 - то же в начале участка;

δ1 - плотность лавины;

R - объем лавины;

ω - площадь контакта лавины с поверхностью склона;

Ω - площадь поперечного сечения лавины;

γ - объемный вес снега;

γ0 - то же воздуха;

ρ - плотность воздуха (Козик); плотность снежного покрова (Гонгадзе);

B - ширина осова в конце участка;

В0 - то же в начале участка; М - масса лавины;

H0 - вертикальная проекция пути лавины;

хc - то же горизонтальная;

М0 - начальная масса лавины горизонтальная;

Г.Г. Саатчан, 1936

K = a · 15F0,55 - коэффициент сопротивления движению (Гофф и Оттен, 1936; 1938; Чирвинский, 1948; Козик, 1962)

Лавина - материальная точка; сопротивление движению учитывает сухое трение, пропорциональное

давлению и вязкое трение, пропорциональное степени скорости

Г.К. Сулаквелидзе, 1949

 K = 0,25

Частный случай формулы Саатчана при

Д.Н. Гонгадзе, 1954, 1955

; ; ; ; ; К, К1, К2 - коэффициенты, требующие экспериментального изучения

Лавина - материальная точка с возрастающей массой на пути движения; сопротивление движению учитывает сухое трение, пропорциональное давлению и сопротивление воздушной среды, пропорциональное квадрату скорости

Г.М. Шахунянц, 1955

; ; ; ; ; ; ; ; ; ;

Лавина - материальная точка; сопротивление движению учитывает сухое трение пропорциональное давлению; вязкое трение, пропорциональное первой степени скорости движения и сопротивление воздушной среды, пропорциональное квадрату скорости. Изменение массы учитывается при переходе от одного участка к другому

Vaellmy, 1955, Швейцария; Laboudigue, 1958, Франция

I ; К - коэффициент сопротивления движению

II Пылевидные лавины ; m - коэффициент захвата; α - угловая координата

Лавина - поток жидкости с переменным объемным весом; формулы представляют собой частный случай ; I - учитывает сухое трение и сопротивление среды; II - только сопротивление среды

Killer, 1957, Швейцария

Лавина - материальная точка. Учитывается только взвешивающее действие воздуха; сопротивление среды и трение не учитываются

С.М. Козин, 1962

I. Осовы ; ; ; ; ;

II. Лотковые лавины: а) в пределах лавиносбора: υ2 = aS б) в пределах лотка: ; ;

в) в пределах конуса выноса используется формула I - для осовов

III. Пылевидные лавины ; ; x = 0,01

Лавина - материальная точка с переменной массой. Сопротивление давлению учитывает сухое трение, пропорциональное давлению и лобовое сопротивление снега, пропорциональное квадрату скорости. Доказано, что лобовое сопротивление воздуха незначительно

Для пылевидной лавины учтено только лобовое сопротивление среды (снега и воздуха), пропорциональное квадрату скорости. Сухое трение не учитывается

Ю.Д. Москалев, 1963

I. ;

II. Для криволинейной траектории с радиусом

Первое выражение аналогично формуле Закавказского института сооружений, 1932 г; второе выражение исходит из предпосылки, что лавина - материальная точка; учитывается сухое трение и сопротивление среды

В.Н. Аккуратов, Н.Ф. Нечаев, 1963

S = (0,55 ÷ 0,75) Hc (lg R + 1)

Эмпирическая формула, полученная в условиях Хибин

Таблица 3

Авторы

Существующие формулы для определения силы удара снежных лавин о сооружение

Формулы

Принятые теоретические предпосылки

Обозначения

Г.Г. Саатчан, 1936

Laboudigue, 1958

Удар под углом

Лавина-поток несжимаемой жидкости

Р - сила удара, принимаемая в расчетах как статическая нагрузка;

γ - объемный вес ударяющего снега;

ρ1 - плотность лавинного снега до удара;

ρ2 - то же после удара;

ρn - предельная плотность снега;

υ - скорость лавины;

β - угол удара;

М - момент действующих на сооружение сил;

Н - ширина сооружения в основании;

К - коэффициент постели;

Jср - момент инерции относительно гориз. оси, расположенной вдоль сооружения;

Р1 - вес лавины;

Р2 - вес сооружения;

l - высота сооружения;

Е - модуль упругости материала сооружения;

h - высота фронта лавины

Г.Г. Саатчан, 1936

Прямой удар

Нагрузка определяется из уравнения кинетической энергии лавины и потенциальной энергии деформации сооружения

С.А. Христианович, 1938

Пряхой удар:

Лавина-поток сжимаемой жидкости

Г.К. Сулаквелидзе, 1951 Д.Н. Гонгадзе 1954, 1955

Прямой удар:

;

Кρ = (3,10 ÷ 7,81)ρ1

То же

Furukawa, 1957, Япония

Прямой удар

Эмпирическая формула, полученная в лабораторных условиях

Laboudigue, 1958, Франция

Прямой удар

Лавина-поток сжимаемой жидкости

Таблица 4

Тип лавин

Ориентировочная высота лавин

Основы

Равна высоте снежного покрова, образующего лавину

Лотковые

В 2,6 раза больше высоты снежного покрова

Пылевидные

Определяется специальными наблюдениями, но не менее 5-кратной высоты снежного покрова, образующего лавину

Приложение 16

СОСТАВ И СОДЕРЖАНИЕ ПРОЕКТОВ

Состав проекта, название документа

При типовом проектировании

При индивидуальном проектировании

Содержание документации на стадии разработки

технического и технорабочего проекта

рабочих чертежей

технического проекта

рабочих чертежей

Пояснительная записка

Описание геологических, гидрогеологических, гидрологических, климатических и инженерно-геологических условий участка. Данные о физико-механических свойствах грунтов. Обоснование принятых конструкций земляного полотна, выбора грунтов для насыпей, их расчетных характеристик, коэффициентов уплотнения. Порядок и способы производства работ (без деталировки). Записка иллюстрируется фотографиями.

Не составляется

Описание геологических, гидрогеологических, гидрологических, климатических и инженерно-геологических условий участка. Данные о физико-механических свойствах грунтов, соображения о возможных деформациях земляного полотна. Обоснование, в том числе расчеты, принятых конструкций земляного полотна и мероприятий по обеспечению его устойчивости, выбора грунтов для насыпей, их расчетных характеристик, коэффициентов уплотнения. Порядок и способы производства работ (без деталировки). Записка иллюстрируется фотографиями.

Не составляется

План местности в горизонталях

Составляется для железных дорог в масштабе 1:2000 - 1:1000; наносится план трассы с полосой отвода, все проектируемые сооружения, реперы и т.д. При разработке выемок взрывным способом на плане наносится предполагаемая зона разброса взорванного грунта. Для участков с простым рельефом и инженерно-геологическими условиями план можно не составлять.

То же, что и в техническом проекте

Составляется для железных дорог в масштабе 1:2000 - 1:1000; наносится план трассы с полосой отвода, все проектируемые сооружения, реперы и т.д. При разработке выемок взрывным способом на плане наносится предлагаемая зона разброса взорванного грунта.

То же, что в техническом проекте

В отдельных случаях составляются планы масштаба 1:500

Инженерно-геологическая карта

Не составляется

Не составляется

Составляется, как правило, в масштабах топографического плана, но по данным разведки для карты масштаба 1:5000. На карте должны быть показаны все разведочные выработки, линии разрезов, выходы источников, обводненность, признаки физико-геологических процессов; на существующих дорогах, кроме того - деформации пути и сооружений.

Не составляется

Карта гидро-изогипс

Не составляется

Не составляется

Составляется для обводненных и оползневых участков в дополнение к инженерно-геологической карте

Не составляется

Карта рельефа коренных пород

Не составляется

Не составляется

Составляется при необходимости, для оползневых участков, в дополнение к инженерно-геологической карте

Не составляется

Подробный продольный профиль совмещенный

Составляется для всех стадий в масштабах: горизонтальном 1:10000, вертикальном 1:200 для железных дорог, и соответственно 1:5000, 1:500 для автомобильных дорог

Продольный и поперечный геологолитологические разрезы

Составляются в масштабе 1:200 и крупнее. На разрезах указываются грунты и их физико-механические и строительные свойства, горизонты грунтовых вод, горизонты воды при длительном затоплении пониженных мест, характеристика растительного покрова и состояние поверхности; взамен поперечных разрезов разрешается делать ссылки на применяемые типовые профили земляного полотна

То же, что и в техническом проекте

Составляется в масштабе 1:200 и крупнее. На разрезах указываются грунты и их физико-механические и строительные свойства, горизонты грунтовых вод при длительном затоплении пониженных мест, характеристика растительного покрова и состояние поверхности; на каждый характерный участок представляются 1 - 3 поперечных разреза. Продольный и поперечный профили используются как основа при проектировании земляного полотна и других сооружений по п.п. 6, 7 и 8 данного перечня

То же, что в техническом проекте с подробными данными по расчетам устойчивости и производству работ. Разрезы представляются на всех пикетах и плюсах

Расчеты устойчивости и осадки земляного полотна

Не производятся

Не производятся

Приближенные расчеты устойчивости и прочности земляного полотна и его основания на основе результатов лабораторных исследований грунтов, а также материалов по аналогичным объектам или литературным источникам

Расчеты с учетом местных условий, в том числе, с использованием данных по результатам статистической обработки лабораторных исследований и полевых испытаний грунтов, в т.ч. крыльчаткой, пенетрацией и др. К проекту прилагается основной расчет

Чертежи водоотводных и дренажных устройств и укрепительных сооружений

Не составляются

Не составляются

Представляется план и поперечные сечения сооружений. Способы укрепления откосов, подверженных воздействию воды, должны быть обоснованы расчетом, а в сложных случаях - моделированием, с использованием расчетных характеристик по данным литературных источников и нормативных документов

Представляется план, продольные профили водоотводных и дренажных сооружений, детали конструкций. Расчеты сооружений производятся с учетом местных условий, по данным обследования участков. В продольном профиле приводятся результаты гидравлических расчетов и принятые типы укреплений

Чертежи подпорных стен защитных сооружений

Проектируется только индивидуально

-

Представляются план, продольный профиль, поперечные сечения и ориентировочные расчеты подпорных стен, контрбанкетов, контрфорсов, защитных и улавливающих стен и галерей

То же, что в техническом проекте, но с приведением конструктивных деталей и результатов уточненных расчетов, с учетом местных условий; схемы разбивки и привязки сооружений

Проект организации строительства и сметная документация

Даются способы производства работ, потребные механизмы и материалы, количество рабочей силы, порядок и сроки выполнения работ с приложением стройгенплана. Прилагаются сметно-финансовый расчет и сборник единичных расценок

Составляется только смета с ведомостями объемов работ

Даются способы производства работ, потребные механизмы и материалы, количество рабочей силы, порядок и сроки выполнения работ с приложением стройгенплана. Прилагаются сметно-финансовый расчет, сборник единичных расценок и ведомость распределения земляных масс по видам разработки и транспортировки с указанием используемых механизмов и т.д.

Составляется только смета с ведомостями объемов работ

Программа необходимых наблюдений в период строительства и эксплуатации

Не требуется

Не требуется

При необходимости, разрабатываются соображения о задачах наблюдений с перечнем опытных объектов

Разрабатывается, при необходимости, с указанием: объектов, целей наблюдений, методики и объемов работ, исполнителей

ЛИТЕРАТУРА

1. СНиП II-А.10-71. Строительные конструкции и основания. Основные положения проектирования. М., Стройиздат, 1972.

2. СНиП II-Б.1-62. Основания зданий и сооружений. Нормы проектирования. М., Стройиздат, 1964.

3. СНиП II-Б.3-62. Основания гидротехнических сооружений. М., Стройиздат, 1962.

4. СНиП II-А.12-69. Строительство в сейсмических районах. Нормы проектирования. М., Стройиздат, 1970.

5. Маслов Н.Н. Основы механики грунтов и инженерной геология. М., Автотрансиздат, 1968.

6. Цытович Н.А. Механика грунтов. М., Госстройиздат, 1963.

7. Шахунянц Г.М. Земляное полотно железных дорог. М., «Транспорт», 1963.

8. Шахунянц Г.М. Назначение расчетных характеристик грунтов. Труды МИИТа, № 273, М., «Транспорт», 1968.

9. Шахунянц Г.М. Определение характеристик грунтов. Труды МИИТа, № 357, М., «Транспорт», 1969.

10. Методические указания по проектированию земляного полотна на слабых грунтах. М., изд. Оргтрансстрой, 1968.

11. Указания по проектированию земляного полотна железных и автомобильных дорог, СН-449-72, М., Стройиздат, 1973.

12. Методические указания по оценке местной устойчивости откосов и выбору способов их укрепления в различных природных условиях. М., изд. ЦНИИС, 1970.

13. СНиП II-Д.5-72. Автомобильные дороги общей сети СССР. Нормы проектирования. М., Стройиздат, 1973.

14. Низовкин Г.А., Овчинников Л.Ф. Новые конструкции закрытых дренажей, «Путь и путевое хозяйство», 1970, № 5.

15. Осипов А.Д., Ронжин И.С., Панфилов В.С., Вощинин А.П. Дренажи и фильтры из пористого бетона. М., изд. «Энергия», 1972.

16. Технические указания по проектированию подпорных стен для транспортного строительства, ВСН 167-70, изд. Оргтрансстрой, М., 1970.

17. Указания по проектированию гидротехнических сооружений, подверженных волновым воздействиям, СН 288-64, М., Стройиздат, 1965.

18. СНиП III-Б.5-62. Стабилизация и искусственное закрепление грунтов. Правила организации производства и приемки работ, М., Стройиздат, 1962.

19. СНиП II-Д.7-62. Мосты и трубы. Нормы проектирования. М., Стройиздат, 1962.

20. Методические рекомендации по защите откосов скальных выемок аэрированными цементно-песчаными растворами. М., изд. ЦНИИС, 1972.

21. Методические рекомендации по проектированию противообвальных и противолавинных галерей и эстакад для пропуска скальных обвалов в районах Северной строительно-климатической зоны. М., изд. ЦНИИС, 1972.

22. Технические условия, определения волновых воздействий на морские и речные сооружения и берега, СН 92-60. М., Стройиздат, 1961.

23. Указания по определению ледовых нагрузок на речные сооружения, СН 76-66, М., Стройиздат, 1967.

24. Технические указания по оздоровлению основной площадки земляного полотна на пучинных участках. М., «Транспорт», 1968.

25. Инструкция по обеспечению безопасности движения поездов при производстве буровзрывных работ на строительстве вторых путей, ВСН 175-71, М., изд. Оргтрансстрой, 1971.

26. Альбом типовых поперечных профилей земляного полотна вновь строящихся железных дорог колеи 1524 мм общей сети Союза СССР, М., Мосгипротранс, ЦНИИ МПС, 1964.

27. Альбом типовых поперечных профилей земляного полотна вторых путей железных дорог колеи 1524 мм общей сети Союза ССР. М., Мосгипротранс, 1965.

28. Грушевой Н.Г. Земляное полотно зарубежных железных дорог. М., Трансжелдориздат, 1961.

29. Инструкция по сооружению земляного полотна автомобильных дорог, ВСН 97-63. М., Транспорт, 1964.

30. Инструкция по расчету стока с малых бассейнов, ВСН 63-67. М., изд. Оргтрансстрой, 1968.

31. Методические указания по проектированию морозозащитных и дренирующих слоев в основании проезжей части автомобильных дорог. М., изд. Оргтрансстрой, 1965.

32. Методические указания по проектированию противоналедных мероприятий и устройств. М., изд. ЦНИИС, 1970.

33. Методические указания по сравнению вариантов проектных решений железнодорожных линий, узлов и станций. М., изд. ЦНИИС, 1968.

34. Бромберг Е.М., Вериго М.Ф., Данилов В.Н., Фришман М.А. Взаимодействие пути и подвижного состава; приложение - «Правила производства расчетов верхнего строения железнодорожного пути на прочность». М., Трансжелдориздат, 1956.

35. Ройнишвили Н.М. Защита железнодорожного пути от горных обвалов и осыпей, М., изд. «Транспорт», 1973.

36. СНиП II-Д.1-62. Железные дороги колеи 1524 мм общей сети. Нормы проектирования, М., Стройиздат, 1962.

37. СНиП II-И.4-62. Плотины земляные насыпные. Нормы проектирования. М., Стройиздат, 1964.

38. Технические указания по возведению земляного полотна автомобильных дорог из переувлажненных грунтов, ВСН 166-70, М., изд. Оргтрансстрой, 1970.

39. Технические условия. Трубофильтры керамзитобетонные дренажные, ТУ-400-1-415-71. М., изд. Главстройматериалов при Мосгорисполкоме, 1971.

40. Типовые поперечные профили земляного полотна автомобильных дорог. М., Союздорпроект, 1966.

41. Оказания по составу и содержанию инженерно-геологических исследований индивидуальных мест земляного полотна. Л., Ленгипротранс, 1963.

42. Флейшман С.М., Целиков Ф.И. Руководство по применению противообвальных сооружений и мероприятий на дорогах. М., изд. ЦНИИС, 1967.

43. Проектирование железнодорожного пути, под ред. Г.М. Шахунянца, М., «Транспорт», 1972.

44. Указания по проектированию дренажа подземных гидротехнических сооружений, ВСН 045-72/МЭ и Э СССР, М., изд. «Гидпропроект», 1973.

45. Бахарев И.И. Технико-экономическая эффективность применения фильтрующих насыпей взамен малых искусственных сооружений. Труды ХабИИЖТа, вып. 23, Хабаровск, 1967.

46. Богомолов А.И., Константинов Н.М. Примеры гидравлических расчетов. М., Автотрансиздат, 1962.

47. Большаков В.А. Гидротехнические сооружения на автомобильных дорогах, М., «Транспорт», 1965.

48. Конструкции земляного полотна из аргеллито-алевролитовых грунтов, Сб. научных трудов № 68, ЦНИИС, М., 1973.

49. Методические рекомендации по проектированию земляного полотна железных дорог из набухающих грунтов, ЦНИИС, М., 1973 г.

50. Методические рекомендации по осушению грунтов в откосах выемок горизонтальными дренажами из трубофильтров, изд. ЦНИИС, М., 1973.

51. Гольдштейн М.Н. Проектирование противооползневых мероприятий, Труды ДИИТа, Вопросы геотехники, вып. 18, изд. «Картя молдовянска», Кишинев, 1971.

52. Гольдштейн М.Н. Механические свойства грунтов, Стройиздат, М, 1971, 1973.

53. Флейшман С.М. Сели, Гидрометиздат, Л, 1970.

54. Каган А.А. Расчетные показатели физико-механических свойств грунтов, назначение и методы определения, Стройиздат, Л., 1973.

СОДЕРЖАНИЕ

Предисловие. 1

1. Общие положения. 2

Нагрузки и воздействия. 3

2. Устойчивость откосов, склонов и поддерживающих сооружений. 5

Оценка общей устойчивости. 7

Мероприятия по обеспечению общей устойчивости откосов. 8

3. Выемки в переувлажненных глинистых грунтах. 9

Расчет местной устойчивости откосов. 10

Проектирование основной площадки. 11

Противодеформационные мероприятия. 12

4. Земляное полотно в скальных породах. 13

Выемки и полувыемки в скальных породах. 13

Насыпи из скальных грунтов легковыветривающихся пород. 14

5. Выемки на участках с наличием грунтовых вод. 14

6. Земляное полотно на крутых устойчивых косогорах. 23

7. Земляное полотно на неустойчивых косогорах. 30

Выбор местоположения трассы.. 31

Поддерживающие сооружения. 34

Разгрузка оползневых склонов. 36

Отвод поверхностных вод. 39

Отвод подземных вод. 40

Агролесомелиорация поверхности склонов. 44

8. Земляное полотно в районах с развитием карста. 44

9. Земляное полотно в районах с интенсивным развитием оврагов. 46

10. Земляное полотно в районах с развитием селей. 48

11. Земляное полотно на участках скальных обвалов. 50

Условия применения противообвальных мероприятий и сооружений. 50

Проектирование противообвальных сооружений. 62

12. Особенности проектирования и расчета устойчивости земляного полотна в сейсмических районах. 63

13. Особенности проектирования насыпей на участках подтопления. 64

Проектирование насыпей. 64

Укрепление откосов. 66

14. Земляное полотно вторых путей и реконструируемых линий железных дорог. 69

Мероприятия по устранению деформаций существующего полотна. 70

Насыпи под второй путь. 70

Выемки для второго пути. 72

15. Земляное полотно на участках курумов, россыпей и осыпей. 72

16. Земляное полотно на участках снежных лавин. 74

17. Особенности проектирования земляного полотна, сооружаемого с применением гидромеханизации. 78

Приложение 1. Рекомендации по определению расчетных значений прочностных и деформативных характеристик грунтов. 81

Приложение 2. Методика расчета местной устойчивости откосов выемок. 82

Приложение 3. Методика расчета толщины слоя замены слабого и пучинистого грунта дренирующим.. 90

Приложение 4. Методика расчета предельной высоты устойчивых откосов выемок в скальных породах. 94

Приложение 5. Классификация оползней. 102

Приложение 6. Основные положения по проектированию быстротоков и перепадов. 104

Приложение 7. Методические указания по расчету стока для водоотводов. 106

Приложение 8. Методика определения расчетной допускаемой скорости течения воды в канавах. 107

Приложение 9. Методика расчета зоны влияния карстовых полостей. 112

Приложение 10. Методика расчета габаритов улавливающих сооружений на участках камнепадов. 114

Приложение 11. Методика расчета габаритов путевых улавливающих траншей и полок с бордюрами и барьерами. 124

Приложение 12. Методика расчета на удар одиночным камнем.. 126

Приложение 13. Гидравлический расчет фильтрующих насыпей. 127

Приложение 14. Генетическая классификация лавин. 135

Приложение 15. Методика расчета противолавинных сооружений. 136

Приложение 16. Состав и содержание проектов. 147

Литература. 150

 

 




ГОСТЫ, СТРОИТЕЛЬНЫЕ и ТЕХНИЧЕСКИЕ НОРМАТИВЫ.
Некоммерческая онлайн система, содержащая все Российские Госты, национальные Стандарты и нормативы.
В Системе содержится более 150000 файлов нормативно-технической документации, действующей на территории РФ.
Система предназначена для широкого круга инженерно-технических специалистов.

Рейтинг@Mail.ru Яндекс цитирования

Copyright © www.gostrf.com, 2008 - 2026