| |
|

|
МИНИСТЕРСТВО
ЭНЕРГЕТИКИ И
ЭЛЕКТРИФИКАЦИИ СССР
|
ГЛАВНОЕ ТЕХНИЧЕСКОЕ УПРАВЛЕНИЕ СТРОИТЕЛЬСТВА
ВСЕСОЮЗНЫЙ ИНСТИТУТ ПО
ПРОЕКТИРОВАНИЮ ОРГАНИЗАЦИИ
ЭНЕРГЕТИЧЕСКОГО СТРОИТЕЛЬСТВА «ОРГЭНЕРГОСТРОЙ»
ОДЕССКИЙ ФИЛИАЛ
ТЕХНОЛОГИЧЕСКАЯ КАРТА
МОНТАЖА ВЕНТИЛЬНЫХ РАЗРЯДНИКОВ
ТИПА РВМГ НАПРЯЖЕНИЕМ 110 - 500 КВ
Москва 1990
Технологическая карта монтажа вентильных разрядников типа
РВМГ напряжением 110 - 500 кВ предназначена для использования при монтаже
разрядников на открытых распределительных устройствах, при составлении проектов
организации строительства (ПОС) и проектов производства электромонтажных работ
(ППР).
Разрядники предназначены для защиты изоляции
электрооборудования переменного тока от атмосферных и коммутационных
перенапряжений.
Разрядники 110 - 220 кВ (рис. 1 - 3) собираются в одну колонну из
рабочих элементов, разрядник 330 кВ (рис. 4) - в две колонны, разрядник
500 кВ (рис. 5)
- в объемную конструкцию. Количество одновременно поднимаемых при
укрупнительной сборке элементов (изоляторов), определенное настоящей картой,
ограничено заводом-изготовителем разрядников.
Технологическая карта содержит указания по организации и
технологии монтажа, перечень механизмов, инструментов и приспособлений,
сведения о затратах материалов, калькуляции трудовых затрат, графики
производства работ и потребности рабочих.
В карте принято, что работы, связанные с монтажом
разрядников, производятся непосредственно на монтажной площадке, у места их
установки.
Все данные в карте приведены для монтажа одной группы (трех
фаз) разрядников.
Трудозатраты на наладочные работы графиками монтажа и
калькуляциями не учтены.
Технологическая карта разработана в соответствии с
«Методическими указаниями по разработке типовых технологических карт в
строительстве». ЦНИИИОМТП Госстроя СССР, 1987.

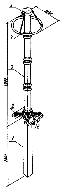
Рис.
1. Разрядник РВМГ-110М:
1 - опора; 2 - основание; 3 - элемент; 4 - кольцо экранирующее;
5 - контактное соединение; 6 - регистратор срабатывания

Рис.
2. Разрядник РВМГ-150М:
1 - опора; 2 - основание; 3 - элемент; 4 - кольцо экранирующее;
5 - контактное соединение; 6 - регистратор срабатывания

Рис.
3. Разрядник РВМГ-220М:
1 - опора; 2 - основание; 3 - элемент; 4 - кольцо экранирующее;
5 - контактное соединение; 6 - регистратор срабатывания; 7 - элемент с
усиленным фланцем

Рис. 4. Разрядник РВМГ-330М:
1 - опора; 2 - основание: 3 - элемент; 4 - перемычка; 5 - кольцо
экранирующее; 6 - контактное соединение; 7 - изолятор; 8 - регистратор
срабатывания; 9 - элемент с усиленным фланцем

Рис. 5. Разрядник РВМГ-500:
1 - опора; 2 - рама нижняя; 3 - плита; 4 - регистратор
срабатывания; 5 - изолятор опорный; 6 - элемент; 7 - рама средняя; 8 - кольцо
экранирующее; 9 - рама верхняя; 10 - контактное соединение
2.1. Общие
указания
2.1.1. К началу монтажных
работ должны быть выполнены:
подъезды к месту
установки разрядников;
опоры под разрядники, а также планировка прилегающей к ним
территории;
площадка с твердым покрытием или настил для установки
элементов и изоляторов;
силовая сеть 380/220 В;
молниезащита ОРУ и заземляющее устройство.
2.1.2. Разрядники
поставляются заводом в виде узлов, упакованных в деревянные ящики. При
транспортировании разрядников и погрузоразгрузочных работах следует
руководствоваться указаниями маркировочных знаков на таре и соблюдать меры
предосторожности, исключающие возможность повреждения элементов и других
частей.
Во избежание поломок ящиков при подъеме краном необходимо,
чтобы между стропами и горизонтальной плоскостью крышки ящика образовывался
угол не менее 45°. Ящики с элементами необходимо опускать на землю плавно, без
толчков.
2.1.3. При получении
разрядника необходимо проверить наличие полного комплекта поставки, количество
мест, состояние упаковки, сохранность груза, наличие технической документации
(передается заказчику). Элементы разрядника и комплектующие детали могут
храниться в помещении или на открытой площадке. Элементы должны храниться и
перемещаться в вертикальном положении. Допускается переноска элементов вручную
в горизонтальном положении.
2.1.4. При сборке
разрядников необходимо соблюдать заводскую маркировку. Каждый разрядник 110 -
330 кВ и элемент имеют порядковые номера. Нижний элемент имеет первый номер.
Элементы повышенной механической прочности (с усиленными фланцами) в
разрядниках 220 и 330 кВ устанавливаются в нижней части колонн.
2.1.5. Подъем, перенос и
опускание собранных колонн из элементов и изоляторов необходимо производить
плавно, без толчков.
2.1.6. При монтаже
разрядников необходимо руководствоваться документацией, приведенной в прил. 1.
2.2. Подготовительные работы
2.2.1. Производится приемка от строителей опорных конструкций
под разрядник. Приемка оформляется актом, подписанным представителями
заказчика, строительной и электромонтажной организаций.
2.2.2. Уточняется рабочий график производства работ в
соответствии с технологической картой. Электромонтажники знакомятся с
технической документацией, объемом и принятой организацией работ. Бригада
инструктируется по технике безопасности ответственным руководителем работ.
2.2.3. Подготавливается деревянный настил для установки
элементов и изоляторов.
2.2.4. Доставляются на строительную площадку монтажные
механизмы, оборудование, инвентарные устройства и размещаются в соответствии со
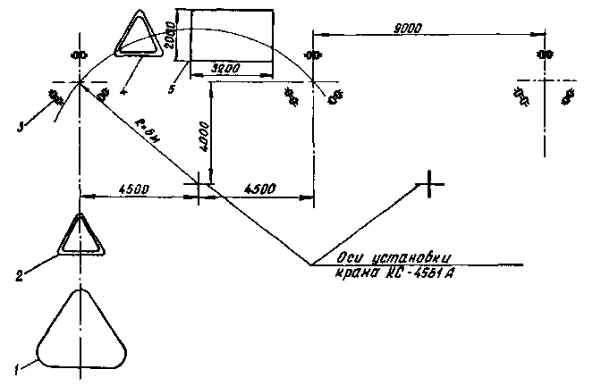
схемами, приведенными на рис. 6 - 9.
Разрядники
распаковываются. Расконсервируются узлы и детали.
2.2.5. Производится приемка разрядника в монтаж. Перед монтажом
элементы и изоляторы испытываются согласно заводской инструкции (выполняет
группа наладки).
2.3. Монтаж разрядников 110 кВ и 150 кВ
2.3.1. Основание разрядника устанавливают
на опору, изолируют его от металлоконструкции опоры с помощью шайб, втулок и
трубок. Проверяют горизонтальность установки основания (при необходимости
выравнивают прокладками) и закрепляют болтами М20.
2.3.2. На фланец верхнего элемента устанавливают крышку с
контактом. Закрепляют держатели вначале в хомутах экранирующего кольца, а
затем, подняв кольцо, - на крышке верхнего элемента. Затем устанавливают на
крышке верхнего элемента два рым-болта М12.
2.3.3. Стропят (строп 2СК-0,5/0-0,5/К-0,4/900) верхний элемент и
методом «подращивания» (рис. 10) собирают колонну разрядника, состоящую из
трех элементов для разрядника 110 кВ и четырех элементов для разрядника 150 кВ.
2.3.4. Колонну устанавливают и закрепляют
на основании. Проверяют отклонение колонны от вертикали. Отклонение колонны от
вертикали не должно превышать 50 мм. При необходимости между основанием и
колонной разрядника устанавливают металлические прокладки или шайбы.

Рис.
6. План размещения оборудования и механизмов при монтаже разрядника РВМГ-110М (РВМГ-150М):
1 - кольцо экранирующее; 2 - основание; 3 - опора; 4 - настил из
досок

Рис.
7. План размещения оборудования и механизмов при монтаже разрядника РВМГ-220М:
1 - кольцо экранирующее; 2 - основание; 3 - опора; 4 - настил из
досок

Рис.
8. План размещения оборудования и механизмов при монтаже разрядников РВМГ-330М:
1 - кольцо экранирующее; 2 - опора; 3 - основание малой колонны
разрядника; 4 - основание большой колонны разрядника; 5 - настил из досок

Рис.
9. План размещения оборудования и механизмов при монтаже разрядника РВМГ-500:
1 - кольцо экранирующее; 2 - рамы верхняя и средняя; 3 - опора;
4 - рама нижняя; 5 - настил из досок

Рис. 10. Монтаж разрядника РВМГ-150 М:
1 - настил из досок; 2 - элемент; 3 - кольцо экранирующее; 4 -
строп 2СК-0,5/0-0,5/К-0,4/900; 5 - рым-болт М12; 6 - опора; 7 - основание
Примечание. Разрядник РВМГ-110М состоит
из трех элементов и монтируется аналогично

Рис. 11. Монтаж разрядника РВМГ-220М
1 - настил из досок; 2 - элемент; 3 - строп
2СК-0,5/0-0,5/К-0,4/900; 4 - рым-болт М12; 5 - опора; 6 - основание; 7 - кольцо
экранирующее
2.3.5.
Снимают рым-болты М12.
2.3.6.
Закрепляют регистратор срабатывания на опоре и подсоединяют проводом к
основанию.
2.3.7.
Аналогично собирают два других полюса разрядника.
2.4. Монтаж разрядника 220 кВ (рис. 11)
2.4.1. Выполняют работы
по п. 2.3.1.
2.4.2. На фланец
четвертого элемента устанавливают два рым-болта М12, стропят (строп
2СК-0,5/0-0,5/К-0,4/900) четвертый элемент и методом «подращивания» собирают
секцию колонны из четырех элементов. При этом два элемента, фарфоровые покрышки
которых имеют 15 ребер (с усиленными фланцами), устанавливают внизу колонны
согласно маркировке.
2.4.3.
Колонну устанавливают и закрепляют на основании разрядника. Проверяют
отклонение колонны от вертикали. Снимают рым-болты.
2.4.4. На
фланец верхнего элемента устанавливают крышку с контактом, а также два
рым-болта М12.
2.4.5. Стропят (строп
2СК-0,5/0-0,5/К-0,4/900) и методом «подращивания» верхний элемент собирают с
пятым элементом. Закрепляют держатели вначале в хомутах экранирующего кольца, а
затем, подняв кольцо, - на крышке верхнего элемента.
2.4.6. Собранную секцию
из двух элементов и экрана устанавливают и закрепляют на ранее собранной части
колонны из четырех элементов. Проверяют отклонение колонны собранного
разрядника от вертикали. Отклонение колонны от вертикали не должно превышать 50
мм.
2.4.7. Выполняют работы
по п.п. 2.3.5
- 2.3.7.
2.5. Монтаж разрядника 330 кВ (рис. 12).
Монтаж малой колонны.
2.5.1. Выполняют работы
по п. 2.3.1.
2.5.2. На фланец верхнего
элемента устанавливают крышку, а также два рым-болта М12.
2.5.3. Стропят (строп
2СК-0,5/0-0,5/К-0,4/900) верхний элемент и методом «подращивания» собирают
колонну из трех элементов.
2.5.4. Выполняют работы
по п.п. 2.3.4
- 2.3.6.
Монтаж большой колонны.
2.5.5. Основание
разрядника устанавливают на опору.

Рис.
12. Монтаж разрядника РВМГ-330М:
1 - настил из досок; 2 - элемент; 3 - строп
2СК-0,5/0-0,5/К-0,4/900; 4 - рым-болт М12; 5 - опора; 6 - основание; 7 -
изолятор; 8 - кольцо экранирующее; 9 - перемычка
Проверяют горизонтальность установки основания (при
необходимости выравнивают прокладками) и закрепляют болтами М30.
2.5.6. На фланце третьего
элемента устанавливают два рым-болта М12. Стропят (строп
2СК-0,5/0-0,5/К-0,4/900) третий элемент и методом «подращивания» собирают
колонку из трех элементов и одного изолятора. При этом изолятор подсоединяется
последним внизу колонки, а перед ним два элемента, фарфоровые
покрышки которых имеют 15 ребер (с усиленными фланцами).
2.5.7. Выполняют работы
по п.п. 2.4.3
и 2.4.4.
2.5.8. Стропят (строп
2СК-0,5/0-0,5/К-0,4/900) и методом «подращивания» собирают верхний элемент с
четвертым элементом. Закрепляют держатели вначале в хомутах экранирующего
кольца, а затем, подняв кольцо, - на крышке верхнего элемента.
2.5.9. Собранную секцию
из двух элементов и экрана устанавливают на ранее собранную колонну из трех
элементов и изолятора.
Проверяют отклонение колонны разрядника от вертикали.
Отклонение колонны от вертикали не должно превышать 50 мм.
2.5.10. Между малой и
большой колоннами разрядника устанавливают перемычку.
2.5.11. Выполняют работы
по п.п. 2.3.5
- 2.3.7.
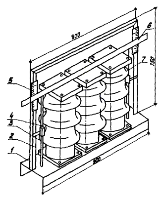
2.6. Монтаж разрядника 500 кВ
Монтаж первого этажа разрядника (рис. 13)
2.6.1. В углах нижней
рамы устанавливают и закрепляют три плиты. Проверяют уровнем горизонтальность
нижней рамы.
2.6.2. Выставляют все 36
изоляторов ИОС-35-1000 на ровном гладком месте (дощатый настил) и комплектуют
из них двенадцать комплектов по три изолятора для окончательного выравнивания с
помощью приспособления, показанного на рис. 14. Выравнивание производят с
учетом устанавливаемых в колонках планок для крепления элементов. Разницу высот
изоляторов компенсируют металлическими пластинами (количество пластин должно
быть минимальным). Для этого:
устанавливают на основание приспособления три изолятора;
спускают талрепами линейку на верхние фланцы изоляторов;
заполняют зазоры между линейкой и фланцами изоляторов
пластинами;
закрепляют проволокой пластины на фланцах.
2.6.3. Собирают
поочередно три колонны по пять изоляторов, устанавливают и закрепляют их на
плитах нижней рамы таким образом, чтобы шарнир сохранял некоторую подвижность.
Сборку колонн выполняют методом «подращивания» с использованием стропа
2СК-0,5/0-0,5/К-0,4/900. В местах крепления рабочих элементов между изоляторами
устанавливают планки с серьгами.

Рис.
13. Монтаж первого этажа разрядника РВМГ-500:
1 - настил из досок; 2 - изолятор ИОС-35-1000: 3 - рым-болт М16;
4 - строп 2СК-0,5/0-0,5/К-0,4/900; 5 - рама нижняя; 6 - рама средняя; 7 - строп
СКП1-0,5/1500; 8 - элемент; 9 - строп типа СКК из капронового каната КК-30 мм
56 ктекс Об ГОСТ 10293-77; 10 - опора; 11 - строп СКП1-1,0/4000

Рис.
14. Приспособление для подбора изоляторов по высоте:
1 - швеллер № 24; 2 - уголок 25×25; 3 - талреп; 4 - труба; 5 - линейка; 6 - рейка; 7 - изолятор
2.6.4. Устанавливают и закрепляют в углах средней рамы с верхней
стороны три плиты.
2.6.5. Среднюю раму поднимают (строп СКП1-0,5/1500)
устанавливают и закрепляют на колоннах изоляторов. Совмещение отверстий в рамах
и на фланцах верхних изоляторов достигается поворотом колонн в шарнирах.
Проверяют вертикальность установки колонн изоляторов (отклонение колонны не
должно превышать 10 мм) и горизонтальность установки средней рамы (при
необходимости выравнивают прокладками). В случае непараллельности верхних
фланцев изоляторов и горизонтальной плоскости рамы надевают шайбы на отдельные
(там где необходимо)
болты. После закрепления средней рамы, производят окончательную затяжку болтов
шарнирных плит.
2.6.6. К средней раме закрепляют скобу для крепления элемента.
2.6.7. На нижний фланец нижнего элемента устанавливают крышку с
предварительно установленными изолятором ИОР-10-750 и скобой. Под один из
болтов подсоединяют конец провода, идущий к регистратору срабатывания, так,
чтобы после навески элемента он находился со стороны регистратора срабатывания.
На верхний
фланец нижнего элемента, а также на фланцы остальных элементов, устанавливают
крышки со скобами.
2.6.8. Навешивают элементы, начиная с нижнего, с помощью стропа
из капронового каната КК 30 мм 56 ктекс по ГОСТ 10293-77. Вначале укрепляется
верх элемента, а затем низ (верх элемента определяется по направлению ребер
кожуха элемента по табличке, расположенной на верхнем фланце). Четыре элемента
с индексом «К» на верхних крышках устанавливаются в верхней части разрядников
(второго этажа).
2.6.9. Регистратор срабатывания устанавливают на нижней раме и
соединяют его проводом с нижним элементом.
2.6.10. Собранную конструкцию первого этажа разрядника стропят
(строп СКП1-1,0/4000) за нижнюю раму и устанавливают на опорные конструкции.
Проверяют горизонтальность нижней рамы, а также повторно - вертикальность
колонн и горизонтальность установки средней рамы. При необходимости выравнивают
с помощью прокладок. Закрепляют нижнюю раму на опорных конструкциях.
Монтаж
второго этажа разрядника (рис. 15).
2.6.11. Собирают поочередно три колонны по семь изоляторов,
устанавливают и закрепляют их на плитах средней рамы таким образом, чтобы
шарнир сохранял некоторую подвижность. Сборку колонн выполняют методом
«подращивания» с использованием стропа 2СК-0,5/0-0,5/К-0,4/900. В местах
крепления рабочих элементов между изоляторами устанавливают планки с серьгами.
2.6.12. Собирают экранное кольцо, надев на него предварительно
хомуты (силуминовое кольцо скрепляют болтами, стальное - сваривают).
2.6.13. Верхнюю раму устанавливают на козлах (подставках)
высотой 1,3 м и внутри кольца.
2.6.14. На верхней раме закрепляют контактную пластину.
2.6.15. Трубы подвески экранного кольца поочередно заводят в
цилиндры верхней рамы, сверлят отверстия и закрепляют трубы болтами с гайками.

Рис. 15. Монтаж второго этажа разрядника
РВМГ-500:
1 - опора; 2 - первый этаж разрядника; 3 -
изолятор ИОС-35-1000; 4 - рым-болт М16; 5 - строп 2СК-0,5/0-0,5/К-0,4/900; 6 -
кольцо экранирующее; 7 - рама верхняя; 8 - строп СКП1-0,5/1500; 9 - элемент; 10
- строп типа СКК из капронового каната КК 30 мм 56 ктекс Об ГОСТ 10293-77
2.6.16. Экранное кольцо
приподнимают так, чтобы трубы подвески экранного кольца вошли в ранее одетые на
экранное кольцо хомуты. Сверлят отверстия и закрепляют трубы болтами с гайками.
2.6.17. Верхнюю раму в
сборе с экранным кольцом стропят (строп СКП1-0,5/1500) устанавливают и
закрепляют на колоннах изоляторов. Совмещение отверстий рамы и на фланцах
верхних изоляторов достигается поворотом колонн в шарнирах средней рамы. После
закрепления верхней рамы производят окончательную затяжку болтов шарнирных плит
средней рамы.
2.6.18. Проверяют
вертикальность установки колонн изоляторов (отклонение колонн второго этажа не
должно превышать 10 мм).
2.6.19. Навешивают
элементы 2-го этажа разрядника, начиная с нижнего элемента. Элементы с индексом
«К» устанавливают в верхней части разрядника.
2.6.20. Аналогично
производят монтаж остальных двух фаз разрядника.
2.7. Заключительные работы
2.7.1. Производят
окончательную затяжку всех болтовых соединений разрядника.
2.7.2. Разрядник
заземляют (полоса заземления к стойкам пристреливается, а к металлоконструкциям
приваривается).
2.7.3. Восстанавливают
лакокрасочные покрытия металлических частей в поврежденных местах и красят
сварочные швы.
2.7.4. Разрядник
присоединяют к ошиновке высокого напряжения. Длина спуска к аппарату должна
обеспечивать в наиболее неблагоприятных погодных условиях (гололед) допустимое
тяжение на контактный вывод разрядника не более 490 Н.
2.7.5. Силовой ящик
демонтируют. Убирают механизмы и инвентарь.
До начала работ по монтажу разрядников выверяются проектные
горизонтальные и вертикальные оси и отметки опорных конструкций. При приемке
разрядников в монтаж (входной контроль) проверяют целостность фарфоровых
покрышек элементов и изоляторов, они не должны иметь трещины и сколы, а
цементные швы - повреждения эмалевого покрытия, превышающие допустимые размеры.
Технические критерии и средства контроля операций и
процессов приводятся в табл. 1. Приемочный контроль смонтированных разрядников
осуществляют согласно СНиП
3.05.06-85. При приемке работ предъявляют протоколы испытаний, ревизии и
монтажа разрядников.
Таблица
1
|
Процесс,
подлежащий контролю
|
Предмет контроля
|
Инструмент и способ контроля
|
Время контроля
|
Ответственный контролер
|
Технические критерии оценки качества
|
|
1
|
2
|
3
|
4
|
5
|
6
|
|
Подготовительные предмонтажные работы
|
Опорные конструкции. Выверка проектных
горизонтальных и вертикальных осей и отметок
|
Нивелир, отвес
|
До начала монтажа
|
Мастер
|
Отклонение отметки верха стойки не более ± 15
мм, смещение по горизонтали относительно главных осей вдоль и поперек опоры
20 мм, разворот стоек в плане ± 5°, отклонение от вертикали - 1:100 ее высоты
|
|
Разметка отверстий под фундаментные болты
|
Транспортир, линейка
|
То же
|
То же
|
В соответствии с заводским чертежом
|
|
Монтаж разрядников РВМГ - 110 - 330 кВ
|
Установка основания.
|
Уровень
|
До монтажа колонн элементов
|
Бригадир
|
|
|
Горизонтальность установки
|
|
Монтаж элементов
|
|
Целостность фарфоровых покрышек элементов
|
Визуально
|
То же
|
То же
|
Суммарная площадь допустимых сколов 150 мм2.
Допустимая глубина сколов 1 мм
|
|
Отсутствие повреждений эмалевого покрытия
цементных швов
|
То же
|
-"-
|
-"-
|
Поверхностное выкрашивание цементной связи у
двух фланцев не более 10 · 103 мм3
|
|
Сборка колонн элементов.
|
|
Соблюдение заводской маркировки
|
Визуально
|
В процессе сборки
|
Бригадир
|
|
|
|
Установка колонн элементов. Отклонение верхней
части колонны от вертикали
|
Теодолит
|
После окончания монтажа
|
Мастер
|
Отклонение не должно превышать 50 мм
|
|
Монтаж разрядника РВМГ-500 кВ
|
Сборка 1-го этажа разрядника
|
|
|
|
|
|
Установка нижней рамы.
|
До монтажа колонн изоляторов
|
Бригадир
|
Отклонение не более ± 10 мм
|
|
Горизонтальность установки.
|
|
Монтаж колонн изоляторов и навешивание
элементов
|
|
Целостность фарфоровых покрышек элементов
|
Визуально
|
До навешивания элементов
|
Бригадир
|
Суммарная площадь допустимых сколов 150 мм2
Допустимая глубина сколов 1 мм
|
|
Целостность фарфоровых изоляторов
|
То же
|
До монтажа колонн изоляторов
|
То же
|
Суммарная площадь сколов на изоляторе не более
100 мм2, глубина скола до 2 мм
|
|
Отсутствие повреждений эмалевого покрытия
цементных швов
|
-"-
|
То же
|
-"-
|
Поверхностное выкрашивание цементной связки у
двух фланцев не более 10 · 103 мм3
|
|
Установка колонн изоляторов. Отклонение колонн
от вертикали
|
Отвес, линейка
|
До монтажа колонн изоляторов
|
Бригадир
|
Отклонение не должно превышать 10 мм
|
|
Установка средней рамы.
|
Уровень
|
До навешивания элементов
|
То же
|
Отклонение не более ± 10 мм
|
|
Горизонтальность установки
|
|
Навешивание элементов
|
Визуально
|
До установки на опорную конструкцию
|
-"-
|
Внешний осмотр
|
|
Правильность навешивания
|
|
Установка 1-го этажа разрядника
|
|
Горизонтальность установки и нижней рамы
|
Уровень
|
До монтажа колонн изоляторов 2-го яруса
разрядника
|
Мастер
|
Отклонение не более ± 10 мм
|
|
Горизонтальность установки средней рамы
|
То же
|
То же
|
То же
|
То же
|
|
Отклонение колонн от вертикали
|
Теодолит
|
-"-
|
-"-
|
Отклонение не должно превышать 10 мм
|
|
Монтаж 2-го этажа разрядника.
|
|
Монтаж колонн изоляторов и навешивание
элементов
|
|
Целостность фарфоровых покрышек элементов
|
Визуально
|
До навешивания элементов
|
Бригадир
|
Суммарная площадь допустимых сколов 150 мм2.
Допустимая глубина сколов 1 мм
|
|
Целостность фарфоровых изоляторов
|
Визуально
|
До монтажа колонн
|
Бригадир
|
Суммарная площадь сколов на изоляторе не более
100 мм2, глубина скола до 2 мм
|
|
Отсутствие повреждений эмалевого покрытия
цементных швов
|
То же
|
То же
|
То же
|
Поверхностное выкрашивание цементной связки у
двух фланцев не более 10 · 103 мм3
|
|
Установка колонн изоляторов
|
Теодолит
|
До навешивания элементов
|
Мастер
|
Отклонение не должно превышать 10 мм
|
|
Отклонение колонн от вертикали
|
|
Навешивание элементов. Правильность
навешивания
|
Визуально
|
До подсоединения к ошиновке
|
Бригадир
|
Внешний осмотр
|
4.1. Разрядник РВМГ-110М
Таблица
2
|
Процесс
|
Единица
измерения
|
Объем работ
|
Обоснование
(ЕНиР и другие нормы)
|
Норма времени
|
Расценка,
р.-к.
|
Затрата труда
|
Заработная
плата, р.-к.
|
|
рабочего,
чел.-ч
|
машиниста,
чел.-ч (маш.-ч)
|
рабочего
|
машиниста
|
рабочего,
чел.-ч
|
машиниста, чел.
-ч, маш.-ч
|
рабочего
|
машиниста
|
|
1
|
2
|
3
|
4
|
5
|
6
|
7
|
8
|
9
|
10
|
11
|
12
|
|
|
Такелажные
работы
|
|
|
|
|
|
|
|
|
|
|
|
|
1.
|
Погрузка автокраном деталей и узлов разрядника, монтажного
оборудования
|
1 т
|
1,4
|
24-13, табл. 2, п. 2е
Н. вр. К = 0,96
Расц. К = 1,25
|
0,32
|
0,16
|
0-21,6
|
0-14,9
|
0,45
|
0,22
|
0-30
|
0-21
|
|
2.
|
То же, разгрузка
|
1 т
|
1,4
|
То же, п. 15е
Н. вр. К =
0,96
Расц. К = 1,25
|
0,27
|
0,13
|
0-18,4
|
0-12,2
|
0,38
|
0,18
|
0-26
|
0-17
|
|
3.
|
Погрузка материалов и инструмента вручную на автомашину
|
1 т
|
0,2
|
Е1-22, п. 2а
|
0,67
|
-
|
0,39,5
|
-
|
0,13
|
-
|
0-08
|
-
|
|
4.
|
Выгрузка материалов и инструмента вручную с автомашины
|
1 т
|
0,2
|
Е1-22, п. 2б
|
0,51
|
-
|
0-30,1
|
-
|
0,1
|
-
|
0-06
|
-
|
|
5.
|
Подбор деталей и узлов оборудования на складе
|
-
|
-
|
2 % от основных работ
|
-
|
-
|
-
|
-
|
0,41
|
-
|
-
|
0-32
|
|
|
Итого
|
|
|
|
|
|
|
|
1,47
|
0,4
|
1-02
|
0-38
|
|
|
Подготовительные
работы
|
|
|
|
|
|
|
|
|
|
|
|
|
6.
|
Укладка деталей и узлов разрядника по рабочим местам
|
1 т
|
0,98
|
Е1-20, п. 9
применит.
|
1,3
|
1,3
|
0-76,7
|
1-18,3
|
1,27
|
1,27
|
0-75
|
1-16
|
|
7.
|
Установка силового ящика до 200 А на конструкцию
|
1 ящик
|
1
|
Е23-7-21,
табл. 2, п. 2а
|
0,75
|
-
|
0-53,6
|
-
|
0,75
|
-
|
0-54
|
-
|
|
8.
|
Прокладка кабеля к силовому ящику
|
100 м
|
0,5
|
Е23-4-4, А,
табл. 2, п. 1а
|
3,8
|
-
|
2-85
|
-
|
1,9
|
-
|
1-42
|
-
|
|
9.
|
Присоединение проводов и подготовка к включению силового ящика
до 200 А
|
1 ящик
|
1
|
Е23-7-21,
табл. 2, п. 2 (в + г)
|
1,92
|
-
|
1-75
|
-
|
1,92
|
-
|
1-75
|
-
|
|
10.
|
Прокладка временных шин заземления в траншее для заземления
силового ящика и сварочного аппарата
|
100 м
|
0,3
|
Е23-3-53,
табл. 1, п. 1а
|
8,6
|
-
|
6-02
|
-
|
2,58
|
-
|
1-81
|
-
|
|
11.
|
Сварка стыков шин заземления
|
100 стыков
|
0,04
|
Е23-3-53, А,
табл. 1, п. (2 + 3) а
К = 1,12 Общая
часть п. 5
|
11,6
|
-
|
8-60,7
|
-
|
0,46
|
-
|
0,34
|
-
|
|
12.
|
Присоединение шин заземления к аппаратам
|
1 присоединение
|
2
|
Е23-3-53, А,
табл. 1, п. 5а
|
0,26
|
-
|
0-18,2
|
-
|
0,52
|
-
|
0-36
|
-
|
|
13.
|
Присоединение проводов и подготовка к включению сварочного
аппарата
|
1 аппарат
|
1
|
Е23-7-21, табл. 2, п. 1 (в + г)
|
1,18
|
-
|
0-93,2
|
-
|
1-18
|
-
|
0-93
|
-
|
|
|
Итого
|
|
|
|
|
|
|
|
10,58
|
1,27
|
7-90
|
1-16
|
|
|
Основные
работы
|
|
|
|
|
|
|
|
|
|
|
|
|
14.
|
Монтаж разрядника РВМГ-110М
|
1 группа (3 фазы)
|
1
|
Е23-5-28, п. 2
|
18
|
6
|
13-86
|
5-46
|
18,0
|
6
|
13-86
|
5-46
|
|
15.
|
Прокладка полосы заземления по железобетонной стойке с
пристрелкой строительно-монтажным пистолетом
|
100 м
|
0,09
|
Е23-6-23, Б,
табл. 2, п. (1 + 2 + 3) а к п. (2 + 3) а
К = 1,12
|
13,3
|
-
|
10-35,4
|
-
|
1,20
|
-
|
0-93
|
-
|
|
16.
|
Прокладка полосы заземления в траншее
|
100 м
|
0,02
|
Е23-3-51, А,
табл. 1, п. 1а
|
8,6
|
-
|
602
|
-
|
0,17
|
-
|
0-12
|
-
|
|
17.
|
Присоединение полосы заземления сваркой к общему контуру
заземления
|
1 присоединение
|
6
|
Е23-3-53, А,
табл. 1, п. 4а
К = 1,12
|
0,12
|
-
|
0-09,4
|
-
|
0,72
|
-
|
0-56
|
-
|
|
18.
|
Первичное и вторичное окрашивание проложенной по
железобетонной стойке полосы заземления
|
100 м шин
|
0,09
|
Е23-6-27, п.
(4 + 5)
|
6,1
|
-
|
3-91
|
-
|
0,55
|
-
|
0-35
|
-
|
|
|
Итого
|
|
|
|
|
|
|
|
20,64
|
6,0
|
15-82
|
5-46
|
|
|
Заключительные
работы
|
|
|
|
|
|
|
|
|
|
|
|
|
19.
|
Отсоединение проводов от сварочного аппарата
|
1 аппарат
|
1
|
Е23-7-21, табл. 2, п. 1в
К = 0,5
|
0, 48
|
-
|
0-37,9
|
-
|
0,48
|
-
|
0-38
|
-
|
|
20.
|
Отсоединение проводов от силового ящика
|
1 ящик
|
1
|
Е23-7-21, табл. 2, п. 2в
К = 0,5
|
0,85
|
-
|
0-77,5
|
-
|
0-85
|
-
|
0-78
|
-
|
|
21.
|
Демонтаж силового ящика
|
То же
|
1
|
Е23-7-21, табл. 2, п. 2а
К = 0,5
|
0,38
|
-
|
0-26,8
|
-
|
0,38
|
|
0-27
|
-
|
|
22.
|
Демонтаж питающего кабеля
|
100 м
|
0,5
|
Е23-4-4, А, табл. 2, п. 1а
К = 0,5
|
1,9
|
-
|
1-42,5
|
-
|
0,95
|
-
|
0-71
|
-
|
|
23.
|
Демонтаж временных шин заземления
|
100 м
|
0,3
|
Е23-3-53, А,
табл. 1, п. 1а
К = 0,5
|
4,3
|
-
|
3-01
|
-
|
1,29
|
-
|
0-90
|
-
|
|
24.
|
Погрузка автокраном монтажного оборудования
|
1 т
|
0,3
|
24-13, табл.
2, п. 2е
Н. вр. К =
0,96
Расц. К = 1,25
|
0,32
|
-
|
0-21,6
|
-
|
0,1
|
-
|
0-06
|
-
|
|
25.
|
Погрузка инструмента вручную на автомашину
|
1 т
|
0,1
|
Е1-22, п. 2а
|
0,67
|
-
|
0-39,5
|
-
|
0,077
|
-
|
0-04
|
-
|
|
|
Итого
|
|
|
|
|
|
|
|
4,12
|
|
3-14
|
|
|
|
Всего
|
|
|
|
|
|
|
|
36,81
|
7,67
|
27-88
|
7-00
|
4.2.
РАЗРЯДНИК РВМГ-150М
Таблица
3
|
Процесс
|
Единица
измерения
|
Объем работ
|
Обоснование
(ЕНиР и другие нормы)
|
Норма времени
|
Расценка,
р.-к.
|
Затраты труда
|
Заработная
плата, р.-к.
|
|
рабочего,
чел.-ч
|
машиниста,
чел.-ч (маш.-ч
|
рабочего
|
машиниста
|
рабочего,
чел.-ч
|
машиниста
чел.-ч
|
рабочего
|
машиниста
|
|
1
|
2
|
3
|
4
|
5
|
6
|
7
|
8
|
9
|
10
|
11
|
12
|
|
|
Такелажные
работы
|
|
|
|
|
|
|
|
|
|
|
|
|
1.
|
Погрузка автокраном деталей и узлов разрядника, монтажного
оборудования
|
1 т
|
1,8
|
24-13, табл. 2, п. 2е
Н. вр. К = 0,96
Расц. К = 1,25
|
0,32
|
0,16
|
0-21,6
|
0-14,9
|
0,58
|
0,29
|
0,39
|
0-27
|
|
2.
|
То же, разгрузка
|
1 т
|
1,8
|
То же, п. 15е
Н. вр. К =
0,96
Расц. К = 1,25
|
0,27
|
0,13
|
0-18,4
|
0-12,2
|
0,49
|
0,23
|
0-33
|
0-22
|
|
3.
|
Погрузка материала и инструмента вручную на автомашину
|
1 т
|
0,2
|
Е1-22, п. 2а
|
0,67
|
-
|
0-39,5
|
-
|
0,13
|
-
|
0-08
|
-
|
|
4.
|
То же, выгрузка
|
1 т
|
0,2
|
То же, п. 2б
|
0,51
|
-
|
0-30,1
|
-
|
0,1
|
-
|
0-06
|
-
|
|
5.
|
Подбор деталей и узлов оборудования на складе
|
-
|
-
|
2 % от основных работ
|
-
|
-
|
-
|
-
|
0,47
|
-
|
0-36
|
-
|
|
|
Итого
|
|
|
|
|
|
|
|
1,77
|
0,52
|
1-22
|
0-49
|
|
|
Подготовительные
работы
|
|
|
|
|
|
|
|
|
|
|
|
|
6.
|
Укладка деталей и узлов разрядника по рабочим местам
|
1 т
|
1,26
|
Е1-20, п. 9
применительно
|
1,3
|
1,3
|
0-76,7
|
1-18,3
|
1,64
|
1,64
|
0-97
|
1-49
|
|
|
Пункты 7 - 13
(см. п.п. 7…13 табл. 2)
|
|
|
|
|
|
|
|
9,31
|
|
7-15
|
|
|
|
Итого
|
|
|
|
|
|
|
|
10,95
|
1,64
|
8-12
|
1-49
|
|
|
Основные
работы
|
|
|
|
|
|
|
|
|
|
|
|
|
7.
|
Монтаж разрядника РВМГ-150М
|
1 группа (3 фазы)
|
1
|
Е23-5-28, п. 3
|
21,0
|
7,0
|
16-17
|
6-37
|
21,0
|
7,0
|
16-17
|
6-37
|
|
8.
|
Прокладка полосы заземления по железобетонной стойке с
пристрелкой строительно-монтажным пистолетом
|
100 м
|
0,09
|
Е23-6-23, Б,
табл. 2, п. (1 + 2 + 3) а, к п. (2 + 3) а
К = 1,12
|
13,3
|
-
|
10-35,4
|
-
|
1,20
|
-
|
0-93
|
-
|
|
9.
|
Прокладка полосы заземления в траншее
|
100 м
|
0,02
|
Е23-3-51, А,
табл. 1, п. 1а
|
8,6
|
-
|
6-02
|
-
|
0,17
|
-
|
0-12
|
-
|
|
10.
|
Присоединение полосы заземления сваркой к общему контуру
заземления
|
1 присоединение
|
6
|
Е23-3-53, А,
табл. 1, п. 4а,
К = 1,12
|
0,12
|
-
|
0-09,4
|
-
|
0,72
|
-
|
0-56
|
-
|
|
11.
|
Первичное и вторичное окрашивание проложенной по
железобетонной стойке полосы заземления
|
100 м шин
|
0,09
|
Е23-6-27, п.
(4 + 5)
|
6,1
|
-
|
3-91
|
-
|
0,55
|
-
|
0-35
|
-
|
|
|
Итого
|
|
|
|
|
|
|
|
23,64
|
7,0
|
18-13
|
6-37
|
|
|
Заключительные работы
|
|
|
|
|
|
|
|
|
|
|
|
|
|
Пункты 19 - 25 (см. п.п. 19…25 табл. 2)
|
|
|
|
|
|
|
|
4,12
|
|
3-14
|
|
|
|
Всего
|
|
|
|
|
|
|
|
40,38
|
9,16
|
30-68
|
8-35
|
4.3.
РАЗРЯДНИК РВМГ-220М
Таблица
4
|
Процесс
|
Единица
измерения
|
Объем работ
|
Обоснование
(ЕНиР и другие нормы)
|
Норма времени
|
Расценка, р.-к.
|
Затраты труда
|
Заработная
плата, р.-к.
|
|
рабочего,
чел.-ч
|
машиниста,
чел.-ч, (маш.-ч)
|
рабочего
|
машиниста
|
рабочего,
чел.-ч
|
машиниста,
чел.-ч (маш.-ч)
|
рабочего
|
машиниста
|
|
1
|
2
|
3
|
4
|
5
|
6
|
7
|
8
|
9
|
10
|
11
|
12
|
|
|
Такелажные
работы
|
|
|
|
|
|
|
|
|
|
|
|
|
1.
|
Погрузка автокраном деталей и узлов разрядника, монтажного
оборудования
|
1 т
|
2,6
|
24-13, табл. 2 п. 2е
Н. вр. К = 0,96
Расц. К = 1,25
|
0,32
|
0,16
|
0-21,6
|
0-14,9
|
0,83
|
0,42
|
0-56
|
0-39
|
|
2.
|
То же, разгрузка
|
1 т
|
2,6
|
То же, п. 15е
Н. вр. К =
0,96
Расц. К = 1,25
|
0,27
|
0,13
|
0-18,4
|
0-12,2
|
0,70
|
0,34
|
0-48
|
0-32
|
|
3.
|
Погрузка материалов и инструмента вручную на автомашину
|
1 т
|
0,2
|
Е1-22, п. 2а
|
0,67
|
-
|
0-39,5
|
-
|
0,13
|
-
|
0-08
|
-
|
|
4.
|
То же, разгрузка
|
1 т
|
0,2
|
Е1-22, п. 2б
|
0,51
|
-
|
0-30,1
|
-
|
0,10
|
-
|
0-06
|
-
|
|
5.
|
Подбор деталей и узлов оборудования на складе
|
-
|
-
|
2 % от основных работ
|
-
|
-
|
-
|
-
|
0,64
|
-
|
0-51
|
-
|
|
|
Итого
|
|
|
|
|
|
|
|
2,40
|
0,76
|
1-69
|
0-71
|
|
|
Подготовительные
работы
|
|
|
|
|
|
|
|
|
|
|
|
|
6.
|
Укладка
деталей и узлов разрядника по рабочим местам
|
1 т
|
2
|
Е1-20, п. 9
применительно
|
1,3
|
1,3
|
0-76,7
|
1-18,3
|
2,6
|
2,6
|
1-53
|
2-37
|
|
|
Пункты 7 - 13
(см. п.п. 7…13 табл. 2)
|
|
|
|
|
|
|
|
9,31
|
|
7-15
|
|
|
|
Итого
|
|
|
|
|
|
|
|
11,91
|
2,6
|
8-68
|
2-37
|
|
|
Основные
работы
|
|
|
|
|
|
|
|
|
|
|
|
|
14.
|
Монтаж
разрядника РВМГ-220М
|
1 группа (3 фазы)
|
1
|
Е23-5-28, п. 4
|
29,5
|
9,83
|
23-60
|
8-94,5
|
29,5
|
9,83
|
23-60
|
8-94
|
|
15.
|
Прокладка
полосы заземления по железобетонной стойке с пристрелкой
строительно-монтажным пистолетом
|
100 м
|
0,09
|
Е23-6-23, Б,
табл. 2, п. (1 + 2 + 3) а к п. (2 + 3) а
К = 1,12
|
13,3
|
-
|
10-35,4
|
-
|
1,20
|
-
|
0-93
|
-
|
|
16.
|
Прокладка полосы заземления в траншее
|
100 м
|
0,015
|
Е23-3-51, А, табл. 1, п. 1а
|
8,6
|
-
|
6-02
|
-
|
0,13
|
-
|
0-09
|
-
|
|
17.
|
Присоединение полосы заземления сваркой к общему контуру
заземления
|
1 присоединение
|
6
|
Е23-3-53, А,
табл. 1, п. 4а
К = 1,12
|
0,12
|
-
|
0-09,4
|
|
0,72
|
-
|
0-56
|
-
|
|
18.
|
Первичное и
вторичное окрашивание проложенной по железобетонной стойке полосы заземления
|
100 м шин
|
0,09
|
Е23-6-27, п.
(4 + 5)
|
6,1
|
-
|
3-91
|
-
|
0,55
|
-
|
0-35
|
-
|
|
|
Итого
|
|
|
|
|
|
|
|
32,1
|
9,83
|
25-53
|
8-94
|
|
|
Заключительные
работы
|
|
|
|
|
|
|
|
|
|
|
|
|
|
Пункты 19 - 25
(см. п.п. 19 - 25 табл. 2)
|
|
|
|
|
|
|
|
4,12
|
|
3-14
|
|
|
|
Всего
|
|
|
|
|
|
|
|
50,53
|
13,19
|
39-04
|
12-02
|
4.4.
РАЗРЯДНИК РВМГ-330М
Таблица
5
|
Процесс
|
Единица
измерения
|
Объем работ
|
Обоснование
(ЕНиР и другие нормы)
|
Норма времени
|
Расценка,
р.-к.
|
Затраты труда
|
Заработная
плата, р.-к.
|
|
рабочего,
чел.-ч
|
машиниста,
чел.-ч
|
рабочего
|
машиниста
|
рабочего,
чел.-ч
|
машиниста,
чел.-ч
|
рабочего
|
машиниста
|
|
1
|
2
|
3
|
4
|
5
|
6
|
7
|
8
|
9
|
10
|
11
|
12
|
|
|
Такелажные
работы
|
|
|
|
|
|
|
|
|
|
|
|
|
1.
|
Погрузка автокраном деталей и узлов разрядника, монтажного
оборудования
|
1 т
|
3,35
|
24-13, табл. 2. п. 2е
Н. вр. К = 0,96
Расц. К = 1,25
|
0,32
|
0,16
|
0-21,6
|
0-14,9
|
1,07
|
0,54
|
0-72
|
0-50
|
|
2.
|
То же, разгрузка
|
1 т
|
3,35
|
То же, п. 15е
Н. вр. К =
0,96
Расц. К = 1,25
|
0,27
|
0,13
|
0-18,4
|
0-12,2
|
0,90
|
0,44
|
0-62
|
0-41
|
|
3.
|
Погрузка материалов и инструмента вручную на автомашину
|
1 т
|
0,2
|
Е1-22, п. 2а
|
0,67
|
-
|
0-39,5
|
-
|
0,13
|
-
|
0-08
|
-
|
|
4.
|
То же разгрузка
|
1 т
|
0,2
|
То же, п. 2б
|
0,51
|
-
|
0-30,1
|
-
|
0,10
|
-
|
0-06
|
-
|
|
5.
|
Подбор деталей и узлов оборудования на складе
|
1 т
|
0,2
|
2 % от основных работ
|
-
|
-
|
-
|
-
|
1,21
|
-
|
1-02
|
-
|
|
|
Итого
|
|
|
|
|
|
|
|
3,41
|
0,98
|
2-50
|
0-91
|
|
|
Подготовительные
работы
|
|
|
|
|
|
|
|
|
|
|
|
|
6.
|
Укладка деталей и узлов разрядника по рабочим местам
|
1 т
|
2,65
|
Е1-20, п. 9
применительно
|
1,3
|
1,3
|
0-76,7
|
1-18,3
|
3,44
|
3,44
|
2-03
|
3-13
|
|
|
Пункты 7 - 13
(см. п.п. 7…13 табл. 2)
|
|
|
|
|
|
|
|
9,31
|
|
7-15
|
|
|
|
Итого
|
|
|
|
|
|
|
|
12,75
|
3,44
|
9-18
|
3-13
|
|
|
Основные
работы
|
|
|
|
|
|
|
|
|
|
|
|
|
14.
|
Монтаж
разрядника РВМГ-330М
|
1 группа (3
фазы)
|
1
|
Е23-5-28, п. 5
|
58,0
|
19,33
|
49-30
|
17-59
|
58,0
|
19,33
|
49-30
|
17-59
|
|
15.
|
Прокладка полосы заземления по железобетонной стойке с
пристрелкой строительно-монтажным пистолетом
|
100 м
|
0,078
|
Е23-6-23, Б
табл. 2, п. (1 + 2 + 3) а к п. (2 + 3) а
К = 1,12
|
13,3
|
-
|
10-35,4
|
-
|
1,04
|
-
|
0-81
|
-
|
|
16.
|
Прокладка полосы заземления в траншее
|
100 м
|
0,021
|
Е23-3-51, А,
табл. 1, п. 1а
|
8,6
|
-
|
6-02
|
-
|
0,18
|
-
|
0-13
|
-
|
|
17.
|
Присоединение полосы заземления сваркой к общему контуру
заземления
|
1 присоединение
|
6
|
Е23-3-53, А,
табл. 1, п. 4а
К = 1,12
|
0,12
|
-
|
0-09,4
|
-
|
0,72
|
-
|
0-56
|
-
|
|
18.
|
Первичное и вторичное окрашивание проложенной по
железобетонной стойке полосы заземления
|
100 м шин
|
0,078
|
Е23-6-27, п.
(4 + 5)
|
6,1
|
-
|
3-91
|
-
|
0,48
|
-
|
0-30
|
-
|
|
|
Итого
|
|
|
|
|
|
|
|
60,42
|
19,33
|
51-10
|
17-59
|
|
|
Заключительные
работы
|
|
|
|
|
|
|
|
|
|
|
|
|
|
Пункты 19 - 25
(см. п.п. 19…25 табл. 2)
|
|
|
|
|
|
|
|
4,12
|
|
3-14
|
|
|
|
Всего
|
|
|
|
|
|
|
|
80,7
|
23,75
|
65-92
|
21-63
|
4.5.
РАЗРЯДНИК РВМГ-500
Таблица
6
|
Процесс
|
Единица измерения
|
Объем работ
|
Обоснование
(ЕНиР и другие нормы)
|
Норма времени
|
Расценка,
р.-к.
|
Затраты труда
|
Заработная
плата, р.-к.
|
|
рабочего,
чел.-ч
|
машиниста,
чел.-ч (маш.-ч)
|
рабочего
|
машиниста
|
рабочего,
чел.-ч
|
машиниста,
чел.-ч (маш.-ч)
|
рабочего
|
машиниста
|
|
1
|
2
|
3
|
4
|
5
|
6
|
7
|
8
|
9
|
10
|
11
|
12
|
|
|
Такелажные
работы
|
|
|
|
|
|
|
|
|
|
|
|
|
1.
|
Погрузка автокраном деталей и узлов разрядника, монтажного
оборудования
|
1 т
|
11,5
|
24-13, табл. 2 п. 2е
Н. вр. К = 0,96
Расц. К = 1,25
|
0,32
|
0,16
|
0-21,6
|
0-14,9
|
3,68
|
1,84
|
2-48
|
1-71
|
|
2.
|
То же, разгрузка
|
1 т
|
11,5
|
То же, п. 15е
Н. вр. К =
0,96
Расц. К = 1,25
|
0,27
|
0,13
|
0-18,4
|
0-12,2
|
3,10
|
1,50
|
2-12
|
1-40
|
|
3.
|
Погрузка материалов и инструмента вручную на автомашину
|
1 т
|
0,3
|
Е1-22, п. 2а
|
0,67
|
-
|
0-39,5
|
-
|
0,20
|
-
|
0-12
|
-
|
|
4.
|
То же, разгрузка
|
1 т
|
0,3
|
То же, п. 2б
|
0,51
|
-
|
0-30,1
|
-
|
0,15
|
-
|
0-09
|
-
|
|
5.
|
Подбор деталей и узлов оборудования на складе
|
-
|
-
|
2 % от основных работ
|
-
|
-
|
-
|
-
|
3,25
|
-
|
2-76
|
-
|
|
|
Итого
|
|
|
|
|
|
|
|
10,38
|
3,34
|
7-57
|
3-11
|
|
|
Подготовительные
работы
|
|
|
|
|
|
|
|
|
|
|
|
|
6.
|
Укладка деталей и узлов разрядника по рабочим местам
|
1 т
|
9,75
|
Е1-20, п. 9
применительно
|
1,3
|
1,3
|
0-76,7
|
1-37,8
|
12,68
|
12,68
|
7-48
|
13-44
|
|
|
Пункты 7 - 13
(см. п.п. 7…13 табл. 2)
|
|
|
|
|
|
|
|
9,31
|
|
7-15
|
|
|
|
Итого
|
|
|
|
|
|
|
|
21,99
|
12,68
|
14-63
|
13-44
|
|
|
Основные
работы
|
|
|
|
|
|
|
|
|
|
|
|
|
14.
|
Монтаж
разрядника РВМГ-500
|
1 группа (3
фазы)
|
1
|
Е23-5-28, п. 7
|
160,0
|
53,33
|
136-00
|
56-53
|
160,0
|
53,33
|
136-00
|
56-53
|
|
15.
|
Прокладка полосы заземления по железобетонной стойке с
пристрелкой строительно-монтажным пистолетом
|
100 м
|
0,081
|
Е23-6-23, Б
табл. 2, п. (1 + 2 + 3) а к п. (2 + 3) а
К = 1,12
|
13,3
|
-
|
10-35,4
|
-
|
1,08
|
-
|
0-84
|
-
|
|
16.
|
Прокладка полосы заземления в траншее
|
100 м
|
0,018
|
Е23-3-51, А
табл. 1, п. 1а
|
8,6
|
-
|
6-02
|
-
|
0,16
|
-
|
0-11
|
-
|
|
17.
|
Присоединение полосы заземления сваркой к общему контуру
заземления
|
1 присоединение
|
6
|
Е23-3-53, А
табл. 1, п. 4а
К = 1,12
|
0,12
|
-
|
0-09,4
|
-
|
0,72
|
-
|
0-56
|
-
|
|
18.
|
Первичное и вторичное окрашивание проложенной по
железобетонной стойке полосы заземления
|
100 м шин
|
0,081
|
Е23-6-27, п.
(4 + 5)
|
6,1
|
-
|
3-91
|
-
|
0,49
|
-
|
0-32
|
-
|
|
|
Итого
|
|
|
|
|
|
|
|
162,45
|
53,33
|
137-83
|
56-53
|
|
|
Заключительные
работы
|
|
|
|
|
|
|
|
|
|
|
|
|
|
Пункты 19 - 25
(см. п.п. 19…25 табл. 2)
|
|
|
|
|
|
|
|
4,12
|
|
3-14
|
|
|
|
Всего
|
|
|
|
|
|
|
|
198,94
|
69,35
|
163-17
|
73-08
|
5.1. График
монтажа разрядника РВМГ-110М
Таблица 7

*) Продолжительность работы
АГП-22 определена без учета возможности одновременной работы на других
аппаратах.
5.2. График монтажа разрядника РВМГ-150М
Таблица 8

*) См. табл. 7
5.3. График монтажа разрядника РВМГ-220М
Таблица 9

*) См. табл. 7
5.4. График монтажа разрядника РВМГ-330М
Таблица 10

*) См. табл. 7
5.5. График монтажа разрядника РВМГ-500
Таблица 11

*) См.
табл. 7
6.1. Монтажные механизмы и инвентарь
Таблица
12
|
№ п.п.
|
Наименование
|
Марка, ГОСТ
|
Количество,
шт.
|
Назначение
|
|
1
|
2
|
3
|
4
|
5
|
|
1
|
Автокран
грузоподъемностью 16 т. Стрела 18 м
|
КС-4561А
|
1
|
Монтаж
РВМГ-500
|
|
2
|
Автокран
грузоподъемностью 6,3 т. Стрела 12 м
|
КС-2561К-1
|
1
|
То же
РВМГ-110-330
|
|
3
|
Автомашина
|
МАЗ-507
|
1
|
Перевозка
оборудования, механизмов, инвентаря, материалов
|
|
4
|
Автоприцеп
двухосный
|
МАЗ-5243
|
1
|
То же
|
|
5
|
Автогидроподъемник
|
АГП-22
|
1
|
Монтаж
разрядников
|
|
6
|
Строп
2СК-0,5/0-0,5/К-0,4/900
|
ОСТ
34-13-910-86
|
1
|
Монтаж
разрядников
|
|
7
|
То же,
СКП1-0,5/1500
|
То же
|
3
|
Монтаж
РВМГ-500
|
|
8
|
То же,
СКП1-1,0/4000
|
-"-
|
3
|
То же
|
|
9
|
Канат
капроновый КК 30 мм 56 ктекс Об, м
|
ГОСТ 10293-77
|
7
|
Монтаж
элементов РВМГ-500 кВ
|
|
10
|
Аппарат
сварочный
|
ТД-500
|
1
|
Сварка
прокладок, стальных экранных колец РВМГ-500
|
|
11
|
Приспособление
для подбора изоляторов по высоте
|
Рис. 14
|
1
|
Монтаж колонн
изоляторов РВМГ-500
|
|
12
|
Маска
защитная для электросварщика
|
|
1
|
Сварка
прокладок, стальных экранных колец РВМГ-500
|
|
13
|
Пистолет
строительно-монтажный, комплект
|
ПЦ-84-1
|
1
|
Пристрелка
полосы заземления к стойке
|
|
14
|
Арматуроискатель
|
|
1
|
То же
|
|
15
|
Рым-болт М16
|
ГОСТ 4751-73
|
2
|
Монтаж колонн
изоляторов РВМГ-500
|
|
16
|
То же, М12
|
ГОСТ 4751-73
|
2
|
Монтаж колонн
элементов РВМГ 110-330
|
|
17
|
Лестница
приставная, 3,5 м
|
|
1
|
Монтаж
разрядников
|
|
18
|
Пояс
монтерский предохранительный
|
ГОСТ
14185-77
|
2
|
Монтаж
разрядников
|
|
19
|
Электросверлилка
|
ИЭ-1023
|
1
|
Монтаж
экранирующих колец РВМГ-500
|
|
20
|
Мегаомметр
2,5 кВ
|
МС-0,5
|
1
|
Измерение
сопротивления изоляции
|
|
21
|
Уровень
строительный УС4-2
|
ГОСТ 9416-83
|
1
|
Проверка
горизонтальности
|
|
22
|
Рулетка РЗ-10
|
ГОСТ 7502-80
|
1
|
Проверка
проектных горизонтальных и вертикальных осей и отметок опор
|
|
23
|
Указатель
напряжения
|
УН-1
|
1
|
Подключение
механизмов и оборудования
|
|
24
|
Электрододержатель
500А ЭД-3105-VI
|
ГОСТ
14651-78
|
1
|
Сварка
прокладок, стальных экранных колец РВМГ-500
|
|
25
|
Леса
инвентарные, металлические сборно-разборные, комплект
|
|
1
|
Монтаж
РВМГ-500
|
6.2.
Инструмент
Таблица 13
|
№ п.п.
|
Наименование
|
Марка, ГОСТ
|
Количество
шт.
|
Назначение
|
|
1
|
2
|
3
|
4
|
5
|
|
1
|
Ключи гаечные
с открытым зевом двусторонние
|
ГОСТ
2839-80
|
2
|
Монтаж
разрядников
|
|
S = 11×14 мм; 17×22 мм;
|
|
22×24
мм; 12×14 мм;
|
|
17×19
мм; 10×12 мм;
|
|
22×27
мм; 14×17 мм;
|
|
27×30
мм, комплект
|
|
2
|
Отвертка
слесарно-монтажная
|
ГОСТ
17199-88
|
2
|
То же
|
|
7810-0309
|
|
7810-0330
|
|
3
|
Отвертки
диэлектрические
|
ГОСТ
21010-75
|
3
|
-"-
|
|
7810-0434
|
|
7810-0439
|
|
7810-0446
|
|
4
|
Плоскогубцы
комбинированные с изолирующими ручками
|
ГОСТ
5547-86
|
1
|
-"-
|
|
5
|
Теодолит
|
|
1
|
Выверка
вертикальности
|
|
6
|
Транспортир
|
|
1
|
Проверка
разметки отверстий под фундаментные болты РВМГ-500
|
|
7
|
Метр складной
металлический
|
ТУ
2-12-156-76
|
1
|
Проверка
проектных горизонтальных и вертикальных осей и отметок опор
|
|
8
|
Линейка
измерительная
|
ГОСТ 427-75
|
2
|
Проверка
проектных горизонтальных и вертикальных осей и отметок опор
|
|
1 - 500 мм
|
|
1 - 1000 мм
|
|
9
|
Отвес
стальной строительный
|
ОТ 200-1 ГОСТ 7948-80
|
1
|
Выверка
вертикальности
|
|
10
|
Рамка
ножовочная ручная 6920-0001
|
ГОСТ
17270-71
|
1
|
Работы с
металлом
|
|
11
|
Полотно
ножовочное для металла (250×13×0,65 мм)
|
ГОСТ
6645-86
|
3
|
То же
|
|
12
|
Лом гвоздодер
ЛГ-20
|
ГОСТ
1405-83
|
1
|
Распаковка
оборудования
|
|
13
|
Лом монтажный
ЛМ-24
|
То же
|
1
|
Монтаж
оснований
|
|
14
|
Молоток
слесарный стальной 7850-0122
|
ГОСТ
2310-77
|
1
|
Очистка мест
сварки
|
|
15
|
Кувалда
1212-0006
|
ГОСТ
11401-75
|
1
|
Монтаж
оснований
|
|
16
|
Кернер
7643-0036
|
ГОСТ 7213-72
|
1
|
Монтаж
экранирующих колец РВМГ-500
|
|
17
|
Зубило
слесарное
|
ГОСТ 7211-86
|
1
|
Работы с
металлом
|
|
18
|
Напильник
(плоский, квадратный, полукруглый, круглый, трехгранный)
|
ГОСТ 1465-80
|
5
|
То же
|
|
19
|
Топор
строительный Б2
|
ГОСТ 18578-73
|
1
|
Плотничные
работы
|
|
20
|
Ножовка по
дереву
|
ГОСТ 26215-84
|
1
|
То же
|
|
21
|
Штангенциркуль
|
ГОСТ 166-80
|
1
|
Работы с
металлом
|
|
22
|
Щетка ручная
из проволоки
|
ГОСТ
17-830-80
|
|
Очистка
поверхностей
|
|
23
|
Кисть
флейцевая КФ-75-1
|
ГОСТ
10597-87
|
1
|
Окраска мест
сварки и мест с поврежденной окраской
|
|
24
|
Набор сверл
диаметром 5 … 18 мм, комплект
|
ГОСТ
886-77
|
1
|
Монтаж
экранирующих колец РВМГ-500
|
6.3.
Материалы (1 группа - 3 фазы)
Таблица 14
|
№ п.п.
|
Материал
|
Марка, ГОСТ
|
Потребность
для разрядника на номинальное напряжение, кВ
|
|
110
|
150
|
220
|
330
|
500
|
|
1
|
2
|
3
|
4
|
5
|
6
|
7
|
8
|
|
1
|
Ветошь, кг
|
ТУ
63-17877-79
|
0,6
|
0,9
|
1,35
|
2,55
|
2,8
|
|
2
|
Бензин -
растворитель, кг
|
ГОСТ 3134-78
|
0,28
|
0,28
|
0,42
|
0,54
|
2,63
|
|
3
|
Бязь, м2
|
ГОСТ 11680-76
|
0,28
|
0,37
|
0,37
|
0,5
|
1,76
|
|
4
|
Смазка ГОИ-54П,
кг
|
ГОСТ
3276-74
|
0,13
|
0,3
|
0,4
|
0,8
|
1,2
|
|
5
|
Электроды
Э-42, кг
|
ГОСТ
9467-75
|
0,1
|
0,1
|
0,35
|
0,5
|
0,8
|
|
6
|
Эмаль ПФ-115,
кг
|
ГОСТ 6465-76
|
0,1
|
0,5
|
1,0
|
1,0
|
1,0
|
|
7
|
Доски
толщиной 40 мм, м3
|
ГОСТ
8486-86
|
0,07
|
0,07
|
0,13
|
0,21
|
0,26
|
|
8
|
Гвозди
строительные диаметром 4 мм, длиной 100 мм, кг
|
ГОСТ
4028-63
|
0,4
|
0,4
|
0,6
|
1,1
|
1,3
|
|
9
|
Сталь
полосовая сечением 30×4 мм2, м/кг
|
ГОСТ 103-76
|
10,8
|
10,5
|
10,5
|
9,9
|
9,9
|
|
10,2
|
9,9
|
9,9
|
9,3
|
9,3
|
|
10
|
Дюбель, шт.
|
ТУ
14.4.1231-83 ДГП4, 5×40
|
6
|
6
|
6
|
6
|
9
|
|
11
|
Патрон, шт.
|
Д3
|
6
|
6
|
6
|
6
|
9
|
|
12
|
Наконечник,
шт.
|
№ 1
|
6
|
6
|
6
|
6
|
9
|
|
13
|
Болт
М20×170, шт.
|
ГОСТ
7798-70
|
12
|
-
|
-
|
-
|
-
|
|
14
|
Болт
М20×160, шт.
|
ГОСТ
7798-70
|
-
|
12
|
-
|
-
|
-
|
|
15
|
Гайка М20,
шт.
|
ГОСТ
5915-70
|
12
|
12
|
12
|
12
|
36
|
|
16
|
Шайба
диаметром 21 мм, шт.
|
ГОСТ 11371-78
|
24
|
24
|
24
|
24
|
72
|
|
17
|
Болт
М10×40, шт.
|
ГОСТ
7798-70
|
6
|
-
|
-
|
-
|
-
|
|
18
|
Гайка М10,
шт.
|
ГОСТ
5915-70
|
6
|
-
|
-
|
-
|
-
|
|
19
|
Шайба
диаметром 10,5 мм, шт.
|
ГОСТ 11371-78
|
12
|
-
|
-
|
-
|
-
|
|
20
|
Болт
М20×150, шт.
|
ГОСТ
7798-70
|
-
|
-
|
12
|
-
|
-
|
|
21
|
Болт
М8×30, шт.
|
ГОСТ
7798-70
|
-
|
6
|
6
|
6
|
-
|
|
22
|
Гайка М8, шт.
|
ГОСТ
5915-70
|
-
|
6
|
6
|
6
|
-
|
|
23
|
Шайба
диаметром 8,4 мм, шт.
|
ГОСТ 11371-78
|
-
|
12
|
12
|
12
|
-
|
|
24
|
Болт
М20×70, шт.
|
ГОСТ
7798-70
|
-
|
-
|
-
|
-
|
36
|
|
25
|
Болт
М30×130, шт.
|
ГОСТ
7798-70
|
-
|
-
|
-
|
12
|
-
|
|
26
|
Гайка М30,
шт.
|
ГОСТ
5915-70
|
-
|
-
|
-
|
12
|
-
|
|
27
|
Шайба
диаметром 31 мм, шт.
|
ГОСТ 11371-78
|
-
|
-
|
-
|
24
|
-
|
|
28
|
Болт
М20×180, шт.
|
ГОСТ
7798-70
|
-
|
-
|
-
|
12
|
-
|
|
29
|
Проволока
стальная вязальная диаметром 0,5 мм, кг
|
ГОСТ
3282-74
|
-
|
-
|
-
|
-
|
0,12
|
Примечания: 1. Расход материалов принят
по сборнику 05 «Открытые распределительные устройства напряжением 35 кВ и
выше», а также на основании установочных чертежей.
2. Позиции 9 - 28 подлежат уточнению по
конкретному проекту.
7.1. Работы по монтажу
разрядников выполняют с соблюдением требований техники безопасности согласно
действующим нормам и правилам (см. прил. 1).
7.2. Перед началом работ
мастер или прораб проводит инструктаж на рабочем месте: объясняет задание,
способы выполнения намечаемых работ и приемы пользования предохранительными
приспособлениями.
7.3. Такелажное
оборудование и инвентарь, используемые при монтаже, должны иметь отметки об
испытаниях в соответствии с требованиями Госгортехнадзора СССР.
7.4. При монтаже обращают
внимание на состояние и правильную установку подъемных средств и одинаковый
натяг всех стропов.
7.5. Подращивание
элементов выполняют с особой осторожностью. При наведении собранной части
колонны элементов (изоляторов) на подращиваемые элементы (изоляторы) монтажники
находятся вне контура монтируемой конструкции со стороны, противоположной
подаче краном. При наведении собранной части на подращиваемый элемент
(изолятор) зазор между ними не должен превышать 30 см. Крепление троса за ребра
элемента (изолятора) не допускается.
7.6. На период монтажа
опасная зона, ограниченная радиусом 9,5 м для РВМГ-110 кВ и РВМГ-150 кВ, 12,5 м
для РВМГ-220 кВ и РВМГ-330 кВ и 15 м для РВМГ-500 кВ от оси поворотной части
крана, ограждается и обозначается хорошо видимыми предупредительными знаками.
(1
группа - 3 фазы)
Таблица
15
|
Показатели
|
РВМГ-110М
|
РВМГ-150М
|
РВМГ-220М
|
РВМГ-330М
|
РВМГ-500
|
|
Нормативные
затраты труда рабочих, чел.-дн.
|
4,6
|
5
|
6,3
|
10,1
|
24,9
|
|
Нормативные
затраты машинного времени, маш.-смена:
|
|
|
|
|
|
|
автокрана
грузоподъемностью 6,3 т
|
0,96
|
1,14
|
1,65
|
2,97
|
-
|
|
автокрана
грузоподъемностью 16 т
|
-
|
-
|
-
|
-
|
8,67
|
|
автогидроподъемника
АГП-22
|
0,75
|
0,88
|
1,23
|
2,42
|
6,67
|
|
Заработная
плата рабочих - монтажников, р.-к.
|
27-88
|
30-55
|
39-04
|
65-92
|
163-17
|
|
Продолжительность
выполнения работ, смена
|
2
|
2
|
2,5
|
4
|
9
|
|
Среднее
количество занятых на монтаже рабочих, чел.
|
2
|
3
|
3
|
3
|
3
|
|
Минимально-потребляемая
мощность, кВ·А
|
32
|
32
|
32
|
32
|
32
|
Проектная документация
1. Планы и разрезы
открытого распределительного устройства 110 - 500 кВ.
2. Установочные чертежи
разрядников типа РВМГ напряжением 110 - 500 кВ.
3. Руководящие
технические материалы на производство погрузо-разгрузочных работ
грузоподъемными механизмами, РТМ 002.00-83. Ч.Ш. РТМ по строповке
электротехнического оборудования. РТМ 002.03-83. СКТБ треста «Электроцентромонтаж».
Заводская
документация
1. Вентильные разрядники
на напряжения 66, 110, 150, 220, 330 кВ. Техническое описание и инструкция по
эксплуатации.
2. Разрядник
магнитно-вентильный грозовой типа РВМГ-500. Техническое описание и инструкция
по эксплуатации.
Общетехническая
документация
1. Правила устройства
электроустановок. М., Энергоатомиздат, 1985.
2. СНиП 3.05.06-85 «Электротехнические
устройства». М., Стройиздат, 1986.
3. СНиП III-4-80 «Правила
производства и приемки работ. Техника безопасности в строительстве». М.,
Стройиздат, 1980.
4. Правила техники
безопасности при производстве электромонтажных работ на объектах Минэнерго СССР.
М., Информэнерго, 1984.
5. Инструкция по
организации и производству работ повышенной опасности в строительно-монтажных
организациях и на промышленных предприятиях Минэнерго СССР. М., Информэнерго,
1987.
6. Правила устройства и
безопасной эксплуатации грузоподъемных кранов. М., «Металлургия», 1981.
7. Правила пожарной
безопасности, при производстве строительно-монтажных работ. ППБ-05-86.
М., Стройиздат, 1988.
1. Акт готовности опорных
конструкций под установку разрядников.
2. Акт приемки
разрядников в монтаж.
3. Протокол ревизии и монтажа разрядников.
Примечание.
Образцы форм документации приведены в «Инструкции по оформлению
приемо-сдаточной документации по электромонтажным работам». ВСН 123-79 ММСС
СССР.
(ОДНА
ФАЗА)
|
Показатели
|
РВМГ-110М
|
РВМГ-150М
|
РВМГ-220М
|
РВМГ-330М
|
РВМГ-500
|
|
Номинальное
напряжение, кВ
|
102
|
138
|
198
|
288
|
420
|
|
Масса, кг
|
327
|
420
|
674
|
1024
|
3250
|
|
Габариты, мм
|
1250×1250×3250
|
1250×1250×4300
|
1850×1850×6500
|
2850×1850×6520
|
4300×4070×6560
|
|
Узлы
|
РВМГ-110М
|
РВМГ-150М
|
РВМГ-220М
|
РВМГ-330М
|
РВМГ-500
|
|
малая
колонка
|
большая
колонка
|
|
Основание
|
16
|
16
|
50
|
16
|
50
|
-
|
|
Рама нижняя
|
-
|
-
|
-
|
-
|
-
|
200
|
|
Рама средняя
|
-
|
-
|
-
|
-
|
-
|
170
|
|
Два элемента
и экран
|
-
|
-
|
229
|
-
|
230
|
-
|
|
Три элемента
и экран
|
310
|
-
|
-
|
-
|
-
|
-
|
|
Четыре
элемента и экран
|
-
|
403
|
-
|
-
|
-
|
-
|
|
Три элемента
|
-
|
-
|
-
|
280
|
-
|
-
|
|
Четыре
элемента
|
-
|
-
|
394
|
-
|
-
|
-
|
|
Три элемента
и изолятор
|
-
|
-
|
-
|
-
|
440
|
-
|
|
Пять
изоляторов
|
-
|
-
|
-
|
-
|
-
|
200
|
|
Семь
изоляторов
|
-
|
-
|
-
|
-
|
-
|
280
|
|
Элемент
|
-
|
-
|
-
|
-
|
-
|
90
|
|
Первый этаж
разрядника в сборе
|
-
|
-
|
-
|
-
|
-
|
1520
|
|
Рама верхняя
с экраном
|
-
|
-
|
-
|
-
|
-
|
210
|
СОДЕРЖАНИЕ
|
|