Крупнейшая бесплатная информационно-справочная система онлайн доступа к полному собранию технических нормативно-правовых актов РФ. Огромная база технических нормативов (более 150 тысяч документов) и полное собрание национальных стандартов, аутентичное официальной базе Госстандарта. GOSTRF.com - это более 1 Терабайта бесплатной технической информации для всех пользователей интернета. Все электронные копии представленных здесь документов могут распространяться без каких-либо ограничений. Поощряется распространение информации с этого сайта на любых других ресурсах. Каждый человек имеет право на неограниченный доступ к этим документам! Каждый человек имеет право на знание требований, изложенных в данных нормативно-правовых актах!

  


 

МИНИСТЕРСТВО ЭНЕРГЕТИКИ И
ЭЛЕКТРИФИКАЦИИ СССР

Главное техническое управление строительства
Всесою
зный институт по проектированию
органи
зации энергетического строительства
«Оргэнергострой»
Одесский филиал

УТВЕРЖДАЮ

Главный инженер ССО

«Электромонтаж»

Б.П. Городецкий

23.10.89 г.

ТЕХНОЛОГИЧЕСКАЯ КАРТА
МОНТАЖА ТРАНСФОРМАТОРО
В ТОКА
СЕРИЙ Т
ФЗМ И ТФРМ
НАПРЯЖЕНИЕМ 110 - 750
кВ

Москва 1990

1. ОБЛАСТЬ ПРИМЕНЕНИЯ

Технологическая карта предназначена для использования при монтаже трансформаторов тока серии ТФЗМ напряжением 110 - 220 и 500 кВ (рис. 1 - 4) и серии ТФРМ напряжением 330 - 750 кВ (рис. 5 - 6) на открытых распределительных устройствах, при составлении проектов организации строительства (ПОС) и проектов производства электромонтажных работ (ППЭР).

Трансформаторы тока серий ТФЗМ и ТФРМ (однофазные, электромагнитные, масляные, наружной установки, опорного типа) предназначены для передачи сигнала информации измерительным приборам, устройствам защиты и управления в установках переменного тока.

Трансформаторы тока (в дальнейшем именуемые «трансформаторы») ТФЗМ 500 Б и ТФРМ 750 А выполняются в виде двух ступеней (нижней и верхней), остальные - одноступенчатые. Трансформаторы 220 - 750 кВ имеют экран на расширителе, а двухступенчатые трансформаторы, кроме этого, еще дополнительный экран, закрывающий стык ступеней.

Технологическая карта содержит указания по организации и технологии монтажа, перечень механизмов, инструментов, сведения о затратах материалов, калькуляции трудовых затрат и графики производства работ.

В карте принято, что работы, связанные с монтажом трансформаторов, производятся непосредственно на монтажной площадке, у места их установки.

Все расчетные показатели в карте приведены для монтажа одной группы (трех фаз) трансформаторов.

Трудозатраты на наладочные работы графиками монтажа и калькуляциями не учтены.

Технологическая карта разработана в соответствии с «Методическими указаниями по разработке типовых технологических карт в строительстве». М., ЦНИИОМТП Госстроя СССР, 1987.

Рис. 1. Трансформатор тока ТФЗМ 110 Б:

1 - опорная конструкция; 2 - ящик зажимов; 3 - вывод первичной обмотки; 4 - воздухоосушитель; 5 - маслоуказатель; 6 - коробка вторичных выводов; 7 - цоколь; 8 - покрышка

Рис. 2. Трансформатор тока ТФЗМ 150 Б:

1 - опорная конструкция; 2 - ящик зажимов; 3 - вывод первичной обмотки; 4 - воздухоосушитель; 5 - маслоуказатель; 6 - коробка вторичных выводов; 7 - цоколь; 8 - покрышка

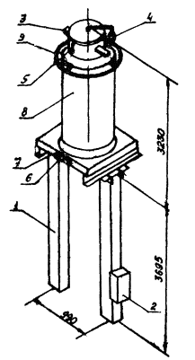
Рис. 3. Трансформатор тока ТФЗМ 220 Б:

1 - опорная конструкция; 2 - ящик зажимов; 3 - вывод первичной обмотки; 4 - воздухоосушитель; 5 - маслоуказатель; 6 - коробка вторичных выводов; 7 - цоколь; 8 - покрышка; 9 - экран

Рис. 4. Трансформатор тока ТФЗМ 500 Б:

1 - опорная конструкция; 2 - ящик зажимов; 3 - воздухоосушитель; 4 - маслоуказатель; 5 - коробка вторичных выводов; 6 - цоколь; 7 - покрышка; 8 - экран; 9 - вывод первичной обмотки

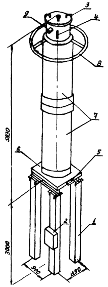
Рис. 5. Трансформатор тока ТФРМ 330 Б (ТФРМ 500 Б):

1 - опорная конструкция; 2 - ящик зажимов; 3 - воздухоосушитель; 4 - маслоуказатель; 5 - коробка вторичных выводов; 6 - цоколь; 7 - покрышка; 8 - экран; 9 - вывод первичной обмотки

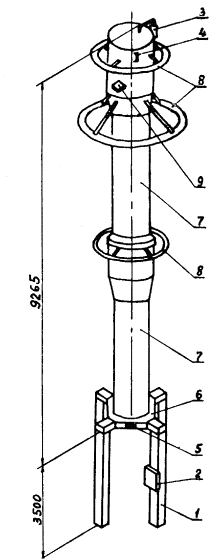
Рис. 6. Трансформатор тока ТФРМ 750 А:

1 - опорная конструкция; 2 - ящик зажимов; 3 - воздухоосушитель; 4 - маслоуказатель; 5 - коробка вторичных выводов; 6 - цоколь; 7 - покрышка; 8 - экран; 9 - вывод первичной обмотки

2. ОРГАНИЗАЦИЯ И ТЕХНОЛОГИЯ ВЫПОЛНЕНИЯ РАБОТ

2.1. Общие указания

2.1.1. К началу монтажных работ должны быть выполнены:

подъезды к месту установки трансформаторов и планировка прилегающей к ним территории;

опоры под трансформаторы;

временная силовая сеть 380/220 В;

молниезащита ОРУ и заземляющее устройство.

2.1.2. Трансформаторы поставляются заполненными маслом в индивидуальной упаковке, двухступенчатые - отдельными ступенями. Трансформаторы серии ТФЗМ транспортируются в вертикальном положении: 110 и 150 кВ в древесно-картонных ящиках, 220 - 500 кВ - в металлической транспортной возвратной таре. Трансформаторы ТФРМ 330 - 750 кВ транспортируются в горизонтальном положении в металлической транспортной возвратной таре. При транспортировании трансформаторов и погрузочно-разгрузочных работах следует руководствоваться указаниями маркировочных знаков на таре и соблюдать меры предосторожности, исключающие возможность повреждения трансформаторов и их составных частей. Отклонение трансформаторов серии ТФЗМ от вертикального положения при этом более чем на 15 град. не допускается.

При подъеме трансформаторов необходимо, чтобы стропы образовывали с горизонтальной плоскостью упаковки угол не менее 45 град.

2.1.3. При получении трансформаторов необходимо проверить наличие полного комплекта поставки, количество мест, состояние упаковки.

2.1.4. До монтажа трансформаторы должны храниться в заводской упаковке: трансформаторы серии ТФЗМ - в вертикальном положении, а серии ТФРМ - в горизонтальном положении под навесами, в помещениях или на открытых площадках. При хранении на открытых площадках необходимо принять меры для исключения попадания воды на вторичные выводы трансформаторов.

2.1.5. При монтаже трансформаторов необходимо руководствоваться документацией, приведенной в прил. 1.

2.2. Подготовительные работы

2.2.1. Производится приемка от строителей опорных конструкций под трансформаторы. Приемка оформляется актом, подписанным представителями заказчика, строительной и электромонтажной организаций.

2.2.2. Уточняется рабочий график производства работ в соответствии с технологической картой. Электромонтажники знакомятся с технической документацией, объемом и принятой организацией работ. Бригада инструктируется по технике безопасности ответственным руководителем работ.

2.2.3. Подготавливается деревянный настил для установки трансформаторов.

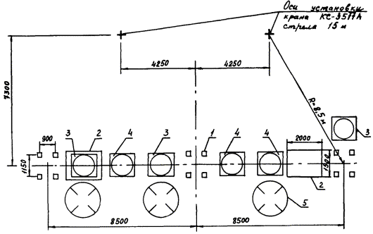
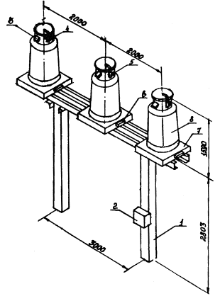
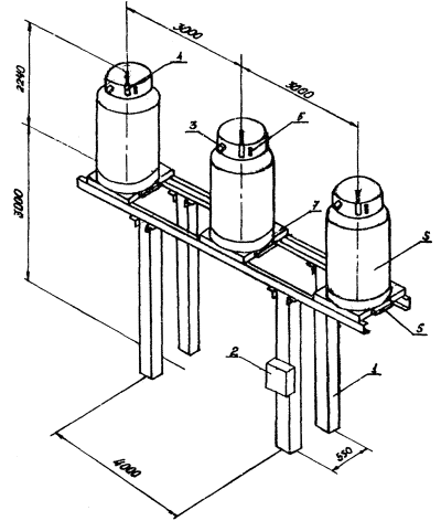
2.2.4. Доставляются на площадку монтажные механизмы, оборудование и устанавливаются в соответствия с планами размещения оборудования (рис. 7 - 13).

2.3. Монтаж трансформаторов

2.3.1. Трансформаторы распаковывают, расконсервируют узлы и детали и тщательно протирают, удаляя пыль, грязь и поверхностную влагу с помощью ветоши, бензина-растворителя и бязи. При обнаружении коррозии контактные поверхности зачищают.

2.3.2. Убеждаются путем наружного осмотра в отсутствии повреждений фарфоровых покрышек, фарфоровых втулок на первичных выводах, воздухоосушителей, указателей уровня масла, пломб предприятия-изготовителя. Неисправности устраняют в соответствии с заводской документацией.

Проверяют уплотнения трансформаторов визуально и выясняют, не просачивается ли масло между цоколем и покрышкой, между покрышкой и маслорасширителем, во вторичных выводах, в местах соединения деталей маслоуказателя и в местах уплотнения выводов переключателя первичной обмотки. В местах просачивания масла постепенно подтягивают соответствующие болты по всему периметру не более, чем на 1/6 оборота за один прием. Подтягивание только одного болта (гайки) не допускается из-за возможности поломки фарфоровой покрышки.

Если просачивание масла через уплотнения подтягиванием соответствующих болтов остановить не удается, необходимо вызвать представителя завода-изготовителя для составления рекламационного акта и устранения дефекта или решения вопроса об отправке трансформатора на завод.

2.3.3. Проверяют уровень масла по маслоуказателю, состояние силикагеля-индикатора воздухоосушителя и уровень масла в масляном затворе воздухоосушителя. В случае понижения уровня масла устанавливают и устраняют причину его снижения и доливают сухое масло в трансформатор и воздухоосушитель. При доливке масла принимают меры, исключающие возможность попадания в масло грязи, влаги и посторонних предметов. При покраснении силикагеля-индикатора его необходимо заменить.

Схема монтажа трансформаторов серии ТФЗМ приведена на рис. 14.

Рис. 7. План размещения оборудования и механизмов при монтаже трансформатора тока ТФЗМ 110 Б:

1 - опорная конструкция; 2 - настил из досок; 3 - трансформатор

Рис. 8. План размещения оборудования и механизмов при монтаже трансформатора тока ТФЗМ 150 Б:

1 - опорная конструкция; 2 - настил из досок; 3 - трансформатор

Рис. 9. План размещения оборудования и механизмов при монтаже трансформатора тока ТФЗМ 220 Б:

1 - опорная конструкция; 2 - настил из досок; 3 - трансформатор; 4 - экран

Рис. 10. План размещения оборудования и механизмов при монтаже трансформатора тока ТФЗМ 500 Б:

1 - опорная конструкция; 2 - настил из досок; 3 - трансформатор (нижняя ступень); 4 - трансформатор (верхняя ступень); 5 - экран

Рис. 11. План размещения оборудования и механизмов при монтаже трансформаторов тока ТФРМ 330 Б:

1 - опорная конструкция; 2 - настил из досок; 3 - трансформатор; 4 - экран

Рис. 12. План размещения оборудования и механизмов при монтаже трансформаторов тока ТФРМ 500 Б:

1 - опорная конструкция; 2 - настил из досок; 3 - трансформатор; 4 - экран

Примечание. На стреле длиной 9 м осуществляется перевод трансформатора в таре в вертикальное положение.

Рис. 13. План размещения оборудования и механизмов при монтаже трансформаторов тока ТФРМ 750 А:

1 - опорная конструкция; 2 - настил из досок; 3 - трансформатор (нижняя ступень); 4 - трансформатор (верхняя ступень); 5 - экран

Рис. 14. Монтаж трансформаторов тока:

1 - опорная конструкция; 2 - трансформатор; 3 - канат капроновый КК 3577 ктекс ПВ; 4 - строп 4СК1-1,0т1-1,0/0-0,5/К-0,4/3000; 5 - строп 4СК1-2,0/Рт1-2,0/0-1,0/К-0,8/4000; 6 - строп 4СК1-3,2/Рт1-3,2/0-2,0/К-1,25/5000; 7 - строп 4СК1-5,0/Рт1-5,0/0-2,5-2,0/6500; 8 - строп 4СК1-10,0/Рт1-10,0/Рт1-10/0-5,0/К-4,0/8000; 9 - строп 4СК1-6,3/Рт1-6,3/0-3,2-2,5/6000

2.3.4. ТФЗМ 110 Б:

производят отбор и анализ пробы масла из трансформатора. Отбор пробы осуществляют через масловыпускной патрубок цоколя при температуре масла не ниже плюс 10 °С.

При значении пробивного напряжения масла ниже минимально допустимых значений масло необходимо заменить. При положительных результатах анализа пробы продолжают монтаж трансформатора:

секции первичной обмотки соединяют на предприятии-изготовителе для использования на наибольший ток (параллельное соединение). При необходимости использования трансформатора на меньшие токи производят пересоединение секции с помощью наружных или внутренних перемычек (смешанное или последовательное соединение);

стропят (строп 4СК1-1,0/Рт1-1,0/0-0,5/К-0,4/3000), поднимают и устанавливают трансформатор на опорную конструкцию, выверяют с установкой, при необходимости, прокладок и закрепляют болтами.

2.3.5. ТФЗМ 150 Б:

выполняют работы по п. 2.3.4. настоящей Технологической карты (строп 4СК1-2,0/Рт1-2,0/0-1,0/К-0,8/4000).

2.3.6. ТФЗМ 220 Б:

устанавливают и закрепляют экран на расширителе;

выполняют работы по п. 2.3.4 настоящей Технологической карты (строп 4СК1-3,2/Рт1-3,2/0-2,0/К-1,25/5000).

2.3.7. ТФЗМ 500 Б:

производят отбор и анализ пробы масла из нижней и верхней ступеней трансформатора в соответствии с п. 2.3.4 настоящей Технологической карты;

у трансформатора с несколькими коэффициентами трансформации, при необходимости, производят переключение секций первичной обмотки.

Монтаж нижней ступени:

сливают масло из транспортного расширителя и снимают его;

закрывают патрубок на цоколе, служащий для соединения с транспортным расширителем, с помощью заглушки и резиновой прокладки, предварительно снятых с патрубка маслопровода, соединяющего внутренние полости нижней и верхней ступеней;

проверяют надежность соединения вывода первичной обмотки 5U2 с болтом заземления на цоколе;

стропят (строп К1-3,2/Рт1-3,2/0-2,0-1,25/5000), поднимают и устанавливают нижнюю ступень на опорную конструкцию, выверяют c установкой, при необходимости, прокладок и закрепляют болтами.

Монтаж верхней ступени:

вместо заглушки на крышке расширителя устанавливают второй воздухоосушитель, снятый с транспортного расширителя нижней ступени;

убеждаются, что кран, расположенный на цоколе, закрыт и снимают с него заглушку;

проверяют надежность соединения вывода вторичной обмотки 6U2 с болтом заземления на цоколе;

устанавливают и закрепляют на расширителе экран;

стропят (строп 4СК1-3,2/Рт1-3,2/0-2,0/К-1,25/5000), поднимают и устанавливают верхнюю ступень на нижнюю, выверяют с установкой, при необходимости, прокладок и закрепляют болтами;

соединяют маслопроводом патрубки верхней и нижней ступеней;

открывают кран между верхней и нижней ступенями и проверяют уровень масла по маслоуказателю. При необходимости доливают масло и устраняют неисправности в соответствии с заводской инструкцией;

устанавливают перемычки, соединяющие выводы верхней и нижней ступеней;

устанавливают разрядник типа РВО-3 на пластину верхнего цоколя нижней ступени при помощи хомута и соединяют его перемычками с выводом вторичной обмотки 6U1 и бобышкой на верхнем цоколе нижней ступени;

устанавливают экран, закрывающий стык ступеней (на время транспортирования он надет на покрышку нижней ступени).

2.3.8. Аналогично собирают остальные две фазы трансформаторов 110 - 500 кВ.

2.3.9. Для оценки технического состояния трансформатора проводят:

а) испытания уплотнений на герметичность, для чего:

обертывают стекла маслоуказателей тканью для защиты от возможного разрушения;

демонтируют воздухоосушитель, присоединяют на его место штуцер с резиновой прокладкой;

к штуцеру присоединяют манометр и шланг для подачи масла;

места уплотнений, не контактирующих с маслом, смазывают мыльным раствором;

в течение 5 мин производят подачу масла давлением (5±0,5)·104 Па.

после снятия давления производят осмотр мест уплотнения;

обнаруженные нарушения устраняют в соответствии с заводской документацией (выполняет заказчик);

б) измерение тока намагничивания в контрольной точке, сопротивления и тангенса угла диэлектрических потерь главной изоляции, сопротивления между выводами 5U1 - 5U2 верхним цоколем нижней ступени каскадных трансформаторов (выполняет группа наладки).

Схема монтажа трансформаторов серии ТФРМ приведена на рис. 14.

Запрещается вскрывать трансформаторы и отбирать пробы масла.

Монтаж следует вести с участием шеф-инженера предприятия-изготовителя.

2.3.10. ТФРМ 330 Б, ТФРМ 500 Б:

снимают с трансформатора воздухоосушитель, стропят (строп 2СК-12,5/Рт1-12,5/К-10/2000) и переводят трансформатор в таре в вертикальное положение;

снимают заглушку с фланца на крышке трансформатора и на фланец устанавливают воздухоосушитель, а заглушку устанавливают на место воздухоосушителя;

выполняют работы по пп. 2.3.1 - 2.3.3 (настоящей Технологической карты);

измеряют сопротивление изоляции вторичных обмоток относительно одна другой и цоколя, а также сопротивление изоляции нулевой обкладки относительно цоколя; измеряют тангенс угла диэлектрических потерь и емкость трансформатора.

При положительных результатах измерений продолжают монтаж трансформатора, при отрицательных - данные сообщают предприятиюзготовителю для принятия решения о возможности дальнейшего монтажа и ввода в эксплуатацию трансформатора;

секции первичной обмотки соединяют на предприятии-изготовителе для использования на наибольший ток (параллельное соединение). При необходимости использования трансформатора на меньшие токи, производят пересоединение секций при помощи шин наружного переключателя (последовательное соединение); снимают болты крепления перемычки к маслорасширителю;

устанавливают на маслорасширитель трансформатора экран;

стропят (строп 4СК1-5,0/Рт1-5,0/0-2,5/К-2,0/6500 - для ТФРМ 330 Б; строп К1-10,0/Рт1-10,0/0-5,0/К-4,0/8000 - для ТФРМ 500 Б), поднимают и устанавливают трансформатор на опорную конструкцию, выверяют с установкой, при необходимости, прокладок и закрепляют болтами. Снимают с крышки трансформатора направляющие для стропов (четыре пластины);

выполняют пусконаладочные испытания, для чего измеряют сопротивление изоляции вторичных обмоток относительно одна другой и цоколя, сопротивление изоляции нулевой обкладки относительно цоколя; испытывают изоляцию выводов вторичных обмоток, вывода нулевой обкладки и вывода заземления магнитопроводов относительно цоколя приложением напряжения 1,8 кВ частоты 50 Гц в течение 1 мин; измеряют тангенс угла диэлектрических потерь и емкость трансформатора; измеряют величину тока намагничивания вторичных обмоток, используемых в цепях защиты (выполняет группа наладки).

При измерении величины тока намагничивания одной из вторичных обмоток все остальные вторичные обмотки для защиты и измерения должны быть закорочены:

замыкают накоротко и соединяют с болтом заземления в коробке выводов трансформатора вывод нулевой обкладки, выводы индукционной обмотки 6U1 - 6U2 и вывод заземления магнитопроводов. Проверяют наличие «земли» на одном из выводов каждой вторичной обмотки.

2.3.11. ТФРМ 750 А:

выполняют работы по п. 2.3.10 настоящей Технологической карты до переключения секций первичной обмотки включительно, стропят (строп 4СК1-6,3/Рт1-6,3/0-3,2/К-2,5/6000), поднимают и устанавливают нижнюю ступень трансформатора на опорную конструкцию, выверяют с установкой, при необходимости, прокладок и закрепляют болтами. Снимают с крышки нижней ступени направляющие для стропов (четыре пластины);

собирают из двух полуколец большой экран, закрепляют на маслорасширителе и цоколе верхней ступени все экраны, стропят (строп 4СК1-6,3/Рт1-6,3/0-3,2/К-2,5/6000), поднимают и устанавливают верхнюю ступень с экранами на бак узла герметизации нижней ступени и предварительно закрепляют двумя диаметрально расположенными болтами М24. Проверяют вертикальное положение трансформатора. Окончательно закрепляют верхнюю ступень на баке нижней ступени. Снимают с крышки верхней ступени направляющие для стропов (четыре пластины);

выполняют пусконаладочные испытания трансформатора (см. п. 2.3.10 настоящей Технологической карты).

В дополнение к п. 2.3.10:

проводят испытания разрядника типа РВН-1 в соответствии с инструкцией завода-изготовителя и, в случае положительных результатов устанавливают его на нижней ступени трансформатора;

замыкают накоротко и соединяют с цоколем на верхней ступени трансформатора выводы индукционной обмотки 9U1 - 9U2 и вывод нулевой обкладки;

проверяют соединение разрядника РВН-1 с выводом 7U1 верхней ступени и бобышкой маслорасширителя нижней ступени трансформатора;

выполняют электрическое соединение выводов 8U1 - 8U2 верхней ступени с выводами 7U1 - 7U2 нижней ступени трансформатора с помощью перемычек, входящих в комплект поставки.

2.4. Заключительные работы

2.4.1. Устанавливают и закрепляют на опорной строительной конструкции ящик зажимов.

2.4.2. Производят окончательную затяжку всех болтов.

2.4.3. Обваривают металлические прокладки под трансформаторами.

2.4.4. Трансформаторы заземляют (полоса заземления к стойкам пристреливается, к металлоконструкциям приваривается, а к оборудованию присоединяется болтом).

2.4.5. Устанавливают кабельные муфты, снятые на время транспортирования.

2.4.6. Прокладывают и подсоединяют кабели вторичных цепей.

2.4.7. Восстанавливают лакокрасочные покрытия металлических частей в поврежденных местах и красят шины заземления.

2.4.8. Трансформаторы присоединяют к ошиновке высокого напряжения. Длина спуска к аппарату должна обеспечивать в наиболее неблагоприятных погодных условиях допустимое тяжение на контактный вывод в горизонтальном направлении в плоскости выводов первичной обмотки трансформатора, Н, не более:

для трансформаторов ТФЗМ 110 Б, ТФЗМ 150 Б, ТФЗМ 220 Б - 1000;

для трансформаторов ТФРМ 330 Б, ТФРМ 500 Б, ТФЗМ 500 Б, ТФРМ 750 А - 1500.

2.4.9. Убирают механизмы и инвентарь.

3. ТРЕБОВАНИЯ К КАЧЕСТВУ И ПРИЕМКЕ РАБОТ

До начала работ по монтажу трансформаторов выверяются проектные горизонтальные и вертикальные оси и отметки опорных конструкций. При приемке трансформаторов в монтаж (входной контроль) проверяют целостность фарфоровых покрышек. Они не должны иметь дефектов, превышавших количественные показатели, приведенные в прил. 5.

Технические критерии и средства контроля операций и процессов приводятся и табл. 1. Приемочный контроль смонтированных трансформаторов осуществляют согласно СНиП 3.05.06-85. При приемке работ предъявляют документацию в соответствии с перечнем прил. 2.

Таблица 1

Наименование процессов, подлежащих контролю

Предмет контроля

Инструмент и способ контроля

Время контроля

Ответственный контролер

Технические критерии оценки качества

1

2

3

4

5

6

Подготовительные предмонтажные работы

Опорные конструкции

 

 

 

 

Выверка проектных горизонтальных и вертикальных осей и отметок

Уровень, отвес, нивелир

До начала монтажа

Мастер

Отклонение отметки верха стойки не более ±15 мм, смещение по горизонтали относительно главных осей вдоль и поперек опоры не более ±20 мм, разворот стоек в плане не более ±5 град, отклонение стойки от вертикали не более 1:100 ее высоты

Проверка разметки отверстий под фундаментные болты

Линейка

То же

То же

В соответствии с заводской документацией

Трансформатор. Уплотнения

Визуально

-"-

Бригадир

Отсутствие течей масла

фарфоровая покрышка. Годность для монтажа

Линейка, штангенциркуль

-"-

То же

См. прил. 5

Уровень масла в масляном затворе воздухоосушителя

Линейка

До начала монтажа

Бригадир

На 3 - 4 мм масло перекрывает фланец

Цвет силикагеля-индикатора

Визуально

То же

То же

Синий

ТФЗМ

 

 

 

 

Уровень масла по маслоуказателю

Линейка

-"-

-"-

Уровень масла ненагруженного трансформатора находится напротив красной черты маслоуказателя при t 20 °С. На каждые 10 °С изменения температуры, уровень масла изменяется для трансформаторов 110 кВ - на 10 мм, 150 - 500 кВ - на 25 мм

Испытание пробы масла из каждого трансформатора (ступени)

Лаборатория

-"-

Мастер

минимальное значение величины пробивного напряжения 45 кВ для трансформаторов класса напряжения до 220 кВ, 55 кВ - для трансформаторов 330 и 500 кВ. Допустимая величина тангенса угла диэлектрических потерь масла при температуре 90 °С - не более 2,9 %

ТФРМ

 

 

 

 

Уровень масла по маслоуказателю

Визуально

До начала монтажа

Бригадир

 

Монтаж трансформаторов

ТФРМ

 

 

 

 

Перевод трансформатора в вертикальное положение

То же

В процессе монтажа

То же

В стекле указателя не появляется сигнальный элемент

ТФЗМ

 

 

 

 

Каскадный трансформатор. Установка перемычек, соединяющих выводы верхней и нижней ступеней

Линейка

То же

-"-

Расстояние между перемычкой и цоколем, между перемычкой и экраном должно быть не менее 20 мм

ТФЗМ, ТФРМ

 

 

 

 

Вертикальность установки трансформатора (верхней и нижней ступеней для каскадных трансформаторов) на опорной конструкции

Отвес

В процессе и по окончания монтажа

-"-

 

ТФЗМ

 

 

 

 

Испытание уплотнений на герметичность

Маслонасос, в течение 5 мин подавать внутрь масло давлением (5±0,5)·104 Па

По окончании монтажа

-"-

Отсутствие течей масла, утечек воздуха и повреждений

ТФРМ

 

 

 

 

Проверка уплотнений на герметичность

Визуально

По окончании монтажа

Бригадир

Отсутствие течей масла


4. КАЛЬКУЛЯЦИИ ЗАТРАТ ТРУДА. МАШИННОГО ВРЕМЕНИ, ЗАРАБОТНОЙ ПЛАТЫ

4.1. Трансформатор тока ТФЗМ 110 Б

(1 группа - 3 фазы)

Таблица 2

п/п

Процесс

Единица измерения

Объем работ

Обоснование (ЕНиР и другие, нормы)

Норма времени

Расценка, р.-к.

Затраты труда

Заработная плата, р.-к.

рабочего, чел.-ч

машиниста, чел.-ч (маш.-ч)

рабочего

машиниста

рабочего, чел.-ч

машиниста, чел.-ч (маш.-ч)

рабочего

машиниста

1

2

3

4

5

6

7

8

9

10

11

12

13

Такелажные работы

1

Погрузка автокраном деталей и узлов трансформатора и монтажного оборудования

1 т

2,0

24-13, т. 2, п. 2е, 2д

Н. вр. К = 0,96

Расц. К = 1,25

0,317

0,163

0-21,6

0-14,9

0,63

0,33

0-43

0-30

2

То же, выгрузка.

1 т

2,0

24-13, т. 2, п. 15е, 1

Н. вр. К = 0,96

Расц. К = 1,25

0,269

0,134

0-18,4

0-12,3

0,54

0,27

0-37

0-25

3

Погрузка материала и инструментов вручную на автомашину

1 т

0,1

Е1-22, п. 2а

0,67

-

0-39,5

-

0,07

-

0-04

-

4

То же, выгрузка

1 т

0,1

Е1-22, п. 2б

0,51

-

0-30,1

-

0,05

-

0-03

-

5

Подбор деталей и узлов оборудования на складе

 

 

2 % от основных работ

-

-

-

-

0,41

-

0-33

-

 

Итого

 

 

 

 

 

 

 

1,70

0,60

1-20

0-55

Подготовительные работы

6

Укладка деталей и узлов трансформатора по рабочим местам

1 т

1,46

Е1-20, п. 9 применит.

1,3

0,65

0-76,7

-

1,9

0,95

1-12

1-00

 

Итого

 

 

 

 

 

 

 

1,90

0,95

1-12

1-00

Основные работы

7

Монтаж трансформатора тока ТФЗМ 110 Б

1 группа (3 фазы)

1

Е23-5-20, т. 2, п. 2

11,5

3,83

9-20

-

11,5

3,83

9-20

4-06

8

Отбор проб масла

1 проба

6

Е23-5-68

0,64

-

0-50,6

-

3,84

-

3-04

-

9

Доливка масла в трансформатор после отбора проб

1 трансформатор

3

Е23-5-69 применит.

1,5

-

1-19

-

4,5

-

3-57

-

10

Прокладка полосы заземления по железобетонной стойке с пристрелкой строительно-монтажным пистолетом

100 м

0,028

Е23-6-23, Б, т. 2, пп. 1а + 2а + 3а; к пп. 2а + 3а

К = 1,12

13,3

-

10-35,4

-

0,37

-

0-29

-

11

Прокладка полосы заземления в траншее

100 м

0,007

Е23-3-53, А т. 1, п. 1а

8,6

-

6-02

-

0,06

-

0-04

-

12

Присоединение полосы заземления сваркой к общему контуру заземления

1 присоединение

1

Е23-3-53, А т. 1, п. 4

К = 1,12 Общая часть п. 5

0,12

-

0-09,4

-

0,12

-

0-09

-

13

Первичное и вторичное окрашивание проложенной по железобетонной стойке полосы заземления

100 м шин

0,028

Е23-6-27, п. 4, п. 5

6,1

-

3-91

-

0,17

-

0-11

-

 

Итого

 

 

 

 

 

 

 

20,56

3,83

16-34

4-06

Заключительные работы

14

Погрузка автокраном монтажного оборудования

1 т

0,24

24-13, т. 2 п. 2е, 2д

Н. вр. К = 0,96

Расц. К = 1,25

0,317

0,163

0-21,6

0-14,9

0,08

0,04

0-05

0-04

15

Погрузка инструмента вручную на автомашину

1 т

0,1

Е1-22, п. 2а

0,67

-

0-39,5

-

0,07

-

0-04

-

 

Итого

 

 

 

 

 

 

 

0,15

0,04

0-09

0-04

 

Всего

 

 

 

 

 

 

 

24,31

5,42

18-75

5-65

4.2. Трансформатор тока ТФЗМ 150 Б

(1 группа - 3 фазы)

Таблица 3

№ п/п

Процесс

Единица измерения

Объем работ

Обоснование (ЕНиР и другие нормы)

Норма времени

Расценка, р.-к.

Затраты труда

Заработная плата, р.-к.

рабочего, чел.-ч

машиниста, чел.-ч (маш.-ч)

рабочего

машиниста

рабочего, чел.-ч

машиниста, чел.-ч (маш.-ч)

рабочего

машиниста

1

2

3

4

5

6

7

8

9

10

11

12

13

Такелажные работы

1

Погрузка автокраном деталей и узлов трансформатора и монтажного оборудования

1 т

4,3

24-13, т. 2, п. 2е, 2д

Н. вр. К = 0,96

Расц. К = 1,25

0,317

0,163

0-21,6

0-14,9

1,36

0,70

0-93

0-64

2

То же, выгрузка

1 т

4,3

24-13, т. 2, п. 15е, 1

Н. вр. К = 0,96

Расц. К = 1,25

0,269

0,134

0-18,4

0-12,3

1,16

0,58

0-79

0-53

3

Погрузка материалов и инструмента вручную на автомашину

1 т

0,1

Е1-22, п. 2а

0,67

-

0-39,5

-

0,07

-

0-04

-

4

Выгрузка материалов и инструмента вручную на автомашину

1 т

0,1

Е1-22, п. 2б

0,51

-

0-30,1

-

0,05

-

0-03

-

5

Подбор деталей и узлов оборудования, на складе

 

 

2 % от основных работ

 

 

 

 

0,41

-

0-33

-

 

Итого

 

 

 

 

 

 

 

3,05

1,28

2-12

1-17

Подготовительные работы

6

Укладка деталей и узлов оборудования по рабочим местам

1 т

3,5

Е1-23, п. 9 применит.

1,3

0,65

0-78,7

 

4,55

2,28

2-68

2-42

 

Итого

 

 

 

 

 

 

 

4,55

2,28

2-68

2-42

Основные работы

 

пп. 7 - 13 (см. пп. 7 - 13 табл. 2)

 

 

 

 

 

 

 

 

 

 

 

 

Итого

 

 

 

 

 

 

 

20,56

3,83

16-34

4-06

Заключительные работы

 

пп. 14 - 15 (см. пп. 14 - 15 табл. 2)

 

 

 

 

 

 

 

 

 

 

 

 

Итого

 

 

 

 

 

 

 

0,15

0,04

0-69

0-04

 

Всего

 

 

 

 

 

 

 

28,31

7,43

21-23

7-69

4.3. Трансформатор тока ТФЗМ 220 Б

(1 группа - 3 фазы)

Таблица 4

№ п/п

Процесс

Единица измерения

Объем работ

Обоснование (ЕНиР и другие нормы)

Норма времени

Расценка, р.-к.

Затраты труда

Заработная плата, р.-к.

рабочего, чел.-ч

машиниста, чел.-ч (маш.-ч)

рабочего

машиниста

рабочего, чел.-ч

машиниста, чел.-ч (маш.-ч)

рабочего

машиниста

1

2

3

4

5

6

7

8

9

10

11

12

13

Такелажные работы

1

Погрузка автокраном деталей и узлов трансформатора и монтажного оборудования

1 т

9,2

24-13, т. 2, п. 2е, 2д

Н. вр. К = 0,96

Расц. К = 1,25

0,317

0,163

0-21,6

0-14,9

2,92

1,50

1-99

1-37

2

То же, выгрузка

1 т

9,2

24-13, т. 2, п. 15е, 15д

Н. вр. К = 0,96

Расц. К = 1,25

0,269

0,134

0-18,4

0-12,3

2,47

1,23

1-69

1-13

3

Погрузка материалов и инструмента вручную на автомашину

1 т

0,15

Е1-22, п. 2а

0,67

-

0-39,5

-

0,1

-

0-06

-

4

Выгрузка материалов и инструмента вручную на автомашину

1 т

0,15

Е1-22, п. 2б

0,51

-

0-30,1

-

0,08

-

0-04

-

5

Подбор деталей и узлов оборудования на складе

 

 

2 % от основных работ

 

 

 

 

0,54

-

0-43

-

 

Итого

 

 

 

 

 

 

 

6,11

2,73

4-21

2-50

Подготовительные работы

6

Укладка деталей и узлов оборудования по рабочим местам

1 т

7,14

Е1-20, п. 9 применит.

1,3

0,65

0-76,7

-

9,28

4,64

5-48

4-92

 

Итого

 

 

 

 

 

 

 

9,28

4,64

5-48

4-92

Основные работы

7

Монтаж трансформатора тока ТФЗМ 220 Б

1 группа (3 фазы)

1

Е23-5-20, т. 2, п. 3

16,0

5,33

12-80

-

16,0

5,33

12-80

5-65

8

Отбор проб масла

1 проба

6

Е23-5-68

0,64

-

0-50,6

-

3,84

-

3-04

-

9

Доливка масла в трансформатор после отбора проб

1 трансформатор

3

Е23-5-69 применит.

1,5

-

1-19

-

4,5

-

3-57

-

10

Прокладка полосы заземления по железобетонной стойке с пристрелкой строительно-монтажным пистолетом

100 м

0,111

Е23-6-23, Б т. 2, пп. 1а + 2а + 3а; к пп. 2а + 3а

К = 1,12

13,3

-

10-35,4

-

1,43

-

1-15

-

11

Прокладка полосы заземления в траншее

100 м

0,021

Е23-3-53, А т. 1, п. 1в

8, 6

-

6-02

-

0,18

-

0-13

-

12

Присоединение полосы заземления сваркой к общему контуру заземления

1 присоединение

3

Е23-3-53, А т. 1, п. 4

К = 1,12 Общая часть п. 5

0,12

-

0-09,4

-

0,36

-

0-28

-

13

Первичное и вторичное окрашивание проложенной по железобетонной стойке полосы заземления

100 м шин

0,111

Е23-6-27, п. 4, п. 5

6,1

-

3-91

-

0,68

-

0-43

 

 

Итого

 

 

 

 

 

 

 

27,04

5,33

21-40

5-65

Заключительные работы

 

пп. 14 - 15 (см. пп. 14 - 15 табл. 2)

 

 

 

 

 

 

 

 

 

 

 

 

Итого

 

 

 

 

 

 

 

0,15

0,04

0-09

0-04

 

Всего

 

 

 

 

 

 

 

42,58

12,74

31-18

13-11

4.4 Трансформатор тока ТФЗМ 500 Б

(1 группа - 3 фазы)

Таблица 5

№ п/п

Процесс

Единица измерения

Объем работ

Обоснование (ЕНиР и другие нормы)

Норма времени

Расценка, р.-к.

Затраты труда

Заработная плата, р.-к.

рабочего, чел.-ч

машиниста, чел.-ч (маш.-ч)

рабочего

машиниста

рабочего, чел.-ч

машиниста, чел.-ч (маш.-ч)

рабочего

машиниста

 

 

 

 

 

6

7

3

9

10

11

12

13

Такелажные работы

1

Погрузка автокраном деталей и узлов трансформатора и монтажного оборудования

1 т

18

24-13, т. 2, п. 2е, 2д

Н. вр. К = 0,96

Расц. К = 1,25

0,317

0,163

0-21,6

0-14,9

5,71

2,93

3-89

2-68

2

То же, выгрузка

1 т

18

24-13, т. 2, п. 15е, 1

Н. вр. К = 0,96

Расц. К = 1,25

0,269

0,134

0-18,4

0-12,3

4,84

2,41

3-31

2-21

3

Погрузка материалов и инструмента вручную на автомашину

1 т

0,22

Е1-22, п. 2а

0,67

-

0-39,5

-

0,15

-

0-09

-

4

Выгрузка материалов и инструмента вручную на автомашину

1 т

0,22

Е1-22, п. 2б

0,51

-

0-30,1

-

0,11

-

0-07

-

5

Подбор деталей и узлов оборудования на складе

 

 

2 % от основных работ

 

 

 

 

1,32

-

1-10

-

 

Итого

 

 

 

 

 

 

 

12,13

5,34

8-46

4-89

Подготовительные работы

6

Укладка деталей и узлов оборудования по рабочим местам

1 т

14,76

Е1-20, п. 9 применит.

1,3

0,65

0-76,7

-

19,19

9,59

11-32

10-16

 

Итого

 

 

 

 

 

 

 

19,19

9,59

11-32

10-16

Основные работы

7

Монтаж трансформатора тока ТФЗМ 500 Б

1 группа (3 фазы)

1

Е23-5-20, т. 2, п. 5

50

16,67

42-50

-

50

16,67

42-50

17-67

8

Отбор проб масла

1 проба

12

Е23-5-68

0,64

-

0-50,6

-

7,68

-

6-07

-

9

Доливка масла в трансформатор после отбора проб

1 трансформатор

3

Е23-5-69 применит.

1,5

-

1-19

-

4,5

-

3-57

-

10

Установка разрядника РВО-3

1 шт.

3

Е23-6-2, п. 19

0,49

-

0-38

-

1,47

-

1-14

-

11

Прокладка полосы заземления по железобетонной стойке с пристрелкой строительно-монтажным пистолетом

100 м

0,09

Е22-6-23, Б т. 2, пп. 1а + 2а + 3а; к пп. 2а + 3а

К = 1,12

13,3

-

10-35,4

-

1,20

-

0,93

-

12

Прокладка полосы заземления в траншее

100 м

0,015

Е23-3-53, А т. 1, п. 1а

8,6

-

6-02

-

0,13

-

0-09

-

13

Присоединение полосы заземления сваркой к общему контуру заземления

1 присоединение

3

Е23-3-53, А т. 1, п. 4

К = 1,12 Общая часть п. 5

0,12

-

0-09,4

-

0,36

-

0-28

-

14

Первичное и вторичное окрашивание преложенной по железобетонной стойке полосы заземления

100 м шин

0,09

Е23-6-27, п. 4, п. 5

6,1

-

3,91

-

0,55

-

0-35

-

 

Итого

 

 

 

 

 

 

 

65,89

16,67

54-93

17-67

Заключительные работы

 

пп. 15 - 16 (см. пп. 14 - 15 табл. 2)

 

 

 

 

 

 

 

 

 

 

 

 

Итого

 

 

 

 

 

 

 

0,15

0,04

0-09

0-04

 

Всего

 

 

 

 

 

 

 

97,36

31,64

74-80

32-76

4.5. Трансформатор тока ТФРМ 330 Б

(1 группа - 3 фазы)

Таблица 6

п/п

Процесс

Единица измерения

Объем работ

Обоснование (ЕНиР и другие нормы)

Норма времени

Расценка, р.-к.

Затраты труда

Заработная плата, р.-к.

рабочего, чел.-ч

машиниста, чел.-ч (маш.-ч)

рабочего

машиниста

рабочего, чел.-ч

машиниста, чел.-ч (маш.-ч)

рабочего

машиниста

1

2

3

4

5

6

7

8

9

10

11

12

13

Такелажные работы

1

Погрузка автокраном деталей и узлов трансформатора и монтажного оборудования

1 т

13,6

24-13, т. 2, п. 2е, 2д

Н. вр. К = 0,96

Расц. К = 1,25

0,317

0,163

0-21,6

0-14,9

4,31

2,22

2-94

2-03

2

Тоже, выгрузка

1 т

13,6

24-13, т. 2, п. 15е, 15д

Н. вр. К = 0,96

Расц. К = 1,25

0,269

0,134

0-18,4

0-12,3

3,66

1,82

2-50

1-67

3

Погрузка материалов и инструмента вручную на автомашину

1 т

0,22

Е1-22, п. 2а

0,67

-

0-39,5

-

0,15

-

0-09

-

4

Выгрузка материалов и инструмента вручную на автомашину

1 т

0,22

Е1-22, п. 2б

0,51

-

0-30,1

-

0,11

-

0-07

-

5

Подбор деталей и узлов оборудования на складе

 

 

2 % от основных работ

 

 

 

 

0,52

-

0-44

-

 

Итого

 

 

 

 

 

 

 

8,75

4,04

6-04

3-70

Подготовительные работы

6

Укладка деталей и узлов трансформатора по рабочим местам

1 т

9,21

Е1-20, п. 9 применит

1,3

0,65

0-76,7

-

11,97

5,99

7-06

5-35

 

Итого

 

 

 

 

 

 

 

11,97

5,99

7-06

6-35

Основные работы

7

Монтаж трансформатора тока ТФРМ 330 Б

1 группа (3 фазы)

1

Е23-5-21 пп. 1а + 2а; пп. 2а

К = 1,12

23,50

7,83

20-03,3

-

23,50

7,83

20-03

8-30

8

Прокладка полосы заземления по железобетонной стойке с пристрелкой строительноонтажным пистолетом

100 м

0,105

Е23-6-23 Б, т. 2, пп. 1а + 2а + 3а; к пп. 2а + 3а

К = 1,12

13,3

-

10-35,4

-

1,40

-

1-09

-

9

Прокладка полосы заземления в траншее

100 м

0,025

Е23-3-53, А т. 1, п. 1а

8,6

-

6-02

-

0,22

-

0-15

-

10

Присоединение полосы заземления сваркой к общему контуру заземления

1 присоединение

3

Е23-3-53, А т. 1, п. 4

К = 1,12 Общая часть п. 5

0,12

-

0-09,4

-

0,36

-

0-28

-

11

Первичное и вторичное окрашивание проложенной по железобетонной стойке полосы заземления

100 м шин

0,105

Е23-6-27, п. 4, п. 5

6,1

-

3-91

-

0,64

-

0-41

-

 

Итого

 

 

 

 

 

 

 

26,12

7,83

21-96

8-30

Заключительные работы

12

Погрузка автокраном монтажного оборудования и тары

1 т

1,58

24-13, т. 2, п. 2е, п. 2д

Н. вр. К = 0,96

Расц. К = 1,25

0,317

0,163

0-21,6

0-14,9

0,50

0,23

0-34

0-24

13

Погрузка инструмента вручную на автомашину

1 т

0,1

Е1-22, п. 2а

0,67

-

0-39,5

-

0,07

-

0-04

-

 

Итого

 

 

 

 

 

 

 

0,57

0,26

0-38

0-24

 

Всего

 

 

 

 

 

 

 

47,41

18,12

35-44

18-59

4.6. Трансформатор тока ТФРМ 500 Б

(1 группа - 3 фазы)

Таблица 7

№ п/п

Процесс

Единица измерения

Объем работ

Обоснование (ЕНиР и другие нормы)

Норма времени

Расценка, р.-к.

Затраты труда

Заработная плата, р.-к.

рабочего, чел.-ч

машиниста, чел.-ч (маш.-ч)

рабочего

машиниста

рабочего, чел.-ч

машиниста, чел.-ч (маш.-ч)

рабочего

машиниста

1

2

3

4

5

6

7

8

9

10

11

12

13

Такелажные работы

1

Погрузка автокраном деталей и узлов трансформатора и монтажного оборудования

1 т

24,9

24-13, т. 2 п. 2е, 2д

Н. вр. К = 0,96

Расц. К = 1,25

0,317

0,163

0-21,6

0-14,9

7,89

4,06

5-38

3-71

2

То же, выгрузка

1 т

24,9

24-13, т. 2, п. 15е, 1

Н. вр. К = 0,96

Расц. К = 1,25

0,269

0,134

0-18,4

0-12,3

6,70

3,34

4-58

3-06

3

Погрузка материалов и инструмента вручную на автомашину

1 т

0,23

Е1-22, п. 2а

0,67

-

0-39,5

-

0,15

-

0-09

-

4

Выгрузка материалов и инструмента вручную на автомашину

1 т

0,23

Е1-22, п. 2б

0,51

-

0-30,1

-

0,12

-

0-07

-

5

Подбор деталей и узлов оборудования на складе

 

 

2 % от основных работ

 

 

 

 

1,70

-

1-44

-

 

Итого

 

 

 

 

 

 

 

16,56

7,40

11-56

6-77

Подготовительные работы

6

Укладка деталей и узлов трансформатора по рабочим местам

1 т

16,2

Е1-20, п. 9 применит.

1,3

0,65

0-76,7

 

21,06

10,53

12-43

11-16

 

Итого

 

 

 

 

 

 

 

21,06

10,53

12-43

11-16

Основные работы

7

Монтаж трансформатора тока ТФРМ 500 Б

1 группа (3 фазы)

1

Е23-5-21, пп. 1б + 2б; к п.

К = 1,12

82,30

27,40

70-10,8

 

82,30

27,40

70-11

29-04

 

пп. 8 - 11 (см. пп. 8 - 11 табл. 6)

 

 

 

 

 

 

 

2,62

-

1-93

-

 

Итого

 

 

 

 

 

 

 

84,92

27,40

72-04

29-04

Заключительные работы

12

Погрузка автокраном монтажного оборудования и тары

1 т

3

24-13, т. 2, п. 2е, п. 2д

Н. вр. К = 0,96

Расц. К = 1,25

0,317

0,163

0-21,6

0-14,9

0,95

0,49

0-65

0-45

13

Погрузка инструмента вручную на автомашину

1 т

0,1

Е1-22, п. 2а

0,67

-

0-39,5

-

0,07

-

0-04

-

 

Итого

 

 

 

 

 

 

 

1,02

0,49

0-69

0-45

 

Всего

 

 

 

 

 

 

 

123,56

45,82

96-72

47-42

4.7. Трансформатор тока ТФРМ 750 А

(1 группа - 3 фазы)

Таблица 8

№ п/п

Процесс

Единица измерения

Объем работ

Обоснование (ЕНиР и другие нормы)

Норма времени

Расценка, р.-к.

Затраты труда

Заработная плата, р.-к.

рабочего, чел.-ч

машиниста, чел.-ч (маш.-ч)

рабочего

машиниста

рабочего, чел.-ч

машиниста, чел.-ч (маш.-ч)

рабочего

машиниста

1

2

3

4

5

6

7

8

9

10

11

12

13

Такелажные работы

1

Погрузка автокраном деталей и узлов трансформатора и монтажного оборудования

1 т

31,9

24-13, т. 2, п. 2е, 2д

Н. вр. К = 0,96

Расц. К = 1,25

0,317

0,163

0-21,6

0-14, 9

10,11

5,20

6-89

4-75

2

То же, выгрузка

1 т

31,9

24-13, т. 2, п. 15е, 1

Н. вр. К = 0,96

Расц. К = 1,25

0,269

0,134

0-18,4

0-12,3

8,58

4,27

5-87

3-92

3

Погрузка материалов и инструмента вручную на автомашину

1 т

0,24

Е1-22, п. 2а

0,67

-

0-39,5

-

0,16

-

0-09

-

4

Выгрузка материалов и инструмента вручную на автомашину

1 т

0,24

Е1-22, п. 2б

0,51

-

0-30,1

-

0,12

-

0,07

-

5

Подбор деталей и узлов оборудования на складе

 

 

2 % от основных работ

 

 

 

 

2,07

-

1-75

-

 

Итого

 

 

 

 

 

 

 

21,04

9,47

14-67

8-67

Подготовительные работы

6

Укладка деталей и узлов трансформатора по рабочим местам

1 т

22

Е1-20, п. 9 применит.

1,3

0,65

0-76,7

-

28,60

14,30

16-87

15-16

 

Итого

 

 

 

 

 

 

 

28,60

14,30

16-87

15-16

Основные работы

7

Монтаж трансформатора тока ТФРМ 750 А

1 группа (3 фазы)

1

Е23-5-21, п. 1в + 2в; к п. 2 в

К = 1,12

99,3

33,1

84-55,8

 

99,3

33,1

84-66

35-09

8

Установка разрядника РВН-1

1 шт.

3

Е23-6-2, п. 19

0,49

-

0-38

-

1,47

-

1-14

-

 

пп. 9 - 12 (см. пп. 8 - 11 табл. 6)

 

 

 

 

 

 

 

2,62

-

1-93

-

 

Итого

 

 

 

 

 

 

 

103,39

33,1

87-63

35-09

Заключительные работы

13

Погрузка автокраном монтажного оборудования и тары

1 т

3,38

24-13, т. 2, п. 2е, п. 2д

Н. вр. К = 0,96

Расц. К = 1,25

0,317

0,163

0-21,6

0-14,9

1,07

0,55

0-73

0-50

14

Погрузка инструмента вручную на автомашину

1 т

0,1

Е1-22, п. 2а

0,67

-

0-39,5

 

0,07

 

0-04

 

 

Итого

 

 

 

 

 

 

 

1,14

0,55

0-77

0-50

 

Всего

 

 

 

 

 

 

 

154,17

57,42

119-94

59-42


5. ГРАФИКИ ПРОИЗВОДСТВА РАБОТ

5.1. График монтажа трансформатора тока ТФЗМ 110 Б

Таблица 9

5.2. График монтажа трансформатора тока ТФЗМ 150 Б

Таблица 10

5.3. График монтажа трансформатора тока ТФЗМ 220 Б

Таблица 11

5.4. График монтажа трансформатора тока ТФЗМ 500 Б

Таблица 12

5.5. График монтажа трансформатора тока ТФРМ 330 Б

Таблица 13

5.6. График монтажа трансформатора тока ТФРМ 500 Б

Таблица 14

5.7. График монтажа трансформатора тока ТФРМ 750 А

Таблица 15

6. МАТЕРИАЛЬНО-ТЕХНИЧЕСКИЕ РЕСУРСЫ

6.1. Монтажные механизмы и инвентарь

Таблица 16

№ п/п

Наименование

Марка, ГОСТ

Количество, шт.

Назначение

1

2

3

4

6

1

Автокран грузоподъемностью 6,5 т; стрела 8 м, 10,4 м

КС-256

1

Монтаж ТФЗМ 110 Б, ТФЗМ 150 Б, ТФЗМ 220 Б

2

Автокран грузоподъемностью 16 т; стрела 9 м, 15 м

КС-3577А

1

Монтаж ТФЗМ 500 Б, ТФРМ 330 Б, ТФРМ 500 Б, ТФРМ 750 А

3

Автомобиль грузоподъемностью 11 т

ЗИЛ-133

1

Перевозка оборудования, механизмов, инвентаря, материалов

4

Автогидроподъемник грузоподъемностью 0,3 т

АГП-22

1

Монтаж трансформаторов

5

Строп 4СК1-1,0/Рт1-1,0/0-0,5/К-0,4/3000

ОСТ 34-13-910-86

1

Монтаж ТФЗМ 110 Б

6

Строп 4СК1-2,0/Рт1-2,0/0-1,0/К-0,8/4000

То же

1

Монтаж ТФЗМ 150 Б

7

Строп 4СК1-3,2/Рт1-3,2/0-2,0/К-1,25/5000

-"-

1

Монтаж ТФЗМ 220 Б, ТФЗМ 500 Б

8

Строп СКП1-0,5/2000

-"-

3

Монтаж экранов

9

Строп СКП1-1,0/9000

-"-

2

Строповка ТФЗМ 110 Б, ТФЗМ 150 Б в упаковке

10

Строп 2СК-12,5/Рт1-12,5/К-10,0/2000

ОСТ 34-13-910-86

1

Перевод ТФРМ в таре в вертикальное положение

11

Строп 4СК1-5,0/Рт1-5,0/0-2,5/К-2,0/6500

То же

1

Разгрузка и монтаж ТФРМ 330 Б

12

Строп 4СК1-10,0т1-10,0/0-5,0/К-4,0/8000

-"-

1

Разгрузка и монтаж ТФРМ 500 Б

13

Строп 4СК1-6,3/Рт1-6,3/0-3,2/К-2,5/6000

-"-

1

Разгрузка и монтаж ТФРМ 750 А

14

Канат капроновый КК 35 мм 77 ктекс Пв, м

ГОСТ 10293-77

9

Монтаж ТФЗМ

15

Трансформатор сварочный

ТД-500

1

Приварка полосы заземления

16

Маска защитная для электросварщика

 

1

Защита лица при сварочных работах

17

Электрододержатель для ручной дуговой сварки, 500 А

ЭД-5017

ГОСТ 14651-78

1

Для сварщика

18

Насос ручной поршневой

Р-1, 6-20

1

Монтаж ТФЗМ

19

Рукавицы, пар

 

4

Защита рук

20

Пистолет строительно-монтажный, комплект

ПЦ-84-1

1

1

Пристрелка полосы заземления к стойке

21

Арматуроискатель

 

1

То же

22

Лестница приставная, 3,5 м

 

1

Монтаж трансформаторов

23

Лестница с площадкой

Л-31

1

То же

24

Пояс монтерский предохранительный

ГОСТ 14185-77

1

Монтаж трансформаторов

25

Мегаомметр, 2500 В

МС-0,5

1

Измерение сопротивления изоляции

26

Стеклянная посуда вместимостью до 1 л с притертой пробкой

ГОСТ 1770-74Е

6

Отбор проб масла из трансформаторов тФЗм

27

Штуцер

 

1

Монтаж ТФЗМ

28

Рукав резиновый маслостойкий, м

 

10

То же

29

Манометр

ОБМ-1

1

-"-

6.2. Инструмент

Таблица 17

№ п/п

Наименований

Марка, ГОСТ

Количество, шт.

Назначение

1

2

3

4

5

1

Ключи гаечные с открытым зевом двусторонние S = 13´17 мм, 24´27 мм, 30´32 мм, 36´41 мм

ГОСТ 2839-80

2

Монтаж трансформаторов

2

Плоскогубцы комбинированные с изолирующими ручками

ГОСТ 5547-86Е

1

То же

3

Отвертка диэлектрическая 200´1,0´6,5; 250´1,2´8,0

ГОСТ 21010-75

2

-"-

4

Отвертка слесарноонтажная 7810-0330, 7810-0336

ГОСТ 17199-88

2

-"-

5

Рулетка ЗПКЗ-10, шт.

ГОСТ 7502-80

1

Проверка расстояний

6

Линейка металлическая 1 - 500 мм, 1 - 1000 мм

ГОСТ 427-75

2

То же

7

Уровень строительный

ГОСТ 9416-33

1

Выверка горизонтальности

8

Отвес стальной строительный

ОТ 200-1

ГОСТ 7948-80

1

Выверка вертикальности

9

Рамка ножовочная ручная

ГОСТ 17270-71Е

1

Работы с металлом

11

Полотно ножовочное дм металла (250´13´0,65 мм)

ГОСТ 6645-86

3

То же

11

Напильник (плоский, полукруглый, круглый)

ГОСТ 1465-80

3

-"-

12

Топор строительный

Б2

ГОСТ 18578-73

1

Плотничные работы

13

Ножовка широкая по дереву

ГОСТ 26215-84

ЛГ-20

1

То же

14

Лом гвоздодер

ГОСТ 1405-83

1

Распаковка оборудования

15

Молоток слесарный

ГОСТ 2310-77Е

1

Очистка мест сварки

16

Кисть малярная КФ 75-1

ГОСТ 10597-87

1

Окраска мест сварки и мест с поврежденной окраской

17

Щетка ручная из проволоки

ОСТ 17-830-80

1

Очистка поверхностей

18

Указатель напряжения

И-192

1

Подключение механизмов и оборудования

19

Штангенциркуль

ГОСТ 166-80

1

 

6.3. Материалы и изделия для монтажа трансформаторов серии ТФЗМ (1 группа - 3 фазы)

Таблица 18

№ п/п

Наименование

Марка, ГОСТ, ТУ

Потребность для трансформаторов номинальным напряжением, кВ

110

150

220

500

1

2

3

4

5

6

7

1

Ветошь, кг

ТУ 63-17877-79

0,30

0,75

0,95

1,45

2

Бензин-растворитель, кг

ГОСТ 3134-78

0,48

0,67

1,20

3,00

3

Бязь, м2

ГОСТ 11680-76

0,52

0,67

1,30

3,62

4

Смазка ГОИ-54П, кг

ГОСТ 3276-74

0,20

0,25

0,26

0,38

5

Электроды Э-42, кг

ГОСТ 9467-75

0,35

0,35

0,50

0,80

6

Эмаль ПФ-115, кг

ГОСТ 6465-76

0,60

0,60

0,60

0,80

7

Масло трансформаторное

По потребности

о

Мыло хозяйственное

ГОСТ 790-69

0,10

0,10

0,10

0,10

9

Доска деревянная толщиной 40 мм, м3

ГОСТ 8486-86

0,041

0,065

0,120

0,150

10

Гвозди строительные диаметром 4 мм, длиной 100 мм, кг

ГОСТ 4028-63

0,30

0,35

0,60

0,60

11

Сталь полосовая сечением 4´30 мм, м/кг

ГОСТ 103-76

3,50

3,29

3,70

3,48

13,50

12,69

15,50

14,57

12

Уголок из полосы 4´30 мм, l = 80 мм, шт.

 

7

11

-

-

13

Дюбель-гвоздь, шт.

ДГ 4,5´40

3

3

6

12

14

Дюбель-винт, шт.

ДВ М8´55

2

4

13

-

15

Дюбельинт, шт.

ДВ М8´70

-

-

-

17

16

Патрон, шт.

Д2

5

7

19

12

17

Патрон, шт.

Д3

-

-

-

17

18

Наконечник, шт.

1

5

7

19

29

19

Короб кабельный стальной КП-0,05/0,1-2 l = 500 мм, шт.

ТУ 34-43-10167-80

-

1

-

-

20

То же, l = 600 мм, шт.

То же

-

-

-

1

21

То же, l = 750 мм, шт.

-"-

-

-

1

-

22

То же, КП-0,1/0,1-2 l = 1000 мм, шт.

-"-

1

-

-

-

23

То же, l = 1300 мм, шт.

-"-

-

1

-

-

24

То же, КП-0,1/0,2-2 l = 800 мм, шт.

-"-

1

-

-

-

25

То же, l = 1000 мм, шт.

-"-

-

-

2

-

26

То же, l = 1500 мм, шт.

-"-

-

-

1

-

27

То же, l = 2000 мм, шт.

-"-

-

-

2

-

28

То же, КП-0,15/0,4-2, l = 250 мм, шт.

-"-

-

1

1

1

29

Секция присоединительная Спр-0,1/0,2

-"-

1

-

-

-

30

Лоток металлический кабельный l = 500 мм, шт.

Л-4

-

-

-

1

31

То же, l = 2000 мм, шт.

То же

-

-

-

5

32

Болт М8´30, шт.

ГОСТ 7798-70

4

4

4

4

33

Болт М16´60, шт.

То же

12

12

12

-

34

Болт М20´240, шт.

ГОСТ 7798-70

-

-

-

24

35

Гайка М8, шт.

ГОСТ 5915-70

4

4

4

4

36

Гайка М16, шт.

То же

12

12

12

-

37

Гайка М20, шт.

-"-

-

-

-

24

38

Шайба диаметром 8,4 мм, шт.

ГОСТ 11371-78

8

8

8

8

39

Шайба диаметром 17 мм, шт.

То же

24

24

24

-

40

Шайба диаметром 21 мм, шт.

-"-

-

-

-

48

Примечания: 1. Расход материалов принят по ведомственным производственным нормам расхода материалов в строительстве (ВСН 05-86 Минэнерго СССР), а также на основании установочных чертежей.

2. Позиции 11 - 40 подлежат уточнению по конкретному проекту.

6.4. Материалы и изделия для монтажа трансформаторов серии ТФРМ (1 группа - 3 фазы)

Таблица 19

№ п/п

Наименование

Марка, ГОСТ, ТУ

Потребность для трансформаторов номинальным напряжением, кВ

330

500

750

1

Ветошь, кг

ТУ 63-17877-79

0,60

0,60

0,60

2

Бензин-растворитель, кг

ГОСТ 3134-78

1,42

2,52

2,80

3

Бязь, м2

ГОСТ 11680-76

1,54

1,55

2,54

4

Смазка ГОИ-54П, кг

ГОСТ 3276-74

0,50

0,50

0,50

5

Электроды Э-42, кг

ГОСТ 9467-75

0,80

0,80

0,80

6

Эмаль ПФ-115, кг

ГОСТ 6465-76

0,60

0,60

0,60

7

Масло трансформаторное марки ГК

ТУ 38-101-1025-85

По потребности

8

доска деревянная толщиной 40 мм, м3

ГОСТ 8486-86

0,15

0,15

0,30

9

Гвозди строительные диаметром 4 мм, длиной 100 мм, кг

ГОСТ 4028-63

0,60

0,60

1,00

10

Сталь полосовая 4´30 мм, м/кг

ГОСТ 103-76

13/12,22

13/12,22

13/12,22

11

Дюбель-гвоздь, шт.

ДГ 4,5´40

6

6

6

12

Дюбель-винт, шт.

ДВ М8´70

8

8

8

13

Патрон, шт.

Д2

6

6

6

14

Патрон, шт.

Д3

8

8

8

15

Наконечник, шт.

1

14

14

14

16

Короб кабельный стальной КП-0, 05/0, 1-2, шт.

ТУ 34-43-10187-80

4

4

4

17

Металлорукав, м

РЗ-Ц-Х

-

-

2,4

18

Болт М8´30, шт.

ГОСТ 7798-70

4

4

4

19

Болт М24´240, шт.

То же

12

12

12

20

Гайка М8, шт.

ГОСТ 5915-70

4

4

4

21

Гайка М24, шт.

То же

12

12

12

22

Шайба диаметром 8,4 мм, шт.

ГОСТ 11371-78

8

8

8

23

Шайба диаметром 25 мм, шт.

То же

24

24

24

Примечания: 1. Расход материалов принят по ведомственным производственным нормам расхода материалов в строительстве (ВСН 05-86 Минэнерго СССР), а также на основании установочных чертежей.

2. Позиции 10 - 23 подлежат уточнению по конкретному проекту.

7. ТЕХНИКА БЕЗОПАСНОСТИ

7.1. Работы по монтажу трансформаторов выполняют с соблюдением требований техники безопасности согласно действующим нормам и правилам (см. прил. 1).

7.2. Перед началом работ мастер или прораб проводит инструктаж на рабочем месте: объясняет задание и способы выполнения намечаемых работ.

7.3. Такелажное оборудование, используемое при монтаже, должно иметь отметки об испытаниях в соответствии с требованиями Госгортехнадзора.

7.4. При монтаже обращают внимание на состояние и правильную установку подъемных средств и одинаковый натяг всех стропов.

7.5. Подъем трансформатора (ступени) производят без рывков и толчков с сохранением вертикального положения и только за рым-петли на цоколе. Стропы у расширителя трансформатора (ступени) серии ТФЗМ связывают капроновым канатом, а у трансформатора (ступени) серии ТФРМ - укладывают в выемку направляющих пластин на фланце маслорасширителя во избежание опрокидывания трансформатора (ступени).

7.6. Подъем полностью собранного трансформатора из двух ступеней не допускается.

7.7. При монтаже трансформатора и испытаниях одной из вторичных обмоток все остальные вторичные обмотки должны быть закорочены.

7.8. На период монтажа опасная зона, ограниченная радиусом 11 м - для ТФЗМ 110 Б, ТФЗМ 150 Б и ТФЗМ 220 Б; 14,5 м - для ТФРМ 330 Б, ТФРМ 500 Б и ТФРМ 750 А; 16,5 м - для ТФЗМ 500 Б от оси поворотной части крана, ограждается сигнальным ограждением.

8. ТЕХНИКО-ЭКОНОМИЧЕСКИЕ ПОКАЗАТЕЛИ

8.1. Техникокономические показатели монтажа трансформаторов тока серии ТФЗМ

(1 группа - 3 фазы)

Таблица 20

Показателя

ТФЗМ 110 Б

ТФЗМ 150 Б

ТФЗМ 220 Б

ТФЗМ 500 Б

Нормативные затраты труда рабочих, чел.-дн.

3,04

3,54

5,32

12,18

Нормативные затраты машинного времени, маш.-смена:

 

 

 

 

автокрана

0,69

0,92

1,60

3,96

автогидроподъемника

0,48

0,48

0,67

2,08

Заработная плата рабочих-монтажников, руб.-коп.

18-75

21-23

31-18

74-80

Продолжительность выполнения работ, смена

1,1

1,3

2,1

4,7

Среднее количество занятых на монтаже рабочих, чел.

3

3

3

3

Максимально потребляемая мощность, кВ·А

32

32

32

32

8.2. Технико-экономические показатели монтажа трансформаторов тока серии ТФРМ

(1 группа - 3 фазы)

Таблица 21

Показатели

ТФРМ 330 Б

ТФРМ 500 Б

ТФРМ 750 А

Нормативные затраты труда рабочих, чел.-дн.

5,93

15,45

19,27

Нормативные затраты машинного времени, маш.-смена:

 

 

 

автокрана

2,27

5,73

7,18

автогидроподъемника

0,98

3,42

4,14

Заработная плата рабочих-монтажников, руб.-коп.

35-44

96-72

119-94

Продолжительность выполнения работ, смена

2,4

6,0

7,5

Среднее количество занятых на монтаже рабочих, чел.

3

3

3

Максимально потребляемая мощность, кВ·А.

32

32

32

ПРИЛОЖЕНИЕ 1

ПЕРЕЧЕНЬ ТЕХНИЧЕСКОЙ И НОРМАТИВНОЙ ДОКУМЕНТАЦИИ, ИСПОЛЬЗУЕМОЙ ПРИ МОНТАЖЕ

Проектная документация

Планы и разрезы открытого распределительного устройства 110 - 750 кВ.

Установочные чертежи трансформаторов тока серии ТФЗМ напряжением 110 - 220 и 500 кВ.

Установочные чертежи трансформаторов тока серии ТФРМ напряжением 330 - 750 кВ.

РТМ по строповке электротехнического оборудования. РТМ 002.00.04-83.

Заводская документация

Трансформаторы тока серии ТФЗМ. Техническое описание и инструкция по эксплуатации.

Трансформаторы тока серия ТФЗМ. Паспорт.

Трансформаторы тока серии ТФРМ. Техническое описание и инструкция по эксплуатации.

Трансформаторы тока серии ТФРМ. Паспорт.

Разрядник типа РВО-3. Техническое описание и инструкция по эксплуатации.

Разрядник типа РВН-1. Техническое описание и инструкция по эксплуатации.

Общетехническая документация

Правила устройства электроустановок. М., Энергоатомиздат, 1985.

СНиП 3.05.06-85 «Электротехнические устройства». М., Стройиздат, 1986.

СНиП III-4-80 «Правила производства и приемки работ. Техника безопасности в строительстве». М., Стройиздат, 1980.

Правила техники безопасности при производстве электромонтажных работ на объектах Минэнерго СССР. М., Информэнерго, 1984.

Инструкция по организации и производству работ повышенной опасности в строительно-монтажных организациях и на промышленных предприятиях Минэнерго СССР. М., Информэнерго, 1987.

Правила устройства и безопасной эксплуатации грузоподъемных кранов. М., «Металлургия», 1981.

Правила пожарной безопасности при производстве строительно-монтажных работ. М., Стройиздат, 1978.

ПРИЛОЖЕНИЕ 2

ПЕРЕЧЕНЬ ПРИЕМО-СДАТОЧНОЙ ДОКУМЕНТАЦИИ

1. Акт готовности опорных конструкций под установку трансформаторов тока.

2. Акт приемки трансформаторов тока в монтаж.

3. Протокол ревизии и монтажа трансформаторов тока.

Примечание. Образцы форм документации приведены в «Инструкции по оформлению приемодаточной документации по электромонтажным работам». ВСН 123-79 ММСС СССР.

ПРИЛОЖЕНИЕ 3

КРАТКАЯ ТЕХНИЧЕСКАЯ ХАРАКТЕРИСТИКА ТРАНСФОРМАТОРОВ ТОКА СЕРИИ ТФЗМ

(ОДНА ФАЗА)

Показатели

ТФЗМ 110 Б

ТФЗМ 150 Б

ТФЗМ 220 Б

ТФЗМ 500 Б

Номинальное напряжение, кВ

110

150

220

500

Масса масла, залитого в трансформатор, кг

125

330

850

1700

Масса трансформатора, заполненного маслом, кг (нетто)

485

1165

2380

4920

То же, в упаковке, кг (брутто)

550

1276

2818

5792х

Габариты (длина´ширина´высота), мм

660´670´1590

860´935´2240

1250´1250´3230

1880´1880´5930

х Приведена суммарная масса двух ступеней.

ПРИЛОЖЕНИЕ 4

КРАТКАЯ ТЕХНИЧЕСКАЯ ХАРАКТЕРИСТИКА ТРАНСФОРМАТОРОВ ТОКА СЕРИИ ТФРМ

(ОДНА ФАЗА)

Показатели

ТФРМ 330 Б

ТФРМ 500 Б

ТФРМ 750 А

Номинальное напряжение, кВ

330

500

750

Масса масла, залитого в трансформатор, кг

1020

1280

2040

Масса трансформатора, заполненного маслом, кг (нетто)

3070

5400

7350

То же, в упаковке, кг (брутто)

4470

8240

10550х

Габариты (длина ´ ширина ´ высота), мм

1872´1872´4820

2400´2400´6140

3000´3000´9265

х Приведена суммарная масса двух ступеней.

ПРИЛОЖЕНИЕ 5

КРИТЕРИИ ОТБРАКОВКИ И ВОССТАНОВИТЕЛЬНОГО РЕМОНТА ФАРФОРОВЫХ ПОКРЫШЕК ТРАНСФОРМАТОРОВ ТОКА

Тип изделия

Площадь отдельных дефектов, см2, не более

Общая площадь дефектов, см2, не более

ТФЗМ 110 Б

1,1

7,0

ТФЗМ 220 Б, ТФЗМ 500 Б

2,5

20,9

ТФЗМ 150 Б

1,7

13,2

ТФРМ 330 Б

2,4

20,1

ТФРМ 500 Б

3,8

34,2

ТФРМ 750 А, верхняя ступень

2,3

19,2

ТФРМ 750 А, нижняя ступень

2,7

22,8

Примечания: 1. Таблица составлена на основании заводской инструкции ВЛИЕ.25201.00002.

2. Допускаются сколы глубиной до 2 мм.

СОДЕРЖАНИЕ

1. Область применения. 1

2. Организация и технология выполнения работ. 6

3. Требования к качеству и приемке работ. 15

4. Калькуляции затрат труда, машинного времени, заработной платы.. 17

5. Графики производства работ. 28

6. Материально-технические ресурсы.. 31

7. Техника безопасности. 34

8. Технико-экономические показатели. 35

Приложение 1 Перечень технической и нормативной документации, используемой при монтаже. 35

Приложение 2 Перечень приемо-сдаточной документации. 36

Приложение 3 Краткая техническая характеристика трансформаторов тока серии тфзм.. 36

Приложение 4 Краткая техническая характеристика трансформаторов тока серии тфрм.. 36

Приложение 5 Критерии отбраковки и восстановительного ремонта фарфоровых покрышек трансформаторов тока. 37

 

 




ГОСТЫ, СТРОИТЕЛЬНЫЕ и ТЕХНИЧЕСКИЕ НОРМАТИВЫ.
Некоммерческая онлайн система, содержащая все Российские Госты, национальные Стандарты и нормативы.
В Системе содержится более 150000 файлов нормативно-технической документации, действующей на территории РФ.
Система предназначена для широкого круга инженерно-технических специалистов.

Рейтинг@Mail.ru Яндекс цитирования

Copyright © www.gostrf.com, 2008 - 2026