Крупнейшая бесплатная информационно-справочная система онлайн доступа к полному собранию технических нормативно-правовых актов РФ. Огромная база технических нормативов (более 150 тысяч документов) и полное собрание национальных стандартов, аутентичное официальной базе Госстандарта. GOSTRF.com - это более 1 Терабайта бесплатной технической информации для всех пользователей интернета. Все электронные копии представленных здесь документов могут распространяться без каких-либо ограничений. Поощряется распространение информации с этого сайта на любых других ресурсах. Каждый человек имеет право на неограниченный доступ к этим документам! Каждый человек имеет право на знание требований, изложенных в данных нормативно-правовых актах!

  


 

Открытое Акционерное Общество
Проектно-конструкторский и технологический
институт промышленного строительства
ОАО ПКТИпромстрой

Утверждаю

Генеральный директор

__________ _________ С.Ю. Едличка

(подпись)         (дата)

ТЕХНОЛОГИЧЕСКАЯ КАРТА
НА УСТРОЙСТВО КИРПИЧНЫХ ПЕРЕГОРОДОК

Главный инженер

__________ А.В. Колобов

подпись

Исполнитель

___________ Ю.А. Ярымов

подпись

Москва 1999 г.

Технологическая карта на устройство кирпичных перегородок содержит решения по организации и производству кирпичной кладки с целью, снижения затрат труда и повышения качества.

В технологической карте приведены:

- область применения;

- организация и технология строительного производства, где рассматриваются такие вопросы, как: способы доставки, разгрузки и складирования кирпича; технологическая последовательность работ; возведение перегородок в зимних условиях;

- требования к качеству и приемке работ;

- техника безопасности и охрана труда, экологическая и пожарная безопасность;

- материально-технические ресурсы;

- технико-экономические показатели.

Технологическая карта предназначена для инженерно-технических работников строительных и проектных организаций, а также производителей работ, мастеров и бригадиров, связанных с производством и контролем качества кирпичной кладки.

Технологическую карту разработали:

Ярымов Ю.А. - ответственный исполнитель;

Пахоменков Е.К. - консультант;

Обухова Л.В., Нечаева Е.С., Матвеев Д.А. - исполнители;

Бычковский Б.И. - нормоконтроль;

к.т.н. Шахпаронов В.В. - научно-методическое руководство;

к.т.н. Едличка С.Ю. - общее руководство.

Технологическая карта не заменяет ППР. (см. СНиП 3.01.01.-85*)

СОДЕРЖАНИЕ

1 ОБЛАСТЬ ПРИМЕНЕНИЯ

1.1 Настоящая технологическая карта предназначена для применения при устройстве кирпичных перегородок толщиной 1/4 и 1/2 кирпича, соответственно армированных и неармированных с использованием кирпича керамического полнотелого по ГОСТ 530-95, силикатного кирпича по ГОСТ 379-95, цементно-известкового раствора по ГОСТ 28013-98 под штукатурку.

(Измененная редакция).

1.2 Карта разработана в соответствии с руководством по разработке технологических карт в строительстве (ЦНИИОМТП 1998 г.).

1.3 Карта составлена с учетом требований СНиП 3.03.01-87 «Несущие и ограждающие конструкции» и ГОСТ 530-95 - кирпич керамический полнотелый, ГОСТ 28013-98 - цементно-известковый раствор, а также международного стандарта ИСО-9001 по управлению качеством и обеспечению качества проектно-технологической продукции в части соответствия требованиям нормативной документацией потребителя.

(Измененная редакция).

1.4 Карта содержит указания применительно к устройству кирпичных перегородок с использованием кирпича керамического полнотелого М-75 и цементно-известкового раствора М-25.

1.5 Материально-технические ресурсы, калькуляция затрат труда и машинного времени, материально-технические ресурсы приведены на укрупненный измеритель конечной продукции, - устройство кирпичной перегородки площадью 100 м2.

1.6 Привязка технологической карты к конкретным объектам и условиям производства работ состоит в уточнении объемов работ, данных потребности в трудовых и материально-технических ресурсах.

1.7 Карта предусматривает обращение ее в сфере информационных технологий с включением карты в базу знаний по технологии и организаций строительных процессов автоматизированного рабочего места (АРМ) проектировщика, подрядчика и заказчика.

2 ОРГАНИЗАЦИЯ И ТЕХНОЛОГИЯ СТРОИТЕЛЬНОГО ПРОЦЕССА

2.1 До начала работ по устройству кирпичных перегородок выполняются подготовительные работы:

- производится разметка перегородок;

- устанавливаются и проверяются подмости (для кладки второго яруса);

- доставляются на рабочее место необходимые материалы, инструмент и приспособления;

- устраивается освещение рабочего места (при необходимости).

2.2 Кирпич на объект доставляется пакетами в специально оборудованных бортовых машинах и хранится в клетках на поддонах. Не разрешается устанавливать поддоны с кирпичом друг на друга выше двух рядов.

Раствор доставляется авторастворовозами и подается к рабочему месту при помощи установки типа СО-126. Подача кирпича в рабочую зону осуществляется монтажным краном.

2.3 При производстве кирпичной кладки перегородок используются инвентарные подмости (рычажные подмости конструкции ЦНИИОМТП, инвентарные панельные подмости ОАО ПКТИпромстрой пр. 1214 или аналогичные).

2.4 Устройство перегородок из кирпича выполняется звеном каменщиков в составе:

каменщик 4 разряда - 1 человек;

каменщик 2 разряда - 1 человек.

2.5 Устройство кирпичных перегородок выполняется в следующей технологической последовательности:

- натягивается причальный шнур;

- расстилается раствор и раскладывается кирпич на перегородке;

- выполняется кирпичная кладка перегородок;

- проверяется правильность кладки.

Кирпичная кладка перегородок выполняется из цельного кирпича с перевязкой в 1/2 кирпича по длине рядов.

При устройстве кирпичных перегородок подмости периодически загружаются кирпичом, а ящик-контейнер - раствором.

При устройстве перегородок каменщик 4 разряда закрепляет и натягивает причальный шнур. Закончив кладку очередного ряда перегородки, каменщик 4 разряда ослабляет на порядовке фиксатор натяжения причального шнура. Затем, одной рукой поднимая хомутик, а другой, поддерживая порядовку, устанавливает хомутик на риске следующего ряда и закрепляет его винтом. Натянув шнур, проверяет его горизонтальность.

Каменщик 2 разряда раскладывает кирпичи на выложенной перегородке, вплотную один к другому, на расстоянии трех кирпичей от начала кладки, оставляя место для расстилки раствора. Так укладывает 6 кирпичей, после чего расстилает раствор. Перед подачей раствора на перегородку каменщик 2 разряда перелопачивает его в ящике до получения однородной массы. Затем лопатой подает раствор на перегородку и, поставив лопату наклонно на боковую грань, расстилает его грядкой шириной около 10 см, толщиной 2 - 2,5 см и длиной 75 см. После того как каменщик 4 разряда уложит 3 кирпича, каменщик 2 разряда укладывает раствор еще под 3 кирпича.

Каменщик 4 разряда ведет кладку вприсык. Сначала кельмой разравнивает раствор под 3 кирпича; затем, держа кирпич левой рукой в наклонном положении, тычковой гранью загребает часть разостланного раствора и двигает его к ранее уложенному кирпичу, создавая полный вертикальный шов. После этого выравнивает кирпич заподлицо с поверхностью перегородки, легкими ударами ручки кельмы осаживая кирпич до уровня причального шнура с тем, чтобы зазор между шнуром и кирпичом не превышал 1 - 2 мм. Выжатый на лицевую поверхность стены раствор подрезает кельмой и забрасывает в вертикальный шов кладки. Затем укладывает еще 3 кирпича на этом же участке.

2.6 Перегородки толщиной в 1/4 кирпича, для устойчивости, армируются в горизонтальных швах полосовым железом толщиной 1 мм или прутками стальной арматуры диаметром не более 6 мм не реже чем через 5 - 6 рядов. Толщина швов, в которых располагается арматура, должна превышать диаметр арматуры не менее чем на 4 мм. Перегородки толщиной в 1/2 кирпича выкладывают ложками. В местах сопряжения перегородок с капитальными стенами забивают стальные ерши или штыри. Раствор, применяемый для кладки перегородок должен соответствовать проекту.

2.7 При кладке перегородок особое внимание уделяется качеству заполнения швов раствором, правильности положения каждого кирпича, вертикальности кладки в целом.

Для улучшения качества кладки углов рекомендуется применять шаблоны из досок, оструганных с наружной и отфугованной с внутренней рабочей стороны.

В помещениях, где уже смонтированы перекрытия, шаблон устанавливается по отвесу враспор между полом и потолком. В процессе кладки угловые кирпичи укладываются вплотную к шаблону с перевязкой.

По ходу кладки устанавливается арматура, пробки для крепления дверных коробок, перемычки над проемами. Вертикальность и горизонтальность рядов кладки периодически проверяется при помощи отвеса, правила и уровня. Выравнивается кладка легким постукиванием молотком-кирочкой по правилу, приложенному с внешней стороны перегородок.

2.8 Работы по возведению кирпичных перегородок необходимо выполнять в соответствии с проектом.

Толщина горизонтальных швов кладки должна составлять 12 мм, вертикальных - 10 мм. При вынужденных разрывах кладку необходимо выполнять в виде наклонной или вертикальной штрабы.

При выполнении разрыва кладки вертикальной штрабой, в швы кладки штрабы следует заложить сетку (арматуру) из продольных стержней диаметром не более 6 мм, из поперечных стержней - не более 3 мм с расстоянием до 1,5 м по высоте кладки, а также в уровне каждого перекрытия.

Число продольных стержней арматуры принимается из расчета одного стержня на каждые 12 см толщины стены, но не менее двух при толщине стены 12 см.

2.9 При армированной кладке необходимо соблюдать следующие требования:

- толщина швов в армированной кладке должна превышать сумму диаметров пересекающейся арматуры не менее чем на 4 мм при толщине шва не более 16 мм;

- при поперечном армировании простенков стенки следует изготовлять и укладывать так, чтобы было не менее двух арматурных стержней (из которых сделана сетка), выступающих на 2 - 3 мм на внутреннюю поверхность простенка;

- при продольном армировании кладки стальные стержни арматуры по длине следует соединять между собой сваркой;

- при устройстве стыков арматуры без сварки концы гладких стержней должны заканчиваться крюками и связываться проволокой с перехлестом стержней на 20 диаметров.

2.10 Производство работ в зимних условиях.

При производстве работ в зимних условиях следует руководствоваться следующими указаниями.

2.10.1 Кладку кирпичных перегородок в зимних условиях рекомендуется выполнять на цементных, цементно-известковых и цементно-глинистых растворах.

Состав строительного раствора заданной марки для зимних работ, подвижность раствора и сроки сохранения подвижности устанавливает предварительно строительная лаборатория.

Возведение перегородок следует выполнять равномерно, не допускается разрывов по высоте более чем на 1/2 этажа.

При кладке глухих участков перегородок и углов разрывы допускаются высотой не более 1/2 этажа и выполняются штрабой.

Не допускается при перерывах в работе укладывать раствор на верхний ряд кладки. Для предохранения от обледенения и заноса снегом на время перерыва в работе верх кладки следует накрывать.

2.10.2 Конструкции перегородок из кирпича в зимних условиях допускается возводить следующими способами:

- противоморозными добавками на растворах не ниже марки М50;

- на обыкновенных (без противоморозных добавок) растворах с последующим своевременным упрочнением кладки прогревом;

- способом замораживания на обыкновенных (без противоморозных добавок) растворах не ниже марки 10 при условии обеспечения достаточной несущей способности конструкций в период оттаивания (при нулевой прочности раствора).

2.10.3 Применение растворов с противоморозными добавками для конкретного вида каменных конструкций должно быть согласовано с проектной организацией.

Кладку на растворах с химическими добавками ведут на открытом воздухе так же, как и кладку способом замораживания на обычных подогретых растворах, но с обязательным соблюдением требований специальных инструкций.

Растворная смесь с химическими добавками в момент укладки должна иметь температуру не ниже 5 °С. Замерзший, а затем отогретый горячей водой раствор использовать запрещается.

2.10.4 Кладку способом прогрева конструкций необходимо выполнять с соблюдением следующих требований:

- утепленная часть сооружения должна оборудоваться вентиляцией, обеспечивающей влажность воздуха в период прогрева не более 70 %;

- нагружение прогретой кладки допускается только после контрольных испытаний и установления требуемой прочности раствора отогретой кладки;

- температура внутри прогреваемой части здания в наиболее охлажденных местах - у наружных стен на высоте 0,5 м от пола - должна быть не ниже 10 °С.

Глубина оттаивания кладки, продолжительность оттаивания, прочность растворов, твердеющих при различных температурах, принимается в соответствии с СНиП 3.03.01-87.

2.10.5 При кладке способом замораживания растворов (без противоморозных добавок) необходимо соблюдать следующие требования:

- выполнять работы следует одновременно по всей захватке;

- во избежание замерзания раствора его следует укладывать не более чем на два смежных кирпича при выполнении версты;

- на рабочем месте каменщика допускается запас раствора не более чем на 30 - 40 мин. Ящик для раствора необходимо утеплять или подогревать. Использование замерзшего или отогретого горячей водой раствора не допускается.

При устройстве перегородок, кладка которых выполнена способом замораживания, следует учитывать величину осадки кладки, а вместе с ней и перекрытий во время оттепели. Просветы, оставляемые под потолком, должны быть в два раза больше величины осадки стен, опираемой в пределах данного этажа.

Температура раствора в момент его укладки должна соответствовать следующим показателям, приведенным в таблице 1.

Таблица 1

Среднесуточная температура наружного воздуха

Положительная температура раствора, °С, на рабочем месте для кладки стен из кирпича

При скорости ветра, м/с

до 6

свыше 6

до минус 10

5

10

от минус 11 до минус 20

10

15

ниже минус 20

15

20

Перед наступлением оттепели, до начала оттаивания кладки, следует предусмотреть мероприятия по разгрузке, временному креплению или усилению перенапряженному ее участков. С перекрытий необходимо удалить случайные нагрузки.

3 ТРЕБОВАНИЯ К КАЧЕСТВУ И ПРИЕМКЕ РАБОТ

3.1 Контроль качества работ по устройству перегородок должен осуществляться специальными службами, создаваемыми в строительной организации и оснащенными техническими средствами, обеспечивающими необходимую достоверность и полноту контроля.

3.2 Контроль качества работ должен включать входной контроль рабочей документации, конструкций, материалов и оборудования; операционный контроль производства работ по устройству перегородок и приемочный контроль качества перегородок.

3.3 Входной контроль

3.3.1 Предприятие-изготовитель обязано сопровождать партию кирпича документом, удовлетворяющим качество, в котором указывается:

- номер и дата выдачи документа;

- наименование и адрес предприятия-изготовителя;

- наименование и условия обозначения продукции;

- номер партии и количество отгружаемой продукции;

- данные о результатах испытаний по водопоглащению;

- обозначение стандарта на кирпич.

Не менее 20 % кирпича в партии должны иметь на одной из граней оттиск-клеймо предприятия-изготовителя.

3.3.2 Отклонения от установленных размеров и показателей внешнего вида кирпича не должны превышать на одном изделии (ГОСТ 530-95):

а) Отклонения от размеров, мм:

- по длине ±5

- по ширине ±4

- по толщине ±3

б) Непрямолинейность ребер и граней кирпича, мм, не более:

- по постели 3

- по ложку 4

в) Отбитости углов глубиной от 10 до 15 мм.

г) Отбитости и притупленности ребер, не доходящие до пустот, глубиной более 5 мм, длиной по ребру от 10 до 15 мм.

д) Трещины протяженностью по постели полнотелого кирпича до 30 мм на всю толщину, шт.:

на ложковых гранях 1

на тычковых гранях 1

3.3.3 Общее количество кирпича с отбитостями,; превышающими допускаемые в п.п. 3.3.2. настоящей кары, должно быть не более 5 %

Количество половняка в партии должно быть не более 5 %.

3.4 Операционный контроль качества работ по устройству перегородок выполняют в соответствии с требованиями СНиП 3.03.01-87 «Несущие и ограждающие конструкции».

3.4.1 Вертикальность граней и углов кладки, горизонтальность ее рядов необходимо проверять по ходу выполнения кладки (через 0,5 - 0,6 м) с устранением обнаруженных отклонений в пределах яруса.

3.4.2 Отклонения в размерах и положении конструкции перегородки от проектных не должны превышать:

Толщина конструкций                                                                 ±15 мм

Ширина проемов                                                                         ±15 мм

Смещение осей конструкции от разбивочных осей                 10 мм

Отклонение поверхности и углов

Кладки от вертикали на один этаж                                            10 мм

Толщина швов в кладке:

горизонтальных                                                                           -2;+3 мм

вертикальных                                                                               -2;+2 мм

Неровности на вертикальной поверхности кладки,

обнаруженные при накладывании нитки длиной 2 м             10 мм

3.5 Приемку выполненных работ по возведению кирпичных перегородок необходимо производить до оштукатуривания их поверхностей.

3.5.1 Элементы каменных конструкций, скрытых в процессе производства строительно-монтажных работ, следует принимать по документам, удостоверяющим их соответствие проекту и нормативно-технической документации.

3.5.2 При приемке законченной перегородки необходимо поверять:

- правильность перевязки шов, их толщину и заполнение, а также горизонтальность рядов кладки;

- геометрические размеры и положение.

3.5.3 Перечень технологических процессов, подлежащих контролю, с указанием предмета контроля, способа и инструмента контроля, время проведения контроля, ответственного за контроль, технических критериев оценки качества приводятся в таблице 2.

Перечень технологических процессов, подлежащих контролю

Таблица 2

№ п/п

Наименование технологических процессов, подлежащих контролю

Предмет контроля

Способ контроля

Время проведения контроля

Ответственный за контроль

Технические характеристики, оценки качества

1

2

3

4

5

6

7

1

Устройство кирпичной перегородки

толщина перегородки

измерительный, журнал работ

линейка 150

ГОСТ 427-75

рулетка

ГОСТ 7502-89*

в процессе производства работ

мастер, прораб

+15 мм

толщина швов

измерительный, журнал работ

линейка 150

ГОСТ 427-75

горизонтальн.

вертикальн.

в процессе производства работ

мастер, прораб

-2; +3

не более 10 мм

-2; +2

смешение осей перегородок от разбивочных осей

измерительный

исполнительная схема

рулетка

ГОСТ 7502-89*

в процессе производства работ

мастер, прораб

10 мм

отклонение поверхности и углов кладки на один этаж

измерительный

геодезическая исполнительная схема

в процессе производства работ

мастер, прораб

10 мм

отклонения рядов кладки от горизонтали на 10 м длины

технический осмотр, геодезическая исполнительная схема

в процессе производства работ

мастер, прораб

15 мм

неровности вертикальной поверхности кладки при накладывании и рейки длиной 2 м

технический осмотр, журнал работ

в процессе производства работ

мастер, прораб

10 мм

4 ТЕХНИКА БЕЗОПАСНОСТИ И ОХРАНА ТРУДА, ЭКОЛОГИЧЕСКАЯ И ПОЖАРНАЯ БЕЗОПАСНОСТЬ

4.1 Работы по устройству кирпичных перегородок необходимо вести в соответствии с требованиями СНиП III-4-80* «Техника безопасности в строительстве».

4.2 Допуск рабочих к выполнению кирпичной кладки с подмостей разрешается после осмотра прорабом или мастером совместно с бригадиром исправности несущих конструкций подмостей.

4.3 Поддоны, контейнеры и грузозахватные средства должны исключать падение груза при подъеме.

4.4 Подмости нельзя перегружать материалами сверх установленной расчетной нагрузки. Материалы укладываются таким образом, чтобы они не мешали проходу рабочих. Между штабелями материалов и стеной оставляют рабочий проход шириной не менее 60 см. Зазор между стеной и рабочим настилом подмостей не должен превышать 5 см.

Все настилы подмостей высотой более 1,3 м ограждаются перилами высотой не менее 1 м. Для подъема рабочих на подмости устанавливаются стремянки с перилами.

За состоянием всех конструкций подмостей устанавливается систематическое наблюдение. Ежедневно после окончания работы подмости очищаются от мусора. Состояние подмостей ежедневно перед началом смены проверяются мастером и бригадиром.

Кладку нового яруса стен выполняют так, чтобы уровень ее после каждого перемащивания подмостей находился на 15 см выше настила. Необходимо следить, чтобы материалы и инструмент не оставлялись на стенах во время перерывов.

4.5 Рабочие, занятые на устройстве кирпичной кладки, должны быть обеспечены спецодеждой, спецобувью и другими средствами индивидуальной защиты в количестве не менее установленных норм.

4.6 На местах производства работ должны быть питьевая вода и аптечка для оказания первой медицинской помощи.

4.7 Места производства работ должны быть обеспечены первичными средствами пожаротушения в соответствии с Правилами пожарной безопасности Р.Ф.

На объекте должно быть назначено лицо, ответственное за сохранность и готовность к действию первичных средств пожаротушения.

Все работники должны уметь пользоваться первичными средствами пожаротушения.

4.8 Перед началом работ территория строительства объекта должна быть подготовлена с определением мест установки бытовых помещений, мест складирования материалов и контейнеров для сбора мусора.

Проходы и подступы к эвакуационным выходам должны быть всегда свободны.

Весь строительный мусор должен удаляться в специально подготовленные контейнеры. Не допускается сбрасывать его без специальных устройств.

4.9 В период естественного оттаивания и твердения раствора в каменных конструкциях, выполненных методом замораживания, следует устанавливать постоянные наблюдения за ними.

Пребывание в здании лиц, не участвующих в мероприятиях по обеспечению устойчивости конструкций, не допускается.

5 МАТЕРИАЛЬНО-ТЕХНИЧЕСКИЕ РЕСУРСЫ

5.1 Потребность в основных материалах, необходимых для устройства кирпичных перегородок армированных толщиной в 1/4 кирпича и неармированных толщиной в 1/2 кирпича определяется на основании «Нормативных показателей расхода материалов» и приведена в таблице 3.

Таблица 3

№ п/п

Наименование материалов

Ед. изм.

Исходные данные

Потребность на 100 м2

обоснование норм расхода

единица измерения по норме

объем работ в нормативных единицах

норма расхода

Перегородки толщиной в 1/2 кирпича неармированные

1

Кирпич керамический полнотелый 250´120´65 мм

ГОСТ 530-95

1000 шт.

Е8-7.3

100 м2 перегородок за вычетом проемов

1

5,0

5,0

2

Раствор цементно-известковый

ГОСТ 28013-98

м3

Е8-7.3

100 м2 перегородок за вычетом проемов

1

2,27

2,27

Перегородки толщиной в 1/4 кирпича армированные

3

Кирпич керамический полнотелый 250´120´65 мм

ГОСТ 530-95

1000 шт.

Е8-7.1

100 м2 перегородок за вычетом проемов

1

2,7

2,7

4

Раствор цементно-известковый

ГОСТ 28013-98

м3

Е8-7.1

100 м2 перегородок за вычетом проемов

1

0,77

0,77

5

Сталь арматурная горячекатанная гладкая

кл. А1 d = 10 мм

кг

Е8-7.1

100 м2 перегородок за вычетом проемов

1

60,0

60,0

(Измененная редакция).

5.2. Потребность в машинах, оборудовании, инструменте, инвентаре, и приспособлениях приведены в таблице 4.

Таблица 4

Наименование

Тип, марка, ГОСТ

Кол-во

Техническая характеристика

1

2

3

4

Машина для подачи растворов

СО-126

1

Производительность 2,5 м3

Компрессор

КС-9

1

Производительность 9 м3/мин

Футляр траверсный

Карачаровский мех. з-д

проект № Р408Б

1

Грузоподъемность 1,5 т

Поддон с металлическими крючьями

ГОСТ 18343-80

8

 

Подмости для кирпичной кладки

проект 1214 ПКТИпромстрой

или рычажные конструкции ЦНИИОМТП

пр. 2170.00.00

2

Допускаемая нагрузка 350 кгс/м2 5300´2500´1000 мм

Допустимая нагрузка 300 кг/м2

Строп 4-х ветвевой

СКБ Мосстрой длиной 5000 мм

1

Масса 45 кг

Строп 4-х ветвевой

СКБ Мосстрой длиной 6000 мм

1

Масса 116 кг

Строп кольцевой

СКБ Мосстрой длиной 2000 мм

2

Масса 2,92 кг

Кельма для каменных работ

ГОСТ 9533-81

2

Масса 0,34 кг

Молоток-кирочка

ГОСТ 11042-90 МКИ

2

Масса 0,5 кг

Лопата растворная

ГОСТ 19596-87*

2

Масса 2 кг

Отвес строительный

ОТ-400

ГОСТ 7948-80

1

Масса 0,4 кг

Рейка порядовка

Р.ч. 3293.09.000 ЦНИИОМТП

2

Масса 3,5 кг

Ящик-контейнер

Р.ч. 3241.42.000 ЦНИИОМТП

2

Вместимость 0,09 м3

Уровень строительный

УС 1-300

ГОСТ 9416-83

1

Масса 0,12 кг

Правило

ГОСТ 25782-90

1

2000´50´30

Шнур причальный

Покупное изделие

1

Длина 30 м

Рулетка металлическая

3ПК-30-АНТ/1

ГОСТ 7502-98

2

Длина 30 м

Линейка измерительная металлическая

ГОСТ 427-75*

:2

Длиной 1м

Лом монтажный

ЛМ-24

1

Масса 4 кг

Угольник для каменных работ

 

1

 

Каска строительная

ГОСТ 12.4.087-84

4

 

Стремянка

Р.ч. 118.06.000

птиомэс

1

Масса 16,4 кг

(Измененная редакция).

6 ТЕХНИКО-ЭКОНОМИЧЕСКИЕ ПОКАЗАТЕЛИ

6.1 Трудоемкость выполнения работ определена в калькуляции трудовых затрат и приведена в таблице 5.

Таблица 5

Обоснование (ЕНиР)

Наименование работ

Ед. изм.

Объем работ

Норма времени на ед. измер. чел.-ч

Затраты труда на 100 м2 чел.-ч

§ Е3-12, т. 1 № 1 (примеч. 5 0,53 + 0,2)

Устройство кирпичных армированных перегородок толщиной в 1/4 кирпича.

м2

100

0,73

73,0

§ Е3-12, т. 1 № 3

Устройство кирпичных неармированных перегородок толщиной в 1/2 кирпича

м2

100

0,51

51,0

§ Е1-9, т. 1

Разгрузка кирпича в пакетах с автомашин башенным краном

1 пакет

12

0,28

(0,14)

3,36

(1,68)

§ Е1-10, т. 1 № 2

Подача кирпича к рабочему месту

1000 шт.

7,7

0,58

(0,29)

4,46

(2,23)

§ Е3-20, т. 2 № 1

Установка и перестановка инвентарных подмостей

10 м3 кладки

1,85

1,44

(0,48)

2,66

(0,89)

§ Е8-1-13, т. 2 № 2

Подача раствора в бункер на этаж с помощью растворонасоса

м3

3,04

1,6

(0,8)

4,86

(2,43)

 

ИТОГО:

 

 

 

139,34

(7,23)

В скобках приведены затраты времени машиниста башенного крана и растворонасоса.

6.2 Основные технико-экономические показатели.

Объем работ:

армированные кирпичные перегородки, м2                           100

неармированные кирпичные перегородки, м2                       100

Затраты труда на весь объем работ, чел.ч                                            139,34

Затраты машинного времени на весь объем работ, маш./ч                7,23

Выработка на одного рабочего в смену, м2                                          11,48

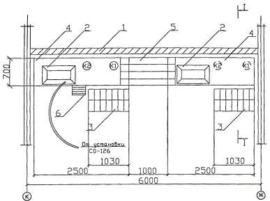
1 - перегородка

2 - ящик с раствором

3 - кирпич, уложенный в «елочку»

4 - инвентарные подмости

5 - деревянный настил

6 - стремянка

 - каменщик 4 разряда, - каменщик 2 разряда

РАЗРЕЗ 1 - 1

Рис. 1

Схема организации рабочего места каменщика

1 - шаблон

2 - перегородка

Рис. 2 Шаблон для кладки перегородок

 




ГОСТЫ, СТРОИТЕЛЬНЫЕ и ТЕХНИЧЕСКИЕ НОРМАТИВЫ.
Некоммерческая онлайн система, содержащая все Российские Госты, национальные Стандарты и нормативы.
В Системе содержится более 150000 файлов нормативно-технической документации, действующей на территории РФ.
Система предназначена для широкого круга инженерно-технических специалистов.

Рейтинг@Mail.ru Яндекс цитирования

Copyright © www.gostrf.com, 2008 - 2026