Крупнейшая бесплатная информационно-справочная система онлайн доступа к полному собранию технических нормативно-правовых актов РФ. Огромная база технических нормативов (более 150 тысяч документов) и полное собрание национальных стандартов, аутентичное официальной базе Госстандарта. GOSTRF.com - это более 1 Терабайта бесплатной технической информации для всех пользователей интернета. Все электронные копии представленных здесь документов могут распространяться без каких-либо ограничений. Поощряется распространение информации с этого сайта на любых других ресурсах. Каждый человек имеет право на неограниченный доступ к этим документам! Каждый человек имеет право на знание требований, изложенных в данных нормативно-правовых актах!

  


 

ПРАВИТЕЛЬСТВО МОСКВЫ

КОМПЛЕКС АРХИТЕКТУРЫ, СТРОИТЕЛЬСТВА,
РАЗВИТИЯ И РЕКОНСТРУКЦИИ ГОРОДА

ГУП «НИИМосстрой»

ТЕХНИЧЕСКИЕ РЕКОМЕНДАЦИИ
по монтажу гибких водопроводных
подводок из металлополимерных труб
в санитарно-технических кабинах

ТР 119-01

Москва - 2004

Настоящие Технические рекомендации (окончательная редакция) разработаны ГУП «НИИМосстрой» по заданию Управления экономической, научно-технической и промышленной политики в строительной отрасли (договор № 2-30/01 от 08.01.01).

Разработке окончательной редакции Технических рекомендаций (ТР) предшествовал анализ нормативно-технической документации на изготовление металлополимерных труб: ОАО «Сантехпром» (ТУ 2248-006-03989804-99 и ТУ 2248-005-07629379-98), АООТ «НПО Пластик» (ТУ 2248-036-00203536-97 с изм.) и ЗАО «Трубметаллкомплект» (ТУ 4951-001-44414010-97) и рабочей документации на санитарно-технические кабины УК МНИИТЭП, а также опыта монтажа водопроводных подводок из металлополимерных труб в санитарно-технических кабинах Хорошевского завода ЖБИ ДСК-1 и разработка 1-ой редакции ТР.

1-ая редакция ТР была рассмотрена ОАО «Сантехпром», МНИИТЭП и ДСК-1. Замечания указанных организаций учтены ГУП «НИИМосстрой» при подготовке окончательной редакции ТР.

Настоящие Технические рекомендации согласованны: МНИИТЭП, ОАО «Сантехпром», ДСК-1.

В разработке ТР участвовали: зав. лабораторией инженерного оборудования ГУП «НИИМосстрой» к.т.н. А.В. Сладков, научный сотрудник Н.В. Митрофанова.

Правительство Москвы

Комплекс архитектуры, строительства, развития и реконструкции города

Технические Рекомендации по монтажу гибких водопроводных подводок из металлополимерных труб в санитарно-технических кабинах

ТР-119-01

1. ОБЩАЯ ЧАСТЬ

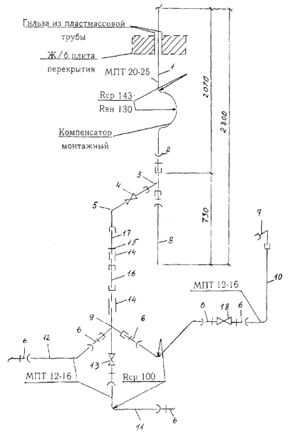
1.1. Настоящие Технические рекомендации распространяются на монтаж распределительных трубопроводов холодной и горячей воды из металлополимерных труб в санитарно-технических кабинах марок УК (УК-4), изготовленных Хорошевским кабиностроительным заводом ЖБИ ДСК-1. Схемы расположения трубопроводов холодной и горячей воды в сантехкабине марки УК-4 приведены на рис. 1, 2.

1.2. При монтаже водопроводных подводок из металлополимерных труб в санитарно-технических кабинах следует учитывать общие требования: СНиП 2.04.01-85* «Внутренний водопровод и канализация зданий» и СНиП 3.05.01-85 «Внутренние санитарно-технические системы» и СП 40-103-98 «Проектирование и монтаж трубопроводов холодного и горячего внутреннего водоснабжения с использованием металлополимерных труб», а также ТР 78-98 по проектированию и монтажу внутреннего водопровода зданий из металлополимерных труб.

1.3. Для монтажа водопроводных подводок рекомендуется использовать металлополимерные трубы производства ОАО «Сантехпром», изготовленные по ТУ 2248-006-03989804-99 «Трубы металлополимерные» и производства ООО «МПТПластик-Р», изготовленные по ТУ 2248-036-00203536-97 (изм. № 1 от 28.07.00) «Трубы многослойные металлополимерные».

РАЗРАБОТАНЫ:

ГУП «НИИМосстрой»

ВНЕСЕНЫ:

Управлением экономической, научно-технической и промышленной политики в строительной отрасли

УТВЕРЖДЕНЫ:

Начальник Управления экономической, научно-технической и промышленной политики в строительной отрасли

Дата введения в действие:

_________________ А.И. Воронин

«___» ___________ 2001 г.

«___» ______ 2001 г.

1.4. Для монтажа водопроводных подводок рекомендуется применять металлополимерные трубы наружным диаметром 16 мм. Размеры и масса труб приведены в таблице 1.

Рис. 1. Схема холодного водоснабжения из МПТ:

1 - подающий стояк МПТ; 2, 6 - ниппель; 3 - тройник переходный ч.к.; 4 - 13 - вентиль запорный муфтовый; 5 - угольник Н-В; 7 - угольник установочный Н-В; 8 - труба МПТ; 9 - коллектор латунный; 10 - подводка МПТ к смесителю ванны; 11 - подводка МПТ к смывному бачку унитаза; 12 - подводка МПТ к смесителю мойки; 14 - муфта короткая; 15 - контргайка; 16, 17 - вставки под счетчик расхода воды и РД; 18 - кран со шлангом (квартирное первичное устройство пожаротушения по СНиП 2.08.01-89, изм. № 4)

Рис. 2. Схема горячего водоснабжения из МПТ:

1 - подающий стояк МПТ; 2, 8 - ниппель; 3 - полотенцесушитель; 4 - труба МПТ; 5 - тройник переходный ч.к.; 6 - угольник Н-В; 7 - вентиль запорный муфтовый; 9 - тройник ч.к.; 10 - угольник установочный Н-В; 11 - труба МПТ; 12 - подводка МПТ к кухонной мойки; 13 - подводка МПТ к смесителю ванны и умывальника; 14 - муфта короткая; 15 - контргайка; 16, 17 - вставки под счетчик расхода воды и РД.

Таблица 1

Размеры и масса металлополимерных труб для водопроводных подводок

Размеры в мм

№ ТУ

Диаметр

Общая минимальная толщина стенки

Ориентировочная масса 1 м, кг

наружный

внутренний

номинал.

предел. отклон.

номинал.

предел, отклон.

ТУ 2248-006-03989804-99

16

+0,2

12

-0,1

+0,2

2,0

0,10

ТУ 2248-036-00203536-97

16

+0,15

12

-0,2

2,0

0,105

1.5. Металлополимерные трубы наружным диаметром 16 мм обладают следующими основными показателями свойств, приведенными в таблице 2.

Таблица 2

Основные показатели свойств металлополимерных труб наружным диаметром 16 мм

№№ пп

Наименование показателя свойств, ед. изм

ТУ 2248-006-03989804-99

ТУ 2248-036-00203536-97

1.

Разрушающая нагрузка при испытании кольцевого образца на растяжение, Н, не менее

2000

2500

2.

Стойкость при постоянном внутреннем давлении при температуре 95 °С, ч, не менее

под давлением

1,8 МПа

1,0

под давлением

1,6 МПа

165

под давлением

1,9 МПа

1,0

под давлением

2,0 МПа

1000

3.

Коэффициент линейного температурного расширения 1/°С (´10-5)

2,5

2,5

1.6. При использовании водопроводных подводок из металлополимерных труб рекомендуется применять в сантехкабинах (до подводок) регуляторы давления не допускающие превышения рабочего давления: холодной воды более 1,0 МПа, горячей воды более 0,8 МПа.

1.7. Для подводок холодной и горячей воды рекомендуется использовать идентичные металлополимерные трубы, подвергнутые на заводе-изготовителе «сшивке» до степени не менее 60 %.

1.8. Расчетный срок службы водопроводных подводок холодной воды должен составлять не менее 50 лет, горячей воды - не менее 25 лет.

1.9. Металлополимерные трубы и соединительные детали из латуни должны иметь и гигиенические заключения аккредитованных органов Минздрава РФ и сертификаты соответствия системы «Мосстройсертификация».

2. ТРАНСПОРТИРОВКА И ХРАНЕНИЕ МЕТАЛЛОПОЛИМЕРНЫХ ТРУБ И СОЕДИНИТЕЛЬНЫХ ДЕТАЛЕЙ ИЗ ЛАТУНИ

2.1. Металлополимерные трубы диаметром 16 мм для монтажа подводок в сантехкабинах рекомендуется поставлять в бухтах общей длиной до 200 м, упакованных в полиэтиленовую пленку.

Допускается поставка размерных трубных заготовок с разъемными соединительными деталями на их концах.

2.2. Соединительные детали из латуни для монтажа подводок из металлополимерных труб рекомендуется поставлять упакованными в картонные коробки.

2.3. Металлополимерные трубы в бухтах рекомендуется хранить до монтажа подводок в закрытых отапливаемых помещениях в штабелях высотой до 2 м.

2.4. Условия хранения металлополимерных труб должны исключать возможность механического повреждения труб.

3. ВХОДНОЙ КОНТРОЛЬ КАЧЕСТВА МЕТАЛЛОПОЛИМЕРНЫХ ТРУБ И СОЕДИНИТЕЛЬНЫХ ДЕТАЛЕЙ ПЕРЕД МОНТАЖОМ ВОДОПРОВОДНЫХ ПОДВОДОК

3.1. Перед монтажом водопроводных подводок металлополимерные трубы и соединительные детали из латуни рекомендуется произвести входной контроль качества.

3.2. Входной контроль качества должен включать:

- проверку наличия сопроводительной документации;

- осмотр внешнего вида труб;

- проверку наличия маркировки;

- проверку внутреннего диаметра металлополимерных труб и трубной резьбы латунных соединительных деталей.

3.3. Проверка наличия сопроводительной документации включает сравнение данных паспорта-сертификата техническим условиям завода-изготовителя.

3.4. Осмотр внешнего вида металлополимерных труб включает осмотр наружной и внутренней их поверхности, которые должны быть гладкими, без отсутствия пузырей, трещин, раковин, посторонних включений.

Осмотр внешнего вида латунных соединительных деталей включает осмотр поверхностей деталей, которые не должны иметь трещин, раковин и срывов резьбы.

3.5. Проверка наличия маркировки металлополимерных труб включает установление маркировки завода-изготовителя соответствующим техническим условиям.

3.6. Проверку внутреннего диаметра металлополимерных труб наружным диаметром 16 мм рекомендуется проводить калибрами размерами: проходной - 11,8 ± 0,035 мм, непроходной - 12 ± 0,035 мм.

3.7. Проверку наружной и внутренней резьбы латунных соединительных деталей рекомендуется проводить типовыми резьбовыми калибрами.

4. МОНТАЖ ВОДОПРОВОДНЫХ ПОДВОДОК В САНТЕХКАБИНАХ

4.1. При монтаже водопроводных подводок из металлополимерных труб основной технологической операцией является соединение труб между собой и присоединение к запорной, регулирующей и водоразборной арматуре.

4.2. Сборка узлов соединений на трубах может осуществляться как в условиях трубозаготовительного предприятия, так и на кабиностроительном заводе в соответствии с действующими ТУ на изготовление водопроводных трубозаготовок из МПТ.

4.3. Стальные резьбовые патрубки, предназначенные для соединения с МПТ, должны быть отторцованы.

4.4. Перед сборкой узлов соединений на МПТ необходимо выполнить следующие подготовительные операции:

- отобрать трубы и соединительные детали из числа прошедших входной контроль,

- на теле трубы цветным карандашом нанести метки в соответствии с проектом с учетом припуска на последующую обработку и температурные изменения длины;

- трубу разрезать по метке специальными ножницами (рис. 3), без снятия и образования заусенцев. Отклонение плоскости реза не должно превышать 5°;

- трубу можно вручную изгибать на разные углы. Радиус изгиба трубы равен 5 наружным диаметрам, при этом сечение в изгибе остается постоянным.

Для предохранения искажения геометрии внутреннего сечения трубы при изгибах с минимальным радиусом используются внутренняя (рис. 4, а) и наружная (рис. 4, б) пружины. Труба после ее сгибания сохраняет приданную ей форму.

Рис. 3. Специальные ножницы для отрезания металлополимерных труб.

а)                                                     б)

Рис. 4. Приспособление для сгибания металлополимерных труб:

а) пружина для сгибания внутренняя;

б) пружина для сгибания наружная.

4.5. Сборка узлов соединений на металлополимерных трубах:

Узел с накидной гайкой, ниппелем и обжимной втулкой (рис. 5):

- после отрезки для восстановления геометрии трубы в нее вставляется развертка коротким концом с расширителем и, вращая оправку, вводят ее в трубу до упора. Затем, провернув развертку несколько раз по часовой стрелке, снимают фаску на внутреннем диаметре торца трубы;

- для удаления возможных заусенцев при резке трубы и формирования фаски, развертку вставляют в трубу другим ее концом до упора, проворачивая развертку по часовой стрелке. Затем развертку удаляют из трубы, слегка проворачивая ее в том же направлении;

- на подготовленный торец трубы надевают накидную гайку, сдвигают ее на 15 - 20 мм от края к середине трубозаготовки, обжимную втулку, затем вставляют ниппель;

- гайка сдвигается к концу трубы и втулка совмещается с гайкой.

Узел с накидной гайкой, обжимной втулкой и ниппелем переходным (рис. 6):

- окружность торца трубы необходимо откалибровать, чтобы она приобрела правильную форму;

- на внутреннем срезе трубы с помощью развертки делается фаска;

- надевается гайка и обжимная втулка на трубу;

- вводится переходный ниппель внутрь трубы с усилием, обеспечивающим ее контакт с внутренней поверхностью задней стенки ниппеля;

- гайка сдвигается к концу трубы и совмещается с обжимной втулкой.

4.6. Работы по монтажу систем внутреннего водопровода из металлополимерных труб должны выполняться специально обученным техническим персоналом, ознакомленным со свойствами металлополимерных труб.

4.7. При монтаже трубы необходимо оберегать от механических повреждений.

4.8. Металлические элементы систем (резьбовые патрубки, угольники, соединительные муфты, тройники, запорная арматура и др.) соединяются между собой с помощью резьбовых соединений, уплотняемых традиционными методами.

4.9. На вводе в квартиру на подающих стояках холодного и горячего водоснабжения устанавливаются латунные тройники, от которых осуществляется разводка по квартире.

После тройника на стояках холодного и горячего водоснабжения устанавливаются запорный вентиль и две вставки из стальных оцинкованных труб диаметром 15 и 20 мм, длиной соответственно 195 мм и 80 мм, которые в построечных условиях заменяются под счетчики расхода воды и регуляторы давления.

После регуляторов давления устанавливаются латунные коллекторы с тремя отводящими штуцерами.

Коллектор служит для присоединения к подающему стояку всех видов водоразборной арматуры (смесителей ванн, умывальников, кухонных моек, смывных бачков унитазов и др.).

Рис. 5. Соединение МПТ с накидной гайкой, ниппелем и обжимной втулкой.

1 - резиновые кольца; 2 - накидная гайка; 3 - обжимная втулка; 4 - металлополимерная труба

а)

б)

Рис. 6. Последовательность сборки узла с накидной гайкой, ниппелем и обжимной втулкой:

а) введение переходного ниппеля внутрь трубы с усилием, обеспечивающим ее контакт с внутренней поверхностью задней стенки ниппеля;

б) гайка сдвигается к концу трубы и совмещается с обжимной муфтой.

4.10. Подсоединение подводок из МПТ следует осуществлять после окончания работ по монтажу подающих стояков систем водоснабжения и санитарных приборов.

4.11. При монтаже подводки из МПТ следует сначала присоединить к латунному коллектору, а затем к штуцерам водоразборной арматуры.

4.12. Сборку соединений следует производить вручную до упора с доверткой накидных гаек ключом на 0,5 - 1 оборот.

4.13. При обнаружении течи в соединениях следует после гидравлических испытаний подтянуть накидные гайки или сменить резиновые прокладки.

4.14. Подсоединение подводок из МПТ к настенному смесителю ванны и умывальника, к штуцеру смывного бачка унитаза осуществляется кабиностроительным заводом, а к смесителю кухонной мойки в построечных условиях.

4.15. При монтаже подводок необходимо исключить их перегибы и кручение. При изгибах следует пользоваться специальными пружинами. При изгибании не допускаются сплющивание и залом трубы.

4.16. Подводки следует крепить к строительным конструкциям с помощью крепежных хомутов и скоб с резиновыми прокладками.

4.17. Между трубопроводами холодной и горячей воды расстояние в свету должно быть не менее 25 мм (с учетом толщины теплоизоляции).

При пересечении трубопроводов расстояние между ними должно быть не менее 30 мм.

Трубопровод холодного водопровода следует прокладывать ниже трубопровода горячего водопровода.

4.18. Водопроводные подводки из металлополимерных труб, смонтированные в санитарно-технических кабинах должны быть испытаны на прочность и герметичность гидравлическим давлением.

Испытаниям должны быть подвергнуты одновременно и водопроводные стояки и подводки.

Перед гидравлическими испытаниями открытые концы стояков и подводок и арматуры должны быть закрыты заглушками.

4.19. Гидравлические испытания водопроводов проводятся под пробным давлением 1 МПа в течение 2-х мин.

Результаты испытаний считаются положительными, если после 2-х мин. поддержания пробного давления не обнаружено течей в соединениях трубопроводов, т.е. падения уровня давления по манометру не наблюдается.

5. ТРЕБОВАНИЯ БЕЗОПАСНОСТИ И ОХРАНЫ ОКРУЖАЮЩЕЙ СРЕДЫ ПРИ МОНТАЖЕ

5.1. При производстве работ по монтажу водопроводных подводок из металлополимерных труб в санитарно-технических кабинах необходимо соблюдать общие требования СНиП 12-03-2001 г., ч. 1; 12-04-2002 г., ч. 2 «Безопасность труда в строительстве».

5.2. Металлополимерные трубы в процессе эксплуатации и монтажа не выделяют в окружающую среду токсичных веществ и не оказывают вредного воздействия на организм человека при непосредственном контакте. Работа с ними не требует особых мер предосторожности.

5.3. МПТ относятся к сгораемым материалам. Средства пожаротушения: песок, кошма, распыленная вода и пена.

5.4. При выполнении работ по сборке и монтажу водопроводных подводок из МПТ необходимо пользоваться исправным инструментом, соблюдая условия его эксплуатации. Гаечные ключи должны соответствовать размерам гаек. Губки ключей должны быть параллельными и не иметь трещин и забоин. Газовые ключи не должны иметь зазубрин и сбитой насечки.

5.5. Рабочее место слесаря-сантехника должно быть достаточно освещено. Напряжение переносных светильников не должно превышать 42 В. Освещенность должна быть равномерной, без слепящего действия на работающих.

5.6. Гидравлические испытания трубопроводов в сантехкабинах следует проводить в присутствии мастера или производителя работ. Слесари, проводящие испытания, должны находиться в безопасных местах на случай выбивания заглушек и аварий.

5.7. Отходы от монтажа трубопроводов из МПТ следует собрать для последующего их вывоза в места свалки, согласованные с Санэпиднадзором и Комприродой.

СОДЕРЖАНИЕ

 

 




ГОСТЫ, СТРОИТЕЛЬНЫЕ и ТЕХНИЧЕСКИЕ НОРМАТИВЫ.
Некоммерческая онлайн система, содержащая все Российские Госты, национальные Стандарты и нормативы.
В Системе содержится более 150000 файлов нормативно-технической документации, действующей на территории РФ.
Система предназначена для широкого круга инженерно-технических специалистов.

Рейтинг@Mail.ru Яндекс цитирования

Copyright © www.gostrf.com, 2008 - 2026