Крупнейшая бесплатная информационно-справочная система онлайн доступа к полному собранию технических нормативно-правовых актов РФ. Огромная база технических нормативов (более 150 тысяч документов) и полное собрание национальных стандартов, аутентичное официальной базе Госстандарта. GOSTRF.com - это более 1 Терабайта бесплатной технической информации для всех пользователей интернета. Все электронные копии представленных здесь документов могут распространяться без каких-либо ограничений. Поощряется распространение информации с этого сайта на любых других ресурсах. Каждый человек имеет право на неограниченный доступ к этим документам! Каждый человек имеет право на знание требований, изложенных в данных нормативно-правовых актах!

  


 

ПРАВИТЕЛЬСТВО МОСКВЫ
ДЕПАРТАМЕНТ ГРАДОСТРОИТЕЛЬНОЙ ПОЛИТИКИ,
РАЗВИТИЯ И РЕКОНСТРУКЦИИ ГОРОДА

УПРАВЛЕНИЕ НАУЧНО-ТЕХНИЧЕСКОЙ ПОЛИТИКИ В
СТРОИТЕЛЬНОЙ ОТРАСЛИ

ГОСУДАРСТВЕННОЕ УНИТАРНОЕ ПРЕДПРИЯТИЕ
НАУЧНО-ИССЛЕДОВАТЕЛЬСКИЙ ИНСТИТУТ
МОСКОВСКОГО СТРОИТЕЛЬСТВА

ГУП «НИИМОССТРОЙ»

ТЕХНИЧЕСКИЕ РЕКОМЕНДАЦИИ
по строительству сетей
тепловодоснабжения
из стальных труб со скорлуп
кой
пенополиуретановой изоляцией
в подземных канальных и наземных
прокладках

ТР 129-02

МОСКВА - 2003

Настоящие Технические рекомендации разработаны ГУП «НИИМосстрой» по договору № 2-216/02 с ООО «Дирекция МВКС» на разработку технической документации на теплоизоляцию труб скорлупами из пенополиуретана при прокладке в непроходных каналах, тоннелях и наземным способом.

При разработке были использованы информационные материалы ЗАО «Блокформ», ОАО «Полимерсинтез», ГУП «НИИМосстрой» и Мосводоканалстрой.

Трубы тепловодоснабжения с изоляцией скорлупами из пенополиуретана рекомендуются для наружных систем горячего водоснабжения и отопления, прокладываемых в подземных непроходных и проходных каналах, тоннелях и наземным способом для диаметров от 108 до 1400 мм.

В разработке участвовали к.т.н. А.В. Сладков, к.т.н. А.Г. Нейман, к.т.н. В.Г. Петров-Денисов.

Технические рекомендации согласованы эксплуатирующей организацией филиалом «Тепловые сети» АО Мосэнерго, проектной организацией Мосинжпроект и пожарной службой УГПС МЧС г. Москвы.

Правительство Москвы

Департамент градостроительной политики, развития и реконструкции города

Технические рекомендации по строительству сетей тепловодоснабжения из стальных труб со скорлупкой пенополиуретановой изоляцией в подземных канальных и наземных прокладках

ТР 129-02 вводятся впервые

1. ОБЩАЯ ЧАСТЬ

1.1. Настоящие технические рекомендации распространяются на строительство сетей тепловодоснабжения из изолированных подающих и обратных стальных трубопроводов отопления (температура до 130 °С) и горячего водоснабжения (температура до 90 °С) диаметром от 108 мм до 1420 мм, работающих при давлении до 1,6 МПа с температурой теплоносителя до 130 °С (кратковременно до 140 °С), предназначенных для условий Москвы.

1.2. Трубопроводы с изоляцией скорлупами из пенополиуретана допускается прокладывать только вне зданий в специальных сооружениях:

- в непроходных каналах;

- в проходных тоннелях (кроме пешеходных и транспортных);

- наземным способом (кроме транспортных эстакад).

Совместная прокладка трубопроводов со скорлупами ППУ и кабелей (проводов) в каналах и тоннелях не допускается.

1.3. Для строительства систем тепловодоснабжения из труб с изоляцией скорлупами из пенополиуретана используются линейные трубы длиной 9 - 12 м, отводы 190°, 45°, 30°, тройники равнопроходные и разнопроходные, неподвижные опоры и скользящие диэлектрические хомутовые опоры (каретки), компенсаторы сильфонные или Z, П-образные и угловые, воздушники, спускники, запорная аппаратура. Трубы и комплектующие должны соответствовать требованиям СНиП 2.04.07-86*, СНиП 3.05.03-85 «Тепловые сети» и СНиП 2.04.14-88 «Тепловая изоляция оборудования и трубопроводов».

Разработаны ГУП «НИИМосстрой»

Утверждены:

Начальник Управления научно-технической политики в строительной отрасли

А.Н. Дмитриев

«30» сентября 2002 г.

Дата введения в действие

«1» февраля 2003 г.

1.4. Стальные трубы для сетей тепловодоснабжения с изоляцией скорлупами должны выбираться в соответствии с требованиями СНиП 2.04.07-86, «Правил устройства и безопасной эксплуатации трубопроводов пара и горячей воды» ПБ-03-75-94 Госгортехнадзора, СНиП 2.04.12-86 «Расчет на прочность стальных трубопроводов». Поверхность труб не должна иметь пластовых коррозионных поражений и каверн, она должна быть очищена от ржавчины, окалины, масел, влаги и защищена антикоррозионным покрытием. Трубы должны иметь сертификат качества завода-изготовителя.

1.5. Конструкция изоляции стальных труб тепловодоснабжения включает теплостойкое антикоррозионное покрытие, пенополиуретановые скорлупы из ППУ-355 МТ плотностью 40 - 70 кг/м3 с длительной теплостойкостью не менее 130 °С (кратковременно до 140 °С), наружное защитное покрытие из оцинкованных стальных листов толщиной 0,8 - 1,5 мм с антикоррозионным слоем толщиной не менее 0,07 мм, крепежные детали для закрепления скорлуп и оболочки, дополнительные герметизующие и теплоизолирующие материалы для закрытия швов и уплотнения дефектов теплоизоляции, устройства рассечек.

1.6. В качестве теплостойкого антикоррозионного покрытия поверхности труб систем отопления рекомендуется кремнийорганическое покрытие «КО-810 универсальное серебристо-серое (ТУ 2312-237-05763441-98 Новочебоксарского завода) толщиной 0,05 - 0,1 мм, наносимое согласно инструкции ЭИ-20 Теплосети Мосэнерго. Могут применяться эпоксидные покрытия, например ЭП-140 (ГОСТ 24709-81) с наполнителем алюминиевой пудрой. Толщина покрытия должна составлять 0,15 - 0,2 мм. Для компенсаторов и фасонных деталей рекомендуется покрытие КО-8101-СВ.

Для систем горячего водоснабжения допускается использование КО-8101 универсальной или битумно-каучуковой теплостойкой мастики (ТУ 400-2-490-90), наносимой на трубы (ТУ 400-2-491-91) с толщиной слоя не менее 0,5 мм.

По решению проектной организации при согласовании с эксплуатационной организацией и ГУП «НИИМосстрой» возможно применение других теплостойких мастик, характеристики которых аналогичны рекомендованным покрытиям.

1.7. Основные характеристики пенополиуретановой изоляции по данным испытаний ЗАО «Блокформ» и НИИМосстрой приведены табл. 1.

Таблица 1

Показатели ППУ-355 МТ

№ п/п

Показатель

Пределы

Данные партии

1.

Объемная плотность, кг/м3

50 - 70

63,0

2.

Прочность на сжатие при 10 % деформации, кПа

3 - 4

3,0

3.

Теплостойкость по Вика, °С

130

130 (до 140 кратковр.)

4.

Объемная доля закрытых пор, %

70 - 90

86

5.

Горючесть по ГОСТ 12.1.044-89

Средневоспламеняемый

Средневоспламеняемый

6.

Водопоглощение, %

2 - 4 (за 24 ч.)

3,9 (за 1,5 ч кипячения)

7.

Коэффициент теплопроводности, вт·м·°К

0,03 - 0,04

0,033

Характеристики изоляции из пенополиуретана должны отвечать требованиям ГОСТ 30732-01 (с учетом допустимой для теплоизоляции из скорлуп меньшей плотности - до 50 кг/м3). По согласованию с эксплуатационной организацией и ГУП «НИИМосстрой» допускается использование пенополиуретановой изоляции других марок, показатели которых не ниже приведенных выше.

При увеличении плотности пенополиуретана на 25 % и более, что может дать увеличение коэффициента теплопроводности пенополиуретана в партии скорлуп более чем на 10 %, следует провести уточнение толщины.

1.8. Толщины скорлуп (сегментов), определенные по нормам теплопотерь (Постановление Госстроя РФ от 31.12.97 № 18-80), при установленном коэффициенте теплопроводности λ = 0,033 Вт/м·°К, представлены в табл. 2.

Толщина изоляции на подающих и обратных трубах принята одинаковой. При рекомендуемой толщине изоляции теплопотери равны или менее нормативных. Толщина изоляции при наземной прокладке соответствуют СП-41-103-2000 и на 9 - 14 % больше, чем при подземной прокладке в непроходных каналах, тоннелях. Во избежание ошибок при комплектации и монтаже скорлупкой теплоизоляции для тепловой сети с наземной и подземной канальной прокладкой во всех случаях принимается один максимальный размер толщины скорлуп, рекомендуемый для наземных теплопроводов.

1.9. По продольным и поперечным краям скорлуп должна быть устроена «ступенька» на половине толщины скорлупы, уменьшающая теплопотери по швам (мостики холода) и улучшающая сцепление скорлуп (длина скорлуп 1 м).

Для труб диаметром 108 - 325 мм используются цилиндры и полуцилиндры (1 - 1/2 окружности); для труб диаметром 325 - 630 мм ширина скорлуп соответствует 1/2 окружности, для труб диаметром 720 - 1020 ширина скорлуп соответствует 1/3 - 1/4 окружности, для труб диаметром 1220 - 1400 мм соответствует 1/5 - 1/6 окружности. Дефекты пенополиуретана и неплотности следует заделывать набивкой минваты или напылением ППУ.

1.10. Для закрепления скорлуп рекомендуется использовать стяжки из мягкой, но прочной проволоки диаметром 1,2 - 2 мм (ГОСТ 14918-80*) или бандажи из оцинкованной стали толщиной 0,8 - 1,2 и шириной 10 - 20 мм со специальными крепежными «пряжками». Допускается использовать временные резиновые или пластиковые стяжки достаточной прочности, а также ленту «скотч», «ПИЛ» или скрепки.

Таблица 2

Толщина изоляции и тепловые потери двухтрубных тепловых сетей с изоляцией в виде сегментов ППУ

Наружный диаметр стальных труб, мм

Толщины изоляции, мм:

Рекомендуемое количество сегментов

Тепловые потери Вт/м: нормативные/при рекомендуемой толщине прокладок:

нормативные при прокладках

надземной*

в тоннелях

в непрох. каналах

надземной

в тоннелях

в непрох. каналах

325

54

50

49

2

102/104

86/79

84/84

426

59

54

53

2

125/118

105/917

98/98

530

61

55

54

2

146/146

125/107

116/114

630

65

60

59

2

165/165

135/120

128/128

720

65

61

60

3 - 4

187/187

159/136

144/144

820

68

62

60

3 - 4

207/207

183/151

157/157

920

70

64

62

3 - 4

229/229

198/161

171/171

1020

73

66

64

4

251/251

218/203

186/184

1220

79

79

71

4 - 6

234/234

214/205

211/205

1400

85

79

76

6

248/248

216/202

208/202

* Могут быть рекомендованы для всех видов прокладок

Для стальных труб диаметром 108 - 273 мм рекомендуется толщина слоя изоляции:

Диаметр стальных труб, мм

Наземная прокладка, мм

Канальная прокладка, мм

108

38

33

133

40

36

159

41

38

219

42

39

273

54

49

Концы стяжек должны быть закреплены и подогнуты, не образуя выступов, препятствующих плотному прилеганию наружной защитной оболочки.

Установка стяжки должна проводиться через каждые 30 - 50 см (по 2 - 3 шт. на скорлупу).

1.11. В качестве защитной и гидроизолирующей наружной оболочки рекомендуется использовать металлический лист из оцинкованной тонколистовой стали толщиной 0,8 - 1,2 мм со слоем цинка не менее 0,070 мм (ГОСТ 14918-80*) или гофрированную спиральновитую оцинкованную оболочку, выпускаемую Заводом сантехзаготовок.

1.12. Наружную защитную оболочку рекомендуется изготавливать из одного листа или из 2-х половин листа, устанавливаемых с напуском друг на друга и снабженных по краям отогнутой отбортовкой, соединяемой через каждые 100 - 200 мм самонарезающими винтами (3´10 или 4´12) (ГОСТ 10621-80*), закрепляющими края листов с установкой винтов на расстоянии не менее 10 мм от края.

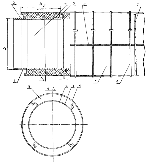
После установки винтов, отогнутые под углом 90° края листов, по шву загибают для предотвращения затекания воды или отворачивания винтов. Расход материалов при наземной прокладке теплопроводов показан в табл. 3, вид труб и расходы материалов для непроходных каналов - на рис. 1.

1.13. Для прокладок в непроходных каналах и тоннелях допускается использовать наружную оболочку из стеклоткани (ГОСТ 8481-75* или ГОСТ 19170-73*) марок АС или СЭ или стеклосетку марок СС-1, СС-2, СС-3 с проклейкой полимеробитумным или полимерным клеем. Рекомендуется оболочка из алюминиевого листа (ГОСТ 21631-76*) марок АДО, АД1, АМц. Может быть использована штукатурка асбестоцементная или цементно-песчаная, армированная металлической сеткой толщиной 10 - 20 мм. Допускается использование закрепленных скорлуп без оболочки с креплением стальными ОЦ бандажами, тягами из текстильных или полимерных тепловлагостойких материалов, стеклопластиков, алюминиевых лент (ГОСТ 13726-97), толщиной 0,25 - 1,0 мм и шириной не менее 20 мм и проволоки диаметром 1,2 - 2,5 мм. По согласованию с эксплуатационной организацией и органами П. рекомендуется использовать разрезные полиэтиленовые оболочки (ГОСТ 10354-82*), а также термоусаживающуюся пленку (ГОСТ 25951-83*) толщиной не менее 0,3 - 0,5 мм, закрепляемые при необходимости пленкой «ПИЛ», наматываемой в виде кольца в 2 слоя и бандажами из алюминиевой ленты.


Таблица 3

Расход материалов при наземной и канальной прокладке теплопроводов диаметром 325 - 1420 мм

Наружный диаметр труб, мм

Масса стальн. трубы, кг/м3

Площадь неизолированной трубы длиной 1 м

Толщина антикорроз. мастичного слоя

Мастика кг/м (γ = 0,96)

Толщина слоя ППУ, мм

ППУ, кг на 1 м трубы

Лента 0,7´20 для крепления теплоиз. ГОСТ 3560-73, кг

Проволока 2 - 0,4, м ГОСТ 3282-74*

Винт 4´12 ГОСТ 10621-80*

Листы для ОЦ оболочки, шт.

Скорлупы (сегментов) для теплоизол.

Площадь изолированной трубы длиной 1 м

Толщина на ОЦ оболочки, мм

Расход листа ОЦ ГОСТ 14918-80*, кг/м

 

шт.

325

56

1,0

0,3

0,5

50

2,94

0,60

0,1

0,08-1

8 - 16

1

2

1,3

0,8

8,3

377

65

1,2

0,3

0,36

50

3,35

0,66

0,1

0,08-1

8 - 16

1

2

1,5

0,8

9,4

426

73

1,3

0,3

0,39

50

3,73

0,72

0,13

0,08-1

8 - 16

1

2

1,6

0,8

10,3

476

82

1,5

0,4

0,60

55

4,58

0,80

0,13

0,16-2

16 - 32

1

3

1,8

1,0

14,3

529

90

1,7

0,4

0,68

55

5,04

0,86

0,14

0,16-2

16 - 32

1

3

2,0

1,0

15,7

630

108

2,0

0,4

0,80

55

5,91

0,97

0,16

0,17-3

17 - 34

1

3

2,3

1,0

18,1

720

141

2,3

0,4

0,92

55

6,69

1,07

0,18

0,18-3

18 - 36

1

3

2,6

1,0

20,3

820

161

2,6

0,5

1,30

60

8,28

1,19

0,20

0,19-3

19 - 38

1 - 2

4

2,9

1,2

27,6

920

202

2,9

0,5

1,45

60

9,23

1,31

0,22

0,20-3

20 - 40

1 - 2

4

3,3

1,2

30,6

1020

250

3,2

0,5

1,60

60

10,17

1,44

0,25

0,22-3

22 - 44

1 - 2

4

3,6

1,2

33,5

1220

359

3,8

0,5

1,90

70

14,18

1,69

0,36

0,23-3

23 - 46

2

4

4,3

1,2

40,0

1420

417

4,5

0,5

2,25

85

20,08

1,93

0,41

0,26-4

26 - 52

2

6

4,9

1,2

45,8


Рис. 1. Конструкция теплоизоляции труб диаметром 1020 - 1420 мм для непроходных каналов

Расход материалов для непроходных каналов

№ п/п

Наименование

Количество, размеры

1

Труба стальная с наружным диаметром, мм

1020

1220

1420

2

Антикоррозионная окраска мастикой кремнийорганической краской КО-8101 ТУ 2312-237-05763441-98 толщиной 0,05 - 0,2 мм

0,012

0,014

0,015

3

Сегменты из ППУ-335 МТ со ступенчатой кромкой:

 

 

 

шт./м

4

4

6

толщина, мм

64

71

76

внутренний радиус, мм

511

611

711

угол раскрытия, град.

90

90

60

вес сегмента, кг

6,0

8,5

10,5

4

Проволочная скрутка для крепления теплоизоляции d1 - 2 мм ГОСТ 3282-74*

 

 

 

количество, шт./м

3

3

3

вес, кг/м

0,17

0,18

0,19

5

Лист стальной оцинкованный ГОСТ 14918-80*, толщиной 1 мм, кг/м

29

34

38

6

Бандаж из оцинкованной стали, ширина 20 мм, толщина 2 - 3 мм ГОСТ 3560-75*:

 

 

 

количество, шт./м

1

1

1

вес, кг

4,5

5,0

5,5

7

Винт самонарезающий 4´12 ГОСТ 10621-80*, кг/м

0,3

0,3

0,3

2. ТРАНСПОРТИРОВКА И ХРАНЕНИЕ

2.1. Для транспортировки труб следует использовать автомашины, снабженные инвентарными прокладками. Трубы с торцов должны быть закреплены, задний борт машины закрыт. Перемещение труб может проводиться краном строповкой за концы или с помощью «полотенец».

В случае нанесения антикоррозионного покрытия в заводских условиях при транспортировке следует избегать повреждения покрытия, ударов и столкновений труб.

2.2. Трубы должны храниться на открытой выровненной площадке с водоотводом отдельно по диаметрам и сортам.

Трубы с изоляцией должны храниться с прокладками между рядами шириной не менее 10 см, препятствующими самопроизвольному перемещению труб. Трубы целесообразно хранить под навесом в стеллажах высотой не более 1,5 м.

2.3. Теплоизоляционные скорлупы и сегменты из пенополиуретана транспортируются в коробках или ящиках в условиях, исключающих их увлажнение, смятие или повреждение; разгрузка сбрасыванием не допускается.

2.4. Теплоизоляционные скорлупы и сегменты должны храниться в упаковке в помещении. При подаче скорлуп для изоляции следует избегать изгибов и ударов, вызывающих повреждение труб.

2.5. Бандажи и комплектующие детали следует хранить в закрытом помещении отдельно по видам и маркам, предохраняя их от увлажнения и загрязнения.

3. ПОДЗЕМНАЯ ПРОКЛАДКА СИСТЕМ ТЕПЛОВОДОСНАБЖЕНИЯ В НЕПРОХОДНЫХ И ПРОХОДНЫХ КАНАЛАХ, ТОННЕЛЯХ

3.1. Непроходные каналы для 2- и 5-трубной прокладки систем тепловодоснабжения представляют собой подземный железобетонный канал в грунте, в котором размещается система изолированных трубопроводов, закрытый сверху железобетонными плитами и герметизированный цементной стяжкой и битумными мастиками. Прокладки в каналах выполняются в соответствии со СНиП 3.05.03-85 и СНиП 2.04.07-86* «Тепловые сети», альбомам канальных прокладок Мосинжпроект и Моспроект-1.

3.2. Непроходные каналы не предусматривают нахождения в них людей даже для периодических осмотров. Каналы сверху и с торцов зарыты и герметизированы, в них возможно использование горючих (средневоспламеняемых) теплоизоляционных материалов, в частности, скорлуп ППУ-355МТ.

Для защиты скорлуп используется наружная оболочка из полиэтиленовой пленки «ПИЛ», стеклоткани или РСТ и использование разрезных полиэтиленовых оболочек.

3.3. В непроходных каналах и тоннелях допускается использование намоточной оболочки из стеклоткани (ГОСТ 8481-75 или ГОСТ 19170-73*) марок АС и СЭ или стеклосетки марок СС-1, СС-2, СС-3 с проклейкой латексной мастикой или полимерными клеем, оболочек РСТ, разрезных полиэтиленовых оболочек, а также использование скорлуп без оболочки, надежно закрепленных стальными бандажами, алюминиевой лентой или стеклопластиковыми (текстильными) тепловлагостойкими материалами. В случае периодического кратковременого увлажнения изоляция быстро высыхает, сохраняя свои эксплуатационные и теплотехнические свойства. Рекомендуются также алюминиевые листы (ГОСТ 21631-76*) и асбестоцементная или цементно-песчаная штукатурка слоем толщиной 10 - 20 мм, армированная металлической сеткой.

3.4. Для снижения пожарной опасности теплоизоляции труб диаметром до 250 мм через каждые 50 м прокладок следует устраивать рассечки из несгораемых материалов (минваты, стекловаты) длиной не менее 3d, где d-наружный диаметр трубы с теплоизоляцией. Для труб больших размеров длина рассечек принимается не менее 5d.

При вертикальном прохождении трубопровода длина рассечек принимается соответственно 5d и 8d, расстояние между рассечками не более 10 м.

При параллельной прокладке нескольких трубопроводов со скорлупами из ППУ в одном сооружении рассечки из негорючих материалов в изоляции разных трубопроводов должны устраиваться на одном и том же участке.

3.5. В непроходных каналах с трубопроводами с ППУ - изоляцией по длине трубопроводов через 100 м следует устраивать глухие противопожарные перегородки первого типа. При прокладке трубопроводов в проходных каналах тоннели необходимо разделить на отсеки протяженностью не более 200 м противопожарными перегородками первого типа с противопожарными дверями второго типа. При вводе трубопроводов в здание непроходные каналы и проходные тоннели должны отделяться от здания глухими противопожарными перегородками первого типа.

3.6. Пенополиуретан ППУ-355МТ относится к группе горючих материалов средней воспламеняемости.

В проходных каналах на теплоизоляции ППУ рекомендуется устраивать наружную оболочку и бандажи из негорючих материалов (оцинкованный стальной лист, стеклоткань). Не допускается применение полимерных и текстильных материалов.

3.7. Для компенсации температурных деформаций теплопроводов в непроходных каналах рекомендуется использовать сильфонные компенсаторы либо Z- и П-образные компенсаторы и углы поворота в соответствии с проектом. В зависимости от диаметра труб с учетом нагрузок на опоры выбирается расстояние между опорами. Для опирания труб следует выбирать скользящие диэлектрические опоры с подушками или каткового типа (альбом Мосинжпроекта НТС 62-91 и Моспроекта ПП-17-1).

4. НАЗЕМНАЯ ПРОКЛАДКА СИСТЕМ ТЕПЛОВОДОСНАБЖЕНИЯ

4.1. Наземная прокладка изолированных трубопроводов выполняется в соответствии со СНиП 2.04.07-86*, СНиП 3.05.03-85 и СНиП 2.04.14-88*, а также с «Правилами устройства и безопасной эксплуатации трубопроводов пара и горячей воды» Госгортехнадзора по согласованным проектам (с учетом решений по альбомам Моспроект-1 и Мосинжпроект). Наземная прокладка выполняется из установленных на неподвижных и подвижных хомутовых опорах изолированных труб, толщина теплоизоляции которых на 9 - 14 % больше, чем при канальной прокладке.

4.2. Наземные прокладки выполняются с использованием наружной защитной оболочки и бандажной из оцинкованного стального листа или гофрированной стальной оболочки. Применение сгораемых или малопрочных материалов не допускается. В качестве антикоррозионного покрытия труб отопления рекомендуется кремнийорганическое покрытие «Цезарь-00. Для трубопроводов горячего водоснабжения допускается применение битумно-каучуковой мастики.

4.3. Для снижения пожарной опасности трубных конструкций в пенополиуретановой изоляции следует устраивать рассечки из негорючих материалов (стекловата, минвата, стеклоперлит, цементоперлит) длиной не менее 3d с расстоянием между рассечками не более 100 м для труб диаметром менее 250 мм и длиной не менее 5d и расстоянием между рассечками 50 м при диаметре трубопроводов более 250 мм. Для вертикальных участков рассечки устраиваются длиной 5d - 8d при расстоянии между рассечками не более 10 м.

4.4. На вводах в зданиях и через 50 - 100 м по длине следует устраивать перегородки из несгораемых материалов (керамзитобетон, бетон). Наружная оболочка из оцинкованной стали должна быть проверена для обнаружения повреждений цинкового покрытия и самой оболочки. На поврежденных местах производят «лужение» или пайку оболочки. При сквозном повреждении рекомендуется заделка поврежденного места кожухами из оцинкованной стали с закреплением бандажами.

4.5. Для улучшения стойкости и долговечности наружных оцинкованных покрытий целесообразно проводить их защитную антикоррозионную окраску кремнийорганическими покрытиями, графитовой или битумополимерной краской.

4.6. При наземной прокладке для компенсации тепловых деформаций используются углы поворота, Z- и П-образные компенсаторы, сильфонные компенсаторы.

Согласно проекту устанавливаются скользящие и неподвижные опоры (по альбомам Мосинжпроекта и Моспроекта). Расстояние между опорами устанавливается с расчетом 30 - 70 м в зависимости от диаметра труб.

4.7. Значение температурных удлинений Δl (мм) изолированных трубопроводов определяется по формуле:

Δl = 0,8 · l · ΔT · α,

где l - длина участка в м;

α - коэффициент линейного расширения (α = 1,2 · 10-2 мм/м·°С);

ΔT - расчетная разность температур теплоносителя и наружного воздуха (принимается 176 °С).

По значениям температурных удлинений устанавливается расстояние между компенсаторами и неподвижными опорами. П-образные опоры располагаются в середине участка, неподвижные опоры устанавливаются у здания ЦТП.

5. СТРОИТЕЛЬНО-МОНТАЖНЫЕ РАБОТЫ

5.1. Работы по строительству сетей тепловодоснабжения с использованием скорлупной пенополиуретановой изоляции в основном рекомендуется выполнять с использованием скорлуп, доставляемых на трассу и устанавливаемых на трубе, так как поставка труб с заводской изоляцией не отработана. Строительство трубопроводов должно выполняться согласно СНиП 3.05.03-85 «Тепловые сети». Рекомендуется использовать очищенные трубы с нанесенной в заводских условиях антикоррозионной изоляцией. Допускается защитная окраска труб на трассе.

5.2. В соответствии с ППР на строительство выполняются операции:

а) подготовка канала, трассы (земляные, бетонные работы);

б) раскладка труб на трассе, их подрезка и установка;

в) сварка стыков труб и фасонных деталей;

г) устройство опор, компенсаторов, фасонных участков, монтаж запорной аппаратуры;

д) установка и закрепление скорлуп;

е) нанесение наружной ОЦ оболочки, установка бандажей;

ж) испытание и приемка трубопровода.

Подготовка трассы и строительство каналов проводятся в соответствии с требованиями СНиП 3.02.01-87 «Земляные сооружения, основания и фундаменты», строительство каналов по пособию ПП 27-2.2-93 АО «Моспроект».

5.3. После подготовки канала или трассы прокладок проводится раскладка труб и при необходимости их подрезка, установка фасонных деталей, опор и компенсаторов. Соединение деталей проводится методом электродуговой сварки. Сварной шов очищается от шлака металлической щеткой и наждачным кругом при помощи электрифицированного или ручного инструмента.

5.4. На зачищенный стык трубы или на очищенную поверхность труб наносится слой защитного лакокрасочного материала путем окрашивания кистью или валиком не менее чем в 2 слоя с послойной сушкой толщиной не менее 0,05 - 0,1 мм (для кремнийорганического покрытия) и не менее 0,5 мм (для битумокаучукового или эпоксидного покрытия).

На трубы диаметром 530 мм и более мастика для покрытия может наноситься напылением с помощью краскопульта или установки безвоздушного напыления «Вагнер» (согласно инструкции Теплосети ЭИ-42).

Температура мастики должна быть не менее +10 °С, труб не менее +5 °С. Краски и мастики предварительно должны быть тщательно перемешаны, их следует брать в намеченном количестве и полностью расходовать, не перемешивая с исходной мастикой.

5.5. Защитное покрытие должно быть сплошным и ровным, не иметь трещин и просветов. Допускается использовать усиленное двухслойное покрытие (например, кремнийорганическое и углеграфитовое с грунт-краской АГК по ТУ 2311-023-11590737-01 и КО «Цезарь-001»).

Установка теплоизоляции проводится после затвердевания защитного покрытия.

5.6. При установке и монтаже скорлуп рекомендуется использовать временные (резиновые, полимерные) стяжки и постоянные бандажи, закрепляющие скорлупы с краев и посредине. Для уменьшения истирания и лучшего закрепления скорлуп целесообразно проклеивать соединяемые поверхности с торцов и частично по внутренней стороне скорлуп клеем «Вилад» или силиконовым герметиком, наносимым кистью или напылением с немедленным соединением поверхностей и закреплением скорлуп стяжками и бандажами.

5.7. Установка скорлуп должна проводиться с заходом краев «паз в паз» при плотном прилегании друг к другу и к поверхности трубы без пустот и переносов, обеспечивая минимальную ширину швов не более 1 - 2 мм. Допускается соединение скорлуп с трубой без герметика и проклейки при условии получения минимальной ширины продольных и поперечных швов.

Дефекты, сколы и неплотности следует заделывать набивкой минваты либо напылением ППУ из баллона. Стяжки должны быть надежно закреплены и не должны образовывать выступающих частей. Для дополнительного или временного крепления можно использовать ленту «ПИЛ» и скотч.

5.8. При монтаже скорлуп для труб больших диаметров, требующих 4 - 6 сегментов, рекомендуется следующий порядок изоляции. Устанавливают стяжки, на них 2 - 3 нижних скорлупы и подтягивают их к трубе. Затем устанавливаются 2 - 3 верхних скорлупы, стяжки натягиваются и скорлупы плотно закрепляются, проталкивая их до краев ранее установленных скорлуп и уменьшая зазоры швов. При использовании временных резиновых стяжек допускается подсовывать скорлупы под них с последующим их закреплением. Для натяжения стяжек и обеспечения плотного прилегания скорлуп рекомендуется использовать специальные натяжные устройства. Плотность прилегания скорлуп друг к другу контролируется щупом; ширина швов должна быть не более 1 - 2 мм.

5.9. Наружная защитная оболочка из оцинкованной стали устанавливается после закрепления скорлуп таким образом, чтобы длина и количество швов были минимальными. Листы раскраиваются так, чтобы с напуском полностью закрыть поверхность трубопровода. По краям должна быть отогнутая отбортовка длиной 10 мм. Подготовленные листы устанавливаются на изолированные трубы и закрепляются бандажами (с применением ключа для затяжки), в отбортовке через каждые 100 - 200 мм просверливаются отверстия для самонарезающихся винтов (рис. 2).

Винты полностью заворачиваются и отбортовка загибается вниз, закрывая винты и предотвращая возможность затекания воды в отверстия и под оболочку. Оболочка должна плотно прилегать к поверхности скорлуп изолированной трубы.

5.10. Фасонные участки трубопроводов следует изолировать с использованием скорлуп и оболочек, вырезанных необходимой формы и плотно прилегающих к трубе и к изоляции.

Получение скорлуп, пригодных для изоляции деталей, заказной арматуры, опорных элементов, компенсаторов осуществляется в специальных формах или в стандартных формах с добавочными закладными деталями, придающими скорлупам требуемую конфигурацию. Допускается применение выпиленных отрезков скорлуп требуемой формы с толщиной, обеспечивающей тепловое сопротивление и склеенных в местах соединений, а также дополнительная изоляция с наружной стороны трубопровода минватой или стекловатой. Для изоляции элементов компенсаторов допускается использование скорлуп, опирающихся на гладкие концы элементов и не прикасающихся к средней части компенсатора с заполнением при необходимости пустот минватой.

Установка скорлуп, закрепление проволокой диаметром 1,2 - 2,0 мм

Через 250 - 300 мм

В-1

В-2

края отогнуть для монтажа

Края загнуты после монтажа для предотвращения затекания влаги и отворачивания винтов

 

Наименование

 

1

Верхний лист ОЦ оболочки, край отогнут

1,2

2

Нижний лист ОЦ оболочки, край отогнут

1,2

3

Самонарезающийся винт 2´7 мм через 20 - 25 мм по кромке листов

 

Закрепление скорлуп и ОЦ оболочки бандажами 1,2´2,0 мм с пряжками

Рис. 2. Ключ для затяжки бандажа:

1 - вспомогательный рычаг; 2 - рабочий вал; 3 - ось; 4 - основной рычаг

5.11. Места соединений рекомендуется проклеить герметиком или влагонепроницаемой мастикой, используя бандажи из оцинкованной стали с пряжками. Во избежание снятия оболочки особенно при наземной прокладке рекомендуется через 1 м труб устанавливать усиленные бандажи толщиной 3 - 4 мм, закрепляемые электросваркой концов.

5.12. После завершения изоляции, установки теплопровода на подвижные опоры и неподвижные опоры проводится испытание теплопровода по СНиП 3.05.03-85 при давлении 2,4 МПа с составлением акта испытаний. Предварительная проверка теплопровода проводится после сварки труб и до начала их изоляции.

6. ТРЕБОВАНИЯ БЕЗОПАСНОСТИ

6.1. При проведении работ по строительству и изоляции теплопроводов следует соблюдать требования СНиП III-4-80* «Техника безопасности в строительстве», включая требования к проведению электросварочных работ, гидравлических испытаний, изоляционных работ. При гидравлических и пневматических испытаниях рабочие-монтажники должны быть удалены из зоны испытаний вблизи стыков.

6.2. К работам по монтажу и изоляции труб допускаются лица не моложе 18 лет, прошедшие медицинское освидетельствование, инструктаж на рабочем месте и имеющие допуск к проведению работ.

6.3. При хранении лакокрасочных антикоррозионных материалов, ленты «ПИЛ», «Скотч», скорлуп ППУ следует соблюдать правила ППБ-01-93**, а также требования других нормативных документов по обеспечению пожарной безопасности. Запрещается разводить огонь и проводить огневые работы на расстоянии менее 10 м от мест складирования материалов.

6.4. При загорании скорлуп или изолированных труб следует применять обычные средства пожаротушения (вода, песок и др.); при возгорании лакокрасочных материалов использовать пенные огнетушители, асбестовую кошму, песок. При пожаре в тоннелях следует использовать индивидуальные средства защиты органов дыхания в соответствии со штатным положением и ведомственными инструкциями о мерах пожарной безопасности и технике безопасности (в частности пользоваться противогазами БКФ).

6.5. При проведении сварочных работ и других огневых работ необходимо руководствоваться требованиями раздела 16 ППБ-01-93**. Торцы труб с пенополиуретановой изоляцией следует защищать от возгорания и повреждения, используя жестяные экраны толщиной 0,5 - 1,0 мм.

6.6. При работах с антикоррозионными материалами запрещается хранить их на рабочем месте в количестве более сменной потребности, а также работать в одежде, загрязненной маслами.

6.7. При работах в тоннелях следует обеспечить их вентиляцию, использовать переносное освещение напряжением не свыше 36 В, а в местах с повышенной влажностью - не выше 12 В.

6.8. Скорлупы из пенополиуретана не выделяют при нормальных условиях токсичных веществ, не взрывоопасны, не оказывают вредного влияния на организм человека при работах с ними, не требуют особых мер предосторожности (класс опасности 4 по ГОСТ 12.1.007-76*. (Санитарно-эпидемиологическое заключение № 33. Вл.02.240.П.000819.09.02 от 24.09.2002 г.).

7. ОХРАНА ОКРУЖАЮЩЕЙ СРЕДЫ

7.1. Меры по охране окружающей среды должны соответствовать СНиП 3.05.03-85. Отходы теплоизоляции и других материалов следует собрать для последующего их вывоза и захоронения в местах, согласованных с Мосгорсанэпиднадзором и передать на завод для утилизации (как кусковой утеплитель).

7.2. Не допускается складирование труб и материалов на расстоянии менее 2 м от стволов деревьев без временных ограждений вокруг них и перемещения труб с повреждением крон или стволов деревьев.

7.3. Промывку теплопроводов следует выполнять с повторным использованием воды, слив воды проводить в места, предусмотренные ППР.

7.4. Территория после окончания работ по устройству тепловой сети должна быть очищена и восстановлена согласно требованиям ППР.

ПРИЛОЖЕНИЕ

ПОЯСНИТЕЛЬНАЯ ЗАПИСКА

Эффективность скорлупной ППУ-изоляции

Пенополиуретановая теплоизоляция для систем тепловодоснабжения имеет значительные преимущества перед минераловатной изоляцией, которая обладает волокнистой структурой и теплопроводностью λ = 0,052 ¸ 0,064, слеживается, увлажняется, является опасной в сангигиеническом отношении, способствует ускорению коррозии металла и вызывает сверхнормативные теплопотери.

Полимерная пенополиуретановая изоляция обладает в основном замкнутой пористостью (90 - 85 %), достаточной прочностью, водопоглощением не более 2 % по объему, низким коэффициентом теплопроводности λ = 0,035 ¸ 0,041, практически не изменяющимся при работе в умеренно влажном режиме. Изолированные трубы с изоляцией ППУ применяют для экономически эффективной бесканальной прокладки, а также для канальной и наземной прокладки с наружной оболочкой из оцинкованной стали.

Указанные свойства способствуют расширению применения готовых трубных изолированных элементов типа «труба в трубе» производства «МосФлоулайн», НПО «Стройполимер» и др. предприятия, продукция которых дорога. В то же время при формовании заливкой полиуретановой смеси в собранный трубный элемент возможно образование пустот в теплоизоляции под полиэтиленовой оболочкой.

Технологические трудности в изготовлении заливаемых трубных элементов возрастают для труб больших диаметров из-за возможности осадки смеси или получения неоднородной по плотности теплоизоляции при большой высоте вспенивания смеси.

Более простым и доступным, не требующим дорогого и громоздкого оборудования, является способ формовки и нанесения скорлупной изоляции, качество которой контролируется визуально. Организация производства полиэтиленовых труб, используемых в качестве наружных оболочек конструкции «труба в трубе», требует применения дорогих и громоздких экструдеров, которые могут быть заменены при ограниченных масштабах производства навивочной полиэтиленовой (ПЭ) тонкостенной гидроизолирующей оболочкой, наносимой методом боковой экструзии имеющимися на ООО «МЗМ» экструдерами.

Толщина ПЭ оболочки может быть в пределах 2,5 - 7 мм, для гофрированной оболочки в пределах 1,5 - 3,5 мм, т.е. может быть в 2 - 3 раза меньше (для канальной прокладки), чем для заливных трубных элементов.

Экономическая эффективность скорлупной пенополиуретановой изоляции по сравнению с заливной будет достигаться за счет менее дорогой наружной оболочки, меньших накладных расходов при формовании в относительно простых, компактных формах, т.е. при меньшей стоимости заводского оборудования, несколько меньшей допускаемой плотности пенополиуретана и применением относительно дешевых материалов отечественного производства. В целом по сравнению с продукцией «МосФлоулайн» скорлупная изоляция может быть на 15 - 25 % более экономичной.

В то же время полностью сохраняются преимущества пенополиуретановой изоляции труб в отношении надежности и долговечности, снижении теплопотерь по сравнению с минераловатной изоляцией.

СОДЕРЖАНИЕ

 

 




ГОСТЫ, СТРОИТЕЛЬНЫЕ и ТЕХНИЧЕСКИЕ НОРМАТИВЫ.
Некоммерческая онлайн система, содержащая все Российские Госты, национальные Стандарты и нормативы.
В Системе содержится более 150000 файлов нормативно-технической документации, действующей на территории РФ.
Система предназначена для широкого круга инженерно-технических специалистов.

Рейтинг@Mail.ru Яндекс цитирования

Copyright © www.gostrf.com, 2008 - 2026