Крупнейшая бесплатная информационно-справочная система онлайн доступа к полному собранию технических нормативно-правовых актов РФ. Огромная база технических нормативов (более 150 тысяч документов) и полное собрание национальных стандартов, аутентичное официальной базе Госстандарта. GOSTRF.com - это более 1 Терабайта бесплатной технической информации для всех пользователей интернета. Все электронные копии представленных здесь документов могут распространяться без каких-либо ограничений. Поощряется распространение информации с этого сайта на любых других ресурсах. Каждый человек имеет право на неограниченный доступ к этим документам! Каждый человек имеет право на знание требований, изложенных в данных нормативно-правовых актах!

  


 

ПРАВИТЕЛЬСТВО МОСКВЫ

КОМПЛЕКС АРХИТЕКТУРЫ, СТРОИТЕЛЬСТВА,
РАЗВИТИЯ И РЕКОНСТРУКЦИИ ГОРОДА

ГУП «НИИМосстрой»

ТЕХНИЧЕСКИЕ РЕКОМЕНДАЦИИ
по проектированию, изготовлению
и монтажу шахт-пакетов
с применением полипропиленовых
труб при капитальном ремонте
внутренних систем водоснабжения
и канализации зданий

ТР 150-03

Москва - 2004

Правительством Москвы принято Постановление от 21.01.03 № 28-ПП «О программе капитального ремонта, модернизации, реконструкции и реновации зданий, сооружений и территорий сложившейся застройки, начиная с 2003 года, и основных объемных показателях на 2003 - 2004 годы». В этой связи ГУП «НИИМосстрой» по заказу Департамента градостроительной политики, развития и реконструкции города Управления научно-технической политики в строительной отрасли в рамках договора № 2-43/03 от 14.03.03 г. были разработаны настоящие Технические Рекомендации.

Разработке ТР предшествовали комплексные испытания труб, соединительных деталей из полипропиленовых труб «Рандом Сополимер» (РРRС) для внутренних систем водоснабжения и полипропиленовых (ПП) труб и фасонных частей для внутренних систем канализации (ЗАО НПО «Стройполимер», Россия, г. Москва), проведенные ОС «Мосстройсертификация» и ОС «НИИМосстройсертификация» в порядке сертификации продукции на соответствие требований нормативных документов.

При подготовке рекомендаций использовалась нормативно-техническая документация завода-изготовителя продукции («Стройполимер-прогресс» ЗАО НПО «Стройполимер», свод правил СП 40-101-96 по проектированию и монтажу трубопроводов из полипропилена «Рандом Сополимер» (Госстрой России, М., 2000), свод правил СП 40-102-2000 по проектированию и монтажу трубопроводов систем водоснабжения и канализации из полимерных материалов (Госстрой России, М., 2001), ведомственные строительные нормы ВСН 47-96 по проектированию и монтажу внутренних систем водоснабжения из полимерных труб «Рандом Сополимер» (РРRС), технические рекомендации ТР 83-98 по проектированию и монтажу внутренних систем канализации зданий из полипропиленовых труб и фасонных частей.

Настоящие Технические Рекомендации согласованы с ГУП «МосжилНИИпроект», АО «Моспроект», ОАО ДСК-2, МНИИТЭП.

Технические Рекомендации разработаны ГУП «НИИМосстрой» - к.т.н. А.В. Сладковым (рук. работы), инженером Н.В. Митрофановой (исполнитель), при участии инженера Козлова Л.Н. (гл. специалист ОАО ДСК-2), инженера Прижижецкого С.И. (начальник отдела сантехоборудования МНИИТЭП).

Правительство Москвы

Комплекс архитектуры, строительства, развития и реконструкции города

Технические рекомендации по проектированию, изготовлению и монтажу шахт-пакетов с применением полипропиленовых труб при капитальном ремонте внутренних систем водоснабжения и канализации зданий

ТР 150-03

Вводятся впервые

1. ОБЩАЯ ЧАСТЬ

1.1. Настоящие технические рекомендации распространяются на опытный монтаж шахт-пакетов с применением полипропиленовых труб при реконструкции и капитальном ремонте внутренних систем водоснабжения и канализации зданий с полной сменой перекрытий и систем водоснабжения и канализации.

1.2. Трубы и соединительные детали из полипропилена для систем водоснабжения и канализации, рекомендуемые применять в шахт-пакетах, выпускаются ЗАО НПО «Стройполимер» (Россия, г. Москва).

1.3. Допускается применение в шахт-пакетах труб и соединительных деталей из полипропилена других заводов изготовителей, не уступающих по показателям требованиям ТУ 2248-006-41989945-98, ТУ 2248-011-41989945-98, ТУ 4926-005-41989945-97, ТУ 4926-010-41989945-98 и настоящих ТР и имеющих сертификаты соответствия или технического свидетельства ФЦС Госстроя или ОС «Мосстройсертификация» или других аккредитованных органов сертификации.

1.4. Использование в одном здании (в одной системе водопровода или канализации) продукции из различных материалов и разных заводов-изготовителей, как правило, не допускается.

1.1. Внутренний водопровод

Разработаны ГУП «НИИМосстрой»

Утверждены

Начальник Управления научно-технической политики в строительной отрасли

А.Н. Дмитриев

«6» апреля 2004 г.

Дата введения в действие

«15» апреля 2004 г.

1.1.1. Для внутренних систем холодного и горячего водоснабжения с температурой транспортируемой воды до 75 °С применяются напорные трубы в комплекте с соединительными деталями из сополимера полипропилена «Рандом Сополимер» (РРRС) под контактную сварку враструб, комбинированные соединительные детали с закладными резьбовыми вкладышами из латуни с гальванопокрытием и резьбовые детали из латуни.

1.1.2. В соответствии с СНиП 2.04.01-85* трубы из полипропилена следует применять для всех систем водоснабжения зданий (кроме раздельной сети противопожарного водоснабжения) при условии скрытой прокладки в шахтах и каналах (кроме подводок к санитарно-техническим приборам).

Примечание. Допускается открытая прокладка водопроводов из труб РРRС в производственных, складских помещениях, а также в технических этажах, чердаках и подвалах, в местах, где исключается их механическое повреждение.

1.1.3. Сортамент и типоразмеры труб для систем внутреннего водоснабжения приведены в табл. 1.

Примечание. Теоретическая масса 1 м труб приведена в приложении 1.

1.1.4. Основные физико-механические свойства труб и соединительных деталей из РРRС приведены в табл. 2.

1.1.5. В комплекте с трубами из РРRС поставляются соединительные детали из РРRС под контактную сварку враструб, комбинированные соединительные детали с закладными резьбовыми вкладышами из латуни с гальванопокрытием.

Соединительные детали должны быть рассчитаны на номинальное давление 2,5 МПа.

Перечень основных соединительных деталей и элементов, используемых в шахт-пакетах для систем внутреннего водопровода, приведен в приложении 2.

Таблица 1

Наружный диаметр

Толщина стенки труб

Тип PN 10

Тип РN 16

Тип РN 20

Тип РN 25

Серия 4

Серия 5

Серия 6

Серия 7

Номин.

Пред. откл.

Номин.

Пред. откл.

Номин.

Пред. откл.

Номин.

Пред. откл.

Номин.

Пред. откл.

12

+0,3

-

-

1,8

+0,4

2,0

+0,5

2,4

+0,5

16

+0,3

1,8

+0,4

2,3

+0,5

2,7

+0,6

3,2

+0,6

20

+0,3

1,9

+0,5

2,8

+0,5

3,4

+0,6

4,0

+0,6

25

+0,3

2,3

+0,5

3,5

+0,6

4,2

+0,8

5,0

+0,7

32

+0,3

3,0

+0,5

4,5

+0,7

5,4

+0,8

6,4

+0,9

40

+0,4

3,7

+0,6

5,6

+0,8

6,7

+0,9

8,09

+1,1

50

+0,5

4,6

+0,7

6,9

+0,9

6,9

+0,9

10,0

+1,

63

+0,6

5,8

+0,8

8,7

+1,1

8,7

+1,1

12,6

+1,5

75

+0,7

6,9

+0,9

10,4

+1,3

10,4

+1,3

15,0

+1,7

90

+0,3

8,2

+1,1

12,4

+1,5

12,4

+1,5

18,0

+2,0

Таблица 2

№№ п/п

Показатели свойств

Ед. изм.

Нормативное значение показателя

1.

Плотность

г/см3

0,895

2.

Предел текучести при растяжении (для труб)

МПа

19,2

3.

Относительное удлинение при разрыве (для труб)

%

350

4.

Сопротивление удару при двухопорном изгибе при температуре термостатирования 0 °С, количество разрушившихся образцов, не более (для труб)

%

10

5.

Разность показателей текучести расплава материала трубы и материала соединительной детали, не более (230 °С/2,16 кг)

г/10 мин.

0,3 - 0,5

6.

Стойкость при постоянном внутреннем давлении (в сборе с соединительными деталями на сварке враструб) при температуре 20 °С, контрольное время испытаний при начальном напряжении в стенке трубы d = 16 МПа, не менее

ч

1

7.

Стойкость при постоянном внутреннем давлении (в сборе с соединительными деталями на сварке враструб) при температуре 95 °С. контрольное время испытаний при начальном напряжении в стенке трубы d = 4,5 МПа, не менее

ч

1

8.

Стойкость при постоянном внутреннем давлении (в сборе с соединительными деталями на сварке враструб) при температуре 95 °С, контрольное время испытаний при начальном напряжении в стенке трубы d = 3,5 МПа, не менее

ч

1000

9.

Изменение длины труб после прогрева в воздушной среде при 135 °С, в течение 60 ± 1 мин, не более

%

1

10.

Коэффициент линейного температурного удлинения

°С-1

1,5 ´ 104

11.

Коэффициент теплопроводности

В/м°С

0,24

12.

Температура плавления, не менее

°С

140

1.2. Внутренняя канализация

1.2.1. Для внутренних систем канализации используются трубы и фасонные части из полипропилена (ПП) для транспортирования постоянных стоков с температурой до 60 °С (температура кратковременных стоков в течение не более 1 мин может достигать 90 °С).

1.2.2. Длина труб и патрубков, выпускаемых по ТУ 4926-005-41989945-97, представлена в табл. 3.

Таблица 3

Диаметр, мм

Длина труб, мм

Длина патрубков, мм

110

1000

150

 

1500

250

 

2000

500

 

3000

750

50

1000

1000

 

1500

1500

 

2000

2000

 

3000

3000

1.2.3. Основные физико-механические показатели свойств канализационных труб из полипропилена приведены в табл. 4.

Таблица 4

№№ п/п

Показатели свойств

Ед. изм.

Нормативное значение показателя

1.

Плотность

г/см3

0,9 - 0,95

2.

Предел текучести при растяжении, не менее

МПа

25,0 - 28,0

3.

Относительное удлинение при разрыве

%

350

4.

Теплопроводность

Вт/м°С

0,26

5.

Коэффициент линейного теплового расширения

мм/м°С

(1/С°)

0,15

(0,15 ´ 10-3)

6.

Горючесть

 

Самозатухающий

1.2.4. Трубы и патрубки из ПП должны поставляться в комплекте с канализационными фасонными частями из ПП и резиновыми уплотнительными кольцами, изготовленными по нормативно-технической документации, утвержденной в установленном порядке.

1.2.5. Перечень основных фасонных частей из ПП, резиновых манжет, применяемых в шахт-пакетах для монтажа внутренней канализации зданий, представлен в приложении 3.

2. ПРОЕКТИРОВАНИЕ ШАХТ-ПАКЕТОВ С ПРИМЕНЕНИЕМ ПОЛИПРОПИЛЕНОВЫХ ТРУБ

2.1. Системы внутреннего водоснабжения

2.1.1. При проектировании шахт-пакетов из полипропиленовых труб для систем внутреннего водоснабжения зданий следует руководствоваться требованиями СНиП 2.04.01-85* «Внутренний водопровод и канализация зданий» с учетом специфики полипропиленовых труб и СНиП 2.08.01-89 «Жилые здания» в части пожарной безопасности.

2.1.2. При проектировании многоэтажных зданий в г. Москве в шахт-пакетах холодного водопровода следует применять, как правило, трубы из РРRС, рассчитанные на номинальное рабочее давление 1,6 МПа.

Примечание. При техническом обосновании проектного решения системы холодного водопровода и этажности зданий допускается применение труб из РРRС, рассчитанных на номинальное рабочее давление 1,0 МПа.

2.1.3. При проектировании в шахт-пакетах водопровода горячей воды в многоэтажных зданиях в г. Москве следует применять, как правило, трубы из РРRС, рассчитанные на номинальное рабочее давление 2,0 МПа.

Примечание. При техническом обосновании проектного решения в системах горячего водоснабжения допускается применение труб из РРRС, рассчитанных на номинальное рабочее давление 1,6 МПа. При этом рабочее давление в системе горячего водоснабжения не должно превышать 0,8 МПа.

2.1.4. При проектировании шахт-пакетов разводящие трубопроводы по квартирам должны присоединяться к стоякам внутреннего водопровода через отключающие вентили либо через краны шаровые, имеющие конструктивную возможность плавного открывания и закрывания потока воды, крыльчатые водосчетчики (СХИ и СГИ) и регуляторы давления.

2.1.5. На сети хозяйственно-питьевого водопровода следует предусматривать отдельный кран для присоединения шланга (рукава) в целях возможности его использования в качестве первичного устройства внутриквартирного пожаротушения на ранней стадии.

Шланг должен обеспечивать возможность подачи воды в любую точку квартиры с учетом длины струи 3 м, быть длиной не менее 15 м, диаметром - 19 мм и оборудован распылителем.

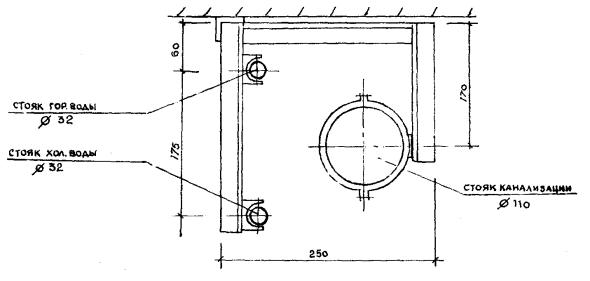
2.1.6. Планы расположения стояков внутреннего водопровода и канализации из полипропиленовых труб в шахт-пакетах даны на рис. 1.

2.1.7. Рабочее давление в трубопроводной системе следует определять на основании гидравлических расчетов пластмассовых трубопроводов по методике Свода правил «Проектирование и монтаж трубопроводов систем водоснабжения и канализации из полимерных материалов. Общие требования» СП 40-102-2000.

Рис. 1. Планы расположения стояков внутреннего водопровода и канализации из полипропиленовых труб в шахт-пакетах

Величину удельной потери напора на трение i следует определять по формуле Дарси- Вейсбаха:

                                                                  (1)

где:

l - коэффициент сопротивления по длине трубопровода;

v - скорость течения воды, м/с;

g - ускорение свободного падения, м/с2;

d - расчетный (внутренний) диаметр трубы, м.

Коэффициент сопротивления по длине трубопровода равен:

                                               (2)

где:

в - число подобия режимов течения жидкости, равное

                                                           (3)

где:  - фактическое число Рейнольдса;

 - число Рейнольдса, соответствующее началу квадратичной области сопротивлений;

v - коэффициент кинематической вязкости жидкости, м2/с;

Кэ - коэффициент эквивалентной равнозернистой шероховатости полипропиленовых труб; при неизвестном значении принимается равным 0,00002 м.

2.1.8. Потери напора в местных сопротивлениях определяются по формуле:

                                                                (4)

где:

x - коэффициент местного сопротивления;

V - средняя скорость в сети трубопровода, расположенного ниже по течению за данным сопротивлением (м/с).

Коэффициенты местного сопротивления следует принимать по табл. 5.

Таблица 5

Коэффициенты местного сопротивления соединительных деталей полипропилена

№№ п/п

Наименование деталей

Значение коэффициента

1.

Муфта под сварку

0,25

2.

Переход под сварку:

 

- на один диаметр

0,55

- на два диаметра

0,85

3.

Угольник 90° под сварку

2,0

4.

Тройник равнопроходной под сварку

1,5

5.

Тройник разнопроходной под сварку (на один диаметр)

4,2

6.

Угольник 90° с переходом на резьбу

2,2

7.

Тройник с переходом на резьбу

0,8

8.

Муфта с переходом на резьбу

0,4

2.1.9. При проектировании внутреннего водопровода из полипропиленовых труб в шахт-пакетах следует предусматривать компенсацию линейных температурных деформаций трубопроводов с L- Z- и П-образных компенсаторов или специальных петлеобразных в сочетании с расстановкой скользящих и неподвижных опор (рис. 2).

2.1.10. Расчет линейных температурных деформаций DL (мм) трубопроводов из полипропиленовых труб следует определять по формуле:

DL = 0,15 ´ L ´ Dt,                                                       (5)

где:

L - длина трубопровода между неподвижными опорами, м;

Dt - расчетная разность температур воды в трубопроводе при эксплуатации и температуры воздуха при монтаже трубопровода, °С;

0,15 - коэффициент линейного температурного удлинения полипропиленовых труб, мм/м°С.

2.1.11. Вылет компенсатора Lк следует определять по формуле:

                                                         (6)

где:

К - коэффициент, следует принимать от 10 - 25;

d - наружный диаметр трубопровода, мм;

DL - расчетные линейные температурные деформации, определяется по формуле (5), мм.

2.1.12. Расстояния между скользящими опорами на горизонтальном трубопроводе следует принимать по табл. 6.

Рис. 2. Схемы компенсаторов на водопроводах из полипропиленовых труб:

а) П-образный;

б) петлеобразный;

1 - труба из полипропилена; 2 - угольник из полипропилена; 3 - скользящая опора

Расстояния между скользящими опорами на горизонтальном трубопроводе из полипропиленовых труб (размеры в мм)

Таблица 6

Наружный диаметр трубопровода, мм

Трубопровод холодной воды

Трубопровод горячей воды

16

500

500

20

600

550

25

750

650

32

900

750

40

1050

850

50

1200

1000

63

1400

1150

75

1500

1250

90

1600

1400

2.1.13. Расстояния между скользящими опорами на вертикальных участках водопроводов следует принимать на 10 % больше значений табл. 6.

2.1.14. Запорную и водоразборную арматуру следует независимо жестко закреплять к строительным конструкциям.

2.1.15. Проход трубопроводов из полипропилена через строительные конструкции следует выполнять с использованием гильз из металла, пластмасс или шланга марки «Вилатерм», внутренний диаметр которых на 20 - 30 мм превышает наружный диаметр трубопровода.

Этот зазор следует заполнять мягким негорючим материалом, не препятствующим осевому перемещению трубопровода.

При пересечении стояков водопровода перекрытий следует предусматривать гильзу из стальной трубы, выступающей над перекрытием на высоту не менее 50 мм.

2.1.16. В случае, когда в перекрытии предусмотрен монтажный проем для прохода нескольких трубопроводов, и установить гильзу не представляется возможным, допускается трубы обернуть пергамином, рубероидом, толем и т.п. материалами, а затем заделать цементным раствором на всю толщину перекрытия.

Концы такого футляра должны выступать за края перекрытия не менее чем на 10 мм. Такую конструкцию следует считать скользящей опорой.

Во всех случаях места прохода стояков через перекрытия следует заделать цементным раствором на всю толщину перекрытия.

2.1.17. Запрещается располагать в гильзе стыковые соединения трубопроводной системы, как разъемные, так и неразъемные.

2.1.18. Трубопроводы холодного и горячего водоснабжения должны быть теплоизолированы. Тип и толщина теплоизоляции устанавливаются проектом.

Примечание. Для проектов, выполняемых АО «Моспроект», допускается изолировать только трубопроводы холодного водоснабжения.

2.2. Системы внутренней канализации

2.2.1. При проектировании шахт-пакетов из полипропиленовых труб для систем внутренней канализации зданий следует руководствоваться требованиями СНиП 2.04.01-85* «Внутренний водопровод и канализация зданий», СП 40-102-2000 «Проектирование и монтаж трубопроводов систем водоснабжения и канализации из полимерных материалов. Общие требования».

2.2.2. При проектировании систем внутренней канализации из полипропиленовых труб в зданиях с повышенной пожаростойкостью (например, в зданиях театров, музеев, гостиниц и т.п.) рекомендуется предусматривать противопожарные преграды в виде специальных гильз, внутри которых проходит полипропиленовая труба в местах пересечения стен или перекрытий.

Гильзы состоят из металлического кожуха со вставками из материала, расширяющегося при нагревании.

При тепловом воздействии этот материал заполняет пространство как вне, так и внутри пластмассовой трубы, вследствие чего исключается возможность распространения пожара из одного помещения в другое. Огнестойкость таких преград составляет до 1,5 - 2,0 ч, а у отдельных их типов может достигать 4 ч.

2.2.3. При проходе полипропиленовых труб через стены, противопожарные преграды рекомендуется устанавливать с каждой стороны стены, а через перекрытия - только с нижней стороны, но при этом сверху предусматривается дополнительная изоляция в виде огнезащитной плиты.

2.2.4. В отверстие для труб противопожарная преграда должна входить на глубину 90 мм. Если толщина стены из кирпича или бетона меньше 180 мм, то с обеих сторон или выборочно на одной стороне стены следует создать дополнительное утолщение из цементного раствора или бетона с тем, чтобы каждая противопожарная преграда была утоплена на 90 мм.

Толщина перегородок, через которые проходят полипропиленовые трубы, должна быть не менее 100 мм, при этом с двух сторон перегородки должны иметь не менее чем два слоя негорючих гипсокартонных плит.

Примечание. В качестве мер пожарной защиты зданий могут быть использованы специальные клапаны, автоматически перекрывающие сечение стояков при пожаре и ликвидирующие тягу в них, либо специальные устройства для подачи в стояки воды при пожаре, которые устанавливаются на теплом чердаке, а для бесчердачных зданий - в одном из помещений на верхнем этаже.

2.2.5. При проектировании систем внутренней канализации из полипропиленовых труб для многоэтажных домов и зданий социально-культурного назначения (детские учреждения, школы, магазины, здания лечебного назначения и т.п.) отсекатели огня по экономическим соображениям, как правило, не применяются.

Для этих зданий в соответствии с требованиями СНиП 2.04.01-85* должны выполняться следующие условия, обеспечивающие пожарную безопасность.

- в подвалах зданий при отсутствии в них производственных, складских и служебных помещений, а также на чердаках и в санузлах жилых зданий прокладку канализационных трубопроводов из полипропиленовых труб допускается предусматривать открыто; при этом в подвалах и на чердаках зданий предусматриваются меры, исключающие доступ посторонних людей в эти помещения;

- во всех остальных помещениях, в том числе и в помещениях кухонь, прокладку канализационных стояков необходимо предусматривать скрыто в монтажных коммуникационных шахтах, штрабах, каналах и коробах, ограждающие конструкции которых (за исключением лицевой панели, обеспечивающей доступ к стояку) должны быть выполнены из несгораемых материалов;

- допускается применение сгораемого материала для лицевой панели, но при этом дверь шахты должна быть неоткрывающаяся; в этом случае для доступа к арматуре и проведения ревизии трубопроводов в шахтах предусматривается устройство открывающегося люка с крышкой площадью не более 0,1 м2;

- места прохода стояков через перекрытия должны быть заделаны цементным раствором на всю толщину перекрытия, после чего участок стояка выше перекрытия на 8 - 10 см или до горизонтального отводного трубопровода следует защищать цементным раствором толщиной 2 - 3 см.

2.2.6 Канализационные трубопроводы из полипропиленовых труб, прокладываемые в помещениях, где в условиях эксплуатации возможно их механическое повреждение, следует защищать, а участки сети, которые могут эксплуатироваться при отрицательных температурах, утеплять.

2.2.7. Канализационные сети из полипропиленовых труб допускается прокладывать в земле под полом здания. При этом наименьшая глубина заложения принимается из условия предохранения труб от разрушения под действием постоянных и временных нагрузок.

2.2.8. В отдельных случаях допускается монтаж трубопроводов из чугуна в подвалах и технических подпольях зданий, в которых стояки и отводные трубопроводы смонтированы из полипропиленовых труб, при этом чередование пластмассовых и чугунных труб не допускается.

2.2.9. При проектировании систем внутренней канализации из полипропиленовых труб допускается использование: полиэтиленовых сифонов отечественного и импортного производства для моек, умывальников, ванн и других санитарных приборов и литьевых резьбовых патрубков из полиэтилена для подсоединения чугунных сифонов ванн.

2.2.10. Для присоединения умывальников, моек, ванн и др. санитарных приборов к патрубкам и фасонным частям из полипропилена рекомендуется использовать полиэтиленовые сифоны отечественного производства с отводными трубами Д = 40 мм, а также импортные сифоны из полиэтилена или полипропилена. Сифоны импортного производства в зависимости от конструкции подсоединяются к трубопроводам из полипропилена Д = 50 мм при помощи отводных труб Д = 40 мм или 50 мм.

2.2.11. Сифоны, используемые при монтаже систем внутренней канализации зданий, должны быть сертифицированы.

2.2.12. Перепуск стоков от гидрозатвора системы водостоков в систему канализации может выполняться с использованием стальной перепускной трубы Ду = 32 мм, подсоединяемой к тройнику из полипропилена 110´50 при помощи переходного патрубка из полипропилена Д = 50 мм с гладким раструбом, в котором установлена резиновая манжета для уплотнения раструбного соединения переходного патрубка с металлической трубой Ду = 32 мм.

2.2.13. При подсоединении трубопроводов из полипропиленовых труб, прокладываемых в подвалах и технических подпольях зданий, к канализационным выпускам из полипропиленовых труб диаметром 110 мм применяются обычные способы соединения на резиновых кольцах.

При использовании чугунного выпуска диаметром 100 мм гладкий конец полипропиленовой детали соединяется с раструбом чугунной трубы или фасонной части с помощью круглого уплотнительного резинового кольца внутренним диаметром 106 мм и диаметром сечения 9 мм с последующим заполнением раструба расширяющимся цементом.

Примечание: При отсутствии колец допускается применение соединений с заделкой раструба просмоленной прядью и раствором расширяющегося цемента, при этом внутрь конца детали из полипропилена запрессовывается в нагретом состоянии отрезок стальной трубы наружным диаметром 108 мм.

2.2.14. Указанные в п. 2.2.13 способы соединения полипропиленовых труб с чугунными могут использоваться при необходимости подсоединения канализационных стояков из полипропилена к чугунным трубопроводам, прокладываемым в подвалах и технических подпольях зданий.

2.2.15. Переход стояков в горизонтальный трубопровод с малым уклоном в техподпольях может осуществляться при помощи наборов отводов 2´45° и 3´30°, а с большим уклоном - 45° + 30°.

2.2.16. Присоединение стояков к транзитным горизонтальным трубопроводам не должно производиться с использованием фасонных частей под углом 87° 30¢; углы поворотов горизонтально расположенных трубопроводов выполняются из набора отводов 45° или 30°.

2.2.17. Вытяжные трубопроводы от стояков в пределах одной секции рекомендуется объединять в общий трубопровод диаметром 110 мм, который выводится в вентиляционную шахту на 10 см выше ее кромки.

2.2.18. Врезка и углы поворотов сборных канализационных трубопроводов на чердаках зданий могут выполняться с использованием полипропиленовых тройников и отводов 87° 30¢, 45° и 30°.

2.2.19. Прокладка трубопроводов из полипропилена вплотную к строительным конструкциям не допускается. Расстояние в свету между трубами из полипропилена и строительными конструкциями должно быть не менее 20 мм, между трубами из полипропилена и стальными трубами отопления и горячего водоснабжения, проложенными параллельно, не менее 100 мм, при пересечении труб расстояние может быть уменьшено до 50 мм.

2.2.20. Величину температурного удлинения трубопровода следует определять по формуле 5.

2.2.21. Для крепления труб из полипропилена к строительным конструкциям рекомендуется применять металлические крепежные хомуты.

2.2.22. Места установки креплений на канализационных трубопроводах предусматриваются проектом.

2.2.23. Расстановка креплений должна отвечать следующим требованиям:

- крепления должны направлять удлинения трубопроводов в сторону соединений, используемых в качестве компенсаторов;

- крепления целесообразно устанавливать у раструбов соединений с резиновыми кольцами, допускающими возможность взаимного поворота соединяемых деталей; такие крепления увеличивают жесткость смонтированного трубопровода в направлении, перпендикулярном его оси; отсутствие креплений уменьшает его жесткость;

- крепления не должны препятствовать прокладке труб с необходимым уклоном, а также должны обеспечивать вертикальность и соосность деталей трубопровода на стояках;

- установленные непосредственно на раструбах соединений с резиновыми кольцами крепления могут уменьшить возможность соединений воспринимать температурные удлинения;

- установленные на гладком конце трубы крепления должны находиться от раструба на расстоянии, допускающем расчетные температурные удлинения трубопровода;

- между неподвижными креплениями (т.е. креплениями, не допускающими перемещения трубопроводов в осевом направлении) предусматривается не более двух соединений, используемых в качестве компенсаторов;

- расстояние между неподвижными креплениями для трубопроводов диаметром 50 и 110 мм с соединениями на резиновых кольцах должно приниматься соответственно не более 1,0 и 2,0 м;

- расстояние между неподвижными креплениями и при установке компенсационного патрубка определяется из расчета:

L = 180Df,

где Df - зазор для компенсации температурных удлинений.

Между неподвижными креплениями допускается установка только одного компенсационного патрубка;

- расстояние между подвижными креплениями для горизонтальных трубопроводов из полипропилена составляет 10 Дн трубы, а для вертикальных трубопроводов 20 Дн трубы;

- при установке креплений на фасонных частях необходимо предусматривать расстояние для компенсации температурных удлинений;

- при невозможности установки крепления на фасонной части соседние детали закрепляются хомутами на расстояниях, обеспечивающих компенсацию удлинения фасонной части.

2.2.24. На патрубках, используемых при присоединении к сети выпусков унитазов и трапов, а также на отводных трубах от пластмассовых сифонов установка креплений не требуется.

2.2.25. При расстановке креплений на канализационных трубопроводах из полипропилена следует следить за тем, чтобы санитарные приборы и приемники хозяйственных сточных вод были прочно закреплены на строительных конструкциях, а металлические элементы имели бы самостоятельное крепление, предотвращающее передачу массы на трубопроводы из полипропилена.

2.2.26. При проектировании систем внутренней канализации из полипропиленовых труб следует учитывать, что монтаж раструбных соединений с резиновыми уплотнительными кольцами труб и фасонных частей диаметром 50 и 110 мм должен производиться введением гладкого конца трубы или фасонной части в раструб на длину, соответственно равную 37 и 50 мм (зазор между торцом детали и упорной поверхностью раструба используется для компенсации температурных удлинений трубопровода).

2.2.27. Проектные решения канализационных стояков в шахт-пакетах горизонтальных трубопроводов должны включать набор патрубков и фасонных частей, обеспечивающих возможность подсоединения санитарно-технических приборов.

3. ТРАНСПОРТИРОВКА И ХРАНЕНИЕ ШАХТ-ПАКЕТОВ С ТРУБАМИ И ДЕТАЛЯМИ ИЗ ПОЛИПРОПИЛЕНА

3.1. Шахт-пакеты с трубами и соединительными деталями из полипропилена транспортируют в горизонтальном положении с опорой на плотное основание любым видом транспорта при соблюдении правил, действующих на данном виде транспорта.

3.2. Погрузочно-разгрузочные работы, складирование и транспортирование шахт-пакетов, а также труб и соединительных деталей должны производиться с соблюдением мер, исключающих возможность механического повреждения трубной продукции из полипропилена.

3.3. Шахт-пакеты, трубы и соединительные детали из полипропилена допускается перевозить при температуре не ниже -10 °С.

3.4. В условиях строительной площадки шахт-пакеты с трубами и соединительными деталями из полипропилена должны храниться на горизонтальных площадках приобъектных складов и быть защищены от воздействия прямых солнечных лучей.

3.5. На складе шахт-пакеты устанавливаются в деревянные бруски, которые должны располагаться в местах, указанных в рабочих чертежах, и опираться на плотное основание.

Выступающие детали водопроводных и канализационных стояков должны находиться на расстоянии не менее 2 см от поверхности основания, на которое установлены кабины.

3.6. При транспортировании и хранении шахт-пакетов с трубами и деталями из полипропилена рекомендуется закрывать отверстия деталей инвентарными пробками, рубероидом и др. материалами для предотвращения засоров.

3.7. Рабочий персонал, осуществляющий перевозку и погрузочно-разгрузочные работы труб и соединительных деталей из полипропилена в шахт-пакетах, должен знать о пониженной сопротивляемости полипропилена ударным и изгибающим нагрузкам при отрицательных температурах и о необходимости осторожного обращения с ними.

3.8. На монтажный участок трубы для водопровода поставляются в пакетах. При транспортировке труб при отрицательной температуре перед распаковкой их следует выдерживать в помещении с положительной температурой не менее 3 ч.

3.9. Трубы для водопровода должны храниться в штабелях высотой до 1,5 м, исключая возможность их изгиба по всей длине. При этом соединительные детали должны складироваться в таре.

3.10. Канализационные трубы и фасонные детали на монтажный участок доставляются в контейнерах, ящиках или картонных коробках. Упаковка должна обеспечивать сохранность изделий и безопасность погрузочно-разгрузочных работ.

3.11. Запрещается сбрасывать трубы, сформированные в пакеты с транспортных средств.

3.12. На каждое грузовое место должен крепиться ярлык, содержащий следующие данные:

- наименование предприятия-изготовителя;

- условное обозначение изделия;

- номер партии и дату изготовления;

- количество изделий в упаковке (в штуках или в метрах);

- упаковщик.

4. ИЗГОТОВЛЕНИЕ ШАХТ-ПАКЕТОВ ИЗ ПОЛИПРОПИЛЕНОВЫХ ТРУБ И СОЕДИНИТЕЛЬНЫХ ДЕТАЛЕЙ

4.1. Шахт-пакеты из полипропиленовых труб укомплектовываются в условиях трубозаготовительного предприятия.

4.2. Работы по изготовлению узлов должны выполняться специально обученным техническим персоналом, ознакомленным со свойствами труб и соединительных деталей из полипропилена.

4.3. Перед сборкой в узлы для каждой партии труб и соединительных деталей следует выполнить входной контроль качества, осмотр труб и деталей для установления маркировки, а также трещин, сколов, рисок и других механических повреждений, выборочный контроль наружного диаметра и толщин стенок труб и соединительных деталей.

Подлежат выбраковке элементы металлических креплений, имеющие заусенцы в местах сопряжения с трубами.

4.4. Сборку узлов из труб и соединительных деталей следует производить в соответствии с проектной документацией. При монтаже укрупненных узлов пользуются монтажным проектом.

Для проектов, выполняемых МНИИТЭП, подключение полотенцесушителя должно выполняться по проточной схеме.

4.5. Технологический процесс изготовления узлов для водопровода должен быть основан на поточном методе производства работ, включающем операции по разметке, отрезке труб и их соединению с деталями с помощью контактной тепловой сварки враструб.

4.5.1. Технология проведения сварочных работ включает подготовительные и сами сварочные работы:

Подготовительные работы включают:

- разметку и ровную отрезку труб под прямым углом к оси трубы специальными ножницами;

- снятие на конце трубы фаски под углом 30° глубиной 1 мм;

- обезжиривание ацетоном наружной поверхности конца трубы длиной, равной диаметру трубы и внутренней поверхности муфтовой части соединительной детали;

- нанесение метки (карандашом) на конце трубы на расстояниях от торца, указанных в табл. 7;

- обезжиривание рабочих поверхностей нагревательных элементов сварочного устройства.

4.5.2. При контактной тепловой сварке враструб труб требуется соблюдать следующий технологический режим:

- температура рабочих поверхностей нагревательных элементов при сварке не должна превышать (260 ± 5) °С;

- время оплавления, технологическая пауза, время охлаждения сварочного соединения должно приниматься по табл. 7.

Таблица 7

Технологические параметры контактной тепловой сварки труб из полипропилена

Номинальный наружный диаметр, мм

Расстояния от торца трубы, мм

Время, сек

Оплавление*

Технологическая пауза**, не более

Охлаждение***, не менее

16

13,0

5

4

120

20

14,5

5

4

120

25

16,0

7

4

120

32

18,0

8

6

240

40

20,5

12

6

240

50

23,5

18

6

240

63

27,5

24

8

360

75

32,0

30

8

360

90

40,0

40

8

360

Примечания. *) Время оплавления - время, отсчитываемое с момента полного вдвигания деталей в рабочие элементы электронагревательного инструмента;

**) Технологическая пауза - время после снятия оплавленных деталей со сварочного устройства до момента стыковки оплавленных деталей;

***) Время охлаждения - период после стыковки оплавленных деталей до приложения монтажных усилий.

4.5.3. При выполнении операции оплавления следует соблюдать соосность труб и рабочих элементов нагревательного устройства и не допускать перегиба более 3°.

4.5.4. При сопряжении оплавленных частей труб и соединительных деталей запрещается их вращение относительно оси.

4.5.5. Для сварки следует использовать электронагревательный инструмент, обеспечивающий поддержание температуры сварки с точностью не менее ± 5 °С при напряжении 36 В.

Примечание. Допускается применение электронагревательного инструмента с электропитанием напряжением 220 В, оборудованным автоматическим защитно-отключающим устройством.

4.5.6. Контактную тепловую сварку враструб труб из полипропилена диаметром до 40 мм включительно допускается производить вручную.

При сварке труб большого диаметра следует использовать для стыковки труб специальные центрирующие приспособления.

После сварки должен осуществляться контроль качества сварных соединений, включающий проверку:

- прямолинейности в месте стыка (отклонение не должно превышать 5°);

- равномерность по окружности валика сварного шва у торцов деталей;

- отсутствие трещин, складок и других дефектов в детали, вызванных перегревом.

4.5.7. Разъемные соединения и резьбу комбинированных деталей со стальными трубами или арматурой следует выполнять преимущественно вручную или с использованием трубных ключей с регулируемым моментом.

4.5.8. Уплотнение резьбовых соединений следует выполнять лентой ФУМ.

4.5.9. При закреплении стояков водопровода в шахт-пакете следует применять хомутовые металлические опоры с резиновыми прокладками на хомутах.

4.6. Оснащение шахт-пакетов узлами внутренней канализации осуществляется на заготовительных участках в соответствии с проектной документацией.

4.6.1. При проведении монтажных работ подлежат выбраковке:

- все трубы и фасонные части, имеющие трещины и сколы;

- фасонные части, имеющие внутреннюю выпрессовку с острыми краями;

- резиновые кольца и уплотнительные манжеты, имеющие разрывы и неудаленную выпрессовку, а также кольца, в которых отсутствуют предусмотренные конструкцией распорные пластмассовые вкладыши.

4.6.2. Сборка соединений с резиновыми кольцами труб и фасонных частей из полипропилена диаметром 50 и 110 мм должна производиться путем введения гладкого конца одной детали в раструб другой до метки, определяющей глубину вдвигания.

Примечание. При отсутствии меток заводского изготовления их необходимо нанести на гладкие концы труб, патрубка и фасонных частей масляной краской, грифелями и т.п.

4.6.3. Раструбное соединение с резиновыми уплотнительными кольцами рекомендуется собирать в следующем порядке:

- очищают от загрязнений наружную поверхность детали и внутреннюю поверхность раструба с установленным в желобке резиновым кольцом;

- смазывают гладкий конец патрубка с фаской глицерином, жидким мылом или мыльным раствором. Смазка концов деталей маслами, солидолом или другими аналогичными смазочными материалами запрещается;

- вручную, либо с применением специального монтажного приспособления производят сборку соединения. При этом легким вращением гладкий конец патрубка вводят в раструб до метки, либо раструб надвигают на конец патрубка (расстояние до метки для труб диаметром 110 мм составляет 50 мм, для труб диаметром 50 мм - 37 мм);

- проверяют качество сборки, проворачивая одну из соединяемых деталей относительно другой (если кольцо не выдавлено, деталь легко проворачивается).

4.6.4. Для резки труб и патрубков в условиях монтажа рекомендуется применять ручные ножовки для металла с обычными полотнами, столярные ножовки, а также мелкозубые плотницкие пилы. Предпочтительно использовать ручные пилы со следующими характеристиками: высота зубьев - 2,5 - 3,0 мм, шаг зубьев - 2,0 - 3,0 мм, развод зубьев - 0,5 - 0,7 м, толщина полотна - 0,8 - 1,0 мм.

4.6.5. Разрезать трубы и патрубки необходимо строго перпендикулярно их оси. При резке вручную рекомендуется применять шаблон, изготовленный из сухих досок или многослойной фанеры. Образующиеся при резке заусенцы и стружка снимаются шабером.

4.6.6. После резки с наружной стороны трубы специальным приспособлением снимается фаска под углом 15°.

Примечание. Для снятия фаски допускается использовать напильник с крупными насечками (рашпилем).

4.6.7. Заглушки на раструбах фасонных частей или патрубков, служащие для прочистки канализации в технических подпольях, должны закрепляться дополнительно.

4.6.8. При монтаже раструбных соединений труб и фасонных частей не допускается замена резиновых уплотнительных колец манжетного типа на кольца круглого поперечного сечения.

4.6.9. Выполняя сборку раструбных соединений с манжетными кольцами, имеющими несимметричную форму поперечного сечения, следует следить за тем, чтобы острие «язычка» резинового кольца, установленного в желобке раструба, было направлено в сторону гладкого конца данного трубного изделия из полипропилена.

4.6.10. Для монтажа системы канализации диаметром 110 мм рекомендуется использовать специальные монтажные приспособления, например, разработанные НИИМосстрой и СКБ-Мосстрой (рис. 3).

Рис. 3. Приспособление для соединения труб из ПП диаметром 110 мм:

1 - ушко; 2 - сегмент; 3 - рукоятка; 5 - болт; 6 - вилка

5. МОНТАЖ ШАХТ-ПАКЕТОВ

5.1. Трубопроводы из полипропиленовых труб, смонтированные в шахт-пакетах, должны быть испытаны в условиях трубозаготовительного предприятия.

5.1.1. Гидравлические испытания водопроводов следует производить не раньше, чем через 16 ч после сварки последнего соединения.

5.1.2. Водопровод испытывают гидравлическим давлением в 1 МПа в течение 3 мин. За время испытаний падение давления по манометру не допускается.

5.1.3. Гидравлические испытания систем внутренней канализации осуществляют путем заполнения стояка канализации на всю высоту. Система считается выдержавшей испытание, если по истечении 30 мин. после ее наполнения при наружном осмотре трубопроводов не обнаружено течи или других дефектов, а уровень воды не понизился.

5.2. Смонтированные и прошедшие гидравлические испытания стояки внутреннего водопровода (рис. 4 и 5) и канализации (рис. 6), устанавливают внутрь металлического каркаса - в шахт-пакет и закрепляют в нем в соответствии с проектом.

Разводка по квартире (рис. 4а, 5а) доставляется на объект отдельно и подсоединяется к стоякам в условиях строительной площадки.

На рис. 7 представлен план шахт-пакета, устанавливаемого в санузле жилых домов серии КОПЭ, возводимых ОАО ДСК-2.

На рис. 8 показан внешний вид шахт-пакета. Крепления металлических элементов выполняются сваркой. Каркас шахт-пакета покрывается кузбаслаком в 2 слоя.

5.3. Каркас шахт-пакета устанавливается по проектным отметкам в монтажное положение в санузле с соблюдением соосности и закрепляется к стене.

Рис. 4. Стояк холодной воды В1 в шахт-пакете санузла жилого дома серии КОПЭ:

а) разводка холодной воды по квартире:

1 - разъемное соединение; 2 - муфта; 3 - труба РN10 (32); 4 - угольник; 5 - труба РN10 (20); 6 - муфта комбинированная (н.р.); 7 - тройник; 8 - муфта комбинированная (в.р.); 9 - скоба

Рис. 5. Стояк горячей воды Т3 в шахт-пакете санузла жилого дома серии КОПЭ:

а) разводка горячей воды по квартире:

1 - разъемное соединение; 2 - муфта; 3 - труба РN20 (32); 4 - угольник; 5 - труба РN20 (20); 6 - муфта комбинированная (н.р.); 7 - тройник; 8 - муфта переходная; 9 - труба РN20 (25); 10 - кран; 11 - угольник (н.р.); 12 - муфта комбинированная (в.р.)

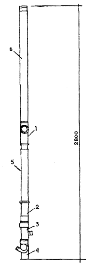
Рис. 6. Канализационный стояк в шахт-пакете санузла жилого дома серии КОПЭ:

1 - ревизия с крышкой 110 мм; 2 - компенсационный патрубок 110 мм (дл. 220 мм); 3 - тройник канализационный 110´50 мм (87° 30¢); 4 - крестовина двухплоскостная 110´50 мм; 5 - труба раструбная 110 мм (дл. 750 мм); 6 - труба раструбная 110 мм (дл. 1500 мм)

Рис. 7. План шахт-пакета, установленного в санузле жилого дома серии КОПЭ

Рис. 8. Внешний вид каркаса шахт-пакета для санузла жилого дома серии КОПЭ

1, 2, 3, 4 - уголок 25´25´3; 5 - уголок 50´50´5; 6, 7, 8, 9, 10 - полоса 2 ´ 30; 11 - полоса 2´50; 12 - винт М6 L = 20 с полной резьбой и гайкой

Несоосная сборка может привести к разгерметизации соединений, так как при этом нарушаются условия для температурных удлинений смонтированных трубопроводов.

5.4. С помощью резьбовых соединений или сварки стояки водопровода соединяются между собой.

К стоякам подсоединяется разводка по квартире. При закреплении разводок следует применять скользящие опоры из полипропилена.

5.5. Полотенцесушитель крепится двумя хомутами на отметке в соответствии с проектом.

5.6. При скрытой прокладке водопроводов из полипропиленовых труб с замоноличиванием бетоном или цементно-песчаным раствором трубы должны быть в теплоизоляции из эластичного пенопласта.

5.7. При сборке канализационных стояков диаметром 110 мм шахт-пакетов трубу вводят в раструб компенсационного патрубка на длину не менее 50 мм.

5.8. При монтаже канализационных стояков один из патрубков выдвигают из компенсационного патрубка и соединяют с двухплоскостной крестовиной вышележащей кабины.

При этом рекомендуется выполнить следующие операции:

- проверить наличие уплотнительного кольца в желобке раструба патрубка;

- нанести на гладкий конец двухплоскостной крестовины вышележащей кабины смазку;

- ослабить крепления;

- надвинуть патрубок на гладкий конец двухплоскостной крестовины;

- каждый элемент устанавливают в проектное положение (до монтажной метки);

- затягивают крепления.

5.9. На строительной площадке в необходимых случаях допускается механическая обработка труб и патрубков из полипропилена (резка и снятие фаски). Резка и укорачивание фасонных частей запрещается.

5.10. При монтаже групповых умывальников, моек и других санитарных приборов объединенные отводные трубопроводы закрывают съемными коробами или замоноличивают после проведения гидравлических испытаний системы.

5.11. Прямые и косые крестовины, с помощью которых происходит присоединение санитарных приборов или отводных трубопроводов, должны иметь самостоятельное крепление к строительным конструкциям.

5.12. В техподпольях над трубопроводами из полипропилена проходы следует обустраивать деревянными переходными мостиками.

5.13. Металлические крепления трубопроводов должны иметь антикоррозионное покрытие.

5.14. Для крепления канализационных трубопроводов, прокладываемых по полу в чердачных помещениях и технических подпольях зданий, могут использоваться укладываемые на пол керамзитобетонные блоки высотой 15 - 20 см, к которым пристреливают стальные телескопические крепления, позволяющие производить перемещение хомутов по высоте на 10 - 40 см с целью обеспечения необходимого уклона трубопровода.

5.15. Для соединения трубопроводов из полипропилена с чугунными трубами следует использовать чугунные детали без углублений и раковин на внутренней поверхности раструбов.

5.16. Стальные трубы, используемые для монтажа узлов перепусков от гидрозатворов и соединяемые с канализационными трубопроводами при помощи переходных патрубков из полипропилена диаметром 50 мм и резиновых уплотнительных манжет, не должны иметь на торцах острых кромок и заусенцев.

5.17. В местах прохода канализационных стояков через перекрытие перед заделкой раствором стояк следует обертывать рулонным гидроизоляционным материалом без зазора для обеспечения возможности демонтажа трубопроводов при ремонте и компенсации их температурных удлинений.

6. ИСПЫТАНИЯ ШАХТ-ПАКЕТОВ ИЗ ПОЛИПРОПИЛЕНОВЫХ ТРУБ

6.1. Гидравлические испытания систем внутреннего водопровода и канализации из полипропиленовых труб проводятся в соответствии с требованиями СНиП 3.05.01-85* «Внутренние санитарно-технические системы».

6.2. Режимы и последовательность гидростатических (гидравлических) испытаний внутренних трубопроводов приведены в соответствующих нормативных документах.

6.3. Системы внутреннего холодного и горячего водоснабжения по окончании их монтажа должны быть промыты водой до выхода ее без механических взвесей в течение времени, указанного в технической документации на данный тип труб.

Промывка систем хозяйственно-питьевого водоснабжения считается законченной после выхода воды.

6.4. Системы внутреннего водоснабжения, смонтированные с применением шахт-пакетов из полипропиленовых труб, должны быть испытаны при положительной температуре гидростатическим методом.

Гидростатические испытания проводят до отделки помещений в участки, прокладываемые скрыто - перед заделкой их в строительные конструкции.

6.5. Перед испытанием системы внутреннего водопровода проводят внешний осмотр: проверяют соответствие проекту примененных материалов, арматуры и приборов; правильность уклонов и надежность креплений трубопроводов, отсутствие утечек через краны, смесители, смывные бачки.

Испытаниям подвергают систему в целом (в малоэтажных зданиях) и посекционно (в многоэтажных зданиях). На время испытаний арматуру у бачков снимают (вместо нее ввертывают пробки), водомеры отключают.

6.6. Внутреннюю сеть наполняют водой, открывают всю запорную арматуру и осматривают, ликвидируя течи. После заполнения всех трубопроводов водой из системы выпускают воздух, ослабляя пробки, установленные вместо арматуры у бачков на верхнем этаже, давление увеличивают до требуемой величины, которую контролируют манометром. Системы холодного и горячего водопровода испытывают давлением, равным 1,5 избыточного рабочего. Система считается выдержавшей испытания, если в течение 600 сек. давление не снизится более чем на 0,05 МПа и при этом не наблюдается капель в сварных швах, резьбовых соединениях, арматуре и утечки через смывные устройства.

6.7. По окончании испытаний гидростатическим методом воду из систем внутреннего холодного и горячего водоснабжения необходимо выпустить.

6.8. Приемка систем водоснабжения в эксплуатацию производится в соответствии с действующими правилами. При этом должен осуществляться предварительный визуальный контроль всех смонтированных труб.

7. ТРЕБОВАНИЯ ТЕХНИКИ БЕЗОПАСНОСТИ И ОХРАНЫ ОКРУЖАЮЩЕЙ СРЕДЫ ПРИ МОНТАЖЕ

7.1. При производстве работ по монтажу систем водоснабжения и канализации из полипропиленовых труб необходимо соблюдать общие требованиям СНиП 12-03-2001, ч. 1, 12-04-2002, ч. 2. «Безопасность труда в строительстве».

7.2. Трубы из полипропилена при комнатной температуре не выделяют в окружающую среду токсичных веществ и не оказывают вредного воздействия на организм человека при непосредственном контакте. Работа с ними не требует особых мер предосторожности.

7.3. К работам по сварке водопроводов из полипропиленовых труб допускаются лица, достигшие 18 лет, прошедшие медицинское освидетельствование, специальное обучение, вводный инструктаж и инструктаж на рабочем месте по технике безопасности.

7.4. При сварке труб и соединительных деталей из полипропилена в воздух выделяются летучие продукты термоокислительной деструкции, содержащие:

- формальдегид (ПДК - 0,5 мг/м3, класс опасности 2);

- пары ацетальдегида (ПДК - 5,0 мг/м3, класса опасности 3);

- пары уксусной кислоты (ПДК - 5,0 мг/м3, класс опасности 3);

- окись углерода (ПДК - 20,0 мг/м3, класс опасности 4);

- аэрозоль полипропилена и сополимера полипропилена (ПДК - 10,0 мг/м3, класс опасности 3).

Сварку труб из полипропилена следует производить в проветриваемом помещении.

7.5. При работе с нагревательным сварочным инструментом с напряжением электропитания 220 В следует соблюдать общие правила электробезопасности по ГОСТ 12.2.007-75* и использовать диэлектрические коврики и перчатки.

7.6. Трубы из полипропилена при контакте с открытым огнем горят коптящим пламенем с образованием расплава и выделением углекислого газа, паров воды, непредельных углеводородов и газообразных продуктов, указанных в п. 7.4 настоящих ТР.

Температура плавления полипропилена » 325 °С.

Для тушения горящих труб из полипропилена необходимо применять воду, песок или огнетушители любого типа. Для защиты от токсичных продуктов, образующихся при горении, следует применять изолирующие противогазы любого вида или фильтрующие противогазы марки БКФ.

7.7. Места складирования трубозаготовок из полипропилена должны быть обеспечены средствами пожаротушения.

7.8. В местах производства работ с использованием труб и деталей из полипропилена, а также рядом с местами их складирования запрещается разводить огонь, производить электро- и газосварочные работы и хранить легковоспламеняющиеся вещества.

7.9. При сверлении отверстий для установки креплений следует соблюдать правила электробезопасности: использовать изолирующие лестницы и площадки, инструмент с изолированными рукоятками и заземлением, резиновые диэлектрические перчатки, боты, галоши, коврики, а также защитные очки, предохранительные пояса, страхующие канаты и ограждения.

7.10. При выполнении работ по сборке и монтажу необходимо пользоваться исправным инструментом, соблюдая условия его эксплуатации.

Гаечные ключи должны соответствовать размерам гаек, губки ключей должны быть параллельными и не иметь трещин и забоин.

Газовые ключи не должны иметь зазубрин и сбитой насечки.

7.11. Рабочее место слесаря-сантехника должно быть достаточно освещено.

Напряжение ручных переносных светильников не должно превышать 42 В. Светильник должен иметь металлическую сетку для защиты лампы, устройство для его подвески и шланговый провод с вилкой.

Освещенность должна быть равномерной, без слепящего действия на работающих.

7.12. Гидравлические испытания систем водоснабжения следует проводить в присутствии мастера или производителя работ. Слесари, проводящие испытания, должны находиться в безопасных местах на случай выбивания заглушек и аварий.

Приложение 1

Теоретическая масса труб из РРRС

Средний наружный диаметр, мм

Масса 1 п.м. трубы, кг, типа

Тип РN10

Тип РN16

Тип РN20

Тип РN25

12

0,046

0,057

0,062

0,071

16

0,08

0,098

0,11

0,125

20

0,107

0,148

0,172

0,193

25

0,184

0,230

0,266

0,301

32

0,267

0,376

0,434

0,493

40

0,412

0,583

0,671

0,765

50

0,638

0,896

1,05

1,19

63

1,01

1,42

1,65

1,89

75

1,42

2,02

2,34

2,68

90

2,03

2,93

3,36

3,86

110

3,01

4,32

5,04

5,76

Примечание. Теоретическую массу трубы вычисляют при средней плотности 0,895 г/см3, прибавляя к номинальной толщине половину предельного отклонения

Приложение 2

Перечень основных соединительных деталей из сополимера полипропилена «Рандом Сополимер» (РРRС)

Наименование деталей

Размеры, мм

Схематическое изображение

Номинальный диаметр, мм

Габаритные размеры, мм

1

2

3

4

Детали под контактную сварку враструб

Муфта

16

29,0 (длина)

20

34,0

25

37,0

32

41,0

40

46,0

50

52,0

63

60,0

75

65,0

90

71,0

Угольник 90°

16

33,0

20

42,0

25

50,0

32

54,0

40

66,0

50

78,0

63

91,0

75

104,0

90

114,0

Угольник 45°

20

-

25

-

32

-

40

-

50

-

63

-

Тройник

16

45,0´12,0

20

56,0´16,0

25

64,0´18,0

32

72,0´18,0

40

88,0´22,0

50

104,0´26,0

63

124,0´29,0

75

140,0´30,0

90

320,0´33,0

Тройник переходной

20´16´20

64´23,0

25´20´20

64´32,0

25´20´25

64.0´32,0

32´20´20

76,0´38,0

32´20´32

72,0´38,0

32´25´20

72,0´38,0

32´25´32

72,0´38,0

40´20´20

72,0´29,0

40´20´40

72,0´53,0

40´25´25

80,0´34,0

40´25´40

80,0´53,0

40´32´32

80,0´43,0

50´32´50

104,0´45.0

50´40´50

104,0´53,0

63´32´63

130,0´49,0

63´40´63

130,0´50,0

 

63´50´63

130,0´55,0

 

Крестовина равнопроходная

20

45,0´45,0

25

64,0´64,0

32

72,0´72,0

Муфта переходная

20´16

23,0 (длина)

25´20

23,0

32´20

26,0

32´25

26,0

40´25

32,0

40´32

30,0

50´32

35,0

50´40

33,0

63´32

43,0

63´40

43,0

63´50

49,0

75´50

44,0

75´63

44,0

90´63

49,0

Заглушка

20

25,0 (длина)

25

30,0

32

32,0

40

32,0

50

32,0

63

51,0

75

57,0

Угольник 90°

внутренний/наружный

20

56,0´14,0

 

 

Скоба

16

380 (длина)

20

380

25

380

32

380

40

380

Компенсатор

16

320 (длина)

20

350

25

340

32

350

40

450

Комбинированные детали (полипропилен и металл) под раструбную сварку и резьбу

Тройник комбинированный (внутренняя резьба)

20-1/2²

55,0 (длина)

20-3/4"

58,0

25-1/2"

55,0

25-3/4"

58,0

32-1"

80,0

Муфта комбинированная (внутренняя резьба)

16-1/2"

30,0

20-11/2"

30,0

20-3/4"

30,0

25-1/2"

30,0

25-3/4"

30,0

32-1"

38,0

Муфта комбинированная (наружная резьба)

16-1/2"

29,0

20-1/2"

28,0

20-3/4"

32,0

25-1/2"

32,0

25-3/4"

32,0

32-1"

38,0

Муфта комбинированная (внутренняя резьба под ключ)

32-1"

 

40-11/4"

 

50-11/2"

 

63-2"

 

75-21/2"

 

Муфта комбинированная (наружная резьба под ключ)

32-1"

 

40-11/4"

 

50-11/2"

 

63-2"

 

75-21/2"

 

Муфта комбинированная разъемная (внутренняя резьба)

16-1/2"

37,0

16-3/4"

36,0

20-1/2"

40,0

20-3/4"

39,0

20-1"

45,0

25-1"

47,0

32-11/4"

57,0

Муфта комбинированная (наружная резьба)

20-1/2"

 

20-3/4"

 

20-1

 

25-3/4"

 

25-1

 

32-1

 

Муфта комбинированная (внутренняя резьба)

20-1/2"

 

20-3/4"

 

20-1

 

25-3/4"

 

25-1

 

32-1

 

Муфта комбинированная разъемная с силиконовым уплотнителем (наружная резьба)

20-1/2"

 

 

 

 

 

 

 

 

 

Муфта комбинированная разъемная с силиконовым уплотнителем (внутренняя резьба)

20-1/2"

 

 

 

 

 

 

 

 

 

Муфта с накидной гайкой

16-1/2"

18,0

20-1/2"

34,0

20-3/4"

34,0

25-3/4"

39,0

25-1"

39,0

32-1"

39,0

Разъемное соединение

20

75,0

25

79,0

32

95,0

Тройник комбинированный (наружная резьба)

20-1/2"

 

20-3/4"

 

25-1/2"

 

25-3/4"

 

Тройник комбинированный (внутренняя резьба)

20-1/2"

 

20-3/4"

 

25-1/2"

 

25-3/4"

 

32-1"

 

Тройник комбинированный (внутренняя резьба)

20-1/2"

 

 

 

 

 

 

 

Тройник разъемный (внутренняя резьба)

20-1/2"

53,0

20-3/4"

64,0

25-1/2"

64,0

25-3/4²

70,0

32-1"

70,0

Угольник комбинированный, с креплением (внутренняя резьба)

16-1/2"

 

20-1/2"

 

20-3/4"

 

25-3/4"

 

Угольник комбинированный (внутренняя резьба)

20-1/2"

 

20-3/4"

 

25-1/2"

 

25-3/4"

 

32-3/4"

 

32-1"

 

Угольник комбинированный (наружная резьба)

20-1/2"

 

20-3/4"

 

25-1/2"

 

25-3/4"

 

32-3/4"

 

32-1"

 

Угольник комбинированный, разъемный (внутренняя резьба)

20-1/2"

 

20-3/4"

 

 

 

 

 

Кран шаровой из РРRС

20

 

25

 

32

 

40

 

Вентиль

20-1/2"

 

25-3/4"

 

32-1"

 

40-11/4"

 

50-11/2"

 

63-2"

 

Вентиль с выпускным вентильком (правый)

40

65,0

50

80,0

63

80,0

Вентиль с выпускным вентильком (левый)

40

65,0

50

80,0

63

80,0

Специальные детали

Опора одинарная

20

32,0´25,0

25

41,0´26,0

32

49,0´30,0

40

56,0´35,0

50

67,0´40,0

63

83,0´50,0

Опора двойная

2´20

77,0´34,0

2´25

87,0´36,5

Хомут металлический с резиновой прокладкой

20

 

25

 

32

 

40

 

50

 

63

 

75

 

100

 

20 - 23

 

25 - 28

 

32 - 25

 

40 - 45

 

52 - 58

 

60 - 64

 

Приложение 3

Перечень основных канализационных фасонных деталей из полипропилена и резиновых манжет

Наименование деталей

Размеры, мм

Схематическое изображение

Номинальный диаметр, мм

Габаритные размеры, мм

1

2

3

4

Муфта

50

90 (длина)

110

60

Муфта ремонтная

50

70 (длина)

110

132

Приборный патрубок (для унитаза)

110

185 (длина)

 

 

Патрубок для присоединения сифона

50

83,5 (длина)

 

 

Крестовина двухплоскостная (правая, левая)

110/110/50

87,5°

 

 

 

 

Тройник

50/50

45°

110/50

45°

110/110

45°

50/50

87,5°

110/50

87,5°

110/110

87,5°

Отвод

50

15°

50

30°

50

45°

50

87,5°

110

15°

110

30°

110

45°

110

87,5°

Переход

50/110

155 (длина)

50/40

102

40/50

102

Ревизия с крышкой

50

167 (длина)

110

132

Заглушка

50

55 (длина)

110

116

Компенсационный патрубок

110

252 (длина)

 

 

Клапан воздушный

50

70 (длина)

110

140

Отвод для присоединения сифона

50

90°

 

 

Резиновая манжета для присоединения унитаза

110

42 (длина)

 

 

 

 

 

Резиновый переход для присоединения к раструбу чугунной трубы по ГОСТ 6942-98

50

70 (длина)

 

110

80

 

 

 

 

Переход из резины для присоединения сифона

50/30

22,0 (длина)

 

Скользящая опора из полипропилена

50/40

22,0

50

40 (высота)

110

80

Хомут стальной

50

80

110

100

СОДЕРЖАНИЕ

1. Общая часть. 2

2. Проектирование шахт-пакетов с применением полипропиленовых труб. 4

3. Транспортировка и хранение шахт-пакетов с трубами и деталями из полипропилена. 12

4. Изготовление шахт-пакетов из полипропиленовых труб и соединительных деталей. 13

5. Монтаж шахт-пакетов. 16

6. Испытания шахт-пакетов из полипропиленовых труб. 22

7. Требования техники безопасности и охраны окружающей среды при монтаже. 22

Приложение 1. 23

Приложение 2. 24

Приложение 3. 28

 

 




ГОСТЫ, СТРОИТЕЛЬНЫЕ и ТЕХНИЧЕСКИЕ НОРМАТИВЫ.
Некоммерческая онлайн система, содержащая все Российские Госты, национальные Стандарты и нормативы.
В Системе содержится более 150000 файлов нормативно-технической документации, действующей на территории РФ.
Система предназначена для широкого круга инженерно-технических специалистов.

Рейтинг@Mail.ru Яндекс цитирования

Copyright © www.gostrf.com, 2008 - 2026