Крупнейшая бесплатная информационно-справочная система онлайн доступа к полному собранию технических нормативно-правовых актов РФ. Огромная база технических нормативов (более 150 тысяч документов) и полное собрание национальных стандартов, аутентичное официальной базе Госстандарта. GOSTRF.com - это более 1 Терабайта бесплатной технической информации для всех пользователей интернета. Все электронные копии представленных здесь документов могут распространяться без каких-либо ограничений. Поощряется распространение информации с этого сайта на любых других ресурсах. Каждый человек имеет право на неограниченный доступ к этим документам! Каждый человек имеет право на знание требований, изложенных в данных нормативно-правовых актах!

  


 

ТИПОВЫЕ ТЕХНОЛОГИЧЕСКИЕ КАРТЫ
НА ПРОИЗВОДСТВО ОТДЕЛЬНЫХ ВИДОВ РАБОТ

ТИПОВАЯ
ТЕХНОЛОГИЧЕСКАЯ
КАРТА

НА СПЕЦИАЛЬНЫЕ СТРОИТЕЛЬНЫЕ РАБОТЫ

6547030001

810001

МОНТАЖ МОБИЛЬНОГО ЗДАНИЯ МАГАЗИНА
В
КОНСТРУКТИВНОЙ КАРКАСНО-ПАНЕЛЬНОЙ
СИСТЕМЕ «МОДУЛЬ» (проект 168-52/1)

РАЗРАБОТАНА

Институтом Оргуралсибстрой

Главный инженер                  В.А. Шевков

Начальник отдела ТСП-3       В.А. Камышев

СОГЛАСОВАНА

Управлением механизации и технологии строительства Госстроя СССР

Письмо от 27.01.90 г. 12-34

Введена в действие с 1.03.1990 г.

МОСКВА - 1990

1. ОБЛАСТЬ ПРИМЕНЕНИЯ

Типовая технологическая карта (ТТК) разработана на монтаж мобильного здания магазина в конструктивной каркасно-панельной системе «Модуль» (проект 168-52/1).

Проект разработан экспериментальным конструкторским бюро НПО «Союзстройконструкция» Минуралсибстроя РСФСР.

Измеритель конечной продукции - одно здание.

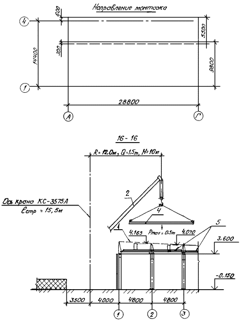
Здание одноэтажное с размерами в плане - 28,8×14,4 м.

Отметка низа несущих конструкций каркаса - 3,35 м.

Карта рекомендуется для применения при монтаже конструктивных элементов каркаса, наружных и внутренних стеновых панелей, перегородок, панелей покрытия, конструктивных элементов покрытия из профилированного листа.

Размеры и масса конструкций полной заводской готовности приводятся в комплектовочной ведомости проекта.

ТТК предусмотрено производство работ как в летних, так и в зимних условиях.

При привязке типовой технологической карты к конкретным условиям и объектам производства работ должны быть уточнены соответственно рабочим чертежам объемы работ, средства механизации, потребности в трудовых и материально-технических ресурсах, фактические размеры здания.

2. ОРГАНИЗАЦИЯ И ТЕХНОЛОГИЯ ВЫПОЛНЕНИЯ РАБОТ

2.1. Организация работ

До начала монтажа конструкций здания необходимо:

выполнить требования проекта производства работ (ППР) по организации строительной площадки;

разметить и закрепить проектное положение осей здания;

принять по акту работы по установке на фундаменты закладных деталей с анкерными болтами;

доставить и разместить на складе комплект конструкций на здание - при монтаже с приобъектного склада.

Для доставки на приобъектный склад стеновых панелей и перегородок рекомендуется использовать полуприцепы - панелевозы, буксируемые автомобильными тягачами. Прочие конструктивные элементы, а также монтажную оснастку и инвентарь следует завозить бортовыми автомашинами (табл. 1).

При выполнении монтажа «с колес» в ППР разрабатывается график завоза конструкций и материалов.

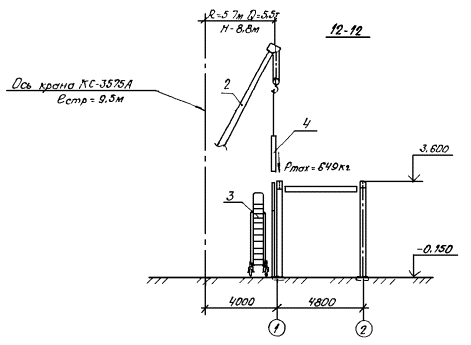
Погрузоразгрузочные и монтажные работы ведут с помощью автомобильного крана КС-3575А с длиной стрелы 15,5 м.

В данной ТТК разработано два варианта производства работ по монтажу здания.

I вариант предусматривает монтаж каркаса с предварительным укрупнением элементов в полурамы, состоящие из колонн и балок покрытия. Укрупнительная сборка производится в зоне монтажа.

В данной ТТК первый вариант принят за основной.

II вариант предусматривает монтаж каркаса отдельными элементами.

Монтаж конструкций здания выполняют по захваткам комплексным методом (лист 7).

Панели внутренних и наружных стен, перегородок, панели покрытия монтируют безвыверочным способом.

Работы по устройству покрытия из профилированного листа следует проводить самостоятельным потоком по окончании монтажа конструкций здания.

Перечень рекомендуемых машин и оборудования дан в табл. 1.

Таблица 1

Наименование комплекта машин и оборудования

Вариант (фасет-код)

Техническая характеристика

Марка

Количество

Кран монтажный

1

Кран автомобильный грузоподъемностью до 10 т

КС-3575А

1

(01-1)

 

2

Кран пневмоколесный грузоподъемностью до 16 т

КС-4361

1

(01-2)

КС-4361А

Транспортные средства

1

Полуприцеп-панелевоз

ПП-1307

2

 

1

Тягач

МАЗ-504А

2

 

1

Бортовой автомобиль

ЗИЛ-130

1

Оборудование для рабочего места монтажника

1,2

Универсальная сборно-разборная вышка (подмости)

Проект 1039А УМОР Мосгорисполкома

3

Все работы проводит комплексная бригада в количестве 7 человек (табл. 2).

Таблица 2

Профессии членов бригады

Разряды*

Количество

Основная

Смежная

6

5

4

3

Монтажник

 

1

1

-

-

2

Монтажник

Сварщик, такелажник

-

-

-

1

1

Монтажник

Такелажник, теплоизолировщик

-

-

3

1

4

* - разряды приведены для основных профессий.

2.2. Технологическая последовательность выполнения работ на захватках

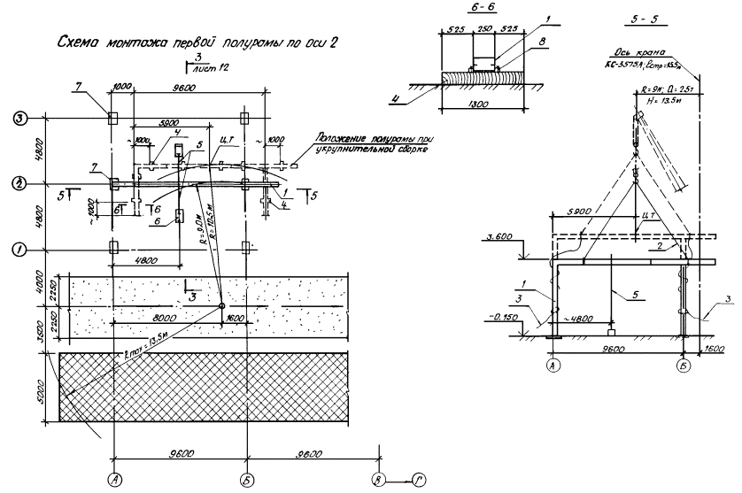
Последовательность монтажа конструкций на захватке (листы 9, 10, 11):

монтаж конструкций каркаса;

монтаж внутренних стен и перегородок;

монтаж панелей покрытия;

монтаж наружных стеновых панелей;

устройство покрытия.

Монтаж конструкций каркаса

Первый вариант производства работ по монтажу каркаса предполагает монтаж укрупненными элементами - полурамами.

При укрупнительной сборке полурамы следует:

положить подкладки (листы 13, 14, 22);

на подкладки положить колонны и балки;

установить болты в узлах соединения колонн и балок;

установить накладные элементы.

Перед монтажом полурам для временного крепления необходимо установить бетонные блоки-якоря (лист 12).

При монтаже полурамы следует (листы 13, 14, 22):

закрепить на полураме расчалки;

застропить полураму;

поднять полураму на 300 - 500 мм над опорами;

установить в проектное положение;

закрепить полураму при помощи анкерных болтов и расчалок с талрепами.

Монтаж второй полурамы на захватке осуществляется в той же технологической последовательности.

После установки и фиксации в проектном положении второй полурамы на захватке необходимо (лист 15):

поставить временные связи по крайним колоннам;

установить ригели в положение, при котором не будет создано помех при монтаже внутренних стен и перегородок;

снять расчалки, убрать бетонный блок (якорь) между полурамами.

Второй вариант производства работ по монтажу каркаса предполагает поэлементный монтаж полурам на захватке. Рекомендуется поочередно (листы 21, 22):

установить крайние колонны, закрепив их в проектном положении при помощи анкерных болтов и расчалок с талрепами;

установить временные связи между ними;

выполнить монтаж колонн, стоек фахверка, балок, накладных элементов последовательно - «на кран»;

закрепить конструкции расчалками.

Выверку монтируемой полурамы, а также стоек фахверка и колонн (по второму варианту) производить, совмещая осевые риски, нанесенные на опорных плитах колонн и стоек фахверка, с осевыми рисками на поверхности закладных деталей.

Крепление полурам при помощи расчалок выполняется только на первой захватке, на остальных - полурамы фиксируются временными связями и соединением с ранее смонтированными частями рам.

Монтаж внутренних стен и перегородок

В процессе монтажа внутренних стеновых панелей и перегородок на захватке, предварительно установив вручную стойки фахверка, следует (листы 16, 23):

застропить панель нижнего яруса;

в местах строповки привязать оттяжки;

подвести панель к месту установки, удерживая оттяжками;

установить на опоры на стойках фахверка;

временно закрепить панель с помощью упоров;

установить средства подмащивания;

расстропить панель;

снять рым-болты, используемые для строповки;

положить теплоизолирующий пакет;

застропить панель верхнего яруса;

в местах строповки привязать оттяжки;

подвести панель к месту установки, удерживая оттяжками;

установить на опоры;

зафиксировать панель деталями крепления;

расстропить панель;

снять рым-болты;

установить средства подмащивания для монтажа ригелей;

установить ригель (вручную);

поставить болты в узлах крепления ригеля;

поставить болты в узлах крепления стоек фахверка к ригелю;

убрать упоры.

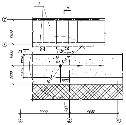
Монтаж панелей покрытия

Последовательность операции по монтажу панели покрытия (листы 17, 23):

застропить панель покрытия;

поднять панель на 300 - 500 мм над местом установки;

установить средства подмащивания;

уложить панель в проектное положение и расстропить.

Временные связи демонтируют перед монтажом последней в пролете на захватке панели покрытия.

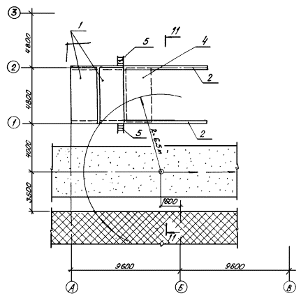
Монтаж наружных стеновых панелей

Последовательность технологических операций при монтаже наружных стеновых панелей (листы 18, 19, 22):

застропить панель нижнего яруса;

в местах строповки привязать оттяжки;

подвести панель к месту установки, удерживая оттяжками;

установить на опоры;

установить средства подмащивания;

зафиксировать панель при помощи деревянных брусков;

расстропить панель;

положить теплоизолирующий пакет в стыки панелей верхнего и нижнего яруса;

застропить панель верхнего яруса;

в местах строповки привязать оттяжки;

подвести панель к месту установки, удерживая оттяжками;

установить на опоры;

зафиксировать панель с помощью деревянных брусков;

расстропить панель;

установить детали крепления парапетных панелей;

положить в стык парапетной панели и панели верхнего яруса теплоизолирующий пакет;

застропить парапетную панель;

в местах строповки привязать оттяжки;

подвести панель к месту установки, удерживая оттяжками;

установить панель на опоры;

закрепить панель согласно проекта;

расстропить панель.

Монтаж наружных стеновых панелей на захватке необходимо начинать с панелей, устанавливаемых по оси «А» или «Г».

По окончании монтажа наружных стеновых панелей на захватке следует выполнить теплоизоляцию в стыках панелей перегородок, внутренних и наружных стен, панелей покрытия и установить на стыках нащельники.

Устройство покрытия

Во избежание повреждения панелей покрытия для выполнения работ на панели укладывают деревянные трапы.

Детали крепления, прогоны, теплоизолирующие пакеты на покрытие подают краном в контейнерах.

В процессе производства работ следует (листы 20, 23):

установить вручную деталь крепления прогонов;

установить прогоны;

положить в стыки панелей теплоизолирующие пакеты;

подать пакет профилированного листа на покрытие, вручную разложить листы в соответствии с проектом;

закрепить профилированные листы на прогонах самонарезающими винтами;

поставить на стыках листов заклепки.

3. ТРЕБОВАНИЯ К КАЧЕСТВУ И ПРИЕМКЕ РАБОТ

Контроль качества СМР осуществляется специальными службами, создаваемыми в строительной организации и оснащенными техническими средствами, обеспечивающими необходимую достоверность и полноту контроля. Он подразделяется на производственный и инспекционный контроль.

Производственный контроль качества СМР включает:

входной контроль рабочей документации, конструкций, изделий, материалов. Входной контроль проводят линейные ИТР совместно с руководителями бригад;

операционный контроль отдельных строительных процессов или производственных операций осуществляется линейными ИТР, геодезической службой;

при приемочном контроле СМР производят проверку и оценку качества выполненных строительно-монтажных работ, а также ответственных конструкций.

Приемочный контроль осуществляют согласно СНиП 3.03.01-87.

При приемке работ предъявляются журналы монтажных и сварочных работ, антикоррозионной защиты сварных соединений, акты освидетельствования скрытых работ.

На всех стадиях строительства с целью проверки эффективности ранее выполненного производственного контроля выборочно осуществляется инспекционный контроль, который ведется специальными службами либо комиссиями.

Технические критерии и средства контроля операций и процессов приводятся в табл. 3.

Таблица 3

Наименование процессов, подлежащих контролю

Предмет контроля

Инструмент и способ контроля

Время контроля

Ответственный контролер

Технические критерии оценки качества

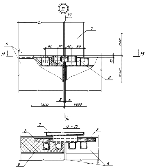
Подготовка опорной поверхности фундамента для установки рам каркаса

Точность выполнения работ

Геодезические инструменты

В процессе работ и по их окончании

Мастер (бригадир)

Отклонения поверхности фундамента, выполненной до проектной отметки подошвы колонн и отметки опорных деталей, заделанных в фундаменты:

по высоте - не более 5 мм;

по уклону - не более 1/1000

Подготовительные предмонтажные работы

Соответствие формы и геометрических размеров проектным, наличие внешних дефектов; правильность расположения закладных деталей под колонны и стойки фахверка

Рулетка измерительная, визуальный осмотр

До начала монтажа

То же

Отклонение размеров по ГОСТ 11024-84* смещение анкерных болтов, расположенных внутри контура опоры конструкций в плане: ±5 мм; отклонение длины нарезки анкерного болта: +30 мм; отклонение отметки верхнего торца анкерного болта от проектной: +20 мм

Укрупнительная сборка

Качество сборки

Визуально

По окончании работ

-"-

Отклонения, допускаемые рабочими чертежами

 

Качество затяжки винтов и болтов

Щупом (Ø = 0,3 мм), молотком

В процессе укрупнительной сборки

-"-

Щуп в пределах зоны, ограниченной шайбой, не должен проходить между собранными деталями на глубину более 20 мм. При отстукивании молотком болты не должны смещаться

Монтаж рам каркаса

Точность установки, соблюдение технологии монтажа, правильность и надежность строповки, временного крепления

Рулетка измерительная, геодезические инструменты, отвес

В процессе монтажа

-"-

Смещение осей стоек рам относительно разбивочных осей (в нижнем сечении) - 5 мм; отклонение оси стойки рамы от вертикали (в верхнем сечении) - 10 мм; отклонение отметки опорной поверхности стоек рамы - 1,5 мм

Сварочные работы

Контроль сварочных соединений в процессе их выполнения с проверкой геометрических размеров и формы шва

Визуально, рулетка измерительная

2 раза в смену

-"-

Контроль швов неразрушающими методами по ГОСТ 3242-79. Все типы конструкций в объеме 100 %

Монтаж балок

Точность установки конструкций

То же

В процессе монтажа

-"-

Расстояние между осями балок по верхним поясам между точками закрепления - 15 мм

Монтаж стеновых панелей

Точность установки, соблюдение технологии монтажа. Правильность и надежность строповки

-"-

То же

-"-

Отклонение верха панелей стен от вертикали - не более 10 мм

Установка нащельников

Соответствие проектному положению

Визуально, рулетка измерительная

При выполнении работ

Мастер (бригадир)

Отклонение от оси установки - 5 мм

Отклонение положения центров заклепок

То же

То же

То же

Отклонения: вдоль нащельников - 20 мм;

поперек нащельников - 5 мм

Качество обжатия и контроль непрерывности

 

 

 

 

Монтаж прогонов

Точность установки, соблюдение технологии монтажа. Правильность и надежность строповки.

-"-

В процессе монтажа

-"-

Допускается отклонение расстояний между осями прогонов - 5 мм

Монтаж панелей покрытия

Точность установки, соблюдение технологии монтажа

-"-

То же

-"-

Отклонение опирания настила на прогоны в местах поперечных стыков - 5 мм

Постановка самонарезающих винтов

Точность разбивки осей самонарезающих винтов

-"-

-"-

-"-

Отклонение в положении центров отверстий для самонарезающих винтов - 5 мм


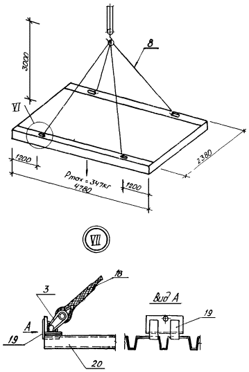
1 - смонтированная часть здания;

2 - полурама в проектном положении;

3 - монтируемая полурама;

4 - кран КС-3575А;

5 - плита покрытия;

6 - приставная лестница;

7 - стеновая панель;

8 - сборно-разборная вышка

Данный лист читать совместно с л. 7

Примечания:

1. Расчалки убрать после монтажа временных связей и ригеля.

2. Монтаж внутренних перегородок см. л. 16.

3. Условные обозначения см. л. 11.

4. Данный лист читать совместно с л. 10, 11.


Примечания:

1. Читать совместно с л. 7, 9, 11.

2. Монтаж конструкций производить аналогично монтажу первой захватки.

3. Смонтированные конструкции на захватке № 1.

Примечания:

1. Данный лист читать совместно с л. 7, 9, 10.

2. Последовательность монтажа элементов на последующих захватках аналогична.

3. Смонтированные конструкции на захватке № 1.

А - расчалки;

Б - якорь из фундаментного блока;

1, 2, 45, 46 - полурамы каркаса;

3, 4, 47, 48 - временные связи;

5, 49, 50, 51 - ригели;

6 ÷ 15 - стойки фахверка;

16 ÷ 31, 52 ÷ 59 - внутренние перегородки;

32 ÷ 35, 60 ÷ 67 - панели покрытия;

36 ÷ 44, 68 ÷ 82 - наружные стеновые панели.

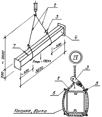
1 - расчалка из стального каната;

2 - талреп марка ВУ Q = 0,5 м ОСТ 5.2314-79;

3 - блок фундаментный ГОСТ 19010-82*;

4 - полурама;

5 - элемент крепления панелей покрытия;

6 - рожковый зажим 16-1 ОСТ 24.090.51-86.


1 - монтируемая полурама; 2 - строп; 3 - оттяжка; 4 - подкладка из ж/дорожной шпалы; 5 - расчалки; 6 - фундаментный блок; 7 - закладные элементы; 8 - бруски 50×50 мм, l = 300 мм прибить к шпалам гвоздями.

Примечания:

1. Схему строповки конструкций см. л. 22, 23.   2. Условные обозначения см. л. 7.   3. Читать совместно с л. 12.

Схема монтажа второй полурамы

1 - монтируемая полурама; 2 - смонтированная полурама; 3 - кран КС-3575А; 4 - подкладка из ж/дорожной шпалы; 5 - расчалки; 6 - фундаментный блок; 7 - закладные элементы.

Примечания:

1. Схему строповки конструкций см. л. 22.

2. Условные обозначения см. л. 7.

3. Читать совместно с л. 9, 12.


Схема монтажа временных связей и ригелей

1 - смонтированные полурамы; 2 - монтируемые временные связи; 3 - монтируемый ригель; 4 -  фундаментный блок; 5 - расчалки; 6 - сборно-разборная вышка; 7 - кран КС-3575А;

Читать совместно с л. 9.


Схема монтажа внутренних стеновых панелей и перегородок

Примечания:

1. Схему строповки см л. 22, 23.

2. Ригели для крепления стоек перегородок монтировать после монтажа перегородок.

3. Читать совместно с л. 9, 11.


Схема монтажа плит покрытия на I захватке

1 - смонтированная часть покрытия;

2 - смонтированные полурамы;

3 - кран КС-3575А;

4 - монтируемая панель покрытия;

5 - лестница складная ЛС-1.

Схема монтажа наружных стеновых панелей на I захватке

1 - смонтированная часть здания;

2 - кран КС-3575А;

3 - сборно-разборная вышка;

4 - монтируемая стеновая панель.

Примечания:

1. Схему строповки см. л. 22.

2. Читать совместно с л. 19.

5 - стеновая панель;

6 - панель парапетная;

7 - колонна каркаса;

8 - деревянный брус 20×40 мм, l = 200 мм для фиксации стеновых панелей;

9 - теплоизолирующий пакет.

Данный лист читать совместно с л. 18

Схема последовательности монтажа кровли из стального профилированного настила

Схема монтажа элементов кровли

1 - монтируемый настил;

2 - кран КС-3575А;

3 - прогоны;

4 - пакет из 5 листов профнастила;

5 - трапы.


Схема поэлементного монтажа каркаса здания (II вариант)

1 - смонтированные конструкции на I захватке; 2 - ригель; 3 - колонны; 4 - стойки фахверка; 5 - балки покрытия; 6 - кран КС-3575А; 7 - сборно-разборная вышка; 8 - расчалка.


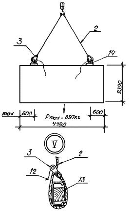
Схемы строповки конструкций

а) крайней колонны при укрупнительной сборке

б) средней колонны при укрупнительной сборке

в) балок полурамы при укрупнительной сборке

г) полурам каркаса при монтаже

д) наружной стеновой панели

е) временных связей

ж) панелей перегородок

з) панели покрытия

и) пакета из профилированного настила

1 - крайняя колонна;

2 - строп СКП1-1,1/4000 ГОСТ 25573-82*;

3 - пружинный замок ПР-3.2;

4 - средняя колонна;

5 - инвентарные прокладки;

6 - балка;

7 - стеновая панель;

8 - строп 4СК1-0,8/5000 ГОСТ 25573-82*;

9, 10 - полурамы каркаса;

11 - строп СКП1-1,1/8200 ГОСТ 25573-82*;

12 - канат для дистанционной расстроповки.

13- подкладки из деревянного бруса;

14 - рым-болт;

15 - строп 4СК1-0,8/5000 ГОСТ 25573-82*;

16 - отверстие в панели для строповки;

17 - строп 2СТ10-4;

18 - строп СКП1-0,32/2300;

19 - захват;

20 - пакет из 5 листов профнастила.

Схемы складирования конструкций

а) крайних колонн (в плане)

б) колонн среднего ряда и балок

в) прогонов и временных связей

г) стеновых панелей и панелей покрытий

д) перегородок

1 - подкладка из бруса 130×150 мм;

2 - прокладка из доски 100×40 мм;

3 - склад-пирамида.


4. КАЛЬКУЛЯЦИЯ ЗАТРАТ ТРУДА, МАШИННОГО ВРЕМЕНИ, ЗАРАБОТНОЙ ПЛАТЫ

Таблица 4

Наименование процесса

Номер фасета для пересчета показателей

Единица измерения

Объем работ

Обоснование (ЕНиР и др. нормы)

Нормы времени

Расценка, р.-к.

Затраты труда

Заработная плата, р.-к.

Время пребывания машины на объекте, маш.-ч

Заработная плата машиниста с учетом пребывания машины на объекте, р.-к.

рабочих, чел.-ч

машиниста, чел.-ч (маш.-ч)

рабочих

машиниста

рабочих, чел.-ч

машиниста, чел.-ч (маш.-ч)

рабочих

машиниста

1. Выгрузка с автотранспортных средств оборудования, инвентаря, приспособлений, конструкций

 

100 т

0,35

ЕНиР, § Е1-5, табл. 2, п. 1а, б

22

11

14-09

11-66

7,7

3,85

4-93

4-08

3,85

4-08

2. Выгрузка с автотранспортных средств панелей стен и перегородок, транспортируемых в кассетах, до 0,5 т

 

100 т

0,185

ЕНиР, § Е1-5, табл. 2, п. 1а, б, ПР-1

26,6

13,2

16-91

13-99

4,92

2,44

3-13

2-59

2,44

2-59

3. То же до 1 т

 

100 т

0,13

ЕНиР, § Е1-5, табл. 2, п. 2а, б, ПР-1

14,4

7,2

9-22

7-76

1,87

0,94

1-20

1-01

0,94

1-01

4. Укрупнительная сборка металлических конструкций каркаса в полурамы

 

1 элемент

36

ЕНиР, § Е5-1-3, табл. 2, п. 1к, п. 3к

0,18

0,04

0-15,3

0-04,2

6,48

1,44

5-51

1-51

1,44

1-51

т

3,65

п. 2к, п. 4к

0,55

0,11

0-46,8

0-11,7

2,01

0,4

1-71

0-43

0,4

0-43

5. Постановка болтов при укрупнительной сборке

 

100 шт.

0,24

ЕНиР, § Е5-1-19, п. 1, ПР-3

8,05

-

6-00

-

1,93

-

1-44

-

-

-

6. Монтаж полурам каркаса

 

шт.

8

ЕНиР, § Е5-1-6, табл. 2, п. 1 б, п. 3б

0,33

0,11

0-26,4

0-11,7

2,64

0,88

2-11

0-94

0,88

0-94

т

3,65

ВЧ-1, п. 2 б, п. 4 б

1,1

0,36

0-88

0-38,5

4,02

1,31

3-21

1-41

1,31

1-41

7. Монтаж временных связей

 

шт.

16

ЕНиР, § Е 5-1-6, табл. 2, п. 1в, п. 2в,

0,36

0,12

0-29

0-12,8

5,76

1,92

4-64

2-05

1,92

2-06

т

0,63

ВЧ-1, п. , п. 4в

1,65

0,55

1-32

0-58,3

1,04

0,35

0-83

0-37

0,35

0-37

8. Эл. дуговая сварка в узлах опирания колонн и стоек фахверка

 

10 м

1,0

ЕНиР, § Е22-1-1, п. 1в, п. 2в

3,2

-

2-24

-

3,2

-

2-24

-

-

-

9. Монтаж стоек фахверка

 

шт.

28

ЕНиР, § Е5-1-6, табл. 2, п. 1з, п. 2з,

1,06

0,35

0-84,5

0-37,3

29,68

9,8

23-66

10-44

9,8

10-44

т

1,26

ВЧ-1, п. , п. 4з

2,75

0,91

2-20

0-96,8

3,47

1,15

2-77

1-22

1,15

1-22

10. Монтаж колонн тамбура и стоек ворот

 

шт.

6

ЕНиР, § Е5-1-9,

3,85

0,77

3-11

0-81,6

23,1

4,62

18-66

4-90

4,62

4-90

т

1,1

п. 1а, б, ВЧ-1

0,83

0,165

0-66,6

0-17,5

0,91

0,18

0-73

0-19

0,18

0-19

11. Установка бетонных блоков для крепления расчалок

 

100 т

0,02

ЕНиР, § Е1-6, табл. 2, п. 18а, б

17

8,5

10-88

9-01

0,34

0,17

0-22

0-18

0,17

0-18

12. Монтаж ригеля ворот

 

шт.

1

ЕНиР, § Е5-1-6, табл. 2, п. 1б, п. 2б

0,33

0,11

0-26,4

0-11,7

0,33

0,11

0-26

0-12

0,11

0-12

т

0,08

ВЧ-1, п. , п. 4б

1,1

0,36

0-88

0-38,5

0,09

0,03

0-07

0-03

0,03

0-03

13. Монтаж панелей стен и перегородок

 

шт.

83

ВНиР, § В14-2-10, п. 1, ЕНиР, Общая часть, тариф 6 разряда для машиниста крана

2,4

0,4

1-98

0-42,4

199,2

33,2

164-34

35-19

33,2

35-19

14. Монтаж ригелей

 

т

0,23

ЕНиР, § Е5-1-18, табл. 1, п. 1г

12,5

-

9-31

-

2,88

-

2-14

-

-

-

15. Постановка болтов при монтаже ригелей, стоек фахверка, колонн

 

100 шт.

1,28

ЕНиР, § Е5-1-19, п. 1

11,5

-

8-57

-

14,7

-

10-97

-

-

-

16. Установка накладных элементов

 

т

0,15

ЕНиР, § Е5-1-18, табл. 1, п. 1б

21

-

15-65

-

3,15

-

2-35

-

-

-

17. Монтаж панелей покрытия

 

шт.

38

ВНиР, § В14-2-10, п. 8, ЕНиР, Общая часть, тариф 6 разряда для машиниста крана

1,4

0,47

1-12

0-49,8

53,2

17,86

42-56

18-92

17,86

18-92

18. Установка трапа по плитам перекрытия и его перестановка

 

100 т

0,01

ЕНиР, § Е1-6, табл. 2, п. 17а, б, в, г

25,4

12,7

16-26

13-46

0,25

0,13

0-16

0-14

0,13

0-14

19. Установка деталей крепления панелей

 

т

0,1

ЕНиР, § Е5-1-18, табл. 1, п. 1а

33

-

24-59

-

3,3

-

2-46

-

-

-

20. Сверление отверстий под самонарезающие винты

 

100 шт.

16,4

ЕНиР, § Е5-1-20, табл. 5, п. 7

1,15

-

0-90,9

-

18,86

-

14-91

-

-

-

21. Установка самонарезающих винтов

 

100 шт.

16,4

ЕНиР, § Е5-1-20, табл. 5, п. 8

0,9

-

0-67,1

-

14,76

-

11-00

-

-

-

22. Теплоизоляция стыков перегородок и стен минераловатными плитами

 

м2

27,3

ЕНиР, § Е11-41, п. 18, ПР-2

0,84

-

0-59,6

-

22,93

-

16-27

-

-

-

23. Установка нащельников

 

10 м

60,0

ЕНиР, § Е5-1-15, табл. 2, п. 10

1,5

-

1-12

-

90,0

-

67-20

-

-

-

24. Сверление отверстий под заклепки

 

100 шт.

0,26

ЕНиР, § Е5-1-20, табл. 5, п. 3

0,55

-

0-43,5

-

0,143

-

0-11

-

-

-

25. Установка заклепок

 

100 шт.

0,26

ЕНиР, § Е5-1-20, табл. 5, п. 4

0,72

-

0-56,9

-

0,19

-

0-15

-

-

-

26. Подача деталей крепления, прогонов краном

 

100 т

0,02

ЕНиР, § Е1-6, табл. 2, п. 17а, б, в, г

25,4

12,7

16-26

13-46

0,51

0,25

0-33

0-27

0,25

0-27

27. Монтаж деталей крепления, прогонов

 

т

1,46

ЕНиР, § Е5-1-18, табл. 1, п. 1б

21,0

-

15-65

-

30,66

-

22-85

-

-

-

28. Постановка болтов при монтаже прогонов

 

100 шт.

2,8

ЕНиР, § Е5-1-19, п.1

11,5

-

8-57

-

32,2

-

24-00

-

-

-

29. Теплоизоляция стыков панелей перекрытия

 

м2

40,0

ЕНиР, § Е11-41, п. 2а, ПР-2

0,216

-

0-15,4

-

8,64

-

6-16

-

-

-

30. Перестановка средств подмащивания вручную

 

шт.

180

ЕНиР, § Е5-1-2, п. 9а, б, ПР-1

0,61

-

0-42,8

-

109,8

-

77-04

-

-

-

31. Подача профилированного настила на перекрытие краном

 

100 т

0,07

ЕНиР, § Е1-6, табл. 2, п. 17а, б, в, г

25,4

12,7

16-26

13-46

1,78

0,89

1-14

0-94

39,2

41-54

32. Установка козырьков, сливов

 

10 м

64,0

ЕНиР, § Е5-1-15, табл. 2, п. 12

0,88

-

0-65,6

-

56,32

-

41-98

-

-

-

33. Укладка профилированного настила

 

100 м2

4,15

ЕНиР, § Е5-1-20, табл. 1, п. 1а

9,1

-

6-71

-

37,77

-

27-85

-

-

-

34. Перестановка трапа

 

100 м

0,02

ЕНиР, § Е1-6, табл. 2, п. 17а, б, в, г

25,4

12,7

16-26

13-46

0,51

0,25

0-33

0-27

0,25

0-27

35. Погрузка на автотранспортные средства инвентаря, оснастки

 

100 т

0,03

ЕНиР, § Е1-5, табл. 2, п. 1а, б

22

11

14-09

11-66

0,66

0,33

0-42

0-35

0,33

0-35

Итого:

801,9

82,5

614-04

87-55

120,8

128-15

5. ГРАФИК ПРОИЗВОДСТВА РАБОТ

Таблица 5


6. МАТЕРИАЛЬНО-ТЕХНИЧЕСКИЕ РЕСУРСЫ

Потребность в инструменте, инвентаре и приспособлениях приведена в табл. 6.

Таблица 6

Наименование

Марка, техническая характеристика, ГОСТ, номер чертежа

Количество по вариантам

Назначение

I

II

Трансформатор сварочный

ТНС-300. Изготовитель - Кокандский машиностроительный завод

1

1

Сварочные работы

Упор

РЧ 839.07.000 ЦНИИОМТП Госстроя СССР

8

8

временное крепление внутренних стен и перегородок

Поддон ящичный

ТУ 65.458.83

2

2

Погрузоразгрузочные работы, хранение и подача на монтаж штучных грузов

Кассета

ТУ 65.442-83

1

1

То же, для прогонов

Строп двухветвевой

Проект 29700-103, 2СТ-10-4 ВНИПИ Промстальконструкция Минмонтажспецстроя СССР

1

1

Подача профилированного настила

Подкладка под канат

Проект 297-106-00 ВНИПИ Промстальконструкция Минмонтажспецстроя СССР

8

8

То же

Захват

Проект 29700-118 П-0,3 ВНИПИ Промстальконструкция Минмонтажспецстроя СССР

4

4

-"-

Строп четырехветвевой

4СК1-0,8/5000, ГОСТ 25573-82*

1

1

Монтаж конструкции

Строп двухветвевой

ГОСТ 25573-82*, СКП1-1,1/8200

2

2

То же

То же

СКП1-0,32/2300

4

4

-"-

-"-

СКП1-1,1/4000

2

2

-"-

нивелир в комплекте

НТ, ГОСТ 10528-76*

1

1

Контроль качества

Теодолит в комплекте

Т-15, ГОСТ 10529-86*

1

1

То же

Лестница складная

ЛС-1. Изготовитель - Арташатский ремонтно-механический завод

2

2

Средства подмащивания

Машина ручная сверлильная электрическая

ИЭ-1035. Изготовитель «Электроинструмент», г. Ростов-на-Дону

4

4

Сверление отверстий под самонарезающие винты и заклепки

Пистолет ручной односторонней клепки

СТД-96/1. Проект 4610-00-00, Ногинский опытный з-д монтажных приспособлений

4

4

Установка заклепок

Ящик для инструмента

ЯМД, ТУ 36-1037-75

4

4

Хранение инструмента

Набор гаечных ключей

ГОСТ 2841-80*Е

4

4

Постановка болтов

Лом монтажный

ЛМЛ или ЛМВ, ГОСТ 1405-83

3

3

Укрупнительная сборка, монтаж конструкций

Полуавтоматический замок

Проект ПР3.2.29.700-100-00, ВНИПИ Промстальконструкция Минмонтажспецстроя СССР

2

2

То же

Канат бальный

Ø = 16 мм, l =12,0 м ГОСТ 483-75*

 

 

-"-

Рулетка

РС-20, ГОСТ 7502-80*

2

2

Контроль качества работ

Отвес

ОТ-400, ГОСТ 7948-80

2

2

То же

Респиратор

ШБ-1 «Лепесток»

4

4

Теплоизоляционные работы

Каска пластмассовая для строителей

«Солво», ТУ 205 ЭССР 281-78

7

7

Индивидуальная безопасность

Пояс предохранительный

ГОСТ 12.4.089-80

4

4

То же

Расчалка Р-1; канат l = 5500

13-Г-1-ОЖ-Н-1370, ГОСТ 2688-80*

4

4

Монтаж конструкций каркаса

Талреп

ВУ 0 = 0,5, ОСТ 5.314-79

4

4

То же

Рожковый зажим

16-1, ОСТ 24.090.51-86

24

24

-"-

Бетонный блок (якорь)

ФБС 9.3.6-Т, ГОСТ 13579-78*

3

3

-"-

Гайковерт ручной электрический

ИЭ-3114Б или ИЭ-3113А

4

4

Установка самонарезающих винтов

Нормокомплект для сварочных работ

РЧ 712.00.000А, ПКТИ ТСО Южуралстрой

1

1

Для сварочных работ

Перчатки резиновые технические

ГОСТ 20010-74*

1

1

Индивидуальная безопасность

Обувь диэлектрическая

ГОСТ 13385-78*

1

1

То же

Потребность в материалах, не учтенных в комплектовочной ведомости проекта, приводится в табл. 7.

Таблица 7

Наименование материала, полуфабриката, конструкции (марка, ГОСТ)

Вариант (фасет-код)

Исходные данные

Потребность в материале

Единица измерения

Объем работ в нормативных единицах

Принятая норма расхода материала

Электроды Э-42

-

1 т

0,12

17

2,04

Лак ХСД для антикоррозионной защиты

-

1 м2

0,1

0,1

0,01

7. ТЕХНИКА БЕЗОПАСНОСТИ

При монтаже здания все виды работ необходимо выполнять с соблюдением требований соответствующих разделов СНиП III-4-80* «Техника безопасности в строительстве».

Машины и оборудование должны быть в исправном состоянии и снабжены инструкциями по эксплуатации. Рабочие, входящие в состав бригады, должны до начала работ пройти инструктаж о правильных приемах выполнения операций и правилах техники безопасности по каждому виду работ, выполняемых бригадой, с подписью проводившего и получившего инструктаж.

На захватке, где ведутся монтажные работы, не допускается выполнение других работ и нахождение посторонних лиц.

При выполнении электросварочных работ, пользовании электрифицированным инструментом и оборудованием необходимо соблюдать требования ГОСТ 12.1.013-78 и ГОСТ 12.2.010-75*.

Производство электросварочных работ во время дождя или снегопада при отсутствии навесов над электросварочным оборудованием и рабочим местом электросварщика не допускается.

Категорически запрещается работать с электрифицированным инструментом и оборудованием без индивидуальных средств защиты (диэлектрических резиновых перчаток и обуви).

В соответствии с действующими нормами такелажные приспособления перед их использованием испытывают двойной нагрузкой.

До выполнения монтажных работ необходимо установить порядок обмена условными сигналами между лицом, руководящим монтажом, и машинистом крана. Все сигналы подаются только одним лицом, кроме сигнала «стоп», который может быть подан любым работником, заметившим явную опасность.

Не допускается выполнять монтажные работы при скорости ветра 15 м/с и больше, при гололедице, грозе и тумане, исключающем видимость в пределах фронта работ. Работы по перемещению и установке стеновых панелей ввиду большой парусности следует прекращать при скорости ветра 10 м/с и более.

Очистку подлежащих монтажу элементов конструкций от грязи и наледи следует производить до их подъема. Перед подъемом проверить надежность строповки груза.

При укрупнительной сборке и производстве монтажных работ все технологические операции выполняют под руководством монтажника конструкций 6 разряда, обеспечивающего сигнальную связь с машинистом крана.

При перемещении конструкций расстояние между ними и выступающими частями других конструкций должно быть по горизонтали не менее 1 м, по вертикали - 0,5 м.

Запрещается перемещать конструкции над подмостями, если на них находятся люди, а также перемещать подмости с находящимися на них рабочими.

Рабочие, устанавливающие теплоизоляционные пакеты и минераловатные плиты, должны пользоваться респираторами и очками, предохраняющими глаза от повреждения.

При выполнении работ со складной лестницы и на перекрытии монтажники конструкций во избежание падения обязаны использовать предохранительные пояса.

При производстве работ следует руководствоваться требованиями СНиП III-4-80* «Техника безопасности в строительстве», «Правилами устройства и безопасной эксплуатации грузоподъемных кранов», утвержденных Госгортехнадзором в 1969 г., и ГОСТ 12.1.013-78.

8. ТЕХНИКО-ЭКОНОМИЧЕСКИЕ ПОКАЗАТЕЛИ НА ЗДАНИЕ (НА 100 м2)

Нормативные затраты труда рабочих, чел.-ч                            801,9             (174,3)

Нормативные затраты машинного времени, маш.-ч                82,5               (17,9)

Заработная плата рабочих-монтажников, р.-к.                         614-04           (133-49)

Заработная плата машиниста, р.-к.                                             87-55             (19-03)

Продолжительность выполнения работ, смена                        15,1               (3,28)

Выработка на одного рабочего в смену, чел.-смен                   4,49               (0,98)

Условные затраты на механизацию, р.-к.                                  379-31           (82-44)

Сумма изменяемых затрат, р.-к.                                                  993-35           (215-94)

9. ФАСЕТНЫЙ КЛАССИФИКАТОР ФАКТОРОВ

ФАСЕТ 01

Стоимость 1 маш.-ч работы монтажного крана, руб.

Наименование фактора

Обоснование

Код

Значение фактора

Кран автомобильный грузоподъемностью 10 т

СНиП IV-3-84, Приложение

1

3-14

Кран пневмоколесный грузоподъемностью до 16 т

«Сб. сметных цен эксплуатации строительных машин»

2

6-65

Примечание. Рамкой обведено в таблице значение фактора, на который рассчитаны показатели в данной технологической карте.

СОДЕРЖАНИЕ

 

 




ГОСТЫ, СТРОИТЕЛЬНЫЕ и ТЕХНИЧЕСКИЕ НОРМАТИВЫ.
Некоммерческая онлайн система, содержащая все Российские Госты, национальные Стандарты и нормативы.
В Системе содержится более 150000 файлов нормативно-технической документации, действующей на территории РФ.
Система предназначена для широкого круга инженерно-технических специалистов.

Рейтинг@Mail.ru Яндекс цитирования

Copyright © www.gostrf.com, 2008 - 2026