Крупнейшая бесплатная информационно-справочная система онлайн доступа к полному собранию технических нормативно-правовых актов РФ. Огромная база технических нормативов (более 150 тысяч документов) и полное собрание национальных стандартов, аутентичное официальной базе Госстандарта. GOSTRF.com - это более 1 Терабайта бесплатной технической информации для всех пользователей интернета. Все электронные копии представленных здесь документов могут распространяться без каких-либо ограничений. Поощряется распространение информации с этого сайта на любых других ресурсах. Каждый человек имеет право на неограниченный доступ к этим документам! Каждый человек имеет право на знание требований, изложенных в данных нормативно-правовых актах!

  


 

ТИПОВЫЕ ТЕХНОЛОГИЧЕСКИЕ КАРТЫ НА ПРОИЗВОДСТВО
ОТДЕЛЬНЫХ ВИДОВ РАБОТ

ТИПОВАЯ
ТЕХНОЛОГИЧЕСКАЯ
КАРТА

НА МОНТАЖ СТРОИТЕЛЬНЫХ КОНСТРУКЦИЙ

6310030013

43013

МОНТАЖ СТЕН ГОРИЗОНТАЛЬНОЙ РАЗРЕЗКИ
ИЗ АСБЕСТОЦЕМЕНТНЫХ
ЭКСТРУЗИОННЫХ ПАНЕЛЕЙ
ПОЭЛЕМЕНТНЫМ МЕТОДОМ
ДЛЯ ГРАЖДАНСКИХ
И ПРОМЫШЛЕННЫХ ЗДАНИЙ

МОСКВА 1990

ТИПОВЫЕ ТЕХНОЛОГИЧЕСКИЕ КАРТЫ НА ПРОИЗВОДСТВО ОТДЕЛЬНЫХ ВИДОВ РАБОТ

ТИПОВАЯ
ТЕХНОЛОГИЧЕСКАЯ
КАРТА

НА МОНТАЖ СТРОИТЕЛЬНЫХ КОНСТРУКЦИЙ

6310030013

43013

МОНТАЖ СТЕН ГОРИЗОНТАЛЬНОЙ РАЗРЕЗКИ
ИЗ АСБЕСТОЦЕМЕНТНЫХ ЭКСТРУЗИОННЫХ ПАНЕЛЕЙ
ПОЭЛЕМЕНТНЫМ МЕТОДОМ
ДЛ
Я ГРАЖДАНСКИХ И ПРОМЫШЛЕННЫХ ЗДАНИЙ

РАЗРАБОТАНА

Центральным научно-исследовательским и проектно-экспериментальным институтом организации, механизации и технической помощи строительству (ЦНИИОМТП)

Зам. директора института, д.т.н.              В.Д. Топчий

Начальник отдела экспериментального проектирования                                         Ю.А. Ярымов

Зав. лабораторией монтажа эффективных

конструкций, к.т.                                    Л.П. Бабаян

 

СОГЛАСОВАНО

Отделом механизации и технологии строительства Госстроя СССР

Письмо от 11.07.89 № 13-423.

Введена в действие 11 июля 1989 г.

МОСКВА 1990

1. ОБЛАСТЬ ПРИМЕНЕНИЯ

Типовая технологическая карта разработана на измеритель конечной продукции 100 м2 наружных стен горизонтальной разрезки из асбестоцементных экструзионных панелей (ПЭА) поэлементным методом. Карта рекомендуется для применения при монтаже наружных стеновых панелей длиной 6 м в каркасных одноэтажных и многоэтажных зданиях.

Картой предусматривается монтаж ПЭА автомобильным краном КС-3575А с применением комплекта технологической оснастки.

2. ОРГАНИЗАЦИЯ И ТЕХНОЛОГИЯ ВЫПОЛНЕНИЯ РАБОТ

Транспортирование и складирование ПЭА

Ответственность за правильность укладки ПЭА на транспортные средства при отпуске с завода, несет предприятие-изготовитель. Ответственность за их сохранность в пути от завода-изготовителя до стройплощадки несет транспортная организация. За правильность разгрузки изделий, складирование и их хранение на приобъектном складе несет ответственность строительная организация.

Перевозка ПЭА может производиться на автотранспортных средствах общего назначения или на специализированных средствах в соответствии с «Временной инструкцией по пакетной доставке асбестоцементных панелей автомобильным транспортом», разработанной ВНИИпроектасбестоцемент НПО «Асбестоцемент» Минстройматериалов СССР.

Схемы транспортирования и складирования ПЭА приведены на стр. 4, 5.

Монтаж панелей рекомендуется производить с помощью комплекта технологической оснастки:

захват для поэлементного монтажа стен горизонтальной разрезки;

вилка для временного крепления панелей;

поворотные вилки.

Захват и поворотная вилка приведены на стр. 6.

Захват для панели толщиной 120 - 140 мм выполнен в виде П-образной рамы, одна стойка которой имеет опорные пластины с резиновыми прокладками, другая снабжена прижимным винтом. Нижняя часть захвата оборудована страховочным захватом с пружинным фиксатором. Вилка для временного крепления панелей представляет собой сварную металлическую конструкцию П-образной формы, снабженную ручками.

Поворотная вилка предназначена для разворота верхней панели в пакете перед ее строповкой. Поворотная вилка состоит из П-образного элемента и ручки.

Схема монтажа панелей поэлементным методом приведена на листах.

Монтирует панели бригада из двух звеньев:

1 звено из 4 монтажников устанавливает панели в проектное положение;

2 звено в количестве 2 человек выполняет операции по герметизации швов между панелями мастичным герметиком внизу на площадке складирования.

Установка панели состоит из следующих операций:

разворот панели из штабеля (пакета);

строповка панели;

перевод панели из горизонтального положения в вертикальное и подача ее к месту установки;

временное закрепление панели при помощи вилок и расстроповка панели;

постоянное закрепление панели в проектное положение.

Упаковка панелей в пакеты со стяжками и их транспортировка

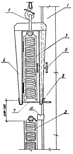
1 - панель асбестоцементная экструзионная; 2 - болт стяжной; 3 - балка поперечная; 4 - петля подъемная; 5 - автомобиль-тягач; 6 - стяжка металлическая

Схема разгрузки и складирования панелей при доставке их пакетами, скрепленными инвентарными стяжками

1 - пакет панелей;

2 - стяжки инвентарные металлические;

3 - строп четырехветвевой;

4 - подкладки деревянные

Захват

Поворотная вилка

1 - корпус; 2 - строповочная петля; 3 - страховочная пластина; 4 - пружинный затвор; 5 - прижимной винт; 6, 7 - боковины; 8 - связь; 9 - ребро; 10 - ручка

Панель, лежащую горизонтально в штабеле, необходимо развернуть на угол, обеспечивающий возможность установки захватов. Разворот панели производят два монтажника-такелажника вручную с помощью поворотных вилок, надеваемых на концы панели.

На расстоянии 1 м от концов панели вручную устанавливают захваты. Перед этим страховочные затворы должны быть открытыми. Панель крепится в зевах двух захватов прижимными винтами. Для предотвращения выпадания панели в момент ее подачи к месту установки зевы захватов перекрывают страховочными затворами, которые стропуются пружинными фиксаторами.

Перевод панели из горизонтального положения в вертикальное осуществляется с помощью монтажного крана. Для этого производят строповку захватов за монтажные петли с помощью двухветвевого стропа. Затем панель кантуют и подают на место установки.

Устанавливают панель в проектное положение два монтажника. Для этого ее останавливают на высоте 20 - 30 мм от места установки, открывают страховочные затворы, фиксируя их пружинными фиксаторами, и опускают на нижестоящую панель. Далее производят временное крепление панели с помощью двух специальных вилок конструкции ЦНИИОМТП, затем приступают к расстроповке панели (стр. 12), для чего, ослабляя прижимные винты, снимают с нее захваты.

Краном захваты подаются на площадку складирования и укладываются на землю рядом со штабелем панелей, подготовленных к монтажу. Постоянное закрепление панелей в проектном положении осуществляется с помощью крепежных элементов в соответствии с рабочими чертежами. Монтаж панелей стен горизонтальной разрезки поэлементным методом рекомендуется осуществлять двумя парами захватов, совмещая при этом операции по строповке панелей с операцией по их монтажу. Схема монтажа панелей приведена на стр. 8 - 12.

Рекомендуемые машины и оборудование для монтажа приводятся в табл. 1.

Таблица 1

Наименование

Вариант (фасет-код)

Техническая характеристика

Марка

Количество

Кран монтажный

-

Кран автомобильный грузоподъемностью 10 т

КС-3575А

1

Транспортные средства

-

Грузовой автомобиль с бортовой платформой и удлиненной базой

ЗИЛ-130ГУ

ЗИЛ-133Г1

1

1

Оборудование для рабочего места монтажника

-

Вышка телескопическая катучая. Высота подъема от 5 до 13,5 м, масса 870 кг

ВТК-12

Минмонтажспецстрой СССР

2

Изоляция стыков между ПЭА

Для изоляции стыков ПЭА используют нетвердеющие герметизирующие мастики, уплотняющие прокладки. Замена герметизирующих материалов, предусмотренных проектом, другими аналогичными материалами допускается по согласованию с организацией-автором проекта.

Каждая партия герметизирующих и уплотняющих материалов должна быть снабжена паспортом. Горизонтальные стыки уплотняют упругими прокладками и герметизируют мастичным герметиком типа НГСМ.

В состав изоляционных работ входят следующие операции:

подготовка основания под герметизирующие и уплотняющие материалы;

установка уплотняющих прокладок;

нанесение герметиков.

Фрагмент стенового ограждения

1 - железобетонная колонна;

2 - панели экструзионные асбестоцементные;

3 - закладная деталь;

4 - крепежный элемент пластинчатый;

5 - упругая прокладка;

6 - прижимная пластина;

7 - Г-образный стержень

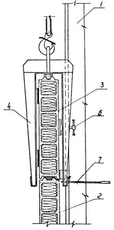
Подача панели с помощью крана к месту установки в здании

Установка панели в проектное положение

Позиции даны на стр. 10

1 - цокольная панель;

2 - монтируемая асбестоцементная экструзионная панель;

3 - захват для поэлементного монтажа панелей;

4 - двухветвевой строп;

5 - крюк крана;

6 - монтажный кран автомобильный;

7 - средства подмащивания;

8 - пакеты панелей;

9 - вилка для временного крепления панели;

10 - пост герметизации швов между панелями мастичным герметиком;

11 - панель, подготавливаемая к монтажу

Разворот панели

Установка захвата на панель

Кантовка панели из горизонтального в вертикальное положение

Подача панели с помощью захвата к месту установки

1 - панель асбестоцементная экструзионная; 2 - вилка поворотная (РЧ 224-4.03.000, ЦНИИОМТП); 3 - захват (РЧ 355-4.01.000, ЦНИИОМТП); 4 - строп двухветвевой; 5 - крюк крана; 6 - подкладки деревянные

Подача панели к месту установки в здании

Установка монтируемой панели в проектное положение

Временное укрепление монтируемой панели с помощью вилок

1 - колонна; 2 - смонтированная панель; 3 - монтируемая панель; 4 - захват; 5 - петля монтажная; 6 - винт прижимной; 7 - пластина страховочная; 8 - фиксатор пружинный; 9 - вилка для временного крепления панели; 10 - крепежный элемент пластинчатый

Операции по подготовке основания под уплотняющие прокладки и герметик выполняют на панелях, находящихся в пакетах на земле, непосредственно перед их монтажом.

Грунтовочное покрытие наносят на поверхности боковых продольных граней панелей. Поверх грунтовочного покрытия после высыхания до «отлипа» наносят мастики КН-2, КН-3 или 51-Г-18 волосяной кистью за 2 раза. Повторно мастику наносят через 10 - 20 мин после высыхания первого слоя.

Наносить грунтовочное покрытие на влажные поверхности запрещается.

Операцию по установке уплотняющих прокладок выполняют на панелях, находящихся в пакетах на земле. Упругие прокладки приклеивают мастиками КН-2, КН-3 или 51-Г-18 в зазоры между гребнями панелей.

Стыкование уплотняющих прокладок выполняют, срезая сопрягаемые части на «ус» под углом 45° и склеивая их мастиками КН-2, КН-3 или 51-Г-18 после высыхания приклеивающего слоя без потери липкости в течение 5 - 10 мин. Стык уплотняющей прокладки должен быть расположен не ближе 0,4 м от торца панели. Операции по нанесению мастичного герметика производят электрогерметизатором, с помощью которого мастичный герметик наносят на боковые продольные грани панели, лежащие в штабеле, в процессе ее подготовки к монтажу.

При этом площадь сечения валика мастичного герметика должна быть не менее 2,5 см2.

Обжатие валиков мастичного герметика и приклеенных упругих прокладок горизонтальных стыков панелей происходит под действием собственной массы вышележащей панели при установке ее в проектное положение.

Герметизация стыков панелей приведена на стр. 14.

Изоляцию вертикальных стыков выполняют после монтажа стенового ограждения самостоятельным потоком. При этом звено монтажников размещает вкладыши из минераловатных плит, нащельники, уплотняющие прокладки в зазорах между колоннами и панелями, а также наносит мастичный герметик электрогерметизатором, используя специальные средства подмащивания.

3. ТРЕБОВАНИЯ К КАЧЕСТВУ И ПРИЕМКЕ РАБОТ

До начала работ по монтажу стеновых панелей оформляют акт на скрытые работы, проверяют наличие закладных деталей колонн для крепления панелей.

При монтаже конструкций стен из ПЭА должен быть обеспечен пооперационный контроль за качеством монтажных работ.

Установка панелей по высоте должна выполняться путем совмещения установочных рисок, нанесенных на монтируемых и опорных конструкциях. Верх панелей необходимо выверять относительно разбивочных осей.

Смонтированные конструкции стен из ПЭА рекомендуется принимать поэтажно, посекционно или по пролетам.

При приемке следует проверять надежность зацепления панелей.

Промежуточному контролю подлежит изоляция стыков между панелями.

Технические критерии и средства контроля операций и процессов приведены в табл. 2.

Герметизация стыков панелей

а - нанесение валиков мастичного герметика на выступы паза и гребня панели перед ее монтажом с помощью электрогерметизатора;

б - подача панели с помощью крана к месту ее установки в здании;

в - установка панели в проектное положение. При этом происходит обжатие валиков мастичного герметика под действием собственного веса панели

1 - монтируемая панель; 2 - ранее смонтированная панель; 3 - грунтовочный слой; 4 - упругая прокладка; 5 - валики мастичного герметика типа НГМС; 6 - деревянная подкладка; 7 - электрогерметизатор

Таблица 2

Наименование процессов, подлежащих контролю

Предмет контроля

Инструмент и способ контроля

Периодичность контроля

Ответственный контролер

Технические критерии оценки качества

Подготовительные предмонтажные работы

Соответствие геометрических размеров панелей проектным, наличие внешних дефектов

Рулетка металлическая. Визуальный осмотр

До начала монтажа

Мастер

Отклонений размеров: длина ±10 мм; ширина +2 мм; -8 мм; высота ±3 мм.

Неперпендикулярность (отклонение от прямого угла) поверхностей смежных торцевых и боковых граней - 8 мм.

Неперпендикулярность поверхностей боковых граней и лицевой поверхности панели - 6 мм.

Неплоскостность панели - 6 мм.

Непрямолинейность поверхностей лицевых граней - 5 мм.

Непрямолинейность опорных выступов - 6 мм

Монтаж панелей

Установка маяков, выверка монтажного горизонта

Нивелир.

Линейка измерительная

То же

- ² -

Разность отметки верха стеновых панелей в пределах выверяемого участка ±10 мм;

отклонение высоты маяков - 5 мм

 

Выверка положения стеновой панели в плане

Визуально.

Линейка измерительная

В процессе монтажа

- ² -

Смещение осей или граней панелей в нижнем сечении ±5 мм

 

Выверка панелей по вертикали

Рейка, отвес

В процессе монтажа

- ² -

Отклонение плоскости панели в верхнем сечении от вертикали ±10 мм

Сварочные работы

Контроль сварных соединений в процессе их выполнения

Визуально.

Линейка измерительная

Два раза в смену

- ² -

Для обмера швов выбирают три соединения, самые плохие по внешнему виду.

Приемка по ГОСТ 10922-75

Герметизация стыков

Соответствие материалов герметизации ГОСТ и требованиям проекта

Визуально.

Лабораторный контроль

До использования материалов

Прораб, лаборант

Паспортные данные заводов-изготовителей, лабораторный контроль из партии герметиков

 

Качество приклейки, обжатие и непрерывность жгутов

Пробная выборочная проверка

В процессе герметизации

Мастер

Внешний осмотр, пробный отрыв

Герметизация стыков

Проверка непрерывности и толщины мастичного слоя

Визуально, перед монтажом панелей

После нанесения мастики на панель

- ² -

Толщина и ширина слоя согласно проекту

Приемосдаточные работы

Внешний вид стыка, наличие защитного слоя

Визуально

После выполнения работ

Прораб, заказчик

Акты на скрытые работы


4. КАЛЬКУЛЯЦИЯ ЗАТРАТ ТРУДА, МАШИННОГО ВРЕМЕНИ, ЗАРАБОТНОЙ ПЛАТЫ

Таблица 3

Наименование процесса

Номер фасета для пересчета показателей

Единица измерения

Объем работ

Обоснование (ЕНиР и др. нормы)

Норма времени

Расценка, р.-к.

Затраты труда

Заработная плата, р.-к.

Время пребывания машины на объекте, маш.-ч

Заработная плата машиниста с учетом пребывания машины на объекте, р.-к.

рабочих, чел.-ч

машиниста, чел.-ч (маш.-ч)

рабочих

машиниста

рабочих, чел.-ч

машиниста, чел.-ч (маш.-ч)

рабочих

машиниста

Изоляция боковых граней панелей

 

На 1 панель

60

По данным цнииомтп

0,3

-

0-11

-

18,0

-

6-60

-

-

-

Монтаж стеновых панелей из ПЭА (поэлементным методом) краном КС-3575А

01

На 1 панель

60

То же

 

0,29

 

 

 

17,4

 

 

 

 

02

1,17

(0,29)

0-22

0-30,7

70,2

(17,4)

13-20

18-42

17,4

18-42

Итого:

88,2

17,4

(17,4)

19-80

18-42

17,4

18-42

 

5. ГРАФИК ПРОИЗВОДСТВА РАБОТ

Таблица 4


6. МАТЕРИАЛЬНО-ТЕХНИЧЕСКИЕ РЕСУРСЫ

Потребность в инструменте, инвентаре и приспособлениях приведена в табл. 5.

Таблица 5

Наименование

Марка, техническая характеристика, ГОСТ, № чертежа

Количество

Назначение

1

2

3

4

Строп четырехветвевой

ГОСТ 25573-82х

2

Для разгрузки и складирования пакетов ПЭА

Строп двухветвевой

ГОСТ 25573-82х

2

Для строповки панели

Захват для горизонтальной разрезки стен

цнииомтп

355-4.01.000

2

Для подачи панели из штабеля к месту монтажа

Вилка поворотная

ЦНИИОМТП 772-2.02.000

2

Для разворота панелей для строповки

Электрогерметизатор

ИЭ-6602 (Конаковский завод)

1

Герметизация стыков панелей при монтаже

Трансформатор сварочный

ТД-500. Завод «Ташэлектромаш»

Напряжение питающей сети 220 - 380 кВт, масса 210 кг

1

Для сварочных работ

Преобразователь частоты тока

ИЭ-9401А. Завод Выборгский «Электроинструмент»

1

Для преобразования тока

Электротермос

ЦНИИОМТП 608-76

1

Для разогрева гильз с мастикой

Ключ гаечный с открытым зевом, двухсторонний

ГОСТ 2839-80хЕ

4

Для монтажных работ

Скребок

РЧ 210

ВНИСМИ Минстройдормаш

2

Для очистки конструкций

Щетка стальная прямоугольная

ТУ 494-01-104-76

2

То же

Чертилка СТД 697-2 с твердосплавным наконечником

ТУ 36-1633-73

ЦКБ треста Сантехдеталь «Главмоспромвентиляция»

1

Для разметки конструкций

Рулетка измерительная

РЗ-20

2

Измерение линейных величин

Уровень строительный

УСЗ-500

2

Проверка горизонтальности монтируемых конструкций

Отвес строительный

ОТ-600, ГОСТ 7948-80

2

Проверка вертикальности конструкций

Кисти-ручники

КР, ГОСТ 10597-87

4

Промазывание панелей грунтовочным покрытием

Потребность в материалах и полуфабрикатах для выполнения работ по монтажу 100 м2 стен приведена в табл. 6.

Таблица 6

Наименование материала, полуфабриката, конструкции (марка, ГОСТ)

Вариант (фасет-код)

Исходные данные

Потребное количество

единица измерения по нормам (чертежам)

объем работ в нормативных единицах

принятая норма расхода материалов на единицу измерения

Панели экструзионные ПЭА 6,0´0,6´0,12 м (ТУ 24-21-81-80)

-

100 м2

1,0

28 шт.

28 шт.

Детали и приспособления крепежные

-

1000 м2

0,1

600 кг

60 кг

Прокладки уплотняющие

-

1000 м2

0,1

2280 м

228,0 м

Герметик 51-Г-18 (ТУ 400-1-137-73)

-

1000 м2

0,1

150 кг

15 кг

Мастика герметизирующая нетвердеющая (ГОСТ 14791-79)

-

1000 м2

0,1

3500 кг

350 кг

Пакеты полужесткой минераловатной плиты

-

1000 м2

0,1

240 кг

24 кг

Нащельники (по проекту)

-

-

-

-

-

Электроды

-

-

-

-

-

7. ТЕХНИКА БЕЗОПАСНОСТИ

Руководить монтажом ограждающих конструкций из ПЭА должны инженеры, технические работники, хорошо знающие специфику этих конструкций и несущие ответственность за безопасную организацию работ и исправное состояние монтажных механизмов и приспособлений. Рабочие комплексных бригад должны быть проинструктированы и обучены безопасным приемам по всем видам выполняемых работ.

К работе со строительно-монтажным инструментом могут быть допущены рабочие, прошедшие обучение по утвержденной программе, сдавшие экзамены и имеющие соответствующие удостоверения.

Работающие с ручными электрическими машинами должны иметь 1-ю квалификационную группу по технике безопасности. К работе механизированным инструментом допускаются лица, прошедшие производственное обучение и имеющие соответствующие удостоверения. Все грузозахватные приспособления для монтажа ПЭА должны быть оборудованы страховочными (аварийными) устройствами. Применять грузозахватные приспособления без страховочных устройств категорически запрещается.

Необходимо соблюдать правила: СНиП 3.01.01-86 «Организация строительного производства»; СНиП 3.03.01-87 «Несущие и ограждающие конструкции»; СНиП III-4-80х «Техника безопасности в строительстве».

8. ТЕХНИКО-ЭКОНОМИЧЕСКИЕ ПОКАЗАТЕЛИ НА 100 м2 СТЕН

Нормативные затраты труда рабочих, чел.-ч......................... 40,88

Нормативные затраты машинного времени, маш.-ч............. 8,05

Заработная плата рабочих, р.-к................................................ 9-17

Заработная плата механизаторов, р.-к.................................... 8-60

Продолжительность выполнения работ, смен....................... 2,2

Выработка на одного рабочего в смену, м2............................ 20,08

Условные затраты на механизацию, р.-к................................ 52-33

Сумма изменяемых затрат, р.-к............................................... 61-50

9. ФАСЕТНЫЙ КЛАССИФИКАТОР ФАКТОРОВ

ФАСЕТ 01

Тип крана на монтажных работах

Наименование фактора

Обоснование

Код

Значение фактора

Кран автомобильный на пневмоколесном ходу

Местная норма автора-разработчика

1

По калькуляции

Кран гусеничный

ЕНиР, Е4, выпуск 1, техническая часть

2

Н. вр. и Расц. умножать на 0,91

ФАСЕТ 02

Высота от уровня земли

Наименование фактора

Обоснование

Код

Значение фактора

Высота, м, до:

 

 

 

15

Местная норма автора-разработчика

1

По калькуляции

20

ЕНиР, Е4, выпуск 1, вводная часть

2

Н. вр. и Расц. умножать на 1,05

30

То же

3

Н. вр. и Расц. умножать на 1,1

40

- ² -

4

Н. вр. и Расц. умножать на 1,2

свыше 40

- ² -

5

Н. вр. и Расц. умножать на 1,3

СОДЕРЖАНИЕ

 

 




ГОСТЫ, СТРОИТЕЛЬНЫЕ и ТЕХНИЧЕСКИЕ НОРМАТИВЫ.
Некоммерческая онлайн система, содержащая все Российские Госты, национальные Стандарты и нормативы.
В Системе содержится более 150000 файлов нормативно-технической документации, действующей на территории РФ.
Система предназначена для широкого круга инженерно-технических специалистов.

Рейтинг@Mail.ru Яндекс цитирования

Copyright © www.gostrf.com, 2008 - 2026