Крупнейшая бесплатная информационно-справочная система онлайн доступа к полному собранию технических нормативно-правовых актов РФ. Огромная база технических нормативов (более 150 тысяч документов) и полное собрание национальных стандартов, аутентичное официальной базе Госстандарта. GOSTRF.com - это более 1 Терабайта бесплатной технической информации для всех пользователей интернета. Все электронные копии представленных здесь документов могут распространяться без каких-либо ограничений. Поощряется распространение информации с этого сайта на любых других ресурсах. Каждый человек имеет право на неограниченный доступ к этим документам! Каждый человек имеет право на знание требований, изложенных в данных нормативно-правовых актах!

  


 

открытое акционерное общество

Проектно-конструкторский и технологический институт промышленного строительства

ОАО ПКТИпромстрой

УТВЕРЖДАЮ

Генеральный директор, к.т.н.

____________ С.Ю. Едличка

«___» _____________ 2005 г.

ТЕХНОЛОГИЧЕСКАЯ КАРТА
НА ОШТУКАТУРИВАНИЕ ВНУТРЕННИХ
КИРПИЧНЫХ ПОВЕРХНОСТЕЙ
ПРИ ПРОСТОЙ, УЛУЧШЕННОЙ И
ВЫСОКОКАЧЕСТВЕННОЙ ШТУКАТУРКЕ

106-05 ТК

Главный инженер

__________ А.В. Колобов

Начальник отдела

__________ Б.И. Бычковский

2005

Технологическая карта содержит решения по организации и технологии устройства простых, улучшенных и высококачественных штукатурных покрытий внутренних кирпичных стен и перегородок жилых, гражданских и общественных зданий при их строительстве, реконструкции и ремонте.

В технологической карте приведены: область применения, технология и организация работ, требования к качеству и приемке работ, калькуляция трудовых затрат, график производства работ, потребность в средствах механизации и инструмента, решения по безопасности и охране труда.

Технологическая карта предназначена для производственного персонала, инженерно-технических работников строительных и проектных организаций.

Технологическая карта разработана сотрудниками ОАО ПКТИпромстрой:

Аганина О.В., Савина О.А. - разработка технологической карты, компьютерная обработка и графика;

Бычковский Б.И. - разработка технологической карты, техническое руководство, корректура и нормоконтроль;

Черных В.В. - технологическое сопровождение разработки;

Колобов А.В. - общее техническое руководство разработкой технологических карт;

Едличка С.Ю., к.т.н., - общее руководство разработкой технологической документации;

Авторы будут признательны за предложения и возможные замечания по составу и содержанию настоящей карты.

Контактный телефон: (095) 214-14-72 Факс: (095) 214-95-53

E-mail: pkti@co.ru

http://www.pkti.co.ru

СОДЕРЖАНИЕ

1 ОБЩИЕ ДАННЫЕ

1.1 Технологическая карта разработана на устройство простых, улучшенных и высококачественных штукатурных покрытий внутренних кирпичных поверхностей стен и перегородок высотой до 3,5 метров (далее - штукатурные работы) с применением известково-цементных растворов механизированным способом.

1.2 Штукатурка - отделочный слой на поверхностях различных конструкций зданий и сооружений (стен, перегородок, перекрытий, колонн), который выравнивает эти поверхности, придает им определенную форму, защищает конструкции от влаги, выветривания, огня, повышает сопротивление теплопередаче, уменьшает воздухопроницаемость и звукопроводность ограждающих конструкций.

1.3 По назначению и свойствам монолитные штукатурки подразделяют на обычные - предназначенные для эксплуатации в нормальных температурно-влажностных условиях, специальные - выполняющие защитные функции по отношению к основанию, и декоративные - для отделки фасадов и некоторых помещений общественных зданий (вестибюлей, холлов, лестничных клеток).

1.4 Обычные штукатурки в зависимости от тщательности выполнения подразделяют на три категории: простые, улучшенные и высококачественные, которые представлены на рисунке 1.

а - простая; б - улучшенная; в - высококачественная; 1 - основание; 2 - обрызг; 3 - грунт; 4 - накрывка

Рисунок 1 - Виды штукатурки

Простую штукатурку выполняют из двух слоев раствора: обрызга и грунта общей толщиной до 12 мм.

Улучшенную штукатурку выполняют из трех слоев раствора: обрызга, грунта и накрывочного слоя общей толщиной до 15 мм.

Высококачественная штукатурка состоит из обрызга, двух слоев грунта и накрывочного слоя общей толщиной 20 мм.

1.5 Состав и содержание карты включает требования, предъявляемые к штукатурным составам и готовности внутренних поверхностей к работам по оштукатуриванию поверхностей, решения по технологии и организации выполнения штукатурных работ с обеспечением их качества, средства механизации и инструмент, необходимые штукатурам для производства работ, мероприятия по безопасности работ и охране труда.

1.6 Технологическая карта предназначена для производственного персонала, выполняющих вышеуказанные работы, специалистов строительных организаций или специальных служб, привлекаемых со стороны, органов Госархстройнадзора, технического надзора заказчика и других городских структур, осуществляющих функции контроля (надзора) за качеством выполнения простого, улучшенного и высококачественного оштукатуривания внутренних кирпичных поверхностей высотой до 3,5 метров.

1.7 При привязке карты к конкретным объектам и условиям производства работ подлежат уточнению объемы работ, потребность в материально-технических ресурсах, калькуляция затрат труда и календарный план производства работ.

1.8 Форма использования технологической карты предусматривает обращение ее в сфере информационных технологий с включением в базу данных по технологии и организации строительного производства автоматизированного рабочего места технолога строительного производства (АРМ ТСП), подрядчика и заказчика.

2 ОРГАНИЗАЦИЯ И ТЕХНОЛОГИЯ ВЫПОЛНЕНИЯ РАБОТ

2.1 Оштукатуриванию подвергаются поверхности кирпичных, бетонных, гипсобетонных и других стен и перегородок с целью придания поверхности конструкции, независимо от категории и класса зданий и сооружений, защитных и декоративных свойств, повышения сопротивления теплопередаче, уменьшения воздухопроницаемости и звукопроводности ограждающих конструкций. Готовность объекта для передачи под отделку определяет комиссия, в которую входят представители производственно-технического отдела, инженер по качеству, старшие прорабы и бригадиры-исполнители работ генподрядной и специализированных строительных организаций, с оформлением акта передачи-приемки объекта.

2.2 Настоящей технологической картой предусматривается устройство механизированным способом простых, улучшенных и высококачественных штукатурных покрытий внутренних кирпичных стен и перегородок.

2.3 До начала штукатурных работ необходимо:

- закончить монтажные и общестроительные работы, в т.ч. устройство кровли;

- выполнить входы в здание и устроить козырьки над входами;

- закончить прокладку всех коммуникаций и заделать коммуникационные каналы;

- заделать стыки и зазоры сопряжений стен, перегородок, перекрытий, а также мест сопряжений оконных, балконных и дверных блоков с элементами наружных и внутренних ограждающих конструкций;

- установить подоконники;

- опробовать внутренние системы водопровода, отопления и канализации;

- утеплить помещение и обеспечить в нем температуру не ниже +10 °С и влажность воздуха не более 60 %, а также просушку сырых мест;

- проверить прочность и устойчивость подмостей;

- тщательно очистить поверхности стен и перегородок от пыли, грязи, жировых и битумных пятен, а помещение - от остатков строительных материалов и мусора;

- осветить рабочие места;

- обеспечить установки для связи штукатуров с машинистом световой или звуковой сигнализацией;

- доставить на рабочее место инструменты, инвентарь, приспособления и материалы;

- проверить механизмы на холостом ходу, тщательно осмотреть шланги, устранить изломы и перегибы;

- промыть шланги известковым молоком;

- исправить все обнаруженные дефекты и отклонения от допусков, установленных СНиП 3.03.01-87 «Несущие и ограждающие конструкции» при сооружении внутренних стен.

2.4 Последовательность выполнения технологических операций при производстве штукатурных работ в зависимости от видов штукатурки принимается по таблице 1.

Таблица 1 - Последовательность технологических операций в зависимости от вида штукатурки

Технологические операции

Оштукатуривание

простое

улучшенное

высококачественное

Подготовка поверхностей под оштукатуривание

+

+

+

Провешивание поверхностей

+

+

+

Установка маяков

-

-

+

Нанесение обрызга

+

+

+

Нанесение грунта

+

+

+

Разравнивание нанесенного грунта

+

+

+

Нанесение грунта (второй слой)

-

-

+

Разравнивание нанесенного грунта (второго слоя)

-

-

+

Разделка углов

+

+

+

Разделка потолочных рустов

+

+

+

Нанесение накрывочного слоя

-

+

+

Затирка

+

+

+

Отделка откосов и заглушин

+

+

+

2.5 Подготовка поверхности под оштукатуривание заключается в очистке поверхности от потерявших сцепление и вяжущие свойства штукатурок, продуктов разрушения кирпича, старых отслоившихся окрасочных слоев, пыли и грязи. Методы и средства очистки зависят от химического состава очищаемого материала, характера загрязнений и наслоений. Требования к качеству очистки определяются видом проектируемой отделки.

Обеспыливание поверхностей производить перед нанесением каждого слоя огрунтовочных или штукатурных составов. При необходимости должны быть произведены насечки поверхности.

От качества подготовки поверхности под оштукатуривание зависит сцепление (адгезия) штукатурного покрытия с основанием. Для внутренней отделки потолков, стен и перегородок этот показатель согласно таблице 8 СНиП 3.04.01-87 должен быть не менее 0,1 МПа.

На подлежащих оштукатуриванию поверхностях не допускаются жировые, битумные и масляные пятна (следы смазки), высолы, выступающая арматура, ржавчина. Поверхности стен очищают от наплывов раствора, срубая их скребками и штукатурными молотками, после чего ветошью очищают поверхность от пыли.

При оштукатуривании кирпичных стен и перегородок, выложенных с заполненными раствором швами, предварительно процарапывают швы на глубину 10 - 15 мм или равномерно насекают поверхность, а затем удаляют пыль.

Метод очистки назначают с учетом характера загрязнений, сравнительной химической стойкости очищаемых поверхностей, свойств и возможностей применяемых моющих средств и смывок (например, некоторые компоненты моющих веществ и смывок могут вызвать коррозию старых материалов).

2.6 Поверхности, подлежащие оштукатуриванию, проверяются провешиванием в вертикальной и горизонтальной плоскостях с установкой инвентарных съемных марок согласно рисункам 2 и 3. Стены удобнее всего провешивать отвесом, схема провешивания которым представлена на рисунке 2. В углу стены на расстоянии 300 - 400 мм от потолка вбивают гвоздь 1 на толщину штукатурки. Со шляпки этого гвоздя до пола опускают отвес и вбивают внизу гвоздь 2 так, чтобы его шляпка почти касалась шнура, после чего вбивают промежуточный гвоздь 3. Аналогичным образом провешивают противоположный угол стены, вбивая поочередно гвозди 4, 5 и 6. Затем проверяют ровность плоскости стены. Для этого шнур натягивают с 1-го на 6-ой гвоздь и со 2-го на 4-ый гвоздь. Шнур не должен касаться стены, в противном случае выпуклость стены срубают. Если срубить выпуклость нельзя, вытаскивают гвозди 1, 2, 3 или 4, 5, 6 одного из вертикальных рядов и устанавливают их так, чтобы в выпуклых местах оставалась нормальная толщина штукатурки. Затем по шнуру между гвоздями 1 и 4 забивают промежуточные гвозди 7 и 8 верхнего горизонтального ряда, затем между гвоздями 3 и 6 и 2 и 5 забивают гвозди 9, 10 и 11, 12.

1 - 12 - гвозди

Рисунок 2 - Провешивание стен отвесом

1 - гвозди; 2 - правило; 3 - уровень

Рисунок 3 - Провешивание стен уровнем с правилом

2.7 Составы растворных смесей для штукатурных работ и их марки должны быть указаны в проекте. Производство штукатурных работ с применением хлорированных растворов внутри здания запрещается.

Дозировка отдельных компонентов растворных смесей, а также проверка качества как монолитных, так и их сухих растворных смесей производится строительными лабораториями.

Для внутренней штукатурки в общественных зданиях обычно применяют раствор в соотношении 1:1:6, 1:1:9, 1:1:11; 1:2:8, 1:3:12, 1:3:15 (цемент : известковое тесто : песок). Качество готовых растворов должно удовлетворять требованиям СП 82-101-98 «Свод правил на приготовление и применение растворов строительных».

Выбор и применение растворов должен производиться в зависимости от условий, в которых будет находиться здание в период эксплуатации.

2.8 Прочность основания, подлежащего оштукатуриванию, должно быть не менее прочности штукатурного покрытия согласно СНиП 3.04.01-87 «Изоляционные и отделочные покрытия».

2.9 В качестве заполнителя для строительных растворов, применяемых для устройства обрызга, грунта и накрывки, применяется песок, отвечающий требованиям ГОСТ 8736-93 «Песок для строительных работ. Технические условия». Максимально допустимый размер зерен песка растворов для обрызга и грунта не должен превышать 2,5 мм, для накрывки - 1,2 мм.

Крупность песка для всех растворов, перекачиваемых по шлангам, должна составлять в пределах 0,3 ÷ 0,8 мм.

2.10 Вода для приготовления строительных растворов должна удовлетворять требованиям ГОСТ 23732-79 «Вода для бетонов и растворов. Технические условия».

2.11 Штукатурные растворы в зависимости от способа их нанесения и назначения должны иметь подвижность, определяемую погружением стандартного конуса согласно ГОСТ. Рекомендуемая подвижность процеженных растворов для обрызга, грунта и накрывки в момент их нанесения приведена в таблице 2.

Таблица 2 - Показатели подвижности раствора

Назначение раствора

Погружение стандартного конуса, см

для ручного способа нанесения

для механизированного способа нанесения

Раствор для обрызга

8 - 12

9 - 14

Раствор для грунта

7 - 8

7 - 8

Раствор для накрывки:

 

 

с гипсом

9 - 12

9 - 12

без гипса

7 - 8

7 - 8

2.12 Качество готовых растворов должно удовлетворять требованиям СП 82-101-98 «Свод правил на приготовление и применение растворов строительных».

2.13 Оштукатуривание поверхности выполняется путем нанесения штукатурных составов в следующей последовательности:

- при простой штукатурке:

а) нанесение обрызга из обычных растворов;

б) нанесение слоя грунта из обычных растворов с последующим его разравниванием и затиркой.

- при улучшенной штукатурке:

а) нанесение обрызга из обычных растворов;

б) нанесение слоя грунта из обычных растворов с последующим его разравниванием и выверкой;

в) разделка углов, лузг, усенков;

г) разделка потолочных рустов;

д) нанесение накрывочного слоя с последующей затиркой.

- при высококачественной штукатурке:

а) нанесение обрызга из обычных растворов;

б) нанесение слоя грунта из обычных растворов (в два слоя) с последующим его разравниванием и выверкой;

в) разделка углов, лузг, усенков;

г) разделка потолочных рустов;

д) нанесение накрывочного слоя с последующей затиркой.

2.14 При оштукатуривании поверхностей высотой до 3,5 метров внутри помещений при простой штукатурке работы ведут в такой последовательности. Подготовив поверхности стен, предварительно устраивают лузги. Для этого по углам стен наносят растворные марки согласно рисунку 4 на толщину будущей штукатурки. К маркам приставляют правило и набрасывают раствор в пространство между ним и стеной. Устроив марку с одной стороны стены у самого угла, приступают к устройству второй марки этого же угла. Таким образом, две марки образуют точный лузг. Это проделывают по всем углам стен.

1 - правило; 2 - пространство между правилом и стеной; 3, 4 - марки; 5 - маяки

Рисунок 4 - Устройство растворных марок и маяков на стенах

Оштукатуривание выполняют в такой последовательности. На одной стороне стены наносят полосу раствора шириной 1 м, называемую отмазкой. Обрызг и грунт отмазки разравнивают правилом. Такую же отмазку делают на противоположной стороне стены. В дальнейшем эти отмазки будут играть роль маяков. На оставшуюся часть стены между отмазками наносят обрызг согласно рисунку 5, на него грунт, который разравнивают длинным полутерком или правилом, как показано на рисунке 6. Эти инструменты концами движутся по отмазкам, срезая раствор на уровне этих отмазок, после чего производится затирка слоя штукатурки, как показано на рисунках 7 и 8.

Рисунок 5 - Последовательное нанесение слоев обрызга, грунта

Рисунок 6 - Разравнивание раствора полутерком

Рисунок 7 - Затирка штукатурки:

а - вкруговую, б - вразгонку.

Рисунок 8 - Механизированная затирка поверхности

Раствор грунта чаще намазывают с сокола, разравнивают соколом или полутерком. Для большей точности раствор грунта дополнительно срезают правилом длиной 2 м.

2.15 Улучшенную штукатурку выполняют по маркам без дополнительных исправлений. Марки чаще устраивают «под шнур», т.е. не придерживаясь строгой вертикальности. После подготовки поверхности устраивают марки и маяки. На каждый вбитый гвоздь намазывают гипсовое тесто или раствор, равняют его лицевую сторону на уровне шляпки гвоздя и обрезают с боков. Марки делают для того, чтобы на них установить правило, которое закрепляют гипсом, гвоздями или зажимами. Под правило наносят гипс или раствор. После схватывания гипса или раствора правило снимают, нанося по нему легкие удары молотком, после чего на стене остается полоса раствора, называемая маяком. В углах делают по два маяка, чтобы образовать лузги. После оштукатуривания потолка и верхней части стен выполняют падугу с помощью обычного или фасонного полутерка. Накрывочный раствор наносят и затирают сначала на потолок, затем на стены. Работу можно выполнять и так. Оштукатуривают полностью потолок. Верх стен оштукатуривают до подмостей, выполняют падугу, накрывают стены, заглаживают и затирают. Затем оштукатуривают нижние части стен. В процессе оштукатуривания работу проверяют, исправляя неточности. Отклонение ширины оштукатуренного откоса от проектной должно быть не более 3 мм. Чтобы не было больших отклонений на стенах с оконными проемами, стены провешивают, устраивают маяки, к ним прикладывают правило, отмеряют от него расстояние, равное ширине откоса, и на этом расстоянии укрепляют оконные коробки. Это мероприятие обеспечивает точную ширину откосов. Верх коробок на одной стене должен быть на одном уровне.

2.16 Высококачественная штукатурка на стенах должна быть строго вертикальна, разница в ширине откосов допускается не более 2 мм. После подготовки приступают к провешиванию потолка, затем стен, набивают гвозди, устраивают марки и маяки. Ровную строго вертикальную поверхность штукатурки можно получить только по маякам. Маяки устраивают на всех видах поверхностей.

Для устройства маяков поверхности провешивают. До начала провешивания поверхности осматривают и предварительно выравнивают - срубают выпуклости. Можно проверить поверхности и после набивки гвоздей по крайним маякам. Провешивание выполняют с помощью отвеса или уровня с правилом, в углах устраивают по два маяка для образования лузгов.

Маяки устраивают из раствора, которым выполняют оштукатуривание, или из гипса. Деревянные и металлические маяки устанавливают главным образом на деревянных, кирпичных и других гвоздимых поверхностях. Эти маяки крепят гвоздями или зажимами. При использовании деревянных маяков под них предварительно устанавливают по отвесу металлические (стальные) марки. Металлические или деревянные маяки рекомендуется применять при механизированном нанесении раствора. Гипсовые маяки прочнее растворных, они менее подвержены истиранию во время разравнивания раствора правилом, однако эти маяки приходится полностью вырубать.

Установить правило на шляпки вбитых гвоздей практически невозможно и приходится устраивать растворные или гипсовые площадки вокруг гвоздей, называемые марками.

Сначала оштукатуривают потолок, затем верхние части стен. После этого навешивают правила, вытягивают карнизы, заделывают углы. Чтобы сделать правило универсальным, к нему прикрепляют на расстоянии одного метра две одинаковые скобочки. К верхней скобочке привязывают отвес, но так, чтобы он не доходил своим концом до нижней скобочки на 10 - 15 мм. Если во время установки правила острый конец отвеса будет находиться точно против скобочки, значит, правило установлено правильно. После того, как правило установлено на марках и клиньях, под него наносят раствор и таким образом устраивают первый маяк. Точно также устраивают маяк во втором углу стены. Вверху и внизу натягивают шнур, по которому точно устанавливают правило для устройства промежуточных маяков. Маяки любых видов (растворные, деревянные, металлические) можно располагать не только вертикально по высоте стен, но и горизонтально по длине стен. Для этого нужны два маяка: один вверху - около потолка, другой внизу - около пола. Принцип установки горизонтальных маяков такой же, как и вертикальных.

Оштукатуривание по маякам происходит после того, как устроены маяки на всех отделываемых поверхностях.

Раствор наносят обычным способом: сначала один слой обрызга, затем грунт в несколько слоев. Каждый слой грунта разравнивают. После нанесения и разравнивания грунта деревянные и металлические маяки снимают, места под ними замазывают раствором, разравнивают и притирают его, проверяют поверхность нанесенного раствора правилом, прикладывая его в разных направлениях, и исправляют все неточности, срезая или намазывая раствор. Затем приготовляют накрывочный раствор, выполняют накрывку потолка и верха стен, заглаживают и затирают поверхность.

Грунт и накрывку проверяют и исправляют. Подмости разбирают и оштукатуривают нижние части стен.

2.17 Транспортирование штукатурных растворов по рукавам на этажи и нанесение их на оштукатуриваемую поверхность может производиться с помощью штукатурных станций ПШС-2 или штукатурных агрегатов, состоящих из штукатурных установок и растворонасосов, а для приготовления, процеживания и транспортирования растворов на рабочие отметки в этом случае применяется штукатурный агрегат СО-57Б, технические характеристики которых представлены в таблицах 3 и 4. Тип растворонасосов подбирается в зависимости от дальности подачи, объема работ и состава раствора.

Таблица 3 - Технические характеристики установок для транспортирования растворов

Показатели

Марки установок

СО-48В

СО-49В

СО-50А

Марка растворонасосов

СО-29

СО-30

СО-10

Подача, м3

2

4

6

Дальность подачи раствора, м

 

 

 

по горизонтали

100

160

250

по вертикали

20

35

50

Вибросито:

 

 

 

производительность, м3

4

4

6

вместимость бункера, м3

0,16

0,16

0,3

размер ячейки сетки, мм

5´5

5´6

5´5

Внутренний диаметр растворопровода, мм

38

50

63

Общая масса комплекта, кг

470

560

508

Таблица 4 - Техническая характеристика штукатурного агрегата СО-57Б

Показатели

Ед. изм.

Размер

Производительность агрегата

м3

2

Растворосмеситель

 

 

Объем готового замеса

л

65

Вместимость смесительного барабана по загрузке

л

80

Электродвигатель:

 

 

мощность

кВт

1,5

напряжение

В

220/380

Растворонасос

 

 

Подача

м3

2

Давление

МПа

1,5

Пластичность раствора по конусу СтройЦНИИ

см

7

Дальность подачи раствора:

 

 

по горизонтали

м

100

по вертикали

м

20

Электродвигатель:

 

 

мощность

кВт

0,75

напряжение

В

220/380

Масса агрегата

кг

750

2.18 При производстве штукатурных работ все технологические операции, где предусмотрены средства механизации, должны выполняться только механизированным способом. Нанесение раствора вручную допускается в помещениях площадью пола 5 м2 и менее, а также в условиях, не позволяющих применять средства механизированного нанесения раствора.

2.19 Подача раствора растворонасосами состоит из следующих технологических процессов:

- процеживание раствора самотеком при приемке;

- подача раствора в бункер на этажи;

- установка и переноска рукава по ходу работы;

- очистка сетки бункера от отходов;

- промывка и продувка рукава с удалением пробок.

На обслуживании растворонасосов заняты машинист растворонасоса 3 разряда и два штукатура 2 разряда.

2.20 Температуру в 10 °С в помещении необходимо поддерживать круглосуточно, не менее чем за 2 суток до начала и 12 суток после окончания штукатурных работ.

2.21 Нанесение раствора на поверхность производят с помощью распылительной форсунки (сопла) механического или пневматического действия. При работе форсунку держат под углом 60° - 90° к оштукатуриваемой поверхности.

Слой обрызга должен сплошь покрывать оштукатуриваемую поверхность, иметь с ней прочное сцепление, заполнять все неровности. Толщина обрызга - 5 мм. Обрызг выполняет роль связующего звена между поверхностью, подлежащей оштукатуриванию, и остальными слоями (грунт и накрывочный слой) штукатурного намета, поэтому поверхность обрызга должна быть шероховатой и не следует ее сглаживать и разравнивать.

После обрызга наносят слой грунта (в зависимости от качества поверхности один или несколько). Толщина каждого слоя грунта не должна превышать 7 мм. Каждый последующий слой штукатурного намета наносят только после выравнивания и схватывания предыдущего.

Последний слоя грунта выравнивают так, чтобы накрывочный слой на всей плоскости имел одинаковую толщину.

Средняя толщина штукатурного намета не должна превышать при простой штукатурке - 12 мм, улучшенной - 15 мм и высококачественной - 20 мм.

Работу по нанесению обрызга и грунта выполняет звено штукатуров из 5 человек и машиниста 3-го разряда, который находится внизу, обслуживая штукатурную установку.

Организация рабочего места звена № 1 показана на рисунке 9.

Ш1, Ш2, Ш3, Ш4, Ш5 - места нахождения штукатуров.

1 - сопло; 2 - ящик для штукатурного раствора; 3 - подборник для опавшего раствора; 4 - гибкий шланг растворонасоса, идущий от штукатурной установки.

Стрелкой указано направление движения штукатуров

Рисунок 9 - Схема организации рабочего места звена № 1

Двое штукатуров (Ш3 - 3 разряда, Ш2 - 4 разряда) визуально и при помощи рейки определяют отклонения основания от вертикали, затем они очищают поверхность. Вдоль стен штукатур (Ш5) 2-го разряда устанавливает подборники. После этого штукатур (Ш3) подает сигнал машинисту станции о включении растворонасоса. Движением сопла слева направо и сверху вниз под углом 60° - 90° к поверхности штукатур (Ш1) наносит слой обрызга. Штукатур (Ш4) поддерживает рукав, обеспечивая первому штукатуру свободное перемещение по фронту работ, а штукатур (Ш5) следит за состоянием напорных рукавов, предотвращая их скручивание и перегибы.

Одновременно по мере нанесения обрызга на поверхность штукатуры (Ш2; Ш3) правилами разравнивают образовавшиеся наплывы. Излишки раствора сбрасывают в подборники. При разравнивании слоя грунта один из штукатуров (Ш3) перемещает полутерок снизу вверх зигзагообразными движениями вправо и влево, прижимая его к стене параллельно полу так, чтобы между нижней частью полутерка и стеной образовался острый угол. Другой штукатур (Ш2) контрольным правилом проверяет во всех направлениях поверхность огрунтованной стены. При необходимости подмазывает оставшиеся крупные раковины, пропуски. Раствор при этом подается штукатурной лопаткой и разравнивается полутерками.

В заключении штукатуры (Ш1; Ш4) движениями правил сверху вниз и снизу вверх производят разделку углов. Линии лузг и усенков после отделки должны быть прямыми и вертикальными.

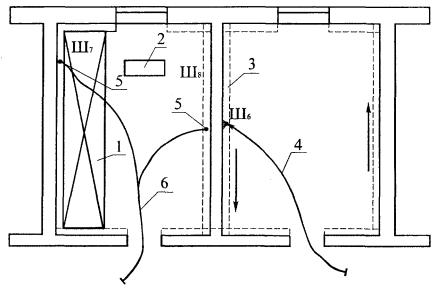
2.22 Второе звено бригады наносит накрывочный слой на поверхности стен и производит затирку накрывочного слоя механизированным способом. Вначале штукатур (Ш6), подав сигнал о включении накрывочного агрегата, при помощи универсальной удочки круговыми движениями слева направо и сверху вниз наносит накрывочный слой на поверхности стен.

Схема организации рабочего места звена № 2 приведена на рисунке 11 Одновременно по мере нанесения накрывочного слоя два штукатура (Ш7; Ш8) производят подтягивание и разравнивание накрывочного слоя полутерком, перемещая его в разных направлениях. При этом верхняя кромка полутерка приподнята во избежание срезания раствора. Излишки раствора подают в подборники.

Ш6, Ш7, Ш8 - места нахождения штукатуров

1 - столик-подмости; 2 - ящик для инструмента; 3 - подборники для раствора; 4 - гибкий шланг растворонасоса; 5 - затирочные машинки; 6 - электрокабель, идущий от преобразователя тока.

Стрелкой указано направление движения штукатура (Ш6)

Рисунок 11 - Схема организации рабочего места звена № 2

Штукатуры звена (Ш6; Ш7; Ш8) выполняют затирку накрывочного слоя, прижимая вращающиеся диски затирочных машин к обрабатываемой поверхности стен и перемещая их. Затирают накрывочный слой до исчезновения царапин, раковин, бугров. Подача воды регулируется клапанами, находящимися на корпусах затирочных машин. Места, недоступные для механизированной затирки, обрабатываются вручную терками.

2.23 Отделку оконных и дверных откосов начинают с оконопачивания зазоров между коробками и кладкой и подготовки поверхностей откосов и заглушин (при необходимости) под их оштукатуривание. Для оконопачивания зазоров применяют паклю, войлок, антисептированные 3 %-ным раствором фтористого натрия, или очеси. Пряди пакли, куски войлока или очесы закладывают в зазоры между стеной и коробкой и уплотняют их ударами металлических или деревянных молотков по ручке конопатки. После уплотнения материалов должен оставаться зазор от уровня поверхности коробки - 2 - 3 см, который при оштукатуривании откосов заполняют раствором.

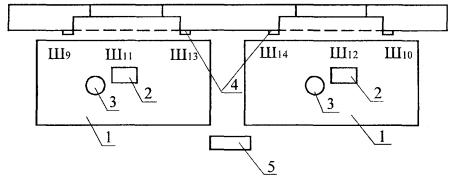
Схема организации рабочего места звена № 3 дана на рисунке 12.

Штукатуры (Ш9; Ш10; Ш11; Ш12; Ш13; Ш14), стоя на столике-подмостях, при помощи кисти смачивают водой поверхность откосов для лучшего сцепления раствора и с сокола наносят кельмой слой обрызга и грунта с промежутком во времени, зависящим от марки применяемого раствора и температурных условий. Грунт разравнивают с помощью деревянных малок и полутерков по направляющим рейкам.

Ш9 - Ш14 - рабочие места штукатуров;

1 - столик-подмости; 2 - ящик для раствора; 3 - ведро; 4 - направляющая рейка; 5 - ящик для инструмента

Рисунок 12 - Схема организации рабочего места звена № 3

Накрывочный слой наносят кельмами, выравнивают малками и затирают терками, периодически смачивая поверхность водой. Вертикальность и горизонтальность поверхности штукатурки проверяют при помощи отвеса, угольника и уровня.

Затем снимают направляющие рейки, выравнивают углы пересечения откосов, отделывают лузги и усенки.

2.24 При производстве штукатурных работ в зимнее время приготовление, транспортирование и хранение штукатурных растворов должно быть организовано таким образом, чтобы раствор в момент нанесения имел температуру не ниже плюс 8 °С.

Раствороводы (материальные рукава), проходящие в неотапливаемых помещениях или снаружи зданий, необходимо утеплить. Влажность кирпичных стен, подлежащих оштукатуриванию, не должна превышать 8 %. Оштукатуренные внутренние поверхности, подвергающиеся быстрому охлаждению, следует предохранять от преждевременного промерзания. Оштукатуривание кирпичных стен, сложенных методом замораживания, допускается только после оттаивания кладки не менее чем на половину толщины стены. Поверхности, подлежащие оштукатуриванию, должны быть тщательно очищены от наледи, снега и инея.

Для отогрева поверхностей нельзя применять горячую воду. Лучшее отопление при сушке штукатурки - центральное. Если нет центрального или печного отопления, устраивают временное. При сушке больших оштукатуренных поверхностей применяют воздухонагреватели, калориферные установки, теплогенератор ТГ-150.

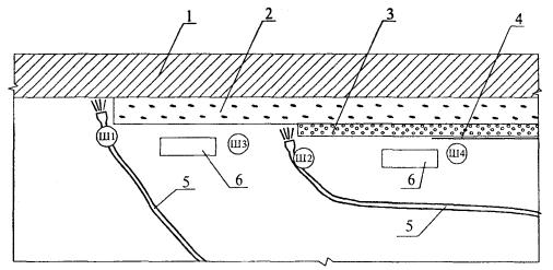
2.25 Схема организации механизированных штукатурных работ представлена на рисунке 13.

1 - стена; 2 - обрызг из известково-цементного раствора; 3 - слой грунта; 4 - накрывочный слой; 5 - растворопровод; 6 - ящик для сбора раствора после нанесения обрызга и грунта

Рисунок 13 - Схема организации рабочего места при механизированном ведении штукатурных работ

3 ТРЕБОВАНИЯ К КАЧЕСТВУ И ПРИЕМКЕ РАБОТ

3.1 Контроль качества штукатурных работ должен осуществляться службами строительных организаций, а также производителями работ, мастерами и бригадирами.

3.2 Производственный контроль качества штукатурных работ должен включать входной контроль рабочей документации, материалов и оборудования, операционный контроль производства штукатурных работ и оценку соответствия оштукатуренной поверхности нормативным требованиям.

3.3 При входном контроле рабочей документации производится проверка ее комплектности и достаточности содержащейся в ней технической информации для производства работ.

Внутренние поверхности стен и перегородок в зданиях, подлежащие оштукатуриванию, должны соответствовать по качеству выполнения работ и по допускам требованиям, предусмотренными главами соответствующих норм, правил и стандартов.

При входном контроле качества подлежащей оштукатуриванию поверхности выборочно техническим осмотром проверяется качество поверхности и точность геометрических параметров.

Штукатурные растворы, другие материалы и изделия, применяемые для устройства обрызга, грунта и накрывочного слоя устанавливаются проектом с учетом их назначения и условий эксплуатации и должны соответствовать требованиям нормативно-технической документации и соответствующих стандартов. Определение качества растворных смесей производится в соответствии с ГОСТ 5802-86 «Растворы строительные. Методы испытаний».

3.4 При подготовке и приготовлении отделочных составов и приемке подготовленных к оштукатуриванию поверхностей необходимо руководствоваться требованиями, изложенными в таблице 5.

Таблица 5 - Требования к отделочным растворам и оштукатуриваемым поверхностям

Технические требования

Предельные отклонения

Контроль (метод, объем, вид регистрации)

Средства измерения

Растворы штукатурные должны проходить без остатка через сетку с размерами ячеек, мм:

-

Измерительный, периодический, 3 - 4 раза в смену, журнал работ

Стандартный набор сит КСИ

- для обрызга и грунта - 3

- для накрывочного слоя и однослойных покрытий - 1,5

Подвижность раствора - 5

+7

То же, каждой партии

В соответствии с ГОСТ 5802-86 (п. 2.21)

Расслаиваемость растворной смеси - не более 15 %

-

То же, в лабораторных условиях 3 - 4 раза в смену

В соответствии с ГОСТ 5802-86 (п. 5)

Водоудерживающая способность - не менее 90 %

-

То же

В соответствии с ГОСТ 5802-86 (п. 4)

Прочность сцепления, МПа, не менее:

- для внутренних работ - 0,1

10 %

То же, не менее 3 измерений на 50 - 70 м2 поверхности покрытия

Универсальные испытательные машины Р-0,5, Р-5, Р-10, Р-20, Р-50, Р-100

Отклонения поверхностей и углов кладки стен от вертикали, мм:

 

Измерительный

Не менее 5 измерений на 70 ... 100 м2 поверхности покрытия или в одном помещении меньшей площади в местах, выявленных сплошным визуальным осмотром, журнал работ

Линейка 150;

Метр складной МСД-1;

Штангенциркуль ШЦ-1;

Рулетки измерительные РЗ-10; РЗ-20 и т.п.

на один этаж на все здание высотой более

10

двух этажей

30

Неровности на вертикальной поверхности кладки, обнаруженные при накладывании рейки длиной 2 м, мм

10

То же

Рейка L = 2 м

Допускается влажность кирпичных поверхностей при оштукатуривании

Не более 8 %

Измерительный, не менее 3 измерений на 10 м2 поверхности

 

3.5 Результаты входного контроля должны быть занесены в «Журнал входного учета и контроля качества получаемых деталей, материалов, конструкций и оборудования».

3.6 Операционный контроль осуществляется в ходе выполнения штукатурных работ и обеспечивает выявление дефектов с целью принятия мер по их устранению и предупреждению и включает в себя проверку качества подготовки основания, влажности, прочности сцепления штукатурки с основанием, толщину наносимых слоев штукатурки.

При операционном контроле проверяется соблюдение технологии выполнения штукатурных работ, соответствие выполняемых работ требованиям СНиП 3.04.01-87 «Изоляционные и отделочные покрытия».

3.7 При оценке соответствия производится проверка качества готовой штукатурки. На готовой поверхности должны отсутствовать трещины, наплывы раствора, пятна, раковины и т.п. Штукатурка должна прочно сцепляться с поверхностью, не отслаиваться, иметь хорошо затертую поверхность без внешних дефектов.

На этапе оценки соответствия проверяются:

- прочность сцепления штукатурки с основанием;

- отклонение оштукатуренной поверхности стен и потолков от вертикали и горизонтали;

- неровности поверхности плавного очертания, обнаруживаемые при накладывании правила или шаблона длиной 2 м;

- отклонение откосов проемов, пилястр, столбов от вертикали и горизонтали;

- отклонения радиуса криволинейной поверхности;

- отклонения ширины откосов от проектной.

3.8 Прочность сцепления штукатурки с основанием определяют по ГОСТ 24992-81 «Конструкции каменные. Метод определения прочности сцепления в каменной кладке» в МПа путем отрыва образцов, нанесенных на материал, подлежащий оштукатуриванию.

3.9 Прочность штукатурного раствора на сжатие (марка), выраженная в МПа (кгс/см2), определяется на образцах-кубах размером 70,7´70,7´70,7 мм в возрасте, установленном стандартом или техническими условиями на данный вид раствора в соответствии с методикой по ГОСТ 5802-86 «Растворы строительные. Методы испытаний».

3.10 Перечень операций, подлежащих контролю при устройстве штукатурных покрытий, представлен в таблице 6. Состав и содержание производственного контроля качества оштукатуривания внутренних поверхностей монолитной штукатуркой, время, объем и методы контроля представлены в таблице 7.

Таблица 6 - Перечень операций, подлежащих контролю при устройстве штукатурных покрытий

Наименование операций, подлежащих контролю

Контроль качества выполнения операций

производителем работ

мастером

состав

способы

время

привлекаемые службы

Приемка поверхностей под штукатурные работы

-

Ровность, вертикальность и горизонтальность поверхностей

Визуально, при помощи рейки, отвеса и других измерительных инструментов

До начала штукатурных работ

-

 

Приемка и контроль качества штукатурного раствора

Осадка конуса, пластичность, наличие посторонних включений

Визуально, лабораторным путем

До начала и в процессе производства работ

Лаборатория

 

Подготовка поверхностей под оштукатуривание

Очистка поверхностей от пыли, грязи, жировых пятен, провешивание поверхностей и установка маяков

Визуально, при помощи рейки и отвеса

В процессе производства штукатурных работ

 

 

Нанесение штукатурных слоев обрызга, грунта, накрывки. Отделка рустов, оконных и дверных откосов

Дозирование добавок (цемента, гипса) для штукатурного слоя в зависимости от оштукатуриваемой поверхности, толщина слоев и соблюдение допускаемых отклонений

Дозирование добавок. Толщина и отклонения при помощи измерительных инструментов

В процессе производства штукатурных работ

Лаборатория

Приемка выполненных работ

 

Внешний вид, вертикальность, горизонтальность и неровности поверхностей

Визуально, рейка, отвес, метр и другие измерительные инструменты

После окончания штукатурных работ

 


Таблица 7 - Состав и содержание производственного контроля качества

Вид контроля

Входной контроль

Операционный контроль

Оценка соответствия

Контролируемые операции

Подготовительные работы

Нанесение обрызга и грунта

Вытягивание тяг и заделка углов

Накрывка и затирка поверхности

 

Чистота поверхностей

Температурно-влажностный режим в помещениях (в зимнее время)

Качество мест сопряжения

Наличие актов на скрытые работы для подготовки под штукатурку

Наличие и комплектность средств подмащивания для работы на высоте и механизмов для подъема грузов и приготовления растворных смесей

Провешивание поверхностей. Установка марок и маяков

Технический анализ штукатурных растворных и сухих смесей

Смачивание поверхности

Равномерность распределения растворной смеси по поверхности

Толщина слоя обрызга

Нанесение грунта

Толщина грунта

Вертикальность и горизонтальность

Заданная кривизна поверхности

Прямолинейность

Толщина накрывки

Фактура и внешний вид штукатурки

Вертикальность и горизонтальность поверхности

Неровности на поверхности

Отклонения ширины откосов

Сцепление штукатурки с оштукатуриваемой поверхностью (основанием)

Качество оштукатуренной лицевой поверхности

Меры предохранения штукатурки от пересушивания и повреждений

Объем контроля

Сплошной

Сплошной и выборочный

Сплошной

Метод контроля

Визуальный

Инструментальный

Визуальный

Инструментальный и технический осмотр

Инструментальный

Визуальный

Операции, контролируемые строительной лабораторией

 

+

+

 

+

 

+

 

Время контроля

Перед началом штукатурных работ

До нанесения раствора на поверхность

До разравнивания

После нанесения слоев

После вытягивания тяг, заделки углов

После выполнения операции

После окончания штукатурных работ


3.11 Предельные отклонения оштукатуренной поверхности должны соответствовать требованиям СНиП 3.04.01-87 «Изоляционные и отделочные покрытия», представленным в таблице 8.

Таблица 8 - Допускаемые отклонения и средства контроля оштукатуренной поверхности при улучшенной штукатурке

№ п/п

Наименование

Допускаемые отклонения

Метод и объем контроля

Средства измерения

 

1

2

3

4

5

 

1

Неровности поверхности плавного очертания (на 4 м2):

-

Измерительный, не менее 5 измерений контрольной двухметровой рейкой на 50 ... 70 м2 поверхности или на отдельном участке меньшей площади в местах, выявленных визуальным осмотром, журнал работ

Правило или шаблон длиной 2 м

 

при простой штукатурке - не более 3, глубиной (высотой) до 5 мм

то же, улучшенной - не более 2, глубиной (высотой) до 3 мм

то же, высококачественной - не более 2, глубиной (высотой) до 2 мм

2

Отклонение оштукатуренной поверхности стен и перегородок от вертикали (мм на 1 м), мм:

 

Рейка контрольная КРД-2

Уровень строительный УС5-2-П

при простой штукатурке - 3

Не более 15 мм на высоту помещения

Линейка 150

то же, улучшенной - 2

То же, не более 10 мм

Метр складной МСД-82

 

то же, высококачественной - 1

То же, не более 5 мм

Рулетка измерительная РЗ-2

 

3

Отклонения оштукатуренной поверхности по горизонтали (мм на 1 м) не должны превышать, мм:

-

То же

То же

при простой штукатурке - 3

то же, улучшенной - 2

то же, высококачественной - 1

4

Отклонения оконных и дверных откосов, пилястр, столбов, лузг, усенков от вертикали и горизонтали (мм на 1 м) не должны превышать, мм:

До 5 мм на весь элемент

То же, кроме измерений (3 на 1 мм)

Отвес ОТ 100, ОТ 200, ОТ 400

Линейка 150

Метр складной МСД-1, МСМ-82

 

при простой штукатурке - 4

До 10 мм на весь элемент

 

то же, улучшенной - 2

То же, до 5 мм

 

то же, высококачественной - 1

То же, до 3 мм

 

5

Отклонения радиуса криволинейных поверхностей, проверяемого лекалом, от проектной величины (на весь элемент) не должны превышать, мм:

-

Измерительный, не менее 5 измерений контрольной двухметровой рейкой на 50 - 70 м2 поверхности или на отдельном участке меньшей площади в местах, выявленных сплошным визуальным осмотром (для погонажных изделий - не менее 5 на 35 - 40 м и трех на элемент) кроме измерений (3 на 1 мм), журнал работ

Лекало индивидуальное

Линейка 150

Метр складной МСД-1, МСМ-82

 

при простой штукатурке - 10

 

то же, улучшенной - 7

 

то же, высококачественной - 5

 

6

Отклонения ширины откоса от проектной не должны превышать, мм:

-

- « -

Линейка 500, 1000

Метр складной МСМ-82

Рулетки измерительные РЗ-2, ЗПКЗ-1АУТ/1 и т.п.

 

при простой штукатурке - 5

то же, улучшенной - 3

то же, высококачественной - 2

 

7

Отклонения тяг от прямой линии в пределах между углами пересечения и раскреповки не должны превышать, мм:

-

- « -

Рейка контрольная КРД-2

Линейка 150

Метр складной МСД-1, МСМ-82

Рейка М-01

при простой штукатурке - 6

то же, улучшенной - 3

то же, высококачественной - 2

8

Допускаемая толщина однослойной штукатурки, мм:

 

Измерительный, не менее 5 измерений на 70 - 100 м2 поверхности покрытия или в одном помещении меньшей площади в местах, выявленных сплошным визуальным осмотром, журнал работ

Линейка 150

Метр складной МСД-1

Штангенциркуль ШЦ-1

Рулетки измерительные РЗ-10, РЗ-20 и т.п.

при применении всех видов растворов, кроме гипсового - до 20, из гипсовых растворов - до 15

9

Допускаемая толщина каждого слоя многослойных штукатурок без полимерных добавок, мм:

 

Измерительный, не менее 5 измерений на 70 - 100 м2 поверхности покрытия или в одном помещении меньшей площади в местах, выявленных сплошным визуальным осмотром, журнал работ

Линейка 150

Метр складной МСД-1

Штангенциркуль ШЦ-1

Рулетки измерительные РЗ-10, РЗ-20 и т.п.

 

обрызга по кирпичным поверхностям - до 5

-

 

грунта из цементных растворов - до 5

-

 

грунта из известковых, известково-гипсовых растворов - до 7

-

 

накрывочного слоя штукатурного покрытия - до 2

-

 

4 ТРЕБОВАНИЯ БЕЗОПАСНОСТИ И ОХРАНЫ ТРУДА, ЭКОЛОГИЧЕСКОЙ И ПОЖАРНОЙ БЕЗОПАСНОСТИ

4.1 При выполнении простого, улучшенного и высококачественного оштукатуривания внутренних поверхностей могут возникнуть следующие опасные и вредные производственные факторы, связанные с характером работы:

- повышенная запыленность и загазованность воздуха рабочей зоны;

- расположение рабочего места вблизи перепада по высоте 1,3 м и более;

- острые кромки, заусенцы и шероховатость на поверхностях отделочных материалов и конструкций;

- недостаточная освещенность рабочей зоны.

4.2 Для предупреждения воздействия на работников опасных и вредных производственных факторов безопасность штукатурных работ должна быть обеспечена соблюдением следующих мероприятий:

- организация рабочих мест с указанием методов и средств для обеспечения вентиляции, пожаротушения, защиты от термических ожогов, освещения, выполнения работ на высоте, с использованием средств подмащивания и использованием других средств малой механизации;

- способы и средства подачи материалов на рабочие места должны обеспечивать безопасность труда.

4.3 К устройству внутренних штукатурных работ с использованием средств подмащивания допускаются лица не моложе 18 лет, имеющие профессиональные навыки, прошедшие медицинское освидетельствование и признанные годными, получившие знания по безопасным методам и приемам труда согласно ГОСТ 12.0.004-90 «ССБТ. Организация обучения безопасности труда. Общие положения», сдавшие экзамены квалификационной комиссии в установленном порядке и получившие соответствующее удостоверение.

Внеочередной инструктаж по технике безопасности проводится при переводе рабочих-отделочников с одного объекта на другой, при изменении условий производства работ, нарушении бригадой правил и инструкций по безопасности труда.

4.4 Перед началом работы со штукатурами, машинистом растворонасоса и обслуживающим звеном проводится первичный инструктаж на рабочем месте по безопасному производству работ с записью результатов инструктажа в «Журнал регистрации инструктажа на рабочем месте».

Вновь принимаемые на работу должны пройти вводный инструктаж с записью в «Журнале регистрации вводного инструктажа по охране труда».

4.5 К работе с электрифицированным инструментом допускаются только рабочие, прошедшие специальное обучение согласно ГОСТ 12.0.004-90 «ССБТ. Организация обучения безопасности труда. Общие положения», инструктаж на рабочем месте по безопасности и охране труда и имеющие III категорию по электробезопасности.

4.6 При сухой очистке поверхности и других работах, связанных с выделением пыли и газов, необходимо пользоваться респираторами и защитными очками.

4.7 Работники, занятые производством штукатурных работ или работающие при повышенной запыленности и загазованности воздуха рабочей зоны, должны быть обеспечены индивидуальными и коллективными средствами защиты по ГОСТ 12.4.011-89 «ССБТ. Средства защиты работающих. Общие требования и классификация».

4.8 Перед началом работ машины и механизмы, используемые для подачи раствора, проверяются на холостом ходу. Корпуса всех механизмов должны быть заземлены, токопроводящие провода надежно изолированы, а пусковые рубильники закрыты.

4.9 К управлению механизмами допускаются лица, прошедшие специальное обучение и сдавшие экзамены по безопасности труда.

4.10 Разборка, ремонт и чистка форсунок машин, используемых при оштукатуривании, разрешается лишь после снятия давления и отключения машин от сети.

4.11 Рабочее место штукатура-оператора необходимо связывать звуковой сигнализацией с рабочим местом машиниста штукатурных машин.

4.12 Материалы и воздушные шланги растворонасоса необходимо периодически испытывать на удвоенное рабочее давление.

4.13 При работе растворонасоса запрещается перегибать подающие шланги. Продувку шлангов сжатым воздухом для устранения пробок разрешается производить только после удаления из помещения людей. По окончании работ запрещается снимать воздушный клапан и переходной патрубок, не убедившись в том, что давление упало до нуля. При работе с растворонасосом необходимо:

- следить, чтобы давление в растворонасосе не превышало допустимых норм, указанных в паспорте;

- удалять растворные пробки, осуществлять ремонтные работы только после отключения растворонасоса от сети и снятия давления;

- осуществлять продувку растворонасоса при отсутствии людей в зоне 10 м и ближе;

- держать форсунку при нанесении раствора под небольшим углом к оштукатуриваемой поверхности и на небольшом расстоянии от нее.

4.14 Переносные инструменты, машины, светильники должны иметь напряжение не более 42 В.

4.15 При применении электрических или работающих на жидком топливе воздухонагревателей для просушивания оштукатуренных поверхностей помещений здания или сооружения необходимо соблюдать требования ППБ 01-03 «Правила пожарной безопасности в Российской Федерации». Запрещается сушить помещения нагревателями открытого типа и другими устройствами, выделяющими продукты сгорания топлива.

4.16 Рабочая зона при производстве штукатурных работ должна быть освещена в соответствии со СНиП 23-05-95 «Естественное и искусственное освещение» и ГОСТ 12.1.046-85 «ССБТ. Строительство. Нормы освещения строительных площадок». Освещенность рабочих мест должна быть не менее 30 лк. Проект временного освещения должен быть разработан специализированной организацией по заказу подрядчика.

4.17 При применении составов, содержащих вредные и пожароопасные вещества, на рабочих местах должны быть первичные средства пожаротушения, приоткрыты в помещении окна для обеспечения вентиляции, а рабочие должны быть обеспечены респираторами и другими средствами индивидуальной защиты.

4.18 При приготовлении штукатурных растворов на рабочем месте необходимо использовать для этих целей помещения, оборудованные вентиляцией, не допускающей повышения предельно допустимых концентраций вредных веществ в воздухе рабочей зоны. Помещения должны быть обеспечены безвредными моющими средствами и теплой водой.

4.19 При выполнении штукатурных работ внутренних стен и перегородок необходимо строго соблюдать требования безопасности и охраны труда, экологической и пожарной безопасности согласно:

- СНиП 12-03-2001 «Безопасность труда в строительстве. Часть 1. Общие требования»

- СНиП 12-04-2002 «Безопасность труда в строительстве. Часть 2. Строительное производство»;

- ГОСТ 12.0.004-90 «ССБТ. Организация обучения безопасности труда. Общие положения»;

- ГОСТ 12.1.004-91* «ССБТ. Пожарная безопасность. Общие требования»;

- ПОТ РМ-016-2001 Межотраслевые правила по охране труда (правила безопасности) при эксплуатации электроустановок;

- ППБ 01-03 Правила пожарной безопасности в Российской Федерации;

- СП 12-135-2003 Безопасность труда в строительстве. Отраслевые типовые инструкции по охране труда.

5 ПОТРЕБНОСТЬ В МАТЕРИАЛЬНО-ТЕХНИЧЕСКИХ РЕСУРСАХ

5.1 Потребность в машинах, механизмах, оборудовании и инструментах для улучшенного оштукатуривания внутренних поверхностей здания определяется с учетом выполняемых работ и технических характеристик согласно таблице 9.

Таблица 9 - Ведомость потребности машин, механизмов, оборудования и инструментов

п/п

Наименование

Тип, марка, ГОСТ

Техническая характеристика

Назначение

Кол.

1

2

3

4

5

6

1

Штукатурная станция

СО-114

Производительность, м3

4

Для приема и транспортирования раствора к рабочему месту

1

Масса, кг

5000

2

Штукатурный агрегат

СО-57Б

Производительность, м3

2

Для механизированного оштукатуривания поверхности

1

Масса, кг

750

3

Растворонасос в комплекте с виброщитом и растворопроводом

СО-50А

Производительность, м3

6

Для транспортирования штукатурных растворов и нанесения их на поверхность с помощью сопла (форсунки)

1

Масса, кг

508

4

Машина штукатурно-затирочная

СО-86А

Производительность, м2

50

Для затирки штукатурных слоев

2

Мощность, кВт

0,2

Напряжение, В

42

Частота тока, Гц

200

Масса, кг

2,3

5

Преобразователь тока

ИЭ-9406

Потребляемая мощность, кВт

6

Для преобразования частоты тока

2

Линейное напряжение, В:

 

сети

380

вторичное

42

частота тока, Гц:

 

сети

50

вторичная

200

Масса, кг

37,1

6

Кельма штукатурная

КШ

ГОСТ 9533-81

Габаритные размеры, мм

320´150´70

Для нанесения и разравнивания раствора

10

Масса, кг

0,3

7

Отрезовка

ОШ

ГОСТ 9533-81

Габаритные размеры, мм

250´56´55

Для разделки архитектурных деталей, заделки раковин, трещин

8

Масса, кг

0,1

8

Сокол дюралюминиевый

 

Габаритные размеры, мм

400´400´150

Для переноса и разравнивания раствора

10

Масса, кг

1,25

9

Ковш для отделочных работ

КШ-0,6

ГОСТ 7945-86*

Емкость, м3

0,6

Для набрасывания раствора на поверхность

8

Масса, кг

0,3

10

Лопата растворная

ЛР

ГОСТ 19596-87*

Габаритные размеры, мм

1150´240

Для перемешивания раствора

8

Масса, кг

2,1

11

Кисть маховая

КМ

ГОСТ 10597-87*

Габаритные размеры, мм

185´65

Для смачивания поверхности водой

10

Масса, кг

0,19

12

Кисть макловица

КМА

ГОСТ 10597-87*

Габаритные размеры, мм

250´180´80

Для смачивания поверхности водой

10

Масса, кг

0,35

13

Терка деревянная

Т

ГОСТ 25782-90

Габаритные размеры, мм

190´110´78

Для затирки штукатурного слоя

10

Масса, кг

0,4

14

Терка поролоновая

ГОСТ

25782-90

Габаритные размеры, мм

200´120´76

Для затирки штукатурного слоя

8

Масса, кг

0,3

15

Гладилка стальная большая

ГБК-1

ГОСТ 10403-80*

Габаритные размеры, мм

550´125´68

Для разравнивания и заглаживания штукатурного слоя

8

Масса, кг

0,75

16

Гладилка стальная малая

ГОСТ 10403-80*

Габаритные размеры, мм

300´125´68

Для разравнивания и заглаживания штукатурного слоя

8

Масса, кг

0,38

17

Полутерка деревянная

ПТ

ГОСТ 25782-90

Габаритные размеры, мм

1500´110´80

Для выравнивания и уплотнения штукатурных слоев

10

Масса, кг

1,2

18

Правило окованное

ГОСТ 25782-90

Габаритные размеры, мм

1800´100´20

Для разравнивания штукатурного раствора и проверки горизонтальной и вертикальной оштукатуренной поверхности

4

Масса, кг

4,0

19

Правило лузговое

ПЛ800

ГОСТ 25782-90

Габаритные размеры, мм

800´78´95

Для отделки лузг

4

Масса, кг

1,06

20

Правило усеночное

ПУ800

ГОСТ 25782-90

Габаритные размеры, мм

800´120´120

Для отделки усенок

4

Масса, кг

1,2

21

Правило прижимное

ГОСТ 25782-90

Габаритные размеры, мм

2500´120´30

Для выравнивания поверхностей

8

Масса, кг

5,3

22

Маяк дисковый

 

Высота, мм

100

Для провешивания стен

36

Масса, кг

0,3

23

Шаблон для устройства откосов

 

Габаритные размеры, мм

250´385´183

Для оштукатуривания оконных и дверных откосов

4

Масса, кг

0,3

24

Рейкодержатель универсальный

 

Габаритные размеры, мм

175´94

Для крепления маячных деревянных реек и направляющих правил при оштукатуривании откосов и колонн

8

Масса, кг

1,0

25

 

Рейкодержатель винтовой

 

Габаритные размеры, мм

500´120

Для крепления реек при штукатурке оконных и деревянных откосов в зданиях с бетонными стенами

5

Масса, кг

2,0

26

Рейкодержатель дуговой

 

Габаритные размеры, мм

414´344

Для закрепления деревянных реек при оштукатуривании вертикальных поверхностей колонн, столбов, пилястр

4

Масса, кг

0,65

27

Рейкодержатель штыревой

 

Габаритные размеры, мм

140´80

Для крепления реек при оштукатуривании дверных и оконных откосов в каменных зданиях

10

Масса, кг

0,14

28

Скребок

 

 

 

Для очистки поверхности от грязи и наплывов раствора

5

29

Бучарда штукатурная

 

Габаритные размеры, мм

245´40´125

Для насечки бетонной поверхности

3

Масса, кг

1,9

30

Молоток штукатурный

мшт

ГОСТ 11042-90

Габаритные размеры, мм

300´34´125

Для выполнения различных операций

8

Масса, кг

0,6

31

Расшивка

 

 

 

Для разделки вогнутых швов

8

32

Линейка для расшивки швов

 

Габаритные размеры, мм

1000´90´30

Для направления движения расшивки при обработке швов

8

33

Ножницы ручные для резки металла

ГОСТ 7210-75*Е

Габаритные размеры, мм

320´12´50

Для резки металлической сетки

3

Масса, кг

0,7

34

Острогубцы (кусачки)

 

Габаритные размеры, мм

200´40´50

Для перекусывания проволоки

3

Масса, кг

0,31

35

Пила ножовка поперечная по дереву

пи-3

ГОСТ 6532-77*

 

 

Для распиловки древесины

5

36

Быстроразъемное соединение

 

Габаритные размеры, мм

265´97´60

Для соединения шлангов

4

Масса, кг

1,3

37

Скарпели диаметром 8 и 10 мм

 

 

 

Для пробивки отверстий, скалывания бетона и раствора

8

38

Уровень строительный

УС5-200

ГОСТ 9416-83

Габаритные размеры, мм

500´25´55

Для проверки горизонтальной и вертикальной поверхности

4

Масса, кг

0,52

39

Уровень гибкий

 

Габаритные размеры, мм

255´86

Для проверки горизонтальности расположения и замеров разности уровней поверхности элементов

2

Масса, кг

1,6

40

Рулетки измерительные металлические

Р20Н2К

ГОСТ 7502-98

Длина ленты, м

20

Для линейных измерений

4

Масса, кг

0,35

41

Шнур разметочный

 

Габаритные размеры, мм

128´77´45

Для провешивания поверхностей

8

Масса, кг

0,1

42

Угольник специальный

МСМ-82

Габаритные размеры, мм

600´155´20

Для определения углов

4

Масса, кг

0,5

43

Угольник деревянный

ГОСТ 3749-77*

Габаритные размеры, мм

600´300´24

Для разметки и проверки прямых углов

4

Масса, кг

0,4

44

Метр складной металлический

ТУ 12-156-76

Габаритные размеры, мм

100´10´4

Для линейных измерений

8

Масса, кг

0,055

45

Рейка с отвесом

ГОСТ 9416-83

 

 

Для провешивания вертикальных плоскостей

2

46

Поэтажная емкость 0,35 м3

 

Габаритные размеры, мм

600´1100´647

Для приема и хранения раствора

2

Масса, кг

44,0

47

Очки защитные

ЗП-2

ГОСТ 12.4.011-89

 

 

Для предохранения глаз рабочего при производстве работ механизированным способом

4

48

Ведро

 

 

 

Для подноски и хранения воды

8

49

Инвентарные шарнирно-панельные подмости

ПС-400

Несущая способность, кг/м2

400

Для отделочных работ в помещениях высотой этажа 2,6 м

4

Уровень настила относительно перекрытия, м

0,9 (1,8)

Габаритные размеры, мм

55´2,9´3,4

Масса, кг

234

50

Вышка передвижная сборно-разборная

УЛТ-ЭО50

Высота настила, м

1,0

Для отделочных работ

8

Размер рабочей площадки, м

0,55´1,8

Масса, кг

43

51

Устройство защитно-отключающее

ИЭ-8913

 

 

 

2

6 ТЕХНИКО-ЭКОНОМИЧЕСКИЕ ПОКАЗАТЕЛИ

6.1 Калькуляции затрат труда и машинного времени и календарные планы производства работ составлены на выполнение 100 м2 простой, улучшенной и высококачественной штукатурки внутренних поверхностей кирпичной стены высотой до 3,5 м при подаче раствора растворонасосом.

6.2 Затраты труда и машинного времени на устройство штукатурных покрытий подсчитаны по «Единым нормам и расценкам на строительные, монтажные и ремонтно-строительные работы», введенным в действие в 1987 г., и представлены в таблицах 10, 12 и 14.

6.3 Продолжительность работ на устройство штукатурных покрытий кирпичных стен определяется календарными планами работ, представленными в таблицах 11, 13 и 15.

6.4 При штукатурке поверхностей, расположенных выше 3,5 м от отметки пола или перекрытия, с перемещением готовых передвижных подмостей нормы времени калькуляций умножаются на 1,25.

6.5 Нормами предусмотрено выполнение работ в помещениях площадью свыше 5 м2. При работе в помещениях площадью пола до 5 м2 норму времени по всем калькуляциям умножать, кроме строки 2 по ЕНиР 8-1-13, на 1,5

Таблица 10 - Калькуляция затрат труда и машинного времени на производство работ по устройству простых штукатурных покрытий внутренних стен и перегородок

(Измеритель конечной продукции - 100 м2 поверхности)

№ п/п

Обоснование (ЕНиР и др. нормы)

Наименование технологических процессов

Ед. изм.

Объем работ

Нормы времени

Затраты труда

рабочих, чел.-ч

машиниста, чел.-ч., (работа машин, маш.-ч)

рабочих, чел.-ч

машиниста, чел.-ч., (работа машин, маш.-ч)

1

Е 8-1-1 табл. 2, № 1а

Подготовка кирпичной поверхности стен и перегородок под оштукатуривание

100 м2

1

16,0

-

16,0

-

2

Е 8-1-13 № 2 аб

Подача раствора в бункер на этаж с помощью растворонасоса

м3

1,2

1,6

0,8 (0,8)

1,92

0,96 (0,96)

3

Е 8-1-2 табл. 1,

Нанесение обрызга растворонасосом

100 м2

1

4,0

-

4,0

-

4

Е 8-1-2 табл. 1, № 3а

Нанесение грунта растворонасосом с разравниванием

100 м2

1

9,6

-

9,6

-

5

Е 8-1-9

Разделка потолочных рустов

100 м

0,4

14,0

-

5,6

-

6

Е 8-1-2 табл. 1, № 5а

Затирка штукатурного слоя с разделкой углов вручную

100 м2

1

16,0

-

16

-

7

Е 8-1-14 № 7

Уход за штукатуркой

100 м2

1

1,8

-

1,8

-

Итого:

 

 

 

 

54,9

0,96 (0,96)

6.6 Технико-экономические показатели на выполнение 100 м2 простой штукатурки составляют:

- затраты труда, чел.-час:

рабочих........................................................... 54,9

машиниста...................................................... 0,96

- затраты машинного времени, маш.-ч................ 0,96

- продолжительность работ, час........................... 10,0

Таблица 11 - Календарный план производства работ по устройству простой штукатурки внутренних стен и перегородок

(Измеритель конечной продукции - 100 м2 поверхности)

Таблица 12 - Калькуляция затрат труда и машинного времени на производство работ по устройству улучшенных штукатурных покрытий внутренних стен и перегородок

(Измеритель конечной продукции - 100 м2 поверхности)

№ п/п

Обоснование (ЕНиР и др. нормы)

Наименование технологических процессов

Ед. изм.

Объем работ

Норма времени

Затраты труда

рабочих, чел.-ч

машинистов, чел.-ч (работа машин, маш.-ч)

рабочих, чел.-ч

машинистов, чел.-ч (работа машин, маш.-ч)

1

Е 8-1-1 табл. 2, № 1а

Подготовка кирпичной поверхности стен и перегородок

100 м2

1

16,0

-

16,0

-

2

Е 8-1-13 № 2 аб

Подача раствора в бункер на этажи растворонасосом

м3

1,5´6

1,6

0,8 (0,8)

14,4

7,2 (7,2)

3

Е 8-1-2 табл. 2 № 1а

Нанесение обрызга стен и перегородок растворонасосом

100 м2

1

4,0

-

4,0

-

4

Е 8-1-2 табл. 2 № 3а

Нанесение грунта растворонасосом с разравниванием

100 м2

1

14,5

-

14,5

-

5

Е 8-1-9 № 1а

Разделка потолочных рустов шириной до 10 мм

100 м

0,4

14,0

-

5,6

-

6

Е 8-1-2 табл. 2 № 5а

Нанесение накрывочного слоя стен и перегородок

100 м2

1

3,4

-

3,4

-

7

Е 8-1-2 табл. 2 № 7а

Затирка поверхности стен и перегородок с разделкой углов механизированно

100 м2

1

9,9

-

9,9

-

8

Е 8-1-14 № 7

Уход за штукатуркой

100 м2

1

1,8

-

1,8

-

Итого:

 

 

 

 

69,6

7,2 (7,2)

6.7 Технико-экономические показатели на выполнение 100 м2 улучшенной штукатурки составляют:

- затраты труда, чел.-час:

рабочих........................................................................ 69,6

машиниста................................................................... 7,2

- затраты машинного времени, маш.-ч............................ 7,2

- продолжительность работ, час....................................... 15,0

Таблица 13 - Календарный план производства работ по устройству улучшенной штукатурки внутренних стен и перегородок

(Измеритель конечной продукции - 100 м2 поверхности)

Таблица 14 - Калькуляция затрат труда и машинного времени на производство работ по устройству высококачественных штукатурных покрытий внутренних стен и перегородок

(Измеритель конечной продукции - 100 м2 поверхности)

№ п/п

Обоснование (ЕНиР и др. нормы)

Наименование технологических процессов

Ед. изм.

Объем работ

Норма времени

Затраты труда

рабочих, чел.-ч

машинистов, чел.-ч (работа машин, маш.-ч)

рабочих, чел.-ч

машинистов, чел.-ч (работа машин, маш.-ч)

1

Е 8-1-1 табл. 2, № 1а

Подготовка кирпичной поверхности стен и перегородок

100 м2

1

16,0

-

16,0

-

2

Е 8-1-13 № 2 аб

Подача раствора в бункер на этажи растворонасосом

м3

1,5´6

1,6

0,8 (0,8)

14,4

7,2 (7,2)

3

Е 8-1-2 табл. 3 № 1а

Провешивание поверхностей с установкой маяков

100 м2

1

12,0

-

12,0

-

4

Е 8-1-2 табл. 3 № 2а

Нанесение обрызга стен и перегородок растворонасосом

100 м2

1

5,5

-

5,5

-

5

Е 8-1-2 табл. 3 № 4а

Нанесение первого слоя грунта растворонасосом с разравниванием

100 м2

1,0

18,5

-

18,5

-

6

Е 8-1-2 табл. 3 № 4а

Нанесение второго слоя грунта растворонасосом с разравниванием

18,5

-

18,5

-

7

Е 8-1-9 № 1а

Разделка потолочных рустов шириной до 10 мм

100м

0,4

14,0

-

5,6

-

8

Е 8-1-2 табл. 3 № 6а

Нанесение накрывочного слоя стен и перегородок

100 м2

1,0

3,4

-

3,4

-

9

Е 8-1-2 табл. 3 № 8а

Затирка поверхности стен и перегородок с разделкой углов механизированно

100 м2

1,0

11,0

-

11,0

-

10

Е 8-1-14 № 7

Уход за штукатуркой

100 м2

1

1,8

-

1,8

-

Итого:

 

 

 

 

106,7

7,2 (7,2)

6.6 Технико-экономические показатели на выполнение 100 м2 высококачественной штукатурки составляют:

- затраты труда, чел.-час:

рабочих............................................................... 106,7

машиниста.......................................................... 7,2

- затраты машинного времени, маш.-ч................... 7,2

- продолжительность работ, час.............................. 22,0


Таблица 15 - Календарный план производства работ по устройству высококачественной штукатурки внутренних стен и перегородок

(Измеритель конечной продукции - 100 м2 поверхности)


7 ПЕРЕЧЕНЬ ИСПОЛЬЗОВАННОЙ НОРМАТИВНО-ТЕХНИЧЕСКОЙ ЛИТЕРАТУРЫ

1 СНиП 12-01-2004 «Организация строительства».

2 СНиП 3.03.01-87 «Несущие и ограждающие конструкции».

3 СНиП 3.04.01-87 «Изоляционные и отделочные покрытия».

4 СНиП 12-03-2001 «Безопасность труда в строительстве. Часть 1. Общие требования».

5 СНиП 12-04-2002 «Безопасность труда в строительстве. Часть 2. Строительное производство».

6 ГОСТ 12.0.004-90 «ССБТ. Организация обучения безопасности труда. Общие положения».

7 ГОСТ 12.1.004-91* «ССБТ. Пожарная безопасность. Общие требования».

8 ГОСТ 12.4.011-89 «ССБТ. Средства защиты работающих. Общие требования и классификация».

9 ГОСТ 3749-77* «Угольники поверочные 90°. Технические условия».

10 ГОСТ 5802-86 «Растворы строительные. Методы испытаний».

11 ГОСТ 7210-75* «Ножницы ручные для резки металла. Технические условия».

12 ГОСТ 7502-98 «Рулетки измерительные металлические. Технические условия».

13 ГОСТ 8736-93 «Песок для строительных работ. Технические условия».

14 ГОСТ 9416-83 «Уровни строительные. Технические условия».

15 ГОСТ 9533-81 «Кельмы, лопатки и отрезовки. Технические условия».

16 ГОСТ 10597-87* «Кисти и щетки малярные. Технические условия».

17 ГОСТ 11042-90 «Молотки стальные строительные. Технические условия».

18 ГОСТ 19596-87* «Лопаты. Технические условия».

19 ГОСТ 23732-79 «Вода для бетонов и растворов. Технические условия».

20 ГОСТ 25782-90 «Правила, терки и полутерки. Технические условия».

21 ГОСТ 28013-98 «Растворы строительные. Общие технические условия».

22 СП 12-135-2003 Безопасность труда в строительстве. Отраслевые типовые инструкции по охране труда.

23 СП 82-101-98 Свод правил на приготовление и применение растворов строительных.

24 ПОТ РМ-016-2001 Межотраслевые правила по охране труда (правила безопасности) при эксплуатации электроустановок. Постановление Минтруда РФ от 05.01.2001 г. № 3, М., 2001.

25 ППБ 01-03 Правила пожарной безопасности в Российской Федерации.

26 ЕНиР Единые нормы и расценки на строительные, монтажные и ремонтно-строительные работы. Сборник Е8. Отделочные покрытия строительных конструкций. Выпуск 1. Отделочные работы.

 




ГОСТЫ, СТРОИТЕЛЬНЫЕ и ТЕХНИЧЕСКИЕ НОРМАТИВЫ.
Некоммерческая онлайн система, содержащая все Российские Госты, национальные Стандарты и нормативы.
В Системе содержится более 150000 файлов нормативно-технической документации, действующей на территории РФ.
Система предназначена для широкого круга инженерно-технических специалистов.

Рейтинг@Mail.ru Яндекс цитирования

Copyright © www.gostrf.com, 2008 - 2026