Крупнейшая бесплатная информационно-справочная система онлайн доступа к полному собранию технических нормативно-правовых актов РФ. Огромная база технических нормативов (более 150 тысяч документов) и полное собрание национальных стандартов, аутентичное официальной базе Госстандарта. GOSTRF.com - это более 1 Терабайта бесплатной технической информации для всех пользователей интернета. Все электронные копии представленных здесь документов могут распространяться без каких-либо ограничений. Поощряется распространение информации с этого сайта на любых других ресурсах. Каждый человек имеет право на неограниченный доступ к этим документам! Каждый человек имеет право на знание требований, изложенных в данных нормативно-правовых актах!

  


 

открытое акционерное общество

Проектно-конструкторский и технологический институт промышленного строительства

ОАО ПКТИпромстрой

УТВЕРЖДАЮ

Генеральный директор, к.т.н.

____________ С.Ю. Едличка

«___» _____________ 2000 г.

ТЕХНОЛОГИЧЕСКАЯ КАРТА
УСТРОЙСТВО ШТУКАТУРНЫХ ПОКРЫТИЙ ФАСАДОВ
НА ОСНОВЕ ДЕКОРАТИВНЫХ ВЯЖУЩИХ НИЗКОЙ
ВОДОПОТРЕБНОСТИ

7401 ТК

Главный инженер

__________ А.В. Колобов

Начальник отдела

__________ Н.Н. Филипенко

Начальник отдела

__________ Б.И. Бычковский

2000

Технологическая карта содержит решения по организации и технологии устройства цветных штукатурных покрытий фасадов жилых, гражданских и общественных зданий при их строительстве, реконструкции, ремонте и разработана в соответствии с «Планом научно-технических разработок и инжиниринговых услуг Московскому строительному комплексу на 2000 г.».

В технологической карте приведены: область применения, составы декоративных вяжущих, особенности приготовления и применения штукатурных составов на их основе, технология и организация работ, требования к качеству и приемке работ, калькуляция трудовых затрат, график производства работ, нормокомплект средств механизации и инструмента, решения по технике безопасности.

Технологическая карта предназначена для производственного персонала, инженерно-технических работников строительных и проектных организаций.

Технологическую карту разработали сотрудники лаборатории совершенствования организации и технологии строительства (отдел 41) ОАО ПКТИпромстрой:

к.т.н. Филипенко Н.Н. - руководитель работы;

Ярымов Ю. - технологическое руководство разработкой;

к.т.н. Захаров Н.М. - ответственный исполнитель от 26 ЦНИИ МО РФ;

Федунов В.В., Пустовалов Д. - исполнители от 26 ЦНИИ МО РФ;

Покровская Е. - компьютерная графика и обработка;

Бычковский Б.И. - техническое руководство, корректура и нормоконтроль;

к.т.н. Шахпаронов В.В. - научно-методическое руководство;

к.т.н. Едличка С. - общее руководство разработкой технологических карт.

Предложения и замечания по технологической карте просим направлять по адресу: 125040, Москва, Ленинградский пр-т., д. 26, ОАО ПКТИпромстрой

Контактный телефон: (095) 214-36-49

Факс: (095) 214-95-53

СОДЕРЖАНИЕ

1 ОБЛАСТЬ ПРИМЕНЕНИЯ

1.1 Технологическая карта предназначена для устройства штукатурных покрытий фасадов с применением строительных растворов, приготавливаемых на основе декоративных вяжущих низкой водопотребности (далее по тексту ВНВД) при строительстве, реконструкции и ремонте жилых, гражданских и общественных зданий.

1.2 ВНВД - гидравлическое вяжущее вещество, получаемое совместной механохимической обработкой в специально регламентированных условиях белого или обычного портландцемента, сухого модификатора, минеральных красителей и, при необходимости, минеральных добавок.

1.3 По вещественному составу ВНВД подразделяется на виды:

- ВНВД без минеральных добавок (ВНВД-100);

- ВНВД с минеральными добавками (ВНВД-80, ВНВД-70, ВНВД-60).

По цвету ВНВД выпускается 6 видов - белое, желтое, красное, розовое, коричневое и черное.

По прочности при сжатии в 28-суточном возрасте марка ВНВД: 400, 500, 600, 700 и 800.

1.4 До начала штукатурных работ на фасадах зданий, подлежащих ремонту, необходимо произвести экспертную оценку состояния объекта и выполнить работы по ремонту всех наружных частей здания, подлежащих отделке.

1.5 Привязка технологической карты к конкретным объектам и условиям производства работ состоит в уточнении объемов работ, данных потребности в трудовых и материально-технических ресурсах и корректировке графика производства работ.

1.6 Выполнение отделочных работ на фасадах зданий и сооружений необходимо производить только при наличии Паспорта на колористическое решение фасада, выдаваемого Службой Главного художника г. Москвы («Москомархитектура») и Государственным Унитарным предприятием «Энлаком».

2 ОРГАНИЗАЦИЯ И ТЕХНОЛОГИЯ ВЫПОЛНЕНИЯ РАБОТ

2.1 До начала штукатурных работ должны быть:

- выполнены наружная гидроизоляция и кровля с деталями и примыканиями;

- устроены полы на балконах;

- установлены и закреплены все металлические обрамления архитектурных деталей на фасадах зданий;

- установлены крепежные устройства для водосточных труб;

- тщательно очищены фасады зданий от пыли, грязи, жировых и битумных пятен, а также от выступающих солей;

- произведена (при необходимости) на поверхностях, подлежащих оштукатуриванию, нарезка и насечка;

- исправлены все обнаруженные дефекты и отклонения от допусков, установленных СНиП 3.03.01-87.

2.2 В сухую погоду при температуре воздуха +23 °С и выше подлежащие оштукатуриванию участки стен из мелкоштучных стеновых материалов (кирпич, блоки и т.д.) необходимо увлажнять.

2.3 Поверхности, подлежащие оштукатуриванию, проверяются провешиванием в вертикальной и горизонтальной плоскостях с установкой инвентарных съемных марок.

2.4 Прочность основания, подлежащего оштукатуриванию, должна быть не менее прочности штукатурного покрытия согласно СНиП 3.04.01-87.

2.5 Для оштукатуривания фасадов должны применятся растворы на основе портландцемента при устройстве обрызга и грунта и на основе ВНВД при устройстве накрывочного слоя. При приготовлении и применении растворов руководствоваться требованиями правил, изложенными в СП 82.101-98.

2.6 Составы растворов для штукатурных работ и их марки должны предусматриваться проектом. Выбор и применение растворов должен производиться в зависимости от условий, в которых будет находиться здание в период эксплуатации.

2.7 Применение декоративных растворов на основе ВНВД для восстановления оштукатуренных поверхностей при ремонте известковых или известково-цементных штукатурок не допускается.

2.8 В качестве заполнителя для строительных растворов, применяемых для устройства обрызга и грунта, применяется песок, отвечающий требованиям ГОСТ 8736-93. Максимально допустимый размер зерен песка для этих растворов не должен превышать 2,5 мм, а для накрывочного слоя, приготовляемого на основе ВНВД - 1,2 мм. При этом для приготовления декоративных растворов (накрывочный слой) должны использоваться природные, обогащенные и фракционированные пески по ГОСТ 8736-93, удовлетворяющие требованиям ГОСТ 28013-98.

2.9 Вода для приготовления декоративных растворов должна удовлетворять требованиям ГОСТ 23732-79.

2.10 Строительные растворы в зависимости от способа их нанесения и назначения должны иметь подвижность, определяемую погружением стандартного конуса. Рекомендуемая подвижность растворов для обрызга, грунта и накрывки приведена в таблице 1.

Таблица 1 - Показатели подвижности раствора

Наименование раствора

Погружение стандартного конуса, см

Для механизированного способа нанесения

Для ручного способа нанесения

Раствор для обрызга

9 - 14

8 - 12

Раствор для грунта

7 - 8

7 - 8

Раствор для накрывки

7 - 8

7 - 8

2.11 Погрешность дозирования ВНВД и песка при приготовлении декоративного раствора для устройства накрывочного слоя не должны превышать ±2 % для ВНВД и ±2,5 % для песка.

2.12 Качество готовых растворов должно удовлетворять требованиям СП 82-101-98 «Приготовление и применение растворов строительных».

2.13 Оштукатуривание поверхности фасадов состоит из следующих последовательных технологических операций, включающих:

- подготовку поверхности к оштукатуриванию (см. п. 2.1);

- прием и транспортирование штукатурных растворов для обрызга и грунта на рабочее место;

- нанесение штукатурных растворов механизированным способом или вручную;

- разравнивание слоев, разделка лузг, уселков, рустов, углов, откосов и т.д.;

- приготовление на строительной площадке декоративного штукатурного раствора на основе ВНВД, транспортирование его на рабочее место и нанесение его на оштукатуриваемую поверхность в виде накрывочного слоя;

- затирку накрывочного слоя машиной СО-8 или СО-112А;

- обработку накрывочного слоя, находящегося в пластичном, полупластичном или затвердевшем состоянии особыми приемами и инструментами для придания ему фактуры, повышающей эстетические качества штукатурки.

2.14 Транспортирование штукатурных растворов и нанесение их на оштукатуриваемую поверхность производится с помощью штукатурных агрегатов, состоящих из штукатурных установок и растворонасосов, а для приготовления, процеживания и транспортирования растворов применяется штукатурный агрегат СО-57Б, технические характеристики которых представлены в таблицах 2 и 3.

Таблица 2 - Технические характеристики установок для транспортирования растворов

Показатели

Марки установок

СО-48В

СО-49В

СО-50А

Марка растворонасосов

СО-29

СО-30

СО-10

Подача, м3

2

4

6

Дальность подачи раствора, м

 

 

 

по горизонтали

100

160

250

по вертикали

20

35

50

Вибросито:

 

 

 

производительность, м3

4

4

6

вместимость бункера, м3

0,16

0,16

0,3

размер ячейки сетки, мм

5´5

5´6

5´5

Внутренний диаметр растворопровода, мм

38

50

63

Общая масса комплекта, кг

470

560

508

Таблица 3 - Техническая характеристика штукатурного агрегата СО-57Б

Показатели

Ед. изм.

Размер

Производительность агрегата

м3

2

Растворосмеситель

 

 

Объем готового замеса

л

65

Вместимость смесительного барабана по загрузке

л

80

Электродвигатель:

 

 

мощность

кВт

1,5

напряжение

В

220/380

Растворонасос

 

 

Подача

м3

2

Давление

МПа

1,5

Пластичность раствора по конусу СтройЦНИИ

см

7

Дальность подачи раствора:

 

 

по горизонтали

м

100

по вертикали

м

20

Электродвигатель:

 

 

мощность

кВт

2,2

напряжение

В

220/380

Вибросито

 

 

Электродвигатель:

 

 

мощность

кВт

0,75

напряжение

В

220/380

Масса агрегата

кг

750

2.15 Оштукатуривание поверхности фасадов выполняется путем нанесения штукатурных составов в следующей последовательности:

- нанесение обрызга из обычных цементно-песчаных растворов;

- нанесение слоя грунта из обычных цементно-песчаных растворов с последующим его разравниванием и затиркой;

- нанесение накрывочного слоя из декоративного раствора, приготовленного на основе ВНВД, с последующим выравниванием и затиркой или его офактуриванием.

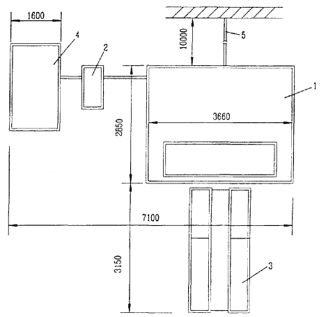
Рисунок 1 - Схема приема и подачи раствора

1 - штукатурный агрегат; 2 - растворонасос; 3 - эстакада; 4 - бункер для извести; 5 - растворопровод металлический.

2.16 Оштукатуривание поверхностей фасадов с применением декоративных растворов должно выполняться по маякам. При этом толщина маяков должна быть равна толщине штукатурного покрытия без накрывочного декоративного слоя.

2.17 При нанесении обрызга толщина слоя не должна превышать 5 мм. Через 1 - 2 часа после того, как обрызг начнет затвердевать, наносится грунт толщиной не более 5 мм. Толщина накрывочного слоя - 10 - 12 мм. Затирка накрывочного слоя производится через 20 - 30 минут с помощью затирочных машин.

2.18 Фактуру или рельеф поверхности декоративной штукатурки можно получить одним из следующих способов:

- набрызгом или набрасыванием накрывочного декоративного слоя;

- присадкой в пластичный накрывочный слой раствора крошки или щебня горных пород, цветного стекла, а также обкатанной гальки, гравия с подбором их по цвету и размерам и различной посадкой - разреженной, плотной или сплошной;

- образованием в накрывочном полупластичном слое рустов, имитирующих облицовку природным камнем или плитами.

2.19 Штукатурные работы выполняются в соответствии с рекомендуемыми в настоящей карте схемой организации рабочего места, представленной на рисунке 2, и необходимыми средствами механизации и инструментов.

Работы выполняет бригада штукатуров в следующем составе:

- штукатуры 4 разряда (1 человек) и 3 разряда (1 человек) выполняют подготовку поверхности фасада под штукатурку и провешивают поверхность с установкой маяков;

- штукатуры 4 разряда (2 человека), 3 разряда (2 человека) и 2 разряда (1 человек) производят нанесение обрызга;

- штукатуры 4 разряда (2 человека) наносят слой грунта;

- один штукатур 5 разряда производит разравнивание грунта, наносит декоративный накрывочный слой и производит его затирку.

2.20 При производстве работ, в зависимости от высоты здания, используются средства подмащивания:

- при высоте до 4 - 6 м - передвижные сборно-разборные вышки-туры;

- при высоте свыше 6 м - инвентарные металлические трубчатые леса или люльки.

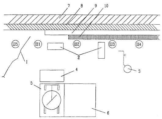
Рисунок 2 - Схема организации рабочего места

1 - водопроводный шланг; 2 - противни; 3 - краскопульт; 4 - приемный ящик; 5 - растворомешалка; 6 - ящик для цемента; 7 - стена; 8 - обрызг из цементно-песчаного раствора; 9 - слой грунта из цементно-песчаного раствора; 10 - накрывочный слой из декоративного раствора.

3 ТРЕБОВАНИЯ К КАЧЕСТВУ И ПРИЕМКЕ РАБОТ

3.1 Контроль качества штукатурных работ на основе ВНВД должен осуществляться специальными службами строительных организаций, а также производителями работ, мастерами и бригадирами.

3.2 Производственный контроль качества штукатурных работ должен включать входной контроль рабочей документации, материалов и оборудования, операционный контроль производства штукатурных работ и приемочный контроль оштукатуренной поверхности. Состав и содержание производственного контроля представлен в таблице 4.

3.3 При входном контроле рабочей документации производится проверка ее комплектности и достаточности содержащейся в ней технической информации для производства работ.


Таблица 4 - Состав и содержание производственного контроля

Кто контролирует

Производитель работ (мастер)

Вид контроля

Входной

Операционный

Приемочный

Состав контроля

Проверка техдокументации

Проверка качества поверхности, подлежащей оштукатуриванию

Качество поступивших растворов

Наличие маркировки

 

Прочность соединения наносимой штукатурки с оштукатуренной поверхностью

Толщина наносимого слоя

Отсутствие следов от затирочного инструмента, наплывов раствора, пятен, высолов, трещин, раковин, бугров, пропусков и т.п.

Отклонение оштукатуренной поверхности от вертикали

Неровности поверхностей плавного очертания

Отклонение оштукатуренной поверхности по горизонтали

Отклонение радиуса криволинейных поверхностей от проектной величины

Отклонения ширины откосов от проектной

Отклонения оконных и дверных откосов от вертикали и горизонтали

Допускаемая толщина штукатурки

Качество подготовки основания

Влажность поверхности

Метод контроля

Регистрация

Технический осмотр

Измерительный, периодически 3-4 раза в смену

Технический осмотр

Инструментальный выборочный, визуальный сплошной

Инструментальный

Инструментальный, визуальный

Визуальный сплошной

Измерительный, не менее 5 измерений контрольной 2 метровой рейкой на 50 - 70 м2 поверхности или на отдельном участке меньшей площади в местах, выявленных визуальным осмотром

Измерительный, 3 измерения на один элемент

Измерительный, не менее 5 измерений на 70 - 100 м2 поверхности покрытия

Время контроля

До начала штукатурных работ

 

В процессе работы

После выполнения оштукатуривания

Кто привлекается к контролю

 

Лаборатория

 

Лаборатория

 


При входном контроле качества подлежащей оштукатуриванию поверхности фасада выборочно техническим осмотром проверяется качество поверхности и точность геометрических параметров.

Поверхности, подлежащие оштукатуриванию, не должны иметь отклонений, превышающих следующие значения:

- отклонения поверхности и углов кладки от вертикали на один этаж кирпичных стен не более 10 мм;

- то же, на всю высоту здания не более 30 мм;

- неровности на вертикальных поверхностях кладки, обнаруженные при наложении рейки длиной 2 м - до 10 мм;

- отклонение рядов кладки от горизонтали на 10 м длины стены - до 15 мм.

При кладке стен впустошовку глубина не заполняемых раствором швов с лицевой стороны не должна превышать 15 мм в стенах и 10 мм (вертикальных швов) в столбах. Отклонения в размерах и положении каменных конструкций от проектных не должны превышать:

толщина конструкций стен                                                       ±15 мм;

столбов                                                                                       +10 мм;

ширина простенков                                                                   ±15 мм;

ширина проемов                                                                        +15 мм;

смещение оконных проемов по вертикали                             20 мм;

смещение осей конструкций от разбивочных осей                10 мм;

отклонение поверхности и углов кладки от вертикали:

на один этаж                                                                              10 мм;

на здания высотой более 2-х этажей                                       30 мм.

Цементно-песчаный раствор для устройства обрызга и грунта, а ВНВД и песок для устройства накрывочного декоративного слоя должны соответствовать требованиям нормативно-технической документации.

ВНВД должны удовлетворять требованиям ТУ 44-3-1269-93 и изготавливаются по технологическому регламенту, утвержденному в установленном порядке.

Строительные растворы должны иметь достаточно хорошую пластичность (подвижность раствора - 7 - 8 см). Составы растворов, обеспечивающие такую пластичность должны приготавливаться в следующих соотношениях ВНВД и песка - 1:2 до 1:3 по объему или 1:3 до 1:3,5 по массе.

Сухие штукатурные смеси на основе ВНВД должны поступать на объект в бумажных мешках массой 20 кг.

Маркировка смеси в мешках производится на каждом мешке. Маркировка должна содержать: наименование смеси, назначение смеси, состав смеси, цвет, количество воды затворения, срок хранения.

3.4 Операционный контроль осуществляется в ходе выполнения штукатурных работ и обеспечивает выявление дефектов с целью принятия мер по их устранению и предупреждению и включает в себя проверку качества подготовки основания, влажности, прочности сцепления штукатурки с основанием, толщину наносимых слоев штукатурки.

При операционном контроле проверяется соблюдение технологии выполнения штукатурных работ, соответствие выполняемых работ СНиП 3.04.01-87.

3.5 При приемочном контроле производится проверка качества готовой штукатурки. На готовой поверхности должны отсутствовать трещины, наплывы раствора, пятна, раковины и т.п.

При приемочном контроле проверяются:

прочность сцепления штукатурки с основанием;

отклонение оштукатуренной поверхности от вертикали и горизонтали;

неровности поверхности плавного очертания;

отклонение откосов проемов, пилястр, столбов от вертикали и горизонтали;

отклонения радиуса криволинейной поверхности;

отклонения ширины откосов от проектной.

Физико-механические свойства готовых штукатурных покрытий, получаемых на основе ВНВД, приведены в таблице 5.

Таблица 5 - Физико-механические свойства штукатурных покрытий на основе ВНВД

№ п/п

Показатель

Единица измерения

Значения показателя

1

Прочность при сжатии в возрасте 28 суток, не менее

МПа

40 (В30)

2

Марка по морозостойкости при расчетной температуре наружного воздуха ниже минус 20 °С

 

F200

3

Водопоглощение, не более

%

8

4

Водонепроницаемость, не менее

атм

В4

3.6 Размеры отклонений оштукатуренной поверхности должны соответствовать требованиям СНиП 3.04.01-87 «Изоляционные и отделочные покрытия» (таблица 6).

Таблица 6 - Допускаемые отклонения оштукатуренной поверхности

№ п/п

Наименование

Допускаемые отклонения, мм

1

Отклонения оштукатуренной поверхности от вертикали (мм/1 м)

1

2

Неровности поверхности плавного очертания (на 4 м2)

не более 2 мм, глубиной до 2 мм

3

Отклонения поверхности по горизонтали (мм/1 м)

1

4

Отклонения оконных и дверных откосов, пилястр, столбов, лузг от вертикали и горизонтали (мм/1 м)

1 мм (до 3 мм на весь элемент)

5

Отклонения радиуса криволинейных поверхностей, проверяемых лекалом, от проектной величины (на весь элемент) не должен превышать

5

6

Отклонения ширины откоса от проектной не должен превышать

2

7

Допускаемая толщина каждого слоя:

 

обрызга

до 5 мм

грунта

до 5 мм

накрывочного декоративного слоя

до 7 мм

4 ТРЕБОВАНИЯ ТЕХНИКИ БЕЗОПАСНОСТИ И ОХРАНЫ ТРУДА, ЭКОЛОГИЧЕСКОЙ И ПОЖАРНОЙ БЕЗОПАСНОСТИ

4.1 Устройство штукатурных покрытий фасадов должно осуществляться в соответствии со СНиП III-4-80 «Техника безопасности в строительстве» и СНиП 12-03-99 «Безопасность труда в строительстве. Часть 1. Общие требования» и правил пожарной безопасности, предусмотренных в ГОСТ 12.1.004-91* и ППБ 01-93*.

4.2 К работам по отделке фасадов на высоте допускаются лица не моложе 18 лет, годные по медицинским показателям к выполнению этих работ (леса, люльки, вышки, подъемники).

4.3 В процессе эксплуатации лесов должно производится систематическое наблюдение за состоянием всех соединений, креплений к стене, настилов и ограждений.

4.4 Леса должны быть оборудованы лестницами или трапами для подъема и спуска людей.

4.5 Рабочий настил с внешней стороны лесов должен иметь ограждение.

4.6 Леса должны быть оборудованы грозозащитными устройствами и обязательно заземлены.

4.7 Зазор между стеной существующего здания и рабочим настилом установленных лесов не должен превышать 150 мм.

4.8 На лесах должны быть вывешены плакаты со схемами размещения нагрузок и их допускаемой величиной.

4.9 Работники, занятые производством штукатурных работ, должны быть обеспечены индивидуальными и коллективными средствами защиты по ГОСТ 12.4.011-85*.

4.10 Перед началом работ машины и механизмы проверяются на холостом ходу. Корпуса всех механизмов должны быть заземлены, токопроводящие провода надежно изолированы, а пусковые рубильники закрыты.

4.11 К управлению механизмами допускаются лица, прошедшие специальное обучение и сдавшие экзамены по технике безопасности.

4.12 Разборка, ремонт и чистка форсунок, машин, используемых при оштукатуривании, разрешается лишь после снятия давления и отключения машин от сети.

4.13 Рабочее место штукатура-оператора необходимо связывать звуковой сигнализацией с рабочим местом машиниста штукатурных машин.

4.14 Материалы и воздушные шланги растворонасоса необходимо периодически испытывать на удвоенное рабочее давление.

4.15 При работе растворонасоса запрещается перегибать подающие шланги.

Продувку шлангов чистым воздухом для устранения пробок разрешается производить только после удаления из помещения людей. По окончании работ запрещается снимать воздушный клапан и переходной патрубок, не убедившись в том, что давление упало до нуля.

4.16 Переносные инструменты, машины, светильники должны иметь напряжение не более 42 В.

4.17 Лебедки, устанавливаемые на земле и предназначенные для подъема люлек, загружаются балластом, вес которого должен быть не менее двойного веса люльки с полной расчетной нагрузкой.

4.18 Для выполнения работ с подъемников должна быть подготовлена площадка к которой предъявляются следующие требования:

- наличие подъездного пути;

- уклон не должен превышать 3°;

- свеженасыпанный грунт должен быть уплотнен;

- размеры площадки должны обеспечить установку подъемника на полностью выдвинутые опоры.

4.19 Лебедки с электрическим приводом должны иметь колодочный тормоз, автоматически действующий при отключении двигателя, с коэффициентом запаса не менее 2.

4.20 Находящиеся в работе подъемники должны быть снабжены табличкой или подписью с обозначением регистрационного номера, грузоподъемности и даты следующего испытания.

5 ПОТРЕБНОСТЬ В МАТЕРИАЛЬНО-ТЕХНИЧЕСКИХ РЕСУРСАХ

5.1 Потребность в машинах, оборудовании, механизмах и инструментах определяется с учетом выполняемых работ и технических характеристик согласно таблице 7.

Таблица 7 - Ведомость потребности машин, механизмов, оборудования и приспособлений

№ п/п

Наименование

Тип, марка

Техническая характеристика

Назначение

Кол. на 1 звено

1

2

 

4

5

6

1

Штукатурная станция

СО-114А

 

Для приема и транспортирования раствора к рабочему месту

1

2

Штукатурный агрегат

СО-57Б

длина, мм 2710

масса, кг 750

Для механизированного оштукатуривания поверхности

1

3

Растворонасос в комплексе с виброщитом и растворопроводом

СО-5

производительность, м3/ч 6

Для транспортирования штукатурных растворов и нанесения их на поверхность с помощью сопла (форсунки)

1

4

Машина штукатурно-затирочная

СО-86А

 

Для затирки накрывочного слоя

6

5

Преобразователь тока

ИЭ-3401

 

Для преобразования частоты тока

2

6

Кельма штукатурная

КШ

ГОСТ 9533-81

 

Для нанесения и разравнивания раствора

17

7

Отрезовка

ош

ГОСТ 9533-81

 

Для разделки архитектурных деталей, заделки раковин, трещин

9

8

Сокол дюралюминиевый

 

 

Для переноса и разравнивания раствора

17

9

Ковш для отделочных работ

КШ-0,6

 

Для набрасывания раствора на поверхность

9

10

Лопата растворная

ЛР

ГОСТ 19596-87*

 

Для перемешивания раствора

8

11

Кисть маховая

КМ

ГОСТ 10597-87*

 

Для смачивания поверхности водой

10

12

Кисть макловица

КМА

ГОСТ 10597-87*

 

Для смачивания поверхности водой

10

13

Терка деревянная

Т

ГОСТ 25782-90

 

Для затирки накрывочного слоя

11

14

Терка поролоновая

ГОСТ 25782-90

 

Для затирки накрывочного слоя

8

15

Гладилка стальная большая

ГБК-1

ширина, м 0,5

Для разравнивания и заглаживания накрывочного слоя

9

16

Гладилка стальная малая

 

 

То же

9

17

Полутерка деревянная

ГОСТ 25782-90

длина 350 и 800 мм

Для выравнивания и уплотнения штукатурных слоев

17

18

Правило окованное

ГОСТ 25782-90

 

Для разравнивания штукатурного раствора и проверки горизонтальной и вертикальной оштукатуренной поверхности

4

19

Правило лузговое

ПЛ800

ГОСТ 25782-90

 

Для отделки лузг

4

20

Правило усеночное

ПУ800

ГОСТ 25782-90

 

Для отделки усенок

4

21

Правило прижимное

ГОСТ 25782-90

 

Для выравнивания поверхностей

9

22

Маяк дисковый

 

 

Для провешивания стен

36

23

Шаблон для устройства откосов

 

 

Для оштукатуривания оконных и дверных откосов

4

24

Рейкодержатель универсальный

 

 

Для крепления маячных деревянных реек и направляющих правил при оштукатуривании откосов и колонн

9

25

Рейкодержатель винтовой

 

 

Для крепления реек при штукатурке оконных и дверных откосов в зданиях с бетонными стенами

5

26

Рейкодержатель дуговой

 

 

Для закрепления деревянных реек при оштукатуривании вертикальных поверхностей колонн, столбов, пилястр

4

27

Рейкодержатель штыревой

 

 

Для крепления реек при оштукатуривании дверных и оконных откосов в каменных зданиях

17

28

Скребок

 

 

Для очиски поверхности от грязи и наплывов раствора

5

29

Бучарда штукатурная

 

 

Для насечки бетонной поверхности

3

30

Молоток штукатурный

мшт

ГОСТ 11042-90

 

Для выполнения различных операций

9

31

Расшивка

 

 

Для разделки вогнутых швов

9

32

Линейка для расшивки швов

 

 

Для направления движения расшивки при обработке швов

9

33

Ножницы ручные для резки металла

ГОСТ 7210-75*Е

 

Для резки металлической сетки

3

34

Острогубцы (кусачки)

 

 

Для перекусывания проволоки

3

35

Пила ножовка поперечная по дереву

пи-3

 

Для распиловки древесины

5

36

Быстроразъемное соединение

 

 

Для соединения шлангов

4

37

Скарпели диаметром 8 и 10 мм

 

 

Для пробивки отверстий, скалывания бетона и раствора

9

38

Уровень строительный

УС5-200

ГОСТ 9416-83

длина, мм 300

масса, кг 0,24

Для проверки горизонтальной и вертикальной поверхности

4

39

Уровень гибкий

 

 

Для проверки горизонтальности расположения и замеров разности уровней поверхности элементов

2

40

Рулетки измерительные металлические

Р20Н2

ГОСТ 7502-98

 

Для линейных измерений

4

41

Шнур разметочный

 

 

Для провешивания поверхностей

9

42

Угольник специальный

МСМ-82

 

Для определения углов

4

43

Угольник деревянный

ГОСТ 3749-77*

 

Для разметки и проверки прямых углов

4

44

Метр складной металлический

ТУ 12-156-76

 

Для линейных измерений

9

45

Рейка с отвесом

 

 

Для провешивания вертикальных плоскостей

2

46

Поэтажная емкость 0,35 м3

 

 

Для приема и хранения раствора

2

47

Очки защитные

ЗП-2

ГОСТ 12.4.011-89

 

Для предохранения глаз рабочего при производстве работ механизированным способом

4

48

Ведро

 

 

Для подноски и хранения воды

9

6 ТЕХНИКО-ЭКОНОМИЧЕСКИЕ ПОКАЗАТЕЛИ

6.1 В качестве единицы измерения, для составления калькуляции затрат труда и машинного времени и календарного плана производства работ, принято 100 м2 площади фасада.

6.2 Затраты труда и машинного времени на устройство штукатурных покрытий фасадов на основе ВНВД подсчитаны по «Единым нормам и расценкам на строительные, монтажные и ремонтно-строительные работы», введенным в действие в 1987 г., и представлены в таблице 8.

6.3 Продолжительность работ на устройство штукатурных покрытий фасадов определяется календарным планом работ, представленным в таблице 9.

Технико-экономические показатели составляют:

- затраты труда, чел.-час............................. 77,4

- продолжительность работ, час................. 49,65

Таблица 8 - Калькуляция трудовых затрат на производство работ по устройству декоративной штукатурки фасадов на основе ВНВД

(измеритель конечной продукции - 100 м2)

п/п

Обоснование (ЕНиР и др. нормы)

Наименование технологических процессов

Ед. изм.

Объем работ

Норма времени на ед. изм. рабочих, чел.-ч

Затраты труда на ед. изм. рабочих, чел.-ч

1

2

3

4

5

6

7

1

Е 8-1-1 табл. 2, п. 1а

Подготовка поверхности под оштукатуривание

100 м2

1

16

16

2

Е 8-1-2 табл. 3, п. 1а

Провешивание поверхностей с установкой маяков

100 м2

1

12

12

3

Е 8-1-2

табл. 3, п. 2а

Нанесение обрызга

100 м2

1

5,5

5,5

4

Е 8-1-2 табл. 3, п. 4а

Нанесение грунта

100 м2

1

18,5

18,5

5

Е 8-1-2 табл. 3, п. 8а

Разравнивание слоя грунта

100 м2

1

11

11

6

Е 8-1-2 табл. 3, п. 6а

Нанесение накрывочного декоративного слоя

100 м2

1

3,4

3,4

7

Е 8-1-2 табл. 3, п. 8а

Затирка

100 м2

1

11

11

Итого:

 

 

 

77,4


Таблица 9 - График производства работ

(измеритель конечной продукции - 100 м2)


7 ПЕРЕЧЕНЬ ИСПОЛЬЗОВАННОЙ НОРМАТИВНО-ТЕХНИЧЕСКОЙ ЛИТЕРАТУРЫ

1. СНиП 3.03.01-87 Несущие и ограждающие конструкции;

2. СНиП 3.04.01-87 Изоляционные и отделочные покрытия;

3. СНиП 12-03-99 Безопасность труда в строительстве. Часть 1. Общие требования;

4. СНиП III-4-80* Техника безопасности в строительстве;

5. ГОСТ 12.1.004-91* ССБТ. Пожарная безопасность. Общие требования;

6. СП 82-101-98 Свод правил на приготовление и применение растворов строительных;

7. ГОСТ 8736-93 Песок для строительных работ. Технические условия;

8. ГОСТ 23732-79 Вода для бетонов и растворов. Технические условия;

9. ГОСТ 28013-98 Растворы строительные. Общие технические условия;

10. ГОСТ 7210-75*Е Ножницы ручные для резки металла. Технические условия;

11. ГОСТ 9533-81 Кельмы, лопатки и отрезовки. Технические условия;

12. ГОСТ 19596-87* Лопаты. Технические условия;

13. ГОСТ 10597-87* Кисти и щетки малярные. Технические условия;

14. ГОСТ 25782-90 Правила, терки и полутерки. Технические условия;

15. ГОСТ 11042-90 Молотки стальные строительные. Технические условия;

16. ГОСТ 9416-83 Уровни строительные. Технические условия:

17. ГОСТ 7502-98 Рулетки измерительные металлические. Технические условия;

18. ГОСТ 3749-77* Угольники поверочные 90°. Технические условия;

19. ГОСТ 12.4.011-89 ССБТ. Средства защиты работающих. Общие требования и классификация;

20. ППБ 01-93* Правила пожарной безопасности в Российской Федерации;

21. ТУ 44-3-1269-93 Вяжущее низкой водопотребности декоративные. Технические условия.

Технологическая карта не заменяет ППР. (см. СНиП 3.01.01-85*)

 




ГОСТЫ, СТРОИТЕЛЬНЫЕ и ТЕХНИЧЕСКИЕ НОРМАТИВЫ.
Некоммерческая онлайн система, содержащая все Российские Госты, национальные Стандарты и нормативы.
В Системе содержится более 150000 файлов нормативно-технической документации, действующей на территории РФ.
Система предназначена для широкого круга инженерно-технических специалистов.

Рейтинг@Mail.ru Яндекс цитирования

Copyright © www.gostrf.com, 2008 - 2026