Крупнейшая бесплатная информационно-справочная система онлайн доступа к полному собранию технических нормативно-правовых актов РФ. Огромная база технических нормативов (более 150 тысяч документов) и полное собрание национальных стандартов, аутентичное официальной базе Госстандарта. GOSTRF.com - это более 1 Терабайта бесплатной технической информации для всех пользователей интернета. Все электронные копии представленных здесь документов могут распространяться без каких-либо ограничений. Поощряется распространение информации с этого сайта на любых других ресурсах. Каждый человек имеет право на неограниченный доступ к этим документам! Каждый человек имеет право на знание требований, изложенных в данных нормативно-правовых актах!

  


 

МИНИСТЕРСТВО ТРАНСПОРТНОГО СТРОИТЕЛЬСТВА

ВСЕСОЮЗНЫЙ ПРОЕКТНО-ТЕХНОЛОГИЧЕСКИЙ ИНСТИТУТ

ТРАНСПОРТНОГО СТРОИТЕЛЬСТВА «ВПТИТРАНССТРОЙ»

 

ТЕХНОЛОГИЧЕСКИЕ

КАРТЫ

 

СТРОИТЕЛЬСТВО КИРПИЧНОГО

5-ЭТАЖНОГО 70-КВАРТИРНОГО

ЖИЛОГО ДОМА СЕРИИ 114-87-1/1

 

МОСКВА 1980

СОДЕРЖАНИЕ

ВВЕДЕНИЕ

ТЕХНОЛОГИЧЕСКАЯ КАРТА № 1 РАЗРАБОТКА КОТЛОВАНА

ТЕХНОЛОГИЧЕСКАЯ КАРТА № 2 УСТРОЙСТВО ПОДЗЕМНОЙ ЧАСТИ ЗДАНИЯ

ТЕХНОЛОГИЧЕСКАЯ КАРТА № 3 УСТРОЙСТВО НАДЗЕМНОЙ ЧАСТИ

ТЕХНОЛОГИЧЕСКАЯ КАРТА № 4 УСТРОЙСТВО КРОВЛИ

ТЕХНОЛОГИЧЕСКАЯ КАРТА № 5 УСТРОЙСТВО ПОЛОВ

ТЕХНОЛОГИЧЕСКАЯ КАРТА № 6 ШТУКАТУРНЫЕ И ОБЛИЦОВОЧНЫЕ РАБОТЫ

ТЕХНОЛОГИЧЕСКАЯ КАРТА № 7 МАЛЯРНЫЕ И ОБОЙНЫЕ РАБОТЫ

ТЕХНОЛОГИЧЕСКАЯ КАРТА № 8 МОНТАЖ САНИТАРНО-ТЕХНИЧЕСКИХ СИСТЕМ

 

ВВЕДЕНИЕ

Разработаны следующие технологические карты на строительство 70-квартнрного дома серии 114-87-1/1.

1. Разработка котлована.

№ 2. Устройство подземной части здания.

№ 3. Возведение надземной части здания.

№ 4. Устройство кровли.

5. Устройство полов.

№ 6. Штукатурные работы.

№ 7. Малярные и обойные работы.

№ 8. Монтаж санитарно-технических систем.

Привязка карт к местным условиям состоит в уточнении объемов работ, затрат труда и материально-технических ресурсов, а также в выявлении дополнительных работ, связанных с грунтовыми особенностями строительной площадки или с необходимостью строительства зимой.

При определении затрат труда продолжительность рабочего дня принята 8 ч.

Подачу материалов и монтаж сборных конструкций предусмотрено выполнять при помощи двух башенных кранов КБ-100,2.

При выполнении работ поданным технологическим картам предусмотрено повышение производительности труда в среднем на 3-5%.

К монтажным работам по возведению зданий допускаются лица не моложе 18 лет, прошедшие медицинский осмотр, вводный инструктаж и инструктаж на рабочем месте, а также обучение по безопасным приемам работ и сдавшие экзамен по утвержденной программе.

ТЕХНОЛОГИЧЕСКАЯ КАРТА № 1

РАЗРАБОТКА КОТЛОВАНА

I. ОБЛАСТЬ ПРИМЕНЕНИЯ

Технологическая карта разработана на основе методов научной организации труда и предназначена для использования при разработке проекта производства работ и организации работ и труда на объекте.

Объем работ, группа грунта и дальность отвозки уточняются при привязке карты к местным условиям.

II. УКАЗАНИЯ ПО ТЕХНОЛОГИИ ПРОИЗВОДСТВЕННОГО ПРОЦЕССА

До начала работ по разработке котлована строят постоянные дороги, прокладывают наружные коммуникации, осуществляют геодезическую разбивку осей здания, закрепляют их па местности, используя для этого инвентарную обноску, а также проверяют состояние реперов.

Котлован под фундамент здания разрабатывают экскаватором Э-304В, оборудованным обратной лопатой с ковшом емкостью 0,4 м3, в последовательности предусмотренной схемой организации земляных работ (рис. 1).

Экскаватор роет котлован на глубину 1,39 м, а затем бульдозером Д-493 зачищается дно котлована.

Бульдозер Д-493 разрабатывает траншею на глубину 20 см по оси Б до проектной отметки.

Грунт при разработке котлована вывозят автомобилями-самосвалами и частично разгружают в отвал, его и используют при планировке территории и засыпке пазух.

Автомобили-самосвалы, подаваемые на погрузку грунта, устанавливают по заранее поставленным вешкам с таким расчетом, чтобы угол поворота стрелы экскаватора для разгрузки ковша при рытье котлована был не более 40°.

При выполнении земляных работ должны быть сохранены все вынесенные оси и реперы. В случае повреждения разбивку следует восстановить.

Техника безопасности

При производстве земляных работ необходимо руководствоваться следующей литературой по технике безопасности:

Типовой инструкцией по охране труда для машиниста и помощника машиниста экскаватора, М., Оргтрансстрой, 1976;

СНиП III-A.11-70. «Техника безопасности в строительстве»;

Сборником изменений и дополнений к главе СНиП III-A.11-70;

СНиП III-8-76. «Земляные сооружения».

В темное время суток рабочие места, подъезды, пути движения автомобилей-самосвалов должны быть достаточно освещены.

Скорость движения автотранспорта внутри строительной площадки должна быть до 10 км/ч.

На территорию строительной площадки не подавать под экскаватор для вывозки грунта более двух автомобилей. Погрузку грунта экскаватором осуществлять со стороны заднего или бокового борта. Перенос ковша экскаватора над кабиной автомобиля запрещается. Необходимо систематически наблюдать за состоянием откосов котлована, осматривать грунт перед началом каждой смены.

До начала земляных работ необходимо получить разрешение на право их производства от тех организаций, в ведении которых находятся подземные коммуникации. Во время перерыва в работе экскаватор отводят от края котлована на расстояние не менее 2 м, а ковш опускают на грунт и только после этого ковш очищают от налипшего грунта.

Для прохода в котлован устанавливают стремянки шириной не менее 0.6 м с перилами или приставные лестницы.

 

Рис. 1. Схема рытья котлована экскаватором Э-304В

III. УКАЗАНИЯ ПО ОРГАНИЗАЦИИ ТРУДА

Котлован разрабатывает бригада в составе машиниста экскаватора 6 разр., машиниста бульдозера 6 разр. и двух землекопов 2 разр. в одну смену.

Машинист бульдозера срезает растительный слой грунта, разрабатывает грунт в котловане по оси Б и планирует дно котлована после окончания работы экскаватора. Машинист экскаватора осуществляет экскавацию грунта.

Землекопы после работы бульдозера окончательно планируют дно котлована до проектной отметки.

Для контроля качества работ при разработке котлована следует руководствоваться картами «Сборника карт операционного контроля качества работ в промышленном и гражданском строительстве па транспорте» № ОК VII-083; OK VII-075, М., «Оргтрансстрой», 1978.

IV. ГРАФИК ВЫПОЛНЕНИЯ ПРОИЗВОДСТВЕННОГО ПРОЦЕССА ПО РАЗРАБОТКЕ КОТЛОВАНА

Наименование работ

Единица измерения

Объем работ

Трудоемкость, чел-дн

Состав бригады (звена)

Рабочие смены

Срезка растительного слоя и планировка строительной площадки бульдозером Д-493

1000 м2

3,5

0,75

Машинист

6 разр.-1

Разработка грунта экскаватором Э-304В, оборудованным обратной лопатой о ковшом емкостью 0,4 м3

100 м3

15,34

8,8

Машинист

5 разр.-1

Разработка и перемещение грунта бульдозером Д-493

-"-

0,38

0,1

Машинист

6 разр.-1

Планировка дна котлована бульдозером Д-493

1000 м2

1,02

0,11

Окончательная планировка по рейке вручную дна котлована

100 м2

2,2

3,44

Землекопы

2 разр.-2

Транспортировка грунта

100 м3

 

 

Водители автомобилей-самосвалов

Итого

 

 

13,20

 

 

Примечание

1. Цифры показывают под линиями продолжительность операций в днях, под линиями - число рабочих.

2. Число родителей принимается по расчету, затраты труда водителей в карту не включены.

V. КАЛЬКУЛЯЦИЯ ЗАТРАТ ТРУДА И ЗАРАБОТНОЙ ПЛАТЫ

Шифр норм и расценок (ЕНиР)

Наименование работ

Состав звена

Единица измерения

объем работ

Норма времени, чел-ч

Расценка, руб. - коп.

Нормативные затраты труда на полный объем работ, чел-ч

Стоимость затрат труда на полный объем работ, руб. - коп.

§ 2-1-5,

№ 36

Срезка растительного слоя грунта II группы бульдозером Д-493 на базе трактора С-100

Машинист

6 разр-1

1000 м2 очищенной поверхности

3,5

1,5

1-19

5,25

4-17

§ 2-1-24,

№ 10a

Планировка поверхности площадки бульдозером Д-493

То же

1000 м2 спланированной поверхности за один проход бульдозера

3,5

0,22

0-17,4

0,77

0-61

§ 2-1-10,

табл. 4,

№ 1б

Разработка грунта II группы экскаватором, оборудованным обратной лопатой с ковшом емкостью 0,4 м3, с погрузкой в транспортные средства

Машинист

5 разр.-1

100 м3

12,4

4,8

3-37

59,52

41-79

§ 2-1-10,

табл. 4,

№ 1д

То же на вымет

То же

»

2,94

3,8

2-67

11,17

7-85

§ 2-1-15,

табл. 2,

№ 96, д

Разработка и перемещение нескального грунта бульдозером Д-493 на расстояние до 80 м

Машинист

6 разр.-1

»

0,38

4,30

3-40

1,63

1-29

§ 2-1-24,

табл. 2,

№ 10а

Предварительная планировка дна котлована бульдозером Д-493 за 4 раза

То же

1000 м2 спланированной поверхности за один проход бульдозера

4,06

0,22

0-17,4

0,89

0-71

§ 2-1-46,

№ 46

Планировка площадей, выемок по рейке вручную

Землекоп

3 разр.-1

100 м2 спланированной поверхности

2,2

12,5

6-94

27,5

15-27

 

Итого

 

 

 

 

 

106,73

13,34 чел-дн

71-69

VI. ОСНОВНЫЕ ТЕХНИКО-ЭКОНОМИЧЕСКИЕ ПОКАЗАТЕЛИ

Наименование показателей

Единица измерения

По калькуляции А

По графику Б

На сколько процентов показатель по графику больше (+) или меньше (-), чем по калькуляции

Трудоемкость работ на весь объем

чел-дн

13,34

13,20

-1,05

Средний разряд рабочих

»

5,23

4,82

-7,84

Трудоемкость работ на 100 м3 разработанного грунта

»

0,770

0,755

-1,95

VII. МАТЕРИАЛЬНО-ТЕХНИЧЕСКИЕ РЕСУРСЫ

Основные машины, оборудование, механизированный инструмент и инвентарь

Наименование

Марка, ГОСТ

Количество, шт.

Бульдозер

Д-493

1

Экскаватор

Э-304В

1

Автомобили-самосвалы

ЗИЛ-555

по расчету

Теодолит

ТГ, ГОСТ 10529-70

1

Нивелир

НГ, ГОСТ 10528-76

1

Геодезическая рейка

ГОСТ 11158-76

1

Комплект инвентарной обноски

Чертеж Гипрооргсельстроя Минсельстроя СССР

1

Рулетка измерительная металлическая

ГОСТ 7502-69

1

Приставные лестницы

-

1

ТЕХНОЛОГИЧЕСКАЯ КАРТА № 2

УСТРОЙСТВО ПОДЗЕМНОЙ ЧАСТИ ЗДАНИЯ

I. ОБЛАСТЬ ПРИМЕНЕНИЯ

Технологическая карта разработана на основе методов научной организации труда и предназначена для использования при разработке проекта производства работ и организации труда на объекте.

В технологическую карту включены следующие работы: устройство песчаной подготовки, монтаж фундаментов из сборных железобетонных плит и бетонных блоков, стен подвала, устройство вертикальной и горизонтальной гидроизоляции, кладка стен и перегородок техподполья, монтаж лестничных маршей и площадок, укладка плит перекрытия над техническим подпольем.

В технологической карте монтаж подземной части дома предусмотрен с подачей материалов и изделий с приобъектного склада, а монтаж надземной части-с подачей материалов и изделий с транспортных средств. Изделия на строительную площадку следует доставлять по часовому графику.

II. УКАЗАНИЯ ПО ТЕХНОЛОГИИ ПРОИЗВОДСТВЕННОГО ПРОЦЕССА

Фундаментные плиты, бетонные блоки стен подполья, плиты перекрытий и другие конструкции монтируются стреловым краном К-4361 или башенным краном КБ-100.

Фундаментные блоки монтируют в последовательности, указанной на рис. 2, а плиты перекрытия над техническим подпольем - на рис. 3.

До начала монтажа подземной части здания должны быть выполнены земляные работы, работы по устройству временных дорог, укладке подземных коммуникаций, наружному освещению строительной площадки, подготовке площадок для складирования конструкций и деталей.


Рис. 2. Последовательность монтажа фундаментных блоков (I-VII-стояки крана)

 

Рис. 3. Последовательность монтажа панелей перекрытия над техническим подпольем (I-VII-стояки крана)


 

Необходимо спланировать площадки для хранения бетонных и железобетонных изделий, утрамбовать грунт и обеспечить отвод поверхностных вод. Площадки для складирования конструкций следует располагать вдоль направления движения крана. Около монтажного крана необходимо размещать конструкции наиболее тяжелые. Все детали и конструкции надо располагать против мест укладки и установки их в проектное положение. Изделия размещаются так, чтобы их было удобно стропить, а маркировку можно было читать со стороны прохода. Все изделия следует укладывать на деревянные подкладки, которые размещаются строго по вертикали.

Монтаж фундаментов необходимо начинать с установки фундаментных плит Ф-14, которые первоначально следует укладывать по оси А (см. рис. 2) от оси 1. Фундаментные плиты укладываются на выровненную песчаную подготовку толщиной 5 см. Швы между блоками заливают цементным раствором М-100 и устраивают подбетонку для выравнивания верха блоков в месте примыкания поперечного ряда к продольному.

Раствор и бетонную смесь подают на рабочее место монтажным краном в ящиках емкостью 0,5 м3.

Перед монтажом блоков стен техподполья укладывают арматурные сетки. Блоки стен техподполья необходимо монтировать с установки маячных блоков в углах и пересечениях на высоту до трех ярусов с обязательной перевязкой вертикальных швов. После установки маячных блоков приступают к монтажу промежуточных блоков. Маячные блоки необходимо выверить по горизонтали и вертикали при помощи геодезических приборов.

Блоки следует устанавливать на заранее подготовленное место; правильность установки рядовых блоков должна контролироваться при помощи геодезических приборов.

Отклонения от проектных размеров верхней плоскости установленных фундаментных блоков по горизонтали не должны превышать ±3 мм. Смещение оси отдельных фундаментных блоков от проектной оси не должно превышать ±5 мм.

Смещенный или неправильно установленный блок должен быть приподнят, очищен от раствора, установлен па свежий раствор и выверен.

Для монтажа фундаментных плит и стеновых блоков следует применять инвентарные грузозахватные приспособления. Конструкции выше уровня земли необходимо монтировать с инвентарных подмостей с ограждениями.

Вертикальная гидроизоляция поверхностей стен техподполья, соприкасающихся с грунтом, выполняется путем окраски горячим битумом за два раза.

Горизонтальная гидроизоляция по стенам техподполья выполняется из двух слоев гидроизола на мастике и по фундаментным плитам из цементного раствора состава 1:2 толщиной 2 см с водостойкими добавками.

Битумную мастику приготовляют централизованно и доставляют на объект в автогудронаторах.

Окрасочную гидроизоляцию следует наносить на подготовленную поверхность равномерно без пропусков не менее чем в два слоя толщиной по 1,5-2 мм. Каждый слой следует наносить после отвердения предыдущего. При переходе изоляции с одной поверхности на другую ее следует в таких местах усиливать наклейкой полосы рулонного изоляционного материала, а затем поверх нее дополнительно наносить слой окрасочной гидроизоляции.

Изолируемые поверхности должны быть ровными и не должны иметь впадин и бугров. При прикладывании контрольной рейки длиной 3 м 'просветы между рейкой и поверхностью не должны превышать 5 мм.

Кирпичную кладку перегородок и стен под лестничные площадки осуществляют после монтажа фундаментных и стеновых блоков в каждой лестничной клетке. Кирпич доставляют на поддонах в автомобилях и подают к месту работы краном.

До начала монтажа панелей перекрытия над техническим подпольем необходимо выполнить бетонную подготовку под полы на лестничных площадках, в мусорокамерах.

Перед монтажом панелей перекрытия опорную часть поверхности стен выверяют и выравнивают на уровне потолка подполья.

Панели перекрытий укладываются на слой цементного раствора М-100. Укладку панелей перекрытий начинают от торца дома и от лестничных клеток, а затем последовательно укладывают все плиты (см. рис. 3). Швы между панелями, а также швы в местах примыкания панелей к стенам необходимо очистить от строительного мусора и тщательно залить цементным раствором марки не ниже «150», о чем составить акт на скрытые работы. Заделки по месту выполнять из бетона М-200 с установкой арматуры.

Окончательно засыпают пазухи грунтом после монтажа плит перекрытия над техподпольем бульдозером Д-493 с тщательным уплотнением пневмотрамбовками.

Техника безопасности

Все работы по устройству подземной части здания должны выполняться с соблюдением правил техники безопасности в строительстве СНиП III-A.11-70. «Техника безопасности в строительстве», Сборника изменений и дополнений главы СНиП III-A.11-70. «Техника безопасности в строительстве», «Инструкции по безопасному ведению работ для машинистов стреловых кранов», М., «Транспорт», 1975, Типовой инструкции по охране труда для монтажников по монтажу стальных и железобетонных конструкций, М., Оргтрансстрой, 1978, Типовой инструкции по охране труда для изолировщика, М., Оргтрансстрой, 1977.

Элементы и конструкции очищают от грязи, наледи и ржавчины на земле (до их подъема).

Перед монтажом рабочие места и монтируемые конструкции необходимо очистить от грязи, снега, наледи, а стальные детали - от ржавчины, проверить конструктивные размеры элементов и наличие всех необходимых рисок, проверить места строповки для обеспечения безопасности подъема конструкций и их подачи к месту монтажа.

Детали, поступающие на строительную площадку, должны отвечать требованиям СНиП III-16-73. «Бетонные и железобетонные конструкции сборные». Они не должны иметь деформаций, повреждений, трещин, раковин, наплывов, отклонений от проектных размеров.

Конструкции с дефектами, влияющими на их прочность, на строительной площадке не должны приниматься, а дефекты, не влияющие на прочность конструкций, должны быть ликвидированы на строительной площадке до начала монтажа.

Элементы сборных конструкций необходимо поднимать плавно, без рывков, раскачивания, вращения, устанавливать в проектное положение без толчков и ударов и совмещать риски.

Результаты проверки смонтированных конструкций оформляют актом с участием представителей заказчика, генерального подрядчика и строительно-монтажной организации.

Съемные грузозахватные приспособления (траверсы, стропы) и тара должны подвергаться периодическому осмотру лицом, ответственным за их исправность (траверсы - через каждые 6 месяцев, стропы и тара - через каждые 10 дней).

Грузовые крюки кранов и съемных грузозахватных приспособлений должны быть оборудованы предохранительными замыкающими устройствами, предотвращающими самопроизвольное выпадение грузозахватного приспособления или груза.

Запрещается подъем сборных железобетонных конструкций, не имеющих монтажных петель или маркировки и меток, обеспечивающих правильность их строповки и монтажа.

На монтажной площадке должен быть установлен порядок обмена условными сигналами между лицом, руководящим подъемом, и машинистом крана.

Все сигналы подаются только одним лицом-бригадиром монтажной бригады, звеньевым или такелажником.

Сигнал «Стоп» подается любым работником, заметившим опасность.

Запрещается пребывание людей на элементах и конструкциях во время их подъема, перемещения и установки.

Запрещается оставлять поднятые элементы и конструкции на весу. Расстроповка установленных элементов и конструкций допускается лишь после их прочного и устойчивого закрепления.

Переход монтажников по установленным элементам и конструкциям, не имеющих ограждений, не допускается.

III. УКАЗАНИЯ ПО ОРГАНИЗАЦИИ ТРУДА

Подземную часть здания возводит комплексная бригада из 8 человек, состоящая из двух звеньев, машиниста бульдозера, машиниста экскаватора и землекопа 3 разр.

Звено монтажников конструкций устраивает песчаное основание, укладывает фундаментные плиты, устанавливает блоки техподполья, плиты перекрытий, лестничные площадки, перемычки, плиты крыльца, железобетонные ступени, выполняет кирпичную кладку стен в техподполье.

Звено бетонщиков и плотников бетонирует отдельные места фундаментов и стен технического подполья с устройством и разборкой опалубки, устраивает вертикальную и горизонтальную гидроизоляцию фундаментов и стен техподполья.

Землекоп 3 разр. с машинистом экскаватора выполняет подготовку под полы техподполья путем засыпки грунта внутрь здания, его разравнивания и трамбования, затем землекоп совместно с машинистом бульдозера 6 разр. выполняет засыпку пазух котлована грунтом с трамбованием пневмотрамбовками.

В состав первого звена входят:

монтажники конструкций: 4 разр.-1 (каменщик 4 разр., электросварщик 4 разр,), 3 разр.-1 (каменщик 3 разр., землекоп 3 разр.), 2 разр.-2 (каменщик 2 разр.).

В состав второго звена входят:

бетонщики: 4 разр.-1 (изолировщик 4 разр., каменщик 2 разр.), 2 разр.-1 (изолировщик 2 разр.);

плотники: 4 разр.-1 (изолировщик 4 разр.), 2 разр.-1 (изолировщик 2 разр.)

Для контроля качества работ при устройстве подземной части здания следует руководствоваться картами «Сборника карт операционного контроля качества работ в промышленном и гражданском строительстве на транспорте» № ОК VII-084; OK VII-089; OK VII-090; OK VII-091; OK VII-097, М., Оргтрансстрой, 1978.

Выполнять работы по устройству подземной части здания рекомендуется по методу бригадного подряда с включением в состав комплексной бригады механизаторов.

IV. ГРАФИК ВЫПОЛНЕНИЯ ПРОИЗВОДСТВЕННЫХ ПРОЦЕССОВ

Наименование работ

Единица измерения

Объем

Трудоемкость,

чел-дн

Состав бригады

Рабочие смены

Укладка фундаментных плит с устройством песчаного подстилающего слоя

100 м2

1 элемент

6,21

241

32

Монтажники конструкций:

4 разр.-1

3 разр.-1

2 разр.-2

Бетонирование отдельных мест фундаментов с устройством и разборкой опалубки. Устройство горизонтальной гидроизоляции цементные раствором

1 м3

100 м2

3,2

1,79

3

Бетонщики:

4 разр.-1

2 разр.-1

Плотники:

4 разр.-1

2 разр.-1

Монтаж сборных блоков стен техподполья

1 элемент

754

40

Монтажники конструкций:

4 разр.-1

3 разр.-1

2 разр.-2

Бетонирование отдельных участков стен тех-подполья с устройством и разборкой опалубки

1 м3

40,5

56

Бетонщики:

4 разр.-1

2 разр.-1

Плотники:

4 разр.-1

2 разр.-1

Кладка кирпичных стен в техподполье с укладкой перемычек

"

47,6

18

Монтажники конструкций:

4 разр.-1

3 разр.-1

2 разр.-2

Устройство горизонтальной гидроизоляции стен техподполья гидроизолом в два слоя и вертикальной окрасочной горячим битумом за два раза

100 м2

6,05

15

Бетонщики:

4 разр.-1

2 разр.-1

Плотники:

4 разр.-1

2 разр.-1

Устройство подсыпки под полы техподполья с ее уплотнением

 

"

8,34

8,8

Машинист экскаватора

5 разр.-1

Землекоп

3 разр.-1

Монтаж лестничных площадок, плит крыльца, ступеней.

Укладка плит перекрытий над техподпольем с бетонированием отельных мест

1 элемент

150

30

Монтажники конструкций:

4 разр.-1

3 разр.-1

2 разр.-2

Засыпка пазух котлована грунтом с тромбованием

100 м3

2,94

4,8

Машинист бульдозера

6 разр.-1

Землекоп

3 разр.-1

Итого

 

 

207,б

 

 

V. КАЛЬКУЛЯЦИЯ ЗАТРАТ ТРУДА И ЗАРАБОТНОЙ ПЛАТЫ

Шифр норм и расценок (ЕНнР)

Наименование работ

Состав звена

Единица измерения

Объем работ

Норма времени, чел-ч

Расценка, руб.-коп.

Нормативное время на полный объем работ, чел-ч

Стоимость затрат труда на полный объем работ, руб.-коп.

§ 19-29

Устройство подстилающего слоя из песка под фундаментные плиты

Подсобные транспортные рабочие

2разр.-2

100 м2

6,21

10,5

5-18

65,20

32-17

§ 4-1-1, № 2a Техническая часть, п. 1, K=1,1

Укладка фундаментных плит массой до 1,5 т краном на пневмоколесном ходу

Монтажники конструкций:

4разр.-1

3разр.-1

2разр.-1

1 элемент

79

0,73

0-40,5

57,67

32-00

§ 4-1-1, № 3a Техническая часть, п. 1, K=1,1

То же массой более 1,5 т

То же

То же

162

0,92

0-51,5

149,0

83-43

§ 4-1-27, табл. 8, № а

Устройство опалубки из отдельных досок для бетонирования отдельных мест фундамента

Плотники:

4разр.-1

2разр.-1

1 м2

4,79

1,75

0-97,8

8,38

4-69

§ 4-1-41, № 1,б

Укладка бетонной смеси в отдельные места фундамента

Бетонщики:

4разр.-1

2разр.-1

1 м2

3,2

1,35

0-75,5

4,32

2-42

§ 4-1-34, № 7,б

Укладка арматурных стержней

Арматурщики:

4разр.-1

2разр.-1

1 т

0,2

30

16-77

6

3-35

§ 4-1-27, табл. 8, № б

Разборка опалубки

Плотники:

3разр.-1

2разр.-1

1 м2

поверхности

4,79

1,2

0-62,9

5,75

3-01

§ 3-2, № 3

Горизонтальная гидроизоляция фундаментов цементным раствором

Каменщик

3разр.-1

100 м2

1,79

5,9

3-27

10,56

5-85

§ 4-1-2, № 1,а Техническая часть, п. 1, K=1,1

Монтаж бетонных блоков стен подполья массой до 0,5 т

Монтажники конструкций:

4разр.-1

3разр.-1

2разр.-1

1 элемент

548

0,36

0-20,2

197,28

110-70

§ 4-1-2, № 2а, Техническая часть п. 1, K=1,1

Монтаж бетонных блоков стен подполья массой до 1 т

То же

То же

92

0,495

0-27,6

45,54

25-40

§ 4-1-2, № 3а, Техническая часть, п. 1, K=1,1

То же до 1,5 т

»

»

114

0,73

0-40,5

83,22

46-17

§ 4-1-27, табл. 8, № а

Устройство опалубки из отдельных досок для бетонирования отдельных мест

Плотники:

4разр.-1

2разр.-1

1 м2 поверхности

134,5

1,75

0-97,8

235,38

131-54

§ 4-1-41, № 1,б

Укладка бетонной смеси в отдельные места стен техподполья

Бетонщики:

4разр.-1

2разр.-1

1 м3

40,5

1,35

0-75,5

54,68

30-58

§ 4-1-27, табл. 8, № б

Разборка опалубки

Плотники:

3разр.-1

2разр.-1

1 м2 поверхности

134,5

1,2

0-62,9

161,4

84-60

§ 3-3, табл. 3, № 3а, Техническая часть п. 8, K=1,15

Кладка стен в 1½ кирпича на цементном растворе

Каменщик

3разр.-2

1 м3

20,4

3,68

2-04,7

75,07

41-76

§ 3-11, № 2, примеч. 4, K=1,1

Кладка перегородок в ½ кирпича на цементном растворе

Каменщик

4разр.-1

2разр.-1

1 м2 перегородки

17,6

0,67

0-37,5

11,79

6-60

§ 3-14, № 1

Армирование кладки стен, столбов и других конструкций

Каменщик

4разр.-1

100 кг

0.48

1,2

0-75

0,58

0-36

§ 3-11, № 2

Кладка стен под лестницы и перегородок из кирпича толщиной ½ кирпича

Каменщик

4разр.-1

2разр.-1

1 м2

76,5

0,61

0-34,1

46,67

29-09

§ 11-29, № 2, в, примечание, K=1,85

Окрасочная гидроизоляция вертикальных стен горячим битумом за два раза

Изолировщики:

4разр.-1

2разр.-1

100 ма

3,9

19,4

10-86

75,7

42-35

§ 11-32, табл. 1, № 1а, примечание, п. 1, K=0,9

Устройство горизонтальной гидроизоляции стен техподполья гидроизолом в два раза

То же

1 м2

215

0,209

0-11,6

44,94

24-94

§ 4-1-9, № 7а, примечание, K=1,4 Техническая часть, п. 1, K=1,1

Установка лестничных площадок массой до 1 т

Монтажники конструкций:

4разр.-2

3разр.-1

2разр.-1

1 шт.

2

1,48

0-85

2,96

1-70

§ 3-13,

табл. 2, № 13

Укладка железобетонных ступеней по готовому основанию

Каменщик

4разр.-1

3разр.-1

1 м ступени

63

0,84

0-49,6

52,92

31-25

§ 4-1-13, № 1а Техническая часть, п. 1, K=1,1

Укладка железобетонных перемычек массой до 0,5 т

Монтажники конструкций:

4разр.-1

3разр.-1

2разр.-1

1 проем

36

0,52

0-28,8

18,72

10-38

§ 2-1-12, табл. 3, № 1г

Подача грунта II группы внутрь здания экскаватором, оборудованным грейферным ковшом

Машинист

5разр.-1

100 м3

3,3

4,6

3-23

15,18

10-66

§ 2-1-46, № 8б

Планировка и выравнивание насыпного грунта в техническом подполье

Землекоп

2разр.-1

100 м2

8,34

4,4

2-17

36,70

18-10

§ 2-1-45, табл. 3, № 1а

Послойное уплотнение грунта пневматическими трамбовками с круглым башмаком

Землекоп

3разр.-1

»

8,34

2,4

1-33

20,02

11-09

§ 4-1-7, № 1а,б Техническая часть, п. 1, K=1,1

Укладка плит перекрытий площадью до 5 м2

Монтажники конструкций:

4разр.-1

3разр.-2

2разр.-1

1 элемент

32

0,682

0-37,9

21,82

12-13

§ 4-1-7, № 2а Техническая часть, п. 1, K=1.1

Укладка плит перекрытий площадью до 10 м2

То же

То же

116

0,836

0-46,5

97,00

53-94

§ 4-1-17, № 2в

Электродуговая сварка монтажных стыков плит перекрытия с зачисткой мест сварки

Электросварщик

5разр.-1

1 м шва

11,6

0,44

0-30,9

5,10

3-58

§ 4-1-24, № 1

Заделка отверстий в плитах перекрытия кирпичом на цементном растворе

Бетонщик

3разр.-1

10 отверстий

71,8

0,45

0-25

32,31

17-95

§ 4-1-27, табл. 5, № 1,а

Устройство опалубки монолитных участков перекрытий

Плотники:

4разр.-1

2разр.-1

1 м2

18,9

0,43

0-24

8,13

4-54

§ 4-1-41, № 1б

Укладка бетонной смеси в отдельные монолитные участки перекрытий

Бетонщики:

4разр.-1

2разр.-1

1 м3

1,6

1,35

0-75,5

2,16

1-21

§ 4-1-27, табл. 5, № 1,б

Разборка опалубки

Плотники:

3разр.-1

2разр.-1

1 м2

18,9

0,155

0-08,1

2,93

1-53

§ 2-1-21, табл. 2, № 10б

Засыпка пазух котлована грунтом II группы бульдозером с перемещением грунта на расстояние до 30 м

Машинист

6разр.-1

100 м3

2,94

1,23

0-97

3,62

2-85

§ 2-1-45, табл. 3, № 1а

Послойное уплотнение грунта II группы пневмотрамбовками

Землекоп

3разр.-1

100 м2

14,7

2,4

1-33

35,28

19-55

$ 4-1-7, № 1а Техническая часть п. 1, K=1,1

Укладка плит площадью до 5 м2 в основание крыши

Монтажники конструкций:

4разр.-1

3разр.-2

2разр.-1

1 элемент

30

0,682

0-37,9

20,46

11-37

 

Итого

 

 

 

 

 

1714,44

214,30 чел-дн

952-34

VI. ОСНОВНЫЕ ТЕХНИКО-ЭКОНОМИЧЕСКИЕ ПОКАЗАТЕЛИ

Наименование показателей

Единица измерения

По калькуляции А

По графику Б

На сколько процентов показатель по графику больше (+) или меньше (-), чем по калькуляции

Общая трудоемкость на подземную часть

чел-дн

214,30

207,6

-3,13

Средний разряд рабочих

-

3,01

2,93

-2,67

Трудоемкость на 100 м3 строительного объема подземной части ....

чел-дн

7,88

7,59

-3,68

VII. МАТЕРИАЛЬНО-ТЕХНИЧЕСКИЕ РЕСУРСЫ

А. Основные материалы, полуфабрикаты, изделия

Наименование

ГОСТ, марка

Единица измерения

Количество

Фундаментные плиты

Ф-20

шт.

86

То же

Ф-16

»

7

»

Ф-16-12

»

13

»

Ф-14

»

47

»

Ф-14-12

»

15

»

Ф-12

»

22

»

Ф-12-12

»

12

»

Ф-10

»

14

»

Ф-10-12

»

12

»

Ф-14-8 '

»

13

Блоки стен подполья

ФС-3

»

64

То же

ФС-3-8

»

163

»

ФС-24п

»

196

»

ФС-4-8

»

261

»

ФС-5-8

»

34

»

ФСН-6

»

5

»

ФС-6п

»

2

»

ФС-6-8

»

2

»

ФСН-4

»

36

»

ФС-5п

»

3

Блоки цоколя

НЦ-9945

»

21

»

НЦ-12945

»

3

»

НЦ-15945

»

68

»

НЦ-18945

»

29

»

НЦУ-13945л

»

2

»

НЦУ-17945

»

6

»

НЦУ-17945

»

6

Перемычки

БПУ-24-5

»

2

То же

БПУ-21-4

»

10

»

БПУ-18-4

»

10

»

БПУ-15-4

»

12

»

БУ-13

»

15

Панели с круглыми пустотами

ПК-8-5415

»

24

То же

ПК-6-5415

»

16

»

ПК-8-5412

»

16

»

ПК-6-5412

»

26

»

ПС-42-15

»

12

»

П-42-15

»

18

Ребристые панели перекрытия лоджии

ПРЛ-60.12

»

2

То же

ПРЛ-54.12

»

2

»

ПРЛ-42.12

»

6

»

ПРЛ-30.12

»

2

Лестничные площадки

ЛП-28-12

»

2

Перемычки

БУ-24

»

4

Плоские плиты

ПТП-8-6

»

48

То же

ПТП-11-9

»

6

Ступени основные

ЛС-11

»

6

Ступени подвальные

ЛС-11-17

»

54

Анкера

А-9

»

78

»

А-10

»

60

»

А-11

»

60

Кирпич глиняный

ГОСТ 530-11

»

9640

Бетонная смесь

М-200

м3

4,02

То же

М-150

»

5,92

»

М-100

»

41,2

Битумная мастика

ГОСТ 15836-70

кг

580

Гидроизол

ГОСТ 1415-74

м2

215

Б. Машины, оборудование, механизированный инструмент и инвентарь

Наименование

ГОСТ, марка

Единица измерения

Количество

Бульдозер

Д-493

шт.

1

Экскаватор

Э-304В

»

1

Кран на пневмоколесном ходу

К-4361

»

1

Автомобили-самосвалы

ЗИЛ-555

»

по расчету

Автомобили бортовые

ЗИЛ-130

»

2

Электросварочный трансформатор

СТЭ-24

»

1

Электровибраторы глубинные

ИВ-66

»

2

Компрессор

КС-9

»

1

Пневмотрамбовки или электротрамбовки

ИЭ-4501

»

4

Автогудронатор

Д-251

»

1

Траверса грузоподъемностью 5 т

Чертежи треста «Мосоргстрой» Главмосстроя

»

1

Комплект плотничного инструмента

-

»

1

Металлические бункера емкостью 0,5 м3 для бетонной смеси

-

»

4

Металлические ящики емкостью 0,25 м3

Чертежи СКВ Главмосстроя

»

4

Нивелир

НГ, ГОСТ 10528-76

»

1

Геодезическая рейка

ГОСТ 11158-76

»

1

Уровни

ГОСТ 9416-76

»

2

Кельмы

ГОСТ 9533-71

»

3

Отвесы

ГОСТ 7948-71

»

3

Монтажные ломики

ЛМ-20

»

4

Подборочные лопаты

ЛП, ГОСТ 3620-76

»

2

Растворные лопаты

ЛР, ГОСТ 3620-76

»

4

Инвентарные подмости для монтажа конструкций

Чертежи треста «Мосгорстрой» Главмосстроя

м2

200


Рис. 4. Строительный генеральный план:

1-временная автомобильная дорога; 2-подкрановый путь; 3-башенные краны КБ-100,2; 4-лари для хранения вяжущих материалов; 5-прожекторные установки; 6-зона складирования строительных материалов и конструкций (приобъектный склад); 7-ворота; 8-туалеты; 9-контора мастера; 10-помещение для отдыха рабочих; 11-навес для хранения столярных изделий; 12-кладовая; 13-установка УПТР-2Т; 14-заземление подкрановых путей; 15-ограждение подкрановых путей; 16-граница опасной зоны; 17-место складирования подмостей.


ТЕХНОЛОГИЧЕСКАЯ КАРТА № 3

УСТРОЙСТВО НАДЗЕМНОЙ ЧАСТИ

I. ОБЛАСТЬ ПРИМЕНЕНИЯ

Технологическая карта разработана на основе методой научной организации труда и предназначена для использования при разработке проекта производства работ и организации труда на объекте.

Технологическая карта составлена на строительство надземной части 5-этажного 6-секционного дома из кирпича.

В технологическую карту включены работы по каменной кладке, монтажу перегородок, лестничных маршей и площадок, плит перекрытий со всеми сопутствующими и вспомогательными работами.

II. УКАЗАНИЯ ПО ТЕХНОЛОГИИ ПРОИЗВОДСТВЕННОГО ПРОЦЕССА

До начала работ по возведению надземной части здания должны быть выполнены все работы нулевого цикла, а также завезены строительные материалы и конструкции, инвентарь, оборудование и приспособления для строительства надземной части.

Сборные конструкции надземной части здания можно монтировать с подачей с приобъектного склада или с транспортных средств.

При монтаже сборных конструкций с подачей с приобъектного склада все детали на строительной площадке следует укладывать в штабеля в зоне действия башенного крана (рис. 4.).

При организации приобъектного склада необходимо спланировать и утрамбовать площадку для складирования изделий. Приобъектный склад располагают вдоль подкранового пути, и обеспечивают отвод поверхностных вод.

Тяжелые конструкции следует располагать ближе к монтажному крану. Все конструкции, детали и изделия рекомендуется располагать вблизи мест установки их в проектное положение таким образом, чтобы их было удобно стропить и маркировка была видна со стороны прохода. Все конструкции, хранящиеся в штабелях, должны быть уложены на деревянные подкладки и прокладки.

Возведение надземной части здания выполняют двумя башенными кранами КБ-100,2 или другими кранами, имеющими аналогичную техническую характеристику.

Раствор и бетонную смесь доставляют с центрального растворного узла автомобилями-самосвалами и разгружают в установку УПТР-2Т, перемешивают раствор и выгружают в раздаточный бункер. Башенным краном бункер подают на рабочие места, где раствор выгружают в растворные ящики.

Рис. 5. Схема организации работ по кирпичной кладке на одной захватке:

1-поддоны с кирпичом; 2-ящики с раствором; 3-подмости

 

На каждую партию поступающего раствора оформляют паспорт и накладную, в которой указывают марки и время приготовления раствора. Марка раствора должна быть не ниже предусмотренной проектом. Прочность раствора контролируется строительной лабораторией.

Оконные и балконные дверные блоки необходимо доставлять на строительную площадку остекленными.

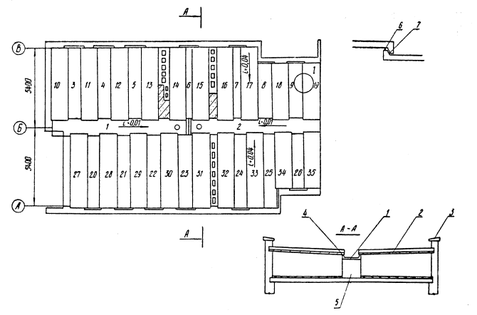
Здание в плане делится на три захватки, работа на которых требует одинаковых затрат труда и производится бригадами последовательно (рис. 5).

Кладка выполняется поярусно (три яруса на этаже). Конструкции монтируются поэтажно. На одной захватке каменщики ведут кладку, на второй-плотники устанавливают подмости, а транспортные рабочие заготовляют материалы, на третьей - монтажники конструкций устанавливают плиты перекрытия, перегородки, лестничные марши и плиты, панели лоджий. Такой способ обеспечивает непрерывность выполнения монтажных работ.

Этаж перекрывается только после устройства перегородок, установки оконных и дверных блоков, а также подачи контейнеров с материалами для устройства полов и комплектами электромонтажных и сантехнических материалов.

Работы по кирпичной кладке стен необходимо выполнять с соблюдением горизонтальности и вертикальности рядов. По окончании кладки каждого ряда проверяют горизонтальность и отметки верха кладки. Горизонтальные и вертикальные швы должны быть заполнены раствором.

Кладку в местах взаимных пересечений или примыканий стен следует производить, как правило, одновременно. При вынужденных разрывах в кладке устраивают наклонную или вертикальную штрабу. При вертикальной штрабе в швы кладки штрабы закладывают арматуру, состоящую из трех стальных прутьев диаметром 8 мм, через 2 м по высоте кладки, в том числе в уровне каждого перекрытия.

Разница в высоте возводимой кладки на смежных захватках и при кладке наружных и внутренних стен не должна превышать 4 м.

Толщина горизонтальных швов кладки должна быть не менее 10 и не более 15 мм. Толщина вертикальных швов принимается 10 мм.

Для кладки стен второго яруса применяются инвентарные шарнирно-панельные подмости. При кладке стен третьего яруса эти подмости устанавливают на откидные опоры.

Поднятые на подмости поддоны с кирпичом размещают по всему контуру захватки на расстоянии 3 м один от другого, а между ними ставят ящики с раствором. Кирпич и раствор размещают на расстоянии не менее 60-70 см от возводимой стены. Для расстилания раствора по стене применяют ковш Максименко, ковш-лопату Мальцева или обычные растворные лопаты.

Раствор расстилают на стене с отступом от края наружной или внутренней версты на 2-3 см при кладке в пустошовку и на 1-2 см при кладке в подрезку. При кладке тычковых рядов ширина расстилания раствора не должна превышать 22 см, а при кладке ложковых рядов-8 см. При этом раствором заполняют также вертикальные швы нижележащего ряда кладки. Высота разостланного раствора должна составлять 2-3 см для того, чтобы после укладки кирпича получился ровный шов требуемой толщины.

Раствор при кладке ложкового ряда следует расстилать боковой гранью, а при кладке тычковых рядов - передним краем ковша-лопаты.

При забутовке раствор укладывают в «корыто», образованное двумя вертикальными рядами кладки, и разравнивают тыльной частью ковша-лопаты.

При кладке стен с вентиляционными каналами пользоваться ковшом-лопатой не следует. Раствор в таком случае накладывают на сплошные участки стен, берут его оттуда кельмой и разравнивают между каналами.

Кирпич раскладывают на стене плашмя: при устройстве тычковых рядов - перпендикулярно, а при устройстве ложковых рядов -параллельно оси стены. Для кладки наружных верст кирпич следует размещать на внутренней, а для, кладки внутренних - на наружной версте.

Крупнопанельные перегородки рекомендуется устанавливать в следующем порядке: установить панель на полосу рубероида, уложенную на перекрытия, затем отогнуть рубероид с двух сторон панели, зафиксировать панель инвентарными подкосами, а затем укрепить ее металлическими анкерами, заделываемыми в швы перекрытия и стены.

Между спаренными панелями межквартирных перегородок по торцам необходимо установить прокладки, обеспечивающие воздушный зазор 4 см. Швы между панелями перегородок следует проконопатить паклей или минеральным войлоком, смоченными гипсоцементным раствором.

Лестничные площадки и марши следует монтировать по мере возведения здания в такой последовательности:

уложить по отметкам лестничные площадки;

закрепить площадки сваркой закладных деталей;

установить лестничные марши;

закрепить лестничные марши сваркой;

установить металлические ограждения.

Укладку панелей перекрытия следует начинать после монтажа лестничных маршей и площадок. При укладке панелей перекрытия особое внимание необходимо обратить на ровность потолков и обеспечение необходимой площади опирания панелей на стены.

При производстве кирпичной кладки рекомендуется ознакомиться с «Картами трудовых процессов на каменные работы» (22 карты) ВНИПИ труда в строительстве. Также следует применять «Нормокомплект механизмов, инструмента и инвентаря для производства каменных работ», М., Оргтрансстрой, 1978.

Производство кирпичной кладки зимой

Зимой каменные конструкции могут сооружаться способом замораживания с применением строительных растворов, имеющих противоморозные химические добавки, или при искусственном обогреве.

Наиболее распространенный способ кладки стен из кирпича - способ замораживания. При этом способе кладка ведется на открытом воздухе с использованием подогретых растворов.

Растворы для зимних работ должны быть удобоукладываемыми и иметь подвижность, соответствующую глубине погружения стандартного конуса от 10 до 13 см.

В зависимости от температуры воздуха и необходимой прочности кладки марка раствора для зимней кладки по сравнению с маркой раствора, установленной для летней кладки, повышается на одну ступень при температуре воздуха от ‑4 до 20°С и на две ступени-при температуре воздуха ниже минус 20°С. Для кладки, возводимой способом замораживания, применяют цементные и сложные растворы марки не ниже 25. Температуру раствора в момент укладки его в дело следует назначать с учетом наружной температуры воздуха И силы ветра (см. таблицу).

 

Температура наружного воздуха, °С

Температура раствора, °С.

при слабом ветре (до 6 м/с)

при сильном ветре (более 6 м/с)

Выше -10

+10

+15

От -11 до -20

+15

+20

Ниже -30

+20

+25

 

Зимой раствор доставляют на стройку в специальных автомобилях-самосвалах, оборудованных подогревающими устройствами. Для этого, чтобы раствор в процессе работы не замерзал и не терял необходимой подвижности, его выгружают в установку УПТР-2Т, где перемешивают и подогревают.

Кладку каждого ряда следует вести на всю толщину стены. Над оконными и дверными коробками необходимо оставлять зазоры на осадку, величина которых принимается для кирпичной кладки 5 мм.

Кроме кладки стен способом замораживания, применяется кладка на растворах с химическими добавками. Химические добавки нитрата натрия и поташа снижают температуру замерзания раствора и обеспечивают его твердение па морозе.

Техника безопасности

Все работы необходимо выполнять с соблюдением требований СНиП III-А.11-70. «Техника безопасности в строительстве», Сборника изменений и дополнений к главе СНиП III-А.11-70, «Типовой инструкции по технике безопасности для каменщика», М., Оргтрансстрой, 1978.

Поднимать кирпич на подмости краном следует, как правило, пакетами на поддонах при помощи подхват-футляров грузоподъемностью 3 т, четырехстеночных или трехстеночных футляров, исключающих возможность выпадения кирпича.

Опускать порожние поддоны с подмостей следует при помощи грузоподъемных механизмов. Запрещается сбрасывать поддоны с подмостей и транспортных средств.

Не разрешается кладка стен здания высотой более двух этажей без устройства междуэтажных перекрытий или временного настила по балкам этих перекрытий, а также без устройства площадок, маршей и установки их ограждений.

Высота каждого яруса стены назначается с таким расчетом, чтобы уровень кладки был не менее чем на два ряда выше уровня рабочего настила. Запрещается выкладывать стену стоя на ней.

При выполнении кладки в опасных местах (возведение наружных стен на уровне перекрытия, площадок, карнизов и т.д.) каменщики должны быть обеспечены предохранительными поясами.

Наружные швы кладки следует расшивать с перекрытия или подмостей. Во время проведения этой операции рабочим запрещается находиться на стене.

До установки столярных изделий необходимо установить ограждения на оконных и дверных проемах выкладываемых стен.

При кладке стен с внутренних подмостей подлежит по всему контуру здания устанавливать наружные защитные инвентарные козырьки (настил на кронштейнах, навешенных на стальные крюки, которые заделываются в кладку по мере ее возведения на расстоянии не более 3 м друг от друга).

Наружные защитные козырьки могут быть устроены также и на консолях, выпускаемых из оконных проемов.

Над входами в лестничные клетки при кладке стен с внутренних подмостей надлежит устраивать навесы размером в плане не менее 2×2 м.

Запрещается оставлять материалы и инструменты на стенах во время перерыва в кладке.

За состоянием кладки, выполненной методом замораживания, с наступлением оттепели необходимо установить постоянное наблюдение в соответствии с требованиями СНиП III-B.4-72 «Каменные конструкции. Правила производства и приемки работ».

III. УКАЗАНИЯ ПО ОРГАНИЗАЦИИ ТРУДА

Работы по возведению надземной части здания выполняет комплексная бригада (34 ч.), состоящая из 10 звеньев. Кладка стен из кирпича выполняется операционно-расчлененным методом звеньями «двойка», «тройка», «пятерка».

Состав звеньев № 1 и № 2 («пятерка»): каменщики 4 разр.-2; 3 разр.-2; 2 разр.-1.

Состав звеньев № 3 и № 4 («тройка»): каменщики 4 разр.- 1; 3 разр.- 1; 2 разр.-1.

Состав звена № 5 («двойка»): каменщики 5 разр.-1; 3 разр.-1.

Состав звеньев № 6 и № 7 («двойка»): каменщики 4 разр.-1; 3 разр.-1.

В состав комплексной бригады входят: звено № 8 (плотники 4 разр.-1; 3 разр.-2; 2 разр.-1); звено № 9 (такелажники 2 разр.-2); звено № 10 (монтажники конструкции 4 разр.-1; 3 разр.-2; 2 разр.-2).

Каменная кладка выполняется в первую смену. Здание разбивается на три захватки, а каждая захватка разбивается на отдельные делянки, закрепляемые за отдельными звеньями.

Кладку наружных и внутренних стен каменщики ведут по причальным шнурам, натянутым с обоих сторон степы. Для крепления шнура устанавливают угловые рядовые телескопические металлические порядовки.

Кладку наружных стен выполняют звенья «пятерки» и «тройки». Внутренние стены выкладывают звенья «тройки» и «двойки».

Распределение обязанностей в звеньях следующее:

Звено «пятерка». Один каменщик 4 разр. устанавливает порядовки и натягивает причальные шнуры, разравнивает кельмой раствор, ведет кладку наружной версты, проверяет правильность кладки.

Другой каменщик 4 разр. разравнивает кельмой раствор, ведет кладку внутренней версты, проверяет правильность кладки.

Один каменщик 3 разр. помогает устанавливать порядовки и натягивать причальные шнуры, раскладывает на стене кирпич и расстилает раствор под наружную версту.

Другой каменщик 3 разр. раскладывает кирпич и расстилает раствор под внутреннюю версту.

Каменщик 2 разр. подает кирпич, помогает каменщикам 3 разр., производит забутовку.

Звено «тройка». Каменщик 3 разр. работает на расстоянии 2-3 м от каменщика 4 разр., подавая на стену раствор и кирпич для кладки наружных и внутренних верстовых рядов. Он также помогает устанавливать и переставлять причальные шнуры.

Каменщик 4 разр., идущий после каменщика 3 разр., выкладывает верстовые ряды, переставляет причалки и контролирует качество кладки.

Каменщик 2 разр. ведет забутовку стены, подает на стену кирпич и раствор.

Звено «двойка». Кладку стен начинает каменщик 3 разр. Он подает на стену раствор и расстилает его под кладку наружной версты, затем раскладывает на стене кирпич. После того, как он уйдет на 2-3 м вперед, начинает работать каменщик 4 разр. Натянув с обеих сторон стены причальные шнуры, каменщик 4 разр. ведет кладку, двигаясь вдоль стены. Он выравнивает кельмой постель из раствора, берет со стены кирпичи и укладывает их в наружный тычковый или ложковый верстовые ряды.

Дойдя до конца делянки, каменщик 4 разр. поднимает наружный шнур на один ряд и, оставив его в наклонном положении, переходит к кладке внутренней версты, двигаясь в обратном направлении.

Звенья № 8, № 9, № 10. Заполнение оконных и дверных проемов, конопатку коробок и установку подоконных плит звено № 8 выполняет по ходу кладки. Такелажники звена № 9 подают на этажи кирпич, раствор, устанавливают и переставляют подмости.

Звено № 10 выполняет монтажные работы. Монтажники конструкций 4 разр. принимает конструкции и вместе с монтажником конструкций 3 разр. устанавливает их в проектное положение, закрепляет и расстроповывает.

Ввиду небольшого объема сварочных работ монтажник конструкций 4 разр., имеющий удостоверение на право работы электросварщиком, выполняет электросварку анкерных соединений.

Монтажник конструкций 2 разр. подготовляет элементы к монтажу, стропит их для подачи к месту монтажа, предварительно осмотрев и убедившись в исправности элементов.

После укладки плит перекрытия и минерального войлока монтажники конструкций заливают швы между плитами перекрытия цементным раствором.

Каменщик 5 разр. является бригадиром. Он руководит работой бригады, следит за качеством выполняемых работ и вместе с рабочими бригады выполняет кирпичную кладку.

Для контроля качества работ при устройстве надземной части здания следует руководствоваться картами «Сборника карт операционного контроля качества работ в промышленном и гражданском строительстве на транспорте» № ОК VII-098; OK VII-102; OK VII-104; OK VII-105; OK VII-109; OK VII-110; OK VII-097, М., Оргтрансстрой, 1978.

Выполнять работы по возведению надземной части здания следует по методу бригадного подряда, включая в состав комплексной бригады машинистов башенных кранов.


Наименование работ

Единица измерения

Объем

Трудоёмкость, чел-дн

Состав бригады

Рабочие смены

на дом

на типовой этаж

Кирпичная кладка наружных я внутренних стен

1 м3

2095,1

990

198

Звенья № 1-7

Каменщики:

5разр.-1

4разр.-8

3разр.-7

2разр.-6

Устройство кирпичных перегородок

1 м2

546,8

Заполнение оконных и дверных проемов с конопаткой

100 м периметра блоков

65,26

160

32

Звено № 8

Плотники:

4разр.-1

3разр.-2

2разр.-1

Установка подоконных плит

1 м2 плиты

119,56

Прием и подача раствора и кирпича. Установке и перестанови подмостей

1 тыс.шт

865

90

18

Звено № 9

Такелажники

2разр.-2

Установка лестничных маршей и площадок с устройством ограждений

шт.

108

95

19

Звено № 10

Монтажники конструкций:

4разр.-1

3разр.-2

2разр.-2

Укладка железобетонных ступеней

"

63

Монтаж железобетонных плит козырька

"

6

Установка панелей перегородок

"

790

Укладка плит лоджий и перекрытий с устройством ограждений лоджий

шт.

602

130

26

Заливка швов между плитами перекрытия цементным раствором

100 м шва

22,6

Прокладка минерального войлока между стенами и плитами перекрытия

1 м2 изоляции

346

Итого

 

 

1465

 

 

 

Примечание. Цифры над линиями указывают продолжительность операций в днях, под линиями - число рабочих.


V. КАЛЬКУЛЯЦИЯ ЗАТРАТ ТРУДА И ЗАРАБОТНОЙ ПЛАТЫ

Шифр норм и расценок (ЕНиР, ТНиР)

Наименование работ

Состав звена

Единица измерения

Объем работ

Норма времени, чел-ч

Расценка, руб.-коп.

Нормативное время на полный объем работ, чел-ч

Стоимость затрат труда на полный объем работ, руб.-коп.

§ 3-3,

табл. 3,

№ 6б

Кирпичная кладка наружных и внутренних стен толщиной в 2 кирпича с расшивкой швов, укладкой арматуры и перемычек

Каменщики:

4разр.-1

3разр.-1

м3

1187,1

3,5

2-07

4154,9

2457-30

§ 1-6,

табл. 2,

№ 24б

Подача раствора в бункерах емкостью 0,75 м3 башенным краном на высоту до 12 м

Такелажники

2разр.-2

»

230

0,42

0-20,7

96,60

47-61

§ 1-6,

табл. 2,

№ 24б,г

То же на высоту до 18 м

То же

»

73

0,46

0-22,7

33,58

16-57

§ 1-6,

табл. 2,

№ 5б

Подача кирпича на поддонах башенным краном на высоту до 12 м

»

1 тыс. шт.

761

0,44

0-21,7

334,84

165-14

§ 3-3,

табл. 3,

№ 3а

Кирпичная кладка внутренних стен толщиной в 1,5 кирпича под штукатурку

Каменщики:

4разр.-1

3разр.-1

1 м3

908

3,2

1-78

2905,6

1616-24

§ 3-11,

№ 1,

примечание 2, 3, 5, K=1,2; K=1,25 Техническая часть, п.8. K=1,15

Устройство кирпичных армированных перегородок в санузлах толщиной в ¼ кирпича при площади до 5 м2

Каменщики:

4разр.-1

3разр.-1

1 м2

906

0,845

0-47,3

765,57

428-54

§ 1-6,

табл. 2,

№ 24б

Подача раствора в бункерах емкостью 0,75 м3 башенным краном на высоту до 12 м

Такелажники

2разр.-2

м3

230

0,42

0-20,7

96,60

47-61

§ 1-6,

табл. 2,

№ 24б, г

То же на высоту до 18 м

То же

»

53

0,46

0-22,7

24,38

12-08

§ 1-6.

табл. 2.

№ 56, г

Подача кирпича на поддонах башенным краном на высоту до 18 м

»

1 тыс. шт

104

0,506

0-25

52,64

26-00

§ 1-11.

примечание,

п. 4

Прием раствора из автомобиля-самосвала с очисткой кузова

Подсобный (транспортный) рабочий

2разр.-1

1 т

576

0,048

0-02,1

27,65

12-10

§ 3-16,

табл. 2,

№ 2б

Установка и перестановка подмостей краном при толщине стен 510 мм

Плотники:

4разр.-1

2разр.-2

1 м3 кладки

1187,1

0,117

0-06,3

138,89

74-79

§ 3-14,

№ 1

Укладка в стены анкеров и связей для усиления кладки

Каменщик

4разр.-1

100 кг

3.2

1,2

0-75

3,84

2-40

§ 6-1-25,

№ 32

Устройство защитных козырьков для кладки наружных стен с навеской металлических кронштейнов

Плотники:

3разр.-1

2разр-1

100 м козырька

4,25

13,0

6-81

55,25

28-94

§ 6-1-25,

№ 33

Разборка защитных козырьков со снятием металлических кронштейнов

То же

То же

4,25

9,3

4-87

39,53

20-70

§ 4-1-8.

табл. 2,

№ 8а

Установка панелей перегородок площадью до 5 м2

Монтажники конструкций:

5разр.-1

4разр.-1

3разр.-1

2разр.-1

1 панель

501

0,72

0-42,8

360,72

214-43

§ 4-1-8,

табл. 2,

№ 9а

Установка панелей перегородок площадью до 10 м2

Монтажники конструкций:

5разр.-1

4разр.-1

3разр.-1

2разр.-1

1 панель

188

0,84

0-49,9

157,92

93-81

§ 4-1-8,

табл. 2,

№ 10а

То же площадью до 15 м2

То же

»

30

1,08

0-64,1

32,4

19-23

§ 4-1-9,

№ 7а

Установка лестничных площадок и маршей массой до 1 т

Монтажники конструкций:

4разр.-2

3разр.-1

2разр.-1

1 шт.

108

0,96

0-55,2

103,68

59-62

§ 4-1-7,

№ 1а,

применительно

Укладка плит лоджий

Монтажники конструкций:

4разр.-1

3разр.-2

2разр.-1

»

60

0,62

0-34,5

37,2

20-70

§ 4-1-10,

№ 3

Установка стальных решеток ограждения лоджий

Монтажники конструкций:

4разр.-1

3разр.-1

1 м решетки

318,6

0,87

0-51,3

277,2

168-46

§ 4-1-10,

№ 7

Установка металлических ограждений лестничных маршей и площадок

То же

одно звено

78

0,84

0-49,6

65,52

38-69

§ 4-1-17,

№ 1,а

Электродуговая сварка сопряжений, лестничных маршей и площадок

Электросварщик

5разр.-1

1 м шва

12,7

0,37

0-216

4,7

3-30

§ 3-13,

табл. 2,

№ 13

Укладка железобетонных ступеней на сплошное основание

Каменщики:

4разр.-1

3разр-1

1 м ступеней

36

0,84

0-49,6

30,24

17-86

Т-3-43,

№ 2а

Монтаж железобетонных плит козырьков

Монтажники конструкций:

4разр.-1

3разр.-1

2разр.-1

1 элемент

6

1,75

0-97,6

10,5

5-86

§ 4-1-7,

№ 2а

Монтаж плит перекрытия площадью до 10 м2

Монтажники конструкций:

4разр.-1

3разр.-2

2разр.-1

То же

542

0,76

0-42,3

411,92

229-27

§ 4-1-17,

№ 2а

Электродуговая сварка анкерных соединений плит перекрытия

Электросварщик

5разр.-1

1 м шва

76

0,2

0-14

15,2

10-64

§ 4-1-19,

№ 36

Заливка швов между плитами перекрытия

Монтажники конструкций:

4разр.-1

3разр.-1

100 м шва

22,6

6,4

3-78

144,64

85-43

§ 6-1-27,

табл. 2,

№ 8

Обивка оконных, балконных и дверных блоков толем и паклей

Плотник

2разр.-1

Подсобный рабочий

1разр.-1

100 м2

6,81

24

11-17

163,44

76-07

§ 6-1-14,

№ 1

Заполнение оконных и дверных проемов

Плотники:

4разр.-1

2разр.-1

100 м периметра блоков

65,26

5,8

3-24

378,51

211-44

§ 11-37,

табл. 2,

№ 1а

Прокладка минерального войлока между стенами и панелями перекрытия

Изолировщики:

4разр.-1

2разр.-2

1 м2 изоляции

346

0,48

0-26,8

166,08

92-73

§ 8-18,

№ 1

Оконопачивание коробок на всю глубину паклей, смоченной в гипсовом растворе

Штукатур

3разр.-1

100 м

65,26

11,5

6-38

750,49

416-36

§ 3-13,

табл. 2,

№ 9

Укладка железобетонных подоконных досок

Каменщики:

4разр.-1

3разр.-1

1 м2 плиты

119,56

0,88

0-51,9

105,21

62-05

 

Итого

 

 

 

 

 

11945,44

1493,18 чел-дн

6776-92

VI. ОСНОВНЫЕ ТЕХНИКО-ЭКОНОМИЧЕСКИЕ ПОКАЗАТЕЛИ

Наименование показателей

Единица измерения

По калькуляции А

По графику Б

На сколько процентов показатель по графику больше (+) или меньше (-), чем по калькуляции

Общая трудоемкость на надземную часть здания

чел-дн

1493,18

1465

-1,89

Средний разряд рабочих

-

3,11

3,09

-0,64

Трудоемкость на 100 м3 строительного объема надземной части здания

 

9,19

9,38

-1,16

VII. МАТЕРИАЛЬНО-ТЕХНИЧЕСКИЕ РЕСУРСЫ

А. Основные материалы, полуфабрикаты, изделия

Наименование

ГОСТ, марка

Единица измерения

Количество

Панели перекрытия с круглыми пустотами

ПК-8-54,15

шт.

96

То же

ПК-8-54,12

»

64

»

ПК-6-54,15

»

110

»

ПК-6-54,12

»

116

»

ПС-42-15

»

48

»

П-42-15

»

102

Ребристые панели с люком

УПТР-54-13-1

»

4

Ребристые панели

УПТР-54-13-2

»

2

Панели перекрытий лоджии

ПРЛ-60,12

»

10

То же

ПРЛ-54,12

»

10

»

ПРЛ-42-12

»

30

»

ПРЛ-30,12

»

10

Балконные плиты

БП 32-5

»

30

Ребристые панели покрытия

ПРЗ-57-15-3

»

28

То же

ПРЗ-57-12-3

»

66

»

ПРЗ-45-15-3

»

30

»

ПРЗ-57-153-1

»

6

Перемычки

НП-27-5

»

70

То же

НП-21-5

»

136

»

НП-19-5-1

»

18

»

БПУ-15-4

»

110

»

БПУ-18-4

»

30

»

БПУ-18-3

»

10

»

Б-13

»

24

»

Б-15

»

18

»

БУ-15

»

36

»

БП-13

»

30

Лестничные площадки

ЛП-28-12

»

60

Лестничные марши

ЛМ-28-11

»

24

То же

ЛМ-28-11Б

»

24

Козырьки входа

KB-39-21

»

6

Разделительные стенки входа

РСВ-1

»

6

Ступени основные

ЛС-11

»

36

Ступени балкона

СБ-6

»

84

То же

СБ-8

»

40

Опорные плиты

ОП-5-4

»

96

Плиты подоконные

АО-16-35

»

110

То же

АО-14-35

»

84

»

АО-10-35

»

30

»

АО-22-35

»

6

Плоские плиты

ПТП 11-9

»

6

Плиты парапетные

АП-24-4л

»

9

То же

АП-24-4п

»

9

»

АП-27-4

»

28

»

АП-30-4

»

2

»

АП-33-4

»

8

»

АП-36-4

»

8

»

АП-24-4

»

12

Оконные и балконные блоки

По проекту

»

569

Дверные блоки

»

»

552

Перегородки гипсобетонные

ПГ-3

»

41

То же

ПГ-5

»

129

»

ПГ-6

»

89

»

ПГ-9

»

12

»

ПГ-51

»

20

»

ПГ-17

»

30

»

ПГ-261

»

30

Перегородки гипсобетонные

ПГ-35

»

29

Тоже

ПГ-35-1

»

10

»

ПГ-51-1

»

10

»

ПГ-39

»

40

»

ПГ-39-1

»

19

»

ПГ-39-2

»

30

»

ПГ-39-3

»

30

Перегородки шлакобетонные

ПШ-16-1

»

30

То же

ПШ-16-1

»

98

»

ПШ-17-1

»

2

»

ПШ-20

»

70

Кирпич

ГОСТ 530-71

тыс. шт.

365

Цементный раствор

М-100, ГОСТ 5802-66

м3

586

Электроды

ГОСТ 9466-75

Кг

42

Лестничные анкера и накладки

-

»

971

Гипс

ГОСТ 125-70

1 т

5,8

Толь

ГОСТ 10999-76

1 м2

1300

Ограждения лестничных маршей

-

звено

78

Минеральный войлок

ГОСТ 6418-67

м2

316

Б. Машины, механизированный инструмент и инвентарь

Наименование

ГОСТ, марка

Единица измерения

Количество

Краны башенные

КБ-100,2

шт.

2

Установка для приемки товарного раствора

УПТР-2Т (УПТР-ЗТ) Чертеж СКБ Мосстроя Главмостостроя

»

1

Автомобили-самосвалы

ЗИЛ-555

»

По расчету

Раздаточный бункер с челюстным затвором

Чертеж института «Оргтяжстрой» Минтяжстроя СССР

»

1

Шарнирно-панельные подмости

ППУ-4

»

16

Подхваты-футляры

Чертеж ЦНИИОНТП

»

2

Площадки-подмости

Чертеж треста «Свердловскгражданстрой» Главсредуралстроя

»

2

Склады-пирамиды для хранения гипсобетонных перегородок

Чертеж треста «Мосоргстрой» Главмосстроя

»

4

Приспособление для монтажа лестничных маршей

Чертеж треста «Оргтехстрой» Главсредуралстроя

»

1

Инвентарные подкосы для крепления перегородок

-

»

20

Ящики для раствора

-

»

16

Емкость для воды объемом 2 м3

-

»

1

Нивелир

ГОСТ 10528-76

»

1

Ограждение оконных проемов

Чертеж треста «Оргтехстрой» Главсредуралстроя

»

12

Временное ограждение лестничных маршей

Чертеж треста «Мособлстрой»

»

20

Козырьки инвентарные

-

м

57

Торшеры

Треста «Оргтехстрой» Главсредуралстроя Минтяжстроя СССР

шт.

12

Бункер для строительного мусора, емкость 1 м3

Чертеж треста «Оргтехстрой» Главсредуралстроя

»

1

Контейнер для инвентаря и инструмента

-

»

1

Молотки-кирочки

ГОСТ 11042-72

»

27

Кельмы

ГОСТ 9533-71

»

27

Лопаты растворные

ГОСТ 3620-76

»

12

Расшивки для выпуклых швов

РВ-1, ГОСТ 12803-76

»

20

Расшивки для вогнутых швов

РВ-2, ГОСТ 12803-76

»

20

Кувалда прямоугольная

ГОСТ 11401-75

»

1

Топоры плотничные

А-1, ГОСТ 18578-73

»

2

Молотки плотничные

ГОСТ 11042-72

»

2

Пилы-ножовки по дереву

ГОСТ 979-70

»

2

Конопатки стальные

К-50

»

3

Ломы монтажные

ЛМ-20, ГОСТ 1405-72

»

4

Правила дюралюминиевые

Чертеж треста «Мосоргстрой» Главмосстроя

»

10

Ручные ножницы для резки металла

ГОСТ 7210-75

»

2

Уровни строительные

УС-1-300, ГОСТ 9416-76

шт.

2

Порядовки телескопические

Чертеж института «Оргтяжстрой» Минтяжстроя СССР

»

6

Стропы двухветвевые

Чертеж треста «Мосоргстрой»

»

2

Стропы четырехветвевые

-

»

2

Предохранительные пояса

ГОСТ 5718-67

»

6

Каски монтажные

ГОСТ 17047-71

»

2

Шаблоны для проверки окопных проемов

-

»

8

Электросварочный аппарат

СТЭ-34

»

1

Рулетки

РС-20, ГОСТ 7502-69

»

2

Метры складные металлические

-

»

10

Причальные шнуры

ТУ 22-2628-73

»

2

Отвесы

0-600, ГОСТ 7948-71

»

8

ТЕХНОЛОГИЧЕСКАЯ КАРТА № 4

УСТРОЙСТВО КРОВЛИ

I. ОБЛАСТЬ ПРИМЕНЕНИЯ

Технологическая карта составлена на основе методов научной организации труда и предназначена для использования при разработке проектов производства работ и организации труда на объекте.

Карта составлена на устройство крыши с кровлей из безрулонных материалов 70-квартирного кирпичного дома серии 114-87-1/1 и может быть использована при устройстве подобного типа крыш других зданий.

В технологическую карту включены работы по монтажу лотковых, кровельных и парапетных панелей, кирпичная кладка наружных стен и парапета, вентиляционных шахт, опорных столбов, установка водосборных воронок, покрытие поверхности кровельных панелей водонепроницаемой обмазкой, устройство примыканий и люков выхода на крышу.

II. УКАЗАНИЯ ПО ТЕХНОЛОГИИ ПРОИЗВОДСТВЕННОГО ПРОЦЕССА

К устройству крыши приступают после устройства перекрытия над верхним этажом. Доставляемые на объект элементы конструкций крыши укладывают на строительной площадке в штабеля в зоне действия монтажного крана. На каждом штабеле должны быть таблички с указанием марки и числа элементов. Складирование элементов разных марок в одном штабеле не допускается.

При монтаже особое внимание должно быть обращено на качество утепления перекрытия верхнего этажа, вентиляционных стояков в пределах подкровельного пространства и на качество заделки узлов сопряжения кровельных элементов.

Кровельные панели и водосборные лотки должны монтироваться при помощи специальных траверс или других приспособлений, исключающих возникновение в кровельных элементах нерасчетных моментов и других усилий.

Элементы конструкций крыши монтирует звено монтажников, используя башенный кран.

Технологическая очередность производства работ в карте (рис. 6) принята следующая:

кладка неармированных столбов;

кладка наружных стен, парапета и вентиляционных шахт;

укладка лотковых панелей;

Рис. 6. Схема раскладки кровельных панелей на секцию (1-35-последовательность монтажа):

1-лотковая панель: 2-кровельная панель; 3- парапетная плита: 4-пороизол; 5-кирпичные столбики; 6-поронзол; 7-цементный раствор

 

укладка кровельных панелей;

укладка парапетных плит;

бетонирование мест примыканий и местные заделки;

установка водосточных воронок;

установка колпаков из оцинкованной стали и обделка примыканий кровли;

устройство люков выхода на крышу;

обмазка кровли водонепроницаемым защитным слоем.

При монтаже элементов крыши используется башенный кран КБ-100,2.

Панели монтируются на цементном растворе марки «100» поочередной укладкой их ребрами вверх и вниз с образованием соединения «в замок».

Опорами для кровельных панелей служит с одной стороны парапетная стена, с другой - лотковая панель, укладываемая в свою очередь по столбикам.

Для надежной гидроизоляции стыков и сопряжений кровельных и лотковых панелей в пазы укладывают профилированный пороизол,

Верхняя поверхность кровельных панелей покрывается при помощи установки для приготовления и нанесения мастик водонепроницаемым защитным слоем следующего состава: битум марки «5»-64%; сольвент-нефть-16%; цемент или асбест-14%; трансформаторное масло-3%; резиновый клей торговый-3%.

Перед нанесением защитного слоя поверхность кровельных элементов следует очистить от загрязнения и обдуть сжатым воздухом. Раковины, поры на бетонной поверхности необходимо заделывать цементно-песчаным раствором с введением в них водных поливинилацетатных эмульсий (ПВАЭ), латексов и др.

При устройстве кровли запрещается:

пробивать какие-либо отверстия в кровельных панелях и водосборных лотках;

устанавливать на кровельных панелях и водосборных лотках дополнительные стойки, трубы и т. д., не предусмотренные проектом;

составлять в водосборных лотках, на кровельных панелях строительный мусор, остатки строительных материалов;

оставлять не заделанными какие-либо отверстия в кровельных панелях.

Техника безопасности

При устройстве крыши с кровлей из безрулонных материалов следует руководствоваться СНиП III-A.11-70. «Техника безопасности в строительстве», Сборником изменений и дополнений к главе СНиП III-A.11-70, Типовой инструкцией по технике безопасности для кровельщика. М., Оргтрансстрой, 1978.

Выполнение монтажных работ при силе ветра 6 баллов и более, а также при гололеде, сильном снегопаде, дожде и граде запрещается.

Монтажники и кровельщики должны быть обеспечены спецодеждой и спецобувыо (обувь с нескользящей подошвой).

Запрещается подъем сборных железобетонных конструкций, не имеющих монтажных петель, маркировки и меток, обеспечивающих их правильную строповку и монтаж.

Опасная зона во время перемещения, установки и закрепления конструкций должна быть обозначена хорошо видимыми предупредительными знаками.

Расстояние от границы опасной зоны при максимальной высоте груза 20 м до границы зоны возможного падения груза при его перемещении краном должно составлять не менее 7 м.

Складирование на крыше штучных материалов, инструмента и тары разрешается при условии принятия мер против их падения, скольжения или сдувания ветром.

III. УКАЗАНИЯ ПО ОРГАНИЗАЦИИ ТРУДА

Работы по устройству крыши выполняет комплексная бригада, состоящая из двух звеньев, в одну смену.

Первое звено из 12 человек: каменщики 4 разр.-2; 3 разр.-4; 2 разр.-2; монтажники конструкций: 4 разр.-1; 3 разр.-2; 2 разр.-1 осуществляет кладку опорных столбов, наружных стен и вентиляционных шахт, укладку лотковых, кровельных и парапетных плит.

Второе звено состоит из 6 человек: бетонщик 4 разр. (плотник 3 разр.), бетонщик 3 разр. (плотник 2 разр.), кровельщик 4 разр. (слесарь-сантехник 4 разр.), кровельщик 3 разр. (гидроизолировщик 3 разр.), кровельщики 2 разр.-2 (гидроизолировщики 2 разр.).

Бригада в полном составе выполняет работы по прокладке минерального войлока между плитами покрытия и стенами, утепляет водостоки, после чего разделяется на звенья. Бетонщики звена № 2 заделывают бетонной смесью отдельные места, устраивают уклоны к водосточным воронкам, бетонируют места примыканий горизонтальных поверхностей к вертикальным, устраивают люки при выходе на крышу.

Кровельщики звена № 2 устанавливают колпаки над вентиляционными шахтами, водосточные воронки, обделывают кровельной сталью примыкания кровли и наносят водозащитный слой.

Для контроля качества работ при устройстве кровли здания следует руководствоваться картами «Сборника карт операционного контроля качества работ в промышленном и гражданском строительстве на транспорте» № OK VII-107, М., Оргтрансстрой, 1978.

IV. ГРАФИК ВЫПОЛНЕНИЯ ПРОИЗВОДСТВЕННОГО ПРОЦЕССА

Наименование работ

Единица измерения

Объем

Трудоемкость, чел-дн

Состав бригады

Рабочие смены

Кладка наружных стен, вентиляционных шахт, опорных столбов из кирпича

м3

163,7

72

Каменщики:

4разр.-2

3разр.-4

2разр.-2

Монтаж лотковых и кровельных плит с заделкой швов пороизолом на мастике

шт.

182

25

Монтажники

конструкций:

4разр.-1

3разр.-2

2разр.-1

Укладка парапетных плит

"

76

3

То же

Прокладка минерального войлока между стенами и плитами покрытия, утепление водостоков

1 м2 изоляции

135

е

Кровельщики: 4разр.-1

3разр.-1

2разр.-2

Бетонщики:

4разр.-1

3разр.-1

Бетонирование мест примыканий горизонтальных поверхностей к вертикальным, устройство разуклонок, заделка бетоном отдельных мест

1 м3 бетона

19,5

3,2

Бетонщики:

4разр.-1

3разр.-1

Устройство люков выхода на крышу

1 люк

2

2,6

То же

Установка водосточных вороной

1 воронка

6

9,11

Кровельщики: 4разр.-1

3разр.-1

2разр.-2

Установка колпаков из кровельной стали над вентиляционными шахтами

1 шахта

18

Обделка примыканий кровли

1 м

400

Нанесение водонепроницаемого слоя на поверхность кровельных панелей

100 м2 поверхности

10,48

2,62

То же

Итого

 

 

123,53

 

 


V. КАЛЬКУЛЯЦИЯ ЗАТРАТ ТРУДА И ЗАРАБОТНОЙ ПЛАТЫ

Шифр норм и расценок (ЕНиР, ТНиР)

Наименование работ

Состав звена

Единица измерения

Объем работ

Норма затрат труда на единицу измерения, чел-ч

Расценка, руб.-коп.

Нормативное время на полный объем работ, чел-ч

Стоимость затрат труда на полный объем работ, руб.-коп.

§ 3-10,

табл. 3,

№ в

Кладка опорных неармированных столбов из кирпича

Каменщики:

5разр.-1

3разр.-1

м3

19,94

3,8

2-39

75,77

47-66

§ 3-3,

табл. 3,

№ 2а

Кладка наружных стен и парапета из обыкновенного кирпича

Каменщики:

4разр.-1

3разр.-1

»

106,8

4,3

2-39

459,24

255-25

§ 3-12,

№ 1

Устройство вентиляционных шахт из кирпича

То же

100 м канала

6,1

11,5

6-79

70,15

41-42

§ 4-1-7,

№ 7

Укладка кровельных панелей площадью до 5 м2

Монтажники конструкций:

4разр.-1

3разр.-2

2разр.-1

шт.

42

0,7

0-39

29,4

16-38

§ 4-1-7, № 8

То же площадью до 10 м2

То же

»

140

0,88

0-49

123,2

68-60

§ 4-1-8,

табл. 3,

№ 3а

Установка парапетных плит

Монтажники конструкций:

5разр.-1

4разр.-1

3разр.-1

2разр.-1

1 плита

76

0,32

0-19

24,32

14-44

§ 7-10,

№ 1, 2в

Установка колпаков из оцинкованной кровельной стали над шахтами в 5 каналов

Кровельщик

3разр.-1

1 шахта

4

0,56

0-30,9

2,24

1-24

§ 7-10,

№ 1, 2в

Установка колпаков из оцинкованной кровельной стали над шахтами в 9 каналов

Кровельщик

3разр.-1

1 шахта

4

0,88

0-48,5

3,52

1-94

То же

То же над шахтами в 14 каналов

То же

»

4

1,28

0-70,5

5,12

2-82

»

То же над шахтами в 20 каналов

»

»

2

1,76

0-96,9

3,52

1-94

»

То же над шахтами в 22 канала

»

»

4

1,92

1-05,7

7,68

4-23

§ 4-1-41,

№ 1б

Бетонирование мест примыканий горизонтальных поверхностей к вертикальным и заделка бетоном отдельных мест, устройство уклона к воронкам

Бетонщики:

4разр.-1

2разр.-1

1 м3 бетона

19,5

1,35

0-75,5

26,32

14-72

§ 11-37,

табл. 2,

№ 4а,

примечание

№ 2, K=0,6

Прокладка минерального войлока между стенами и панелями покрытия и утепления водостока

Изолировщики:

4разр.-1

3разр.-1

2разр.-1

1 м2 изоляции

135

0,23

0-12,7

31,05

17-14

§ 11-35,

№ 1а,

применительно

Заделка профилированным пороизолом швов между кровельными панелями и между кровельными панелями и лотками

Изолировщики:

3разр.-1

2разр.-1

100 м шва

7,5

8,5

4-37

63,75

32-78

§ 9-1-23,

№ 15

Установка водосточных воронок

Слесарь-сантехник

4разр.-1

1 воронка

6

1,45

0-90,6

8,7

5-44

§ 7-8,

№ 10а

Обделка кровельной листовой сталью примыканий кровли к парапету и вентиляционным шахтам

Кровельщик

3разр.-1

1 м

400

0,105

0-05,8

42,0

23-20

§ 6-1-25,

№ 36

Устройство люков при выходе на крышу

Плотники:

3разр.-1

2разр.-1

1 люк

2

10,5

5-50

21

11-00

§ 11-31,

табл. 1,

№ 1

Нанесение водонепроницаемого слоя на поверхность кровельных панелей

Изолировщики:

4разр.-1

2разр.-1

100 м2

поверхности

10,48

2

1-12

20,96

11-74

 

Итого

 

 

 

 

 

1017,94

127,24 чел-дн

571-94

VI. ОСНОВНЫЕ ТЕХНИКО-ЭКОНОМИЧЕСКИЕ ПОКАЗАТЕЛИ

Наименование показателей

Единица измерения

По калькуляции А

По графику Б

На сколько процентов показатель по графику больше (+) или меньше (-), чем по калькуляции

Общая трудоемкость на кровлю

чел-дн

127,24

123,53

-2,92

Средний разряд рабочих

-

3,10

3,06

-1,29

Трудоемкость работ на 10 м2 площади кровли

чел-дн

1,20

1,165

-2,92

VII. МАТЕРИАЛЬНО-ТЕХНИЧЕСКИЕ РЕСУРСЫ

А. Основные материалы, полуфабрикаты, изделия

Наименование

ГОСТ, марка

Единица измерения

Количество

Плиты покрытия

ПК-1

шт.

114

То же

ПК-2

»

42

»

ПК-3

»

8

»

ПК-1А

»

6

»

ПК-4

»

2

»

ПРЗ-57.15.3

»

2

»

ПРЗ-57.15.3.1

»

2

»

ПРЗ-57.12.3

»

4

Плиты парапетные

АП-24-4л

»

9

То же

АП-24-4п

»

9

»

АП-27-4

»

28

»

АП-30-4

»

2

»

АП-33-4

»

8

»

АП-36-4

»

8

»

АП-24-4

»

12

Тороизол профилированный

-

м

750

Водозащитная обмазка

-

1 м3

7,8

Мастика

УМС-50

т

0,6

Тонколистовая кровельная сталь

ГОСТ 8075-56

»

1,9

Гвозди кровельные

ГОСТ 4030-63

кг

5

Войлок из минеральной ваты толщиной 50 мм

ГОСТ 6418-67

1 м2

135

Бетон

М-100

1 м3

19,5

Раствор

М-100

»

41,3

Кирпич глиняный обыкновенный

ГОСТ 503-71

тыс. шт.

65,5

Б. Машины, оборудование, механизированный инструмент и инвентарь

Наименование

ГОСТ, марка

Единица измерения

Количество

Башенный кран

КБ-100,2

шт.

1

Строп четырехветвевой

Чертежи треста «Мосоргстрой»

»

1

Строп двухветвевой

То же

»

1

Установка для приема товарного раствора

УПТР-2Т или УПТР-3

»

1

Бункер емкостью 1м3

-

»

1

Передвижная установка для приготовления битумных мастик

Чертеж УКМ-000.001 Оргтехстроя Минпромстроя БССР

»

1

Бескомпрессорная форсунка диаметром 38 мм для нанесения холодной мастики

То же чертеж № 4М126-1100-00

»

1

Шланг резино-тканевый напорный диаметром 38 мм

ГОСТ 18698-73

м

100

Лопаты для перемешивания мастики

ЛП-1, ГОСТ 3620-76

шт.

2

Молотки-кирочки

ГОСТ 11042-72

»

8

Кельмы каменщика

ГОСТ 9533-71

»

6

Лопаты растворные

ГОСТ 3620-76

»

6

Нивелир с треногой

ГОСТ 10528-76

»

1

Рейка нивелирная

ГОСТ 1158-65

»

1

Ящики металлические для раствора и бетонной смеси

-

»

4

Ножницы кровельные для листовой стали

ГОСТ 6766-73

»

2

Ломики монтажные

ЛМ-20, ГОСТ 1405-72

»

4

Рулетки металлические длиной 10 м и 20 м

ГОСТ 7502-69

»

2

Молотки кровельные

ГОСТ 11042-72

»

4

Предохранительные пояса

ГОСТ 5718-67

»

10

Ящики для инструмента

-

»

4

Комплекты плотничного инструмента

-

»

2

Отвесы O-600

ГОСТ 7948-71

»

4

Шнур причальный

-

м

200

Киянки прямоугольные

-

шт.

2

Ящик для хранения гвоздей, шурупов

-

»

1

ТЕХНОЛОГИЧЕСКАЯ КАРТА № 5

УСТРОЙСТВО ПОЛОВ

I. ОБЛАСТЬ ПРИМЕНЕНИЯ

Технологическая карта разработана на основе методов научной организации труда с использованием карты трудовых процессов «Устройство полов» (52 карты) ВНИПИ труда в строительстве и предназначена для использования при разработке проектов производства работ и организации труда на объекте.

Карта составлена на устройство полов в кирпичном 5-этажном 70-квартирном доме и может быть использована при устройстве подобного типа полов в других зданиях. При этом должны быть уточнены объемы работ, затраты труда и расход материалов.

В технологическую карту включены работы по устройству линолеумных полов, полов из керамической плитки, мозаичных полов.

II. УКАЗАНИЯ ПО ТЕХНОЛОГИИ ПРОИЗВОДСТВЕННОГО ПРОЦЕССА

До начала работ по устройству полов должны быть закончены все общестроительные и специальные работы, выполнение которых может вызвать повреждение пола.

Основание, по которому устраивается покрытие, и все элементы полов должны отвечать требованиям СНиП Ш-В.14-72. «Полы. Правила приемки и производства работ».

Линолеумные полы

Основание, по которому укладывается линолеум, должно быть чистым, ровным, без впадин и выбоин. Ровность основания проверяется рейкой длиной 2 м. Просветы между рейкой и основанием должны быть плавно переходящими и не более 2 мм. Стяжки также выравнивают рейкой-правилом, а затем проверяют рейкой длиной 2 м, устраняя все замеченные неровности. Содержание влаги в бетонной подготовке, стяжке и железобетонных плитах не должно превышать 6%.

Хранить линолеум в рулонах нужно в вертикальном положении в сухих складах при температуре не ниже 0°С. Рулоны линолеума за 3-4 дня до укладки раскатывают в просторном и теплом помещении, и укладывают полотнища друг на друга. Затем линолеум раскраивают на полотнища необходимой длины. Полотнища в помещении раскатывают так, чтобы кромки смежных полотнищ накладывались друг на друга внахлестку на ширину 1,5 см для того, чтобы при последующей прирезке подогнать кромки полотнищ. Затем края полотнищ прирезают к выступающим частям стен, перегородок, выступов и оборудования.

Для крепления всех видов поливинилхлоридного и резинового линолеума следует применять кумаронокаучуковую мастику КН-2, которая имеет срок хранения 2 месяца и прочность склейки па отрыв через сутки 0,7 кгс/см2.

Прирезанные полотнища окатывают до половины их длины в рулоны диаметром 0,5 м, не сдвигая полотнища с места, на поверхность основания и на полотнища линолеума наносят зубчатым шпателем мастику слоем 1 -1,5 мм, затем первую половину полотнища линолеума раскатывают по мастике и прокатывают ручным катком. После этого аналогичным способом наклеивают вторую половину полотнища. Линолеум всех видов приклеивают, как правило, по всей площади полотнища. Сплошным приклеиванием покрытию пола в случае его разрыва или 'прокола обеспечивается полная водонепроницаемость, а также исключается вздутие линолеума.

После наклейки линолеума края его по периметру помещения прожимают плинтусами, а затем снимают мастику, попавшую на лицевую поверхность.

Зазоры и уступы между смежными кромками рулонов не допускаются.

Керамические полы

В работы по устройству полов из керамических плиток включены следующие операции:

очистка и промывка основания;

разметка основания и установка маячных реек;

подбор и подгон плиток;

устройство цементной стяжки толщиной не более 15 мм;

устройство оклеечной гидроизоляции;

нанесение слоя жидкого раствора;

укладка плиток по заданному рисунку при помощи шаблона и без шаблона;

засыпка пола мокрыми опилками;

укладка защитного деревянного настила;

протирка пола опилками и его очистка;

установка плинтусов из плиток.

Для настилки полов из метлахских плиток применяют растворы, приготовленные из сухой смеси. Раствор должен отвечать следующим требованиям:

подвижность по конусу стройЦНИЛ-3,5 см;

количество воды, потребное для затворения до заданной подвижности, на 1 т сухой смеси-132 л; на 1 м3 сухой смеси-168 л.

Из 1 т сухой смеси получается 0,5-0,54 м3 раствора. Раствор приготавливают в растворомешалке. Количество его не должно превышать двухчасовой потребности. Сухую растворную смесь доставляют на объект в бумажных мешках или закрытых контейнерах. Основание из цементного раствора (цементная стяжка) или бетона очищают и промывают водой. Жировые пятна удаляют 2-3%-ным раствором соляной кислоты или 5%-ным раствором кальцинированной соды с последующей промывкой чистой водой.

Перед настилкой плиточного пола разбивают его площадь применительно к размерам плиток и заданному рисунку так, чтобы по длине и ширине помещения укладывалось целое число плиток. При нештучной укладке в углах и в середине помещения устанавливают маячные плитки, между которыми укладывают маячные ряды, выверяемые по уровню.

Метлахскую плитку перед укладкой замачивают в воде. Уложенную в раствор плитку слегка осаживают, ударяя по ней рукояткой лопатки. Когда плитки уложены по всей длине захватки, поверхность их проверяют рейкой-правилом и окончательно выравнивают весь уложенный ряд до уровня чистого пола.

Швы между плитками заполняются жидким цементным тестом или раствором состава 1:1 (цемент: мелкий песок). Через 1-3 суток после укладки плитки излишки цементного теста или раствора удаляют, поверхность плиточного покрытия после схватывания цемента протирается мокрыми опилками или ветошью и промывается водой.

Мозаичные полы

Работы по устройству мозаичного покрытия выполняют в следующем порядке:

защищают поверхность цементно-песчаного подстилающего слоя;

размечают рисунок пола и наносят риски;

раскладывают и устанавливают жилки, а также приготовляют раствор для их крепления;

приготовляют терраццевый раствор и подают его к месту работ;

увлажняют цементно-песчаный подстилающий слой;

выгружают и укладывают терраццевый раствор.

После достижения покрытием прочности, исключающей выкрашивание мраморной крошки, операции по отделке выполняют в следующем порядке:

подготовляют рабочее место;

оттирают (грубо), очищают от шлака, промывают и протирают пол;

смачивают пол и шлифуют места примыкания его к стенам;

шлифуют пол, очищают его от шлака, промывают, протирают и полируют.

Техника безопасности

Все работы должны выполняться в полном соответствии с требованиями СНиП III-A. 11-70. «Техника безопасности в строительстве», Сборником изменений и дополнений к главе СНиП III-A.11-70 и «Типовой инструкцией по охране труда при настилке полов с применением мастик KM-2, KМ-3».

Рукоятки инструментов должны быть изготовлены из древесины твердых пород и иметь гладкую поверхность без острых углов и выступов. Электроинструмент во время работы можно держать только за рукоять. При перерыве в работе его необходимо отсоединить от сети. Электроинструментом разрешается пользоваться только при условии знания всех правил обращения с ним. Работать с электроинструментом без заземления его корпуса запрещается.

Работы по наклейке линолеума при закрытых окнах, если помещение не имеет вентиляционных устройств, запрещается. При наклейке линолеума в помещениях, где наносят мастику, а также в смежных помещениях, не разрешается курить, применять электронагревательные приборы и выполнять электросварочные работы.

Помещения, в которых работают с применением мастики, следует оборудовать огнетушителями ОР-5, войлоком, ящиками с песком и лопатами. Запрещается подогревать мастику на кострах и в электробитумоподогревателях, ее следует подогревать в емкостях, погружая их в горячую воду.

К работе с механизированным инструментом допускаются лица, прошедшие производственное обучение и имеющие соответствующее удостоверение.

III. УКАЗАНИЯ ПО ОРГАНИЗАЦИИ ТРУДА

Работы по устройству полов выполняет бригада, состоящая из 2 звеньев (16 человек), в одну смену.

Первое звено облицовщиков-плиточников устраивает цементные стяжки, выполняет гидроизоляцию полов в санузлах из двух слоев рубероида па битумной мастике, желез пит полы в лоджиях, настилает полы из керамической плитки.

Второе звено выполняет подготовку под линолеумные полы (укладывает гипсоцементобетонные и древесноволокнистые плиты), наклеивает полотнища линолеума на битумной мастике, устанавливает деревянные плинтусы.

В состав первого звена входят облицовщики-плиточники: 4 разр.-1 (бетонщик-4 разр., изолировщик-4 разр.), 3 разр.-1 (бетонщик-3 разр., изолировщик-3 разр.).

В состав второго звена входят облицовщики синтетическими материалами: 4 разр.-2 (изолировщик-3 разр.), 3 разр.-4 (изолировщик-2 разр.), 2 разр.-2 (плотник-2 разр.); плотники: 3 разр.-2; 2 разр.-2.

Для контроля качества работ при устройстве полов следует руководствоваться картами «Сборника карт операционного контроля качества работ в промышленном и гражданском строительстве па транспорте» № ОК VI1-117; ОК VII-120; OK VII-123, М, Оргтрансстрой, 1978.

IV. ГРАФИК ВЫПОЛНЕНИЯ ПРОИЗВОДСТВЕННОГО ПРОЦЕССА НА УСТРОЙСТВО ПОЛОВ (на типовой этаж)

Наименование робот

Единица измерения

Объем работ

Трудоемкость, чел-дн

Состав звена

Рабочие смены

Устройство цементной стяжки, гидроизоляции из двух слоев гидроизола на битумной мастике, железнение полов в лоджиях

1 м2

307

7,90

Облицовщики-плиточники:

4разр.-1

3разр.-1

Устройство подготовки под керамические полы (цементная стяжка гидроизоляция)

-"-

60,7

2,2

То же

Устройство подготовки под линолеумные полы (укладка гипсоцементнобетонных и древесно-волокнистых плит)

-"-

696,7

65,4

Облицовщики-синтетическими материалами:

4разр.-2

3разр.-4

2разр.-4

Плотники:

3разр.-2

2разр.-2

Настилка полов из керамических плиток

-"-

60,7

7,45

Облицовщики-плиточники:

4разр.-1

3разр.-1

Покрытие полов линолеумом, установка деревянных плинтусов

-"-

696,7

39,4

Облицовщики-синтетическими материалами:

4разр.-2

3разр.-4

2разр.-4

Плотники:

3разр.-2

2разр.-2

Итого

 

 

122,35 чел-дн

 

 

V. КАЛЬКУЛЯЦИЯ ЗАТРАТ ТРУДА И ЗАРАБОТНОЙ ПЛАТЫ

Шифр норм и расценок (ЕНиР)

Наименование работ

Состав бригады (звена)

Единица измерения

Объем работ

На единицу измерения

На весь объем paбот

норма времени, чел-ч

расценка, руб. - коп.

норма времени, чел-ч

сумма заработной платы, руб.-коп.

§ 11-37,

табл. 2,

№ 2, а

Укладка гипсоцементобетонных панелей под полы

Изолировщики:

3разр.-2

2разр.-1

1 м2

2817

0,38

0-20,3

1070,5

571-85

§ 19-27

Устройство цементобетонной стяжки толщиной 50 мм по плитам перекрытий под полы

Бетонщики:

3разр.-2

2разр.-1

100 м2

10,03

23

12-29

230,69

123-27

§ 11-32,

табл. 1,

№ 1, в,

примечание 1,

К=0,9

Устройство оклеечной гидроизоляции из двух слоев гидроизола на мастике

Изолировщики:

4разр.-1

2разр.-1

3разр.-2

1 м2

280

0,30

0-16,9

84,00

44-80

§ 11-40

Устройство тепло- и звукоизоляции шлакобетоном по перекрытиям

Изолировщики:

3разр.-2

2разр.-1

»

8,02

1,2

0-61,7

9,62

4-95

§ 11-32,

№ 1а,

применительно

Прокладка водонепроницаемой бумаги в один слой

Изолировщики:

4разр.-1

2разр.-1

3разр.-1

1 м2

56

0,11

0-06,1

6,16

3-42

§ 11-37,

табл. 2,

№ 2а

Теплоизоляция перекрытия плитами из минеральной ваты

Изолировщики:

3разр.-2

2разр.-1

»

36

0,38

0-20,3

13,68

7-31

§ 19-13,

№ 2

Укладка древесно-волокнистых плит в два слоя

Плотники:

4разр.-1

2разр.-1

100 м2

27,86

56

31-30

1560,2

872-02

§ 19-16,

№ б

Устройство полов из линолеума на битумной мастике

Облицовщики-синтетическими материалами:

4разр.-1

2разр.-1

1 м2

3483,5

0,31

0-17,3

1079,88

602-65

§ 19-14,

1, а,

примечание а

Установка плинтусов при полах из линолеума

Плотники:

3разр.-1

2разр.-1

100 м2

34,78

15,4

8-07

535,4

280-68

§ 19-27

Устройство цементной стяжки под керамические полы

Бетонщики:

3разр.-2

2разр.-1

»

3,034

23

12-29

69,78

37-29

$ 19-20,

№ 2, а

Устройство полов из керамических плиток

Облицовщики-плиточники:

4разр.-1

3разр.-1

1 м2

303,4

1,5

0-88,5

455,1

268-51

§ 19-25,

№ 1

Устройство мозаичного покрытия толщиной 25 мм

Облицовщики-мозаичники:

4разр.-1

2разр.-1

»

41,76

0,97

0-54,2

40,51

22-63

§ 19-31,

№ 2а

Устройство цементных полов в лоджиях, на крыльцах, в мусоропроводах

Бетонщики:

4разр.-1

3разр.-1

2разр.-1

100 м2

4,320

32

17-85

138,24

77-11

§ 4-1-40,

№ 1,

примечание,

п. 1, K=0,9,

п. 2, К=1,2

Железнение цементных полов

Бетонщик

4разр.-1

1 м2 отделанной поверхности

432

0,14

0-087

60,48

37-58

$ 19-40

Устройство глинобитных полов в техническом подполье

Мостовщики:

3разр.-1

2разр.-11

1 м2

60,2

0,19

0-10

11,44

6-02

 

Итого

 

 

 

 

 

5365,66 670,71 чел-дн

2960-08

VI. ОСНОВНЫЕ ТЕХНИКО-ЭКОНОМИЧЕСКИЕ ПОКАЗАТЕЛИ

Наименование показателей

Единица измерения

По калькуляции А

По графику Б

На сколько процентов показатель по графику больше (+) или меньше (-), чем по калькуляции

Общая трудоемкость работ на устройство полов типового этажа

чел-дн

124,18

122,35

-1,47

Средний тарифный разряд рабочих

-

2,95

2,83

-4,07

Трудоемкость работ на устройство 10 м2 линолеумных полов

чел-дн

1,52

1,5

-1,471

То же на устройство 10 м2 керамических полов

»

1,61

1,59

-1,469

VII. МАТЕРИАЛЬНО-ТЕХНИЧЕСКИЕ РЕСУРСЫ

А. Основные материалы, полуфабрикаты, детали и изделия

Наименование

ГОСТ, марка

Единица измерения

Количество

Цементно-известковый раствор

ГОСТ 5802-66

м3

15

Бетонная смесь

М-200, ГОСТ 7473-61

»

52

Гипсоцементобетонные панели

УП-6

м2

2900

Плиты из минеральной ваты

ГОСТ 12394-66

»

36

Древесно-волокнистые плиты

ГОСТ 4598-74

»

2800

Мастика

ГОСТ 15833-70

кг

3200

Линолеум

ГОСТ 7251-77

м2

3490

Плинтусы деревянные

ГОСТ 8242-75

м

3650

Керамические плитки

ГОСТ 6787-69

1 м2

304

Б. Машины, оборудование, механизированный инструмент, инвентарь

Наименование

Марка, ГОСТ

Количество, шт.

Растворомешалка производительностью 2 м3

СО-46 (С-772)

1

Виброрейка с вибратором ИВ-2

СО-47 (С-810)

1

Лопаты стальные подборочные

ЛП, ГОСТ 3620-76

4

Лопаты стальные растворные

ЛР, ГОСТ 9533-71

4

Гребки для бетонных работ

Чертеж ВНИИСМИ Минстройдормаша

3

Грабли стальные

То же

2

Шпатели стальные

МСД-100, 45 и 130 ГОСТ 10778-76

2

Кельмы для бетонных и каменных работ

ГОСТ 9533-71

2

Гладилки для бетонных работ

ГБК-1, ГБК-2 ГОСТ 10403-73

1

Кисти макловицы

КМА-1 и КМА-2 ГОСТ 10597-70

2

Уровень строительный

УС1-200, ГОСТ 9416-76

1

Деревянные маячные рейки длиной 3-5 м

-

4

Рулетка измерительная металлическая

ГОСТ 7502-69

1

Метры складные стальные

-

4

Молотки стальные плиточные

МПЛИ-1, МПЛИ-2 ГОСТ 11042-72

2

Лопатки для плиточных работ

ЛП, ГОСТ 9533-71

2

Полутерки деревянные 350 и 800 мм

-

2

Станок для резки и сортировки плиток

Чертеж треста «Мосоргстрой»

1

Контрольная рейка размером 2000×70×30 мм

-

1

Ручной каток массой 80-100 кг

Чертеж Гипросельстроя

1

Нож для резки линолеума

ГОСТ 18975-73

1

Линейка стальная

Чертеж треста «Мосоргстрой»

1

Шпатель деревянный шириной 100- 80 мм

ГОСТ 10778-76

1

Шпатель зубчатый большой

ГОСТ 10778-76

1

То же малый

ГОСТ 10778-76

1

Шпатель стальной

ШСД-100, ГОСТ 10778--76

I

Приспособление для прирезки линолеума

Чертеж Гипросельстроя

I

ТЕХНОЛОГИЧЕСКАЯ КАРТА № 6

ШТУКАТУРНЫЕ И ОБЛИЦОВОЧНЫЕ РАБОТЫ

I. ОБЛАСТЬ ПРИМЕНЕНИЯ

Технологическая карта разработана на основе методов научной организации труда и предназначена для использования при разработке проектов производства работ и организации труда на объекте.

Карта составлена на штукатурные работы на 70-квартирный дом серии 114-87-1/1 и может быть использована при выполнении штукатурных работ в жилых кирпичных домах других серий.

В технологическую карту включены следующие работы: штукатурная обработка потолков и перегородок, улучшенная штукатурка поверхностей механизированным способом, штукатурка оконных и дверных откосов, установка вентиляционных решеток и облицовка стен глазурованной плиткой.

II. УКАЗАНИЯ ПО ТЕХНОЛОГИИ ПРОИЗВОДСТВЕННОГО ПРОЦЕССА

К штукатурным работам следует приступить после окончания монтажных работ.

Перед началом работ необходимо проверить и принять по акту скрытую электропроводку в каналах, горизонтальность и вертикальность поверхностей основных конструктивных элементов, смонтировать санитарно-технические системы с опрессовкой (зимой включить систему отопления), смонтировать систему энергоснабжения (без установки осветительной арматуры), выполнить бетонную подготовку под полы, остеклить наружные оконные переплеты, установить дверные блоки.

Штукатурный раствор приготовляют централизованно на растворном узле.

Для перемешивания и подачи раствора на этажи здания применяют передвижную штукатурную станцию. Раствор от штукатурной станции до рабочего места штукатуров транспортируют при помощи растворонасоса по магистральному трубопроводу диаметром 50 мм, а затем через переходной сгон по резиновым шлангам диаметром 38 мм к рабочему ласту.

Резиновые шланги располагают так, чтобы к ним был обеспечен свободный доступ.

При оштукатуривании кирпичных стен и перегородок общая толщина штукатурного намета должна быть 15 мм, слой обрызга должен покрывать оштукатуриваемую поверхность и иметь толщину не более 5 мм.

Толщина грунта не должна превышать 7 мм при известковых растворах и 5 мм при цементных.

Грунт наносят после частичного схватывания (побеления) предыдущего слоя, а разравнивают полутерками и рабочими правилами. Накрывочный слой толщиной 2-3 мм наносят после схватывания последнего слоя грунта. Затем поверхности затирают машинками СО-112 (СО-86), а в недоступных для машинки местах - войлочными или поролоновыми терками. Швы между плитами покрытия перед штукатуркой очищают от пыли и смачивают водой. После заполнения цементным раствором и затирки швов устанавливают направляющие рейки и прорезают русты.

Для производства штукатурных работ разработан нормокомплект механизмов. Издан «Каталог нормокомплекта механизмов, инструмента и инвентаря для производства штукатурных работ», М., «Оргтранострой», 1978. Штукатурные работы бригадам, оснащенным нормокомплектом, следует выполнять прогрессивным поточно-расчлененным методом. Расчленение всего процесса на простые операции позволяет выполнять их с более рациональным использованием рабочих, оборудования и механизированного инструмента. Штукатурные работы выполняют поэтажно с расчленением комплекса работ на следующие процессы (рис. 7):

подготовка кирпичных и бетонных поверхностей с тщательной очисткой их от пыли, грязи, жировых и битумных пятен, а также от выступивших на поверхности солей;

механизированное нанесение слоев обрызга и грунта при помощи бескомпрессорной форсунки с разравниванием слоев намета полутерком вручную;

нанесение накрывочного слоя;

механизированная затирка поверхностей;

штукатурка откосов;

заделка швов в железобетонных перекрытиях и устройство падуг.

При оштукатуривании оконных и дверных откосов вначале навешивают по отвесу рейки в соответствии с заданным углом рассвета (углов скосов от коробок к поверхности стен), а после этого наносят раствор и разравнивают его. Затем по грунту наносят накрывочный слой, затирают терками, снимают рейки и разделывают усенок с устройством фаски.

Влажность стен, подлежащих оштукатуриванию в зимних условиях, не должна превышать 8%.

При выполнении работ зимой приготовление, транспортирование и хранение штукатурных растворов организуют так, чтобы температура в момент нанесения его на оштукатуриваемые поверхности была не ниже +8°С.

 

Рис. 7. Операционная технологическая схема выполнения штукатурных работ:

1-очистка и подготовка поверхностей; 2-механизированное нанесение раствора с разравниванием; 3-нанесение накрывочного слоя; 4-затирка поверхностей; 5-штукатурка откосов; 6-заделка швов в железобетонных перекрытиях и устройство пазух

 

Основание под облицовку штукатурят по маякам без нанесения накрывочного слоя. При этом отслоение лузг, усенков, оконных и дверных откосов допускается не более 1 мм на 1 м высоты или длины и не более 3 мм на весь элемент.

До начала работ каждый рабочий должен быть ознакомлен с характером предстоящей работы, технологическими требованиями к качеству и условиями производства работ, а также с картами трудовых процессов на «Штукатурные работы» (30 карт) ВНИИПИ труда в строительстве.

Работы по облицовке стен начинают с провешивания ее поверхности по всей высоте и установке маяков. При забивке гвоздей-маяков учитывают, что толщина слоя раствора под плитками составляет 7-15 мм. При наличии отдельных неровностей поверхности и отклонений от вертикали на величину, превышающую 15 мм, поверхность выправляют цементным раствором.

Если нет отслоений, превышающих допустимые, поверхности перед облицовкой очищают от пыли, грязи, потеков раствора, и смачивают водой. Жирные пятна удаляют 2-3%-ным раствором соляной кислоты или 5%-ным раствором кальцинированной соды с последующей промывкой водой. Для облицовки стен плитками размером 150×150 мм удобен и эффективен проволочный шаблон-кондуктор четырехплиточный. С проволочным шаблоном может работать облицовщик 1-2 разр. Рассортировав плитки при помощи шаблона, их укладывают по четыре штуки в шаблон-кондуктор (ЛП-1). Шаблон-кондуктор устанавливается на опорные рейки, которые размещаются на растворном ящике. После установки плиток в шаблон-кондуктор их увлажняют с тыльной стороны, затем накладывают раствор па плитки и разравнивают при помощи бруска. Толщину слоя раствора, укладываемого на плитки, регулируют при помощи квадрата из металлической полосы, изготовленного по размеру шаблона-кондуктора (ЛП-1). Снимается шаблон-кондуктор через 20-30 мин после его установки. Работа выполняется с 12 шаблонами. Заключительной операцией является заполнение швов раствором с добавлением пигмента с последующей протиркой облицованной поверхности сухой ветошью.

Техника безопасности

Для выполнения штукатурных работ применяют инвентарные подмости и столики. Рабочих обеспечивают спецодеждой и индивидуальными средствами защиты. Все рабочие, выполняющие штукатурные работы, должны соблюдать требования СНиП III-21-73. «Отделочные покрытия строительных конструкций», СНиП III-А.11-70: «Техника безопасности в строительстве» и руководствоваться «Типовыми инструкциями по технике безопасности для штукатура и маляра», М., «Оргтрансстрой», 1974.

Механизмы и трубопроводы для транспортировки раствора под давлением должны подвергаться гидравлическому испытанию под давлением, превышающим в 1,5 раза рабочее давление.

Перед продувкой растворопроводов сжатым воздухом лица, не занятые непосредственно этой работой, должны быть удалены на расстояние не менее 10 м от опасной зоны.

Перегиб шлангов под острым углом и в виде петли по время работы растворонасоса запрещается.

Над растворопроводами, уложенными в местах постоянного движения людей или транспортных средств, устраиваются мостики.

Перед началом каждой смены проверяется исправность растворонасоса, шлангов, манометров, предохранительных, клапанов. Работа с неисправным оборудованием запрещается.

В нерабочее время шланги следует хранить в закрытом помещении. Шланги по окончании работы необходимо промывать водой.

Во избежание схватывания раствора « образования пробок перерыв в работе растворонасоса не должен превышать 3 мин.

Рабочие должны быть обеспечены спецодеждой и индивидуальными средствами защиты. Рабочие, обслуживающие растворонасосы, должны сдавать экзамен на первую группу по электробезопасности.

III. УКАЗАНИЯ ПО ОРГАНИЗАЦИИ ТРУДА

Все работы по оштукатуриванию поверхностей выполняет бригада из 32 человек. Бригада разбита на 4 звена.

Первое звено в составе шести штукатуров (3 разр.-3; 2 разр.-3) выполняет штукатурную обработку бетонных поверхностей потолков.

Подготовкой инструмента и приспособлений, установкой инвентарных столиков занимаются штукатуры 2 разр. Штукатуры 2 разр. совместно со штукатурами 3 разр. наносят раствор на бетонные поверхности потолков для устранения неровностей, заполняют раствором швы между плитами, а затем разравнивают и затирают войлочными или поролоновыми терками.

Второе звено в составе 15 штукатуров (4 разр.-2; 3 разр.-9; 2 разр.-4) подготовляет поверхности и механизированным способом осуществляет улучшенную штукатурку.

Штукатуры 3 разр.-1; 2 разр.-1 подготовляют поверхности стен под оштукатуривание, штукатуры 2 разр.-2 подготавливают шланги и форсунки к работе, конопатят швы примыкания, устанавливают лотки для сбора опавшего раствора.

Штукатур 4 разр. наносит обрызг и грунт на поверхность кирпичных стен механизированным способом, направляя струю раствора на стену слева направо и сверху вниз. Штукатур правой рукой держит форсунку в месте соединения ее со шлангом и направляет струю раствора под углом 60-90° к стене, поддерживая шланг левой рукой. Расстояние от форсунки до стены должно составлять 60-150 см.

Штукатур 2 разр. подносит шланг, обеспечивая штукатуру 4 разр. свободное передвижение, следит за состоянием шлангов, предохраняя их от перегибов.

Штукатур 3 разр. полутерком длиной 2 м разравнивает слой грунта, срезая его излишки, выравнивает поверхность, одновременно отделывает лузги и усенки лузговыми и усеночными правилами. Линии лузг и усенков должны быть прямыми и вертикальными.

Штукатуры 4 разр.-1; 3 разр.-2 наносят на огрунтованную поверхность накрывочный слой.

Разравнивание накрывочного слоя производят полутерком.

Через 4-6 ч оштукатуренные поверхности затирают затирочными машинками СО-86 или СО-112. После затирочных работ не должно оставаться бугров, царапин и других дефектов. В процессе затирки поверхность смачивают водой. Количество воды регулируют клапаном, укрепленным на корпусе затирочной машины. Недоступные для механизированной затирки места штукатуры затирают вручную при помощи терок. При ручной затирке поверхность увлажняют кистью. По окончании затирки выравнивают углы лузговыми и усеночными правилами. Затем все звено выравнивает поверхность гипсобетонных перегородок и заделывает швы.

Третье звено в составе пяти штукатуров (4 разр.-2; 3 разр.- 1; 2 разр.-2) оштукатуривает оконные и дверные откосы. Штукатуры 2 разр. подносят необходимые инструменты, приспособления и материалы, затем очищают и смачивают поверхность кирпичных откосов водой, переставляют столики-подмости.

Штукатур 4 разр. при помощи отвеса провешивает вертикальные грани откосов, устанавливает рейки и закрепляет их рейкодержателями. Штукатуры 4 разр.-1; 3 разр.-1 наносят кельмой слой обрызга и грунта, затем полутерками разравнивают слой грунта по направляющим рейкам. После частичного схватывания грунта штукатуры снимают направляющие рейки. Затем наносят накрывочный слой, выравнивают и затирают поверхность, смачивают ее водой. Выровняв поверхность, штукатуры проверяют вертикальность и горизонтальность откосов при помощи отвеса, уровня и угольника.

Четвертое звено в составе шести штукатуров (4 разр.-2; 3 разр.-2; 2 разр.-2) выполняет работы по оштукатуриванию стен и потолков в тамбурах с пришивкой штукатурной сетки, подмазывает плинтусы и наличники, устанавливает вентиляционные решетки, облицовывает стены глазурованной плиткой в ванных комнатах и кухнях.

Штукатуры четвертого звена имеют смежные специальности: 4 разр. (плотник-3 разр.) - 1; 3 разр. (плотник-2 разр.)-1; 4 разр. (облицовщик-3 разр.)-1; 3 разр. (облицовщик-2 разр.)-1.

По окончании работ на первом этаже бригада переходит на следующий этаж.

Для контроля качества работ при выполнении штукатурных работ следует руководствоваться картами «Сборника карт операционного контроля качества работ в промышленном и гражданском строительстве на транспорте» № OK VII-111; OK VII-112; OK VII-113; OK VII-114, М., Оргтрансстрой, 1978.

IV. ГРАФИК ВЫПОЛНЕНИЯ ПРОИЗВОДСТВЕННОГО ПРОЦЕССА

а) на типовой этаж

Наименование работ

Единица измерения

Объем

Трудоемкость, чел-дн

Состав бригады

Рабочие смены

на дом

на типовой этаж

Штукатурная обработка потолков

100 м2

58,23

235

47

Штукатуры:

3разр.-3

2разр.-3

Улучшенная штукатурка кирпичных стен с подготовкой поверхности

-"-

53,85

470

94

Штукатуры:

4разр.-2

3разр.-9

2разр.-4

Штукатурная обработка перегородок, конопатка швов с насечкой кромок

-"-

32,53

110

22

Оштукатуривание оконных и дверных откосов

-"-

7,36

183,8

36,76

Штукатуры:

4разр.-2

3разр.-1

2разр.-2

Облицовка стен листами сухой штукатурки

-"-

41,32

170

34

Штукатуры:

4разр.-2

3разр.-2

2разр.-2

Пришивка металлической сетки к поверхности стен и потолков, улучшенная штукатурка по сетке

-"-

0,485

7,2

1,44

Установка вентиляционных решеток

шт.

248

12

2,4

То же

Облицовка стен глазурованной плиткой

1 м2

209,8

48

9,8

То же

Итого

 

 

1236,0 чел-дн

247,40

 

 

Примечание. Цифры над линиями обозначают продолжительность, операций в днях, под линиями - число рабочих.

б) на рядовую секцию

Наименование работ

Единица измерения

Объем

Трудоемкость, чел-дн

Состав бригады

Рабочие смены

на дом

на секцию

Штукатурная обработка потолков

100 м2

58,23

235

33,57

Штукатуры:

3разр.-3

2разр.-3

Штукатурная обработка перегородок, конопатка швов с насечкой кромок

-"-

32,53

110

15,71

Штукатуры:

4разр.-2

3разр.-9

2разр.-4

Улучшенная штукатурка кирпичных стен с подготовкой поверхности

-"-

53,85

470

67,14

Оштукатуривание оконных и дверных откосов

-"-

7,36

183,8

26,26

Штукатуры:

4разр.-2

3разр.-1

2разр.-2

Облицовка стен листами сухой штукатурки

-"-

41,32

170

24,28

Пришивка металлической сетки к поверхности стен и потолков, улучшенная штукатурка по сетке

-"-

0,485

7,2

1,03

Штукатуры:

4разр.-2

3разр.-2

2разр.-2

Установка вентиляционных решеток

шт.

248

12

1,71

 

Облицовка стен глазурованной плиткой

1 м2

209,8

48

6,86

Итого

 

 

1236,0 чел-дн.

176,56

 

 

Примечание. Цифры над линиями обозначают продолжительность операций в днях, под линиями - число рабочих.

V. КАЛЬКУЛЯЦИЯ ЗАТРАТ ТРУДА И ЗАРАБОТНОЙ ПЛАТЫ НА ШТУКАТУРНЫЕ И ОБЛИЦОВОЧНЫЕ РАБОТЫ НА ДОМ

Шифр норм и расценок (ЕНиР)

Наименование работ

Состав звена

Единица измерения

Объем работ

Норма времени, чел-ч

Расценка, руб.-коп.

Нормативное время на полный объем работ, чел-ч

Стоимость затрат труда на полный объем работ, руб.-коп.

§ 8-5,

табл. 2,

№ 1д

Подготовка поверхностей под оштукатуривание

Штукатур

3разр.-1

100 м2

7,26

63

34-97

457,38

253-88

§ 8-10,

табл. 1,

№ 3б

Штукатурная обработка потолков в помещении площадью пола более 5 м2

Штукатуры:

3разр.-1

2разр.-1

1 м2

5182

0,31

0-16,2

1606,42

839-48

§ 8-10,

табл. 1,

№ 3б

Техническая часть, п. 5,

K=1,5

То же в помещении площадью пола до 5 м2

То же

»

233

0,465

0-24,3

108,35

56-62

§ 8-10,

табл. 1,

№ 1а

Штукатурная обработка перегородок

»

»

2343

0,2

0-10,5

468,6

246-02

§ 8-10,

табл. 1,

№ 1а

Техническая часть, п. 5,

K=1,5

Штукатурная обработка в помещении площадью пола до 5 м2

Штукатуры:

3разр.-1

2разр.-1

1 м2

910

0,3

0-15,8

273

143-78

§ 8-6,

табл. 2,

№ 2а

Улучшенная штукатурка кирпичных стен в помещениях площадью более 5 м2

Штукатуры:

4разр.-2

3разр.-2

2разр.-1

»

3427

0,48

0-28,9

1644,96

990-40

§ 8-7,

табл. 2,

№ 2а

Техническая часть, п. 5,

K=1,5

То же в помещении площадью до 5 м2

Штукатуры:

4разр.-1

3разр.-1

»

911

0,9

0-53,1

819,9

483-74

§ 8-1,

№ 1а

Облицовка стен гипсовыми листами сухой штукатурки

Штукатуры:

4разр.-1

3разр.-1

м2

4132

0,3

0-17,7

1239,6

731-36

§ 8-1,

№ 3а

Заделка швов

Штукатур

3разр.-1

»

4132

0,038

0-02,1

157,02

86-77

§ 8-6,

табл. 2,

№ 2г

Улучшенная штукатурка радиаторных ниш

Штукатуры:

4разр.-2

3разр.-2

2разр.-1

м2

237

0,89

0-53,8

210,93

127-51

§ 8-8,

№ 2

Штукатурка оконных и дверных откосов

Штукатуры:

4разр.-1

2разр.-1

»

735,6

2

1-12

1471,2

823-87

§ 8-5,

табл. 3,

№ 1б

Пришивка штукатурной сетки на поверхности потолков

Штукатуры:

3разр.-1

2разр.-1

»

48,5

0,57

0-29,9

27,64

14-50

§ 8-7,

табл. 2,

№ 2б

Улучшенная штукатурка по сетке потолков

Штукатуры:

4разр.-1

3разр.-1

»

48,5

0,7

0-41,3

33,95

20-03

§ 8-11,

№ 1б

Насечка кромок с конопаткой швов примыканий перегородок к потолкам

Штукатуры:

3разр.-1

2разр.-1

100 м шва

20,40

3,8

1-99

77,52

40-60

§ 8-11

Насечка кромок с конопаткой швов примыканий перегородок к стенам

То же

То же

43,76

2,4

1-26

105,02

55-14

§ 9-2-47,

№ 5а

Установка вентиляционных решеток

Слесари-вен-тиляционники:

4разр.-1

3разр.-1

1 шт.

248

0,42

0-24,3

104,16

60-26

§ 8-20,

табл. 1,

№ 1б,

примечание, п. 3,

K=1,2

Облицовка стен глазурованной плиткой при площади облицовываемой поверхности до 2 м2

Облицовщики-плиточники:

4разр.-1

3разр.-1

2разр.-1

1 м2

209,8

1,86

1-03,7

390,23

217-56

§ 8-7,

табл. 2,

№ 2а

Техническая часть, п. 5,

K=1,5

Улучшенная штукатурка кирпичных стен лоджий при площади пола до 5 м2 .

Штукатуры:

4разр.-1

3разр.-1

»

810

0,9

0-53,1

729,00

430-11

§ 8-10,

табл. 1,

№ 36

Техническая часть, п. 5, K=1,5

Штукатурная обработка потолков лоджий

Штукатуры:

3разр.-1

2разр.-1

»

408

0,465

0-24,3

189,72

99-14

 

Итого

 

 

 

 

 

10114,0

1264,33 чел-дн

5725-91

VI. ОСНОВНЫЕ ТЕХНИКО-ЭКОНОМИЧЕСКИЕ ПОКАЗАТЕЛИ НА ДОМ

Наименование показателей

Единица измерения

По калькуляции А

По графику Б

На сколько процентов показатель по графику больше (+) или меньше (-), чем по калькуляции

Трудоемкость работ

чел-дн

1264,1

1236,0

-2,22

Средний разряд

-

3,16

2,86

-9,49

Трудоемкость на 10 м2 улучшенной штукатурки кирпичных стен

чел-дн

0,833

0,79

-5,00

VII. МАТЕРИАЛЬНО-ТЕХНИЧЕСКИЕ РЕСУРСЫ

А. Основные материалы, полуфабрикаты, изделия

Наименование

ГОСТ, марка

Единица измерения

Количество

Раствор известковый

ГОСТ 5802-66

м3

170

Раствор цементо-известковый

ГОСТ 5802-66

»

40

Раствор цементный

ГОСТ 5802-66

»

46

Строительный гипс

ГОСТ 125-70

т

1,4

Керамическая глазурованная плитка

ГОСТ 6141-76

м2

212

Решетки вентиляционные

ГОСТ 13448-68

шт.

248

Б. Машины, оборудование, механизированный инструмент и инвентарь

Наименование

Тип, марка

Единица измерения

Количество, шт.

Организация-распространитель технической документации

Станция штукатурная передвижная

ПШС-02А

шт.

1

Завод Главстроймеханизации Минтрансстроя

Установка этажная

УЭС-71

»

1

Трест «Оргтехстрой» Главсредуралстроя Минтяжстроя СССР

Компрессор

СО-7А

»

1

-

Компенсатор

-

»

1

Тот же трест

Преобразователи частоты тока

ИЭ-9403

»

2

Выборгский завод «Электроинструмент» Минстройдормаша СССР

Машинки штукатурно-затирочные

СО-86 или СО-112

шт.

12

Даугавпилский завод «Электроинструмент» Минстройдормаша СССР

Столики складные двухвысотные

-

»

10

Бюро внедрения ЦНИИОМТП Госстроя СССР

Столики универсальные

-

»

5

То же

Ящики инвентарные штукатурные на ножках

-

»

10

Трест «Оргтехстрой» Главприоксстроя Минпромстроя СССР

Лотки металлические

-

»

30

Трест «Оргтехстрой» Главсредуралстроя Минтяжстроя СССР

Удочки для нанесения слоев штукатурного раствора

-

»

2

То же

Форсунки прямоточные бескомпрессорные

-

»

2

»

Правила лузговые

-

»

6

»

Правила усеночные дюралюминиевые

-

»

6

»

Полутерки дюралюминиевые

-

»

20

»

Полутерки деревянные

-

»

20

»

Гладилки стальные

ГОСТ 10403-73

»

10

-

Терки

-

»

20

Институт «Оргтяжстрой» Минтяжстроя СССР

Рустовка

РУ-1 ГОСТ 13995-68

»

1

-

Соколы дюралюминиевые

-

»

20

Трест «Оргтехстрой» Главсредуралстроя Минтяжстроя СССР

Кельмы штукатурные -

КШ, ГОСТ 9533-71

»

24

-

Отрезовки

ОШ, ГОСТ 9533-71

»

10

-

Ковши для отделочных работ

ГОСТ 7945-73

шт.

10

-

Кисти-макловицы

КМА-2, ГОСТ 10597-70

»

12

-

Молотки штукатурные

МШТ, ГОСТ 11042-72

»

6

-

Бучарды

-

»

3

-

Лопаты растворные

ЛР, ГОСТ 3620-76

»

12

-

Ножи для отделочных работ

ГОСТ 18975-73

»

5

-

Скребки

-

»

6

Трест «Оргтехстрой» Главсредуралстроя Минтяжстроя СССР

Форсунки турбулентные

-

»

2

То же

Переходники 32/25 и 38/32

-

»

2

»

Переходники 50/38

-

»

2

»

Тройники

-

»

2

Трест «Оргтехстрой» Главсредуралстроя Минтяжстроя СССР

Рейкодержатели

-

»

8

То же

Форсунки пневматические

-

»

2

Трест «Строитель» Главмосстроя

Соединения быстроразъемные для соединения шлангов диаметром 51 мм

 

»

4

Управление механизации треста «Оргтехстрой» Главсредуралстроя

Соединения быстроразъемные для соединения шлангов диаметром 38 мм

 

шт.

8

 

То же 25 мм

 

»

8

 

То же 51 и 38 мм

 

»

2

 

То же 38 и 25 мм

 

»

2

 

Угольники для разметки откосов

-

»

2

Трест «Оргтехстрой» Главсредуралстроя Минтяжстроя СССР

Отвесы стальные строительные

ОТ-200, ГОСТ 7948-71

»

4

-

Рулетки

РС-20, ГОСТ 7502-69

шт.

3

-

Метры складные деревянные

-

»

12

-

Уровни строительные

УС-1-300 ГОСТ 9416-76

»

4

-

Уровни гибкие водяные

-

»

2

-

Рукава резиновые опорные диаметром 51 мм

ГОСТ 18698-73

м

20

 

То же 38 мм

ГОСТ 18698-73

»

40

 

То же 25 мм

ГОСТ 18698-73

»

40

 

Рукава резиновые диаметром 8- 10 мм

-

»

150

-

Кабель КРПТ3×16+1×10

ГОСТ 13497-68

»

40

-

Кабель КРПТ3×6+1×2,5

ГОСТ 13497-68

»

40

-

То же 3×2,5+1×1,5

ГОСТ 13497-68

»

50

 

Проволочные шаблоны

ЛП-1

шт.

12

Главзапад трест «Оргтехстрой»

Лопаты для плиточных работ

ЛП

»

2

 

Контейнеры для плитки

КЛ-93

»

2

Чертеж треста «Ленинградоргстрой»

Стеклорезы роликовые

ГОСТ 4407-72

»

4

-

Шаблоны для сортировки плиток

-

»

4

Трест «Мосоргстрой»

ТЕХНОЛОГИЧЕСКАЯ КАРТА № 7

МАЛЯРНЫЕ И ОБОЙНЫЕ РАБОТЫ

I. ОБЛАСТЬ ПРИМЕНЕНИЯ

Технологическая карта разработана на основе методов научной организации труда и предназначена для использования при разработке проектов производства работ и организации работ и труда на объекте.

Карта составлена на малярные и обойные работы по 70-квартирному дому серии 114-87-1/1, но может быть использована и при выполнении работ в домах других серий.

В технологическую карту включены следующие работы: улучшенная клеевая окраска стен и потолков, улучшенная масляная окраска стен на высоту 1,6 м валиком, оконных и дверных блоков, радиаторов, труб, металлических ограждений, оклейка стен обоями с подготовкой.

II. УКАЗАНИЯ ПО ТЕХНОЛОГИИ ПРОИЗВОДСТВЕННОГО ПРОЦЕССА

До начала малярных работ в отделываемых помещениях должны быть выполнены все общестроительные, электромонтажные и сантехнические работы.

Качество смонтированных изделий должно быть таким, чтобы их поверхность не требовала выполнения дополнительных отделочных работ, кроме заделки швов, шпатлевки и окраски.

На поверхности изделий не должно быть трещин, сколов, жировых и ржавых пятен, наплывов раствора, обнаженной арматуры.

Для производства малярных работ разработан нормокомплект механизмов и приспособлений. Издан «Каталог нормокомплекта механизмов, инструмента и инвентаря для производства малярных работ», М., Оргтрансстрой, 1978.

Малярные работы бригадам, оснащенным нормокомплектом, рекомендуется выполнять прогрессивным поточно-расчлененным методом.

До начала работ каждый рабочий должен быть ознакомлен с характером предстоящей работы, проектом производства работ, а также картами трудовых процессов «Малярные и обойные работы» (51 карта ВНИПИ труда в строительстве).

Поверхности, подлежащие окраске, предварительно очищают от пыли. Влажность штукатурки перед окраской, не должна превышать 8%, а деревянных поверхностей-12%.

Перед окраской шероховатости должны быть сглажены, а мелкие трещины расшиты и заделаны раствором на глубину 2-3 мм.

В помещениях, предназначенных под оклейку обоями, должны быть закончены все малярные работы, кроме окраски полов. Поверхности, подлежащие оклейке обоями, необходимо очистить от брызг раствора, крупинок песка и клеевых набелов. Шероховатые поверхности тщательно сглаживают. Имеющиеся на поверхности трещины расшивают, подмазывают и затем шлифуют.

Для уменьшения отсасывающей способности поверхности и создания на ней клеящей пленки поверхность промазывают клеем. Чтобы обои не отставали, на поверхность стен наклеивают листы газетной бумаги.

До начала оклеивания стен обоями должна быть проверена по отвесу вертикальность углов помещения. Стены обоями оклеивают строго по вертикали от углов наружных стен. Полотнище обоев приклеивается к обеим стенам, образующим угол. При этом основная часть полотнища приклеивается к одной из стен, а оставшаяся часть полотнища перекрывает угол с напуском в 2-3 см.

На поверхность стен бумажные обои наклеиваются внахлестку. При этом кромки полотнищ должны быть обращены в сторону окоп, навстречу свету.

Оклеенные обоями поверхности до их полной просушки должны предохраняться от прямого воздействия солнечных лучей и сквозняков. Повышение температуры воздуха в помещении в этот период более чем до 23°С не допускается. В районах с жарким и сухим климатом на время просушки обоев оклеенные помещения закрываются, и в них устанавливается влажностный режим, обеспечивающий высыхание обоев не ранее чем через сутки после наклейки.

При приемке работ проверяется соответствие обоев образцам, принятым в проекте. Обойные работы принимаются после просушки оклеенных обоями поверхностей.

Качество обойных работ должно отвечать следующим требованиям:

на оклеенных поверхностях не должно быть пятен, пузырей, пропусков, перекосов и отслоений;

пригонка рисунка на стыках должна быть точной;

места соединения полотнищ обоев при наклейке вплотную друг к другу не должны быть заметны на расстоянии 3 м.

III. УКАЗАНИЯ ПО ОРГАНИЗАЦИИ ТРУДА

Малярные и обойные работы выполняет разбитая на четыре звена бригада, состоящая из 20 рабочих.

В звене № 1 маляр 4 разр. является бригадиром. Он руководит работой бригады, следит за качеством выполнения работ и вместе с малярами выполняет работы по окраске поверхностей.

Звенья № 1 и 2 (маляры 4 разр.-2; 3 разр.-4; 2 разр.-4) выполняют клеевую окраску потолков и стен электрокраскопультом, окрашивают масляными составами радиаторы и трубы отопления.

Звенья № 3 и 4 (маляры 4 разр.-4; Зразр.-4; 2 разр.-2) окрашивают оконные и дверные блоки, оклеивают стены обоями. Затем окрашивают металлические ограждения лестничных маршей, лоджий. Маляры 2 разр. имеют смежную профессию такелажников.

При выполнении клеевой и масляной окраски маляры 2 разр. очищают поверхности от пыли, сглаживают шероховатости на поверхности штукатурки торцом деревянного бруса, расшивают трещины, подмазывают места, имеющие дефекты, и шлифуют их.

Маляры 4 и 3 разр. грунтуют поверхность под окраску и окрашивают ее клеевыми составами при помощи электрокраскопульта, масляными составами - при помощи валика.

При оклейке стен обоями на предварительно подготовленные обои наносят клей, используя стол обойщика с ванночкой. После нанесения клея на 3-8 полотнищ обои наклеивают, начиная от окна или балкона, в обе стороны. На поверхности, расположенные против оконных проемов, обои можно наклеивать в любую сторону.

Маляры 2 разр. наносят клей па подготовленные полотнища, складывают намазанные клеем полотнища вчетверо.

Маляры 3 разр. наносят на поверхность стен по линии верха обоев клей полосой шириной 5 см и наклеивают полоски обоев шириной 1,5-2 см.

Маляры 4 разр. наклеивают обои на поверхность стен. Первое полотнище обоев наклеивают по отвесу, последующие по кромке первого полотнища. Маляр приклеивает верхний конец обоев в горизонтальном направлении по линии обреза верха обоев, a в вертикальном по кромке ранее наклеенного полотнища. Полотнища маляр разглаживает щеткой от середины к краям.

Материалы подают на этажи стоечным подъемником, который обслуживает машинист 3 разр.

Для контроля качества работ при выполнении малярных и обойных работ следует руководствоваться картами «Сборника операционного контроля качества работ в промышленном и гражданском строительстве на транспорте» № ОК VII-124, М., Оргтрансстрой, 1978.

Техника безопасности

При производстве малярных работ следует руководствоваться требованиями СНиП III-А.11-70. «Техника безопасности в строительстве» и «Типовой инструкцией по технике безопасности для маляра на ремонтно-строительных работах», М., Оргтрансстрой, 1975.

К выполнению малярных работ с применением механизмов при использовании нитрокрасок и других материалов, обладающих токсическими свойствами, допускаются лица не моложе 18 лет, прошедшие медицинское освидетельствование, сдавшие испытания в знании требований охраны труда и получившие соответствующие удостоверения.

К работе с электрифицированным инструментом допускаются лица, имеющие I квалификационную группу по технике безопасности.

Пневматические окрасочные аппараты и шланги следует до начала работы проверить и испытать на давление, превышающее в 1,5 раза рабочее.

Механизмы малярной станции до начала работы должны быть опробованы на холостом ходу.

При работе с электроинструментом маляр, получая электроинструмент, обязан проверить его состояние наружным осмотром, обращая внимание на целостность изоляции токоведущих проводов. Маляру разрешается подключать электроинструмент и механизмы только при помощи специальных штепсельных розеток, установленных электромонтером.

IV. ГРАФИК ВЫПОЛНЕНИЯ ПРОИЗВОДСТВЕННОГО ПРОЦЕССА

а) на типовой этаж по малярным и обойным работам

Наименование работ

Единица измерения

Объем

Трудоемкость, чел-дн

Состав бригады

Рабочие смены

на дом

на типовой этаж

Улучшенная клеевая окраска потолков и стен краскопультом

100 м2

80

70

14

Звенья № 1,2

Маляры:

4разр.-2

3разр.-4

2разр.-4

Улучшенная масляная окраска стен валиком

-"-

32,41

145

29

Улучшенная масляная окраска радиаторов и труб

-"-

14,95

55

11

Улучшенная масляная окраска оконных и дверных блоков

-"-

40,38

28,3

5,66

Звенья № 3,4

Маляры:

4разр.-4

3разр.-4

2разр.-2

Оклейка стен обоями с подготовкой поверхности

-"-

78,64

197

39,4

Масляная окраска металлических ограждений

-"-

2,76

21,7

4,34

Подача материалов подъемником

100 т

0,1

1

0,2

Маляры

2разр.-2

Итого

 

 

518

103,60

 

 

Примечание. Цифры над линиями обозначают продолжительность операций в днях, под линиями - число рабочих.

б) на рядовую секцию

Наименование работ

Единица измерения

Объем

Трудоемкость, чел-дн

Состав бригады

Рабочие смены

на дом

на рядовую секцию

Улучшенная клеевая окраска потолков и стен краскопультом

100 м2

80

70

10

Звенья № 1,2

Маляры:

4разр.-2

3разр.-4

2разр.-4

Улучшенная масляная окраска стен валиков

-"-

32,41

145

20,7

Улучшенная масляная окраска радиаторов и труб

-"-

14,95

55

7,86

Улучшенная масляная окраска оконных и дверных блоков

-"-

40,38

28,3

4

Звенья № 3,4

Маляры:

4разр.-4

3разр.-4

2разр.-2

Оклейка стен обоями с подготовкой поверхности

-"-

78,64

197

28,14

Масляная окраска металлических ограждений

-"-

2,76

21,7

3,1

Подача материалов подъемником

100 т

0,1

1

0,14

Маляры

2разр.-2

Итого

 

 

518

73,94

 

 

Примечание. Цифры над линиями обозначают продолжительность операции в днях, под линиями - число рабочих.

V. КАЛЬКУЛЯЦИЯ ЗАТРАТ ТРУДА И ЗАРАБОТНОЙ ПЛАТЫ НА МАЛЯРНЫЕ И ОБОЙНЫЕ РАБОТЫ НА ДОМ

Шифр норм и расценок (ЕНиР)

Наименование работ

Состав звена

Единица измерения

Объем работ

Норма времени, чел-ч

Расценка, руб.-коп.

Нормативное время на полный объем работ, чел-ч

Стоимость затрат труда на полный объем работ, руб.-коп.

§ 8-24,

табл. 4,

№ 4г

Сглаживание торцом деревянного бруса поверхности потолков

Маляр

2разр.-1

100 М2

41,70

1,55

0-76,4

64,64

31-86

§ 8-24,

табл. 4,

№ 5г

Расшивка трещин

Маляр

3разр.-1

»

41,70

0,39

0-21,6

16,26

9-01

§ 8-24,

табл. 4,

№ 14г

Первая грунтовка клеевыми составами поверхности потолков

Маляр

4разр.-1

»

41,70

0,74

0-46,3

30,86

19-31

§ 8-24,

табл. 4,

№ 10г

Частичная подмазка потолков

Маляр

2разр.-1

»

41,70

3,3

1-63

137,61

67-97

§ 8-24,

табл. 6,

№ 3г

Примечание,

K=0,2

Шлифовка частичной подмазки

Маляр

3разр.-1

»

41,70

0,96

0-53

40,03

22-10

§ 8-24,

табл. 4,

№ 14г

Вторая грунтовка клеевыми составами поверхности потолков

Маляр

4разр.-1

 

41,70

0,74

0-46,3

30,86

19-31

§ 8-24,

табл. 4,

№ 14г

Окраска клеевыми составами поверхности потолков

Маляр

4разр.-1

 

41,70

0,74

0-46,3

30,86

19-31

§ 8-24,

табл. 4,

№ 4г

Техническая часть, п. 6,

К=1,2

Сглаживание торцом деревянного бруса поверхности потолков в помещениях площадью до 5 м2

Маляр

2разр.-1

100 м3

3,6

1,86

0-91

6,70

3-28

§ 8-24,

табл. 4,

№ 5г

Техническая часть, п. 6,

K=1,2

Расшивка трещин поверхностей потолков в помещениях площадью до 5 м2

Маляр

3разр.-1

»

3,6

0,46

0-25

1,66

0-90

§ 8-24,

табл. 4,

№ 14г

Техническая часть, п. 6,

K=1,2

Первая грунтовка клеевыми составами поверхности потолков в помещениях площадью до 5 м2

Маляр

4разр.-1

»

3,6

0,88

0-55

3,17

1-98

§ 8-24,

табл. 4,

№ 10г

Техническая часть, п. 6,

K=1,2

Частичная подмазка потолков в помещениях площадью до 5 м2

Маляр

2разр.-1

»

3,6

3,96

1-95

14,26

7-02

§ 8-24,

табл. 6,

№ 4г

Примечание,

K=0,2

Техническая часть, п. 6,

K=1,2

Шлифовка частичной подмазки в помещениях площадью до 5 м2

Маляр

3разр.-1

100 м2

3,6

0,79

0-43

2,84

1-55

§ 8-24,

табл. 4,

№ 14г

Техническая часть, п. 6,

K= 1,2

Вторая грунтовка клеевыми составами поверхности потолков в помещениях площадью до 5 м2

Маляр

4разр.-1

»

3,6

0,88

0-55

3,17

1-98

§ 8-24,

табл. 4,

№ 14г

Окраска клеевыми составами поверхности потолков в помещениях площадью до 5 м2

То же

»

3,6

0,88

0-55

3,17

1-98

§ 8-24,

табл. 4,

№ 14б

Сглаживание торцом деревянного бруса поверхности стен

Маляр

2разр.-1

»

31,60

1,3

0-64,1

41,08

20-26

§ 8-24,

табл. 4,

№ 5б

Расшивка трещин на поверхности стен

Маляр

3разр.-1

»

31,60

0,33

0-18,3

10,43

5-78

§ 8-24,

табл. 4,

№ 14б

Первая грунтовка клеевыми составами поверхности стен

Маляр

4разр.-1

»

31,60

0,57

0-35,6

18,01

11-25

§ 8-24,

табл. 4,

№ 10б

Частичная подмазка стен

Маляр

2разр.-1

»

31,60

2,5

1-23

79,00

38-87

§ 8-24,

табл. 6,

№ 3б

Примечание,

K=0,2

Шлифовка частичной подмазки

Маляр

3разр.-1

»

31,60

0,76

0-42

24,02

13-27

§ 8-24,

табл. 4,

№ 14б

Вторая грунтовка клеевыми составами поверхности стен

Маляр

4разр.-1

100 м2

31,60

0,57

0-35,6

18,01

11-25

§ 8-24,

табл. 4,

№ 4б

Окраска клеевыми составами поверхности стен

Маляр

4разр.-1

»

3,6

0,57

0-35,6

18,01

11-25

§ 8-24,

табл. 4,

№ 4б

Техническая часть, п. 6,

K=1,2

Сглаживание торцом деревянного бруса поверхности стен в помещении площадью до 5 м2

Маляр

2разр.-1

»

3,1

1,56

0-76

4,84

2-36

§ 8-24,

табл 4,

№ 5б,

Техническая часть, п. 6,

K=1,2

Расшивка трещин поверхности стен в помещениях площадью до 5 м2

Маляр

3разр.-1

»

3,1

0,39

0-21

1,21

0-65

§ 8-24,

табл. 4,

№ 14б

Техническая часть, п. 6,

K=1,2

Первая грунтовка клеевыми составами поверхности стен в помещениях площадью до 5 м2

Маляр

4разр.-1

»

3,1

0,68

0-42

2,11

1-30

§ 8-24,

табл. 4,

№ 10б

Техническая часть, п. 6,

K=1,2

Частичная подмазка поверхности стен в помещениях площадью до 5 м2

Маляр

2разр.-1

100 м2

3,1

3,0

1-47

9,3

4-56

§ 8-24,

табл. 6,

№ 3б

Примечание,

K=0,2

Техническая часть, п. 6,

K=1,2

Шлифовка частичной подмазки в помещениях площадью до 5 м2

Маляр

3разр.-1

»

3,1

0,91

0-50

2,82

1-55

§ 8-24,

табл. 4,

№ 14б

Техническая часть, п. 6,

K=1,2

Вторая грунтовка клеевыми составами поверхности стен в помещениях площадью до 5 м2

Маляр

4разр.-1

»

3,1

0,68

0-42

2,11

1-30

§ 8-24,

табл. 4,

№14б

Техническая часть, п. 6,

K=1,2

Окраска клеевыми составами поверхности стен в помещениях площадью до 5 м2

То же

»

3,1

0,68

0-42

2,11

1-30

§ 8-24,

табл. 4,

№ 4б

Сглаживание торцом деревянного бруса поверхности стен

Маляр

2разр.-1

»

26,45

1,3

0-64,1

34,39

16-96

§ 8-24,

табл. 4,

№ 5б

Расшивка трещин

Маляр

3разр.-1

»

26,45

0,33

0-18,3

8,73

4-84

§ 8-24,

табл. 4,

№ 8б

Проолифка поверхности стен

Маляр

2разр.-1

100 м2

26,45

4,1

2-02

108,45

53-43

§ 8-24,

табл. 4,

№ 10б

Частичная подмазка стен

То же

»

26,45

2,5

1-23

66,13

32-53

§ 8-24,

табл. 4,

№ 11б

Проолифка частичной подмазки

Маляр

2разр.-1

»

26,45

1,45

0-71,5

38,35

18-78

§ 8-24,

табл. 6,

№ 3б

Примечание,

K=0,2

Шлифовка подмазанных мест

Маляр

3разр.-1

»

26,45

0,76

0-42

20,10

11-11

§ 8-24,

табл. 6,

№ 1б

Сплошная шпаклевка стен

Маляр

3разр.- 1

»

26,45

12

6-66

317,4

176-16

§ 8-24,

табл. 6,

№ 10б

Грунтовка масляными составами поверхности стен при помощи валика

То же

»

26,45

3,9

2-16

103,16

57-13

§ 8-24,

табл. 6,

№ 14б

Окраска масляными составами поверхности стен при помощи валика

Маляр

4разр.-1

»

26,45

9,6

6-00

253,92

158-70

§ 8-24,

табл. 4,

№ 4б

Техническая часть, п. 6,

K=1,2

Сглаживание торцом деревянного бруса поверхности стен в помещениях площадью до 5 м2

Маляр

2разр.-1

100 м2

5,96

1,56

0-76

9,30

4-53

§ 8-24,

табл. 4,

№ 5б

Техническая часть, п. 6,

K=1,2

Расшивка трещин на поверхности стен в помещениях площадью до 5 м2

Маляр

3разр.-1

»

5,96

0,39

0-21

2,32

1-25

§ 8-24,

табл. 4,

№ 8б

Техническая часть, п. 6,

K=1,2

Проолифка поверхности стен в помещениях площадью до 5 м2

Маляр 2 разр.- 1

»

5,96

4,94

2-42

29,32

14-42

§ 8-24,

табл. 4,

№ 10б

Техническая часть, п. 6,

K=1,2

Частичная подмазка поверхности стен в помещениях площадью до 5 м2

То же

»

5,96

3,0

1-47

17,88

8-76

§ 8-24,

табл. 4,

№ 11б

Техническая часть, п. 6, K=1,2

Проолифка частичной подмазки в помещениях площадью до 5 м2

»

»

5,96

1,74

0-85

10,37

5-07

§ 8-24,

табл. 6,

№ 3б.

Примечание,

K=0,2

Техническая часть, п. 6,

K=1,2

Шлифовка подмазанных мест в помещениях площадью до 5 м2

Маляр

3разр.-1

100 м2

5,96

0,91

0-50

5,42

2-98

§ 8-24,

табл. 6,

№ 1б

Техническая часть, п. 6,

K=1,2

Сплошная шпаклевка поверхности стен в помещениях площадью до 5 м2

Маляр

3разр.-1

»

5,96

14,4

7-99

85,82

47-62

§ 8-24,

табл. 6,

№ 10б

Техническая часть, п. 6,

K=1,2

Грунтовка масляными составами поверхности стен при помощи валика в помещениях площадью до 5 м2

То же

»

5,96

3,6

2-59

21,46

15-44

§ 8-24,

табл 6,

№ 14б

Техническая часть, п. 6,

K=1,2

Окраска масляными составами поверхности стен в помещениях площадью до 5 м2

Маляр

4разр.-1

»

5,96

11,52

7-20

68,66

42-91

§ 8-24,

табл. 13,

№ 1в

Очистка от ржавчины решеток ограждения лестничных маршей и лоджий

Маляр

2разр.-1

100 м2

2,76

17,5

8-63

48,3

23-82

§ 8-24,

табл. 13,

№ 3в

Проолифка решеток ограждения

То же

»

2,76

13,5

6-66

37,26

18-38

§ 8-24,

табл. 13

№ 12в

Первая масляная окраска решеток ограждения

Маляр

4разр.-1

»

2,76

19,2

12-00

52,99

33-12

§ 8-24,

табл. В,

№ 13в

Вторая масляная окраска решеток ограждения

То же

»

2,76

12,8

8-00

35,33

22-08

§ 8-24,

табл. В,

№ 13б

Проолифка труб отопления и водопровода

Маляр

2разр.-1

»

8,32

13,5

6-66

112,32

55-41

§ 8-24,

табл. 13,

№ 12б

Первая масляная окраска труб отопления и водопровода

Маляр

4 разр.-1

»

8,32

9,9

6-19

82,37

51-50

§ 8-24,

табл. 13,

№ 13б

Вторая масляная окраска труб отопления и водопровода

То же

»

8,32

6,6

4-13

54,91

34-56

§ 8-24,

табл. 13,

№ 12

Очистка от ржавчины и окалины радиаторов отопления

Маляр

2разр.-1

»

6,63

15,5

7-64

102,77

50-65

§ 8-24,

табл. 13,

№ 22

Проолифка радиаторов пистолетом-распылителем

Маляр

4разр.-1

»

6,63

2,7

1-69

17,90

11-21

§ 8-24,

табл. 13,

№ 4г

Частичная подмазка

Маляр

2разр.-1

»

6,63

5,6

2-76

37-13

18-30

§ 8-24,

табл. 13,

№ 5г

Проолифка подмазанных мест

Маляр

2разр.-1

100 м2

6,63

2,7

1-33

17,90

8-82

§ 8-24,

табл. 13,

№ 6г

Шлифовка подмазанных мест

Маляр

3разр.-1

»

6,63

2,2

1-22

14,59

8-09

§ 8-24,

табл. 13,

№ 7г

Масляная окраска радиаторов пистолетом-распылителем.

Маляр

4разр.-1

»

6,63

3,7

2-31

24,53

15-31

§ 8-24,

табл. 6,

№ 13д

Масляная окраска предварительно один раз окрашенных оконных блоков

То же

»

11,70

12,5

7-81

146,25

91-38

§ 8-24,

табл. 6,

№ 13е

То же дверных блоков валиком

»

»

28,68

2,8

1-75

80,30

50-19

§ 8-33,

табл. 2,

№ 10

Очистка от набелов верха стен

Маляр

2разр.-1

»

8,22

0,58

0-28,6

4,76

2-35

§ 8-33,

табл. 2,

№ 2а

Прочистка поверхностей стен

Маляр

2разр.-1

»

78,64

0,76

0-37,5

59,77

29-48

§ 8-33,

табл. 2,

№ 3а

Проклейка поверхности стен

Маляр

3разр.-1

»

78,64

1,45

0-80,5

114,03

63-31

§ 8-33,

табл. 2,

№ 4а

Подмазка шероховатостей

Маляр

2разр.-1

»

78,64

1,25

0-61,6

98,3

48-44

§ 8-33,

табл. 2,

№ 5а

Шлифовка подмазанных мест пемзой

Маляр

3разр.-1

»

78,64

0,62

0-34,4

48,76

27-05

§ 8-33,

табл. 2,

№ 6а

Оклейка бумагой поверхностей стен внахлестку

То же

»

78.64

4,5

2-50

353,88

196-60

§ 8-33,

табл. 2,

№ 9а

Оклейка обоями поверхностей стен внахлестку

Маляры:

4разр.-1

3разр.-1

»

78,64

11,5

6-79

904,36

533-97

§ 1-8,

табл. 2,

№ 12а,б

Подъем колерных материалов на высоту до 14 м

Такелажники

2разр.-2

100 т

0,1

41,8

20-61

8,78

4-18

 

Итого

 

 

 

 

 

4260,96

533,37 чел-дн.

2403-13

VI. ОСНОВНЫЕ ТЕХНИКО-ЭКОНОМИЧЕСКИЕ ПОКАЗАТЕЛИ НА ДОМ

Наименование показателей

Единица измерения

По калькуляции А

По графику Б

На сколько процентов показатель по графику больше (+) или меньше (-), чем по калькуляции

Трудоемкость работ

чел-дн

533,37

518

-2,88

Средний разряд рабочих

-

3,11

3,01

-3,22

Трудоемкость на 10 м2 окрашенной поверхности

чел-дн

0,5

0,479

-4,1

VII. МАТЕРИАЛЬНО-ТЕХНИЧЕСКИЕ РЕСУРСЫ

А. Основные материалы, полуфабрикаты, изделия

Наименование

ГОСТ, марка

Единица измерения

Количество

Паста меловая

-

кг

1100

Шпатлевка купоросная

ГОСТ 10277-76

»

92

Шпатлевка масляная

ГОСТ 10277-76

»

490

Шпатлевка перхлорвиниловая

ГОСТ 10277-76

»

48

Клей мездровый

ГОСТ 32S2-75

»

72

Олифа

ГОСТ 7931-76

»

1130

Мыло хозяйственное

ГОСТ 790-69

»

110

Пемза

-

»

75

Краски масляные

ГОСТ 695-77

 

800

Ветошь

ГОСТ 5354-74

кг

50

Бумага газетная

ГОСТ 6445-74

»

650

Клей обойный

-

л

2120

Обои

ГОСТ 6810-74

м2

10204

Б. Машины, оборудование, механизированный инструмент и инвентарь

Наименование

ГОСТ, марка

Единица измерения

Количество

Организация-распространитель технической документации

Малярная станция передвижная

ОП-6АМ

шт.

1

ПКБ Главстроймеханизации Минтрансстроя

Компрессор

СО-7А

»

1

Вильнюсский завод строительно-отделочных машин Минстройдор-маша СССР

Преобразователь частоты тока

ИЭ-9403

шт.

1

Выборгский завод «Электроинструмент» Минстройдормаша СССР

Тележка грузоподъемностью 60 кг

-

 

1

Трест «Ленинград-строй» Главленинградстроя. Институт «Оргтяжстрой» Минтяжстроя СССР

Лестницы-стремянки

-

 

5

Институт «Оргтяжстрой» Минтяжстроя СССР

Столики складные двухвысотные

-

»

8

Управление механизации отделочных работ Главмосстроя

Столики универсальные

-

»

10

То же

Шкаф инструментальный

-

»

1

Конструкторско-технический институт Минпромстроя СССР

Ванночки с сеткой

-

»

6

Институт «Орггяжстрой» Минтяжстроя СССР

Ведра

ГОСТ 17151-71

»

10

-

Ковши

ГОСТ 7945-73

»

5

-

Краскопульты ручные

СО-20А

»

2

Вильнюсский завод строительно-отделочных машин Минстройдормаша СССР

Электрокраскопульт

СО-22

»

1

Одесский завод строительно-отделочных машин Минстройдормаша СССР

Машинки для шлифования шпатлевки

ИЭ-2201

»

3

Назрановский завод «Электроинструмент» Минстройдормаша СССР

Краскораспылители пневматические

СО-24А

»

4

Вильнюсский завод строительно-отделочных машин Минстройдормаша СССР

Пистолеты-краскораспылители

СО-72

»

4

То же

Валики пневматические

-

»

2

Трест «Оргтехстрой» Главприокскстроя Минпромстроя СССР

Машинки штукатурно-затирочные

СО-86 (СО-112)

шт.

4

Даугавпилский завод" «Электроинструмент» Минстройдормаша СССР

Баки красконагнетательные

СО-12

»

2

Вильнюсский завод строительно-отделочных машин Минстройдормаша СССР

Щетки стальные прямоугольные

-

»

5

«Гипрооргсельстрой» Минсельстроя СССР

Щетки игольчатые

-

»

4

Трест «Оргтехстром» Главкраснонрскстроя Мннтяжстроя СССР

Валики покрасочные

-

»

4

То же

Шпатели потолочные с резиновым лезвием

-

»

3

»

Шпатели потолочные с карманом для отходов

-

»

5

»

Скребки стеновые

-

»

6

»

Ножи для отделочных работ

ГОСТ 18975-73

»

6

Георгиевский завод «Стройинструмент» Минстройдормаша СССР

Приспособления для окраски труб

-

»

3

«Оргтехстрой» Главнижневолжскстроя Мим-промстроя СССР

Валики спаренные

ГОСТ 10831-72

»

3

Резекненский завод строительного инструмента Минстройдормаша СССР

Метры складные

-

»

4

-

Шнуры в корпусе

ТУ 22-2628-73

»

2

ЦНИИТЭстроймаш Минстройдормаша СССР

Отвесы

О-200, ГОСТ 7948-71

»

2

-

Респираторы

РУ-60,

ГОСТ 17269-71

»

10

-

Ограждения поста механизмов

-

»

10

Трест «Мособлоргтехстрой» Главмособлстроя

Очки защитные

-

»

10

-

Перчатки резиновые

-

пар

20

-

ТЕХНОЛОГИЧЕСКАЯ КАРТА № 8

МОНТАЖ САНИТАРНО-ТЕХНИЧЕСКИХ СИСТЕМ

I. ОБЛАСТЬ ПРИМЕНЕНИЯ

Технологическая карта разработана на основе методов научной организации труда и предназначена для использования при разработке проектов производства работ и организации труда бригад слесарей-сантехников, занимающихся монтажом санитарно-технических систем кирпичного 5-этажного 70-квартирного жилого дома серии 114-87-1/1.

Карта составлена на работы, выполняемые при монтаже внутренних систем отопления, горячего и холодного водоснабжения, канализации.

Система отопления согласно типовому проекту принята однотрубная тупиковая с нижней разводной магистралью по техническому подполью.

Стояки приняты с односторонним подключением нагревательных приборов, располагаемых со смещением от оси оконного проема, при стандартной длине подводок.

Теплоноситель в системе отопления вода, нагретая до температуры 95-70°С.

Нагревательные приборы - чугунные радиаторы М-140, собранные в блоки в мастерских.

В технологическую карту включены следующие работы:

подбор материалов и изделий по сортаменту с подноской их к местам монтажа;

монтаж систем отопления, горячего и холодного водоснабжения, водостока и канализации;

гидравлическое испытание систем отопления и водоснабжения;

испытание водостоков и канализации;

установка ванн, унитазов, умывальников, моек.

Карта может быть использована при монтаже санитарно-технических систем в зданиях подобного типа других серий.

При применении технологической карты необходима привязка ее к местным условиям.

II. УКАЗАНИЯ ПО ТЕХНОЛОГИИ ПРОИЗВОДСТВЕННОГО ПРОЦЕССА

Монтаж санитарно-технических систем в здании допускается при готовности всех этажей здания к выполнению санитарно-технических работ.

До начала санитарно-технических работ на строительную площадку необходимо завезти в контейнерах трубные заготовки систем водоснабжения я канализации, снабженные бирками с указанием номера заказа. Санитарно-техническое оборудование следует разгружать с транспортных средств краном и складировать в местах, предусмотренных строй генпланом.

Для выполнения санитарно-технических работ необходимо выполнение следующих общестроительных работ:

устройство отверстий в фундаментах для ввода и выпуска трубопроводов в соответствии с проектом;

устройство отверстий в стенах и перекрытиях для прохода труб;

установка перегородок и нанесение несмываемой краской отметок чистых полов;

установка подоконных досок;

очистка помещения от строительного мусора;

затирка и окраска за один раз мест установки радиаторов.

Монтажные работы рекомендуется выполнять в такой очередности:

разметить места прокладки трубопроводов отопления горячего и холодного водоснабжения, водостоков и канализации, доставить трубные заготовки;

разметить и установить кронштейны под радиаторные блоки, установить «а кронштейны радиаторные блоки, смонтировать из готовых узлов стояки, произвести гидравлическое испытание системы отопления в целом, произвести проверку системы отопления на тепловой эффект с ее регулировкой.

Трубы перед их установкой должны быть проверены на отсутствие засорения. Концы смонтированных трубопроводов необходимо закрывать инвентарными пробками.

Разборные соединения трубопроводов и ревизии следует устраивать там, где это необходимо по условиям сборки, эти места должны быть доступны для обслуживания.

Расстояние между креплениями горизонтально проложенных канализационных чугунных раструбных труб должно составлять не более 2, а между креплениями стояков - не более 3 м (одно крепление на этаж).

Крепления следует располагать под раструбами.

Сборку канализационных стояков ведут снизу вверх, начиная с технического подполья. Собранные узлы устанавливают и укрепляют на месте, соединяют их с прямыми участками трубопроводов, заделывают раструбы. При сборке стояка раструбы располагают кверху. Для прочистки стояков на высоте 1000 мм от пола устанавливают ревизии.

При монтаже системы отопления должны быть обеспечены проектные положения смонтированных устройств, необходимые плотность соединений и прочность креплений элементов системы, проектные уклоны и прямолинейность трубопроводов на прямых участках, а также предусмотрены возможность удаления воздуха и, в случае необходимости, опорожнения системы.

Санитарные и нагревательные приборы должны быть установлены по отвесу и уровню.

Радиаторные блоки должны устанавливаться на расстоянии от пола не менее 40 мм; от нижней поверхности подоконных досок - не менее 50 мм; от поверхности штукатурки стен - не менее 25 мм.

Внутренние системы холодного, горячего водоснабжения и канализации следует монтировать в соответствии со СНиП III-28-75. «Санитарно-техническое оборудование зданий и сооружений». «Правила производства и приемки работ» и СНиП III-А.11-70. «Техника безопасности в строительстве».

III. УКАЗАНИЯ ПО ОРГАНИЗАЦИИ ТРУДА

Санитарно-технические системы монтирует бригада слесарей-сантехников и газоэлектросварщиков, состоящая из 9 человек.

Состав бригады

Слесари-сантехники:

5разр.-1 (бригадир)

4разр.-2

3разр.-2

2разр.-2

Газоэлектросварщики:

5разр.-1

4разр.-1

По окончании сварочных работ газоэлектросварщики работают в качестве слесарей-сантехников.

Выполнение санитарно-технических работ предусматривается в одну смену.

Монтаж внутренних санитарно-технических работ должен выполняться в соответствии с проектом и эскизными замерами при соблюдении СНиП III-28-75. «Санитарно-техническое оборудование зданий и сооружений» и СНиП III-1-76. «Организация строительного производства». Перед началом работ рекомендуется ознакомиться с «Картами трудовых процессов строительного производства. Монтаж внутренних санитарно-технических систем из укрупненных узлов и блоков». Разработка НИС треста «Киевспецстрой» и треста «Киеворгстрой» Главкиевгорстроя.

После приемки под монтаж здания приступают к санитарно-техническим работам на первом этаже.

В первый день монтажа три слесаря-сантехника (4 разр.-1; 2 разр.-2) выгружают поступающие на объект радиаторные блоки и трубную заготовку, одновременно комплектуя ее по назначению, поднимают на этажи башенным краном и разносят к местам монтажа.

Двое слесарей-сантехников (4 и 3 разр.) размечают места установки, устанавливают кронштейны под радиаторные блоки и навешивают радиаторные блоки на кронштейны.

Слесари-сантехники (5 и 3 разр.), газоэлектросварщики (5 и 4 разр.) размечают места прокладки трубопроводов и устанавливают кронштейны под трубопроводы, укладывают трубопроводы. После окончания выгрузки и разноски трубных заготовок и радиаторных блоков к местам монтажа трое слесарей-сантехников (4 разр.- 1; 2 разр.-2) продолжают работать вместе со слесарями-сантехниками (5 и 3 разр.) и газоэлектросварщиками (5 «и 4 разр.) на монтаже сантехсистем.

Закончив установку всех отопительных радиаторных блоков, двое слесарей-сантехников (4 и 3 разр.) приступают к работе по прокладке трубопроводов. После окончания всех работ по монтажу отопления три слесаря-сантехника (5 разр.-1; 4 разр.-1 и 3 разр.-1) приступают к проверке системы отопления.

Результат гидравлического испытания в присутствии заказчика и генподрядчика оформляется актом.

Звено из трех слесарей-сантехников (3 и 2 разр.) разгружает поступающие санитарно-технические приборы (ванны, умывальники, мойки, унитазы), комплектует и подает их на этажи башенным краном в специальных контейнерах и разносит по местам установки. После завершения этих работ звено слесарей-сантехников вновь приступает к монтажу трубопроводов, а звено из трех .слесарей-сантехников (5 разр.-1; 4 разр.-1 и 3 разр.-1) после окончания работ по пуску тепла в здании приступает к работам II этапа: установке санитарных приборов с присоединением их к трубопроводам, установке смесителей и арматуры, регулировке арматуры, установке уравнителей потенциала.

Закончив укладку всех трубопроводов, слесари-сантехники (4 разр.-2; 3 разр.-2; 2 разр.-2) также приступают к установке санитарных приборов, а газосварщики во главе с бригадиром приступают к испытанию систем холодного и горячего водоснабжения, канализации и водостока, наружному осмотру трубопровода, установке инвентарных заглушек и манометра, присоединению временного водопровода и гидравлического пресса. Системы водоснабжения испытывают под заданным давлением, а канализацию и водосток на герметичность. После окончания испытания выпускают воду из водопровода и канализации, снимают инвентарные заглушки, отсоединяют манометр и гидравлический пресс.

В последний день работы слесари-сантехники промывают системы водоснабжения и канализации.

Для контроля качества работ при монтаже санитарно-технических систем следует руководствоваться картами «Сборника карт операционного контроля качества работ в промышленном и гражданском строительстве на транспорте» № OK VII-125; OK VII-126; OK VII-127; OK VII-128, М., Оргтрансстрой, 1978.

Техника безопасности

Все работы по монтажу внутренних систем отопления, водоснабжения, канализации и водостока выполняют в соответствии с проектом производства работ с соблюдением требований СНиП III-A.11-70. «Техника безопасности в строительстве», Сборника изменений и дополнений к главе СНиП III-A.11-70, «Типовой инструкции по технике безопасности для слесаря-сантехника по внутренним санитарно-техническим работам», М., Оргтрансстрой, 1972, «Типовой инструкции по технике безопасности для работающих с использованием электроинструментов и переносных электрических светильников», М., Оргтрансстрой, 1974, «Типовой инструкции по технике безопасности для сварщика», М., Оргтрансстрой, 1974, «Типовой инструкции по охране труда для газосварщика», М., Оргтрансстрой, 1978.

К работе слесаря-сантехника допускаются лица, прошедшие медицинское освидетельствование, получившие вводный инструктаж и инструктаж на рабочем месте.

При совместной работе с электросварщиком необходимо надевать защитную маску или щиток со стеклом ЭС, либо со стеклом ГС, применяемые при газовой сварке.

Не разрешается курить и разводить огонь на расстоянии менее 10 м от газогенератора. Перемещать баллоны следует на специальных тележках и носилках.

Помещения, в которых монтируют внутренние санитарно-технические системы, должны быть очищены от мусора и примяты сантехниками под монтаж. В этих «помещениях не должно быть сквозняков. Необходимо обеспечить равномерное освещение затемненных мест искусственным светом в соответствии с действующими марками освещенности.

Трубы, детали и трубные заготовки нельзя прислонять к стенам, они должны быть уложены горизонтально.

Слесарям запрещается исправлять электропроводку, рубильники, электрические дрели, устанавливать и менять электролампы. Запрещается в помещениях с повышенной опасностью применять стационарные светильники в качестве переносных ламп. Переносные лампы должны быть заводского изготовления напряжением не выше 36 В.

До начала работ слесари-сантехники должны проверить инструмент. Работать неисправным инструментом запрещаете

Длинномерные узлы трубопроводов, поднимаемые в горизонтальном положении, следует стропить не менее чем двум стропами. Во избежание раскачивания и вращения поднимаемых узлов необходимо применять оттяжки. При перемещении оборудования или узлов трубопроводов запрещается находиться на грузе, проходить под ним и оставлять его на вест

При доставке санитарно-технического оборудования (трубных узлов и блоков, ванн, умывальников, раковин, унитазов смывных бачков и моек) на рабочие места не допускается и сосредоточение в одном месте, в проходах и на лестничных клетках.

Категорически запрещается оставлять оборудование на балконах и в лоджиях.

Вертикальные блоки водопровода и канализации слесари сантехники должны собирать снизу вверх в рукавицах

При установке радиаторных блоков, раковин, умывальников и моек следует надежно удерживать их до закрепления

При гидравлических испытаниях систем запрещается ремонтировать арматуру, ударять по трубопроводам, находиться против заглушек испытываемых труб. Давление в смонтированной системе следует увеличивать постепенно и равномерно

По окончании работ слесари-сантехники обязаны убрать инструмент, оставшиеся материалы и арматуру.


IV. ГРАФИК ВЫПОЛНЕНИЯ ПРОИЗВОДСТВЕННОГО ПРОЦЕССА

Наименование работ

Единица измерения

Объем

Трудоемкость, чел-дн

Состав бригады

Рабочие смены

I этап

Подбор элементов системы по сортаменту, комплектование их по назначению и подноска к местам установки в техподполье и на этажах здания, разгрузка материалов

т

57,3

27

Слесари-сантехники:

4разр.-1

2разр.-2

Разметка мест установки и установка кронштейнов под радиаторные блоки, навеска радиаторных блоков

прибор

198

14

Слесари-сантехники:

4разр.-1

3разр.-1

Разметка мест прокладки трубопроводов и разводок из готовых узлов с производством сварочных работ, устройство водостоков установка регистров

м

8084

220

Слесари-сантехники:

5разр.-1

4разр.-2

3разр.-2

2разр.-2

Сварщики:

5разр.-1

4разр.-1

Рабочая и окончательная (при сдаче) проверка системы отопления, проверке отопительных приборов на прогрев с регулировкой

100 м трубопровода

63,28

21

Слесари-сантехники:

5разр.-1

4разр.-1

3разр.-1

II этап

Установка моек, унитазов, умывальников, ванн, смесителей и арматуры, регулировка арматуры бачков, установка уравнителей потенциалов

прибор

432

60

Слесари-сантехники:

5разр.-1

4разр.-2

3разр.-2

2разр.-2

Сварщики:

5разр.-1

4разр.-1

Испытание систем водопровода, канализации и водостока в техподполье и на этажах

100 м трубопровода

48,15

36

Слесари-сантехники:

5разр.-1

4разр.-1

3разр.-1

Итого:

 

 

378

 

 

Примечание. Цифры над линиями обозначают продолжительность операции в днях, под линиями - число рабочих


V, КАЛЬКУЛЯЦИЯ ЗАТРАТ ТРУДА И ЗАРАБОТНОЙ ПЛАТЫ

Шифр норм и расценок (ЕНиР)

Описание работ

Состав звена

Единица измерения

Объем работ

На единицу измерения

На весь объем

норма времени, чел-ч

расценка, руб.-коп.

нормативные затраты труда, чел-ч

стоимость затрат труда, руб.-коп.

Монтаж системы отопления

§ 1-5,

№ 1б

Разгрузка краном с автомобилей трубной заготовки, радиаторных блоков

Такелажники

2разр.-2

1 т

24

0,292

0-14,4

7,01

3-46

§ 1-6,

табл. 2,

№ 26а

Подъем материалов и изделий башенным краном на высоту до 12 м

Слесари-сантехники:

4разр.-1

2разр.-1

Такелажники

2разр.-2

»

17,5

0,38

0-18,7

6,65

3-27

§ 1-6,

табл. 2,

№ 26а,б

То же на высоту до 18 м

То же

»

6,5

0,438

0-21,59

2,85

1-40

§ 9-1-33,

№ 1

Подбор материалов и изделий по сортаменту, комплектование их по назначению и подноска на расстояние до 50 м

Слесари-сантехники:

4разр.-1

2разр.-1

»

24

3,2

1-79

76,80

42-96

§ 9-1-1,

№ 1,а

Разметка мест прокладки трубопроводов

Слесарь-сантехник

6разр.-1

100 м трубопровода

31,64

1,25

0-98,8

39,55

31-26

§ 9-1-2,

табл. 2,

№ 9,д

Прокладка стальных трубопроводов диаметром до 25 мм с резьбовыми и сварными соединениями

Слесари-сантехники:

4разр.-1

3разр.-1

1 м трубопровода

2159

0,18

0-10,6

388,6

228-85

§ 9-1-2, табл. 2,

№ 10,д

Прокладка стальных трубопроводов диаметром до 10 мм

Слесари-сантехники:

4разр.-1

3разр.-1

1 м трубопровода

162

0,21

0-12,4

34,02

20-09

§ 9-1-2,

табл. 2,

№ 11,д

Прокладка трубопроводов диаметром до 50 мм с резьбовыми и сварными соединениями

То же

То же

57

0,25

0-14,8

14,25

8-44

§ 9-1-2,

табл. 2,

13,д

То же диаметром до 100 мм

»

»

56

0,35

0-20,2

19,6

11-31

§ 9-1-20,

№ 1,б

Установка на трубопроводе чугунных задвижек диаметром 50 мм

»

1 задвижка

2

0,87

0-51,3

1,74

1-03

§ 9-1-11,

табл. 2,

№ 2

Разметка мест установки кронштейнов отопительных регистров

Слесарь

4разр.-1

1 регистр

6

0,066

0-04,1

0,396

0-25

§ 9-1-11,

табл. 2,

№ 7, в

Установка кронштейнов из прокатной стали с заделкой раствором

Слесарь-сантехник

3разр.-1

То же

6

0,59

0-32,7

3,54

1-396

§ 9-1-11,

табл. 4,

№ а

Навешивание регистров массой до 25 кг на ранее установленные кронштейны

Слесари-сантехники:

4разр.-1

3разр.-1

»

6

0,091

0-05,4

0,55

0-32

§ 9-1-12,

табл. 3,

№ 2,б

Установка радиаторов М-140-А0, число секций в радиаторе-4

То же

1 радиатор

72

0,545

0-31

39,24

22-32

§ 9-1-12,

табл. 3,

№ 2,в

То же, число секций в радиаторе до 7

»

То же

70

0,56

0-31,9

39,20

22-33

§ 9-1-12,

табл. 3,

№ 2,г

То же, число секций в радиаторе до 10

»

»

7

0,71

0-40,3

4,97

2-82

§ 9-1-12,

табл. 3,

№ 2д

То же, число секций в радиаторе до 12

»

»

38

0,725

0-41,2

27,55

15-66

§ 9-1-12,

табл. 3,

№ 2,е

Установка радиаторов М-140-А0, число секций в радиаторе до 16

Слесари-сантехники:

4разр.-1

3разр.-1

1 радиатор

11

0,74

0-42,1

8,14

4-63

§ 22-17,

№ 1,3а

Газовая сварка вертикального неповоротного стыка трубопроводов диаметром до 25 мм

Газосварщик

4разр.- 1

10 стыков

55

0,85

0-53,1

46,75

29-21

§ 22-17,

№ 11, 13а

Газовая сварка горизонтального неповоротного стыка трубопроводов диаметром до 25 мм

То же

То же

185

1,1

0-68,8

203,5

127-28

§ 22-17,

№ 6, 8б

Газовая сварка вертикального неповоротного стыка трубопроводов диаметром до 40 мм

»

»

5,5

1,55

0-96,2

8,53

5-29

§ 22-17,

№ 6, 8г

То же диаметром до 50 мм

»

»

5

2,2

1-38

11,00

6-90

§ 22-17,

№ 6, 8ж

То же диаметром до 70 мм

»

»

1,5

2,8

1-55

4,2

2-32

§ 9-1-31,

табл. 2,

№ 2,б

Сверление отверстий в кирпичных стенах

Слесарь-сантехник

3разр.-1

100 отверстий

7,7

3,5

1-94

26,95

14-94

§ 9-1-27,

№ 3,а

Установка подвесных опор для крепления магистральных трубопроводов диаметром до 50 мм

Слесари-сантехники:

5разр.-1

3разр.-1

1 опора

132

0,42

0-26,4

55,44

34,85

§ 9-1-27,

№ 3,б

То же диаметром до 100 мм

То же

»

4

0,5

0-31,4

2,00

1-26

§ 9-1-8,

табл. 1,

№ 7

Проверка на прогрев и регулировка отопительных приборов

Слесарь-сантехник

6разр.-1

1 прибор

198

0,115

0-09,1

22,77

18-02

§ 9-1-8,

табл. 1,

№ 2

Рабочая проверка системы отопления в целом

Слесари-сантехники:

6разр.-1

5разр.-1

4разр.-1

100 м трубопровода

31,64

2,9

2-05

91,76

64-86

§ 9-1-8,

табл. 1,

№ 3

Окончательная проверка системы отопления при сдаче

Слесари-сантехники:

6разр.-1

5разр.-1

То же

31,64

2,4

1-79

75,94

56-64

 

Итого

 

 

 

 

 

1263,44

157,903 чел-дн.

785-38

Монтаж систем холодного и горячего водоснабжения

§ 1-6,

табл. 2,

№ 26,б

Разгрузка с автомашины трубной заготовки башенным краном при массе груза до 0,5 т

Такелажники

2разр-2

100 т трубной заготовки

0.064

38

18-73

2,43

1-20

§ 9-1-33,

№ 1

Подбор материалов и изделий по сортаменту, комплектование их по назначению и подноска на расстояние до 50 м

Слесари-сантехники:

4разр.-1

2разр.-1

1 т

6,4

3,2

1-79

20,48

11-46

§ 9-1-1,

№ 1,б

Разметка мест прокладки трубопроводов

Слесарь-сантехник

6разр.-1

100 м трубопровода

15,1

1,35

1-07

20,38

16-16

§ 9-1-2,

табл. 2,

№ 9,д

Прокладка магистральных трубопроводов диаметром до 25 мм с резьбовыми и сварными соединениями

Слесари-сантехники:

4разр.-1

3разр.-1

1 м трубопровода

7

0,18

0-10,6

1,26

0-74

§ 9-1-2,

табл. 2,

№ 11,д

То же до 50 мм на резьбе и сварке

То же

То же

148

0,25

0-14,8

37,00

21-90

§ 9-1-2,

табл. 2,

№ 1,а

Прокладка стояков и подводки диаметром до 25 мм из готовых узлов, собранных на резьбовых и сварных соединениях, со сверлением отверстий для установки креплений

Слесари-сантехники:

4разр.-1

3разр.-1

1 м трубопровода

1402

0,22

0-13

308,44

182-26

§ 9-1-2,

табл. 2,

№ 2,а

То же до 40 мм

То же

То же

104

0,25

0-14,8

26,00

15-39

§ 9-1-2,

табл. 2,

№ 13,д

Прокладка магистральных трубопроводов диаметром до 100 мм с резьбовыми и сварными соединениями

»

»

212

0,35

0-20,2

74,20

42-82

§ 9-1-2,

табл. 2,

№ 14,д

То же до 125 мм

»

»

23

0,43

0-24,9

9,89

5-73

§ 9-1-23,

№ 13

Установка поливочных кранов

Слесарь-сантехник

4разр.-1

шт.

6

0,29

0-18,1

1,74

1-08

§ 9-1-20,

№ 2,б

Установка чугунных задвижек диаметром до 100 мм

Слесари-сантехники:

4разр.-1

3разр.-1

шт.

6

1,45

0-85,6

8,7

5-13

§ 9-1-31,

табл. 2,

№ 2, б

Сверление отверстий электродрелью

Слесарь-сантехник

3разр.-1

100 отверстий

9,1

3,5

1-94

31,85

17-65

§ 22-17,

№ 11, 13, а

Газовая сварка горизонтальных неповоротных стыков трубопроводов диаметром до 25 мм

Газосварщик

4разр.-1

10 стыков

32,0

1,1

0-68,8

35,20

22-02

§ 22-17,

№ 6, 8, а

Газовая сварка вертикальных неповоротных стыков трубопроводов диаметром до 25 мм

То же

То же

9,0

0,95

0-59,4

8,55

5-35

§ 9-1-8,

табл. 2,

№ 2

Рабочая поверка системы водоснабжения в целом

Слесари-сантехники:

6разр.-1

5разр.-1

4разр.-1

100 м трубопровода

15,1

2,5

1-76

37,75

26-58

§ 9-1-8,

табл. 2,

№ 3

Окончательная проверка системы при сдаче

Слесари-сантехники:

6разр.-1

5разр.-1

То же

15,1

1,8

1-34

27,18

20-23

§ 9-1-23,

№ 9

Установка смесителей настенных комбинированных для ванн и умывальников

Слесарь-сантехник

4разр.-1

шт.

70

0,6

0-37,5

42,00

26-25

§ 9-1-23,

№ 10

Установка смесителей настенных для моек

То же

»

70

0,26

0-16,3

18,2

11-41

 

Итого

 

 

 

 

 

711.25

88,91 чел-дн

433-36

Монтаж системы канализации. Установка санитарных приборов

§ 1-6

табл. 2,

№ 26,б

Разгрузка с автомобилей трубной заготовки башенным краном

Такелажники

2разр.-2

100 т трубной заготовки

0,125

38

18-73

4,75

2-34

§ 1-6,

табл. 2,

№ 26,а

Подъем материалов и изделий башенным краном на высоту до 12 м

То же

1 т

8,2

0,38

0-18,7

3,12

1-53

§ 1-6,

табл. 2,

№ 26,а,б

То же на высоту до 18 м

»

»

4,3

0,438

0-21,59

1,88

0-93

§ 1-6,

табл. 2,

№ 32,а

Подъем башенным краном ванн на высоту до 12 м

»

100 подъемов

0,25

14

6-90

3,5

1-73

§ 1-6,

№ 32,а,б

Подъем башенным краном ванн на высоту до 18 м

»

То же

0,06

16,4

8-08

0,98

0-49

§ 9-1-33,

№ 1

Подбор материалов и изделий по сортаменту, комплектование их по назначению и подноска на расстояние до 50 м

Слесари-сантехники:

4разр.-1

2разр.-1

1 т

12,5

3,2

1-79

40,00

22-38

§ 9-1-33,

№ 1,

Подбор и подноска ванн и фаянсовых изделий на расстояние до 50 м

То же

»

12,7

4

2-23,8

50,80

28-42

§ 9-1-1,

№ 1,в

Разметка мест прокладки трубопроводов

Слесарь-сантехник

6разр.-1

100 м трубопровода

8,17

1,6

1-26

13,07

10-29

§ 9-1-3,

табл. 2,

№ 1,а

Прокладка трубопроводов из чугунных канализационных труб диаметром 50 мм

Слесари-сантехники:

5разр.-1

3разр.-1

1 м трубопровода

368

0,45

0-28,3

165,60

104-14

§ 9-1-3,

табл. 2,

№ 2,а

Прокладка трубопроводов из чугунных труб диаметром 100 мм

То же

То же

316

0,49

0-30,8

154,84

97-32

§ 9-1-2,

табл. 2,

№ 3,а

Прокладка трубопроводов из стальных труб диаметром 50 мм

Слесари-сантехники:

4разр.-1

3разр.-1

»

32

0,28

0-16,5

8,96

5-28

§ 9-1-2,

табл. 2,

№ 2,а

Прокладка трубопроводов из стальных труб диаметром 40 мм

Слесари-сантехники:

4разр.-1

3разр.-1

 

20

0,25

0-14,8

5,00

2-96

§ 9-1-4,

табл. 1,

№ 2,а

Применительно

Прокладка трубопроводов из асбестоцементных труб диаметром 100 мм

Слесарь-сантехник

4разр.-1

100 м трубопровода

0,81

22,3

13-36

18,06

10-82

§ 9-1-14,

табл. 4,

№ 11

Установка унитазов типа «Компакт»

То же

1 унитаз

70

0,32

0-20

22,40

14-00

§ 9-1-14,

табл. 4,

№ 6

Установка смывного бачка для унитаза типа «Компакт»

»

1 бачок

70

0,51

0-31,9

35,70

22-33

§ 9-1-14,

табл. 3,

№ 6,б

Примечание № 1

Установка фаянсового умывальника с пластмассовым бутылочным сифоном

»

1 умывальник

70

1,17

0-73,1

81,90

51-17

§ 9-1-14,

табл. 4,

№ 1

Установка чугунных эмалированных ванн

Слесарь-сантехник

4разр.-1

1 ванна

70

2,4

1-50

168,00

105-00

§ 9-1-36,

№ 1

Установка уравнителей электрических потенциалов между водопроводными трубами и ванной .

Слесарь-сантехник

3разр.-1

100 уравнителей электрических потенциалов

0,70

21

11-66

14,70

8-16

§ 9-1-14,

табл. 3,

№ 1,б

Установка стальных эмалированных моек

Слесарь-сантехник

4разр.-1

1 мойка

70

1,25

0-78,1

87,5

54-67

§ 9-1-8,

табл. 3,

№ 4

Первое рабочее испытание отдельных частей системы канализации

Слесари-сантехники:

5разр.-1

3разр.-1

100 м трубопровода

8,17

17

10-68

138,89

87-26

§ 9-1-8,

табл. 3,

№ 5

Окончательная проверка системы канализации при сдаче

Слесари-сантехники:

5разр.-1

4разр.-1

То же

8,17

9,4

6-24

76.8

50-98

 

Итого

 

 

 

 

 

1096,45

137,06 чел-дн

883-27

Монтаж системы водостоков

§ 9-1-33,

№ 1

Подбор материалов и изделий по сортаменту, их комплектование и подноска на расстояние до 50 м

Слесари-сантехники:

4разр.-1

2разр.-1

1 т

2,2

3,2

1-79

7,04

3-94

§ 9-1-1,

№ 1,в

Ознакомление с рабочими чертежами и разметка мест прокладки трубопроводов

Слесарь-сантехник

6разр.-1

100 м

трубопровода

1,59

1,6

1-26

2,54

2-00

§ 9-1-2,

табл. 2,

№ 13,д

Прокладка трубопровода из стальных бесшовных труб диаметром 89 мм

Слесари-сантехники:

4разр.-1

3разр.-1

I м трубопровода

 

 

 

 

 

§ 9-1-2,

табл. 2,

№ 14,д

То же диаметром 108 мм

То же

То же

2,4

0,43

0-24,9

1,03

0-60

§ 9-1-3,

табл. 1,

№ 2,а

Прокладка чугунных трубопроводов диаметром 100 мм

Слесари-сантехники:

5разр.-1

3разр.-1

»

102

0,49

0-30,8

49,98

31-42

§ 22-14,

табл. 1,

№ 6,8,в

Приварка фланцев к трубопроводам диаметром 80 мм

Электросварщик

4разр.-1

10 фланцев

12

2,8

1-75

3,36

2-10

§ 22-17,

табл. 1,

№ 6,8,о

Газовая сварка трубопроводов диаметром 89 мм

Электросварщик

4разр.-1

100 стыков

0,5

5,2

3-25

2,6

1-63

§ 9-1-8,

табл. 3,

№ 1

Первое рабочее испытание отдельных частей системы водостоков

Слесари-сантехники:

4разр.-1

3разр.-1

100 м трубопровода

1,59

2,8

1-65

4,45

2-62

§ 9-1-8,

табл. 3,

№ 2

Рабочая проверка системы в целом

Слесари-сантехники:

5разр.-1

3разр.-1

То же

1,59

2,1

1-32

3,34

2-10

§ 9-1-8,

табл. 3,

№ 3

Окончательная проверка системы при сдаче

Слесари-сантехники:

5разр.-1

4разр.-1

»

1,59

1,55

1-03

2,46

1-64

 

Итого

 

 

 

 

 

96,05

12.01 чел-дн.

59-16

 

Всего по калькуляции

 

 

 

 

 

3167,19

395,90 чел-дн.

2161-17

VI. ТЕХНИКО-ЭКОНОМИЧЕСКИЕ ПОКАЗАТЕЛИ

Наименование показателей

Единица измерения

По калькуляции А

По графику Б

На сколько процентов показатель по графику больше (+) или меньше (-), чем по калькуляции

Общая трудоемкость

чел-дн

395,9

378

-4,52

Средний разряд рабочих и работ

разряд

4,74

4,69

-1,05

VII. МАТЕРИАЛЬНО-ТЕХНИЧЕСКИЕ РЕСУРСЫ

А. Основные материалы, полуфабрикаты, детали, изделия и конструкции

Наименование

Единица измерения

ГОСТ, марка

Количество

Водоснабжение

 

 

 

Трубы стальные водогазопроводные оцинкованные диаметром 32 мм

м

ГОСТ 3262-75

104

То же 25 мм

»

ГОСТ 3262-75

366

То же 20 мм

»

ГОСТ 3262-75

156

То же 15 мм

»

ГОСТ 3262-75

842

Вентили запорные муфтовые диаметром 32 мм

шт.

15 К418 Бр

12

То же 25 мм

»

15 К418 Бр

85

То же 20 мм

»

15 К418 Бр

-

То же 15 мм

»

15 К418 Бр

238

Краны поливочные диаметром 25 мм

комплект

-

6

Смесители настенные комбинированные для ванн и умывальников

шт.

 

70

Смесители настенные для моек

»

 

70

Канализация

 

 

 

Трубы чугунные канализационные диаметром 100 мм

м

ГОСТ 6942.30-69

344

То же 50 мм

»

ГОСТ 6942.30-69

370

Трапы чугунные канализационные диаметром 100 мм

шт.

ГОСТ 1811-73

6

Трубы стальные диаметром 50 мм

м

ГОСТ 8732-70

32

Водосток

 

 

 

Трубы чугунные напорные диаметром 98

м

ГОСТ 9533-75

96

Трубы чугунные канализационные диаметром 100 мм

»

ГОСТ 69420-69

40

Трубы стальные сечением 89×3,5 мм

»

ГОСТ 8732-70

54

То же сечением 12,1×4 мм

»

ГОСТ 8732-70

2,4

Отопление

 

 

 

Трубы стальные водогазопроводные диаметром 15 мм

м

ГОСТ 3262-75

500

То же 20 мм

»

ГОСТ 3262-75

832

Трехходовые краны

шт.

крт

230

Регистры из стальных труб

»

ГОСТ 10704-76

24

Краны пробочные

»

ГОСТ 13549-71

90

Радиаторы

секция

ГОСТ 8690-75

1484

Фаянсовые изделия

 

 

 

Унитазы «Компакт» с косым выпуском

комплект

ГОСТ 9156-68

70

Умывальники полукруглые фарфоровые

»

ГОСТ 14360-69

70

Смесители для ванны

»

ГОСТ 19874-74

70

Ванны чугунные эмалированные размером 1700×1700

»

ГОСТ 1154-73

70

Мойки чугунные эмалированные

комплект

ГОСТ 7506-73

70

Полотенцесушители диаметром 32 мм

шт.

-

70

Б. Машины, оборудование и инвентарь

Наименование

Единица измерения

ГОСТ, марка, ТУ

Количество

Сварочные трансформаторы

шт.

ТС-300

2

Электросварочный инструмент

комплект

-

2

Газосварочный инструмент

»

ГОСТ 1077-69

2

Кислородные шланги

м

ГОСТ 10362-76

60

Ацетиленовые шланги

»

ГОСТ 9356-75

60

Гидропресс ручной с манометром

шт.

ТУ 146-43

1

Машина сверлильная

шт.

ГОСТ 8524-73

1

Набор напильников

набор

ГОСТ 1465-69

1

Набор трубных ключей № 1, № 2, № 3

комплект

ГОСТ 18981-73

3

Ключи гаечные двухсторонние

»

ГОСТ 10112-71

1

Кувалда кузнечная тупоносая

шт.

ГОСТ 11401-75

1

Молотки слесарные

»

ГОСТ 2310-70

9

Зубила слесарные диаметром 200 мм

»

ГОСТ 7211-72

9

Скарпели длиной 400 мм

»

-

2

Отвертки

»

-

9

Плоскогубцы комбинированные

»

ГОСТ 5547-75

9

Метры складные

»

-

9

Рулетки

»

ГОСТ 7502-69

2

Уровни

»

ГОСТ 9416-76

2

Каски монтажные

»

ГОСТ 17047-71

9

Редукторы ацетиленовые

1 комплект

ГОСТ 13861-68

2

Редукторы кислородные

То же

ГОСТ 13861-68

2

Щитки для электросварщика

шт.

ГОСТ 13161-67

2

Провод для электродуговой сварки с держателем

м

ГОСТ 6731-68

50

Ящики для инструментов

шт.

-

2

Переносные отвесы

»

ГОСТ 7948-71

2

 

 




ГОСТЫ, СТРОИТЕЛЬНЫЕ и ТЕХНИЧЕСКИЕ НОРМАТИВЫ.
Некоммерческая онлайн система, содержащая все Российские Госты, национальные Стандарты и нормативы.
В Системе содержится более 150000 файлов нормативно-технической документации, действующей на территории РФ.
Система предназначена для широкого круга инженерно-технических специалистов.

Рейтинг@Mail.ru Яндекс цитирования

Copyright © www.gostrf.com, 2008 - 2026