Крупнейшая бесплатная информационно-справочная система онлайн доступа к полному собранию технических нормативно-правовых актов РФ. Огромная база технических нормативов (более 150 тысяч документов) и полное собрание национальных стандартов, аутентичное официальной базе Госстандарта. GOSTRF.com - это более 1 Терабайта бесплатной технической информации для всех пользователей интернета. Все электронные копии представленных здесь документов могут распространяться без каких-либо ограничений. Поощряется распространение информации с этого сайта на любых других ресурсах. Каждый человек имеет право на неограниченный доступ к этим документам! Каждый человек имеет право на знание требований, изложенных в данных нормативно-правовых актах!

  


 

ФЕДЕРАЛЬНОЕ АГЕНТСТВО ПО ТЕХНИЧЕСКОМУ РЕГУЛИРОВАНИЮ И МЕТРОЛОГИИ

НАЦИОНАЛЬНЫЙ СТАНДАРТ РОССИЙСКОЙ ФЕДЕРАЦИИ

ГОСТ Р
52350.0-
2005
(МЭК 60079-0:2004)

 

Электрооборудование
для взрывоопасных газовых сред

Часть 0

ОБЩИЕ ТРЕБОВАНИЯ

IEC 60079-0:2004
Electrical apparatus for explosive gas atmospheres -
Part 0: General requirements

(MOD)

Москва

Стандартинформ

2005

 

Предисловие

Цели и принципы стандартизации в Российской Федерации установлены Федеральным законом от 27 декабря 2002 г. № 184-ФЗ «О техническом регулировании», а правила применения национальных стандартов Российской Федерации - ГОСТ Р 1.0-2004 «Стандартизация в Российской Федерации. Основные положения»

Сведения о стандарте

1 ПОДГОТОВЛЕН Рабочей группой Технического комитета по стандартизации ТК 403 «Взрывозащищенное и рудничное электрооборудование»

2 ВНЕСЕН Техническим комитетом по стандартизации ТК 403 «Взрывозащищенное и рудничное электрооборудование»

3 УТВЕРЖДЕН И ВВЕДЕН В ДЕЙСТВИЕ Приказом Федерального агентства по техническому регулированию и метрологии от 6 июня 2005 г. №145-ст

4 Настоящий стандарт модифицирован по отношению к международному стандарту МЭК 60079-0:2004 Электрооборудование для взрывоопасных газовых сред - Часть 0: Общие требования (Electrical apparatus for explosive gas atmospheres - Part 0: General requirements) путем внесения дополнительных требований и технических отклонений, пояснение которых приведено во введении к настоящему стандарту

5 ВВЕДЕН ВПЕРВЫЕ

Информация об изменениях к настоящему стандарту публикуется в ежегодно издаваемом информационном указателе «Национальные стандарты», а текст изменений и поправок в ежемесячно издаваемых информационных указателях «Национальные стандарты». В случае пересмотра (замены) или отмены настоящего стандарта соответствующее уведомление будет опубликовано в ежемесячно издаваемом информационном указателе «Национальные стандарты». Соответствующая информация, уведомление и тексты размещаются также в информационной системе общего пользования - на официальном сайте национального органа Российской Федерации по стандартизации в сети Интернет.

Содержание

1 Область применения

2 Нормативные ссылки

3 Термины и определения

4 Классификация электрооборудования

4.1 Классификация оборудования по группам

4.2 Группа II

5 Температура

5.1 Влияние окружающей среды

5.2 Эксплуатационная температура

5.3 Максимальная температура поверхности

5.4 Температура поверхности и температура самовоспламенения

5.5 Малые элементы

6 Требования к электрооборудованию

6.1 Общие положения

6.2 Механическая прочность

6.3 Время открытия

6.4 Блуждающие токи

6.5 Крепление прокладки

7 Неметаллические оболочки и неметаллические части иных оболочек

7.1 Общие положения

7.2 Теплостойкость

7.3 Заряды статического электричества на неметаллических оболочках или их частях

7.4 Резьбовые отверстия

8 Оболочки, выполненные из материалов, содержащих легкие металлы

8.1 Состав материала

8.2 Резьбовые отверстия

9. Крепежные детали

9.1 Общие положения

9.2 Специальные крепежные детали

9.3 Отверстия для специальных крепежных деталей

10 Блокировка

11 Проходные изоляторы

12 Материалы, используемые в качестве герметиков

13 Ex-компоненты

13.1 Общие положения

13.2 Установка внутри (снаружи) электрооборудования

13.3 Установка снаружи электрооборудования

14 Вводные устройства и соединительные контактные зажимы

14.1 Общие сведения

14.2 Проемы соединений

14.3 Вид взрывозащиты

14.4 Пути утечки и воздушные зазоры

15 Соединительные контактные зажимы для заземляющих или защитных проводников

15.1 Внутренние соединения

15.2 Внешние соединения

15.3 Электрооборудование, не требующее заземления

15.4 Размер соединительных контактных зажимов

15.5 Защита от коррозии

15.6 Безопасность

16 Вводы в оболочках

16.1 Общие положения

16.2 Спецификация вводов

16.3 Кабельные вводы

16.4 Заглушки

16.5 Температура проводника

17 Дополнительные требования к вращающимся электрическим машинам

17.1 Вентилятор и вентиляционный кожух

17.2 Вентиляционные отверстия для наружных вентиляторов

17.3 Конструкция и монтаж вентиляционных систем

17.4 Зазоры для вентиляционных систем

17.5 Материалы для наружных вентиляторов и кожухов

17.6 Защитные проводники

18 Дополнительные требования к коммутационным аппаратам

18.1 Горючий диэлектрик

18.2 Разъединители

18.3 Обеспечение запирания электрооборудования группы I

18.4 Крышки и двери

19 Дополнительные требования к предохранителям

20 Дополнительные требования к соединителям

20.1 Блокировка

20.2 Вилки под напряжением

21 Дополнительные требования к световым приборам

21.1 Общие положения

21.2 Крышки

21.3 Специальные лампы

22 Дополнительные требования к головным и ручным светильникам

22.1 Группа 1

22.2 Группа II

23 Электрооборудование» содержащее элементы и батареи

23.1 Батареи

23.2 Типы элементов

23.3 Элементы в батарее

23.4 Использование батарей

23.5 Совместное использование

23.6 Взаимозаменяемость

23.7 Заряд первичных батарей

23.8 Утечка

23.9 Подключение

23.10 Расположение

23.11 Замена элементов или батарей

24 Документация

25 Соответствие прототипа или образца документации

26. Испытания

26.1 Общие положения

26.2 Условия испытаний

26.3 Испытания во взрывоопасных испытательных смесях

26.4 Испытание оболочек

26.5 Тепловые испытания

26.6 Испытание проходных изоляторов крутящим моментом

26.7 Неметаллические оболочки или неметаллические части иных оболочек

26.8 Теплостойкость

26.9 Холодостойкость

26.10 Светостойкость

26.11 Стойкость электрооборудования группы I к воздействию химических агентов

26.12 Проверка целостности заземления

26.13 Испытание по определению сопротивления изоляции частей оболочек из неметаллических материалов

26.14 Испытание на неспособность накапливать опасный заряд статического электричества

26.15 Измерение емкости

27 Контрольные проверки и испытания

28. Ответственность изготовителя

28.1 Сертификат

28.2 Ответственность за маркировку

29 Маркировка

29.1 Расположение маркировки

29.2 Общие положения Маркировка должна включать в себя:

29.3 Виды взрывозащиты

29.4 Порядок маркировки

29.5 Ex-компоненты

29.6 Малогабаритные оборудование и Ex-компоненты

29.7 Особо малогабаритные оборудование и Ex-компоненты

29.8 Предупредительные надписи

29.9 Элементы и батареи

29.10 Примеры маркировки

30 Руководства по эксплуатации

30.1 Общие положения

30.2 Элементы и батареи

Приложение А (обязательное) Ex-кабельные вводы

Приложение В (обязательное) Требования к Ex-компонентам

Приложение С (справочное) Пример установки для испытаний на ударостойкость

Приложение D (рекомендуемое) Сведения о соответствии ссылочных международных стандартов межгосударственным стандартам и национальным стандартам Российской Федерации, использованным в настоящем стандарте

Библиография

Введение

Настоящий стандарт является основополагающим в комплексе государственных стандартов на электрооборудование, предназначенное для использования во взрывоопасных газовых средах. Комплекс стандартов разрабатывается на основе применения международных стандартов Технического комитета по стандартизации ТК 31 МЭК «Электрооборудование для взрывоопасных газовых сред».

В настоящем стандарте, разработанном на основе МЭК 60079-0:2004 (четвертое издание), изложены общие технические требования и методы испытаний взрывозащищенного электрооборудования независимо от реализованных в нем видов взрывозащиты, за исключением пунктов, действие которых ограничено в стандартах на взрывозащиту конкретных видов.

По сравнению с третьим изданием МЭК 60078-0-98 и, соответственно, национальным стандартом ГОСТ Р 51330.0-99 в текст настоящего стандарта внесены следующие изменения.

Изменены стандартные атмосферные условия.

Введены новые стандарты по головным светильникам, искробезопасным системам, оборудованию для зоны 0, электрическим резистивным нагревателям.

Уточнено значение знака «s».

Определения параметров «U», «X» исправлены в соответствии с текущим использованием.

Использовано определение «Ex-компонента» из МЭК60079-18:2004.

Даны новые определения «ограниченной энергии» для общего использования взрывозащиты видов «i» и «n».

Использовано определение «батарея» из МЭК 60079-7:2001 [1].

Дополнено определение «температура окружающей среды».

Дополнено определение «продолжительная рабочая температура».

Использовано определение «сертификат» из МЭК 60079-15:2001 [2] с изменениями в соответствии с ИСО/МЭК 17000 [3].

Дополнено определение «кабельный ввод».

Раздел 5 дополнен в отношении влияния температур окружающей среды, внутренних источников нагревания и внешних источников нагревания и охлаждения.

Использованы методики испытаний малых компонентов на воспламенение, описанные в МЭК 60079-11-99 и МЭК 60079-15:2001.

Приведены требования к соединениям, описанные в МЭК 60079-7:2001 [1] и МЭК 60079-15:2001.

В целях расширения использования стандарт дополнен требованиями к уплотнительным прокладкам, описанным в МЭК 60079-15:2001 [2].

В качестве альтернативы к температурному индексу (TI) введен относительный температурный индекс (RTI).

Использованы и усовершенствованы требования по электростатике из МЭК 60079-15:2001 и МЭК 60079-26:2004 [4], применяемые к группам I и II.

Включены дополнительные методы испытаний для оценки неспособности накапливать заряды статического электричества при использовании неметаллических материалов.

Использованы и рационализированы требования МЭК 60079-15:2001 [2] и МЭК 60079-26:2004 [4] к материалам, содержащим легкие металлы, применяемые к группам I и II.

Дополнен методом испытания по определению возможности использования неметаллической стенки оболочки в соединениях с заземлением.

Раздел 16 изложен в новой редакции в соответствии с промышленным использованием терминов «кабельный ввод» и «трубный ввод».

Использованы требования к эквипотенциальным соединениям для машин из МЭК 60079-7:2001 [1] и МЭК 60079-15:2001 [2].

Требования по разъединителям в коммутационных аппаратах и световых приборах изменены для обеспечения степени защиты IP20 в частях, находящихся под напряжением, и приведены указания по дополнительной маркировке.

Использованы общие требования для элементов и батарей из МЭК 60079-7:2001 [1] и МЭК 60079-15:2001 [2].

Включены изменения в описание испытания на ударостойкость: вместо энергии в джоулях приведена высота падения в метрах.

Определено применение температурных пределов 5 °С и 10 °С для типовых испытаний образцов.

Определен порядок проведения испытаний неметаллических материалов.

Определено количество образцов и порядок проведения испытаний неметаллических материалов.

Определен порядок маркировки.

Определены детали маркировки связанного оборудования.

Определена маркировка специальных газов.

Определена маркировка температурных классов.

Определено применение обязательного сертификационного номера,

Определена маркировка малогабаритного оборудования.

Все предупреждающие надписи сведены в таблицу.

Приведены примеры маркировки.

Добавлен раздел о руководствах по эксплуатации.

Исключено приложение А, т.к. вся информация изложена более доступно в соответствующих стандартах (МЭК 60079-20-96).

Изменено приложение А (ранее В) для кабельного ввода.

Известно, что с развитием технологий становится возможным предотвратить воспламенение взрывоопасных газовых сред путем использования не только требований серии стандартов ГОСТ Р 51330 (МЭК 60079), но и методов, которые еще полностью не определены. Если изготовитель желает применить такие разработки, он может частично использовать настоящий стандарт, а также стандарты серии ГОСТ Р 51330 (МЭК 60079) на взрывозащиту конкретных видов.

В технической документации изготовитель должен указать, как были использованы стандарты серии ГОСТ Р 51330 (МЭК 60079), а также подробно описать дополнительные методы и средства обеспечения безопасности электрооборудования согласно ГОСТ 22782.3. В этом случае знак «s» используется для обозначения метода взрывозащиты по ГОСТ 22782.3, но который в стандартах серии ГОСТ Р 51330 (МЭК 60079) еще полностью не описан. В этом случае при использовании соответствия нового метода взрывозащиты одному или нескольким стандартам серии ГОСТ Р 51330 (МЭК 60079) предъявление претензий невозможно.

В настоящий стандарт включены дополнительные по отношению международному стандарту МЭК 60079-0:2004 положения (фразы), отражающие потребности национальной экономики страны, выделенные курсивом, а именно:

- в разделе 1 и пункте 29.2 d) наряду с термином вида взрывозащиты «повышенная безопасность», принятым в международных стандартах серии МЭК 60079, приведен (в скобках) принятый в государственных стандартах термин этого вида взрывозащиты «защита вида «e»;

- в разделе 2 приведены государственные стандарты, на которые даются ссылки в тексте настоящего стандарта при установлении требований к крепежным элементам (пункты 9.2 и 9.3), неметаллическим материалам (пункты 7.1.3 d), 26.10.2 и 26.10.3, 26.11, 26.12 и А.3.3) и тяговым аккумуляторам и аккумуляторным батареям (раздел 23) для электрооборудования отечественных производителей для внутри российских поставок;

- в пункте 3.14 уточнено требование о дополнительном рассмотрении Ex-компонента при встраивании его в электрооборудование или системы, предназначенные для использования во взрывоопасных газовых средах, для подтверждения соответствия взрывозащитных свойств требованиям нормативных документов;

- в пунктах 4.1 и 29.10 указана расшифровка рудничного газа (метана) в соответствии с его определением по ГОСТ Р 51330.19 (таблица 1, пункт 183);

- в пунктах 29.2 j), 29.3, 29.6, 29.7 и 29.10 приведена дополнительная маркировка для электрооборудования отечественных производителей для внутрироссийских поставок и импортируемого электрооборудования (за исключением связанного электрооборудования, которое не может быть установлено в опасной зоне) путем нанесения знака уровня взрывозащиты, размещаемого перед знаком Ex в соответствии с 27.2 с) ГОСТ Р 51330.0, знака X после маркировки взрывозащиты, наименования или знака российского органа по сертификации и номера сертификата;

- в пунктах 29.5-29.7 и 29.10 приведена дополнительная маркировка для Ex-компонентов отечественных производителей для внутрироссийских поставок и импортируемого электрооборудования путем размещения знака U после маркировки взрывозащиты, нанесения наименования или знака российского органа по сертификации и номера сертификата.

По мере принятия национальных стандартов, гармонизированных со стандартами МЭК и ИСО и приведенных в разделе «Библиография» (идентичных международным или модифицированных), а также нормативных документов, определяющих область применения электрооборудования для взрывоопасных газовых сред в зависимости от уровня его взрывозащиты или категории применения, в настоящий стандарт будут вноситься соответствующие изменения.

НАЦИОНАЛЬНЫЙ СТАНДАРТ РОССИЙСКОЙ ФЕДЕРАЦИИ

Электрооборудование для взрывоопасных газовых сред

Часть 0
ОБЩИЕ ТРЕБОВАНИЯ
Electrical apparatus for explosive gas atmospheres - Part 0: General requirements

 

Дата введения - 2007-01-01

1 Область применения

Настоящий стандарт устанавливает общие требования по конструированию, испытанию и маркировке взрывозащищенного электрооборудования и Ex-компонентов, предназначенных для использования во взрывоопасных газовых средах.

Если не указано иное, в одном из стандартов серии ГОСТ Р 51330 на взрывозащиту конкретных видов, электрооборудование, соответствующее настоящему стандарту, предназначено для использования во взрывоопасных средах газа, пара или тумана при нормальных атмосферных условиях:

- температуре от минус 20 °С до плюс 60 °С;

- давления от 80 до 110 кПа (от 0,8 до 1,1 бар);

- воздухе с содержанием кислорода примерно 21 % по объему.

Применение электрооборудования в других атмосферных условиях требует дополнительной оценки и, при необходимости, испытаний.

Примечания

1 Определение максимальной температуры поверхности основано на рабочей температуре окружающей среды от минус 20 °С до плюс 40 °С, если изготовитель не указал иное. См. также 5.1.1.

2 При конструировании оборудования, предназначенного для использования во взрывоопасных газовых средах в условиях, отличающихся от указанных выше, настоящий стандарт может использоваться как руководство. Однако рекомендуется проведение дополнительных испытаний, связанных непосредственно с предполагаемыми условиями применения. Это особенно важно при использовании видов взрывозащиты «взрывонепроницаемая оболочка «d» (ГОСТ Р 51330.1) и «искробезопасная цепь «i» (ГОСТ Р 51330.10).

3 Требования настоящего стандарта были установлены по результатам оценки опасности воспламенения, проведенной на электрооборудовании. Были использованы такие источники воспламенения, как нагретые поверхности, фрикционные искры, термические реакции, электрическое искрение и разряд статического электричества при нормальных эксплуатационных условиях. Для оценки воздействия других источников воспламенения, таких как адиабатическое сжатие, ударная волна, экзотермическая химическая реакция, самовоспламенение пыли, открытое пламя, горячие газы/жидкости, должен быть проведен анализ опасности при использовании оборудования, в соответствии с которым определяют и устанавливают все потенциальные источники воспламенения, которые могут возникнуть при использовании электрооборудования, а также меры, которые следует принимать для устранения их возникновения.

Настоящий стандарт устанавливает общие требования безопасности электрооборудования, непосредственно связанного с опасностью воспламенения окружающей его взрывоопасной среды.

Стандарт дополняет или заменяет отдельные разделы требований действующих в настоящее время стандартов серии ГОСТР 51330 на взрывозащиту конкретных видов:

Издание официальное

ГОСТ Р 51330.1 - Взрывонепроницаемая оболочка («d»);

ГОСТ Р 51330.3 - Заполнение или продувка оболочки под избыточным давлением («p»);

ГОСТ Р 51330.6 - Кварцевое заполнение оболочки («q»);

ГОСТ Р 51330.7 - Масляное заполнение оболочки («o»);

ГОСТ Р 51330.8 и МЭК 60079-7 - Защита вида «e»;

ГОСТ Р 51330.10 - Искробезопасная электрическая цепь («i»);

ГОСТ Р 51330.14 и МЭК 60079-15 - Защита вида «n»;

ГОСТ Р 51330.17 - Герметизация компаундом («m»).

Настоящий стандарт дополнен следующими стандартами на оборудование:

МЭК 60079-25 [5];

МЭК 60079-26 [4];

ГОСТ Р 52065;

МЭК 61951-1;

ГОСТ Р МЭК 62086-1,

Настоящий стандарт, стандарты на взрывозащиту конкретных видов, а также дополнительные стандарты, упомянутые выше, не распространяются на электрические медицинские изделия, приборы электровзрывания, приборы для проверки электродетонаторов и взрывных цепей.

2 Нормативные ссылки

В настоящем стандарте использованы ссылки на следующие стандарты:

ГОСТ 9.030-74 Единая система защиты от коррозии и старения. Резины. Методы испытаний на стойкость в ненапряженном состоянии к воздействию жидких агрессивных сред*

ГОСТ 1481-84 Винты установочные с шестигранной головкой и цилиндрическим концом классов точности Аи В. Конструкция и размеры*

ГОСТ 4647-80 Пластмассы. Метод определения ударной вязкости по Шарпи*

ГОСТ 4648-71 Пластмассы. Метод испытания на статический изгиб*

ГОСТ 5915-70 Гайки шестигранные класса точности В. Конструкция и размеры*

ГОСТ 5927-70 Гайки шестигранные класса точности А. Конструкция и размеры*

ГОСТ 8724-2002 (ИСО 261-98) Основные нормы взаимозаменяемости. Резьба метрическая. Диаметры и шаги

ГОСТ 8878-93 (ИСО 4027-77) Винты установочные с коническим концом и шестигранным углублением «под ключ» классов точности А и В. Технические условия

ГОСТ 10605-94 (ИСО 4032-8) Гайки шестигранные с диаметром резьбы свыше 48 мм класса точности В. Технические условия

ГОСТ 11074-93 (ИСО 4026-77) Винты установочные с плоским концом и шестигранным углублением «под ключ» классов точности Аи В. Технические условия

ГОСТ 11075-93 (ИСО 4028-77) Винты установочные с цилиндрическим концом и шестигранным углублением «под ключ» классов точности Аи В. Технические условия

ГОСТ 11262-80 Пластмассы. Метод испытания на растяжение*

ГОСТ 11284-75 Отверстия сквозные под крепежные детали. Размеры*

ГОСТ 11738-84 (ИСО 4762-77) Винты с цилиндрической головкой и шестигранным углублением «под ключ» класса точности А, Конструкция и размеры

ГОСТ 14254-96 (МЭК 529-89) Степени защиты, обеспечиваемые оболочками (Код IP)

ГОСТ 16093-2004 (ИСО 965-1:1998, ИСО 965-3:1998) Основные нормы взаимозаменяемости. Резьба метрическая. Допуски. Посадки с зазором

ГОСТ 17494-87 (МЭК 34-5-81) Машины электрические вращающиеся. Классификация степеней защиты, обеспечиваемых оболочками вращающихся электрических машин

ГОСТ 20403-75 Резина, Метод определения твердости в международных единицах (от 30 до 100 IRHD)

ГОСТ 21341-75 Пластмассы и эбонит. Метод определения теплостойкости по Мартенсу*

* Для электрооборудования отечественных производителей при внутрироссийских поставках.

ГОСТ 22782.3-77 Электрооборудование взрывозащищенное со специальным видом взрывозащиты. Технические требования и методы испытаний.

ГОСТ 25347-82 Основные нормы взаимозаменяемости. ЕСДП. Поля допусков и рекомендуемые посадки*

ГОСТ 27174-86 (МЭК 623-83) Аккумуляторы и батареи аккумуляторные щелочные никель-кадмиевые негерметичные емкостью до 150 А·ч. Общие технические условия

ГОСТ 28964-91 (ИСО 4029-77) Винты установочные с шестигранным углублением и засверленным концом. Технические условия

ГОСТ 29111-91 (МЭК 95-1-88) Свинцово-кислотные стартерные батареи. Часть 1. Общие требования и методы испытаний

ГОСТ Р МЭК 86-1-96 Батареи первичные. Часть 1. Общие положения

ГОСТ Р 50030.1-2000 (МЭК 60947-1-99) Низковольтная аппаратура распределения и управления. Часть 1. Общие требования

ГОСТ Р 50793-95 (ИСО 4017-88) Болты с шестигранной головкой с резьбой до головки классов точности Аи В. Технические условия

ГОСТ Р 50796-95 (ИСО 4014-88) Болты с шестигранной головкой классов точности А и В. Технические условия

ГОСТ Р 51330.0-99 (МЭК 60079-0-98) Электрооборудование взрывозащищенное. Часть 0. Общие требования

ГОСТ Р 51330.1-99 (МЭК 60079-1-98) Электрооборудование взрывозащищенное. Часть 1. Взрывозащита вида «взрывонепроницаемая оболочка»

ГОСТ Р 51330.3-99 Электрооборудование взрывозащищенное. Часть 2. Заполнение или продувка оболочки под избыточным давлением «p»

ГОСТ Р 51330.5-99 (МЭК 60079-4-75) Электрооборудование взрывозащищенное. Часть 4. Метод определения температуры самовоспламенения

ГОСТ Р 51330.6-99 (МЭК 60079-5-97) Электрооборудование взрывозащищенное. Часть 5. Кварцевое заполнение оболочки «q»

ГОСТ Р 51330.7-99 (МЭК 60079-6-95) Электрооборудование взрывозащищенное. Часть 6. Масляное заполнение оболочки «o»

ГОСТ Р 51330.8-99 Электрооборудование взрывозащищенное. Часть 7. Защита вида «e»

ГОСТ Р 51330.9-99 (МЭК 60079-10-99) Электрооборудование взрывозащищенное. Часть 10. Классификация взрывоопасных зон

ГОСТ Р 51330.10-99 (МЭК 60079-11-99) Электрооборудование взрывозащищенное. Часть 11. Искробезопасная электрическая цепь «i»

ГОСТ Р 51330.11-99 (МЭК 60079-12-78) Электрооборудование взрывозащищенное. Часть 12. Классификация смесей газов и паров с воздухом по безопасным экспериментальным зазорам и минимальным воспламеняющим токам

ГОСТ Р 51330.13-99 (МЭК 60079-14-96) Электрооборудование взрывозащищенное. Часть 14. Электроустановки во взрывоопасных зонах (кроме подземных выработок)

ГОСТ Р 51330.14-99 Электрооборудование взрывозащищенное. Часть 15. Защита вида «n»

ГОСТ Р 51330.17-99 (МЭК 60079-18-92) Электрооборудование взрывозащищенное. Часть 18. Взрывозащита вида «герметизация компаундом (т)»

ГОСТ Р 51330.19-99 (МЭК 60079-20-96) Электрооборудование взрывозащищенное. Часть 20. Данные по горючим газам и парам, относящиеся к эксплуатации электрооборудования

ГОСТ Р 52065-2003 (МЭК 62013-1-99) Светильники головные рудничные взрывозащищенные. Часть 1. Общие требования и методы испытаний

ГОСТ Р МЭК 60622-2002 Аккумуляторы и батареи щелочные. Аккумуляторы никель-кадмиевые герметичные призматические

ГОСТ Р МЭК 61056-1-99 Портативные свинцово-кислотные аккумуляторы и батареи закрытого типа. Часть 1. Общие требования, функциональные характеристики. Методы испытаний

Для электрооборудования отечественных производителей при внутрироссийских поставках.

ГОСТ Р МЭК 61436-2004 Аккумуляторы и батареи, содержащие щелочные или другие некислотные электролиты. Аккумуляторы никель-метал-гидридные герметичные

ГОСТ Р МЭК 61951-1-2004 Аккумуляторы и аккумуляторные батареи, содержащие щелочные или другие некислотные электролиты. Портативные герметичные аккумуляторы. Часть 1. Никель-кадмий

ГОСТ Р МЭК 62086-1-2003 Электрооборудование взрывозащищенное. Нагреватели электрические резистивные для потенциально взрывоопасных сред. Часть 1. Общие требования и методы испытаний

Примечание - При пользовании настоящим стандартом целесообразно проверить действие ссылочных стандартов и классификаторов в информационной системе общего пользования - на официальном сайте национального органа Российской Федерации по стандартизации в сети Интернет или по ежегодно издаваемому информационному указателю «Национальные стандарты», который опубликован по состоянию на 1 января текущего года, и по соответствующим ежемесячно издаваемым информационным указателям, опубликованным в текущем году. Если ссылочный документ заменен (изменен), то при пользовании настоящим стандартом следует руководствоваться замененным (измененным) документом. Если ссылочный документ отменен без замены, то положение, в котором дана ссылка на него, применяется в части, не затрагивающей эту ссылку.

3 Термины и определения

В настоящем стандарте применены следующие термины с соответствующими определениями:

3.1 температура окружающей среды; Температура воздуха или другой среды в непосредственной близости от оборудования или компонента.

Примечание - Это не относится к температуре технологической среды, если только оборудование или компонент не погружены полностью в данную технологическую среду. См. 5.1.1.

3.2 связанное оборудование: Электрооборудование, которое содержит как искробезопасные, так и искроопасные цепи, при этом конструкция электрооборудования выполнена так, что искроопасные цепи не могут оказывать отрицательного влияния на искробезопасные цепи.

Примечание - Связанное оборудование может:

а) иметь взрывозащиту другого вида, отвечающую требованиям применения во взрывоопасной зоне;

б) не иметь взрывозащиты, например, регистрирующий прибор, расположенный вне взрывоопасной зоны с входной искробезопасной цепью термопары, установленной во взрывоопасной зоне.

3.3 Элементы и батареи

3.3.1 батарея: Устройство, состоящее из двух или более элементов, соединенных электрически для повышения напряжения или емкости.

3.3.2 емкость: Количество электричества или электрический заряд, который в обозначенных условиях обеспечивает полностью заряженная батарея.

3.3.3 элемент: Система электродов и электролит, образующие наименьший электрический блок батареи.

3.3.4 заряд: Пропускание тока через аккумулятор или батарею для восстановления первоначально накопленной энергии в направлении, противоположном току, проходящему через аккумулятор или батарею в нормальном режиме работы.

3.3.5 глубокий разряд: Снижение напряжения элемента ниже значения, рекомендованного изготовителем элемента или батареи.

3.3.6 безопасный элемент ил и батарея: Первичный элемент (или батарея), в котором (й) ток короткого замыкания и максимальная температура поверхности ограничены до безопасного значения внутренним сопротивлением.

3.3.7 максимальное напряжение разомкнутой цепи: Максимальное напряжение элемента или батареи в нормальном режиме работы, т. е. от нового первичного элемента или аккумулятора сразу же после заряда.

Примечание - См. таблицы 6 и 7, в которых показано максимальное напряжение разомкнутой цепи, допустимое для элементов.

3.3.8 номинальное напряжение: Напряжение элемента или батареи, указанное изготовителем.

3.3.9 негерметичный элемент или батарея: Аккумулятор (или батарея), имеющий (я) крышку с отверстием, через которое выходят газы.

3.3.10 первичный элемент или батарея: Электрохимическая система, способная вырабатывать электроэнергию путем химической реакции.

3.3.11 обратный заряд: Пропускание через первичный элемент или аккумулятор (например, через выработавшую свой ресурс батарею) тока, имеющего такое же направление, как и ток в нормальном режиме работы.

3.3.12 герметичный элемент или батарея: Элемент или батарея, выполненные в герметичной оболочке, через которую не выделяется газ или жидкость в условиях эксплуатации, определенных изготовителем.

Примечания

1 Такие элементы и батареи могут быть снабжены устройством безопасности, предохраняющим от опасного высокого внутреннего давления, не требуют добавления электролита и предназначены для работы в течение всего срока службы, указанного изготовителем.

2 Данное определение соответствует ГОСТ Р 51330.10.

3.3.13 герметичный элемент или батарея с регулирующим клапаном: Элемент или батарея, выполненные в герметичной оболочке, не выделяющие газ в нормальном режиме работы, но имеющие предохранительный клапан, позволяющий сбрасывать избыточное давление газа, если внутреннее давление превышает заданную величину. Эти элементы или батареи не требуют добавления электролита.

3.3.14 аккумулятор или аккумуляторная батарея: Электрически перезаряжаемая электрохимическая система, способная накапливать электроэнергию и выдавать ее путем химической реакции.

3.4 проходной изолятор: Изолирующее устройство, обеспечивающее прохождение одного или нескольких проводников через внутреннюю или наружную стенку оболочки.

3.5 кабельный ввод: Устройство, позволяющее ввести в электрооборудование один или несколько электрических и/или оптоволоконных кабелей таким образом, чтобы обеспечивалась взрывозащита соответствующего вида.

3.5.1 элемент крепления кабеля в кабельном вводе: Элемент кабельного ввода, предотвращающий передачу на жилы и контактные зажимы усилий, возникающих при растягивающих или скручивающих нагрузках на кабель.

3.5.2 нажимной элемент: Элемент кабельного ввода, воздействующий на уплотнительное кольцо и обеспечивающий возможность полного выполнения этим кольцом его функции.

3.5.3 уплотнительное кольцо: Кольцо, используемое в кабельном или трубном вводе для уплотнения кабеля или трубопровода.

3.5.4 Ex-кабельный ввод: Кабельный ввод, испытываемый отдельно от оболочки оборудования, но сертифицируемый так же, как и оборудование. При монтаже кабельный ввод может быть установлен на оболочке.

3.6 сертификат: Документ, подтверждающий соответствие изделия, процесса, системы, лица или организации установленным требованиям.

Примечание - Сертификатом может быть либо декларация поставщика о соответствии либо признание потребителем такого соответствия или сертификата (как результата действий третьей стороной) согласно ИСО/МЭК 17000 [3].

3.7 трубный ввод: Устройство ввода трубы в электрооборудование, обеспечивающее взрывозащиту соответствующего вида.

3.8 соединительные контактные зажимы: Зажимы, винты и другие элементы в электрооборудовании, используемые для электрического присоединения проводников внешних цепей,

3.9 температура при продолжительной работе: Максимальная температура, при которой сохраняется устойчивость и целостность материала в течение ожидаемого срока службы электрооборудования или его части при применении по назначению.

3.10 степень защиты оболочки IP: По ГОСТ 14254.

Числовые значения после кода IP в ГОСТ 14254 характеризуют:

- защиту персонала от прикосновения или доступа к находящимся под напряжением или движущимся частям (за исключением гладких вращающихся валов и т. п.), расположенным внутри оболочки;

- защиту электрооборудования от проникновения в него твердых посторонних тел;

- защиту электрооборудования от вредного проникновения воды.

Примечание - Оболочка взрывозащиты, обеспечивающая защиту электрооборудования, не обязательно идентична оболочке электрооборудования для видов, перечисленных в разделе 1.

3.11 электрооборудование: Устройства, применяемые целиком или по частям и использующие электрическую энергию.

Примечание - Кроме того, устройства осуществляют генерирование, передачу, распределение, хранение, измерение, регулирование, преобразование и потребление электроэнергии, а также включают в себя средства для ее передачи.

3.12 Электрические параметры оборудования, содержащего электрические цепи с ограниченной энергией (искробезопасные)

3.12.1 максимальная внешняя емкость (C0): Максимальная емкость искробезопасной цепи, которая может быть подключена к соединительным устройствам электрооборудования без нарушения вида его взрывозащиты.

3.12.2 максимальная внешняя индуктивность (Lo): Максимальная индуктивность искробезопасной цепи, которая может быть подключена к соединительным устройствам электрооборудования без нарушения вида его взрывозащиты.

3.12.3 максимальный входной ток (Ii): Максимальный ток (постоянный или амплитудное значение переменного), который может протекать в соединительных устройствах искробезопасной цепи электрооборудования без нарушения вида его взрывозащиты.

3.12.4 максимальная входная мощность (Pi): Мощность, подводимая к соединительным устройствам искробезопасных цепей электрооборудования без нарушения вида его взрывозащиты.

3.12.5 максимальное входное напряжение (Ui): Максимальное напряжение постоянного тока или амплитудное значение напряжения переменного тока, которое может быть приложено к соединительным устройствам искробезопасных цепей электрооборудования без нарушения вида его взрывозащиты.

3.12.6 максимальная внутренняя емкость (Ci): Максимальная эквивалентная внутренняя емкость, которая может оказаться на соединительных устройствах электрооборудования.

3.12.7 максимальная внутренняя индуктивность (Li): Суммарная эквивалентная внутренняя индуктивность, которая может оказаться на соединительных устройствах электрооборудования.

3.12.8 максимальный выходной ток (Io): Максимальный выходной ток (постоянный или амплитудное значение переменного), который может протекать в соединительных устройствах электрооборудования.

3.12.9 максимальная выходная мощность (Po): Максимальная электрическая мощность на выходной цепи электрооборудования.

3.12.10 максимальное выходное напряжение (Uo): Максимальное напряжение постоянного тока или амплитудное значение напряжения переменного тока, которое может появиться на соединительных устройствах электрооборудования в случае приложения любого напряжения, включающее в себя и максимальное напряжение,

3.12.11 максимальное напряжение постоянного тока или эффективное значение напряжения переменного тока (Um): Максимальное напряжение, которое может быть приложено к соединительным устройствам искроопасных цепей связанного электрооборудования без нарушения вида его взрывозащиты.

3.13 оболочка: Совокупность стенок, дверей, крышек, кабельных вводов, тяг, валиков управления, валов и т. п. частей, которые содействуют обеспечению вида взрывозащиты и/или степени защиты IР электрооборудования.

3.14 Ex-компонент: Часть электрооборудования или элемента конструкции (кроме Ex-кабельного ввода), отмеченная знаком и, которая не предназначена для отдельного использования и требует дополнительного рассмотрения (для подтверждения соответствия взрывозащитных свойств требованиям нормативных документов) при встраивании в электрооборудование или системы, предназначенные для использования во взрывоопасных газовых средах.

3.15 взрывоопасная газовая среда: Смесь с воздухом, при атмосферных условиях, горючих веществ в виде газа, пара или тумана, горение в которой после воспламенения распространяется на весь объем взрывоопасной смеси.

3.16 взрывоопасная испытательная смесь: Регламентированная нормативными документами взрывоопасная смесь, используемая при испытаниях взрывозащищенного электрооборудования.

3.17 температура самовоспламенения взрывоопасной газовой среды: Наименьшая температура нагретой поверхности, которая при предписанных ГОСТР 51330.5 условиях воспламеняет горючие вещества в виде газа или пара в смеси с воздухом.

3.18 максимальная температура поверхности: Наибольшая температура, возникающая в процессе эксплуатации при наиболее неблагоприятных условиях (но в пределах регламентированных отклонений) на любой части или поверхности электрооборудования, которая может привести к воспламенению окружающей взрывоопасной газовой среды.

Примечания

1 Изготовитель должен указывать в технических условиях на электрооборудование, а также в технической документации на электрооборудование конкретной конструкции, каким образом учтены:

- возможные аварийные режимы, указываемые в стандартах на примененные виды взрывозащиты;

- эксплуатационные условия, установленные стандартом, относящимся к электрооборудованию данной конструкции, с учетом условий работы в анормальном режиме;

- другие условия эксплуатации, установленные изготовителем.

2 Соответствующая температура, относящаяся к любой части или поверхности электрооборудования, может быть внутренней или наружной, в зависимости от примененного вида взрывозащиты.

3.19 нормальная эксплуатация: Эксплуатация электрооборудования в соответствии с установленными в технических условиях электрическими и механическими характеристиками при соблюдении ограничений, определенных изготовителем электрооборудования.

Примечания

1 Ограничения, установленные изготовителем, могут предусматривать постоянные условия функционирования, например рабочий цикл функционирования электродвигателя.

2 Изменение напряжения в установленных пределах, а также другие отклонения параметров при эксплуатации составляют часть нормальной эксплуатации.

3.20 номинальный параметр: Величина параметра для указанных условий эксплуатации детали, устройства или оборудования, как правило, устанавливаемая изготовителем.

3.21 технические характеристики: Ряд номинальных параметров и эксплуатационных условий.

3.22 эксплуатационная температура: Температура, возникающая в частях электрооборудования при эксплуатации его в нормальном режиме.

Примечание - Разные части оборудования могут иметь различную эксплуатационную температуру.

3.23 знак U: Знак, используемый для указания Ex-компонента.

3.24 знак X: Знак, используемый для указания специальных условий безопасного применения электрооборудования.

3.25 вводные устройства: Отдельный отсек (отделение) или часть основной оболочки, соединенный (ая) или не соединенный (ая) с основной оболочкой и содержащий (ая) соединительные контактные зажимы.

3.26 вид взрывозащиты: Специальные меры, предусмотренные в электрооборудовании с целью предотвращения воспламенения окружающей взрывоопасной газовой среды.

4 Классификация электрооборудования

4.1 Классификация оборудования по группам

Электрооборудование для взрывоопасных газовых сред подразделяют на следующие группы;

I - электрооборудование, применяемое в шахтах (рудниках), опасных по рудничному газу (метану);

II - электрооборудование, используемое во взрывоопасных газовых средах, кроме шахт (рудников), опасных по рудничному газу (метану).

Электрооборудование, предназначенное для шахт (рудников), атмосфера которых может содержать, кроме рудничного газа (метана), примеси других горючих газов, должно конструироваться и испытываться по требованиям, установленным для электрооборудования группы I, а также для той подгруппы группы II, которая соответствует другим горючим газам. Это электрооборудование должно затем соответствующим образом маркироваться (например EX d I/IIB T3 или Ex d I/II (NH3).

4.2 Группа II

Электрооборудование группы II может подразделяться на подгруппы в соответствии с категорией взрывоопасности смеси, для которой оно предназначено.

4.2.1 Подразделение электрооборудования группы II

При видах взрывозащиты «взрывонепроницаемая оболочка а», «искробезопасная электрическая цепь i», «nC» и «nL» электрооборудование группы II подразделяют на подгруппы IIA, IIB и IIC, как это предусмотрено в конкретных стандартах на упомянутые виды взрывозащиты.

Примечания

1 Это подразделение базируется на безопасном экспериментальном максимальном зазоре (БЭМЗ) взрывонепроницаемых оболочек или минимальном токе воспламенения (МТВ) для электрооборудования с искробезопасными цепями (см. ГОСТ Р 51330.11 и ГОСТ Р 51330.19),

2 Электрооборудование, промаркированное как IIB, пригодно также для применения там, где требуется электрооборудование подгруппы IIA. Подобным образом электрооборудование с маркировкой IIC пригодно также для применения там, где требуется электрооборудование подгруппы IIA или IIB.

4.2.2 Маркировка температуры поверхности электрооборудования группы II

Для взрывозащиты всех видов электрооборудование группы II должно иметь маркировку в зависимости от максимальной температуры его поверхности в соответствии с 5.3.2.2.

4.2.3 Электрооборудование для конкретной взрывоопасной среды

Электрооборудование может быть испытано с целью его использования в конкретной взрывоопасной газовой среде. В этом случае в сопроводительной технической документации должна содержаться специальная информация, а оборудование должно быть соответственно промаркировано.

5 Температура

5.1 Влияние окружающей среды

5.1.1 Температура окружающей среды

Электрооборудование должно быть сконструировано для использования при температуре окружающей среды от минус 20 °С до плюс 40 °С. В этом случае не требуется дополнительная маркировка температуры окружающей среды.

Если электрооборудование сконструировано для применения в другом диапазоне температур, тогда его рассматривают как специальное, и диапазон температур устанавливается изготовителем. В этом случае при маркировке используют знак Тa или Tamb с указанием специального температурного диапазона. Если это невозможно, должен использоваться знак X для обозначения специальных условий применения, которые включают в себя специальный температурный диапазон (см. 29.2 и таблицу 1).

Таблица 1 - Температура окружающей среды в условиях эксплуатации и дополнительная маркировка

Электрооборудование

Температура окружающей среды

Дополнительная маркировка

Обычное

Максимальная +40 ºС

Минимальная -20 °С

Нет

Специальное

Устанавливается изготовителем

Тa или Tamb с указанием специального диапазона, например  или знак X

5.1.2 Внешние источники нагревания или охлаждения

Если электрооборудование будет непосредственно соединено с источником нагревания или охлаждения, например с охлаждающей или нагревающей камерой или трубопроводом, необходимо установить технические характеристики такого источника.

Примечания

1 Параметры технических характеристик зависят от типа источника. Для крупных источников достаточно указать максимальную и минимальную температуры. Для небольших источников или для случая прохождения тепла через изоляцию следует указать характеристики теплового потока.

2 При окончательной установке может потребоваться определить воздействие излучаемого тепла. См. ГОСТ Р 51330.13.

5.2 Эксплуатационная температура

В случаях, когда настоящий стандарт или стандарт на взрывозащиту конкретного вида требуют определения эксплуатационной температуры в любой части электрооборудования, температура должна быть определена для номинального режима его работы при максимальной или минимальной температуре окружающей среды и, если это необходимо, при максимальном значении параметров внешнего источника нагревания или охлаждения. Температурные испытания, если они необходимы, должны быть проведены в соответствии с 26.5.1.

5.3 Максимальная температура поверхности

5.3.1 Определение максимальной температуры поверхности

Максимальная температура поверхности должна быть определена только для номинального режима работы электрооборудования, на которое подается напряжение, принятое в соответствии с 26.5.1 или согласно требованию стандарта на взрывозащиту конкретного вида, при максимальной температуре окружающей среды, а также при наибольшем нагреве от внешнего источника, если таковой имеется.

5.3.2 Ограничение максимальной температуры поверхности

5.3.2.1 Электрооборудование группы I

Для электрооборудования группы I максимальная температура поверхности должна быть четко оговорена в соответствующей документации согласно разделу 24. Эта температура не должна превышать:

150 °С - в случае поверхностей, на которых возможно отложение угольной пыли в виде слоя;

450 °С - если исключено отложение угольной пыли в виде слоя (например, благодаря герметизации или вентиляции), при условии, что фактическая максимальная температура промаркирована на оборудовании.

Примечание - Потребитель при выборе электрооборудования группы I должен учесть температуру тления угольной пыли, если она может отлагаться в виде слоя на поверхностях температурой свыше 150 °С.

5.3.2.2 Электрооборудование группы II

Электрооборудование группы II классифицируют и маркируют согласно 29.2 f), при этом оно должно быть:

- классифицировано в соответствии с температурными классами согласно таблице 2 или

- снабжено указанием фактической максимальной температуры поверхности согласно 26.5.1,

- или, если это более приемлемо, ограничено в области применения конкретным газом, для которого оно предназначено.

Таблица 2 - Максимальная температура поверхности для электрооборудования группы II

Температурный класс

 

Максимальная температура поверхности, ºС

Т1

450

Т2

300

Т3

200

Т4

135

Т5

100

Т6

85

Примечание - Для различных температур окружающей среды и разных источников нагревания или охлаждения может быть определен более чем один температурный класс.

5.4 Температура поверхности и температура самовоспламенения

Максимальная температура поверхности должна быть не выше значения наименьшей температуры самовоспламенения данной взрывоопасной среды, за исключением условий 5.5.

5.5 Малые элементы

Использование малых элементов с площадью поверхности менее 1000 мм2, например транзисторов или резисторов, температура которых превышает значения, установленные классификацией взрывоопасных смесей, допустимо, если;

а) при испытаниях в соответствии с 26.5.3 малые элементы не поджигают взрывоопасную смесь, а любое их разрушение или деформация вследствие высокой температуры не нарушает вид взрывозащиты, или

b) для температурного класса Т4 или электрооборудования группы I размеры малых элементов соответствуют таблице 3, или

c) для температурного класса Т5 температура поверхности элемента, общая площадь которой менее 1000 мм2 (за исключением проволочных выводов), не превышает 150 °С.

Таблица 3 - Допустимые параметры для температурного класса Т4 с учетом размеров элемента и температуры окружающей среды

Общая площадь поверхности, исключая проволочные выводы, мм2

Требования, предъявляемые к температурному классу Т4

До 20

Температура поверхности ≤ 275 °С

Св.20

Рассеиваемая мощность ≤ 1,3 Вт*

Св. 20 до 1000

Температура поверхности ≤ 200 °С

* Рассеиваемая мощность снижается 1,2 Вт при температуре окружающей среды 60 °С или до 1,0 Вт до при 80 ºС.

Для потенциометров площадь выбирают исходя из поверхности резистивного элемента, а не внешней поверхности потенциометра. В процессе испытаний следует принимать во внимание условия монтажа, теплоотвод и охлаждающий эффект конструкции потенциометра в целом. Температуру измеряют на дорожке потенциометра при таком значении тока, который протекает в цепи и условиях испытания, предусмотренных стандартом на взрывозащиту конкретного вида. Если измеренные значения сопротивления меньше 10 % полного сопротивления потенциометра, измерения следует выполнять при 10 %-ном значении этого сопротивления.

Для элементов, общая площадь поверхности которых не превышает 10 см2, температура поверхности может превышать значения наименьшей температуры самовоспламенения для данного температурного класса, указанного на электрооборудовании группы II, или соответствующую максимальную температуру поверхности для электрооборудования группы I, если отсутствуя опасность воспламенения от этих элементов при превышении на:

50 К - для температурных классов Т1, Т2, Т3;

25 К - для температурных классов Т4, Т5, Т6 и группы I.

Это условие должно быть подтверждено испытанием аналогичных элементов или самого электрооборудования в представительных испытательных взрывоопасных смесях.

Примечание - При испытаниях может быть использован дополнительный способ повышения температуры окружающей среды.

6 Требования к электрооборудованию

6.1 Общие положения

Взрывозащищенное электрооборудование и Ex-компоненты для использования во взрывоопасных газовых средах должны:

а) отвечать требованиям настоящего стандарта и стандартов на взрывозащиту конкретных видов, перечисленных в разделе 1.

Примечание - Требования этих стандартов могут дополнять и изменять требования настоящего стандарта.

b) быть сконструированы с учетом требований безопасности соответствующих промышленных стандартов;

Примечания

2 При проведении сертификации орган по сертификации не должен проверять соответствие электрооборудования или компонента этому требованию. Изготовитель должен указать на такое соответствие электрооборудования и компонента в их маркировке согласно разделу 29 [и отразить в документации (см. раздел 28)].

3 Если электрооборудование или Ex-компонент должны выдерживать особо неблагоприятные условия эксплуатации (например небрежное обращение, воздействие влажности, колебания температуры окружающей среды, воздействие химических агентов, коррозия), эти условия потребитель должен сообщить изготовителю. При проведении сертификации орган по сертификации не должен подтверждать пригодность электрооборудования для использования в неблагоприятных условиях. Должны быть приняты специальные меры предосторожности при воздействии вибрации на зажимы, патроны предохранителей, патроны ламп, токопроводящие соединения, которое может снизить безопасность электрооборудования в целом, если оно не соответствует требованиям специальных стандартов.

6.2 Механическая прочность

Электрооборудование должно пройти механические испытания в соответствии с 26.4. Защитные противоударные приспособления должны сниматься только при помощи инструмента. Их не снимают при проведении испытаний на ударостойкость.

6.3 Время открытия

Оболочки, которые могут быть открыты быстрее времени, необходимого:

а) для разряда встроенных конденсаторов напряжением 200 В и выше до значения остаточной энергии:

0,2 мДж - для электрооборудования группы I и подгруппы IIA,

0,06 мДж - для электрооборудования подгруппы IIB,

0,02 мДж - для электрооборудования подгруппы IIC, в т. ч. для электрооборудования, промаркированного только как для группы II,

или в два раза превышающей приведенные уровни энергии, если конденсаторы заряжены до напряжения менее 200 В;

b) для охлаждения встроенных в оболочку нагретых элементов до температуры их поверхности более низкой, чем температурный класс электрооборудования. Оболочки должны снабжаться соответствующей надписью:

- предупреждающей о времени задержки открытия согласно 29.8 а),

- или предупреждающей об открытии согласно 29.8 b).

6.4 Блуждающие токи

В необходимых случаях должны быть приняты меры для защиты от действия проявляющихся блуждающих токов, вызываемых сторонними магнитными полями. Такими проявлениями могут быть, например, дуговые или искровые разряды при прерывании этих токов или высокие температуры на поверхности отдельных частей электрооборудования, обусловленные протеканием этих токов.

Примечание - Могут применяться следующие меры:

- уравнивание потенциалов отдельных частей оболочки и других элементов конструкции;

- обеспечение достаточного количества крепежных деталей.

Соединительные проводники должны быть устроены таким образом, чтобы проводить ток через предназначенные соединительные устройства, а не через изолированные соединения. Для обеспечения надежной цепи протекания тока при таких неблагоприятных условиях эксплуатации, как вибрация или коррозия, соединения должны быть защищены от коррозии и расслоения в соответствии с 15.5. Особое внимание должно быть обращено на гибкие проводники в непосредственной близости от соединительных деталей.

Использование соединительных проводников не требуется, если изоляция не допускает возможности возникновения блуждающих токов. Вместе с тем следует обеспечить надежное заземление находящихся под напряжением изолированных токопроводящих частей. Изоляция должна выдерживать приложение эффективного значения напряжения переменного тока 100 В в течение 1 мин.

6.5 Крепление прокладки

Если степень защиты, обеспечиваемая оболочкой, зависит от плотности соединения, которое должно открываться при установке или техническом обслуживании, уплотнительные прокладки должны быть присоединены или прикреплены к одной из стыковочных поверхностей, чтобы избежать потери, порчи или неправильной установки. Уплотнительный материал не должен прилипать к другим соединительным поверхностям.

Примечание - Для крепления прокладки к одной из стыковочных поверхностей может быть использован клей.

7 Неметаллические оболочки и неметаллические части иных оболочек

7.1 Общие положения

7.1.1 Применяемость

Неметаллические оболочки и неметаллические части иных оболочек, от которых зависит вид взрывозащиты, должны соответствовать приведенным ниже требованиям и выдерживать испытания согласно 26.7.

Однако для уплотнительных колец (см. 3.5.3) достаточно проведения испытаний согласно А.3.3 приложения А.

7.1.2 Спецификация материалов

В документации согласно разделу 24 должны быть указаны как материал оболочки, так и технология изготовления оболочки или ее части,

7.1.3 Пластмассовые материалы

Спецификация пластмассовых материалов должна включать в себя:

а) наименование изготовителя материала;

b) точное и полное обозначение материала, его цвет, а также виды и процентное содержание наполнителей и других добавок, если их применяют;

c) возможную обработку поверхностей, например покрытие лаком и т. д.;

d) температурный индекс TI, соответствующий точке 20000 ч на графе теплостойкости, отражающий снижение временного сопротивления при изгибе не более чем на 50 % начального значения; графу теплостойкости определяют по МЭК 60216-1 [6], МЭК 60216-2 [7] (ГОСТ 21341)* с учетом стойкости к изгибу по ИСО 178 [8] (ГОСТ 4648-71)*. Если материал не разрушился при этом испытании до выдержки в тепле, индекс должен базироваться на временном сопротивлении к растяжению согласно ИСО 527-2 [9] (ГОСТ 11262)* испытательных образцов типа 1А или 1 В.

Данные, с помощью которых определяют упомянутые характеристики, должны представляться изготовителем.

Примечание - Настоящий стандарт не требует проведения проверки соответствия материала его спецификации.

7.2 Теплостойкость

Теплостойкость и холодостойкость оболочки или частей оболочки из пластмасс должны удовлетворять требованиям 26.8 и 26.9.

* Для электрооборудования отечественных производителей при внутрироссийских поставках.

Пластмассовые материалы должны иметь температурный индекс Т1, соответствующий точке 20000 ч (см. 7.1.3), превышающий не менее чем на 20 К температуру в самой горячей точке оболочки или ее части (см. 26.5), учитывая при этом также и максимальную температуру окружающей среды в эксплуатации (см. 5.1.1).

7.3 Заряды статического электричества на неметаллических оболочках или их частях

7.3.1 Применяемость

Нижеследующие требования распространяются только на наружные неметаллические части электрооборудования.

7.3.2 Предотвращение образования заряда статического электричества

Электрооборудование должно конструироваться таким образом, чтобы при нормальных условиях эксплуатации, обслуживания и чистки исключалась опасность воспламенения от зарядов статического электричества. Указанное требование должно обеспечиваться одним из следующих способов:

а) путем выбора материала оболочки с сопротивлением поверхности оболочки, измеренным в соответствии с 26.13, не более 109 Ом при температуре (23 ± 2) °С и относительной влажности (50 ± 5)%;

b) путем ограничения площади поверхности неметаллических оболочек или их частей, как указано в таблице 4.

Таблица 4 - Ограничение поверхности

Площадь поверхности, мм2, не более, электрооборудование групп

I

II

-

Зона (по ГОСТ Р 51330.9)

Подгруппа IIA

Подгруппа IIB

Подгруппа IIC

10000

0

5000

2500

400

10000

1

10000

10000

2000

10000

2

10000

10000

2000

Площадь поверхности определяют следующим образом:

- для листовых материалов - это открытая (заряжаемая) поверхность;

- для изогнутых объектов поверхностью считают проекцию объекта, создающего максимальную площадь;

- для отдельных частей из неметаллических материалов площадь поверхности определяют независимо для каждой части, если они разделены проводящими заземленными каркасами, или

Примечание 1 - Площадь поверхности может быть увеличена на коэффициент 4, если открытая поверхность неметаллического материала обрамлена проводящими заземленными каркасами.

с) ограничением переносимого заряда при испытании в соответствии с 26.14, или

d) только для портативного оборудования - невозможностью сохранения опасного заряда при измерении емкостного сопротивления в соответствии с 26.15;

e) для стационарного оборудования меры по предотвращению возникновения опасности от электростатического разряда могут быть частью процесса его монтажа или подготовки к эксплуатации. В этом случае оборудование должно иметь маркировку X в соответствии с 29.2 i), а в документации должны быть приведены необходимые сведения о том, что установка уменьшает риск электростатического разряда, В отдельных случаях оборудование также может иметь табличку с предупредительной надписью согласно 29.8 g) об опасности электростатического заряда.

Примечания

2 Следует быть осторожным при выборе материала таблички с предупреждающей надписью о контроле за накоплением заряда статического электричества. Во многих промышленных областях, особенно в угольной промышленности (шахтах), такие таблички могут стать трудночитаемыми в результате отложения на них слоя пыли. В таких случаях при очистке таблички может возникнуть электростатический разряд.

3 При выборе электроизоляционных материалов следует обращать внимание на поддержание минимального значения сопротивления изоляции на уровне, исключающем возможность прикосновения к наружным неметаллическим частям, контактирующем с токоведущими частями.

7.4 Резьбовые отверстия

Резьбовые отверстия под крепежные детали крышек, открываемых в условиях эксплуатации для регулировок, проверок и по другим эксплуатационным причинам, могут быть нарезаны непосредственно в пластмассовом материале только в том случае, если форма резьбы совместима с неметаллическим материалом оболочки.

8 Оболочки, выполненные из материалов, содержащих легкие металлы

8.1 Состав материала

8.1.1 Электрооборудование группы I

Материалы, используемые для изготовления оболочек электрооборудования группы I, не должны содержать по массе:

- более 15 % (в сумме) алюминия, магния и титана;

- более 6 % (в сумме) магния и титана.

Эти требования не распространяются на переносные приборы диагностики и контроля электрооборудования группы I.

8.1.2 Электрооборудование группы II

Материалы, используемые для изготовления оболочек электрооборудования группы II для разных зон в соответствии с ГОСТ Р 51330.9, не должны содержать по массе;

- для зоны 0:

более 10% (в сумме) алюминия, магния и циркония, или

более 7,5 % (в сумме) магния, титана и циркония;

- для зоны 1 - более 7,5 % магния;

- для зоны 2 - без ограничений, кроме вентиляторов, кожухов и вентиляционных жалюзи, которые должны соответствовать требованиям для зоны 1.

В случаях, когда содержание легких металлов выше, электрооборудование должно иметь маркировку X в соответствии с 29.2 i). В этом случае в руководстве по эксплуатации должны быть указаны специальные условия безопасной эксплуатации для определения потребителем пригодности оборудования для конкретного применения во избежание опасности возгорания от искр, образующихся при трении или соударении деталей.

8.2 Резьбовые отверстия

Резьбовые отверстия под крепежные детали крышек, открываемых в условиях эксплуатации для регулировок, проверок и по другим эксплуатационным причинам, могут быть нарезаны непосредственно в материале оболочки, если форма резьбы совместима с используемым материалом оболочки.

9. Крепежные детали

9.1 Общие положения

Части, обеспечивающие взрывозащиту конкретного вида или используемые для предотвращения доступа к неизолированным электрическим частям, находящимся под напряжением, должны сниматься или ослабляться только с помощью инструмента.

Крепежные детали для оболочек из материалов, содержащих легкие металлы, могут изготавливаться из легких металлов или пластмасс, если материал крепежной детали совместим с материалом оболочки.

9.2 Специальные крепежные детали

Если стандарт на взрывозащиту конкретного вида требует применения специального крепежа, то он должен удовлетворять следующим условиям:

- резьба должна быть с крупным шагом по ИСО 262 [10] (ГОСТ 8724) с полем допуска 6g/6Н в соответствии с ИСО 965-1 [11] и ИСО 965-3 [12] (ГОСТ 16093);

- головка болта, винта или гайки должна выполняться по ГОСТ Р 50796, ГОСТ Р 50793, ГОСТ 10605 или ГОСТ 11738 (ГОСТ 1481, ГОСТ 5915, ГОСТ 5927)*, а в случае установочных винтов и крепежных болтов с шестигранным углублением под ключ - в соответствии с ГОСТ 11074, ГОСТ 8878, ГОСТ 11075 или ГОСТ 28964;

* Для электрооборудования отечественных производителей при внутрироссийских поставках.

- отверстия в электрооборудовании должны отвечать требованиям 9.3.

Примечание - Для электрооборудования группы I головки специальных крепежных деталей, подверженные при нормальной эксплуатации механическим повреждениям, которые могут привести к нарушению вида взрывозащиты, должны быть защищены, например, путем применения охранных колец или пазов.

9.3 Отверстия для специальных крепежных деталей

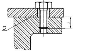
9.3.1 Отверстия под специальные крепежные детали по 9.2 должны иметь резьбу, обеспечивающую ввинчивание крепежной детали на глубину h, равную, по крайней мере, основному диаметру резьбы крепежной детали (см. рисунки 1 и 2).

9.3.2 Резьба должна иметь поле допуска 6Н в соответствии с ИСО 965-1 [11] и ИСО 965-3 [12] (ГОСТ 16093), при этом:

а) отверстие под крепежную деталь должно допускать зазор, не превышающий максимальный зазор в соответствии с ИСО 286-2 [13] (ГОСТ 11284) при допуске Н13 по ИСО 273 [14] (ГОСТ 25347) (см. рисунок 1), или

b) отверстие под крепежную деталь с уменьшенным телом должно иметь резьбу, достаточную для обеспечения нетеряемости крепежной детали.

Размеры резьбового отверстия должны быть такими, чтобы описанная под головкой такой крепежной детали опорная поверхность была не меньше опорной поверхности такой же крепежной детали с полным (не уменьшенным) телом, проходящей через отверстие с зазором (см. рисунок 2).

Размер h должен быть не менее основного диаметра резьбы крепежной детали

Размер C должен быть не более максимального зазора при допуске Н13 по ИСО 286-2 [13].

Рисунок 1 - Допуски и зазор для резьбовых крепежных деталей

Диаметр отверстия под крепежную деталь должен обеспечивать стандартный зазор для прохода резьбы соответствующей формы.

Размер h должен быть равен или превышать основной диаметр резьбы крепежной детали.

X - опорный размер крепежной детали с уменьшенным телом должен быть равен или превышать размер головки стандартной крепежной детали (с полным телом) с резьбой используемого размера по всей длине.

Рисунок 2 - Опорная поверхность под головкой крепежной детали с уменьшенным телом

9.3.3 Винты с шестигранным углублением «под ключ»

Установочные винты с шестигранным углублением «под ключ» должны иметь допуск зазора 6Н в соответствии с ИСО 965-1 [11] и ИСО 965-3 [12] (ГОСТ 16093) и не должны выступать из отверстия после затяжки.

10 Блокировка

Блокировки, используемые для сохранения взрывозащиты данного вида, должны конструироваться таким образом, чтобы их эффективность не могла быть легко нарушена.

Примечание - Отвертки, плоскогубцы или другие подобные инструменты считают инструментами, которые могут легко нарушить блокировку.

11 Проходные изоляторы

Проходные изоляторы, используемые в качестве соединительных контактных зажимов, которые могут подвергаться воздействию крутящего момента при присоединении или отсоединении проводников, должны устанавливаться таким образом, чтобы исключалось их проворачивание.

Соответствующие испытания при воздействии крутящих моментов приведены в 26.6.

12 Материалы, используемые в качестве герметиков

Документация, представляемая изготовителем согласно разделу 24, должна свидетельствовать о том, что используемые для предлагаемых условий герметизирующие материалы, от которых зависит безопасность, обладают термической стабильностью, адекватной наименьшей и наибольшей температурам, при которых они будут эксплуатироваться в номинальном режиме работы данного электрооборудования.

Термическую стабильность считают адекватной, если предельные значения продолжительности воздействия рабочей температуры для материала ниже или равны наименьшей рабочей температуре и не менее чем на 20 К превышают наибольшую температуру.

Примечание - Если герметик должен выдерживать другие неблагоприятные эксплуатационные условия, соответствующие меры устанавливаются по согласованию между потребителем и изготовителем (см. 6.1).

13 Ex-компоненты

13.1 Общие положения

Ex-компоненты должны отвечать требованиям, приведенным в приложении В; к ним могут относиться:

а) пустая оболочка;

b) детали или сборочные единицы (узлы), предназначенные для применения в сборе с электрооборудованием, выполненным в соответствии с требованиями, предъявляемыми к взрывозащите примененного вида из числа перечисленных в разделе 1.

13.2 Установка внутри (снаружи) электрооборудования

EX-компоненты могут быть установлены:

а) полностью внутри оболочки электрооборудования (например, зажим (клемма), амперметр нагреватель или индикатор, выполненные с взрывозащитой вида «e», выключатель или термостате взрывозащитой вида «d», источник питания с взрывозащитой вида «i»);

b) полностью снаружи оболочки электрооборудования (например заземляющий зажим взрывозащитой вида «e», датчик с взрывозащитой вида «i»);

с) частично внутри и снаружи оболочки электрооборудования (например кнопочный выключатель, концевой выключатель или индикаторная лампа с взрывозащитой вида «d»: амперметр взрывозащитой вида «e», индикатор с взрывозащитой вида «i»),

В случае установки Ex-компонента полностью внутри оболочки испытаниям и оценке подвергают только те устанавливаемые в электрооборудование части, которые не могут быть испытаны и/или оценены как отдельные изделия (например испытания или оценка температуры поверхности, путей утечки и электрических зазоров, когда изделие смонтировано полностью).

13.3 Установка снаружи электрооборудования

В случае монтажа Ex-компонента снаружи оболочки или частично внутри и снаружи оболочки должны быть проведены испытания и оценка сопряжения Ex-компонента и оболочки и самой оболочки на соответствие примененному виду взрывозащиты согласно 26.4.

14 Вводные устройства и соединительные контактные зажимы

14.1 Общие сведения

Электрооборудование, предназначенное для присоединения к внешним электрическим цепям, должно иметь соединительные контактные зажимы, за исключением случаев, когда электрооборудование изготавливается с постоянно присоединенным кабелем.

14.2 Проемы соединений

Вводные устройства и их монтажные проемы должны иметь такие размеры, чтобы обеспечивалось удобное присоединение проводников.

14.3 Вид взрывозащиты

Вводные устройства должны соответствовать требованиям одного из стандартов на виды взрывозащиты, перечисленных в разделе 1.

14.4 Пути утечки и воздушные зазоры

Вводные устройства должны конструироваться таким образом, чтобы после правильно выполненного присоединения проводников пути утечки и электрические зазоры соответствовали нормам, если таковые установлены стандартом на взрывозащиту примененного вида.

15 Соединительные контактные зажимы для заземляющих или защитных проводников

15.1 Внутренние соединения

Соединительный контактный зажим для присоединения заземляющего или защитного проводника должен предусматриваться внутри вводного устройства, рядом с другими соединительными контактными зажимами.

15.2 Внешние соединения

Электрооборудование с металлической оболочкой должно иметь дополнительный наружный соединительный контактный зажим для заземляющего или защитного проводника, за исключением оборудования:

а) перемещаемого под напряжением и питающегося при помощи кабеля, содержащего заземляющую или выравнивающую жилу;

b) предназначенного для установки только вместе с системой электропроводки, не требующей внешнего заземления, например при помощи металлической трубы или путем применения кабеля с металлической броней.

Изготовитель должен указать, требуется ли применение заземляющего или защитного проводника при установке в вышеуказанных условиях перечислений а) или b), в руководстве по эксплуатации в соответствии с разделом 30.

Дополнительный наружный соединительный контактный зажим должен быть электрически соединен с соединительным контактным зажимом, указанным в 15.1.

Примечание - Выражение «электрически соединен» не означает обязательного применения электрического провода для обеспечения электрической связи.

15.3 Электрооборудование, не требующее заземления

В электрооборудовании, к которому не предъявляются требования по наличию заземления (или защитного проводника), например, имеющему двойную ил и усиленную изоляцию ил и для которого не требуется дополнительное заземление, ни внутренний, ни наружный соединительные контактные зажимы могут не предусматриваться.

Примечание - В электрооборудовании, имеющем двойную изоляцию, при наличии которой отсутствует опасность поражения электрическим током, может возникнуть необходимость в заземлении (или в наличии защитного проводника) для уменьшения риска воспламенения.

15.4 Размер соединительных контактных зажимов

Соединительные контактные зажимы для заземляющих и защитных проводников должны обеспечивать надежное подсоединение, по крайней мере, одного проводника с площадью поперечного сечения, приведенной в таблице 5.

Таблица 5 - Минимальная площадь поперечного сечения защитных и заземляющих проводников, мм2

Площадь поперечного сечения фазных проводников электрооборудования S

Минимальная площадь поперечного сечения соответствующего защитного и заземляющего проводника Sp

 

S≤16

S

16<S≤35

16

S>35

0,5S

В дополнение к этому требованию наружные контактные зажимы электрооборудования должны обеспечивать надежное подсоединение проводника сечением не менее 4 мм2.

15.5 Защита от коррозии

Соединительные контактные зажимы должны быть надежно защищены от коррозии. Если одна из контактирующих частей выполнена из материала, содержащего легкий металл, должны предусматриваться специальные меры предосторожности. Одним из примеров обеспечения контакта материалом, содержащим легкий металл, является использование промежуточной части выполненной из стали.

15.6 Безопасность

Зажимы должны конструироваться таким образом, чтобы предотвращалось расчленение скручивание проводников, а также обеспечивалось постоянство контактного давления. Контактное давление в электрических соединениях должно быть постоянным и не должно ухудшаться вследствие изменений размеров изоляционных материалов под воздействием температуры или влажности и т. п. Неметаллические стенки оболочки, имеющие внутреннюю заземляющую пластину должны испытываться в соответствии с 26.12.

Примечание - Материал и размеры заземляющей пластины должны быть выбраны с учетом возможности протекания по ним тока замыкания на землю.

16 Вводы в оболочках

16.1 Общие положения

Вводы в электрооборудование могут быть в виде обычного либо резьбового отверстия, расположенного;

- в стенке оболочки или

- в промежуточной плате, смонтированной внутри или на стенке оболочки.

Примечание - Более подробную информацию по установке труб или дополнительных приспособив в резьбовые и обычные отверстия можно найти в ГОСТ Р 51330.14 (МЭК 60079-15) [2].

16.2 Спецификация вводов

В документации, представляемой в соответствии с разделом 24, изготовитель должен специфицировать все вводы с указанием их максимально допустимого количества и мест расположения на электрооборудовании. Форма резьбы (например метрическая или нормальная трубная) резьбовых вводов должна быть промаркирована на оборудовании или указана в инструкции по установку (см. также раздел 30).

16.3 Кабельные вводы

Кабельные вводы должны конструироваться и устанавливаться таким образом, чтобы они не изменяли специфические параметры вида взрывозащиты электрооборудования, на котором они монтируются в соответствии с предписанием руководства по эксплуатации согласно разделу 30. Это условие должно выполняться для всего диапазона размеров кабелей, специфицированных изготовителем кабельных вводов в качестве пригодных для использования с этими вводами. Кабельные вводы могут быть неотъемлемой частью электрооборудования, т. е. когда какая-то главная деталь ввода образует с оболочкой электрооборудования неразъемную конструкцию. В таких случаях вводы должны испытываться и сертифицироваться вместе с электрооборудованием.

Примечание - Кабельные вводы, изготовленные отдельно, но используемые в конкретном электрооборудовании, как правило, испытывают отдельно от электрооборудования, но могут быть испытаны, по просьбе изготовителя, вместе с ним.

Кабельные вводы, как неотъемлемые части электрооборудования, так и изготовленные отдельно, должны удовлетворять соответствующим требованиям приложения А.

16.4 Заглушки

Заглушки, закрывающие отверстия в стенках электрооборудования, предназначенные для последующей установки кабельных вводов, должны вместе со стенками оболочки электрооборудования удовлетворять требованиям используемого вида взрывозащиты. Средства, обеспечивающие выполнение этого требования, должны быть такими, чтобы заглушку можно было снять только с помощью инструмента.

16.5 Температура проводника

Если при нормированных условиях температура превышает 70 °С в месте ввода кабеля или 80 °С в оконцовке разделки (в месте разветвления проводов), то на наружной стороне оболочки электрооборудования должна быть нанесена предупредительная надпись, призывающая персонал потребителя обратить внимание на выбор соответствующего кабеля или проводов в условиях эксплуатации (см. рисунок 3).

а) Кабельный ввод

b) Трубный ввод

1 - место ввода кабеля; 2 - место разделки жил кабеля

Рисунок 3 - Места ввода и разделки кабеля

17 Дополнительные требования к вращающимся электрическим машинам

17.1 Вентилятор и вентиляционный кожух

Наружный конец вала с вентилятором для охлаждения электрической машины должен закрываться кожухом, который не рассматривают как часть оболочки электрооборудования. Такие вентиляторы и кожухи должны удовлетворять требованиям 17.2-17.5.

17.2 Вентиляционные отверстия для наружных вентиляторов

Степень защиты вентиляционных отверстий для наружных вентиляторов вращающихся электрических машин должна быть не ниже:

IP20 - со стороны поступления воздуха;

IP10 - со стороны выхода воздуха в соответствии с ГОСТ 17494.

Для установленных вертикально вращающихся машин должны быть предприняты меры, предотвращающие попадание в вентиляционные отверстия инородных тел. Для вращающихся электрических машин группы I степень защиты IP10 может считаться достаточной только в том случае, если отверстия устроены или расположены таким образом, что инородные тела размером более 12,5 не могут проникнуть к движущимся частям машины ни в результате падения, ни вследствие вибрации.

17.3 Конструкция и монтаж вентиляционных систем

Вентиляторы, вентиляционные кожухи и вентиляционные жалюзи должны конструироваться таким образом, чтобы удовлетворять требованиям испытаний на ударостойкость в соответствии с 26.4.2 при оценке результатов испытаний согласно 26.4.4.

17.4 Зазоры для вентиляционных систем

В нормальных условиях работы, учитывая конструктивные допуски, зазор между наружным вентилятором и его кожухом, вентиляционными жалюзи и элементами их крепления должен быть не менее 1/100 максимального диаметра вентилятора. Допускается не увеличивать зазор более 5 мм. Зазор может быть уменьшен до 1 мм, если технология изготовления противостоящих частей гарантирует необходимую точность и стабильность их размеров. В любом случае упомянутый зазор должен быть не менее 1 мм.

17.5 Материалы для наружных вентиляторов и кожухов

Неметаллические части наружных вентиляторов, вентиляционных кожухов, вентиляционных жалюзи и т. п., за исключением вентиляторов, установленных на вращающихся электрических машинах группы II и имеющих окружную скорость менее 50 м/с, должны иметь электрическое сопротивление не более 109 Ом, измеренное в соответствии с 26.13.

Теплостойкость неметаллических материалов может считаться достаточной, если установленная изготовителем продолжительная рабочая температура материала превышает максимальную температуру, воздействующую на материал в предписанных условиях эксплуатации, не менее чем на 20 °С.

Наружные вентиляторы, вентиляционные кожухи, вентиляционные жалюзи вращающиеся электрических машин, изготовленные из материалов, содержащих легкие металлы, должны соответствовать требованиям раздела 8.

17.6 Защитные проводники

Примечание - Сторонние магнитные поля могут образовывать значительные электрические токи в оболочках больших вращающихся электрических машин, прежде всего при включении электродвигателя. Особенно важно не допустить возникновения искрения при периодическом прерывании этих токов.

В зависимости от конструкции и номинальных параметров электрической машины изготовитель должен указать площадь поперечного сечения и конструкцию защитных проводников, которые должны быть присоединены к оболочке в местах, расположенных симметрично относительно оси вала. Соединение должно соответствовать требованиям 6.4.

18 Дополнительные требования к коммутационным аппаратам

18.1 Горючий диэлектрик

Применение коммутационных аппаратов с контактами, погруженными в горючий диэлектрик, не допускается.

18.2 Разъединители

Если коммутационный аппарат содержит разъединитель, последний должен отключать все фазы или полюсы и конструироваться таким образом, чтобы:

- либо было видно положение разъединяющих контактов,

- либо было обеспечено надежное обозначение их выключенного положения (см. ГОСТ Р 50030.1).

Блокировка между таким разъединителем и крышкой или дверью выключателя должна позволять открывание крышки (двери) только при полном размыкании контактов разъединителя.

Разъединители, которые по своей конструкции не предназначены для разъединения цепей под нагрузкой, должны быть:

- или электрически или механически сблокированы с соответствующим  выключателем нагрузки,

- или снабжены, только в случае аппаратов группы II, предупредительной надписью, располагаемой вблизи привода (рукоятки), в соответствии с 29.8 c).

18.3 Обеспечение запирания электрооборудования группы I

Рукоятка разъединителя коммутационных аппаратов группы I должна обеспечивать в выключенном положении разъединителя возможность запирания с помощью висячего замка. Должны быть предусмотрены устройства (защелки), фиксирующие срабатывание максимальных реле и реле замыкания на землю (если таковые применяются). В случае, если коммутационный аппарат имеет деблокирующее устройство (устройство возврата), установленное снаружи оболочки, крышка, закрывающая это устройство, должна иметь специальное крепление согласно 9.2.

18.4 Крышки и двери

Крышки и двери, позволяющие доступ во внутрь оболочки, содержащей дистанционно управляемые коммутационные контакты, которые могут быть замкнуты или разомкнуты не вручную, а с помощью каких-либо воздействий (электрических, механических, магнитных, электромагнитных, электрооптических, пневматических, гидравлических, акустических или тепловых), должны быть:

а) или сблокированы с разъединителем таким образом, чтобы предотвращался доступ к внутренним частям, если разъединителем не отключены незащищенные внутренние цепи,

b) или снабжены предупредительной надписью в соответствии с 29.8 d).

В случае а) после отключения разъединителя оставшиеся под напряжением части, с целью минимизации опасности взрыва, должны иметь:

1) либо взрывозащиту одного из видов, перечисленных в разделе 1,

2) либо защиту, при которой:

- электрические зазоры и пути утечки между фазами (полюсами) и землей принимают в соответствии с требованиями ГОСТ Р 51330.8 (МЭК 60079-7) [1];

- используют дополнительную внутреннюю оболочку, заключающую в себя остающиеся под напряжением части и обеспечивающую степень защиты не ниже IР20 в соответствии с ГОСТ 14254, и

- на дополнительной внутренней оболочке предупредительную надпись в соответствии с 29.8 h).

19 Дополнительные требования к предохранителям

Оболочка, содержащая плавкие предохранители, должна:

- быть сблокирована с выключателем так, чтобы установка или снятие заменяемых элементов имели место только при отключенном напряжении и условии невозможности подачи напряжения на предохранители до того, как оболочка будет надлежащим образом закрыта,

- или иметь вместо блокировки предупредительную надпись в соответствии с 29.8 d).

20 Дополнительные требования к соединителям

20.1 Блокировка

Соединители должны:

а) иметь механическую или электрическую, или какую-либо другую блокировку, выполненную таким образом, чтобы исключалась возможность их разъединения, если контакты находятся под напряжением, а также возможность подачи напряжения на контакты, когда соединитель разъединен, или

b) должны быть смонтированы таким образом, чтобы крепление вилки с розеткой соедините­ля осуществлялось посредством специальных крепежных деталей в соответствии с 9.2, а на оболочке соединителя выполнялась предупредительная надпись по разъединению согласно 29.8 d).

В случае, если с соединителей с болтовым креплением напряжение до их разъединения не может быть снято, поскольку они присоединены к аккумуляторной батарее, должна быть предусмотрена предупредительная надпись в соответствии с 29.8 f).

Соединители на номинальный ток, не превышающий 10 А, и номинальное напряжение, не превышающее 250 В переменного тока или 60 В постоянного тока, могут не удовлетворять требованиям 20.1, если соблюдаются следующие условия:

- части, остающиеся под напряжением, выполнены в виде розетки;

- вилка и розетка отключают номинальный ток на время, достаточное для прекращения горения электрической дуги до их разъединения;

- соединение вилки с розеткой обеспечивает взрывонепроницаемость по стандарту на взрывонепроницаемую оболочку в течение всего времени гашения электрической дуги, возникающей при разъединении контактов;

- контакты, оставшиеся под напряжением после разъединения, имеют взрывозащиту одного из видов, перечисленных в разделе 1.

20.2 Вилки под напряжением

Вилка и другие ее детали не должны оставаться под напряжением, если она не соединена с розеткой.

21 Дополнительные требования к световым приборам

21.1 Общие положения

Источник света световых приборов должен быть защищен светопропускающим экраном, снабженным дополнительной решеткой с квадратными ячейка ми размером не более 2500 мм2. Если размеры ячейки более 2500 мм2, светопропускающий экран должен испытываться как не имеющий дополнительной защиты (см. таблицу 8),

Светопропускающий экран и защитная решетка, если она предусмотрена, должны выдерживать соответствующие испытания согласно 26.4.2.

Крепление световых приборов не должно осуществляться одним болтом. Один рым-болт может применяться только в том случае, если он является неотъемлемой частью светильника, например, если он выполнен совместно с оболочкой путем отливки или сварки, или {если применяется установка на резьбе) рым-болт стопорится с помощью средств, препятствующих его потере при отвинчивании.

21.2 Крышки

Крышки, обеспечивающие доступ к патрону лампы и другим внутренним частям прибора, должны конструироваться таким образом, чтобы выполнялось одно из следующих условий:

а) крышки должны быть сблокированы с устройством, автоматически отключающим все полюсы: лампового патрона, как только начинается процедура открывания крышки;

b) на крышках должна быть предусмотрена надпись в соответствии с29.8 d).

В первом случае, когда некоторые части, кроме патрона лампы, все же остаются под напряжением после срабатывания отключающего устройства, они, с целью минимизации опасности взрыва, должны иметь:

1) либо взрывозащиту одного из видов, перечисленных в разделе 1;

2) либо защиту, при которой:

- отключающее устройство сконструировано таким образом, что при случайном на него воздействии вручную исключалась возможность непреднамеренной подачи напряжения на незащищенные части;

- электрические зазоры и пути утечки между фазами (полюсами) и землей принимают в соответствии с требованиями ГОСТ Р 51330.8 (МЭК 60079-7) [1];

- используют дополнительную внутреннюю оболочку (которая одновременно может служить и рефлектором для источника света), закрывающую находящиеся под напряжением части и обеспечивающую степень защиты не ниже IP20 по ГОСТ 14254;

- на дополнительной внутренней оболочке приводится предупредительная надпись в соответствии с 29.8 h).

21.3 Специальные лампы

Лампы, содержащие натрий (например натриевые лампы низкого давления в соответствии с МЭК 60192 [15]) к применению не допускаются. Допускаются натриевые лампы высокого давления (например, в соответствии с ГОСТ МЭК 60662 [16]).

22 Дополнительные требования к головным и ручным светильникам

22.1 Группа 1

Головные и ручные светильники группы 1 должны соответствовать требованиям ГОСТ Р 52065.

22.2 Группа II

Утечка электролита должна быть исключена при любом положении световых приборов.

Если источник света и источник питания расположены в отдельных оболочках, которые механически не связаны друге другом ничем, кроме электрического кабеля, то кабельные вводы и соединительный кабель должны быть испытаны на соответствие требованиям А.3.1 или А.3.2 приложения А. Испытание должно проводиться с применением кабеля, который предполагается использовать для соединения обеих частей. Тип, размеры и другая информация о кабеле должны быть указаны в документации изготовителя.

23 Электрооборудование» содержащее элементы и батареи

Все элементы и батареи, входящие в состав взрывозащищенного электрооборудования, должны удовлетворять требованиям 23.2-23.11.

Требования к тяговым аккумуляторам и аккумуляторным батареям изложены в разделе 20 ГОСТ Р 51330.0.

23.1 Батареи

Батареи внутри взрывозащищенного электрооборудования должны состоять только из элементов, соединенных последовательно.

23.2 Типы элементов

Допускаются к установке только те элементы, характеристики которых указаны в стандартах на эти элементы. В таблицах 6 и 7 приведены перечни элементов, на которые уже имеются или разрабатываются соответствующие стандарты.

Таблица 6 - Первичные элементы

Тип элемента по ГОСТ Р МЭК 86-1

Положительный электрод

Электролит

Отрицательный электрод

Номинальное напряжение, В

Максимальное напряжение разомкнутой цепи, В

-

Диоксид марганца

Хлориды аммония, цинка

Цинк

1,50

1,73

F

Соединения кислорода

Хлориды аммония, цинка

1,40

1,55

B

Однофтористый углерод

Органическое

3,00

3,70

C

Диоксид марганца

E

Хлорид тионила (SOCl2)

Гидрат неорганического соединения

Литий

3,60

3,90

F

Оксид железа (FeS2)

Органическое

1,50

1,83

G

Оксид (II) меди (CuO)

соединение

2,30

L

Диоксид марганца

Гидроксид щелочного металла

Цинк

1,50

1,65

P

Кислород

1,40

1,68

S

Оксид серебра (Ag2O)

1,55

1,63

T

Оксиды серебра (AgO, Ag2O)

1,87

*

Диоксид серы

Гидрат неорганической соли

Литий

3,00

3,00

*

Ртуть

Гидроксид щелочного металла

Цинк

Данные ожидаются

Данные ожидаются

* Может использоваться только при наличии соответствующего стандарта.

Примечание - Элементы из цинка/диоксида марганца описаны в ГОСТ Р МЭК 86-1, но не обозначены по типу.

Таблица 7 - Аккумуляторы

Тип аккумулятора

Электрохимическая система аккумулятора

Электролит

Номинальное напряжение, В

Максимальное напряжение холостого хода, В

Тип К

ГОСТ Р МЭК 61056-1, ГОСТ 29111

Свинцово-кислотные (мокрые)

Серная кислота (плотность 1,25 г/см3)

2,2

2,67

 

Свинцово-кислотные (сухие)

 

 

2,35

Тип К

ГОСТ Р МЭК 61951-1, ГОСТ 27174, ГОСТ Р МЭК 60622, МЭК 61150 [17]

Никель-кадмиевые

Гидроксид калия (плотность 1,3 г/см3)

1,2

1,55

*

Никель-гидридные

Гидроксид калия (плотность 1,3 г/см3)

Данные ожидаются

1,60

*

Литиевые

Гидрат неорганической соли

 

Данные ожидаются

ГОСТР МЭК 61436

Никель металл-гидридные

Гидроксид калия

1.2

1,50

* Могут использоваться только при наличии соответствующего стандарта.

23.3 Элементы в батарее

Все элементы в батарее должны иметь одинаковые электрохимическую систему и конструкцию, равные значения номинальных емкостей, указанные изготовителем.

23.4 Использование батарей

Все батареи следует размещать и эксплуатировать таким образом, чтобы не превышать допустимые пределы, указанные изготовителем элемента или батареи.

23.5 Совместное использование

Батареи должны содержать либо первичные элементы, либо аккумуляторы.

23.6 Взаимозаменяемость

Первичные элементы и аккумуляторы или батареи не следует использовать в одной оболочке электрооборудования, если они не взаимозаменяемы.

23.7 Заряд первичных батарей

Первичные батареи перезаряжать не допускается. Если внутри электрооборудования, содержащего первичные батареи, имеется другой источник напряжения и существует опасность их взаимного электрического соединения, то необходимо предпринять меры, предотвращающие пропускание через них зарядного тока.

23.8 Утечка

Все элементы должны быть сконструированы или размещены таким образом, чтобы избежать утечки электролита, которая могла бы оказать негативное воздействие на вид взрывозащиты или компоненты, от которых зависит безопасность.

23.9 Подключение

Необходимо использовать только рекомендованный(е) изготовителем метод(ы) подключения к батарее,

23.10 Расположение

Если при установке батареи внутри электрооборудования важно ее расположение, оно должно быть указано снаружи оболочки электрооборудования.

23.11 Замена элементов или батарей

При необходимости замены потребителем элементов или батарей внутри корпуса должны быть указаны соответствующие параметры, позволяющие провести технически грамотную замену этих элементов или батарей. Параметры должны указываться либо на корпусе или внутри него в виде легко читаемой и долговечной маркировки согласно 29.9, либо в руководстве по эксплуатации в соответствии с 30.2. К таким параметрам относятся либо наименование изготовителя и номер партии элементов или батарей, либо тип их электрохимической системы, номинальные напряжение и емкость.

24 Документация

Изготовитель должен подготовить документацию, которая дает достаточно полное и правильное описание всех аспектов взрывозащищенности электрооборудования.

25 Соответствие прототипа или образца документации

Представленный на испытания прототип или образец электрооборудования должен соответствовать упомянутой в разделе 24 документации изготовителя.

26. Испытания

26.1 Общие положения

Образец или прототип должен подвергаться испытаниям в соответствии с требованиями настоящего стандарта и стандартов на взрывозащиту конкретных видов. Однако испытательная организация может посчитать проведение определенных испытаний необязательным. Она должна вести учет всех проведенных испытаний и обоснований причин, по которым те или иные испытания ею не проводились.

Испытания, которым были подвергнуты Ex-компоненты, можно повторно не проводить.

26.2 Условия испытаний

Каждое испытание электрооборудования должно проводиться в наиболее неблагоприятных условиях.

26.3 Испытания во взрывоопасных испытательных смесях

Необходимость проведения таких испытаний устанавливается в стандарте на взрывозащиту конкретного вида, в котором определен состав взрывоопасной испытательной смеси.

Примечание - При чистоте газов и паров ниже 95 % их использовать не следует. Допускается изменение предписанной температуры и атмосферного давления, а также влажности испытательной взрывоопасной среды при испытании ввиду незначительности таких изменений.

26.4 Испытание оболочек

26.4.1 Порядок проведения испытаний

26.4.1.1 Оболочки и их части из металла и части оболочек из стекла

Испытания оболочек и их частей из металла и частей оболочек из стекла должны проводиться в следующем порядке:

а) испытания на ударостойкость (см. 26.4.2);

b) испытание сбрасыванием (если таковое предусмотрено 26.4.3);

c) испытание на соответствие степени защиты (см. 26.4.5);

d) другие испытания в соответствии с требованиями настоящего стандарта;

e) другие испытания, предусмотренные для взрывозащиты конкретного примененного вида.

Испытаниям должны быть подвергнуты образцы в количестве, необходимом для каждого метода испытаний.

26.4.1.2 Испытания неметаллических оболочек или неметаллических частей иных оболочек Испытания неметаллических оболочек или неметаллических частей иных оболочек должны

проводиться в следующем порядке.

26.4.1.2.1 Электрооборудование группы I Испытания должны проводиться следующим образом:

- из четырех представленных образцов первой очереди два образца испытывают на теплостойкость при высокой температуре (см. 26.8), два образца - на холодостойкость при низкой температуре (см. 26.9). Затем каждый из образцов должен быть испытан последовательно на ударостойкость (см. 26.4.2), стойкость к сбрасыванию (если проведение такого испытания предусмотрено 26.4.3), на соответствие степени защиты (см. 26.4.5), после чего их подвергают испытаниям, специфичным для взрывозащиты примененного вида.

Допускается для проведения испытаний первой очереди иметь два образца (вместо четырех), каждый из которых должен быть испытан последовательно на теплостойкость (см. 26.8), на холодостойкость (см. 26.9), на ударостойкость (см. 26.4.2), стойкость к сбрасыванию (если проведение такого испытания предусмотрено 26.4.3), на соответствие степени защиты (см. 26.4.5), после чего их подвергают испытаниям, специфичным для взрывозащиты примененного вида;

- каждый из двух представленных образцов второй очереди должен быть испытан последовательно на стойкость к воздействию масел и смазочных материалов (см. 26.11), на ударостойкость (см. 26.4.2), стойкость к сбрасыванию (если проведение такого испытания предусмотрено 26.4.3), на соответствие степени защиты (см. 26.4.5), после чего их подвергают испытаниям, специфичным для взрывозащиты примененного вида;

- каждый из двух представленных образцов третьей очереди должен быть испытан на стойкость к воздействию гидравлических жидкостей, применяющихся в шахтах (см. 26.11), на ударостойкость (см. 26.4.2), стойкость к сбрасыванию (если проведение такого испытания предусмотрено 26.4.3), на соответствие степени защиты (см. 26.4.5), после чего их подвергают испытаниям, специфичным для взрывозащиты примененного вида.

Согласно виду и последовательности испытаний, указанных выше, должна быть доказана способность неметаллического материала обеспечить сохранение взрывозащиты примененных видов, приведенных в разделе 1, после того как образец был подвергнут воздействию предельных температур и вредных веществ, имеющих место в эксплуатации.

Количество испытаний взрывозащиты на каждом образце может быть сокращено до минимума, если очевидно, что образец не был поврежден так, чтобы нарушалась взрывозащита данного вида. Подобным образом возможно уменьшить количество образцов, если возможно совместить испытания по воздействию среды с испытаниями, подтверждающими взрывозащищенность двух тех же самых образцов.

26.4.1.2.2 Электрооборудование группы II

Испытания проводят на четырех образцах, два из которых испытывают на теплостойкость при высокой температуре (см. 26.8), два образца - на холодостойкость при низкой температуре (см. 26.9), затем каждый из четырех образцов должен быть испытан последовательно на ударостойкость (см. 26.4.2), стойкость к сбрасыванию (если проведение такого испытания предусмотрено 26.4.3), на соответствие степени защиты (см. 26.4.5), после чего их подвергают испытаниям, специфичным для взрывозащиты примененного вида.

Допускается для проведения испытаний иметь два образца (вместо четырех), каждый из которых должен быть испытан последовательно на теплостойкость (см. 26.8), холодостойкость (см. 26.9), на ударостойкость (см. 26.4.2), стойкость к сбрасыванию (если проведение такого испытания предусмотрено 26.4.3), на соответствие степени защиты (см. 26.4.5), после чего их подвергают испытаниям, специфичным для взрывозащиты примененного вида.

26.4.2 Испытание на ударостойкость

При этом испытании электрооборудование подвергают воздействию вертикально падающего с высоты h груза массой 1 кг. Высота h определена в таблице 8 в зависимости от назначения электрооборудования. Груз должен быть снабжен бойком из закаленной стали в форме полусферы диаметром 25 мм.

Перед каждым испытанием следует убедиться, что поверхность бойка находится в хорошем состоянии.

Испытание на ударостойкость проводят на полностью собранном и готовом к работе оборудовании, однако если это обеспечить невозможно (например, в случае светопропускающих частей), испытание проводят на демонтированных частях, установленных в своих обычных или эквивалентных устройствах. Испытания на пустых оболочках допускается проводить только в случае, если это предварительно оговорено в документации (см. раздел 24).

Испытание светопропускающих частей из стекла должно проводиться на трех образцах, но каждое стекло испытывают один раз. Во всех других случаях испытание должно проводиться на двух образцах, при этом по каждому образцу наносят два удара в разные места.

Испытания оболочек или частей оболочек, изготовленных из неметаллических материалов, за исключением стекла, проводят сначала на двух образцах при наибольшей температуре, затем на следующих двух образцах при наименьшей температуре в соответствии с допустимыми значениями, указанными в 26.7.2.

Удары наносят в наименее прочные места. Удары должны наноситься по внешней стороне, чаще всего подвергаемой удару в процессе эксплуатации. Если оболочка защищена другой оболочкой, испытанию на ударостойкость должны подвергаться только внешние части устройства.

Электрооборудование должно устанавливаться на стальной подставке таким образом, чтобы направление удара было перпендикулярным к испытуемой поверхности, если она плоская, или перпендикулярным к касательной к поверхности в точке удара, если поверхность неплоская. Подставка должна иметь массу не менее 20 кг или должна быть жестко закреплена на полу или заделана в него (например, надежно залита в бетон). В приложении С приведен пример соответствующего испытательного устройства.

Таблица 8 - Испытания на ударостойкость

Часть электрооборудования

Высота сбрасывания h, м, груза массой 1 кг для электрооборудования группы

I

II

Опасности механических повреждений

Высокая

Низкая

Высокая

Низкая

а) Оболочки и внешние части оболочек (кроме светопропускающих)

2

0,7

0,7

0,4

b) Защитные решетки, крышки, кожухи вентиляторов, кабельные вводы

c) Светопропускающие части без защитной решетки

0,7

0,4

0,4

0,2

d) Светопропускающие части с защитной решеткой с отверстиями площадью от 625 до 2500 мм2, см. 21.1 (испытания без решетки)

0,4

0,2

0,2

0,1

Примечание - Защитная решетка с отверстиями площадью от 625 до 2500 мм2 снижает риск удара, но не предотвращает его.

Если электрооборудование подвергают испытанию, соответствующему низкой опасности механических повреждений, оно должно быть промаркировано знаком X согласно 29.2 i).

Испытание должно проводиться при температуре окружающей среды (20 ± 5) °С за исключением случаев, когда характеристики материала показывают, что его ударостойкость при более низких температурах в пределах предписанного диапазона окружающей температуры снижается. В этом случае испытание должно быть проведено при минимальной температуре предписанного диапазона, уменьшенной на 5 К - 10 К.

Если электрооборудование имеет оболочку или часть оболочки из неметаллических материалов, в т. ч. неметаллические вентиляционные кожухи и вентиляционные жалюзи вращающихся электрических машин, испытание должно проводиться при максимальной и минимальной температурах согласно 26.7.2.

26.4.3 Испытания сбрасыванием

В дополнение к испытанию на ударостойкость в соответствии с 26.4.2 ручное электрооборудование или электрооборудование индивидуального пользования, переносимое персоналом, должно быть сброшено в готовом к работе состоянии четыре раза с высоты 1 м на горизонтальную бетонную поверхность. Образец сбрасывают в наиболее неблагоприятном положении.

Испытание электрооборудования в оболочках из неметаллических материалов должно проводиться при температуре (20 ± 5) °С, за исключением случаев, когда характеристики материала показывают, что его ударостойкость при более низких температурах в пределах предписанного диапазона температуры окружающей среды снижается; в последнем случае испытание должно быть проведено при минимальной температуре предписанного диапазона, уменьшенной на 5К-10К.

Если электрооборудование имеет оболочку или часть оболочки из неметаллических материалов, испытание должно проводиться при минимальной температуре согласно 26.7.2.

26.4.4 Критерии оценки результатов испытаний

Испытания на ударостойкость и стойкость к сбрасыванию не должны приводить к повреждениям, нарушающим вид взрывозащиты электрооборудования.

Поверхностные повреждения, отслаивание краски, повреждение ребер охлаждения или других подобных частей электрооборудования, а также незначительные вмятины принимать во внимание не следует.

Защитные кожухи наружных вентиляторов и вентиляционные жалюзи должны выдерживать испытания без деформаций или смещений, приводящих к трению подвижных частей.

26.4.5 Проверка соответствия степени защиты, обеспечиваемой оболочками

26.4.5.1 Методика проведения испытаний

При определении степени защиты должны использоваться требования настоящего стандарта и стандартов на взрывозащиту конкретных видов. Методики испытаний должны соответствовать ГОСТ 14254, за исключением следующего: для вращающихся электрических машин указанные методики и критерии должны соответствовать ГОСТ 17494.

При проведении испытаний в соответствии с ГОСТ 14254:

- оболочки следует относить к категории I согласно ГОСТ 14254;

- на электрооборудование не должно подаваться напряжение;

- испытание электрической прочности изоляции по ГОСТ 14254, если это требуется, должно проводиться при напряжении [] В, среднеквадратичное значение, в течение 10-12 с, где ( - максимальное значение номинального напряжения электрооборудования.

26.4.5.2 Критерии оценки результатов испытаний

Для электрооборудования, испытываемого согласно ГОСТ 14254, критерии оценки результатов испытаний должны удовлетворять этому стандарту, за исключением случаев, когда изготовитель устанавливает более жесткие критерии, чем этого требует ГОСТ 14254, например критерии в соответствующем стандарте на изделие. В этом случае должны применяться критерии оценки соответствующего стандарта на изделие, если это не окажет отрицательного влияния на взрывозащиту.

Критерии оценки по ГОСТ 17494 должны применяться к вращающимся электрическим машинам до тех пор, пока соответствие стандарту на вид взрывозащиты может рассматриваться как дополнительный способ обеспечения защиты IP.

При использовании критериев оценки в соответствии с ГОСТ 17494 любую пыль рассматривают как токопроводящую.

Если в стандарте на взрывозащищенное электрооборудование указаны критерии оценки для IPXX, то их следует использовать вместо критериев по ГОСТ 14254 или ГОСТ 17494.

26.5 Тепловые испытания

26.5.1 Измерение температуры

Тепловые испытания должны проводиться при номинальных условиях работы электрооборудования, за исключением испытания по определению максимальной температуры поверхности. Последнее испытание проводят в самых жестких условиях при наиболее неблагоприятных отклонениях питающего напряжения от 90 % до 110 % номинального напряжения электрооборудования, если изготовитель не подтвердит, что другие стандарты предписывают иные отклонения для аналогичного электрооборудования общего назначения.

Измеренная максимальная температура поверхности не должна превышать:

- для электрооборудования группы I - значений, приведенных в 5.3.2.1;

- для электрооборудования группы II при контрольных испытаниях по определению максимальной температуры поверхности - температуру или температурный класс, промаркированные на электрооборудовании;

- для электрооборудования группы II при типовых испытаниях по определению максимальной температуры поверхности - температуру или температурный класс, указанные в маркировке, уменьшенные на 5 К для температурных классов Т6, Т5, Т4 и Т3 (или температуру, приведенную в маркировке, до 200 °С) и на 10 К для температурных классов Т2 и Т1 (или температуру, указанную в маркировке, св. 200 °С).

Результат должен корректироваться с учетом максимальной температуры окружающей среды, приведенной в технической характеристике.

Измерение температуры поверхности, когда это предписывается настоящим стандартом и стандартами на взрывозащиту конкретных видов, должно проводиться в спокойном состоянии окружающего воздуха, а само электрооборудование при этом устанавливают в свое нормальное рабочее положение.

Для электрооборудования, которое в обычных условиях может использоваться в любых положениях, температуру определяют для каждого положения, и в расчет принимают самую высокую температуру. Если температура измерялась только для определенных положений, это должно быть указано в протоколе испытаний, а электрооборудование должно маркироваться знаком X или иметь соответствующую табличку (29.2 i).

Измерительные приборы (термометры, термопары и др.) и соединительные провода должны выбираться таким образом, чтобы они не оказывали заметного влияния на тепловые характеристики электрооборудования.

Конечную температуру считают установившейся, когда скорость возрастания температуры не превышает 2 К/ч. Испытательная организация должна также определить температуру в наиболее горячей точке оболочки или части оболочки из неметаллических материалов (см. 7.2).

26.5.2 Испытание на тепловой удар

Стеклянные части светильников и смотровых окон электрооборудования должны выдерживать без повреждения тепловой удар, вызываемый струей воды диаметром 1 мм и температурой (10 ± 5) °С, направленной на части, нагретые до максимальной эксплуатационной температуры.

26.5.3 Испытание малых элементов на воспламенение взрывоопасных смесей

26.5.3.1 Общие положения

Испытание малых элементов на воспламенение взрывоопасной смеси проводят в соответствии с 26.5.3.2 для подтверждения того, что эти элементы не могут явиться причиной воспламенения такой смеси согласно 5.5 а).

26.5.3.2 Методика проведения испытания

Малые элементы должны быть испытаны в нормальном режиме или в условиях повреждений, предписываемых стандартом на взрывозащиту конкретного вида, при которых поверхность нагревают до максимальной температуры. Испытание необходимо продолжать до тех пор, пока не будет достигнуто тепловое равновесие между испытуемым малым элементом и окружающими частями или пока температура испытуемого малого элемента не начнет снижаться. Если повреждение малого элемента вызывает снижение температуры, испытания должны быть повторены пять раз на пяти дополнительных образцах.

Если в нормальном или аварийном режимах работы, указанных в стандарте на взрывозащиту конкретного вида, температура более чем одного элемента превышает температурный класс электрооборудования, испытания должны быть проведены со всеми такими малыми элементами при максимальных значениях температуры. Испытуемый малый элемент может монтироваться в оборудовании, для которого он предназначен, при этом следует принять меры, чтобы испытательная взрывоопасная смесь была в контакте с этим элементом. Испытание может быть проведено на модели, которая гарантирует объективные результаты испытаний. Моделирование должно учитывать влияние других частей оборудования, находящихся вблизи от испытуемого малого элемента, которые оказывают воздействие на температуру смеси, и скорость ее потока около малого элемента в результате вентиляции и тепловых эффектов.

Коэффициент безопасности для выполнения требования 5.4 может обеспечиваться либо путем повышения температуры окружающей среды, при которой проводят испытания, либо путем повышения температуры испытуемого малого элемента и других смежных поверхностей на требуемое значение, если это возможно.

Для температурного класса Т4 должны использоваться следующие взрывоопасные испытательные смеси;

а) однородная смесь с содержанием не менее 22,5 % и не более 23,5 % объемных долей диэтилового эфира и воздуха или

б) смесь диэтилового эфира и воздуха, полученная в результате выпаривания небольшого количества диэтилового эфира в испытательной камере во время проведения испытания на воспламенение.

Для других температурных классов испытательная смесь определяется по усмотрению испытательной организации.

26.5.3.3 Критерии оценки результатов испытаний

Появление «холодного пламени» рассматривают как воспламенение. Воспламенение определяют либо визуально, либо измерением температуры, например термопарами.

Если при проведении испытаний не происходит воспламенения, наличие взрывоопасной смеси контролируют поджиганием ее от других источников.

26.6 Испытание проходных изоляторов крутящим моментом

26.6.1 Процедура испытаний

Проходные изоляторы, используемые в соединительных контактных зажимах, подвергающиеся воздействию крутящего момента при подсоединении или отсоединении проводников, должны быть испытаны на стойкость к воздействию крутящего момента.

Испытания шпильки и смонтированного в изделии проходного изолятора проводят, прикладывая к шпильке крутящий момент, значение которого приведено в таблице 9.

Таблица 9 - Крутящий момент, прикладываемый к шпильке проходного изолятора соединительных контактных зажимов

Диаметр шпильки проходного изолятора

Крутящий момент, Н·м

Диаметр шпильки проходного изолятора

Крутящий момент, Н·м

М4

2,0

М12

25,0

М5

3,2

М16

50,0

М6

5,0

М20

85,0

М8

10,0

М24

130,0

М10

16,0

 

 

Примечание - Значение крутящего момента для шпилек, размеры которых отличаются от приведенных, может быть определено по графику, построенному по приведенным в таблице значениям. Кроме того, график можно экстраполировать для определения значений моментов для шпилек, больших по размерам, чем указанные в таблице.

26.6.2 Критерии оценки результатов испытаний

Ни шпилька проходного изолятора, ни вмонтированный в изделие проходной изолятор не должны проворачиваться при воздействии на шпильку крутящего момента.

26.7 Неметаллические оболочки или неметаллические части иных оболочек

26.7.1 Общие требования

Кроме испытаний, описанных в 26.1-26.6, неметаллические оболочки должны быть также испытаны на соответствие требованиям 26.8-26.15.

26.7.2 Температуры при испытаниях

Если в соответствии с настоящим стандартом или стандартами на взрывозащиту конкретных видов, перечисленными в разделе 1, испытания должны проводиться с учетом допустимого диапазона значений эксплуатационной температуры, то эта температура должна быть:

- для верхнего предела - максимальное значение эксплуатационной температуры (см. 5.2), увеличенное не менее чем на 10 К, но не более чем на 15 К;

- для нижнего предела - минимальное значение эксплуатационной температуры (см. 5.2), уменьшенное не менее чем на 5 К, но не более чем на 10 К.

26.8 Теплостойкость

Теплостойкость определяют путем непрерывной выдержки представленных на испытание оболочек или частей оболочек из неметаллических материалов, которые обеспечивают целостность вида взрывозащиты, в течение четырех недель в атмосфере с относительной влажностью (90 ± 5) % и при температуре, на (20 ± 2) К превышающей максимальную эксплуатационную температуру, но не менее 80 °С.

В случае максимальной эксплуатационной температуры свыше 75 °С регламентированную продолжительность испытаний в течение четырех недель разбивают на два периода: в течение первых двух недель испытания проводят при температуре (95 ± 2) °С и относительной влажности (90 ± 5)%, а затем в течение вторых двух недель - на воздухе при температуре, на (20 ± 2) К превышающей эксплуатационную температуру.

Примечание - В связи с тем, что стекло и керамика имеют высокую теплостойкость, проведение таких испытаний необязательно.

26.9 Холодостойкость

Холодостойкость определяют выдержкой представленных на испытание оболочек и их частей из неметаллических материалов, от которых зависит вид взрывозащиты, в течение 24 ч при температуре окружающей среды, соответствующей минимальной эксплуатационной температуре, уменьшенной согласно 26.7.2.

Примечание - В связи с тем, что стекло и керамика имеют высокую холодостойкость, проведение таких испытаний необязательно.

26.10 Светостойкость

26.10.1 Применимость

Испытание материала на светостойкость должно проводиться только в том случае, если оболочка или части оболочки из неметаллических материалов, от которых зависит вид взрывозащиты, не защищены от воздействия света. В случае электрооборудования группы I испытание распространяется только на световые приборы.

Если электрооборудование при его установке защищено от воздействия света (например дневного света или света люминесцентных светильников) и испытания на светостойкость не проводились, то оно должно маркироваться знаком X, чтобы указать на специальные условия для обеспечения безопасности в эксплуатации в соответствии с 29.2 i),

Примечание - В связи с тем, что стекло и керамика имеют высокую светостойкость, проведение таких испытаний необязательно.

26.10.2 Методика проведения испытаний

Испытание должно проводиться на шести испытательных стержнях стандартного размера 50х6х4мм в соответствии с ИСО 179 [18] (ГОСТ 4647). Стержни должны быть изготовлены в тех же условиях, что и оболочки; эти условия должны быть отражены в протоколе испытаний электрооборудования.

Испытание должно проводиться в соответствии с ИСО 4892-1 [19] в экспозиционной камере с использованием ксеноновой лампы и системы фильтров, моделирующих солнечный свет, на панели черного цвета с температурой поверхности (55 ± 3) °С. Продолжительность испытаний должна составлять 1000 ч.

Если свойства неметаллического материала не позволяют подготовить испытательный образец в соответствии с ИСО 179 [18] (ГОСТ 4647): возможно проведение испытания другого вида при условии, что это будет отмечено в протоколе испытаний электрооборудования.

26.10.3 Критерии оценки результатов испытаний

Оценочный критерий - прочность при ударном изгибе в соответствии с ИСО 179 [18] (ГОСТ 4647). Прочность при ударе по облученной стороне образца должна составлять не менее 50 % соответствующей величины, измеренной на образцах, не подвергшихся облучению.

Для материалов, у которых прочность при ударном изгибе не может быть измерена до облучения, поскольку никаких разрушений не возникало, допускается разрушение не более трех подвергшихся облучению образцов.

26.11 Стойкость электрооборудования группы I к воздействию химических агентов

Оболочки и части оболочек из неметаллических материалов должны быть представлены для испытания на стойкость к воздействию следующих химических агентов:

- масла и смазочных материалов;

- гидравлических жидкостей, применяющихся в шахтах.

Испытания должны проводиться на четырех образцах, закрытых таким образом, чтобы исключить попадание испытательной жидкости внутрь оболочки. При этом:

- два образца должны выдерживаться (24 ± 2) ч в масле № 2 в соответствии с приложением «Жидкости для погружения» ИСО 1817 [20] (ГОСТ 9.030) при температуре (50 ± 2) °С;

- два других образца должны выдерживаться (24 ± 2) ч в негорючей гидравлической жидкости, предназначенной для работы при температуре от минус 20 °С до плюс 60 °С, представляющей собой водный раствор полимера в 35% воды при температуре (50 ± 2) °С.

В конце испытаний упомянутые образцы оболочек следует вынуть из ванны с жидкостью, тщательно вытереть и выдержать в течение (24 ± 2) ч в лабораторных условиях. После этого каждый образец оболочки должен подвергнуться испытаниям согласно 26.4.

Если хотя бы один из образцов оболочки не выдержал такие испытания после воздействия одного или более химических агентов, оболочка должна маркироваться знаком X, чтобы указать на специальные условия для обеспечения безопасности в соответствии с 29.2 i), т.е. исключить воздействие специфических химических агентов при эксплуатации оборудования.

26.12 Проверка целостности заземления

Материал, из которого изготовлена оболочка, может испытываться как целая оболочка, часть оболочки или как образец материала оболочки при условии, что соответствующие критические размеры образца такие же, как у оболочки.

Кабельный ввод должен быть представлен в виде испытательного стержня номинальным диаметром 20 мм, изготовленным из латуни (CuZn39Pb3 или CuZn38Pb4), с метрической резьбой ИСО (ГОСТ) с полем допуска 6д и шагом 1,5 мм в соответствии с МЭК 60423 [21]. Длина испытательного стержня должна быть такой, чтобы, по меньшей мере, один полный виток резьбы оставался свободным с каждого конца в собранном виде, как показано на рисунке 4.

При проведении испытания должны использоваться полные пластины заземления или части пластин, которые будут устанавливаться на оболочке.

Отверстие с гарантированным зазором в испытуемых образцах должно иметь диаметр от 22 до 23 мм, а метод сборки должен обеспечить отсутствие прямого контакта винтовой резьбы испытательного стержня с внутренней стороной отверстия.

Зажимные гайки должны быть изготовлены из латуни (CuZn39Pb3 или CuZn38Pb4) и снабжены метрической резьбой по ИСО (ГОСТ) с полем допуска 6Н и шагом 1,5 мм в соответствии с МЭК 60423 [21]. Номинальная толщина гаек должна быть 3 мм.

Компоненты должны быть собраны, как показано на рисунке 4. Крутящий момент, приложенный к каждой паре гаек по очереди, должен составить 10 Н·м (±10%).

Отверстие в стенке (части стенки или в испытательном образце) может быть простым сквозным или с резьбой, соответствующей резьбе на испытательном стержне.

После сборки испытательный образец необходимо выдержать в условиях, установленных для испытаний на теплостойкость согласно 26.8.

Затем его необходимо выдержать еще 14 сут в сушильном шкафу при температуре 80 °С.

По завершении этой процедуры необходимо рассчитать сопротивление между пластинами заземления или частями пластин заземления, пропустив постоянный ток от 10 до 20 А между этими пластинами и измерив падение напряжения между ними.

Неметаллический материал, испытанный таким способом, считают пригодным для применения, если сопротивление между пластинами заземления или частями пластин не превышает 5·10-3 Ом.

1 - гайка; 2 - пластина заземления; 3 - стенка оболочки (неметаллическая); 4 - пластина заземления или часть пластины; 5 - испытательный стержень

Рисунок 4 - Сборка образца для испытания целостности заземления

26.13 Испытание по определению сопротивления изоляции частей оболочек из неметаллических материалов

Сопротивление определяют на частях оболочек, если позволяют их размеры, или на образце в виде прямоугольной пластины с размерами в соответствии с рисунком 5. Испытательный образец должен иметь неповрежденную поверхность. На образец наносят два параллельных электрода из проводящей краски на растворителе, который не оказывает существенного влияния на сопротивление изоляции.

Перед испытаниями образец нужно промыть дистиллированной водой, затем изопропиловым спиртом (или другим растворителем, который может смешиваться с водой и не влияет на испытуемый образец), а затем еще раз дистиллированной водой и просушить. Не касаясь образца голыми руками, его помещают в испытательную камеру и выдерживают 24 ч при температуре и влажности согласно 7.2. Испытания проводят при тех же условиях окружающей среды.

Постоянное напряжение, прикладываемое к электродам в течение 1 мин, должно составлять (500 ± 10) В.

Напряжение при испытании должно быть стабильным, чтобы зарядный ток, возникающий вследствие флуктуации напряжения, был незначительным по сравнению с током, протекающим по испытуемому образцу.

Сопротивление изоляции - это частное отделения значения приложенного в течение 1 мин к электродам напряжения постоянного тока на значение общего тока, протекающего между ними.

26.14 Испытание на неспособность накапливать опасный заряд статического электричества

26.14.1 Введение

Испытание проводят на самой оболочке оборудования или на плоском образце площадью 22500 мм2 из неметаллического материала, из которого изготовлена оболочка.

Размер образца имеет значение, поскольку экспериментально установлено, что площадь 22500 мм2 является оптимальной относительно плотности распределения заряда. Другими факторами, влияющими на правильность результатов испытания, являются относительная влажность окружающей среды, которая должна выдерживаться на уровне 30 % или менее при температуре (23 ± 2) °С для снижения до минимума утечки заряда статического электричества, а также размер искрообразующего электрода для получения одиночной искры. Слишком малые электроды могут вызывать множественные разрядные искры или коронный разряд низкой энергии. Поэтому для получения единичной разрядной искры следует использовать измерительный зонд со сферическим электродом радиусом от 10 до 15 мм. Следует учитывать также, что степень перспирации человека также оказывает влияние на результаты испытания.

26.14.2 Условие проведения испытания

Фактический образец или, если это невозможно из-за его размера или формы, образец материала в виде пластины размером 150x150x6 мм необходимо выдержать 24 ч при температуре (23 ± 2) °С и относительной влажности не выше 30 %. Затем при тех же условиях окружающей среды поверхность образца электризуют тремя разными способами. Первый способ заключается в натирании поверхности полиамидным материалом, второй - а натирании той же поверхности хлопковой тканью. При третьем способе ту же поверхность электризуют в электрическом поле источника высокого напряжения.

После электризации каждым из способов рассчитывают значение заряда Q путем измерения напряжения при разряде с электризованной поверхности. Разряд выполняют с помощью измерительного зонда со сферическим электродом (радиусом от 10 до 15 мм) через конденсатор с номинальным значением емкости C и измеряют напряжение V на нем. Значение заряда статического электричества Q рассчитывают по формуле:

где C - номинальное значение емкости конденсатора, Ф;

V - наибольшее из замеренных значений напряжения, В.

Такую процедуру выполняют для установления метода определения наибольшего накопления заряда статического электричества, а также для оценки воспламеняющей способности разряда в соответствии с 26.14.7.

Поскольку во время таких испытаний наблюдается уменьшение накопленного заряда, для последующих испытаний следует брать новые образцы. Наибольшее расчетное значение заряда статического электричества должно быть использовано при его оценке в соответствии с 26.14.7.

Примечание - В некоторых случаях свойства материала, накапливающего заряд, при разрядах могут измениться, поэтому переносимый заряд уменьшается при последующих испытаниях.

Поскольку на результаты испытания может повлиять, например, перспирация человека, необходимо провести контрольное испытание с эталонным фторопластовым материалом (PTFE), при котором переносимый разряд должен составлять, по меньшей мере, 60 нКл.

26.14.3 Образцы и аппаратура

Для испытаний принимают либо фактический образец, либо, если это невозможно из-за его размера или формы, плоский образец из непроводящего ток материала размером 150х150х6 мм. В состав испытательного оборудования входят:

а) источник питания постоянного тока высокого напряжения не менее 30 кВ;

b) электростатический вольтметр (от 0 до 10 В) с погрешностью измерения не более ± 10 % и входным сопротивлением более 109Ом;

с) конденсатор емкостью 0,10 мкФ на напряжение не менее 400 В (возможно использование конденсатора емкостью 0,01 мкФ, если входное сопротивление вольтметра более 1010Ом);

d) хлопковая ткань достаточной ширины, чтобы не было контакта между испытуемым образцом и пальцами оператора в процессе натирания;

e) полиамидная ткань достаточной ширины, чтобы не было контакта между испытуемым образцом и пальцами оператора в процессе натирания;

f) фторопластовая (например тефлоновая) ручка или щипцы для перемещения испытуемого образца, не допускающие разряда с его заряженной поверхности;

g) плоский диск из фторопласта с поверхностью площадью 22500 мм2 в качестве хорошо заряжаемого эталона;

h) заземленная пластина.

26.14.4 Условия проведения испытаний

Испытания проводят в помещении при температуре (23 ± 2) °С и относительной влажности не более 30%.

26.14.5 Подготовка образца к испытанию

Испытуемый образец очищают изопропиловым спиртом, промывают дистиллированной водой и высушивают, например в сушильной печи при температуре не выше 50 °С. Образец хранят а помещении при температуре (23+2) °С в течение 24 ч.

26.14.6 Определение наибольшего накопления заряда статического электричества

26.14.6.1 Метод А - натирание полиамидной тканью (рисунок 6)

Образец кладут на изолированную пластину лицевой поверхностью вверх. Наэлектризовывают поверхность путем 10-кратного трения - скольжения полиамидной ткани по поверхности образца так, чтобы последняя операция трения - скольжения завершилась на кромке (ребре) образца. Медленно приближая образец к сферическому электроду измерительного зонда до его соприкосновения с ним, разряжают наэлектризованный образец на землю через конденсатор емкостью 0,10 или 0,01 мкФ (рисунок 7), незамедлительно отводят образец от зонда и отсчитывают значение напряжения по шкале вольтметра (напряжение снижается со временем вследствие ограниченного входного сопротивления вольтметра). Значение заряда статического электричества на поверхности Q образца рассчитывают по формуле:

где V - напряжение на конденсаторе при t = 0.

Испытание повторяют 10 раз. Наибольшее значение заряда статического электричества, рассчитанное по этому методу, используют при оценке опасности этого заряда в соответствии с 26.14.7.

28.14.6.2 Метод В - натирание хлопковой тканью

Повторяют процедуру, описанную в методе А, используя вместо полиамидной хлопковую ткань. Испытание повторяют 10 раз. Наибольшее значение заряда статического электричества, рассчитанное по этому методу, используют при оценке опасности этого заряда в соответствии с 26.14.7.

26.14.6.3 Метод С - электризация поверхности в электрическом поле источника постоянного тока высокого напряжения (рисунок 8)

Электрод отрицательной полярности помещают на высоте 30 мм над центром открытой поверхности образца и прикладывают напряжение по меньшей мере 30 кВ между отрицательным электродом и заземленной пластиной. Перемещают образец круговыми движениями по заземленной пластине под электродом в течение 1 мин для распределения наведенного заряда статического электричества по всей открытой поверхности электризуемого образца. Разряжают наэлектризованный образец в соответствии с 26.14.6.1. Испытание повторяют 10 раз. Наибольшее значение заряда статического электричества, рассчитанное по этому методу, используют при оценке опасности этого заряда в соответствии с 26.14.7.

26.14.7 Оценка опасности разряда

Максимальное значение наведенного заряда Q на оболочке из непроводящего материала, рассчитанное по каждому методу, должно быть меньше ниже приведенных значений при условии, что наведенный заряд на образце из эталонного материала более 60 нКл:

60 нКл - для электрооборудования группы I или подгруппы IA;

30 нКл - для электрооборудования подгруппы IIB;

10 нКл - для электрооборудования подгруппы IIC.

1 - поверхность А; 2 - тефлоновая ручка; 3 - поверхность В; 4 - фторопласт

Рисунок 6 - Электризация корпуса батареи методом трения - скольжения с использованием нейлоновой ткани

 

1 - корпусе накопленным зарядом; 2 - тефлоновая ручка; 3 - сферический электрод диаметром 15 мм; 4 - вольтметр; 5 - конденсатор емкостью 0,1 мкФ

Рисунок 7 - Разряд наэлектризованного корпуса посредством зонда, заземленного через конденсатор емкостью 0,1 мкФ

 

1 - электрод; 2 - поверхность А; 3 - поверхность В; 4 - электропроводящая пластина (латунная)

Рисунок 8 - Электризация корпуса в электрическом поле источника высокого напряжения постоянного тока

26.15 Измерение емкости

26.15.1 Методика проведения испытаний

Испытание проводят на двух полностью собранных образцах оборудования. Образцы выдерживают в климатической камере в течение по меньшей мере 1 ч при температуре (20 ± 2) °С и относительной влажности от 30 % до 50 %. Испытуемый образец устанавливают на заземленную металлическую пластину размером примерно 90×160×3 мм (при необходимости размер пластины может быть большим). Измеряют значение емкости между каждой металлической частью на оболочке оборудования и заземленной металлической пластиной от 0 до 200 пФ прибором с погрешностью измерения ± 5 %, при этом длина присоединенных к измерительному прибору проводов должна быть не более 1 м. Если на оболочке оборудования нет металлических частей, следует создать испытательную точку, ввернув винт в наружную поверхность в таком положении, при котором по мнению испытательной организации могут быть получены наихудшие результаты. Положение(я) образца должно(ы) быть таким(и), при котором(ых) могут быть получены наихудшие результаты.

26.15.2 Критерии оценки

Максимальное измеренное значение емкости должно быть:

50 пФ - для электрооборудования группы I и подгруппы IIA;

15 пФ - для электрооборудования подгруппы IIB;

5 пФ - для электрооборудования подгруппы IIC.

27 Контрольные проверки и испытания

Изготовитель должен проводить контрольные проверки и испытания, необходимые для того, чтобы гарантировать обеспечение соответствия изготовленного электрооборудования документации. Изготовитель должен также выполнить контрольные проверки и испытания в соответствии с требованиями стандартов, указанных в разделе 1.

28. Ответственность изготовителя

28.1 Сертификат

Изготовитель должен подготовить электрооборудование к сертификации или уже получить сертификат, подтверждающий, что оборудование соответствует требованиям настоящего стандарта, а также примененным стандартам на взрывозащиту конкретных видов и дополнительным стандартам, перечисленным в разделе 1. Сертификат должен быть на Ex-оборудование или Ex-компонент.

28.2 Ответственность за маркировку

Маркируя электрооборудование в соответствии с разделом 29, изготовитель подтверждает под свою ответственность, что:

- конструкция электрооборудования должна соответствовать требованиям соответствующих примененных стандартов в части безопасности;

- контрольные проверки и испытания по разделу 27 выполнены в полном объеме и изделие соответствует документации.

29 Маркировка

С целью обеспечения безопасности приведенная ниже система маркировки должна применяться только в электрооборудовании, отвечающем требованиям стандартов на взрывозащиту конкретных видов, перечисленных в разделе 1.

29.1 Расположение маркировки

Электрооборудование должно иметь легко читаемую маркировку на основной части корпуса.

29.2 Общие положения Маркировка должна включать в себя:

а) наименование изготовителя или его зарегистрированный товарный знак;

b) обозначение типа электрооборудования;

с) знак Ex, указывающий, что электрооборудование соответствует стандартам на взрывозащиту конкретного вида, указанным в разделе 1;

d) обозначение взрывозащиты каждого примененного вида:

d - взрывонепроницаемая оболочка;

е - повышенная безопасность (защита вида «e»);

ia - искробезопасность, уровень взрывозащиты «ia»;

ib - искробезопасность, уровень взрывозащиты «ib»;

ma - герметизация компаундом, уровень взрывозащиты «ma»;

mb - герметизация компаундом, уровень взрывозащиты «mb»;

nA - защита вида «n», метод взрывозащиты «nA»;

nC - защита вида «n», метод взрывозащиты «nC»;

nL - защита вида «n», метод взрывозащиты «nL»;

nR - защита вида «n», метод взрывозащиты «nR»;

o - масляное заполнение оболочки;

px - заполнение или продувка оболочки под избыточным давлением, уровень взрывозащиты «px»;

py - заполнение или продувка оболочки под избыточным давлением, уровень взрывозащиты «py»;

pz - заполнение или продувка оболочки под избыточным давлением, уровень взрывозащиты «pz»;

p - кварцевое заполнение оболочки.

Для связанного электрооборудования, которое может быть установлено в опасной зоне, знаки вида взрывозащиты должны заключаться в квадратные скобки, например Ex d[ia]IIC T4.

Для связанного электрооборудования, которое не может быть установлено в опасной зоне; как знак Ex, так и знак вида взрывозащиты должны заключаться в квадратные скобки, например [Ex ia]IIC.

Примечания

1 Для связанного электрооборудования, которое не может быть установлено в опасной зоне, температурный класс не обозначается.

2 Электрооборудование, которое не полностью удовлетворяет требованиям безопасности настоящего стандарта или стандартов на взрывозащиту конкретного вида, но соответствует требованиям ГОСТ 22782.3, должно иметь маркировку «5»;

e) обозначение группы электрооборудования:

I - для электрооборудования, предназначенного для шахт (рудников), опасных по рудничному газу;

II или IIA, или IIB, или IIC - для электрооборудования, предназначенного для применения во взрывоопасных газовых средах, кроме шахт (рудников), опасных по рудничному газу.

Обозначения А, В, С должны использоваться в случае, если это предписывает стандарт на взрывозащиту конкретного вида или, если это необходимо, для выполнения требований 6.3, 7.3.2 c), 7.3.2 d) или 7.3.2 e).

Если электрооборудование предназначено для применения только в одном газе, сразу за обозначением «II» в скобках должна быть указана химическая формула или название газа.

Если электрооборудование, отнесенное к определенной группе, также предназначено и для применения в одном газе, сразу за обозначением группы должна быть указана химическая формула газа, при этом оба знака должны быть разделены знаком «+».

Пример - «IIB + H2».

Примечание 3 - Электрооборудование, имеющее маркировку IIB, пригодно для применения в местах, где требуется электрооборудование подгруппы IIA. Подобным же образом электрооборудование с маркировкой IIC пригодно для применения в местах, где требуется электрооборудование подгруппы IIA или IIB;

f) для электрооборудования группы II - обозначение температурного класса. Если изготовитель желает указать значение максимальной температуры поверхности, находящееся внутри диапазона двух температурных классов, в маркировке должна быть указана только максимальная температура поверхности в градусах Цельсия или же эта температура и следующий температурный класс.

Пример - Т1 или 350 °С, или350 °С (Т1).

Электрооборудование группы II, имеющее максимальную температуру поверхности выше 450 °С, должно маркироваться лишь нанесением значения максимальной температуры в градусах Цельсия.

Пример - 600 °С.

Электрооборудование группы II, предназначенное для применения в определенном газе, не требует указания температурного класса или максимальной температуры поверхности.

В соответствии с 5.1.1 маркировка должна включать в себя л ибо обозначение Ta или Tamb вместе с диапазоном окружающей температуры, либо знак X для указания на специальные условия безопасности в эксплуатации согласно 29.2 i).

На кабельных вводах температурный класс или максимальную температуру поверхности не маркируют;

g) порядковый номер, за исключением:

- присоединительной арматуры (кабельные и трубные вводы, заглушки, промежуточные платы, розетки и вилки соединителей и проходные изоляторы);

- миниатюрного оборудования с ограниченной поверхностью.

(Номер партии может рассматриваться в качестве альтернативы серийному номеру);

h) наименование или знак органа по сертификации и номер сертификата в следующей форме: последние две цифры года сертификации, затем порядковый номер сертификата этого года;

i) специальные условия для обеспечения безопасности в эксплуатации, если их необходимо указать; в этом случае после маркировки номера сертификата должен размещаться знак X. Вместо знака X можно использовать предупредительную надпись.

Примечание 4 - Изготовитель должен обеспечить передачу потребителю требований по специальным условиям безопасного применения вместе с другой необходимой информацией;

j) любую другую дополнительную маркировку, предписываемую стандартами на взрывозащиту конкретных видов, перечисленными в разделе 1.

Примечание 5 - Требования по дополнительной маркировке могут быть указаны в стандартах на электрооборудование конкретного вида.

Примечание 6 - Электрооборудование отечественных производителей для внутрироссийских поставок (за исключением связанного электрооборудования, которое не может быть установлено в опасной зоне), должно дополнительно маркироваться нанесением знака уровня взрывозащиты в соответствии с 27.2 с) ГОСТ Р 51330.0, размещаемого перед знаком Ex (например PB Exdl или 2 Exem IIT5). В этом случае знак X размещают после маркировки вида взрывозащиты согласно перечислениям c)-f).

Примечание 7 - Импортируемое электрооборудование (за исключением связанного электрооборудования, которое не может быть установлено в опасной зоне), кроме основной маркировки в соответствии с 29.2, должно иметь табличку с дополнительной маркировкой в указанной ниже последовательности, включающей в себя:

- обозначение (знак) уровня взрывозащиты согласно 27.2 с) ГОСТ Р 51330.0;

- маркировку согласно перечислениям c)-f).

- знак X при наличии специальных условий для обеспечения безопасности в эксплуатации;

- наименование или знак российского органа по сертификации и номер сертификата.

29.3 Виды взрывозащиты

В случае использования на разных частях электрооборудования взрывозащиты различных видов, каждая соответствующая часть должна иметь обозначение взрывозащиты принятого в ней вида.

Если в электрооборудовании используют взрывозащиту нескольких видов, на первом месте приводят обозначение взрывозащиты основного вида, а затем других видов. Виды взрывозащиты указывают в алфавитном порядке с пробелами или без них. Если используется связанное оборудование, знаки его вида взрывозащиты должны следовать за знаками основного оборудования.

Примечание - См. также примечания 6 и 7 к 29.2 j).

29.4 Порядок маркировки

Маркировка согласно перечислениям c)-f). должна размещаться в последовательности, приведенной в 29.2, и разделяться пробелом.

29.5 Ex-компоненты

Ех-компоненты по разделу 13 должны иметь разборчивую маркировку, которая должна содержать:

a) наименование или зарегистрированный товарный знак изготовителя;

b) обозначение типа Ex-компонента;

c) обозначение (знак) Ex;

d) обозначение (знак) взрывозащиты каждого примененного вида;

e) обозначение (знак) группы электрооборудования Ex-компонента;

f) наименование или знак органа по сертификации, номер сертификата, если Ex-компонент был сертифицирован как соответствующий стандарту;

g) знак U после номера сертификата.

Примечание 1 - Знак X применяться не должен.

Примечание 1а - Знак U в маркировке Ex-компонентов отечественных производителей для внутрироссийских поставок должен размещаться после маркировки взрывозащиты согласно перечислениям c)-f) 29.2;

h) дополнительную маркировку, предписываемую стандартами на взрывозащиту конкретных примененных видов, из числа приведенных в разделе 1.

Примечание 2 - Требования по дополнительной маркировке могут быть указаны в стандартах на электрооборудование конкретного вида.

Примечание 3 - Импортируемые Ex-компоненты, кроме основной маркировки в соответствии с 29.5, должны иметь табличку с дополнительной маркировкой в указанной ниже последовательности, включающей в себя:

- -маркировку согласно перечислениям c)-f) 29.2;

- знак U после маркировки взрывозащиты согласно перечислениям c)-f) 29.2;

- наименование или знак российского органа по сертификации и номер сертификата.

29.6 Малогабаритные оборудование и Ex-компоненты

На малогабаритном электрооборудовании и на Ex-компонентах с ограниченной поверхностью маркировка может быть сокращена, но тем не менее в ней должно быть отражено следующее:

a) наименование или зарегистрированный товарный знак изготовителя;

b) обозначение типа электрооборудования. Это обозначение может быть сокращено или исключено, если ссылка на сертификат позволяет установить конкретный тип электрооборудования;

c) знак Ex и обозначение вида взрывозащиты;

d) наименование или знак органа по сертификации, номер сертификата, если Ex-компонент был сертифицирован как соответствующий стандарту;

e) знак Х или U (если они предусмотрены).

Примечание 1 - Знаки X и U вместе применяться не должны.

Примечание 2 - См. также примечания 6 и 7 к 29.2 и примечание 1а к 29.5.

29.7 Особо малогабаритные оборудование и Ex-компоненты

На малогабаритном электрооборудовании и Ex-компонентах, на которых нет места для маркировки, допускается маркировку наносить на этикетку, поставляемую вместе с оборудованием или Ex-компонентом. Маркировка на этикетке должна быть идентична маркировке, указанной в 29.2, а сама этикетка размещается на оборудовании или Ex-компоненте.

Примечание - См. также примечания 6 и 7 к 29.2 и примечание 1а к 29.5

29.8 Предупредительные надписи

Если требуется нанесение предупредительных надписей на электрооборудование, текст таблицы 10 после слова «ПРЕДУПРЕЖДЕНИЕ» может быть заменен технически равнозначным. Несколько предупредительных надписей можно объединить в один равнозначный.

Таблица 10 - Текст предупредительных надписей

Перечисление

Пункт

Предупредительная надпись

а)

6.3

ПРЕДУПРЕЖДЕНИЕ - ПОСЛЕ ВЫКЛЮЧЕНИЯ НЕ ОТКРЫВАТЬ У МИНУТ (Y - значение в минутах требуемой задержки)

b)

6.3

ПРЕДУПРЕЖДЕНИЕ - НЕ ОТКРЫВАТЬ ПРИ ВОЗМОЖНОМ ПРИСУТСТВИИ ВЗРЫВЧАТОГО ГАЗА

c)

18.2

ПРЕДУПРЕЖДЕНИЕ - НЕ ОТКЛЮЧАТЬ ПОД НАГРУЗКОЙ

d)

18.4 b), 19, 21.2 d)

ПРЕДУПРЕЖДЕНИЕ - ОТКРЫВАТЬ, ОТКЛЮЧИВ ОТ СЕТИ

e)

20.1 b)

ПРЕДУПРЕЖДЕНИЕ - НЕ ОТСОЕДИНЯТЬ ПОД НАПРЯЖЕНИЕМ

f)

20.1 b)

ПРЕДУПРЕЖДЕНИЕ - ОТСОЕДИНЯТЬ ТОЛЬКО В БЕЗОПАСНОЙ ЗОНЕ

g)

7.3.2 e)

ПРЕДУПРЕЖДЕНИЕ - ОПАСНОСТЬ ПОТЕНЦИАЛЬНОГО ЭЛЕКТРОСТАТИЧЕСКОГО ЗАРЯДА. СМ. ИНСТРУКЦИИ

h)

18.4 2), 21.2 2)

ПРЕДУПРЕЖДЕНИЕ - ПОД КРЫШКОЙ НАХОДЯТСЯ ЧАСТИ ПОД НАПРЯЖЕНИЕМ. НЕ ПРИКАСАТЬСЯ

29.9 Элементы и батареи

При необходимости замены при эксплуатации в соответствии с 23.11 элементов или батареи, находящихся внутри оболочки, снаружи или внутри оболочки должны быть стойкой краской четко промаркированы соответствующие параметры, обеспечивающие правильную замену этих компонентов. Должны быть указаны либо наименование изготовителя и номер партии элементов или батареи, либо их электрохимическая система, номинальные напряжение и емкость.

29.10 Примеры маркировки

29.10.1 Электрооборудование во взрывонепроницаемой оболочке для применения в шахтах (рудниках), опасных по рудничному газу (метану):

Для оборудования отечественных производителей при внутрироссийских поставках

Для импортируемого оборудования

АО «Логика»

BEDELLE S.A

Тип КСЛ.1М

TYPE A B 5

PB Exdl

Ex dl

№272

№325

MOC СертиумРОСС Ru.АЮ30.В00018

ABC 02.12345

 

Дополнительная табличка

 

PB Exdl

 

MOC Сертиум № РОСС DE.АЮ30.

 

A000215

Ex-компонент, частично во взрывонепроницаемой оболочке и частично с искробезопасными электрическими цепями «i», для применения в местах с взрывоопасной газовой средой, кроме шахт (рудников), опасных по рудничному газу (метану), а именно с газом подгруппы С:

Для оборудования отечественных производителей при внутрироссийских поставках

Для импортируемого оборудования

АО «Интеграл»

H.RIDSTONE&Co Ltd

Тип КB 369

TYPE KW 369

Exd[ia]IICU

Ex d[ia]IIC

№744

DEF 02.536 U

OC ВРЭ ВостНИИРОСС

Дополнительная табличка

Ru.ЛМГ02.А00028

Exd[ia]IIC U

 

OC ВРЭ ВостНИИ №РОСС

 

Ru.ЛМГ02.B00126

Электрооборудование частично с взрывозащитой вида «e» и частично с взрывозащитой вида «заполнение или продувка оболочки под избыточным давлением «px», с максимальной температурой поверхности 125 °С, для применения в помещениях и наружных установках с взрывоопасными газовыми средами, кроме шахт (рудников), опасных по рудничному газу (метану), а именно с газом, температура самовоспламенения которого более 125 °С, при выполнении особых условий безопасности, приведенных в сертификате:

Для оборудования отечественных производителей при внутрироссийских поставках

Для импортируемого оборудования

ПЭМЗ

H.ATHERINGTON Ltd

Тип 250DM1

TYPE 250 JG 1

1 Ex ep II 125ºC (T4) X

Ex epx II 125ºC (T4)

№ 9653

№ 56732

ЦС СТВ РОСС.RU. ГБ04.В00093

GHI 02.076 X

 

Дополнительная табличка

 

2 Ex epx II125ºC (T4) X

 

ЦС СТВ РОСС.GB. ГБ04.A00206

Электрооборудование, частично с использованием взрывозащиты «взрывонепроницаемая оболочка» и частично с защитой вида «e» для применения в шахтах (рудниках), опасных по рудничному газу (метану), а также в помещениях и наружных установках с взрывоопасными средами, иными, чем рудничный газ (метан), а именно с газом группы В, температура самовоспламенения которого более 200 °С:

Для оборудования отечественных производителей при поставках на экспорт

Для импортируемого оборудования

СмНПО

A.R.ACHUTZ A.G.

Тип 5 CD

TYPE 5 CD

Ex de I/Ex de IIB T3

Ex de I/Ex de IIB T3

№ 5634

№ 5634

НАНИО ЦСВЭ № РОСС RU.ГВ11.В00063

JKL 02.521

 

Дополнительная табличка

 

PB Ex de I/1 Ex de IIDB T3

 

НАНИО ЦСВЭ № РОСС RU.ГВ11.В00078

Электрооборудование во взрывонепроницаемой оболочке для применения в помещениях и наружных установках, кроме шахт (рудников), опасных по рудничному газу (метану), с взрывоопасными средами только на основе аммиака:

Для оборудования отечественных производителей при поставках на экспорт

Для импортируемого оборудования

НЗША

WOKAITERT SARL

Тип NT 3

TYPE NT 3

Ex de II(NH3)

Ex de II(NH3)

№ 6549

№ 6549

MOC СертиумРОСС Ru.АЮ30.В00054

MNO 02.3102

 

Дополнительная табличка

 

1 Ex d II(NH3)

 

MOC Сертиум № РОСС

 

US.АЮ30.В00047

30 Руководства по эксплуатации

30.1 Общие положения

Электрооборудование должно поставляться с руководствами по эксплуатации, включающими в себя, по меньшей мере, следующее:

- краткие сведения, содержащиеся в маркировке оборудования, кроме серийного номера (см. раздел 29), а также любую соответствующую дополнительную информацию для облегчения технического обслуживания (например адрес поставщика, ремонтной службы и т. д.):

- инструкции по:

безопасному пуску в эксплуатацию, использованию,

монтажу и демонтажу,

техническому обслуживанию (осмотру, текущему и аварийному ремонту),

установке,

регулировке;

- при необходимости, инструкции по обучению;

- детали, которые позволяют принять решение, возможно ли безопасное использование оборудования в намеченной зоне и в ожидаемых условиях работы;

- электрические параметры и параметры давления, максимальную температуру поверхности и другие предельные значения;

- при необходимости, специальные условия применения, включая подробную информацию о возможном неправильном использовании на основе имеющегося опыта;

- при необходимости, основные характеристики инструментов, которые могут дополнять оборудование;

- перечень стандартов, в т.ч. дату выпуска, о соответствии которым заявлено. Данное требование будет выполнено, если приложить сертификат.

Руководство по эксплуатации (или паспорт) должны содержать информацию, чертежи и диаграммы, а том числе чертежи средств взрывозащиты, необходимую для ввода в эксплуатацию, технического обслуживания, осмотра, проверки правильности работы и необходимости ремонта электрооборудования, а также рекомендации по обеспечению безопасности его эксплуатации.

30.2 Элементы и батареи

При необходимости замены при эксплуатации согласно 23.11 элементов или батареи, находящихся внутри оболочки, в руководстве по эксплуатации должны быть указаны соответствующие параметры, обеспечивающие правильную замену этих компонентов, включая либо наименование изготовителя и номер партии элементов или батареи, либо их электрохимическую систему, номинальные напряжение и емкость.

Приложение А

(обязательное)

Ex-кабельные вводы

А.1 Общие положения

Настоящее приложение устанавливает общие требования по конструированию, испытанию и маркировке Ex-кабельных вводов и может быть дополнено или изменено согласно требованиям дополнительно введенных стандартов (см. раздел 1).

Примечание - Минимальный диаметр кабеля, на который рассчитан кабельный ввод, устанавливается изготовителем. Потребитель должен гарантировать, что минимальные размеры выбранного им для использования в уплотнении кабеля, учитывая допуски, равны или превышают установленные изготовителем значения.

А.2 Требования к конструкции

А.2.1 Уплотнение кабеля

Уплотнение кабеля в кабельном вводе должно обеспечиваться одним из следующих способов (см. рисунок А.1):

- эластомерным уплотнительным кольцом;

- металлическим или составным уплотнительным кольцом;

- герметизирующим компаундом.

Уплотнение кабеля может быть выполнено из одного материала или из комбинации материалов и должно соответствовать форме применяемого кабеля.

Примечания

1 При выборе материалов для металлических или составных уплотнительных колец следует обратить внимание на примечание 2 к 6.1.

2 Вид взрывозащиты оболочки может зависеть также от внутренней конструкции кабеля.

А.2.2 Материалы

А.2.2.1 Наружные части

Требования к материалам, изложенные в 7.3 настоящего стандарта в части зарядов статического электричества, применяют только для наружных частей кабельных вводов.

1 - уплотнительное кольцо; 2 - корпус ввода; 3 - нажимная деталь; 4 - кабель; 5 - герметизирующий компаунд; 6 - уплотнение; 7 - деталь, фиксирующая компаунд

Рисунок А.1 - Кабельные вводы

А.2.2.2 Эластомерное уплотнительное кольцо

Эластомерное уплотнительное кольцо должно выполняться из материалов, которые удовлетворяют типовым испытаниям на стойкость к старению в соответствии с А.3.3.

А.2.2.3 Компаунды

Материалы, используемые в качестве герметизирующих компаундов, должны отвечать требованиям раздела 12 настоящего стандарта.

А.2.3 Приспособления для закрепления

А.2.3.1 Общие положения

Кабельные вводы должны обеспечивать закрепление кабеля с целью предотвращения растягивающих усилий и скручиваний, действующих на кабель в местах присоединения его жил к присоединительным контактным зажимам. Такое закрепление может обеспечиваться устройством, уплотнительным кольцом или герметизирующим компаундом. Любой принятый элемент крепления кабеля должен обеспечивать выполнение требований при соответствующих испытаниях по А.3.

А.2.3.2 Кабельные вводы группы II

Кабельные вводы группы II без закрепляющих устройств могут рассматриваться как отвечающие требованиям настоящего приложения, если они выдерживают испытания на закрепление кабеля, проводимые со сниженными на 25 % нагрузками, указанными в А.3. В сопроводительной документации должно быть указано, что такие кабельные вводы могут применяться только в стационарном оборудовании группы II и что потребитель должен обеспечить адекватное закрепление кабеля. Такие кабельные вводы должны маркироваться знаком X для указания специальных условий применения в соответствии с 29.2 i) настоящего стандарта.

А.2.4 ввод кабеля

А.2.4.1 Острые края

Кабельные вводы не должны иметь острых краев, способных повредить кабель.

А.2.4.2 Место ввода

В случае гибких кабелей место ввода должно иметь скругленные на угол не менее 75° края с радиусом округления R, равным не менее 1/4 диаметра максимального допущенного для этого кабельного ввода, но не более 3 мм (см. рисунок А.2).

А.2.5 Ослабление с помощью инструмента

Кабельные вводы должны конструироваться таким образом, чтобы после установки они могли быть ослаблены или демонтированы только с помощью инструмента.

А.2.6 Крепление

Средства крепления кабельных вводов к оболочкам электрооборудования должны обеспечивать сохранность кабельного ввода, когда приспособления для закрепления подвергают как механическим, так и ударостойким испытаниям по А.3.

А.2.7 Степень защиты

Кабельные вводы, установленные в соответствии с разделом 30 настоящего стандарта, в сборе с оболочкой должны обеспечивать требуемую степень защиты.

Кабельные вводы, маркированные степенью защиты, должны быть испытаны в соответствии с А.3.5.

А.3 Испытания

А.3.1 Испытания закрепления небронированных кабелей и кабелей с оплеткой

А.3.1.1 Кабельные вводы с закреплением посредством уплотнительного кольца

Испытания закрепления кабеля должны проводиться с использованием для каждого типа кабельного ввода двух уплотнительных колец:

- одно кольцо - для ввода кабеля наименьшего размера, равного размеру допущенного к применению кабеля;

- другое кольцо - для ввода кабеля наибольшего размера, равного размеру допущенного к применению кабеля.

В случае эластомерных уплотнительных колец для круглых кабелей каждое кольцо монтируют на чистой сухой полированной цилиндрической оправке из обыкновенной стали или нержавеющей стали с максимальной шероховатостью поверхности Ra = 1,6 мкм, диаметр шторой равен наименьшему допустимому диаметру вводимого в кольцо кабеля, указанному изготовителем кабельного ввода.

Для некруглых кабелей кольцо должно монтироваться на образце чистого сухого кабеля, размеры которого равны размерам, установленным изготовителем кабельного ввода.

В случае металлических уплотнительных колец каждое кольцо монтируют на чистой сухой полированной цилиндрической оправке из стали с максимальной шероховатостью поверхности Ra = 1,6 мкм, диаметр которой равен наименьшему допустимому диаметру вводимого в кольцо кабеля, указанному изготовителем кабельного ввода.

Уплотнительное кольцо в сборе с оправкой или кабелем, в зависимости от принятого варианта, устанавливают в кабельном вводе. Затем к винтам (в случае нажимного фланца с винтами) или к гайке (в случае нажимной гайки) прикладывают крутящий момент для сжатия уплотнительного кольца до такой степени, чтобы предотвращалось выскальзывание оправки или кабеля при приложении к ним усилия в ньютонах, равного:

20-кратному значению (в миллиметрах) диаметра оправки или кабеля, если кабельный ввод сконструирован для круглого кабеля:

8-кратному значению (в миллиметрах) периметра кабеля, когда кабельный ввод сконструирован для некруглых кабелей.

Для кабельных вводов, предназначенных для кабелей с оплеткой, испытание закрепления должно показать эффективность кабельного ввода в креплении кабеля, а не прочность оплетки. Если испытание проводится на кабеле с оплеткой, последняя не должна закрепляться.

Условия испытаний и критерии оценки результатов испытаний приведены в А.3.1.4.

Примечание - Значения упомянутого выше крутящего момента могут быть определены экспериментально до испытаний или сообщены изготовителем кабельного ввода.

А.3.1.2 Кабельные вводы с закреплением посредством герметизирующего компаунда

Испытания закрепления кабеля должны проводиться с использованием двух образцов сухого чистого кабеля;

- один образец - с размерами, равными наименьшему размеру допущенного к применению кабеля;

- другой образец - с размерами, равными наибольшему размеру допущенного к применению кабеля. Герметизирующий компаунд, подготовленный в соответствии с предписаниями изготовителя кабельного ввода, заделывают в имеющееся пространство. Испытания ввода проводят после того, как компаунд затвердеет.

Герметизирующий компаунд должен предотвращать выдергивание кабеля при приложении к нему усилия в ньютонах, равного:

20-кратному значению диаметра (в миллиметрах) образца кабеля, если кабельный ввод сконструирован для круглого кабеля;

6-кратному значению (в миллиметрах) периметра образца кабеля, если кабельный ввод сконструирован для некруглого кабеля.

Для кабельных вводов, предназначенных для кабелей с оплеткой, такие испытания проводят для оценки прочности закрепления кабеля, а не оплетки. Если конструкция кабельного ввода такова, что оплетка будет окружена компаундом, контакт компаунда с оплеткой при проведении испытания должен быть в максимальной степени ограничен.

Условия испытаний и критерии оценки результатов испытаний см. в А.3.1.4.

А.3.1.3 Кабельные вводы с закреплением посредством закрепляющего устройства

Испытание закрепления кабеля должно проводиться с использованием для кабельного ввода каждого типа элементов крепления кабеля допущенных размеров.

Каждое устройство монтируют на образце чистого сухого кабеля, размер которого соответствует данному устройству и предписан изготовителем кабельного ввода.

Устройство монтируется на образце чистого сухого кабеля, размер которого соответствует данному устройству и предписан изготовителем кабельного ввода.

Элемент крепления кабеля, уплотнительное кольцо и кабель максимально допустимого по отношению к элементу крепления размера, предписанного изготовителем кабельного ввода, монтируют в кабельном вводе; ввод после этого собирают со сжатием уплотнительного кольца и затяжкой элемента крепления кабеля. Испытания проводят в соответствии с А.3.1.1. Затем испытание повторяют с использованием минимально допустимого по отношению к элементу крепления размера кабеля, предписанного изготовителем кабельного ввода.

Для кабельных вводов, предназначенных для кабелей с оплеткой, такие испытания проводят для оценки прочности крепления кабеля, а не оплетки, Если испытание проводят на кабеле с оплеткой, оплетка не должна закрепляться.

А.3.1.4 Испытание на растяжение

Образец, подготовленный в соответствии сА.3.1.1-А.3.1.3, монтируют на разрывной испытательной машине и к нему прикладывают постоянное растягивающее усилие, приведенное в А.3.1.1 или А.3.1.2, а течение не менее 6 ч. Испытание проводят при окружающей температуре (20 ± 5) °С.

Крепление, обеспечиваемое уплотнительным кольцом, герметизирующим компаундом или закрепляющим устройством, считают приемлемым, если выскальзывание оправки или образца кабеля не превышает 6 мм.

А.3.1.5 Механическая прочность

После испытания на растяжение кабельный ввод снимают с разрывной машины и подвергают последующим испытаниям и проверкам, приведенным ниже в подпунктах a)-c).

а) в случае кабельных вводов с креплением посредством уплотнительного кольца или закрепляющего устройства, винты или гайки (в зависимости от варианта) подвергают испытаниям на механическую прочность крутящим моментом, а 1,5 раза превышающим величину момента закручивания, необходимого для предотвращения выскальзывания кабеля. Кабельный ввод затем разбирают, а его детали проверяют. Механическую прочность кабельного ввода считают достаточной, если отсутствуют деформации, нарушающие вид взрывозащиты. Какие-либо деформации уплотнительных колец не принимают во внимание;

b) если кабельные вводы изготавливают из неметаллических материалов, допускается, чтобы предписанный испытательный крутящий момент не был достигнут из-за пластических деформаций резьбы. Кабельный ввод считают выдержавшим испытание, если отсутствуют видимые повреждения; при этом испытание на растяжение согласно А.3.1.4 может проводиться без доработок;

с) в случае кабельных вводов с закреплением герметизирующим компаундом сальник разбирают, насколько это возможно, без повреждения герметизирующего компаунда. При проверке не должно быть обнаружено физических или видимых повреждений в заполняющем компаунде, которые могли бы нарушить взрывозащиту принятого вида.

А.3.2 Испытания закрепления бронированных кабелей

А.3.2.1 Испытания закрепления, когда броню закрепляют устройством, расположенным на самом сальнике

Испытания должны проводиться с использованием для каждого размера кабельного ввода образца бронированного кабеля наименьшего предписанного размера. Образец монтируют в закрепляющем устройстве кабельного ввода. Затем прикладывают крутящий момент к болтам (в случае фланцевого нажимного устройства) или к гайке (в случае резьбовых закрепляющих устройств) с целью зажатия закрепляющего устройства и предотвращения выскальзывания брони, когда прикладывают усилие в ньютонах, равное:

80-кратному значению (в миллиметрах) диаметра кабеля по броне для группы I;

20-кратному значению (в миллиметрах) диаметра кабеля по броне для группы II.

Примечание - Значения крутящего момента, упомянутые выше, могут быть определены до экспериментальных испытаний, или они могут быть представлены изготовителем кабельного ввода.

А.3.2.1.1 Испытание на растяжение

Подготовленный образец монтируют на разрывной машине и к нему прикладывают усилие, указанное в А.3.2.1, в течение (120 ± 10) с. Испытание проводят при окружающей температуре (20 ± 5) ºС.

Закрепление, обеспечиваемое закрепляющим устройством, считают достаточным, если выскальзывание брони практически исключено.

А.3.2.1.2 Механическая прочность

После монтажа болты и гайки должны быть затянуты крутящим моментом, в 1,5 раза превышающим значения по А.3.2.1.1, после чего кабельный ввод разбирают. Механическую прочность считают достаточной, если не обнаружены какие-либо деформации, нарушающие вид взрывозащиты.

А.3.2.2 Испытания закрепления, когда броню не закрепляют устройством на самом сальнике

Кабельный ввод должен рассматриваться как предназначенный для ввода небронированных кабелей поА.3.1.

А.3.3 Испытания на старение материалов, используемых для эластомерных уплотнительных колец

Материал, применяемый для изготовления уплотнительных колец, подготавливают в виде испытательных образцов в соответствии с ИСО 48 [22] (ГОСТ 20403). Твердость образцов определяют в соответствии с этими стандартами при окружающей температуре.

Затем испытуемые образцы помещают в печь, в которой поддерживают температуру (100 ± 5) ºС в течение 168 ч без перерывов. После этого образцы выдерживают 24 ч при окружающей температуре и затем помещают в холодильник, в котором поддерживают температуру минус (20 ± 2) ºС в течение 48 ч без перерывов; после чего их выдерживают не менее 24 ч при окружающей температуре. Затем снова определяют твердость.

В конце испытаний твердость в единицах 1КНО, указанная в ИСО 48 [22] (ГОСТ 20403), не должна отклоняться более чем на 20 % от твердости до старения.

Если кабельный ввод предназначен для применения при температуре более высокой, чем это оговорено в 16.5, испытания на старение должны проводиться при температуре, превышающей на (20 ± 5) °С максимальную заявленную рабочую температуру кабеля. Если кабельный ввод предназначен для применения при температуре ниже минус 20 ºС, испытание в холодильнике должно проводиться при самой низкой заявленной рабочей температуре с отклонением ± 2 К.

А.3.4 Испытание на ударостойкость

Испытание должно проводиться с учетом соответствующих требований 26.4.2. Кабельный ввод должен испытываться с введенным кабелем наименьшего предписанного размера.

Для целей испытания кабельный ввод закрепляют в жестко смонтированной стальной плите или монтируют точно так, как это предписывает изготовитель кабельного ввода. Крутящий момент, прикладываемый к резьбовым крепежным элементам кабельного ввода, должен выбираться в соответствии с А.3.1.5 или А.3.2.1.

А.3.5 Испытание степени защиты кабельных вводов

Испытание должно проводиться в условиях, оговоренных в ГОСТ 14254, с использованием кабельного ввода каждого типа с одним уплотнительным кольцом каждого из ряда допущенных размеров.

При испытаниях на герметичность каждое уплотнительное кольцо монтируют на образце чистого сухого кабеля или на чистой сухой полированной металлической оправке с максимальной шероховатостью поверхности Ra = 1,6 мкм и диаметром, равным наименьшему диаметру кабеля, предписанного изготовителем кабельного ввода для данного ввода. При проведении этого испытания кабельный ввод с кабелем или оправкой монтируют в соответствующей оболочке, чтобы обеспечить уплотнение на внешней стороне между сальником и оболочкой, не влияющее на результаты испытания.

А.4 Маркировка

А.4.1 Маркировка кабельных вводов

Кабельные вводы должны иметь маркировку согласно 29.2 и, если ввод резьбовой, в соответствии с типом и размером резьбы. Если поверхность для маркировки ограничена, может быть применена сокращенная маркировка согласно требованиям 29.6.

А.4.2 Маркировка кабельных уплотнительных колец

Уплотнительные кольца кабельных вводов, позволяющих устанавливать кольца разных размеров, должны иметь обозначения минимального и максимального диаметров (в миллиметрах) допущенных к вводу в них кабелей.

Если уплотнительное кольцо скреплено с металлической шайбой, маркировка может быть выполнена на шайбе. Кабельные уплотнительные кольца должны иметь идентифицирующую маркировку, позволяющую потребителю определять, соответствует ли кольцо кабельному вводу.

Если ввод и уплотнительное кольцо предназначены для применения вне температурного диапазона от минус 20 ºС до плюс 80 °С и были испытаны согласно А.3.3, они должны иметь маркировку с указанием диапазона фактических температур.

Приложение В

(обязательное)

Требования к Ex-компонентам

Ex-компоненты должны соответствовать требованиям пунктов, указанных в таблице В.1.

Таблица В.1 Пункты требований настоящего стандарта, которым должны соответствовать Ex-компоненты

Разделы и пункты настоящего стандарта

Применяемость

Примечания

1-4

Да

За исключением 4.2.2

5

Нет

За исключением того, что должны устанавливаться пределы рабочей температуры

6.1

Да

-

6.3

Нет

-

7.1

Да

-

7.2

»

См. примечание 1

7.3

»

Если снаружи (см. примечание 1)

7.4

»

Если снаружи (см. примечание 1)

8

»

-

9.1

»

-

9.2

 

Только при наличии оболочки электрооборудования

9.3

»

Тоже

10

»

-

11

»

-

12

»

-

13

»

-

14

»

За исключением того, что не требуется маркировка X

15.1

»

Только при наличии оболочки электрооборудования

15.2

»

Тоже

15.3

»

-

15.4

»

-

15.5

»

-

16

»

Только при наличии оболочки электрооборудования

17

Нет

За исключением оболочек машин

18

Да

-

19

»

-

20

»

-

21

»

-

22.1

»

-

22.2

Нет

-

23

Да

-

24

»

-

25

»

-

26.1

»

-

26.2

Нет

-

26.3

Да

-

26.4

Да

Только при наличии оболочки электрооборудования

26.5

»

Тоже

26.5.1

Нет

-

26.5.2

Да

Если указана максимальная температура

26.6

»

-

26.7

»

Если указана максимальная температура

27

»

-

28

»

-

29

»

См. примечание 2

29.1

Нет

-

29.2

»

-

29.3

»

-

29.4

»

-

29.5

Да

-

29.6

»

-

29.7

»

-

Примечания

1 Следует учитывать условия, при которых настоящие требования применяют к деталям, размещаемым в другой оболочке.

2 Температурную классификацию к взрывозащищенным комплектующим изделиям не применяют.

Приложение С

(справочное)

Пример установки для испытаний на ударостойкость

1 - регулировочный штифт; 2 - пластмассовая направляющая труба; 3 - испытуемый образец; 4 - стальная основа (масса св. 20 кг); 5 - стальной груз массой 1 кг; 6 - ударная головка диаметром 25 мм из закаленной стали; h - высота падения

Рисунок С.1 - Пример установки для испытаний на ударостойкость

Приложение D

(рекомендуемое)

Сведения о соответствии ссылочных международных стандартов межгосударственным стандартам и национальным стандартам Российской Федерации, использованным в настоящем стандарте

Таблица D.1

Обозначение ссылочного межгосударственного или национального стандарта Российской Федерации

Обозначение и наименование ссылочного международного стандарта и условное обозначение степени его соответствия ссылочному межгосударственному и национальному стандарту

ГОСТ 8878-93

ИСО 4027-2003 Винты установочные с коническим концом и шестигранным углублением «под ключ» классов точности А и В. Технические условия (NEQ)

ГОСТ 10605-94

ИСО 4032-2000 Гайки шестигранные с диаметром резьбы свыше 48 мм класса точности В. Технические условия (NEQ)

ГОСТ 11074-93

ИСО 4026-2003 Винты установочные с плоским концом и шестигранным углублением «под ключ» классов точности А и В. Технические условия (NEQ)

ГОСТ 11075-93

ИСО 4028-2003 Винты установочные с цилиндрическим концом и шестигранным углублением «под ключ» классов точности А и В. Технические условия (NEQ)

ГОСТ 11738-84

ИСО 4762-2004 Винты с цилиндрической головкой и шестигранным углублением «под ключ» класса точности А. Конструкция и размеры (NEQ)

ГОСТ 14254-96

МЭК 60529-2001 Степени защиты, обеспечиваемые оболочками (код IР) (NEQ)

ГОСТ 17494-87

МЭК 60034-5-2000 Машины электрические вращающиеся. Классификация степеней защиты, обеспечиваемых оболочками, вращающихся электрических машин (NEQ)

ГОСТ 27174-86

МЭК 60623-2001 Аккумуляторы и батареи аккумуляторные щелочные никель-кадмиевые негерметичные емкостью до 150 А·ч. Общие технические условия (NEQ)

ГОСТ 28964-91

ИСО 4029-2003 Винты установочные с шестигранным углублением и засверленным конусом. Технические условия (NEQ)

ГОСТ 29111-91

МЭК 60095-1-2000 Свинцово-кислотные стартерные батареи. Часть 1. Общие требования и методы испытаний (NEQ)

ГОСТ Р МЭК 86-1-96

МЭК 60086-1-2000 Батареи первичные. Часть 1. Общие положения (NEQ)

ГОСТ Р 50030.1-92

МЭК 60947-1-2004 Низковольтная аппаратура распределения и управления. Часть 1. Общие положения (NEQ)

ГОСТ Р 50793-95

ИСО 4017-99 Болты с шестигранной головкой с резьбой до головки классов точности А и В. Технические условия (NEQ)

ГОСТ Р 50796-95

ИСО 4014-99 Болты с шестигранной головкой классов точности А и В. Технические условия (NEQ)

ГОСТ Р 51330.0-99

МЭК 60079-0-2004 Электрооборудование взрывозащищенное. Часть 0. Общие требования (NEQ)

ГОСТ Р 51330.1-99

МЭК 60079-1-2003 Электрооборудование взрывозащищенное. Часть 1. Взрывозащита вида «взрывонепроницаемая оболочка» (NEQ)

ГОСТ Р 51330.3-99

МЭК 60079-2-2001 Электрооборудование взрывозащищенное. Часть 2. Заполнение или продувка оболочки под избыточным давлением «p» (NEQ)

ГОСТ Р 51330.5-99

МЭК 60079-4-75 Электрооборудование взрывозащищенное. Часть 4. Метод определения температуры самовоспламенения (MOD)

ГОСТ Р 51330.6-99

МЗК 60079-5-2003 Электрооборудование взрывозащищенное. Часть 5. Кварцевое заполнение оболочки «q» (NEQ)

ГОСТ Р 51330.7-99

МЭК 60079-6-2003 Электрооборудование взрывозащищенное. Часть 6. Масляное заполнение оболочки «o» (NEQ)

ГОСТ Р 51330.8-99

МЭК 60079-7-2004 Электрооборудование взрывозащищенное. Часть 7. Защита вида «e» (NEQ)

ГОСТ Р 51330.9-99

МЭК 60079-10-2002 Электрооборудование взрывозащищенное. Часть 10 Классификация взрывоопасных зон (NEQ)

ГОСТ Р 51330.10-99

МЭК 60079-11-99 Электрооборудование взрывозащищенное. Часть 11. Искробезопасная электрическая цепь «i» (MOD)

ГОСТ Р 51330.11-99

МЭК 60079-12-78 Электрооборудование взрывозащищенное. Часть 12. Классификация смесей газов и паров с воздухом по безопасным экспериментальным зазорам и минимальным воспламеняющим токам (MOD)

ГОСТ Р 51330.13-99

МЭК 60079-14-2002 Электрооборудование взрывозащищенное. Часть 14. Электроустановки во взрывоопасных зонах (кроме подземных выработок) (NEQ)

ГОСТ Р 51330.14-99

МЭК 60079-15-2001 Электрооборудование взрывозащищенное. Часть 15. Защита вида «n» (NEQ)

ГОСТ Р 51330.17-99

МЭК 60079-18-2004 Электрооборудование взрывозащищенное. Часть 18- Взрывозащита вида «герметизация компаундом m» (NEQ)

ГОСТ Р 51330.19-99

МЭК 60079-20-96 Электрооборудование взрывозащищенное. Часть 20. Данные по горючим газам и парам, относящиеся к эксплуатации электрооборудования (MOD)

ГОСТ Р 52065-2003

МЭК 62013-1-91 Светильники головные рудничные взрывозащищенные. Часть 1. Общие требования и методы испытаний (MOD)

ГОСТ Р МЭК 60622-2002

МЭК 60622-2002 Аккумуляторы и батареи щелочные. Аккумуляторы никель-кадмиевые герметичные призматические (IDT)

ГОСТ Р МЭК 61056-1-99

МЭК 61056-1-2002 Портативные свинцово-кислотные аккумуляторы и батареи закрытого типа. Часть 1. Общие требования, функциональные характеристики. Методы испытаний (NEQ)

ГОСТ Р МЭК 61436-2004

МЭК 61436-98 Аккумуляторы и батареи, содержащие щелочные или другие некислотные электролиты. Аккумуляторы никель-металл-гидридные герметичные (IDT)

ГОСТ Р МЭК 61951-1-2004

МЭК 61951-1-2003 Аккумуляторы и аккумуляторные батареи, содержащие щелочные или другие некислотные электролиты. Портативные герметичные аккумуляторы (NEQ)

ГОСТ Р МЭК 62086-1-2003

МЭК 62086-1-2001 Электрооборудование взрывозащищенное. Нагреватели электрические резистивные для потенциально взрывоопасных сред. Часть 1. Общие требования и методы испытаний (MOD)

Библиография

[1] МЭК 60079-7-2000 Электрооборудование взрывозащищенное. Часть 7. Защита вида «e»

[2] МЭК 60079-152001 Электрооборудование взрывозащищенное. Часть 15. Защита вида «n»

[3] ИСО/МЭК 17000. Проект международного стандарта. Оценка соответствия - Общий словарь

[4] МЭК 60079-26-2004 Электрооборудование для взрывоопасных газовых сред - Часть 26: Специальные требования по созданию, испытанию и маркировке электрооборудования для зоны 0

[5] МЭК 60079-25-2003 Электрооборудование для взрывоопасных газовых сред - Часть 25: Искробезопасные системы

[6] МЭК 60216-1-90 Материалы электроизоляционные. Определение теплостойкости. Часть 1. Общие указания по процедуре старения и оценке результатов испытаний

[7] МЭК 60216-2-90 Материалы электроизоляционные. Определение теплостойкости. Часть 2. Выбор методов испытаний

[8] ИСО 178-2001 Пластмассы. Определение характеристик при изгибе

[9] ИСО 527-2-93 Пластмассы. Определение механических свойств при растяжении. Часть 2. Условия испытаний для литьевых и экструзионных пластмасс

[10] ИСО 262-98 Резьбы ИСО метрические общего назначения. Выбранные размеры для винтов, болтов и гаек

[11] ИСО 965-1-98 Резьбы ИСО метрические общего назначения. Допуски. Часть 1. Принципы и основные данные

[12] ИСО 965-3-98 Резьбы ИСО метрические общего назначения. Допуски. Часть 3. Отклонения для конструкционных резьб

[13] ИСО 286-2-88 Допуски и посадки по системе ISO. Часть 2. Таблицы классов стандартных допусков и предельных отклонений на размеры отверстий и валов

[14] ИСО 273-79 Изделия крепежные. Отверстия с гарантированным зазором для болтов и винтов

[15] МЭК 60192-2001 Лампы натриевые низкого давления. Требования к рабочим характеристикам

[16] МЭК 60662-80 Лампы натриевые высокого давления

[17] МЭК 61150-92 Аккумуляторы и аккумуляторные батареи щелочные. Герметичные никель-кадмиевые перезаряжаемые моноблочные кнопочные батарейки

[18] ИСО 179-1-2000 Пластмассы. Определение ударной прочности по Шарли

[19] ИСО 4892-1-99 Пластмассы. Методы экспозиции в лабораторных источниках света. Часть 1. Общее руководство

[20] ИСО 1817 Каучук вулканизованный. Определение стойкости к воздействию жидкостей

[21] МЭК 60423 Кабелепроводы электротехнического назначения. Наружные диаметры кабелепроводов для электроустановок и резьбы для кабелепроводов и фитингов

[22] ИСО 48-94 Резина, вулканизированная и термопластиковая. Определение твердости (твердость от 10 IRHD до100 1IRHD)

Ключевые слова: электрооборудование взрывозащищенное, классификация электрооборудования по группам, температура, требования к электрооборудованию, неметаллические оболочки, крепежные детали, блокировка, проходные изоляторы, Ex-компоненты, вид взрывозащиты

 

 




ГОСТЫ, СТРОИТЕЛЬНЫЕ и ТЕХНИЧЕСКИЕ НОРМАТИВЫ.
Некоммерческая онлайн система, содержащая все Российские Госты, национальные Стандарты и нормативы.
В Системе содержится более 150000 файлов нормативно-технической документации, действующей на территории РФ.
Система предназначена для широкого круга инженерно-технических специалистов.

Рейтинг@Mail.ru Яндекс цитирования

Copyright © www.gostrf.com, 2008 - 2026