|
|
|
МИНТРАНССТРОЙ ВСЕСОЮЗНЫЙ НАУЧНО-ИССЛЕДОВАТЕЛЬСКИЙ ИНСТИТУТ ТРАНСПОРТНОГО СТРОИТЕЛЬСТВА Утверждаю Зам. директора института Н.Б. СОКОЛОВ 16 мая1983 г.
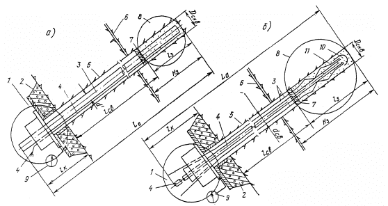
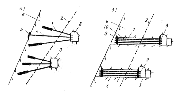
РУКОВОДСТВО ПО ПРОЕКТИРОВАНИЮ ПРОТИВООПОЛЗНЕВЫХ И ПРОТИВООБВАЛЬНЫХ ЗАЩИТНЫХ СООРУЖЕНИЙ ПРОЕКТИРОВАНИЕ ПРОТИВООБВАЛЬНЫХ ЗАЩИТНЫХ СООРУЖЕНИЙ
Одобрено Главным техническим управлением Минтрансстроя
СОДЕРЖАНИЕ
Руководство по проектированию противооползневых и противообвальных защитных сооружений разработано в развитие «Инструкции по проектированию и строительству противооползневых и противообвальных сооружений» (СН 519-79) согласно решению секции инженерной защиты территорий научно-технического совета Госстроя СССР от 16 января 1980 г. Руководство предусматривает серию из трех выпусков, в каждом из которых рассматриваются вопросы соответственно проектирования противооползневых защитных сооружений, проектирования противообвальных защитных сооружений и инженерных изысканий. Настоящий выпуск посвящен проектированию противообвальных защитных сооружений. ПРЕДИСЛОВИЕНастоящее Руководство разработано в соответствии с указанием Госстроя СССР и планом научно-исследовательских работ Минтрансстроя в развитие «Инструкции по проектированию и строительству противооползневых и противообвальных сооружений» (СН 519-79) в части, касающейся противообвальных сооружений. Руководство содержит основные положения по проектированию противообвальных сооружений и мероприятий, расчету откосов скальных выемок и противообвальных сооружений, проектированию производства работ и эксплуатации сооружений, а также требования к исходным материалам, необходимые для обоснования проектных решений. Оно составлено на основании обобщения и анализа отечественного и зарубежного опыта проектирования, строительства и эксплуатации противообвальных сооружений, а также эффективности применяемых противообвальных мероприятий. При этом использованы методические пособия, проектные материалы, данные литературных источников и результаты научно-исследовательских ра6от ЦНИИСа, СоюздорНИИ, Гидропроекта им. С.Я. Жука, ВНИМИ, ВНИИГа им. Б. Е. Веденеева, ДИИТа., Грузинского политехнического института им. В.И. Ленина, проектных институтов Минтрансстроя-Армгипротранса, Кавгипротранса, Ленгипротранса, Союздорпроекта и Сибгипротранса. Наряду с этим при разработке Руководства были учтены опыт эксплуатации противообвальных сооружений и эффективность применяемых мероприятий на горно-обвальных участках железных и автомобильных дорог Кавказа, Крыма, Средней Азии, Сибири и Дальнего Востока, на объектах коммунального и гидротехнического строительства, а также при разработке карьеров. Руководство разработано кандидатами техн.наук Г.К. Лурье, Б.И. Нечаевым, А.И. Песовым (руководитель работы), Ф.И. Целиковым, Е.А. Яковлевой и инж. М.А. Басистовым (ЦНИИС), канд. техн. наук И.А. Режко и инженерами Ю.М. Львовичем и Ю.В. Пудовым (СоюздорНИИ), д-ром техн. наук Э.Г. Газиевым, канд. техн.наук В.И. Речицким и инженерами В.Н. Андреевым, В.Н. Жуковым (Гидропроект им. С.Я. Жука), А.П. Сакварелидзе (Грузинский политехнический институт им. В. И. Ленина), В.К. Дандуровым, Э.В. Унджиевой и В.А. Хачатуряном (Армгипротранс), В.Г. Брегвадзе, Э.А. Егоровым и З.А. Лордкипанидзе (Кавгипротранс), А.П. Кудрявцевым (Ленгипротранс) и канд. техн. наук В.Д. Браславским (Союздорпроект). Замечания и предложения просим направлять по адресу: 129329, Москва, ул. Кольская, 1, ЦНИИС. Зав. отделением земляного полотна и верхнего строения пути П.Г. ПЕШКОВ 1. ОБЩИЕ ПОЛОЖЕНИЯ1.1. Настоящее Руководство содержит требования по проектированию противообвальных сооружений (мероприятий) как для объектов нового строительства, так и для объектов, находящихся в эксплуатации. 1.2. Комплекс противообвальных сооружений и мероприятий, предусмотренный настоящим Руководством, предназначен для защиты от скально-обвальных явлений транспортных, гидротехнических, коммунальных и промышленных объектов. 1.3. Класс противообвальных защитных сооружений должен назначаться в соответствии с классами защищаемых объектов, а для объектов, не имеющих классности,- с учетом возможных последствий нарушения их устойчивости [1]. За основу при назначении класса таких сооружений рекомендуется принимать данные, изложенные в выпуске Руководства «Проектирование противооползневых защитных сооружений». 1.4. При проектировании комплексов противообвальных защитных сооружений и мероприятий необходимо учитывать деформации склона (откоса) по механизму смещения (см. табл.1 СН 519-79), по масштабности проявления (см. табл.2 СН 519-79), конкретные инженерно-геологические условия, цикличность развития обвальных явлений, причины их образования, а также прогноз изменения инженерно-геологических условий в период строительства и эксплуатации комплекса [1]; В местах, где возможно проявление крупных скально-обвальных процессов (в объемах, превышающих десятки тысяч кубических метров), целесообразно осуществлять вынос объектов из зоны вероятного воздействия обвалов, при линейном строительстве - предусматривать устройство обходов. При меньших объемах скально-обвальных процессов (до нескольких тысяч кубических метров), проявляющихся в виде обвалов, вывалов и осыпей, защита объектов от воздействия их возможна путем осуществления следующих мероприятий: - укрепление откосов и склонов, защита их от выветривания; - устройство противообвальных улавливающих сооружений и галерей; - выполнение профилактических работ [2-5]. 1.5. В случае абразионного воздействия на скальный откос (склон) морей, водохранилищ, рек и временных водотоков, вызывающего нарушение устойчивости, целесообразно рассмотреть варианты берегоукрепительных сооружений и мероприятий в соответствии с СН 519-79. 1.6. При проектировании противообвальных защитных сооружений должны разрабатываться варианты комплексов этих сооружений с целью выбора оптимального из них по эффективности, надежности, технологии выполнения и экономичности [1]. Выбор противообвальных сооружений и мероприятий следует осуществлять с учетом требований к охране окружающей среды и обеспечения наилучших условий их содержания в процессе эксплуатации. 1.7. В условиях линейного строительства (при сооружении новых и реконструкции и существующих железных и автомобильных дорог), когда предполагается разработка скальных массивов, при назначении противообвальных инженерных конструкций в стадии проектирования следует в основном применять сборный их вариант (подпорные, улавливающие, одевающие стены и галереи), а также конструкции, при сооружении которых обеспечивается механизация производства работ (путевые траншеи, пневмонабрызг, анкерные крепления, гидропосев и др.). В процессе разработки скальных массивов в отдельных случаях, когда появляется необходимость в защите локальных участков, а по местным условиям не представляется возможным использовать конструкции из сборного железобетона или же их разновидности, обеспечивающие механизацию производства работ, допускается применять монолитные конструкции (пломбы, контрфорсы, поддерживающие стены, опояски и т.д.). В тех случаях, когда трасса прокладывается у подошвы потенциально опасных в обвальном отношении склонов, которые в стадии строительства не подлежат разработке, при проектировании противообвальной защиты следует преимущественно использовать сборные конструкции. Вместе с тем допускается также применение монолитных конструкций для укрепления отдельных незначительных по размерам участков склонов. 1.8. Расчет противообвальных сооружений и устойчивости откосов (склонов) следует производить по первому предельному состоянию (по несущей способности) в соответствии с главами СНиП: «Нагрузки и воздействия», «Основания гидротехнических сооружений» и «Инструкцией по проектированию и строительству противооползневых и противообвальных защитных сооружений» (СН 519-79). Для районов с расчетной сейсмичностью свыше 6 баллов при проектировании следует руководствоваться также главой СНиП «Строительство в сейсмических районах. Нормы проектирования»*. * - Приведенные в настоящем Руководстве методы расчета рекомендуются для проектных организаций в качестве основных. Наряду с этим допускается расчет по другим методам с целью накопления сопоставительных данных. 1.9. Противообвальные конструкции и мероприятия, предусматриваемые для защиты территорий населенных пунктов, должны проектироваться с учетом архитектурных особенностей этих пунктов. 1.10. При проектировании противообвальных сооружений и мероприятий необходимо предусматривать индустриальные методы строительства и эффективные формы его организации, обеспечивающие повышение производительности труда и соблюдение условий техники безопасности. 1.11. При проектировании противообвальных сооружений необходимо предусматривать очистку откосов (склонов) от неустойчивых обломков скального грунта до начала производства работ. 1.12. При разработке выемок в скальных грунтах целесообразно использовать контурный метод взрывания, который обеспечивает заданное по проекту очертание откосов и способствует меньшему раздроблению взрывом грунтов откосов. Работы по контурному методу взрывания рекомендуется выполнять в соответствии с «Техническими указаниями по проектированию и производству буровзрывных работ при сооружении земляного полотна» (ВСН 178-74). 2. ТРЕБОВАНИЯ К ИСХОДНЫМ МАТЕРИАЛАМ ДЛЯ ОБОСНОВАНИЯ. ПРОЕКТНЫХ РЕШЕНИЙОбщие требования к инженерным изысканиям2.1. Инженерные изыскания на противообвальных участках должны выполняться в соответствии с принятой стадийностью проектирования согласно СН 202-81 «О составе порядка разработки, согласования и утверждения проектно-сметной документации на строительство предприятий, зданий и сооружений». В целях сокращения сроков разработки и объемов проектно-сметной документации технически несложные объекты рекомендуется проектировать в одну стадию (рабочий проект). Одностадийное проектирование также допускается в аварийных ситуациях, когда требуется немедленное принятие мер по предупреждению опасности скальных обвалов. 2.2. Исходные материалы для проектирования противообвальных защитных сооружений и мероприятий должны содержать данные, позволяющие оценить народнохозяйственное и экономическое значение территорий и перспективу их использования, краткое описание существующих предприятий, зданий, сооружений, дорог и коммуникаций, характера и рода обнаруженных в них деформаций, а также данные о применявшихся ранее защитных сооружениях и мероприятиях и их состоянии [1]. Содержание и объемы изыскательских работ должны быть достаточными для установления обвалоопасных мест и их размеров; составления возможных вариантов трассирования железных, автомобильных дорог и других коммуникаций; определения комплекса мер по защите объектов и их размещения, выбора типов конструкций защитных сооружений; получения данных для расчета общей и местной устойчивости откосов и склонов и оценки возможных последствий нарушений их устойчивости. 2.3. В соответствии с СН 519-79 границы обвальных зон, в пределах которых предусматривается строительство противообвальных защитных сооружений, должны назначаться по материалам выполненных рекогносцировочных обследований и уточняться последующими изысканиями в этих зонах. 2.4. В результате изысканий должны быть определены деформации откосов и склонов по механизму смещения и по масштабности проявления, цикличности развития обвальных явлений, а также причины их образования и дан прогноз изменения инженерно-геологических условий в периоды строительства и эксплуатации комплекса. Кроме этого, необходимы материалы для проектирования противообвальных сооружений. 2.5. При проектировании выделяются следующие группы объектов с обвалоопасными участками (местами): I. Эксплуатируемые объекты: железные и автомобильные дороги, гидротехнические, промышленные и гражданские сооружения, курортные территории и др. II. Реконструированные объекты: железнодорожные пути, автомобильные дороги и другие объекты. III. Новые трассы железных и автомобильных дорог и других коммуникаций: IV. Отдельно расположенные новые гидротехнические, промышленные и гражданские сооружения. 2.6. Скально-обвальные места на объектах I группы фиксированы и в большинстве случаев в значительной степени изучены. Необходимость усиления имеющихся или строительства новых защитных сооружений и проведения дополнительных мероприятий в данном случае вызывается развитием или появлением новых деформаций откосов (склонов). 2.7. На объектах II группы скально-обвальные места также фиксированы и изучены, но при производстве строительных работ изменяется состояние откосов (склонов) вследствие подрезок, уположения или их нагружения. Поэтому необходимость новых исследований должна обосновываться с учетом имеющихся материалов по прогнозированию устойчивости и оценки влияния техногенных воздействий на откос-(склон). 2.8. Для объектов III группы должны выполняться комплексные исследования на протяжении всей проектируемой трассы. Необходимо выявить обвальные участки с учетом прогноза их состояния, установить степень их опасности. Расположение их и размеры могут повлиять на прокладку трассы и размещение искусственных сооружений. 2.9. Инженерные изыскания на объектах IV группы должны выполняться комплексно, а объемы их устанавливаться в зависимости от сложности инженерно-геологических условий, вида, состояния и масштабности проявления обвального или обвально-оползневого процесса. При проектировании плотин и водохранилищ мелкомасштабными съемками охватываются зоны затопления, а в некоторых местах и зоны подтопления. Площади съемок для отдельных сооружений ограничивают радиусом 0,25-0,5 км. 2.10. Состав материалов инженерных изысканий, выполненных для проектирования противообвальных защитных сооружений, должен удовлетворять соответствующим требованиям главы СНиП «Инженерные изыскания для строительства», государственных стандартов и других нормативных документов по определению характеристик грунтов [1, 6-17]. 2.11. Материалы изысканий для проектирования противообвальных защитных сооружений и мероприятий должны включать данные инженерно-геодезических, инженерно-геологических и инженерно-гидрометеорологических изысканий [1]. Инженерно-геодезические изыскания2.12. По данным мелкомасштабных топографических съемок, а также дешифрирования территории по космическим и разновысотным аэрофотоснимкам выявляются скально-обвальные участки, на которых должен выполняться комплекс топографо-геодезических работ. На топографическом плане должны быть показаны скально-обвальные зоны и прилегающие к ним территории в пределах от местного водораздела до подножия склона, а для подмываемых склонов - также прилегающий участок дна водоема или водотока, если последние влияют на состояние скально-обвальных откосов (склонов). 2.13. При исследовании скально-обвальных участков рекомендуются топографические планы следующих масштабов: для инженерно-геологической съемки и схем расположения противообвальных сооружений и мероприятий 1:500 или 1:1000 в зависимости от сложности инженерно-геологических условий; для подсчета объема строительных работ отдельно размещаемых объектов 1:500. 2.14. Структурные элементы скально-обвального откоса (склона), места, интенсивного и избирательного выветривания грунтов, нависающие карнизы, глыбы, степень задернованности, размывы могут быть установлены с помощью крупномасштабной фототеодолитной съемки (1:200 - 1:500). Одновременно следует применять аэрофотосъемку с вертолета масштабами 1:200 - 1:500. Снимки должны выполняться в двух ракурсах: вертикальном (план) и перспективно-фронтальном [18]. 2.15. Для расчета общей и местной устойчивости откоса (склона), установления его. очертания, проектирования сооружений, определения объема строительных работ производится съемка геодезических поперечных профилей. С целью определения расчетных скоростей движения скальных обломков на участках расположения защищаемых объектов следует снимать не менее трех поперечных профилей с захватом характерных мест возможного вывала этих обломков. Поперечные профили разбивают в характерных местах с учетом сложности рельефа. Расстояние между ними должно быть не менее 25 м и не более 100 м. Составляются профили в масштабе от 1:200 до 1: 500 [2]. Если склон подмывается водоемом или водотоком и создается угроза обвала, необходимо производить промеры в подводной его части. 2.16. При изысканиях необходимо собрать материалы топографических съемок разных лет, характеризующие изменение рельефа обвальной зоны за предшествующий изысканиям период времени, и результаты стационарных наблюдений. Должны быть получены архивные материалы (гидрографические и другие карты), характеризующие очертания рельефа надводной и подводной частей-склонов за исторический период (в частности, до и после образования обвалов). При отсутствии технической документации производится съемка существующих сооружений, обследование их, фотографирование. Инженерно-геологические изыскания2.17. Материалы инженерно-геологических исследовании должны содержать характеристику геологического строения, тектонической нарушенности, блочности скального массива и имеющихся в нем поверхностей и зон ослабления, неотектоники, сейсмичности (с отражением результатов сейсмического микрорайонирования); инженерно-геологических свойств грунтов скального массива; гидрогеологических условий (наличие в скальном массиве водоносных слоев, их количество, источники и области питания, условия дренирования, наличие взаимосвязей между отдельными водоносными слоями); фильтрационных свойств водоносных грунтов (режим уровней подземных вод и. их температуры; химический состав подземных и поверхностных вод; влияние подземных вод на устойчивость склона или откоса). Кроме того, необходимо выявить экзогенные геологические процессы, способствующие возникновению и развитию обвалов, с указанием деформаций скальных массивов, их типов, масштабности и причин возникновения, границ отдельных участков в плане, а также данные об объемах вовлеченных в смещение скальных массивов и отдельных обломков, грунта, интенсивности осыпания. Материалы должны содержать также результаты опытов по сбрасыванию обломков скального грунта (скорости падения, величины отскока и др.). В случае обвала-оползня следует установить тип, возраст, стадии развития, степень активности, режим подвижек, скорость смещения, их порядок и базисы, мощность и строение оползневых тел, очертания поверхностей оползневого смещения (с определением степени их приуроченности к имеющимся в скальном массиве поверхностям и зонам ослабления) [19-21]. На основании анализа материалов инженерно-геологических исследований прогнозируются возможные изменения инженерно-геологической обстановки и влияние этих изменений на устойчивость откоса (склона). Эти материалы должны являться основой для составления проекта и программы последующих натурных наблюдений. Для приближенной оценки степени опасности нарушения устойчивости скального откоса (склона) рекомендуется использовать способ, указанный в приложении 1 [22, 23]. 2.18. Перед организацией и проведением полевых работ необходимо собрать, систематизировать и проанализировать, материалы ранее выполнявшихся инженерно-геологических исследований района и стационарных наблюдений за деформациями склонов и состоянием защитных сооружений. С учетом этих данных составляется программа изыскательских работ: Инженерно-геологические съемки на объектах I и II групп в сложных структурно-геологических условиях проявления обвального процесса производятся в масштабе 1:1000 или 1:2000, а в простых - 1:5000. На объектах строительства III и IV групп выявление скально-обвальных зон производится с помощью рекогносцировок и инженерно-геологических съемок в масштабах 1:10000. (для трасс) и 1:25000 - 1:50000 (для крупных гидротехнических сооружений). В таких же масштабах следует выполнять аэрофотосъемку вдоль трасс с полосой съемки шириной 300-500 м и по контуру проектируемого водохранилища при наивысшем горизонте. 2.19. При хорошей обнаженности грунтов склона выполняется трещинная съемка в масштабах 1:200 - 1:500. Данные трещинной и фототеодолитной съемок используются для количественной оценки степени трещиноватости скального массива. Трещины скального массива под верхней зоной выветривания должны выявляться с помощью горных выработок, геофизических методов (геоэлектрического, микросейсмического) и акустического каротажа. 2.20. При описании трещиноватости скального массива необходимо установить: - происхождение (генезис) трещин (тектонические, напластования, антропогенные и др.); - количественную и качественную характеристику трещиноватости (расстояние между трещинами, азимут простирания и угол падения, характер поверхности трещин); - заполнитель трещин. 2.21. Материалы для обоснования проектных решений по защите сооружений от обвалов, полученные в результате инженерно-геологических съемок, должны содержать описания скально-обвального участка по указанной ниже схеме: 1. Описание скального массива на участке обвала; структура массива, форма залегания грунтов, их генезис, степень неоднородности. Ориентированность структуры по отношению к линии откоса; вторичные структуры и текстуры - сланцеватость, кливаж, течения, разломы, сплющивания, веерообразный катаклаз, выветриваемость во времени. 2. Место отрыва: высота: откоса, (склона), его генезис и возраст (для искусственных откосов время сооружения). Грунты откоса (склона), элементы их залегания; трещиноватость, характер и степень выветрелости грунтов, в случае применения взрывных работ; их последствие; крутизна и форма откоса (склона) у места отрыва, наличие и характер растительности; поверхность отделения обвалившихся масс грунта, ее размеры, форма, состояние грунтов по этой поверхности. Характер и степень обводненности массива. 3. Участок транзита - путь движения обвала, прохождения отделившихся от массива грунтовых масс или падения отдельных обломков; длина и относительная высота; состав и состояние грунтов, залегание их вдоль пути обвала, морфология откоса (склона), крутизна максимальная и средняя, наличие выступающих карнизов, полок, крупных глыб на поверхности; растительность и ее состояние, следы разрушений в результате обвала или обвалов, наличие задержавшихся при обвалах глыб и обломков, выходы подземных, вод, размывы, суффозионные процессы. 4. Участок аккумуляции: - характеристика участка отложения - дно долины, пляж, бичевник, полотно дороги и т.д.; характер отложения - сплошной завал или участок разброса отдельных глыб и обломков (результаты фотопланиметрии), площадь участка, его форма; - объем обвалившихся масс; петрографический состав, размеры и форма глыб, закономерность в их сортировке, расположении и ориентировке, характер и условия обводненности; - средняя и максимальная дальность отлета глыб и обломков; - свидетельства о времени отложения - относительная свежесть и выветрелость разных поверхностей глыб, наличие, характер и возраст растительности, перекрытие дорог, разрушение сооружений. 5. Сведения об обвалах в виде одиночных глыб или; обломков скального грунта. Время обвала - сезон, время суток, сведения о ходе обвала, обстановке его возникновения и сопутствующих явлений; сведения о причиненном ущербе. 6. Данные об эксплуатационных и специальных наблюдениях, опытном сбрасывании обломков скального грунта. Основные направления и характер движения обломков и обвальных масс, объемы обвалов, величины отдельных обломков, скорости падения, дальности отлета. 7. Сведения о защитных противообвальных сооружениях; их наличие, состав комплекса, время сооружения, состояние в настоящее время и эффективность. 2.22. Для расчета местной и общей устойчивости скально-обвальных склонов (откосов), помимо материалов инженерно-геологической съемки, приведенных выше, должны выполняться разведочные работы: расчистки, горные выработки- канавы, шурфы, скважины, штольни. В большинстве случаев они производятся на стадии рабочего проекта (составления, рабочей документации). 2.23. С помощью горных выработок и разведочных скважин устанавливают: расположение, распространение и элементы залегания ослабленных плоскостей или зон, степень трёщиноватости и системы трещин массива, мощность зон выветривания, состояние грунтов, характер и степень обводненности грунтов склона. В горных выработках производят отбор проб грунта для определения инженерно-геологических характеристик. 2.24. Расчистки и горные канавы должны использоваться, для изучения верхней зоны выветривания скального массива, прослеживания трещин откола - обвальных, оползневых и крупных тектонических трещин. Шурфами и штольнями вскрываются более мощные (свыше 2 м) зоны выветривания скальных грунтов. Глубина выработки принимается до 15 м (в отдельных случаях и более). По скважинам оценивают степени трёщиноватости и при необходимости изучают фильтрационные свойства скальных грунтов с помощью откачек или нагнетаний воды. 2.25. Для увеличения зоны обследования массива и сокращения объема трудоемких работ одновременно с разведочными работами целесообразно применять, геофизические обследования: сейсморазведку, геоэлектрическое профилирование и акустические опробования. 2.26. Для уточнения значений параметров падающих с откоса (склона) обломков скального грунта, траектории их падения и скорости движения, дальности отлета и подскока необходимо производить опытное сбрасывание обломков. На действующих дорогах такие работы рекомендуется выполнять во время профилактических очисток откосов (склонов) от неустойчивых глыб. 2.27. С целью приближенного прогнозирования интенсивности процесса выветривания, образования выветрелой зоны, интенсивности разрушения грунтов склона, перемещения бровки склона (откоса) в результате разрушения и осыпания грунтов и накоплений их в основании склона (формирования осыпи) рекомендуется: - в полевых условиях во время инженерных изысканий организовать пункты наблюдений за характером и интенсивностью процессов выветриваний грунтов откосов (склонов) путем инструментальных измерений положения установленных реперов и марок, фиксирования положения бровки склона или откоса и отдельных глыб; устраивать площадки-ловушки; - в лабораторных условиях выполнять опыты по переменному увлажнению и высушиванию грунтов, многократному воздействию отрицательных температур. Условия дегидратации и воздействия отрицательных температур должны отображать климатическую обстановку районов, в которых находятся исследуемые обвалоопасные зоны. 2.28. Инженерно-геологические характеристики грунтов должны определяться в соответствии с государственными стандартами [6-14] и приложением 2 настоящего Руководства. Наименование грунтов устанавливается по минералогическому и петрографическому составу. По петрографическим признакам определяются структура, текстура и состояние грунтов. Перечень необходимых расчетных параметров и других данных при оценке общей и местной устойчивости, а также при проектировании противообвальных сооружений и мероприятий приведен в табл. 1 и 2 2.29. В особо сложных инженерно-геологических условиях при проектировании крупных сооружений (типа высоконапорных плотин) для оценки общей устойчивости скально-обвального массива напряженно-деформированное состояние откоса (склона) исследуется с помощью моделирования на эквивалентных материалах. Инженерно-гидрометеорологические изыскания2.30. По району скально-обвального участка необходимо собрать метеорологические и климатические сведения, а в случае расположения его непосредственно у водоема или водотока также и гидрологические данные. 2.31. При проектировании защитных сооружений на участках, подмываемых водотоками или водоемами, гидрологические материалы должны содержать: - для водохранилищ - сведения о режиме уровней, фактически наблюденном волновом режиме (в особенности при штормах редкой повторяемости), расчетах волновых параметров; скоростях стоковых течений и местных ледовых явлениях на акватории водохранилища, прилегающей к участку проектируемых защитных берегоукрепительных сооружений; - для рек и каналов - сведения о характерных максимальных и минимальных уровнях воды, годовом ходе колебания уровней в характерные годы, суточных колебаниях уровня воды в зоне влияния гидроэлектростанций; ветровых и судовых волнах; характерных скоростях течения и ледовых явлениях на участках проектируемых защитных берегоукрепительных сооружений; деформациях русла. Таблица 1
Примечания. 1. Знак плюс показывает, что определения требуются, а знак минус - не требуются. 2. Расчетные схемы и условия их применения см. в пп.3.16 и 3.17.
Таблица 2
3. ПРОЕКТИРОВАНИЕ ОТКОСОВ СКАЛЬНЫХ ВЫЕМОКОсновные положения3.1. В процессе проектирования скальных откосов и оценки состояния естественных склонов следует осуществлять прогнозирование (расчет) их общей и местной устойчивости. На основании порученных результатов расчетов устанавливаются оптимальные в технико-экономическом отношении очертания откосов. При этом следует исходить из условия обеспечения их общей устойчивости в сочетании с минимумом строительных и эксплуатационных расходов с учетом отдаленности затрат 3.2. Расчет общей устойчивости требуется для установления очертания откоса, при котором эта устойчивость обеспечивается с определённой надежностью. Оценка местной устойчивости необходима для прогнозирования интенсивности осыпания продуктов выветривания с откосов в процессе эксплуатации и возможности появления поверхностных сплывов. 3.3. Оценка устойчивости скальных откосов имеет свою специфику, обусловленную особенностями строения скальных массивов, являющихся структурно-анизотропными (неоднородными) средами, что накладывает определенные условия на расчетные схемы и требует тщательной регистрации инженерно-геологических особенностей массива в естественном залегании. 3.4. Устойчивость откосов следует оценивать в зависимости от их очертания, характера и расположения поверхностей ослабления (трещиноватости, слоистости) по отношению к проектируемому откосу, прочностных параметров грунтов и устойчивости их по отношению к выветриваемости во времени, а также от внешних нагрузок, гидрогеологических условий (обводненности пород) и интенсивности сейсмического воздействия. Расчет общей устойчивости3.5. Расчет устойчивости склонов (откосов) при бытовом (природном), проектном и промежуточных очертаниях следует производить по первому предельному состоянию - несущей способности (по условиям предельного равновесия) [1]. Для определения устойчивости скальных откосов и склонов используется метод предельного равновесия. Расчет устойчивости заключается в оценке дефицита устойчивости S (разности между сдвигающими и удерживающими силами) как для всего откоса или склона запроектированной (имеющейся) конфигурации в целом, так и для отдельных его блоков или отсеков:
где пс - коэффициент сочетания нагрузок; Т - расчетное значение обобщенной активной сдвигающей силы, определенное с учетом коэффициента перегрузки; m - коэффициент условий работы; Kн - коэффициент надежности, учитывающий степень ответственности сооружения, его капитальность и значимость последствий при нарушении устойчивости; R - расчетное значение обобщенной силы предельного сопротивления сдвигу, определенное с учетом коэффициента безопасности по грунтам. 3.6. Значение коэффициента перегрузки принимается согласно СНиП по нормам проектирования нагрузок и воздействий и СНиП по основным положениям проектирования речных гидротехнических сооружений, равным для грунтов в природном залегании 1,1 [24, 25]. 3.7. Значения коэффициента безопасности по грунтам устанавливаются в соответствии с ГОСТ 20522-75 и СНиП II-15-74 [26, 27]. 3.8. Коэффициент надежности Кп в соответствии с главой СНиП II-50-74 [25] принимается равным: для сооружений 1-го класса - 1,25; для сооружений 2-го класса - 1,20; для сооружений 3-го класса - 1,15; для сооружений 4-го класса - 1,10. 3.9.Коэффициент условий работы т при расчетах естественных и искусственных откосов и склонов согласно СНиП по нормам проектирования оснований гидротехнических сооружений [28] принимается равным 1. 3.10. Коэффициент пс учитывает вероятность неблагоприятного сочетания временных нагрузок или воздействий и должен вводиться при наличии двух или более временных воздействий. Поскольку при расчетах устойчивости скальных откосов, как правило, все действующие нагрузки (собственный вес, фильтрационное давление, нагрузки от внешних сил) являются постоянно действующими, а временная нагрузка только одна - сейсмическое воздействие, то коэффициент сочетания нагрузок в этом случае принимается равным 1. 3.11. С учетом пп. 3.9 и 3.10 условие устойчивости (1) записывается в виде
При S > 0 откос или склон рассматриваемого очертания является неустойчивым. В этом случае необходимо или перепроектировать его или предусмотреть укрепление, т.е. приложить дополнительное удерживающее усилие величиной S. 3.12. При сопоставлении различных решений за критерий оценки устойчивости может быть принят коэффициент устойчивости
определяемый при условии 5<0. 3.13. Расчет общей устойчивости скальных откосов и склонов необходимо начинать с установления положения поверхности обрушения (скольжения) - поверхности, по которой соотношение сил, удерживающих откос в равновесии, и сдвигающих является минимальным. Положение в массиве поверхностей обрушения и их очертание предопределяются в основном геологическим строением пород - благоприятной или неблагоприятной ориентацией по отношению к откосу поверхностей ослабления (трещиноватости, слоистости). Поверхность обрушения скального откоса (склона), как правило, совпадает с существующими в массиве поверхностями ослабления на всем своем протяжении. В тех случаях, когда смещение по существующим в массиве плоскостям ослабления кинематически невозможно или связано с разрушением скального материала, поверхность обрушения может представлять собой вновь сформировавшуюся трещину скола - (отрыва), не совпадающую с существующими в массиве поверхностями ослабления либо совпадающую с ними лишь частично. 3.14. Под благоприятным залеганием поверхностей ослабления понимается следующее их расположение: - наклонное в сторону массива (запрокинутое); - наклонное в сторону откоса под углом, меньшим угла внутреннего трения по поверхности ослабления; - вкрест простирания поверхности откоса, за исключением случаев, когда поверхности ослабления пересекают поверхности откосов под углами, меньшими 30°, и одновременно имеют угол падения в направлении откоса, превышающий угол внутреннего трения по поверхности ослабления. 3.15. Под неблагоприятным залеганием поверхностей ослабления понимается наклонное; их расположение в сторону откоса под углом, превышающим угол внутреннего трения, а также расположение вкрест простирания с поверхностью откоса, когда поверхность ослабления пересекает поверхность откоса под углом, меньшим 30°, и одновременно имеет угол падения в направлении откоса, превышающий угол внутреннего трения по поверхности ослабления [29, 30]. 3.16. При оценке общей устойчивости скальных откосов рекомендуется руководствоваться расчетными схемами, представленными на рис. 1 [31-36]. 3.17. Способы построения вероятных поверхностей обрушения скальных откосов для некоторых расчетных схем, изображенных на рис. 1, помещены в приложении 3. Условия применения указанных схем приведены в табл. 3. 3.18. Методы расчета общей устойчивости скальных откосов (и склонов) основываются на следующих положениях: - нарушение устойчивости откоса происходит в виде обрушения или оползания слагающих пород по поверхности смещения; - при наличии в откосе неблагоприятно ориентированных трещин поверхности смещения, как правило, совпадают с ними; в этих случаях поверхность смещения (на поперечном разрезе) будет иметь вид прямой или ломаной линии; - при отсутствии в откосе неблагоприятно расположенных трещин поверхности смещения на тех участках, где они не совпадают с существующими трещинами, являются монотонными, близкими по форме к круглоцилиндрическим; - при расчетах задача рассматривается как плоская, т.е. для участка длиной 1 м вдоль бровки откоса (за исключением объемной схемы Л на рис. 1). 3.19. Все приведенные на рис. 1 формы поверхностей обрушения можно объединить в четыре группы: - плоские поверхности (схемы А, Б); - призматические и полигональные поверхности (схемы В, Г, Д, Е); - криволинейные и комбинированные поверхности (схемы Ж, 3, И, К); - объемные желобчатые поверхности обрушения (схема Л). 3.20. Верхний участок поверхности обрушения в схемах А, Б, Ж, 3, И, К вертикальный. Высота его определяется по формуле (6) или (12). 3.21. Если в результате расчетов устойчивости по каждой из приведенных схем (см. рис. 1) выяснится, что условия (1) и (2) не выполняются, то изменяется конфигурация откосов, и расчет повторяется или при оценке устойчивости существующих откосов и склонов предусматриваются укрепительные мероприятия.
Рис.1. Расчетные схемы общей устойчивости: 1 - контур поверхности обрушения; 2 - трещины, расчленяющие массив возможного обрушения на блоки; 3 - выветрелый слой в схеме К Таблица 3
Примечания. 1. Значения расчетных параметров: a - угол наклона трещин; a0 - угол наклона откоса; α1,.α2 - углы наклона систем трещин; Cтрl, Стр2 - сцепление по соответствующим системам трещин, кН/м2; φтр1 φтр2 - углы внутреннего трения по соответствующим системам трещин, град; l0-осредненная блочность пород в массиве, м. 2. Методика определения параметров, указанных в табл. 3, приведена в приложении 2 [37-39]. 3.22. Расчет устойчивости откосов по схемам А и Б заключается в проверке удовлетворения условий по формулам (1) и (2) для массива, смещающегося по рассматриваемой, падающей по направлению к откосу, трещине (рис. 2).
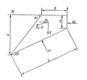
Рис. 2. К расчетным схемам А и Б: а - очертания откоса в натуре; б - расчетная схема; 1-денрессионная кривая Силы Т и R вычисляются по формулам:
где G - вес рассматриваемого массива*; α - угол падения трещины; L - размер рассматриваемого участка трещин (см. рис. 2); Кс - коэффициент сейсмичности; δ - угол наклона сейсмической силы к горизонту (принимается - наиневыгоднейшим для устойчивости - обычно вектор KcG берется параллельным поверхности смещения); и2 и u1 - силы гидростатического давления, воды соответственно на боковую и низовую грани рассматриваемого массива; Q - сумма проекций на направление смещения приложенных к откосу внешних сил; Р - сумма проекций на нормаль к плоскости смещения приложенных к откосу внешних сил. * Здесь и далее предполагается, что вес скальных откосов (отсеков) определяется с учетом- коэффициента перегрузки п. Устойчивость откосов можно считать обеспеченной, если при всех возможных значениях L, условия, определяемые формулами (1) и (2), удовлетворяются. Для откосов, находящихся под действием только сил собственного веса, требуемая для расчета глубина трещины отрыва hВ (см. рис. 2,б) определяется по выражению
Расстояние ее от бровки откоса
При полученных значениях hв и в максимально допустимая высота откоса составляет
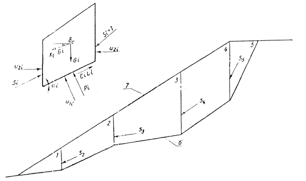
где α0 - угол наклона откоса; γ0 - удельный вес скального грунта. 3.23. Расчеты по схемам В, Г и Д следует выполнять в такой последовательности. Массив, расположенный выше поверхности смещения, условно разбивается вертикальными плоскостями на отсеки (рис. 3). Для каждого из отсеков (для схем В и Г их всего два), начиная с верхнего, находятся дефициты устойчивости Si которые представляют собой внутренние силы взаимодействия между отсеками:
Рис.3. К расчетным схемам В, Г и Д; 1 - 5 - отсеки; 6 - поверхность обрушения; 7 - поверхность склона где Gi - вес рассматриваемого отсека; Si+1 - дефицит устойчивости вышерасположенного отсека, передаваемый на рассматриваемый отсек; αi - угол наклона поверхности смещения в пределах i-го отсека; Li - длина плоскости смещения в основании рассматриваемого отсека; φi, Ci - параметры прочности на сдвиг по плоскости смещения на длине Li,; Qi - сумма проекций на направление сдвига всех внешних сил, действующих на отсек; Рi - сумма проекций на нормаль к поверхности смещения всех внешних сил, действующих на отсек; u1i, u2i, u3i - силы гидростатического давления фильтрующей в трещинах воды на низовую и3 и верховую u2 вертикальные грани отсека, а также на наклонную подошву u1. Предполагается, что направление сил Si совпадает с направлением линии падения соответствующей плоскости смещения (см. рис. 3). В случае, если полученное по формуле (9) значение Si - меньше нуля, в расчет подставляется значение Si = 0. Вычислив дефицит устойчивости для отсека 2 S2, определяют интегральные сдвигающую и удерживающую силы:
Обрушение откосов, изображенных на рис. 1 (схема В), возможно лишь при образовании в массиве пологопадающей ослабленной зоны (трещины), показанной пунктиром на рис. 1. Такая трещина возникает обычно у подножия высоких откосов, где действующие напряжения могут превосходить прочность породы на сжатие. Параметры прочности на сдвиг по трещине и ее ориентацию рекомендуется определять на месте с помощью полевых опытов и геологической съемки. Для предварительных расчетов устойчивости параметры прочности на сдвиг по трещине допускается определять в соответствии с п. 3 приложения 2, а угол ее падения выбирать из условия минимальной устойчивости (проводится серия расчетов при разных углах α1). Для облегчения построения вероятных поверхностей обрушения при расчетах по схемам В и Г можно воспользоваться рекомендациями, приведенными в приложении 3. При построении их влияние фильтрационных и сейсмических сил не учтено. 3.24. Расчет по схеме Е, учитывающей наличие секущих призму обрушения крупных трещин, рекомендуется проводить графоаналитическим способом путем построения многоугольников сил. Пример последовательности расчета для откоса, состоящего из двух отсеков, приведен в приложении 4. 3.25. Расчет по схемам Ж, З, И, К выполняется следующим образом. Эти схемы объединяют участки криволинейной монотонной поверхности скольжения и верхнего вертикального отрезка Н90. Последний подсчитывается по формуле (31, 33)
где φм - угол внутреннего трения в массиве (численно φм = φк). Устойчивость скальных откосов рассчитывается по методу алгебраического суммирования. Призма возможного обрушения разбивается вертикальными линиями на ряд блоков, взаимодействие между которыми не учитывается. Количество блоков зависит от крутизны поверхности скольжения. Следует стремиться к тому, чтобы в пределах блока криволинейную поверхность можно было бы заменить плоской, с таким расчетом, чтобы разница в крутизне спрямляемых участков поверхности скольжения не превышала 5°. Сдвигающие и удерживающие силы для i-го блока подсчитываются по формулам:
Обобщенные силы Т и R определяются следующим образом:
где k - количество блоков, на которые разбивается массив. Оценка устойчивости осуществляется с использованием полученных значений Т и R по выражениям (1) и (2). 3.26. Расчет устойчивости объемного скального блока (см. рис. 1, схема Л), образованного двумя пересекающимися трещинами, рекомендуется производить в соответствии с методикой, приведенной в приложении 5. 3.27. Силы гидростатического давления воды при частичном затоплении отсека (рис. 4) на подошву u1i верховую u2i и низовую u3i вертикальные грани его определяются по зависимостям:
где γв - удельный вес воды; ξ3i, ξ2i - глубина воды в трещинах по верховой и низовой граням отсека; Li - длина подошвы отсека по поверхности скольжения. В случае полного затопления отсека (при его расположении под уровнем воды) вместо сил u1i, u2i и u3i следует вводить в расчет одну взвешивающую силу Wi, направленную вертикально вверх и равную: Wi = Yiγв, (20) где Yi объем (или площадь в условиях плоской задачи) скального отсека.
Рис.4. Схема распределения гидростатического давления воды при частичном затоплении отсека: l - уровень воды 3.28. При наличии дополнительного нагружения откосов внешними силами (например, тяжелым оборудованием) его соответствующим образом учитывают, суммируя с собственным весом блоков (после разложения на удерживающие и сдвигающие составляющие в плоскости смещения того отсека, на поверхности которого они приложены). 3.29. В случаях, когда инженерно-геологические условия удовлетворяют одновременно нескольким расчетным схемам, определение общей устойчивости осуществляется по каждой из них и за окончательный вариант принимается тот, по которому получено наименьшее значение устойчивости. 3.30. При наличии в откосах слабых прослоев, расположенных на различных участках по его высоте, необходимо осуществлять дополнительную проверку общей устойчивости, ориентируясь на возможность прохождения поверхностен обрушения через указанные прослойки (применительно к одной из схем рис. 1). 3.31. Допускается проектировать без расчетов: откосы крутизной 1:0,2 - 1:0,5 при высоте их до 20 м в крупноблочных (l0 ≥ 0,5 м) слабовыветривающихся скальных породах, относящихся к группе I (приложение 6), при благоприятном расположении поверхностей ослабления; откосы крутизной 1:1,25 - 1:1,5 при высоте их до 12 м в легковыветривающихся размягчаемых скальных породах, относящихся к IV-V группам (см. приложение 6). Расчет местной устойчивости3.32. Для расчета местной устойчивости необходимо грунты, слагающие откосы и склоны, классифицировать по их устойчивости к выветриванию во времени в соответствии с методикой, изложенной в приложении 6 [33]. 3.33. Расчет местной устойчивости для грунтов I-III и IV-V групп (см. приложение 6) следует осуществлять по двум методам, что обусловливается разным характером выветривания грунтов этих групп под воздействием природных факторов [33; 40-43]. Грунты I-III групп после вскрытия массива практически не выветриваются или же выветриваются, преимущественно до состояния каменисто-щебенисто-дресвяных фракций; грунты IV-V групп выветриваются до состояния глинисто-пылевато-песчаных фракций. Грунты IV-V групп характеризуются повышенной интенсивностью выветривания во времени и отличаются значительной мощностью выветрелой зоны, в пределах которой в перспективе их можно считать рыхлыми грунтами. Поэтому на грунты IV-V групп при расчетах устойчивости (как общей, так и местной) распространяются те же рекомендации, которые приняты для рыхлых грунтов. 3.34. Расчет местной устойчивости для грунтов I-III групп сводится к определению интенсивности поступления продуктов выветривания (объема осыпи) с единицы поверхности откоса и величины отступления бровки откоса во времени [33, 34]. 3.35. Проверка местной устойчивости откосов и склонов в. грунтах IV-V групп заключается в определении возможности образования на них поверхностных сплывов выветрелого до состояния мелкозема грунта [33]. Параметры, требуемые для оценки устойчивости3.36. Основными параметрами при расчетах общей устойчивости, откосов являются: φтр, Стр, φк, С, См, l0, γ0 (cм. табл. 1 и 3). При расчетах местной устойчивости необходимо дополнительно определять: I -интенсивность осыпания продуктов выветривания с 1 м2 поверхности откоса; Кр - коэффициент разрыхления, в среднем равный 1,50. Методика определения расчетных параметров приведена в приложении 2 настоящего Руководства и Методических указаниях [33]. 3.37. При расчетах по схемам, в которых поверхности обрушения на каком-либо участке пересекают различные литологические разности (например, по схемам В, Ж, З, И), значения параметров принимаются средневзвешенными по мощности пород в этих разностях. 3.38. При определении значений сдвиговых параметров для расчетов по схеме К (см рис. 1), использующейся для грунтов IV-V групп, необходимо учитывать возможность избыточного увлажнения грунта выветрелой зоны, мощность которой определяется в соответствии с Методическими указаниями [33]. 3.39. Инженерно-геологические характеристики грунтов следует уточнять в процессе разработки откосов. Если при этом выявится несоответствие их первоначально принятым значениям, то необходимо произвести дополнительную проверку устойчивости откосов и корректировку проектных решений. 3.40. Качественная оценка трещиноватости включает в себя определение характера заполнения трещин, степени шероховатости их стенок, обводнения, изменчивости трещин в зависимости от пересечения различных литологическпх разностей, протяженности и выдержанности направления трещин, Количественная оценка трещиноватости заключается в определении числа трещин каждой системы, приходящихся на 1 м в направлении, перпендикулярном плоскости трещин (модуля трещиноватости), в определении блочности (см. приложение 2), а также ориентации трещин, Ориентацпя поверхностей ослабления по отношению к откосу (склону) фиксируется на диаграммах трещнноватости (приложение 7). 4. ПРОЕКТИРОВАНИЕ УКРЕПИТЕЛЬНЫХ (ПОДДЕРЖИВАЮЩИХ) СООРУЖЕНИЙ И МЕРОПРИЯТИЙОсновные положения4.1. Поддерживающие сооружения следует предусматривать для закрепления и предотвращения скальных обвалов и вывалов. Укрепление обвальных мест на откосах и склонах необходимо осуществлять: при недостаточной общей устойчивости откоса, выявлен расчетами в соответствии с требованиями пп. 3.1-3.31 настоящего Руководства; при необходимости стабилизации неустойчивых и потенциально опасных крупных скальных блоков; для закрепления раздробленных и ослабленных зон скальных откосов (склонов), угрожающих образованием массовых обрушений относительно некрупных скальных обломков. 4.2. Укрепительные (поддерживающие) сооружения и мероприятия включают в себя комплекс устройств, придающих откосу (или склону) большую устойчивость и предотвращающих образование скально-обвальных явлений. В этот комплекс входят поддерживающие и подпорные стены, контрфорсы, пломбы и опояски, анкерные крепления, сваи и шпоны, инъектирование и заделка трещин, различные комбинированные конструкции. 4.3. Поддерживающие стены (рис.5,а) следует применять в местах, где есть нависающие карнизы, для удаления которых требуется значительный объем работ. 4.4. Подпорные стены (см. рис. 5,б) следует применять для удержания слоев горной породы, подсекаемых откосом выемки, когда уборка этих слоев затруднена или экономически нецелесообразна. При большой высоте откоса могут быть применены подпорные стены, заанкеренные в устойчивых слоях скалы. 4.5. Контрфорсы (см. рис. 5,е) должны применяться для подпирания отдельных неустойчивых монолитных скальных массивов, удаление которых может вызвать нарушение устойчивости скального откоса или склона в целом. 4.6. Заделка вывалов (пломбы) (см. рис. 5,г) должна осуществляться путем заполнения каменной кладкой или бетоном местных углублений в откосах и склонах с целью предотвращения дальнейшего выветривания горных пород.
Рис. 5. Схемы противообвальных укрепительных сооружений: а - поддерживающая стена; б - подпорная стена; в - контрфорс; г - заделка вывала; д - опояски; е - укрепление массива анкерами 4.7. Опояски (см. рис. 5, д) следует применять для поддержания неустойчивых наклонных слоев горных пород, когда использование подпорных стен, контрфорсов или уборка массива нецелесообразны по технико-экономическим соображениям. 4.8.Анкеры (см. рис. 5, е), сваи или шпоны должны применяться для закрепления неустойчивых участков откоса и крупноглыбовых отдельностей (превышающих 1 м3) к достаточно прочному скальному массиву. При мелкоглыбовой раздробленности скального откоса или склона и близком залегании к поверхности прочной породы укрепление откоса следует осуществлять путем применения анкерной (штанговой) крепи в совокупности с металлической сеткой, прикрепляемой анкерами к поверхности откоса. Крупные скальные глыбы объемом до 500 м3 допускается укреплять тросовыми обвязками, прикрепляемыми к устойчивым скальным массивам. Это целесообразно в тех случаях, когда укрепление отдельных глыб не терпит отлагательства. 4.9. Укрепление скальных трещиноватых откосов путем инъекции вяжущих веществ следует осуществлять при наличии сквозной системы трещиноватости, позволяющей раствору, нагнетаемому через скважины, проникнуть во все или в большинство прилегающих трещин. Крупные трещины и разломы размером 20 см и более рекомендуется заполнять бетоном. Поддерживающие и подпорные стены, контрфорсы, пломбы и опояски4.10. Поддерживающие и подпорные стены, контрфорсы, пломбы и опояски могут проектироваться из бетона (монолитного или сборного), каменной кладки на растворе или бутобетона [2] согласно требованиям СНиП на проектирование бетонных и каменных конструкций [44, 45]. При этом рекомендуется применять следующие бетоны и растворы: - для каменной и бутобетонной кладки - цементный раствор марки не ниже 150; - для бетонных блоков и контрфорсов - бетон марки не ниже 200; - для конструкций из железобетона - бетон марки не ниже 300. Морозостойкость бетона устанавливается в соответствии со СНиП II-21-75 [45]. Сборные конструкции противообвальных сооружений должны проектироваться по возможности из крупных элементов в зависимости от имеющихся подъемно-транспортных средств [46, 47]. 4.11. Для уменьшения объема кладки поддерживающих и подпорных стен можно осуществлять их заанкеривание в устойчивые прочные скальные грунты или устраивать разгружающие консоли. При неоднородном сильно нарушенном характере залегания скальных грунтов поддерживающие и подпорные стены должны усиливаться в отдельных местах контрфорсами. 4.12. Опояски следует устраивать путем бурения шпуров на глубину 0,5-0,75 м, в которые вставляются металлические штыри. Последние должны оплетаться арматурой и бетонироваться (см. рис. 5,д). Между торцами нависающего пласта и внутренней поверхностью опоясок не должно оставаться какого-либо зазора. Плотность прилегания должна обеспечиваться путем заполнения зазора мелким камнем на цементном растворе. 4.13. При наличии водоносных горизонтов за задними гранями поддерживающих и подпорных стен, а также контрфорсов, пломб и опоясок должен устраиваться дренаж. 4.14. В проектах укрепительных конструкций и мероприятий к технологии производства работ необходимо предъявлять следующие основные требования [48, 49]: - при строительстве монолитных подпорных, поддерживающих стен и контрфорсов высотой до 9 м подачу материалов осуществлять, с использованием строительных подъемных кранов; при необходимости подачи материалов на высоту свыше 9 м применять канатную дорогу; - при устройстве сооружений из бутобетона или бетона подачу материалов к месту работ выполнять бетоноукладчиком с применением бетоноводных труб; - при наличии за бровкой нагорного откоса полки шириной не менее 10 м и подъездов к ней бетон доставлять к. месту укладки самосвалами и подавать в опалубку сверху вниз по устраиваемым на откосе желобам. Анкерные крепления.4.15. Анкерные крепления (рис.6) целесообразно применять в основном для укрепления откосов, сложенных слабовыветрелыми скальными грунтами крупноглыбовой или сланцеватой текстуры. 4.16. По конструктивному исполнению и характеру работы анкеры делятся на две группы [50-52]: - анкерную (штанговую) крепь с анкерами длиной 1-5 м, несущей способностью до 100 кН; для быстрого включения в работу применяются клиновые и распорные анкеры (рис.7, 8), в других случаях - набивные и нагнетаемые (рис.9, 10). При необходимости клиновые и распорные анкеры могут иметь незначительную затяжку* наружной гайки; - анкеры глубокого заложения длиной 6 - 30 м (приложение 8); они могут быть двух типов: предварительно-напряженные (активные) и без предварительного напряжения (пассивные); анкеры глубокого заложения закрепляются в скважинах только с помощью инъекции вяжущих материалов. * Затяжка в анкерах этих типов не должна рассматриваться как их предварительное напряжение.
Рис. 6. Схема закрепления неустойчивого скального массива анкером:
Рис.7.Клиновой анкер: 1 - клин; 2 - прорезь; 3 - стержень; 4 - участок с резьбой; 5- хвостовик, (под насадку при установке); 6 - опорная шайба; 7 - гайка
Рис. 8. Распорный анкер: 1 - распорная муфта из двух полугильз; 2 - проволочное кольцо; 3 - стержень; 4 - установочная труба; 5 - опорная шайба; 6 - гайка
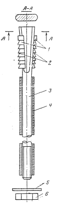
4.17. Анкерная (штанговая) крепь в зависимости от инженерно-геологических условий может быть конструктивно оформлена в виде одиночных анкеров с опорными шайбами (плитами); групповых анкеров с подхватами (железобетонными, металлическими или деревянными); анкеров в сочетании с металлическими сетками, покрывающими пространство между анкерами; комбинированных конструкций (например, сочетаний анкерных креплений с покрытием участков откоса между ними пневмонабрызгом по сетке и др.). Одиночные анкеры следует применять в монолитных и слаботрещиноватых прочных скальных грунтах. Анкерами с подхватами, объединяющими их, следует крепить откосы в скальных грунтах, менее прочных и в большей степени разбитых трещинами, чем в предшествующем случае. Анкеры в сочетании с металлическими сетками следует использовать при мелкоглыбовой раздробленности скальных грунтов откосов (там, где возможны вывалы и отслоения). Комбинированные конструкции рекомендуется применять при невыдержанности инженерно-геологических условий в пределах закрепляемого массива. 4.18. Активные анкеры глубокого заложения применяются одновременно с устройством монолитных железобетонных опор (индивидуальных или групповых), оформленных в виде горизонтальных поясов, вертикальных ребер или контрфорсов, а также в виде железобетонных решеток, одевающих или подпорных стен [51]. Пассивные анкеры глубокого заложения могут быть установлены с подхватами и опорными плитами аналогично анкерной крепи. Поверхность скалы в промежутках между анкерами глубокого заложения при необходимости может быть закрыта сеткой, анкерной крепью или комбинациями этих (и других) конструкций. 4.19. В качестве подхватов (упорных балок) для групповых анкеров рекомендуется применять прокатные профили или железобетонные балки. После установки подхватов зазор между ними и откосом следует заполнять бетоном для предотвращения выветривания пород под подхватом [52]. 4.20. Анкерную крепь рекомендуется выполнять в виде стержней (штанг) из стальной арматуры и других материалов, закрепляемых различными вяжущими или механическим способом. Анкеры глубокого заложения следует выполнять из стержневой арматуры (одного или нескольких стержней), пучков высокопрочной арматурной проволоки и арматурных канатов. Допускается применение стальных канатов (обычных тросов). 4.21. Анкеры могут закрепляться или лишь в концевой их части, или по всей длине*. Анкеры, закрепляемые в скальном грунте лишь в концевой их части, имеют замок, располагающийся за пределами зоны возможного обрушения; наружный участок на поверхности откоса, где располагается опора или натяжное приспособление; анкерный тяж (стержень), передающий нагрузку от опорной части на замковую (см. рис. 6). */ Пассивные анкеры, закрепляемые по всей длине, иногда называют нагелями. 4.22. При выборе типа анкера руководствуются следующими соображениями [50, 52]: - анкеры без предварительного напряжения в основном предназначаются для работы на срез и изгиб, а анкеры с предварительным напряжением - для случаев, когда преобладает нагрузка, вызывающая растягивающие напряжения в направлении анкера; - анкеры глубокого заложения имеют несущую способность значительно большую, чем анкерная крепь (достигающую 500-1000 кН и более); - клиновые (клинощелевые) анкеры просты по устройству и обладают достаточно высокой прочностью (табл. 4) в любых скальных грунтах, кроме весьма крепких сильно окварцованных их разновидностей; Таблица 4
- распорные анкеры имеют несколько меньшую по сравнению-с клинощелевыми прочность закрепления, изготовление их возможно, как правило, лишь в заводских условиях; - набивные и нагнетаемые анкеры в штанговой крепи обеспечивают значительно более высокую прочность закрепления по сравнению с клиновыми и распорными их разновидностями; недостатком этих анкеров является невозможность их нагружения до набора необходимой прочности омоноличивающим раствором. 4.23. Для надежной работы анкера с замковым участком в течение длительного времени необходимо предусматривать защиту от коррозии его промежуточного участка (между замковой и опорной частями) битумом, пластиковыми покрытиями и другими материалами. Клиновые и распорные анкеры в тех случаях, когда они используются как постоянные, рекомендуется омоноличивать цементным раствором; срок стояния без омоноличивания устанавливается проектом в зависимости от степени обводненности массива. Применять их без омоноличивания целесообразно в тех случаях, когда они являются временными. 4.24. Анкеры глубокого заложения омоноличиваются цементным раствором в замковой части, а в случае необходимости и на участке свободной длины. В этом случае пассивные анкеры омоноличиваются подобно нагнетаемым анкерам штанговой крепи за один прием, а активные анкеры - в два приема: сначала замковая часть, а после натяжения - участок свободной длины. Для повышения эффективности работы пассивные анкеры глубокого заложения могут быть омоноличены за два приема с приданием анкеру перед вторичной заливкой вяжущего небольшого монтажного натяжения (для выборки «слабины») величиной до 0,2 от несущей способности. 4.25. Анкеры на укрепляемой поверхности откосов (склонов) должны располагаться рядами или в шахматном порядке вкрест простирания закрепляемых скальных грунтов или возможно ближе к этому направлению. Схема расстановки анкеров на укрепляемом скальном массиве и их ориентация по отношению к вероятным поверхностям обрушения выбираются таким образом, чтобы создать наибольший укрепительный эффект, а также в зависимости от общей схемы организации и производства укрепительных работ [51-53]. Окончательные схемы анкерования выбираются после технико-экономического сравнения вариантов укрепления. При расстановке анкеров следует учитывать, что наибольший укрепляющий эффект достигается при установке их в нижней половине укрепляемого скального массива. Некоторые примерные схемы расстановки и ориентации анкеров представлены на рис.11 -13 (схемы анкеровки, представленные на рис.13, относятся лишь к анкерам глубокого заложения). 4.26. При укреплении откосов анкерами необходимо стремиться к тому, чтобы располагать их по возможности в той же вертикальной плоскости, в которой действует усилие, сдвигающее укрепляемый массив. Отклонение оси анкеров от этой плоскости может привести к возникновению усилий, снижающих эффект укрепления (в частности, при применении предварительно-напряженных анкеров).
Рис.11. Ориентация анкеров к расчетным поверхностям сдвига: а - при наличии одной расчетной поверхности сдвига; б - при наличии двух расчетных поверхностей сдвига; 1 - оголовок; 2 - неустойчивый массив; 3 - расчетная поверхность сдвига; 4 - устойчивая зона; 5 - анкерный замок; 6 - анкеры; 7 - расчетная крутопадающая поверхность сдвига; 8 - расчетная пологопадающая поверхность сдвига
Рис. 12. Схема анкеровки откосов и склонов с поверхности: а - рассредоточенные анкеры с индивидуальными опорами; б - сосредоточенные анкеры с горизонтальными железобетонными или металлическими поясами (подхватами); в - сосредоточенные анкеры с подпорными стенами, вертикальными поясами (подхватами) или контрфорсами; 1 - анкеры в скважинах; 2 - замковая часть анкера; 3 - расчетная поверхность сдвига неустойчивого массива; 4 - оголовок; 5 - горизонтальный пояс (подхват); 6 - подпорная стена 4.27. Параметры анкеров (их длина, сечение, конструкция замка, расстояние между анкерами, предварительное натяжение) должны, как правило, находиться расчетом в зависимости от конкретных инженерно-геологических условий и ожидаемого максимального давления (дефицита устойчивости) закрепляемой призмы возможного обрушения, определяемого в соответствии с требованиями пп. 3.1-3.31 настоящего Руководства.
Рис.13. Схемы анкеровки откосов и склонов изнутри массивов: а-вееры одиночных анкеров в скважинах; б-пакеты анкеров в анкерных штольнях; 1 - анкеры в глухих скважинах; 2 - расчетная поверхность сдвига; 3 - штольня продольная; 4 - анкер в сквозной скважине; 5 - опора сквозного анкера; 6 - закрепляемый массив; 7 - штольня поперечная; 8 - анкерная балка или плита; 9 - натяжной оголовок; 10 - пакет сквозных анкеров в поперечной штольне Анкерную (штанговую) крепь в основном назначают конструктивно для закрепления приповерхностного слоя толщиной до 3 м от разуплотнения и осыпания, а также для закрепления крупноглыбовых отдельностей размером до 2-3 м (по нормали к поверхности откоса или склона). Расстояние между анкерами крепи следует определять из условия обеспечения устойчивости блоков между анкерами, но не менее 1 м. 4.28. Сечение пассивных анкеров определяется из расчета на растяжение, изгиб и срез, сечение активных (предварительно-напряженных) анкеров - лишь из расчета на растяжение. Длина замковой части как активных, так и пассивных анкеров определяется из условий выдергивания стержня из цементного камня (бетона), выдергивания цементного камня из скважины и выдергивания вследствие разрушения пород вокруг замка. Для активных анкеров при расчетах их параметров учитывается максимальное усилие предварительного натяжения. Для пассивных анкеров при расчетах в качестве исходного усилия применяется дополнительная удерживающая сила, компенсирующая недостаток (дефицит) устойчивости, приходящийся на один анкер. 4.29. При выборе угла наклона анкеров к расчетной поверхности смещения закрепляемого массива γ (см. рис. 6) необходимо учитывать следующее: а) несущая способность анкеров зависит от их ориентации относительно поверхности скольжения в вертикальной плоскости; б) при расположении анкеров нормально к поверхности предполагаемого скольжения, т. е. при γ = 90°, стабилизирующее действие достигается лишь за счет сил трения, пропорциональных величине нормального давления, создаваемого за счет предварительного натяжения в активных анкерах или за счет реактивных усилий при смещении закрепляемых массивов в пассивных анкерах; в) если анкеры ориентированы относительно поверхности предполагаемого смещения под углами, отличными от 90°, то, помимо сил трения, обусловленных нормальной составляющей, возникают тангенциальные усилия, которые увеличивают (при γ < 90°) или уменьшают (при γ > 90°) устойчивость закрепляемого массива; г) целесообразно анкер ориентировать к поверхности вероятного смещения закрепляемого массива под углом γ < 90°; рекомендуемая величина этого угла 30-60°. 4.30. Общая длина анкера La (см. рис.6) складывается из длины замка 13 или глубины заделки в зону сохранных пород На, длины наружной его части, выступающей за пределы откоса lк, и длины участка между наружной и замковой частями lсв. Длина замка определяется расчетом (см. п. 4.28), за исключением клиновых и распорных анкеров, для которых она назначается конструктивно по имеющемуся опыту или по результатам испытаний. Длина наружной части назначается по конструктивным соображениям в зависимости от типа анкеров и особенностей материала и формы опоры (подхвата). Длина участка между наружной и замковой частями обусловливается инженерно-геологическими особенностями закрепляемого скального массива, в частности его очертанием и размерами по глубине. 4.31. Длина замковой части клинощелевых и распорных анкеров должна быть не менее 25 см. Разница между диаметром скважины и диаметром стержня в замковой части клинового анкера не должна превышать 7 мм. Минимальная толщина клина В (см. рис. 7) определяется по выражению Bmin = 2e' + (Dскв - dа) + tn, (21) где Dскв и dа - диаметры соответственно скважины и замка анкера, мм; tn - ширина прорези, мм; е - глубина внедрения «усов» анкера в породу; принимается при отсутствии фактических данных по табл. 5 [50]. 4.32. Ориентировочные значения расчетной прочности закрепления замков анкеров клинового типа, закладываемых в породах с коэффициентом крепости f = 6÷10 (в куске), приведены в табл.4. Таблица 5
Уклон граней клина в клиновых анкерах должен быть не круче 1:12. Резьбу на анкерах (как в опорной, так и в замковой части) предпочтительно выполнять не нарезкой, а накаткой. Поверхности прорези в замке анкера и клина должны быть гладкими. Кромки прорези анкера должны быть закруглены (см. рис. 7), а режущие кромки в торце замка - острыми. Стыки составных анкеров должны быть равнопрочными со стержнем. Длину резьбовых соединений следует делать не менее 40 мм. 4.33. Замки анкеров глубокого заложения выполняются инъекцией цементного раствора (без песка). Для набивных анкеров штанговой крепи (см. рис. 9) рекомендуется применять быстротвердеющие растворы следующего состава: глиноземистый цемент марок 400-500, песок (в соотношении 1:1 к цементу) и вода при водоцементном отношении 0,40-0,45 (с добавкой 5-6% хлористого кальция, считая от массы цемента). Для нагнетаемых анкеров штанговой крепи (см. рис. 10) рекомендуется быстротвердеющий раствор следующего состава: глиноземистый цемент марок 400-500 и вода (при водоцементном отношении 0,45-0,55) с добавкой 6% хлористого кальция от массы цемента. 4.34. Анкеры глубокого заложения для объектов I и II классов (см. п.1.3) следует проектировать в две стадии. На первой (компоновочной) стадии проектирования выбираются тип анкера, материалы для него и устанавливаются основные параметры с ориентацией на такое технологическое оборудование, которое предусматривается для использования в месте установки анкеров. При проектировании анкеров на первой стадии могут применяться имеющиеся аналоги, (см. приложение 8). Вторая стадия проектирования анкеров выполняется после их предварительных испытаний, в ходе которых проверяются несущая способность, работоспособность и отрабатывается технология всех операций по монтажу анкеров. По результатам этих испытаний проект конструкции анкеров корректируется или перерабатывается. 4.35. В проектах анкерных креплений следует предусматривать: а) бурение отверстий для анкеров станками НКР-100,. СБМК-5 или БМК-4 [54], при этом должны уточняться инженерно-геологические свойства пород; б) бурение с инвентарных подмостей при небольшой высоте расположения анкеров; бурение с подвесных подмостей (укрепленных на тросах и передвигаемых лебедкой), со специальных передвижных буровых кареток или с использованием гидроподъемников при высоте, превышающей 4-5 м; в) цементацию стенок скважин густым цементным раствором в случае, если при бурении скважин сильно осыпаются их стенки; после цементации скважины разбуриваются (прочищаются) в течение первых двух суток. Сваи и шпоны4.36. Сваи и шпоны (рис.14, 15) применяются для укрепления массивов со слаборазвитой трещиноватостью, подсеченных поверхностями ослабления, падающими в сторону подошвы откоса (склона) под сравнительно пологими углами (не более 50°). В отличие от анкеров сваи и шпоны располагаются, как правило, в вертикальных (или близких к вертикальным) скважинах при сложных поверхностях смещения укрепляемых массивов (имеющих изменяющиеся по очертанию участки). Сваи и шпоны должны устраиваться таким образом, чтобы они пересекали зону смещения в местах с возможно более пологими углами ее наклона [52].
В тех случаях, когда поверхность смещения направлена в сторону подошвы откоса под углами круче 40°, могут быть применены пассивные или активные анкеры глубокого заложения. Для укрепления неустойчивых скальных грунтов необходимо, чтобы свая была заглублена ниже ослабленной зоны на величину, обеспечивающую ее устойчивость. 4.37. Сваи и шпоны следует применять железобетонные двух типов: а) набивные, изготавливаемые на месте производства работ непосредственно в скважинах; в качестве арматуры для них следует использовать железнодорожные рельсы или другой прокат, а также готовые арматурные каркасы (рис. 16, а); б) сборные типовые железобетонные сваи заводского изготовления - сплошные и трубчатые (см. рис.16,б); сплошные сваи имеют круглую, квадратную и прямоугольную формы поперечного сечения; диаметр свай 200-1000 мм. 4.38. Работающие на изгиб сваи должны иметь жесткую арматуру, расположенную таким образом, чтобы наибольший момент сопротивления ее изгибу совпадал с направлением действия изгибающего момента. Для увеличения сопротивления свай изгибу верхние их концы в определенных условиях целесообразно прикреплять к анкерам, расположенным в ненарушенном массиве (см. рис.14). 4.39. Сваи, работающие на изгиб, следует применять трубчатого сечения, а работающие на срез - сплошного сечения [52]. В зависимости от характера деформирования откоса (склона), физико-механических свойств пород и диаметра свай они устанавливаются в один или несколько рядов; при установке свай в два-три ряда верхние их концы должны объединяться общим железобетонным ростверком (рис. 17). 4.40: Несущую способность свай и шпон рекомендуется определять исходя из условий: а) сопротивления сечения на воздействие неуравновешенных сил, обусловленных дефицитом устойчивости закрепляемого массива; б) сопротивления породы, окружающей сваю или шпону (для непрочных скальных пород или грунтов делювиально-элювиального шлейфа). При этом сечение свай должно проверяться на срез и изгиб, а сечение шпон - только на срез. При расчетах следует пользоваться имеющимися рекомендациями [52]. 4.41. Перед нагнетанием скважины для установки свай и шпон должны промываться водой. Арматура в пробуренные и очищенные скважины должна опускаться автокраном или. лебедкой. Пространство между арматурой и стенками скважины должно заполняться бетоном или раствором. Для приготовления раствора следует использовать растворомешалки, а для его подачи - растворонасосы. Подача раствора от насоса к скважине осуществляется с помощью гибких высоконапорных шлангов с последующим уплотнением в скважине электровибратором. Техническая характеристика применяемых растворомешалок, бетононасосов и электровибраторов приведена в [46]. Инъектирование трещин4.42. В качестве вяжущих при инъектировании трещин следует применять цементные и коллоидные химические растворы, эпоксидные смолы. Для повышения проникания цементного раствора в мелкие трещины в него добавляют водные растворы жидкого стекла, кремнекислого натрия или сульфата аммония. При этом рекомендуется применять портландцемент марки не ниже 300. Для заделки мелких трещин следует применять глиноземистый цемент или же осуществлять нагнетание химических растворов. Для инъекции в породы, содержащие напорные подземные воды, применяются быстросхватывающиеся цементы. В качестве ускорителей схватывания могут быть использованы добавки (см. п. 5.14). 4.43. При значительной ширине трещин (4 - 5 см) нагнетание должно производиться цементно-песчаными растворами состава 1:3, при меньшей ширине - раствором состава 1:1. В качестве заполнителя должен использоваться чистый речной или морской песок с зернами крупностью не более 1 мм. При инъекции раствора в мелкотрещиноватые породы крупность зерен песка не должна быть более 0,1 мм. 4.44 Расстояние между нагнетательными скважинами зависит от характера и интенсивности трещиноватости. Оно должно приниматься от 3 до 6 м. Давление инъектирования выбирается с таким расчетом, чтобы не создать сил, которые могут привести к разуплотнению массивов. Комбинированные конструкции4.45. Комбинированные конструкции включают в себя подпорно-одевающие стены, подпорные стены с анкерами (рис. 18), поддерживающие стены с контрфорсами, укрепление отдельных крупных скальных глыб тросовыми обвязками в совокупности с сетками и др.
Рис.18. Подпорные стены с анкерами: 1 - подпорные бетонные стены; 2 - металлические анкеры 4.46. Применение комбинированных конструкций должно обусловливаться наличием инженерно-геологических и местных особенностей, удовлетворяющих одновременно условиям применения нескольких видов укрепительных и защитных сооружений. При проектировании комбинированных конструкций на отдельные их элементы следует распространять соответствующие требования, выполнение которых необходимо для составляющих видов конструкций. 4.47. Укрепление отдельных крупных скальных глыб тросовыми обвязками (в том числе в совокупности с сетками) выполняется путем прижатия массива горизонтальными (или вертикальными) тросами, закрепленными в устойчивые участки по обеим сторонам скальной породы. По концам тросов следует устраивать винтовые стяжки. Это мероприятие может применяться как промежуточное перед началом выполнения основных укрепительных работ. 5. ПРОЕКТИРОВАНИЕ ЗАЩИТЫ ОТКОСОВ ОТ ВЫВЕТРИВАНИЯОсновные положения 5.1. Защиту откосов (склонов) от выветривания и разрушения целесообразно осуществлять в тех случаях, когда общая устойчивость откосов или склонов обеспечена, а использование других средств защиты затруднительно. 5.2. Защита откосов возможна путем устройства облицовочных (одевающих) стен (рис. 19, а), нанесения на поверхность откосов и склонов различных вяжущих по предварительно установленной сетке пневмонабрызгом (см. рис. 19,б) или посредством-проведения агролесомелиоративных мероприятий. 5.3. Целесообразность применения защитных мероприятий устанавливается в зависимости от высоты и крутизны откоса (склона), свойств скальных грунтов, наличия местных строительных материалов, машин и оборудования. 5.4. Облицовочные (одевающие) стены рекомендуется применять при высоте откоса 5-10 м там, где поверхность его неровная и имеется в наличии местный материал. 5.5. Покрытие откосов пневмонабрызгом (торкрет-бетоном, набрызг-бетоном и аэроцемом) следует предусматривать на предварительно навешенную и укрепленную анкерами металлическую сетку.
Рис.19. Схемы противообвальных защитных сооружений: а - облицовочная стена (одевающая): б - защитное покрытие из пневмонабрызга В покрытиях необходимо предусматривать устройство дренажных отверстий и вертикальных деформационных швов [1]. Защита путем пневмонабрызга различных вяжущих целесообразна при высоте откоса 5-20 м и относительно ровной его поверхности и при наличии специального оборудования 5.6. Агролесомелиорацию следует применять для закрепления откосов (склонов) крутизной не более 45°, сложенных легковыветривающимися (полускальными) грунтами и подверженных воздействию осыпных и эрозионных процессов. Облицовочные стены5.7. Облицовочные, (одевающие) стены могут устраиваться из каменной кладки, бутобетона или же из бетона. 5.8. Размеры и конфигурацию облицовочных стен устанавливают по конструктивным соображениям в зависимости от профиля откоса выемки или склона. 5.9. В облицовочных стенах необходимо предусматривать устройство водовыпускных отверстий для отвода грунтовых вод. Пневмонабрызг5.10. Защита откосов выемок и склонов пневмонабрызгом может быть выполнена путем нанесения на защищаемую поверхность цементно-песчаного раствора - торкрет-бетона, набрызг-бетона (шприц-бетона) и аэрированных цементно-песчаных растворов (аэроцема). Торкрет-бетон и шпрнц-бетон получают на основе транспортируемой под давлением сухой смеси, а аэроцем-готового раствора [55, 56]. 5.11. Пневмонабрызг должен осуществляться по предварительно навешенной на откос и укрепленной анкерами металлической сетке (рис. 20-21). В подошве склона (откоса) конструкция покрытия может быть выполнена в соответствии с рис. 22. Пневмонабрызг с внешней стороны должен покрывать сетку слоем не менее 15 мм. 5.12. Анкеры для прикрепления сетки (несущие и монтажные) следует делать из арматуры периодического профиля диаметром 10-40 мм. При этом несущие анкеры необходимо располагать за верхней бровкой откоса на расстоянии от нее не менее 2 м (см. рис.21). Сечение их, количество н глубина заделки должны определяться расчетом в соответствии с приложением 9. Монтажные анкеры размещаются исходя из условия обеспечения максимального прилегания сетки к откосу и назначаются конструктивно. Диаметр их можно принимать равным 10-20 мм. Расстояние между анкерами не должно превышать 2 м, а глубина их заделки должна быть не менее 0,4-0,5 м. Они должны выступать над поверхностью откоса на 4-5 см. 5.13. Для приготовления сухих смесей и растворов в зависимости от наличия выхода и агрессивности грунтовых вод рекомендуется применять цементы, удовлетворяющие требованиям ГОСТ 10178-76 (табл. 6). Таблица 6
Рис. 20. Конструкция защитного покрытия откоса: 1 - несущий анкер; 2 - слой покрытия по металлической сетке; 3 - отверстия для выпуска веды; 4 - монтажные анкеры
Рис. 21. Схема закрепления несущего анкера: 1 - распределительная планка сетки; 2 - металлическая сетка; 3 - опорные вкладыши для предотвращения провисания сетки; 4 - слой покрытия; 5 - поверхность, подготовленная под укладку покрытия на участке между бровкой откоса и несущим анкером; 6 - монтажный анкер; 7 - поверхность защищаемого откоса; 8 - стенка скважины для несущего анкера; 9 - закрепляющий анкер раствор; 10 - металлический стержень несущего анкера Во время производства работ при отрицательной температуре целесообразно использовать портландцементы (алитовые и низкоалюминатные) с содержанием трехкальциевого алюмината не более 6%.
Рис. 22. Конструкция, покрытия у подошвы защищаемого откоса (один из возможных вариантов): 1 - металлическая сетка; 2-слой покрытия;3 - железобетонный лоток; 4 - монтажные анкеры;5 - опорные вкладыши 5.14. В целях ускорения схватывания и твердения растворов в воду для приготовления набрызг-материала вводят специальные добавки в виде жидкости или пасты. В качестве жидких добавок используется раствор калия хлористого (по ГОСТ 450-77), натрия хлористого (по ГОСТ 4233-77), силиката натрия (по ГОСТ 13078-67*) и алюмината натрия. К пастообразным относится добавка НКА (NaF - 1, К2СО3 - 8, раствор NaA103 - 6 вес. ч), применяют также 4-6%-ный раствор НКА в воде. 5.15. Добавки растворов хлористых солей следует применять при производстве укрепительных работ в холодное время года при температуре наружного воздуха не ниже минус 5°С на сухих поверхностях. Рекомендуемые концентрации растворов добавок приведены в табл. 7. Таблица 7
Примечание. Общее количество хлористых солей в смесях не должно быть более 6% массы цемента. Добавку силиката натрия применяют в количестве 3-5% массы цемента при набрызге на обводненные поверхности. 5.16. Общая толщина покрытия из торкрет-бетона должна быть не менее 30 мм. Металлическая сетке, на которую наносится раствор, может иметь ячейки размером от 30×30 до 200×200 мм. Сетки следует применять гибкие промышленного изготовления из проволоки диаметром от 2 до 4 мм. Допускается плетение сетки по месту работы. 5.17. Жесткость наносимого раствора принимается равной не менее 15 с (по техническому вискозиметру), а водоцементное отношение для раствора должно находиться в пределах 0,30-0,40 (с учетом влажности заполнителя). В качестве заполнителя должен применяться чистый песок (ГОСТ 8736-77). Весовая влажность песка должна быть не более 5%. Вода для затворения сухой смеси должна соответствовать требованиям ГОСТ 4797-69*.
Рис. 23. Допустимая область рассева заполнителей при набрызг-бетоне 5.18. Покрытие из набрызг-бетона должно выполняться по металлической сетке с ячейками размером не менее 50×50 мм. Толщину покрытия следует принимать не менее 50 мм. Набрызг-бетон, помимо цемента и песка, включает в себя более крупные фракции заполнителя, представленные гравием или щебнем (до 20-25 мм). Заполнитель должен удовлетворять требованиям ГОСТ 8267-75 (для щебня), ГОСТ 8736-77 (для песка) Совмещенная кривая рассева гранулометрического состава заполнителя должна укладываться в заштрихованную зону (рис. 23). Влажность заполнителя не должна превосходить 5% (по массе). Водоцементное отношение должно приниматься в пределах 0,40-0,50 (с учетом влажности: заполнителя). Требования к цементу и воде при приготовлении набрызг-бетона см. в пп. 5.13 и 5.17. 5.19. Аэрированные цементнопесчаные растворы (аэроцем) представляют собой смесь из цемента, песка, воды и вспенивающей добавки. Вспенивающие добавки могут быть жидкими и порошкообразными. Применяемые вспенивающие добавки отличаются между собой содержанием активного вещества; перечень наиболее часто употребляемых добавок приведен в табл. 8. Таблица 8
Количество вспенивающей добавки целесообразно принимать на основании предварительных испытаний раствора путем опытного подбора. Методика определения требуемой прочности аэроцема и подбора составляющих приведена в приложении 10. 5.20.Для аэроцема следует принимать водоцементное отношение 0,4-0,5, отношение цемента к песку в пределах. 1:1 - 1:3; требования к цементу, песку и воде при приготовлении аэроцема см. в пп. 5.13, 5.17 настоящего Руководства. Пластичность наносимого аэроцема по конусу должнасоставлять 9-12 см, толщина покрытия принимается, не менее 30 мм. 5.21. В проектах по устройству защиты откосов (склонов) от выветривания и разрушения должны предусматриваться следующие основные требования к технологии производства работ [48, 56]: а) перед нанесением на поверхность скальных откосов защитных покрытий путем пневмонабрызга цементно-песчаных растворов или бетонных смесей необходимо проводить подготовительные работы: сооружение растворного (бетонного) узла, обеспечение работ материалами, электроэнергией, водой и сжатым воздухом; изготовление и монтаж люлек, подмостей и других приспособлений для работы на высоте; планировку поверхности откоса с удалением неустойчивых обломков скального грунта; укрепление неустойчивых, трещиноватых частей массива несущими анкерными устройствами; отвод грунтовых и поверхностных вод; расчистку площадок за верхней бровкой откоса от древесно-кустарниковой растительности; бурение скважин и заделку в них несущих и монтажных анкеров; навешивание и закрепление металлической сетки к несущим и монтажным анкерам с подготовкой маяков для контроля за толщиной наносимого покрытия; б) монтаж металлической сетки следует начинать сверху, закрепляя края каждого рулона за стержни несущих анкеров; рулоны опускают, постепенно разматывая сетку и прикрепляя ее к монтажным анкерам; металлическую сетку необходимо плотно притягивать к поверхности откоса и привязывать к анкерным стержням; в) пневмонабрызг на основе сухих смесей (торкрет и шприц-бетон) необходимо осуществлять при помощи цемент-пушек и шприц-машин; г) в связи с линейным характером укрепительных работ на объектах транспортного строительства комплект машин и механизмов для пневмонабрызга с использованием сухих смесей целесообразно размещать на двухосном автоприцепе или на санях; д) получение аэрированного раствора должно осуществляться на месте производства работ. Аэрированный раствор должен приготовляться и наноситься на защищаемую поверхность откоса при помощи специальной установки, которая состоит из смесителя, растворонагнетателя, пистолета с двух- или трехпоточным соплом и шлангов. Раствор должен приготовляться не ранее чем за 10-15 мин до нанесения. Приготовление и нанесение раствора на защищаемую поверхность откоса осуществляется в следующем порядке: барабан смесителя заполняется необходимым количеством воды, в которую вводится вспенивающая добавка; воду со вспенивающей добавкой следует перемешивать в течение 1,5-2 мин до получения устойчивой пенной эмульсии; затем в смеситель засыпается попеременно песок и цемент, которые должны непрерывно перемешиваться в течение 4-5 мин; песок до загрузки в смеситель должен быть просеян через сито с ячейками 3 мм. При необходимости использования ускорителей твердения они должны вводиться после перемешивания воды со вспенивающей добавкой и дополнительно перемешиваться в течение 1мин; е) набрызг материала на скальную поверхность следует выполнять сверху вниз отдельными захватами шириной 1-2 м, направляя сопло перпендикулярно к покрываемой поверхности; расстояние от среза сопла до покрываемой поверхности должно приниматься равным при торкрет-бетоне 0,9-1,1, набрызг-бетоне 1,0-1,2. и аэроцеме 0,4-0,5 м; ж) работы по устройству защитных покрытий допускается осуществлять при температурах наружного воздуха не ниже минус 5°С при условии внесения в приготовляемый раствор добавок - ускорителей твердения; з) очистка поверхности откоса от неустойчивых камней, бурение скважин, установка анкеров и металлической сетки, подача на откос системы шлангов и размещение людей для пневмонабрызга должны выполняться: в зависимости от глубины выемки с применением оборудования, указанного в табл. 9. Таблица 9
В тех случаях, когда отсутствует оборудование, указанное в табл. 9, подготовительные работы и пневмонабрызг допускается производить с помощью верхолазов с использованием скальной техники альпинизма; и) в зависимости от климатических условий нанесенное покрытие следует поливать распыленной водой с частотой, указанной в табл. 10. Первые трое суток с момента нанесения набрызг-материа.лов, а также при нахождении покрытия на солнце число увлажнений следует увеличивать в 1,5 раза против указанного в табл. 10. Таблица 10
При пасмурной погоде и отсутствии добавки ускорителя твердения увлажнение защитного покрытия следует производить не позднее чем через 6-10 ч после его устройства, а в жаркую ветреную погоду и при использовании добавок - через 1-2 ч. При относительной влажности воздуха более 30% защитное покрытие следует увлажнять один раз в сутки, а при температуре наружного воздуха до 5°С и ниже его увлажнять не следует. Контроль качества пневмонабрызга и уход за защитным покрытием должны выполняться согласно [56]. Технические характеристики основных видов смесительных установок для приготовления сухих смесей, шприц-машин, цемент-пушек и гидроподъемников приведены в [46, 47, 57]. Агролесомелиорация5.22.Мероприятия по агролесомелиорации должны быть в ряде случаев составной частью общего комплекса защитных и противообвальныхсооружений и мероприятий и должны предусматриваться для увеличения устойчивости склонов (откосов), армирования грунта корневой системой, осушения грунта, предотвращения эрозии, уменьшения инфильтрации в грунты поверхностных вод, выветривания, образования осыпей и вывалов [1]. Агролесомелиорация включает в собя посев трав, посадку деревьев или кустарников [46, 58, 59]. Посев травы должен осуществляться по слою растительного грунта толщиной не менее 10 см. При недостатке растительного грунта допускается покрывать выветрившиеся скальные откосы местным делювиальным грунтом. После прорастания травы следует определять дефектные места повторного посева с удвоенной нормой удобрения. Посев трав необходимо комбинировать с посадкой кустарников или деревьев, обладающих развитой корневой системой. Ассортимент древесно-кустарниковой и травяной растительности следует выбирать в зависимости от почвенных и климатических условий. 5.23. На участках интенсивных осыпей следует применять покровно-барьерную защиту из покровной и барьерной растительности. В южных районах в качестве покровной растительности используют лианы и вегетативно размножающиеся кустарники с широкой кроной, в качестве барьерной - посадки кустарников и деревьев с большой степенью кущения. В районах с отрицательными зимними температурами воздуха откосы выемок должны быть укреплены боярышником, можжевельником, шиповником и другими морозоустойчивыми растениями. 5.24. На склонах со смытыми и слабо развитыми почвами деревья и кустарники следует высаживать рядами в лунки или ямы глубиной 0,15-0,35 м. Расстояние между рядами должно приниматься 1,5-2,0 м. Для лучшего роста и приживаемости трав и лесонасаждений необходимо вносить фосфорные и калийные удобрения; суперфосфат с содержанием 14-20% питательных веществ (норма 300-400 кг на 1 га) и калийную соль или хлористый калий (по150-200 и100-120 кг на 1 га соответственно). Уход за лесопосадками состоит в периодическом рыхлении почвы на глубину 5-10 см и удалении сорняков. В случае гибели саженцев во втором году их пополняют. 6. УЛАВЛИВАЮЩИЕ СООРУЖЕНИЯ И ГАЛЕРЕИОсновные положения6.1. Улавливающие сооружения и устройства следует предусматривать для защиты объектов от воздействия осыпей, вывалов, падения отдельных обломков, а также небольших обвалов (см. табл. 2 СН 519-79) [1]. 6.2. В зависимости от инженерно-геологическихи топографических условий противообвальные улавливающие сооружения могут применяться в виде улавливающих траншей, валов, полок, улавливающих и оградительных стен, сеток и надолб [53, 60-66]. 6.3. Улавливающие сооружения в виде траншей и валов, а также стены и сетки можно располагать непосредственно у подошвы откоса (склона) и на склоне. Улавливающие полки и галереи следует устраивать только у подошвы откосов (склонов), а надолбы - на склонах. 6.4. Улавливающие траншеи и полки с бордюром (рис. 24, а и б) у подошвы откосов или обвалоопасных склонов следует проектировать для защиты объектов от падения обломков скального грунта при высоте откосов (склонов) до 60 м и крутизне их более 35°. 6.5. Улавливающие валы (см рис. 24, в) следует располагать у подошвы затяжных склонов (при высоте их более 60 м), являющихся самостоятельными источниками скально-обвальной опасности, когда расстояние между подошвой склона и защищаемым объектом достаточно для их размещения. 6.6. Улавливающие валы на склонах (см. рис. 24, г) целесообразно проектировать при крутизне их до 25° на высоте не более 30-50 м над защищаемым объектом.
Рис. 24. Схемы противообвальных улавливающих сооружений: а - путевая траншея; б - улавливающая полка с бордюром; в - улавливающий вал у подошвы склона; г - улавливающий вал на склоне; д - оградительная улавливающая стена; е - улавливающая стена; ж- улавливающая сетка 6.7. Оградительные улавливающие стены (см. рис. 24, д) размещаются у подошвы крутых (свыше 40-45°),относительно невысоких (до 25-30 м) откосов (склонов) для улавливания мелких обломков или задержания осыпающегося скального грунта при выветривании откосов. Из-за сложности эксплуатации применение этой конструкции рекомендуется ограничивать. 6.8. Улавливающие стены следует размещать у подошвы скально-обвальных склонов крутизной 25-35° (см. рис. 24, е). Допускается устройство этих стен также на относительно пологих участках склонов при расположении их на высоте не свыше 30-50 м над защищаемым объектом при условии выполнения требований п. 6.46. 6.9. Улавливающие сетки (см. рис. 24, ж) целесообразно использовать в стесненных условиях, учитывая, что для их размещения необходимо значительно меньшее пространство, чем для других улавливающих сооружений. Кроме того, их следует предусматривать также для перекрытия обвалоопасных логов. 6.10. Надолбы должны применяться в комплексе с другими улавливающими сооружениями (рвами, валами, стенами, сетями и др.) на затяжных склонах крутизной до 30°. 6.11. В отдельных случаях допускается устраивать улавливающие сооружения в несколько ярусов, располагая их горизонтальными рядами или наклонно (для изменения направления движения скальных обломков). 6.12. В качестве временных улавливающих сооружений возможно применение ловушек из различных местных материалов или их сочетаний (бревен, брусьев, старогодных шпал и рельсов, камня и др.).
Рис.25. Схема противообвальнойгалереи: 1 - амортизирующая отсыпка; 2 - перекрытие; 3 - нагорная стена; 4 - низовая опора 6.13. Защитные противообвальные галереи следует размещать на обвальных участках железных, автомобильных и пешеходных дорог в случаях, когда устройство более простых противообвальных устройств и сооружений практически неосуществимо или экономически нецелесообразно [1]. При этом очаги обвала должны находиться на достаточном расстоянии от галерей, исключающем возможность прямого падения на их кровлю скальных обломков (рис. 25). 6.14. Для уменьшения динамического воздействия скальных обломков на противообвальные улавливающие стены и галереи необходимо устраивать амортизирующие грунтовые отсыпки. В улавливающих сетях с этой целью рекомендуется устраивать дублирующие оттяжки. Улавливающие сооружения6.15. Проектирование противообвальных улавливающих стен должно включать определение габаритных размеров сооружений, а также расчет их на прочность и устойчивость [2, 63]. 6.16. Габаритные размеры улавливающих устройств и сооружений следует назначать из условия исключения возможности перелета и выскакивания скальных обломков, падающих со склона. Габаритные размеры стен следует определять расчетом на перелет, выкатывание и подскакивание скальных обломков. Расчетом наперелет определяются высота стен и их месторасположение. Расчетом на выкатывание и подскакивание устанавливается необходимая глубина застенных пазух, при которой исключается возможность попадания скальных обломков на защищаемый объект. 6.17. Прочность и устойчивость конструкций улавливающих устройств и сооружений следует проверять на статическую нагрузку от амортизирующей отсыпки и обвальных масс, а также на удар скальных обломков. 6.18. Проектирование противообвальных улавливающих стен должно выполняться в такой последовательности: - определение расчетной, скорости падающих скальных обломков в зоне расположения сооружения; - установление расчетной величины падающих обломков; - определение габаритных размеров стен; - расчет на статическую нагрузку основных размеров несущей конструкции сооружения; - проверка несущей конструкции сооружения на динамическую нагрузку от удара скальных обломков. 6.19. Расчетную скорость падающих обломков рекомендуется определять в зависимости от типа поперечногопрофиля нагорного откоса или склона (приложение 11 [2]). Расчетная скорость может быть также определена па ЭВМ [67] (приложение 12). 6.20. Расчетная величина скальных обломков определяется на основании статистических характеристик распределения их фактической крупности по многолетним наблюдениям за падением обломков скальных грунтов в пределах защищаемого участка. При отсутствии многолетних наблюдений за падением скальных обломков их расчетная величина может определяться в зависимости от потенциальной блочности скальных грунтов [68], слагающих откос или склон (приложение 13), и уточняться путем опытного их сбрасынания с нагорного откоса (склона) по направлению эксплуатируемого или проектируемого объекта. Расчет может произподиться также на ЭВМ (см. приложение 12). 6.21. Габаритные размеры противообвальных улавливающих стен рекомендуется определять по таблицам и графикам [63] в соответствии с методикой, приведенной в приложении 14. 6.22. Расчет противообвальных защитных сооружений должен производиться в соответствии с требованиями глав СНиП по определению нагрузок и воздействий, проектированию оснований зданий и сооружений, оснований гидротехнических сооружений и по основным положениям проектирования речных и морских гидротехнических сооружений [1]. Оценка прочности и устойчивости производится исходя из приведенного в п. 3.5 условия:
6.23. При расчете противообвальных улавливающих стен на прочность и устойчивость должны учитываться следующие нагрузки: - постоянные нагрузки (от веса конструкций стен и грунтовой отсыпки при стенах с разгружающими консолями); - временные длительные нагрузки (от бокового давления грунта при накоплении его в застенной пазухе под углом α = 20°); - кратковременные нагрузки (от воздействия удара одиночного обломка расчетной крупности); - особые нагрузки (от сейсмического воздействия). 6.24. При расчете улавливающей стены на статическую нагрузку рассматривается участок стены длиной 1 м. Расчет устойчивости всей стены против опрокидывания выполняется по формуле, полученной из выражения (22):
где Муд - расчетный момент удерживающих сил;
где Еi - составляющие удерживающих сил (рис. 26, а); li, - плечи составляющих удерживающих сил относительно оси, проходящей через переднее нижнее ребро подошвы фундамента стены; Мопр - расчетный момент опрокидывающих сил:
где Ei - составляющие силы активного давления грунта; li - плечи составляющих сил активного давления грунта относительно выбранной точки. В формулах (24) и (25) п - коэффициенты перегрузки, принимаемые с учетом характера нагрузок по табл. 11. Таблица 11
Примечание. Указанные в скобках значения коэффициентов перегрузки относятся к случаям, когда применение этих коэффициентов приводит к невыгодному случаю загружения сооружения. Значение коэффициента сочетания нагрузок пс должно приниматься в зависимости от состава учитываемых нагрузок. При воздействии на сооружение постоянных и одной кратковременной нагрузки коэффициент сочетания nc = 1; при воздействии на сооружение постоянных и двух или более кратковременных нагрузок расчетные значения последних должны умножаться на коэффициент nс = 0,9.
Рис. .26. Схема расчета улавливающей стены на статическую нагрузку: а - схема расчета устойчивости стены; б - эпюра давления грунта при наклонной задней грани стены; в - схема, расчета напряжения по подошве фундамента Особые сочетания нагрузок состоят из основных сочетаний, дополненных одной из особых нагрузок (сейсмическим воздействием, влиянием взрыва). В этом случае значения кратковременных нагрузок, умножаются на коэффициент сочетания пс = 0,8. Коэффициент условий работы т, учитывающий вид предельного состояния, приближенность расчетных схем и. другие факторы, принимается равным m = 1 в соответствии с табл. 5 главы СНиП «Основания гидротехнических сооружений». Значение активного давления грунта на заднюю грань применительно к прямолинейному очертанию стены Ei (см. рис. 26, а)* определяется из выражения [69, 70]
где Нс - высота стены, м; .* При ломаном очертании задней грани стены для определения Ei строится эпюра давления грунта (см. рис. 20, б) ** При высоте стен свыше 3 м боковое давление грунта необходимо принимать с учетом трения между грунтом и боковой поверхностью стенки. Значения силы трения принимаются согласно действующим нормативным документам.
Здесь γо - удельный вес грунта, кН/м3; а' - угол крутизны откоса за стеной, град; φ - угол внутреннего трения, град; ω - угол наклона плоскости скольжения [56], град;
6.25. Расчет устойчивостивсей стены против сдвига производится по формуле, полученной из выражения (23);
где Туд - расчетное значение удерживающих сил, спроектированных на принятую плоскость сдвига (см. рис. 26, а); Тсдв - расчетное значение сдвигающих сил, спроектированных на ту же плоскость.
где Рпi.- проекция удерживающих сил на плоскость сдвига.
где Епi - проекция сдвигающих сил на плоскость сдвига. В формулах (30) и (31) п - коэффициенты перегрузки, принимаемые с учетом характера нагрузок по табл. 11. Pni = (Picosβo + Eisinβo)tgφo, (32) где βo - угол наклона подошвы фундамента стены; φo - угол внутреннего трения по подошве фундамента. Eni = (Eicosβo- Pisinβo), (33) 6.26. Напряжение по подошве фундамента (см. рис. 26, в) определяется по формуле [2]
в0 - ширина по подошве фундамента; е - расстояние от суммарной вертикальной нагрузки до центра подошвы фундамента.
где Муд и Мопр определяются по формулам (24) и (25). При отрицательном значении α определяется наибольшее напряжение на грунт без учета растянутой зоны по формуле
где Rc - расчетное сопротивление грунта осевому сжатию, определяемое по пп. 3.13-3.15 СНиП II-15-74 [27]. Положение равнодействующей должно удовлетворять выражению (62). * Формулы (34) и (37) представлены с учетом измерения напряжения в кгс/см2. 6.27. Расчет стены на динамическую нагрузку (ударную силу) производится на длину секции с учетом давления грунта амортизирующей отсыпки при открытой улавливающей пазухе (рис. 27)**.
Рис. 27. Схема расчета улавливающей стены на давление от амортизирующей отсыпки и ударного воздействия скальных обломков ** Расчет приведен для случая пересечения откоса плоскости скольжении с откосом улавливающей пазухи. Значение ударной силы Ру и глубина проникания скальных обломков хп и амортизирующую отсыпку определяются по таблицам приложений 15 и 16 в зависимости от расчетного объема и скорости падающих обломков, а также толщины отсыпки z, измеренной по направлению удара. В табличные значения Ру и хn следует вводить поправку на коэффициент Ко, учитывающий удельный вес скального грунта γc. Табличные значения умножаются на этот коэффициент, определяемый по графику на рис. 28. Толщина амортизирующей отсыпки поверху назначается равной 1,5n', но не менее 0,5 м. В случае, если при проверке на устойчивость и прочность не обеспечиваются условия (23), (29), (37), то изменяют сечение стены или толщину амортизирующей отсыпки поверху и производят повторный расчет до выполнения указанных выше условий. Расчетное значение ударной силы определяется из выражения
где п - коэффициент перегрузки, принимаемый по табл. 11 равным 1,1.
Рис. 28. Значение поправочного коэффициента Ко на удельный вес скального грунта γс Расчетную ударную силу Расчетное давление грунта от амортизирующей отсыпки определяется из выражения ЕР = Е.п, (39) где Е - активное давление грунта от амортизирующей отсыпки, определяемое по сумме площадей эпюр давления (см. рис. 27), равное Е = Е1 + Е2 (40) Здесь
λ'a и λ"а определяются из выражения
Значение угла наклона плоскости скольжения ω определяется по формуле
где
Расчет устойчивости всей стены против опрокидывания выполняется по формуле (23). Расчетные значения моментов противодействия опрокидыванию сооружения определяются из следующего выражения:
Расчетные значения моментов опрокидывающих сил определяются из выражения
Расчет устойчивости стены против сдвига производится по формуле (29), где расчетные значения сил противодействия сдвигу сооружения и сдвиговые воздействия с учетом наклона подошвы фундамента выразятся соответственно следующими формулами:
Напряжение по подошве фундамента определяется в соответствии с п. 6.26 настоящего Руководства. 6.28. Расчет на прочность и устойчивость оградительных стен должен производиться в соответствии с п. 6.24 настоящего Руководства только на статическое воздействие продуктов выветривания в случае полного завала ими застенного пространства (улавливающей пазухи). Уклон откоса осыпного материала принимается равным углу естественного откоса продуктов выветривания, уменьшенному на 5°. 6.29. Улавливающие и оградительные стены можно проектировать массивными (из бутовой, бетонной или бутобетонной кладки), сборно-монолитными или сборными (рис. 29, 30, 31). Массивные стены (см. рис. 29, б) применяются в трудно достугшых местах и при наличии местного камня, когда использование механизмов для транспортировки сборных конструкций к месту работ [48, 49] и их монтажа невозможно. Массивные стены из бетонных блоков (см. рис. 29, а, и 31, а) целесообразно возводить у подошвы откоса или склона при высоте стен 6-8 м. При меньшей высоте применяют сборные железобетонные стены уголкового профиля (см. рис. 29, г. и 31, б).
Рис.29. Конструкции противообвальных улавливающих стен (массивные и сборные): а - массивная стена из бетонных блоков; б - массивная стена из бутобетона; в - массивная стена из бетонных блоков с. разгружающей площадкой; г - стена из сборного железобетона уголкового профиля; 1 - улавливающая пазуха; 2 - амортизирующая отсыпка; 3 - выкладка откоса крупным камнем; 4 - бетонные блоки; 5 - арматура
Рис.30. Конструкции противообвальных улавливающих стен (сборно-монолитные): а - двухъярусная стена с устройством верхнего яруса из сборного железобетона уголкового профиля; б - двухъярусная стена с устройством верхнего яруса из бетонных блоков; 1 - улавливающая пазуха; 2 - амортизирующая отсыпка; 3 - выкладка откоса крупным камнем; 4 - железобетонные блоки перекрытия; 5 - контрфорсы из монолитного бетона Сборно-монолитные (двухъярусные) стены (см. рис. 30, а, б; рис. 31, в, г) целесообразно возводить у подошвы откоса или склона при высоте стен 8-12 м. При проектировании улавливающих и оградительных стен следует также руководствоваться рекомендациями п. 4.10 настоящего Руководства. 6.30. Противообвальные улавливающие и оградительные стены из бетонных блоков должны омоноличиваться по высоте с использованием двойной арматуры диаметром не менее 20 мм. 6.31. При устройстве двухъярусных стен (см. рис. 30 и 31, в, г) контрфорсы рекомендуется принимать шириной 1м с расположением их через 6 м.
Рис. 31. Конструкции противообвальных оградительных стен: а - массивная стена из бетонных блоков; б - стена из сборного железобетона уголкового профиля; в - двухъярусная стена с верхним ярусом из бетонных блоков; г - двухъярусная стена с верхним ярусом из сборного железобетона уголкового профиля; 1 - бетонные блоки; 2 - арматура; 3 - железобетонные балки перекрытия; 4 - контрфорсы из монолитного бетона; 5 - покрытие из бетона
Рис. 32. Схема устройства улавливающего вала на косогоре до 20°: 1 - упор из каменной кладки; 2 - укрепление откоса; 3 - вализ местного грунта; 4 - уступы в основании вала (штрабы) Поверхность откосов между контрфорсами целесообразно покрывать, но предварительно устанавливаемой сетке различными вяжущими путем их пневмонабрызга в соответствии с гл. 5 настоящего Руководства. 6.32. При проектировании противообвальных улавливающих валов, траншей и полок следует определять их габаритные размеры расчетом на перелет, выкатывание и подскакивание скальных обломков в зависимости от их расчетной скорости в соответствии с п. 6.19. 6.33. При крутизне склонов до 20° и толщине делювиального покрова более 1 м улавливающие валы на склоне рекомендуется возводить из местных грунтов в соответствии с рис. 32. При крутизне склонов 20-25° низовому откосу вала следует придавать крутизну 1:1 (рис. 33), укрепляя его каменной выкладкой на цементном растворе. При этом у подошвы низового откоса вала в обоих случаях необходимо устраивать упор из бутовой или бутобетонной кладки (см. рис. 32 и 33). Улавливающие валы у подошвы откосов и склонов сооружают из местного грунта без создания специального упора в основании наружного откоса. 6.34. Конструкции улавливающих траншей [60] и полок в зависимости от местных условий могут проектироваться заглубленного типа или на уровне защищаемых объектов с устройством .оградительных сооружений (см. рис. 24, а и б). 6.35. Размеры и форму улавливающих пазух противообвальных сооружений следует назначать в зависимости от скорости и размеров падающих скальных обломков [1]. При скорости падения обломков до 20 м/с улавливающие пазухи следует устраивать в соответствии с рис. 34, а. При этом крутизну откоса амортизирующей отсыпки допускается увеличивать до 1:0,75 с укреплением его камнем в один ряд. Габаритные размеры улавливающей пазухи принимаются по расчету на выскакивание согласно приложению 14. При скорости падения обломков более 20 м/с в верхней части отсыпки следует размещать ограничительную стену (см. рис. 34, б). При этом крутизну откоса амортизирующей отсыпки рекомендуется назначать от 1:1,25 до 1:1,5 без укрепления. На тех участках, где предполагается падение обломков малого объема, взамен ограничительной стены допускается использовать верхнюю незасыпанную часть задней грани основной стены (рис. .34, в). 6.36. Крутизна откосов улавливающих пазух с нагорной стороны назначается в зависимости от расположения точки М, удар обломков в которую создает наиневыгоднейшую траекторию его движения (см. рис. 34).
Рис. 33. Схема устройства улавливающего вала на косогоре 20-25°: 1 - поверхность косогора; 2 - контрбанкет из бутобетонной кладки; 3 - каменная выкладка; 4 - укрепление откоса; 5 - вал из местного грунта
Рис.34. Схемы улавливающих устройств (пазух): а - при расчетных скоростях движения камней до 20 м/с; б, в - то же свыше 20 м/с; 1 - стена; 2 - укрепление поверхности откоса; 3 - поверхность косогора, до возведения улавливающих устройств; 4 - амортизирующая отсыпка; 5 - застенный дренаж; 6 - ограничительная стенка; hn - высота отсыпки; h'n - высота стенки-ограничителя; Zn - ширина дна улавливающей траншеи
6.37. Амортизирующая отсыпка, как правило, должна устраиваться из местного грунта, в отдельных случаях допускается использование привозного грунта. 6.38. Улавливающие сетки (сетчатые ограждения) рекомендуется устраивать в виде вертикальных заборов на склонах или у подошвы откосов либо склонов (рис. 35), тросово-сетчатых ловушек, создаваемых на склонах (рис. 36), и защитных навесных сеток (рис. 37).
Рис. 35. Фрагмент сетчатого ограждения: а - общий вид; б - деталь крепления сетки к стойке; в - крепление сетки анкерами к скале; 1 - стержни или тросы диаметром 10 мм, протянутые через ячейки сетки; 2 - крепление сетки анкерами диаметром 18 мм к скале; 3 - труба диаметром 76 мм; 4 - сетка с ячейками 50х50 мм; 5 - цементный раствор I : 2; 6 - проволока диаметром 1 мм 6.39. Сетчатые ограждения в виде вертикальных заборов служат для защиты объектов от завалов осыпями или от падения с небольших высот отдельных обломков скального грунта. Опорами вертикально расположенных сеток служат железобетонные или металлические столбы. Сетки должны находиться в слабонатянутом состоянии, что увеличивает их способность поглощать энергию падающих скальных обломков.
Рис. 36. Тросово-сетчатая ловушка: 1 - сжимы на пересечениях тросов; 2 - трос диаметром 22 мм с шагом 2 м; 3 - сетка рабица в два слоя; 4 - трос диаметром 35,5 мм якорный; 5 - винтовые стяжки; 6 - пластина 20х200 мм; 7 - сжимы; в - анкеры клинощелевые диаметром 36 мм 6.40. Тросово-сетчатые ограждения преимущественно применяются на склонах для задержания скальных обломков. В отдельных случаях они целесообразны для перекрытия обвально-опасных логов (см. рис. 36). Конструкция представляет собой закрепленные клиновыми анкерами якорные тросы, к которым специальными соединениями подвешивается сетка из тросов. 6.41. Высота сетчатых заборов и тросово-сетчатых ловушек должна назначаться в соответствии с рекомендациями, приведенными в п. 6.16, из расчета на перелет и подскакивание обломков (см. приложение 14). 6.42. Защитные навесные сетки устраиваются на участках откосов или склонов, где возможны местные обрушения и отдельные вывалы обломков скального грунта. Конструкция представляет собой закрепленную анкерами сетку, покрывающую поверхность откоса (склона) для предотвращения попадания обломков на защищаемый объект (см. рис. 37).
Рис. 37. Защитные навесные сетки: а - закрепление защитного сетчатого мата на откосе; б - защитный мат; в - клинощелевой анкер; 1 - анкер диаметром 25 мм длиной 2,0 м с шагом 1,5 м; 2 - арматурная сталь диаметром 12 мм; 3 - металлическая сетка с ячейкой 50x50 мм; 4 - арматура диаметром 6 мм; 5 - расклиновка анкера; 6 - арматура диаметром 10 мм 6.43. При проектировании противообвальных улавливающих сооружений следует предусматривать возможность очистки улавливающих пазух от скопления продуктов выветривания, осыпей и обвалов в условиях эксплуатации. 6.44. С целью охраны окружающей среды при проектировании противообвальных улавливающих сооружений необходимо стремиться к уменьшению объема работ по срезке нагорного откоса (склона). Эти работы могут быть доведены до минумума за счет следующих мероприятий: - максимального удаления сооружения от нагорного откоса (склона); - применения конструкций из сборных тонкостенных конструкций; - придания откосу амортизирующей отсыпки по возможности крутого откоса; - повышения высоты сооружения; - относа защищаемого объекта от нагорного откоса (склона). В тех случаях, когда срезка нагорного откоса (склона) неизбежна, следует проводить мероприятия по рекультивации откоса (склона), обеспечив его защиту от выветривания и разрушения (агролесомелиоративные мероприятия). При устройстве улавливающих траншей у подошвы откосов (склонов) с целью уменьшения объема работ по их срезке рекомендуется откосам (склонам) придавать максимально допустимый по условиям общей устойчивости крутой откос. 6.45. Для возможности механизированной уборки осыпей и обвалов в проектах необходимо предусматривать следующие основные требования к технологии производства работ [62,71]: - не допускать резких переломов сооружений в плане; - ширину по дну улавливающих пазух принимать не менее 4 м, в особо стесненных условиях на действующих объектах не менее 2м; - в сооружениях оставлять через каждые 100 м разрывы шириной не менее 4 м, при этом в местах разрывов сооружений предусматривать устройство дополнительных ограждающих сооружений, например, в виде съемных решеток из старогодних рельсов. 6.46. В тех случаях, когда противообвальные улавливающие сооружения проектируются на нагорном склоне, крутизна которых не превышает 35-40°, рекомендуется устраивать на склоне грунтовые дороги от улавливающих пазух до места отвала грунта. При крутизне нагорного склона более 40° для возможности подачи к сооружениям механизмов (бульдозера или экскаватора) и производства работ по расчистке от улавливающих пазух необходимо устраивать съезды с подрезкой нагорного склона у подходов к сооружению. 6.47. В том случае, когда вблизи от проектируемого сооружения имеется лог, убираемый материал из улавливающих пазух рекомендуется перемещать под собственным весом и низовую сторону по устраиваемому камнеспуску-лотку. В отдельных случаях допускается использовать в качестве камнеспусков существующие подмостовые русла в виде бетонных лотков. Уклон дна камнеспусков следует принимать не менее 35о. 6.48. При проектировании смежных но высоте противообвальных улавливающих сооружений необходимо предусматривать их размещение на склоне с перекрытием концов на длину 5-10 м. Дну улавливающих пазух рекомендуется придавать уклон не менее 3-тысячных по направлению к концам сооружения. Допускается в противообвальных улавливающих сооружениях в продольном направлении дна пазухи устраивать уступы, не превышающие 0,7 м, через 10-12 м. 6.49. В проектах по устройству улавливающих сооружений должны предусматриваться следующие основные требования к технологии производства и безопасности работ: - при строительстве монолитных стен на нагорном склоне доставку материалов к месту работ следует производить с помощью тележечного подъемника (бремсберга) [48]; в случае ломаного очертания склона бремсберг устанавливается до явно выраженного перелома местности, где создается разборная площадка; от разборной площадки к месту производства работ материал рекомендуется доставлять вправо и влево по сооружаемой канатной дороге; - срезка нагорного откоса (склона) для создания улавливающей пазухи должна выполняться по окончании строительства стен; - устройство амортизирующей отсыпки следует производить послойно с применением бульдозера и экскаватора; на труднодоступных крутых косогорах для транспортировки грунта в амортизирующие отсыпки можно использовать ленточные транспортеры. Технические характеристики основных видов землеройно-транспортных средств приведены в [46, 47, 57]. Галереи6.50. Проектирование противообвальных галерей должно выполняться в следующей последовательности: - определяется расчетная скорость падающих скальных обломков в зоне располагаемого сооружения; - устанавливается расчетная крупность падающих обломков; - производится расчет на прочность и устойчивость с учетом динамического воздействия скальных обвалов. 6.51. Расчетная скорость падающих обломков и их крупность должны определяться в соответствии пп. 6.19-6.20 настоящего Руководства. 6.52. Расчет противообвальных галерей на прочность и устойчивость с учетом динамического воздействия скальных обвалов должен производиться по предельному состоянию согласно п. 6.22 настоящего Руководства. При этом необходимо учитывать следующие нагрузки: - постоянные нагрузки (от собственного веса конструкций галерей; от вертикального и бокового давления грунта амортизирующей отсыпки на кровле галереи; от бокового удавления с нагорной стороны при наличии нескального грунта); - кратковременные нагрузки (от воздействия удара одиночного обломка скального грунта расчетного объема); - особые нагрузки (от сейсмического воздействия). 6.53. Ударная сила определяется в соответствии с п. 6.27 настоящего Руководства. При этом расчетную величину ее принимают в зависимости от толщины отсыпки посредине пролета перекрытия. Силу Толщина амортизирующей отсыпки должна приниматься с учетом данных приложений 15, 16; поверхности отсыпки в пределах перекрытия рекомендуется придавать уклон в низовую сторону 1:3 (см. рис. 38,а). 6.54. Расчетом на прочность и устойчивость следует проверять нагорную стену и низовую (речную) опору галерей, а также их перекрытие и ригеля*. * В п. 6.54 приводится методика расчета противообвальных галереи применительно к галереям балочной конструкции с низовыми опорами в виде отдельно стоящих железобетонных стоек. Расчет нагорной стены на опрокидывание выполняется на длину секции галереи относительно подошвы фундамента и его обреза по формуле (23).
Рнс. 38. Расчетная схема галереи: 1 - амортизирующая грунтоваяотсыпка; 2 - сухая кладка; 3 - нагорная стена; 4 - речная опора При этом расчетные значения моментов противодействия опрокидыванию нагорной стены относительно обреза фундамента (точки-O1) определяются из выражения
где Rнс = Rσ+Pσ+ Рс - нагрузка от веса стены и столба грунта, действующего на всю ее верхнюю грань; R6 - нагрузка от веса амортизирующей отсылки на нагорную стену; Pσ - нагрузка от веса перекрытия на нагорную стену; Еат - вертикальная составляющая от бокового давления отсыпки над перекрытием, определяемая согласно рекомендациям ЦНИИСа [72];
l, l1, l2 - соответствующие плечи относительно точки О1(см. рис.38,а); п-соответствующие коэффициенты перегрузок, принимаемые по табл 11,
где
Здесь a'1 и а'2 - толщина отсыпки над опорами; γo - удельный вес грунта отсыпки.
где Q' - вес балки перекрытия на 1 м галереи. Расчетные значения моментов опрокидывающих сил определяются из выра;ения
где
lз и l4 -соответствующие плечи относительно обреза фундамента (точки О1). Проверка прочности и устойчивости нагорной стены относительно подошвы фундамента (точки О) на опрокидывание выполняется аналогично при соответствующих плечах. Для проверки устойчивости стены на сдвиг расчетные значения сил противодействия сдвигу сооружения и сдвиговые воздействия выразятся в следующей форме:
Расчет на прочность основания стены осуществляется путем проверки напряжений по подошве фундамента согласно п. 6.26 настоящего Руководства. Расчет на прочность и устойчивость речной опоры галереи выполняется также относительно обреза фундамента (точки О3) и его подошвы (точки О2). При этом расчетные значения моментов противодействия опрокидыванию относительно обреза фундамента (см. рис. 38,а) определятся из выражения Mуд = Poпl5n + Rроl6n, (54) где Rpo = Ra + Рa + Рриг + Роп - нагрузка от веса опоры; Ra - нагрузка от веса амортизирующей отсыпки на речную опору (см. рис. 38,б); Ра - нагрузка от веса перекрытия на речную опору; Рриг - нагрузка от веса ригеля;
Рpиг = qв' (q - вес 1 м ригеля); (57) l5, l6 - соответствующие плечи сил относительно обреза фундамента (см. рис. 38,а). Расчетные значения моментов опрокидывающих сил определяются из выражения Мопр = 0,2 Где l6 - плечо относительно обреза фундамента. В случае глубокого заложения фундамента (более 2 м) необходимо учитывать давление на речную опору от грунта и подвижной временной нагрузки. Проверка прочности и устойчивости речной опоры относительно подошвы фундамента (точки О2) на опрокидывание выполняется аналогично при соответствующих плечах. Для проверки опоры на сдвиг расчетные значения сил противодействия сдвигу сооружения и сдвиговые воздействия выразятся таким образом:
Тсдв = 0,2 Проверка напряжения по подошве фундамента выполняется по следующей формуле [57]:
где ΣРр - алгебраическая сумма всех вертикальных расчетных сил; F - площадь основания фундамента по подошве; ΣМр - алгебраическая сумма расчетных моментов; W - момент сопротивления подошвы фундамента. * - Формула представлена с учетом измерения напряжений в кГс/см2. Положение равнодействующей, характеризуемое относительным эксцентриситетом, должно удовлетворять условию
где ео - эксцентриситет приложения продольной силы в сечении по подошве фундамента; ρо - радиус ядра этого сечения.
где ΣМн - алгебраическая сумма нормативных моментов сил; ΣРн - алгебраическая сумма нормативных вертикальных сил.
Расчет перекрытия галереи и ригеля производится на постоянную нагрузку от отсыпки и вертикальную составляющую силу от удара скального обломка. 6.55. Выбор конструкций галерей следует производить, исходя из топографических и геологических условий с учетом нагрузок и особенностей производства работ. По конструктивным признакам галереи делятся на балочные, рамные, арочные и консольные (рис. 39, 40). При выборе конструкций галерей необходимо руководствоваться следующим: а) балочные галереи позволяют полностью освободить низовые опоры от восприятия горизонтальных составляющих реакций перекрытия; они наиболее просты по своему устройству и монтажу; б) рамные галереи позволяют сократить объем работ по устройству перекрытия и опор; однако в них горизонтальная составляющая реакций перекрытия передается и на низовые опоры; усложняются стыковые соединения, выполняемые при монтаже; в,) в арочных галереях существенно снижается металлоемкость конструкций, однако их применение ограничено топографическими и геологическими условиями; низовые опоры арочных галерей воспринимают значительные горизонтальные силы от перекрытия, в связи с чем конструкция их усложняется; г) консольные галереи требуют заанкеривания перекрытия галереи в устойчивый скальный грунт нагорного склона; их рекомендуется использовать для защиты от мелких обломков скального грунта и осыпного материала. 6.56. Профиль и план железнодорожного пути и автомобильных дорог в защитных галереях проектируется по нормам, установленным для тоннельных участков трассы.
Рис. 39. Противообвальные галереи балочного типа: 1 - амортизирующая отсыпка; 2 - железобетонные балки . перекрытия; 3 - бетонные блоки; 4 - арматурные стержни. Размеры поперечного сечения галерей и их уширение в кривых должны удовлетворять требованиям главы СНиП «Проектирование железнодорожных и автодорожных тоннелей».
Рис. 40. Противообвальные галереи рамного (а), арочного (б) и консольного (в) типов: 1 - амортизирующая отсыпка; 2 - слой изоляции 6.57. Защитные галереи при сплошных низовых опорах (в виде стен) должны иметь ниши сечением 2х2 м, глубиной 1 м. Их надо располагать через 60 м в шахматном порядке. При открытых низовых опорах ниши должны устраиваться только с нагорной стороны. 6.58. Для уменьшения длины противообвальных галерей при наличии соответствующих местных условий в предпортальных их частях необходимо устраивать противообвальные улавливающие стены. 6.59. Низовые и верховые опоры галерей следует выполнять из сборных железобетонных конструкций (или бетонных блоков) с надежным омоноличиванием. 6.60. Для уменьшения объема верховых опор могут применяться разгружающие консоли и контрфорсы, а при расположении их у скального косогора выполняют анкеровку опор. 6.61. Низовые и верховые сборные железобетонные опоры в пределах каждой секции должны быть объединены поверху продольными ригелями, соединенными между собой штырями. 6.62. Фундаменты опор смежных секций галерей следует закладывать, как правило, на одном уровне. Допускается заложение фундаментов опор смежных секций галерей на разных отметках, при этом для нескальных грунтов переход от высоких к низким отметкам допускается уступами высотой не более 0,5 м. 6.63. Сборные железобетонные перекрытия галерей балочного типа необходимо конструировать из Т-образных бездиафрагменных балок. Балки сборных перекрытий в пределах каждой секции должны быть объединены между собой путем сварки закладных деталей или шпоночными соединениями. 6.64. Гидроизоляция перекрытия должна проектироваться согласно требованиям главы СНиП «Кровли, гидроизоляция, пароизоляция и теплоизоляция». 6.65. Для обеспечения водоотвода на кровле галереи требуется предусматривать устройство бетонных лотков, консольных водосбросов, водоотводных трубок приёмных колодцев и т.п. Поверхности гидроизолирующего слоя на кровле галерей необходимо придавать уклон в низовую сторону. Для отвода грунтовых вод, поступающих к галерее с верховой стороны, должно быть предусмотрено устройство продольного застенного дренажа, связанного с водоприемными колодцами. 6.66. В проектах по устройству галерей должны предусматриваться следующие основные требования к технологии производства и безопасности работ: - при строительстве галерей со сборными опорами с низовой стороны монтаж их следует начинать с установки опор (колонн) в железобетонные подколонники (стаканы), которые должны опираться на массивный фундамент; - ригели при монтаже должны удерживаться в нужном положении подъемными устройствами и насаживаться сквозными отверстиями на металлические штыри, заделанные в колоннах, с последующей заливкой отверстий бетонным раствором; - балки перекрытия должны омоноличиваться поверху галерей, а с нагорной стороны дополнительно заделываться специальными арматурными выпусками в кладку нагорной стены; - устройство амортизирующей отсыпки над галереями надлежит выполнять в процессе строительства или немедленно после его завершения из местного или привозного грунта автосамосвалами. Для подачи грунта автосамосвалами на кровлю галереи за нагорной стеной должны устраиваться въезды или эстакады шириной не менее 4 м. Для развертывания машины па кровле галереи необходимо устройство ограждения. В стесненных условиях грунт на кровлю галереи следует подавать подъемным устройством с последующей развозкой по галерее вагонетками. При проектировании противообвальных галерей необходимо руководствоваться также рекомендациями, приведенными в п. 4.10 настоящего Руководства. 7. ПРОФИЛАКТИЧЕСКИЕ МЕРОПРИЯТИЯ ПО ПРЕДУПРЕЖДЕНИЮ СКАЛЬНЫХ ОБВАЛОВОсновные положения 7.1. Профилактические мероприятия по предупреждению горных обвалов должны выполняться путем своевременной очистки скальных откосов (склонов) от неустойчивых в обвальном отношении обломков скального грунта; обрушения: крупных скальных массивов, угрожающих обвалами; уположения скальных откосов и склонов. 7.2. Удаление неустойчивых грунтов следует предусматривать при наличии неустойчивых глыб и грунтовых массивов [1]. Очистка горных склонов и откосов от неустойчивого грунта должна осуществляться в тех случаях, когда удалению подлежат отдельные неустойчивые обломки, поддающиеся обработке средствами малой механизации или вручную. Обрушение неустойчивых крупных глыб и скальных массивов должно выполняться с применением бурозврывных работ. Уположение скальных откосов и склонов следует производить в тех случаях, когда по условиям общей или местной устойчивости крутизна их превышает допустимую, установленную расчетом. Очистка скальных откосов и склонов от неустойчивых обломков скального грунта7.3. Выполнение очистки скальных откосов (склонов) от неустойчивых в обвальном отношении обломков должно проектироваться поэтапно в зависимости от степени опасности, которая выявляется в результате предварительного осмотра откосов (склонов) обборщиками (верхолазами). При проектировании должны учитываться меры по защите близлежащих объектов от разрушений и деформаций. Место производства работ должно ограждаться в соответствии с ведомственными правилами и инструкциями. В частности, на железных дорогах работы по очистке должны осуществляться при закрытом перегоне (в «окно»); путь, опоры связи и т.п. должны защищаться от повреждений; на электрифицированных участках необходимы отключение и заземление проводов контактной сети и защита опор от повреждений. Обрушение неустойчивых крупных скальных массивов7.4. Обрушение неустойчивых крупных скальных массивов проектируется с применением взрывных работ. Защита объектов от разрушения предусматривается в соответствии с рекомендациями п. 7.3 настоящего Руководства. 7.5. При проектировании взрывных работ для принудительного обрушения неустойчивых скальных массивов на откосе или склоне необходимо предусматривать применение шпуровых или скважинных малокамерных зарядов (рукавов) с расположением скважин (шпуров) по контуру откоса. В случае небольшой мощности массива или мелкоблочной его структуры для обрушения достаточно взрыва скважин, расположенных по контуру откоса (рис. 41,а). При большой мощности массива или крупноблочной его структуре, кроме контурных и подбойных зарядов, необходимо применять заряды рыхления, располагаемые в середине массива (см. рис. 41,б). 7.6. Расстояние между зарядами (скважинами, шпурами) в ряду следует определять по формуле: а0 =m1Wp = (0,8 ÷ l,4)Wp, (65) где m1 - коэффициент сближения зарядов (при m1 = 1 сетка расположения зарядов квадратная); Wp - длина расчетной линии сопротивления, м. Величину расчетной линии сопротивления определяют по формуле:
где lскв - длина скважин в м; Р' - вместимость ВВ в 1 м скважины в кг/м3; К' - расчетный удельный расход ВВ в кг/м3; Н' - высота уступа в м; d' - диаметр скважин в м.
Рис. 41.Схемы обрушения неустойчивых массивов: 1 - контурные скважины; 2 - скважина подбоя или малокамерный заряд, или шпуры; 3 - заряд рыхления 7.7. Величина забойки должна определяться в соответствии с шириной развала и дальностью разлета кусков породы по формуле: lзa6 - Kзаб,dз, (66) где lзаб - коэффициент, величина которого колеблется в пределах 8-20; при меньшей величине разлета породы lзаб принимают - 20, при большей - 8; d3 - диаметр заряда, м. 7.8. Выполнение взрывных работ по принудительному обрушению должно производиться в полном соответствии с «Едиными правилами безопасности при взрывных работах». Они должны согласовываться с организациями, объекты которых расположены в опасной зоне. 7.9. В качестве взрывчатых веществ для скважин следует применять сыпучие ВВ средней мощности, а для шпуровых зарядов патронированные взрывчатые вещества. В обводненных скальных массивах следует применять водоустойчивые ВВ. Уположение скальных откосов и склонов7.10. Проектирование уположения откосов и склонов должно осуществляться путем террасирования или уменьшения угла наклона их поверхности. Уположение откосов (склонов) путем террасирования следует производить для откосов высотой более 12-15 м. Размеры террас и расстояния между ними по высоте обуславливаются способом производства работ при террасировании и условиями механизированной очистки откосов уступов от неустойчивых скальных обломков в процессе эксплуатации. Высота уступов должна приниматься не менее 7-8 м, а ширина полок не менее 5-8 м. Крутизна откосов уступов террас должна определяться расчетом в соответствии с требованиями пп. 3.5-3.31 настоящего Руководства. Водоотвод с полок (террас) осуществляется за счет придания им продольного и поперечного уклона. 7.11. Уположение посредством уменьшения угла наклона откосов должно проектироваться для сравнительно невысоких откосов (до 12-15 м): в случае сложения их грунтами, дающими в процессе выветривания мелкие обломки (например, сланцами, мергелями аргиллитами и др.), при доведении крутизны уполаживаемого участка до угла, равного углу естественного откоса грунтов, слагающих его (или более пологого); при совпадении основной ярко выраженной системы поверхностей ослабления (трещин, слоистости) с поверхностью уполаживаемого откоса; при этом допускается создание как: постоянного заложения по всей высоте уполаживаемого откоса, так и ломаного (вогнутого или выпуклого). 7.12. При проектировании буровзрывных работ для уположения откосов посредством уменьшения угла их наклона и террасирования возможны следующие варианты: выемка (полувыемка) находится на крутом косогоре, на котором отсутствует технологическая полка для передвижения машин и механизмов поверху (рис. 42,а); в этом случае необходимо предусматривать строительство технологических полок; выемка (полувыемка) находится на крутом косогоре и имеет технологическую полку (см. рис. 42,б); двухбортная (перевальная, седловая) выемка имеет в верхней части горизонтальную или близкую к горизонтальной поверхность, с которой можно вести бурение скважин в плоскости откоса (см. рис. 42,в).
Рис.42. Варианты схем расположения зарядов при -уположенин откосов: 1 - линия уположения откоса; 2 - контурные скважины; 3 - технологическая полка;4 - скважинные заряды; 5 - шпуровые заряды 7.13. При уположении откосов и склонов для рыхления скального грунта должны предусматриваться в зависимости от местных условий и объема выполняемых работ шпуровые и скважинные заряды. При выборе метода производства работ необходимо стремиться к тому, чтобы в результате взрыва зарядов не происходило разрушения откосов, образования заколов или трещин. 7.14. Проектирование взрывных работ для уположения откосов сводится к установлению высоты уступа в зависимости от величины уширения, имеющегося оборудования и глубины выемки; выбору метода взрывных работ и диаметра зарядов; установлению параметров зарядов и взрывания; выбору взрывчатых веществ (ВВ) и средств взрывания, интервалов замедлений и схем взрывных сетей. 7.15. При проектировании параметров зарядов в первую очередь устанавливают расстояние между зарядами в ряду и между рядами. Расстояние между зарядами в ряду следует определять согласно требованиям п. 7.6 настоящего Руководства. Расстояние между рядами скважин при многорядном расположении должно определяться по формуле: в1 = (0,85 ÷ 1,0)Wр, (67) где в1 - расстояние между рядами зарядов, м; Wp - длина расчетной линии сопротивления для первого ряда скважин (шпуров), м. 7.16.Для охраны окружающей среды при проектировании мероприятий по уположению откосов и склонов необходимо предусматривать работы по их рекультивации. Приложение 1
|
|||||||||||||||||||||||||||||||||||||||||||||||||||||||||||||||||||||||||||||||||||||||||||||||||||||||||||||||||||||||||||||||||||||||||||||||||||||||||||||||||||||||||||||||||||||||||||||||||||||||||||||||||||||||||||||||||||||||||||||||||||||||||||||||||||||||||||||||||||||||||||||||||||||||||||||||||||||||||||||||||||||||||||||||||||||||||||||||||||||||||||||||||||||||||||||||||||||||||||||||||||||||||||||||||||||||||||||||||||||||||||||||||||||||||||||||||||||||||||||||||||||||||||||||||||||||||||||||||||||||||||||||||||||||||||||||||||||||||||||||||||||||||||||||||||||||||||||||||||||||||||||||||||||||||||||||||||||||||||||||||||||||||||||||||||||||||||||||||||||||||||||||||||||||||||||||||||||||||||||||||||||||||||||||||||||||||||||||||||||||||||||||||||||||||||||||||||||||||||||||||||||||||||||||||||||||||||||||||||||||||||||||||||||||||||||||||||||||||||||||||||||||||||||||||||||||||||||||||||||||||||||||||||||||||||||||||||||||||||||||||||||||||||||||||||||||||||||||||||||||
|
№ |
Морфологическая характеристика откосов и склонов |
Оценка состояния, баллы |
|||
|
0 |
2 |
4 |
6 |
||
|
1 |
Высота, м |
< 3 |
3 - 6 |
6 - 12 |
> 12 |
|
2 |
Крутизна, град |
< 30 |
30 - 45 |
45 - 60 |
> 60 |
|
3 |
Форма поверхности |
Ровная |
Неровная |
С выступами |
С нависающими выступами (карнизами) |
|
4 |
Расстояние от подошвы откоса до защищаемого объекта, м |
> 4 |
4 - 3 |
3 - 2 |
< 2 |
|
5 |
Расстояние от поверхности уровня подошвы откоса до основания защищаемого объекта, м |
> 1,5 |
1,5 - 0,7 |
0,7 - 0,4 |
< 0,4 |
|
№ |
Инженерно-геологическая характеристика |
Оценка состояния, баллы |
|||
|
0 |
1 |
2 |
3 |
||
|
1 |
Среднее количество трещин на 1 м |
< 1 |
2 - 10 |
10 - 20 |
> 20 |
|
2 |
Направление угла падения трещин по отношению к защищаемому объекту, град |
< 20 |
20 - 30 |
30 - 40 |
> 40 |
|
3 |
Ширина раскрытия трещин, см |
Без раскрытия |
До 0,5 |
0,5 - 1,0 |
> 1,0 |
|
4 |
Глубина трещин, м |
< 0,1 |
0,1 - 1,0 |
1,0 - 10 |
> 10 |
|
5 |
Обводненность трещин |
Отсутствует полностью |
Признаки эпизодического обводнения |
Признаки постоянного обводнения |
Постоянное обводнение |
|
6 |
Заполнитель трещин (мелкозем) |
Отсутствует полностью |
Легкие признаки |
Частичное заполнение |
Полное заполнение |
|
7 |
Характер поверхности стенок трещин |
Неровные шероховатые |
Ровные шероховатые |
Неровные гладкие |
Ровные гладкие |
|
8 |
Прочность грунтов на сжатие |
Очень прочные. (σсж = 150 - 200 МПа) |
Прочные (σсж =100 - 150 МПа) |
Средней прочности (σсж = 40 - 100 МПа) |
Слабой прочности (σсж < 40 МПа) |
|
9 |
Выветриваемость (группа грунтов)* |
I |
II |
III |
IV-V |
|
10 |
Выветрелость грунтов откоса в момент обследования. |
Невыветрелая |
Слабая степень выветрелости |
Средняя степень выветрелости |
Сильная степень выветрелости |
|
11 |
Объем обвальноосыпных явлений за год на 1 м длины выемки, м3 |
Нет |
До 1,0 |
1,0 - 3,0 |
> 3,0 |
|
12 |
Сейсмичность в баллах |
6 |
7 |
8 |
9 |
* Группа пород по степени выветриваемости определяется по табл. 3.
|
Группа грунтов |
Количество циклов попеременного высушивания и увлажнения |
Потеря образцов в массе при просеивании через сито диаметром -10 мм, % |
|
I |
Более 50 |
< 60 |
|
II |
30 - 50 |
60 - 100 |
|
III |
12 - 30 |
100 |
|
IV |
5 - 12 |
100 |
|
V |
Менее 5 |
100 |
|
Суммарная балльность |
Степень опасности |
Класс откоса по потенциальной опасности |
|
45 - 66 |
Особо опасные |
I |
|
23 - 44 |
Опасные |
II |
|
0 - 22 |
Неопасные |
III |
* - Оценку степени опасности следует выполнять согласно табл. 4 путем суммирования баллов, полученных по табл. 1 и 2.
1. Определение значений сцепления Стр и угла внутреннего трения φтр по контактам поверхностей ослаблений.
Указанные параметры следует определять по результатам сдвиговых испытаний скальных целиков в полевых условиях. Подготовка и проведение полевых испытаний осуществляются в соответствии с имеющимися рекомендациями [31, 43]. Для этой цели могут быть использованы также результаты лабораторных испытаний в сдвиговых приборах с увеличенным размером обойм, в которые укрепляются (цементом, гипсом) скальные образцы с поверхностями ослабления, ориентированными вдоль зоны среза.
Обработка полученных результатов и вычисление нормативных и расчетных значений сцепления и угла внутреннего трения (как при наличии, так и при отсутствии заполнителя) производятся в соответствии с действующими нормативами [26, 27].
На предварительных стадиях проектирования расчетные значения Стр и φтр допускается принимать по данным табл. I [28].
|
Характеристика скальных грунтов |
Расчетные значения сдвиговых параметров по трещинам, заполненным песчаным и глинистым грунтом, шириной раскрытия, мм |
|||||
|
менее 2 (втом числе сомкнутые) |
2 - 20 |
более 20 |
||||
|
Стр кН/м2 |
φтр град |
Стр кН/м2 |
φтр град. |
Стр КН/м2 |
φтр град. |
|
|
Скальные с временным сопротивлением одноосному сжатию σсж >50 МПа, массивные, крупноблочные, блочные, слоистые, плитчатые, слаботрещиноватые, невыветрелые |
150 |
39 |
100 |
35 |
50 |
29 |
|
Скальные с σсж > 50 МПа, массивные, крупноблочные, блочные, слоистые, плитчатые, среднетрещиноватые, слабовыветрелые. |
150 |
39 |
100 |
35 |
50 |
29 |
|
Скальные с σсж =15 - 50 МПа, массивные, крупноблочные, блочные, слоистые, плитчатые, силыютрещиноватые; скальные с σсж > = 5 - 15 МПа, слабовыветрелые, но малопрочные, слаботрещиноватые |
100 |
35 |
50 |
39 |
20 |
24 |
|
Полускальные с σсж < 5 МПа, плитчатые, тонкоплитчатые, средне- и сильнотрещиноватые |
50 |
33 |
30 |
27 |
20 |
24 |
2. Определение значений сцепления С и угла внутреннего трения φк в монолите (куске)
Одним из способов определения значений С и φк в куске скальной породы является сдвиг с сжатием в специальных наклонных матрицах (рис. 1). Испытуемый образец* закладывают в матрицы и разрушают путем сдвига при сжатии за счет взаимного смещения матриц вдоль плоскости разъема (сдвига);
* Испытуемые образцы могут быть. цилиндрическими (из кернов), прямоугольными и неправильной формы. При испытаниях образцов неправильной формы их следует предварительно цементировать в матрицах.
Отношение между нормальными и касательными напряжениями в плоскости сдвига определяется, углом наклона этой плоскости к направлению прилагаемого усилия, что достигается соответствующим наклоном при установке матриц на испытательном прессе [17, 38].
Разрушение образца при испытании должно осуществляться путем плавного нарастания нагрузки со скоростью 1-2 МПа в секунду. Для получения необходимого количества точек и возможности построения зависимости τ = f(σ) образцы грунта подвергаются испытаниям при различных углах наклона плоскости сдвига к направлению вертикальной силы: ам = 30; 45; 60° (см. рис. 1)

Рис. 1.Схема испытанийобразца в наклонных матрицах:
1 - испытуемый образец; 2 - ролики для снятия трения.

Рис. 2. Графическое построение для получения численных значений сдвиговых параметров при испытании образцов скальных пород в наклонных матрицах.
При каждом из указанных углов аm испытаниям подвергаются минимум три образца. По результатам каждого испытания вычисляется полное разрушающее напряжение
, (1)
где Q'1 - разрушающее вертикальное усилие,
h - высота образца, см;
d1 - диаметр образца (при цилиндрической форме его), см.
Значения полных разрушающих напряжений σ1 для всех образцов откладываются (в масштабе) на графике (рис. 2) для каждого угла от начала координат (от вертикальной оси).
Концевые участки отложенных отрезков соединяются плавной кривой. Для определения численных значений φк и С через точки графика, соответствующие аm = 30 и 45°, проводится прямая. Отрезок, отсекаемый ею на оси τ, считая от начала координат, дает значения С, а угол, образованный ею с горизонталью - значения φк. Это и будут частные значения сдвиговых параметров в монолите. Для получения необходимой надежности подобные испытания и построения повторяются не менее трех раз.
Далее вычисляются
нормативные значения Сн и
по формулам:
;
(2)
, (3)
где Ci и φiк -частные значения соответственно сцепления и угла внутреннего трения; п0-количество определений .
Расчетные значения сдвиговых параметров в монолите Сi и φiк рекомендуется вычислить по выражениям:
; (4)
(5)
где
; (6)
; (7)
ta - показатель кратности ошибок (или нормированное отклонение), определяемый по таблицам [26].
Аналогичные результаты можно получить согласно методике, разработанной в Институте горного дела им. А.А. Скочинского, по результатам раскалывания пластин и раздавливания образцов полуправильной формы или путем раздавливания образцов неправильной формы с последующим построением паспортов прочности по М.М. Протодьяконову [39,42].
3. Определение значений сцепления См и угла внутреннего трения φм в массиве (при направлении поверхностей обрушения поперек к поверхностям ослабления)
На величину сцепления в массиве См оказывает решающее влияние проявление так называемого масштабного эффекта, который сводится к тому, что по мере увеличения высоты откоса в массиве значения См снижаются (при прочих равных условиях).
Сцепление в массиве рекомендуется определять по формуле
где Стр - сцепление по контактам поверхностей ослабления, кН/м2;
С - сцепление в монолите (куске), кН/м2;
aк - коэффициент, определяемый по графику на рис. 3, в зависимости от значений С;
l0 - осредненная блочность пород в массиве, м;
(9)
(l1, l2, ln - средние расстояния между трещинами первой, второй и n1 систем, м);
Н - высота откоса, м.

Рис. 3. Зависимость коэффициента ак от сцепления в образце
По формуле (8) определяются как нормативные, так и расчетные значения См в зависимости от подставленных значении С и Стр.
Значения угла внутреннего трения в массиве φк (как нормативные, так и расчетные) принимаются численно равными значениям угла внутреннего трения в образце, т.е. φм = φк.
Удельный вес скальных пород γo определяется по справочникам или по данным лабораторных определении в соответствии с ГОСТ 5189-78 и принимается по верхнему доверительному пределу.
1. Вычисляется угол Θ (см. рисунок) между нижним участком поверхности обрушения и направлением поверхности ослабления по формуле
, (1)
2. Определяется вспомогательная высота Нм по выражению
, (1)
где
; (3)
(4)
. (5)
3. Под углом Θ к направлению поверхности ослабления из подошвы откоса (точки В) проводится прямая ВК.
4. На глубине Hм от бровки откоса проводится горизонтальная линия 00.
5. Находится точка С - место пересечения линий ВК и 00.

Построение очертаний вероятных поверхностей обрушения скальных откосов для расчетных схем В, Г, Ж и 3
6. Из точки С под углом α2, равным углу наклона поверхности ослабления, проводится прямая до пересечения с дневной- поверхностью в точке Д.
7. Линия ВСД является контуром вероятной поверхности обрушения.
1. Определяется вспомогательная высота Но по формуле (см. рисунок)
. (6)
где
; (7)
; (8)
. (9)
2. На глубине Но от бровки откоса проводится горизонталь 00.
3. Из подошвы откоса (точки В) проводится прямая ВК под углом α1 к горизонту, т.е. совпадает с направлением одной из систем трещин, до пересечения с линией 00 в точке С.
4. Из точки С под углом α2 проводится прямая до пересечения с дневной поверхностью в точке Д.
5. Линия ВСД - контур вероятной поверхности обрушения.
1. По формуле (12) настоящего Руководства вычисляется вертикальный участок поверхности обрушения высотой Н90 (см. рисунок), в пределах которого считается, что грунты работают на разрыв.
Сопротивление на разрыв в запас безопасности принимается равным нулю.
2. На глубине Н90 от бровки откоса (точки А) проводят горизонтальную прямую KZ.
3. Определяют ширину призмы
обрушения
по формуле
, (10)
где H - высота рассматриваемого откоса, м;
φк - угол внутреннего трения массива вкрест по направлению к поверхностям ослабления, град.
4. Откладывают ширину
призмы обрушения
от бровки откоса
(участок АД).
5. Проводят прямую MN под углом
к линии поверхности
проектируемого откоса через подошву откоса (точку М).
6. Опускают из точек Д и А перпендикуляры ДД1 и АА1 на линию KZ.
7. Из точки Д1
проводят прямую Д1Т
под углом
к линии KZ (в сторону
откоса); из точки А проводят прямую под углом
к линии KZ (в
сторону, противоположную откосу) до пересечения с линией Д1Т в
узловой точке С.
8. Восстанавливают перпендикуляры к линиям MN из точки М и: Д1Т из точки С.
Пересечение .этих перпендикуляров дает точку О, являющуюся центром окружности, из которого радиусом R проводят криволинейный участок МС поверхности обрушений.
9. Линия МСД1Д - контур вероятной поверхности обрушения.
.1. Строится поверхность, обрушения по способу, аналогичному тому, который рекомендуется для схемы Ж.
2. На произвольно выбранном от точки М расстоянии по направлению к верхней бровке откоса (см. рисунок) проводится линия M1Flr совмещенная с поверхностью ослабления (под углом α к горизонту).
3. Линия М1F1СД1Д - контур вероятной поверхности обрушения, принимаемый для первичных расчетов.
Для отыскания критического положения поверхности обрушения необходимо выполнение второго расчета при другом положении нижнего элемента поверхности обрушения, проводимого под углом а выше или ниже первоначального положения (в зависимости от результатов первого расчета).
Построение вероятных поверхностей обрушения здесь аналогично-наложенному для расчетной схемы Ж.
Примечания. 1. При расчетах для построения очертаний поверхностей обрушения во всех расчетных схемах используются нормативные значения прочностных параметров, уменьшенные на коэффициент безопасности по грунтам Кбез.
2. В случаях, когда вспомогательная высота (Ни, Но, h2, H90) получается равной или больше высоты откоса, общая устойчивость; которого оценивается, то это означает, что устойчивость откоса данной конфигурации является обеспеченной.
3. Сдвиговые параметры по контактам более пологих поверхностей ослабления для расчетной схемы Г обозначены через Cтр1 и φтр1, а более крутых - через Стр2 и φтр2.
Из произвольной точки А (см.
рис.) проводится отрезок АВ, совпадающий по направлению с вектором
(вес верхнего отсека)
и равный ему по величине. Из точки В по направлению падения плоскости 2
строится вектор ВД, равный по величине ВД=
и ориентированный против
направления смещения. Из точки Д строится вектор
=
, где индексом 1,2
обозначена секущая призму обрушения трещина раздела между отсеками. Для
завершения построения многоугольника сил, соответствующего верхнему блоку,
необходимо построить векторы реакции
и
которые неизвестны по
величине, но определены по направлению условными углами трения:
;

Проводя из точки Е луч
по. направлению действия реакции
а из точки А луч
по направлению, обратному направлению действия реакции
, получим точку их пересечения F,
которая и определяет величины реакций
и
.
Далее строим многоугольник
сил для нижнего блока. Учитывая, что в этом многоугольнике должны принять
участие силы, действующие на плоскости трещины раздела между блоками
и
, целесообразно использовать эти векторы, уже имеющиеся на
построенном многоугольнике сил, для верхнего блока.
Из точки Д проводится
вектор
=
и из точки Н -
вектор НК =
, ориентированный против направления возможного смещения
отсека по плоскости l. Затем из точки К проводится луч, имеющий направление
реакции
, при этом
;
Из точки F проводится линия, параллельная падению нижней плоскости l до пересечения с этим лучом R1 в точке J. Вектор FJ представляет собой дефицит устойчивости откоса. Если направление этого вектора «препятствует» смещению массива, то это означает, что дефицит устойчивости отрицателен и массив устойчив.
Графический способ расчета устойчивости скальных откосов может быть использован при любом количестве трещин, секущих массив (при любом количестве отсеков), и при любых возможных действующих силах (фильтрационной, сейсмической и т.д.);


Расчет устойчивости откоса
Для выяснения условий устойчивости (см. рис.) определяются знамения Т и R по формулам;
T = P'sinΨ; (1)
R = P'cosΨtgφтр + Cтр(SA.O.B +SA.O.Д),(2)
где
Р '- вес скального массива АВОД, кН;
Ψ - угол наклона к горизонту линии пересечения поверхностей трещин, град;
φтр и Стр - параметры прочности на сдвиг* по плоскостям пересекающихся трещин, град. и кН/м2;
SA.O.B, SA.O.Д - площади подсекающих скальный массив трещин, м2,
.* Параметры прочности на сдвиг условно приняты одинаковыми для обеих плоскостей «желоба», при необходимости можно учесть различные их значения по каждой из плоскостей.

(3)
гдеН - высота откоса, м;
Sвод - площадь основания массива, м2;
γо - удельный вес скального грунта, кН/м3;
, (4)
где
; (5)
; (6)
; (7)
; (8)
. (9)
Для осуществления расчетов по формулам (1) - (9.) предварительно определяются значения параметров ψ, t1, t2, λ1, λ2 (см. рисунок) по известным значениям А1, А2, Ао, δ1, δ2 в такой последовательности:
, (10)
Где
, (11)
, (12)
где
; (13)
, (14)
где
; (15)
где
, (16)
, (17)
В формулах (4)-(17):
Ао, А1, А2 - азимуты простирания поверхности откоса и пересекающихся систем трещин;
δ0, δ1, δ2 - углы падения поверхности откоса и пересекающихся систем трещин;
ψ - угол наклона к горизонту линии пересечения поверхностей систем трещин;
t1 и t2 - углы наклона к горизонту линий пересечения поверхностей трещин с поверхностью откоса;
λ1 и λ2 - углы между линией пересечения поверхностей трещин, соответственно между собой и с поверхностью откоса.
При невыполнении условий (1)-(2) настоящего Руководства. Изменяют конфигурацию откоса и расчет повторяют или же (при оценке устойчивости существующих откосов и склонов) предусматривают укрепительные мероприятия.
Для облегчения расчетов можно применять графические способы определения веса скального массива, площадей подсекающих его трещин и угла наклона к горизонту линии пересечения поверхностей трещин.
Если массив пород откоса пересекают более двух диагональных систем трещин, линии пересечения которых падают в сторону выемки, то по указанной выше методике целесообразно проверять устойчивость откоса для каждой пары систем трещин. За окончательный результат принимается конфигурация устойчивого откоса, полученная в результате наиневыгоднейшего сочетания условий.
Учет сейсмического воздействия, обводнения и внешних сил осуществляется аналогично тому, как это предусмотрено для плоской задачи (см. п. 3.22 настоящего Руководства). При этом в качестве исходного угла наклона поверхности, на которую проектируются силы, принимается угол наклона к горизонту линии пересечения поверхностей трещин.
При выделении групп скальных грунтов по степени устойчивости к выветриванию следует основываться на их отношении к переменному высушиванию и увлажнению. Классификация скальных грунтов по этому признаку приведена на рисунке, где выделены пять групп грунтов: I - устойчивые; II - средней устойчивости; III - слабой устойчивости; IV - неустойчивые; V - весьма неустойчивые.
Методика испытаний на попеременное высушивание-увлажнение сводится к следующему. Образцы грунтов массой 100-300 г высушиваются в термостате при t = 105°С, взвешиваются, заливаются водой, выдерживаются в ней (7-8 ч) и снова высушиваются; затем процесс повторяется.
После трех-пяти циклов мелкие фракции отсеивают (через сито с 10 - миллиметровыми ячейками), взвешивают их и вычисляют потерю в массе исследуемых образцов, которая равняется отношению массы частиц, прошедших через сито, к первоначальной массе образцов (в процентах). Далее испытания с оставшимся на сите грунтом повторяются в той же последовательности. Общее количество циклов испытаний определяет степень устойчивости исследуемого грунта к высушиванию-увлажнению. При неустойчивых грунтах достаточно ограничиться несколькими циклами, чтобы получить потери образцов в массе, достигающие 100%. В устойчивых грунтах потери, равной 100%, практически не добиться, поэтому испытания ограничивают 30-40 циклами.
По потере образцов в массе QВ в зависимости от количества циклов высушивания-увлажнения ni строится график QB = f(n1). Полученная
зависимость совмещается с графиком на рисунке, и определяется группа грунтов по
степени устойчивости к высушиванию-увлажнению во времени, в которую следует
отнести испытуемый грунт. Поскольку неизбежно отклонение эмпирической
зависимости от линии средних значений потерь в массе
, на графике необходимо найти положение полученной из опытов
осредненной кривой по отношению к линии средних значений той группы, в зоне
которой оказались нанесенные на графике точки.
С этой целью вычисляется
отношение ![]()

где k - количество определений (сравниваемых значений) процентов потерь в массе испытуемого образца;
- количество циклов, соответствующее 100%
потерь для линии средних значений соответствующей группы (см. рис.)*;

,
,
,
,
- для средних значений потерь соответствующих групп;
__ _-__ _ __ _ __ _ ___ - границы между группами
nфк - частные значения количества циклов высушивания-увлажнения, при которых зафиксирован определенный процент потерь в массе исследуемого образца;
-
количество циклов, соответствующее тому же проценту потерь в массе для линии
средних значений рассматриваемой группы.
* Для I и II
групп пород вместо
принимают количество
циклов, соответствующее наибольшему значению потерь в массе по средней линии и
рассматриваемой группе.
Значение соотношения -
>1 свидетельствует
о том, что экспериментальная кривая Qф = f(n) проходит правее линии средних значений
в рассматриваемой
группе, и наоборот. При этом сдвиг (для всех сравниваемых значений
при построении
экспериментальной зависимости осуществляется на количество циклов, численно
равное значению второго члена
числителя в данном выражении.
В некоторых случаях (особенно для районов I и II дорожно-климатических зон) циклические испытания следует проводить на совместное воздействие замораживания-оттаивания и высушивания-увлажнения. Количественная оценка интенсивности выветривания аналогична изложенной выше.
Диаграмма (или роза) трещиноватости представляет собой графическое изображение распределения и ориентации трещин различных систем по отношению к рассматриваемому скальному откосу. На рис. 1 приведен образец диаграммы трещиноватости, построенной по данным измерений, результаты которых приведены в таблице. На ней откладываются векторы средних и крайних значений азимутов и углов, падения различных систем трещин.
Сопоставляя нанесенные векторы с расположением откоса, заключаем, что в. рассматриваемом случае наибольшее значение для устойчивости имеет система трещин II, поскольку они направлены в сторону откоса под углами, превышающими значение угла внутреннего трения по контактам трещин.
При изменчивости инженерно-геологических условий, в частности, направления и характера трещиноватости по длине и высоте поверхности откоса, для различных участков его строятся свои диаграммы трещиноватости.
Данные по геометрическим параметрам падения трещин (азимутам и углам падения), полученные в Гидропроекте, наносятся на круговую равноплощадную диаграмму в виде точек (рис. 2). Она представляет собой круг произвольного радиуса R0, разделенный лучами из центра нa 360° (азимуты падения трещин), где 0° соответствует направлению на север. Угол падения трещин α откладывается от центра на расстоянии r, определяемом выражением
. (1)

Таблица 1
|
Система трещин |
Азимут падения, град |
Угол падения, град |
Характеристика трещин |
Количество замеров |
Среднее расстояние между трещинами, см |
l0, cм |
||||
|
расстояние между трещинами, см |
наличие заполнителя |
состояние стенок |
обводнение |
ширина, мм |
||||||
|
I |
310-354 332 |
20-50 35 |
50-80 |
Суглинки пылеватые |
Гладкие |
Следы обводнения |
1 - 2 |
12 |
62 |
- |
|
II |
180-240 210 |
60-80 70 |
40-70 |
Нет |
Шероховатые |
Сухие |
4 - 5 |
20 |
50 |
66 |
|
III |
30-70 50 |
30-60 45 |
100-120 |
Песчаный пылеватый |
Шероховатые |
Сухие |
3 - 4 |
10 |
110 |
- |
Примечание. В числителе указаны частные значения азимута и угла падения, в знаменателе - осредненные.
Каждая нанесенная на диаграмму точка соответствует определенному сочетанию азимута и угла падения зафиксированной трещины. Подсчет плотности точек на диаграмме позволяет выявить системы трещин (место наибольших скоплений точек) и определить средние значения их азимутов и углов падения.
Среднее расстояние li между трещинами в системе определяют обычно c помощью статистической обработки.результатов замеров.
Для характеристики блочности скальных грунтов в массиве l0 в этом случае рекомендуется использовать следующую зависимость:
, (2)
где l0 - приведенный размер блока скальной породы;
- средние расстояния между трещинами трех основных систем;
,
- средние расстояния между
трещинами остальных систем, развитых в том же массиве.

Анкер. со стержневым тяжем α и анкер с тяжем из арматурных канатов (прядей) или высокопрочных проволок б:
1 - натяжной оголовок; 2 - анкерная опора; 3 - трубка инъекционная; 4 - анкерный тяж; 5 - скважина (анкерный канал); 6 - расчетная поверхность сдвига; 7 - тампон (пакер); 8 - замковая часть; 9 - прибор для измерения. усилия в анкере; 10 - скрутка из вязальной проволоки; 11 - обтекатель
При расчете прочности несущих анкеров исходят из следующих предпосылок:
- основная нагрузка на каждый анкер приложена на уровне поверхности массива (склона), в котором он закреплен (см. рис. 21 настоящего Руководства);
- расчетная нагрузка определяется исходя из предположения, что защитное покрытие на всей высоте откоса удерживается лишь несущими анкерами, монтажные анкеры не выполняют каких-либо удерживающих покрытие функций;
- несущий анкер работает как одиночная свая при воздействии горизонтальной нагрузки.
Расчетная схема работы несущего анкера приведена на рис.21.
Усилие, передающееся на анкер R1, определяется по формуле*
, (1)
где Q1 - усилие от веса полосы защитного слоя шириной, равной расстоянию между несущими анкерами А, толщиной δ, длиной образующей откоса l, объемной массой γn;
α0 - угол наклона защищаемого откоса, град;
φn - расчетное значение угла внутреннего трения между поверхностью откоса и покрытием, град;
nс, n, Кн - соответственно коэффициенты сочетания нагрузок, перегрузки и надежности (см. пп. 3.7-3.10 настоящего Руководства);
т - коэффициент условий работы, принимаемый равным 0,95.
* Считается, что сцепление между поверхностью откоса и покрытием равно нулю; не учитывается сила сопротивления за счет трения и сцепления на участке покрытия, расположенного между верхней бровкой откоса и несущими анкерами
Для повышения устойчивости несущие анкеры следует устраивать наклонными (запрокинутыми) в нагорную сторону (см. рис. 21).В этом случае передающееся на анкер усилие (равнодействующая R1) раскладывается на две составляющие Q1 и Si. Составляющая Q1 гасится массивом, составляющая S1является искомой расчетной нагрузкой на анкер.
При этом
S1 = R1sinβ; (2)
где β - угол наклона анкера к направлению действия силы R1 град.
Расчет на изгиб производится в соответствии со СНиП II-В.3-72 [73] по формуле
(3)
где М - расчетный изгибающий момент, Н.см,
Wнт - момент сопротивления рассматриваемого сечения анкера, нетто, см3
Rn - расчетное сопротивление материала анкера изгибу, МПа (берется в соответствии с табл. 2 СНиП II-В.3-72).
Расчетный изгибающий момент
M = S1z', (4)
где z' - плечо (глубина, считая от поверхности массива, на которой может происходить изгиб анкера), см.
Для практических расчетов z' = 0,10 ÷ 0,30zo, где г0 - общая глубина погружения (заделки) анкера, см. При этом меньшее значение г' берется1 для более прочных пород, а большее - для выветрелых до состояния мелкозема грунтов.
Прочность анкера при работе на срез в соответствии со СНиП II-В.3-72 [73] определяется по формуле
, (5)
где Fcp - площадь поперечного сечения анкера, см2;
Rcp - расчетное сопротивление материала анкера на срез, МПа.
Проверка на возможность разрушения грунта осуществляется по формуле
Pк≥ S1, (6)
где Рк - предельная критическая сила, которую может выдержать анкер перед полным разрушением грунта, кН.
. (7)
Здесь
; (8)
; (9)
, (10)
где φ - расчетное значение угла внутреннего трения, град;
Са - расчетное значение удельного сцепления, кН/м2;
γо - удельный вес грунта, кН/м3;
hо - ширина (диаметр) анкера, м;
z0 - глубина заделки анкера в грунт, м;
ξ - коэффициент бокового давления грунта, ориентировочные значения которого для различных грунтов приведены в таблице.
|
Грунты |
ξ |
Грунты |
ξ |
|
|
Скальные и гравелисто-галечниковые |
0,15 - 0,25 |
Суглинки |
0,55 - 0,70 |
|
|
Глины |
0,70 - 0,75 |
|||
|
Пески |
0,35 - 0,45 |
Лёссы и лёссовидные грунты |
0,56 |
|
|
Супеси |
0,45 - 0,55 |
|||
|
Плывунные грунты |
1,00 |
Если условие (6) удовлетворяется, то расчет на этом заканчивается; в противном случае следует увеличить ширину (диаметр) анкера, сгустить анкеры или назначить другие конструктивные мероприятия, уменьшающие давление анкера на породу стенок скважины.
По результатам всех выполненных расчетов определяются сечение несущих анкеров, их материал, форма, расположение и глубина погружения в массив.
Требуемая прочность защитного покрытия назначается исходя из предпосылки, что покрытие по всей образующей откоса удерживается полностью лишь несущими анкерами, поскольку монтажные анкеры вследствие возможного выветривания грунтов слоя, в который они первоначально были заглублены, перестают выполнять удерживающие функции.
В связи с изложенным требуемую прочность аэроцема σтреб можно определить по выражениям)
; (1)
; (2)
; (3)
Q1 = δlγn, (4)
где Q1 - усилие от веса полосы защитного слоя (ширина 1 м, толщина δ, длина образующей откоса l, удельный вес γn);
R1 - равнодействующая растягивающего усилия, действующего на поперечное сечение покрытия на полосе шириной 1 м;
- растягивающее напряжение в материале аэроцема, МПa;
- сжимающее напряжение в материале аэродема,
МПа;
Fn - площадь поперечного сечения покрытия (полоса шириной 1 м), см2;
α0 - угол наклона откоса, град.;
ρn - расчетное значение угла внутреннего трения покрытия по
скальной поверхности (ориентировочное расчетное значение ρn
= 25°).
лс, п, Кn,, т - соответственно коэффициенты сочетания нагрузок, перегрузок, надежности и условий работы (см. пп. 3.5-3.10 и 6.24 настоящего Руководства).
Требуемая прочность аэроцема σтреб должна обеспечиваться на конечном этапе эксплуатации покрытия, когда наступает необходимость его ремонта или замены. До наступления этого состояния условия работы покрытия более благоприятны; так как в начальный период работают не только несущие, но и монтажные анкеры, а прочность аэроцема со временем имеет тенденцию к повышению. Однако на прочность покрытия, отрицательно действуют процессы выветривания, которые в период эксплуатации, снижают крепость аэроцема.
Требуемую прочность аэроцема следует подбирать по формуле
где Мц - марка применяемого цемента;
- отношение массы цемента к массе песка, в
долях единицы;,
Sl - отношение массы вспенивающей добавки к массе цемента, %;
Аl - содержание активного вещества в вспенивающей добавке, %;
А78 - содержание активного вещества в вспенивающей добавке, имеющей его в количестве 78%;
- водоцементное отношение;
zц - количество циклов замораживания и оттаивания (в присутствии воды), под воздействием которых происходит снижение прочности раствора в покрытии;
Кц - коэффициент, равный 1,5.
При подборе состава аэроцема следует задаваться всеми параметрами, перечисленными в формуле (5), и находить по ней количество циклов zц, снижающих со временем прочность его до σтреб. После этого по таблице и формуле
(6)
определяется срок службы покрытия без ремонта (Тс) в зависимости от климатического пояса.
|
Климатический пояс |
Среднемноголетнее ежегодное количество переходов температуры через нуль при наличии осадков ml |
|
Северные районы Сибири |
40 - 50 |
|
Южная Сибирь и Дальний Восток |
30 - 40 |
|
Средняя полоса Европейской части Союза ССР |
20 - 30 |
|
Южная полоса Европейской части Союза ССР |
10 - 20 |
|
Кавказ |
5 - 10 |
Для увеличения продолжительности срока службы, (межремонтного периода) защитного покрытия при заданном значении σтреб можно варьировать параметры, входящие в зависимость (5), например, увеличить марку цемента, уменьшить процент вспенивающей добавки и т.п.
Расчетные скорости движения обломков скальных грунтов по горным склонам и откосам следует определять с учетом их конфигурации, в зависимости от которой они подразделяются на четыре типа.
Тип I. Склоны и откосы уступчатого профиля с отдельными уступами высотой до 5 м (рис. 1, а и б) и ломаного профиля с отдельными участками вдоль склона длиной менее 10 м при разнице в углах крутизны до 5°.

Рис. 1. Схемы поперечного профиля - тип I
Расчетные скорости движения обломков можно определить как для однообразного склона (откоса) по спрямленному профилю по формуле
, (1)
где ε - коэффициент, определяемый в зависимости от крутизны склона (откоса) αск - по табл. 1;
Нск - высота падения обломков скального грунта, м.
Тип II. Склоны и откосы ломаного профиля с отдельными участками крутизной от 30 до 60° при длине участков более 10 м и при разнице в углах крутизны смежных участков более 5° (рис. 2).

Рис. 2. Схема поперечного профиля - тип II
Расчетные скорости определяются по формуле
. (2)
Тип III. Ломаные откосы и склоны с отдельными пологими участками при углах крутизны αск менее 28-30° и крутыми участками с αск < 60° при длине участков более 10 м и при разнице в углах крутизны смежных участков более 5° (рис. 3).
Расчетные скорости рекомендуется определять по отдельным. участкам с учетом замедления движения на пологих элементах откоса или склона (менее 30°). В конце каждого участка, кроме самого верхнего, скорость определяется по формуле
, (3)
где v0(1) =
в случае когда,
>
; v0(1) = vk(l-1) если
<
; где vк(l-1) -скорость в
конце пологого участка откоса или склона.
|
αск |
Коэффициент ε |
αск |
Коэффициент ε |
||||
|
при обеспеченности р. % |
при обеспеченности, р. % |
||||||
|
1 |
5 |
10 |
1 |
5 |
10 |
||
|
30 |
1,11 |
0,89 |
0,80 |
61 |
3,19 |
2,82 |
2,57 |
|
31 |
1,33 |
1,11 |
0,97 |
62 |
3,23 |
2,84 |
2,62 |
|
32 |
1,51 |
1,33 |
1,15 |
63 |
3,25 |
2,86 |
2,64 |
|
33 |
1,68 |
1,46 |
1,28 |
64 |
3,28 |
2,88 |
2,66 |
|
34 |
1,77 |
1,59 |
1,42 |
65 |
3,30 |
2,90 |
2,68 |
|
35 |
1,86 |
1,68 |
1,51 |
66 |
3,32 |
2,92 |
2,70 |
|
36 |
1,99 |
1,77 |
1,59 |
67 |
3,35 |
2,97 |
2,73 |
|
37 |
2,08 |
1,86 |
1,66 |
68 |
3,37 |
3,00 |
2,75 |
|
38 |
2,14 |
1,90 |
1,73 |
69 |
3,41 |
3,01 |
2,79 |
|
39 |
2,21 |
1,92 |
1,77 |
70 |
3,43 |
3,04 |
2,82 |
|
40 |
2,30 |
2,04 |
1,83 |
71 |
3,45 |
3,00 |
2,84 |
|
41 |
2,35 |
2,09 |
1,90 |
72 |
3,50 |
3,10 |
2,88 |
|
42 |
2,43 |
2,13 |
1,95 |
73 |
3,54 |
3,14 |
2,92 |
|
43 |
2,48 |
2,17 |
1,99 |
74 |
3,58 |
3,19 |
2,97 |
|
44 |
2,55 |
2,21 |
2,04 |
75 |
3,62 |
3,20 |
3,01 |
|
45 |
2,58 |
2,26 |
.2,08 |
76 |
3,67 |
3,23 |
3,03 |
|
46 |
2,63 |
2,30 |
2,13 |
77 |
3,69 |
3,28 |
3,10 |
|
47 |
2,7 |
2,35 |
2,15 |
78 |
3,72 |
3,32 |
3,12 |
|
48 |
2,75 |
2,39 |
2,17 |
79 |
3,76 |
3,37 |
3,14 |
|
49 |
2,79 |
2,43 |
2,21 |
80 |
3,81 |
3,41 |
3,23 |
|
50 |
2,83 |
2,48 |
2,26 |
81 |
3,85 |
3,46 |
3,28 |
|
51 |
2,88 |
2,52 |
2,28 |
82 |
3,90 |
3,50 |
3,37 |
|
52 |
2,92 |
2,57 |
2,30 |
83 |
3,94 |
3,58 |
3,41 |
|
53 |
2,96 |
2,59 |
2,35 |
84 |
4,00 |
3,63 |
3,50 |
|
54 |
3,00 |
2,62 |
2,39 |
85 |
4,06 |
3,76 |
3,59 |
|
55 |
3,03 |
2,66 |
2,42 |
86 |
4,13 |
3,80 |
3,68 |
|
56 |
3,06 |
2,68 |
2,44 |
87 |
4,20 |
3,94 |
3,81 |
|
57 |
3,10 |
2,70 |
2,46 |
88 |
4,17 |
4,07 |
3,94 |
|
58 |
3,12 |
2,74 |
2,48 |
89 |
4,34 |
4,20 |
4,12 |
|
59 |
3,14 |
2,77 |
2,52 |
90 |
4,43 |
4,43 |
4,32 |
|
60 |
3,17 |
2,79 |
2,57 |
|
|
|
|
Значение
; при углах откоса или склона
= 30-90° определяется
по табл. 1.

Рис. 3. Схема поперечного профиля - тип III

Рис. 4. Схема поперечного профиля - тип IV
При
<30° коэффициенты
находятся по формуле
=0,0048 αск
+0,416. (4)
В подошве верхнего крутого участка откоса или склона скорость рассчитывается по формуле (1).
Тип IV. Ломаные склоны с очень крутыми участками при
>60° с высотой
более 10 м (рис. 4).
Расчетная скорость в месте расположения защитного сооружения определяется по формуле
, (5)
где vt(0) – тангенциальная составляющая скорости отражения в точке Б.
vt(0)=(1-λ)vncos(
-
), (6)'
Здесь vn - скорость падения обломка в точке 5, определяемая по формуле (1);
λ - коэффициент мгновенного трения, принимаемый по табл. 2 в зависимости от характера поверхностного покрова и рода поверхностного слоя грунта на участке непосредственно у подошвы крутого склона.
|
Поверхностный покров |
ρ |
λ |
|
Скальные обнажения. |
0,7 |
0,1 |
|
Плотный крупнообломочный делювий |
0,5 |
0,3 |
|
Одернованная гладкая поверхность |
0,3 |
0,1 |
|
Рыхлый делювий, застрявшие обломки скального грунта, осыпь. |
0,3 |
0,4 |
|
При неглубоком залегании коренных грунтов у поверхности откоса или склона (0,5 м). |
0,5 |
0,3. |
При наличии на склоне растительного покрова в виде густого мелкого кустарника или леса, значения расчетных скоростей следует уменьшить на 20-40% в зависимости от плотности растительного покрова. Для склонов со скальными обнажениями расчетные скорости следует увеличивать на 10-20%.
Определение расчетных значений масс обломков скального грунта (камнепадов),. их скоростей и максимальных отклонений от склона, а также ударной силы в заданном сечении и глубины проникания в грунтовые отсыпки скальных обломков может производиться по программе, написанной на языке ФОРТРАН ЕС ЭВМ. По этой программе на участке, где необходимо осуществить противообвальную защиту, находятся с заданной доверительной вероятностью расчетные скорости и масса падающих обломков скального грунта.
Масса падающих обломков может быть установлена по результатам наблюдений за интенсивностью камнепадов в расчетных условиях либо по потенциальной блочности в соответствии с приложением 13.
Наряду с этим программой предусматривается возможность получения максимальных отклонений падающих обломков скального грунта от поверхностей откосов или склонов и соответствующих им скоростей, а также значений ударной силы и глубины проникания скальных обломков в грунтовые отсыпки в заданном сечении склона.
Для определения расчетных скоростей по предлагаемой программе за основу приняты формулы приложения 11 настоящего Руководства. Для определения отклонений обломков скальных пород от склона рекомендуется пользоваться формулами (2) и (5) приложения 14.
Камнепады рассматриваются как статически равномерно распределенные случайные события, которые происходят довольно редко в рассматриваемом интервале времени независимо друг от друга, и образуют однородный по времени пуассоновский поток.
Для оценки случайных величин, характеризующих размеры обломков скальных пород и частоту их падения, определяется интенсивность камнепадов по формуле
где ln - интенсивность камнепадов, кг/м2 в месяц;
Qn - масса обвалившихся обломков скального грунта, кг;
Тn - период наблюдений, месяцы;
Bn - ширина опытной площадки вдоль подошвы склона, м;
Ln - длина склона, м.
Исходные данные для расчета ударной силы и глубины проникания скальных обломков в грунтовые отсыпки по программе приведены в таблице.
|
№ пп |
Исходные данные |
Единица измерения |
Примечание |
|
|
1 |
Задача |
|
|
|
|
2 |
Количество расчетных поперечников (профилей) |
Шт. |
Поперечники назначаются в характерных местах |
|
|
3 |
Количество точек (переломов) поперечников |
» |
Принимается по каждому поперечнику |
|
|
4 |
Количество расчетных сечении |
» |
То же |
|
|
5 |
Толщина отсыпки по направлению удара |
м |
.- |
|
|
6 |
Средняя масса падающих со склона (откоса) обломков скального грунта |
кг |
Определяется из выражения:
где Qnl -масса обломка; N-количество обломков |
|
|
7 |
Среднеквадратическое отклонение массы падающих обломков скального грунта |
кг |
Определяется из выражения
|
|
|
8 |
Доверительная вероятность |
- |
Рекомендуется принимать 0,99-0,9 в зависимости от класса защищаемого объекта |
|
|
9 |
Коэффициент, учитывающий состояние склона μ |
|
При оголенном склоне μ=1,1 + 1,2; при склонах, покрытых растительностью, μ-0,64-0,8 |
|
|
10 |
Начальная скорость скального обломка при падении |
м/с |
Принимается по каждому поперечнику |
|
|
11 |
Интервал разбивки для построения графика скорости по горизонтальной оси |
.- |
То же |
|
|
12 |
Расчетный интервал времени эксплуатации сооружения |
месяцы |
Принимается в соответствии со сроком службы защищаемого объекта |
|
|
13 |
Абсциссы расчетных сечений |
м |
Принимается по каждому поперечнику |
|
|
14 |
Абсциссы точек перелома поперечника |
- |
То же |
|
|
15 |
Ординаты точек перелома поперечника |
- |
» |
|
|
16 |
Интенсивность камнепадов |
кг. мес-м2 |
Определяется по формуле (1) |
|
|
17 |
Коэффициент мгновенного трения λ |
|
Принимается по табл.2 приложения 11 по каждому поперечнику |
|
|
18 |
Количество систем трещин |
шт. |
При отсутствии данных наблюдений за интенсивностью камнепадов |
|
|
19 |
Масса 1 м3 скального грунта |
кг/м3 |
То же |
|
|
20 |
Количество наблюдении в каждой системе трещин |
шт. |
» |
|
|
21 |
Частные значения расстояний между трещинами |
м |
» |
|
В результате расчета на печать выводится следующая информация:
- таблицы вероятности выпадения в заданном створе поперечника одного обломка скального грунта массой Qn и скоростью v за принятое расчетное время эксплуатации противообвального сооружения;
- величина ударной силы и глубина проникания обломка скального грунта в амортизирующую отсыпку в заданном створе поперечника:
- таблица, содержащая информацию о координатах точек профиля склона, их расчетных скоростях и максимальных отклонениях от профиля склона скальных обломков; по желанию могут быть выведены графики на АЦПУ или на графопостроитель типа ЕС-7051.
Вслед за таблицей распечатываются наиболее невыгодные сочетания расчетных масс и скоростей.
Определение расчетной крупности обломков скальных грунтов по их блочности должно осуществляться на основании инженерно-геологического обследования трещиноватости скальных. откосов, при этом находятся расстояния между трещинами различных систем.
Для определения потенциальной блочности следует учитывать трещины длиной более 10 см. Допускается объединять трещины в одну систему, если они имеют одинаковую или близкую ориентацию. Трещины, полностью заполненные слабовыветривающимися минералами, такими, как кварц, крепкий кальцит и т.п., при определении блочности не учитываются.
Обследование трещин должно производиться по всей площади откоса равномерно при количестве замеров не менее 50. В случае выдержанности геологического строения расстояние между участками замеров следует принимать 150-300 м, при невыдержанности элементов залегания скальных пород его следует сократить до 25-50 м.
По высоте откоса обследование трещин должно осуществляться в зависимости от сложности геологического строения на различных горизонтах через 10-20 м по высоте. При наличии различных литологических разностей трещины целесообразно измерять в каждой из них.
Кроме естественных трещин на обнажениях необходимо выделить также и искусственные трещины, образованные в результате воздействия взрывных работ.
Расчетное расстояние между трещинами различных систем следует вычислять из выражения
, (1)
где
- среднее
арифметическое случайной выборки (ряда наблюдений за расстоянием между
трещинами);
N - количество наблюдений;
ta - показатель кратности ошибок;
Δ - среднее квадратическое отклонение исследуемой величины (расстояние между трещинами)!
. (2)
Здесь
- частные значения
исследуемой величины.
На основании полученных данных определяется размер потенциального блока, принимаемый за ребро куба или диаметр шара, по формуле
, (3)
где .пT - количество систем трещин;'
,
,
- расчетные значения
расстояний между трещинами первой, второй и nт-й системы с
доверительной вероятностью α, м.
При принятии обломка скального грунта кубообразной формы расчетный вес его должен определяться из выражения
. (4)
где γo -удельный вес скального грунта, кН/м3.
Принимая во внимание, что скорость обломков шарообразной формы получается наибольшей (при прочих равных условиях), в запас безопасности рекомендуется принимать шарообразную форму обломка, вес которого определяется по формуле (4).
1. Расчет на перелет
Схема расчетной траектории движения обломков скальных грунтов и ее основные геометрические элементы показаны на рис. 1.
Уравнение расчетной траектории принимается следующего вида:
, (1)
где g - ускорение силы тяжести, м/с;
vp - расчетная скорость, м/с;
βот - угол отражения обломка скальных грунтов от склона при последнем его скачке перед сооружением.
. (2)
Здесь αcк – крутизна склона (откоса) перед сооружением, град.

Рис. 1 Схема расчета на перелет
Характерные геометрические элементы скачка определяются по следующим формулам:
полная длина скачка
; (3)
абсцисса точки наибольшего возвышения траектории скачка над поверхностью склона
: (4)
наибольшая дальность падения
; (5)
наибольшее возвышение траектории скачка над поверхностью склона
; (6)
ордината траектории в середине скачка
. (7)
Для расчета на перелет служат табл. 1, 2 и 3, составленные на основании формул (1) - (7).
|
Расчетная скорость в створе сооружения vp, м/с |
Угол крутизны откоса или склона перед сооружением αск, град |
||||||||||||
|
20 |
23 |
25 |
28 |
30 |
33 |
35 |
38 |
40 |
42 |
45 |
52 |
60 |
|
|
10 |
103 |
103 |
103 |
102,30 |
102 |
100 |
100 |
98,20 |
96,55 |
95,30 |
92,52 |
85,20 |
74,15 |
|
11 |
100 |
100 |
100 |
99,30 |
99 |
98 |
97 |
95,15 |
94 |
92,30 |
90 |
82,50 |
72 |
|
12 |
97,11 |
97 |
97 |
96,30 |
96,10 |
95 |
94,10 |
92,30 |
91,15 |
90,10 |
87,20 |
80,20 |
70 |
|
13 |
95 |
94,30 |
94,30 |
94,45 |
92,45 |
92,30 |
91,45 |
90,10 |
89 |
87,30 |
85,12 |
78,25 |
68,15 |
|
14 |
98,06 |
92,38 |
95,15 |
91,40 |
91,20 |
90,15 |
89,25 |
87,50 |
86,40 |
85,20 |
83 |
76,20 |
66,23 |
|
15 |
91,30 |
90,52 |
90,20' |
89,40 |
89,10 |
88,15 |
87,20 |
86 |
84,42 |
93,25 |
81 |
74,34 |
64,53 |
|
16 |
90,04 |
89,12 |
88,48 |
88 |
87,20 |
86,30 |
85,30 |
84,20 |
82,50 |
81,31 |
79,25 |
73 |
63,30 |
|
16,5 |
- |
- |
- |
86,58 |
- |
- |
- |
- |
- |
- |
- |
- |
- |
|
17 |
88,50 |
87,56 |
87,15 |
86,27 |
85,35 |
84,40 |
83,45 |
82,30 |
81,15 |
80 |
77,50 |
71,35 |
62,10 |
|
18 |
87,50 |
86,37 |
85,53 |
84,58 |
84 |
83,05 |
82,15 |
81 |
79,55 |
78,30 |
76,25 |
70,15 |
61,10 |
|
19 |
86,50 |
85,36 |
84,50 |
83,47 |
82,46 |
81,35 |
80,45 |
79,25 |
78,20 |
77 |
75 |
69 |
60 |
|
19,5 |
- |
- |
- |
- |
- |
80,52 |
- |
- |
- |
- |
- |
- |
- |
|
20 |
86 |
84,38 |
83,47 |
82,35 |
81,31 |
80,21 |
79,30 |
78 |
77 |
75,50 |
73,50 |
67,40 |
59 |
|
21 |
85,08 |
83,47 |
82,49 |
81,35 |
80,28 |
79,14 |
78,10 |
76,47 |
75,44 |
74,32 |
72,30 |
66,38 |
58 |
|
22 |
84,28 |
83,28 |
82,02 |
80,41 |
79,31 |
78,08 |
77 |
75,36 |
74,33 |
73,26 |
71,22 |
65,40 |
57,10 |
|
23 |
83,54 |
82,19 |
81,15 |
79,51 |
78,24 |
77,13 |
76;11 |
74,30 |
73,26 |
72,18 |
70,20 |
64,39 |
56,15 |
|
24 |
83,16 |
81,38 |
80,34 |
79,01 |
77,49 |
76,17 |
75,16 |
73,37 |
72,30 |
71,16 |
69,21 |
63,44 |
55,29 |
|
25 |
82,45 |
81,05 |
79,54 |
78,25 |
77.06 |
75,32 |
74,28 |
72,40 |
71,35 |
70,20 |
68,24 |
62,53 |
54,43 |
|
27 |
81,45 |
80,01 |
78,48 |
77,09 |
75,50 |
74,06 |
72,59 |
71,07 |
70,06 |
68,54 |
67,07 |
61,18 |
53,10 |
|
30 |
80,34 |
78,41 |
77,24 |
75,35 |
74,10 |
72,20 |
71,05 |
69,09 |
68 |
66,49 |
64,49 |
59,11 |
51,20 |
|
32 |
79,54 |
78,08 |
76,37 |
74,44 |
73,18 |
71,19 |
70,06 |
68 |
66,50 |
65,38 |
63,32 |
57,55 |
50,24 |
|
35 |
79 |
77 |
75,35 |
73,37 |
72,08 |
70,06 |
68,42 |
66,39 |
65,24 |
64,05 |
61,54 |
56,13 |
48,55 |
|
38 |
78,20 |
76,11 |
74,45 |
72,41 |
71,07 |
69,03 |
67,39 |
65,25 |
64,08 |
62,45 |
60,32 |
54,42 |
47,35 |
|
40 |
77,55 |
75,45 |
74,17 |
72,10 |
70,36 |
68,25 |
66,59 |
64,46 |
63,26 |
62,05 |
59,40 |
53,46 |
46,47 |
|
Расчетная скорость в створе сооружения, vр м/с |
Угол крутизны откоса или склона перед сооружением αск, град |
||||||||||||
|
20 |
23 |
25 |
28 |
30 |
33 |
35 |
38 |
40 |
42 |
45 |
52 |
60 |
|
|
10 |
4,7 |
4,95 |
5,0 |
5,2 |
5,3 |
5,35 |
5,4 |
5,45 |
5,5 |
5,55 |
5,6 |
5,7 |
5,8 |
|
11 |
4,8 |
5,10 |
5,2 |
5,5 |
5,6 |
5,7 |
5,9 |
5,95 |
6,0 |
6,1 |
6,2 |
6,3 |
6,4 |
|
12' |
4,8 |
5,15 |
5,35 |
5,7 |
5,9 |
6,1 |
6,3 |
6,4 |
6,5 |
6,6 |
6,7 |
6,9 |
7,0 |
|
13 |
4,8 |
5,2 |
5,4 |
5,9 |
6,1 |
6,4 |
6,6 |
6,75 |
6,9 |
7,0' |
7,1 |
7,5 |
7,6 |
|
14 |
4,8 |
5,2 |
5,45 |
5,95 |
6,2 |
6,6 |
6,8 |
7,1 |
7,3 |
7,4 |
7,5 |
8,0 |
8,15 |
|
15 |
4,8 |
5,2 |
5,5 |
6,0 |
6,3 |
6,8 |
7,0 |
7,4 |
7,55 |
7,8 |
7,9 |
8,45 |
8,7 |
|
16 |
4,8 |
5,2 |
5,5 |
6,0 |
6,35 |
6,9 |
7,15 |
7,6 |
7,8 |
8,2 |
8,3 |
8,9 |
9,2 |
|
16,5 |
4,8 |
5,2 |
5,5 |
6,0 |
6,35 |
6,9 |
7,25 |
7,7 |
7,9 |
8,3 |
8,5 |
9,1 |
9,45 |
|
17 |
4,8 |
5,2 |
5,5 |
6,0 |
6,35 |
6,95 |
7,30 |
7,8 |
8,0 |
8,4 |
8,7 |
9,3 |
9,7 |
|
18 |
4,8 |
5,2 |
5,5 |
6,0 |
6,35 |
6,97 |
7,4 |
8,0 |
8,2 |
8,6 |
9,0 |
9,7 |
10,2 |
|
19 |
4,8 |
5,2 |
5,5 |
6,1 |
6,35 |
7,0 |
7,45 |
8,05 |
8,4 |
8,8 |
9,25 |
10,1 |
10,7 |
|
19,5 |
4,8 |
5,2 |
5,5 |
6,1 |
6,35 |
7,0 |
7,48 |
8,08 |
8,5 |
8,9 |
9,40 |
10,25 |
10,9 |
|
20 |
4,8 |
5,2 |
5,5 |
6,1 |
6,35 |
7,0 |
7,5 |
8,1 |
8,6 |
9,0 |
9,50 |
10,4 |
11,1 |
|
21 |
4,8 |
5,2 |
5,5 |
6,1 |
6,35 |
7,0 |
7,5 |
8,15 |
8,7 |
9,2 |
9,65 |
10,7 |
11,5 |
|
22 |
4,8 |
5,2 |
5,5 |
6,1 |
6,35 |
7,0 |
7,5 |
8,18 |
8,8 |
9,35 |
9,8 |
11,0 |
11,9 |
|
23 |
4,8 |
5,2 |
5,5 |
6,1 |
6,35 |
7,0 |
7,5 |
8,2 |
8,9 |
9,4 |
10,0 |
11,2 |
12,2 |
|
24 |
4,8 |
5,2 |
5,5 |
6,1 |
6,35 |
7,0 |
7,5 |
8,2 |
8,9 |
9,45 |
10,15 |
11,35 |
12,5 |
|
25 |
4,8 |
5,2 |
5,5 |
6,1 |
6,35 |
7,0 |
7,5 |
8,2 |
8,9 |
9,5 |
10,25 |
11,5 |
12,8 |
|
27 |
4,8 |
5,2 |
5,5 |
6,1 |
6,35 |
7,0 |
7,5 |
8,2 |
8,9 |
9,55 |
10,25 |
11,8 |
13,35 |
|
30 |
4,8 |
5,2 |
5,5 |
6,1 |
6,35 |
7,0 |
7,5 |
8,2 |
8,9 |
9,55 |
10,5 |
12,2 |
14,1 |
|
35 |
4,8 |
5,2 |
5,5 |
6,1 |
6,35 |
7,0 |
7,5 |
8,2 |
8,9 |
9,55 |
10,5 |
12,5 |
15,15 |
|
40 |
4,8 |
5,2 |
5,5 |
6,1 |
6,35 |
7,0 |
7,5 |
8,2 |
8,9 |
9,55 |
10,5 |
12,5 |
15,6 |
|
Расчетная скорость в створе сооружения vp, м/с |
Угол крутизны склона перед сооружением, град |
||
|
20 |
25 |
30 |
|
|
10 |
Y = 0,0516х2 - 0,231х |
Y = 0,0516х2 - 0,231х |
Y = 0,0516х2 - 0,231х |
|
15 |
Y = 0,0218х2 - 0,0262х |
Y = 0,0218х2 - 0,0058х |
Y = 0,0218х2 - 0,0145х |
|
20 |
Y = 0,01235х2 + 0,07х |
Y = 0,01245x2 + 0,109х |
Y = 0,01255х2 + 0,149х |
|
25 |
Y = 0,008х2 + 0,127х |
Y = 0,0081x2 + 0,178х |
Y = 0,00825х2 + 0,229х |
|
30 |
Y = 0,0056x2 + 0,166x |
Y = 0,00572х2 + 0,224х |
Y = 0,0059х2 + 0,264x |
|
35 |
Y = 0,00416х2 + 0,194х |
Y = 0,00426x2 + 0,257х |
Y = 0,0044х2 + 0,322х |
|
40 |
Y = 0,00321x2 + 0,214x |
Y = 0,00331х2 + 0,281х |
Y = 0,00345х2 + 0,352х |
|
Расчетная скорость в створе сооружения vp, м/ |
Угол крутизны склона перед, сооружением αск, град |
||
|
35 |
40 |
45 |
|
|
10 |
Y = 0,0505х2 - 0,176х |
Y = 0,0497х2 -0,121х |
Y = 0,0491х2 -0,05x |
|
15 |
Y = 0,02185х2 + 0,0466х |
Y = 0,022х2 + 0,0928х |
Y = 0,0223x2 - 0,158х |
|
20 |
Y = 0,0127x2 + 0,l85x |
Y = 0,01Зх2 + 0,231х |
Y = 0,0134x2 + 0,29x |
|
25 |
Y = 0,00848x2 + 0,278х |
Y = 0,00872х2 + 0,333x |
Y = 0,00908х2 + 0,396х |
|
30 |
Y = 0,0061х2 + 0,349х |
Y = 0,00635х2 + 0,404x |
Y = 0,00665х2 + 0,47х |
|
35 |
Y = 0,00461х2 + 0,39х |
Y = 0,00485х2 + 0,458х |
Y = 0,00515х2 +0,534x |
|
40 |
Y = 0,00363х2 + 0,425х |
Y = 0,00384х2 + 0,5х |
Y = 0,00413x2 +0,585x |
Табл. 1 содержит расчетные значения угла βот. Данные этой таблицы требуются при составлении уравнения расчетной траектории. При помощи расчетной траектории определяется положение точки опасного удара обломка об откос или склон М и устанавливаются размеры необходимой срезки нагорного склона для создания улавливающей пазухи. Кроме того, построением расчетной траектории проверяется правильность выбранных размеров сооружения из расчета на перелет.
В табл. 2 приведены расчетные значения отклонений траектории движения
обломков от поверхности склона в горизонтальном направлении
. Табл. 2 можно
пользоваться, при определении ширины улавливающих полок, необходимого удаления
сооружения от подошвы нагорных склонов во избежание перелетов обломков при
обвалах, а также при вычислении высоты улавливающего сооружения
и требуемых сдвижек
пути в сторону от нагорных склонов для устранения возможности падения обломков
со склонов на путь.
В табл. 3 приводятся готовые уравнения расчетной траектории движения обломков скального грунта при различных углах крутизны откосов (склонов) и разных расчетных скоростях падающих обломков.
При использовании табл. 1-3 величины
,
и углы βот при промежуточных
значениях углов аск и
скоростей vp, не указанных в этих таблицах, можно: определять по линейной
интерполяции.
Для определения высоты сооружения, проектируемого у подошвы невысокого откоса или склона (до 50 м) при крутизне его до 60° и заданном расстоянии от подошвы откоса до задней грани сооружении (ширине улавливающей пазухи), рекомендуется применять метод последовательных попыток для отыскания положения такой точки на откосе, после удара в которую траектория движения обломка скального грунта будет иметь наибольшее возвышение над уровнем земли в месте расположения улавливающего сооружения.
2. Расчет на выкатывание и подскакивание
При расчете на выкатывание определяется наибольшая возможна высота набега обломков скальных грунтов на встречный откос улавливающей пазухи. Расчетом на подскакивание обломков проверяется высота оградительного сооружения. По полученным значениям определяется глубина улавливающей пазухи (высота оградительного сооружения).
При расчете на выкатывание скорость и угол отражения при ударе обломка о дно сооружения (рис. 2) определяются по формулам:
V0=(1-λ)vp, (8)
Где λ - коэффициент мгновенного трения, принимаемый по табл. 2 приложения 11 настоящего. Руководства;
φn - угол падения обломков скальных грунтов на дно сооружения, принимаемый равным углу крутизны нагорного склона перед сооружением.
, (9)
где γот - угол отражения;
ρ - коэффициент восстановления, принимаемый по табл. 2 приложения 11 настоящего Руководства.
Направление и скорость падения при ударе обломка об откос улавливающего сооружения можно принять такими же, как направление и скорость отражения v0, .вычисленные по формуле (8) (см. рис. 2).

Рис. 2. Схема расчета на выкатывание

Рис. 3. График для определения высоты набега обломка на откос крутизной 1 : 0,75:
- - - - - для дна пазухн из скальных грунтов при ρ = 0,5 и λ = 0,3 и откоса отсыпкн из нескальных грунтов при ρ = 0,3 и λ =0,3;
_______ - для дна пазухи и откоса отсыпки из нескальных грунтов при ρ =>0,3 и λ =0,3
Тогда угол падения в точке М1 будет равен
, а новый угол отражения
. (10)
Скорость отражения в точке М1 определится из выражения
. (11)
Уравнение траектории движения обломка после удара об откос в точке М1 запишется в виде
. (12)
Решая это уравнение с
уравнением линии откоса y = x tgΨ0 находим
координаты точки М2 следующего удара обломка скального грунта
об откос и высоту первого скачка
.
Второй скачок по откосу
определяется по
следующим формулам:
, (13)
где v'n - скорость падения обломка скальной породы в точке М2;.
. (14)
Здесь
-угол, составленный касательной к траектории первого скачка в
точке Mi с осью X;
где
- угол падения
обломка скального грунта в точке М2 c осью Х;
,
где
- угол падения
обломка скального грунта в точке М2.
Зная
и
. по формулам (8) и
(9) определяют значения
, а затем высоту второго скачка
аналогично тому, как
это делали при нахождении ординаты первого скачка.
Высота набега обломка скальной породы на откос
,
где ас - высота набега на откос после первого удара о дно траншеи;
(15)
Для определения высоты набега обломков на внутренний откос сооружения крутизной 1:0,75; 1:0,5 и 1:1 при расчете на выкатывание, можно использовать графики на рис. 3-6, составленные на основании формул (8) - (15).

Рис. 4. График для определения высота набега обломка на откос крутизной 1:0,75 при дне пазухи из нескальных грунтов (ρ = 0,3, λ = 0,3) и отсыпке вала из скального грунта (ρ = 0,5, λ = 0,3)

Рис. 5. График для определения высоты набега обломка на откос крутизной 1 : 0,5. (Обозначения см. на рис. 3)
При назначении полной глубины улавливающих сооружений (пазух) необходимо учитывать технический запас, добавляя к получаемым расчетом размерам 0,5-1 м в зависимости от расчетной крупности обломка. При его расчетной крупности ≥1 м3 запас следует принимать не менее 1 м.

Рис. 6. График для определения высоты набега обломка на откос крутизной 1:1. (Обозначения см. на рис. 3)

Рис. 7. Расчетная схема улавливающей пазухи с ломаным очертанием внутреннего откоса
При применении улавливающей пазухи с устройством в верхней части внутреннего откоса вертикального ограничения (стенки) (рис. 7) ее габаритные размеры следует назначать по табл. 4.
|
Крутизна откоса |
Размеры улавливающих пазух, м |
|||
|
zn |
сп |
hn |
|
|
|
1:1,5 |
2,0 |
0,4 0 |
0,7 0,4 |
2,5 |
|
4,0 |
0,4 0 |
0,9 0,6 |
2,5 |
|
|
1:1,25 |
2,0 |
0,4 0. |
1,1 0,8 |
2,5 |
|
4,0 |
0,4 0 |
I,3 1,0 |
2,5 |
|
Примечания. 1. Указанные размеры справедливы для пазух в делювиально-элювиальных грунтах. При наличии выхода коренных скальных грунтов эти размеры применимы при условии устройства амортизирующей подушки толщиной не менее 0,5 м.
2. Табличное значение hп следует увеличивать на 0,2-0,5 м в зависимости от расчетного объема обломков скального грунта.
Во всех случаях полученные габаритные размеры улавливающих пазух должны быть проверены на достаточную их емкость. Емкость улавливающей пазухи проверяется на вместимость расчетного объема массы скального грунта, принимаемого равным 15 м3 на 1 м сооружения. При этом расчетную площадь поперечного сечения улавливающей пазухи следует считать от отметки на 0,5 м ниже верха стены, вала или верхней бровки путевого откоса с расположением обвалившейся горной массы под углом 20о к горизонту.
Габаритные размеры заглубленных улавливающих полок и путевых траншей должны проверяться на возможность подскакивания обломков при их падении по формуле
, (16)
где hmax - расчетная высота подскакивания обломка.
Ширина улавливающей траншеи (полки) понизу (zп) определяется из выражения
Zп = lТ+0,5, (17)
где lТ - дальность падения обломка скального грунта от подошвы откоса, м, определяемая по графикам рис. 8.

Рис.8. График для определения дальности падения обломков от подошвы откоса.
а, б, в - при наклоне откосов, равном соответственно 59-90; 45-58; 33-44°; 1 - для объектов I и II классов; 2 - для объектов III и IV классов

Рис. 9. График для определения высоты подскока обломков:
1 - для объектов I и II классов; 2 - для объектов III и IV классов
Глубина траншеи и высота-барьера или бордюра полки определяются по формуле
hТ = hС+1,0, (18)
где hС -
высота подскакивания обломка, определяемая по графику (рис. 9) или по формуле
, в которой H - высота откоса, А и dT параметры,
принимаемые по табл. 5.
|
Класс сооружения |
Значения параметров |
|
|
А |
dT |
|
|
I, II |
0,00611 |
1,490 |
|
III, IV |
0,00382 |
1,545 |
Глубина траншеи должна быть проверена расчетом на выкатывание обломка по рекомендациям, изложенным в п. 2 настоящего приложения. При вертикальном путевом откосе проверку на подскакивание обломка скального грунта можно выполнить по формуле (16), в этом случае глубина траншеи или высота барьера hт должна удовлетворять условию
hт > hmах .
|
Объем обломков, м3 |
Скорость падения обломков, м/с |
Толщина отсыпки м |
||||
|
1,0 |
1,5 |
2,0 |
2,5 |
3,0 |
||
|
0,1 |
10 |
370 |
280 |
210 |
170 |
140 |
|
15 |
510 |
430 |
360 |
310 |
270 |
|
|
20 |
640 |
560 |
480 |
440 |
320 |
|
|
25 |
780 |
710 |
640 |
600 |
550 |
|
|
30 |
920 |
860 |
780 |
750 |
700 |
|
|
0,2 |
10 |
620 |
450 |
340 |
240 |
180 |
|
15 |
780 |
610 |
490 |
400 |
330 |
|
|
20 |
920 |
770 |
640 |
550 |
470 |
|
|
25 |
1060 |
910 |
780 |
680 |
590 |
|
|
30 |
1250 |
1100 |
960 |
860 |
770 |
|
|
0,3 |
10 |
830 |
580 |
440 |
310 |
240 |
|
15 |
1150 |
830 |
630 |
470 |
370 |
|
|
20 |
1210 |
1020 |
820 |
640 |
500 |
|
|
25 |
1460 |
1230 |
980 |
770 |
630 |
|
|
30 |
1680 |
1440 |
1180 |
960 |
800 |
|
|
0,4 |
10 |
970 |
680 |
500 |
370 |
270 |
|
15 |
1430 |
1000 |
740 |
540 |
420 |
|
|
20 |
1780 |
1260 |
950 |
690 |
530 |
|
|
25 |
1870 |
1530 |
1150 |
860 |
680 |
|
|
30 |
2430 |
1780 |
1380 |
1030 |
820 |
|
|
0,5 |
10 |
1120 |
800 |
600 |
430 |
340 |
|
15 |
1720 |
1170 |
840 |
600 |
470 |
|
|
20 |
2280 |
1520 |
1070 |
760 |
570 |
|
|
25 |
2670 |
1820 |
1330 |
940 |
710 |
|
|
30 |
3020 |
2100 |
1530 |
1120 |
860 |
|
|
0,6 |
10 |
1270 |
910 |
700 |
510 |
400 |
|
15 |
1960 |
1320 |
940 |
670 |
510 |
|
|
20 |
2520 |
1710 |
1180 |
830 |
620 |
|
|
25 |
3040 |
2080 |
1450 |
1000 |
740 |
|
|
30 |
3690 |
2420 |
1700 |
1180 |
880 |
|
|
0,7 |
10 |
1380 |
1000 |
760 |
570 |
450 |
|
15 |
2290 |
1500 |
1050 |
730 |
550 |
|
|
20 |
3040 |
1930 |
1330 |
900 |
660 |
|
|
25 |
3810 |
2380 |
1590 |
1080 |
790 |
|
|
30 |
4360 |
2760 |
1860 |
1270 |
930 |
|
|
0,8 |
10 |
1540 |
1090 |
820 |
600 |
470 |
|
15 |
2600 |
1660 |
1160 |
780 |
570 |
|
|
20 |
3480 |
2140 |
1420 |
950 |
690 |
|
|
25 |
4320 |
2620 |
1720 |
1140 |
820 |
|
|
30 |
5110 |
3080 |
1990 |
1330 |
950 |
|
|
0,9 |
10 |
1650 |
1180 |
890 |
660 |
510 |
|
15 |
2870 |
1800 |
1230 |
820 |
600 |
|
|
20 |
3260 |
2360 |
1560 |
1000 |
710 |
|
|
25 |
4980 |
2910 |
1850 |
1200 |
850 |
|
|
30 |
5890 |
3420 |
2170 |
1400 |
- |
|
|
1,0 |
10 |
1780 |
1270 |
960 |
710 |
550 |
|
15 |
3110 |
1950 |
1310 |
890 |
650 |
|
|
20 |
4430 |
2570 |
1640 |
1050 |
740 |
|
|
25 |
5610 |
3170 |
1980 |
1250 |
870 |
|
|
30 |
6660 |
3740 |
2300 |
1460 |
- |
|
|
1,2 |
10 |
1890 |
1400 |
1050 |
820 |
650 |
|
15 |
3570 |
2200 |
1430 |
980 |
710 |
|
|
20 |
5170 |
2910 |
1800 |
1140 |
810 |
|
|
25 |
.6850 |
3680 |
2200 |
1350 |
- |
|
|
30 |
8200 |
4350 |
2550 |
- |
- |
|
|
1,4 |
10 |
2010 |
1500 |
1140 |
890 |
710 |
|
.16 |
3940 |
2400 |
1610 |
1050 |
750 |
|
|
20 |
5990 |
3260 |
1940 |
1220 |
840 |
|
|
25 |
8050 |
. 4140 |
2200 |
1430 |
- |
|
|
30 |
9800 |
4920 |
2510 |
- |
- |
|
|
1,6 |
10 |
2100 |
1570 |
1190 |
940 |
750 |
|
15 |
4290 |
2590 |
1720 |
1120 |
800 |
|
|
20 |
6660 |
3540 |
2000 |
1280 |
- |
|
|
25 |
9140 |
4540 |
2330 |
- |
- |
|
|
30 |
11320 |
5450 |
2740 |
- |
- |
|
|
1,8 |
10 |
2110 |
1600 |
1230 |
980 |
790 |
|
15 |
4550 |
2720 |
1760 |
1160 |
830 |
|
|
20 |
7020 |
3730 |
2200 |
1350 |
- |
|
|
25 |
10220 |
4920 |
2600 |
- |
- |
|
|
30 |
12770 |
5940 |
3090 |
- |
- |
|
|
2,0 |
10 |
2120 |
1610 |
1270 |
1000 |
810 |
|
15 |
4780 |
2840 |
1850 |
1200 |
850 |
|
|
20 |
7380 |
3900 |
2280 |
1400 |
- |
|
|
25 |
11250 |
5270 |
2730 |
- |
- |
|
|
30 |
14240 |
6420 |
3200 |
- |
- |
|
Примечание. В графах, где стоят прочерки, ударная сила принимается равной значению ее в предыдущем столбце при тех же расчетных параметрах (расчетной скорости и объеме падающих обломков).
|
Объем обломков, м3 |
Скорость падения обломков, м/с |
Толщина отсыпки, м |
||||
|
1,0 |
1,5 |
2,0 |
.2,5 |
3,0 |
||
|
0,1 |
10 |
0,06 |
0,12 |
0,18 |
0,27 |
0,34 |
|
15 |
0,13 |
0,19 |
0,28 |
0,37 |
0,45 |
|
|
20 |
0,18 |
0,27 |
0,38 |
0,49 |
0,60 |
|
|
25 |
0,25 |
0,38 |
0,42 |
0,61 |
0,71 |
|
|
30 |
0,34 |
0,52 |
0,64 |
0,76 |
0,85 |
|
|
0,2 |
10 |
0,09 |
0,15 |
0,22 |
0,29 |
0,36 |
|
15 |
0,15 |
0,23 |
0,31 |
0,40 |
0,49 |
|
|
20 |
0,21 |
0,31 |
0,43 |
0,56 |
0,67 |
|
|
25 |
0,28 |
0,42 |
0,56 |
0,71 |
0,86 |
|
|
30 |
0,36 |
0,54 |
0,70 |
0,88 |
1,05 |
|
|
0,3 |
10 |
0,12 |
0,17 |
0,24 |
0,31 |
0,38 |
|
15 |
0,17 |
0,25 |
0,35 |
0,45 |
0,56 |
|
|
20 |
0,23 |
0,33 |
0,47 |
0,62 |
0,76 |
|
|
25 |
0,29 |
0,44 |
0,62 |
0,80 |
0,99 |
|
|
30 |
0,37 |
0,57 |
0,77 |
1,00 |
1,22 |
|
|
0,4 |
10 |
0,14 |
0,20 |
0,26 |
0,32 |
0,40 |
|
15 |
0,19 |
0,28 |
0,39 |
0,50 |
0,62 |
|
|
20 |
0,23 |
0,35 |
0,52 |
0,70 |
0,90 |
|
|
25 |
0,31 |
0,46 |
0,67 |
0,89 |
1,12 |
|
|
30 |
0,39 |
0,59 |
0,85 |
1,12 |
1,42 |
|
|
0,5 |
10 |
0,16 |
0,22 |
0,28 |
0,35 |
0,43 |
|
15 |
0,20 |
0,30 |
0.42 |
0,54 |
0,66 |
|
|
20 |
0,25 |
0,37 |
0,56 |
0,77 |
1,02 |
|
|
25 |
0,32 |
0,48 |
0,70 |
1,00 |
1,38 |
|
|
30 |
0,40 |
0,61 |
0,90 |
1,26 |
1,66 |
|
|
0,6 |
10 |
0,18 |
0,25 |
0,30 |
0,37 |
0,44 |
|
15 |
0,22 |
0,32 |
0,45 |
0,58 |
0,75 |
|
|
20 |
0,27 |
0,39 |
0,59 |
0,85 |
1,14 |
|
|
25 |
0,33 |
0,50 |
0,78 |
1,10 |
1,54 |
|
|
30 |
0,42 |
0,63 |
0,96 |
1,38 |
2,06 |
|
|
0,7 |
10 |
0,19 |
0,27 |
0,32 |
0,38 |
0,45 |
|
15 |
0,23 |
0,34 |
0,47 |
0,62 |
0,78 |
|
|
20 |
0,28 |
0,41 |
0,63 |
0,92 |
1,23 |
|
|
25 |
0,34 |
0,52 |
0,81 |
1,20 |
1,75 |
|
|
30 |
0,43 |
0,65 |
1,00 |
1,52 |
2,24 |
|
|
0,8 |
10 |
0,20 |
0,29 |
0,35 |
0,40 |
0,46 |
|
15 |
0,24 |
0,36 |
0,52 |
0,68 |
0,86 |
|
|
20 |
0,29 |
0,43 |
0,68 |
1,00 |
1,33 |
|
|
25 |
0,35 |
0,54 |
0,85 |
1,30 |
1,92 |
|
|
30 |
0,44 |
0,67 |
1,10 |
1,64 |
2,46 |
|
|
0,9 |
10 |
0,21 |
0,31 |
0,37 |
0,42 |
0,47 |
|
15 |
0,25 |
0,38 |
0,55 |
0,72 |
0,90 |
|
|
20 |
0,30 |
0,45 |
0,72 |
1,07 |
1,45 |
|
|
25 |
0,36 |
0,56 |
0,90 |
1,40 |
2,06 |
|
|
30 |
0,45 |
0,69 |
1,14 |
1,80 |
- |
|
|
1,0 |
10 |
0,23 |
0,33 |
0,40 |
0,44 |
0,48 |
|
15 |
0,26 |
0,40 |
0,58 |
0,78 |
0,95 |
|
|
20 |
0,32 |
0,47 |
0,74 |
1,16 |
1,75 |
|
|
25 |
0,37 |
0,58 |
0,94 |
1,53 |
2,50 |
|
|
30 |
0,46 |
0,71 |
1,16 |
1,94 |
- |
|
|
1,2 |
10 |
0,25 |
0,36 |
0,43 |
0,50 |
0,56 |
|
15 |
0,28 |
0,43 |
0,63 |
0,88 |
1,16 |
|
|
20 |
0,33 |
0,50 |
0,83 |
1,33 |
2,00 |
|
|
25 |
0,38 |
0,60 |
1,06 |
1,76 |
- |
|
|
30 |
0,47 |
0,73 |
1,24 |
- |
- |
|
|
1,4 |
10 |
0,28 |
0,38 |
0,48 |
0,55 |
0,62 |
|
15 |
0,30 |
0,46 |
0,65 |
0,98 |
1,32 |
|
|
20 |
0,35 |
0,53 |
0,90 |
1,50 |
2,36 |
|
|
25 |
0,40 |
0,63 |
1,08 |
1,98 |
- |
|
|
30 |
0,49 |
0,75 |
1,26 |
- |
- |
|
|
1,6 |
.10 |
0,30 |
0,42 |
0,55 |
0,60 |
0,68 |
|
15 |
0,32 |
0,49 |
0,83 |
1,10 |
1,47 |
|
|
20 |
0,37 |
0,55 |
1,02 |
1,68 |
- |
|
|
25 |
0,42 |
0,65 |
1,20 |
- |
- |
|
|
30 |
0,51 |
0,77 |
1,46 |
- |
- |
|
|
1,8 |
10 |
0,32 |
0,45 |
0,57 |
0,68 |
0,76 |
|
15 |
0,34 |
0,51 |
0,85 |
1,22 |
1,70 |
|
|
20 |
0,39 |
0,57 |
1,04 |
1,85 |
- |
|
|
25 |
0,44 |
0,67 |
1,22 |
- |
- |
|
|
30 |
0,53 |
0,79 |
1,48 |
- |
- |
|
|
2,0 |
10 |
0,33 |
0,47 |
0,62 |
0,77 |
0,90 |
|
15 |
0,36 |
0,53 |
0,87 |
1,35 |
2,0 |
|
|
20 |
0,40 |
0,60 |
1,06 |
2,02 |
- |
|
|
25 |
0,45 |
0,69 |
1,25 |
- |
- |
|
|
30 |
0,55 |
0,80 |
1,50 |
- |
- |
|
Примечание. В графах, где стоят прочерки, глубина проникания принимается равной значению ее в предыдущем столбце при тех же расчетных параметрах (расчетной скорости и объеме падающих обломков).
1. СН 519-79. Инструкция по проектированию и строительству противооползневых и противообвальных сооружений.
2. Ройнишвили Н.М. Защита железнодорожного пути от горных обвалов и осыпей. М., Транспорт, 1973.
3. Руководство по применению противообвальных сооружений и мероприятий на дорогах. М., ЦНИИС, 1967.
4. Толмачев К.X. Специальные сооружения на горных дорогах. М., Министерство автомобильного транспорта и шоссейных дорог РСФСР, 1963.
5. Песов А.И. Для защиты пути от обвалов. - Путь и путевое хозяйство, 1966, № 1.
6. ГОСТ 5181-78. «Грунты. Метод лабораторного определения удельного веса».
7. ГОСТ 5182-78. «Грунты. Метод лабораторного определения объемного веса».
8. ГОСТ 5180-75. «Грунты. Метод лабораторного определения влажности».
9. ГОСТ 12536-67. «Грунты. Метод лабораторного определения зернового (гранулометрического) состава».
10. ГОСТ 5183-77. «Грунты. Методы лабораторного определения границ раскатывания и текучести».
11. ГОСТ 12248-66. «Грунты. Метод лабораторного определения сопротивления срезу песчаных и глинистых грунтов на срезных приборах в условиях завершенной консолидации».
12. ГОСТ 12374-77. «Грунты. Метод полевого испытания статическими нагрузками».
13. ГОСТ 17245-71. «Грунты. Метод лабораторного определения временного сопротивления при одноосном сжатии».
14. ГОСТ 21153.0-75 - 21153.7-75. «Породы. Методы физических испытаний».
15. ГОСТ 22733-77. «Грунты. Метод лабораторного определения максимальной плотности».
16. ГОСТ 12071-72. «Грунты. Отбор, упаковка, транспортирование и хранение образцов».
17. СНиП II-9-78. Строительные нормы и правила. Нормы проектирования. Инженерные изыскания для строительства. Основные положения.
18. Золотарев Г.С, Матвеев Ю.Д., Шешеня Н.Л. Типы горных обвалов и оползней района Токтогульской ГЭС на р. Нарын и вопросы их прогноза. В сб. «Вопросы инженерной геологии и грунтоведения». М., МГУ, 1968. | •,
19. Федоренко В.С, Фаминцын Б.М. Применение наземной стереофотограмметрической съемки при инженерно-геологическом картировании высоких обвальных склонов. М., МГУ, 1968.
20. Ломтадзе В.Д. Инженерная геология. Инженерная геодинамика. Л., Недра, 1978.
21. Справочник по инженерной геологии. М., Недра, 1970.
22. Песов А.И., Целиков Ф.И. К оценке устойчивости скальных откосов выемок и склонов на железных дорогах. Тезисы докладов XX республиканской научно-технической конференции профессорско-преподавательского состава Грузинского политехнического института, им. В.И. Ленина и работников производства, ч.1. Тбилиси, изд. Грузинского политехнического института, 1976.
23. Бер Г.Ю., Кленчель К.И., Рихбер Г.X. Инженерно-геологический надзор и оценка скальных откосов на Государственных железных дорогах ГДР. - Железнодорожная техника, 1968, № 16.
24. СНиП II-6-74. Строительные нормы и правила. Нормы проектирования. Нагрузки и воздействия.
25. СНиП II-50-74. Строительные нормы и правила. Нормы проектирования. Гидротехнические сооружения речные. Основные положения проектирования.
26. ГОСТ 20522-75. Грунты. Метод статистической обработки результатов определений характеристик.
27. СНиП II-15-74. Строительные нормы и правила. Нормы проектирования. Основания зданий и сооружений.
28. СНиП II-16-76. Строительные нормы и правила. Нормы проектирования. Основания гидротехнических сооружений.
29. СН 449-72. Указания по проектированию земляного полотна железных и автомобильных дорог.
30. Рекомендации по проектированию земляного полотна дорог в сложных инженерно-геологических условиях. М., ЦНИИС, 1974.
31. Фисенко Г.Л. Устойчивость бортов карьеров и отвалов. М., Недра, 1965.
32. Газиев Э.Г. Устойчивость скальных массивов и методы их закрепления. М., Стройиздат, 1977.
33. Методические указания по проектированию земляного полотна (выемок) в легковыветривающихся скальных породах. М., ЦНИИС, ,1974.
34. Методические указания по определению углов наклона бортов, откосов, уступов и отвалов строящихся и эксплуатируемых карьеров. Л., изд. ВНИМИ, ,1972.
35. Савков Л.В. К вопросу учета трещиноватости при расчетах устойчивости откосов в скальных породах. - Физико-технические проблемы разработки полезных ископаемых, № 1, Новосибирск, Наука, 1967.
36. Опыт оценки устойчивости склонов сложного геологического строения (под ред. Г.С. Золотарева). М., изд. МГУ, 1973.-
37. Шахунянц Г.М. Земляное полотно железных дорог. М., Трансжелдориздат, 1953.
38. Методика лабораторного определения прочности горных пород на сдвиг (срез). Л., изд. ВНИМИ, 1961.
39. Протодьяконов М.М. Обобщенное уравнение огибающих к предельным кругам напряжений Мора. В сб.: Исследование физико-механических свойств горных пород применительно к задачам управления горным давлением. М., изд. АН СССР, 1962.
40. 3вонарев Н.К., Кагермазова С.В. Предварительный расчет параметров осыпания откосов на карьерах в результате выветривания. - Известия высших учебных заведений. Геология и разведка, № 12, М„ 1969.
41. Жорняк С.Г., Серова Н.Н., Целиков Ф.И. Расчет объема осыпания продуктов выветривания в откосах скальных выемок. - Транспортное строительство, 1975, № 10.
42. Чирков С.Е. Влияние масштабного фактора на прочность углей. М., Наука, 1969.
43. Руководство по полевым исследованиям сопротивления скальных оснований гидросооружения сдвигу (П 01-73). Л., Энергия,1973.
44. СНиП II-В.2-71. Строительные нормы и правила. Нормы проектирования. Каменные и армокаменные конструкции.
45. СНиП II-21-75. Строительные нормы и правила. Нормы проектирования. Бетонные и железобетонные конструкции.
46. Строительные машины. Справочник. Машины для строительства промышленных, гражданских, гидротехнических сооружений и дорог, т. 1. М, Машиностроение, 1976.;
47. Барг И.3., Кутовой Э.Н. и др. Строительные краны (справочное пособие).
48. Корольков Н.М., Еремин В.Л. Путь и сооружения на горных железных дорогах. М., Транспорт, 1968.
49. Коновалов С.В., Орешкин Б.М. Организация и технология строительства дорог в сложных природных условиях. М., Высшая школа, 1968.
50. ВСН 126-78. Инструкция по применению анкеров и набрызг-бетона в качестве временной крепи выработок транспортных тоннелей.
51. Жуков В.Н. Укрепление скальных откосов и склонов предварительно напряженными анкерами. Сб. научных трудов Гидропроекта, вып. 68, М; изд. Гидропроекта, 1980.
52. Фисенко Г.Л., Ревазов М.А., Галустян Э.Л. Укрепление откосов в карьерах. М., Недра, 1974.
53. Peckover Е.L. Treatment of Rock Falls on Railway Lines. J. American Railway Engineering Association-Bulletin; 1975, Bulletin 653, v. 76, p. 471-503.
54. Нормативный справочник по буровзрывным работам. М., Недра, 1975.
55. Песов А.И., Адрианов Ю.А. Защита и укрепление откосов скальных выемок. М., Транспорт, 1970
56. Методические рекомендации по укреплению откосов земляного полотна в легковыветривающихся скальных породах. М., СоюздорНИИ, 1976.
57. Каталог машин, механизмов, оборудования, средств автоматизации и малой механизации, выпускаемых предприятиями Министерства транспортного строительства. М.; Оргтрансстрой, 1975.
58. Полозов М.А. Лесная защита пути от обвалов. - Путь и путевое хозяйство, 1960, № 4.
59. Кузнецов С.Е. Закрепление косогоров растительностью. Путь и путевое хозяйство, 1960, №7.
60. Флейшман С.М., Целиков Ф.И. Скальные выемки с путевыми улавливающими траншеями. М., Транспорт, 1964.
61. Песов А.И. Расчет улавливающих пазух с вогнутым и выпуклым очертанием откосов. Труды Грузинского политехнического института им. В. И. Ленина, №3 (69), Тбилиси, ГПИим. В. И. Ленина, 1960.
62. Цискаришвили Г.Д., Мойсцрапишвили Э.В., Сакварелидзе А.П., Песов А.И. Опыт проектирования, строительства и эксплуатации противообвальных улавливающих сооружений на Азербайджанской железной дороге. Труды Грузинского политехнического института им.В.И. Ленина, № 4 (160), Тбилиси, ГПИ им. В.И. Ленина, 1973.
63. Ройнишвили Н.М. Таблицы и графики для расчета габаритных размеров противообвальных защитных сооружений. Тбилисский институт инженеров ж.д.транспорта им.В.И. Ленина (информационное письмо). Тбилиси, изд. 1956.
64. Вraiопег С.О. Case Examples of Rock Stability on Rail Projects. J. American Railway Engineering Association-Bulletin, 1978, n. 668, vol. 79, p, 348-364.
65. Rochet M.G. Protection contre les eboulements rocheux par filets metalliques. Expomat-actualites, n.79, Fevrier, 1980, p.41-48.
66. Couvert J. L'eboulement d'ene entre Nice et Menton.La reconstruction. Revue Generale des Chemins de fer, 1977, v.12, p. 652-661.
67. Лурье Г.К., Местергази В.Е., Песов А.И., Целиков Ф.И. Определение вероятностных характеристик камнепадов. - Транспортное строительство, 1977, № 12.
68. Целиков Ф.И., Песов А.И. К вопросу расчета противообвальных сооружений на динамическое воздействие. - Транспортное строительство 1979, № 3.
69. Технический справочник железнодорожника, т. 2, Технические расчеты. М., Железнодорожное строительство, 1951.
70. ВСН 167-70. Технические указания по проектированию подпорных стен для транспортного строительства.
71. Сакварелидзе А.П., Мойсцрапишвили Э.В., Цискаришвнли Г.Д. Очистка пазух противообвальных сооружений нагорных участках Закавказской железной дороги. Труды Грузинского политехнического института им. В.И. Ленина, № 2(193), Тбилиси, изд. Грузинского политехнического института, 1977.
72. Методические рекомендации по проектированию противообвальных и противолавинных галерей и эстакад для пропуска скальных обвалов в районах северной строительно-климатической зоны. М., ЦНИПС, 1972.
73. СНиП II-B.3-72. Нормы проектирования. Стальные конструкции.
ИСПРАВЛЕНИЯ И ОПЕЧАТКИ
|
Стр. |
Строка, рис., приложение |
Напечатано |
Следует читать |
|
33 |
14 строка сверху |
в приложении 3 |
в приложении 2 |
|
33 |
1 строка снизу |
(см. приложение 3) |
(см. приложение 2) |
|
46 |
21 строка сверху |
в табл. 5 |
в табл. 4 |
|
47 |
8 строка сверху |
для объектов I и классов |
для объектов I и II классов |
|
54 |
Рис.21 |
Z' |
z0 |
|
60 |
10 строка сверху |
[54] |
[56] |
|
69 |
10 строка снизу |
(2) |
[2] |
|
76 |
14 строка сверху |
с рис. 32 и 33 |
с рис. Э2 |
|
76 |
11 строка снизу |
согласно табл. 5, приведенной в приложении l4 |
Согласно приложению 14 |
|
88 |
11 строка снизу |
Типографическим |
топографическими |
|
102 |
Рис.1 приложения 2 |
α |
αm |
|
103 |
Рис. 2 приложения 2 |
φ |
φк |
|
106 |
Приложение 3 |
φ |
φк |
|
106 |
Приложение 3 |
а |
a'" |
|
129 |
№ пп 16 |
шт. мес.м2 |
кг мес.м2 |
|
131 |
4 строка сверху |
|
ll |
|
131 |
12 строка сверху |
αв |
α |
|
142 |
Рис. 8 |
l |
lT |
|
ГОСТЫ, СТРОИТЕЛЬНЫЕ и ТЕХНИЧЕСКИЕ НОРМАТИВЫ. Некоммерческая онлайн система, содержащая все Российские Госты, национальные Стандарты и нормативы. В Системе содержится более 150000 файлов нормативно-технической документации, действующей на территории РФ. Система предназначена для широкого круга инженерно-технических специалистов. Copyright © www.gostrf.com, 2008 - 2026 |