|
|
|
ФЕДЕРАЛЬНОЕ АГЕНТСТВО
Система сертификации ГОСТ Р
|
|||||||||||||||||||||||||||||||||||||||||||||||||||||||||||||||||||||||||||||||||||||||||||||||||||||||||||||||||||||||||||||||||||||||||||||||||||||||||||||
|
|
Москва Стандартинформ 2006 |
Предисловие
Цели и принципы стандартизации в Российской Федерации установлены Федеральным законом от 27 декабря 2002 г. № 184-ФЗ «О техническом регулировании», а правила применения национальных стандартов Российской Федерации - ГОСТ Р 1.0-2004 «Стандартизация в Российской Федерации. Основные положения»
1 РАЗРАБОТАН Открытым акционерным обществом Всероссийский научно-исследовательский институт сертификации (ОАО «ВНИИС»)
2 ВНЕСЕН Управлением технического регулирования и стандартизации Федерального агентства по техническому регулированию и метрологии
3 УТВЕРЖДЕН И ВВЕДЕН В ДЕЙСТВИЕ Приказом Федерального агентства по техническому регулированию и метрологии от 14 ноября 2005 г. № 287-ст
4 ВВЕДЕН ВПЕРВЫЕ
Информация об изменениях к настоящему стандарту публикуется в ежегодно издаваемом информационном указателе «Национальные стандарты», а текст изменений и поправок - в ежемесячно издаваемых информационных указателях «Национальные стандарты». В случае пересмотра (замены) или отмены настоящего стандарта соответствующее уведомление будет опубликовано в ежемесячно издаваемом информационном указателе «Национальные стандарты». Соответствующая информация, уведомления и тексты размещаются также в информационной системе общего пользования - на официальном сайте национального органа Российской Федерации по стандартизации в сети Интернет
Содержание
Введение
Настоящий стандарт устанавливает порядок сертификации систем менеджмента качества на соответствие требованиям ГОСТ Р ИСО 9001 в Системе сертификации ГОСТ Р.
Настоящий стандарт разработан на основе рекомендаций по сертификации Р 50.3.005-2003 «Система сертификации ГОСТ Р. Регистр систем качества. Временный порядок сертификации систем менеджмента качества на соответствие ГОСТ Р ИСО 9001-2001 (ИСО 9001:2000)» и учитывает опыт использования указанных рекомендаций в практике работ по сертификации систем менеджмента качества.
В настоящем стандарте учтены также положения следующих документов:
Руководящие указания Международного форума по аккредитации (МФА) (International Accreditation Forum Inc.) по применению Руководства ИСО/МЭК 62, изд. 2, 2001 г.
Методический документ ИСО/ТК 176/ПК 2, № 665 от 06.12.2003 «Рекомендации по использованию 1.2 «Применение» ИСО 9001:2000».
GOST R
certification system. Register of quality systems.
Certification procedure of quality management systems to accordance with
GOST R ISO 9001-2001 (ISO 9001:2000)
Настоящий стандарт устанавливает порядок сертификации систем менеджмента качества на соответствие требованиям ГОСТ Р ИСО 9001 в Системе сертификации ГОСТ Р. Стандарт предназначен для применения органами по сертификации систем менеджмента качества (далее - органами по сертификации) Системы сертификации ГОСТ Р, организациями, претендующими на получение сертификата соответствия системы менеджмента качества, организациями - держателями таких сертификатов.
В настоящем стандарте использованы ссылки на следующие стандарты:
ГОСТ Р ИСО/МЭК 62-2000 Общие требования к органам, осуществляющим оценку и сертификацию систем качества
ГОСТ Р ИСО 9000-2001 (ИСО 9000:2000) Системы менеджмента качества. Основные положения и словарь
ГОСТ Р ИСО 9001-2001 (ИСО 9001:2000) Системы менеджмента качества. Требования
ГОСТ Р ИСО 9004-2001 (ИСО 9004:2000) Системы менеджмента качества. Рекомендации по улучшению деятельности
ГОСТ Р ИСО 19011-2003 Руководящие указания по аудиту систем менеджмента качества и/или систем экологического менеджмента
Примечание - При пользовании настоящим стандартом целесообразно проверить действие ссылочных стандартов в информационной системе общего пользования - на официальном сайте национального органа Российской Федерации по стандартизации в сети Интернет или по ежегодно издаваемому информационному указателю «Национальные стандарты», который опубликован по состоянию на 1 января текущего года, и по соответствующим ежемесячно издаваемым информационным указателям, опубликованным в текущем году. Если ссылочный документ заменен (изменен), то при пользовании настоящим стандартом следует руководствоваться замененным (измененным) документом. Если ссылочный документ отменен без замены, то положение, в котором дана ссылка на него, применяется в части, не затрагивающей эту ссылку.
В настоящем стандарте применены термины по ГОСТ Р ИСО 9000 и ГОСТ Р ИСО 19011, а также следующие термины с соответствующими определениями:
3.1 система менеджмента качества: Система менеджмента для руководства и управления организацией применительно к качеству.
3.2 элементы системы менеджмента качества: Составные части системы, требования к которым установлены в пунктах ГОСТ Р ИСО 9001, не разделенных на подпункты с цифровым обозначением.
Примечание - Данное определение приводится только для целей сертификации систем менеджмента качества.
3.3 заказчик: Организация, обратившаяся в орган по сертификации с заявкой на проведение работ по сертификации системы менеджмента качества.
3.4 аудит [проверка]*: Систематический независимый и документированный процесс получения свидетельств аудита и объективного их оценивания с целью установления степени выполнения согласованных критериев аудита.
Примечания
1 Внутренние аудиты, называемые аудитами первой стороны, проводит для внутренних целей сама организация или от ее имени другая организация. Результаты внутреннего аудита могут служить основанием для декларации о соответствии. Во многих случаях, особенно на малых предприятиях, аудит должен проводиться специалистами (людьми, не несущими ответственность за проверяемую деятельность).
2 Внешние аудиты включают аудиты, называемые аудитами второй стороны и аудитами третьей стороны.
Аудиты второй стороны проводят стороны, заинтересованные в деятельности предприятия, например, потребители или другие лица от их имени. Аудиты третьей стороны проводят внешние независимые организации. Эти организации проводят сертификацию или регистрацию на соответствие требованиям, например, требованиям ГОСТ Р ИСО 9001 и ГОСТ Р ИСО 14001.
3 Аудит систем менеджмента качества и экологического менеджмента, проводимый одновременно, называют комплексным аудитом.
4 Если аудит проверяемой организации проводят одновременно несколько организаций, такой аудит называют совместным.
* Наличие квадратных скобок в терминологической статье означает, что в нее включены два термина, имеющие общие терминоэлементы (здесь и далее).
3.5 проверяемая организация: Организация, подвергающаяся аудиту.
3.6 программа аудита: Совокупность одного или нескольких аудитов, запланированных на конкретный период времени и направленных на достижение конкретной цели.
Примечание - Программа аудита включает всю деятельность, необходимую для планирования, организации и проведения аудитов.
3.7 план аудита: Описание деятельности и мероприятий по проведению аудита.
3.8 критерии аудита: Совокупность политики, процедур или требований.
Примечание - Критерии аудита используют для сопоставления с ними свидетельств аудита, приведенных в ГОСТ Р ИСО 19011.
3.9 свидетельства аудита: Записи, изложение фактов или другая информация, которые имеют отношение к критериям аудита и могут быть проверены.
Примечание - Свидетельства аудита могут быть качественными или количественными в соответствии с требованиями ГОСТ Р ИСО 19011.
3.10 выводы [наблюдения] аудита: Результат оценки собранных свидетельств аудита на соответствие критериям аудита.
Примечание - Выводы аудита могут указывать на соответствие или несоответствие критериям аудита или на возможности улучшения по ГОСТ Р ИСО 19011.
3.11 область аудита: Содержание и границы аудита.
Примечание - Область аудита обычно включает местонахождение, организационную структуру, виды деятельности и процессов, а также охватываемый период времени в соответствии с ГОСТ Р ИСО 19011.
3.12 эксперт [аудитор] по сертификации систем менеджмента качества: Эксперт, получивший в Регистре Системы сертификации персонала Федерального агентства по техническому регулированию и метрологии сертификат на право проведения аудита систем менеджмента качества.
3.13 комиссия: Один или несколько экспертов, проводящих аудит, и технические эксперты, привлекаемые при необходимости.
Примечания
1 Одного из экспертов назначают председателем комиссии.
2 Председатель комиссии должен иметь опыт участия не менее чем в трех полных (не менее 15 дней) аудитах в качестве эксперта по сертификации систем менеджмента качества и обладать навыками, необходимыми для эффективного руководства комиссией в процессе аудита.
3 В комиссию допускается включать стажеров.
3.14 технический эксперт: Лицо, обладающее специальными знаниями или опытом работы с объектом, подвергаемым аудиту.
Примечания
Специальные знания или опыт включают знания или опыт применительно к организации, процессу или деятельности, подвергаемой аудиту, а также знание языка или культуры страны, в которой проводится аудит.
Технический эксперт не имеет полномочий эксперта в комиссии в соответствии с требованиями ГОСТ Р ИСО 19011.
3.15 держатель сертификата: Организация, на чье имя выдан сертификат соответствия.
3.16 компетентность: Проявленные личные качества и выраженная способность применять свои знания и навыки.
3.17 соответствие: Выполнение требования.
Примечание - Установленным требованием по ГОСТ Р ИСО 9001 считают любую норму, введенную модальным глаголом «должен».
3.18 несоответствие: Невыполнение требования.
3.19 значительное несоответствие (категория 1): Несоответствие системы менеджмента качества, которое с большой вероятностью может повлечь невыполнение требований потребителей и/или обязательных требований к продукции.
Примечание - К значительным несоответствиям может быть отнесено отсутствие элемента или совокупности элементов системы и/или отсутствие их результативного функционирования.
3.20 малозначительное несоответствие (категория 2): Отдельное несистематическое упущение, ошибка, недочет в функционировании системы менеджмента качества или в документации, которые могут привести к невыполнению требований потребителя и/или обязательных требований к продукции, или к снижению результативности функционирования элемента (совокупности элементов) системы менеджмента качества.
3.21 уведомление: Свидетельство аудита, не носящее характер несоответствия и фиксируемое с целью предотвращения возможного несоответствия.
3.22 область применения системы менеджмента качества: Совокупность видов продукции (услуг) и процессов их жизненного цикла, охватываемых системой менеджмента качества.
3.23 область сертификации: Область применения системы менеджмента качества, заявляемая заказчиком и подтверждаемая органом по сертификации с учетом допустимых исключений согласно 1.2 ГОСТ Р ИСО 9001.
При проведении/по результатам сертификации систем менеджмента качества (далее - СМК) определяют:
- степень соответствия СМК проверяемой организации требованиям ГОСТ Р ИСО 9001;
- результативность СМК.
5.1 Работы по сертификации СМК проводят в соответствии с ГОСТ Р ИСО/МЭК 62, ГОСТ Р ИСО 19011 и настоящим стандартом аккредитованные в системе ГОСТ Р органы по сертификации систем качества.
5.2 Условием проведения сертификации СМК является наличие в организации документально оформленной и внедренной СМК.
5.3 К работе по сертификации СМК привлекают экспертов (аудиторов) по сертификации систем качества, зарегистрированных в Регистре Системы сертификации персонала Федерального агентства по техническому регулированию и метрологии, и, при необходимости, технических экспертов.
5.4 Область применения СМК определяет и заявляет заказчик, область сертификации СМК определяет орган по сертификации по результатам аудита.
6.1 Объекты аудита при сертификации СМК
При сертификации СМК объектами аудита являются:
- область применения СМК;
- соответствие качества продукции требованиям потребителей и обязательным требованиям к этой продукции;
- полнота и точность отражения требований ГОСТ Р ИСО 9001 в документации на СМК;
- функционирование процессов СМК в отношении фактического выполнения требований документации системы и обеспечения результативности СМК.
6.2 Проверка области применения СМК
При проверке области применения СМК анализируют область, определенную в заявке на сертификацию СМК.
Проверяют:
а) все ли виды продукции и процессы жизненного цикла, указанные в заявке, охватываются СМК;
б) правомерность исключений из требований к СМК организации требований раздела 7 ГОСТ Р ИСО 9001 к процессам жизненного цикла продукции, если такие исключения указаны в заявке в соответствии с 1.2 ГОСТ Р ИСО 9001.
Анализ исключений проводят для каждого вида продукции, указанного в заявке на сертификацию. Подробное обоснование таких исключений должно быть дано в соответствующем разделе руководства по качеству.
Неправомерное исключение требований раздела 7 ГОСТ Р ИСО 9001 к СМК или исключение требований других разделов ГОСТ Р ИСО 9001 рассматривается как несоответствие.
Проверка и анализ области применения СМК может осуществляться на протяжении всего процесса сертификации.
Примечание - Организация не должна исключать из области применения СМК процессы жизненного цикла продукции, влияющие на соответствие продукции установленным требованиям, или другие процессы, которые осуществляет сама организация или передает (поручает, закупает) другим организациям в соответствии с договорами (контрактами) или другими обязательствами.
6.3 Проверка и оценка соответствия качества продукции требованиям потребителей и обязательным требованиям
Соответствие качества продукции установленным требованиям оценивают на основе:
- данных о требованиях, относящихся к продукции, которые организация должна выполнять (7.2.1; 7.2.3, перечисления а) - в) ГОСТ Р ИСО 9001);
- результатов анализа данных, касающихся удовлетворенности потребителей (5.6.2, перечисление б); 5.6.3, перечисление б); 7.2.3, перечисление в); 8.2.1, ГОСТ Р ИСО 9001);
- данных о качестве продукции, полученных от организаций, уполномоченных осуществлять государственный контроль и надзор за качеством продукции;
- данных мониторинга и измерений продукции на стадиях ее жизненного цикла, указанных в 8.2.4 ГОСТ Р ИСО 9001.
Примечания
1 Сертификация СМК не предусматривает проведение специально запланированных испытаний, анализа или измерений показателей качества продукции. Если у членов комиссии возникают сомнения в качестве продукции или достоверности проводимых испытаний, эксперты могут участвовать в испытаниях продукции, проводимых проверяемой организацией.
2 Если в соответствии с действующим в Российской Федерации законодательством применительно к продукции (услугам) предъявляют обязательные для соблюдения требования, установленные государственными стандартами или другими нормативными документами, то при сертификации СМК проверяют, может ли система контроля и испытаний качества продукции проверять соблюдение этих требований.
6.4 Проверка соответствия документации СМК требованиям ГОСТ Р ИСО 9001
6.4.1 Комплект документации СМК должен соответствовать требованиям 4.2.1 ГОСТ Р ИСО 9001.
При проверке содержания документации анализируют, все ли требования ГОСТ Р ИСО 9001 к документации учтены в СМК.
6.4.2 Орган по сертификации должен проверять соответствие политики и целей в области качества требованиям 5.3 и 5.4.1 ГОСТ Р ИСО 9001 соответственно.
6.4.3 Орган по сертификации проверяет руководство по качеству на соответствие требованиям 4.2.2 ГОСТ Р ИСО 9001, учитывая при этом, что стандарт содержит минимально необходимый объем требований к руководству по качеству.
Фактические объем, структуру и содержание руководства по качеству определяет проверяемая организация.
Примечание - Объем, структура и содержание руководства зависят от размера и специфики деятельности организации. Небольшие организации (малые предприятия) могут включать в руководство описание всей системы менеджмента качества, а также все документированные процедуры, требуемые ГОСТ Р ИСО 9001 или настоящим стандартом. Для крупных компаний, возможно, потребуется несколько руководств по качеству, действующих по иерархии управления компанией (возможно, на национальном, региональном и других уровнях).
6.4.4 Проверяют наличие документов, необходимых организации для обеспечения эффективного планирования, осуществления процессов и управления ими.
6.4.5 Проверяют наличие следующих обязательных документированных процедур и их соответствие требованиям следующих пунктов ГОСТ Р ИСО 9001:
- управление документацией - 4.2.3;
- управление записями - 4.2.4;
- внутренние аудиты - 8.2.2;
- управление несоответствующей продукцией - 8.3;
- корректирующие действия - 8.5.2;
- предупреждающие действия - 8.5.3.
Примечание - Допускается объединять процедуры по нескольким видам деятельности в один документ (например, процедуры выполнения корректирующих и предупреждающих действий).
6.4.6 Проверке подлежат записи, указанные в следующих пунктах ГОСТ Р ИСО 9001 (с учетом допустимых исключений):
а) анализ со стороны руководства - 5.6.1;
б) образование, подготовка, навыки и опыт персонала - 6.2.2, перечисление д);
в) свидетельства соответствия процессов жизненного цикла продукции и произведенной продукции установленным требованиям - 7.1, перечисление г);
г) результаты анализа и последующих действий, вытекающих из анализа требований, относящихся к продукции, - 7.2.2;
д) входные данные для проектирования и разработки, относящиеся к требованиям к продукции, - 7.3.2;
е) результаты анализа проекта и разработки и всех необходимых при этом действий - 7.3.4;
ж) результаты верификации проекта и разработки и всех необходимых при этом действий - 7.3.5;
и) результаты валидации проекта и разработки и всех необходимых при этом действий - 7.3.6;
к) результаты анализа изменений проекта и разработки и любых необходимых при этом действий-7.3.7;
л) результаты оценивания поставщиков и любых необходимых действий, вытекающих из оценки,-7.4.1;
м) осуществление валидации процессов производства и обслуживания продукции в соответствии с установленными организацией требованиями - 7.5.2, перечисление г);
н) осуществление идентификации продукции и ее регистрации для обеспечения прослеживаемости продукции - 7.5.3;
п) случаи утери, повреждения или признания непригодной для использования собственности (в том числе интеллектуальной) потребителя, а также записи об извещении потребителя о таких случаях - 7.5.4;
р) регистрация метрологической базы, используемой для калибровки или поверки устройств для мониторинга и измерений (при отсутствии международных или национальных эталонов), - 7.6, перечисление а);
с) регистрация правомочности предыдущих результатов измерения, если обнаружено, что оборудование не соответствует требованиям, - 7.6;
т) результаты калибровки и поверки устройств для мониторинга и измерений - 7.6;
у) планирование и проведение внутренних аудитов - 8.2.2;
ф) идентификация лица (лиц), санкционировавшего(их) выпуск продукции, - 8.2.4;
х) свидетельства соответствия продукции критериям приемки - 8.2.4;
ц) характер несоответствий и любых последующих предпринятых действий, включая полученные разрешения на отклонения, - 8.3;
ч) результаты предпринятых корректирующих действий - 8.5.2;
ш) результаты предпринятых предупреждающих действий - 8.5.3.
Примечание - Орган по сертификации должен учитывать, что организации могут разрабатывать и применять дополнительно другие записи, необходимые для регистрации функционирования процессов системы менеджмента качества и соответствия качества продукции предъявляемым требованиям.
6.5 Проверка соответствия функционирования процессов СМК требованиям, установленным в документах СМК и ГОСТ Р ИСО 9001
Орган по сертификации должен проверять и оценивать идентифицированные организацией процессы, необходимые для СМК, их применение ко всей организации, представленные объективные свидетельства их результативности и эффективности (по желанию проверяемой организации).
Объективные свидетельства могут быть получены из источников информации, приведенных в 7.5.2.2.
7.1.1 Сертификация СМК состоит из шести этапов:
1- организация работ;
2- анализ документов СМК организации;
3- подготовка к аудиту «на месте»;
4- проведение аудита «на месте» и подготовка акта по результатам аудита;
5- завершение сертификации, регистрация и выдача сертификата;
6- инспекционный контроль сертифицированной СМК.
7.1.2 Блок-схема деятельности по сертификации СМК приведена в приложении А.
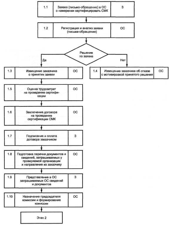
7.2.1 Основанием для начала работ может служить письмо-обращение в произвольной форме или заявка, форма которой приведена в приложении Б, направленная заказчиком в орган по сертификации.
7.2.2 Орган по сертификации регистрирует письмо-обращение (заявку) и проводит анализ письма-обращения (заявки) для определения возможности проведения сертификации с учетом:
- оценки соответствия области применения СМК области аккредитации органа по сертификации;
- наличия в органе по сертификации необходимой информации для планирования аудита (местоположение организации, численность работников, предпочтительные сроки проведения аудита, рабочий язык аудита и др.);
- наличия у органа по сертификации возможности проведения работ в сроки, предпочтительные для заказчика, и наличия соответствующих ресурсов.
Примечание - При направлении в орган по сертификации письма-обращения и подтверждении возможности проведения сертификации заказчик оформляет заявку на сертификацию на официальном бланке и направляет ее в орган по сертификации.
Орган по сертификации письменно извещает заказчика о решении принять/не принять заявку на сертификацию СМК.
В случае отказа орган по сертификации приводит в извещении основание для отрицательного решения.
Форма извещения о результатах рассмотрения заявки приведена в приложении В.
После получения извещения о принятии заявки от органа по сертификации заказчик оплачивает органу по сертификации регистрационный взнос (три минимальных размера оплаты труда), который включается в стоимость работ по договору на проведение сертификации СМК.
7.2.3 Заключение договора на проведение сертификации СМК
В случае положительного решения о принятии заявки на СМК орган по сертификации и заказчик заключают договор.
Перед заключением договора орган по сертификации проводит оценку трудозатрат на проведение сертификации, используя данные, приведенные в рекомендациях по стандартизации [1].
В связи с тем, что работы органа по сертификации должны быть оплачены в полном объеме независимо от результатов аудита, в договоре целесообразно предусмотреть предварительное поступление на счет органа по сертификации всей суммы оплаты до начала работ. Допускается возможность двухэтапной оплаты работ (рисунок А.2 приложения А).
7.2.4 Подготовка комплекта документов заказчиком
После оплаты работ по договору орган по сертификации направляет заказчику перечень сведений и документов СМК, представляемых проверяемой организацией (заказчиком) в обязательном порядке, а также перечень дополнительных документов (включая записи), представляемых по запросу органа по сертификации, указанных в приложении Г.
Заказчик представляет в орган по сертификации заполненный бланк заявки в одном экземпляре (в случае, если ранее было направлено письмо-обращение) и запрашиваемые сведения и документы СМК в одном экземпляре на бумажном носителе (часть сведений и документов может быть представлена в электронном виде).
Полученные документы остаются в органе по сертификации в качестве контрольных экземпляров.
Примечание - Заявку, запрошенные сведения и документы оформляют на русском языке или на языке, применяемом заказчиком и согласованном с органом по сертификации.
7.2.5 Формирование комиссии по сертификации
После представления заказчиком запрошенных сведений и документов распоряжением руководства органа по сертификации назначается председатель комиссии и формируется комиссия по сертификации.
Комиссия может состоять из одного или нескольких экспертов. Если аудит осуществляет один эксперт, он выполняет обязанности председателя комиссии.
При определении численности и состава комиссии необходимо учитывать:
- цели, область и критерии аудита;
- сроки проведения аудита;
- вид (виды) экономической деятельности организации;
- количество производственных площадок (филиалов) проверяемой организации с различным местоположением;
- численность работников проверяемой организации;
- трудозатраты на проведение аудита;
- необходимость обеспечения совокупной компетентности комиссии для достижения целей аудита;
- требования законодательных и иных нормативных правовых актов, технических регламентов, применимых к проводимой оценке;
- обеспечение независимости членов комиссии от сертифицируемой организации;
- возможность членов комиссии результативно взаимодействовать с проверяемой организацией;
- язык аудита.
Для подтверждения совокупной компетентности комиссии необходимо:
- идентифицировать знания и навыки, необходимые для достижения целей аудита;
- выбрать членов комиссии таким образом, чтобы комиссия в совокупности обладала знаниями критериев, процедур и методов аудита, а также специальными знаниями специфики производственных процессов.
Если эксперты в комиссии в совокупности не обладают необходимыми знаниями и опытом по конкретным видам экономической деятельности, то в комиссию должен быть включен(ы) технический(е) эксперт(ы).
В состав комиссии не могут быть включены представители проверяемой организации, а также представители организаций, заинтересованных в результатах сертификации.
В состав комиссии могут быть включены стажеры, работающие под руководством и наблюдением председателя комиссии.
Состав комиссии утверждает руководство органа по сертификации.
Примечания
1 Орган по сертификации по просьбе заказчика (проверяемой организации) может заменить конкретного члена комиссии по обоснованным мотивам, например, предлагаемый член комиссии ранее работал в проверяемой организации или во время предыдущего аудита проявлял неэтичное поведение и др. Возникающие претензии к составу комиссии должны быть разрешены до начала аудита «на месте».
2 Технические эксперты и стажеры при рассмотрении свидетельств и формировании выводов (наблюдений) аудита имеют только право совещательного голоса.
7.3.1 Анализ документов СМК проверяемой организации проводят для определения соответствия документов системы требованиям ГОСТ Р ИСО 9001.
При необходимости по согласованию с проверяемой организацией орган по сертификации может командировать своего представителя для предварительного ознакомления на месте с СМК проверяемой организации или решения неясных (спорных) вопросов. Оплата такой командировки оговаривается с заказчиком на условиях дополнительного договора или дополнительного соглашения к существующему договору.
Одновременно с анализом исходных документов, поступивших от проверяемой организации, комиссия организует сбор и анализ дополнительных сведений о качестве продукции (услуг) организации, применительно к которой сертифицируется СМК. Источниками информации при этом могут служить потребители, органы государственного надзора и контроля, общества потребителей, гарантийные мастерские, торговые организации и др.
7.3.2 Анализ завершается оформлением письменного отчета о предварительной проверке документов СМК, в котором наряду с выявленными замечаниями формулируют заключение о возможности или невозможности проведения аудита СМК «на месте».
Отчет, подписанный председателем комиссии и экспертами, проводившими анализ, орган по сертификации направляет проверяемой организации не позднее, чем за две недели до начала аудита «на месте».
После устранения отмеченных в отчете несоответствий заказчик может направить в орган по сертификации доработанные документы для возобновления работ по оценке СМК. Выполнение работ по повторному анализу документов может осуществляться в рамках дополнительного соглашения к договору.
7.4.1 Предварительное взаимодействие с проверяемой организацией (заказчиком)
Предварительное взаимодействие с проверяемой организацией проводит председатель комиссии с целью:
- определения каналов обмена информацией с проверяемой организацией;
- согласования порядка доступа к соответствующим документам;
- согласования процедур обеспечения безопасности деятельности экспертов на производственных площадках;
- определения представителей проверяемой организации (лиц, сопровождающих экспертов), принимающих участие в аудите.
7.4.2 Разработка плана аудита
Председатель комиссии подготавливает план аудита, включающий:
- цели аудита;
- базу аудита;
- сроки и график проведения аудита, включая предварительное и заключительное совещания с руководством проверяемой организации и обзорное ознакомление комиссии с организацией;
- область аудита, включая идентификацию структурных подразделений, включенных в СМК проверяемой организации;
- даты посещения структурных подразделений, где будет проводиться аудит;
- проверяемые элементы СМК (пункты ГОСТ Р ИСО 9001);
- идентификацию членов комиссии, ответственных за выполнение плана аудита;
- идентификацию представителей проверяемой организации (лиц, сопровождающих экспертов);
- требования конфиденциальности.
Форма плана аудита СМК приведена в приложении Д.
Примечания
Если продукция подлежит обязательной сертификации, то в план аудита должна быть включена система контроля и испытаний продукции, указанная в 6.3, примечание 2.
План аудита должен включать также указание на рабочий язык аудита в случае, если есть различия между языками, на которых говорят эксперты и персонал проверяемой организации.
План аудита формируют с учетом нормативной трудоемкости, определенной согласно [1].
План аудита утверждает руководство органа по сертификации.
7.4.3 План аудита должен быть доведен до сведения проверяемой организации до начала аудита «на месте».
Любые возражения проверяемой организации должны быть разрешены до начала аудита председателем комиссии и представителем проверяемой организации, имеющим соответствующие полномочия.
В ходе аудита председатель комиссии вправе вносить изменения в план аудита, которые должны быть согласованы с проверяемой организацией.
Особенности проведения аудита организаций, имеющих несколько производственных площадок (филиалов) для производства однотипной продукции, приведены в [1].
7.4.4 Распределение обязанностей между членами комиссии
Если комиссия состоит из нескольких экспертов, председатель комиссии, руководствуясь планом аудита, по согласованию с членами комиссии распределяет между ними обязанности по аудиту конкретных подразделений, видов деятельности, процессов и процедур СМК проверяемой организации.
При распределении обязанностей учитывают необходимость соответствия компетентности экспертов и технических экспертов проверяемым видам деятельности организации согласно плану аудита.
7.4.5 Подготовка рабочих документов
Подготовку рабочих документов ведут эксперты под руководством председателя комиссии. При подготовке к аудиту можно использовать типовые формы, разработанные органом по сертификации. Рабочие документы должны включать:
- контрольные перечни вопросов и планы выборочного контроля деятельности структурных подразделений;
- бланки регистрации несоответствий и уведомлений.
Орган по сертификации обеспечивает сохранность рабочих документов и любых записей по аудиту до завершения аудита.
Примечание - Использование рабочих документов не должно ограничивать деятельность по аудиту, которая может изменяться в результате анализа собранной в ходе аудита информации.
7.5.1Предварительное совещание
Предварительное совещание проводят под руководством председателя комиссии с участием членов комиссии, руководства и ведущих специалистов проверяемой организации.
Участники совещания должны быть зарегистрированы.
Целью предварительного совещания является:
- подтверждение возможности реализации плана аудита;
- краткое изложение используемых методов и процедур аудита;
- установление официальных процедур взаимодействия между членами комиссии и сотрудниками проверяемой организации;
- обсуждение возникших вопросов.
На предварительном совещании председатель комиссии должен:
- представить участников комиссии с указанием их роли в проведении аудита;
- сообщить график проведения работ по аудиту, дату и время заключительного совещания и других мероприятий, касающихся аудита, таких как промежуточные совещания, проводимые комиссией и руководством проверяемой организации;
- кратко ознакомить с методами и процедурами аудита;
- проинформировать организацию о том, что аудит является выборочным и поэтому результаты оценки носят вероятностный характер;
- сообщить о рабочем языке аудита (в случае необходимости);
- сообщить о порядке информирования проверяемой организации о ходе аудита;
- подтвердить соблюдение комиссией требований конфиденциальности;
- подтвердить порядок обеспечения требований безопасности и охраны здоровья для членов комиссии;
- проинформировать о правилах классификации наблюдений и принятия решений по результатам сертификации;
- ознакомить с правилами составления акта;
- проинформировать об условиях, при которых аудит может быть прекращен;
- проинформировать о задачах проверяемой организации и последующих действиях органа по сертификации в случае, если акт будет содержать несоответствия.
7.5.2 Аудит СМК «на месте»
7.5.2.1 Общие положения
Объекты аудита приведены в разделе 6.
Перечень проверяемых элементов СМК приведен в приложении Е.
В ходе аудита председатель комиссии периодически информирует проверяемую организацию о ходе аудита.
Члены комиссии должны периодически обмениваться информацией и оценивать результаты наблюдений. Председатель комиссии при необходимости может перераспределять выполняемые функции экспертов и технических экспертов.
Ежедневно в конце рабочего дня председатель комиссии должен проводить рабочие совещания членов комиссии.
Информацию, полученную в ходе аудита, свидетельствующую о наличии непосредственного риска нарушения требований к качеству продукции, к производственным процессам или производственной среде, немедленно доводят до сведения руководства проверяемой организации.
Если свидетельства аудита указывают на то, что цели аудита недостижимы, председатель комиссии докладывает о причинах этого в орган по сертификации и руководству проверяемой организации для определения дальнейших действий: корректировки плана аудита, изменения области и/или объектов аудита или прекращения аудита.
7.5.2.2 Сбор, проверка и регистрация данных
Комиссия собирает и проверяет информацию, касающуюся области и объектов аудита, включая информацию о взаимодействии структурных подразделений предприятия и процессов СМК. Только проверенная информация может быть свидетельством аудита.
В качестве источников информации используют:
- интервью с работниками проверяемой организации;
- собственные наблюдения экспертов за деятельностью персонала, функционированием процессов, условиями труда и состоянием рабочих мест;
- данные обратной связи от потребителей;
- документы СМК, такие как политика и цели в области качества, руководство по качеству, планы по качеству, стандарты организации (документированные процедуры), технологические регламенты (технологические процессы), положения, инструкции, внешнюю нормативную и техническую документацию, договоры, контракты и др.;
- документы, содержащие данные о процессах СМК (записи), такие как акты (отчеты) по внутренним аудитам, отчеты об анализе со стороны руководства, протоколы испытаний продукции, решения совещаний по проблемам качества, информация по результатам мониторинга и измерений продукции и процессов, рабочие журналы, заполненные ведомости, формы, бланки и др.;
- данные обзоров, анализов результативности функционирования СМК;
- результаты оценки и рейтинги поставщиков.
Информация, полученная из указанных источников, должна быть проверена на объективность, непротиворечивость и адекватность.
7.5.2.3Формирование выводов (наблюдений) аудита
Полученная и проверенная информация по объектам аудита или свидетельства аудита должны быть сопоставлены с критериями аудита для получения выводов (наблюдений) аудита.
Выводы аудита могут указывать на соответствие или несоответствие СМК проверяемой организации критериям аудита. Выводы аудита могут касаться и предотвращения возможных отклонений; тогда они классифицируются как уведомления.
Члены комиссии должны совместно систематически анализировать получаемые выводы по ходу аудита.
Свидетельства должны быть обобщены с указанием мест наблюдений, функций, процессов и требований, которые были проверены. Несоответствия, уведомления и подтверждающие их свидетельства аудита должны быть зарегистрированы.
7.5.2.4 Классификация и регистрация выводов
В ходе аудита СМК все обнаруженные отклонения объектов аудита от требований ГОСТ Р ИСО 9001 и документов СМК организации должны быть тщательно рассмотрены и классифицированы комиссией согласно 3.17-3.20 в зависимости от степени несоответствия рассматриваемого объекта аудита.
Выводы, сделанные в ходе аудита, классифицируют с целью выполнения проверяемой организацией корректирующих действий (для устранения причин несоответствий), адекватных последствиям выявленных несоответствий, принятия органом по сертификации решения о выдаче, подтверждении, приостановлении или отмене действия сертификата, а также расширения или сужения области сертификации.
Неоднократное повторение малозначительных несоответствий одного вида (связанных с одним и тем же элементом СМК) дает основание для перевода их в значительное несоответствие.
Окончательное решение по отнесению несоответствий к определенным категориям принимает председатель комиссии.
Обнаруженные несоответствия и уведомления регистрируют на бланках, формы которых приведены в приложениях Ж и И. Исправления на бланках не допускаются.
Зарегистрированные несоответствия и уведомления официально представляют руководству проверяемой организации.
Примечание - В случае разногласий с уполномоченным представителем проверяемой организации, касающихся выводов комиссии, председатель комиссии решает вопросы с руководством организации.
7.5.2.5 Действия с несоответствиями и уведомлениями
Действия с несоответствиями и уведомлениями состоят из следующих этапов:
- комиссия официально представляет руководству проверяемой организации зарегистрированные несоответствия и уведомления, при этом возможно обсуждение и рассмотрение аргументов организации по поводу зарегистрированных несоответствий и уведомлений;
- если организация устранит несоответствия и учтет уведомления, о чем представит убедительные свидетельства во время работы комиссии, комиссия снимает такое несоответствие или уведомление соответствующим оформлением листа регистрации по данному несоответствию или уведомлению. Количество снятых несоответствий и учтенных уведомлений фиксируют в акте, но не учитывают при принятии решения о выдаче (невыдаче) сертификата соответствия;
- если несоответствия и уведомления комиссией доказаны, то уполномоченный представитель руководства проверяемой организации ставит свою подпись на бланках регистрации несоответствий и уведомлений.
Примечание - При наличии неразрешимых разногласий между комиссией и руководством проверяемой организации оформляют протокол разногласий. Протокол разногласий представляют в комиссию по апелляциям органа по сертификации. В случае отрицательного решения по разногласиям работы по сертификации начинают с 7.2;
- организация проводит анализ причин несоответствий и уведомлений и планирует проведение корректирующих действий;
- в случае возникновения затруднений у проверяемой организации при планировании корректирующих действий в период сертификационного аудита орган по сертификации вправе предоставить дополнительно одну неделю (от даты проведения заключительного совещания) для завершения указанной работы.
При наличии замечаний к плану орган по сертификации извещает об этом проверяемую организацию, которая после этого в течение недели проводит доработку плана.
Срок, отводимый в плане на выполнение запланированных корректирующих действий, не должен превышать:
- 12 недель (от даты проведения заключительного совещания) при наличии одного и более значительных несоответствий;
- 5 недель (от даты проведения заключительного совещания) при наличии только малозначительных несоответствий и уведомлений.
Если в орган по сертификации не представлен план корректирующих действий, процесс сертификации должен быть прекращен.
Возобновление процесса сертификации может быть осуществлено только с подачи повторной заявки на сертификацию (7.2).
7.5.3 Подготовка акта по результатам аудита, проведение заключительного совещания, утверждение и рассылка акта
7.5.3.1 Подготовка акта по результатам аудита
Председатель комиссии несет ответственность за подготовку и содержание акта по результатам аудита.
До проведения заключительного совещания комиссия проводит следующую работу:
- анализирует наблюдения (выводы) аудита и любую
другую информацию, собранную в ходе
аудита и соответствующую его целям;
- анализирует выявленные несоответствия и уведомления;
- оформляет акт по результатам аудита, принимая во внимание выборочный характер рассмотрения объектов аудита;
- подготавливает рекомендации органу по сертификации для принятия решения о выдаче (невыдаче) сертификата соответствия СМК организации;
- обсуждает последующие действия (например, проведение инспекционного контроля).
Результаты аудита, выводы и рекомендации комиссия оформляет в виде акта, форма которого приведена в приложении К.
Акт должен содержать:
- идентификацию органа по сертификации;
- идентификацию организации-заказчика;
- цель и область аудита;
- основание для проведения аудита;
- время и место проведения аудита;
- состав комиссии по сертификации с идентификацией председателя и членов комиссии, включая технических экспертов;
- идентификацию нормативной базы аудита;
- результаты аудита;
- выводы комиссии;
- адреса рассылки акта.
К акту должны быть приложены:
- план аудита СМК;
- заполненные бланки регистрации несоответствий и уведомлений;
- записи, подтверждающие устранение несоответствий в ходе аудита;
- протоколы разногласий (при их наличии).
К акту могут быть приложены:
- протоколы испытаний продукции;
- отчеты о качестве продукции за определенный период времени;
- данные по анализу состояния производственной среды в организации за определенный период времени;
- данные по анализу корректирующих действий, выполненных в период работы комиссии при сертификации СМК и др.
7.5.3.2 Проведение заключительного совещания
Заключительное совещание проводят под руководством председателя комиссии.
На заключительном совещании должны присутствовать руководство, ведущие специалисты проверяемой организации и члены комиссии. На совещании председатель комиссии доводит до участников совещания результаты аудита, представляет выводы и заключения по аудиту СМК.
К совещанию должен быть подготовлен проект акта по результатам аудита.
Примечание - Любые разногласия по выводам и заключениям аудита между комиссией и проверяемой организацией должны обсуждаться и, по возможности, быть разрешены до заключительного совещания. Если согласие не достигнуто, оба мнения протоколируются. Проверяемая организация при этом вправе обратиться в комиссию по апелляциям органа по сертификации.
7.5.3.3 Утверждение и рассылка акта по результатам аудита
Акт подписывают председатель комиссии, члены комиссии и представляют для ознакомления и подписи руководителю проверяемой организации или его представителю. Акт печатают, как правило, в двух экземплярах, если не предусмотрено другое.
Один экземпляр акта передают проверяемой организации (заказчику), другой - органу по сертификации.
Экземпляры акта являются собственностью проверяемой организации и органа по сертификации, при этом члены комиссии и проверяемая организация должны строго соблюдать требования конфиденциальности.
7.6.1 Общие положения
Сертификация СМК не может считаться завершенной, пока не будут проведены все запланированные корректирующие действия и проверена результативность их выполнения.
Работу комиссии считают завершенной, если выполнены все работы, предусмотренные планом аудита, акт по результатам аудита подписан сторонами и разослан, комиссии представлены план и отчет по выполнению корректирующих действий. Документы, имеющие отношение к аудиту, хранят или уничтожают в соответствии с процедурами органа по сертификации и существующими законодательными, нормативными и контрактными требованиями.
Документы по сертификации СМК хранят в органе по сертификации в соответствии с правилами, установленными в соответствующих документах органа по сертификации.
Комиссия и руководство органа по сертификации не должны раскрывать содержание документов и другую информацию, полученную во время аудита, а также содержание актов по результатам аудита любой другой стороне без согласия проверяемой организации (заказчика).
7.6.2 Критерии для принятия решения о соответствии/несоответствии СМК установленным требованиям и решения о выдаче/невыдаче сертификата
7.6.2.1 Критерием для принятия решения о соответствии/несоответствии СМК установленным требованиям является отсутствие несоответствий или выполнение/невыполнение проверяемой организацией корректирующих действий в согласованные сроки и признание/непризнание органом по сертификации их результативности.
7.6.2.2 Решение о выдаче или отказе в выдаче сертификата соответствия СМК принимает руководство органа по сертификации на основании рассмотрения акта по результатам аудита и результатов выполнения плана корректирующих действий. Решения должны принимать лица, не принимавшие участие в аудите.
Решение о выдаче сертификата может быть принято только после устранения всех зарегистрированных несоответствий и вызвавших их причин, т.е. после рассмотрения письменного отчета проверяемой организации органом по сертификации о проведенных корректирующих действиях и, если это необходимо, после рассмотрения результатов выполнения корректирующих действий «на месте» (7.6.3).
При отказе в выдаче сертификата соответствия СМК орган по сертификации уведомляет проверяемую организацию о возможности проведения на договорной основе повторного сертификационного аудита (7.6.3).
Примечание - Все повторные аудиты (посещения) проверяемой организации и командировочные расходы экспертов проверяемая организация (заказчик) оплачивает сверх сумм за сертификацию СМК.
Форма решения о выдаче сертификата соответствия СМК требованиям ГОСТ Р ИСО 9001 приведена в приложении Л.
7.6.3 Контроль выполнения корректирующих действий по устранению несоответствий по результатам сертификационного аудита
Контроль выполнения корректирующих действий по установленным несоответствиям орган по сертификации планирует и осуществляет после получения письменного отчета проверяемой организации об устранении несоответствий.
Выполнение корректирующих действий по значительным несоответствиям контролируют при обязательном посещении экспертом(ами) органа по сертификации проверяемой организации.
При контроле выполнения корректирующих действий по малозначительным несоответствиям допускается рассмотрение письменного отчета проверяемой организации, если содержание корректирующего действия не требует обязательной проверки «на месте».
Во время аудита с целью контроля выполнения корректирующих действий эксперт проверяет фактическое выполнение и результативность корректирующих действий.
Если корректирующие действия по несоответствиям при наличии соответствующих объективных свидетельств признаны неудовлетворительными, то результат аудита и оценки СМК организации признают отрицательным и орган по сертификации уведомляет организацию об отказе в выдаче сертификата.
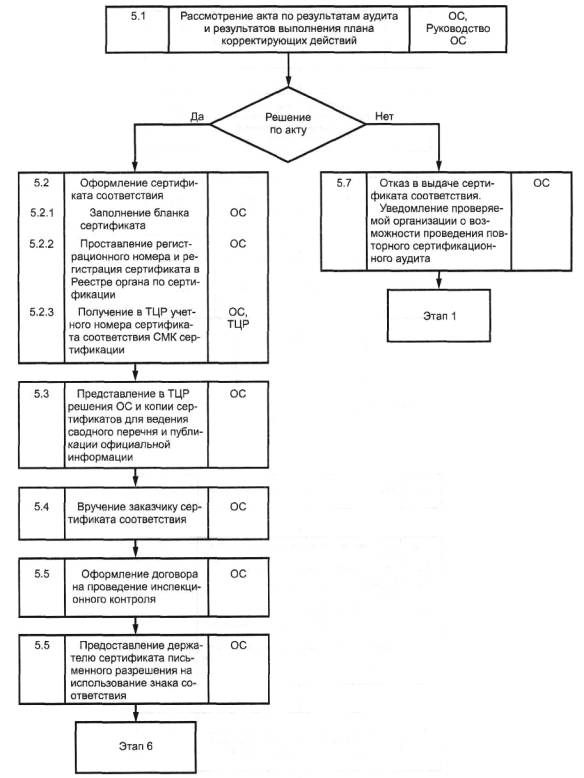
7.6.4 Оформление сертификата соответствия СМК
При положительном решении орган по сертификации оформляет сертификат соответствия СМК установленного образца. В приложении М приведены реквизиты и содержание сертификата, а также приложения к нему (формы 1 - 4) и образцы заполнения сертификата и приложения к нему (формы 5 - 9).
В органе по сертификации на сертификате проставляют регистрационный номер, затем сертификат регистрируют в Реестре органа по сертификации.
Сертификат может иметь приложение. Решение об оформлении приложения к сертификату принимает руководство органа по сертификации.
7.6.5 Руководитель органа по сертификации или его заместитель и председатель комиссии, проводившей аудит, подписывают сертификат. На сертификате ставят печать органа по сертификации. Учетный номер сертификата выдает технический центр Регистра систем качества по запросу органа по сертификации. Учетный номер проставляют под нижней рамкой сертификата. Учетный номер представляет собой порядковый номер сертификата, состоящий из пяти знаков в сводном перечне Регистра. После оформления сертификата соответствия СМК орган по сертификации представляет в технический центр Регистра систем качества свое решение и копию сертификата для ведения сводного перечня и публикации официальной информации.
Срок действия сертификата соответствия системы менеджмента качества - три года.
7.6.6 В случае отказа в выдаче сертификата заказчик имеет право в месячный срок направить в комиссию по апелляциям органа по сертификации или в комиссию по апелляциям Системы сертификации ГОСТ Р заявление о несогласии с заключением комиссии.
По результатам рассмотрения апелляции может быть назначен повторный аудит с другим составом комиссии, выполняемый за счет заказчика.
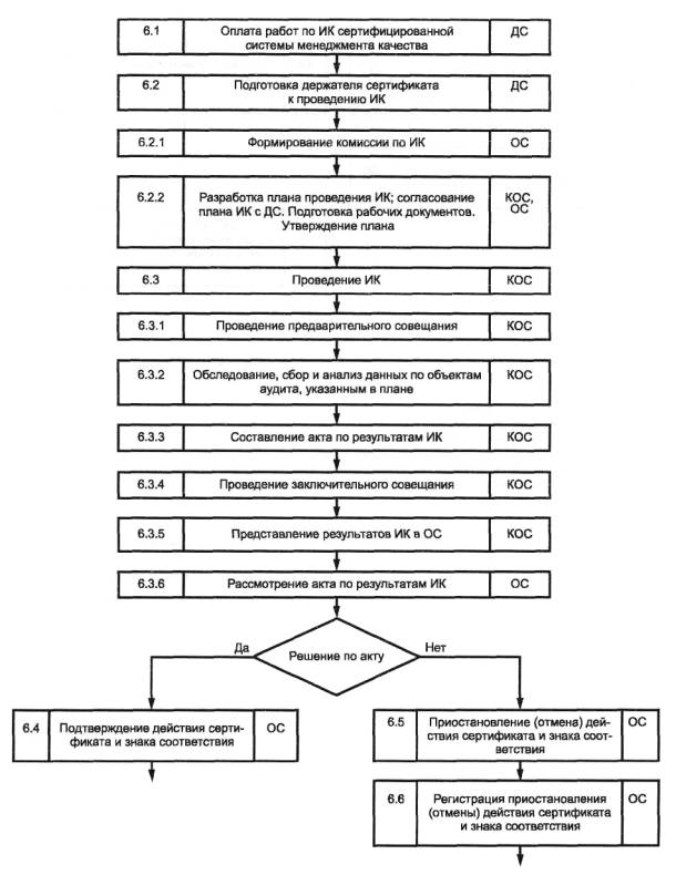
После оформления сертификата орган по сертификации и держатель сертификата в десятидневный срок заключают договор на проведение инспекционного контроля на срок действия сертификата.
Орган по сертификации передает проверяемой организации решение о выдаче сертификата, проект договора на проведение инспекционного контроля и вручает сертификат соответствия*. Одновременно орган по сертификации дает письменное разрешение держателю сертификата на использование знака соответствия системы менеджмента качества с указанием формы такого использования.
____________________
* Стоимость работ по инспекционному контролю в течение срока действия сертификата составляет 110 % от стоимости работ по сертификации СМК (увеличение обусловлено необходимостью дополнительной проверки при каждом инспекционном контроле восьми обязательных элементов (см. 7.7.4).
7.7.1 Инспекционный контроль может быть плановым и внеплановым.
7.7.2 Плановый инспекционный контроль проводят не менее одного раза в год в течение срока действия сертификата.
Плановый инспекционный контроль проводят через 6, 10 и 10 месяцев в течение срока действия сертификата.
7.7.3 Объекты аудита при плановом инспекционном контроле - по 6.1.
7.7.4 При плановом инспекционном контроле общий объем проверки должен включать не менее 1/2 элементов системы менеджмента качества (см. приложение Е). При этом при каждом инспекционном контроле проверяют следующую совокупность обязательных элементов (в скобках указаны номера разделов, подразделов и пунктов ГОСТ Р ИСО 9001):
- требования к документации (4.2);
- цели в области качества (5.4.1);
- анализ со стороны руководства (5.6);
- менеджмент ресурсов (раздел 6);
- удовлетворенность потребителей (8.2.1);
- внутренние аудиты (проверки) (8.2.2);
- улучшение (8.5);
- использование сертификата и знака соответствия.
7.7.5 Внеплановый инспекционный контроль проводят в случаях:
- получения органом по сертификации информации о любых серьезных нарушениях в рамках сертифицированной СМК, в том числе информации о жалобах потребителей на качество продукции, выпускаемой держателем сертификата;
- существенных изменений организационной структуры организации, технологии и условий производства, численности персонала, кадрового состава и т.п.
7.7.6 Объекты аудита при внеплановом инспекционном контроле определяют в зависимости от причины, вызвавшей необходимость инспекционного контроля.
7.7.7 После получения органом по сертификации предоплаты в рамках заключенного договора напроведение инспекционного контроля руководитель органа по сертификации назначает председателя комиссии по инспекционному контролю, который формирует комиссию по инспекционному контролю. Определение численности членов комиссии проводят с учетом количества и сложности объектов проверки, а также с учетом трудоемкости аудита (инспекционного контроля) в соответствии с требованиями Руководящих указаний [2].
7.7.8 Председатель комиссии составляет план проведения инспекционного контроля сертифицированной СМК (приложение Д).
7.7.9 Проведение инспекционного контроля осуществляется в соответствии с 7.5.
7.7.10 Результаты инспекционного контроля, выводы и
рекомендации комиссии оформляют в виде
акта по форме, приведенной в приложении К, и представляют в
орган по сертификации.
7.7.11 При положительных результатах инспекционного контроля (отсутствие несоответствий, отсутствие нарушения правил использования сертификата и применения знака соответствия) орган по сертификации принимает решение о подтверждении действия сертификата соответствия. Форма решения приведена в приложении Н.
Если при инспекционном контроле обнаруживают невыполнение запланированных корректирующих действий по устранению несоответствий по результатам предыдущего инспекционного контроля, то орган по сертификации принимает решение о приостановлении действия выданного сертификата на срок до трех месяцев, оформляемое по форме, приведенной в приложении П.
Если указанные корректирующие действия не выполнены по истечении трех месяцев, то это влечет за собой отзыв сертификата соответствия системы менеджмента качества. Решение об отмене действия сертификата оформляется по форме, приведенной в приложении Р.
Действие сертификата может быть приостановлено или отменено также в случаях:
- поступления и подтверждения информации о невыполнении обязательных требований к качеству выпускаемой продукции;
- неинформирования держателем сертификата органа по сертификации о существенных изменениях структуры организации, области применения системы менеджмента качества, об изменении юридического адреса организации;
- нарушения правил использования сертификата и применения знака соответствия;
- неоплаты в срок работ по инспекционному контролю.
7.7.12 Если при инспекционном контроле будут установлены значительные несоответствия, то они должны быть устранены в течение двух недель после завершения инспекционного контроля. Отчет об устранении установленных несоответствий проверяемая организация направляет в орган по сертификации. Орган по сертификации должен проверить результаты выполнения корректирующих действий в течение не более двух недель после получения отчета. Если результаты корректирующих действий будут признаны органом по сертификации неудовлетворительными или проверяемая организация не предоставит органу по сертификации возможности проверки результатов корректирующих действий, то это должно повлечь за собой отзыв сертификата соответствия СМК. Решение об отмене действия сертификата оформляют согласно форме, приведенной в приложении Р.
7.7.13 Если при инспекционном контроле будут установлены малозначительные несоответствия, то они должны быть устранены в согласованные с проверяемой организацией сроки, но не позднее двух недель после завершения инспекционного контроля. Отчет об устранении установленных малозначительных несоответствий проверяемая организация направляет в орган по сертификации.
Орган по сертификации должен проверить результаты корректирующих действий в период последующего инспекционного контроля.
Если на основании анализа отчета результаты будут признаны неудовлетворительными, то орган по сертификации вправе осуществить проверку корректирующих действий «на месте».
Примечание - Все повторные аудиты (посещения проверяемой организации) и командировочные расходы экспертов проверяемая организация (заказчик) оплачивает сверх сумм за инспекционный контроль системы менеджмента качества.
7.7.14 Орган по сертификации должен проверить результаты учета сделанных уведомлений в период последующего инспекционного контроля.
7.7.15 Орган по сертификации при необходимости, обусловленной загруженностью персонала органа, территориальной удаленностью держателя сертификата, форс-мажорными обстоятельствами, может передать право проведения инспекционного контроля другому органу по сертификации СМК (далее - субподрядчику).
При выборе субподрядчика учитывают:
- наличие аттестата аккредитации;
- область аккредитации;
- наличие сертифицированных экспертов СМК по проверяемой области экономической деятельности;
- отсутствие прямого или косвенного участия в работах по проектированию, внедрению или сопровождению СМК.
С целью подтверждения взаимного соответствия процедур аудита и оценки орган по сертификации может проверить и оценить компетентность персонала субподрядчика, а также документально оформленные процедуры сертификации и используемые в ходе аудитов рабочие документы.
Отношения между органом по сертификации и субподрядчиком строятся на основе документально оформленного и подписанного обеими сторонами соглашения, предусматривающего все необходимые положения, в том числе касающиеся конфиденциальности и разрешения спорных вопросов.
При этом орган по сертификации должен в течение одного месяца уведомить держателя сертификата о передаче работ по инспекционному контролю субподрядчику.
Орган по сертификации должен получить согласие держателя сертификата на передачу работ по инспекционному контролю субподрядчику.
Орган по сертификации заключает с субподрядчиком договор, в котором указывают сроки проведения инспекционного контроля, стоимость работ и обязательства сторон.
По результатам инспекционного контроля субподрядчик в недельный срок (после завершения инспекционного контроля) должен представить в орган по сертификации первый экземпляр акта по результатам инспекционного контроля.
Проведение внепланового инспекционного контроля субподрядчиком оговаривают в особых условиях договора или оформляют в виде отдельного договора.
В случае принятия решения о проведении внепланового инспекционного контроля орган по сертификации должен в течение трех дней уведомить субподрядчика о сроках его проведения.
Орган по сертификации несет полную ответственность за подтверждение, приостановление или отмену действия сертификата, а также за сужение области сертификации по результатам инспекционного контроля, проведенного субподрядчиком.
Этапы ресертификации СМК аналогичны этапам сертификации, указанным в 7.2 - 7.6.
Заявка от организации, желающей ресертифицировать СМК, направляется в орган по сертификации за три месяца до окончания срока действия сертификата.
Состав представляемых заявителем документов и материалов (приложение Г) может быть изменен по усмотрению органа по сертификации.
9.1 Расширение области сертификации
9.1.1 Область сертификации расширяют при изменении:
- процессов жизненного цикла продукции в рамках группы однородной продукции, применительно к которой была сертифицирована СМК;
- номенклатуры продукции, выпускаемой организацией.
9.1.1.1 Держатель сертификата, желающий расширить область сертификации, направляет письмо-обращение в орган по сертификации.
В случае обращения держателя сертификата по вопросу расширения области сертификации при изменении процессов жизненного цикла продукции в рамках группы однородной продукции, орган по сертификации после оплаты держателем сертификата договора проводит аудит и оценку дополнительных процессов и процедур СМК в соответствии с порядком, указанным в 7.3 - 7.5.
При положительных результатах аудита держателю сертификата выдается новый сертификат на расширенную область сертификации с сохранением срока действия отмененного сертификата.
9.1.1.2 В случае обращения в орган по сертификации держателя сертификата о расширении области сертификации при изменении номенклатуры продукции, выпускаемой организацией, процедура сертификации СМК соответствует указанной в 7.3 - 7.5.
По желанию держателя сертификата для добавленной продукции (процессов) может быть выдан один из двух документов:
- отдельный сертификат только на область сертификации, касающуюся добавленной продукции (процессов);
- сертификат, включающий расширенную область сертификации, при этом предыдущий сертификат отменяют, а держатель сертификата сдает отмененный сертификат в орган по сертификации.
Срок действия выдаваемого вновь сертификата остается тем же, что указан в отмененном сертификате.
9.1.1.3 На основании акта по результатам проведенного аудита орган по сертификации оформляет решение о расширении области сертификации по форме, приведенной в приложении С.
9.1.1.4 Аудит по расширению области сертификации может быть совмещен с очередным инспекционным контролем СМК. При этом оплата инспекционного контроля увеличивается на стоимость работ по расширению области сертификации.
9.1.1.5 Решение органа по сертификации о расширении области сертификации и копию сертификата (сертификатов) орган по сертификации направляет в технический центр Регистра систем качества для ведения сводного перечня сертифицированных СМК и публикации официальной информации.
9.2 Сужение области сертификации
9.2.1 Сужение области сертификации проводится по инициативе держателя сертификата или по результатам аудита органа по сертификации (ресертификации или инспекционного контроля).
При получении информации об изменениях СМК, которые могут повлиять на выполнение требований, предъявляемых при сертификации, орган по сертификации проводит дополнительный аудит. Оплату аудита осуществляют по отдельному договору.
9.2.1.1 В случае сужения области сертификации по инициативе держателя сертификата, последний направляет в орган по сертификации письмо-обращение с указанием исключаемого вида продукции или исключаемых процессов СМК.
На основании письма-обращения держателя сертификата или результатов аудита орган по сертификации принимает решение о сужении области сертификации, форма которого приведена в приложении Т.
Решение органа по сертификации о сужении области сертификации и копию сертификата направляют в технический центр Регистра систем качества для ведения сводного перечня и публикации официальной информации.
Держателю сертификата выдается новый сертификат на суженную область сертификации с сохранением срока действия отмененного сертификата. Отмененный сертификат сдается в орган по сертификации.
9.2.1.2 Рекомендации о сужении области сертификации комиссия органа по сертификации включает в акт по результатам аудита.
Орган по сертификации принимает решение о сужении области сертификации, оформляет его по форме, приведенной в приложении Т, и направляет вместе с копией сертификата в технический центр Регистра систем качества для ведения сводного перечня и публикации официальной информации.
Держателю сертификата выдается новый сертификат на суженную область сертификации с сохранением срока действия отмененного сертификата, а отмененный сертификат сдается в орган по сертификации.
10.1 Одновременно с выдачей сертификата орган по сертификации дает письменное разрешение держателю сертификата на использование знака соответствия СМК.
10.2 Орган по сертификации должен контролировать правильность использования сертификатов и знаков соответствия СМК.
10.3 Знак соответствия не должен наноситься на продукцию, упаковку продукции или использоваться иным способом, который может быть истолкован как подтверждение соответствия продукции.
10.4 Орган по сертификации должен предпринимать соответствующие меры в случаях неправильных ссылок на систему сертификации или вводящих в заблуждение случаев применения сертификатов и знаков соответствия, выявленных в рекламе, каталогах, на сайтах Интернета и т.п.
Примечание - К таким мерам относят проведение держателем сертификата корректирующих действий, отмену действия сертификата, публикацию о допущенных нарушениях и иные правовые действия, соответствующие действующему законодательству.
10.5 Форма разрешения на использование знака соответствия СМК, выдаваемого органом по сертификации держателю сертификата соответствия, приведена в приложении У.
11.1 Информация, получаемая в процессе сертификации, может составлять служебную или коммерческую тайну, если она имеет действительную или потенциальную коммерческую ценность и к ней нет свободного доступа на законном основании.
11.2 К конфиденциальной информации, в частности, относят:
- сведения о технологии и организации производства, перспективных разработках продукции, ноу-хау, коммерческие и любые другие данные, которые могут представлять интерес для конкурентов заказчика или держателя сертификата;
- сведения о недостатках организации, несоответствиях, материальных, организационных и технических трудностях, а также любые другие сведения, которые могут повредить престижу организаций, принести ей моральный и/или материальный ущерб;
- сведения об экономических взаимоотношениях между участниками сертификации.
11.3 Для обеспечения конфиденциальности не допускается передавать информацию любым физическим или юридическим лицам, не участвующим непосредственно в процессе сертификации СМК.
Не допускается передача документации СМК, актов по результатам аудита, рабочих материалов третьим лицам без согласия обеих сторон, участвовавших в сертификации.
Оплату работ по сертификации систем менеджмента качества проводят на основе договора. Размер оплаты зависит от численности персонала организации, масштаба организации, сложности выпускаемой продукции, применяемых технологических процессов, количества мест расположения производств (филиалов, производственных площадок и/или дочерних предприятий) и других факторов, указанных в [2].
Все документы, используемые, регистрируемые и выдаваемые в рамках Регистра систем качества Системы сертификации ГОСТ Р, а также переписку оформляют на русском языке. По желанию проверяемой организации сертификаты соответствия и другие документы могут быть выданы органом по сертификации на английском, немецком или французском языках.
Рисунок А. 1 - Организация работ (этап 1)

______________________
* При поэтапной оплате работ по договору.
Рисунок А.2 - Анализ документов СМК проверяемой организации (заказчика) (этап 2)

Рисунок А.3 - Подготовка к аудиту «на месте» (этап 3)

Рисунок А.4 - Проведение аудита «на месте» и подготовка акта по результатам аудита (этап 4)

Рисунок А.5 - Завершение сертификации, выдача и регистрация сертификата соответствия СМК (этап 5)

Рисунок А.6 - Последовательность процедур инспекционного контроля сертифицированной системы менеджмента качества (этап 6), лист 1

Рисунок А.6, лист 2
Примечания к рисункам А.1 - А.6
1 Условные буквенные обозначения:
З - заказчик.
ДС - держатель сертификата;
ОС - орган по сертификации;
КОС - комиссия органа по сертификации;
ТЦР - технический центр Регистра систем качества;
ИК - инспекционный контроль.
2 Цифровые обозначения указывают порядок проведения этапа.
_____________________________
наименование органа по сертификации
_____________________________
юридический адрес
ЗАЯВКА
НА ПРОВЕДЕНИЕ СЕРТИФИКАЦИИ СИСТЕМЫ МЕНЕДЖМЕНТА КАЧЕСТВА В СИСТЕМЕ СЕРТИФИКАЦИИ ГОСТ Р
_________________________________________________________________________________
наименование организации-заказчика
___________________________________________________________________________________________
код ОКПО
Юридический адрес_____________________________________________________________
Телефон __________________Факс ________________E-mail ____________________________
Банковские реквизиты ___________________________________________________________
в лице ____________________________________________________________________________
фамилия, имя, отчество руководителя
просит провести сертификацию системы менеджмента качества применительно к________________________________________________________________________________
область применения СМК
на соответствие требованиям ГОСТ Р ИСО 9001-2001 (ИСО 9001:2000)
Данные о внедрении системы менеджмента качества ___________________________________
номер и дата распорядительного документа
Данные о сертификате соответствия системы менеджмента качества* _______________________________________________________________________________
наименование системы сертификации,
_________________________________________________________________________________
наименование органа по сертификации систем менеджмента качества,
_________________________________________________________________________________
номер и дата выдачи сертификата, обозначение документации
_________________________________________________________________________________
изготовителя (исполнителя), по которой выпускается продукция (услуга) (стандарты, ТУ, КД и др.)
Общие сведения об организации ______________________________________________________
общее число работающих,
_________________________________________________________________________________
число работающих на производстве продукции, на которую распространяется заявка
Заказчик обязуется выполнять правила сертификации в Системе сертификации ГОСТ Р
Дополнительные сведения ________________________________________________________
_______________________________________________________________________________
Приложения:
1 Перечень организаций - основных потребителей продукции (услуг).
2 Данные организации - разработчика продукции.
_________________________________________________________________________________
наименование организации-разработчика
Руководитель организации ______________________ ________________________
подпись инициалы, фамилия
Главный бухгалтер _________________________ ___________________________ _________________________
подпись инициалы, фамилия
М.П. Дата
________________________
* Заполняют при наличии ранее выданного сертификата на СМК.
Руководителю ________________________________
наименование организации-заказчика
________________________________
инициалы, фамилия
ИЗВЕЩЕНИЕ
О РЕЗУЛЬТАТАХ РАССМОТРЕНИЯ ЗАЯВКИ НА СЕРТИФИКАЦИЮ СИСТЕМЫ МЕНЕДЖМЕНТА КАЧЕСТВА
_______________________________________________________________________________
наименование организации-заказчика
Орган по сертификации ______________________________________рассмотрел заявку и
наименование органа по сертификации
представленные документы ______________________________________________________
наименование организации-заказчика
на сертификацию системы менеджмента качества в соответствии с требованиями ГОСТ Р ИСО 9001-2001 (ИСО 9001:2000)
и принял решение __________________________________________________________________
принять/не принять заявку
Основание для отрицательного решения __________________________________________
заполняется при отрицательном решении
Приложение: Проект договора на проведение сертификации.
Руководитель органа по сертификации
_________________________ ________________ __________________
наименование органа по сертификации подпись инициалы, фамилия
Дата
Г.1 Политика организации в области качества (если она выполнена в виде отдельного документа и не включена в Руководство по качеству)*.
Г.2 Руководство по качеству*.
Г.3 Структурная схема проверяемой организации с указанием административных и инженерных служб, основных и вспомогательных подразделений (цехов, участков, производственных площадок)*.
Г.4 Структурная схема службы качества проверяемой организации* (если она не включена в общую структурную схему организации).
Г.5 Перечень документов СМК*.
Г.6 Документированные процедуры, установленные в ГОСТ Р ИСО 9001:
- управление документацией*;
- управление записями*;
- внутренние аудиты*;
- управление несоответствующей продукцией*;
- корректирующие действия*;
- предупреждающие действия*.
Г.7 Документы, необходимые организации для обеспечения эффективного планирования, осуществления процессов и управления ими в соответствии с действующим перечнем документов СМК (выборочно, по запросу органа по сертификации).
Г.8 Записи по результатам внутренних аудитов СМК.
Г.9 Перечень выпускаемой продукции, применительно к которой сертифицируется СМК с указанием нормативных документов (ГОСТ, ТУ и др.).
Г.10 Копии справок (отчетов) о качестве выпускаемой продукции (за один - три года), в том числе:
- обобщенные сведения о качестве изготовления продукции по результатам приемочного контроля за год (по показателям, принятым в организации)*;
- обобщенные сведения о дефектах продукции, выявленных у потребителей (по данным контрольно-надзорных органов, рекламаций и жалоб потребителей)*;
- сведения, касающиеся удовлетворенности потребителей (в том числе о жалобах потребителей)*.
Г.11 Сведения о проверках продукции государственными контрольно-надзорными органами (за один - три года)*.
Г.12 Сведения о подразделении (организации), проводящем приемосдаточные и периодические испытания продукции, в том числе сведения о его аккредитации в Системе сертификации ГОСТ Р.
Г.13 Сведения об основных поставщиках сырья, материалов, комплектующих.
Г.14 Перечень специальных процессов производства и обслуживания, подлежащих валидации.
Примечания
Документы, отмеченные знаком «*», представляют в обязательном порядке, остальные документы - по запросу органа по сертификации.
Малые предприятия в обязательном порядке представляют документы, указанные в Г.1 - Г.3, Г.6, Г.10.
Перечень необходимых документов, включая записи, представляемых организацией в орган по сертификации, уточняется в каждом конкретном случае и определяется органом по сертификации.
Орган по сертификации вправе потребовать от проверяемой организации дополнительные документы, включая записи, необходимые для анализа.
УТВЕРЖДАЮ
Руководитель органа по сертификации
___________________________________
наименование органа по сертификации
___________ __________________
подпись инициалы, фамилия
«____» _______________ ________ г.
ПЛАН
АУДИТА СИСТЕМЫ МЕНЕДЖМЕНТА КАЧЕСТВА, ДЕЙСТВУЮЩЕЙ В
_______________________________________________________________________________
наименование проверяемой организации
1 Цель и область аудита
Сертификация (инспекционный контроль) системы менеджмента качества, действующей в организации, применительно к___________________________________________________
область применения СМК (область сертификации)
на соответствие (подтверждение соответствия) требованиям ГОСТ Р ИСО 9001-2001 (ИСО 9001:2000)
2 Нормативная база аудита _____________________________________________________
3 Сроки проведения аудита ____________________________________________________
4 Состав комиссии____________________________________________________________
_______________________________________________________________________________
_______________________________________________________________________________
5 Объекты аудита
|
Порядковый номер |
Проверяемые подразделения организации |
Элементы СМК, пункты ГОСТ Р ИСО 9001-2001 (ИСО 9001:2000) |
Дата аудита |
Эксперт (инициалы, фамилия) |
Представитель проверяемой организации (инициалы, фамилия) |
|
1 |
2 |
3 |
4 |
5 |
6 |
|
|
|
|
|
|
|
6 Требования конфиденциальности
Комиссия обязуется не разглашать конфиденциальную информацию, полученную в ходе аудита системы
менеджмента качества ________________________________________________________,
наименование проверяемой организации
и не передавать материалы оценки третьим лицам без согласия сторон, участвующих в сертификации.
7 Дополнительные сведения*
|
СОГЛАСОВАНО |
|
|
Представитель руководства |
Председатель комиссии |
|
______________________________________ наименование проверяемой организации |
_______________________________________ наименование органа по сертификации |
|
_______________ _________________________ подпись инициалы, фамилия |
_______________ _________________________ подпись инициалы, фамилия |
* В случае необходимости указывают рабочий язык аудита, классификацию и правила регистрации несоответствий, форму и структуру акта, материально-техническое обеспечение деятельности по аудиту.
Применение (1.2).
Система менеджмента качества. Общие требования (4.1).
Документация системы менеджмента качества (4.2.1).
Руководство по качеству (4.2.2).
Управление документацией (4.2.3).
Управление записями (4.2.4).
Обязательства руководства (5.1).
Ориентация на потребителя (5.2).
Политика в области качества (5.3).
Цели в области качества (5.4.1).
Планирование создания и развития системы менеджмента качества (5.4.2).
Ответственность и полномочия (5.5.1).
Представитель руководства (5.5.2).
Внутренний обмен информацией (5.5.3).
Анализ со стороны руководства (5.6.1).
Входные данные для анализа (со стороны руководства) (5.6.2).
Выходные данные анализа (со стороны руководства) (5.6.3).
Обеспечение ресурсами (6.1).
Человеческие ресурсы (6.2.1).
Компетентность, осведомленность и подготовка (персонала) (6.2.2).
Инфраструктура (6.3).
Производственная среда (6.4).
Планирование процессов жизненного цикла продукции (7.1).
Определение требований, относящихся к продукции (7.2.1).
Анализ требований, относящихся к продукции (7.2.2).
Связь с потребителем (7.2.3).
Планирование проектирования и разработки (7.3.1).
Входные данные для проектирования и разработки (7.3.2).
Выходные данные проектирования и разработки (7.3.3).
Анализ проекта и разработки (7.3.4).
Верификация проекта и разработки (7.3.5).
Валидация проекта и разработки (7.3.6).
Управление изменениями проекта и разработки (7.3.7).
Процесс закупок (7.4.1).
Информация по закупкам (7.4.2).
Верификация закупленной продукции (7.4.3).
Управление производством и обслуживанием (7.5.1).
Валидация процессов производства и обслуживания (7.5.2).
Идентификация и прослеживаемость (7.5.3).
Собственность потребителей (7.5.4).
Сохранение соответствия продукции (7.5.5).
Управление устройствами для мониторинга и измерений (7.6).
Измерение, анализ и улучшение (8.1).
Удовлетворенность потребителей (8.2.1).
Внутренние аудиты (проверки) (8.2.2).
Мониторинг и измерение процессов (8.2.3).
Мониторинг и измерение продукции (8.2.4).
Управление несоответствующей продукцией (8.3).
Анализ данных (8.4).
Постоянное улучшение (8.5.1).
Корректирующие действия (8.5.2).
Предупреждающие действия (8.5.3).
Примечание - В скобках указаны номера пунктов ГОСТ Р ИСО 9001.
СИСТЕМА
СЕРТИФИКАЦИИ ГОСТ Р
РЕГИСТР СИСТЕМ КАЧЕСТВА
|
РЕГИСТРАЦИЯ НЕСООТВЕТСТВИЯ |
|
Наименование органа по сертификации систем качества |
|
Наименование проверяемой организации |
Номер акта |
|
|
Дата |
|
Номер несоответствия |
Категория несоответствия |
Наименование проверяемого подразделения |
Номер пункта ГОСТ Р ИСО 9001-2001 (ИСО 9001:2000) |
Номер пункта и обозначение документа смк организации |
|
|
|
|
|
|
|
Описание несоответствия: |
|||
|
Председатель комиссии |
Эксперт |
||
|
______________ подпись |
__________________ инициалы, фамилия |
______________ подпись |
__________________ инициалы, фамилия |
|
Планируемые корректирующие действия: |
||
|
Срок выполнения |
Представитель проверяемой организации |
|
|
___________________ дата |
__________________ подпись |
________________________ инициалы, фамилия |
|
Оценка комиссией результативности корректирующих действий |
||
|
|
Председатель комиссии (эксперт) |
|
|
___________________ дата |
________________ подпись |
________________________ инициалы, фамилия |
СИСТЕМА
СЕРТИФИКАЦИИ ГОСТ Р
РЕГИСТР СИСТЕМ КАЧЕСТВА
|
РЕГИСТРАЦИЯ НЕСООТВЕТСТВИЯ |
|
Наименование органа по сертификации систем качества |
|
Наименование проверяемой организации |
|
Акт (№) |
||
|
Дата |
||||
|
№ п/п |
Описание уведомлений |
Номер пункта ГОСТ Р ИСО 9001-2001 (ИСО 9001:2000) |
Номер пункта и обозначение документа СМК организации |
Подтверждение корректирующих действий |
|
|
|
|
|
|
|
Председатель комиссии |
Представитель проверяемой организации |
|||
|
____________ подпись |
___________________ инициалы, фамилия |
____________ подпись |
___________________ инициалы, фамилия |
|
|
Эксперты |
||||
|
____________ подпись |
___________________ инициалы, фамилия |
|
|
|
|
____________ подпись |
___________________ инициалы, фамилия |
|
|
|
АКТ
ПО РЕЗУЛЬТАТАМ АУДИТА СИСТЕМЫ МЕНЕДЖМЕНТА КАЧЕСТВА НА СООТВЕТСТВИЕ (ПОДТВЕРЖДЕНИЕ СООТВЕТСТВИЯ) ТРЕБОВАНИЯМ ГОСТ Р ИСО 9001-2001 (ИСО 9001:2000)
_______________________________________________________________________________
наименование организации-заказчика (держателя сертификата)
1 Цель и область аудита
Сертификация (инспекционный контроль) системы менеджмента качества (СМК) применительно к _______________________________________________________________________________
область применения СМК (область сертификации)
на соответствие (подтверждение соответствия) требованиям ГОСТ Р ИСО 9001-2001 (ИСО 9001:2000)
2 Основание _________________________________________________________________
заявка, договор и пр.
3 Сроки проведения аудита ____________________________________________________
4 Состав комиссии по сертификации (инспекционному контролю) ___________________
_______________________________________________________________________________
5 Нормативная база аудита* ________________________________________________________
6 Результаты аудита** _____________________________________________________________
___________________________________________________________________________________
7 Выводы комиссии ___________________________________________________________
8 Адреса рассылки ____________________________________________________________
9 Дополнительные сведения (при необходимости) _________________________________
_______________________________________________________________________________
|
Председатель комиссии |
||
|
_________________________ наименование органа по сертификации |
_______________ подпись |
_________________________ инициалы, фамилия |
|
Члены комиссии: |
_______________ подпись |
_________________________ инициалы, фамилия |
|
|
_______________ |
_________________________ |
|
|
_______________ |
_________________________ |
|
|
_______________ |
_________________________ |
|
С актом ознакомлен: |
||
|
Представитель руководства проверяемой организации |
||
|
_________________________ наименование проверяемой организаци |
_______________ подпись |
_________________________ инициалы, фамилия |
|
|
Дата ___________________________ Город __________________________ |
|
Примечание - К акту должны быть приложены:
- план аудита системы менеджмента качества (приложение 1);
- заполненные бланки регистрации несоответствий и уведомлений (приложения 2, 3 и т.д.);
- записи, подтверждающие устранение несоответствий в ходе аудита и учет уведомлений;
- протоколы разногласий (при их наличии).
* Приводят перечень документов, в соответствии с которыми проводится аудит (ГОСТ Р ИСО 9001-2001 (ИСО 9001:2000), настоящий стандарт, а также документы системы менеджмента качества проверяемой организации).
** Указывают, обеспечивает ли система контроля проверку выполнения обязательных требований к продукции.
РЕШЕНИЕ
О ВЫДАЧЕ СЕРТИФИКАТА СООТВЕТСТВИЯ
СИСТЕМЫ МЕНЕДЖМЕНТА КАЧЕСТВА
Орган по сертификации систем качества _________________________________________
наименование органа по сертификации
рассмотрел акт по результатам аудита и оценки системы менеджмента качества (СМК) от _______________________________________________________________________________
дата утверждения акта, наименование проверяемой организации, город
на соответствие требованиям ГОСТ Р ИСО 9001-2001 (ИСО 9001:2000) применительно к _______________________________________________________________________________
область сертификации СМК
и принял решение _______________________________________________________________
выдать (не выдать) сертификат соответствия
Основание для отрицательного решения ____________________________________________
заполняется при отрицательном решении
_______________________________________________________________________________
_______________________________________________________________________________
_______________________________________________________________________________
Руководитель органа по
сертификации систем качества _________________ ________________________
подпись инициалы, фамилия
М. П. Дата
Форма 1
Реквизиты сертификата соответствия (на русском языке)

Форма 2
Реквизиты сертификата соответствия (на английском языке)

Содержание сертификата соответствия СМК
Прямоугольные поля на формате сертификата, обозначенные цифрами в скобках, носят условный характер и должны содержать следующие данные:
1 - полное и сокращенное (если имеется) наименование органа по сертификации систем качества, его регистрационный номер;
2 - учетный номер бланка сертификата;
3 - слова: «Выдан... (указывают наименование, юридический адрес организации-держателя сертификата (по документу о регистрации организации)».
При сертификации организаций, имеющих многочисленные производственные площадки (филиалы), необходимо указать наименования и юридические адреса этих площадок (филиалов).
Перечень производственных площадок (филиалов) допускается приводить в приложении к сертификату.
4 - характеристика области сертификации СМК «Система менеджмента качества организации, применительно к ... (указывают основные процессы жизненного цикла продукции, охватываемые системой менеджмента качества, например проектирование, производство, поставка и т.п., и наименование продукции, выпускаемой организацией и включенной в область сертификации)».
Наименование продукции формулируют на основе наименования продукции в стандартах, технических условиях и других документах, устанавливающих технические требования к продукции.
При недостатке места для размещения всей информации, характеризующей область сертификации СМК, часть ее размещают в приложении к сертификату.
При наличии исключений, указанных в 1.2 ГОСТ Р ИСО 9001, подпадающих под требования, приведенные в разделе 7 ГОСТ Р ИСО 9001, и не влияющих на способность или ответственность организации обеспечивать продукцией, отвечающей требованиям потребителей и соответствующим обязательным требованиям, оформляют приложение к сертификату, где описывают область сертификации СМК и сделанные исключения;
5 - при оформлении приложения к сертификату в данном поле сертификата дается следующая ссылка: «Приложение, конкретизирующее область сертификации СМК, является неотъемлемой частью сертификата».
Если приложение к сертификату не оформляют, в данном поле делают запись: «Разъяснения, касающиеся области сертификации СМК, могут быть получены путем консультаций с организацией - держателем настоящего сертификата»;
6 - регистрационный номер сертификата;
7 - дата регистрации сертификата (число, месяц, год);
8 - дата, до которой действует сертификат (число, месяц, год);
9 - инициалы и фамилия руководителя органа по сертификации (или его заместителя) и его подпись;
10 - инициалы и фамилия председателя комиссии, проводившей сертификацию, и его подпись;
11 - место печати органа по сертификации;
12 - учетный номер сертификата в сводном перечне Регистра систем качества.
Форма 3
Форма приложения к сертификату соответствия (на русском языке)

Форма 4
Форма приложения к сертификату соответствия (на английском языке)

Содержание приложения к сертификату соответствия
Прямоугольные поля на формате сертификата, обозначенные цифрами, носят условный характер и должны содержать следующие данные:
1 - наименование групп(ы) однородной продукции и/или вида услуг, к которым относится продукция (услуги) организации.
Примечание - При недостатке места в сертификате для размещения сведений об области сертификации СМК, сведений о филиалах организации, охватываемых сертифицированной СМК, эти сведения приводят в поле 1;
2 - перечень производств, служб, филиалов/производственных площадок организации, не охватываемых сертифицированной СМК, при необходимости их уточнения;
3 - процессы жизненного цикла продукции и/или услуг, охватываемые сертифицированной СМК с указанием процессов, исключенных из области сертификации, в терминологии раздела 7 ГОСТ Р ИСО 9001 (исключения из процессов жизненного цикла продукции (услуг) выделяют полужирным шрифтом или подчеркивают);
4 - инициалы, фамилии и подписи руководителя органа по сертификации (или его заместителя) и председателя комиссии, проводившей аудит организации. В поле 4 должно быть предусмотрено место для печати органа по сертификации.
Форма 5
Образец заполнения сертификата соответствия (на русском языке)

Учетный номер Регистра систем качества №
Форма 6
Образец заполнения сертификата соответствия (на английском языке)

Registration number of Quality systems register №
Форма 7
Образец заполнения сертификата соответствия (на русском языке)

Учетный номер Регистра систем качества №
Форма 8
Образец заполнения сертификата соответствия (на английском языке)

Registration number of Quality systems register №
Форма 9
Образец заполнения приложения к сертификату соответствия (на русском языке)

Орган по сертификации систем менеджмента качества _____________________________
наименование органа по сертификации
рассмотрел акт № ____ от «____» _______________ __________ г.
по результатам инспекционного контроля
системы менеджмента качества ___________________________________________________
наименование организации - держателя сертификата, город
на соответствие требованиям ГОСТ Р ИСО 9001-2001 (ИСО 9001:2000) применительно к _______________________________________________________________________________
область сертификации СМК
и принял решение подтвердить действие сертификата соответствия системы менеджмента
качества № _______от «_____» ___________________ ___________.
сертификации систем качества _________________ ________________________
подпись инициалы, фамилия
М. П. Дата
Орган по сертификации систем менеджмента качества _____________________________
наименование органа по сертификации
рассмотрел акт № ____ от «____» _______________ __________ г.
по результатам инспекционного контроля
системы менеджмента качества ___________________________________________________
наименование организации - держателя сертификата, город
на соответствие требованиям ГОСТ Р ИСО 9001-2001 (ИСО 9001:2000) применительно к
_______________________________________________________________________________
область сертификации СМК
и принял решение:
1 Приостановить действие сертификата соответствия системы менеджмента качества
№ ___ от «_____» _______________ ________ г. до «_____» _______________ ________ г.
2 Выполнить корректирующие действия по устранению выявленных несоответствий в срок
до «_____» _______________ ________ г.
3 Проверить выполнение корректирующих действий до «_____» ______________ ________ г.
Основание для отрицательного решения ____________________________________________
_______________________________________________________________________________
_______________________________________________________________________________
сертификации систем качества _________________ ________________________
подпись инициалы, фамилия
М. П. Дата
Орган по сертификации систем менеджмента качества _____________________________
наименование органа по сертификации
рассмотрел акт № ____ от «____» _______________ __________ г.
по результатам инспекционного контроля
системы менеджмента качества ___________________________________________________
наименование организации - держателя сертификата, город
на соответствие требованиям ГОСТ Р ИСО 9001-2001 (ИСО 9001:2000) применительно к
_______________________________________________________________________________
область сертификации СМК
и принял решение отменить действие сертификата соответствия системы менеджмента
качества № ____ от «____» _______________ __________ г.
Основание для отрицательного решения ____________________________________________
_______________________________________________________________________________
_______________________________________________________________________________
Руководитель органа по
сертификации систем качества _________________ ________________________
подпись инициалы, фамилия
М. П. Дата
Орган по сертификации систем менеджмента качества _____________________________
наименование органа по сертификации
рассмотрел акт по результатам аудита системы менеджмента качества от
_______________________________________________________________________________
дата утверждения акта
_______________________________________________________________________________
наименование организации - держателя сертификата, город
на соответствие требованиям ГОСТ Р ИСО 9001-2001 (ИСО 9001:2000) применительно к
_______________________________________________________________________________
область сертификации СМК
и принял решение _______________________________________________________________
выдать (не выдать) сертификат соответствия
_______________________________________________________________________________
область сертификации
Основание для отрицательного решения: ___________________________________________
заполняется при отрицательном решении
_______________________________________________________________________________
сертификации систем качества _________________ ________________________
подпись инициалы, фамилия
М. П. Дата
Орган по сертификации систем качества ___________________________________________
наименование органа по сертификации
рассмотрел письмо-обращение (акт по результатам аудита системы менеджмента качества
или инспекционного контроля)
_______________________________________________________________________________
номер и дата утверждения акта
_______________________________________________________________________________
наименование организации - держателя сертификата, город
с указанием исключаемой продукции (услуги) _______________________________________
наименование
_______________________________________________________________________________
исключаемой продукции (услуги)
и принял решение _______________________________________________________________
выдать (не выдать) сертификат соответствия
_______________________________________________________________________________
область сертификации СМК
сертификации систем качества _________________ ________________________
подпись инициалы, фамилия
М. П. Дата
Орган по сертификации систем менеджмента качества _______________________________
наименование
_______________________________________________________________________________
органа по сертификации систем менеджмента качества
на основании решения о выдаче сертификата соответствия системы менеджмента качества
организации ___________________________________________________________________
наименование организации -держателя сертификата соответствия, город
разрешает использовать знак соответствия системы менеджмента качества на период
действия сертификата № _________________________________ в любой форме,
регистрационный номер сертификата
исключающей возможность толкования его как знака соответствия продукции.
Допускается использовать знак соответствия в рекламных буклетах, проспектах, брошюрах, плакатах, бланках организационно-распорядительной документации организации-держателя сертификата.
Не разрешается наносить знак соответствия на продукцию.
сертификации систем качества _________________ ________________________
подпись инициалы, фамилия
М. П. Дата
[1] Р 50.1.055-2005 Рекомендации по стандартизации «Руководящие указания по применению ГОСТ Р ИСО/МЭК 62-2000 «Общие требования к органам, осуществляющим оценку и сертификацию систем качества»
[2] Руководящие указания Международного форума по аккредитации (МФА) (International Accreditation Forum Inc.) по применению Руководства ИСО/МЭК 62, изд. 2, 2001 г.
[3] Методический документ ИСО/ТК176/ПК2 № 665 от 06.12.2003 «Рекомендации по использованию 1.2 «Применение» ИСО 9001:2000»
Ключевые слова: Регистр систем качества, система менеджмента качества, сертификация систем менеджмента качества, орган по сертификации систем качества, порядок проведения сертификации систем менеджмента качества, сертификат соответствия системы менеджмента качества
|
ГОСТЫ, СТРОИТЕЛЬНЫЕ и ТЕХНИЧЕСКИЕ НОРМАТИВЫ. Некоммерческая онлайн система, содержащая все Российские Госты, национальные Стандарты и нормативы. В Системе содержится более 150000 файлов нормативно-технической документации, действующей на территории РФ. Система предназначена для широкого круга инженерно-технических специалистов. Copyright © www.gostrf.com, 2008 - 2026 |