| |
ОТРАСЛЕВОЙ СТАНДАРТ
|
Блоки хомутовые для подвесок трубопроводов
ТЭС и АЭС.
Конструкция и размеры
|
ОСТ 108.275.56-80
Взамен
МВН 042-65
|
Указанием Министерства энергетического машиностроения от 30.06.80
№ ЮК-002/5260 срок действия установлен с 01.01.85 до 01.01.93.
Проверен
в 1983 г
(Измененная
редакция, Изм. №
1, Изм. № 2,
Изм. № 3).
Несоблюдение стандарта
преследуется по закону
1. Настоящий
стандарт распространяется на хомутовые блоки для подвесок вертикальных
трубопроводов наружным диаметром 57¸720 мм из хромомолибденованадиевых, кремнемарганцовистых и
углеродистых сталей для ТЭС и АЭС.
(Измененная редакция, Изм. № 3).
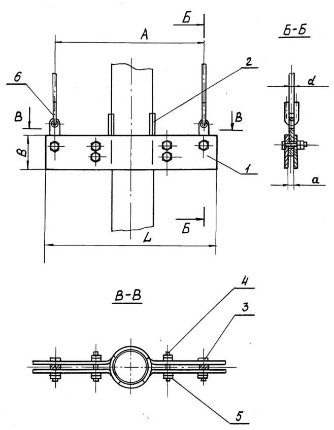
2.Конструкция, основные размеры, допускаемые нагрузки и материал деталей должны соответствовать
указанным на чертеже и в табл. 1 и 2.
3. Приварку
упоров к трубе производить электродами типа: Э-09Х1МФ для трубопроводов из
хромомолибденованадиевых сталей; Э 42А и Э 50А для трубопроводов из
кремнемарганцовистых и углеродистой сталей.
4. Остальные
технические требования по ОСТ 108.275.50-80

1 - полухомут; 2 - упор; 3 - болт; 4 - шпилька; 5 - гайка
(Измененная редакция, Изм. № 3).
Таблица 1
Хомутовые блоки для подвесок трубопроводов из хромомолибденованадиевых сталей
Размеры в мм
|
Исполн.
|
Наружный диаметр трубопровода
|
Допускаемая нагрузка, кН (кгс)
|
d
|
А
|
B
|
L
|
а
|
к
|
Полухомут, поз.1 (2шт.)
|
Упор, поз. 2 (2шт.)
|
Болт ГОСТ
7798-70 поз.3 (2шт.) Сталь 35 ГОСТ
1050-74
|
Шпилька ГОСТ
9066-75 поз.4 (4 шт.)** Сталь 20Х1М1Ф1ТР ГОСТ 20072-74
|
Гайка ГОСТ
5915-70 поз.5** (16шт.) Сталь 20Х1М1Ф1ТР ГОСТ 20072-74
|
Гайка ГОСТ
5915-70 поз.5 (4шт.) Сталь 35 ГОСТ
1050-74
|
Тяга с серьгой поз.7 (2шт)
|
Масса блока***
кг
|
|
|
Исполн. по 0СТ 108.382.02-80
|
Исполн. по 0СТ 108. 386. 01-08
|
Исполнен. по ОСТ 108.632. 02-80
|
Исполнен. по 0СТ 108.632.05-80
|
|
|
Диаметр резьбы мм
|
Длина мм
|
Диаметр резьбы, мм
|
Длина мм
|
|
|
01
|
57
|
3,0 (300)
|
10
|
530
|
80
|
590
|
8
|
3
|
01
|
01
|
М12
|
45
|
М12
|
70
|
М12
|
М12
|
01
|
-
|
5,0
|
|
|
02
|
76
|
3,0 (300)
|
10
|
550
|
80
|
610
|
8
|
4
|
02
|
02
|
М12
|
45
|
М12
|
70
|
М12
|
М12
|
01
|
-
|
6,0
|
|
|
03
|
108
|
9,0 (900)
|
12
|
630
|
100
|
690
|
8
|
4
|
03
|
03
|
М12
|
50
|
М12
|
70
|
М12
|
М12
|
02
|
-
|
12,0
|
|
|
04
|
133
|
9,0 (900)
|
12
|
670
|
100
|
740
|
12
|
6
|
04
|
04
|
М12
|
60
|
М12
|
80
|
М12
|
М12
|
02
|
-
|
14,0
|
|
|
05
|
159
|
9,0 (900)
|
12
|
670
|
160
|
760
|
12
|
6
|
05
|
05
|
М12
|
60
|
М12
|
80
|
М12
|
М12
|
02
|
-
|
26,0
|
|
|
06
|
194
|
30,0 (3000)
|
16
|
840
|
160
|
930
|
16
|
6
|
06
|
06
|
М16
|
80
|
М16
|
100
|
М16
|
М16
|
03
|
01
|
35,0
|
|
|
07
|
219
|
30,0 (3000)
|
16
|
910
|
160
|
1000
|
16
|
8
|
07
|
07
|
М16
|
80
|
М16
|
100
|
М16
|
М16
|
03
|
01
|
39,0
|
|
|
08
|
245
|
34,0 (3400)
|
20
|
920
|
160
|
1000
|
16
|
10
|
08
|
08
|
М16
|
80
|
М16
|
110
|
М16
|
М16
|
04
|
02
|
48,0
|
|
|
09
|
273
|
34,0 (3400)
|
20
|
930
|
160
|
1020
|
20
|
10
|
09
|
09
|
М16
|
80
|
М16
|
110
|
М16
|
М16
|
04
|
02
|
50,0
|
|
|
10
|
273
|
68,0 (6800)
|
24
|
900
|
250
|
964
|
20
|
10
|
10
|
09
|
М24
|
100
|
М24
|
150
|
М24
|
М24
|
06
|
04
|
90,0
|
|
|
11
|
325
|
68,0 (6800)
|
24
|
970
|
200
|
1070
|
24
|
14
|
11
|
10
|
М20
|
90
|
М20
|
130
|
М20
|
М20
|
06
|
04
|
70,0
|
|
|
12
|
377
|
68,0 (6800)
|
24
|
1080
|
200
|
1150
|
24
|
14
|
12
|
11
|
М20
|
100
|
М20
|
130
|
М20
|
М20
|
06
|
04
|
90,0
|
|
|
13
|
377
|
150,0 (15000)
|
36
|
1080
|
250
|
1220
|
24
|
14
|
13
|
11
|
М36
|
140
|
М36
|
250
|
М36
|
М36
|
10
|
08
|
130,0
|
|
|
14
|
426
|
68,0 (6800)
|
24
|
1100
|
200
|
1200
|
30
|
14
|
14
|
12
|
М24
|
110
|
М24
|
160
|
М24
|
М24
|
06
|
04
|
100,0
|
|
|
15
|
465
|
68,0 (6800)
|
24
|
1150
|
200
|
1240
|
30
|
14
|
15
|
13
|
М24
|
110
|
М24
|
160
|
М24
|
М24
|
06
|
04
|
100,0
|
|
|
16
|
465
|
110,0 (11000)
|
30
|
1300
|
220
|
1420
|
30
|
14
|
16
|
13
|
М30
|
150
|
М30
|
220
|
М30
|
М30
|
08
|
06
|
220,0
|
|
|
17
|
530
|
110,0 (11000)
|
30
|
1270
|
250
|
1350
|
30
|
14
|
17
|
14
|
М30
|
120
|
М30
|
190
|
М30
|
М30
|
08
|
06
|
150,0
|
|
|
18
|
630
|
160,0 (16000)
|
45
|
1250
|
250
|
1390
|
36
|
14
|
18
|
15
|
М42
|
140
|
М42
|
250
|
М42
|
М42
|
11
|
09
|
180,0
|
|
|
19
|
720
|
300,0 (30000)
|
50
|
1400
|
300
|
1540
|
36
|
14
|
19
|
16
|
-
|
-
|
М42
|
250
|
М42
|
-
|
12
|
10
|
360,0
|
|
*Болты заменены шпильками: для исп.12 - М20´140, исп.14, 15 - М24´160, исп.16 - М30´210, исп.18,19 - М42´200, сталь 35 ГОСТ
1050-74.
**Для исполнения 19
шпилек поз.4 - 6 шт, гаек поз.5 - 24 шт.
***Величина для
справок. Масса тяги с серьгой не включается в состав блока.
Тяга с серьгой
поставляется отдельной отправочной позицией
(Измененная редакция, Изм. № 3).
Таблица 2
Хомутовые блоки для подвесок трубопроводов из кремнемарганцовистых
и углеродистых сталей
Размеры в мм
|
Исполн.
|
Наружный диаметр трубопровода
|
Допускаемая нагрузка, кН (кгс)
|
d
|
А
|
B
|
L
|
а
|
к
|
Полухомут, поз.1 (2шт.)
|
Упор, поз. 2 (2шт.)
|
Болт ГОСТ
7798-70 поз.3 (2шт.) Сталь 35 ГОСТ
1050-74
|
Шпилька ГОСТ
9066-75 поз.4 (4 шт.)** Сталь 35Х ГОСТ
4543-71
|
Гайка ГОСТ ГОСТ
5915-70 поз.5** (20 шт.) Сталь 35 ГОСТ
1050-74
|
Тяга с серьгой поз.6 (2шт)
|
Масса блока***
кг
|
|
|
Исполн. по 0СТ 108.382.02-80
|
Исполн. по 0СТ 108. 386. 01-08
|
Исполнен. по ОСТ 108.632. 02-80
|
Исполнен. по 0СТ 108.632.05-80
|
|
|
Диаметр резьбы мм
|
Длина мм
|
Диаметр резьбы, мм
|
Длина мм
|
|
|
20
|
57
|
3,0 (300)
|
10
|
530
|
80
|
590
|
8
|
3
|
20
|
17
|
M12
|
45
|
M12
|
70
|
M12
|
01
|
-
|
5,0
|
|
|
21
|
76
|
3,0 (300)
|
10
|
550
|
80
|
610
|
8
|
4
|
21
|
18
|
M12
|
45
|
M12
|
70
|
M12
|
01
|
-
|
6,0
|
|
|
22
|
89
|
9,0 (900)
|
12
|
570
|
100
|
630
|
8
|
4
|
22
|
19
|
M12
|
50
|
M12
|
70
|
M12
|
02
|
-
|
11,0
|
|
|
23
|
108
|
9,0 (900)
|
12
|
630
|
100
|
690
|
8
|
6
|
23
|
20
|
M12
|
50
|
M12
|
70
|
M12
|
02
|
-
|
12,0
|
|
|
24
|
133
|
30,0 (3000)
|
16
|
670
|
160
|
740
|
12
|
6
|
24
|
21
|
М20
|
70
|
М20
|
100
|
М20
|
03
|
01
|
22,0
|
|
|
25
|
159
|
48,0 (4800)
|
20
|
670
|
160
|
760
|
12
|
6
|
25
|
22
|
М20
|
80
|
М20
|
110
|
М20
|
04
|
02
|
30,0
|
|
|
26
|
194
|
48,0 (4800)
|
24
|
840
|
160
|
930
|
16
|
8
|
26
|
23
|
М20
|
80
|
М20
|
110
|
М20
|
05
|
03
|
37,0
|
|
|
27
|
219
|
48,0 (4800)
|
24
|
910
|
160
|
1000
|
16
|
10
|
27
|
24
|
М20
|
80
|
М20
|
110
|
М20
|
05
|
03
|
40,0
|
|
|
28
|
273
|
48,0 (4800)
|
24
|
930
|
160
|
1020
|
20
|
10
|
28
|
25
|
М20
|
90
|
М20
|
120
|
М20
|
06
|
04
|
50,0
|
|
|
29
|
325
|
110,0 (11000)
|
30
|
970
|
200
|
1070
|
24
|
10
|
29
|
26
|
М27
|
110
|
М27
|
150
|
М27
|
08
|
06
|
71,0
|
|
|
30
|
377
|
110,0 (11000)
|
30
|
1060
|
200
|
1150
|
24
|
14
|
30
|
27
|
М27
|
120
|
М27
|
160
|
М27
|
08
|
06
|
94,0
|
|
|
31
|
426
|
110,0 (11000)
|
30
|
1100
|
200
|
1200
|
30
|
14
|
31
|
28
|
М27
|
120
|
М27
|
160
|
М27
|
08
|
06
|
99,0
|
|
|
32
|
465
|
110,0 (11000)
|
30
|
1150
|
200
|
1240
|
30
|
14
|
32
|
29
|
М27
|
120
|
М27
|
160
|
М27
|
08
|
06
|
104,0
|
|
|
33
|
530
|
300,0 (30000)
|
50
|
1160
|
230
|
1300
|
30
|
14
|
33
|
30
|
-
|
-
|
М42
|
250
|
М42
|
12
|
10
|
210,0
|
|
|
34
|
630
|
300,0 (30000)
|
50
|
1250
|
230
|
1390
|
36
|
14
|
34
|
31
|
-
|
-
|
М42
|
250
|
М42
|
12
|
10
|
219,0
|
|
|
35
|
720
|
300,0 (30000)
|
50
|
1400
|
300
|
1540
|
36
|
14
|
35
|
32
|
-
|
-
|
М42
|
250
|
М42
|
12
|
10
|
307,0
|
|
*Для исполнений 33-35 болт поз.3 заменен шпилькой М42´200, сталь 35 ГОСТ
1050-74.
**Для исполнений 33-35 шпилек поз.4 - 6 шт., гаек поз.5,6 -
24 шт.
***Величина для справок. Масса
тяги с серьгой не включается в состав блока.
Тяга с серьгой поставляется
отдельной отправочной позицией
(Измененная редакция, Изм. № 3).
Пример условного
обозначения хомутового блока для подвески вертикального трубопровода наружным
диаметром 108 мм:
БЛОК ХОМУТОВЫЙ 108 03 ОСТ 108.275.56-80
Пример маркировки: 03 ОСТ
108.275.56-80
|
|