Крупнейшая бесплатная информационно-справочная система онлайн доступа к полному собранию технических нормативно-правовых актов РФ. Огромная база технических нормативов (более 150 тысяч документов) и полное собрание национальных стандартов, аутентичное официальной базе Госстандарта. GOSTRF.com - это более 1 Терабайта бесплатной технической информации для всех пользователей интернета. Все электронные копии представленных здесь документов могут распространяться без каких-либо ограничений. Поощряется распространение информации с этого сайта на любых других ресурсах. Каждый человек имеет право на неограниченный доступ к этим документам! Каждый человек имеет право на знание требований, изложенных в данных нормативно-правовых актах!

  


 

АОЗТ "Кубаньэко"-ЛТД

Согласовано

Зам. Начальника Департамента государственного экологического контроля

 

Утверждаю

Президент АОЗТ

"Кубаньэко" - ЛТД

 

____________С.В. Маркин

 

 

_______________Е.В. Бакаев

"______"___________1996 г.

 

"______"___________1996 г. 

МЕТОДИКА
РАСЧЕТНО-ЭКСПЕРИМЕНТАЛЬНОГО ОПРЕДЕЛЕНИЯ ВЫБРОСОВ ЗАГРЯЗНЯЮЩИХ ВЕЩЕСТВ В АТМОСФЕРУ ЗА СЧЕТ ИСПАРЕНИЯ ИЗ ЕМКОСТЕЙ ХРАНЕНИЯ НЕФТЕПРОДУКТОВ

Краснодар
1996 г.

Краснодар 1996 г.

 

СОДЕРЖАНИЕ

1. ВВЕДЕНИЕ.

2. ССЫЛКИ НА НОРМАТИВНЫЕ ДОКУМЕНТЫ.

3. ОСНОВНЫЕ ОБОЗНАЧЕНИЯ, ЕДИНИЦЫ ИЗМЕРЕНИЯ

4. ОБЩИЕ ПОЛОЖЕНИЯ.

5. СРЕДСТВА И МЕТОДЫ ИЗМЕРЕНИЯ.

6. ПОДГОТОВКА И ПРОВЕДЕНИЕ ИЗМЕРЕНИЙ.

7. РАСЧЕТ ПОТЕРЬ ОТ ИСПАРЕНИЯ ИЗ РЕЗЕРВУАРОВ.

8. СЛИВО-НАЛИВНЫЕ ЭСТАКАДЫ, ЦИСТЕРНЫ.

8.1. Расчет температурного режима цистерн.

8.2. Определение давления насыщенных паров низкокипящих нефтепродуктов и весовой концентрации нефтепродуктов.

8.3. Расчет потерь.

9. ОПРЕДЕЛЕНИЕ ЭФФЕКТИВНОСТИ РАБОТЫ ПОНТОНА В РЕЗЕРВУАРЕ

10. РАСЧЕТ ПОТЕРЬ ИНДИВИДУАЛЬНЫХ КОМПОНЕНТОВ, ВХОДЯЩИХ В СОСТАВ ПАРОВОЗДУШНОЙ СМЕСИ В ГАЗОВОМ ПРОСТРАНСТВЕ РЕЗЕРВУАРОВ, ЦИСТЕРН

ЛИТЕРАТУРА

Приложение А РАСПРЕДЕЛЕНИЕ ТЕРРИТОРИИ БЫВШЕГО СССР ПО КЛИМАТИЧЕСКИМ ЗОНАМ ДЛЯ ПРИМЕНЕНИЯ ПРИ РАСЧЕТАХ ВЫБРОСОВ ВРЕДНЫХ ВЕЩЕСТВ В АТМОСФЕРУ

Приложение Б Значения коэффициентов К1, К2, К3, в зависимости от температуры жидкости в резервуаре.

Приложение В ЗНАЧЕНИЕ КОЭФФИЦИЕНТОВ К4 ДЛЯ РАЗЛИЧНЫХ КЛИМАТИЧЕСКИХ ЗОН

Приложение Г Значения молекулярной массы паров нефтепродуктов М зависимости от температуры начала кипения tнк, °C

ПРИЛОЖЕНИЕ Д. ЗНАЧЕНИЕ КОЭФФИЦИЕНТА Кп В ЗАВИСИМОСТИ ОТ ДАВЛЕНИЯ НАСЫЩЕННЫХ ПАРОВ И ГОДОВОЙ ОБОРАЧИВАЕМОСТИ РЕЗЕРВУАРОВ

Приложение Е ЗНАЧЕНИЕ КОЭФФИЦИЕНТА Ко В ЗАВИСИМОСТИ ОТ ТЕХНИЧЕСКОЙ ОСНАЩЕННОСТИ И РЕЖИМА ЭКСПЛУАТАЦИИ РЕЗЕРВУАРА.

Приложение Ж Диапазон и предельно-допустимые погрешности измерений.

1. ВВЕДЕНИЕ.

1.1. Настоящий документ:

- разработан в соответствии с Законом Российской Федерации "Об охране окружающей среды" с целью получения данных о выбросах загрязняющих веществ в атмосферу от испарения нефтепродуктов из резервуаров, цистерн;

- устанавливает методику определения параметров выбросов загрязняющих веществ в атмосферу в результате испарения нефтепродуктов, индивидуальных жидкостей из резервуаров, цистерн;

- распространяется на резервуары, цистерны, эксплуатируемые на предприятиях нефтехимии и нефтепереработки;

- применяется предприятиями и территориальными комитетами по охране природы.

1.2. Полученные по настоящему нормативному документу результаты используются при учете, нормировании выбросов вредных веществ в атмосферу or испарения нефтепродуктов и индивидуальных жидкостей из резервуаров, цистерн и ведомственном контроле за соблюдением установленных нормативов выбросов.

2. ССЫЛКИ НА НОРМАТИВНЫЕ ДОКУМЕНТЫ.

Методика разработана в соответствии со следующими нормативными документами:

2.1. ГОСТ 17.2.1.04-77. Охрана природы. Атмосфера. Метеорологические аспекты загрязнения и промышленные выбросы. М., Изд-во стандартов, 1978.

2.2. ГОСТ 17.2.3.02-78. Охрана природы. Атмосфера. Правила установления допустимых выбросов вредных веществ промышленными предприятиями. М., Изд-во стандартов, 1980.

2.3. ГОСТ 17.2.4.02-81. Охрана природы. Атмосфера. Общие требования к методам определения загрязняющих веществ. М., Изд-во стандартов, 1982.

3. ОСНОВНЫЕ ОБОЗНАЧЕНИЯ, ЕДИНИЦЫ ИЗМЕРЕНИЯ

Характеристика

Обозначение

Единица измерения

1

2

3

Вес нефтепродукта

GK

т

Весовая концентрация

СB

кг/м3; мг/м3

Весовая концентрация

а

% весовой

Время эксплуатации резервуара

τ

час.

Давление барометрическое

Ра

мм.рт.ст.

Давление насыщенных паров нефтепродуктов

Р

мм.рт.ст.

Парциальное давление паров нефтепродуктов

Ро

мм.рт.ст.

Коэффициент оборачиваемости

К„

-

Коэффициент оснащенности режима эксплуатации

Ко

-

Коэффициент налива в цистерну

Ки

-

Молекулярный вес

М

КМоль

Объем нефтепродукта

Vж

м3

Объем резервуара

Vp

м3

Объемная концентрация

Со

доля единицы

Плотность нефтепродукта (относительная)

dt

кг/м3

Плотность паров нефтепродуктов

ρn

кг/м3

Потери из резервуаров с нефтепродуктами

Gp

т

Потери из резервуаров с индивидуальными компонентами

Gi

т

Потери из железнодорожных цистерн

Gц

т

Потери удельные

Q

кг/т

Температура атмосферного воздуха

tа

°С

Температура нефтепродукта в резервуаре

tж

°С

Температура нефтепродукта в лаборатории

tл

оС

Температура газового пространства резервуаров

tr

оC

Технические средства сокращения потерь (понтон, пл.крыша, г.у. линия и др.)

ТССП

-

Условная оборачиваемость

n

об/год

Эффективность работы понтона

Эп

%

4. ОБЩИЕ ПОЛОЖЕНИЯ.

4.1. Настоящая методика предназначена для определения количества выбросов вредных веществ в атмосферу от испарения из резервуаров, и цистерн с нефтями, нефтепродуктами, однокомпонентными жидкостями.

4.2. Расчетный метод позволяет повысить достоверность инвентаризации промышленных выбросов от резервуаров, цистерн при проведении работ по нормированию и контролю выбросов в атмосферу от действующих предприятий нефтехимии и нефтепереработки.

4.3. Методика разработана на основании экспериментальных данных по количества выбросов вредных веществ от испарения нефтепродуктов в резервуарах, цистернах.

4.4. В документе даны рекомендации по определению потерь на испарение нефтепродуктов в резервуарах, цистернах - валовых - в тонн/период, удельных - в кг/тонну и в единицу времени - в г/с.

5. СРЕДСТВА И МЕТОДЫ ИЗМЕРЕНИЯ.

5.1. Метод определения выбросов в атмосферу из резервуаров, цистерн включает следующие измерения:

- объемной концентрации и компонентного состава насыщенных паров нефтепродуктов, поступающих в резервуар, цистерну;

- весовых концентраций сероводорода и других индивидуальных компонентов, входящих в состав паров нефтепродукта;

- температуры нефтепродукта в резервуарах, цистернах;

- температуры атмосферного воздуха.

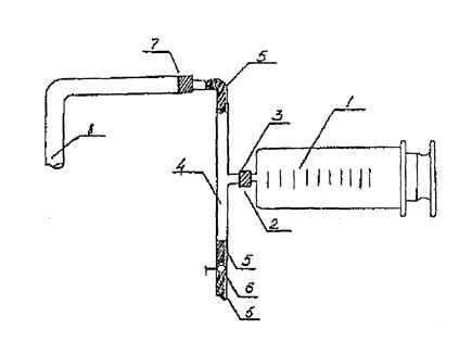
5.2. Отбор проб нефтепродукта из резервуара проводят посредством пробоотборного устройства, изображенного на рис. 5.1. Устройство состоит из цельностеклянного шприца I емкостью 100 мл (ТУ-64-1-1279-751), который посредством уплотнительной резиновой втулки 2 герметично крепится к стеклянному тройнику 3. К одному концу тройника 3 герметично подсоединена резиновая уплотнительная втулка 4, служащая в качестве переходника для подсоединения к запорной арматуре (пробоотборному крану) для отбора проб. Другой конец тройника 3 оборудован зажимным устройством 7.

Устройство для отбора проб нефтепродуктов из резервуаров.

1. Шприц

2. Уплотнительная втулка

6. Пробоотборный кран

3. Стеклянный тройник 

4. Резиновые шланги

5. Уплотнительная втулка

7. Кран

Рис.5.1.

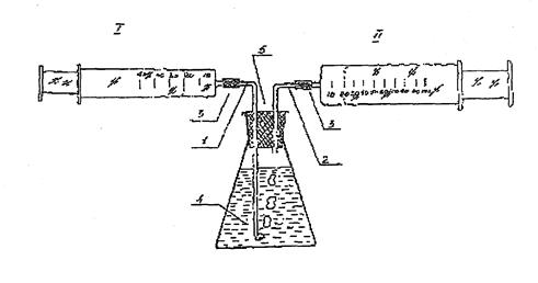
Устройство для насыщения паров нефтепродукта.

Примечание

В нижней части стеклянного патрубка 1 внутренний диаметр для выпуска воздуха должен быть не более 1,0 мм.

Обозначения

1, 2 - стеклянные патрубки

3 - уплотнительные резиновые втулки

4 - колба объёмом 50 мл

5 - резиновая пробка

I - шприц для чистого воздуха объёмом не менее 50 мл

II - шприц для насыщенных паров нефтепродуктов объемом 100 мл

Рис. 5.2.

Отбор проб нефтепродуктов из резервуара производится с цепью определения величин давления Р в мм.рт.ст. и весовой концентрации С в г/м3 насыщенных паров нефтепродуктов при температуре газового пространства tr. Насыщение воздуха парами нефтепродукта осуществляется с помощью прибора, изображенного на рис. 5.2.

5.3. Отбор газовоздушных проб из газового пространства резервуара осуществляется из светового люка посредством:

- при наличии стационарной пробоотборной трубки, установленном на световом люке и соединенной с газовым пространством устройством, изображенным на рис. 5.3. Причем перед отбором пробы в шприц, всю систему необходимо продуть отбираемыми парами в течение 20-30 сек. посредством побудителя расхода воздуха (ручной насос, помпа и т.п.);

- при отсутствии пробоотборной трубки на люке - непосредственно из приоткрытого люка путем опускания стеклянного шприца емкостью 100 или 50 мл в газовое пространство резервуара на глубину не менее 0,5 м с целью исключения подсоса воздуха.

При отборе проб воздуха из газового пространства минимальная высота нефтепродукта должна составлять не менее 0,7 максимального уровня взлива, предусмотренного технологической картой.

Отбор проб должен производиться не ранее, чем через 2 часа после окончания закачки нефтепродукта в резервуар.

5.4. Отбор проб и определение состава нефтепродукта и газа выполняются с соблюдением следующих стандартов:

- отбор проб нефтепродукта осуществляется по ГОСТ 2517-85;

- температуру наружного воздуха измеряют максимальным метеорологическим термометром по ТУ 112-78 Е.

- температуру нефтепродукта измеряют стеклянным ртутным термометром по ГОСТ 28498-90;

- индивидуальные углеводороды C110 в нефти определяются разделением их методом газожидкостной хроматографии с последующей регистрацией детектором по теплопроводности по ГОСТ 13379-82;

- давление насыщенных паров нефтепродуктов определяется по ГОСТ 1756-52;

- компонентный состав проб паровоздушной смеси из газового пространства определяется методами газожидкостной и газоадсорбционной хроматографии (ГОСТ 14920-79);

Устройство для отбора паровоздушных проб из резервуаров с понтонами.

 

1. Шприц емкостью 100 мл.

2. Резиновая втулка

3. Патрубок

4. Трубка

5. Резиновые шланги

6. Кран

7. Уплотнительная втулка

8. Пробоотборная трубка на световом люке

 

Рис. 5.3.

- объемное содержание суммы непредельных углеводородов, кислотных газов, суммы предельных углеводородов и других вредных веществ в газовоздушной смеси определяется по ГОСТ 5439-76 и согласно [6, 7].

6. ПОДГОТОВКА И ПРОВЕДЕНИЕ ИЗМЕРЕНИЙ.

6.1. Составляется схема обвязки резервуаров материальными потоками. Для этого используются отчеты о движении и смешении нефтепродуктов, материальные балансы технологических установок за обследуемый период (данные берутся в плановом отделе завода). Схема уточняется у диспетчера завода, в производственном отделе.

6.2. Все эксплуатируемые на предприятии резервуары группируют по следующим признакам:

- виду нефтепродукта;

- назначению (промежуточные, товарные, сырьевые);

- конструкции (наземные металлические, подземные железобетонные);

- оснащенности техническими средствами сокращения потерь в атмосферу;

- режиму эксплуатации ("мерник" или "буферная емкость").

* Примечание:

Режим "буферная емкость" характеризуется одновременностью закачки и откачки нефтепродукта из резервуара и постоянством уровня взлива жидкости в резервуаре.

6.3. По данным ближайшей метеостанции принимают средние значения давлений атмосферного воздуха и средние значения температур за 6 наиболее теплых и холодных месяцев года.

6.4. По данным предприятия принимают среднеквартальные значения температуры нефтепродукта в резервуаре или определяют путем непосредственных измерений термометром.

6.5. По данным квартальных отчетов о смешении и движении нефтепродуктов, материальных балансов технологических установок распределяют весовое количество нефтепродукта по группам одноцелевых резервуаров за теплый и холодный периоды года.

6.6. Осуществляют перевод весового количества нефтепродукта в объемное, при этом относительную плотность нефтепродукта принимают по данным заводских лабораторий.

6.7. Объем резервуаров, режим эксплуатации и оснащенность резервуаров техническими средствами (понтон, плав. крыша, газоуравнительная линия и т.д.) принимаются по данным утвержденных "технологических карт по эксплуатации резервуаров" и технических характеристик резервуаров.

6.8. До начала измерений необходимо выявить эксплуатационное состояние резервуаров, наличие пешеходных мостков, работоспособность сниженных пробоотборных кранов.

6.9. Для отбора проб нефтепродукта из резервуара один конец пробоотборного устройства, как это изображено на рис.5.1, соединить посредством уплотнительной втулки 4 со сливным патрубком пробоотборного крана 6.

При закрытом положении шприца 1, открывают краны 6, 7 и в течение 10-15 сек. через всю системы дренируют нефтепродукт в сборную емкость, где предварительно устанавливают термометр для замера температуры нефтепродукта. Затем закрывают кран 7 и отбираемый нефтепродукт под давлением поступает в шприц 1. После наполнения 100 мл нефтепродукта шприц герметично отглушают.

Примечание:

При отсутствии сниженных пробоотборных кранов на резервуаре отбор пробы нефтепродукта производят в соответствии с ГОСТ 2517-85.

6.10. Температуру нефтепродукта в резервуаре принимают равной температуре отбираемой пробы нефтепродукта, замер которой производят в сборной емкости, куда поступает нефтепродукт из крана в течение проводимого замера.

6.11. Температуру наружного воздуха замеряют максимальным термометром. Замер проводят в тени на высоте 1 м от уровня земли.

6.12. Насыщение атмосферного воздуха парами нефтепродукта осуществляется на приборе, изображенном на рис.5.2.

Во избежание снижения фактической величины давления насыщенных паров при наливе в колбу испытуемого нефтепродукта, необходимо ее газовое пространство предварительно насытить парами того же нефтепродукта. Для этого из шприца с пробой впускается в колбу, через патрубок 1, порядка 3-5 мл испытуемого нефтепродукта. Колба несколько раз встряхивается и через патрубок 2 нефтепродукт из колбы выливается в емкость слива отходов нефтепродуктов.

Из шприца с пробой нефтепродукта в колбу через патрубок 1 вводится 40 мл нефтепродукта. Шприц 1 с предварительно отобранным в него 40 мл чистого воздуха, и пустой шприц И, через уплотнительные резиновые втулки 3, герметично соединяются с патрубками 1 и 2 соответственно. Из шприца 1 воздух со скоростью порядка 1.0 м/с продавливается через слой нефтепродукта, где этот воздух насыщается его парами, и паровоздушная смесь поступает в шприц II. После этого шприцы отсоединяются, колба с нефтепродуктом и шприц II с парами нефтепродукта закрываются.

Примечание:

Объем паровоздушной смеси в шприце II должен быть равен объему нефтепродукта в колбе (т.е. соотношение "газ-жидкость" равно 1:1).

6.13. Ответственный исполнитель по отбору проб должен иметь письменное разрешение главного инженера управления и оформленный наряд-допуск на производство работ.

7. РАСЧЕТ ПОТЕРЬ ОТ ИСПАРЕНИЯ ИЗ РЕЗЕРВУАРОВ.

Основной объем выбросов вредных веществ в атмосферу от испарения нефтепродуктов в резервуарах происходит за счет вытеснения газовоздушной смеси из резервуара в процессе его заполнения. Объем этой смеси примерно равен объему используемой нефти.

Количество вредных веществ в газовоздушной смеси зависит от вида нефтепродукта, температур продукта и газовой смеси.

Количество выбросов зависит от оснащенности резервуаров техническими средствами сокращения потерь на испарение и режима эксплуатации резервуаров.

Расчет потерь от испарения проводится за теплый (шесть наиболее теплых месяцев года) и холодный (шесть наиболее холодных месяцев) периоды года.

7.1. Расчет температурного режима резервуаров.

tr = K4 х (K1 + К2 х ta + К3 х tж)                                                     (7.1)

где ta, tж - среднеарифметические значения температур наружного воздуха и жидкости в резервуаре за соответствующие периоды года, ° С;

K1, К2, К3 - опытные коэффициенты, принимают по Приложению Б;

К4 - опытный коэффициент, для холодного периода года равен единице, для теплого периода - равен единице для подземных резервуаров, а для наземных - принимается по Приложению В.

7.2. Определение давления насыщенных паров низкокипящих нефтепродуктов.

7.2.1. По результатам единичных определений рассчитываются среднеарифметические значения температуры проб нефтепродуктов, единичные значения которых принимаются равными соответствующей температуре воздуха в лабораторном помещении:

                                                                                (7.2)

где tл - средняя температура проб нефтепродукта, численно равная средней температуре воздуха в помещении за n- число единичных измерений, °С.

tлi- температура воздуха в помещении при i-том измерении, численно равная температуре пробы нефтепродукта, оС.

7.2.2. Каждое значение давления насыщенных паров нефтепродукта  соответствующее температуре tлi, приводится к средней температуре tл.

По полученным значениям  рассчитывается среднеарифметическое значение Ptл, мм.рт.ст.:

                                                                           (7.3)

7.2.3. Значение Ptл приводится передней температуре газового пространства tг. Значения давлений насыщенных паров нефтепродуктов могут приводиться к соответствующим температурам tл и tг по графику Кокса.

7.2.4.Значения давлений насыщенных паров Ptг, мм.рт.ст., индивидуальных жидкостей (бензол, толуол, ксилолы и т.д.) рассчитывают по формулам Антуана [2]:

                                                                    (7.4)

                                                                        (7.5)

где А, В, С- константы, зависящие от природы вещества, принимаются из [2].

7.2.5. При расхождении за период обследования температур воздуха в лабораторном помещении не более 2°С, величина Ptл может быть рассчитана по формуле:

                                                                           (7.6)

Для некоторых органических соединений значения коэффициентов в формулах 7.4 и 7.5 приведены в табл. 7.1.

Таблица 7.1

Давление насыщенных паров органических соединений в зависимости от температуры.

Наименование продукта

Формула

Уравнение

Температурный интервал, оС

А

В

С

от

до

Метиловый спирт (метанол)

СH4О

1

-62

-44

8,9547

2049,2

-

1

7

153

8,349

1853,0

-

Метилэтил кетон

C4H8O

1

-15

85

7,764

1725,0

-

Пентан

C5H12

2

-30

120

6,87372

1075,82

233,36

Гексан

С6H14

2

-60

110

6,87776

1171,53

224,37

Бензол

С6Н6

2

-20

5,5

6,48898

902,28

178,1

5,5

160

6,91210

1214,64

221,20

Фенол

C6H6O

2

0

40

11,5638

3586,36

273,0

41

95

7,86819

2011,4

222,0

Толуол

С7H8

1

-92

15

8,330

2047,3

-

2

20

200

6,95334

1343,94

219,36

Этилбензол

С8Н10

2

20

45

7,32525

1628,0

230,7

2

45

190

6,95719

1424,26

213,21

o-Ксилол

C8H10

2

25

50

7.35638

1671.8

231.0

м-Ксилоп

C8H10

2

25

45

7,36810

1658,23

232,3

2

45

195

7,00908

1462,27

215,1

n-Ксилол

C8H10

2

25

45

7,32611

1635,74

231,4

2

25

45

6,99052

1453,43

215,31

                     (1)                   Р - давление насыщенного пара, мм рт.ст.;

Т - абсолютная температура, °К;

t - температура, °С.

                     (2)

7.3. Определение весовой концентрации насыщенных паров нефтепродуктов.

7.3.1. Для низкокипящих нефтепродуктов.

Рассчитывается объемная концентрация паров Сiо, доли единицы:

                                                                                        (7.7)

где Pi - давление насыщенных паров нефтепродуктов при i-ом измерении;

Ра - барометрическое давление при i-ом измерении.

Расчет весовой концентрации проводится по формуле:

Сiв=Сio х рin                                                                                  (7.8)

где Сiв, рв - весовая концентрация (кг/м3) и плотность насыщенных паров (кг/м3) при температуре ti.

7.3.2. Для высококипящих нефтепродуктов.

Весовая концентрация насыщенных паров высококипящих нефтепродуктов (керосин, дизтопливо, мазут/ др.) определяется непосредственно хроматографическим путем при температуре паров испытуемого нефтепродукта время насыщения.

Значения С1в, (кг/ м3) приводятся к соответствующей температуре ti по графику Кокса.

7.3.3. Для индивидуальных жидкостей.

Расчет проводится по формулам раздела 7.3.1.

7.4. Расчет плотности паров низкокипящих нефтепродуктов и индивидуальных жидкостей.

7.4.1. По весовому содержанию углеводородных компонентов в парах рассчитывается молекулярный вес нефтяных и бензиновых паров:

                                                                                   (7.9)

где Ci - среднеарифметическое содержание i-го компонента в парах, % вес;

Mi - молекулярный вес i-го компонента, определяется по его химической формуле или по [2].

7.4.2. Плотность паров при нормальных условиях ρо, кг/ м3, рассчитывается по формуле

                                                                                      (7.10)

7.4.2. Плотность паров при температуре tiг, °С, барометрическом давлении Ра, мм. рт.ст., определяется:

                                                              (7.11)

7.5. Определение коэффициентов оборачиваемости Кn и оснащенности Кo.

7.5.1. Рассчитывается условная оборачиваемость резервуаров n, об/год, для каждого из периодов года:

                                                                                   (7.12)

где Viж - объем нефтепродукта за соответствующий период года, проходящего через группу одноцелевых резервуаров, м3; VP - суммарный объем одноцелевых резервуаров, м3.

7.5.2. По соответствующим формулам раздела 7.2  рассчитывается давление насыщенных паров при tr = 38 °С (Р38).

По Приложению Д в зависимость от оборачиваемости (ni), давления насыщенных паров (Р38) и климатической зоны определяется значение Кп.

Из Приложения Е по оснащенности и режиму эксплуатации резервуаров определяется значение коэффициента Ко.

7.5.3. При наличии инструментальных данных по определению эффективности понтона значение Ко принимается равным:

Ко = 1 - Эn×10-2, где Эn - эффективность работы понтона, %.

7.6. Расчет потерь из резервуаров.

Расчет проводится за периоды года.

7.6.1. Для резервуаров с низкокипящими нефтепродуктами, т/период:

                                         (7.13)

где Ptr, ρntr - давление и плотность насыщенных паров при средней температуре газового пространства, соответственно мм.рт.ст. и кг/м3.

Ра - среднее барометрическое давление, мм рт.ст.

Удельные потери qp (кг/тонну) рассчитываются по формуле:

                                                                               (7.14)

где dt - плотность нефтепродукта при средней температуре tЖ в резервуаре, т/м3

Потери в единицу времени GPC (г/с) рассчитываются по формуле:

                                                                             (7.15)

где τ - время эксплуатации одноцелевых резервуаров, час.

7.6.2. Для резервуаров с высококипящими нефтепродуктами.

GP = Vж×Св×Кn×Кo×10-3                                                             (7.16)

где Св - весовая концентрация насыщенных паров при средней температуре газового пространства, кг/м3.

Расчет величин qp и GPC проводится аналогично расчету для низкокипящих нефтепродуктов.

7.6.3. Для резервуаров с индивидуальными жидкостями. Расчет проводится по формулам раздела 7.6.1.

ПРИМЕР 1.

Расчет потерь бензина из резервуаров N 1 - 5 за теплый период года.

Исходные данные:

- южная зона;

- суммарный объем резервуаров Σ VP = 50 000 м3;

- объем проходящего нефтепродукта Vжт = 1050000 м3;

-плотность нефтепродукта dtв = 0.725 т/м3;

- резервуары наземные, оборудованные понтонами, эксплуатируются в режиме мерников, окраска - алюминиевая;

- суммарное время эксплуатации резервуаров - 178 суток или 24×178 = 4272 часа;

- компонентный состав паров бензина (в вес %):

СН4 = 0,91; С2Н6 = 2,8; C3H8 = 19,9; C4H10 = 28,71; С5Н12 = 57.5;

остаток = 10,2;

- молекулярный вес углеводородных паров: М(СН4) - 16;

М(С2Н6) = 30; М(С3Н8) = 44; М(С4Н10) = 58; M(C5H12) = 72;

М(С6 и выше) = 100.

Расчет температурного режима.

tвт - средняя температура наружного воздуха;

среднее барометрическое давление Рат = 752,5 мм.рт.ст.;

tжт - средняя температура бензина в резервуаре:

tгт= К4×(Kl + К2×taт + К3×tжт),

К1 = 6,12; Кг = 0,41; К3 = 0.51; К4 = 1,14

tгт = 1,1×(6,12 + 0,41×25,0 + 0,51×27,0) = 34.4 °С

Расчет давления насыщенных паров бензина.

tлт - средняя температура воздуха в лаборатории:

Значения Pi при tni (в мм.рт.ст.):

Р25,5 = 387,6; Р26,4 = 403,6; Р24,5 = 362,4; Р24,3 = 371,5.

Значения Рtл при tni – 25,2°C (по графику Кокса), соответственно:

Р25,2 = 382; Т25,2 = 388; P25,2 = 371; Р25,2 = 382

Р25,2 = (382+388+371+382)/4 = 381 мм.рт.ст.

При средней температуре газового пространства

Р34,4 =536 мм.рт.ст. (по графику Кокса).

При 38оС - Р38 = 618 мм рт.ст. (по графику Кокса).

Расчет плотности паров бензина. Молекулярный вес:

Плотность при нормальных условиях:

Определение коэффициентов Кn, Ко:

Kn = 2,55; Ко = 0,20

Расчет потерь за теплый период года.

Удельные потери

Потери в единицу времени

ПРИМЕР 2.

Расчет потерь керосина из резервуаров № 20 - 22 за холодный период года.

Исходные данные:

- средняя зона;

- суммарный объем резервуаров ΣVp = 6000 м3

- вес нефтепродукта Gн = 150 000 т;

- плотность нефтепродукта dt = 0.800 т/м3;

- резервуары наземные, оборудованные дыхательными клапанами, эксплуатируются в режиме мерников, окраска - алюминиевая;

- время эксплуатации резервуаров – 182,5 суток или 182,5×24 = 4580 часов.

Расчет температурного режима.

tаx - средняя температура наружного воздуха

Рах - среднее барометрическое давление = 762 мм рт.ст.

tжx - средняя температура керосина в резервуаре;

tжх = (6+5+4+1+5+9) / 6 = 4.3 °С

tгх =K4×(K1+ K2×tах + K3×tжх),

K1 = 0,30; К2 = 0,37; К3 = 0.62; К4 = 1

tгх = 1×(0,3 + 0,37×(-9) + 0,62×4,3) = -0.4 °С

Определение весовой концентрации нефтепродуктов.

tлx - средняя температура воздуха в лаборатории:

tлх = (20+24+25+23+22+23) / 6 = 23°С

Значения Cni, г/м3, при tni:

Cx1в20 =20,5; Cх2в23 = 27.2; Cх3в23 - 30,0; Сх4в23 = 28,0; Схв5в23 = 25,8; Сх6в23 = 26.2;

Значения Схв23, г/м3, при tnx = 23°C по графику Кокса

Cх23 = 24,3; Сх2в23 = 25,2; Сх3в23= 26,6; Сх4в23 = 28,0; Сх5в23 = 28,1; Сх6в23 = 26.2;

Схв23 = (24,3+25,2+26,6+28,0+28,1+26,2) / 6 = 26.4 г/м3

Данное значение приводим по графику Кокса к средней температуре газового пространства tГх = -0.4°С; которое составит:

Схв23 =5.5г/м3

Коэффициент оборачиваемости:

nх = (2×(150 000 / 0,8)) / 6000 = 62.5 условных оборотов в год

6000 Кn = 1,15 (по РП-5)

(Для высоко кипящих нефтепродуктов Р38 = 50 мм.рт.ст.)

Коэффициент оснащенности определяем по таблице РП-6: Ко = 1.

Расчет потерь за холодный период года.

GхP = Vж×Cxвг Kn×Ко×10-6, т/период

Gхp = 187500×5,5×1,15×1,0×10×10-6 = 1,186 т/период

qхp = (1,186×103)/150000 = 0,008 кг/тонну

Gсхр = (1,186×106) / (4380×3600) = 0,015 г/с

8. СЛИВО-НАЛИВНЫЕ ЭСТАКАДЫ, ЦИСТЕРНЫ.

При работе сливо-наливных эстакад основные потеря от испарения нефтепродуктов из цистерн происходят в результате вытеснения газовоздушной смеси при заполнении цистерн а также от испарения остаточных нефтепродуктов при заполнении воздухом освобождающихся емкостей цистерн при сливе продукта. Величина потерь на испарение зависит от вида и температуры нефтепродукта, температуры газового пространства, которые определяют давление и концентрацию насыщенных паров. Объем газовоздушной смеси примерно равен объему используемого нефтепродукта. Величина потерь зависит также от способа налива-слива продукта.

8.1. Расчет температурного режима цистерн.

За холодный период года при наливе жидкости в цистерну:

tхГЦ = 0,5×(tах - tжх), °C                                                              (8.1)

За теплый период года при наливе жидкости в цистерну:

tТГЦ = 0,5×К4×(tах - tжх), °С                                                      (8.2)

где К4 - коэффициент, учитывающий влияние солнечной радиации, принимается по таблице РП-2.

Температуру газового пространства при сливе жидкостей из цистерн принимают равной средним температурам атмосферного воздуха за соответствующий период года.

8.2. Определение давления насыщенных паров низкокипящих нефтепродуктов и весовой концентрации нефтепродуктов.

Определение этих величин проводится аналогично расчету их для резервуаров (см. разд. 7.2-7.4), причем в расчетных формулах вместо температуры газового пространства резервуара принимается соответствующее значение tiГЦ

8.3. Расчет потерь.

Потери при наливе нефтепродуктов за один из периодов (Gнiц, тонн/период) рассчитываются по формулам:

8.5.1. Для низкокипящих нефтепродуктов:

Gнiц = Vнiж×(riусрсаρц×10-3,                                                      (8.3)

где Vнiж - объем наливаемой жидкости за период года, м3;

Рса - среднее барометрическое давление воздуха, мм.рт.ст.;

ρц - плотность насыщенных паров, кг/м3;

riуср - среднее давление насыщенных паров нефтепродукта в цистерне, мм.рт.ст. (определяется как среднее арифметическое по фактическим анализам насыщенных паров в устье цистерны);

8.5.2. Для высококипящих нефтепродуктов

Gнiц = Vniж×Сiву×10-6, тонн/период                                              (8.4)

где Сiву - средняя весовая концентрация, г/м3, нефтепродукта в устье цистерны, определяется аналогично riуср

8.3.3. Потери при сливе жидкостей из цистерны Giц(слив) (тонн/период) принимаются равными;

Giц(слив) = 0,15×Gнiц

т.е. потери составляют порядка 15% от потерь при условии налива этого же количества жидкости в цистерну.

8.5.4. Удельные потери qiц (кг/тонну) нефтепродуктов рассчитываются по формуле:

qiц = (Giц×103) / (Viжц×dit)                                                             (8.5)

где dit - плотность нефтепродукта при средней температуре tiж, т/м3.

Потери в единицу времени за период налива жидкости в цистерну и ее слива Gciц, г/с, рассчитываются по формуле:

Gсiц = (Gciц×106) / (Σ τiц×3600)                                                       (8.6)

где Σ τiц - суммарное время за соответствующий период года налива или слива жидкости в цистерны на эстакаде, час.

ПРИМЕР 3.

Расчет потерь при наливе бензина А-76 в железнодорожные цистерны за теплый период года.

Исходные данные:

- объем наливаемого бензина Vnтж =1050000 м3;

- плотность нефтепродукта dt = 0.725 т/м3;

- окраска цистерн - черная;

- налив бензина в нижнюю зону цистерны;

- суммарное время налива бензина в цистерны, τ = 380 часов за полугодие;

- компонентный состав и молекулярный вес углеводородных паров приняты из Примера 1.;

- средняя температура наружного воздуха и барометрическое давление - из Примера 1.;

- средняя температура наливаемого бензина и температура воздуха в лаборатории - из Примера 1.;

- текущие значения давления насыщенных паров при tл и их значения средние - см. Пример 1.

Расчет температурного режима цистерн.

Значение коэффициента К4 из Приложения Б составляет:

К4 = 1,29

tТгц = 0,5×1,29×(25,0 + 27,0) = 33,6°С

Расчет давлений насыщенных паров бензина при tТгц = 33.6°С.

По графику Кокса Р38 = 618 мм.рт.ст.

Р33,6 - 528 мм.рт.ст.

Расчет плотности паров бензина.

Расчет среднего молекулярного веса паров М и плотности при нормальных условиях ρ0 - см. Пример 1.

ρ33,6 = 2,61×(273 / (273 + 33,6))×(752,5 / 760) = 2,3 кг/м3;

Расчет потерь.

Gнтц = 1050000×(528 / 752,5)×2,3×10-3 = 1626,731 т

Удельные потери:

qТЦ = (1626,731×103) / (1050000×0,725) = 2,159 кг/тонну

Потери в единицу времени;

Gcц = (1626,731×106) /(380×36000)= 1189,131 г/с

9. ОПРЕДЕЛЕНИЕ ЭФФЕКТИВНОСТИ РАБОТЫ ПОНТОНА В РЕЗЕРВУАРЕ

9.1. Эффективность, работы понтона в резервуаре рассчитывается по формуле:

                                                                         (9.1)

где Эп - эффективность понтона, %;

Р - давление насыщенных паров нефтепродуктов при tr, мм рт.ст.;

Роп - парциальное давление паров нефтепродуктов в газовом пространстве резервуара в конце закачки, мм рт.ст.

9.2. При малых величинах концентраций паров нефтепродуктов в газовом пространстве резервуара величина

                                                                    (9.2)

где С - весовая концентрация насыщенных паров нефтепродуктов при tr-, г/м3;

Соп - фактическая весовая концентрация паров нефтепродуктов в газовом пространстве резервуара в конце закачки, г/м3.

Значение С рассчитывается по формуле:

                                                                                   (9.5)

где ρп - плотность насыщенных паров нефтепродуктов при tr, кг/м3;

Ра - барометрическое давление на момент отбора пробы нефтепродукта из резервуара, мм рт.ст.

10. РАСЧЕТ ПОТЕРЬ ИНДИВИДУАЛЬНЫХ КОМПОНЕНТОВ, ВХОДЯЩИХ В СОСТАВ ПАРОВОЗДУШНОЙ СМЕСИ В ГАЗОВОМ ПРОСТРАНСТВЕ РЕЗЕРВУАРОВ, ЦИСТЕРН

Потеря индивидуальных компонентов от испарения рассчитываются исходя из их весового содержания в паровоздушной смеси, вытесняемой из газового пространства, резервуара, цистерны.

10.1. Весовая доля i-го компонента xi рассчитывается по формуле:

                                                                                       (10.1)

где Ci - весовая концентрация i-го компонента в паровоздушной смеси, г/м3;

Ссн - весовая концентрация паров углеводородов (суммарно) в паровоздушной смеси, г/м3.

Отбор и анализ паровоздушных проб на весовое содержание i-го компонента производится в соответствии с [6, 7].

10.2. Для оценки выбросов i-го компонента можно весовую долю хi принять равной:

xi = ai*10-2,                                                                                     (10.2)

где аi - весовое содержание i-го компонента в смеси, % вес.

10.3. Потери i-го компонента Gxi т/период, из резервуаров за соответствующий период года рассчитывается:

Gxi = Gcн*xi,                                                                                   (10.3)

где Gсн - потери углеводородов (суммарно) за период года, т/период.

ЛИТЕРАТУРА

1. Методические указания по определению и расчету вредных выбросов из основных источников предприятий нефтеперерабатывающей и нефтехимической промышленности. М., 1984.

2. Справочник химика. Т. 1., Л., Химия, 1971.

3. Эмирджанов Р.Т. Основы технологических расчетов в нефтепереработке. М-Л., Химия, 1965.

4. ГОСТ 11382-76.

5. Руководство по контролю загрязнения атмосферы. Л., Гидрометеоиздат, 1989.

6. Сборник методик по определению концентраций загрязняющих веществ в промышленных выбросах. Л., Гидрометеоиздат, 1987.

7. Перечень методик по определению концентраций загрязняющих веществ в выбросах промышленных предприятий, допущенный к применению. С.-Пб., 1994.

Приложение А
РАСПРЕДЕЛЕНИЕ ТЕРРИТОРИИ БЫВШЕГО СССР ПО КЛИМАТИЧЕСКИМ ЗОНАМ ДЛЯ ПРИМЕНЕНИЯ ПРИ РАСЧЕТАХ ВЫБРОСОВ ВРЕДНЫХ ВЕЩЕСТВ В АТМОСФЕРУ

Зона

Государства, края, области

Южная

Государства: Азербайджан, Армения, Грузия, Кыргызстан, Молдаван, Таджикистан, Туркменистан, Узбекистан.

 

Республики: Дагестанская, Кабардино-Балкарская, Калмыцкая, Северо-Осетинская, Чечено-Ингушская.

 

Края: Краснодарской, Ставропольский.

 

Область Российской Федерации - Астраханская, Белгородская, Ростовская;

 

Украины - Херсонская, Запорожская, Николаевская, Крымская, Одесская;

 

Казахстана - Гурьевская, Джамбульская, Кзыл-Ординская, Чингитская.

Северная

Республики: Бурятская, Карельская, Коми, Тувинская, Якутская.

 

Области: Амурская, Архангельская, Мурманская, Новосибирская, Омская, Пермская, Свердловская, Тюменская, Томская, Читинская.

Средняя

Районы, не вошедшие в южную и северную зоны.

Приложение Б
Значения коэффициентов К1, К2, К3, в зависимости от температуры жидкости в резервуаре.

Температура жидкости (нефтепродуктов) в резервуаре tж, °С

Периоды года

Значения коэффициентов

 

K1

К2

К3

1

 

3

4

5

Наземные металлические резервуары

менее 20

Шесть наиболее холодных месяцев года

0,30

0,37

0,62

от20 до 35

-

0,33

0,62

от 35 до 60

-5,77

0,26

0,77

более 60

-10,80

0,65

0,89

 

 

 

 

 

менее 35

Шесть наиболее теплых месяцев года

6,12

0,41

0,51

от35 до 50

4,33

0,37

0,59

от 50 до 75

-2,04

0,57

0,62

более 75

-8,41

0,99

0,75

 

 

 

 

 

Подземные железобетонные резервуары

менее 25

Шесть наиболее холодных месяцев года

1,62

0,19

0,74

от25 до 40

1,6

0,15

0,72

от 40 до 60

1,6

0,10

0,70

более 60

4,2

0,06

0,68

 

 

 

 

 

менее 35

Шесть наиболее теплых месяцев года

6,10

0,17

0,36

от35 до 50

0,30

0,15

0,75

от 50 до 75

0,40

0,05

0,83

более 75

8,95

0,07

0,65

 

 

 

 

 

Приложение В
ЗНАЧЕНИЕ КОЭФФИЦИЕНТОВ К4 ДЛЯ РАЗЛИЧНЫХ КЛИМАТИЧЕСКИХ ЗОН

Окраска поверхности емкости

Климатическая зона

 

южная

средняя

северная

1

2

3

4

Резервуары наземные

 

 

 

окраска черная

1,39

1,22

1,12

окраска алюминиевая

1,14

1,00

0,92

теплоотражаемая эмаль

0,92

0,81

0,78

 

Железнодорожные и автоцистерны

 

 

 

окраска черная

1,29

1,18

1,11

окраска алюминиевая

1,12

1,00

0,96

Приложение Г
Значения молекулярной массы паров нефтепродуктов М зависимости от температуры начала кипения
tнк, °C

tHK

М

tHK

М

tHK

М

tHK

М

tHK

М

tHK

М

30

63,0

60

81,1

90

98,0

150

128,0

210

165,0

355

285,0

31

63,6

61

81,6

92

99,0

152

129,0

212

167,0

360

300,0

32

64,2

62

82,2

94

99,5

154

130,0

215

169,0

365

307,0

33

64,8

63

82,8

96

100,5

156

131,0

220

172,5

370

312,5

34

65,4

64

83,4

98

101,5

158

132,0

225

176,0

375

318,0

35

66

65

84,0

100

102,5

160

133,5

230

180,0

380

324,5

36

66,6

66

84,6

102

103,0

162

135,0

235

184,0

385

330,0

37

67,2

67

85,5

104

104,0

164

136,0

240

187,5

390

337,5

38

67,8

68

85,3

106

105,0

166

137,0

245

191,0

395

343,0

39

68,4

69

86,4

108

106,0

168

138,5

250

195,5

400

350,0

40

69,0

70

87,0

110

107,0

170

140,0

255

199,0

405

356,5

41

69,5

71

87,6

112

108,0

172

141,0

260

203,5

410

364,0

42

70,2

72

88,2

114

109,0

174

142,0

265

207,0

415

370,0

43

70,8

73

88,8

116

110,0

176

143,0

270

211,0

420

373,0

44

71,4

74

89,4

118

111,0

178

144,5

275

215,0

425

385,0

45

72,0

75

90,0

120

112,0

180

146,0

280

220,0

430

392,0

46

72,6

76

90,6

122

113,0

182

147,0

285

224,0

435

400,0

47

73,6

77

91,2

124

114,0

184

148,0

290

228,5

440

407,0

48

73,8

78

91,8

126

115,0

186

149,5

295

233,0

445

415,0

49

74,7

79

92,4

128

116,0

188

151,0

300

237,5

450

422,0

50

75,0

80

93,0

130

117,0

190

152,0

305

242,0

455

430,0

51

75,6

81

93,5

132

118,0

192

153,3

310

247,0

460

435,5

52

76,2

82

94,0

134

119,0

194

155,0

315

254,0

465

446,0

53

76,8

83

94,5

136

120,0

196

156,0

320

257,5

470

455,0

54

77,4

84

95,0

138

121,0

198

157,5

325

263,0

475

463,0

55

78,0

85

95,5

140

122,0

200

159,0

330

268,0

480

474,0

56

78,6

86

96,0

142

123,5

202

160,6

335

273,0

485

480,0

57

79,2

87

96,5

144

124,5

204

161,3

340

278,5

490

481,0

58

79,8

88

97,0

146

125,5

206

162,5

345

284,0

495

500,0

59

80,4

89

97,5

148

127

208

164,0

350

289,5

500

510,0

 


ПРИЛОЖЕНИЕ Д.
ЗНАЧЕНИЕ КОЭФФИЦИЕНТА Кп В ЗАВИСИМОСТИ ОТ ДАВЛЕНИЯ НАСЫЩЕННЫХ ПАРОВ И ГОДОВОЙ ОБОРАЧИВАЕМОСТИ РЕЗЕРВУАРОВ

 

Давление насыщенныx паров при температуре 38°С, мм рт. ст.

Годовая оборачиваемость

южная

средняя

северная

южная

средняя

северная

южная

средняя

северная

южная

средняя

северная

южная

средняя

северная

южная

средняя

северная

 

менее 50

от 50 до 100

т 100 до 200

от 200 до 300

от 300 до 400

более 400

Менее 12

1,39

1,26

1,20

1,54

1,40

1,31

2,15

1,35

1,79

2,75

2,50

2,27

3,66

3,32

3,02

4,41

4,01

3,65

от 13 до 23

1,37

1,25

1,19

1,51

1,37

1,29

2,06

1,87

1,73

2,62

2,38

2,16

3,28

2,98

2,71

3,97

3,61

3,28

от 24 до 27

1,36

1,24

1,18

1,48

1,35

1,27

1,98

1,80

1,67

2,26

2,05

2,00

2,73

2,43

2,40

3,66

3,33

3,03

от 28 до 31

1,35

1,23

1,17

1,46

1,33

1,25

1,90

1,73

1,59

2,35

2,14

1,94

2,61

2,37

2,15

3,15

2,86

2,86

от 32 до 35

1,34

1,22

1,16

1,44

1,31

1,23

1,83

1,66

1,53

2,21

2,01

1,83

2,44

2,22

2,02

2,95

2,63

2,44

от 36 до 39

1,33

1,21

1,15

1,42

1,29

1,21

1,75

1,59

1,47

2,09

1,90

1,73

2,33

2,12

1,93

2,83

2,57

2,34

от 40 до 43

1,32

1,20

1,14

1,40

1,27

1,19

1,66

1,51

1,40

1,91

1,74

1,62

2,11

1,92

1,74

2,55

2,33

2,11

от 44 до 47

1,31

1,19

1,13

1,38

1,25

1,18

1,60

1,45

1,34

1,80

1,64

1,50

1,99

1,81

1,64

2,41

2,19

1,99

от 48 до 51

1,30

1,18

1,13

1,35

1,23

1,17

1,54

1,40

1,29

1,72

1,56

1,42

1,89

1,72

1,56

2,29

2,08

1,89

от 52 до 55

1,29

1,17

1,11

1,34

1,22

1,16

1,48

1,36

1,25

1,62

1,47

1,34

1,76

1,60

1,46

2,13

1,94

1,76

от 66 до 59

1,28

1,16

1,10

1,32

1,20

1,15

1,44

1,31

1,21

1,56

1,41

1,28

1,69

1,54

1,40

2,06

1,86

1,69

от 60 до 63

1,27

1,15

1,09

1,30

1,18

1,14

1,40

1,27

1,19

1,51

1,37

1,24

1, 63

1,48

1,34

1,97

1,79

1,63

от 64 до 67

1,26

1,14

1,08

1,29

1,17

1,13

1,38

1,35

1,17

1,47

1,34

1,22

1,57

1,43

1,30

1,90

1,73

1,57

от 68 до 71

1,24

1,13

1,07

1,28

1,16

1,12

1,35

1,23

1,15

1,44

1,31

1,19

1,53

1,39

1,26

1,84

1,68

1,53

от 72 до 75

1,23

1,12

1,06

1,26

1,15

1,11

1,33

1,21

1,13

1,40

1,27

1,15

1,49

1,36

1,23

1,80

1,64

1,49

от 76 до 79

1,22

1,11

1,05

1,28

1,14

1,10

1,31

1,19

1,13

1,37

1,26

1,14

1,46

1,32

1,20

1,76

1,60

1,46

от 80 до 105

1,21

1,10

1,04

1,24

1,13

1,09

1,30

1,18

1,11

1,35

1,23

1,12

1,43

1,30

1,18

1,73

1,67

1,43

от 106 до 131

1,19

1,09

1,03

1,23

1,12

1,08

1,28

1,16

1,09

1,33

1,21

1,10

1,41

1,28

1,16

1,71

1,55

1,41

от 132 до 200

1,17

1,08

1,02

1,22

1,11

1,06

1,27

1,15

1,07

1,31

1,19

1,08

1,38

1,26

1,14

1,68

1,53

1,39

более 200

1,17

1,07

1,00

1,20

1,10

1,04

1,24

1,13

1,05

1,28

1,17

1,06

1,31

1,20

1,19

1,59

1,45

1,32

 


Приложение Е
ЗНАЧЕНИЕ КОЭФФИЦИЕНТА Ко В ЗАВИСИМОСТИ ОТ ТЕХНИЧЕСКОЙ ОСНАЩЕННОСТИ И РЕЖИМА ЭКСПЛУАТАЦИИ РЕЗЕРВУАРА.

Оборудование резервуара техническими средства сокращения потерь 

Значение коэффициента Ко

мерник

буфер

1

2

3

 

Резервуар не оборудован понтоном или плавающей крышей, имеет открытый люк или снятый дыхательный клапан

1,10

0,30

 

Резервуар открытых люков не имеет, оборудован непримерзающими дыхательными клапанами, обеспечивающими избыточное давление в резервуаре:

 

 

- до 200 мм вод.ст.

1,00

0,20

- свыше 200 мм вод.ст.

0,95

0,19

 

Резервуар оборудован понтоном

0,20

0,15

 

Резервуар оборудован плавающей крышей

0,15

0,10

Резервуар включен в газоуравнительную систему резервуаров, у которых совпадение откачки и закачки продукта составляет:

 

 

- от 100. до 90%

0,20

-

- от 90 до 80%

0,35

-

- от 80 до 70 %

0,45

-

- от 70 до 50 %

0,60

-

- от 50 до 30 %

0,70

-

- менее 30 %

0,85

-

Приложение Ж
Диапазон и предельно-допустимые погрешности измерений.

Наименование параметра, обозначения, единица измерения

Диапазон значений измеряемой величины

Предельно-допустимая погрешность измерения по ГОСТ

1

2

3

Температура атмосферного воздуха tа, оС.

-30 до + 50

класс точности 1,0

Температура нефтепродукта, tж, oС.

-30до+ 120

класс точности 1,0

Температура газового пространства, tr, °C.

-30 до + 50

класс точности 1,0

Объем паровоздушной пробы, мл.

100

±2,5 мл

Уровень нефтепродукта в резервуаре, h, м.

не ограничен

± 1 см

Компонентный состав паров, Ci, % вес.

0,01 - 100

±0,4% вес

Объемная концентрация паров, С, % объемных.

от 2 и более

+ 7,0 % объемных

 

 

 




ГОСТЫ, СТРОИТЕЛЬНЫЕ и ТЕХНИЧЕСКИЕ НОРМАТИВЫ.
Некоммерческая онлайн система, содержащая все Российские Госты, национальные Стандарты и нормативы.
В Системе содержится более 150000 файлов нормативно-технической документации, действующей на территории РФ.
Система предназначена для широкого круга инженерно-технических специалистов.

Рейтинг@Mail.ru Яндекс цитирования

Copyright © www.gostrf.com, 2008 - 2026