Крупнейшая бесплатная информационно-справочная система онлайн доступа к полному собранию технических нормативно-правовых актов РФ. Огромная база технических нормативов (более 150 тысяч документов) и полное собрание национальных стандартов, аутентичное официальной базе Госстандарта. GOSTRF.com - это более 1 Терабайта бесплатной технической информации для всех пользователей интернета. Все электронные копии представленных здесь документов могут распространяться без каких-либо ограничений. Поощряется распространение информации с этого сайта на любых других ресурсах. Каждый человек имеет право на неограниченный доступ к этим документам! Каждый человек имеет право на знание требований, изложенных в данных нормативно-правовых актах!

  


 

Москва, 2003 г.

АННОТАЦИЯ

Настоящая Инструкция разработана в соответствии с договором № __от__, заключенным между ОАО «ВНИИСТ» и НК «Тюменская нефтяная компания» (ТНК).

Инструкция разработана специалистами ОАО «ВНИИСТ»: к.т.н. Аникиным Е.А., к.т.н. Варшицким В.Н., к.т.н. Габелая Р.Д., к.т.н. Данкиным В.Д., инж. Дмитриевой Т.А., д.т.н., проф. Зайцевым К.И., к.т.н. Рождественским В.В., к.т.н. Семиным Е.А., инж. Сальниковым А.И., к.х.н. Семенченко, к.х.н. Ушановым СМ., инж. Фоминой Е.А., к.т.н. Ханкиным В.П.

В разработке Инструкции принимал участие инженер Максимкин В.В. (ОАО «Северная нефть»).

Содержание

ВВЕДЕНИЕ

1. ОБЛАСТЬ ПРИМЕНЕНИЯ

2. НОРМАТИВНЫЕ ССЫЛКИ

3. ТЕРМИНЫ И ОПРЕДЕЛЕНИЯ

РАЗДЕЛ I. ПРОЕКТИРОВАНИЕ

4. ОБЩИЕ ПОЛОЖЕНИЯ ПО ПРОЕКТИРОВАНИЮ

5. МАТЕРИАЛЫ И ИЗДЕЛИЯ

6. ОСОБЕННОСТИ ГИДРАВЛИЧЕСКОГО РАСЧЕТА ТРУБОПРОВОДОВ

7. КОНСТРУКТИВНЫЕ ТРЕБОВАНИЯ К ТРУБОПРОВОДАМ

8. РАСЧЁТ ТРУБОПРОВОДОВ НА ПРОЧНОСТЬ И УСТОЙЧИВОСТЬ ПОЛОЖЕНИЯ

РАЗДЕЛ II. ПРОИЗВОДСТВО СТРОИТЕЛЬНО-МОНТАЖНЫХ РАБОТ

9. ОБЩИЕ ПОЛОЖЕНИЯ ПО ПРОИЗВОДСТВУ РАБОТ

10. ПРИЕМОЧНЫЙ КОНТРОЛЬ ТРУБ И СОЕДИНИТЕЛЬНЫХ ДЕТАЛЕЙ

11. ТРАНСПОРТИРОВКА И СКЛАДИРОВАНИЕ ТРУБ И ДЕТАЛЕЙ

12. ТЕХНОЛОГИЯ СОЕДИНЕНИЯ ТРУБ И ДЕТАЛЕЙ И КОНТРОЛЬ КАЧЕСТВА

12.1. Аттестация технологии соединения труб и деталей

12.2. Подготовительные операции

12.3. Сборка фланцевых соединений

12.4. Сборка раструбных и муфтовых соединений

12.5. Сборка бугельных соединений

12.6. Сборка резьбовых соединений

12.7. Клеевое соединение

12.8. Монтаж захлестов и «катушек»

12.9. Контроль качества соединений труб и деталей

13. ЗЕМЛЯНЫЕ РАБОТЫ

13.1. Разработка траншеи и подготовка дна

13.2. Присыпка и засыпка трубопровода

13.3. Футеровка трубопровода

14. УКЛАДКА ТРУБОПРОВОДА

14.1. Опуск трубопровода в траншею

14.2. Балластировка трубопроводов

15. СТРОИТЕЛЬСТВО ТРУБОПРОВОДА НА ПЕРЕХОДАХ

15.1. Подземные переходы под дорогами

15.2. Искусственные преграды

15.3. Установка запорной арматуры

16. ОЧИСТКА ПОЛОСТИ И ИСПЫТАНИЕ ТРУБОПРОВОДА

17. ПРИРОДООХРАННЫЕ МЕРОПРИЯТИЯ

18. ТЕХНИКА БЕЗОПАСНОСТИ

19. ПРИЕМКА В ЭКСПЛУАТАЦИЮ ТРУБОПРОВОДА

20. ПУСКОНАЛАДОЧНЫЕ РАБОТЫ

21. ЭКСПЛУАТАЦИЯ И РЕМОНТ ТРУБОПРОВОДА

21.1. Организация эксплуатации трубопровода

21.2. Поддержание технологических режимов эксплуатации трубопровода

21.3. Контроль технического состояния трубопроводов

22. РЕМОНТ ТРУБОПРОВОДА

ПРИЛОЖЕНИЕ 1 (обязательное) БУКВЕННЫЕ ОБОЗНАЧЕНИЯ ВЕЛИЧИН И ЕДИНИЦЫ ИХ ИЗМЕРЕНИЯ

 

ВВЕДЕНИЕ

Инструкция на проектирование, строительство, эксплуатацию и ремонт трубопроводов из стеклопластиковых труб устанавливает технические характеристики нефтепромысловых трубопроводов из стеклопластиковых труб, обеспечивающие безопасность людей, сооружений и окружающей среды в зонах прокладки этих трубопроводов при выполнении ими основной задачи по транспорту продукта

Достижение необходимых эксплуатационных характеристик осуществляется путем регламентации конструктивных решений, назначении системы расчетных коэффициентов, обеспечивающих необходимый уровень надежности, назначении безопасных расстояний между параллельными трубопроводами и от трубопроводов до наземных сооружений, обеспечивающих нормативный уровень риска, назначения требований к технологическим операциям сооружения трубопроводов, обеспечивающих высокое качество строительства трубопроводов в различных природных условиях при минимальном воздействии на окружающую среду и соблюдении техники безопасности, путем применения прогрессивных технологических решений, а так же назначения регламентов по эксплуатации трубопроводов, обеспечивающих долговечность и безопасность.

1. ОБЛАСТЬ ПРИМЕНЕНИЯ

Настоящая Инструкция распространяется на проектируемые, строящиеся и эксплуатирующиеся промысловые трубопроводы из стеклопластиковых труб диаметром до 700 мм включительно с избыточным давлением среды не выше 40 МПа, предназначенные для транспортирования сырой нефти, нефтепродуктов скважин, минерализованной воды и водных растворов ингибиторов нефтяных месторождений ТНК.

Настоящая Инструкция разработана в развитие СП 34-116-97.

2. НОРМАТИВНЫЕ ССЫЛКИ

- СП 34-116-97. Инструкция по проектированию, строительству и реконструкции промысловых нефтегазопроводов;

- СНиП 1.02.07-87. Инженерные изыскания для строительства;

- СНиП 2.05.06-85*. Магистральные трубопроводы;

- СНиП II-89-80*. Генеральные планы промышленных предприятий;

- СНиП 2.02.04-88. Основания и фундаменты на вечномерзлых грунтах;

- СНиП 2.02.01-83*. Основания зданий и сооружений;

- СНиП 3.02.01-87. Земляные сооружения. Основания и фундаменты;

- СНиП 3.01.01-85*. Организация строительства;

- СНиП 3.01.04-87. Правила приемки в эксплуатацию законченных строительством объектов;

- СНиП III-4-80*. Техника безопасности в строительстве;

- СНиП 12-03-99. Безопасность труда в строительстве. Часть 1. Общие положения;

- СН 452-73. Нормы отвода земель для магистральных трубопроводов;

- ВСН 005-88. Строительство промысловых стальных трубопроводов;

- ВСН 012-88. Строительство магистральных и промысловых трубопроводов. Контроль качества работ (части 1 и 2);

- ВСН 011-88. Строительство магистральных и промысловых трубопроводов. Очистка полости и испытание;

- РД 08-200-98. Правила безопасности в нефтяной и газовой промышленности;

- ВНТП 3-85. Нормы технологического проектирования объектов сбора, транспорта, подготовки нефти, газа и воды нефтяных месторождений;

- ВСН 51-3-85. Проектирование промысловых стальных трубопроводов;

- ГОСТ 9544-93. Арматура трубопроводная запорная. Нормы герметичности затворов;

- ГОСТ 17.5.3.05-84. Охрана природы. Рекультивация земель. Общие требования к землепользованию;

- ГОСТ 17.5.3.06-85. Охрана природы. Земли. Требования к определению норм снятого плодородного слоя почвы при производстве земляных работ;

- ГОСТ 17.4.3.02-85. Охрана природы. Почвы. Требования к охране плодородного слоя почвы при производстве земляных работ;

- ТУ 2296-001-452-Амерон-03. Трубы стеклопластиковые, соединительные детали и соединения серии Бондстренд 3400;

- ТУ 2296-008-Центрон/Амерон-03. Трубы стеклопластиковые, соединительные детали и соединения марки Центрон SP;

- ТУ 2296-009-Центрон/Амерон-03. Трубы стеклопластиковые, соединительные детали и соединения марки Центрон SPH;

- ТУ 2296-250-24046478-95. Трубы стеклопластиковые и соединительные детали;

- ТУ 2296-011-26598466-96. Трубы стеклопластиковые полиэфирные и фасонные изделия для их соединения;

- ТУ 6-19-210-82. Полимерно-контейнерное балластирующее устройство;

- ТУ 102-589-91. Контейнер текстильный для балластировки грунтом трубопроводов диаметром 219 - 325 мм (КТ-300Т);

- ТУ 102-590-91. Контейнер текстильный для балластировки грунтом трубопроводов диаметром 219 - 325 мм (КТ-300).

3. ТЕРМИНЫ И ОПРЕДЕЛЕНИЯ

Арматура запорная - равнопроходные краны, задвижки и обратные клапаны, устанавливаемые на трубопроводах, отдельных его участках и ответвлениях

Балластировка трубопровода - установка на трубопроводе устройств, обеспечивающих его проектное положение на обводненных участках трассы

Давление

- длительного разрушения, которое приводит к разрушению в конце срока службы при непрерывном воздействии нагрузки

- номинальное (класс давления), давление длительного разрушения, уменьшенное в 1,5 раза;

- рабочее (нормативное) - величина давления в трубопроводе, устанавливаемая проектом

Диаметр условный - условный нормативный ряд чисел, каждому из которых соответствует фактический диаметр трубы

Детали соединительные трубопровода - элементы трубопровода, предназначенные для изменения направления его оси, ответвления от него, изменения его диаметра и др. (отвод, тройник, переход и др.)

Заглубление трубопровода - расстояние от верхней образующей трубы до поверхности земли; при наличии балласта, - расстояние от верха балластирующей конструкции до поверхности земли

Нагрузка - воздействие на трубопровод, регламентируемое соответствующими нормативными документами или проектом

Ответвление - отвод части транспортируемого продукта в сторону от основного направления трубопровода; присоединяется к трубопроводу посредством тройникового соединения

Переход

- подводный - участок трубопровода, прокладываемый под руслом реки, канала, озера и т.д.;

- через железные- и автодороги - участок трубопровода, прокладываемый под железной и автомобильной дорогой

Прокладка подземная - расположение трубопровода ниже поверхности земли

Препятствия - реки, водохранилища, каналы, озера, пруды, ручьи, протоки и болота, овраги, балки, железные и автомобильные дороги, линии электропередач, различные пересекаемые трубопроводы

Схема расчетная - условное изображение конструкции трубопроводов, принимаемое для выполнения расчетов

Трасса трубопровода - положение оси трубопровода, определяемое на местности ее проекциями в горизонтальной и вертикальной плоскостях

Толщина стенки номинальная - указанная в технических условиях на трубы

Талик - участок талого грунта трассы трубопровода, расположенный между участками трассы, проходящими в вечномерзлом грунте;

Футляр защитный - сооружение, воспринимающее нагрузки от подвижного состава железных и автомобильных дорог при пересечении их трубопроводами и предохраняющие железные и автомобильные дороги от попадания на них транспортируемых продуктов в случае их утечек

РАЗДЕЛ I. ПРОЕКТИРОВАНИЕ

4. ОБЩИЕ ПОЛОЖЕНИЯ ПО ПРОЕКТИРОВАНИЮ

4.1. Проектирование промысловых трубопроводов из стеклопластиковых труб должно вестись в соответствии с требованиями СП 34-116-97 и дополнительными требованиями настоящей Инструкции.

4.2. Промысловые стеклопластиковые трубопроводы должны быть запроектированы и построены таким образом, чтобы была обеспечена надежная и безопасная их эксплуатация в течение всего срока службы путем выбора соответствующих исходных материалов, обеспечения необходимого уровня надежности и нормативного уровня риска, обеспечения качества строительства.

4.3. Основными критериальными характеристиками конструкций стеклопластиковых трубопроводов являются:

- свойства исходных материалов для сооружения трубопроводов (труб, соединительных деталей, арматуры, теплоизоляции, балластирующих устройств и др.), которые определяются соответствием их требованиям действующих норм, ГОСТ, ТУ на эти изделия;

- надежность трубопроводов при заданных условиях эксплуатации по давлению и температуре, которая определяется соответствием принятых конструктивных решений трубопроводов (толщина стенки трубопровода, глубина заложения, радиусы изгиба и т.д.) требованиям действующих норм;

- безопасность, в т.ч. пожарная, которая определяется наличием соответствующих безопасных расстояний от промысловых трубопроводов до зданий и сооружений, находящихся в зонах прохождения трубопроводов;

- качество строительства, которое определяется соответствием результатов контроля качества при сооружении трубопроводов, требованиям действующих норм;

- стабильность положения трубопровода в пространстве и во времени в течение всего срока эксплуатации.

4.4. Условия эксплуатации должны соответствовать проекту трубопровода. При этом должны быть приняты меры, исключающие отклонения от заданного режима эксплуатации, что может вызвать превышение допустимых нагрузок.

4.5. Обеспечение необходимого уровня надежности и безопасности стеклопластиковых трубопроводов, т.е. определение всех действующих на трубопровод нагрузок и воздействий, назначение области допустимых значений напряженного состояния для разных типов стеклопластиковых труб и формулирование условий прочности и устойчивости должно соответствовать требованиям, приведенным в разделе 8 настоящей Инструкции. Безопасные расстояния от оси трубопровода до объектов инфраструктуры, регламентируются соответствующими требованиями СП 34-116-97.

4.6. Стеклопластиковые трубопроводы, предназначенные для транспортирования сырой нефти, нефтепродуктов скважин, минерализованной воды, водных растворов ингибиторов, подразделяются на классы:

- I класс - трубопроводы условным диаметром 600 мм и более;

- II класс - трубопроводы условным диаметром менее 600 мм до 300 мм включительно;

- III класс - трубопроводы условным диаметром менее 300 мм.

4.7. Стеклопластиковые трубопроводы должны проектироваться подземными*.

* Согласно требованиям ТУ, на которые распространяется настоящая «Инструкция»

4.8. Температура транспортируемого продукта на входе в трубопровод должна быть не выше +60°С.

4.9. Основные требования по охране окружающей среды определяются СП 34-116-97.

5. МАТЕРИАЛЫ И ИЗДЕЛИЯ

5.1. Материалы и изделия, применяемые для строительства промысловых стеклопластиковых трубопроводов, должны отвечать требованиям соответствующих государственных стандартов, технических условий и других нормативных документов, утвержденных в установленном порядке.

5.2. Применение материалов и изделий, не имеющих сопроводительного документа, подтверждающего соответствие их требованиям государственных стандартов или технических условий, не допускается.

5.3. Соединения стеклопластиковых труб и деталей, подразделяются на разъемные и неразъемные.

Конструктивно они различаются на фланцевые, муфтовые и раструбные.

В зависимости от конструкции соединения стеклопластиковых труб имеют следующие обозначения, которые рекомендуется проставлять на схемах трубопроводов:

- Ф - фланцевый стык;

- М - муфтовый;

- МК - муфтовый клеевой;

- Р - раструбный;

- Б - бугельный;

- С - специальный (например, резьбовой).

5.4. К разъемным соединениям труб относятся фланцевые и резьбовые. Первые монтируются (соединяются) с помощью болтовых соединений на стальных или пластмассовых фланцах (рис.5.1. г, д), что позволяет при эксплуатации трубопровода (при очистке, переукладке, реставрации и т.п.) производить разборку соединений с последующим восстановлением стыка без нарушения труб и сопредельных (соседних) соединений.

Резьбовые соединения (рис.5.1. б, ж) могут тоже подвергаться разборке и повторной сборке, но эта операция связана с необходимостью вращения трубы (при раструбном соединении), т.е. она целесообразна лишь при демонтаже участка трубопровода, но позволяет произвести повторную сборку нитки на этом же или другом участке из бывших в эксплуатации труб.

К разъемным относятся и соединения, собираемые с помощью гибкого стопорного элемента и резиновых колец, которые предназначаются для обеспечения герметичности соединения.

В группу разъемных соединений включается также и бугельное соединение (рис. 5.1. а).

Рис. 5.1. Конструкции соединений стеклопластиковых труб

1 - фланец металлический свободный; 2 - болт; 3 - гайка; 4 - шайба; 5 - прокладка плоская; 6 - труба буртовая; 7 - уплотнение резиновое; 8 - муфта ниппельная; 9 - элемент стопорный; 10 - труба ниппельная; 11 - муфта клеевая; 12 - труба гладкая; 13 - труба раструбная; 14 - труба бугельная; 15 - бугель; 16 - муфта бугельная; 17 - труба фланцевая; 18 - муфта резьбовая; 19 - резьба

5.5. К неразъемным относятся (рис. 5.1. в) соединения, выполняемые путем их склеивания в процессе монтажа трубопровода специальными клеевыми композициями (компаундами), как правило, с последующей термообработкой для отверждения клеевого слоя. Такая технология применяется при монтаже как муфтовых, так и раструбных соединений, конструктивно выполненных для этой технологической операции, при производстве труб.

5.6. Настоящая Инструкция распространяется на проектирование и строительство промысловых трубопроводов из стеклопластиковых труб, соединительных деталей и соединений по следующим Техническим условиям:

- ТУ 2296-001-452-Амерон-03 Трубы стеклопластиковые, соединительные детали и соединения серии Бондстренд 3400 с использованием «КИ-Лок» (Key-Lock) механического соединения или конусного (Taper/Taper) клеевого соединения;

- ТУ 2296-008-Центрон/Амерон-03 Трубы стеклопластиковые, соединительные детали и соединения марки Центрон SP с использованием резьбового соединения;

- ТУ 2296-009-Центрон/Амерон-03 Трубы стеклопластиковые, соединительные детали и соединения марки Центрон SPH с использованием резьбового соединения;

- ТУ 2296-250-24046478-95 Трубы стеклопластиковые и соединительные детали;

- ТУ 2296-011-26598466-96 Трубы стеклопластиковые полиэфирные и фасонные изделия для их соединения.

Соединительные детали и соединения должны быть равнопрочны соединяемым трубам.

5.7. Согласно ТУ 2296-001-452 Амерон-03, ТУ 2296-008-Центрон/Амерон-03 и ТУ 2296-009-Центрон/Амерон-03 трубы изготавливаются методом спиральной намотки на вращающуюся стальную оправку стеклоровинга (Е-стекло), пропитанного эпоксидной смолой с отвердителем. Отверждение осуществляется в печи при высокой температуре по специальной программе. В течение процесса отверждения труба постоянно вращается для обеспечения равномерного распределения смолы.

Соединения изготовляются за одно целое с трубой, Внутренняя поверхность раструбного конца формируется на оправке, тогда как наружная поверхность втулочного конца обрабатывается на станке.

Соединительные детали изготавливаются методом непрерывной пространственной компьютерной намотки стеклоровинга, пропитанного эпоксидной смолой с отвердителем на оправку соответствующей формы следующих наименований:

- отводы 11,25°; 22,5°; 30°; 45°; 60°; и 90°;

- равнопроходные и переходные тройники;

- концентрические переходники;

- фланцы;

- муфты.

Трубы и соединительные детали имеют срок службы не менее 20 лет.

5.8. Согласно ТУ 2296-250-24046478-95 трубы изготавливаются методом спиральной или непрерывной намотки армирующего наполнителя, пропитанного связующим составом, на металлическую оправку с последующей полимеризацией в термокамере. Соединения изготавливаются за одно целое с трубой.

Детали изготавливаются намоткой, прессованием, выкладкой вручную пропитанного связующим стеклоармирующего материала с использованием специальных приспособлений и оснастки или путем склейки отрезков труб. Детали изготавливаются следующих наименований:

- фланцевые;

- муфтовые;

- муфтовые клеевые;

- раструбные;

- бугельные;

- специальные (например, резьбовые).

5.9. Согласно ТУ 2296-011-26598466-95 трубы и фасонные изделия представляют собой многослойные конструкции, каждый из слоев которых имеет свои характеристики и свойства в соответствии с выполняемыми функциями:

- внутренний слой (лайнер) должен обеспечивать герметичность и химическую стойкость стенки трубы;

- несущий слой должен обеспечивать механическую прочность трубы при воздействии внутреннего и внешнего давления, изгибающих и осевых нагрузок;

- внешний слой толщиной примерно 0,2 мм, состоящий из чистой смолы с добавлением парафина.

Фасонные изделия изготовляются следующих видов:

- отводы с углом поворота до 90°;

- фланцы;

- тройники равнопроходные и переходные;

- переходники концентрические и эксцентрические.

Стыковые соединения труб и фасонных изделий изготовляются следующих типов:

- раструбно-шиновые с двойным кольцевым уплотнением;

- раструбно-шиновые с двойным кольцевым уплотнением и стопорным кольцом;

- гладкие законцовки для муфтового соединения склеиванием.

5.10. Трубы и фасонные детали должны поставляться вместе с комплектующими материалами, необходимыми для сооружения трубопровода.

5.11. Для закрепления (балластировки) стеклопластиковых трубопроводов, прокладываемых на заболоченных и обводненных участках трассы, должны как правило, предусматриваться полимерно-контейнерные балластирующие устройства (ПКБУ) ТУ 6-19-210-82, контейнеры текстильные (КТ, КТ-Т и КТБ) ТУ 102-590-91 и ТУ 102-589-91. Могут применяться и другие балластирующие устройства (железобетонные охватывающего типа, анкера и др.) оснащаемые мягкими силовыми поясами.

Для закрепления трубопроводов, прокладываемых через водные преграды, должны предусматриваться утяжеляющие кольцевые одиночные грузы, скорлупообразные грузы, сплошные утяжеляющие покрытия.

5.12. Конструкция запорной, регулирующей и предохранительной арматуры должна обеспечивать герметичность, соответствующую I классу по ГОСТ 9544-93.

6. ОСОБЕННОСТИ ГИДРАВЛИЧЕСКОГО РАСЧЕТА ТРУБОПРОВОДОВ

6.1. Гидравлический расчет трубопроводов из стеклопластиковых труб должен выполняться в соответствии с требованиями ВНТП 3-85 «Нормы технологического проектирования объектов сбора, транспорта, подготовки нефти, газа и воды нефтяных месторождений» с учетом следующих особенностей конструкции труб:

- наличием гладкой внутренней поверхности - абсолютная шероховатость не более 5,3×10-6 м;

- сохранением гладкости внутренней поверхности труб в течение всего срока эксплуатации.

6.2. Скорость жидкости в трубопроводе должна быть не более величины, определяемой по формуле:

, (м/с)                                                           (6.1)

Соответствующее значение минимального внутреннего диаметра труб

; (м)                                                        (6.2)

6.3. Для эрозионно-активных жидкостей максимальная скорость жидкости в трубопроводе не должна превышать 50 % от скорости, определенной в п.6.2.

6.4. Расчет гидравлических потерь на трение в трубопроводах при движении по ним жидкости в однофазном состоянии следует производить по формуле Дарси-Вейсбаха, где коэффициент гидравлического сопротивления должен определяться как для технически гладких труб в зависимости от числа Рейнольдса (Re):

- при числах Рейнольдса менее 2000 по формуле:

λmp = 64/Re;                                                                           (6.3)

- при числах Рейнольдса от 2000 до 2800 по формуле:

λmp = (0,16 Re-13)10-4;                                                          (6.4)

- при числах Рейнольдса более 2800:

λmp = 0,3164/Re0,25                                                                                                           (6.5)

7. КОНСТРУКТИВНЫЕ ТРЕБОВАНИЯ К ТРУБОПРОВОДАМ

7.1. Выбор трассы для стеклопластиковых трубопроводов следует производить согласно требованиям СП 34-116-97.

7.2. Разрешается совместная в одной траншее прокладка стеклопластиковых трубопроводов одного или различных назначений.

Количество трубопроводов, укладываемых в одну траншею, определяется проектом, исходя из условий обеспечения надежности, безопасности эксплуатации трубопроводов и удобства выполнения строительно-монтажных работ.

7.3. Диаметр трубопроводов должен определяться расчетом в соответствии с нормами технологического проектирования (ВНТП 3-85) и требованиями раздела 6 настоящей Инструкции «Особенности гидравлического расчета трубопроводов».

7.4. Установка запорной и других видов арматуры должна осуществляться в соответствии с требованиями СП 34-116-97.

7.5. На трубопроводах должны предусматриваться узлы запуска и приема очистных и диагностических устройств.

7.6. Необходимо особое внимание обратить на меры по стабилизации трубопроводов в неустойчивых грунтах и при сейсмических воздействиях для предотвращения дополнительных нагрузок от подвижек грунта.

Подземная прокладка

7.7. Заглубление стеклопластиковых трубопроводов до верха трубы и ширина траншеи по дну как для одного трубопровода, так и для нескольких, уложенных в одну траншею должны приниматься согласно требованиям СП 34-116-97.

7.8. Заглубление трубопроводов на участках пучинистых и просадочных грунтов должно приниматься:

- в среднепучинистых и II типа просадочности - не менее 0,7 нормативной глубины промерзания, но не менее 0,9 м;

- в грунтах сильно и черезмернопучинистых - не менее 0,8 нормативной глубины промерзания, но не менее 1,0 м;

- в грунтах неодинаковой по трассе степени пучинестости и просадочности (резко меняющийся состав грунта, изменение уровня грунтовых вод и др.) - не менее 0,9 нормативной глубины промерзания, но не менее 1,0 м.

Прокладка трубопроводов в слабопучинистых и I типа просадочности грунтах должна предусматриваться согласно требованиям п.7.7.

7.9. На участках прокладки трубопроводов на вечномерзлых грунтах (ВМГ) выбор принципа использования ВМГ как оснований должен производиться в соответствии с требованиями СНиП 2.02.04-88 в зависимости от режима эксплуатации рассматриваемого трубопровода, свойств грунтов основания и мероприятий по охране окружающей среды.

При прокладке стеклопластиковых трубопроводов с использованием грунтового основания по II принципу согласно СНиП 2.02.04-88 при расчете трубопроводов на прочность и устойчивость должны учитываться дополнительные напряжения от изгиба, вызываемые неравномерной осадкой основания (его просадочностью).

7.10. При пересечении участков пучинистых грунтов, расчет «холодных» трубопроводов (температура транспортируемого продукта ниже нуля градусов) должен производиться путем определения размеров зоны промерзания вокруг трубопровода, параметров пучения и оценки прочности и устойчивости трубопровода вследствие его взаимодействия с грунтом.

7.11. Проектирование трубопроводов, предназначенных для прокладки в районах с сейсмичностью свыше 8 баллов должно производиться с учетом сейсмических воздействий, а соединения труб должны быть муфтовые клеевые или резьбовые.

7.12. Прокладка стеклопластиковых трубопроводов в грунтах с наличием щебня или других каменистых включений, в скальных и мерзлых грунтах должна предусматриваться с подсыпкой дна траншеи песком или мягким грунтом высотой не менее 10 см и присыпкой трубы на высоту не менее 20 см (рис. 7.1.).

7.13. Предельно-допустимые радиусы упругого изгиба трубопровода для осуществления изменения направления его оси (поворота трассы) в горизонтальной или вертикальной плоскостях должны определяться расчетом из условий прочности стенок труб и соединений, устойчивости стенок труб и положения трубопровода под действием внутреннего давления, продольных усилий и выталкивающей силы на обводненных участках трассы.

При невозможности размещения кривой упругого изгиба для осуществления поворота трассы трубопровода следует применять соединительные детали - отводы.

Если, при наличии на трассе трубопровода отвода, условия прочности не удовлетворяются, необходима установка упорного блока для восприятия этим блоком части нагрузок действующих вдоль оси трубопровода. Упорный блок располагается в грунте непосредственно у отвода с его внешней стороны (рис. 7.2. а). Упругие блоки должны устанавливаться также в местах расположения равнопроходных тройников (рис. 7.2. б).

7.14. Соединение стеклопластиковых труб с металлической запорной арматурой и стальными трубами должно осуществляться с помощью фланцевых соединений.

Рис. 7.1. Прокладка стеклопластикового трубопровода по суходолу (в сухом грунте)

1 - подсыпка дна траншеи (ложе для трубопровода)

2 - уплотняемый трамбовкой грунт - подбивка

3 - присыпка над верхней образующей трубопровода

4 - засыпка вынутым грунтом (минеральным)

5 - плодородная почва

Ширина траншеи (по дну) равна диаметру трубопровода Dу плюс 600 мм. Уклон стенок траншеи 1: 0,5

Рис. 7.2. а. Упорный блок отвода

7.15. На участках трубопровода с высоким уровнем грунтовых вод (выше отметки дна траншеи) он должен быть пригружен. Конструкции балластирующих устройств должны оказывать на трубопровод рассредоточенное и плавное воздействие во избежание возникновения недопустимых деформаций труб.

В зависимости от диаметра трубопровода и характеристики геогидрологических условий могут применяться следующие виды балластирующих устройств:

- грунтозаполняемые утяжелители типа ПКБУ (полимерно-контейнерные балластирующие устройства);

- контейнерные утяжелители типа КТ, представляющие собой плотные оболочки из прочных негниющих полотен (спаренные мешки), заполненные песком или минеральным грунтом;

- полотнища из негниющих синтетических материалов, позволяющих консолидировать минеральный грунт над трубопроводом;

- бетонные пригрузы с мягкими силовыми поясами;

- анкерные устройства с мягкими силовыми поясами.

Рис. 7.2. б. Упорный блок тройника

7.16. При выборе средств для балластировки следует соблюдать требование, связанное с ограничением предельно допустимого уменьшения диаметра труб по вертикали (несущая способность подземного трубопровода может существенно снизиться, если не принимать во внимание предельно допустимую величину овализации поперечного сечения труб).

Допустимое значение относительного уменьшения диаметра трубы от всех нагрузок и воздействий не должно превышать 5 %.

7.17. Если дно траншеи обладает достаточной несущей способностью (минеральные непучинистые и непросадочные грунты), в качестве утяжелителей могут быть применены железобетонные составные пригрузы, состоящие из двух частей. В первом случае нижняя часть пригруза имеет уширение для обеспечения устойчивости от погружения (осадки). Для предохранения труб от повреждения применяются силовые пояса шириной не менее 100 мм, которые изготавливаются из синтетических материалов (капрон, нейлон, обрезиненная ткань и т.п.). Утяжелители могут быть изготовлены из отрезков отбракованных стеклопластиковых труб, заполненных песком или гравием и заглушенных затем с торцев.

7.18. Балластировка минеральным грунтом в сочетании с синтетическими материалами должна применяться на участках с прогнозируемым обводнением и на болотах мелкого заложения (до верха трубопровода) при отсутствии воды в траншее в момент производства работ.

7.19. При балластировке полотнищами с минеральным грунтом используются синтетические прочные ткани, нетканый синтетический материал (НСМ) или полотнища из резинотканевых материалов. Засыпка производится одноковшовым экскаватором, как правило, местным грунтом (из отвала).

7.20. При закреплении трубопровода анкерными устройствами в качестве силовых поясов должны использоваться широкие синтетические ленты.

Анкерные устройства применяются преимущественно на заболоченных участках, где глубина болот превышает глубину заложения трубопровода.

7.21. Балластирующие устройства должны устанавливаться на равном расстоянии друг от друга; групповая их установка запрещается.

Переходы через естественные и искусственные препятствия

7.22. Подводные переходы через водные преграды (участок трубопровода ограниченный горизонтом высоких вод не ниже отметок 10 %-ой обеспеченности) шириной более 25 м должны выполняться из стальных труб, согласно требованиям изложенным в СП 34-116-97.

7.23. Пересечение болот и водных преград шириной до 25 м и отсутствии эрозии дна и берегов допускается осуществлять из стеклопластиковых труб. Проектную отметку верха забалластированного трубопровода следует принимать на 0,5 м ниже прогнозируемого профиля дна, а на судоходных и сплавных реках - на 1 м, определяемого с учетом возможного размыва русла реки в течение 25 лет эксплуатации.

При прокладке трубопроводов на болотах в местах поворота следует предусматривать упругий изгиб трубопроводов.

7.24. Трубопровод должен прилегать ко дну подготовленной траншеи по всей длине, без провисов и зазоров. При выявлении зазоров должна быть выполнена подсыпка зависающих мест грунтом с его уплотнением.

При использовании раструбных или муфтовых соединений эластомерными кольцами прогиб плети в зоне стыка не должен превышать величин, указанных в проекте.

Подсыпка на дне траншеи должна устраиваться в виде «подушки» из мягкого грунта толщиной, определяемой как 15 % от диаметра трубопровода, но не менее 150 мм. Она не должна содержать твердых включений, которые могут повредить поверхность труб.

7.25. В слабонесущих грунтах (когезия менее 1400 кгс/м2) перед укладкой трубопровода необходимо укрепить дно траншеи.

Для этого траншея отрывается большей глубины (на 200 мм) по отношению к проектной, и на дне укладывается «подушка» из гальки или щебня толщиной 200 мм. Содержание мелких фракций (менее 20 см) в грунте не должно превышать 12 % от общего объема грунта. «Подушку» необходимо уплотнить виброуплотнителями (или другим способом) до 70 % своей максимальной плотности (рис. 7.3.).

Особенно тщательно следует готовить дно траншеи в местах «стыковки» участков с грунтами разной степени просадочности (с отличающимися структурами), чтобы избежать появления в трубопроводе дополнительных изгибных напряжений. Здесь необходимо обеспечивать уплотнение «подушки» до 90 % своей максимальной плотности. Измерение плотности грунта производят плотномером ДорНИИ.

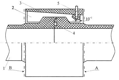
7.26. Переходы трубопроводов через автомобильные и железные дороги должны предусматриваться из стеклопластиковых труб в местах прохождения дорог по насыпям, либо в местах с нулевыми отметками и, в исключительных случаях при соответствующем обосновании, в выемках дорог.

Прокладка трубопровода через тело насыпи не допускается.

7.27. Участки трубопроводов, прокладываемых в переходах через железные дороги и автомобильные дороги всех категорий, допускается предусматривать в защитном футляре (кожухе) из стеклопластиковых труб, диаметр которых определяется из условия производства работ и конструкции переходов. Трубопровод оснащается опорно-направляющими кольцами, (рис. 7.4.), устанавливаемыми равномерно. По концам кожуха на трубной плети устанавливаются совместно три кольца.

Концы футляра должны выводиться на расстояние:

- при прокладке трубопроводов через железные дороги - 50 м от подошвы откоса насыпи или бровки откоса, выемки, а при наличии водоотводных сооружений - от крайнего водоотводного сооружения;

- при прокладке трубопровода через автомобильные дороги - от бровки земляного полотна -25 м, но не менее 2 м от подошвы насыпи.

Концы футляров, устанавливаемых на участках переходов трубопроводов через автомобильные дороги III, III-п, IV-п, IV и V категорий, должны выводиться на 5 м от бровки земляного полотна.

На подземных переходах трубопроводов через железнодорожные и автомобильные дороги концы защитных футляров должны иметь уплотнения из диэлектрического материала.

7.28. Заглубление участков трубопроводов, прокладываемых под железными дорогами общей сети, должно быть не менее 2 м от подошвы рельса до верхней образующей защитного кожуха, а в выемках и на нулевых отметках, кроме того, не менее 1,5 м от дна кювета, лотка или дренажа. При прокладке перехода методом прокола или горизонтального бурения - не менее 3,0 м от подошвы рельса.

Рис. 7.3. Поперечное сечение траншеи с уложенным трубопроводом на слабонесущих грунтах

1 - уплотняющая подсыпка основания

2 - мягкая подсыпка (подушка)

3 - мягкая боковая подсыпка

4 - мягкая присыпка

5 - засыпка минеральным грунтом

6 - засыпка плодородным грунтом

Рис. 7.4. Конструкция перехода трубопровода через дорогу в защитном кожухе

1 - защитный кожух; 2 - трубная плеть; 3 - опорно-направляющее кольцо; 4 - соединение труб; 5 - концевые строенные опорно-направляющие кольца; 6 - концевые уплотнительные манжеты; 7 - хомуты манжеты

А - уплотненная подсыпка под трубопроводом;

Б - расчетное расстояние между опорно-направляющими кольцами

Заглубление участков трубопроводов, пересекающих земляное полотно, сложенное пучинистыми грунтами, на переходах через железные дороги общей сети и промышленных предприятий колеи 1524 мм, следует определять расчетом из условий, при которых исключается влияние тепловыделений или стока тепла на равномерность морозного пучения грунта. При невозможности обеспечения заданного температурного режима за счет заглубления трубопроводов следует предусматривать другие необходимые меры.

Заглубление участков трубопроводов, прокладываемых под автомобильными дорогами всех категорий, должно приниматься не менее 1,4 м от верха покрытия дороги до верхней образующей защитного футляра, а в выемках и на нулевых отметках, кроме того, не менее 0,4 м от дна кювета, водоотводной канавы или дренажа.

8. РАСЧЁТ ТРУБОПРОВОДОВ НА ПРОЧНОСТЬ И УСТОЙЧИВОСТЬ ПОЛОЖЕНИЯ

8.1. Расчёт трубопроводов на прочность и устойчивость положения (против всплытия) должен включать: определение размеров труб по рабочему (нормативному) давлению; проведение поверочного расчёта принятого конструктивного решения, то есть оценки допустимости назначенных радиусов упругого изгиба трубопровода и температурного перепада; определение необходимой величины балластировки; обеспечение кольцевой формы поперечного сечения (предельно-допустимой величины овализации).

Прочность и устойчивость положения трубопроводов должна быть обеспечена и на стадиях сооружения и испытания.

8.2. При расчётах на прочность и устойчивость положения трубопроводов из стеклопластиковых труб срок службы должен приниматься равным 20 годам.

Расчётные характеристики стеклопластиковых труб

8.3. Расчётными характеристиками стеклопластиковых труб являются: минимальное значение длительной прочности (определяемое по давлению длительного разрушения, которое может быть определено по номинальному давлению (классу давления), приводимому в ТУ на трубы); модули упругости материала трубы; коэффициенты линейного теплового расширения; коэффициенты Пуассона; плотность материала труб.

8.4. Модули упругости, коэффициент линейного теплового расширения, коэффициенты Пуассона материала труб, номинальное давление и плотность материала труб должны приниматься по соответствующим ТУ на стеклопластиковые трубы.

Нагрузки и воздействия

8.5. Нагрузки и воздействия, действующие на стеклопластиковые трубопроводы различаются на:

- силовые нагружения - внутреннее давление, вес трубопровода, обустройств и транспортируемого продукта, давление грунта, гидростатическое давление и выталкивающая сила воды, нагрузки, возникающие при укладке и испытании;

- деформационные нагружения - температурные воздействия, воздействия предварительного напряжения трубопровода (упругий изгиб, растяжка компенсаторов и т.д.), воздействия неравномерных деформаций грунта (просадки, пучение, деформации земной поверхности в районах горных выработок и т.д.);

- сейсмические воздействия.

8.6. Рабочее (нормативное) давление транспортируемого продукта устанавливается проектом.

8.7. Собственный вес единицы длины трубопровода должен определяться по формуле:

qq = π·ρq·g·(di+t), (н/м)                                                        (8.1)

8.8. Нормативная вертикальная нагрузка от давления грунта на трубопровод должна определяться по формуле:

qm = ρm·g·hm, (н/м2)                                                               (8.2)

8.9. Гидростатическое давление воды должно определяться по формуле:

Рw = ρw·g·hw·10-6, (МПа)                                                      (8.3)

8.10. Выталкивающая сила воды на единицу длины трубопровода,
находящегося ниже уровня грунтовых вод, должна определяться по
формуле:

, (н/м)                                                      (8.4)

8.11. Температурный перепад в трубопроводе должен приниматься равным разности между температурой транспортируемого продукта в процессе эксплуатации трубопровода и температурой воздуха, при которой фиксируется расчётная схема трубопровода.

8.12. Воздействие от предварительного напряжения трубопровода (упругий изгиб по заданному профилю) должно определяться по принятому конструктивному решению трубопровода.

8.13. Воздействия от неравномерных деформаций грунта (просадки, пучение, влияние горных выработок и т.д.) должны определяться на основании анализа грунтовых условий и возможного их изменения в процессе эксплуатации газопровода.

Определение необходимых размеров труб

8.14. Необходимые размеры трубы определяются по заданному внутреннему диаметру и рабочему (нормативному) давлению. При этом должны выполняться условия:

pnom p                                                                                  (8.5)

p + pg ≤ 1,4·pnom                                                                          

Здесь pg - давление гидроудара определяется по формуле:

, (МПа)                              (8.6)

Выбранные таким образом трубы в дальнейшем проверяются на прочность в зависимости от принятого конструктивного решения трубопровода.

В случае неудовлетворения условиям прочности необходим переход на более высокое номинальное давление (класс давления).

Проверка прочности принятого конструктивного решения

8.15. Поверочный расчёт трубопроводов на прочность должен производиться после выбора его основных конструктивных параметров с учётом всех расчётных нагрузок и воздействий для всех расчётных случаев, возникающих при сооружении, испытании и эксплуатации.

8.16. Значения дополнительных напряжений, обусловленных прокладкой трубопроводов в особых условиях, должны определяться по правилам строительной механики в зависимости от физико-механических свойств грунтов, в которых прокладывается нефтепровод.

8.17. Расчётная область допустимых напряжений определяется условиями:

σy f·RH; (МПа)                                                                           

, (МПа) при σx ≥ 0                             (8.7)

, (МПа) при σx < 0                                   

Здесь RH - расчётная минимальная длительная прочность в кольцевом направлении, определяется по формуле:

,(МПа)                                                 (8.8)

Численные значения коэффициента безопасности f определяются по табл. 8.1.

Таблица 8.1.

Воздействия

Значение коэффициента безопасности

Силовое нагружение

0,67

Силовое и деформационное нагружения

0,83

Силовое и деформационное и сейсмическое нагружения

1,0

Гидростатическое испытание

1,0

Графическое изображение расчетной области допустимых напряжений приведено на рис. 8.1.

Рис. 8.1. Расчетные области допустимых напряжений для различных значений коэффициента безопасности

8.18. Значения кольцевых напряжений σy, и продольных  (суммарных) напряжений σх, σxS в трубопроводах с углами поворота, выполненными упругим изгибом, должны определяться по формулам:

- силовое воздействие

,                                                                    (8.9)

- деформационное воздействие

,                              (8.10)

- деформационное воздействие с учётом сейсмического воздействия

,                     (8.11)

8.19. Продольные напряжения  от воздействия неравномерных деформаций грунта при прокладке трубопроводов в пучинистых или просадочных грунтах, должны определяться по правилам строительной механики путём учёта взаимодействия трубопровода с пучинящимся или просадочным грунтом и в зависимости от физико-механических свойств этих грунтов.

Для определения продольных напряжений  могут использоваться и соответствующие программные средства.

8.20. Продольные напряжения в трубопроводе от сейсмических воздействий должны определяться по формуле:

, (МПа)                                          (8.12)

Здесь

                                                             (8.13)

                                                           (8.14)

Сейсмическое ускорение  определяется по данным сейсмического районирования и микрорайонирования, но должно быть не менее величин, приведенных в табл. 8.2.

Таблица 8.2.

Сила землетрясения, баллы

7

8

9

Сейсмическое ускорение, м/сек2

1,0

2,0

4,0

Скорость распространения продольной сейсмической волны вдоль оси трубопровода в грунтовом массиве ср определяется при изысканиях; - допускается принимать по табл. 22 СП 34-116-97.

Преобладающий период сейсмических колебаний грунтового массива То определяется при изысканиях.

8.21. Определение напряженно-деформированного состояния участков трубопровода, содержащего соединительные детали (отводы, тройники), необходимо производить методами строительной механики расчёта статически - неопределимых систем с учётом взаимодействия рассматриваемого участка трубопровода с грунтом, в том числе с использованием соответствующих программных средств.

В случае неудовлетворения определённым напряженно-деформированным состоянием условий прочности трубопровода, необходима установка упорных блоков (согл. рис. 7.2. а, б).

8.22. Основным расчётным параметром, определяющим размеры упорного блока, устанавливаемого на углах поворота трассы, выполненных с применением отводов и в местах расположения равнопроходных тройников, является его расчётная площадь, представляющая собой сечение упорного блока перпендикулярное направлению действия продольных усилий в рассматриваемом трубопроводе.

8.23. Расчётная площадь упорных блоков определяется по формулам для установки:

- у отводов

, (м2)                                                 (8.15)

- у тройников

, (м)                                                               (8.16)

Здесь

, (МПа)

Определение необходимой величины балластировки

8.24. Устойчивость положения (против всплытия) трубопроводов, прокладываемых на обводнённых участках трассы, должна проверяться по условию:

Qakt Qрас/γa                                                                         (8.17)

где:

Qakt - суммарная расчётная нагрузка на трубопровод, действующая вверх, (н/м);

Qnac - суммарная расчётная нагрузка, действующая вниз (включая собственный вес) (н/м)

Значения коэффициента надёжности устойчивого положения должны приниматься по табл. 8.3.

Таблица 8.3.

Характеристика участка нефтепровода

Коэффициент надёжности устойчивого положения

Обводненные и пойменные, за границами производства подводно-технических работ

1,05

Русловые участки трассы через реки шириной до 200 м по среднему меженному уровню, включая прибрежные участки в границах производства подводно-технических работ

1,1

Переходы нефтепроводов и нефтепродуктопроводов, для которых возможно их опорожнение и замещение продукта воздухом

1,03

8.25. Расстояния между центрами утяжелителей должны определяться по формуле:

, (м)                                                                         (8.18)

Здесь

PYT - вес в воздухе отдельного утяжелителя или балластирующего устройства, (н);

, (н/м)                (8.19)

где

qдоп - расчётная нагрузка от веса продукта (н/м), которая учитывается при расчёте трубопроводов, если в процессе их эксплуатации невозможно опорожнение и замещение продукта воздухом.

Значения коэффициента надёжности по нагрузке nσ следует принимать равными для:

- полимерно- и текстильно-контейнерных балластирующих устройств - 0,7;

- железобетонных грузов - 0,9;

- чугунных грузов - 1,0.

Обеспечение допустимой овализации и устойчивости круглой формы поперечного сечения трубопровода

8.26. Для обеспечения допустимой овализации поперечного сечения газопровода должно соблюдаться условие:

                      (8.20)

Здесь

, (МПа)                                    (8.21)

Здесь коэффициент ξ принимается равным:

- при укладке на плоское основание - 1,3;

- при укладке на спрофилированное основание - 1,2.

Внешнее радиальное давление рс принимается равным:

- для необводнённых участков - нулю;

- для обводнённых участков - pw.

8.27. Полная погонная эквивалентная нагрузка Q вычисляется по формуле:

, (н/м)                                                                (8.22)

где:

βi - коэффициенты приведения нагрузок,

Qi - составляющие полной эквивалентной нагрузки.

8.28. Составляющие полной погонной эквивалентной нагрузки должны определяться по следующим формулам.

От давления грунта:

Q1 = 1,2·qm·B·Ψ·Kгр, ( н/м)                                                   (8.23)

где значение коэффициента Ψ принимается большее из

                                (8.24)

                                                                          

Значение коэффициента Кгр следует принимать:

- для песчаных и супесчаных засыпок

                                         (8.25)

- для глинистых засыпок

                                     (8.26)

От собственного веса трубопровода и транспортируемого продукта:

, (н/м)                                   (8.27)

От выталкивающей силы воды на обводнённых участках трассы:

Q3 = 1,2qw, (н/м)                                                                   (8.28)

От равномерно-распределённой нагрузки на поверхности грунта:

Q4 = 1,4qv·de·kн, (н/м)                                                           (8.29)

где

;                                                                   

От подвижных транспортных средств:

Q5 = γт·qт·de, (н/м)                                                                 (8.30)

где коэффициент γт должен приниматься равным:

- для нагрузки от колонн автомобилей - 1,4;

- для нагрузки от гусеничного транспорта - 1,1.

Нормативное равномерно распределённое давление от транспорта qт (Па) передаваемое на трубопровод через грунт при его прокладке под дорогами с нерегулярным движением транспорта должно определяться в виде нагрузки Н-18 от колонн автомобилей или НГ-60 от гусеничного транспорта, при этом следует принимать наибольшую из них. Значения нагрузок Н-18 и НГ-60 допускается определять в зависимости от глубины заложения нефтепровода по графикам рис. 8.2.

Для нефтепроводов, укладываемых в местах, где движение транспортных средств невозможно, величина qт должна приниматься равной 5000 Па.

8.29. Значения коэффициентов приведения нагрузок β1 и β2 должны приниматься в зависимости от вида укладки, по табл. 8.4.

Рис. 8.2. Зависимость нормативного равномерно-распределенного давления транспорта от глубины заложения трубопровода

Таблица 8.4

Вид укладки

β1

β2

На плоское основание

0,75

0,75

На основание с углом охвата

70°

0,55

0,35

90°

0,50

0,30

120°

0,45

0,25

Значения коэффициентов β3, β4 и β5 должны приниматься равными единице.

8.30. Для обеспечения устойчивости круглой формы поперечного сечения газопровода должно соблюдаться условие:

, (MПa)                                   (8.31)

В качестве критической величины внешнего давления должно приниматься меньшее из двух значений, определённых по формулам:

, , (МПа)                 (8.32)

РАЗДЕЛ II. ПРОИЗВОДСТВО СТРОИТЕЛЬНО-МОНТАЖНЫХ РАБОТ

9. ОБЩИЕ ПОЛОЖЕНИЯ ПО ПРОИЗВОДСТВУ РАБОТ

9.1. Работы по строительству трубопроводов из стеклопластиковых труб могут осуществлять организации (фирмы), имеющие лицензии Госгортехнадзора России на выполнение такого рода деятельности.

9.2. Организация строительно-монтажных работ по строительству линейной части трубопроводов должна предусматривать поточный метод осуществления технологических операций. При этом соединение стеклопластиковых труб выполняются раздельно специализированными звеньями.

9.3. Процесс строительства включает: подготовительные, земляные, погрузо-разгрузочные работы, работы по транспортировке и складированию труб и деталей, монтаж соединений труб и деталей (в т.ч. сборку, склеивание, включая термообработку - отверждение), работы по укладке трубопровода, закрепление его в траншее или на опорах, очистку полости и испытание, последующую или сопутствующую рекультивацию земель и другие меры охраны природы, при соблюдении на всех этапах мер по охране труда и выполнения операционного контроля качества работ.

9.4. Все исполнители (инженерно-технический персонал и рабочие), занятые на строительстве трубопроводов, должны быть предварительно ознакомлены со спецификой работ, в частности с технологическими особенностями труб, деталей и материалов.

Все рабочие до начала работ должны пройти учебу, вводный инструктаж по особенностям выполняемых операций при монтаже и укладке трубопровода и технике безопасности с регистрацией в соответствующих журналах.

9.5. Для поточного строительства трубопроводов целесообразно организовать специальные бригады, которые должны включать звенья: для производства подготовительных и земляных работ, монтажных (сборка, склейка) работ, укладочных работ, звено завершающих работ.

9.6. При выполнении строительно-монтажных работ необходимо учитывать специфические особенности труб - ограниченную их гибкость, чувствительность к механическим повреждениям.

Все строительные машины, оснастка и инструменты, рабочие поверхности которых в процессе технологических операций контактируют с материалом труб и деталей, должны быть соответствующим образом защищены эластичными прокладками и покрытиями.

9.7. Точность измерений и контроля основных параметров по всем видам технологических процессов строительно-монтажных работ, а также класс точности средств проверки и измерения для контроля следует устанавливать согласно ВСН 012-88.

9.8. При производстве работ по соединению труб в условиях низких температур и выпадения осадков используются специальные укрытия, обеспечивающие возможность осуществления сборки и склеивания с соблюдением заданных технологических режимов.

9.9 При выполнении строительно-монтажных работ нельзя допускать воздействий на трубы непредусмотренных технологическими схемами силовых нагрузок.

9.10. Технологические процессы должны выполняться строго в соответствии с технологическими картами, утвержденными подрядчиком и согласованными с заказчиком. Любое изменение в процессе строительства технологии производства работ должно быть согласовано с заказчиком и разработчиком технологических карт (ППР).

9.11. Организационно-техническая подготовка строительства производится в соответствии с требованиями СНиП 3.01.01-85* и главы 11 СП 34-116-97.

9.12. Ширина строительной полосы для организации работ принимается по нормам СН 452-73.

9.13. Оформление первичной документации по производству и приемке работ производится в соответствии с ВСН 012-88 (Миннефтегазстрой).

9.14. Проект производства работ разрабатывается в соответствии с «Инструкцией по разработке проектов производства работ по строительству нефтегазопродуктопроводов», утвержденной Минтопэнерго РФ в 1999 г.

9.15. При выполнении подготовительных работ по сооружению трубопроводов следует руководствоваться требованиями СНиП 3.01.01-85*, ВСН 005-88, СП 34-116-97 (гл.12), а также положениями, изложенными в настоящей Инструкции.

9.16. Геодезическую разбивку трассы в горизонтальной и вертикальной плоскостях следует выполнять в соответствии с параметрами, данными в рабочих чертежах.

9.17. Ширина строительной полосы принимается такой же, как для стальных трубопроводов.

Сооружение временных дорог осуществляется в соответствии с требованиями ВСН 005-88 и с учетом возможностей разворотов трубопроводов.

9.18. В процессе подготовительных работ на трассе и в районе трассы должны быть проведены мероприятия:

- отмечены места расположения подземных сооружений, пересекаемых трассой строящегося трубопровода или расположенных в непосредственной близости от трассы;

- должны быть завезены трубы и соединительные детали, муфты, кольца, сигнальные ленты и другие материалы, необходимые для сооружения трубопровода.

10. ПРИЕМОЧНЫЙ КОНТРОЛЬ ТРУБ И СОЕДИНИТЕЛЬНЫХ ДЕТАЛЕЙ

10.1. Изготовитель труб должен предоставлять Заказчику (покупателю) все необходимые средства и возможности, чтобы последний мог убедиться в том, что трубы и соединительные детали изготавливаются в соответствии с утвержденными техническими условиями. Заказчик имеет право проверять исходные материалы, технологию изготовления и испытания труб и деталей и при обнаружении несоответствий с ТУ забраковать материалы или трубы и соединительные детали.

10.2. Готовые трубы и соединительные детали подвергаются визуальному контролю. Допустимые повреждения труб и деталей приведены в табл. 10.1.

Таблица 10.1.

Допустимые повреждения (дефекты) труб и деталей

Описание дефекта

Допустимый размер дефекта

Термический распад, выраженный искажением вида и обесцвечиванием поверхности

20% поверхности - пятно с незначительной переменой цвета; 5% - умеренное подгорание внешнего слоя смолы, обнажение пучка стекловолокон

Скалывание кусочков от кромки или поверхности

Допускается при условии, если слоистый пластик не нарушен

Мелкие трещины на поверхности или под ней, видимые невооруженным глазом

Не допускаются

Разрывы или порезы наружных слоев стекловолокон в результате зачистки, задира или механической обработки

Максимально 3 на одну трубу при максимальном размере 6 см2 и максимальной глубине 10 % от номинальной толщины стенки

Участок, на котором армирующий слой не был в достаточной степени пропитан смолой

Максимально 3 полосы на трубу, шириной 12 мм, длиной до 100 мм без обнажения армирующего слоя

Косина торца

Не допускается

Поры на внутренней поверхности

Глубиной не более 0,5 мм

Сквозные трещины, расслоения, посторонние включения, отслоения внутреннего защитного слоя

Не допускаются

Разрыв слоистого пластика не на полную толщину. Визуально отличается более светлой окраской на участках межслоистого расслоения

Не допускается

Небольшие кратеры на поверхности

Максимальная глубина 1,6 мм, площадь до 10 см2, количество не ограничено

Выступление смолы

Максимальная высота 3 мм, количество не ограничено

Участки, на которых отсутствует более 10 % высоты профиля резьбы

Максимально 12 мм в длину в одной нитке резьбового соединения по периметру трубы

10.3. Если при транспортировке труб и деталей и при их монтаже они были подвергнуты удару, то такую трубу или деталь следует отбраковать, даже без видимых на ней признаков повреждений.

10.4. При приемке труб с завода-изготовителя на станции разгрузки производится выборочный контроль. Объем выборки зависит от количества труб и деталей в партии. Объемы выборочного контроля приведены в табл. 10.2.

Таблица 10.2.

Объемы выборочного контроля труб и соединительных деталей

Объем партии (шт.)

Объем выборки

Допустимое число повреждений для приемки партии

Число повреждений для браковки партии

0-30

Вся

0

1

31-50

25

0

1

51-100

33

0

1

101-200

39

0

1

201-400

44

0

1

401-600

45

0

1

 

95

1

2

601-800

46

0

1

 

100

1

2

801-1000

47

0

1

 

100

1

2

10.5. В процессе выполнения строительно-монтажных работ трубы и соединительные детали подвергаются входному контролю. Входной контроль производится по критериям, приведенным в табл. 10.1. Входному контролю подвергаются каждая труба и соединительная деталь.

10.6. Входной контроль выполняется в три этапа:

- при погрузке на автотранспорт;

- при разгрузке с автотранспорта;

- при монтаже труб и деталей на трассе.

На всех этапах контроль осуществляют ИТР, ответственные за ведение данных работ.

10.7. Трубы и детали должны поставляться потребителю в комплекте с элементами стыковых соединений и инструкцией по сборке.

Трубы и детали с фланцевыми стыками должны быть оснащены по обоим концам несъемными металлическими или прессованными фланцами с присоединительными размерами по ГОСТ 12815.

Трубы и детали с муфтовыми стыками должны поставляться в комплекте с муфтами.

Трубы и детали с раструбными и бугельными стыками должны поставляться в комплекте с уплотнениями и фиксирующими элементами стыков.

Шнуровые уплотнения изготавливаются из шнура резинового круглого сечения по ГОСТ 6467 методом горячей вулканизации на «ус».

10.8. При приемке труб, деталей и уплотнителей на станции получения осуществляются следующие процедуры:

- осмотр целостности упаковки, сохранности пломб;

- вскрытие упаковки, осмотр торцевых частей труб и деталей на предмет целостности пазов, уплотнителей и резьб (если трубы с резьбой), наличия подкладок и прокладок;

- проверка упаковочного листа и маркировок на трубах и деталях, освидетельствование соответствия количества труб (деталей) данным упаковочного листа;

- проверка уплотнительных колец на предмет наличия трещин, неровностей и деформации и соответствия размеров ТУ;

- проверка клеевых комплектов и смазки на предмет соответствия серии труб и деталей, а также срока годности.

11. ТРАНСПОРТИРОВКА И СКЛАДИРОВАНИЕ ТРУБ И ДЕТАЛЕЙ

11.1. Стеклопластиковые трубы и детали при транспортировке требуют особо осторожного обращения, так как их повреждения не всегда можно определить визуально. Трубы и детали могут повреждаться от ударов, соударений, опирания об острые поверхности. Во избежание повреждения труб и деталей необходимо соблюдать меры предосторожности.

11.2. Доставка труб и трубных деталей осуществляется в контейнерах железнодорожным, речным и автомобильным транспортом. Трубы рекомендуется перевозить в универсальных контейнерах типа IAA, IA, IAX или специализированных контейнерах-платформах СКП-1, контейнерах для тарно-штучных грузов типа СКК-3 и СКО-3.

11.3. Размещение и крепление контейнеров на железнодорожном подвижном составе должны выполняться в соответствии с Техническими условиями погрузки и крепления грузов (МПС РФ «Технические условия погрузки и крепления грузов», М., Транспорт, 1990). Если способы крепления и размещения грузов указанными ТУ не установлены, грузоотправитель должен представить технические документы на способ перевозки груза, которые согласовываются службами и утверждаются главным инженером отделения железной дороги.

11.4. Перевозка речным транспортом должна осуществляться в соответствии с Правилами перевозок грузов Минречфлота РФ.

Перевозка выполняется следующими средствами транспортного флота:

на магистральных реках:

- в открытых баржах проекта Р-29 грузоподъемностью 3000 т;

- на баржах-площадках проекта Р-56 грузоподъемностью 2800 т;

- на баржах-площадках проекта 16801 грузоподъемностью 2550 т;

- на самоходных сухогрузных судах проекта 21-88 грузоподъемностью 2000 т и мощностью 1050 л.с;

на боковых реках:

- на баржах-площадках проекта 942 грузоподъемностью 1000 т.

Основными типами судов флота являются баржи проектов Р-56, 16801 и 942.

Краткая технико-эксплуатационная характеристика этого флота приведена в табл. 11.1.

11.5. Перегрузочные работы в портах необходимо проводить в соответствии с требованиями ГОСТ 12.3.009-76, Правил технической эксплуатации перегрузочных машин речных портов (Ленинград, Транспорт, 1983), Технических условий (ТУ) и Правил безопасности труда на перегрузочных работах в речных портах (Москва, 1989).

Таблица 11.1

Типы судов

Номер проекта

Грузоподъемность, тс

Размеры грузовой палубы, м

Осадка, м

Длина

Ширина

Баржа-площадка

Р-56

2800

72,8

16,5

2,63

0,40

Баржа-площадка

16801

2550

67,2

12,7

2,55

0,58

Баржа-площадка

942

1000

55,0

11,0

1,57

0,36

Перегрузочные работы должны производиться по технологическим картам.

Перегрузка контейнеров выполняется портальными, козловыми и мостовыми кранами с применением следующих грузозахватных средств:

- траверс и стальных стрел;

- четырехветвевых стальных строп;

- специальных автоматических захватов (спредеров).

За сохранность груза при производстве перегрузочных работ несут ответственность руководители (сменный помощник, начальник грузового района), производители (мастер перегрузочных работ, бригадир и звеньевой комплексной бригады).

Допуск портовых рабочих и других лиц, принимающих участие в перегрузочных работах и управлении перегрузочными машинами осуществляется в соответствии с требованиями ГОСТ 12.3.009-76 и Правил технической эксплуатации перегрузочных машин речных портов.

11.6. Разгрузка контейнеров с железнодорожного состава производится автокраном, оснащенным стальными стропами или траверсой и стропами.

Контейнеры перегружаются на полуприцепы автопоездов или, при их отсутствии, складируются на прирельсовой площадке.

11.7. Автопоездами контейнеры с трубами и трубными деталями доставляются до участков строительства трубопроводов.

11.8. Допускается выгрузка труб из контейнеров на причалах и прирельсовых площадках.

В процессе выгрузки труб из контейнеров производится приемочный контроль состояния поступивших труб. Трубы, имеющие внешние повреждения, превышающие допустимые значения, указанные в ТУ, отбраковывают.

11.9. Погрузка труб с площадки причала или прирельсового склада на седельные или специализированные автопоезда осуществляется автокраном, пневмокраном или гусеничным краном, имеющим траверсу и мягкие полотенца или мягкие ленточные стропы шириной не менее 100 мм.

При достаточной длине стрелы грузоподъемного средства погрузку и разгрузку труб производят мягкими полотенцами или мягкими кольцевыми стропами без применения траверс. При этом трубу необходимо захватывать в двух местах.

Погрузку труб выполняют два стропальщика.

В процессе погрузки недопустимы удары. Если произошел удар даже без явных разрушений по телу трубы, то эту трубу категорически запрещается отправлять на трассу. Трубу необходимо перенести на площадку контроля поступающих труб для дальнейшего ее осмотра и контроля специалистами.

Перед погрузкой труб на пол платформы укладывают не менее четырех поперечных деревянных подкладок сечением 40×100 мм и более.

Между рядами труб по высоте необходимо укладывать деревянные прокладки также сечением 40×100 мм. Трубы одного ряда не должны соприкасаться между собой.

Трубы загружают на платформу таким образом, чтобы концы труб с ниппельной частью были строго размещены с одной стороны.

В процессе погрузки труб один из стропальщиков и водитель должны корректировать их положение при перемещении и укладке на платформу автотранспортного средства.

Подкладки и прокладки должны быть оборудованы кольцевыми упорами и расположены друг под другом по вертикали.

После погрузки трубы закрепляются стяжками в местах размещения прокладок.

Высота уложенных труб не должна превышать 2 м.

Заглушки на концах труб следует сохранять до начала их монтажа на трассе.

11.10. Все металлические части платформы (полуприцепа), с которыми возможен контакт перевозимых труб, должны быть снабжены надежно закрепленными эластичными накладками.

11.11. Габаритная высота автотранспортного средства с грузом не должна превышать 4 м, а задний свес груза - 2 м. При превышении указанных размеров маршрут движения автопоездов следует согласовывать в установленном порядке.

11.12. В транспортной схеме доставки труб необходимо до минимума сократить количество перевалочных пунктов; своевременно включить в план транспортных организаций предполагаемые объемы перевозок труб, а также согласовать графики поставки труб с учетом допустимых сроков их хранения под открытым небом (эти сроки устанавливаются техническими условиями на поставку труб).

11.13. Скорость движения автотранспортных средств на временных подъездных, вдольтрассовых дорогах и технологических проездах необходимо ограничивать до 30 км/ч из-за возможного увеличения динамических вертикальных нагрузок на трубы в 2,1 - 2,3 раза по сравнению со статическими нагрузками.

При движении следует избегать экстренного торможения автопоезда, что может привести к перемещению груза в сторону кабины водителя.

На маршруте водитель должен периодически проверять состояние труб и их крепления.

11.14. Разгрузка труб производится трубоукладчиком или, при недостаточной длине его стрелы, автокраном с применением траверсы и мягких полотенец или строп грузовых ленточных. Ширина полотенец и строп не должна быть менее 100 мм.

Характеристики серийно выпускаемых траверс приведены в табл.11.2.

Таблица 11.2.

Марка

ТРВ-41

ТРВ-61

Диаметр трубы, мм

273-355

377-820

Грузоподъемность, кгс

4000

6000

Длина трубы, м

7-12

8-12

Габаритные размеры, мм

9132×520×450

9116×520×450

Масса, кг

807

945

В табл. 11.3 приведены характеристики мягких полотенец типа МП.

Таблица 11.3.

Марка

Диаметр трубы (секции), мм

Грузоподъемность, тс

Место установки

МП-320

219-325

8

На крюке трубоукладчика

МП-530

377-530

16

То же

МП-820-16-К

630-820

16

То же

МП-820-25-К

630-820

25

На крюке трубоукладчика

МП-820-25-Т

На траверсе

Характеристики строп грузовых текстильных ленточных приведены в табл. 11.4.

Таблица 11.4.

Ширина ленты, мм

Грузоподъемность, кгс

110

2000

1600

4000

2800

2000

125

2500

2000

5000

3500

2500

140

3000

2400

6000

4200

3000

180

4000

3200

8000

5600

4000

240

5000

4000

10000

7000

5000

11.15. Стрелы трубоукладчиков должны быть облицованы эластичным материалом (резина, транспортная лента и отработанные шины).

Не допускается раскачка труб относительно стрелы трубоукладчика при их погрузке, разгрузке или перемещении.

11.16. Особое внимание в процессе доставки и хранения труб должно уделяться правильному их складированию.

При складировании труб следует оборудовать подъездные пути и площадки для размещения труб, оснастить склад труб необходимыми машинами и оборудованием, уложить трубы в штабели и обеспечить устойчивость труб от раскатывания.

Площадь складов должна предусматривать размещение труб, проход людей, проезд транспортных и грузоподъемных средств.

Трубы складируют в штабели на спланированных и подготовленных площадках.

На площадках размещения труб должен быть предусмотрен отвод атмосферных осадков и грунтовых вод.

11.17. При формировании штабеля труб применяют трубоукладчик или автокран, оснащенный траверсой и мягкими полотенцами.

Трубы укладываются на деревянные подкладки (нижний ряд) и прокладки с концевыми упорами (последующие ряды по высоте) сечением 40×100 мм. Число подкладок и прокладок по длине труб - не менее четырех. Торцы труб должны выступать за крайние подкладки и прокладки на 80-100 см.

Запрещается укладывать в один штабель трубы разного диаметра и разной длины.

11.18. Высота штабеля труб не должна превышать 2 м.

Между смежными штабелями труб должны быть оставлены проходы шириной не менее 1 м.

Штабели труб рекомендуется укрывать брезентом или любым другим аналогичным материалом.

Защитные торцевые приспособления нельзя снимать до момента сборки на трассе, так как они защищают раструбную и ниппельную части трубы от повреждения и не допускают попадания пыли, снега и грязи в трубу. Если защитное приспособление утеряно, то необходимо трубу надежно заглушить.

11.19. Перемещение труб к месту монтажа трубопровода производится трубоукладчиком с мягкими полотенцами ПМ-322Р, ПМ-524Р и ПМ-824Р или с мягкими полотенцами типа МП.

Характеристики полотенец ПМ приведены в табл. 11.5.

Таблица 11.5.

Марка

ПМ-322Р

ПМ-524Р

ПМ-824Р

Диаметр трубы (секции), мм

89-325

377-530

630-820

Грузоподъемность, кгс

8000

16000

25000

Длина трубы (секции), м

До 36

До 36

До 36

Число лент, шт.

1

1

1

Масса ленты, кг

5

12

24

Масса полотенца в сборе, кг

25

58

117

Применение универсальных стальных стропов, канатов, в том числе с захватом секций на «удавку», не допускается.

Не допускается волочение заднего конца трубы по грунту при ее перемещении.

Для исключения случаев волочения трубы по грунту следует оснащать трубоукладчики боковыми опорами, расположенными под стрелой (рис. 11.1.). При наличии этих опор трубы размещаются на них и транспортируются к месту их складирования и монтажа.

11.20. Раскладывать трубы вдоль траншеи необходимо таким образом, чтобы они не скатились в траншею, на расстоянии не менее 1 м от края траншеи и под углом 15° к оси траншеи.

Если трубы раскладываются вдоль трассы до разработки траншеи, их нужно располагать таким образом, чтобы при маневре техники трубы не были повреждены и чтобы персонал, обслуживающий технические средства, мог видеть расположенные трубы. Для обозначения мест расположения труб рекомендуется применять яркие предупреждающие знаки (красный или желтый материал).

При перемещении труб диаметром до 150 мм вручную следует соблюдать следующие правила:

- нельзя перемещать трубы одному человеку, так как ниппельная и раструбная части имеют довольно большой вес и при ходьбе рабочего труба резко раскачивается в горизонтальной и вертикальной плоскостях. Трубы длиной 9-12 м нужно переносить двум рабочим, поддерживая в двух точках, находящихся в 3 м от концов трубы;

- недопустимо трубу волочить по земле;

- нельзя трубу перекатывать по земле.

11.21. При длительном хранении (до 12 месяцев) трубы и детали должны быть рассортированы по размерам и маркам и размещены горизонтально в закрытом помещении или под навесом, при температуре от -50°С до +50°С в условиях, исключающих прямое попадание солнечных лучей.

Не допускается хранение труб и деталей около легковоспламеняющихся жидкостей и источников открытого огня.

11.22. Трубы и трубные детали, находящиеся на хранении свыше 6 месяцев, перед использованием должны пройти контроль по вышеизложенной методике.

11.23. Трубные детали должны быть вынуты из коробки, тщательно осмотрены и уложены на хранение на стеллажи внутри склада. Длительное хранение на открытом месте может вызвать ухудшение внешнего вида арматуры, но не повлияет на ее прочность.

11.24. Муфты должны быть упакованы фирмой-поставщиком так, чтобы избежать повреждений во время транспортировки. Они должны храниться внутри склада. Муфты нельзя укладывать в штабели, они должны быть расположены в горизонтальном положении на стеллажах в один ряд.

Рис. 11.1. Трубоукладчик с боковыми опорами

1 - боковая опора; 2 - трубы; 3 - упор боковой опоры;

11.25. Уплотнительные кольца и запорные чеки отгружаются в картонных коробках, причем кольца упаковываются раздельно. Запорные чеки и кольца необходимо хранить в прохладном, темном помещении. Необходимо избегать попадания прямых солнечных лучей. Следует помнить, что срок хранения уплотнительных колец составляет 1 год при t ниже 30°С. После истечения 1 года необходимо сделать запрос поставщику о возможности их применения.

11.26. Клей хранится в помещении при температуре от 5°С (минимально) до 35°С. Длительное хранение при более высоких температурах приводит к уменьшению дееспособности катализатора и смол и влечет за собой снижение клеевой прочности.

На каждом комплекте клея имеется штамп со сроком годности. Для того, чтобы можно было следить за сроком годности и не применять комплекты, уже длительное время хранящиеся на складе, все наборы следует вынуть из упаковок и установить вертикально так, чтобы был виден срок годности.

Необходимо избегать хранения клея под воздействием прямых солнечных лучей. Максимальный срок хранения клея - не более 12 месяцев, после истечения срока годности клей использовать запрещается.

12. ТЕХНОЛОГИЯ СОЕДИНЕНИЯ ТРУБ И ДЕТАЛЕЙ И КОНТРОЛЬ КАЧЕСТВА

12.1. Аттестация технологии соединения труб и деталей

12.1.1. Перед началом производства работ необходимо провести аттестацию технологии соединения труб и деталей, используемой при сооружении трубопровода данного диаметра.

Аттестуемая технология соединения труб и деталей должна быть представлена технологической картой, которая должна быть согласована с заказчиком.

В технологической карте должны быть указаны:

- основные параметры труб и деталей;

- требования к подготовке соединяемых концов труб и деталей;

- требования к точности сборки соединений с указанием размеров допусков;

- применяемые склеивающие компоненты и их процентный состав в смеси;

- инструменты и приспособления для соединения труб и деталей;

- параметры технологического процесса сборки;

- технологические схемы сборки соединения;

- параметры технологического процесса склеивания и последовательность операций;

- способы контроля качества соединения;

- параметры, требующие регистрации в журнале выполнения соединений;

- мероприятия по технике безопасности (спецодежда, инструменты, защитные средства и т.д.).

12.1.2. Для аттестационных испытаний необходимо выполнить соединение труб в производственных условиях (на трассе) в соответствии с технологической картой в присутствии представителей технадзора заказчика и подрядной организации.

В процессе выполнения аттестационных работ стык подвергается пооперационному контролю визуально и с применением инструментов, а после завершения работ соединение труб подвергается контролю на герметичность.

12.1.3. Технологический процесс соединения труб считается аттестованным, если по данным операционного и визуального контроля, контроля физическим методом и механических испытаний соединение удовлетворяет нормативным требованиям.

В случае получения неудовлетворительных результатов по каким-либо испытаниям и контролю, проводится повторная аттестация двух дополнительных соединений труб. Если при повторных испытаниях опять будут получены отрицательные результаты, то решение о продолжении испытаний принимается после выявления причин и их устранения.

12.1.4. По положительным результатам испытаний технологии соединения труб составляется акт аттестации технологии соединения труб, который должен содержать: список состава звена по соединению труб и деталей, клейма исполнителей, название технологической карты и ее разработчика, по которой выполнена аттестация, марки использованных материалов, технологические режимы выполнения операций.

К акту прилагаются результаты визуального и операционного контроля, контроля физическими методами и механическими испытаниями.

Акт аттестации технологии соединения сдается заказчику в составе исполнительной документации.

12.1.5. При изменении состава бригады, применяемой техники, материалов или технологических параметров должны быть проведены новые аттестационные испытания.

В подготовительный период могут выполняться соединение отдельных труб в секции, укрупнительная сборка крановых узлов.

12.1.6. Рабочий и инженерно-технический персонал, допускаемый к производству монтажа соединений стеклопластиковых труб, обязаны пройти обучение и иметь соответствующие документы, подтверждающие квалификацию специалистов-монтажников, и имеющих право выполнять работу по соединению труб с конкретными типами оголовок.

Не реже одного раза в год должна производиться переаттестация технического персонала на предмет теоретических знаний и практических навыков по монтажу соединений стеклопластиковых труб. При перерыве в работе более шести месяцев по монтажу стеклопластиковых трубопроводов должна производиться переаттестация рабочих и инженерно-технического персонала.

12.1.7. Перед началом монтажных работ исполнители должны быть проинструктированы о порядке ведения монтажа и по технике безопасности с отметкой в соответствующем журнале (по допуску к работе), заверенной подписью ответственного лица.

12.1.8. Соединение стеклопластиковых труб при монтаже трубопроводов должно производиться согласно настоящего документа, а также в соответствии с проектными решениями, рекомендациями и инструкциями заводов-изготовителей или организаций-поставщиков и опыта по производству аналогичных работ.

12.1.9. Монтаж стеклопластиковых труб и деталей трубопроводов каждого типа соединений отличается друг от друга рядом технологических особенностей. Поэтому при подготовке стеклопластиковых труб к монтажу должны быть изучены рекомендации, относящиеся к технологии выполнения того или иного соединения.

12.1.10. Перед началом монтажных работ должна быть разработана и утверждена руководителем работ (главным инженером треста, начальником участка) технологическая карта сборки и соединения стыков с описанием всех операций. Этот документ должен находиться на каждом участке или в бригаде, выполняющей монтаж стыков.

Для производства монтажных работ исполнителям должны быть представлены все необходимые для монтажа данного типа стыков приспособления и инструменты и материалы (клеевые компаунды, термополотенца, сборочные центраторы и др.).

12.2. Подготовительные операции

12.2.1. Во время подготовки и ведения монтажных операций поблизости нельзя разводить огонь или вести сварочные и огневые работы без применения защитных средств. Перед началом сборки должна быть проведена тщательная ревизия стыкуемых концов труб и подготовка их соединяемых поверхностей, включая:

- измерение диаметров и других элементов концов труб, подлежащих соединению;

- тщательная очистка от загрязнений как наружной, так и внутренней полостей кромок с использованием чистой сухой ветоши или ветоши, смоченной в растворителе с последующей тщательной просушкой;

- осмотр поверхностей на предмет выявления на них выщерблин, трещин и других повреждений, которые при дальнейшей сборке могут помешать получить плотное и прочное соединение;

- геометрические измерения должны производиться штангелем, металлической линейкой с точностью ±1,0-1,5 мм;

- все трубы и детали, имеющие повреждения на соединяемых кромках и поверхностях, должны быть отбракованы и соединению не подлежат.

12.2.2. Перед сборкой соединений труб должны быть подготовлены и проверены сборочные приспособления (по размерам и комплектности), мерные динамометрические ключи, кисти для нанесения компаунда, мерные емкости для приготовления компаунда (клеевого состава) согласно рецептурных данных поставщика труб и деталей, чистая ветошь для протирки концов, чистые перчатки сборщикам труб и другой вспомогательный инвентарь (подкладки под концы труб, при необходимости, уровень для уточнения соосности труб и др.).

12.2.3. Для защиты собираемых стыков от пыли, песка, дождя, снега сборка, склейка и термообработка их должны производиться в защитной палатке (переносного типа).

12.2.4. При низких температурах уплотнительные кольца теряют эластичность, а клеи и смазки густеют. Поэтому эти материалы перед употреблением должны храниться в теплом помещении. При сборке стыка во избежание изменения свойств указанных материалов работы необходимо выполнять быстро и без перерывов.

12.2.5. Перед сборкой должны быть проверены по размерам стопорные элементы и приспособления (насадки) для их заправки.

12.2.6. При раскладке труб (секций) более узкий конец трубы должен быть расположен в сторону движения продукта.

12.3. Сборка фланцевых соединений

12.3.1. При соединении стеклопластиковых труб на металлических фланцах, на стеклопластиковых фланцах и соединении стеклопластиковой трубы со стальной с помощью фланца следует учитывать реальные нагрузки, возникающие при монтаже в трассовых условиях - они не должны превышать расчетные - поэтому при сборке обязательно применение динамометрических ключей.

12.3.2. Во избежание перекосов при затяжке болтов в процессе сборки фланцевых стыков следует прежде проверить соответствие фланцев между собой.

12.3.3. Уплотнительные прокладки между затягиваемыми фланцами должны по характеристикам соответствовать указанным в инструкции на данный трубопровод.

12.3.4. Не следует превышать усилий затяжки болтов, предусмотренных наставлением (инструкцией по монтируемому объекту). В противном случае произойдет поломка соединения. Допускаемое отклонение от рекомендуемого не должно превышать +20-30 %.

12.3.5. Присоединяемые к стеклопластиковым фланцам металлические должны быть всегда плоскими. В случае наличия на них выступа необходимо между собираемыми фланцами вставить металлическую прокладку, по толщине равной выступу (выровнять поверхность).

12.3.6. Затяжку болтов фланцевых соединений стеклопластиковых труб производят динамометрическими ключами равномерно в диаметрально противоположном порядке, что позволит избежать перекосов и концентрации напряжений на бурт стеклопластиковой трубы.

12.4. Сборка раструбных и муфтовых соединений

12.4.1. При сборке стыка более узкий конец трубы необходимо располагать в сторону направления движения продукта.

12.4.2. Перед началом монтажа трубы и детали должны быть проконтролированы и очищены согласно процедур, предусмотренных п.9.9 настоящих правил.

12.4.3. Монтаж стыков труб производится, как правило, либо на берме траншеи, либо непосредственно в траншее. В последнем случае для удобства работы следует предусматривать либо увеличение ширины траншеи, либо делать приямки на месте стыковки труб.

12.4.4. Наращивание трубопровода должно производиться на строго спланированной поверхности, с применением опор-подкладок, позволяющих обеспечить соосность центрируемых труб.

12.4.5. После полной подготовки концов труб и муфты к монтажу поверхности, входящие при сборке во взаимный контакт, должны быть покрыты сплошным ровным слоем смазки. Смазка необходима для того, чтобы обеспечить сборку соединения и не повредить уплотнительного кольца, которое должно быть без перекручивания вставлено в проточку и не допустить его перекручивания. Перед установкой кольцо также должно быть смазано.

12.4.6. После установки уплотнительных колец смонтировать приспособление для стяжки труб (рис. 12.1.). Полухомуты большого диаметра жесткого сборочного устройства смонтировать на муфте или раструбе в зависимости от конструкции стыка. Под стальные хомуты необходимо подкладывать слой армированной резины толщиной 5-10 мм во избежание повреждения поверхности труб при затяжке хомутов.

Ширина полосы резины должна быть больше на 30-40 мм ширины хомута. Ширина хомута должна быть: 60-80 мм - для труб диаметром до 150 мм; 120-180 мм - для труб диаметром 200-400 мм и 200-300 мм - для труб диаметром 500-700 мм.

Вместо жесткого стального сборочного приспособления целесообразно использовать затяжные хомуты из текстропных ремней (ленточные зажимы), с талрепами, ручными храповыми блоками или гидроцилиндрами.

12.4.7. При сборке стыка необходимо следить, чтобы отверстие под чеку и у следующего соединения было удобно расположено для монтажа и следующего стыка.

12.4.8. При монтаже раструбных труб смазку раструба и шипа следует производить до монтажа сборочных приспособлений.

12.4.9. В качестве внутренней смазки соединяемых поверхностей и уплотнительного кольца может быть использована смазка ВНИИ НП 231, ВТУ НП 125-65 (при сборке трубопроводов хозяйственно-питьевого назначения).

При монтаже технологических трубопроводов можно применять смазку АМС-3 (ГОСТ 2712-75) или ЦИАТИМ любой марки.

12.4.10 Перед сборкой стыка необходимо проверить, не попал ли грунт или другие предметы на соединяемые поверхности.. С помощью натяжного устройства надвинуть муфту или раструб на шип до совпадения отверстия на муфте с радиусной канавкой на шипе. Введением в отверстие муфты или раструба стопорного элемента можно контролировать точность совпадения канавок с уплотнительными вставками (кольцами).

12.4.11. Ввести стопорный элемент (штырь) в канавку на полную длину по окружности, контролируя при этом место положения конца стопорного элемента щитом или тонкой стальной пластинкой в зазоре между шипом и муфтой или между шипом и раструбом. Зазор до полного смыкания конца стопорного элемента не должен превышать 20 мм.

Рис. 12.1. Схема сборки раструбных и муфтовых соединений

1 - труба; 2 - стяжной хомут; 3 - рычаги; 4 - храповой механизм; 5 - мягкая лента хомута; 6 - стяжная лента

12.4.12. После того, как была произведена стыковка труб, всегда следует проверять уплотнение. Это производится полосой стали или другого металла толщиной 0,4-0,5 мм, шириной 15 мм и любой длины, превышающей 200 мм. Полоса вставляется в окружное пространство между раструбом и шиповым концом.

Проверка производится по всей окружности уплотнения, чтобы убедиться в том, что резиновое кольцо сидит на одинаковой глубине, то есть правильно расположено в проточке. Если окажется, что кольцо по-разному сидит в проточке, или в случае возникновения сомнения, следует рассоединить стык, проверить резиновое кольцо и заменить его, если обнаружатся какие-либо признаки неправильной посадки; проверить еще раз область соединения стыка, вход в раструб и проточки на шиповом конце. Снова вставляя трубу, внимательно следить за тем, чтобы трубы были хорошо выровнены.

При рассоединении стыка запрещается использовать цепи или стальные стропы в непосредственном контакте с трубами.

Повторно следует проверить положение уплотнения с помощью металлической полосы.

12.4.13. Следующую трубу (секцию) нельзя присоединять к предыдущей, пока последняя не будет зафиксирована присыпкой грунтовой призмой.

12.4.14. Демонтаж собранных или эксплуатировавшихся трубопроводов, имеющих раструбные или муфтовые соединения, производится в обратной последовательности, т.е. разборка начинается с вытягивания стопорного элемента, конец которого всегда должен быть достаточным по длине для выполнения операции его извлечения, то есть длиной 150-170 мм в зависимости от диаметра соединяемых труб.

12.5. Сборка бугельных соединений

12.5.1. Перед сборкой подготовить кромки (концы) подлежащих к стыковке труб (проверить чистоту стыковочных поверхностей, геометрические параметры концов и т.п.) согласно п. 12.9 настоящего раздела.

12.5.2. На одну из труб перед стыковкой труб накинуть бугельную муфту 2. Затем выставить стыкуемую трубу соосно с предыдущей и установить уплотнение в канавку бугельного конца трубы. Далее, совместив концы стыкуемых труб, наложить на бурты труб бугели (2 или 4 шт.). Конусные поверхности бугелей при этом должны быть направлены в одну сторону к муфте. После этого надвинуть муфту на бугели до упора. Чтобы насадка муфты была плотной, ударами деревянного молотка по всему периметру с торца А ее досаживают.

12.5.3. После сборки всех стыков бугельных труб производятся испытание участка, необходимые исправления, а затем законтривание всех герметичных стыков. С этой целью в муфте и бугеле засверливается отверстие (см. рис. 12.2.) диаметром на 0,3 мм меньше, чем диаметр прилагаемого стопорного штифта и глубиной, обеспечивающей вылет его после забивки над поверхностью не менее, чем на 5-8 мм (для удобства демонтажа) соединения. Расстояние отверстия от кромки бугеля не менее 10 мм.

12.5.4. Разборка бугельных стыков производится в обратной последовательности, начиная с вытаскивания штифта, затем съема муфты в обратном направлении (ударами через прокладку равномерно по всему периметру).

12.6. Сборка резьбовых соединений

12.6.1. Монтажные операции начинаются с прокладки секций труб вдоль траншеи шиповыми законцовками по направлению движения потока и выбраковки труб, поврежденных при транспортировке, погрузке и разгрузке.

12.6.2. Перед сборкой резьбовых соединений труб необходима ревизия качества резьбы на концах труб (проверить отсутствие забоин, выкрашивание ниток резьбы и других дефектов). Внутренние и наружные поверхности концов труб должны быть очищены от любых загрязнений. Муфты резьбовые должны поставляться в отдельной таре и распаковываться только непосредственно при монтаже.

12.6.3. Перед сборкой обязательно проверяется соответствие резьб концов труб, подлежащих соединению (на шиповой и раструбной законцовках труб, на концах труб и муфте), проверяется также на месте ли уплотнительные кольца и правильно ли они насажены в пазы.

Нарезка резьбы в полевых условиях не допускается.

12.6.4. Обернуть резьбу шиповой законцовки (ниппельную часть) тефлоновой лентой, начиная с малого витка резьбы. На обернутую резьбу, минуя уплотнительные кольца, нанести равномерный слой смазки (герметика), а на уплотнительные кольца - легкий слой машинного масла.

12.6.5. Соблюдая соосность стыкуемых законцовок соединить трубы вручную, вставив шиповую законцовку в раструб как можно дальше. После завинчивания вручную дальнейшая затяжка ведется ключом с крутящим моментом, ограниченным инструкцией по монтажу, до момента, когда раструбная законцовка пришла в соприкосновение с плечиками ниппельной части.

Зазор между ними более 5 мм не допускается (второе уплотнительное кольцо всегда должно быть покрыто резьбой - должно работать).

Рис. 12.2. Сборка бугельного стыка

1 - труба бугельная; 2 - бугель; 3 - муфта бугельная; 4 - уплотнение; 5 - штифт

12.6.6. Если при сборке резьбового соединения крутящий момент чрезмерно возрастает, то необходимо прекратить работу, соединение демонтировать и выяснить причины. Причинами заклинивания конца трубы могут быть:

- присутствие грязи;

- присутствие стружки трубы;

- нарушение центровки концов труб;

- разрушение резьбы;

- недостаточная длина резьбы на одной из труб.

Если не удается устранить причины заклинивания, то необходимо взять другую трубу.

При затяжке соединения не допускается применять увеличенный крутящий момент, так как такие соединения впоследствии не поддаются демонтажу.

12.6.7. При сборке соединений следует использовать ключи строго в соответствии с диаметром законцовок, с хорошей площадью контакта, имея ввиду, что захват ключом на теле трубы запрещен. Ключом можно захватить место только в конце раструбной части (длиной 8 см) и только на утолщенном конце шипа.

12.6.8. При монтаже стыков в зимних условиях кольца и смазка должны находиться в теплом укрытии или электротермосе. Необходимо заранее получить дополнительные инструкции от поставщиков по технологии использования их при отрицательной температуре.

12.7. Клеевое соединение

12.7.1. Клеевое соединение стеклопластиковых труб и деталей является неразъемным. Конструктивно оно выполняется либо в раструб, либо с помощью муфт, поставляемых инвентарно или выполняемых непосредственно на месте монтажа трубопровода путем намотки на стык труб стекломата и стеклоткани, пропитываемых клеевым компаундом.

12.7.2. Для соединения (склеивания) стеклопластиковых труб и фитингов, выполненных на эпоксидных или на полиэфирных компаундах, используются клеи соответственно на эпоксидной или полиэфирной смоле.

Это смеси реактивных компонентов, включая: смолу, отвердитель, ускоритель, соускоритель, ингибитор.

Клей в виде составляющих его компонентов, как правило, поставляется предприятием-изготовителем труб и приготавливается путем их смешивания в определенной пропорции, согласно рекомендаций изготовителя, непосредственно на трассе в процессе монтажа стыков труб и деталей.

12.7.3. Поставляемые исходные материалы для клеевого состава определяются спецификацией на трубопровод и должны иметь, как минимум, то же качество, что и компоненты, используемые при производстве самих труб и фитингов.

12.7.4. При подготовке концов труб к склеиванию и в процессе операции склеивания они должны быть очищены от пыли, грязи и защищены от осадков (дождя, снега, росы, инея), то есть они должны быть сухими и чистыми.

12.7.5. Технологический процесс склеивания труб состоит из операций подготовки концов труб к нанесению клея, подготовки клеевого состава, стекломатериалов или соответственно муфт, соединения (стыковки) и термообработки.

12.7.6. При подготовке к склеиванию проверить перпендикулярность концов труб к их оси и, при необходимости, поправить напильником, затем зачистить поверхности концов труб на ширину муфты шлифмашинкой и снять фаску под углом 90-120°. Далее удалить образовавшиеся пыль и опилки струей сжатого воздуха или чистой кистью и жестко зафиксировать соосно оба конца соединяемых труб или трубы и детали, чтобы зазор между кромками составлял 1-2 мм. После этого чистой ветошью или кистью обезжирить ацетоном или спиртом поверхности, на которые будет наноситься клеевой состав. При склеивании в раструб операции очистки подвергается внутренняя полость раструба.

12.7.7. Параллельно с подготовкой концов труб подготавливаются стекломатериал и компаунд для склеивания.

12.7.8. Соединение муфтой, формируемой на месте.

В соответствии с техусловиями передается необходимое количество стекловуали, стекломата и стеклоткани на полосы шириной и длиной, соответствующими требованиям для данного соединения в зависимости от диаметра, рабочего давления (толщины стенки соединяемых труб) в монтируемом трубопроводе.

Клеевой компаунд готовится на месте монтажа путем последовательного добавления в смолу компонентов согласно рецептуре и согласно указания производителя. Причем каждый вносимый компонент должен тщательно перемешиваться со смолой. Запрещается одновременно перемешивать ускоритель и катализатор.

Отверждение такого клеевого состава начинается через 10-30 минут. Время полимеризации можно увеличивать или уменьшать за счет уменьшения или увеличения количества катализатора в компаунде, но не более чем на 2-5 мл. При работе контролируются температура окружающего воздуха и влажность. С повышением температуры окружающего воздуха количество катализатора следует снижать.

С учетом трехслойной конструкции стеклопластиковой трубы (лайнер - внутренний слой, средний - силовой слой и верхний - защитный наружный слой) производится соединение таких труб с помощью муфты на месте.

Вначале на подготовленные концы собранных встык труб кистью наносится слой приготовленного клея и последовательно два-три слоя стекловуали с пропиткой клеем каждого слоя.

Затем в разделку кромок нанести два-три слоя стекломата шириной 1-2 см с пропиткой каждого слоя компаундом, а далее наносятся 2-3 слоя стекломата шириной 200-300 мм с пропиткой каждого слоя клеевым компаундом.

После нанесения каждого слоя он должен быть прокатан валиком с целью удаления пузырьков воздуха и гарантии полной пропитки уложенных слоев. Выполненный таким образом первый слой - лайнер следует оставить в покое на 10-30 минут для полимеризации клеевого состава.

По окончании полимеризации первого слоя (лайнера) производится его наружный, визуальный контроль качества, а также удаление наплывов, застывших капель путем шлифовки поверхности этого слоя.

Силовой слой формируется путем нанесения чередующимися слоями стекломата и стеклоткани до полной (нормируемой) толщины, при этом каждый наносимый кусок материала должен быть равен окружности наматываемой муфты (соединения). Стыковка слоев должна смещаться (не совпадать), причем первый и последний слои должны выполняться из стекломата, и каждый слой должен после наложения прокатываться валиком для уплотнения и вытеснения воздушных пузырей.

Покрытие этого цикла не должно выполняться более чем из 5 слоев стеклоткани и 6 слоев стекломата.

При необходимости получения большей толщины нанесение последующих слоев возможно только после полной полимеризации (отверждения) указанного выше слоя.

До отверждения клея через соединение протаскивается шар диаметром 0,98 dB для удаления излишков клея, во избежание сужения сечения трубы.

После полного отверждения силового слоя и его наружной обработки шлифовальным кругом с помощью кисти наносится верхнее покрытие.

Состав защитного покрытия представляет собой рецептуру компаунда для получения силового слоя с добавкой раствора парафина в стироле суммарно по объему 20-25 %.

Для защиты от воздействия солнечных лучей в покрытие добавляется абсорбер ультрафиолетовых лучей.

В течение 2-3 часов после полной полимеризации места соединения смонтированную трубную плеть не разрешается подвергать нагрузкам. Ее испытания на плотность и прочность можно производить через 24 часа после окончания монтажа последнего стыка.

12.7.9. Соединения склеиванием стеклопластиковых труб в раструб или муфтой должны иметь адекватные с концами труб конические поверхности, подготавливаться к склейке согласно п. 12.7.6. После покрытия соединяемые клеевым компаундом концы сопрягаются в раструб или через муфту и стягиваются с усилием, обеспечивающим полный контакт покрытых клеем поверхностей, и выдерживаются в стянутом положении до полного отверждения клеевого слоя.

Сборка стыков труб диаметром до 150 мм производится вручную. Стыки труб больших диаметров следует собирать с помощью стягивающих механизмов.

12.7.10. Собранный на клею стык для сокращения периода отверждения клеевого состава может быть подвергнут термообработке. С этой целью склеенный стык обертывается термополотенцем и термообрабатывается до полного отверждения проклейки. От одного маломощного электрогенератора можно термообрабатывать одновременно 3-4 стыка.

Конструктивно выполняется либо в раструб, либо с помощью муфты, обеспечивающей также нахлестку стенок труб. Оно является неразъемным.

12.7.11. Для соединения (склеивания) стеклопластиковых труб, выполненных на эпоксидных компаундах, используются клеи также на эпоксидной смоле. Клеи, как правило, поставляются производителем труб. Они состоят, в основном, из двух реактивных компонентов - связующего и катализатора, смешиваемых в определенной пропорции непосредственно перед употреблением согласно рекомендаций производителя.

12.7.12. Компоненты, входящие в набор клеевого соединения, являются, как правило, огнеопасными и должны храниться в пожаробезопасных местах.

12.7.13. Обе поверхности концов труб, подлежащих склеиванию, должны быть тщательно очищены и протерты мягкой чистой тканью с растворителем или спиртом.

12.7.14. Клеевой комплект, как правило, по объему должен соответствовать необходимому минимуму на один стык. Смолу и катализатор непосредственно перед нанесением на соединяемые поверхности тщательно перемешать до полной однородности состава, который нанести шпателем ровным слоем на соединяемые поверхности На раструб клей можно наносить более тонким слоем, чем на шиповую законцовку.

12.7.15. Покрытые клеевым составом концы труб (или трубы и муфту) соединить с усилием, обеспечивающим вытекание из соединения части клеевого состава. Во избежание излишнего вытекания клея соединение можно обвернуть полиэтиленовой пленкой (в один слой).

12.7.16. Собранный на клею стык должен быть подвергнут термообработке для отверждения клеевого слоя. С этой целью склеенные стыки обертываются термополотенцами в 2-3 слоя и термообрабатываются до полного отверждения.

От одного полевого маломощного электрогенератора с бензиновым приводом может термообрабатываться одновременно 3-4 стыка.

Нагреватели должны быть оснащены контролерами температуры и времени.

До полного отверждения клея убирать временные опоры не допускается.

12.8. Монтаж захлестов и «катушек»

12.8.1. В процессе строительства трубопровода возможно возникновение ситуаций, когда требуется сделать в уже смонтированный участок вставку («катушку»), смонтировать захлест, заменить поврежденную (помятую) трубу, т.е. ликвидировать нарушенную непрерывность нитки.

В этих случаях в зависимости от конструкции законцовок труб используются свои технологические схемы (приемы).

12.8.2. Вариант I. Между концом одного уложенного участка трубопровода и началом другого, уложенного ранее, образовался разрыв по длине менее одной стандартной трубы, т.е. требуется вставка («катушка»).

В этом случае берется целая труба и из нее (как правило, из середины) вырезается кусок таким образом, чтобы при соединении ее оголовка с ниппелем нитки и ниппеля с оголовком другого участка трубопровода зазор в месте вырезанного куска не должен превышать 1,5-2,0 мм.

Поэтому резка должна производиться по шаблону, обеспечивающему перпендикулярность реза к оси трубы (с применением, например, циркулярной электропилы с мелкозубым алмазным диском).

Обрезанные таким образом кромки обоих отрезков трубы подправляются напильником и ножом от заусенцев, тщательно очищаются от опилок, пыли и возможных загрязнений чистой ветошью, смоченной спиртом. Очистке подвергаются и поверхности отрезков в районе реза на расстоянии от кромок, равном длине раструба соединяемых труб.

Затем подготовленные таким образом концы центруются (выставляются соосно) с применением специального сборочного кондуктора или временных подкладок.

Далее на собранный и зафиксированный стык производится намотка стеклоткани шириной не менее двойной ширины раструба с одновременной пропиткой каждого слоя компаундом на основе смеси эпоксидной смолы с ускорителем. Намотка стеклоткани ведется с натягом (суммарно не менее 15-20 кгс на полосу). После намотки слоя толщиной, равной толщине стенки трубы, образовавшаяся муфта закрепляется витками проволоки от раскручивания и покрывается полиэтиленовой пленкой, чтобы ограничить вытекание клеевого компаунда.

После этого собранный таким образом стык накрывается в 2-3 слоя термополотенцем и производится термообработка этого соединения - его отверждение. Этот процесс длится 60-90 минут, после чего несущая способность соединения становится равной по прочности цельной трубе.

12.8.3. Вариант II. При соединении двух уложенных участков получается захлест (рис. 12.3.).

В этом случае из середины трубы захлеста вырезается «лишний» кусок таким образом, чтобы после соединения отрезанной половинки с ниткой трубопровод замкнулся. При проведении этой операции должны быть сохранены перпендикулярность реза к оси труб, точность их стыковки. Последующие операции получения неразъемного соединения аналогичны технологическому варианту I.

12.8.4. Вариант III. В процессе монтажа при наезде техники (автомашин, трактора) была помята (поломана) труба в нитке, уложенной на берме траншеи.

В этом случае производится полная замена трубы или труб, если их повреждено несколько.

Технологическая схема этого процесса следующая.

Первый этап - разбираются стыки поврежденной трубы, и она освобождается из нитки путем оттаскивания нитки с целью ее изгиба. Вместо удаленной трубы вставляется новая сначала одним концом, а затем другим. Чтобы кромки трубы в соединении (в стыках) заняли свои места нитка трубопровода подтаскивается на прежнее место.

12.8.5. Вариант IV. При ситуации, представленной в вариантах I и II, в процессе установки половины стеклопластиковой трубы на ее свободный конец надевается стеклопластиковая муфта, которая после соответствующей подготовки стыкуемых концов отрезков труб (подгонки, очистки, протирки спиртом и т.п.), надвигается на стык, который перед этим обильно смазывается клеющим компаундом. При этом компаунд должен заполнить весь зазор между поверхностями концов состыкованных труб и муфтой.

Затем этот узел подвергается термообработке для отверждения слоя компаунда с помощью термополотенца.

Такое соединение менее трудоемко, но необходима стеклопластиковая муфта, соответствующая геометрическим размерам труб и их прочностным характеристикам.

При стыковке труб на муфтовых соединениях такое решение более предпочтительно.

12.8.6. Уложенные участки трубопровода на переходах под дорогами, под реками должны быть предварительно испытаны до присоединения их в нитку на прочность и герметичность.

С этой целью необходимо заглушить испытываемый участок.

Рис. 12.3 Три этапа ликвидации «захлеста»

1 - трубопровод; 2 - кусок трубы примыкания;

3 - удаляемая часть «захлеста»;

4 - конец примыкающего участка трубопровода;

5 - муфта (загерметизированный стык)

Исходя из конструкций труб должны применяться заглушки как минимум двух конструкций. Одна конструкция представляет собой фактически раструб, аналогичный раструбу на трубах собранного трубопровода, но имеющий сферическое дно. Вторая заглушка, присоединяемая ко второму концу участка, имеет ниппельное присоединение.

Сферические днища у заглушек изготавливаются из стеклоткани на сферическом шаблоне с пропиткой эпоксидным компаундом и последующей термообработкой.

Для подключения шланга подачи испытательной среды в одну из заглушек монтируется стальной патрубок с краном и манометром, к которому должна будет подключаться нагнетательная линия испытательной среды (вода, воздух).

Эти заглушки подсоединяются к испытываемому участку также как между собой трубы с теми же уплотнениями и замками.

Подача испытательных сред должна осуществляться компрессором на давление, предусмотренное проектом в зависимости от диаметра труб, толщины стенки и т.д.

Инвентарные заглушки для испытаний смонтированных участков трубопровода должны поставляться производителем труб.

12.9. Контроль качества соединений труб и деталей

12.9.1. Производственный контроль качества соединений осуществляется в соответствии с требованиями СНиП 3.01.01-85* и включает: контроль наличия и качества технологических карт; входной контроль изделий для соединения и материалов; операционный контроль отдельных технологических операций, приемочный контроль соединений.

12.9.2. Входной контроль материалов и изделий производится в соответствии с требованиями, изложенными в разделе 10 настоящей Инструкции.

12.9.3. Приемочный контроль соединений производится при испытании уложенного трубопровода в соответствии с требованиями, изложенными в разделе 16 настоящей Инструкции.

12.9.4. Операционный контроль осуществляется в соответствии с требованиями технологической карты на сборку стыка. В процедуру операционного контроля входит проверка:

- наличия и соответствия инструментария и приспособлений технологическим картам;

- качества сборки стыков путем определения соосности труб, смещения муфт относительно стыков, смещения запорных штырей по периметру стыка и их глубины заправки;

- последовательности подготовки кромок труб (раструба, законцовок, муфт, уплотнительных колец) к сборке (их смазку,  перпендикулярность торцов осям труб, соответствие соединительных деталей и т.п.);

- соответствия временного и температурного режимов термообработки клеевых соединений.

12.9.5. Для фланцевых и резьбовых соединений проверяется степень затяжки. Проверка степени затяжки болтов фланцевых соединений и резьбовых соединений должна производиться динамометрическими ключами.

12.9.6. В качестве контрольно-измерительных средств должны применяться:

- для измерения толщин стенок труб - микрометры и штангенциркули с точностью делений 0,05 мм;

- для измерения диаметров и периметров концов труб и соединительных деталей - металлические линейки и рулетки;

- для измерения времени - секундомеры.

12.9.7. Проверка герметичности соединений трубопровода является контрольной операцией технологического процесса монтажа трубопровода и должна выполняться с отметкой в исполнительной документации.

Герметичность соединений стеклопластикового трубопровода должна контролироваться по спаду давления, а поиск мест утечек в стыках - визуально, путем их покрытия мыльной эмульсией и по характерному шуму. При проверке контрольным газом утечки можно определить с помощью течеискателей.

12.9.8. Проверка герметичности соединений труб контрольным газом или воздухом с одорантом должна производиться при давлении до 15 % от рабочего давления, но не более 0,6 МПа. Проверка герметичности водой должна производиться при давлении до 50 % от рабочего давления, но не более 2 МПа.

12.9.9. Целесообразно в проектной документации указывать количественные нормы на сборку стыков - образцов (свидетелей), выполняемых конкретным звеном рабочих, например, после каждого двадцатого, выполненного данным звеном.

12.9.10. Периодически, например, каждый двадцатый стык проверять комплексно на плотность (вакуумированием) и на прочность путем подъема плети в месте стыка на 1 м относительно дна траншеи с повторной проверкой на плотность.

12.9.11. При контроле клеевых соединений следует помимо плотности контролировать степень отверждения компаунда. С этой целью клеевое соединение протирается тампоном, смоченным в ацетоне, и затем соединение протирается сухой салфеткой - она не должна липнуть к его поверхности. В противном случае следует провести повторное отверждение компаунда с помощью электрического или теплового нагревателя.

13. ЗЕМЛЯНЫЕ РАБОТЫ

13.1. Разработка траншеи и подготовка дна

13.1.1. Глубина разрабатываемой траншеи должна быть достаточной для устройства мягкой подсыпки и требуемого заглубления трубопровода. В сезонно мерзлых грунтах трубопровод прокладывается ниже глубины сезонного промерзания.

13.1.2. Минимальная ширина траншеи по дну принимается по 4.2. Максимальные значения ширины траншеи определяются размерами рабочего органа экскаватора или балластирующих конструкций, а откосы назначаются в соответствии с требованиями СНиП 3.02.01-87.

Дно траншеи должно быть тщательно спланировано (например, путем протаскивания клин-бабы, шар-бабы и др.) и очищено от камней, комьев грунта, корней деревьев и др.

13.1.3. В зимний период очистку трассы от снега производят непосредственно перед разработкой траншеи. Длина очищаемого участка трассы определяется в зависимости от производительности комплекса машин и должна соответствовать его выработке за одну-две смены.

13.1.4. Траншея под трубопроводы малых диаметров (100-200 мм) в мягких грунтах может разрабатываться плужными канавокопателями.

13.1.5. В зимнее время траншея, как правило, в задел не разрабатывается во избежание образования твердых комьев грунта и ее заноса снегом и образования льда. Если в траншее появляются твердые комья грунта, снег или лед, то их необходимо удалить.

13.1.6. Приемку траншеи следует осуществлять перед укладкой с обязательной нивелировкой дна траншеи. Нивелировку необходимо выполнять с соблюдением следующих интервалов:

- на прямых участках - через 50 м;

- на кривых упругого изгиба трубопровода - через 10 м;

- на кривых, монтируемых из отводов - через 2 м.

13.1.7. В местах, где предусмотрен монтаж технологических захлестов, разрабатывают приямки следующих размеров: длиной 1,0 м, шириной D+1,2 м, глубиной 0,7 м.

13.1.8. Разработку траншей одноковшовым экскаватором следует вести с устранением гребешков на дне в процессе копания.

Это достигается, например, протаскиванием ковша по дну траншей в обратном копанию направлении после завершения разработки забоя.

13.1.9. На участках с высоким уровнем грунтовых вод разработку траншей следует начинать с более низких мест для обеспечения стока воды и осушения вышележащих участков.

13.1.10. Для предохранения от механических повреждений трубопровода в каменистых и мерзлых грунтах на дне траншеи устраивают постель (подсыпку) из мягкого или мелкогранулированного грунта толщиной не менее 20 см над выступающими частями дна траншеи. Постель устраивают преимущественно из отвального грунта путем его рыхления и просеивания или привозным грунтом. Этот грунт не должен содержать масел и других органических примесей.

13.1.11. При проведении взрывных работ для рыхления грунтов смонтированный по трассе трубопровод необходимо защитить специальными щитами от возможных повреждений разлетающимися кусками грунта.

13.1.12. Необходимость временного крепления стенок траншеи и котлованов устанавливается проектом в зависимости от глубины выемки и траншеи, состояния грунта, гидрогеологических условий, величины и характера временных нагрузок на берме и других местных условий.

При невозможности применения инвентарных креплений стенок котлованов или траншей следует применять крепления, изготовленные по индивидуальным проектам, утвержденным в установленном порядке.

При установке креплений верхняя часть их должна выступать над бровкой выемки не менее, чем на 15 см.

Устанавливать крепления необходимо в направлении сверху вниз по мере разработки выемки на глубину не более 0,5 м.

Разборку креплений следует производить в направлении снизу вверх по мере обратной засыпки выемки.

13.1.13. Разработка траншейными (роторным, цепным) экскаваторами в связных грунтах (суглинках, глинах) траншей с вертикальными стенками без крепления допускается на глубину не более 3 м. В местах, где требуется пребывание рабочих, должны устраиваться крепления траншей или откосов.

13.1.14. При разработке траншей и котлованов должны соблюдаться правила техники безопасности в соответствии с требованиями СНиП III-4-80* (раздел 9).

Минимальное расстояние между трубопроводом и стенкой траншеи должно быть 150 мм с целью обеспечения трамбовки грунта в пазухах траншей. Это необходимо во избежание овализации труб при засыпке.

На участках кривых вставок ширина траншеи должна быть не менее удвоенной ширины траншеи на прямолинейных участках.

На участках, где требуется выполнение мягкой подсыпки, глубина траншеи должна быть увеличена на 20 см.

13.2. Присыпка и засыпка трубопровода

13.2.1. Засыпка трубопровода грунтом из отвала должна производиться после выполнения мер по защите уложенного трубопровода от механических повреждений.

Зашита уложенного в траншею трубопровода осуществляется присыпкой измельченным грунтом.

Присыпка производится с трамбовкой грунта в пазухах в целях исключения чрезмерной овализации поперечных сечений уложенного трубопровода, а также уменьшения осадки засыпанного грунта после его оттаивания.

При подсыпке и присыпке должен быть соблюден гранулометрический состав грунта: размеры твердых частей (мерзлые комья, камни, сухие комья) не должны превышать 20 мм и их количество в общем объеме грунта не должно превышать 30 %. Для достижения этих требований необходимо грунт просеивать через соответствующее сито.

13.2.2. Трубопровод, как правило, следует засыпать сразу после его укладки, балластировки и закрепления на проектных отметках несмерзшимся грунтом из отвала. Грунт следует подавать на засыпку роторным траншеезасыпателем или бульдозером после завершения присыпки.

При образовании смерзшегося грунта в отвале с глубиной промерзания до 0,5 м работы по засыпке целесообразно выполнять роторным траншеезасыпателем, который, двигаясь по отвалу, разрабатывает грунт и осуществляет присыпку трубопровода, подготавливая тем самым фронт работы бульдозеру, засыпающему оставшуюся часть траншеи.

Запрещается вести засыпку трубопровода при наличии в траншее снега или льда.

13.2.3. Засыпку трубопровода следует выполнять с образованием валика высотой не менее 30 % от глубины траншеи для компенсации осадки грунта в период его оттаивания.

13.2.4. При засыпке трубопровода необходимо обеспечивать заданный зазор между трубой и стенкой траншеи.

Трамбовка грунта присыпки в боковых пазухах траншеи производится послойно (толщина слоев 150-200 мм) на высоту не менее 0,7 DH. Степень уплотнения должна составлять не менее 70% максимальной плотности присыпаемого грунта. В случае применения для присыпки трубопровода в пазухах песка уплотнение производится путем его водонасыщения. При этом следует контролировать уровень воды, чтобы не вызвать всплытие трубопровода. Степень необходимой трамбовки грунта в зависимости от диаметра трубопровода и характеристики грунта проверяется путем сравнения с предварительно подготовленным эталонным трубопроводом, замеряя его деформацию (эллипсность). Эллипсность засыпанных полностью труб не должна превышать 1,5 %.

Дальнейшая трамбовка грунта в пазухах продолжается послойно толщиной 300 мм до высоты на 150 мм выше верхней образующей трубы. Во избежание горизонтальных смещений трубопровода и нарушения герметичности соединений трамбовка грунта должна производиться равномерно с обеих сторон трубопровода и в равной степени. Трамбовка грунта должна производиться вибрирующим способом.

13.2.5. Во время операции по присыпке трубопровода необходимо избегать падения крупных комьев и камней на трубу. Для этого нависающие камни и комья необходимо заблаговременно убирать из отвала грунта.

Засыпка траншеи при наличии мерзлого отвала или твердых и каменистых грунтов производится в два приема: сначала мягким или мелкогранулированным грунтом трубопровод присыпается, а затем производится окончательная засыпка. На присыпку укладывается предупреждающая лента желтого цвета или изолированный провод для обнаружения местонахождения засыпанного трубопровода.

При диаметре труб более 200 мм присыпка производится с трамбовкой грунта в пазухах траншеи.

С целью уменьшения динамического воздействия на трубопровод засыпку траншеи следует производить преимущественно многоковшовым траншеезасыпателем или одноковшовым экскаватором. При этом ковш экскаватора разгружается на минимальной высоте.

После засыпки трубопровода, проложенного на рекультивируемых землях, над трубопроводом устраивают валик, высота которого должна совпадать с ожидаемой величиной осадка грунта засыпки. После засыпки трубопровода минеральным грунтом на рекультивируемых землях в летнее время его уплотняют многократными проходами гусеничных тракторов. По уплотненному грунту укладывают, а затем разравнивают ранее снятый плодородный слой.

Засыпку трубопровода, уложенного в мерзлых грунтах, осуществляют как в обычных условиях, при этом сначала делают присыпку талым мягким грунтом на высоту 20-25 см над образующей трубы. Дальнейшую засыпку трубопровода выполняют грунтом с отвала.

При засыпке мерзлым грунтом над трубопроводом делают грунтовый валик из расчета его осадки после оттаивания.

Переезд гусеничной техники через засыпанный трубопровод допускается в плотных грунтах при условии наличия высоты засыпки не менее 1,3 м от верхней образующей трубопровода.

13.3. Футеровка трубопровода

13.3.1. В каменистых и мерзлых грунтах для защиты трубопровода от механических повреждений наряду с мягкой подсыпкой и присыпкой может применяться футеровка, которая позволяет уменьшать объем подсыпки и присыпки.

13.3.2. Перед подсыпкой и футеровкой дно траншеи целесообразно выровнять с помощью экскаватора, минибульдозера или других аналогичных машин.

13.3.3. В качестве подстилающего слоя вместо подсыпки могут применяться штучные податливые изделия: мешки из геотекстильных материалов, заполненные песком, резиновой крошкой, полимерной ватой и другими аналогичными материалами.

13.3.4. В качестве футеровки трубопровода могут применяться скорлупы, обертки и вспененные полимеры.

13.3.5. Скорлупы состоят из двух половинок и изготавливаются из вспененных полимерных материалов. Скорлупы монтируются на трубопроводе перед его укладкой в траншею.

13.3.6. Защитные обертки изготавливаются из полимерных материалов в виде рулонов и матов; толщина материала должна быть не менее 10 мм.

13.3.7. Вспененные полимеры наносятся на трубопровод непосредственно на трассе во время укладки с помощью передвижных пеногенераторов.

13.3.8. При выборе полимеров следует исходить из того, что срок службы футеровки должен равняться сроку службы трубопровода.

14. УКЛАДКА ТРУБОПРОВОДА

14.1. Опуск трубопровода в траншею

14.1.1. Непосредственно перед укладкой трубопровода проверяется качество выполнения земляных работ - геометрические размеры траншеи и состояние подготовки ее дна.

14.1.2. Работы по укладке допускается вести при температуре окружающего воздуха от - 25°С до +45°С. При укладке в условиях более низких температур необходимо плеть подогреть путем пропуска через полость подогретого воздуха.

14.1.3. При укладке трубопровода не допускается чрезмерно деформировать плеть, особенно в местах соединений труб, во избежание нарушения их прочности и герметичности. Исходя из этого условия выбор метода укладки трубопровода зависит от типа применяемых соединений и диаметра труб.

Могут использоваться три метода укладки:

- опуск в траншею одиночных труб (рис. 14.1. а) с последующим наращиванием их в нитку на дне траншеи;

- опуск в траншею секций, состоящих из двух-четырех труб (рис. 14.1.б), с последующим наращиванием их в нитку на дне траншеи;

- укладка длинномерных плетей с бермы траншеи (рис. 14.2.) путем поперечного надвигания или с перекладин, установленных поперек траншеи.

14.1.4. Первый способ укладки применяется для труб всех диаметров и всех типов соединений.

14.1.5. Второй способ применяется для труб диаметром 300-700 мм с типом соединений, обеспечивающих прочность при осевых нагрузках (фланцевое, бугельное, резьбовое). При этом трубную секцию следует подвешивать в нескольких точках, с целью недопущения чрезмерного изгиба.

14.1.6. Третий способ укладки применяется для труб диаметром до 300 мм с типом соединений, обеспечивающих прочность при осевых нагрузках (фланцевое, бугельное, резьбовое). При этом следует подобрать параметры технологической схемы укладки, исходя из условия минимизации изгибных напряжений в стенках труб.

14.1.7. При опуске в траншею одиночных труб следует применять монтажную траверсу, оснащенную двумя мягкими монтажными полотенцами. Схема строповки трубы (рис. 14.1. а) должна удовлетворять условию, при котором расстояние между точками подвеса трубы b определяется из соотношения:

0,57 L ≤ b ≤0,60 L                                                                 (14.1)

где L - номинальная длина трубы.

Рис. 14.1. Технологическая схема опуска одиночных труб и секций при строительстве трубопроводов из стеклопластиковых труб

а - при укладке одиночных труб; б - при укладке секций

1 - укладываемая труба (секция); 2 - трубоукладчики; 3 - траверса; 4 - монтажное полотенце; 5 - гравийная «подушка»; 6 - приямок; 7 - лежка; 8 - межтрубные соединения

Рис. 14.2. Технологическая схема укладки длинномерных плетей при строительстве трубопроводов из стеклопластиковых труб

1 - укладываемая плеть; 2 - трубоукладчики (I, II, III); 3 - инвентарные лежки; 4 - гравийная «подушка»; 5 - межтрубные соединения; 6 - монтажные полотенца

При укладке секций, состоящих из двух-четырех труб (рис. 14.1. б), необходимо использовать два трубоукладчика, снабженных траверсами. Каждая траверса должна иметь по два полотенца, расстояние между ними (b) устанавливается в пределах 5-8 м; оно уточняется в зависимости от длины укладываемой плети L и диаметра труб (с увеличением этих параметров должно увеличиваться и расстояние b).

Длину консолей а следует назначать в пределах 2-3 м. Остальные параметры схемы определяются по формулам:

l = L - 6 - 2a                                                                          (14.2)

c = L -2 - (a + b)                                                                    (14.3)

14.1.8. Укладку длинномерных плетей, смонтированных из труб диаметром 500 мм и более, следует осуществлять с использованием колонны из трех трубоукладчиков (два из них поддерживают плеть, а один обеспечивает технологическую «подмену»).

Высоты подъема плети должны иметь следующие значения: hI = 0,34÷0,4 м; hII = 0,5÷0,6 м; hIII = - (0,1-5÷0,2) м.

Расстояние между трубоукладчиками l, выраженное в метрах, определяется по формуле:

                                                                           (14.4)

где D - диаметр труб.

При укладке плетей из труб диаметром менее 500 мм следует применять методы, предусматривающие использование средств малой механизации (грузовые тали, полиспасты и т.п.).

14.1.9. При выполнении укладочных работ следует избегать ударов труб о стрелы трубоукладчиков (кранов), стенки траншеи, инвентарные и монтажные опоры и другие твердые предметы.

Укладка должна производиться без резких перегибов. Не допускается сбрасывать плеть (трубу, секцию) на дно траншеи или перемещать ее волоком по дну траншеи.

14.1.10. Свободные концы труб, секции и плетей во время укладки закрывают инвентарными заглушками, которые снимают непосредственно перед сборкой стыка.

14.1.11. В местах, где трубная плеть подвергается под действием монтажных нагрузок упругому изгибу, допускается появление угловых деформаций в раструбных соединениях, которые не должны превышать 2° (на одно соединение). Изгиб плети возможен только после полного завершения процесса формирования всех соединений на укладываемом участке.

14.1.12. Укладку трубной плети при наличии на ней клеевых стыков разрешается производить не менее чем через сутки после окончания монтажа соединений на данном участке.

14.1.13. Трубопровод должен плотно прилегать ко дну подготовленной траншеи по всей длине, без провисов и зазоров. При выявлении зазоров необходимо выполнить подсыпку зависающих мест грунтом с его уплотнением.

При использовании раструбных или муфтовых соединений эластомерными кольцами прогиб плети в зоне стыка не должен превышать величин, указанных в проекте.

14.1.14. Для обеспечения требуемого прилегания и исключения использования дополнительных мер, связанных с подбивкой, необходимо на дне траншеи до укладки трубопровода устраивать «подушку» из мягкого грунта толщиной, определяемой как 15 % от диаметра трубопровода, но в любом случае она должна быть не менее 150 мм. Она не должна содержать твердых включений, которые могут повредить поверхность труб, в соответствии с регламентами, изложенными в п.14.1.13.

14.1.15. В слабонесущих грунтах (когезия менее 1400 кгс/м) перед укладкой трубопровода необходимо укрепить дно траншеи.

Для этого траншея отрывается большей глубины (на 200 мм) по отношению к проектной, и на дне укладывается «подушка» из гальки или щебня толщиной 200 мм. Содержание мелких фракций (менее 20 см) не должно превышать 12 %. «Подушку» необходимо уплотнить виброуплотнителями (или другим способом) до 70 % своей максимальной плотности.

14.1.16. Особенно тщательно следует готовить дно траншеи в местах «стыковки» участков с грунтами разной степени просадочности (с отличающимися структурами); в этих условиях на трубу могут действовать значительно срезающие усилия. Здесь необходимо обеспечивать уплотнение «подушки» до 90 % своей максимальной плотности. Измерение плотности грунта производят плотномером ДорНИИ.

14.1.17. При одновременной укладке в общую траншею нескольких трубопроводов необходимо строго выдерживать заданное межосевое расстояние между нитками. Это - помимо конструктивных условий - обусловлено технологией строительства: для трамбовки засыпаемого грунта между трубопроводами требуется гарантированный зазор; его величина должна быть на 20 см больше ширины рабочего органа трамбовочной машины.

Укладка ведется, начиная с дальней от монтажной полосы нитки трубопровода. По мере укладки плети на дно траншеи ее необходимо присыпать для фиксации грунтовыми призмами через 10-15 м (в зависимости от диаметра трубопровода) с тем, чтобы исключить ее поперечные перемещения при засыпке.

Требования к подсыпке, присыпке и к трамбовке грунта такие же, как и при однониточной прокладке трубопровода.

14.1.18. После присыпки прогиб трубопровода не должен превышать заданных проектом значений.

14.1.19. При применении соединений, не рассчитанных на восприятие осевых растягивающих нагрузок, необходимо установить упорные железобетонные блоки в местах поворотов и тройников. Контакт трубы с блоком должен осуществляться через амортизирующие прокладки толщиной 10-20 мм.

14.1.20. Перед засыпкой уложенного трубопровода сверху должен быть уложен (по верхней образующей трубопровода) сигнальный провод сечением 2,5-4,0 мм2 (ГОСТ 6323-79). После этого трубопровод присыпают и укладывают сигнальную ленту шириной 50-80 мм ГОСТ 10354-82 красного, желтого или другого яркого цвета с надписью «нефть» и производят окончательную засыпку грунтом из отвала.

14.2. Балластировка трубопроводов

14.2.1. Навеска утяжелителей на трубопровод должна выполняться после удаления воды из траншеи и укладки трубопровода на проектную отметку. Установка утяжелителей на плавающую трубную плеть не допускается.

14.2.2. Установка анкерных тяг в траншее производится до укладки трубопровода; монтаж силовых поясов следует осуществлять после отлива воды из траншеи и укладки трубопровода на проектную отметку.

14.2.3. Балластирующие устройства на трубопроводе устанавливаются на равном расстоянии друг от друга; групповая их установка запрещается.

15. СТРОИТЕЛЬСТВО ТРУБОПРОВОДА НА ПЕРЕХОДАХ

15.1. Подземные переходы под дорогами

15.1.1. Способы и сроки производства работ по сооружению переходов под автомобильными и железными дорогами должны быть согласованы с эксплуатирующими эти дороги организациями. На строительство таких пересечений разрабатывается отдельный проект производства работ (ППР) или технологическая карта.

В зависимости от интенсивности движения, категорийности дорог, диаметра трубопровода, методов производства работ, грунтовых условий укладка трубопроводов может осуществляться следующими способами:

- открытым, при котором трубопровод укладывается в траншею, устроенную в насыпи с перекрытием сквозного движения транспорта;

- закрытым, без перекрытия движения транспорта; при этом для укладки футляра (кожуха) через дороги применяются методы бестраншейной проходки.

15.1.2. Диаметр защитного футляра (кожуха) должен быть на 200 мм (как минимум) больше диаметра трубопровода.

15.1.3. При строительстве переходов через автодороги открытым способом необходимо оградить место производства работ и установить соответствующие предупреждающие и указательные знаки, а в ночное время световую сигнализацию. При этом устраивается объездная временная дорога.

15.1.4. Ширина полосы вскрытия покрытия автодороги должна быть больше ширины траншеи по верху на 0,3-0,4 м, а для булыжного покрытия - на 0,6-0,8 м.

При наличии неустойчивых грунтов необходимо по мере разработки траншеи ее стенки крепить досками или инвентарными щитами.

Перед укладкой защитного кожуха дно траншеи необходимо тщательно утрамбовать на длину всего кожуха.

15.1.5. Закрытый способ (бестраншейная проходка) может применяться без ограничений, то есть независимо от категории дорог, интенсивности движения транспорта, категории грунтов и диаметра трубопровода.

15.1.6. При закрытом способе прокладки кожухов (футляров) применяют три способа проходки: прокалывание, горизонтальное бурение и продавливание.

15.1.7. Размеры рабочего котлована при закрытом способе прокладки выбираются в зависимости от диаметра трубопровода, глубины его заложения, вида применяемого оборудования и длины перехода через дорогу. Ширина котлована должна обеспечить безопасное размещение людей, обслуживающих проходческое оборудование, а также быструю их эвакуацию. При неустойчивых грунтах необходимо укрепить стенки котлована; в соответствии с требованиями СНиП III-4-80*, при наличии воды - устроить водосборный приямок, откуда по мере накопления удаляют воду.

15.1.8. Сборку и сварку стальных кожухов (футляров) необходимо производить с помощью центраторов. Торцы свариваемых труб должны быть перпендикулярны их осям; отклонение от оси кожуха не должно превышать 2°. Кольцевые стыки должны быть проварены на полную толщину стенки труб сплошным швом и проконтролированы физическим способом. При прокладке защитного футляра (кожуха) под дорогами необходимо контролировать глубину заложения футляра и его положение в горизонтальной и вертикальной плоскостях. Отклонение оси кожуха от проектного положения по вертикали и по горизонтали не должно превышать 1% от длины кожуха.

Перед протаскиванием плети внутренняя полость кожуха должна быть тщательно очищена от мусора и грязи, сварные швы внутри кожуха должны быть зашлифованы абразивным инструментом.

Для протаскивания трубной плети в кожухе она оснащается опорно-направляющими кольцами, которые устанавливаются равномерно по длине плети через каждые 3 м. Ширина опорно-направляющих колец должна выбираться из условия допустимых давлений на поверхность трубы. На выходе из кожуха на трубную плеть устанавливается совместно (вплотную друг к другу) три опорно-направляющих кольца для компенсации «эффекта консоли».

В качестве опорно-направляющих колец могут применяться полимерные кольца по ТУ 22.2410-277-24046478-99 и по ТУ РРС 02-782 (RACI).

Межтрубное пространство между защитным кожухом и трубопроводом необходимо герметизировать с применением резиновых манжет по ТУ 2531-005-0129-7858-2000 или ТУ 2531-007-01297858-02.

Оснащенная опорными кольцами (до протаскивания) рабочая плеть подвергается испытанию на прочность давлением 1,5 Рраб в течение 2 часов.

Протаскивание трубной плети через защитный кожух необходимо производить без резких перегибов, ударов и раскачиваний. При этом уширенный конец трубы (раструбных соединений) должен быть направлен против направления протаскивания.

После протаскивания рабочая плеть снова подвергается испытанию давлением 1,5 Рраб в течение 6 часов.

15.2. Искусственные преграды

Переходы через подземные и наземные коммуникации

15.2.1. Разработка траншеи на пересечениях через подземные коммуникации (трубопроводы, кабельные линии связи и электропередачи) допускается при наличии письменного разрешения организации, эксплуатирующей эти коммуникации и в присутствии ответственных представителей строительной и эксплуатирующей организаций.

15.2.2. Эксплуатирующая организация обязана до начала работ обозначить на местности в зоне производства работ ось и границы коммуникаций. Перед началом разработки траншеи строительная организация проводит ручную шурфовку с целью уточнения глубины заложения и расположения в плане коммуникации.

15.2.3. Разработка грунта механизированным способом разрешается не ближе 2 м от боковой стенки и не ближе 1 м над верхом подземной коммуникации. Оставшийся грунт дорабатывается вручную без применения ударов и с принятием мер, исключающих повреждения коммуникаций при вскрытии. Мерзлый грунт перед его разработкой должен быть отогрет.

15.2.4. Вскрытые сооружения необходимо защитить от повреждения при производстве работ путем устройства деревянного короба и его подвески к временной несущей конструкции, укладываемой поперек траншеи; кроме того, необходимо обеспечить тепловую изоляцию вокруг водоводов, водостоков или канализации с целью защиты их от промерзания (при отрицательных температурах воздуха).

Во всех случаях тепловая изоляция защищается от увлажнения оберткой гидроизоляционными материалами. Толщина тепловой изоляции принимается в пределах 50-100 мм в зависимости от продолжительности вскрытия трубопроводов и температуры воздуха.

15.2.5. В случаях обнаружения действующих подземных сооружений, не обозначенных в проекте, работы приостанавливаются, указанные места ограждаются; одновременно необходимо вызвать представителей эксплуатирующих эти сооружения организаций. Работы могут быть продолжены после получения официального (письменного) разрешения от этих организаций.

15.2.6. Укладка трубопровода на переходе через подземные коммуникации производится продольным перемещением в траншее под коммуникациями предварительно зафутерованной плети.

15.2.7. Обратная засыпка траншеи в месте пересечения трубопровода с подземной коммуникацией производится в следующем порядке:

- присыпка трубопровода песчаным грунтом по всему поперечному сечению траншеи на высоту до половины диаметра подземного сооружения (коммуникации) с послойным уплотнением; вдоль траншеи размер присыпки по верху должен быть больше на 0,5 м с каждой стороны коммуникации, а крутизна откосов присыпки должна быть 1:1 или более пологая;

- обратная засыпка остальной части траншеи; при этом трамбовка грунта над коммуникацией не производится, а валик отсыпается с учетом последующей осадки грунта не ниже поверхности земли.

При наличии уклонов более 20° следует принимать меры против сползания грунта и размыва его ливневыми водами. Способ укрепления грунта должен быть указан в проекте.

Переходы через овраги, балки и малые водотоки

15.2.8. Ввиду сложности и ответственности переходов трубопроводов через овраги, балки и малые водотоки, когда профиль трассы имеет сложную конфигурацию, их строительство должно выполняться по индивидуальным проектам. В рабочих чертежах отметки поверхности земли и дна траншеи должны быть указаны через каждые 2 м.

15.2.9. В проекте производства работ на вышеуказанные переходы должны быть разработаны отдельные технологические карты на следующие виды работ: разработка траншеи; монтаж трубной плети (с указанием мест технологических захлестов и последовательности их сборки и сварки); укладка плети; балластировка; засыпка, а в ряде случаев и на испытание.

15.2.10. Строительство переходов необходимо вести, как правило, без срезки грунта на строительной полосе (во избежание эрозии грунтов). Это достигается путем тщательного «вписывания» трубопровода в рельеф местности за счет вставки кривых колен и использования индивидуальных технологических схем. Сборка труб в плеть производится по дну траншеи.

15.2.11. Монтаж плети по склону рекомендуется производить снизу вверх с подачей труб (секций) сверху вниз, чем облегчается процесс сборки стыков.

15.2.12. Засыпка уложенного трубопровода на склоне производится сверху вниз.

15.2.13. Монтаж технологических захлестов «на берегах» с целью сохранения герметичности соединений производится после балластировки и засыпки трубопровода.

15.3. Установка запорной арматуры

15.3.1. Монтаж узлов металлических задвижек рекомендуется производить из укрупненных заготовок, сваренных, заизолированных и предварительно испытанных в базовых условиях.

15.3.2. Перед монтажом задвижек рекомендуется их опробовать на закрывание и открывание.

15.3.3. При производстве сварочно-монтажных и погрузочно-разгрузочных работ задвижки следует строповать только за специально предусмотренные для этого заводские строповочные элементы или в обозначенных местах (в соответствии с их паспортной маркировкой).

15.3.4. Комплекс работ по установке узлов задвижек выполняется в следующем порядке:

- разработка котлована;

- планировка дна, подсыпка под фундамент и ее трамбовка;

- укладка фундаментных плит;

- транспортировка монтажных заготовок к месту установки крановых узлов и задвижек;

- сборка узла из заготовок в котловане;

- контроль сварных стыков;

- изоляция стыков;

- гидравлическое испытание узла;

- присоединение узла к нити трубопровода с помощью фланцевых соединений;

- контроль фланцевых соединений;

- засыпка узла с трамбовкой пазухов;

- установка средств управления задвижкой;

- установка ограждения, обустройство площадки вокруг узла.

15.3.5. Крутизна откосов котлована назначается, исходя из условий обеспечения безопасной работы людей в котловане. При отсутствии откосов устраивается крепление стенок котлована.

15.3.6. Во избежание повреждения подводящих труб и задвижек в процессе промерзания и пучения грунтов необходимо производить обсыпку подземных элементов узла сухим крупнозернистым песком толщиной 0,5 м, а затем выполнять засыпку минеральным грунтом из отвала.

16. ОЧИСТКА ПОЛОСТИ И ИСПЫТАНИЕ ТРУБОПРОВОДА

16.1. При производстве монтажных работ следует сохранять чистоту полости труб; все открытые торцы монтируемой или смонтированной трубной плети должны быть закрыты инвентарными заглушками во избежание попадания в полость трубопровода грунта, снега, мусора, грызунов и т.п.

16.2. Очистка полости, испытание на прочность и герметичность производятся после укладки и засыпки трубопровода. Места расположения соединений не засыпаются для осуществления их контроля при испытании (по 600 мм от стыка).

16.3. Очистку полости засыпанного участка трубопровода следует выполнять одним из следующих способов: промывкой с пропуском эластичных поршней, продувкой воздухом с пропуском или без пропуска эластичных поршней. Продувка без поршней применяется для трубопроводов диаметром не более 200 мм (включительно).

16.4. На очистку полости и испытание трубопровода должна быть разработана специальная инструкция. Содержание инструкции должно соответствовать требованиям ВСН 011-88 (Миннефтегазстрой).

Специальная инструкция составляется строительно-монтажной организацией и согласовывается с Заказчиком по каждому конкретному трубопроводу с учетом местных условий производства работ, а также согласовывается с проектной организацией и утверждается председателем комиссии по проведению очистки полости и испытания трубопровода.

16.5. Очистка продувкой без поршней осуществляется скоростным потоком (15-20 м/с) воздуха. Протяженность продуваемого участка не должна превышать 3 км.

Для продувки давление воздуха в ресивере при соотношении объемов ресивера и продуваемого участка 2:1 должно быть равно 0,6 МПа (6 кгс/см2).

Диаметр перепускной (байпасной) линии и полнопроходного крана на ней должен составлять не менее 0,3 от диаметра труб продуваемого участка.

Продувка считается законченной, когда из продувочного патрубка выходит струя чистого воздуха.

16.6. При промывке по трубопроводу пропускают мягкие поршни, перемещающиеся в потоке воды, закачиваемой для гидравлических испытаний.

При этом производятся все необходимые замеры по контролю удаления воздуха из трубопровода в период заполнения. Сюда входят контроль давления, скорость заполнения трубопровода и использование не менее двух пенопластовых поршней. Воду заливают перед запуском первого поршня и перед запуском второго. Желательно воду в трубопровод заливать в его нижней точке. Периодически стравливают воздух из мест, где возможно его скопление.

Пропуск поршня в потоке воды обеспечивает не только удаление случайных загрязнений, но и воздуха.

Скорость перемещения очистных устройств при промывке должна быть не менее 1,0 км/ч и не более 6,5 км/ч.

Промывка считается законченной, когда очистное устройство после прохода по трубопроводу выходит из него не разрушенным, а водный поток устойчиво чистый.

16.7. Испытание трубопровода следует производить не ранее прошествия суток после окончания монтажа склеенного стыка.

16.8. Для испытания при температурах ниже 0°С следует использовать незамерзающие водные растворы хлористого натрия, хлористого кальция или метилового спирта (50 %).

16.9. После заполнения трубопровод оставляют на 6-48 часов для стабилизации температуры, только затем проводят опрессовку. Продолжительность периода стабилизации зависит от разницы температур заливаемой в трубопровод воды и температуры грунта вокруг трубопровода, от типа грунта.

После стабилизации температуры проводится испытание трубопровода на прочность в режиме давления 1,5 Рраб и выдерживают это давление в течение 4 часов. Интенсивность набора давления не должна превышать 2 кгс/см2 в минуту.

16.10. После успешного завершения испытания на прочность проводится испытание на герметичность под давлением 1,1 Рраб. Давление испытания выдерживают минимум в течение 24 часов, в это время нельзя доливать воду в трубопровод или выливать. В процессе испытания постоянно проводятся замеры и регистрация давления.

В случае падения давления в период проведения испытания на герметичность проводится циклическое испытание. В период такого испытания в секции трубопровода повторно создают давление испытания на герметичность, через каждый час давление регистрируют, затем в трубопроводе снова создают давление, добавляя воду. Объем воды, вновь заливаемый для создания давления испытания, также регистрируют. Эту процедуру повторяют в течение последующих 24 часов. Если объем доливаемой воды имеет тенденцию снижения, значит трубопровод герметичен. Если объем доливаемой воды остается постоянным, это указывает, что в трубопроводе утечка.

При температурах ниже -15°С допускается испытание подземных трубопроводов производить воздухом. При этом трубопровод должен быть засыпан, а надземные участки надежно закреплены. Подъем давления воздуха в трубопроводе следует осуществлять плавно, не более 2,0 кгс/см2 в минуту.

16.11. До начала испытаний воздухом подземные трубопроводы после их заполнения воздухом следует выдерживать под испытательным давлением в течение 6 часов, необходимых для выравнивания температуры воздуха в газопроводе с температурой грунта.

16.12. Для проведения испытаний на прочность и герметичность любым способом трубопровод следует разделить на отдельные участки, ограниченные заглушками или линейной арматурой.

16.13. Если строящийся трубопровод разделен на несколько испытываемых участков, то монтажные стыки, их соединяющие (выполненные после испытания), должны быть оставлены не засыпанными для проверки их герметичности в период проведения пуско-наладочных работ. Проверка ведется вакуумным прибором. Монтаж таких стыков производится в присутствии комиссии.

16.14. Герметизация концов трубных плетей при очистке полости и испытаниях производится установкой заглушек специальных конструкций, а компрессорные установки к трубопроводу подключаются через разъемные соединения.

16.15. Участки трубопроводов, прокладываемых в футлярах, до прокладки подвергаются предварительному испытанию на прочность давлением 1,2 Рраб.

16.16. Испытательное давление воздуха в трубопроводе при испытании на прочность принимается 1,25-1,5 Рраб в зависимости от конструкции труб. Продолжительность выдержки при испытании на прочность должна составлять 4 часа. Испытание на герметичность проводится при рабочем давлении в течение не менее 12 часов.

16.17. Надземные трубопроводы подвергаются гидравлическому испытанию давлением 1,5 Рраб в течение 4 часов.

16.18. Испытание надземных трубопроводов производится после их закрепления на опорах во избежание перемещении от реактивных сил в случае разрывов.

16.19. В процессе испытания гидравлическим способом нельзя допускать гидроударов, нельзя быстро закрывать задвижки; гидростатическое давление должно повышаться постепенно, с приращениями 1,6 кгс/см2 в минуту.

16.20. Переходы трубопроводов через реки подвергаются предварительному испытанию давлением 1,5 Рраб в течение 6 часов до укладки и после укладки и засыпки перехода.

16.21. Для определения герметичности соединений трубопровода проводится предварительное их испытание воздухом. Испытание проводится давлением 5 кг/см2 не засыпанной трубной плети. Для обнаружения утечек применяется мыльный раствор или одоризация закачиваемого воздуха. При этом необходимо поддерживать испытательное давление с учетом изменения температуры трубопровода.

16.22. Во время испытания трубопровода на прочность все соединения без исключения должны быть обследованы с целью выявления разрушений или утечек. Протекающие трубы, трубные детали и соединения должны быть заменены или отремонтированы. После каждого ремонта испытание проводится снова всего участка.

16.23. После окончания испытаний на прочность и герметичность производится сброс давления со скоростью, исключающей гидравлический удар. Все соединения труб должны быть присыпаны мягким (мелкогранулированным) грунтом с трамбовкой в пазухах траншеи и засыпан полностью.

16.24. Трубопровод считается выдержавшим испытание на прочность и проверку на герметичность, если за время испытания трубопровода на прочность труба не разрушилась, а при проверке на герметичность - фактическое падение давления воздуха в период испытания не превысит величины, определенной в соответствии с формулой

,                                                                            (16.1)

где:

 - допускаемое падение давления, кПа;

d - внутренний диаметр трубопровода, мм;

Т - продолжительность испытания, ч.

17. ПРИРОДООХРАННЫЕ МЕРОПРИЯТИЯ

17.1. При проектировании, строительстве и эксплуатации трубопроводов из стеклопластиковых труб следует строго соблюдать закон РФ «Об охране окружающей природной среды», а также другие нормативные документы в этой области, в том числе: СП 34-116-97, ОСТ 102-104-85, ГОСТ 17.4.3.02-85, ГОСТ 17.5.1.01-83, ГОСТ 17.1.3.05-82 (СТ СЭВ 3078-81), ГОСТ 17.1.3.10-83 (СТ СЭВ 3545-82), ГОСТ 16504-81, СН 452-73, которыми определены требования к охране окружающей среды.

17.2. Каждый проект трубопровода должен содержать раздел по природоохранным мероприятиям, формулирующий требования согласно действующих законодательных документов об охране земли: вод, леса, атмосферного воздуха, животного мира, памятников истории и культуры.

17.3. При этом необходимо оптимизировать варианты защиты окружающей среды с учетом сохранения технической надежности трубопровода из стеклопластиковых труб, отличающихся специфическими свойствами по сравнению со стальными трубопроводами.

17.4. Прокладка трубопровода должна производиться по возможности на малоценных или непригодных для сельскохозяйственного использования землях, а охранные мероприятия, предусматриваемые в проектных решениях, должны обеспечивать возможность сохранения существующего до начала строительства трубопровода уровня доходности нарушаемых угодий (сельскохозяйственных, охотничьих, рыбоводческих и др.).

17.5. Все работы по строительству трубопровода должны вестись строго в полосе отвода. Природоохранные мероприятия должны включать: техническую рекультивацию по всей полосе уложенного трубопровода, специальную рекультивацию на участках с опасными природными процессами, биологическую рекультивацию сельхозугодий в соответствии с ГОСТ 17.5.3.05-84, ГОСТ 17.4.3.02-85, ГОСТ 17.5.3.06-85, охрану поверхностных и подземных вод и водоисточников от загрязнения, экологическую маркировку, экологический мониторинг.

17.6. При производстве работ в летний период выполняются строгие противопожарные мероприятия, в том числе не допускаются при работе на сухих торфяниках применение открытого огня, разведение костров и сжигание порубочных остатков; использование открытого огня допускается только в специально оборудованных местах в соответствии с правилами противопожарной безопасности.

17.7. При строительстве трубопровода необходимо учитывать пути миграции диких животных, максимально сохранять районы зимних и летних пастбищ.

17.8. Для восстановления нормального режима водотоков следует выполнить расчистку русел реки от наносов, вызванных строительными работами.

Для поддержания нормального гидрогеологического режима территории и естественного стока поверхностных вод, а также для исключения подпора воды вдоль трассы трубопровода при необходимости в местах пересечения насыпных дорог через естественные препятствия устраивают водопропускные сооружения (труба).

17.9. При строительстве дорог с грунтовым основанием отсыпка полотна дороги осуществляется пионерным способом «от себя», не допуская езды транспорта за пределами отсыпанного полотна. Грунт для полотна дороги следует отсыпать непосредственно на мохорастительный покров.

При пересечении трассой или подъездными дорогами водотоков необходимо возведение водопропускных устройств под технологическим проездом, исключение деформации русла, подрезки склонов, загрязнение поверхностных вод строительными отходами и ГСМ.

После окончания строительства русла водотоков восстанавливаются.

17.10. При расчистке трассы и площадок от леса не допускаются непредусмотренное проектной документацией сведение древесно-кустарниковой растительности, образование завалов, засыпка грунтом корневых шеек и стволов растущих деревьев и кустарника.

Лес и другие виды растительности, которые вырубаются на полосе отвода, должны складироваться в пределах расчищаемой территории или в специально отведенных по согласованию местах, исключающих их попадание в водотоки, что может вызвать блокирование водных потоков, подтопление территории, разрушение русел рек и эрозию их берегов.

17.11. Использование растительного грунта для устройства подсыпок, перемычек и других временных земляных сооружений для строительных целей не допускается.

17.12. При строительстве трубопровода запрещены работы, ведущие к образованию новых водоемов или осушению существующих, изменению условий естественного дренажа территории строительства, гидравлики потоков или разрушению значительных участков русел рек.

При устройстве отвалов грунта должна быть исключена возможность подпора талых и поверхностных вод на участках, расположенных за пределами полосы отвода. Если эти требования выполнить невозможно, то следует устраивать разрывы в отвалах грунта для пропуска вод.

17.13. Неиспользуемая по назначению древесина, полученная при вырубке на полосе отвода, а также другие отходы строительных работ подлежат утилизации или захоронению; сжигание их в районах, где широко распространены мох, торфяники и мохо-торфяные болота, запрещается.

17.14. В зимний период растительный слой почвы на площади, занимаемой траншеями и котлованами, до начала основных земляных работ должен быть снят и уложен в отвал для восстановления (рекультивации) земель. В летний период растительный слой необходимо снимать по всей ширине строительной полосы.

Снятие, хранение и обратное нанесение растительного слоя почвы должны выполняться методами, исключающими снижение его качества, а также потерю при перемещениях.

17.15. Мероприятия и работы по технической рекультивации полосы должны быть запроектированы и осуществлены таким образом, чтобы проведение основных видов строительно-монтажных работ по прокладке трубопроводов позволило избежать опасных процессов вне ареалов, существовавших до начала строительства.

17.16. Строительная организация, осуществляющая прокладку стеклопластикового трубопровода, несет полную ответственность за соблюдение проектных решений по охране окружающей среды, а в процессе эксплуатации эта ответственность возлагается на эксплуатирующую его организацию.

17.17. При организации строительно-монтажных работ на участках сельхозземель целесообразно предусматривать прокладку трубопровода (рытье траншей, укладку, засыпку) либо до посева, либо после уборки урожая.

17.18. Категорически запрещаются производство строительно-монтажных работ, движение строительных машин и автомобилей, складирование и хранение труб, химикатов, техники на местах, не предусмотренных проектом.

17.19. В первую очередь должны быть тщательно рекультивированы участки земли, предоставленные строительно-монтажным организациям во временное пользование (под склады, гаражи).

17.20. Обязательной рекультивации должны быть подвергнуты: строительная полоса отвода вдоль трубопровода по всей его ширине, карьеры, где брался грунт для подсыпки и присыпки трубопровода, переходы через препятствия (овраги, ручьи).

17.21. После засыпки уложенного трубопровода следует выполнять техническую рекультивацию, включающую следующие виды работ:

- формирование над траншеей с уложенным трубопроводом плавного валика из растительной почвы;

- уборка строительного мусора, остатков труб, строительных и горюче-смазочных материалов;

- проведение противоэрозионных мероприятий.

17.22. При разработке и засыпке траншеи следует избегать перемешивания в отвале гумусного слоя с нижележащими слоями грунта с учетом необходимости при обратной засыпке траншеи возврата гумусного слоя на прежний уровень (на поверхность рекультивируемой площади).

17.23. Трассовые строительно-монтажные работы в многолетнемерзлых грунтах выполняются в зимний строительный сезон при промерзании деятельного слоя на глубину не менее 0,6 м, обеспечивающую устойчивую работу строительной техники и неповреждаемость поверхности почвы.

Движение транспортной и строительной техники круглогодично допускается только по постоянным дорогам, а в зимний период - по специально подготовленным зимним дорогам и технологическим проездам.

На строительной полосе с целью предохранения растительного покрова от разрушения перемещающимися строительными машинами и автотранспортом необходимо снеголедяное покрытие (технологические проезды) в течение всего срока эксплуатации поддерживать в исправном состоянии.

Для снижения вредных техногенных воздействий на почву при ведении земляных работ следует максимально использовать роторные траншейные экскаваторы, обеспечивающие разработку узких траншей с вертикальными стенками.

17.24. Для предотвращения эрозионных процессов при прокладке трубопровода следует обеспечивать сохранение естественной сети местного стока воды, а в случае его нарушения производить восстановление стока.

Нарушенные в ходе строительства трубопровода гидротехнические, противоэрозионные и другие сооружения подобного типа должны быть полностью восстановлены.

Мероприятия по предотвращению эрозии почв, оврагообразования, а также защитные противооползневые мероприятия должны выполняться в строгом соответствии с проектом.

17.25. Не допускается сливать в реки, каналы, озера и другие водоемы воду, вытесненную из трубопровода, без ее предварительной очистки. При гидравлических испытаниях использованная вода должна сливаться в специальные пруды-отстойники, устраиваемые в пониженных местах рельефа; твердые остатки подлежат захоронению. Слив вытесненной из трубопровода воды должен производиться вне санитарной зоны действующих и проектируемых водозаборов, а также не в рыбохозяйственные водоемы.

Производственные и бытовые стоки, образующиеся на строительной площадке, жилгородке, ремонтных базах должны очищаться и обезвреживаться.

17.26. Запрещено для производства строительных работ брать песок, гальку со дна и берегов ручьев, рек и озер без разрешения органов охраны окружающей среды и рыбнадзора. Эти материалы, как и мягкий грунт для подсыпки и присыпки трубопровода, обваловки должны добываться в специальных карьерах, места расположения которых указаны в проекте.

17.27. В целях восстановления плодородности почвы необходимо после окончания строительных работ в соответствии с проектом выполнить биологическую рекультивацию.

17.28. После окончания строительных работ необходимо восстановить водосборные канавы, дренажные системы и дороги, очистить от строительного мусора и спланировать площадки и полосу строительства, придать местности проектный рельеф или восстановить природный.

17.29. Все отходы, образовавшиеся при монтаже стеклопластиковых труб (клеи, их компоненты, бракованные уплотнительные кольца, стопорные штыри, обрезки стеклопластиковых полотен, обрывки полиэтиленовых оберток и т.п.) тщательно собрать по всей трассе и захоронить в специальной траншее на глубине не менее 2 м.

17.30. Природовосстановительные работы считаются завершенными только после выполнения рекультивации всех земель в районе строительства, очистки участков, загрязненных горюче-смазочными материалами, строительными и бытовыми отходами, и качественного выполнения проектных решений по экологии в соответствии с СП 34-116-97.

18. ТЕХНИКА БЕЗОПАСНОСТИ

18.1 Строительно-монтажные работы при строительстве трубопроводов должны выполняться в соответствии с действующими основополагающими в этой области документами РФ - Конституцией и законами, государственными стандартами системы стандартов безопасности труда (ССБТ), нормативными документами Госстроя России (СНиП, ГОСТ, СП, РДС), документами Минздрава России, Госгортехнадзора России, документами субъектов РФ (ТСН), производственно-отраслевыми нормативными документами (СТП и СТО).

18.2. Применительно к строительству трубопроводов основополагающими нормативными документами являются:

- СНиП 12-03-99 «Безопасность труда в строительстве»;

- СНиП III-4-80* «Техника безопасности в строительстве»;

- РД 08-200-98 «Правила безопасности в нефтяной и газовой промышленности»;

- «Правила технической эксплуатации электроустановок потребителей и правила техники безопасности при эксплуатации установок потребителей (ПТЭ и ПТБ), утвержденные Главгосэнергонадзором;

- «Правила устройства электроустановок потребителей».

18.3. Для предупреждения травм и заболеваний рабочие, линейные инженерно-технические работники и служащие, занятые на работах с вредными веществами (эпоксидная смола, адгезив и др.), должны проходить медицинский осмотр в установленном порядке и иметь защитные средства при работе.

18.4. При работах в темное время суток участки работ, рабочие места, проезды и подходы к ним должны быть освещены в соответствии с требованиями ГОСТ 12.1.046-85. Освещенность должна быть равномерной, без слепящего действия осветительных приспособлений на работающих. Производство работ в неосвещенных местах не допускается.

18.5. Погрузочно-разгрузочные работы следует выполнять в соответствии со СНиП III-4-80*, ГОСТ 12.3.009-76, «Правилами устройства и безопасной эксплуатации грузоподъемных кранов».

18.6. На сильно обводненных болотах с несущей способностью менее 0,01 МПа или на покрытых сплавинами, а также в плывунах крутизну откосов устанавливают по индивидуальным проектам по СНиП III-4-80*.

18.7. При сооружении трубопровода вблизи населенных пунктов и на пересечениях дорог необходимо огородить место производства работ и установить сигнализацию. Ограждение трассы трубопровода следует производить после разбивки и закрепления трассы на местности, установки указателей о наличии пересекаемых подземных коммуникаций.

Ширина участка ограждения должна определяться в зависимости от местных условий (ширины улицы, движения транспорта и людей и т.д.).

18.8. Ограждение следует производить в соответствии с требованиями ГОСТ 23407-78. Ограждения должны быть сборно-разборными с унифицированными элементами и деталями крепления. По конструктивному решению они могут быть панельными, панельно-стоечными и стоечными.

18.9. Панели ограждения должны быть прямоугольными длиной 1,2; 1,6; 2,0 м и высотой 1,2 м. Высота стоек должна быть не менее 0,8 м, расстояние между стойками до 6 м. Способ соединения элементов ограждения должен обеспечивать удобство их монтажа, демонтажа, прочность при эксплуатации, возможность и простоту замены. На ограждениях должны быть установлены указатели и дорожные знаки.

18.10. Материалы от разборки дорожных покрытий следует складировать в пределах ограждения места производства работ не менее 1,5 м от края траншеи (котлована) на стороне, противоположной месту будущего отвала грунта.

18.11. При строительстве переходов трубопроводов через железные и автомобильные дороги следует соблюдать следующие правила:

- на время сооружения перехода в его зоне для безопасного производства работ устанавливаются ограждения и вывешиваются предупредительные знаки, которые должны быть видны в любое время суток;

- при эксплуатации машин горизонтального бурения, для продавливания и прокаливания защитного кожуха корпуса их должны быть заземлены;

- машины, материалы и оборудование около котлована располагаются за пределами призмы обрушения грунта;

- при опускании в котлован оборудования или труб нахождение рабочих под грузом не допускается;

- спуск рабочих в котлован допускается только по переносным инвентарным лестницам. Откосы котлована должны иметь крутизну, указанную в ППР, или крепи стенок в соответствии с требованиями СНиП III-4-80*;

- на рабочих местах в котловане должно применяться электроосвещение, рассчитанное на напряжение не более 12 В. Приямки для размещения рабочих под трубой должны иметь размеры, указанные в СНиП 3.02.01-87; ППР;

- площадка работы машиниста установки горизонтального бурения должна быть надежно защищена;

- площадка (место) работы машиниста установки горизонтального бурения должна быть защищена на случай аварии арматуры высокого давления;

- как при горизонтальном бурении, так и при продавливании защитного кожуха скорость его подачи следует уменьшать по мере возрастания сопротивления грунта;

- между машинистом крана-трубоукладчика и машинистом установки горизонтального бурения или продавливания, а также между рабочими должна быть установлена надежная сигнализационная связь.

18.12. Начинать бурение необходимо на первой скорости. Переходить на более высокие скорости шнека можно только после проверки исправности установки.

Во время работы установки необходимо следить за количеством грунта, поступающего из защитного кожуха.

18.13. Лица, направляемые на работу в северные районы, для определения пригодности к работе в условиях сурового климата должны пройти предварительный медицинский осмотр.

Рабочие перед началом зимнего строительного сезона должны пройти обучение по правилам техники безопасности, в том числе по правилам ориентации на местности в местах производства работ, по оказанию доврачебной помощи при обморожении.

18.4. В местах производства работ должны быть средства и оборудование для обогрева рабочих.

18.15. Рабочие места в трассовых условиях следует оборудовать средствами зашиты от ветра, атмосферных осадков (укрытие, переносные щиты, тенты и т.д.).

18.16. Строительная организация обязана осуществлять регулярную связь с ближайшей метеорологической станцией и своевременно оповещать свои подразделения о предстоящей перемене погоды (пурга, ураганный ветер, снегопад и т.д.).

18.17. В каждой группе, работающей вдали от других групп, руководитель работ (прораб, мастер) должен назначать старшего, знающего специфические условия районов производства работ. Старший группы должен принимать меры по обеспечению безопасности всей группы в случае плохой погоды или при других неблагоприятных условиях.

18.18. Каждая группа машин с рабочими, направляемая в дальний рейс, должна быть обеспечена необходимым инструментом, инвентарем, запасом продуктов, рацией, палаткой с каркасом, обогревательным прибором, аптечкой, пеньковыми канатами, сигнальными ракетами, запасом топлива, карманными электрическими фонарями.

18.19. Во время пурги находящиеся в пути машины должны остановиться. Между отдельными машинами автоколонны следует натянуть пеньковый канат для пользования им во время перехода от одной машины к другой.

18.20. Толщину льда на действующей ледовой переправе следует измерять:

а) зимой один раз в 10 дней, при пересечении фарватера с быстрым течением - один раз в неделю;

б) осенью и весной - ежедневно.

18.21. При выполнении работ, связанных с электроподогревом грунта, прогреваемую площадь следует ограждать, устанавливать на ней предупредительные сигналы, в ночное время освещать. Расстояние между ограждением и контуром прогреваемого участка должно быть не менее 3 м.

На участках прогреваемой площади, находящихся под напряжением, пребывание людей не допускается.

18.22. При перекладке трубопровода от места монтажа на берму траншеи рабочим запрещается находиться между траншеей и трубопроводом.

18.23. Трасса действующего трубопровода и его сооружений в границах зоны производства работ должна быть обозначена знаками, особенно на углах поворота, в местах пересечения со строящимися коммуникациями.

18.24. При производстве работ на пересечениях с действующими газонефтепроводами и нефтепродуктопроводами контроль воздушной среды в траншее и котлованах должен проводиться каждый раз перед началом и в процессе проведения сварочных, огневых и изоляционных работ через каждые 2 часа.

18.25. Если в процессе работы в стенках траншеи и котлована появились трещины, грозящие обвалом, то рабочие должны немедленно покинуть ее; стенку с трещинами следует обрушить, грунт удалить и принять меры против дальнейшего обрушения грунта.

18.26. До начала в охранной зоне подготовительных и строительно-монтажных работ строительная организация должна разработать и согласовать мероприятия, обеспечивающие безопасное ведение работ и сохранность действующего трубопровода и его сооружений.

18.27. Весь персонал, занятый на строительстве объектов в охранной зоне, должен пройти дополнительное обучение по технике безопасности и получить соответствующие удостоверения.

Всех работающих следует ознакомить с местонахождением существующих коммуникаций и сооружений на местности и с проектом производства работ.

18.28. Перед началом работ в охранной зоне всем рабочим выдается наряд-допуск, в котором должны быть указаны правила, обеспечивающие безопасность производства работ.

18.29. При производстве буровзрывных работ необходимо выполнять требования «Единых Правил безопасности при взрывных работах».

К выполнению этих работ допускаются лица, прошедшие инструктаж, обучение и проверку знаний по технике безопасности в соответствии с утвержденным действующим ведомственным Положением.

18.30. Не допускается работа землеройных машин под проводами действующей линии электропередачи. При работе вблизи линии электропередачи необходимо соблюдать меры электробезопасности в соответствии с «Правилами устройства электроустановок» (ПУЭ).

18.31. Все работающие на трассе должны быть ознакомлены с предупредительными знаками, применяемыми при производстве земляных работ.

18.32. Места работ, все транспортные и строительные машины должны быть обеспечены аптечками с комплектом кровоостанавливающих, перевязочных и других средств, необходимых для оказания первой помощи. Работающие должны быть ознакомлены с правилами оказания первой доврачебной помощи.

18.33. Воду для питья и приготовления пищи во избежание желудочно-кишечных заболеваний следует использовать на основании заключения местной санитарно-эпидемиологической станции только из источников, пригодных для этой цели. Питьевая вода должна быть кипяченой.

18.34. При производстве работ в условиях наличия кровососущих насекомых всех работающих рекомендуется обеспечить защитными (сетки Павловского, закрытая спецодежда) и отпугивающими средствами от комаров, мошки, слепней, гнуса и проинструктировать о порядке пользования этими средствами. При работе в районах распространения энцефалитного клеща всем работающим необходимо сделать противоэнцефалитные прививки.

18.35. В зимний период особое внимание следует обратить на проведение мероприятий по предотвращению обмораживаний, в том числе организации средств обогрева. Работающих необходимо обучить правилам оказания первой помощи при обмораживании.

18.36. При обработке стеклопластиковых труб работник может подвергаться воздействию пыли. Эта пыль не является вредной, но все же в высоких концентрациях она может вызывать временное раздражение кожи.

Это воздействие может быть сведено до минимума выполнением следующих правил:

- поддерживайте концентрацию пыли ниже 10 мг/м3. Замер производить пылеанализатором;

- постоянно проветривайте рабочее помещение, чтобы поддерживать концентрацию пыли ниже уровня 10 мг/м3;

- носите рубашку с длинными рукавами и длинные брюки;

- носите защитные очки или щиток, чтобы защитить глаза от пыли. Во время шлифовки или зачистки материала носите одноразовые противопылевые маски;

- принимайте теплый душ с мягким мылом для уменьшения раздражения;

- нельзя тереть и царапать раздраженную кожу;

- стирайте рабочую одежду отдельно от остальной.

Эпоксидная смола, адгезивы и клей оказывают раздражающее воздействие на кожу, глаза и дыхательные органы человека.

Необходимо использовать полиэтиленовые перчатки или эквивалент, чтобы избежать контакта веществ с кожей.

18.37. Эпоксидная смола - сильный окисляющий агент. Опасные продукты расщепления и побочные продукты сжигания - монооксид углерода, диоксид углерода, альдегиды.

При вдыхании оказывает острую соматическую токсичность.

При попадании на кожу вызывает незначительное раздражение - сенсибилизацию.

Раздражает кожу и оболочку глаз, если упаковка долгое время находится под солнцем.

Необходимо вывести пострадавшего на свежий воздух и обратиться за помощью к врачу.

Кожу вымыть водой с мылом. В случае получения раздражения обратитесь к врачу.

В течение 15 минут промыть глаза большим количеством воды и обратиться к врачу.

При проглатывании и, что не желательно (опасно), но если такое произошло, не вызывайте рвоту. Срочно вызовите врача.

Если в процессе работы смола вылилась, нужно промокнуть ее тканью и выбросить в мусорный контейнер для дальнейшей утилизации.

Средства защиты: местная вентиляция в случае необходимости, защитные перчатки, защитные очки, спецодежда, не допускающая контакта с веществом.

18.38. Отвердитель - жидкость черного или красного цвета с характерным запахом амина. При испарении выделяются опасные компоненты: приметил гексаметилена - диамин, триахин, имидазол, дицианидамин.

При нагревании выделяются токсичные испарения - вывести пострадавшего на свежий воздух до приезда врача.

При проглатывании возможен летальный исход - в этом случае пострадавшего необходимо немедленно доставить к врачу.

Длительный контакт с кожным покровом создает химический ожог, попадание на оболочку глаз может обжечь ее и принести зрению непоправимый вред - немедленно промыть глаза большим количеством воды в течение 15 минут. И сразу же обратиться к врачу. Кожные покровы промыть водой с мылом.

Если в процессе работы произошел разлив, следует проветрить помещение, промокнуть ветошью место разлива и выбросить ветошь в контейнер для дальнейшей утилизации.

Средства защиты: местная вентиляция, при необходимости респиратор, защитные перчатки, очки, спецодежда, не допускающая контакта с веществом.

Примечание. Точка возгорания отвердителя адгезива - 93°С в закрытой таре. Средством тушения при этом являются вода, диоксид углерода, сухие химреагенты.

Пожарная безопасность должна обеспечиваться в соответствии с требованиями «Правил пожарной безопасности при производстве строительно-монтажных работ».

19. ПРИЕМКА В ЭКСПЛУАТАЦИЮ ТРУБОПРОВОДА

19.1. Приемка в эксплуатацию трубопровода, законченного строительством, производится по правилам, установленным СНиП 3.01.04-87.

19.2. К началу работы приемочной комиссии строительная организация должна представить дополнительно (к документам, предусмотренным СНиП 3.01.04-87) следующие документы:

- схему попикетного расположения соединения труб;

- копию удостоверения монтажника-склейщика стеклопластиковой трубы;

- акт о предварительных испытаниях соединения труб;

- акт аттестации технологии соединения труб;

- паспорта на разъемные соединения труб;

- акт проверки качества гарантийных соединений.

Журнал сборки стыков труб должен содержать: номера стыков; заводские номера труб, отводов, муфт, фланцев. Все стыковые соединения должны быть привязаны к пикетажу трассы трубопровода. Отклонения привязки стыка допускаются не более ±0,5 м. В журнале также фиксируется температура воздуха при сборке стыка.

19.3. Ввод в эксплуатацию трубопровода разрешается при наличии запаса труб и трубной арматуры в размере 2 % от общего объема уложенных труб и арматуры.

19.4. Приемка в эксплуатацию трубопровода производится после устранения недоделок и выполнения пусконаладочных работ.

Факт ввода в эксплуатацию принятого объекта регистрируется Заказчиком (пользователем объекта) в местных органах исполнительной и надзорных органах федеральной власти (региональных управлениях) - Госгортехнадзора, Госпожнадзора, Госэпиднадзора, Экологического надзора.

19.5. Приемка в эксплуатацию объекта, строительство которого производилось за счет средств федерального бюджета, производится государственной комиссией.

Приемку объектов, строительство которых осуществлялось не из бюджетных средств, производит приемочная комиссия, организуемая инвестором в соответствии с условиями договора подряда.

Инвестор привлекает к приемке объекта пользователя объекта, авторов проекта, разработчиков строительных норм и правил, страховое общество.

Приемочная документация оформляется в соответствии с требованиями СНиП 3.01.04-87.

20. ПУСКОНАЛАДОЧНЫЕ РАБОТЫ

20.1. Пусконаладочные работы выполняются с целью обеспечения пропуска по трубопроводу первой партии транспортируемой среды, предусмотренной проектом. К пусконаладочным работам относится комплекс работ, выполняемых в период проведения индивидуальных испытаний и опробования отдельных узлов и оборудования (трубопроводов, крановых узлов, задвижек, узлов сбора продуктов скважин, электрооборудования и т.п.).

20.2. Индивидуальные испытания и приемка производятся для подготовки отдельных элементов трубопровода к приемке рабочей комиссией для комплексного опробования.

20.3. Комплексное опробование включает пусконаладочные работы, выполняемые после производства индивидуальных испытаний и их приемки рабочей комиссией, связанные с комплексным опробованием всего трубопровода до приемки объекта в эксплуатацию приемочной комиссией.

Примечание: Пусконаладочные работы оплачивает заказчик (инвестор) за счет сводной сметы на ввод трубопровода в эксплуатацию.

20.4. До начала индивидуальных испытаний производятся пусконаладочные работы по электротехническим устройствам, автоматизированным системам управления, контрольно-измерительным приборам и др., выполнение которых обеспечивает проведение индивидуальных испытаний узлов и оборудования.

20.5. Индивидуальные испытания проводятся согласно требованиям СНиП или инструкциям по производству соответствующего вида монтажных работ и ТУ предприятий-изготовителей оборудования и конструкций.

20.6. Объем и порядок выполнения пусконаладочных работ, продолжительность периода комплексного опробования узлов и оборудования, количество необходимого эксплуатационного персонала, топливо-энергетических ресурсов, материалов, сырья определяются отраслевыми правилами эксплуатации объектов.

20.7. Строительные организации, участники строительства в период комплексного опробования трубопровода на эксплуатационных режимах обеспечивают дежурство своих бригад и ИТР для оперативного обнаружения и устранения выявленных дефектов строительно-монтажных работ (если выполнение этих работ предусмотрено договором подряда).

20.8. Комплексное опробование осуществляется эксплуатационным персоналом заказчика с участием инженерно-технических работников генерального подрядчика, проектных и субподрядных монтажных организаций, а при необходимости - и персонала предприятий-изготовителей оборудования.

20.9. Акт комиссии по приемке в эксплуатацию трубопровода составляется после комплексного опробования трубопровода.

По истечении 72 часов безотказной работы после окончания комплексного опробования трубопровод считается сданным в эксплуатацию

К пусконаладочным работам относятся:

- завершение испытаний уложенных переходов под дорогами, через овраги, через водоемы, установка на патронах запорных колец (заглушек);

- установка и проверка надежности работы кранов и задвижек, состояние крановых площадок;

- проверка на плотность и прочность отдельных участков уложенного трубопровода и ремонт разрушений;

- обследование состояния охранных зон и зон минимальных расстояний от опасных и других объектов и устранение недоделок (захоронение мусора, засыпка ям, рекультивация и пр.);

- обследование состояния пересечений трассы с коммуникациями сторонних организаций;

- проверка завершения качества демонтажа коммуникаций, сооруженных для испытания трубопровода;

- проверка качества засыпки трубопровода и наличия сигнальной ленты;

- проверка течеискателем плотности разъемных соединений;

- проверка наличия установки реперных знаков, предупредительных транспарантов о наличии и охране трубопровода;

- опробование системы дистанционного управления (аварийная система).

21. ЭКСПЛУАТАЦИЯ И РЕМОНТ ТРУБОПРОВОДА

21.1. Организация эксплуатации трубопровода

21.1.1. Эксплуатация промысловых трубопроводов из стеклопластиковых труб осуществляется в соответствии с правилами, установленными для эксплуатации из стальных труб, но при обязательном учете особенностей и специфических свойств стеклопластиковых труб.

21.1.2. Обязательным условием нормальной эксплуатации трубопроводов является наличие у обслуживающего персонала схемы трубопроводов с указанием диаметра труб, расположения запорной и регулирующей арматуры и разъемных соединений, а также наличие настоящей Инструкции.

21.1.3. Эксплуатирующая организация после приемки трубопровода должна хранить исполнительную документацию согласно перечня по ВСН 012-88.

21.1.4. Ввод в эксплуатацию трубопровода разрешается только при наличии в эксплуатирующей организации аварийного запаса труб и соединительных деталей.

Аварийный запас включает:

- трубы в количестве 1% от протяженности трубопроводов, но не менее 2 труб;

- отводы, тройники, концевые элементы - не менее 10 % их количества, установленного в трубопроводах.

Аварийный запас постоянно обновляется из новых поступлений, а хранившиеся трубы и детали передаются на монтаж трубопровода.

21.1.5. Трубопровод должен эксплуатироваться специально подготовленным персоналом. Персонал должен иметь квалификацию, соответствующую утвержденным должностным инструкциям и инструкциям по профессиям.

21.1.6. Для эксплуатационного персонала устанавливаются следующие формы производственного обучения и повышения квалификации:

- курсовое обучение;

- вводный и периодический инструктаж;

- противоаварийные и противопожарные тренировки.

21.1.7. Программу для обучения и повышения квалификации разрабатывает и утверждает нефтедобывающая компания. Программа должна быть согласована с органами Госгортехнадзора России.

21.1.8. После окончания обучения эксплуатационный персонал должен пройти проверку знаний на право допуска к работе.

21.1.9. Для ликвидации аварий и ремонта стеклопластикового трубопровода в составе аварийно-восстановительной бригады должно быть организовано специализированное звено, имеющее соответственное техническое оснащение.

21.2. Поддержание технологических режимов эксплуатации трубопровода

21.2.1. Поддержание основных параметров работы и надежность при эксплуатации трубопроводов обеспечиваются оснащением их системами контроля, регулирования и аварийной защиты.

21.2.2. Местный контроль режимов работы технологического оборудования, текущих параметров работы трубопроводов осуществляется методом обхода (по устанавливаемому графику).

21.2.3. Текущие параметры работы трубопровода (давление, температура, объемы продукции) ежедневно регистрируются в специальном журнале (технологических картах).

21.2.4. Основным технологическим показателем эксплуатации трубопроводов является проходное давление.

Под проходным давлением понимается избыточное давление в определенной точке системы, соответствующее заданному режиму движения этой продукции.

Проходное давление в системах определяется проектом и зависит от гидравлического сопротивления систем трубопроводов, а также от давления в аппаратах пунктов подготовки.

Проходное давление уточняется в различных точках систем после вывода системы на установившийся режим и фиксируется в регламенте работы системы сбора. Уточненное проходное давление может отличаться от проектного из-за погрешностей в гидравлическом расчете. Уточненное проходное давление должно быть согласовано с проектной организацией и закреплено в регламенте работы системы трубопроводов.

Проходное давление в различных точках систем при нормальной эксплуатации не должно выходить за пределы изменений, установленные в регламенте работы системы.

21.2.5. Если проходное давление выходит за пределы изменений, указанные в регламенте работы системы, то это свидетельствует о неполадках в работе системы.

Если давление превышает установленное регламентом для данной точки системы, то это свидетельствует или о произведенных переключениях, не предусмотренных регламентом, или о дополнительных сопротивлениях в трубопроводах за данной точкой, появившихся в результате отложений парафина, песка, неисправности или перекрытия запорной арматуры.

Если давление менее установленного регламентом, то это также может быть следствием выполненных переключений, но может быть следствием потери герметичности трубопровода перед или за данной точкой системы.

21.2.6. При изменениях давления в трубопроводе обслуживающий персонал должен немедленно доложить диспетчеру, выяснить причину этих изменений и устранить ее при необходимости.

21.2.7. Для измерения давления должны применяться проверенные опломбированные имеющие паспорт дистанционные приборы или манометры класса точности не ниже:

- 2,5 - при рабочем давлении до 2,5 МПа;

- 1,5 - при рабочем давлении более 2,5 до 14 МПа;

- 1,0 - при рабочем давлении более 14 МПа.

Шкала манометра выбирается, исходя из условия, что при рабочем давлении стрелка манометра должна находиться в средней трети шкалы.

21.2.8. При всех способах испытания на прочность и герметичность должны применяться манометры класса точности не ниже 1,0 и с предельной шкалой на давление около 4/3 от испытательного, устанавливаемые вне охранной зоны.

21.3. Контроль технического состояния трубопроводов

21.3.1. Контроль технического состояния трубопроводов должен быть направлен на обеспечение их надежности и безопасной эксплуатации и включать в себя:

- диагностическое обследование трубопроводов;

- ревизию трубопроводов;

- очистку полости трубопроводов;

- периодические испытания.

21.3.2. Диагностическое обследование трубопроводов.

До начала диагностического обследования следует ознакомиться с эксплуатационно-технической документацией, паспортом, сменными и ремонтными журналами, предписаниями Госгортехнадзора, результатами ранее выполненных обследований. По результатам анализа эксплуатационно-технической документации следует определить элементы или участки трубопровода, работающие в наиболее напряженных сложных условиях и на которые необходимо обратить особое внимание при обследовании.

Трубопроводы после ввода их в эксплуатацию должны подвергаться периодическому контролю на герметичность посредством обхода трассы.

При эксплуатации трубопроводов одной из основных обязанностей обслуживающего персонала является наблюдение за состоянием трассы трубопроводов, элементов трубопроводов и их деталей, находящихся на поверхности земли.

Периодичность осмотра трубопровода путем обхода (объезда или облета) устанавливается в зависимости от местных условий, сложности рельефа трассы, времени года и срока эксплуатации в соответствии с графиком, утвержденным главным инженером.

Внеочередные осмотры проводятся после стихийных бедствий, в случае визуального обнаружения утечки нефти, газа и воды, обнаружения по показаниям манометров падения давления в трубопроводе, отсутствия баланса транспортируемого продукта.

При обходах, объездах и облетах должны соблюдаться соответствующие правила безопасности.

При осмотре трассы должно быть обращено особое внимание на:

- выявление возможных утечек нефти по выходу на поверхность;

- выявление и недопущение производства посторонних работ и нахождения посторонней техники в охранной зоне трубопровода;

- выявление оголений, размывов, оползней, оврагов и т.п.;

- состояние подводных переходов через реки, ручьи, овраги;

- состояние воздушных переходов через различные препятствия;

- состояние пересечений с железными и автомобильными дорогами;

- появление не узаконенных переездов;

- состояние вдольтрассовых сооружений (линейных колодцев, защитных противопожарных сооружений, вдольтрассовых дорог, указательных знаков).

Трубопроводы должны подвергаться контрольному осмотру специально назначенными лицами не реже одного раза в год. Время осмотра следует приурочить к проведению профилактических работ.

При контрольном осмотре особое внимание должно быть уделено:

- состоянию зон выхода трубопроводов из земли;

- состоянию соединительных элементов;

- состоянию зон возможного скопления пластовой воды, конденсата, твердых осадков;

- состоянию фланцевых соединений;

- правильности работы опор;

- состоянию и работе компенсирующих устройств;

- состоянию уплотнений арматуры;

- вибрации трубопроводов;

- состоянию отводов, тройников, переходов и других фасонных деталей.

Контрольные осмотры подземных трубопроводов, а также подземные участки наземных трубопроводов проводятся не реже одного раза в 4 года.

Осмотры проводят путем шурфования из расчета один шурф на 1 км трубопровода, но не менее одного шурфа на один трубопровод, а также в потенциально опасных местах: переход через лога, ручьи и т.п. Длина шурфа должна быть не менее 1 м для возможности осмотра труб и соединений. При шурфовании необходимо принимать все меры предосторожности, исключающие механические повреждения труб.

При шурфовом осмотре должно быть обращено особое внимание на:

- состояние наружной поверхности труб, их соединений, отводов, тройников и других фасонных деталей;

- состояние пересечения трубопровода с другими подземными коммуникациями;

- состояние выходов подземных участков трубопровода на поверхность.

Засыпку шурфа выполняют вручную песком или мелким грунтом без комьев и твердых включений на высоту не менее 20 см от верха трубы с тщательной подбивкой пазух. Последующая засыпка производится обычным порядком.

Контрольные осмотры трубопроводов, подверженных вибрации, их опор, эстакад, фундаментов должны проводиться в зависимости от конкретных условий и состояния трубопроводов и устанавливаться техническим руководством предприятия, но не реже одного раза в 6 месяцев. Выявленные дефекты подлежат немедленному устранению.

Если при проведенных осмотрах трубопровода обнаружены неплотности разъемных соединений, давление в нем должно быть снижено до атмосферного, а дефекты устранены с соблюдением необходимых мер по технике безопасности.

За своевременное устранение дефектов отвечает лицо, ответственное за безопасную эксплуатацию трубопроводов.

Если при контрольном осмотре трубопровода обнаружены различные дефекты или механические повреждения, возможность дальнейшей работы и необходимость ремонта трубопровода должна быть проверена расчетом.

При обходе трассы трубопровода должно производиться наблюдение за состоянием опознавательных знаков, за дорожно-восстановительными, сельскохозяйственными и другими земляными работами, проводимыми вблизи трассы, в целях обеспечения сохранности трубопровода.

При осмотре наружной поверхности трубопроводов и их деталей (фланцевых соединений, включая крепеж арматуры, компенсаторов, опорных конструкций) следует обращать внимание на:

- показания приборов, по которым осуществляется контроль за давлением в трубопроводе;

- герметичность незаглубленных участков трубопроводов, мест выхода из земли трубопроводных узлов, фланцевых соединений, воздушных переходов через реки, ручьи, овраги;

- утечки транспортируемой продукции из кожухов пересечений с железными и автомобильными дорогами;

- состояние механических соединений, а также клеевых узлов и деталей;

- вертикальность отводов и стояков на узлах запорной арматуры.

Результаты осмотров должны фиксироваться (в вахтенном журнале). На участках трубопровода с грунтами с низкой несущей способностью должен выполняться геодезический (инструментальный) контроль за состоянием положения трубопровода:

- контроль производится с помощью геодезических приборов и планок из эластомера толщиной 4-6 мм, устанавливаемых при монтаже на трубопровод с помощью хомута;

- показания снимаются не реже одного раза в квартал и фиксируются в журнале наблюдений за усадкой узлов задвижек и участков трубопровода по форме табл. 21.1.

Таблица 21.1

№№ точек

ПК №

Дата и время выполнения

 

Примечание

1

2

3

4

5

 

 

 

 

 

 

 

 

 

 

 

 

 

 

 

 

 

 

 

 

21.3.3. Ревизия трубопроводов.

Основным методом контроля за надежной и безопасной работой трубопроводов являются периодические ревизии, при которых проверяется состояние трубопроводов, их элементов и деталей. Результаты ревизии служат основанием для оценки состояния трубопровода и возможности его дальнейшей эксплуатации.

Сроки проведения ревизии устанавливаются в зависимости от эрозионного износа и старения трубопровода с учетом опыта эксплуатации, результатов наружного осмотра, предыдущей ревизии и должны обеспечивать безопасную и безаварийную эксплуатацию трубопроводов в период между ревизиями.

Периодичность проведения ревизий должна быть не менее одного раза в 8 лет. Как правило, ревизия должна быть приурочена к планово-предупредительному ремонту отдельных агрегатов или установок.

При проведении ревизий особое внимание следует уделять участкам, работающим в наиболее тяжелых условиях (наличие скоплений воды, наличие эрозионных материалов, осадков и др.).

Приступать к ревизии следует только после выполнения необходимых подготовительных работ, предусмотренных «Правилами безопасности при сборе, подготовке и транспортировании нефти и газа на предприятиях нефтяной промышленности».

При ревизии намеченного участка трубопровода необходимо:

- освободить трубопровод от рабочей среды, промыть водой;

- провести тщательный наружный осмотр по шурфам и наружным частям трубопровода;

- провести внутренний осмотр трубопровода путем демонтажа контрольных образцов - вставок наземных и подземных, провести замену одного из контрольных образцов (вставок) на новый и испытать изъятый образец;

- проверить состояние соединений (концевые элементы, вставки), их стыковочных поверхностей, прокладок, крепежа.

При извлечении вставки определяют:

- наличие отложений на стенках трубы;

- набухание;

- наличие механического износа.

Механические свойства материалов труб проверяются, если обнаружено изменение внешнего вида и внутренней полости трубопровода (растрескивание стеклопластика).

После проведения ревизии составляются акты, к которым прикладываются протоколы и заключения о проведенных исследованиях. Результаты ревизии заносятся в паспорт трубопровода. Акты и остальные документы прикладываются к паспорту.

При выявленном в результате ревизии неудовлетворительном состоянии участка трубопровода дополнительно ревизии подвергается другой участок, количество аналогичных трубопроводов, подвергаемых ревизии, увеличивается вдвое.

21.3.4. Очистка полости трубопроводов.

Трубопроводы из стеклопластиковых труб в отличие от стальных трубопроводов не коррозируют, не подвержены зарастанию внутренней поверхности труб отложениями. Однако может происходить выпадение механических примесей и скапливание их в низких местах трубопровода при снижении скорости потока. В этом случае трубопровод засоряется и требует очистки.

Организация и проведение очистки трубопровода должны включать в себя следующие основные технологические операции:

- оценку состояния внутренней полости трубопровода и определение необходимости очистки;

- определение вида отложений и состава загрязнений в местах скоплений в промысловых трубопроводах для выбора технического средства и технологии очистки;

- обоснование периодичности очисток промыслового трубопровода или его участка, а также метода очистки (химической, термической и комбинированной);

- производство работ по очистке трубопровода;

- оценку и регистрацию результатов очистки.

Оценка состояния внутренней полости трубопровода, определение вида отложений в трубопроводе, обоснование периодичности регулярных очисток трубопровода проводятся на основании данных контрольной очистки, которая проводится перед введением в практику эксплуатации трубопровода регулярной очистки.

Методы и сроки очистки определяются по фактическому состоянию участков трубопровода.

Если целью очистки полости трубопровода является восстановление его гидравлических характеристик, то процесс очистки выполняют при:

(∆Рп - ∆Ро)/∆Ро ≥ 0,06                                                         (21.1)

где:

∆Рп - фактический перепад давления на данном участке трубопровода в анализируемый период времени, МПа;

∆Ро - теоретический перепад давления при заданном режиме работы на данном участке трубопровода, МПа.

Очистка трубопровода производится до тех пор, пока проходное давление не войдет в пределы изменений, указанных в регламенте работы системы сбора.

Очистка полости трубопроводов при их эксплуатации должна выполняться специально подготовленным персоналом по инструкциям, разработанным производственным объединением НГДУ. Инструкции должны предусматривать: организацию работ; технологию; методы и средства контроля очистки полости трубопровода; требования безопасности и противопожарные мероприятия.

Выбор метода очистки проводится в зависимости от вида отложений и загрязнений, их интенсивности.

Очистку трубопровода допускается проводить растворителями, не оказывающими влияния на внутренний слой, пропусканием шаров, торпед, а также горячей водой, горячей нефтью с температурой не более плюс 60°С.

Очистку трубопровода из стеклопластиковых труб «Ameron» в основном рекомендуется производить с помощью нагретой нефти; необходимо поддерживать температуру 79°С в течение 2 часов при температуре 93°С, но не более 100°С, в течение 1 часа при рабочем давлении:

- температура нефти при циркуляции в трубопроводе должна быть 79°С;

- после стабилизации температуры 79°С можно постепенно ее поднять до 93°С, но не более 100°С при давлении не выше номинального давления трубопровода (если необходимо поднять температуру выше 100°С, то в этом случае следует проконсультироваться с производителем или с поставщиком труб).

Для ликвидации ледяной пробки стеклопластиковые трубы отогревают путем пропускания через них горячей воды или теплого воздуха, также обдувом замерзшего участка теплым воздухом или обливанием горячей водой.

В процессе обогрева труб необходимо постоянно контролировать температуру нагрева, которая не должна превышать 60°С.

21.3.5. Периодические испытания.

Надежность работы трубопроводов должна проверяться путем периодических гидравлических испытаний на прочность и плотность.

Периодические испытания трубопроводов приурочивают к времени проведения ревизии трубопровода. Периодичность проведения испытаний должна быть равна удвоенной периодичности проведения ревизии для данного трубопровода, но не реже одного раза в восемь лет.

Все трубопроводы испытываются на прочность давлением, равным 1,25 от рабочего давления. Выкидные линии скважин и водоводы высокого давления испытываются в течение 6 часов.

Нефтесборные коллекторы, промысловые напорные нефтепроводы, нефтепроводы товарной нефти, водоводы низкого давления, газопроводы испытываются в течение 24 часов.

Для небольших месторождений при невозможности длительных остановок трубопроводов для испытания из-за наличия только одной «нитки» продолжительность испытаний на прочность и плотность может быть изменена по решению руководства НГДУ.

Гидроиспытания трубопроводов осуществляются с помощью воды с давлением 1,25 или 1,5 (в зависимости от системы и серии трубы) от рабочего давления в системе.

После испытания на прочность проводятся испытания на плотность давлением, равным рабочему давлению, в течение времени, которое необходимо для тщательного осмотра трубопровода, но не менее 24 часов.

Периодические испытания проводятся под руководством лица, ответственного за их безопасную эксплуатацию, и оформляются актом.

Лицо, ответственное за безопасную эксплуатацию трубопровода, на основании соответствующего акта делает запись о результатах испытания и назначает срок следующего испытания в паспорте трубопровода.

22. РЕМОНТ ТРУБОПРОВОДА

22.1. Ввод в эксплуатацию трубопровода разрешается только при наличии в эксплуатирующей организации аварийного запаса труб и соединительных деталей:

- трубы в количестве 1 % от протяженности трубопроводов, но не менее двух труб;

- отводы, тройники, концевые элементы - не менее 10% их количества, установленного в трубопроводах.

Аварийный запас постоянно обновляется из новых поступлений, а хранившиеся трубы и изделия передаются на монтаж другого трубопровода.

Ремонт стеклопластиковых трубопроводов следует осуществлять согласно требованиям настоящего РД и специальных правил, разрабатываемых эксплуатирующей организацией, учитывающих специфические местные природные условия и режимы эксплуатации.

22.2. Работы по ремонту стеклопластикового трубопровода могут осуществляться организациями, имеющими разрешение (лицензии) Госгортехнадзора России на проведение этого вида работ. Все работники, привлеченные к ремонту данного участка трубопровода, должны быть ознакомлены со спецификой намечаемых работ, техникой безопасности и особенностями труб и изделий из стеклопластика, пройти инструктаж с регистрацией в соответствующем журнале.

22.3. К ремонтным работам на трубопроводе из стеклопластиковых труб допускаются лица, обучившиеся по специальной программе, сдавшие испытания и получившие удостоверение и допуск к монтажу трубопроводов из стеклопластиковых труб и деталей.

22.4. Ремонтно-восстановительное подразделение должно быть оснащено соответствующим оборудованием, материалами, инструментом и инвентарем, согласно технологическому процессу ремонта стеклопластиковых трубопроводов, в том числе средствами освещения, ограждения и техники охраны труда.

Объем ремонтных работ определяется по результатам периодических осмотров и регистрации в соответствующем журнале, анализу эксплуатационной надежности, в соответствии с местными условиями и требованиями безопасности.

Сведения о проведенных ремонтных работах должны быть внесены в исполнительную техническую документацию и паспорт трубопровода в двухнедельный срок.

22.5. Различаются три вида ремонта:

а) текущий;

б) капитальный;

в) аварийный.

22.6. Текущий ремонт осуществляется в процессе эксплуатации трубопровода и включает в себя:

а) восстановление наземных опознавательных знаков;

б) восстановление сигнальных проводов и их наземных выводов;

в) вырубку кустарника, устройство и очистку водоотводных каналов;

г) восстановление над трубопроводом мелких повреждений земляного валика;

д) очистку внутренней полости трубопровода от загрязнений.

22.7. Капитальный ремонт производится при достижении предельных величин износа:

а) путем замены металлических соединительных деталей (кранов, отводов), вышедших из строя вследствие коррозии;

б) путем восстановления на проектных отметках трубопровода на переходах (в оврагах, через ручьи и т.п.), сместившегося вследствие размыва, оползания грунта и других воздействий со временем;

в) путем возврата на проектные отметки и закрепления сместившихся со временем участков трубопровода;

г) путем замены дефектных участков трубопровода вследствие их износа или истечения гарантированного срока службы (двадцать лет);

д) при ремонте защитных кожухов на пересечениях с дорогами (шоссейными, железными).

22.8. Аварийный ремонт должен выполняться при:

а) разрушении трубопровода (разрыв);

б) сквозном механическом повреждении (пробой);

в) перегибах трубопровода (арка или излом);

г) поперечной деформации (эллипсность).

22.9. Основным методом контроля за надежной и безопасной работой стеклопластикового трубопровода является периодическая ревизия, согласно регламенту, утвержденному руководством организации, эксплуатирующей трубопровод.

22.10. Систематический обход трассы, визуальный осмотр, проверка течеискателями позволяют в значительной степени предупредить развитие возникших по тем или иным причинам дефектов, а также своевременно восстанавливать утраченные (поврежденные) опознавательные знаки на трассе и поддерживать в рабочем состоянии сигнальную систему, а также своевременно фиксировать и исправлять мелкие повреждения, например, потерю герметичности фланцевыми соединениями, восстановление над трубопроводом грунта засыпки.

22.11. Решение о капитальном ремонте трубопровода должно приниматься на основании анализа состояния трубопровода, после его длительной эксплуатации, путем вскрытия (шурфования) в наиболее ответственных и сложных участках (оврагах, пересечениях ручьев, дорог).

22.12. Основанием для аварийного ремонта служат обнаруженные проявления выхода транспортируемого продукта на поверхность (через сквозные повреждения), обнаруженные многочисленные смятия трубопровода, повреждения стеклопластикового поверхностного слоя на глубины до 40-50% толщины стенки труб.

22.13. Во всех случаях обнаружения утечки должны производиться местное вскрытие трубопровода и его тщательный осмотр с целью точной фиксации места утечки и определения мер ремонта в зависимости от вида дефекта и его размеров.

22.14. Особое внимание и повышенные требования необходимо предъявлять к ремонту на параллельных нитках и пересечениях трубопроводов.

При проведении вскрышных работ ось параллельного трубопровода должна быть отмечена вешками, а при подходе к пересечению трубопроводов механизированная выемка грунта должна быть прекращена на расстоянии более 2 м до оси пересекаемого трубопровода.

Ремонтные работы должны выполняться в присутствии представителя владельца параллельного или пересекаемого трубопровода. Принятые проектные решения по ремонту трубопровода должны быть разработаны в соответствии с техническими условиями на производство работ в охранной зоне параллельного или пересекаемого трубопровода и согласованы с его владельцем.

Положение параллельного и пересекаемого трубопровода определяется трассоискателями.

22.15. Низкая теплопроводность стеклопластиковых труб, высокая деформативность и относительно низкая теплостойкость должны учитываться при эксплуатации и ремонте трубопровода.

Вероятность разрушения стеклопластиковых трубопроводов при замерзании в них воды весьма мала. При замерзании объем воды увеличивается примерно на 9 %, однако с учетом сжимаемости льда увеличение объема воды в стеклопластиковом трубопроводе составляет не более 4 %, что приводит к линейным деформациям трубопровода не более 1,5 %. Чем больше толщина трубопровода, тем меньше его деформация и вероятность разрушения. Тем не менее, замерзание воды может привести к нарушению сплошности связующего, снижению несущей способности трубопровода и срока его службы при эксплуатации с рабочим давлением.

22.16. Место пробки из замерзшей жидкости в стеклопластиковом трубопроводе можно определить по слою инея или льда. Установить границы замерзшего участка трубопровода можно путем легкого постукивания.

22.17. Для ликвидации ледяной пробки трубопроводы отогреваются путем пропуска в трубопровод горячей воды или теплого воздуха, а также обдувом замерзшего участка теплым воздухом или обливкой горячей водой. При этом следует постоянно контролировать температуру нагрева трубопровода*.

*Предельная температура определяется разработчиком (производителем) стеклопластиковых труб.

Пользоваться при отогреве замороженных участков трубопроводов из стеклопластиковых труб открытым огнем категорически запрещается.

22.18. Классификация дефектов, которые могут образоваться на трубопроводах, приведена в табл. 22.1.

Таблица 22.1.

Виды дефектов и повреждений

Виды дефектов

Виды повреждений

Способ восстановления труб

Дефекты без нарушения герметичности трубопровода

Царапины и механический износ стеклопластиковой оболочки:

Без замены поврежденного участка

- на глубину до х% - без ограничения размеров;

 

- на глубину до у%, длину не более z, ширину не более β

Смятие труб

Механический износ стеклопластиковой оболочки

Дефекты с нарушением герметичности трубопровода

Порыв труб и соединений. Излом труб и соединений. Механическое повреждение трубы

С заменой поврежденного участка

Примечание: предельные величины геометрических параметров х, у, z, β определяются разработчиком (производителем) стеклопластиковых труб.

22.19. Ремонт дефектов без нарушения герметичности труб следует осуществлять методом наложения бандажа из стеклоткани, пропитанной эпоксидным компаундом.

Тип стеклоткани, состав компаунда и геометрические параметры бандажа определяются требованиями технологии ремонта, рекомендуемой разработчиком (изготовителем) применяемых стеклопластиковых труб.

22.20. Перед намоткой бандажа поверхность стеклопластиковой оболочки должна быть зачищена до снятия глянца на ширину бандажа и обезжирена.

22.21. Отверждение бандажа производится по режиму применяемого эпоксидного компаунда.

22.22. Ремонт трубопровода с нарушенной герметичностью в зависимости от размера повреждения следует производить одним из способов:

- наложением хомута;

- наложением заплатки;

- врезкой «катушки»;

- заменой трубы.

22.23. Ремонт наложением хомута применяется в случаях, когда площадь повреждения поверхности тела трубы не превышает 100 мм2*.

* Размер может быть уточнен в технологии ремонта разработчиком (изготовителем) стеклопластиковых труб.

Ремонт производится в последовательности:

- просверлить отверстие в радиальном направлении в месте повреждения;

- установить металлический полухомут с прикрепленной к нему расширяющейся вставкой (пробкой); вставка должна быть изготовлена по размеру отверстия;

- установить второй полухомут и хомуты стянуть с помощью болтовых соединений.

Хомут устанавливается во избежание выброса из отверстия вставки. Описанный вид ремонта следует рассматривать как временный.

22.24. Ремонт наложением заплаты применяется в случае, когда площадь повреждения не превышает по длине 300 мм, по окружности - 200 мм, а глубина не превышает 0,5t (t - толщина стенки трубы)**.

Ремонт производится в последовательности:

- вырезать наружный слой в форме прямоугольного четырехугольника на глубину повреждения стенки трубы; резка производится механизированным инструментом (алмазным кругом);

- удалить вырезанный слой трубы;

- приклеить эпоксидным компаундом заплатку на вырезанное место строго по размеру;

- намотать на заплатку предварительно пропитанную эпоксидным компаундом стеклоткань; количество слоев - 3-4; длина намотки должна равняться трехкратной длине заплаты**. Затем произвести термообработку (отверждение) термополотенцем.

22.25. Ремонт с заменой трубы применяется при повреждениях большой площади: по длине более 300 мм и по окружности более 200 мм**. При таких повреждениях труба полностью заменяется новой трубой.

** Параметры (размеры, количество, тип стеклоткани, состав компаунда) могут быть уточнены в технологии ремонта, рекомендуемой разработчиком (изготовителем) применяемого типа труб.

Ремонт производится в последовательности:

- вырезать «катушку» длиной 3 м в центральной части поврежденной трубы;

- демонтировать оставшиеся части поврежденной трубы (раструбную и ниппельную);

- вмонтировать ремонтную трубу.

Такая технология может применяться, если есть возможность раздвинуть прилегающие участки трубопровода в осевом направлении для вставки ремонтной трубы.

22.26. Ремонт путем врезки «катушки» применяется при больших повреждениях, когда нет возможности раздвинуть плети для замены трубы.

Последовательность операций ремонта следующая***:

- из поврежденной трубы вырезается кусок трубы длиной не менее 300-400 мм с таким расчетом, чтобы справа или слева оставался кусок неповрежденной трубы;

- затем демонтируется поврежденная часть «катушка», которая после этого удаляется, и вместо нее вставляется заранее подготовленная подобная часть трубы (ремонтная «катушка»);

- в зазор между частями старой трубы вставляется ремонтная «катушка», на концах которой предварительно делается скос кромок под углом 50-60°;

- концы частей старой трубы и «катушки» должны быть сцентрированы и закреплены (на монтажных опорах) для обеспечения следующих операций ремонта;

- далее последовательно сначала на один стык, а затем на второй стык вставки укладывается смазанная эпоксидным компаундом стеклопластиковая лента шириной 20-30 мм и длиной на 50-100 мм больше периметра трубы. По составу она должна быть равной внутреннему слою труб. Лента закладывается в разделку, герметизируя ее корень.

Таких лент должно быть наложено 3-4 слоя с прокаткой коническим роликом для получения плотного соединения без воздушных пузырей;

- затем наносится 3-4 слоя стеклоткани шириной 400-500 мм, также пропитываемой эпоксидным компаундом;

- сборка должна быть подвергнута термообработке (нагреву) до полного отверждения. Для этой цели используется термополотенце, питаемое от передвижного бензоэлектрогенератора;

- после полного отверждения слоев, наложенных в первом этапе, накладываются таким же образом следующие слои (количество которых определяется толщиной стенок соединяемых труб), Образующаяся «муфта» по толщине должна быть не менее толщины стенки труб;

- после полного отверждения второго слоя аналогичная операция производится со вторым стыком вставленной «катушки».

*** Параметры (размеры, количество, тип стеклоткани, состав компаунда) могут быть уточнены в технологии ремонта, рекомендуемой разработчиком (изготовителем) применяемого типа труб.

При выполнении ремонтных работ не допускается протекание эпоксидного компаунда в полость трубы, что может привести к сужению сечения трубопровода. Во избежание протекания компаунда пропитанные ими стеклопластиковые ленты должны подвергаться выдержке перед намоткой на трубу для загустения компаунда.

22.27. Засыпка трубопровода после выполнения временного ремонта не допускается до замены поврежденного участка.

Вскрытый участок трубопровода должен быть огражден, а вблизи места работ установлены предупредительные знаки.

22.28. Окончательная засыпка должна производиться после положительных результатов испытаний отремонтированного трубопровода.

ПРИЛОЖЕНИЕ 1
(обязательное)

БУКВЕННЫЕ ОБОЗНАЧЕНИЯ ВЕЛИЧИН И ЕДИНИЦЫ ИХ ИЗМЕРЕНИЯ

ас - сейсмическое ускорение, м/с2;

β - ширина траншеи на уровне верха трубопровода, м;

сх0 - обобщенный коэффициент касательного сопротивления грунта, МПа/м;

сгр - удельное сцепление грунта, кПа;

ср - скорость распространения продольной сейсмической волны, м/с;

Епр, Ек - модули упругости материала труб в продольном и кольцевом направлениях, МПа;

Егр - модуль деформации грунта засыпки, МПа;

de - наружный диаметр трубопровода, м;

di - внутренний диаметр трубопровода, м;

D - параметр жёсткости сечения трубопровода, МПа;

F - площадь поперечного сечения трубы, м2 .

f - коэффициент безопасности;

g - ускорение свободного падения, м/с2;

h0 - расстояние от оси трубы до поверхности земли, м;

hm - расстояние от верха трубы до поверхности земли, м;

hw - высота столба грунтовых вод над верхней образующей трубопровода, м;

пб - коэффициент надёжности по нагрузке;

р - рабочее (нормативное) давление, МПа;

ре - внешнее радиальное давление, МПа;

рпот - номинальное давление, МПа;

pw - гидростатическое давление воды, МПа;

Ркр - критическая величина внешнего давления, МПа;

Pva - величина вакуума, МПа;

Q - полная погонная эквивалентная нагрузка, н/м;

q - производительность трубопровода, м3/с.

qm - давление грунта на единицу длины трубопровода, н/м;

qq - собственный вес единицы длины трубопровода, н/м;

qT - нагрузка от транспортных средств на уровне заложения трубопровода, Па;

qv - интенсивность равномерно-распределённой нагрузки на поверхности грунта, Па;

qw - выталкивающая сила воды на единицу длины трубопровода, н/м;

RH - расчётная минимальная длительная прочность в кольцевом направлении, МПа;

Т0 - преобладающий период сейсмических колебаний грунтового массива, сек;

t - толщина стенки трубы, м;

V- скорость течения транспортируемого продукта, м/сек;

а - коэффициент линейного теплового расширения материала труб,C)-1;

β - угол поворота трассы в горизонтальной плоскости, град;

γа - коэффициент надёжности устойчивого положения;

γT - коэффициент надёжности по нагрузке от транспорта;

t - температурный перепад, °С;

λтр - коэффициент гидравлического сопротивления

μпр, μк - коэффициенты Пуассона материала труб в продольном и кольцевом направлениях;

ρ - радиус упругого изгиба трубопровода, м;

ρб - плотность материала пригрузки, кг/м3;

ρт - плотность грунта, кг / м3;

ρq - плотность материала трубы, кг / м3;

ρv - плотность транспортируемого продукта, кг / м3;

ρw - плотность воды с учётом растворённых в ней солей, кг / м3;

σo - продольное напряжение в трубопроводе от воздействия неравномерных вертикальных деформаций грунта (при прокладке в пучинистых или просадочных грунтах), МПа;

σs - продольное напряжение в трубопроводе от сейсмического воздействия, МПа;

σх - продольные суммарные напряжения, МПа;

σxs - продольные суммарные напряжения с учётом сейсмического воздействия, МПа;

σу - кольцевые напряжения, МПа;

φгр - угол внутреннего трения грунта засыпки, град;

ЛИСТ РЕГИСТРАЦИИ ИЗМЕНЕНИЙ

Номер изм.

Основание для внесения изм. (номер и дата документа)

Номера листов (страниц)

Всего листов (страниц) в документе

Дата внесения изм.

Дата ввода изм. в действие

Подпись отв. за внесение изм.

измененных

новых

аннулированных

 

 

 

 

 

 

 

 

 

 

 




ГОСТЫ, СТРОИТЕЛЬНЫЕ и ТЕХНИЧЕСКИЕ НОРМАТИВЫ.
Некоммерческая онлайн система, содержащая все Российские Госты, национальные Стандарты и нормативы.
В Системе содержится более 150000 файлов нормативно-технической документации, действующей на территории РФ.
Система предназначена для широкого круга инженерно-технических специалистов.

Рейтинг@Mail.ru Яндекс цитирования

Copyright © www.gostrf.com, 2008 - 2026