Крупнейшая бесплатная информационно-справочная система онлайн доступа к полному собранию технических нормативно-правовых актов РФ. Огромная база технических нормативов (более 150 тысяч документов) и полное собрание национальных стандартов, аутентичное официальной базе Госстандарта. GOSTRF.com - это более 1 Терабайта бесплатной технической информации для всех пользователей интернета. Все электронные копии представленных здесь документов могут распространяться без каких-либо ограничений. Поощряется распространение информации с этого сайта на любых других ресурсах. Каждый человек имеет право на неограниченный доступ к этим документам! Каждый человек имеет право на знание требований, изложенных в данных нормативно-правовых актах!

  


 

ВЕДОМСТВЕННЫЕ СТРОИТЕЛЬНЫЕ НОРМЫ

ИНСТРУКЦИЯ
ПО ПРОЕКТИРОВАНИЮ И СТРОИТЕЛЬСТВУ АВТОМОБИЛЬНЫХ ДОРОГ НЕФТЯНЫХ И ГАЗОВЫХ ПРОМЫСЛОВ ЗАПАДНОЙ СИБИРИ

ВСН 26-90

МОСКВА 1991

Разработаны:

Союздорнии Минтрансстроя - д-р техн. наук. проф. КАЗАРНОВСКИЙ В.Д., д-р техн. наук. проф. ЕВГЕНЬЕВ И.Е., канд. техн. наук ОРЛОВСКИЙ В.С., канд. техн. наук СМИРНОВ В.М., канд техн. наук МОТЫЛЕВ Ю.Л., канд. техн. наук ДУДКИН А.С., канд. техн. наук БЕЛЯУШ А.В., канд. техн. наук БРАНТМАН Б.П., инж. МИРОШКИН А.К., инж. ОСЕННЯЯ М.В., инж. КОСАРЕВ Ю.И., инж. ПЕТРУШИН Е.А.

Гипротюменнефтегазом Миннефтепрома - канд. техн. наук ТАБАКОВ Н.В., канд. техн. наук МАЙЕР В.Р., канд. техн. наук СОКОЛОВ С.М., инж. ИРИНА Л.Н., инж. ОЛЕЩУК А.И., инж. СИТНИКОВ Н.Е., инж. НЕГОМЕДЗЯНОВ А.А., инж. КАМША Л.В., инж. ЛИНЦЕР А.А., инж. КУТУЗОВА А.А., канд. техн. наук СКВОРЦОВ И.Д., канд. техн. наук ДОРОГИХ А.Д.

Южниигипрогазом Мингазпрома - инж. ИНДИН Б.С., инж. ШЕРУДИЛЛО Б.А.

Союздорпроектом Минтрансстроя - канд. техн. наук БРАСЛАВСКИЙ В.Д.

Омским филиалом Союздорнии - канд. техн. наук ПОПОВ Б.И., канд. техн. наук НИКОЛЬСКИЙ Ю.Е., канд. техн. наук БЕЛОУСОВ Б.В., канд. техн. наук ПЛОЦКИЙ А.С., канд. техн. наук БЕСКРОВНЫЙ В.М., канд. техн. наук ВЫСОЦКИЙ Ю.Н., канд. техн. наук БАРАНКОВСКИЙ А.С.

ППДСО «Запсибдорстрой» Минтрансстроя - канд. техн. наук ЛЕЙТЛАНД В.Г., инж. АБРАМОВ В.М.

ГКТУдорстроем - инж. КОСТИКОВ В.М.

ТюмИСИ Минвуза РСФСР - д-р техн. наук ЛИНЦЕР А.В., канд. техн. наук БОЛШТЯНСКИЙ М.П., канд. техн. наук БОГОМОЛОВ Ю.Н., канд. техн. наук ШУВАЕВ А.Н., канд. техн. наук ЖУРАВЛЕВ И.Н., канд. техн. наук МАРКУЦ В.М., инж. ФУКС Я.Д.

Свердловским филиалом Гипротюменнефтегаза - канд. техн. наук МИХАЙЛОВ Г.Д., канд. техн. наук ГЛЫЗИН А.П., инж. ЗНАМЕНСКИЙ Б.А., инж. ХРАМЦОВ В.Н.

СибЦНИИСом Минтрансстроя - канд. техн. наук ЦЕРНАНТ А.А.

ХАДИ Минвуза УССР - канд. техн. наук КРАВЧЕНКО В.Г.

Тюменавтодором Минавтодора РСФСР - инж. КРЕТОВ В.А.

НПО «Дорстройтехника» Минавтодора БССР - канд. техн. наук ЯРОМКО В.Н.

МАДИ Минвуза СССР - канд. техн. наук ШКИЦКИЙ Ю.П.

Внесены Государственным всесоюзным дорожным научно-исследовательским институтом (Союздорнии) Минтрансстроя СССР.

Подготовлены к утверждению Главным научно-техническим управлением Минтрансстроя СССР.

С введением в действие ВСН 26-90 утрачивают силу ВСН 26-80 Миннефтепрома.

Министерство транспортного строительства СССР

Ведомственные строительные нормы

ВСН 26-90
Минтрансстрой

Инструкция по проектированию и строительству автомобильных дорог нефтяных и газовых промыслов Западной Сибири

Взамен
ВСН 26-80
Миннефтепрома

Содержание

1. ОБЩИЕ ПОЛОЖЕНИЯ

2. ПРОЕКТИРОВАНИЕ

2.1. Общие требования

2.2. Расчетные скорости и нагрузки

2.3. Проектные параметры поперечного профиля

2.4. Пересечения и примыкания. Взаимосвязь с коммуникациями

2.5. Земляное полотно

2.6. Дорожная одежда

2.7. Конструкция укрепления обочин и откосов

2.8. Мосты и трубы

2.9. Обустройство дорог и защитные дорожные сооружения

2.10. Дорожная и автотранспортная службы

2.11. Проектирование мероприятий по охране окружающей среды

3. ПРОИЗВОДСТВО И ПРИЕМКА РАБОТ

3.1. Общие требования

3.2. Подготовительные работы

3.3. Сооружение земляного полотна

3.4. Водоотводные и дренажные сооружения

3.5. Устройство оснований дорожных одежд

3.6. Устройство покрытий дорожных одежд

3.7. Укрепление обочин и откосов

3.8. Контроль качества и приемка работ. Авторский надзор

3.9. Охрана природной среды при производстве работ

3.10. Техника безопасности

Приложение 1 СХЕМЫ ПОПЕРЕЧНЫХ ПРОФИЛЕЙ ЗЕМЛЯНОГО ПОЛОТНА

Приложение 2 ПРОГНОЗ ОСАДКИ И ОЦЕНКА УСТОЙЧИВОСТИ ОСНОВАНИЯ НАСЫПИ

Приложение 3 РАСЧЕТ КОНЕЧНОЙ ОСАДКИ ТОРФЯНОГО ОСНОВАНИЯ НА ОСНОВЕ РЕГИОНАЛЬНОЙ ТИПИЗАЦИИ ТОРФОВ

Приложение 4 РАСЧЕТ КОЛЕБАНИЙ ЗЕМЛЯНОГО ПОЛОТНА НА ТОРФЯНОМ ОСНОВАНИИ ПРИ ВОЗДЕЙСТВИИ ПОДВИЖНЫХ НАГРУЗОК

Приложение 5 РАСЧЕТ ДОРОЖНЫХ КОНСТРУКЦИЙ НА ПРОМОРОЖЕННЫХ ОСНОВАНИЯХ

Приложение 6 СХЕМЫ КОНСТРУКЦИИ ДОРОЖНЫХ ОДЕЖД

Приложение 7 РАСЧЕТ ДОРОЖНЫХ КОНСТРУКЦИЙ НА ПРОЧНОСТЬ ПРИ ИСПОЛЬЗОВАНИИ ТОРФЯНЫХ ГРУНТОВ В ОСНОВАНИИ И НИЖНЕЙ ЧАСТИ НАСЫПИ

Приложение 8 РАСЧЕТ ДОРОЖНОЙ ОДЕЖДЫ СО СБОРНЫМ ПОКРЫТИЕМ ПО УСЛОВИЮ ОГРАНИЧЕНИЯ ОСТАТОЧНЫХ ДЕФОРМАЦИЙ В ОСНОВАНИИ

Приложение 9 РАСЧЕТ ДОРОЖНЫХ ОДЕЖД С ПЕРЕХОДНЫМИ ТИПАМИ ПОКРЫТИЙ ПО СДВИГУ В ПОДСТИЛАЮЩЕМ ГРУНТЕ

Приложение 10 СХЕМЫ КОНСТРУКЦИЙ УКРЕПЛЕНИЯ ОБОЧИН И ТРЕБОВАНИЯ К МАТЕРИАЛАМ

Приложение 11 МЕТОДИКА СТЕНДОВОГО ИСПЫТАНИЯ ПЛИТ СБОРНЫХ ПОКРЫТИЙ НА ИЗГИБ

Приложение 12 РАСЧЕТ ДОПУСТИМОЙ НАГРУЗКИ НА ТОРФЯНОЕ ОСНОВАНИЕ ОТ ВЕСА НАСЫПИ АВТОДОРОГИ ИЗ УСЛОВИЯ ОБЕСПЕЧЕНИЯ ПРОЧНОСТИ ТРУБОПРОВОДОВ В МЕСТЕ ПЕРЕХОДА

Приложение 13 СПРАВОЧНЫЕ ДАННЫЕ

Приложение 14 ФОРМА ЗАПИСИ ДАННЫХ ПРИЕМОЧНОГО КОНТРОЛЯ СБОРНЫХ ПЛИТ В СУ ___________ТРЕСТА

Приложение 15 ЖУРНАЛ КОНТРОЛЯ УПЛОТНЕНИЯ НАСЫПЕЙ

1. ОБЩИЕ ПОЛОЖЕНИЯ

1.1. Настоящая Инструкция предназначена для руководства при проектировании и строительстве вновь строящихся и реконструируемых автомобильных дорог, предназначенных для транспортного обеспечения добычи нефти и газа в Западносибирском нефтегазовом комплексе (ЗСНГК).

1.2. По назначению рассматриваемые автомобильные дороги подразделяются на промысловые (внутренние) и дороги, формирующие сеть общего пользования. К промысловым относятся дороги, обеспечивающие транспортной связью нефтегазопромысловые объекты. К дорогам общего пользования относятся дороги, которые в процессе формирования производственной, социальной и транспортной инфраструктур связывают города и поселки между собой, а также с железнодорожными станциями, речными и аэропортами.

1.3. Автомобильные дороги проектируются и строятся по настоящей инструкции с учетом положений, изложенных в строительных нормах:

СНиП 2.05.02-85 - при проектировании и реконструкции дорог, формирующих сеть дорог общего пользования;

СНиП 2.05.07-85* - при проектировании и реконструкции промысловых автомобильных дорог;

СНиП 3.06.03-85 - при производстве строительных работ.

При проектировании и строительстве дорог в зоне вечной мерзлоты необходимо дополнительно руководствоваться положениями ВСН 84-89 Минтрансстроя.

Внесены Государственным всесоюзным дорожным научно-исследовательским институтом (Союздорнии)

Утверждены
Министерством транспортного строительства
22 июня 1990 г. № АВ-225

Срок введения
в действие
1 января 1991 г.

При проектировании и строительстве дорог нефтяных и газовых промыслов должны учитываться также требования соответствующих глав противопожарных, санитарных норм и ГОСТов, требования по охране окружающей среды, а также решения правительства и Верховного Совета СССР.

1.4. При формировании структуры сети автомобильных дорог необходимо учитывать развитие железнодорожного, водного и авиационного транспорта, административно-хозяйственного деления ЗСНГК, перспективу развития народного хозяйства в регионе не менее чем на 20 лет.

Структура сети промысловых автомобильных дорог должна определяться совместно с системами сбора, транспорта, подготовки нефти и газа и электроснабжения.

1.5. При сооружении дорог нефтяных и газовых промыслов в условиях, при которых в силу объективных причин (неопределенность развития инфраструктур в районе строительства дороги, большая разновременность развития и т.д.), связанных с особенностями освоения месторождений, целесообразен первоочередной пропуск движения транспортных средств, допускается при соответствующем технико-экономическом обосновании и согласовании с заказчиком проектировать строительство дороги или отдельных участков в два этапа или устройство дорожной одежды в две стадии.

1.6. При строительстве дороги или отдельных участков в два этапа допускается на первом этапе предусматривать возведение насыпи земляного полотна неполного профиля по высоте, которое обосновывается в проекте, исходя из обеспечения возможности пропуска транспортных средств в течение заданного срока, параметров и капитальности, дороги на втором этапе строительства. В этом случае при соответствующем обосновании допускается строительство искусственных сооружений с параметрами и капитальностью, соответствующими второму этапу строительства дороги.

Увеличение продолжительности эксплуатации участков дороги, построенных по первому этапу, по сравнению с продолжительностью, определенной проектом, разрешается только с ведома инстанции, утвердившей проект.

1.7. Устройство дорожной одежды в две стадии следует предусматривать в тех случаях, когда невозможно или экономически нецелесообразно обеспечение стабильности отсыпанного земляного полотна к заданному сроку начала движения по дороге (при сооружении дорог на болотах без выторфовывания, на вечномерзлых грунтах, из грунтов повышенной влажности и т.п.).

Допускается па первой стадии применять сборные покрытия из железобетонных плит. При этом первая стадия устройства дорожной одежды (без укрепленного основания и без омоноличивания стыков) осуществляется при допустимой степени консолидации основания насыпей или при допустимых интенсивностях осадки, указанных в приложении 2. Вторая стадия устройства покрытия осуществляется также при достижении соответствующих степеней консолидации или интенсивности осадки, указанных в приложении 2.

При соответствующем технико-экономическом обосновании для стадийного строительства может предусматриваться дорожная одежда с асфальтобетонным покрытием на сборном основании. Покрытие в этом случае устраивается на второй стадии.

Эксплуатация дорожной одежды, построенной по первой стадии, сверх сроков, установленных в проекте, разрешается только с ведома инстанции, утвердившей проект при условии принятия дополнительных мер по обеспечению безопасности движения.

1.8. При строительстве автомобильных дорог по первому этапу ширина полосы отвода должна резервироваться из расчета сооружения дороги по второму этапу. Формирование коридора коммуникаций вдоль дороги в этом случае производится с учетом требований автомобильной дороги по второму этапу строительства.

1.9. На первой стадии строительства дорожной одежды при соответствующем технико-экономическом обосновании могут предусматриваться покрытия из железобетонных плит и переходного типа (из песчано-гравийной смеси оптимального состава, металлургических шлаков, белитового шлама и укрепленных им каменных материалов и др.).

1.10. Проекты строительства автомобильных дорог, формирующих общую сеть дорог региона, подлежат согласованию с Минавтодором РСФСР. Согласованию подлежат параметры и капитальность дорог, сооружения дорожно-эксплуатационной службы и сервисного обустройства дорог.

Перечень дорог, входящих в общую сеть, определяется решением областного Совета народных депутатов. Эти дороги строят или реконструируют по нормативам не ниже III технической категории автомобильных дорог Союза СССР общего пользования и подъездных дорог к промышленным предприятиям.

1.11. Ввод дороги в эксплуатацию на каждом этапе и стадии строительства осуществляется государственной комиссией.

Эксплуатация дорог, построенных по первой стадии (включая меры по обеспечению безопасности движения), выполняется эксплуатационной организацией заказчика.

При выполнении работ на второй стадия строительства дорожной одежды допускается замена плит покрытия в объеме до 5-7 %.

1.12. При вводе дороги в эксплуатацию по первой стадии может быть предусмотрено ограничение скорости движения до 50 % расчетной скорости, но не ниже 30 км/ч.

1.13. При отсутствии в тексте настоящих ВСН указаний относительно каких-либо норм проектирования и строительства, последние должны приниматься по СНиП 2.05.02-85, СНиП 2.05.07-85* и СНиП 3.06.03-85, а также по ВСН 84-89, ВСН 46-83 и ВСН 197-83 Минтрансстроя, как для дорог общей сети аналогичных категорий.

2. ПРОЕКТИРОВАНИЕ

2.1. Общие требования

2.1.1. Автомобильные дороги нефтяных и газовых промыслов, как правило, должны размещаться на одной полосе (в одном коридоре) с другими инженерными коммуникациями (нефтепроводы, газопроводы, водоводы, линии электропередач и т.д.). Выбор положения для размещения коммуникаций в плане должен определяться генеральной схемой или перспективным планом развития нефтегазодобывающих промыслов с учетом расположения дороги в наиболее благоприятных топографических, инженерно-геологических и гидрологических условиях.

2.1.2. При определении структуры сетей и разработке проектов строительства автомобильных дорог ЗСНГК следует учитывать:

существующую и перспективную сети автомобильных дорог;

принятые схемы обустройства и сложившиеся производственные связи с ЗСНГК;

решения районных планировок по размещению поселков, районных городов и других объектов;

возможную потребность в автомобильных дорогах других отраслей промышленности района;

очередность освоения ЗСНГК и наличие ресурсов по строительству в нем автомобильных дорог.

2.1.3. Автомобильные дороги должны вводиться в эксплуатацию одновременно с началом освоения месторождений (до разбуривания и обустройства). В связи с этим при назначении категорий дорог, проектировании элементов плана, продольного и поперечного профилей, дорожных одежд за расчетный при соответствующем технико-экономическом обосновании следует принимать:

год максимального грузооборота на период разбуривания и обустройства месторождения, обслуживаемого данной внутрипромысловой дорогой, или группы месторождений, обслуживаемых данным участком межпромысловой дороги;

год выхода месторождения (или группы месторождений) на проектный (эксплуатируемый) уровень нефтегазодобычи.

2.1.4. При обосновании категории дороги следует рассматривать вариант снижения категории за счет организации доставки части грузов другими видами транспорта или по автозимникам.

2.1.5. При оценке экономической эффективности капиталовложений в строительство автомобильных дорог, помимо экономии, достигаемой за счет транспортирования грузов и пассажиров, необходимо учитывать возможный ущерб добывающей отрасли от отсутствия дорог (увеличение периода ликвидации возможных аварий, падение нефтедобычи, ограничение прироста добычи и т.д.), нарушение почвенно-растительного покрова и развитие необратимых процессов, следующих за этим и т.д.

2.1.6. Отвод земельных участков для размещения автомобильных дорог, водоотводных, защитных и других сооружений, зданий дорожной и автотранспортной службы, полосы для размещения идущих вдоль дорог коммуникаций осуществляется в соответствии с действующими нормативными документами по отводу земель для строительства автомобильных дорог и дорожных сооружений.

2.1.7. Ширина полосы отвода земли, необходимая для размещения земляного полотна, водоотводных сооружений и устройств автомобильной дороги, обосновывается расчетом и определяется с учетом ширины земляного полотна, высоты насыпи, ширины кюветов, резервов, берм.

При необходимости устройства технологических путей вдоль проектируемых дорог во временную полосу отвода включается дополнительно полоса на устройство построечных дорог.

2.1.8. Формируемая структура сети должна быть увязана с капитальностью дорог. Варианты оцениваются по показателю сравнительной эффективности, содержащему единовременные и текущие затраты на дороги, а также затраты или прибыль, возникающие в отраслях народного хозяйства, где реализуется рассматриваемое решение (косвенные эффекты):

,

где - величина единовременных затрат по i-му варианту в t-ом году; - величина текущих затрат (знак +) пли прибыли (-) в различных отраслях народного хозяйства, связанных с реализацией варианта в t-м году; - остаточная стоимость фондов по i-му варианту в конце расчетного периода; - величина текущих затрат, связанная с ремонтом и содержанием дорог, перевозкой грузов и пассажиров; Т - расчетный срок сравнения вариантов или функционирования дорог промыслов; Eнп - нормативный коэффициент приведения разновременных затрат, равный 0,08.

Примечание. Для дорог, которые продолжают функционирование после расчетного срока, последнее слагаемое в формуле принимается со знаком «плюс», для промысловых дорог, которые прекращают функционирование в расчетный срок - со знаком «минус». Вследствие этого для промысловых дорог следует стремиться к минимизации остаточных фондов.

2.1.9. При проектировании строительства дороги в два этапа необходимо дополнительно установить:

параметры и капитальность земляного полотна, дорожной одежды и искусственных сооружений на первом и втором этапах строительства;

время и условия эксплуатации дороги, построенной по первому этапу;

перечень зданий и сооружений по ремонту и содержанию дороги и сервисное обустройство на каждом этапе строительства.

2.1.10. При проектировании устройства дорожной одежды в две стадии в проекте должно быть дополнительно отражено:

время и условия эксплуатации дорожной одежды по первой стадии;

способ и порядок контроля состояния земляного полотна;

условия использования дорожной одежды, устроенной по первой стадии, при осуществлении второй стадии;

сроки выполнения работ на первой и второй стадиях.

2.1.11. При разработке проектов дорог нефтяных и газовых промыслов Западной Сибири следует исходить из двухлетнего планирования. При этом особое внимание в проекте организации строительства необходимо уделять сбалансированности объемов строительства с ресурсами подрядных организаций, а также технологии строительства дорог в сложных природных условиях.

2.1.12. В состав проекта на автомобильную дорогу нефтяного или газового промысла Западной Сибири должны входить проекты промбаз, вахтовых поселков, жилых зданий и объектов социального комплекса.

2.1.13. При назначении конструкции дорожных одежд следует в максимальной степени ориентироваться на применение индустриальных методов строительства покрытий и оснований и использование местных грунтов, укрепленных вяжущими, а также отходов промышленности, возможность доставки которых обеспечивается существующей транспортной сетью.

2.2. Расчетные скорости и нагрузки

2.2.1. Расчетные скорости движения для проектирования элементов плана и продольного профиля дорог, относимых к промысловым автомобильным дорогам, следует принимать в соответствии со СНиП 2.05.07-85*.

2.2.2. При проектировании элементов продольного и поперечного профиля дорог, габаритов мостов и конструкций дорожных одежд за расчетные следует принимать автомобили и автопоезда с осевыми нагрузками до 120 кН шириной не менее 2,75 м и длиной до 30 м.

2.3. Проектные параметры поперечного профиля

2.3.1. Ширина обочин на промысловых автомобильных дорогах всех категорий принимается равной 2 м.

2.3.2. На дорогах IV-В категории необходимо предусматривать площадки для разъезда встречных автомобилей на расстоянии видимости встречного автомобиля. Ширину проезжей части и земляного полотна на разъездах принимают не менее норм для категории IV-В, наименьшую длину площадки - 30 м. Переход от однополосной проезжей части к двухполосной осуществляется на длине 10 м. Уширение проезжей части предусматривается, как правило, со стороны порожнего направления.

2.3.3. Поперечный профиль дорог, как правило, должен быть двухскатным. При устройстве покрытия из сборных железобетонных плит, с нечетным количеством плит, укладываемых по ширине покрытия, допускается укладка средней плиты без поперечного уклона.

2.3.4. Для всех дорог при радиусах кривых в плане 1000 м и менее необходимо предусматривать уширение проезжей части с внутренней стороны за счет обочин.

Величины полного уширения двухполосной проезжей части дорог на закруглениях следует принимать по табл. 2.1.

Таблица 2.1

Радиусы кривых в плане, м

Величина уширений в м для автомобилей и автопоездов с расстоянием от переднего бампера до задней оси, м

автомобилей 7 и менее, автопоездов 11 и менее

автопоездов

20

25

30

1000

-

0,5

0,7

0,9

850

-

0,6

0,8

1,0

650

0,4

0,7

1,0

1,3

575

0,5

0,9

1,3

1,7

425

0,5

1,2

1,7

2,1

325

0,6

1,5

2,1

-

225

0,7

2,0

2,8

-

140

0,9

2,7

-

-

95

1,1

3,5

-

-

80

1,2

-

-

-

70

1,3

-

-

-

60

1,4

-

-

-

50

1,5

-

-

-

40

1,8

-

-

-

30

2,2

-

-

-

Примечания. 1. Целесообразность применения кривых с уширением проезжей части более 2-3 м следует обосновывать в проекте сопоставлением с вариантами увеличения радиусов кривых в плане, при которых не требуется таких уширений.

2. Величину уширения для дорог IV-В категории следует уменьшать в два раза, по сравнению с нормами табл. 2.1.

При недостаточной ширине обочин для размещения уширения проезжей части с соблюдением этих условий следует предусматривать соответствующее уширение земляного полотна. Уширение проезжей части надлежит выполнять пропорционально расстоянию от начала переходной кривой так, чтобы величины полного уширения были достигнуты к началу круговой кривой.

2.3.5. При проектировании участков дорог с движением тягачей с роспусками для длинномерных грузов на закруглениях и перекрестках необходимо учитывать величину возможного свеса груза с внешней стороны кривой, выходящего за пределы дороги, не допускать в зоне свеса знаков, опор коммуникаций и других сооружений. Величину свеса следует принимать по табл. 2.2.

Таблица 2.2

Радиус кривой, м

Величина свеса груза с наружной стороны кривой, м

при длине грузов, м

до 20

до 25

до 30

800

-

-

0,3

700

-

0,3

0,4

600

-

0,3

0,4

500

0,3

0,4

0,5

400

0,3

0,5

0,6

350

0,4

0,5

0,7

300

0,4

0,7

0,8

250

0,5

0,8

1,1

200

0,6

0,9

1,3

150

0,8

1,2

1,6

125

1,0

1,5

2,0

100

1,1

1,7

2,3

80

1,4

2,0

2,8

60

1,8

2,6

3,7

50

2,1

3,1

4,3

40

2,5

3,7

5,2

30

3,2

4,7

6,5

2.3.6. Продольные уклоны для промысловых автомобильных дорог принимают по СНиП 2.05.02-85 согласно расчетным скоростям, принятым по этим дорогам.

2.3.7. Наименьшие расстояния от кромки проезжей части промысловых дорог до зданий, сооружений следует принимать по табл. 2.3.

Таблица 2.3

Наименование элементов зданий и сооружений

Наименьшее расстояние, м

Наружные грани стен зданий:

 

при отсутствии въезда с дороги в здание и при длине его до 20 м

1,5

то же, при длине здания более 20 м

3,0

при наличии въезда с дороги в здание для двухосных автомобилей и автопогрузчиков

8,0

при наличии въездов в здание для трехосных автомобилей

12,0

Платформы (рампы) для стоянки автомобиля» под погрузкой и разгрузкой

3,0

Ограждения территории, предприятия, опоры эстакад, осветительных столбов, мачт и других сооружений

1,5

Ограждения охраняемой части территории предприятия

5,0

От параллельно расположенных железнодорожных путей:

 

колеи 1520 мм

3,75

колеи 750 мм

3,0

2.4. Пересечения и примыкания. Взаимосвязь с коммуникациями

2.4.1. Радиус кривых при сопряжениях дорог в местах съездов или пересечений должен быть не менее 30 м.

При прохождении промысловых автомобильных дорог по площади разбуривания территории месторождения допускается устройство съездов (или переездов) из расчета 1 съезд на 1-2 км дороги. Все съезды и въезды должны иметь покрытия.

2.4.2. В пределах проезжей части не допускается размещать линии подземных коммуникаций, совпадающие с направлением автомобильной дороги.

Проезжую часть (включая лотки) или укрепленную полосу обочин автомобильных дорог, прокладываемых параллельно линиям подземных коммуникаций, надлежит располагать за пределами бровки откоса траншей коммуникаций с крутизной откоса 1:1.

2.4.3. Пересечение автомобильных дорог с линиями связи следует предусматривать, как правило, путем прокладки кабеля в теле земляного полотна в трубах (например, асбоцементных). Допускается пересечение дорог с воздушно-кабельными линиями связи при минимальном расстоянии от кабеля до покрытия проезжей части 7,5 м.

2.4.4. Допускается прокладка кабельной линии связи в обочинах автодорог, укрепленных несвязными материалами (щебень, гравий, песчано-гравийная смесь и др.). Затраты на восстановление обочин учитываются в сметах на строительство линий связи. Не допускается прокладка кабельной линии связи в обочинах автодорог, укрепленных связными материалами, а также с прослойками геотекстиля.

Минимальное расстояние траншеи кабельной линии связи от кромки проезжей части принимается равным 1 м; от кромки краевой полосы - 0,5 м.

2.4.5. Возвышение проводов над поверхностью покрытия при пересечении с линиями электропередач должно быть не менее указанных в табл. 2.4.

Таблица 2.4

Линии электропередач с напряжением, кВ

Минимальное расстояние от приводов до поверхности покрытия, м

до 110

10

110-500

15

750

16

Примечания. 1. Расстояние определяют при максимальной температуре воздуха (без учета нагрева проводов электрическим током) или при гололеде без ветра.

2. Переустройство линии электропередач напряжением 220 кВ и более возможно как исключение при соответствующем технико-экономическом обосновании по техническим условиям владельца линии электропередач.

Пересечения автодорогами существующих трубопроводов

2.4.6. При трассировании дорог следует по возможности избегать пересечений с действующими трубопроводами либо пересекать их на участках суходолов, болот I, II типа с наименьшими их глубинами, а на территориях с вечномерзлыми грунтами - преимущественно на участках I категории по мерзлотно-грунтовым условиям.

При пересечении действующих трубопроводов должны выполняться требования СНиП 2.05.06-84. Конструкции земляного полотна назначаются с учетом совместной деформации пересекаемых трубопроводов. При этом предпочтение отдается конструкциям облегченных насыпей и другим конструктивно-технологическим мероприятиям, снижающим нагрузки на трубопроводы.

На участках с вечномерзлыми грунтами конструкции пересечения назначаются с учетом норм ВСН 84-89.

2.4.7. Для проектирования пересечений трубопроводов автодорогами необходимо произвести съемку геологического разреза и высотного положения пересеченных трубопроводов в каждую сторону от оси автодороги на длине 100 диаметров трубопровода (по наибольшему диаметру трубопроводов в коридоре), но не менее 50 м. Замер высотных отметок каждого трубопровода в коридоре коммуникаций необходимо производить с шагом не более 15 диаметров трубопровода.

2.4.8. Не допускается пересечение автодорогой трубопроводов в местах их поворота в плане. Пересечение трубопроводов производится под прямым или близким к нему углом. Не допускается пересечение под углом менее 60°.

2.4.9. Конструктивное решение пересечения автодорогой действующих трубопроводов выбирается на основе технико-экономического анализа и должно быть согласовано с организацией, эксплуатирующей трубопровод.

При этом пересечение осуществляется по одному из следующих конструктивных решений:

I - дорожная насыпь непосредственно над трубопроводом, без устройства на нем защитного футляра (кожуха) допускается:

при пересечении водоводов автомобильными дорогами всех категорий, кроме I-В и II-В, независимо от типа покрытий, при пересечении магистральных нефте- и газопроводов автомобильными дорогами с переходным покрытием или покрытием из укрепленного грунта, а также при отсутствии покрытия;

при пересечении промысловых нефте- и газопроводов автомобильными дорогами IV-В категории;

II - дорожная насыпь с устройством свободного защитного футляра на трубопроводе без сальникового уплотнения и опор между рабочим трубопроводом и кожухом допускается в указанных выше случаях при условии, что разность диаметров футляра и рабочего трубопровода не менее прогнозируемой осадки футляра;

III - устройство под дорожной насыпью защитного кожуха из стальной трубы с опорами и сальниковыми уплотнениями между рабочим трубопроводом и кожухом обязательно:

для дорог всех категорий с усовершенствованным покрытием капитального или облегченного типов при пересечении магистральных нефте- и газопроводов.

Диаметр и толщину стенки кожуха принимают в соответствии с таблицей 2.5;

IV - эстакада над трубопроводами применяется при возможном развитии трубопроводной сети (увеличении числа трубопроводов в пересечении), а также в случае невозможности применения других конструктивных решений.

Таблица 2.5

D, мм трубопровода

D´d, мм кожуха

D, мм трубопровода

D´d, мм кожуха

89

325´5

325

530´7

114

325´5

426

630´7

159

426´6

530

720´8

168

426´6

720

1020´10

219

426´6

820

1020´10

273

530´7

1020

1220´10

2.4.10. Конструктивные решения I, II и III проверяются расчетом на прочность трубопровода от дополнительных осадок и нагрузок под действием дорожной насыпи. Расчет производится методами строительной механики.

При ширине насыпи автодороги по верху до 12 м и глубине заложения трубопровода 0,6¸1,0 м в подстилающих торфяных грунтах расчет может быть произведен согласно приложению 12.

2.4.11. При нагрузках и осадках трубопровода от веса дорожной насыпи, превышающих допустимые, применяются следующие решения:

изменение конструкции земляного полотна автодороги с целью снижения нагрузки на трубопровод;

замены просадочного грунта в основании трубопровода на непросадочный;

переукладка участка трубопровода на новое, более плотное основание;

осаживание участка трубопровода по допустимому радиусу упругого изгиба на соответственно подработанное основание.

Все указанные решения необходимо вновь проверить расчетом на прочность трубопровода.

2.4.12. В особо сложных условиях допускается совмещенный способ прокладки автодорог и трубопроводов, предусматривающий прокладку трубопроводов в откосной части земляного полотна либо в присыпной берме. Исключение составляют газопроводы, прокладка которых в земляном полотне автодорог всех категорий не допускается (СНиП 2.05.06-85). Прокладка трубопроводов в откосной части предусматривается преимущественно в насыпях, возводимых гидромеханизированным способом. При этом трубопроводы располагаются, по возможности, с одной стороны автодороги, а линии связи с ЛЭП - с другой. Целесообразность совмещенного способа прокладки определяется на основании технико-экономического анализа с учетом улучшения условий эксплуатации трубопроводов и уменьшения ущерба окружающей среде.

В районах с сильной метелевой деятельностью и при наличии сильнольдистых вечномерзлых грунтов при решении вопроса о совместном проложении дороги и трубопроводов необходимо учитывать отепляющее действие снега, откладывающегося на берме.

2.4.13. При совмещенной прокладке бровка земляного полотна должна быть выше присыпной бермы. Расстояние по горизонтали от ближайшего трубопровода до бровки земляного полотна должно быть не менее 1 м.

Грунт присыпной бермы должен быть, по возможности, однородным с грунтом тела насыпи автодороги. Допускается использование местного грунта (торф, суглинок), отличающегося по своим свойствам от грунта насыпи автодороги, при условии обеспечения устойчивости присыпной бермы.

2.4.14. Съезды и въезды при совместной прокладке должны иметь твердое покрытие, аналогичное типу покрытия на дороге. Длина съездов и въездов с покрытием принимается не менее чем на 25 м больше расстояния от оси дороги до оси крайнего трубопровода.

2.4.15. Водопропускные сооружения предусматриваются на всю ширину совмещенного земляного полотна.

При этом прокладка трубопровода через водопропускные сооружения возможна:

упругим изгибом в вертикальной плоскости или с применением кривых вставок, как над водопропускным сооружением, так и под ним;

надземным переходом на эстакаде.

Выбор типа перехода осуществляется в зависимости от конструкции земляного полотна и водопропускного отверстия, инженерно-геологических и гидрогеологических условий, параметров трубопроводов.

На переходах через постоянно действующие водотоки допускается прокладка трубопроводов и кабельной связи по автодорожным мостам при соответствующем технико-экономическом обосновании и выполнении требований СНиП 2.05.06-85.

2.4.16. При подземной прокладке трубопроводов на болотах вдоль автомобильных дорог минимальное расстояние от подошвы насыпи до траншеи должно быть не менее двойной глубины траншеи. Запрещается устройство котлованов вдоль дорог на болотах на расстоянии, меньшем двойной глубины болота.

2.5. Земляное полотно

2.5.1. Индивидуальные проекты земляного полотна разрабатываются (кроме случаев, указанных в СНиП 2.05.02-85):

для насыпей на слабых и вечномерзлых грунтах при пересечении дорогой эксплуатируемых трубопроводов;

для насыпей на болотах, сооружаемых на промороженных основаниях;

при использовании в насыпях торфяных грунтов, грунтов с повышенной влажностью и мерзлых комьев (в количестве, превышающем допустимое по СНиП 3.06.03-85);

при использовании пылеватых или мелкозернистых песков при отсыпке их в воду;

при армировании земляного полотна геотекстильными прослойками;

при строительстве земляного полотна с использованием энергии взрыва;

при строительстве земляного полотна на участках проявления солифлюкции, а также сложенных грунтами с линзами льда, растепление которых приведет к разрушению либо снижению транспортно-эксплуатационных характеристик дороги (проектирование ведется с использованием ВСН 84-89);

при совместной прокладке с дорогой промысловых коммуникаций (газо- и нефтепроводы, водоводы, ЛЭП, связь, автоматика и т.п.).

2.5.2. Проектирование земляного полотна на болотах, при пересечении озер, на участках с переувлажненными грунтами, на участках с вечной мерзлотой в случае, если эти участки в силу природной обстановки составляют более 10 % протяженности трассы, необходимо осуществлять на основе региональных типизации природных условий и конструктивно-технологических решений (см. табл. 2.6). Типизации должны разрабатываться с учетом районирования территории региона по природным условиям. При отсутствии или неприменимости имеющихся типизации решение осуществляется в рамках индивидуального проектирования.

В случаях, когда обеспечение возвышения насыпей, отвечающего условию снегонезаносимости по СНиП 2.05.02-85, сопряжено с большими затратами, невыполнением заданных темпов строительства и т.п. допускается при соответствующих технико-экономических обоснованиях проектировать земляное полотно на промысловых автомобильных дорогах с насыпями меньшей высоты. При этом должны быть предусмотрены активные методы борьбы со снежными заносами. При соответствующих технико-экономических обоснованиях допускается предусматривать содержание этих дорог в зимнее время по типу содержания автозимников. Указанная возможность должна быть оговорена заказчиком в задании на проектирование.

Земляное полотно на болотах

2.5.3. Конструкции земляного полотна на болотах назначаются на основе технико-экономического сравнения вариантов с учетом:

категории дороги и типа применяемого покрытия;

физико-механических свойств торфяной залежи, ее мощности и характера напластования, определяющих строительный тип болота;

степени и характера заболоченности района проложения трассы, дальности возки грунта в земляное полотно;

сроков и времени проведения строительных работ.

Независимо от глубины болота и длины участка его пересечения необходимо в качестве варианта проектного решения для сравнения рассматривать земляное полотно с использованием торфа в основании насыпи.

2.5.4. При высоте насыпи до 2,5 м (рабочая отметка земляного полотна) и глубине болота до 9 м проектирование осуществляется на основе региональных типизации болотных грунтов и болот с применением региональных типовых конструктивно-технологических решений.

Таблица 2.6

Тип болота

Характеристика деформаций грунта в основании насыпи

Характеристика режима отсыпки

Возможное наличие типов (по прочности) грунтов, слагающих болота

1

Сжатие

Любая скорость

Только тип 1 (1-А, 1-Б)

II

Сжатие

Скорость отсыпки ограничена

Тип 2 обязателен. Возможно наличие типа 1

III

Выпор, частично сжатие

Как правило, скорость отсыпки ограничена

Возможно наличие всех типов. Тип 3 и тип 1 обязателен

Б

Выпор

Любая скорость отсыпки

Только тип 3

Примечания. 1. Толщина выделенных слоев в слабой толще должна составлять не менее 10 % от общей мощности болота.

2. При малой мощности типа 3 (менее 1-1,5 м) вместо выпора может происходить сильное уплотнение, при котором сжатие слоя практически близко к его мощности.

Оценка болотной толщи как основания осуществляется посредством определения типа болота (табл. 2.6) по наличию тех или иных типов болотных грунтов по прочности и подтипов по деформативности (табл. 2.7).

При этом различают три типа грунтов по прочности (табл. 2.7):

1 - грунты, которые обладают достаточной прочностью в природном состоянии и при передаче на них расчетной нагрузки могут только сжиматься независимо от скорости передачи нагрузки;

2 - грунты, не обладающие в природном состоянии достаточной прочностью, вследствие чего при быстрой передаче на них проектной нагрузки они выдавливаются, а при медленной - сжимаются;

3 - грунты, которые при передаче на них указанной нагрузки в любом случае выдавливаются из-за недостаточной прочности в природном состоянии и недостаточной упрочняемости при уплотнении.

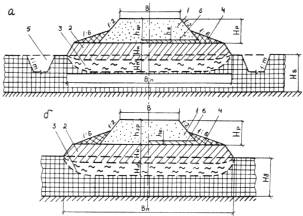
2.5.5. При разработке проектов следует использовать типовые конструктивные решения, разрабатываемые в развитие основных схем, представленных в приложении 1. При этом должна быть оценена устойчивость, определена конечная осадка и время завершения ее интенсивной части, а также выполнена проверка конструкции на допустимые упругие колебания.

Проверка на упругие колебания не требуется при суммарной толщине дорожной одежды и насыпи, сооружаемой из минеральных грунтов, не менее величин, указанных в таблице П. 4.1 приложения 4.

2.5.6. В целях ускорения осадок основания насыпей при отсыпке их на болотах I и II типа в зимнее время на промерзший торф в основании следует предусматривать продольные прорези в торфяной толще с обеих сторон вдоль подошвы насыпи. Глубина прорезей должна быть не менее глубины промерзания болота, ширина 0,4-0,6 м, расстояние от подошвы насыпи 2-3 м. Необходимо предусматривать мероприятия по теплоизоляции торфяной толщи в зоне прорезей, исключающие смерзание (геотекстильные прослойки с засыпкой снегом и т.п.).

 


Таблица 2.7

Подгруппа

Разновидность

Тип по прочности

Подтип по деформативности

Сопротивление сдвигу кгс/см2

Влажность, %

Сопротивление зондированию, кгс/см2

Модуль осадки ep, мм/м, при давлении, кгс/см2

0,2

0,4

0,6

0,8

1,0

Торф

Маловлажный

1

А

³ 0,15

< 600

> 0,3

80

170

220

280

330

Средней влажности

 

Б

³ 0,10

600-800

> 0,3

150

270

350

430

500

Очень влажный

2

-

³ 0,05

800-1200

> 0,3

220

340

430

500

580

Избыточно-влажный

3

А

< 0,05

>1200

³ 0,3

-

-

-

-

-

Жидкий

 

Б

-

-

< 0,3

-

-

-

-

-

Органо-сапропель (П > 60 %)

Маловлажный

1-2*

 

> 0,1

< 350

-

< 180

Средней влажности

2

 

0,14¸0,09

350¸600

-

180¸480

Очень влажный

2-3**

 

0,17¸0,06

600¸1200

-

> 480

Избыточно-влажный (жидкий)

3

 

< 0,01

> 1200

-

-

Органо-минеральный сапропель (10 % < П < 60 %)

Маловлажный

1-2*

 

> 0,15

< 150

-

< 120

Средней

2

 

0,17¸0,09

150¸400

-

120¸300

Очень влажный

2-3**

 

0,12¸0,06

400¸900

-

> 300

Избыточно-влажный

3

 

< 0,01

> 900

-

-

* Для уточнения типа необходимы лабораторные испытания на сдвиг и компрессию. К 1 типу относить органический сапропель при W < 200 % и органо-минеральный при W < 50 %.

** К третьему типу относить органический сапропель при W > 1000 % и органо-минеральный при W > 550 %.

Типизация органических и органо-минеральных грунтов выполнена применительно к насыпям высотой до 2,5 м. Для насыпей большей высоты тип грунта определяется соответствующими расчетами.


2.5.7. В целях снижения деформаций в период эксплуатации на участках сопряжений насыпей с мостами, на пересечениях с проектируемыми трубопроводами, в местах устройства водопропускных труб, в зоне границ болот при значительных уклонах дна болота в продольном или поперечном направлении следует предусматривать временную пригрузку. На сопряжении земляного полотна с мостами и трубами, с участками с полным выторфовыванием, а также на пересечениях с промысловыми коммуникациями может предусматриваться  выторфовывание с переменной глубиной (с уклоном 1:10).

2.5.8. В целях повышения темпов, снижения трудоемкости строительства промысловых автомобильных дорог целесообразно использовать на болотах I и II типов в нижней части насыпи торфяные грунты (рис. П. 1.8, приложение 1). В этом случае предусматриваются боковые резервы, закладываемые не ближе 5 м от подошвы насыпи. Глубина резерва не должна превышать 2 м, а заложение откосов принимается от 1:0,5 до 1:1. При невозможности использовать торф из боковых резервов (глубокие болота II типа, близкое расположение трубопроводов, озер и т.д.) предусматривают притрассовые торфяные резервы.

Допускается использовать слабо- и среднеразложившийся торф с влажностью в резерве не более 850 %. Требуемая плотность в теле насыпи должна быть не менее 0,15 г/см3.

Торфяная часть насыпи после завершения осадки должна возвышаться над поверхностью болота не менее чем на 0,3-0,5 м и иметь двухскатный уклон 40-50 . Толщина минеральной части определяется на основе комплексного расчета дорожной конструкции (приложение 4).

2.5.9. Расчет осадок насыпей в случае использования региональной типизации болотных грунтов и болот необходимо выполнять по методике, изложенной в приложении 3.

В случае неприменимости региональных типизации необходимо выполнять расчеты устойчивости, осадки и хода ее во времени в соответствии с методикой, изложенной в приложении 2. В этом случае по результатам расчета устойчивости устанавливают тип основания и определяют характер необходимых мероприятий по обеспечению устойчивости и стабильности основания (табл. 2.6).

2.5.10. При проектировании земляного полотна с полным выторфовыванием в случае выполнения работ в зимнее время следует предусматривать мероприятия по обеспечению устойчивости откосной части, исключающие ее деформации в процессе эксплуатации при оттаивании. С этой целью на болотах II и III-А типов при расположении грунтов 2 и 3 типа над грунтом 1 типа траншеи выторфовывания уширяются по сравнению с шириной подошвы насыпи на величину:

где Н - мощность слоев 2-го и 3-го типов, м; т - коэффициент, принимается для грунтов 2-го типа равным 0,5, для грунтов 3-го типа - 1,0.

2.5.11. Частичное выторфовывание целесообразно предусматривать на болотах I и II типов в случае, если упругие колебания или прогибы при устройстве насыпи заданной высоты будут превышать допустимую величину, а повышение рабочей отметки не представляется возможным (сопряжение, примыкания и т.д.). Это же решение может быть применено при необходимости уменьшить конечную осадку.

2.5.12. Посадка насыпи на минеральное дно болота может быть предусмотрена на болотах III-Б и на болотах III-А типа при расположении торфов 1-го типа в верхней части болотной толщи.

В последнем случае с обеих сторон земляного полотна устраиваются торфоприемники, прорезающие прочные слои торфа. Объем торфоприемников должен быть не менее половины объема отложений, подлежащих выдавливанию. Для ускорения посадки насыпи на минеральное дно в проектах необходимо предусматривать соответствующие технологические меры. Заложение откосов насыпи принимается в зависимости от вида отсыпаемого грунта не менее чем указано в табл. 2.8.

Таблица 2.8

Вид грунта

т1
(над поверхностью болота)

т2
(ниже уровня болота)

Песок мелкий и пылеватый

2,5

4-6

Песок крупный и средний

1,5

2

При необходимости посадка насыпи на минеральное дно может быть предусмотрена и на болотах I и II типов. В этом случае для посадки насыпи используются взрывные работы.

2.5.13. При соответствующем технико-экономическом обосновании может быть применена конструкция земляного полотна на болоте в виде насыпи на промороженном основании. Такое решение может применяться в районах со среднегодовой температурой ниже -1 °С на болотах I типа и обычно оказывается экономически целесообразным при глубине болота более 2 м и длине перехода более 1-2 км.

Не рекомендуется проектировать промороженные основания на участках мочажин, топей и проточных топей с циркулирующими потоками болотных вод.

2.5.14. Конструктивные размеры земляного полотна на промороженных основаниях назначают с учетом климатических условий района, типа болот и мощности торфяной залежи, уровня воды на болоте, конструкции дорожной одежды.

При проектировании земляного полотна следует установить:

высоту верхней (минеральной) и нижней (торфяной) частей насыпи;

время, требуемое для промораживания торфяной залежи на заданную глубину;

другие деформации дорожной конструкции.

Прочность дорожной конструкции проверяется комплексным расчетом согласно приложению 5. Время, требуемое для промораживания торфяной залежи на заданную глубину, определяется по приложению 5.

Поперечные профили земляного полотна на промороженных основаниях следует проектировать с учетом типа болот применительно к схемам приложения 1.

Земляное полотно на участках распространения глинистых грунтов повышенной влажности

2.5.15. Для возведения земляного полотна допускается применять грунты с влажностью, обеспечивающей возможность уплотнения до Ку не ниже 0,90.

В земляном полотне из глинистых грунтов с влажностью выше допустимой (по СНиП 2.05.02-85) верхнюю часть следует проектировать из песчаных или супесчаных непучинистых грунтов с числом пластичности не более 3 (рис. П. 1.2, приложение 1). Минимальная толщина hmin насыпного слоя грунта из песчаных и непучинистых супесчаных грунтов от поверхности покрытия допускается для дорог общего пользования равной 1,2 м, промысловых - 1,0 м. Для насыпей, сооружаемых с использованием глинистых грунтов с влажностью выше допустимой, необходимо предусматривать запас на осадку в соответствии с табл. 2.9.

2.5.16. Низкие насыпи высотой равной или меньшей hmin, отсыпаемые на основаниях из глинистых грунтов, с влажностью выше допустимой, а также мелкие выемки следует проектировать аналогично п. 2.5.15. При высоте насыпи меньшей hmin производится соответствующая замена грунта с влажностью выше допустимой в основании.

Таблица 2.9

Толщина слоя грунта, м

до 1,0

1,0-2,0

2,0-3,0

Запас на осадку, % (от толщины слоя)

5

6

8

Мелкие выемки разделываются под насыпь с частичной заменой грунта с влажностью выше допустимой. Выемки глубиной от 1 до 6 м устраиваются с закюветными полками или разделываются под насыпь с частичной заменой грунта с влажностью выше допустимой (рис. П. 1.3). Общая толщина дорожной одежды и привозного грунта hmin принимаются в соответствии с п. 2.5.15.

2.5.17. При проектировании насыпей из глинистых грунтов с влажностью выше допустимой можно предусматривать их возведение, как в летний, так и в зимний периоды. Для улучшения условий производства работ в летний период допускается предусматривать конструкции насыпи с чередованием слоев глинистого грунта с влажностью выше допустимой и песка или легкой супеси с числом пластичности не более 3.

Толщина глинистых слоев назначается в зависимости от высоты насыпи, но не более 1,5 м, а песчаных - не более 0,5 м.

При соответствующем технико-экономическом обосновании песчаные слои частично могут быть заменены геотекстильными прослойками с толщиной материала не менее 4 мм.

2.5.18. При необходимости улучшить условия производства работ при использовании грунтов с влажностью выше допустимой, а также для повышения надежности работы конструкции следует применять геотекстильные прослойки на границе между грунтом с влажностью выше допустимой и вышележащим слоем.

Земляное полотно на поймах рек и пересечениях озер

2.5.19. Земляное полотно на поймах рек и пересечениях озер проектируют с учетом волновых воздействий, ледохода и пойменных течений в соответствии с принципиальными решениями, указанными в приложении 1.

2.5.20. Расположенные на поймах рек промысловые автомобильные дороги, эксплуатация которых может допустить временный перерыв движения автомобильного транспорта или транспортное обеспечение которых на период паводка может быть обеспечено другими видами транспорта (водный, воздушный), допускается проектировать с отметками бровки земляного полотна на уровне или ниже расчетного уровня паводковых вод. Руководящая отметка бровки земляного полотна на затопляемых участках должна устанавливаться технико-экономическим обоснованием из условий обеспечения оптимального или директивного срока перерыва движения в паводок.

2.5.21. Откосы и обочины затопляемых насыпей должны быть укреплены от размыва паводковыми водами, переливающимися через полотно дороги. Способы защиты насыпей от размыва должны выбираться на основе технико-экономического сравнения с учетом ресурсообеспечения, наличия местных материалов, способов производства работ, гидрологического и ледового режимов поймы или озера.

2.5.22. В откосной части насыпей допускается использовать местные недренирующие грунты-супеси, суглинки, глины, заторфованные минеральные грунты с коэффициентом консистенции не более 0,5 и торфа с влажностью не более 600 %. Насыпи на заболоченных поймах могут проектироваться как с полным или частичным удалением (или отжатием) слабых грунтов, так и без их удаления (п. 2.5.8).

2.5.23. При отсутствии вблизи участка строительства песчаных грунтов на незаболоченных поймах допускается использование в нижней части насыпи глинистых грунтов, если используются грунты с влажностью больше допустимой, проектирование земляного полотна выполняется в соответствии с требованиями п. 2.5.15.

2.5.24. При проектировании земляного полотна, сооружаемого с помощью автотранспорта на пересечении стариц и озер, конструкции насыпей могут приниматься в соответствии с рис. П. 1.13 приложения 1.

Ширина бермы b1, определяется из условия формирования в процессе эксплуатации динамически устойчивого к волновому воздействию откоса по формуле:

где hв - высота волны с учетом набега се на откос, м; Нв - глубина воды при РГВВ с требуемым % обеспеченности, м; т - крутизна динамически устойчивого к волновому воздействию откоса; n - крутизна откоса при свободной отсыпке грунта в воду.

2.5.25. При устройстве откосной части насыпи или бермы из грунта с худшими дренирующими свойствами, чем у грунта в ядре насыпи, возвышение низа дорожной одежды над бровкой бермы или недренирующей частью откоса должно быть не менее 0,6 м. В случае невозможности выполнить это условие при отсыпке недренирующего грунта в откосную часть необходимо через каждые 20 м предусматривать поперечные прорези шириной 2-3 м, которые засыпаются дренирующим грунтом.

2.5.26. Крутизна динамически устойчивых к волновому воздействию откосов определяется расчетом в зависимости от климатических и гидрологических условий и вида грунтов насыпей. Крутизну динамически устойчивых откосов допускается определять по табл. 2.10 в зависимости от вида грунта и высоты волн без учета набега ее на откос.

Таблица 2.10

Вид грунта

Заложение откоса при высоте волны, м

0,1

0,2

0,3

0,4

0,5

0,6

Песок мелкий

5

7,5

10

15

20

25

Супесь легкая

4

7

10

15

20

20

Суглинок, глина

3

5

7,5

10

15

15

Торф

5

7,5

10

15

-

-

При укреплении откосов земляного полотна от волнового воздействия заложение откосов принимается из расчета общей устойчивости насыпи, но не менее 1:2.

2.5.27. При проектировании земляного полотна во всех случаях необходимо рассматривать вопрос о целесообразности намыва насыпей способом гидромеханизации непосредственно на слабые пойменные или озерные отложения.

Земляное полотно, сооружаемое с применением способа гидромеханизации

2.5.28. При сооружении земляного полотна с применением способа гидромеханизации необходимо рассматривать вопросы:

выбора схемы намыва грунта (в тело насыпи или в штабель);

выбора оборудования (типы земснарядов, насосных и перекачивающих станций и т.д.);

водоснабжения гидромеханизированных работ;

разработки грунта в карьере;

транспортирования и укладки его в сооружение;

водоотвода отработанной воды.

Вопросы электроснабжения установок гидромеханизации рассматриваются отдельным проектом и в данной инструкции не регламентируются.

2.5.29. Для насыпей, возводимых средствами гидромеханизации, следует применять дренирующие грунты. Использование мелких, пылеватых песков и супесей разрешается при условии, что в теле возводимой насыпи будет не более 15 % частиц размером менее 0,1 мм.

2.5.30. К разработке гидронамывом следует принимать карьеры с минимальной вскрышей. При мощности вскрыши более 1:4 (соотношение мощности вскрыши и мощности полезной толщи) пригодность карьера следует устанавливать соответствующим технико-экономическим расчетом.

Мощность полезной толщи в карьерах, разрабатываемых гидромонитором, должна быть не менее 3 м.

2.5.31. При определении запаса грунта в карьере, кроме установленного проектом профильного объема намываемого сооружения, должны учитываться дополнительные объемы грунта, определяемые (в % к профильному объему) из выражения:

К = К1 + К2 + К3 + К4 + К5 + К6 + К7,

где К - суммарные дополнительные объемы грунта при намыве в %; К1 - потери грунта при сбросе с водой, принимаемые по среднему гранулометрическому составу грунта карьера из расчета сброса (в % от общего содержания частиц в намываемом грунте), фракции 0,01-005 мм отмываются не более 10 % и фракции мельче 0,01 мм - 100 %; К2 - потери грунта на ветровую эрозию, принимаемые 1,0 % профильного объема сооружения; К3 - потери грунта на вынос с фильтрационной водой принимаемые для крупнозернистых и среднезернистых песков 05 %, для мелкозернистых и пылеватых песков 1,0 %; К4 - потери грунта при гидротранспорте пульпы - 0,25 %; К5 - потери грунта при работе землесосных снарядов с разорванным технологическим циклом через ковши-накопители (определяется для каждого землесосного снаряда отдельно с учетом потерь грунта в каждом ковше-накопителе); К6 - потери грунта при разработке вскрыши совместно с полезной толщей

где Нвскр - мощность вскрыши, м; Нп.т - мощность полезной толщи м; К7 - потери грунта на просор при разработке земснарядами с применением механических или гидравлических разрыхлителей (К7 = 10 % при разработке мелких пылеватых песков).

Дополнительно принимается также запас по высоте, равный 1,5 % высоты сооружений при намыве из пылеватых лесков, 1,0 % при намыве из средних песков и 0,75 при намыве из крупных и гравелистых песков.

2.5.32. Минимальное расстояние между карьером и намываемыми сооружениями должно быть не менее четырехкратной глубины карьера или не менее 75 м.

2.5.33. В случае проектирования земляного полотна на болотах I, II, III типов с обжатым профилем, первый слой допускается устраивать с распластанными откосами, последующие - с обвалованием из намываемых грунтов. Толщина намыва первого слоя в этом случае не должна быть меньше 0,6, 1,0 и 1,5 м соответственно для болот I, II, III типов.

2.6. Дорожная одежда

2.6.1. Конструкция дорожной одежды назначается с учетом категории дороги и условий ее строительства на основе схем типовых конструкций приложения 6. В необходимых случаях параметры конструкции уточняют расчетом. Дорожные одежды на промысловых дорогах разрешается рассчитывать с допущением накопления остаточных деформаций (приложение 8).

2.6.2. На дорогах общего пользования со сборными покрытиями из железобетонных плит необходимо предусматривать укрепленное основание. На промысловых дорогах, а при соответствующем обосновании и на дорогах III категории общего пользования могут применяться неукрепленные основания (ПГС, песчаные и др.). Для повышения надежности работы конструкции в этом случае следует предусматривать геотекстильные прослойки между покрытием и основанием (сплошное или в зоне швов).

2.6.3. Для повышения надежности работы в стыках при неукрепленных основаниях допускается предусматривать подкладки под плиты из деревянных или специальных пластиковых брусьев. Такое же решение, а также прокладки из геотекстиля могут быть предусмотрены на первой стадии при стадийном строительстве дорожной одежды.

2.6.4. Для временного (до 5 лет) пропуска интенсивного движения автотранспортных средств при технико-экономическом обосновании допускается дополнительное уширение проезжей части с последующим демонтажем части плит или полностью всего покрытия для повторного использования и устройством более облегченной дорожной конструкции.

2.6.5. При проектировании сборных покрытий следует предусматривать укладку плит со смещением поперечных стыков. Возможность и величина смещения определяются конструкцией применяемых плит.

2.6.6. При использовании торфяных грунтов в насыпи или основании земляного полотна расчет конструкции выполняется с учетом методики, приведенной в приложении 7.

При расчете дорожных одежд со слоями из белитового шлама и укрепленных им каменных материалов ориентировочные значения модуля упругости и прочности при растяжении на изгиб принимают согласно ВСН 84-89.

2.6.7. В целях снижения толщины и повышения долговечности дорожных одежд переходного типа допускается предусматривать геосетки, георешетки, а также устройство геотекстильных прослоек на границе между земляным полотном и дорожной одеждой.

2.7. Конструкция укрепления обочин и откосов

2.7.1. Конструкции укрепления обочин назначают в зависимости от категории дороги с учетом ширины проезжей части в соответствии с указаниями приложения 10.

Для устройства укрепленных краевых полос обочин могут применяться сборные элементы из цементобетона, цементогрунта (автоклавный или пропаренный цементогрунт), грунтов, укрепленных карбамидной смолой, белитовым шламом, активным металлургическим шлаком, а также монолитные слои из цементогрунта с добавкой нефти.

Обочина в пределах остановочной полосы должна быть также укреплена для предотвращения эрозии и обеспечения остановки транспорта. Для этого могут применяться нефтегрунт с добавкой цемента или цементогрунт с добавкой нефти, песчано-гравийная смесь, геотекстиль, торфопесчаные смеси, нефтегрунт и др. (см. табл. П. 10.1 приложения 10).

2.7.2. При использовании для устройства покрытий сборных железобетонных плит допускается в качестве укрепления краевой полосы обочины использовать дополнительную ширину покрытия, возникающую, если суммарная ширина плит превышает требуемую ширину покрытия. При этом должна быть предусмотрена соответствующая разметка, отделяющая проезжую часть от обочины.

2.7.3. При односкатном профиле на вираже внутренняя обочина должна быть укреплена материалом, хорошо сопротивляющимся эрозии (щебень или ПГС оптимального состава, грунты, укрепленные вяжущими и т.п.). При этом могут применяться сборные конструкции из материалов, указанных в п. 2.7.1.

Такие же укрепления обочин следует предусматривать на участках с продольным уклоном дороги более 30 , а также на участках примыканий и пересечений и на участках, проходящих вблизи промышленных зон.

2.7.4. Для укрепления откосов следует применять слои из торфа и торфопесчаных смесей с засевом трав, грунты, укрепленные вяжущими (цемент и нефть), геотекстиль, сборные решетчатые конструкции, бетонные плиты и другие конструкции, предусматриваемые соответствующими альбомами типовых конструкций.

2.7.5. При назначении конструкции укрепления откоса необходимо учитывать особенности природных условий региона строительства, наличие местных материалов, условия подтопления откоса, срок службы дороги, а также реальные сроки начала и окончания строительства земляного полотна. Принимаемая конструкция укрепления должна обеспечивать защиту поверхности откоса от эрозии (водной и ветровой) как в период строительства, так и при эксплуатации дороги и обеспечивать минимум затрат на содержание.

2.8. Мосты и трубы

2.8.1. Применение труб на постоянно действующих или скрытых водотоках может допускаться только в случаях, когда предусматриваются специальные противоналедные мероприятия.

2.8.2. На постоянно действующих и скрытых водотоках предусматриваются мосты или сооружения незамкнутого поперечного сечения, не нарушающие тепловодного режима водотока и обеспечивающие безнапорный режим протекания воды.

2.8.3. Элементы поперечного профиля на мостах принимают в соответствии с требованиями СНиП 2.05.03-84.

2.8.4. При проектировании переходов на периодических (перемерзающих) водотоках с расчетным расходом до 30 м3/с могут применяться трубы из гофрированного металла диаметром не менее 1,5 м и некондиционные стальные трубы диаметром 1,42 м, а в отдельных случаях диаметром 1,22 м.

2.9. Обустройство дорог и защитные дорожные сооружения

2.9.1. Обустройство дорог и защитные дорожные сооружения проектируют в соответствии с требованиями СНиП 2.05.02-85 и СНиП 2.05.07-85, как для дорог общей сети аналогичных категорий.

2.9.2. Для устройства знаков и сигнальных столбиков следует предусматривать в максимальной степени применение местных материалов.

2.10. Дорожная и автотранспортная службы

2.10.1. Для организации служб по содержанию и ремонту дорог, обслуживанию пассажиров и автотранспорта должны предусматриваться соответствующие комплексы зданий и сооружений. Комплексы зданий и сооружений, как правило, должны разрабатываться отдельным объектом на основе специальных обоснований и учитывать потребности в обеспечении дорожной и автотранспортной службами месторождения, группы месторождений, нефтедобывающего района в целом.

2.10.2. Здания и сооружения дорожной и автотранспортной служб следует располагать у населенных пунктов и объектов обустройства нефтяных месторождений на площадках, непосредственно примыкающих к полосе отвода автомобильной дороги.

Для комплексов зданий и сооружений следует предусматривать общее энергетическое снабжение, водопровод, связь и т.п., учитывая возможность кооперирования с близко расположенными предприятиями или коммуникациями населенных пунктов.

Структура дорожной и автотранспортной служб, а также комплекс зданий и сооружений в соответствии с требованиями СНиП 2.05.02-85 и СНиП 2.05.07-85 подлежат согласованию с заказчиком. При этом учитываются:

наиболее прогрессивные формы структуры дорожной и автотранспортной служб;

данные технических изысканий и технико-экономические обоснования развития сети этих дорог нефтегазодобывающего района;

комплексное обслуживание подразделениями дорожной и автотранспортной служб всей сети дорог, в том числе сезонного и временного действия, расположенных в каждом нефтегазодобывающем районе.

2.11. Проектирование мероприятий по охране окружающей среды

2.11.1. Трассы автомобильных дорог нефтяных промыслов, земельные участки, отводимые под притрассовые карьеры и резервы, для размещения временных производственных баз, временных подъездных дорог и для других нужд строительства, надлежит согласовывать в соответствии со СНиП 1.02.01-85, а также с Земельным и Водным кодексами РСФСР.

2.11.2. В целях экономного использования земельных площадей и наименьшего ущерба окружающей среде автомобильные дороги следует прокладывать в общих коридорах коммуникаций, которые становятся неотъемлемой частью экосистемы*.

Располагать транспортные коридоры следует по возможности в переходных зонах между двумя экосистемами. При этом предпочтение должно отдаваться более молодым, развивающимся и менее устоявшимся экосистемам по сравнению с более зрелыми, древними и устойчивыми.

_____________

* Под экосистемой следует понимать определенную часть ландшафта с характерными для него внешними факторами, растительным и животным миром, включая акклиматизированные виды.

2.11.3. Трассировать автомобильные дороги и выбирать места расположения карьеров и резервов под размещение временных производственных баз, временных подъездных дорог и других объектов, относящихся к строительству дорог, следует с учетом сохранения более плодородных земель, земель, занятых ценными лесными массивами или группами леса, а также мест массового размножения или токования, жировок (питания), отстоя и путей миграции диких животных и птиц.

Трассирование промысловых автомобильных дорог и выбор местоположения объектов, связанных со строительством этих дорог в упомянутых выше местах, оказывающих значительное влияние на охотничий фонд (охотничье-промысловых зверей и птиц), согласовываются с управлением охотничье-промыслового хозяйства при облисполкомах.

При трассировании следует избегать проложения дорог:

по местности, занятой основными кормами (особенно прирусловым осинником и тальником) ценных охотничье-промысловых зверей, местам токов, гнездовьям птиц, а также местам отдыха перелетных птиц (особенно дресвам-песчаным косам вдоль рек);

в заповедниках и на участках леса, выделенных для научных целей;

в частях зеленых зон, лесах, расположенных в радиусе 2 км вокруг домов отдыха н профилакториев, пионерских лагерей, пансионатов, дачных поселков, а также участках реликтовых и живописных лесов, являющихся памятниками природы и семенными угодьями;

на берегозащитных полосах шириной 300 м вдоль рек (по каждому берегу), вокруг озер и водоемов (если не установлена иная ширина берегозащитных полос) и шириной 100 м вдоль рек по каждому берегу, по которым не выделены запретные полосы, при величине водосбора более 2500 га;

на полосе леса шириной 2 км по границе с тундрой;

в лесах, расположенных на склонах оврагов, балок, а также на легко размываемых и выветриваемых грунтах;

на защитных полосах установленной ширины вдоль автомобильных и железных дорог;

на лесных участках площадью до 100 га, расположенных среди безлесных пространств.

2.11.4. Перед местами переходов крупных зверей следует предусматривать установку специальных знаков или дорожных знаков с дополнительными табличками «животные на дороге».

2.11.5. На заболоченных и заозеренных территориях искусственные сооружения следует проектировать с учетом нарушений естественных уровней грунтовых и поверхностных (паводковых, меженных) вод.

2.11.6. При проектировании мостовых переходов через реки для предотвращения растепления вечномерзлых грунтов необходимо предусматривать меры, исключающие возможность местных застоев воды и других нарушений бытового режима водотока.

Как правило, следует избегать пересыпки рек, проток, ручьев дамбами без предварительного устройства водопропускных сооружений, а также не допускать размывов русел в местах мостовых переходов через реки, имеющие важное рыбохозяйственное значение.

2.11.7. При пересечении рек пульпопроводами следует предусматривать резервную нитку дюкера. Места перехода пульпопроводов и водоотводов через реки следует избирать ниже по течению реки от мостов, пристаней и водозаборов на расстоянии не менее 50 м. Не допускается располагать такие переходы выше по течению реки на расстояниях:

от мостов и речных портов (вокзалов) – менее 100 м;

от водозаборов при диаметре трубопровода до 500 мм -500 м, а при диаметре более 500 мм -1000 м.

Не допускается располагать переходы на участках массового нереста и зимовья рыб и других участках, имеющих большую рыбохозяйственную ценность.

2.11.8. Сброс воды в водоток (водоем) при разработке песчаных грунтов в штабель и сооружении земляного полотна методом гидромеханизации должен осуществляться только после предварительной ее очистки в соответствующих отстойниках.

2.11.9. Основными мероприятиями при рекультивации земель следует считать:

восстановление лесов производственного характера (почвозащитные, водоохранные, снегозащитные насаждения и т.п.);

создание водоемов различного назначения (прудов для разведения рыбы, птиц, ондатры и других водных животных, а также для водопоя и других целей).

2.11.10. На рекультивацию земель, выделяемых во временное пользование, составляется проект, который согласовывается с основным землепользователем (совхозом, колхозом, лесохозяйственной организацией) органами государственного контроля за использованием земель, органами рыбоохраны в случае размещения карьеров, карт намыва песка на акватории водоема и в береговой полосе и утверждается в установленном порядке.

2.11.11. Размеры площадей постоянных и временных отводов земель под строительство дорог, зданий и сооружений должны иметь соответствующее технико-экономическое обоснование в проектах.

3. ПРОИЗВОДСТВО И ПРИЕМКА РАБОТ

3.1. Общие требования

3.1.1. Положения настоящего раздела следует учитывать при составлении проектов организации строительства (ПОС) и проектов производства работ (ППР) в части установления сроков выполнения отдельных технологических процессов и рабочих операций, длительности технологических перерывов,. специфики применения конкретных видов машин, оборудования, приспособлений, а также использования передовых приемов труда, операционного контроля, охраны окружающей среды и соблюдения правил техники безопасности.

3.1.2. Продолжительность технологического перерыва между окончанием сооружения земляного полотна и устройством постоянной одежды устанавливается проектом по расчету срока окончания консолидации, оттаивания, стабилизации мерзлоты, осушения, других процессов, создающих существенную осадку самой насыпи или ее грунтового основания. Возможность устройства постоянной одежды по условию стабильности земляного полотна должна уточняться данными наблюдений и фиксироваться специальным актом.

Технологические перерывы следует учитывать при установлении протяженности задела земляного полотна.

3.1.3. При устройстве дорожной одежды в две стадии, если после первой стадии работ движение с расчетными скоростями не соответствует требованиям безопасности или может вызвать повреждения элементов дорожных конструкций, в приемочном акте допускается установление соответствующих ограничений нагрузок, скоростей или времени эксплуатации дороги.

3.1.4. При строительстве дороги в два этапа в соответствии с п. 1.6 земляное полотно на первом этапе надлежит возводить с учетом необходимого уширения, обеспечивающего досыпку насыпи до проектных отметок на втором этапе расширение полотна на втором этапе строительства не допускается.

3.1.5. Все виды работ по устройству пересечений трубопроводов автодорогами согласовываются с организацией, эксплуатирующей трубопроводы, и производятся специализированными строительными организациями.

3.2. Подготовительные работы

3.2.1. До начала основных работ на участках, отведенных для строительства дороги и дорожных сооружений, а также на участках временного отвода для нужд строительства, должны быть выполнены подготовительные работы в следующем составе:

создание геодезической разбивочной основы;

перенос и переустройство воздушных и кабельных линий связи, электропередач, трубопроводов, коллекторов и др.;

восстановление и закрепление трассы дороги в соответствии со СНиП 3.01.03-84 и СНиП 3.06.03-85;

расчистка дорожной полосы от леса и кустарника;

предварительная периодическая очистка от снега дорожной полосы при использовании метода промороженных оснований;

подготовка территорий, отведенных под карьеры, резервы, штабели гидронамыва грунта;

строительство временных и зимних дорог, предназначенных к использованию в период строительства;

утепление специальными материалами или снегом резервов, отведенных для зимне-весенней разработки;

строительство производственных баз, временных жилых поселком.

3.2.2. При сохранении в основании насыпи дерново-растительного слоя или слоя торфа допускается при толщине насыпного слоя более 1,0 м оставлять пни высотой до 20 см.

При использовании в основании насыпи торфа древесные отходы и имеющийся валежник распределяются ровным слоем с укладкой преимущественно перпендикулярно оси насыпи.

3.2.3. При зимней разработке резервов следует предусматривать комплекс мер, обеспечивающих разработку и перемещение в насыпь преимущественно талого, а в условиях вечной мерзлоты - сыпучемерзлого грунта.

При подготовке резервов для разработки грунта следует предусматривать комплекс мер, обеспечивающих бесперебойный водоотвод и быстрейшее просушивание грунтов.

3.2.4. Временные дороги, предусматриваемые для технологических целей (подъезды к карьерам, транспортные землевозные пути и т.п.) должны строиться с учетом периода и условий их эксплуатации для различных условий строительства.

3.2.5. Земляное полотно временных дорог сооружается, как правило, из грунта притрассовых резервов. При назначении высоты насыпи необходимо ориентироваться на активную снегоборьбу в зимний период или на содержание временной дороги по типу зимника.

3.2.6. Конструкция дорожной одежды временных дорог должна назначаться из расчета обеспечения проезда в течение всего срока службы дороги при допущении образования колей и других деформаций, не препятствующих нормальному режиму движения.

При наличии кондиционных грунтов, песчано-гравийных и гравийно-песчаных смесей, конструкции с деревянными сланями следует заменять на конструкции с геотекстильными материалами и покрытиями переходного и облегченного типов.

При значительных объемах перевозок в сложных грунтово-гидрологических условиях допускается устраивать временные дороги с покрытием из сборных железобетонных плит, как правило, с учетом возможности их повторного использования.

3.2.7. Основным видом временных дорог в условиях рассматриваемого региона Западной Сибири являются зимние автомобильные дороги на снеговом и ледяном покрове (автозимники) с ледовыми переправами через водные преграды.

При проектировании и строительстве автозимников следует руководствоваться специальными нормами.

3.3. Сооружение земляного полотна

3.3.1. В состав технологического процесса сооружения земляного полотна промысловых дорог входят следующие виды работ:

снятие и складирование плодородного слоя почвы (или моходернового слоя);

устройство водоотводных сооружений для перехвата поверхностных вод, поступающих из-за пределов дорожной полосы и отвода воды с дорожной полосы;

выполнение специальных работ по повышению прочности и стабильности основания насыпи (полное или частичное выторфовывание, дренаж, промораживание, армирование грунта и т.п.);

возведение насыпей и разработка выемок с послойным разравниванием и уплотнением грунта до требуемых норм;

планировка поверхности и откосов земляного полотна и выработанных резервов, укрепление откосов;

досыпка и укрепление обочин.

Состав и содержание перечисленных видов работ могут изменяться в зависимости от местных природных условий и принятых средств механизации.

Использование гидромеханизации

3.3.2. Схема намыва сооружений (земляного полотна дороги и штабелей) определяется с учетом их местоположения относительно карьера, заданного объема намываемого грунта, сроков его намыва, технических возможностей принятого к производству оборудования.

При наличии конкурирующих вариантов схема намыва определяется соответствующим технико-экономическим сравнением.

3.3.3. Объем отбора воды в реках для производства гидромеханизированных работ не должен превышать 5 % от минимального 30-суточного расхода воды при 95 % обеспеченности. Забор воды из рек с минимальным среднемесячным расходом менее 1 м3/с возможен лишь при условии зарегулирования стока.

3.3.4. При использовании для водоснабжения открытых источников место водозабора следует выбирать:

по возможности на минимальном расстоянии (не более 2,5 км) от разрабатываемого карьера;

на участке источника с устойчивыми берегами и глубинами, достаточными для размещения водозаборных сооружений;

исходя из рыбохозяйственной характеристики нижерасположенного участка;

на расстоянии не менее 1000 м от существующего или проектируемого водозабора.

3.3.5. При расположении карьера вблизи источника водоснабжения подпитка его водой может осуществляться через входную траншею, длина которой определяется в зависимости от характеристики грунтов, слагающих траншею (табл. 3.1).

Таблица 3.1

Вид грунта, слагающего траншею

Максимальное расстояние между урезом воды водоисточника и контуром месторождения, м

Песок, супесь

150

Суглинок, глина

75

При превышении указанных в таблице значений принимается механизированная подпитка карьера водой.

3.3.6. Расчетную максимальную дальность транспортирования пульпы плавучими землесосными снарядами определяют по формуле:

где Н - напор, развиваемый землесосом при данных условиях работы, м; Нгеод - геодезическая разность высот рабочей отметки воды в карьере и намываемого сооружения или штабеля песка; iв -удельные потери напора на 100 м трубопровода при движении чистой воды для земснарядов с производительностью по воде до 2200 м3/ч -0,75, более 2200 м3/ч -1,35; К¢ -коэффициент, учитывающий повышение сопротивлений при движении пульпы, равный 1,25; К² -коэффициент, учитывающий местные потери, равный 1,15;  -коэффициент, учитывающий плотность пульпы, равный для рассматриваемых грунтов -1,10.

В случае, когда потребная дальность транспортирования Lпот превышает расчетную по принятому землесосу Lзем, следует предусматривать землесосные станции перекачки, количество которых определяют из выражения

3.3.7. Интенсивность намыва в карты должна обеспечивать отдачу воды из грунта.

Длина карты намыва Lк определяется из выражения

где Qz - производительность земснаряда по грунту, м3/сут.; В - средняя ширина намываемого сооружения, штабеля, м; ht -интенсивность намыва, м/сут (сооружения, штабеля) принимается по данным табл. 3.2.

Таблица 3.2

Намываемый грунт

Интенсивность намыва, м/сутки

Пылеватые и мелкие пески

0,2-0,6

Пески средней крупности

0,6-0,8

Пески крупные

0,8-1,5

3.3.8. Расход воды при оборотной схеме водоснабжения следует определять как сумму потерь в процессе водооборотов при транспортировании грунта, на испарение, фильтрацию, потерь воды в порах грунта, укладываемого в насыпь. Компенсация потерь воды при оборотном водоснабжении должна осуществляться за счет дебита открытого водоисточника, притока грунтовых вод (при разработке обводненных карьеров) или за счет подкачки из другого водоисточника.

3.3.9. Разработку песчаных грунтов обводненного карьера без вскрыши или при незначительной мощности вскрыши (при соотношении вскрыши к полезной толще равной или меньше 1:3 -при глубине забоя Н до 6 м; 1:4 -при Н св. 6 м и до 12 м; 1:6 -при Н св. 12 м) предусматривают на всю проектируемую мощность карьера, при большей - предварительно убирается грунт вскрыши, а способ производства работ устанавливают в проекте по данным технико-экономического обоснования.

3.3.10. Грунты, разрабатываемые в карьере плавучими земснарядами, не должны содержать более 2 % крупных включений более 0,7 диаметра входного патрубка землесоса, а также значительного количества прослоек трудноразмываемых суглинков и глин.

Грунты, разрабатываемые в карьере гидромониторами, не должны содержать валунов более 5 %. Использование грунтов с большим содержанием крупных включений и грунтов с содержанием глинистых и пылеватых частиц в количестве более 15-20 % должно быть обосновано проектом.

3.3.11. Сброс отработанной воды с карт намыва предусматривают через деревянные водосбросные колодцы шандорного типа, в основании которых закладывается труба (коллектор), отводящая воду за пределы карт намыва.

Размеры водосбросных колодцев (квадратного, треугольного или круглого сечения) зависят от пропускаемого расхода отработанной воды и определяются гидравлическим расчетом.

Выбор места расположения водосбросного колодца должен производиться в зависимости от способа намыва, характеристики намываемого грунта и рельефа местности.

3.3.12. Водосбросные колодцы и коллекторы по окончании намыва насыпи замываются дренирующим грунтом. Предварительно до замыва верхняя часть колодца разбирается на глубину не менее 1 м. Концевой участок сбросной трубы на длину не менее 5 м удаляется из тела насыпи, а образовавшаяся траншея заполняется грунтом.

Сооружение земляного полотна на болотах методом выторфовывания

3.3.13. Удаление торфа из основания насыпи на болотах I, II и III-А типов осуществляется экскаваторами, на болотах III-Б типа способом выдавливания весом насыпи. На болотах I типа (глубиной до 1 м) допускается удаление торфа бульдозерами болотной модификации.

В теплый период года выторфовывание экскаватором выполняют на болотах I, II типов (при глубине до 4 м) с обязательным использованием инвентарных щитов или устройством лежневого настила.

3.3.14. Нижняя часть насыпи по летней технологии устраивается из песка и отсыпается в воду, заполняя траншею выторфовывания после достижения возвышения 0,3-0,6 м над уровнем воды в болоте.

3.3.15. По зимней технологии нижняя часть насыпи возводится в сухой траншее с послойным уплотнением грунтов катками.

Подготовку полосы для устройства сухой траншеи следует начинать, когда болото промерзает на глубину 10-15 см. Для более быстрого промерзания торфа с внешних сторон траншеи выторфовывания, по путям движения экскаваторов, очищают от снега, кустарника, мелколесья и кочек полосы шириной 10 м, используя бульдозеры на легких и средних гусеничных тракторах, предпочтительно болотной модификации. Снег на месте будущей траншеи сохраняют до начала работ по выторфовыванию, чтобы не допустить глубокого промерзания болота (рис. 3.1, а).

Для обеспечения безопасной работы экскаваторов толщина промерзшего слоя торфа на боковых полосах движения должна составлять:

Масса машин, т .........................................           10        15        25

Наименьшая толщина промерзшего слоя

болота I типа, см .......................................          20        24        30

То же болота II типа, см ...........................          24        35        48

На болотах I типа сухую траншею устраивают путем естественного промораживания стенок траншеи в процессе ее разработки (рис. 3.1, б).

Рис. 3.1. Устройство земляного полотна с выторфовыванием в зимний период:

а - подготовка промороженного слоя на полосах движения; б - устройство основной траншеи на болотах I и II типа; в - предварительное устройство боковых полос (мерзлотных экранов) на болотах II типа

На болотах II и III-А типов для получения сухой траншеи устраивают мерзлотные экраны толщиной не менее 30 см.

Для этого экскаватором устраивают по обеим сторонам траншеи выторфовывания прорези до дна болота с откачкой из них воды до завершения промерзания стенок прорезей на указанную выше толщину (рис. 3.1, в).

На болотах III-Б типа сухую траншею получают путем вымораживания с поверхности и послойного удаления замерзшего торфа.

3.3.16. Удаление слабого грунта из основания способом выдавливания весом насыпи выполняется на болотах III-Б типа отсыпкой грунта способом «от себя» с надвижкой бульдозером.

При наличии более прочного верхнего слоя отдавливание грунта в стороны облегчается устройством с наружной стороны подошвы насыпи траншей-торфоприемников, ширина которых должна быть не менее половины ширины отжимаемого слоя.

При соответствующем технико-экономическом обосновании удаление торфа может быть выполнено с помощью взрыва.

Сооружение насыпей на торфяном основании

3.3.17. Устройство насыпей на основании из торфяных и других слабых грунтов допускается в зимнее и в летнее время.

При летнем производстве работ отсыпка насыпи, как правило, ведется «от себя» с проездом автосамосвалов по насыпному слою.

При зимнем производстве может применяться схема отсыпки «на себя», позволяющая расширить фронт работы. В этом случае для уплотнения болотной толщи весом насыпи в процессе ее отсыпки глубина промерзания болота должна быть не более 0,5 м.

3.3.18. Для ускорения осадки насыпей на слабом основании следует использовать методы временной пригрузки, частичного выторфовывания, дренажных прорезей, боковых прорезей и т.п.

Конструктивные и технологические мероприятия, направленные на ускорение осадки, подлежат индивидуальному расчету на основе данных о свойствах грунтов в основании земляного полотна и должны включаться в состав проектной документации.

3.3.19. Эффективным технологическим способом сокращения сроков осадки насыпи, возведенной на слое торфа, является временная пригрузка.

В качестве временной пригрузки применяют слой грунта толщиной от 1 до 3 м (в зависимости от требуемого ускорения). Пригрузочный слой отсыпают, как правило, из того же грунта, сразу же после устройства насыпи проектной толщины, на всю ширину земляного полотна поверху.

Пригрузочный слой отсыпают без уплотнения путем надвижки бульдозером или отсыпкой автосамосвалами «вприжим».

3.3.20. При значительном протяжении участка насыпи на торфе следует применять метод «подвижной пригрузки», при котором после достижения пригруженной насыпью проектной осадки грунт пригрузочного слоя с данного участка снимают и перемещают постепенно к фронту отсыпки насыпи. При этом темпы перемещения пригрузки должны быть равными темпам отсыпки основной насыпи на данном участке (рис. 3.2).

Правильность выполнения работ методом временной пригрузки контролируется наблюдениями за ходом осадки пригруженной насыпи.

1. Подготовка основания. Устройство землевозного пути. Бульдозер на уширенных гусеницах

2. Отсыпка и выравнивание первого слоя. Автосамосвалы. Бульдозер

3. Уплотнение первого слоя. Катки

4. Отсыпка и уплотнение второго слоя. Автосамосвалы. Бульдозер. Катки

5. Отсыпка пригрузочного слоя. Автосамосвалы. Бульдозер

6. Технологический перерыв (выдерживание пригрузки)

7. Удаление прирузки. Скреперы или погрузчик с автосамосвалами

h1 - толщина I слоя насыпи; hs - проектная толщина насыпи; hпр - толщина пригрузочного слоя; S1 - осадка от I слоя; S2 - осадка после отсыпки насыпи; Sпр - проектная осадка

Рис. 3.2. Технологическая схема потока работ по сооружению земляного полотна с временной пригрузкой

3.3.21. Важнейшим условием обеспечения качества дороги, построенной с использованием торфа в основании насыпи, является соблюдение предусмотренной проектом толщины, равной величине возвышения над окружающей поверхностью, плюс расчетная величина осадки, установленного проектом режима отсыпки.

В процессе возведения насыпи и после его окончания необходимо осуществлять контроль толщины насыпи (рабочая отметка плюс осадка) и хода осадки во времени.

3.3.22. Длительность технологического перерыва между окончанием отсыпки насыпи проектной толщины и устройством постоянного покрытия должна быть установлена проектом исходя из допустимой величины (скорости) осадки на завершающем этапе консолидации грунта в основании земляного полотна с учетом сезона производства работ.

Сооружение земляного полотна с торфом в нижней части насыпи

3.3.23. Строительство земляного полотна с использованием в нижней части насыпи торфа выполняется, как правило, в зимний период. В состав работ при этом входят следующие технологические процессы:

подготовка полосы отвода и основания;

отсыпка нижней части насыпи из торфа;

отсыпка верхней части насыпи из минерального грунта.

3.3.24. При возведении нижней части насыпи из торфа боковых резервов по полосам движения экскаватора с внешних сторон от подошвы насыпи очищают бульдозером снег, кустарник, мелколесье и кочки на ширину не менее 6 м и на длину фронта работы экскаватора (рис. 3.3).

Рис. 3.3. Последовательность устройства нижней части насыпи из торфа:

а - расчистка и промораживание боковых полос; б - расчистка основания насыпи и бокового резерва; в - разработка резерва и заготовка торфа для нижнего слоя насыпи; г - расчистка второго бокового резерва; д - разработка бокового резерва с отсыпкой торфа в вал; 1 - валы снега, кустарника и мелколесья; 2 - промораживаемые полосы; 3 - снег на дорожном полотне; 4 - торфяная залежь; 5 - контур боковых резервов; 6 - валы торфа; 7 - разровненный слой торфа; Вп - ширина насыпи понизу; Вр - ширина резерва

После промерзания очищенных полос на глубину, обеспечивающую безопасную работу экскаватора (см. п. 3.3.15), бульдозерами удаляют снег с основания насыпи и с полосы одного бокового резерва на длину фронта работ. Полосу другого резерва оставляют под снегом (см. рис. 3.3, б).

Торф в резерве разрабатывают экскаватором-драглайном. При этом экскаватор движется вдоль бровки траншеи к разрабатывает ее за один проход (см. рис. 3.3, в), заготавливая и перемещая в вал потребное количество торфа на устройство одного слоя на всю ширину нижней части насыпи. Исходя из этого определяется ширина и глубина боковых резервов.

3.3.25. Торф, уложенный в насыпь на всю ширину, до замерзания разравнивают бульдозером и уплотняют гусеницами трактора за 3-4 прохода по одному следу при скорости движения трактора 2-2,5 км/ч.

Плотность сухого торфяного грунта после уплотнения должна быть не менее 0,15 г/см3, при плотности сухого торфа в резерве до 0,1 г/см3 и 0,18 г/см3 при плотности в резерве более 0,1 г/см3.

К устройству второго слоя торфяной насыпи из резерва приступают сразу после уплотнения первого, предварительно очистив от снега боковой резерв (см. рис. 3.3, г).

Второй слой устраивают в той же технологической последовательности, что и первый.

Поверхность торфяной части насыпи должна иметь двухскатный поперечный профиль, соответствующий требуемому строительному подъему (запас на осадку), определяемому в проекте.

3.3.26. После устройства торфяной части насыпи, и промерзания ее сверху на 10-15 см производят послойную отсыпку, и уплотнение минеральной части насыпи. Толщина слоя минерального грунта, отсыпанного по торфу в зимнее время, должна быть не менее 0,6 м, для обеспечения нормальных условий работы при досыпке насыпи до проектных отметок после оттаивания.

Уплотнение данного слоя следует выполнять, как правило, в процессе отсыпки.

3.3.27. При использовании торфа из сосредоточенных карьеров его транспортировка осуществляется по боковым промороженным полосам с последующим перемещением в поперечном направлении бульдозером. Для увеличения производительности автомобилей-самосвалов наращивают борта кузова.

3.3.28. В зимнее время для ускорения хода осадки насыпи на торфе, если не используются боковые резервы, целесообразно вдоль земляного полотна с двух сторон выполнять пропилы мерзлого слоя торфа баровой установкой.

Сооружение земляного полотна на промороженных основаниях

3.3.29. При сооружении земляного полотна дорог на промороженных основаниях выполняются следующие процессы:

подготовительные работы (промораживание болотной толщи);

намораживание торфяной плиты и устройство боковых теплоизолирующих призм из торфа;

отсыпка земляного полотна из минеральных грунтов.

В осенне-зимний период выполняют промораживание болотной толщи и намораживают торфяную плиту; в предвесенний период - отсыпают земляное полотно из минеральных грунтов и устраивают теплоизолирующие призмы из торфа.

3.3.30. Промораживание болот в полосе отвода дороги выполняют в соответствии с п. 3.3.24.

Намораживание плиты осуществляют аналогично устройству нижней части насыпи с использованием торфа (п. 3.3.25), предусматривая при этом полное промораживание каждого торфяного слоя (рис. 3.4).

Номер захватки

I

II

III

IV

Описание процессов и наименование машин

1. Уборка снежного вала бульдозером с поверхности бокового резерва

2. Разработка бокового резерва экскаватором-драглайном с перемещением торфа в вал

3. Разравнивание вала, торфа на ширину намораживаемой плиты бульдозером

4. Уплотнение торфа и намораживаемой плите проходами трактора

 

Рис. 3.4. Технологическая схема устройства первого слоя торфяной плиты в нижней части земляного полотна на болотах I типа:

1 - валы снега и валежника; 2 - вал торфа; 3 - нижний слой намораживаемой торфяной плиты

3.3.31. Сроки начала и окончания работ по промораживанию торфяной залежи на требуемую глубину и намораживанию торфяной плиты (Нп) устанавливают по графику рис. 3.5.

Рис. 35.  Сроки (Т) промораживания болота (Нпр) и намораживания торфяной плиты (Нп) слоями различной толщины (начало работ с момента перехода температуры воздуха через 0°С):

1 - слоями по 0,3 м; 2 - то же по 0,4 м; 3 - то же по 0,6 м

Сооружение земляного полотна на вечной мерзлоте

3.3.32. При сооружении земляного полотна в зоне вечной мерзлоты следует учитывать требования принципов проектирования на конкретных участках строительства.

3.3.33. Земляное полотно на водораздельных участках и сухих террасах, возводят в весенне-летний период. Первый слой насыпи и бермы отсыпают бульдозером путем последовательной надвижки грунта от края бермы к оси насыпи. Не допускается передвижение бульдозера по оттаявшему мохорастительному покрову в основании насыпи.

3.3.34. Земляное полотно на плоскобугристых торфяниках возводят с соблюдением следующих правил и последовательности производства работ:

удаляют бульдозером снег с дорожной полосы после промерзания торфа в мочажинах на глубину не менее 20 см;

завозят торф автомобилями-самосвалами и отсыпают и пределах ширины насыпи понизу, затем перемещают бульдозером в мочажины по способу «от себя» и разравнивают;

создают захватку длиной 40 - 50 м для промораживания в течение двух-трех дней (одноразовый технологический перерыв) распределенного торфяного слоя и обеспечения тем самым проезда автотранспорта, после чего продолжают завозить и перемещать торф в мочажины (рис. 3.6).

Рис. 3.6. Схема выполнения работ по заполнению торфом мочажин:

1 - промороженный на 12 - 15 см насыпной торф; 2 - талый торф мочажин; l1 - зона работы автотранспорта; l2 - то же бульдозера

3.3.35. На озерах и старицах земляное полотно с использованием торфа в основании (подводная часть) и нижней части насыпи следует возводить в зимнее время. Сооружение земляного полотна включает следующие рабочие процессы: полное промораживание водоема; устройство сухой траншеи; промораживание донных отложений; устройство нижней части из торфа; отсыпка верхней части насыпи из минеральных грунтов.

Земляное полотно на озерах сооружают в два этапа. На первом этапе (зимой) устраивают сухой котлован, промораживают слабые донные отложения, отсыпают на полную высоту нижнюю часть насыпи из торфа и на высоту 0,6 - 0,7 м - верхнюю часть насыпи из минеральных грунтов; на втором этапе (летом) досыпают земляное полотно минеральными грунтами до проектной высоты.

3.3.36. Устройство сухой траншеи (котлована) выполняется следующими способами:

естественное промораживание водоема на ширину траншеи и удаление льда за ее пределы;

устройство по бокам траншеи перемычек из минеральных грунтов;

пригрузка ледяного покрова сверху намораживаинем слоев льда.

Способ устройства сухой траншеи назначают в каждом конкретном случае в зависимости от глубины озера, климатических условий периода строительства, толщины льда и наличия механизмов.

Общие технологические схемы производства работ показаны на рис. 3.7 - 3.8.

Рис. 3.7. Устройство сухого котлована послойным намораживанием льда сверху:

1 - валы снега от расчистки полосы; 2 - естественный ледяной покров; 3 - намораживаемые слои льда; 4 - боковые снежно-ледяные валики; 5 - дно озера; 6 - вода

Рис. 3.8. Схема устройства перемычек:

1 - валы снега после расчистки дорожной полосы на ширину 60 м; 2 - ледяной покров; 3 - прорези во льду; 4 - вода; 5 - перемычка из минерального грунта; Вт - ширина подготавливаемой сухой траншеи, равная ширине насыпи понизу

3.3.37. Метод естественного промораживания озера применяется при глубине водоема до 0,7 м. После образования ледяного покрова толщиной 0,3 м поверхность отведенной полосы систематически расчищают от снега на ширину не менее 60 м.

После полного промерзания водоема лед в границах основания насыпи разрыхляют бульдозерами-рыхлителями к удаляют бульдозерами за пределы траншеи.

3.3.38. Способ пригрузки ледяного покрова применяют на озерах глубиной более 0,7 м.

Будущий котлован по длине разбивают на ряд карт (каждая длиной по 200 - 250 м), которые обваловывают по периметру снегом. Поверх льда в каждой карте намораживается лед слоями толщиной до 10 см до тех пор, пока ледяной массив не опустится на дно озера.

После смерзания ледяного массива с дном озера производят рыхление и удаление льда за пределы траншеи (рис. 3.7).

3.3.39. При глубине озера до 1,5 м применяют метод устройства по бокам будущей траншеи грунтовых перемычек. При этом на очищенной от снега полосе шириной 60 м устраивают прорези во льду шириной не менее 1 м по краям подошвы будущей насыпи (рис. 3.8).

Прорези заполняют глинистым грунтом. Заполнение прорезей минеральным грунтом производят на всю глубину озера. Через каждые 200 м по длине траншеи устраивают поперечные валы-перемычки.

Откачивают воду из котлованов, оконтуренных перемычками, рыхлят лед и удаляют его за пределы траншеи.

3.3.40. При наличии в основании слабых грунтов промораживают дно траншеи на глубину не менее 0,4 м, после чего приступают к устройству нижней части насыпи из торфа по технологии, описанной в п. 3.3.25.

Верхнюю часть насыпи из минеральных грунтов в зимний период отсылают на высоту не менее чем на 0,5 м выше поверхности льда, оставшуюся часть до проектной отметки, как правило, отсыпают после оттаивания грунта и стабилизации осадки.

Уплотнение грунтов

3.3.41. В процессе сооружения земляного полотна грунты должны быть уплотнены в соответствии с требованиями СНиП 2.05.02-85. Требования к плотности грунта в земляном полотне следует соблюдать на каждой стадии строительства дороги.

3.3.42. Возведение насыпей без послойного уплотнения специальными машинами (катки, трамбовки и др.) допускается в особых случаях только в частях, отсыпаемых или погружаемых ниже поверхности грунтовых вод (при заполнении обводненных траншей выторфовывания, устройстве подводной части насыпей на болоте, погружаемой в процессе осадки и др.). В перечисленных случаях в проекте должны быть указаны толщина и способ устройства данных слоев.

Для торфов и глинистых грунтов повышенной влажности, применяемых в нижней части насыпи, а также при устройстве части насыпи на первом этапе (при строительстве дороги в два этапа в соответствии с п. 1.5 настоящей инструкции) требуемая плотность устанавливается проектом с учетом затухания осадки от сжатия недоуплотненного слоя в течение первого этапа.

3.3.43. Для определения оптимальной толщины уплотняемого слоя и установления числа проходов (ударов) уплотняющих машин по одному следу, необходимого для достижения требуемой плотности, перед началом работ по устройству насыпи следует производить пробное уплотнение грунтов.

Результаты пробного уплотнения оформляются специальным актом, включаются в технологические карты на сооружение земляного полотна и являются обязательными.

Устройство геотекстильных прослоек

3.3.44. Технологический процесс устройства геотекстильных прослоек в основании или толще насыпей включает следующие операции (рис. 3.9):

выравнивание поверхности, раскатку рулонов с закреплением полотен материала, стыковку полотен;

засыпку грунтом с уплотнением.

1. Выравнивание поверхности

2. Раскатка грунтов

3. Возведение насыпи

4. Уплотнение насыпи

5. Планировка насыпи

Рис. 3.9. Технологическая схема работ по устройству геотекстильных прослоек на слабых грунтах:

1 - подготовительные работы; 2 - раскатка рулонов; 3 - отсыпка насыпи; 4 - уплотнение насыпи; 5 - планировка насыпи

Состав операций может изменяться за счет исключения отдельных видов работ или введения специфических операций.

3.3.45. Выравнивание поверхности грунта производят бульдозером путем срезки кочек, засыпки ям, колей и неровностей (более ± 0,1 м). Проектом может быть предусмотрено выравнивание отсыпкой сплошного слоя толщиной не менее 0,15 м из несвязного грунта.

Геотекстиль допускается укладывать на естественное ровное основание (болото, луг, поверхность минерального грунта) в том случае, если на основании отсутствуют предметы, которые могут нарушить сплошность прослойки (пни, колья).

3.3.46. Раскатку рулонов геотекстиля следует вести в продольном направлении, если нет специальных требований о необходимости поперечной раскатки. В целях обеспечения правильности положения края раскатанного полотнища по концам захватки выставляют маячные вешки. Длину захватки принимают из условия, чтобы все полотно к окончанию рабочего дня было присыпано грунтом.

3.3.47. Засыпку прослойки ведут по схеме «от себя». Непосредственный проезд колесных или гусеничных машин по прослойке не разрешается и может быть допущен лишь для разового проезда с малой скоростью при плотном и ровном основании.

3.3.48. Сшивку полотен ведут синтетическими нитками с помощью портативных электрических швейных машин. Ширина нахлеста при сшивке составляет 5-7 см и определяется параметрами машинки.

3.3.49. При отсутствии механизмов для скрепления полотен применяют укладку внахлест во всех случаях, когда не предъявляется требование к равнопрочности прослойки в направлении, перпендикулярном направлению раскатки рулонов, т.е. по ширине полотна.

Ширину нахлеста принимают равной 15 см при укладке геотекстиля на минеральные грунты и 30 см при укладке на торфяные грунты.

3.3.50. Применение сварки для геотекстилей допускается, когда уменьшение водопроницаемости прослойки в стыке не ухудшает ее работы. При сварке особое внимание должно быть обращено на недопущение пережога геотекстиля, волокна которого должны быть только слегка оплавлены. Нахлест при сварке принимают равным 10-15 см.

3.4. Водоотводные и дренажные сооружения

3.4.1. При устройстве водоотводных канав максимальные уклоны устанавливаются из условия предупреждения размыва грунта:

для несвязных и малосвязных грунтов - 20 ;

для связных грунтов - 40 ;

для слаборазложившегося торфа - 60 .

3.4.2. Канавы глубиной до 0,7-1,0 м следует нарезать бульдозером с профильным отвалом или кустарниковым плугом.

При глубине канав 1,0-1,5 м применяются канавокопатели плужного или роторного типов, при глубине более 1,5 м - многоковшовые или одноковшовые экскаваторы.

3.4.3. Водоотводные канавы и дренажи, как правило, устраиваются в летне-осеннее время. В условиях слабых грунтов применяются машины повышенной проходимости или работы выполняются после начала замерзания грунта и образования мерзлого слоя достаточной несущей способности. При необходимости в этом случае перед проходом землеройной машины производится рыхление полосы разработки навесными рыхлителями или мелкими взрывами.

3.5. Устройство оснований дорожных одежд

Укрепление грунта цементом

3.5.1. При положительных температурах воздуха цементогрунтовые основания устраивают при одностадийном строительстве непосредственно после возведения земляного полотна, а при двухстадийном - после стабилизации осадки земляного полотна.

3.5.2. При необходимости устройства цементогрунтового основания в условиях пониженных положительных (ниже +5 °С) и отрицательных температур воздуха допускается устраивать его из сухих смесей.

3.5.3. При строительстве цементогрунтовых оснований из сухих смесей необходимо определить свойства исходных грунтов и их пригодность для укрепления вяжущим материалом.

Перед началом работ необходимо дополнительно очистить поверхность земляного полотна от снега и льда, разравнять, а при необходимости засыпать свежепривезенным грунтом участки с колеями и неровностями; проверить степень уплотнения и при необходимости доуплотнить.

3.5.4. Для повышения плотности, прочности и качества цементогрунтового основания, сооружаемого при отрицательных температурах из сухой смеси, необходимо в грунтоцементную смесь вводить добавку сырой нефти (2 - 3 % по массе) или других органических добавок. Органические добавки вводятся в смесительный агрегат в процессе смешения через систему подачи воды. Строительство дорожных оснований из цементогрунтовых смесей с добавкой нефти с использованием смесительных установок допускается производить при температурах воздуха до минус 30 °С.

3.5.5. В начале работы и периодически в течение смены стенки смесителя и бункера агрегата питания обрабатывают дизельным топливом для предотвращения примерзания смеси к металлу.

3.5.6. Технологический цикл устройства основания из цементогрунтовой смеси с добавкой нефти при отрицательных температурах, приготовленной на песчаном материале, влажностью не более 4 % (в карьере с использованием фрез) состоит из следующих операций:

тщательно очищают от снега площадку для приготовления смеси и поверхность забоя грунта;

транспортируют на подготовленную площадку грунт автосамосвалами или бульдозером, в зависимости от расстояния транспортирования;

распределяют грунт на площадке бульдозером и планируют его автогрейдером;

производят перемешивание грунта с нефтью;

профилируют поверхность нефтегрунта автогрейдером;

распределяют по поверхности спрофилированного слоя цемент;

перемешивают грунт и цемент фрезами за 2 - 3 прохода по одному следу до достижения смесью однородного состояния;

приготовленную цементогрунтовую смесь бульдозером собирают в штабель с последующей погрузкой в транспортные средства и вывозкой на дорогу, предварительно очищенную от снега и льда;

проводят разбивочные работы, раскладывают и уплотняют смесь на дороге.

Если песчаный материал имеет естественную влажность более 4 %, то приготовление смеси должно осуществляться путем ввода добавки сырой нефти за два раза.

3.5.7. Технологический цикл устройства основания дорожной одежды из цементогрунтовой смеси с добавками сырой нефти способом смешения на дороге с применением дорожных фрез, состоит из следующих операций:

поверхность земляного полотна тщательно очищают от снега и льда, производят разбивочные работы, автомобилями-самосвалами транспортируют грунт из карьера к месту производства работ;

профилируют грунт автогрейдером, вводят в грунт в заданном количестве сырую нефть и производят перемешивание;

профилируют слой нефтегрунта автогрейдером, распределяют по поверхности спрофилированного слоя цемент, перемешивают минеральное вяжущее с нефтегрунтом;

профилируют цементогрунтовую смесь автогрейдером и уплотняют ее катками на пневматических шинах.

3.5.8. Производство работ по методу смешивания смеси на дороге в зимнее время с использованием фрез допускается при температуре наружного воздуха не ниже минус 20 °С.

Грунт из карьера доставляется автомобилями-самосвалами, оборудованными системой подогрева днища и стенок кузова отработавшими выхлопными газами, и укладывается в кучах по оси земляного полотна из расчета потребного количества песчаного материала для устройства слоя основания проектной толщины и ширины на захватке. Дальность транспортировки грунта не должна превышать 2 - 3 км.

Цементогрунтовую смесь с добавкой нефти уплотняют катками на пневматических шинах массой 40 - 50 т до максимально возможной плотности. Необходимое количество проходов по одному следу устанавливают путем пробной укатки. Ориентировочно при уплотнении цементонефтегрунтовых слоев толщиной 15 - 20 см необходимо выполнять восемь - десять проходов по одному следу.

Укрепление грунтов нефтью

3.5.9. Технология работ по предварительной круглогодичной заготовке нефтегрунта на полигоне машино-дорожным отрядом на базе фрезы состоит из следующих операций:

подготовка площади полигона;

транспортирование грунта и нефти и розлив нефти;

перемешивание грунта с нефтью фрезой;

сбор нефтегрунта в штабель бульдозером.

При необходимости добавка концентратов сероорганических соединений должна производиться непосредственно во время заправки нефтевоза. За период заправки и транспортирования нефти на полигон происходит перемешивание концентратов с нефтью и обеспечивается их равномерное распределение в последней.

Розлив нефти необходимо производить за два приема. За первый прием разливается 60 %, за второй - 40 % от общего расхода нефти.

3.5.10. Работы по приготовлению нефтегрунта одновременно производятся на двух площадках. На одной из них производится распределение нефти и смешение грунта с нефтью фрезой, на второй - сбор нефтегрунта в штабель.

3.5.11. Готовая нефтегрунтовая смесь транспортируется на дорогу, распределяется и уплотняется. При необходимости добавки в нефтегрунтовую смесь цемента перед уплотнением производят добавку цемента распределителем цемента и перемешивание фрезой.

Время технологического цикла между введением цемента (извести) в нефтегрунт и окончанием уплотнения не должно превышать 4 - 6 часов.

3.5.12. Приготовление нефтегрунта с укладкой его при отрицательных температурах должно производиться тем же способом, что и при положительных температурах с обязательным окончанием уплотнения до смерзания.

3.5.13. При обработке грунта нефтью в два приема цемент вводится в смесь перед повторной добавкой нефти. При этом температура нефтегрунтовой смеси на момент ее перемешивания с цементом может быть отрицательной, но не ниже минус 5 °С.

Основания из белитового шлама и материалов, укрепленных белитовым шламом

3.5.14. Основания из отвального белитового шлама и обработанных им материалов устраивают согласно положениям СНиП 3.06.03-85 в части устройства оснований из грунтов и каменных материалов, обработанных медленнотвердеющими неорганическими вяжущими. Продолжительность перерыва во времени между вывозкой белитового шлама на дорогу и его распределением не регламентируется.

Толщина слоя белитового шлама при распределении и планировке должна быть ориентировочно в 1,35-1,5 раза больше проектной толщины. Уплотняемость слоя уточняют по результатам пробного уплотнения в начале производства работ.

Уплотнение шлама следует производить 12-16 проходами по одному следу катка на пневматических шинах массой 25-30 т.

3.5.15. Для устройства гравийных (щебеночных) оснований обработанных неорганическими вяжущими не на полную глубину методом пропитки (вдавливания), требуется гравии (щебень) фракций 40-70 мм (120 мм) и 20-40 мм.

Для обработки следует использовать цементопесчаную (1:10) смесь или отходы промышленности, обладающие свойствами минерального вяжущего (активные гранулированные доменные шлаки, активные золы-унос, белитовые шламы и т.п.). Расход их следует назначать в пределах 5-9 м3 на 100 м2 основания.

Пропитку материала цементопесчаной смесью или другим вяжущим осуществляют под действием вибрации и давления. Укрепленный материал следует тщательно разравнять автогрейдером и полить водой из расчета 3-10 л на 1 м2 поверхности. Если необходимо обеспечить проезд строительного транспорта, слой прикатывают гладковальцовым катком массой 6-8 т (1-2 прохода по одному следу). Приготовленную в установке цементопесчаную смесь или иное готовое вяжущее надлежит распределить автогрейдером.

3.5.16. Для пропитки цементопесчаной смесью или иным вяжущим методом глубинного давления следует применять кулачковый каток, число проходов которого по одному следу назначают в зависимости от требуемой толщины обработанной части основания в соответствии с табл. 3.3 и уточняют по результатам пробной обработки в начале производства работ.

Таблица 3.3

Толщина обработанной части основания, м

Число проходов по одному следу катка массой 9-15 т

0,10

4-6

0,14

8-10

0,17

13-15

Окончательное уплотнение необходимо осуществлять катками на пневматических шинах за 12-16 проходов по одному следу.

3.5.17. Движение по устроенному основанию из каменных материалов, укрепленных шламом, открывают непосредственно по завершению его уплотнения и планировки.

3.6. Устройство покрытий дорожных одежд

3.6.1. При одностадийном строительстве покрытий из сборных железобетонных плит типа ПАГ-14, ПДО, ПНД, ПДС и др. выполняются следующие технологические процессы (рис. 3.10):

подвоз и складирование плит покрытия на обочине;

укладка и разравнивание по готовому основанию выравнивающего слоя из пескоцемента, белитового шлама или укладка по песчаному основанию геотекстильного материала или подшовных подкладок;

укладка плит;

прикатка плит транспортной нагрузкой;

перекладка просевших и неровно уложенных плит;

сварка скоб в стыках;

заполнение швов раствором и мастикой.


вид работ

1. Разгрузка плит

2. Устройство выравнивающего слоя

3. Укладка плит в покрытие и обкатка

4. Электросварка плит

5. Заполнение швов песчано-цементным раствором

6. Заполнение швов битумно-полимерной мастикой

схема потока

длина захватки

300 м

150 м

150 м

150 м

450 м

300 м

Рис. 3.10. Технологическая схема устройства сборного покрытия:

1 - автомобиль; 2 - автокран; 3 - плиты; 4 - автогрейдер;  5 - трубчатый шаблон; 6 - груженый автомобиль для прикатки плит; 7 - электросварочный агрегат; 8 - заливщик швов пескоцементным раствором; 9 - компрессор; 10 - грунтовщик; 11 - заливщик швов битумно-полимерной мастикой


3.6.2. При двухстадийном строительстве покрытии перекладка плит с их прикаткой, выправкой, сварка стыков и их заполнение производится на второй стадии работ после стабилизации земляного полотна.

Работы по второй стадии устройства покрытии выполняют в летний период.

3.6.3. Плиты при складировании укладывают в штабели на инвентарные деревянные прокладки. Толщина нижних подкладок 6-10 см, промежуточных - 2-5 см. Для плит типа ПАГ-14 прокладки укладывают на расстоянии 100 см от торцов плит, для других типов - расположение прокладок указывается в проекте. Перед укладкой в штабель плиты должны быть полностью освобождены от проволочных скруток и другого крепежного материала.

В штабеле должно быть не более 20 плит типа ПАГ-14, ненапряженных - не более 12 плит.

При складировании производится выбраковка плит, выделение плит, пригодных только для вспомогательных участков покрытия, а также производится грунтовка боковых граней и кромок плит разведенной керосином до нужной консистенции мастикой или специальной грунтовкой. Плиты с ослабленным верхним слоем бетона грунтуются на всей рабочей поверхности.

3.6.4. Беспетлевые плиты должны складироваться в штабели только с прокладками между плитами. Высота прокладок должна быть достаточна для подъема плит тросовыми петлями.

При укладке в покрытие беспетлевые плиты с отверстиями поднимаются специальными траверсами, а плиты с уступами на поперечных гранях - тросовыми петлями.

3.6.5. Перевозка плит производится на автомобилях с платформами или автосамосвалами грузоподъемностью не менее 8 т.

Нижняя плита при этом должна быть уложена на подкладки, располагаемые на расстоянии 1 м от концов плиты (в начале и в конце платформы кузова). При укладке в транспортном средстве более трех плит прокладки следует устанавливать между всеми плитами.

При перевозке плит по временным дорогам с необеспеченной ровностью следует применять инвентарные устройства, предотвращающие смещение плит в кузове.

3.6.6. Разметка основания для работ по укладке покрытия осуществляется с помощью металлических штырей, забиваемых по кромке через 10-20 м. По штырям натягивается проволока, отметка которой должна соответствовать уровню бокового ребра плит. В ходе укладки проверяют нивелиром вертикальные отметки и поперечные уклоны покрытия.

3.6.7. Выравнивающий слой устраивают из цементопесчаной смеси или белитового шлама толщиной 3-5 см в целях устранения неровностей основания и обеспечения рихтовки плит сборного покрытия. Для устройства слоя толщиной 3-5 см применяют сухую цементопесчаную смесь состава 1:8, приготовленную в установке.

Слой укладывают непосредственно перед монтажом плит покрытия. Подготовка выравнивающего слоя в «задел» не допускается.

3.6.8. Разравнивание выравнивающего слоя производится автогрейдером. Для окончательного заглаживания поверхности выравнивающего слоя и придания ему требуемого поперечного профиля на всю ширину проезжей части допускается применение специального длиннобазового профилировщика в виде рамы из труб Æ 150-220 мм.

3.6.9. Для укладки плит применяют самоходные автомобильные краны или пневмоколесные краны грузоподъемностью не менее 5 т при вылете стрелы 6 м.

На неукрепленное основание посадка плит в проектное положение может осуществляться притиркой с использованием специального захвата, оборудованного механизмом, создающим колебательные движения.

3.6.10. Нагрузка на колеса крана при подъеме плит не должна превышать предельной для тех плит, на которых находится кран (для плит типа ПАГ-14 - 12 т на колесо). При движении колес крана вдоль краев плит эта нагрузка не должна превышать нормативной для данного типа плиты, при движении крана по центральной части плит нагрузка от крана может быть выше нормативной в 1,5 раза.

Укладка плит должна вестись краном только с предварительной установкой выносных опор (аутригеров).

3.6.11. При монтаже плит покрытия следует соблюдать следующий порядок рабочих операций:

кран устанавливается на оси проезжей части с учетом перемещения по укладываемым плитам способом «от себя»;

плиту снимают с автомобиля или штабеля и наводят на место укладки по шнуру;

на высоте от основания 7-10 см проверяют ширину зазоров в продольном и поперечном швах;

после укладки плиты на место проверяют рейкой величину уступа по отношению к ранее уложенной плите;

при укладке покрытия в зимнее время при выполнении всех операций должны приниматься меры для предупреждения попадания в основание плиты снега или льда.

3.6.12. С целью уменьшения уступов между плитами и повышения ровности покрытия плиты с плюсовыми допусками следует укладывать на одной из продольных полос, плиты с точным соблюдением толщины - на второй полосе и плиты с минусовыми допусками - на третьей.

После укладки плит на сменной захватке производят прикатку их краном и гружеными автомашинами, а затем перекладку просевших или неровно уложенных плит.

3.6.13. При двухстадийном строительстве на второй стадии - после технологического перерыва - до начала работ по омоноличиванию покрытия должна быть проведена полная проверка ровности и уступов в швах. При необходимости исправлений или устройства укрепленного основания плиты должны быть сняты и уложены повторно после устройства укрепленного основания или исправления выравнивающего слоя. Плиты, имеющие трещины на всю ширину, скол ребер, открытую рабочую арматуру или прогрессивно шелушащуюся поверхность, должны быть заменены новыми. Плиты с незначительными разрушениями допускается переворачивать.

3.6.14. Стыковые скобы смежных плит соединяют электросваркой непрерывными швами. Длина и размеры швов устанавливаются проектом. В тех случаях, когда зазор между скобами превышает 4 мм, на них накладывают дополнительный стальной стержень (диаметром на 2-3 мм больше ширины зазора) длиной 10 см и приваривают его к скобам двумя параллельными швами по обеим сторонам стержня, длина свариваемого шва должна быть не меньше проектной.

В швах расширения торцевые скобы не сваривают. При укладке плит в нижнюю часть швов расширения ставят деревянные доски сечением 2´10 см.

При температуре .воздуха в момент сварки стыковых скоб плюс 10 °С и более доски в швах расширения не ставятся, а сам шов в его нижней части заполняют раствором или сухой цементопесчаной смесью. Если укладка плит ведется при отрицательной температуре, то ширина швов расширения должна быть не менее 2 см.

3.6.15. Швы сборного покрытия на 2/3 высоты плиты заполняют цементным раствором с применением цемента марки не ниже 400 состава П:Ц=1:2 с введением в смесь пластифицирующей добавки в количестве 0,2-0,3 % от массы цемента.

Остальную часть швов заполняют мастикой, состав которой назначают, руководствуясь ВСН 139-80.

Заполнение швов мастикой производится при температуре воздуха не менее +10 °С. Для увеличения сохранности в швах мастики необходимо боковые грани и кромки плит предварительно грунтовать, нижнюю часть шва заполнять сухой цементопесчаной смесью, паз шва перед заполнением прочищать и высушивать, а у кромок крайних плит в пазы ставить пробки или заглушки против вытекания заполнителя.

3.6.16. На кривых, в местах окон между плитами, на съездах, на уширениях, небольших площадках, не перекрытых плитами, применяется монолитный бетон по ГОСТ 26633-85. Укладка бетона в указанных местах производится с применением деревянной опалубки, виброплощадок или виброреек. Бетон приготавливается в бетономешалках с применением морозозащитных, пластифицирующих и воздухововлекающих добавок. Контроль качества монолитного бетона проводится так же, как при строительстве монолитных цементобетонных покрытий.

При строительстве, контроле качества, уходе за свежеуложенным бетоном следует руководствоваться ВСН 139-80.

3.6.17. При устройстве основания из сухих смесей сборное покрытие из железобетонных плит укладывают на него без сварки стыков и омоноличивания швов.

Участки дорог со сборными покрытиями, уложенными на основании из сухих смесей, разрешается эксплуатировать в течение всего зимнего периода.

На участках, где после оттаивания основания земляного полотна не наблюдается деформаций сборного покрытия, надлежит выполнить сварку стыков и омоноличивание швов. При обнаружении же деформаций покрытия необходимо закрыть движение, демонтировать плиты, выровнять и уплотнять основание, устроить монтажный слой, повторно уложить плиты, сварить стыки, провести омоноличивание швов, после чего вновь открыть движение.

Работы по исправлению дефектов, нарушающих ровность покрытия, необходимо закончить в течение 3-4 недель с момента установления устойчивых положительных температур.

Допускается исправлять дефекты покрытия и в более поздние сроки. В этом случае необходимо свежеприготовленной сухой смесью выровнять основание без нарушения сплошности и монолитности слоя твердеющего цементогрунта. В этом случае выравнивающий слой является и монтажным.

3.6.18. Технология устройства геотекстильных прослоек под сборными покрытиями включает следующие операции (рис. 3.11):

планировка поверхности земляного полотна, при необходимости подсыпка, уплотнение и профилировка; разбивка основания под геотекстильные полосы и плиты; укладка геотекстильного материала; укладка плит покрытия со сваркой и омоноличиванием стыков.


1. Наращивание насыпи. А/самосвалы, бульдозер

2. Планировка поверхности. Прицепной планировщик

3. Раскатка рулонов НСМ

4. Монтаж покрытия

Рис. 3.11. Технологическая схема устройства гсотекстильных прослоек под сборным покрытием (II этап строительства):

1 - сборные плиты; 2 - бульдозер; 3 - каток; 4 - планировщик; 5 - полосы геотекстиля; 6 - автокран 16 т


При двухстадийном строительстве укладка геотекстиля производится по окончании первой стадии после демонтажа плит и выравнивания основания.

Песчаное основание перед укладкой геотекстиля должно быть подготовлено в соответствии с требованиями, предъявляемыми к ровности и степени уплотнения основания под сборные покрытия.

Полосы геотекстильного материала укладывают под краями и швами покрытия симметрично относительно шва. Ширину полосы принимают не менее 1/2 ширины плиты покрытия.

3.6.19. Сварку и пересечение отдельных полос материала для сохранения продольной и поперечной водопроницаемости выполняют внахлест без сварки или склейки.

При необходимости дополнительного усиления краев покрытия, обочин или бровок откосов насыпей, защиты от размыва поверхностными водами и уменьшения колееобразования на обочинах геотекстильная прослойка может быть устроена на всю ширину насыпи поверху, включая обочины, и выведена на откосы. Для устройства прослоек под сборными покрытиями рекомендуется применять иглопробивные синтетические материалы толщиной не менее 4,0 мм, обладающие водопроницаемостью в продольном и поперечном направлении и непроницаемые для песчаных частиц крупнее 0,1 мм.

3.6.20. Для уменьшения разрушений плит, работающих на первой стадии, следует устраивать на дорогах I-В-III-В категорий прослойки из геотекстиля под швами, без их использования на второй стадии.

3.6.21. Покрытия из асфальтобетонных смесей устраивают в соответствии с положениями СНиП 3.06.03-85.

Для приготовления горячих асфальтобетонных смесей следует применять вязкие битумы марок БНД 90/130 и БН 90/130, для теплых смесей БНД 130/200 и БН 130/200. При отсутствии битумов заводского изготовления допускается применять разжиженные (составленные) битумы марок БНД 130/200 и БН 130/200, получаемые путем смешения вязких дорожных битумов с 2-6 % разжижителя (керосин, дизтопливо, нефть).

При отрицательных температурах воздуха продолжительность перемешивания минеральных материалов с битумом необходимо увеличить на 10-15 %.

3.6.22. Непосредственно перед устройством асфальтобетонного покрытия основание следует тщательно очистить от пыли, грязи и снега, просушить его специальными нагревателями или горячим песком. В случае проведения капитального ремонта сборного покрытия из железобетонных плит необходимо асфальтобетонной смесью заделать выбоины и поверхностные разрушения, выровнять уступы между смежными плитами. Подгрунтовку основания производят только при ведении работ в теплое время года на длину сменной (суточной) захватки устройства асфальтобетонного покрытия.

Температура асфальтобетонной смеси, доставляемой к месту укладки, устанавливается в зависимости от погодных условий. Уплотнение должно быть закончено при температуре асфальтобетонной смеси в покрытии не ниже 65 °С.

3.7. Укрепление обочин и откосов

3.7.1. При двухэтапном строительстве дороги или двухстадийном строительстве покрытия перед открытием движения на первой стадии обочины на всю ширину заполняются малосвязным грунтом (песок пылеватый, супеси). Грунт выгружается из автосамосвалов с уложенных плит проезжей части, планируется грейдером и уплотняется катками. Уровень уплотненной песчаной обочины не должен отличаться от уровня кромки покрытия проезжей части более чем на 5,0 см.

Допускается устройство грунтовых обочин в зимнее время при условии планировки и уплотнения грунта до его замерзания.

На второй стадии при наличии операции перекладки плит проезжей части после снятия плит устраивается корыто (или Подсыпка) под общее основание проезжей части и укрепленных полос. Временное штабелирование плит в этом случае производится на свободной части обочин или на откосах.

Если перекладка плит не предусмотрена, корыто устраивают только для основания под укрепленные полосы. Укрепление остановочных полос на обочинах производится материалом, доставляемым автотранспортом, после укладки и омоноличивания покрытий проезжей части и укрепленных полос.

3.7.2. Сборные плиты шириной 0,5-1,0 м укладывают в укрепленную полосу на заранее подготовленное основание, прикатывают автомобилем с нагрузкой более 5 т на ось, сваривают выпуски арматуры в стыках, заполняют швы в соответствии с указаниями проекта цементным раствором или битумной мастикой. Монолитные укрепленные полосы устраивают по заранее подготовленному основанию с применением соответствующих машин.

3.7.3. Устройство на обочинах покрытия из грунтов, укрепленных вяжущими материалами, производится с приготовлением смесей предусмотренного проектом состава в грунтовом карьере (резерве, штабеле) и перевозкой смеси автосамосвалами. Для укладки укрепленного слоя предварительно должно быть подготовлено и выровнено автогрейдером корыто на установленную проектом глубину.

Распределение и выравнивание смеси производится автогрейдером с учетом обеспечения требуемого поперечного уклона. Запас толщины на уплотнение устанавливается пробным путем и ориентировочно составляет 3-5 см.

3.7.4. Уплотнение слоя укрепленного грунта на обочине (кроме прибровочной, полосы шириной 0,5 м) производится пневмокатком. После окончания укатки излишний слой на прибровочной полосе, который может препятствовать свободному стоку воды, должен быть снят автогрейдером со сдвижкой на откос. Одновременно должна быть выправлена геометрическая форма бровки земляного полотна.

3.7.5. При устройстве покрытий обочин из грунтов, укрепленных вяжущими, следует соблюдать правила, приведенные в «Пособии по строительству покрытий и оснований, автомобильных дорог и аэродромов из грунтов, укрепленных вяжущими материалами».

3.7.6. Укрепление откосов земляного полотна следует выполнять в едином потоке с возведением насыпей. В неукрепленном виде допускается оставлять до оттаивания откосы насыпей, возведенных в зимний период, а также с использованием торфа в теле насыпи.

Укрепительные работы, включающие травосеяние с семенами районированных трав, выполняются преимущественно в летний период. В зимнее время могут применяться мерзлые торфогрунтовые плиты с семенами.

3.7.7. Почвенный грунт, подлежащий распределению по откосу, вывозится автосамосвалами на края обочины и смещается на откос автогрейдером или бульдозером с последующей планировкой. При применении метода выторфовывания торф из отвалов надвигается на откосы бульдозером.

3.7.8. Засев откоса семенами трав производится механизированным способом гидропосева или вручную.

Для искусственного задернения ровных и слабонаклонных поверхностей можно использовать также кустарниковые виды растений, акклиматизированные в районе строительства. После посева обязательно внесение удобрений, состав и количество которых должно быть рекомендовано местными агротехническими службами.

3.8. Контроль качества и приемка работ. Авторский надзор

3.8.1. Строительство промысловых дорог должно осуществляться в соответствии с рабочими чертежами, разрешенными к производству работ. Разрешение к производству работ надлежит оформлять на рабочих чертежах соответствующим штампом технического надзора заказчика.

Отступления от рабочих чертежей при производстве работ должны быть согласованы заказчиком и проектной организацией.

3.8.2. На каждом самостоятельном объекте строительства следует вести общий журнал работ, а также специальные журналы по отдельным видам работ (строительство мостов, труб, производственных сооружений, намыв грунта и др.) в соответствии с требованиями и формами СНиП 3.01.01-85.

3.8.3. Все скрытые работы подлежат приемке с составлением актов, их освидетельствования по установленной форме.

Акты освидетельствования скрытых работ составляются на разбивочные работы, расчистку дорожной полосы, подготовку естественных оснований, выторфовывание, отсыпку насыпи требуемой толщины (с учетом осадки) на торфяное основание, укладку в основание или в тело насыпи слоев грунта, синтетических или естественных материалов различного назначения, устройство закрытых водоотводных и дренажных сооружений, уплотнение земляного полотна, устройство нижних слоев (основания) дорожной одежды, заделку швов сборных покрытий.

Перед устройством насыпей автомобильных дорог в районах вечной мерзлоты в зимнее время необходимо производить нивелирование грунтового основания из пучинистых грунтов с целью последующего учета объемов грунта при осадке поверхности земляного полотна при оттаивании.

В случаях, когда последующие работы выполняются после перерыва длительностью боле 3 мес., акты следует составлять перед их началом. До составления актов о приемке скрытых работ приступать к последующим работам запрещается.

3.8.4. В процессе производства работ следует вести систематическую проверку соответствия применяемых материалов и изделий нормативным и проектным требованиям и контроль соблюдения технологических правил.

Данные контроля фиксируются в лабораторных журналах: определения физико-механических свойств грунтов, применяемых в насыпях и естественных основаниях; контроля качества уплотнения земляного полотна; контроля качества материалов, применяемых в нижних слоях (основаниях) дорожной одежды; регистрации осадки насыпи на болотах; подбора состава бетонных смесей для монолитных участков и элементов; приемочного контроля сборных плит покрытий; состава мастики для заполнения швов.

Соответствующие журналы ведутся и на другие ответственные виды работ, требующие систематического контроля. Данные лабораторных испытаний, вносимые в журналы, подписываются лаборантом и заведующим лабораторией, а данные производственного контроля - лаборантом и мастером (бригадиром). Журналы систематически проверяются техническими руководителями и служат основанием для оценки качества работ.

Журналы предъявляются органам технического надзора и рабочей комиссии при сдаче объекта.

3.8.5. До начала работ в местах переходов через болота не реже чем через 100 м по оси зондом проверяется правильность определения глубины. Для определения строительного типа грунта производят выборочным порядком отбор проб и испытание их в лаборатории стандартными методами (не менее 3 шт. на каждый участок, выделенный проектом как однородный).

При обнаружении несоответствия проектной документации вида грунта, влажности или других характеристик, в случаях, если эти несоответствия могут оказать влияние на качество сооружения или технологию производства работ, заказчик должен обеспечить внесение в рабочие чертежи соответствующих изменений.

3.8.6. На этапе входного контроля строительной организацией производится стандартное испытание грунта, предназначенного для сооружения земляного полотна, и пробное уплотнение грунтов, в результате которого назначают наиболее целесообразную толщину уплотняемого слоя и необходимое число проходов катка.

3.8.7. При выполнении в зимний период работ на слабых грунтах, болотах, водоемах до начала земляных работ осуществляют контроль за ходом промерзания торфяных оснований бурением мерзлого слоя в наиболее опасных местах (мочажины, протоки). При этом глубина промерзания должна быть не меньше установленной в п. 3.3.15 настоящей инструкции.

3.8.8. Плиты для сборных покрытий и другие конструкции, изделия и материалы, поступающие на строительство, должны иметь паспорта, подтверждающие их соответствие требованиям стандартов или технических условий. Выборочная проверка соответствия фактических показателей паспортным выполняется в соответствии с действующими нормативными документами (СНиП, ГОСТ 25.912(0-3)-83, ТПР 503-0-42, ТУ на плиты).

При приемочном контроле плит для сборных покрытий производят наружный осмотр и определение отклонений от номинальных размеров плит по показателям, приведенным в приложении 14, а также выполняют стендовые испытания для определения прочности плит на изгиб по методике, описанной в приложении 11.

3.8.9. Наружному осмотру подвергают все плиты при их разгрузке, размеры плит определяют в штабеле, в количестве не менее 20 плит на партию. Испытание плит проводят при их складировании, в количестве не менее 3 плит на партию.

В партию входит серия не более 300 шт. плит, поступивших с одного завода ЖБК и имеющих совпадающие паспортные данные. При поступлении с одного завода более 300 шт. выделяется соответственно несколько партий. Размеры плит проверяют по граням, толщину в середине поперечных граней.

3.8.10. Данные приемочного контроля плит фиксируются в акте по форме, приведенной в приложении 14. Экземпляры актов направляются в трест, на завод ЖБК - поставщик плит.

Плиты, не отвечающие требованиям технических условий и ГОСТ, маркируются краской на продольных гранях и складируются отдельно. Эти плиты могут быть использованы на второстепенных участках покрытия (площадки, стоянки, съезды и т.п.).

3.8.11. При выполнении подготовительных работ постоянному контролю подлежит: полнота геодезической разбивочной основы и восстановления и закрепления трассы; полнота и правильность выполнения мероприятий по переносу или защите коммуникаций, ЛЭП, трубопроводов и т.п.; расчистка дорожной полосы и других отведенных площадей - высота пней, отсутствие древесных завалов, вывозка древесины, соблюдение границ отвода при выполнении работ и др.; качество строительства землевозных дорог, автозимников.

3.8.12. При строительстве дороги через болото контролируются:

расчистка и подготовка торфяного основания под насыпи;

размеры траншеи выторфовывания или сухого котлована, качество зачистки дна траншеи.

В других случаях также контролируют:

правильность укладки дополнительных слоев из естественных или синтетических материалов;

изменение во времени осадки насыпи на болотах;

влажность и плотность оттаявшего верхнего слоя насыпи перед устройством одежды.

Все результаты контроля фиксируются в лабораторных журналах или общем журнале работ.

3.8.13. Правильность размещения земляного полотна в плане и профиле обеспечивается полнотой и точностью разбивочных работ, выполняемых по знакам выноски проекта на местность и реперам.

Правильность отметок оси и границ земляного полотна в плане производится с помощью геодезических инструментов, установление крутизны откосов - шаблонами.

Правильность поперечных профилей и соблюдение толщины насыпного слоя (с учетом осадки), кроме постоянного визуального контроля, должны проверяться на стадии завершения устройства насыпей и выемок не реже чем на каждом пикете. Соблюдение размеров и отметок проверяется инструментально, соблюдение толщины насыпи - бурением или динамическим зондом. Обнаруженные отклонения от проектных размеров по толщине и ширине насыпи исправляются немедленно.

3.8.14. Для определения плотности грунта следует применять полевые методы ускоренного контроля, с периодической проверкой методом режущего кольца по ГОСТ 5180-84.

При сооружении земляного полотна в зимних условиях уплотнение и контроль качества уплотнения грунтов производится до их замерзания. При необходимости дополнительной проверки определение плотности замерзшего слоя может быть выполнено методом замещения объема (метод лунки).

3.8.15. При двухстадийном вводе промысловых дорог, построенных с использованием в основании насыпи слабых грунтов, контролируется достижение стабилизации осадки в самом глубоком месте болота путем определения отметок специальных марок. Инструментальные наблюдения за измерением отметок ведутся через каждые 2-3 месяца, а при достижении установленной проектом даты требуемой степени консолидации (при установлении фактической стабилизации в летне-осенние месяцы) - 2 раза в месяц.

3.8.16. При устройстве оснований из песчано-гравийных материалов и грунтов, укрепленных цементом (или комплексными вяжущими), в процессе производства работ контроль выполняется по правилам, предусмотренным СНиП 3.06.03-85.

Качество нефтегрунтовых смесей, приготовленных в производственных условиях при отрицательных температурах, должно оцениваться по результатам испытаний заформованных на морозе из этих смесей образцов и испытанных на прочность при сжатии с последующим сравнением полученных результатов с показателями прочности при сжатии образцов, приготовленных из эталонной смеси в лабораторных условиях.

При сравнении образцов 7-суточного возраста прочность образцов из эталонной смеси должна быть не ниже 35 % от значений прочности, указанных в нормативах.

3.8.17. При устройстве укрепленных оснований из сухих цементогрунтовых смесей не реже одного раза в смену необходимо проверять:

зерновой состав грунтов путем рассева средних проб на ситах;

точность дозирования вяжущего и равномерность распределения его по грунту;

влажность обрабатываемых грунтов;

степень уплотнения слоя укрепленного грунта;

толщину и ровность слоя укрепленного грунта после его уплотнения.

3.8.18. При устройстве сборного покрытия в процессе производства работ следует проверять:

толщину и ровность выравнивающего пескоцементного слоя - замерами щупом и выборочной проверкой 3-метровой рейкой;

ровность по отклонению от контрольного шнура и по просвету под 3-метровой рейкой, положенной поперек шва (при выступе конец рейки прижимается к возвышающейся грани).

3.8.19. При устройстве обочин контролируется соответствие проекту толщины укрепленных слоев, состав укрепленных материалов, качество их уплотнения, соблюдение ровности и поперечного уклона. Методы контроля и допускаемые отклонения приведены в СНиП 3.06.03-85.

3.8.20. В процессе выполнения отделочных и укрепительных работ обочин проверяются: правильность планировки и уклоны обочин и откосов - по расстоянию между осью (краем покрытия) и бровкой и крутизна откосов - с помощью прямых и угловых шаблонов; плотность грунта укрепленных или неукрепленных обочин - приборами ускоренного контроля; при укреплении прикромочных полос сборными или монолитными элементами проверяется отсутствие возвышения над покрытием, ровность наружной кромки; при укреплении откосов проверке подлежит качество и толщина наносимого слоя почвы, плотность засева (расход семян на единицу площади), ровность и правильность укладки сборных элементов, качество заделки стыков, устройство упоров.

3.8.21. Оценка качества исполнения работ производится:

при производственной приемке работ от бригад или звеньев;

при освидетельствовании скрытых работ, сдаче ответственных конструкций;

при окончании комплексов работ и отдельных сооружений (в том числе комплекса работ I стадии при двухстадийном строительстве);

при приемке объекта в постоянную эксплуатацию.

Оценка качества работ при строительстве дороги производится в соответствии с СНиП 3.06.03-85.

3.8.22. При оформлении актов освидетельствования скрытых работ и актов промежуточной приемки ответственных конструкций оценка качества производится комиссией, подписывающей акт, с обязательным участием заказчика, на основе результатов производственного контроля. По усмотрению комиссии могут быть назначены дополнительные промеры и освидетельствования.

3.8.23. Приемка дороги в постоянную эксплуатацию государственной комиссией производится на основе материалов рабочей комиссии. При двухстадийном строительстве акт, оформленный на приемку по I стадии, должен быть актом на приемку работ по окончании II стадии с добавлением соответствующей контрольной документации на работы II стадии.

3.8.24. Сотрудники проектных институтов, осуществляющие авторский надзор, участвуют в обязательном порядке в работе рабочих и государственных комиссий, которым представляют на рассмотрение результаты надзора за строительством объектов.

3.8.25. На дорогах, имеющих важное народнохозяйственное значение или строящихся в сложных условиях, оплата работ не производится без визирования сотрудниками авторского надзора. Перечень таких дорог устанавливается руководством отрасли заказчика.

3.8.26. Основой для оценки качества выполненных работ на всех этапах приемки, как правило, должны быть данные операционного контроля, зафиксированные в журналах производства работ и журналах лабораторно-производственного контроля. Если представленные данные по количеству или достоверности не соответствуют требованиям СНиП 3.06.03-85 или настоящей Инструкции, приемочная комиссия назначает соответственно дополнительное число измерений качественных параметров.

3.9. Охрана природной среды при производстве работ

3.9.1. По окончании строительства земляного полотна должны быть выполнены работы по восстановлению всех временно занимаемых и нарушенных в процессе производства работ земель.

3.9.2. При выборе площадки предварительной заготовки нефтегрунта необходимо проведение гидрологических изысканий. Уровень грунтовых вод должен быть ниже отметки разработанной площадки на 0,8-1,0 м. Размер полигона определяется технологическими потребностями.

3.9.3. На полигоне предусматривается обвалование для предотвращения случайного растекания нефти. Обвалование производится на стадии подготовки - снятии растительного слоя и планировки площадки. В дальнейшем при приготовлении нефтегрунта и сбора его в штабель производится вырезка - увеличение обвалования.

По окончании работ на полигоне производится рекультивация полигона снятым ранее растительным грунтом.

3.9.4. Для предупреждения необратимой деградации вечной мерзлоты необходимо строгое соблюдение правил производства работ в охранной зоне, установленной проектом. При этом в охранной зоне запрещается:

нарушение установленных сроков выполнения стадии строительства;

рубка леса вне полосы отвода дороги;

нарушение мохорастительного покрова, корчевка пней, разведение открытого огня и захоронение порубочных остатков;

проезд автотранспорта и землеройной техники вне пределов полосы отвода дороги и временных технологических проездов;

нарушение естественного водоотвода временными отвалами грунта;

закладка непроектных карьеров и резервов.

3.9.5. В качестве профилактических мероприятий в очагах возможного развития термокарста применяется:

регулярная снегоочистка или уплотнение свежевыпавшего снега с целью промораживания поверхности грунта естественным холодом;

устройство водоотводов с гидроизолирующим ложем (уплотненная глина, полимерная пленка и др.);

засыпка таликовых мочажин привозным мерзлым грунтом или торфом с покрытием поверхности мохорастительным слоем.

3.9.6. Технологические трелевочные и вспомогательные тракторные пути не должны прокладываться за пределами полосы отвода. При наличии растительного покрова разовый проезд за границами отвода вне отведенных дорог допускается в зимний период при толщине снегового покрова не менее 30 см.

3.9.7. При производстве работ способом гидромеханизации отбор воды из источника (рек и озер) для гидромеханизированной разработки грунта не должен приводить к существенному изменению его естественного гидрологического режима.

На всасывающей трубе при водозаборе устанавливается рыбозащитная сетка с ячеями размерами 2´2 мм. Скорость захода воды во всасывающий оголовок должна быть не более 0,1 м/с.

3.9.8. Сброс отработанной воды в реку должен осуществляться в соответствии с «Правилами охраны поверхностных вод от загрязнения сточными водами» после предварительной ее очистки в отстойнике.

3.9.9. В качестве основных мероприятий при рекультивации земель при применении гидромеханизации следует предусматривать:

уполаживание откосов карьера выше поверхности воды с заложением откоса не более 1:3, с восстановлением вокруг карьера почвенно-растительного слоя толщиной 0,15 м;

создание в карьерах водоемов различного назначения;

выполнение горнотехнической и биологической рекультивации всех временно отторгаемых земель под гидромеханизированную разработку грунта.

На площадках под штабели грунта и отстойники почвенно-растительный слой подлежит удалению и складированию в валки. После завершения гидромеханизированных работ и разработки штабелей грунта, почвенно-растительный слой разравнивается в пределах площадей с почвенно-растительным покровом.

3.10. Техника безопасности

3.10.1. Помимо общих правил техники безопасности, предусмотренных СНиП III-4-80 и ГОСТ 12.3.033-84, следует выполнять специальные требования, обусловленные особенностями технологических процессов и региональными условиями строительства.

3.10.2. При приготовлении нефтегрунта необходимо использовать разгазированную нефть. За один прием должно разливаться не более 8-9 л/м2.

Предельно допустимая концентрация углеводорода в рабочей зоне не более 300 мг/м3 воздуха.

На подъездной дороге к полигону по приготовлению нефтегрунта должен быть установлен шлагбаум, а по периметру предупреждающие надписи: «Не курить», «Огнеопасно».

3.10.3. При раскладке рулонов геотекстиля на неподготовленное основание, имеющее ямы, глубокие колеи и т.п., необходимо эти места предварительно засыпать грунтом или обозначить вешками. Раскатку рулонов должна вести бригада не менее чем из трех человек.

Работы по засыпке уложенного геотекстиля грунтом или укладке плит покрытия следует вести не ближе 20 м от места производства работ по раскатке рулонов или соединения полотен.

К работам по соединению полотен сваркой, сшивкой или склейкой допускаются лица, прошедшие инструктаж по технике безопасности и ознакомленные с правилами производства работ.

3.10.4. При работе зимой на открытом воздухе рабочие должны быть обеспечены теплой одеждой и обувью, летом - средствами защиты от кровососущих насекомых;

землеройно-транспортные и грузоподъемные машины в зимнее время должны иметь оборудование и устройства для утепления, очистки рабочих органов от намерзающего грунта;

при эксплуатации машин при низких температурах следует ограничивать их нагрузку, учитывая повышенную хладоломкость металла.

3.10.5. При перевозке и монтаже плит сборных покрытий необходимо соблюдать следующие требования:

к такелажным работам допускаются лица, прошедшие курс обучения и имеющие удостоверение такелажников;

при перевозке верхние плиты необходимо раскреплять в кузове с помощью канатов или проволоки;

складирование плит должно вестись на ровных устойчивых площадках, исключающих перекос и последующее смещение плит в штабеле. В зимнее время плиты должны складироваться на площадки, очищенные от наледи и снега;

при подъеме беспетлевых плит петлями из тросов радиус загиба троса на ребрах плит должен быть не менее 30 мм. Для этого в местах зачалки необходимо предусматривать закругления кромок или предварительно трос петлевых зачалок продевать через трубы, имеющие на концах закругления;

для исключения смещения зачалочных петель к центру плиты необходимо пользоваться траверсой;

при подъеме плит такелажники должны находиться на безопасном от поднимаемых и перемещаемых плит расстоянии, на устойчивых и ровных, не загроможденных и не стесненных для перемещения площадках;

при подъеме плит не допускается придерживание такелажниками тросов, крюков, подкладок и других элементов, находящихся в условиях изгиба, сжатия и растяжения. Наводка плит на место укладки должна производиться с помощью специальных шестов в момент, когда плита находится на высоте не более 30 см от основания.

Приложение 1

СХЕМЫ ПОПЕРЕЧНЫХ ПРОФИЛЕЙ ЗЕМЛЯНОГО ПОЛОТНА

Рис. П.1.1. а) Насыпь высотой до 1 м с боковыми резервами на песчаных и супесчаных грунтах; б) Насыпь высотой до 1,2 м на глинистых грунтах

Рис. П.1.2. Насыпь из переувлажненных суглинков сосредоточенных резервов:

а - высотой от 1,5 до 3 м; б - высотой от 3 до 6 м; в - насыпь высотой от 1,5 м до 3 м при использовании переувлажненных суглинков из боковых резервов

Рис. П.1.3. Выемка глубиной от 1 до 6 м в переувлажненных глинистых грунтах с закюветными полками

Рис. П.1.4. а) Насыпь на болотах I типа глубиной до 1 м с выторфовыванием; б) Насыпь на болотах I типа глубиной более 1 м с выторфовыванием

Рис. П.1.5. а) Насыпь на болотах I типа с частичным выторфовыванием; б) Насыпь на болотах II типа с частичным выторфовыванием

Рис. П.1.6. Насыпь на болотах I типа с использованием торфа в основании

Рис. П.1.7. Насыпь на болотах II типа с использованием торфа в основании

Рис. П.1.8. Насыпь на болотах с использованием торфяных грунтов в теле и основании насыпи:

а - на болотах I и II типов, отсыпаемых из сосредоточенных резервов; б - на болотах I типа, отсыпаемых из боковых резервов

Рис. П.1.9. Насыпь на болотах III типа с использованием торфа в основании (при наличии торфяных грунтов типа 3-А и 3-Б)

Рис. П.1.10. Насыпь на старицах и озерах глубиной 1,5 м и более при использовании торфяных грунтов 1-го и 2-го типов (возводимая методом гидромеханизации)

Рис. П.1.11. Насыпь на старицах и озерах глубиной 1,5 м и более при использовании торфяных грунтов 3-А и 3-Б типов (возводимая методом гидромеханизации)

Рис. П.1.12. Насыпь на озерах при использовании в основании торфяных грунтов 3-А и 3-Б типов

Рис. П.1.13. Насыпь на затопляемых поймах, возводимая из песчаных и глинистых грунтов с применением автотранспорта

Рис. П.1.14. Поперечные профили земляного полотна на промороженных основаниях:

а - на болотах I типа; б - на болотах II типа; 1 - минеральная часть земляного полотна; 2 -  намороженный слой торфяной залежи; 3 - талая торфяная залежь; 4 - боковые теплоизоляционные призмы из торфа; 5 - боковые резервы; 6 - талый торфяной слой за счет оттаивания сверху

Рис. П.1.15. Схемы совмещенного способа прокладки автодорог и трубопроводов

Рис. П.1.16. Поперечные профили выемок:

а - выемка в торфяных буграх при грунтах III категории просадочности; б - выемка в торфяных буграх при грунтах IV-V категории просадочности; 1 - привозной грунт; 2 - планировка откосов; 3 - ВГВМ после строительства; 4 - терморегулирующие призмы и подушка из торфа; 5 - нетканый синтетический материал; 6 - засыпка пазух и откосов

Приложение 2

ПРОГНОЗ ОСАДКИ И ОЦЕНКА УСТОЙЧИВОСТИ ОСНОВАНИЯ НАСЫПИ

Конечная осадка основания насыпи устанавливается методом послойного суммирования по формуле

                                                                                           (1)

где epi - модуль осадки i-го слоя сжимаемой толщи при расчетной величине действующих на него вертикальных нормальных напряжений от веса насыпи, определяемый по компрессионной кривой; Hi - мощность i-го слоя; n - число расчетных слоев.

При наличии в болотной толще отдавливающихся слоев конечная осадка, вычисляемая по приведенной формуле, увеличивается на суммарную мощность этих слоев.

Упрощенный прогноз хода осадки во времени осуществляется на основе эмпирических графиков, представленных на рис. П. 2.1.

Рис. П.2.1. График для определения времени достижения заданной интенсивности осадки

За завершение интенсивной части осадки на первой стадии строительства следует принимать момент достижения интенсивности нарастания осадки во времени за предшествующий месяц, равной 7 см/мес, на второй стадии - 2 см/мес. При этом необходимо добавлять время зимнего периода, когда консолидация исключается.

Приближенно допускается принимать время достижения 80 % консолидации равным 17 месяцам, а 90 % - 24 месяцам.

При высоте насыпи более 2,5 м, а также при глубине болота более 9 м или при наличии в болотной толще слабых грунтов, не предусмотренных типизацией, вместо типа болота устанавливается тип основания по устойчивости путем определения коэффициента безопасности при быстрой отсыпке () и при медленной отсыпке () по формуле:

                                                                                        (2)

                                                                               (3)

где - расчетная величина полной сопротивляемости сдвигу грунта основания в его природном состоянии, определяемая в полевых условиях с помощью прибора лопастного типа (крыльчатки);  - расчетная величина полной сопротивляемости сдвигу грунта основания в состоянии полного уплотнения под расчетной нагрузкой от веса насыпи, определяемая и лаборатории по специальной методике; А0 - параметр, определяемый по табл. П. 2.1; S - расчетная осадка; gн - удельный вес грунта насыпи;  - то же с учетом взвешивания; Нр - высота насыпи.

Таблица П.2.1

Относительная глубина слоя с минимальной сопротивляемостью сдвигу в долях от полуширины насыпи по подошве

А0

0,1

8,70

0,2

5,72

0,3

4,88

0,4

4,56

0,6

4,35

0,8

4,26

Для торфов допускается ориентировочно принимать

 МПа,                                                                                              (4)

где  - абсолютная влажность торфа при заданной степени консолидации. Тип основания устанавливают по табл. П.2.2.

Таблица П.2.2

Тип оснований

Показатель

Характеристика

Требуемые мероприятия по обеспечению устойчивости

I

Устойчивость обеспечена при любой интенсивности возведения насыпи

Не требуется

II

Устойчивость обеспечивается только при замедленном темпе возведения насыпи

Определить допустимый режим возведения насыпи и обеспечить его соблюдение

III

Устойчивость не обеспечена ни при каком режиме возведения насыпи

Изменить конструкцию насыпи или усилить основание

Определение сроков устройства дорожной одежды для насыпей, сооружаемых на сжимающемся основании

Упрощенная методика

1. Сроки устройства дорожной одежды Тд.о для насыпей, сооружаемых на слабых грунтах, должны назначаться с таким расчетом, чтобы последующая осадка основания не оказывала существенного влияния на транспортно-эксплуатационные характеристики дороги в течение заданного межремонтного срока.

2. Приближенно Тд.о может назначаться по одному из следующих вариантов:

Тд.о = Ти,                                                                                                             (5)

где Ти - время достижения 80 или 90 % осадки основания (80 % - для дорожных одежд переходного, 90 % - капитального типов).

Допускается для насыпей, отсыпаемых в зимнее время, в условиях нефтегазоносных районов Западной Сибири Ти (для 80 %) = 17 мес; Ти (для 90 %) = 24 мес.

Тд.о = Тiдоп,                                                                                                          (6)

где Тiдоп - время достижения допустимой интенсивности осадки (т.е. интенсивности, при которой за время Тм.р не возникает существенных неровностей покрытия; iдоп = 7 см/мес - на первой и iдоп = 2 см/мес на второй стадии строительства).

Методика определения Тд.о с учетом изменения ровности покрытия

1. Уточненный способ определения Тд.о включает прогноз изменения ровности покрытия за счет неравномерной осадки основания насыпи в процессе эксплуатации за период Тм.р.

2 Ровность покрытия оценивается глубиной неровности Sn при заданной длине 2ln (рис. П.2.2, б и П.2.3, б).

Рис. П.2.2. Номограмма для определения допустимых длин и глубин неровностей для автомобильных дорог категории III-В в процессе эксплуатации

Примечание. Н' - мощность насыпи; стрелками показан порядок проведения расчета

Рис. П.2.3. Номограмма для определения допустимых длин и глубин неровностей для автомобильных дорог категории IV-B и V-B в процессе эксплуатации

Примечание. Н' - мощность насыпи; стрелками показан порядок проведения расчета

3. Порядок прогноза изменения ровности следующий.

3.1. В качестве исходной информации необходимо иметь:

продольный профиль дна болота (или профиль поверхности малосжимаемой толщи, подстилающей сжимаемый слой);

характеристику сжимаемости грунта сжимаемой толщи (например, компрессионный модуль деформации Ер);

значение проектной высоты насыпи Н на любом поперечнике;

величину удельного веса грунта насыпи g.

Примечание. Точность прогноза будет зависеть от детальности получения профиля дна болота. Максимальная точность достигается при получении сплошного профиля дна, что может быть обеспечено при применении геофизических методов.

3.2. Ориентировочно назначают Тд.о и задаются межремонтным сроком Тм.р = Тср.р. Допускается при неоговоренных в задании сроках принимать:

Тм.р = 7 лет - для дорог I-В-II-В категорий;

Тм.р = 9 лет - для дорог III-В категорий;

Тм.р = 10 лет - для дорог IV-В-V-В категорий.

3.3. Руководствуясь профилем дна болота и проектным продольным профилем земляного полотна, намечают, как показано на рис. П.2.4, расчетные участки (каждый из них состоит из двух смежных отрезков), для которых сочетание длины и глубины неровности может оказаться самым неблагоприятным с точки зрения допустимых соотношений длин и глубин, определяемых по графику, рис. П.2.2, а и П.2.3, а. В качестве первого приближения можно предположить, что к наиболее неблагоприятным следует относить неровности, для которых iл + iпр = imax (iл и iпр - уклон левого и правого участка неровности).

Рис. П.2.4. Пример выбора расчетного участка:

1 - проектный продольный профиль земляного полотна; 2 - поверхность слабого основания; 3 - продольный профиль минерального основания болота

3.4. Для выбранных расчетных участков определяют (в соответствии со схемой, приведенной на рис. П.2.5):

1) конечные осадки поперечников, относящихся к этому участку, по формуле:

                                                                                                   (7)

где h - мощность сжимаемого слоя;

2) конечные неравномерные осадки основания:

                                                                                                                          (8)

 

Рис. П.2.5. Схема для определения расчетных характеристик выбранного участка:

1 - поверхность насыпи на момент завершения отсыпки; 2 - поверхность насыпи при неравномерной осадке слабого основания в процессе эксплуатации; 3 - поверхность слабого основания до отсыпки насыпи; 4 - то же на момент устройства дорожной одежды; 5 - то же на момент проведения ремонта покрытия; 6 - то же к окончанию процесса консолидации; 7 - продольный профиль минерального дна болота

3) неравномерные осадки, соответствующие времени проведения ремонта покрытия:

                                                                                                                       (9)

4) неравномерные осадки соответствующие времени устройства дорожной одежды:

                                                                                            (10)

где ,  - коэффициенты времени, определяемые известными методами прогноза консолидации;

5) расчетные неравномерные осадки за время эксплуатации до ремонта покрытия:

                                                                                       (11)

6) расчетные длины левого и правого участков неровности на поверхности сжимаемого слоя (,), которые равны соответствующим участкам неровности минерального основания.

3.5. Принимая за расчетную длину неровности, последовательно каждый из участков , проверяют по графику рис. П.2.2, а и П.2.3, а соответствие условию:

                                                                                                      (12)

где [DSо] - допустимая глубина неровности на поверхности основания.

В случае если условие (8) соблюдается, расчет заканчивают.

Если условие не соблюдается, проводят корректировку исходных данных:

1) меняют (увеличивают) время строительства покрытия;

2) меняют (увеличивают) толщину насыпи.

Расчет повторяют до выполнения условия (12).

В случае невозможности дальнейшего увеличения времени строительства покрытия или же толщины насыпи в качестве мер по обеспечению требуемой ровности поверхности покрытия во время эксплуатации можно предусмотреть:

1) устройство обратной неровности на поверхности земляного полотна;

2) изменение сроков ремонта покрытия из условия достижения допустимых деформаций земляного полотна.

Приложение 3

РАСЧЕТ КОНЕЧНОЙ ОСАДКИ ТОРФЯНОГО ОСНОВАНИЯ НА ОСНОВЕ РЕГИОНАЛЬНОЙ ТИПИЗАЦИИ ТОРФОВ

Расчет осадки торфяного основания выполнен в развитие региональной типизация торфяных грунтов (табл. 2.7) из условия решения одномерной задачи.

Расчетная схема для определения величин осадок (рис. П.3.1) в общем виде представляет двухслойное земляное полотно, отсыпанное из грунтов с различной плотностью (r1, r2), на болоте типа III-А, характеризующемся наличием всех выделенных групп торфяных грунтов:

Н3 - общая мощность торфяных грунтов типа III и воды, м;

Н2 - мощность торфяных грунтов типа II, м;

Н1Б - то же, типа I-Б, м;

Н1А - то же, типа I-А, м.

Расчет выполнен в графической и аналитической формах.

Расчет основан на приведении многослойной системы торфяного основания к условно однослойной (эквивалентной по сжимаемости). Для аналитического расчета используют формулу

                                                                     (1)

График приведения и последовательность выполнения представлены на рис. П.3.2.

Рис. П.3.1. Расчетная схема для определения величин конечных осадок насыпей на болотах

Нахождение величины конечной осадки, представляющей решение совместных зависимостей (осадки от давления и давления от осадки) представлено на рис. П.3.3.

При этом величина давления р определяется из выражений:

                                                                                    (2)

                                                                                      (3)

где р - давление, кгс/см2, по основанию насыпи на уровне поверхности первого сжимаемого слоя торфа, получаемого для песчаных насыпей из выражения (2), для облегченных насыпей (с использованием торфа) из выражения (3); r1, r2 - соответственно плотность песчаного грунта и торфа выше поверхности болота, г/см3; rвзв - плотность песчаного грунта во взвешенном состоянии (плотность торфа во взвешенном состоянии принята равной нулю), г/см3; Н4, Н5 - толщина отсыпаемых слоев грунта (песок торф) выше поверхности болота, м.

Расчет осадки графическим методом выполняется в следующей последовательности:

по графику (рис. П.3.2) определяется эквивалентная мощность торфяного основания;

по уравнению (2) или (3) соответственно для песчаной или облегченной насыпи вычисляется давление на поверхности сжимаемой торфяной толщи;

по рис. П.3.3 находится величина осадки, для чего по оси абсцисс откладывается найденное давление р и для песчаных насыпей проводится линия, параллельная семейству наклонных линий (для облегченных насыпей - вертикально), до пересечения с линией, соответствующей найденной величине эквивалентной мощности Нэкв. Точка пересечения этих линий, снесенная на ось ординат, дает искомую величину осадки.

Аналитическое решение целесообразно при использовании в расчетах ЭВМ и заключается в методе последовательного приближения путем дискретного вычисления по затухающему ряду.

Рис. П.3.2. График для приведения трехслойной системы к однослойной (по сжимаемости):

- мощность торфа типа 1-Б, эквивалентная мощности двухслойного торфяного основания, сложенного из торфов типов 1-Б и 2, м; Нэкв - мощность торфа типа 1-Б, эквивалентная мощности трехслойного торфяного основания, сложенного из торфов типов 1-Б, 1-А, и 2, м

Рис. П.3.3. График для определения величины осадки эквивалентного слоя

Общий (i) счет вычисления представлен уравнениями:

                                                   (4)

                                                                                        (5)

Начало счета при

S = 0.                                                                                                                 (6)

Конец счета при

                                                                                                  (7)

Вычисленная величина  проверяется по условию:

                                                                     (8)

При невыполнении этого условия конечная осадка принимается равной величине

                                                                     (9)

Приложение 4

РАСЧЕТ КОЛЕБАНИЙ ЗЕМЛЯНОГО ПОЛОТНА НА ТОРФЯНОМ ОСНОВАНИИ ПРИ ВОЗДЕЙСТВИИ ПОДВИЖНЫХ НАГРУЗОК

Расчет проводится в случае, если суммарная толщина дорожной одежды и насыпного слоя оказывается меньше значений, приведенных в таблице.

Минимальные суммарные толщины насыпей и дорожных одежд, при которых не требуется проверка конструкции на упругие колебания

Толщина слоя торфа под насыпью после его уплотнения под весом насыпи, м

Суммарная толщина насыпного слоя из минеральных грунтов и дорожной одежды при типах дорожной одежды, м

капитальные

облегченные

переходные

До 0,5

2,0

1,5

1,2

1,0

2,5

2,0

1,5

2,0

3,0

2,5

2,0

3,0 и более

3,5

3,0

2,5

Примечания. 1. Для промежуточных значений мощности слоя уплотненного торфа требуемая минимальная суммарная толщина устанавливается по линейной интерполяции.

2. Суммарная толщина насыпи и дорожной одежды указана по оси насыпи с учетом осадки.

3. При дорожных одеждах с монолитными слоями, обладающими плитным эффектом (цементобетон, асфальтобетон, цементогрунт и т.п.) за толщину дорожной одежды допускается принимать эквивалентную толщину слоя грунта насыпи.

При суммарных толщинах, менее указанных в таблице, конструкция проверяется динамическим расчетом.

Динамический расчет сводится к удовлетворению следующего условия:

                                                                                                      (1)

где афакт - ускорение колебаний проектируемой насыпи на торфе; адоп - предельно допустимое ускорение колебаний насыпи на торфе, определяемое в зависимости от типа проектируемого покрытия и частоты собственных колебаний насыпи (рис. П.4.1).

Рис. П.4.1. Предельно допустимые ускорения колебаний земляного полотна:

I - для усовершенствованных капитальных покрытий; II - для усовершенствованных облегченных покрытий; III - переходных покрытий

Ускорение колебаний проектируемой насыпи на торфе определяют по формуле

                                                                                                   (2)

где А - амплитуда колебаний насыпи; w - круговая частота собственных колебаний насыпи.

Динамический расчет необходимо производить в такой последовательности:

а) определить частоту собственных колебаний насыпи на торфяном основании;

б) определить амплитуду колебаний насыпи;

в) вычислить ускорение колебаний проектируемой насыпи;

г) определить предельно допустимые ускорения колебаний;

д) проверить допустимость ускорений колебаний проектируемой насыпи;

е) наметить мероприятия по уменьшению ускорений колебаний, если они превышают предельно допустимые величины.

Определение частот собственных колебаний насыпей на торфяном основании

При определении частот собственных колебаний в зависимости от отношения толщины насыпи hн к толщине оставляемого слоя торфа (в уплотненном состоянии) hт, следует рассматривать два расчетных случая: 1-й - hн : hт > 0,5 и 2-й hн : hт < 0,5 для hн < 100 см.

Частоты собственных колебаний насыпей на торфяном основании для 1-го случая определяют по номограмме (рис. П.4.2), которая составлена на основе решения задачи о колебаниях насыпи на упругом торфяном основании.

Рис. П.4.2. Номограмма для определения частот собственных колебаний насыпей на торфяном основании (1-ый расчетный случай)

Частоты собственных колебаний насыпей на торфяном основании для 2-го расчетного случая определяют по формуле

                                                                               (3)

В формуле (3) Епр - приведенный модуль упругости торфа, учитывающий отсутствие боковых перемещений колеблющейся призмы торфяного основания

                                                                                           (4)

где Ет - модуль упругости торфа в уплотненном состоянии, определяемый по графику рис. П.4.3; m - среднее значение коэффициента Пуассона для торфа.

При отсутствии данных испытаний допускается принять m = 0,35.

В этом случае Епр = 1,41Ет,

здесь hн - общая толщина насыпного слоя; hт - толщина слоя торфа под насыпью; gн и gт - соответственно средние значения удельного веса для грунта насыпи и торфа; g - ускорение свободного падения.

Общая толщина насыпного слоя

                                                                                                    (5)

где h - высота насыпи; Sобщ - осадка основания.

Рис. П.4.3. Номограмма для определения модуля упругости торфяного основания:

lж - относительная деформация торфяного слоя при расчетной осадке Sобщ

Амплитуду колебания насыпи на торфе при воздействии на дорожную конструкцию транспортной нагрузки (расчетная нагрузка группы А) определяют по формуле:

                                                                                                  (6)

где l - упругий прогиб торфяного основания, вызываемый статической нагрузкой от колеса расчетного автомобиля; Кдин - динамический коэффициент, характеризующий увеличение прогиба за счет эффекта подвижности нагрузки.

Упругий прогиб торфяного основания

                                                                                             (7)

где P и D - параметры расчетной нагрузки (P · D = 198 кгс/см).

Рис. П.4.4. Графики для определения коэффициентов К и h

Коэффициент К определяют по графику рис. П.4.4, а в зависимости от отношений he/D и hт/D (he - толщина однородного песчаного слоя, эквивалентного по распределению напряжении многослойной системе дорожная одежда-насыпь). Коэффициент h устанавливают по графику рис П.4.4, б.

                                                                         (8)

где hэкв - эквивалентная толщина дорожной одежды.

                                                                                             (9)

здесь Нод - толщина слоев дорожной одежды, расположенных выше песчаного слоя; Еср - средний модуль упругости дорожной одежды; Ен - модуль упругости грунта насыпи.

                                                             (10)

где Е1, Е2, ¼ Еi  - расчетные модули упругости отдельных конструктивных слоев толщина которых равна h1, h2, ¼ hi.

Динамический коэффициент Кдин, равный отношению максимального динамического прогиба торфяного основания, вызываемого движущимся автомобилем, к величине статического прогиба определяют по графику (рис. П.4.5) в зависимости от коэффициента демпфирования y. Для 1-го расчетного случая y равен 8,6/w, для второго - 0,33/Ет (Ет в МПа) или 3,3/Ет (Ет в кгс/см2).

Рис. П.4.5. График для определения динамического коэффициента

В случаях, когда не выполняется требование формулы (1), обеспечивающее допустимые колебания насыпи на торфе, находящейся под действием динамической нагрузки, необходимо наметить мероприятия по снижению колебаний.

Основным и наиболее простым способом снижения ускорений колебаний земляного полотна на торфяном основании является увеличение толщины насыпного слоя, что обеспечивает уменьшение частот и амплитуд колебаний, и, в конечном счете, снижает ускорения колебаний.

Если по условиям продольного профиля поднятие насыпи нежелательно, для увеличения толщины насыпного слоя можно пользоваться методами временной пригрузки или частичного выторфовывания.

Приложение 5

РАСЧЕТ ДОРОЖНЫХ КОНСТРУКЦИЙ НА ПРОМОРОЖЕННЫХ ОСНОВАНИЯХ

Высота верхней (минеральной) части насыпи по оси дороги устанавливается по теплотехническому расчету, который рекомендуется выполнять в такой последовательности:

а) определяются для принятой конструкции дорожной одежды и вида грунта земляного полотна расчетные значения коэффициентов теплопроводности lт и объемная теплоемкость Ст материалов в талом состоянии согласно приложению 13;

б) устанавливаются по табл. П.5.1 продолжительность теплого периода года t и средняя за этот период температура поверхности покрытия tп;

Таблица П.5.1

Пункт

Средняя годовая температура воздуха, °С

Продолжительность теплового периода года t, ч

Средняя за период t температура поверхности tп °С

земляного полотна

цементобетонного покрытия

асфальтобетонного покрытия

Тундра

Каменный мыс

-9,4

2760

6,9

8,4

9,0

Новый Порт

-3,8

2900

7,8

9,1

9,8

Тазовское

-9,3

2900

8,4

10,4

10,8

Яр-Сале

-7,5

3090

8,4

10,0

10,8

Ныда

-7,8

3050

8,4

10,2

10,4

Лесотундра

Салехард

-6,4

3240

8,8

10,6

11,2

Ра-Из

-8,2

2760

4,9

6,4

6,8

Ямбург

-6,9

3140

8,4

10,2

10,7

Полуй

-6,3

3240

9,4

10,6

11,7

Пытляр

-5,6

3360

9,0

11,0

13,0

Мужи

-5,1

3410

9,2

10,8

11,3

Надым

-6,6

3240

9,6

10,9

11,7

Уренгой

-7,8

3120

9,5

11,0

11,5

Сидоровск

-8,5

3020

9,2

11,2

11,8

Тайга

Тарко-Сале

-6,7

3260

9,8

11,5

12,0

Толька

-6,1

3540

10,6

11,7

12,0

Ларьяк

-3,3

3890

11,0

12,6

13,4

Лобчинское

-3,0

4030

10,6

12,4

13,0

Сургут

-3,1

3010

10,2

12,6

14,5

Ермаково

-3,6

3950

11,4

12,2

13,0

Горшково

-3,0

4090

10,6

12,0

12,6

Сытомино

-3,0

4000

10,6

12,4

12,8

Самарово

-1,4

4270

10,5

12,7

13,4

Нумто

-5,3

3550

9,7

12,0

12,2

Кондинское

-1,0

4010

10,2

11,8

12,4

Казым

-3,8

3900

10,3

11,7

12,3

Березово

-3,8

3810

9,8

11,8

12,4

Саранпауль

-3,9

3870

9,9

11,4

12,8

Сосьвинская

-3,4

4010

10,3

11,6

12,2

Няксимволь

-2,2

4220

9,5

11,6

12,2

в) вычисляются значения параметров:

                                                                                          (1)

                                                                                                               (2)

                                                                                      (3)

где lт - коэффициент теплопроводности грунта земляного полотна в талом состоянии, ккал/м·ч·град; a - коэффициент теплообмена, 20 ккал/м2·ч; hн, lн - соответственно толщины, м, и коэффициенты теплопроводности, ккал/м·ч·град., конструктивных слоев дорожной одежды; Ст-- объемная теплоемкость грунта земляного полотна в талом состоянии, ккал/м3·град; Т - температура льдообразования, принимаемая для песков от -0,4 до -0,6 °С, для легких супесей от -0,2 до 0 °С, для легких пылеватых супесей от 0,3 до 0,5 °С, для тяжелых пылеватых супесей от -0,9 до -1,4 °С, для пылеватых глин и тяжелых суглинков от -1,2 до -2 °С; Q0 - расход тепла на плавление льда в единице объема грунта, ккал/м3, который определяется по формуле

                                                                                       (4)

где rd и w - соответственно плотность сухого грунта, кг/м3, и влажность, %, грунта земляного полотна; величины rd и w принимаются по табл. П.13.8; a¢ - скрытая теплота плавления льда, 80 ккал/кг; wнз - среднее содержание незамерзшей воды в грунте, %.

Ориентировочно величина wнз принимается равной: 0 - для песков, 7 % - для супесей, 10 % - для суглинков, 15 % - для глин;

г) определяется высота минеральной части насыпи по формуле

                                                                                                   (5)

где h - глубина оттаивания земляного полотна с учетом принятой конструкции дорожной одежды, м; величина h определяется по графикам (рис. П.5.1) при известных параметрах m и Кт; т - коэффициент эквивалентного приведения (по условиям оттаивания) величины hд к грунту земляного полотна принимается равным 3,9 для песков, 4,0 - для супесей, 4,1 - для суглинков легких, 4,2 - для суглинков тяжелых и глин; hд - допустимая глубина оттаивания намороженной торфяной плиты сверху в период эксплуатации дороги, м; величина устанавливается с учетом категории дороги по табл. П.5.2.

Таблица П.5.2

Категория дороги

Допустимая глубина оттаивания hд, м, при использовании в насыпи грунтов

песчаных

глинистых

III-B

0,30

0,25

IV-В

0,40

0,35

V-В

0,50

0,45

Прочность дорожной конструкции проверяется комплексным расчетом согласно приложению 7.

Рис. П.5.1. График для определения глубины протаивания земляного полотна

Конструктивные параметры мерзлого торфяного основания (ширина и толщина промораживаемого слоя болота и намораживаемой торфяной плиты) определяются исходя из условий:

                                                                                           (6)

                                                                                  (7)

где Нн - толщина намораживаемой плиты из торфа, м; Нпл - толщина промороженного слоя торфяной залежи, м; S1 - осадки талого слоя торфяной залежи под действием веса дорожной конструкции и подвижной нагрузки, м; подвижную нагрузку рекомендуется учитывать в том случае, когда высота минеральной части насыпи менее 1,0 м; S2 - осадка намороженного слоя торфа при максимальном оттаивании его в период строительства, м; hвт - требуемое возвышение намороженной торфяной плиты над поверхностью болота, принимаемое равным 0,3-0,4 м; hн - величина оттаивания мерзлого основания снизу, которая для большинства торфяных залежей Западной Сибири (за исключением проточных топей, топей выклинивания и т.п.) составляет 0,09-0,11 м; Нд - минимальная толщина мерзлого основания из условий обеспечения деформативной устойчивости дорожной конструкции, устанавливаемая по табл. П.5.3.

Таблица П.5.3

Тип дорожных покрытий

Величина Нд, м, при сопротивлении сдвигу верхнего промораживаемого слоя торфяной залежи, кгс/см2

0,1

0,05-0,1

0,05

Сборные цементобетонные

1,00

1,15

1,30

Переходные и низшие

0,55

0,60

0,70

Для повышения общей устойчивости дорожной конструкции на болотах, снижения осадок и уменьшения объема работ по намораживанию торфяной плиты целесообразно верхний слой торфяной залежи промораживать на возможно большую глубину.

Минимальная толщина верхнего промораживаемого слоя торфяной залежи Нпл, обеспечивающая безопасное ведение строительных работ в зимнее время, назначается с учетом механических свойств торфяной залежи по табл. П.5.4.

Таблица П.5.4

Сопротивление сдвигу верхнего слоя торфяной залежи, кгс/см2

0,1

0,05-0,1

0,05

Минимальная величина Нпл, м

0,40

0,45

0,50

Глубина промерзания, м, за время t, ч, или время, в течение которого торфяная залежь промерзнет на величину Нпл прогнозируется по формуле

                                                                        (8)

где W - содержание льда в мерзлом торфе, кг/м3, величина устанавливается по графику (рис. П.5.2) в зависимости от влажности торфяной залежи w; Соб - объемная теплоемкость торфа в талом состоянии, ккал/м3·град., определяемая по данным приложения 13; tг - температура торфяной заложи на глубине 3,0-3,5 м  (глубина нулевых амплитуд для торфа), °С; величина tг устанавливается по замерам в любое время года; tв - средняя за период промораживания t температура воздуха °С; величина tв устанавливается по данным метеорологических станций; lтм - коэффициент теплопроводности торфа в мерзлом состоянии, ккал/м·ч, устанавливается согласно приложению 13; S - толщина слоя торфа с термическим сопротивлением, равным термическому сопротивлению слоя мерзлого торфа толщиной hос, при которой начинают расчистку болота от снега и промораживание торфяной залежи, м

                                                                                           (9)

где a - коэффициент теплообмена, равный 20 ккал/м2·ч·град.

Рис. П.5.2. График для определения содержания льда в мерзлом торфе

Время промерзания торфяных залежей болот I типа при hос = 0,15 м допускается устанавливать на стадии разработки технического проекта по графикам на рис. П.5.3.

Рис. П.5.3. Ход промерзания торфяных залежей в районе Шаима (1), Сургута (2), Салехарда (3), Тазовского (4)

Ширина мерзлой торфяной плиты основания определяется по формуле

                                                                                        (10)

где К - коэффициент запаса, принимаемый равным 1,5 при строительстве на болотах I типа и 2,0 - при строительстве на болотах II типа; Е - модуль упругости мерзлого торфа при температуре 0°С, равный 4·104 т/м2; gт - удельный вес торфа, равный 1 тс/м3; m0 - коэффициент Пуассона, равный для мерзлого торфа 0,34.

Осадка талого слоя торфяной залежи (S1) определяется по методике, изложенной в приложении 3.

Осадка от оттаивания сверху намороженной торфяной плиты (S2) определяется по формуле

                                                                                                        (11)

где hо - максимальная глубина оттаивании намороженной торфяной плиты в период подведения минеральной части; если досыпка земляного полотна до проектных отметок выполняется в течение всего теплого периода, то hо = 0,55¸0,60 м.

Приложение 6

СХЕМЫ КОНСТРУКЦИИ ДОРОЖНЫХ ОДЕЖД

Рис. П.6.1. Сборное покрытие на неукрепленных основаниях с прослойками геотекстиля:

а - в разрезе; б - в плане с прослойкой под швами и кромками плит; в - в плане с прослойкой на всю ширину покрытия; I - геотекстиль; 2 - покрытие из плит; 3 - насыпь из песка

Рис. П.6.2. Сборное покрытие на неукрепленном основании с деревянными подкладками (размером 3´15´100 см) под поперечными швами:

1 - деревянная подкладка; 2 - сборное покрытие; 3 - насыпь из песка

Вместо деревянных подкладок (пропитанных антисептиком) могут быть использованы подкладки из синтетических жестких материалов (полиэтилен)

Рис. П.6.3. Сборное покрытие на цементогрунтовом основании:

1 - покрытие из плит; 2 - выравнивающий слой из сухой цементопесчаной смеси или белитового шлама; 3 - цементогрунтовое основание или сухая цементопесчаная смесь

Рис. П.6.4. Дорожная одежда с асфальтобетонным покрытием:

а - на сборном основании из преднапряженных или неармированных и слабоармированных плит; б - на основании из цементогрунтовых плит со скосами (заполняются асфальтобетоном или щебнем); 1 - асфальтобетон; 2 - плиты; 3 - плиты со скосами

Рис. П.6.5. Дорожная одежда переходного типа:

1 - геотекстиль; 2 - щебень (гравий)

Рис. П.6.6. Дорожная одежда переходного типа с покрытием из каменных материалов, укрепленных белитовым шламом:

1 - геотекстиль; 2 - покрытие

Рис. П.6.7. Дорожная одежда со сборным покрытием на укрепленном основании из белитового шлама:

1 - слой белитового шлама; 2 - выравнивающий слой из сухой цементно-песчаной смеси или белитового шлама; 3 - плиты сборного покрытия

Приложение 7

РАСЧЕТ ДОРОЖНЫХ КОНСТРУКЦИЙ НА ПРОЧНОСТЬ ПРИ ИСПОЛЬЗОВАНИИ ТОРФЯНЫХ ГРУНТОВ В ОСНОВАНИИ И НИЖНЕЙ ЧАСТИ НАСЫПИ

Данный расчет может применяться для конструкций, суммарная толщина слоев из минеральных грунтов и материалов в которых не превышает 2,0-2,5 м.

Соблюдение условии настоящего расчета обеспечивает для условий дорог Среднего Приобья работу конструкций в стадии упруго-пластических деформаций при сроке службы между капитальными ремонтами для одежд с покрытиями из щебня и гравия 6-7 лет, а для одежд с покрытиями из сборных плит типа ПАГ-14 - 10-12 лет.

Расчетная схема дорожной конструкции-пакет из слоев конечной мощности на недеформируемом основании (дно болота), включающий связные (сплошные) слои и зернистые слои с коэффициентом распределительной способности v = 0,33.

Мощность системы ограничивается снизу уровнем минерального дна болота.

К связным слоям относят мерзлые слои торфа и минерального грунта, бетон, асфальтобетон и т.п. материалы, к несвязным - слои талого торфа, песков, супесей, гравия, щебня и т.п.

Дорожные одежды из предварительно-напряженных плит рассчитываются по критериям сопротивления растяжению при изгибе материала плиты и допустимому упругому прогибу всей конструкции. Дорожные одежды из щебня и гравия рассчитываются только по критерию допустимого упругого прогиба всей конструкции.

Расчетная нагрузка - автомобиль группы А. Приведение фактического движения к интенсивности движения расчетного автомобиля группы А производится для жестких одежд - по ВСН 197-83, для нежестких - по ВСН 46-83. Диаметр штампа эквивалентного круга для нежестких одежд - 37 см (движущийся автомобиль по ВСН 46-83), для жестких - 33 см.

Конструкции с нежесткими одеждами переходного типа

Толщина отдельных конструктивных слоев одежды и земляного полотна уточняется расчетом. При этом с ошибкой не более 5 % должно быть достигнуто равенство между расчетным прогибом проектируемой конструкции и допустимым прогибом по условиям движения, который определяется по рис. П.7.1.

Рис. П.7.1. Требуемые модули упругости и предельно допустимые прогибы в зависимости от приведенной к расчетному автомобилю группы А суточной интенсивности движения на одну полосу:

1 - для сборных предварительно-напряженных покрытий (диаметр эквивалентного кругл 33 см); 2 - для нежестких покрытий переходного типа (диаметр эквивалентного круга 37 см)

Допустимый прогиб и требуемый модуль упругости всей конструкции связаны между собой соотношением

                                                                                            (1)

где р - удельное давление по площади следа расчетного автомобиля, кгс/см2; D - диаметр круга, равновеликого следу колеса расчетного автомобиля, см; m - коэффициент Пуассона, принимается 0,3; lдоп - допустимый упругий прогиб дорожной одежды, см.

Расчетный прогиб проверяемой конструкции определяется графоаналитически с использованием вспомогательного графика на рис. П.7.2 в три приема.

Рис. П.7.2. Номограмма для определения функционального коэффициента Fi

Первый шаг. Определяются для каждого слоя (i-N слоя, считая сверху) вспомогательные величины по формуле

                                                                                                    (2)

где, помимо прежних обозначений, Hi - расстояние в дорожной конструкции от нагрузки до низа i-го слоя, см.

Второй шаг. По графику на рис. П.7.2 для каждой величины Ki находится функциональный коэффициент Fi.

Третий шаг. Вычисляется упругий прогиб по формуле

                                                                                           (3)

где, помимо прежних обозначений, Ei - штамповый модуль упругости i-го слоя, кг/см2.

Для торфа в болоте I и II типов следует принимать значения штампового модуля упругости торфа, приведенные в прил. 13.

Если в конструкции имеется один или несколько слоев из связных материалов, способных воспринять растягивающие усилия при изгибе, то при использовании формул (2), (3) толщины этих слоев должны быть приведены к эквивалентной по формуле

                                                                                                    (4)

где hэ - эквивалентная толщина связного слоя, см; h - фактическая толщина связного слоя, см; Ев - модуль упругости материала связного слоя, кгс/см2; Еэн - эквивалентный модуль упругости слоев, подстилающих связный слой, кгс/см2. Для слоев дорожной одежды с достаточной степенью точности, можно принять его равным требуемому модулю упругости одежды.

Слой мерзлого торфа следует относить к связным слоям. При определении его эквивалентной толщины Еэн следует принимать, как для торфа, по прил. 13, а Ев - 4000 кгс/см2.

Модули упругости слоев земляного полотна из минеральных грунтов в зависимости от влажности даны в прил. 13. Там же указаны расчетные характеристики новых местных материалов для устройства дорожных одежд.

Конструкции с жесткими дорожными одеждами из сборных предварительно-напряженных плит ПАГ-14 и ПДГ

В результате расчета уточняется толщина слоев искусственного основания и земляного полотна. При этом с ошибкой не более 5 % должно быть:

а) достигнуто равенство между допустимым прогибом (рис. П.7.1) и расчетным прогибом проверяемой конструкции;

б) обеспечено превышение или равенство допустимого напряжения на изгиб плиты и расчетного напряжения в плите.

Прогиб и напряжение в плите проверяемой конструкции рассчитывается графоаналитически с использованием вспомогательных графиков (рис. П.7.3, П.7.4). При этом прогиб рассчитывается, как прогиб нежесткой дорожной конструкции от нагрузки круглым штампом диаметром Dусл, зависимым от эквивалентного модуля упругости основания, на которое опирается плита. Расчет рекомендуется выполнять в четыре приема.

Для расчетной интенсивности движения по графику (рис. П.7.1) определяется допустимый упругий прогиб lдоп и требуемый эквивалентный модуль упругости Етр. В дальнейшем эти значения будут контрольными для проверяемых конструкций.

Рис. П.7.3. Растягивающие напряжения и осадки в центре плиты от нагрузки 5 тс, приложенной в середине плит (для плит ПАГ-14 и ПДГ)

В зависимости от lдоп по рис. П.7.3 находится требуемый эквивалентный модуль упругости основания Ео.э, подстилающего плиту, и определяется растягивающее напряжение в плите, соответствующее найденному модулю упругости основания. Полученное по графику значение sри умножается на коэффициент 1,20 (учет динамики). Результат сравнивается с допустимыми напряжениями sдоп для плиты данной марки (49 кгс/см2 для ПДГ и 55 кгс/см2 для ПАГ-14). Если растягивающее напряжение с учетом коэффициента 1,20 превышает допустимое напряжение более чем на 5 %, увеличивают Ео.э.

Рис. П.7.4. Диаметр условного круга передачи нагрузки на основании (для плит ПАГ-14 и ПДГ)

В зависимости от Ео.э по рис. П.7.4 для данной марки плиты определяется диаметр условного круга передачи нагрузки на основание Dусл, после чего рассчитывается среднее давление на основании по площади условного круга ро по формуле

                                                                                                     (6)

где Р - нагрузка на расчетное колесо (5000 кгс).

По формуле (3) вычисляются упругая осадка основания от нагрузки в виде условного круга и соответствующий эквивалентный модуль упругости Ео.э - по формуле, которая в этом случае имеет вид

                                                                                      (7)

Если разница Ео.э с требуемым модулем более 5 %, то корректируют конструкцию в нужную сторону. Может быть изменена толщина минеральной части насыпи или слоев искусственного основания (гравия, цементогрунта и т.п.), проведено частичное выторфовывание на коротком участке.

Приложение 8

РАСЧЕТ ДОРОЖНОЙ ОДЕЖДЫ СО СБОРНЫМ ПОКРЫТИЕМ ПО УСЛОВИЮ ОГРАНИЧЕНИЯ ОСТАТОЧНЫХ ДЕФОРМАЦИЙ В ОСНОВАНИИ

Условие прочности конструкции дорожной одежды по условию допустимой остаточной деформации в основании в зоне поперечного шва под углом плиты

wрасч £ wдоп,                                                                                                        (1)

где wдоп - допускаемая остаточная деформация поверхности основания под углом плиты от расчетной нагрузки, накапливаемая к концу расчетного срока эксплуатации. При отсутствии специальных требований к ровности покрытия принимается wдоп = 2 см. Расчетная схема показана на рис. П.8.1; wрасч - расчетный прогиб под углом плиты при повторном воздействии нагрузки, определяемый по формуле

                                                              (2)

где Ео - модуль деформации основания, принимаемый по табл. П.8.1.

Таблица П.8.1

Вид песка в основании (земляном полотне)

Модуль деформации, МПа

Крупный

40,0

Средний

35,0

Мелкий

30,0

                                                                                       (3)

где Рк - нормативная нагрузка на колесо, при определении которой не включаются разовые тяжелые нагрузки; тд - коэффициент динамичности с учетом возникновения уступов между плитами, принимаемый равным 1,3; тпг - коэффициент перегрузки, принимаемый равным 1,3; тст - коэффициент влияния стыковых соединении, при надежных стыках тст = 0,75, в остальных случаях тст = 1; N - количество расчетных автомобилей, проходящих за сутки по краю покрытия, принимаемое равным 0,2 от общей суточной интенсивности движения по дороге; п - количество дней в году с расчетным состоянием грунта, без специальных данных принимается равным 50 дням; Т - расчетный срок службы покрытия, год; Кпг - коэффициент перегрузки песчаного основания под покрытием, определяемый по формуле

                                                                                                                                        (4)

qдоп - допускаемое давление на основание по сдвигу грунта при повторном нагружении для площадки нагружения по рис. П.8.1.

Рис. П.8.1. Схема расчета основания под сборными покрытиями из плит типа ПАГ-14

                                                               (5)

т - коэффициент условия работы, равный 1,2; А1, А2, А3 - безразмерные коэффициенты, принимаемые по табл. П.8.2; b - ширина площадки нагружения, для песчаного основания равная полуширине плиты В; h - глубина площадки нагружения, для песчаного основания равная толщине плиты; g - плотность грунта в Н/м3 (т/м3); С - удельное сцепление грунта на глубине h с учетом повторности нагружения, принимаемое по табл. П.8.3 в Н/м2 (или в т/м2 при умножении табличных значений на 100);

Таблица П.8.2

Угол внутреннего трения грунта j, град

Значение коэффициентов

А1

А2

A3

4

0,06

1,25

3,51

6

0,10

1,39

3,71

10

0,18

1,73

4,17

24

0,72

3,87

6,45

26

0,84

4,37

6,90

28

0,98

4,93

7,40

Таблица П.8.3

Грунт

Расчетный модуль упругости основания Ео, МПа

Расчетные прочности характеристики при повторности нагружения, циклы

NnT = 104

NnT = 105

NnT = 106

j, град

С, МПа

j, град

С, МПа

j, град

С, МПа

Песок средней крупности

110

28

0,0032

27

0,0030

26

0,0025

Песок мелкий

110

27

0,0038

26

0,0036

24

0,0033

Песок пылеватый

90

26

0,0036

25

0,0029

24

0,0020

Суглинок легкий при:

 

 

 

 

 

 

 

wотн = 0,65 wт

50

10

0,0048

10

0,0045

10

0,0040

wотн = 0,65 wт

41

6

0,0035

6

0,0033

6

0,0030

wотн = 0,65 wт

34

4

0,0020

4

0,0019

4

0,0019

пj, nq, nc - коэффициенты влияния размеров площадки нагружения, ее длины:

                                                         (6)

qрасч - расчетное давление на основание под углом плиты при первом нагружении

                                                                                                    (7)

L - расчетная длина площадки нагружения основания (земляного полотна) при первом нагружении на эпюре, указанной на рис. П.8.1

                                                                                (8)

Е - модуль упругости бетона (плиты); для плит типа ПАГ-14 из бетона марки «400» Е = 31500 МПа; - модуль упругости основания; а - полудлина штампа, считая, что штамп имеет прямоугольную форму, при отсутствии специальных требований принимается, что а = 16 см;

Кд - коэффициент влияния вибротекучести основания при динамическом нагружении, определяемый на основе данных длительной эксплуатации сборных покрытий путем обратного пересчета.

Обратный пересчет наделяет Кд также функцией поправочного коэффициента, приводящего расчет в полное соответствие данным эксплуатации.

Для песчаных оснований при отсутствии стыковых соединении Кд = 2,86, при наличии надежных стыковых соединений уменьшается ускорение динамического нагружения и Кд уменьшается до 0,286. При наличии под поперечными швами слоя нетканого материала, снижающего влажность верхнего слоя основания и повышающего его динамическую устойчивость в 2 раза Кд = 1,43.

При укладке в зоне поперечных швов деревянных или пластмассовых прокладок значения b и L увеличиваются исходя из площади выступающих за торец или край плиты частей этих прокладок.

При устройстве под продольными швами полос из цементогрунта b и L увеличиваются, увеличивается также на толщину полос расчетная глубина в формуле (5). Прочность полос цементогрунта должна быть такова, чтобы выдержать нагрузку 0,6¸0,8 Р.

При проектировании вариантов стабилизированного основания с допущением к концу срока эксплуатации небольших остаточных деформации расчетная длина площадки нагружения увеличивается на две толщины слоя основания (2ho), ширина - если стабилизированное основание шире покрытия - не более чем на 2ho, а глубина залегания площадки нагружения h в формуле (5) - на ho.

При определении wрасч  представляет собой эквивалентный модуль деформации основания. Для цементогрунтового основания толщиной 16 см с песчаным выравнивающим слоем Кд = 2,86, а с выравнивающим слоем из сухой цементопесчаной смеси Кд = 1.

Для меньшей толщины слоя стабилизированного основания (без песчаного выравнивающего слоя)

                                                                                      (9)

Приложение 9

РАСЧЕТ ДОРОЖНЫХ ОДЕЖД С ПЕРЕХОДНЫМИ ТИПАМИ ПОКРЫТИЙ ПО СДВИГУ В ПОДСТИЛАЮЩЕМ ГРУНТЕ

Дорожные одежды с переходными типами проектируются с учетом возможности накопления в подстилающих грунтах остаточных деформаций, не превышающих заданной величины за расчетный срок эксплуатации (за определенное количество воздействий расчетных нагрузок).

Задача расчета - определение толщины слоев одежды или выбор материалов подстилающих слоев с соответствующими прочностными характеристиками при заданных толщинах дорожной одежды.

Расчет дорожной одежды основан на следующих предпосылках:

1. Напряженное состояние дорожной одежды под действием транспортной нагрузки определяется решениями теории упругости для однородного полупространства.

2. Деформации материала самого покрытия исправляются в процессе содержания автомобильной дороги и в расчете не учитываются.

3. За расчетные принимаются наибольшие нагрузки на ось от автомобилей, которые систематически обращаются по дороге в неблагоприятный период года. Нагрузки на ось, отличающиеся от расчетных, приводятся к расчетным с помощью соответствующих коэффициентов приведения.

4. Силы инерции, действующие на одежду и земляное полотно в процессе деформирования, расчетом не учитываются (задача квазистатическая).

5. Влияние горизонтальной составляющей подвижной нагрузки на закономерности накопления остаточных деформаций в подстилающем грунте расчетом не учитывается (осесимметричная задача).

6. Вследствие достаточной уплотненности подстилающих грунтов, возникающие в них под действием транспортных нагрузок остаточные деформации имеют в основном характер деформаций сдвига (бокового выдавливания).

Характер накопления остаточных деформаций зависит от количества приложений расчетных нагрузок и уровня напряженного состояния грунта, выраженного коэффициентом Ку.н.с, представляющим отношение фактического девиатора напряжений, действующего в грунте на различных горизонтах к предельному:

                                                               (1)

где s1 - наибольшее главное напряжение; s2 - наименьшее главное напряжение; j - расчетная величина угла внутреннего трения грунта; С - расчетная величина сцепления в грунте.

Величина накопленной под действием транспортных нагрузок остаточной деформации lост устанавливается в соответствии с зависимостью

                                                                                                 (2)

где а - параметр, представляющий остаточную деформацию при единичном приложении нагрузки, %; i - параметр, характеризующий интенсивность накопления остаточной деформации, %:

                                                                                              (3)

N - количество воздействий расчетных нагрузок.

Параметры а и i зависимости (2) представляют собой при прочих равных условиях функции уровня напряженного состояния:

                                                                                          (4)

                                                                                           (5)

Примечание. Для учета влияния напряжений от собственного веса конструктивных слоев следует принимать:

где  и - большие и меньшие главные напряжения от внешней (подвижной) нагрузки, возникающие в данной точке; g - средневзвешенный удельный вес слоев конструкции, расположенных выше рассматриваемого горизонта z; z - расстояние от поверхности покрытия до рассматриваемого горизонта; - коэффициент уровня напряженного состояния, соответствующий началу накопления остаточных деформаций (при значении  с накопление остаточных деформаций отсутствует); d - параметр, характеризующий увеличение остаточной деформации с ростом уровня напряженного состояния при однократном приложении нагрузки; x - параметр, характеризующий рост интенсивности накопления остаточной деформации с увеличением уровня напряженного состояния.

Подставляя выражения (4) и (5) в (2) имеем:

                                                                      (6)

Для однородного грунтового массива, к поверхности которого приложена нагрузка через штам диаметром D, вертикальная относительная деформация элемента грунта, расположенного на глубине z от поверхности, выражается зависимостью (2). Абсолютная его деформация составит:

                                                                                                        (7)

Осадка поверхности массива грунта:

                                                                                                      (8)

z1, z2 - пределы интегрирования (размер активной зоны), определяемые из условия .

Учитывая выражение (6) имеем:

                                                      (9)

Величины s1 и s2 находят из зависимостей:

                                                                        (10)

                            (11)

где q - удельная величина расчетной нагрузки; g - удельный вес грунта; m - коэффициент Пуассона, m = 0,5; z - глубина рассматриваемой точки, R - радиус нагруженной площадки.

Величины , d и x определяют по результатам испытаний образцов грунтов в условиях трехосного сжатия при повторном воздействии нагрузок.

Расчет дорожной одежды производится следующим образом:

1. В зависимости от величины удельной расчетной нагрузки q, диаметра нагруженной площадки D и прочностных характеристик грунта j и С оценивается изменение по глубине напряженного состояния дорожной одежды и подстилающего грунта как однородного полупространства, используя зависимости (1), (10) и (11).

Для этого строится эпюра изменения Ку.н.с в зависимости от относительной глубины расположения рассматриваемой точки грунтового массива z/D до уровня, где . На участке, где Ку.н.с > 1, эпюра изменения Ку.н.с спрямляется и Ку.н.с принимается равным 1.

2. Задаваясь определенной толщиной дорожной одежды, определяется величина накопленной осадки поверхности подстилающего грунта, используя зависимость (9).

Для этого строятся эпюры изменения d и x в зависимости от относительной глубины рассматриваемой точки грунтового массива z/D при coj ответствующих значениях Ку.н.с для заданного количества приложений расчетной нагрузки N.

Сумма площадей эпюр изменения d и x соответствует величине накопленной осадки поверхности грунта.

3. Рассчитанная накопленная остаточная деформация поверхности подстилающего грунта не должна превышать допустимой величины (табл. П.9.1).

Таблица П.9.1

Тип дороги

lдоп

Внутрипромысловые

2 см

Подъезды к скважинам

4 см

Временные

6 см

Если остаточная деформация lрасч больше или меньше lдоп, следует соответственно увеличить или уменьшить толщину дорожной одежды и повторно провести определение lрасч, используя эпюру изменения d и x.

При расчете осадки поверхности песчаных подстилающих грунтов величины d и x могут быть определены по следующим экспериментальным зависимостям:

                                   (12)

                                                                                     (13)

Величины прочностных характеристик песчаных грунтов j и С, а также величины  приведены в табл. П.9.2.

Таблица П.9.2

Грунт

j, град.

С, МПа

Песок крупный

42

0,007

0,25

Песок средней крупности

40

0,006

0,23

Песок мелкий

38

0,005

0,21

Для удельной расчетной подвижной нагрузки q = 0,6 МПа расчет дорожных одежд производится с помощью номограммы (рис. П.9.1), связывающей между собой относительную толщину дорожной одежды h/D (верхняя горизонтальная шкала), угол внутреннего трения подстилающего грунта j (наклонные прямые номограммы), суммарное количество воздействий расчетных нагрузок N за срок службы (лучи на номограмме) и относительную накопленную остаточную деформацию подстилающего грунта l = е/D (нижняя горизонтальная шкала). Задаваясь толщиной дорожной одежды h/D, в зависимости от угла внутреннего трения подстилающего грунта j и суммарного количества воздействий расчетных нагрузок N можно определить относительную величину накопленной остаточной деформации l.

Расчет может быть выполнен и в обратном порядке: задаваясь величиной накопленной остаточной деформации l, в зависимости от суммарного количества воздействий расчетной нагрузки N и угла внутреннего трения подстилающего грунта j можно определить требуемую относительную толщину дорожной одежды h/D.

Рис. П.9.1. Номограмма для определения относительной величины накопленной остаточной деформации l в подстилающем грунте (при h/D = 0¸2,0). Порядок пользования показан штриховой линией со стрелками

Приложение 10

СХЕМЫ КОНСТРУКЦИЙ УКРЕПЛЕНИЯ ОБОЧИН И ТРЕБОВАНИЯ К МАТЕРИАЛАМ

Рис. П.10.1. Схемы конструкций укрепления обочин: нежесткий тип укрепления; комбинированный тип укрепления:

I - укрепление ПГС на дорните; IIа - цементогрунт и нефтегрунт на дорните; IIб,в - нефтегрунт или цементогрунт на ПГС; IIг - укрепление переменной толщины из нефти или цементогрунта; IIIа - укрепление краевой полосы из золоцементогрунта и ПГС на остановочной полосе все на дорните; IIIб - укрепление краевой полосы плитами из золоцементогрунта на ПГС, остановочная полоса из нефтегрунта; IV - укрепление уширением плитами ПАГ-14 с выделением краевой полосы продольной разметкой

Таблица П.10.1

Варианты конструкций укрепления обочин автомобильных дорог

Вариант укрепления обочин

Материал укрепления обочин

Категория дороги

Ширина проезжей части

Ширина обочин, м

Ширина укрепленной полосы

Толщина слоя укрепления, м

Укрепление нежесткого типа

I

Песчано-гравийная смесь (ПГС) на дорните по всей ширине обочин

IV-B

6,0

2,0

-

0,14

IIа

Цементогрунт с добавкой нефти или нефтегрунт с добавкой цемента на дорните по всей ширине обочины

IV-B

6,0

2,0

-

0,14

III-B

8,0

2,0

0,5

II6

Цементогрунт с добавкой нефти или нефтегрунт с добавкой цемента по всей ширине обочины, в пределах краевой полосы на ПГС

IV-B

6,0

2,0

-

0,14

III-B

8,0

2,0

0,5

IIв

Нефтегрунт с добавкой цемента или цементогрунт с добавкой нефти по всей ширине обочины, а в пределах краевой полосы на слое цементогрунта

III-B

8,0

2,0

0,5

0,1-0,34

IIв

Цементогрунт с добавкой нефти или нефтегрунт с добавкой цемента на всей ширине обочины слоем переменной толщины

III-B

8,0

2,0

0,5

0,1-0,34

Укрепление комбинированного типа

IIIa

Сборные плиты из золоцементогрунта на краевой полосе и ПГС на остановочной полосе на дорните

IV-B

6,0

2,0

0,5

0,14

IIIб

Сборные плиты из золоцементогрунта на краевой полосе на ПГС, цементогрунт с добавкой нефти на остановочной полосе

1V-B

6,0

2,0

0,5

0,14

III-B

8,0

2,0

0,5

0,14

IV

Уширенная проезжая часть из плит ПАГ-14 с выделением краевой полосы продольной разметкой; слой ПГС на остановочной полосе обочины

III-B

8,0

2,0

0,5

0,14

II

8,5

3,25

0,75

0,14

Примечания. 1. Приведена минимальная толщина слоя укрепления обочин, в каждом конкретном случае она уточняется расчетом.

2. Под чертой дана толщина слоя основания на укрепленной полосе обочины.

3. Ширина проезжей части кратна ширине плиты ПАГ-14 (2 м).

Таблица П.10.2

Физико-механические свойства

Нефтегрунты без добавок

Нефтегрунты с добавками

Предел прочности при сжатии водонасыщенных образцов при 20 °С, МПа не менее

0,6

0,8

Коэффициент морозостойкости, не менее

0,65

0,75

Водонасышение, % объема, не более

6

4

Коэффициент уплотнения, не менее*

0,95

0,95

_____________

* Коэффициент уплотнения определяют как отношение объемной массы вырубки с ненарушенной структурой к объемной массе образцов из этой же вырубки, переформованных при оптимальной влажности под нагрузкой 30 МПа.

Таблица П.10.3

Физико-механические свойства дорнита

Дорнит для обочин

Дорнит для откосов

Разрывное усилие при испытании образца шириной 5 см и длиной 10 см, Н (кгс), не менее:

 

 

в продольном направлении

445 (45)

345 (35)

в поперечном направлении

245 (25)

198 (20)

Удлинение при разрыве, %, в направлении:

 

 

продольном

70

80

поперечном

130

140

Поверхностная плотность (плотность r = 0,15 г/см3, толщина 4 мм), г/м2, не более

600

600

Приложение 11

МЕТОДИКА СТЕНДОВОГО ИСПЫТАНИЯ ПЛИТ СБОРНЫХ ПОКРЫТИЙ НА ИЗГИБ

Испытания проводятся с целью оценки общей прочности плит на изгиб, обнаружения плит с недостаточной прочностью бетона, с недостаточным напряжением арматуры или с потерей предварительного напряжения в одном или более стержнях нижней зоны сечения.

На рис. П.11.1 показана схема испытания при условии, если в расчетной зоне находится пять напряженных стержней Æ 5 мм, ст. кл. A-IV, т.е. на изгибающий момент равный 1730 кгс·см.

Для определения прочности плит на изгиб испытывают не менее трех плит, отобранных из контролируемой партии.

В контролируемую партию входит не более 300 плит, поступивших с одного завода ЖБК и имеющих одни и те же паспортные данные.

Испытывают плиты на ранее уложенном штабеле. Испытываемую плиту (вторую сверху в штабеле) изгибают путем смещения подкладок под последней, верхней плитой, которая в данном случае служит пригрузом.

В качестве подкладок, которые применяют при испытании, используют деревянные бруски высотой 30 мм и шириной 100 мм.

Для массовой сплошной выбраковки плит рекомендуется проводить ускоренные испытания путем подъема их стропами неодинаковой длины. При этом одна из строп должна быть короче остальных не менее чем на 10 см.

Плиты при испытании целесообразно устанавливать так, чтобы наиболее слабая зона при изгибе была растянута.

Предварительно-напряженные плиты считаются выдержавшими испытания в том случае, если при нагружении в растянутой зоне бетона плит не возникают трещины шириной более 0,3 м. После снятия нагрузки трещины должны закрыться.

Рис. П.11.1. Схемы стендовых испытаний преднапряженных дорожных плит на действие расчетного изгибающего момента, равного 1740 кГс·см/см:

А - испытание одной плиты с растяжением бетона в нижней зоне; Б - испытание 2 плит с определением трещиностойкости бетона в верхней и нижней зонах; 1 - плиты штабеля; 2 - деревянные прокладки шириной не более 10 см, толщиной не менее 3 см; 3 - плита, в которой определяется трещиностойкость в нижней зоне; 4 - плита, в которой определяется трещиностойкость в верхней зоне; 5 - плита пригруза

Ненапряженные плиты размером 0,14´2´6 м испытываются таким же образом, что и напряженные, т.е. на тот же изгибающий момент. Ненапряженные плиты других размеров могут испытываться по сходной схеме, при этом расстояние между подкладками определяют исходя из расчетного изгибающего момента для данной плиты. Нагрузкой могут служить несколько плит.

Приложение 12

РАСЧЕТ ДОПУСТИМОЙ НАГРУЗКИ НА ТОРФЯНОЕ ОСНОВАНИЕ ОТ ВЕСА НАСЫПИ АВТОДОРОГИ ИЗ УСЛОВИЯ ОБЕСПЕЧЕНИЯ ПРОЧНОСТИ ТРУБОПРОВОДОВ В МЕСТЕ ПЕРЕХОДА

При проектировании автомобильных дорог с шириной насыпи по верху равной 12 м через подземные трубопроводы допускаемая (по условию прочности трубопровода) нагрузка на торфяное основание насыпи определяется для I, II, III конструктивных решений по формуле

                                                                               (1)

где рдоп - вертикальная нагрузка от веса насыпи автодороги на нулевой отметке, кг/см2; r - первоначальный радиус кривизны вогнутого участка трубопровода в месте пересечения с осью автодороги, определяемый расчетом по результатам изысканий, м; в случае прямолинейного и выпуклого r следует принимать равным бесконечности; а, в - коэффициенты, определяемые по формуле (2) или (3) в зависимости от типа основания.

При отсутствии в основании насыпи слоя торфяного грунта III типа (Н3 = 0) коэффициенты а и в определяются по формулам

                                                                                      (2)

где А = 0,6 для III конструктивного решения пересечения, А = 1,2 для I и II конструктивного решения пересечения; Нэкв - эквивалентная мощность торфяного слоя, определяемая согласно приложению 3, м.

При наличии в основании торфяных грунтов III типа (Н3 ¹ 0)

                                                                  (3)

где Н3 - общая мощность слоев воды и торфяных грунтов III типа, м. Величины коэффициентов К1, К2, С1, C2, D1, D2 указаны в таблицах П.12.1 - П.12.12 в зависимости от конструктивного решения, назначения трубопровода (поддержания пластового давления, газлифт, нефтегазосбор, низконапорные водоводы), давления, марки стали, разности между температурой монтажа и температурой продукта Dt, коэффициента условий работы трубопровода т, определяемого по таблице 1 СНиПа 2.05.06-85 в зависимости от категории участка, принимаемой на основании п. 2 и п. 3 таблицы 3 СНиПа 2.05.06-85, мощности слоев торфяного грунта Нэкв и Н3, длины кожуха L, диаметров D и толщины стенок d трубопровода и кожуха.

В том случае, если значения коэффициента т, давления рвн перепада температуры Dt, для трубопровода, пересекаемого автодорогой, отличаются от значений в таблицах П.12.1 - П.12.12, то найденное значение коэффициента а должно быть изменено согласно таблицам П.12.13 - П.12.18.

Формула (1) выведена для нагрузки от веса насыпи в диапазоне 0- 0,5 кг/см2. В связи с этим, если по формуле (1) получится величина нагрузки р > 0,5 кг/см2, то необходимо либо проверить прочность трубопровода на эту нагрузку методами строительной механики, либо принять допускаемую нагрузку р = 0,5 кг/см2, что пойдет в запас прочности трубопровода.

Методика использования формулы (1) для расчета допускаемой нагрузки от веса насыпи автодороги на ее основание показана на примере.

Пример. Определить допустимую нагрузку от тела насыпи для нефтегазосборного трубопровода Æ 530´7 мм, сталь марки 17Г1С, коэффициент условий работы трубопровода т = 0,75, давление рвн = 4,0 МПа, температурный перепал Dt = 40 °С, мощность эквивалентного слоя торфа Нэкв = 3,0 м, мощность торфяного слоя III типа Н3 = 0, радиус кривизны пересекаемого трубопровода r = 800 м, определенный по результатам изысканий, длина кожуха L = 26 м, конструктивное решение пересечения III.

Расчет. Из таблицы 2.5 по заданному диаметру D = 530 мм трубопровода находим требуемый кожух диаметром Dк = 720 мм с толщиной стенки dк = 8 мм. Так как Н3 = 0, принимаем А = 0,б м.

Используя найденные данные о размерах кожуха, а также заданные значения D = 530 мм, d = 7 мм, pвн = 4,0 МПа, Dt = 40 °С, Нэкв = 3,0 м, Н3 = 0, сталь 1771С, L = 26 м, из табл. П.12.2 находим: K1 = 5,5, C1 = 43,0, К2 = 2,3, С2 = 2,0.

Отсюда по формулам (2) и (3) определяем

а = 5,5 (3,00,6) + 43,0 = 29,8;

в = 2,3 (3,00,6) + 2,0 = 7,52.

Сравнивая исходные эксплуатационные характеристики трубопровода т, рвн, Dt с данными в табл. П.12.2, видим отличие в коэффициентах условий работы т и давления рвн.

В табл. П.12.2 т = 0,9, рвн = 1,6 МПа, а по условию т = 0,75, рвн = 40 МПа. Следовательно, коэффициент а необходимо скорректировать согласно таблице П.12.14.

Для данных т = 0,75, Dt = 40°С, рвн = 4,0 МПа, D´d = 530´7 мм имеем a1 = a 10,4 = 29,8 10,4 = 19,4.

Допускаемая нагрузка на трубопровод от веса насыпи автодороги по формуле (1) равна

 кгс/см2,

т.е. допускаемая нагрузка рдоп = 0,5 кгс/см2.

Нефтегазосборные трубопроводы

т = 0,9; рвн = 4,0 МПа; Dt = 20 °С;

Тип конструктивного решения

D´d, мм

Н3 = 0; Нэкв = 1,0¸5,0 м

L = 26,0 м

L = 30,0 м

К1

С1

К2

С2

K1

С1

К2

С2

III

114´5

94

74

13

21

174

92

43

13

159´5

14

51

8

16

106

58

33

12

219´6

13

47

6

9

44

52

10

7

273´6

9

37

4

8

10

41

4

9

325´6

9

35

4

6

9

35

4

5

426´7

6

27

4

-2

5

25

3

3

114´5

5

102

-1

7

6

103

-2

7

159´5

3

75

1

6

5

75

1

6

219´6

3

54

1

4

5

53

1

5

273´6

1

45

1

4

3

44

1

4

325´6

1

36

1

3

2

35

1

3

426´7

0

28

1

2

I

27

1

2

Нефтегазосборные трубопроводы

т = 0,9; рвн = 1,6 МПа; Dt = 40 °С;

Тип конструктивного решения

D´d, мм

Н3 = 0; Нэкв = 1,0¸5,0 м

L = 26,0 м

L = 30,0 м

К1

С1

К2

С2

K1

С1

К2

С2

III

530´7

6

43

2

2

4

40

2

3

720´7

3

32

3

1

1

31

1

1

820´9

2

28

1

1

2

27

1

1

II

530´7

0

40

0

2

1

39

0

2

720´8

1

34

-1

1

-1

31

0

1

820´9

0

28

0

1

0

27

0

1

Таблица П.12.1

(малые диаметры)

ст. 10  = 340 МПа

 = 210 МПа

Н3 = 1,0¸5,0 м

Нэкв = 0,5¸1,5 м

L = 26,0 м

L = 30,0 м

K1

С1

D1

К2

С2

D2

К1

С1

D1

К2

С2

D2

18

20

-7

-4

38

12

38

-115

0

3

136

92

11

48

13

2

25

-4

13

11

-20

-3

25

27

9

28

8

2

25

-8

12

9

-2

1

30

18

6

30

8

2

18

-9

6

26

3

1

12

-12

6

22

7

2

17

-6

6

18

5

1

14

-6

4

19

5

2

11

-4

5

21

5

1

10

-6

1

92

0

-1

12

9

0

90

0

-2

16

10

2

70

0

-1

10

5

2

66

0

-1

13

6

1

49

0

0

8

4

1

46

0

0

10

5

1

43

0

0

5

2

1

39

0

0

7

3

3

34

0

0

5

2

1

31

0

0

6

3

1

27

0

0

3

1

1

25

0

0

3

2

Таблица П.12.2

(большие диаметры)

17Г1С  = 520 МПа

 * = 350 МПа

Н3 = 1,0¸5,0 м

Нэкв = 0,5¸1,5 м

L = 26,0 м

L = 30,0 м

K1

С1

D1

К2

С2

D2

К1

С1

D1

К2

С2

D2

3

33

3

1

8

-2

3

33

7

2

7

-3

2

27

2

1

4

1

1

29

8

1

2

0

1

24

2

1

3

1

1

25

5

1

2

0

1

40

0

0

2

0

0

38

0

0

3

1

0

34

1

0

0

0

0

33

-1

0

1

0

0

28

-1

0

0

0

0

27

0

0

0

0

Низконапорные водоводы

т = 0,9; рвн = 4,0 МПа; Dt = 20 °С;

Тип конструктивного решения

D´d, мм

Н3 = 0; Нэкв = 1,0¸5,0 м

L = 26,0 м

L = 30,0 м

К1

С1

К2

С2

K1

С1

К2

С2

III

219´7

13

49

6

8

16

54

6

6

273´7

10

45

4

7

8

40

4

6

325´7

8

35

4

5

8

36

4

4

426´8

6

28

3

3

6

29

3

2

II

219´7

3

55

1

4

4

52

1

4

273´7

1

39

1

4

2

43

1

4

325´7

1

26

1

3

2

36

1

3

426´8

1

16

1

2

1

27

1

2

Низконапорные водоводы

т = 0,9; рвн = 4,0 МПа; Dt = 60 °С;

Тип конструктивного решения

D´d, мм

Н3 = 0; Нэкв = 1,0¸5,0 м

L = 26,0 м

L = 30,0 м

К1

С1

К2

С2

K1

С1

К2

С2

III

530´8

4

32

2

2

4

32

2

2

720´10

2

25

1

1

21

25

1

1

820´10

2

22

1

1

2

22

1

1

1020´11

1

18

0

1

1

18

0

1

II

530´8

0

33

0

2

0

31

0

2

720´10

0

26

0

1

0

26

0

1

820´10

0

22

0

1

0

22

0

1

1020´11

0

18

0

1

0

18

0

1

Таблица П.12.3

(малые диаметры)

ст. 10  = 340 МПа

* = 210 МПа

Н3 = 1,0¸5,0 м

Нэкв = 0,5¸1,5 м

L = 26,0 м

L = 30,0 м

K1

С1

D1

К2

С2

D2

К1

С1

D1

К2

С2

D2

9

30

8

1

25

-6

10

10

-10

0

30

18

6

32

7

2

18

-6

6

29

-2

1

12

-6

3

24

8

2

17

-5

5

20

-1

1

15

-2

4

20

5

2

10

-5

4

19

0

2

9

-4

2

50

0

0

7

3

1

46

0

0

10

5

1

38

-1

0

5

2

1

40

0

0

6

3

1

23

0

0

5

2

1

32

0

0

6

3

1

14

0

0

3

1

1

26

0

0

4

2

Таблица П.12.4

(большие диаметры)

17Г1С  = 520 МПа

* = 350 МПа

Н3 = 1,0¸5,0 м

Нэкв = 0,5¸1,5 м

L = 26,0 м

L = 30,0 м

K1

С1

D1

К2

С2

D2

К1

С1

D1

К2

С2

D2

3

26

1

2

6

-1

3

26

0

1

7

-2

1

22

1

0

4

1

2

24

1

1

2

0

1

19

1

0

3

1

1

20

1

1

2

0

1

15

0

0

3

1

0

15

0

0

3

1

1

33

0

0

2

0

1

30

0

0

3

2

0

27

2

0

1

0

1

27

-1

0

0

0

0

22

0

0

0

0

0

22

0

0

1

0

0

19

-1

0

0

0

0

18

0

0

0

0

Газлифтные

т = 0,9; рвн = 12,0 МПа; Dt = 40 °С;

Тип конструктивного решения

D´d, мм

Н3 = 0; Нэкв = 1,0¸5,0 м

L = 26,0 м

L = 30,0 м

К1

С1

К2

С2

K1

С1

К2

С2

III

89´5

83

66

13

29

234

90

74

138

114´7

86

72

12

18

149

88

42

11

159´8

11

48

7

13

59

54

13

10

219´11

11

45

6

6

15

43

7

6

273´14

7

41

4

5

6

37

4

5

325´16

6

34

3

3

6

35

4

3

II

89´5

5

149

-2

9

3

145

-4

6

114´7

5

115

-1

7

4

113

-2

7

159´8

3

85

1

5

4

83

1

6

219´11

2

61

1

4

3

60

1

4

273´14

1

52

1

3

2

50

1

3

325´16

1

43

1

2

1

42

1

3

Трубопроводы поддержания

т = 0,9; рвн = 19,0 МПа; Dt = 50 °С;

Тип конструктивного решения

D´d, мм

Н3 = 0; Нэкв = 1,0¸5,0 м

L = 26,0 м

L = 30,0 м

К1

С1

К2

С2

K1

С1

К2

С2

III

114´10

77

23

11

20

106

51

38

9

159´12

10

23

6

11

51

28

7

8

168´14

10

28

6

9

44

32

7

7

219´20

10

31

5

5

12

30

6

3

273´25

5

25

3

4

6

27

3

3

II

114´10

4

76

-1

7

4

75

-2

7

159´12

3

58

1

5

4

43

1

5

168´14

3

56

1

5

3

53

1

5

219´20

2

42

1

4

3

40

1

4

273´25

1

36

1

3

1

34

1

3

Таблица П.12.5

трубопроводы

09Г2С  = 480 МПа

* = 270 МПа

Н3 = 1,0¸5,0 м

Нэкв = 0,5¸1,5 м

L = 26,0 м

L = 30,0 м

K1

С1

D1

К2

С2

D2

К1

С1

D1

К2

С2

D2

21

35

-23

-7

19

22

39

-182

-76

2

168

253

17

16

-23

-2

40

16

34

-96

-16

5

123

77

9

42

0

1

22

-24

13

9

-27

-1

28

27

7

27

0

1

22

-2

8

11

-7

1

28

17

5

32

0

2

13

-5

6

29

0

1

12

-3

4

25

0

2

12

0

4

23

0

1

12

-2

0

138

1

-3

16

10

-1

136

-3

-4

15

13

1

106

1

-1

14

7

0

103

0

-2

15

11

1

80

0

0

9

5

1

76

0

-1

11

7

1

58

0

0

7

3

1

54

0

0

9

5

1

50

-1

0

4

1

1

47

0

0

6

3

1

42

-1

0

3

1

1

39

0

0

5

2

Таблица П.12.6

пластового давления (ППД)

ст. 20  = 420 МПа

 * = 250 МПа

Н3 = 1,0¸5,0 м

Нэкв = 0,5¸1,5 м

L = 26,0 м

L = 30,0 м

K1

С1

D1

К2

С2

D2

К1

С1

D1

К2

С2

D2

17

-20

-20

-1

42

22

29

-115

-13

5

112

70

8

16

0

2

16

-17

12

-17

-22

2

32

30

8

18

0

1

19

-11

10

-10

-18

0

31

27

6

15

0

2

18

2

7

4

-5

0

26

15

4

21

0

2

9

-2

4

17

-2

1

9

-5

1

68

0

-1

14

8

0

65

0

-2

15

!0

1

53

0

0

9

4

1

49

0

-1

11

5

1

51

0

0

8

4

1

47

0

-1

10

5

1

38

0

0

7

4

1

5

0

0

8

4

1

35

0

0

3

2

1

32

2

0

5

2

Таблица П.12.7

Нефтегазосборные трубопроводы (малые диаметры)

(I конструктивное решение)

т = 0,9; рвн = 4,0 МПа; Dt = 20 °С; Ст. 10

D´d, мм, трубопроводов

Н3 = 0; Нэкв = 1,0-5,0 м

Н3 = 1,0-5,0 м; Нэкв = 0,5-1,5 м

К1

С1

К2

С2

К1

С1

D1

К2

С2

D2

114´5

58

100

49

8

32

-54

8

47

151

-15

159´5

108

47

30

28

26

-80

29

17

197

85

219´6

52

21

21

22

21

-71

22

13

110

15

273´6

41

10

16

22

18

-64

14

10

88

20

325´6

34

5

10

18

15

-57

11

10

72

14

426´7

23

3

15

12

11

-38

7

8

52

5

Таблица П.12.8

Нефтегазосборные трубопроводы (большие диаметры)

(I конструктивное решение)

т = 0,9; рвн = 1,6 МПа; Dt = 40 °С; 17Г1С

D´d, мм, трубопроводов

Н3 = 0; Нэкв = 1,0-5,0 м

Н3 = 1,0-5,0 м; Нэкв = 0,5-1,5 м

 

 

 

 

 

 

 

 

 

 

530´7

22

18

9

10

10

-12

10

-4

-28

-17

720´8

13

14

5

8

7

-4

5

2

23

8

820´9

11

13

4

6

5

0

3

2

18

6

Таблица П.12.9

Трубопроводы поддержания пластового давления (ППД)

(I конструктивное решение)

т = 0,9; рвн = 19,0 МПа; Dt = 50 °С; Ст. 20

D´d, мм, трубопроводов

Н3 = 0; Нэкв = 1,0¸5,0 м

Н3 = 1,0¸5,0 м; Нэкв = 0,5¸1,5 м

К1

С1

К2

С2

К1

С1

D1

К2

С2

D2

114´10

112

64

26

29

29

-68

48

16

148

21

159´12

79

30

20

26

23

-65

28

10

114

26

168´14

71

29

20

24

21

-56

23

9

102

26

219´20

39

21

16

15

15

-33

12

7

67

18

273´25

27

19

12

9

10

-19

8

6

43

16

Таблица П.12.10

Низконапорные водоводы (малые диаметры)

(I конструктивное решение)

т = 0,9; рвн = 4,0 МПа; Dt = 20 °С; Ст. 10

D´d, мм, трубопроводов

Н3 = 0; Нэкв = 1,0¸5,0 м

Н3 = 1,0¸5,0 м; Нэкв = 0,5¸1,5 м

К1

С1

К2

С2

К1

С1

D1

К2

С2

D2

219´7

70

22

22

22

21

-65

27

9

102

33

273´7

54

13

18

18

18

-56

20

7

83

28

325´7

44

8

15

16

15

-49

17

6

70

25

426´8

29

6

12

11

11

-34

12

4

49

18

Таблица П.12.11

Низконапорные водоводы (большие диаметры)

(I конструктивное решение)

т = 0,9; рвн = 4,0 МПа; Dt = 60 °С; 17Г1С

D´d, мм, трубопроводов

Н3 = 0; Нэкв = 1,0¸5,0 м

Н3 = 1,0-5,0 м; Нэкв = 0,5¸1,5 м

К1

С1

К2

С2

К1

С1

D1

К2

С2

D2

530´8

16

12

5

10

10

-16

8

4

36

18

720´10

11

10

4

7

6

-5

4

2

21

8

820´10

9

8

3

6

5

-3

3

2

17

7

1020´11

5

7

3

4

3

-1

3

1

12

5

Таблица П.12.12

Газлифтные трубопроводы

(I конструктивное решение)

т = 0,9; рвн = 12,0 МПа; Dt = 60 °С; 09Г2С

D´d, мм, трубопроводов

Н3 = 0; Нэкв = 1,0¸5,0 м

Н3 = 1,0¸5,0 м; Нэкв = 0,5¸1,5 м

К1

С1

К2

С2

К1

С1

D1

К2

С2

D2

89´5

96

107

27

47

38

-6

23

12

154

56

114´7

115

93

32

32

34

-36

38

15

153

16

159´8

80

56

26

27

32

-47

49

13

126

42

219´11

51

34

18

20

19

-32

24

8

84

29

273´14

35

28

14

13

14

-20

15

7

58

20

325´16

27

24

11

10

11

-11

12

4

45

20

Таблица П.12.13

Нефтегазосборные трубопроводы

(малые диаметры)

Ст. 10

m

0,9

0,75

рвн, МПа

1,6

4,0

1,6

4,0

Dt, °С

20

30

20

30

20

30

20

30

D´d, мм

 

 

 

 

 

 

 

 

114´5

а-4

а-25

а

а-21

а-33

а-54

а-30

а-51

159´5

а-3

а-18

а

а-15

а-24

а-39

а-22

а-37

219´6

а-2

а-13

а

а-11

а-17

а-28

а-16

а-27

273´6

а-1

а-10

а

а-9

а-14

а-22

а-13

а-22

325´6

а-0

а-8

а

а-7

а-11

а-18

а-12

а-19

426´7

а-0

а-5

а

а-6

а-8

а-13

а-9

а-15

Таблица П.12.14

Нефтегазосборные трубопроводы

(большие диаметры)

17Г1С

m

0,9

0,75

рвн, МПа

1,6

4,0

1,6

4,0

Dt, °С

40

60

40

60

40

60

40

60

D´d, мм

 

 

 

 

 

 

 

 

530´7

а

а-9

а+1

а-8

а-11

а-20

а-10

а-20

720´8

а

а-7

а+0

а-6

а-8

а-14

а-9

а-15

820´9

а

а-6

а+0

а-6

а-7

а-13

а-8

а-14

Таблица П.12.15

Трубопроводы поддержания пластового давления (ППД)

Ст. 20

m

0,9

0,75

рвн, МПа

19,0

19,0

Dt, °С

30

40

50

60

30

40

50

60

D´d, мм

 

 

 

 

 

 

 

 

114´10

а+42

а+21

а

а-21

а+5

а-16

а-37

а-58

159´12

а+30

а+15

а

а-15

а+3

а-12

а-27

а-42

168´14

а+29

а+14

а

а-14

а+3

а-11

а-25

а-40

219´20

а+22

а+11

а

а-11

а+3

а-8

а-19

а-30

273´25

а+18

а+9

а

а-9

а+2

а-6

а-15

а-24

Таблица П.12.16

Низконапорные водоводы

(малые диаметры)

Ст. 10

m

0,9

0,75

рвн, МПа

1,6

4,0

1,6

4,0

Dt, °С

20

30

20

30

20

30

20

30

D´d, мм

 

 

 

 

 

 

 

 

219´7

а-2

а-13

а

а-11

а-17

а-28

а-16

а-27

273´7

а-2

а-10

а

а-9

а-14

а-23

а-13

а-22

325´7

а-1

а-8

а

а-7

а-11

а-19

а-11

а-19

426´8

а-0

а-6

а

а-6

а-8

а-14

а-9

а-15

Таблица П.12.17

Низконапорные водоводы

(большие диаметры)

17Г1С

m

0,9

0,75

рвн, МПа

1,6

4,0

1,6

4,0

Dt, °С

40

60

40

60

40

60

40

60

D´d, мм

 

 

 

 

 

 

 

 

530´8

а+8

а-1

а+9

0

а-2

а-11

а-2

а-11

720´10

а+6

а-0

а+7

0

а-2

а-8

а-2

а-8

820´10

а+6

а-0

а+6

0

а-1

а-7

а-2

а-7

1020´11

а+5

а-0

а+5

0

а-1

а-5

а-2

а-6

Таблица П.12.18

Газлифтные трубопроводы

09Г2С

m

0,9

0,75

рвн, МПа

12,0

12,0

Dt, °С

40

50

60

70

40

50

60

70

D´d, мм

 

 

 

 

 

 

 

 

89´5

а

а-27

а-54

а-81

а-51

а-78

а-105

а-132

114´7

а

а-21

а-42

а-63

а-39

а-60

а-82

а-103

159´8

а

а-15

а-30

а-45

а-29

а-44

а-60

а-75

219´11

а

а-11

а-22

а-33

а-21

а-32

а-43

а-54

273´14

а

а-9

а-18

а-26

а-17

а-26

а-34

а-43

325´16

а

а-7

а-15

а-22

а-14

а-22

а-29

а-36

Приложение 13

Таблица П.13.1

СПРАВОЧНЫЕ ДАННЫЕ

Расчетная влажность песчаных слоев для земляного полотна всех типов в условиях болота

Положение слоя в земляном полотне, см

Расчетная влажность, %

от

до

Глубже -100

-100

24

-100

-80

23

-80

-40

21

-40

0

19

0

20

17

20

40

15

40

60

14

60

80

13

80

100

12

100

120

11

120

140

10

140

160

9

160

180

9

180 и более

 

8

Примечание. За нулевую отметку принята поверхность болота до возведения насыпи.

Таблица П.13.2

Модули упругости песчаных слоев в зависимости от расчетной влажности

Расчетная влажность, %

Модули упругости, кгс/см2

для песчаных грунтов из притрассовых карьеров

для песков гидронамыва

8

1200

1100

9

1100

1100

10

1000

1000

11

800

900

12

650

850

13

500

800

14

400

780

15

350

750

16

280

740

17

230

730

18

200

700

19 и более

180

620

Таблица П.13.3

Расчетные значения модуля упругости торфа в основании и теле насыпи

Относительная осадка насыпи Sср/H

0,1

0,2

0,3

0,4

0,5

Модуль упругости слоя, кгс/см2

25

35

50

63

90

Примечания. 1. Модуль упругости слоя мерзлого торфа принимается 4000 кгс/см2.

2. Sср - осадка насыпи.

3. Модуль упругости торфа в насыпи принимается 90 кгс/см2.

Таблица П.13.4

Положение верхней и нижней границ многолетнемерзлого слоя торфа в основании песчаной насыпи - тип ПН

Толщина минеральной части насыпи, включая дорожную одежду, см

Уровень верхней границы ВГМ, см

Уровень нижней границы НГМ, см

Толщина многолетне-мерзлого слоя ММТ, см

150

35

95

60

200

20

70

50

250

10

45

35

300

5

25

20

350

-

-

0

Примечание. За нулевую отметку принята подошва насыпи.

Таблица П.13.5

Положение верхней и нижней границ многолетней мерзлоты в теле торфяной насыпи, устроенной без предварительного промораживания - тип ТН

Толщина минеральной части насыпи, включая дорожную одежду, см

Уровень верхней границы ВГМ, см

Уровень нижней границы НГМ, см

Толщина многолетне-мерзлого слоя ММТ, см

50

60

150

90

100

50

120

70

150

40

100

60

200

20

70

50

250

15

45

30

Примечание. За нулевую отметку принята поверхность торфяного слоя насыпи.

Таблица П.13.6

Положение верхней и нижней границ многолетней мерзлоты в конструкции с промороженным основанием - тип ПО

Толщина минеральной части насыпи, включая дорожную одежду, см

Уровень верхней границы ВГМ, см

Уровень нижней границы НГМ, см

Толщина многолетне-мерэлого слоя ММТ, см

-

-

-

-

100

50

165

115

150

40

150

100

200

20

120

100

250

15

95

80

Примечание. За нулевую отметку принята поверхность теплоизоляционного торфяного слоя.

Таблица П.13.7

Плотность минеральной части грунтов земляного полотна

Грунт

Плотность частиц грунта, г/см3

Песок

2,66

Супесь

2,70

Суглинок

2,71

Глина

2,74

Торф

1,52

Таблица П.13.8

Среднее значение суммарной влажности w плотности грунта (r) и плотности сухого грунта (rd) земляного полотна

Грунт

w, %

r г/см'

rd г/см'

Песок

10

1,80

1,63

Супесь легкая

17

2,05

1,75

Суглинок легкий пылеватый

18

2,00

1,69

Суглинок тяжелый пылеватый

30

1,95

1,63

Глина

22

1,90

1,86

Торф в намороженном слое после осадки при оттаивании

350-400

1,00

0,16-0,18

Таблица П.13.9

Теплотехнические характеристики материалов

Материал

Плотность, кг/м3

Влажность, %

Коэффициент теплопроводности талого lт и мерзлого lм материалов, ккал/м ч·град.

Коэффициент температуропроводности талого материала, м2

lт

lм

aт

aм

Железобетон

2500

2-5

2,0

2,2

0,004

0,0045

Цементобетон

2200

3-6

1,7-1,8

1,9-2,0

0,0034

0,004

Асфальтобетон

2100

3-5

1,0-1,4

1,2-1,6

0,0015

0,0017

2200

Щебень

2000

10

2,5

2,9

0,0045

0,0055

Гравий

2000

3-5

1,2

1,4

0,0022

0,0025

2000

7-10

1,7

2,1

0,0030

0,0040

Примечание. Для асфальтобетона меньшие значения принимают при песчаном заполнителе, большие - при заполнителе из щебня.

Таблица П.13.10

Теплотехнические характеристики материалов

Теплоизоляционный материал

Плотность, кг/м3

Влажность %

Коэффициент теплопроводности в талом lтт и мерзлом lтм состоянии, ккал/м·ч·град.

lтт

lтм

Торф нарушенной структуры, уплотненный

1000

80-90

0,45

0,60-0,80

Древесные опилки

250

до 20

0,08-0,10

0,12-0,15

Отходы влажной древесины (щепа, сучья, ветви) в уплотненном состоянии

300-400

40-50

0,20-0,25

0,30

Древесина свежей рубки

300/350

50

0,30

0,40

Снег свежевыпавший

150-200

-

-

0,10

Снег перемешанный

300-350

-

-

0,20-0,30


Таблица П.13.11

Расчетные значения сцепления и угла внутреннего трения нефтегрунтов

Укрепленные грунты

Число пластичности грунта

Сцепление, кгс/см2

Угол внутреннего трения, град

Модуль упругости, кгс/см2

Нефтегрунт без активных добавок

Нефтегрунт с добавкой цемента

Нефтегрунт с добавкой извести

Нефтегрунт без активных добавок

Нефтегрунт с добавкой цемента

Нефтегрунт с добавкой извести

Нефтегрунт без активных добавок

Нефтегрунт с добавкой цемента

Нефтегрунт с добавкой извести

Пески мелкие, пылеватые, супеси легкие

3

0,15

1,7

-

41

43

-

1300

2200

-

Супеси легкие и легкие пылеватые

3-7

0,7

1,8

2,0

39

40

44

1200

2200

3200

Супеси легкие и суглинки легкие пылеватые

7-12

0,6

2,2

2,4

38

39

43

1000

2500

3500

Суглинки тяжелые и тяжелые пылеватые

12-17

0,8

2,1

2,2,

37

38

42

1200

2000

3100

Примечания. 1. Значения расчетных характеристик даны для оптимальных составов нефтегрунтовых смесей.

2. Расчетные значения модулей упругости при использовании активных добавок в случае необходимости могут быть повышены, при этом необходимо увеличить содержание извести или цемента.


Таблица П.13.12

Ориентировочное количество вяжущих и добавок для оптимальных составов нефтегрунта

Грунты

Нефтегрунт с добавкой цемента

Нефтегрунт без активных добавок

Пески мелкие, пылеватые, супеси легкие с числом пластичности менее 3

цемента 6 %

 

нефти 5 %

Супеси с числом пластичности 3-7, суглинки легкие пылеватые

цемента 6 %

нефти 8 %

нефти 4 %

Таблица П.13.13

Характеристики земснарядов, учитываемые при разработке проектов

Типы землесосных снарядов

Производительность по воде, м3

Минимальная глубина разработки ниже уровня воды, м

Наибольшая глубина разработки, м

с механическим рыхлением

со свободным всосом

400-70, 300-40М, 300-50Л

3501-7500

3,5

11,0

15

300-40, 160-60, 12А-4

2001-3500

2,5

7,5

13

12А-5, 12А-5Д

1001-2000

2,0

7,5

12

8НЗУ-Э

801-1000

1,8

60

10

Приложение 14

ФОРМА ЗАПИСИ ДАННЫХ ПРИЕМОЧНОГО КОНТРОЛЯ СБОРНЫХ ПЛИТ В СУ ___________ТРЕСТА

Поставщик ________________________________________завод ЖБК

Вид транспорта ______________________________________________

Место складирования _________________________________________

Паспортные данные контролируемой партии плит прилагаются.

Из партии в __________плит

обследовано ____________плит.

Обнаружено плит:

толщиной менее 13,5 см _____ шт., толщиной более 14,5 см _____шт.

с оголенной арматурой __________шт., с трещинами ___________шт.

с непроработанным бетоном, раковинами в количестве более 3 шт/м2 ______шт. и диаметром более 5 мм и шириной более 3 мм _______шт.

с непрямолинейной поверхностью (на длине 6 м просвет более 10 мм) ______ шт.

с другими отклонениями в качестве, которые можно отнести к заводу-изготовителю ________шт.

Всего не удовлетворяют ТПР 503-0-42 и техническим условиям ____шт. Испытано на изгиб ________________шт.

Из них не выдержали испытания ________________шт.

Плит с прочностью бетона менее проектной (данные испытания молотком Кашкарова) _________________шт.

Главный инженер СУ _________________________

(подпись)

Начальник лаборатории _______________________

(подпись)

Представитель завода-изготовителя ______________________

(подпись)

«______»__________________19     г.

 


Приложение 15

ЖУРНАЛ КОНТРОЛЯ УПЛОТНЕНИЯ НАСЫПЕЙ

Дата проведения контроля

Место отбора пробы

Характеристика грунта

Толщина слоя уплотнения, см

КМ

ПК

+ справа, слева от оси, м

№ лаборат. пробы

Место разработки, № резерва

Тип и разновидность

По данным пробного уплотнения

Фактическая

1

2

3

4

5

6

7

8

9

Пример заполнения

28.10.90

51

500

25 справа

121

Резерв № 3

Супесь легкая пылеватая

30

28

Продолжение

Тип, масса катка, т

Число проходов катка

Влажность, %

Плотность сухого грунта, г/см3

Коэффициент уплотнения

По данным пробного уплотнения

фактическое

оптимальная

фактическая

фактическая

максимальная

требуемый

фактический

10

11

12

13

14

15

16

17

18

Пример заполнения

ДУ-16 25 т

16

16

14

14,4

1,82

1,86

0,98

0,98

Подписи: Лаборант _____________________Мастер (бригадир) ___________________

(подпись)                                                                                                        (подпись)

 




ГОСТЫ, СТРОИТЕЛЬНЫЕ и ТЕХНИЧЕСКИЕ НОРМАТИВЫ.
Некоммерческая онлайн система, содержащая все Российские Госты, национальные Стандарты и нормативы.
В Системе содержится более 150000 файлов нормативно-технической документации, действующей на территории РФ.
Система предназначена для широкого круга инженерно-технических специалистов.

Рейтинг@Mail.ru Яндекс цитирования

Copyright © www.gostrf.com, 2008 - 2026