Крупнейшая бесплатная информационно-справочная система онлайн доступа к полному собранию технических нормативно-правовых актов РФ. Огромная база технических нормативов (более 150 тысяч документов) и полное собрание национальных стандартов, аутентичное официальной базе Госстандарта. GOSTRF.com - это более 1 Терабайта бесплатной технической информации для всех пользователей интернета. Все электронные копии представленных здесь документов могут распространяться без каких-либо ограничений. Поощряется распространение информации с этого сайта на любых других ресурсах. Каждый человек имеет право на неограниченный доступ к этим документам! Каждый человек имеет право на знание требований, изложенных в данных нормативно-правовых актах!

  


 

МИНИСТЕРСТВО АВТОМОБИЛЬНЫХ ДОРОГ РСФСР

УКАЗАНИЯ
ПО ОЦЕНКЕ ПРОЧНОСТИ И РАСЧЕТУ УСИЛЕНИЯ НЕЖЕСТКИХ
ДОРОЖНЫХ ОДЕЖД

(ВСН 52-89)

Утверждены
Минавтодором РСФСР
от 10.03.89
письмо № НА-16/117

Москва 1989

СОДЕРЖАНИЕ

1. ОБЩИЕ ПОЛОЖЕНИЯ

2. ОБСЛЕДОВАНИЕ НЕЖЕСТКИХ ДОРОЖНЫХ ОДЕЖД С ЦЕЛЬЮ ОЦЕНКИ ИХ ПРОЧНОСТИ

3. ОБРАБОТКА РЕЗУЛЬТАТОВ ПОЛЕВЫХ ИСПЫТАНИЙ НЕЖЕСТКИХ ДОРОЖНЫХ ОДЕЖД

4. НАЗНАЧЕНИЕ ТРЕБУЕМОЙ ПРОЧНОСТИ НЕЖЕСТКИХ ДОРОЖНЫХ ОДЕЖД

5. МЕРОПРИЯТИЯ ПО ПОВЫШЕНИЮ НЕСУЩЕЙ СПОСОБНОСТИ ДОРОЖНЫХ ОДЕЖД

ПРИЛОЖЕНИЕ 1 ОПРЕДЕЛЕНИЕ НАГРУЗКИ НА КОЛЕСО АВТОМОБИЛЯ

ПРИЛОЖЕНИЕ 2 ПРИБОРЫ И ОБОРУДОВАНИЕ ДЛЯ ИСПЫТАНИЯ ДОРОЖНЫХ ОДЕЖД НАГРУЗКОЙ

ПРИЛОЖЕНИЕ 3 СОСТАВ И ОСНАЩЕНИЕ БРИГАДЫ, ПРОВОДЯЩЕЙ ПОЛЕВЫХ ИСПЫТАНИЯ. ОСНОВНЫЕ ПРАВИЛА ТЕХНИКИ БЕЗОПАСНОСТИ

ПРИЛОЖЕНИЕ 4 ОСОБЕННОСТИ ПОСТРОЕНИЯ ГРАФИКА ПРОГИБ - ВРЕМЯ

ПРИЛОЖЕНИЕ 5 РАСЧЕТНЫЕ НАГРУЗКИ h КОЭФФИЦИЕНТЫ ПРИВЕДЕНИЯ СОСТАВА ДВИЖЕНИЯ К РАСЧЕТНЫМ АВТОМОБИЛЯМ

ПРИЛОЖЕНИЕ 6 СТАТИСТИЧЕСКАЯ ОБРАБОТКА РЕЗУЛЬТАТОВ ЛИНЕЙНЫХ ИСПЫТАНИЙ

ПРИЛОЖЕНИЕ 7 РАСЧЕТНЫЕ НОМОГРАММЫ И ПАРАМЕТРЫ ДОРОЖНЫХ КОНСТРУКЦИЙ С НЕЖЕСТКИМИ ТИПАМИ ПОКРЫТИЙ

ПРИЛОЖЕНИЕ 8 ПРИВЕДЕНИЕ РЕЗУЛЬТАТОВ ПОЛЕВЫХ ИСПЫТАНИЙ К РАСЧЕТНОМУ ГОДУ С ИСПОЛЬЗОВАНИЕМ ДАННЫХ ГИДРОМЕТЕОСТАНЦИЙ

ПРИЛОЖЕНИЕ 9 ОПРЕДЕЛЕНИЕ ФАКТИЧЕСКОЙ ИНТЕНСИВНОСТИ ДВИЖЕНИЯ ТРАНСПОРТНОГО ПОТОКА

В Указаниях изложены вопросы обследования и испытания нежестких дорожных одежд в разные периоды года с целью оценки запасов прочности дорожных конструкций. Рассмотрены особенности расчета усиления одежд и даны рекомендации по расчету ограничения движения на дороге в период наибольшего ослабления дорожной конструкции.

Указания позволяют учесть особенности снижения прочности дорожных одежд под воздействием транспортных нагрузок, привести разновременные испытания одежд к сопоставимому виду, выполнить полевые испытания в объеме, достаточном для объективной оценки неоднородности дорожных конструкций по величине обратимого прогиба. Предложенные требуемые модули упругости дорожных конструкций в комплексе учитывают работу материалов конструктивных слоев по критериям сдвига и изгиба.

В документе отсутствуют разделы, касающиеся проверки усиленных конструкций по условиям морозоустойчивости. Накопленный опыт свидетельствует, что слои усиления, рассчитанные по условию обеспечения работоспособности современных дорожных конструкций по трем критериям (обратимому прогибу, сдвигу и растяжению при изгибе) проходят и по условию морозоустойчивости.

Указания ориентированы на использование современных передвижных лабораторий для оценки состояния дорог (типа КП-502 МП) и серийно выпускаемых приборов, которые позволяют значительно повысить производительность полевых испытаний.

В разработке документа приняли участие канд. техн. наук В.К. Апестин, инженеры А.И. Дудаков. А.М. Стрижевский (Гипродорнии1 отв. за выполнение НИР); кандидаты технических наук М.С. Коганзон, Ю.М. Яковлев (МАДИ); инж. В.П. Козлов (Саратовский ф-л Гипродорнии)2. При подготовке документа использованы работы докторов технических наук М.Б. Корсунского, Б.С. Радовского, В.В. Сильянова, кандидатов технических наук В.Н. Ефименко, В.П. Корюкова, А.О. Салля, П.И. Теляева, А.М. Шака, результаты обследования дорог, проведенных в период 1982 - 1987 гг. Гипродорнии и его Саратовским ф-лом, Пермским ф-лом треста Росдороргтехстрой, а также исследований по разработке общесоюзных норм межремонтных сроков службы нежестких дорожных одежд 1983 - 1986 гг. Указания развивают отдельные положения Рекомендаций по методам определения транспортно-эксплуатационных характеристик дорог и методам сбора информации по состоянию дорог (СЭВ. - София, 1980) и Рекомендаций по оценке прочности и усилению покрытий автомобильных дорог с целью повышения их несущей способности АВТ-Р-143 (ОСЖД. - Варшава, 1986, изд. П).

Документ предназначен для организаций, проводящих обследование и испытание дорожных одежд с целью оценки их прочности и разработки мероприятий по повышению надежности и несущей способности дорожных конструкций в процессе эксплуатации и на стадии приемки автомобильных дорог в эксплуатацию.

_______________

1 После реорганизации 1989 г. - НПО Росдорнии.

2 То же, Саратовский НПЦ Росдорнии.

Министерство автомобильных дорог РСФСР

Ведомственные строительные нормы

ВСН 52-89

Указания по оценке прочности и расчету усиления нежестких дорожных одежд

Взамен Методических указаний по оценке прочности и расчету усиления нежестких дорожных одежд (М.: Транспорт, 1979), Рекомендаций по оценке прочности нежестких дорожных одежд методами статического и кратковременного нагружения (М.: ЦБНТИ Минавтодора РСФСР, 1883) и разделов ВСН 29-76 Минавтодора РСФСР, касающихся оценки прочности и усиления нежестких дорожных одежд

1. ОБЩИЕ ПОЛОЖЕНИЯ

1.1. В Указаниях использованы следующие основные определения и понятия:

Дорожная конструкция - многослойная система, состоящая из дорожной одежды и земляного полотна под дорожной одеждой.

Дорожная одежда - искусственная конструкция в пределах проезжей части автомобильной дороги, состоящая из дорожного покрытия и слоев основания (одного или нескольких), воспринимающая многократно повторяющееся воздействие транспортных средств и погодно-климатических факторов, обеспечивающая передачу возникающих усилий на грунт земляного полотна.

Несущая способность (прочность) дорожной конструкции - свойство конструкции, характеризующее ее способность воспринимать без отказа воздействие движения и погодно-климатических факторов.

Отказ дорожной конструкции - переход конструкции в предельное состояние (т.е. событие, свидетельствующее о нарушении работоспособности конструкции).

Предельное состояние дорожной конструкции - состояние, при котором дорожная конструкция перестает удовлетворять заданным требованиям.

Внесены

Государственным дорожным проектно-изыскательским и научно-исследовательским институтом (Гипродорнии) Минавтодора РСФСР

Утверждены

Министерством автомобильных дорог РСФСР

10 марта 1989 г.

Срок введения

1 июля 1989 г.

Работоспособная дорожная конструкция - конструкция, обладающая запасом прочности на многократно повторяющееся действие расчетных автомобильных нагрузок.

Срок службы дорожной одежды - период времени, в пределах которого происходит снижение прочности и надежности дорожной одежды до расчетного уровня, предельно допустимого по условиям движения.

Надежность дорожной одежды - вероятность безотказной работы дорожной конструкции в течение всего периода эксплуатации до ремонта.

Расчетный период - неблагоприятный по условиям увлажнения период года (обычно весенний), в течение которого влияние автомобильного движения на работу дорожных конструкций является наиболее существенным.

Нерасчетный период - период года, находящийся за пределами расчетного периода, в течение которого слои дорожной одежды и грунт земляного полотна имеют положительную температуру.

Расчетный год - год с расчетным периодом, типичным для всего срока службы дорожной одежды.

Линейные испытания - полевые испытания дорожных конструкций, проводимые равномерно вдоль обследуемого участка автомобильной дороги в объеме, достаточном для достоверной оценки их несущей способности.

Контрольные испытания - то же, на специально выбранных контрольных точках с целью выявления закономерности изменения жесткости конструкции во времени.

Характерный участок - однотипный участок автомобильной дороги, в пределах которого не наблюдается существенных изменений конструкции дорожной одежды и земляного полотна, интенсивности, состава движения, состояния покрытия по видам дефектов.

1.2. Прочность дорожных конструкций - один из важнейших показателей, позволяющих оценить эксплуатационное состояние дорог и выявить, насколько они отвечают требованиям автомобильного движения.

Дорожная конструкция считается прочной, если на рассматриваемый момент времени обеспечивается необходимая ее сплошность и ровность дорожного покрытия. Это условие соблюдается в случае, когда: общая толщина дорожной одежды достаточна для обеспечения нужной морозоустойчивости конструкции; модули упругости дорожной конструкции не ниже модулей, требуемых по условиям движения; в связных слоях одежды не возникают растягивающие напряжения при нагибе, превышающие допустимые значения; в несвязных и слабосвязных слоях дорожной одежды и грунте земляного полотна возникающие напряжения не превышают значений, при которых обеспечивается условие местного предельного равновесия по сдвигу.

В процессе эксплуатации дорожной конструкции под воздействием автомобильного движения, погодно-климатических и гидрологических факторов происходит постепенное уменьшение ее прочности, связанное с внутренними необратимыми изменениями в отдельных конструктивных элементах. Эти необратимые изменения накапливаются главным образом в расчетный период. В северных и центральных районах нашей страны расчетный период наблюдается обычно во время весеннего оттаивания дороги, в южных - его начало часто совпадает с периодом выпадения зимне-весенних осадков.

1.3. Чтобы предотвратить преждевременное повреждение дорожных покрытий, оценивают прочность конструкций и назначают мероприятия, обеспечивающие необходимую их надежность и срок службы.

1.4. К оценке прочности дорожных одежд прибегают:

для накопления банка данных о состоянии сети дорог с целью рационального планирования средств на ремонтные работы;

на стадии приемки в эксплуатацию построенных участков дорог для контроля качества строительства;

при решении вопроса об усилении существующих покрытий или временном ограничении движения автомобилей по осевым нагрузкам в неблагоприятные по условия увлажнения периоды года;

при разработке рекомендаций о пропуске по существующим дорогам большегрузных, сверхнормативных нагрузок;

в научно-исследовательских целях.

1.5. В качестве обобщающего критерия несущей способности (прочности) используют величину обратимого прогиба (модуля упругости) конструкции. Требуемые показатели прочности назначают с учетом принятой расчетной нагрузки, типа покрытия, общей толщины дорожной одежды, дорожно-климатической зоны и грунтово-гидрологических условий на обследуемом участке дороги.

1.6. Для оценки прочности выполняют полевые испытания (линейные и контрольные) дорожных одежд, как в расчетные, так и в нерасчетные периоды года. Получаемые результаты приводят к расчетному году.

Для накопления банка данных испытания следует проводить не реже одного раза в 3 - 5 лет в зависимости от условий движения на автомобильных дорогах.

На стадии приемки дорог в эксплуатацию полевые испытания (контрольные и линейные) следует проводить после завершения строительства характерного участка дороги длиной не менее 500 м.

При решении вопроса об усилении покрытий дорожные одежды подвергают полевым испытаниям в случаях, когда их состояние по ровности или степени повреждения покрытий дефектами в виде сетки трещин, просадок и волн не удовлетворяет требованиям, предъявляемым ВСН 41-88 Минавтодора РСФСР по условиям движения (табл. 1.1). При этом испытания начинают только после приведения намеченных к обследованию участков дорог в соответствии с требованиями по условию водоотвода и в части возвышения поверхности земли (см. СНиП 2.05.02-85 пп. 6.10-6.13).

Таблица 1.1

Кн

0,55

0,60

0,65

0,70

0,75

0,80

0,85

0,90

0,95

d*, см/км

530

510

475

440

390

340

265

170

80

Примечания. 1. Показатель ровности покрытия d* соответствует показаниям толчкомера ТХК-2, установленного на автомобиле УАЗ-452. При использовании других марок автомобилей требуется предварительная тарировка прибора.

2. Допустимый %, деформирования покрытия rдоп определяют по формуле:

rдоп= I-Кн                                                                                                  (1.1)

где Кн - уровень надежности дорожной одежды.

1.7. Прочность дорожной одежды в течение расчетного периода может весьма существенно колебаться не только изо дня в день, но и в течение суток. В этих условиях результаты линейных испытаний дорожных конструкций должны быть приведены к сопоставимому виду.

Необходимые поправки вносят по результатам ежедневных контрольных испытаний на специально выбранных контрольных точках.

1.8. По результатам полевых испытаний, обработанных методами математической статистики, определяют фактические показатели прочности дорожных одежд, сопоставляют их с величинами, требуемыми по условиям движения, и принимают решение по несущей способности обследованных дорог.

1.9. Требуемые показатели прочности назначают с учетом фактической интенсивности транспортного потока на дороге, приведенной к расчетным нагрузкам. Для приведения автомобилей к расчетным нагрузкам используют коэффициенты приведения, назначенные с учетом типа дорожной одежды или прочности дорожной конструкции.

1.10. Прочными считаются те участки дорог, на которых фактические показатели прочности оказываются не ниже требуемых. Для непрочных участков рассчитывают слои усиления или назначают мероприятия по ограничению движения автомобилей по осевым нагрузкам в неблагоприятные по условиям увлажнения периоды года. Возможен и комбинированный подход, когда в течение некоторого периода ограничивают движение по дороге, а затем усиливают дорожную конструкцию, в каждом конкретном случае вопрос о проведении того или иного мероприятия должен решаться на основании технико-экономических расчетов.

2. ОБСЛЕДОВАНИЕ НЕЖЕСТКИХ ДОРОЖНЫХ ОДЕЖД С ЦЕЛЬЮ ОЦЕНКИ ИХ ПРОЧНОСТИ

2.1. Порядок оценки

2.1.1. Оценка прочности дорожных одежд - важнейшее звено в общем порядке обследования дорожных конструкций (рис. 2.1), определяемом Техническими правилами ремонта и содержания, автомобильных дорог (ВСН 24-88 Минавтодора РСФСР). Все работы проводят в три основных этапа обследования: предварительное, подготовка к детальному и собственно детальное.

2.1.2. При проведении предварительного обследования вид и количество дефектов проезжей части определяют для уточнения фактической степени деформирования покрытия (см. п. 1.6) и назначения границ характерных участков. Фактическую степень деформирования покрытия определяют по полосам наката и оценивают длиной участка с прочностными дефектами в долях от общей протяженности характерного участка.

Рис. 2.1. Порядок обследования дорожных конструкций с нежесткими покрытиями для оценки и улучшения их состояния:

Е - модуль упругости грунта, МПа; j - угол внутреннего трения; С - сцепление в грунте, МПа

2.1.3. В процессе подготовки к детальным обследованиям изучают техническую документацию, данные о фактическом состоянии покрытия и назначают границы характерных участков.

2.1.4. При детальном обследовании выполняют полевые испытания дорожных конструкций на характерных участках для оценки прочности конструкций и назначения мер по улучшению их состояния.

2.2. Предварительное обследование дорожных покрытий

2.2.1. Предварительное обследование начинают не ранее, чем за год до проведения полевых испытаний дорожных конструкций.

2.2.2. Вид и количество дефектов на дорожном покрытии устанавливают на основе визуальной оценки. Все дефекты, обнаруженные на покрытии, подразделяют на виды в соответствии с характерными особенностями (табл. 2.1). Устанавливают границы их распространения и полученные результаты представляют в следующей форме.

№ п/п

Характерные участки по видам дефектов в порядке их расположения вдоль дороги

Границы участков с определенным состоянием поверхности покрытия по видам дефектов

начало (км+м)

конец (км+м)

 

 

 

 

2.2.3. В отдельных случаях, когда на обследуемых участках покрытия произвольно чередуются несколько сменяющих друг друга дефектов с небольшими зонами распространения, встречаются трудности с описанием состояния участков по виду дефектов.

В таких случаях необходимо давать комплексное описание состояния покрытия с выделением того вида дефекта, который наиболее характерен для рассматриваемого участка.

Пример комплексного описания состояния дорожного покрытия по видам дефектов.

1. На участке покрытия замечены трещины: редкие, частые, сетка. Наиболее распространены частые. Редкие трещины и сетка их занимают небольшие зоны, однако первые встречаются чаще. В этом случае формулировка комплексного описания трещин - частые, местами редкие, сетка трещин.

2. На участке покрытия замечены отдельные и редкие трещины, выбоины. На участке преобладают отдельные трещины. Выбоины занимают небольшие, редко встречающиеся зоны. В этом случае формулировка комплексного описания - отдельные и редкие трещины, местами выбоины.

Таблица 2.1

Вид дефекта

Характерные особенности дефекта покрытия проезжей части

Трещины: одиночные

Трещины произвольного очертания и направления относительно оси дороги. Обычно расположены друг от друга на значительном удалении, без соблюдения какой-либо закономерности

отдельные

Поперечные трещины, расположенные примерно на одинаковом расстоянии друг от друга. Расстояние между соседними трещинами - не менее 10 м

редкие

Поперечные и косые трещины (нередко с ответвлениями), не связанные между собой. Среднее расстояние между соседними трещинами - 4 - 10 м

частые

Поперечные и косые трещины с ответвлениями, иногда связанные между собой, но, как правило, не образующие замкнутых фигур. Среднее расстояние между соседними трещинами - 1 - 4 м

сетка

Трещины образуют четырехугольники с расстоянием между противоположными сторонами менее 1 м

Келейность

Плавное искажение поперечного профиля покрытия, локализованное вдоль полос наката. На покрытиях, устроенных с применением вяжущих, нередко сопровождается продольными трещинами и сеткой трещин

Просадки

Резкое искажение профиля покрытия, имеющее вид впадины с округлыми краями. На покрытиях, устроенных с применением вяжущих, просадки сопровождаются сеткой трещин, нередко охватывающей также и зоны покрытия, непосредственно к ним прилегающие

Проломы

Полное разрушение дорожной одежды на всю ее толщину с резким искажением профиля покрытия. На покрытиях, устроенных с применением вяжущих, сопровождаются сеткой трещин в зонах покрытия к ним прилегающих

Выкрашивание и шелушение

Поверхностные разрушения покрытия за счет потери отдельных зерен минерального материала и отслаивания вяжущего

Выбоины

Местные разрушения дорожного покрытия, имеющие вид углублений с резко выраженными краями

Волны

Закономерное чередование (через 0,5 - 2,0 м) на покрытии впадин и гребней, в поперечном направлении по отношению к продольной оси дороги

Сдвиги

Смещение покрытия «наблюдающееся обычно на крутых спусках, в местах остановок и торможения автомобилей. Иногда в местах сдвига наблюдаются разрывы покрытия

Открытые пучины и пучиноопасные места

Сетка трещин на покрытии с выдавливанием грунта на поверхность, взбугривание покрытия с сеткой трещин, зыбь покрытия под колесом автомобиля

2.3 Подготовка к детальному обследованию

2.3.1. Подготовку к детальному обследованию проводят одновременно с предварительным обследованием дорожных покрытий или непосредственно после проведения визуального обследования.

2.3.2. На первом этапе работ анализируют:

продольный профиль и план трассы (проектная и исполнительная документация);

условия строительства (реконструкции) дороги, т.е. погодно-климатические условия в момент возведения земляного полотна и устройства конструктивных слоев дорожных одежд, технологию производства работ на всех этапах устройства земляного полотна и дорожных одежд (журналы производства работ);

мероприятия по содержанию дороги и данные о времени проведения ремонтных работ, виды ремонтов с указанием состояния дорожной одежды перед ремонтом, объем и технологию выполненных работ, качество работ и применявшихся материалов, погодно-климатические условия при производстве ремонтных работ (паспорт, акты приемки работ, журналы производства ремонтных работ и т.д.);

данные учета состава и интенсивности движения автомобилей за весь период эксплуатации, предшествующей обследованию (сводные ведомости по учету движения);

данные о фактическом состоянии покрытия и результаты ранее проведенных обследований (отчеты по оценке прочности дорожной одежды, дефектные ведомости, отчеты о весенних и осенних осмотрах дороги и т.д.).

2.3.3. Данные анализа технической документации и дефектных ведомостей (см. п. 2.2.3) используют для назначения характерных участков в пределах перегонов, требующих детальных обследований.

2.3.4. За характерный принимают участок, отличающийся от соседних хотя бы одним из признаков: конструкцией дорожной одежды, грунтом земляного полотна и типом его поперечного профиля, типом местности по условиям увлажнения, технологией устройства одежды и качеством применявшихся при этом материалов, интенсивностью движения, приведенной к интенсивности движения расчетного автомобиля, состоянием покрытия по видам дефектов.

2.3.5. Нахождение границ характерных участков производят с помощью сводной ведомости (рис. 2.2). При этом необходимо, чтобы длина характерного участка была не менее 500 м.

2.3.6. При определении границ характерных участков смежные участки могут быть объединены при прочих равных условиях, если:

расчетные (проектные) модули упругости дорожных конструкций отличаются не более чем на 5%;

требуемые модули упругости конструкций, определенные по фактическим интенсивностям расчетного движения при соблюдении первого условия, отличаются между собой не больше ±5%.

2.4. Испытание дорожных одежд нагрузкой

(детальное обследование)

2.4.1. Полевые испытания дорожных конструкций проводят в расчетный и нерасчетный периоды года при условии обеспечения требований п. 1.6.

2.4.2. Полевые испытания следует начинать с испытания дорожных конструкций на контрольных точках. На каждом характерном участке (см. п. 2.3.4) выбирают одну контрольную точку в таком месте на покрытии, где состояние его по видам дефектов является характерным для данного участка. Если в пределах характерного участка развито несколько видов дефектов, занимающих примерно одинаковые площади, то контрольную точку надо располагать в пределах минимальных высот насыпи на участке или в зоне распространения дефекта, соответствующего худшему состоянию покрытия. Контрольные точки следует располагать на ближайшей к кромке покрытия полосе наката.

Рис. 2.2. Пример сводной ведомости результатов визуальной оценки состояния проезжей части и анализа документальных данных о дороге

АБМЗ - асфальтобетон мелкозернистый; ЧЩ - черный щебень

Расположение контрольной точки уточняется в процессе проведения детальных обследований

Местоположение контрольной точки должно быть уточнено в ходе проведения линейных испытаний после статистической обработки полученных результатов, когда прогиб на данной контрольной точке отличается более чем на 10% от прогиба, соответствующего допускаемому проценту деформированной поверхности покрытия на обследуемом характерном участке. Место расположения контрольной точки должно быть отмечено на покрытии яркой водостойкой краской в виде прямоугольника размером 10´20 см, вытянутом в продольном направлении. Координаты привязки следует указать в сводной ведомости (см. последнюю строку рис. 2.1; числитель - расстояние от контрольной точки километрового столба, знаменатель - расстояние от контрольной точки до кромки покрытия).

2.4.3. Контрольные испытания осуществляют методом статического нагружения колесом автомобиля. Для испытаний применяют грузовой двухосный автомобиль, у которого нагрузка на заднее колесо в пределах 30 - 50 кН, давление воздуха в шинах - 0,50 - 0,55 МПа. Шины задних колес автомобиля должны иметь дорожный тип рисунка протектора и быть в хорошем состоянии.

Если испытание дорожных конструкций проведено автомобилем, весовые параметры которого отличаются от параметров нагрузки группы А (прил. 5), то приведение результатов испытаний к этой нагрузке осуществляют по формуле, справедливой при значении коэффициента Пуассона дорожной конструкции m = 0,3:

,                                                                                          (2.1)

где ЕА - модуль упругости дорожной конструкции при воздействии нагрузки группы А, МПа;

КА - коэффициент, равный 0,36 МПа×см/кН;

Qк - нагрузка на колесо используемого автомобиля, кН;

l - величина измеренного обратимого прогиба, см.

Нагрузку на колесо проверяют с помощью переносных гидравлических или других весов, обеспечивающих точность взвешивания до 0,5 кН (прил. 1).

В случае отсутствия переносных весов можно определить нагрузки на колесо автомобиля взвешиванием на автомобильных весах предприятий. Автомобиль заезжает на платформу только задней осью. Искомую нагрузку определяют делением пополам получаемого результата.

Для измерения обратимых прогибов используют длиннобазовый рычажный прогибомер (прил. 2). Допускают использование других приборов, обеспечивающих измерение прогибов с точностью не менее ± 0,02 мм. При соответствующем технико-экономическом обосновании испытание на контрольных точках может быть проведено методом кратковременного нагружения.

2.4.4. Линейные испытания дорожных одежд проводят высокопроизводительным методом кратковременного нагружения установкой динамического нагружения типа УДН-НК конструкции МАДИ (см. прил. 2).

При соответствующем технико-экономическом обосновании возможно использование других средств кратковременного нагружения, обеспечивающих время действия нагрузки Т* ³ 0,02 сек и точность измерения прогибов не менее 5%. При отсутствии установок динамического нагружения можно также применять метод статического нагружения колесом автомобиля (состав и оснащение бригады для проведения испытаний даны в прил. 3).

2.4.5. При одновременном использовании методов статического и кратковременного нагружения проводят тарировочные испытания с целью приведения результатов линейных испытаний к сопоставимому виду. Эти испытания проводят последовательно методами статического и кратковременного нагружения на трех характерных для обследуемой дороги участках (длиной не менее 500 м каждый), различающихся состоянием покрытия. На каждом характерном участке испытывают не менее 30 равномерно расположенных вдоль дороги точек обоими методами. По значениям фактических прогибов lф характерных участков (прил. 6) строят график регрессионной зависимости между статическими и динамическими прогибами. При этом необходимо учитывать, что при испытании дорожных одежд с асфальтобетонными покрытиями толщиной 5 - 20 см, устроенными на щебеночном основании 12 - 30 см, булыжной мостовой, щебне и грунте, обработанными цементом (толщиной 15 - 20 см), с нижними слоями из песка до 50 см, уложенными на земляное полотно из песчаного, супесчаного и суглинистого грунтов во II - III дорожно-климатических зонах РСФСР, имеет место единая регрессионная зависимость:

lф = Х1 lд + Х2,                                                                                          (2.2)

где Х1 и Х2 - коэффициенты регрессионной зависимости;

lф - фактический прогиб конструкции на характерном участке, соответствующий допустимому проценту деформированной поверхности покрытия или расчетной надежности дорожной одежды, при статическом нагружении колесом автомобиля с параметрами нагрузки группы А (прил. 5), см;

lд - то же, но при испытаниях установкой типа УДН-НК (определяется в соответствии с прил. 6), см;

2.4.6. Линейные испытания проводят равномерно по полосе наката (1 - 1,5 см от кромки покрытия) в объеме:

20 испытаний на каждом километровом отрезке характерного участка и на каждом отрезке характерного участка длиной менее 1 км при расчетном уровне надежности дорожной одежды 0,85 - 0,90;

28 испытаний - при уровне надежности 0,95;

12      -"-                  - " -                        -"-   0,75 - 0,80;

10 испытаний - при уровне надежности 0,5 - 0,6.

Возможно проведение линейных испытаний участками длиной по 500 м в пределах каждого километрового отрезка при сохранении указанного объема испытаний. Если расчетный уровень надежности обследуемой дорожной одежды не известен, то на каждом отрезке проводят 30 испытаний. Точки испытаний, попадающие в зоны пучинообразования, выносят за пределы этих зон. Места развития пучин обследуют отдельно путем вскрытия дорожной одежды.

2.4.7. При измерении прогибов необходимо строго соблюдать правила техники безопасности (прил. 3).

2.4.8. При проведении оценки прочности могут быть различные варианты полевых испытаний дорожных одежд нагрузкой:

только в расчетный период;

только в нерасчетные периоды года;

непрерывные - в расчетный и нерасчетный периоды года;

комбинированный метод, когда линейные испытания проводят в нерасчетные периоды года, а контрольные испытания - непрерывно в течение всего сезона испытаний.

Вариант испытаний выбирают (по технико-экономическим соображениям) в зависимости от задач обследования, наличия оборудования, объемов и сроков выполнения работ.

2.4.9. Особенности испытания в расчетный период. При значительном протяжении обследуемого участка (более 20 км) испытание необходимо начинать с южного или западного его конца. В местах, подверженных интенсивному солнечному освещению, испытание рекомендуют проводить раньше, чем в затененных местах (глубокие выемки, участки, проходящие в лесу и др.).

Контрольные испытания в расчетные (весенние) периоды года должны быть начаты за 7 - 10 дней до обычного срока ограничения движения в районе обследуемой дороги и продолжены в течение всего периода наибольшего ослабления дорожной конструкции. Ориентировочно продолжительность расчетного периода в сутках в районах с сезонным промерзанием грунта земляного полотна (П-Ш ДКЗ) определяют:

                                                                                               (2.3)

где h0 - глубина промерзания грунта земляного полотна, см;

a - среднесуточная скорость оттаивания, равная от 1 до 3 см/сут, рассчитываемая по скорости опускания нулевой изотермы, приведенной в климатических справочниках.

На каждой контрольной точке испытания проводят через день с 14.00 до 17.00. В процессе испытаний на контрольных точках следует строго следить за установкой колеса автомобиля в пределах прямоугольника, отмеченного краской на покрытии. Общий период испытаний на каждой контрольной точке - не менее 30 - 35 дней.

Для приведения результатов испытаний к расчетному году параллельно с испытанием контрольных точек определяют влажность грунта земляного полотна. Для этого вырывают шурфы на обочине непосредственно вблизи контрольных точек и периодически (один раз в 3 - 5 дней) отбирают пробы грунта из-под проезжей части для выявления изменения относительной влажности грунта во времени.

При проведении линейных испытаний в расчетный период работы начинают, когда по результатам испытаний на контрольных точках будет видна общая тенденция снижения их прочности во времени (увеличение прогиба под нагрузкой). При этом независимо от начала линейных испытаний следует в прежнем режиме проводить испытания на контрольных точках и продолжать их до тех пор, пока не станет, видна общая тенденция стабилизации величины прогиба дорожной конструкции. Следует стремиться, чтобы линейные испытания были закончены раньте, чем на контрольных точках.

2.4.10. Особенности испытаний в нерасчетный период года. В нерасчетные периоды года на каждой контрольной точке проводят одноразовое испытание с одновременным измерением температуры покрытия и влажности грунта земляного полотна непосредственно под дорожной одеждой в шурфе, отрытом на обочине напротив контрольной точки. Время между линейными испытаниями и испытаниями на контрольной точке не должно превышать двух часов. Кроме того, на каждом виде дорожной одежды одну из контрольных точек испытывают в течение одного дня через каждые два часа (с 8.00 до 17.00) с одновременным измерением температуры покрытия. Причем в течение этого времени не должны выпадать осадки. Испытания с использованием прогибомера можно проводить при температуре покрытия не выше 50 °С.

3. ОБРАБОТКА РЕЗУЛЬТАТОВ ПОЛЕВЫХ ИСПЫТАНИЙ НЕЖЕСТКИХ ДОРОЖНЫХ ОДЕЖД

3.1. Испытание в расчетный, неблагоприятный по условиям увлажнения период года

3.1.1. Результаты разновременных линейных испытаний перед обработкой методами математической статистики корректируют приведением их к сопоставимому виду. Такую корректировку осуществляют с помощью графика изменения прогиба конструкции во времени (график прогиб - время), построенного по результатам ежедневных измерений прогиба на контрольных точках (прил. 4).

3.1.2. Для объективной оценки состояния дорожных конструкций в условиях непрерывного изменения их жесткости во времени, а, следовательно, и неодинакового воздействия транспортных средств на дорогу, корректировку получаемых при испытаниях результатов осуществляют путем их приведения к состоянию конструкции, наиболее характерному, типичному для всего расчетного периода. Типичное состояние конструкции, характеризуемое модулем упругости Еср, определяют с учетом длительности различных состояний в расчетный период года:

;                                                                         (3.1)

,                                                                                           (3.2)

где А и В - эмпирические параметры, зависящие от типов покрытия, расчетной нагрузки, а также грунтово-гидрологических и погодно-климатических факторов. А и В определяют в соответствии с разделом 4;

т - количество расчетных состояний дорожной конструкции в расчетный период года;

 - продолжительность состояния дорожной конструкции с модулем Еi в расчетный период (определяют по графику прогиб - время), сут;

Еi - модуль упругости дорожной конструкции на контрольной точке в рассматриваемый момент времени, МПа; например, по рис. 3.1 для состояния дорожной конструкции с модулем e1 имеем:

.

Модули упругости Еi рассчитывают по величинам прогибов lкi, измеренных на контрольной точке в соответствии с формулой

,                                                                                             (3.3)

где lкi - прогиб, см.

3.1.3. Для определения величины Еср по формуле (3.1) необходимо знать границы расчетного периода, Эти границы в общем виде определяют следующим условием:

Ет = Етр + В lg(0,2 Nф),                                                                          (3.4)

где Ет - максимальный модуль упругости дорожной конструкции, при котором еще требуется учет воздействия фактического движения на дороге, МПа (см. рис. 3.1);

Етр - требуемый по условиям движения модуль упругости дорожной конструкции, определяемый с использованием формул, учитывающих снижение несущей способности конструкций по времени, Mпa (см. раздел 4.4);

Nф - приведенная к расчетному автомобилю фактическая интенсивность движения на полосу на момент проведения полевых испытаний, авт. /сут:

                                                                                    (3.5)

где N - интенсивность движения транспортного потока на полосу в момент испытания дорожной конструкции, авт. /сут (рассчитывают по прил. 9);

w - количество типов автомобилей в транспортном потоке;

aj - коэффициент приведения рассматриваемого автомобиля к расчетному (см. прил. 5);

Pj - доля j-го типа автомобиля в составе транспортного потока (по данным учета движения на дороге).

В случаях, когда нет раздельного учета движения по отдельным полосам, интенсивность движения на полосу:

N = N* × fп,                                                                                                (3.6)

где N* - суммарная интенсивность движения транспортного потока на дороге, авт/сут (определяют по прил. 9);

fn - коэффициент, учитывающий количество полос движения на обследуемой дороге (определяют по табл. 3.1).

Таблица 3.1

Число полос движения

1

2

3

4

6

fn

1

0,55

0,50

0,35

0,30

При отсутствии данных о фактическом периоде эксплуатации на момент проведения полевых испытаний величину модуля упругости Ет и количество расчетных состояний можно определять для условий П-Ш дорожно-климатических зон по данным 25-суточного периода наибольшего ослабления конструкции, т.е. когда расчетный период Тр (см. рис. 3.1) принимается равным 25 сут.

Календарные дни

Рис. 3.1. Пример зависимости прогиб-время для приведения результатов линейных испытаний к сопоставимому виду:

1 - изменение состояния дорожной конструкции во времени на контрольной точке; 2 - предельное состояние дорожной конструкции, при котором воздействие автомобилей еще существенно; Е1, Е2 и т.д. - модули упругости при различных расчетных состояниях дорожной конструкции

3.1.4. Корректировку результатов линейных испытаний дорожных конструкций путем их приведения к сопоставимому виду выполняют по следующей формуле:

,                                                                                  (3.7)

где - величина прогиба, приведенная к сопоставимому виду, мм;

 - коэффициент изменения прогиба во времени;

lcp - прогиб дорожной конструкции на контрольной точке при характерном для всего расчетного периода состояния, мм. Определяют его по формуле (3.3) при подстановке Ei = Eср и lcр вместо lкi

lкi - прогиб дорожной конструкции на контрольной точке в момент проведения линейных испытаний, мм;

li - прогиб дорожной конструкции, измеренный в процессе линейных испытаний, мм.

Поясним изложенное, воспользовавшись данными рис. 3.1. Результаты расчетов lср = 0,48 мм сведены в табл. 3.2.

Таблица 3.2

Дата

Время, ч

Место испытаний, км

li, мм

 

, мм

6.04

10.00

ПК 30+150

0,26

 

0,26´1,78 = 0,46

 

10.10

30+200

0,35

 

0,35´1,78 = 0,62

 

10.20

30+250

0,40

 

0,40´1,78 = 0,71

9.04

14.30

45+050

0,80

0,80´0,75 = 0,60

 

14.40

45+100

0,70

 

0,70´0,75 = 0,52

 

14.50

45+150

0,60

 

0,60´0,75 = 0,45

3.1.5. Распределение деформационных свойств дорожной конструкции в пределах характерного участка носит случайный характер. В этих условиях объективная оценка состояния дорожных конструкций может быть выполнена по величине фактического прогиба lф, соответствующего допускаемому проценту деформированной поверхности покрытия. Обработку результатов линейных испытаний проводит в соответствии с прил. 6.

3.1.6. При одновременном испытании дорожных одежд методами статического и кратковременного нагружения результаты линейных испытаний, проведенных методом кратковременного нагружения, приводят к сопоставимому виду с результатами, получаемыми статическим нагружением колесом автомобиля. Для этого используют данные сопоставительных испытаний, выполненных в соответствии с п. 2.4.8.

3.1.7. Полученные величины прогибов lф используют для расчета фактических модулей упругости дорожной конструкции на каждом характерном участке. Расчеты выполняют по формуле (2.1), заменяя l на lф и ЕА на Еф:

.                                                                                            (3.8)

3.1.8. Полевые испытания дорожных одежд могут быть выполнены не в расчетном году. В результате полученные данные не дадут объективной оценки состояния дорожной одежды, если не выполнить соответствующую их корректировку. Для корректировки используют график влажность - время, построенный по данным периодического (1 раз в 3 - 5 дней) измерения относительной влажности грунта земляного полотна на обследуемых участках (см. п. 2.4.9).

Сопоставляя графики прогиб - время и влажность - время, определяют относительную влажность W грунта земляного полотна на характерном участке, соответствующую типичному для всего расчетного периода состоянию дорожной одежды. Для этого находят значения влажности Wi, соответствующие по времени точкам пересечения линии, характеризующей типичное, состояние дорожной одежды lср, с графиком прогиб - время. Величину W определяют как среднее значение из Wi . Полученную влажность W сравнивают с влажностью грунтов расчетного года Wp . В качестве влажности грунта расчетного года принимают наиболее вероятную влажность за рассматриваемый перспективный период (5 - 15 лет):

супесь легкая, песок пылеватый: Wр = 0,76 ± 3%;

суглинок пылеватый, суглинок легкий, глина: Wр = 0,86 ± 2,5%.

При необходимости получения более детального решения, величины Wр определяют в соответствии с прил. 2 инструкции ВСН 46-83 Минтрасстроя СССР.

Фактические значения модулей упругости Еф, рассчитанных по формуле (3.6), в случаях различия влажностей W и Wр корректируют в следующей последовательности:

по прил. 7 (табл. 1) определяют модули упругости грунтов земляного полотна Ео и Ер соответствующие влажности W и Wр;

находят средний модуль упругости слоев дорожной одежды Ес с помощью номограммы для послойного расчета (рис. 1 прил. 7) по известным фактическим модулям упругости дорожной конструкции Еф, толщине дорожной одежды и модулям упругости грунта земляного полотна Ео при характерном состоянии конструкции.

определяют по номограмме для послойного расчета (рис. 2 прил. 7) при известных Ес и Ер модуль упругости дорожной конструкции Еф*, приведенный к расчетному году.

Если по технико-экономическим соображениям возникнет необходимость более точной оценки, состояния автомобильной дороги (например, в случаях недостаточной изученности местных региональных условий), приведение модулей упругости к расчетному году можно осуществлять с использованием данных гидрометеостанций (прил. 8).

3.1.9. Полученные значения фактических модулей упругости Еф используют для построения графика (рис. 3.2) результатов линейных испытаний дорожных конструкций, на который выносят значения модулей упругости конструкций, требуемых по условиям движения Етр. В результате сопоставления фактических и требуемых модулей упругости решают вопрос об участках недостаточной прочности. Если фактический модуль упругости дорожной конструкции превышает или равен требуемому, то участок дороги можно отнести к прочным. Если фактический модуль упругости окажется меньше требуемого, то участок имеет недостаточную прочность.

Рис. 3.2. График результатов испытаний дорожной одежды:

1 - границы характерных участков; 2 - линия требуемого модуля упругости дорожной конструкции на характерном участке; 3 - участки недостаточной прочности; Е - модуль упругости дорожной конструкции; 4 - Эпюра приведенных фактических модулей упругости (Еф*).

3.2. Испытание в нерасчетные периоды года

3.2.1. Результаты полевых испытаний обрабатывают методами математической статистики (см. прил. 6) и используют для построения графика температура покрытия - прогиб (рис. 3.3), необходимого для определения прогиба конструкции при расчетной температуре покрытия. В качестве расчетных температур покрытия из материалов, содержащих органическое вяжущее, принимают: +10° С - в I дорожно-климатической зоне (ДКЗ); +20° С - во II ДКЗ; +30° С - в III ДКЗ; +40° С - в IV ДКЗ и +50° С - в V ДКЗ.

Рис. 3.3. Пример построения графика температура покрытия - прогиб по результатам испытания дорожной одежды на контрольной точке.

Стрелками показан порядок определения расчетного значения обратимого прогиба (lo), соответствующего
расчетной температуре покрытия (); l - обратимый прогиб, см; tп - температура покрытия, °С

3.2.2. Предварительно обработанные результаты линейных испытаний приводят к требуемому расчетному состоянию дорожных одежд и земляного полотна. Приведенный фактический модуль упругости конструкции определяют по формуле:

,                                                     (3.9)

где Ефл - фактический модуль упругости дорожной конструкции характерного участка, полученный по результатам испытаний в нерасчетный период года (определяют по формуле 3.8), заменяя Еф на Ефл, МПа;

 - температурный коэффициент, равный отношению прогиба lp при расчетной температуре покрытия  к прогибу lо при температуре, соответствующей периоду проведения испытаний . Расчетную температуру покрытия  определяют в соответствии с п. 3.2.1. Используя график температура покрытия - прогиб (см. рис. 3.3), по величине  находят значение lр, для переходных типов одежд ;

Нк - толщина дорожной одежды на контрольной точке, измеренная в шурфе при определении влажности грунта земляного полотна, см;

Кг - эмпирический коэффициент, зависящий от вида грунта земляного полотна в месте расположения контрольной точки; Кг = 1,5 - для супесей легких и песчаных грунтов; Кг = 2,15 - для суглинков, супесей пылеватых и тяжелых пылеватых;

Wфл - измеренная относительная влажность грунта земляного полотна на контрольной точке в период проведения испытаний. Определяют ее в соответствии с п. 2.4.10;

Wр - относительная расчетная влажность грунта земляного полотна, %. Находят ее в соответствии с п. 3.1.8;

D - расчетный диаметр следа колеса, см (см. прил. 5);

Кд - эмпирический коэффициент, зависящий от состояния покрытия в районе контрольной точки. При наличии сетки трещин Кд = 0,90; при отсутствии - Кд = 1,00;

Кт - эмпирический коэффициент приведения дорожной конструкции к типичному состоянию. Определяют в соответствии с табл. 4 прил. 8.

Указанные величины коэффициентов Кг, Кд и Кт получены применительно к наиболее распространенным конструкциям дорожных одежд (см. п. 2.4.8).

3.2.3. Соотношения между результатами испытаний методами кратковременного и статического нагружения зависят от состояния дорожных конструкций по сезонам года. По этой причине соответствующие корреляции устанавливают в соответствии с п. 2.4.8.

3.2.4. В случае, если полевые работы организованы таким образом, что испытания контрольных точек на характерных участках проводят в расчетный период, а линейные испытания этих участков осуществляют в нерасчетный период года, то корректировку результатов линейных испытаний дорожных конструкций путем их приведения к сопоставимому виду выполняют в соответствии с разделом 3.1.4.

3.2.5. Полученные значения  выносят на линейный график в соответствии с п. 3.1.9.

3.2.6. При соответствующем технико-экономическом обосновании результаты испытаний обрабатывают с учетом местных погодно-климатических условий, используя данные гидрометеостанций (см. прил. 8).

4. НАЗНАЧЕНИЕ ТРЕБУЕМОЙ ПРОЧНОСТИ НЕЖЕСТКИХ ДОРОЖНЫХ ОДЕЖД

4.1. Требуемую прочность дорожных одежд назначают применительно к следующим задачам, решаемым в практической деятельности дорожных организаций:

1. Оценка прочности дорожной одежды:

при приемке дорог в эксплуатацию;

в процессе эксплуатации автомобильных дорог (в том числе для накопления банка данных.

2. Повышение прочности (усиление) дорожной одежды.

4.2. В общем случае требуемый модуль упругости дорожных одежд и земляного полотна определяют по формуле:

,                                                                 (4.1)

где  - коэффициент относительной прочности дорожной одежды, принимаемый по табл. 2 прил. 7;

 - региональный коэффициент;  - для дорог в I - IV дорожно-климатических зонах;  - в V дорожно-климатической зоне;

D - коэффициент, учитывающий тип и толщину существующей дорожной одежды и особенности грунтово-гидрологических условий (табл. 4 прил. 7);

 - коэффициент, учитывающий толщину песчаного слоя в существующей дорожной одежде (табл. 4 прил. 7);

Xi - параметр, зависящий от допускаемой вероятности повреждения покрытий (табл. 2 прил. 7);

Кs - коэффициент, учитывающий условие прочности покрытий, обработанных вяжущими, на растяжение при изгибе (определяют в соответствии с табл. 6 прил. 7).

Для случая роста интенсивности движения во времени в соответствии с законом геометрической прогрессии величину требуемого по условиям движения модуля упругости находят по формуле:

,                                                             (4.2)

где А и В - эмпирические коэффициенты для расчетного автомобиля группы А. При динамическом нагружении дорожной конструкции А = 145 МПа; В = 77 МПа; при статическом нагружении А = 125 МПа; B = 68 МПа;

g - параметр, принимаемый для усовершенствованных капитальных, облегченных и переходных одежд соответственно: g = 0,12; g = 0,148; g = 0,171;

w* - коэффициент, учитывающий агрессивность воздействия расчетных автомобилей в разных погодно-климатических условиях (принимают по таблицам 5.1 и 5.2 прил. 7);

N1 - среднесуточная интенсивность движения на полосу в 1-й год эксплуатации (в расчетный период), приведенная к расчетным автомобилям группы А, авт./сут.

N1 = Nф × q,                                                                                               (4.3)

где q - показатель роста интенсивности движения. Определяют его в соответствии с прил. 9;

ti - расчетный период эксплуатации дорожной одежды, годы.

Для случаев изменения интенсивности движения во времени по линейной закономерности либо при постоянной интенсивности движения величину требуемого модуля определяют по формуле:

,                                                                 (4.4)

При линейной закономерности изменения интенсивности движения автомобилей во времени временной параметр (У) выражают формулой:

,                                                                 (4.5)

где z - показатель роста интенсивности движения при линейном изменении ее во времени.

При постоянной интенсивности движения автомобилей, временной параметр (У) находят по формуле:

У = 24,2 × lg(0,1 × ti + 1).                                                                         (4.6)

Для указанных случаев (формулы 4.5 и 4.6)

N1 = Nф.                                                                                                   (4.7)

4.3. Для оценки прочности дорожной одежды при приемке дорог в эксплуатацию требуемый модуль упругости дорожной конструкции принимают равным:

,                                                                                         (4.8)

где Епр - проектный, расчетный модуль упругости дорожной одежды и земляного полотна, МПа;

Хi - параметр, зависящий от допустимого процента деформированной поверхности покрытия (табл. 2.1 прил. 7).

4.4. При опенке прочности дорог, находящихся в эксплуатации, требуемые модули упругости рассчитывают по формулам раздела 4.2 при

ti = Трtф,                                                                                                 (4.9)

где Тр - проектный, расчетный срок службы дорожной одежды, годы;

tф - фактический период эксплуатации от момента строительства или последнего ремонта дорожной одежды до момента обследования дороги, годы.

4.5. Если на момент обследования дороги оставшийся период эксплуатации составляет не более года (т.е. tф » Тр) или < Етр, то необходимо выполнить усиление дорожной одежды. Слои усиления рассчитывают на оптимальную перспективу и надежность дорожной одежды. Для этого требуемый модуль упругости рассчитывают по формулам раздела 4.2 при

ti = То,                                                                                                      (4.10)

где То - нормативный срок службы дорожной одежды, годы.

Нормативный срок службы дорожной одежды и соответствующий ему нормативный уровень надежности конструкции принимают по табл. 7 прил. 7.

4.6. Если нормативный уровень надежности усиливаемой конструкции отличается от проектного уровня надежности обследованной дорожной одежды, то, прежде чем осуществлять расчет усиления, необходимо уточнить фактический модуль упругости существующей дорожной одежды. Для этого используют имеющиеся распределения и кумулятивные кривые прогибов на характерных участках дороги. Уточненный фактический прогиб конструкции lф определяют в соответствии с прил. 6 при новом уровне надежности, принятом для конструкции усиления. Последовательность остальных вычислений не отличается от принятой в п. 3.1.7 - 3.1.9.

4.7. Для случаев, когда не имеется данных о расчетных (проектных) сроках службы дорожной одежды, требуемые модули упругости дорожной конструкции определяют с использованием условия (4.10).

5. МЕРОПРИЯТИЯ ПО ПОВЫШЕНИЮ НЕСУЩЕЙ СПОСОБНОСТИ ДОРОЖНЫХ ОДЕЖД

5.1. Конструирование и расчет слоев усиления дорожной одежды

5.1.1. Вопрос об усилении дорожной одежды рассматривается всегда, когда ее фактический модуль упругости , определенный в результате полевых испытаний, оказывается меньше требуемого по условиям движения Етр.

Решение вопроса о том, какое усиление следует производить, принимают в результате технико-экономического сравнения вариантов. Если на момент обследования  > Етр, но ровность покрытия неудовлетворительная, осуществляют укладку выравнивающего слоя и устройство поверхностной обработки.

5.1.2. Тип покрытия при назначении слоев усиления выбирают с учетом перспективной интенсивности движения автомобилей (см. табл. 7 прил. 7).

Верхний слой усиления по своему типу должен бить не ниже существующего покрытия. Например, при существующем асфальтобетонном покрытии верхний слой усиления также должен быть асфальтобетонным.

В тех или иных конкретных условиях на основании экономических соображений, требований безопасности и комфортабельности движения вместо усовершенствованных облегченных или переходных покрытий могут быть назначены более совершенные покрытия. Материал покрытия должен обеспечивать необходимую его шероховатость и устойчивость от сдвигов, наплывов и волн при высоких температурах.

5.1.3. Толщина слоев усиления по условиям их надлежащего формирования и нормальной работы в процессе эксплуатации не должна быть меньше величин, указанных в табл. 5.1.

Во всех случаях толщина слоя должна в 1,5 раза превышать размер наиболее крупных частиц каменного материала, из которого изготовлен данный слой.

Таблица 5.1

Материал слоев усиления

Толщина, см

Материал слоев усиления

Толщина, см

Асфальтобетон:

 

Щебеночные и гравийные

8

крупнозернистый

6 - 7

материалы, обработанные

 

мелкозернистый

3 - 5

цементом на твердом основании

 

песчаный

3 - 4

 

 

холодный

3

 

 

Щебеночные и гравийные материалы, обработанные органическим вяжущим в установке и смешением на дороге

5

Грунты, обработанные органическим вяжущим способом смешения на дороге

6

Щебень, обработанный органическим вяжущим способом пропитки

8

Щебеночные или гравийные материалы, не обработанные вяжущим, на:

 

 

 

щебне

8

 

 

гравийном материале

10

 

 

песчаном основании

15

Примечание. Большие из значений толщин асфальтобетонных покрытий даны для дорог I - II категорий, а меньшие - для дорог III - IV категорий.

5.1.4. Слои усиления на проезжей части автомобильных дорог в соответствии с Инструкцией ВСН 46-83 Минтрансстроя СССР рассчитывают на кратковременное многократное действие подвижных нагрузок (продолжительность действия нагрузок принимается равной 0,1 с). Усиление одежд на остановках транспортных средств рассчитывают также на многократное кратковременное действие нагрузок, а также на продолжительное однократное действие (не менее 10 мин). Усиление одежд на стоянках ведут из расчета длительного статического нагружения (более 10 мин).

5.1.5. Расчет толщины слоев усиления ведут по обратимому прогибу, рассматривая дорожную одежду как линейно-деформируемую систему. Для практических целей следует пользоваться номограммой рис. 2 прил. 7.

При использовании номограммы сначала назначают (по прил. 7) модули упругости слоев усиления Е1, затем рассчитывают соотношения /Е1 и Етр/Е1. Откладывают полученное соотношение /Е1 на оси ординат, проводят горизонталь до пересечения с наклонной линией, характеризуемой соотношением Етр/Е1. Из точки пересечения опускают вертикаль до пересечения с осью абсцисс, где читают соотношение Х = h/D. Используя расчетный диаметр следа колеса из табл. 1 прил. 5. находят искомую толщину слоя усиления:

                                                                                                  (5.1)

5.1.6. Если по расчету необходимо однослойное усиление и толщина слоя усиления меньше его величины, указанной в табл. 5.1, но больше половины этой величины, то следует принять толщину слоя усиления по табл. 5.1 или рассмотреть вариант укладки материала, позволяющего делать более тонкие слои. Например, вместо гравия, обработанного органическим вяжущим, следует укладывать холодную асфальтобетонную смесь. Оба варианта должны быть сопоставлены с учетом экономических и технологических соображений.

Если по расчету толщина слоя усиления из материала, обработанного органическим вяжущим, получилась менее половины величины, указанной в табл. 5.1, то достаточно провести после соответствующего ямочного ремонта поверхностную обработку существующего покрытия.

5.1.7. При проектировании усиления дорожной одежды капитального, облегченного или переходного типа, находящейся в неудовлетворительном состоянии по ровности, минимальную толщину слоя усиления из материала, содержащего органическое вяжущее, назначают с учетом перспективной интенсивности движения на полосу Nt, приведенной к расчетным нагрузкам (величину Nt определяют в соответствии с табл. 6 прил. 7):

Таблица 5.2

Nt, авт. /сут

100

200

500

1000

2000

5000

>5000

h, см

7

8

10

12

13

15

17

В случаях, если полученная расчетом толщина слоя усиления больше, указанной в табл. 5.2, нижнюю часть его следует предусматривать из менее прочного и дорогостоящего материала, чем асфальтобетон (см. табл. 5.3). Расчет дополнительного слоя осуществляют по номограммам прил. 7.

Таблица 5.3

Существующее покрытие

Материалы, рекомендуемые для нижней части слоя усиления

гравий

щебень

грунт, укрепленный вянущим

гравий или щебень, укрепленный вяжущим

гравий или щебень с гранулированным шлаком

Гравийное, не обработанное вяжущим

+

+

-

+

+

Щебеночное, не обработанное вяжущим, булыжная мостовая, мостовая из брусчатки и мозаики

-

+

 

+

+

Цементогрунтовое с поверхностной обработкой и без нее

-

-

+

+

+

Из гравийных и щебеночных смесей, обработанных органическим вяжущим, асфальтобетон

-

-

-

+

+

Если толщина нижнего слоя, не содержащего органическое вяжущее, меньше, предусмотренного в табл. 5.1, то этот слой должен быть заменен за счет утолщения вышележащего слоя, содержащего органическое вяжущее.

В случае применения в нижнем слое усиления грунта, гравия или щебня, укрепленных неорганическими вяжущими (цементом и др.), во избежание появления большого количества трещин на покрытии, построенном с использованием органического вязнущего, оно должно иметь толщину не менее 12 см. Если при этом по расчету толщина верхних слоев меньше 12 см, то материал, укрепленный неорганическим вяжущим, необходимо заменить материалом верхних слоев путем их соответствующего утолщения.

Материалы, не обработанные вяжущим, можно укладывать в нижнюю часть слоев усиления только в том случае, если под ними расположены слои из водопроницаемого материала (гравия, щебня). В противном случае в этих слоях, оказавшихся между водонепроницаемыми материалами, произойдет влагонакопление, что ускорит их разрушение при промерзании и потерю прочности в расчетный период. Исключение может составить V дорожно-климатическая зона при соответствующей проверке на опытных участках.

5.2. Ограничение движения автомобилей на дорогах в период наибольшего ослабления дорожных конструкций

5.2.1. Ограничение движения транспортных средств всегда требуется на участках автомобильных дорог с недостаточной прочностью дорожной одежды ( < Етр) в случаях: когда по технико-экономическим соображениям устройство слоев усиления не является эффективным мероприятием или когда не имеется возможностей для усиления конструкций в год проведения полевых испытаний.

5.2.2. Движение ограничивается из условия обеспечения работоспособности конструкции в пределах расчетного срока службы дорожной одежды или до планируемого начала производства работ по ее усилению. В данных случаях движение следует ограничивать ежегодно в период наибольшего ослабления дорожной конструкции.

5.2.3. Допустимую интенсивность движения расчетных нагрузок в первый год после проведения полевых испытаний рассчитывают по следующей формуле (для наиболее вероятного закона роста интенсивности движения):

,                                                                                   (5.2)

где x - коэффициент, зависящий от типа существующей дорожной одежды (для капитальных одежд x = 8,34; для облегченных - x = 6,77; для переходных - x = 5,84);

 - интенсивность движения расчетных автомобилей на последний год эксплуатации дорожной конструкции с требуемым модулем упругости , авт./сут;

q - показатель роста интенсивности движения на дороге, определяемый в соответствии с прил. 9;

t - время до планируемого начала работ по усилению дорожной одежды или время в пределах оставшегося периода эксплуатации дорожной одежды до ремонта Тр = tф (см. формулу 4.9). Формула (5.2) справедлива при q > 1 и значениях:

5 авт./сут £ NЕср £ 10000 авт./сут.

При меньших значениях  необходимо немедленное усиление конструкций или полное закрытие движения на дороге.

Для определения  используют формулы (4.1) и (4.2), принимая:

;    ;                                                                            (5.3)

ti = 15 лет, 10 лет и 8 лет соответственно для капитальных, облегченных и переходных дорожных одежд.

5.2.4. Допустимая интенсивность движения сопоставляется с фактической интенсивностью расчетного движения в рассматриваемый год после полевых испытаний. Принимая во внимание точность назначения контрольных точек и точность приведения нагрузок при различных состояниях дорожных конструкций, изменение фактической, приведенной к расчетным нагрузкам интенсивности движения учитывается в соответствии с формулой

,                                                                                           (5.4)

где Nj - фактическая приведенная интенсивность движения на полосу в рассматриваемый год после полевых испытаний;

tj - рассматриваемый год. Принимает значения от 1 (первый год после полевых испытаний) до t (см. формулу 5.2).

Величину Nф рассчитывают по формуле (3.5).

5.2.5. Допустимую интенсивность движения расчетной нагрузки в любой год эксплуатации после проведения полевых испытаний определяют по формуле:

,                                                                                          (5.5)

где tj = 1; 2; 3...... t Например, в первый год после полевых испытаний (tj = 1) (см. формулу 5.2).

5.2.6. Ограничение фактического движения автомобилей осуществляют подбором по формуле (5.4), исключая из состава движения различные транспортные средства. Расчеты прекращаются, когда Nj =NДt. Следует отметить, что задача в принципе не имеет однозначного решения, поскольку в зависимости от конкретных условий на дороге, возможно ограничивать движение различных грузовых автомобилей. С целью получения наибольшего эффекта рекомендуется прежде всего исключать из состава движения на дороге тяжелые транспортные средства, оказывающие наиболее разрушающее действие на дорожную одежду.

Пример. Рассчитываем состав движения, необходимый на дороге в первый год полевых испытаний дорожных одежд капитального типа.

Имеем фактическую интенсивность движения транспортного потока на полосу в год полевых испытаний N = 3500 авт./сут.

В составе движения 20 % автомобилей типа МАЗ-500, 30 % - типа ЗИЛ-130 и 20 % - типа ГАЗ-53. Остальные - легковые автомобили.

Допускаемая интенсивность движения расчетных нагрузок в первый год после полевых испытаний (рассчитывается по формуле 5.2)  = 900 авт./сут; q = 1,1. Коэффициенты приведения (см. прил. 5): aМАЗ = 1; aЗИЛ = 0,23; aГАЗ = 0,02.

Рассчитываем фактическую приведенную интенсивность движения в первый год после полевых испытаний по формуле (5.4):

Nj = N1 = 3500 × (1 × 0,2 + 0,23 × 0,3 + 0,02 × 0,2) × 1,1 =

= 3500 × (0,2 + 0,069 + 0,004) × 1,1 = 1051 авт./сут,

т.е. N1 = 1051 >  = 900 авт./сут.

Уберем из состава движения автомобили МАЗ-500, тогда:

Nj' = 3500 × (0,069 + 0,004) × 1,1 = 281 авт./сут <  = 900 авт./сут.

Следовательно, на дороге целесообразно ограничить только часть автомобилей МАЗ-500.

Расчеты показывают, что для обеспечения равенства Nj' =  достаточно в составе движения оставить 16 % автомобилей МАЗ-500. Для определения начала ограничения движения осуществляют испытания одежд на контрольных точках соответствующего участка дороги в соответствии с п. 2.4.9. Ограничение движения осуществляют в момент, когда Еi £ Ет (значение величины Ет определяют по формуле 3.4). Ограничение движения снимают, когда Еi > Ет.

5.3. Особый случай улучшения состояния дорожных конструкций

5.3.1. Возможны случаи, когда по тем или иным причинам не удается усилить дорожную конструкцию в год проведения ее испытаний. В таких случаях значения фактических модулей упругости Еф дорожной конструкции, полученных в результате испытаний, должны быть пересчитаны с учетом их снижения в процессе службы дороги до момента работ по усилению.

5.3.2. В соответствии с разделом 5.2 на участках с недостаточной прочностью дорожных конструкций в случае возникновения задержек с проведением работ по усилению конструкций должно быть предусмотрено ограничение движения транспортных средств из условия обеспечения необходимой работоспособности конструкций в пределах расчетного срока службы.

В этих условиях фактический модуль упругости конструкций  в рассматриваемый год после проведения полевых испытаний определяют с помощью формул (4.1) и (4.2) при замене Етр на ,  на  и, принимая ti = Tp ‑ (tф + tj) при 1 £ tj £ (Tptф), где tj - текущее время после полевых испытаний.

Если Tptф £ 1 года, то требуется либо немедленное усиление конструкций, либо полное запрещение движения грузовых автомобилей в расчетные, неблагоприятные по условиям увлажнения периоды года.

5.3.3. Требуемый модуль упругости конструкции  для данного случая находят в соответствии с разделом 4, используя вместо интенсивности  величину , определяемую по формуле (5.4) в зависимости от рассматриваемого времени tj.

5.3.4. Полученные значения Етр и  используют для расчета слоев усиления. Расчет проводят в соответствии с рекомендациями раздела 5.1.

ПРИЛОЖЕНИЕ 1

ОПРЕДЕЛЕНИЕ НАГРУЗКИ НА КОЛЕСО АВТОМОБИЛЯ

Определение нагрузки на колесо автомобиля производят переносными гидравлическими весами модели КП-205, представляющими собой прибор, состоящий из корпуса (рис. 1) с вмонтированным в него манометром, фиксирующим величины нагрузки, и поршнем, воспринимающим нагрузку от колеса автомобиля. Нагрузка на поршень передается через шарнирно опирающуюся на него грузовую площадку.

Для измерения нагрузки весы устанавливают таким образом, чтобы грузовая площадка касалась покрытия непосредственно у внешнего пневматика заднего колеса автомобиля (см. рис. 1). По команде автомобиль медленно наезжает на грузовую площадку весов и по манометру определяют величину нагрузки.

Рис. 1. Схема определения нагрузки Qк на колесо автомобиля с помощью переносных гидравлических весов модели КП-205:

а - до взвешивания; б - в момент взвешивания; в - гидравлические весы модели KП-205 (вид сверху):

1 - внешняя пневматическая шина заднего колеса; 2 - грузовая площадка весов; 3 - корпус весов; 4 - манометр; 5 - ручка

Рис. 2. Схема взвешивания автомобилей на специально подготовленной площадке (а) и на любой другой площадке с твердым покрытием (б):

1 - задняя ось грузового автомобиля; 2 - гидравлические весы модели KП-205; 3 - деревянный брус

Взвешивание можно производить, как на специально подготовленной площадке, так и на любой другой достаточно ровной площадке с твердым покрытием (рис. 2). Во избежание ошибок, связанных с перекосом автомобиля, целесообразно устанавливать гидравлические весы в специально подготовленные углубления в площадке (см. рис. 2, а) или предусматривать специальные подкладки (например, деревянные бруски высотой, равной высоте весов, и шириной, достаточной для размещения одной пневматической шины заднего колеса) под остальные колеса автомобиля (см. рис. 2, б).

ПРИЛОЖЕНИЕ 2

ПРИБОРЫ И ОБОРУДОВАНИЕ ДЛЯ ИСПЫТАНИЯ ДОРОЖНЫХ ОДЕЖД НАГРУЗКОЙ

1. Длиннобазовый рычажный прогибомер модели КП-204

Прогибомер модели КП-204 (рис. 1) имеет составной рычаг, за счет шарикоподшипников легко вращающийся на оси, закрепленной в корпусе опоры (5). Рычаг представляет собой пространственную трубчатую ферму (7) переменной высоты с треугольным поперечным сечением. Соотношение длин грузового (8) и измерительного (4) плеч рычага 2:1. Длина грузового плеча 2,5 м. Конец грузового плеча рычага снабжен щупом (10), который с помощью шарового шарнира соединен с подпятником (12). Щуп крепится к рычагу зажимным винтом (11). Конец измерительного плеча снабжен кронштейном (2) для крепления индикатора (3). Для избежания погрешностей при измерении прогибов дорожной конструкции, связанных с неравномерным нагреванием фермы рычага в солнечную погоду, все элементы фермы покрыты теплоизоляционным материалом.

Рис. 1. Схема длиннобазового рычажного прогибомера модели КП-204

В транспортном положении рычаг расчленен на две части. Последовательность приведения прогибомера в рабочее положение и порядок работы с ним следующие.

1. Соединяют составные части рычага и стягивают их болтами (6).

2. Вставляют щуп в отверстие на конце грузового плеча рычага и затягивают винт.

3. Закрепляют индикатор на кронштейне.

4. Поднимают прибор за верхнею трубу фермы рычага и, придерживая его в горизонтальном положении, перемещают так, чтобы щуп с подпятником разместился между скатами заднего сдвоенного колеса (9) автомобиля точно под центром задней оси автомобиля.

5. Устанавливают клиновидную опорную подкладку (1) на покрытие таким образом, чтобы ее наклонная поверхность вошла в контакт с концом стержня индикатора.

6. Выдерживают автомобиль на точке до тех пор, пока отсчет по индикатору iо не изменится за 10 с более чем на 0,005 мм и записывают его в журнал измерений (таблицы 1 и 2).

Таблица 1

Журнал линейных испытаний дорожной конструкции
(образец заполнения)

Наименование дороги _________________________ Нагрузка

на заднюю ось ________________ 100 кН

Автомобиль __________________________________ МАЗ-500

Место испытания (км+м)

Дата испытаний и время суток

Состояние покрытия у точки испытания

Отсчеты по индикатору

Прогиб, li, мм

Величина прогиба, приведенного к сопоставимому виду,

lnpi = Kизм×i × li, мм

i

io

 

14.04.87

 

 

 

 

 

110+000

10.15

Трещин нет

283

341

1,16

1,16´1,12 = 1,30

110+050

10.23

То же

239

275

0,72

0,72´1,12 = 0,81

110+100

10.27

Редкие трещины

301

386

1,70

1,70´1,12 = 1,90

 

15.04.87

 

 

 

 

 

114+050

10.03

То же

233

269

0,72

0,72´1,20 = 0,86

Примечание. Kизм×i - коэффициент изменения прогиба во времени.

Таблица 2

Журнал испытания дорожной конструкции на контрольных точках (образец заполнения)

Наименование дороги __________________________ Нагрузка

на заднюю ось _____________ 100 кН

Автомобиль __________________________________ МАЗ-500

Место расположения контрольной точки

(км+м)

Дата испытаний и время суток

Отсчеты по индикатору

Прогиб, li, мм

Примечание

i

io

 

28.03.87

 

 

 

 

Точка № 1

8.27

284

301

0,34

Состояние погоды,

111+000

 

 

 

 

температура воздуха,

Точка № 2

8.34

225

251

0,52

состояние обочин,

114+840

 

 

 

 

откосов, резервов и

Точка № 3

8.46

273

289

0,32

т.п.

118+000

 

 

 

 

 

Точка № 1

15.18

199

220

0,42

 

111+000

 

 

 

 

 

Точка № 2

15.26

239

271

0,64

 

114+840

 

 

 

 

 

 

29.03.87

 

 

 

 

Точка № 1

8.20

239

260

0,42

 

111+000

 

 

 

 

 

7. Продвигают автомобиль вперед на расстояние не менее 5 м.

8. Дожидаются пока отсчет по индикатору i после съезда автомобиля с точки измерения в течение 10 с не будет изменяться более чем на 0,005 мм и записывают его в журнал измерений.

9. Удвоенная разница отсчетов по индикатору до съезда автомобиля с точки и после съезда будет соответствовать прогибу покрытия в этой точке l:

l = 2 (i ‑ io).                                                                                               (1)

Закончив измерение прогиба на одной точке, переходят к другой. При переезде с одной контрольной точки на другую прибор можно не переводить в транспортное положение. Следует только снять индикатор и осторожно погрузить прибор в кузов автомобиля либо подвесить его на кронштейны сбоку автомобиля.

2. Передвижная лаборатория модели КП-502 МП для оценки несущей способности автомобильных дорог

Передвижная лаборатория модели КП-502 МП (рис. 2) состоит из комплекта приборов и оборудования для испытания дорожных одежд методами статического и кратковременного нагружения (установка динамического нагружения УДН-НК, длиннобазовый прогибомер модели КП-204, прибор для измерения расстояния КП-203, переносные гидравлические весы модели KП-205 и др.).

Рис. 2. Размещение основных приборов и оборудования в передвижной дорожной лаборатории КП-502 МП:

1 - установка динамического нагружения УДН-ПК; 2 - балка для крепления датчика; 3 - тележка для крепления балки; 4 - бензоэлектрический агрегат; 5 - измерительная система сбора и обработки данных на базе микро-ЭВМ

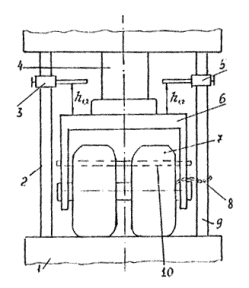
Установку динамического нагдужения УДН-НК (навесную с гибким штампом) монтируют сзади кузова автомобиля (см. рис. 2). Особенность ее - передача усилия от падающего груза массой 250 кг через сдвоенные авиационные пневматические колеса, обеспечивающие площадь отпечатка и удельную нагрузку на покрытие эквивалентные отпечатку и нагрузке расчетного автомобиля группы А. Для подъема груза используют электродвигатель мощностью 1 кВт. Регистрацию прогибов осуществляют сейсмоприемником СВ-20. Измерительный датчик смонтирован на специальной тележке и находится между скатами пневматика. Аппаратура для сбора и первичной обработки данных испытаний расположена в кабине водителя. Нагружение дорожной одежды проводят с остановкой лаборатории в каждой точке испытания. Максимальная производительность УДН - до 8 км/ч при 20 испытаниях на 1 км.

В процессе испытаний и при переездах от точки к точке сдвоенные пневматики находятся в контакте с дорожным покрытием. При длительных переездах установку приподнимают в транспортное положение.

Рис. 3. Схема тарировки колеса для установки УДП-НК:

1 - станина пресса; 2 и 9 - направляющие пресса; 3 и 5 - струбцины с жесткими пластинами, от которых измеряют сжатие (осадку) колеса под нагрузкой; 4 - поршень пресса; 6 - обойма для крепления колеса; 7 - испытываемое колесо; 8 - цепи, обеспечивающие безопасность работы; 10 - стопорная чека; h1,2 - расстояние от верха обоймы 6 до струбцины 3 и 5

Пневматические колеса, играющие роль амортизатора, требуют периодической тарировки - тарировать нужно одновременно оба ската, чтобы осреднить некоторые их деформативные различия в условиях достаточно близких к условиям нагружения на дороге, где усилие также действует сразу на два ската. Покрышки скатов должны находиться в хорошем состоянии и иметь неизношенный протектор (рис. 3). Устанавливают скаты на гидравлическом прессе (1, 2, 4, 9) с максимальным усилием не менее 100 кН. Скаты закрепляют в специальной обойме (6), разместив их на том же расстоянии один от другого, как и в установке для испытаний. Обойма должна позволять поворачивать колесо (7) относительно его оси, но иметь стопорную чеку (10). Перед началом тарировки давление воздуха в камерах каждого ската должно быть доведено до 0,55 МПа, что соответствует давлению в камерах расчетного автомобиля. В этом случае давление от колес на испытываемую поверхность дороги с учетом жесткости шины составляет примерно 0,6 МПа. Колесо застопоряют тормозящей чекой, чтобы избежать выкатывания его под нагрузкой, и связывают легкой цепью (8) с направляющей пресса. Измеряют расстояния h2 между верхом обоймы и струбцинами (3) и (5) с точностью до 0,1 мм. Включают пресс и плавно сжимают скаты нарастающим усилием до 60-65 кН. Поддерживая прессом устойчивую нагрузку, измеряют расстояния h1 от верха обоймы до струбцин. Повторяют нагружение и измерение h2 и h1. Определяют среднее значение Dh = h1 - h2. Вычисляют показатель жесткости пневмоколеса d1:

                                                                                             (2)

где М - масса падающего груза УДН-НК, кг;

g - ускорение свободного падения (g = 9,81), м/с2;

Qсж - усилие сжатия пневмоколеса, при котором измеряли Dh, Н.

Величину динамического усилия Qg , развиваемого установкой динамического нагружения, определяют по формуле:

,                                                                                (3)

где Кпот - коэффициент потерь энергии (Кпот » 0,9);

Н - высота сбрасывания груза (обычно ~ 1 м), м.

ПРИЛОЖЕНИЕ 3

СОСТАВ И ОСНАЩЕНИЕ БРИГАДЫ, ПРОВОДЯЩЕЙ ПОЛЕВЫХ ИСПЫТАНИЯ. ОСНОВНЫЕ ПРАВИЛА ТЕХНИКИ БЕЗОПАСНОСТИ

В расчетный период года при проведении испытаний методом статического нагружения колесом автомобиля рекомендована бригада в составе четырех человек.

Одна бригада (при средней продолжительности работ около месяца и восьмичасовом рабочем дне) способна испытать 50-60 км дороги.

При проведении линейных испытаний руководитель бригады устанавливает прогибомер на точке измерения и берет отсчеты по индикатору, второй член бригады ведет записи в журнале испытаний, третий переставляет заборчики ограждения с дорожными знаками и регулирует движение в зоне производства работ, четвертый отмеряет расстояние до последующей точки испытаний.

При проведении испытаний на контрольных точках отпадает необходимость в измерении расстояний, поэтому четвертый член бригады отвечает за погрузку и выгрузку прогибомера и заборчиков ограждения в местах измерений. Второй член бригады, кроме ведения записей в журнале испытаний, отвечает за установку колеса автомобиля строго на контрольную точку (в пределах прямоугольника, отмеченного краской на покрытии). Обязанности остальных членов бригады не меняются. Дополнительно в состав бригады включают пятого человека для отрывки и засыпки шурфов, взятия проб грунта взвешивания их. Испытание дорожных конструкций на контрольных точках в расчетный период года производят через день с 14.00 до 17.00. Остальное время бригада может проводить линейные испытания.

Перечень оборудования, притиров и инвентаря для оснащения бригады:

Груженый автомобиль для создания нагрузки на дорожную одежду                               1 шт.

Легкий автомобиль для членов бригады (не требуется при использовании лаборатории КП-502МП)                            1 шт.

Прогибомер рычажный                                                     2 шт.

Индикатор часового типа (цена деления 0,01 мм)         3 шт.

Прибор для измерения расстояний модели КП-203 или мерная лента и др.                  1 шт.

Ртутный термометр с пределами от -20°С до +50°С            2 шт.

Переносные гидравлические весы модели П-205                 1 шт.

Переносные заборчики и ограждения                      2 шт.

Дорожные знаки:

Сужение дороги                                                         1 шт.

Ремонтные работы                                                     1 шт.

Направление объезда препятствия                           1 шт.

Милицейский жезл                                                    1 шт.

Краска, миллиметровая бумага, журналы работ, рулетка,

бюксы                                                           по потребности

Вопрос о количестве бригад решается в каждом конкретном случае в зависимости от предстоящего объема работ. Например, можно предположить следующую методику расчета.

Количество бригад Бк, выполняющих испытание одежды на контрольных точках, рассчитывают по формуле:

,                                                                                   (1)

где L - длина обследуемого участка дороги, км;

t*исп - время, затрачиваемое на испытание одной контрольной точки с учетом взятия проб грунта и взвешивания их, ч;

vcp - средняя скорость движения автомобиля при переездах от одной контрольной точки к другой, км/ч;

l* - среднее расстояние между контрольными точками в пределах рассматриваемого участка дороги длиной L, км;

Тисп - время испытания всех контрольных точек на рассматриваемом участке дороги, ч (рекомендуется принимать не более 2 ч).

Количество бригад, проходящих линейные испытания дорожной одежды Бл, определяют по формуле:

,                                                                           (2)

где Тр - продолжительность расчетного периода, дни;

Дк - длина полосы проезжей части, обследуемой одной контрольной бригадой за день, км/день (как правило, Дк = 2 км/день);

Дл - длина полосы проезжей части, обследуемой в день одной линейной бригадой, км/день (в среднем в зависимости от погодных условий, интенсивности движения транспорта, состояния покрытия, квалификации членов бригады Дл = 5 - 6 км/день).

В случае, если линейные испытания проводят методом кратковременного нагружения с использованием установки динамического нагружения УДН-НК, входящей в комплект передвижной дорожной лаборатории модели КП-502 МП, то длина полосы проезжей части, обследуемой за один восьмичасовой рабочий день, может достигать в среднем Д = 24 км/день при проведении испытаний через 50 м.

Расчет бригад по формулам (1) и (2) проводят подбором в следующей последовательности: задаются длиной участка L; определяют среднее расстояние между контрольными точками l*; по формуле (1) вычисляют количество бригад Бк. В случае получения дробного числа расчет повторяют при новой длине L.

По формуле (2) определяют количество линейных бригад Бл. В случае получения дробного числа расчет по формулам (1) и (2) повторяют при новой длине L.

При проведении испытаний в нерасчетный период года методом статического нагружения колесом автомобиля рекомендуемый состав бригады составляет шесть человек. Бригада выполняет как линейные испытания, так и испытания на контрольных точках. Четыре члена бригады выполняют работы по испытанию дорожных конструкций так же, как в расчетный период года. Два других выполняют отрывку и засыпку шурфов, берут пробы грунта и взвешивают их, контролируют температуру покрытия. За один восьмичасовой день бригада может обследовать 4 км дороги.

Все работы необходимо согласовать с дорожными организациями, обслуживающими намеченные к обследованию участки дороги, а также с организациями, отвечающими за безопасность движения на дороге.

В целях безопасности передвижная лаборатория КП-502 МП должна быть оборудована проблесковым маячком желтого цвета и при необходимости дополнительным световым табло ВНИМАНИЕ. Сзади автомобильной установки должен быть укреплен предписывающий дорожный знак «Направление объезда препятствия» и предупреждающий знак «Прочие опасности». Последний размещают впереди лаборатории при проведении работ на двухполосных и других дорогах без разделительной полосы, включая при этом фары ближнего света. При осуществлении испытаний на контрольных точках или линейных испытаний методом нагружения колесом автомобиля в зоне производства измерений необходимо устанавливать переносные ограждения с укрепленными на них дорожными знаками (рис. 1).

Личный состав бригады и водитель автомобиля, под колесом которого измеряют прогиб, должны быть проинструктированы руководителем испытаний. В процессе испытаний водитель обязан выполнять только сигналы руководителя бригады. Устанавливать прогибомер под колесом автомобиля можно только тогда, когда рычаг переключения передач находится в нейтральном положении и автомобиль поставлен на тормоза.

 

Рис. 1. Рекомендуемая схема установки ограждения и дорожных знаков в зоне производства работ при испытании дорожной одежды методом нагружения колесом автомобиля на контрольных точках с помощью передвижной лаборатории модели КП-502 MП:

1 - Передвижная лаборатория; 2 - дорожный знак "Направление объезда препятствия" (прикрепляется к кузову лаборатории); 3 - заборчик ограждения со знаком "Ремонтные работы"; 4 - то же, со знаком "Сужение дороги"; 5 - осевая линия проезжей части

ПРИЛОЖЕНИЕ 4

ОСОБЕННОСТИ ПОСТРОЕНИЯ ГРАФИКА ПРОГИБ - ВРЕМЯ

Построение графика прогиб - время (рис. 1) следует выполнять в дискретном масштабе (по оси прогибов) исходя из точности повторных измерений прогибов на контрольных точках ±5 %. При этом следует иметь в виду, что с уменьшением абсолютной величины прогиба точность измерений становится соизмеримой и даже выше точности использованного в испытаниях измерительного прибора. Учитывая это, в зоне малых осадок сетку дискретного масштаба более правильно выбирать, ориентируясь на точность использованного прогибомера.

Календарные дни и часы суток

Рис. 1. Этапы построения графика прогиб - время; l - обратимый прогиб, мм.

Например, при использовании длиннобазового прогибомера модели КП-204 рекомендуется выбирать дискретный масштаб в соответствии с табл. 1.

Таблица 1

Конструкция

прогибомера

Дискретный ряд прогибов (величина прогибов, мм)

зона I

зона II

Длиннобазовый модели КП-204

0,00  0,02  0,04  0,06

0,08  0,10  0,12  0,14

0,16  0,18  0,20  0,22

0,24  0,27  0,30  0,33

0,36  0,40  0,44  0,48

0,53  0,58  0,64  0,70

0,77  0,85  0,93  1,02

1,12  1,23  1,35  1,49

1,64  1,80  1,98  2,18

2,40  2,64  2,80  3,08

3,39  3,73

Примечание. Точность длиннобазового прогибомера ±0,01 мм.

Построение графика прогиб - время следует осуществлять в следующей последовательности.

Прежде всего, масштаб графиков выбирают из такого расчета, чтобы в их пределах могли уместиться все наблюдаемые значения прогибов на контрольных точках. При этом на ось абсцисс наносят непрерывный масштаб времени в сутках и часах (удобно наносить границы суток).

Через точки оси ординат, соответствующие дискретному ряду прогибов (см. табл. 1), проводят сплошные горизонтальные линии дискретного масштаба.

Из середины полученных отрезков на оси ординат проводят дополнительные штрих пунктирные линии, ограничивающие зону влияния значений дискретного масштаба.

Затем наносят на график результаты измерения прогибов на контрольных точках, пользуясь непрерывным масштабом по оси ординат (рис. 1, а). Последовательно соединяют полученные точки пунктирными линиями и получают фактическую закономерность изменения обратимого прогиба во времени.

Полученную закономерность преобразуют, принимая во внимание, что в пределах зоны влияния дискретного масштаба изменение прогибов не существенно. Для этого из точки пересечения штрих пунктирной линии с фактической закономерностью проводят вертикаль до пересечения с соседними линиями дискретного масштаба (рис. 1, б).

Последовательно соединяя точки пересечения, получают ступенчатую закономерность изменения прогиба во времени, соответствующую точности измерения прогибов при испытании дорожной одежды (рис. 1, в).

ПРИЛОЖЕНИЕ 5

РАСЧЕТНЫЕ НАГРУЗКИ h КОЭФФИЦИЕНТЫ ПРИВЕДЕНИЯ СОСТАВА ДВИЖЕНИЯ К РАСЧЕТНЫМ АВТОМОБИЛЯМ

Многолетние исследования работы дорожных одежд под действием автомобилей с разными осевыми нагрузками и грузоподъемностью свидетельствуют о возможности замены интенсивности движения транспортного потока интенсивностью, приведенной к различным автомобилям, принимаемым в качестве расчетных. При этом результаты оценки несущей способности конструкций не зависят от того, к каким нагрузкам, принимаемым за расчетные, осуществлялось приведение воздействия отдельных автомобилей в составе транспортного потока (при условии, если для каждой расчетной нагрузки используются соответствующие графики или показатели требуемой прочности). Учитывая это, для удобства оценки прочности и расчета усиления нежестких дорожных одежд целесообразно ориентироваться на использование в качестве расчетных только двухосных автомобилей группы А, основные параметры которых приведены в табл. 1.

Таблица 1

Автомобили

Наибольшая статическая нагрузка на ось, кН

Среднее расчетное удельное давление

на покрытие, МПа

Расчетный диаметр следа колеса, см

статическое нагружение

кратковременное нагружение

Группа А

100

0,6

33

37

Целесообразность ориентации на автомобили группы А подтверждается рекомендациями СНиП 2.05.02-85 Автомобильные дороги в отношении расчетных нагрузок для дорог I-IV категорий (п. 4.2 СНиП) и имеющейся тенденцией перехода в перспективе на единую расчетную нагрузку для всех автомобильных дорог.

При проведении транспортного потока к расчетным автомобилям движение легковых автомобилей не учитывают. Соответствующие коэффициенты приведения других автомобилей к расчетным группы А определяют по табл. 2. В случаях наличия в составе транспортного потока автомобилей, не включенных в табл. 2, коэффициенты aj находят по формулам:

,                                                                                                   (2)

,                                                                                        (3)

где Qp - наибольшая осевая нагрузка двухосного расчетного автомобиля группы А, кН;

Qj - то же j-го автомобиля, кН;

b - показатель, учитывающий тип дорожной одежды (см. табл. 2.2 прил. 7).

Таблица 2

Марка транспортного средства

Коэффициент приведения aj в зависимости от типа дорожной одежды

усовершенствованный капитальный

усовершенствованный облегченный

переходный низший

1

2

3

4

Грузовые бортовые автомобили:

 

 

 

ГАЗ-51А, ГАЗ-52-03, ГАЗ-52-04

0,01

0,04

0,14

ГАЗ-53А

0,07

0,18

0,35

ГАЗ-53

0,02

0,07

0,20

Урал-ЗИС-355М

0,05

0,13

0,29

ЗИЛ-130

0,23

0,36

0,55

ЗИЛ-130-76

0,39

0,52

0,60

ЗИЛ-133Г1, Урал-377Н, КамАЗ-5320

0,17

0,28

0,42

ЗИЛ-133Г2, ЗИЛ-133ГЯ

0,53

0,63

0,68

КамАЗ-53212

0,66

0,75

0,77

ЗИЛ-164

0,13

0,25

0,43

МАЗ-500А, МАЗ-5335, МАЗ-53352

1,00

1,00

1,00

МАЗ-200, МАЗ-500

100

1,00

1,00

КрАЗ-257Б1, МАЗ-516Б

1,65

1,40

1,13

ИФА-W50L

0,23

0,36

0,55

Прага-S5Т-2

0,39

0,52

0,66

Шкода-706 RT

0,50

0,60

0,74

Татра-138

1,35

1,22

1,05

Магирус-290 D26L

2,40

1,67

1,36

Магирус-232 D19L

2,59

1,92

1,50

Автомобили-самосвалы:

 

 

 

САЗ-3503, САЗ-3504, ГАЗ-93А

-

0,03

0,11

САЗ-3502, ГАЗ-САЗ-53Б, ГАЗ-53Б

0,07

0,18

0,35

ЗИЛ-ММЗ-585, КАЗ-600В

0,08

0,19

0,37

ЗИЛ-ММЗ-555, ЗИЛ-ММЗ-4502

0,32

0,43

0,62

ЗИЛ-ММЗ-554М

0,39

0,52

0,68

КамАЗ-5511

0,81

0,86

0,85

МАЗ-503, МАЗ-205

0,78

0,85

0,92

МАЗ-503А, МАЗ-5549

1,00

1,00

1,00

КрАЗ-256Б1

1,90

1,57

1,22

Думпер DR50-D

0,50

0,60

0,74

Шкода-706 RTS

0,75

0,82

0,90

ИФА-W50LК

0,23

0,36

0,55

Магирус-232 D19К

2,59

1,92

1,50

Магирус-290 D26K

2,59

1,92

1,38

Татра-138S1

1,68

1,40

1,13

Татра-138 S3

1,75

1,50

1,18

Татра-148 S

2,59

1,92

1,42

Бортовые автомобили повышенной проходимости:

 

 

 

ГАЗ-66-01, ГАЗ-66-02

-

-

0,06

ЗИЛ-157К

0,03

0,09

0,19

ЗИЛ-157КД

0,01

0,03

0,10

ЗИЛ-131

0,04

0,11

0,24

Урал-375Д, Урал-4320

0,06

0,16

0,29

Урал-375Н

0,15

0,26

0,41

KpAЗ-255Б, КрАЗ-255Б1

0,66

0,75

0,75

КрАЗ-260

0,92

0,95

0,89

Седельные тягачи:

 

 

 

ГАЗ-51П, ГАЗ-52-06

0,01

0,04

0,14

КАЗ-608В

0,12

0,23

0,41

ЗИЛ-ММЗ-164АН

0,07

0,18

0,35

ЗИЛ-131В

0,04

0,11

0,22

ЗИЛ-157КДВ

0,03

0,08

0,19

Урал-375С-К1

0,05

0,14

0,27

Урал-377СН, Урал-375СН, КмАЗ-5410

0,16

0,28

0,43

ЗИЛ-130В1

0,23

0,36

0,55

КамАЗ-54112

0,66

0,75

0,77

КрАЗ-255В1

0,50

0,60

0,66

КрАЗ-230В

0,74

0,82

0,80

KpA3-258Б1

1,43

1,28

1,08

МАЗ-504А, МАЗ-504В, МАЗ-5429

1,00

1,00

1,00

МАЗ-509

0,81

0,87

0,94

МАЗ-200В

1,06

1,04

1,02

МАЗ-6422

1,63

1,40

1,13

Чепель D-705W

0,91

0,95

0,80

Прага-S5Т2-ТN

0,32

0,43

0,61

Шкода-706 РTТN

1,00

1,00

1,00

Татра-138 NT

1,43

1,28

1,08

Вольво-F89-32 (6´2)

1,30

1,20

1,01

Вольво-F89-32 (6´4)

2,45

1,88

1,40

Мерседес-Бенц-2232S

1,05

1,03

0,98

Прицепы:

 

 

 

ИАПЗ-754

-

-

0,06

ГКБ-817, ГКБ-819

0,01

0,04

0,14

МАЗ-5243

0,04

0,10

0,25

ГКБ-8350, ГКБ-8527

0,09

0,21

0,38

ЦКБ-АЗII

0,06

0,16

0,32

MA3-8926, МАЗ-886

0,12

0,23

0,41

D-50

0,01

0,05

0,15

HW60.II

0,01

0,04

0,14

НК-5-1, 2R

-

0,02

0,11

Полуприцепы:

 

 

 

ОдАЗ-885, ОдАЗ-857Б

0,12

0,23

0,41

ММЗ-584Б

0,08

0,19

0,36

КАЗ-717, ОдАЗ-9370

0,16

0,28

0,43

МАЗ-5245, МАЗ-5232В

1,00

1,00

1,00

МАЗ-5205А

1,75

1,17

0,98

МАЗ-9398

0,29

0,39

0,59

Чепель-R 450 N I

0,23

0,36

0,55

N7CN, N12S

0,38

0,48

0,65

N10CN

0,33

0,43

0,57

N12CN

1,00

1,00

1,00

Nl4V, N12 АЛКА

1,43

1,23

1,16

Трэйлор SD32N, JWT

1,35

1,35

1,11

Савуаярд, JWT × FS 40-20

1,35

1,35

1,11

Автобусы:

 

 

 

КАВЗ-685, ПАЗ-3201

0,03

0,09

0,24

ПАЗ-672

0,05

0,14

0,80

ЛАЗ-695Н, ЛАЗ-697Н, ЛАЗ-697Р

0,32

0,43

0,61

ЛАЗ-699Р

0,51

0,63

0,75

ЛАЗ-4202

0,74

0,82

0,90

ЛАЗ-699Н

0,39

0,52

0,68

ЛИАЗ-677

0,48

0,58

0,72

Икарус-250

0,85

0,90

0,96

Икарус-255

0,74

0,82

0,90

Икарус-556

1,00

1,00

1,00

Икарус-180, 260, 280

1,00

1,00

1,00

Многоосные автомобили приводят к эквивалентным по воздействию двухосным автомобилям с помощью графика коэффициентов влияния смежной оси в зависимости от расстояния между осями (рис. 1). Для определения нагрузки Qj на заднюю ось двухосного автомобиля величина нагрузки Q1 на сближенную ось умножается на соответствующий коэффициент Ксо влияния. В случае, если расстояние между осями автопоезда превышает 3 м, проезд каждой оси рассматривают как проезд двухосного автомобиля с нагрузкой на заднюю ось, равной нагрузке, приходящейся на рассматриваемую ось транспортного средства.

Рис. 1. Зависимость коэффициента влияния смежной оси (Кс) от базы тележки (Бт), м:

1 - для капитальных и облегченных дорожных одежд; 2 - для переходных дорожных одежд

ПРИЛОЖЕНИЕ 6

СТАТИСТИЧЕСКАЯ ОБРАБОТКА РЕЗУЛЬТАТОВ ЛИНЕЙНЫХ ИСПЫТАНИЙ

Для определения .фактического прогиба дорожной конструкции lф, соответствующего допускаемому проценту деформированной поверхности покрытия, результаты линейных испытания обрабатывают в следующей последовательности. Прежде всего для оценки особенностей распределения прогибов на каждом характерном участке назначают величину интервала (разряда) распределения, исходя из точности испытаний +5 %. Значение середины интервала d (в мм) вычисляют по формуле:

,                                                                                            (1)

где  - среднее арифметическое значение прогибов на характерном участке, определяемое по формуле:

,                                                                                             (2)

где п - количестве испытаний на характерном участке;

Dl - отклонение величины прогиба от среднеарифметического значения, %. Исходя из точности полевых испытаний, величину Dl назначают ±10 %; ±20, ±30 % и т.д. в зависимости от реальных значений прогибов на участках. Положительные значения принимают для прогибов, превышающих по величине среднеарифметическое значение прогибов на участке, отрицательные - для прогибов, меньших среднеарифметического значения;

li - прогиб дорожной конструкции, измеренный в процессе линейных испытаний и приведенным к сопоставимому виду в соответствии с п. 3.1.4, мм.

Определяют интервалы прогибов. Границы интервалов устанавливают делением суммы смежных значений пополам. Прогибы, попадающие на границу смежных интервалов, рекомендовано относить к интервалам меньших прогибов.

Распределение результатов испытания по интервалам показано в табл. 1 для следующих величин установленных прогибов: 0,41 мм; 0,31; 0,52; 0,67; 0,62; 0,46; 0,57; 0,41; 0,46; 0,36; 0,60; 0,37; 0,46; 0,43; 0,56; 0,46; 0,59; 0,47; 0,53 и 0,37 мм.

После распределения результатов испытаний по разрядам строят кумулятивную кривую, по которой решают вопрос о фактическом прогибе конструкции, соответствующем допускаемому проценту деформированной поверхности покрытия lф. Кумулятивную кривую (рис. 1) строят в координатах «накопленная частость - середина интервала» При ее построении следует осреднять значения накопленных частостей смежных интервалов (разрядов).

Рис. 1. Общий вид кумулятивной кривой (построена по данным табл. 1):

1 - уровень, соответствующий допустимому проценту деформированной поверхности покрытия; 2 - кумулятивная кривая; lф - фактический прогиб характерного участка; d - величина обратимого прогиба, соответствующая середине интервала, мм; l - накопленная частость, %

Для определения фактического значения прогиба lф из точки на оси ординат с допускаемой вероятностью повреждения покрытия rдопi проводят горизонталь до пересечения с кумулятивной кривой. Из точки пересечения опускают вертикаль на ось абсцисс, где находят искомое значение lф. Величину rдопi определяют по формуле:

rдопi = 1 - Кн,                                                                                             (3)'

где Кн - расчетный (проектный) или нормативный уровень надежности дорожной одежды. Нормативный уровень надежности принимают по табл. 7 прил. 7 в случаях, оговоренных в п. 4.6 и когда не имеют данных о проектной надежности дорожной одежды.

Таблица 1

Показатели

Значения показателей

Dl, %

-50

-40

-30

-20

-10

 

10

20

30

40

50

d, мм

0,24

0,29

0,34

0,38

0,43

0,48

0,53

0,57

0,62

0,67

0,72

Интервал прогибов, мм

0,22-0,26

0,27-0,31

0,32-0,36

0,37-0,40

0,41-0,45

0,46-0,50

0,51-0,55

0,56-0,59

0,60-0,64

0,65-0,69

0,70-0,74

Распределение прогибов по интервалам

-

0,31

0,36

0,37

0,37

0,41

0,41

0,43

0,46

0,46

0,46

0,47

0,52

0,55

0,53

0,57

0,59

0,62

0,60

0,67

-

Количество прогибов в интервале

-

1

1

2

3

5

3

2

2

1

-

Частость прогибов, %

-

5

5

10

15

25

15

10

10

5

-

Накопленная частость l, %

 

100

95

90

60

65

40

25

15

5

0

Примечание. Значения накопленной частости получены последовательным прибавлением частости очередного интервала (разряда).

ПРИЛОЖЕНИЕ 7

РАСЧЕТНЫЕ НОМОГРАММЫ И ПАРАМЕТРЫ ДОРОЖНЫХ КОНСТРУКЦИЙ С НЕЖЕСТКИМИ ТИПАМИ ПОКРЫТИЙ

1. Расчетные номограммы

Рис. 1. Номограмма для определения модуля упругости Е1 верхнего слоя двухслойной системы

Рис. 2. Номограмма для определения общего модуля упругости двухслойной системы Еобщ

2. Деформационные характеристики грунтов земляного полотна

Таблица 1

Грунт

Модуль упругости грунта Е2 (МПа) при его влажности в долях от Wт, %

0,5

0,55

0,6

0,65

0,7

0,75

0,8

0,85

0,9

0,9

 

Супесь легкая

70

60

56

53

49

45

43

42

41

40

 

Песок пылеватый

96

90

84

78

72

66

60

54

48

43

 

Суглинок легкий и тяжелый, глина

108

90

72

50

41

34

29

25

24

23

 

Супесь пылеватая, тяжелая пылеватая, суглинок легкий пылеватый

108

90

72

54

46

38

32

27

26

25

 

Примечания. 1. Wт - влажность границы текучести, %.

2. Модули упругости песков (за исключением пылеватых) мало зависят от их влажности и, следовательно, мало изменчивы от погодно-климатических условий. При таких грунтах не требуется корректировки на расчетный год фактических эквивалентных модулей упругости дорожных одежд и земляного полотна.

3. Данными табл. 1 следует пользоваться при испытании контрольных точек методом кратковременного нагружения. При использовании метода статического нагружения колесом автомобиля модули упругости грунтов следует уменьшить на 5 % - для несвязных и на 15 % - для связных грунтов.

3. Вспомогательные материалы для определения требуемых модулей упругости нежестких дорожных одежд

Таблица 2.1

rдоп

0,490

0,365

0,255

0,180

0,140

0,100

0,075

0,055

0,040

хj

1,05

1,10

1,15

1,20

1,25

1,30

1,35

1,40

1,45

Таблица 2.2

Тип дорожной одежды, категория дорог

Кпр

Хi

b

Дорожные одежды капитального типа на дорогах I-II категорий

1

1,42

3,359

Дорожные одежды капитального типа на дорогах III-IV категорий

0,94

1,30

3,359

Облегченный дорожные одежды

0,90

1,24

2,306

Переходные дорожные одежды

0,63

1,09

1,421

Таблица 3

Тип покрытия

Общая толщина дорожной одежды, м для климатических и грунтово-гидрологических условий

Динамическое нагружение,

D, МПа

Статическое нагружение,

D, МПа

тяжелых

сложных

средней сложности

Усовершенствованный

Более 0,95

Более 075

Более 0,45

0

0

для капитальных одежд

0,90¾0,95

0,70¾0,75

0,40¾0,45

15

12

 

0,85¾0,89

0,65¾0,69

0,35¾0,39

30

25

 

0,80¾0,84

0,60¾0,64

0,30¾0,34

45

37

 

0,75¾0,79

0,55¾0,59

Толщина не ограничена

58

48

Усовершенствованный для облегченных одежд:

 

 

 

 

 

на вязком битуме

Более 0,80

Более 0,70

Более 0,40

0

0

 

0,75¾0,80

0,60¾0,70

0,35¾0,40

17

14

 

0,70¾0,74

0,50¾0,59

0,30¾0,34

29

20

на жидком битуме

Более 0,75

Более 0,65

Более 0,40

0

0

 

0,70¾0,75

0,55¾0,65

0,35¾0,40

16

11

 

0,65¾0,69

0,45¾0,54

0,30¾0,34

29

20

Примечания. 1. Сложность климатических и грунтово-гидрологических условий: тяжелые - II дорожно-климатическая зона, 3-й тип местности по характеру и степени увлажнения, земляное полотно сложено из пылеватых супесчаных и суглинистых грунтов; сложные - II дорожно-климатическая зона, 3-й тип местности, земляное полотно из непылеватых суглинистых грунтов и глин или II зона, 2-й тип местности, земляное полотно из пылеватых супесей и пылеватых суглинков; средней сложности -II зона, 2-й тип местности, земляное полотно из суглинков (непылеватых) и глин или II зона, 1 тип местности либо III зона, 2 - 3 типы местности, земляное полотно из пылеватых супесей и пылеватых суглинков.

2. В общую толщину существующей дорожной одежды следует включать толщину всех слоев стабильных материалов, в том числе и дренирующего слоя.

Таблица 4

Тип покрытия

Перспективная интенсивность движения, приведенная к нагрузке 100 кН на ось, авт./сут

Коэффициент Кп при толщине песчаного слоя, м

более 0,50

0,45

0,35

общая толщина одежды над песчаным слоем, м

0,35

0,30

0,25

0,20

0,30

0,25

0,20

0,25

0,20

Усовершенствованные

капитальные

50

1

1,09

1,45

1,63

1

1,22

1,40

1

1

100

1

1

1,40

1,48

1

1,21

1,27

1

1

300

1

1

1,23

1,30

1

1

1,12

1

1

500

1

1

1,18

1,22

1

1

1,06

1

1

1000

1

1

1,10

1,14

1

1

1

1

1

3000

1

1

1

1,03

1

1

1

1

1

³5000

1

1

1

1

1

1

1

1

1

Усовершенствованные  облегченные на вязком битуме

30

1

1,20

1,68

2,10

1

1,48

1,72

1

1,18

50

1

1,10

1,55

1,80

1

1,28

1,45

1

1,03

100

1

1

1,45

1,60

1

1,18

1,32

1

1

300

1

1

1,27

1,38

1

1

1,14

1

1

500

1

1

1,07

1,22

1

1

1,02

1

1

Усовершенствованные  облегченные на жидком битуме

30

1

1,27

1,90

2,15

1

1,47

1,60

1

1,27

50

1

1,17

1,78

1,95

1

1,35

1,47

1

1,17

100

1

1,09

1,64

1,75

1

1,23

1,36

1

1,09

300

1

1

1,37

1,50

1

1,03

1,14

1

1

Примечания. 1. При толщине песчаного слоя 0,30 м и менее, а также при песчаном слое толщиной более 0,5 м, 0,45 и 0,35 м и общей толщине одежды над ним более соответственно 0,35 м; 0,30 и 0,25 м следует принимать Кп = 1,00.

2. При расчетной интенсивности движения более, указанной в таблице, облегченное покрытие экономически нецелесообразно.

Таблица 5.1

Тип дорожной одежды

Осредненное значение коэффициента w* для дорожно-климатических зон (ДКЗ)

I

II

III

IV

V

Капитальный

1,30

1,14

1,00

0,89

0,79

Облегченный

1,39

1,17

1,00

0,86

0,74

Переходный, низший

1,00

1,00

1,00

1,00

1,00

Таблица 5.2

Регион

Дорожно-климатическая зона

Коэффициент w*  для дорожных одежд

капитальных

облегченных

Западный

II

0,79

0,81

Северо-западный

II

1,24

1,27

Центральный

II

1,16

1,19

Средневолжский

III

1,00

1,00

Юго-восточный

IV

0,76

0,71

Южный

IV

0,83

0,78

Уральский

II

1,37

1,43

Западно-Сибирский

IV

0,88

0,82

Восточно-Сибирский

I

1,30

1,39

Дальневосточный

II

1,73

1,78

Примечания. 1. Области, входящие в регионы:

1. Западный - Калининградская обл.

2. Северо-западный: области - Архангельская, Вологодская, Ленинградская, Новгородская, Псковская; АССР - Карельская, Коми.

3. Центральный: области - Брянская, Владимирская, Ивановская, Калининская, Калужская, Костромская, Московская, Смоленская, Ярославская.

4. Средневолжский: области - Пензенская, Ульяновская; АССР - Мордовская, Татарская, Чувашская.

5. Юго-восточной области - Волгоградская, Оренбургская, Саратовская, Куйбышевская.

6. Южный: АССР - Кабардино-Балкарская; края - Краснодарский, Ставропольский; область - Ростовская.

7. Уральский: области - Пермская, Свердловская.

8. Западно-Сибирский: Алтайский край; АССР - Тувинская; область - Омская.

9. Восточно-Сибирский: области - Амурская, Иркутская, Читинская; АССР - Бурятская, Якутская.

10. Дальневосточный: край - Приморский; области - Сахалинская, Камчатская.

11. Обобщенную табл. 5.1 используют при отсутствии данных в табл. 5.2.

Таблица 6

Перспективная интенсивность движения, приведенная к нагрузке группы А, Nt, авт./сут  

Значения Кs для асфальтобетонного покрытия с нижним слоем из крупнозернистой смеси при отношении Е¢тр*ф

1,4

1,6

1,8

2,0

2,2

 

марка асфальтобетона

I, II

III

I, II

III

I, II

III

I, II

III

I, II

III

100

1

1

1

1

1

1

1

1

1

1

200

1,04

1

1,02

1

1

1

1

1

1

1

300

1,06

1,06

1,03

1,03

1

1

1

1

1

1

500

1,11

1,12

1,05

1,06

1

1

1

1

1

1

700

1,16

1,16

1,10

1,10

1,07

1,04

1

1

1

1

1000

1,20

1,20

1,18

1,16

1,15

1,12

1,05

1,05

1

1

2000

1,41

1,40

1,34

1,34

1,23

1,20

1,10

1,06

1

1

3000

1,57

1,55

1,50

1,50

1,29

1,26

1,15

1,12

1,06

1,04

5000

1,85

1,82

1,74

1,72

1,36

1,34

1,25

1,22

1,15

1,10

Примечания. 1. Асфальтобетон марок I и II соответствует дорожным одеждам капитального типа. Асфальтобетон марки III - дорожным одеждам облегченного типа.

2. При соотношении Е¢тр*ф < 1,4 коэффициент Кs = 1.

3. Величину Е¢тр определяют по формуле (4.1) при Ks = 1, заменяя Етр на Е¢тр.

4. При интенсивности движения более 5000 авт./сут коэффициент Кs принимают по нижней строчке таблицы.

5. Перспективную интенсивность движения определяют по формулам:

 - для случая роста интенсивности движения по геометрической прогрессии (входящие величины - см. формулу 4.2).

 - для случая роста интенсивности движения по линейной закономерности и интенсивности движения, постоянной во времени. Величины У - см. формулы 4.5 или 4.6.

Таблица 7

Категория дороги

Перспективная интенсивность движения транспортного потока, авт./сут

Тип дорожной одежды

Дорожно-климатическая зона

I - II

III

IV - V

нормативный уровень надежности дорожной одежды, Кн

нормативный срок службы дорожной одежды, Тс, годы

Кн

То, годы

Кн

То, годы

I

>7000

Капитальный

0,95-0,90

14-18

0,93-0,88

15-19

0,90-0,86

16-20

II

3000 - 7000

То же

0,94-0,89

11-15

0,92-0,87

12-16

0,89-0,85

13-16

III

1000 - 3000

Капитальный

0,92-0,87

11-15

0,90-0,85

12-16

0,87-0,83

13-16

 

 

Облегченный

0,88-0,84

10-13

0,86-0,82

11-14

0,84-0,80

12-15

IV

500 - 1000

Капитальный

0,85-0,82

11-15

0,83-0,80

12-16

0,80-0,78

13-16

 

 

Облегченный

0,87-0,83

8-10

0,85-0,81

9-11

0,82-0,80

10-12

 

100 - 500

Переходный

0,82

3-8

0,80

3-9

0,77

3-9

V

До 100

Облегченный

0,83-0,80

8-10

0,80-0,78

9-11

0,78-0,75

10-12

 

 

Переходный

0,65

3-8

0,60

3-9

0,58

3-9

 

 

низший

0,65

2-4

0,60

2-4

0,58

2-4

Примечания. 1. Межремонтный срок службы назначают в пределах приведенных диапазонов, а промежуточные значения Кн определяют интерполяцией.

2. При расчете слоев усиления капитальных и облегченных дорожных одежд допускают уменьшение на 15 % нормы срока службы от минимальных значений при сохранении нормы уровня надежности.

3. При проектировании усиления рекомендуют выбирать большие сроки службы дородной одежды, но не превышающие фактический период до реконструкции дороги.

Допустимо понижать норму уровня надежности дорожных одежд против значений, приведенных в таблице на: 2 % - в Уральском (Пермская, Свердловская области), Восточно-Сибирском (Амурская, Иркутская, Читинская области. Бурятская и Якутская ACCP и Западно-Сибирском районах (томская и тюменская области, Красноярский край, север Омской обл.); 5 % - в Дальневосточном районе (Приморский, Хабаровский края, Сахалинская, Камчатская, Магаданская области).

4. Расчетные характеристики материалов слоев усиления

Расчетные значения модулей упругости асфальтобетонов применительно к различным режимам нагружения приведены в таблицах 8 и 9.

Таблица 8

Материал

Марка битума

Расчетные значения кратковременного модуля упругости, МПа при температуре покрытия, °С

+10

+20

+30

+40

+50 -60

Плотный асфальтобетон

БНД-40/60

4400

2600

1300

690

430

 

БНД-60/90

3200

1800

900

550

380

 

БНД-90/130

2400

1200

660

440

350

 

БНД-130/200

1500

800

560

380

320

 

БНД-200/300

1200

600

420

350

300

 

БГ-70/130

СГ-130/200

1000

900

400

350

300

300

 

СГ-70/130

МГ-70/130

800

350

300

250

250

Пористый и высокопористый

БНД-40/60

2800

1700

900

540

390

асфальтобетон, в том

БНД-60/90

2000

1200

700

460

360

числе битумо-песчаная

БНД-90/130

1400

800

510

380

350

смесь по ТУ 218 РСФСР

БНД-130/200

1100

590

410

340

340

395-79

БНД-200/300

950

460

350

330

330

Плотный дегтебетон

-

3800

1500

800

500

350

Пористый дегтебетон

-

2000

800

400

350

300

Примечания. 1. Расчетные температуры принимают: +10°С - в I ДКЗ; +20°С - во II; +30°С - в III; +40°C - в IV и +50°С - в V ДКЗ.

2. Для плотного асфальтобетона типа А модули упругости следует увеличивать, а типов B, Г и Д уменьшать на 20 % при температуре от 30 до 50°С.

3. Модули упругости пористого и высокопористого асфальтобетона даны применительно к песчаным смесям. Для мелкозернистых смесей при температуре от 30 до 50°С их следует увеличивать на 10, а для крупнозернистых смесей - на 20%.

4. Значения модулей упругости для плотного асфальтобетона даны применительно к марке I. При использовании асфальтобетонов марок II и III приведенные данные должны быть понижены соответственно в 1,15 и 1,5 раза. Те же коэффициенты следует применять к пористому и высокопористому асфальтобетону нижнего слоя марки II и III.

Таблица 9

Материал

Расчетный модуль упругости Е при статическом действии нагрузки МПа, при расчетной температуре, °С

+10

+20

+30

+40

+50

Смеси асфальтобетонные горячие:

 

 

 

 

 

плотные с минеральным порошком марки I

1500

1000

700

450

300

пористые и высокопористые без минерального порошка марки I

900

600

400

300

220

Примечания. 1. Значения модулей упругости асфальтобетонов II и III марки назначают в соответствии с п. 4 примечаний табл. 8 и прил. 7.

2. При использовании теплого асфальтобетона приведенные в таблице значения должны быть понижены на 20 %.

Расчетные значения модулей упругости материалов слоев усиления даны в табл. 10.

Таблица 10

Материал

Расчетное значение модуля упругости Е, МПа

Черный щебень, уложенный способом заклинки

900

Слой из щебня I - II класса прочности, устроенный способом пропитки вязким битумом

600

Щебень фракционированный I - III класса прочности, уложенный способом заклинки из пород:

 

прочных осадочных

450

изверженных

350

Фракционированный щебень, укрепленный цементопесчаной смесью способом пропитки

500

Шлак с подобранным гранулометрическим составом и устойчивой структурой:

 

активный

450

малоактивный

300

Супесь не пылеватая, укрепленная жидким битумом при смешении в установке и применении битумной эмульсии

200

Примечания. 1. Расчетные значения модулей упругости других материалов слоев усиления принимают в соответствии с табл. 16 приложения 3 Инструкции по проектированию дорожных одежд нежесткого типа BСH 46-83 Минтрансстроя СССР.

2. Значения расчетных модулей упругости материалов следует применять при расчетах как на кратковременное, так и на длительное (статическое) нагружение.

ПРИЛОЖЕНИЕ 8

ПРИВЕДЕНИЕ РЕЗУЛЬТАТОВ ПОЛЕВЫХ ИСПЫТАНИЙ К РАСЧЕТНОМУ ГОДУ С ИСПОЛЬЗОВАНИЕМ ДАННЫХ ГИДРОМЕТЕОСТАНЦИЙ

Методика основывается на получении данных о продолжительности расчетных периодов в сутках ТEi и типичных фактических состояниях дорожных конструкций Ефpi в эти периоды по каждому году за нормативный срок службы Тo дорожной одежды (прил. 7). Продолжительность расчетных периодов устанавливают в соответствии с п. 2.4.9. По полученным данным определяют приведенный модуль упругости дорожной конструкции на характерном участке дороги:

,                                                                      (1)

где tно - коэффициент нормированного отклонения. Назначают его в зависимости от принятого уровня надежности дорожной одежды (табл. 1).

Таблица 1

Уровень проектной надежности, Кн

0,60

0,85

0,90

0,95

Коэффициент нормированного отклонения, tно

0,26

1,06

1,32

1,71

 - коэффициент вариации модуля упругости.

Величину коэффициента  определяют по формуле:

,                                                                       (2)

где  - среднеарифметическое значение фактических модулей упругости дорожной конструкции, МПа.

Величину  находят по формуле:

,                                                                                           (3)

В случае, если в i-ом году наблюдалась зимняя оттепель (не менее 4 дней подряд с положительной среднесуточной температурой воздуха, по данным гидрометеостанции, ближайшей к обследуемой дороге), то величину Ефрi определяют по формуле:

Ефрi = Ефр × ,                                                                                         (4)

где Ai - климатический коэффициент, характеризующий i-й год;

Ao ¾ тоже, характеризующий год проведения испытаний.

Климатические коэффициенты определяют по формуле:

,                                                                                          (5)

где Q - количество осадков в предзимний период (в месячный срок до перехода среднесуточной температуры воздуха через -5° С, по данным гидрометеостанции);

М1 - параметр вычисляют по формуле:

М1 = D1 Т/(0,5 T1D1)                                                                             (6)

где D1 - сумма градусо-дней мороза за период до наступления продолжительной и интенсивной оттепели (не менее 4 дней с положительной среднесуточной температурой, по данным гидрометеостанции);

T1 - сумма градусо-дней тепла за зиму;

T - тоже, мороза за зиму.

Величину модуля упругости Ефр, характеризующую типичное состояние дорожной конструкции в расчетный период года проведения испытаний, находят по формуле:

Ефр = Ефл × ,                                           (7)

где KQ =  - температурный коэффициент, равный отношению прогиба lpв при температуре покрытия , соответствующей расчетному периоду года проведения испытаний к прогибу, измеренному в период испытаний lo;

W - относительная влажность грунта земляного полотна в расчетный период года проведения испытаний, %. Определяют ее в середине расчетного периода года проведения испытаний в шурфе, вырытом на обочине напротив контрольной точки (см. п. 2.4.10). При соответствующем технико-экономическом обосновании допускается определять величину влажности расчетным путем. Остальные параметры аналогичны использованным в формуле (3.9).

Величину температуры покрытия  находят по формуле:

= а × tв + в,                                                                                           (8)

где а и в - эмпирические коэффициенты. а = 1,05; в = 1,9 при 10° С ³  > 0°С; a = 2,1; в = 2,1 при  > 10°С;

tв - среднеарифметическая температура воздуха за расчетный период года проведения испытаний (значения температуры берут на 15° каждого дня по журналу ТМ-1 в ближайшей гидрометеостанции), °С.

По найденной величине , используя график температура покрытия - прогиб (см. рис. 3.3), определяют величину lpв.

В случае, если в i-ом году не было зимних оттепелей, величину Ефрi определяют по формуле:

Ефрi = Ефp × ,                                          (9)

где Wфр - относительная расчетная влажность грунта земляного полотна в расчетный период года проведения испытаний, %;

Wpi - относительная расчетная влажность грунта земляного полотна в расчетный период i-го года, %;

KQi =  - температурный коэффициент, равный отношению прогиба lpi при температуре покрытия  к прогибу, соответствующему расчетному периоду года проведения испытаний lрв.

Величины  находят по формуле (7), так же как . При этом среднеарифметическую величину температуры воздуха определяют для каждого i-го года. По найденным величинам , используя график температура покрытия - прогиб (см. рис. 3.3), определяют величины lpi.

Величины Wфр и Wpi находят по формуле:

,                                                                                              (10)

где e - коэффициент, равный 0,97(град. сут)2/мм;

Q - сумма отрицательных среднесуточных температур воздуха за октябрь-декабрь предыдущего года, град. сут. Определяют ее по данным ближайшей гидрометеостанции (журнал ТМ-1);

- гидротермический коэффициент Селянинова, мм/град, сут;

r - сумма осадков за период со среднесуточной температурой воздуха выше 10° С в проведшем году, мм. Определяют эту сумму по данным гидрометеостанции (журнал ТМ-1);

Т2 - сумма среднесуточных температур воздуха за тот же период, град. сут. Находят ее по данным гидрометеостанции (журнал ТМ-1).

В зависимости от принимаемой точности решения задачи допускается вычислять приведенные модули упругости по приближенной, формуле, позволяющей сократить объем вычислений:

;                                                                                            (11)

,                                                                                             (12)

где  -коэффициент, учитывающий температуру покрытия на контрольной точке в период проведения испытаний (табл. 2);

 - коэффициент, учитывающий влажность грунта земляного полотна на контрольной точке в период проведения испытаний;

 - комплексный коэффициент (табл. 3).

Таблица 2

Толщина

покрытия, см

Коэффициент К при температуре покрытия, °С

10

20

30

40

50

5

1

1,04

1,14

1,23

1,29

7

1

1,06

1,19

1,34

1,42

10

1

1,11

1,26

1,45

1,62

12

1

1,14

1,36

1,56

1,81

15

1

1,19

1,43

1,43

2,02

Таблица 3

Коэффициент,  

Комплексный коэффициент Ккл при типе грунта

супесь легкая

суглинок легкий пылеватый

относительная влажность грунта

0,55

0,60

0,65

0,70

0,75

0,65

0,70

0,75

0,80

0,85

0,90

0,76

0,80

0,83

0,86

0,90

0,66

0,72

0,78

0,84

0,90

1,00

0,85

0,89

0,93

0,95

1,00

0,73

0,80

0,87

0,93

1,00

1,10

0,93

0,97

1,02

1,05

1,10

0,80

0,88

0,96

1,02

1,10

1,20

1,02

1,06

1,11

1,14

1,20

0,87

0,96

1,04

1,12

1,20

1,40

1,19

1,24

1,30

1,33

1,40

1,02

1,12

1,22

1,30

1,40

1,60

1,36

1,42

1,49

1,52

1,60

1,17

1,28

1,39

1,49

1,60

1,80

1,53

1,60

1,67

1,71

1,80

1,32

1,44

1,57

1,67

1,80

2,00

1,70

1,78

1,86

1,90

2,00

1,46

1,60

1,74

1,86

2,00

Таблица 4

Тип дорожной одежды

Коэффициент приведения дорожной конструкции к типичному состоянию, Кт

грунт земляного полотна супесь легкая и песчаный грунт

грунт земляного полотна-суглинки, супеси пылеватые и тяжелые пылеватые

Wфл/Wp

Wфл/Wp

0,65

0,70

0,75

0,80

0,85

0,9

0,65

0,70

0,75

0,80

0,85

0,90

Капитальный

1

1

1

1

1

1

1,84

1,39

1,23

1,13

1,06

1

Облегченный

1,62

1,36

1,21

1,12

1,03

1

5

3

1,85

1,50

1,27

1,10

ПРИЛОЖЕНИЕ 9

ОПРЕДЕЛЕНИЕ ФАКТИЧЕСКОЙ ИНТЕНСИВНОСТИ ДВИЖЕНИЯ ТРАНСПОРТНОГО ПОТОКА

Показатель роста интенсивности движения определяют на основании данных учета движения по дороге за предыдущие годы с момента ввода дороги в эксплуатацию после строительства (для новых дорог) или после последнего ремонта дорожной одежды.

Вычисляемый показатель q - это среднее из наблюдаемых значений за рассматриваемые годы, расчет его начинают с определения частных значений показателя роста интенсивности движения qi:

,                                                                                                 (1)

где NTi, NТi-1 ¾ соответственно интенсивности движения в последующий и предыдущий годы, авт./сут.

Расчетное значение показателя роста интенсивности движения определяют по формуле:

,                                                                                                  (2)

где Tj - анализируемый период эксплуатации дороги, годы. Например, используя данные табл. 1:

Таблица 1

Годы

Фактическая интенсивность движения, авт/сут

1980

N1 = 1260

1,07

1981

N2 = 1350

1,05

1982

N3 = 1420

1,06

1983

N4 = 1500

1,05

1984

N5 = 1570

1,07

1985

N6 = 1680

1,04

1986

N7 = 1750

 

Величину интенсивности движения транспортного потока на полосу N либо суммарную интенсивность движения транспортного потока на дороге N* в расчетный период года при отсутствии данных учета движения определяют по формуле:

N, N* = Nл × К1 × К2,                                                                                 (3)

где Nл - интенсивность движения транспортного потока, измеренная в течение одного часа в период проведения испытаний, авт./ч. Измерения проводят только в рабочие дни;

K1 - коэффициент приведения среднечасовой интенсивности движения к среднесуточной (табл. 2);

K2 - коэффициент приведения среднесуточной интенсивности в период проведения испытаний к интенсивности, соответствующей расчетному периоду года (табл. 3).

Таблица 2

Категория дороги

Значения коэффициента К1

часы суток проведения измерений интенсивности движения

7-8

8-9

9-10

10-11

11-12

12-13

13-14

14-15

15-16

16-17

17-18

18-19

19-20

20-21

I

10,5

8,8

7,8

7,3

7,6

8,6

9,8

10,7

10,7

9,8

9,1

8,3

7,7

7,9

II-IV

12,0

10,3

9,3

8,8

8,8

9,5

10,2

10,7

10,7

10,4

9,9

9,7

10,0

11,1

V

17,9

14,9

13,3

12,3

11,9

11,8

11,8

12,0

12,5

13,2

14,1

15,4

17,2

20,0

Таблица 3

Район расположения обследуемой дороги

Значения коэффициента K2

месяц проведения измерений интенсивности движения

V

VI

VII

VIII

IX

X

В пригородной зоне больших городов

0,95

0,90

0,86

0,84

0,84

0,87

В промышленных районах

0,96

0,94

0,94

0,94

0,95

0,95

В сельскохозяйственных районах

1,07

1,08

1,00

0,82

0,73

0,86

На курортных дорогах

0,86

0,76

0,64

0,50

0,44

0,44

 

 




ГОСТЫ, СТРОИТЕЛЬНЫЕ и ТЕХНИЧЕСКИЕ НОРМАТИВЫ.
Некоммерческая онлайн система, содержащая все Российские Госты, национальные Стандарты и нормативы.
В Системе содержится более 150000 файлов нормативно-технической документации, действующей на территории РФ.
Система предназначена для широкого круга инженерно-технических специалистов.

Рейтинг@Mail.ru Яндекс цитирования

Copyright © www.gostrf.com, 2008 - 2026