Крупнейшая бесплатная информационно-справочная система онлайн доступа к полному собранию технических нормативно-правовых актов РФ. Огромная база технических нормативов (более 150 тысяч документов) и полное собрание национальных стандартов, аутентичное официальной базе Госстандарта. GOSTRF.com - это более 1 Терабайта бесплатной технической информации для всех пользователей интернета. Все электронные копии представленных здесь документов могут распространяться без каких-либо ограничений. Поощряется распространение информации с этого сайта на любых других ресурсах. Каждый человек имеет право на неограниченный доступ к этим документам! Каждый человек имеет право на знание требований, изложенных в данных нормативно-правовых актах!

  


 

Е. Г. Малявина

Теплопотери здания

Справочное пособие

Москва
«АВОК-ПРЕСС»
2007

Содержание

Об авторе

Введение

Основные буквенные обозначения

Глава 1. Расчетные параметры наружной среды

1.1. Холодный период года и отопительный период

1.2. Расчетная температура наружного воздуха

1.3. Средняя температура и продолжительность отопительного периода

1.4. Расчетная и среднесезонная скорость ветра

1.5. Влажностные условия района строительства

1.6. Интенсивность солнечной радиации в отопительный период

1.7. Пример выбора наружных условий для теплотехнического расчета и расчета теплопотерь здания

Глава 2. Расчетные параметры микроклимата помещений

2.1. Оптимальные и допустимые параметры микроклимата жилых и общественных зданий

2.2. Оптимальные и допустимые параметры микроклимата производственных зданий

2.3. Градации влажностного режима помещений

2.4. Расчетные параметры микроклимата жилых и общественных зданий

2.5. Расчетные параметры микроклимата производственных зданий

2.6. Пример выбора внутренних условий для теплотехнического расчета и расчета теплопотерь здания

Глава 3. Теплопередача

3.1. Теплопроводность

3.1.1. Основные положения

3.1.2. Теплопроводность через плоскопараллельную однородную стенку в стационарных условиях

3.1.3. Коэффициент теплопроводности материала

3.2. Конвекция

3.2.1. Основные положения

3.2.2. Движение воздуха у внутренней поверхности ограждения

3.2.3. Коэффициент конвективного теплообмена на внутренней поверхности ограждения при естественной конвекции

3.2.4. Коэффициент конвективного теплообмена на внутренней поверхности ограждения при смешанной или вынужденной конвекции

3.2.5. Коэффициент конвективного теплообмена на наружной поверхности ограждения

3.3. Излучение

3.3.1. Основные положения

3.3.2. Приведенный коэффициент излучения

3.3.3. Коэффициент облученности

3.3.4. Лучистый теплообмен между поверхностями помещения

3.3.5. Радиационная температура окружающих поверхностей

3.3.6. Коэффициент лучистого теплообмена

3.4. Теплопередача через многослойную стенку

3.4.1. Основные понятия и определения

3.4.2. Термическое сопротивление воздушной прослойки

3.4.3. Распределение температуры по сечению ограждения

3.4.4. Коэффициенты теплоотдачи на внутренней и наружной поверхностях ограждения

Глава 4. Требуемое сопротивление теплопередаче наружного ограждения

4.1. Показатели теплозащиты здания

4.2. Предписывающий подход к выбору сопротивления теплопередаче наружных ограждений

4.3. Потребительский подход к выбору сопротивления теплопередаче наружных ограждений

4.4. Пример выбора требуемых сопротивлений теплопередаче наружных ограждений для Москвы

Глава 5. Приведенное сопротивление теплопередаче ограждения

5.1. Приведенное сопротивление теплопередаче однослойных и многослойных ограждений

5.1.1. Учет внутренних связей в ограждении и примыкания ограждений друг к другу с помощью коэффициента теплотехнической однородности

5.1.2. Учет неоднородности конструкции методом сложения проводимостей

5.1.3. Пример определения приведенного термического сопротивления неоднородной конструкции методом сложения проводимостей

5.1.4. Процедура определения толщины утеплителя в ограждении

5.1.5. Пример определения толщины утеплителя и приведенного сопротивления теплопередаче многослойной ограждающей конструкции

5.2. Приведенное сопротивление теплопередаче окон и наружных дверей

5.3. Приведенное сопротивление теплопередаче полов и стен на грунте

5.4. Пример определения сопротивления теплопередаче утепленных полов на лагах

Глава 6. Воздухопроницание в здание

6.1. Избыточное давление внутри и снаружи здания

6.1.1. Основные положения

6.1.2. Избыточное гравитационное давление

6.1.3. Избыточное ветровое статическое давление

6.1.4. Избыточное давление в наружном воздухе

6.1.5. Избыточное давление внутри здания

6.1.6. Разность наружного и внутреннего давлений

6.2. Требуемое сопротивление воздухопроницанию окон, балконных дверей, витражей и световых фонарей

6.3. Пример определения требуемого сопротивления воздухопроницанию окна

6.4. Приведенное сопротивление воздухопроницанию окон, балконных дверей, витражей и световых фонарей жилых, общественных и производственных зданий

Глава 7. Теплопотери здания

7.1. Расчетные трансмиссионные теплопотери

7.2. Добавочные теплопотери через ограждения

7.3. Пример расчета трансмиссионных теплопотерь помещений

7.4. Потребность в теплоте на нагревание инфильтрационного воздуха

7.5. Пример расчета потребности в теплоте на нагревание инфильтрационного воздуха

7.6. Нагревание транспортных средств и ввозимых материалов

7.7. Учет теплоты, идущей на испарение влаги

7.8. Суммарные расчетные теплопотери помещения

Глава 8. Удельная тепловая характеристика здания

Глава 9. Теплопотери помещений, обслуживаемых различными системами отопления

9.1. Методика сравнения теплопотерь за счет теплопередачи при отоплении различными системами

9.2. Пример сравнения теплопотерь при отоплении различными системами

9.3. Анализ полученных результатов

9.4. Пример проверки выполнения условий комфортности

Глава 10. Теплопотери здания и удельный расход тепловой энергии на отопление здания за отопительный период*

10.1. Требуемые величины удельного расхода тепловой энергии на отопление здания за отопительный период

10.2. Расчет теплотехнических показателей здания в целом

10.2.1. Приведенный трансмиссионный коэффициент теплопередачи

10.2.2. Приведенный инфильтрационный (условный) коэффициент теплопередачи здания и средняя кратность воздухообмена за отопительный период

10.3. Расчет теплоэнергетических параметров здания

10.3.1. Общие теплопотери через наружную ограждающую оболочку здания

10.3.2. Бытовые тепловыделения

10.3.3. Теплопоступления в здание от солнечной радиации

10.3.4. Потребность в тепловой энергии на отопление здания

10.3.5. Учет теплопоступлений в помещение

10.3.6. Удельный расход тепловой энергии на отопление здания

10.4. Пример расчета удельного расхода тепловой энергии на отопление жилых и общественных зданий за отопительный период

10.4.1. Исходные данные

10.4.2. Расчет теплотехнических показателей здания в целом

10.4.3. Расчет теплоэнергетических параметров здания

Литература

Приложение 1

Зоны влажности территории Российской Федерации

Приложение 2

Поток суммарной солнечной радиации, приходящей за отопительный период на горизонтальную и вертикальные поверхности при действительных условиях облачности Q, кВт·ч/м2 (МДж/м2)

В книге подробно рассматриваются все этапы расчета теплопотерь современного здания, основываясь на современной методологической и нормативной базе.

Отдельные разделы посвящены выбору расчетных параметров наружной среды и микроклимата здания, основам теплопередачи в ограждениях здания, нормам выбора расчетных значений коэффициентов теплопроводности строительных материалов и коэффициентов теплообмена на поверхностях ограждений, определению требуемого сопротивления теплопередаче ограждений, расчету трансмиссионных теплопотерь здания и потребности в теплоте на нагревание инфильтрационного воздуха, сравнению теплопотерь здания при различных типах системы отопления.

Приведены значения удельной тепловой характеристики для современных жилых и общественных зданий. Даны рекомендации по учету теплопоступлений в помещение от солнечной радиации при расчете теплопотребления зданием за отопительный период.

Каждый раздел сопровождают примеры расчетов.

Издание адресовано специалистам в области отопления и студентам отраслевых вузов и может считаться пособием по расчету теплопотерь здания и необходимому при этом теплотехническому расчету ограждающих конструкций.

Об авторе

Елена Георгиевна Малявина работает в МГСУ (МИСИ) на кафедре «отопление и вентиляция» с сентября 1965 года после 2 лет работы проектировщиком систем отопления и вентиляции в ГПИ «Промстройпроект». В 1975 году защитила кандидатскую диссертацию на тему «Нестационарный тепловой режим зданий», а в 1976 году ей было присвоено ученое звание старшего научного сотрудника. С 1987 года Е.Г. Малявина по конкурсу занимала должность доцента, а с 2002 года является профессором кафедры.

Она считается известным специалистом в области строительной теплофизики, состоит членом некоммерческого партнерства «Инженеров по отоплению, вентиляции, кондиционированию воздуха, теплоснабжению и строительной теплофизике» (НП «АВОК»), входит в состав научно-технического совета секции «Теплофизика» Научно-исследовательского института строительной физики РААСН. Еленой Георгиевной опубликовано более 100 научных и методических печатных работ в области теплового микроклимата помещений, нестационарного теплового режима ограждений и помещений, воздушного режима зданий. По разработанной под руководством Е.Г. Малявиной программе расчета на ЭВМ воздушного режима зданий были просчитаны и даны рекомендации по учету инфильтрации и работе систем вентиляции ряда зданий Москвы, в том числе и высотных. За последние 5 лет Е.Г. Малявиной написаны глава «Электрическое отопление» в учебник «Отопление», несколько глав в справочное пособие «Отопление и вентиляция жилых зданий со встроенно-пристроенными помещениями», стандарты АВОК «Руководство по расчету теплопотребления эксплуатируемых жилых зданий» и «Технические рекомендации по организации воздухообмена в квартирах многоэтажного жилого дома» (в соавторстве). Елена Георгиевна неоднократно выступала с докладами на российских и международных научных конференциях, организованных МГСУ, НП «АВОК», REHVA (Европейская ассоциация инженеров по отоплению и вентиляции).

Более 15 лет Е.Г. Малявина является основным лектором по курсу «Строительная теплофизика» факультета «теплогазоснабжение и вентиляция», автором рабочей программы дисциплины «Строительная теплофизика».

На протяжении последних 5 лет Е.Г. Малявина участвовала в научно-исследовательских работах по линии РААСН и Министерства образования Российской Федерации в темах, связанных с микроклиматом помещений, воздушным режимом зданий, энергосбережением. Результаты научно-исследовательских работ применяет в читаемых студентам курсах. Постоянно руководит дипломным проектированием и аспирантами. Два аспиранта (С.В. Бирюков и Ку Суан Донг) под ее руководством защитили кандидатские диссертации.

С 2000 года Е.Г. Малявина работает по совместительству в ЗАО «Промстройпроект» главным специалистом по теплотехнике. Она осуществляет теплотехническое сопровождение всех проектов института и является автором более 50 проектов в утверждаемой части по разделу «Энергоэффективность».

Введение

Принятый в 2002 году закон «О техническом регулировании» предполагает добровольное использование большинства отраслевых нормативных документов. В соответствии с этим при расчете теплопотерь необходимо опираться, с одной стороны, на традиционную школу расчета, основанную на изучении физических законов, влияющих на теплопотери помещения, а с другой стороны, на положения последних СНиП и ГОСТ, включающих многолетние наработки, отличающиеся высокой степенью достоверности.

Расчет теплопотерь является важнейшим этапом проектирования систем отопления. Для определения тепловой мощности, покрывающей максимальную нагрузку на систему отопления, необходимо знать теплопотери здания в самую суровую расчетную часть холодного периода года. Для решения вопроса о соответствии уровня теплопотребления системой отопления здания современным требованиям, особенно учитывая проблему энергосбережения, необходимо определить теплопотери здания за весь отопительный период.

Теплопотери нельзя рассчитать не зная теплозащитных качеств ограждений, коэффициентов теплообмена на поверхностях, расчетных наружных и внутренних условий. Поэтому в работе достаточно большое место уделено этим характеристикам. Кроме того, по многим вопросам приведены обоснования общеизвестных рекомендаций и указаны их авторы. Вместе с тем представленный материал не претендует на всеохватывающее изложение сопутствующих вопросов.

Существуют различные подходы к выбору расчетных значений коэффициентов теплопроводности строительных материалов. При этом тщательность в выборе значения данного коэффициента крайне важна, принимая во внимание тот факт, что производители теплоизоляции зачастую приводят в рекламных материалах теплопроводность не при эксплуатационных условиях, а в сухом состоянии. Необходимо также правильно оценивать значения коэффициентов теплообмена на поверхностях ограждений, особенно коэффициента теплоотдачи на внутренней поверхности, т.к. при завышенном его значении будет завышена и расчетная температура на внутренней поверхности, например, окна.

При определении теплопотерь здания важна правильная оценка коэффициентов теплопередачи ограждающих конструкций. В книге рассматриваются предписывающий и потребительский подходы к определению требуемого сопротивления теплопередаче ограждений, обращено внимание на возможность снижения приведенного сопротивления теплопередаче наружных ограждений по сравнению со значением, нормируемым предписывающим подходом, при выполнении требований потребительского. Приведены значения коэффициентов теплотехнической однородности ряда конструкций наружных стен со стержневыми связями, с откосами окон, а также коэффициенты теплотехнической однородности перекрытий над неотапливаемыми подвалами и коэффициенты для учета прохода различного рода шахт через чердачные перекрытия и бесчердачные покрытия зданий.

Представлены правила расчета трансмиссионных теплопотерь здания и потребности в теплоте на нагревание инфильтрационного воздуха.

Дано сравнение теплопотерь здания при различных типах системы отопления. При этом опровергнуто широко распространенное мнение о том, что при лучистых системах отопления теплопотери значительно меньше, чем при конвективных. Приведены значения удельной тепловой характеристики для современных жилых и общественных зданий, помогающие адекватно оценить нагрузку на системы отопления на предпроектной стадии.

Изложены рекомендации по учету теплопоступлений в помещение от солнечной радиации при расчете теплопотребления зданием за отопительный период и обращено внимание на то, что зачастую, особенно в начале и конце отопительного периода, теплопоступления превосходят теплопотери. В связи с этим такие теплопоступления не могут быть скомпенсированы уменьшением теплопоступлений от системы отопления закрытием регулирующего клапана, и увеличение температуры помещения в подобных случаях (без принятия специальных дополнительных мер) практически неизбежно.

По каждому разделу представлены примеры расчета.

Для удобства восприятия материала обозначения величин приняты с русскими буквенными индексами и только в главе 10 при расчете удельного теплопотребления системами отопления и вентиляции - с латинскими буквенными индексами согласно СНиП 23-02-2003 [1]. Это связано с тем, что раздел «Энергоэффективность» утверждаемой части проекта представляется в контролирующие органы (на экспертизу) с развернутым расчетом, в котором все обозначения должны точно соответствовать СНиП.

Основные буквенные обозначения

А - площадь поверхности, м2;

Аi - площадь поверхности i, м2;

Аб - площадь окон на боковом фасаде, м2;

А3 - площадь окон на подветренном фасаде, м2;

Ан - площадь окон на наветренном фасаде, м2;

В - барометрическое давление, кПа;

С - коэффициент излучения серого тела, Вт/(м2×К4);

С0 - коэффициент излучения абсолютно черного тела, Вт/(м2×К4);

с - удельная массовая теплоемкость материала или транспортного средства, Дж/(кг×°С);

сб - аэродинамический коэффициент на боковом фасаде;

с3 - аэродинамический коэффициент на подветренном фасаде;

сн - аэродинамический коэффициент на наветренном фасаде;

Dd - градусо-сутки отопительного периода, °С×сут;

Gинф - расход инфильтрационного воздуха, кг/ч;

Gм - масса ввозимых материалов, изделий, одежды, а также транспортных средств (автомашин, железнодорожных вагонов и т. п.), кг;

Gн - нормируемая воздухопроницаемость ограждающей конструкции, кг/(м2×ч);

Gо - воздухопроницаемость ограждающей конструкции, кг/(м2×ч);

Gтс - собственная масса транспортного средства, кг;

g - ускорение силы тяжести, м/с2;

h - расстояние от земли до центра рассматриваемого воздухопроницаемого элемента в здании (окна, балконной двери, входной двери в здание, ворот, витража), м;

К - коэффициент теплопередачи ограждения, Вт/(м2×°С);

Кдин - коэффициент изменения скорости ветра в различных типах местности и на разной высоте;

k - коэффициент учета влияния встречного теплового потока на нагревание инфильтрационного воздуха в светопрозрачных конструкциях;

к - коэффициент относительного пропускания солнечной радиации прозрачной частью светопрозрачной конструкции;

L - расчетный расход вентиляционного воздуха, м3/ч;

М - количество испаряющейся влаги, кг/ч;

п - коэффициент, учитывающий положение ограждения относительно наружного воздуха;

рв - условно постоянное внутреннее давление в здании, сформированное под воздействием разных значений наружного давления по разные стороны здания, Па;

рв.г - гравитационное давление внутреннего воздуха, Па;

рветр - ветровое давление наружного воздуха, Па;

рграв - расчетное гравитационное давление наружного воздуха, Па;

рн - расчетное давление наружного воздуха, Па;

рн.г - гравитационное давление наружного воздуха, Па;

рокр - парциальное давление насыщения воздуха водяным паром в окружающем воздухе, кПа;

рпов - парциальное давление насыщения воздуха водяным паром при температуре поверхности испарения жидкости, кПа;

Dр - разность давлений, Па;

Dр0 - разность давлений воздуха с наружной и внутренней сторон светопрозрачного ограждения, при которой определяется сопротивление воздухопроницанию, Па;

Q - суммарная (прямая и рассеянная) солнечная радиация на горизонтальную и вертикальные поверхности, МДж/м2;

Qбыт - тепловой поток от бытовых источников теплоты, Вт;

Qвент - расход теплоты на нагревание вентиляционного воздуха, Вт;

Qзд - тепловая нагрузка на систему отопления здания, Вт;

Qинф - потребность в теплоте на нагревание инфильтрационного воздуха, Вт;

Qисп - расход теплоты на испарение воды, Вт;

Qм - теплозатраты на нагревание транспортных средств и ввозимых материалов, изделий, одежды, Вт;

Qoгp - теплопотери за счет теплопередачи (трансмиссионные теплопотери), Вт;

Qп - теплопотери помещения за счет теплопередачи через все ограждения, Вт;

Qт.с - теплозатраты на нагревание транспортных средств, Вт;

Qтехн - теплопотери на технологические процессы, Вт;

Qm - удельная тепловая характеристика здания, Вт/(м3×°С);

qв.п - тепловой поток, проходящий через воздушную прослойку, Вт/м2;

qк - конвективный тепловой поток, Вт/м2;

qл - лучистый тепловой поток, Вт/м2;

qт - тепловой поток, передаваемый теплопроводностью, Вт/м2;

Rreq - нормируемое (требуемое) сопротивление теплопередаче наружного ограждения, м2×°С/Вт;

Rв - сопротивление теплообмену на внутренней поверхности ограждения, м2×°С/Вт;

Rв.п - термическое сопротивление замкнутой воздушной прослойки, м2×°С/Вт;

Rв-х - сопротивления теплопередаче от внутреннего воздуха до точки х, м2×°С/Вт;

Rинф - приведенное сопротивление воздухопроницанию при Dр0 =10 Па, м2×ч/кг;

Rинф,req - нормируемое сопротивление воздухопроницанию при Dр0 = 10 Па, м2×ч/кг;

Rл - сопротивление теплопередаче пола на лагах, м2×°С/Вт;

Rн - сопротивление теплообмену на наружной поверхности ограждения, м2×°С/Вт;

Rн-х - сопротивления теплопередаче от наружного воздуха до точки х, м2×°С/Вт;

Rо - приведенное сопротивление теплопередаче ограждения, м2×°С/Вт;

 - условное сопротивление теплопередаче наружного ограждения, м2×°С/Вт;

- требуемое условное сопротивление теплопередаче, м2×°С/Вт;

Rт - термическое сопротивление материального слоя, м2×°С/Вт;

 - требуемое сопротивление теплопередаче утеплителя, м2×°С/Вт;

r - коэффициент теплотехнической однородности;

Т - температура излучающей поверхности по шкале абсолютных температур, К;

ti - температура поверхности i, °С;

tr - радиационная температура, °С;

tв - температура внутреннего воздуха, °С;

tисп - температура испарения воды, °С;

tм - температура поступившего материала или транспортного средства, °С;

tн - расчетная температура наружного воздуха, °С;

tо.п - средняя температура отопительного периода, °С;

tп - результирующая температура помещения, °С;

tт.р - температура точки росы, °С;

Dt - разность температур поверхности и воздуха, °С;

Dtн - нормируемый перепад температур внутреннего воздуха tв и внутренней поверхности tв ограждения;

Vзд - отапливаемый объем здания, м3;

v - расчетная скорость ветра, м/с;

vв - скорость движения воздуха в помещении, м/с;

vo.п - средняя скорость ветра за отопительный период, м/с;

zo.п - продолжительность отопительного периода, сут;

aв - коэффициент теплоотдачи на внутренней поверхности ограждения, Вт/(м2×°С);

aк - коэффициент конвективного теплообмена (теплоотдачи конвекцией) на поверхности стенки, Вт/(м2×°С);

aл - коэффициент лучистого теплообмена на поверхности стенки, Вт/(м2×°С);

aн - коэффициент теплоотдачи на наружной поверхности ограждения, Вт/(м2×°С);

b - коэффициент, учитывающий добавочные теплопотери;

bt - коэффициент температурного расширения, 1/°С;

gв - удельный вес внутреннего воздуха, Н/м3;

gн - удельный вес наружного воздуха, Н/м3;

d - толщина стенки, м;

dу.с - толщина утепляющего слоя, м;

dут - толщина утеплителя, м;

e - степень черноты серого тела или относительный коэффициент излучения поверхности;

l - коэффициент теплопроводности материала, Вт/(м×°С);

lу.с - коэффициент теплопроводности материала утепляющего слоя, Вт/(м×°С);

n - коэффициент кинематической вязкости воздуха, м2/с;

rв - плотность внутреннего воздуха, кг/м3;

rн - плотность наружного воздуха, кг/м3;

t - коэффициент затенения светопрозрачной конструкции непрозрачными элементами;

t - температура на поверхности стенки, °С;

 - максимально допустимая температура нагретой поверхности, °С;

j1-2 - коэффициент облученности с поверхности 1 на поверхность 2;

jв - относительная влажность внутреннего воздуха, %;

jч-п - коэффициент облученности с элементарной площадки поверхности тела человека в сторону нагретой поверхности;

wв - весовая влажность материала, %;

wо - объемная влажность материала, %.

***

- общая площадь всех наружных ограждений здания, м2;

Ah - отапливаемая площадь здания, м2;

А1 - расчетная площадь общественного здания или жилая в жилом доме, м2;

Ginf - расход инфильтрационного воздуха в средние за отопительный период сутки, кг/ч;

Кm - общий коэффициент теплопередачи здания, Вт/(м2×°С);

- приведенный инфильтрационный (условный) коэффициент теплопередачи здания, Вт/(м2×°С);

 - приведенный трансмиссионный коэффициент теплопередачи здания, Вт/(м2×°С);

Lv - расход вентиляционного воздуха, м3/ч;

n - коэффициент положения отдельного ограждения относительно наружного воздуха, уменьшающий разность температур для ограждения, не соприкасающегося с наружным воздухом;

пinf - количество часов поступления инфильтрационного воздуха в неделю;

пv - количество часов работы системы вентиляции в неделю;

Qh - общие теплопотери здания за отопительный период, МДж или кВт×ч;

 - потребность в тепловой энергии на отопление здания за отопительный период, МДж или кВт×ч;

Qint - общие тепловыделения от внутренних источников в здании за отопительный период, МДж или кВт×ч;

Qs - теплопоступления в здание от солнечной радиации за отопительный период через окна и фонари, МДж или кВт×ч;

- расчетный удельный расход тепловой энергии на отопление здания, кДж/(м2×°С×сут), или кДж/(м3×°С×сут), или кВт×ч/м2;

qh,req - нормируемый удельный расход тепловой энергии на отопление здания, кДж/(м2×°С×сут), или кДж/(м3×°С×сут), или кВт×ч/м2;

qint - удельные бытовые тепловыделения в здании за отопительный период, Вт/м2;

Rr - приведенное сопротивление теплопередаче наружных ограждений, м2×°С/Вт;

text - расчетная температура наружного воздуха, °С;

tint - расчетная температура внутреннего воздуха, °С;

Vh - отапливаемый объем здания, м3;

bh - коэффициент учета дополнительного теплопотребления системы отопления;

bv - коэффициент снижения объема воздуха в здании, учитывающий наличие внутренних ограждающих конструкций;

z - коэффициент эффективности автоматического регулирования подачи теплоты в системы отопления;

n - коэффициент снижения теплопоступлений за счет тепловой инерции ограждающих конструкций;

 - средняя плотность приточного воздуха за отопительный период, кг/м3.

Глава 1. Расчетные параметры наружной среды

1.1. Холодный период года и отопительный период

Показатели расчетных нагрузок на системы отопления и теплозащиты здания должны отвечать нормируемым уровням наружных климатических параметров в холодный период года, который в соответствии с ГОСТ 30494-96 [2] определяется как отрезок времени со среднесуточной температурой наружного воздуха, равной 8 °С и ниже. По СНиП 23-02-2003 [1] для большинства зданий понятие отопительного периода совпадает с понятием холодного периода года и только для лечебно-профилактических, детских учреждений и домов-интернатов для престарелых считается периодом со среднесуточной температурой наружного воздуха не более 10 °С.

Параметрами наружной среды, учитываемыми в расчете теплотехнических показателей здания и тепловой нагрузки на систему отопления, являются: температура наружного воздуха, скорость ветра, зона влажности в районе строительства, интенсивность солнечной радиации. Одни значения параметров климата описывают наиболее холодный расчетный период, другие - средние уровни в пределах отопительного периода. Значения климатических параметров холодного периода года принимаются по табл. 1* СНиП 23-01-99* [3], где в алфавитном порядке расположены наименования областных и краевых центров, а названия остальных пунктов даны внутри области или края.

1.2. Расчетная температура наружного воздуха

Самые холодные метеоусловия в пределах отопительного периода описываются расчетными значениями климатических параметров, которые не являются абсолютными экстремумами для района строительства. Дело в том, что экстремальные, наиболее суровые условия бывают очень редко - раз в сотни лет. Ориентация на эти значения привела бы к значительному удорожанию строительства. Поэтому расчетные уровни принимаются с некоторой обеспеченностью, под которой понимается суммарная вероятность того, что данный параметр не превзойдет (в холодный период года по степени суровости) расчетного значения.

Наиболее значимым параметром холодного периода года для выбора теплозащитных качеств наружных ограждений и определения мощности системы отопления считается температура наружного воздуха. Так как ограждения и помещения обладают тепловой инерцией, иначе говоря, требуют времени для охлаждения или нагрева до изменившейся температуры окружающего воздуха, то в качестве расчетной принимают среднюю температуру наиболее холодной пятидневки - пяти последовательных суток с самой низкой средней температурой за год.

До 1994 года расчетная температура наружного воздуха для проектирования ограждений связывалась с их тепловой инерцией. Для «легких» ограждений, быстро остывающих при понижении температуры наружного воздуха, за расчетную принималась средняя температура наиболее холодных суток, а для «массивных» - средняя температура наиболее холодной пятидневки. Идея рассматривать пятидневку как расчетный период усреднения температуры наружного воздуха в 1946 году была предложена К. Ф. Фокиным [4]. Ученый проанализировал многолетние данные об изменении температуры наружного воздуха в период похолодания и выдвинул предложения по «нормализации» расчетных кривых изменения температуры наружного воздуха. Кроме того, он экспериментально установил, что стена из полнотелого кирпича толщиной 64 см (наиболее распространенная конструкция в то время) имеет такие же теплопотери за 5 сут при переменной температуре наружного воздуха, как если бы температура наружного воздуха держалась постоянной и равной средней за тот же период.

После 1994 года, когда теплозащита зданий была значительно усилена, все ограждения отнесли к числу «массивных», и расчетной температурой для теплотехнического расчета ограждающих конструкций стала средняя температура наиболее холодной пятидневки. Эта же температура является расчетной для определения теплопотерь.

За расчетную температуру наружного воздуха tн, °С, принимается не самая низкая средняя температура наиболее холодной пятидневки t5, °С, а ее значение с обеспеченностью 0,92.

Для получения этой величины выбирается наиболее холодная пятидневка в каждый год рассматриваемого отрезка п, лет (в СНиП 23-01-99* [3] период с 1925-го по 1980-е годы). Выделенные значения температуры наиболее холодной пятидневки t5 ранжируются в порядке убывания. Каждому значению присваивается номер т. Обеспеченность Коб в общем случае вычисляется по формуле

                                                                                                                (1.1)

Общий вид кривой накопленной вероятности Коб изображен на рис. 1.

Для приведения значений обеспеченности к более продолжительному периоду наблюдений в формулу (1.1) вносятся небольшие поправки.

Ход действий следующий. Из опорных метеорологических таблиц и ежемесячников осуществляют выборку температуры наиболее холодной пятидневки за 30-50 лет.

Рис. 1. Пример зависимости температуры наиболее холодной пятидневки от обеспеченности

Эти данные располагают по убыванию с присвоением каждой величине порядкового номера (табл. 1).

Таблица 1

Первичные данные о температуре наиболее холодной пятидневки (в порядке убывания)

Температура наиболее холодной пятидневки t5, °С

Порядковый номер т, лет

Температура наиболее холодной пятидневки t5, °С

Порядковый номер т, лет

-45,3

1

-40,4

11

-43,6

2

...

...

-43,5

3

-31,6

43

-43,4

4

-31,6

44

-43,2

5

-31,3

45

-42,5

6

-30,4

46

-42,3

7

-30,0

47

-41,6

8

-29,4

48

-41,6

9

-26,6

49

-40,6

10

-26,0

50

Температуру наиболее холодной пятидневки округляют до 0,5 °С, и для каждого полученного значения определяется средний порядковый номер тср (табл. 2).

Таблица 2

Средний порядковый номер в убывающем ряду округленных данных о температуре наиболее холодной пятидневки

Температура наиболее холодной пятидневки t5, °С

Порядковый номер т, лет

Средний порядковый номер тср

Обеспеченность Коб, доли единицы

-45,5

1

1

0,99

-43,5

2-4

3

0,95

-43,0

5

5

0,91

-42,5

6-7

6,5

0,88

-41,5

8-9

8,5

0,84

-40,5

10-11

10,5

0,80

-40,0

12

12

0,77

...

...

...

...

-32,0

41

41

0,19

-31,5

42-45

43,5

0,14

-30,5

46

46

0,09

-30,0

47

47

0,07

-29,5

48

48

0,05

-26,5

49

49

0,03

-26,0

50

50

0,01

Интегральную вероятность (обеспеченность Коб) того, что температура наиболее холодной пятидневки не будет ниже значения с порядковым номером тср в ряду из п членов, рассчитывают по формуле

                                                                                                   (1.2)

По полученным данным строятся интегральные кривые распределения температуры наиболее холодной пятидневки на сетке асимметричной частоты: по оси ординат - логарифмическая шкала температуры воздуха, по оси абсцисс - двойная логарифмическая шкала обеспеченности. С кривых снимается температура наиболее холодной пятидневки заданной обеспеченности. Пример графика зависимости температуры наиболее холодной пятидневки t5, °С, от обеспеченности приведен на рис. 2 [5].

Рис. 2. Интегральная кривая температуры наиболее холодной пятидневки

По заданию на проектирование допускается принимать за расчетную более низкую температуру наружного воздуха. Однако следует иметь в виду, что понижение расчетной температуры наружного воздуха (ужесточение условий) для зданий, присоединяемых к тепловой сети централизованного теплоснабжения, во избежание перетопа требует автоматизации теплоподачи в помещение.

1.3. Средняя температура и продолжительность отопительного периода

Основными характеристиками отопительного периода являются средняя температура to.п, °С, и продолжительность zo.п, сут, этого периода. Причем они относятся к отрезку времени с устойчивыми значениями граничной температуры отопительного периода. Отдельные дни со среднесуточной температурой, равной или ниже соответственно 8 или 10 °С, не учитываются. Эти данные приведены в СНиП 23-01-99* [3].

Средняя температура to.п и продолжительность zo.п отопительного периода рассчитываются по следующей методике. Сначала строится гистограмма годового хода температуры воздуха: наносятся прямоугольники, у которых основание равно числу дней месяца, а высота - средней температуре воздуха за данный месяц. Кривая годового хода проводится так, чтобы участок, отсекаемый от каждого прямоугольника, был равен по площади участку, который эта кривая прибавляет к нему с другой стороны. Затем с графика снимаются даты устойчивого перехода среднесуточных температур воздуха через отметки 8 или 10 °С. По разнице между этими датами определяется продолжительность отопительного периода zo.п.

Средняя температура отопительного периода to.п находится следующим образом. Сумма температур воздуха за полные месяцы отопительного периода вычисляется сложением произведений среднемесячной температуры воздуха соответствующего полного месяца и числа дней в этом месяце. Затем определяется сумма температур воздуха за неполные месяцы по кривой годового хода как произведение числа дней от даты начала отопительного периода до конца месяца и от начала месяца до даты конца отопительного периода и средней температуры на этих отрезках неполных месяцев. Средняя температура отопительного периода определяется делением общей суммы значений температуры отопительного периода на его продолжительность в днях.

Пример определения продолжительности и средней температуры отопительного периода приведен на рис. 3. На графике над каждым прямоугольником указана среднемесячная температура воздуха. Даты начала и конца отопительного периода - 30 сентября и 23 апреля. Продолжительность отопительного периода

zo.п = 1(сентябрь) + 31(октябрь) + 30(ноябрь) + 31(декабрь) + 31(январь) + 28(февраль) + 31(март) + 23(апрель) = 206 сут.

Сумма температур за полные месяцы отопительного периода:

4,2·31 + (-4,1·30) + (-10,7·31) + (-13,8·31) + (-13·28) + (-6,8·31) = -1327,1 °С.

Сумма температур за неполные месяцы отопительного периода:

8·1 + 3,1·23 = 79,3 °С.

Рис. 3. Расчет продолжительности и средней температуры воздуха периода со среднесуточной температурой воздуха ниже 8 °С: цифра в кружочке - средняя температура воздуха за неполный месяц; 30.IX, 23.IV - даты начала и конца периода со среднесуточной температурой воздуха, равной и ниже 8 °С (отопительный период)

Средняя температура отопительного периода

1.4. Расчетная и среднесезонная скорость ветра

За расчетную скорость ветра v, м/с, принимается максимальная из средних скоростей ветра в январе по румбам (направлениям ветра). При этом учитывается только тот ветер, повторяемость румба которого составляет 16 % и более. В случае когда средняя скорость ветра по румбу повторяемостью 12-15 % превышает на 1 м/с и более наибольшую из средних скоростей ветра по румбу повторяемостью 16 %, максимальная скорость ветра принимается по румбу повторяемостью 12-15 %.

Ветровой режим отопительного периода характеризуется средней скоростью vо.п, м/с, за этот период.

1.5. Влажностные условия района строительства

Для описания условий влажности в районе строительства СНиП 23-02-2003 [1] выделяет три зоны наружных влажностных условий: 1 - влажная, 2 - нормальная, 3 - сухая, - которые обозначены на географической карте России (прил. 1). Эта карта составлена В.М. Ильинским [6] на основе значений комплексного показателя, который рассчитан по соотношению среднемесячного для безморозного периода количества осадков на горизонтальную поверхность, относительной влажности воздуха в 15 ч самого теплого месяца, среднегодовой суммарной солнечной радиации на горизонтальную поверхность, годового размаха (январь и июль) среднемесячных значений температуры воздуха.

1.6. Интенсивность солнечной радиации в отопительный период

В теплотехнических расчетах для холодного периода года применяется средняя в многолетнем разрезе интенсивность суммарной солнечной радиации на горизонтальную и вертикальные поверхности Q, МДж/м2, при действительных условиях облачности за отопительный период. К сожалению, эти цифры пока установлены только для некоторых областей России в территориальных нормах, причем в некоторых из них, как, например, в СНиП 23-01-99* [3], они определены неверно. Методика нахождения суммарной солнечной радиации при действительных условиях облачности за отопительный период приведена в СП 23-101-2004 [7].

Суммарная (прямая и рассеянная) солнечная радиация на горизонтальную поверхность Qhor, МДж/м2, при действительных условиях облачности за отопительный период для данной местности определяется суммированием прихода суммарной солнечной радиации на горизонтальную поверхность , МДж/м2, в каждый из т месяцев или их части в течение отопительного периода:

                                                                                                             (1.3)

Величина суммарной солнечной радиации на горизонтальную поверхность при действительных условиях облачности для i-го месяца отопительного периода  принимается по данным табл. 1.10 «Научно-прикладного справочника по климату СССР» [8]. Суммарная солнечная радиация на j-ю вертикальную поверхность , МДж/м2, при действительных условиях облачности за отопительный период определяется по формуле*

                                           (1.4)

где  - соответственно суммарная и прямая солнечная радиация на j-ю вертикальную поверхность в i-й месяц при действительных условиях облачности, МДж/м2;

- рассеянная солнечная радиация на вертикальную поверхность в i-й месяц при действительных условиях облачности, МДж/м2;

 - соответственно прямая и рассеянная солнечная радиация на горизонтальную поверхность в i-й месяц при действительных условиях облачности, МДж/м2;

 - коэффициент пересчета прямой солнечной радиации с горизонтальной поверхности на вертикальные в i-й месяц отопительного периода для j-й ориентации; принимается по табл. В.2 СП 23-101-2004 [7].

* В отличие от формулы, рекомендованной в СП 23-101-2004 [7], здесь не учитывается отраженная радиация.

Результаты расчетов интенсивности суммарной солнечной радиации для 18 городов РФ, сделанных автором, приведены в прил. 2.

1.7. Пример выбора наружных условий для теплотехнического расчета и расчета теплопотерь здания

Район строительства - Москва. Объект строительства - административное здание.

По СНиП 23-01-99* [3] определяются:

1. Средняя температура наиболее холодной пятидневки (с обеспеченностью 0,92) tн = -28 °С (табл. 1, графа 5).

2. Средняя температура отопительного периода (период со среднесуточной температурой воздуха 8 °С) tо.п = -3,1 °С (табл. 1, графа 12).

3. Продолжительность отопительного периода zо.п = 214 сут (табл. 1, графа 11).

4. Расчетная скорость ветра для холодного периода (максимальная из средних скоростей по румбам за январь, повторяемость которой не ниже 16 %) v = 4,9 м/с (табл. 1, графа 19).

5. Средняя скорость ветра (за период со среднесуточной температурой воздуха 8 °С и ниже) vо.п = 3,8 м/с (табл. 1, графа 20).

По прил.В СНиП 23-02-2003 [1] (прил. 1 настоящей книги) определяется зона влажности 2 - нормальная.

Глава 2. Расчетные параметры микроклимата помещений

2.1. Оптимальные и допустимые параметры микроклимата жилых и общественных зданий

В ГОСТ 30494-96 [2] регламентируется понятие обслуживаемой зоны как пространства в помещении, ограниченного плоскостями, параллельными полу и стенам: на высоте 0,1 и 2,0 м над уровнем пола (но не ближе чем 1 м от потолка при потолочном отоплении), на расстоянии 0,5 м от внутренних поверхностей наружных и внутренних стен, окон и отопительных приборов.

К параметрам, характеризующим микроклимат помещений, прежде всего относятся: температура tв, скорость движения vв и относительная влажность воздуха φв. На ощущения человека, находящегося в помещении, влияет также и радиационная температура tr, °С, которая является усредненной по коэффициенту облученности температурой всех поверхностей, окружающих человека (или какую-либо поверхность):

                                                                                                              (2.1)

где φ1-i - коэффициент облученности, показывающий долю лучистого потока, излучаемого поверхностью 1 и попадающего на поверхность i; определяется по данным п. 3.3.3;

ti - температура поверхности i, °С.

Для помещений прямоугольной формы , поэтому

                                                                                                               (2.2)

Радиационная температура представляет интерес на границе обслуживаемой зоны помещения. Например, человек, стоящий зимой у окна, может испытать лучистое переохлаждение от окна, а голова человека, находящегося под панелью потолочного лучистого отопления, может ощутить перегрев от этой панели.

При оценке общей радиационной тепловой обстановки в помещении рассчитывают радиационную температуру tr, которая вычисляется относительно человека, стоящего в центре комнаты. При этом ее можно считать равной усредненной по площадям температуре внутренних поверхностей ограждений помещения и отопительных приборов:

                                                                                                              (2.3)

где Аi - площадь поверхности, обращенной в помещение, м2.

Учет радиационной обстановки, согласно ГОСТ 30494-96 [2], осуществляется с помощью комплексного показателя - результирующей температуры помещения tп, °С, сочетающей в себе радиационную температуру помещения tr и температуру воздуха tв. Причем при скорости движения воздуха до 0,2 м/с результирующая температура равна средней между температурами воздуха и радиационной:

                                                                                                                 (2.4)

а при скорости движения воздуха в пределах 0,2-0,6 м/с следует учитывать преимущественное воздействие на человека конвективной составляющей теплообмена:

tп = 0,6tв + 0,4tr.                                                                                                          (2.5)

Общий подход к гигиенической оценке тепловой обстановки в помещении сформулировал В.Н. Богословский [9]. Он выделил два условия комфортного пребывания человека в помещении.

Первое условие гласит, что комфортной будет такая температурная обстановка, при которой человек, находясь в центре помещения, не испытывает перегрева или переохлаждения. Это условие ограничивает область сочетаний параметров микроклимата помещения.

Второе условие определяет температурный комфорт для человека, находящегося на границе обслуживаемой зоны помещения около нагретых или охлажденных поверхностей, и связано с положительной или отрицательной интенсивностью лучистого теплообмена человека (с радиационным балансом на наиболее невыгодно расположенной и наиболее чувствительной к излучению части поверхности тела человека).

Первое условие комфортности обеспечивается сочетанием параметров, нормируемых в ГОСТ 30494-96 [2] и представленных в табл. 3, 4.

Второе условие комфортности частично обеспечивается ограничением отклонений от средних значений параметров по объему и в плане помещения. Что касается значений радиационной температуры на границе обслуживаемой зоны, то этой нормы в ГОСТ 30494-96 [2] нет.

Наиболее значимо второе условие комфортности для расчетов системы потолочного лучистого отопления. К радиационному перегреву особенно чувствительна голова человека, поэтому радиационные условия в помещении должны быть такими, чтобы любая элементарная площадка на поверхности головы отдавала излучение окружающим поверхностям не менее 11,6 Вт/м2, но не более 35 Вт/м2. Эти цифры приняты В.Н. Богословским [9] исходя из анализа экспериментальных данных и рекомендаций гигиенистов.

При расположении нагретой панели на потолке наиболее невыгодным (а потому расчетным) является положение человека под ее центром. При нагретой стеновой панели за расчетное принимают положение человека на расстоянии 0,5 м от нагретой поверхности. Из уравнения лучистого теплообмена для элементарной площадки на теле человека В.Н. Богословским [9] получена формула максимально допустимой температуры нагретой поверхности , °С, в помещении в холодный период года:

                                                                                                      (2.6)

где jч-п - коэффициент облученности с элементарной площадки поверхности тела человека в сторону нагретой поверхности; определяется по формуле (3.34) и рис. 13.

В зависимости от уровня требований к комфортности в обслуживаемой зоне различных категорий помещений жилых и общественных зданий установлены оптимальные и допустимые параметры микроклимата. Параметры микроклимата жилых зданий представлены в табл. 3.

Таблица 3

Оптимальные и допустимые параметры микроклимата жилых зданий по ГОСТ 30494-96 [2]

Период года

Помещение

Температура внутреннего воздуха tв, °С

Результирующая температура tп, °С

Относительная влажность внутреннего воздуха φв, %

Скорость движения воздуха vв, м/с

оптимальная

допустимая

оптимальная

допустимая

оптимальная

допустимая, не более

оптимальная, не более

допустимая, не более

Холодный

Жилая комната

20-22

18-24 (20-24)

19-20

17-23 (19-23)

45-30

60

0,15

0,2

То же, в районах с t5 (с обеспеченностью 0,92) -31 °С и ниже

21-23

20-24 (22-24)

20-22

19-23 (21-23)

45-30

60

0,15

0,2

Кухня

19-21

18-26

18-20

17-25

НН

НН

0,15

0,2

Туалет

19-21

18-26

18-20

17-25

НН

НН

0,15

0,2

Ванная, совмещенный санузел

24-26

18-26

23-27

17-26

НН

НН

0,15

0,2

Помещение для отдыха и учебных занятий

20-22

18-24

19-21

17-23

45-30

60

0,15

0,2

Межквартирный коридор

18-20

16-22

17-19

15-21

45-30

60

0,15

0,2

Вестибюль, лестничная клетка

16-18

14-20

15-17

13-19

НН

НН

0,2

0,3

Кладовая

16-18

12-22

15-17

11-21

НН

НН

НН

НН

Теплый

Жилая комната

22-25

20-28

22-24

18-27

60-30

65

0,2

0,3

Примечания:

1. Значения в скобках относятся к домам для престарелых и инвалидов.

2. НН - не нормируется.

Для помещений общественных зданий оптимальные и допустимые параметры микроклимата приведены в табл. 4 в соответствии со следующей классификацией помещений:

• Категория 1 - помещения, в которых люди в положении лежа или сидя находятся в состоянии покоя и отдыха.

• Категория 2 - помещения, в которых люди заняты умственным трудом, учебой.

• Категория 3а - помещения с массовым пребыванием людей, в которых люди находятся преимущественно в положении сидя без уличной одежды.

• Категория 3б - помещения с массовым пребыванием людей, в которых люди находятся преимущественно в положении сидя в уличной одежде.

• Категория 3в - помещения с массовым пребыванием людей, в которых люди находятся преимущественно в положении стоя без уличной одежды.

• Категория 4 - помещения для занятий подвижными видами спорта.

• Категория 5 - помещения, в которых люди находятся в полураздетом виде (раздевалки, процедурные кабинеты, кабинеты врачей и т. п.).

• Категория 6 - помещения с временным пребыванием людей (вестибюли, гардеробные, коридоры, лестницы, санузлы, курительные, кладовые).

Таблица 4

Оптимальные и допустимые параметры микроклимата общественных зданий по ГОСТ 30494-96 [2]

Период года

Помещение

Температура внутреннего воздуха tв, °С

Результирующая температура tп, °С

Относительная влажность внутреннего воздуха φв, %

Скорость движения воздуха vв, м/с

оптимальная

допустимая

оптимальная

допустимая

оптимальная

допустимая, не более

оптимальная, не более

допустимая, не более

Холодный

Категория 1

20-22

18-24

19-20

17-23

45-30

60

0,2

0,3

Категория 2

19-21

18-23

18-20

17-22

45-30

60

0,2

0,3

Категория 3а

20-21

19-23

19-20

19-22

45-30

60

0,2

0,3

Категория 3б

14-16

12-17

13-15

13-16

45-30

60

0,2

0,3

Категория 3в

18-20

16-22

17-20

15-21

45-30

60

0,2

0,3

Категория 4

17-19

15-21

16-18

14-20

45-30

60

0,2

0,3

Категория 5

20-22

20-24

19-21

19-23

45-30

60

0,15

0,2

Категория 6

16-18

14-20

15-17

13-19

НН

НН

НН

НН

Ванная, душевая

24-26

18-28

23-25

17-27

НН

НН

0,15

0,2

В детском дошкольном учреждении

Групповая раздевалка и туалет:

 

 

 

 

 

 

 

 

 

- для ясельных и младших групп

21-23

20-24

20-22

19-23

45-30

60

0,1

0,15

 

- для средних и дошкольных групп

19-21

18-25

18-20

17-24

45-30

60

0,1

0,15

Спальня:

 

 

 

 

 

 

 

 

 

- для ясельных и младших групп

20-22

19-23

19-21

18-22

45-30

60

0,1

0,15

 

- для средних и дошкольных групп

19-21

18-23

18-22

17-22

45-30

60

0,1

0,15

Примечания:

1. Для детских дошкольных учреждений, расположенных в районах с температурой наиболее холодной пятидневки (с обеспеченностью 0,92) -31 °С и ниже, допустимую расчетную температуру воздуха в помещениях следует принимать на 1 °С выше указанной в таблице.

2. НН - не нормируется.

Кроме параметров, значения которых представлены в табл. 3,4, ГОСТ 30494-96 [2] ограничивает величину локальной асимметрии результирующей температуры, т.е. разности значений результирующей температуры в одной точке помещения, определенных шаровым термометром для двух противоположных направлений. Локальная асимметрия результирующей температуры не должна превышать 2,5 °С для оптимальных показателей и быть не выше 3,5 °С для допустимых.

Эта асимметрия для противоположных направлений в одной точке может оказаться разной, т.к. противоположные стороны любого тела «видят» разные поверхности. Например, лицо человека, стоящего на границе обслуживаемой зоны у окна, будет испытывать холодное излучение от окна, в то время как его затылок будет находиться в зоне температур, близких к температуре воздуха.

При обеспечении параметров микроклимата в различных точках обслуживаемой зоны допускаются:

• перепад температуры воздуха не более 2 °С для оптимальных показателей и не более 3 °С для допустимых;

• перепад результирующей температуры помещения по высоте обслуживаемой зоны не более 2 °С;

• изменение скорости движения воздуха не более 0,07 м/с для оптимальных показателей и не более 0,1 м/с для допустимых;

• изменение относительной влажности воздуха не более 7 % для оптимальных показателей и не более 15 % для допустимых.

В общественных зданиях в нерабочее время допускается снижение показателей микроклимата при условии обеспечения требуемых параметров к началу рабочего времени.

2.2. Оптимальные и допустимые параметры микроклимата производственных зданий

Гигиенические требования к микроклимату рабочих мест в производственных помещениях в холодный период, необходимые для поддержания оптимального или допустимого теплового состояния организма с учетом интенсивности энергозатрат трудящегося, устанавливаются в соответствии с СанПиН 2.2.4.548-96 [10].

Рабочим местом считается участок помещения, на котором в течение рабочей смены или ее части осуществляется трудовая деятельность. Рабочим местом могут являться и несколько участков производственного помещения. Если эти участки расположены по всему пространству, то рабочим местом считается вся площадь помещения.

На основе интенсивности общих энергозатрат организма человека виды выполняемых работ разграничиваются по категориям. Характеристика отдельных категорий работ представлена в табл. 5.

Таблица 5

Категории отдельных видов работ

Категория работ

Интенсивность энергозатрат, Вт

Вид работы

Iа

До 139

Выполняется сидя с незначительным физическим напряжением (ряд профессий на предприятиях точного приборо- и машиностроения, часовом, швейном производствах, в сфере управления и т. п.)

Iб

140-174

Выполняется сидя, стоя или частично связана с ходьбой при некотором физическом напряжении (ряд профессий в полиграфической отрасли, на предприятиях связи, контролеры, мастера на различных видах производства и т. п.)

IIа

175-232

Связана с постоянной ходьбой и перемещением мелких (до 1 кг) изделий или предметов, выполняется стоя или сидя и требует определенного физического напряжения (ряд профессий в механосборочных цехах машиностроительных предприятий, на прядильно-ткацком производстве и т. п.)

IIб

233-290

Связана с ходьбой, перемещением и переноской тяжестей (до 10 кг), сопровождается умеренным физическим напряжением (ряд профессий в механизированных литейных, прокатных, кузнечных, термических, сварочных цехах машиностроительных и металлургических предприятий и т. п.)

III

Более 290

Связана с постоянной ходьбой и перемещением значительных (свыше 10 кг) тяжестей, требующая больших физических усилий (ряд профессий в кузнечных цехах с ручной ковкой, литейных цехах с ручной набивкой и заливкой опок машиностроительных и металлургических предприятий и т. п.)

На рабочих местах в производственных помещениях, на которых выполняется работа операторского типа, связанная с нервно-эмоциональным напряжением (в кабинах, на пультах и постах управления технологическими процессами, в залах вычислительной техники и др.), необходимо соблюдать оптимальные параметры микроклимата. Другие рабочие места и виды работы, при которых должны обеспечиваться оптимальные параметры микроклимата, определяются санитарными правилами по отдельным отраслям промышленности и другими документами, согласованными с органами Госсанэпиднадзора России в установленном порядке.

При выполнении работ различных категорий в холодный период года оптимальные параметры микроклимата должны соответствовать величинам, приведенным в табл. 6.

Таблица 6

Оптимальные параметры микроклимата рабочих мест производственных зданий в холодный период года

Категория работ по уровню энергозатрат

Температура внутреннего воздуха tв, °С

Температура поверхности ti, °С

Относительная влажность внутреннего воздуха φв, %

Скорость движения воздуха vв, м/с, не более

Iа

22-24

21-25

60-40

0,1

Iб

21-23

20-24

60-40

0,1

IIа

19-21

18-22

60-40

0,2

IIб

17-19

16-20

60-40

0,2

III

16-18

15-19

60-40

0,3

Перепады температур воздуха по высоте и по горизонтали, а также изменения температуры воздуха в течение смены при обеспечении оптимальных параметров микроклимата на рабочих местах не должны превышать 2 °С и выходить за пределы значений, указанных в табл. 6 для отдельных категорий работ.

Допустимые значения параметров микроклимата при выполнении работ различных категорий в холодный период года должны соответствовать значениям, приведенным в табл. 7.

Таблица 7

Допустимые параметры микроклимата рабочих мест производственных зданий в холодный период года

Категория работ по уровню энергозатрат

Температура внутреннего воздуха tв, °С

Температура поверхности ti, °С

Относительная влажность внутреннего воздуха φв, %

Скорость движения воздуха vв, м/с

ниже оптимальной

выше оптимальной

ниже оптимальной

выше оптимальной

Iа

20,0-21,9

24,1-25,0

19,0-26,0

15-75*

0,1

од

Iб

19,0-20,9

23,1-24,0

18,0-25,0

15-75

0,1

0,2

IIа

17,0-18,9

21,1-23,0

16,0-24,0

15-75

0,1

0,3

IIб

15,0-16,9

19,1-22,0

14,0-23,0

15-75

0,2

0,4

III

13,0-15,9

18,1-21,0

12,0-22,0

15-75

0,2

0,4

* При температуре воздуха 25 °С максимально допустимая величина относительной влажности воздуха не должна превышать 70 %.

При обеспечении допустимых величин микроклимата на рабочих местах:

• перепад температуры воздуха по высоте должен быть не более 3 °С;

• перепад температуры воздуха по горизонтали, а также ее изменения в течение смены не должны превышать: при Iа и Iб - 4 °С; при IIа и IIб - 5 °С; при III - 6 °С.

При этом абсолютные значения температуры воздуха не должны выходить за пределы величин, указанных в табл. 7 для отдельных категорий работ.

2.3. Градации влажностного режима помещений

В СНиП 23-02-2003 [1] выделяются четыре градации влажностного режима помещений в холодный период года в зависимости от относительной влажности и температуры внутреннего воздуха: сухой, нормальный, влажный и мокрый (табл. 8).

Таблица 8

Влажностный режим помещения

Режим

Относительная влажность внутреннего воздуха φв, %, при температуре tв, °С

До 12

Свыше 12 до 24

Свыше 24

Сухой

До 60

До 50

До 40

Нормальный

Свыше 60 до 75

Свыше 50 до 60

Свыше 40 до 50

Влажный

Свыше 75

Свыше 60 до 75

Свыше 50 до 60

Мокрый

-

Свыше 75

Свыше 60

2.4. Расчетные параметры микроклимата жилых и общественных зданий

В расчете сопротивления теплопередаче ограждений жилых и общественных зданий, а также нагрузки на системы отопления жилых помещений по СНиП 23-02-2003 [1] и СНиП 41-01-2003 [11] за расчетную температуру внутреннего воздуха tв принимается минимальное значение оптимальной температуры, приведенной в табл. 3,4. При согласовании с органами Госсанэпиднадзора России и по заданию заказчика допускается для расчета нагрузки на системы отопления жилых помещений принимать температуру воздуха в пределах допустимых норм по СНиП 41-01-2003 [11].

Отопление нежилых помещений в жилых зданиях, а также общественных и административно-бытовых помещений выполняется при расчетной температуре внутреннего воздуха, равной минимальной из допустимых показателей по табл. 4, если в данных помещениях не наблюдаются избытки явной теплоты, а в случае обратного - при экономически целесообразной температуре воздуха в пределах допустимых норм.

В жилых, общественных и административно-бытовых помещениях отапливаемых зданий при использовании не по назначению и в нерабочее время возможно поддержание температурного режима ниже нормы, но не ниже 15 °С в жилых и не ниже 12 °С в общественных и административно-бытовых помещениях.

Скорость движения воздуха в жилых и общественных зданиях обеспечивается в пределах допустимых норм.

Относительную влажность внутреннего воздуха φв, %, для определения температуры точки росы tт.p, °С, в местах теплопроводных включений ограждающих конструкций, в углах и оконных откосах, откосах зенитных фонарей следует принимать:

• для помещений жилых зданий, больничных учреждений, диспансеров, амбулаторно-поликлинических учреждений, родильных домов, домов-интернатов для престарелых и инвалидов, общеобразовательных школ, детских садов, яслей, яслей-садов (комбинатов) и детских домов - 55 %;

• для помещений кухонь - 60 %;

• для ванных комнат - 65 %;

• для подвалов и подполий с коммуникациями - 75 %;

• для теплых чердаков жилых зданий - 55 %;

• для помещений общественных зданий (кроме вышеуказанных) - 50 % по СНиП 23-02-2003 [1].

Параметры микроклимата (или один из них) допускается принимать в пределах оптимальных норм вместо допустимых, если это экономически обосновано или соответствует заданию на проектирование.

В МГСН 2.01-99* [12] приведены расчетные сочетания температуры и относительной влажности для жилых и общественных зданий, проектируемых в Москве. Эти сочетания приведены в табл. 9.

Таблица 9

Параметры микроклимата помещений, принимаемые при теплотехнических расчетах ограждающих конструкций

Здание/помещение

Температура внутреннего воздуха tв, °С

Относительная влажность внутреннего воздуха φв, %

Температура точки росы tт.p, °С

1. Жилое здание, гостиница, общежитие, общеобразовательное учреждение

20

55

10,7

2. Общественное здание (кроме 1, 3, 4)

20

50

9,3

3. Поликлиника, лечебное учреждение, дом-интернат

21

55

11,6

4. Дошкольное учреждение, хоспис

22

55

12,6

5. Кухонное помещение

20

60

12,0

6. Отапливаемая лестничная клетка

16

55

7,0

7. Ванная комната, плавательный бассейн:

 

 

 

- для взрослых

27

67

20,3

- для детей

30

67

23,0

8. Отапливаемая автостоянка

5

75

0,94

Примечание. Для зданий и помещений, не указанных в таблице, температуру воздуха tв, относительную влажность внутри здания φв и соответствующую им температуру точки росы tт.p следует принимать по минимальным значениям оптимальной температуры по ГОСТ 30494-96 [2] и нормам проектирования соответствующих зданий.

2.5. Расчетные параметры микроклимата производственных зданий

Расчетная температура для отопления производственных помещений без избытков явной теплоты равна минимальной из допустимого интервала по табл. 7, а для отопления помещений с избытками теплоты - экономически целесообразной в пределах допустимых норм по СНиП 41-01-2003 [11]. Когда эти помещения не используются и в нерабочее время, температуру в них можно принимать ниже нормируемой, но не ниже 5 °С.

В производственных зданиях с сухим или нормальным режимом расчетная температура внутреннего воздуха для теплотехнических расчетов ограждений принимается по нормам проектирования соответствующих зданий.

В производственных помещениях площадью более 50 м2 на одного работающего обеспечивают расчетную температуру воздуха на постоянных рабочих местах и более низкую (но не ниже 10 °С) на непостоянных рабочих местах.

В животноводческих, звероводческих и птицеводческих зданиях, сооружениях для выращивания растений, постройках для хранения сельскохозяйственной продукции параметры микроклимата принимают в соответствии с нормами технологического и строительного проектирования этих зданий.

Для производственных помещений с полностью автоматизированным технологическим оборудованием, функционирующим без присутствия людей (кроме дежурного персонала, который постоянно находится в специальном помещении и периодически осматривает производство или налаживает оборудование, но не более 2 ч без перерыва), при отсутствии технологических требований к температурному режиму помещений температуру воздуха в рабочей зоне принимают равной 10 °С (при отсутствии избытков явной теплоты) и экономически целесообразной (при наличии избытков явной теплоты).

Скорость движения воздуха в помещениях производственных зданий обеспечивают в пределах допустимых норм.

Относительная влажность и скорость движения воздуха в производственных помещениях с полностью автоматизированным технологическим оборудованием при отсутствии специальных требований не нормируются.

2.6. Пример выбора внутренних условий для теплотехнического расчета и расчета теплопотерь здания

Район строительства - Москва. Объект строительства - административное здание.

Параметры микроклимата определяются по табл. 4.

1. Расчетная температура внутреннего воздуха для выбора наружных ограждений и расчета теплопотерь tв = 19 °С - минимальное значение оптимальной температуры для помещений категории 2. Но так как здание расположено в Москве, где действуют более жесткие требования, в соответствии с МГСН 2.01-99* [12] по табл. 9 принимается расчетная температура внутреннего воздуха tв = 20 °С.

2. Относительная влажность внутреннего воздуха φв = 50 % выбирается по примечанию к п. 5.9 СНиП 23-02-2003 [1] (см. п. 2.4 настоящей книги).

По табл. 1 СНиП 23-02-2003 [1] (табл. 8 настоящей книги) выясняется, что эти параметры соответствуют сухому влажностному режиму.

Глава 3. Теплопередача

Перемещение теплоты всегда происходит от более теплой среды к более холодной. Процесс переноса теплоты из одной точки пространства в другую за счет разности температур называется теплопередачей. Она включает три элементарных вида теплообмена: теплопроводность, конвекцию и излучение.

3.1. Теплопроводность

3.1.1. Основные положения

Теплопроводность - вид передачи теплоты между неподвижными частицами твердого, жидкого или газообразного вещества. Таким образом, теплопроводность - это теплообмен между частицами или элементами структуры материальной среды, находящимися в непосредственном соприкосновении друг с другом. При изучении теплопроводности вещество рассматривается как сплошная масса, его молекулярное строение игнорируется. В чистом виде теплопроводность встречается только в твердых телах, т.к. в жидких и газообразных средах практически невозможно обеспечить неподвижность вещества.

Строительные материалы являются пористыми телами. В порах находится воздух, имеющий возможность двигаться. При рассмотрении теплопроводности характеристики этого процесса относят к общей массе вещества, т.е. одновременно к скелету и порам.

3.1.2. Теплопроводность через плоскопараллельную однородную стенку в стационарных условиях

Большинство ограждений здания представляет собой плоскопараллельные стенки, перенос теплоты в которых осуществляется в одном направлении. Кроме того, обычно при теплотехнических расчетах наружных ограждающих конструкций принимается, что теплопередача происходит в стационарных тепловых условиях, т.е. при постоянстве во времени всех характеристик процесса: теплового потока, температуры в каждой точке, теплофизических характеристик строительных материалов. Поэтому важно рассмотреть процесс одномерной стационарной теплопроводности в однородном материале, который описывается уравнением Фурье

                                                                                                                 (3.1)

где qт - тепловой поток, проходящий через единицу перпендикулярной ему поверхности, Вт/м2;

λ - коэффициент теплопроводности материала, Вт/(м·°С);

t - температура, изменяющаяся вдоль оси х, °С.

Отношение dt/dx носит название градиента температуры и обозначается gradt, °С/м. Этот градиент направлен в сторону возрастания температуры, которое связано с поглощением теплоты и уменьшением теплового потока. Знак минус, стоящий в правой части уравнения (3.1), показывает, что увеличение теплового потока не совпадает с увеличением температуры.

Рис. 4. Распределение температуры в плоскопараллельной стенке при переносе теплоты теплопроводностью

Для плоской однородной стенки (рис. 4) тепловой поток qт, Вт/м2, передаваемый теплопроводностью через однородную стенку, определяется по формуле

                                                                                                           (3.2)

где δ - толщина стенки, м;

τ1, τ2 - значение температуры соответственно на поверхностях стенки 1 и 2, °С.

Из формулы (3.2) следует, что распределение температуры по толщине стенки - линейное.

Термическое сопротивление материального слоя Rт, м2·°С/Вт, определяется по формуле

                                                                                                                       (3.3)

Следовательно,

                                                                                                               (3.4)

Термическое сопротивление слоя - это сопротивление теплопроводности, равное разности температур на противоположных поверхностях слоя при прохождении через него теплового потока с поверхностной плотностью 1 Вт/м2.

Теплообмен теплопроводностью имеет место в материальных слоях ограждающих конструкций здания.

3.1.3. Коэффициент теплопроводности материала

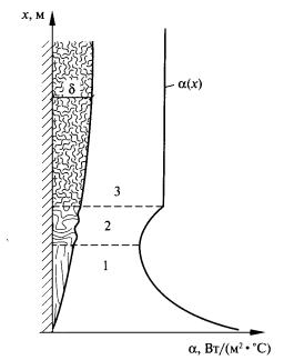
Коэффициент теплопроводности λ, Вт/(м·°С), является одной из основных тепловых характеристик материала. Как следует из уравнения (3.1), коэффициент теплопроводности материала выражает меру проводимости теплоты материалом, численно равную тепловому потоку qт, Вт, проходящему сквозь 1 м2 площади, перпендикулярной направлению потока, при градиенте температуры, равном 1 °С/м (рис. 5). Чем больше значение λ, тем интенсивнее в материале процесс теплопроводности и значительнее тепловой поток. Поэтому теплоизоляционными материалами принято считать материалы с коэффициентом теплопроводности менее 0,3 Вт/(м·°С).

Рис. 5. К определению коэффициента теплопроводности материала: п - нормаль к поверхности

Большинство строительных материалов - пористые тела. Зависимость коэффициента теплопроводности строительных материалов от их плотности обусловлена тем, что практически любой строительный материал состоит из скелета - основного строительного вещества - и воздуха. К.Ф. Фокин [13] для примера приводит такие данные: коэффициент теплопроводности абсолютно плотного вещества (без пор) в зависимости от природы имеет теплопроводность от 0,1 Вт/(м·°С) (пластмасса) до 14 Вт/(м·°С) (кристаллические вещества при потоке теплоты вдоль кристаллической поверхности), в то время как теплопроводность воздуха около 0,026 Вт/(м·°С). Чем выше плотность материала (меньше пористость), тем больше значение коэффициента теплопроводности. Понятно, что легкие теплоизоляционные материалы имеют сравнительно небольшую плотность.

Коэффициент теплопроводности увеличивается с повышением влажности материала. Влажность характеризуется наличием в материале химически несвязанной воды. Весовая влажность ωв, %, определяется отношением массы влаги, содержащейся в образце материала, к его массе в сухом состоянии:

                                                                                                  (3.5)

где М1, М2 - масса образца материала соответственно до и после высушивания, кг. Объемная влажность ωо, %, определяется по формуле

                                                                                                             (3.6)

где V1, V2 - соответственно объем влаги в образце материала и самого образца, м3.

На практике чаще пользуются весовой влажностью, т.к. извлечь в натурных условиях из строительной конструкции целый кусок материала в качестве образца трудно.

Повышение коэффициента теплопроводности с увеличением влажности материала происходит из-за того, что вода, находящаяся в порах материала, имеет коэффициент теплопроводности около 0,58 Вт/(м·°С), что в 22 раза больше, чем у воздуха, находящегося в порах. Большая интенсивность возрастания коэффициента теплопроводности при малой влажности вызвана тем, что при увлажнении материала сначала заполняются водой мелкие поры и капилляры, влияние которых на теплопроводность материала больше, чем влияние крупных пор. Еще более резко возрастает коэффициент теплопроводности, если влажный материал промерзает, т.к. лед имеет коэффициент теплопроводности 2,3 Вт/(м·°С), что в 80 раз больше, чем у воздуха. Установить общую математическую зависимость теплопроводности материала от его влажности для всех строительных материалов невозможно (большое влияние оказывает форма и расположение пор). Однако очевидно, что увлажнение строительных конструкций приводит к снижению их теплозащитных качеств, увеличивая коэффициент теплопроводности влажного материала.

Влажностное состояние материалов в ограждающих конструкциях зданий зависит от климата района строительства и от влажностного режима помещений. Различные сочетания наружных и внутренних влажностных режимов формируют два типа условий эксплуатации ограждающих конструкций: А и Б. Условиям эксплуатации А соответствуют сочетания сухого или нормального влажностного режима помещений с сухой зоной района строительства, а также сухого режима помещений с нормальной климатической зоной влажности. Все остальные сочетания влажностного режима помещений и климатических зон влажности формируют условия эксплуатации Б (табл. 10).

Таблица 10

Условия эксплуатации ограждающих конструкций

Влажностный режим помещения (по табл. 8)

А и Б в зоне влажности (по прил. 1)

сухой

нормальной

влажной

Сухой

А

А

Б

Нормальный

А

Б

Б

Влажный или мокрый

Б

Б

Б

В соответствии с условиями эксплуатации строительной конструкции принимается значение коэффициента теплопроводности λА или λБ, Вт/(м·°С).

Коэффициент теплопроводности материала увеличивается с повышением температуры, при которой происходит передача теплоты. Усиление теплопроводных свойств объясняется возрастанием кинетической энергии молекул скелета вещества. Увеличивается также и теплопроводность воздуха в порах материала, и интенсивность передачи в них теплоты излучением. В строительной практике зависимость теплопроводности от температуры большого значения не имеет. Расчет коэффициента теплопроводности материала при 0 °С λ0, Вт/(м·°С), на основании величины, полученной при температуре до 100 °С, выполняется по эмпирической формуле О.Е. Власова [14]:

                                                                                                                 (3.7)

где λt - коэффициент теплопроводности материала, Вт/(м·°С), при соответствующей температуре t, °С;

βt - температурный коэффициент для различных материалов, равный около 0,0025 1/°С.

Рекомендуемые в СП 23-101-2004 [7] значения λ приняты при температуре 25 °С. Для различных строительных материалов с указанием их плотности расчетные значения λ, соответствующие условиям эксплуатации А и Б, приведены также в [15, 16]. При этом в таблицах из [7, 15, 16] указана весовая влажность материала, соответствующая условиям эксплуатации.

Однако величины коэффициентов теплопроводности, приведенные в СП 23-101-2004 [7], получены исследованиями по разным методикам [15]. Дело в том, что расчетные значения коэффициентов теплопроводности различных конструкционных и теплоизоляционных строительных материалов, указывавшиеся в ранее действовавшем СНиП II-3-79* [17], определены при температуре 0 °С [13]. Температура 0 °С соответствует средней температуре наружной стены здания в зимнее время, когда значительная часть слоя утеплителя находится в зоне отрицательной температуры. Согласно методикам ГОСТ 26254-84 [18] и ГОСТ 530-95 [19], коэффициенты теплопроводности установлены в ходе исследований теплозащитных качеств материалов наружных ограждающих конструкций эксплуатируемых зданий или фрагментов наружных стен размерами 1,5´1,0 и 1,8´1,8 м в климатической камере. Температурно-влажностный и воздушный режимы исследуемого ограждения соответствуют расчетной температуре холодного периода года, т.к. исследования проводятся при температуре наружного воздуха (или ее имитации в камере), равной -20...-30 °С. Такой подход учитывает влияние замерзшей влаги и фильтрации холодного воздуха на увеличение коэффициента теплопроводности. По методике ГОСТ 7076-99 [20], коэффициенты теплопроводности ячеистых бетонов, полистиролбетона и современных мягких теплоизоляционных материалов определены в лабораторных условиях на плитках размером 250´250´50 мм при температуре 10 и 20 °С. Полученные таким образом коэффициенты отличаются в меньшую сторону от значений, полученных при испытаниях в натурных условиях или на фрагментах стен в климатической камере, т.к. указанная методика исключает влияние замерзшей влаги и фильтрации холодного воздуха. Поэтому при определении сопротивления теплопередаче ограждений в расчетный зимний период в [15] значения коэффициентов теплопроводности теплоизоляционных материалов (минераловатных и пенополистирольных плит), полученных по ГОСТ 7076-99 [20], рекомендуется увеличивать на 30 % в невентилируемых конструкциях и на 20 % в вентилируемых.

Теплотехнические характеристики легких утеплителей наиболее полно даны в СП 23-101-2004 [7], кирпичной кладки на различных растворах и кладки из полистиролбетона - в [15], ячеистых бетонов - в [16].

3.2. Конвекция

3.2.1. Основные положения

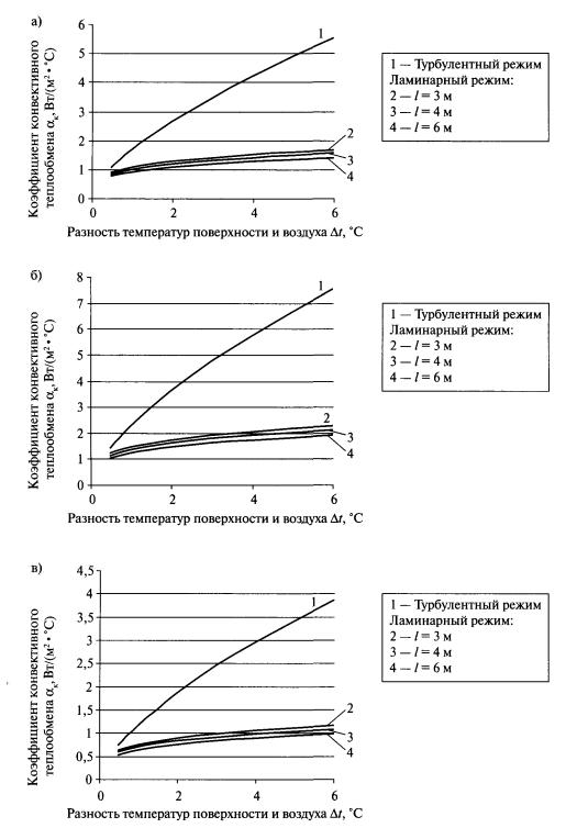
Конвекция - перенос теплоты движущимися частицами вещества. Конвекция наблюдается только в жидких и газообразных веществах, а также между жидкой или газообразной средой и поверхностью твердого тела (рис. 6). При этом осуществляется и теплопроводность. Совместное воздействие конвекции и теплопроводности в пограничной области у поверхности тела называют конвективным теплообменом.

Рис. 6. Конвекция

Конвекция имеет место на наружной и внутренней поверхностях ограждений здания. В теплообмене внутренних поверхностей помещения конвекция играет существенную роль. При различных значениях температуры поверхности и прилегающего к ней воздуха происходит переход теплоты в сторону меньшей температуры. Тепловой поток, передаваемый конвекцией, зависит от режима движения жидкости или газа, омывающих поверхность; температуры, плотности и вязкости движущейся среды; шероховатости поверхности; разности между температурами поверхности и омывающей ее среды.

Процесс теплообмена между поверхностью и газом (или жидкостью) протекает различно в зависимости от природы возникновения движения газа. Выделяют естественную и вынужденную конвекцию.

В первом случае движение газа происходит за счет разности температур поверхности и газа, во втором - за счет влияния внешних сил (работы вентиляторов, ветра).

Вынужденная конвекция в общем случае может сопровождаться и естественной конвекцией, но из-за того что интенсивность вынужденного процесса заметно больше, то при его рассмотрении естественной конвекцией часто пренебрегают.

В дальнейшем будут рассмотрены только стационарные процессы конвективного теплообмена, предполагающие постоянство во времени скорости и температуры в любой точке воздуха. Однако поскольку температура элементов помещения изменяется довольно медленно, полученные для стационарных условий зависимости могут быть распространены и на процесс нестационарного теплового режима помещения, при котором в каждый рассматриваемый момент процесс конвективного теплообмена на внутренних поверхностях ограждений считается стационарным. Полученные для стационарных условий зависимости могут быть распространены и на случай внезапной смены природы конвекции от естественной к вынужденной, например, при включении рециркуляционного аппарата для нагрева помещения (фэнкойла или сплит-системы в режиме теплового насоса). Во-первых, новый режим движения воздуха устанавливается быстро. Во-вторых, требуемая точность инженерной оценки процесса теплообмена ниже возможных неточностей от отсутствия коррекции теплового потока в течение переходного состояния.

В практических расчетах конвективного теплового потока qк, Вт, передаваемого конвекцией от движущейся среды к поверхности или наоборот (рис. 6), применяют уравнение Ньютона

qк = αк(ta - τ),                                                                                                               (3.8)

где αк - коэффициент конвективного теплообмена (теплоотдачи конвекцией) на поверхности стенки, Вт/(м2·°С);

ta - температура воздуха, омывающего поверхность стенки, °С;

τ - температура поверхности стенки, °С.

3.2.2. Движение воздуха у внутренней поверхности ограждения

В обычных условиях на внутренней поверхности ограждения наблюдается естественная конвекция. В таком процессе выделяют хорошо изученный идеальный случай свободной конвекции, когда практически неограниченная по длине поверхность находится в большом объеме воздуха. Температура поверхности постоянна по длине и ширине. Воздух вдали от поверхности неподвижен, и его температура одинакова. Если температура стенки будет выше температуры воздуха, это вызовет нагрев прилегающего к поверхности воздуха и подъем его вверх за счет вытеснения снизу более холодным воздухом. При охлаждении теплообмен аналогичен процессу нагрева воздуха, но противоположен по направлению.

Около нагретой (или охлажденной) поверхности формируется пограничный слой (рис. 7), толщина которого возрастает по направлению движения. Существенное влияние на процесс конвективного теплообмена оказывает характер движения газа. Из гидродинамики известно, что существуют два основных режима течения: ламинарный и турбулентный. В первом случае частицы газа движутся не перемешиваясь, параллельно поверхности, с которой газ обменивается теплотой; во втором - неупорядоченно, хаотически, направление и скорость отдельных частиц непрерывно изменяются. Так вот, в нижней части нагретой поверхности движение воздуха имеет ламинарный характер, а на некотором расстоянии от начала движения становится турбулентным. Процесс теплообмена на поверхности ограждения в ламинарной и турбулентной зонах происходит по-разному.

Рис. 7. Изменение коэффициента теплоотдачи при свободном движении вдоль вертикальной стенки:
δ - толщина пограничного слоя; 1 - зона ламинарного течения воздуха; 2 - зона переходного течения воздуха; 3 - зона турбулентного течения воздуха

Около поверхности температура и скорость воздуха изменяются по направлению его движения, причем температура меняется в пределах теплового пограничного слоя, а скорость снижается в пределах гидродинамического пограничного слоя. В общем случае размеры этих слоев не совпадают. Толщина ламинарного пограничного слоя растет по высоте, в переходной области происходит резкое увеличение толщины пограничного слоя, а в турбулентной области она остается неизменной.

Интенсивность естественного конвективного потока для любых форм поверхностей и сред в обобщенном виде определяется произведением критериев Грасгофа

и Прандтля

Для воздуха в помещении с температурой 20 °С произведение этих критериев, подсчитанное В.Н. Богословским в [21], равно

где bt - коэффициент температурного расширения воздуха, равный 1/Т= 1/293 1/К;

g - ускорение свободного падения, м/с2; g = 9,81 м/с2;

l - определяющий размер поверхности в направлении потока воздуха, м;

Dt - разность температур поверхности и воздуха, °С;

v - коэффициент кинематической вязкости воздуха, м2/с; при температуре воздуха 20 °С v = 15,06·10-6 м2/с;

Рr = 0,709 для воздуха с температурой 20 °С.

Переход от ламинарного к турбулентному режиму происходит на некотором расстоянии lкр, м, от начала поверхности. По данным Эккерта [22], для воздуха этот переход происходит при критическом значении критерия Грасгофа:

Отсюда полученное В.Н. Богословским в [21] критическое расстояние, на котором происходит переход от ламинарного к турбулентному режиму, равно

и зависит от разности температур поверхности и воздуха (табл. 11).

Таблица 11

Влияние разности температур на расстояние перехода от ламинарного режима течения воздуха к турбулентному

Разность температур Dt, °С

0,5

1

2

3

4

5

6

Критическое расстояние lкр, м

2,83

1,89

1,50

1,31

1,19

1,11

1,04

Как видно из табл. 11, не совсем верно утверждение, что в помещении естественный конвективный теплообмен происходит преимущественно при турбулентном режиме течения воздуха у поверхности ограждения*.

* Вывод о преимущественно турбулентном течении сделан в [23], где А.М. Шкловер опирается на данные М.А. Михеева [24] о переходе от ламинарного к турбулентному режиму при произведении GrPr = 2·107, когда переход осуществляется на расстоянии , что определяет расстояние lкр ≈ 0,25 м даже при Dt = 0,5 °С.

3.2.3. Коэффициент конвективного теплообмена на внутренней поверхности ограждения при естественной конвекции

Для расчета коэффициента конвективного теплообмена сначала А.М. Шкловером [23], а затем В.Н. Богословским [21] были предложены формулы исходя из преимущественно турбулентного течения воздуха у внутренних поверхностей ограждения, для которого М.А. Михеев [24] на основе экспериментальных данных привел зависимость

                                                                                                   (3.9)

При температуре внутреннего воздуха 20 °С коэффициент конвективного теплообмена αк, Вт/(м2·°С), для вертикальных ограждений равен

                                                                                                              (3.10)

для горизонтальной нагретой поверхности, обращенной вверх, или охлажденной, обращенной вниз,

                                                                                                             (3.11)

для горизонтальной нагретой поверхности, обращенной вниз, или охлажденной, обращенной вверх,

                                                                                                               (3.12)

Следует отметить, что если температура воздуха отличается от 20 °С, при которой были получены коэффициенты в формулах (3.10)-(3.12), то эти коэффициенты будут уменьшаться на 1 % при увеличении температуры воздуха на 10 °С и, наоборот, возрастать при падении температуры воздуха на 10 °С [21].

Из формул (3.10)-(3.12) видно, что величина конвективного теплообмена в турбулентной области зависит только от разности температур воздуха и внутренней поверхности ограждения.

Однако в [25] формулы (3.10)-(3.12) и утверждение о преимущественно турбулентном течении воздуха у внутренних поверхностей наружных ограждений подвергаются сомнению. Дело в том, что при получении основополагающих обобщенных зависимостей и границ их применения исследовались процессы, в которых разность температур достигала 50-70 °С, тогда как на поверхности ограждения эта разность никогда не превышает 20 °С, а в большинстве случаев составляет 1-6 °С. А.В. Лыковым [26] сформулировано теоретическое обоснование физических особенностей теплообменных процессов с небольшими разностями температур в пристенной зоне. В [25] утверждается, что по А.В. Лыкову переход к турбулентному режиму течения происходит при соблюдении двух условий. Во-первых, необходимо, чтобы GrPr > 109, и, во-вторых, чтобы скорость движения воздуха в переходной зоне была равна не менее 0,91 м/с. При этой скорости критерий Рейнольдса Re = 1,79·105, что не превышает верхний предел значения для ламинарного движения Re = 3·105 [25]. Натурные и лабораторные исследования однородных наружных стен в климатической камере, а также интерферометрическое моделирование выполнялись [25] при значениях критерия Рейнольдса в пределах 4·104-1,4·105. Поэтому вслед за А.В. Лыковым авторы [25] А.И. Ананьев, Л.В. Иванов и В.М. Комов предлагают считать, что на внутренней поверхности ограждения соблюдается ламинарный режим движения воздуха.

Для ламинарной зоны В.Н. Богословским [21] из критериального выражения, определяющего интенсивность теплообмена в произвольном сечении х при Рr = 0,709,

                                                                                                      (3.13)

выведена формула расчета среднего по длине l, м, значения коэффициента конвективного теплообмена αк, Вт/(м2·°С). Для вертикальных ограждений при температуре воздуха 20 °С он равен

                                                                                                          (3.14)

Формула (3.14) приводит даже к завышенным значениям коэффициентов конвективного теплообмена по сравнению с полученными из экспериментальных исследований [25]. Следует отметить также, что В.Н. Богословский в статье, написанной в 2000 году (вместе с О.Д. Самариным), [27] признавал преимущественное ламинарное течение на поверхностях ограждения, ссылаясь в ней на работу [25], и применял для обработки данных натурных экспериментов некоторые зависимости, соответствующие этому утверждению.

Для горизонтальной нагретой поверхности, обращенной вверх, или охлажденной, обращенной вниз, величина коэффициента конвективного теплообмена αк, Вт/(м2·°С), составит

                                                                                                          (3.15)

для горизонтальной нагретой поверхности, обращенной вниз, или охлажденной, обращенной вверх,

                                                                                                       (3.16)

Сравнение коэффициентов теплоотдачи внутренней поверхности ограждения, рассчитанных при преимущественно турбулентном и ламинарном течениях воздуха, приведено на рис. 8. Согласно рисунку, если принять в качестве преимущественного ламинарное движение воздуха, значения αк придется считать несколько меньшими, чем при общепринятом турбулентном. Причем снижение значения αк тем заметнее, чем больше разность температур воздуха помещения и внутренней поверхности ограждения и чем длиннее сама поверхность.

Рис. 8. Значения коэффициента конвективного теплообмена αк, Вт/(м2·°С), рассчитанные по формулам (3.10)-(3.12) для турбулентного режима течения воздуха у поверхности ограждения и по формулам (3.14)-(3.16) для ламинарного режима при различной длине поверхности вдоль потока l: а - у вертикальной поверхности; б - у горизонтальной нагретой поверхности, обращенной вверх, или охлажденной, обращенной вниз; в - для горизонтальной нагретой поверхности, обращенной вниз, или охлажденной, обращенной вверх

3.2.4. Коэффициент конвективного теплообмена на внутренней поверхности ограждения при смешанной или вынужденной конвекции

В помещении всегда есть некая подвижность воздуха, не зависящая от естественной конвекции на поверхности ограждения, поэтому конвективный теплообмен принимает характер смешанной (естественной и вынужденной) конвекции. Для учета общей подвижности воздуха в помещении В.Н. Богословский [21] предложил энергетический подход, при котором, зная вынужденную подвижность воздуха vв в помещении, можно было бы установить разность температур Dtv, формирующую конвективный поток вдоль поверхности с такой же интенсивностью теплообмена. Для этого потенциальная энергия естественного конвективного потока 1 кг воздуха приравнивается к кинетической энергии вынужденного движения воздуха. Потенциальная энергия естественной конвекции Wп, Вт, за счет разности температур Dtv в гравитационном поле равна

Wп = lbDtvg,

а кинетическая энергия этого воздуха Wк, Вт, движущегося со скоростью ve, м/с, в естественном потоке составляет

Считая потери на трение пренебрежимо малыми, получаем равенство

                                                                                                     (3.17)

Принимая во внимание положение [21] о том, что теплообмен в потоке свободной конвекции оказывается таким же, как и в вынужденном, если скорость вынужденного движения vк, м/с, равна половине максимальной скорости свободного потока ve получаем

                                                               (3.18)

Таким образом, зная подвижность воздуха vк вдоль поверхности при вынужденном движении, можно установить разность температур Dtv при которой теплообмен воздуха с поверхностью при свободной конвекции соответствовал бы теплообмену в вынужденном потоке воздуха, движущегося со скоростью vк.

Формула (3.18) позволяет принять условную разность температур Dtусл как сумму разностей температур при свободной конвекции Dt и вынужденной Dtv:

Dtусл = Dt + Dtv.                                                                                                           (3.19)

В качестве определяющего размера l, м, принимается высота помещения. Для расчета коэффициента конвективного теплообмена aк, Вт/(м2·°С), при вынужденной конвекции часто применяют формулу Франка [6, 23]:

aк = 7,34v0,656 + 3,78e-1,91v.                                                                                         (3.20)

Эта формула может быть использована для расчета коэффициента как на внутренней, так и на наружной поверхностях ограждения.

Если в помещении работает рециркуляционный вентиляционный аппарат (фэнкойл или сплит-система) или приток в помещение осуществляется механической вентиляцией, которая создает достаточно высокую подвижность воздуха (выше 0,3 м/с), конвекцию можно считать вынужденной. На основании экспериментальных данных по рекомендации AS HRAE 1985b [28] коэффициент конвективного теплообмена aк, Вт/(м2·°С), принимаемый для вынужденной конвекции, равен

aк = 5,6 + 3,9v2.                                                                                                          (3.21)

3.2.5. Коэффициент конвективного теплообмена на наружной поверхности ограждения

Конвективный теплообмен на наружной поверхности ограждения происходит при вынужденном движении воздуха. Применительно к этому случаю В.М. Ильинским [6] предложена формула для расчета коэффициента конвективного теплообмена aк, Вт/(м2·°С), в зависимости от скорости ветра v и характерного (наименьшего) размера обдуваемой поверхности:

                                                                                                               (3.22)

Эта формула основана на зависимости, полученной экспериментальным путем М.А. Михеевым [24], для вынужденной конвекции:

Nu = 0,032Re0,8.                                                                                                          (3.23)

Здесь

где l - коэффициент теплопроводности воздуха Вт/(м·°С); принят В.М. Ильинским при температуре воздуха 0 °С l = 0,025 Вт/(м·°С);

v - коэффициент кинематической вязкости воздуха, м2/с; принят В.М. Ильинским при температуре воздуха 0 °С v = 13,7·10-6 м2

3.3. Излучение

3.3.1. Основные положения

Излучение, или лучистый теплообмен, - это перенос теплоты с поверхности на поверхность через лучепрозрачную среду электромагнитными волнами, трансформирующимися в теплоту (рис. 9).

Рис. 9. Теплообмен излучением

Например, лучистый теплообмен происходит между поверхностями, обращенными в помещение, наружными поверхностями различных зданий, поверхностями земли и неба. Важен лучистый теплообмен между внутренними поверхностями ограждений помещения и поверхностью отопительного прибора. Во всех этих случаях лучепрозрачной средой, пропускающей тепловые волны, является воздух.

Каждая поверхность тела в зависимости от своей температуры излучает энергию в виде волн различной длины. Видимые световые лучи имеют длину волны от 0,4 до 0,8 мк, а инфракрасные - тепловые - от 0,8 до 800 мк. Это излучение называется собственным. В соответствии с законом Планка при значениях температуры, имеющих место в помещениях, подавляющая часть энергии излучается в узком диапазоне длин волн, поэтому собственное излучение поверхностей в помещениях может считаться монохроматическим.

Если на поверхность падает лучистая энергия, то, как известно, часть ее поглощается телом, повышая его температуру, часть отражается, а если это лучепрозрачное тело, то часть падающей энергии пропускается сквозь него. Тело, которое поглощает всю падающую на него лучистую энергию, называется абсолютно черным; то, которое частично отражает лучистый поток, - серым; то, которое отражает всю падающую лучистую энергию, - абсолютно белым; тело, пропускающее всю энергию через себя, - абсолютно прозрачным.

Собственное излучение поверхности абсолютно черного тела q, Вт/м2, по закону Стефана-Больцмана пропорционально четвертой степени абсолютной температуры тела:

                                                                                                            (3.24)

где Со - коэффициент излучения абсолютно черного тела; Со = 5,67 Вт/(м2·К4);

Т - температура излучающей поверхности по шкале абсолютных температур, К.

Это означает, что интенсивность излучения резко возрастает с повышением температуры поверхности тела.

Серые тела излучают меньше энергии, чем абсолютно черные. Их коэффициент излучения С, Вт/( м2·К4), может быть представлен в виде

С = Соe,                                                                                                                      (3.25)

где e - степень черноты серого тела или относительный коэффициент излучения поверхности.

Для серой поверхности e < 1. Поверхности в помещении имеют высокие коэффициенты излучения - больше чем 0,8 (исключение составляют побеленные поверхности, у которых e = 0,62).

По закону Кирхгофа у серых тел коэффициент излучения равен коэффициенту поглощения. Так как поверхности излучают собственную и отраженную теплоту, эту сумму называют эффективным излучением поверхности (рис. 10). Из-за того что коэффициенты поглощения в помещении близки к 1, отраженная от них часть лучистой энергии, упавшей от других поверхностей, близка к 0. Поэтому отраженной частью излучаемой энергии пренебрегают и эффективное излучение считают равным собственному.

Рис. 10. Структура лучистых потоков на поверхности серого тела: qпогл - поглощенный лучистый поток, Вт/м2; qпад - падающий лучистый поток, Вт/м2; qотр - отраженный лучистый поток, Вт/м2; q - собственное излучение поверхности, Вт/м2; qэфф - эффективное излучение поверхности, Вт/м2

3.3.2. Приведенный коэффициент излучения

Для учета взаимодействия двух серых поверхностей со своими коэффициентами излучения e1 и e2 в расчет вводится приведенный коэффициент излучения eпр,1-2, который может быть рассчитан для трех идеальных случаев.

1. Если поверхности малы или расстояние между ними велико настолько, что отраженная часть излучения, возвращающаяся на излучающую поверхность, становится пренебрежимо малой, то

eпр,1-2 = e1e2                                                                                                                 (3.26)

2. Если расстояние между двумя параллельными поверхностями по сравнению с их размерами мало настолько, что вся излучаемая ими теплота попадает друг на друга и вся отраженная от соседней поверхности возвращается на излучающую до полного ее поглощения, то

                                                                                                    (3.27)

3. Если одна поверхность площадью А1, м2, окружена со всех сторон другой поверхностью площадью А2, м2, как, например, сфера в сфере, цилиндр в цилиндре, то

                                                                                               (3.28)

Рис. 11. Приведенные коэффициенты излучения:
1 - по формуле (3.26); 2 - по формуле (3.28)

При произвольном расположении поверхностей в помещении точный расчет eпр,1-2 труден. Реальные значения приведенного коэффициента излучения двух поверхностей лежат между величинами, полученными по формулам (3.26) и (3.28), которые показаны на рис. 11. Для высоких значений коэффициентов излучения поверхностей e1 и e2 в помещении эти величины мало отличаются друг от друга, и поэтому eпр,1-2 можно считать по формуле (3.27), которая приводит к среднему между крайними значениями результату.

3.3.3. Коэффициент облученности

Тепловая энергия излучается поверхностью во всех направлениях. По закону Ламберта распределение этой энергии по направлениям излучения пропорционально косинусу угла между направлением излучения и перпендикуляром к излучающей поверхности. Важно и то, что при лучистом теплообмене двух поверхностей не вся теплота, излучаемая поверхностью 1, падает на поверхность 2.

Чтобы определить долю тепловой энергии, падающей с поверхности 1 на поверхность 2, выделим на поверхностях 1 и 2 элементарные площадки 1 и 2 (рис. 12). Будем считать, что отрезок прямой, соединяющей центры площадок, является линией, по которой излучение взаимно направлено с площадок друг на друга. Расстояние R, м, между площадками равно отрезку прямой между их центрами. Восстановим из центров площадок перпендикуляры к ним и получим углы b1 и b2 между перпендикулярами и соединяющей площадки прямой. С учетом закона распределения энергии доля теплоты j1-2 падающая на элементарную площадку 2 с площадки 1:

                                                                                          (3.29)

 

Рис. 12. Взаимооблучаемые плоскости

Чтобы узнать долю теплоты, падающей с элементарной площадки 1 на всю поверхность А2, надо проинтегрировать выражение (3.29) по А2, а чтобы рассчитать долю теплоты j1-2, падающей со всей поверхности 1 на поверхность 2, надо это выражение проинтегрировать еще и по А1:

                                                                                    (3.30)

Значения коэффициентов облученности подчиняются трем геометрическим законам излучения: замкнутости, взаимности, распределительности лучистых потоков.

Первый закон описывает свойство замкнутости лучистых потоков для невогнутых поверхностей и состоит в том, что сумма коэффициентов облученности с поверхности 1 в сторону всех окружающих поверхностей п равна единице, т.е.

Sj1-п = l.                                                                                                                      (3.31)

Второй закон касается свойства взаимности лучистых потоков и утверждает, что поток с поверхности 1 на поверхность 2 равен потоку с поверхности 2 на поверхность 1, следовательно,

А1j1-2 = А2j2-1.                                                                                                            (3.32)

Третий закон раскрывает свойство распределительности лучистых потоков и показывает, что поток с поверхности 1 на поверхность 2 может быть представлен в виде суммы потоков между т отдельными частями поверхности 1 и п частями поверхности 2:

                                                      (3.33)

Для простых случаев расчета коэффициентов облученности выведены формулы. Метод нахождения угловых коэффициентов алгебраическим путем разработан Г.Л. Поляком [29].

Для случаев, имеющих практическое значение, ниже приведено несколько формул расчета коэффициентов облученности.

Если элементарная площадка расположена над углом параллельного ей прямоугольника (рис. 13), коэффициент облученности jj-i равен

                              (3.34)

а если над углом перпендикулярного ей прямоугольника (рис. 14), то

                                                          (3.35)

Расположение двух прямоугольных поверхностей и обозначения представлены на рис. 15. При двух одинаковых поверхностях в параллельных плоскостях, расположенных друг против друга,

  (3.36)

где a, b - стороны прямоугольников, м;

n - расстояние между ними, м;

при этом х = b/n, у = а/n, z = 1 + х2, w = 1 + у2.

Для поверхностей в перпендикулярных плоскостях с общей гранью

            (3.37)

где p - отношение длины окружности к диаметру; p = 3,14159265;

а - общая грань, м;

b, с - сторона соответственно 1-го и 2-го прямоугольника, м.

Рис. 13. Коэффициент облученности с элементарной площадки на поверхность в параллельной плоскости

Рис. 14. Коэффициент облученности с элементарной площадки на поверхность в перпендикулярной плоскости

Рис. 15. Расположение поверхностей:
а - в параллельных плоскостях друг против друга; б - в перпендикулярных плоскостях с общей гранью

Рис. 16. Коэффициент облученности с поверхности на поверхность:
а - в параллельных плоскостях; б - в перпендикулярных плоскостях

Кривые изменений коэффициентов облученности при расположении поверхностей в параллельных и перпендикулярных плоскостях относительно друг друга представлены на рис. 16а, 16б.

Формулы (3.36) и (3.37) считаются базовыми и вместе с геометрическими законами излучения позволяют определять коэффициент облученности для различных схем расположения поверхностей в помещении. Наиболее важные для расчета температурного режима в помещении варианты расположения поверхностей относительно друг друга и формулы расчета коэффициентов облученности с одной на другую приведены ниже. При этом площади поверхностей обозначены буквой А с индексом, соответствующим номеру поверхности.

Коэффициент облученности j1-2 для схемы № 1 (рис. 17):

                                                         (3.38)

Коэффициент облученности j1-2 для схемы № 2 (рис. 18):

                         (3.39)

Коэффициент облученности j1-2 для схемы № 3 (рис. 19):

                           (3.40)

Рис. 17. Схема расположения поверхностей № 1

Рис. 18. Схема расположения поверхностей № 2

 

Рис. 19. Схема расположения поверхностей № 3

Рис. 20. Схема расположения поверхностей № 4

Рис. 21. Схема расположения поверхностей № 5

Рис. 22. Схема расположения поверхностей № 6

Коэффициент облученности j1-2 для схемы № 4 (рис. 20):

                                                          (3.41)

Коэффициент облученности j1-2 для схемы № 5 (рис. 21):

                         (3.42)

Коэффициент облученности j1-2 для схемы № 6 (рис. 22):

           (3.43)

3.3.4. Лучистый теплообмен между поверхностями помещения

Упрощающие допущения, обычно принимаемые при моделировании лучистого теплообмена в помещении, наиболее точно сформулированы Ю.А. Табунщиковым и М.М. Бродач в [30]. Эти допущения сводятся к следующим:

• поверхности в помещении есть прямоугольные пластины, которые не затеняют одна другую, параллельны или расположены под прямым углом друг к другу; поверхности в целом изотермичны или могут быть разделены на несколько прямоугольных изотермичных частей;

• теплотехнические показатели поверхностей не зависят от температуры;

• лучистая теплота не поглощается воздухом помещения; поверхности являются серыми, и тепловое излучение их подчиняется закону Ламберта.

При лучистом теплообмене двух поверхностей каждая излучает собственную энергию в соответствии со своей температурой. Лучистым потоком Q1-2, Вт, принято считать разность этих излучений в направлении от поверхности с большей температурой к поверхности с меньшей:

                                                           (3.44)

Так как Т1 > Т2, к разности излучений с поверхностей 1 и 2 применимо понятие приведенного коэффициента излучения eпр,1-2. Кроме того, по закону взаимности лучистых потоков j1-2А1 = j2-1А2.

Тогда формулу (3.44) можно записать более компактно:

                                                                     (3.45)

Разность четвертых степеней температуры в практических расчетах неудобна. Да и сами инженерные расчеты принято выполнять, используя не абсолютную шкалу температур, а шкалу Цельсия. Поэтому введем коэффициент, линеаризующий формулу (3.45), так называемый температурный множитель b1-2:

                                                                                              (3.46)

Рис. 23. Зависимость температурного коэффициента b от температуры t1 и t2 теплообменивающихся поверхностей

Значения температурного множителя в практически значимом для расчета теплопотерь здания диапазоне температур приведены на рис. 23. Для условий помещения, где значения температуры поверхностей сравнительно мало отличаются друг от друга, при вычислениях температурного множителя можно использовать эмпирическую формулу, предложенную В.Н. Богословским [21]:

b1-2 = 0,81 + (t1 + t2)×0,005.                                                                                        (3.47)

После введения температурного множителя лучистый поток от поверхности 1 к поверхности 2 примет вид

Q1-2 = Coeпр,1-2b1-2φ1-2 A1(t1 - t2).                                                                                 (3.48)

3.3.5. Радиационная температура окружающих поверхностей

При расчете теплопотерь наибольший интерес вызывает лучистый поток на наружное ограждение со всех окружающих поверхностей. Если в помещении насчитывается I поверхностей, то лучистый тепловой поток, уходящий с внутренней поверхности наружного ограждения 1 в сторону окружающих ее поверхностей, Q1, Вт, определяется по формуле

Q1 = Co Σeпр,1-2φ1-2b1-2 A1(t1 - ti), (i = 2, 3,..., I).                                                         (3.49)

Принято считать, что приведенные коэффициенты излучения для всех пар поверхностей в помещении одинаковы и приблизительно равны eпр = 0,93·0,93 = 0,865. Температурные множители для всех пар поверхностей также практически одинаковы. Тогда при раскрытии скобок, получается

Q1 = CoeпрbA1t1 Σφ1-i - CoeпрbA1Σtiφ1-i.                                                                      (3.50)

По закону замкнутости лучистых потоков Σφ1-i = 1. Величину Σtiφ1-i принято называть радиационной температурой trl, °С, относительно поверхности 1:

trl = Σtiφ1-i                                                                                                                    (3.51)

Радиационная температура является усредненной температурой поверхностей, окружающих поверхность 1 (по признаку эквивалентности лучистого теплообмена поверхности 1 со всеми окружающими). При усреднении температура каждой поверхности берется в доле, равной коэффициенту облученности с поверхности 1 на эту поверхность, что отвечает физическому смыслу коэффициента φ1-i. (Зачастую для упрощения расчетов радиационная температура определяется при усреднении температуры окружающих поверхностей по их площади, как это показано в п. 2.1.)

Теперь формула (3.49) может быть переписана в более компактном виде:

Q1 = CoeпрbA1(t1 - trl).                                                                                                 (3.52)

3.3.6. Коэффициент лучистого теплообмена

В практике расчетов теплового потока при лучистом теплообмене используют упрощенную формулу. Интенсивность передачи теплоты излучением qл, Вт/м2, определяется разностью температур поверхностей, участвующих в лучистом теплообмене:

qл = αл(t1 - t2),                                                                                                             (3.53)

где t1 и t2 - температура поверхностей, обменивающихся лучистой теплотой, °С;

αл - коэффициент лучистого теплообмена на поверхности стенки, Вт/(м2·°С).

Как следует из формулы (3.48), коэффициент лучистого теплообмена между двумя поверхностями αл,1-2, Вт/(м2·°С), определяется по формуле

αл,1-2 = Cob1-2eпр,1-2φ1-2                                                                                                                                  (3.54)

Коэффициент лучистого теплообмена равен плотности теплового потока, передаваемого излучением от поверхности 1 к поверхности 2 при разности температур поверхностей в 1 °С.

Если в расчет не вводить описанных выше допущений, то более полно коэффициент лучистого теплообмена может быть записан исходя из формулы (3.45):

                                                                        (3.55)

Каждая поверхность в помещении обменивается лучистой теплотой со всеми окружающими ее поверхностями. Коэффициент лучистого теплообмена между одной поверхностью 1 и окружающими поверхностями i αл,1, Вт/(м2·°С), принято относить к этой одной, поэтому для любой поверхности, обращенной в помещение, можно вывести формулу

                                                                    (3.56)

или

αл,1 = CoΣb1-ieпр,1-iφ1-i                                                                                                   (3.57)

Средняя температура внутренних поверхностей ограждений равна радиационной температуре. Коэффициент лучистого теплообмена поверхности 1 в соответствии с формулой (3.52) равен

αл,1 = Cobeпр.                                                                                                                (3.58)

Если принять разность температур между внутренними поверхностями наружного ограждения и окружающих внутренних ограждений последовательно равной 2,4,6 °С при температуре внутренних ограждений 20 °С, то температурный множитель примет соответственно значения b = 1, b = 0,99, b = 0,98, а коэффициенты лучистого теплообмена будут соответственно равны αл,1  = 5,67·0,865·1 = 4,9 Вт/(м2·°С); αл,1 = 5,67·0,865·0,99 = 4,85 Вт/(м2·°С); αл,1 = 5,67·0,865·0,98 = 4,8 Вт/(м2·°С).

Следует иметь в виду, что при более аккуратном отношении к величине приведенного коэффициента излучения между отдельными парами поверхностей разброс значений коэффициентов лучистого теплообмена получится несколько большим.

3.4. Теплопередача через многослойную стенку

3.4.1. Основные понятия и определения

Процесс передачи теплоты от теплой среды к холодной через разделяющее их ограждение происходит всеми видами теплообмена: на поверхностях имеют место конвективный и лучистый теплообмен, а в материальных слоях - теплопроводность. Как уже было отмечено, такой сложный процесс называется теплопередачей.

При расчете теплопередачи через наружные ограждения в инженерной практике принято не разделять лучистую и конвективную составляющие в общем теплообмене на поверхностях. Считается, что на внутренней поверхности наружного ограждения в отапливаемом помещении происходит тепловосприятие, оцениваемое общим коэффициентом αв, Вт/(м2·°С), а на наружной поверхности - теплоотдача, интенсивность которой определяется коэффициентом теплоотдачи αн, Вт/(м2·°С). Причем коэффициенты теплоотдачи (теплообмена) на наружной и внутренней поверхностях ограждения равны сумме коэффициентов лучистого и конвективного теплообмена с каждой стороны:

αв = αк.в + αл.в; αн = αк.н + αл.н.                                                                                     (3.59)

Величины, обратные коэффициентам теплоотдачи, принято называть сопротивлениями теплообмену на внутренней Rв, м2·°С/Вт, и наружной Rн, м2·°С/Вт, поверхностях ограждения:

                                                                                                     (3.60)

Рис. 24. Распределение температуры при теплопередаче через многослойную стенку

Если с одной стороны многослойной стенки, состоящей из п слоев, поддерживается температура tв, а с другой стороны tн < tв, то возникает тепловой поток q, Вт/м2 (рис. 24). Этот тепловой поток движется от среды с температурой tв к среде с температурой tн, проходя последовательно от внутренней среды к внутренней поверхности с температурой τв:

                                                                                                            (3.61)

затем от внутренней поверхности сквозь 1-й слой с термическим сопротивлением R1 м2·°С/Вт, к стыку 1-го и 2-го слоев:

                                                                                                            (3.62)

после этого через все остальные слои:

                                                                                                            (3.63)

и, наконец, от наружной поверхности с температурой τн к наружной среде с температурой tн:

                                                                                                          (3.64)

где Ri - термическое сопротивление слоя с номером i, м2·°С/Вт;

ti-1 - температура на стыке слоев с номерами i-1 и i, °С;

ti - температура на стыке слоев с номерами i и i+1, °С.

Переписав полученные равенства относительно разности температур и сложив их, получим

tв - tн = q(Rв + R1 + R2 + ... + Ri + ... + Rn + Rн).                                                          (3.65)

Выражение в скобках - сумма термических сопротивлений слоев ограждения и сопротивлений теплообмену на его поверхностях - называется общим сопротивлением теплопередаче ограждения Rо, м2·°С/Вт:

Rо = Rв + ΣRi + Rн,                                                                                                       (3.66)

а сумма термических сопротивлений отдельных слоев ограждения - его термическим сопротивлением Rт, м2·°С/Вт:

Rт = R1 + R2 + ... + Rв.п + ... + Rn,                                                                                 (3.67)

где R1, R2, ..., Rn - термические сопротивления отдельных слоев ограждающей конструкции, м2·°С/Вт; определяются по формуле (3.3);

Rв.п - термическое сопротивление замкнутой воздушной прослойки, м2·°С/Вт; принимается по табл. 12.

Из формулы (3.65) следует, что тепловой поток q, Вт/м2, проходящий через ограждение, пропорционален разности температур сред по разные стороны ограждения (tв - tн) и обратно пропорционален общему сопротивлению теплопередаче:

                                                                                                                  (3.68)

По физическому смыслу общее сопротивление теплопередаче ограждения Rо - это разность температур, °С, по разные стороны от ограждения, которая формирует проходящий через него тепловой поток в 1 Вт/м2.

Величина, обратная сопротивлению теплопередаче, названа коэффициентом теплопередачи К, Вт/(м2·°С):

                                                                                                                      (3.69)

Коэффициент теплопередачи ограждения К равен плотности теплового потока, проходящего сквозь ограждение, при разности температур сред по разные стороны от него в 1 °С.

Следовательно, тепловой поток q, Вт/м2, проходящий через ограждение за счет теплопередачи, определяется по формуле

q = K(tв - tн).                                                                                                               (3.70)

3.4.2. Термическое сопротивление воздушной прослойки

Для единообразия сопротивление теплопередаче воздушных прослоек называют термическим сопротивлением.

Схема передачи теплоты через воздушную прослойку представлена на рис. 25.

Рис. 25. Схема передачи теплоты через воздушную прослойку:
1 - конвекция; 2 - излучение; 3 - теплопроводность

Тепловой поток, проходящий через воздушную прослойку, qв.п, Вт/м2, складывается из потоков, передаваемых теплопроводностью, qт, Вт/м2, конвекцией, qк, Вт/м2, и излучением, qл, Вт/м2:

qв.п = qт + qк + qл.                                                                                                        (3.71)

При этом доля потока, передаваемого излучением, самая большая. Рассмотрим замкнутую вертикальную воздушную прослойку, на поверхностях которой разность температур составляет 5 °С. С увеличением толщины прослойки от 10 до 200 мм доля теплового потока за счет излучения возрастает от 60 до 80 %. Доля теплоты, передаваемой путем теплопроводности, падает от 38 до 2 %, а доля конвективного теплового потока возрастает от 2 до 20 % [13].

Прямой расчет этих составляющих достаточно сложен. В табл. 12 приводятся данные о термических сопротивлениях замкнутых воздушных прослоек, взятые из СП 23-101-2004 [7], которые были получены в 50-х годах XX века К.Ф. Фокиным [13] по результатам экспериментов М.А. Михеева.

Таблица 12

Термическое сопротивление замкнутой воздушной прослойки

Толщина прослойки δ, м

Термическое сопротивление Rв.п, м2·°С/Вт

горизонтальной при потоке теплоты снизу вверх и вертикальной

горизонтальной при потоке теплоты сверху вниз

при температуре воздуха в прослойке t, °С

положительной

отрицательной

положительной

отрицательной

0,01

0,13

0,15

0,14

0,15

0,02

0,14

0,15

0,15

0,19

0,03

0,14

0,16

0,16

0,21

0,05

0,14

0,17

0,17

0,22

0,10

0,15

0,18

0,18

0,23

0,15

0,15

0,18

0,19

0,24

0,2-0,3

0,15

0,19

0,19

0,24

Примечание. При наличии на одной или обеих поверхностях воздушной прослойки теплоотражающей металлической фольги термическое сопротивление следует увеличить в два раза.

При проектировании ограждений с замкнутыми воздушными прослойками в [13] рекомендуется учитывать следующие выводы из исследований:

• эффективными в теплотехническом отношении являются прослойки небольшой толщины;

• рациональнее делать в ограждении несколько прослоек малой толщины, чем одну большой;

• воздушные прослойки желательно располагать ближе к наружной поверхности ограждения, т.к. при этом в зимнее время уменьшается тепловой поток излучением;

• вертикальные прослойки в наружных стенах необходимо перегораживать горизонтальными диафрагмами на уровне междуэтажных перекрытий;

• для сокращения теплового потока, передаваемого излучением, одну из поверхностей прослойки можно покрывать алюминиевой фольгой с коэффициентом излучения около 0,05. Покрытие фольгой обеих поверхностей воздушной прослойки практически не уменьшает передачу теплоты.

Рис. 26. Кривые распределения температуры при стационарном тепловом режиме: а - в масштабе толщин; б - в масштабе термических сопротивлений: δ1, δ2, δ3, - толщины слоев, м; R1; R2, R3 - термические сопротивления слоев, м2·°С/Вт; Rн, Rв - сопротивления теплообмену на наружной и внутренней поверхностях стенки

3.4.3. Распределение температуры по сечению ограждения

Важной практической задачей является расчет распределения температуры по сечению ограждения (рис. 26). Из дифференциального уравнения (3.1) следует, что оно линейно относительно сопротивления теплопередаче, поэтому можно записать температуру tx, °С, в любом сечении ограждения:

                                                                      (3.72)

где Rв-х и Rн-х - сопротивление теплопередаче соответственно от внутреннего воздуха до точки х и от наружного воздуха до точки х, м2·°С/Вт.

3.4.4. Коэффициенты теплоотдачи на внутренней и наружной поверхностях ограждения

Величина коэффициента теплообмена на внутренней поверхности наружного ограждения важна как с точки зрения определения общего сопротивления теплопередаче ограждения, так и для нахождения температуры на внутренней поверхности ограждения. Причем в последнем случае роль величины коэффициента αв существенна. Расчетные значения коэффициентов теплоотдачи внутренней поверхности наружного ограждения по СНиП 23-02-2003 [1] приведены в табл. 13.

Таблица 13

Коэффициент теплоотдачи внутренней поверхности ограждающей конструкции

Поверхность

Коэффициент теплоотдачи αв, Вт/(м2·°С)

Стена, пол, плоский потолок, потолок с выступающими ребрами при отношении высоты ребра h, м, к расстоянию а, м, между гранями соседних ребер h/a 0,3

8,7

Потолок с выступающими ребрами при отношении h/a > 0,3

7,6

Окно

8,0

Зенитный фонарь

9,9

Таблица 14

Коэффициент теплоотдачи наружной поверхности ограждающей конструкции

Поверхность

Коэффициент теплоотдачи αн, Вт/(м2·°С)

Наружная стена, покрытие, перекрытие над проездами и холодными подвалами (без ограждающих стенок), подпольями в Северной строительно-климатической зоне

23

Перекрытие над холодными подвалами, сообщающимися с наружным воздухом, над холодными (с ограждающими стенками) подпольями и холодными этажами в Северной строительно-климатической зоне

17

Чердачное перекрытие, перекрытие над неотапливаемыми подвалами со световыми проемами в стенах

12

Перекрытие над неотапливаемыми подвалами без световых проемов в стенах, расположенных выше уровня земли, и над неотапливаемыми техническими подпольями, расположенными ниже уровня земли

6

Значения коэффициентов теплоотдачи на внутренней поверхности ограждающих конструкций рекомендованы для проектирования с 1952 года, т.е. задолго до 2000 года, когда были приняты для строительства повышенные требования к теплозащите зданий. Поэтому эти величины больше пригодны для теплотехнических расчетов зданий, построенных до 2000 года. В связи с тем что в современных зданиях требования к сопротивлению теплопередаче наружных ограждающих конструкций резко повышены, разность температур на их внутренней поверхности и воздуха сократилась. Расчеты [31] показывают, что значение αв для наружных стен находится в пределах 6,5-7,5 Вт/(м2·°С); для потолков верхних этажей - 5-7 Вт/(м2·°С); для полов по грунту, над проездами и под эркерами и над неотапливаемыми подвалами - 4,5-6,5 Вт/(м2·°С). Полученные в [31] значения αв в соответствии с формулой (3.59) определялись сложением коэффициентов конвективного теплообмена αк по формулам (3.10)-(3.12) для турбулентного течения воздуха в пограничном слое у ограждения и коэффициента лучистого теплообмена αл, определенного по формуле (3.56). В [25] предлагается принимать коэффициенты теплообмена на внутренней поверхности наружных ограждений исходя из ламинарного течения у поверхности по формулам (3.14)-(3.16). Для наружных стен величину αв рекомендуется принимать 6,25-6,75 Вт/(м2·°С) при увеличении разности температур воздуха и внутренней поверхности ограждения от 2 до 6 °С.

В СП 23-101-2004 [7] приводятся рекомендации по значениям коэффициентов теплоотдачи внутренней поверхности ограждений «теплых» чердаков: наружных стен αв = 8,7 Вт/(м2·°С); покрытий 7-9-этажных домов αв = 9,9 Вт/(м2·°С); 10-12-этажных домов αв = 10,5 Вт/(м2·°С); 13-16-этажных домов αв = 12,0 Вт/(м2·°С).

Коэффициенты теплоотдачи наружной поверхности αн ограждающих конструкций по СП 23-101-2004 [7] представлены в табл. 14. Если в ограждающей конструкции имеется воздушная прослойка, вентилируемая наружным воздухом, на поверхности, обращенной в сторону воздушной прослойки, принимается коэффициент теплоотдачи αн = 10,8 Вт/(м2·°С).

Глава 4. Требуемое сопротивление теплопередаче наружного ограждения

4.1. Показатели теплозащиты здания

СНиП 23-02-2003 [1] устанавливает три показателя тепловой защиты здания:

1. Приведенное сопротивление теплопередаче отдельных элементов ограждающих конструкций.

2. Перепад между температурами внутреннего воздуха и на поверхности ограждающих конструкций, а также значение температуры на внутренней поверхности ограждения, которое должно быть выше температуры точки росы (санитарно-гигиенический показатель).

3. Удельный расход тепловой энергии на отопление здания, позволяющий варьировать величинами теплозащитных свойств различных видов ограждений здания с учетом объемно-планировочных решений здания и выбора систем поддержания микроклимата для достижения нормируемого значения этого показателя.

Выбор теплозащитных показателей здания осуществляется по одному из двух альтернативных подходов, изложенных в СНиП 23-02-2003 [1]:

• предписывающему (нормативные требования предъявляются к отдельным элементам теплозащиты здания: наружным стенам, полам над неотапливаемыми пространствами, покрытиям и чердачным перекрытиям, окнам, входным дверям и т. п.);

• потребительскому (сопротивление теплопередаче ограждений может быть снижено по отношению к предписывающему уровню при условии, что проектный удельный расход тепловой энергии на отопление здания ниже нормативного).

Санитарно-гигиенические требования должны выполняться всегда. В зданиях производственного назначения допускается проектирование только по предписывающему варианту.

4.2. Предписывающий подход к выбору сопротивления теплопередаче наружных ограждений

По предписывающему подходу для ограждений помещений с температурой внутреннего воздуха выше 12 °С сопротивление теплопередаче наружных ограждений Rreq, м2·°С/Вт, следует принимать не менее нормируемых значений, определяемых по табл. 4 СНиП 23-02-2003 [1] и приведенных в табл. 15 настоящей книги.

В жилых зданиях требуемое сопротивление теплопередаче наружных ограждений, не относящихся непосредственно к квартирам: лестничных клеток, лестнично-лифтовых холлов, отапливаемых технических этажей и отдельных помещений, - следует принимать по строке 2 - как для общественных помещений.

Значения сопротивления теплопередаче наружных ограждений, представленные в табл. 15, отражают уровень второго этапа повышения требований к теплозащите, введенного с 2000 года Госстроем России. Величины требуемых сопротивлений теплопередаче Rreq приводятся в таблице в соответствии с назначением здания и ограждения, а также с числом градусо-суток отопительного периода. Градусо-сутки отопительного периода Dd, °С·сут, определяются по формуле

Dd = (tв - tо.п)zо.п,                                                                                                         (4.1)

где tв - расчетная температура внутреннего воздуха для основных помещений здания, °С; принимается по пп. 2.4 (табл. 9), 2.5;

tо.п, zо.п - соответственно средняя температура, °С, и продолжительность, сут, отопительного периода в районе строительства; принимаются по СНиП 23-01-99* [3].

Таблица 15

Требуемые значения сопротивления теплопередаче ограждающих конструкций

Здание/ помещение

Градусо-сутки отопительного периода Dd, °С·сут

Приведенное сопротивление теплопередаче ограждений Rreq, м2·°С/Вт

стены

покрытия

чердачного перекрытия и перекрытия над холодными подвалами

окна и балконной двери, витрины и витража

фонаря с вертикальным остеклением

1

2

3

4

5

6

7

1. Жилое, лечебно-профилактическое и детское учреждение, школа, интернат

2 000

2,1

3,2

2,8

0,30

0,30

4 000

2,8

4,2

3,7

0,45

0,35

6 000

3,5

5,2

4,6

0,60

0,40

8 000

4,2

6,2

5,5

0,70

0,45

10 000

4,9

7,2

6,4

0,75

0,50

12 000

5,6

8,2

7,3

0,80

0,55

а

-

0,00035

0,005

0,00045

-

0,000025

b

-

1,4

2,2

1,9

-

0,25

2. Общественное (кроме 1), административное и бытовое, производственное и другие помещения с влажным или мокрым режимами

2 000

1,8

2,4

2,0

0,3

0,30

4 000

2,4

3,2

2,7

0,4

0,35

6 000

3,0

4,0

3,4

0,5

0,40

8 000

3,6

4,8

4,1

0,6

0,45

10 000

4,2

5,6

4,8

0,7

0,50

12 000

4,8

6,4

5,5

0,8

0,55

 

 

 

 

 

 

а

-

0,0003

0,0004

0,00035

0,00005

0,000025

b

-

1,2

1,6

1,3

0,2

0,25

3. Производственное с сухим и нормальным режимами

2 000

1,4

2,0

1,4

0,25

0,20

4 000

1,8

2,5

1,8

0,30

0,25

6 000

2,2

3,0

2,2

0,35

0,30

8 000

2,6

3,5

2,6

0,40

0,35

10 000

3,0

4,0

3,0

0,45

0,40

12 000

3,4

4,5

3,4

0,50

0,45

а

-

0,0002

0,00025

0,0002

0,000025

0,000025

b

-

1,0

1,5

1,0

0,2

0,15

Значения Rreq, м2·°С/Вт, для величин Dd, °С·сут, отличающихся от табличных, определяются по формуле

Rreq = aDd + b,                                                                                                              (4.2)

где a, b - коэффициенты, значения которых принимаются по табл. 15 для соответствующих групп зданий (кроме графы 6 группы зданий 1, где для интервала до 6000 °С·сут а = 0,000075, b = 0,15, для интервала 6000-8000 °С·сут а = 0,00005, b = 0,3, для интервала свыше 8000 °С·сут а = 0,000025, b = 0,5.

Требуемые значения сопротивления теплопередаче чердачных и цокольных перекрытий, отделяющих помещения здания от неотапливаемых пространств с температурой tc, которая лежит между расчетными значениями наружной tн и внутренней tв (tн < tc < tв) следует уменьшать умножением величин, указанных в табл. 15, графе 5, на коэффициент п. При этом расчетную температуру воздуха tc на теплом чердаке, в подвале, остекленной лоджии или на балконе определяют из расчета теплового баланса. Коэффициент и в этом случае рассчитывается по формуле

                                                                                                                  (4.3)

Для холодных чердаков и подвалов коэффициент п принимается по табл. 17 СНиП 23-02-2003 [1].

До 1994 года ограждения имели сопротивление теплопередаче, обеспечивающее нижнюю санитарно-гигиеническую границу. При расчете требуемого сопротивления теплопередаче ограждений Rreq, м2·°С/Вт, исходили из поддержания в заданных пределах разности температур внутренней поверхности ограждения и внутреннего воздуха в расчетный зимний период:

                                                                                                           (4.4)

где п - коэффициент положения ограждения относительно наружного воздуха, уменьшающий разность температур для ограждений, не соприкасающихся с наружным воздухом (табл. 16);

Δtн - нормируемый перепад температур внутреннего воздуха и внутренней поверхности ограждения (табл. 17);

αв - коэффициент теплоотдачи внутренней поверхности ограждающей конструкции (табл. 13).

Таблица 16

Коэффициент положения ограждения относительно наружного воздуха

Ограждение

Коэффициент п

Наружная стена и покрытие (в том числе вентилируемое наружным воздухом), чердачное перекрытие (с кровлей из штучных материалов) и перекрытие над проездами, перекрытие над холодными (без ограждающих стенок) подпольями в Северной строительно-климатической зоне

1

Перекрытие над холодными подвалами, сообщающимися с наружным воздухом, чердачное перекрытие (с кровлей из рулонных материалов), перекрытие над холодными (с ограждающими стенками) подпольями и холодными этажами в Северной строительно-климатической зоне

0,9

Перекрытие над неотапливаемыми подвалами со световыми проемами в стенах

0,75

Перекрытие над неотапливаемыми подвалами без световых проемов в стенах, расположенных выше уровня земли

0,6

Перекрытие над неотапливаемыми подвалами без световых проемов в стенах, расположенных ниже уровня земли

0,4

Таблица 17

Нормируемый перепад температур внутреннего воздуха и внутренней поверхности наружного ограждения

Здание/помещение

Перепад температур Δtн, °С

наружной стены

покрытия и чердачного перекрытия

перекрытия над проездами, подвалами и подпольями

зенитного фонаря

1. Жилое, лечебно-профилактическое и детское учреждение, школа, интернат

4,0

3,0

2,0

tвtт.р

2. Общественное (кроме 1), административное и бытовое (кроме помещений с влажным и мокрым режимами)

4,5

4,0

2,5

tвtт.р

3. Производственное с сухим и нормальным режимами

tвtт.р,

но не более 7

0,8(tвtт.р), но не более 6

2,5

tвtт.р

4. Производственное и другие помещения с влажным или мокрым режимами

tвtт.р

0,8(tвtт.р)

2,5

-

5. Производственное здание со значительными избытками явной теплоты (более 23 Вт/м3) и расчетной относительной влажностью внутреннего воздуха более 50 %

12

12

2,5

tвtт.р

Примечания:

1. tв - то же, что в формуле (4.1).

2. tт.р - температура точки росы, °С; при расчетной температуре tв и относительной влажности φв принимается в соответствии с п. 2.4.

Теперь формула (4.4) применяется для определения сопротивления теплопередаче наружных ограждений (кроме окон) производственных зданий с большими избытками теплоты, зданий, предназначенных для сезонной эксплуатации (весной или осенью), а также зданий с расчетной температурой внутреннего воздуха 12 °С и ниже. Формула (4.4) определяет норму сопротивления теплопередаче внутренних ограждений здания, если разность температур разделяемых помещений равна 6 °С и выше. При этом за температуры наружного tн и внутреннего tв воздуха принимаются расчетные значения для помещений, разделенных ограждением, а коэффициент и приравнивается к 1. Однако получаемые в этом случае величины требуемого сопротивления теплопередаче ограждений получаются значительно ниже, чем того требует табл. 15. Поэтому для соблюдения единообразия в подходе к выбору сопротивления теплопередаче ограждений и для уменьшения теплопотерь основных функциональных помещений Московская государственная экспертиза (МГЭ) рекомендует требуемое сопротивление теплопередаче для внутренних ограждений определять по табл. 15, вводя понижающий коэффициент п, рассчитываемый по формуле (4.3), в которой tc - температура помещения с более низкой температурой [32].

Сопротивление теплопередаче входных дверей в здание Rнд, м2·°С/Вт, должно быть не менее

Rнд,req = 0,6 Rнc,req,                                                                                                        (4.5)

где Rнc,req - требуемое сопротивление теплопередаче наружной стены, м2·°С/Вт; рассчитывается по формуле (4.4).

При расчете Rнд,req для входных дверей в одноквартирные дома коэффициент 0,6 в формуле (4.5) заменяется на 0,8.

При остекленности фасада в жилых зданиях более 18 %, а в общественных зданиях более 25% нормируемое сопротивление теплопередаче окон увеличивается по сравнению с требуемым по табл. 4 до 0,51 м2·°С/Вт при 3500 °С·сут и ниже; 0,56 м2·°С/Вт при более 3500 °С·сут, но ниже 5200 °С·сут; 0,65 м2·°С/Вт при более 5200 °С·сут, но ниже 7000 °С·сут и 0,81 м2·°С/Вт при более 7000 °С·сут.

При доле остекления фасада выше 25 % в лечебно-профилактических и детских дошкольных учреждениях в Москве приведенное сопротивление теплопередаче окон (кроме мансардных) должно быть не ниже 0,65 м2·°С/Вт [32].

В проекте МГСН 2.01-99* [12] для Москвы требуемое сопротивление теплопередаче светопрозрачных конструкций Rок,req, м2·°С/Вт, следует принимать:

• для окон, балконных дверей и витражей (кроме зданий поликлиник, лечебных учреждений, домов-интернатов и дошкольных учреждений) - 0,54 м2·°С/Вт;

• для окон, балконных дверей и витражей зданий поликлиник, лечебных учреждений и домов-интернатов - 0,55 м2·°С/Вт;

• для окон, балконных дверей и витражей зданий дошкольных учреждений, а также плавательных бассейнов для детей - 0,57 м2·°С/Вт;

• для глухой части балконных дверей - 0,81 м2·°С/Вт;

• для входных дверей квартир, расположенных выше первого этажа, - 0,55 м2·°С/Вт;

• для входных дверей одноквартирных зданий и квартир, расположенных на первых этажах многоквартирных зданий, а также зданий с малыми производствами бытового назначения и ворот помещений для хранения автомобилей в жилых зданиях - 1,2 м2·°С/Вт.

4.3. Потребительский подход к выбору сопротивления теплопередаче наружных ограждений

По потребительскому подходу для определения теплозащиты здания необходимо выполнить расчет удельного расхода тепловой энергии на отопление жилых и общественных зданий за отопительный период , Вт/м2. Процедура этого расчета, приведенная в СНиП 23-02-2003 [1], учитывает не только принимаемое сопротивление теплопередаче наружных ограждений, но и объемно-планировочные решения здания, а также вид и возможности регулирования систем поддержания микроклимата в помещениях. Величина  определяется исходя из расхода тепловой энергии на отопление здания в течение отопительного периода , кВт·ч/м2. Основные положения показанной в СНиП 23-02-2003 [1] методики расчета теплопотерь за отопительный период приведены в главе 10.

Сопротивление теплопередаче наружных ограждений можно снижать в сравнении с величинами, указанными в табл. 15, пока удельный расход тепловой энергии на отопление здания не превысит нормируемый. Однако сопротивление теплопередаче отдельных элементов ограждения не должно быть ниже минимальных величин, определяемых по формуле (4.6) для стен жилых и общественных зданий и по формуле (4.7) для остальных ограждающих конструкций, кроме окон и входных дверей:

Rmin = 0,63Rreq;                                                                                                             (4.6)

Rmin = 0,8Rreq.                                                                                                               (4.7)

Сопротивление теплопередаче окон и дверей может быть понижено на 5 % в сравнении со значениями, указанными в табл. 15.

Для производственных зданий не существует норм удельного теплопотребления системами отопления и вентиляции, поэтому понижать сопротивление теплопередаче по сравнению с приведенными в табл. 15 данными нельзя (кроме заполнений световых проемов: окон, витражей, балконных дверей и фонарей, - сопротивление теплопередаче которых может понижаться на 5 %).

4.4. Пример выбора требуемых сопротивлений теплопередаче наружных ограждений для Москвы

В качестве примера в табл. 18 приведены для Москвы значения требуемых и минимально допустимых сопротивлений теплопередаче ограждений в жилых и общественных зданиях.

Таблица 18

Требуемое сопротивление теплопередаче ограждений для Москвы

Здание/помещение

Расчетная температура внутреннего воздуха tв, °С

Градусо-сутки отопительного

периода Dd, °С·сут

Сопротивление теплопередаче ограждений Rreq, требуемое при предписывающем подходе / допустимое при потребительском подходе, м2·°С/Вт

стены

покрытия и перекрытия над проездами

чердачного перекрытия, перекрытия над неотапливаемыми подвалами

окна балконной двери, витрины, витража

фонаря с вертикальным остеклением

входной двери и ворот

1. Жилое здание, школа, гостиница, общежитие, интернат

20

4 943

3,13/1,97

4,67/3,74

4,12/3,30

0,54*/0,51

0,37/0,35

0,83/0,79

2. Лечебно-профилактическое учреждение

21

5 157

3,20/2,02

4,78/3,82

4,22/3,38

0,54*/0,51

0,38/0,36

0,84/0,80

3. Детское дошкольное учреждение, хоспис

22

5 371

3,36/2,12

5,00/4,00

4,42/3,54

0,57*/0,54

0,38/0,37

0,86/0,82

4. Бассейн, аквапарк

27

6 745

3,22/2,03

4,30/3,44

3,66/2,93

0,54*/0,51

0,42/0,40

0,84/0,80

5. Бассейн для детей

30

7 438

3,43/2,16

4,58/3,66

3,90/3,12

0,5770,54

0,44/0,42

1,00/0,95

6. Офисное, учебное и другие общественные здания

20

4 943

2,68/1,69

3,58/2,86

3,03/2,42

0,5470,51

0,37/0,35

0,74/0,70

7. Административное и другие общественные здания

18

4515

2,55/1,61

3,41/2,73

2,88/2,30

0,43/0,41

0,36/0,34

0,70/0,67

8. Торговое здание, учреждение сервисного обслуживания

16

4 048

2,43/1,53

3,23/2,58

2,73/2,18

0,40/0,38

0,35/0,33

0,67/0,64

9. Производственное здание с сухим и нормальным режимами

20

4 943

1,99

2,74

1,99

0,32/0,31

0,27/0,26

0,47

18

4 515

1,90

2,63

1,90

0,31/0,29

0,26/0,25

0,45

16

4 087

1,82

2,52

1,82

0,30/0,29

0,25/0,24

0,43

14

3 659

1,73

2,41

1,73

0,29/0,28

0,23/0,22

0,41

* В соответствии с требованиями МГСН 2.01-99* [12].

Глава 5. Приведенное сопротивление теплопередаче ограждения

5.1. Приведенное сопротивление теплопередаче однослойных и многослойных ограждений

5.1.1. Учет внутренних связей в ограждении и примыкания ограждений друг к другу с помощью коэффициента теплотехнической однородности

В п. 3.4.1 описан расчет общего сопротивления теплопередаче многослойного ограждения, в котором теплопередача может считаться одномерной. Однако современные наружные стены и другие ограждения имеют сложную конструкцию, в которой возмущается температурное поле, делая его двухмерным или даже трехмерным. Для таких ограждений величина общего сопротивления теплопередаче, определенная по формуле (3.66), называется условной , м2·°С/Вт, а в качестве расчетного принимается приведенное сопротивление теплопередаче наружного ограждения Rо, м2·°С/Вт, т.е. общее сопротивление теплопередаче такого ограждения с одномерным температурным полем, которое в среднем по площади имеет ограждение с неодномерным температурным полем.

Приведенное сопротивление теплопередаче Rо не ниже требуемого Rreq достигается за счет толщины утеплителя. Однако Rо зависит не только от характеристики материалов и толщины слоев, составляющих ограждение, но и от наличия внутренних связей конструкции, являющихся теплопроводными включениями, а также от того, как и какие именно другие ограждения примыкают к расчетному. Эти факторы учитываются с помощью коэффициента теплотехнической однородности r, который показывает долю приведенного сопротивления теплопередаче от условного:

                                                                                                                      (5.1)

Для различных ограждений величина коэффициента теплотехнической однородности в зависимости от их конструкции колеблется в пределах 0,65-0,98. Коэффициент теплотехнической однородности r также может быть рассчитан как произведение коэффициентов, оценивающих различные факторы, возмущающие однородное температурное поле:

r = r1r2,                                                                                                                        (5.2)

где r1, r2 - коэффициенты соответственно оценки внутренних креплений в ограждении и примыкания других ограждений к расчетному.

Для некоторых случаев внутренних креплений в ограждении имеются эмпирические формулы, приведенные в СП 23-101-2004 [7].

Оценка коэффициента r1 связана с расчетом трехмерного температурного поля неоднородного ограждения.

Ниже представлены значения коэффициента теплотехнической однородности для ряда конструкций наружных стен по данным расчета. Большие значения коэффициентов относятся к утеплителю с коэффициентом теплопроводности λ = 0,08 Вт/(м·°С), меньшие - с коэффициентом теплопроводности λ = 0,03 Вт/(м·°С). Следует иметь ввиду, что чем толще слой утеплителя, тем ниже значение r1. Большей плотности конструктивных слоев соответствуют более высокие значения r1.

Для двухслойных стен с конструктивным слоем плотностью от 600 до 2500 кг/м3 и эффективным утеплителем на прямых металлических связях диаметром не более 3 мм с шагом 600 мм, закрепленных на дюбелях, r1 = 0,95-0,98.

Для трехслойных стен с наружным кирпичным слоем и слоем эффективного утеплителя с прямым анкерным креплением (крепление в шов кладки через 6 слоев по вертикали, шаг по горизонтали - 600 мм, диаметр анкера не более 6 мм):

1. При внутреннем ячеистобетонном слое плотностью 600 кг/м3:

• при толщине утеплителя 100 мм r1 = 0,78-0,91;

• при толщине утеплителя 150 мм r1 = 0,77-0,90;

• при толщине утеплителя 200 мм r1 = 0,75-0,88.

2. При внутреннем кирпичном слое r1 = 0,78-0,92.

3. При внутреннем железобетонном слое r1 = 0,79-0,93.

Для учета крепления утеплителя металлическими связями диаметром 3 мм снизу к цокольному перекрытию, перекрытию под эркером или над проездом со штукатуркой по утеплителю r1 = 0,84-0,90.

Наличие оконных откосов в стенах, опорных «стаканов» зенитных фонарей в покрытиях учитывается коэффициентом теплотехнической однородности r2 = 0,90-0,95 в зависимости от протяженности откосов. Присутствие вытяжных вентиляционных шахт (в том числе и над канализационными стояками и мусоропроводами) оценивается коэффициентом r2 = 0,90-0,95 в зависимости от суммарного периметра этих шахт.

Если в конструкции стен применяется кладка из ячеистобетонных, керамзитобетонных и полистиролбетонных блоков, следует учитывать цементные или клеевые швы кладки. Дело в том, что для кирпичной кладки в нормативных таблицах СП 23-101-2004 [7] даются коэффициенты теплопроводности с учетом швов. Для ячеистого бетона, керамзитобетона, полистиролбетона приводятся теплотехнические характеристики массивов материалов. Цементные и клеевые швы имеют теплопроводность значительно более высокую, чем массив материала, а следовательно, сопротивление теплопередаче слоя уменьшается.

Для учета цементных швов (как правило, толщиной не менее 10 мм из-за неровностей на гранях блоков) можно принимать коэффициент теплопроводности кладки из ячеистобетонных блоков на 15-25 %, а для полистиролбетонных блоков на 30-45 % выше коэффициента теплопроводности соответственно ячеистого бетона и полистиролбетона (чем меньше плотность материала блока, тем выше надбавка к коэффициенту теплопроводности).

5.1.2. Учет неоднородности конструкции методом сложения проводимостей

В СП 23-101-2004 [7] для плоских ограждающих конструкций с включениями более 50 % от толщины ограждения, теплопроводность которых не превышает теплопроводности основного материала более чем в 10 раз, приведенное термическое сопротивление теплопередаче Rт определяется методом сложения проводимостей по следующему алгоритму:

1. Плоскостями, параллельными направлению теплового потока, ограждающая конструкция (или ее часть) условно разрезается на участки, из которых одни могут быть однородными (однослойными) - из одного материала, а другие - неоднородными - из слоев с различными материалами. Термическое сопротивление ограждающей конструкции Rа.т, м2·°С/Вт, определяется по формуле

                                                                                                              (5.3)

где Аi - площадь i-го участка характерной части ограждения, м2;

Ri - приведенное сопротивление теплопередаче i-го участка, м2·°С/Вт; определяется по формуле (3.3) для однослойных участков или по формуле (3.63) для многослойных;

m - число участков ограждающей конструкции с различным приведенным сопротивлением теплопередаче.

2. Плоскостями, перпендикулярными направлению теплового потока, ограждающая конструкция (или ее часть, принятая для определения Rв.т) условно разрезается на слои, из которых одни могут быть однородными, а другие неоднородными. Термическое сопротивление однородных слоев определяется по формуле (3.3), неоднородных - по формуле (5.3). Термическое сопротивление всей конструкции Rв.т, м2·°С/Вт, определяется как сумма термических сопротивлений однородных и неоднородных слоев по формуле (3.67).

3. Приведенное термическое сопротивление ограждающей конструкции Rт, м2·°С/Вт, определяется по формуле

                                                                                                        (5.4)

5.1.3. Пример определения приведенного термического сопротивления неоднородной конструкции методом сложения проводимостей

Расчет приведенного термического сопротивления пустотной панели перекрытия представлен для двух случаев: когда пустотная панель является основанием чердачного перекрытия и когда она несущая часть перекрытия над неотапливаемым подвалом. Плита выполнена из железобетона с коэффициентом теплопроводности lА = 1,92 Вт/(м·°С). Поперечное сечение плиты с размерами и расчетная схема сечения приведены на рис. 27.

1. Для простоты расчета принимаем схему сечения плиты с квадратными отверстиями в плите вместо круглых. Так, сторона эквивалентного по площади квадрата (АквадрАкруга):

Рис. 27. Поперечное сечение плиты (а) и расчетная схема (б)

2. Выделяем регулярный элемент и делим его плоскостями, параллельными тепловому потоку. Получаем два параллельных участка. Участок I - однородный, участок II - многослойный, состоящий из двух одинаковых по толщине слоев а и в, а также горизонтальной воздушной прослойки. Сопротивления теплопередаче этих участков RI и RII соответственно равны:

Термическое сопротивление воздушной прослойки Rв.т находим по табл. 12:

• для панели чердачного перекрытия горизонтальная воздушная прослойка с потоком теплоты снизу вверх отделена от холодного чердака слоем утеплителя, поэтому в ней воздух находится при положительной температуре. Для прослойки толщиной 0,14 м в этих условиях Rв.п = 0,15 м2·°С/Вт. Следовательно, RII = 0,04 + 0,15 = 0,19 м2·°С/Вт;

• для панели перекрытия над неотапливаемым подвалом с утеплителем, лежащим под железобетонной плитой, горизонтальная воздушная прослойка от холодного техподполья отделена слоем утеплителя, поэтому в ней воздух находится при положительной температуре. Для прослойки толщиной 0,14 м в этих условиях при потоке теплоты сверху вниз Rв.п = 0,19 м2·°С/Вт. Следовательно, RII = 0,04 + Rв.п = 0,04 + 0,19 = 0,23 м2·°С/Вт.

Сопротивление теплопередаче всего регулярного элемента при разбивке его плоскостями, параллельными тепловому потоку, определяем по формуле (5.3):

• для чердачного перекрытия

• для перекрытия над подвалом

3. Делим регулярный элемент плоскостями, перпендикулярными тепловому потоку (см. рис. 27 на схеме справа), и получаем три параллельных участка. Участки а и в - однородные, участок б - неоднородный, состоящий из горизонтальной воздушной прослойки и слоя железобетона шириной I = 0,07 м и толщиной б = 0,14 м  Определяем сопротивление теплопередаче этих участков:

Rб определяем по формуле (5.3):

• для чердачного перекрытия

• для перекрытия над подвалом

Сопротивление теплопередаче всего регулярного элемента Rв.т, м2·°С/Вт, при разбивке его плоскостями, перпендикулярными тепловому потоку, определяем по формуле (3.63):

Rв.т = 2· Rа + Rб = 2·0,02 + Rб;

• для чердачного перекрытия

Rв.т = 2·0,02 + 0,109 = 0,149 м2·°С/Вт;

• для перекрытия над подвалом

Rв.т = 2·0,02 + 0,122 = 0,162 м2·°С/Вт.

Приведенное термическое сопротивление теплопередаче плиты Rт, м2·°С/Вт, определяется по формуле (5.4):

• для чердачного перекрытия

• для перекрытия над подвалом

Полученные значения используются как известные величины при дальнейшем определении толщины изоляции в указанных перекрытиях.

5.1.4. Процедура определения толщины утеплителя в ограждении

Основным требованием к выбору толщины слоя утеплителя в ограждении с известным составом является выполнение условия: приведенное сопротивление теплопередаче Rо должно быть не меньше требуемого сопротивления теплопередаче ограждения Rreq. Для этого:

1. Находим требуемое сопротивление теплопередаче наружного ограждения Rreq, м2·°С/Вт.

2. Принимаем значение r по п. 5.1.1.

3. Вычисляем требуемое условное сопротивление теплопередаче , м2·°С/Вт:

                                                                                                              (5.5)

4. Зная район строительства и тепловлажностные условия в проектируемом здании, определяем по табл. 10 влажностные условия эксплуатации ограждений.

5. Вычисляем требуемое сопротивление теплопередаче утеплителя , м2·°С/Вт:

                                                                            (5.6)

где  - сумма термических сопротивлений всех слоев ограждения без слоя утеплителя, определенных с учетом коэффициентов теплопроводности материалов, принятых по графе А или Б в соответствии с влажностными условиями эксплуатации ограждения, м2·°С/Вт.

6. Находим расчетную толщину утеплителя δут м:

                                                                                                               (5.7)

где λут - коэффициент теплопроводности материала утеплителя, Вт/(м·°С); определяется по табл. Д.1 СП 23-101-2004 [7] или по [15, 16] для выявленных условий эксплуатации ограждений А или Б.

7. Принимаем конструктивное значение толщины утеплителя δут. Дело в том, что некоторые утеплители выпускаются с определенной номенклатурой толщины, например, с шагом, равным 1 см. Возможны и другие требования.

8. Определяем фактическое условное сопротивление теплопередаче ограждения , м2·°С/Вт:

                                                                                              (5.8)

где  - сумма термических сопротивлений всех слоев ограждения, в том числе и слоя утеплителя, принятой конструктивной толщины, м2·°С/Вт.

9. Определяем фактическое приведенное сопротивление теплопередаче ограждения Rо, м2·°С/Вт:

                                                                                                                  (5.9)

10. Проверяем выполнение условия

Rо ³ Rreq.                                                                                                                      (5.10)

5.1.5. Пример определения толщины утеплителя и приведенного сопротивления теплопередаче многослойной ограждающей конструкции

Район строительства - Москва. Объект строительства - административное здание.

Требуется определить толщину утеплителя и вычислить приведенное сопротивление теплопередаче следующей многослойной наружной стены с металлическими связями d = 6 мм (шаг раскладки - 0,6 м) (рис. 28):

Рис. 28. Схема многослойной стены со стержневыми связями

Таблица 19

Слои ограждающей конструкции

№ слоя

Материал

Плотность

r0, кг/м3

Толщина d, м

1

Кладка из керамического кирпича

1600

0,12

2

Плита минераловатная

125

9

3

Кладка из сплошного глиняного кирпича

1800

0,25

4

Штукатурка (цементно-песчаный раствор)

1800

0,02

По примеру п. 1.7 район строительства относится к нормальной влажностной зоне, а по примеру п. 2.6 в здании поддерживается сухой влажностный режим.

1. Определяем расчетное требуемое сопротивление теплопередаче для наружных стен административного здания:

Rнс,req  = 2,68 м2·°С/Вт (табл. 18).

2. По табл. 10 при сухом влажностном режиме помещения и нормальной зоне влажности района строительства все ограждения объекта находятся в условиях эксплуатации А.

3. По табл. Д.1 СП 23-101-2004 [7] находим следующие данные:

Таблица 20

Теплотехнические показатели строительных материалов

Материал

Плотность

r0, кг/м3

Толщина d, м

Удельная теплоемкость с0, кДж/(кг·°С)

Коэффициент

теплопроводности lА, Вт/(м·С)

Кладка из керамического кирпича

1600

0,12

0,88

0,58

Плита минераловатная (ГОСТ 21880)

125

?

0,84

0,064

Кладка из сплошного глиняного кирпича

1800

0,25

0,88

0,70

Штукатурка (цементно-песчаный раствор)

1800

0,02

0,84

0,76

4. Требуемое условное сопротивление теплопередаче находим по формуле (5.5):

где - требуемое сопротивление теплопередаче конструкции без учета теплопроводных включений (гибких связей), м2·°С/Вт;

r - коэффициент теплотехнической однородности, «глади», «глухой» части стены. В рассматриваемом варианте специальным расчетом определено, что r = 0,87 (см. п. 5.1.1).

5. Требуемое значение сопротивления теплопередаче слоя утеплителя (минераловатных плит) определяем по формуле (5.6):

6. Расчетную толщину утеплителя находим по формуле (5.7):

7. Фактическую толщину утеплителя принимаем из конструктивных соображений

8. Приведенное сопротивление теплопередаче наружной стены находим по формулам (5.8), (5.9):

9. Проверяем выполнение условия неравенства (5.10):

Rо = 2,69 м2·°С/Вт > Rreq = 2,68 м2·°С/Вт.

Фактическое приведенное сопротивление теплопередаче не меньше требуемого.

10. Таким образом, коэффициент теплопередачи стены:

5.2. Приведенное сопротивление теплопередаче окон и наружных дверей

Фактическое приведенное сопротивление теплопередаче окон, витражей, зенитных и других световых фонарей, балконных и наружных дверей принимается на основании результатов сертификационных испытаний. При их отсутствии приведенное сопротивление можно принимать по прил. Л СП 23-101-2004 [7], которое воспроизведено в табл. 21.

При выборе конструкции окна должно соблюдаться неравенство (5.10).

Таблица 21

Значения приведенного сопротивления теплопередаче Rо, коэффициента затенения непрозрачными элементами t, коэффициента относительного пропускания солнечной радиации окон, балконных дверей и фонарей к для светопрозрачной конструкции

Заполнение светового проема

Светопрозрачная конструкция

в деревянном или ПВХ-переплете

в алюминиевом переплете

м2•°С/Вт

t

к

Rо, м2·°С/Вт

t

к

1. Двойное остекление из обычного стекла в спаренных переплетах

0,40

0,75

0,62

-

0,70

0,62

2. Двойное остекление с твердым селективным покрытием в спаренных переплетах

0,55

0,75

0,65

-

0,70

0,65

3. Двойное остекление из обычного стекла в раздельных переплетах

0,44

0,65

0,62

0,34

0,60

0,62

4. Двойное остекление с твердым селективным покрытием в раздельных переплетах

0,57

0,65

0,60

0,45

0,60

0,60

5. Блок стеклянный пустотный (с шириной швов 6 мм) размером, мм:

 

 

 

194´194´98

0,31

0,90

0,40 (без переплета)

244´244´94

0,33

0,90

0,45 (без переплета)

6. Профильное стекло коробчатого сечения

0,31

0,90

0,50 (без переплета)

7. Двойное остекление из органического стекла для зенитных фонарей

0,36

0,90

0,90

-

0,90

0,90

8. Тройное остекление из органического стекла для зенитных фонарей

0,52

0,90

0,83

-

0,90

0,83

9. Тройное остекление из обычного стекла в раздельно-спаренных переплетах

0,55

0,50

0,70

0,46

0,50

0,70

10. Тройное остекление с твердым селективным покрытием в раздельно-спаренных переплетах

0,60

0,50

0,67

0,50

0,50

0,67

11. Однокамерный стеклопакет в одинарном переплете из стекла:

 

 

 

 

 

 

обычного

0,35

0,80

0,76

0,34

0,80

0,76

с твердым селективным покрытием

0,51

0,80

0,75

0,43

0,80

0,75

с мягким селективным покрытием

0,56

0,80

0,54

0,47

0,80

0,54

12. Двухкамерный стеклопакет в одинарном переплете из стекла:

 

 

 

 

 

 

обычного (с межстекольным расстоянием 8 мм)

0,50

0,80

0,74

0,43

0,80

0,74

обычного (с межстекольным расстоянием 12 мм)

0,54

0,80

0,74

0,45

0,80

0,74

с твердым селективным покрытием

0,58

0,80

0,68

0,48

0,80

0,68

с мягким селективным покрытием

0,68

0,80

0,48

0,52

0,80

0,48

с твердым селективным покрытием и заполнением аргоном

0,65

0,80

0,68

0,53

0,80

0,68

13. Обычное стекло и однокамерный стеклопакет в раздельных переплетах из стекла:

 

 

 

 

 

 

обычного

0,56

0,60

0,63

0,50

0,60

0,63

с твердым селективным покрытием

0,65

0,60

0,58

0,56

0,60

0,58

с мягким селективным покрытием

0,72

0,60

0,51

0,60

0,60

0,58

с твердым селективным покрытием и заполнением аргоном

0,69

0,60

0,58

0,60

0,60

0,58

14. Обычное стекло и двухкамерный стеклопакет в раздельных переплетах из стекла:

 

 

 

 

 

 

обычного

0,65

0,60

0,60

-

0,60

0,60

с твердым селективным покрытием

0,72

0,60

0,56

-

0,58

0,56

с мягким селективным покрытием

0,80

0,60

0,36

-

0,58

0,56

с твердым селективным покрытием и заполнением аргоном

0,82

0,60

0,56

-

0,58

0,56

15. Два однокамерных стеклопакета в спаренных переплетах

0,70

0,70

0,59

-

0,70

0,59

16. Два однокамерных стеклопакета в раздельных переплетах

0,75

0,60

0,54

-

0,60

0,54

17. Четырехслойное остекление из обычного стекла в двух спаренных переплетах

0,80

0,50

0,59

-

0,50

0,59

5.3. Приведенное сопротивление теплопередаче полов и стен на грунте

Передача теплоты из помещения через конструкцию пола или стены и толщу грунта, с которыми они соприкасаются, подчиняется сложным закономерностям. Для расчета сопротивления теплопередаче конструкций, расположенных на грунте, применяют упрощенную методику. Поверхность пола и стен (при этом пол рассматривается как продолжение стены) по грунту делится на полосы шириной 2 м, параллельные стыку наружной стены и поверхности земли. Отсчет зон начинается по стене от уровня земли, а если стен по грунту нет, то зоной I является полоса пола, ближайшая к наружной стене. Следующие две полосы будут иметь номера II и III, а остальная часть пола составит зону IV. Причем одна зона может начинаться на стене, а продолжаться на полу (рис. 29).

 

Рис. 29. Разбивка поверхности пола (а) и заглубленных частей наружных стен (б) на расчетные зоны I-IV

Пол или стена, не содержащие в своем составе утепляющих слоев из материалов с коэффициентом теплопроводности l £ 1,2 Вт/(м·°С), называются неутепленными. Сопротивление теплопередаче такого пола принято обозначать Rн.п, м2·°С/Вт. Для каждой зоны неутепленного пола предусмотрены нормативные значения сопротивления теплопередаче:

зона I - RI = 2,1 м2·°С/Вт;

зона II - RII = 4,3 м2·°С/Вт;

зона III - RIII = 8,6 м2·°С/Вт;

зона IV - RIV = 14,2 м2·°С/Вт.

Если в конструкции пола, расположенного на грунте, имеются утепляющие слои, его называют утепленным, а его сопротивление теплопередаче Rу.п, м2·°С/Вт, определяется по формуле

                                                                                                   (5.11)

где Rн.п - сопротивление теплопередаче рассматриваемой зоны неутепленного пола, м2·°С/Вт;

dу.с - толщина утепляющего слоя, м;

lу.с - коэффициент теплопроводности материала утепляющего слоя, Вт/(м·°С).

Для пола на лагах сопротивление теплопередаче Rл, м2·°С/Вт, рассчитывается по формуле

Rл =1,18Rу.п.                                                                                                                (5.12)

5.4. Пример определения сопротивления теплопередаче утепленных полов на лагах

Необходимо определить сопротивление теплопередаче пола на лагах рядовой жилой комнаты. Полы не заглублены. Конструкция пола включает в себя доски толщиной 50 мм с lБ = 0,18 Вт/(м·°С), лежащие на лагах (брус 100´100 мм lБ = 0,18 Вт/(м·°С)), с шагом 700 мм, между которыми проложен экструдированный пенополистирол lБ = 0,03 Вт/(м·°С), толщиной 50 мм, шириной 600 мм. Над пенополистиролом находится замкнутая воздушная прослойка толщиной 50 мм.

Глубина помещения от внутренней грани наружной стены до оси противолежащей перегородки - 6 м.

1. Требуемое и минимально допустимое сопротивление теплопередаче полов жилого здания определяем по табл. 18:

Rreq = 4,67 м2·°С/Вт;

Rreq.min = 3,74 м2·°С/Вт.

2. Термическое сопротивление горизонтальной воздушной прослойки с тепловым потоком сверху вниз при положительной температуре определяем по табл. 12:

Rв.п = 0,17 м2·°С/Вт.

3. Термическое сопротивление теплопередаче утепляющих слоев рассчитываем с учетом того, что слой утеплителя перерезается брусом:

• термическое сопротивление утепляющих слоев участка по брусу [формулы (3.3), (3.67)]

• термическое сопротивление утепляющих слоев участка по пенополистиролу и воздушной прослойке

• среднее термическое сопротивление утепляющих слоев, определенное методом сложения проводимостей по формуле (5.3),

4. Сопротивление теплопередаче пола на лагах рассчитывается по зонам. Пол занимает три расчетные зоны и начинается с расчетной зоны I.

В зоне I с учетом формул (5.11) и (5.12)

RплI = 1,18Rу.п = 1,18(Rн.п + Rу.с) = 1,18·(2,1 + 1,734) =
= 4,52 м2·°С/Вт < Rreq = 4,67 м2·°С/Вт,

но

RплI = 4,52 м2·°С/Вт > Rreq.min = 3,74 м2·°С/Вт.

Требуемому сопротивлению теплопередаче (Rreq = 4,67 м2·°С/Вт) по условиям энергосбережения должно соответствовать среднее сопротивление теплопередаче всего пола, а не одной зоны.

В зоне II

RплII = 1,18Rу.п = 1,18(Rн.п + Rу.с) = 1,18·(4,3 + 1,734) = 7,12 м2·°С/Вт.

В зоне III

RплIII = 1,18Rу.п = 1,18(Rн.п + Rу.с) = 1,18·(8,6 + 1,734) = 12,20 м2·°С/Вт.

5. Проверяем выполнение условия Rпл > Rreq = 4,67 м2·°С/Вт. Для этого найдем среднее сопротивление теплопередаче пола Rпл, м2·°С/Вт, в соответствии с занимаемыми каждой зоной площадями:

Условие выполнено.

Глава 6. Воздухопроницание в здание

6.1. Избыточное давление внутри и снаружи здания

6.1.1. Основные положения

Воздухопроницанием через ограждения называют процесс проникновения воздуха сквозь неплотности наружного ограждения. Проникновение воздуха внутрь помещения называется инфильтрацией; а из помещения наружу - эксфильтрацией.

Воздухопроницаемостью называется свойство строительных материалов и ограждающих конструкций пропускать сквозь себя поток воздуха. Воздухопроницаемостью считают также расход воздуха Gо, кг, который проходит через 1 м2 ограждения за 1 ч.

Воздухопроницаемостью обладают все наружные ограждения, но в расчете теплопотерь обычно учитывается только инфильтрация через окна, балконные двери и витражи. Нормы плотности остальных ограждений исключают возможность воздухопроницаемости ощутимо влиять на величину теплопотерь.

Инфильтрация и эксфильтрация возникают под воздействием перепадов давлений Dр, Па, с разных сторон ограждения. Разность давлений воздуха внутри здания и снаружи объясняется, во-первых, различной плотностью холодного наружного воздуха и теплого внутреннего (гравитационная составляющая) и, во-вторых, действием ветра, создающим избыточное давление в набегающем потоке с наветренной стороны здания и разрежение с подветренной (ветровая составляющая).

В каждом помещении под воздействием разных значений наружного давления по разные стороны здания формируется внутренне давление рв, Па, которое в инженерных расчетах принято считать одинаковым для всего здания. Его называют условно постоянным внутренним давлением здания.

6.1.2. Избыточное гравитационное давление

Если принять за начало отсчета избыточных давлений (по отношению к атмосферному) давление у вытяжной шахты в верхней точке здания на подветренной стороне, то давление в наружном воздухе на этом уровне рн - 0 Па. Высота здания от земли до уровня верхнего среза шахты Н, м (рис. 30).

Рис. 30. Формирование воздушных потоков в многоэтажном здании с естественной вентиляцией

Известно, что в столбе газа гравитационное давление переменно по высоте. В наружном и внутреннем воздухе соответственно гравитационное давление рн.г и рв.г, Па, на любой высоте от земли h, м, определяется по формулам

рн.г = (H - h)rнg;                                                                                                          (6.1а)

Рис. 31. Формирование избыточных давлений вокруг и внутри здания

рв.г = (H - h)rвg;                                                                                                          (6.1б)

где rн, rв - плотность соответственно наружного и внутреннего воздуха, кг/м3; определяется по формуле (6.2).

Плотность воздуха r, кг/м3, может быть определена по эмпирической формуле в зависимости от температуры t

                                                                                                                 (6.2)

В расчетах внутреннее давление удобно считать постоянным по высоте помещения и равным rн, Па, поэтому переменную гравитационную часть (H - h)rвg принято учитывать при определении наружного давления (рис. 31). Тогда расчетное наружное гравитационное давление rграв, Па, определяется по формуле

rграв = rн.г - rв.г = (H - h)(rн - rв)g.                                                                             (6.3)

6.1.3. Избыточное ветровое статическое давление

Ветровое статическое давление на здание пропорционально динамическому rнv2/2, Па, при его скорости v, м/с. Скорость ветра измеряется на метеостанциях на высоте 10 м от земли на открытой местности. В застройке скорость ветра изменяется. Для учета изменения скорости ветра в различных типах местности и на разной высоте применяется коэффициент Кдин, значения которого регламентированы СНиП 2.01.07-85* [33] и представлены в табл. 22. Выделяются следующие типы местности:

• А - открытые побережья морей, озер и водохранилищ, пустыни, степи, лесостепи, тундра;

• В - городские территории, лесные массивы и другие местности, равномерно покрытые препятствиями высотой более 10 м;

• С - городские районы с застройкой зданиями свыше 25 м.

Сооружение считается расположенным в местности данного типа, если эта местность сохраняется с наветренной стороны сооружения на расстоянии 30Н - при высоте сооружения Н до 60 м и 2 км - при большей высоте.

Таблица 22

Изменение ветрового давления

Высота Н, м

Коэффициент Кдин по типам местности

А

В

С

£5

0,75

0,50

0,40

10

1,00

0,65

0,40

20

1,25

0,85

0,55

40

1,50

1,10

0,80

60

1,70

1,30

1,00

80

1,85

1,45

1,15

100

2,00

1,60

1,25

150

2,25

1,90

1,55

200

2,45

2,10

1,80

250

2,65

2,30

2,00

300

2,75

2,50

2,20

350

2,75

2,75

2,35

³480

2,75

2,75

2,75

Аэродинамические коэффициенты показывают, какую долю от динамического давления ветра составляет формируемое им статическое давление на каком-либо фасаде здания. В соответствии со СНиП 2.01.07-85* [33] для большинства зданий величина аэродинамического коэффициента на наветренной стороне сн = 0,8, а на подветренной - сз = -0,6. Так как за начало отсчета давления принято избыточное давление на подветренном фасаде, то ветровое давление на наветренной стороне рветр, Па:

                                                                                           (6.4)

6.1.4. Избыточное давление в наружном воздухе

Гравитационная и ветровая составляющие давления действуют на здание независимо друг от друга, поэтому их значения можно сложить и получить суммарное расчетное наружное давление рн, Па:

                                          (6.5)

6.1.5. Избыточное давление внутри здания

Величина внутреннего давления рв может быть различной для одинаково ориентированных помещений одного этажа в силу того, что для каждого помещения формируется собственное значение внутреннего давления. Определение внутренних давлений в помещениях требует полного расчета воздушного режима здания, что является весьма трудоемкой задачей. Но в СНиП 2.04.05-91* [34] предлагают рассматривать давление в здании рв как приближенное к давлению в лестничной клетке.

Также существуют упрощенные методы расчета внутреннего давления в здании. Наиболее распространен подход, когда за внутреннее давление в здании рв, Па, принимается полусумма ветрового и гравитационного давлений:

                                                             (6.6)

Второй способ расчета рв, предложенный в [35], более сложный. Отличается от первого способа тем, что вместо приравнивания ветрового давления к половине разности ветровых давлений на наветренном и подветренном фасадах оно усредняется по площади этих фасадов. При рассмотрении одного из фасадов в качестве наветренного формула принимает вид

                                    (6.7)

где сб - аэродинамический коэффициент на боковом фасаде;

Ан, Аб, Аз - площадь окон и витражей соответственно на наветренном, боковом и подветренном фасадах, м2.

Следует обратить внимание на то, что величина рв, принимаемая по этому методу, получается различной для каждого фасада, считающегося наветренным. Разница тем заметнее, чем больше отличия в плотности окон и витражей на различных фасадах. Для зданий с равномерным распределением окон по фасадам величина рв приближается к получаемой методом приравнивания ветрового давления к половине полной разности ветровых давлений на наветренном и подветренном фасадах. Таким образом, использование формулы (6.7) для расчета внутреннего давления в зданиях со сбалансированной вентиляцией оправдано в случаях, когда распределение световых проемов по фасадам явно неравномерно или когда рассматриваемое здание примыкает к соседнему, а один фасад (или его часть) вовсе не имеет окон.

6.1.6. Разность наружного и внутреннего давлений

Разность наружного и внутреннего давлений Dр, Па, по разные стороны ограждения на наветренном фасаде на любой высоте h, м, с учетом формулы (6.5):

                                                       (6.8)

Значение внутреннего давления рв принимается по формуле (6.6) или (6.7).

Поэтому по формуле (6.8) разность давлений Dр для помещений на разных этажах с одним фасадом будет отличаться только величиной гравитационного давления рграв, зависящей от разности отметок центра рассматриваемого воздухопроницаемого элемента и верхней точки здания, принятой за начало отсчета (H - h).

6.2. Требуемое сопротивление воздухопроницанию окон, балконных дверей, витражей и световых фонарей

В соответствии со СНиП 23-02-2003 [1] требуемое сопротивление воздухопроницанию светопрозрачных конструкций окон, балконных дверей, витражей и световых фонарей в жилых, общественных и производственных зданиях должно быть не менее нормируемого значения сопротивления воздухопроницанию при разности давлений Dр0 = 10 Па Rинф,req, м2·ч/кг:

                                                                                                 (6.9)

где Gн - нормируемая воздухопроницаемость ограждающей конструкции, кг/(м2·ч);

Dр0 - разность давлений воздуха с наружной и внутренней сторон светопрозрачных ограждений, при которой определяется сопротивление воздухопроницанию, по СНиП 23-02-2003 [1] Dр0 = 10 Па.

Нормируемая воздухопроницаемость Gн - это максимальная разрешенная воздухопроницаемость конструкции при любых погодных условиях, принимаемая в соответствии со СНиП 23-02-2003 [1], значения которой приведены в табл. 23.

Таблица 23

Нормируемая воздухопроницаемость ограждающих конструкций

Ограждение

Воздухопроницаемость Gн, кг/(м2·ч)

1. Наружная стена, перекрытие и покрытие жилого, общественного, административного и бытового здания или помещения

0,5

2. Наружная стена, перекрытие и покрытие производственного здания или помещения

1,0

3. Стык между панелями наружных стен здания:

жилого

производственного

 

0,5*

1,0*

4. Входная дверь в квартиру

1,5

5. Входная дверь в жилое, общественное, бытовое здание

7,0

6. Окно и балконная дверь жилого, общественного, бытового здания или помещения в деревянном переплете; окно, фонарь производственного здания с кондиционированием воздуха

6,0

7. Окно и балконная дверь жилого, общественного, бытового здания или помещения в пластмассовом или алюминиевом переплете

5,0

8. Окно, дверь, ворота производственного здания

8,0

9. Фонарь производственного здания

10,0

* В кг/(м·ч).

Для определения расчетной разности давлений при нахождении требуемого сопротивления воздухопроницанию окна в СНиП 23-02-2003 [1] заложена преобразованная формула (6.8). Наибольшее значение этой разности наблюдается в холодный расчетный период на окнах первого этажа, расположенных на наветренном фасаде. Для них расчетная разность давлений может быть получена подстановкой (6.5) в (6.7) при условии, что расчетная высота от земли до центра рассматриваемого окна h, м, близка к нулю. Тогда

В СНиП 23-02-2003 [1], во-первых, принято, что расстояние от центра окна первого этажа до верха здания равно высоте здания от земли до верха здания Н, м (с запасом); во-вторых, что для большинства зданий произведение Kдин(сн - сз) приближается к 1; в-третьих, величина rн заменена на gн/g; в-четвертых, для некоторого запаса коэффициенты увеличены, поэтому формула для расчета разности давлений при определении требуемого сопротивления воздухопроницанию имеет вид

Dр = 0,55Н(gн -gв) + 0,03gнv2,                                                                                    (6.10)

где gн, gв - удельный вес соответственно наружного и внутреннего воздуха, Н/м3; gн = rнg, gв = rвg;

v - расчетная скорость ветра (см п. 1.4), м/с.

Удельный вес воздуха g, Н/м3, можно определить по эмпирической формуле

                                                                                                                (6.11)

где t - температура, при которой рассчитывается g. Для определения gн температура наружного воздуха принимается равной средней температуре наиболее холодной пятидневки (с обеспеченностью 0,92), а при расчете gв - равной расчетной температуре внутреннего воздуха.

Требуемое сопротивление воздухопроницанию окна Rинф,req не содержит размерности потенциала переноса воздуха - давления. Такое положение возникает из-за того, что в формуле (6.9) делением фактической разности давлений Dр на нормативное значение Dр0 = 10 Па требуемое сопротивление воздухопроницанию приводится к разности давлений Dр0 = 10 Па.

Расчетные разности давлений и требуемые сопротивления воздухопроницанию окон в зданиях различной высоты в Москве при расчетной температуре наружного воздуха tн = -28 °С и расчетной скорости ветра v = 4,9 м/с даются на рис. 32.

6.3. Пример определения требуемого сопротивления воздухопроницанию окна

Следует определить требуемое сопротивление воздухопроницанию окна в пластиковом переплете 10-этажного административного здания в Москве (hэт = 3,2 м). Пол первого этажа поднят над землей в среднем на 0,9 м; высота вентиляционной шахты над полом чердака - на 4,5 м (рис. 33).

Температура наиболее холодной пятидневки (с обеспеченностью 0,92) района строительства tн = -28 °С, расчетная скорость ветра v = 4,9 м/с. Расчетная температура внутреннего воздуха tв = 20 °С.

1. Находим высоту здания от земли до верха вентиляционной шахты:

Н = 0,9 + 10·3,2 + 4,5 = 37,4 м.

2. Расчетную разность давлений по разные стороны окна на уровне первого этажа определяем по формуле (6.10):

Dр = 0,55Н(gн - gв) + 0,03gнv2 = 0,55·37,4·(14,13 - 11,82) + 0,03·14,13·4,92 = 57,7 Па,

где gн определяется по формуле (6.11) при температуре -28 °С:

gв определяется по формуле (6.11) при температуре 20 °С:

3. Требуемое сопротивление окна в пластиковом переплете с максимальной воздухопроницаемостью Gн = 5 кг/(м2·ч) (табл. 23) при Dр0 = 10 Па рассчитываем по формуле (6.9):

4. Приведенное сопротивление воздухопроницанию окна должно быть равно или больше требуемого (Rинф ³ Rинф,req). Значение сопротивления воздухопроницанию принимается по сертификату соответствия. В данном случае считаем Rинф,req = 0,64 м2·ч/кг при Dр0 = 10 Па и требуем от заказчика закупки окон с сопротивлением воздухопроницанию не меньше принятого Rинф ³ 0,64 м2·ч/кг при Dр0 = 10 Па.

5. Объект строительства находится в Москве, поэтому требуемое сопротивление воздухопроницанию окна можно снять с графика рис. 32 (высота здания - 37,4 м). По графику (верхняя линия) Rинф,req = 0,64 м2·ч/кг при Dр0 = 10 Па, что практически совпадает с полученным по расчету.

Рис. 32. Зависимость характеристик воздухопроницания заполнения светопроемов от высоты здания Н, м, на примере Москвы: а - расчетные разности давлений Dр, Па, по разные стороны окна; б - требуемые сопротивления воздухопроницанию Rинф,req, м2·ч/кг, при Dр = 10 Па

Рис. 33. Разрез по зданию (к примеру п. 6.3)

6.4. Приведенное сопротивление воздухопроницанию окон, балконных дверей, витражей и световых фонарей жилых, общественных и производственных зданий

Величина приведенного сопротивления воздухопроницанию окон жилых, общественных и производственных зданий Rинф при Dр0 = 10 Па должна по сертификату соответствия на заполнение проема быть больше Rинф,req.

По показателям воздухопроницаемости ГОСТ 23166-99 [36] подразделяет оконные и балконные дверные блоки в деревянных, пластиковых и металлических переплетах на 5 классов. Основным признаком классификации является объемная воздухопроницаемость при Dр = 100 Па. Максимально допустимые параметры для вьщеленных классов, согласно ГОСТ 23166-99 [36], пересчитаны в массовые при Dр0 = 10 Па по СНиП 23-02-2003 [1], а также в соответствующие им сопротивления воздухопроницанию при Dр0 = 10 Па (табл. 24).

Таблица 24

Классификация заполнения светового проема по воздухопроницаемости

Класс

Объемная воздухопроницаемость

(при Dр = 100 Па) L, м3/(ч·м2),

для построения нормативных

границ классов

Воздухопроницаемость

(при Dр0 = 10 Па)

G, кг/(м2'ч)

Сопротивление

воздухопроницанию

(при Dр0 = 10 Па)

Rинф, м2·ч/кг

А

3

0,77

1,299

Б

9

2,31

0,433

В

17

4,36

0,229

Г

27

6,93

0,144

Д

50

12,83

0,078

По расчетам воздушного режима 17-этажного жилого здания норма плотности для входных дверей в квартиры (табл. 23) в нем выполняется в том случае, когда Rинф ³  0,65 м2·ч/кг (при Dр0 = 10 Па).

Обычно считается, что для входных дверей в здание Rинф = 0,14...0,16 м2·ч/кг (при Dр0 = 10 Па), а для одинарных балконных дверей-переходов в незадымляемых лестничных клетках и холлах лестнично-лифтовых узлов Rинф = 0,47 м2·ч/кг (при Dр0 = 10 Па) [32].

Глава 7. Теплопотери здания

7.1. Расчетные трансмиссионные теплопотери

Теплопотери за счет теплопередачи (трансмиссионные теплопотери) Qoгp, Вт, по СНиП 2.04.05-91* [34] и [37, 38] рассчитываются через каждое теплотеряющее ограждение (или его часть) отдельно по формуле

Qoгp = KA(tв - tн)n(1+Sb),                                                                                           (7.1)

где К определяется из теплотехнического расчета по формуле (3.65);

n определяется по табл. 16;

b - коэффициент, учитывающий добавочные теплопотери.

Трансмиссионные теплопотери каждого помещения рассчитываются суммированием потерь теплоты через каждое теплотеряющее ограждение, определенных по формуле (7.1). Полученную сумму округляют до 5 Вт.

При расчете теплопотерь ограждающие конструкции измеряются по наружному обмеру. Этот способ обмера используется в связи с тем, что, во-первых, неодномерная теплопередача через наружные ограждения осуществляется через всю толщу наружных ограждений; во-вторых, наружный обмер приводит к некоторому (очень небольшому) запасу мощности системы отопления, тогда как внутренний обмер дает несколько заниженный результат, что в реальном проектировании совершенно неприемлемо.

При подсчете потерь теплоты по формуле (7.1) площадь отдельных ограждений А, м2, определяется с соблюдением следующих правил обмера:

1. Площадь окон (ок), дверей (нд) и фонарей (ф) измеряют по наименьшему строительному проему.

2. Площадь потолка (пт) и пола (пл) измеряют между осями внутренних стен и внутренней поверхностью наружной стены (рис. 34). Площадь стен и пола, расположенных на грунте, в том числе на лагах, определяют с условной разбивкой их по зонам, как это было описано в п. 5.3 при определении сопротивлений теплопередаче этих конструкций (рис. 29).

3. Площадь наружных стен (нс) измеряют (рис. 34):

• в плане - по наружному периметру между осями внутренних стен и наружным углом стены;

• по высоте - на всех этажах, кроме нижнего: от уровня чистого пола до пола следующего этажа. На последнем этаже верх наружной стены совпадает с верхом покрытия или чердачного перекрытия. На нижнем этаже в зависимости от конструкции пола: а) от внутренней поверхности пола по грунту; б) от поверхности подготовки под конструкцию пола на лагах; в) от нижней грани перекрытия над неотапливаемым подпольем или подвалом.

4. При определении теплопотерь через внутренние стены их площади обмеряют по внутреннему периметру. Потери теплоты через внутренние ограждения помещений можно не учитывать, если разность температур воздуха в этих помещениях составляет 3 °С и менее.

Рис. 34. Правила обмера площадей ограждающих конструкций: а - разрез здания с чердачным перекрытием; б - разрез здания с совмещенным покрытием; в - план здания; 1 - пол над подвалом; 2 - пол на лагах; 3 - пол на грунте;

Перечисленные правила учитывают сложность процесса теплопередачи через элементы ограждения и предусматривают условное увеличение и уменьшение площади, когда фактические теплопотери могут быть соответственно больше или меньше подсчитанных по формуле (7.1).

Расчет обычно сводят в стандартную таблицу, представленную в п. 7.3.

7.2. Добавочные теплопотери через ограждения

Теплопотери, рассчитанные по формуле (7.1) без учета добавочных потерь (при Sb = 0), называются основными. Основные трансмиссионные теплопотери часто оказываются меньше действительных, т.к. в формуле не отображены некоторые факторы. Дополнительные теплопотери учитываются добавками к основным, задаваемыми в долях единицы. Выраженные коэффициентом b добавки подразделяются на несколько видов:

1. Добавка на ориентацию ограждения по сторонам света принимается для всех наружных вертикальных ограждений или проекций на вертикаль наружных наклонных ограждений. Для северной, северо-восточной, северо-западной, восточной ориентации b = 0,1; юго-восточной и западной b = 0,05; южной и юго-западной b = 0 (рис. 35).

Рис. 35. Величины добавок к основным теплопотерям в зависимости от ориентации ограждения по сторонам света

2. Добавка b = 0,05 вводится для необогреваемого пола первого этажа над холодным подпольем здания в местности с расчетной температурой наружного воздуха -40 °С и ниже.

3. Добавка на угловое помещение, имеющее две и более наружных стен, учитывает, что в таком помещении радиационная температура ниже, чем в рядовом. Поэтому в угловом помещении жилого дома температуру внутреннего воздуха принимают на 2 °С выше, чем в рядовом помещении, а в зданиях другого назначения увеличенные теплопотери учитывают добавкой b = 0,05 к основным теплопотерям вертикальных наружных ограждений.

4. Добавка на врывание холодного воздуха через наружные двери в здание, не оборудованное воздушно-тепловой завесой, при их кратковременном открывании принимается к основным теплопотерям дверей. Так, в здании высотой Н для тройных дверей с двумя тамбурами b = 0,20Н, для двойных дверей с тамбуром b = 0,27Н, для двойных дверей без тамбура b = 0,34Н, для одинарных дверей b = 0,22Н. Для наружных ворот при отсутствии тамбура и воздушно-тепловой завесы теплопотери рассчитываются с добавкой b = 3, а при наличии тамбура у ворот - с добавкой b = 1. Указанные добавки не относятся к летним и запасным наружным дверям и воротам.

5. Ранее нормами предусматривалась добавка, учитывающая увеличение теплопотерь в верхней части помещения высотой более 4 м, равная b = 0,02 на каждый метр высоты стены сверх 4 м, но не более b = 0,15. Позднее это требование было исключено из норм. Теперь при расчете высоких помещений необходимо делать специальный расчет распределения температуры по высоте для определения теплопотерь через стены и покрытия. В лестничных клетках изменение температуры по высоте не учитывается.

Теплопотери через наружные ограждения за счет теплопередачи принято отображать в виде таблицы, аналогичной представленной в п. 7.3.

7.3. Пример расчета трансмиссионных теплопотерь помещений

Требуется определить трансмиссионные теплопотери шести помещений административного здания: углового (1005) и рядового (1008) на верхнем этаже, углового (305) и рядового (308) на промежуточных этажах, углового (105) и рядового (108) на первом этаже, - а также рассчитать теплопотери лестничной клетки.

Здание расположено в Москве. Фрагмент плана типового этажа и разрез здания приведены на рис. 36. Пол первого этажа располагается над неотапливаемым подпольем, пол лестничной клетки не утеплен по грунту.

Рис. 36. План и разрез здания к примеру расчета теплопотерь: а - фрагмент плана типового этажа; б - разрез 1 - 1

Высота наружной стены лестничной клетки от земли до верха покрытия (уровень земли ниже пола первого этажа на 0,9 м) принята равной Ннс = 0,9 + 10·3,2 = 32,9 м. Высота здания от земли до верха вентиляционной шахты при ее высоте над полом чердака, равной 4,5 и, Н = 32,9 + 4,5 = 37,4 м.

От неотапливаемого техподполья лестничная клетка отделена тремя внутренними стенами вc1 высотой 0,9 м с дверью общей площадью Авс1 = 3,2·0,9 + 2·6,2·0,9 = 14,04 м2. От холодного чердака лестничная клетка отделена тремя внутренними стенами вс2 с дверью общей площадью Авс2 = 3,2·3,5 + 6,2·2·(0,5 + 3/2) = 36,0 м2.

Расчетная наружная температура tн = -28 °С, согласно п. 1.7, берется равной средней температуре наиболее холодной пятидневки (с обеспеченностью 0,92).

Расчетная температура внутреннего воздуха tв = 20 °С принимается по п. 2.6.

Фактическое приведенное сопротивление теплопередаче наружных ограждений принято по расчетам в соответствии с пп. 5.1-5.3. Тогда коэффициенты теплопередачи:

• для наружных стен ;

• для внутренних стен техподполья ;

• для внутренних стен чердака ;

• для чердачного перекрытия ;

• для бесчердачного покрытия над лестничной клеткой ;

• для перекрытия над неотапливаемым техподпольем ;

• для тройного окна ;

• для входной двери в здание ;

• для дверей на чердак и в подвал .

Расчеты теплопотерь сведены в табл. 25. При этом следует иметь в виду:

1. Теплопотери наружных стен принято рассчитывать по суммарной площади стены и расположенных в ней окон. Поэтому в графу коэффициента теплопередачи для окна заносим разность коэффициентов теплопередачи окна и наружной стены: Кто - Кнс = 1,852 - 0,372 = 1,48 Вт/(м2·°С). По этой же причине в графу коэффициента теплопередачи двери на чердак вносится разность коэффициентов теплопередачи двери и стены чердака, в которую она врезана:

Квд - Квс2 = 1,351 - 0,40 = 0,951 Вт/(м2·°С).


Таблица 25

Расчет трансмиссионных теплопотерь

Помещение

Параметры ограждения

Разность температур (tв - tн)п, °C

Основные теплопотери Qосн, Вт

Добавка

Теплопотери Qогр, Вт

Номер

Наименование, температура tв, °C

Наименование

Ориентация

Размеры а´в, м

Площадь А, м2

Коэффициент

на ориентацию b1

прочая b2

1+Sb

 

теплопередачи К, Вт/(м2·°С)

положения п

1

2

3

4

5

6

7

8

9

10

11

12

13

14

105

Кабинет, 20

нс

нс

2то

пл

З

С

С

-

6,74´3,5

6,24´3,5

1,5´2´2

5,70´6,2

23,6

21,8

6,0

35,3

0,372

0,372

1,48

0,326

1,0

1,0

1,0

0,6

48,0

48,0

48,0

28,8

421,4

389,3

426,2

331,4

0,05

0,1

0,1

-

0,05

0,05

0,05

-

1,10

1,15

1,15

1,0

463,5

447,6

490,1

331,4

Итого: 1 735

108

Кабинет, 20

нс

то

пл

С

С

-

3,0´3,5

1,5´2

3,0´6,2

10,5

3,0

18,6

0,372

1,48

0,326

1,0

1,0

0,6

48,0

48,0

28,8

187,5

213,1

174,6

0,1

0,1

0

-

-

-

1,1

1,1

1,0

206,2

234,4

174,6

Итого: 615,2

305

Кабинет, 20

нс

нс

2то

З

С

С

6,74´3,2

6,24´3,2

1,5´2´2

21,6

20,0

6,0

0,372

0,372

1,48

1,0

1,0

1,0

48,0

48,0

48,0

385,1

356,5

426,2

0,05

0,1

0,1

0,05

0,05

0,05

1,10

1,15

1,15

423,6

410,0

490,2

Итого: 1 325

308

Кабинет, 20

нс

то

С

С

3,0´3,2

1,5´2

9,6

3,0

0,372

1,48

1,0

1,0

48,0

48,0

171,4

213,1

0,1

0,1

-

-

1,1

1,1

188,5

234,4

Итого: 425

 

 

нс

З

6,74´3,2

21,6

0,372

1,0

48,0

385,1

0,05

0,05

1,10

423,6

1005

Кабинет, 20

нс

С

6,24´3,2

20,0

0,372

1,0

48,0

356,5

0,1

0,05

1,15

410,0

2то

С

1,5´2´2

6,0

1,48

1,0

48,0

426,2

од

0,05

1,15

490,2

 

 

пт

-

5,70´6,2

35,3

0,328

0,9

43,2

500,2

-

-

1,0

500,2

Итого: 1 825

 

 

нс

С

3,0´3,2

9,6

0,372

1,0

48,0

171,4

0,1

-

1,1

188,5

1008

Кабинет, 20

то

С

1,5´2

3,0

1,48

1,0

48,0

213,1

од

-

234,4

 

 

пт

-

3,0´6,2

18,6

0,328

0,9

43,2

263,6

0

-

1,0

263,6

Итого: 690

 

 

нс

C

3,2´32,9-3,52

101,8

0,372

1,0

44,0

1 666,3

од

-

1,1

1 832,9

 

 

9то

C

1,2´2´9

21,6

1,48

1,0

44,0

1 406,6

0,1

-

1,1

1 547,2

 

 

нд

C

1,6´2,2

3,52

1,351

1,0

44,0

209,2

0,1

10,1

11,2

2 343,5

 

 

пт

-

3,2´6,2

19,8

0,391

1,0

44,0

340,6

-

-

1,0

340,6

А

Лестничная клетка, 16

плI

-

3,2´2

6,4

0,48

1,0

44,0

135,2

-

-

1,0

135,2

плII

-

3,2´2

6,4

0,23

1,0

44,0

64,8

-

-

1,0

64,8

 

 

плIII

-

3,2´2

6,4

0,12

1,0

44,0

33,8

-

-

1,0

33,8

 

 

плIV

-

0,2´2

0,4

0,07

1,0

44,0

1,2

-

-

1,0

1,2

 

 

вс1

-

-

14,0

0,60

0,6

26,4

221,8

-

-

1,0

221,8

 

 

вд

-

0,9´2

1,8

0,951

0,9

39,6

67,8

-

-

1,0

67,8

 

 

вс2

-

-

36,0

0,40

0,9

39,6

570,2

-

-

1,0

570,2

Итого: 7 160

Примечание. В таблице использованы следующие общепринятые сокращения: нс - наружная стена; то - тройное окно; нд - наружная дверь; пт - потолок; пл - пол; плI - пол в расчетной зоне I; плII - пол в расчетной зоне II; плIII - пол в расчетной зоне III; плIV - пол в расчетной зоне IV; вс1 - внутренняя стена подвала; вс2 - внутренняя стена чердака; вд - внутренняя дверь из лестничной клетки на чердак.


2. Значение коэффициента положения пола первого этажа над неотапливаемым подвалом n принято по табл. 16 для подвала, не имеющего окон.

3. Добавки к основным теплопотерям определены:

• для вертикального наружного ограждения на ориентацию по сторонам света (при указанной в графе 4 ориентации) по п. 7.2;

• для вертикального наружного ограждения углового помещения по п. 7.2;

• для входной двери в здание на врывание наружного воздуха по п. 7.2 (при двойных дверях с тамбуром между ними b = 0,27·37,4 = 10,1).

4. Неутепленный пол по грунту на лестничной клетке рассчитан по зонам. Сопротивление теплопередаче каждой расчетной зоны определено по п. 5.3. Коэффициенты теплопередачи:

• для зоны I ;

• для зоны II ;

• для зоны III ;

• для зоны IV .

5. Теплопотери входной двери в здание рассчитываются отдельно от наружной стены, т.к. надбавка на врывание наружного воздуха в здание относится только к теплопотерям двери, поэтому ее площадь вычитается из площади наружной стены.

7.4. Потребность в теплоте на нагревание инфильтрационного воздуха

Расход наружного воздуха, поступающего в помещения в результате инфильтрации в расчетных условиях, зависит от объемно-планировочного решения здания, а также плотности окон, балконных дверей, витражей. Задача инженерного расчета сводится к определению расхода инфильтрационного воздуха Gинф, кг/ч, через отдельные ограждения каждого помещения. Инфильтрация через стены и покрытия невелика, поэтому ею обычно пренебрегают и рассчитывают только через заполнение световых проемов, а также через закрытые двери и ворота, в том числе и те, которые при обычном эксплуатационном режиме не открываются. Затраты теплоты на врывание воздуха через открывающиеся двери и ворота в расчетном режиме учитываются добавками к основным теплопотерям через входные двери и ворота.

Расчет выявляет максимально возможную инфильтрацию, поэтому считается, что каждое окно или дверь находится на наветренной стороне здания.

Расчетная разность давлений Dр для окна или двери каждого этажа определяется по формуле (6.8) при расчетных параметрах наружного и внутреннего воздуха: температурах tн и tв, плотностях rн и rв, скорости ветра v.

Внутреннее давление рв в таких расчетах обычно приближенно принимается по формуле (6.6). Тогда разность давлений по разные стороны воздухопроницаемого элемента здания принимает вид

  (7.2)

где h - расстояние от земли до центра рассматриваемого воздухопроницаемого элемента в здании (окна, балконной двери, входной двери в здание, ворот, витража), м.

Из формулы (7.2) видно, что при определенных соотношениях значений каждого слагаемого формулы на верхних этажах может сформироваться отрицательная разность давлений Dр = рн - рв, что означает невозможность инфильтрации.

Расход инфильтрационного воздуха Go, кг/(м2·ч), при этом составит:

• через окна

                                                                                                  (7.3)

• через двери и ворота

                                                                                                  (7.4)

где Gинф,ок, Gинф,нд - фактическое сопротивление воздухопроницанию соответственно окна и двери (ворот) (при Dр0 = 10 Па), м2·ч/кг.

Расход теплоты на нагревание инфильтрационного воздуха Qинф, Вт, определяется по формуле

Qинф = 0,28GоcA(tв - tн)k,                                                                                            (7.5)

где с - теплоемкость воздуха, кДж/(кг·°С); с = 1,006 кДж/(кг·°С);

k - коэффициент учета влияния встречного теплового потока в воздухопроницаемых конструкциях (для окон и балконных дверей с тройными раздельными переплетами k = 0,7, для окон и балконных дверей с двойными раздельными переплетами k = 0,8; для окон и балконных дверей со спаренными переплетами k = 0,9; для окон и балконных дверей с одинарными переплетами k = 1).

Установлено, что через плотные окна в многоэтажных зданиях осуществляется инфильтрация, которая доходит до 20 % от трансмиссионных теплопотерь, а потому должна быть учтена при расчетах нагрузки на отопление здания.

Расход инфильтрационного воздуха может быть уточнен по формуле, предложенной Ю.А. Табунщиковым в [30], при известном распределении аэродинамических коэффициентов по фасаду здания и при учете изменения температуры воздуха по высоте помещения.

7.5. Пример расчета потребности в теплоте на нагревание инфильтрационного воздуха

Следует определить затраты теплоты на нагревание инфильтрационного воздуха для помещений 108, 308 и 1008 из примера, описанного в п. 7.3. В указанных помещениях поддерживается температура tв = 20 °С. Здание расположено в Москве с расчетной температурой наружного воздуха tн = -28 °С и с расчетной скоростью ветра для холодного периода v = 4,9 м/с. Высота здания от земли до верха вытяжной шахты, согласно примерам пп. 6.3 и 7.3, Н = 37,4 м, высота этажа hэт = 3,2 м. Земля расположена ниже уровня пола первого этажа на 0,9 м, а окна над полом каждого этажа на 0,85 м.

Площадь окон в комнате здания равна 3 м2. Фактическое сопротивление воздухопроницанию окна Rинф,req = 0,65 м2·ч/кг при Dр0 = 10 Па. Окна выполнены из двухкамерного стеклопакета.

1. Разность давлений по разные стороны окна расчетного помещения Dр, Па, определяем по формуле (7.2):

  на первом этаже

• на третьем этаже

• на десятом этаже

где rн, rв определяются по формуле (6.2):

h - расстояние от земли до центра окна, м:

• первого этажа h = 0,9 + 0,85 + 2/2 = 2,75 м;

• третьего этажа h = 2,75 + 2·3,2 = 9,15 м;

• десятого этажа h = 9,15 + 7·3,2 = 31,55 м;

Кдин определяется по табл. 22 при типе местности С, соответствующем городской застройке с высотой зданий 25 м и выше; Кдин = 0,77 по табл. 22 при высоте здания Н = 37,4 м;

сн, сз определяются по п. 6.1.3: сн = 0,8, сз = -0,6.

2. Расход инфильтрационного воздуха через 1 м2 окна в 1 ч (фактическую воздухопроницаемость окна) Gо, кг/(м2·ч), находим по формуле (7.3):

• для первого этажа

• для третьего этажа

на десятом этаже инфильтрации нет, т.к. Dр отрицательна.

3. Расход теплоты на нагревание инфильтрационного воздуха Qинф, Вт, определяем по формуле (7.5):

• для первого этажа

Qинф = 0,28·4,32·1,006·3·(20 + 28)·1 = 175 Вт;

для третьего этажа

Qинф = 0,28·3,34·1,006·3·(20 + 28)·1 = 135 Вт.

7.6. Нагревание транспортных средств и ввозимых материалов

В качестве расчетных теплопотерь на нагревание ввозимых материалов и транспортных средств принимают средние теплозатраты за 1 ч.

Теплозатраты Qм, Вт, на нагревание транспортных средств и ввозимых материалов, изделий, одежды определяются по формуле

                                                                                                     (7.6)

где Gм - масса ввозимых материалов, изделий, одежды, а также транспортных средств (автомашин, железнодорожных вагонов и т.п.), кг;

с - удельная массовая теплоемкость материала или транспортного средства, Дж/(кг·°С);

tм - температура поступившего материала или транспортного средства, °С;

В - доля среднего уменьшения полной разности температур (tв - tм) во всем объеме материала за интервал времени с начала нагрева помещения; определяется по табл. 26.

Удельная массовая теплоемкость материала или транспортного средства с определяется по справочникам физических величин материалов. Так, для меди с = 420 Дж/(кг·°С), для стали и чугуна с = 480 Дж/(кг·°С), для большинства строительных материалов с = 840-880 Дж/(кг·°С), для верхней шерстяной одежды с = 1590 Дж/(кг·°С), для изделий из дерева с = 2 300 Дж/(кг·°С), для воды с = 4187 Дж/(кг·°С).

Температура материала или транспортного средства tм принимается для материалов, поступающих из соседних помещений, по технологическому заданию; температура материалов, изделий и транспортных средств, поступающих с улицы, определяется: для металла - равной расчетной температуре наружного воздуха tн, для других несыпучих материалов и изделий - на 10 °С выше tн; для сыпучих материалов (песка, руды, угля и т.п.), а также волокон и одежды - на 15 °С выше tн.

Таблица 26

Доля теплоты, необходимая для нагрева ввозимого материала до температуры помещения

Время нахождения в помещении

Коэффициент доли теплоты В

Для несыпучих материалов и транспорта

Для сыпучих материалов

Для одежды

1-й час

0,5

0,40

0,35

2-й час

0,3

0,25

0,20

3-й час

0,2

0,15

0,12

Для расчета теплозатрат на нагревание транспортных средств Qт.c, Вт, используется следующая формула [39]:

Qт.c = 0,029Gт.cп(tв - tн),                                                                                              (7.7)

где 0,029 - расход теплоты, Вт, на нагревание на 1 °С 1 кг массы транспортных средств, въезжающих за 1 ч;

Gт.c - собственная масса транспортного средства, кг;

п - число автомашин, въезжающих за 1 ч в помещение.

Собственную массу транспортных средств Gт.c принимают по соответствующим справочникам. Приближенно ее можно принимать для легковых машин малого класса Gт.c = 1200 кг, среднего Gт.c = 1500 кг, тяжелого Gт.c = 2100 кг. Кроме того, можно считать, что собственная масса автомобиля, приходящаяся на 1 кВт мощности двигателя, для легковых машин составляет 20-22 кг, для грузовых автомобилей, самосвалов, автобусов - 55-65 кг.

7.7. Учет теплоты, идущей на испарение влаги

Для ряда производственных зданий при расчете теплопотерь необходимо учитывать теплоту, идущую на испарение влаги с пола и других поверхностей. При этом следует иметь в виду, что теплоту испарения возмещает воздух помещения, если температура испарения ниже температуры воздуха. Температуру испарения воды tисп допустимо принимать на 2 °С ниже, чем у поверхности, с которой она испаряется. Количество испаряющейся влаги М, кг/ч, можно определить по формуле [42]

                                                               (7.8)

где vв - скорость движения воздуха над поверхностью испарения, м/с; принимается равной подвижности воздуха в помещении;

рпов - парциальное давление насыщения водяным паром при температуре поверхности испарения жидкости tисп, кПа;

рокр - парциальное давление в окружающем воздухе, кПа;

А - площадь поверхности испарения, м2;

В - барометрическое давление, кПа.

При этом расход теплоты Qисп, Вт, равен скрытой теплоте, идущей на испарение влаги:

                                                                                             (7.9)

7.8. Суммарные расчетные теплопотери помещения

Расчетные теплопотери здания соответствуют максимальному дефициту теплоты в каждом помещении при расчетной температуре наружного воздуха tн, за которую принимается средняя температура наиболее холодной пятидневки с обеспеченностью 0,92. Расчетной скоростью ветра считается максимальная из средних скоростей ветра в январе по румбам с обеспеченностью не менее 16 % (п. 1.4).

Расчетные теплопотери Qрасч, Вт, согласно СНиП 41-01-2003 [11], СНиП 2.04.05-91* [34], [37, 38], в зданиях, оборудованных механической приточной вентиляцией, определяются по сумме трансмиссионных потерь теплоты Qогр и потребности в теплоте на нагревание инфильтрационного воздуха Qинф:

Qрасч = Qогр + Qинф,                                                                                                       (7.10)

где Qогр определяется по пп. 7.1-7.3;

Qинф рассчитывается по п. 7.4.

В производственных помещениях также учитывается расход теплоты на нагревание материалов, оборудования и транспортных средств и материалов, ввозимых в помещение с улицы, Qм, Qт.c, Вт. В помещениях, в которых влага испаряется с поверхностей, в нагрузке на отопление учитывается теплота, идущая на испарение воды, Qисп, Вт (не путать со случаями, когда речь идет о поверхности воды с температурой, превышающей температуру воздуха в помещении). В производственных помещениях могут наблюдаться теплопотери, связанные с технологическим процессом, Qтехн, Вт (например, при химических реакциях, потребляющих теплоту из окружающего воздуха), или связанные с охлаждением внутреннего воздуха у холодных поверхностей технологического оборудования, трубопроводов и воздуховодов.

В общем случае расчетные тепловые потери помещения Qрасч, Вт, в общественном или промышленном здании определяются по формуле

Qрасч = Qогр + Qинф + Qт.c + Qисп + Qтехн.                                                                       (7.11)

Для помещений, оснащенных только системами вытяжной вентиляции с притоком через форточки или специальные приточные устройства (как, например, в большинстве жилых зданий), на систему отопления возлагается нагрев вентиляционной нормы наружного воздуха. Расход теплоты на нагревание вентиляционного воздуха Qвент, Вт, определяется по формуле

Qвент = 0,28LcrA(tв - tн),                                                                                             (7.12)

где L - расчетный расход вентиляционного воздуха, м3/ч; принимается для жилых и общественных зданий по стандарту АВОК «Здания жилые и общественные. Нормы воздухообмена» [40] (для жилых зданий нормы вентиляционного воздухообмена по [40] приведены в п. 10.2.2), для производственных зданий только с вытяжной вентиляцией - по отраслевым нормам проектирования.

Расчетная нагрузка на систему отопления Qрасч в таких помещениях уменьшается, т.к. учитывается тепловой поток, регулярно поступающий от электрических приборов, освещения, технологического оборудования, трубопроводов, людей и других источников.

Таким образом, расчетные теплопотери помещений жилого здания, оборудованного только вытяжной вентиляцией, определяются по следующим формулам:

• для жилой комнаты

Qрасч = Qогр + Qвент/инф - Qбыт;                                                                                       (7.13)

• для кухни

Qрасч = Qогр + Qинф - Qбыт,                                                                                            (7.14)

где Qвент/инф - большая из потребностей в теплоте на нагревание вентиляционного Qвент или инфильтрационного Qинф воздуха; при плотных современных окнах вентиляционный расход обычно больше, чем расход инфильтрационного воздуха. В зданиях, построенных до 2000 года, расход теплоты на нагревание инфильтрационного воздуха может превышать необходимую вентиляционную норму;

Qбыт - тепловой поток от бытовых источников теплоты, Вт; при определении расчетных теплопотерь

Qбыт = qвA1.                                                                                                                 (7.15)

где qв - удельные бытовые тепловыделения, Вт/м2. Тепловой поток, поступающий в жилые комнаты и кухни жилых домов, при расчете тепловой мощности системы отопления следует принимать не менее qв = 10 Вт на 1 м2 пола;

A1 - площадь комнаты или кухни;

• для лестничных клеток по формуле (7.10).

Глава 8. Удельная тепловая характеристика здания

На стадии предпроектной подготовки часто приходится оценивать теплопотери здания, когда еще нет окончательных планировок и не проработана конструкция наружных ограждений. В этом случае полезной может оказаться удельная тепловая характеристика qm, Вт/(м3·°С), которая является теплотехнической оценкой строительной части здания, показывающей тепловой поток, необходимый для повышения 1 м3 объема постройки на 1 °С. На стадии технико-экономического обоснования строительства (проекта) удельная тепловая характеристика может являться одним из контрольных ориентиров. Эта величина рассчитывается по формуле

                                                                                                        (8.1)

где Qзд - тепловая нагрузка на систему отопления здания, Вт; определяется как сумма расчетных теплопотерь Qрасч, Вт, всех помещений здания;

Vзд - отапливаемый объем здания, м3.

Строительный объем (и его отапливаемую часть) принято определять по наружным обмерам здания, т.к. практически вся толща ограждений, контактирующих с отапливаемыми помещениями, нагревается, и на это тратится тепловая энергия. Если по удельной тепловой характеристике впоследствии определять теплопотери аналогичного здания, то в этом случае лучше взять объем с запасом.

Для зданий, возведенных до 1994 года, существовали ориентировочные величины удельной тепловой характеристики различных типов зданий. Получить такие значения для современных строений можно, проследив зависимость величин, входящих в формулу (8.1).

Ориентировочные значения удельной тепловой характеристики для жилых и административных зданий приведены на рис. 37,38. При расчете этих данных были рассмотрены здания прямоугольной формы без световых фонарей в покрытии, расположенные в Москве. В качестве расчетного принималось требуемое сопротивление теплопередаче наружного ограждения (табл. 15) при длительности отопительного периода 4 943 °С·сут. Сопротивление теплопередаче окон в соответствии с МГСН 2.01-99* [12] было принято равным 0,54 м2·°С/Вт при степени остекления фасадов жилых зданий не более 18 %, а в административных - не более 25 % и 0,56 м2·°С/Вт при большем проценте остекления фасадов.

При расчете qm для жилого здания тепловая нагрузка на систему отопления включала в себя трансмиссионные теплопотери и потребность в теплоте на нагревание вентиляционного воздуха с расходом 3 м3/ч на 1 м2 жилой площади (доля жилой площади от общей последовательно принята равной 0,5 и 0,7) за вычетом внутренних тепловыделений 10 Вт/м2 жилой площади. Расчет для административного здания выполнялся исходя из трансмиссионных и инфильтрационных теплопотерь. Расход инфильтрационного воздуха рассчитывался поэтажно с учетом высоты здания и площади окон. Окна приняты плотными с сопротивлением воздухопроницанию 0,65 м2·ч/кг при Dр = 10 Па. В соответствии с необходимостью получения максимальных теплопотерь все окна считались расположенными на наветренной стороне.

Рис. 37. Удельная тепловая характеристика qm, Вт/(м3·°С), жилого здания в Москве в зависимости от доли остекления фасада при ширине корпуса 10, 15, 20, 30, 45 м:
а - при доле жилой площади от общей 0,5, с числом этажей 5; б - при доле жилой площади от общей 0,5, с числом этажей 15, в - при доле жилой площади от общей 0,7, с числом этажей 5; г - при доле жилой площади от общей 0,7, с числом этажей 15

Рис. 38. Удельная тепловая характеристика qm, Вт/(м3·°С), административного здания в Москве в зависимости от доли остекления фасада при ширине корпуса 10, 15, 20, 30, 45 м:
а - при числе этажей 5 м и высоте этажа 3 м; б - при числе этажей 15 м и высоте этажа 3 м; в - при числе этажей 25 м и высоте этажа 3 м

На величину удельной тепловой характеристики здания qm оказывают значительное влияние длина и ширина корпуса, доля остекления фасадов, что видно из рис. 37,38. В жилых зданиях на удельную тепловую характеристику в меньшей степени влияют и высота здания (при числе этажей более 10), и высота этажа, т.к. большую часть в этой характеристике составляет потребность в теплоте на нагревание вентиляционной нормы воздуха. На удельную тепловую характеристику административных зданий высота здания также влияет незначительно, хотя более заметно, чем в жилых. Доля теплопотерь на нагревание инфильтрационного воздуха заметна даже при относительно плотных окнах и возрастает с увеличением высоты здания, при этом сокращается относительная доля теплопотерь через пол и покрытие.

Глава 9. Теплопотери помещений, обслуживаемых различными системами отопления

9.1. Методика сравнения теплопотерь за счет теплопередачи при отоплении различными системами

Сравним теплопотери помещения при различных системах отопления: радиаторной, конвекторной, воздушной, панельной потолочной и панельной напольной - при условии поддержания во всех случаях одинаковой результирующей температуры помещения tп, определяемой по формуле (2.4). Все параметры процесса неизменны во времени. Рассчитываем усредненную в объеме помещения температуру воздуха tв и находим значения температуры на внутренних поверхностях всех ограждений и мебели (оборудования) ti, в том числе температуры на поверхностях панелей отопления, необходимые для поддержания заданной tп.

Радиационную температуру можно определить по формуле (2.3) как средневзвешенную по площадям температуру внутренних поверхностей, обращенных в помещение (т.е. внутренних поверхностей наружных и внутренних ограждений и мебели). Тогда

                                                                                                                (9.1)

При этом площадь мебели принимается равной половине суммы площадей всех ограждений.

Расчет предполагает, что воздушная система отопления всю теплоту привносит в помещение конвективным путем, когда доля конвективной составляющей rк = 1, лучистой rл = 0; в конвекторной системе rк = 0,9, rл = 0,1; в радиаторной rк = 0,7, rл = 0,3. В панельной системе считается, что rк = 0 и rл = 0, т.к. панели привносят теплоту в процессе лучисто-конвективного теплообмена между рассматриваемыми поверхностями помещения, в то время как радиаторы и конвекторы считаются дополнительными внутренними источниками, и их поверхности в данной задаче не учитываются.

При всех системах отопления тепловой режим помещения описан одной и той же системой уравнений, состоящей из теплового баланса внутренних поверхностей и воздуха помещения (по однозонной модели без учета возможного отличия температуры воздуха в отдельных частях помещения от средней величины).

В тепловом балансе каждой поверхности, обращенной в помещение, учитывается лучистый теплообмен ограждений друг с другом и конвективный каждого из них с воздухом помещения. Также учитывается падающий лучистый поток от внутренних источников (например, от приборов отопления), а также теплообмен с наружной средой и другими помещениями, имеющими температуру, отличающуюся от поддерживаемой в рассматриваемом пространстве. Теплообмен с наружной средой и другими помещениями определяется с помощью неполного (без учета сопротивления теплообмену на внутренней поверхности) коэффициента теплопередачи k'

( т = 1, 2,..., М, где М - число слоев в ограждении).

Тепловой баланс внутренней поверхности каждого ограждения имеет вид

                                                   (9.2)

где j - индекс, относящий величину к рассматриваемой поверхности;

tн,j - температура за рассматриваемым ограждением (наружная или другого помещения), °С;

tj - температура внутренней поверхности рассматриваемого ограждения, °С;

I - количество всех поверхностей в помещении; i = 1, 2, ...j,... I;

i - индекс, относящий величину к одной из поверхностей, окружающих рассматриваемую;

aл,j-i - коэффициент лучистого теплообмена между рассматриваемой поверхностью и любой другой;

aк,j - коэффициент конвективного теплообмена на рассматриваемой поверхности;

Qл,j - лучистые теплопоступления от внутренних источников на рассматриваемую поверхность, Вт.

В расчете учитываются теплопоступления только от приборов отопления, поэтому для данного случая лучистые теплопоступления Qл,j, Вт, вычисляются по формуле

                                                                                                            (9.3)

где Qп - теплопотери помещения за счет теплопередачи через все ограждения, Вт; определяются по формуле

                                                                                               (9.4)

где N - число наружных ограждений;

n - индекс, относящий величину к поверхности наружного ограждения.

В тепловом балансе воздуха помещения учитываются конвективный теплообмен каждой поверхности с воздухом, конвективная часть теплопоступлений от внутренних источников и теплопотери от инфильтрации наружного воздуха:

                                                                                 (9.5)

где Qк - конвективные теплопоступления в помещение, Вт; определяются по формуле

Qк = Qпrк.                                                                                                                    (9.6)

Решение системы уравнений теплового баланса для всех внутренних поверхностей и воздуха помещения выполняется итерационным методом, на каждом шаге которого уточняются коэффициенты конвективного и лучистого теплообмена. При этом учитываются разности температур между теплообменивающимися средами, положение ограждения в пространстве (вертикальное, горизонтальное), направление теплового потока (вверх или вниз от охлажденной или нагретой по сравнению с воздухом поверхности) по формулам (3.10)- (3.12), а также общая подвижность воздуха в помещении по формулам (3.18), (3.19). В расчете коэффициентов лучистого теплообмена вычисляются коэффициенты взаимной облученности всех ограждений и приведенные относительные коэффициенты излучения каждой пары поверхностей по формуле (3.27). Коэффициент лучистого теплообмена для каждой поверхности, обращенной в помещение, при теплообмене с любой другой определяется по формуле (3.55).

9.2. Пример сравнения теплопотерь при отоплении различными системами

Для расчета по приведенной выше методике рассмотрим рядовую комнату с одной наружной стеной и одним окном, расположенную на промежуточном этаже. При всех системах отопления в ней поддерживается одинаковая результирующая температура помещения tп = 20 °С.

Коэффициент теплопередачи наружной стены - 0,37 Вт/(м2·°С), окна - 1,82 Вт/(м2·°С). Температура наружного воздуха tн = -28 °С. Потребность в теплоте на нагревание инфильтрационного воздуха равна 120 Вт. Подвижность воздуха vв = 0,2 м/с.

Приняты следующие геометрические характеристики помещения: длина наружной стены - 6 м; глубина помещения - 4 м; высота помещения - 3,6 м; высота окна - 2 м; расстояние от пола до низа окна - 0,85 м. Окно находится посередине ширины наружной стены.

В помещении имеется мебель с общей площадью поверхностей, равной половине площади всех поверхностей ограждений, обращенных в помещение.

Относительные коэффициенты излучения поверхностей в расчете приняты: для потолка (побелка) e = 0,62; для пола (масляная краска, дерево) e = 0,81; для стен (штукатурка) e = 0,92; для окна (стекло) e = 0,94.

Коэффициенты облученности между ограждениями в помещении приведены в табл. 27.

Таблица 27

Коэффициент облученности между парами ограждений в помещении

С поверхности

На поверхность

Потолок

Пол

Наружная стена с окном

Внутренняя перегородка (справа от наружной стены)

Внутренняя перегородка (противоположная наружной стене)

Внутренняя перегородка (слева от наружной стены)

Окно

Мебель

Потолок

0

0,248

0,137

0,124

0,189

0,124

0,053

0,143

Пол

0,248

0

0,137

0,124

0,189

0,124

0,053

0,143

Наружная стена с окном

0,210

0,210

0,000

0,124

0,205

0,124

0

0,143

Внутренняя перегородка (справа от наружной стены)

0,206

0,206

0,135

0

0,187

0,089

0,052

0,143

Внутренняя перегородка (противоположная наружной стене)

0,210

0,210

0,148

0,124

0

0,124

0,057

0,143

Внутренняя перегородка (слева от наружной стены)

0,206

0,156

0,135

0,089

0,187

0

0,052

0,143

Окно

0,210

0,210

0

0,124

0,213

0,124

0

0,143

Мебель

0,143

0,143

0,143

0,143

0,143

0,143

0,143

0

Промежуточный результат расчета - определение по формуле (3.56) коэффициента лучистого теплообмена aл на поверхностях помещения при различных системах отопления (табл. 28).

Таблица 28

Коэффициент лучистого теплообмена aл, Вт/(м2·°С), на поверхностях помещения

Поверхность

Система отопления

Воздушная

Конвекторная

Радиаторная

С потолочной панелью

С напольной панелью

Потолок

3,39

3,39

3,40

3,53

3,45

Пол

4,13

4,13

4,14

4,21

4,27

Наружная стена с окном

4,53

4,54

4,55

4,61

4,61

Внутренняя перегородка (справа от наружной стены)

4,13

4,14

4,15

4,21

4,21

Внутренняя перегородка (противоположная наружной стене)

4,56

4,57

4,57

4,65

4,64

Внутренняя перегородка (слева от наружной стены)

4,13

4,15

4,15

4,21

4,21

Окно

4,43

4,44

4,44

4,50

4,50

Мебель

4,56

4,57

4,58

4,66

4,66

Коэффициенты конвективного теплообмена aк, Вт/(м2·°С), рассчитанные по формулам (3.10)- (3.12) с учетом общей подвижности воздуха v = 0,2 м/с по (3.18), (3.19), приведены в табл. 29.

Таблица 29

Коэффициент конвективного теплообмена aк, Вт/(м2·°С), на поверхностях помещения

Поверхность

Система отопления

Воздушная

Конвекторная

Радиаторная

С потолочной панелью

С напольной панелью

Потолок

2,70

2,61

2,39

2,28

1,45

Пол

1,48

1,43

1,31

2,80

3,99

Наружная стена с окном

2,60

2,56

2,48

1,93

1,94

Внутренняя перегородка (справа от наружной стены)

2,09

2,03

1,87

2,04

2,02

Внутренняя перегородка (противоположная наружной стене)

2,10

2,04

1,89

2,03

2,02

Внутренняя перегородка (слева от наружной стены)

2,09

2,03

1,87

2,04

2,02

Окно

3,78

3,76

3,74

3,57

3,57

Мебель

1,88

1,87

1,85

1,69

1,69

Результат расчета - значения температуры на поверхностях ограждений ti (табл. 30), средние значения радиационной tr результирующей tп и температуры внутреннего воздуха tв (табл. 31), а также значения теплопотерь ограждения за счет теплопередачи Qп (табл. 32).

Таблица 30

Температура на поверхности ограждения ti, °С

Поверхность

Система отопления

Воздушная

Конвекторная

Радиаторная

С потолочной панелью

С напольной панелью

Потолок

19,95

20,03

20,20

26,77

21,13

Пол

19,58

19,69

19,93

21,07

24,67

Наружная стена с окном

17,81

17,89

18,05

18,97

18,90

Внутренняя перегородка (справа от наружной стены)

19,65

19,75

19,95

21,03

20,98

Внутренняя перегородка (противоположная наружной стене)

19,62

19,71

19,91

21,01

20,97

Внутренняя перегородка (слева от наружной стены)

19,65

19,75

19,95

21,03

20,98

Окно

9,86

9,90

9,98

10,53

10,54

Мебель

19,12

19,21

19,39

20,24

20,23

Таблица 31

Общая температурная обстановка в помещении, °С

Температура

Система отопления

Воздушная

Конвекторная

Радиаторная

С потолочной панелью

С напольной панелью

Радиационная tr

19,01

19,10

19,29

20,16

20,16

Воздуха помещения tв

20,99

20,90

20,71

19,84

19,84

Результирующая помещения tп

18,00

20,00

20,00

20,00

20,00

Таблица 32

Теплопотери помещения Qп, Вт

Система отопления

Воздушная

Конвекторная

Радиаторная

С потолочной панелью

С напольной панелью

918,9

919,9

922,1

935,0

934,9

9.3. Анализ полученных результатов

По мере уменьшения конвективной составляющей rк в теплоподаче отопительных приборов в помещении снижается разность температур воздуха помещения и радиационной в соответствии с тепловым балансом воздуха [формула (9.5)] при уменьшении Qк. При увеличении этой разности температура воздуха tв увеличивается, а радиационная температура tr понижается, поэтому уменьшается и температура внутренней поверхности наружных ограждений, а следовательно, и их теплопотери. Правда, в данном случае увеличение теплопотерь по мере снижения конвективной составляющей в теплоподаче незначительно, т.к. сами теплопотери невелики.

Наиболее низкая температура в помещении формируется на поверхностях наружных ограждений, причем чем больше коэффициент теплопередачи (т.е. чем меньше сопротивление теплопередаче), тем ниже температура. У окна температура самая низкая (9,86-10,54 °С), т.к. Кок = 1,82 Вт/(м2·°С), у наружной стены значения температуры выше (17,81-18,97 °С), т.к. коэффициент теплопередачи Кнс = 0,37 Вт/(м2·°С) < Кок = 1,82 Вт/(м2·°С).

На температуру поверхности, обращенной в помещение, оказывает влияние не только температура за ограждением и его сопротивление теплопередаче, но и лучисто-конвективный теплообмен между поверхностями. Во всех случаях, кроме обогрева напольной панелью, температура потолка выше температуры внутренних стен, которая, в свою очередь, выше температуры пола, несмотря на то что все эти ограждения являются внутренними и за ними находятся помещения с таким же режимом, как в рассматриваемом.

На понижении температуры какой-либо поверхности внутреннего ограждения сказывается лучистый теплообмен этой поверхности с окном. Наибольший коэффициент j облученности окна с противоположной ему внутренней перегородкой, поэтому ее температура на 0,03-0,04 °С ниже, чем у боковых стен справа и слева от наружной стены.

В данном помещении коэффициенты облученности с каждой поверхности ограждения на окно невелики и мало отличаются друг от друга (от 0,052 до 0,057), поэтому влияние лучистого теплообмена с окном проявилось в меньшей степени, чем конвективного с воздухом помещения. Отметим, что наименьшие коэффициенты лучистого теплообмена формируются на поверхности потолка, что объясняется наименьшим значением его относительного коэффициента излучения e = 0,62. Значит, на температуру потолка в наименьшей из всех поверхностей степени влияет лучистый теплообмен, а в наибольшей - конвективный.

При отоплении системой с конвективной составляющей (воздушной, конвекторной, радиаторной) коэффициент конвективного теплообмена формируется в условиях, когда у каждой поверхности температура ниже температуры воздуха. Для этого случая с учетом (3.10)- (3.12) и (3.18), (3.19) формула для определения коэффициента конвективного теплообмена aк,i; Вт/(м2·°С), при высоте помещения hп, м, принимает вид:

Значения коэффициента А в формуле: для потолка А = 2,16, для стен А = 1,67, для пола А = 1,16. Соотношение этих значений отражает то, что на потолке - самый интенсивный теплообмен с воздухом, а на полу - самый слабый (охлажденный воздух стелется по полу), что температура потолка ближе всего к температуре воздуха, а пола - дальше. Этим и объясняется наибольшая температура потолка и наименьшая - пола.

В условиях поддержания одной и той же температуры в помещении температура потолочной панели должна быть выше, чем напольной, т.к. интенсивность конвективного теплообмена на греющих потолочной и напольной панелях различна. При потолочном отоплении теплый воздух скапливается под нагретой потолочной панелью, при напольном же - хорошо перемешивается в объеме воздуха, что в расчете учитывается коэффициентом А.

Роль лучистого теплообмена при панельном отоплении проявляется в том, что все поверхности, обращенные в помещение, имеют более высокие значения температуры, чем при системах с большой долей конвективной составляющей, т.е. более высокую радиационную температуру. Поэтому панельные системы отопления часто называют радиационными.

При лучистом отоплении охлаждающий конвективный поток, создающийся инфильтрацией, формирует температуру воздуха ниже радиационной. При воздушном, конвекторном и радиаторном отоплении конвективный поток от системы отопления превышает теплопотери за счет инфильтрации, и поэтому температура воздуха выше радиационной.

Следовательно, несмотря на то что при панельном радиационном отоплении теплопотери за счет теплопередачи несколько выше, чем при других системах, экономия теплоты может быть достигнута за счет вентиляции, т.к. температура приточного воздуха может быть немного понижена по отношению к необходимой температуре помещения tп, формируя более низкую температуру воздуха помещения tв. Однако понижение температуры воздуха помещения tв вызывает необходимость повышать радиационную температуру tr в нем, т.к. температурная обстановка в помещении должна соответствовать нормативной (табл. 4 и 6). Кроме того, следует учитывать, что повышение радиационной температуры tr увеличит теплопотери помещения за счет теплопередачи.

9.4. Пример проверки выполнения условий комфортности

Для поддержания в административном помещении (по аналогии с п. 9.2) результирующей температуры tп = 20 °С температура потолочной панели размером 6´4 м должна быть tпн = 26,8 °С. Температура воздуха tв = 19,84 °С. Высота помещения от пола этажа до пола следующего - 3,6 м. В данном помещении должны поддерживаться оптимальные условия.

Проверим первое и второе условия комфортности.

Первое условие комфортности, согласно п. 2.1, считается выполненным, если сочетание tв и tr в помещении категории 2 (т.е. в таком, где люди заняты умственным трудом или учебой) находится в пределах, обозначенных в табл. 4. По этой таблице диапазон оптимальной tв - в пределах 19-21 °С, tп - 18-20 °С. Сочетание параметров микроклимата в рассматриваемом помещении отвечает оптимальным условиям.

Второе условие комфортности ограничивает температуру нагретой поверхности допустимой величиной , рассчитываемой по формуле (2.6). Коэффициент облученности с элементарной площадки на голове человека на нагретую панель jг.ч-п найдем по графику на рис. 13 (при компьютерном расчете удобно пользоваться формулой (3.34)). Человек находится в центре помещения, поэтому расчетный прямоугольник, под углом которого он стоит, имеет размеры 2´3 м. При

где 0,3 - толщина перекрытия, м;

2 - высота рабочей зоны, м;

j = 0,205.

Полученную с графика величину ф следует умножить на 4:

jг.ч-п = 0,205·4 = 0,82;

Температура на поверхности панели ниже допускаемой (26,8 < 29,8 °С), следовательно, второе условие комфортности выполняется.

Глава 10. Теплопотери здания и удельный расход тепловой энергии на отопление здания за отопительный период*

* В данной главе буквенные обозначения используются согласно нормативным документам.

10.1. Требуемые величины удельного расхода тепловой энергии на отопление здания за отопительный период

Потребительский подход к выбору сопротивления теплопередаче ограждения (см. п. 4.3) опирается на доказательство того, что удельный расход тепловой энергии на отопление жилых и общественных зданий за отопительный период не превышает приведенных в табл. 33 величин по СНиП 23-02-2003 [1].

Таблица 33

Требуемый удельный расход тепловой энергии на отопление здания qh,req, кДж/(м2·°С·сут) [кДж/(м3·°С·сут)]

Здание

Число этажей

1-3

4,5

6,7

8,9

10,11

12 и выше

1. Жилое, гостиница, общежитие

По табл. 34

85 [31] для четырехэтажных одноквартирных и блокированных

домов (по табл. 34)

80 [29]

76 [27,5]

72 [26]

70 [25]

2. Общественное (кроме 3, 4,5)

[42]; [38]; [36] соответственно нарастанию этажности

[32]

[31]

[29,5]

[28]

 

3. Поликлиника, лечебное учреждение, дом-интернат

[34]; [33]; [32] соответственно нарастанию этажности

[31]

[30]

[29]

[28]

 

4. Детское дошкольное учреждение

[45]

 

 

 

 

 

5. Сервисного обслуживания

[23]; [22]; [21] соответственно нарастанию этажности

[20]

[20]

 

 

 

6. Административного назначения (офис)

[36]; [34]; [33] соответственно нарастанию этажности

[27]

[24]

[22]

[20]

[20]

Примечание. Для регионов, в которых количество градусо-суток Dd = 8 000 °С·сут и более, требуемые значения qh,req следует снизить на 5 %.

Для малоэтажного жилого здания значения требуемого удельного расхода тепловой энергии на отопление представлены в табл. 34.

Таблица 34

Требуемый удельный расход тепловой энергии на отопление qh,req, кДж/(м2·°С·сут), одноквартирных отдельно стоящих и блокированных жилых домов

Отапливаемая площадь здания, м2

Число этажей

1

2

3

4

60 и менее

140

-

-

-

100

125

135

-

-

150

110

120

130

-

250

100

105

110

115

400

-

90

95

100

600

-

80

85

90

1 000 и более

-

70

75

80

По МГСН 2.01-99* [12] для зданий, расположенных в Москве, величину теплопотребления принято измерять в кВт·ч/м2. В связи с этим в [32] данные табл. 33 и 34 переведены в эти единицы и представлены в настоящем издании в табл. 35, 36 соответственно.

Таблица 35

Требуемый удельный расход тепловой энергии на отопление здания qh,req, кВт·ч/м2 (за отопительный период) [32]

Типы зданий

Этажность зданий

1

2

3

4*, 5

6,7

8,9

10,11

12 и выше

1. Жилые, гостиницы, общежития

По табл. 36

120

110

105

100

95

2. Общественные (кроме 3-6)

190

175

160

145

140

135

130

125

3. Поликлиники, лечебные учреждения, дома-интернаты

170

165

160

155

150

145

140

-

4. Дошкольные учреждения, хосписы

230

-

-

-

-

-

5. Административного назначения (офисы)

165

155

145

125

110

100

90

90

6. Сервисного обслуживания

и культурно-досуговой деятельности

с температурой наружного воздуха:

 

 

 

 

 

 

 

 

tint = 20°С

140

135

130

125

125

-

-

-

tint = 18°C

130

125

120

115

115

-

-

-

tint = 16°C

120

115

110

105

105

-

-

-

Примечание. Требуемое удельное энергопотребление установлено из расчета высоты помещений жилого здания и гостиницы - 2,8 м; административного (офиса) и других общественных зданий - 3,3 м; сервисных зданий - 4,5 м. Для конкретного проекта допускается пересчитывать нормативные величины, приведенные в таблице, на другие.

* Для четырехэтажных одноквартирных отдельно стоящих и блокированных домов - по табл. 36.

Таблица 36

Требуемый удельный расход тепловой энергии на отопление qh,req, кВт·ч/м2, малоэтажных жилых домов одноквартирных отдельно стоящих и блокированных (за отопительный период) [32]

Отапливаемая площадь дома, м2

С числом этажей

1

2

3

4

60 и менее

195

-

-

-

100

170

185

-

-

150

150

165

180

-

250

135

145

150

160

400

-

125

130

150

600

-

110

115

125

1 000 и более

-

95

105

110

Примечание. Требуемое удельное энергопотребление установлено из расчета высоты помещений жилых зданий - 3 м. Для конкретного проекта допускается пересчитывать нормативные величины, представленные в таблице, на другие.

10.2. Расчет теплотехнических показателей здания в целом

В СНиП 23-02-2003 [1] к основным теплотехническим показателям проекта отнесены:

• приведенный трансмиссионный коэффициент теплопередачи здания;

• средняя кратность воздухообмена здания за отопительный период;

• условный инфильтрационный коэффициент теплопередачи здания;

• общий коэффициент теплопередачи здания.

10.2.1. Приведенный трансмиссионный коэффициент теплопередачи

Приведенный трансмиссионный коэффициент теплопередачи совокупности наружных ограждений здания определяется как средний по площадям коэффициент теплопередачи для всех наружных ограждений объекта. Приведенный трансмиссионный коэффициент теплопередачи здания  Вт/(м2·°С), показывает средний тепловой поток, Вт, проходящий через 1 м2 суммарной площади всех наружных ограждений при разности температур внутреннего и наружного воздуха в 1 °С, и определяется по формуле

                                                                 (10.1)

где bh - коэффициент учета дополнительного теплопотребления системы отопления, связанного с дискретностью номинального теплового потока номенклатурного ряда отопительных приборов, их дополнительными теплопотерями через заприборные участки ограждений, повышенной температурой угловых помещений, теплопотерями трубопроводов, проходящих через неотапливаемые помещения; принимается:

• в расчетах теплопотребления за отопительный период bh = 1;

• в расчетах требуемой мощности системы отопления многосекционных и других протяженных зданий bh = 1,13, зданий башенного типа bh = 1,11;

nw, nc, nf - коэффициент положения отдельного ограждения (стен, потолков, полов) относительно наружного воздуха, уменьшающий разность температур для ограждения, не соприкасающегося с наружным воздухом; определяется по формуле (4.3) или по табл. 16;

Аw, Аc, Аf, АF, Аed - площадь наружной поверхности соответственно стен, потолков, полов, окон, входных дверей в здание, м2; правила обмера см. п. 7.1;

 - приведенное сопротивление теплопередаче соответственно стен, потолков, полов, окон, входных дверей в здание, м2·°С/Вт; определяется по п. 5;

 - общая площадь всех наружных ограждений здания, учитываемых в формуле, м2.

Разные конструкции наружных стен, потолков, полов учитываются самостоятельными слагаемыми. Если здание имеет стены, потолки или полы, разделяющие помещения с расчетными температурами внутреннего воздуха, отличающимися на 6 °С и более, то эти ограждения следует учитывать в формуле (10.1).

10.2.2. Приведенный инфильтрационный (условный) коэффициент теплопередачи здания и средняя кратность воздухообмена за отопительный период

Приведенный условный инфильтрационный коэффициент теплопередачи здания служит для оценки расхода теплоты, идущей на нагревание инфильтрационного и вентиляционного воздуха.

В соответствии со СНиП 23-02-2003 [1] вентиляционный воздухообмен зданий определяется по расчетной площади А1, м2. В жилых зданиях А1 - это суммарная площадь жилых помещений, в общественных и административных зданиях - сумма площадей всех помещений, за исключением коридоров (если они не служат залами ожидания), тамбуров, переходов, лестничных клеток, лифтовых шахт, внутренних открытых лестниц и пандусов, а также помещений для инженерного оборудования и сетей.

Вентиляционный воздухообмен жилых зданий принимается:

• для зданий с предоставлением социальной нормы общей площади на человека не более 20 м2 - 3 м3/ч на 1 м2 жилой площади, т.е. 3А1;

• для других жилых зданий 0,35V (здесь V - объем квартиры, м3), но не менее 30 м3/ч на одного жителя.

Для общественных зданий принимаются не проектные вентиляционные расходы, а некоторые условные Lv, м3/ч, вычисляемые исходя из расчетной площади А1.

• для административных, а также зданий сервисного обслуживания - 4А1;

• для образовательных и учреждений здравоохранения - 5А1;

• для спортивных, зрелищных и детских дошкольных учреждений - 6А1.

Инфильтрационный расход воздуха определяется:

• для жилых зданий как расход воздуха, поступающего вследствие инфильтрации в лестничные клетки здания;

• для общественных зданий как расход воздуха, поступающего через неплотности всех светопрозрачных конструкций и входных дверей в здание.

Расход инфильтрационного воздуха на лестничную клетку жилого дома Ginf, кг/ч, через неплотности входных дверей и окон, витражей, балконных дверей-переходов за счет разности давлений воздуха на наружной и внутренней поверхности ограждения определяется с учетом сопротивления воздухопроницанию этих ограждений по формуле

                                                                              (10.2)

где АF, Аed - суммарная площадь соответственно окон и витражей, балконных дверей и всех входных дверей в здание, м2;

DpF, Dped - разность давлений наружного и внутреннего воздуха соответственно для окон и балконных дверей лестничной клетки и лифтовых холлов (по формуле (6.10) с заменой множителя 0,55 на 0,28) и для входных дверей (по формуле (6.10)), Па;

Ra,F, Ra,ed - сопротивление воздухопроницанию (при Dp0 = 10 Па) соответственно окон, витражей и балконных дверей лестничной клетки и лифтовых холлов и всех дверей в здание, м2·ч/кг; определяется по п. 6.4.

Если сопротивление воздухопроницанию окна и/или балконной двери в лифтовым холле отличается от соответствующего показателя на лестничной клетки, то в формулу (10.2) следует ввести два самостоятельных слагаемых с учетом площади каждой конструкции (например, в лестничном холле балконные двери с тамбуром, а на лестничной клетке - без него).

Расход инфильтрационного воздуха общественного здания определяется по формуле (10.2) с учетом сопротивления воздухопроницанию окон и входных дверей. Допускается инфильтрационный расход общественных зданий Ginf, кг/ч, определять по формуле

                                                                                                        (10.3)

где bv - коэффициент снижения объема воздуха в здании, учитывающий наличие внутренних ограждающих конструкций; при отсутствии данных bv = 0,85;

Vh - отапливаемый объем здания, равный находящемуся в пределах внешних поверхностей наружных ограждений, м3;

 - средняя плотность приточного воздуха за отопительный период, кг/м3; определяется по формуле

                                                                                             (10.4)

где tint - расчетная температура внутреннего воздуха, °С;

text - температура наружного воздуха, °С; определяется для средних за отопительный период условий как средняя температура отопительного периода: text = tht.

Средняя кратность воздухообмена здания за отопительный период па, 1/ч, рассчитывается по суммарному воздухообмену за счет вентиляции и инфильтрации с учетом часов действия вентиляции и инфильтрации по формуле

                                                                                                 (10.5)

где Lv - расход вентиляционного воздуха, м3/ч;

nv - количество часов работы системы вентиляции в неделю, ч;

ninf - количество часов действия инфильтрации в течение недели, ч; для зданий только с вытяжной и сбалансированной приточно-вытяжной вентиляцией ninf = 168; для зданий, в помещениях которых поддерживается подпор воздуха во время действия механической приточной вентиляции, ninf = 168 - nv.

Приведенный инфильтрационный (условный) коэффициент теплопередачи здания , Вт/(м2·°С), показывает тепловой поток, Вт, необходимый для нагрева в среднесезонных условиях на 1 °С инфильтрационного и условной нормы вентиляционного воздуха, отнесенный к 1 м2 общей площади наружных ограждений здания:

                                                                                             (10.6)

где k - коэффициент учета влияния встречного теплового потока в светопрозрачных конструкциях; определяется по п. 7.4.

Общий коэффициент теплопередачи здания Кm, Вт/(м2·°С), показывает суммарный тепловой поток в 1 Вт, необходимый для компенсации трансмиссионных тепловых потерь здания при разности температур внутреннего и наружного воздуха в 1 °С и нагрева на 1 °С инфильтрационного и условной нормы вентиляционного воздуха, отнесенный к 1 м2 общей площади наружных ограждений здания:

                                                                                                         (10.7)

10.3. Расчет теплоэнергетических параметров здания

Основными теплоэнергетическими параметрами здания считаются:

• общая потребность в теплоте на отопление здания и на подогрев вентиляционной нормы воздуха;

• удельный расход теплоты на отопление здания и на подогрев вентиляционной нормы воздуха.

Для расчета этих показателей сначала определяются теплопотери здания в течение отопительного периода через наружные ограждения и за счет инфильтрации. Затем из этой цифры вычитаются значения теплопоступлений от солнечной радиации и внутренних бытовых тепловыделений, уменьшенные с учетом аккумуляции некоторого количества теплоты ограждениями помещений и эффективности регулирования теплоотдачи от отопительных приборов.

В связи с тем что в СНиП 23-02-2003 [1] и МГСН 2.01-99* [12] теплоэнергетические параметры рассчитываются в разных единицах измерения, ниже они приведены для обоих случаев.

10.3.1. Общие теплопотери через наружную ограждающую оболочку здания

Общие теплопотери через наружную ограждающую оболочку здания за отопительный период рассчитываются с учетом нагрева условной нормы вентиляционного воздуха. При поддержании заданной средней температуры в помещениях общие теплопотери здания за отопительный период Qh определяются по одной из формул

                                                                                  (10.8)

                                                                                   (10.9)

10.3.2. Бытовые тепловыделения

Согласно СНиП 23-02-2003 [1], величина удельных бытовых тепловыделений на 1 м2 площади жилых помещений qint, Вт/м2, принимается для жилых зданий:

• предназначенных гражданам с учетом социальной нормы (с расчетной заселенностью квартиры не более 20 м2 общей площади на человека), qint = 17 Вт/м2;

• без ограничения социальной нормы (с расчетной заселенностью квартиры не менее 45 м2 общей площади на человека) qint = 10 Вт/м2;

• в зависимости от расчетной заселенности квартиры по интерполяции величины qint между 17 и 10 Вт/м2.

Удельные бытовые тепловыделения общественных и административных зданий за отопительный период qint, Вт/м2, вычисляются в зависимости от числа людей, находящихся в здании; по расчетному числу (90 Вт на человека); от освещения (по установленной мощности) и оргтехники (10 Вт/м2) с учетом рабочих часов в неделю по формуле

                                                                                 (10.10)

где т - число людей, находящихся в здании, чел;

пр - средняя продолжительность пребывания людей в здании за неделю, ч;

пt - продолжительность искусственного освещения функциональных помещений здания за неделю, ч;

пw - продолжительность работы оргтехники и других внутренних источников теплоты в здании, ч.

Бытовые теплопоступления в течение отопительного периода Qint определяются по формулам

Qint = 0,0864qint A1zht (МДж);                                                                                     (10.11)

Qint = 0,024qint A1zht (кВт·ч).                                                                                       (10.12)

10.3.3. Теплопоступления в здание от солнечной радиации

Теплопоступления в здание от солнечной радиации за отопительный период через окна и фонари Qs, МДж или кВт·ч, определяются по формуле

                                                                                                  (10.13)

где J - число ориентации по сторонам света, включая горизонтальную, на которые выходят светопрозрачные элементы ограждающей конструкции здания;

j - номер ориентации по сторонам света, на которую ориентированы какие-либо ограждения здания;. j =1,2,..., J;

tFj - коэффициент учета затенение непрозрачными элементами окна или фонаря, выходящего на j-ю ориентацию по сторонам света; определяется по табл. 21;

kFj - коэффициент относительного проникания солнечной радиации через прозрачную часть окна или фонаря j-й ориентации по сторонам света; определяется по табл. 21;

AFj - площадь окна или витража, выходящего на j-ю ориентацию по сторонам света, м2;

Qj - поток суммарной солнечной радиации, приходящей за отопительный период на поверхность j-й ориентации по сторонам света, МДж/м2 или кВт·ч/м2; определяется по прил. 2.

10.3.4. Потребность в тепловой энергии на отопление здания

Потребность в тепловой энергии на отопление здания в течение отопительного периода с учетом нагрева вентиляционной нормы воздуха , МДж или кВт·ч, находится по формуле

                                                                                       (10.14)

где n - коэффициент снижения теплопоступлении за счет тепловой инерции ограждающих конструкций; n = 0,8 в соответствии со СНиП 23-02-2003 [1];

z - коэффициент эффективности автоматического регулирования подачи теплоты в системы отопления; в СНиП 23-02-2003 [1] рекомендуются следующие значения:

• в однотрубной системе с термостатами и пофасадным автоматическим регулированием на вводе или с поквартирной горизонтальной разводкой z = 1,0;

• в двухтрубной системе отопления с термостатами и с центральным автоматическим регулированием на вводе z = 0,95;

• в однотрубной системе отопления с термостатами и с центральным автоматическим регулированием на вводе или однотрубной системе без термостатов и с пофасадным автоматическим регулированием на вводе, в двухтрубной системе отопления с термостатами и без автоматического регулирования на вводе z = 0,9;

• в однотрубной системе отопления с термостатами и без автоматического регулирования на вводе z = 0,85;

• в системе без термостатов и с центральным автоматическим регулированием на вводе с коррекцией по температуре внутреннего воздуха z = 0,7;

• в системе без термостатов и без автоматического регулирования на вводе - регулирование центральное в ЦТП или котельной z = 0,5.

При этом некоторые значения bh для зданий различного типа таковы:

• для многосекционного и другого протяженного здания bh = 1,13;

• башенного типа bh = 1,11;

• с отапливаемым подвалом bh = 1,07;

• с отапливаемым чердаком, а также с квартирным генератором теплоты bh = 1,05.

10.3.5. Учет теплопоступлений в помещение

Как уже было отмечено в п. 10.3.4, процедура расчета годового теплопотребления системой отопления, нормируемая в СНиП 23-02-2003 [1] и МГСН 2.01-99* [12], предполагает вычитание суммы теплопоступлений в здание из сезонных теплопотерь. Это действие отражает возможность регулирования температуры воздуха, снижения подачи теплоты в помещение от системы отопления в целях экономии. В расчете сезонного энегопотребления учитываются теплопоступления от бытовых источников и от солнечной радиации, проникающей через светопрозрачные ограждения. При этом не рассматривается распределение в течение отопительного периода величины теплопотерь и теплопоступлений, хотя известно, что в начале и конце отопительного периода теплопоступления от солнечной радиации значительны, а теплопотери невелики. Всегда ли можно компенсировать теплопоступления путем снижения теплоподачи отопительных приборов? Этот вопрос интересен как с точки зрения способа регулирования температуры в помещении, так и со стороны правильности оценки годового теплопотребления.

В 2000 году на кафедре отопления и вентиляции МГСУ была проведена работа по определению энергопотребления учебными зданиями, некоторые результаты которой опубликованы в [42]. Первоначально для проверки соотношения теплопотерь и теплопоступлений в различное время года предполагалось сравнивать их месячные суммы. В качестве исходных данных для расчета теплопотерь были приняты среднемесячные температуры наружного воздуха в Москве по СНиП 23-01-99* [3], а для расчета теплопоступлений от солнечной радиации - данные, приведенные в прил. 2. Оказалось, что месячные суммы теплопотерь всегда больше месячных сумм теплопоступлений.

Однако если сравнивать месячные суммы теплопотерь и теплопоступлений за время физически возможного солнечного сияния, а не за полные сутки, то в начале и конце отопительного периода теплопотери оказываются ниже теплопоступлений.

В [42] были проведены расчеты для учебных зданий, расположенных в Москве, отличающихся большой долей остекления фасадов (около 40 %). Исследуемые объекты, построенные по теплотехническим нормам, действовавшим до 1994 года, и по современным нормам, имели формы вытянутого прямоугольника, а также близкие к квадрату.

В расчетах определялись теплопоступления от солнечной радиации, людей, оборудования, а также теплопотери при среднемесячной температуре и среднесезонной скорости ветра, направленного на широкий фасад здания. При этом в расчет принимались теплопоступления за количество дней в каждом месяце отопительного периода, причем в сентябре таких дней 6, а в апреле - 26. В расчете учитывались теплопоступления и теплопотери здания только за время солнечного сияния в каждый месяц.

Рис. 39. Сравнение месячных сумм теплопоступлений и теплопотерь за время солнечного сияния в 9-этажном здании квадратной формы, построенном по старым нормам

Результаты сравнения полученных месячных сумм теплопотерь и теплопоступлений были представлены в виде диаграмм, три из которых приведены на рис. 39,40. В область положительных значений здесь отнесены указанные теплопотери, а в область отрицательных - теплопоступления (от людей и оборудования - светлым, за счет солнечной радиации - темным). В декабре, январе и феврале продолжительность солнечного сияния значительно меньше, чем в другие месяцы отопительного периода, поэтому учитываемая сумма теплопотерь в декабре, январе и феврале ниже, чем в остальные месяцы, несмотря на более низкую среднемесячную температуру.

Видно, что в месяцы переходного периода (сентябрь, октябрь, апрель) возникают ситуации, когда средние за время солнечного сияния теплопоступления преобладают над теплопотерями здания за тот же период. Такое явление чаще всего наблюдается в хорошо теплозащищенных зданиях, отвечающих современным теплотехническим нормам.

Поэтому при определении расхода тепловой энергии на отопление здания в течение отопительного периода по СНиП 23-02-2003 [1] и МГСН 2.01-99* [12] следует учитывать это явление введением коэффициента Кт.п, уменьшающего величину теплопоступлений в течение отопительного периода и учитывающего невозможность компенсировать все теплопоступления закрытием терморегулирующего клапана на отопительном приборе. Для корпусов вузов с учетом принятых размеров окон, тепловыделений от оборудования коэффициент Кт.п определялся по формуле

                                                                             (10.15)

где  - месячные суммы соответственно теплопоступлений и теплопотерь в течение отопительного периода, МВт·ч; в числителе суммируются только положительные разности;

 - полная сезонная сумма теплопоступлений, МВт·ч.

На величину Кт.п влияет относительно меньшее возрастание теплопотерь в сравнении с возрастанием теплопоступлений при увеличении этажности в зданиях до 10 этажей. Значения Кт.п для существующих и вновь проектируемых зданий в зависимости от числа этажей в них при учете средних за период солнечного сияния в каждый месяц отопительного периода теплопотерь и теплопоступлений приведены в табл. 37.

Рис. 40. Сравнение месячных сумм теплопоступлений и теплопотерь за время солнечного сияния в теплозащищенных зданиях: а - 9-этажное квадратное здание; б - 9-этажное вытянутое здание

Таблица 37

Значение коэффициента Кт.п

Этаж

Здание с теплозащитой по старым нормам

Здание с теплозащитой по новым нормам

1-4

0,99

0,90

5-6

0,99

0,85

7-9

0,98

0,80

Несмотря на то что усреднение теплопотерь и теплопоступлений за месяц не отражает условий регулирования теплоотдачи отопительных приборов, даже при таком расчете просматривается необходимость введения уменьшающих коэффициентов на сумму теплопоступлений при определении сезонного теплопотребления.

Для уточнения было решено проверить соотношение теплопотерь и теплопоступлений в какие-либо отдельные солнечные сутки отопительного периода и решить вопрос о том, в какие месяцы отопительного периода возможно превышение теплопоступлений над теплопотерями. Для этой части работы были использованы данные о суточном ходе прямой и рассеянной солнечной радиации в различные месяцы на географической широте Москвы - 56° с.ш. [43]. Для расчета были приняты рядовые помещения жилого и офисного здания. Теплотеряющими в помещениях являются только два ограждения: наружная стена и окно. Площадь стены с окном - 9 м2. Окно принималось разных размеров, так что доля остекления фасада возрастала от 0,18 до 0,6. Доля остекления варьировалась, т.к., с одной стороны, увеличение площади окна способствует прониканию солнечного тепла, а с другой - увеличивает теплопотери помещения.

В соответствии со СНиП 23-02-2003 [1] и МГСН 2.01-99* [12] в офисном здании сопротивление теплопередаче стены принималось равным 2,68 м2·°С/Вт, в жилом - 3,13 м2·°С/Вт. Сопротивление теплопередаче окна считалось равным 0,56 м2·°С/Вт. Температура внутреннего воздуха - 20 °С.

Расчет был выполнен для января, февраля, марта, апреля. В теплопотерях жилой комнаты учитывался нагрев вентиляционной нормы воздуха в размере 3 м3/ч на 1 м2 пола и бытовые теплопоступления 10 Вт/м2. Для офисного помещения принималась инфильтрация в размере 10 % от трансмиссионных теплопотерь.

При этом учитывалось затенение светового проема непрозрачными элементами двухкамерного стеклопакета в пластиковых переплетах (t = 0,8), относительное пропускание солнечной радиации тройным остеклением (k = 0,74), коэффициент снижения теплопоступлений за счет тепловой инерции ограждающих конструкций (v = 0,8), коэффициент эффективности автоматического регулирования подачи теплоты системой отопления (x = 0,9).

Значения теплопотерь жилого и офисного зданий в зависимости от температуры наружного воздуха при разной степени остекления фасада показаны на рис. 41.

Значения теплопоступлений от солнечной радиации в солнечный день января, февраля, марта и апреля при остеклении фасада 60 % приведены на рис. 42, а на рис. 43 - при остеклении фасада 18 %.

Рис. 41. Теплопотери жилых и офисных зданий при разной доле остекления фасадов

Рис. 42. Теплопоступления от солнечной радиации Qc в солнечный день января (а), февраля (б), марта (в) и апреля (г) при остеклении фасада 60 %

Рис. 43. Теплопоступления от солнечной радиации Qc в солнечный день января (а), февраля (б), марта (в) и апреля (г) при остеклении фасада 18 %

Результаты расчета показали, что при солнечной погоде у жилых и офисных помещений южной, юго-восточной (юго-западной), восточной (западной) ориентации даже в январе теплопоступления при довольно низких температурах наружного воздуха большую часть дня могут быть выше, чем теплопотери.

Из рисунков следует, что даже в январе теплопотери могут быть ниже теплопоступлений, особенно если солнечный день не самый морозный. При большей доле остекления фасада с большей вероятностью теплопоступления могут оказаться выше, чем теплопотери.

Следовательно, при разработке энергетических паспортов зданий по СНиП 23-02-2003 [1] и МГСН 2.01-99* [12] в расчете расхода тепловой энергии на отопление за отопительный период на величину теплопоступлений от солнечной радиации следует вводить понижающий коэффициент не выше 0,75-0,90 (более низкие значения для зданий с высокой долей остекления фасада). С помощью этого коэффициента учитывается невозможность снижения теплоподачи от отопительного прибора путем прикрытия терморегулирующего клапана для компенсации теплопоступлений, доминирующих над теплопотерями. Более точные значения коэффициента определяются только при серьезном статистическом анализе возможных сочетаний температуры наружного воздуха, скорости ветра и интенсивности солнечной радиации в течение отопительного периода.

10.3.6. Удельный расход тепловой энергии на отопление здания

Расчетный удельный расход тепловой энергии на отопление здания  с учетом нагрева вентиляционной нормы воздуха за отопительный период по СНиП 23-02-2003 [1] для жилых зданий, гостиниц и общежитий рассчитывается в кДж/(м2·°С·сут) по формуле (10.16), а для общественных зданий - по формуле (10.17) в кДж/(м3·°С·сут):

                                                                                                         (10.16)

                                                                                                         (10.17)

где  измеряется в МДж;

Ah - площадь квартир или полезной площади здания за исключением технических этажей и гаражей, м2.

Для Москвы по МГСН 2.01-99* [12] и [32] расчетный удельный расход тепловой энергии на отопление любых зданий, кВт·ч/м2, с учетом нагрева вентиляционной нормы воздуха за отопительный период определяется по формуле

                                                                                                                   (10.18)

где  измеряется в кВт·ч.

10.4. Пример расчета удельного расхода тепловой энергии на отопление жилых и общественных зданий за отопительный период

10.4.1. Исходные данные

Рассмотрим проектируемое 19-этажное односекционное жилое здание (17 жилых этажей) с двухэтажной стилобатной частью и подземной автостоянкой в Москве. Средняя температура наружного воздуха за отопительный период для Москвы tht = -3,1 °С, продолжительность отопительного периода zht = 214 сут, принимаемые по СНиП 23-01-99* [3].

Двухэтажная встроенно-пристроенная часть здания решается свободной планировкой для размещения офисов, режим работы которых 8 ч в сутки с двумя выходными в неделю. На первом этаже предусмотрена вестибюльная группа помещений жилой секции.

В подземной части и под прилегающей дворовой территорией предусмотрена двухуровневая автостоянка на 116 автомобилей и технические помещения. Въезды на автостоянку находятся со стороны двора и не имеют смежных ограждений с общественными помещениями.

Окна из двухкамерного стеклопакета с межстекольным расстоянием 12 мм. Площадь окон квартир - 2610,1 м2, офисов - 94 м2 (в сумме 2610,1 + 94 = 2704,1 м2). Незадымляемая лестница имеет балконные двери переходов общей площадью 59,9 м2, лифтовые холлы оборудованы балконными дверями с тамбурами общей площадью 59,9 м2. Общая площадь остекления - 2823,9 м2. Окна квартир и офисов, выходящих на разные стороны света, имеют площадь: на север - 338,8 м2, на запад - 793,4 м2, на юг - 338,6 м2, на восток - 1233,4 м2.

Здание оснащено двухтрубными системами отопления с термостатами на отопительных приборах и центральным автоматическим регулированием на вводе. Предусмотрена механическая приточно-вытяжная вентиляция в офисной части с выбросом удаляемого воздуха на кровлю и вытяжная естественная вентиляция с «теплым» чердаком в жилой части. Приток в жилые комнаты осуществляется через форточки в окнах.

Несмотря на то что здание расположено в Москве, расчет выполняется не только по МГСН 2.01-99* [12], но и по СНиП 23-02-2003 [1].

Основные данные по объему здания, площадям и сопротивлениям теплопередаче наружных ограждений приведены в табл. 38.

Таблица 38

Объемно-планировочные характеристики здания, площади наружных ограждений и их сопротивления теплопередаче

Параметры

Обозначение

Размерность

Величина

Строительный объем

V0

м3

11085,4

В том числе отапливаемой части

Vh

м3

111865,9

Расчетное количество людей исходя из расчетных показателей общественного здания

т

чел

 086 + 143 (1 229)

Площадь квартир

Ah

м2

1696,3

Полезная площадь офисов

Ah

м2

 023,5

Площадь жилых помещений

A1

м2

11817,8

Расчетная площадь офисов

A1

м2

11817,8 + 2 116,5

Высота этажа от пола до пола

H

м

4,05 и 3,6

Высота этажа от пола до потолка

h

м

3,75 и 3,3

Общая площадь наружных ограждающих конструкций отапливаемой части здания

м2

24883

наружных стен с 1-го по 5-й этажи

Aw1

м2

4488,5

наружных стен с 6-го по 19-й этажи

Aw2

м2

12717,4

стен между тамбурами переходов и жильем

Aw3

м2

167

стен между тамбурами переходов и лестничной клеткой

Aw4

м2

232,1

стен между техническими помещениями и гаражом

Aw5

м2

110

стен по грунту в технических помещениях

Aw6

м2

23,6

чердачных перекрытий

Ac1

м2

1297,9

покрытий лестничных клеток

Ac2

м2

72,9

покрытий над офисами

Ac3

м2

735,4

пола над автостоянкой

Af1

м2

2031,9

пола технических помещений над автостоянкой

Af2

м2

74,3

окон

AF

м2

2823,9

входных дверей

Aed

м2

58,1

Отношение площади наружных ограждающих конструкций отапливаемой части здания к отапливаемой площади

К

-

1,093

Отношение площади окон к площади стен, включая окна, АFw+F

P

<0,18

0,164

Компактность здания жилого дома

ke

<0,25

0,222

Уровень теплозащиты

 

 

 

Приведенное сопротивление теплопередаче

 

 

 

наружных стен с 1-го по 5-й этажи

м2·°C/Bт

3,30

наружных стен с 6-го по 19-й этажи

м2·°C/Bт

3,22

стен между тамбурами переходов и жильем

м2·°C/Bт

6,68 (экв.)

стен между тамбурами переходов и лестничной клеткой

м2·°C/Bт

5,95 (экв.)

стен между техническими помещениями и гаражом

м2·°C/Bт

4,92 (экв.)

стен по грунту в технических помещениях

м2·°C/Bт

2,77

чердачных перекрытий

м2·°C/Bт

7,538 (экв.)

покрытий лестничных клеток

м2·°C/Bт

3,34

покрытий над офисами, выходящими за контур жилого здания

м2·°C/Bт

3,74

пола над автостоянкой

м2·°C/Bт

4,556 (экв.)

пола технических помещений над автостоянкой

м2·°C/Bт

4,28 (экв.)

окон

м2·°C/Bт

0,54

входных дверей

м2·°C/Bт

0,83

Ниже приведен расчет удельного теплопотребления зданием в соответствии с процедурой, описанной в пп. 10.2, 10.3.

10.4.2. Расчет теплотехнических показателей здания в целом

Приведенный трансмиссионный коэффициент теплопередачи совокупности наружных ограждений здания находится по формуле (10.1):

Для расчета мощности системы отопления .

Приведенный инфильтрационный (условный) коэффициент теплопередачи здания ниже рассчитан по воздухообмену, принятому:

• для квартир в расчете установленной мощности отопления с расходом вентиляционной нормы воздуха, равной 3 м3/ч на 1 м2 жилой площади, т.е. 11817,8·3 = 35452,5 м3/ч, а при расчете энергопотребления 30 м3/ч на одного человека - 1086·30 = 32580 м3/ч, с проверкой величины 0,35Vкв = 0,35Ahh = 0,35·19696,3·3,3 = 22749,8 м3/ч < 32580 м3/ч;

• для лестнично-лифтового узла по воздухопроницаемости входных дверей и дверей переходов за счет расчетной разности давлений воздуха на наружной и внутренней поверхностях ограждений под действием теплового и ветрового напоров. На лестнице здания находятся балконные двери переходов общей площадью 59,9 м2, лифтовые холлы оборудованы балконными дверями с тамбурами общей площадью 59,9 м2; общая площадь входных дверей в здание (в жилой и встроенной частях) - 58,1 м2;

• для встроенных помещений 1-го и 2-го этажей за счет инфильтрации через окна общей площадью 94 м2. Инфильтрация происходит постоянно, т.к. в помещениях не предусмотрен подпор воздуха. Вентиляционный воздухообмен в офисных помещениях в течение 8 ч в сутки с двумя выходными в неделю на расчетной площади А1 = 2116,5 м2 в среднесезонных условиях принимается по п. 10.2.2: Lv = 4А1 = 2116,5·4 = 8466 м3/ч.

Расчетная разность давлений воздуха на наружной и внутренней поверхностях ограждений под действием теплового и ветрового напоров определяется также по п. 10.2.2:

1) в расчетных условиях для окон первого этажа здания

2) в среднесезонных условиях:

• для окон лестнично-лифтового узла жилого здания

• для входных дверей и окон встроенных помещений

где Н - высота здания от земли до верха вытяжной шахты, м; Н = 17·3,6 + 2·4,05 + 0,9 + 4,6 = 74,8 м, где 0,9 - высота пола первого этажа над землей, м; 4,6 - высота вытяжной шахты над полом чердака;

gext - удельный вес наружного воздуха, Н/м3:

• в расчетных условиях ;

• в среднесезонных условиях;

gint - удельный вес внутреннего воздуха, Н/м3:

• для окон при температуре внутреннего воздуха 20 °С

• для входных дверей при температуре вестибюля 16 °С

где vr - расчетная скорость ветра для холодного периода как максимальная из средних скоростей по румбам за январь, м/с; v = 4,9 м/с по табл. 1 СНиП 23-01-99* [3];

vm - средняя скорость за период со среднесуточной температурой воздуха -3,1 °С, м/с; v = 3,8 м/с по табл. 1 СНиП 23-01-99* [3].

Требуемое сопротивление воздухопроницанию окон в пластиковых переплетах в жилом доме при разности давлений Dр0 = 10 Па определяется по формуле (6.9):

где Gн - нормируемая воздухопроницаемость окна в пластиковом переплете; Gн = 5 кг/(м2·ч) по табл. 23.

Фактическое сопротивление воздухопроницанию окон и витражей в соответствии с сертификатом соответствия должно быть не менее

Сопротивление воздухопроницанию входных дверей принимается

Rа,ed = 0,14 м2·ч/кг.

Сопротивление воздухопроницанию балконных дверей переходов при Dр = 10 Па не менее

Часовой расход инфильтрационного воздуха в среднесезонных условиях для лестнично-лифтового узла и встроенных помещений рассчитывается по формуле (10.2) (при этом принимается требуемое значение воздухопроницаемости):

Средняя кратность воздухообмена здания за отопительный период определяется по формуле (10.5):

где Lv.кв - вентиляционный воздухообмен в квартирах, действующий круглосуточно, м3/ч; Lv.кв = 32580 м3/ч;

 - вентиляционный воздухообмен офисов, действующий по 8 ч 5 сут в неделю (nv = 5·8); Lv = 8466 м3/ч;

 - средняя плотность инфильтрационного воздуха в среднесезонных условиях, кг/м3; определяется по формуле (10.4):

где bv - коэффициент снижения объема воздуха в здании, учитывающий наличие внутренних ограждающих конструкций; bv = 0,85;

Vh - отапливаемый объем здания, м3; Vh = 111865,9 м3.

Приведенный инфильтрационный (условный) коэффициент теплопередачи здания в среднесезонных условиях рассчитывается по формуле (10.6):

Общий коэффициент теплопередачи здания находится по формуле (10.7):

10.4.3. Расчет теплоэнергетических параметров здания

Расчет выполнен в двух единицах измерения количества теплоты: в кВт·ч, как этого требует Московская государственная экспертиза, и в МДж, как этого требуют экспертизы других населенных пунктов.

Общие теплопотери через оболочку здания за отопительный период с учетом нагрева вентиляционного воздуха при поддержании температуры в помещениях 20 °С определяются по формулам (10.8) и (10.9):

 

где D20 - число градусо-суток отопительного периода при внутренней температуре tint = 20 °С; определяется по формуле (4.1):

D20 = (tint tht)zht = [20 - (-3,1)]·214 = 4943 °С·сут.

Удельные тепловыделения в соответствии с п. 10.3.2 составляют:

1) в жилой части 17 Вт/м2 жилой площади, т.к. заселенность составляет 19696,3/1086 = 18,1 м2 общей площади квартир на 1 человека;

2) в офисах:

• от людей, одновременно находящихся на расчетной площади А1 = 2116,5 м2 (т = 143 чел), в размере 90 Вт/чел при посещаемости 0,9 от nр = 8·5 = 40 ч в неделю;

• от освещения в соответствии с табл. 8.2 МГСН 2.01-99* [12] qt = 25 Вт на 1 м2 расчетной площади при использовании 0,5 рабочего времени на 0,5 части расчетной площади;

• от оргтехники и технологического оборудования в размере 10 Вт/м2 на 0,5 расчетной площади офисов при использовании каждого источника 0,5 рабочего времени.

Тогда удельные бытовые теплопоступления в офисных помещениях по формуле (10.10) составят:

Общие бытовые теплопоступления за отопительный период Qint определяются по формулам (10.11) и (10.12):

Qint = S0,0864qint Arzht = 0,0864·17·11817,5·214 + 0,0864·3,38·2116,5·214 = 3714516 + 132271 = 3846787 МДж;

Qint = S0,024qint Arzht = 0,024·17·11817,5·214 + 0,024·3,38·2116,5·214 = 1031810 + 36742 = 1068552 кВт·ч.

Теплопоступления в здание от солнечной радиации Qs через окна квартир и офисов площадью 2704,1 м2 за отопительный период находятся по формуле (10.13):

Qs = tFkF(AF1Q1 + AF2Q2 + AF3Q3 + AF4Q4) =
= 0,8·0,74·(338,8·403+793,4·633 + 338,6·1075 + 1233,4·633) =
= 0,8·0,74·(136214 + 502222 + 363995 + 780742) = 1055638 МДж;

Qs = tFkF(AF1Q1 + AF2Q2 + AF3Q3 + AF4Q4) =
= 0,8·0,74·(338,8·112 + 793,4·176 + 338,6·299 + 1233,4·176) =
= 0,8·0,74·(37946 + 139638 + 101241 + 217078) = 293547 кВт·ч,

где tF - коэффициент затенения всех окон для окон из двухкамерного стеклопакета в пластиковых переплетах; принимается равным tF = 0,8 по табл. 21;

kF - коэффициент относительного проникания солнечной радиации через прозрачную часть окна из двухкамерного стеклопакета; принимается равным kF = 0,74 по табл. 21;

AF1 - площадь окон квартир и офисов, выходящих на разные стороны света, м2.

Q - поток суммарной солнечной радиации, приходящей за отопительный период при действительных условиях облачности на вертикальную поверхность: северной ориентации Q1 = 112 кВт·ч/м2, Q1 = 403 МДж/м2; западной ориентации Q2 = 176 кВт·ч/м2, Q2 = 633 МДж/м2; южной ориентации Q3 = 299 кВт·ч/м2, Q3 = 1075 МДж/м2; восточной ориентации Q4= 176 кВт·ч/м2, Q4 = 633 МДж/м2; определяется для Москвы по прил. 2.

Потребность в тепловой энергии на отопление за отопительный период с учетом нагрева вентиляционной нормы воздуха определяется по формуле (10.14):

где v принимается равным v = 0,8 в соответствии со СНиП 23-02-2003 [1];

z принимается равным z = 0,95 для двухтрубной системы отопления с термостатами и с центральным автоматическим регулированием на вводе;

bh принимается равным bh = 1,07 для зданий с отапливаемым подвалом.

Расчетный удельный расход тепловой энергии на отопление здания с учетом нагрева вентиляционной нормы воздуха за отопительный период на 1 м2 площади квартир и полезной площади офисов определяется по формулам (10.16) и (10.18):

(по табл. 33 для жилых зданий выше 12 этажей);

 (по табл. 35 для жилых зданий выше 12 этажей).

Таким образом, полученное значение потребления теплоты на отопление не превышает требуемых удельных расходов тепловой энергии системой отопления для жилых зданий в 19 этажей.

Литература

1. СНиП 23-02-2003. Тепловая защита зданий / Госстрой России. - М.: ФГУП ЦПП, 2004.

2. ГОСТ 30494-96. Здания жилые и общественные. Параметры микроклимата в помещениях. - М.: Госстрой России, ГУП ЦПП, 1999.

3. СНиП 23-01-99*. Строительная климатология / Госстрой России. - М.: ГУП ЦПП, 2003.

4. Фокин К. Ф. Расчетные температуры наружного воздуха. - М.: Стандартгиз, 1946.

5. Строительная климатология / НИИ строит, физики. - М.: Стройиздат, 1990. - (Справочное пособие к СНиП).

6. Ильинский В. М. Строительная теплофизика (ограждающие конструкции и микроклимат зданий): учеб. пособие для инженерно-строительных вузов. - М.: Высшая школа, 1974.

7. СП 23-101-2004. Проектирование тепловой защиты зданий / Госстрой России. - М.: ФГУП ЦПП, 2004.

8. Научно-прикладной справочник по климату СССР. - Серия 3. Многолетние данные. - Ч. 1-6. - СПб.: Гидрометеоиздат, 1989-1998. - Вып. 1-34.

9. Богословский В.Н. Тепловой режим здания. - М.: Стройиздат, 1979.

10. СанПиН 2.2.4.548-96. Гигиенические требования к микроклимату производственных помещений. Физические факторы производственной среды / Госкомсанэпиднадзор России. - М., 1996.

11. СНиП 41-01-2003. Отопление, вентиляция и кондиционирование / Госстрой России, 2004.

12. МГСН 2.01-99*. Энергосбережение в зданиях. Нормативы по теплозащите и тепловодоэлектроснабжению. - М., 1999.

13. Фокин К. Ф. Строительная теплотехника ограждающих частей зданий / Под ред. Ю.А. Табунщикова, В.Г. Гагарина. - 5-е изд., пересмотр. - М.: АВОК-ПРЕСС, 2006.

14. Власов О.Е. Основы строительной теплотехники. - М.: ВИА РККА, 1938.

15. Ананьев А.И., Хоров О.А., Евсеев Л.Д., Ухова Т.А., Ярмаковский В.Н. Теплотехнические показатели строительных материалов и конструкций // Строительный эксперт. - 2005. - №16(203). - С. 17-23.

16. СТО 17532043-001-2005 РНТО строителей. Нормы теплотехнического проектирования ограждающих конструкций и оценки эффективности зданий. - М.: РНТО строителей, 2006.

17. СНиП II-3-79*. Строительная теплотехника / Госстрой России. - М.: ГУП ЦПП, 1998.

18. ГОСТ 26254-84. Здания и сооружения. Методы определения сопротивления теплопередаче ограждающих конструкций / Госстрой СССР. - М., 1985.

19. ГОСТ 530-95. Кирпич и камни керамические. Технические условия. - М.: МНТКС, 1996.

20. ГОСТ 7076-99. Материалы и изделия строительные. Метод определения теплопроводности и термического сопротивления при стационарном тепловом режиме. - М.: Изд-во стандартов, 2000.

21. Богословский В.Н. Строительная теплофизика (теплофизические основы отопления, вентиляции и кондиционирования воздуха): учеб. для вузов. - 2-е изд., перераб. и доп. - М.: Высшая школа, 1982.

22. Эккерт Э.Р., Дрейк Р. М. Теория тепло- и массообмена. - М.: Энергоиздат, 1961.

23. Шкловер А.М., Васильев Б.Ф., Ушков Ф.В. Основы строительной теплотехники жилых и общественных зданий. - М.: Госстройиздат, 1956.

24. Михеев М.А. Основы теплопередачи. - М.: Госэнергоиздат, 1956.

25. Ананьев А.И., Иванов Л.В., Комов В.М. Исследование наружных кирпичных стен жилых зданий и нормирование теплозащитных качеств. Сб. докладов пятой научно-практической конференции 26-28 апреля 2000 г. (Академические чтения) / Под ред. В.Г. Гагарина и И.В. Бессонова «Проблемы строительной теплофизики, систем обеспечения микроклимата и энергосбережения в зданиях». - М: НИИСФ, 2000.

26. Лыков А.В. Теоретические основы строительной теплофизики. - Минск: АН БССР, 1961.

27. Богословский В.Н., Самарин О.Д. Исследование и моделирование естественного теплового режима здания в период ввода в эксплуатацию // Монтажные и специальные работы в строительстве. - 2001. - № 6. - С. 19-22.

28. ASHRAE Fundamentals (ASHRAE 1985 b).

29. Поляк Г.Л. Алгебра однородных потоков // Известия Энергетического института Академии наук СССР. - 1935. - Вып. 3.

30. Табунщиков Ю.А., Бродач М.М. Математическое моделирование и оптимизация тепловой эффективности зданий. - М.: АВОК-ПРЕСС, 2002.

31. Малявина Е.Е Расчетная оценка внутренних тепловых условий в помещении. Сб. докладов научно-практической конференции 22-24 мая 1997 г. / Под ред. В.Г. Гагарина «Проблемы строительной теплофизики и энергосбережения в зданиях». - Т. 1. - М: НИИСФ, 1997.

32. Ливчак В.И. Положения по изменению в расчете Энергетического паспорта жилых и общественных зданий в связи с выходом СНиП 23-02-2003 «Тепловая защита зданий». Информационный бюллетень Мосгосэкспертизы. - 2004. - №1(8).

33. СНиП 2.01.07-85*. Нагрузки и воздействия / Госстрой РФ. - М.: ГУЛ ЦПП, 1993.

34. СНиП 2.04.05-91*. Отопление, вентиляция, кондиционирование. - М.: Стройиздат, 2000.

35. Титов В.П., Рымаров А.Г., Самарин О.Д. Расчет мощности системы отопления и воздухообмена в помещениях здания: методические указания по курсовой работе (курс «основы отопления, вентиляции и кондиционирования воздуха»); специальность «теплогазоснабжение и вентиляция». - М.: МГСУ, 1999.

36. ГОСТ 23166-99. Межгосударственный стандарт. Блоки оконные. Общие технические условия. - М.: ГУП ЦПП, 2000.

37. Сканави А.Н., Махов Л.М. Отопление: учеб. для вузов. - М.: Изд-во АСВ, 2002.

38. Внутренние санитарно-технические устройства. В 3 ч. Ч. 1. Отопление / В.Н. Богословский, Б.А Крупнов, А.Н. Сканави и др.; Под ред. И.Г. Староверова, Ю.И. Шиллера. - 4-е изд., перераб. и доп. - М.: Стройиздат, 1990. - (Справочник проектировщика).

39. Рысин С.А. Вентиляционные установки машиностроительных заводов: справочник. - 2-е изд., перераб. и доп. - М.: Машгиз, 1961.

40. АВОК Стандарт-1-2004. Здания жилые и общественные. Нормы воздухообмена. - М.: АВОК-ПРЕСС, 2004.

41. Титов В.П., Сазонов Э.В., Краснов Ю.С, Новожилов В.И. Курсовое и дипломное проектирование по вентиляции гражданских и промышленных зданий: учеб. пособие для вузов. - М.: Стройиздат, 1985.

42. Малявина Е.Г., Бирюков С.В. Учет теплопоступлений в помещения при расчете годового энергопотребления здания // Стройпрофиль. - 2005. - №2/1. - С. 38-40.

43. Круглова А.И. Климат и ограждающие конструкции. - М.: Стройиздат, 1970.

Приложение 1

Зоны влажности территории Российской Федерации

Приложение 2

Поток суммарной солнечной радиации, приходящей за отопительный период на горизонтальную и вертикальные поверхности при действительных условиях облачности Q, кВт·ч/м2 (МДж/м2)

Месяц

Горизонтальная поверхность

Ориентация вертикальной поверхности на

север

северо-восток/северо-запад

восток/ запад

юго-восток/юго-запад

юг

Александровское (Томская обл.)

IX (15 дней)

35 (126)

10 (36)

13 (46)

19 (71)

28 (101)

31 (112)

X

35 (126)

12 (45)

13 (48)

20 (71)

33 (118)

38 (139)

XI

15 (53)

5 (19)

5 (19)

9 (32)

21 (77)

28 (102)

XII

7 (25)

3 (10)

3 (10)

3 (10)

3 (10)

3 (10)

I

12 (43)

4 (15)

4 (15)

8 (28)

24 (86)

32 (115)

II

35 (127)

12 (42)

11 (39)

25 (91)

49 (176)

62 (222)

III

87 (312)

30 (107)

30 (109)

49 (178)

80 (289)

94 (340)

IV

132 (477)

42 (150)

49 (176)

73 (262)

95 (340)

101 (362)

V (25 дней)

128 (460)

36 (130)

51 (183)

67 (240)

74 (267)

73 (262)

За отопительный период

486 (1749)

154 (554)

179 (645)

273 (983)

407 (1464)

462 (1664)

Архангельск

IX (13 дней)

22(81)

7 (25)

8 (30)

13 (47)

19 (69)

21 (77)

X

21 (74)

7 (26)

8 (28)

13 (45)

23 (82)

28 (101)

XI

5 (19)

2 (8)

2 (8)

2 (8)

2 (8)

2 (8)

XII

1 (5)

1 (3)

1 (3)

1 (3)

1 (3)

1 (3)

I

4 (16)

2 (7)

2 (7)

2 (7)

2 (7)

2 (7)

II

18 (64)

7 (25)

7 (24)

12 (43)

24 (88)

31 (111)

III

56 (202)

22 (81)

21 (76)

34 (126)

54 (198)

66 (236)

IV

105 (377)

37 (131)

40 (145)

61 (218)

80 (286)

87 (311)

V (28 дней)

135 (484)

37 (135)

56 (200)

71 (255)

83 (297)

82 (296)

За отопительный период

367 (1322)

122 (441)

145 (521)

209 (752)

288 (1038)

320 (1150)

Астрахань

X (9 дней)

24 (87)

5 (17)

6 (22)

13 (47)

23 (83)

28 (101)

XI

40 (144)

11 (38)

11 (40)

22 (79)

45 (162)

59 (213)

XII

27 (95)

8 (30)

8 (30)

15 (54)

33 (119)

43 (156)

I

38 (137)

12 (42)

12 (42)

22 (79)

46 (165)

61 (220)

II

56 (202)

16 (56)

16 (57)

30 (108)

56 (201)

70 (251)

III

103 (372)

30 (110)

33 (118)

53 (191)

77 (277)

88 (316)

IV (7 дней)

34 (123)

9 (32)

11 (40)

17 (61)

20 (72)

21 (74)

За отопительный период

322 (1160)

91 (325)

97 (349)

172 (619)

300 (1079)

370 (1331)

Волгоград

X (17 дней)

39 (140)

10 (35)

11 (40)

21 (76)

34 (122)

41 (149)

XI

30 (108)

9 (30)

9 (32)

16 (58)

33 (119)

42 (153)

XII

20 (72)

7 (26)

7 (27)

11 (40)

21 (76)

26 (95)

I

31 (110)

10 (37)

10 (37)

17 (61)

33 (119)

44 (157)

II

54 (193)

17 (62)

18 (63)

29 (104)

48 (173)

59 (212)

III

94 (337)

29 (104)

31 (110)

48 (173)

68 (245)

78 (279)

IV (9 дней)

40 (144)

12 (42)

14 (50)

20 (72)

24 (86)

24 (85)

За отопительный период

307 (1105)

94 (336)

100 (359)

162 (583)

261 (940)

314 (1130)

Ершов (Саратовская обл.)

X (26 дней)

50 (180)

13 (45)

15 (52)

28(101)

48 (173)

59 (212)

XI

28 (100)

8 (30)

9 (31)

16 (58)

33 (121)

44 (158)

XII

21 (76)

8 (28)

8 (28)

12 (45)

26 (95)

34 (122)

I

31 (112)

11 (38)

11 (38)

19 (68)

39 (139)

52 (186)

II

57 (206)

18 (66)

18 (66)

32 (115)

59 (211)

72 (260)

III

103 (371)

35 (126)

36 (131)

56 (202)

79 (284)

89 (322)

IV (21 день)

96 (347)

26 (95)

32 (116)

49 (176)

62 (222)

63 (227)

За отопительный период

386 (1392)

119 (428)

129 (462)

212 (765)

346 (1246)

413 (1487)

Иркутск

IX (15 дней)

51 (183)

10 (36)

15 (54)

27 (99)

39 (140)

43(156)

X

66 (238)

15 (54)

18 (65)

37 (135)

66 (238)

82 (294)

XI

33 (120)

10 (36)

10 (37)

19 (69)

40 (145)

53 (190)

XII

21 (75)

7 (27)

8 (27)

13 (46)

28 (100)

36 (130)

I

29 (103)

9 (32)

9 (31)

18 (64)

40 (144)

54 (195)

II

54 (195)

15 (54)

15 (54)

31 (111)

62 (224)

78 (281)

III

108 (389)

30 (107)

31 (114)

61 (219)

95 (340)

110 (396)

IV

138 (498)

37 (133)

46 (164)

70 (253)

89 (321)

91 (328)

V (13 дней)

71 (254)

16 (58)

25 (91)

34 (122)

36 (131)

34 (124)

За отопительный период

571 (2055)

149 (537)

177 (637)

310 (1118)

495 (1783)

581 (2094)

Краснодар

XI (27 дней)

34 (121)

10 (34)

10 (36)

17 (62)

32(117)

42 (149)

XII

24 (87)

9 (32)

9 (32)

13 (44)

22 (77)

27 (99)

I

36 (130)

11 (41)

11 (41)

19 (69)

35 (128)

46 (165)

II

52 (188)

17 (62)

17 (63)

26 (94)

41 (147)

50 (179)

III

91 (328)

28 (100)

30 (106)

44 (159)

62 (221)

68 (245)

IV (1 день)

4 (14)

1 (4)

1 (5)

2 (7)

2 (8)

2 (8)

За отопительный период

241 (868)

76 (273)

78 (283)

121 (435)

194 (698)

235 (845)

Курск

X (27 дней)

47 (168)

13 (47)

15 (53)

26 (93)

42 (151)

47 (184)

XI

21 (76)

7 (25)

7 (26)

12 (43)

23 (84)

21 (108)

XII

15 (54)

6 (21)

6 (21)

9 (32)

18 (64)

15 (82)

I

27 (98)

10 (38)

10 (37)

16 (56)

29 (102)

27 (133)

II

45 (162)

16 (56)

16 (56)

25 (89)

42 (152)

45 (185)

III

82 (295)

29 (103)

30 (107)

44 (160)

61 (221)

82 (249)

IV (20 дней)

72 (259)

23 (84)

26 (96)

36 (131)

44 (160)

72 (160)

За отопительный период

309 (1112)

104 (374)

110 (396)

168 (604)

259 (934)

309 (1101)

Махачкала (Дагестан)

XI (19 дней)

29 (103)

8 (30)

9 (32)

15 (53)

27 (98)

49

XII

34 (124)

11 (41)

11 (41)

18 (63)

34 (121)

44

I

40 (144)

14 (49)

14 (49)

21 (75)

36 (131)

46

II

52 (187)

18 (63)

18 (64)

26 (94)

40 (144)

49

III

89 (322)

30 (109)

32 (114)

43 (157)

57 (208)

-

IV (8 дней)

36 (131)

11 (38)

13 (46)

17 (61)

20 (72)

63

За отопительный период

256 (1011)

92 (330)

96 (346)

140 (503)

215 (774)

251

Москва

IX (6 дней)

16 (57)

5 (18)

6 (22)

9 (32)

12 (43)

13 (47)

X

40 (145)

14 (50)

15 (54)

22 (79)

35 (126)

41 (147)

XI

17 (63)

7 (25)

7 (25)

10 (36)

18 (65)

23 (83)

XII

11 (40)

5 (18)

5 (18)

6 (22)

11 (40)

13 (47)

I

19 (67)

8 (29)

8 (29)

11 (40)

20 (72)

25 (90)

II

38 (137)

14 (50)

14 (50)

22 (79)

38 (137)

47 (169)

III

78 (282)

28 (101)

28 (101)

45 (162)

63 (267)

71 (255)

IV (26 дней)

103 (371)

32 (115)

36 (129)

51 (183)

63 (267)

66 (237)

За отопительный период

322 (1158)

112 (403)

119 (428)

176 (633)

260 (935)

299 (1075)

Нижний Новгород

IX (4 дня)

11 (40)

3 (11)

4 (14)

6 (22)

8 (29)

9 (32)

X

37 (133)

12 (43)

13 (47)

21 (76)

33 (119)

40 (144)

XI

15 (54)

6 (22)

6 (22)

8 (29)

15 (54)

19 (68)

XII

9 (32)

4 (14)

4 (14)

5 (18)

9 (32)

11 (40)

I

16 (58)

6 (22)

6 (22)

9 (32)

17 (61)

22 (79)

II

36 (129)

13 (47)

13 (47)

21 (76)

36 (129)

44 (158)

III

78 (281)

27 (97)

28 (101)

45 (162)

64 (230)

73 (263)

IV (29 дней)

110 (396)

35 (126)

40 (144)

57 (205)

73 (263)

76 (273)

За отопительный период

312 (1122)

106 (381)

114 (410)

172 (619)

255 (917)

294 (1058)

Охотск (Хабаровский край)

IX (13 дней)

37 (132)

8 (31)

12 (43)

21 (78)

33 (118)

37 (133)

X

55 (198)

11 (40)

14 (49)

38 (137)

77 (278)

96 (347)

XI

24 (86)

6 (21)

6 (21)

6 (21)

54 (195)

74 (268)

XII

12 (42)

4 (13)

4 (13)

4 (13)

4 (13)

4 (13)

I

17 (62)

5 (19)

5 (18)

12 (44)

42 (152)

57 (205)

II

43 (154)

12 (44)

11 (41)

31 (111)

68 (246)

88 (317)

III

101 (364)

30 (107)

30 (110)

72 (259)

107 (384)

128 (461)

IV

143 (515)

44 (158)

52 (187)

81 (291)

103 (371)

110 (396)

V

161 (580)

48 (173)

65 (235)

84 (303)

92 (333)

91 (327)

VI (24 дня)

123 (444)

32 (116)

51 (184)

60 (215)

66 (237)

62 (222)

За отопительный период

716 (2577)

200 (722)

250 (901)

415 (1472)

646 (2327)

747 (2689)

Пятигорск (Ставропольский край)

X (8 дней)

21 (77)

5 (17)

6 (21)

11 (39)

18 (65)

22 (79)

XI

45 (161)

13 (46)

13 (48)

23 (83)

43 (156)

55 (199)

XII

37 (135)

12 (42)

12 (43)

19 (68)

39 (139)

51 (185)

I

50 (179)

15 (56)

15 (56)

26 (94)

48 (176)

64 (230)

II

63 (227)

21 (74)

21 (75)

32 (113)

50 (179)

61 (218)

III

93 (334)

31(112)

33 (118)

45 (164)

60 (215)

66 (236)

IV (16 дней)

66 (236)

19 (70)

23 (83)

31 (113)

36 (130)

36 (129)

За отопительный период

375 (1350)

116(417)

123 (444)

187 (674)

294 (1060)

355 (1276)

Самара

X (31 день)

49 (177)

13 (49)

15 (55)

27 (98)

45 (161)

54 (195)

XI

23 (83)

7 (27)

8 (28)

13 (47)

26 (93)

33 (120)

XII

17 (61)

6 (21)

6 (21)

11 (38)

24 (88)

32 (115)

I

24 (88)

9 (32)

9 (32)

14 (52)

28 (100)

37 (131)

II

47 (169)

15 (53)

15 (53)

26 (94)

49 (176)

61 (218)

III

88 (317)

29 (103)

30 (107)

48 (174)

69 (250)

79 (285)

IV (21 день)

90 (325)

25 (89)

30 (109)

46 (165)

57 (208)

59 (212)

За отопительный период

338 (1220)

104 (374)

113 (405)

185 (668)

298 (1076)

355 (1276)

Сковородино (Амурская обл.)

IX (16 дней)

56 (201)

12 (43)

18 (65)

30 (108)

41 (147)

46 (165)

X

73 (263)

16 (58)

19 (68)

42 (151)

74 (266)

93 (335)

XI

40 (144)

10 (36)

10 (36)

25 (90)

57 (205)

75 (277)

XII

25 (90)

7 (25)

7 (25)

17 (61)

45 (162)

60 (216)

I

35 (126)

9 (32)

9 (32)

22 (79)

57 (205)

79 (284)

II

63 (227)

15 (54)

16 (58)

40 (144)

77 (277)

98 (353)

III

120 (432)

33 (119)

35 (126)

72 (259)

106 (381)

123 (442)

IV

147 (528)

41 (147)

49 (176)

77 (277)

94 (338)

96 (345)

V (19 дней)

104 (374)

27 (97)

39 (148)

52 (187)

53 (191)

51 (183)

За отопительный период

663 (2385)

170 (611)

202 (727)

377 (1536)

604 (2173)

721 (2593)

Сочи (Краснодарский край)

XII (22 дня)

27 (96)

7 (27)

7 (27)

13 (49)

30 (108)

40 (146)

I

42 (152)

12 (43)

12 (42)

22 (80)

45 (163)

60 (216)

II

59 (211)

17 (61)

18 (63)

30 (106)

49 (176)

61 (220)

III (11 дней)

34 (123)

10 (36)

11 (39)

17 (60)

24 (86)

26 (94)

За отопительный период

162 (582)

46 (167)

48 (171)

82 (295)

148 (533)

187 (676)

Хабаровск

X (27 дней)

70 (253)

14 (51)

18 (64)

38 (138)

66 (238)

81 (292)

XI

52 (188)

11 (40)

12 (44)

30 (110)

67 (238)

88 (318)

XII

40 (145)

10 (36)

10 (36)

24 (89)

62 (222)

84 (302)

I

51 (183)

12 (44)

12 (44)

30 (108)

72 (260)

100 (359)

II

77 (277)

19 (67)

19 (69)

45 (161)

83 (299)

105 (377)

III

129 (464)

34 (124)

38 (135)

69 (247)

100 (360)

116 (417)

IV

141 (506)

39 (139)

47 (170)

70 (250)

83 (300)

84 (302)

V (3 дня)

16 (58)

4 (14)

6 (20)

8 (27)

8 (29)

7 (26)

За отопительный период

576 (2 074)

143 (515)

162 (582)

314 (1130)

541 (1946)

665 (2393)

Чита

IX (15 дней)

53 (191)

10 (36)

16 (58)

29 (104)

41 (147)

45 (162)

X

74 (266)

15 (54)

19 (68)

42 (151)

76 (273)

95 (342)

XI

40 (144)

10 (36)

10 (36)

24 (86)

57 (205)

76 (273)

XII

26 (94)

7 (25)

7 (25)

17 (25)

45 (162)

61 (219)

I

33 (119)

9 (32)

9 (32)

22 (79)

53 (191)

73 (263)

II

61 (219)

15 (54)

15 (54)

35 (126)

75 (277)

95 (342)

III

114 (410)

31 (112)

32 (115)

64 (230)

101 (363)

118 (424)

IV

146 (525)

40 (144)

49 (176)

74 (266)

94 (338)

96 (345)

V (15 дней)

86 (309)

20 (72)

31 (112)

42 (151)

44 (158)

42 (151)

За отопительный период

634 (2281)

157 (565)

188 (676)

349 (1255)

586 (2108)

701 (2522)

 

 




ГОСТЫ, СТРОИТЕЛЬНЫЕ и ТЕХНИЧЕСКИЕ НОРМАТИВЫ.
Некоммерческая онлайн система, содержащая все Российские Госты, национальные Стандарты и нормативы.
В Системе содержится более 150000 файлов нормативно-технической документации, действующей на территории РФ.
Система предназначена для широкого круга инженерно-технических специалистов.

Рейтинг@Mail.ru Яндекс цитирования

Copyright © www.gostrf.com, 2008 - 2026