|
|
УЗЛЫ ПРИМЫКАНИЙ ОКОННЫХ И ДВЕРНЫХ БЛОКОВ, Технические условия STANDARD OF ORGANIZATION UNITS OF ADJUNCTIONS OF WINDOW AND DOOR BLOCKS, FRONT TRANSLUCENT DESIGNS TO EXTERNAL FENCING DESIGNS Specifications Москва 2007
СТАНДАРТ ОРГАНИЗАЦИИ УЗЛЫ ПРИМЫКАНИЙ ОКОННЫХ И ДВЕРНЫХ БЛОКОВ, ВИТРАЖНЫХ КОНСТРУКЦИЙ К ВНЕШНИМ ОГРАЖДАЮЩИМ КОНСТРУКЦИЯМ Технические условия STANDARD OF ORGANIZATION JNITS OF ADJUNCTIONS OF WINDOW AND DOOR BLOCKS, FRONT TRANSLUCENT DESIGNS TO EXTERNAL FENCING DESIGNS Specifications Предисловие Цели и принципы стандартизации в Российской Федерации установлены Федеральным законом от 27 декабря 2002 года № 184-ФЗ «О техническом регулировании», а правила применения и разработки стандартов организации (СТО) - ГОСТ Р 1.0-2004 «Стандартизация и Российской Федерации. Основные положения», ГОСТ Р 1.4-2004 «Стандартизация и Российской Федерации. Стандарты организаций. Общие положения», ГОСТ Р 1.5-2004 «Стандартизация в Российской Федерации. (Стандарты национальные Российской Федерации. Правила построения, изложения оформления и обозначения» Сведения о стандарте 1. РАЗРАБОТАН и внесен: ООО «Робитекс», Апрок при участи ГУП «НИИМосстрой», ГУП «МНИИТЭП», ООО ПКФ «Стройсистема СТ», ООО «Робиторг». 2. ПРОШЕЛ ЭКСПЕРТИЗУ в ОАО «Центр методологии нормирования и стандартизации в строительстве» (ОАО «ЦНС») и Техническом комитет по стандартизации ТК 465 «СТРОИТЕЛЬСТВО». 3. ВВЕДЕН В ДЕЙСТВИЕ с 1 марта 4. ВВЕДЕН ВПЕРВЫЕ. Содержание 1. Область примененияНастоящий стандарт организации распространяется на узлы примыканий оконных и балконных дверных блоков, балконного остекления и витражных конструкций (далее - светопрозрачных конструкций, СПК) к наружным ограждающим конструкциям отапливаемых зданий и сооружений. Стандарт применяют при проектировании, разработке конструкторской и технологической документации, а также производстве работ при строительстве, реконструкции и ремонте зданий и сооружений различного назначения. Требования стандарта также распространяются при замене СПК в эксплуатируемых помещениях. Стандарт не распространяется на узлы примыканий СПК специального назначения (противопожарных, взрывозащитных), а также изделий, предназначенных для применения в неотапливаемых помещениях. Узлы примыканий, спроектированные и выполненные по настоящему стандарту, могут быть применены во всех климатических зонах в соответствии с требованиями строительных норм и правил (СНиП). Стандарт может быть использован для целей сертификации. 2. Нормативные ссылкиВ настоящем стандарте организации использованы нормативные ссылки на следующие нормативные документы. ГОСТ 23166-99 Блоки оконные. Общие технические условия. ГОСТ 30734-2000 Блоки оконные деревянные мансардные. Технические условия. ГОСТ 26602.1-99 Блоки оконные и дверные. Методы определения сопротивления теплопередаче. ГОСТ 26602.3-99 Блоки оконные и дверные. Метод определения звукоизоляции. ГОСТ 26602.2-99 Блоки оконные и дверные. Методы определения воздухо- и водопроницаемости. ГОСТ 26602.5-2001 Блоки оконные и дверные. Методы определения сопротивления ветровой нагрузке ГОСТ 30973-2002 Профили поливинилхлоридные для оконных и дверных блоков. Метод определения сопротивления климатическим воздействиям и оценки долговечности. ГОСТ 30778-2001 Прокладки уплотняющие из эластомерных материалов для оконных и дверных блоков. Технические условия. ГОСТ 30673-99 Профили поливинилхлоридные для оконных и дверных блоков. Технические условия. ГОСТ 30674-99 Блоки оконные из поливинилхлоридных профилей. Технические условия. ГОСТ 24866-99 Стеклопакеты клееные строительного назначения. Технические условия. ГОСТ 14791-79 Мастика герметизирующая нетвердеющая строительная. Технические условия. ГОСТ 30971-2002 Швы монтажные узлов примыканий оконных блоков к стеновым проемам. Общие технические условия. ГОСТ 24699-81 Окна и балконные двери деревянные со стеклопакетами и стеклами для жилых и общественных зданий. Типы, конструкция и размеры (Окончание). ГОСТ 24700-99 Блоки оконные деревянные со стеклопакетами. Технические условия. ГОСТ 21519-2003 Блоки оконные из алюминиевых сплавов. Технические условия. ГОСТ 24258-88 Средства подмащивания. Общие технические условия. ГОСТ 27321-87 Леса стоечные приставочные для строительно-монтажных работ. Технические условия. ГОСТ 12.4.059-89 ССБТ. Строительство. Ограждения предохранительные инвентарные. Общие технические условия. ГОСТ 12.1.038* ССБТ. Электробезопасность. Предельно допустимые значения напряжений прикосновения и токов (с Изменениям №1). ГОСТ 2678-94 Материалы рулонные кровельные и гидроизоляционные. Методы испытаний (с Изменениям №1). ГОСТ 25898-83 Материалы и изделия строительные. Методы определения сопротивления паропроницанию. ГОСТ 30494-96 Здания жилые и общественные. Параметры микроклимата в помещениях. СНиП II-3-79* Строительная теплотехника (с Изменениями № 1-4). СНиП 23-02-2003 Тепловая защита зданий. СП 23-101-2004 Проектирование тепловой защиты зданий ТР 109-00 Технические рекомендации по технологии применения комплексной системы материалов, обеспечивающих качественное уплотнение и герметизацию стыков светопрозрачных конструкций. Разработаны ГУП «НИИМосстрой». ТР 95.17-01 Технологический регламент производства строительно-монтажных работ при возведении зданий и сооружений. 17. Технологический регламент герметизации стыков ограждающих конструкций в зимнее время. Разработан ГУП «НИИМосстрой». ТР 152-05 Технические рекомендации по обеспечению качества монтажа оконных и балконных блоков. Разработаны ГУП «НИИМосстрой». ТР 117-01 Технические рекомендации по устройству систем наружного утепления зданий (типа "Синтеко") Разработаны ГУП «НИИМосстрой». МИ 01.49001519-2004 Методика испытания материалов, предназначенных для устройства строительных монтажных швов, на стойкость к эксплуатационным нагрузкам и оценки их долговечности. Согласована Госстроем России. Утверждена НИУЦП «Межрегиональный институт окна». «При пользовании настоящим стандартом целесообразно проверять действие ссылочных стандартов и классификаторов в информационной системе общего пользования - на официальном сайте национального органа Российской Федерации по стандартизации в сети Интернет или по ежегодно издаваемому информационному указателю «Национальные стандарты», который опубликован по состоянию на 1 января текущего года, и по соответствующим ежемесячно издаваемым информационным указателям, опубликованным в текущем году. Если ссылочный документ заменен (изменен), то при пользовании настоящим стандартом следует руководствоваться принятым взамен (измененным) документом. Если ссылочный документ отменен без замены, то положение, в котором дана ссылка на него, применяется в части, не затрагивающей эту ссылку». 3. Термины и определенияВ настоящем стандарте использованы следующие термины и определения: Узел примыкания - это конструктивная система, состоящая в общем случае из коробки СПК, монтажного шва, системы крепежа, части ограждающей конструкции, ограниченной областью распространения теплотехнической неоднородности на ее внутренней поверхности вблизи проема, а в частных случаях дополненная элементами отделки откосов, подоконником, отливом и т.д. Монтажный шов - элемент узла примыкания, представляющий собой комбинацию изоляционных материалов, используемых для заполнения монтажного зазора и обладающих заданными характеристиками. Фронтальный монтажный зазор - пространство между коробкой СПК и поверхностью четверти (фальшчетверти) стенового проема. Торцевой (боковой) монтажный зазор - пространство между торцевой поверхностью коробки СПК и поверхностью стенового проема. Силовое эксплуатационное воздействие на монтажный шов - воздействие, возникающее при взаимных перемещениях коробки СПК и стенового проема, при изменении линейных размеров, при усадке здания, температурных, влажностных и других воздействий. Деформационная устойчивость монтажного шва - способность монтажного шва сохранять заданные характеристики при изменении линейных размеров монтажных зазоров в результате различных эксплуатационных воздействий. Окно - элемент стеновой или кровельной конструкции, предназначенный для сообщения внутренних помещений с окружающим пространством, естественного освещения помещений, их вентиляции, защиты от атмосферных, шумовых воздействий и состоящий из оконного проема с откосами, оконного блока, системы уплотнения монтажных швов, подоконной доски, деталей отлива и облицовок. Оконный проем - проем в стене (кровле) для монтажа одного или нескольких оконных блоков, конструкция которого предусматривает также установку монтажного уплотнения, откосов, отливов, подоконной доски. Оконный блок - светопрозрачная конструкция, предназначенная для естественного освещения помещения, его вентиляции и защиты от атмосферных и шумовых воздействий. Балконный дверной блок - светопрозрачная конструкция, предназначенная для обеспечения сообщения внутреннего помещения с балконом (лоджией), естественного освещения помещения и защиты от атмосферных и шумовых воздействий. Витражные светопрозрачные конструкции (строительные витражи) -крупногабаритные, как правило, многоячеистые конструкции из рамочных элементов со светопрозрачным заполнением, устанавливаемые в стеновые проемы зданий путем крепления профилей коробки (рамы) непосредственно к откосу проема (в отличие от навесных светопрозрачных фасадных конструкций). Зимний сад, зенитный фонарь - отдельно стоящие или примыкающие к внешним ограждающим конструкциям (кровле) пространственный светопрозрачные конструкции. Коробка светопрозрачной конструкции - сборочная единица рамочно-брусковой конструкции неподвижно закрепляемая к ограждающим конструкциям, предназначенная для навески створок или полотен, или установки неподвижного заполнения. 4. Требования к узлам примыкания4.1 Общие положения4.1.1 Проектирование узлов примыканий является неотъемлемой составляющей проектирования заполнения проемов. 4.1.2 Конструкция узла примыкания включает в себя: ограждающую конструкцию, примыкающую к монтажному шву, коробку СПК, монтажный шов, систему крепежа. В частности конструкция узла примыкания может быть дополнена внутренними и внешними откосами, отливом, подоконной доской и т.д. 4.1.3 При проектировании узлов примыкания СПК к проемам следует выполнять расчет температурных полей, подтверждающий отсутствие конденсата на внутренних откосах и соответствие перепадов температур по глади стены и внутреннему откосу. В качестве основного показателя рассчитывается путем моделирования приведенного сопротивления теплопередаче монтажного шва (как наиболее ответственного элемента узла примыкания) согласно Приложению Д настоящего стандарта. В качестве условий при расчетах принимаются данные из ГОСТ 30494-96, СНиП II-3-79*, СНиП 23-02-2003, СП 23-101-2004 для соответствующих климатических зон и категории помещения. 4.1.4 Деформационная устойчивость узлов примыкания и их элементов рассчитывается с учетом особенности конструкции конкретного проектируемого узла, характеристик применяемых материалов, а также условий эксплуатации. 4.1.5 Долговечность, воздухопроницаемость, водопроницаемость (предел водонепроницаемости) и звукоизоляционные характеристики узлов примыкания определяются экспериментально по методикам, утвержденным в установленном порядке. Предел водонепроницаемости узла примыкания определяется соответствующим показателем для материала наружного слоя. 4.1.6 Конструкция узлов примыканий должна обеспечивать паронепроницаемость со стороны помещения, а также свободный выход пара с уличной стороны. 4.1.7 Конструкции монтажных швов устанавливают в проектной документации на узлы примыкания конкретных видов СПК к проемам с учетом действующих НД и настоящего стандарта организации. 4.1.8 В настоящем стандарте организации приведены примеры конструктивных решений устройства узлов примыканий (Приложение А). 4.1.9 Производство работ по заполнению проемов необходимо осуществлять в соответствии с настоящим стандартом организации, проектной документацией и проектами производства работ на конкретный объект строительства, в состав которых должны входить технологические карты. 4.1.10 Контроль качества производства работ должен проводиться по данному стандарту. 4.1.11 В зависимости от конфигурации поверхностей проемов узлы примыкания могут быть угловыми (оконный проем с четвертью, рис. 1а и 1б) или прямыми, что допустимо в качестве исключения (оконный проем без четверти, рис. 2). Не рекомендуется выполнение узлов примыкания без четверти с применением мастичных герметизирующих материалов. 4.1.12 Конструкции узлов примыканий должны быть устойчивы к различным эксплуатационным воздействиям: атмосферным факторам, температурно-влажностным воздействиям, как с наружной стороны, так и со стороны помещения, температурным, усадочным и другим деформациям, динамическим (ветровым, эксплуатационным и др.) нагрузкам. 4.1.13 Деформационная устойчивость элементов узла примыкания должна быть такой, чтобы обеспечивалась нормальная его работа при расчетных размерах зазоров, геометрических размерах СПК и оконного проема, а также при любых возможных деформациях. 4.1.14. Номинальные размеры и конфигурацию элементов узлов примыкания устанавливают в проектной документации.
Рисунок 1 Принципиальная схема узла примыкания к проемам с четвертью
Рисунок 2 - Принципиальная схема узла примыкания с применением ленточных гидроизоляционных и пароизоляционных материалов к проемам без четверти. 1 - стена; 2 - элемент внутреннего откоса; 3 - наружный водоизоляционный паропроницаемый слой (ПСУЛ); 4 - центральный теплоизоляционный слой; 5 - внутренний пароизоляционный слой; 6 - герметик; 7 - СПК. 4.1.16 Материалы и изделия, применяемые для заполнения проемов, и материалы стенового проема должны соответствовать требованиям действующих стандартов, условиям договоров на поставку и технической документации, утвержденной в установленном порядке. 4.1.17 Материалы, применяемые для устройства узлов примыканий, должны быть совместимы между собой, а также с материалами проема, коробки СПК и крепежных деталей. 4.1.18 Материалы, выходящие на наружную поверхность узла примыкания, должны быть устойчивы к воздействию эксплуатационных температур в диапазоне от температуры наиболее холодной пятидневки района эксплуатации с обеспеченностью 0,92 и до +70 °С. 4.1.19 Материалы для устройства узлов примыканий должны транспортироваться и храниться в условиях, соответствующих рекомендациям производителя. 4.2 Требования к ограждающим конструкциям4.2.1 Размеры и конфигурация проемов должны соответствовать требованиям НД на эти элементы. 4.3 Требования к СПК4.3.1 СПК, предназначенные для заполнения проемов в наружных стенах зданий, в зависимости от материала, из которого изготовлены, должны соответственно удовлетворять требованиям ГОСТ 23166-99, ГОСТ 30674-99, ГОСТ 24699-81, ГОСТ 24700-99, ГОСТ 21519-2003, стандартам организаций, ТУ или другой нормативной документации на конкретные изделия и конструкции. Список нормативной документации на конкретные конструкции устанавливается в проектной документации и договорах на поставку изделий. 4.3.2 Места продольных соединений профилей, например, соединение подставочного профиля с нижним горизонтальным профилем коробки СПК, соединение профиля коробки СПК и расширительного профиля и т.п. должны уплотняться лентой ПСУ-Л (рисунок 3).
Рисунок 3 - Уплотнение места примыкания подставочного профиля к профилю коробки СПК с применением ПСУЛ 1 - коробка СПК; 2 - ПСУЛ; 3 - подставочный профиль 4.4 Требования к крепежу4.4.1 Требования к крепежным элементам приведены в Приложении В. 4.4.3 В определенных случаях распорные колодки могу г бы и. вменены нагелем (шурупом по бетону, строительным шурупом). 4.4.4 Металлические элементы, приборы и крепежные детали СПК должны иметь антикоррозионное покрытие, предусмотренное проектной документацией. В помещениях с влажным и мокрым режимами (бани, душевые, бассейны и т.д.) необходимо применять крепежные детали из нержавеющей стали или оцинкованной стали. 4.5 Требования к швам монтажным4.5.1 Монтажный шов состоит из трех слоев, которые подразделяют по основному функциональному назначению на: - наружный - водоизоляционный, паропроницаемый; - центральный - теплоизоляционный, звукоизоляционный; - внутренний - пароизоляционный. Каждый из слоев монтажного шва может, кроме основных, выполнять и дополнительные функции (например, наружный слой может иметь существенное сопротивление теплопередаче или обеспечивать звукоизоляцию), что необходимо учитывать при определении расчетных характеристик конструкции монтажного шва. 4.5.2 Значения показателей воздухопроницаемости, водопроницаемости (по пределу водонепроницаемости) и звукоизоляции монтажных швов следует принимать не ниже значений этих показателей для применяемых в конкретном случае СПК. 4.5.3 С наружной стороны монтажные швы могут быть защищены специальными профильными деталями: дождезащитными нащельниками, антивандальными накладками и др. 4.5.4 Минимально допустимый размер торцевого зазора монтажного шва подбирается таким образом, чтобы обеспечивалась деформационная устойчивость всех элементов узла примыкания при любых возможных эксплуатационных деформациях. 4.5.5 Во всех случаях
рекомендуется проектировать торцевые зазоры не менее 4.5.6 При установлении номинальных размеров и конфигурации элементов монтажных швов учитывают: - конфигурацию и номинальные размеры проема, коробки СПК и подоконной доски, включая их допустимые предельные отклонения; - расчетные изменения линейных размеров проемов и СПК в процессе их эксплуатации от температурно-влажностных деформаций и усадок; - технические характеристики материалов монтажного шва исходя из обеспечения необходимого сопротивления эксплуатационным нагрузкам (например, размер наружной изоляционной ленты подбирают исходя из расчетной степени сжатия, позволяющей обеспечить заданные значения водо- и паропроницаемости, а для мастик учитывают толщину наносимого слоя, а также конфигурацию поперечного сечения мастичного шва для обеспечения необходимой деформационной устойчивости, адгезионных характеристик и требуемой паропроницаемости); - температурно-влажностные режимы эксплуатации светопрозрачной ограждающей конструкции. 4.6 Требования к наружному слою монтажного шва4.6.1 Наружный слой монтажного шва должен быть водонепроницаем при дождевом воздействии, при заданном (расчетном) перепаде давления воздуха между наружной и внутренней поверхностями монтажного шва при параметрах воздействия указанных в методиках испытаний, утвержденных в установленном порядке. 4.6.2 Наружный слой монтажного шва не должен препятствовать удалению водяного пара из центрального слоя монтажного шва. Применение пароизоляционных материалов в качестве материалов наружного слоя монтажного шва не допускается, кроме случаев применения герметизирующих материалов в комбинации со штукатурным раствором, обеспечивающим требуемую паропроницаемость наружного слоя. 4.6.3 Сопротивление паропроницанию материалов наружного слоя монтажного шва не должно превышать сопротивление паропроницанию материалов центрального слоя и быть не более 0,25 м2ч Па/мг. 4.6.4 Для обеспечения наилучшего соотношения адгезионных и деформационных характеристик мастичных герметиков следует выдерживать сечение наносимого материала в соответствии с рисунком 4а и 4б. Рисунок 4 а, б - Сечение наносимого материала.
4.6.6. Соотношение размеров А и В должно быть 2:1 минимум. 4.7 Требования к среднему слою монтажного шва4.7.1 Для устройства центрального слоя монтажного шва применяют полиуретановые пенные утеплители, блоки минераловатных утеплителей, вспененный полиэтилен. 4.7.2 Центральный изоляционный слой монтажного шва должен обеспечивать требуемое сопротивление теплопередаче монтажного шва. 4.7.3 Сопротивление паропроницанию центрального слоя монтажного шва должно находиться в диапазоне значений этого показателя для наружного и внутреннего слоев монтажного шва. Для уменьшения расхода пенного утеплителя в монтажном зазоре при реконструкции и ремонте зданий используются плиты теплоизоляционные из пенополистирола, пенополиуретана и пенопласта плотностью 20-30 кг/м3 или плиты минераловатные плотностью не менее 75 кг/м3. 4.7.4 Прочность сцепления (адгезия) полиуретанового пенного утеплителя (ПГТУ) с поверхностями проемов и коробок СПК должна быть не менее 0,1 МПа (1,0 кгс/см2). Другие виды утеплителей, не обладающие собственной адгезией к поверхностям монтажного зазора, должны применяться таким образом, чтобы при любых возможных деформациях монтажного шва обеспечивалась его целостность и отсутствие отслоений утеплителя от поверхностей монтажного зазора. 4.7.5 Водопоглощение полиуретановых пенных утеплителей центрального слоя при полном погружении за 24 часа не должно превышать 3 % по массе. 4.8 Требования к внутреннему слою монтажного шва4.8.1 Конструкция и материалы внутреннего слоя монтажного шва должны обеспечивать надежную изоляцию материалов центрального слоя монтажного шва от воздействия водяных паров со стороны помещения. 4.8.2 Материалы внутреннего слоя могут также нести на себе функции отражающей теплоизоляции. 4.9 Требования к материалам монтажного шва4.9.1 Материалы, применяемые для устройства монтажных швов узлов примыканий, подразделяют по диапазону рабочих температур, при которых допускается производство монтажных работ, на материалы: - летнего исполнения (от +5°С до +35°С); - зимнего исполнения (с рабочими температурами ниже +5°С). 4.9.2 Материалы, применяемые для устройства узлов примыканий, должны быть совместимы между собой, а также с материалами проема, коробки СПК и крепежных деталей. 4.9.3 Изоляционные материалы наружного слоя монтажного шва (не защищенные при эксплуатации от воздействия прямых солнечных лучей) должны быть устойчивы к УФ облучению. 4.9.4 Сопротивление отслаиванию ленточных материалов наружного слоя монтажного шва от поверхностей проемов и коробок СПК должна быть не менее 0,03 МП а (0,3 кгс/см2) 4.9.5 Прочность сцепления мастичных герметиков к поверхности проемов и коробок СПК должна быть не менее 0,1 МПа (1,0 кгс/см2). 4.10 Требования к элементам отделки4.10.1 Для герметизации мест примыканий коробки СПК и огкоса, коробки СПК и подоконника, отлива применяют силиконовые или акриловые герметики. При установке светопрозрачных конструкций из ПВХ профилей допускается применение клеев на основе растворов ПВХ, т.н. «жидкие пластики». 4.10.2 Для организации примыкания откосов к коробке СПК допускается применение специальных профилей, обеспечивающих герметичное примыкание и отсутствие образования трещин и зазоров в процессе эксплуатации. 4.10.3 Прочность сцепления (адгезия) герметиков с поверхностями проемов и коробок СПК должна быть не менее 0,1 МПа (1,0 кгс/см2). 4.10.4 Для отделки наружных и внутренних откосов должны применяться водостойкие материалы. 5. Безопасность при производстве работ5.1 При производстве работ по устройству узлов примыкания, а также при хранении и переработке отходов изоляционных и других материалов должны соблюдаться требования строительных норм и правил по технике безопасности в строительстве, правил пожарной безопасности при производстве строительно-монтажных работ, санитарных норм и стандартов безопасности, в том числе ССБТ (система стандартов безопасности труда). На все технологические операции и производственные процессы должны быть разработаны инструкции по технике безопасности (включая операции, связанные с эксплуатацией электрооборудования и работами на высоте). 5.2 До начала производства работ рабочие, занятые на установке СПК, должны пройти соответствующий инструктаж по технике безопасности и ознакомиться с технологической документацией. 5.3 К работе по установке СПК допускаются лица не моложе 18 лет, прошедшие вводный инструктаж на месте по технике безопасности и производственной санитарии и обученные безопасным методам производства работ. 5.4 Места производства работ должны быть убраны от мусора и излишков строительных материалов. Хранение материалов, инструмента, отходов производства должно соответствовать требованиям по охране труда. 5.5 Рабочие обеспечиваются спецодеждой, спецобувью и другими средствами индивидуальной защиты (респираторами, рукавицами, очками, касками, предохранительными поясами). 5.6 На каждом рабочем месте уровень освещенности должен соответствовать установленным нормам. 5.7 Рабочие места и проходы к
ним, расположенные на высоте более При невозможности применения защитных ограждений или в случае кратковременного периода нахождения работников допускается производство работ с применением предохранительных поясов. 5.8 Леса и подмости, используемые при производстве работ по заполнению оконных проемов, должны соответствовать требованиям ГОСТ 24258-88 и ГОСТ 27321-87. 5.9 Выполнение работ с приставных лестниц и случайных средств подмащивания запрещается. 5.10 Предохранительные пояса должны соответствовать требованиям НД. 5.11 В местах производства работ СПК складируются в один ряд по высоте, с опорой на несущую конструкцию, в наклонном положении, или в специально сконструированных кассетах (пирамидах), на подкладках. 5.12 При установке стеклопакетов и створок в коробки СПК необходимо обеспечить меры безопасности против выпадения их наружу. 5.13 Поднимать и переносить стеклопакеты, створки или СПК следует с применением соответствующих безопасных приспособлений или в специальной таре. 5.14 Места, над которыми проводятся монтажные работы, а также зоны, где осуществляется подъем СПК или их деталей, необходимо ограждать и охранять. 5.15 После окончания работ необходимо убрать мусор в специально отведенное для него место. 5.16 При устройстве герметизации швов напылением пенополиуретанов должны соблюдаться требования безопасности по ГОСТ 12.1.038 и указаниям изготовителей. 5.17 При работе с монтажной пеной для защиты кожи, глаз и органов дыхания должны использоваться средства индивидуальной защиты (очки и респираторы). 5.18 Курить на рабочих местах запрещается. 5.19 Электробезопасность на рабочих местах должна обеспечиваться в соответствии с требованиями ГОСТ 12.1.013. 5.20 К работе с ручным электроинструментом допускаются лица не моложе 18 лет, прошедшие специальное обучение, сдавшие соответствующий экзамен и имеющие запись об этом в удостоверении по охране труда. 5.21 При работе с ручным электроинструментом необходимо выполнять следующие требования: - работать с инструментом класса I в резиновых диэлектрических перчатках, диэлектрических галошах или на диэлектрическом коврике; - не подключать инструмент к распределительному устройству, если отсутствует безопасное штепсельное соединение; - предохранять провод, питающий электроинструмент, от механических повреждений; - не переносить электроинструмент за провод, пользоваться для этого ручкой; - не производить ремонт электроинструмента, проводов и штепсельных соединений самостоятельно (эти работы должен выполнять соответствующий электротехнический персонал); - не производить замену режущей части инструмента до полной остановки электродвигателя; - при перерывах в работе или прекращении подачи электроэнергии отключить инструмент от сети; - не передавать электроинструмент другим лицам; - не удалять стружку или опилки до полной остановки инструмента. 5.22 При сверлении следует проверить надежность закрепления сверла в патроне. 5.23 При обнаружении неисправности следует немедленно приостановить работу и сдать инструмент для проверки и ремонта. 5.24 По окончании работ электроинструмент следует отключить от сети, очистить. 5.25 Слесарно-монтажный инструмент должен содержаться в исправном состоянии, режущие кромки рабочего инструмента должны быть в заточенном состоянии. 5.26 При хранении и переноске острые кромки слесарно-монтажного инструмента должны быть защищены от механических повреждений (колпачками, футлярами и т.п.). 5.27 Переносить слесарно-монтажный инструмент при работе на высоте необходимо в сумках, подсумках, закрепленных на предохранительном поясе. 5.28 Рукоятки у слесарно-монтажного инструмента ударного, нажимного и режущего действия должны быть гладкими и не иметь заусенцев. 5.29 Молотки, отвертки и другие ручные инструменты должны быть прочно закреплены в рукоятках. 6. Охрана окружающей среды6.1 Запрещается производить слив или перелив горюче-смазочных материалов на строительной площадке. 6.2 Вывоз строительного мусора и утилизация отходов должны осуществляться в установленном порядке. 6.3 Запрещается сжигать отходы. 6.4 Запрещается использовать монтажную пену, содержащую озоноразрушающие компоненты. 6.5 Запрещается применять материалы, не имеющие гигиенические заключения. 7. Контроль качества7.1 Контроль качества узлов примыкания производится на трех единицах узлов. Выборка узлов примыкания, подлежащих проверке, производится в случайном порядке. При этом в выборку должны попасть все основные характерные виды узлов примыканий из проверяемой партии. 7.2 Подготовку поверхностей
оконных проемов оценивают визуально с расстояния 400 - 7.3 При составлении акта скрытых работ по качеству швов монтажных узлов примыкания производится контроль по п.п. 10.2 - 10.7 настоящего СТО. 7.4 Производится вскрытие
гидроизоляционного и пароизоляционного слоев монтажного шва с выемкой
теплоизоляционного слоя на глубину не менее 1/2 глубины монтажного шва. Вскрытие производить на участке
монтажного шва длиной 50+10 мм. Образцы берутся в трех местах на расстоянии не
менее 7.5 Производится визуальный контроль заполнения монтажного шва теплоизолирующим материалом. Заполнение должно быть равномерным без образования пустот и сгустков. Характер разрушение полиуретанового пенного утеплителя при демонтаже - когезионный. 7.6 Инструментально контролируются толщина и ширина слоя нанесения, а также ширина зоны контакта мастичного герметика с поверхностями, ограничивающими монтажный зазор. 7.7 По окончании контрольных обследований полости, образованные выемкой утеплителя, заполняют вставкой из жесткого утеплителя. Вставка производится внатяг. Вскрытые участки герметизируются материалами, применяемыми ранее или с аналогичными характеристиками. 7.8 Производится визуальный контроль качества установки ПСУЛ на предмет отсутствия разрывов и отхождения ленты от поверхностей зазора. Инструментально контролировать соблюдение степени сжатия ПСУЛ в рабочем положении. 7.9 Визуально контролируется качество установки гидроизоляционных диффузионных лент под отливом или в иных метах, где они применяются. Качество установки лент характеризуется отсутствием отслоений и разрывов, а также надежной и тщательной заделкой угловых соединений или, в случае установки гидроизоляционных диффузионных лент под отливом, примыканий концов отрезка ленты к проему. 7.10 Визуально контролируется качество установки пароизоляционных лент. Качество установки лент характеризуется отсутствием отслоений и разрывов, а также надежной и тщательной заделкой угловых соединений. 7.11 Проверяется количество и расположение крепежных элементов, которое должно соответствовать требованиям Приложения В настоящего СТО. Для крепежных элементов проверяется правильность установки (способ примыкания к коробке СПК), надежность герметизации отверстий для крепежных элементов, а также глубина анкерования и другие принципиальные моменты, зависящие от материала ограждающей конструкции и расположения крепежных элементов в ней. 7.12 Проверяется количество и расположение опорных и дистанционных колодок, которое должно соответствовать требованиям Приложения Г настоящего СТО. Для опорных и дистанционных колодок проверяется качество материала, из которого они изготовлены, на соответствие п. 4.4.2 настоящего СТО. 7.13 Контроль по п.п. 7.8 и 7.9 производится до заполнения монтажного шва утеплителем и заделки шва пароизоляционным материалом. 7.14 Приемку качества работ по устройству узлов примыканий и их элементов оформляют актом сдачи-приемки, подписанным Заказчиком и Исполнителем. К акту сдачи-приемки прилагаются копии протоколов сертификационных испытаний узлов примыканий и санитарно-эпидемиологические заключения на примененные материалы. По согласованию между сторонами к акту сдачи-приемки могут прилагаться иные дополнительные документы. 8. Методы испытаний8.1 Материалы, применяемые при производстве монтажа светопрозрачных конструкций, должны быть испытаны на соответствие требованиям НД на эти материалы и настоящего СТО. 8.2 Методы испытаний материалов при входном контроле качества устанавливают в технологической документации с учетом требований НД на эти материалы. Методы испытаний при производственном операционном контроле качества устанавливают в технологической документации с учетом требований настоящего стандарта. 8.3 Сопротивление паропроницанию и паропроницаемость материалов узла примыкания определяют по ГОСТ 25898-83. 8.4 Водопроницаемость узлов примыканий оценивают по пределу водонепроницаемости материалов наружного слоя согласно НД на эти материалы или по специальным методикам, утвержденным в установленном порядке. 8.5 Водопоглощение утеплителей определяют по ГОСТ 17177-94. 8.6 Сопротивление отслаиванию ленточных материалов, применяемых в узлах примыканий, определяют по ГОСТ 10174-90. 8.7 Прочность сцепления герметиков с основой определяют по методу Б ГОСТ 26589-85. 8.8 Воздухопроницаемость и звукоизоляцию определяют по методикам, утвержденным в установленном порядке, исходя из методов испытаний соответственно по ГОСТ 26602.2-99 и ГОСТ 26602.3-99. 8.9 Деформационная устойчивость узла примыкания определяется по соответствующему показателю для наименее устойчивого к деформациям элемента узла примыкания по методикам, утвержденным в установленном порядке. 8.10 Оценку морозостойкости
материалов узла примыкания производят по температуре хрупкости по ГОСТ
2678-94 (диаметр гиба 8.11 Оценку теплостойкости материалов узла примыкания производят по ГОСТ 2678-94. 8.12 Долговечность (срок службы) материалов узла примыкания и их совместимость определяют по методике испытаний МИ 01.49001519-2004. 8.13 Контроль линейных размеров элементов узлов примыканий на соответствие проектным решениям производится по методикам, утвержденным в установленном порядке, в соответствии с требованиями НД и настоящего СТО. Приложение А
|
|||||||||||||||||||||||||||||||||||||||||||||||||||||||||||||||||||||||||||||||||||||||||||||||||||||||||||||||||||||||||||||||||||||||||||||||||||||||||||||||||||||||||||||||||||||||||||||||||||||||||||||||||||||||||||||||||||||||||||||||||||||||||||||||||||||||||||||||||||||||||||||||||||||||||||||||||||||||||||||||||||||||||||||||||||||||||||||||||||||||||||||||||||||||||||||||
|
Рис. |
Описание |
Стр. |
|
А1 |
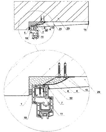
Узел примыкания к проему стены из штучного материала. Проем без четверти. Организация фальшчетверти с применением металлического или пластмассового уголка. Внешние откосы оштукатуриваются. Внутренние откосы утепляются и оштукатуриваются. |
26 |
|
А2 |
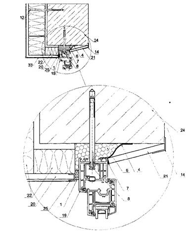
Узел примыкания к проему стены из штучного материала. Проем с четвертью. Внутренние откосы оштукатуренные. |
27 |
|
A3 |
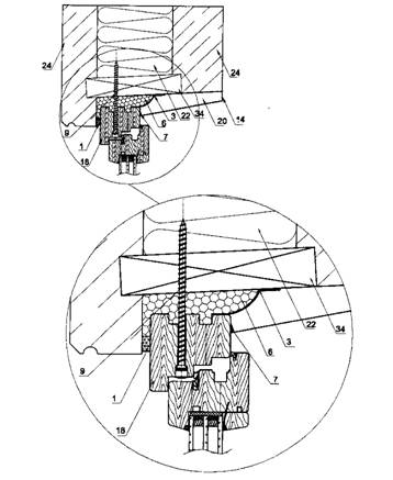
Узел примыкания к проему стены из штучного материала. Проем с четвертью. Внутренние откосы отделываются плитными материалами. |
28 |
|
А4 |
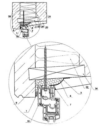
Нижний узел примыкания СПК к проему из штучного материала. Крепление СПК на гибкие анкерные пластины устраняет риск протечки через крепежные отверстия. Лента Робибанд НЛ применена по схеме «внакладку». |
29 |
|
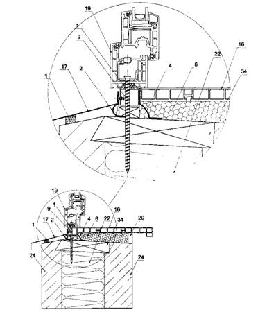
А5 |
Узел примыкания СПК к стене из железобетона и эффективного утеплителя со стороны улицы. Утеплитель в проеме образует четверть. СПК смещается на середину толщины несущей части стены. Внутренние откосы отделываются плитными материалами. Необходим теплотехнический расчет данного узла. |
30 |
|
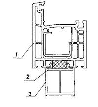
А6 |
Узел примыкания СПК к стене из железобетона и эффективного утеплителя со стороны улицы. Утеплитель в проеме образует четверть. СПК смещается на середину толщины несущей части стены. Внутренние откосы оштукатуриваются. Необходим теплотехнический расчет данного узла. |
31 |
|
А7 |
Нижний узел примыкания СПК к стене из железобетона и эффективного утеплителя со стороны улицы. СПК смещается на середину толщины несущей части стены. Необходим теплотехнический расчет данного узла.
|
32 |
|
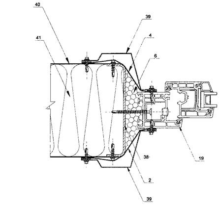
A8 |
Узел примыкания СПК к проему трехслойной железобетонной панели с эффективным утеплителем в качестве среднего слоя. Проем с четвертью. Внутренние откосы оштукатуриваются. |
33 |
|
A9 |
Узел примыкания СПК к проему трехслойной железобетонной панели с эффективным утеплителем в качестве среднего слоя. Проем с четвертью. Внутренние откосы оштукатуриваются. |
34 |
|
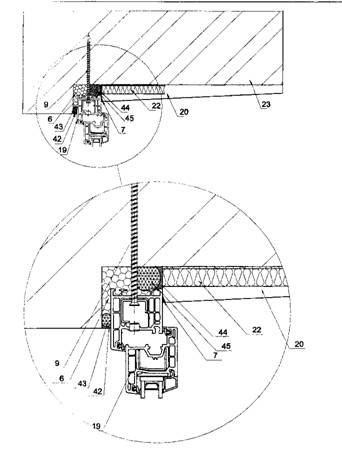
A10 |
Узел примыкания СПК к проему трехслойной железобетонной панели с эффективным утеплителем в качестве среднего слоя. Проем с четвертью. Монтажный шов изнутри закрывается наличником. |
35 |
|
A11 |
Нижний узел примыкания СПК к проему трехслойной железобетонной панели с эффективным утеплителем в качестве среднего слоя. Необходима надежная гидроизоляция крепежных отверстий. |
36 |
|
A12 |
Герметизация примыкания прижимной планки в СПК из алюминиевых профилей. |
37 |
|
A13 |
Герметизация примыкания прижимной планки в СПК из алюминиевых профилей. |
38 |
|
A14 |
Герметизация примыкания элементов СПК из ПВХ профилей к эркерному соединительному профилю. |
39 |
|
A15 |
Узел примыкания СПК к проему стены из сендвич-панели. |
40 |
|
A16 |
Узел примыкания к проему стены из штучного материала. Проем с четвертью. Внутренние откосы утепляются и оштукатуриваются. Для герметизации монтажного шва применены мастичные герметики. |
41 |
|
A17 |
Узел примыкания СПК к проему трехслойной железобетонной панели с эффективным утеплителем в качестве среднего слоя. Проем с четвертью. Внутренние откосы оштукатуриваются. Для герметизации монтажного шва применены мастичные герметики. |
42 |
|
A18 |
Узел примыкания СПК к проему трехслойной железобетонной панели с эффективным утеплителем в качестве среднего слоя. Проем с четвертью. Внутренние откосы оштукатуриваются. Для герметизации монтажного шва применены мастичные герметики. |
43 |
ЭКСПЛИКАЦИЯ МАТЕРИАЛОВ И ИЗДЕЛИЙ
|
№ поз. |
Наименование |
|
1 |
Паропроницаемая саморасширяющаяся уплотни тельная лента (ПСУЛ) |
|
2 |
Гидроизоляционная диффузионная лента |
|
3 |
Паронепроницаемая лента под мокрую отделку внутренних откосов |
|
4 |
Паронепроницаемая лента под сухую отделку внутренних откосов |
|
5 |
Гидроизоляционная герметизирующая лента |
|
б |
Аэрозольный полиуретановый пенный утеплитель (ПНУ) |
|
7 |
Силиконовый герметик |
|
8 |
Металлический рамный дюбель |
|
9 |
Шуруп по бетону |
|
10 |
Пластмассовый дюбель со стопорным шурупом |
|
11 |
Самонарезающий шуруп |
|
12 |
Крепление утеплителя |
|
13 |
Уголок металлический |
|
14 |
Уголок из ПВХ |
|
15 |
Подоконная доска из древесины |
|
16 |
Подоконная доска из ПВХ |
|
'47 |
Отлив |
|
48 |
Коробка СПК из древесины |
|
19 |
Коробка СПК из ПВХ |
|
20 |
Материал на основе минеральных вяжущих |
|
21 |
Гипсокартонная плита |
|
22 |
Утеплитель |
|
23 |
Кирпичная кладка |
|
24 |
Железобетон |
|
25 |
Отделочный профиль |
|
26 |
Деревянный брус |
|
27 |
Черновая коробка из древесины |
|
28 |
Наличник из древесины |
|
29 |
Доборный расширительный брусок |
|
30 |
Профиль эркерный соединительный |
|
31 |
Алюминиевый профиль |
|
32 |
Гибкая анкерная пластина |
|
33 |
Отделка фасада |
|
34 |
Закладной брусок |
|
35 |
Гвоздь оцинкованный |
|
36 |
Прижимная планка |
|
37 |
Заполнение |
|
38 |
Скоба |
|
39 |
Гнутый профиль |
|
40 |
Облицовка панели |
|
41 |
Наполнитель панели |
|
42 |
Паропроницаемый мастичный герметик |
|
43 |
Паропроницаемый забутовочный шнур |
|
44 |
Паронепроницаемый мастичный герметик |
|
45 |
Паронепроницаемый забутовочный шнур |
Рисунок Al - Узел примыкания к проему стены из штучного материала. Проем без четверти. Организация фальшчетверти с применением металлического или пластмассового уголка. Внешние откосы оштукатуриваются. Внутренние откосы утепляются и оштукатуриваются.

Рисунок А2- Узел примыкания к проему стены из штучного материала. Проем с четвертью. Внутренние откосы оштукатуренные.

Рисунок A3 - Узел примыкания к проему стены из штучного материала. Проем с четвертью. Внутренние откосы отделываются плитными материалами.

Рисунок А4 - Нижний узел примыкания СПК к проему из штучного материала. Крепление СПК на гибкие анкерные пластины устраняет риск протечки через крепежные отверстия. Лента Робибанд НЛ применена по схеме «внакладку».

Рисунок А5 – Узел примыкания СПК к стене из железобетона и эффективного утеплителя со стороны улицы. Утеплитель в проеме образует четверть. СПК смещается на середину толщины несущей части стены. Внутренние откосы отделываются плитными материалами. Необходим теплотехнический расчет данного узла.

Рисунок А6 – Узел примыкания СПК к стене из железобетона и эффективного утеплителя со стороны улицы. Утеплитель в проеме образует четверть. Внутренние откосы отделываются плитными материалами. Необходим теплотехнический расчет данного узла.

Рисунок А7– Нижний узел примыкания СПК к стене из железобетона и эффективного утеплителя со стороны улицы. СПК смещается на середину толщины несущей части стены. Необходим теплотехнический расчет данного узла.

Рисунок А8 – Узел примыкания СПК к проему трехслойной железобетонной панели с эффективным утеплителем в качестве среднего слоя. Проем с четвертью. Внутренние откосы оштукатуриваются.

Рисунок А9 – Узел примыкания СПК к проему трехслойной железобетонной панели с эффективным утеплителем в качестве среднего слоя. Проем с четвертью. Внутренние откосы оштукатуриваются.

Рисунок А10 – Узел примыкания СПК к проему трехслойной железобетонной панели с эффективным утеплителем в качестве среднего слоя. Проем с четвертью. Монтажный шов изнутри закрывается наличником.

Рисунок А11 – Нижний узел примыкания СПК к проему трехслойной железобетонной панели с эффективным утеплителем в качестве среднего слоя. Необходима надежная гидроизоляция крепежных отверстий.

Рисунок А12 - Герметизация примыкания прижимной планки в СПК из алюминиевых профилей.

Рисунок А13 - Герметизация примыкания прижимной планки в СПК из алюминиевых профилей.

Рисунок А14- Герметизация примыкания элементов СГПС из ПВХ профилей к эркерному соединительному профилю.

Рисунок А15- Узел примыкания СПК к проему стены из сендвич-панели.

Рисунок А16 – Узел примыкания к проему стены из штучного материала. Проем с четвертью. Внутренние откосы утепляются и оштукатуриваются. Для герметизации монтажного шва применены мастичные герметики.

Рисунок 17 – Узел примыкания СПК к проему трехслойной железобетонной панели с эффективным утеплителем в качестве среднего слоя. Проем с четвертью. Внутренние откосы оштукатуриваются. Для герметизации монтажного шва применены мастичные герметики.

Рисунок 18 – Узел примыкания СПК к проему трехслойной железобетонной панели с эффективным утеплителем в качестве среднего слоя. Проем с четвертью. Внутренние откосы оштукатуриваются. Для герметизации монтажного шва применены мастичные герметики.
Б.1 При заполнении проемов должны применяться машины, механизированный и ручной инструмент, а также приспособления, наименование и назначение которых приведены в приложении В.
Б.2 Подготовительные работы.
Б.2.1 Перед установкой СПК должны быть вынесены базовые линии, увязанные по фасаду здания, относительно которых будут размещаться СПК по вертикали и горизонтали.
Б.2.2 Перед установкой СПК необходимо:
- проверить качество и целостность поступающих на объект изделий и конструкций, а также их комплектацию;
- проверить соответствие фактических размеров СПК и оконных проемов проектной документации;
- проверить готовность откосов и штраб под отливы и подоконные доски;
- очистить проем от наплывов раствора и бетона, строительного мусора, пыли, грязи;
- снять открывающиеся створки и стеклопакеты в неоткрывающихся (глухих) створках СПК (для поливинилхлоридных, стеклопластиковых и алюминиевых конструкций), если такая возможность конструктивно предусмотрена.
Б.2.3 При ремонте зданий и замене СПК в эксплуатируемых помещениях разрушенные при извлечении старых СПК поверхности внутренних и наружных откосов следует очистить от остатков демонтируемой коробки СПК и конопатки и восстанавливать цементно-песчанным раствором или штукатурными составами без образования мостиков холода. Мероприятия по восстановлению поврежденных при извлечении СПК участков проемов устанавливают в НД.
Б.2.4 При отсутствии в проеме четверти допускается устройство фальшчетверти.
Б.3 Установка и крепление СПК.
Б.3.1 Место установки СПК по глубине проема должно соответствовать проектной документации.
При замене СПК в эксплуатируемых помещениях или при отсутствии проектного решения коробку СПК в однородной (однослойной) ограждающей конструкции следует размещать на расстоянии не более 2/3 ее толщины от внутренней поверхности стены, а в многослойных стенах с эффективным утеплителем - в зоне утеплительного слоя. Выбор размещения с всю прозрачной конструкции рекомендуется контролировать теплотехническим расчетом.
При этом необходимо обеспечивать величину монтажных зазоров в пределах требований 4.1.15
Б.3.2 СПК устанавливают в проем на опорные колодки. С помощью распорных колодок (клиньев) и уровня выверяют горизонтальность, вертикальность и соосность каждой СПК. Примеры расположения опорных (несущих), распорных колодок и крепления приведены на рисунках (Приложения Г и Д соответственно).
Б.3.3 Размечают места расположения крепежных элементов (в соответствии с расположением закладных элементов и растворных швов).
Б.3.4 Демонтируют СПК, производят сверление отверстий в коробке СПК со стороны внешнего торца (при креплении на металлический рамный дюбель, шуруп по бетону или шуруп-саморез) или размещают и фиксируют анкерные пластины.
Б.3.5 Повторное размещение СПК в проеме на опорных колодках.
Б.3.6 После установки и временной фиксации СПК закрепить к проему при помощи крепежных элементов согласно Приложениям В и Д.
Б.3.7 При креплении коробок СПК следует:
- сверлить стены, за исключением бетонных, без ударов;
- использовать сверло такой длины, чтобы не допустить повреждения поверхности коробки СПК сверлильным патроном;
- при установке СПК в кирпичных стенах из пустотелого кирпича и легких бетонов рекомендуется осуществлять крепление в растворные швы;
- просверленные отверстия продувать;
- крепление гвоздями недопустимо.
Б.3.8 В узлах соединения отдельных коробок СПК между собой или их примыкания к подставочным, проставочным, поворотным или расширительным профилям следует выполнить мероприятия, предотвращающие образование тепловых мостиков (мостиков холода), /(опускается установка в таких узлах по всему контуру примыкания саморасширяющихся лент или мастичных материалов, обеспечивающих необходимое сопротивление теплопередаче и деформационную устойчивость.
Б.4 Устройство монтажных швов.
Б.4.1 Перед устройством монтажных швов примыкающие поверхности (ПК и проема должны быть очищены от пыли, грязи, масляных пятен, наледи и изморози.
Б.4.2 Заполнение монтажного зазора производят послойно с учетом температурных и влажностных условий окружающей среды, а также рекомендаций изготовителей изоляционных материалов.
Б.4.2.1 Рекомендуется заполнение монтажного зазора ППУ послойно, с предварительным и межслойным увлажнением поверхностей.
Б.4.2.2 Допускается послойная комбинация различных видов утеплителей, например, минераловатных и ППУ, ППУ и вспененного полиэтилена.
Б.4.3 Для устройства наружного слоя монтажного шва применяют саморасширяющиеся изоляционные материалы, паропроницаемые диффузионные ленточные материалы или паропроницаемые отверждающиеся мастики.
Б.4.3.1 Применение паронепроницаемых герметиков недопустимо, кроме их сочетания с паропроницаемым материалом внешнего откоса. Сопротивление паропроницанию материала внешнего откоса в данном варианте не должно быть более данной характеристики для материалов внешнего паропроницаемого гидроизоляционного слоя.
Б.4.3.2 При использовании саморасширяющихся изоляционных материалов необходимо руководствоваться следующими требованиями:
- паропроницаемую саморасширяюшуюся ленту приклеивают к четверти внешней ограждающей конструкции или к коробке СПК непосредственно перед установкой СПК в оконный проем ограждающей стеновой конструкции;
- закрепленная ПСУЛ не должна
выступать за пределы четверти оконного проема, наиболее оптимальное заглубление
ленты - 3 -
- соединение ПСУЛ производить встык, соединение внахлест недопустимо;
- допускается изгиб ПСУЛ,
радиусом не менее
- размеры ПСУЛ подбираются исходя из рекомендаций производителя, в соответствии с размером фронтального зазора;
- допускается окрашивание ПСУЛ паропроницаемыми лакокрасочными материалами на водной основе.
Б.4.3.3 При использовании диффузионных ленточных материалов руководствуются следующими требованиями:
- фиксацию ленты производят с помощью адгезионных полосок, а в случае их отсутствия с применением дополнительных адгезионных материалов, обеспечивающих адгезию заданной степени материала ленты с материалом поверхности, к которой производится крепление;
- ограждающая стеновая конструкция в месте герметизации должна быть предварительно обработана праймером;
- нахождение диффузионной ленты в незащищенном от УФ излучения состоянии свыше времени декларированного заводом-изготовителем недопустимо;
- допускается стыковка лент по
длине внахлест, длина стыковки (перехлеста) не менее 1/2 ширины ленты, но не менее
- рекомендуется дополнительная герметизация мест стыковки.
- толщина слоя паропроницаемого герметика в соответствии с пунктом 4.6.5 настоящего СТО;
- недопустимо исполнение треугольных и «П»-образных швов с применением мастичных материалов без использования бутовочного шнура;
- перед нанесением мастичного материала поверхности предварительно обрабатывают праймером;
- ширина полосы контакта
мастичного материала с поверхностями оконного проема и С ПК должна обеспечивать
превышение адгезионной прочности шва над напряжением, развивающимся в шве при
его проектной деформационной устойчивости, с коэффициентом 2. При этом для
обеспечения технологичности работ не следует проектировать и исполнять полосу
контакта с шириной менее
Поверхности, прилегающие к герметизируемому участку, на время проведения работ следует укрыть от загрязнения скотчем или аналогичным материалом.
Б.4.4 Нанесение на паропроницаемый материал наружного слоя монтажного шва штукатурного слоя, шпатлевки или окраски его лакокрасочными материалами, создающими паронепроницаемую пленку, не опускается.
Б.4.5 Для устройства центрального тепло- и звукоизоляционного слоя монтажного шва применяют минеральную вату, пенный утеплитель или его комбинацию со вспененным полиэтиленом.
Б.4.5.1 Уплотнение центрального слоя минеральной ватой следует производить без пропусков и разрывов. Бруски минеральной ваты устанавливаются в монтажный зазор с натягом.
Б.4.5.2 При устройстве центрального слоя монтажного шва полиуретановым или латексным пенным утеплителем следует придерживаться следующих правил:
- перед началом работы пенным утеплителем рыхлые осыпающиеся поверхности следует обеспылить. Рекомендуется нанести праймер;
- перед заполнением зазора пенным утеплителем поверхности необходимо увлажнять;
- заполнение монтажного зазора следует производить при полностью собранной, закрепленной СПК, при закрытых створках;
- при изменении температуры и влажности окружающей среды или смене поставщика пенного утеплителя работы следует начинать с пробного теста на вторичное расширение пенного материала;
- при работе следует контролировать полноту заполнения монтажного шва;
- не допускается выход излишков пены за внутреннюю плоскость профиля коробки СПК;
- вышедший за пределы коробки СПК пенный утеплитель следует убирать в плоскость коробки СПК обжатием еще не полимеризовавшегося материала;
- в необходимых случаях срезка пенного утеплителя допускается;
- монтажные зазоры шириной
более
- при ширине монтажного зазора
более
Б.4.5.3 При устройстве центрального слоя монтажного шва допускается дополнительно с пенным утеплителем применять пенополиэтиленовые бутовочные шнуры. Работы по данной технологии следует проводить с соблюдением следующих правил:
- располагать бутовочный шнур следует ближе к внутреннему слою монтажного шва;
- забутовочный шнур следует вклеивать на клей КН-2 или аналогичный;
- забутовочный шнур должен быть обжат в монтажном шве на 20 - 50 %;
- забутовочный шнур укладывается без разрывов;
- забутовочный шнур не должен выступать за плоскость внутренней поверхности коробки СПК.
Б.4.6 Для решения вопросов повышения температур на поверхности внутренних откосов рекомендуется установка теплоизолирующего вкладыша (Рисунок А1). Габаритные размеры и расположение вкладыша выбираются исходя из теплотехнического расчета.
Б.4.7 Внутренний пароизоляционный слой устраивается непрерывно по всему контуру монтажного шва.
Внутренний слой монтажного шва может быть выполнен ленточными пароизоляционными материалами, изготовленными из бутилкаучуковых компонентов, ленточными материалами на основе алюминиевой фольги или иными пароизоляционными материалами, а также мастичными составами.
Б.4.7.1 При устройстве внутреннего пароизоляционного слоя ленточными герметиками следует руководствоваться следующими правилами:
- пароизоляционные ленты подразделяются по виду последующей отделки внутренних откосов на ленты для «мокрой» и «сухой» отделок;
- перед началом работы по пароизоляции монтажного шва следует обработать праймером поверхности проема;
- раскрой пароизоляционных лент по длине выполняется с припуском для заделки мест угловых соединений, размер припуска выбирается согласно размерам монтажных зазоров, а также ширины ленты;
- допускается стыковка лент по
длине внахлест, длина стыковки не менее 1/2 ширины ленты, но не менее
- внутренний пароизоляционный слой выполняется без разрывов, непрерывно по всему периметру проема;
- не допускается отслоение адгезионных слоев от поверхностей коробки СПК и проема;
- монтаж пароизоляционных лент производится в несколько этапов:
- фиксирование ленты адгезионным слоем на поверхности коробки СПК (поверхности проема);
- увлажнение поверхностей монтажного зазора,
- заполнение монтажного зазора пенным утеплителем, с последующей выдержкой 10-15 минут. Выдержка необходима для контроля заполнения монтажного зазора при вторичном расширении ППУ,
- увлажнение поверхностей ППУ и монтажного зазора,
- укрытие монтажного зазора пароизоляционной лентой, с фиксацией адгезионным слоем на поверхности проема (коробки СПК),
- обжатие пенного утеплителя пароизоляционной лентой.
Пароизоляционные ленточные материалы на основе алюминиевой фольги обладают функцией отражающей теплоизоляции.
Б.4.7.2 При устройстве внутреннего пароизоляционного слоя мастичными материалами следует руководствоваться пунктом 4.8.3 и Б.4.3.4 настоящего СТО.
Б.5 Установка отлива.
Б.5.1 Отлив устанавливается как в процессе монтажа СПК, так и после выполнения монтажных работ.
Б.5.2 При установке отлива в узлах примыкания к проему и коробке СПК следует выполнять мероприятия, исключающие попадание влаги в монтажный шов. На внутренней поверхности отлива или в местах контакта с ограждающей конструкцией необходимо устанавливать прокладки (гасители), снижающие шумовое воздействие дождевых капель.
Б.5.3 На поверхность откоса под отливом наносится цементно-песчаная стяжка или пенный утеплитель.
Б.5.4 Отлив должен заводиться в штрабы внешних откосов проема и крепиться к коробке СПК.
Б.5.5 При ширине отлива более
Б.5.6 В местах присоединения отлива к откосам и коробке СПК необходимо использовать пластиковые концевики (торцевые заглушки) и герметики.
Б.5.7 Внизу балконных дверных проемов при незастекленных балконах и лоджиях необходимо устраивать гидроизоляцию из ленточных или мастичных материалов для защиты конструкции стены от затекания дождевой воды. Вид гидроизоляционного материала устанавливается проектной документацией.
Б.6 Установка подоконной доски
Б.6.1 Подоконная доска устанавливается после монтажа СПК.
Б.6.2 При монтаже необходимо выполнить предусмотренную проектной документацией гидроизоляцию подоконных досок в местах сопряжения с ограждающими конструкциями.
Б.6.3 Подоконная доска заводится в штрабы внутренних откосов и под нижнюю часть коробки СПК. В проектное положение подоконную доску устанавливают при помощи опорных клиньев по уровню с уклоном во внутрь помещения 1 -2 градуса.
Б.6.4 Не рекомендуется размер зазора
между нижней плоскостью подоконной доски и нижним черновым откосом проема более
Б.6.5 Пространство под подоконной доской заполняется теплоизоляционным материалом в соответствии с проектной документацией.
Б. 6.6 Место контакта коробки СПК из ПВХ профилей или алюминиевых профилей и деревянной подоконной доски герметизируется герметиком. При установке подоконника из поливинилхлорида место контакта с коробкой СПК обрабатывается клеем для склеивания пластмасс.
В.7 Отделка откосов.
Б.7.1 Отделку поверхности откосов и перемычек производят после заполнения монтажных зазоров, установки подоконных досок и отливов, в соответствии с проектной документацией (оштукатуривание цементно-песчаным раствором, облицовка листовыми отделочными материалами или панелями).
Б.7.2. Поверхности откосов (внешних и внутренних) могут быть выполнены с помощью оштукатуривания цементно-песчаным раствором.
Б.7.2.1 Примыкание штукатурного откоса к коробке СПК должно осуществляться с применением герметика в соответствии с пунктом Б.4.3.4 настоящего СТО во избежание образования трещин в процессе эксплуатации.
Б.7.3 Поверхности откосов (внешних и внутренних) могут быть выполнены с помощью листовых паронепроницаемых и паропроницаемых материалов.
Б.7.3.1 В случае применения паронепроницаемых листовых материалов необходимо обеспечивать пароизоляцию мест примыкания элементов отделки откосов к коробке СПК и к ограждающей конструкции, а также между собой и к подоконной доске.
Б.7.3.2 В случае применения паропроницаемых листовых материалов, необходимо выполнение пункта Б.4.7.
Б.7.3.4 Примыкание элементов отделки откосов, выполненных с применением паропроницаемых листовых материалов, к коробке СПК должно осуществляться с применением герметика, в соответствии с пунктом Б.4.3.4 настоящего СТО во избежание образования трещин в процессе эксплуатации.
В.1 Крепежные элементы предназначены для фиксации СПК к проемам и передачи эксплуатационных нагрузок на стеновые конструкции.
В.2 Для крепления коробок СПК к проемам, в зависимости от конструкции стены и прочности стеновых материалов, применяют различные универсальные и специальные крепежные элементы (детали и системы):
- металлический рамный дюбель;
- пластмассовый рамный дюбель;
- пластмассовый дюбель со стопорным шурупом;
- пластмассовый дюбель-гвоздь;
- шуруп по бетону;
- гибкая анкерная пластина (поворотная и неповоротная);
- специальные крепежные системы.
Крепежные элементы изготавливают из нержавеющей стали или стали с антикоррозионным цинковым хроматированным покрытием толщиной не менее 9 мкм.
Крепление коробок СПК и анкерных пластин к стенам гвоздями не допускается.
Допускается использование специальных полимерных анкерных систем (химический анкер).
Крепление коробок СПК при реконструкции строений старой постройки, имеющих историческую ценность, следует производить с помощью специальных анкерных систем. Сверление отверстий производить безударным инструментом.
В.3 Металлические рамные дюбели применяют для обеспечения сопротивления высоким срезающим усилиям при креплении СПК к стенам из бетона, кирпича полнотелого, керамзитобетона, природного камня и других подобных материалов.
Крепление СПК к стенам из пенобетона, газобетона, газосиликата, кирпича с вертикальными пустотами следует проводить в растворный шов, при этом максимально соблюдая рекомендованные расстояния между крепежными элементами и их расстановку по периметру СПК (Приложение Д).
Пластмассовые рамные дюбели применяют в агрессивных средах с целью предотвращения контактной коррозии, а также с целью термоизоляции соединяемых элементов.
В.4 Пластмассовые дюбели со стопорными шурупами применяют для крепления СПК к стенам из кирпича с вертикальными пустотами, пустотелых блоков, легких бетонов, дерева и других строительных материалов с невысокой прочностью на сжатие. Для крепления СПК к монтажным деревянным закладным элементам и черновым коробкам допускается применение строительных шурупов.
Требуемые размеры крепежного элемента определяют расчетом в зависимости от: конфигурации профиля коробки СПК, ширины торцевого монтажного зазора, материала стены и эксплуатационных нагрузок.
В.5 Значения несущей способности (допустимых нагрузок на вырыв)
металлических рамных дюбелей диаметром
В.6 Гибкие анкерные пластины рекомендуется применять для крепления СIIК к многослойным стенам с эффективным утеплителем. Крепление на гибкие анкерные пластины допускается и при установке СПК в других конструкциях стен.
Гибкие анкерные пластины изготавливают из
оцинкованной листовой стали, толщиной не менее
При креплении анкерных пластин к
изделиям, выполненным из древесины, следует применять строительные шурупы
диаметром не менее
Таблица В.1. Справочные значения несущей способности рамных
распорных дюбелей диаметром
|
Наименование стенового материала |
Несущая способность дюбеля, кН, типа |
||
|
Металлический рамный дюбель |
Пластмассовый дюбель со стопорным шурупом |
Пластмассовый рамный дюбель |
|
|
при заглублении, мм |
|||
|
70 |
50 |
70 |
|
|
Бетон |
и |
1,1 |
2,1 |
|
Кирпич полнотелый |
1,0 |
1,0 |
1,4 |
|
Кирпич щелевидный |
- |
0,5 |
0,3 |
|
Легкие бетоны |
- |
0,3 |
0,4 |
В.7 Допускается применение других крепежных элементов и систем, конструкцию и условия применения которых устанавливают в технической документации.
В.8 Для заделки дюбелей в стенах высверливают отверстия. Режим сверления выбирают в зависимости от прочности материала стены. Различают следующие режимы сверления:
- режим чистого сверления (без удара) рекомендуется при подготовке отверстий в полнотелом и пустотелом кирпиче, легких бетонных блоках, полимербетонах;
- режим перфорирования рекомендуется для стен из бетона плотностью более 700 кг/м3 и конструкций из натуральных камней.
В.9 Глубина сверления
отверстий должна быть более анкеруемой части дюбеля. Для дюбелей диаметром до
Для обеспечения расчетного тягового усилия диаметр рассверливаемого отверстия не должен превышать диаметра самого дюбеля, при этом отверстие должно быть прочищено от отходов сверления.
Расстояние от края строительной конструкции при установке элементов крепления должно обеспечивать отсутствие трещин и разрушений строительной конструкции. Рассчитывается и указывается в ПКД.
В.10 Расположение и конфигурация крепежных элементов не должны приводить к образованию мостиков холода, снижающих теплотехнические параметры монтажного шва.
Варианты крепления коробок СПК к стенам приведены на рисунке В.1. Рекомендуемые минимальная глубина заделки дюбелей и минимальная глубина ввинчивания строительных шурупов приведены в таблице В.2.

Рисунок В.1 - Варианты крепления коробок СПК к стенам.
В.11 Головки дюбелей и стопорных шурупов рекомендуется заглублять по внутреннем фальце профиля коробки, посадочные отверстия должны быть закрыты декоративными колпачками (заглушками), установленными на клей-герметик.
Таблица В.2. Рекомендуемая минимальная глубина заделки дюбелей и ввинчивания строительных шурупов в миллиметрах
|
Наименование стенового материала |
Минимальная глубина |
|
Бетон |
40 |
|
Кирпич полнотелый |
40 |
|
Кирпич щелевидный |
60 |
|
Блоки из пористого природного камня |
50 |
|
Легкие бетоны |
60 |
В.12 Расположение дистанционных боковых колодок должно быть таким, чтобы обеспечивалось условие для свободной температурной деформации профилей коробки СПК.
В.13 Рекомендуемое расстояние от углов
коробки СПК до дистанционных боковых колодок 200 -
В.14 Опорные колодки светопрозрачных конструкций при глухих стеклопакетах должны располагаться под нижними рихтовочными пластинками стеклопакетов. Если в конструкции с глухими стеклопакетами присутствуют вертикальные импосты, то опорные колодки должны располагаться таким образом, чтобы воспринимать нагрузки как от импостов, так и передаваемые через нижние рихтовочные пластинки стеклопакетов.

Рисунок Г.1 - Примеры расположения опорных и дистанционных колодок.
|
|
Временная дистанционная колодка. После механической фиксации коробки СПК удаляется. |
|
|
Опорная и дистанционная колодка. После монтажа не удаляется. |

Рисунок Д. 1 - Места расположения крепления.
Для коробок СПК из алюминиевых профилей и ПВХ профилей белого цвета:
А - 150-
В - не более
С - 120 -
D - не менее
Для коробок СПК из ламинированных и окрашенных в массе ПВХ профилей:
A -
200 -
В - не более
С
-200 -
D - не
менее
Для коробок деревянных СПК:
A - 150 -
B - не более
C - не нормируется (от внутреннего края импоста);
D - не
менее
При монтаже с использованием гибких анкерных пластин допускается изменение размеров А и С в меньшую сторону, поскольку гибкие анкерные пластины не препятствуют температурным деформациям профилей СПК. Мри монтаже на стержневые крепежные элементы, жесткие анкерные пластины и иные системы крепежа, которые могут препятствовать свободной температурной деформации профилей СПК соблюдение размеров Л и С обязательно.
|
Наименование машин, механизированного и ручного инструмента и приспособлений |
Назначение |
|
Машины и механизированный инструмент |
|
|
Машина ручная сверлильная электрическая. |
Сверление отверстий в профиле |
|
Перфоратор с набором сверл с твердосплавными или алмазными несущими частями |
Перфорирование в бетоне, камне, долбление, сверление и завинчивание |
|
Шуруповерт ручной электрический или дрель ручная двухскоростная с набором насадок под шурупы |
Затяжка дюбелей и шурупов в отверстия |
|
Лобзик электрический |
Прирезка подоконной доски, раскрой панелей откосов |
|
Углошлифовальная машина |
Резка металлических элементов крепления, заточка инструмента. |
|
Ручной инструмент и приспособления |
|
|
Приспособление УМФ (монтажная струбцина) |
Выравнивание СПК по вертикали и горизонтали и временная фиксация ее в проеме |
|
Гвоздодер |
Удаление гвоздей, разборка старой деревянной СПК |
|
Ножовка по дереву с набором полотен |
Распиливание материалов |
|
Ножницы по металлу |
Резка профиля, отлива |
|
Ножницы ручные |
Резка ПСУЛ (предварительно сжатой уплотнительной ленты) и других материалов |
|
Удлинитель кабеля |
Подключение электроинструмента |
|
Молоток плотничный |
Подбивка деревянных клиньев (подкладок) при монтаже |
|
Заклепочник |
Сплачивание по длине полотен сливов |
|
Набор шпателей из нержавеющего металла |
Нанесение и выравнивание ремонтных составов, мастичных герметиков |
|
Струбцина |
Временное крепление коробок СПК |
|
Наименование машин, механизированного и ручного инструмента и приспособлений |
Назначение |
|
Щетки проволочные |
Очистка поверхностей |
|
Щетка-сметка |
Очистка поверхностей |
|
Зубило слесарное |
Срубка наплывов |
|
Пистолет для ПУ монтажной пены |
Нанесение ПУ монтажной пены |
|
Пистолет выжимной |
Нанесение мастичных герметиков |
|
Опрыскиватель бытовой или ручной краскопульт |
Смачивание поверхностей |
|
Кисти малярные |
Смачивание, окрашивание поверхностей, грунтование |
|
Набор отверток (с плоским шлицем и крестообразным) |
Крепление приборов открывания |
|
Лопатка пластиковая |
Подгонка коробки СПК при установке |
|
Приспособление для переноски стеклопакетов («присоски») |
Переноска стеклопакетов |
|
Скарпель |
Подчистка поверхности от наплывов бетона' |
|
Отвес стальной строительный |
Провешивание вертикальных плоскостей |
|
Рулетка (метр складной) |
Измерение линейных величин |
|
Уровень
строительный L = |
Создание и контроль горизонтальных и вертикальных поверхностей |
|
Угольник металлический поверочный |
Выполнение и контроль прямых углов |
|
Каска строительная |
Защита головы |
|
Очки защитные |
Защита глаз |
|
Рукавицы специальные |
Защита рук |
|
Респиратор |
Защита органов дыхания |
|
Страховочный пояс с удлинителем |
Страховка рабочих при работе на высоте |
|
Пояс специальный для ручного инструмента |
Хранение и переноска мелкого инструмента при работе |
|
Нож |
Заточка карандаша, нарезка лент |
|
Примечание. Кроме рекомендуемых в таблице Е. 1 инструментов и приспособлений, возможно использование и других аналогичных, в том числе и импортных, соответствующих по свои[м характеристикам требованиям НД. |
|
Ж.1 Теплозащитные качества узла примыкания и его элементов оцениваются на стадии проектирования по результатам теплотехнического моделирования на базе сертифицированного программного комплекса Window-Тест или иных сертифицированных программных продуктов, допущенных для использования на территории Российской федерации.
Ж.2 Исходными данными для расчета являются:
- чертежи конструктивного решения узла примыкания с указанием размеров всех входящих в него элементов;
- теплотехнические характеристики материалов узла примыкания;
- граничные условия.
Ж.3 В соответствии с ГОСТ
26602.1-99 теплотехнический расчет основан на математическом моделировании
стационарного процесса теплопередачи через узел примыкания светопрозрачной конструкции
к ограждающей конструкции здания или сооружения. В состав расчетной модели
входит участок стены размером не менее двух ее толщин, коробка светопрозрачной
конструкции с заполнением высотой
Ж.4 Сопоставительный анализ вариантов конструкции узла примыкания проводится по результатам моделирования теплопередачи при одних и тех же граничных условиях, а именно:
- расчетная температура наиболее холодной пятидневки tH, °C, принимаемая в соответствии со СНиП 23-01-99* «Строительная климатология»;
- коэффициент теплоотдачи наружной поверхности αн=23 Вт/(м2∙°С), принимаемый согласно ГОСТ 26602.1-99;
- расчетная температура воздуха в помещении с регулируемым температурно-влажностным режимом tB, °C, принимаемая согласно ГОСТ 30494-96 для жилых и общественных зданий или соответствующей нормативной документации для зданий иного назначения;
- коэффициент теплоотдачи внутренней поверхности узла примыкания αВ = 8,7 Вт/(м2∙°С), принимаемый согласно СНиП 23-02-2003 «Тепловая защита зданий»;
- коэффициент теплоотдачи внутренней поверхностей коробки оконного (дверного) блока αВ = 8,0 Вт/(м2∙°С), принимаемый согласно ГОСТ 26602.1-99.
Ж.5 Ключевым фактором положительной оценки результата анализа является показатель температуры не ниже температуры точки росы для микроклимата данного помещения в точке на ребре, образованном и носкостью внутреннего откоса (подоконной доски) с плоскостью внутренней поверхности светопрозрачной конструкции, или элементов отделки, укрывающих шов монтажный.
Ж.6 Пример оформления результата анализа теплотехнических характеристик узла примыкания приведен в Приложении К.

Общество с ограниченной ответственностью
«Робитекс»
РСС RU.CУР064.0004
«Утверждаю»
Генеральный директор ООО «Робитекс»
ХХХХХХХХХХ.Х.
« хх » ххххххххххх 200 х г.
Экспертное заключение № XXX/XX
Тел 780-52-74, 780-52-75, тел/факс 786-29-17 (автомат)
http://www.robitex.ru, E-mail: to@robitex.ru
Правовые основы проведения экспертизы
Основанием для проведения экспертизы является Заявка ООО ХХХХХХХХ от хх ххххххх 200х года.
Организация, проводящая экспертизу, её руководитель, равно как и же порты, проводящие данную экспертизу, не находились и не находятся в какой-либо зависимости от органа или лица, назначивших экспертизу, г троп и других лиц, заинтересованных в результате экспертизы.
Экспертное заключение дано на основании результатов проведенных iи следований и расчетов в соответствии со специальностями экспертов.
Введение
Цель работы: Комплексная оценка монтажа светопрозрачной конструкции с оценкой теплотехнических параметров узлов примыканий к ограждающей конструкции.
Описание светопрозрачной конструкции: Конструкция из ПВХ профиля
ХХХХХХХХХХ рама
Описание ограждающей конструкции: Ограждающая конструкция послойная
выполнена из обыкновенного глиняного кирпича на цементно-песчаном растворе
плотностью 1700 кг/м3, ширина кладки 2,5 кирпича (
Описание материалов монтажного шва: Внешний слой: вертикальные и
верхний горизонтальный швы - гидроизоляционная паропроницаемая лента «Робибанд»
ПСУЛ 20/40, нижний горизонтальный участок под отливом - гидроизоляционная паропроницаемая лента
«Робибанд» НЛ
Центральный слой: Монтажная ПУ пена «Robi-foam» проф.
Внутренний
слой: вертикальные и верхний
горизонтальный швы -пороизоляционная лента «Робибанд» ВМ
Визуальная оценка состояния оконного блока и узла примыкания
На внешнем слое лента «Робибанд» ПСУЛ установлена с обжатием 20-25% от max расширения, не имеет разрывов и не плотностей соединений, гидроизоляционная паропроницаемая лента «Робинанд» НЛ установлена на предварительно обработанную праймером подготовленную поверхность оконного проема без разрывов, с выполнением надежной заделки угловых соединений. Заполнение торцевого зазора монтажного шва произведено полиуретановой монтажной пеной без пустот и разрывов. Пароизоляционные ленты «Робибанд» ВМ и «Робибанд» ВС не имеют разрывов и отслоений. Адгезионные полосы приклеены на заранее подготовленные, обработанные праймером поверхности откосов оконного проема. Заделка угловых соединений - герметична.
Методика теплотехнического расчета
Расчет светопрозрачной конструкции и узлов примыканий проводился по сертифицированному программному комплексу Window (сертификат соответствия №РОСС RU.CП11.H00081). Исходными данными для проведения расчетов являются:
- чертежи светопрозрачной конструкции;
- чертежи узлов примыканий;
- теплофизические характеристики материалов конструкций;
- граничные условия.
Теплотехнический расчет основан на математическом моделировании стационарного процесса теплопередачи через строительные конструкции, фрагментов ограждающих конструкций зданий, включая светопрозрачные конструкции, системы остекления и узлы примыкания оконных блоков к стеновым проемам.
Областью применения методики расчета являются:
- проведение сопоставительного анализа приведенного сопротивления теплопередаче вариантов светопрозрачных ограждающих конструкций различного назначения;
- выбор оптимальных конструктивных решений на основе проведенных теплотехнических расчетов;
- оценка температурного режима монтажных швов узлов примыкания оконных блоков к стеновым проемам для выбора наиболее эффективного их конструктивного решения.
Исходные данные:
Чертеж сечений светопрозрачной конструкции (рисунки К.1 и К.2).
Чертеж узла примыкания (рисунок К.3).
Характеристики материалов, используемых в светопрозрачной и ограждающей конструкциях, узлах примыкания (теплопроводность, значение излучательной способности поверхностей материалов) (таблица К.1).
Граничные условия. Температура наружного воздуха наиболее холодной пятидневки с обеспеченностью 0,92, коэффициент теплоотдачи αн, кмпература воздуха в помещении, принимаемая в зависимости от hi значения помещения, коэффициент тепловосприятия αв (таблица К.2).
Теплотехнический расчет:
Характеристики материалов, используемых в светопрозрачной и ограждающей конструкциях, узлах примыкания.
Таблица К.1
|
Материалы/элементы |
Теплопроводность |
Эмиссионная способность поверхности |
Источник данных |
|
Вт/(мС) |
ε |
||
|
Профиль ПВХ |
0,17 |
0,9 |
Библ. Therm |
|
Уплотнитель ЕПДМ |
0,25 |
0,9 |
Библ. Therm |
|
Пена монтажная «Robi-foam" |
0,05 |
0,9 |
Библ. Therm |
|
Робибанд ПСУЛ |
0,05 |
0,9 |
Протокол исп.. |
|
Бутилкаучук |
0,24 |
0,9 |
Библ. Therm |
|
Сталь |
50 |
0,8 |
СНиП |
|
Цементно-песчаный раствор |
0,93 |
0,9 |
СНиП |
|
Кладка кирпич глиняный обыкновенный |
0,76 |
0,93 |
СНиП |
|
Силикон |
0,35 |
0,9 |
Библ. Therm |
|
Древисина |
0,35 |
0,9 |
СНиП |
Граничные условия
Город (область) МОСКВА (в соответствии со СНиП 2.01.01-82 «Строительная климатология и геофизика» табл. «Температура наружного воздуха»)
|
Внешний контур |
||
|
Температура наиболее холодной пятидневки обеспеченностью 0,92 |
°С |
-28 |
|
Коэффициент теплоотдачи αН |
Вт/(м2∙С) |
23,0 |
|
Внутренний контур |
||
|
Температура воздуха помещения |
°С |
20 |
|
Коэффициент тепловосприятия аВ светопрозрачной конструкции |
Вт/(м2∙С) |
8,0 |
|
Коэффициент тепловосприятия аВ ограждающей конструкции |
Вт/(м2∙С) |
8,7 |

Рисунок К.1 - Конструкция коробка + створка светопрозрачной ограждающей конструкции ХХХХХХХХХХХХХХХ (боковые и верхнее примыкания).
Полости 1 заполнены экструдированным полистиролом.

Рисунок К.2 - Конструкция коробка + створка + подставочный профиль светопрозрачной ограждающей конструкции ХХХХХХХХХХХХХХХ (нижний узел примыкания). Полости 1 заполнены экструдированным полистиролом.

Рисунок К3 - Эскиз участка ограждающей конструкции, входящей в узел примыкания.

Рисунок К.4 - Температурное поле узла примыкания светопрозрачной конструкции из ПВХ профиля ХХХХХХХХХХ. Сечение узла в нижней части в зоне расположения опорной колодки ПВХ подоконника. Температура на участке примыкания подоконника к коробке рамы 11,8 °С.

Рисунок К.5 - Визуализация температурного поля узла примыкания светопрозрачной конструкции из Г1ВХ профиля ХХХХХХХХХХХХХХХ

Рисунок К.6 - Температурное поле узла примыкания свегопрозрачной конструкции из ПВХ профиля ХХХХХХХХХХХХХХХ Сечение узла в нижней части в зоне неполного заполнения зазора под подоконником утеплителем. Температура на участке примыкания подоконника к коробке рамы 11,2 °С.

Рисунок К.7 - Температурное поле узла примыкания светопрозрачной конструкции из ПВХ профиля ХХХХХХХХХХХХХХХ Сечение узла примыкания вертикального бруска оконной коробки к ограждающей конструкции с четвертью. Откос выполнен цементно-песчаным раствором с последующей окраской. Температура на участке примыкания подоконника к коробке рамы 12,7 °С.

Рисунок
К.8 - Температурное поле узла примыкания светопрозрачной конструкции из
ПВХ профиля ХХХХХХХХХХХХХХХ Сечение узла примыкания
вертикального бруска оконной коробки к ограждающей конструкции с четвертью.
Откос выполнен ПВХ панелью толщиной

Рисунок А. 9 - Температурное
поле узла примыкания светопрозрачной конструкции из ПВХ профиля ХХХХХХХХХХХХХХХ Сечение узла
примыкания вертикального бруска оконной коробки к ограждающей конструкции с
четвертью. Откос выполнен ПВХ панелью толщиной

Рисунок
К.10 - Температурное поле узла примыкания светопрозрачной конструкции и
из ПВХ профиля ХХХХХХХХХХХХХХХ. Сечение узла примыкания
вертикального бруска оконной коробки к ограждающей конструкции с четвертью.
Откос выполнен IIBX панелью толщиной
Выводы
Расчет температурных полей приведенных
узлов примыканий ПВХ конструкции из профиля ХХХХХХХХХХХХХХХ к
однослойной конструкции, выполненной из кирпича глиняного обыкновенного
плотностью 1700 кг/м3 толщиной
В критических точках (примыкание откосов к коробке оконного блока и примыкание подоконника к коробке оконного блока) температура не опускается ниже температуры точки росы, равной 9,28 °С (для температуры воздуха помещения +20 °С при 50 % относительной влажности).
Все приведенные в расчетах узлы рекомендованы к применению.
Инженер ХХХХХХХХХХХ ХХ
Свидетельство №ХХ
|
ООО «РОБИТЕКС» |
Генеральный директор _______________А.В. Сергеев |
|
Руководитель разработки и исполнитель |
Технический директор _______________Н.Ю. Румянцев |
|
Исполнитель |
Технический консультант ________________А.В. Уланов |
|
«АПРОК» |
Президент ________________А.В. Спиридонов |
|
Организации участников |
|
|
ГУП «МНИИТЭП» |
Зам. Директора _________________В.А. Аникин |
|
НИУЦП «МИО» |
Президент __________________Н.В. шведов |
|
ГУП «НИИМосстой» |
Первый зам директора по научной работе, д.т.н. ___________________В.Ф. Коровяков |
|
ОО ПКФ «СТРОЙСИСТЕМА СТ» |
Генеральный директор __________________В.Ф. Лаптев |
|
ООО «РОБИТОРГ» |
Генеральный директор ___________________С.С. Коршиков |
|
ООО «ИЦ АПРОК-ТЕСТ» |
Генеральный директор ___________________Л.Н. Ким |
|
ГОСТЫ, СТРОИТЕЛЬНЫЕ и ТЕХНИЧЕСКИЕ НОРМАТИВЫ. Некоммерческая онлайн система, содержащая все Российские Госты, национальные Стандарты и нормативы. В Системе содержится более 150000 файлов нормативно-технической документации, действующей на территории РФ. Система предназначена для широкого круга инженерно-технических специалистов. Copyright © www.gostrf.com, 2008 - 2026 |