|
|
|
ЗАО Научно-производственный центр "Путь К" Тупиковые
упоры. РД 50:48:0075.02.05 Москва 2005 Тупиковые упоры. Рекомендации к проектированию, пи отоплению и эксплуатации. /Г.М. Банных, А.Г. Банных, Л.Р. Кудряшов, B.Г. Жуков, А.В. Ширкевич, Д.А. Ведерников/. В документе рассмотрен комплекс вопросов по тупиковым упорам, обеспечивающим безопасную эксплуатацию башенных, козловых, портальных и мостового типа грузоподъемных кранов. Рекомендации утверждены научно - техническим советом Научно-производственного центра «Путь К». Рекомендации согласованы с Ростехнадзором письмом от 5.11.2005 № 09-03-58/2481. Рекомендации разработаны взамен инструкций "Обследование тупиковых упоров грузоподъемных кранов" и "Технические условии изготовления, программа и методика испытания тупиковых упоров". Все замечания и предложения направлять по адресу: 113114, г. Москва, Шлюзовая набережная д. 8, стр. 1, комнат 512а, тел/факс: (095) 235 - 97 - 19, 235 - 92 - 50. Редакционная коллегия: Председатель - В.Г. Жуков. Члены коллегии: Г.М. Банных, К.Е. Галицин. Содержание 1. ОБЩИЕ ПОЛОЖЕНИЯ1.1 «Тупиковые упоры. Рекомендации к проектированию, изготовлению и эксплуатации» (далее по тексту «Рекомендации») распространяются на тупиковые упоры ударного и безударного типа для всех типов грузоподъемных кранов (кроме железнодорожных), перемещающихся по крановым путям. 1.2 Настоящие Рекомендации предназначены для руководителей и ответственных специалистов организаций, занимающихся проектированием, изготовлением, эксплуатацией и экспертизой промышленной безопасное и грузоподъемных кранов, независимо от формы собственности и ведомственной принадлежности, а также для индивидуальных предпринимателей. 1.3 Рекомендации разработаны в соответствии с «Правилами устройства и безопасной эксплуатации грузоподъемных кранов» (ПБ 10-382-00), а также в развитие и дополнение «Рекомендаций по устройству и безопасной эксплуатации надземных крановых путей» (РД 50:48:0075.03.05) и «Рекомендаций по устройству и безопасной эксплуатации наземных крановых путей» (РД 50:48:0075.01.05). 1.4 Настоящие Рекомендации могут быть использованы владельцами грузоподъемных кранов и специализированными организациями осуществляющими экспертизу промышленной безопасности при обследовании кранов и крановых путей. 1.5. Изложенная в Рекомендациях программа и методика испытаний тупиковых упоров ударного и безударного тина, устанавливает последовательность и порядок проведения испытаний, формы отчетности и другие требования, обеспечивающие достоверность полученных результатов и безопасность проведения работ. 1.6. Основные термины и определения, а также перечень нормативной документации, на которые имеются ссылки в данных Рекомендациях, даны в приложениях 1, 2. 2. ОСНОВНЫЕ ТИПЫ И КОНСТРУКЦИИ ТУПИКОВЫХ УПОРОВ2.1. В настоящее время для грузоподъемных кранов используют тупиковые упоры трех основных типов: ударные (с деревянными, резиновыми, пружинными, пружинно-фрикционными, гидравлическими и комбинированными буферами); безударные (гравитационные и фрикционно-гравитационные); тупиковые упоры комбинированного типа. 2.2 Основные типы и конструкции применяемых в настоящее время тупиковых упоров показаны на рис. П.3.1. - П.3.5. приложения 3. 2.3 Определенный тип и конструкция тупикового упора применяется в зависимости от типа и конструкции грузоподъемного крана. 2.4 Параметры тупиковых упоров определяются в соответствии с РД 50:48:0075.03.05 и РД 50:48:0075.01.05. 2.5 Основное назначение тупиковых упоров - обеспечить гашение остаточной скорости крана и предотвратить его сход с концевых участков кранового пути в аварийных ситуациях, поэтому тупиковые упоры должны рассматриваться как составная и неотъемлемая часть системы «тупиковый упор - грузоподъемный кран». 2.6 Проектирование тупиковых упоров должно осуществляться с учетом марки и конструкции грузоподъемного крана в комплекте с которым они эксплуатируются. 2.7 При проектировании тупиковых упоров необходимо учитывать как основные, так и дополнительные нагрузки и воздействия, которым подвергается система «тупиковый упор грузоподъемный кран» во время работы. 3. ОСНОВНЫЕ ПОЛОЖЕНИЯ ВЗАИМОДЕЙС I НИИ ГРУЗОПОДЪЕМНОГО КРАНА С ТУПИКОВЫМ УПОРОМ3.1 Схема нагрузок действующих на башенный и козловой кран в зависимости от расположения тупиковых упоров ударного и безударного типа показана на рис.П.4.1. приложения 4. 3.2 При движении, кран приобретает кинетическую энергию (U), которая равна:
где m - приведенная масса крана, действующая на тупик; V - фактическая (расчетная ) скорость движения крана. 3.3 При наезде на тупиковый упор безударного типа (накатной) остановка крана осуществляется за счет поглощения кинетической энергии крана преодолением высоты накатной «горки» упора, а при наезде на тупиковый упор ударного типа, кинетическая энергия крана поглощается упругими элементами установленными на кране и тупике (резиновые, пружинные, пневматические или гидравлические амортизаторы и др.). 3.4 Кинетическая энергия (U) крана передается тупиковому упору наезде на него крана, поэтому энергоемкость (А) конструкции упора должна соответствовать условиям:
где γ - коэффициент условия работ. Энергоемкость (А) тупикового упора безударною (накатного) типа определяется высотой h (м) подъема груза (массы крана) и давлением колеса Р на накатную часть тупика:
где Р - давление колеса крана на направляющую; h - высота подъема колеса по накатной части тупика. Энергоемкость тупикового упора ударного типа определяется по формуле:
где W - сила от действия ветрового напора на элементы крана; Ри - силы инерции от механизма привода крана и ветрового напора.
где S - расстояние, проходимое краном до полной остановки от начала взаимодействия с тупиковым упором; Vnp - скорость передвижения крана от механизма привода; Vw - добавленная скорость передвижения крана от действия ветрового напора; Рпр - сила тяги приводных колес.
где μ - коэффициент трения металла по металлу. 3.6. Упоры должны обеспечивать необходимую длину пути остановки крана S, соответствующую предельной скорости передвижения крана Vp с замедлением (а) не превышающей предельно допустимого значения
3.7. Для башенных, портальных и козловых кранов применение тупиковых упоров ударного типа допускается, если обеспечивается условие устойчивости крана:
где Мок - опрокидывающий момент крана от силы инерции приведенной массы крана, момента от сил привода движения и силы ветрового напора; n1 - коэффициент устойчивости; Мук - удерживающий момент от силы притяжения массы крана (вес крана); X, Y - расстояние соответственно по горизонтали и вертикали от точки опрокидывания до центра тяжести приведенной массы крана; q - коэффициент ускорения свободного падения. 3.8. Устойчивость грузоподъемного крана с учетом действующих нормативных нагрузок с их возможным отклонением зависит от номинальных значений (предельное состояние), действия ветровой нагрузки, уклона кранового пути, наличия поднятого груза, влияния сил инерции в случае резкой остановки крана. Принятые обозначения и расположения нагрузок действующих па кран приведены на рис.П.4.1. приложения 4. В результате получим уравнение моментов относительно ребра опрокидывания:
где Mi - моменты от действующих сил. 3.9. Опрокидывающий момент Мок является суммарной величиной моментов, созданных рабочим грузом Мr, силами инерции приведенных масс крана Мт и ветровым напором Mw, с учетом уклона кранового пути:
тогда :
где Q - вес наибольшего рабочего груза; а - расстояние от рабочего груза, подвешенного к крюку до ребра опрокидывания;
где W - нагрузка от ветрового напора; yw - расстояние по вертикали от направляющей до приведенной нагрузки от ветрового напора:
где ут - расстояние по вертикали до центра приведенных масс; Vp - скорость крана с учетом влияния уклона пути и ветрового напора. 3.10 . Удерживающий момент от собственного веса крана;
X1 - расстояние по горизонтали от ребра опрокидывания до центра приведенных масс крана. 3.11. Применение тупиковых упоров безударного типа допускается, если обеспечивается условие устойчивости крана:
где В - база крана; h - максимальное превышение в продольном направлении опор при наезде крана на тупиковые упоры. 4. РЕКОМЕНДАЦИИ ПО ПРОЕКТИРОВАНИЮ ТУПИКОВЫХ УПОРОВ4.1. Тупиковые упоры следует проектировать на полную кинетическую энергию крана с учетом невыгодного сочетания дополнительных факторов, действующих на кран при его наезде на тупиковый упор. 4.2. К таким факторам относятся: - продольный уклон пути; - ветровой напор с динамическим давлением Д - 125 Па (12,5 кГ/м2) по ГОСТ 1451; - работа включенного механизма привода передвижения крана. 4.3 Параметры элементов конструкции и крепление тупиковых упоров необходимо рассчитывать на нагрузку, возникающую при воздействии на тупиковый упор крана, движущегося с расчетной скоростью. 4.4 Длина накатной части (SM) тупикового упора безударного типа или суммарная величина упругой деформации упругих элементов, установленных на кране и тупиковом упоре ударного типа, определяется по формуле:
где Vp - расчетная скорость движения крана в момент наезда на тупиковые упоры, м/сек.;
где V - номинальная (паспортная) скорость передвижения крана, м/сек.; п1 п2- коэффициенты, учитывающие соответственно уклон кранового пути и ветровой напор. 4.5. Кинетическая энергия крана (U, кНм), передаваемая на тупиковый упор определяется по формуле:
где mp - расчетная приведенная масса крана, действующая на упор, кН; для башенных и портальных кранов:
для кранов мостового типа:
где тв - масса моста крана, кН; mс - масса грузовой тележки крана, кН; mq - грузоподъемность крана, кН; γ - коэффициент условия работы; mk - приведенная масса крана, кН; к - коэффициент; к=0 - для кранов с гибким подвесом груза; к=1 - для кранов с жестким подвесом груза; l - пролет крана, м; l1 - приближение грузовой тележки к расчетной опоре крана, м. 4.6. Высота подъема накатной части тупикового упора (h, м) безударного типа определяется по формуле:
где Р - фактическое наименьшее давление колеса крана на накатную часть тупикового упора, кН. 4.7. Предельное значение горизонтальной нагрузки (Р, кН), направленной вдоль кранового пути и вызываемой наездом крана на тупиковый упор для мостовых кранов при проектировании следует принимать по таблице 4.1. Принятые в проекте параметры элементов тупикового упора следует проверить по фактически установленному крану при разработке проекта на установку крана. Расчетное значение рассматриваемой нагрузки с учетом коэффициента надежности по нагрузке yf = 1.1 принимается равным не более предельных значений, указанных в таблице 4.1. Таблица 4.1 Предельные значения нагрузок на строительные конструкции от кранов
Следовательно, должно соблюдаться условие:
Во всех других случаях предельное значение горизонтальной нагрузки следует определять по формуле:
где S - возможная суммарная величина деформации упругих элементов, установленных на кране и тупиковом упоре, м.
где Е - модуль упругости материала упругих элементов, Н/м ; σ - расчетное сопротивление сжатию материала упругих элементов, Н/м; Lобщ - общая длина упруг их элементов, установленных на кране и упоре ударного типа, м. 4.9. Общая длина (Lобщ) упругих элементов, установленных на кране и упоре ударного типа, определяется по формуле:
По определительным параметрам могут применяться монолитные резиновые буфера по ОСТ 24.191.37. Общий вид и основные параметры резиновых буферов показаны на рис.П.5.1. и в таб.П.5.1 приложения 5. 4.10 Расчетные схемы тупиковых упоров ударного типа на металлической и железобетонной балке показаны на рис.П.5.2. и П.5.3. приложения 5. 4.11 Расчетные формулы усилий и напряжений, а также параметров сварных швов и характеристики сечений двутавров даны в таб.П.5.2.; П.5.3. приложения 5. 4.12 Силы, удерживающие упоры от сдвига, должны обеспечить условие приведенных в таблицах параметров:
где Q - поперечная сила, кН. 4.13. Для тупиковых упоров ударного типа необходимо рассматривать условие устойчивости, исходя из неравенства:
где Мот - момент, опрокидывающий тупик, кНм, γ - коэффициент условия работы,
Мут (кНм) - удерживающий момент тупиковых упоров ударного типа следует определять по растягивающим и сжимающим усилиям, исходя из равенства:
Рr - значение горизонтальной нагрузки, направленной вдоль кранового пути и, вызываемой наездом крана на тупиковый упор, кН; hT - высота от точки опрокидывания тупикового упора до точки приложения горизонтальной нагрузки, воздействующей от крана, м; l - расстояние по горизонтали от точки опрокидывания тупикового упора до точки приложения вертикальных растягивающих или сжимающих сил, м; N - сила, удерживающая тупиковый упор, кН. 4.14. Величина растягивающих или сжимающих сил обуславливает прочностные показатели опорных элементов (балок крановых путей), узлов, соединений тупиковых упоров и опорных элементов (болтовые или сварные соединения). Расчетные формулы см. в таб.П.5.2и П.5.3, а расчетная схема на рис.П.5.2 и рис. П.5.3. приложения 5. 4.15. Расчет на устойчивость стойки двутаврового сечения тупика, изгибаемой в плоскости стенки:
где Wc= 1,06W-H,12W - пластический момент сопротивления; γс - коэффициент условия работы 0.95; φв - коэффициент общей устойчивости балок для сосредоточенной нагрузки на консоли.
φв= 0,68+0,21φ1 при φ1> 0,85 но не более 1
где l - расчетная длина балки, мм; h - полная высота сечения, мм; Е - модуль упругости 2,110 кГ см ; Ry - расчетное сопротивление стали растяжению, изгибу по пределу текучести.
1Х, 1У моменты инерции сечения, см ; ψ - значение, принимаемое в зависимости от характера нагрузок и параметра а; ψ =1,0+0,16 а при 4 < а < 28; ψ = 4,0+0,05 а при 28 < а < 100;
где It, -момент инерции сечения при кручении (принимается по таблице П.5.4. приложения 5). Устойчивость балки не требуется проверять при отношении расчетной длины l к ширине сжатого пояса b и ширины пояса к толщине, если:
4.16. Устойчивость стенки стойки тупика зависит от величины отношения hCT/tCT, то стенку следует укреплять поперечным ребром
где R - расчетное сопротивление прокатной стали. 5. РЕКОМЕНДАЦИИ ПО ИЗГОТОВЛЕНИЮ ТУПИКОВЫХ УПОРОВ5.1. Тупиковые упоры должны изготавливаться по рабочим чертежам и техническим условиям в соответствии с маркой крана, эксплуатирующегося на данном крановом пути под авторским надзором организации - разработчика, о чем делается отметка в паспорте тупиковых упоров (приложение 6, ф. П.6.1.). 5.2. Тупиковые упоры могут выпускать заводы- изготовители подъемных сооружений, специализированные организации, имеющие разрешение на изготовление подъемных сооружений, их узлов, механизмов, устройств, станций управления, систем защиты, приборов безопасности и сменных грузозахватных органов, с обязательным авторским надзором. - тип упора; - кинетическая энергия крана, Е (Нм); масса крана, т; - скорость передвижения крана, м/мин; типы опорных элементов; - основные габаритные размеры (мм) и масса тупикового упора, г. Применяемые марки стали для температурных режимов эксплуатации: от + 20°С до - 20°С: Ст 3сп5, Ст 3пс5 ГОСТ 380; от + 40°С до - 40°С: Ст 09Г2-12, Ст 09Г2С-12 ГОСТ 19281; 5.4. Все применяемые материалы и покупные изделия по качеству и сортаменту должны соответствовать государственным стандартам и техническим требованиям, указанным в рабочей документации. 5.5. Соответствие материалов предъявленным требованиям подтверждается сертификатами предприятий - поставщиков, а при отсутствии таковых - данным испытаний заводской лаборатории по механическим испытаниям и химическому составу. Сведения о материалах и полуфабрикатах заносятся в журнал входного контроля (приложение 6, ф.П.6.2.). 5.6 Заготовки и детали из сортового проката должны быть очищены от загрязнений, окалины, коррозии, заусенцев, наплывов, и отрихтованы, острые кромки притуплены; места изгибов деталей не должны иметь трещин, надрывов, короблений; вмятины и забоины на их поверхности не допускаются. 5.7 Для упругих амортизаторов тупиковых упоров должны применяться монолитные резиновые буфера по ОСТ 24.191.37, общий вид и основные размеры которых приведены на рис.П.5.1. и в табл. П.5.1. приложения 5. 5.8 Шероховатость поверхностей деталей должна соответствовать указаниям чертежей и ГОСТ 2789. 5.10. Резьба не должна иметь сорванных ниток, искаженного профиля, забоин, выхватов. Допускаются незначительные местные срывы резьбы общей протяженностью не более половины витка. На заходных частях резьбы должны быть фаски. 5.11. Сварные соединения должны соответствовать требованиям ГОСТ 5264. Сварку производить электродами типа Э42А, Э46А, Э50А по ГОСТ 9467 или сварочной проволокой диаметром 1-2 мм. СВ08, СВ08Г по ГОСТ 2246. Сведения о сварке заносятся в акт (приложение 6, ф.П.6.3.). 5.12 Перед сваркой детали должны быть сухими, выправленными, очищенными от заусенцев, загрязнений, масла и окалины. 5.13 Сварные швы должны удовлетворять следующим требованиям: не иметь трещин, пор, непроваров, несплавлений по кромкам, наплывов, прожогов, незаделанных кратеров, шлаковых включений и подрезов; наличие ровной мелкочешуйчатой поверхности и плавных переходов к основному металлу; по окончании сварочных работ, сварные швы и прилежащие к ним поверхности основного металла, должны быть очищены от шлака, наплывов, брызг металла, окалины и т.п. и приняты техническим контролем; заварку дефектных участков сварного шва производить тем же методом и с использованием тех же сварочных материалов (по марке и типу), которыми выполнялась сварка данного шва. 5.14. Детали и сборочные единицы, поступающие на сборку должны удовлетворять следующим требованиям: быть чистыми и не иметь загрязнений; иметь клеймо ОТК или документы удостоверяющие их качество и соответствующие проекту; резьбовые соединения должны быть законтрены так, чтобы исключить потери деталей в процессе работы изделия; затягивание болтов и гаек должно производиться ключами с нормальными рукоятками без применения удлинителей. Сведения о сборке заносятся в акт (приложение 6, ф.П.6.3.). - наружная поверхность изделия должна быть загрунтована грунтом ФЛ-О3к ГОСТ 9109 или другим, не ухудшающим качество покрытия; - нанесение покрытий должно выполняться по нормам для VII класса по ГОСТ 9.032. Группа условий эксплуатации покрытия 6 по ГОСТ 9.104; - наклонная (рабочая) поверхность изделия должна быть окрашена эмалью ПФ-115 ГОСТ 6465 красного цвета. Применять флуоресцентные краски. 5.16. На боковой стороне упора должна быть табличка или клеймо, где указаны: - наименование или товарный знак предприятия - изготовителя; - номер по системе нумерации предприятия - изготовителя; - год и месяц выпуска; - клеймо отдела технического контроля (ОТК); транспортная маркировка по ГОСТ 14192. 5.17. В комплект поставки на один крановый путь входят четыре тупиковых упора. При необходимости ограничения зоны действия крана, могут поставляться дополнительные тупиковые упоры. 5.18. В комплект тупиковых упоров входит паспорт, в котором указывается завод - изготовитель, заводской номер, год выпуска и тип крана, для которых рекомендуется применять тупиковый упор данной конструкции (приложение 6, ф.П.6.1.). 5.19. Тупиковые упоры, выпускаемые отечественной промышленностью рассчитаны на эксплуатацию при температуре окружающего воздуха от плюс 40°С до минус 65°С. 5.20 Срок службы тупиковых упоров должен быть не менее 10 лет. 5.21 Изготовитель тупиковых упоров должен вести журнал учёта изготовленных тупиков (приложение 6, ф.П.6.4.). 5.22 Изготовленные детали и узлы тупиковых упоров принимаются отделом технического контроля предприятия - изготовителя. 5.23 Контроль деталей и узлов производится в соответствии с требованиями рабочих чертежей и настоящих технических условий. 5.34 Приемка изделия оформляется свидетельством о приемке. 5.25 Контроль качества сварных швов металлоконструкций производится внешним осмотром и обмером с помощью шаблонов в соответствии с ГОСТ 3242. При необходимости применяются неразрушающие методы контроля. 5.26. Внешний вид сварных швов, форма и размеры должны соответствовать указаниям рабочих чертежей с учетом допусков. 5.27 Качество лакокрасочных покрытий контролируется визуально в соответствии с ГОСТ 9.032. 5.28 Каждый комплект упоров (4 шт.) подвергается приемке ОТК с занесением в журнал (приложение 6, ф.П.6.4.). 5.29 Предприятие - изготовитель упоров проводит их приемо-сдаточные и периодические испытания (см. п.п. 6.1.3.; 6.1.4.; 6.1.7.). 5.30 Для приемки ОТК представляется следующая документация: чертеж на изготовление, сертификаты на применяемые металлы и материалы; сведения об аттестации сварщика (- ков); акт приемки сборочных и сварных работ. 5.31. После сборки и контроля качества, указывается место и ставится клеймо ОТК, составляется акт соответствия тупиковых упоров проектно-конструкторской документации, форма акта приведена в приложение 6 (ф.П.6.5.). 5.32. При транспортировке тупиковые упоры должны быть защищены от механических повреждений посредством рационального размещения (закрепления) на транспортных средствах или с помощью частичной упаковки. 5.33 Упаковка сопроводительной технической документации, отгружаемой вместе с комплектом тупиковых упоров, должна обеспечивать полную ее сохранность во время транспортировки. 5.34 Консервации по ГОСТ 9.014 (вариант В3 - 1) подвергают неокрашенные поверхности тупиковых упоров, а также крепежные изделия. Срок действия консервации - не менее 12 месяцев. 5.35 Тупиковые упоры должны быть приняты техническим контролем предприятия - изготовителя, и занесены с соответствующим номером в журнал учета (приложение 6, ф. П.6.4.). 5.36 Изготовитель гарантирует соответствие тупиковых упоров требованиям настоящих технических условий при соблюдении условий эксплуатации, хранения, транспортировки, установленных техническими условиями. 6. ПРОГРАММА И МЕТОДИКА ИСПЫТАНИЙ ТУПИКОВЫХ УПОРОВ6.1. Общие положении6.1.1. В процессе изготовления и эксплуатации чу пиковые упоры подвергают следующим видам испытаний: приемо-сдаточные (заводские) испытания; предварительные испытания опытных образцов; межведомственные приемочные испытания; периодические (проводятся при инвентаризации и экспертизе опасных производственных объектов); выборочные испытания (проводятся при комплексном обследовании тупиковых упоров). 6.1.2 Каждый вид испытаний ставит перед собой определенную цель и задачи, в зависимости от которых устанавливают численный и квалификационный состав комиссии, оценочные показатели и набор соответствующих измерительных приборов и инструментов. 6.1.3 Приемо-сдаточные испытания должно проводить предприятие - изготовитель тупиковых упоров. 6.1.4 Приемо-сдаточные испытания тупиковых упоров должны включать: внешний осмотр; - проверку на соответствие конструкторской документации; проверку комплектности; проверку присоединительных размеров. 6.1.5. Предварительные испытания опытных образцов упоров проводят для определения их соответствия требованиям стандартов и конструкторской документации, оценки работоспособности и возможности представления упоров на межведомственные приемочные испытания. Предварительные испытания организует и проводит разработчик проектной документации с привлечением предприятия - изготовителя. В комиссию по проведению предварительных испытаний включается ИТР по надзору за безопасной эксплуатацией грузоподъемных машин организации владельца крана или организации, эксплуатирующей крановые пути, на которых проводятся испытания. 6.1.6. Межведомственные приемочные испытания опытных образцов тупиковых упоров проводят с целью принятия решения о возможности и целесообразности их применения и серийного производства. Межведомственные приемочные испытания проводит комиссия, в состав которой включаются представители заказчика (основного потребителя), разработчика, изготовителя, представители органов Ростехнадзора и специализированной организации по данному виду продукции. В работе комиссии могут принять участие также представители органов надзора по охране здоровья и природы, безопасности труда. Председателем комиссии назначается представитель заказчика. Методика и сроки проведения периодических испытаний устанавливаются техническими условиями на изготовление тупиковых упоров. Периодические испытания должны проводиться не реже одного раза в три года и объеме не менее чем один комплект тупиковых упоров (4 шт.) из партии в 100 комплектов, прошедших приемку ОТК. Периодические испытания организует и проводит организация-изготовитель с привлечением представителей органов Ростехнадзора, организации-разработчика проекта и заказчика (основного потребителя). Для периодических испытаний представляются: акт приемки; рабочая конструкторская документация; технические условия; программа и методика испытаний; паспорт тупиковых упоров. При неудовлетворительных результатах периодических испытаний хотя бы по одному из пунктов программы и методики проводятся повторные испытания на удвоенном числе образцов, взятых из той же партии упоров. Результаты повторных испытаний являются окончательными. Результаты испытаний считаются положительными, если в процессе их не выявлены недостатки, влияющие на использование продукции по назначению. По результатам испытаний составляется акт пригодности тупиковых упоров к серийному производству (форма акта приведена в приложении 6, ф. П.6.5.). 6.1.8. Испытания тупиковых упоров при инвентаризации и экспертизе проводятся в соответствии с программой и методикой, указанной в данном разделе. Председателем комиссии назначается руководитель экспертной группы. 6.1.9. Выборочные испытания проводятся при обследовании тупиковых упоров. Председателем комиссии назначается представитель специализированной организации. 6.1.10 Настоящая программа и методика распространяется на все виды испытаний тупиковых упоров ударного и безударного типа, кроме приемосдаточных (заводских) испытаний. 6.1.11 Общим положением настоящей программы и методики проведения испытаний является обязательное выполнение следующих условий и требований: представляемые для испытаний тупиковые упоры должны быть укомплектованы согласно техническим условиям (ТУ) на их изготовление, приняты ОТК предприятия-изготовителя и иметь акт, подтверждающий их соответствие грузоподъемному крану, для которого они предназначены. При необходимости, для проведения испытаний, упоры могут дополнительно комплектоваться набором быстроизнашивающихся деталей. 6.1.12. В комплекте с упорами должна быть представлена следующая техническая документация: - паспорт на тупиковые упоры; программа и методика испытаний согласно настоящим рекомендациям; - акт приемки тупикового упора ОТК предприятия изготовителя или акт-подтверждение экспертной комиссии; - комплект рабочих чертежей; - ведомость отступлений от конструкторской доку метании, согласованная с разработчиком проекта тупиковых упоров. 6.1.14 Испытания тупиковых упоров должны проводиться на крановых путях краном, для работы с которым они предназначены, в сроки, установленные приказом. Крановые пути должны находиться в исправном техническом состоянии в соответствии с требованиями "Правил устройства и безопасной эксплуатации грузоподъемных кранов" (ПБ-10-382-00). 6.1.15 Место испытаний выбирает организация, проводящая испытания, по согласованию с председателем комиссии. 6.1.16 До начала испытаний необходимо: оградить опасную зону места проведения испытаний; удалить посторонний персонал; оборудовать кран выносным (наземным, напольным) пультом управления; обеспечить объект, на котором проводятся испытания контрольным грузом; определить температуру окружающего воздуха; направление и скорость ветра; уклон кранового пути на участке испытаний; ознакомить членов комиссии и бригады измерителей с системой команд и сигналов, используемых при проведении испытаний; определить перечень необходимой эксплуатационной документации, измеряемых параметров (П), показателей надежности (Н) и условий испытаний (У) согласно табл. П.7.1. и П.7.2. приложения 7; подготовить комплект соответствующих измерительных приборов и инструментов, перечень которых приведен в табл. П.7.3. приложения 7. Для получения более точных результатов рекомендуется применять установку, схема которой показана на рис.П.7.1. приложения 7; отклонение напряжения в питающей электросети, при проведении испытаний не должно превышать 15 % от номинального. 6.1.17. Измеряемые параметры (П), показатели надежности (Н) и условия испытаний (У) определяются с использованием следующих измерительных методов, приборов и инструмента: усилие затяжки болтов крепления тупиковых упоров определяются с помощью динамометрического ключа; продольное перемещение упора по направляющей после каждого наезда крана измеряется с помощью металлической линейки или штангенциркуля. Первоначальное положение упора на рельсе фиксируется до начала проведения испытаний путем нанесения отметки на рельсе; скорость и направление ветра определяют с помощью анемометра; температуру окружающего воздуха определяют с помощью термометра; массу контрольного груза, применяемого при испытании, определяют с помощью динамометра; уменьшение толщины элементов и деталей металлоконструкций пораженных коррозией, измеряют с помощью толщиномера; наличие трещин в основном металле и сварных швах выявляют с помощью измерительной лупы 10х, приборов дефектоскопии, а также применяя способы смачивания, снятия стружки и т.п.; техническое состояние упоров после каждого наезда краном, определяется внешним осмотром, а при необходимости проводятся замеры геометрических размеров с помощью измерительных приборов и инструмента; количество наездов краном на тупиковые упоры фиксируется непосредственным подсчетом; при каждом наезде на тупиковые упоры замеряется общая величина упругих элементов или величина наезда на наклонную часть (путь замедления П3); скорость передвижения крана (V) при наезде на тупиковые упоры определяется по формуле:
где П - фиксированное расстояние между тупиком и краном, м; t- время прохождения краном фиксированного расстояния (II); 60 - соотношение между единицами времени, мин/сек. Фактический коэффициент замедления крана определяется по формуле:
Фактическая величина расстояния проходимого краном от начала взаимодействия с упором до полной остановки определяется по формуле:
6.1.18 Оценка технического состояния тупиковых упоров производится по фактическим прочностным показаниям его элементов, с учетом положения и условий их работы (величины прогибов, раскрытия трещин, толщины слоя коррозии, вмятин, разрушений и т.п.). 6.1.19 При составлении актов или заключений после испытаний при обследовании тупиковых упоров, необходимо учитывать результаты отчетных документов выполненных предприятием мероприятий по выполнению ремонтных работ, текущих ремонтов, наблюдений за состоянием элементов конструкции тупиковых упоров в процессе их эксплуатации. 6.1.20 Критерием оценки работоспособности упоров является обеспечение устойчивости при остановке крана при соблюдении предельных значений величины динамических нагрузок (рис. П.4.1. приложение 4). 6.1.21. На основании опыта эксплуатации и испытаний тупиковых упоров установлено, что предельное значение величины продольного перемещения тупиков по направляющей при наезде крана не должно превышать: - 60 мм - при единичном наезде; - 250 мм - после пяти наездов. 6.1.22 Расстояние, проходимое краном от начала взаимодействия с тупиковым упором до полной остановки не должно превышать 75 % от проектного. 6.1.23 При аварийном наезде крана продольное перемещение тупикового упора вдоль направляющей не должно превышать 250 мм. Расстояние, проходимое краном до полной остановки от начала взаимодействия с тупиковым упором не должно превышать 90 % от проектного. 6.1.24 Сход тупиков с направляющих ограничивают установкой противоугонных накладок. 6.1.25 По результатам 3 - 4-х наездов строится график вероятности прогнозируемых величин или подтверждаются проектные параметры конструкции испытываемых тупиковых упоров (рис. П.7.2. приложение 7). 6.2. Подготовка и порядок проведения приемочных испытаний6.2.1 Приемочные испытания тупиковых упоров организует и проводит организация - изготовитель или разработчик тупиковых упоров. 6.2.2. Приказом по организации назначается комиссия, определяются сроки проведения испытаний и формируется бригада испытателей. 6.2.3 В состав приемочной комиссии входят представители заказчика (основного потребителя), разработчика проекта и изготовителя тупиковых упоров, а также эксперты сторонних организаций и органов, осуществляющих надзор за безопасной эксплуатацией грузоподъемных кранов и крановых путей (Ростехнадзор, организации по экологическому надзору, охране труда и технике безопасности и др.). Председателем комиссии назначается представитель заказчика. Он же является ответственным за технику безопасности при проведении приемочных испытаний. Состав приемочной комиссии формирует и утверждает заказчик. 6.2.4. Одновременно с созданием приемочной комиссии формируется бригада испытателей, состоящая из: руководителя испытаний; крановщика (не ниже 6 разряда) - 1 чел.; стропальщика - 1 чел.; измерителей - 2 чел. Руководитель испытаний - осуществляет взаимодействие членов бригады испытателей и обеспечивает безопасность проведения испытаний. Крановщик - во время испытаний выполняет все операции, связанные с передвижением крана, подъемом и опусканием контрольного груза- Стропальщик - производит крепление и открепление груза на крюковой обойме крана и подает сигналы крановщику о передвижении крапа и перемещении грузов в пределах рабочей зоны. Измерители - выполняют полный комплекс работ по замерам время проведения испытаний. 6.2.5. Для испытаний необходимо представить не менее двух образцов тупиковых упоров с комплектами документации согласно п. 6.1.5. настоящих рекомендаций. Испытуемые образцы должны быть доставлены к месту испытаний, установлены и закреплены таким образом, чтобы при наезде на них крана передние колеса его ходовых тележек или буферы, касались одновременно двух упоров. Испытуемые образцы тупиковых упоров должны быть. установлены на крановых путях на расстоянии не менее 3 м от штатных тупиковых упоров, которые в ходе испытаний выполняют страховочную функцию; относительно отключающих линеек (копиров) упоры должны быть установлены на расстоянии, равном 0,4 длины тормозного пути - для мостовых и козловых кранов и 0,8 длины тормозного пути - для башенных кранов. Длина тормозного пути принимается по паспорту крана. 6.2.6. Крановый путь должен иметь, разметку в соответствии с указаниями п. 6.1.16. настоящих рекомендаций, или при проведении испытаний необходимо использовать установку, схема которой представлена на рис. П.7.1. приложения 7. 6.2.7 Перед началом испытаний Комиссия знакомится с технической документацией, представленной в комплекте с тупиковыми упорами. Проверяет ее состояние, полноту, комплектность и соответствие документации требованиям ЕСКД и требованиям другой НТД. 6.2.8 Внешним осмотром и заменами геометрических размеров, комиссия оценивает соответствие технических параметров и показателей представленных на испытания тупиковых упоров технической документации. 6.2.9 После выполнения всех подготовительных работ приступают к проведению приемочных испытаний представленных образцов тупиковых упоров. Испытания проводят под нагрузкой с имитацией рабочего и аварийного режимов работы грузоподъемного крана. Испытания с имитацией аварийного режима проводятся после испытаний с имитацией рабочего режима. Испытания проводятся с грузом Максимального веса или без груза; расположение груза относительно направления движения и конструктивных элементов крана устанавливает комиссия исходя из конкретных условий, типа и конструкции крана. 6.2.10. Испытания тупиковых упоров с имитацией рабочего режима крана без груза производится в следующем порядке: кран отводится от испытываемых тупиков на расстояние 1 м с последующим увеличением расстояния каждого наезда на 1 м; включается механизм передвижения и кран начинает движение в сторону тупиков; при прохождении передними колесами крана первой отметки, на крановых путях включают секундомер, который выключается при прохождении теми же колесами второй отметки. Во время движения крана фиксируется наибольшая скорость попутного ветра и температура окружающего воздуха, уклон кранового пути. Эксперимент повторяют не менее 5 раз (при условии увеличения каждого наезда на 1 м). 6.2.11. После каждого наезда на тупики: кран отводится в исходное положение с учетом предыдущих наездов; внешним осмотром оценивается состояние тупиковых упоров в деталях и узлах упоров не должно наблюдаться остаточных деформаций, ослабления или нарушения работы соединений. В случае обнаружения каких - либо дефектов, их необходимо устранить: замеряется величина продольного смещения тупиковых упоров и разметкой фиксируется их новое положение. 6.2.12. Испытания немедленно приостанавливают, если: продольное смещение тупиковых упоров при единичном наезде превысило 60 мм; неисправны механизмы крана; изменились предусмотренные паспортом крана климатические условия; во время испытаний произошло полное или частичное разрушение тупиковых упоров; очевидна их полная неработоспособность. к крюковой обойме крана подвешивают максимальный рабочий груз и поднимают его на высоту 2 - 3 м; кран отводится от тупиковых упоров на расстояние не менее 1 м; подвешенный груз, по решению комиссии, устанавливают по направлению движения крана к тупикам или в какое-то другое «невыгодное» положение; далее порядок испытаний повторяется как при испытании тупиковых упоров в рабочем режиме крана без груза; после завершения испытаний кран отводится на участок стоянки, груз опускают на землю и отцепляют от крюковой обоймы; тупиковые упоры снимают с кранового пути, производят их внешний осмотр, оценивают и описывают техническое состояние упоров, а результаты заносят в протокол испытаний. 6.2.14. Процедура и порядок проведения испытаний тупиковых упоров с имитацией аварийного режима такие же, как и при имитации рабочего режима крана. Отличие состоит в том, что вместо 5 наездов крана на тупики - при имитации аварийного режима выполняется только один наезд. 6.3. Оформление результатов приемочных испытаний6.3.1 По результатам приемочных испытаний тупиковых упоров в соответствии с ГОСТ 15.001 составляется протокол(ы), в котором отражается основные данные по оценке результатов, полученных в ходе испытаний. 6.3.2 Протокол(ы) испытаний подписываются председателем и членами приемочной комиссии. 6.3.3 На основании подписанного протокола(ов) составляется акт (приложение 6, ф.П.6.5.), в котором указывают: - соответствие подвергшихся испытаниям тупиковых упоров поставленным требованиям и даются рекомендации по производству тупиков; - приводятся результаты по оценке работоспособности и технического уровня испытанных тупиковых упоров. Отражаются замечания и предложения (при необходимости) по доработке и совершенствованию конструкции тупиковых упоров; - акт о проведенных приемочных испытаниях подписывается всеми членами комиссии и утверждается руководителем организации, проводившей испытания. 6.3.4.Утверждение акта означает, что разработка данной конструкции тупиковых упоров закончена, представленная на испытания нормативно - техническая и эксплуатационная документация на данную конструкцию тупиковых упоров прошла согласование и дано разрешение на производство и эксплуатацию тупиков. 6.3.5 Составление и подготовка протоколов, проекта акта испытаний, возлагается на организацию, проводившую приемочные испытания. 7. РЕКОМЕНДАЦИИ ПО ЭКСПЛУАТАЦИИ ТУПИКОВЫХ УПОРОВ7.1. Общие положения7.1.1. Тупиковые упоры крепят в сечении перпендикулярном оси кранового пути. 7.1.2. Для надземных крановых путей на металлических (стальных) пли железобетонных БКП тупиковые упоры крепят на расстоянии не менее 500 мм от конца балки. 7.1.3. Для надземных крановых путей на БКП, монолитном железобетонном основании или на деревянных и железобетонных полушпалах, тупиковые упоры крепят на расстоянии не менее 500 мм от конца балки или оси последней полушпалы. 7.1.4 Для лучшей видимости из кабины крановщика тупиковые упоры необходимо окрашивать в отличительный (желательно красный) цвет. Эксплуатация показывает, что наиболее значимыми оцепами для тупиков ударного типа являются разрушения их креплении, а для тупиков безударного типа - переезд крана через тупиковый упор. 7.1.6. Надзор и содержание находящихся в эксплуатации тупиковых упоров сводится к их правильному использованию и постоянному наблюдению за их состоянием, с этой целью необходимо проводить: - ежемесячный осмотр; - ежегодное техническое обслуживание и освидетельствование без разборки; - один раз в 3 года техническое обслуживание - проводит ответственный за содержание грузоподъемных кранов в исправном состоянии; - один раз в 3 года полное техническое освидетельствование с детальной разборкой тупиков - проводит специализированная организация. Результаты освидетельствования заносятся в журнал (приложение 6, ф.П.6.6.). 7.1.7 Плановые проверки состояния упоров и крановых путей должны совпадать по времени. 7.1.8 При плановой проверке необходимо обеспечить правильность установки упоров, проверить их техническое состояние и произвести подтяжку креплений направляющей к опорным элементам. 7.1.9 После аварийного наезда тупиковые упоры подвергаются полному техническому освидетельствованию. 7.1.10 В зимний период тупиковые упоры следует очищать от снега и наледи. 7.1.11 В процессе эксплуатации тупиковые упоры, кроме осмотров и освидетельствований, должны периодически подвергаться комплексному обследованию. 7.2. Комплексное обследование тупиковых упоров7.2.1. Основная цель комплексного обследования: определить техническое состояние и оценить пригодность ту пиковых упоров для дальнейшей эксплуатации; - установить соответствие тупиков своему назначению и крановым нагрузкам, на которые они рассчитаны; - наличие эксплуатационной и конструкторской документации и соответствие последней требованиям ЕСКД; - наличие и порядок заполнения паспорта тупиковых упоров и другой документации согласно перечню приложения 6. 7.2.2. Комплексное обследование тупиковых упоров проводят: - ежегодно - специалисты организации, эксплуатирующей краны; - один раз в 3 года - специалисты специализированной организации, имеющей разрешение Ростехнадзора на данный вид деятельности. 7.2.3. Комплексное обследование тупиковых упоров включает: выполнение проверочного расчета прочности конструктивных и присоединительных элементов тупиковых упоров; - внешний осмотр и оценка технического состояния; проверку габаритных и присоединительных размеров; выборочные испытания тупиковых упоров; - оформление документации по результатам обследования с оформлением акта (приложение 6, ф.П.6.7.). 7.2.4. Для проведения обследований тупиковых упоров создается совместная комиссия из представителей специализированной организации и организации эксплуатирующей грузоподъемные краны. 7.2.5. Количественный и персональный состав комиссии, а также сроки и место проведения испытаний, определяются приказами по соответствующей организации. 7.2.6. В состав комиссии по комплексному обследованию тупиковых упоров, кроме специалистов специализированной организации включая представители организации эксплуатирующей краны: - ИТР по надзору за безопасной эксплуатацией грузоподъемных машин; - ИТР, ответственный за содержание грузоподъемных машин в исправном состоянии. Председателем комиссии назначается представитель специализированной организации. 7.2.7 Ответственность за организацию, подготовку и проведение испытаний тупиковых упоров несет организация, эксплуатирующая краны. 7.2.8 Для проведения комплексного обследования тупиковых упоров, организация, эксплуатирующая краны, обязана представить комиссии эксплуатационную документацию согласно табл. П 7.1. приложения 7. 7.2.9 Паспорт на тупиковые упоры (приложение 6, ф.П.6.1.) должен содержать: заводской номер; технические характеристики; тип и размерную группу кранов, для которых упор предназначен к эксплуатации; комплект поставки; общие требования по эксплуатации; меры безопасности и свидетельство о приемке; гарантийные обязательства; организацию-изготовителя. 7.2.10. Организация, эксплуатирующая краны и использующая тупиковые упоры, изготовленные собственными силами должна вести: журнал по изготовлению тупиковых упоров; журнал ремонта и учета обследований тупиковых упоров. Формы журналов представлены в приложение 6 (ф.П.6.4; ф.П.6.7). 7.2.11. При комплексном обследовании тупиковых упоров, оценке технического состояния подлежат: конструкция упора в целом; базовые элементы и детали; разборные (резьбовые) и неразборные (сварные) соединения. 7.2.12. Первоначально техническое состояние оценивают внешним осмотром тупиковых упоров, которые предварительно должны быть очищены от грязи, ржавчины, потеков масла и т.п. с помощью металлических щеток или применением сжатого воздуха. 7.2.13. При проведении внешнего осмотра устанавливают: наличие клейма или прочно прикрепленной бирки с указанием порядкового номера, даты изготовления и предприятия - изготовителя тупикового упора; комплектность в соответствии с данными, приведенными в технической документации на упор; наличие отклонений от данных, содержащихся в журналах учета тупиковых упоров или соответствующих паспортах. 7.2.14 В случае отсутствия клейма его наносят на упор наплавкой или выбиванием организация, эксплуатирующая краны. Нанесение клейма краской не допускается. 7.2.15 Измерение габаритных и присоединительных размеров проводят на упоре в собранном виде в рабочем положении. Отклонение габаритных, присоединительных и базовых размеров деталей не должны превышать 3 % от первоначальных размеров, приведенных в конструкторской документации. 7.2.16 Деформации базовых деталей оценивают проверкой их геометрической формы, т.е. определением отклонения габаритных размеров по диагонали, отклонения от плоскости, прямолинейности в плоскости, соосности, симметричности (параллелепипед, цилиндр и т.п.) и выявлением местных деформаций - вмятин, погнутостей, вырубки, расслоения металла и других механических повреждений металлоконструкций и корпусных деталей. Площадь единичных вмятин и других повреждений не может быть более 5 см2, суммарная - более 50 см2. 7.2.17. Выявляют наличие трещин в основном металле и в сварных швах. Признаками скрытых трещин может быть ржавчина, выходящая на поверхность металла, шелушение краски, подтеки и т.п. 7.2.18 Крепежные детали подлежат выбраковке, если при их осмотре обнаружено смятие, срез металла, срыв резьбы или неустранимые ослабления соединений. 7.2.19 Упоры выбраковываются при выявлении трещин и разрывов в элементах металлоконструкций протяженностью более 5 мм. Повторное проваривание по сварному соединению не допускается. 7.2.20 Степень поражения металлоконструкций коррозией оценивают по уменьшению толщины элементов и деталей. Уменьшение толщины элементов и деталей вследствие коррозии более чем на 7 % не допускается. 7.2.21 Степень износа трущихся поверхностей оценивают по изменению размеров деталей и величине зазоров (увеличение люфта). Зазоры (люфт) осей, пальцев, втулок не должны превышать 3 % от их первоначального размера, приведенного в конструкторской документации. Допустимый зазор в сопряжении вал - втулка не должен превышать 2,5 размера зазора, установленного в конструкторской документации. 7.2.22 Резиновый амортизатор не должен иметь разрывов более 10 мм. 7.2.23 Выбракованные упоры подлежат уничтожению в присутствии комиссии путем резки ответственного элемента (плоскости накатывания, стойки и т.д.). 7.2.24 В журналах учета и проведения обследования тупиковых упоров делаются соответствующие записи о выбраковке, ремонте или замене элементов и деталей упоров. 7.2.25 После предварительной (визуальной) оценки технического состояния и соответствующей выбраковки упоров проводят выборочные испытания. 7.3. Выборочные испытания тупиковых упоров7.3.1. Выборочные испытания тупиковых упоров проводятся на ремонтном участке организацией, эксплуатирующей краны, в соответствии с программой и методикой настоящих рекомендаций (см. раздел 5) и указаниями, приведенными в технической документации и паспорте на тупиковые упоры. Упоры мостовых кранов обследуют и испытывают на постоянном месте их эксплуатации. 7.3.2. Выборочные испытания тупиковых упоров проводятся в условиях имитации технической неисправности одного из элементов кранового пути: конечного выключателя или отключающей линейки (копира), путем их временного отключения или демонтажа. 7.3.3. В состав бригады испытателей должны входить: - руководитель - инженер-механик (руководитель экспертной группы), который осуществляет взаимодействие членов бригады и отвечает за безопасность проведения испытаний; - крановщик (не ниже 6 разряда); - стропальщик; - измеритель (инженер-конструктор). 7.3.4. Объем выборки по каждому типу упоров (ударного, безударного), подлежащих испытаниям, приведен в таблице. 7.1. Таблица 7.1.
7.3.5. Номера упоров, подлежащих испытаниям из прошедших предварительное обследование, определяют методом случайных чисел. 7.3.6. Подготовка к проведению выборочных испытаний осуществляется в соответствии с п.п. 6.1.11. - 6.1.16. разд.6 настоящих рекомендаций. 7.3.7. Тупиковые упоры на испытания должны быть представлены в комплектности, предусмотренной техническими условиями на испытания. 7.3.8 Упоры попарно устанавливают и закрепляют на расстоянии не менее 3 м от "штатных" упоров, которые в ходе испытаний выполняют страховочные функции на двух рельсовых нитях кранового пути таким образом, чтобы кран одновременно наезжал на два упора. 7.3.9. Кран отводят от испытываемых упоров на расстояние не менее 250 мм с последующим увеличением расстояния на кратные интервалы (250 мм). 7.3.10. Кран "направляют" в сторону испытываемых упоров. 7.3.11. После наезда крана на упоры и его остановки, внешним осмотром оценивают техническое состояние испытываемых упоров: в деталях и узлах упоров не должно быть никаких остаточных деформаций, ослабления соединений или нарушения работы. Дефекты, обнаруженные во время испытаний, должны быть устранены. 7.3.12. Замеряют величины продольного перемещения упругих амортизаторов упоров согласно п.п. 4.8.- 4.9. и фиксируют разметкой новое положение упоров. 7.3.13. При выборочных испытаниях производят один наезд на тупиковый упор краном без груза и один наезд с номинальным грузом на крюковой обойме. 7.3.14. Номинальный груз подвешивают на крюковой обойме, поднимают на высоту 2 - 3 м и повторяют требования п.6.2.13. 7.3.15. После завершения испытаний кран отводят на участок стоянки, груз опускают на землю и открепляют от крюковой обоймы крана. 7.3.16. Упоры снимают с кранового пути и производят их внешний осмотр. Результаты оценки технического состояния упоров заносят в протокол испытаний. 7.3.17. Испытания прекращают, если: - выявлено несоответствие погодных условий требованиям, предусмотренным паспортом крана; - обнаружены неисправности механизмов крана; продольное перемещение упоров свыше 60 мм; выявлена деформация элементов или разрушение упоров; - установлена неработоспособность упоров. 7.3.18. По результатам обследования и выборочных испытаний упоров в соответствии с ГОСТ 15.001 составляют протокол, где отражают основные сведения, полученные в ходе испытаний, и делают вывод о работоспособности упоров. 7.3.19. Протокол испытаний подписывается членами комиссии и утверждается председателем. 7.3.20. Протокол испытаний прилагается к акту обследования тупиковых упоров, на основании которого заполняется журнал учета тупиковых упоров (см. приложение 6). 7.3.21. Результаты выборочных испытаний распространяются на тупиковые упоры, которые обследовались. 7.3.22. Результаты проведенных обследований должны быть переданы в территориальные органы Ростехнадзора. 8. РЕКОМЕНДАЦИИ ПО ОХРАНЕ ТРУДА И ТЕХНИКЕ БЕЗОПАСНОСТИ ПРИ ПРОВЕДЕНИИ ИСПЫТАНИЙ И ОБСЛЕДОВАНИИ ТУПИКОВЫХ УПОРОВ8.1. Эксплуатация упоров должна соответствовать требованиям Правил устройства и безопасной эксплуатации грузоподъемных кранов" (ПБ-10-382-00) и "Инструкции по эксплуатации крана". 8.2. В случае аварийного наезда крана на тупиковый упор проводиться полное техническое освидетельствование тупиковых упоров, о чем делается запись в паспорте (приложение 6). 8.3. При проведении обследования и приемочных испытаний тупиковых упоров должны соблюдаться требования безопасности, предусмотренные ПБ 10-382-00 и инструкцией по эксплуатации грузоподъемного крапа, для которого предназначены тупиковые упоры, а также изложенные в "Правилах устройства и безопасной эксплуатации грузоподъемных кранов"; "Правилах технической эксплуатации электроустановок потребителей"; "Правилах техники безопасности при эксплуатации электроустановок потребителей"; эксплуатационной документации на кран и упоры СНиП 12-03 "Безопасность труда в строительстве"; в нормативных документах по безопасности предприятия и настоящих методических указаний. 8.4 Администрация предприятия - владельца крана обязана разработать указания (мероприятия) по обеспечению безопасности труда при обследовании упоров с учетом конкретного объема работ, специфики крана и его рабочей зоны, которая должна быть ограждена. 8.5 Порядок ознакомления рабочих и инженерно-технических работников с указаниями по безопасности труда при обследовании упоров устанавливается организацией, эксплуатирующей кран. 8.6 Запрещается обследование упоров в грозу, снегопад, гололед, дождь, в темное время суток при скорости ветра более 7,5 м/с (50% от допускаемой скорости ветра для рабочего состояния крана, указанной в паспорте крана). ПРИЛОЖЕНИЯ Приложение 1
|
||||||||||||||||||||||||||||||||||||||||||||||||||||||||||||||||||||||||||||||||||||||||||||||||||||||||||||||||||||||||||||||||||||||||||||||||||||||||||||||||||||||||||||||||||||||||||||||||||||||||||||||||||||||||||||||||||||||||||||||||||||||||||||||||||||||||||||||||||||||||||||||||||||||||||||||||||||||||||||||||||||||||||||||||||||||||||||||||||||||||||||||||||||||||||||||||||||||||||||||||||||||||||||||||||||||||||||||||||||||||||||||||||||||||||||||||||||||||||||||||||||||||||||||||||||||||||||||||||||||||||||||||||||||||||||||||||||||||||||||||||||||||||||||||||||||||||||||||||||||||||||||||||||||||||||||||||||||||||||||||||||||||||||||||||||||||||||||||||||||||||||||||||||||||||||||||||||||||||||||||||||||||||||||||||||||||||||||||||||||||||||||||||||||||||||||||||||||||||||||||||||||||||||||||||||||||||||||||||||||||||||||||||||||||||||||||||||||||||||||||||||||||||||||||||||||||||||||||||||||||||||||||||||||||||||||||||||||||||||||||||||||
|
Обозначение нормативного документа |
Разделы и пункты настоящего РД |
|
ОСТ 24.191.37 |
|
|
ГОСТ 24643 |
|
|
ТУ 38-1053764 |
|
|
ГОСТ 5072 |
|
|
ГОСТ 6376 |
|
|
ГОСТ 12 |
|
|
Правила и устройства безопасной эксплуатации грузоподъемных кранов ПБ-10-382-00 |
|
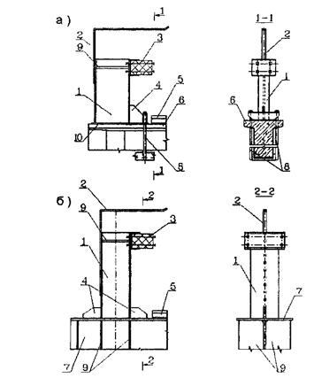
Рис. П.3.1. Общий вид тупиковых упоров безударного типа.
а) Конструкции ЦНИИОМТП для башенных кранов (в 1997 г. сняты с производства).
б) Конструкции НПЦ «Путь К» для башенных, козловых, портальных и мостовых кранов.
1 - башмак; 2 - рукоятка; 3 - направляющая; 4 - прижим; 5, 6 - болт, гайка; 7 шайба сферическая.

Рис. П.3.2. Тупиковый упор ударного типа на железобетонной
(а) и металлической (б) балке кранового пути. 1 - стойка; 2 - ограничитель механизма передвижения крана; 3 - упругий амортизатор; 4, 9 - ребра жесткости; 5 - направляющая; 6 - железобетонная БКП; 7 - металлическая БКП; 8 - крепежные болты; 10 - фиксирующая плита.

Рис. П.3.3. Тупиковый упор ударного типа:
а) Конструкции НПЦ « Путь К» для башенных кранов.; б) Упор СК- 2.02 с регулируемым положением упругого амортизатора; 1 - упругий амортизатор; 2 - стойка; 3 - укосина; 4 - опорная плита; 5 - клин; 6 - зажимной болт захватов.

Рис. П.3.4. Тупиковые упоры ударного типа конструкции ЦНИИ11СЖ на металлической БКП для мостовых кранов легкого и среднею (а) и тяжелого (б) режимов работы. 1 - упругий амортизатор; 2 - стойка; 3 - ребро жесткости; 4 балка кранного пути (БКП).
Рис. П.3.5. Тупиковый упор комбинированного типа УТК - 1 Ржевского завода АБК.
1 - башмак; 2 рукоятка; 3 - прижим; 4 - направляющая.
Рис. П.4.1. Схема нагрузок действующих на башенный (1,11) и козловой (III) кран в зависимости от расположения тупиковых упоров, ударного и безударного типа.
Gkp - собственный вес крана;
Gc - вес груза поднимаемого краном;
W1, W2 - соответственно ветровая нагрузка, приходящаяся на кран и на гpyз;
А - расстояние от рабочего груза, подвешенного к крюку до ребра опрокидывания крана;
х - расстояние по горизонтали от ребра опрокидывания крана до приведенною центра тяжести;
i - уклон кранного нута;
с - расстояние по горизонтали от оси вращения до центра приведенных масс крана,
у - расстояние по вертикали центра приведенных масс или действия соответствующих сил
I - положения башенного крана с уклоном кранового пути в сторону тупиковых упоров ударного типа;
II - положения крана с уклоном кранового пути в сторону тупиковых упоров безударного типа;
III - положения козлового крана с тупиковым упором безударною типа;
К - база крапа.
Рис, П.5.1. Общий вид резинового буфера: 1 - фланец; 2 - корпус буфера
Основные данные монолитных резиновых буферов (по ОСТ 24.191.37)
|
Типоразмер |
D мм |
Н мм |
Корпус буфера |
Фланец |
Максимальные значения рабочих параметров |
||||||||
|
D1 |
h |
R |
Масса, |
D2 |
HI |
t |
Усилие, кН |
Ход, S м |
Энергоемкость Е, Нм |
||||
|
|
|
|
мм |
кг |
мм |
||||||||
|
БР40 |
40 |
40 |
48 |
5,0 |
50 |
0,061 |
41 |
10,5 |
2,5 |
3,28 |
0,012 |
20 |
|
|
БР50 |
50 |
50 |
60 |
63 |
0,138 |
51 |
12 |
3 |
5,12 |
0,0)52 |
39 |
||
|
БР63 |
63 |
63 |
75 |
80 |
0,278 |
64,5 |
13 |
8,13 |
0,02 |
81 |
|||
|
БР80 |
80 |
80 |
95 |
100 |
0,555 |
81,5 |
16,5 |
4 |
13,1 |
0,0254 |
166 |
||
|
БР100 |
100 |
100 |
115 |
9 |
125 |
1,08 |
101,5 |
21,5 |
5 |
20,5 |
0,0316 |
324 |
|
|
БР125 |
125 |
125 |
140 |
10 |
160 |
2,1 |
127 |
21,5 |
32 |
0,0416 |
666 |
||
|
БР160 |
160 |
160 |
180 |
200 |
4,4 |
162,5 |
24 |
6 |
52,5 |
0,0544 |
1430 |
||
|
БР200 |
200 |
200 |
220 |
250 |
8,5 |
202,5 |
24 |
82 |
0,0704 |
2890 |
|||
|
БР225 |
^25 |
225 |
245 |
12,5 |
780 |
12,1 |
227,5 |
28 |
103,8 |
0,0787 |
4090 |
||
|
БР250 |
250 |
250 |
270 |
320 |
16,5 |
252,5 |
28 |
128 |
0,0888 |
5680 |
|||
|
БР320 |
320 |
320 |
340 |
20 |
400 |
34,5 |
324,5 |
33 |
8 |
210 |
0,115 |
12070 |
|
|
БР350 |
350 |
350 |
380 |
425 |
45,5 |
355 |
40 |
250 |
0,124 |
15550 |
|||
|
Примечания. 1. Буфера рассчитаны на условия эксплуатации У и Т по ГОСТ 151502. Буфер БР225 в новых разработках применять не рекомендуется. 3. Корпуса буферов следует изготовлять из морозостойкой резины средней твердости, предназначенной для формовых изделий, по ТУ 38-1053764. Фланцы необходимо изготовлять из стали марки ВСт3пс по ГОСТ 380 для эксплуатации при температуре до - 20°С и из стали марки 09Г2С-12 по ГОСТ 19282 для эксплуатации при температуре до - 40°С. 5. |
|||||||||||||
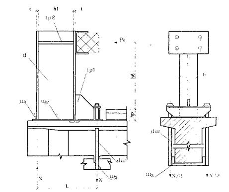
Рис. П.5.2. Расчетная схема тупикового упора на металлической балке:
Рг - горизонтальная нагрузка от крана; h - высота установки упругих амортизаторов; hp - высота направляющей; N - растягивающие или сжимающие усилия; L - расстояние между точками приложения растягивающих и сжимающих усилий; d - толщина стенки стойки тупика; t - толщина полки стойки тупика; b - ширина полки стойки тупика; tpl - tp3 - толщина усиливающих ребер; bр - ширина ребра усиления; hj - ширина стенки стойки тупика; III1 - Ш4 - сварные швы.
Рис. П.5.3. Расчетная схема тупикового упора на железобетонной балке:
Рг - горизонтальная нагрузка от крана; h6 - высота установки упругих амортизаторов; hp - высота направляющей; N - растягивающие или сжимающие усилия; L - расстояние между точками приложения растягивающих и сжимающих усилий; d - толщина стенки стойки тупика; t - толщина полки стойки тупика; b - ширина полки стойки тупика; tp1 - tp2 - толщина усиливающих ребер; hi - ширина стенки стойки тупика; Ш1 - Ш4 - сварные швы; dШ -диаметр шпильки.
Таблица П.5.2 Расчетные формулы усилий и напряжения
|
Нагрузка от крана |
Расчетное усилие |
Сечение упора |
Проверка сечения yпора |
Ребра жесткости |
||||
|
М |
Q |
N |
σ |
τ |
tp |
bР |
||
|
Рг |
Pг(h+hp) |
Рг |
Pг(h+hp)/l |
Сечение упора принимать по ГОСТ 26020 |
|
|
tp=t |
0,5b+40мм |
Таблица П.5.3 Расчетные формулы параметров сварных швов
|
Расчет швов |
||||||||
|
Ш1 |
Ш2 |
Ш3 |
Ш4 |
|||||
|
lw1 |
Kf1 |
Примечание |
lw2 |
Kf2 |
lw3 |
Kf3 |
lw4 |
Kf4 |
|
2b-d |
N |
При Kfl>l,2t установить ребра tp1 -t, при этом lwl=2b-d-tp1+300кp |
lw2=h1 |
|
0.5b |
|
85βfKf4 |
|
Таблица П.5.4 Характеристика сечений двутавра
|
Номер двутавра |
Момент инерции, см |
1 |
Момент сопротивления, см4 |
hст/tCT |
||
|
Yx |
Yy |
Yt |
Wx |
Wv |
||
|
№ 36 |
13380 |
516 |
31,4 |
743 |
71 |
44,7 |
|
№45 |
27696 |
808 |
54,7 |
1231 |
101 |
46,8 |
|
№55 |
55962 |
1356 |
100 |
2035 |
151 |
47,0 |
Содержание:
1 Паспорт тупикового упора - ф. П.6.1.
2 Журнал учета результатов входного контроля материалов и комплектующих - ф. П.6.2.
3 Акт приемки тупиковых упоров после сборки и сварочных работ - ф.П.6.3.
4 Журнал учета изготовления тупиковых упоров - ф.П.6.4.
5 Акт заводских (приемочных) испытаний тупиковых упоров ударного (безударного) типа - ф. П.6.5.
6 Журнал учета освидетельствований тупиковых упоров - ф. П.6.6.
7 Акт обследований тупиковых упоров - ф. П.6.7.
|
|
||
|
ПАСПОРТ ТУПИКОВОГО УПОРА |
||
|
_________________________________________ _________________________________________ (адрес организации владельца кранового пути) |
РЕГИСТРИРУЮЩИЙ ОРГАН |
|
|
«____»________________200___ г |
|
|
|
Москва, 2______год |
||
1. Назначение
Упор тупиковый предназначен для гашения остаточной скорости мостового крана, а так же для предотвращения схода и опрокидывания крана с кранового пути в аварийных ситуациях при отказе ограничителя передвижения или тормозов механизма передвижения крана.
2. Технические характеристики
|
2.1 Тип тупикового упора |
Ударный
|
|
2.2 Габаритные размеры длина, мм ширина, мм высота, мм. |
780 174 865 |
|
2.3 Марка стали при ± 20°С |
Ст 3сп5; Ст 3пс5 ГОСТ 380 |
|
при ± 40°С |
Ст 09Г -12; Ст 09Г2С - 12 ГОСТ 19281 |
|
2.4 Масса, кг |
52 |
|
2.5 Суммарная длина упругих амортизаторов, установленных на кране и тупиковом упоре, мм (не менее) |
________________________________ |
|
2.6 Диаметр (площадь) сечения упругого амортизатора, мм. |
_________________________________ |
3. Применение
Тупиковые упоры применяются для следующих условий.
|
3.1 Тип крана (per. №) |
________________________________ |
|
3.2 Размерная группа или масса крана |
________________________________ |
|
3.3 Рабочая скорость передвижения крана, м/мин |
________________________________ |
|
3.4 Грузоподъемность, т |
________________________________ |
|
3.5 Температурный режим эксплуатации, °С |
________________________________ |
4. Состав изделия и комплект поставки
4.1 Тупиковый упор состоит из сварной конструкции и комплекта креплений.
4.2 Комплект поставки на один крановый путь - 4 шт.
5. Устройство и принцип работы

Рис. П.6.1. Тупиковый упор ударного типа (разработчик НПЦ «Путь К», шифр 030-02-00.00)
1 - опорная плита; 2 - вертикальная стойка; 3 - укосина; 4 - стопор; 5 прижимы; 6 - буфер (резиновый амортизатор); 7 - переходник; 8 - дополнительные стыковые накладки; 9 - направляющая кранового пути.
Тупиковый упор (рис. П.6.1) выполнен в виде сварной рамы из швеллеров в виде сварной рамы, состоящей из опорной плиты, вертикальной стойки, укосины и стопора с шестью прижимами.
Для обеспечения эффективного сцепления с головкой направляющей, на которой крепится тупиковый упор, рабочие поверхности стопоров прижимов выполнены рифлеными.
Для гашения энергии удара, при наезде крана на тупиковый упор, на стойке болтами крепится буфер (резиновый амортизатор), высота его крепления определяется высотой установки буфера на кране. В случае невозможности обеспечения контактного ударения буферов крана и тупика, на последнем дополнительно приваривается переходник и к нему крепится буфер.
К головке направляющей тупиковый упор крепится с помощью прижимов, затяжка гаек которого осуществляется стандартным гаечным ключом.
Для предотвращения смещения тупикового упора при наезде на него крана, на концах направляющих устанавливается дополнительные стыковые накладки.
При наезде крана на тупиковый упор, буфер, деформируясь, гасит кинетическую энергию движущегося крана.
6. Подготовка изделия к работе
6.1 Тупиковый упор устанавливается на крановом пути так, чтобы его рабочая поверхность была направлена в сторону ходовых колес крана.
6.2 Установку тупиковых упоров на крановом пути следует производить на расстоянии не менее 500 мм от конца направляющих, ж/б или стальной балки или до центра последней полушпалы.
6.3 Устанавливать тупиковые упоры необходимо так, чтобы наезд крана происходил одновременно на два тупиковых упора. Не перпендикулярность установки тупиков не должна превышать ± 10 мм.
6.4 Резьбовые соединения должны быть затянуты с моментом: прижимы -16 кГм, стопор - 0,5 кГм, буфер (амортизатор) - 1 кГм.
6.5 Тупиковые упоры должны быть испытаны (проверены) организацией - изготовителем, о чем должна быть отметка отдела технического контроля и авторского надзора в данном паспорте.
6.6 Заказчик (потребитель) обязан, после установки тупиковых упоров на крановом пути, произвести проверку целостности и комплектности конструкции, правильность установки и испытать на работоспособность наездами крана с включенными двигателями привода передвижения с расстояния 250, 500 мм на проверку гашения остаточной скорости. Результаты испытаний заносятся в акт сдачи кранового пути в эксплуатацию.
7. Техническое освидетельствование и обслуживание
7.1. Техническое освидетельствование тупиковых упоров включает: выявление трещин, вмятин; определение износа резьбовых соединений и трущихся деталей;
- степень поражения металлоконструкций коррозией.
7.2. В техническое обслуживание тупиковых упоров входит:
- проверка правильности установки;
- очистка и покраска;
- затяжка и смазка резьбовых соединений.
7.3. С целью обеспечения безопасной эксплуатации тупиковых упоров проводят следующие плановые проверки их технического состояния:
- ежемесячный осмотр - проводит ответственный за техническое состояние крановых путей;
- один раз в год проводится техническое обслуживание и освидетельствование без разборки - проводит ответственный за техническое состояние крановых путей;
- один раз в три года проводится техническое обслуживание - проводит ответственный за техническое состояние крановых путей;
- один раз в три года проводится техническое освидетельствование с детальной разборкой - проводит специализированная организация.
7.4 Выявленные дефекты должны быть устранены. Сведения о ремонте заносятся в таблицу П.6.1.
7.5 Результаты технического освидетельствования должны быть занесены в таблицу П.6.2.
8. Указания мер безопасности
8.1 В случае аварийного наезда крана на тупиковый упор проводится внешний осмотр последнего, оценка технического состояния элементов тупика и при необходимости его замена или ремонт.
8.2 Запрещается эксплуатация тупиковых упоров:
с трещинами в основном металле и сварных швах элементов конструкций; при уменьшении толщины элементов и деталей вследствие коррозии, более чем на 7 %:
- износ осей, втулок не должен превышать 3 % от первоначального размера;
- при износе амортизатора более 30 %; при неполном комплекте или ослаблении болтовых соединений.
9. Транспортирование и хранение
9.1 Транспортировку комплекта тупиков можно производить транспортом любого вида.
9.2 Не допускается сбрасывать тупиковые упоры с транспортных средств при разгрузке.
9.3 Хранение комплекта тупиковых упоров должно определяться по группе ОЖ - 4 в соответствии с ГОСТ 15150.
9.4 При хранении тупиковые упоры должны быть уложены на подкладки, исключающие их соприкосновение с грунтом.
9.5 Консервация - по ГОСТ 9.014 (вариант В3 - 1). Консервации подвергают неокрашенные поверхности ту пиковых упоров, а так же крепежные изделия. Срок действия консервации - не менее 12 месяцев.
10. Гарантийные обязательства
10.1 Изготовитель гарантирует соответствие упоров техническом условиям при соблюдении потребителем условий эксплуатации, транспортирования и хранения, установленных настоящим паспортом.
10.2 Срок гарантии устанавливается 18 месяцев с момента ввода тупиковых упоров в эксплуатацию, но не более 24 месяцев со дня отгрузки потребителю.
11. Сведения о предприятии – изготовителе
12. Сведения о приемке.
|
Тупиковые упоры инв. (зав.) №№ |
____________________________________ |
|
прошли заводскую приемку «____» _________ 200___ года и признаны годными к эксплуатации. |
|
|
Технический директор (мастер) |
_____________________________________ (подпись ФИО) |
|
ОТК |
_____________________________________ (подпись ФИО) |
|
МП. |
_____________________________________ (подпись ФИО) |
|
Авторский надзор |
_____________________________________ (подпись ФИО) |
|
Сведения о консервации |
_____________________________________ |
Таблица П.6.1. Сведения о ремонте
|
Дата |
Выполненные работы |
Ф.И.О., должность, подпись |
|
|
|
|
Таблица П.6.2. Сведения о проведении обследовании
|
Дата |
Результаты обследований |
Ф.И.О., должность, |
подпись |
|
|
|
|
|
ЖУРНАЛ УЧЕТА РЕЗУЛЬТАТОВ ВХОДНОГО КОНТРОЛЯ МАТЕРИАЛОВ И КОМПЛЕКТУЮЩИХ
|
Дата поступления |
Наименование материала, полуфабриката, марки, толщина |
Предприятие поставщик |
Номер партии, плавки, дата поступления, номер сопроводительного документа |
Количество продукции в партии |
Количество проверенной продукции |
Количество забракованной продукции |
Вид испытаний и дата сдачи образцов на испытание |
Номер и дата протокола испытаний |
Испытание, при котором выявлен дефект |
Номер и дата составления рекламации |
Причина рекламации (пункт стандарта, ТУ) |
Мероприятие предприятия -поставщика по закрытии рекламации |
|
1 |
2 |
3 |
4 |
5 |
6 |
7 |
8 |
9 |
10 |
11 |
12 |
13 |
|
|
|
|
|
|
|
|
|
|
|
|
|
|
|
|
УТВЕРЖДАЮ |
|
|
___________________________________ (организация, проводившая обследование) |
|
|
____________________________________ (должность и ФИО руководителя) |
|
|
«_____»____________200___ год |
|
АКТ |
|
|
Г____________ |
«___»___________20____ г |
|
Акт №_______ от «___»________ 20___ г |
|
|
Тупиковые упоры______________________________________________________________ (тип тупиковых упоров, зав. №№, предприятие – изготовитель) ______________________________________________________________________________ _______________________________________________________________________________ |
|
|
Чертежи на изготовление №______________________________________________________ |
|
|
Тех. процесс на сварку №_________________________________________________________ |
|
1. Сведения о материалах, применяемых при изготовлении.
|
№ п/п |
Наименование элемента |
Профиль |
Марка стали |
НТД на материал |
Номер сертификата |
|
|
|
|
|
|
|
2. Данные о сварке _______________________ (вид, ГОСТ)
2.1. Сведения о сварщиках.
|
№ п/п |
Ф.И.О. сварщика |
№ удостоверения |
Номер клейма |
№ и дата протокола аттестации сварщика |
|
|
|
|
|
|
|
Сварка производилась электродами типа _____________________________________ , Марки ________ по ГОСТ ________________, соответствие которому подтверждено: __________________________________________________________________________ (наименование, № и дата документа на электроды) |
Качество сборочных и сварочных работ проверено:
а) внешним осмотром и обмером сварных соединений;
б) механическим испытанием контрольных образцов:
|
№ п/п |
Толщина пластины |
Предел прочности |
Угол загиба |
Заключение |
|
|
|
|
|
|
в) контроль стыковых сварных швов:
|
УЗК № _________________________________ УД 2 - 12 № ___________ проверен _________. ПЭП ____________________________________. |
3. Заключение
|
Металлоконструкция __________________________________________________________ выполнена в полном соответствии с рабочими чертежами, технологической документацией, ТУ и признана годной к работе. «____»___________ 20___г Главный инженер ________________________ М. П. Начальник ОТК_____________________ (БТК ) РМЦ ___________________________ |
ЖУРНАЛ УЧЕТА ИЗГОТОВЛЕНИЯ ТУПИКОВЫХ УПОРОВ
по разрешению №_______________________ от _________________ 200 ____ г выданному
_____________________________________________________________________________
(территориальный орган Ростехнадзора)
|
№ п/п |
Шифр проекта, ТУ |
Дата изготовления |
№ партии, дата заводских испытаний |
Кол-во |
Заводские номера |
Заказчик |
Подпись ответственного лица (ФИО, должность) |
|
1 |
2 |
3 |
4 |
5 |
6 |
7 |
8 |
|
|
|
|
|
|
|
|
|
|
|
УТВЕРЖДАЮ |
|
|
____________________________________ (организация, проводившая испытания) ___________________________________________ (должность и ФИО. руководителя) «____»________________20__ г |
|
АКТ ЗАВОДСКИХ (ПРИЕМОЧНЫХ) ИСПЫТАНИЙ ТУПИКОВЫХ УПОРОВ УДАРНОГО (БЕЗУДАРНОГО) ТИПА г. |
|
|
Г._____________ «____»__________20__ г |
|
|
Комиссия в составе: |
|
|
1. __________________________________ (председатель комиссии, представитель заказчика) |
____________________________________ (ФИО.) |
|
2. __________________________________ (представитель разработчика проекта) |
_____________________________________ (ФИО.) |
|
3. __________________________________ (представитель изготовителя) |
_____________________________________ (ФИО.) |
|
4. __________________________________ (представитель органов Ростехнадзора) |
_____________________________________ (ФИО.) |
|
5. __________________________________ (представитель специализированной организации) |
_____________________________________ (ФИО.) |
|
Назначенная приказом директора _____________________________ за № _____________ (организация-изготовитель) (№ приказа) От «___» ________ 20__ г., провела заводские (приемные) испытания опытного образца тупиковых упоров ударного (безударного) типа, изготовленных _____________________________________________________________________по (организация-изготовитель) конструкторской документации ______________________________________________ (№ проекта, организация-разработчик) соответствии с "Рабочей программой и методикой межведомственных приемочных испытаний", и считает предъявленное изделие выдержавшим (не выдержавшим) заводские (приемочные) испытания. В результате заводских (приемочных) испытаний комиссия установила следующее: 1. Объект испытаний: комплект из 4-х тупиковых упоров ударного (безударного) типа, изготовленных _________________________________________________________________ (организация-изготовитель) по чертежам__________________________________________________________________ (№ проекта, организация-разработчик) |
|
|
2. Условия испытания: Испытания проводились на крановом пути _________________________________________ (Тип крана) Грузоподъемностью __________ т, зав. № __________________, рег. № _____________ и Установленном _______________________________________________ (место установки крана) Температура воздуха ____________ °С, скорость ветра __________________________ м/с. Тип рельсов при испытании ____________________________________________________ Тупиковые упоры установлены перед штатными упорами. Наезд крана ходовыми колесами на тупиковые упоры
осуществляется с Испытания проводились наездом на тупиковые упоры с предельным рабочим грузом на кране ____________________т и без груза с расстояния __________________________ м. Грузоподъемность грузовых тележек ______________ т. Повторность испытаний в каждом случае составила __________________раз. 3. Результаты испытаний: Комиссия установила, что тупиковые упоры ударного (безударного) типа при проведении испытаний в условиях, оговоренных в п. 2, обеспечивают (не обеспечивают) надежную остановку крана и рекомендует (не рекомендует) их применение для кранов массой до __________ т включительно и скоростью передвижения крана до _________ м/мин ( ____м/сек ) или кинетической энергией MV2/2 не более ______ Дж (____ кгс/м). Рекомендовать (не рекомендовать) изделие к приемочным испытаниям (после заводских). 4. Заключение комиссии: ___________________________________________________________________________ Члены комиссии: ___________________________________________________________________________ (подпись, Ф.И.О.) ___________________________________________________________________________ (подпись, Ф.И.О.) ___________________________________________________________________________ (подпись, Ф.И.О.) ___________________________________________________________________________ (подпись, Ф.И.О.) |
|
|
Приложение: Протокол испытаний. |
|
Председателем комиссии может быть представитель организации-изготовителя, в этом случае в комиссии должен присутствовать представитель заказчика.
ЖУРНАЛ УЧЕТА ОСВИДЕТЕЛЬСТВОВАНИЙ ТУПИКОВЫХ УПОРОВ
|
Заводской № |
Дата ввода в эксплуатацию |
Шифр проекта, ТУ |
Сведения о проведении и обследовании |
Подпись |
|||
|
дата акт № |
отметка о результатах обследования |
ФИО, должность |
|
||||
|
1 |
2 |
3 |
4 |
5 |
6 |
7 |
8 |
|
|
|
|
|
|
|
|
|
|
|
УТВЕРЖДАЮ |
|
|
___________________________________ (организация, проводившая обследования) __________________________________________ (должность и Ф.И.О. руководителя) «_____»________________ 20__ г |
|
АКТ |
|
|
___________________ (город, поселок) |
«____»________________ 20__ г |
|
Комиссия в составе: Председателя ______________________________________ (Ф.И.О., должность) Члены комиссии ____________________________________ (Ф.И.О., должность) _______________________________ _______________________________ |
|
|
действующей на основании договора № _______ от «___» __________ 200___ г. и приказа №______________ провела обследование тупиковых упоров грузоподъемных кранов в _______________________________________________________________________ (полное наименование и адрес организации - владельца тупиковых упоров) _____________________________________________________________________________ (грузоподъемных кранов в цехах) В результате обследования и выборочных испытаний тупиковых упоров комиссии установила: 1. Общее количество тупиковых упоров, находящихся в эксплуатации комплектов (шт.): в т.ч.: ударных _____ комплектов (шт.), инв. №№ _________________________________ в т.ч. ударных __________ комплектов (шт.), инв. №№ ___________________ 2. Общее количество тупиковых упоров, выбракованных по результатам обследований - шт. _______________________ в т.ч.: ударных ____ шт., инв. №№ ____________________________________ Безударных ____________шт., инв. №№ __________________________ 3. На основании результатов проведенных выборочных испытаний комиссия считает прошедшими обследование тупиковые упоры инв. №№ На основании результатов проведенных обследований составлена дефектная ведомость на тупиковые упоры (см. приложение к акту). Настоящий акт является основанием для заполнения журнала учета эксплуатирующихся тупиковых упоров. Следующее обследование тупиковых упоров провести ___________________________ Председатель комиссии: ____________________________________ |
|
|
Члены комиссии: |
________________________________ ________________________________ ________________________________ ________________________________ |
Таблица П.7.1. Перечень эксплуатационной документации
|
Наименование документов |
Тупиковые упоры, изготовленные |
|
|
заводом - изготовителем |
собственными силами организации |
|
|
Паспорт |
+ |
- |
|
Журнал учета тупиковых упоров |
+ |
+ |
|
Журнал учета технического освидетельствования тупиковых упоров |
+ |
+ |
|
Акты технического освидетельствования упоров |
+ |
|
|
Конструкторская документация на упоры |
- |
+ |
|
Журнал учета ремонта тупиковых упоров |
+ |
+ |
Таблица П.7.2. Перечень параметров, показателей надежности и условий испытаний
|
Условное обозначение параметров показателей надежности и условий испытаний |
Наименование |
Номинальное значение |
Допускаемое отклонение |
Допускаемая погрешность |
Сведения о применяемых методах испытаний |
|
П1 |
Усилие затяжки болтов упора, кГм |
15 |
-2,5 |
+ 1 |
|
|
П2 |
Продольное перемещение упора по рельсу после наезда крана, мм, не более |
|
|
|
|
|
П2-1 |
- единичное |
60* |
- |
+1 |
|
|
П2-2 |
- суммарное |
250 |
- |
+2 |
|
|
П2-3 |
аварийное |
250 |
- |
4-2 |
|
|
ПЗ |
Путь замедления, мм |
Расчет |
±10 |
±2 |
|
|
HI |
Техническое состояние упора после наезда крана |
По паспорту упора |
|
|
|
|
У1 |
Рекомендуемые марки кранов при испытаниях |
По паспорту крана |
|
|
|
|
У2 |
Скорость передвижения крана при наезде на упор, м/мин |
По паспорту крана максимальная |
±0,5 |
|
|
|
У3 |
Масса крана, т |
По паспорту крана |
5% |
|
|
|
У4 |
Температура окружающего воздуха, |
±30 |
±40 |
±1 |
|
|
У5 |
Скорость попутного ветра, м/с |
не более 7,5 |
не более допустимой для рабочего состояния крана |
±0,5 |
|
Таблица П.7.3. Перечень средств измерений
|
Условные обозначения параметров, показателей надежности и условий испытаний |
Наименование, индекс, номер стандарта, IT |
Пределы измерений |
Класс точности (погрешность измерения) |
Цена деления |
Потребное количество шт. |
|
П1 |
Динамометрический ключ |
0-25 кГм |
3 |
1 кГм |
|
|
П2 |
Линейка металлическая (188) ГОСТ 427 |
0- |
3 |
|
|
|
ПЗ |
Штангенциркуль ШЦ-1 ГОСТ 166 |
0-150 0- |
2 |
|
|
|
|
Рулетка измерительная ГОСТ 7502 |
0- |
3 |
|
|
|
У2 |
Секундомер ГОСТ 5072 |
0-30 сек. |
3 |
1 сек |
|
|
У5 |
Анемометр ГОСТ 6376 |
0-20 м/сек |
3 |
1 м/сек |
|
|
У4 |
Термометр ГОСТ 12 |
-40 +40 |
4 |
°С |
|
|
УЗ |
Динамометр ГОСТ 13837 |
0-100 кН |
3 |
10 кН |
|
|
|
Измерительная лупа ЛИ-3 (ЛИ-4) кратность-10 ГОСТ 25706 |
0+ |
2 |
|
|
Рис. П.7.1. Схема установки для определения скорости движения и расстояния проходимого краном до полной остановки от начала взаимодействия с упором. 1 -измерительная шкала; 2-подвижные марки; 3- секундомер; 4 толкатель (закрепляется на кране): 5 - провода.
Рис. П.7.2. График вероятности прогнозируемых величин, подтверждающих проектные параметры
|
Исходные данные |
|
|
Грузоподъемность крана |
20/10 т |
|
Пролет |
22.5 м |
|
Вес моста |
43.3 т |
|
Вес грузовой тележки |
16.8 т |
|
Скорость передвижения крана |
100 м/мин |
|
Скорость передвижения грузовой тележки |
55 м/мин |
|
Приближение тележки к опоре |
|
|
Высота установки амортизаторов: |
|
|
на кране |
1.2 м |
|
на тележке |
0,5 м |
|
Направляющая: |
|
|
крана |
КР 80 |
|
грузовой тележки |
Р 43 |
|
Высота направляющей: |
|
|
КР80 |
130 мм |
|
Р43 |
140 мм |
Кран установлен на открытой эстакаде. Балки кранового пути железобетонные.
Определение расчетных параметров
Расчетная скорость передвижения крана:
Vp=V·n1·n2·n3=100·1,1·1,1·1,3=157,3 м/мин = 2,62 м/сек (1.67 м/сек)
Приведенная масса крана воздействующая на тупик:
![]()
Величина пути замедления крана:
![]()
Горизонтальная нагрузка от крана на тупиковый упор:
![]()
Предельно допустимая нагрузка:
![]()
Кинетическая энергия крана:
![]()
Площадь сечения упругих элементов, установленных на кране и тупиковом упоре:
![]()
Общая длина упругих элементов, установленных на кране и тупиковом упоре:
![]()
Опрокидывающий момент (изгибающий) тупикового упора от горизонтальной силы:
![]()
Момент сопротивления сечения стойки тупикового упора:
![]()
Момент сопротивления двутавра № 55 W=2000 см3
Силы, удерживающие тупик от опрокидывания:
![]()
Диаметр болтов (шпилек), удерживающих тупик от опрокидывания:

Расчет сварных швов на разрыв между стойкой тупика и опорным листом.
Длина швов:
![]()
Катет швов:
![]()
Расчет сварных швов на срез между стойкой тупика и опорным листом.
Длина швов:
lw2=h1=55-3,3 = 51,7
Катет швов:
![]()
Расчет сварных швов шпилек на срез.
Длина швов:
![]()
Катет швов:
![]()
Продавливание полки железобетонной балки кранового пути сосредоточенной силой:
![]()
где N - расчетная продавливающая сила - 39900/2;
h0 -
полезная высота полки -
П - средний периметр пирамиды продавливания - П=4(а+h0);
а - сторона площади приложения силы N – 5 см;
к - 1,0 для тяжелого бетона;
Rp - расчетное сопротивление бетона на растяжение =10 кгс/см2 (марка 300);
γ - коэффициент условия работы - 0,85
II=4(5 + 18) =
N=10·92·18·0,85 = 14100 кгс < 19950 кгс
В скобках приведены результаты расчетов при скорости крана, соответствующие паспорту.
Выводы по результатам расчета.
1 Для обеспечения безопасности работы скорость передвижения крана должна быть снижена до 60 м/мин.
2. На кране и тупиковых упорах должны быть установлены упругие амортизаторы БР-350.
Крепление тупиковых упоров за полку железобетонной балки кранового пути не допускается.
При резком торможении крана (остановка упорами) предельная устойчивость обеспечится при условии минимального тормозного пути при нахождении крана на идеально ровной площадке (9).
![]()
С учетом действия дополнительных факторов влияющих на скорость передвижения крана, минимальная длина пути остановки крана составит:
![]()
где п1 - коэффициент от воздействия уклона пути (1,0÷4,2);
п2 - коэффициент от воздействия ветрового напора (1,0÷1,5 ).
Если учесть, что уклон пути и ветровой напор кроме придания ускорения движения крана оказывают влияние на удерживающий и опрокидывающий момент, то минимальная величина пути остановки крана составит:
![]()
где K1 - коэффициент соотношения координат центра приведенных масс;
К2 - коэффициент ветрового напора от веса крана (0÷0,5).
При этом величина давления на опору (импульс сил) составит:
![]()
![]()
где G - вес крана, т.е.;
В - база крана, м;
У - расстояние по вертикали от точки опрокидывания до центра приведенных сил (масс),
К3 - коэффициент, учитывающий процесс замедления остановки крана = 2а/q ; (V n1n2)2 /q S
В случае применения накатных (безударных) тупиковых упоров для остановки крана необходимо обеспечить высоту накатной части тупика в соответствии с высотой подъема опоры h:
![]()
С уменьшением давления на опору колеса крана на накатную часть тупика минимальная высота подъема опоры составит:
![]()
В случае не срабатывания системы отключения механизма привода крана, то сумма горизонтальных сил действующих на упор возрастет:
![]()
![]()
![]()
где К4 - коэффициент отношения всего крана к давлению на опору (4÷2)(PB= К·G);
м - коэффициент трения металла по металлу ÷0,1.
Минимальная высота подъема опоры крана составит:
![]()
Выводы: На основании выполненных расчетов данный
грузоподъемный кран может эксплуатироваться с тупиковыми упорами ударного типа
с упругими амортизаторами типа ВР 350 , накатные (безударные) тупики должны
иметь высоту накатной части не менее
![]()
С уменьшением давления на опору колеса крана на накатную часть тупика минимальная высота подъема опоры составит:
![]()
В случае не срабатывания системы отключения механизма привода крана, то сумма горизонтальных сил действующих на упор возрастет:
![]()
![]()
![]()
где К4 - коэффициент отношения всего крана к давлению на опору (4÷2)(PB= К·G);
м - коэффициент трения металла по металлу ÷0,1.
Минимальная высота подъема опоры крана составит:
![]()

Рис. П9.1 Схема козлового крана
|
Грузоподъемность крана |
36 тн |
|
Пролет |
|
|
Вес крана |
150 тс |
|
Вес грузовой тележки |
16,8 тс |
|
Скорость передвижения крана |
1,2 м/сек |
|
Расстояние вдоль кранового пути от точки опрокидывания до центра тяжести приведенной массы крана |
|
|
Расстояние по высоте отточки опрокидывания до центра тяжести приведенной массы крана |
|
|
|
|
|
|
ФЕДЕРАЛЬНАЯ СЛУЖБА ПО экологическому, технологическому И АТОМНОМУ НАДЗОРУ 09147, Москва, ул. Таганская, д. 34 Телефон: 912-39-11 Телетайп: 111633 "БРИДЕР" Телефакс: (095) 912-40-41 E-mail: atomnadzor@gan.ru 15.11.2005№09-03-58/2481 На №61 от 27.10.05 |
|
Генеральному директору НПЦ «Путь К» Г.М. Банных |
Управление технического надзора рассмотрело «Тупиковые упоры. Рекомендации к проектированию, изготовлению и эксплуатации. (РД 50:48:0075-02.05) и считает, что оно будет полезно в качестве пособия при проведении экспертизы промышленной безопасности подъёмных сооружений в части оценки надежной и безопасной остановки грузоподъёмного крана пиковыми упорами старых и новых конструкций, находящихся в эксплуатации и при подготовке основания для вывода тупиковых упоров из эксплуатации.
|
Заместитель начальника Управления технического надзора |
Н.А. Хапонен |
|
ГОСТЫ, СТРОИТЕЛЬНЫЕ и ТЕХНИЧЕСКИЕ НОРМАТИВЫ. Некоммерческая онлайн система, содержащая все Российские Госты, национальные Стандарты и нормативы. В Системе содержится более 150000 файлов нормативно-технической документации, действующей на территории РФ. Система предназначена для широкого круга инженерно-технических специалистов. Copyright © www.gostrf.com, 2008 - 2026 |