Крупнейшая бесплатная информационно-справочная система онлайн доступа к полному собранию технических нормативно-правовых актов РФ. Огромная база технических нормативов (более 150 тысяч документов) и полное собрание национальных стандартов, аутентичное официальной базе Госстандарта. GOSTRF.com - это более 1 Терабайта бесплатной технической информации для всех пользователей интернета. Все электронные копии представленных здесь документов могут распространяться без каких-либо ограничений. Поощряется распространение информации с этого сайта на любых других ресурсах. Каждый человек имеет право на неограниченный доступ к этим документам! Каждый человек имеет право на знание требований, изложенных в данных нормативно-правовых актах!

  


 

Акционерные общества закрытого типа
"АСФАЛЬТТЕХМАШ", "СЕЛЬАВТОДОР"

РУКОВОДСТВО

ПО ПРИМЕНЕНИЮ
ЛИТЫХ АСФАЛЬТОБЕТОННЫХ СМЕСЕЙ
ПРИ СТРОИТЕЛЬСТВЕ И РЕМОНТЕ
ГОРОДСКИХ И АВТОМОБИЛЬНЫХ ДОРОГ

Москва-1998

Москва
1998

Настоящее Руководство разработано на основе обобщения результатов научных исследований литого асфальтобетона и практического опыта применения литьевой технологии при строительстве и ремонте автомобильных дорог, накопленных за последние 30 лет в России и за рубежом.

Руководство содержит материалы, разъясняющие и конкретизирующие вопросы технологии производства литых асфальтобетонных смесей для различных целей, правила их транспортирования и применения для строительства и ремонта дорог с использованием как специальной, так и обычной техники. В нем учтены требования действующих нормативных документов: строительных норм и правил, государственных стандартов, технических условий, ведомственных строительных норм, а также требования по обеспечению экологической безопасности.

Руководство может быть рекомендовано в качестве методического пособия для студентов учебных заведений и инженерно-технических работников дорожных организаций.

Руководство разработали: к.т.н. М.С. Мелик-Багдасаров, Заслуженный строитель РСФСР, инженер К.А. Гиоев, ст. научный сотрудник Н.А. Мелик-Багдасарова и инженер М.М. Кузнецов.

СОДЕРЖАНИЕ

1. ОБЩИЕ ПОЛОЖЕНИЯ

2. ТЕХНИЧЕСКИЕ ТРЕБОВАНИЯ К ЛИТЫМ СМЕСЯМ, ЛИТЫМ АСФАЛЬТОБЕТОНАМ И ИСХОДНЫМ МАТЕРИАЛАМ

3. ИЗГОТОВЛЕНИЕ ЛИТЫХ АСФАЛЬТОБЕТОННЫХ СМЕСЕЙ

4. ТРАНСПОРТИРОВАНИЕ ЛИТЫХ СМЕСЕЙ

5. СТРОИТЕЛЬСТВО И РЕМОНТ ДОРОЖНЫХ ПОКРЫТИЙ С ПРИМЕНЕНИЕМ ЛИТЫХ АСФАЛЬТОБЕТОННЫХ СМЕСЕЙ

6. ТЕХНИЧЕСКИЙ КОНТРОЛЬ ПРИ СТРОИТЕЛЬСТВЕ ДОРОЖНЫХ ПОКРЫТИЙ ИЗ ЛИТЫХ АСФАЛЬТОБЕТОННЫХ СМЕСЕЙ.

7. ПРАВИЛА ПРИЕМКИ ВЫПОЛНЕННЫХ РАБОТ

8. ТЕХНИКА БЕЗОПАСНОСТИ И ОХРАНА ТРУДА

Приложение 1 РЕКОМЕНДУЕМЫЕ ОБЛАСТЬ ПРИМЕНЕНИЯ И НАЗНАЧЕНИЕ ЛИТЫХ АСФАЛЬТОБЕТОНОВ

Приложение 2. СПЕЦИАЛЬНЫЕ МЕТОДИКИ ИСПЫТАНИЙ ЛИТЫХ СМЕСЕЙ И ЛИТЫХ АСФАЛЬТОБЕТОНОВ I, II, III и V ТИПОВ

Приложение 3. ТЕХНИЧЕСКИЕ ХАРАКТЕРИСТИКИ ТЕРМОСОВ - МИКСЕРОВ ДЛЯ ТРАНСПОРТИРОВАНИЯ И ПОРЦИОННОЙ ВЫДАЧИ ЛИТЫХ АСФАЛЬТОБЕТОННЫХ СМЕСЕЙ

Приложение 4. ТЕХНИЧЕСКИЕ ХАРАКТЕРИСТИКИ АСФАЛЬТОФРЕЗЕРНЫХ МАШИН

Приложение 5. ТЕХНИЧЕСКИЕ ХАРАКТЕРИСТИКИ АСФАЛЬТОУКЛАДЧИКОВ ДЛЯ УСТРОЙСТВА ДОРОЖНЫХ ПОКРЫТИЙ ИЗ ЛИТЫХ АСФАЛЬТОБЕТОННЫХ СМЕСЕЙ

Приложение 6. ИНВЕНТАРЬ И ИНСТРУМЕНТЫ ДЛЯ ВЕДЕНИЯ РАБОТ С ЛИТЫМИ СМЕСЯМИ

Приложение 7. ФОРМА ЖУРНАЛА ПРОИЗВОДСТВА РАБОТ ПО УКЛАДКЕ ЛИТОЙ АСФАЛЬТОБЕТОННОЙ СМЕСИ

Приложение 8 ТЕХНИЧЕСКИЕ СРЕДСТВА ДЛЯ ОРГАНИЗАЦИИ ДОРОЖНОГО ДВИЖЕНИЯ

 

1. ОБЩИЕ ПОЛОЖЕНИЯ

1.1. В зависимости от назначения литые смеси подразделяют на пять типов:

I и II - для строительства и капитального ремонта асфальтобетонных покрытий на автомагистралях I и II технических категории, скоростных дорогах, магистралях общегородского и районного значений;

III - для строительства оснований дорожных одежд на дорогах I и II технических категорий, а также городских дорогах;

IV - для строительства покрытий тротуаров, асфальтобетонного бордюра, а также полов и стяжек в промышленных предприятиях;

V - для текущего (ямочного) ремонта дорожных асфальтобетонных покрытий.

1.2. Назначение и рекомендуемые области применения литых асфальтобетонов приведены в Приложении 1.

1.3. Литые смеси указанных типов отличаются свойствами, содержанием и фазовым составом асфальтового вяжущего вещества, качеством и количеством исходных минеральных материалов и битума, а также параметрами технологических процессов. В зависимости от типа их изготавливают, транспортируют и укладывают с использованием, либо специального, либо обычного оборудования.

1.4. Основные классификационные характеристики литых смесей приведены в табл. 1.

Таблица 1.

КЛАССИФИКАЦИОННЫЕ ХАРАКТЕРИСТИКИ ЛИТЫХ АСФАЛЬТОБЕТОННЫХ СМЕСЕЙ

Тип смеси

Основные классификационные особенности смеси

Наиб. размер частиц наполнителя

Содержание, мас. %

Фазовый состав асфальтовяжущего вещества (Б/Ммч)

частиц крупнее 5 мм

асфальтовяжущего вещества (Б+Ммч)

I

15

45-50

25-30

0,40-0,50

II

20

50-55

20-25

0,40-0,55

III

40

45-65

15-20

0,50-0,65

IV

5

-

17-23

0,40-0,65

V

20

35-50

22-28

0,55-0,75

Примечания: 1. Асфальтовяжущее вещество (Б+Ммч) в литом асфальтобетоне представлено смесью битума (Б) и мелкодисперсных минеральных частиц мельче 0,071 мм (Ммч).

2. Фазовый состав асфальтовяжущего вещества литого асфальтобетона (Б/Ммч) - отношение количества битума к количеству минеральных частиц мельче 0,071 мм.

2. ТЕХНИЧЕСКИЕ ТРЕБОВАНИЯ К ЛИТЫМ СМЕСЯМ, ЛИТЫМ АСФАЛЬТОБЕТОНАМ И ИСХОДНЫМ МАТЕРИАЛАМ

2.1. Показатели физико-механических свойств литых смесей и литых асфальтобетонов должны соответствовать требованиям, указанным в табл. 2.

Таблица 2.

ТРЕБОВАНИЯ К ЛИТЫМ СМЕСЯМ И ЛИТЫМ АСФАЛЬТОБЕТОНАМ

№ пп

Показатели свойств

Нормы по типам

I

II

III

IV

V

1.

Пористость минерального остова, % по объему, не более

20

20

22

22

22

2.

Водонасыщение, % объема, не более

0,5

1,0

2,0

2,0

0,5

3.

Глубина вдавливания штампа при +40° С, мм, не более

6

4

-

-

10

4.

Предел прочности при сжатии при температуре + 50°С, МПа, не менее

-

1,0

-

0,7

 

5.

Подвижность смеси при +200°С, мм, не менее

30

25

25

-

30

6.

Предел прочности на растяжение при изгибе при температуре ОС (факультативно), МПа, не менее

6,5

6,0

5,5

1

-

7.

Модуль упругости при температуре 0°С (факультативно), ГПа, не более

8,0

9,0

7,0

-

-

Примечания:

1. Значение показателей физико-механических свойств по п.п. 1, 2 и 3 определяют: для смесей типов I, II, III, V на образцах кубической формы размером 70,7×70,7×70,7 мм; для смесей IV типа по п.п. 1, 2, 4 на образцах цилиндрической формы диаметром и высотой 50 мм.

2. Образцы из смесей I и V типов изготавливают штыкованием смеси в форме послойно в три приема и заглаживанием поверхности шпателем. Образцы из смесей II и III типов изготавливают штыкованием смеси с последующим виброуплотнением под пригрузом 0,03 МПа в течение 20 с. Образцы из смеси IV типа изготавливают прессованием в цилиндрической форме под нагрузкой 5 МПа в течение 180 с.

3. При проектировании состава определяют все показатели физико-механических свойств, приведенные в табл. 2. При контроле качества смеси на заводе - только по пунктам 2, 3, 5.

4. Показатели свойств по п.п. 1, 2 и 4 определяют по методике, изложенной в ГОСТ 12801; по п.п. 3 и 5 - на специальном лабораторном оборудовании и в соответствии с "Методическими указаниями по технологии производства дорожно-ремонтных работ с примененном литого асфальта". АКХ им. К.Д. Памфилова, М 1991 г. (Приложение); по п.п. 6 и 7 по методике, изложенной в ТУ 400-24-107-91.

2.2. Для получения литых асфальтобетонов с требуемыми физики механическими свойствами используют следующие материалы:

щебень или гравий (ГОСТ 8267, ГОСТ 8268, ГОСТ 10260);

песок (ГОСТ 8736);

минеральный порошок активированный и неактивированный (ГОСТ 16557);

битумы (ГOCT 22245 и ГОСТ 6617).

Основные требования к исходным материалам в зависимости от назначения (типа) литого асфальтобетона приведены в таблицах 3, 4, 5 и 6.

Таблица 3.

ОСНОВНЫЕ ТРЕБОВАНИЯ К ЩЕБНЮ (ГРАВИЮ)

Наименование показателей

Нормы по типам смесей

I

II

III

IV

V

Размер зерен щебня (гравия), мм

3-10(15)

5-15(20)

5-35(40)

-

5-15(20)

Марка по прочности при сжатии (раздавливании) в цилиндре, не ниже для видов:

 

 

 

 

 

"А"

1000

1000

800

 

800

"Б"

-

-

600

 

800

Марка по дробимости не ниже для видов:

 

 

 

 

 

"В"

-

-

Др. 12

 

Др. 8

"Г"

-

Др. 8

Др. 12

 

Др. 12

Марка по износу (истираемости) и полочном барабане, не ниже:

 

 

 

 

 

для видов: "А"

И-II

И-II

и-III

 

И-II

"Б"

 

И-II

и-III

 

И-II

"В"

 

 

и-III

 

И-II

"Г"

 

 

и-III

 

И-II

Марка по морозостойкости, не ниже:

 

 

 

 

 

для видов "А"

F 50

F 50

 

 

 

"Б"

 

 

F 25

 

F 25

"В"

 

 

F 25

 

F 25

"Г"

 

 

F 25

 

F 25

Содержание пылевидных, глинистых и илистых частиц в щебне, определяемых отмучиванием, мас. %, не более

1

1

2

 

2

Содержание слабых пород, % по массе, не более

5

5

10

 

10

Содержание зерен пластинчатой (лещадной) и игловатой формы, % по массе, не более

15

15

25

 

25

Примечание.

Вид "А" щебень из изверженных и метаморфических пород;

вид "Б" - щебень из осадочных пород;

вид "В" - гравий;

вид "Г" - щебень из гравия или шлаков

Таблица 4.

ОСНОВНЫЕ ТРЕБОВАНИЯ К ПЕСКУ

Наименование показателей

Нормы по типам смесей

I

II

III

IV

V

Вид песка:

 

 

 

 

 

природный

+

+

+

+

+

дробленый

+

+

-

+

+

Марка дробленого песка, не менее

800

800

 

600

600

Группа песка, не ниже

крупн.

средн.

мелк.

мелк.

мелк.

Модуль крупности, в пределах

Св. 2,5

2-2,5

1,5-2

1,5-2

1,5-2

Соотношение природного и дробленого песка (рекомендуемое)

1:1

1:1

 

 

 

1:2

1:2

Соотношение крупного и мелкого песка (рекомендуемое)

 

 

3:1

3:1

3:1

Содержание пылевидных глинистых и илистых частиц, % по массе, не более

 

 

 

 

 

в природном песке

3

3

3

3

3

в дробленом песке

4

4

4

4

4

Примечания:

1. В качестве дробленого песка допускается применение отходов дробления горных пород с наибольшим размером зерен 5 мм.

2. В смесях IV типа на дробленом песке содержание зерен размером 1,25-5 мм должно быть не менее 33 %, а на природном - не менее 14%.

3. Дробленый песок изготавливают из изверженных, метаморфических или плотных осадочных пород, а также гравия.

Таблица 5.

ОСНОВНЫЕ ТРЕБОВАНИЯ К МИНЕРАЛЬНОМУ ПОРОШКУ

Наименование показателей

Тип литой смеси

I

II

III

IV

V

Вид минерального порошка: активированный из карбонатных горных пород

+

+

-

+

-

неактивированный из карбонатных горных пород

+

+

+

+

+

тонкомолотые некарбонатные горные породы

-

-

+

-

-

порошкообразные отходы промышленности

-

-

+

-

+

тонкомолотые основные металлургические шлаки

-

-

+

-

+

Пыль уноса пылегазоочистных сооружений

 

 

 

 

 

допускаемое замещение порошка % от массы порошка, не более

4

4

20

4

20

содержание глинистых частиц в пыли уноса, % по массе не более

 

 

1

 

1

количество частиц мельче 0,071 мм, % по массе, не менее

70

70

65

70

65

Пористость, % объема, не более

35

35

40

35

40

Примечание. Знак "+" означает - использование допускается;

знак "-" - использование не допускается

Таблица 6

ОСНОВНЫЕ ТРЕБОВАНИЯ К БИТУМАМ

Наименование показателей

Нормы по типам смесей

I

II

III

IV

V

Глубина показания иглы при +25°С, в пределах

40-50

40-90

60-130

60-90

60-90

Температура размягчения по методу КиШ, °С, не менее

55

51

48

48

48

Температура вспышки, °С, не ниже

240

240

220

220

240

Примечания:

1. Нормы по температуре размягчения указаны для II климатической зоны. Для других зон температура размягчения битума принимается: для I на 4° С ниже, для III - на 4° С выше, для IV и V - на 8°С выше.

2. Для получения требуемых значений показателей свойств литого асфальтобетона рекомендуется использовать битум марки БНД 40/60 или смесь битума более низких марок (ГОСТ 22245) с нефтяным строительным битумом марки БН-IV или БН-V (ГОСТ 6617),а также добавки нефтяных природных битумов или природных, битуминизированных материалов.

3. Битумы с указанными свойствами получают также компаундированием переокисленного битума с гудроном при содержании последнего в количестве 6-15 % от массы переокисленного битума, или путем прямого окисления гудрона с температурой размягчения по КиШ 30-34°С по методам МИНХ и ГП им. И.М. Губкина.

2.3. Проектирование составов смесей производят любым методом, принятым в практике дорожного строительства, при условии получения смесей для литого асфальтобетона с требуемыми технологическими и физико-механическими свойствами.

Главными показателями свойств литой смеси и литого асфальтобетона, на заданные величины которых проектируют состав, являются для типом:

I, II и V - подвижность смеси и глубина вдавливания штампа;

III подвижность смеси и водонасыщение;

IV - водонасыщение и прочность при сжатии.

3. ИЗГОТОВЛЕНИЕ ЛИТЫХ АСФАЛЬТОБЕТОННЫХ СМЕСЕЙ

3.1. Литые смеси изготавливают в асфальтосмесительной установке периодического действия. Установка должна соответствовать требованиям ОСТ 221693, ГОСТ 21913 и включать:

агрегат питания;

сушильный агрегат;

пылеулавливающий агрегат;

агрегат минерального порошка;

битумоплавильный агрегат;

смесительный агрегат с сортировочно-дозировочным устройством.

Для приготовления литой смеси I типа асфальтосмесительную установку, рекомендуется, дооснастить специальным агрегатом для приготовления и хранения теплоустойчивого битума, агрегатом для нагрева минерального порошка до температуры 120-140°С и накопительным термос-бункером с мешалкой и системой обогрева смеси.

3.2. Каждый тип литой смеси изготавливают по специальному технологическому регламенту, учитывающему специфику конкретного производства.

3.3. Технологический процесс приготовления литой смеси включает следующие основные операции:

подготовку асфальтосмесительной установки;

подготовку битума;

подготовку и загрузку минерального порошка в расходный бункер;

загрузку и предварительное дозирование песка и щебня в агрегате питания в пропорции, примерно соответствующей принятой рецептуре литой смеси и с точностью ±5 % и подача этих материалов наклонным конвейером или холодным элеватором в сушильный барабан;

высушивание и нагрев песка и щебня в сушильном барабане и подача их горячим элеватором в сортировочное устройство;

рассортировка нагретых песка и щебня по фракциям и заполнение соответствующих отсеков горячего бункера песчаной фракцией и фракциями щебня;

дозирование в соответствии с рецептурой и взвешивание нарастающим итогом в весовом бункере песчаной фракции, фракций щебня, минерального порошка;

перегрузка минеральных материалов из весового бункера в мешалку;

сухое перемешивание минеральных материалов;

дозирование битума и его впрыск в мешалку;

перемешивание минеральных материалов с битумом;

выгрузка смеси из мешалки в транспортное средство.

Принципиальная схема технологического процесса приготовления литой асфальтобетонной смеси представлена на рис. 1.

Рис. 1. Схема технологического процесса приготовления литой асфальтобетонной смеси

1. Агрегат питания

2. Сушильный агрегат

3. Агрегат пылеулавливания

4. Горячий элеватор

5. Элеватор минерального порошка и пыли

6. Смесительный агрегат

7. Пульт управления

8. Накопительный бункер

9. Битумоплавильный агрегат

10. Агрегат минерального порошка

3.4. Перед началом процесса приготовления литой асфальтобетонной смеси необходимо проверить исправность термопары в лотке сушильного барабана и убедиться в правильных ее показаниях, проверить дозаторы щебня, песка, порошка, и битума, а также весы.

Для обеспечения выпуска литой смеси с требуемой температурой, сушильный барабан, ковши горячего элеватора, отсеки горячего бункера, весовой бункер и мешалку освобождают от остатков минеральных материалов, ранее прошедших подготовку для выпуска стандартных (штатных) смесей, устанавливают требуемый режим нагрева и начинают повторную загрузку минерального материала, в сушильный барабан, его сушку и нагрев.

3.5. Если централизованная поставка битума требуемой марки не предусмотрена, битум изготавливают на АБЗ в соответствующем агрегате по специальному технологическому регламенту. При централизованной поставке битум после выпаривания и нагрева до рабочей температуры перекачивают в расходную емкость и далее в дозатор битума смесительной установки.

Битум нагревают до рабочей температуры 160 - 180°С при изготовлении литой смеси I типа; до 150 - 170° С - литой смеси II типа; до 140 - 160° С литой смеси III, IV и V типов.

3.6. Минеральный порошок следует использовать с максимально возможной температурой, что возможно при наличии на асфальтобетонном заводе цеха по производству минерального порошка в составе технологического оборудования асфальтосмесительной установки, или агрегата для его нагрева, а также возможности получения от изготовителя в горячем состоянии. Одновременно, корректируют температуру нагрева минеральных материалов в сушильном барабане.

Холодный минеральный порошок, поступающий на АБЗ централизованно по железной дороге или автотранспортом должен быть при заполнении расходного бункера сухим и рыхлым.

3.7. Температуру нагрева минеральных материалов в сушильном барабане при использовании холодного минерального порошка устанавливают в пределах: 320 - 340°С при изготовлении литой смеси I типа; 280 - 300°С - литой смеси II типа; 240 - 260°С - литой смеси III типа; 200 - 220°С - литой смеси IV типа и 300 - 320°С - литой смеси V типа. При введении в мешалку горячего минерального порошка с температурой 120 - 140°С температуру нагрева минеральных материалов снижают на 12 - 14%

3.8. Нагретые материалы сортируют на фракции 0-5; 5 - 15(20) и 15 - 35(40) мм. Материалы, предназначенные для приготовления литой смеси I типа, сортируют на следующие фракции: песчаную - 0-3 мм; и три щебеночные 3-5; 5-10 и 10 - 15 мм. Каждую фракцию дозируют и взвешивают отдельно, согласно запроектированной рецептуре

3.9. При дозировании компонентов литой смеси допускаемая погрешность не должна превышать ±3% по массе для каждой фракции минерального материала (песка и щебня), ±1,5 % по массе для минерального порошка и ±1% по массе для битума.

3.10. Компоненты перемешивают в две стадии: - вначале, все минеральные материалы между собой, а затем, с битумом. Продолжительность перемешивания на каждой стадии устанавливают исходя из конкретного качества минеральных материалов и битума, а также технических характеристик асфальтосмесительной установки.

3.11. Для типичных условий (стандартных материалов, параметров работы мешалки, и других узлов и агрегатов отечественных асфальтосмесительных установок) продолжительность перемешивания указана в табл. 7.

Таблица 7.

ПРОДОЛЖИТЕЛЬНОСТЬ ПЕРЕМЕШИВАНИЯ ЛИТОЙ СМЕСИ

Тип литой смеси

Время перемешивания, с

сухое

с битумом

общее

I

60

80

140

II

45

45

90

III

30

30

60

IV

45

45

90

V

60

60

120

Примечания.

1. При использовании горячего минерального порошка с температурой 120-140°С с время перемешивания снижают на 10-15%.

2. При необходимости, продолжительность перемешивания может быть уточнена следующим образом:

а) определяют оптимальную продолжительность перемешивания минеральных материалов и для этого:

- изготавливают согласно рецептуре сухой замес, перемешивая его в течение 10 - 90 с интервалом в 20 с;

- через каждые 20 с мешалку останавливают и из нее отбирают минеральную смесь для рассева и определения гранулометрического состава пробы;

- время перемешивания, по истечении которого достигают неизменяемый и одинаковый с другими пробами гранулометрический состав минеральной смеси, принимают за оптимальное время перемешивания для данных материалов и технических характеристик мешалки (геометрических размеров, формы лопаток, их числа, скорости вращения валов, схемы перемещения материалов и т.д.).

б) Определяют оптимальную продолжительность перемешивания минеральной смеси с битумом:

- изготавливают сухой замес, перемешивая его в течение оптимального времени;

- вводят в мешалку битум и перемешивают минеральную смесь с битумом в течение 30 - 90 с интервалом в 20 с;

- через каждые 20 с мешалку останавливают и из нее отбирают асфальтобетонную смесь для проведения испытаний каждой пробы на подвижность;

- время перемешивания, по истечении которого литая смесь приобретает неизменяемую и одинаковую с другими пробами подвижность, принимают за оптимальное для данных минеральных материалов и битума, системы ввода и давления впрыска битума, а также технических характеристик мешалки.

3.12. Температура литой смеси при выдаче ее в транспортное средство в зависимости от температуры воздуха должна находиться в пределах, указанных в табл. 8.

Таблица 8.

ТЕМПЕРАТУРА ЛИТОЙ СМЕСИ ПРИ ВЫПУСКЕ ИЗ МЕШАЛКИ

Тип смеси

Температура смеси, °С

Температура воздуха °С

выше +10

от +10 до +5

ниже +5

I

220-240

220-240

-

II

190-210

210-230

-

III

170-190

180-200

-

IV

165-175

175-185

до 210

V

180-200

190-210

до 220

3.13. Литую смесь выгружают в транспортное средство непосредственно из мешалки или через промежуточный бункер-стрелку.

Литые смеси I, II, III и V типов хранению в обычном накопительном бункере не подлежат, так как быстро остывают и теряют подвижность, а смеси I и V типов, кроме того, расслаиваются.

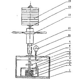
При необходимости хранения литой смеси, асфальтосмесительную установку оборудуют специальным накопительным термосом-бункером, оснащенным собственной мешалкой и системой обогрева (рис. 2). Смесь в термосе - бункере в результате дополнительного перемешивания при тепловом воздействии приобретает высокую однородность и устойчивость к расслоению, а покрытие после укладки и остывания смеси повышенную деформативную устойчивость. Максимальное время нахождения смеси в термосе-бункере 8-12 часов в зависимости от типа смеси.

Рис. 2. Накопительный термос-бункер для хранения литой асфальтобетонной смеси I и V типов

3.14. Для перехода на выпуск уплотняемых смесей после выпуска литых смесей I, II или V типов сушильный барабан, горячий элеватор, отсеки горячего бункера и мешалку освобождают от остатков материалов, имеющих повышенную температуру. Горячие материалы выгружают через мешалку в автосамосвал и отправляют на склад.

4. ТРАНСПОРТИРОВАНИЕ ЛИТЫХ СМЕСЕЙ

4.1. В зависимости от типа смеси ее доставку на объект производят в обычных или специальных транспортных средствах.

4.2. Смеси I и V типов перевозят в термосах-миксерах (рис. 3).

Рис. 3 Термос - миксер для перевозки литой смеси марки:

а. ОРД-1023; б. ОРД-1025

4.3. Смеси II и III типов при температуре воздуха выше +10°С и расположении места укладки в 40 - 60 минутах езды от асфальтобетонного завода перевозят в тентованных кузовах автомобилей-самосвалов. При температуре воздуха от +10 до +5°С и значительном отдалении объекта от АБЗ транспортирование рекомендуется производить быстроразгружающимися термосами-миксерами большой грузоподъемности марок ОРД-1025 и ОРД-1028. Технические характеристики термосов-миксеров приведены в приложении 3.

4.4. Смесь IV типа транспортируют, как правило, в тентованных кузовах автомобилей-самосвалов.

4.5. Перед тем, как включить мешалку и поставить термос-миксер под загрузку его емкость нагревают форсунками до температуры 140-160 °С. Крышки люка, через который смесь поступает в емкость термоса-миксера, открывают за 5 мин до загрузки. С включенной мешалкой и открытым люком термос-миксер подают под загрузку так, чтобы смесь точно попала в люк. При загрузке термоса-миксера водитель должен постоянно находиться в кабине.

4.6. После наполнения емкости термоса-миксера литой смесью крышки загрузочного отверстия закрывают и машину отправляют на объект. В случае попадания смеси на внешние поверхности термоса-миксера их необходимо очистить сразу, после выезда машины из-под загрузки.

4.7. Мешалка термоса-миксера при загрузке, движении, стоянке и разгрузке машины должна вращаться постоянно, а форсунки (горелки) работать при необходимости.

4.8. Выгрузку литой смеси из емкости термоса-миксера производят через выпускное отверстие либо в приемный бункер асфальтоукладчика, либо по лотку, непосредственно на поверхность ремонтируемого участка.

4.9. Для ускоренной выгрузки остатков литой смеси емкость термоса-миксера приподнимают на угол 15-30 при одновременной работе мешалки.

4.10. Автомобили-самосвалы, используемые для транспортирования литых смесей (II, III и IV типов), должны иметь:

грузоподъемность не менее 10 тонн;

обогреваемый выхлопными газами кузов с надежно закрывающимся задним бортом и устройством для укрытия перевозимой смеси;

подъемное устройство кузова, обеспечивающее постепенное увеличение угла наклона с фиксацией кузова в любом рабочем положении;

устройство, встряхивающее кузов для освобождения его от налипшей смеси;

подвеску кузова, обеспечивающую минимальную вибрацию при движении;

4.11. Во избежание налипания смеси ко дну и бортам кузова их перед каждым наполнением кузова очищают от загрязнений и обильно обрабатывают мыльным раствором или эмульсией.

4.12. При отгрузке продукции потребителю завод-изготовитель обязан каждую транспортную единицу, доставляющую смесь к месту работ, сопровождать товарно-транспортной накладной (паспортом), где указывать наименование завода-изготовителя, тип и температуру смеси, номер, дату и время выдачи накладной.

4.13. Доставку литой смеси на объект производят навстречу движения ремонтно-строительного потока, во избежание переезда машин, подвозящих смесь через край ранее устроенного или отремонтированного покрытия, а также для обеспечения безопасных условий работ.

4.14. Необходимое число транспортных единиц, подвозящих литую смесь для укладки ее без остановки асфальтоукладчика рассчитывают по формуле:

где Ту - продолжительность рабочей смены, с;

пу - производительность асфальтоукладчика, кг/смену, определяемая по формуле:

Пу = Ту×Кв×а×h×р×V,

где Кв - безразмерный коэффициент использования (0,7 - 0,9);

h - толщина укладываемого слоя, м;

а - ширина полосы, м;

р - плотность литого асфальтобетона, кг/м3;

V - скорость движения асфальтоукладчика, м/с (0,01-0,05);

m - грузоподъемность транспортной единицы, кг;

na - число рейсов, совершаемых одной транспортной единицей, определяемое по формуле:

где L - дальность перевозки смеси, м;

Vcp - средняя скорость движения транспортного средства при пробеге в оба конца, м/с;

T1 - продолжительность выгрузки смеси в асфальтоукладчик с учетом продолжительности маневрирования на месте укладки смеси, с;

T2 - продолжительность загрузки транспортной единицы на асфальтобетонном заводе с учетом ожидания погрузки, с

5. СТРОИТЕЛЬСТВО И РЕМОНТ ДОРОЖНЫХ ПОКРЫТИЙ С ПРИМЕНЕНИЕМ ЛИТЫХ АСФАЛЬТОБЕТОННЫХ СМЕСЕЙ

Организация работ

5.1. Подрядчик, перед тем как приступить к строительству (ремонту) дорожного покрытия, должен в присутствии "Заказчика", принять готовое основание от организации, построившей его или подготовившей его к укладке смеси. Приемку основания или технологического слоя (в городских условиях с установленным бортовым камнем), оформляют актом на скрытые работы, где наряду с констатацией факта соответствия (несоответствия) выполненных работ проекту, указывают объемы и сроки устранения недоделок. Затем, подрядчик приступает к разработке и утверждению проекта производства работ (ППР). В проекте должны быть представлены:

генеральный план строящегося (ремонтируемого или реконструируемого) объекта;

технологическая карта на ведение работ с привязкой к местным условиям, т.е. графическое изображение процессов производства работ, последовательность их выполнения с указанием типов и марок используемых материалов, машин и механизмов, расчетами потребности материалов, техники, транспортных средств, количества рейсов на каждую транспортную единицу, рабочей силы, длины сменной захватки, размеров полос укладки и т.п;

схемы движения транспорта, в т.ч. построечного, места установки ограждений, светильников, места, отведенные для заправки механизмов и их стоянки в нерабочее время, согласованные с органами ГАИ;

календарный график работ с указанием объемов и сроков их выполнения;

пояснительная записка, в которой указывают характерные особенности района строительства (погодные условия, отдаленность от АБЗ, расположение и состояние подъездных путей), обосновывают принятую организацию и технологию работ, излагают разработанные мероприятия по технике безопасности и охране труда, контролю качества работ.

5.2. Для выполнения текущего ремонта пользуются соответствующими технологическими картами, планом участка и краткой пояснительной запиской, где приводят результаты обследования покрытия, подлежащего ремонту, дефектную ведомость и смету.

5.3. Перед ремонтом покрытия в путях трамвая, подрядчик должен получить разрешение организации, эксплуатирующей эти пути. Ограничение или закрытие движения городского транспорта в зоне путевых работ, проводимых на улицах и площадях в полосе общего движения городского транспорта должны быть согласованы с местными властями. Зону путевых работ необходимо ограждать в соответствии с требованиями правил дорожного движения и с учетом обеспечения проезда к предприятиям и зданиям пожарных и санитарных машин, а также средств городского транспорта.

При разборке существующих дорожных покрытий в путях трамвая дорожно-строительные материалы, пригодные для повторного использования, должны быть размещены таким образом, чтобы не затруднять движения городского транспорта.

5.4. Комплексно-механизированную бригаду оснащают следующими основными машинами (табл. 9).

Таблица 9.

ОСНОВНЫЕ МАШИНЫ, ИСПОЛЬЗУЕМЫЕ ПРИ НОВОМ СТРОИТЕЛЬСТВЕ И РЕМОНТЕ ДОРОЖНЫХ ПОКРЫТИЙ ЛИТЫМИ АСФАЛЬТОБЕТОННЫМИ СМЕСЯМИ

№№ п/п

Наименование

Машины, используемые при устройстве дорожного покрытия из смеси типа:

I

II

III

1

транспортное средство

 

 

 

 

термос-миксер

ОРД-1025

ОРД-1025

ОРД-1025

 

 

ОРД-1028

ОРД-1028

ОРД-1028

 

 

УРД-2Н

 

 

 

 

КДМ-150

 

 

 

автомобиль-самосвал

-

ЗИЛ-133Д4

ЗИЛ-133Д4

 

 

-

КамАЗ-55111

КамАЗ-55111

2

Асфальтоукладчик

GADF I, II, III

ДС-181

ДС-181

 

 

SUPER-1502GAF

ДС-191

ДС-191

 

 

 

SUPER-1502

SUPER-1600

 

 

 

SUPER-1804

SUPER-1800

 

 

 

ТИТАН 211

SUPER-2500

 

 

 

ТИТАН 311

ТИТАН-311

 

 

 

PF-451

PF-451

3

Каток массой не более 1,5 т (двухвальцевый)

ДУ-10А

ДУ-10А

 

4

Компрессор

ЗИФ ПВ-5

ЗИФ ПВ-5

ЗИФ ПВ-5

5

Поливомоечная машина

ПМ-130Б

ПМ-130Б

ПМ-130Б

6

Асфальтофрезерная машина

1900 DC

1900 DC

-

 

 

2000 DC

2000 DC

-

7

Автопогрузчик

ПК-0,5, ПК-1

ПК-0,5, ПК-1

-

Технические характеристики асфальтофрезерных машин и асфальтоукладчиков приведены соответственно в Приложениях 4 и 5.

5.5. Для укладки литой смеси IV типа, как правило, создают звено из 2 человек. Асфальтобетонщика 6 разряда (литого мастера), разравнивающего и уплотняющего смесь вручную при помощи шпателя (валька) и асфальтобетонщика 3 разряда для подноски и распределения смеси лопатой и граблями.

5.6. Бригаду, выполняющую текущий ремонт дорожного покрытия с применением литой смеси V типа, оснащают следующими машинами и механизмами (табл. 10).

Таблица 10.

ОСНОВНЫЕ МАШИНЫ И МЕХАНИЗМЫ, ЗАНЯТЫЕ НА ТЕКУЩЕМ РЕМОНТЕ ДОРОЖНЫХ ПОКРЫТИЙ ЛИТОЙ СМЕСЬЮ V ТИПА

№№п/п

Наименование

Обозначение, марка

1.

Термос-миксер

ОРД-4994

 

 

ОРД-1025

 

 

УРД-2Н

 

 

КДМ-150

 

 

ОРД-1028

2.

Асфальтофрезерная машина

W-350

 

 

W-500

 

 

1000 С

 

 

W 1000

 

 

ФД-500

 

 

ОРД-0003

 

 

ГИВП-631

 

 

АРМ-500

3.

Компрессор с отбойными молотками

ЗИФ ПВ-5М

4.

Автомобиль-самосвал

ЗИЛ-ММЗ 4505

5.

Подметально-уборочная машина

ПУМ1, КДМ-130

6.

Автопогрузчик

ПК-0,5; ПК-1

7.

Каток

ДУ-10А

8.

Асфальторазогреватель

РА-10

5.7. Инструмент, инвентарь и приспособления для укладки литой асфальтобетонной смеси представлены на рис. 4 и в приложении 6.

Рис. 4. Инструменты для укладки литой асфальтобетонной смеси

1) Разравниватель смеси, 2) Гладилка, 3) Скребок 4) Грабли, 5) Трамбовка, 6) Утюг, 7) Шпатель (валек), 8) Лопата, 9) Кувалда для забивки костылей (гвоздей, дюбелей), 10) Райбовка (терка).

5.8. Численность: рабочих-асфальтобетонщиков, а также степень их оснащения машинами, механизмами и инструментом определяются типом литой смеси, видом и сменным объемом работ, и рассчитываются на основании карт трудового процесса, в которых по каждому трудовому процессу установлены рациональный состав бригады и способы взаимодействия в ней рабочих.

Подготовительные работы

5.9. Состав и последовательность выполнения подготовительных работ определяются видом предстоящих работ (новое строительство, капитальный или текущий ремонты покрытия), временем года состоянием поверхности нижележащего слоя, необходимостью использования подрядчиком специальной техники и т.п.

5.10. Минимальная температура воздуха, при которой разрешается вести строительство, капитальный и текущий ремонты дорожных покрытий с применением литых смесей указана в табл. 11.

Таблица 11.

ДОПУСТИМАЯ ТЕМПЕРАТУРА ВОЗДУХА ПРИ ВЕДЕНИИ РАБОТ С ПРИМЕНЕНИЕМ ЛИТОЙ АСФАЛЬТОБЕТОННОЙ СМЕСИ

Наименование работ

Температура воздуха, С, не ниже

Норма для смеси типа:

I

II*)

III

IV

V

Новое строительство и капитальный ремонт

+5

+10

+10

+5

 

Текущий ремонт

 

 

 

 

-10

Примечание.

*) При наличии у подрядчика универсальных термосов-миксеров марки ОРД-1025 или ОРД-1028 работы допускается вести при температуре воздуха не ниже +5° С.

5.11. При новом строительстве предусматриваются следующие состав и последовательность выполнения подготовительных работ.

На объект доставляют бытовое помещение и обустраивают его всем необходимым, проводят вводный инструктаж, расставляют ограждения и дорожные знаки.

В городских условиях для обеспечения прочного сцепления укладываемого слоя с нижним слоем, краем ранее уложенной полосы покрытия, люками колодцев, трамвайными и железнодорожными рельсами, и др. элементами проезжей части дороги их тщательно очищают и просушивают, а в холодное время года, примерно, за 3 часа до укладки литой смеси дополнительно обрабатывают горячим битумом с расходом 0,2-0,5 л/м2. Если поверхность, на которую будут укладывать литую смесь, из свежеуложенного асфальтобетона, - чистая и сухая, то ее не обрабатывают горячим битумом. Далее, для обеспечения требуемой ровности покрытия производят геодезическую разбивку с установкой контрольных маяков и выноской отметок на бортовой камень (верх маяка или отметка должны соответствовать верху покрытия после укладки смеси асфальтоукладчиком).

Асфальтобетонные или деревянные маяки устанавливают по визиркам вдоль дороги на слое основания, технологическом слое или нижнем слое покрытия. Отметки наносят намелованным шнуром по борту. Одновременно проверяют соответствие высотных отметок крышек колодцев проектным и в случае необходимости исправляют. Если асфальтоукладчик оснащен электронной следящей системой, ее приводят в рабочее положение.

Для создания шероховатого покрытия производят доставку и выгрузку по длине сменной захватки черного щебня соответствующими порциями. Черный щебень выгружают на обочину, или вдоль бортового камня с таким расчетом, чтобы его можно было легко, при помощи автопогрузчика или тачкой, доставить к месту непосредственного распределения и втапливания.

При укладке литой смеси I типа для того, чтобы исключить оплывание кромок укладываемого слоя к асфальтоукладчику монтируют скользящую опалубку длиной 10-12 м. При отсутствии таковой, на нижнем слое с обеих сторон будущей полосы покрытия укрепляют при помощи гвоздей упорные брусья длиной 20 м. Упорные брусья по шаблону монтируют из отдельных прямоугольных тонкостенных металлических труб или деревянных брусьев длиной 4 м и высотой равной проектной толщине слоя. Ширину укладываемой полосы назначают кратной ширине дороги (улицы). В городских условиях ограничиваются установкой упорного бруса только с одной стороны укладываемой полосы, так как упором с другой служит бортовой камень или ровная кромка смежной полосы. На загородных автомагистралях при устройстве первой полосы покрытия упорные брусья монтируют с обеих сторон на ширину распределения смеси асфальтоукладчиком. При использовании асфальтоукладчиков на рельсовом ходу упорные брусья не устанавливают, так как рельсы предотвращают оплывание кромок.

5.12. При капитальном ремонте без использования асфальтофрезерной машины необходимо выполнить следующие подготовительные работы:

установить на проезжей части дорожные знаки и ограждения;

провести текущий ремонт старого покрытия;

проверить (с помощью геодезических инструментов) ровность старого покрытия, продольные и поперечные уклоны, ширину проезжей части улицы (дороги) и состояние люков колодцев подземных сооружений;

переставить бортовой камень на проектную отметку;

очистить старое покрытие от пыли и грязи, просушить и обработать его битумной эмульсией или горячим битумом, не допуская скопления этих органических вяжущих в пониженных местах;

произвести с помощью асфальтоукладчика выравнивание поверхности старого покрытия асфальтобетонной смесью - крупнозернистой при толщине слоя более 60 мм и мелкозернистой при меньших толщинах. При этом не допускается выравнивать профиль укладкой слоя переменной толщины. Если на поверхности старого покрытия имеются значительные неровности, они должны быть устранены до укладки нового слоя;

установить люки колодцев на проектную отметку, используя металлические вкладыши или железобетонные сегменты. При установке водоприемной решетки следует учитывать следующее: края решетки должны быть ниже проектной отметки лотка с верховой стороны на 30 мм, а с низовой - на 20 мм; подход к решетке с верховой стороны должен иметь увеличение уклона на 2 - 3 м, а с низовой на 0,5 м;

доставить и порциями, по длине захватки заготовить черный щебень;

установить по шаблону и при помощи гвоздей прикрепить к нижнему слою упорный брус (при укладке литой смеси I типа);

наладить работу электронной следящей системы (при ее наличии) для работы асфальтоукладчика в автоматическом режиме обеспечения заданной ровности и толщины слоя.

5.13. При подготовке фронта работ с использованием асфальтофрезерной машины придерживаются следующих основных правил:

фрезерование старого покрытия выполняют по направлению движения потока. При ширине фрезерования больше ширины фрезерного барабана фрезеруют смежную полосу после возвращения фрезы задним ходом к началу фрезеруемого участка;

глубину фрезерования устанавливают с учетом технических возможностей фрезы, соблюдая требуемые проектом отметки поперечного и продольного профиля, а также уклоны дороги;

скорость фрезерования устанавливают в зависимости от температуры воздуха, толщины снимаемого слоя и типа асфальтобетона старого покрытия. Чем ниже температура, толще снимаемый слой и выше содержание щебня в асфальтобетонном покрытии, тем ниже скорость фрезерования, например при 20 °С покрытие слоек до 50 мм из песчаного асфальтобетона типа "Г" фрезеруют со скоростью 3 - 5 м/мин, а из мелкозернистого асфальтобетона типа "Б" на щебне из труднополируемых горных пород - со скоростью 1-3 м/мин;

закругленную кромку входа и выхода фрезерного барабана из покрытия обрубают вертикально. Эту операцию, в целях обеспечения безопасности движения транспорта (при не полностью снятом движении) выполняют непосредственно перед укладкой смеси.

Одновременно, или сразу после удаления старого покрытия, исправляют бортовой камень.

Люки подземных коммуникаций устанавливают на проектную отметку непосредственно перед укладкой верхнего (нижнего) слоя покрытия.

Категорически запрещается оставлять отремонтированные люки без устройства покрытия вокруг них.

5.14. Подготовительные работы перед устройством покрытия тротуара, стяжек и полов из литой смеси IV типа в основном сводятся к очистке и просушке поверхности нижележащего слоя, а в ряде случаев и к обработке его органическими вяжущими.

5.15. Подготовительные работы при текущем ремонте дорожных покрытий литой смесью V типа выполняют в следующей очередности.

В удобном (не мешающем движению транспорта и пешеходов) месте устанавливают передвижной фургон (бытовое помещение). Далее, расставляют дорожные знаки и ограждения, навешивают светильники или фонари, производят очистку ремонтируемого места от пыли и грязи механическими щетками и сжатым воздухом. Контуры выбоины размечают с помощью натертого мелом шнура прямыми линиями, параллельными и перпендикулярными оси дороги с захватом неповрежденной части покрытия на ширину 20 - 40 мм. Несколько небольших выбоин, находящихся рядом, объединяют в одну общую карту. Поврежденный участок обрубают по намеченному контуру отбойными молотками, или фрезеруют асфальтофрезерной машиной на глубину 40 - 50 мм и убирают материал старого покрытия. При отрицательной температуре (до -10 °С) поврежденное место вырубают площадью не более 1 м2, тщательно очищают от льда, снега, пескосоляного наноса и просушивают горячим песком, который затем убирают. Поверхность вырубленного участка обрабатывают тонким слоем горячего битума из расчета 0,6 - 0,7 л/м2 примерно за час до укладки литой смеси. В теплое время года, включая весну и осень, поверхность поврежденного участка битумом не обрабатывают. Перед ремонтом участков большой площади (от 3 до 25 м2) на объект доставляют черный щебень и небольшими порциями выгружают в непосредственной близости от ремонтной карты. К основанию широких карт (шириной более 2 метров) прикрепляют упорные деревянные брусья или металлические трубы прямоугольного сечения, высотой равной толщине укладываемого слоя, которые после заливки полосы снимают и переставляют для заливки следующей полосы.

5.16. В табл. 12 указаны подготовительные работы, которые необходимо выполнить перед проведением основных работ с использованием разных типов литой смеси.

Таблица 12.

ПОДГОТОВИТЕЛЬНЫЕ РАБОТЫ

Наименование подготовительных работ

Характер, назначение основных работ

Новое строительство

Капитальный ремонт

Текущий ремонт

Тип литой асфальтобетонной смеси

I

II

III

I

II

V

Установка дорожных знаков и ограждений

+

+

+

+

+

+

Ямочный ремонт

-

-

-

+

+

-

Фрезерование старого слоя

 

 

 

+

+

+

Выравнивание нижележащего слоя асфальтобетонной смесью

+

+

+

+

+

+

Перестановка бортового камня люков колодцев и решеток на новую отметку

 

 

 

+

+

+

Очистка и просушка поверхности нижележащего слоя

+

+

+

+

+

+

Обработка поверхности, края смежной полосы, люков колодцев, трамвайных путей, рельсов и др. элементов дороги органическим вяжущим с расходом 0,2 - 0,5 л/м2 при температуре воздуха:

 

 

 

 

 

 

выше + 10°С

-

+

-

-

+

-

от +5 до + 10°С

+

+

-

+

+

-

ниже + 5°С

 

 

 

 

 

+

Геодезическая разбивка с установкой контрольных маяков на технологическом слое, основании или вынос отметок на бортовой камень

+

+

+

+

+

-

Проверка высотных отметок крышек колодцев на соответствие проектным и исправление их при необходимости

+

+

-

+

+

+

Монтаж упорных брусьев или опалубки

+

-

-

+

-

(+)

Доставка и выгрузка по длине сменной захватки порций черного щебня для втапливания

+

+

-

+

+

(+)

Примечание: знак "+" означает всегда требуется;

знак "-" не требуется,

знак "(+)" требуется при определенных условиях

Укладка литой асфальтобетонной смеси и отделка поверхности покрытия

5.17. Устройство покрытия из литой смеси I типа на загородных автомагистралях ведут с помощью комплекта спецоборудования, передвигающегося по рельсам или на гусеницах (рис. 5).

В составе оборудования - агрегат для распределения смеси и агрегат для распределения и втапливания черного щебня. Оба агрегата связаны между собой жесткой сцепкой.

Агрегат для распределения смеси имеет обогреваемые отвал с перемещающейся вдоль него лопастью и выглаживающую плиту.

Агрегат для распределения и втапливания черного щебня оборудован: ленточным конвейером для подачи щебня из придорожного штабеля или из кузова автомобиля в расходные бункеры, щебнераспределителем с рифлеными вальцами, расположенными в шахматном порядке.

Рис. 5 Строительство покрытия из литой асфальтобетонной смеси I типа на загородной автомобильной дороге

а) комплект асфальтоукладочного оборудования на колесно-рельсовом ходу GADF - I.

б) рабочий орган асфальтоукладчика для распределения литой смеси на ширину 7,5 м.

Технологический процесс состоит из следующих операций:

прием и размещение термосов-миксеров по ширине укладываемой полосы;

выгрузка литой смеси из термосов-миксеров на основание;

распределение смеси;

отделка поверхности выглаживающей плитой;

распределение черного щебня щебнераспределителем с одновременным втапливанием черного щебня рифлеными вальцами.

Прием машин со смесью и процесс распределения ведут непрерывно.

Укладку завершают установкой упорного бруса в поперечном направлении. В следующую смену упорный брус снимают, выглаживающую плиту устанавливают на поперечную кромку покрытия, прогревают и укладку продолжают.

5.18. В городе литую смесь I типа укладывают специальным колесным асфальтоукладчиком (рис. 6). Асфальтоукладчик имеет закрытый приемный бункер, рассчитанный на единовременный прием 3,5 тонн литой смеси и подачу ее двумя обогреваемыми винтовыми конвейерами в распределительный отсек переменной ширины (2,5 - 5,0 м). Распределительный отсек представляет собой закрытую по периметру емкость, сблокированную с выглаживающей плитой. В емкости, расположен вал с лопастями, при вращении которого смесь перемешивается и продвигается от середины в обе стороны на ширину укладываемой полосы. Емкость и выглаживающая плита - обогреваемые.

Для установки асфальтоукладчика в исходное положение поднимают распределительный отсек и подают асфальтоукладчик задним ходом к началу укладываемой полосы, на которой в поперечном и продольном направлениях заблаговременно устанавливают упорные брусья. С приближением укладчика к поперечному упорному брусу его движение замедляют. Выглаживающую плиту (ее переднюю кромку) совмещают с упорным брусом и осторожно опускают на него. При этом, боковые стенки (щеки) распределительного отсека должны быть также поставлены на упорные брусья, расположенные в продольном направлении.

Машинист асфальтоукладчика включает приборы разогрева труб винтового конвейера приемного бункера, распределительного отсека и выглаживающей плиты.

Рис. 6. Асфальтоукладчик СУПЕР-1502 GAF для распределения литой смеси I типа

а) обогреваемый приемный бункер с винтовыми конвейерами,

б) распределительный отсек с транспортирующими лопатками

После нагрева рабочих органов машинист объявляет готовность сигнальщику, который в свою очередь руководит действиями водителя термоса-миксера. Водитель задним ходом подает термос-миксер к асфальтоукладчику до тех пор, пока его задние колеса не коснутся направляющих роликов асфальтоукладчика, снимает машину со скорости и оставляет ее в расторможенном состоянии, управляя машиной. Рабочие - асфальтобетонщики, обслуживающие асфальтоукладчик открывают крышки его приемного бункера, и заслонку термоса-миксера. Литая смесь начинает поступать в приемный бункер укладчика. Одновременно машинист включает винтовые конвейеры приемного бункера и вал с лопастями расположенный в емкости распределительного отсека. После наполнения емкости литой смесью при непрерывном ее перемешивании лопастями машинист укладчика включает минимальную скорость и начинает укладку. В дальнейшем литая смесь из термосов-миксеров принимается на ходу без остановки асфальтоукладчика. Скорость укладки регулируют в зависимости от объема поступающей смеси и толщины слоя. При этом машинист укладчика должен постоянно следить за уровнем смеси в емкости распределительного отсека, не допуская его снижения ниже уровня вала. 3 противном случае, произойдет утоньшение слоя, частичный или полный его разрыв.

С учетом усадки асфальтобетона при его охлаждении слой укладывают толще проектного на 8 - 10%.

При наличии бордюра боковая стенка емкости распределительного отсека должна находиться на расстоянии не менее 50 мм от него. В образовавшееся пространство смесь добавляют вручную, а затем, распределяют и заглаживают ручным инструментом

Движение асфальтоукладчика над выступающими крышками колодцев и водоприемными решетками, должно проходить на минимальной скорости. При этом решетки, во избежание засорения колодца смесью, заблаговременно закрывают металлическим листом или фанерой.

При укладке литой смеси I типа двумя и более асфальтоукладчиками опережение одного укладчика другим не должно превышать 20 м. Новую полосу укладывают вплотную к уложенной, без ее перекрытия.

В целях обеспечения прочного сцепления граней смежных полос при температуре воздуха от +5 до +10 °С длину укладываемой полосы ограничивают 50 метрами. При этом заканчивать укладку последней полосы необходимо вровень с ранее устроенными, чтобы обеспечить прямолинейный поперечный шов.

Поверхность покрытия должна быть ровной, однородной, без разрывов и раковин. При появлении дефектов во время укладки они должны быть немедленно устранены вручную горячей смесью, утрамбованы и затерты вровень с покрытием.

По окончании рабочей смены или при вынужденных перерывах необходимо полностью освободить и очистить асфальтоукладчик от смеси путем выдвижения его вперед до полной выработки смеси из приемного бункера транспортных коммуникаций и распределительного отсека. Слой при этом клинообразно утоньшается, а полоса укладки сужается. Пока смесь еще не затвердела, в месте утоньшения слоя его по рейке ровно обрезают и вплотную к нему крепят упорный брус (рис. 7).

Рис. 7. Схема установки бруса по окончании работ

5.19. В процессе укладки литой смеси I типа по горячей поверхности покрытия распределяют черный щебень фракции 5-10(15) мм (ТУ 400-24-163-89* "Щебень черный горячий. Технические условия") в количестве 6-8 кг/м2. На городских дорогах и улицах черный щебень распределяют равномерным слоем в одну щебенку вручную рассевом или с использованием соответствующего оборудования. Если момент распределения выбран правильно щебень под действием кинетической энергии и гравитации самопроизвольно проникает в покрытие. Для прочного закрепления распределенного щебня допускается втапливание его одним-двумя проходами легкого катка массой до 1,5 тонн после остывания покрытия до температуры 50°С. Перед открытием движения невтопившийся щебень с проезжей части сметают и собирают для повторного использования.

В зависимости от температуры воздуха движение автомобильного транспорта открывают через 1-3 часа после завершения работ.

5.20. Литые асфальтобетонные смеси II и III типов укладывают обычными асфальтоукладчиками (рис. 8), оснащенными вибротрамбующим брусом, обогреваемой выглаживающей плитой и приемным бункером, позволяющим принимать смесь из автомобилей-самосвалов или термосов-миксеров большой грузоподъемности (более 10 тонн). Верхний слой лучше укладывать колесными укладчиками, а нижний слой и слой основания - гусеничными укладчиками, обеспечивающим повышенную ровность.

Рис. 8. Укладка литой асфальтобетонной смеси II типа асфальтоукладчиком Супер-1800 при строительстве дорожного покрытия на городской автомагистрале

При укладке придерживаются следующих правил:

смеси распределяют на всю ширину проезжей части или используют асфальтоукладчик с шириной распределительного отсека кратной ширине проезжей части, чтобы свести к минимуму число продольных сопряжений полос;

вибротрамбующий брус и выдвигающиеся органы асфальтоукладчика регулируют на максимальный уплотняющий эффект и на обеспечение однородной и ровной поверхности покрытия;

рабочую скорость асфальтукладчика выбирают с учетом температуры воздуха, температуры смеси, толщины слоя и количества смеси, находящейся в транспортных средствах на объекте. В холодную и ветреную погоду (до +5°С) укладку смеси с температурой на нижнем пределе 190°С, ведут слоем не менее 4 см со скоростью не более 1 м/мин. Количество автосамосвалов (термосов-миксеров) со смесью, стоящих в очереди на выгрузку должно быть не менее 3-5 единиц;

прием и укладку смеси ведут безостановочно, загружая приемный бункер асфальтоукладчика на ходу;

распределительный отсек укладчика следует равномерно заполнять смесью, чтобы перед фронтом вибротрамбующего бруса был постоянный объем смеси;

толщину укладываемого слоя в неуплотненном состоянии принимают на 10 - 12% больше проектного;

длину полосы, укладываемой одним укладчиком, устанавливают с. учетом погодных условий и температуры покрытия смежной полосы (табл. 13);

Таблица 13.

ДЛИНЫ ПОЛОС УКЛАДКИ ЛИТОЙ СМЕСИ II И III ТИПОВ

Температура воздуха, С

Длина укладываемой полосы, м

на защищенных от ветра участках

на открытых участках

5-10

40-60

25-30

10-15

60-80

30-50

15-20

80-100

50-70

20-25

100-150

70-80

выше 25

150-170

80-100

слой основания из смеси III типа следует устраивать на всю толщину. При необходимости многослойной укладки все слои основания устраивают в течение одной смены. Каждый последующий слой укладывают только после остывания предыдущего до температуры 20 °С;

при укладке смежной полосы сразу или после перерыва в работе, вибротрамбующий брус устанавливают на край ранее устроенной полосы с ее перекрытием на 50 - 100 мм. После остывания смеси до +60 - 70°С место стыковки полос (спайки) прикатывают легким катком;

при укладке смеси двумя и более укладчиками, опережение одного другим не должно превышать 2 0 м. Вперед выдвигают укладчик, распределяющий смесь непосредственно у обочины или бортового камня;

при движении укладчика у бортового камня боковую стенку распределительного отсека располагают в непосредственной близости от него;

движение укладчика над выступающими крышками колодцев и водоприемными решетками, после их подъема на проектную отметку, следует выполнять на минимальной скорости с отключенным вибротрамбующим брусом. Решетки, во избежание просыпания в них смеси, должны быть закрыты листом металла или фанеры;

заделку дефектных мест производят вручную одновременно с укладкой смеси.

5.21. Укладку смеси начинают с установки асфальтоукладчика в исходное положение. С этой целью асфальтоукладчик задним ходом подают к началу укладываемой полосы. Вибротрамбующий брус устанавливают на край ранее устроенного покрытия, или на деревянный брус высотой, равной толщине верхнего слоя покрытия и включают форсунки для разогрева выглаживающей плиты. После готовности укладчика к приему смеси рабочий-сигнальщик подает команду водителю транспортного средства двигаться задним ходом к укладчику. Водитель на минимальной скорости направляет движение автомобиля к приемному бункеру, пока задние колеса не коснутся направляющих роликов асфальтоукладчика, останавливает машину, снимает со скорости, затормаживает, включает гидронасос и начинает постепенный подъем кузова, при необходимости фиксируя его под углом, достаточным для выгрузки в приемный бункер первой порции смеси. Машинист укладчика включает питатели и начинает прием смеси. По мере выработки смеси из приемного бункера ее добавляют из кузова автомобиля-самосвала. После равномерного заполнения распределительного отсека смесью, машинист включает минимальную рабочую скорость и начинает укладку. Далее, согласованными действиями водителя автомобиля-самосвала, машиниста асфальтоукладчика и рабочего-сигнальщика достигают неснижаемого уровня смеси перед фронтом вибротрамбующего бруса. Прием смеси из следующего автомобиля-самосвала ведут на ходу, затормаживая машину за 0,5 м от асфальтоукладчика до тех пор, пока последний не начнет толкать машину перед собой.

В тех случаях, когда литую смесь II и III типов доставляют в термосе-миксере, скорость укладки регулируют размерами выпускного отверстия, изменяя положение его заслонки. Процесс выгрузки, распределения и виброуплотнения смеси указанных типов ведут строго непрерывно. Незначительные сбои в поставке смеси, а также неисправность асфальтоукладчика приводят к тому, что оставшаяся в приемном бункере остывшая смесь, при возобновлении процесса, начинает рвать укладываемый слой. Поэтому важно, при организации строительства таких покрытий провести профилактику асфальтосмесительной установки, транспортных средств, асфальтоукладчика, определить потребность в смеси, вид и количество транспортных средств для ее доставки, увязать между собой производительности машин, участвующих в процессе.

Процесс устройства покрытия из литой смеси II типа завершают операцией распределения и втапливания черного щебня. Его расход составляет 5-6 кг/м2. Щебень распределяют в одну щебенку, которую после остывания покрытия до 50 °С втапливают легким катком. Невтопившийся щебень сметают с поверхности.

5.22. Литую смесь IV типа (песчаную) укладывают в основном вручную на тротуарах, в отмостки, полы и стяжки. Смесь выгружают из автомобиля-самосвала в удобном месте небольшими порциями. К месту укладки ее подносят лопатами, на носилках или подвозят в тачках и выгружают грядкой вдоль ранее уложенного слоя. Литой мастер встав на колено, разглаживает смесь деревянным шпателем (см. рис. 4). Для облегчения процесса шпатель должен быть все время теплым. Во время разглаживания смеси мастер одной рукой держит шпатель за рукоятку, а другой нажимает на него, чем достигается достаточная степень уплотнения слоя и прочная связь его с основанием. Смесь к месту укладки подают непрерывно, так чтобы новая полоса, укладывалась рядом с еще неостывшей прежней. Разравнивание производится одним или несколькими мастерами с таким расчетом, чтобы на каждого приходилась полоса не более 2-3 м шириной. По мере остывания смеси поверхность покрытия посыпают крупнозернистым песком и затирают райбовкой. При устройстве покрытия на тротуаре вручную, место разгрузки смеси выбирают с таким расчетом, чтобы ее можно было удобно подносить лопатами к месту укладки. Смесь разгружают с лопаты так, чтобы она не расслаивалась. Выгруженную смесь или ее остатки нельзя разравнивать на месте разгрузки, т.к. условия уплотнения покрытия в этом месте будут отличаться от условий уплотнения на соседнем участке. Смесь распределяют слоем толщиной в 1,25-1,30 раза больше проектного. В перерывах в конце полосы устанавливают деревянный упорный брус, толщиной равной толщине укладываемого слоя.

На тротуарах и отмостках, размеры которых позволяют укладывать смесь асфальтоукладчиком, придерживаются традиционных правил укладки. Уплотнение, в этом случае, производят легким катком (массой до 1,5 т) за 8-10 проходов по одному следу.

5.23. Литую смесь V типа укладывают при помощи термоса-миксера, которым ее доставляют к месту производства ремонтных работ.

Прием машины на объекте работ осуществляет специально выделенный опытный рабочий-сигнальщик с красной повязкой, который обязан проверить наличие паспорта на поступившую смесь, удостоверяющего ее качество, температуру и количество.

5.24. При проведении работ необходимо соблюдать следующие правила:

литая смесь должна иметь температуру не ниже 200°С, а укладываемый слой - толщину не менее 40 мм. При заливке глубоких выбоин (глубиной до 150 мм) и площадью менее 1 м2 допускается укладка смеси на всю глубину в один прием. При отрицательней температуре воздуха (до -10 °С) литая смесь должна иметь температуру не ниже 220°С и ее укладку нужно производить в безветренную погоду или при слабом ветре;

5.25. Ремонт широких карт (шириной более двух метров) ведут полосами. С этой целью в продольном направлении устанавливают упорные деревянные или полые металлические брусья, которые после заливки полосы снимают и переставляют для заливки следующей полосы. Высота брусьев должна соответствовать толщине укладываемого слоя.

Если при укладке смеси в большие карты процесс прерывается на время, большее периода остывания смеси, то заканчивать ремонт карты следует установкой упорного бруса в поперечном направлении. Поперечные сопряжения полос должны быть перпендикулярны оси дороги.

При образовании на покрытии дефектов, особенно в местах примыкания к краям карт, их исправляют с помощью утюга и ручной трамбовки .

5.26. Процесс укладки протекает следующим образом. Термос-миксер (рис. 9) по огороженной транспортной полосе перемещается по ходу движения и занимает положение над подготовленной картой. Рабочий-оператор при помощи штурвала открывает заслонку термоса-миксера и смесь по лотку сливается в ремонтируемую карту. Открывая или закрывая заслонку, рабочий-оператор регулирует подачу смеси в карту.

Другой рабочий, поворачивая лоток, производит распределение смеси по карте, до тех пор, пока уровень покрытия карты не будет превышать уровень старого покрытия на 3 - 5 мм. Далее термос-миксер переезжает к другой карте. Для получения на отремонтированной карте ровной поверхности, на одном уровне с существующим покрытием, разравнивание литой смеси и планировка поверхности ведутся при помощи разравнивателя, деревянной или металлической гладилки (см. рис. 4). После выработки основного количества смеси из термоса-миксера, водитель включает гидроподъемник. Термос-миксер наклоняется на угол до 15-20° и остатки литой смеси выгружаются в карту. После опорожнения термоса-миксера рабочий-оператор, оставляя его в наклонном положении, отключает мешалку и специальным скребкой через открытое выпускное отверстие тщательно зачищает дно термоса-миксера и поворотный лоток.

5.27. Укладку смеси на участках с продольным уклоном более 30‰ ведут в карты площадью до 3 м2. Для того чтобы обеспечить тщательное распределение смеси по карте и избежать ее вытекание за пределы ремонтируемой карты смесь распределяют сверху вниз и малыми порциями. С целью снижения подвижности смеси на уклонах производят также втапливание черного щебня из расчета 16-20 кг/м2.

Рис. 9. Ремонт дорожного покрытия литой смесью при помощи термоса-миксера ОРД-1023

5.28. При производстве работ навстречу движения транспорта необходимо принимать дополнительные меры для обеспечения безопасности как работ, так и движения транспорта. Термос-миксер должен работать с зажженными фарами и мигалкой, а впереди, не менее, чем за 10 м от машины - установлен предупредительный знак и место работ ограждено. Распределение и втапливание черного щебня в покрытие производят на картах площадью более 3 м2 сразу после укладки литой смеси. С этой целью специально обученный дорожный рабочий совковой лопатой разбрасывает рассевом в одну щебенку черный щебень из расчета 6-8 кг/м2. Под собственной массой щебень втапливается в покрытие и закрепляется в нем. Невтопившийся щебень после остывания покрытия сметают подметально-уборочной машиной и собирают в ковш погрузчика или в автомобиль-самосвал для повторного использования.

Для ускорения ввода в эксплуатацию отремонтированной площади рекомендуется производить искусственное орошение поверхности холодной водой, используя для этой цели поливомоечную машину.

По окончании работ технические средства организации движения снимают и открывают движение автомобильного транспорта. Открытие движения транспорта по неостывшему покрытию категорически запрещается.

Бригада по ремонту покрытия должна состоять из обученных и опытных рабочих, сработавшихся друг с другом. Бригада должна быть оснащена комплектом инструментов, позволяющим осуществлять все работы от подготовительных до отделки поверхности покрытия и вести контроль за соблюдением проектных отметок. В состав бригады целесообразно включить водителей термосов-миксеров, а также машинистов вспомогательных машин и механизмов, которые в начале смены готовят свои машины к работе (устраняют мелкие неисправности, заправляют машины, производят их регулировку), в процессе работы управляют машинами, а в конце смены очищают машины и сообщают о замеченных неисправностях дежурному механику.

В процессе производства работ прораб (мастер) должен вести журнал укладки литой асфальтобетонной смеси по форме, представленной в Приложении 7. Ведение такого журнала способствует повышению качества и облегчает контроль и приемку работ, а также помогает выявить причины последующих дефектов покрытия.

5.31. Организация ремонтных работ как в дневное, так и в темное время суток должна быть построена таким образом, чтобы после их окончания подготовленные к ремонту карты не оставались незаполненными.

В целях снижения шума при подготовке ремонтных карт в ночное время в жилых кварталах города пневмоинструмент и асфальтофрезерные машины следует заменить разогревателями асфальтобетона. Образующаяся при этом горячая смесь может быть использована для выравнивания подстилающего слоя или заделки глубоких выбоин.

Стоимость ремонта в темное время суток оговаривается с заказчиком отдельно с учетом особенностей условий производства работ, отличающихся от обычных большими трудоемкостью работ, энергозатратами, меньшими производительностью, уровнем безопасности труда и т.п.

5.33. Организация работ на городских эстакадах, мостах, путепроводах и в тоннелях должна учитывать специфику эксплуатации этих инженерных сооружений и особенности движения транспорта по ним. Необходимо на подходах к этим сооружениям дополнительно выставить соответствующие предупредительные знаки, посты сигнальщиков через 30-40 м, а сами работы - вести оперативно и строго по огороженной транспортной полосе.

Освещенность места работ в тоннеле должна превышать освещенность дороги перед въездом в него. Минимально допустимая освещенность - 15 лк.

Ремонт начинают с крайней правой транспортной полосы, ведут его непрерывно до конца поврежденного участка и только затем переходят к ремонту следующей транспортной полосы.

6. ТЕХНИЧЕСКИЙ КОНТРОЛЬ ПРИ СТРОИТЕЛЬСТВЕ ДОРОЖНЫХ ПОКРЫТИЙ ИЗ ЛИТЫХ АСФАЛЬТОБЕТОННЫХ СМЕСЕЙ.

Технический контроль при строительстве дорожных покрытий из литых асфальтобетонных смесей проводят на всех стадиях технологического процесса: приготовление смеси на заводе; транспортировка; производство работ на объекте; приемка готового покрытия.

6.1. В процессе приготовления литых асфальтобетонных смесей на заводе контролируют: качество материалов, точность дозирования минеральных материалов и битума, температурный режим приготовления битума и минеральной смеси, продолжительность перемешивания минеральных материалов с битумом, температуру готовой смеси, соответствие состава заданной рецептуре и свойств требованиям таблицы 2 настоящего "Руководства".

6.2. Качество материалов, используемых для приготовления литых асфальтобетонных смесей, проверяют методами, установленными соответствующими стандартами.

ГОСТ 11501-78, ГОСТ 11512-78 - для битумов;

ГОСТ 8269-87 - для щебня и гравия;

ГОСТ 8735-88 - для песка;

ГОСТ 12784-78 - для минерального порошка.

При изменении свойств исходных материалов состав литой смеси корректируют.

6.3. Методы испытаний литых асфальтобетонных смесей, за исключением метода определения подвижности и глубины вдавливания штампа, аналогичны методам испытаний асфальтобетонных смесей, изложенных в ГОСТ 12801-84, ВСН 14-95 и ТУ 400-24-107-91 (определение модуля упругости и предела прочности на растяжение при изгибе при температуре 0°С).

6.4. Контроль качества литых смесей осуществляют путем проверки соответствия показателей физико-механических свойств каждой партии готовой продукции требованиям настоящего "Руководства". Партией является количество смеси одного состава, равное 2-х сменной выработке одной смесительной установки, изготовляемое из одних и тех же материалов и по одной и той же технологии. Контрольные испытания проводит лаборатория предприятия изготовителя или лаборатории, имеющие лицензию на проведение этих работ. Образцы для испытаний изготавливают для различных типов литой смеси в соответствии с разделом 2 настоящего Руководства. Если показатели физико-механических свойств литой смеси систематически отличаются от показателей, полученных при подборе рецептуры, проверяют свойства всех материалов, состав смеси, параметры технологического процесса ее приготовления.

Порядок проведения производственного контроля приведен в таблице 14.

Таблица 14

КОНТРОЛЬ ПРОЦЕССА ПРИГОТОВЛЕНИЯ СМЕСИ

номенклатура контроля

Этапы контроля

Входной

операционный

приемочный

Контролируемые показатели*

1) влажность исходных минеральных материалов

2) плотность минеральных материалов и битума

3) другие испытания, требуемые соответствующими ГОСТами

4) Стабильность качества

5) правильность дозировки материалов

6)соответствие температуры нагрева компонентов заданной

7) соответствие температуры перемешивания заданной

8) соответствие времени "сухого" и "мокрого" перемешивания

9) точность работы дозирующих устройств**

10) температура смеси в транспортном средстве

11) подвижность смеси при 200° С

12) глубина вдавливания штампа при 40°С

13) водонасыщение***

14) пористость минерального остова***

15) однородность структуры и стабильность свойств, по отдельным показателям

Средства контроля

1-4) отбор проб, лабораторные приборы, статистическая обработка

5-8) визуально, по показаниям контрольно-измерительных устройств, выведенным на пульт управления или на печать

9) лабораторные приборы

10) термометр

11-14) лабораторные приборы

15) статистическая обработка

Режим и объем контроля

1) при изменении погодных условий

5-8) постоянно во время работы установки

10) в каждом транспортном средстве

 

3, 2)при поступлении материала на завод

4) 1 раз в квартал

9) 1 раз в год

11-13) ежедневно

14) еженедельно и при изменении состава или условий выпуска

15) 1 раз в квартал

Лица, контролирующие операцию

1-4) мастер, лаборант

5-9) оператор установки, мастер

10-15) мастер, лаборант

Место регистрации результатов

лабораторный журнал

распечатки режима работы установки****

накладная, лабораторный журнал

* Перед квадратной скобкой приведены номера контролируемых показателей;

** Показатели определяют в соответствии с требованиями ГОСТ 12801

*** Показатель определяется после капитального ремонта смесительной установки по результатам экстрагирования битума из готовой асфальтобетонной смеси и рассева минеральных материалов.

**** Для смесительных установок, со специальным оборудованием.

6.5. Кроме того, при наличии навыка, можно предварительно оценивать литую смесь по внешним признакам: однородности, цвету, равномерности распределения битума, удобообрабатываемости при укладке.

6.6. При устройстве (ремонте) покрытия проверяют:

качество восстановления разрытий, правильность установки бортовых камней, решеток и крышек люков колодцев подземных сетей;

ровность плотность и чистоту основания покрытия или карты, при использовании упорных брусьев правильность их установки перед началом и в процессе работы;

температуру литой смеси в каждом прибывающем на место укладки автомобиле и на всех стадиях устройства покрытия;

ровность и толщину устраиваемого слоя;

тщательность устройства сопряжений;

равномерность распределения черного щебня.

Кроме того контролируют технологические операции, указанные в табл. 15 и 16.

6.7. Возможные последствия нарушения технологии укладки литой смеси при строительстве и ремонте дорожных покрытий указаны в табл. 17 и 18.

6.8. При контроле качества уложенного покрытия проверяют: толщину слоя и прочность сцепления его с нижележащим; соответствие показателей свойств смесей технических требованиям; ровность и поперечные уклоны покрытия; параметры шероховатости покрытия коэффициент сцепления колеса с покрытием.

6.9. Контроль ровности поверхности покрытия при новом строительстве и капитальном ремонте дороги осуществляют путем регистрации просветов под трехметровой металлической рейкой, которые составляют: для магистральных улиц общегородского значения не более 5 мм, районного значения не более 7 мм, местного значения не более 15 мм.

Ровность в продольном и поперечном направлении проверяют через 30-50 м. Замеры производят параллельно оси дороги на расстоянии 1-1,5 м от бортового камня.

При текущем ремонте покрытий ровность ремонтной карты площадью менее 3-х кв. м оценивают визуально.

Таблица 15.

ОПЕРАЦИОННЫЙ КОНТРОЛЬ ПРИ СТРОИТЕЛЬСТВЕ ДОРОЖНОГО ПОКРЫТИЯ

Технологическая операция

Параметр контроля

Норма для смеси типа

Способ контроля

I

II

III

Транспортирование смеси

Продолжительность, мин

 

 

 

 

в термосе-миксере

не менее

20 *)

 

 

 

в автосамосвале

не более

 

40

40

По часам

Выгрузка и укладка смеси в покрытие

Минимальная температура воздуха при укладке, °С, не ниже

5

10

10

Термометр

 

Минимальная температура смеси при укладке, °С, не менее

220

190

180

Термометр

 

Время выгрузки смеси из автосамосвала, мин. не более

 

6

6

По часам

 

Толщина укладываемого слоя, см, не менее

3

4

6

Мерной линейкой

 

Ровность мест сопряжений с ранее построенным покрытием

 

 

 

Визуально

Заделка дефектных мест

Ровность и однородность исправленных мест

Поверхность исправленных мест должна быть ровной и однородной - на одном уровне с устраиваемым покрытием

Визуально

Распределение горячего черного щебня

Температура черного щебня °С, не менее

120

80

-

Термометр

 

Фракция щебня, мм

5-10

Набором сит

 

Расход щебня, не менее, кг/кв. м

8

5

 

Мерным сосудом

 

Равномерность распредел.

 

 

 

Визуально

Прикатка черного щебня

Температура покрытия, °С, не менее

50

Термометр

 

Глубина втапливания, доля толщины слоя

зерна щебня должны быть равномерно распределены поп поверхности и втоплены на

Визуально

 

 

2/3 D

D

-

-

*) Время, готовности смеси для укладки.

Таблица 16.

ОПЕРАЦИОННЫЙ КОНТРОЛЬ ПРИ ТЕКУЩЕМ РЕМОНТЕ ДОРОЖНЫХ ПОКРЫТИЙ

Технологические операции

Объект контроля

Показатели по норме

Способ контроля

Установка технических средств организации движения

Безопасность условий производства работ

Соответствие типовой схеме

Визуально

Разметка мест ремонта

Контуры карт

Контур карты должен быть очерчен прямыми линиями, параллельными и перпендикулярными оси дороги с захватом неповрежденного покрытия 2-4 см

Визуально

Вырубка или фрезерование покрытия по намеченному контуру с очисткой от скола и мусора и погрузки в автосамосвал

Глубина вырубки или фрезерования, отвесность стенок, тщательность очистки

На всю глубину выбоины, но не менее толщины верхнего слоя

Визуально

обработка основания и краев вырубки горячим битумом или эмульсией (в осеннe-весений период)

Расход битума или эмульсии, равномерность распределения, температура битума

0,5-0,6 л/м2 температура 70-80 °С

Мерным сосудом, визуально, термометром

Прием черного щебня и его складирование

Температура и однородность, объем штабеля

Не ниже 100°С; зерна щебня должны быть равномерно покрыты битумом; объем штабеля должен соответствовать расходуемому количеству

Термометром, визуально, визуально

Прием литой смеси

Наличие паспорта и соответствие указанного в нем качества смеси требованиям технологического регламента; температура смеси и ее количество

Температура смеси не ниже 200°С

Термометром, визуально

Укладка литого асфальта

Расход смеси при дозировке шиберной заслонкой

 

Визуально

 

термоса-миксера; толщина слоя; тщательность отделки мест сопряжения; ровность покрытия

Просвет должен быть не более 7 мм

3-х метровой рейкой

Втапливание черного щебня

Фракция щебня

5 - 10 мм

Набором сит

 

Расход щебня

6 - 8 кг на м2

 

 

Температура литой смеси в покрытии

Не ниже 180°С

Термометром

 

Глубина втапливания

Зерна щебня должны быть равномерно распределены по поверхности и втоплены в слой литого асфальта на 2/3 -3/4 диаметра зерна

Визуально

Каждую операцию контролирует мастер

Таблица 17

ПОСЛЕДСТВИЯ НАРУШЕНИЯ ТЕХНОЛОГИИ ПРОИЗВОДСТВА РАБОТ ПРИ СТРОИТЕЛЬСТВЕ (КАПИТАЛЬНОМ РЕМОНТЕ) ДОРОЖНЫХ ПОКРЫТИЙ

Последствия нарушениЙ технологии

Черный щебень неравномерно распределен по поверхности покрытия

16

Выглаживающая плита не реагирует на корректирующие воздействия

15

 

Волнистая поверхность покрытия - короткие волны (гребенка)

14

 

 

Продольные и поперечные следы от выглаживающей плиты

13

 

 

 

Неоднородность фактуры поверхности и текстуры слоя

12

 

 

 

 

Недостаточное уплотнение смеси трамбующим брусом

11

 

 

 

 

 

Волнистая поверхность покрытия - длинные волны

10

 

 

 

 

 

 

Черный щебень не приживается на покрытии

9

 

 

 

 

 

 

 

Смесь не поддается распределению шнеками

8

 

 

 

 

 

 

 

 

Низкое качество поперечной спайки

7

 

 

 

 

 

 

 

 

 

Низкое качество продольной спайки

6

 

 

 

 

 

 

 

 

 

 

Разрыв слоя на полную ширину

5

 

 

 

 

 

 

 

 

 

 

 

Следы от вальцев катка

4

 

 

 

 

 

 

 

 

 

 

 

 

Разрыв слоя по центру

3

 

 

 

 

 

 

 

 

 

 

 

 

 

Разрыв слоя по краям

2

 

 

 

 

 

 

 

 

 

 

 

 

 

 

Покрытие скользкое

1

 

 

 

 

 

 

 

 

 

 

 

 

 

 

 

 

 

 

 

 

 

 

 

 

 

 

 

 

 

 

 

 

Возможные нарушения технологии укладки

1

2

3

4

5

6

7

8

9

10

11

12

13

14

15

16

Перебои в подаче смеси в распределительный отсек

 

 

 

 

 

 

 

 

 

 

 

 

Переполнение распределительного отсека смесью

 

 

 

 

 

 

 

 

 

 

 

Завышенная скорость асфальтоукладчика

 

 

 

 

 

 

 

 

 

 

 

 

Излишняя выпуклость центра выглаживающей плиты

 

 

 

 

 

 

 

 

 

 

 

 

 

 

 

Недостаточная выпуклость центра выглаживающей плиты

 

 

 

 

 

 

 

 

 

 

 

 

 

 

 

Неисправность системы регулирования толщины слоя

 

 

 

 

 

 

 

 

 

 

 

 

 

 

 

Чрезмерный люфт механических сочленений выглаживающей плиты

 

 

 

 

 

 

 

 

 

 

 

Укладка смеси с поднятой плитой

 

 

 

 

 

 

 

 

 

 

Прилипание к выглаживающей плите посторонних предметов

 

 

 

 

 

 

 

 

 

 

 

 

Слабое крепление трамбующих планок плиты

 

 

 

 

 

 

 

 

 

 

 

Низкая температура выглаживающей плиты

 

 

 

 

 

 

 

 

 

 

 

Трамбующий брус при отключении не поднят

 

 

 

 

 

 

 

 

 

 

 

 

 

 

 

Неправильная установка затворов пластинчатого питателя

 

 

 

 

 

 

 

 

 

 

 

 

 

Износ или неправильная установка спорного ролика

 

 

 

 

 

 

 

 

 

 

 

 

 

 

 

Неправильная установка выглаживающей плиты

 

 

 

 

 

 

 

 

 

 

 

 

 

 

 

Слишком низкий пусковой момент вибратора

 

 

 

 

 

 

 

 

 

 

 

 

 

 

 

Неправильная установка уширителей плиты

 

 

 

 

 

 

 

 

 

 

 

 

 

Слабая работа вибратора

 

 

 

 

 

 

 

 

 

 

 

 

 

 

 

Неправильная установка следящей системы

 

 

 

 

 

 

 

 

 

 

 

Пантограф следящей системы подпрыгивал на эталоне

 

 

 

 

 

 

 

 

 

 

 

 

 

Уклон эталона не адекватен продольному уклону дороги

 

 

 

 

 

 

 

 

 

 

 

 

 

 

Возможные нарушения технологи укладки

1

2

3

4

5

6

7

8

9

10

11

12

13

14

15

16

Излишняя чувствительность следящей системы

 

 

 

 

 

 

 

 

 

 

 

 

 

Неправильное перекрытие продольного шва

 

 

 

 

 

 

 

 

 

 

 

 

 

 

 

Укладка смеси слишком тонким слоем

 

 

 

 

 

 

 

 

 

 

 

Удар машины по асфальтоукладчику при выгрузке смеси

 

 

 

 

 

 

 

 

 

 

 

 

 

 

Неотключение тормозов машины

 

 

 

 

 

 

 

 

 

 

 

 

 

 

Ненадлежащая подготовка основания

 

 

 

 

 

 

 

 

 

 

 

Нарушение правил распределения и втапливания щебня

 

 

 

 

 

 

 

 

 

 

 

 

Реверсирование или повороты катка на большой скорости

 

 

 

 

 

 

 

 

 

 

 

 

 

остановка катка на горячем слое

 

 

 

 

 

 

 

 

 

 

 

 

 

Плохой состав смеси (минеральные материалы)

 

 

 

 

 

 

 

 

 

 

Плохой состав смеси (битум)

 

 

 

 

 

 

 

 

 

 

Расслоение смеси

 

 

 

 

 

 

 

 

 

 

Наличие влаги в смеси (недостаточно просушены материалы)

 

 

 

 

 

 

 

 

 

 

 

 

 

 

Неоднородность смеси по температуре

 

 

 

 

 

Низкая температура смеси

 

 

 

 

 

 

 

Смесь плохо перемешана

 

 

 

 

 

 

 

Для втапливания применен необработанный битумом щебень

 

 

 

 

 

 

 

 

 

 

 

 

 

 

 

 

 

 

 

 

 

 

 

 

 

 

 

 

 

 

ПОСЛЕДСТВИЯ НАРУШЕНИЙ ТЕХНОЛОГИИ

Покрытие скользкое

1

 

 

 

 

 

 

 

 

 

 

 

 

 

 

 

Разрыв слоя по слоям

2

 

 

 

 

 

 

 

 

 

 

 

 

 

 

Разрыв слоя по центру

3

 

 

 

 

 

 

 

 

 

 

 

 

 

Следы от вальцев катка

4

 

 

 

 

 

 

 

 

 

 

 

 

Разрыв слоя на полную ширину

5

 

 

 

 

 

 

 

 

 

 

 

Низкое качество поперечной спайки

6

 

 

 

 

 

 

 

 

 

 

Низкое качество продольной спайки

7

 

 

 

 

 

 

 

 

 

Смесь не поддается распределению шнеками

8

 

 

 

 

 

 

 

 

Черный щебень не приживается на покрытии

9

 

 

 

 

 

 

 

Волнистая поверхность покрытия - длинные волны

10

 

 

 

 

 

 

Недостаточное уплотнение смеси трамбующим брусом

11

 

 

 

 

 

Неоднородность фактуры поверхности и текстуры слоя

12

 

 

 

 

Продольные и поперечные следы от выглаживающей плиты

13

 

 

 

Волнистая поверхность покрытия - короткие волны (гребенка)

14

 

 

выглаживающая плита не реагирует на корректирующие воздействия

15

 

Черный щебень неравномерно распределен по поверхности покрытия

16

Примечания █ - причина дефекта связана с асфальтоукладчиком

▓ - другие причины

Часто образование дефекта связано с несколькими причинами

Для решения проблемы следует устранить все указанные в таблице причины.

Таблица 18

ПОСЛЕДСТВИЯ НАРУШЕНИЯ ТЕХНОЛОГИИ ПРОИЗВОДСТВА РАБОТ ПРИ ТЕКУЩЕМ РЕМОНТЕ ДОРОЖНЫХ ПОКРЫТИЙ

Возможные нарушения технологии укладки

1

2

3

4

5

6

7

8

9

10

11

12

13

не обеспечена требуемая прочность основания

 

 

 

 

 

 

 

 

 

Укладка смеси на: пыль, грязь, влажное основание, снег, лед

 

 

 

 

 

 

 

 

 

 

Укладка смеси при отрицательной температуре в карты площадью более 1 м2

 

 

 

 

 

 

 

Укладка смеси толстым слоем в карты площадью более 1 м2

 

 

 

 

 

 

 

 

 

 

 

 

Укладка меси в карты глубиной менее 2 см

 

 

 

 

 

 

 

 

 

 

 

укладка смеси в карты, не имеющие вертикальные кромки

 

 

 

 

 

 

 

 

 

 

Не установлены упорные брусья

 

 

 

 

 

 

 

 

 

 

 

Объем смеси не равен объему карты

 

 

 

 

 

 

 

 

 

 

 

Температура смеси ниже требуемой

 

 

 

 

 

Температура смеси выше требуемой

 

 

 

 

 

 

 

 

 

 

 

Разная температура смеси, поступающей на объект

 

 

 

 

 

 

 

 

Расслоение смеси

 

 

 

 

 

 

 

 

Минеральные материалы низкого качества

 

 

 

 

 

 

 

 

 

 

 

Применен мягкий битум

 

 

 

 

 

 

 

 

 

 

 

Смесь плохо перемешана

 

 

 

 

 

 

 

Для втапливания применен неоднородный щебень

 

 

 

 

 

 

 

 

 

 

Для втапливания применен влажный щебень, необработанный битумом

 

 

 

 

 

 

 

 

 

 

 

не соблюдены правила распределения и втапливания черного щебня

 

 

 

 

 

 

 

 

 

 

 

Движение открыто по неостывшему покрытию

 

 

 

 

 

 

 

 

 

 

 

 

 

 

 

 

 

 

 

 

 

 

 

 

 

 

 

 

 

 

 

 

 

 

 

 

 

 

 

 

 

 

 

 

 

 

 

 

 

 

 

 

последствия нарушений технологии

Покрытие скользкое

1

 

 

 

 

 

 

 

 

 

 

 

 

Колейность, сдвиги, наплывы

2

 

 

 

 

 

 

 

 

 

 

 

просадка, сетка трещин, провалы

3

 

 

 

 

 

 

 

 

 

 

Слой имеет повышенную пористость

4

 

 

 

 

 

 

 

 

 

Пузыри (дутики), раковины, выбоины

5

 

 

 

 

 

 

 

 

Смесь плохо поддается распределению

6

 

 

 

 

 

 

 

Черный щебень не приживается на покрытии

7

 

 

 

 

 

 

Неровная поверхность отремонтированной карты

8

 

 

 

 

 

Повторное образование выбоин в короткие сроки

9

 

 

 

 

Низкое качество продольной и поперечной спайки

10

 

 

 

Фактура поверхности и текстура слоя неоднородны

11

 

 

Неудовлетворительное сопряжение с существующим покрытием

12

 

сцепление слоя с основанием и кромками покрытия отсутствует

13

7. ПРАВИЛА ПРИЕМКИ ВЫПОЛНЕННЫХ РАБОТ

7.1. При приемке выполненных работ надлежит произвести освидетельствование работ в натуре, контрольные замеры, проверку результатов производственных и лабораторных испытаний строительных материалов и контрольных образцов, записей в журнале работ и предъявить техническую документацию (журнал производства работ, журнал лабораторного контроля и т.п.) в соответствии с главой СНиП 3.01.01-85

7.2. При осуществлении приемочного контроля следует проверить соответствие фактических значений проектным. Кроме этого контролируют:

- плотность слоя покрытия, путем определения коэффициента уплотнения

- ровность слоев основания и покрытия путем определения алгебраических разностей высотных отметок;

- сцепление шины автомобиля с покрытием или шероховатость покрытия.

- деформативную устойчивость и толщину покрытия по трем кернам на 1000 м2 при выявлении несоответствия указанных параметров требуемым значениям и др. методам контроля.

7.3. Предварительная оценка ровности поверхности в продольном направлении проводится либо на основе графической записи, полученной с помощью приборов типа ПКРС или других приборов, показания которых приведены к показаниям ПКРС, либо путем проезда по каждой полосе на автомашине по всему сдаваемому участку по каждой полосе движения. На основании такой оценки выбираются захватки для детального измерения ровности и поперечных уклонов.

Захватки выбирают длиной 300 - 400 метров. Суммарная длина захваток должна составлять не менее 10 % длины участка дороги в однополосном исчислении.

Детальный контроль ровности следует вести путем измерения просветов под трехметровой рейкой или передвижной рейкой. Измерения проводят на расстоянии 0,5-1,0 м от каждой кромки покрытия или края полосы движения.

7.4. Коэффициент сцепления шины автомобиля с увлажненной поверхностью покрытия определяют специальными динамометрическими приборами типа ПКРС, а также по длине тормозного пути или по приборами типа ПКРС, а также по длине тормозного пути или по величине снижения скорости движения автомобиля марки ГАЗ-М24, показания которых приведены к показаниям прибора ПКРС.

Измерение следует выполнять по одной полосе наката колес автомобилей каждой полосы движения. На 1000 метров необходимо делать 3 - 5 измерений в зависимости от состояния покрытия по каждой полосе движения.

7.5. Шероховатость дорожного покрытия следует измерять методам "песчаного пятна" (прибор КП-139). Производят пять измерений на 1000 м на каждой полосе движения в зоне наката. Значения средний глубины впадин шероховатости по методу "песчаного пятна" не должны быть меньше указанных в табл. 19.

Таблица 19.

ТРЕБУЕМЫЕ ЗНАЧЕНИЯ ХАРАКТЕРИСТИК ШЕРОХОВАТОСТИ ПОКРЫТИЯ

Коэффициент оцепления

Минимальная средняя глубина впадин (бороздок) шероховатости по методу "песчаного пятна", мм Для асфальтобетонного покрытия и поверхностной обработки

0,28-0,30

1,0

0,35

1,8

7.6. Оценку качества работ при их приемке производят в соответствии с требованиями СНиП 3.06.03-85 приведенными в табл. 20.

7.7. Для получения надлежащих параметров шероховатости и коэффициентов сцепления покрытий необходимо осуществлять два вида контроля:

оперативный контроль, целью которого является выявление и уст ранение возможных дефектов поверхности неостывшего покрытия;

контроль коэффициентов сцепления, минимальные значения которых на мокром покрытии в зависимости от условий движения должны составлять: для легких - 0,28; затрудненных - 0,32; опасных - 0,34.

Оценку коэффициентов сцепления шины автомобиля с увлажненной поверхностью покрытия производят специальными приборами типа ПКРС или: ппк МАДИ-ВНИИБД, а также диагностические лаборатории КП-208-МП, КП-511-МПД.

Таблица 20.

ПАРАМЕТРЫ ДЛЯ ОЦЕНКИ КАЧЕСТВА РАБОТ И УСЛОВИЯ ИХ ОЦЕНКИ
(Извлечение из СНиП 3.06.03-85)

Конструктивный элемент, вид работ и контролируемый параметр

Условия оценки

"хорошо"

"отлично"

1. Высотные отметки по оси

Не более 10% результатов определения могут иметь отклонение от проектных значений в пределах +20 мм, остальные до ±10 мм.

Не более 5% результатов определений могут иметь отклонение от проектных значений в пределах до 20 мм, остальные до 10 мм.

2. Толщина слоя

Не более 10% результатов определений могут иметь отклонение от проектных значений в пределах от минус 15 до +20 мм, остальные до ±10 мм.

Не более 5% результатов определений могут иметь отклонение от проектных значений в пределах от 15 до 20 мм остальные до ±10 мм.

3. Поперечные уклоны

Не более 10% результатов определения могут иметь отклонение от проектных значений в пределах от минус 0,010 до +0,015, остальные до ±0,005.

Не более 5% результатов определений могут иметь отклонения от проектных значений в пределах от минус 0,010 до +0,015, остальные до ±0,005.

4. Ровность просвет под рейкой длиной 3 метра

Не более 5% результатов определения могут иметь значения просветов в пределах 6 мм, остальные до 3 мм.

Не более 2% результатов определений могут иметь значения просветов в пределах до 6 мм, остальные до 3 мм.

8. ТЕХНИКА БЕЗОПАСНОСТИ И ОХРАНА ТРУДА

8.1. При организации работ по приготовлению литых смесей и устройству дорожных конструкций из этих смесей должны быть приняты меры к обеспечению безопасных условий труда работающих на всех этапах выполнения работ в соответствии с требованиями СНиП III-4-80.

К работам допускаются лица, достигшие совершеннолетия, прошедшие медицинский осмотр, вводный инструктаж по технике безопасности оформляется документально. К работе на механизмах допускаются лица, имеющие удостоверения на право управления механизмами. Рабочие, нанятые на укладке литых смесей должны быть обучены безопасным приемам выполнения работ.

8.3. Асфальтосмесительная установка АБЗ должна быть обеспечена эффективными пылегазоочистными сооружениями.

8.4. Грохоты для просеивания пылящих материалов, шнеки, элеваторы, сушильные барабаны, независимо от их конструкции, должны быть заключены в плотные кожухи, присоединенные к аспирационной системе.

8.5. Аспирационные укрытия, крышки, смотровые люки, кожухи и т.д. должны быть во время работы оборудования постоянно плотно закрыты.

8.6. Измерять температуру смеси у смесителей следует в стороне от выпускного отверстия, чистить мешалку от остатков смеси только после остановки и остывания установки.

8.7. К выполнению дорожно-строительных, или ремонтных работ разрешается приступать только после полного обустройства объекта необходимыми дорожными знаками, ограждениями и другими техническими средствами, предусмотренными в утвержденных схемах. Рекомендуемые технические средства для организации дорожного движения приведены в Приложении 8.

8.8. При согласовании проектов и схем органы ГАИ в каждом конкретном случае уточняют расстановку дорожных знаков, размеры и порядок ограждения, складирования материалов, устройство объезда для транспортных средств, настила для пешеходов и другие вопросы, обязанные с обеспечением безопасности движения и сохранности инженерных коммуникаций.

8.9. Производитель работ должен иметь при себе схему организации движения и разрешение установленного образца.

8.10. Установку временных дорожных знаков и ограждений, а также выполнение других мероприятий производится силами и средствами организации, производящей работу.

8.11. Дорожные знаки должны иметь внешнее или внутреннее освещение или световозвращающую поверхность и соответствовать требованиям ГОСТ 10807-78. Знаки со световозвращающей поверхностью должны применяться на участках дорог без стационарного освещения, знаки с внутренним или внешним освещением - на участках улиц со стационарным освещением.

8.12. Дорожные знаки следует устанавливать с правой стороны дороги. Дорожные знаки, расположенные с одной из сторон по ходу на дорогах с разделительной полосой, должны быть повторены на противоположной стороне в пределах разделительной полосы, тротуара или проезжей части, если условия движения таковы, что знак может быть не замечен водителями.

8.13. Дорожные знаки, используемые для ограждения мест производства работ, как правило, устанавливают на переносных опорах или стойках. При установке на переносных опорах нижний край знака или таблички должен находиться не ближе 10 см от поверхности покрытия дороги.

Поверхность переносных дорожных знаков, устанавливаемых на опорах должна составлять с поверхностью покрытия угол не менее 70°.

8.14. Ограждающие устройства и другие технические средства выполняют в виде щитов, штакетных барьеров, сигнальных направляющих стоек, конусов.

8.15. При выполнении работ на проезжей части дороги в качестве ограждений применяют деревянные щиты высотой не менее 1,2 м и шириной в пределах 1,0 - 1,5 м. Щиты ограждения окрашивают в белый цвет с красной каймой размером 0,08 - 0,12 м по контуру. На щите черной краской указывают: номер телефона, название предприятия, производящего работы и на одном из щитов отдельной табличкой фамилию производителя работ.

8.16. При ямочном ремонте дорожных покрытий, заливке трещин, ремонте покрытия в трамвайных путях, у люков смотровых колодцев подземных коммуникаций и при других мелких работах, проводимых без разрытия траншей, участки работ можно ограждать переносными устройствами: штакетными барьерами, барьерами из брусьев, сигнальными шнурами, стойками, вехами и конусами.

8.17. Установку дорожных знаков начинают с мест наиболее удаленных от объекта, и затем последовательно устанавливают знаки по ходу производства работ. После размещения знаков устанавливают ограждения и другие технические средства. По окончании работ приводят рабочую площадку в порядок и убирают ограждения, а затем дорожные знаки в обратном порядке.

8.18. 3а начало ремонтируемого участка дороги принято считать мерное по ходу движения ограждающее устройство, установленное на проезжей части и изменяющее направление движения.

8.19. Расстановка стоек, вех, конусов должна обеспечивать плавное изменение направления движения при объезде мест работ, а также перевод движения с одной полосы движения на другую.

В этих случаях направляющие технические средства устанавливай таким образом, что отношение ширины места производства работ (Б) к длине участка установки направляющих должно составить:

1:15 при скорости до 60 км/час (около 56 м при Б = 3,75 м);

1:10 при скорости до 40 км/час (около 38 м при Б = 3,75 м).

Для обеспечения хорошей видимости на направляющей линии должно быть установлено не менее восьми конусов или пяти вех.

Расстояние между конусами и вехами принимается 5-10 м. Конуры и вехи устанавливают от рабочей площадки на расстояние не более 0,5 м.

8.20. При проведении работ в темное время суток место ремонта ограждают техническими средствами, оснащенными фонарями с красным светом (постоянно горящими или мигающими), размещенными на высоте 0,8-1,2 м. Сигнал светового фонаря должен быть виден в темное время суток в хорошую погоду на расстоянии не менее 100 м. Фонари не должны оказывать на водителей слепящего действия.

На ограждениях, устанавливаемых поперек улицы и перекрывающих одну полосу движения, один фонарь закрепляют в средней части по краям (по одному с каждой стороны ограждения).

На ограждениях, стоящих параллельно движению транспортных средств, устанавливают фонарь для обозначения крайних точек ограждения и через каждые 5-10 м по его периметру (до 50 м). Если периметр ограждения превышает 50 м, сигнальные фонари допускается устанавливать на расстоянии 15-20 м.

При проведении ремонта на картах до 25 м2 с использование небольших по размерам ограждений (штакетный барьер, стойки, конусы) допускается применять один сигнальный фонарь, размещая его не центру ограждения на высоте 0,6-1,2 м.

8.21. Инженерно-технические работники и рабочие, занятые на работах по устройству, эксплуатации и ремонту временных электрических установок, должны быть обучены безопасным приемам выполнение этих работ, в частности:

уметь оказать практическую помощь по освобождению от тока пострадавших лиц и оказать им первую помощь;

знать, что временную наружную открытую проводку на объекте работ следует выполнять изолированным проводом на надежных опорах так, чтобы нижняя точка провода находилась на высоте не менее 2,5 м над рабочим местом и, что электролампы общего освещения напряжением 127-220 вольт надлежит подвешивать на высоте не менее 2-2,5 м от уровня земли.

8.22. Специфика использования литых смесей обусловливает необходимость дополнительных мер предосторожности при производстве работ, к которым относятся следующие:

допуск к работам с литой смесью разрешается только после прохождения дополнительного инструктажа;

для приема литой смеси, а также других материалов, из состава бригады выделяется рабочий-сигнальщик с красной повязкой. Содержание инструктажа и фамилия сигнальщика должны быть записаны в журнал инструктажа рабочих;

рабочие асфальтобетонщики должны быть обеспечены спецодеждой и обувью, исключающими возможность получения ожогов;

при производстве работ не допускается оставлять свежеуложенную смесь без присмотра до затвердевания ее поверхности.

запрещается во избежание ожогов при загрузке приемного бункера асфальтоукладчика находиться вблизи его боковых стенок;

запрещается подниматься в кузов автосамосвала при затрудненной выгрузке литой смеси. Прилипшую к кузову смесь следует выгружать включением встряхивающего устройства кузова или с помощью специальных скребков или лопатой с удлиненной ручкой.

8.23. Рабочие, обслуживающие машины, должны быть одеты в спецодежду установленного образца, а также в специальный жилет оранжевого цвета. Перед началом работ необходимо проверить исправность ручного инструмента. Механизированный инструмент должен отвечать требованиям "Санитарных норм и правил при работе с инструментами, механизмами и оборудованием, создающими вибрацию, передаваемую на руки работающих", утвержденных МЗ СССР 13.05.66 г.

8.24. Работы в зоне расположения контактных сетей электрифицированного транспорта, воздушных и кабельных линий электроснабжения следует выполнять, соблюдая правила безопасности при работах вблизи токоведущих частей, а также правила охраны этих линий.

8.25. Во всех опасных в пожарном отношении местах должны быть установлены щиты с противопожарным инструментом, ящики с сухим песком (не менее 1 куб. м.), совковыми лопатами и огнетушителями.

8.26. Нахождение посторонних лиц в зоне производства работ запрещается.

В бытовом помещении должна быть аптечка с медикаментами и средствами оказания первой помощи пострадавшим, а также емкости с питьевой водой.

ПРИЛОЖЕНИЯ

Приложение 1

РЕКОМЕНДУЕМЫЕ ОБЛАСТЬ ПРИМЕНЕНИЯ И НАЗНАЧЕНИЕ ЛИТЫХ АСФАЛЬТОБЕТОНОВ

Область применения и назначение

Типы литых асфальтобетонов

I

II

III

IV

V

ДОРОЖНОЕ И АЭРОДРОМНОЕ СТРОИТЕЛЬСТВО

 

 

 

 

 

Новое строительство и капитальный ремонт верхнего слоя асфальтобетонного покрытия на:

 

 

 

 

 

федеральных автомобильных дорогах I и II технических категорий;

+

+

 

 

 

автомобильных дорогах III и IV технических категорий;

 

+

 

 

+

магистральных улицах общегородского и район, значений;

+

+

 

 

 

улицах и дорогах местного значения;

 

 

 

 

+

внутриквартальных дорогах;

 

 

 

+

+

пешеходных улицах и тротуарах;

 

 

 

+

 

взлетно-посадочных полосах и рулежных дорожках.

 

+

 

 

 

Новое строительство (усиление) основания (нижнего слоя покрытия)дорожной одежды на федеральных автомобильных дорогах, магистральных улицах общегородского и районного значений, дорогах с низкой несущей способностью грунта земл. полотна и интенсивным движением тяжелых и сверхтяжелых транспортных средств, взлетно-посадочных полосах

 

 

+

 

 

Текущий (ямочный) ремонт асфальтобетонных покрытий на федеральных автомобильных дорогах I и II технических категорий, - городских дорогах взлетно-посадочных полосах, рулежных дорожках и местах стоянки аэродромов

 

 

 

 

+

СТРОИТЕЛЬСТВО ИНЖЕНЕРНЫХ СООРУЖЕНИЙ

 

 

 

 

 

Гидроизоляция гидротехнических сооружений, пролетных строений мостов, эстакад, путепроводов, водо-газо-тепло-продуктопроводов, коллекторов, устройство фундаментов под деревянные конструкции.

 

+

+

 

+

Теплоизоляция подземных сооружений.

 

+

+

 

+

Приложение 2.

СПЕЦИАЛЬНЫЕ МЕТОДИКИ ИСПЫТАНИЙ ЛИТЫХ СМЕСЕЙ И ЛИТЫХ АСФАЛЬТОБЕТОНОВ I, II, III и V ТИПОВ

а. Определение подвижности смеси

Подвижность характеризуется величиной осадки конуса из литой смеси, измеряемой при температуре 200 °С, в миллиметрах.

Лабораторное оборудование

Прибор для определения подвижности смеси (рис. П1).

Сушильный шкаф с термометром.

Секундомер.

Нож.

Рис. П1. Схема прибора для определения подвижности литой асфальтобетонной смеси

1. Подставка.

2. Прижим.

3. Форма (металлический усеченный конус с внутренними диаметрами d1=80 мм и d2=60 мм, высотой h = 70 мм)

4. Винт

5. Линейка измерительная металлическая

Проведение испытания

Для подготовки конуса и приспособлений к испытаниям все соприкасающиеся с горячей смесью поверхности очищают и протирают сухой тканью. Затем конус нагревают до 150-170°С и его внутреннюю поверхность смазывают веретенным маслом.

Конус устанавливают на подставку прибора и заполняют его испытуемой смесью, предварительно нагретой до 205 °С. Конус во время наполнения должен быть плотно прижат к подставке прибора. Навеска смеси для двух испытаний - 1500-1600 г.

После наполнения конуса смесью ее избыток срезают ножом вровень с верхними краями конуса. Далее металлический конус плавно снимают с отформованной смеси и устанавливают рядом с ней. Время, затрачиваемое на съем конуса, должно составлять 3-5 с. Измерение осадки конуса проводят по истечении одной минуты с момента снятия металлического конуса со смеси.

Осадку конуса смеси определяют при помощи прижима и металлической линейки, укрепленных на приборе, измеряя расстояние от верхней части металлического конуса до верха осевшей смеси с погрешностью ±1 мм. Показания снимают после трех замеров в трех точках и вычисляют средний арифметический результат.

Испытание проводят дважды. Общее время испытаний с начала наполнения конуса смесью при первом определении и до момента измерения осадки конуса при втором определении не должно превышать 5 мин.

Осадку конуса вычисляют с округлением до 5 мм, как среднее арифметическое результатов двух определений осадки конуса из одного замеса, отличающихся между собой не более, чем на:

2 мм при ОК = 15-20мм;

3 мм при ОК = 20-30мм;

5 мм при ОК > 30 мм.

При большем расхождении результатов испытания повторяют на повой пробе.

Результаты испытания заносят в журнал, в котором указывают дату и время проведения испытания, место отбора пробы (при текущем контроле), вид смеси, результаты частных испытаний, среднеарифметический результат.

б. Определение глубины вдавливания штампа

Эксплуатационная прочность литого асфальтобетона характеризуется деформацией образца при температуре 40°С под действием постоянной нагрузки 52,5 кг, передаваемой плоским круглым штампом площадью 5 см2.

Лабораторное оборудование

Прибор для определения глубины вдавливания штампа (рис. П2).

Термостатирующий сосуд

Термометр.

Секундомер.

Прибор устроен следующим образом: на опорной плите 1 установлена стойка, на которой смонтированы нагрузочный шток 13 с набором грузов 14 и кинематически связанный со штоком ползун 8, плоская головка 9 которого является упором индикатора 10. Установка индикатора на ноль достигается вертикальным перемещением (вращением) упора.

Сверху стойки неподвижно крепится направляющая втулка 11 с трапецеидальной резьбой, составляющая с муфтой 12 и рукоятками винтовую пару. На верхнем торце муфты имеется насыпной подшипник для устранения трения между ее торцом и грузами.

Грузы 14 неподвижно закреплены на вертикальном вале, заканчивающимся нагрузочным штоком 13. Шток свободно перемещается по вертикали вдоль направляющей втулки 11.

Ползун 8, перемещаясь по вертикали, приводит к перемещению штока индикатора 10. При перемещении муфты вниз осуществляется силовой контакт насыпного подшипника и нижнего торца набора грузов вплоть до контакта нагрузочного штока с образцом. После достижения контакта с образцом резким перемещением муфты вниз разрывается силовой контакт насыпного подшипника с грузами и образец полностью загружается.

Рис. П2. Оборудование для испытания образцов литого асфальтобетона на вдавливание штампа

а. прибор для определения глубины вдавливания штампа

1. Опорная плита 2. Термостатирующий сосуд 3. Образец 4. Форма 5. штамп 6. Термометр 7. Маховик установки штампа 8. Крепление ползуна к штоку 9. Упор индикатора 10. Индикатор часового типа 11. Винтовая втулка 12. Муфта загрузки-разгрузки 13. Нагрузочный шток 14. Набор грузов

б. форма для изготовления образцов из литой смеси II и III типов

1. Поддон 2. Форма 3. Разъемная коробка 4. Прижимной винт

Изготовление образцов из литой смеси I и V типов

Испытание проводят на образце-кубике 3 со стороной 70,7 мм, после изготовления остающийся в форме 4 (см. рис. П2 а)

Перед заполнением смесью форму нагревают до температуры 150-170°С, устанавливают на гладкий металлический лист. Смесь (навеска 750-800 г) нагревают до температуры 220 °С. Заполнение формы производят послойно за три раза с тщательной штыковкой и образованием небольшой выпуклой линзы сверх формы. Верхний слой (линза) заглаживается шпателем. Затем форма со смесью остывает на воздухе на горизонтальной поверхности.

Изготовление образцов из литой смеси II и III типов

Испытание проводят на образце-кубике со стороной 70,7 мм, после изготовления остающимся в форме 2 (рис. П2б),

Перед заполнением смесью форму нагревают до температуры 150-170°С, устанавливают на поддон 1 и закрепляют прижимным винтом 4.

На форму устанавливают разъемную коробку 3.

Поддон 1 с установленными формой и разъемной коробкой переносят на вибрационный стол и закрепляют на нем. Навеску смеси (примерно 750-800 г) имеющую температуру 200 °С, укладывают в форму, штыкуют, равномерно распределяют по ней и через разъемную коробку 3 вставляют пригруз. Уплотнение образца производится вибрированием под пригрузом (удельное давление 0,03 МПа) в течение 20 с при следующих параметрах вибрационного стола: частота колебаний 3000 кол/мин, амплитуда 0,3 -0,4 мм.

Образец в форме выдерживают до испытания при комнатной температуре в течение суток. Затем, перед испытанием образец в форме помещают в сосуд с водой для термостатирования и выдерживают в нем в течение 1,5 ч при температуре 40°С. Воду в сосуд наливают до уровня превышающего высоту образца на 20 - 30 мм.

Испытание образцов

Подготовленный образец в форме устанавливают в термостатирующий сосуд прибора и наливают в него воду с температурой 40°С. Указанную температуру поддерживают течение всего испытания с точностью ±2°С.

Далее, вращением рукоятки нагрузочного штока к середине образца подводят штамп прибора. После касания штампа поверхности образца производят выставление индикатора на ноль. Дальнейшим поворотом рукоятки, на образец передается нагрузка массой 52,5 кг.

Глубину вдавливания штампа определяют по показаниям индикатора через 30 мин. действия нагрузки, в мм. За конечный результат принимают среднее арифметическое двух определений. Расхождение между результатами не должно превышать 15%.

Приложение 3.

ТЕХНИЧЕСКИЕ ХАРАКТЕРИСТИКИ ТЕРМОСОВ - МИКСЕРОВ ДЛЯ ТРАНСПОРТИРОВАНИЯ И ПОРЦИОННОЙ ВЫДАЧИ ЛИТЫХ АСФАЛЬТОБЕТОННЫХ СМЕСЕЙ

Наименование параметра

Марка, модель

ОРД-4994, (ОРД-1023)

ОPД-1023.1

ОPД-1025*)

ОРД-1028*)

УРД-2Н

КДМ-1501

КДМ-1502

Базовый автомобиль, шасси

ЗиЛ-431412

ЗиЛ-433362

ЗиЛ-494560

ЗиЛ-494500

ЗиЛ-495710

ЗиЛ-530001

МАЗ-5551

МАЗ-5433

КамАЗ-55102

ЗиЛ-133Г4

ЗиЛ-133Д4

ЗиЛ-4522

МАЗ-64229

КамАЗ-55111

МЗКТ-69237

КрАЗ-65034

КамАЗ-53212

КамАЗ-53213

КамАЗ-55111

КрАЗ-6444

Масса перевозимого груза, кг

4500

6000

8500

16000

6600

6600

9200

Силовая установка

двигатель автомобиля

автономный дизель

автон. диз.

автономный дизель

Привод мешалки

гидромеханический

гидромеханический

механическ.

механический

Расположение вала мешалки

горизонтальное

горизонтальное

горизонт.

вертикальное

Частота вращения мешалки, об/мин

4-6

4-6

4-6

4-6

Модность, кВТ

8-10

10-15

20-25

18,4

15,8

Вид топлива для обогрева

дизельное

дизельное

дизельное

газообразное

Расход топлива, кг/час

1-2

2-4

2-4

8

4

 

Количество подогревателей

2

2

2

 

Мощность подогревателя, кВТ

11/23

23/45

23/45

90

45

 

Привод наклона термоса-бункера

гидромеханический

гидромеханический

гидромехан.

нет

Распределяющее устройство

имеется

нет

нет

нет

Обслуживающий персонал, чел

2

2

2

2

Длина, мм

6820

6200

7450

8435

10000

6842

9900

Высота, мм

2800

2800

2780

3200

3000

3300

3500

Масса установл. оборудования, кг

2700

2700

3600

6480

4500

5800

5800

Показатель эффективности использования оборудования

1,67

2,22

2,36

2,47

1,47

1,14

1,59

*) ОРД-1025 и ОРД-1028 - универсальные термосы-миксеры для транспортирования литых асфальтобетонных смесей I, II, III и V типов

Приложение 4.

ТЕХНИЧЕСКИЕ ХАРАКТЕРИСТИКИ АСФАЛЬТОФРЕЗЕРНЫХ МАШИН

Наименование параметра

Асфальтофрезерные машины для удаления асфальтобетонного покрытия

при капитальном ремонте

при текучем ремонте

1500 DC

1900 DC

2000 DC

W-350

W-500

1000 С

ФД-500

АРМ-500

ГИВП-631

орд-0003

дС-197

ДЭ-236

фрезы фирмы «WIRTGEN»

фрезы отечественные

Тип фрезы

самоходные

прицепные

навесные

самоходные

Базовое шасси

спецшасси

МТЗ-82 с гидроходоуменьшителем

спецшасси

Производительность при скорости фрезерования 1 м/мин, м2ч

90

114

120

21

30

60

30

30

30

36

60

60

Тип погрузчика

ленточный конвейер

отсутствует

фр. погр.

отсутст.

ленточн. конвейер

Рабочая ширина, мм

1500

1905

2010

350

500

1000

500

500

500

600

1000

1000

Максимальная глубина фрезерования, мм

300

300

300

40

160

100

100

100

70

80

100

125

Мощность двигат., кВТ

243

300

300

17,7

79

104

отбор мощности от двигателя шасси

114

114

Масса, т

21,6

22,1

30,5

2,0

6,9

13,9

7,0

3,2

1,5

1,9

12

12

Приложение 5.

ТЕХНИЧЕСКИЕ ХАРАКТЕРИСТИКИ АСФАЛЬТОУКЛАДЧИКОВ ДЛЯ УСТРОЙСТВА ДОРОЖНЫХ ПОКРЫТИЙ ИЗ ЛИТЫХ АСФАЛЬТОБЕТОННЫХ СМЕСЕЙ

Наименование характеристик

Марка асфальтоукладчика

GADf I, II, III

Супер 1502--GAF

Супер 1502

Супер 1600

супер 1800

Супер 1804

Супер 2500

ТИТАН 211

ТИТАН 311

PF-451 BLAW KNOX

ДС-181

ДС-191

фирма «Vogele»

фирма «ABG»

отечественные

Тип асфальтоукладчика

колесн. рельс. гусен.

колесн

колесн

гусен.

гусен.

колесн

гусен.

гусен.

гусен.

гусен.

колесные

Тип укладываемой смеси

I, V

I, V

литые асфальтобетонные смеси II, III, и IV типов

Производительность, т/ч

100

35

350

400

600

600

1500

500

500

450

250

500

Мощность двигателя кВт

33

51

70

79

121

121

209

62

79

106

77,2

95,6

Ширина укладки, мм

3750-12750

2500-5000

2500-6000

2500-8000

2500-10000

2500-8000

3000-16000

2500-7000

2500-8000

2500-8500

3000-4500

3000-7500

вместимость бункера, т

-

3,5

12

12

14

14

16

12

12

15

10

12

частота колебаний бруса, кол/мин

-

-

до 3000

до 2000

Регулирование ширины бруса и выглаживающей плиты

 

 

бесступенчатое

 

Масса конструктивная, т

 

11,4

13,5

16

18,5

19

24

17,1

19

17,35

17,5

20

Наличие следящей сист.

имеется

Приложение 6.

ИНВЕНТАРЬ И ИНСТРУМЕНТЫ ДЛЯ ВЕДЕНИЯ РАБОТ С ЛИТЫМИ СМЕСЯМИ

№№ п/п

Наименование

Потребность при работе со смесью типа:

I

II

III

IV

V

1.

Передвижной фургон (бытовое помещение)

1

1

1

-

1

2.

Ограждение: штакетное

10

10

4

4

10

 

стойка (веха)

15

15

8

-

2

 

конус

100

100

-

4

4

3.

Предупредительные дорожные знаки

10

10

-

2

6

4.

Шаблон на уклон в 15-25 ‰ длиной 3 м

1

1

1

-

-

5.

Нивелир

1

1

1

1

1

6.

Визирка дюралюминиевая (комплект)

2

2

2

-

-

7.

Рейка длиной 3 м

2

2

1

1

1

8.

Опалубка для предотвращения растекания смеси:

 

 

 

 

 

 

переставная, из упорных брусьев L= 4 м, и сечением 40×40 мм в кол-ве

50

-

-

-

10

 

или скользящая в комплекте с крепежом

1

-

-

-

-

9.

Штырь металлический или гвозди для крепления упорных брусьев

250

-

-

-

20

10.

Кувалда легкая

2

-

-

-

1

11.

Утюг на жидком или газообразном топливе

2

2

1

1

1

12.

Тачка металлическая для перевозки черного щебня

2

2

-

-

1

13.

Ведро

3

3

2

1

1

14.

Лопата строительная подборочная

7

5

5

2

2

15.

Лопата строительная копальная

3

-

-

1

-

16.

Скребок металлический

2

2

1

-

1

17.

Гладилка деревянная

2

-

-

-

2

18.

Трамбовка чугунная 150×150 мм

2

2

2

-

2

19.

Шнур льнопеньковый крученый, м

100

100

100

-

-

20.

Метла

3

3

2

2

2

21

Рулетка длиной 20 м

1

1

1

1

1

22.

Термометр на 300°С

3

3

2

1

1

23.

Грабли металлические

1

1

1

1

1

24.

Лом асфальтовый с лопаточкой

3

3

3

-

1

25.

Шпатель (валек)

-

-

-

1

-

26.

Ручной каток

-

-

-

1

1

27.

Жаровня

1

1

1

 

1

Приложение 7.

ФОРМА ЖУРНАЛА ПРОИЗВОДСТВА РАБОТ ПО УКЛАДКЕ ЛИТОЙ АСФАЛЬТОБЕТОННОЙ СМЕСИ

Месяц и число

Время работы начала/конец смены

Место работы (адрес) начало конец

Наиме­нование работ

Объем выпол­ненных работ, м2

Расход смеси, т

Возвращение смеси на завод (брак), т

Температура смеси при укладке

Температура воздуха, °С

состояние погоды (ясно, ветер, тихо)

Подпись сменного прораба (мастера)

Замечания технадзора, отметки об исполнении

 

 

 

 

 

 

 

 

 

 

 

 

Приложение 8

ТЕХНИЧЕСКИЕ СРЕДСТВА ДЛЯ ОРГАНИЗАЦИИ ДОРОЖНОГО ДВИЖЕНИЯ

Штакетный барьер облегченного типа

1. Красный цвет; 2. белый цвет

Барьер из бруса

1. металлические трубы 2. деревянный брус; 3. красный цвет; 4. белый цвет; 5. кольцо

Сигнальные ограждения

а) сигнальный шнур с цветными флажками;

б) сигнальная лента; 1 - красный цвет, 2 - белый цвет; 3 - шнур; 4. - опора (резиновая).

Направляющий конус

 

 




ГОСТЫ, СТРОИТЕЛЬНЫЕ и ТЕХНИЧЕСКИЕ НОРМАТИВЫ.
Некоммерческая онлайн система, содержащая все Российские Госты, национальные Стандарты и нормативы.
В Системе содержится более 150000 файлов нормативно-технической документации, действующей на территории РФ.
Система предназначена для широкого круга инженерно-технических специалистов.

Рейтинг@Mail.ru Яндекс цитирования

Copyright © www.gostrf.com, 2008 - 2026