|
|
|
МЕТОДИЧЕСКИЕ
РЕКОМЕНДАЦИИ Аннотация «Методические рекомендации» предназначены для инженеров проектировщиков и линейного инженерного персонала специализированных производственных организаций. Их основной целью является помощь инженеру-проектировщику и строителю в выборе наиболее рационального принципа проектирования и способа производства работ по усилению грунтов основания и фундаментов инъекционными методами, включая способы укрепительной цементации и буроинъекционных свай, в конкретных инженерно-геологических и гидрогеологических условиях с учетом вида, типа и конструктивных особенностей реконструируемых зданий и сооружений. Кроме того, в «Рекомендациях» рассматриваются различные возможности усиления инъекционными способами несущих конструкций реконструируемых объектов включая стены, колонны и столбы, своды и другие конструкции, а также выполнение инъекционной горизонтальной гидроизоляции существующих зданий и сооружений. «Методические рекомендации» разработаны на базе и в развитие действующих глав СНиП и «Руководств» к ним (положениями которых следует руководствоваться при проектировании, производстве и приемке работ по усилению грунтов основания и фундаментов инъекционными способами). «Методические рекомендации» разработаны А.И. Егоровым при участии ведущих специалистов НПФ «Реставратор G3R» В.Я. Юдиной и Муштай И.А. Части 2.4-2.7 Главы 2 подготовлены д.т.н., проф. В.М. Улицким (С.Петербургский арх.-строительный университет). Настоящее издание «Методических рекомендаций» является третьим, дополненным и частично переработанным изданием "Методических Рекомендаций", разработанных Егоровым А.И. в институте "Спецпроектреставрация" Министерства Культуры РСФСР в 1984 году и второго издания, подготовленного в фирме «Восстановление» в 1997 году. Содержание ВВЕДЕНИЕПри проведении реконструкции, ремонтных работ и реставрации зданий и сооружений старой постройки, действующих предприятий и производств, одной из главных задач, стоящих перед строителями, является определение состояния существующих несущих конструкций, способность их воспринимать действующие и дополнительные, возникающие в ходе реконструкции нагрузки и, в конечном счете, выбор, в случае необходимости, способа их усиления. В процессе эксплуатации зданий и сооружений, во многих случаях, происходят деформации несущих конструкций, вызываемые различными причинами. Одной из наиболее распространенных причин деформаций являются неравномерные осадки, которые, в свою очередь, вызывают деформации и разрушения несущих конструкций - стен, колонн, перекрытий, сводов, перемычек оконных и дверных проемов и др. Неравномерные осадки зданий и сооружений могут быть вызваны многими факторами. В связи с этим одной из основных проблем, решаемых при реконструкции зданий является выбор рационального метода усиления оснований и фундаментов. Наряду с известными методами усиления несущих конструкций и, прежде всего, оснований и фундаментов существующих зданий и сооружений такими, как перекладка существующих и подведение новых фундаментов, устройство обойм для укрепления кладки фундаментов и уменьшения удельных давлений от сооружений на грунты основания, устройство вблизи существующих различных по конструкциям свайных фундаментов с передачей на них нагрузок от сооружений, применение различных методов химического закрепления грунтов основания и т.п. (1, 2), все в больших объемах применяются инъекционные методы усиления, в том числе укрепительная цементации грунтов основания и фундаментов и буроинъекционные сваи. Для усиления надземных несущих конструкций - стен, колонн, перекрытий и др. - применяется инъекция кладки, в том числе с армированием, устройство инъекционных анкеров, инъекция кладки сводов перекрытий в сочетании с устройством тонкостенных железобетонных оболочек и другие способы усиления. Усиление инъекционными методами имеет по сравнению с другими известными методами, применяемыми при реставрации и реконструкции существующих зданий и сооружений ряд преимуществ, в том числе: 1. Возможность выполнения усиления без нарушения внешнего вида и конструктивных особенностей здания, что особенно актуально при реставрации памятников архитектуры и, в частности их фундаментов, могущих представлять собой особый интерес как памятник инженерного искусства. 2. Возможность выполнения усиления грунтов основания и фундаментов в сочетании с увеличением полезного объема здания за счет устройства под ним дополнительных подвальных помещений, что особенно важно при реконструкции районов старинной застройки, где по условиям охраны памятников архитектуры невозможна надстройка зданий, а увеличение их эксплуатируемой площади возможно лишь за счет освоения подземного пространства. 3. Возможность ведения работ по усилению оснований и подземных конструкций из подвалов зданий, а надземных- с перекрытий, лесов и верха стен зданий. 4. Возможность проведения усиления практически в любых грунтовых условиях. 5. Возможность проведения усиления грунтов основания и фундаментов без прекращения или остановки выполнения других работ по реставрации или реконструкции объекта. 6. Высокая надежность инъекционных методов в сочетании с возможностью применения современных эффективных методов контроля качества работ. 7. Высокая экономическая эффективность инъекционных методов усиления, низкий расход материалов на единицу воспринимаемой нагрузки, минимальные объемы земляных работ и затраты ручного труда (5, 6, 7, 8). В настоящих "Рекомендациях" изложены основные положения по принципам проектирования и производству работ при усилении грунтов основания, фундаментов и других несущих конструкций реконструируемых или реставрируемых зданий и сооружений инъекционными методами, позволяющие решать поставленные задачи комплексно, используя стандартный набор оборудования и универсальные технологические схемы. При составлении "Методических рекомендаций" использовалась нормативная литература и публикации работ, отражающих современное положение и тенденции в рассматриваемой области строительства. ОБЩАЯ ЧАСТЬ1. Инженерно-геологические изыскания, обследование существующих фундаментов.Решению вопроса о необходимости выполнения усиления фундаментов и выборе способа усиления должны предшествовать инженерно-геологические изыскания и обследование конструкций существующих фундаментов. При проведении инженерно-геологических изысканий исследуют свойства грунтов основания непосредственно в пределах глубины заложения фундаментов и под их подошвой, а также на глубину сжимаемой толщи. Количество геологических выработок, скважин и шурфов, назначают в зависимости от размеров сооружения в плане, его типа, этажности, материала, протяженности и количества несущих стен и отдельно стоящих опор, наличия подвалов и подземных коммуникаций, сложности рельефа площадки, характера окружающей застройки, наличия архивных сведений о данном сооружении и проводившихся на площадке в предшествующие годы инженерно-геологических изысканиях. В общем случае количество разведочных скважин должно быть не менее трех, количество шурфов - не менее пяти, закладываемых в местах, наиболее характерных для определения конструкций обследуемых фундаментов и приуроченных к наиболее выраженным деформациям конструкций. Целью инженерно-геологических изысканий является определение физико-механических и деформативных характеристик грунтов основания, а также определение положения уровня подземных вод, в том числе, с учетом его сезонных колебаний и химического состава для уточнения характера и степени агрессивности по отношению к материалу фундаментов. Обследование фундаментов включает выявление конструкции, определение геометрических размеров и формы, характера и материала кладки фундаментов, а также механической прочности материала кладки и связующего раствора, определение наличия, типа и материала гидроизоляции - горизонтальной и вертикальной. Подлежит расчету и величина фактического давления сооружения в отдельных его частях и в целом на грунты основания (5, 9). В России, несмотря на довольно большой опыт, до настоящего времени не существует норм и правил по проектированию фундаментов при реконструкции и реставрации зданий и сооружений. Нет также документов, регламентирующих объем и характер изысканий, выполняемых в комплексе работ по обследованию эксплуатируемых зданий и сооружений. Фактическое давление на грунты основания, уплотнившиеся под воздействием длительной нагрузки от здания рассчитывали по допускаемому давлению, принимаемому для нового строительства, с повышающими коэффициентами 1.1 - 1.5, в зависимости от вида грунта. Давление под подошвой фундаментов для всех случаев реконструкции разрешалось увеличивать до значений, превышающих допустимое по нормам нового строительства на 40%, но лишь в том случае, если в несущих конструкциях реконструируемого здания отсутствуют трещины от неравномерных осадок. СниП II-Б.1-62* разрешалось повышать допускаемое давление на грунты под существующими фундаментами, при их достаточной прочности, до 20%. Для предварительных расчетов, новое допускаемое давление на уплотненные грунты основания R" рекомендовалось определять по формуле R" = k.R, где R" - нормативное сопротивление грунта основания, определяемое для нового строительства k - коэффициент увеличения сопротивления грунта, зависящий от соотношения p/R; р - фактическое давление на грунты основания до реконструкции, МПа Значения коэффициента "k"
Коэффициент "k" применим при следующих условиях: - срок службы реконструируемого здания не менее 3 лет для песчаных грунтов, 5 лет для суглинков и супесей, 8 лет для глин; - здание не должно иметь трещин, деформаций и прочих свидетельств неравномерных осадок; Если фактическое давление р оказывается больше R, то необходимо увеличение площади подошвы фундаментов, дополнительное заглубление или другой вид усиления фундаментов или искусственное улучшение строительных свойств грунтов основания. Введение повышающего коэффициента к величине допускаемого давления исходя только из срока службы здания и фактического давления на грунты основания тем не менее не решают полностью проблему дальнейшей безопасности эксплуатации зданий, так как при этом не учитываются возможные деформации. Кроме того, не принимаются в расчет предельно допустимые для данного сооружения осадки и его способность противодействовать развитию неравномерных осадок (1, 2). При этом следует иметь в виду, что наряду с решением многих задач, связанных с усилением фундаментов, правильному решению проблемы в значительной степени способствует выявление конструктивной схемы здания и определение действующих в уровне фундаментов нагрузок. В конечном счете, решение вопроса о возможности передачи дополнительных нагрузок на существующие фундаменты и грунты основания, а также необходимость их усиления остается за проектировщиком и зависит от его опыта и интуиции. 2. Традиционные конструкции фундаментов зданий и сооружений старой постройки.В течение многих столетий и до начала ХХ века конструкции фундаментов зданий и сооружений различного назначения почти не претерпели существенных изменений. Как правило, это были бутовые, валунные и кирпичные ленточные и столбчатые фундаменты, кладка которых осуществлялась в траншеях или котлованах с использованием для скрепления отдельных элементов конструкции известковых растворов различного состава. В ряде случаев применялись глиносодержащие растворы, играющие одновременно роль горизонтальной гидроизоляции, а иногда кладка фундаментов, в основном в подошвенной их части, выполнялась из валунов или блоков рваного естественного камня насухо, без скрепляющего раствора. До ХХ столетия здания возводились без сколько-нибудь серьезного изучения свойств грунтов основания ниже глубины заложения фундаментов. Неполными были также сведения о грунтовых водах, их свойствах и колебаниях уровней. Лишь в конце ХIХ, начале ХХ в.в. произошло становление как науки механики грунтов и грунтоведения. Как правило, основанием зданий старой постройки служили естественные грунты, без какой-либо их обработки. Во многих случаях основанием фундаментов зданий, особенно в городской застройке, служили насыпные грунты культурного слоя или насыпные грунты, использованные для выравнивания площадки застройки, засыпки колодцев, ям, оврагов и других неровностей рельефа. При высоком уровне подземных вод или заведомо слабых грунтах основания применялись свайные фундаменты. Чаще всего это были короткие, клиновидной формы сваи из хвойных и лиственных пород древесины диам. 100-150 мм, грубо обработанные и даже неошкуренные, забивавшиеся по всей по всей площади подошвы фундамента и за ее пределами с целью уплотнения грунтов основания. Примером такого типа фундаментов могут служить фундаменты звонницы московского Кремля, Успенского собора в г. Дмитрове и многих других памятников архитектуры ХVI-XVIII в.в. Вместе с тем применялись и свайные фундаменты, которые по характеру работы в грунте соответствуют современному пониманию свайных фундаментов. Это сваи длиной до нескольких метров, изготавливавшиеся из цельных стволов деревьев твердых пород, например дуба, диаметром до 250-300 мм, забивавшиеся в пределах площади опирания фундаментов как в виде лент, так и кустов под ленточные и отдельно стоящие фундаменты. По сваям обычно устраивался деревянный ростверк из лежней бревенчатых или досчатых, располагаемых как вдоль, так и поперек направления фундаментной ленты, на которых затем выполнялась кладка фундаментов. Примерами таких конструкций могут служить фундаменты мостов, крепостных и монастырских стен, массивных каменных сооружений - колоколен, соборов и т.п. Эффективность таких фундаментов определялась положением уровня подземных вод, так как известно, что находящаяся ниже уровня воды древесина может сохраняться веками, тогда как в зоне переменного уровня воды разрушение ее идет весьма интенсивно. Этим обстоятельством объясняется наличие значительных деформаций и неравномерных осадок зданий старой постройки. Кладка фундаментов выполнялась, главным образом, из бута, валунного камня или крупных блоков и плит естественного камня. Устраивались они в виде столбов или лент с различной площадью поперечного сечения, симметричной и несимметричной, сплошными или, с целью экономии материала, с разгрузочными арками по длине ленты. С начала ХХ века с развитием техники и изобретением новых строительных материалов в качестве материала фундаментов стали применять хорошо обожженный кирпич и естественный камень на цементосодержащих растворах, бутобетон из бетонной массы с заполнением ее камнем средних размеров и монолитный бетон (3, 4). На рис.1 представлены наиболее характерные типы фундаментов традиционных конструкций зданий старой постройки: бутовые фундаменты, в том числе с использованием лежней и деревянных свай (рис.1а-е), ступенчатой формы с расширением к нижней части при угле не менее 60. Бутобетонные и бетонные фундаменты имеют примерно такую же форму и габариты. При наличии в зданиях подвальных помещений их лицевые поверхности выполнялись из обработанных блоков естественного камня, уложенного в перевязку или заанкеренных в кладку фундаментов.
Рис. 1 При проведении обследования состояния зданий старой постройки во многих случаях наблюдаются различные дефекты и разрушения в кладке фундаментов, связанные с деформациями основания и, прежде всего, с неравномерными осадками, влияние которых сказывается на состоянии здания в целом (11, 12). Причины таких деформаций многообразны, и в частности: погрешность в оценке несущей способности грунтов основания вследствие ошибочной интерпретации данных при определении свойств грунтов, особенно таких как просадочные, пучинистые, набухающие и др.; просчеты в выборе конструкции фундаментов, их размеров и глубины заложения; отсутствие деформационных швов на стыках разнонагруженных частей зданий; изменение прочностных характеристик грунтов вследствие изменения их влажности, например, при отсутствии или нарушениях вертикальной планировки, нарушении поверхностного водоотвода и дренажных систем; разру3ения кладки фундаментов под воздействием агрессивных грунтовых вод; гниение деревянных конструкций фундаментов при изменении положения или колебаниях уровня подземных вод; увеличение нагрузок на фундаменты в здании в целом или в отдельных его частях за счет надстроек и перестроек; систематическая откачка вод из подвальных помещений, вызывающая ослабление грунтов основания при их суффозии; устройство различных раскопов рядом с существующим зданием; понижение пола подвального помещения; использование некачественного материала при устройстве фундаментов; воздействие природных и климатических факторов, например многократного замораживания и размораживания переувлажненной кладки фундаментов в пределах глубины промерзания и многих других причин и их сочетаний (10, 12). По данным МосжилНИИпроекта износ фундаментов зданий идет интенсивно в первые 20-30 лет эксплуатации и затем после 90-100 лет службы здания. Вместе с тем, в последнее время отмечается увеличение интенсивности разрушения конструкций фундаментов старых зданий, которое связывается с увеличением динамического воздействия за счет интенсификации движения транспорта, вибрации механизмов и ударных нагрузок промышленного оборудования, строительства рядом с существующими зданиями новых с использованием забивки свай или шпунта, строительства подземных сооружений метрополитена и прокладки городских коммуникаций, резкого возрастания степени агрессивности подземных вод (1, 3). Таким образом, при выборе способа усиления фундаментов существующего здания должно быть учтено все многообразие факторов, влияющих на их состояние и выбран такой способ усиления, который смог бы нейтрализовать или свести к минимуму воздействие неблагоприятных факторов и способствовать надежной и длительной эксплуатации реконструируемого или реставрируемого здания или сооружения. 3. Традиционные способы усиления фундаментов.Усиление фундаментов существующих зданий применяется так же давно, как и само строительство. Методы и способы усиления до середины текущего столетия были столь же традиционны, как и конструкции фундаментов. Изменения происходили лишь в части применяемых материалов и преследовали главную цель - наряду с восстановлением прочности кладки, увеличение площади опирания существующих фундаментов, снижение удельных величин давления от сооружения на грунт и уменьшение величин осадок. Чаще всего такое усиление включает полную или частичную замену разрушенной кладки фундаментов, а также увеличение площади его опирания путем прикладки обойм или банкетов к телу существующего фундамента, а также устройство дополнительных фундаментов или опор рядом с существующими. Для лучшей связи с существующими фундаментами прикладка осуществляется "вперевязку" со старой кладкой. Опирание прикладок на грунты основания могло быть осуществлено на разных уровнях относительно подошвы усиляемого фундамента, выше ее, на одном уровне, а нередко, при низком уровне грунтовых вод и ниже подо3вы существующих фундаментов. Как правило, прикладки выполнялись из естественного камня, аналогично материалу усиляемого фундамента. Прикладки могли также опираться на забитые рядом с существующим фундаментом деревянные сваи. В конце XIX в., с внедрением в строительную практику цемента, обоймы и банкеты начали выполнять из бутобетона, бетона и затем железобетона, в основном монолитными, но в последние годы, иногда, и сборно-монолитными. Кроме обойм и банкетов применяется также введение ниже подошвы усиляемых фундаментов железобетонных плит и балок (лежней). На рис.2 представлены наиболее распостраненные традиционные конструкции усиления фундаментов.
Рис. 2 Рис. 2 (а-в) иллюстрирует устройство расширяющих обойм, рис. 2г - применение банкетов, с предварительным обжатием грунта под подошвой уширяющей части. В ряде случаев увеличение площади опирания фундаментов может быть достигнуто подводкой монолитных железобетонных плит различных конструкций под всей или частью площади здания. Все рассмотренные выше способы усиления фундаментов применяются достаточно широко до настоящего времени, особенно в реставрационной практике, несмотря на ряд существенных отрицательных моментов, связанных с низкой эффективностью такого усиления и производством работ при его реализации. К таким моментам можно отнести большой объем земляных работ по откопке усиляемых фундаментов, часто выполняемых вручную, причем, во избежание развития дополнительных деформаций усиляемых зданий, эти работы должны выполняться захватками определенной длины. Бетонирование обойм, банкетов и подводка лежней под подошву усиляемого фундамента также выполняется вручную; необходимость предварительного обжатия грунтов основания под уширяющими элементами для включения их в работу фундамента, что, как правило, в силу как объективных, так и субъективных причин, качественно выполнить не представляется возможным; невозможность выполнить усиление этими способами при высоком уровне подземных вод, сезонные ограничения производства работ, позволяющие их проведение только при общих положительных температурах наружного воздуха, и, наконец, необходимость изменения конструкций существующих фундаментов и их внешнего вида при усилении, что недопустимо при реставрации памятников архитектуры, так как фундаменты являются их неотъемлемым элементом и также могут рассматриваться как памятники инженерного искусства. Перечисленные недостатки рассмотренных способов усиления фундаментов практически сводят к минимуму возможный положительный эффект их применения. При современном подходе к решению проблемы увеличения несущей способности фундаментов реконструируемых и реставрируемых зданий старой постройки эти методы, за редким исключением, являются анахронизмом, который может быть объяснен лишь отсутствием необходимой техники и оборудования для применения современных способов и конструкций усиления, получивших широкое распространение в мировой практике (9, 10, 13). 4. Современные методы усиления фундаментов.В практике реконструкции и реставрации в настоящее время находят применение как методы усиления фундаментов, базирующиеся на традиционных, так и принципиально новые, разработанные в течение последних 50 лет. Все эти методы рассчитаны на высокую степень механизации работ, при сведении к минимуму ручного труда, и новые технологии. Далее рассмотрены некоторые из многочисленных способов усиления. На рис.3 представлены способы усиления фундаментов, представляющие собой развитие традиционных схем, с применением современных материалов и технологий.
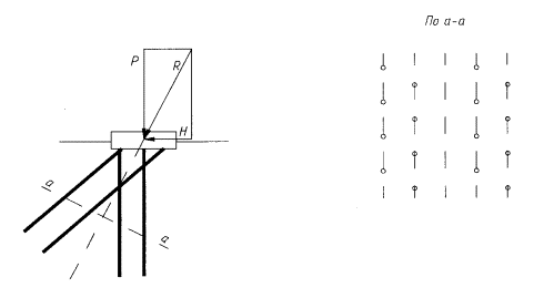
Рис. 3 На рис. 3а показано увеличение площади опирания усиляемых фундаментов с помощью обойм по методу Н.И. Страбахина. Он заключается в установке с обеих сторон усиляемого фундамента сборных железобетонных блоков, нижняя часть которых стянута анкерами, пропущенными через существующий фундамент и блоки усиления. В верхней части блоки разжимают забивными клиньями или домкратами, в результате чего блоки, поворачиваясь вокруг нижней точки, в уровне закрепления анкеров, обжимают грунт под подошвой блоков. После обжатия грунтов основания щели между существующим фундаментов и блоками усиления заполняют бетонной смесью. Рассмотренный способ имеет присущие традиционным способам усиления недостатки, требует выполнения значительного объема земляных работ и ручного труда, однако более надежен, так как позволяет выполнить обжатие грунтов основания под подошвой уширяемой части фундаментов и тем самым способствовать включению их в работу уже в процессе выполнения усиления. На рис. 3б, в представлены способы увеличения площади опирания существующих фундаментов. Их применение позволяет свести к минимуму земляные работы, которые сводятся к устройству песчано-гравийной подушки толщиной 40-60см, отсыпаемой с уплотнением взамен насыпных грунтов в пределах площади уширяющих элементов. Суть способа состоит в устройстве в уровне отметки земли, пола 1-го этажа или подвала консольной железобетонной конструкции, заанкеренной в кладку несущей стены здания и позволяющей увеличить площадь опирания фундаментов, воспринимающего нагрузку от существующего здания. Применение рассматриваемого способа позволяет совмещать конструкцию усиления с отмостками здания, полами 1-го этажа или подвала. Элементы конструкции усиления выполняются в монолитном, сборно-монолитном и сборном железобетоне с армированием жесткой арматурой. В ряде случаев, при значительном вылете консоли конструкции усиления, целесообразно ее применение в сочетании с предварительно напряженным анкером, заделываемым в тело существующего фундамента (рис. 3в). Отверстия для анкерования конструкций усиления в несущие стены, опоры и фундаменты реконструируемого здания выполняются буровым способом с использованием стандартного бурового оборудования. Производство работ ведется с применением различных механизмом, ручной труд используется минимально. Рассмотренные способы предложены автором (6). Аналогичным образом решается задача увеличения площади опирания фундаментов существующего здания с помощью фундаментных плит по способу ЦНИИСК им. Кучеренко (рис. 3г), (1). Сборные железобетонные плиты дополнительного фундамента укладывают на уплотненную щебеночную подготовку. Плиты располагаются рядами в виде лент, уложенных в направлении продольной оси здания. По ним выполняют монолитную железобетонную конструкцию нажимных рам, которые состоят из нижних горизонтальных ригелей сечением 40×60см и наклонных стоек-упоров такого же сечения. Рамы передают усилия на пояса-обвязки поперечных стен, устраиваемые в их кладке. Для образования замкнутого контура нажимных рам, над ними, в плоскости перекрытия, выполняют монолитные железобетонные участки в виде полос шириной 60см и высотой, равной толщине плит перекрытий. Рис. 4 Другая группа методов служит для усиления конструкций существующих фундаментов без изменения их геометрических размеров при достаточной несущей способности грунтов основания. К ним относится, в частности, метод укрепительной цементации (рис. 4а). При неудовлетворительном состоянии материала фундаментов (наличие механических повреждений, осадочных трещин, расслоения и разрушения кладки в результате размораживания и т.п.), целесообразно выполнять их укрепление следующим образом. В теле фундамента разбуриваются или пробиваются отверстия для установки инъекторов диаметром 25 – 30 мм. шаг таких отверстий по длине ленточного фундамента определяют эмпирически и, как правило, он равен 50-100см. В отверстие вводят инъектор, через который под давлением 0.2 - 0.6 МПа нагнетают жидкий цементный раствор, заполняющий объем пустот и неплотностей в кладке фундамента в радиусе 0.6 - 1.2м вокруг инъектора. Укрепительная цементация выполняется с использованием различных технологий, специального оборудования, оснастки и т.п. Метод укрепительной цементации часто применяют в сочетании с торкретированием поверхности усиляемого фундамента, в том числе, по металлической сетке. Слой торкретбетона защищает боковую поверхность усиляемого фундамента от неблагоприятного воздействия подземных вод и служит в качестве вертикальной гидроизоляции (1, 5). В ряде случаев, по подобной технологии выполняют усиление конструкций существующих фундаментов с помощью силикатизации, смолизации, битумизации и инъекции в них других химических составов, часто с одновременным усилением этими способами грунтов основания. Когда несущая способность грунтов основания недостаточна, а реконструируемое здание получило деформации за счет значительных по величине неравномерных и часто нестабилизировавшихся осадок, а также при наличии высокого уровня подземных вод, затрудняющих выполнение уширения или дополнительного заглубления фундаментов, целесообразно проводить усиление фундаментов конструкциями, позволяющими передавать нагрузку от сооружения на расположенные ниже подо3вы фундаментов плотные, малосжимаемые грунты основания. Такими конструкциями могут служить свайные фундаменты. В практике реконструкции и реставрации находят применение сваи разных типов, при выборе которых в каждом конкретном случае определяющим является состояние и вид усиляемого сооружения, наличие специального оборудования для устройства свай и, наконец, опыт и "традиции" организаций, выполняющих работы (8, 9). Усиление существующих фундаментов с помощью свай осуществляется по различным схемам. На рис. 4в приведен способ усиления "выносными сваями", располагаемыми с одной или двух сторон усиляемого фундамента. Чаще всего это буронабивные и набивные сваи. Технология устройства таких свай включает бурение тем или иным способом вертикальных скважин с защитой их стенок от обрушения обсадными трубами, извлечение из скважины разрабатываемого грунта и последующее заполнение готовой скважины бетонной смесью и армированием ее. В зависимости от типа свай последовательность выполнения технологических операций может быть иной (8, 13). В качестве свай усиления применяют различные типы свай включая буронабивные сваи большого диаметра типа "Беното", сваи Страуса, винтонабивные, пневмонабивные и другие (7). Другим, достаточно широко используемым при усилении существующих фундаментов, типом свайных конструкций являются задавливаемые сваи. На рис. 4б представлена схема производства работ при задавливании свай. Технология работ по задавливанию свай описана в соответствующей технической литературе (2, 3). Обычно сваи усиления располагают с двух сторон усиляемого фундамента и передают на них нагрузку от сооружения через поперечные балки, устанавливаемые в пробиваемые в фундаменте (рис. 4в), но в случае отсутствия доступа для оборудования с одной из сторон фундамента, они могут быть выполнены и с одной (наружной) стороны здания в два ряда с консольной поперечной балкой. При этом сваи первого от усиляемого фундамента ряда воспринимают вдавливающую нагрузку от веса здания, а сваи второго ряда - выдергивающую. При всех достоинствах способов усиления существующих фундаментов сваями, они обладают рядом существенных недостатков. Общими из них являются необходимость выполнения большого объема земляных работ, связанных с обнажением усиляемых фундаментов до подошвы, а часто, и ниже ее на время работ, что само по себе достаточно рисковано, большая трудоемкость, необходимость частичного разрушения существующих фундаментов, неуниверсальность применения по грунтовым условиям, высокая стоимость работ и большие затраты времени, в том числе на предварительные работы. Этих недостатков в значительной мере лишены нашедшие широкое применение в России и зарубежом методы "струи" и буроинъекционных или "корневидных" свай (рис. 4г,д; 5а,б).
Рис. 5 Глава 1. ОСНОВНЫЕ ПОЛОЖЕНИЯ.1.1. Общие принципы проектирования усиленияА. Усиление грунтов основания и фундаментов 1.1.1. Основной задачей при проектировании усиления оснований и фундаментов является правильный выбор вида усиления, определение и конструирование его отдельных элементов. При усилении буроинъекционными сваями это определение: - несущей способности свай по грунту и материалу ствола; - основных параметров свай, их длины и диаметра, угла наклона, величины заделки в стены или фундаменты; - общего количества свай на объекте и принципа их расположения в плане; - стадийности работ и способа их производства; 1.1.2. Необходимыми критериями при проектировании усиления оснований и фундаментов, обеспечивающими прочность, устойчивость и долговечность сооружений, являются предельно допустимая осадка и разность осадок частей или отдельных фундаментов, приемлемые для данной конкретной конструкции с точки зрения сохранения ею прочности и эксплуатационной пригодности. 1.1.3. При проектировании усиления для каждого здания или сооружения необходимо прогнозировать ожидаемые абсолютные осадки и разности их в отдельных точках сооружения в плане до усиления и после него. Величины осадок зависят от: - инженерно-геологических и гидрогеологических условий месторасположения реконструируемого или реставрируемого объекта; - интенсивности нагрузок в отдельных его частях, а также интенсивности загружения отдельных частей здания при его реконструкции в связи с заменой перекрытий, надстройкой и т.п. - физико-механических характеристик грунтов основания, залегающих на различных глубинах; - способности сооружения следовать за осадками грунта, иначе говоря, от общей его жесткости или жесткости отдельных его конструктивных элементов. 1.1.4. Началу проектирования усиления должны предшествовать инженерно-геологические изыскания на участке размещения объекта (2, 6, 8). Данные этих изысканий должны содержать достаточно полное описание конструкций существующих фундаментов, грунтов основания на требуемую глубину и их физико-механические характеристики, а также сведения о наличии и степени агрессивности грунтовых вод. Инженерно-геологические изыскания должны осуществляться в соответствии с техническим заданием организации, выполняющей проектирование усиления. Основные требования к инженерно-геологическим изысканиям изложены в соответствующей Главе СНиП (15). 1.1.5. В результате проведения инженерно-геологических изысканий должны быть получены следующие данные о: - местоположении и рельефе территории объекта усиления, климатических и сейсмических условиях, ранее выполнявшихся исследованиях и проводив3ихся усилениях существующих фундаментов, грунтов основания; - типе, конструкции, материале, глубине заложения существующих фундаментов, степени их сохранности, механических и прочностных характеристиках материала; - геологическом строении, литологическом составе толщи грунтов, их состоянии и физико-механических свойствах, наблюдаемых неблагоприятных физико-геологических и инженерно-геологических явлениях (карст, оползни, просадки и набухание грунтов, горные подработки и т.п.); - гидрогеологических условиях с указанием абсолютных отметок уровней грунтовых вод, в том числе на период промерзания, сезонных и многолетних амплитудах их колебаний и величинах расходов; - опыте местного строительства; - прогнозе изменения инженерно-геологических условий на участке размещения объекта; 1.1.6. Объем и характер инженерно-геологических изысканий должны удовлетворять требованиям Главы СНиП (15) и соответствовать следующим целям: - определению глубины заложения фундаментов усиления; - оценке несущей способности грунтов основания; - выбору наиболее рациональной конструкции усиления; - выбору, в случае необходимости, методов улучшения свойств грунтов основания; - выбору наиболее рационального метода производства работ по усилению оснований и фундаментов; - расчету ожидаемых осадок фундаментов после выполнения усиления и их устойчивости; 1.1.7. Степень детализации геологических условий участка и число разведочных выработок назначается в зависимости от размеров реконструируемых или реставрируемых объектов в плане и сложности геологического строения площадки, но должно быть не менее двух-трех скважин по контуру каждого здания или сооружения. Глубина проходки разведочных выработок должна обеспечить получение достаточного объема информации для проектирования конструкций усиления. 1.1.8. При проектировании усиления буроинъекционными сваями, а также при выборе метода производства работ по их устройству особое внимание следует обращать на результаты гидрогеологических исследований, являющихся составной частью инженерно-геологических изысканий, проводимых на площадке. При гидрогеологических исследованиях должны быть выявлены: - абсолютные отметки появления и установления уровней грунтовых вод; - скорость и направление потоков грунтовых вод; - характер сезонных колебаний уровней грунтовых вод во времени, в частности, абсолютные отметки максимальных и минимальных уровней грунтовых вод, а также степень влияния атмосферных осадков на изменение этих уровней; - фильтрационные свойства водосодержащих пород; - химический состав грунтовых вод для оценки степени их агрессивности к материалам конструкций усиления. 1.2 Требования к изысканиям.1.2.1. Объем и состав изыскательских работ для каждого объекта усиления определяется программой, разрабатываемой изыскательской организацией по техническому заданию и с участием проектной организации в соответствии с требованиями Главы СНиП (15) и других действующих нормативных документов на изыскательские работы по исследованию грунтов оснований зданий и сооружений. 1.2.2. Все виды инженерных изысканий для разработок проектов усиления буроинъекционными сваями должны осуществляться в комплексе проектно-изыскательских работ, как правило, на стадии проекта (рабочего проекта) в составе, обеспечивающем получение: а. предварительных данных, позволяющих проектной организации определить целесообразность применения инъекционного метода усиления грунтов основания и фундаментов, в том числе, буроинъекционных свай по результатам обследования существующих фундаментов, бурения скважин, проходки шурфов, лабораторных исследований грунтов и грунтовых вод; б. полных данных, требуемых для разработки проекта усиления (параметров свай - длины, диаметра, их несущей способности), полученных с учетом бурения скважин, зондирования и испытаний грунтов статической нагрузкой штампами в пределах контуров площадки (участка) исследуемых объектов. При необходимости проводятся также испытания свай статической нагрузкой в соответствии с дополнительным техническим заданием. Примечания к 1.2.2. 1. Статические испытания буроинъекционных свай следует производить с соблюдением требований ГОСТ (16), а также в соответствии с положениями 3.4. настоящих «Методических рекомендаций» 2. Предусмотренные подпунктом 1.2.2а изыскательские работы могут не производиться или производиться в сокращенном объеме, если данные, требуемые для принятия технического решения и определения вида усиления, могут быть получены из фондовых материалов проектных, изыскательских и других организаций. Это положение не относится к исследованиям фундаментов усиляемых объектов, по состоянию которых и должен определяться вид и объем усиления. 3. Если какой-либо из перечисленных в 1.2.2. элементов исследований предусмотрен программой, то повторяемость его должна быть для каждого обследуемого объекта не менее: - буровых скважин - 3; - шурфов - 5; - зондирований - 5; - статических испытаний свай - 2; - испытаний грунтов статической нагрузкой штампами - 2. 4. Количество и порядок отбора образцов грунта для производства лабораторных исследований устанавливается в соответствии с программой работ и требованиями действующих нормативных документов на исследования грунтов оснований зданий и сооружений, в том числе, обязателен отбор образцов грунтов, залегающих непосредственно под подошвой существующих фундаментов и под нижними концами свай усиления. 1.2.3. Глубину бурения разведочных скважин, предусматриваемую в программе изыскательских работ с учетом конкретных инженерно-геологических условий участка и характера реконструируемых или реставрируемых зданий (сооружений), следует назначать ниже проектируемой глубины заложения нижних концов буроинъекционных свай усиления в нескальных грунтах, как правило, не менее чем на 5 метров. В случае опирания или заделки буроинъекционных свай усиления в скальные грунты, глубина бурения разведочных скважин должна быть не менее чем на 1,5 м ниже концов свай. При наличии в скальных грунтах каверн, карста, прослоев более слабых грунтов и других неоднородностей количество и глубина бурения скважин назначается по программе изыскательских работ, исходя из особенностей инженерно-геологических условий исследуемой площадки. Примечания к 1.2.3. 1. В техническом задании на проведение инженерных изысканий ориентировочную длину свай для назначения глубины бурения разведочных скважин допускается определять по данным о грунтах, полученным из фондовых материалов проводившихся ранее на данной площадке инженерно-геологических изысканий. 2. Для свай, работающих на выдергивание, глубина бурения разведочных скважин и зондирования должна быть не менее 2-х метров ниже концов 1 сваи. 3. Плотность песчаных грунтов основания должна определяться в условиях их природного залегания по данным зондирования или, в случае, когда это возможно - по образцам грунтов ненарушенной структуры, отобранным из шурфов или скважин в соответствии с требованиями нормативных документов на исследования грунтов оснований зданий и сооружений. ГЛАВА 2. ПРОЕКТИРОВАНИЕ УСИЛЕНИЯ.2.1. Рекомендуемая область применения усиления грунтов основания и фундаментов реставрируемых и реконструируемых объектов инъекционными методами.2.1.1. Целесообразность применения усиления грунтов основания и фундаментов инъекционными методами должна определяться конкретными условиями работ и обоснована технико-экономическим сравнением вариантов проектных решений. 2.1.2. Необходимость усиления грунтов основания и фундаментов зданий и сооружений вызывается: - потерей прочности или устойчивости, частичной или полной, конструкций существующих фундаментов; - развитием недопустимых по величине и неравномерности осадок сооружения или отдельных его частей, вызываемых потерей прочности грунтов основания и, как следствие, разрушением конструкций фундаментов; - увеличением эксплуатационных нагрузок, связанным с изменениями в конструктивной схеме усиляемого объекта за счет замены несущих элементов при производстве работ, заменой оборудования на более тяжелое, изменением этажности, устройством заглубленных помещений под существующим зданием или сооружением и т.п. 2.1.3. Укрепительная цементация рекомендуется к применению в следующих основных случаях: - усиление грунтов основания на контакте "фундамент-грунт" при недостаточной природной прочности грунтов основания в этой зоне, либо в случае разру3ения зоны контакта (гниение лежней, суффозия); - усиление конструкций существующих фундаментов при потере прочности материала кладки фундаментов или связующего раствора, а также увеличении действующих на фундаменты нагрузок; 2.1.4. Буроинъекционные сваи рекомендуется применять в следующих случаях: - усиление грунтов основания для стабилизации осадок существующих зданий и сооружений; - усиление грунтов основания и фундаментов существующих зданий и сооружений при изменении в процессе реставрации или реконструкции конструктивной схемы объекта усиления; - реставрация, реконструкция или строительство в сложных инженерно-геологических и гидрогеологических условиях; - реставрация, реконструкция или строительство в отдаленных или труднодоступных районах; - при использовании свай в качестве анкеров при строительстве подземных сооружений типа подпорных стен, включая так называемые "сетчатые". 2.2. Основные принципы проектирования2.2.1. Проектирование укрепительной цементации существующих фундаментов и контакта "фундамент-грунт" должно предшествовать проектированию буроинъекционных свай и включает, в зависимости от вида и состояния существующего фундамента, расчет количества, диаметра, длины и угла наклона цементационных скважин, определение планового положения скважин, а также подбор составов инъекционных растворов, разработку технологической схемы цементации и определение объемов работ. 2.2.2. Стадийность проектирования и состав проекта усиления определяется заданием на проектирование в соответствии с СН. 2.2.3. Предварительные размеры (диаметр и длина) буроинъекционных свай назначаются с учетом инженерно-геологических условий площадки, нагрузки, которую должны воспринимать сваи, вида и состояния усиляемого фундамента, а также несущей способности свай, прогнозируемой в соответствии с опытом проектировщика или определяемой в соответствии с требованиями нормативной литературы (5, 16). 2.2.4. Расчет буроинъекционных свай по прочности материала ствола выполняется в соответствии с требованиями СНиП (15). 2.2.5. При расчете буроинъекционных свай по прочности материала ствола сваю следует рассматривать как упругий стержень с начальным прогибом, жестко защемленный в грунт в сечении, где модуль деформации грунта Е > 5 Мпа. Учет продольного изгиба производится по методу, предполагающему потерю устойчивости сваи в слабом грунте при Е < 5 Мпа, по нескольким полуволнам, причем число полуволн зависит от соотношения жесткостей сваи и окружающего грунта и практически не зависит от вида заделки сваи в ростверк (5).
Рис. 6 2.2.6. При проектировании усиления фундамента, на который действуют одновременно вертикальные и горизонтальные нагрузки, необходимо стремиться к тому, чтобы центр тяжести сечения свай в любом разрезе, перпендикулярном к линии равнодействующей, находился на этой линии (рис. 6). 2.2.7. Армирование буроинъекционных свай выполняется по расчету или назначается конструктивно. Сваи армируются одиночными арматурными стержнями, сварными каркасами, жесткой арматурой в виде проката черных металлов или металлическими трубами. Арматура сваи может быть однородной по длине и комбинированной, например, труба или прокат в зоне действия изгибающего момента и каркас или одиночный стержень на остальной длине сваи. В отдельных случаях армирование сваи может производиться нержавеющими металлами или другими, не подвергающимися коррозии материалами. 2.2.8. Арматура буроинъекционных свай должна иметь фиксирующие элементы, центрирующие ее в скважине (рис. 7) и обеспечивающие требуемую толщину защитного слоя бетона. Расстояние между фиксаторами по длине каркаса должно быть не более 6 диаметров скважины, а толщина защитного слоя - не менее 2.5 см. 2.2.9. Конструкция сварного стыка рабочей арматуры каркасов должна обеспечивать его равнопрочность и удобство производства работ по инъектированию бетона в скважину. 2.2.10. Совместная работа свай усиления и ростверка должна быть обеспечена надежной заделкой сваи, величина которой определяется расчетом и не должна быть менее пяти диаметров сваи при бурении с глинистой промывкой и не менее четырех диаметров при бурении с продувкой воздухом независимо от наличия трубы-кондуктора. 2.2.11. При невозможности выполнения требований п.2.2.10. должно быть предусмотрено усиленное армирование или уширение ствола сваи в месте примыкания сваи к подошве ростверка. Отношение диаметра уширенной части к диаметру скважины в пределах фундамента должно составлять не менее 1,15. Диаметр скважины может быть увеличен промывочной жидкостью при бурении и опрессовкой свежеуложенного раствора. 2.2.12. Проектирование усиления оснований и фундаментов буроинъекционными сваями включает разработку следующих вариантов передачи нагрузок от сооружения на вновь устраиваемый фундамент: безростверковый, ростверковый, подведение нового фундамента под усиливаемый и комбинированный (рис. 8).
Рис. 7 2.2.13. При усилении существующих фундаментов следует максимально использовать несущую способность усиливаемого фундамента. Расчет по 1 и 2 группам предельных состояний необходимо производить с учетом совместной работы усиляемого фундамента и буроинъекционных свай.
Рис. 8 2.2.14. При проектировании усиления углы наклона буроинъекционных свай и схему их расстановки следует принимать, стремясь к передаче на сваи осевых нагрузок, исключая по возможности моментные и горизонтальные нагрузки. 2.2.15. При проектировании усиления необходимо учитывать возможное изменение статической схемы работы конструкций, например, фундаментной плиты, в связи с переносом части нагрузки на буроинъекционные сваи (рис. 9).
Рис. 9 2.2.16. При проектировании усиления принцип размещения свай в плане усиляемого объекта должен учитывать тип применяемого для производства работ оборудования. 2.2.17. В отдельных, наиболее сложных, случаях, определяемых проектной организацией, для уточнения несущей способности буроинъекционных свай усиления в конкретных условиях следует назначить проведение статических испытаний опытных буроинъекционных свай в соответствии с требованиями ГОСТ (16) и разделом 3.4 настоящих "Методических рекомендаций". В результате испытаний должны быть установлены: - начальный коэффициент жесткости С, кН/м; - предельная нагрузка на сваю Р, кН; - расчетная нагрузка, допускаемая на сваю Р, кН; - осадка при расчетной нагрузке S, мм. 2.2.18. Рабочая документация по усилению оснований и фундаментов с помощью буроинъекционных свай должна включать: - заглавный лист проекта с ситуационным планом участка работ, таблицу состава проекта, ведомостями объемов работ и потребных материалов, пояснениями к проекту; - план цементационных скважин при цементации существующих фундаментов и контакта "фундамент-грунт"; - сечения (разрезы) фундаментов с цементационными скважинами; - технологические схемы цементации (по усмотрению проектной организации); - план свайного поля при усилении оснований и фундаментов буроинъекционными сваями; - разрезы (сечения) по усиляемым фундаментам с буроинъекционными сваями; - конструкции буроинъекционных свай усиления, чертежи арматурных каркасов; - технологические схемы устройства свай усиления (по усмотрению проектной организации); - технологические схемы линий подачи растворов; - технологические схемы коммуникаций; - рабочую документацию на устройство растворных узлов со схемами размещения рабочего оборудования. 2.3. Расчет буроинъекционных свай по несущей способности.2.3.1. При расчете несущей способности буронабивных свай следует руководствоваться требованиями главы СНиП 2.02.03-85 "Свайные фундаменты. Нормы проектирования" и настоящими «Рекомендациями». 2.3.2. При расчете буроинъекционных свай по прочности материала сваю следует рассматривать как упругий стержень с начальным прогибом, жестко защемленный в грунте в сечении, где модуль деформации грунта Е > 5 МПа. Учет продольного изгиба производится c использованием метода, предполагающего потерю устойчивости сваи в слабом грунте (Е < 5 МПа) по нескольким полуволнам, причем число полуволн зависит от соотношения жесткостей сваи и окружающего грунта и практически не зависит от вида заделки сваи в ростверк. 2.3.3. Метод расчета прочности ствола буроинъекционных свай предложен на основании и в развитие главы СНиП 2.03.01-84 "Бетонные и железобетонные конструкции. Нормы проектирования". Прочностные и деформационные характеристики твердеющих инъекционных растворов (мелкозернистых бетонов) следует определять в соответствии с "Рекомендациями по проектированию бетонных и железобетонных конструкций из мелкозернистого бетона" (письмо Госстроя СССР № НК-3388-1 от 1.07.1977г.). 2.3.4. При расчете бетонных и железобетонных свай по прочности материала на воздействие продольной сжимающей силы «N» помимо эксцентриситета, определяемого из статического расчета конструкций, должен приниматься во внимание случайный эксцентриситет «е0», обусловленный возможным искривлением скважины при бурении. Эксцентриситет «е0» определяется умножением относительного искривления оси сваи (Табл. 3.1) на расчетную длину полуволны ее изгиба «l0» (Табл. 3.2). 2.3.5. Расчет буроинъекционных свай по прочности материала выполняется в соответствии с требованиями раздела 3 главы СНиП 2.03.01-84, при этом значения коэффициента «h», учитывающего влияние прогиба на эксцентриситет продольного усилия «е», следует определять по формуле
где N - осевая сжимающая нагрузка на сваю; Nкр - условная критическая сила, определяемая по указаниям главы СНиП 2-25-75. 2.3.6. Несущая способность буроинъекционной сваи-стойки определяется в соответствии с п.5.4 главы СНиП 2.02.03-85. 2.3.7. Несущую способность висячей буроинъекционной сваи"Ф", работающей на осевую сжимающую нагрузку, следует определять по формуле Ф=m(mR RF+u mf1 f 1l1), где m - коэффициент условий работы свай в грунте, принимаемый равным 1; mR - коэффициент условий работы грунта под нижним концом сваи, принимаемый равным 1; R - расчетное сопротивление грунта под нижним концом сваи, принимаемое по СНиП 2.02.03-85; F - площадь опирания сваи, принимаемая равной: для свай без уширения - площади поперечного сечения ствола сваи, для свай с уширением - площади поперечного сечения уширения; u - периметр ствола сваи, определяемый по диаметру скважины, обсадной трубы или шнека; mf1 - коэффициент условий работы 1-го слоя грунта вдоль боковой поверхности ствола сваи; f1 - расчетное сопротивление 1-го слоя грунта на боковой поверхности ствола, принимаемое по данным лабораторных исследований; l1 - толщина 1-го слоя грунта, соприкасающегося с боковой поверхностью сваи. Таблица 3.1 Относительное искривление осей свай при различных способах проходки скважин
Таблица 3.2 Расчетные длины полуволн изгиба при потере устойчивости буроинъекционных свай
Таблица 3.3 Коэффициенты условий работы грунта mr
Примечания: 1. Модуль деформации слабых водонасыщенных глинистых грунтов определяют по данным компрессионных испытаний. 2. Модуль деформации просадочных грунтов определяют по данным компрессионных испытаний образцов, отбираемых по методике, изложенной в "Руководстве по лабораторному определению деформационных и прочностных характеристик просадочных грунтов", Москва, Стройиздат, 1975г. 3. Часть 2.3 подготовлена по материалам "Рекомендаций по применению буроинъекционных свай", Джантимиров Х.А., НИИОСП, г. Москва, 1984г. 4. Приведенный выше способ расчета буроинъекционных свай при проектировании усиления целесообразно использовать для ориентировочного определения несущей способности одиночных свай. Более детальный расчет, учитывающий влияние на несущую способность свай различных факторов, включая совместную работу свай в фундаменте, может быть выполнен с использованием разработанной в НИИОСП 2 для ПЭВМ типа IBM PC программы "BAZIS" (Д. Развадовский). 2.4. Особенности проектирования устройства буроинъекционных свай в слабых глинистых грунтахОсновные положения. 2.4.1. К слабым грунтам относятся насыщенные водой сильносжимаемые грунты, которые при обычных условиях передачи нагрузок на основание теряют свою прочность, вследствие чего уменьшается их сопротивление сдвигу и возрастает сжимаемость. Такими грунтами являются очень пористые глины, суглинки и супеси, имеющие показатель текучести I = 0.75. 2.4.2. Особенности проектирования и устройства буроинъекционных свай в слабых глинистых грунтах обуславливаются специфическими свойствами этих грунтов, а именно: - при сохранении природной структуры слабые глинистые грунты работают как твердое тело; в этом случае грунт характеризуется неконсолидированно-недренированными параметрами прочности и недренированным (разгрузочным) модулем деформации; - при нарушении природной структуры слабые глинистые грунты приобретают свойства вязкой жидкости; в этом случае грунт характеризуется мгновенными (проявляющимися в строительный период) неконсолидированно-недренированными характеристиками прочности перемятого грунта (пасты) и недренированным (разгрузочным) модулем деформации; - под длительно действующей нагрузкой слабые глинистые грунты претерпевают сдвиговую ползучесть; в зоне нарушения структурных связей возможно развитие во времени процессов фильтрационной консолидации. 2.4.3. Нарушение структуры слабых глинистых грунтов может произойти вследствие влияния таких техногенных факторов как: - изменение статической схемы работы массива грунта (дополнительное нагружение, устройство выработок); - динамические воздействия (от транспорта, оборудования, строительных машин); - технологические воздействия (вдавливание свай, устройство скважин, глубинное замораживание и т.д.). 2.4.4. Буроинъекционные сваи устраиваются для усиления грунтов основания и фундаментов реконструируемых и реставрируемых зданий и сооружений, деформации которых обусловлены развитием неравномерных осадок, либо для превентивного усиления грунтов основания и фундаментов зданий и сооружений, оказывающихся в зоне влияния строительных работ на соседних участках. 2.4.5. Основанием для выбора варианта усиления является геотехническое обоснование проекта. 2.4.6. При устройстве буроинъекционных свай в слабых грунтах следует соблюдать щадящие технологические режимы. Применение пневмопробойников, разрядно-импульсной и ударно-вращательной технологий и других технологий, оказывающих интенсивное динамическое воздействие на грунты вокруг скважины, не допускается. 2.5. Особые требования к инженерно-геологическим изысканиям и обследованию оснований, фундаментов и надземных конструкций зданий (сооружений), возведенных на слабых глинистых грунтах.2.5.1. Для слабых глинистых грунтов должны быть определены следующие дополнительные характеристики: - консистенция грунта ненарушенного сложения ( С); - неконсолидированно-недренированные параметры прочности грунта ненарушенного сложения и "грунтовой пасты"; - индекс чувствительности; - разгрузочный модуль деформации; - структурная прочность грунтов. 2.5.2. При проведении изысканий и обследования оснований зданий должно быть определено состояние грунтов непосредственно под подошвой фундаментов с помощью специальных зондов и крыльчаток. 2.5.3. Результаты обследования оснований, фундаментов и надземных конструкций здания должны содержать: - информацию о надземных конструкциях, характере их деформаций, фактическом состоянии и прочностных свойствах; оценку остаточной жесткости здания, а также дефицита или резерва несущей способности отдельных конструкций; - сведения о конструкции фундаментов, о состоянии и прочностных свойствах материала фундаментов, о наличии деревянных лежней и свай под подошвой фундаментов; - данные о наиболее вероятных причинах деформирования здания. 2.6. Требования к геотехническому обоснованию проекта2.6.1. Составными элементами геотехнического обоснования проекта усиления оснований и фундаментов являются: - расчетный анализ сложившейся геотехнической ситуации с оценкой величин накопленных осадок; - расчетный анализ реконструкционной ситуации с оценкой величины возможных дальнейших осадок и эффективности различных вариантов усиления; - совместный расчет системы "существующий фундамент-элементы усиления-основание" по 2 группам предельных состояний для выбранного варианта усиления. 2.6.2. Расчетный анализ сложившейся геотехнической ситуации должен содержать: - анализ фактического напряженно-деформированного состояния основания и здания; - оценку суммарной величины накопленных деформаций и роли различных факторов в осадке здания; - прогноз развития осадок здания. 2.6.3. При усилении аварийно-деформированного здания (сооружения) расчетный анализ реконструкционной ситуации должен включать: - анализ изменения напряженно-деформированного состояния основания при различных вариантах усиления грунтов основания и фундаментов; - определение эффективности мероприятий по усилению с оценкой возможности развития осадок после их проведения. 2.6.4. Для превентивного усиления грунтов основания и фундаментов здания (сооружения), оказавшегося в зоне влияния соседнего строительства, расчетный анализ реконструкционной ситуации должен включать: - определение зон влияния нового строительства или реконструкции на усиливаемый объект при различных конструктивных решениях и технологиях устройства фундаментов; - оценку необходимости усиления грунтов основания и фундаментов существующего здания и эффективности мероприятий усиления. 2.6.5. Совместный расчет системы "существующий фундамент-сваи усиления-основание" должен содержать: - определение несущей способности сваи по грунту с учетом сохранения природного сложения грунта или его нарушения (в зависимости от применяемой технологии бурения скважин); - определение несущей способности сваи по материалу ствола с построением эпюры моментов, нормальных и перерезывающих сил по длине сваи с учетом податливости грунта; - определение доли нагрузки, передаваемой на сваи и на подошву существующего фундамента; - оценку устойчивости стенок скважины при различных технологиях ее проходки и способах крепления; - оценку осадок усиленного фундамента при возможных внешних воздействиях. 2.6.6. В связи со сложностью и многофакторностью задач геотехнического обоснования, их решение рекомендуется осуществлять с привлечением численных методов, реализующих физически и геометрически нелинейные модели работы слабого глинистого грунта (Приложение). 2.6.7. Для расчета несущей способности свай по грунту, при соблюдении щадящих режимов их устройства, обеспечивающих сохранение природной структуры грунта вокруг скважины, допускается принимать консистенцию слабого глинистого грунта с учетом сохранения структурных связей (по С). 2.6.8. Определение несущей способности сваи по материалу ствола и усилий по длине сваи с учетом ее совместной работы с массивом грунта, определение доли нагрузки, передаваемой на сваи и на подошву существующего фундамента, а также оценку возможных осадок усиленного фундамента рекомендуется выполнять с использованием упруго-пластической модели среды, построенной в мере малых деформаций (Приложение). 2.6.9. Оценку устойчивости стенок скважины при различных технологиях ее проходки и способах крепления рекомендуется выполнять с использованием упруго-пластической модели среды, построенной в мере больших деформаций и учитывающей зависимость деформационных и прочностных характеристик слабого глинистого грунта от степени нару3ения структурных связей (Приложение). 2.7. Особые требования к проектированию усиления на слабых глинистых грунтах2.7.1. При проектировании усиления существующих фундаментов зданий (сооружений) на слабых глинистых грунтах буроинъекционными сваями особое внимание следует уделять обеспечению равных осадок здания во всех его частях. Усиление части фундаментов сваями, опирающимися нижними концами на плотные, малосжимаемые грунты при наличии под подошвой другой части фундаментов сильносжимаемого основания недопустимо. 2.7.2. При усилении фундаментов на слабых глинистых грунтах следует, как правило, применять сваи, прорезающие толщу слабых грунтов и опирающихся на плотные, малосжимаемые грунты. При наличии над кровлей слабых грунтов толщи отложений с лучшими строительными свойствами целесообразно рассмотреть вариант усиления основания буроинъекционными сваями, основанными в этих слоях. ГЛАВА 3. ПРОИЗВОДСТВО РАБОТ ПО УСИЛЕНИЮ ОСНОВАНИЙ И ФУНДАМЕНТОВ3.1. Материалы для изготовления буроинъекционных свай и составы растворов3.1.1. Материалы, применяемые для изготовления буроинъекционных свай, должны удовлетворять требованиям действующих нормативных документов на бетонные и железобетонные конструкции, а также вяжущие материалы неорганические и добавки для бетонов и растворов. 3.1.2. Для приготовления растворов и мелкозернистых бетонов применяются: - цемент, соответствующий заданной марке раствора (бетона), агрессивности среды, требуемому сроку схватывания (не менее 2 часов). Применяемые цементы должны соответствовать ГОСТу; - бентонитовый глинопорошок (ТУ 39-01-08-658-81) в качестве пластифицирующей добавки в растворы; - песок, мелко- и среднезернистый крупностью не более 1.0 мм в качестве инертного заполнителя в растворах (мелкозернистых бетонах); - пластификаторы (С-3, С-4 и т.п.). 3.1.3. Подбор состава растворов (мелкозернистых бетонов) при устройстве буроинъекционных свай выполняется лабораторией в соответствии с заданной маркой раствора и условиями строительства. 3.1.4. Для устройства буроинъекционных свай используются различные типы растворов (мелкозернистых бетонов), применяемые в зависимости от условий строительства и характера работы свай в конструкции. К ним относятся цементно-песчаные, цементно-бентонитовые и цементные растворы. В необходимых случаях возможно также применение растворов других специальных составов. 3.1.5. При применении цементно-песчаных растворов рекомендуются, например, следующие соотношения компонентов по составу - цемент: песок: вода для раствора М200 по весу находятся в пределах 1.0:(1.0-1.5):(0.4-0.7). Так, расход материалов на 1м3 раствора составляет: цемента М400 - 705 кг, песка 830 кг, воды 460 л при соотношении компонентов 1.0:1.18:0.65. 3.1.6. Для цементно-бентонитовых растворов рекомендуемое соотношение компонентов по составу - цемент:бентонит:вода находится в пределах 1.0:(0.03-0.05):(0.4-0.7). При таких соотношениях расход материалов на 1 м3 раствора М200 составит: цемента М400 -1080 кг, бентонитового глинопорошка - 33 кг, воды 650 л, при соотношении компонентов 1.0:0.03:0.6. 3.1.7. Растворы, применяемые для изготовления буроинъекционных свай, должны иметь плотность по ареометру АГ-2 в пределах 1,95-2,07 кг (см3, подвижность по конусу АзНИИ 13-17см и водоотделение не более 2%. 3.1.8. Прочность растворов (мелкозернистых бетонов) по испытаниям стандартных кубиков размером 7×7×7 см при нормальных условиях вызревания должна быть не менее 15 МПа в 7-ми дневном возрасте и 30 МПа в 28-дневном. 3.1.9. Глинистый (бентонитовый) буровой раствор для заполнения скважин при бурении в несвязных и слабых грунтах должен иметь состав, удельный вес и другие показатели, обеспечивающие устойчивость стенок скважин от оплывания и обручения. Удельный вес глинистого раствора следует принимать равным 1,05-1,15 гс/см3. 3.2. Технология производства работ.А. Укрепительная цементация. 3.2.1. Выполнение работ по укрепительной цементации кладки существующих фундаментов, прежде всего в случае использования их в дальнейшем в качестве ростверков буроинъекционных свай, обычно предшествует устройству свай. В этом случае цементационные скважины могут быть совмещены полностью или частично со скважинами для устройства буроинъекционных свай. В ряде случаев, однако, укрепительная цементация является самостоятельным конструктивным элементом усиления существующих фундаментов и может выполняться с как без армирования цементационных скважин, так и с армированием. 3.2.2. Технологический цикл цементационно-укрепительных работ обычно включает бурение в грунте или теле существующих фундаментов инъекционных скважин, цементацию кладки фундаментов и контакта "фундамент-грунт", опрессовку скважин (рис10).
Рис. 10 3.2.3. Бурение цементационных скважин выполняется пневмоударными буровыми станками или станками колонкового бурения с продувкой сжатым воздухом. Диаметр скважин назначается в зависимости от условий работы, состояния кладки усиляемого фундамента и его размеров и обычно находится в пределах 76-112 мм. 3.2.4. При усилении существующих фундаментов цементация выполняется, как правило, в два или три этапа. На первом этапе бурится скважина в пределах усиляемого фундамента и в ней, устраивается или устанавливается кондуктор. Материал и конструкция кондуктора определяется проектом в зависимости от типа и состояния усиляемого фундамента, а также назначением самого реставрируемого или реконструируемого здания. Этот этап не является обязательным и может быть исключен из технологического цикла цементации, если позволяют условия усиления. На втором этапе через кондуктор, при его устройстве, бурится скважина в пределах усиляемого фундамента, не доходя до его подошвы 0,5 м. Скважина заполняется цементационным раствором. После заполнения скважины, в ее устье устанавливается тампон (обтюратор) и производится цементация кладки фундамента под давлением 0,1-0,2 МПа. По окончании цементации скважина выдерживается в течение 1,5-2 суток. На третьем этапе производится повторное разбуривание ствола скважины и тела фундамента до его подошвы и далее, на 0,4-0,5 м, в грунт, после чего цементируется контакт "фундамент-грунт". В этом случае тампон разжимается в кладке фундамента, на уровне 0,5 м выше подошвы. Давление нагнетания раствора при цементации контакта "фундамент-грунт" находится в пределах 0,2-0,4 МПа. 3.2.5. За отказ нагнетания принимается расход цементационного раствора 1л/мин в течение 10 мин при соответствующем давлении нагнетания. При поглощении скважиной объема раствора, превышающего 10-ти кратный объем цементационной скважины без давления цементация должна быть прекращена и скважина выдержана в течение 1,5-2 суток. Затем цементация может быть продолжена до отказа скважины. 3.2.6. Вид и состав цементационных растворов зависит от конструкции, материала, состояния усиляемых фундаментов, инженерно-геологических и гидрогеологических условий площадки строительства и в каждом конкретном случае параметры растворов должны подбираться лабораторией. Б. Устройство буроинъекционных свай. 3.2.7. Технологический цикл устройства буроинъекционных свай включает бурение кладки фундаментов и, в случае необходимости, стен и других конструктивных элементов усиляемых зданий и сооружений, установку кондукторов, бурение скважин в грунте до проектной отметки, заполнение скважин твердеющим раствором, установку в них арматурных каркасов и опрессовку скважин. 3.2.8. Бурение скважин в пределах конструкций усиляемого здания выполняется диаметром, позволяющим устанавливать в них кондукторы, внутренний диаметр которых больше или равен расчетному диаметру буроинъекционных свай. 3.2.9. Бурение скважин выполняется станками пневмоударного или колонкового бурения, в зависимости от типа и состояния существующих фундаментов (конструкций) и типа разбуриваемых грунтов по длине стволов свай. При проходке неустойчивых, обводненных грунтов бурение ведется с использованием проходных шнеков при закрытом нижнем конце бурового става теряемым башмаком или с промывкой скважин глинистым (бентонитовым) раствором, а также под защитой обсадных труб, остающихся в конструкции свай после их изготовления или извлекаемых. 3.2.10. Кондукторы, используемые при устройстве буроинъекционных свай могут быть инвентарными и теряемыми и устанавливаться в скважины с открытым или закрытым нижним концом. При применении теряемых кондукторов с открытым нижним концом заполнение скважины под кондуктор выполняется цементным раствором до излива его из устья скважины. Подача раствора в скважину осуществляется через рабочий орган бурового станка или трубу-инъектор, опущенную до забоя скважины. 3.2.11. При понижении уровня раствора в скважине под кондуктор более чем на 1,0 м, скважина выдерживается в течение суток и затем доливается до устья цементным раствором с меньшим В/Ц. После заполнения скважины раствором, до начала его схватывания, в скважину устанавливается кондуктор. 3.2.12. Разбуривание цементного камня в кондукторе следует производить не ранее чем через двое суток после его установки. Бурение ведется с продувкой сжатым воздухом. По окончании разбуривания цементного камня в кондукторе производится бурение скважины до проектной отметки нижнего конца сваи по принятой в проекте технологии. 3.2.13. Отклонения от заданного в проекте угла бурения скважины не должно превышать ±2о. Отклонения от проектных параметров по длине сваи не должны превышать ±30 см. 3.2.14. При бурении с использованием проходных шнеков, по достижении проектной отметки забоя, скважина заполняется твердеющим раствором через буровой став, при этом теряемый наконечник отсоединяется от бурового става и по мере заполнения скважины твердеющим раствором буровой став извлекается. 3.2.15. При бурении с "промывкой", по достижении проектной отметки забоя, скважина через буровой став промывается свежим буровым раствором от шлама в течение 3-5 мин. 3.2.16. Заполнение скважины твердеющим (цементным или другим) раствором производится через буровой став или специальную трубу-инъектор от забоя скважины снизу вверх до полного вытеснения глинистого раствора из скважины и появления в ее устье чистого раствора. 3.2.17. Непосредственно после заполнения скважины твердеющим раствором в нее устанавливается арматурный каркас. Его опускают в скважину, как правило, отдельными секциями, длина которых зависит от условий изготовления буроинъекционных свай. Стыковка отдельных секций каркаса производится сваркой. 3.2.18. После установки в проектное положение армокаркаса и при отсутствии утечек раствора из скважины (снижение уровня раствора в скважине не более чем на 0.5 м) производится опрессовка скважины. Для опрессовки в устье кондуктора устанавливается тампон (обтюратор) с манометром и через него производится нагнетание раствора под давлением 0,2-0,3 МПа в течение 3-4 мин. Опрессовка может быть прекращена, если расход раствора в процессе опрессовки не превысил 200 л. При большем расходе раствора необходимо произвести выстойку сваи в течение суток, после чего опрессовку повторить. 3.2.19. Виды и составы твердеющих растворов, применяемых при изготовлении буроинъекционных свай, зависят от условий применения свай и в каждом конкретном случае подбираются лабораторией. 3.2.20. Устройство буроинъекционных свай должно производиться в строгой технологической последовательности, которая должна быть отражена в проекте производства работ (ППР). Ведение работ по устройству буроинъекционных свай без ППР не допускается. 3.2.21. Проект производства работ должен включать: - рабочие чертежи узла приготовления твердеющих растворов; - рабочие чертежи узла приготовления глинистого (бентонитового) раствора, включая узел регенерации; - чертежи технологических трубопроводов для подачи твердеющего и глинистого растворов от узлов приготовления к месту работ; - технологические карты на выполнение всех видов работ; - перечень мероприятий по технике безопасности с разработкой схем перемещения оборудования на площадке и, в случае необходимости, временного (противоаварийного) крепления конструкций усиляемого объекта; - перечень мероприятий по обеспечению производства работ в зимнее время года. Учитывая, что технология производства работ может представлять собой "know-how" фирмы, выполняющей работы по усилению, допускается разработка ППР только для служебного пользования, без предоставления "Заказчику". 3.2.22. Оборудование, применяемое при производстве работ по цементации и устройству буроинъекционных свай, включает буровые станки различных типов, специальные растворосмесительные установки, насосы для перекачки твердеющих и буровых растворов, установки для очистки и регенерации буровых растворов и другое специальное оборудование, подбор и комплектация которого зависит от поставленной проектом усиления задачи и возможностей фирмы-производителя работ. Такое оборудование производится в России и зарубежом. 3.3. Контроль качества работ.3.3.1. На каждом этапе ведения работ по укрепительной цементации и устройству буроинъекционных свай осуществляется соответствующий контроль качества работ, со способами проведения которого должны быть ознакомлены как непосредственные исполнители работ, так и представители авторского и технического надзора. 3.3.2. В процессе производства работ должны вестись журналы работ по форме, приведенной в Приложениях 1 и 2. 3.3.3. В процессе производства работ представители авторского надзора должны контролировать соответствие технологии ведения работ требованиям проекта и, кроме того: - планово-высотную привязку скважин; - диаметр, длину, угол наклона скважины под кондуктор; - материал, диаметр, угол наклона установки в скважину кондуктора, соответствие его длины проектной, качество заполнения затрубного пространства при установке кондуктора твердеющим раствором; - глубину, диаметр, угол наклона скважины под ствол сваи; - соответствие грунтов основания по длине ствола и в плоскости нижнего конца сваи принятым в проекте; - глубину погружения армокаркаса в скважину, качество сварных стыков; - качество приготовления и расход твердеющего раствора при заполнении скважин; - давление и продолжительность опрессовки; - наличие отказа скважины. 3.3.4. В ряде случаев, по усмотрению проектной организации, в процессе производства работ и последующей эксплуатации, производится геодезический контроль за величинами и характером осадок усиляемого объекта. Наблюдения ведутся по специально разработанной программе, которая может включать наблюдения как за вертикальными, так и горизонтальными перемещениями усиляемого объекта в целом и отдельными его конструктивными элементами. 3.3.5. В наиболее ответственных случаях в процессе производства работ применяются специальные методы контроля качества работ - ультразвуковые и радиометрические. Работы по контролю качества данными методами осуществляются по специальной программе привлекаемыми специализированными организациями. 3.4. Статические испытания буроинъекционных свай.3.4.1. Необходимость проведения статических испытаний опытных буроинъекционных свай устанавливается проектной организацией, разрабатывающей проект усиления (10). 3.4.2. Целью проведения статических испытаний опытных буроинъекционных свай является определение несущей способности свай в конкретных геологических условиях, а также уточнение по результатам испытаний их проектных параметров. 3.4.3. Статические испытания должны проводиться в соответствии с требованиями ГОСТ (16). Испытаниям подлежат до 1% свай от их общего количества на объекте, но не менее двух в одинаковых грунтовых условиях. При существенном изменении геологических и гидрогеологических условий в пределах площадки строительства испытания опытных свай необходимо производить в наиболее неблагоприятных условиях. 3.4.4. Проведение статических испытаний опытных свай допускается производить после набора бетоном стволов свай прочности равной 70% расчетной, но не ранее 28 дней после их изготовления. 3.4.5. Включение опытных (испытываемых) свай в число рабочих допускается лишь в том случае, если сваи испытываются в конструкции усиляемого фундамента. Предпочтительнее производить испытания специально изготовленных опытных свай, не включаемых в число рабочих. 3.4.6. Несущая способность опытной сваи по грунту и ее нормативное сопротивление определяются в соответствии с требованиями нормативных документов. 3.4.7. Документация на проведение статических испытаний опытных буроинъекционных свай должна содержать: - техническое задание, разрабатываемое проектной организацией; - рабочую документацию с проектом опытных свай; - план площадки строительства с указанием на нем местоположения опытных свай; - проект производства работ по устройству опытных свай. 3.4.8. Отчетная документация по проведению статических испытаний опытных буроинъекционных свай должна включать: - программу проведения испытаний; - отчет по результатам испытаний, включающий графики "нагрузка-осадка" и "время-осадка", а также заключение о несущей способности опытных свай по грунту и рекомендации по расчетным нагрузкам на рабочие сваи при определенных их длинах и диаметрах; - другие характеристики (в соответствии с программой испытаний), например, начальный коэффициент жесткости Ск, Н/м. Глава 4. Проектирование и производство работ по укреплению несущих конструкций реставрируемых и реконструируемых зданий инъекционными методами.4.1.1. Целесообразность выполнения инъекционного укрепления несущих конструкций объекта определяется состоянием кладки усиляемой конструкции, включая прочность материала кладки, связующего раствора, армирующих элементов, наличие пустот и трещин в кладке, а также действующими и проектируемыми нагрузками на эти конструкции. 4.1.2. Инъекционные методы укрепления несущих конструкций включают: - инъекционное укрепление кирпичной или каменной кладки усиляемых конструкций инъекционными твердеющими составами (растворами), имеющее целью заполнение имеющихся в кладке пустот и трещин, придание кладке монолитности и, в конечном счете, повышение несущей способности материала кладки. В необходимых случаях инъекционное укрепление кладки может быть выполнено с армированием инъекционных шпуров; - инъекционное укрепление несущих конструкций анкерами (нагелями) и устройство скрытого каркаса. 4.2. Проектирование инъекционного укрепления несущих конструкций.4.2.1. Инъекционное укрепление несущих конструкций реконструируемых или реставрируемых объектов включает усиление стен, арок и сводов (перекрытий), колонн и столбов (рис. 11, 12).
Рис. 11 4.2.2. Проектированию инъекционного укрепления несущих конструкций усиляемого объекта должно предшествовать детальное инженерно-конструкторское обследование его несущих элементов. Обследование должно выполняться по индивидуальной для каждого объекта программе. По ходу обследования и в процессе производства работ программа обследования может уточняться. Степень детализации обследований зависит от размеров объекта, его конструктивной сложности и общего состояния. 4.2.3. При проведении обследования обязательным является определение прочности элементов кладки, состава связующего раствора, степень коррозии армирующих металлических элементов (внутристенных и воздушных связей) состояние их стыков-соединений. Количество и порядок отбора проб и образцов для выполнения лабораторных исследований устанавливается в соответствии с программой и требованиями действующих нормативных документов на исследования образцов строительных материалов. 4.2.4. Инъекционное укрепление несущих конструкций существующих зданий и сооружений рекомендуется выполнять в следующих случаях: - стабилизация деформаций несущих конструкций, вызванных осадками зданий и сооружений и повлекших за собой потерю сплошности кладки с образованием трещин и пустот, потерю прочности или разрывы армирующих элементов (выполняются после стабилизации осадок); - восстановление прочности материала несущих конструкций; - увеличение прочности конструктивных несущих элементов зданий и сооружений при увеличении в ходе реконструкции или реставрации нагрузок на них; - при изменении в ходе реконструкции или реставрации конструктивной схемы объектов, вызывающей изменение или перераспределение действующих нагрузок в отдельных конструктивных элементах или объекте в целом; - увеличение прочности конструктивных несущих элементов или узлов реставрируемых объектов с использованием современных строительных материалов и конструкций.
Рис. 12 4.2.5. Проектирование инъекционного усиления несущих конструкций должно включать должно определение характера усиления, расчет количества, диаметра, длины, углов наклона (входа) инъекционных шпуров в кладку, подбор материалов и определение параметров инъекционных растворов, характера армирования инъекционных скважин, разработку технологической схемы усиления и определение объемов работ. 4.2.6. Проектирование инъекционного усиления производится на стадии "рабочие чертежи". 4.2.7. Расчетные параметры инъекционных шпуров и скважин под анкера (диаметр и длина) назначаются по результатам обследования несущих конструкций. 4.2.8. Количество инъекционных шпуров и необходимость их армирования определяется на основании расчетов прочности армированных кирпичных и каменных кладок в соответствии с требованиями СНиП, результатов проведения опытных инъекционных работ на усиляемых элементах объекта или конструктивно, на основе обобщенных данных предыдущих работ и опыта конструктора-проектировщика. 4.2.9. Анкера при инъекционном укреплении несущих конструкций обычно проектируются двух типов: фиксирующие (анкера трения) и натяжные. Армирование фиксирующих анкеров определяется в зависимости от условий работы анкера в усиляемой конструкции расчетом в соответствии с требованиями СНиП или назначается конструктивно. Армирование натяжных анкеров определяется расчетом с учетом прочностных характеристик материалов конструкций, в которых устанавливаются анкеры и в зависимости от конструкции таких анкеров и передаваемых на них усилий. Расчеты производятся в соответствии с требованиями соответствующих глав СНиП. 4.2.10. Инъекционные шпуры и анкеры армируются одиночными арматурными, в том числе полыми, стержнями, металлическими трубами, пространственными каркасами, стальными тросами или жесткой арматурой из прокатных профилей. 4.2.11. При армировании инъекционных шпуров и анкерных скважин предпочтительно применение не ржавеющих металлов. При применении рядовой стальной арматуры проектом должны быть предусмотрены мероприятия по защите арматуры от коррозии. 4.2.12. Арматура инъекционных шпуров или анкеров должна иметь фиксирующие элементы-фиксаторы, центрирующие ее в скважине. Расстояние между фиксаторами по длине каркаса не должно быть более 10 диаметров шпура или скважины. 4.2.13. Конструкция сварного стыка рабочей арматуры каркасов анкеров должна обеспечить его равнопрочность и удобство производства работ по инъектированию раствора в скважину. 4.2.14. Рабочая документация по инъекционному укреплению несущих конструкций должна включать: - заглавный лист проекта с таблицей состава проекта, ведомостями объемов работ и потребных материалов, пояснениями к проекту; - план инъекционных скважин на развертках усиляемых элементов (стен, сводов, столбов); - сечения (разрезы) усиляемых конструкций; - технологические схемы инъекции; - технологические схемы линий подачи растворов. 4.3. Производство работ по инъекционному укреплению несущих конструкций.Требования к материалам для приготовления инъекционных растворов и их характеристикам. 4.3.1. Материалы, применяемые для приготовления инъекционных растворов, должны удовлетворять требованиям нормативных документов на проектирование инъекционных растворов, бетонных и железобетонных конструкций. Подбор составов инъекционных растворов и их параметров осуществляется в каждом конкретном случае лабораторией. Составы инъекционных растворов представляют собой, как правило, предмет изобретений и патентов и являются интеллектуальной собственностью авторов их разработки. 4.3.2. Прочность растворов должна удовлетворять требованиям проекта и соответствовать прочности усиляемых конструкций. Технология производства работ. 4.3.3. Технологический цикл инъекционного укрепления несущих конструкций включает бурение в усиляемом элементе конструкции инъекционных шпуров и скважин, армирование их в случае необходимости, заполнение скважин инъекционном раствором, опрессовку. 4.3.4. Бурение инъекционных шпуров выполняется ручными пневматическими или электрическими перфораторами с продувкой воздухом, диаметром 30-50 мм. Бурение скважин под анкеры выполняется специальными буровыми станками колонкового или пневмоударного бурения. Диаметры скважин назначаются в зависимости от условий работы анкера в конструкции, состояния кладки усиляемого элемента и обычно не превышают 112 мм. 4.3.5. При разбуривании шпуров в лицевых кладках начальное бурение, на длину 100-150 мм, ведется с использованием кольцевых коронок, позволяющих сохранить керн разбуриваемого материала и использовать его по окончании инъекционных работ для восстановления лицевой поверхности кладки. 4.3.6. При разбуривании шпуров, входящих в кладку усиляемого элемента конструкции под определенным углом наклона, необходимо применение специальных шаблонов, обеспечивающих минимальные отклонения шпуров от проектных положений и фиксирующих буровой инструмент в конкретной точке бурения. 4.3.7. По окончании бурения шпуров или скважин они должны быть тщательно очищены от бурового шлама продувкой сжатым воздухом или, в отдельных случаях, определяемых проектом, промывкой водой или специальными растворами. 4.3.8. Инъекционные шпуры и скважины выполняются сквозными или глухими. В последнем случае недобур, как правило, составляет 50-100 мм. 4.3.9. По окончании бурения и очистки шпура, он заполняется через инъекционной трубку твердеющим раствором от забоя до излива раствора из устья, в случае необходимости армируется. При этом арматурный стержень должен быть втоплен в кладку усиляемой конструкции не менее чем на 50 мм. Затем в устье шпура устанавливается обтюратор и шпур опрессовывается под давлением 0,1-0,15 МПа. За отказ нагнетания принимается расход инъекционного раствора равный 1 л/мин в течение 10 мин при соответствующем давлении нагнетания. 4.3.10. При устройстве фиксирующих анкеров после очистки скважины в нее устанавливается арматурный каркас, втопленный в кладку не менее чем на 100 мм, инъекционная трубка и производится заполнение скважины твердеющим раствором от забоя до выхода раствора из скважины. После заполнения скважины раствором в ее устье устанавливается обтюратор и производится опрессовка скважины. Давление опрессовки - не более 0,2 МПа. За отказ нагнетания принимается расход инъекционного раствора равный 1л/мин в течение 10 мин при соответствующем давлении нагнетания. 4.3.11. При усилении конструкций, имеющих лицевые поверхности, после опрессовки в устье шпура или скважины, для восстановления первоначальной поверхности, устанавливается на растворе выбуренный ранее керн материала кладки. 4.3.12. При устройстве натяжных анкеров после очистки скважины в нее устанавливается манжетная колонна с пакером и через нее в скважину подается раствор для формирования корня анкера. После твердения раствора производится натяжение анкера с помощью гидродомкрата или натяжной гайки на проектное усилие и затем свободный объем скважины заполняется раствором. Давление, создаваемое при формировании корня анкера должно соответствовать прочности материала усиляемого элемента конструкции. 4.3.13. Технологическая последовательность производства работ по инъекционному укреплению несущих конструкций должна быть отражена в проекте производства работ (ППР). 4.3.14. Проект производства работ должен включать: - схему расположения узла для приготовления инъекционных растворов на строительной площадке; - схему технологических трубопроводов для подачи раствора к месту производства работ; - технологические карты на выполнение всех видов работ; - мероприятия по технике безопасности со схемами перемещения оборудования, установки лесов и, в случае необходимости, временного крепления усиляемых конструкций. 4.3.15. Работы по инъекционному укреплению несущих конструкций допускается производить только при положительных среднесуточных температурах наружного воздуха или при гарантированном обеспечении положительных температур в зоне производства работ на все время их проведения, включая сроки твердения инъекционных растворов. Глава 5. Приемка работ.5.1. Цементационные работы и устройство буроинъекционных свай.5.1.1. Приемка выполненных работ по цементации и изготовлению буроинъекционных свай должна производиться на отдельных захватках (зонах) объекта по очередям выполнения по мере завершения работ до срубки голов и заделки свай в ростверк. 5.1.2. Приемка выполненных работ должна производиться на основании следующих документов: - проекта свайных фундаментов; - актов приемки материалов; - актов лабораторных испытаний контрольных бетонных образцов (кубиков), изготовленных на площадке строительства; - акта и заключения по проведенным статическим испытаниям опытных свай (если такие испытания предусмотрены проектом); - плана фактического расположения свай с привязкой к разбивочным осям; - исполнительной схемы расположения осей выполненных буроинъекционных свай с указанием отклонений от проектного положения в плане, фактических углов наклона и результатов нивелировки голов свай; - актов на скрытые работы; - журналов цементации и изготовления буроинъекционных свай. (Приложениях 1 и 2). 5.1.3. При приемке изготовленных буроинъекционных свай должно проверяться соответствие выполненных работ требованиям проекта, нормативных документов, указаниям авторского надзора и настоящих "Рекомендаций". 5.1.4. Приемка оформляется актом, в котором должны быть отмечены все выявленные дефекты и предусмотрены способы их устранения. 5.2. Инъекционные работы и устройство анкеров.5.2.1. Приемка выполненных работ по инъекции кирпичных и каменных кладок усиляемых конструктивных элементов реставрируемых и реконструируемых зданий и сооружений должна производиться на отдельных участках или элементах объекта по очередям выполнения по мере их завершения до начала отделочных работ. 5.2.2. Приемка выполненных работ должна производиться на основании следующих документов: - проекта инъекционных работ или устройства анкеров; - актов приемки материалов; - актов лабораторного анализа инъекционного раствора, изготовленного на площадке строительства; - актов лабораторных испытаний контрольных образцов твердеющего раствора, изготовленных на площадке строительства при устройстве анкеров; - исполнительной схемы расположения инъекционных шпуров или скважин под анкеры с указанием отклонений от проектного положения на развертках усиляемых элементов и в плане, соответствие фактических углов наклона шпуров и скважин проектному; - журнала инъекционных работ и устройства анкеров (Приложение); 5.2.3. При приемке инъекционных работ и устройства анкеров должно проверяться соответствие выполненных работ положениям проекта, указаниям авторского надзора и требованиям настоящих "Рекомендаций". 5.2.4. Приемка оформляется актом, в котором должны быть отмечены все выявленные дефекты и предусмотрены способы их устранения. Глава 6. Техника безопасности производства работ.6.1.1. При производстве работ по цементации, устройству буроинъекционных свай и анкеров, а также выполнению инъекционных работ должны соблюдаться общие правила по технике безопасности для работы на буровых, компрессорных, гидравлических и электрических установках, для общестроительных и горных работ, включая работы, производимые с лесов, предусмотренные соответствующими главами СНиП (21). 6.1.2. Свайные работы должны осуществляться под руководством производителя работ или мастера. 6.1.3. К производству работ допускаются рабочие, прошедшие обязательное медицинское освидетельствование, обученные профессиям буровиков и такелажников, прошедшие курсы по технике безопасности работ, сдавшие экзамены квалификационной комиссии и имеющие соответствующие удостоверения. 6.1.4. При работе бурового станка зона, ограниченная полуокружностью, радиус которой равен полной длине используемых буровых штанг плюс 2 м, считается опасной зоной. Площадки для складирования материалов, армокаркасов и приготовления растворов также относятся к опасным зонам. Границы опасных зон должны быть обозначены хорошо видимыми предупредительными знаками и надписями. 6.1.5. В опасной зоне запрещается: - выполнять работы, не имеющие непосредственного отношения к проводимому технологическому процессу; - находиться лицам, не имеющим отношения к выполняемым работам. 6.1.6. Перед началом производства работ ответственный за их выполнение (прораб, мастер) должен проверить состояние площадки (электроосвещение, расположение коммуникаций, электросиловых линий и т.п.) и установить соответствие их состояния проекту производства работ. О всех случаях несоответствия следует составить акт и поставить в известность начальника участка или главного инженера генподрядной организации. 6.1.7. Освещение площадки (рабочих мест) при производстве работ должно быть равномерным и не менее 50 лк (30 в на 1 м2). 6.1.8. Для обеспечения безопасной работы на передвижных компрессорах и с пневматическими перфораторами должны соблюдаться следующие требования: - воздушные компрессоры на обоих ступенях сжатия необходимо оборудовать манометрами и предохранительными клапанами, на которых должны быть установлены пломбы; - не допускать работу компрессора при давлении, превышающем предельное для данного типа компрессора; - запрещается во время работы натягивать и перегибать рукава пневмоинструмента. 6.1.9. Металлические части буровых станков и механизмов с электроприводом должны быть заземлены. В нерабочее время электропривод бурового станка - отключен от электросети. 6.1.10. При замеченных неисправностях какого-либо агрегата бурового станка, последний должен быть немедленно остановлен и приняты меры по устранению неисправностей. Чистка, смазка и ремонт механизмов бурового станка во время его работы запрещается. 6.1.11. Во время работы буровых станков запрещается: - переключать скорости лебедки и вращателя, а также переключать вращение с лебедки на вращатель и обратно до полной их остановки; - заклинивать рукоятки управления машин и механизмов; - пользоваться патронами шпинделя с выступающими головками зажимных болтов; - производить замер вращающейся штанги или ведущей трубы. 6.1.12. Во время спуско-подъемных операций запрещается: - работать на лебедке с неисправным тормозом; - спускать буровые штанги с недовернутыми резьбовыми соединениями; - производить посадку кондукторов в скважину забивкой без деревянной прокладки. 6.1.13. При кратковременных остановках бурения необходимо поднять буровой став на высоту, исключающую возможность их прихвата. 6.1.14. Удлинение рукояток трубных ключей может быть произведено путем плотного надевания на них бесшовных патрубков, не имеющих каких-либо повреждений. Длина сопряжений должна быть не менее 0,2 м. Общая длина плеча не должна превышать 2 м. 6.1.15. Перед заполнение скважин твердеющим раствором при цементации, устройстве буроинъекционных свай, анкеров и инъекции должна быть проверена исправность предохранительных клапанов и манометров, а вся система (насосы, трубопроводы, шланги, обтюраторы и т.п.) опрессована на полуторное расчетное максимальное давление, необходимое при производстве работ, но не выше максимального рабочего давления, предусмотренного техническим паспортом оборудования. 6.1.16. При производстве работ с лесов, конструкция последних должна предусматривать возможность выполнения работ на них соответствующим буровым оборудованием. 6.1.17. Леса должны быть надежно закреплены к стенам реконструируемого или реставрируемого здания (сооружения) по всей высоте. Произвольное снятие креплений лесов не допускается. 6.1.18. При совпадении мест крепления лесов с проемами леса следует крепить накладными устройствами через проем. Если по условиям реставрации крепление лесов к стенам памятника невозможно, то устойчивость лесов обеспечивается постановкой контрфорсов, дополнительных горизонтальных и вертикальных связей. 6.1.19. Скопление людей на лесах в одном месте не допускается. 6.1.20. Стойки лесов, расположенные у подъездов и в местах подъема груза, должны быть защищены от возможных ударов транспортными средствами. 6.1.21. Увеличивать вылет консольного свеса щитов настила не допускается. 6.1.22. Во время грозы и при ветре более 6 баллов буровые работы на лесах запрещаются. 6.1.23. Для защиты людей от электрических разрядов во время грозы леса должны иметь молниеприемники и надежное заземление. 6.1.24. Запрещаются работы на лесах, не очищенных от снега. 6.1.25. Для обеспечения пожарной безопасности деревянные элементы лесов (щиты, бортовые доски) должны быть антипирированы установленными составами. Приложение 1
|
|||||||||||||||||||||||||||||||||||||||||||||||||||||||||||||||||||||||||||||||||||||||||||||||||||||||||||||||||||||||||||||||||||||||||||||
|
Начало 1. Тип бурового станка. 2. Способ бурения 3. Тип усиленного фундамента. 4. Материал усиленного фундамента |
5. Марка и вид цемента 6. Состав инъекционного раствора, соотношение компонентов. 7. Состав бурового раствора. 8. Способ инъекции (через буровой став или инъекционную трубку) |

Примечания:
1. В графе 26, кроме других примечаний, необходимо указывать условия производства работ (работы ведутся внутри помещения или вне его, температура наружного воздуха, осадки и т.п.)
2. Неиспользованные графы прочеркнуть.
Исполнитель ______________________(подпись)
1. П.А. Коновалов "Основания и фундаменты реконструируемых зданий", М., Стройиздат, 1988.
2. Э.М. Гендель "Инженерные работы при реставрации памятников архитектуры", М., Стройиздат, 1980.
3. В.К. Соколов "Реконструкция жилых зданий", М., Стройиздат, 1986.
4. В.Н. Кутуков "Реконструкция зданий", М., "Высшая Школа", 1981.
5. "Рекомендации по применению буроинъекционных свай", М., НИИОСП, 1984.
7. "Основания и фундаменты". Справочник строителя под ред. М.И. Смородинова, М., Стройиздат, 1983.
8. Егоров А.И., Львович Л.Б., Мирочник Н.С. "Опыт проектирования и строительства фундаментов из буроинъекционных свай", "Основания, фундаменты и механика грунтов", 1982, № 6, стр. 18-21.
9. Е.М. Пашкин, Г.Б. Бессонов "Диагностика деформации памятников архитектуры", М., Стройиздат, 1984.
10. Г.Т. Попов, Л.Я. Бурак "Техническая экспертиза жилых зданий старой постройки", Л-д, Стройиздат, 1986.
11. С.Н. Сотников, В.Г. Симагин, В.П. Вершинин "Проектирование и возведение фундаментов вблизи существующих сооружений", М., Стройиздат, 1986.
12. И.А. Физдель "Дефекты в конструкциях, сооружениях и методы их устранения", М., Стройиздат, 1987.
13. С.С. Подъяпольский, Г.Б. Бессонов, Л.А. Беляев, Т.М. Постникова "Реставрация памятников архитектуры", М., Стройиздат, 1988.
14. "Свайные работы". Справочник строителя под ред. М.И. Смородинова, М., Стройиздат, 1979.
15. СНиП II-9-78 "Инженерные изыскания для строительства". Основные положения.
16. ГОСТ 5686-95 Сваи. Методы полевых испытаний.
17. СНиП 2.02.03-85 "Свайные фундаменты". Нормы проектирования.
18. Руководство к СНиП II-17-77.
19. СНиП 3.02.01-83 "Основания и фундаменты. Правила производства работ".
20. СНиП 2.03.01-84 "Бетонные и железобетонные конструкции. Нормы проектирования".
21. СНиП III-4-80 "Техника безопасности в строительстве".
|
ГОСТЫ, СТРОИТЕЛЬНЫЕ и ТЕХНИЧЕСКИЕ НОРМАТИВЫ. Некоммерческая онлайн система, содержащая все Российские Госты, национальные Стандарты и нормативы. В Системе содержится более 150000 файлов нормативно-технической документации, действующей на территории РФ. Система предназначена для широкого круга инженерно-технических специалистов. Copyright © www.gostrf.com, 2008 - 2026 |