| |
министерство ЭНЕРГЕТИКИ И электрификации ссср
НАУЧНО-ИССЛЕДОВАТЕЛЬСКИЙ,
ПРОЕКТНЫЙ И ВНЕДРЕНЧЕСКИЙ ЦЕНТР
ОРГАНИЗАЦИИ ТРУДА В ЭНЕРГЕТИКЕ И
ЭНЕРГЕТИЧЕСКОМ СТРОИТЕЛЬСТВЕ
"ЦОТэнерго"
|
СОГЛАСОВАНО
|
УТВЕРЖДАЮ
|
|
с
ЦК профсоюза рабочих электростанций
и
электротехнической промышленности
(Постановление
Президиума
от
05.01.1990
г. № 38)
|
Заместитель
Министра энергетики
и
электрификации СССР
__________________В.Л.
Смирнов
5
февраля 1990 г.
|
ЕДИНЫЕ
НОРМЫ ВРЕМЕНИ И РАСЦЕНКИ НА
ИЗГОТОВЛЕНИЕ ЖЕЛЕЗОБЕТОННЫХ
ИЗДЕЛИЙ И КОНСТРУКЦИЙ
Выпуск II.
Арматурные paботы
Москва
- 1990
Единые нормы времени и расценки на изготовление железобетонных изделий и
конструкций. Выпуск II.
Арматурные работы разработаны научно-исследовательским, проектным и
внедренческим центром "ЦОТэнерго" (ответственный исполнитель -
нормативно-исследовательская станция № 43, ответственный за выпуск - отдел
организации и нормирования труда в стройиндустрии) в соответствии с приказом
Минэнерго СССР от 15.08.86 № 434 "О состоянии и мерах по улучшению
нормирования труда на стройках и предприятиях стройиндустрии".
Сборник содержит нормы времени на правку и резку арматурной стали, гнутье
арматурных стержней и сеток, изготовление предварительно-напряженной арматуры,
изготовление спиралей на навивочных станках, сварочные работы, изготовление
пространственных арматурных каркасов.
С выходом в свет настоящего сборника отменяется действие сборника
"Единые нормы времени и расценки на изготовление железобетонных изделий и
конструкций. Выпуск II.
Арматурные работы", издания 1985 года.
1. В основу разработки норм времени положены следующие данные:
- хронометражные наблюдения;
- технические расчеты;
- технические характеристики оборудования и механизмов;
- результаты анализа организации труда и мероприятия по ее совершенствованию.
2. Нормы времени указаны в числителе и выражены в человеко-часах,
расценки (в рублях и копейках) рассчитаны по часовым тарифным ставкам
рабочих-сдельщиков, установленным согласно приложению № 8 к приказу Минэнерго
СССР от 14.11.86 № 616.
3. Наименование профессий и разряды работ указаны в соответствия с
действующим Единым тарифно-квалификационным справочником работ и профессий
рабочих: выпуск 42 (раздел "Производство железобетонных изделий и
конструкций") и выпуск 2 (раздел "Сварочные работы"), утвержденные
постановлениями Государственного комитета СССР по труду и социальным вопросам и
ВЦСПС от 23 июля 1984 г. № 214/14-1 и от 16 января 1985 г. № 17/2-54.
В случае внесения изменений в тарифно-квалификационный справочник,
наименования профессий, разряды работ и рабочих, указанные в данном сборнике,
должны соответственно изменяться.
4. Выполнение работ рабочими не тех разрядов (квалификации), которые
указаны в сборнике, не может служить основанием для каких-либо изменений норм и
расценок.
5. Нормами учтено время на подготовительно-заключительные работы,
обслуживание рабочего места, технологические перерывы, отдых и личные
надобности. Значения этих величин, в процентах от оперативного времени,
приведены в соответствующих разделах.
В случае применения сборника для оплати труда рабочих сквозных бригад
нормы времен! к расценки умножать на 0,95.
6. Приведенные в сборнике пределы числовых показателей (длина, диаметр,
вес и др.), в которых указано "до", следует понимать включительно.
7. Нормами предусмотрена транспортировка и подноска материалов,
инструмента и приспособлений на заготовительных работах (разделы 1-5) на
расстояние до 10 м, а при изготовлении пространственных арматурных каркасов -
на расстояние до 30 м.
Перемещение грузов на расстояние, превышающее учтенное в сборнике,
следует нормировать по разделу VI
"Транспортные работы" сборника "Нормативы времени на
производство железобетонных изделий и конструкций. Выпуск II. Арматурные работы"
издания 1984 г. Этим же сборником следует пользоваться при нормировании
арматурных работ, не охваченных настоящим сборником.
Перемещение арматурных стержней, каркасов, сеток, закладных деталей весом
до 60 кг производится вручную, более 60 кг - тельфером или краном.
8. Затраты времени машинистов кранов, занятых на подъемно-транспортных
операциях, в величину норм не включены и оплачиваются отдельно.
9. Нормы времени, указанные в таблицах настоящего выпуска, установлены
для наиболее распространенных условий выполнения работ. Для других условий в
выпуске приводятся поправочные коэффициенты к нормам и расценкам
соответствующих таблиц.
10. Расчет норм произведен на укрупненные измерители - 1 т арматуры и 1 т
каркасов с учетом применения их для бригад с оплатой за конечный коллективный
результат труда.
11. До введения норм времени настоящего сборника необходимо привести
организационно-технические условия в цехах и на производственных участках
(организация труда, оснастка и др.) в соответствие с запроектированными в
нормах и осуществить производственный инструктаж рабочих.
12. При внедрении на предприятиях более прогрессивной, чем это
предусмотрено в данном выпуске, организации производства, труда, технологии
работы, оборудования, машин, оснастки и т.п., повышающих производительность
труда рабочих, следует разрабатывать методом технического нормирования и
вводить в установленном порядке местные нормы, соответствующие более высокой
производительности труда.
1. Нормами настоящего выпуска предусмотрена заготовка арматуры и
изготовление пространственных арматурных каркасов для изготовления
железобетонных изделий и конструкций на предприятиях по производству сборного
железобетона, оснащенных подъемно-транспортными механизмами, станками,
ножницами, сварочными машинами, приспособлениями и инструментами с выполнением
работ в помещениях или на открытых полигонах.
2. Нормы установлены с учетом:
оснащения рабочих мест необходимые оборудованием, оснасткой, инвентарем и
инструментом;
выпуска продукции, отвечающей требованиям действующих технических условий
и стандартов;
соблюдения действующих в промышленности строительных материалов
"Единых правил техники безопасности и производственной санитарии".
3. Кроме основных работ, нормами настоящего сборника учтены и особой
оплате не подлежат:
получение задания, инструмента, инструктаж и ознакомление с чертежами и
эскизами;
переходы рабочих в пределах цеха, технологической линии, связанные с
переменой рабочих мест;
подготовка инструмента, приспособлений и рабочего места;
уборка инструмента, приспособлений и рабочего места с погрузкой отходов в
транспортные средства;
обслуживание механизмов и уход за ними;
мелкий ремонт оборудования и механизмов;
ручное управление тельферами и кран-балками;
маркировка изделий;
сдача работ.
4. В настоящем сборнике предусмотрено использование мостовых кранов. При
перемещении грузов козловыми и башенными кранами Н.вр. и Расц. умножать на 1,2.
5. Характеристика и сортамент арматурной стали, применяемой при
производстве арматурных работ, приведены ниже.
ХАРАКТЕРИСТИКА АМАТУРНОЙ СТАЛИ
|
Способ обработки
при изготовлении
|
Нормативный
документ
|
Профиль стали
|
Диаметр стали, мм
|
|
1. Проволочная арматура
|
|
В-I
|
Волочение в
холодном состоянии
|
ГОСТ
6727-80
|
круглая гладкая
|
3-8
|
|
В-II
|
то же
|
ГОСТ
7348-81
|
то же
|
3-8
|
|
Вр-II
|
то же
|
ГОСТ 8460-63
|
то же
|
3-8
|
|
2. Стержневая арматура
|
|
A-I
|
Горячий прокат
|
ГОСТ
5781-75
ГОСТ 380-71; ГОСТ
2590-71
|
круглая гладкая
|
6-40
|
|
А-II
|
то же
|
ГОСТ
380-71
ГОСТ
5781-71
|
круглая
периодического профиля
|
10-32
10-40
40-90
|
|
А-III
|
то же
|
ГОСТ
5781-82
|
то же
|
6-40
|
|
ГОСТ
5781-75
|
то же
|
10-32
|
|
А-IIв
|
Упрочненная
вытяжкой
|
СНиП I-В.4-62
|
то же
|
10-40
|
|
А-IIIв
|
то же
|
то же
|
то же
|
6-40
|
|
Aт-IV
|
Термически
упрочненная
|
ГОСТ
10884-81
|
то же
|
10-25
|
|
Ат-V
|
то же
|
то не
|
то же
|
10-25
|
|
Ат-VI
|
то же
|
ГОСТ
10884-81
|
то же
|
10-25
|
|
Ат-VII
|
то же
|
то же
|
то же
|
10-25
|
СОРТАМЕНТ СТЕРЖНЕЙ АРМАТУРЫ
А. Круглой стали
|
Номинальный
диаметр стержней, мм
|
Площадь
поперечного сечения, см2
|
Теоретическая
масса 1 м, кг
|
Номинальный
диаметр стержней, мм
|
Площадь
поперечного сечения, см2
|
Теоретическая
масса 1 м, кг
|
|
3
|
0,0707
|
0,0565
|
20
|
3,14
|
2,47
|
|
3,5
|
0,0968
|
0,076
|
22
|
3,80
|
2,98
|
|
4
|
0,1257
|
0,099
|
25
|
4,91
|
3,85
|
|
4,5
|
0,159
|
0,125
|
28
|
6,16
|
4,83
|
|
5
|
0,1963
|
0,154
|
32
|
8,04
|
6,31
|
|
5,5
|
0,2376
|
0,186
|
36
|
10,18
|
7,99
|
|
6
|
0,283
|
0,222
|
40
|
12,57
|
9,87
|
|
7
|
0,385
|
0,302
|
46
|
15,90
|
12,48
|
|
8
|
0,503
|
0,395
|
50
|
19,63
|
15,41
|
|
9
|
0,636
|
0,499
|
55
|
23,76
|
18,65
|
|
10
|
0,785
|
0,617
|
60
|
28,27
|
22,19
|
|
12
|
1,131
|
0,888
|
70
|
38,48
|
30,21
|
|
14
|
1,54
|
1,21
|
80
|
50,27
|
39,46
|
|
16
|
2,01
|
1,58
|
90
|
63,62
|
49,94
|
|
18
|
2.54
|
2
|
|
|
|
Б. Квадратной стали
|
Сторона квадрата,
мм
|
Теоретическая
масса 1 м, кг.
|
Площадь сечения
стержня, см2
|
Сторона квадрата,
мм
|
Теоретическая
масса 1 м, кг.
|
Площадь сечения
стержня, см2
|
|
8
|
0,5
|
0,64
|
25
|
4,91
|
6,25
|
|
10
|
0,79
|
1
|
28
|
6,15
|
7,84
|
|
11
|
0,95
|
1,21
|
30
|
7,07
|
9
|
|
12
|
1,13
|
1,44
|
32
|
8,04
|
10,24
|
|
14
|
1,54
|
1,96
|
35
|
9,62
|
12,25
|
|
16
|
2,01
|
2,56
|
38
|
11,84
|
14,44
|
|
18
|
2,54
|
3,24
|
40
|
12,56
|
16
|
|
20
|
3,14
|
4
|
45
|
16,9
|
20,25
|
|
22
|
3,8
|
4,84
|
50
|
19,63
|
25
|
Сортамент листовой, швеллерной, двухтавровой,
угловой стали и труб
Вес 1 м2
заготовки из листовой стали
|
Толщина листа, мм
|
Площадь листа, м2
|
|
0,5
|
1
|
2
|
3
|
4
|
5
|
6
|
7
|
8
|
9
|
10
|
|
Вес листа, кг
|
|
0,5
|
1,96
|
3,92
|
7,85
|
11,8
|
15,7
|
19,6
|
23,5
|
27,5
|
31,4
|
35,3
|
39,2
|
|
1,0
|
3,92
|
7,85
|
15,7
|
26,5
|
31,4
|
39,2
|
47,1
|
55
|
62,9
|
70,6
|
78,5
|
|
1,5
|
5,83
|
11,75
|
23,5
|
35,3
|
47,1
|
58,9
|
70,6
|
82,4
|
94,2
|
106
|
118
|
|
2
|
7,85
|
15,7
|
31,4
|
47,1
|
62,8
|
78,5
|
94,2
|
109
|
126
|
141
|
157
|
|
2,5
|
9,8
|
19,6
|
39,2
|
58,9
|
78,5
|
98
|
118
|
137
|
157
|
177
|
196
|
|
3
|
11,75
|
23,6
|
47,1
|
70,6
|
94
|
118
|
141
|
165
|
188
|
212
|
235
|
|
4
|
15,7
|
31,4
|
62,8
|
94,2
|
126
|
157
|
188
|
220
|
251
|
283
|
314
|
|
5
|
19,6
|
39,2
|
78,5
|
117,7
|
157
|
196
|
235
|
275
|
314
|
353
|
392
|
|
6
|
23,5
|
47,1
|
94,2
|
141
|
188
|
235
|
282
|
330
|
377
|
424
|
471
|
|
7
|
27,5
|
54,9
|
110
|
165
|
220
|
275
|
330
|
385
|
440
|
494
|
549
|
|
8
|
31,4
|
62,8
|
126
|
188
|
251
|
314
|
377
|
440
|
502
|
565
|
6286
|
|
9
|
35,8
|
70,6
|
141
|
212
|
283
|
353
|
424
|
495
|
565
|
636
|
706
|
|
10
|
39,2
|
78,5
|
157
|
235
|
314
|
392
|
471
|
550
|
628
|
706
|
785
|
|
11
|
43,2
|
86,4
|
173
|
265
|
345
|
432
|
518
|
604
|
691
|
777
|
863
|
|
12
|
47,1
|
94,2
|
183
|
283
|
377
|
471
|
565
|
659
|
754
|
850
|
942
|
|
13
|
51
|
102
|
204
|
306
|
408
|
510
|
612
|
717
|
816
|
920
|
1020
|
|
14
|
55
|
110
|
220
|
330
|
440
|
549
|
659
|
769
|
879
|
990
|
1099
|
|
15
|
59
|
118
|
236
|
353
|
471
|
589
|
706
|
824
|
942
|
1059
|
1177
|
|
16
|
63
|
125
|
252
|
377
|
504
|
628
|
755
|
880
|
1050
|
1130
|
1255
|
|
18
|
70,5
|
142
|
282
|
424
|
565
|
705
|
846
|
990
|
1130
|
1270
|
1420
|
|
20
|
78,5
|
157
|
314
|
471
|
628
|
785
|
992
|
1092
|
1256
|
1413
|
1570
|
|
22
|
86,5
|
172
|
346
|
518
|
690
|
864
|
1070
|
1220
|
1380
|
1550
|
1725
|
|
24
|
94
|
188
|
376
|
564
|
752
|
940
|
1160
|
1320
|
1505
|
1690
|
1880
|
|
26
|
102
|
204
|
408
|
612
|
815
|
1040
|
1220
|
1430
|
1660
|
1840
|
2040
|
|
28
|
110
|
220
|
440
|
660
|
880
|
1100
|
1320
|
1540
|
1760
|
1980
|
2200
|
|
30
|
117
|
236
|
471
|
706
|
942
|
1177
|
1418
|
1648
|
1864
|
2113
|
2355
|
|
32
|
125
|
251
|
502
|
754
|
1004
|
1255
|
1505
|
1760
|
2010
|
2260
|
2510
|
|
34
|
134
|
267
|
534
|
808
|
1068
|
1335
|
1600
|
1870
|
2140
|
2400
|
2670
|
|
36
|
142
|
283
|
566
|
850
|
1130
|
I410
|
1700
|
1980
|
2260
|
2570
|
2820
|
|
38
|
149
|
296
|
596
|
894
|
1192
|
1490
|
1790
|
2090
|
2380
|
2680
|
2980
|
|
40
|
157
|
314
|
623
|
944
|
1255
|
1570
|
1885
|
2200
|
2510
|
2830
|
3140
|
Вес 1 м заготовки
швеллерной и двухтавровой стали
|
Швеллеры (ГОСТ 8240-72)
|
Балки
двухтавровые (ГОСТ 8239-72)
|
|
№ профиля
|
Вес 1 м, кг.
|
№ профиля
|
Вес 1 м, кг.
|
|
5
|
4,84
|
10
|
9,46
|
|
6,5
|
5,9
|
12
|
11,5
|
|
8
|
7,06
|
14
|
13,7
|
|
10
|
8,59
|
16
|
15,9
|
|
12
|
10,4
|
18
|
18,4
|
|
14
|
12,3
|
18а
|
19,9
|
|
14а
|
13,3
|
20
|
21
|
|
16
|
14,2
|
20а
|
22,7
|
|
16а
|
15,3
|
22
|
24
|
|
18
|
16,3
|
22а
|
25,8
|
|
18а
|
17,4
|
24
|
27,3
|
|
20
|
18,4
|
24а
|
29,4
|
|
20а
|
19,8
|
27
|
31,5
|
|
22
|
21
|
27а
|
33,9
|
|
22а
|
22,6
|
30
|
36,5
|
|
24
|
24
|
30а
|
39,2
|
|
24а
|
25,8
|
33
|
42,2
|
|
27
|
27,7
|
36
|
48,6
|
|
30
|
31,8
|
40
|
56,1
|
|
33
|
36,5
|
45
|
65,2
|
|
36
|
41,9
|
50
|
76,8
|
|
40
|
48,3
|
55
|
89,8
|
|
|
|
60
|
104
|
Вес 1 м
заготовки угловой равнобокой стали
(ГОСТ 8509-72)
|
№ профиля
|
Толщина стенки,
мм
|
Вес 1 м, кг.
|
№ профиля
|
Толщина стенки,
мм
|
Вес 1 м, кг.
|
|
|
3
|
0,89
|
8
|
5,5
|
6,78
|
|
2
|
4
|
1,15
|
6
|
7,36
|
|
|
3
|
1,12
|
7
|
8,51
|
|
2,5
|
4
|
1,46
|
8
|
9,65
|
|
2,8
|
3
|
1,27
|
|
6
|
8,33
|
|
3,2
|
3
|
1,46
|
|
7
|
9,64
|
|
|
4
|
1,91
|
9
|
8
|
10,9
|
|
3,6
|
3
|
1,65
|
|
9
|
12,2
|
|
|
4
|
2,16
|
|
6,5
|
10,1
|
|
4
|
3
|
1,85
|
|
7
|
10,8
|
|
|
4
|
2,42
|
|
8
|
12,2
|
|
4,5
|
3
|
2,08
|
10
|
10
|
15,1
|
|
|
4
|
2,73
|
|
12
|
17,9
|
|
|
5
|
3,37
|
|
14
|
20,6
|
|
|
3
|
2,32
|
|
16
|
23,3
|
|
5
|
4
|
3,05
|
|
7
|
11,9
|
|
|
5
|
3,77
|
11
|
8
|
13,5
|
|
|
3,5
|
3,03
|
|
8
|
15,5
|
|
5,6
|
4
|
3,44
|
|
9
|
17,3
|
|
|
5
|
4,25
|
|
10
|
19,1
|
|
6,3
|
4
|
3,9
|
12,5
|
12
|
22,7
|
|
|
5
|
4,81
|
|
14
|
26,2
|
|
|
6
|
5,72
|
|
16
|
29,6
|
|
|
4,5
|
4,87
|
14
|
9
|
19,4
|
|
|
5
|
5,38
|
|
10
|
21,5
|
|
7
|
6
|
6,39
|
|
12
|
25,6
|
|
|
7
|
7,39
|
|
10
|
24,7
|
|
|
8
|
9,37
|
|
11
|
27
|
|
|
|
|
16
|
12
|
29,4
|
|
|
5
|
5,8
|
|
14
|
34
|
|
|
6
|
6,89
|
|
16
|
38,5
|
|
7,5
|
7
|
7,96
|
|
18
|
43
|
|
|
8
|
9,02
|
|
20
|
47,4
|
|
|
9
|
10,1
|
|
|
|
Вес 1м
заготовки угловой неравнобокой стали
(ГОСТ 8510-72)
|
№ профиля
|
Толщина стенки,
мм
|
Вес 1 м, кг.
|
№ профиля
|
Толщина стенки,
мм
|
Вес 1 м, кг.
|
|
2,5/1,6
|
3
|
0,91
|
|
5,5
|
6,17
|
|
3,2/2
|
3
|
1,17
|
9/5,6
|
6
|
6,7
|
|
|
4
|
1,52
|
|
8
|
8,77
|
|
4/2,5
|
3
|
1,48
|
|
6
|
7,53
|
|
|
4
|
1,94
|
10/6,3
|
7
|
8,7
|
|
4,5/2,8
|
3
|
1,68
|
|
8
|
9,87
|
|
|
4
|
2,2
|
|
10
|
12,1
|
|
5/3,2
|
3
|
1,9
|
|
6,5
|
8,98
|
|
|
4
|
2,49
|
11/7
|
7
|
9,64
|
|
5,6/3,6
|
3,5
|
2,48
|
|
8
|
10,9
|
|
|
4
|
2,81
|
|
7
|
11
|
|
|
5
|
3,46
|
|
8
|
12,5
|
|
6,3/4
|
4
|
3,17
|
12,5/8
|
10
|
15,5
|
|
|
5
|
3,91
|
|
12
|
18,3
|
|
|
6
|
4,63
|
|
8
|
14,1
|
|
|
8
|
6,03
|
14/9
|
10
|
17,5
|
|
7/4,0
|
4,5
|
3,98
|
|
9
|
18
|
|
|
5
|
4,39
|
16,10
|
10
|
19,8
|
|
7,5/5
|
5
|
4,79
|
|
12
|
23,6
|
|
|
6
|
5,69
|
|
14
|
27,3
|
|
|
8
|
7,43
|
|
10
|
22,2
|
|
8/5
|
5
|
4,99
|
|
|
|
|
|
6
|
5,92
|
18/11
|
12
|
26,4
|
Раздел включает нормы времени
и расценки на правку и резку арматурной стали на правильно-отрезных станках,
поступающей на завод в бухтах, и резку стержневой стали на приводных станках.
|
Показатели
|
Тип станка
|
|
С-338А
|
СМ-759; СМЖ-142А
|
ИО-358
|
|
Диаметр
выпрямляемой стали мм
|
|
|
|
|
гладкой
|
4-10
|
3-10
|
4-16
|
|
периодического профиля
|
-
|
-
|
6-12
|
|
Максимальная
длима отрезаемых стержней, мм
|
8000
|
8000
|
9000
|
|
Скорость подачи и
правки, м/мин.
|
40
|
35-50
|
30-60
|
|
Мощность
электродвигателя, квт
|
|
|
|
|
подачи
|
-
|
4,5
|
2
|
|
правки и резки
|
10
|
7
|
7
|
|
механизма очистки
|
-
|
-
|
1
|
|
Габаритные
размеры, мм
|
|
|
|
|
длина
|
7660
|
1790
|
12050
|
|
ширина
|
860
|
1050
|
1255
|
|
высота
|
890
|
750
|
I485
|
|
Вес, кг
|
954
|
1050
|
4700
|
Техническая
характеристика станков для резки стержневой арматуры
|
Показатели
|
Тип станка
|
|
С-370
|
С-445М
|
СМ-3002
|
СМЖ-322А
|
|
Наибольший
диаметр разрезаемой стали, мм
|
|
|
|
|
|
марки Ст.3, Ст.5
|
40
|
70
|
-
|
-
|
|
35ГС, 18Г2С
|
28
|
40
|
40
|
40
|
|
Число резов в
мин.
|
33
|
4
|
10-15
|
43
|
|
Мощность
электродвигателя, квт
|
3
|
7,5
|
5,5
|
7,5
|
|
Наибольшее
рабочее давление гидравлической системы, кгc/см2
|
-
|
65
|
300
|
-
|
|
Габаритные
размеры, мм
|
|
|
|
|
|
длина
|
1066
|
1660
|
1190
|
1525
|
|
ширина
|
445
|
640
|
410
|
690
|
|
высота
|
765
|
1155
|
845
|
850
|
|
Вес, кг
|
456
|
1000
|
450
|
1220
|
1.
Правке и резка арматурной стали
производится на автоматических станках непрерывного действия тина С-338А,
СМ-759, СМЖ-142А и ИО-358, резка - на приводных станках типа С-370, СМ-3002 и
СМЖ-322А.
2. Нормами времени учтена организация труда при которой:
станки оборудованы одним бухтодержателем, cтолом с роликами, приемным, желобом,
передвижным упором и мерной линейкой;
установка бухт на вертушку правильно-отрезного
станка производится краном или тельфером. Допускается установка бухты вручную, вес бухты при этом не должен
превышать 100 кг;
- бухты и арматурные стержни заранее доставляются в
цех и складируются на расстоянии не более 10 метров от станков;
- установка и периодическая замена плашек и
режущих ножей производится наладчиком оборудования;
- рабочий обслуживает один станок, при обслуживании
одним рабочим двух или более станков применяется поправочный коэффициент,
указанный в примечании к параграфу 2-1;
- арматурная сталь
режется пучками, количество штук в каждом пучке приведено ниже.
|
Марка стали
|
Диаметр стали, мм
|
|
3
|
4
|
5
|
6-8
|
10-12
|
14-18
|
20
|
22 и более
|
|
|
Количество штук в пучке
|
|
СТ.3
|
26
|
20
|
14
|
6
|
5
|
3
|
2
|
1
|
|
СТ.5
|
-
|
-
|
-
|
-
|
4
|
2
|
1
|
1
|
|
35ГС 18Г2С
|
-
|
-
|
-
|
-
|
3
|
1
|
1
|
1
|
Регламентированные
затраты времени
|
Виды затрат
|
Время в процентах
от оперативного
|
|
Подготовительно-заключительная
работа
|
3,5
|
|
Организационно-техническое
обслуживание рабочего места
|
6,2
|
|
Отдых и личные
надобности
|
10,2
|
|
|
Итого: 19,9
|
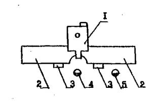
Схема
организации рабочего места

1 - бухтодержатель,
2 -
правильно-отрезной станок,
3 -
предохранительное устройство,
4 -
место арматурщика.
Состав работы
Установить бухту на вертушку, снять скрутки и заправить конец арматуры в
барабан. Отрегулировать плашки. Установить механизм резки на заданную длину
стержней. Произвести правку и резку арматурной стали.
Исполнитель арматурщик 3 разряда
Нормы времени и расценки на 1т нарезанной стали
|
Диаметр
стали, мм, до
|
|
3
|
4
|
5
|
6
|
8
|
10
|
12
|
14
|
16
|
|
8,5
5-36
|
6.4
4-03
|
4,0
3-02
|
3,3
2-08
|
2,1
1-32
|
1,3
0-81,9
|
1,2
0-75,6
|
0,9
0-56,7
|
0,8
0-50,4
|
|
а
|
б
|
в
|
г
|
д
|
е
|
ж
|
з
|
и
|
Примечания: 1. При
правке и резке стали одновременно на двух
и более станках Н.вр. и Расц. умножать на 0,7.
2. При правке и резке арматурной стали периодического профиля Н.вр. и
Расц. умножать на 1,2.
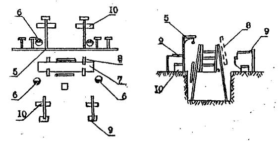
Схема организации рабочего места

1 - станок для резки арматурной стали,
2 -
роликовый стол со стеллажом,
3 -
разметочная линейка,
4 -
передвижной упор,
5 -
место арматурщика 2 разряда,
6 -
место арматурщика 2 разряда,
7 -
контейнер
Состав работа
Установить упор на заданный размер резки.
Извлечь стержни из пачки и уложить их на рольганг. Выровнять концы стержней
между собой. Отрезать стержни. Уложить отрезанные стержни в контейнер.
|
Исполнители
|
Длина отрезаемых
стержней, м
|
|
до 3
|
более 3
|
|
Арматурщик 2
разряда
|
-
|
1
|
|
Арматурщик 2
разряда
|
1
|
1
|
Нормы
временя и расценки на 1т нарезанной стали
|
Диаметр стержней, мм, до
|
Длина отрезаемых стержней, м, до
|
|
0,2
|
0,5
|
1
|
2
|
3
|
4
|
5
|
7
|
9
|
Более 9
|
|
3
|
7,6
4-33
|
7
3-99
|
6,2
3-53
|
5,4
3-08
|
3,8
2-17
|
2,9
1-65
|
2,5
1-42
|
2
1-I4
|
1,7
0-96,9
|
1,5
0-85,5
|
1
|
|
4
|
6,8
3-88
|
5,8
3-31
|
4,8
2-74
|
4,5
2-56
|
3,5
2-00
|
2,4
1-37
|
2,1
1-20
|
1,7
0-96,9
|
1,5
0-85,5
|
1,4
0-79,8
|
2
|
|
5
|
5,8
3-31
|
5,2
2-96
|
4,6
2-62
|
4,2
2-39
|
2,9
1-65
|
2,3
1-31
|
2
1-14
|
1,6
0-91,2
|
1,4
0-79,8
|
1,3
0-74,1
|
3
|
|
6
|
5,5
3-14
|
4,8
2-74
|
4,4
2-51
|
4
2-28
|
2,6
1-48
|
2,1
1-20
|
1,9
1-08
|
1,5
0-85,5
|
1,3
0-74,1
|
1,2
0-68,4
|
4
|
|
8
|
4,3
2-45
|
3,9
2-22
|
3,8
2-17
|
3,1
1-77
|
2,5
1-42
|
2
1-I4
|
1,8
1-03
|
1,4
0-79,8
|
1,2
0-68,4
|
1,1
0-62,7
|
5
|
|
10
|
3,8
2-17
|
3,7
2-11
|
3,2
1-82
|
2,7
1-54
|
2
1-I4
|
1,7
0-96,9
|
1,4
0-79,8
|
1,3
0-74,1
|
1,1
0-62,7
|
1
0-57
|
6
|
|
12
|
3,4
1-94
|
3,1
1-77
|
2,6
1-48
|
2,4
1-37
|
1,6
0-91,2
|
1,4
0-79,8
|
1,3
0-74,1
|
1,1
0-62,7
|
1
0-57
|
0,96
0-54,7
|
7
|
|
14
|
2,9
1-65
|
2,6
1-48
|
2,5
1-42
|
2
1-14
|
1,6
0-91,2
|
1,4
0-79,8
|
1,3
0-74,1
|
1,1
0-62,7
|
1
0,57
|
0,95
0-54,2
|
8
|
|
16
|
2,7
1-54
|
2,5
1-42
|
2,4
1-37
|
1,9
1-08
|
1,5
0-85,5
|
1,3
0-74,1
|
1,2
0-68,4
|
1
0-57
|
0,95
0-54,2
|
0,9
0-51,3
|
9
|
|
18
|
2,6
1-48
|
2,4
1-37
|
2,3
1-31
|
1,8
1-03
|
1,4
0-79,8
|
1,2
0-68,4
|
1,1
0-62,7
|
0,9
0-51,3
|
0,8
0-45,6
|
0,75
0-42,8
|
10
|
|
20
|
2,5
1-42
|
2,3
1-31
|
2,2
1-25
|
1,7
0-96,9
|
1,3
0-74,1
|
1,1
0-62,7
|
1
0-57
|
0,85
0-48,5
|
0,75
0-42,8
|
0,7
0-39,9
|
11
|
|
22
|
2,4
1-37
|
2,2
1-25
|
2,1
1-20
|
1,6
0-91,2
|
1,2
0-68,4
|
1
0-57
|
0,9
0-51,3
|
0,8
0-45,6
|
0,7
0-39,9
|
0,65
0-37,1
|
12
|
|
25
|
-
|
2,1
1-20
|
2
1-14
|
1,5
0-85,5
|
1,1
0-62,7
|
0,95
0-54,2
|
0,85
0-48,5
|
0,75
0-42,8
|
0,65
0-37,1
|
0,6
0-34,2
|
13
|
|
28
|
-
|
2
1-14
|
1,9
1-08
|
1,4
0-79,8
|
0,95
0-54,2
|
0,9
0-51,3
|
0,8
0-45,6
|
0,7
0-39,9
|
0,6
0-34,2
|
0,5
0-28,5
|
14
|
|
32
|
-
|
1,8
1-03
|
1,7
0-96,9
|
1,3
0-74,1
|
0,9
0-51,3
|
0,81
0-46,2
|
0,7
0-39,9
|
0,6
0-34,2
|
0,5
0-23,5
|
0,4
0-22,8
|
15
|
|
36
|
-
|
1,2
0-68,4
|
1,1
0-62,7
|
1
0-57
|
0,7
0-39,9
|
0,6
0-34,2
|
0,5
0-28,5
|
0,4
0-22,8
|
0,35
0-20
|
0,3
0-17,1
|
16
|
|
40
|
-
|
1
0-57
|
0,9
0-51,3
|
0,8
0-45,6
|
0,6
0-34,2
|
0,5
0-28,5
|
0,4
0-22,8
|
0,35
0-20
|
0,3
0-17,1
|
0,25
0-14,3
|
17
|
|
|
а
|
б
|
в
|
г
|
д
|
е
|
ж
|
з
|
и
|
к
|
№
|
Настоящий раздел включает нормы времени и расценки на гнутье арматурных
стержней на приводных и ручных станках, изготовление монтажных петель и
полухомутов на станках местного изготовления и гнутье сеток на приводных
станках.
|
Показателя
|
Тип станка
|
|
C-I46A
|
С-564
|
|
Диаметр
нагибаемой арматуры, мм из стали
|
|
|
|
Ст.3
|
до 40
|
до 70
|
|
Ст.5
|
до 32
|
до 60
|
|
Мощность
электродвигателя, квт
|
2,8
|
5,5
|
|
Габаритные
размеры, мм
|
|
|
|
длина
|
775
|
2015
|
|
ширина
|
806
|
1530
|
|
высота
|
670
|
860
|
|
Вес, кг
|
454
|
2087
|
Б.
Станки для гнутья монтажных петель и полухомутов (местного изготовления)
|
Показатели
|
значение
|
|
Диаметр
изгибаемых стержней, мм
|
3-12
|
|
Число ходов
шатуна в минуту
|
10-20
|
|
Мощность
электродвигателя, квт
|
2-8
|
|
Габаритные
размеры, мм длина
|
1910
|
|
ширина
|
640
|
|
высота
|
1100
|
В.
Станки для гнутья сеток
|
Показатели
|
Тип станка
|
|
7251A
|
CМ-516A
|
|
Наибольший
диаметр изгибаемых стержней класса А-III, мм
|
10
|
12
|
|
Максимальное
количество изгибаемых стержней, шт.
|
30
|
34
|
|
Производительность
гибов в час
|
до 150
|
-
|
|
Наибольший угол
гнутья, градус
|
135
|
-
|
|
Длина изгибаемой
сетки, мм
|
3000-6000
|
2000-3500
|
Организация труда
Гнутье арматурных стержней предусмотрено на станках C-146A и С-564.
Нормой времени и расценками учтена организация работ
при которой:
- арматурные сетки и стержни поданы и уложены в непосредственной близости
от станка;
- рабочие места оборудованы роликовыми столами (по обе стороны от
станка);
- станки оборудованы мерными линейками, на которые наносятся метки при
гнутье первого размеченного стержня;
- станки имеет комплект сменных упоров, осевых и изгибающих пальцев и
несколько пар шестерен, которые могут меняться в зависимости от диаметра
изгибаемой арматуры;
- нарезанные по размерам ровные стержни подаются и укладываются в
пределах рабочего места (не более 10 метров, от станка);
- гнутье стержней производится пучками,
количество одновременно изгибаемых стержней в пучке приведено в таблице.
|
Диаметр стержней, мм, до
|
6
|
8
|
10
|
12
|
16
|
22
|
40
|
|
Количество стержней в пучке, изгибаемых за один
раз
|
10
|
8
|
6
|
5
|
3
|
2
|
1
|
- гнутье стержней на ручных станках производится в исключительных случаях
при небольших объемах работ. Диаметр стержней не должен превышать 12 мм.
Количество одновременно изгибаемых стержней на ручных станках приведено ниже.
|
Диаметр стержней, мм, до
|
3
|
4
|
5
|
6
|
8
|
10
|
12
|
|
Количество изгибаемых стержней в пучках
|
7
|
6
|
5
|
4
|
3
|
2
|
1
|
- гнутье монтажных петель и полухомутов из
арматурных стержней диаметром от 3 до 12 мм производится на
высокопроизводительных пневматических или механических станках. Конструкция
станков позволяет производить 3-5 отгибов в стержне за один рабочий ход. Длина
стержней для монтажных петел петель от 0,8 до 1,3 м.
Для гнутья сварных сеток используются станки 7251A, CМ-5I6A, а также станки местного изготовления. На этих
станках производится гнутье сеток длиной до 3 м. При гнутье сеток более 3м к
основной секции станка комплектуют дополнительную.
Регламентированные затраты временя
|
Виды затрат
времени
|
Нормативы в % от
оперативного времени
|
|
Подготовительно-заключительная
работа
|
3,2
|
|
Организационно-техническое
обслуживание рабочего места
|
5,1
|
|
Отдых и личные
надобности
|
11,5
|
|
|
Итого: 19,8
|
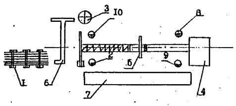
Схема организации рабочего места

1 - станок для гнутья арматуры,
2 - роликовые столы со сплошными настилами,
3 - стеллаж для стержней,
4 - место арматурщика 3 разряда,
5 - место арматурщика 1 разряда.
Состав работы
Разметить места отгибов стержней. Согнуть стержни по заданной
конфигурации. Уложить согнутые стержни на стеллаж или контейнер.
|
Исполнители
|
Длина стержней, м
|
|
до 1,5
|
более 1,5
|
|
Арматурщик 3
разряда
|
1
|
1
|
|
Арматурщик 1 разряда
|
-
|
1
|
Нормы
времени и расценки на 1 тонну арматуры
Таблица 1
|
Длина стержней, м,
до
|
Число отгибов в
одном стержне
|
Диаметр стемней,
мм, до
|
|
3
|
4
|
5
|
6
|
8
|
10
|
12
|
14
|
16
|
20
|
25
|
32
|
40
|
|
|
0,5
|
1
|
20
12-60
|
16,5
10-40
|
14
8-82
|
11
6-93
|
7,4
4-66
|
5,9
3-72
|
4,9
3-09
|
4,1
2-58
|
3,5
2-20
|
2,9
1-83
|
2,5
1-58
|
2,1
1-32
|
1,8
1-13
|
1
|
|
2
|
24
15-12
|
21
13-23
|
17
10-71
|
14
8-82
|
8,8
5-54
|
7,1
4-47
|
5,9
3-72
|
4,9
3-09
|
4,1
2-58
|
3,5
2-20
|
3
1-89
|
2,6
1-64
|
2,2
1-39
|
2
|
|
3
|
29
18-27
|
25
15-75
|
20
12-60
|
17
10-71
|
11
6-93
|
8,6
5-42
|
7
4-41
|
5,9
3-72
|
4,9
3-09
|
4,1
2-58
|
3,6
2-27
|
3,1
1-95
|
2,6
1-64
|
3
|
|
4
|
31
19-53
|
27
17-01
|
21
13-23
|
18,5
11-66
|
15
9-45
|
11,5
7-24
|
10
6-30
|
8
5-04
|
6
3-78
|
5,4
3-40
|
5,2
3-28
|
5
3-15
|
4,8
3-03
|
4
|
|
5
|
37
23-31
|
28
17-64
|
23
14-49
|
20
12-60
|
16,5
10-40
|
15,5
9-77
|
12
7-56
|
10
6-30
|
7,5
4-72
|
6
3-78
|
5,9
3-72
|
5,6
3-53
|
5,5
3-47
|
5
|
|
1
|
1
|
15
9-45
|
11
6-93
|
9,2
5-80
|
7,7
4-85
|
5,9
3-72
|
4,6
2-90
|
3,7
2-33
|
3
1-89
|
2,8
1-76
|
2,4
1-51
|
2,2
1-93
|
1,9
1-20
|
1,6
1-01
|
6
|
|
2
|
18
11-34
|
14
8-82
|
11
6-93
|
9
5-67
|
6,8
4-28
|
5,5
3-46
|
4,5
2-84
|
3,6
2-27
|
3,3
2-08
|
3
1-89
|
2,8
1-76
|
2,4
1-51
|
2
1-26
|
7
|
|
3
|
21
13-23
|
17
10-71
|
13
8-19
|
11
6-93
|
8,3
5-23
|
6,6
4-16
|
5,4
3-40
|
4,4
2-77
|
4,2
2-65
|
3,6
2-27
|
3,4
2-14
|
3
1-89
|
2,5
1-38
|
8
|
|
4
|
25
15-75
|
20
12-60
|
16
10-08
|
13
8-19
|
10
6-30
|
8
5-04
|
6,4
4-03
|
5,3
3-34
|
5
3-15
|
4,4
2-77
|
4,3
2-71
|
4,1
2-58
|
4
2-52
|
9
|
|
5
|
30
18-90
|
23
14-49
|
19
11-97
|
16
10-08
|
12
7-56
|
9,5
5-99
|
7,7
4-85
|
6,4
4-03
|
6
3-78
|
5,3
3-34
|
5,2
3-29
|
4,9
3-09
|
4,8
3-02
|
10
|
|
1,5
|
1
|
11
6-93
|
8,1
5-10
|
6,8
4-28
|
5,7
3-59
|
4,2
2-65
|
3,4
2-14
|
2,9
1-83
|
2,5
1-58
|
2,3
1-45
|
2
1-26
|
1,6
1-01
|
1,5
0-94,5
|
1,4
0-88,2
|
11
|
|
2
|
14
8-82
|
11
6-93
|
8,6
5-42
|
7,2
4-54
|
5,4
3-40
|
4,4
2-77
|
3,7
2-33
|
3,2
2-02
|
2,8
1-76
|
2,4
1-51
|
2,2
1-39
|
2
1-26
|
1,9
1-20
|
12
|
|
3
|
17
10-71
|
13
8-19
|
11
6-93
|
8,9
5-61
|
6,9
4-35
|
5,5
3-47
|
4,6
2-90
|
3,6
2-27
|
3,2
2-02
|
2,9
1-83
|
2,8
1-76
|
2,6
1-64
|
2,4
1-51
|
13
|
|
4
|
20
12-60
|
16
10-08
|
13
8-19
|
11
6-93
|
8,4
5-29
|
6,7
4-22
|
5,5
3-46
|
4,4
2-77
|
3,9
2-46
|
3,6
2-27
|
3,4
2-14
|
3,3
2-08
|
3,2
2-02
|
14
|
|
5
|
24
15-12
|
19
11-97
|
15
9-45
|
13
8-19
|
10,5
6-62
|
8,3
5-23
|
6,5
4-10
|
5,3
3-34
|
4,8
3-02
|
4,7
2-96
|
4,6
2-90
|
4,3
2-71
|
4,2
2-65
|
15
|
|
2
|
1
|
9,9
5-69
|
7,3
4-20
|
6,1
3-51
|
5,1
2-93
|
3,8
2-18
|
3,1
1-78
|
2,6
1-50
|
2,2
1-26
|
2,1
1-21
|
1,8
1-04
|
1,5
0-86,2
|
1,4
0-80,5
|
1,3
0-74,8
|
16
|
|
2
|
12,5
7-19
|
9,9
5-69
|
7,7
4-43
|
6,5
3-74
|
4,9
2-82
|
4
2-30
|
3,3
1-90
|
2,9
1-67
|
2,5
1-44
|
2,2
1-26
|
2
1-15
|
1,8
1-04
|
1,7
0-97,8
|
17
|
|
3
|
15,5
8-91
|
12
6-90
|
9,9
5-69
|
8
4-60
|
6,2
3-56
|
5
2-88
|
4,1
2-36
|
3,2
1-84
|
2,9
1-67
|
2,6
1-50
|
2,5
1-44
|
2,3
1-32
|
2,2
1-26
|
18
|
|
4
|
18
10-35
|
14,5
8-34
|
12
6-90
|
9,9
5-69
|
7,6
4-37
|
6
3-45
|
5
2-88
|
4
2-30
|
3,5
2-01
|
3,2
1-84
|
3,1
1-78
|
3
1-72
|
2,9
1-67
|
19
|
|
5
|
22
12-65
|
17
9-78
|
13,5
7-76
|
12
6-90
|
9,5
5-46
|
7,5
4-31
|
5,8
3-34
|
4,8
2-76
|
4,3
2-47
|
4,2
2-42
|
4,1
2-36
|
3,9
2-24
|
3,8
2-18
|
20
|
|
2,5
|
1
|
8,9
5-12
|
6,6
3-80
|
5,5
3-16
|
4,6
2-64
|
3,4
1-96
|
2,8
1-61
|
2,3
1-32
|
2
1-15
|
1,9
1-09
|
1,6
0-92
|
1,3
0-74,8
|
1,2
0-69
|
1,1
0-63,2
|
21
|
|
2
|
11
6-32
|
8,9
5-12
|
6,9
3-97
|
5,9
3-39
|
4,4
2-53
|
3,6
2-07
|
3
1-72
|
2,6
1-50
|
2,3
1-32
|
2
I-I5
|
1,8
1-04
|
1,6
0-92
|
1,5
0-86,2
|
22
|
|
3
|
14
8-05
|
11
6-32
|
8,9
5-12
|
7,2
4-14
|
5,6
3-22
|
4,5
2-59
|
3,7
2-13
|
2,9
1-67
|
2,6
1-50
|
2,3
1-32
|
2,2
1-26
|
2,1
1-21
|
2
1-15
|
23
|
|
4
|
16
9-20
|
13
7-48
|
11
6-32
|
8,9
5-12
|
6,8
3-91
|
5,4
3-10
|
4,5
2-59
|
3,6
2-07
|
3,2
1-84
|
2,9
1-67
|
2,8
1-6I
|
2,7
1-55
|
2,6
1-50
|
24
|
|
5
|
20
11-50
|
15
8-62
|
12
6-90
|
11
6-32
|
8,5
4-69
|
6,7
3-85
|
5,2
2-99
|
4,3
2-47
|
3,9
2-24
|
3,8
2-18
|
3,7
2-13
|
3,5
2-01
|
3,4
1-96
|
25
|
|
3
|
1
|
7,6
4-37
|
5,9
3-39
|
5,1
2-93
|
4,3
2-47
|
3,1
1-78
|
2,3
1-32
|
1,7
0-97
|
1,5
0-86,2
|
1,4
0-80,5
|
1,3
0-74,8
|
1,2
0-69
|
1,1
0-63,2
|
1
0-57,5
|
26
|
|
2
|
9,3
5-35
|
7,2
4-14
|
6
3-45
|
5,2
2-99
|
3,7
2-13
|
2,8
1-61
|
2,1
1-21
|
1,8
1-04
|
1,6
0-92
|
1,5
0-86,2
|
1,4
0-80,5
|
1,3
0-74,8
|
1,2
0-69
|
27
|
|
3
|
11
6-32
|
8,6
4-94
|
7,2
4-14
|
6,3
3-62
|
4,6
2-64
|
3,4
1-96
|
2,5
1-44
|
2,1
1-21
|
2
1-15
|
1,9
1-09
|
1,8
1-04
|
1,6
0-92
|
1,4
0-80,5
|
28
|
|
4
|
13
7-48
|
10,5
6-04
|
8,6
4-94
|
7,5
4-31
|
5,4
3-10
|
4
2-30
|
2,9
1-67
|
2,5
1-44
|
2,4
1-38
|
2,3
1-32
|
2,2
1-26
|
2,1
1-21
|
2
1-15
|
29
|
|
5
|
16
9-20
|
12,5
7-19
|
10
5-75
|
8,9
5-12
|
6,5
3-74
|
4,8
2-76
|
3,5
2-01
|
3,2
1-84
|
3
1-72
|
2,9
1-67
|
2,8
1-61
|
2,7
1-55
|
2,6
1-50
|
30
|
|
|
|
а
|
б
|
в
|
г
|
д
|
е
|
ж
|
з
|
и
|
к
|
л
|
м
|
н
|
№
|
Продолжение таблицы 1
|
Длина стержней, м,
до
|
Число отгибов в
одном стержне
|
Диаметр стемней,
мм, до
|
|
3
|
4
|
5
|
6
|
8
|
10
|
12
|
14
|
16
|
20
|
25
|
32
|
40
|
|
|
4
|
1
|
6,5
3-74
|
5,4
3-10
|
4,6
2-64
|
3,8
2-18
|
2,6
1-50
|
2
1-15
|
1,5
0-86,2
|
1,4
0-80,5
|
1,3
0-74,8
|
1,2
0-69
|
1,1
0-63,2
|
1
0-57,5
|
0,9
0-51,9
|
31
|
|
2
|
7,8
4-48
|
6,5
3-74
|
5,5
3-16
|
4,6
2-64
|
3,1
1-78
|
2,4
1-38
|
1,8
1-04
|
1,5
0-86,2
|
1,4
0-80,5
|
1,3
0-74,8
|
1,2
0-69
|
1,1
0-63,2
|
1
0-57,5
|
32
|
|
3
|
9,3
5-35
|
7,8
4-48
|
6,6
3-80
|
5,5
3-16
|
3,6
2-07
|
2,9
1-67
|
2,1
1-21
|
1,8
1-04
|
1,7
0-97,8
|
1,5
0-86,2
|
1,3
0-74,8
|
1,2
0-69
|
1,1
0-63,2
|
33
|
|
4
|
11
6-32
|
9,5
5-46
|
7,8
4-48
|
6,6
3-80
|
4,3
2-47
|
3,5
2-01
|
2,5
1-44
|
2,1
1-21
|
2
1-15
|
1,9
1-09
|
1,8
1-04
|
1,6
0-92
|
1,4
0-80,5
|
34
|
|
5
|
13,5
7-76
|
11,5
6-61
|
9,6
5-52
|
7,8
4-48
|
5
2-88
|
4,1
2-36
|
3
1-72
|
2,5
1-44
|
2,4
1-38
|
2,3
1-32
|
2,2
1-26
|
2,1
1-21
|
2
1-15
|
35
|
|
5
|
1
|
5,5
3-16
|
4,3
2-47
|
3,7
2-13
|
3
1-72
|
2,3
1-32
|
1,6
0-92
|
1,4
0-30,5
|
1,3
0-74,8
|
1,2
0-69
|
1,1
0-63,2
|
1
0-57,5
|
0,9
0-51,8
|
0,8
0-46
|
36
|
|
2
|
6,7
3-85
|
5,2
2-99
|
4,4
2-53
|
3,6
2-07
|
2,8
1-61
|
2
1-15
|
1,5
0-86,2
|
1,4
0-80,5
|
1,3
0-74,8
|
1,2
0-69
|
1,1
0-63,2
|
1
0-57,5
|
0,9
0-51,8
|
37
|
|
3
|
8,1
4-66
|
6,3
3-62
|
5,3
3-05
|
4,3
2-47
|
3,4
1-96
|
2,4
1-38
|
1,8
1-04
|
1,5
0-86,2
|
1,4
0-80,5
|
1,3
0-74,8
|
1,2
0-69
|
1,1
0-63,2
|
1
0-57,5
|
38
|
|
4
|
9,6
5-52
|
7,5
4-31
|
6,4
3-68
|
5,2
2-99
|
4
2-30
|
2,9
1-67
|
2,1
1--21
|
1,6
0-92
|
1,5
0-86,2
|
1,4
0-80,5
|
1,3
0-74,8
|
1,2
0-69
|
1,1
0-63,2
|
39
|
|
6
|
5
|
12
6-90
|
9,2
5-29
|
7,5
4-31
|
6,3
3-62
|
4,8
2-76
|
3,5
2-01
|
2,5
1-44
|
2
1-15
|
1,9
1-05
|
1,8
1-04
|
1,6
0-92
|
1,5
0-86,2
|
1,4
0-80,5
|
40
|
|
1
|
4,8
2-76
|
3,8
2-19
|
3,2
1-84
|
2,6
1-50
|
2
1-15
|
1,4
0-80,5
|
1,3
0-74,8
|
1,2
0-69
|
1,1
0-63,2
|
1
0-57,5
|
0,9
0-51,8
|
0,8
0-46
|
0,7
0-40,2
|
41
|
|
2
|
5,8
3-34
|
4,5
2-59
|
3,8
2-19
|
3
1-72
|
2,4
1-38
|
1,6
0-92
|
1,4
0-80,5
|
1,3
0-74,8
|
1,2
0-69
|
1,1
0-63,2
|
1
0-57,5
|
0,9
0-51,8
|
0,8
0-46
|
42
|
|
3
|
7,1
4-08
|
5,4
3-10
|
4,5
2-59
|
3,7
2-13
|
2,9
1-67
|
2
1-15
|
1,5
0-86,2
|
1,4
0-80,5
|
1,3
0-74,8
|
1,2
0-69
|
1,1
0-63,2
|
1
0-57,5
|
0,9
0-51,8
|
43
|
|
4
|
8,3
4-77
|
6,4
3-68
|
5,4
3-10
|
4,4
2-53
|
3,5
2-01
|
2,4
1-38
|
1,6
0-92
|
1,5
0-86,2
|
1,4
0-80,5
|
1,3
0-74,8
|
1,2
0-69
|
1,1
0-63,2
|
1
0-57,5
|
44
|
|
5
|
9,6
5-52
|
7,5
4-31
|
6,4
3-68
|
5,3
3-05
|
4,1
2-36
|
2,9
1-67
|
2,3
1-32
|
1,6
0-92
|
1,5
0-86,2
|
1,4
0-80,5
|
1,3
0-74,8
|
1,2
0-69
|
1,1
0-63,2
|
45
|
|
7
|
1
|
4
2-30
|
3,3
1-90
|
2,9
1-67
|
2,2
1-26
|
1,7
0-97,8
|
1,3
0-74,8
|
1,2
0-69
|
1,1
0-63,2
|
1
0-57,5
|
0,9
0-51,7
|
0,8
0-46
|
0,7
0-40,2
|
0,6
0-34,5
|
46
|
|
2
|
5
2-88
|
3,9
2-24
|
3,2
1-84
|
2,8
1-61
|
2
1-15
|
1,5
0-86,2
|
1,3
0-74,8
|
1,2
0-69
|
1,1
0-63,2
|
1
0-57
|
0,9
0-51,7
|
0,8
0-46
|
0,7
0-40,2
|
47
|
|
3
|
6,2
3-56
|
4,6
2-64
|
3,8
2-19
|
3,1
1-78
|
2,5
1-44
|
1,7
0-97,8
|
1,4
0-80,5
|
1,3
0-74,8
|
1,2
0-69
|
1,1
0-63,2
|
1
0-57,5
|
0,9
0-51,7
|
0,8
0-46
|
48
|
|
4
|
7,2
4-14
|
5,5
3-16
|
4,6
2-64
|
3,7
2-13
|
3
1-72
|
2,1
1-21
|
1,5
0-86,2
|
1,4
0-80,5
|
1,3
0-74,8
|
1,2
0-69
|
1,1
0-63,2
|
1
0-57,5
|
0,9
0-51,9
|
49
|
|
5
|
7,7
4-43
|
6,2
3-56
|
5,5
3-16
|
4,5
2-59
|
3,8
2-18
|
2,5
1-44
|
2
1-15
|
1,5
0-86,2
|
1,4
0-80,5
|
1,3
0-74,8
|
1,2
0-69
|
1,1
0-63,2
|
1
0-57,5
|
50
|
|
8
|
1
|
3,7
2-13
|
3
1-72
|
2,5
1-44
|
2
1-15
|
1,5
0-86,2
|
1,2
0-69
|
1,1
0-63,2
|
1
0-57,5
|
0,9
0-51,7
|
0,8
0-46
|
0,7
0-40,2
|
0,6
0-34,5
|
0,5
0-28,8
|
51
|
|
2
|
4,3
2-47
|
3,3
1-90
|
2,8
1-61
|
2,4
1-38
|
1,8
1-04
|
1,4
0-80,5
|
1,2
0-69
|
1,1
0-63,2
|
1
0-57,5
|
0,9
0-51,7
|
0,8
0-46
|
0,7
0-40,2
|
0,6
0-34,5
|
52
|
|
3
|
5,4
3-10
|
3,9
2-24
|
3,2
1-84
|
2,7
1-55
|
2,2
1-26
|
1,6
0-92
|
1,3
0-74,8
|
1,2
0-69
|
1,1
0-63,2
|
1
0-57,5
|
0,9
0-51,7
|
0,8
0-46
|
0,7
0-40,2
|
53
|
|
4
|
6,2
3-56
|
4,7
2-70
|
3,9
2-24
|
3,1
1-73
|
2,8
1-61
|
1,9
1-09
|
1,4
0-80,5
|
1,3
0-74,8
|
1,2
0-69
|
1,1
0-63,2
|
1
0-57,5
|
0,9
0-51,8
|
0,8
0-46
|
54
|
|
5
|
6,7
3-85
|
5,1
2-93
|
4,7
2-70
|
3,8
2-18
|
3,4
1-96
|
2,3
1-32
|
1,9
1-09
|
1,4
0-80,5
|
1,3
0-74,8
|
1,2
0-69
|
1,1
0-63,2
|
1
0-57,5
|
0,9
0-51,5
|
55
|
|
9
|
1
|
3,4
1-96
|
2,6
1-50
|
2,1
1-21
|
1,7
0-97,8
|
1,4
0-80,5
|
1,1
0-63,2
|
1
0-57,5
|
0,9
0-51,8
|
0,8
0-46
|
0,7
0-40,2
|
0,6
0-34,5
|
0,5
0-28,8
|
0,4
0-23
|
56
|
|
2
|
3,7
2-13
|
2,9
1-67
|
2,4
1-38
|
2,1
1-21
|
1,5
0-86,2
|
1,2
0-69
|
1,1
0-63,2
|
1
0-57,5
|
0,9
0-51,8
|
0,8
0-46
|
0,7
0-40,2
|
0,6
0-34,5
|
0,6
0-28,8
|
57
|
|
3
|
4,1
2-36
|
3,2
1-84
|
2,6
1-15
|
2,3
1-32
|
1,9
1-09
|
1,5
0-86,2
|
1,2
0-69
|
1,1
0-63,2
|
1
0-57,5
|
0,9
0-51,8
|
0,8
0-46
|
0,7
0-40,2
|
0,6
0-34,5
|
58
|
|
4
|
5,3
3-05
|
4
2-30
|
3,3
1-90
|
2,5
1-44
|
2,3
1-32
|
1,8
1-04
|
1,3
0-74,8
|
1,2
0-69
|
1,1
0-63,2
|
1
0-57,5
|
0,9
0-51,9
|
0,8
0-46
|
0,7
0-40,2
|
59
|
|
5
|
5,8
3-34
|
4,2
2-42
|
4
2-30
|
3,2
1-84
|
3
1-72
|
2
1-15
|
1,8
1-04
|
1,3
0-74,8
|
1,2
0-69
|
1,1
0-63,2
|
1
0-57,5
|
0,9
0-51,9
|
0,8
0-46
|
60
|
|
10
|
1
|
3,1
1-78
|
2,3
1-32
|
1,9
1-09
|
1,5
0-86,2
|
1,3
0-74,8
|
1
0-57,5
|
0,9
0-51,8
|
0,8
0-46
|
0,7
0-40,2
|
0,6
0-34,5
|
0,5
0-28,8
|
0,4
0-23
|
0,3
0-17,2
|
61
|
|
2
|
3,2
1-84
|
2,5
1-44
|
2,1
1-21
|
1,9
1-09
|
1,4
0-80,5
|
1,1
0-63,2
|
1
0-57,5
|
0,9
0-51,8
|
0,8
0-46
|
0,7
0-40,2
|
0,6
0-34,5
|
0,5
0-28,8
|
0,4
0-23
|
62
|
|
3
|
3,6
2-07
|
2,7
1-55
|
2,3
1-32
|
2
1-15
|
1,6
0-92
|
1,3
0-74,8
|
1,1
0-63,2
|
1
0-57,5
|
0,9
0-51,8
|
0,8
0-46
|
0,7
0-40,2
|
0,6
0-34,5
|
0,5
0-28,8
|
63
|
|
4
|
4,5
2-59
|
3,3
1-90
|
2,7
1-55
|
2,2
1-26
|
1,9
1-09
|
1,6
0-92
|
1,2
0-69
|
1,1
0-63,2
|
1
0-57,5
|
0,9
0-51,8
|
0,8
0-46
|
0,7
0-40,2
|
0,6
0-34,5
|
64
|
|
5
|
5,4
3-10
|
3,7
2-13,
|
3,3
1-90
|
2,6
1-50
|
2,4
1-38
|
1,9
1-09
|
1,6
0-92
|
1,2
0-69
|
1,1
0-63,2
|
1
0-57,5
|
0,9
0-51,8
|
0,8
0-46
|
0,7
0-40,2
|
65
|
|
11
|
1
|
2,8
1-61
|
2
1-15
|
1,6
0-92
|
1,3
0-74,8
|
1,2
0-69
|
0,9
0-51,8
|
0,8
0-46
|
0,7
0-40,2
|
0,6
0-34,5
|
0,5
0-28,8
|
0,4
0-23
|
0,3
0-17,2
|
0,2
0-11,5
|
66
|
|
2
|
3
1-72
|
2,1
1-21
|
1,9
1-09
|
1,6
0-92
|
1,3
0-74,8
|
1
0-57,5
|
0,9
0-51,8
|
0,8
0-46
|
0,7
0-40,2
|
0,6
0-34,5
|
0,5
0-28,8
|
0,4
0-23
|
0,3
0-17,2
|
67
|
|
3
|
3,1
1-18
|
2,2
1-26
|
2,1
1-21
|
1,9
1-09
|
1,4
0-80,5
|
1,2
0-69
|
1
0-57,5
|
0,9
0-51,8
|
0,8
0-46
|
0,7
0-40,2
|
0,6
0-34,5
|
0,5
0-28,8
|
0,4
0-23
|
68
|
|
4
|
3,8
2-18
|
2,8
1-61
|
2,2
1-26
|
1,9
1-09
|
1,6
0-92
|
1,5
0-86,2
|
1,1
0-63,2
|
1
0-57,5
|
0,9
0-51,8
|
0,8
0-46
|
0,7
0-40,2
|
0,6
0-34,5
|
0,5
0-28,8
|
69
|
|
5
|
5
2-88
|
3,3
1-90
|
2,8
1-61
|
2,1
1-21
|
1,9
1-09
|
1,8
1-04
|
1,4
0-80,5
|
1,1
0-63,2
|
1
0-57,5
|
0,9
0-51,8
|
0,8
0-46
|
0,7
0-40,2
|
0,6
0-34,5
|
70
|
|
12
|
1
|
2,5
1-44
|
1,8
1-04
|
1,3
0-74,8
|
1,2
0-69
|
1,1
0-63,2
|
0,8
0-46
|
0,7
0-40,2
|
0,6
0-34,5
|
0,5
0-28,8
|
0,4
0-23
|
0,3
0-17,2
|
0,2
0-11,5
|
0,1
0-05,8
|
71
|
|
2
|
2,8
1-61
|
1,85
1-06
|
1,6
0-92
|
1,3
0-74,8
|
1,2
0-69
|
0,9
0-51,8
|
0,8
0-46
|
0,7
0-40,2
|
0,6
0-34,5
|
0,5
0-28,8
|
0,4
0-23
|
0,3
0-17,2
|
0,2
0-11,5
|
72
|
|
3
|
3
1-72
|
1,9
1-09
|
1,8
1-04
|
1,5
0-86,2
|
1,3
0-74,8
|
1,1
0-63,2
|
0,9
0-51,8
|
0,8
0-46
|
0,7
0-40,2
|
0,6
0-34,5
|
0,5
0-28,8
|
0,4
0-23
|
0,3
0-17,2
|
73
|
|
4
|
3,2
1-34
|
2,2
1-26
|
1,9
1-09
|
1,7
0-98,8
|
1,5
0-86,2
|
1,2
0-69
|
1
0-57,5
|
0,9
0-51,8
|
0,8
0-46
|
0,7
0-40,2
|
0,6
0-34,5
|
0,5
0-28,8
|
0,4
0-23
|
74
|
|
5
|
4,6
2-64
|
2,9
1-67
|
2,3
1-32
|
1,8
1-04
|
1,7
0-97,8
|
1,3
0-74,8
|
1,2
0-69
|
1
0-57,5
|
0,9
0-51,8
|
0,8
0-46
|
0,7
0-40,2
|
0,6
0-34,5
|
0,5
0-28,8
|
75
|
|
|
|
а
|
б
|
в
|
г
|
д
|
е
|
ж
|
з
|
и
|
к
|
л
|
м
|
н
|
№
|
Примечание. При числе отгибов более пяти Н.вр. и Расц.
строк с пятью отгибами умножать на 1,1 на каждый следующий отгиб.
Схема
организации рабочего места

1 - верстак с
ручным станком для гнутья,
2 - контейнер для
заготовок стержней,
3 - контейнер для
готовых изделий,
4 - место
арматурщика.
Состав работы
Разметить места отгибов стержней. Произвести
гнутье стержней с периодической проверкой отгибов по шаблону. Уложить стержни в
контейнер.
|
Исполнители
|
Длина стержней, м
|
|
до 1,5
|
более 1,5
|
|
Арматурщик 2
разряда
|
1
|
1
|
|
Арматурщик 1
разряда
|
-
|
1
|
Таблица 2
Нормы
времени и расценки
на 1 т арматуры
|
Длина стержней,
м, до
|
Число отгибов в
одном стержне
|
Диаметр стержней,
мм, до
|
|
3
|
4
|
5
|
6
|
8
|
10
|
12
|
14
|
|
|
0,5
|
1
|
25
14-25
|
20
11-40
|
17
9-69
|
13,5
7-70
|
9,1
5-19
|
7,2
4-10
|
6
3-42
|
5
2-85
|
1
|
|
2
|
29
16-53
|
26
14-82
|
21
11-97
|
17
9-69
|
11
6-27
|
8,7
4-96
|
7,2
4-10
|
6
3-42
|
2
|
|
3
|
32
18-24
|
28
15-96
|
23
13-11
|
19
10-83
|
12,5
7-12
|
10,5
5-98
|
8,6
4-90
|
7,2
4-10
|
3
|
|
1
|
1
|
21
11-97
|
15,6
8-89
|
13
7-41
|
11
6-27
|
8,3
4-73
|
6,4
3-65
|
5,2
2-96
|
4,2
2-39
|
4
|
|
2
|
25
14-25
|
19,5
11-12
|
I5,5
8-84
|
12,5
7-12
|
9,5
5-42
|
7,7
4-39
|
6,3
3-59
|
5
2-85
|
5
|
|
3
|
29
16-53
|
24
13-68
|
18
10-26
|
15,5
8-84
|
11,5
6-56
|
9,2
5-24
|
7,6
4-33
|
6,2
3-53
|
6
|
|
4
|
35
19-95
|
28
15-96
|
22
12-54
|
18
10-26
|
14
7-98
|
11
6-27
|
9
5-13
|
7,4
4-22
|
7
|
|
5
|
42
23-94
|
32
18-24
|
27
15-39
|
22
12-54
|
17
9-69
|
13
7-41
|
11
6-27
|
9
5-13
|
8
|
|
1,5
|
1
|
17,5
9-98
|
13
7-41
|
11
6-27
|
9
5-13
|
6,6
3-76
|
5,4
3-08
|
4,8
2-74
|
3,9
2-22
|
9
|
|
2
|
22
12-54
|
17,5
9-98
|
13,5
7-70
|
11,5
6-56
|
8,5
4-84
|
6,9
3-93
|
5,6
3-19
|
5
2-85
|
10
|
|
3
|
27
15-39
|
20
11-40
|
17,5
9-98
|
14
7-98
|
11
6-27
|
8,7
4-96
|
7,3
4-16
|
5,7
3-25
|
11
|
|
4
|
32
18-24
|
25
14-25
|
20
11-40
|
17,5
9-98
|
13
7-41
|
10,5
5-98
|
8,7
4-96
|
7
3-99
|
12
|
|
5
|
38
21-66
|
30
17-10
|
24
13-68
|
21
11-97
|
16,5
9-40
|
13
7-41
|
10
5-70
|
8,4
4-79
|
13
|
|
2
|
1
|
15,5
8-45
|
11,5
6-27
|
9,6
5-23
|
8
4-36
|
6
3-27
|
4,9
2-67
|
4,1
2-23
|
3,5
1-91
|
14
|
|
2
|
19,5
11-63
|
15,5
8-45
|
12
6-54
|
10,3
5-61
|
7,7
4-20
|
6,3
3-43
|
5,2
2-83
|
4,6
2-51
|
15
|
|
3
|
24
13-08
|
19
10-36
|
15,5
8-45
|
12,5
6-81
|
9,8
5-34
|
7,9
4-30
|
6,5
3-54
|
5
2-73
|
16
|
|
4
|
28
15-26
|
23
12-54
|
19
10-36
|
15,5
8-45
|
12
6-54
|
9,5
5-18
|
7,9
4-30
|
6,3
-43
|
17
|
|
5
|
35
19-08
|
27
14-72
|
21
11-45
|
19
10-35
|
15
8-18
|
12
6-54
|
9,2
5-01
|
7,6
4-14
|
18
|
|
2,5
|
1
|
15
8-18
|
11
6-00
|
9,3
5-07
|
7,8
4-25
|
5,7
3-11
|
4,7
2-56
|
3,9
2-12
|
3,4
1-85
|
19
|
|
2
|
18,5
10-08
|
15
8-18
|
11,5
6-27
|
10
5-45
|
7,4
4-03
|
6,1
3-32
|
5,1
2-78
|
4,4
2-40
|
20
|
|
3
|
24
13-08
|
18,5
10-08
|
15
8-18
|
12
6-54
|
9,5
5-18
|
7,6
4-14
|
6,2
3-38
|
4,9
2-67
|
21
|
|
4
|
27
14-72
|
22
11-99
|
18,5
10-08
|
15
8-18
|
11,5
6-27
|
9,1
4-96
|
7,6
4-14
|
6,1
3-32
|
22
|
|
5
|
34
18-53
|
25
13-62
|
20
10-90
|
18,5
10-08
|
14,5
7-90
|
11
6-00
|
8,8
4-80
|
7,3
3-98
|
23
|
|
3
|
1
|
11,5
6-27
|
8,9
4-85
|
7,7
4-20
|
6,5
3-54
|
4,7
2-55
|
3,5
1-91
|
2,6
1-42
|
2,2
1-20
|
24
|
|
2
|
14
7-63
|
11
6-00
|
9
4-90
|
7,8
4-25
|
5,1
2-78
|
4,2
2-29
|
3,1
1-69
|
2,7
1-47
|
25
|
|
3
|
16,5
8-99
|
13
7-08
|
11
6-00
|
9,5
5-18
|
6,9
3-76
|
5,1
2-78
|
3,8
2-07
|
3,2
1-74
|
26
|
|
4
|
19,5
10-63
|
15,5
8-45
|
13
7-08
|
11
6-00
|
8,1
4-41
|
6
3-27
|
4,4
2-40
|
3,8
2-07
|
27
|
|
5
|
24
13-08
|
18,8
10-25
|
15
8-18
|
13,5
7-36
|
9,8
5-34
|
7,2
3-92
|
5,3
2-89
|
4,8
2-62
|
28
|
|
4
|
1
|
9,8
5-34
|
8,1
4-41
|
6,9
3-76
|
5,7
3-11
|
3,9
2-12
|
3
1-64
|
2,3
1-25
|
2,1
1-14
|
29
|
|
2
|
11,5
6-27
|
9,8
5-34
|
8,3
4-52
|
6,9
3-76
|
4,7
2-56
|
3,6
1-96
|
2,7
1-47
|
2,3
1-25
|
30
|
|
3
|
14
7-63
|
12
6-54
|
9,9
5-40
|
8,2
4-47
|
5,4
2-94
|
4,4
2-40
|
3,1
1-69
|
2,7
1-47
|
31
|
|
4
|
16,5
8-99
|
14
7-63
|
12
6-54
|
9,9
5-40
|
6,4
3-49
|
5,3
2-89
|
3,8
2-07
|
3,2
1-74
|
32
|
|
5
|
20
10-90
|
17
9-26
|
14,5
7-90
|
12
6-54
|
7,5
4-09
|
6,1
3-32
|
4,5
2-45
|
3,8
2-07
|
33
|
|
5
|
1
|
8,3
4-52
|
6,5
3-54
|
5,5
3-00
|
4,5
2-45
|
3,5
1-91
|
2,4
1-31
|
2,1
1-14
|
2
1-09
|
34
|
|
2
|
10
5-45
|
7,8
4-25
|
6,6
3-60
|
5,4
2-94
|
4,2
2-29
|
3
1-64
|
2,3
1-25
|
2,1
1-14
|
35
|
|
3
|
12
6-54
|
9,5
5-18
|
7,9
4-30
|
6,5
3-54
|
5,1
2-78
|
3,6
1-96
|
2,7
1-47
|
2,3
1-25
|
36
|
|
4
|
14,5
7-90
|
11
6-00
|
9,6
5-23
|
7,8
4-25
|
6
3-27
|
4,3
2-34
|
3,2
1-74
|
2,4
1-31
|
37
|
|
5
|
18
9-81
|
14
7-63
|
11
6-00
|
9,5
5-18
|
7,2
3-92
|
5,3
2-89
|
3,7
2-02
|
3
1-64
|
38
|
|
6
|
1
|
7,2
3-92
|
5,7
3-11
|
4,8
2-62
|
3,9
2-12
|
3
1-64
|
2,1
1-14
|
2
1-09
|
1,8
0-98,1
|
39
|
|
2
|
8,7
4-74
|
6,8
3-71
|
5,7
3-11
|
4,6
2-51
|
3,6
1-96
|
2,4
1-31
|
2,1
1-14
|
2
1-09
|
40
|
|
3
|
10,5
5-72
|
8,1
4-41
|
6,8
3-71
|
5,6
3-05
|
4,4
2-40
|
3
1-64
|
2,3
1-25
|
2,1
1-14
|
41
|
|
4
|
12,5
6-81
|
9,6
5-23
|
8,1
4-41
|
6,6
3-60
|
5,3
2-89
|
3,6
1-96
|
2,4
1-31
|
2,2
1-20
|
42
|
|
5
|
14,5
7-90
|
11
6-00
|
9,6
5-53
|
8
4-36
|
6,2
3-38
|
4,4
2-40
|
3,5
1-91
|
2,4
1-31
|
43
|
|
|
|
а
|
б
|
в
|
г
|
д
|
е
|
ж
|
з
|
№
|
Схема организации рабочего места

1 - станок для изготовления петель и полухомутов,
2 - контейнер для
стержней,
3 - контейнер для
петель,
4 - место
арматурщика.
Состав работы
Включить станок. Подать стержни в гибочное устройство. Произвести гнутье
стержней. Уложить готовые изделия в кассету или контейнер.
Исполнитель
арматурщик 2 разряда.
Таблица 3
Нормы времени и расценки на
1 т петель
|
Диаметр стержней, мм, до
|
|
6
|
8
|
10
|
12
|
14
|
16
|
18
|
20
|
22
|
25
|
28
|
32
|
|
7,6
4-33
|
5,5
3-14
|
4,1
2-34
|
3
1-71
|
2,2
1-25
|
1,6
0-91,2
|
1,3
0-74,1
|
1,2
0-68,4
|
0,72
0-41
|
0,63
0-35,9
|
0,55
0-31,4
|
0,45
0-25,7
|
|
а
|
б
|
в
|
г
|
д
|
е
|
ж
|
з
|
и
|
к
|
л
|
м
|
Схема организации
рабочего моста

1 - станок для
гнутья сеток и плоских каркасов,
2 - место
складирования сеток и каркасов,
3 - место
складирования гнутых сеток и каркасов,
4 - рабочие места
арматурщиков.
Состав работы
Уложить сетку на стол гибочного станка. Разметить места отгибов.
Произвести гнутье изделий по разметке. Снять изделия со станка и уложить в
штабель или контейнер.
Исполнители:
арматурщик 2 разряда - 2.
Таблица 1
Нормы времени и расценки на 1 т изделий
|
Длина сетки м, до
|
Количество отгибов
|
Вес сетки или
плоского каркаса, кг, до
|
|
1
|
1,5
|
2
|
2,5
|
3
|
3,5
|
4
|
4,5
|
5
|
6
|
7
|
8
|
9
|
|
|
1,5
|
1
|
6,3
3-59
|
5,4
3-08
|
4,8
2-74
|
4,4
2-51
|
4
2-28
|
3,8
2-17
|
3,6
2-05
|
3,4
1-94
|
3,2
1-82
|
2,9
1-65
|
2,7
1-54
|
2,5
1-42
|
2,2
1-25
|
1
|
|
2
|
9,3
5-30
|
8
4-56
|
7,3
4-16
|
6,7
3-82
|
6,3
3-59
|
5,9
3-36
|
5,6
3-19
|
5,3
3-02
|
5
2-85
|
4,6
2-62
|
4,2
2-39
|
3,7
2-11
|
3,4
1-94
|
2
|
|
3
|
13,5
7-70
|
11,5
6-56
|
10,5
5-98
|
9,3
5-30
|
8,6
4-90
|
8
4-56
|
7,6
4-33
|
7,2
4-10
|
6,8
3-88
|
6,2
3-53
|
5,9
3-36
|
5
2-85
|
4,6
2-62
|
3
|
|
3
|
1
|
7,4
4-22
|
6,5
3-70
|
5,5
3-14
|
5,2
2,96
|
4,8
2-74
|
4,5
2-57
|
4,3
2-45
|
4
2-28
|
3,8
2-17
|
3,5
2-00
|
3,2
1-82
|
2,9
1-65
|
2,6
1-48
|
4
|
|
2
|
10,5
5-99
|
9,1
5-19
|
7,9
4-50
|
7,6
4-33
|
7
3-99
|
6,7
3-82
|
6,3
3-59
|
5,9
3-36
|
5,5
3-14
|
5,2
2-96
|
4,7
2-68
|
4,2
2-39
|
3,8
2-17
|
5
|
|
3
|
14,5
8-27
|
13
7-41
|
11
6-27
|
10
5-70
|
9,4
5-36
|
8,8
5-02
|
8,3
4-45
|
7,8
4-45
|
7,4
4-22
|
6,8
3-88
|
6,3
3-59
|
5,7
3-25
|
5
2-85
|
6
|
|
6
|
1
|
8,6
4-90
|
7,4
4-22
|
6,7
3-82
|
6
3-42
|
5,6
3-19
|
5,3
3-02
|
5
2-85
|
4,7
2-68
|
4,5
2-56
|
4,1
2-34
|
3,7
2-11
|
3,4
1-94
|
3
1-71
|
7
|
|
2
|
11,5
6-55
|
10
5-70
|
9,1
5-19
|
8,4
4-79
|
7,9
4-50
|
7,5
4-28
|
7
3-99
|
6,6
3-76
|
6,3
3-59
|
5,8
3-31
|
5,2
2-96
|
4,7
2-68
|
4,3
2-45
|
8
|
|
3
|
16
9-12
|
13,5
7-70
|
12,5
7-13
|
11
6-27
|
10,5
5-98
|
10
5-70
|
9
5-13
|
8,5
4-84
|
8
4-56
|
7,4
4-22
|
6,8
3-88
|
6,2
3-53
|
5,5
3-14
|
9
|
|
|
|
а
|
б
|
в
|
г
|
д
|
е
|
ж
|
з
|
и
|
к
|
л
|
м
|
н
|
№
|
Продолжение таблицы 1
|
Длина сетки м, до
|
Количество отгибов
|
Вес сетки или
плоского каркаса, кг, до
|
|
10
|
12
|
14
|
17
|
20
|
25
|
30
|
50
|
75
|
100
|
125
|
150
|
|
|
1,5
|
1
|
1,8
1-03
|
1,4
0-79,8
|
1,2
0-68,4
|
0,98
0-55,9
|
0,95
0-54,2
|
0,88
0-50,2
|
0,84
0-47,9
|
0,79
0-45
|
0,68
0-33,8
|
0,5
0-28,5
|
0,35
0-20
|
0,29
0-16,5
|
10
|
|
2
|
2,8
1-60
|
2,1
1-20
|
1,9
1-08
|
1,6
0-91,2
|
1,5
0-85,5
|
1,4
0-79,8
|
1,3
0-74,1
|
1,2
0-68,4
|
1,1
0-62,7
|
0,8
0-45,6
|
0,53
0-30,2
|
0,44
0-25,1
|
11
|
|
3
|
3,8
2-17
|
3
1-71
|
2,5
1-43
|
2,1
1-20
|
2
1-14
|
1,9
1-08
|
1,8
1-03
|
1,7
0-96,9
|
1,4
0-79,8
|
1,1
0-62,7
|
0,75
0-42,8
|
0,62
0-35,3
|
12
|
|
3
|
1
|
2,2
1-25
|
1,7
0-96,9
|
1,4
0-79,8
|
1,3
0-74,1
|
1,2
0-68,4
|
1,1
0-62,7
|
1
0-57
|
0,94
0-53,6
|
0,81
0-46,2
|
0,6
0-34,2
|
0,42
0-23,9
|
0,35
0-20
|
13
|
|
2
|
3,2
1-82
|
2,5
1-43
|
2,1
1-20
|
1,7
0-96,9
|
1,6
0-91,2
|
1,5
0-85,5
|
1,4
0-79,8
|
1,3
0-74,1
|
1,2
0-68,4
|
0,9
0-51,3
|
0,6
0-34,2
|
0,5
0-28,5
|
14
|
|
3
|
4,2
2-39
|
3,3
1-88
|
2,8
1-60
|
2,3
1-31
|
2,2
1-25
|
2
1-14
|
1,9
1-08
|
1,8
1-03
|
1,6
0-91,2
|
1,2
0-68,4
|
0,82
0-46,7
|
0,62
0-35,3
|
15
|
|
6
|
1
|
2,5
1-42
|
2
1-14
|
1,8
1-03
|
1,7
0-97
|
1,6
0-91,2
|
1,5
0-85,5
|
1,2
0-68,4
|
1,1
0-62,7
|
0,96
0-54,7
|
0,7
0-39,9
|
0,48
0-27,4
|
0,42
0-23,9
|
16
|
|
2
|
3,5
2-00
|
2,8
1-60
|
2,4
1-37
|
2
1-14
|
1,9
1-08
|
1,8
1-03
|
1,7
0-96,9
|
1,6
0-91,2
|
1,4
0-79,8
|
1
0-57
|
0,66
0-37,6
|
0,57
0-32,5
|
17
|
|
|
4,6
2-62
|
3,6
2-05
|
3
1-71
|
2,5
1-42
|
2,4
1-37
|
2,3
1-31
|
2,2
1-25
|
2
1-14
|
1,7
0-96,9
|
1,3
0-74,1
|
0,88
0-50,2
|
0,75
0-42,8
|
18
|
|
|
|
о
|
п
|
р
|
с
|
т
|
у
|
ф
|
x
|
ц
|
ч
|
ш
|
щ
|
№
|
Таблица 2
Нормы
времени и расценки на 1 т изделий
|
Длина сетки м, до
|
Количество отгибов
|
Вес сетки или
плоского каркаса, кг, до
|
|
1
|
1,5
|
2
|
2,5
|
3
|
3,5
|
4
|
4,5
|
5
|
6
|
7
|
8
|
9
|
|
|
1,5
|
1
|
5,7
3-25
|
4,9
2-79
|
4,3
2-45
|
4
2-28
|
3,6
2-05
|
3,4
1-94
|
3,2
1-82
|
3,1
1-77
|
2,9
1-65
|
2,6
1-48
|
2,4
1-37
|
2,2
1-25
|
2
I-I4
|
1
|
|
2
|
8,4
4-79
|
7,2
4-10
|
6,6
3-76
|
6
3-42
|
5,7
3-25
|
5,3
3-02
|
5
2-85
|
4,8
2-74
|
4,5
2-57
|
4,1
2-34
|
3,8
2-17
|
3,3
1-88
|
3,1
1-77
|
2
|
|
3
|
12
6-84
|
10,5
5-98
|
9,5
5-42
|
8,4
4-79
|
7,7
4-39
|
7,2
4-10
|
6,8
3-88
|
6,5
3-70
|
61
3-48
|
5,6
3-19
|
5,3
3-02
|
4,8
2-74
|
4,1
2-34
|
3
|
|
3
|
1
|
6,7
3-82
|
5,9
3-36
|
5
2-85
|
4,7
2-68
|
4,3
2-45
|
4,1
2-34
|
3,9
2-22
|
3,6
2-05
|
3,4
1-94
|
3,2
1-82
|
2,9
1-65
|
2,6
1-48
|
2,4
1-37
|
4
|
|
2
|
9,5
5-42
|
8,2
4-67
|
7,1
4-05
|
6,8
3-88
|
6,3
3-59
|
6
3-42
|
5,7
3-25
|
5,3
3-02
|
5
2-85
|
4,7
2-68
|
4,2
2-39
|
3,8
2-17
|
3,4
1-94
|
5
|
|
3
|
13
7-41
|
11,5
6-56
|
9,9
5-64
|
9
5-13
|
8,5
4-84
|
7,9
4-50
|
7,5
4-28
|
7
3-99
|
6,7
3-82
|
6,1
3-48
|
5,7
3-25
|
5,1
2-91
|
4,5
2-56
|
6
|
|
6
|
1
|
7,7
4-39
|
6,7
3-62
|
6
3-42
|
5,4
3-08
|
5
2-85
|
4,8
2-74
|
4,5
2-57
|
4,2
2-39
|
4
2-28
|
3,7
2-11
|
3,3
1-88
|
3,1
1-77
|
2,7
1-54
|
7
|
|
2
|
10,5
5-98
|
9
5-13
|
8,2
4-67
|
7,6
4-33
|
7,1
4-05
|
6,8
3-88
|
6,3
8-59
|
5,9
3-36
|
5,7
3-25
|
5,2
2-96
|
4,7
2-68
|
4,2
2-39
|
3,9
2-22
|
8
|
|
3
|
14,5
8-27
|
12
6-84
|
11
6-27
|
10
5-70
|
9,5
5-42
|
9
5-13
|
8,1
4-62
|
7,6
4-33
|
7,2
4-10
|
6,7
3-82
|
6,1
3-48
|
5,6
3-19
|
5
2-85
|
9
|
|
|
|
а
|
б
|
в
|
г
|
д
|
е
|
ж
|
з
|
и
|
к
|
л
|
м
|
н
|
№
|
Продолжение таблицы 2
|
Длина сетки м, до
|
Количество отгибов
|
Вес сетки или
плоского каркаса, кг, до
|
|
10
|
12
|
14
|
17
|
20
|
25
|
30
|
50
|
75
|
100
|
125
|
150
|
|
|
1,5
|
1
|
1,6
0-91,2
|
1,3
0-74,1
|
1,1
0-62,7
|
0,88
0-50,2
|
0,85
0-48,4
|
0,79
0-45
|
0,76
0-43,3
|
0,71
0-40,5
|
0,61
0-34,8
|
0,45
0-25,7
|
0,31
0-17,7
|
0,26
0-14,8
|
10
|
|
2
|
2,5
1-42
|
1,9
1-08
|
1,7
0-96,9
|
1,5
0-85,5
|
1,4
0-79,8
|
1,3
0-74,1
|
1,2
0-68,4
|
1,1
0-62,7
|
0,99
0-56,4
|
0,72
0-41
|
0,48
0-27,4
|
0,4
0-22,8
|
11
|
|
3
|
3,4
1-94
|
2,7
1-54
|
2,3
1-31
|
1,9
1-08
|
1,8
1-03
|
1,7
0-96,9
|
1,6
0-91,2
|
1,5
0-85,5
|
1,3
0-74,1
|
0,99
0-56,4
|
0,68
0-38,8
|
0,56
0-31,9
|
12
|
|
3
|
1
|
2
1-14
|
1,5
0-85,5
|
1,3
0-74,1
|
1,1
0-62,7
|
1
0-57
|
0,94
0-53,6
|
0,9
0-51,3
|
0,85
0-48,4
|
0,73
0-41,6
|
0,54
0-30,8
|
0,38
0-21,7
|
0,32
0-18,2
|
13
|
|
2
|
2,9
1-65
|
2,3
1-31
|
1,9
1-08
|
1,6
0-91,2
|
1,5
0-85,5
|
1,4
0-79,8
|
1,3
0-74,1
|
1,2
0-68,4
|
1,1
0-62,7
|
0,81
0-46,2
|
0,54
0-30,8
|
0,45
0-25,6
|
14
|
|
3
|
3,8
2-17
|
3
1-71
|
2,5
1-42
|
2,1
1-20
|
2
1-14
|
1,8
1-03
|
1,7
0-96,9
|
1,6
0-91,2
|
1,4
0-79,8
|
1,1
0-62,7
|
0,74
0-42,2
|
0,56
0-31,9
|
15
|
|
6
|
1
|
2,2
1-25
|
1,8
1-03
|
1,5
0-85,5
|
1,4
0-79,8
|
1,3
0-74,1
|
1,2
0-68,4
|
1,1
0-62,7
|
0,99
0-56,4
|
0,86
0-49
|
0,63
0-35,9
|
0,43
0-24,5
|
0,33
0-21,7
|
16
|
|
2
|
3,2
1-82
|
2,5
1-42
|
2,2
1-25
|
1,8
1-03
|
1,7
0-96,9
|
1,6
0-91,2
|
1,5
0-85,5
|
1,4
0-79,8
|
1,2
0-68,4
|
0,9
0-51,3
|
0,59
0-33,6
|
0,51
0-29,1
|
17
|
|
3
|
4,1
2-34
|
3,2
1-82
|
2,7
1-54
|
2,4
1-37
|
2,2
1-25
|
2,1
1-20
|
2
1-14
|
1,8
1-03
|
1,5
0-85,5
|
1,2
0-68,4
|
0,8
0-45,6
|
0,68
0-38,8
|
18
|
|
|
|
о
|
п
|
р
|
с
|
т
|
у
|
ф
|
x
|
ц
|
ч
|
ш
|
щ
|
№
|
Нестоящий раздел содержит нормы времени и
расценки на:
- упрочнение арматурных стержней вытяжкой на
специальных установках;
- электротермическое упрочнение стержней на машинах
ЭТУ;
- высадку анкерных головок на стержнях на специальных
машинах или модернизированных стыкосварочных машинах МСР и МСМУ;
- опрессовку втулок на концах стержней на малинах
МО-4 или модернизированном прессе С-445;
- сварку стержней с отрезками напряженной арматуры
на стыкосварочных машинах МСР и МСМУ.
А.
Машины для упрочнения арматурных стержней вытяжкой
|
Показатели
|
Единица измерения
|
Марка установки
|
|
CН-5I3
|
6597С
|
6701C/2А
|
|
Максимальное
усилие растяжения
|
т
|
60
|
70
|
70
|
|
Максимальный
диаметр стержня
|
мм
|
36
|
40
|
40
|
|
Длина стержней
|
мм
|
24000
|
6000-6400
|
6000-12000
|
|
Производительность
|
шт/ч
|
18
|
25
|
8-16
|
|
Ход поршня
|
мм
|
800
|
-
|
-
|
Б.
Установки для термического упрочнения арматуры
|
Показатели
|
Единица измерения
|
Тип установки
|
|
ЭТУ-1 и ЭТУ-1А
|
|
Общая
установленная мощность трансформатора
|
ква
|
150
|
|
Давление на
зажимах
|
кг/см2
|
5-6
|
|
Диаметр
упрочняемых стержней
|
мм
|
10-16
|
|
Длина упрочняемых
стержней
|
м
|
6-12
|
|
Производительность
стержней
|
шт/час
|
90-100
|
|
Температура
нагрева для закачки
|
градус
|
950 °С
|
|
Охлаждающая среда
|
|
водяная ванна
|
|
Температура
нагрева для отпуска
|
|
380 °С
|
|
Габариты: длина
|
мм
|
9000-12000
|
|
ширина
|
мм
|
4110
|
|
высота
|
мм
|
1670
|
|
Вес
|
кг
|
6000
|
В.
Машины для образования высаженных анкерных головок
|
Показатели
|
Единица измерения
|
Тип установки
|
|
СМЖ-128
|
65960С/1
|
|
Вид арматурной
стали
|
|
Стержневая
арматура периодического профиля
|
|
Ø 10-25
|
Ø 10-25
|
|
Длина стержней:
|
|
|
|
|
максимальная
|
мм
|
6510
|
6510
|
|
минимальная
|
мм
|
5590
|
5590
|
|
количество
стержней, на которых одновременно производят высадку
|
шт
|
1
|
1
|
|
Производительность
стержней час
|
шт
|
100-120
|
60-80
|
|
Установления
мощность
|
ква
|
70
|
70
|
|
Масса
|
кг
|
2360
|
2400
|
Г.
Пневматический пресс МО-4 для опрессовки втулок на стержнях арматурной стали
|
Показателя
|
Единица измерения
|
МО-4
|
|
Усилие обжатия
|
т
|
150
|
|
Диаметр
|
|
|
|
арматурных
стержней
|
мм
|
10-22
|
|
втулки
(максимальный наружный)
|
мм
|
50
|
|
цилиндра
пневматического привода
|
мм
|
414
|
|
Давление воздуха
|
кг/см2
|
8
|
|
Ход поршня
|
мм
|
230
|
|
Расход воздуха
|
м3/мин
|
1,6
|
|
Производительность
машины
|
|
|
|
число циклов в
час
|
шт
|
300
|
|
вес
|
кг
|
990
|
1. Упрочнение арматурных стержней вытяжкой
производится на специальных стендах, оборудованных приспособлениями,
гидравлическими домкратами и насосом.
Контроль за натяжением осуществляется по показателям
оттарированных манометров и по удлинению стержней. Арматурные стержни
укладываются на стенд при помощи подъемных механизмов или вручную и
закрепляются одним концом в упорах, а другим - в захватах натяжной станции.
Стерший длиной свыше 20 м вытягиваются за два хода поршня с перестановкой
упора. Стержни снимаются со стенда вручную или с помощью механического
сбрасывателя.
2. Электротермическое упрочнение арматурных стержней
производится на специальных машинах ЭТУ-1 и ЭТУ-1А.
Процесс упрочнения стержней на этих установках
полностью автоматизирован, за исключением укладки стержней в зубчатый
транспортер.
3. Высадка анкерных головок производится поочередно
с обоих сторон стержней на машинах МСМУ и МСР с замененным неподвижным зажимом
на упор или одновременно с обоих сторон стержня на специальных малинах СМЖ-128
и 6596С/1.
4. Опрессовку шайб на стержневой арматуре производят
на гидравлическом прессе С-445 или пневматических машинах МО-4.
Внутренний диаметр отверстия шайб должен быть на 1-2
мм больше диаметра стержней.
Регламентированные затраты времени
|
Виды затрат
|
Время в процентах
от оперативного
|
|
Подготовительно-заключительная
работа
|
4,1
|
|
Организационно-техническое
обслуживание рабочего места
|
3,3
|
|
Отдых и личные
надобности
|
10,9
|
|
|
Итого: 18,3
|
Схема организации рабочего места

1 -
машина стыковой электросварки с модернизированным контактом,
2 -
роликовый стол,
3 -
контейнер для стержней,
4 -
неразъемный подвижной контакт,
5 -
зажимной контакт,
6 -
опорная шайба,
7 -
обрабатываемый стержень,
8 -
место сварщика арматурных сеток и каркасов.
Состав работы
Одеть шайбу на конец стержня. Подать стержень по рольгангу под контактный
зажим машины, Зажать стержень. Произвести высадку головки. Снять стержень и
уложить в контейнер. Подать стержни на стол краном, предварительно развернув
пакет на 180°. Повторить все операции и произвести высадку головок но другой
конце стержня.
Исполнитель
Сварщик арматурных сеток и каркасов 3 разряда.
Таблица
1
Нормы времени и расценки на 1 т стержней
|
длина стержней, м, до
|
Диаметр стержней,
мм, до
|
|
10
|
12
|
14
|
18
|
20
|
22
|
25
|
28
|
32
|
36
|
|
|
7
|
5,4
3-40
|
4,5
2-84
|
3,9
2-46
|
3
1-89
|
2,6
1-64
|
2,3
1-45
|
1,9
1-20
|
1,8
1-13
|
1,5
0-94,5
|
1,3
0-81,9
|
1
|
|
10
|
3,8
2-39
|
3,2
2-02
|
2,8
1-76
|
2,1
1-32
|
1,8
1-13
|
1,6
1-01
|
1,3
0-81,9
|
1,2
0-75,6
|
1
0-63
|
0,9
0-56,7
|
2
|
|
13
|
2,8
1-76
|
2,4
1-51
|
2,1
1-32
|
1,6
1-01
|
1,4
0-88,2
|
1,2
0-75,6
|
1
0-63
|
0,95
0-59,9
|
0,8
0-50,4
|
0,7
0-44,1
|
3
|
|
17
|
2,4
1-51
|
1-18
1-13
|
1,6
1-01
|
1,2
0-75,6
|
1,1
0-69,3
|
0,95
0-59,9
|
0,78
0-49,1
|
0,73
0-46
|
0,62
0-39,1
|
0,53
0-33,4
|
4
|
|
19
|
2
1-26
|
1,7
1-07
|
1,4
0-88,2
|
1,1
0-69,3
|
0,96
0-60,5
|
0,85
0-53,6
|
0,7
0-44,1
|
0,65
0-41
|
0,55
0-34,6
|
0,48
0-30,2
|
5
|
|
25
|
1,5
0-94,5
|
1,3
0-81,9
|
1,1
0-69,3
|
0,89
0-56,1
|
0,72
0-45,4
|
0,64
0-40,3
|
0,53
0-33,4
|
0,49
0-30,9
|
0,42
0-26,5
|
0,36
0-22,7
|
6
|
|
|
а
|
б
|
в
|
г
|
д
|
е
|
ж
|
з
|
и
|
к
|
№
|
Схема
организации рабочего места

1 - высадочно-зажимное устройство,
2 - сбрасывающее устройство,
3 - контейнер для стержней,
4 - приемный лоток,
6 - рабочее место сварщиков арматурных сеток
и каркасов.
Состав работы
Подать стержень под электродом высадочно-зажимного устройства. Одеть
шайбы на концы стержня. Произвести высадку головок одновременно с двух сторон.
Сбросить стержень в контейнер.
Исполнители:
Сварщик арматурных сеток и каркасов 3 разряда - 2.
Таблица 2
Нормы временя и расценят на 1 т стержней
|
длина стержней, м, до
|
Диаметр стержней,
мм, до
|
|
10
|
12
|
14
|
18
|
20
|
22
|
25
|
28
|
32
|
36
|
|
|
7
|
3,3
2-08
|
2,5
1-58
|
2,1
1-32
|
1,8
1-13
|
1,6
1-01
|
1,4
0-88,2
|
1,3
0-81,9
|
1,2
0-75,6
|
1
0-63
|
0,94
0-59,2
|
1
|
|
10
|
2,4
1-51
|
1,8
1-13
|
1,5
0-94,5
|
1,2
0-75,6
|
1,1
0-69,3
|
1
0-63
|
0,9
0-56,7
|
0,83
0-52,3
|
0,71
0-44,7
|
0,65
0-41
|
2
|
|
13
|
1,8
1-13
|
1,4
0-88,2
|
1,2
0-75,6
|
0,94
0-59,2
|
0,85
0-53,6
|
0,78
0-49,1
|
0,71
0-44,7
|
0,63
0-39,7
|
0,54
0-34
|
0,51
0-32,1
|
3
|
|
17
|
1,4
0-88,2
|
1
0-63
|
0,89
0-56,1
|
0,72
0-45,4
|
0,65
0-41
|
0,54
0-34
|
0,52
0-32,8
|
0,49
0-30,9
|
0,42
0-26,5
|
0,38
0-23,9
|
4
|
|
19
|
1,2
0-75,6
|
0,9
0-56,7
|
0,78
0-49,1
|
0,65
0-41
|
0,58
0-36,5
|
0,52
0-32,8
|
0,47
0-29,6
|
0,43
0-27,1
|
0,38
0-23,9
|
0,34
0-21,4
|
5
|
|
20
|
0,94
0-59,2
|
0,72
0-45,4
|
0,6
0-37,8
|
0,49
0-30,9
|
0,45
0-28,3
|
0,4
0-25,2
|
0,36
0-22,7
|
0,33
0-20,8
|
0,29
0-18,3
|
0,26
0-16,4
|
6
|
|
|
а
|
б
|
в
|
г
|
д
|
е
|
ж
|
з
|
и
|
к
|
№
|
Схема организации рабочего места

1 - машина для стыковой электросварки,
2 - роликовый стол,
3 - рольганг,
4 - контейнер для стержней,
5 - контактные зажимы,
6 - обрабатываемый стержень,
7 - место сварщика арматурных сеток и каркасов.
Состав работы
Подать стержень под контактные зажимы машины. Зажать, произвести высадку
головки. Освободить стержень от зажимов, переместить по рольгангу, высадить
головку с другой стороны. Снять стержень и уложить в контейнер.
Исполнитель
Сварщик арматурных сеток и каркасов 3 разряда.
Таблица 3
Нормы времени и расценки на 1 т арматуры
|
длина стержней, м, до
|
Диаметр стержней,
мм, до
|
|
10
|
12
|
14
|
18
|
20
|
22
|
25
|
28
|
32
|
36
|
|
|
7
|
5,2
3-28
|
4,3
2-71
|
3,8
2-39
|
2,8
1-76
|
2,5
1-58
|
2,2
1-39
|
2
1-26
|
1,7
1-07
|
1,4
0-88,2
|
1,2
0-75,6
|
1
|
|
10
|
4,1
2-58
|
3,4
2-14
|
2,9
1-83
|
2
1-26
|
1,9
1-20
|
1,7
1-07
|
1,5
0-94,5
|
1,4
0-88,2
|
1
0-63
|
0,9
0-56,7
|
2
|
|
13
|
3
1-89
|
2,4
1-51
|
2
1-26
|
1,5
0-94,5
|
1,3
0-81,9
|
1,2
0-75,6
|
1
0-63
|
0,9
0-56,7
|
0,8
0-50,4
|
0,7
0-44,1
|
3
|
|
17
|
2,2
1-39
|
1,8
1-13
|
1,5
0-94,5
|
1,1
0-69,3
|
1
0-63
|
0,9
0-56,7
|
0,8
0-50,4
|
0,7
0-44,1
|
0,6
0-37,8
|
0,5
0-31,5
|
4
|
|
13
|
1,6
1-01
|
1,4
0-88,2
|
1,1
0-69,3
|
0,9
0-56,7
|
0,8
0-50,4
|
0,7
0-44,1
|
0,6
0-37,8
|
0,5
0-31,5
|
0,4
0-25,2
|
0,3
0-18,9
|
5
|
|
25
|
1,3
0-61,9
|
1
0-63
|
0,9
0-56,7
|
0,8
0-50,4
|
0,7
0-44,1
|
0,6
0-37,8
|
0,5
0-31,5
|
0,4
0-25,2
|
0,3
0-18,9
|
0,2
0-12,6
|
6
|
|
|
а
|
б
|
в
|
г
|
д
|
е
|
ж
|
з
|
и
|
к
|
№
|
Примечание. Нормами
предусмотрена высадка двух головок на каждом стержне.
В
случав высадки более двух головок на каждую последующую пару Н.вр. и Расц.
умножать на 1,7. При высадке головок на машинах МСЖ нормы времени
умножать на 0,7.
Схема
организации рабочего места

1 - пресс,
2 - протяжное устройство,
3 - роликовый стол,
4 - парный стол,
5 - ящик для шайб,
6 - контейнер для стержней,
7 - место арматурщиков.
Состав работы
Отобрать стержень из пакета. Одеть шайбу на конец стержня, произвести
опрессовку. Подать стержень по рольгангу до упора. Одеть шайбу на другой конец
стержня и опрессовать. Сбросить стержень в приемный контейнер или кассету.
Исполнители:
арматурщик 3 разряда
арматурщик 2 разряда
Таблица 1
Нормы времени я расценки на 1 т стержней
|
длина стержней, м, до
|
Диаметр стержней,
мм, до
|
|
10
|
12
|
14
|
16
|
18
|
20
|
22
|
25
|
32
|
|
|
7
|
3,7
2-22
|
3,5
2-10
|
3,1
1-86
|
2,6
1-56
|
2,3
1-38
|
2
1-20
|
1,7
1-02
|
1,3
0-78
|
1
0-60
|
1
|
|
10
|
2,7
1-62
|
2,5
1-50
|
2,2
1-32
|
2
1-20
|
1,8
1-08
|
1,6
0-96
|
1,3
0-78
|
1
0-60
|
0,8
0-48
|
2
|
|
13
|
2,2
1-32
|
2
1-20
|
1,8
1-08
|
1,5
0-90
|
1,4
0-84
|
1,2
0-72
|
1
0-60
|
0,8
0-48
|
0,7
0-42
|
3
|
|
19
|
1,6
0-96
|
1,4
0-84
|
1,3
0-78
|
1,1
0-66
|
1
0-60
|
0,9
0,54
|
0,7
0-42
|
0,6
0-36
|
0,5
0-30
|
4
|
|
25
|
1,2
0-72
|
1,1
0-66
|
0,99
0-59,4
|
0,89
0-53,4
|
0,8
0-48
|
0,7
0-42
|
0,6
0-36
|
0,5
0-30
|
0,4
0-24
|
5
|
|
|
а
|
б
|
в
|
г
|
д
|
е
|
ж
|
з
|
и
|
№
|
Примечание. Нормами
предусмотрена опрессовка двух шайб на каждом стержне.
При опрессовке более двух шайб на каждую
последующую пару Н.вр. и Расц. умножать на 1,5.
Схема
организация рабочего места

1 - опрессовочные спаренные машины,
2 - контейнер для неопрессованных стержней,
3 - ящики для шайб,
4 - направляющие для перемещения машины,
5 - контейнер для опрессованных стержней,
6 - рабочее место арматурщика.
Состав работы
Отобрать стержни из пакета. Одеть шайбы на концы стержня, произвести
опрессовку. Сбросить стержень в приемный контейнер или кассету.
Исполнители:
арматурщик 3 разряда - 2.
Таблица 2
Нормы временя а расценки на 1 т стержней
|
длина стержней, м, до
|
Диаметр стержней,
мм, до
|
|
10
|
12
|
14
|
16
|
18
|
20
|
22
|
25
|
|
|
7
|
3,5
2-20
|
3,1
1-95
|
2,6
1-64
|
2,2
1-3
|
1,9
1-20
|
1,7
1-07
|
1,5
0-94,5
|
1,3
0-81,9
|
1
|
|
10
|
2,6
1-64
|
2,3
1-45
|
1,9
1-20
|
1,7
1-07
|
1,4
0-88,2
|
1,3
0-81,9
|
1,1
0-69,3
|
1
0-63
|
2
|
|
13
|
2,1
1-32
|
1,9
1-20
|
1,5
0-94,5
|
1,4
0-88,2
|
1,1
0-69,3
|
1
0-63
|
0,95
0-59,8
|
0,73
0-46
|
3
|
|
19
|
1,6
1-01
|
1,4
0-88,2
|
1,1
0-69,3
|
0,97
0-61,1
|
0,83
0-52,3
|
0,75
0-47,2
|
0,68
0-42,8
|
0,55
0-34,6
|
4
|
|
25
|
1,3
0-81,9
|
1,1
0-69,3
|
0,88
0-55,4
|
0,78
0-49,1
|
0,65
0-41
|
0,59
0-37,2
|
0,54
0-34
|
0,45
0-28,4
|
5
|
|
|
а
|
б
|
в
|
г
|
д
|
е
|
ж
|
з
|
№
|
Примечание. Нормами
предусмотрена опрессовка двух шайб на каждом стержне. В случае опрессовки более
двух шайб на каждую последующую пару Н.вр. и Расц. умножать на 1,5.
Схема
организации рабочего места

1 -
машина для стыковой электросварки,
2 -
станок для резки,
3 -
пресс,
4 -
роликовый стол,
5 -
мерный стол с упорами,
6 -
контейнер для стержней,
7 -
ящик для шайб,
8 - место
сварщика арматурных сеток и каркасов,
9 -
место арматурщика.
Состав работы
Отобрать стержень из пакета. Одеть и опрессовать шайбу с одной стороны
стержня. Подать стержень по рольгангу к зажимному контакту стыкосварочной
машины. Отобрать второй стержень. Состыковать стержни. Подать стержень но
рольгангу до упора. Отрезать по заданной длине. Одеть и опрессовать шайбу с
другой стороны стержня. Сбросить стержень в контейнер.
Исполнители:
сварщик арматурных сеток и каркасов 4 разряда,
арматурщик 3 разряда.
Таблица 3
Нормы времени и расценки на 1 т стержней
|
длина стержней, м, до
|
Диаметр стержней,
мм, до
|
|
10
|
12
|
14
|
16
|
18
|
20
|
|
|
17
|
6,9
4-59
|
6,2
4-12
|
5,5
3-66
|
4,8
3-19
|
4,2
2-79
|
3,7
2-46
|
1
|
|
19
|
5,7
3-79
|
5,1
3-39
|
4,5
2-99
|
3,9
2-59
|
3,7
2-46
|
3,5
2-33
|
2
|
|
23
|
3,4
2-26
|
3
2-00
|
26
1-73
|
2,3
1-53
|
2
1-33
|
1,8
1-20
|
3
|
|
26
|
2,8
1-86
|
2,5
1-66
|
2,1
1-40
|
1,8
1-20
|
1,6
1-06
|
1,3
0-86,4
|
4
|
|
|
а
|
б
|
в
|
г
|
д
|
е
|
№
|
Схема организации рабочего места

1 -
машина для стыковой сварки,
2 -
станок для резки,
3 -
натяжная установка,
4 -
роликовый стол,
5 -
мерный стол с упорами,
6 -
стенд упрочнения стержней,
7 -
мерный стол с упорами для приварки сухарей,
8 -
контейнер для стержней,
9 -
место сварщика арматурных сеток и каркасов,
10 -
место электросварщика ручной сварки.
Состав работы
Подача стержней по рольгангу и хвостовиков к машине для стыковой сварки,
зачистка их концов. Стыковая сварка стержней непрерывной ниткой с резкой по
заданному размеру, приварка хвостовиков и высадка сферических головок. Подача
стержней по направляющим в захваты натяжной установки. Установка на мерной
линейке величины удлинения. Включение натяжной установки. Наблюдение за
процессом упрочнения по показаниям манометра и линии удлинения стержня.
Включение оборотного хода домкрата, освобождение стержня. Укладка стержня
на мерный стол с упорами. Обрезка хвостовика и приварка сухарей к стержню по
разметке с помощью ручной дуговой сварки. Сбрасывание стержня в контейнер.
Исполнители:
сварщик арматурных сеток и каркасов 4 разряда
электросварщик ручкой сварки 4 разряда
Таблица 4
Нормы времени и расценки на 1 т стержней
|
длина стержней, м, до
|
Диаметр стержней,
мм, до
|
|
22
|
25
|
28
|
32
|
|
|
13
|
9,1
6-37
|
7,4
5-18
|
6,6
4-62
|
5,6
3-92
|
1
|
|
19
|
7,7
5-39
|
6,2
4-34
|
5,6
3-92
|
4,6
3-22
|
2
|
|
25
|
5,1
3-57
|
4,1
2-87
|
3,7
2-59
|
3,1
2-17
|
3
|
|
|
а
|
б
|
в
|
г
|
№
|
Схема организации рабочего места

1-
машина для стыковой электросварки,
2 -
роликовый стол,
3 -
рольганг,
4 -
контейнер для стержней,
5 -
контейнер для отрезков стержней,
6 -
место сварщика арматурных сеток и каркасов.
Состав работы
Подать стержни и отрезки по рольгангу к сварочному аппарату, зачистить их
концы. Зажать концы стержней в контактах, отцентрировать их. Произвести сварку
и уложить стержни в контейнер.
Исполнитель
сварщик арматурных сеток и каркасов 4 разряда.
Нормы времени и расценки на 1 т стержней
|
длина стержней, м, до
|
Диаметр стержней,
мм, до
|
|
12
|
14
|
16
|
18
|
20
|
22
|
25
|
28
|
32
|
36
|
40
|
45
|
|
|
6
|
6
4-20
|
5,1
3-57
|
4,4
3-08
|
3,9
2-73
|
3,5
2-45
|
3,2
2-24
|
2,7
1-89
|
2,4
1-68
|
2
1-40
|
1,7
1-19
|
1,6
1-12
|
1,3
0-91
|
1
|
|
9
|
4
2-80
|
3,4
2-38
|
3
2-10
|
2,6
1-82
|
2,3
1-61
|
2,2
1-54
|
1,8
1-26
|
1,6
1-12
|
1,4
0-98
|
1,2
0-84
|
0,94
0-65,8
|
0,88
0-61,6
|
2
|
|
12
|
3
2-10
|
2,6
1-82
|
2,2
1-54
|
2
1-40
|
1,8
1-26
|
1,6
1-12
|
1,4
0-98
|
1,2
0-84
|
1
0-70
|
0,87
0-60,9
|
0,79
0-55,3
|
0,66
0-46,2
|
3
|
|
18
|
2
1-40
|
1,7
1-I9
|
1,5
1-05
|
1,3
0-91
|
1,2
0-84
|
1,1
0-77
|
0,91
0-63,7
|
0,78
0-54,6
|
0,68
0-46,6
|
0,58
0-40,6
|
0,52
0-36,4
|
0,44
0-30,8
|
4
|
|
24
|
1,5
1-05
|
1,3
0-91
|
1,1
0-77
|
1
0-70
|
0,88
0-61,6
|
0,81
0-56,7
|
0,68
0-47,6
|
0,73
0-51,1
|
0,51
0-35,7
|
0,43
0-30,1
|
0,39
0-27,3
|
0,33
0-23,1
|
5
|
|
|
а
|
б
|
в
|
г
|
д
|
е
|
ж
|
з
|
и
|
к
|
л
|
м
|
№
|
Примечания:
1. Нормами предусмотрена приварка отрезков напряженной арматуры с
двух сторон стержней.
2. При приварке отрезков с одной
стороны стержней Н.вр. и Расц. умножать на 0,6.
Схема организации рабочего места

1 - насосная установка,
2 - гидродомкрат,
3 - захваты на раме,
4 - захват на гидродомкрате,
5 - рама натяжного стенда,
6 - стеллаж для стержней,
7 - стеллаж или контейнер для упрочнения стержней,
8 - мерная линейка,
9 - место арматурщика 3 разряда,
10 - место арматурщика 2 разряда.
Состав работы
Уложить стержень между балками стенда.
Заправить копии стержня в захваты. Установить на мерной линейке величину
удлинения. Включить насосную установку. Наблюдать за процессом упрочнения по
показаниям манометра и линии удлинения стержня. Включить обратный ход домкрата,
ослабить стержень. При ступенчатом упрочнении (при длине стержней более 20 м)
переместить конец стержня в следующий захват на раме, и все операции повторить.
Сбросить стержень на стеллаж или в контейнер.
|
Длина стержней, м
|
Исполнители
|
|
до 10
|
Арматурщик 3 разряда
|
|
более 10
|
Арматурщик 3 разряда
|
|
|
Арматурщик 2
разряда
|
Таблица
1
Нормы
времени и расценки на 1 т стержней
|
длина стержней, м, до
|
Диаметр стержней,
мм, до
|
|
10
|
12
|
14
|
16
|
18
|
20
|
25
|
30
|
36
|
|
|
7
|
10,8
6-80
|
7,6
4-79
|
6,1
3-84
|
4,5
2-84
|
4,2
2-65
|
4
2-52
|
2,1
1-32
|
1,6
1-01
|
1,2
0-75,6
|
1
|
|
13
|
8,8
5-28
|
6,2
3-72
|
4,1
2-46
|
3,6
2-16
|
3
1-80
|
2,4
1-44
|
1,7
1-02
|
1,2
0-72
|
0,98
0-58,8
|
2
|
|
19
|
8,7
5-22
|
6
3-600
|
4
2-40
|
3,5
2-10
|
2,9
1-74
|
2,4
1-44
|
1,6
0-96
|
1,2
0-72
|
0,85
0-51
|
3
|
|
25
|
8,5
5-10
|
5,8
3-48
|
3,6
2-16
|
3,2
1-92
|
2,5
1-50
|
2
1-20
|
1,4
0-84
|
1
0-60
|
0,74
0-44,4
|
4
|
|
|
а
|
б
|
в
|
г
|
д
|
е
|
ж
|
з
|
и
|
№
|
Схема
организации рабочего места

1 - стеллаж для
арматурных стержней,
2 - зубчатый
транспортер,
3 - лоток,
4 - ножницы для
резки арматуры,
5 - механизм подачи
нагретых стержней,
6 - устройство
отпуска стержней,
7 - механизм
укладки стержней в контейнер,
8 - контейнер для
термоупрочненных стержней,
9 - место
арматурщика 3 разряда.
Состав работы
Отобрать стержни со стеллажа и уложить на зубчатый транспортер. Включить
малину и вести наблюдение за процессом упрочнения стержней.
Исполнитель
арматурщик 3 разряда.
Таблица 2
Нормы времени и расценки на 1 т стержней
|
длина стержней, м, до
|
Диаметр стержней,
мм, до
|
|
10
|
12
|
14
|
16
|
|
|
7
|
4,2
2-65
|
3,5
2-20
|
3,1
1-95
|
2,7
1-70
|
1
|
|
13
|
3,3
2-08
|
2,8
1-76
|
2,4
1-51
|
2
1-26
|
2
|
|
|
а
|
б
|
в
|
г
|
№
|
Раздел включает нормы времени и расценки на изготовление спиралей
арматуры на станках, монтажных колец для арматурных каркасов центрифугированных
опор ЛЭП, анкерных спиралей и спиральных анкеров.
Техническая характеристика станка для изготовления спиральной арматуры
|
Показатели
|
Единица измерения
|
Тип станка
|
|
местного
изготовления
|
|
Диаметр
навивочной проволоки
|
мм
|
4+6
|
|
Скорость навивки
|
м/мин
|
20
|
|
Мощность
электродвигателя
|
квт
|
4,5
|
|
Вес станка
|
кг
|
965
|
|
Габаритные
размеры:
|
|
|
|
Длина
|
мм
|
2000
|
|
Ширина
|
мм
|
1230
|
|
Высота
|
мм
|
1270
|
Техническая
характеристика линии навивки спиральных анкеров
Конструкция станка-автомата для навивки спиральных анкеров разработана на
базе правильно-отрезного станка С-338.
|
Показатели
|
Единица измерения
|
Тип станка
|
|
С-338
реконструир.
|
|
Производительность
(при массе бухты 250 кг.)
|
анкеров в смену
|
184000
|
|
Диаметр проволоки
|
мм
|
6
|
|
Внутренний
диаметр спиральных анкеров (минимальный)
|
мм
|
13
|
|
Установленная
мощность
|
квт
|
13
|
|
Привод продольной
подачи проволоки
|
-
|
от станка
|
|
Габариты линии:
длина
|
мм
|
3850
|
|
ширина
|
мм
|
1800
|
|
высота
|
мм
|
1380
|
|
Масса
|
кг
|
765
|
Техническая
характеристика линии изготовления монтажных колец
|
Показатели
|
единица измерения
|
Значение
|
|
Производительность
|
шт. в смену
|
1824
|
|
Диаметр проволоки
навиваемых колец
|
мм
|
8
|
|
Установленная
мощность:
|
|
|
|
станка для
навивки монтажных колец
|
квт
|
3
|
|
станка для резки
С-370А
|
квт
|
3
|
|
машина для
точечной сварки МТ-1222
|
квт
|
32,4
|
|
Масса
|
кг
|
1989
|
В нормах времени учтена организация труда, при которой:
- установка бухт на бухтодержатель станка производится краном или
тельфером;
- бухты заранее доставляются в цех и складируются на расстоянии не более
10 метров от станка;
- техническое обслуживание оборудования (устранение неисправностей,
замена ножей и оправки) производится наладчиком оборудования.
Регламентированные затраты времени
|
Виды затрат
|
Время в процентах
от оперативного
|
|
Подготовительно-заключительная
работа
|
3,2
|
|
Организационно-техническое
обслуживание рабочего места
|
5,1
|
|
Отдых и личные
надобности
|
11,6
|
|
|
Итого: 19,8
|
Схема организации
рабочего места

Бухта проволоки диаметром 4-5 мм устанавливается вручную или краном на
бухтодержатель - 1. Через правильное устройство проволока навивается на оправку
станка - 2. Станок оборудован механизмом раскладки, винт которого имеет шаг
нарезки, соответствующий диаметру проволоки. После навивки спирали конец
проволоки отрезается пневматическими ножницами и спираль снимается вручную.
Готовая спираль навешивается на контейнер - 3.
Состав работы
Установить и закрепить бухту проволоки на бухтодержателе металлическим
диском или стержнем. Снять проволочные скрутки. Выровнять, заправить конец
проволоки между роликами правильного устройства и закрепить. Включить станок и
вести наблюдение за навивкой спирали, отрезать конец проволоки ручными ножницами.
Снять спираль с оправки и навесить на контейнер.
Исполнитель
арматурщик 3 разряда.
Нормы времени и расценки на 1 т спирали
|
Диаметр арматурной
стали, мм, до
|
Вес
спирали, кг, до
|
|
3
|
4
|
5
|
6
|
8
|
10
|
13
|
16
|
18
|
20
|
22
|
24
|
26
|
28
|
30
|
32
|
|
|
4
|
6,2
3-91
|
5,3
3-34
|
4,8
3-02
|
4,5
2-84
|
3,6
2-27
|
3
1-89
|
2,5
1-58
|
2,1
1-32
|
-
|
-
|
-
|
-
|
-
|
-
|
-
|
-
|
1
|
|
5
|
4,7
2-96
|
4
2-52
|
3,7
2-33
|
3,4
2-14
|
2,7
1-70
|
2,3
1-45
|
1,8
1-13
|
1,6
1-01
|
1,3
0-81,9
|
1,2
0-75,6
|
1
0-63
|
0,88
0-55,4
|
-
|
-
|
-
|
-
|
2
|
|
6
|
3,9
2-46
|
3,3
2-08
|
3,1
1-95
|
2,7
1-70
|
2,1
1-32
|
1,8
1-13
|
1,4
0-88,2
|
1,1
0-69,3
|
0,97
0-61,1
|
0,87
0-54,8
|
0,84
0-52,9
|
0,76
0-47,8
|
0,71
0-44,7
|
0,66
0-41,6
|
0,6
0-37,8
|
0,53
0-33,4
|
3
|
|
|
а
|
б
|
в
|
г
|
д
|
е
|
ж
|
з
|
и
|
к
|
л
|
м
|
н
|
о
|
п
|
р
|
№
|
Схема организации рабочего места

Бухта проволоки диаметром 8 мм устанавливается вручную или краном на
бухтодержатель - 1. Через правильное устройство проволока навивается на оправку
станка - 2. Станок оборудован механизмом раскладки, винт которого имеет шаг
нарезки соответствующий диаметру проволоки. После навивки спирали конец
проволоки отрезается пневматическими ножницами и спираль снимается вручную.
Спираль разрезается на отдельные кольца на станке для резки - 3. Кольца
свариваются на машине точечной электросварки - 4. Готовые кольца навешиваются
на контейнер - 5. Сварщик арматурных сеток и каркасов находится на рабочем
месте - 6 и перемещается, как показано на схеме.
Состав работы
Установить и закрепить бухту проволоки на бухтодержателе металлическим
диском или стержнем. Снять проволочные скрутки. Выровнять, заправить конец
проволоки между роликами правильного устройства и закрепить. Включить станок и
вести наблюдение за навивкой спирали, отрезать конец проволоки ручными
ножницами. Снять спираль с барабана, разрезать на кольца. Сварить кольца на
одноточечной сварочной машине и уложить в контейнер.
Исполнитель сварщик арматурных сеток и каркасов 3 разряда
Норма времени и расценка на 100 колец
Н.вр. =
0,96 Расц. = 0-60,5
Примечание. При
резке и сварке колец электродуговой сваркой Н.вр. и Расц. умножать на 1,9.
Схема
организации рабочего места

1 - бухтодержатель,
2 - станок для
навивки спиралей,
3 - контейнер для
спиралей,
4 - место
арматурщика.
Состав работы
Установить и закрепить бухту проволоки на бухтодержателе, металлическим
диском или стержнем. Снять проволочные скрутки. Выровнять, заправить конец
проволоки между роликами правильного устройства и закрепить. Включить станок и
вести наблюдение за навивкой спирали, отрезать конец проволоки ручными
ножницами. Снять со станка, растянуть и разрубить на заданную длину.
Исполнитель
арматурщик 3 разряда
Нормы времени и расценки на 100 изделий
|
Длина спирали,
мм, до
|
|
200
|
250
|
300
|
350
|
400
|
|
1
0-63
|
1,2
0-75,6
|
1,3
0-81,9
|
1,4
0-88,2
|
1,5
0-94,5
|
|
а
|
б
|
в
|
г
|
д
|
Схема организации рабочего места

Бухта проволоки диаметром 6 мм устанавливается на
бухтодержатель - 2, подается через правильный барабан - 3 на завивающее
устройство станка для навивки спиральных анкеров -1. На этом устройстве
формируется несколько первых (до 5) витков. Сформированные витки устанавливают
на палец навивочного механизма. Спиральные анкера навивают на вращающемся
пальце с помощью пары тяговых роликов с высокой твердостью рабочих
поверхностей. В нижнем ролике установлены ножи для резки непрерывно навиваемой
спирали.
Изменением диаметров тяговых роликов и числа ножей, анкера навиваются с
различным числом витков для стержней диаметром 20-10 мм. После отрезки готового
анкера на пальце всегда остается 1,5 витка проволоки. Готовые анкера подают в
контейнер - 4 на рабочее место - 5.
Характеристика спиральных анкеров
|
Диаметр
проволоки, мм
|
Вес одного
анкера, кг
|
|
Внутренний
диаметр анкеров, мм
|
|
13
|
15
|
17
|
20
|
22
|
|
|
6
|
0,054
|
0,06
|
0,066
|
0,081
|
0,087
|
1
|
|
6,5
|
0,064
|
0,07
|
0,077
|
0,095
|
0,102
|
2
|
|
|
а
|
б
|
в
|
г
|
д
|
№
|
Состав
работы
Установить и закрепить бухту проволоки на бухтодержателе металлическим
диском или стержнем. Снять проволочные скрутки. Выровнять, заправить конец
проволоки между роликами правильного барабана и закрепить. Пропустить проволоку
на завивающее устройство. Первые сформированные витки спирального анкера снять с
завивающего устройства и установить на палец проволочного механизма. Включить
станок и наблюдать за навивкой анкеров.
Исполнитель
арматурщик 3 разряда
Нормы времени и расценки на 1 т изделий
|
Диаметр
проволоки, мм
|
Внутренний
диаметр анкера, мм
|
|
13
|
15
|
17
|
20
|
22
|
|
|
6
|
13
8-19
|
11,5
7-24
|
10,5
6-62
|
8,7
6-48
|
8,1
5-10
|
1
|
|
6,5
|
11
6-93
|
10
6-30
|
9,1
5-73
|
7,4
4-66
|
6,9
4-35
|
2
|
|
|
a
|
б
|
в
|
г
|
д
|
№
|
Раздел включает нормы времени и расценки на сварку арматурных сеток и
плоских каркасов на одноточечных и многоточечных машинах МТП, МТМС, МТМК, а
также на стыковую сварку арматурных стержней на машинах МСР-100, МСМУ-150,
МСГА-300 и ручную сварку сеток и плоских каркасов.
А. Одноточечные
|
Показатели
|
Единица измерения
|
Марка машин
|
|
МТ
|
МТП
|
|
1207
|
2507
|
75
|
I00
|
150/120
|
300
|
400
|
|
Номинальная
мощность
|
ква
|
54
|
170
|
75
|
150
|
100
|
260
|
400
|
|
Продолжительность включения (ПВ)
|
%
|
20
|
20
|
20
|
20
|
20
|
20
|
20
|
|
Первичное
напряженно тока
|
в
|
380
|
380
|
380
|
380
|
380
|
380
|
380
|
|
Число ступеней
регулирования силы тока
|
-
|
8
|
16
|
8
|
8
|
8
|
16
|
16
|
|
Полезный вылет
электродов
|
мм
|
500
|
500
|
500
|
1200
|
500
|
500
|
500
|
|
Наибольший
диаметр свариваемых стержней
|
мм
|
22
|
32
|
22
|
16
|
25
|
40
|
40
|
|
Максимальная сила
сжатия электродов
|
кгс
|
500
|
1600
|
540
|
14000
|
640
|
3300
|
3250
|
|
Давление воздуха
в пневмосети
|
кгс/см2
|
3,5
|
5
|
5
|
5
|
5
|
5
|
5
|
|
Расход воздуха
|
м3/час
|
20
|
40
|
18
|
83
|
18
|
35
|
35
|
|
Расход
охлаждающей воды
|
л/час
|
700
|
800
|
420
|
900
|
680
|
1200
|
1200
|
|
Габаритные
размеры:
|
|
|
|
|
|
|
|
|
|
длина
|
мм
|
1400
|
1585
|
1420
|
2210
|
1420
|
1555
|
1555
|
|
ширина
|
мм
|
450
|
530
|
608
|
772
|
608
|
796
|
796
|
|
высота
|
мм
|
1820
|
1960
|
1980
|
2150
|
1980
|
2275
|
2275
|
|
Вес машины
|
кг
|
435
|
630
|
630
|
1770
|
1770
|
1250
|
1250
|
Б.
Многоточечные
|
Показателя
|
единица измерения
|
Марка машин
|
|
МТМК-3×100
|
АТМС-14×25-7
|
МТМС-10-35
|
|
Установленная
мощность
|
ква
|
3×100 = 300
|
18×75 = 1350
|
10×35 = 350
|
|
Производительность
|
м/мин
|
2,5 - 3
|
2 - 4
|
2
|
|
Ширина сеток или
каркасов
|
мм
|
775
|
3900
|
2000
|
|
Пределы
регулирования вторичного напряжения
|
в
|
3,02 - 9,26
|
3,58 - 7,9
|
2,75 - 6,15
|
|
Номинальный
сварочный ток одного трансформатора
|
а
|
12000
|
11500
|
7000
|
|
Максимальный
диаметр свариваемых стержней
|
|
|
|
|
|
продольных
|
мм
|
25
|
12
|
6
|
|
поперечных
|
мм
|
12
|
10
|
6
|
В.
Стыковые контактные машины для сварки арматурных стержней
|
Показатели
|
Единица измерения
|
Марка и вид
привода машин
|
|
ручной
|
моторный МСМУ-150
|
гидравлический
МСГУ-500
|
|
ACП-10
|
MCР-75
|
МСР-100-3
|
|
Наибольший
диаметр свариваемых стержней по классам
|
мм
|
|
|
|
|
|
|
А-IV
|
|
-
|
18
|
20
|
28
|
32
|
|
А-III, А-II
|
|
-
|
25
|
28
|
32
|
60
|
|
A-I
|
|
8
|
28
|
32
|
36
|
90
|
|
Число стыков,
свариваемых при непрерывной сварке оплавлением без подогрева, за час
|
|
180
|
30-75
|
30
|
80
|
40
|
|
Минимальная
мощность
|
ква
|
10
|
75
|
100
|
150
|
400
|
|
Первичное
напряжение
|
в
|
220,380
|
220,380
|
220,380
|
220,380
|
380
|
|
Номинальный
коэффициент ПВ
|
%
|
8
|
20
|
20
|
20
|
50
|
|
Номинальный ток в первичной цепи
|
а
|
46,26
|
340,198
|
455,263
|
395
|
1315
|
|
Максимальный
сварочный ток в цепи при подогреве и осадке
|
а
|
3680
|
14000
|
16000
|
23000
|
18000/36000
|
|
Пределы
регулирования вторичного напряжения
|
в
|
1,2-3,3
|
3,2-5,9
|
3,3-6,3
|
4,08-8,14
|
7,9-15,8
|
|
Число ступеней
регулирования трансформатора
|
шт
|
7
|
8
|
12
|
16
|
16
|
|
Характер работы
|
|
автоматический
|
неавтоматический
|
автоматический с
неавтоматическим подогревом
|
автоматический
|
|
Тип зажимов
|
|
пружинный
|
рычажно-винтовой
|
пневматический
|
пневмогидравлический
|
|
Расход
охлаждающей воды
|
л/час
|
-
|
300
|
300
|
200
|
1500
|
|
Рабочее давление сжатого воздуха
|
атм
|
-
|
-
|
-
|
5,5
|
5
|
|
Максимальное усиление зажатия
|
кгс
|
-
|
3000
|
3000
|
10000
|
40000
|
|
Габаритные размеры
|
мм
|
|
|
|
|
|
|
длина
|
|
635
|
560
|
1410
|
2000
|
3140
|
|
ширина
|
|
650
|
1570
|
1800
|
1530
|
1880
|
|
высота
|
|
1275
|
1100
|
1200
|
1300
|
2890
|
|
Вес
|
кг
|
115
|
390
|
555
|
2000
|
11300
|
Организация труда
Контактную точечную сварку арматуры применяют для сварки пересекающихся
стержней в сетках и каркасах.
Нормами времени и расценками учтена организация работ, при которой:
- рабочее место сварщика на одноточечной машине оборудовано рабочим
столом с лотками для заготовок продольных и поперечных арматурных стержней;
- заготовки продольных и поперечных стержней предварительно нарезаны,
поданы и уложены в пределах рабочей зоны сварщика (не более 10 м от рабочего
места);
- при сварке сеток на многоточечных полуавтоматических машинах продольные
стержни подаются в машину непрерывно из бухт, а поперечные стержни, заранее
нарезанные, укладываются под электроды вручную или же автоматически поступают
из специальных бункеров;
- резка арматурной сетки производится на гильотинных ножницах.
Контактная стыковая сварка арматуры применяется для соединения стержней
между собой, когда требуется увеличение их длины.
Нормами времени и расценками учтена организация работы, при которой:
- рабочее место оборудовано стеллажными и роликовыми столами, а также
мерным устройствам с упором;
- стыковая сварка и мерная резка стержней объединены в одну непрерывную
технологическую линию. Для этой цели линия оборудуется станком для резки
арматурных стержней;
- стержня для стыковой сварки предварительно подаются и укладываются в
пределах рабочей зоны.
Регламентированные
затраты времени
|
Виды затрат
времени
|
Вид сварки
|
|
Одноточечная,
многоточечная, контактно-стыковая
|
Электродуговая
|
|
Нормативы времени
в % от оперативного времени
|
|
Подготовительно-заключительная
работа
|
4,1
|
3,4
|
|
Организационно-техническое
обслуживание рабочего места
|
3,3
|
3,2
|
|
Отдых и личные
надобности
|
10,9
|
12,3
|
|
Итого:
|
18,3
|
18,9
|
Схема организации рабочего места

1 - сварочная
машина;
2 - столы;
3 - лотки для
заготовок;
4 - место сварщика
арматурных сеток и каркасов;
5 - место
арматурщика.
Состав работы
Взять продольные и поперечные стержни. Разметить места пересечений.
Сверять сетку или каркас в местах пересечений стержней с переворачиванием и
перемещением изделия в процессе сварки. Уложить сваренное изделие на
припостовой склад или в контейнер.
2.13.1
|
Исполнителя
|
Вес сетки или каркаса до 20 кг.
|
|
Площадь сетки или каркаса, м2
|
|
до 3,5
|
более 3,5
|
|
Сварщик арматурных сеток и каркасов 3
разряда
|
1
|
1
|
|
Сварщик арматурных сеток и каркасов 2 разряда
|
-
|
1
|
Таблица 1
Нормы времени и расценки на
100 сеток
|
Вес сетки, кг, до
|
Количество
сварных точек в одной сетке, шт. до
|
|
2
|
4
|
6
|
10
|
20
|
30
|
40
|
50
|
75
|
100
|
|
|
1
|
0,62
0-39,1
|
0,75
0-47,2
|
0,82
0-51,7
|
1
0-63
|
1,4
0-88,2
|
1,8
1-13
|
2,2
1-39
|
2,5
1-58
|
3
1-89
|
3,5
2-20
|
1
|
|
2
|
0,71
0-44,7
|
0,83
0-52,3
|
0,92
0-58
|
1,1
0-69,3
|
1,6
1-01
|
2
1-26
|
2,4
1-51
|
2,8
1-76
|
3,3
2-08
|
3,9
2-46
|
2
|
|
4
|
0,82
0-51,7
|
1
0-63
|
1,1
0-69,3
|
1,4
0-88,2
|
1,9
1-20
|
2,4
1-51
|
2,9
1-83
|
3,4
2-14
|
4
2-52
|
4,7
2-96
|
3
|
|
7
|
1
0-63
|
1,2
0-75,6
|
1,4
0-88,2
|
1,6
1-01
|
2,3
1-45
|
2,8
1-76
|
3,3
2-08
|
4,1
2-58
|
4,7
2-96
|
5,5
3-46
|
4
|
|
10
|
1,3
0-81,9
|
1,7
1-07
|
2
1-26
|
2,3
1-45
|
2,9
1-83
|
3,5
2-20
|
4,4
2-77
|
5,5
3-47
|
6,8
4-28
|
7,4
4-66
|
5
|
|
20
|
1,7
1-07
|
2,1
1-32
|
2,4
1-51
|
2,8
1-76
|
3,5
2-20
|
4,4
2-77
|
4,9
3-09
|
5,9
3-72
|
8
5-04
|
10,5
6-62
|
6
|
|
|
а
|
б
|
в
|
г
|
д
|
е
|
ж
|
з
|
и
|
к
|
№
|
Продолжение таблицы 1
|
Вес сетки, кг, до
|
Количество
сварных точек в одной сетке, шт. до
|
|
125
|
150
|
200
|
250
|
300
|
400
|
500
|
600
|
700
|
900
|
1100
|
|
|
1
|
4
2-40
|
4,6
2-76
|
5,3
3-18
|
-
|
-
|
-
|
-
|
-
|
-
|
-
|
-
|
1
|
|
2
|
4,5
2-70
|
5,1
3-06
|
5,9
3-54
|
-
|
-
|
-
|
-
|
-
|
-
|
-
|
-
|
2
|
|
4
|
5,4
3-24
|
6,1
3-66
|
7,1
4-26
|
9,5
5-70
|
11
6-60
|
-
|
-
|
-
|
-
|
-
|
-
|
3
|
|
7
|
6,3
3-78
|
7,1
4-26
|
8,3
4-98
|
11,5
6-90
|
13
7-80
|
17
10-20
|
19
11-40
|
-
|
-
|
-
|
-
|
4
|
|
10
|
8,8
5-28
|
9,5
5-70
|
10
6-00
|
14
8-40
|
16
9-60
|
20
12-00
|
24
14-40
|
-
|
-
|
-
|
-
|
5
|
|
20
|
11,5
6-90
|
12,5
7-50
|
15
9-00
|
16
9-60
|
18,5
11-10
|
24
14-40
|
28
16-80
|
38
22-80
|
42
25-20
|
52
31-20
|
62
37-20
|
6
|
|
|
л
|
м
|
н
|
о
|
п
|
р
|
с
|
т
|
у
|
ф
|
х
|
№
|
2.13.2
|
Исполнители
|
Вас сетки иди
каркаса свыше 20 кг.
|
|
Площадь сетки или
каркаса, м2
|
|
до 3,5
|
более 3,5
|
|
Сварщик
арматурных сеток и каркасов 3 разряда
|
1
|
-
|
|
Сварщик
арматурных сеток и каркасов 4 разряда
|
-
|
1
|
|
Арматурщик 2
разряда
|
1
|
1
|
Таблица
2
Нормы времени и
расценки на 100 сеток
|
Вес сетки, кг, до
|
Количество
сварных точек в одной сетке, шт. до
|
|
4
|
6
|
10
|
20
|
30
|
40
|
50
|
75
|
100
|
125
|
150
|
200
|
|
|
30
|
2,8
1-68
|
3,1
1-86
|
3,5
2-10
|
4,5
2-70
|
5,3
3-18
|
6,6
3-96
|
7,2
4-32
|
10,5
6-30
|
12
7-20
|
13
7-80
|
15,5
9-30
|
17
10-20
|
1
|
|
40
|
3,5
2-10
|
4
2-40
|
4,5
2-70
|
5,3
3-18
|
6,4
3-84
|
8,3
4-98
|
10
6-00
|
12
7-20
|
13,5
8-10
|
16
9-60
|
20
12-00
|
24
14-40
|
2
|
|
60
|
-
|
4,7
2-82
|
5,3
3-18
|
6,4
3-84
|
7,4
4-44
|
9,3
5-58
|
12
7-20
|
13,5
8-10
|
16
9-60
|
20
12-00
|
24
14-40
|
29
17-40
|
3
|
|
80
|
-
|
-
|
6,4
3-84
|
7,6
4-66
|
8,8
5-28
|
12
7-20
|
14
8-40
|
17
10-20
|
20
12-00
|
24
14-40
|
29
17-40
|
37
22-20
|
4
|
|
100
|
-
|
-
|
-
|
-
|
12
7-20
|
14
8-40
|
18
10-80
|
23
13-80
|
27
16-20
|
33
19-80
|
40
24-00
|
51
20-60
|
5
|
|
|
а
|
б
|
в
|
г
|
д
|
е
|
ж
|
з
|
и
|
к
|
л
|
м
|
№
|
Продолжение таблицы 2
|
Вес сетки, кг, до
|
Количество
сварных точек в одной сетке, шт. до
|
|
250
|
300
|
400
|
500
|
600
|
700
|
900
|
1100
|
1300
|
1500
|
1700
|
2000
|
|
|
30
|
20
12-70
|
23
14-61
|
29
18-42
|
34
21-59
|
46
29-21
|
52
33-02
|
62
39-37
|
76
48-26
|
-
|
-
|
-
|
-
|
1
|
|
40
|
34
21-59
|
37
23-50
|
43
27-31
|
53
33-66
|
59
37-47
|
65
41-28
|
80
50-80
|
84
53-34
|
89
56-52
|
106
67-31
|
115
73-02
|
129
81-92
|
2
|
|
60
|
40
25-40
|
47
29-84
|
53
33-66
|
63
40-00
|
71
45-09
|
77
48-90
|
95
60-33
|
100
63-50
|
106
67-31
|
126
80-01
|
137
87-00
|
154
97-79
|
3
|
|
80
|
48
30-48
|
56
35-56
|
63
40-00
|
76
48-26
|
84
53-34
|
92
58-42
|
113
71-76
|
120
76-20
|
127
80-64
|
150
95-25
|
163
103-51
|
183
116-20
|
4
|
|
100
|
58
36-83
|
67
42-54
|
76
48-26
|
90
57-15
|
100
63-50
|
110
69-85
|
135
85-72
|
147
93-34
|
159
100-96
|
179
113-66
|
194
123-19
|
218
138-43
|
5
|
|
|
н
|
о
|
п
|
р
|
с
|
т
|
у
|
ф
|
х
|
ц
|
ч
|
щ
|
№
|
Схема
организации рабочего места

1 - групповой
бухтодержатель;
2 -
правильно-направляющее устройство;
3- сварочная
машина;
4 - бункер для
поперечных стержней;
5 - гильотинные ножницы;
6 - приемный стол;
7 - место сварщика
арматурных сеток и каркасов.
Состав работы
Установить бухты или барабаны с арматурной сталью на бухтодержатель.
Заправить концы арматуры в направляющие устройства многоточечной машины. Подать
поперечную арматуру в приемный бункер. Подать поперечные стержни под электроды.
Сварить сетку. Отрезать сетку на гильотинных ножницах. Снять готовую сетку и
уложить в штабель вручную.
Исполнитель
сварщик арматурных сеток и каркасов 4 разряда.
Таблица 2
Нормы
времени и расценки на 100 п.м. сетки
|
Наименьший
диаметр арматурной стали, мм. до
|
Шаг сварки
поперечных стержней, мм, до
|
|
50
|
100
|
150
|
200
|
250
|
300
|
350
|
400
|
|
|
3
|
2,5
1-75
|
1,9
1-33
|
1,4
0-98
|
1,2
0-64
|
1
0-70
|
0,8
0-56
|
0,7
0-49
|
0,6
0-42
|
1
|
|
4
|
2,6
1-82
|
2
1-40
|
1,7
1-19
|
1,3
0-91
|
1,1
0-77
|
1
0-70
|
0,8
0-56
|
0,7
0-49
|
2
|
|
5
|
3
2-10
|
2,4
1-68
|
1,8
1-26
|
1,6
1-12
|
1,2
0-84
|
1,1
0-77
|
1
0-70
|
0,8
0-56
|
3
|
|
б
|
3,2
2-24
|
2,5
1-75
|
2
1-40
|
1,7
1-19
|
1,4
0-98
|
1,2
0-84
|
1,1
0-77
|
1
0-70
|
4
|
|
8
|
3,7
2-59
|
2,9
2-03
|
2,4
1-68
|
2
1-40
|
1,8
1-26
|
1,6
1-12
|
1,4
0-98
|
1,3
0-91
|
5
|
|
|
а
|
б
|
в
|
р
|
д
|
е
|
ж :
|
з
|
»
|
Примечания:
1. При намотке
арматурной стали на барабан Н.вр. и Расц. умножать на 1,1
2. При сварке сеток
только из отдельных стержней Н.вр. и Расц. умножать на 1,45.
3. При
автоматическом сбрасывании Н.вр. и Расц. умножать на 0,7.
4. При
автоматизированной подаче поперечных стержней непосредственно из бухты Н.вр. и
Расц. умножать на 0,9.
Схема
организации рабочего места

1 - стоя для
продольных стершей,
2 - сварочная
машина,
3 - приемный стол,
4 - место для
складирования заготовок,
5 - место
складирования арматурных каркасов,
6 - место сварщика
арматурных сеток и каркасов.
Состав работы
Уложить продольные стержни на стол. Заправить концы в направляющее
устройство многоточечной машины. Уложить поперечные стержни и подать их под
электроды. Сварить стержни в местах пересечения. Сбросить сетку автоматически.
Исполнитель
сварщик арматурных сеток и каркасов 4 разряда.
Таблица 3
Нормы времени и
расценки на 100 изделий
|
Наименьший
диаметр арматурной стали, мм. до
|
Количество
поперечных стержней, мм, до
|
|
10
|
15
|
20
|
30
|
40
|
50
|
60
|
80
|
100
|
|
|
4
|
4,2
2-94
|
4,6
3-22
|
5,2
3-64
|
6
4-20
|
6,8
4-76
|
7,9
5-53
|
8,6
6-02
|
10,6
7-42
|
12,9
9-03
|
1
|
|
5
|
4,3
3-01
|
5,1
3 57
|
5,4
3-78
|
6,3
4-41
|
7,2
5-04
|
8,1
5-67
|
9,2
6-44
|
11,1
7-77
|
13,4
9-38
|
2
|
|
6
|
4,6
3-22
|
5,2
3-64
|
6
4-20
|
7,2
5-04
|
7,9
5-53
|
8,6
6-02
|
10
7-00
|
11,8
8-26
|
13,9
9-73
|
3
|
|
8
|
5,2
3-64
|
5,7
3-99
|
6,6
4-62
|
7,6
5-32
|
8,7
6-09
|
9,5
6-65
|
10,8
7-56
|
12,5
8-75
|
14,7
10-29
|
4
|
|
10
|
5,2
3-99
|
6
4-20
|
6,8
4-76
|
8,5
5-95
|
9,6
6-72
|
10,6
7-42
|
11,4
7-98
|
13,3
9-31
|
15,3
10-71
|
5
|
|
12
|
6,3
4-41
|
7,2
5-04
|
7,6
5-32
|
9
6-30
|
10
7-00
|
11,1
7-77
|
11,9
8-33
|
13,9
9-73
|
16,2
11-34
|
6
|
|
14
|
7
4-90
|
7,7
5-39
|
8
5-60
|
9,5
6-65
|
10,6
7-42
|
11,6
8-12
|
12,3
8-61
|
14,3
10-01
|
16,7
11-69
|
7
|
|
|
а
|
б
|
в
|
г
|
д
|
е
|
ж
|
з
|
и
|
№
|
Таблица
3а
Нормы времени и
расценки на 100 п.м. сетки
|
Кол-во продольных
стержней
|
Диаметр
|
Вес сетки,
каркаса, кг, до
|
|
Наименьший, мм
|
Наибольший, мм
|
5
|
10
|
20
|
|
|
Шаг, мм, до
|
Шаг, мм, до
|
Шаг, мм, до
|
|
|
100
|
200
|
300
|
400
|
100
|
200
|
300
|
400
|
100
|
200
|
300
|
400
|
|
|
|
4
|
14
|
1,1
0-77
|
1
0-70
|
0,9
0-63
|
0,8
0-56
|
1,3
0-91
|
1,2
0-84
|
1,1
0-77
|
0,9
0-63
|
1,3
0-91
|
1,2
0-84
|
1,1
0-77
|
1
0-70
|
1
|
|
2
|
8
|
20
|
1,2
0-84
|
1,1
0-77
|
1
0-70
|
0,9
0-63
|
1,4
0-98
|
1,3
0-91
|
1,2
0-84
|
1,1
0-77
|
1,6
1-12
|
1,4
0-98
|
1,3
0-91
|
1,2
0-84
|
2
|
|
|
14
|
40
|
1,6
1-12
|
1,5
1-05
|
1,3
0-91
|
1,2
0-84
|
1,9
1-33
|
1,7
1-19
|
1,6
1-12
|
1,4
0-98
|
2
1-40
|
1,8
1-26
|
1,6
1-12
|
1,5
1-05
|
3
|
|
|
4
|
14
|
1,1
0-77
|
1
0-70
|
0,9
0-63
|
0,8
0-56
|
1,4
0-98
|
1,2
0-84
|
1,1
0-77
|
1
0-70
|
1,4
0-98
|
1,3
0-91
|
1,2
0-84
|
1
0-77
|
4
|
|
3
|
8
|
20
|
1,3
0-91
|
1,2
0-84
|
1,1
0-77
|
1
0-70
|
1,6
1-12
|
1,4
0-98
|
1,3
0-91
|
1,2
0-84
|
1,6
1-12
|
1,5
1-05
|
1,4
0-98
|
1,1
0-77
|
5
|
|
|
4
|
40
|
1,7
1-19
|
1,6
1-12
|
1,4
0-98
|
1,2
0-84
|
2
1-40
|
1,8
1-26
|
1,7
1-19
|
1,5
1-05
|
2,1
1-47
|
1,9
1-33
|
1,8
1-26
|
1,6
1-12
|
6
|
|
|
4
|
14
|
1,2
0-84
|
1,1
0-77
|
1
0-70
|
0,9
0-63
|
1,4
0-98
|
1,3
0-91
|
1,2
0-84
|
1,1
0-77
|
1,5
1-05
|
1,4
0-98
|
1,2
0-84
|
1,1
0-77
|
7
|
|
4
|
8
|
20
|
1,4
0-98
|
1,3
0-91
|
1,2
0-84
|
1,0
0-70
|
1,7
1-19
|
1,5
1-05
|
1,3
0-91
|
1,2
0-84
|
1,8
1-26
|
1,6
1-12
|
1,4
0-98
|
1,3
0-91
|
8
|
|
|
14
|
40
|
1,8
1-26
|
1,6
1-12
|
1,5
1-05
|
1,3
0-91
|
2,2
1-54
|
1,9
1-33
|
1,8
1-26
|
1,6
1-12
|
2,3
1-61
|
2,1
1-47
|
1,9
1-33
|
1,7
1-19
|
9
|
|
|
4
|
14
|
1,3
0-91
|
1,2
0-64
|
1
0-70
|
0,9
0-63
|
1,5
1-05
|
1,4
0-98
|
1,2
0-84
|
1,1
0-77
|
1,6
1-I2
|
1,4
0-98
|
1,3
0-91
|
1,2
0-84
|
10
|
|
5
|
8
|
20
|
1,4
0-98
|
1,3
0-91
|
1,2
0-84
|
1,1
0-77
|
1,8
1-26
|
1,6
1-12
|
1,4
0-98
|
1,3
0-91
|
1,9
1-33
|
1,5
1-05
|
1,4
0-98
|
1,3
0-91
|
11
|
|
|
14
|
40
|
1,9
1-33
|
1,7
1-19
|
1,6
1-12
|
1,4
0-98
|
2,3
1-61
|
2,1
1-47
|
1,8
1-26
|
1,7
1-19
|
2,4
1-68
|
2,2
1-54
|
1,9
1-33
|
1,8
1-26
|
12
|
|
|
4
|
14
|
1,3
0-91
|
1,2
0-84
|
1,1
0-77
|
1
0-70
|
1,6
1-12
|
1,4
0-98
|
1,3
0-91
|
1,2
0-84
|
1,7
1-19
|
1,5
1-05
|
1,4
0-98
|
1,2
0-84
|
13
|
|
6
|
8
|
20
|
1,6
1-12
|
1,4
0-98
|
1,3
0-91
|
1,2
0-84
|
1,8
1-26
|
1,7
1-19
|
1,5
1-05
|
1,4
0-98
|
1,9
1-33
|
1,8
1-26
|
1,6
1-12
|
1,4
0-98
|
14
|
|
|
14
|
40
|
2,3
1-61
|
1,8
1-26
|
1,6
1-12
|
1,5
1-05
|
2,4
1-68
|
2,2
1-54
|
2
1,4
|
1,8
1-26
|
2,5
1-75
|
2,3
1-61
|
2,1
1-47
|
1,8
1-26
|
15
|
|
|
4
|
14
|
1,6
1-12
|
1,5
1-05
|
1,3
0-91
|
1,2
0-84
|
1,9
1-33
|
1,8
1-26
|
1,6
1-12
|
1,4
0-98
|
2
1-40
|
1,6
1-26
|
1,7
1-19
|
1,5
1-05
|
16
|
|
7
|
8
|
20
|
1,9
1-33
|
1,7
1-19
|
1,6
1-12
|
1,4
0-98
|
2,2
1-54
|
2
1-40
|
1,8
1-26
|
1,6
1-12
|
2,4
1-68
|
2,2
1-54
|
1,9
1-33
|
1,7
1-19
|
17
|
|
|
14
|
40
|
2,4
1-68
|
2,2
1-54
|
2
1-40
|
1,8
1-26
|
2,9
2-03
|
2,6
1-82
|
2,4
1-68
|
2,1
1-47
|
3,1
2-17
|
2,8
1-96
|
2,5
1-75
|
2,2
1-54
|
18
|
|
|
4
|
14
|
2
1-40
|
1,8
1-26
|
1,6
1-12
|
1,4
0-98
|
2,1
1-47
|
1,9
1-33
|
1,8
1-26
|
1,7
1-19
|
2,4
1-68
|
2,2
1-54
|
2
1-40
|
1,8
1-26
|
19
|
|
8
|
8
|
20
|
2,3
1-61
|
2,1
1-47
|
1,9
1-33
|
1,7
1-19
|
2,7
1-89
|
2,4
1-68
|
2,2
1-54
|
2
1-40
|
2,8
1-96
|
2,6
1-82
|
2,3
1-61
|
2,1
1-47
|
20
|
|
|
14
|
40
|
2,9
2-03
|
2,7
1-89
|
2,4
1-68
|
2,2
1-54
|
3,5
2-45
|
3,2
2-24
|
2,9
2-03
|
2,6
1-82
|
3,7
2-59
|
3,3
2-31
|
3
2-10
|
2,7
1-89
|
21
|
|
|
4
|
14
|
2,1
1-47
|
1,9
1-33
|
1,7
1-I9
|
1,6
1-12
|
2,5
1-75
|
2,3
1-61
|
2,1
1-47
|
1,8
1-26
|
2,6
1-62
|
2,4
1-68
|
2,2
1-54
|
2
1-40
|
22
|
|
9
|
8
|
20
|
2,5
1-75
|
2,2
1-54
|
2
1-40
|
1,8
1-26
|
2,9
2-03
|
2,6
1-82
|
2,4
1-68
|
2,1
1-47
|
3,1
2-17
|
2,8
1-96
|
2,5
1-75
|
2,3
1-61
|
23
|
|
|
14
|
40
|
3,2
2-24
|
2,9
2-03
|
2,6
1-82
|
2,3
1-61
|
3,8
2-66
|
3,4
2-38
|
3,1
2-17
|
2,8
1-96
|
4
2-80
|
3,6
2-52
|
3,3
2-31
|
2,9
2-03
|
24
|
|
|
4
|
14
|
2,2
1-54
|
2
1-40
|
1,8
1-26
|
1,6
1-12
|
2,6
1-82
|
2,4
1-68
|
2,2
1-54
|
1,9
1-33
|
2,8
1-96
|
2,5
1-75
|
2,3
1-61
|
2
1-40
|
25
|
|
10
|
8
|
20
|
2,6
1-82
|
2,3
1-61
|
2,1
1-47
|
1,9
1-33
|
3,1
2-17
|
2,8
1-96
|
2,5
1-75
|
2,2
1-54
|
3,2
2-24
|
2,9
2с03
|
2,6
1-82
|
2,4
1-68
|
26
|
|
|
14
|
40
|
3,3
2-31
|
3
2-10
|
2,7
1-89
|
2,4
1-68
|
4
2-80
|
3,6
2-52
|
3,2
2-24
|
2,9
2-03
|
4,2
2-94
|
3,8
2-66
|
3,4
2-38
|
3,1
2-17
|
27
|
|
|
4
|
14
|
2,3
1-61
|
2,1
1-47
|
1,9
1-33
|
1,7
1-19
|
2,8
1-96
|
2,5
1-75
|
2,3
1-61
|
2
1-40
|
2,9
2-03
|
2,6
1-82
|
2,4
1-68
|
2,1
1-47
|
28
|
|
11
|
8
|
20
|
2,7
1-89
|
2,4
1-68
|
2,2
1-54
|
2
1-40
|
3,2
2-24
|
2,9
2-03
|
2,6
1-82
|
2,3
1-61
|
3,4
2-38
|
3,1
2-17
|
2,8
1-96
|
2,5
1-75
|
29
|
|
|
14
|
40
|
3,5
2-45
|
3,1
2-17
|
2,8
1-96
|
2,5
1-75
|
4,1
2-87
|
3,7
2-59
|
3,4
2-38
|
3
2-10
|
4,4
3-08
|
3,9
2-73
|
3,6
2-52
|
3,2
2-24
|
30
|
|
|
4
|
14
|
2,4
1-68
|
2,2
1-54
|
2
1-40
|
1,8
1-26
|
2,8
1-96
|
2,6
1-82
|
2,2
1-54
|
2,1
1-47
|
3
2-10
|
2,7
1-89
|
2,5
1-75
|
2,2
1-54
|
31
|
|
12
|
8
|
20
|
2,8
1-96
|
2,5
1-75
|
2,3
1-61
|
2,1
1-47
|
3,3
2-31
|
3
2-10
|
2,7
1-89
|
2,4
1-68
|
3,5
2-45
|
3,2
2-24
|
2,9
2-03
|
2,6
1-82
|
32
|
|
|
14
|
40
|
3,6
2-52
|
3,3
2-31
|
3
2-10
|
2,6
1-82
|
4,3
3-01
|
3,9
2-73
|
3,5
2-45
|
3,1
2-17
|
4,5
3-15
|
4,1
2-87
|
3,7
2-59
|
3,3
2-31
|
33
|
|
|
|
|
a
|
б
|
в
|
г
|
д
|
е
|
ж
|
з
|
и
|
к
|
л
|
м
|
№
|
Продолжение таблицы 3а
|
Кол-во продольных
стержней
|
Диаметр
|
Вес сетки,
каркаса, кг, до
|
|
Наименьший, мм
|
Наибольший, мм
|
30
|
40
|
60 и
более
|
|
|
Шаг, мм, до
|
Шаг, мм, до
|
Шаг, мм, до
|
|
|
100
|
200
|
300
|
400
|
100
|
200
|
300
|
400
|
100
|
200
|
300
|
400
|
|
|
|
4
|
14
|
1,4
0-98
|
1,3
0-91
|
1,2
0-84
|
1
0-70
|
1,5
1-05
|
1,3
0-91
|
1,2
0-84
|
1,1
0-77
|
1,6
1-12
|
1,4
0-98
|
1,3
0-91
|
1,2
0-84
|
34
|
|
2
|
8
|
20
|
1,6
1-12
|
1,5
1-05
|
1,3
0-91
|
1,2
0-84
|
1,7
1-19
|
1,6
1-12
|
1,4
0-98
|
1,3
0-91
|
1,9
1-33
|
1,7
1-19
|
1,5
1-05
|
1,4
0-98
|
35
|
|
|
14
|
40
|
2,2
1-47
|
1,9
1-33
|
1,7
1-19
|
1,6
1-12
|
2,2
1-54
|
2
1-40
|
1,8
1-26
|
1,6
1-12
|
2,4
1-68
|
2,1
1-47
|
2
1-40
|
1,7
1-19
|
36
|
|
|
4
|
14
|
1,5
1-05
|
1,4
0-98
|
1,3
0-91
|
1,1
0-77
|
1,6
1-12
|
1,4
0-98
|
1,3
0-91
|
1,2
0-84
|
1,7
1-19
|
1,6
1-12
|
1,4
0-98
|
1,3
0-91
|
37
|
|
3
|
8
|
20
|
1,7
1-19
|
1,6
1-12
|
1,4
0-98
|
1,3
0-91
|
1,8
1-26
|
1,6
1-12
|
1,5
1-05
|
1,3
0-91
|
2
1-40
|
1,8
1-26
|
1,6
1-12
|
1,5
1-05
|
38
|
|
|
14
|
40
|
2,2
1-54
|
2
1-40
|
1,8
1-26
|
1,6
1-12
|
2,4
1-68
|
2,2
1-54
|
2
1-40
|
1,7
1-19
|
2,8
1-96
|
2,2
1-54
|
2,1
1-47
|
2
1-40
|
39
|
|
|
4
|
14
|
1,6
1-12
|
1,4
0-98
|
1,3
0-91
|
1,2
0-84
|
1,6
1-12
|
1,5
1-05
|
1,4
0-98
|
1,2
0-84
|
1,8
1-26
|
1,6
1-12
|
1,5
1-05
|
1,3
0-91
|
40
|
|
4
|
8
|
20
|
1,8
1-26
|
1,7
1-19
|
1,5
1-05
|
1,4
0-98
|
1,9
1-33
|
1,8
1-26
|
1,6
1-12
|
1,4
0-98
|
2,1
1-47
|
1,9
1-33
|
1,7
1-19
|
1,5
1-05
|
41
|
|
|
14
|
40
|
2,4
1-68
|
2,2
1-54
|
1,9
1-33
|
1,7
1-19
|
2,5
1-75
|
2,3
1-61
|
2
1-40
|
1,8
1-26
|
2,7
1-89
|
2,4
1-68
|
2,2
1-54
|
2
1-40
|
42
|
|
|
4
|
14
|
1,7
1-19
|
1,5
1-05
|
1,4
0-98
|
1,2
0-84
|
1,8
1-26
|
1,6
1-12
|
1,4
0-98
|
1,3
0-91
|
1,9
1-33
|
1,7
1-19
|
1,6
1-12
|
1,4
0-93
|
43
|
|
5
|
8
|
20
|
1,9
1-33
|
1,8
1-26
|
1,6
1-12
|
1,4
0-98
|
2
1-40
|
1,8
1-26
|
1,7
1-19
|
1,5
1-05
|
2,2
1-54
|
2
1-40
|
1,8
1-26
|
1,5
1-05
|
44
|
|
|
14
|
40
|
2,5
1-75
|
2,3
1-61
|
2,1
1-47
|
1,8
1-26
|
2,6
1-82
|
2,4
1-68
|
2,2
1-54
|
1,9
1-33
|
3,5
2-45
|
2,6
1-82
|
2,4
1-68
|
2,1
1-47
|
45
|
|
|
4
|
14
|
1,8
1-26
|
1,6
1-12
|
1,4
0-98
|
1,3
0-91
|
1,8
1-26
|
1,7
1-19
|
1,5
1-05
|
1,3
0-91
|
2
1-40
|
1,8
1-26
|
1,6
1-12
|
1,5
1-05
|
46
|
|
6
|
8
|
20
|
2,2
1-54
|
1,8
1-26
|
1,7
1-19
|
1,5
1-05
|
2,3
1-61
|
1,9
1-33
|
1,8
1-26
|
1,6
1-12
|
2,3
1-61
|
2,1
1-47
|
1,9
1-33
|
1,7
1-19
|
47
|
|
|
14
|
40
|
2,6
1-82
|
2,4
1-68
|
2,2
1-54
|
1,9
1-33
|
2,8
1-96
|
2,5
1-75
|
2,3
1-61
|
2
1-40
|
2,9
2-03
|
2,7
1-89
|
2,5
1-75
|
2,2
1-54
|
48
|
|
|
4
|
14
|
2,1
1-47
|
1,9
1-33
|
1,8
1-26
|
1,6
1-12
|
2,2
1-54
|
2
1-40
|
1,8
1-26
|
1,6
1-12
|
2,4
1-66
|
2,2
1-54
|
2
1-40
|
1,8
1-26
|
49
|
|
7
|
8
|
20
|
2,7
1-89
|
2,3
1-61
|
2
1-40
|
1,8
1-26
|
2,6
1-82
|
2,4
1-68
|
2,1
1-47
|
1,9
1-33
|
2,8
1-96
|
2,6
1-82
|
2,3
1-61
|
2,1
1-47
|
50
|
|
|
14
|
40
|
3,2
2-24
|
2,9
2-03
|
2,6
1-82
|
2,4
1-68
|
3,4
2-38
|
3
2-10
|
2,8
1-96
|
2,5
1-75
|
3,7
2-59
|
3,3
2-31
|
3
2-10
|
2,7
1-89
|
51
|
|
|
4
|
14
|
2,6
1-82
|
2,3
1-61
|
2,1
1-47
|
1,9
1-33
|
2,7
1-89
|
2,4
1-68
|
2,2
1-54
|
2
1-40
|
3,1
2-17
|
2,8
1-96
|
2,5
1-75
|
2,2
1-54
|
52
|
|
8
|
8
|
20
|
3,2
2-24
|
2,7
1-89
|
2,5
1-75
|
2,4
1-68
|
3,1
2-17
|
2,8
1-96
|
2,5
1-75
|
2,2
1-54
|
3,2
2-24
|
2,9
2-03
|
2,6
1-82
|
2,3
1-61
|
53
|
|
|
14
|
40
|
3,9
2-73
|
3,5
2-45
|
3,2
2-24
|
2,8
1-96
|
4,1
2-87
|
3,7
2-59
|
3,3
2-31
|
3
2-10
|
4,3
3-01
|
3,9
2-73
|
3,5
2-45
|
3,2
2-24
|
54
|
|
|
4
|
14
|
2,8
1-96
|
2,5
1-75
|
2,3
1-61
|
2
1-40
|
3,3
2-31
|
3
2-10
|
2,7
1-89
|
2,4
1-68
|
3,4
2-38
|
3,1
2-17
|
2,8
1-96
|
2,5
1-75
|
55
|
|
9
|
8
|
20
|
3,5
2-45
|
2,9
2-03
|
2,6
1-82
|
2,4
1-68
|
4,1
2-87
|
3,7
2-59
|
3,3
2-31
|
3
2-10
|
4,4
3-08
|
4
2-80
|
3,6
2-52
|
3,2
2-24
|
56
|
|
|
14
|
40
|
4,2
2-94
|
3,8
2-66
|
3,4
2-38
|
3,1
2-17
|
4,9
3-43
|
4,4
3-08
|
4
2-80
|
3,6
2-52
|
5,1
3-57
|
4,6
3-22
|
4,1
2-87
|
3,7
2-59
|
57
|
|
|
4
|
14
|
2,9
2-03
|
2,6
1-82
|
2,4
1-68
|
2,1
1-47
|
3,4
2-38
|
3,1
2-17
|
2,8
1-96
|
2,5
1-75
|
3,6
2-52
|
3,2
2-24
|
2,9
2-03
|
2,6
1-82
|
58
|
|
10
|
8
|
20
|
3,6
2-52
|
3,1
2-17
|
2,8
1-96
|
2,5
1-75
|
4,2
2-94
|
3,8
2-66
|
3,4
2-38
|
3,1
2-17
|
4,3
3-01
|
3,9
2-73
|
3,5
2-45
|
3,2
2-24
|
59
|
|
|
14
|
46
|
4,4
3-08
|
4
2-80
|
3,6
2-52
|
3,2
2-24
|
5,2
3-64
|
4,7
3-29
|
4,2
2-94
|
3,8
2-66
|
5,5
3-65
|
5
3-50
|
4,5
3-15
|
4,1
2-87
|
60
|
|
|
4
|
14
|
3
2-10
|
2,8
1-96
|
2,5
1-75
|
2,2
1-54
|
3,6
2-52
|
3,2
2-24
|
2,9
2-03
|
2,6
1-82
|
3,7
2-59
|
3,3
2-31
|
3
2-10
|
2,7
1-89
|
61
|
|
11
|
8
|
20
|
3,8
2-66
|
3,2
2-24
|
2,9
2-03
|
2,6
1-82
|
4,5
3-15
|
4,1
2-87
|
3,7
2-59
|
3,3
2-31
|
3,8
2-66
|
4,3
3-01
|
3,9
2-73
|
3,5
2-45
|
62
|
|
|
14
|
40
|
4,6
3-22
|
4,1
2-87
|
3,7
2-59
|
3,3
2-31
|
5,4
3-78
|
4,9
3-43
|
4,4
3-08
|
4
2-80
|
5,8
4-06
|
5,2
3-64
|
4,7
3-29
|
4,2
2-94
|
63
|
|
|
4
|
14
|
3,2
2-24
|
2,8
1-96
|
2,6
1-82
|
2,3
1-61
|
3,7
2-59
|
3,3
2-31
|
3
2-10
|
2,7
1-89
|
4
2-80
|
3,6
2-52
|
3,2
2-24
|
2,9
2-03
|
64
|
|
12
|
8
|
20
|
3,5
2-45
|
3,3
2-31
|
3
2-10
|
2,7
1-89
|
4,1
2-87
|
3,7
2-59
|
3,3
2-31
|
3
2-10
|
4,3
3-01
|
3,9
2-73
|
3,5
2-45
|
3,2
2-24
|
65
|
|
|
14
|
40
|
4,7
3-29
|
4,3
3-01
|
3,9
2-73
|
3,5
2-45
|
5,6
3-92
|
5
3-50
|
4,5
3-15
|
4,1
2-87
|
5,9
4-13
|
5,3
3-71
|
4,8
3-36
|
4,3
3-01
|
66
|
|
|
|
|
н
|
о
|
п
|
р
|
с
|
т
|
у
|
ф
|
х
|
ц
|
ч
|
ш
|
№
|
Схема
организации рабочего места

1 - стол-кондуктор,
2 - одноточечная машина
с подвижным верхним электродом,
3 - контейнер для
продольных стержней,
4 - контейнер для
поперечных стержней,
5 - место сверщика
арматурных сеток и каркасов.
Состав работы
Уложить продольные стержни на стол-кондуктор. Разметить места
расположения поперечных стержней и уложить их. Сварить сетки с перемещением
верхнего электрода с помощью ручного привода. Снять и уложить готовые сетки в
штабель.
исполнитель
сварщик арматурных сеток и каркасов 4 разряда
Таблица 4
Нормы временя и
расценки на 100 изделий
|
Число сварных
точек в одной сетке, шт., до
|
|
10
|
20
|
30
|
40
|
50
|
60
|
75
|
100
|
125
|
150
|
200
|
250
|
300
|
500
|
|
1
0-70
|
2
1-40
|
3
2-10
|
4
2-80
|
5
3-50
|
6
4-20
|
7,3
5-11
|
9,3
6-51
|
11,5
8-05
|
13
9-10
|
18
12-60
|
23
16-10
|
28
19-60
|
33
23-10
|
|
a
|
б
|
в
|
г
|
д
|
е
|
ж
|
з
|
и
|
к
|
л
|
м
|
н
|
о
|
Состав работы
Разметить места расположения стержней в шаблоне или кондукторе. Уложить стержни в шаблон или кондуктор по разметке. Сварить сетки или каркасы с
помощью ручной электродуговой сварки.
Снять сетки с шаблона и уложить их в штабель.
Исполнители
электросварщик ручной сварки 3 разряда;
арматурщик 2
разряда
Таблица
5
Нормы
времени и
расценки на 100 изделий
|
Вес сетки кг, до
|
Число сварных
точек в одной сетке, шт., до
|
|
10
|
20
|
30
|
50
|
75
|
100
|
150
|
200
|
300
|
|
|
5
|
2,3
1-38
|
3
1-80
|
4,4
2-64
|
6,7
4-02
|
8,8
5-28
|
12,6
7-56
|
18
10-80
|
26
15-60
|
34
20-40
|
1
|
|
10
|
2,7
1-62
|
3,6
2-16
|
5,4
3-24
|
8,1
4-86
|
10,8
6-48
|
15,3
9-18
|
22
13-20
|
30
18-00
|
41
24-60
|
2
|
|
20
|
3,5
2-10
|
5,1
3-06
|
7
4-20
|
10
6-00
|
15
9-00
|
19
11-40
|
27
16-20
|
36
21-60
|
50
30-00
|
3
|
|
40
|
4,6
2-76
|
6,6
3-96
|
8,8
5-28
|
12,6
7-56
|
17
10-20
|
23
13-80
|
33
19-60
|
44
26-40
|
61
26-60
|
4
|
|
60
|
6
3-60
|
7,7
4-62
|
10
6-00
|
16
9-60
|
21
12-60
|
29
17-40
|
41
24-60
|
54
32-40
|
75
45-00
|
5
|
|
100
|
-
|
-
|
12
7-20
|
17,5
10-50
|
24
14-40
|
32
19-20
|
46
27-60
|
61
36-60
|
84
50-40
|
6
|
|
150
|
-
|
-
|
-
|
23
13-80
|
30
18-00
|
39
23-40
|
55
33-00
|
71
42-60
|
97
58-20
|
7
|
|
200
|
-
|
-
|
-
|
-
|
36
21-60
|
47
28-20
|
66
39-60
|
84
50-40
|
113
67-80
|
8
|
|
300
|
-
|
-
|
-
|
-
|
-
|
56
33-60
|
78
46-80
|
99
59-40
|
132
79-20
|
9
|
|
400
|
-
|
-
|
-
|
-
|
-
|
-
|
90
54-00
|
112
67-20
|
149
89-40
|
10
|
|
500
|
-
|
-
|
-
|
-
|
-
|
-
|
-
|
129
77-40
|
170
102-00
|
11
|
|
600
|
-
|
-
|
-
|
-
|
-
|
-
|
-
|
-
|
190
114-00
|
12
|
|
|
а
|
б
|
в
|
г
|
д
|
е
|
ж
|
з
|
и
|
№
|
Продолжение таблицы 5
|
Вес сетки кг, до
|
Число сварных
точек в одной сетке, шт., до
|
|
400
|
500
|
600
|
700
|
800
|
1000
|
1200
|
1400
|
|
|
5
|
-
|
-
|
-
|
-
|
-
|
-
|
-
|
-
|
1
|
|
10
|
58
34-80
|
73
43-80
|
-
|
-
|
-
|
-
|
-
|
-
|
2
|
|
20
|
70
42-00
|
87
52-20
|
103
61-80
|
119
71-40
|
135
81-00
|
156
93-60
|
-
|
-
|
3
|
|
40
|
83
49-80
|
104
62-40
|
121
72-60
|
140
84-00
|
157
94-20
|
177
106-20
|
198
118-80
|
-
|
4
|
|
60
|
102
61-20
|
124
74-40
|
143
85-80
|
164
98-40
|
183
109-80
|
203
121-80
|
226
135-60
|
257
154-20
|
5
|
|
100
|
110
66-00
|
133
79-80
|
153
91-80
|
174
104-40
|
192
115-20
|
211
126-60
|
232
139-20
|
263
157-80
|
6
|
|
150
|
130
78-00
|
156
93-60
|
177
106-20
|
199
119-40
|
214
128-40
|
235
141-00
|
256
153-60
|
284
170-40
|
7
|
|
200
|
150
90-00
|
177
106-20
|
200
120-00
|
222
133-20
|
238
142-80
|
258
154-80
|
280
168-00
|
306
183-60
|
8
|
|
300
|
174
104-40
|
202
121-20
|
227
136-20
|
249
149-40
|
263
157-80
|
284
170-40
|
305
183-00
|
330
198-00
|
9
|
|
400
|
195
117-00
|
225
135-00
|
249
149-40
|
272
163-20
|
284
170-40
|
304
182-10
|
323
193-80-
|
344
206-40
|
10
|
|
500
|
220
132-00
|
252
151-20
|
276
165-60
|
299
179-40
|
309
185-40
|
328
196-ео
|
345
207-00
|
364
218-40
|
11
|
|
600
|
245
147-00
|
277
166-20
|
301
180-60
|
319
191-40
|
338
202-80
|
345
207-00
|
359
215-40
|
375
225-00
|
12
|
|
|
к
|
л
|
м
|
н
|
о
|
п
|
р
|
с
|
№
|
Примечание. При вязке плоских
сеток и каркасов вручную вязальной проволокой Н.вр. и Расц. умножать на 1,4.
Схема организации рабочего места

1 - машина для стыковой электросварки,
2 - станок для резки,
3 - роликовый стол,
4 - мерный кондуктор с передвижным упором,
5 - контейнер для стержней,
6 - место сварщика арматурных сеток и каркасов.
Состав работы
Подать стержни по рольгангу к месту зачистки. Зачистить концы стержней.
Подать стержни к сварочному аппарату. Задать стержни в зажимах и отцентрировать
их. Сварить стержни методом сопротивления или оплавления. Установить упор для
резки стержней на заданную длину. Подать стержни по рольгангу до упора.
Произвести резку по заданному размеру и сбросить стержни в контейнер.
Исполнитель
сварщик арматурных сеток и каркасов 4 разряда.
Нормы времени и расценки на 1 т сваренных стержней
|
Длина
стержней м, до
|
Диаметр
стержней, мм, до
|
|
12
|
14
|
16
|
18
|
20
|
22
|
25
|
28
|
32
|
36
|
40
|
|
|
3
|
6,3
4-41
|
5,6
3-92
|
5,1
3-57
|
4,8
3-36
|
4,2
2-94
|
4
2-80
|
3,7
2-59
|
3,3
2-31
|
3
2-10
|
2,5
1-75
|
2,2
1-54
|
1
|
|
6
|
4,5
3-15
|
4
2-80
|
3,5
2-45
|
3
2-10
|
2,7
1-89
|
2,5
1-75
|
2,2
1-54
|
2
1-40
|
1,7
1-19
|
1,4
0-98
|
1,2
0-84
|
2
|
|
9
|
3,6
2-52
|
3,2
2-24
|
2,8
1-96
|
2,3
1-61
|
2,1
1-47
|
1,9
1-33
|
1,7
1-19
|
1,6
1-I2
|
1,3
0-91
|
1,1
0-77
|
0,9
0-63
|
3
|
|
12
|
2,9
2-03
|
2,6
1-82
|
2,2
1-54
|
1,8
1-26
|
1,6
1-12
|
1,5
1-05
|
1,4
0-98
|
1,2
0-84
|
0,95
0-66,5
|
0,8
0-56
|
0,68
0-47,6
|
4
|
|
18
|
2,5
1-75
|
2,2
1-54
|
1,8
1-26
|
1,4
0-98
|
1,3
0-91
|
1,2
0-84
|
1,1
0-77
|
0,94
0-65,8
|
0,86
0-60,2
|
0,7
0-49
|
0,52
0-36,4
|
5
|
|
24
|
2,2
1-54
|
2
1-40
|
1,6
1-12
|
1,2
0-84
|
1,1
0-77
|
0,92
0-64,4
|
0,88
0-61,6
|
0,73
0-51,1
|
0,63
0-44,1
|
0,5
0-35
|
0,41
0-28,7
|
6
|
|
30
|
1,8
1-26
|
1,6
1-12
|
1,3
0-91
|
0,96
0-67,2
|
0,88
0-61,6
|
0,75
0-52,5
|
0,7
0-49
|
0,58
0-40,6
|
0,5
0-35
|
0,4
0-28
|
0,33
0-23,1
|
7
|
|
|
а
|
б
|
в
|
г
|
д
|
е
|
ж
|
з
|
и
|
к
|
л
|
№
|
Примечание. При применение
ручных эксцентриковых или винтовых зажимов стержней Н.вр. и Расц. умножать на
1,06.
1. Раздел включает нормы времени и расценки
на сборку и электродуговую сварку, вязку пространственных арматурных каркасов
по трем наиболее распространенным способам изготовления:
- в кондукторах и на козлах из отдельных сеток,
стержней, закладных деталей со сваркой вручную;
- в горизонтальных и вертикальных кондукторах на
подвесной сварочной машине МТПГ;
- на навивочных стендах со сваркой вручную или
вязкой и на навивочно-сварочных машинах.
2. При изготовлении каркасов, за исключением особо
оговоренных случаев, предусмотрена:
а) разметка мест расположения и установка сеток,
каркасов, стержней;
б) перекантовка арматурных каркасов;
в) окончательная выверка и крепление элементов
каркаса.
3. Нормы времени и расценки настоящего раздела
предусматривают:
- крепление элементов каркаса дуговой сваркой. При
креплении элементов каркаса вязальной проволокой Н.вр. и Расц. умножать на 1,4;
- изготовление армокаркасов без установки закладных
деталей;
- установку и крепление закладных деталей
нормировать отдельно по § 2-38 настоящего сборника.
4. При комбинированном креплении элементов каркаса
(сваркой и частичной вязкой проволокой) Н.вр. и Расц. умножать на 1,2.
Техническая
характеристика основных типов сварочных трансформаторов
|
Показатели
|
Единица измерения
|
Тип трансформатора
|
|
ТДП-1
|
СТШ-500-80
|
СТШ-500
|
ТД-300
|
ТД-500
|
ТСД-500
|
ТСД-1000
|
ТСД-2000
|
|
Потребляемая мощность
|
ква
|
12
|
44,5
|
32
|
20
|
32
|
42
|
78
|
180
|
|
Пределы регулирования сварочного тока
|
а
|
105-180
|
60-800
|
145-650
|
30-385
|
165-550
|
200-600
|
400-1200
|
800-2200
|
|
Первичное напряжение
|
в
|
220
|
220;380
|
220;380
|
220;380
|
220;380
|
220;380
|
220;280
|
380
|
|
Номинальный коэффициент ПВ
|
%
|
20
|
60
|
60
|
60
|
60
|
60
|
65
|
50
|
|
Габаритные размеры:
|
|
|
|
|
|
|
|
|
|
|
высота
|
мм
|
470
|
73
|
753
|
1010
|
1100
|
1382
|
1382
|
1382
|
|
ширина
|
мм
|
225
|
765
|
666
|
524
|
600
|
818
|
818
|
818
|
|
длина
|
мм
|
435
|
980
|
670
|
765
|
845
|
950
|
950
|
950
|
|
Вес
|
кг
|
34
|
223
|
220
|
180
|
250
|
420
|
510
|
670
|
Техническая
характеристика сварочных агрегатов постоянного тока с приводом от
электродвигателя трехфазного типа
|
Показатели
|
Единица измерения
|
Тип агрегата
|
|
ПС-300М
|
ПС-500
|
ПСО-300
|
ПСО-500
|
ПCO-800
|
|
Двигатель
|
|
|
|
|
|
|
|
напряжение
|
в
|
220/380
|
220/380
|
220/380
|
220/380
|
220/380
|
|
мощность
|
квт
|
14
|
28
|
14
|
28
|
55
|
|
число оборотов
|
об/мин
|
1450
|
1450
|
1450
|
1450
|
1450
|
|
Напряжение
генератора
|
|
|
|
|
|
|
|
на холостом ходу
|
в
|
65
|
60-90
|
47-73
|
58-86
|
-
|
|
под нагрузкой
|
в
|
30-35
|
40
|
30
|
40
|
45
|
|
ПВ
|
%
|
60
|
65
|
60
|
55-65
|
65
|
|
Пределы
регулирования тока
|
а
|
80-380
|
140-600
|
75-320
|
125-600
|
220-800
|
|
Вес агрегата
|
кг
|
570
|
940
|
440
|
780
|
1040
|
Техническая
характеристика подвесных сварочных клещей
|
Показатели
|
С выносным
трансформатором
|
Малогабаритные со
встроенным трансформатором
|
|
пневмогидравлические
|
пневматические
|
|
КТГ-75-1
|
КТГ-75-3
|
КТП-1
|
КТП-2
|
К-201М
|
К-265М
|
К-243
|
|
Мощность
трансформатора, ква
|
-
|
-
|
-
|
-
|
25
|
25
|
90
|
|
Продолжительность
включения ПВ, %
|
-
|
-
|
-
|
-
|
20
|
20
|
10
|
|
Наибольшее
первичное напряжение, вольт
|
-
|
-
|
-
|
-
|
65
|
65
|
72
|
|
Движение
электрода
|
осевое
|
радиальное
|
осевое
|
радиальное
|
осевое
|
радиальное
|
осевое
|
|
Усилие сжатия
электродов, кгс
|
275
|
260
|
300
|
225
|
250
|
300
|
до 1250
|
|
Наибольший
диаметр свариваемых стержней, мм
|
16+16
|
16+16
|
16+16
|
16+16
|
8+20
|
10+10
|
от 10+25
до 12+32
|
|
Число сварок в
минуту
|
80
|
80
|
120
|
120
|
50
|
50
|
90
|
|
Давление воздуха
в сети, кгс/см2
|
-
|
-
|
-
|
-
|
4-5
|
4-5
|
6
|
|
Габаритные
размеры, мм
|
|
|
|
|
|
|
|
|
длина
|
433
|
315
|
488
|
365
|
620
|
617
|
870
|
|
ширина
|
120
|
255
|
155
|
296
|
150
|
148
|
235
|
|
высота
|
390
|
212
|
296
|
285
|
315
|
228
|
315
|
|
Вес (без кабелей
и шлангов), кг
|
12,5
|
12,5
|
10,4
|
9,8
|
22
|
20,5
|
64
|
Техническая
характеристика машины СКЦ-2
|
Показателя
|
Единица измерения
|
СКЦ-2
|
|
Производительность
в смену
|
п/м
|
200-260
|
|
Диаметр
|
|
|
|
свариваемого
каркаса
|
мм
|
400-1300
|
|
навиваемой
проволоки
|
мм
|
до 8
|
|
продольник
стержней
|
мм
|
до 18
|
|
Длина
изготавляемого каркаса
|
м
|
до 8
|
|
Мощность
электродвигателей
|
квт
|
6,1
|
|
Число оборотов
планшайбы в минуту
|
мин
|
5,5 и 11
|
|
Шаг навивки
спирали
|
мм
|
25-140
|
|
Мощность
сварочного трансформатора
|
ква
|
75
|
|
Габаритные размеры:
|
|
|
|
длина
|
мм
|
9000
|
|
ширина
|
мм
|
2650
|
|
высота
|
мм
|
2100
|
|
Вес
|
кг
|
2500
|
Техническая
характеристика каркасно-сварочного станка C-I53A
конструкции Энерготехпрома
|
Показатели
|
Единица измерения
|
C-I53A
|
|
Производительность
|
Каркасов
смену
|
10-60
|
|
Размер каркаса по
диагонали
|
мм
|
140-520
|
|
Шаг спирали
|
мм
|
65-490
|
|
Диаметр
предельной арматуры
|
мм
|
12-20
|
|
Диаметр
навиваемой проволоки
|
мм
|
5-7
|
|
Привод станка:
|
|
|
|
электродвигатели
|
|
А02-61-12/8/6/4
A02-31-2
|
|
редуктора
|
|
РЦД-250-20-1
РЦД-250-10-6
РЦД-250-10-2
|
|
Тормоз
|
|
ТКГГ-200-11
|
|
Сварочный
механизм
|
|
Роликовый с внутренним охлажденном
|
|
Сварочный
трансформатор
|
|
TK12-0 6,81 кВа
|
|
Габариты
|
мм
|
14200×2610×1310
|
|
Вес
|
кг
|
4000
|
Нормами времени и расценками настоящего раздела учтена организация работ,
при которой:
- элементы каркасов заранее заготовлены и доставлены на рабочее место;
- рабочие места оборудованы необходимыми кондукторами, столами,
источниками питания сварочной дуги, подъемно-транспортным оборудованием;
- рабочие обеспечены необходимым инструментом;
- вязальная проволока заранее отожжена и нарезана на куски.
Регламентированные затраты времени
|
Виды затрат
|
Время в процентах
от оперативного
|
|
Подготовительно-заключительная
работа
|
3,7
|
|
Организационно-техническое
обслуживание рабочего места
|
2,4
|
|
Отдых и личные
надобности
|
11,1
|
|
Итого:
|
17,2
|
Схема организации рабочего места

б) поворотный
горизонтальный кондуктор-манипулятор
1 - каркас поднят, 2 - каркас в нижнем положении, 3 - продольные стержни,
4 - хомуты, 5 - настил на козлах, 6 - подготовка, 7 - вязка каркасов, 8 -
козлы, 9 - готовые каркасы, 10 - рама, 11 - зубчатый сектор, 12 - поворотная
крестовина, 13 - фиксатор, 14 - педаль.
Состав работы
Уложить арматурные сетки, плоские каркасы и стержни в кондуктор по
разметке. Произвести сварку пространственного каркаса, снять с кондуктора и
уложить в штабель.
Исполнители:
электросварщик ручной сварки 4 разряда; арматурщик 4 разряда.
Нормы времени и расценки на 1т каркасов
|
Вид сборки
|
Вес
каркаса, кг, до
|
|
10
|
20
|
30
|
50
|
75
|
|
|
Из стержней и хомутов
|
42
29-40
|
38
26-60
|
35
24-50
|
32
22-40
|
29
20-30
|
1
|
|
Из плоских каркасов и стержней
|
32
22-40
|
27
18-90
|
25
17-50
|
21
14-70
|
19,5
13-65
|
2
|
|
|
а
|
б
|
в
|
г
|
д
|
№
|
Продолжение таблицы
|
Вес
каркаса, кг, до
|
|
100
|
150
|
200
|
300
|
400
|
600
|
800
|
|
|
26
18-20
|
22
15-40
|
19,5
13-65
|
17
11-9
|
14
9-80
|
12
8-40
|
11,5
8-05
|
1
|
|
16,5
11-55
|
13,5
9-45
|
12
8-40
|
10,5
7-35
|
9,6
6-72
|
8,2
5-74
|
7,5
5-25
|
2
|
|
е
|
ж
|
з
|
и
|
к
|
л
|
м
|
№
|
Продолжение таблицы
|
Вес
каркаса, кг, до
|
|
1000
|
1500
|
2000
|
2500
|
3000
|
3500
|
4000
|
|
|
11
7-70
|
10,5
7-35
|
10
7-00
|
9,7
6-79
|
3,2
2-24
|
8,7
6-09
|
8,3
5-81
|
1
|
|
6,9
4-83
|
6,6
4-62
|
6
4-20
|
5,8
4-06
|
5
3-50
|
4,8
3-36
|
4
2-80
|
2
|
|
н
|
о
|
п
|
р
|
с
|
т
|
у
|
№
|
Состав работы
Уложить арматурные сетки, плоские каркасы и стержни в кондуктор по
разметке. Произвести сварку пространственного каркаса, снять с кондуктора и
уложить в штабель.
Исполнители:
электросварщик ручной сварки 4 разряда;
арматурщик 4 разряда.
Нормы времени и расценки на 1 т каркасов
|
Вид сборки
|
Вес каркаса, кг, до
|
|
10
|
60
|
100
|
150
|
200
|
|
|
Из стержней и хомутов
|
27
18-90
|
26
18-20
|
24
16-80
|
23
16-10
|
22
15-40
|
1
|
|
Из плоских каркасов, сеток и стержней
|
17
11-90
|
16,5
11-55
|
15,5
10-85
|
14,5
10-15
|
14
9-80
|
2
|
|
|
а
|
б
|
в
|
г
|
д
|
№
|
Продолжение таблицы
|
Вес
каркаса, кг, до
|
|
300
|
400
|
1000
|
2000
|
3000
|
4000
|
|
|
21
14-70
|
19
13-30
|
15
10-50
|
14
9-80
|
11
7-70
|
9
6-30
|
1
|
|
13
9-10
|
12
8-40
|
9,5
6-65
|
9
6-30
|
7
4-90
|
5,5
3-85
|
2
|
|
е
|
ж
|
з
|
и
|
к
|
л
|
№
|
Примечание. Фундаментные
плиты с петлевыми выпусками нормировать по настоящему параграфу.
Состав работы
Разметить места расположения и уложить в кондуктор сетки, плоские каркасы
и стержни. Произвести сварку каркаса, снять с кондуктора и уложить в штабель.
Исполнители:
электросварщик ручной сварки 4 разряда;
арматурщик 4разряда.
Нормы времени и расценки на 1 т каркасов
|
Вид сборки
|
Вес каркаса, кг, до
|
|
5
|
7,5
|
10
|
15
|
25
|
|
|
Из стержней и хомутов
|
75
52-50
|
65
45-50
|
56
39-20
|
46
33-60
|
42
29-40
|
1
|
|
Из плоских каркасов, сеток и стержней
|
45
31-50
|
39
27-30
|
34
23-80
|
29
20-30
|
25
17-50
|
2
|
|
|
а
|
б
|
в
|
г
|
д
|
№
|
Продолжение таблицы
|
Вес
каркаса, кг, до
|
|
35
|
45
|
60
|
75
|
90
|
110
|
130
|
|
|
38
26-60
|
33
23-10
|
30
21-00
|
26
18-20
|
23
16-10
|
20
14-00
|
17,5
12-25
|
1
|
|
19,5
13-65
|
17
11-90
|
15
10-50
|
13
9-10
|
12
8-40
|
11
7-70
|
9,6
6-72
|
2
|
|
е
|
ж
|
з
|
и
|
к
|
л
|
м
|
№
|
Продолжение таблицы
|
Вес
каркаса, кг, до
|
|
150
|
175
|
200
|
250
|
300
|
350
|
500
|
|
|
15,5
10-85
|
13,5
9-45
|
12
8-40
|
10,5
7-35
|
9,1
6-37
|
8
5-60
|
6,6
4-62
|
1
|
|
8,8
6-16
|
7,8
5-46
|
7,1
4-97
|
6
4-20
|
5,5
3-85
|
5
3-50
|
4,8
3-36
|
2
|
|
н
|
о
|
п
|
р
|
с
|
т
|
у
|
№
|
Продолжение таблицы
|
Вес
каркаса, кг, до
|
|
800
|
1100
|
1500
|
1900
|
2300
|
2700
|
3100
|
|
|
5,7
3-99
|
5,3
3-71
|
5
3-50
|
4,8
3-36
|
4,6
3-22
|
4,4
3-08
|
4,2
2-94
|
1
|
|
4,4
3-08
|
4
2-80
|
3,6
2-52
|
3,2
2-24
|
2,8
1-96
|
2,4
1-68
|
2
1-40
|
2
|
|
ф
|
x
|
ц
|
ч
|
ш
|
щ
|
э
|
№
|
Примечание. Сборку арматурных
каркасов для армопенобетонных панелей и плит
нормировать по настоящему параграфу.
Состав работы
Разметить места расположения и уложить в
кондуктор сетки, плоские каркасы и стержни. Произвести сварку каркаса, снять с
кондуктора и уложить в штабель.
|
|
Количество
рабочих при длине каркаса, м, до
|
|
12
|
более 12
|
|
Арматурщик 5
разряда
|
-
|
1
|
|
Арматурщик 4
разряда
|
1
|
1
|
|
Электросварщик
ручной сварки 4 разряда
|
1
|
2
|
Нормы
времени и расценки на 1 т каркасов
|
Вид сборки
|
Вес
каркаса, кг, до
|
|
50
|
100
|
150
|
200
|
250
|
300
|
400
|
500
|
600
|
|
|
Из стержней и хомутов
|
17
11-90
|
16
11-20
|
15
10-50
|
14,5
10-15
|
13,5
9-45
|
13
9-10
|
11,5
8-05
|
10,5
7-35
|
9,2
6-44
|
1
|
|
|
|
11-65
|
10-92
|
10-56
|
9-83
|
9-46
|
8-37
|
7-64
|
6-70
|
|
|
Из плоских каркасов и сеток
|
15
10-50
|
11,5
8-05
|
9,4
6-58
|
7,8
5-46
|
6,3
4-41
|
5,6
3-92
|
4,6
3-22
|
3,4
2-38
|
2,7
1-89
|
2
|
|
|
|
8-37
|
6-84
|
4-68
|
4-59
|
4-08
|
3-35
|
2-48
|
1-97
|
|
|
|
а
|
б
|
в
|
г
|
д
|
е
|
ж
|
з
|
и
|
№
|
Продолжение таблицы
|
Вид сборки
|
Вес
каркаса, кг, до
|
|
700
|
800
|
900
|
1000
|
1200
|
1400
|
1600
|
1800
|
2000
|
|
|
Из стержней и хомутов
|
8,9
6-23
|
8,2
5-74
|
7,8
5-46
|
7,6
5-32
|
7,4
5-18
|
6,7
4-69
|
5,1
3-57
|
5,6
3-92
|
5,3
3-71
|
1
|
|
|
6-48
|
5-97
|
5-68
|
5-53
|
5-39
|
4-88
|
3-71
|
4-08
|
3-66
|
|
|
Из плоских каркасов и сеток
|
2,2
1-54
|
1,8
1-26
|
1,6
1-12
|
1,4
0-98
|
-
|
-
|
-
|
-
|
-
|
2
|
|
|
1-60
|
1-31
|
1-16
|
1-02
|
|
|
|
|
|
|
|
|
к
|
л
|
м
|
н
|
о
|
п
|
р
|
с
|
т
|
№
|
Продолжение таблицы
|
Вид сборки
|
Вес
каркаса, кг, до
|
|
2500
|
3000
|
3500
|
4000
|
4500
|
5000
|
5500
|
6000
|
|
|
Из стержней и хомутов
|
5
3-50
|
4,8
3-36
|
4,4
3-08
|
4,2
2-94
|
3,9
2-73
|
3,6
2-52
|
3,4
2-38
|
3,2
2-24
|
1
|
|
|
3-64
|
3-49
|
3-20
|
3-06
|
2-84
|
2-62
|
2-48
|
2-33
|
|
|
Из плоских каркасов и сеток
|
-
|
-
|
-
|
-
|
-
|
-
|
-
|
-
|
2
|
|
|
у
|
ф
|
х
|
ц
|
ч
|
ш
|
щ
|
э
|
№
|
|
|
|
|
|
|
|
|
|
|
|
|
Примечание:
1. Норками настоящего параграфа предусмотрено
изготовление арматурных каркасов колонн сплошного и переменного сечения, а
также двухветвевых.
2. При сборке пространственных каркасов без
консолей Н.вр. и Расц. строки 1 и 2 умножать на 0,8.
Состав работы
Разметить
места расположения и уложить в кондуктор сетки, плоские каркасы и стержни.
Произвести сварку каркасов, снять с кондуктора и уложить в штабель.
|
Исполнители
|
Количество
рабочих при длине каркаса, м, до
|
|
12
|
более 12
|
|
Арматурщик 4
разряда
|
1
|
2
|
|
Электросварщик ручной сварки 4 разряда
|
1
|
2
|
Нормы
времени и расценки на 1 т каркасов
|
Вид сборки
|
Вес каркаса, кг, до
|
|
10
|
30
|
50
|
70
|
100
|
150
|
200
|
250
|
300
|
350 >
|
400
|
|
|
Из стержней и хомутов
|
15,5
10-85
|
15
10-50
|
14,5
10-15
|
14
9-80
|
13,5
9-45
|
13
9-10
|
12,5
8-75
|
12
8-40
|
11
7-70
|
10,5
7-35
|
10
7-00
|
1
|
|
Их плоских каркасов и сеток
|
11
7-70
|
10,5
7-35
|
10
7-00
|
9,8
6-86
|
9,5
6-65
|
8,6
6-02
|
8,2
5-74
|
7,8
5-46
|
7,3
5-11
|
7,1
4-97
|
6,8
4-76
|
2
|
|
|
а
|
б
|
в
|
г
|
д
|
е
|
ж
|
з
|
и
|
к
|
л
|
№
|
Продолжение таблицы
|
Вид сборки
|
Вес каркаса, кг, до
|
|
500
|
600
|
700
|
900
|
1100
|
1300
|
1500
|
2000
|
2500
|
3000
|
4000
|
|
|
Из стержней и хомутов
|
9,6
6-72
|
8,9
6-23
|
8,1
5-67
|
7,2
5-04
|
6,5
4-55
|
5,7
3-99
|
5
3-50
|
4,3
3-01
|
3,8
2-66
|
3,4
2-38
|
3,1
2-17
|
1
|
|
Их плоских каркасов сеток
|
6,2
4-34
|
5,8
4-06
|
5,6
3-92
|
5
3-50
|
4,4
3-08
|
4
2-80
|
3,7
2-59
|
3,4
2-38
|
3,1
2-17
|
2,8
1-96
|
2,5
1-75
|
2
|
|
|
м
|
н
|
о
|
п
|
р
|
с
|
т
|
у
|
ф
|
x
|
ц
|
№
|
Состав работы
Уложить арматурные сетки, плоские каркасы и стержни в кондуктор или форму
по разметке. Произвести сварку пространственного каркаса, снять с кондуктора и
уложить в штабель.
Исполнители:
арматурщик 5 разряда,
арматурщик 4 разряда,
электросварщик ручной сварки 4 разряда,
электросварщик ручной сварки 5 разряда.
Нормы
времени и расценки на 1 т каркасов
|
Наименование
работ
|
Длина к, м, до
|
|
6
|
18
|
24
|
|
|
Вес каркаса, кг, до
|
|
|
300
|
500
|
700
|
1000
|
1500
|
2000
|
|
|
Сборка, электросварка, установка каркаса и
напрягаемых стержней в форму
|
-
|
28
21-14
|
24
18-12
|
20
15-10
|
16
12-08
|
13
9-82
|
1
|
|
Изготовление плоских арматурных каркасов
ферм из уголка, пластин и арматурных стержней
|
30
22-65
|
-
|
-
|
-
|
-
|
-
|
2
|
|
|
а
|
б
|
в
|
г
|
д
|
е
|
№
|
|
|
|
|
|
|
|
|
|
Состав работы
Установить плоские каркасы ферм в кондуктор с временным креплением.
Разметить места расположения, установить в кондуктор стержни, раскосы, уголки и
петли. Произвести сварку, снять с кондуктора и уложить в штабель.
Исполнители:
арматурщик 5 разряда,
электросварщик ручной сварки 4 разряда - 2.
Нормы
времени и расценки на 1 т каркасов
|
Вес каркаса, кг, до
|
|
250
|
400
|
600
|
900
|
1200
|
1500
|
2000
|
3000
|
|
28
20-64
|
21
15-48
|
16
11-79
|
11
8-11
|
6,8
5-01
|
4,5
3-32
|
3,3
2-43
|
2,3
1-70
|
|
а
|
б
|
в
|
г
|
д
|
е
|
ж
|
з
|
Разметить места расположения и уложить в кондуктор сетки, каркасы и
стержни. Произвести сварку, снять каркас и уложить в штабель.
Исполнители:
арматурщик 3 разряда,
электросварщик ручной сварки 4 разряда.
Нормы времени и расценки на 1 т каркасов
|
Вид сборки
|
Вес каркаса, кг,
до
|
|
|
20
|
30
|
45
|
60
|
75
|
100
|
150
|
200
|
250
|
300
|
|
|
Из плоских сеток и стержней
|
17
11-31
|
14
9-31
|
12
7-98
|
11
7-32
|
10
6-65
|
9,6
6-38
|
8,4
5-59
|
7,2
4-79
|
6,4
4-26
|
5,6
3-72
|
1
|
|
Из сеток и каркасов
|
12,5
8-31
|
10
6-65
|
9,3
6-19
|
8,4
5-59
|
7,8
5-19
|
7,2
4-79
|
6,3
4-19
|
5,4
3-59
|
4,8
3-19
|
4,2
2-79
|
2
|
|
|
а
|
б
|
в
|
г
|
д
|
е
|
ж
|
з
|
и
|
к
|
№
|
Продолжение таблицы
|
Вид сборки
|
Вес каркаса, кг,
до
|
|
|
400
|
500
|
600
|
800
|
1000
|
1200
|
1400
|
1600
|
1800
|
|
|
Из плоских сеток и стержней
|
4,9
3-26
|
4,2
2-79
|
3,8
2-53
|
3,4
2-26
|
3,2
2-13
|
3
2-00
|
2,9
1-93
|
2,7
1-80
|
2,6
1-73
|
1
|
|
Из сеток и каркасов
|
3,7
2-46
|
3,2
2-13
|
2,9
1-93
|
2,6
1-73
|
2,4
1-60
|
2,3
1-53
|
2,2
1-46
|
2
1-33
|
1,9
1-26
|
2
|
|
|
л
|
м
|
н
|
о
|
п
|
р
|
с
|
т
|
у
|
№
|
Состав работы
Разметить места расположения и уложить в кондуктор сетки, стержни,
монтажные петли и анкера. Произвести сварку, снять каркас и уложить в штабель.
Исполнители:
арматурщик 3 разряда,
электросварщик ручной сварки 4 разряда.
Нормы времени и расценки на 1 т каркасов
|
Вид сборки
|
Вес изделия, кг,
до
|
|
|
50
|
100
|
150
|
200
|
300
|
500
|
700
|
1000
|
|
|
Из стержней и анкеров
|
24
15-96
|
21
13-97
|
19,5
12-97
|
17,5
11-64
|
14,5
9-64
|
10
6-65
|
6,6
4-39
|
4,1
2-73
|
1
|
|
Из сеток, анкеров и стержней
|
12,5
8-31
|
11
7-32
|
10
6-65
|
9
5-99
|
7,6
5-05
|
5,5
3-66
|
3,4
2-26
|
1,5
0-99,8
|
2
|
|
|
а
|
б
|
в
|
г
|
д
|
е
|
ж
|
з
|
№
|
Состав работы
Разметить места расположения и уложить в кондуктор сотки, каркасы и
стержни. Произвести сварку, снять каркас и уложить в штабель.
Исполнители:
арматурщик 3 разряда,
электросварщик ручной сварки 4 разряда
Нормы времени и расценки на 1 т каркасов
|
Вec каркаса, кг, до
|
|
30
|
40
|
50
|
60
|
70
|
80
|
100
|
|
45
29-93
|
38
25-27
|
33
21-95
|
29
19-29
|
25
16-63
|
22
14-63
|
19
12-64
|
|
а
|
б
|
в
|
г
|
д
|
е
|
ж
|
Состав работа
Разметить места расположения и уложить в кондуктор сетки, стержни и
монтажные петли. Произвести сварку, снять каркас и уложить в штабель.
Исполнители:
арматурщик 3 разряда,
электросварщик ручной сварки 4 разряда.
Нормы времени и расценки на 1 т каркасов
|
Вес каркаса,
кг, до
|
|
50
|
75
|
100
|
125
|
150
|
175
|
200
|
250
|
300
|
350
|
|
49
32-59
|
43
28-60
|
38
25-27
|
34
22-61
|
30
19-95
|
27
17-96
|
24
15-96
|
21
13-97
|
16,5
10-97
|
13,5
8-98
|
|
а
|
б
|
в
|
г
|
д
|
е
|
ж
|
з
|
и
|
к
|
Продолжение таблицы
|
Вес каркаса, кг, до
|
|
400
|
450
|
500
|
550
|
600
|
650
|
700
|
750
|
800
|
|
11
7-32
|
9,3
6-19
|
7,9
5-25
|
6,4
4-26
|
5,5
3-66
|
4,8
3-19
|
4,5
2-99
|
4,2
2-79
|
4
2-66
|
|
л
|
м
|
н
|
о
|
п
|
р
|
с
|
т
|
у
|
Состав работы
Разметить места расположения и уложить в кондуктор сетки, плоские каркасы
и стержни. Произвести сварку, снять каркас и уложить в штабель.
Исполнители:
арматурщик 3 разряда
электросварщик ручной сварки 4 разряда.
Нормы времени и расценки на 1 т каркасов
|
Вес каркаса, кг,
до
|
|
50
|
100
|
150
|
200
|
300
|
400
|
500
|
700
|
900
|
|
14
9-31
|
13
8-64
|
12
7-98
|
11
7-32
|
9,3
6-19
|
7,7
5-12
|
6,4
4-26
|
5
3-33
|
4
2-66
|
|
а
|
б
|
в
|
г
|
д
|
в
|
ж
|
з
|
и
|
Состав работы
Разметить места расположения и уложить в кондуктор стержни и сетки.
Произвести сборку и сварку стойки фундамента. Установить стойку на нижнюю
сетку. Собрать и сварить верхнюю сетку. Установить и закрепить анкерные болты.
Снять каркас с кондуктора и уложить в штабель.
Исполнители:
арматурщик 3 разряда,
электросварщик ручной сварки 4 разряда.
Нормы времени и расценки на 1 т каркасов
|
Вид сборки
|
Вес каркаса, кг,
до
|
|
|
50
|
75
|
100
|
150
|
200
|
400-
|
700
|
1200
|
1600
|
|
|
Из стержней и хомутов
|
10,5
6-98
|
9
5-99
|
8,4
5-59
|
7,8
5-19
|
7,2
4-79
|
6,3
4-19
|
4,8
3-19
|
3,7
2-46
|
3,3
2-20
|
1
|
|
Из сеток и плоских каркасов
|
9,4
5-59
|
7
4-66
|
6,5
4-32
|
5,9
3-92
|
5,3
3-53
|
4,2
2-79
|
3
2-00
|
1,9
1-26
|
1,5
1-00
|
2
|
|
|
а
|
б
|
в
|
г
|
д
|
е
|
ж
|
з
|
и
|
№
|
Примечания:
1. При
изготовления каркасов фундаментов со спаренными рабочими стержнями Н.вр. и
Расц. строки 1 умножать на 1,75.
2. При
изготовлении каркаса стойки фундамента из отдельных стержней с навивкой спирали
на навивочной машине Н.вр. и Расц. строки 1 умножать на 0,45.
Состав работы
Разметить места расположения и уложить в кондуктор сетки, плоские каркасы
и стержни. Произвести сварку, снять каркас и уложить в штабель.
Исполнители:
арматурщик 3 разряда,
электросварщик ручной сварки 4 разряда.
Нормы времени и расценки на 1 т каркасов
|
Вес каркаса, кг,
до
|
|
20
|
30
|
40
|
50
|
70
|
100
|
200
|
|
7,9
5-25
|
7
4-66
|
6,2
4-12
|
5,6
3-66
|
47
3-13
|
3,6
2-39
|
2,7
1-80
|
|
а
|
б
|
в
|
г
|
д
|
е
|
ж
|
Состав работы
Разметить места расположения и уложить в кондуктор плоские каркасы,
стержни, хомуты, спирали. Произвести сварку каркаса, снять с кондуктора и
уложить в штабель.
Исполнители:
арматурщик 3 разряда,
электросварщик ручной сварки 4 разряда.
Нормы времени и расценки на 1 т каркасов
|
Вид сборки
|
Вес каркаса, кг,
до
|
|
|
10
|
20
|
30
|
50
|
70
|
100
|
150
|
200
|
|
|
Из стержней и хомутов
|
16
10-64
|
15,5
10-31
|
15
9-98
|
14,5
9-64
|
14
9-31
|
13,5
8-98
|
13
8-65
|
12
7-98
|
1
|
|
Из сеток и стержней
|
13,5
5-98
|
13
8-65
|
12,5
8-31
|
11,5
7-65
|
11
7-32
|
10,5
6-98
|
9,5
6-32
|
8,7
5-79
|
2
|
|
Из стержней и готовой спирали
|
12
7-98
|
11,5
7-65
|
11
7-32
|
10
6-65
|
9
5-99
|
8
5-32
|
7
4-66
|
6
3-99
|
3
|
|
|
а
|
б
|
в
|
г
|
д
|
е
|
ж
|
з
|
№
|
Продолжение таблицы
|
Вид сборка
|
Вес каркаса, кг,
до
|
|
|
300
|
400
|
500
|
600
|
700
|
800
|
900
|
1000
|
|
|
Из стержней и хомутов
|
11
7-32
|
10
6-65
|
9,2
6-12
|
8,4
5-59
|
7,7
5-12
|
7
4-66
|
6,4
4-26
|
5,8
3-86
|
1
|
|
Из стержней и сеток
|
8,4
5-59
|
7,8
5-19
|
7,2
4-79
|
6,6
4-39
|
6,1
4-06
|
5,6
3-72
|
5,2
3-46
|
4,8
3-19
|
2
|
|
Из стержней и готовой спирали
|
5,5
3-66
|
5
3-33
|
4,5
2-99
|
4
2-66
|
3,5
2-33
|
3
2-00
|
2,5
1-66
|
2
1-33
|
3
|
|
|
и
|
к
|
л
|
м
|
н
|
о
|
п
|
р
|
№
|
Состав работы
Разметить места расположения и уложить в кондуктор плоские каркасы,
стержни, хомуты, спирали с креплением. Установить и закрепить противоударные
сетки. Произвести сборку острия сваи.
Исполнители:
арматурщик 3 разряда,
электросварщик ручной сварки 4 разряда.
Нормы времени и расценки на 1 т каркасов
|
Вид сборки
|
Вес каркаса, кг,
до
|
|
|
40
|
70
|
100
|
150
|
200
|
250
|
300
|
350
|
400
|
|
|
Из стержней, хомутов и готовой спирали
|
20
13-30
|
18,5
12-30
|
16
10-64
|
13,5
8-98
|
11,5
7-65
|
9,6
6-38
|
8
5-32
|
7,2
4-79
|
6,7
4-46
|
1
|
|
Из плоских каркасов и стержней
|
16
10-64
|
14
9-31
|
12,5
8-31
|
11
7-32
|
9,6
6-38
|
7,4
4-92
|
6,1
4-06
|
5,5
3-66
|
5,1
3-39
|
2
|
|
|
а
|
б
|
в
|
г
|
д
|
е
|
ж
|
з
|
и
|
№
|
Состав работы
Разметить места расположения и уложить в кондуктор сетки, плоские каркасы
и стержни. Произвести сварку, снять с кондуктора и уложить в штабель.
Исполнители:
арматурщик 3 разряда,
электросварщик ручной сварки 4 разряда.
Нормы времени и расценки на 1 т каркасов
|
Вид сборки
|
Вес каркаса, кг, до
|
|
50
|
100
|
150
|
200
|
300
|
500
|
700
|
1000
|
1500
|
2000
|
2500
|
3000
|
3500
|
4000
|
|
|
Из стержней и хомутов
|
26
17-29
|
23
15-30
|
21
13-97
|
19
12-64
|
16,5
10-97
|
13
8-65
|
10
6-65
|
9,1
6-05
|
8,7
5-78
|
8,5
5-65
|
8,4
5-59
|
8,2
5-45
|
8,1
5-39
|
7,9
5-25
|
1
|
|
Из стержней и сеток
|
16
10-64
|
14
9-31
|
12,5
8-31
|
11,5
7-65
|
10
6-65
|
7,8
5-19
|
6,1
4-06
|
5,5
3-66
|
5,3
3-53
|
5,2
3-46
|
5
3-39
|
5
3-33
|
4,9
3-26
|
4,7
3-13
|
2
|
|
Из сеток и плоских каркасов
|
6,8
4-52
|
5,5
3-66
|
4,5
2-99
|
3,9
2-59
|
3,1
2-06
|
2,4
1-60
|
2,1
1-40
|
1,9
1-26
|
1,7
1-13
|
1,5
0-99,8
|
1,3
0-86,4
|
1,1
0-73,2
|
1
0-66,5
|
0,9
0-59,8
|
3
|
|
|
а
|
б
|
в
|
г
|
д
|
е
|
ж
|
з
|
и
|
к
|
л
|
м
|
н
|
о
|
№
|
Состав работы
Разметить места расположения и уложить в кондуктор сетки, стержни и
хомуты. Произвести сварку, снять с кондуктора и уложить в штабель.
Исполнители:
арматурщик 3 разряда,
электросварщик, ручной сварки 4 разряда.
Нормы времени и
расценки на 1 т каркасов
|
Вид сборки
|
Вес каркаса, кг, до
|
|
15
|
30
|
60
|
90
|
150
|
250
|
400
|
550
|
|
|
Из стержней и хомутов
|
15
9-98
|
14
9-31
|
13
8-65
|
11,5
7-65
|
7,7
5-12
|
5,1
3-39
|
3,1
2-06
|
2,5
1-66
|
1
|
|
Из стержней и сеток
|
11
7-32
|
10
6-65
|
8,9
5-92
|
7,5
4-99
|
5,5
3-66
|
3,7
2-46
|
2,2
1-46
|
1,8
1-20
|
2
|
|
Из сеток и плоских каркасов
|
6,8
5-85
|
8
5-32
|
7,1
4-72
|
6
3-99
|
4,6
3-06
|
3
2-00
|
1,75
1-16
|
1,45
0-96,4
|
3
|
|
|
а
|
б
|
в
|
г
|
д
|
е
|
ж
|
з
|
№
|
Состав работы
Разметить места расположения и уложить в кондуктор сетки, стержни и
хомуты. Произвести сварку, снять с кондуктора и уложить в штабель.
Исполнители:
арматурщик 3 разряда,
электросварщик ручной сварки 4 разряда.
Нормы
времени и расценки на 1 т каркасов
|
Вес каркаса, кг,
до
|
|
15
|
20
|
30
|
40
|
50
|
60
|
70
|
|
44
29-26
|
38
25-27
|
34
22-61
|
30
19-95
|
27
17-96
|
24
15-96
|
22
14-63
|
|
а
|
б
|
в
|
г
|
д
|
е
|
ж
|
Состав работы
Разметить места расположения и уложить В кондуктор сетки, плоские
каркасы, стержни, хомуты, кольца. Произвести сварку каркаса, снять с кондуктора
и уложить в штабель.
Исполнители: арматурщик 3 разряда,
электросварщик ручной сварки 4 разряда.
Нормы
времени и расценки на 1 т каркасов
|
Вид сборки
|
Вес каркаса, кг,
до
|
|
15
|
30
|
40
|
50
|
75
|
100
|
125
|
150
|
200
|
|
|
Из стержней, хомутов и колец
|
32
21-28
|
25
16-63
|
21
13-97
|
17,5
11-64
|
14
9-31
|
9,5
6-32
|
7
4-66
|
4,8
3-19
|
3,4
2-26
|
1
|
|
Из сеток, хомутов колец и стержней
|
23
15-30
|
18
11-97
|
15
9-98
|
12,5
8-31
|
10
6-65
|
6,9
4-59
|
4,8
3-19
|
3,6
2-39
|
2,5
1-66
|
2
|
|
|
а
|
б
|
в
|
г
|
д
|
е
|
ж
|
з
|
и
|
№
|
Состав работы
Разметить места расположения и уложить в кондуктор сетки, плоские каркасы
и стержни. Произвести сварку каркаса, снять с кондуктора и уложить в штабель.
Исполнители: арматурщик 4 разряда,
электросварщик ручной сварки 4 разряда.
Нормы времени и
расценки на 1 т каркасов
|
Вид сборки
|
Вид каркаса
|
Вес каркаса, кг,
до
|
|
130
|
150
|
170
|
250
|
300
|
|
|
Из плоских каркасов, сеток и стержней
|
плоский
|
22
15-40
|
21
14-70
|
20
14-00
|
-
|
-
|
1
|
|
плоский, с проемом
|
20
14-00
|
19,5
13-65
|
18,5
12-95
|
-
|
-
|
2
|
|
ребристый
|
-
|
-
|
-
|
19
13-30
|
16
11-20
|
3
|
|
ребристый, с проемом
|
-
|
-
|
-
|
18
12-60
|
15
10-50
|
4
|
|
|
|
а
|
б
|
в
|
г
|
д
|
№
|
Схема организации рабочего моста

а) с горизонтальным
поворотным кондуктором
1 - колонна со
стрелой, 2 - сварочная машина, 3 - поворотная стойка кондуктора, 4 - кондуктор.

б) с вертикальным
подъемным кондуктором
5 - подвесной путь,
6 - место сварщика арматурных сеток и каркасов 4 разряда, 7 - станина, 8 -
подвесная площадка кондуктор, 9 - консольные краны, 10 - подвесные сварочные
малины.
Состав
работы
Разметить места расположения и уложить в кондуктор сетки, плоские
каркасы, стержни, монтажные петли. Произвести сварку каркаса, снять с
кондуктора и уложить в штабель.
Исполнители:
сварщик
арматурных сеток и каркасов 4 разряда,
сварщик
арматурных сеток и каркасов 3 разряда.
Нормы времени и расценки на 100 изделий
|
Вес изделия, кг, до
|
Число сварных точек в изделии, шт, до
|
|
|
10
|
20
|
30
|
40
|
50
|
75
|
100
|
|
|
5
|
1,8
1-20
|
2,8
1-86
|
3,9
2-59
|
5,2
3-46
|
6,4
4-26
|
8,4
5-59
|
10,5
6-98
|
1
|
|
10
|
2,7
1-80
|
3,5
2-33
|
4,8
3-19
|
6,1
4-06
|
8
5-32
|
9,6
6-52
|
12
7-98
|
2
|
|
20
|
3,4
2-26
|
4,4
2-93
|
6,1
4-06
|
6
5-32
|
10
6-65
|
14
9-31
|
16
10-64
|
3
|
|
40
|
4,4
2-93
|
5,7
3-79
|
7,5
4-99
|
10
6-65
|
13
8-65
|
18
11-97
|
21
13-97
|
4
|
|
60
|
5,5
3-66
|
7,1
4-72
|
9
5-99
|
12
7-98
|
16
10-64
|
23
15-30
|
26
17-29
|
5
|
|
100
|
-
|
8
5-32
|
10
6-65
|
14
9-31
|
18
11-97
|
26
17-29
|
29
19-29
|
6
|
|
150
|
-
|
-
|
14
9-31
|
18
11-97
|
22
14-63
|
32
21-28
|
34
22-61
|
7
|
|
|
а
|
б
|
в
|
г
|
д
|
е
|
ж
|
№
|
Продолжение таблицы
|
Вес изделия, кг, до
|
Число сварных точек в изделии, шт, до
|
|
|
150
|
200
|
250
|
300
|
350
|
400
|
500
|
|
|
5
|
13,5
8-98
|
17,5
11-64
|
23
15-30
|
-
|
-
|
-
|
-
|
1
|
|
10
|
15
9-98
|
20
13-30
|
25
16-63
|
33
21-95
|
-
|
-
|
-
|
2
|
|
20
|
19
12-64
|
24
15-96
|
29
19-29
|
37
24-61
|
-
|
-
|
-
|
3
|
|
40
|
26
17-29
|
32
21-28
|
36
23-94
|
44
29-26
|
48
31-92
|
-
|
-
|
4
|
|
60
|
34
22-61
|
42
27-93
|
50
33-25
|
58
38-57
|
66
43-89
|
75
49-88
|
85
56-53
|
5
|
|
100
|
47
31-26
|
58
38-57
|
69
45-89
|
80
53-20
|
91
60-52
|
104
69-16
|
117
77-81
|
6
|
|
150
|
60
39-90
|
74
49-21
|
89
59-19
|
103
68-50
|
117
77-81
|
133
88-45
|
150
99-75
|
7
|
|
|
з
|
и
|
к
|
л
|
м
|
н
|
о
|
№
|
Схема организации рабочего места

а) на навивочной
машине
1 - стеллаж для
складирования продольник стержней, 2 - место арматурщика 5 разряда, 3 - бухтодержатель,
4 - привод тяговой каретки, 5 - тяговая каретка, б - машина СКЦ-2, 7 - склад
готовых каркасов, 8 - место арматурщика 4 разряда, 9 - место арматурщика 3
разряда, 10 - место электросварщика ручной сварки 4 разряда.

б) на
навивочно-сварочной машине
1 -
электродвигатель привода вращения планшайбы, 2 - вариатор, 3 - сварочное
роликовое устройство, 4 - готовый каркас, 5 - тянущее устройство, 6 - вал, 7 -
место складирования продольной арматуры, 8 - бухтодержатель, 9 - продольная
арматура, 10 - планшайба, 11 - место машиниста навивочных машин 4 разряда, 12 -
склад готовых каркасов.
Состав работы
Установить стержни в пазы оголовника и натянуть с
помощью натяжной станции. Разметить места расположения и установить монтажные
кольца, хомуты, закладные детали, стержни, закрепить электродуговой сваркой.
Произвести навивку спирали на сборочно-навивочной машине. Снять каркас и уложить в штабель.
|
Исполнители
|
Количество
рабочих при длине каркаса, м, до
|
|
6
|
18
|
26
|
|
Арматурщик 5
разряда
|
-
|
1
|
1
|
|
Арматурщик 4
разряда
|
-
|
1
|
1
|
|
Арматурщик 3
разряда
|
1
|
-
|
1
|
|
Электросварщик ручной
сварки 4 разряда
|
-
|
-
|
1
|
|
Электросварщик
ручной сварки 3 разряда
|
1
|
1
|
-
|
Нормы времени и расценки на 1 т изделий
Таблица 1
|
Вес каркаса, кг,
до
|
|
10
|
20
|
30
|
50
|
100
|
150
|
200
|
|
18
11-34
|
16
10-08
|
14
8-82
|
12
7-56
|
10,5
6-62
|
9,8
6-17
|
9,1
5-73
|
|
-
|
-
|
9-98
|
8-56
|
7-49
|
6-99
|
6-49
|
|
а
|
б
|
в
|
г
|
д
|
е
|
ж
|
Продолжение
таблицы 1
|
Вес каркаса, кг,
до
|
|
300
|
400
|
500
|
600
|
700
|
800
|
900
|
1000
|
|
8,1
6-10
|
7
4-41
|
6,1
3-84
|
5,4
3-40
|
4,8
3-02
|
4,4
2-77
|
4
2-52
|
3,7
2-33
|
|
5-78
|
4-99
|
4-35
|
3-85
|
3-42
|
3-14
|
2-85
|
2-64
|
|
з
|
и
|
к
|
л
|
м
|
н
|
о
|
п
|
Состав работы
Подать стержни на стеллаж и установить бухту на бухтодержатель. Снять
скрутки, выпрямить конец проволоки, заправить конец проволоки и стержни в
направляющие машины. Произвести навивку спирали со сваркой пересечений,
произвести крепление острия каркаса электросваркой, отрезать конец проволоки,
снять каркас и уложить в штабель.
Исполнители
машинист
навивочных и намоточных машин 4 разряда.
Нормы
времени и расценки на I т изделий
Таблица 1
|
Вес каркаса, кг,
до
|
|
10
|
20
|
30
|
50
|
70
|
100
|
150
|
200
|
|
9
6-30
|
8,6
6-02
|
8,2
5-74
|
7,4
5-18
|
6,8
4-76
|
6
4-20
|
5,1
3-57
|
4,3
3-01
|
|
а
|
б
|
в
|
г
|
д
|
в
|
ж
|
з
|
Продолжение
таблицы 1
|
Вес каркаса, кг,
до
|
|
300
|
400
|
500
|
600
|
700
|
800
|
900
|
1000
|
|
3,9
2-73
|
3,5
2-45
|
3,4
2-38
|
3,2
2-24
|
3
2-10
|
2,8
1-96
|
2,6
1-82
|
2,4
1-68
|
|
и
|
к
|
л
|
м
|
н
|
о
|
п
|
р
|
Состав
работы
Установить бухту на вертушку с заправкой конца проволоки в барабан.
Установить план-шайбу в рабочее положение. Установить продольные стержни в
отверстия план-шайбы. Навить спираль с одновременной сваркой пересечений при
помощи сварочной головки. Обрезать концы стержней электродуговой сваркой. Снять
каркас с барабана. Приварить фиксаторы защитного слоя и отогнуть концы
продольных стержней с другого конца каркаса.
Исполнитель
машинист навивочных и намоточных машин 4 разряда .
Нормы
времени и расценки на 1 т изделий
Таблица 2
|
Вес каркаса, кг,
до
|
|
25
|
50
|
75
|
110
|
150
|
200
|
250
|
300
|
350
|
|
13,6
9-45
|
12
8-40
|
10,5
7-35
|
8,4
5-88
|
6,8
4-76
|
5,1
3-57
|
3,6
2-52
|
2,6
1-82
|
1,7
1-19
|
|
а
|
б
|
в
|
г
|
д
|
е
|
ж
|
з
|
и
|
Состав работы
Поднести закладные детали в пределах рабочей зоны. Разметить места
установки. Установить закладные детали с фиксацией и креплением.
Исполнитель
арматурщик
4 разряда
Нормы
времени и расценки на 1 арматурный каркас
|
Количество
закладных деталей в каркасе, шт, до
|
Вес закладных
деталей в каркас, шт, до
|
|
10
|
20
|
30
|
50
|
75
|
100
|
150
|
200
|
250
|
300
|
350
|
400
|
|
|
2
|
0,04
0-02,8
|
0,08
0-05,6
|
0,17
0-11,9
|
0,27
0-18,9
|
0,42
0-29,4
|
0,52
0-36,4
|
0,9
0-63
|
1,2
0-84
|
1,55
1-08
|
1,85
1-30
|
2,2
1-54
|
2,5
1-75
|
1
|
|
5
|
0,09
0-06,3
|
0,15
0-10,5
|
0,22
0-15,4
|
0,34
0-23,8
|
0,5
0-35
|
0,67
0-46,9
|
0,98
0-68,6
|
1,3
0-91
|
1,65
1-16
|
1,9
1-33
|
2,3
1-61
|
2,6
1-82
|
2
|
|
10
|
0,2
0-14
|
0,26
0-18,2
|
0,38
0-26,6
|
0,45
0-31,5
|
0,63
0-44,1
|
0,78
0-54,6
|
1,1
0-77
|
1,45
1-02
|
1,75
1-23
|
2,1
1-47
|
2,4
1-68
|
2,8
1-96
|
3
|
|
15
|
0,32
0-22,4
|
0,38
0-26,6
|
0,47
0-32,9
|
0,58
0-40,6
|
0,77
0-53,9
|
0,98
0-68,6
|
1,25
0-87,5
|
1,6
1-12
|
1,9
1-33
|
2,3
1-61
|
2,6
1-82
|
2,9
2-03
|
4
|
|
|
а
|
б
|
в
|
г
|
д
|
е
|
ж
|
з
|
и
|
к
|
л
|
м
|
№
|
Продолжение
таблицы 1
|
Количество
закладных деталей в каркасе, шт, до
|
Вес закладных
деталей в каркас, шт, до
|
|
|
10
|
20
|
30
|
50
|
75
|
100
|
150
|
200
|
250
|
300
|
350
|
400
|
|
|
20
|
0,45
0-31,5
|
0,5
0-35
|
0,58
0-40,6
|
0,72
0-50,4
|
0,86
0-60,2
|
1,05
0-73,5
|
1,4
0-98
|
1,65
1-16
|
2,1
1-47
|
2,4
1-68
|
2,8
1-96
|
3,2
2-24
|
5
|
|
30
|
0,7
0-49
|
0,77
0-53,9
|
0,83
0-58,1
|
0,98
0-68,6
|
1,15
0-80,5
|
1,35
0-94,5
|
1,65
1-16
|
2
1-40
|
2,3
1-61
|
2,8
1-96
|
3,1
2-17
|
3,5
2-45
|
5
|
|
более 30
|
0,95
0-66,5
|
1
0-70
|
1,1
0-77
|
1,25
0-87,5
|
1,4
0-98
|
1,6
1-12
|
1,9
1-33
|
2,3
1-61
|
2,7
1-89
|
3
2-10
|
3,3
2-31
|
3,8
2-66
|
7
|
|
|
а
|
б
|
в
|
г
|
д
|
е
|
ж
|
з
|
и
|
к
|
л
|
м
|
№
|
При выполнении арматурных работ в зимнее время на
открытом воздухе и в неотапливаемом помещении нормы времени применяются с
коэффициентом по температурным зонам
Таблица 1
|
Температурная зона
|
Коэффициент к нормам по месяцам
|
|
октябрь
|
ноябрь
|
декабрь
|
январь
|
февраль
|
март
|
апрель
|
|
I
|
-
|
-
|
-
|
1,05
|
1,05
|
-
|
-
|
|
II
|
-
|
-
|
1,06
|
1,08
|
1,08
|
1,05
|
-
|
|
III
|
-
|
1,06
|
1,08
|
1,13
|
1,13
|
1,08
|
-
|
|
IV
|
-
|
1,08
|
1,10
|
1,16
|
1,16
|
1,10
|
-
|
|
V
|
-
|
1,10
|
1,12
|
1,18
|
1,18
|
1,12
|
-
|
|
VI
|
1,07
|
1,17
|
1,25
|
1,25
|
1,25
|
1,17
|
1,07
|
Примечания
1. При
выполнении работ в местностях, не отнесенных к температурным зонам, а также в
высокогорных районах, где отрицательная температура воздуха возможна не только
зимой, но и в другое время года, усредненные поправочные коэффициенты,
приведенные в таблице, не применяются. для
оплаты труда рабочих в таких местностях и районах в периоды наступления
похолодания следует два раза в смену (в конце второго и в конце шестого часа
работы) производить замер температуры на рабочем месте. За объем работ,
выполненных при среднемесячной отрицательной температуре, применять к нормам
времени коэффициенты:
Таблица 2
|
Температура воздуха на рабочем месте
отрицательная
|
Коэффициент к норме времени
|
|
от 0° до 10°
|
1,10
|
|
от 11° до 20°
|
1,17
|
|
от 21° до 30°
|
1,25
|
|
от 31° до 40°
|
1,35
|
|
ниже 40
|
1,50
|
2. В тех
случаях, когда в отдельные месяцы, предусмотренные в таблице 1, наблюдаются
положительные температуры не менее, чем в течение 8 рабочих дней в общей сумме
за месяц, усредненные поправочные коэффициенты, приведенные в таблице 1 к
нормам времени на работы, выполняемые в дни с положительной температурой, не
применяется. Если же в месяце, не предусмотренном таблицей 1, наблюдается
отрицательная температура также не менее 8 рабочих дней в общей сумме за месяц,
то к нормам времени на работы, выполненные в эти месяцы и дни с отрицательной
температурой, применяются поправочные коэффициенты в порядке и размерах
предусмотренных, в пункте 1 примечания.
Первая
температурная зона
Андижанская
область, Бухарская область (южнее 41 параллели), Дагестанская АССР, джизакская область, донецкая область (пункты расположенные
на Азовском побережье), Закарпатская область (южнее линии Б.
Лепетиха-Мелитополь-Бердянск включительно), Ивано-Франковская область,
Кабардино-Балкарская АССР, Калининградская область, Кашкадарьинская область,
Краснодарский край, Крымская область (Керчь, Севастополь и остальная часть
области, за исключением пунктов, расположенных на побережье), Латвийская ССР
(пункты, расположенные на побережье Балтийского моря и Рига), Литовская ССР
(западнее линии Марияполе-Каунас-Мажейкяй включительно), Львовская область, молдавская ССР, Наманганская область,
Николаевская область, Одесская область, Ошская область, Самаркандская область,
Северо-Осетинская АССР, Ставропольский край (южнее линии Ставрополь-Моздок
включительно), Сырдарьинская область, Ташкентская область, Тернопольская
область, Туркменская ССР (севернее 40-й параллели кроме Чарджоуской области),
Ферганская область, Херсонская область, Хорезмская область, Чарджоуская область
(севернее 38-й параллели), Черновицкая область, Чечено-Ингушская АССР.
Вторая температурная
зона
Астраханская
область, Брестская область, Бухарская область (севернее 41-й параллели),
Винницкая область, Волынская область, Ворошиловоградская область, Гомельская
область, Гродненская область, джамбульская
область (южнее линии Чулак-Тау-Ленинжол исключительно), днепропетровская область, донецкая
область (за исключением пунктов расположенные на побережье Азовского моря),
Житомирская область, Запорожская область (севернее линии Б.
Лепетиха-Мелитополь-Бердянск исключительно), Калмыцкая АССР, Каракалпакская
АССР, Киевская область, Киргизская ССР (кроме Ошской области), Кировоградская
область, курильские острова
Сахалинской области, Латвийская ССР (кроме Риги и пунктов, расположенные на
побережье балтийского моря),
Ленинградская область (пункты, расположенные на побережье Финского залива и
Ленинград), Литовская ССР (восточнее линии Мариямиоле-Каунас-Мажейкяй
исключительно), Мангышлакская область, минская
область, полтавская область,
Ровенская область, Ростовская область, Ставропольский край (севернее линии
Ставрополь-Моздок включительно), Сумская область, Харьковская область,
Хмельницкая область, Черкасская область, Черниговская область, Чимкентская
область (южнее 44-параллели), Эстонская ССР.
Третья
температурная зона
Актюбинская
область (южнее линии Уил-Берчогул исключительно), Алма-Атинская область,
Белгородская область, Брянская область,
Витебская область, владимирская
область, Ворошиловоградская область, Гурьевская область, джамбульская область (севернее линии
Чулак-Тау-Ленинжол включительно), Ивановская область, Калининская область,
Калужская область, Камчатская область (южнее линии Кихчик-Среднекамчатск-Пущино
исключительно), Карельская АССР, Кзыл-Ордынская область, Кострома, Курская
область, Ленинградская область (кроме Ленинграда и пунктов на побережье
Финского залива), Липецкая область, Могилевская область, Московская область,
Новгородская область, Орловская область, Приморский край (южнее линии бухта
Находка-Тетюхе исключительно) Псковская область, Рязанская область, Саратовская
область, Сахалинская область (южнее линии яблочный-Углезаводск
исключительно), Смоленская область, Тамбовская область, Талды-Курганская
область, Тульская область, Уральская область (южнее линии Озинки-Кара-Тюбе
исключительно), чимкентская
область (севернее 44-й параллели), Ярославская область, Воронежская область.
Четвертая
температурная зона
Актюбинская
область (севернее линии Уил-Берчогур включительно), Архангельская область (за
исключением районов, вошедших в V и VI зоны), Башкирская АССP,
Вологодская область, Горьковская область, Камчатская область (южнее линии
Белоголовое-Эссо-Еловка и севернее линии Кихчик-Пущино-Среднекамчатск
включительно), Кировская область, Коми АССР (южнее линии Вожгора-Нижняя Вочь
исключительно) Костромская область (за исключением Костромы), Куйбышевская
область, Курганская область, Кустанайская область, Марийская АССР, мордовская АССР, Мурманская область,
Оренбургская область, Пензенская область, Пермская область (юго-западнее линии
Керчевский-Березники-Губазха-Усьва-Чусовая-Лысьва исключительно), Приморский
край (севернее линии бухта Находка-Тетюхе включительно), Сахалинская область
(западнее линии Мгачи-Поронайск исключительно и севернее линии
Яблочный-Углезаводск включительно), Семипалатинская область (южнее линии
Егидыбулак-Самарское исключительно), Татарская АССР, Удмуртская АССР,
Ульяновская область, Уральская область (севернее линии Озинки-Кара-Тюбе
включительно), Хабаровский край (южнее линии Облучье-Комсомольск-на-Амуре-Мариинское
исключительно), Челябинская область, Чувашская АССР.
Пятая
температурная зона
Алтайский край, Амурская область (южнее линии Ерофей
Павлович-Невер-Баладек исключительно), Архангельская область (западнее 60-го
меридиана и восточнее линии Мезель-Вожгора исключительно), Бурятская АССР
(юго-западнее линии Сосновка-Мухор-Кондуй исключительно),
Восточно-Казахстанская область, Джезказганская область, Иркутская область
(южнее линии Кондратьево-Баяндай-Коса исключительно), Камчатская область (южнее
линии Хайлюля-Аманино и севернее линии Белоголово-Эссо-Еловка исключительно),
Карагандинская область, Кемеровская область, Кокчетавская область, Коми АССР
(западнее 60-го меридиана и севернее линии Вожгора-Нижняя Вочь включительно), Красноярский край (южнее линии Максимкин
Яр-Подтесово-Мотыгино-Чунояр исключительно), новосибирская
область, Омская область, Павлодарская область, Пермская область
(северо-восточнее линии Керчевский-Березники-Губаха-Усьва-Чусовая-Лысьва
включительно), Сахалинская область (восточнее линии Мгачи-Поронайск
включительно), Свердловская область, Северо-Казахстанская область,
Семипалатинская область (севернее линии Егиндыбулак-Самарское включительно),
Томская область, Тувинская АССР, Тургайская область, Тюменская область (южнее
линии Саранпауль-Хангокурт-Ханты-Мансийск-Таурово-Ларломкины исключительно),
Хабаровский край (южнее линии Баладек-Усольгин-Маго исключительно и севернее
линии Облучье-Комсомольск-на-Амуре-Мариинское включительно), Целиноградская
область, Читинская область (южнее линии Мyxop-Кондуй-Букачача-Ксеньевка-Амазар
исключительно).
Шестая
температурная зона
Амурская область
(севернее линии Ерофей Павлович-Невер-Баладек включительно), Архангельская
область (восточнее 60-го меридиана), Бурятская АССР ( северо-восточнее линии Сосновка-Мухор-Кондуй
включительно), Иркутская область (южнее 62-й параллели и севернее линии
Кондратьево-Братск-Баяндай-Коса включительно), Камчатская область (южнее линии
Тымлат-Лесная и севернее линии Хайлюля-Аманино включительно), Коми АССР
(восточнее 60-го меридиана), Красноярский край (севернее линии Максимкин
Яр-Подтесово-Мотыгино-Чунояр включительно), Тюменская область (севернее линии
Саранпуаль-Хангокурт-Ханты-Мансийск-Таурово-Лерломкины включительно),
Хабаровский край (южнее 60-й параллели и севернее линии Баладек-Усольгин-Маго
включительно), Читинская область (севернее линии
Мухор-Кондуй-Букачача-Ксеньевка-Амазар включительно), Якутская АССР (южнее
линии дулга-Кюель-Ноя-Уланское-Чагда
включительно).
Содержание
|
ОБЩАЯ ЧАСТЬ
ТЕХНИЧЕСКАЯ ЧАСТЬ
РАЗДЕЛ ПЕРВЫЙ
ПРАВКА И РЕЗКА АРМАТУРНОЙ
СТАЛИ
Техническая
характеристика станков
Организация труда
§ 2-1. ПРАВКА И РЕЗКА СТАЛИ НА АВТОМАТИЧЕСКИХ СТАНКАХ
§ 2-2. РЕЗКА АРМАТУРНОЙ СТАЛИ НА ПРИВОДНЫХ СТАНКАХ
РАЗДЕЛ ВТОРОЙ
ГНУТЬЕ АРМАТУРНЫХ
СТЕРЖНЕЙ И СЕТОК
Техническая
характеристика гибочных станков
А. Станки для
гнутья стержней
§ 2-3. ГНУТЬЕ АРМАТУРНОЙ СТАЛИ
А. На приводных
станках
Б. На ручных
станках
В. На станках для
изготовления монтажных петель и полухомутов
§ 2-4. ГНУТЬЕ АРМАТУРНЫХ СЕТОК И ПЛОСКИХ КАРКАСОВ НА
приводНЫХ станках
А. На
гидравлических станках
Б. На
пневматических станках
РАЗДЕЛ ТРЕТИЙ
ИЗГОТОВЛЕНИЕ
ПРЕДВАРИТЕЛЬНО НАПРЯГАЕМОЙ АРМАТУРЫ
Техническая характеристика
применяемого оборудования
Организация труда
§ 2-5 ВЫСАДКА АНКЕРНЫХ ГОЛОВОК
А. Высадка
анкерных головок на стержнях для закрепления их ни упорах форм нли стендов на
стыкосварочных машинах
Б. Высадка
анкерных головок одновременно на обоих концах стержней на установке СМЖ-126 и
6596С/1
В. Высадка
анкерных головок на стержнях на стыкосварочных машинах МСМУ, МСР
§ 2-6. ОПРЕССОВКА АНКЕРНЫХ ШАЙБ НА СТЕРЖНЕВОЙ Арматуре
А. Опрессовка
анкерных шайб на стержневой арматуре поочередно на каждом, конце стержня
Б. Опрессовка
анкерных шайб на стержневой арматуре одновременно на обоих концах стержня
В. Стыковая
сверка стержней непрерывной ниткой с резкой по заданному размеру и
опрессовкой анкерных шайб на концах стержней.
Г. Стыковая
сварка стержней непрерывной ниткой с резкой по заданному размеру, приваркой
хвостовиков, упрочнением стержней вытяжкой и приваркой отрезков стержней
(сухарей) с помощью ручной дуговой сварки.
§ 2-7. КОНТАКТНАЯ СВАРКА СТЕРЖНЕЙ С ОТРЕЗКАМИ
НАПРЯЖЕННОЙ AРМАТУРЫ
§ 2-8. УПРОЧНЕНИЕ АРМАТУРНОЙ СТАЛИ
А. Упрочнение арматурных
стержней вытяжкой
Б.
Электротермическое упрочнение арматурных стержней
РАЗДЕЛ ЧЕТВЕРТЫЙ
ИЗГОТОВЛЕНИЕ СПИРАЛЕЙ НА
НАВИВОЧНЫХ СТАНКАХ
Организация труда
§ 2-9. ИЗГОТОВЛЕНИЕ СПИРАЛЬНОЙ АРМАТУРЫ НА CTAНKAX
§ 2-10. ИЗГОТОВЛЕНИЕ МОНТАЖНЫХ КОЛЕЦ ДЛЯ АРМАТУРНЫХ
КАРКАСОВ ЦЕНТРИФУГИРОВАННЫХ ОПОР ЛЭП
§ 2-11. ИЗГОТОВЛЕНИЕ АНКЕРНЫХ СПИРАЛЕЙ
§ 2-12. Изготовление Спиральных
Анкеров
РАЗДЕЛ ПЯТЫЙ
СВАРОЧНЫЕ РАБОТЫ
Техническая
характеристика контактных сварочных машин
§ 2-13. СВАРКА аРМАТУРНЫх СЕТОК
И плоских каркасов
А. На
одноточечных сварочных машинах МТП
Б. На
многоточечных сварочных машинах АТМС и МТМС
В. На
многоточечных сварочных машинах МТМК
Г. На
электросварочной машине с подвижным верхним электродом
Д. Электродуговой
сваркой вручную
§ 2-14. СВАРКА АРМАТУРНЫХ СТЕРЖНЕЙ НЕПРЕРЫВНОЙ НИТКОЙ С
РЕЗКОЙ ПО ЗАДАННОМУ РАЗМЕРУ
РАЗДЕЛ ШЕСТОЙ
ИЗГОТОВЛЕНИЕ
ПРОСТРАНСТВЕННЫХ АРМАТУРНЫХ КАРКАСоВ
Техническая часть
Организация труда
ЧАСТЬ ПЕРВАЯ
Изготовление
пространственных арматурных каркасов в кондукторах и на козлах из отдельных
элементов (сеток, плоских каркасов, стержней и закладных деталей)
§ 2-15. Фундаментные БЛОКИ
§ 2-16. ФУНДАМЕНТНЫЕ ПЛИТЫ
§ 2-17. ПЛОСКИЕ ПЛИТЫ И ПАНЕЛИ
§ 2-18. КОЛОННЫ
§ 2-19. БАЛКИ И РИГЕЛИ
§ 2-20. ФЕРМЫ
§ 2-21 ФЕРМОПАКЕТЫ
§ 2-22. РЕБРИСТЫЕ ПЛИТЫ
§ 2-23. АНКЕРНЫЕ ПЛИТЫ
§ 2-24. ПЛИТЫ-ОБОЛОЧКИ
§ 2-25. БЛОКИ ПОДПОРНЫХ СТЕН
§ 2-26. СТЕНОВЫЕ БЛОКИ ТОННЕЛЕЙ
§ 2-27. ФУНДАМЕНТЫ К СТОЙКАМ ОПОР ЛИНИИ ЭЛЕКТРОПЕРЕДАЧ И
ФУНДАМЕНТНЫЕ СТОЙКИ
§ 2-28. РИГЕЛИ К ФУНДАМЕНТАМ И СТОЙКАМ ОПОР ЛИНИЙ
ЭЛЕКТРОПЕРЕДАЧИ
§ 2-29. ПЕРЕМЫЧКИ, ПРИСТАВКИ, ОПОРЫ СВЕТИЛЬНИКОВ,
СТОЙКИ, ТРАВЕРСЫ
§ 2-30. СВАИ
§ 2-31. БЛОКИ КАНАЛОВ И ТОННЕЛЕЙ
§ 2-32. ЛОТКИ
§ 2-33. БАЛКОННЫЕ И ЛЕСТНИЧНЫЕ ПЛИТЫ
§ 2-34. ПЛИТЫ ПОКРЫТИЯ ДРЕНАЖНЫХ КОЛОДЦЕВ
§ 2-35 ДИАФРАГМЫ ЖЕСТКОСТИ
ЧАСТЬ ВТОРАЯ
ИЗГОТОВЛЕНИЕ
ПРОСТРАНСТВЕННЫХ AРMATУРНЫX KAРКАСОВ НА ПОДВЕСНОЙ СВАРОЧНОЙ МАШИНЕ ТИПА МТПП
И МТПГ
§ 2-36. ИЗГОТОВЛЕНИЕ СЕТОК И ПРОСТРАНСТВЕННЫХ АРМАТУРНЫХ
KAРKACOB НА ПОДВЕСНОЙ СВАРОЧНОЙ МАШИНЕ МТПП и МТНГ
ЧАСТЬ ТРЕТЬЯ
ИЗГОТОВЛЕНИЕ
ПРОСТРАНСТВЕННЫХ АРМАТУРНЫХ КАРКАСОВ НА НАВИВОЧНЫХ И НАВИВОЧНО-СВАРОЧНЫХ
МАШИНАХ
§ 2-37. ИЗГОТОВЛЕНИЕ ПРОСТРАНСТВЕННЫХ КАРКАСОВ НА
СБОРОЧНО-НАВИВОЧНЫХ МАШИНАХ (ДЛЯ СТОЕК ОПОР ЛЭП, ОРУ, МАЗУТОПРОВОДОВ,
СВЕТИЛЬНИКОВ, СВАЙ)
§ 2-38. ИЗГОТОВЛЕНИЕ ПРОСТРАНСТВЕННЫХ КАРКАСОВ НА
НАВИВОЧНО-СВАРОЧНЫХ МАШИНАХ
А. Армокаркасы
стоек, опор ЛЭП, ОРУ, мазутопроводов, светильников, свай и др.
Б. Армокаркасы труб
§ 2-39. УСТАНОВКА И КРЕПЛЕНИЕ ЗАКЛАДНЫХ ДЕТАЛЕЙ
Приложение 1 Коэффициенты к нормам времени
при выполнении арматурных работ в зимнее время и перечень районов (областей)
по температурным зонам.
ПЕРЕЧЕНЬ РАЙОНОВ
(ОБЛАСТЕЙ) ПО ТЕМПЕРАТУРНЫМ ЗОНАМ
|
|
|