|
|
|
РАО «ЕЭС РОССИИ» ОАО «ВСЕРОССИЙСКИЙ НАУЧНО-ИССЛЕДОВАТЕЛЬСКИЙ ИНСТИТУТ ГИДРОТЕХНИКИ имени Б.Е. ВЕДЕНЕЕВА» РУКОВОДСТВО ПО МЕТОДИКЕ ОЦЕНКИ РЕСУРСА РАБОТОСПОСОБНОСТИ И БЕЗОПАСНОСТИ БЕТОННЫХ И ЖЕЛЕЗОБЕТОННЫХ КОНСТРУКЦИЙ ГИДРОТЕХНИЧЕСКИХ СООРУЖЕНИЙ П 69-97 САНКТ-ПЕТЕРБУРГ В «Руководстве по методике оценки ресурса работоспособности и безопасности бетонных и железобетонных конструкций гидротехнических сооружений» приводится перечень основных видов повреждений этих конструкций, излагается методика их обследования и оценки состояния, в том числе с учетом влияния динамических явлений на ресурс работоспособности и безопасности сооружений; даются рекомендации по восстановлению и реконструкции гидротехнических сооружений, утративших свои эксплуатационные качества. Руководство целесообразно использовать при подготовке и проведении обследований гидротехнических сооружений, а также при оценке их состояния и разработке проектов их реконструкции, ремонта и усиления. Руководство предназначено для использования специалистами научно-исследовательских и проектно-изыскательских организаций, а также персоналом ГЭС, осуществляющим наблюдение за состоянием бетонных и железобетонных конструкций и их обследование. Содержание ВВЕДЕНИЕВопросы оценки состояния бетонных и железобетонных конструкций гидротехнических сооружений относятся в настоящее время к числу важнейших. Это связано, во-первых, с тем, что гидротехнические сооружения относятся к числу таких сооружений, надежная работа которых обеспечивает безопасность большого числа людей и нормальную работу многих промышленных и оборонных объектов, сельскохозяйственных предприятий; во-вторых, со снижением эксплуатационных качеств сооружений, обусловленных их старением с течением времени. В настоящее время нет единой методики оценки старения гидротехнических сооружений, определения остаточного ресурса их работоспособности. Более того, среди специалистов до сих пор нет единого мнения о том, что следует понимать под термином «старение сооружений». При разработке настоящего Руководства под термином «старение сооружений» понималось изменение эксплуатационных качеств сооружений (прочность, устойчивость, водонепроницаемость), обусловленное изменением с течением времени физико-механических характеристик строительных материалов и грунтов оснований при нормальных условиях эксплуатации сооружений. Настоящая работа, не претендуя на полноту решения задачи оценки состояния бетонных и железобетонных конструкций гидротехнических сооружений на основании данных их обследования, дает рекомендации по вопросам: - методики организации и проведения обследования сооружений и оценки механических свойств строительных материалов на момент обследования; - методики оценки интенсивности старения строительных материалов и определения остаточного ресурса работоспособности сооружения; - восстановления утраченных сооружениями эксплуатационных качеств и их реконструкции. Руководство базируется на материалах НИР, выполненных во ВНИИГе и в ГрузНИИЭ. Руководство составлено инж. Караваевым А.В., доктором техн. наук Судаковым В.В., канд. техн. наук Калицевой И.С. с участием доктора техн. наук Вербецкого Г.П. (ГрузНИИЭ). При составлении Руководства были учтены замечания т предложения специалистов Ленгидропроекта, Санкт-Петербургского Государственного Политехнического Университета, ГрузНИИЭ. Научное редактирование выполнено инж. Караваевым А.В. Просьба замечания и пожелания направлять в адрес ОАО «ВНИИГ им. Б.Е. Веденеева» - 195220, Санкт-Петербург, ул. Гжатская, дом 21. 1. НАЗНАЧЕНИЕ РУКОВОДСТВА И ОБЛАСТЬ ПРИМЕНЕНИЯ1.1. Настоящее Руководство следует использовать при обследовании состояния бетонных и железобетонных конструкций речных гидротехнических сооружений, оценке ресурса их работоспособности и безопасности, определении способов и технологии их ремонта, усиления или реконструкции. 1.2. Руководство распространяется на бетонные и железобетонные конструкции речных гидротехнических сооружений всех классов, входящие в состав энергетических и комплексных гидроузлов. 1.3. Руководство содержит перечень основных видов повреждений бетонных и железобетонных конструкций гидротехнических сооружений, а также основные указания по методике их обследования, оценке их ресурса работоспособности и безопасности, рекомендации по восстановлению и реконструкции сооружений. 1.4. Целью настоящего Руководства является установление рационального, унифицированного подхода к методике обследования бетонных и железобетонных конструкций, определению состояния бетонной кладки и арматуры, оценке работоспособности и безопасности сооружений, и способам их ремонта, усиления или реконструкции. 1.5. Руководство подлежит периодическому (каждые 5 лет) пересмотру по мере накопления опыта его использования. 2. ОСНОВНЫЕ ВИДЫ ПОВРЕЖДЕНИЙ БЕТОННЫХ И ЖЕЛЕЗОБЕТОННЫХ КОНСТРУКЦИИ ГИДРОТЕХНИЧЕСКИХ СООРУЖЕНИЙ2.1. Бетонные конструкции гидротехнических сооружений (плотины, дамбы, подпорные стены и др.) имеют следующие основные виды повреждений*: а) коррозия бетона, обусловленная контактом с агрессивной водой или фильтрацией воды; б) коррозия воздушно-сухого бетона надводных частей конструкций вследствие попеременного замораживания-оттаивания зимой и нагревания-охлаждения в теплое время года, включая воздействие солнечной радиации; в) коррозия водонасыщенного бетона в зоне переменного уровня воды вследствие попеременного замораживания и оттаивания; г) разрушение бетона водопропускных конструкций вследствие кавитации или гидроабразивного износа, часто сочетающегося с воздействием замораживания-оттаивания; д) механические повреждения бетонной кладки (отколы углов элементов, раздробление бетона в отдельных зонах и т. п.); е) раскрытие швов вследствие температурных и других воздействий (просадки основания, землетрясения и др.); ж) трещины, вызванные силовыми нагрузками или температурными воздействиями и ориентированные преимущественно вдоль оси сооружения; з) трещины, вызванные силовыми нагрузками или температурными воздействиями и ориентированные преимущественно поперек оси сооружения; и) трещины, вызванные усадкой или реакцией щелочей цемента с заполнителями, содержащими активный кремнезем. * В данной работе не рассматриваются вопросы старения и повреждений грунтов основания, элементов противофильтрационного контура и дренажа. Указанные вопросы рассматриваются в НИР «Провести исследования по оценке старения и определению ресурса работоспособности и безопасности грунтовых сооружений и оснований гидротехнических сооружений», выполняемой по дог. № 137 с РАО «ЕЭС России». 2.2. Железобетонные конструкции гидротехнических сооружений (плотины, шлюзы, здания ГЭС, водоводы и тоннели с железобетонной облицовкой, подпорные стены, раздельные устои и пирсы, плиты крепления откосов грунтовых сооружений и др.) имеют следующие основные виды повреждений: а) деструктивные изменения бетона, обусловленные фильтрацией воды, попеременным замораживанием и оттаиванием, кавитацией и т.д. (см. п. 2.1); б) отслоение защитного слоя бетона; в) коррозия арматуры; г) механические повреждения арматуры; д) нормальные и наклонные трещины в растянутой зоне элемента с раскрытием больше допускаемой ширины; е) трещины вдоль сжатой зоны элемента; ж) трещины в защитном слое бетона вдоль стержней арматуры; з) потеря бетоном защитных свойств по отношению к арматуре (карбонизация бетона на всю толщину защитного слоя, выщелачивание бетона и т.п.). 2.3. Сталежелезобетонные конструкции (водоводы, спиральные и затворные камеры и др.) кроме повреждений, характерных для железобетонных конструкций (см. п. 2.2) могут иметь также повреждения стальной облицовки (коррозия металла и швов, трещины, вырывы, уменьшение толщины вследствие истирания и др.) или контакта ее с окружающим железобетонным массивом. 2.4. Бетонные, железобетонные и сталежелезобетонные конструкции могут иметь наряду с перечисленными в пп. 2.1, 2.2. и 2.3. повреждениями другие повреждения, характерные для специфических условий их эксплуатации, например, промасливание бетона. 3. МЕТОДИКА ОБСЛЕДОВАНИЯ БЕТОННЫХ И ЖЕЛЕЗОБЕТОННЫХ КОНСТРУКЦИЙ3.1. Организация обследования бетонных и железобетонных конструкций3.1.1. Для проведения обследования бетонных и железобетонных конструкций гидротехнических сооружений создается комиссия (бригада, группа), состоящая из ведущих специалистов: - по бетонным конструкциям; - по железобетонным и сталежелезобетонным конструкциям; - по бетону и технологии бетонных работ; - по динамике сооружений; - по гидравлике сооружений; - по основаниям гидротехнических сооружений; - по натурным исследованиям; - по инструментальному определению механических характеристик бетона. В состав комиссии включаются также представители проектной организации и эксплуатационного персонала станции. Примечание. При комплексном обследовании гидроузла в состав комиссии включаются также специалисты: - по грунтовым сооружениям; - по гидромеханическому оборудованию. 3.1.2. Работа комиссии осуществляется по календарному плану, согласованному с руководством данной энергосистемы и дирекцией станции. Периодичность обследования - по мере необходимости, но не реже 1 раза в 5 лет. 3.1.3. В зависимости от решаемых задач комиссия может работать частями (не в полном составе) и в разное время (например, специалисты по гидравлике и динамике - во время пропуска паводка). 3.1.4. Цель работы комиссии - определить объективные параметры состояния сооружений (физико-механические характеристики бетона различных зон сооружения, параметры повреждений конструкций и т.д.), необходимые для оценки их фактического ресурса работоспособности и безопасности. 3.1.5. В результате работы комиссии на данном объекте составляется протокол, который подписывается представителями научно-исследовательской и проектной организации и дирекции станции, и в котором отмечаются наиболее крупные дефекты сооружений и недостатки, допущенные эксплуатационным персоналом станции по обеспечению нормальной работы сооружений и размещенной в них КИА. Протокол и материалы обследования передаются в проектную или научно-исследовательскую организацию для оценки ресурса работоспособности и безопасности обследованных конструкций и разработки рекомендаций по их профилактическому, капитальному ремонту или реконструкции. 3.2. Способы обследования состояния бетонных и железобетонных конструкций3.2.1. При обследовании состояния бетонных и железобетонных конструкций гидротехнических сооружений используются следующие способы: - визуальное обследование; - инструментальное обследование. К числу инструментальных способов обследования относятся: - инструментальное определение механических характеристик бетона; - инструментальная оценка степени коррозии арматуры, в том числе листовой; - инструментальное исследование вибрационного состояния конструкций; - инструментальное определение размеров дефектов бетонной кладки; - оценка напряженно-деформированного состояния сооружения по данным КИА. 3.2.2. При визуальном обследовании сооружений определяются очевидные их повреждения и дефекты, намечаются места для инструментального определения механических характеристик бетона и инструментальной оценки степени коррозии арматуры, в том числе листовой; оценивается сохранность и состояние КИА. 3.2.3. При инструментальном определении механических характеристик бетона и оценке степени коррозии арматуры, в том числе листовой, применяются как разрушающие, так и неразрушающие методы. Во всех случаях определение механических характеристик бетона и оценка степени коррозии арматуры должны выполняться в соответствии с действующими нормативными документами. 3.2.4. Результаты как визуального обследования, так и инструментальных исследований различных вопросов состояния сооружений, выполняемых непосредственно на станции, фиксируются в отдельных актах, подписанных членами комиссии, принимавшими непосредственное участие в том или ином обследовании или исследовании. 3.3. Методика обследования бетонных конструкций3.3.1. При обследовании бетонных конструкций, выполняемом с целью оценки их состояния, прочности и остаточного ресурса работоспособности определяются: - механические характеристики бетона различных зон тела сооружений; - зоны бетонной кладки, подвергшиеся в период эксплуатации деструктивным изменениям; - размеры различного рода механических повреждений бетонной кладки (раковины, сколы и т. п.) и нарушений ее сплошности (трещины). 3.3.3. Наиболее достоверные данные о состоянии бетонной кладки могут быть получены путем бурения кернов бетона и их испытания в соответствии с ГОСТ 28570-90 «Бетоны. Методы определения прочности по образцам, отобранным из конструкций». Размеры кернов, подготовка их к испытаниям, обработка результатов испытания должны соответствовать требованиям ГОСТ 10180-90 «Бетоны. Определение прочности по контрольным образцам». Керны надлежит выбуривать из всех характерных зон тела сооружения (см. СНиП 2.06.06-85 «Плотины бетонные и железобетонные»). Из каждой зоны должно быть изъято не менее 6 кернов, отвечающих требованиям ГОСТ 10180-90. Из зон сооружения, подвергающихся максимальным температурным и влажностным воздействиям (зоны I, II и III - см. СНиП 2.06.06-85) керны следует выбуривать из различных по глубине зоны частей. Это позволит построить графики изменения механических характеристик бетона по глубине зоны. 3.3.4. Следующими по достоверности данных являются механические методы контроля прочности и модуля упругости бетона, основанные на местном его разрушении (метод отрыва со скалыванием, метод скалывания ребра конструкции, метод испытания на отрыв), выполняемые в соответствии с ГОСТ 22090-86 «Бетоны. Определение прочности механическими методами неразрушающего контроля». Эти методы могут быть использованы в значительно большем объеме, чем метод определения механических характеристик бетона путем выбуривания и испытания кернов. 3.3.5. Рекомендуется широко использовать механические методы неразрушающего контроля: - метод пластической деформации (прибор ПМ-2, прибор НИИЖБ, молоток Кашкарова и др.); - метод упругого отскока (прибор КМ, склерометр Шмидта); - метод ударного импульса (прибор ВСМ-4, прибор ИПБ-10 УЦ). Указанные методы должны применяться в соответствии с ГОСТ 22090-86 «Бетоны. Определение прочности механическими методами неразрушающего контроля». 3.3.6. Для определения прочности бетона следует также применять ультразвуковой метод (ГОСТ 17624-87 «Бетоны. Ультразвуковой метод определения прочности»). Во многих случаях использование последнего позволяет определить не только прочность бетона, прилегающего к открытым граням, но и осредненную прочность бетона массива. 3.3.7. При обследовании сооружений целесообразно использовать различные методы определения прочности бетона. Это, во-первых, позволяет значительно увеличить массив экспериментальных данных, а, во-вторых, откорректировать результаты неразрушающих методов определения прочности бетона на основе данных испытания кернов. 3.3.8. На основе статистической обработки результатов исследования механических характеристик бетона для различных зон обследуемого сооружения определяются расчетные значения прочности бетона и модули его упругости. Среднее значение прочности
бетона -
где n - число измерений (образцов);
Нормативные сопротивления бетона определяются по формуле:
где k - коэффициент, зависящий от обеспеченности нормативного сопротивления бетона. При обеспеченности q = 90 %, принимаемой в соответствии со СНиП 2.06.08-87 для массивных сооружений, k = 1,28. При обеспеченности q = 95 %, k =1,64. По значению Rbn по СНиП 2.06.08-87 определяется класс бетона по прочности на сжатие. Далее в соответствии со СНиП 2.06.08-87 для данного класса бетона определяются расчетные сопротивления бетона и модуль его упругости. 3.3.9. Механические повреждения бетонной кладки и нарушения сплошности фиксируются на выполненных в масштабе схемах (разрезы, развертки и т.п.) сооружений и их элементов. На схемах указывается наименование сооружения, номер секции, дается привязка разрезов к отметкам по высоте и к размерам в плане. Размеры объемных повреждений бетонной кладки (раковины, сколы, вырывы и т.п.) определяются с помощью масштабной линейки (рулетки). Определяются как плановые (в плоскости грани элемента) размеры дефекта, так и его глубина. Величина раскрытия трещин на различных по ее длине участках определяется с помощью специальных приборов или приспособлений (микроскоп, лупа, специальный щуп, трафарет и др.). 3.3.10. Результаты обследования бетонных конструкций оформляются в виде акта, содержащего: - описание методики обследования; - выполненные в масштабе схемы (разрезы, развертки и т.п.) с указанием мест отбора проб бетона (кернов) и мест, где применялись неразрушающие методы контроля прочности бетона, а также методы, основанные на местном разрушении бетона, участков с механическими повреждениями бетонной кладки; - фактические данные результатов испытаний и измерений и результаты их обработки; - данные о механических повреждениях бетонной кладки; - отмечаются причины образования, место расположений, размеры и характер трещин: сквозная, несквозная, клиновидная, веретенообразная, стабильная, нестабильная во времени («дышащая»), сухая, фильтрующая, со следами выщелачивания, выноса ржавчины и др. 3.4. Методика обследования железобетонных и сталежелезобетонных конструкций3.4.1. При обследовании железобетонных и сталежелезобетонных конструкций, выполняемом с целью оценки их состояния, прочности и остаточного ресурса работоспособности, определяются: - механические характеристики бетона различных частей конструкции; - зоны бетонной кладки, подвергшиеся в период эксплуатации деструктивным изменениям; - размеры механических повреждений бетонной кладки (раковины, сколы и т.п.) и нарушений ее сплошности (трещины); - глубина карбонизации (выщелачивания) защитного слоя бетона; - степень коррозии арматуры, в том числе листовой; - размеры механических повреждений арматуры и стальной облицовки. 3.4.2. Состояние бетонной кладки железобетонных и сталежелезобетонных конструкций исследуются теми же методами, что и состояние бетонной кладки бетонных сооружений (см. п. 3.3.2-3.3.11). 3.4.3. Глубину карбонизации защитного слоя бетона рекомендуется определять фенолфталеиновым методом. 3.4.4. Степень коррозии арматуры, в том числе листовой, может быть оценена двумя способами: - разрушающим способом, на основе результатов испытаний образцов арматуры и стальной облицовки; - неразрушающим способом, на основе результатов измерений толщины прокорродированного слоя металла. 3.4.5. Наиболее достоверным способом оценки степени коррозии арматуры, в том числе листовой, является разрушающий способ. Образцы стержней арматуры и фрагменты стальной облицовки, из которых в последующем будут изготовлены опытные образцы, должны вырезаться на участках, характеризуемых различной степенью коррозии металла, в том числе обязательно - на участках с максимальной коррозией. Испытания образцов арматуры и стальной облицовки должны выполняться в соответствии с ГОСТ 1497-84* «Металлы. Методы испытания на растяжение», ГОСТ 12004-81* «Сталь арматурная. Методы испытания на растяжение» и ГОСТ 10446-80 «Проволока. Метод испытания на растяжение». При использовании разрушающего способа степень снижения прочности арматуры и облицовки вследствие коррозии металла оценивается по формуле:
где No - прочность образца без признаков коррозии металла; Ni - прочность образца, изготовленного из армокаркаса или облицовки с признаками коррозии металла. 3.4.6. При больших объемах поврежденного коррозией металла арматуры и облицовки разрушающий способ должен дополняться неразрушающим способом. Сущность его состоит в определении степени уменьшения вследствие коррозии площади поперечного сечения стержней арматуры (или толщины стальной облицовки). С этой целью на основе визуального обследования выбираются участки армокаркаса или облицовки с характерными признаками коррозии. С помощью металлической щетки (карчетки) и наждачной бумаги ржавчина полностью удаляется. В нескольких местах по длине очищенного от ржавчины участка с помощью штангенциркуля производится измерение диаметра (или толщины) очищенного от ржавчины стержня (облицовки). При оценке степени коррозии арматуры периодического профиля измерения в каждом сечении следует производить в трех местах: по ядру стержня, по продольным ребрам и по рифам. На основании статистической обработки результатов измерений определяется средняя толщина слоя металла, подвергшегося коррозии - tк. 3.4.7. При использовании неразрушающего способа степень снижения прочности арматуры и облицовки вследствие коррозии металла оценивается по формуле:
где Fo - площадь поперечного сечения стержня арматуры (облицовки) до начала коррозии металла; Fi - площадь поперечного сечения стержня арматуры (облицовки), подвергшегося коррозии. При толщине слоя металла, подвергшегося коррозии tк, значения Fi определяются по формулам: - для стержней арматуры с начальным расчетным диаметром do
- для стальной облицовки с начальной толщиной листа
3.4.8. Оценка состояния контакта между стальной облицовкой и бетоном вначале производится путем простукивания ее (по «бухтению»), а затем с помощью ультразвукового прибора. Механические повреждения арматуры и стальной облицовки (разрывы, вырывы, зазубрины, трещины и др.) обнаруживаются, как правило, при визуальном обследовании конструкций. Размеры повреждений измеряются обычным (линейка, рулетка, штангенциркуль) или специальным (микроскоп, лупа, щуп и др.) мерительным инструментом. 3.4.9. Результаты обследования железобетонных и сталежелезобетонных конструкций оформляются в виде акта, содержащего: - описание методики обследования; - схему конструкции, выполненную в масштабе (разрезы, развертки и т. п.) с указанием участков коррозии арматуры и стальной облицовки, мест отбора образцов для оценки степени коррозии металла, мест механических повреждений арматуры и облицовки; - фактические данные результатов испытаний образцов металла и измерений по оценке толщины прокорродированного слоя металла, а также результаты их статистической обработки; - данные о механических повреждениях арматуры и стальной облицовки; - данные о состоянии защитного слоя бетона. 4. МЕТОДИКА ОЦЕНКИ РЕСУРСА РАБОТОСПОСОБНОСТИ И БЕЗОПАСНОСТИ БЕТОННЫХ И ЖЕЛЕЗОБЕТОННЫХ КОНСТРУКЦИЙ4.1. Гидротехнические сооружения должны отвечать требованиям: - прочности; - устойчивости на сдвиг; - фильтрационной прочности. В данном Руководстве рассматриваются изменения работоспособности и безопасности сооружений, обусловленные изменением их несущей способности. 4.2. Независимо от времени постройки гидроузла и метода обоснования прочности его сооружений (допускаемых напряжений, разрушающих нагрузок или предельных состояний) при оценке изменения прочности сооружений с течением времени расчеты их прочности для всех этапов эксплуатации следует выполнять в соответствии с требованиями нормативных документов, действующих в данное время. 4.3. В настоящее время расчеты прочности бетонных и железобетонных конструкций гидротехнических сооружений выполняются по методу предельных состояний. Согласно СНиП 2.06.01-86 «Гидротехнические сооружения. Основные положения проектирования» при расчетах прочности (а также устойчивости, водонепроницаемости и др.) гидротехнических сооружений, их конструкций и оснований надлежит соблюдать следующее условие, обеспечивающее недопущение наступления предельных состояний:
где F и R - расчетные значения соответственно обобщенного силового воздействия (сила, момент, напряжение, градиент напора и др.), по которому производится оценка предельного состояния, и обобщенной несущей способности, устанавливаемой нормами проектирования отдельных видов сооружений;
4.4. Степень надежности (безопасности) конструкции можно оценивать по величине отношения
При kn ³ 1,0 прочность конструкции соответствует требованиям норм. Такая конструкция является надежной (безопасной). При kн < 1,0 прочность конструкции не соответствует требованиям норм. Такая конструкция является ненадежной и не может эксплуатироваться без капитального ремонта. Как правило, следует
полагать, что значения коэффициентов При
значение
коэффициента kn определяется отношением 4.5. В период эксплуатации сооружения изменяются как обобщенное воздействие, так и обобщенное сопротивление. Обобщенное воздействие может изменяться вследствие изменения условий эксплуатации (например, при изменении расчетных отметок верхнего или нижнего бьефа); нарушения нормальной работы или выхода из работы какого-либо элемента сооружения (например, нарушения нормальной работы понура, противофильтрационной завесы или дренажа); старения строительных материалов (например, снижение сжимающих напряжений на напорной грани плотины вследствие трансформации эпюры напряжений, обусловленной снижением модуля упругости бетона наружных зон плотины). Обобщенное сопротивление может измениться как вследствие возникновения в элементах сооружения различных дефектов (трещины, выколы бетона, коррозия арматуры, механические повреждения и т.п.), так и вследствие старения материалов при нормальных условиях эксплуатации. Наиболее опасным является случай, когда в период эксплуатации сооружения обобщенное воздействие возрастает со временем, а обобщенное сопротивление снижается. 4.6. На рис. 4.1. в общем виде представлены графики изменения обобщенного
воздействия F и обобщенного сопротивление R во времени. Графики Термином «общий ресурс работоспособности» обозначен период времени от момента ввода сооружения в эксплуатацию, в течение которого прочность сооружения, его устойчивость и другие эксплуатационные качества отвечают требованиям норм о ненаступлении предельных состояний сооружения. Термином «остаточный ресурс работоспособности» обозначена та же величина, но от любого рассматриваемого момента жизни сооружения (например, от момента обследования сооружения). 4.7. Если в результате обследования сооружения и выполненных расчетов будет установлено, что сооружение уже эксплуатируется в опасной, с точки зрения его прочности, области, или прогнозируется наступление этого момента в ближайшем будущем, необходимо предусмотреть мероприятия, обеспечивающие безопасную эксплуатацию сооружения: капитальный ремонт, усиление конструкций или снижение нагрузок (например, путем понижения воды в верхнем бьефе). 4.8. Закономерности изменения механических характеристик бетона (прочность, модуль упругости) различных зон сооружения во времени определяются на основе анализа данных, полученных при изучении проекта сооружения, архивных материалов и натурных исследований, а также результатов обследования сооружения. В общем виде для прогнозирования прочности и модуля упругости бетона эксплуатируемого сооружения рекомендуются следующие зависимости: Rτ = Ro×(1 + 0,04×lgtτ) - kR×(tτ - to); (4.3) Eτ = Eо×[1 + 0,01 (tτ - to)] - kE×(tτ - to), (4.4) где Rτ и Eτ - соответственно прочность и модуль упругости бетона в рассматриваемый момент времени tτ; Ro И Eо - соответственно прочность и модуль упругости бетона, принимаемые за исходные, в момент времени to (при вводе сооружения в эксплуатацию, фактические прочность и модуль упругости в марочном возрасте бетона, в начале действия агрессивных факторов и т.д.); kR и kE - коэффициенты интенсивности снижения прочности и модуля упругости бетона вследствие деструктивных процессов (старения); to и tτ - возраст бетона в годах. При возрасте сооружения 40 лет и более для прогнозирования прочности и модуля упругости бетона следует пользоваться зависимостями: Rτ = 1,64Ro - kR×(tτ - to); (4.5) Eτ = 1,40E - kE×(tτ - to). (4.6) 4.9. Значения коэффициентов
изменения прочности и модуля упругости бетона определяются на основании анализа
результатов обследования сооружения в момент времени
где В случае, если во время обследования сооружения его возраст равен или превышает 40 лет, для определения параметров kR и kE следует пользоваться формулами:
Примечание. Для сооружений и их элементов, подверженных в период эксплуатации динамическим воздействиям, параметры бетона kR и kE определяются с учетом указаний раздела 5. 4.10. Оценка ресурса работоспособности и безопасности бетонных и железобетонных конструкций производится в следующей последовательности: а) на основе изучения проекта сооружения и архивных материалов устанавливаются фактические значения механических характеристик бетона различных зон сооружения на начальном этапе его эксплуатации, реальные размеры конструкций, исполнительные схемы армирования; б) производится ретроспективный расчет напряженно-деформированного состояния и прочности сооружения и его элементов. При этом в расчете должны быть учтены осуществленные изменения условий эксплуатации сооружения, например, изменение отметки НПУ в верхнем бьефе, повышение уровня воды в нижнем бьефе после возведения нижерасположенного гидроузла, конструктивные изменения и т.п.; в) на основании ретроспективного расчета для наиболее ответственных элементов сооружения (например, верховая и низовая грани бетонной плотины, контакт плотины с основанием под верховой гранью и т.п.) или наиболее опасных сечений устанавливаются значения обобщенных воздействий и сопротивления (с использованием метода предельных состояний) и коэффициенты надежности kН для начального этапа эксплуатации; г) производится обследование состояния сооружения с определением значений механических характеристик бетона различных зон сооружения, оценкой степени коррозии арматуры, в том числе листовой, точным фиксированием количественных параметров различных дефектов конструкций (трещины, отколы бетона и т.п.); д) на основании анализа результатов обследования сооружения, архивных данных и ранее выполненных натурных исследований и обследований определяются закономерности изменения механических характеристик бетона различных зон сооружения во времени (определяются значения коэффициентов kR и kЕ); е) производятся расчеты напряженно-деформированного состояния и прочности сооружения и его элементов для различных этапов его эксплуатации (в т.ч. и будущей) с использованием значений механических характеристик бетона, определенных по формулам (4.3)¸(4.6) для этих этапов и с учетом обнаруженных при обследовании дефектов конструкций; ж) на основании результатов расчетов по п. 4.10, е устанавливаются значения обобщенных воздействий и сопротивления и коэффициенты надежности kH для рассматриваемых выше этапов эксплуатации сооружения; з) на основании данных, полученных по пп. 4.10, в и 4.10, ж, строятся графики изменения во времени обобщенного воздействия и обобщенного сопротивления для различных зон сооружения и устанавливается остаточный ресурс работоспособности сооружения; и) в случае необходимости разрабатываются мероприятия по увеличению ресурса работоспособности. 4.11. Общий порядок оценки ресурса работоспособности бетонных и железобетонных конструкций одинаков. Однако при этом следует иметь в виду следующие особенности: - оценка прочности бетонных сооружений осуществляется, как правило, по их напряженному состоянию (по величинам напряжений в отдельных зонах), а оценка прочности железобетонных конструкций - по величине максимальных значений усилий (Мизг, Мкр, N, Q) в расчетных сечениях; - прочность железобетонных конструкций определяется совместной работой двух материалов - бетона и стальной арматуры. Поэтому при оценке надежности и ресурса работоспособности эксплуатируемой конструкции необходимо знать закономерности изменения механических характеристик со временем как бетона, так и стали, а также интенсивности коррозии или истирания арматуры (в том числе стальной облицовки); - одно из отличий железобетонных конструкций от бетонных состоит в многообразии схем их нагружения: осевое и внецентренное сжатие, осевое и внецентренное растяжение, изгиб, кручение и др. Степень влияния изменения механических характеристик бетона и арматуры на прочность конструкции зависит от схемы ее нагружения; - при оценке ресурса работоспособности и безопасности статически неопределимых железобетонных конструкций необходимо учитывать перераспределение усилий в элементах конструкции вследствие изменения их жесткости. 5 ОЦЕНКА ВЛИЯНИЯ ДИНАМИЧЕСКИХ ЯВЛЕНИЙ НА РЕСУРС РАБОТОСПОСОБНОСТИ И БЕЗОПАСНОСТИ СООРУЖЕНИЙ5.1. Общие положения5.1.1. Необходимость учета динамических явлений регламентируется рядом нормативных документов. 5.1.2. Для гидротехнических сооружений, подверженных эксплуатационным динамическим воздействиям (станционные и водосливные секции бетонных плотин, здания ГЭС и т.п.) оценка старения материалов и соответствующего изменения работоспособности и безопасности самих сооружений имеет ряд особенностей. 5.1.3. В отличие от случая чисто статического нагружения, где наиболее опасные зоны практически однозначно совпадают с зонами максимальных напряжений, при учете динамических воздействий опасные зоны не обязательно совпадают с зонами максимальных напряжений, но могут возникнуть при меньших значениях напряжений, сочетающихся с неблагоприятными значениями коэффициента асимметрии цикла ρ, а также в местах резкого изменения профиля сечения, в зонах строительного штрабления и т.п. 5.1.4. Существенные динамические напряжения могут возникать в зонах, удаленных от мест приложения динамических нагрузок, во-первых, вследствие интерференции напряжений от нескольких источников, а во-вторых, вследствие резонансных явлений в элементах, подверженных кинематическим воздействиям. 5.1.5. Ухудшение таких механических характеристик бетона как его прочность, выносливость в процессе эксплуатации связано с развитием микротрещин, их укрупнением и объединением в макротрещины. Процесс трещинообразования при повторных, в частности, динамических воздействиях развивается гораздо интенсивнее, чем при статической нагрузке того же уровня, что с увеличением числа циклов нагружения может привести к разрушению. 5.1.6. Проверка возможности усталостного разрушения введена в нормы проектирования только в середине восьмидесятых годов. В выпущенных до этого проектах сооружений требования по выносливости учитывались лишь по индивидуальным техническим условиям. Вследствие этого на ряде сооружений, находящихся в длительной эксплуатации и подверженных динамическим воздействиям, наблюдаются признаки старения в виде трещин, отколов или вывалов бетона и т.п. 5.2. Методика проведения обследования гидротехнических сооружений при динамических воздействияхОбщие положения 5.2.1. Целью динамического обследования гидротехнических сооружений (ГТС) для оценки их ресурса работоспособности и безопасности является определение основных динамических характеристик и оценка их влияния: - на общую устойчивость, прочность и деформативность; - на выносливость конструктивных элементов сооружения. 5.2.2. Работы по организации динамических испытаний (ДИ) выполняются в три этапа: 1. Подготовительный этап. 2. Натурные испытания сооружения. 3. Обработка результатов, их анализ и выдача заключения. 5.2.3. Во время подготовительного этапа 1) выявляются: диапазон частот динамических воздействий, которым подвергаются сооружения во время эксплуатации; амплитуда, места приложения и линии действия сил, соответствующих этим частотам; амплитуды ожидаемых динамических напряжений, виброперемещений, виброускорений, либо других нормируемых кинематических параметров вибрации, вызываемых этими силами; 2) намечается методика проведения испытаний; 3) осуществляется подбор средств измерения вибраций. 5.2.4. Разработка методики ДИ сводится к определению мест измерения параметров динамических явлений, вызванных эксплуатационными динамическими нагрузками, к выявлению наиболее неблагоприятных по этим явлениям режимов работы эксплуатационного оборудования и других эксплуатационных устройств, являющихся источниками динамических воздействий, к выбору методик измерения и обработки результатов измерения этих явлений, и, наконец, к выбору методики оценки их влияния на работоспособность сооружений. Подбор измерительной аппаратуры 5.2.5. Подбор виброизмерительной аппаратуры начинают с определения диапазона частот, в пределах которых необходимо произвести измерение вибраций, точнее - нижней и верхней частот этого диапазона. 5.2.6. Нижнюю частоту диапазона измеряемых частот рекомендуется выбирать наименьшей из двух: - равной половине низшей из частот вынужденных колебаний (для конструкций здания ГЭС низшая из частот вынужденных колебаний обычно равна жгутовой частоте; для конструкций водосбросных сооружений и гасителей энергии эта частота может определяться как частота первого максимума спектра пульсаций нагрузки); - равной половине низшей из собственных частот сооружения. 5.2.7. Верхнюю частоту диапазона измеряемых частот рекомендуется принимать равной удвоенной частоте самой высокочастотной составляющей из значимых частот спектра динамических нагрузок. 5.2.8. Выбор измеряемого параметра динамических явлений, как правило, определяется нормируемым параметром или критерием допустимости. Так, например, для контроля напряженно-деформированного состояния рекомендуется измерять непосредственно деформации и виброперемещения. В других случаях может потребоваться измерять виброскорости или виброускорения. 5.2.9. Количество точек измерения не менее восьми и не более 32. Проведение испытаний. Обработка результатов 5.2.10. При проведении ДИ рекомендуется первоначально с использованием легкой переносной измерительной аппаратуры провести рекогносцировочное обследование уровней колебаний различных конструкций в различных точках сооружения при различных режимах источников динамических нагрузок. После этого по результатам рекогносцировки на наиболее неблагоприятных по уровням вибраций секциях сооружения проводятся детальные исследования с применением синхронной регистрации вибраций в необходимом количестве точек на всех наиболее неблагоприятных режимах. 5.2.11. Для выявления наиболее неблагоприятного источника вибраций рекомендуется проводить испытания поочередно при работе только одного источника динамических нагрузок, либо, если это возможно, то при различных комбинациях этих источников. 5.2.12. На водосбросных сооружениях рекомендуется проводить ДИ при различных сочетаниях работающих и неработающих водосбросов. 5.2.13. При обработке результатов измерения для сооружений рекомендуется по выявленным формам вынужденных колебаний определять силы инерции собственных масс сооружения и проверять устойчивость, прочность и выносливость сооружений при суммарном квазистатическом действии статических и динамических нагрузок в наиболее неблагоприятных сочетаниях. 5.3. Методика учета динамических явлений при оценке ресурса работоспособности и безопасности гидротехнических сооружений5.3.1. Учет динамических воздействий при оценке ресурса работоспособности и безопасности бетонных и железобетонных конструкций сооружений при старении базируется на совместном анализе статического и динамического напряженно-деформированного состояния конструкций гидросооружений. Учитывая высокую трудоемкость такого анализа, можно указать критерии, при которых учет динамических воздействий при указанной оценке не нужен. Эти критерии приводятся ниже. 5.3.2. Для конструкций, подверженных воздействиям от передающихся непосредственно на них динамических сил, возникающих при работе агрегатов и другого оборудования от пульсаций давления воды в проточных частях, а также при контакте конструкций с турбулентным потоком (силовое воздействие), учет динамических воздействий не нужен, если сумма максимальных напряжений ((σмакс) абсолютных значений статических ((σст) и динамических (σдин) напряжений не превосходит 0,5 Ryст (Rуст - наименьшее значение предела усталости для бетона). Динамическое напряжение при этом вычисляется из статического расчета от сил, равных по величине десятикратным амплитудам динамических сил, действующих по тем же линиям действия и приложенных в тех же точках, что и динамические силы, т.е,
5.3.3. Для конструкций, подверженных воздействиям от колебаний основания (кинематическое возбуждение), возникающих при гашении энергии водных потоков в нижнем бьефе водосливных плотин, массовых промышленных взрывах в расположенных вблизи карьерах, других видах взрывного производства, а также от динамических воздействий со стороны расположенных вблизи промышленных объектов, учет этих воздействий не нужен, если максимальная амплитуда ускорений (αмакс) от указанных воздействий не превышает αД = 0,1 м/с2, т. е.
5.3.4. Для конструкций, подверженных совместному динамическому воздействию силового и кинематического возбуждения, учет этого воздействия не нужен, если выполняется неравенство
5.3.5. При выполнении условий, приведенных в пп. 5.3.1.¸5.3.4, для оценки влияния динамических воздействий на работоспособность и безопасность бетонных и железобетонных конструкций, длительно эксплуатируемых гидросооружений необходимо совместное рассмотрение статического и динамического напряженно-деформированного состояния сооружения с анализом наиболее неблагоприятных их сочетаний для различных частей сооружения. Для этого могут быть использованы методы, изложенные в [20-21], либо привлечены специализированные организации. 5.3.6. Если величина суммы статических сжимающих или растягивающих напряжений σмакс превышает значение расчетного сопротивления бетона при многократно повторяющихся нагрузках R'bN, т.е. σмакс ³ R'bN, (5.4) то необходимо принятие срочных мер для предупреждения усталостного разрушения бетона конструкции. При этом при проверке на выносливость железобетонных конструкций расчетные сопротивления бетона при числе циклов нагружений N определяется по формуле
где Rb - расчетное или нормативное сопротивление, определяемое в соответствии с [4]; N - число циклов загружения за расчетный период эксплуатации сооружения; R'b - расчетное или нормативное сопротивление при числе загружений N = 2×106. Значения R'b вычисляются путем умножения
соответствующих расчетных сопротивлений бетона на коэффициент условий работы 5.3.7. Если напряжения в бетоне удовлетворяют неравенствам (5.4), то для оценки состояния бетона гидротехнических сооружений после длительной эксплуатации рекомендуется к количественным оценкам характеристик материалов, определяющих старение, перечисленных в разделе 4, вводить коэффициент динамичности, определяемый по табл. 5.1. Таблица 5.1 Значения коэффициента динамичности kД в зависимости от уровня суммарных напряжений и коэффициента асимметрии цикла ρ При растяжении
При сжатии
Примечание:
при промежуточных значениях 5.3.8. Если величина суммы растягивающих статических напряжений и амплитуды динамических напряжений σмакс,α превышает значение расчетного сопротивления арматуры при многократно повторяющихся нагрузках R'sN, т. е. σмакс,α ³ R'sN, (5.6) то необходимо принятие срочных мер для устранения усталостного разрушения арматуры железобетонных конструкций. Величина расчетного сопротивления арматуры R'sN при числе циклов нагружения N определяется по формуле
где Rs - расчетное сопротивление растянутой арматуры, определяемое по п. 2.17 [4]; R's- расчетное сопротивление арматуры на выносливость при числе циклов загружения N = 2×106 циклов. Значения R's вычисляются в соответствии с п. 2.19 [4]. Формула (5.7) справедлива при
N £ 2×106
циклов загружения. При числе циклов N > 2×106 значения 5.3.9. Для суждения о допустимости или недопустимости того или иного режима многократного нагружения одной из простейших и достаточно удобных является диаграмма выносливости, приведенная на рис. 5.1. По горизонтали отложено число циклов N в логарифмическом масштабе, по вертикали - отношение σмакс = σст + σдин к соответствующему нормативному сопротивлению материала, и каждая кривая соответствует определенному значению ρ. Область графика, лежащая ниже кривой ρ = const, называется областью выносливости при данном ρ, а область, расположенная выше этой кривой, называется областью усталостного разрушения при данном ρ. Приведенные выше данные относятся к образцам. При расчете реальных конструкций вместо нормативных сопротивлений RsN и RbN принимают расчетные Rs и Rb. К нагрузкам, при действии которых определяют σмакс вводятся перегрузки и т. д. 5.3.10. Для изгибаемых железобетонных элементов характер разрушения определяется их процентом армирования μ и величиной коэффициента асимметрии цикла ρ. При ρ порядка 0,5 и ниже зависимость от процента армирования следующая: при μ < 0,7¸0,8 % усталостное разрушение начинается с арматуры, при μ > 0,9¸1,0 % - с бетона, а в промежуточной зоне может начаться либо с арматуры, либо с бетона, либо с усталостного нарушения сцепления арматуры с бетоном. 5.3.11. При учете влияния динамических воздействий на прочность, общую устойчивость и деформативность сооружений рекомендуется пользоваться справочными данными [20-22]. 6. РЕКОМЕНДАЦИИ ПО ВОССТАНОВЛЕНИЮ И РЕКОНСТРУКЦИИ ГИДРОТЕХНИЧЕСКИХ СООРУЖЕНИЙВ табл. 6.1 приведены основные способы продления ресурса работоспособности бетонных и железобетонных сооружений (преимущественно бетонных плотин), а также технические приемы, с помощью которых может быть осуществлен тот или иной прием, и достигаемый при этом эффект. 6.1. Методы повышения механических характеристик бетона деградированных зон сооружения6.1.1. С целью восстановления (укрепления) бетона используются: - цементация; - инъектирование бетона полимерными материалами; - удаление разрушенного (дефектного) бетона с заменой его новым в локальной части конструкции. Эти методы применялись и применяются в практике укрепления и ремонта бетонной кладки бетонных и железобетонных гидротехнических сооружений для продления ресурса их работоспособности. Вместе с тем, за последние годы они значительно усовершенствованы благодаря достижениям в области технологии цемента, бетона, полимерных материалов и производства строительных работ. 6.1.2. Производственный процесс выполнения ремонтных работ по восстановлению монолитности и водонепроницаемости бетона сооружений методом цементации содержит следующие основные технологические операции: - бурение скважин; - поверхностную изоляцию (зачеканку и т.п.) трещин; - инъекционные работы. 6.1.3. Расположение скважин, их направление и глубина назначаются в проекте производства работ и корректируются в процессе выполнения работ. При наличии фильтрующих трещин, в которых затруднена разделка и поверхностное уплотнение их устья, необходимо бурение дренирующих скважин. В сооружениях, имеющих дренаж в бетоне, цементационные скважины задаются с таким расчетом, чтобы в процессе нагнетания закрепляющих материалов была бы исключена возможность забивки дренажа, или предусматриваются мероприятия по его восстановлению. Таблица 6.1 Основные способы н технические приемы продления ресурса работоспособности сооружения
Как правило, скважины
глубиной до двух метров и диаметром до 6.1.4. Для предотвращения
излива инъекционного раствора при его нагнетании в трещины устья последних должны
быть герметизированы. Практичен способ, предусматривающий расшивку устья трещин
на глубину 3 При значительной площади дефектной зоны производится площадная цементация, включающая бурение шпуров, заделку устья трещин и нагнетание инъекционного раствора в порядке очередности обработки скважин с использованием тампонов-нагнетателей. 6.1.5. Инъектирование трещин и фильтрующих строительных швов выполняется при положительной температуре бетонного массива в период их максимального раскрытия. 6.1.6. При использовании цементных растворов для лечения трещин нагнетание начинают непосредственно после гидравлического опробования скважин. Начальная консистенция подаваемого раствора определяется величиной удельного водопоглощения и задается в проекте производства работ. 6.1.7. Давление нагнетания раствора назначается с учетом обеспечения подъема раствора от скважины первой очереди (нижнего ряда) до скважин второй очереди (вышерасположенный ряд). В этом случае при принудительном движении раствора снизу вверх можно рассчитывать на седиментацию частиц цемента из раствора и уплотнение части трещин, расположенных ниже скважин первой очереди. При цементации массива бетона с сетью трещин часто наблюдается выход раствора из расположенных рядом трещин. В случае, если В/Ц выходящего раствора выше, чем нагнетаемого, то заделка выходов раствора из трещин не производится. В случае выхода раствора через течи в труднодоступных местах ликвидация таких выходов выполняется подачей коагулянта (например, жидкого стекла) через специальные скважины, пробуренные до плоскости трещины к месту выхода раствора. При смешивании раствора с коагулянтом происходит его быстрое загустение и кольматация течи. 6.1.8. В ряде случаев единственно возможным способом восстановления прочности бетонных и железобетонных конструкций является полное удаление деградированного бетона с последующей заменой его бетоном, класс которого по прочности и марки по водонепроницаемости и морозостойкости в полной мере отвечают условиям эксплуатации сооружения (например, напорный элемент гребня водослива Верхне-Свирской ГЭС). 6.1.9. Для обеспечения совместной работы старого бетона с вновь уложенным в проекте ремонтных работ или реконструкции сооружения необходимо рассмотреть вопрос о целесообразности применения анкеровки с помощью стальных стержней. 6.1.10. При выполнении ремонтных работ используются материалы, свойства которых устанавливаются соответствующими техническими условиями и ГОСТ. Применяемые составы должны гарантировать получение в результате ремонта долговечной конструкции. Для ремонта конструкций, изготовленных с использованием портландцемента, шлакопортландцемента или пуццоланового портландцемента должен применяться только портландцемент. 6.2. Методы повышения несущей способности бетонных плотин6.2.1. При обследовании сооружений гидроузлов может быть установлено, что вследствие старения материалов ресурс их работоспособности или уже исчерпан, или может быть исчерпан в ближайшем будущем. Применительно к бетонным плотинам это означает, что сооружения не отвечают требованиям общей прочности, содержащимися в современных нормах проектирования. В этом случае, кроме мероприятий, изложенных в разделе 6.1, а иногда вместо них, могут быть эффективно использованы мероприятия, приводящие к некоторым изменениям конструкции сооружения или схемы его статической работы. Выбор того или иного технического приема осуществляется на основе технико-экономического сопоставления вариантов. 6.2.2. Обжатие напорной грани с помощью предварительно напряженных
тяг. Этот способ
целесообразно применять, если напряжения на напорной грани плотины и на ее
контакте с основанием, а также на низовой грани не соответствуют требованиям
норм и требуется повысить уровень сжимающих напряжений на напорной грани и на
контакте ее с основанием и снизить на низовой грани. Способ может быть
эффективен для плотин высотой до 6.2.3. Утяжеление гребня плотины. Указанный технический прием (рис. 6.2) рекомендуется для
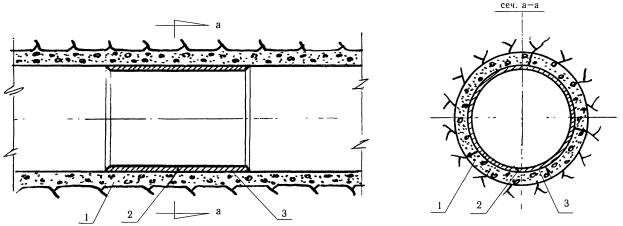
плотин высотой до Для водосливного и станционного участков плотины целесообразно рассмотреть обжатие напорной грани путем бетонирования массива с использованием эстакады. 6.2.4. Пригрузка низовой грани плотины путём отсыпки грунтовой призмы. Указанный технический прием (рис. 6.3) может быть эффективен для невысоких плотин, главным образом, в наиболее высокой их части, обычно в русловом понижении. При использовании данного приема следует предусмотреть отсыпку песчаной подушки, отделяющей основной массив отсыпки от грани плотины и обеспечивающей нормальную осадку грунтовой массы. Кроме обжатия напорной грани и повышения устойчивости сооружения на сдвиг применение рассматриваемого технического приема приводит также к защите низовой грани от температурно-влажностных воздействий, что также положительно влияет на продление ресурса работоспособности сооружения. 6.2.5. Цементация межсекционных швов гравитационных плотин. Данный технический прием эффективен для гравитационных плотин, находящихся в узком створе со скальным основанием - с отношением пролета к высоте плотины не более 5,0. Обеспечение пространственной работы сооружения благоприятно отражается на ее напряженно-деформированном состоянии и увеличивает ее прочность и устойчивость. Аналогом данного решения может служить гравитационная плотина Курпсайского гидроузла. Необходимо отметить, что цементация должна обеспечить хороший контакт в средней по высоте части плотины, но не менее, чем на 50 % цементируемой поверхности. Эффект от применения данного способа повышается, если цементация осуществляется при пониженном уровне воды в водохранилище. 6.2.6. Укладка дополнительного объема бетона по низовой грани плотины. Данное техническое решение (рис. 6.4) - наиболее распространенный прием для увеличения жесткости сечений сооружений, используемый при реконструкции и ремонте плотин. Частным случаем такого усиления может быть устройство контрфорсов как для гравитационных, так и для арочных плотин (например, плотина Толла во Франции). При осуществлении способа необходимо предусмотреть мероприятия, обеспечивающие совместную работу старого и нового бетона (анкеровка, в том числе предварительно напряженная, бетонирование при опорожнении водохранилища и др.). 6.2.7. Утолщение гребня арочных плотин. Возможным решением по усилению арочных плотин является утолщение их гребня с тем, чтобы произошло перераспределение усилий между перенапряженными консольными элементами и менее напряженными арочными поясами. При наличии слабых бортов на верхних отметках рекомендуется использование «ныряющего» утолщенного гребня, который передает усилия на берега ниже отметки гребня плотины (рис. 6.5). 6.3. Методы повышения несущей способности железобетонных конструкций6.3.1. Необходимость в повышении несущей способности железобетонных конструкций может возникнуть как вследствие ее снижения из-за старения материалов и коррозии арматуры, так и вследствие повышения расчетных нагрузок. Повышение несущей способности железобетонных конструкций может быть осуществлено или путем усиления арматуры при сохранении их геометрических размеров, или путем увеличения высоты поперечного сечения балочных и плитных железобетонных элементов, или же путем уменьшения их расчетного пролета. 6.3.2. Ремонт железобетонных элементов без изменения их геометрических размеров. Наиболее типичными повреждениями железобетонных элементов гидросооружений являются: - раковины в бетоне с обнажением арматуры; - отслоение защитного слоя бетона; - трещины в бетоне вдоль продольных стержней арматуры; - коррозия арматуры. Последовательность операций при ремонте железобетонных конструкций, геометрические размеры которых при ремонте не изменяются, следующая: - удаление отколовшегося бетона; - освобождение арматуры от кусков бетона; - удаление с арматуры продуктов коррозии (до металлического блеска); - усиление армокаркаса приваркой дополнительных стержней арматуры или установкой дополнительной сетки; - нанесение на арматуру слоя антикоррозионного защитного материала; - нанесение на промытую поверхность старого бетона адгезионного мостика (тонкого слоя материала, усиливающего адгезию между старым и новым бетоном); - заделка поврежденных участков бетоном или раствором; - нанесение на поверхность бетона защитных покрытий. Удаление отколовшегося бетона, освобождение арматуры от кусков бетона выполняется, как правило, механическим путем с помощью отбойного молотка, ручного инструмента. Работы следует вести таким образом, чтобы не повредить армокаркас (изгиб стержней, их обрыв и т.п.). Удаление с арматуры продуктов коррозии выполняется с использованием пескоструйной или дробеструйной установки. Защита арматуры антикоррозионной покраской выполняется в случаях интенсивной ее коррозии (зоны переменного уровня воды, помещения с повышенной влажностью). Для защиты арматуры используются те же материалы, что применяются для антикоррозионной защиты металлических конструкций. При заделке поврежденных участков бетоном может использоваться как обычный способ бетонирования, так и раздельное бетонирование. При обычном способе бетонирования бетон подается через окно в верхней части опалубки и уплотняется с помощью вибратора. Опалубка может быть как съемная (чаще всего в виде деревянного щита), так и несъемная - из стального листа. Несъемную опалубку целесообразно применять в конструкциях (оголовки и грани быков, пазы затворов и т.п.), повреждаемых потоком воды, плавающими в воде телами (рис. 6.6). При густом армировании конструкций и использовании несъемной опалубки возможно применение раздельного бетонирования. При раздельном бетонировании полость ремонтируемой конструкции вначале заполняется крупным заполнителем (гравий, щебень), а затем в нее через специальные отверстия в опалубке подается под давлением цементно-песчаный раствор. При больших размерах полости в опалубке устраивается несколько отверстий по высоте, причем подача раствора начинается с самого низкого отверстия. Несъемная опалубка должна быть надежным способом заанкерена в бетон. В состав ремонтных работ железобетонных конструкций, подверженных действию агрессивной среды, должны включаться мероприятия по нанесению на них защитных покрытий. 6.3.3. Увеличение высоты поперечного сечения балочных и плитных железобетонных конструкций. Для восстановления (усиления) несущей способности железобетонных конструкций гидротехнических сооружений (элементы контрфорсных плотин с плоским напорным перекрытием, зданий ГЭС, шлюзов и др.) эффективным способом, наряду с усилением армирования, может быть увеличение высоты их поперечного сечения, например, путем укладки дополнительного слоя бетона по верху плиты. При этом особое внимание должно быть уделено обеспечению связи нового и старого бетона (анкеровка, хомуты и т. п.). Целесообразно усиление таких конструкций производить в разгруженном состоянии. 6.3.4. Уменьшение расчетного пролета железобетонных конструкций. В ряде случаев восстановление (усиление) несущей способности железобетонных конструкций может быть осуществлено путем уменьшения их расчетного пролета. Это может быть осуществлено путем устройства вутов на опорной конструкции или ее утолщения (например, быка). 6.3.5. Самостоятельную группу гидротехнических сооружений составляют напорные туннели с железобетонной обделкой. В Приложении изложен способ ремонта железобетонной обделки напорных туннелей путем устройства внутреннего скользящего железобетонного кольца, разработанный ГрузНИИЭ. 6.4. Ремонт стальной облицовки сталежелезобетонных конструкцийСтальная облицовка сталежелезобетонных конструкций в период эксплуатации может получить следующие повреждения: - отслоение облицовки от окружающего бетона; - появление трещин как в листах металла, так и в зоне их сварочных швов; - отрыв кусков облицовки или значительное (по толщине) ее абразивное истирание. Трещины в стальной облицовке ликвидируются путем их заваривания электросваркой с предварительной разделкой краев трещины (снятие фасок). При утрате кусков облицовки или значительном ее истирании (чаще всего в лотке тоннеля) ремонт облицовки производится путем наваривания или вваривания заплат. При ремонте путем вваривания заплат предварительно из листа металла вырезается заплата, как правило, правильной геометрической формы (круг, прямоугольник, ромб и т.п.). Края заплаты выравниваются шлифмашинкой, с них снимается фаска. Заплата накладывается на поврежденный участок облицовки, после чего на ней очерчивается контур заплаты. По этому контуру вырезается «окно» в поврежденной облицовке. Края окна обрабатываются с помощью шлифмашинки, с них снимается фаска. Затем в «окно» вставляется заплата и заваривается шов между ней и облицовкой. Отслоение облицовки от окружающего бетона, в том числе участка ее в зоне ремонта путем вваривания значительных по площади заплат, ликвидируется путем наполнительного инъектирования. Инъектирование осуществляется через специально рассверленные отверстия в облицовке, оборудованные необходимыми устройствами. Для инъектирования используются цементный, цементно-песчаный, коллоидно-цементный (КЦР), коллоидный полимерцементный (КПЦР) растворы, а также составы на основе эпоксидных смол и др. материалов. 6.5. Снижение нагрузок и воздействий на сооружение6.5.1. Вопрос о снижении нагрузок и воздействий на сооружение может возникнуть в двух случаях: 1. Нагрузки превзошли значения, принятые при проектировании сооружения, вследствие его старения (противодавление в теле плотины и в ее основании, температурные воздействия, давление наносов и др.). 2. Сооружение находится в предаварийном состоянии вследствие его старения или чрезвычайных происшествий и для предотвращения его разрушения необходимо осуществить снижение активных нагрузок (давление воды на напорную грань плотины). 6.5.2. Снижение противодавления в теле плотины. Противодавление в теле плотины может быть снижено путем устройства водонепроницаемого экрана на ее напорной грани и восстановления дренажной системы. а) Устройство водонепроницаемого экрана или покрытия на напорной грани плотины Этот радикальный технический прием может быть осуществлен на сравнительно невысоких плотинах, создающих водохранилища небольшого объема и имеющих водосбросные сооружения, позволяющие опорожнить водохранилище. При протяженных плотинах небольшой высоты устройство водонепроницаемого экрана может быть выполнено отдельными участками по длине плотины под защитой временной перемычки. Экраны могут быть выполнены из армированного торкретбетона; асфальтобетона, защищенного сборными железобетонными плитами; металлического листа; синтетических материалов. Вместо экрана напорная грань плотины может быть снабжена водонепроницаемым покрытием из эпоксидных смол, полиуретанов. Наиболее эффективными являются конструкции экранов, снабженные системой дренажа. В этом случае противодавление в теле плотины полностью снимается и существенным образом изменяются критерии прочности сооружения. б) Восстановление дренажной системы тела плотины Нормальная работа дренажной системы тела плотины может быть восстановлена или ремонтом существующих дренажных скважин, или созданием новых скважин. Очистка существующих дрен может быть осуществлена промывкой их водой под давлением. Новые скважины устраиваются путем бурения, как правило, с гребня плотины. 6.5.3. Снижение противодавления на контакте плотины с основанием. Противодавление на контакте плотины с основанием может быть снижено путем восстановления противофильтрационной завесы и дренажной системы в основании и устройства водонепроницаемого понура со стороны верховой грани плотины. а) Восстановление противофильтрационной завесы Эффективная работа противофильтрационной завесы может быть восстановлена путем бурения новых скважин и цементации основания современными составами на основе цемента или с использованием для этих целей синтетических органических соединений (силикаты, битумы), в ряде случаев в сочетании с материалами других типов (эпоксидная смола, полиуретаны, полиэфиры, акриламиды и т.п.). Новые синтетические и полимерные материалы способны заполнять более мелкие трещины, чем цементные растворы. б) Восстановление дренажной системы основания плотины Способы восстановления дренажной системы основания плотины практически те же, что и способы восстановления тела плотины. в) Устройство водонепроницаемого понура Это мероприятие может быть осуществлено на гидроузлах с небольшим объемом водохранилища или участками под защитой перемычек. Понуры могут быть жесткими (бетонные, железобетонные, из торкретбетона) или гибкими (глиняные, битумные, асфальтобетонные и др.). Особое внимание должно быть уделено обеспечению надежного контакта понура с верховой гранью плотины. 6.5.4. Снижение температурных воздействий. Температурные воздействия приводят не только к изменению уровня напряжений в расчетных сечениях тела плотины и к образованию трещин как на верховой, так и на низовой гранях плотины, но и в сочетании с влажностными воздействиями - к интенсивному старению бетона, снижению его механических характеристик. Поэтому снижение температурных воздействий эффективно отражается на продлении ресурса работоспособности плотины, с одной стороны, снижая уровень действующих напряжений, а, с другой стороны, обеспечивая сохранность бетона. Теплозащитные экраны на низовой грани гравитационных и контрфорсных плотин могут быть временными, восстанавливаемыми каждый год (например, из стойких замороженных пен), или постоянными (из легкого асфальтобетона, эпоксидно-каменноугольных или поливинилхлоридных пенопластов и других теплогидроизоляционных материалов). 6.5.5. Снижение нагрузки от давления отложившихся перед плотиной наносов. Необходимость в применении этого способа снижения активных нагрузок на сооружение возникает преимущественно на гидроузлах с малыми размерами водохранилищ, расположенных на горных реках. В проектах сооружений на водотоках с большим количеством взвешенных наносов обычно предусматриваются промывные галереи, водоспуски и т. д. В более старых сооружениях (например, на Гергебильской ГЭС) таких элементов не предусматривалось. В этих случаях наносы перед плотиной могут быть удалены методом гидромеханизации. 6.5.6. Снижение уровня воды в верхнем бьефе. Этот радикальный, но нежелательный по экономическим соображениям способ продления ресурса работоспособности плотины чаще всего целесообразно применять как временную промежуточную, вспомогательную меру, необходимую для осуществления других способов увеличения прочности сооружения. Как самостоятельный способ он неизбежно связан с модернизацией водопропускных сооружений с целью обеспечения пропуска расчетного паводка в условиях пониженного уровня воды в водохранилище. Наиболее частым решением может быть ограничение отметки форсированного горизонта в водохранилище или времени его стояния на максимальных отметках. Обоснованием такого решения могут быть данные по эксплуатации сооружения. Опыт показывает, что длительное стояние повышенных горизонтов водохранилища вызывает дополнительную деформацию основания, которая не восстанавливается полностью при снижении УВБ и может привести к нарушениям прочности в разных местах напорного фронта гидроузла. 6.5.7. Снижение уровней вибраций и динамических напряжений. Методы снижения уровней вибраций и динамических напряжений в восстанавливаемых конструкциях и сооружениях (виброзащита), как известно, делятся на две группы: - базирующиеся на воздействии на источники динамических нагрузок; - базирующиеся на воздействии на собственные динамические характеристики конструкций. Из источников динамических нагрузок наиболее существенными являются следующие: - машинное оборудование ГЭС, главным образом гидроагрегаты и некоторые виды вспомогательного оборудования - поршневые компрессоры и мощные насосы; - турбулентные потоки в проточных частях гидротурбинных блоков, туннельных водоводах и поверхностных водосбросах, и на шлюзах; - колебания регулирующих затворов при их неполном открытии вследствие их взаимодействия с потоком; - железнодорожный и автомобильный транспорт при использовании плотин в качестве магистральных транспортных мостовых переходов, как это имеет место на ряде Волжских ГЭС, на Братской ГЭС и т. п. Для гидроагрегатов главными методами уменьшения нагрузок от них являются балансировки, использование их в нагрузочных режимах, не вызывающих сильных вибраций, отработка комбинаторных зависимостей между открытиями направляющего аппарата и углом атаки лопастей не только по максимальному КПД, но и по минимуму вибраций (в большинстве случаев оба эти критерия приводят к совпадающим результатам, но не всегда), правильное регулирование положения полюсных колонок статора гидрогенератора и равномерности зазора между ротором и статором и т.п. Для группы гидроагрегатов, например, если в одном гидротурбинном блоке объединено 2-4 агрегата, появляется дополнительная возможность установки аппаратуры для включения гидрогенератора в синхронный режим при фазировке ротора, зависящей от фазировки роторов ранее запущенных агрегатов. Таким образом, можно организовать работу гидроагрегатов с частичным взаимным уравновешиванием динамических нагрузок от них на определенные строительные конструкции. Для вспомогательного оборудования наиболее приемлемы методы балансировки, а при синхронном приводе и метод противофазных пусков. Кроме того, возможно применение силовой виброизоляции. Для турбулентных потоков методы снижения нагрузок очень индивидуальны. Например, перевод напорного водовода в безнапорный режим существенно меняет спектральный состав и стандарт пульсации гидродинамического давления на обделку. В ряде случаев удается существенно повлиять на характеристики нагрузок с помощью впуска в поток воздуха. Здесь существенными являются выбор места подачи и расхода воздуха. Для гасителей энергии, в том числе водобойных колодцев, наиболее эффективным может явиться изменение их геометрии, особенно геометрии поверхности водобоя в зоне сопряжения донного и поверхностного вальцов. Для затворов наиболее эффективно снижение динамических нагрузок достигается переходом к дискретному регулированию с помощью полного открытия определенного количества затворов. В случае, если это невозможно, т.е. необходимо более плавное регулирование, рекомендуется использование виброизолирующих насадок на нижние кромки затворов, в том числе в соответствии с авторскими свидетельствами ВНИИГа и Ленгидростали. Для железнодорожного транспорта наиболее эффективным средством изменения динамических нагрузок от него является введение ограничений по нагрузке на ось и на скорость, а для автомобильного транспорта - и на минимальную дистанцию между экипажами. При невозможности уменьшения грузопотока до приемлемых по динамическим нагрузкам на гидросооружения пределов рекомендуется также изменение геометрии, конструкции и материалов балласта под железнодорожными путями или схемы опирания путевых плит для автодорожных переходов, в том числе с введением силовой виброизоляции. Из методов, базирующихся на воздействии на собственные динамические характеристики конструкций, наибольшее развитие получили те, которые дают возможность изменить собственные частоты этих конструкций в направлении отстройки от частот основных максимумов спектра динамических нагрузок. Если необходимо повышение собственных частот, то это может быть достигнуто увеличением жесткости конструкции либо за счет увеличения поперечных сечений ее элементов, либо за счет введения дополнительных связей. При этом достигается и еще ряд положительных эффектов. Во-первых, уменьшаются величины статических перемещений конструкции и напряжений в ней от силы, модуль которой равен амплитуде возмущающей силы и которая имеет ту же линию действия и точку приложения, что и динамическая сила. Поскольку уровни динамических перемещений и напряжений в конструкции равны произведению указанных статических величин на ординаты амплитудно-частотных характеристик (АЧХ), то это уменьшение очень важно. Во-вторых, подбирая места установки дополнительных связей, можно избирательно влиять на разные частоты. Например, поперечная связь, наложенная на конец консоли, повышает ее первую собственную частоту более чем в полтора раза, вторую- на 26 %, а более высокие еще меньше. Этим можно воспользоваться, если спектр воздействия имеет несколько пиков, расположенных по разные стороны или на разных расстояниях от пиков АЧХ. Более того, вводя связи в точках пучностей отдельных форм колебаний, можно совсем исключить соответствующие собственные частоты из АЧХ. К сожалению, введение связей не всегда возможно. Это исключено в тех случаях, когда они могут ухудшить функционирование сооружения, например, перекрыть часть живого сечения водотоков и в других подобных случаях. Наиболее удачные случаи введения дополнительных связей это устройство мостиков, связывающих по верху раздельные стенки многониточных поверхностных водосбросов. Для увеличения жесткости напорных стенок здания ГЭС можно рекомендовать введение дополнительных быков-контрфорсов. Увеличение поперечного сечения конструктивных элементов может не получиться, если это приведет к ухудшению технологических функций сооружения. Возможно, что в некоторых случаях потребуется компромисс, например, придется пойти на некоторое увеличение толщины межочкового быка отсасывающей трубы, даже ценой уменьшения живого сечения этой трубы и, соответственно, КПД гидроагрегата. Во всех случаях целесообразность того или иного решения оценивается на основе технико-экономического расчета, включающего также оценку энергетических потерь во время длительных перерывов эксплуатации ГЭС при ее ремонте. Если необходимо понижение собственных частот, то это достигается присоединением к соответствующей конструкции дополнительных масс, когда это возможно без нарушения нормального функционирования сооружения. Для ряда гидросооружений может быть использован также специфический метод изменения масс, базирующийся на частичном или практически полном отключении от них присоединенных масс воды с помощью воздушной завесы. В некоторых случаях возможно также введение дополнительного затухания путем устройства связей, содержащих элементы сухого трения. Например, устройство по верху раздельных быков многониточного поверхностного водосброса мостиков, опирающихся через элементы сухого трения. Необходимо только иметь в виду, что при малых амплитудах колебаний, при которых силы трения покоя не преодолеваются, эти мостики будут работать как жесткие связи без трения, т. е. вызывать повышение собственных частот. Наконец, в ряде случаев могут быть рекомендованы комбинированные методы, существо которых сводится к добавлению сосредоточенных масс в пучностях собственных форм колебаний, частоты которых необходимо понизить, и жестких связей вблизи пучностей форм собственных колебаний, частоты которых необходимо повысить. В связи с тем, что указанные пучности могут совпадать или быть близкими, задача о выборе таких мер в каждом случае требует трудоемких расчетов, но при наличии некоторого опыта ее удается решить. К комбинированным методам можно отнести методы восстановления свойств облицовок. Поскольку колебания облицовок и связанное с ними усталостное нарушение сцепления их с бетоном, с последующим трещинообразованием и разрушением по своей физической природе носят гидроупругий характер, то любые изменения их собственных свойств влияют и на характеристики гидродинамического давления на них, т. е. на нагрузки. Это имеет место и при выборе методики восстановления с увеличением толщин листов облицовки, как это имело место на Колымской ГЭС, и при закачке под листы облицовки мастик со специально подобранными свойствами (по методикам ВНИИГ), как это имело место на Куйбышевской, Зейской и Серебрянской ГЭС. В целом, правильное использование набора методов виброзащиты, изложенных выше, дает возможность во всех случаях разработать принципиальные технические решения не только по восстановлению, но и по улучшению утраченных сооружением свойств, увеличению его долговечности и надежности. СПИСОК ЛИТЕРАТУРЫ1. СНиП 2.06.01-86 «Гидротехнические сооружения. Основные положения проектирования», М., 1987. 2. СНиП 2.06.06-85 «Плотины бетонные и железобетонные», М., 1986. 3. СНиП 2.06.07-87 «Подпорные стены, судоходные шлюзы, рыбопропускные и рыбозащитные сооружения», М, 1987. 4. СНиП 2.06.08-87 «Бетонные и железобетонные конструкции гидротехнических сооружений», М., 1987. 5. СНиП 2.06.09-84 «Туннели гидротехнические», М., 1985. 6. ГОСТ 10180-90 «Бетоны. Определение прочности по контрольным образцам». 7. ГОСТ 22690-88 «Бетоны. Определение прочности механическими методами неразрушающего контроля». 8. ГОСТ 17624-87 «Бетоны. Ультразвуковой метод определения прочности». 9. ГОСТ 1497-84* «Металлы. Методы испытаний на растяжение». 10. ГОСТ 12004-81* «Сталь арматурная. Методы испытаний на растяжение». 11. ГОСТ 10446-80* «Проволока. Метод испытания на растяжение». 12. Методические указания по определению прочности бетона в изделиях и конструкциях методом скалывания ребра. Киев, 1977. 13. Руководство по определению и оценке прочности бетона в конструкциях зданий и сооружений, М., 1979. 14. Рекомендации по определению прочности бетона эталонным молотком Кашкарова, М., 1985. 15. Руководство по определению прочности бетона в изделиях и конструкциях методом отрыва со скалыванием. М., 1977. 16. Рекомендации по наблюдениям за напряженно-деформированным состоянием бетонных плотин. ВНИИГ. Л., 1982. 17. Правила технической эксплуатации электрических станций и сетей (14-е издание, изменение № 3) / М-во энергетики и электрификации СССР. - СПб.: Научно-техническая ассоциация «Энергопрогресс». ВНИИГ им. Б.Е. Веденеева, 1992. 18. Пособие для изучения «Правил технической эксплуатации электрических станций и сетей» (14-е издание, изменение № 3). Глава 3.1 и глава 3.2. М. - СП. 1992. 19. Положение об отраслевой системе надзора за безопасностью гидротехнических сооружений электростанций: РД 34.03.102-88. СПО «Союзтехэнерго». М., 1989. 20. Динамический расчет зданий и сооружений. Справочник проектировщика под ред. проф. Б. Г. Коренева, И. М. Рабиновича, М., Стройиздат, 1984. 21. Динамический расчет специальных инженерных сооружений и конструкций. Справочник проектировщика под ред. проф. Б.Г. Коренева, А.Ф. Смирнова. - М.,: Стройиздат, 1986. 22. Использование водной энергии. Под ред. Л.С. Щавелева. Л.: «Энергия», 1976. Приложение
|
||||||||||||||||||||||||||||||||||||||||||||||||||||||||||||||||||||||||||||||||||||||||||||||||||||||||||||||||||||||||||||||||||||||||||||||||||||||||||||||||||||||||||||||||||
|
Влажность поверхности |
Шероховатость поверхности (высота выступов), мм |
||
|
меньше 1 |
меньше 5 |
больше 5 |
|
|
Сухая |
1 I 2 3(A) 4(Б) 5 |
2 4(Б) 5 |
5 |
|
Влажная |
3(A) 4(A) 4(B) 5 |
4(A) 4(B) 5 |
5 |
|
Мокрая (сплошная пленка воды, потеки) |
4(B) 5 |
4(B) 5 |
5 |
Обозначения способов обработки поверхности:
1. Обмазка отработанным моторным маслом или другими техническими маслами, неагрессивными по отношению к бетону.
2. Обмазка техническим вазелином,
тавотом, солидолом (при шероховатости меньше
3. Оклейка полиэтиленовой пленкой.
4. Оклейка рубероидом или толем с обмазкой или опрыскиванием их гладкой поверхности различными техническими маслами.
5. Покрытие штукатуркой или торкретом из цементно-песчаного раствора прочностью 2¸3 МПа.
Обозначения способов прикрепления рулонного материала:
А - точечное приклеивание эпоксидной смолой.
Б - точечное приклеивание горячим или холодным раствором битума.
В - прикрепление строительным пистолетом.
П-3.5. При
шероховатости поверхности бетона с высотой выступов до
П-3.6.
Эффективным во всех случаях и простым в исполнении является способ устройства
между ремонтируемой конструкцией и железобетонным кольцом прослойки из очень
низкопрочного цементно-песчаного раствора толщиной порядка
Важным достоинством способа является его применимость при любой степени шероховатости поверхности ремонтируемой конструкции, при наличии на ней раковин, каверн, зияющих трещин. При этом достаточно лишь получить относительно ровную поверхность без крупных выступов и впадин. Способ однодельный, дополнительных операций, например смазки, не требуется. Он пригоден и при влажной поверхности конструкции, но на сильно фильтрующих воду участках необходимо предварительно отвести воду путем закладки дренажных трубок.
Действенность способа основана на низкой прочности раствора, в котором уже на первых ступенях загружения отремонтированного сооружения происходит срез вследствие различного распределения деформации растяжения поврежденной конструкции и сильно армированного кольца. В результате среза раствора нарушается сцепление кольца с конструкцией, чем и обеспечивается независимая равномерная его деформация без образования локальных крупных трещин.
П-3.7. Эффективность способа, описанного в п. П-3.6, повышается с понижением прочности прослойки из цементно-песчаного раствора. Прочность раствора должна ограничиваться прочностью гидростатического давления от напора воды в сооружении на обделку и в оптимальном случае должна равняться этой величине.
П-3.8. При использовании способа, описанного в п. П-3.6, рекомендуется подбирать состав низкопрочного раствора на пуццолановом портландцементе марок 200-250 и мелкозернистом пылеватом песке слабых пород.
В качестве эффективного способа получения особо низкопрочного раствора рекомендуется применение пластифицирующих и воздухововлекающих добавок (ЛХД, СДБ, СНВ, мылонафт и др.) в значительно повышенных дозировках.
Допускаются и другие известные в технологии бетонов и растворов способы снижения их прочности. Не допускается вводить в раствор в большом количестве глину, известь и другие материалы, вымываемые фильтрующейся водой.
П-3.9. Кроме способов, приведенных в табл. П.1, допускаются и другие способы, существенно снижающие сцепление железобетонного кольца с ремонтируемой конструкцией и обеспечивающие возможность их взаимного проскальзывания по контакту. Оптимальный способ выбирается по технико-экономическим условиям.
4. Установка арматуры скользящего кольца и опалубки
П-4.1. Арматурный каркас скользящего кольца устанавливают после подготовки поверхности поврежденной конструкции одним из способов, рассмотренных в п. 3. Приложения.
П-4.2. Не допускается анкеровка арматуры кольца в ремонтируемую конструкцию. Положение арматурного каркаса следует закреплять распорками.
П-4.3. Опалубку скользящего кольца предпочтительно использовать металлическую. Специальных требований по способам и условиям ее установки не выдвигается. Не допускаются неплотности в опалубке.
5. Бетонирование скользящего кольца
П-5.1. При
толщине меньше
П-5.2. При
толщине кольца больше
П-5.3. Не допускаются перерывы в бетонировании кольца и образование в нем швов.
6. Контроль качества работ, техника безопасности, введение конструкции под эксплуатационную нагрузку
П-6.1. На этапе подготовительных работ контроль качества их выполнения заключается в тщательном осмотре участка, выявлении и ликвидации оставшихся выступов, глубоких выемок, раздробленного бетона и других дефектов на поверхности поврежденной конструкции.
П-6.2. На этапе специальной подготовительной обработки поверхности поврежденной конструкции, ремонтируемой рекомендуемым способом, должны быть обнаружены и ликвидированы возможно оставшиеся не покрытые смазкой или другими антифрикционными материалами пятна.
П-6.3. При использовании описанной в п. П-3.6 прослойки из низкопрочного раствора прочность его не должна отклоняться от проектной больше чем на 20 %. Она определяется при подборе состава раствора и контролируется во время производства работ путем тщательного соблюдения установленного состава. Кроме того, должна определяться прочность раствора в конструкции в возрасте 3 и 7 дней как на образцах из раствора, отобранного из использованного на производстве замеса, так и каким-либо неразрушаемым методом, например, молотком Кашкарова. В случае получения по результатам испытания в 7-дневном возрасте неудовлетворительных результатов, в частности, повышенной прочности раствора, должен быть нанесен второй слой из раствора уточненного состава.
П-6.4. Контроль качества арматурного каркаса скользящего кольца не отличается от обычных правил контроля при производстве других железобетонных конструкций напорных гидротехнических сооружений, в частности, напорных туннелей, резервуаров, спиральных камер и др.
П-6.5. Особое внимание должно быть обращено на проверку контакта арматурного каркаса скользящего кольца с поврежденной конструкцией; особенно недопустима анкеровка каркаса в ней.
П-6.6. Контроль качества бетона скользящего кольца во время производства работ заключается в регулярной проверке соответствия используемого состава проектному составу и выполнение всех технических условий бетонирования данной группы конструкции. Прочность и водопроницаемость затвердевшего бетона скользящего кольца определяются стандартными методами на образцах, отобранных из производственных замесов. Особое внимание должно быть обращено на недопущение швов бетонирования в скользящем кольце.
П-6.7. На 28-й день после бетонирования скользящего кольца производят проверку плотности его примыкания к поврежденной конструкции. Для этого через пробуренные в сводовой части кольца скважины нагнетают цементный раствор под давлением 0,2 МПа. Инъекцию производят по обычной технологии цементационных работ до достижения отказа.
П-6.8. Отремонтированную конструкцию вводят под эксплуатационную нагрузку медленным поднятием напора со скоростью 1 м/час.
П-6.9. Техника безопасности при производстве ремонтных работ рекомендуемым способом должна удовлетворять всем требованиям существующих правил при производстве строительных работ в подземных сооружениях и в закрытых помещениях.
7. Краткие указания по конструированию и расчету скользящего железобетонного кольца
П-7.1. Толщину скользящего кольца назначают по возможности малой с целью минимального стеснения сечения или эксплуатационного объема ремонтируемого сооружения. Толщину устанавливают из условия размещения необходимого количества арматуры, воспринимающей в подземных сооружениях передаваемую на нее долю внутреннего напора, а в надземных резервуарах и напорных водоводах весь напор. Кроме того, толщина кольца устанавливается из условия необходимой жесткости для обеспечения устойчивости в опорожненном состоянии при действии внешнего гидростатического напора.
П-7.2. Армирование скользящего кольца должно быть дисперсным. Коэффициент армирования обычно требуется выше необходимого по расчету по первому предельному состоянию и определяется по условию обеспечения равномерной деформации растяжения по окружности и ограничения ширины раскрытия трещин допускаемой величиной. Практически коэффициент армирования скользящего кольца рекомендуется принимать не ниже 0,025.
Рисунки к «Руководству по методике оценки ресурса работоспособности и безопасности бетонных и железобетонных конструкций гидротехнических сооружений»
Рис. 4.1. Изменение во времени обобщенного воздействия и обобщенного сопротивления сооружения

Рис. 5.1. Диаграммы выносливости
а - для арматурной стали класса А-III диаметром 10-
|
|
|
|
|
Рис. 6.1 |
Рис. 6.2 |
|
|
|
|
|
|
Рис. 6.3 |
Рис. 6.4 |
|

Рис. 6.5. Устройство «ныряющего» утолщенного гребня в арочных плотинах
1 - арочная плотина; 2 - ныряющий утолщенный гребень; 3 - хорошее основание; 4 - слабое основание.

Рис. 6.6. Принципиальная схема ремонта оголовков быков водопропускных сооружений
1 - труба стальная Æ 1500; 2 - анкерные стержни; 3 - бетон класса В15; 4 - элементы арматурного каркаса быка; 5 - существующая конструкция быка.
Рис. П.1. Ремонт обделки туннеля с помощью встроенного скользящего железобетонного кольца
1 - обделка туннеля, 2 - скользящее железобетонное кольцо; 3 - шов скольжения
|
ГОСТЫ, СТРОИТЕЛЬНЫЕ и ТЕХНИЧЕСКИЕ НОРМАТИВЫ. Некоммерческая онлайн система, содержащая все Российские Госты, национальные Стандарты и нормативы. В Системе содержится более 150000 файлов нормативно-технической документации, действующей на территории РФ. Система предназначена для широкого круга инженерно-технических специалистов. Copyright © www.gostrf.com, 2008 - 2026 |