|
|
Шум машин ВЕНТИЛЯТОРЫ ПРОМЫШЛЕННЫЕ Определение уровней звуковой мощности в лабораторных условиях Часть 2 Реверберационный метод (ISO 13347-2:2004, MOD)
Предисловие Цели, основные принципы и основной порядок проведения работ по межгосударственной стандартизации установлены ГОСТ 1.0-92 «Межгосударственная система стандартизации. Основные положения» и ГОСТ 1.2-97 «Межгосударственная система стандартизации. Стандарты межгосударственные, правила и рекомендации по межгосударственной стандартизации. Порядок разработки, принятия, применения, обновления и отмены» Сведения о стандарте 1 ПОДГОТОВЛЕН Открытым акционерным обществом «Научно-исследовательский центр контроля и диагностики технических систем» на основе собственного аутентичного перевода стандарта, указанного в пункте 4 2 ВНЕСЕН Федеральным агентством по техническому регулированию и метрологии 3
ПРИНЯТ Межгосударственным советом по стандартизации, метрологии и сертификации (протокол
№ 32 от 24 октября За принятие проголосовали:
4 Настоящий стандарт модифицирован по отношению к международному стандарту ИСО 13347-2:2004 «Промышленные вентиляторы. Определение уровней звуковой мощности вентилятора в стандартных лабораторных условиях. Часть 2. Метод реверберационной камеры» (ISO 13347-2:2004 «Industrial fans - Determination of fan sound power levels under standardized laboratory conditions - Part 2: Reverberant room method») путем исключения положений международного стандарта, применение которых нецелесообразно в настоящем стандарте. Дополнительные слова и фразы, включенные в текст стандарта для учета потребностей национальной экономики указанных выше государств или особенностей межгосударственной стандартизации, выделены курсивом. Наименование настоящего стандарта изменено относительно наименования указанного международного стандарта для приведения в соответствие с ГОСТ 1.5 (подраздел 3.5). Международный стандарт разработан техническим комитетом ИСО ТК 117 «Промышленные вентиляторы». Перевод с английского языка (en). Содержание исключенных положений, полный перечень всех технических отклонений с разъяснением причин их внесения приведены в приложении Е. Степень соответствия - модифицированная (MOD) 5 Приказом Федерального агентства по техническому регулированию и метрологии от 26 марта
6 ВЗАМЕН ГОСТ 12.2.028-84 в части метода отраженного звукового поля Информация о введении в действие (прекращении действия) настоящего стандарта публикуется в указателе «Национальные стандарты». Информация об изменениях к настоящему стандарту публикуется в указателе «Национальные стандарты», а текст изменений - в информационных указателях «Национальные стандарты». В случае пересмотра или отмены настоящего стандарта соответствующая информация будет опубликована в информационном указателе «Национальные стандарты» Содержание
МЕЖГОСУДАРСТВЕННЫЙ СТАНДАРТ
Дата введения - 2008-10-01 1 Область примененияНастоящий стандарт устанавливает реверберационный метод определения уровней звуковой мощности вентилятора в лабораторных условиях. Стандарт применяют совместно с ГОСТ 31353.1. 2 Нормативные ссылкиВ настоящем стандарте использованы нормативные ссылки на следующие межгосударственные стандарты: ГОСТ 10921-90 Вентиляторы радиальные и осевые. Методы аэродинамических испытаний ГОСТ 31274-2004 (ИСО 3741:1999) Шум машин. Определение уровней звуковой мощности по звуковому давлению. Точные методы для реверберационных камер ГОСТ 31276-2002 (ИСО 3743-1:1994, ИСО 3743-2:1994) Шум машин. Определение уровней звуковой мощности источников шума по звуковому давлению. Технические методы для малых переносных источников шума в реверберационных полях в помещениях с жесткими стенами и в специальных реверберационных камерах ГОСТ 31353.1-2007 (ИСО 13347-1:2004) Шум машин. Вентиляторы промышленные. Определение уровней звуковой мощности в лабораторных условиях. Часть 1. Общая характеристика методов ГОСТ 31353.3-2007 (ИСО 13347-3:2004) Шум машин. Вентиляторы промышленные. Определение уровней звуковой мощности в лабораторных условиях. Часть 3. Метод охватывающей поверхности ГОСТ 31353.4-2007 (ИСО 13347-4:2004) Шум машин. Вентиляторы промышленные. Определение уровней звуковой мощности в лабораторных условиях. Часть 4. Метод звуковой интенсиметрии ГОСТ 28100-2007 (ИСО 7235:2003) Акустика. Измерения лабораторные для заглушающих устройств, устанавливаемых в воздуховодах, и воздухораспределительного оборудования. Вносимые потери, потоковый шум и падение полного давления ГОСТ 31352-2007 (ИСО 5136:2003) Шум машин. Определение уровней звуковой мощности, излучаемой в воздуховод вентиляторами и другими устройствами перемещения воздуха, методом измерительного воздуховода Примечание - При пользовании настоящим стандартом целесообразно проверить действие ссылочных стандартов на территории государства по соответствующему указателю стандартов, составленному по состоянию на 1 января текущего года, и по соответствующим информационным указателям, опубликованным в текущем году. Если ссылочный стандарт заменен (изменен), то при пользовании настоящим стандартом следует руководствоваться заменяющим (измененным) стандартом. Если ссылочный стандарт отменен без замены, то положение, в котором дана ссылка на него, применяется в части, не затрагивающей эту ссылку 3 Ограничения по применениюЗвуковое излучение определяют на указанной в настоящем стандарте испытательной установке. Вибрацию не измеряют и не определяют зависимость излучения от нее. Настоящий стандарт устанавливает лабораторные условия испытаний. Поскольку редко оказывается возможным обеспечить данные условия на месте установки (эксплуатации) вентилятора, стандарт не предназначен для измерений вне лаборатории. Отличие акустических условий на месте установки от лабораторных может быть источником нежелательных эффектов, и в частности из-за того, что условия на входе и выходе вентилятора при эксплуатации далеки от требуемых. Малые вентиляторы допускается испытывать по настоящему стандарту или по [1]. 4 Условия примененияНастоящий стандарт позволяет определять акустические характеристики вентилятора с дополнительным оборудованием, например с крышным дефлектором, вентиляционной решеткой, глушителем. При испытаниях с применением тачного реверберационного метода реверберационная камера должна соответствовать требованиям ГОСТ 31274 (подраздел 5.2). При испытаниях с применением технического метода в специальной реверберационной камере по ГОСТ 31276 объем вентилятора не должен превышать 1 % объема камеры. При испытаниях в реверберационных помещениях объемом не более 4.1.1 Источник шума Источником шума является вентилятор или вентилятор совместно с приводным электродвигателем и трансмиссией. 4.1.2 Характер шума Постоянный широкополосный шум с чистыми тонами. 4.1.3 Неопределенность измерений Настоящий стандарт обеспечивает измерения со степенью точности технического метода [см. ГОСТ 31353.1 (таблица 3)]. 4.1.4 Измеряемые величины Уровни звукового давления в октавных полосах частот в фиксированных положениях микрофона или на заданной траектории. Примечание - Если оказывается возможным применить точные методы по ГОСТ 31274, то измеряют уровни звукового давления в третьоктавных полосах. 5 Измерительная аппаратураТребования к средствам измерений, включая образцовый источник шума, - по ГОСТ 31353.1. 6 Метод испытанийДля испытаний в качестве основного применяют метод сравнения по ГОСТ 31276 с использованием образцового источника шума. Допускается применение метода сравнения по ГОСТ 31274. Вентилятор устанавливают в испытательном помещении в месте, пригодность которого по акустическим условиям должна быть проверена в соответствии с приложениями А и/или В. Примечание - ГОСТ 31276 предусматривает иную, чем по приложениям А и В, проверку пригодности реверберационного помещения и специальной реверберационной камеры и определение места установки испытуемого источника шума, которой рекомендуется руководствоваться. Проверку по приложению В, как правило, выполняют в случае измерений точными методами по ГОСТ 31274. В проверенном на пригодность испытательном помещении сначала измеряют уровни звукового давления при работающем образцовом источнике шума. Затем измеряют уровни звукового давления при работе вентилятора в различных рабочих точках его аэродинамической характеристики на заданных частотах вращения. По известным уровням звуковой мощности образцового источника шума определяют уровни звуковой мощности вентилятора в каждой рабочей точке. 7 Акустические условия7.1 Испытательное пространство В испытательном пространстве должно быть создано реверберационное звуковое поле. Измерения выполняют при установленном концевом поглощающем устройстве [см. ГОСТ 31353.1 (приложение D)]. 7.2 Испытательное помещение Испытательное помещение (гулкое помещение или реверберационная камера) должно соответствовать требованиям приложения А или ГОСТ 31276. Испытательное помещение, соответствующее приложению В, рекомендуется для измерения широкополосного шума и является обязательным для исследования чистых тонов и узкополосного шума при измерениях по ГОСТ 31274 в реверберационной камере. 8 Испытательная установка и воздуховоды8.1 Виды испытательных установок Вид испытательной установки выбирают в зависимости от вида определяемого уровня звуковой мощности (см. указанный ниже перечень) и типа компоновки вентилятора. Уровни звукового давления вентилятора измеряют в реверберационном помещении, которое может быть соединено с камерой или любой другой системой, обеспечивающей управление режимом работы и измерение расхода вентилятора. Настоящий стандарт применяют к вентиляторам, у которых со стороны, где не проводят измерения, отсутствует или присоединен воздуховод с упрощенным концевым поглощающим устройством (см. ГОСТ 31353.1), о чем указывают в протоколе испытаний. На рисунке 1 приведены типы компоновок для определения уровня звуковой мощности на входе вентилятора, на рисунке 2 - на выходе, на рисунке 3 - компоновка для определения уровня звуковой мощности корпуса вентилятора. Указанные компоновки позволяют определить следующие уровни звуковой мощности [см. ГОСТ 31353.1 (таблица 1)], соответствующие указанным компоновкам и условиям на входе и выходе: компоновка типа А: - свободный вход LW (A, in), - свободный выход, LW (A, out); компоновка типа В: - свободный вход LW (В, in + cas), - выход в нагнетательный воздуховод LW (B, out); компоновка типа С: - вход из всасывающего воздуховода LW (C, in), - выход в нагнетательный воздуховод LW (C, out +cas); компоновка типа D: - вход из всасывающего воздуховода LW (D, in + cas), - выход в нагнетательный воздуховод LW (D, out), - вход из всасывающего воздуховода, выход в нагнетательный воздуховод LW (D, cas). 8.2 Уровни звукового давления 8.2.1 Уровни звукового давления фонового шума Lpb Уровни звукового давления фонового шума измеряют в испытательном помещении при неработающем вентиляторе. Фоновый шум включает в себя шум всех источников, не связанных непосредственно с вентилятором. Примерами источников фонового шума являются шум от движения микрофона и любой внешний шум. Следует стремиться, чтобы уровень фонового шума был минимальным. 8.2.2 Уровни звукового давления образцового источника шума Lpqm Уровни звукового давления образцового источника шума измеряют в испытательном помещении при работе только образцового источника шума. Уровни включают фоновый шум. 8.2.3 Уровни звукового давления вентилятора Lpm Значения величин Lpb и Lpqm определяют только один раз, значения Lpm - на каждом режиме работы вентилятора. Примечания 1 Измерения действительны, если испытательное помещение признано годным при проверке в соответствии с приложением А или В (см. примечание к 6.1). 2 Обозначения величин - по ГОСТ 31353.1.
с) Компоновка типа С: вход из всасывающего воздуховода, свободный выход
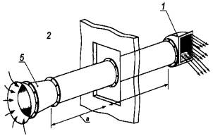
d) Компоновка типа D: вход из всасывающего воздуховода, выход в нагнетательный воздуховод 1 - вентилятор; 2 - пространство внутри реверберационного помещения (камеры); 3 - нагнетательный воздуховод; 4 - концевое поглощающее устройство упрощенной конструкции см. ГОСТ 31353.1 (приложение D); 5 - передающий элемент (акустический рупор) по ГОСТ 28100; а - расстояние до стены Рисунок 1 - Испытательная установка для измерений шума на входе вентилятора (показан радиальный вентилятор)
с) Компоновка типа С: вход из всасывающего воздуховода, свободный выход
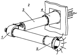
d) Компоновка типа D: вход из всасывающего воздуховода, выход нагнетательный воздуховод 1 - вентилятор; 2 - пространство внутри реверберационного помещения (камеры): 3 - нагнетательный воздуховод; 4 - концевое поглощающее устройство упрощенной конструкции; 5 - акустический рупор; а - расстояние до стены Рисунок 2 - Испытательная установка для измерений шума на выходе вентилятора (показан осевой вентилятор)
1 - вентилятор; 2 - пространство внутри реверберационного помещения (камеры); 3 - нагнетательный воздуховод; 4 - концевое поглощающее устройство упрощенной конструкции Рисунок 3 - Испытательная установка для измерений шума корпуса вентилятора (показан осевой вентилятор) 8.3 Аэродинамическая характеристика Управление режимом работы (рабочей точкой на аэродинамической характеристике) вентилятора выполняют по ГОСТ 10921. 8.4 Условия испытаний Условия испытаний должны быть постоянными, насколько это возможно. Шум при работе устройства перемещения и поворота микрофона должен быть неизменным. Лица, выполняющие измерения, должны находиться при измерениях вне испытательного помещения, но если это необходимо, то они должны быть вдали от источника шума и во время измерений оставаться на одном месте. Должно быть определено среднее по времени значение измеряемой величины на суммарном числе перемещений микрофона. Продолжительность измерений должна быть достаточной, чтобы получить устойчивое (постоянное) значение измеряемой величины. Она должна быть не менее 30 с для полос со среднегеометрической частотой не более 160 Гц и ниже и не менее 15 с для полос со среднегеометрической частотой 200 Гц и свыше. Если микрофон размещают в нескольких местах или имеется сеть фиксированных микрофонов, то продолжительность измерений должна соответствовать ГОСТ 31276. 8.5 Способы монтажа Способ монтажа вентиляторов, присоединения к внешнему приводу и устройствам регулирования расхода не регламентируют. При любом способе монтажа могут применяться виброизолирующие устройства и короткие гибкие вставки. Другие звуко- и вибропоглощающие устройства и материалы в испытательных установках не применяют, если они не являются стандартными частями объекта испытаний. Воздуховоды должны быть изготовлены из металла или других жестких плотных незвукопоглощающих материалов и не должны быть покрыты материалами с высоким звукопоглощением по внешней или внутренней поверхности. Приводной электродвигатель и трансмиссия, если они не являются составной частью вентилятора, могут быть установлены на виброизоляторах или ограждены любым способом, но так, чтобы используемые для ограждения звукопоглощающие материалы не находились в открытом виде в испытательном помещении. Если мотор и трансмиссия являются составной частью вентилятора, то их не ограждают, применяя обычные натяжные ремни и подшипники (опоры). 8.6 Длина воздуховода Длины воздуховодов должны соответствовать ГОСТ 10921. Концевое поглощающее устройство упрощенной конструкции [см. ГОСТ 31353.1 (приложение D)] устанавливают на конце воздуховода, чтобы обеспечить требуемую акустическую нагрузку (см. рисунки 1-3). Если воздуховод с неизмеряемой стороны не имеет концевого поглощающего устройства, то неопределенность измерений в октавной полосе 63 Гц равна 6 дБ и 3 дБ во всех более высоких полосах частот. В камере или испытательной установке с двумя помещениями длина воздуховода должна соответствовать ГОСТ 10921. Следует обеспечить отсутствие резонанса воздуховода вблизи характерных частот диапазона измерений, например вблизи лопаточной частоты. Необходимо избегать применения воздуховодов с длиной, кратной половине длины звуковой волны
Нет оснований считать, что шум на входе всегда равен шуму на выходе. Поэтому по общему уровню звуковой мощности нельзя определить уровни звуковой мощности на входе или на выходе. Чтобы задать стандартный импеданс акустической нагрузки для вентиляторов с воздуховодами, воздуховоды должны иметь концевые поглощающие устройства. Воздуховод, в котором измеряют уровни звукового давления при определении уровня звуковой мощности по ГОСТ 31352, называется «измерительным воздуховодом». Воздуховоды, которые используют только для того, чтобы обеспечить стандартную акустическую нагрузку, т.е. в которых не измеряют шум, называются «оконечными воздуховодами». Максимальные допустимые коэффициенты отражения звукового давления для измерительного и оконечного воздуховодов указаны в ГОСТ 31353.1 (таблица 4). Требования к передающему элементу (акустическому рупору) установлены в ГОСТ 28100. Примечание - Если площадь входа или выхода вентилятора превышает 8.7 Траектория микрофона Микрофон должен перемещаться по траектории (дуге или прямой линии) с расстоянием не менее
1 - вентилятор; 2 - рассеиватель звука, применяемый иногда, чтобы улучшить акустические характеристики испытательного помещения; 3 - помещение для испытаний по определению общей звуковой мощности; 4 - испытания на входе или выходе; 5 - испытательная камера или дополнительное помещение Примечания 1 Минимальное расстояние от микрофона до вентилятора Dmin, м, рассчитывают по формуле
где (LWr - Lpq) - максимальное значение разности уровня звуковой мощности образцового источника шума и его уровня звукового давления для октавных полос со среднегеометрическими частотами от 125 до 500 Гц. 2 В заштрихованных зонах микрофоны не устанавливают. Рисунок 4 - Ограничения размещения микрофонов в испытательном помещении (камере) 9 Наблюдения9.1 Рабочая точка Рабочую точку на аэродинамической характеристике вентилятора определяют одним из методов по ГОСТ 10921. Управление режимом работы вентилятора осуществляют по ГОСТ 31353.1 (подраздел 9.5). 9.2 Регистрируемая информация Регистрируемая информация приведена в ГОСТ 31353.1 (раздел 10). 10 Расчеты10.1 Коррекция на фоновый шум Измеренные уровни звукового давления при работе образцового источника шума или вентилятора включают в себя фоновый шум. Фоновый шум вычитают из измеренного уровня звукового давления. Коррекция на фоновый шум зависит от разности между измеренным уровнем и уровнем фонового шума. Если разность в одной или более полосах частот менее 6 дБ, то измерения по настоящему стандарту недействительны. В этом случае необходимо уменьшить уровень звукового давления фонового шума или увеличить уровень звукового давления источника. Если это сделать невозможно, то коррекция на фоновый шум не может быть проведена и регистрируют суммарный уровень фонового шума и источника шума. Уровни звукового давления с учетом коррекции на фоновый шум определяют логарифмическим вычитанием по формулам: - уровень звукового давления вентилятора
- уровень звукового давления образцового источника шума
Примечание - Если уровень фонового шума более чем на 15 дБ ниже измеренного уровня звукового давления, то коррекцию на фоновый шум не проводят. 10.2 Уровень звуковой мощности LW Уровень звуковой мощности LW в каждой полосе частот рассчитывают по уровням звукового давления вентилятора и образцового источника шума по формулам, указанным в таблице 1 [см. также 6.1 и ГОСТ 31353.1 (таблица 2)]. Таблица 1 - Формулы для расчета уровней звуковой мощности в зависимости положения основного источника звукового излучения и типа компоновки вентилятора
Методика испытаний и приведенные расчеты основаны на следующих допущениях: a) акустическая энергия на выходе (входе) воздуховода, который выходит в соседнее помещение, не влияет на уровни звукового давления испытуемого вентилятора. Допущение действительно, если обеспечено необходимое снижение звука (потери) при передаче его из соседнего помещения в испытательное помещение; b) направленность излучения вентилятора компенсируется реверберацией в испытательном помещении, а микрофон расположен в таком месте, что он регистрирует общие средние уровни звукового давления; c) потери при передаче звука через стенку воздуховода достаточно велики, чтобы можно было пренебречь влиянием передающегося через стенки звука на измеренные в помещении уровни звукового давления; d) корпус вентилятора, опорные устройства или привод не имеют резонансов, которые давали бы значимые чистые тоны, влияющие на уровни звукового давления вентилятора. Приложение А
|
|||||||||||||||||||||||||||||||||||||||||||||||||||||||||||||||||||||||||||||||||||||||||||||||||||||||||||||||||||||||||||||||||||||||||||||||||||||||||||||||||||||||||||||||||||||||||||||||||||||||||||||||||||||||||||||||||||||||||||||||||||||||||||||||||||||||||||||||||||||||||||||||||||||||||||||||||||||||||||||||||||||||||||||||||||||||||||||||||||||||||||||||||||||||||||||||||||||||||||||||||||||||||||||||||||||||||||||||||||||||||||||||||||||||||||||||||||||||||||||||||||||||||||||||||||||||||||||||||||||||||||||||||||||||||||||||||||||||||||||||||||||||||||||||||||||||||||||||||||||||||||||||||||||||||||||||||||||||||
|
|
(А.1) |
где (Lpq)j - уровень звукового давления, усредненный по всем положениям микрофона при работе образцового источника шума в положении j, дБ;
- среднее значение Lpq, усредненное по j положениям образцового источника, дБ;
N - число положений образцового источника шума (не менее восьми).
А.5 Классификация
Для каждой полосы частот испытательное помещение признается пригодным для измерений широкополосного шума, если стандартное отклонение не превышает значений, указанных в таблице А.1.
Таблица А.1 - Максимальное допустимое стандартное отклонение s
|
Среднегеометрическая частота октавной полосы, Гц |
Среднегеометрическая частота третьоктавной полосы, Гц |
Максимально допустимое стандартное отклонение s, дБ |
|
63 |
От 50 до 80 включ. |
3,0 |
|
125 |
От 100 до 160 включ. |
1,5 |
|
250 и 500 |
От 200 до 630 включ. |
1,0 |
|
1000 и 2000 |
От 800 до 2500 включ. |
0,5 |
|
4000 и 8000 |
От 3150 до 10000 включ. |
1,0 |
В.1 Общие положения
Проверку проводят только в третьоктавных полосах частот со среднегеометрическими частотами от 100 до 2500 Гц включительно (см. таблицу В.1). Проверка не требуется для полос со среднегеометрическими частотами свыше 2500 Гц. Результаты проверки действительны только по отношению к определенному месту в камере и позволяют определить, для измерений в каких третьоктавных полосах данное место пригодно.
В.2 Аппаратура и оборудование
Аппаратура должна соответствовать требованиям ГОСТ 31353.1 со следующими дополнениями:
- в качестве испытательного источника шума применяют громкоговоритель(и) с плоской частотной характеристикой в диапазоне испытательных частот;
- перестраиваемый генератор частот должен иметь диапазон, покрывающий испытательные частоты, указанные в таблице В.1. Рекомендуется применять генератор с цифровой настройкой частоты;
- точность отсчета частоты должна быть ± 0,05 Гц;
- усилитель мощности должен быть согласован с громкоговорителем (ями);
- вольтметр для измерения напряжения сигнала, подаваемого на громкоговоритель, должен иметь точность на всех испытательных частотах ± 1 %.
В.3 Испытания
Испытания проводят в два этапа. На первом проверяют пригодность громкоговорителя, на втором - испытательного помещения. На обоих этапах измерения проводят на каждой испытательной частоте, и применяют одни и те же аппаратуру и оборудование.
В.3.1 Испытания громкоговорителя
Громкоговоритель располагают на полу в заглушённой камере со звукоотражающим полом диффузором
вверх. Микрофон ориентируют на центр громкоговорителя и устанавливают вдоль оси и на расстоянии от 10 до
Таблица В.1 - Испытательные частоты для проверки пригодности реверберационной камеры для измерений уровней звуковой мощности источников шума с существенными чистыми тонами (см. ГОСТ 31274)
|
Параметры |
Среднегеометрические частоты третьоктавных полос, Гц |
||||||||||||||
|
100 |
125 |
160 |
200 |
250 |
315 |
400 |
500 |
630 |
800 |
1000 |
1250 |
1600 |
2000 |
2500 |
|
|
Испытательные частоты |
- |
- |
147 |
- |
- |
- |
361 |
- |
- |
- |
- |
- |
1470 |
- |
- |
|
- |
113 |
148 |
- |
226 |
- |
364 |
- |
- |
- |
- |
1130 |
1480 |
- |
2260 |
|
|
- |
114 |
149 |
- |
228 |
- |
367 |
445 |
564 |
712 |
- |
1140 |
1490 |
- |
2280 |
|
|
90 |
115 |
150 |
180 |
230 |
285 |
370 |
450 |
570 |
720 |
900 |
1150 |
1500 |
1800 |
2300 |
|
|
91 |
116 |
151 |
182 |
232 |
288 |
373 |
455 |
576 |
728 |
910 |
1160 |
1510 |
1820 |
2320 |
|
|
92 |
117 |
152 |
184 |
234 |
291 |
376 |
460 |
582 |
736 |
920 |
1170 |
1520 |
1840 |
2340 |
|
|
93 |
118 |
153 |
186 |
236 |
294 |
379 |
465 |
588 |
744 |
930 |
1180 |
1530 |
1860 |
2360 |
|
|
94 |
119 |
154 |
188 |
238 |
297 |
382 |
470 |
594 |
752 |
940 |
1190 |
1540 |
1880 |
2380 |
|
|
95 |
120 |
155 |
190 |
240 |
300 |
385 |
475 |
600 |
760 |
950 |
1200 |
1550 |
1900 |
2400 |
|
|
96 |
121 |
156 |
192 |
242 |
303 |
388 |
480 |
606 |
768 |
960 |
1210 |
1560 |
1920 |
2420 |
|
|
97 |
122 |
157 |
194 |
244 |
306 |
391 |
485 |
612 |
776 |
970 |
1220 |
1570 |
1940 |
2440 |
|
|
98 |
123 |
158 |
196 |
246 |
309 |
394 |
490 |
618 |
784 |
980 |
1230 |
1580 |
1960 |
2460 |
|
|
99 |
124 |
159 |
198 |
248 |
312 |
397 |
495 |
624 |
792 |
990 |
1240 |
1590 |
1980 |
2480 |
|
|
100 |
125 |
160 |
200 |
250 |
315 |
400 |
500 |
630 |
800 |
1000 |
1250 |
1600 |
2000 |
2500 |
|
|
101 |
126 |
161 |
202 |
252 |
318 |
403 |
505 |
636 |
808 |
1010 |
1260 |
1610 |
2020 |
2520 |
|
|
102 |
127 |
162 |
204 |
254 |
321 |
406 |
510 |
642 |
816 |
1020 |
1270 |
1620 |
2040 |
2540 |
|
|
103 |
128 |
163 |
206 |
256 |
324 |
409 |
515 |
648 |
824 |
1030 |
1280 |
1630 |
2060 |
2560 |
|
|
104 |
129 |
164 |
208 |
258 |
327 |
412 |
520 |
654 |
832 |
1040 |
1290 |
1640 |
2080 |
2580 |
|
|
105 |
130 |
165 |
210 |
260 |
330 |
415 |
525 |
660 |
840 |
1050 |
1300 |
1650 |
2100 |
2600 |
|
|
106 |
131 |
166 |
212 |
262 |
333 |
418 |
530 |
666 |
848 |
1060 |
1310 |
1660 |
2120 |
2620 |
|
|
107 |
132 |
167 |
214 |
264 |
336 |
421 |
535 |
672 |
856 |
1070 |
1320 |
1670 |
2140 |
2640 |
|
|
108 |
133 |
168 |
216 |
266 |
339 |
424 |
540 |
678 |
864 |
1080 |
1330 |
1680 |
2160 |
2660 |
|
|
109 |
134 |
169 |
218 |
268 |
342 |
427 |
545 |
684 |
872 |
1090 |
1340 |
1690 |
2180 |
2680 |
|
|
110 |
135 |
170 |
220 |
270 |
345 |
430 |
550 |
690 |
880 |
1100 |
1350 |
1700 |
2200 |
2700 |
|
|
111 |
136 |
171 |
222 |
272 |
348 |
433 |
555 |
696 |
888 |
1110 |
1360 |
1710 |
2220 |
2720 |
|
|
- |
137 |
172 |
- |
274 |
- |
436 |
- |
702 |
- |
- |
1370 |
1720 |
- |
2740 |
|
|
- |
138 |
173 |
- |
276 |
- |
439 |
- |
- |
- |
- |
1380 |
1730 |
- |
2760 |
|
|
Приращение, Гц |
1 |
1 |
1 |
2 |
2 |
3 |
3 |
4 |
5 |
8 |
10 |
10 |
10 |
20 |
20 |
|
Допустимое отклонение приращения, Гц |
±0,3 |
±0,3 |
±0,3 |
±0,5 |
±0,5 |
±1 |
±1 |
±1,5 |
±2 |
±3 |
±3 |
±5 |
±5 |
±5 |
±5 |
|
Число испытательных частот ns |
22 |
26 |
27 |
22 |
26 |
22 |
27 |
23 |
24 |
23 |
22 |
26 |
27 |
22 |
26 |
В.3.2 Испытания камеры
Громкоговоритель устанавливают в камере в месте, где будет находиться испытуемый вентилятор или его часть, тыльной частью к ближайшей поверхности помещения. Подают на громкоговоритель то же напряжение, как при его испытаниях, и измеряют усредненные по пространству и времени уровни звукового давления LpS на испытательных частотах третьоктавных полос.
В.4 Расчеты
Уровни звуковых давлений LpS корректируют, исключая влияние ближнего звукового поля громкоговорителя путем вычитания уровней звукового давления громкоговорителя, определенных по В.3.1. Корректированное значение обозначают (LpS)k. Стандартное отклонение s, дБ, рассчитывают для каждой третьоктавной полосы по формуле
|
|
(B.1) |
где (LpS)k - корректированный уровень звукового давления (на данной испытательной частоте), дБ;
- среднеарифметическое значение, рассчитанное по значениям (LpS)k по всем nS испытательным частотам, дБ;
nS - число испытательных частот в заданной третьоктавной полосе.
В.5 Классификация
Место в реверберационной камере признается пригодным для измерений звука чистого тона в данной третьоктавной полосе, если стандартное отклонение s в этой полосе не превосходит значений, указанных в таблице В.2. Если третьоктавная полоса не соответствует классификации, то может потребоваться незначительно изменить местоположение микрофона, местоположение источника или звукопоглощение в камере.
Таблица В.2 - Максимально допустимое стандартное отклонение sr
|
Среднегеометрическая частота третьоктавной полосы, Гц |
Максимально допустимое стандартное отклонение sr, дБ |
|
От 100 до 160 включ. |
3,0 |
|
От 200 до 315 включ. |
2,0 |
|
От 400 до 630 включ. |
1,5 |
|
От 800 до 2500 включ. |
1,0 |
Уровни звуковой мощности вентилятора в соответствии с настоящим стандартом определяют в известной рабочей точке его аэродинамической характеристики. Длины измерительных воздуховодов должны соответствовать ГОСТ 10921. При проведении аэродинамических испытаний допускается некоторое изменение длин воздуховодов в большую или меньшую сторону. Необходимо обеспечить отсутствие резонансов для заданных длин воздуховодов вблизи характерных частот диапазона измерений, например, вблизи лопаточной частоты. Предпочтительно, чтобы со стороны вентилятора, где не выполняют измерения, воздуховод имел концевое поглощающее устройство. Компоновки вентилятора с присоединенными воздуховодами показаны на рисунке С.1.

1 - вентилятор; 2 - дросселирующее устройство (не является обязательным)
Рисунок С.1 - Компоновки вентилятора с воздуховодами
В настоящем приложении предполагается, что уровни звуковой мощности на входе и выходе вентилятора равны, хотя известно, что в общем случае это не так. Кроме того, в отличие от 10.2 учитываются поправки на концевые отражения в воздуховодах для каждого типа компоновки вентилятора. Однако с учетом вышеуказанного допущения и того, что поправки на концевое отражение могут быть определены лишь приближенно, расчетные формулы являются рекомендуемыми.
Для расчета уровней звуковой мощности на входе и выходе вентилятора в общем случае применяют формулы:
для компоновки типа В: свободный вход, выход в нагнетательный воздуховод
![]()
для компоновки типа С: вход из всасывающего воздуховода, свободный выход
![]()
для компоновки типа D: вход из всасывающего воздуховода, выход в нагнетательный воздуховод
![]()
Поправки на концевые отражения во входном и выходном воздуховодах определяют в соответствии с ГОСТ 31353.1 (приложение С).
Методика испытаний и приведенные формулы основаны на следующих допущениях:
a) направленность излучения вентилятора компенсируется реверберацией в испытательном помещении, а микрофон расположен в таком месте, что он регистрирует общие средние уровни звукового давления;
b) потери при передаче звука через стенку воздуховода велики настолько, что можно пренебречь влиянием передающегося через стенки звука на измеренные в помещении уровни звукового давления;
c) отсутствуют резонансы корпуса вентилятора, опорных конструкций или привода, которые давали бы существенные чистые тоны, влияющие на уровни звукового давления вентилятора;
d) наличие константы 3 в формулах является следствием предположения о равном распределении звуковой мощности между входом и выходом.
D.1 Конструкция акустического рупора (передающего элемента)
D.1.1 При измерениях при отсутствии потока используют акустический рупор любой формы или имеющий любое звукопоглощение, при которых обеспечивается значение коэффициента отражения звукового давления, не превышающее максимально допустимого [см. ГОСТ 31353.1 (таблица 4)].
D.1.2 При измерениях шума потока (регенерированного звука) важно, чтобы акустический рупор передавал как можно большую часть звуковой мощности в реверберационное помещение. Поэтому он должен иметь малый коэффициент отражения звукового давления и близкие к нулю диссипативные потери [см. ГОСТ 28100 (пункт 5.2.4.2)].
D.1.3 Акустический рупор не должен возбуждать шум потока (или регенерированный звук), который оказывал бы влияние на результаты измерений в реверберационном помещении.
D.1.4 Стенки акустического рупора должны иметь высокие потери при прохождении, чтобы исключить утечку звуковой энергии через них.
D.1.5 Для измерений шума потока пригоден жесткий рупор с углом раскрытия не более 15° и акустически жесткими стенками (рисунок D.1).

Рисунок D.1 - Схема акустического рупора
D.2 Определение коэффициента передачи акустического рупора
D.2.1 Коэффициент отражения по звуковому давлению акустического рупора определяют по формуле
|
|
(D.1) |
Коэффициент передачи τ рассчитывают по разности ∆L между максимальным и минимальным уровнями звукового давления стоячей волны в воздуховоде по формуле
|
|
(D.2) |
D.2.2 Рекомендуется измерять коэффициент передачи на чистом тоне в третьоктавных полосах от 50 Гц вплоть до частоты f0 возникновения первой поперечной моды в воздуховоде (критической частоты), определяемой по формулам:
для круглых воздуховодов
f0 = 0,586 с/d;
для прямоугольных воздуховодов
f0 = 0,5 с/l,
где с - скорость звука, м/с;
d - диаметр горловины акустического рупора с круглым поперечным сечением, м;
l - длина наибольшей стороны прямоугольного поперечного сечения по горловине акустического рупора, м.
Таблица Е.1
|
Раздел, подраздел, пункт, таблица, приложение |
Модификация |
|
Введение |
Исключено. |
|
Раздел 1 |
Исключены положения, не относящиеся к области применения. Раздел в ИСО 13347-2 имеет следующую редакцию: «1 Область применения Настоящая часть ИСО 13347 дает детальное описание методов определения уровней звуковой мощности вентилятора в реверберационном помещении. Она применяется в стандартных лабораторных условиях и очевидно, что испытания на месте установки приводят к возрастанию неопределенности. Методика испытаний не обязательно соответствует условиям испытаний на месте установки. Акустические эффекты являются сейчас объектом значительных исследований. ИСО 5136, который рассматривает метод испытаний в воздуховоде, и ИСО 10302 для малых вентиляторов применяют совместно с настоящей частью ИСО 13347» |
|
2 Нормативные ссылки |
Ссылка на ИСО 5801:1997 «Промышленные вентиляторы. Испытания для определения характеристик с использованием стандартных воздуховодов» заменена ссылкой на ГОСТ 10921-901) «Вентиляторы радиальные и осевые. Методы аэродинамических испытаний». Ссылка на ИСО 3741:1999 «Акустика. Определение уровней звуковой мощности источников шума по звуковому давлению. Точные методы для реверберационных камер» заменена ссылкой на ГОСТ 31274-20042) «Шум машин. Определение уровней звуковой мощности источников шума по звуковому давлению. Точные методы для реверберационных камер». Ссылки на ИСО 3743-1:1994 «Акустика. Определение уровней звуковой мощности источников шума по звуковому давлению. Технические методы для малых переносных источников шума в реверберационных полях. Часть 1. Метод сравнения в помещениях с жесткими стенами» и ИСО 3743-2:1994 «Акустика. Определение уровней звуковой мощности источников шума по звуковому давлению. Технические методы для малых переносных источников шума в реверберационных полях. Часть 2. Методы для специальных реверберационных камер» заменена ссылкой на ГОСТ 31276-20022) «Шум машин. Определение уровней звуковой мощности источников шума по звуковому давлению. Технические методы для малых переносных источников шума в реверберационных полях в помещениях с жесткими стенами и в специальных реверберационных камерах». Ссылка на ИСО 13347-1:2004 «Промышленные вентиляторы. Определение уровней звуковой мощности в стандартных лабораторных условиях. Часть 1. Общий обзор» заменена ссылкой на ГОСТ 31353.1-20072) «Шум машин. Вентиляторы промышленные. Определение уровней звуковой мощности в лабораторных условиях. Часть 1. Общая характеристика методов». Ссылка на ИСО 13347-3:2004 «Промышленные вентиляторы. Определение уровней звуковой мощности в стандартных лабораторных условиях. Часть 3. Метод охватывающей поверхности» заменена ссылкой на ГОСТ 31353.3-20072) «Шум машин. Вентиляторы промышленные. Определение уровней звуковой мощности в лабораторных условиях. Часть 3. Метод охватывающей поверхности». Ссылка на ИСО 13347-4:2004 «Промышленные вентиляторы. Определение уровней звуковой мощности вентилятора в стандартных лабораторных условиях. Часть 4. Метод звуковой интенсиметрии» заменена ссылкой на ГОСТ 31353.4-20072) «Шум машин. Вентиляторы промышленные. Определение уровней звуковой мощности в лабораторных условиях. Часть 4. Метод звуковой интенсиметрии». Ссылка на ИСО 5136:2003 «Акустика. Определение звуковой мощности, излучаемой в воздуховод вентиляторами и другими воздухоперемещающими устройствами. Метод испытательной трубы» заменена ссылкой на ГОСТ 31352-20072) «Шум машин. Определение уровня звуковой мощности, излучаемой в воздуховод вентиляторами и другими устройствами перемещения воздуха, методом измерительного воздуховода». Ссылка на ИСО 7235:2003 «Акустика. Лабораторные измерения для глушителей, установленных в воздуховодах, и оконечных воздухораспределяющих устройств. Вносимые потери, шум потока и падение полного давления» заменена ссылкой на ГОСТ 28100-20072) «Акустика. Измерения лабораторные для заглушающих устройств, устанавливаемых в воздуховодах, и воздухораспределительного оборудования. Вносимые потери, потоковый шум и падение полного давления». Ссылки на ИСО 10302, ИСО 13349, ИСО 13350, как не имеющие отечественных аналогов, исключены без замены. Ссылка на ИСО 3740, использованная в пункте 4.1.3 оригинала, заменена ссылкой на ГОСТ 31353.1-2007. Раздел дополнен ссылками на ГОСТ 31353.3-2007 и ГОСТ 31353.4-2007 |
|
Раздел 3 |
Исключена ссылка в первом абзаце на ИСО 13349, во втором абзаце нормативная ссылка на ИСО 10302 заменена библиографической ссылкой на этот стандарт. Исключен абзац, имеющий редакцию: «Размеры вентилятора ограничиваются только возможностями испытательной установки. Размеры вентилятора и его аэродинамические характеристики могут определять необходимые размеры испытательного помещения». Абзац исключен как избыточный, поскольку в разделе 4 приведены ограничения по размерам вентилятора |
|
Раздел 4 |
Исключены: - ссылка на ИСО 13350 и информация о типах компоновки вентилятора, поскольку она дублирует ГОСТ 31353.1-2007, который применяют совместно с настоящим стандартом; - фраза «Объем вентилятора должен быть менее 2 % объема испытательного помещения» в связи с тем, что ограничения на размеры испытуемого объекта и размеры испытательного помещения противоречат ГОСТ 31274 и ГОСТ 31276 |
|
4.1.3 |
Изменены заголовок и текст, имеющие в ИСО 13347-2 редакцию: «4.1.3 Неопределенность Согласно техническому методу, как указано в ИСО 3740». Редакция изменена, так как необходимая информация приведена в ГОСТ 31353.1-2007, совместно с которым применяют настоящий стандарт, в связи с чем ссылка на ИСО 3740 является излишней |
|
4.1.4 |
Указано, что измерения выполняют в октавных, а не в третьоктавных полосах частот, как ошибочно указано в оригинале. Оригинал противоречит ИСО 13347-1 (раздел 5, примечание 3) и своему разделу 6, где указано, что в основу положен ИСО 3743, в котором измерения выполняют только в октавных полосах частот |
|
8.1 |
Исключена первая фраза: «Разрешается большое число испытательных установок». Изменена редакция второй фразы, имеющей в ИСО 13348-2 редакцию: «Они обусловлены направлением потока и конфигурацией объекта испытаний» |
|
8.6 |
Последний абзац оформлен в виде примечания, так как не содержит требований к длине воздуховодов, а дает пояснения о возможности применения альтернативных методов |
|
8.7 |
В примечании 2 исправлена ошибка оригинала: вместо 400 Гц указана частота 500 Гц. |
|
Таблица А.1 |
Исправлена ошибка оригинала в третьей строке второго столбца: вместо частоты 2500 Гц указана частота 630 Гц |
|
А.4 |
В формуле обозначение ns заменено на n, чтобы исключить использование одинаковых обозначений в А.4 и В.4 для разных величин |
|
В.2 |
Перечисление 5) приведено в соответствие с ГОСТ 31274: точность вольтметра указана по 1 % вместо 0,05 % в ИСО 13347-2. |
|
Таблица В.1 |
Заменена на соответствующую таблицу из ГОСТ 31274. Таблица оригинала заимствована из отмененного ИСО 3742 и содержит ошибки в значениях испытательных частот |
|
Приложение С |
Исключен абзац перед рисунком С.1, имеющий редакцию: «Хотя очевидно, что уровни звуковой мощности на входе и выходе вентилятора в общем случае не равны, необходимо сделать некоторые предположения (допущения) о соотношении этих уровней, чтобы применить поправку на концевое отражение». Абзац исключен в связи с тем, что не требует от пользователя стандарта никаких действий при применении приведенных в приложении формул |
|
Библиография |
Исключены источники, на которые нет ссылок в ИСО 13347-2 (15 источников). Введена ссылка ИСО 10302 |
|
1) Степень соответствия - NEQ. 2) Степень соответствия - MOD. |
|
|
[1] ИСО 10302:1996 |
Акустика. Метод измерения шума малых воздухоперемещающих устройств |
|
(ISO 10302:1996) |
(Acoustics - Method for measurement of airborne noise emitted by small air-moving devices) |
Ключевые слова: шум машин, промышленные вентиляторы, тип компоновки вентилятора, уровень звуковой мощности, реверберационный метод, рабочая точка, частота вращения, концевое отражение, поправка на концевое отражение, концевое поглощающее устройство, акустический рупор, неопределенность измерений, образцовый источник шума, калибровка образцового источника шума
|
ГОСТЫ, СТРОИТЕЛЬНЫЕ и ТЕХНИЧЕСКИЕ НОРМАТИВЫ. Некоммерческая онлайн система, содержащая все Российские Госты, национальные Стандарты и нормативы. В Системе содержится более 150000 файлов нормативно-технической документации, действующей на территории РФ. Система предназначена для широкого круга инженерно-технических специалистов. Copyright © www.gostrf.com, 2008 - 2026 |