Крупнейшая бесплатная информационно-справочная система онлайн доступа к полному собранию технических нормативно-правовых актов РФ. Огромная база технических нормативов (более 150 тысяч документов) и полное собрание национальных стандартов, аутентичное официальной базе Госстандарта. GOSTRF.com - это более 1 Терабайта бесплатной технической информации для всех пользователей интернета. Все электронные копии представленных здесь документов могут распространяться без каких-либо ограничений. Поощряется распространение информации с этого сайта на любых других ресурсах. Каждый человек имеет право на неограниченный доступ к этим документам! Каждый человек имеет право на знание требований, изложенных в данных нормативно-правовых актах!

  


 

Российское открытое акционерное общество энергетики и электрификации

"ЕЭС России"

ПРИКАЗ

13.03.2008 № 106

Об утверждении и вводе в действие

Стандарта организации ОАО РАО "ЕЭС России"

"Гидротехнические сооружения ГЭС и ГАЭС. Организация эксплуатации

и технического обслуживания. Нормы и требования"

В соответствии с решением Правления ОАО РАО "ЕЭС России" (протокол заседания от 22.11.2004 № 1106пр/2), НП "Гидроэнергетика России" разработан стандарт организации ОАО РАО "ЕЭС России" "Гидротехнические сооружения ГЭС и ГАЭС. Организация эксплуатации и технического обслуживания. Нормы и требования".

Проект стандарта прошел процедуры, предусмотренные "Положением о порядке разработки, рассмотрения и утверждения технических стандартов организации корпоративного уровня в ОАО РАО "ЕЭС России". Центральная комиссия ОАО РАО "ЕЭС России" по техническому регулированию приняла решение об утверждении Стандарта (протокол от 11.12. 2007 № 9).

ПРИКАЗЫВАЮ:

1. Утвердить Стандарт ОАО РАО "ЕЭС России" СТО 17330282.27.140.003-2008 "Гидротехнические сооружения ГЭС и ГАЭС. Организация эксплуатации и технического обслуживания. Нормы и требования" (далее - Стандарт) согласно приложению 1.

2. Ввести Стандарт в действие с 15 марта 2008 года.

3. Бизнес-единице "Гидрогенерация" (Синюгину В.Ю.), Бизнес-единице № 1 (Чикунову А.В.), Бизнес-единице № 2 (Аветисяну В.Е.), ОАО "СО ЕЭС" Аюеву Б.И., Бизнес-единице "Сервис" (Воронину В.П.) обеспечить рассмотрение Советами директоров ДЗО ОАО РАО "ЕЭС России" (далее - ДЗО), а также Советами директоров обществ дочерних и зависимых по отношению к ДЗО (далее - ВЗО) вопроса о присоединении указанных ДЗО/ВЗО к Стандарту.

4. Установить, что решение Совета директоров ДЗО/ВЗО по вопросу "О присоединении к Стандарту" должно содержать указание на присоединение ДЗО/ВЗО к Стандарту и положение о том, что Стандарт является локальным нормативным актом ДЗО/ВЗО.

5. Отменить действие в Холдинге нормативных документов согласно приложению 2 и исключить их из Реестра действующих в электроэнергетике НТД, утвержденного приказом ОАО РАО "ЕЭС России" от 14.08.2003 № 422 "О пересмотре нормативно-технических документов (НТД) и порядке их действия в соответствии с ФЗ "О техническом регулировании".

6. Руководителям Бизнес-единицы "Гидрогенерация", Бизнес-единицы № 1, Бизнес-единицы № 2, ОАО "СО ЕЭС" обеспечить до 15 апреля 2008 г. внесение изменений в действующую нормативную и техническую документацию с учетом требований Стандарта.

7. Некоммерческому партнерству "ИНВЭЛ" (Левцеву А.М.), Дирекции организации, методологии конкурсных закупок и стандартизации (Романову А.А.) обеспечить регистрацию и учет Стандарта в системе Информационного фонда по техническому регулированию и внести в реестр документов по техническому регулированию в электроэнергетике.

8. Департаменту по взаимодействию со СМИ (Нагога М.Г.), Дирекции организации, методологии конкурсных закупок и стандартизации (Романову А.А.) обеспечить размещение на сайте ОАО РАО "ЕЭС России" уведомления об утверждении и вводе в действие Стандарта в соответствии с действующим порядком.

9. Контроль за исполнением настоящего приказа возложить на члена Правления, заместителя технического директора - главного технического инспектора ОАО РАО "ЕЭС России" Паули В.К.

Заместитель
Председателя Правления                                                                                          Я.М. Уринсон

СТАНДАРТ ОРГАНИЗАЦИИ ОАО РАО "ЕЭС РОССИИ"

ГИДРОТЕХНИЧЕСКИЕ СООРУЖЕНИЯ ГЭС И ГАЭС.

ОРГАНИЗАЦИЯ ЭКСПЛУАТАЦИИ И ТЕХНИЧЕСКОГО ОБСЛУЖИВАНИЯ.

НОРМЫ И ТРЕБОВАНИЯ

СТО 17330282.27.140.003-2008

Дата введения - 2008-04-15

Предисловие

Цели и принципы стандартизации в Российской Федерации установлены Федеральным законом от 27.12.2002 г. № 184-ФЗ "О техническом регулировании", а правила применения стандарта организации - ГОСТ Р 1.4-2004 "Стандартизация в Российской Федерации. Стандарты организаций. Общие положения".

Сведения о стандарте

1. РАЗРАБОТАН НП "Гидроэнергетика России", ОАО "ВНИИГ им. Б.Е. Веденеева".

2. ВНЕСЕН НП "Гидроэнергетика России"

3. ПРИНЯТ И ВВЕДЕН В ДЕЙСТВИЕ приказом ОАО РАО "ЕЭС России" от 13.03.2008 № 106

4. ВВОДИТСЯ ВПЕРВЫЕ

Введение

Стандарт организации ОАО РАО "ЕЭС России" "Гидротехнические сооружения ГЭС и ГАЭС. Организация эксплуатации и технического обслуживания. Нормы и требования" (далее - Стандарт) разработан в соответствии с требованиями Федерального закона № 184-ФЗ "О техническом регулировании".

Стандарт направлен на повышение безопасности эксплуатации гидротехнических сооружений ГЭС и ГАЭС.

При разработке Стандарта использованы относящиеся к области его применения действовавшие в электроэнергетике нормативно-технические документы или отдельные разделы этих документов. В Стандарт включены апробированные, подтвержденные опытом эксплуатации технические нормы, методики и рекомендации по эксплуатации гидротехнических сооружений, уточнены применительно к гидроэлектростанциям действующие порядок и правила работы при осуществлении технического обслуживания ГТС.

Требования Стандарта исходят из комплексной оценки элементов сооружений и их конструктивных узлов на работоспособность и безопасность гидроэнергообъекта в целом.

Установленные Стандартом нормы и требования при техническом обслуживании гидротехнических сооружений учитывают подтвержденные опытом эксплуатации потенциальные опасности и сценарии развития опасных ситуаций с учетом требований безопасности.

В Стандарте не рассмотрены требования и нормы технического обслуживания механического оборудования и контрольно-измерительной аппаратуры (КИА), которые сформулированы в других стандартах.

Стандарт должен быть пересмотрен в случаях ввода в действие новых технических регламентов и национальных стандартов, содержащих не учтенные в Стандарте требования, а также при необходимости введения новых требований и рекомендаций, обусловленных развитием новой техники.

1 Область применения

1.1 Стандарт устанавливает требования к организации эксплуатации гидротехнических сооружений ГЭС и ГАЭС, определяет методики, которые следует применять при оценке технического состояния ГТС (диагностике), к назначению мероприятий по повышению безопасности ГТС, формулирует требования к эксплуатационному персоналу.

1.2 Субъектами, на которые распространяется действие Стандарта, являются все организации (общества, компании), входящие в структуру ОАО РАО "ЕЭС России", осуществляющие функции эксплуатирующей организации, а также:

- проектные, конструкторские, научно-исследовательские организации, проводящие исследования по обеспечению безопасности гидротехнических сооружений;

- строительные, монтажные, промышленные и иные организации, в любой форме привлекаемые заказчиком к эксплуатации и реконструкции гидротехнических сооружений;

- специализированные организации, осуществляющие экспертный анализ состояния гидротехнических сооружений и в установленном порядке участвующие в контроле безопасности эксплуатируемых гидротехнических сооружений.

1.3 В Стандарте излагаются требования к техническому обслуживанию гидротехнических сооружений, включая проведение текущих и капитальных ремонтов, организации приемки сооружений из капитального ремонта.

1.4 В Стандарте излагаются общие требования к приемке в эксплуатацию вновь построенных и реконструированных гидротехнических сооружений, имея в виду, что более детально эти вопросы изложены в стандарте [1].

1.5 В соответствии с Федеральным законом "О безопасности гидротехнических сооружений" в стандарте излагаются нормы и правила консервации и ликвидации сооружений.

1.6 Стандарт распространяется на следующие типы ГТС:

- плотины бетонные и железобетонные (гравитационные, контрфорсные, арочные, водосбросные на нескальном основании);

- плотины из грунтовых материалов (однородные, неоднородные, с экраном, с ядром, с диафрагмой, намывные, каменно-земляные и каменно-набросные, вечномерзлые);

- подводящие и отводящие каналы и сооружения на них (отстойники, шугосбросы и др.);

- подводящие и отводящие туннели (напорные и безнапорные);

- подпорные стены и устои, примыкания;

- ограждающие дамбы бассейнов ГАЭС.

В Стандарте изложены общие требования к обеспечению безопасности ГТС в соответствии с Федеральным законом "О безопасности гидротехнических сооружений" и Правилами технической эксплуатации электростанций и сетей, а также:

- обеспечение безопасности ГТС при пропуске высоких паводков;

- требования к безопасности ГТС в морозный период, при пропуске льда через сооружения;

- требования к безопасности ГТС в сейсмоопасных районах.

1.6 Стандарт в соответствии с Правилами технической эксплуатации электрических станций и сетей устанавливает порядок и правила технического контроля гидротехнических сооружений путем их периодических осмотров, освидетельствований и обследований.

Установленные Стандартом требования и нормы являются обязательными при техническом обслуживании гидротехнических сооружений.

Применение изложенных требований и норм осуществляется в соответствии с методическими рекомендациями, помещенными в приложениях к Стандарту.

1.7 Требования Стандарта являются минимально необходимыми для обеспечения безопасности эксплуатируемых ГТС, если они используются по прямому назначению в соответствии с эксплуатационными инструкциями, не противоречащими проектной документации, на протяжении срока, установленного проектной документацией, с учетом возможных нештатных (опасных) ситуаций.

1.8 Стандарт не учитывает всех особенностей конструкций ГТС и условий их эксплуатации. В развитие Стандарта на каждой ГЭС и ГАЭС должны быть разработаны и утверждены в установленном порядке стандарты ГЭС (производственные инструкции), не противоречащие нормативно-правовым документам, Стандарту и проектной документации.

1.9 При составлении стандарта ГЭС (производственной инструкции) следует руководствоваться также стандартом [2].

2 Нормативные ссылки

В Стандарте использованы следующие законодательные и нормативно-правовые документы:

Федеральный Закон РФ "О техническом регулировании" от 27.12.2002 г. № 184-ФЗ

Федеральный Закон РФ "О безопасности гидротехнических сооружений" от 21.07.1997 г. № 117-ФЗ

Постановление Правительства РФ от 16.10.1997 г. № 1320 "Об организации государственного надзора за безопасностью гидротехнических сооружений"

Постановление Правительства Российской Федерации от 23.05.1998 г. № 490; Приказ МПР России от 10.08.1998 № 191 "О порядке формирования и ведения Российского регистра гидротехнических сооружений"

Постановление Правительства РФ от 06.10.1998 г. № 1303 "Об утверждении Положения о декларировании гидротехнических сооружений"

Постановление Правительства РФ от 22.02.1999 г. № 237 "Об утверждении Положения об эксплуатации гидротехнического сооружения и обеспечении безопасности гидротехнического сооружения, разрешение на строительство и эксплуатацию которого аннулировано, а также гидротехнического сооружения, подлежащего консервации, ликвидации либо не имеющего собственника"

Постановление Правительства РФ от 11.07.2001 г. № 526 "О реформировании электроэнергетики Российской Федерации"

Правила технической эксплуатации электрических станций и сетей РФ. (Утверждены Приказом Минэнерго России № 229 от 19.06.2003 г.; зарегистрированы Минюстом РФ № 4799 20.06.2003 г.)

ГОСТ Р 1.4-2004 Стандартизация в Российской Федерации. Стандарты организации. Общие положения

ГОСТ Р 1.5-2004 Стандартизация в Российской Федерации. Стандарты национальные Российской Федерации. Правила построения, изложения, оформления и обозначения

ГОСТ 27.002-89 Надежность в технике. Основные понятия. Термины и определения

Примечание - При пользовании Стандартом целесообразно проверить действие ссылочных стандартов и классификаторов в информационной системе общего пользования - на официальном сайте национального органа Российской Федерации по стандартизации в сети Интернет или по ежегодно издаваемому информационному указателю "Национальные стандарты", который опубликован по состоянию на 1 января текущего года, и по соответствующим ежемесячно издаваемым информационным указателям, опубликованным в текущем году. Если ссылочный документ заменен (изменен), то при пользовании настоящим стандартом следует руководствоваться замененным (измененным) документом. Если ссылочный документ отменен без замены, то положение, в котором дана ссылка на него, применяется в части, не затрагивающей эту ссылку.

3 Термины и определения

В Стандарте применены термины по следующим законодательным и нормативно-правовым документам:

Федеральный Закон РФ "О безопасности гидротехнических сооружений" от 21 июля 1997 г. № 117-ФЗ

ГОСТ 19431-84 Энергетика и электрификация. Термины и определения

ГОСТ 19179-73 Гидрология суши. Термины и определения

СНиП 33-01-2003 Гидротехнические сооружения. Основные положения

а также следующие термины с соответствующими определениями:

3.1 безопасность гидротехнического сооружения: Свойство гидротехнического сооружения, определяющее его защищенность от внутренних и внешних угроз или опасностей и препятствующее возникновению на объекте источника техногенной опасности для жизни, здоровья и законных интересов людей, состояния окружающей среды, хозяйственных объектов и собственности.

3.1.1 показатели безопасности гидротехнического сооружения: Количественные показатели, характеризующие вероятности реализации либо нарушения установленных критериев безопасности гидротехнического сооружения.

3.1.2 уровень безопасности гидротехнического сооружения: Степень соответствия состояний гидротехнического сооружения и окружающей среды установленным критериям безопасности, принятым с соблюдением действующих норм проектирования, а квалификации эксплуатационного персонала и действий собственника (эксплуатирующей организации) - требованиям правил технической эксплуатации и действующего законодательства по техногенной и экологической безопасности.

3.1.3 нормальный уровень безопасности гидротехнического сооружения: Уровень безопасности гидротехнического сооружения, при котором значения критериев безопасности не превышают предельно допустимых для работоспособного состояния сооружения и основания, а эксплуатация осуществляется в соответствии с проектом и правилами эксплуатации без нарушений действующих законодательных актов, норм и правил, а также предписаний органов надзора.

3.1.4 пониженный уровень безопасности гидротехнического сооружения: Уровень безопасности гидротехнического сооружения, собственник (эксплуатирующая организация) которого допускает нарушения правил технической эксплуатации, невыполнение первоочередных мероприятий или неполное выполнение предписаний органов государственного надзора по обеспечению безопасности гидротехнического сооружения.

3.1.5 неудовлетворительный уровень безопасности гидротехнического сооружения: Уровень безопасности гидротехнического сооружения, эксплуатирующегося в условиях снижения механической или фильтрационной прочности, превышения предельно допустимых значений критериев безопасности для работоспособного состояния, других отклонений от проектного состояния, способных привести к возникновению аварии.

3.1.6 критический уровень безопасности гидротехнического сооружения: Уровень безопасности гидротехнического сооружения, эксплуатация которого происходит в условиях развивающихся процессов снижения прочности и устойчивости элементов конструкции и основания, превышения предельно допустимых значений критериев безопасности, характеризующих переход от частично неработоспособного к неработоспособному состоянию гидротехнического сооружения либо его основания.

3.2 берма: Горизонтальная площадка (уступ) на откосах плотин, каналов, укрепленных берегов и т.п. для придания устойчивости вышележащей части сооружений и улучшения условий их эксплуатации.

3.3 водобой: Крепление русла за водопропускным сооружением, на котором происходит гашение основной части избыточной кинетической энергии потока и которое воспринимает его динамическое воздействие.

3.4 водоприемник: Часть водозаборного сооружения, служащая для непосредственного приема воды из водного объекта.

3.5 водопропускное сооружение: Сооружение, предназначенное для пропуска воды в заданном направлении.

3.6 гидротехническое сооружение, гидросооружение: Сооружение, подвергающееся воздействию водной среды, предназначенное для использования и охраны водных ресурсов, предотвращения вредного воздействия вод, в том числе загрязненных жидкими отходами.

3.7 гидротехнический туннель, туннель: Водовод замкнутого поперечного сечения, устроенный в горных породах без вскрытия вышележащего массива.

3.8 гидротехнический отстойник, отстойник: Сооружение, служащее для осаждения содержащихся в воде наносов и последующего их удаления.

3.9 государственный надзор за безопасностью гидротехнических сооружений: Организация и проведение уполномоченными государственными органами исполнительной власти периодических инспекций (проверок) гидротехнических сооружений с целью установления соответствия их состояния и уровня эксплуатации требованиям безопасности.

3.10 гидродинамическая авария: Авария на гидротехническом сооружении, связанная с распространением с большой скоростью воды и создающая угрозу возникновения техногенной чрезвычайной ситуации.

3.11 дамба: Гидротехническое сооружение для защиты территории от затопления, ограждения искусственных водоемов и водотоков, направленного отклонения потока воды.

3.12 декларация безопасности гидротехнического сооружения: Документ, составляемый собственником гидротехнического сооружения или эксплуатирующей организацией, в котором обосновывается безопасность гидротехнического сооружения и определяются меры по ее обеспечению в соответствии с классом сооружения.

3.13 деривация: Совокупность сооружений, осуществляющих отвод воды из естественного русла или водохранилища с целью создания сосредоточенного перепада уровней воды.

3.14 дренаж: Устройство для частичного или полного перехвата фильтрационного потока в основании или внутри водоподпорного сооружения, сбора и отвода профильтровавшихся вод.

3.15 канал: Водовод незамкнутого поперечного сечения в виде искусственного русла в грунтовой выемке и/или насыпи.

3.16 критерии безопасности гидротехнического сооружения: Предельные значения количественных и качественных диагностических показателей состояния гидротехнического сооружения и условий его эксплуатации, соответствующие допустимому уровню риска аварии гидротехнического сооружения и утвержденные в установленном порядке федеральными органами исполнительной власти, осуществляющими государственный надзор за безопасностью гидротехнических сооружений.

3.17 консервация гидротехнического сооружения: Комплекс мероприятий, направленных на полное прекращение выполнения гидротехническим сооружением функций по регулированию использования водных ресурсов и защите от вредного воздействия вод и осуществление комплекса организационных и технических мер, обеспечивающих безопасность гидротехнического сооружения, его материальную сохранность, предотвращение его разрушения, а также его работоспособность после расконсервации.

3.18 ликвидация гидротехнического сооружения: Комплекс мероприятий по демонтажу, сносу и перепрофилированию гидротехнического сооружения, приведению занимавшейся им территории, включая соответствующую часть водного объекта, в состояние, безопасное для людей и окружающей среды.

3.19 надежность гидротехнического сооружения: Интегральное свойство гидротехнического сооружения, характеризующее его способность выполнять требуемые функции при установленных режимах и условиях эксплуатации, технического обслуживания и ремонта в течение заданного периода времени, сохраняя при этом в установленных пределах значения всех параметров, определяющих эти функции.

3.20 напор на сооружение: Разность между полной удельной энергией потока в верхнем бьефе и удельной потенциальной энергией в нижнем бьефе.

3.21 напорный бассейн: Водоем для сопряжения безнапорной деривации (канала, туннеля, лотка) с турбинными трубопроводами деривационной ГЭС.

3.22 плотина: Водоподпорное сооружение, перегораживающее водоток и (иногда) долину водотока для подъема уровня воды.

3.22.1 глухая плотина: Плотина или ее часть, в которой отсутствуют устройства для пропуска воды.

3.22.2 водосбросная плотина: Плотина или ее часть, выполняющая функции водосбросного сооружения.

3.22.23 водосливная плотина: Водосбросная плотина, пропуск воды через гребень которой осуществляется со свободной поверхностью потока.

3.22.4 гравитационная плотина: Плотина, устойчивость которой обеспечивается силами сопротивления сдвигу, зависящими, в основном, от веса сооружения и водной пригрузки.

3.22.5 арочная плотина: Криволинейная в плане бетонная плотина, устойчивость которой обеспечивается, в основном, путем опирания на скальные береговые массивы.

3.22.6 арочно-гравитационная плотина: Криволинейная в плане бетонная плотина, устойчивость которой обеспечивается как путем опирания на скальные береговые массивы, так и силами сопротивления сдвигу, зависящими от веса сооружения.

3.22.7 контрфорсная плотина: Плотина, устойчивость которой обеспечивается силами сопротивления сдвигу вертикальных стен-контрфорсов, воспринимающих через опертую на них напорную грань давление воды.

3.22.8 грунтовая плотина: плотина из грунтовых материалов.

3.22.9 земляная плотина: Плотина из грунтовых материалов, тело которой возведено из глинистых, песчаных, гравелисто-галечных грунтов.

3.22.10 каменноземляная плотина: Плотина из грунтовых материалов, тело которой состоит частично из песчаных или глинистых грунтов, а частично - из крупно-обломочных грунтов.

3.23 подпорный уровень (ПУ): Уровень воды, устанавливающийся в верхнем бьефе в результате преграждения или стеснения русла сооружениями.

3.23.1 нормальный подпорный уровень (НПУ): Наивысший подпорный уровень, который может поддерживаться в нормальных условиях эксплуатации подпорного сооружения в любое время года.

3.23.2 форсированный подпорный уровень (ФПУ): Подпорный уровень выше нормального, допускаемый в верхнем бьефе в особых условиях эксплуатации гидротехнических сооружений при сбросе паводков малой обеспеченности

3.24 рисберма: Расположенный за водобоем участок крепления нижнего бьефа, предназначенный для гашения остаточной энергии потока и защиты водобоя от подмыва.

23.25 риск аварий на гидротехническом сооружении: Комбинация вероятностей возникновения аварий на гидротехническом сооружении и их ожидаемых последствий для жизни и здоровья людей, собственности и окружающей среды.

3.26 суффозионная устойчивость: Сохранение первоначальной структуры грунта (грунтового материала) при заданной интенсивности фильтрационного потока.

3.27 фильтрационная прочность: Способность самого сооружения и/или его основания сопротивляться разрушающему воздействию фильтрационного потока, проявляющемуся в виде механической или химической суффозии.

3.28 шугосброс: Водопропускное сооружение, предназначенное для предотвращения попадания шуги в закрытый водовод и ее сброса в нижний бьеф.

3.29 эксплуатирующая организация: Организация любой организационно-правовой формы, осуществляющая техническую эксплуатацию и обслуживание на праве собственности, хозяйственного ведения или оперативного управления, аренды либо ином законном основании.

4 Обозначения и сокращения

ГАЭС - гидроаккумулирующая электрическая станция;

ГТС - гидротехнические сооружения;

ГЭС - гидравлическая электрическая станция;

КИА - контрольно-измерительная аппаратура;

НДС - напряженно-деформированное состояние (напряженно-деформированное состояние сооружения);

НПУ - нормальный подпорный уровень;

ОГК - оптовые генерирующие компании;

ПУ - подпорный уровень;

ПДЗ - предельно-допустимые значения (предельно-допустимые значения критериальных показателей состояния сооружения);

ПТЭ - Правила технической эксплуатации (Правила технической эксплуатации электрических станций и сетей);

ТГК - территориальные генерирующие компании;

УМО - уровень мертвого объема;

ФПУ - форсированный подпорный уровень.

5 Организация эксплуатации гидротехнических сооружений ГЭС и ГАЭС

5.1 Основные положения и задачи

5.1.1 Основной задачей эксплуатации гидротехнических сооружений является обеспечение их безопасности, работоспособного состояния, при соблюдении норм безопасности, требований охраны окружающей среды и создании условий для бесперебойной и экономичной работы основного технологического оборудования гидроэлектростанций.

5.1.2 Эксплуатация гидротехнических сооружений ГЭС осуществляется подразделениями эксплуатационной службы, организуемыми в соответствии с принятой производственной структурой. Для осуществления систематического контроля за состоянием и работой гидротехнических сооружений в составе эксплуатационного подразделения должна быть создана группа наблюдений (или назначены специалисты-смотрители). Деятельность подразделений технической и эксплуатационной службы и группы наблюдений регламентируется местными производственными и должностными инструкциями (стандартами ГЭС).

Гидротехнические сооружения закрепляются за инженерно-техническими работниками, несущими ответственность за их эксплуатацию.

5.1.3 Эксплуатационные подразделения должны обеспечивать безопасное работоспособное состояние и безаварийную работу гидротехнических сооружений, для чего надлежит проводить:

- систематические наблюдения за состоянием гидротехнических сооружений, в том числе регулярные инструментальные измерения с целью оценки их состояния и своевременного выявления повреждений и организации ремонтных работ;

- разработку и выполнение мероприятий, обеспечивающих эффективность эксплуатации гидротехнических сооружений и уменьшающих отрицательное экологическое влияние на окружающую среду;

- своевременное проведение ремонтных работ.

5.1.4 На каждой ГЭС должна быть техническая документация, отражающая проектные и фактические параметры гидротехнических сооружений, изменения, произведенные в их конструкциях или происшедшие в условиях работы, действительное состояние сооружений и правила их эксплуатации, удовлетворяющие требованиям безопасной эксплуатации гидротехнических сооружений. Перечень технической документации определен действующими правилами технической эксплуатации электрических станций и сетей, а также [2].

В состав технической документации должны входить:

- акты отвода земельных участков;

- акты приемки скрытых работ, сооружений и их элементов, в том числе закладной контрольно-измерительной аппаратуры;

- акты государственной и рабочих приемочных комиссий;

- утвержденная проектная документация со всеми последующими изменениями (с чертежами и пояснительной запиской), в том числе проект наблюдений;

- технические паспорта гидротехнических сооружений;

- исполнительные чертежи;

- проектная, заводская и эксплуатационная документация по контрольно-измерительной аппаратуре;

- журналы авторского надзора периода строительства;

- правила эксплуатации водохранилищ, правила использования водных ресурсов водохранилищ;

- местные инструкции по эксплуатации гидротехнических сооружений и их механического оборудования (стандарт ГЭС), в том числе инструкции по контролю их состояния (наблюдения по контрольно-измерительной аппаратуре и осмотры);

- журналы осмотров и инструментальных наблюдений за гидротехническими сооружениями и их отдельными элементами;

- декларация безопасности и критерии безопасности гидротехнических сооружений, принятые и утвержденные органами государственного надзора;

- разрешение на эксплуатацию гидротехнических сооружений.

5.1.5 На каждой эксплуатируемой ГЭС на основе настоящего Стандарта составляется стандарт ГЭС (производственная инструкция) по эксплуатации гидротехнических сооружений, учитывающий их особенности и содержащий конкретные требования по эксплуатации гидротехнических сооружений данной ГЭС. При эксплуатации каскада ГЭС, имеющего единое управление и обслуживаемых общим эксплуатационным подразделением, может составляться единый стандарт на весь каскад с указанием особенностей эксплуатации сооружений каждого гидроузла. Стандарт ГЭС утверждается в установленном порядке.

5.1.6 При разработке производственных инструкций (стандартов ГЭС) необходимо учитывать требования настоящего Стандарта и стандартов ОАО РАО "ЕЭС России" [1-9].

5.1.7 Безопасность производства ремонтных и других работ обеспечивается в соответствии со стандартом [3].

В стандарте ГЭС (производственной инструкции) должны быть отражены дополнительные меры безопасности, обусловленные особенностями конструкции и эксплуатационных режимов гидротехнических сооружений данной ГЭС.

5.1.8 Стандарт ГЭС (производственная инструкция) должна содержать следующие материалы:

- краткую характеристику района расположения гидротехнических сооружений, в том числе данные о сейсмичности района;

- краткую характеристику гидротехнических сооружений, их назначение и эксплуатационные функции;

- краткую характеристику материалов для гидротехнических сооружений, их оснований и береговых примыканий (марки бетона, характеристики грунтов и т.п.);

- перечень всех перекрытий, площадок, берм и мостов с указанием их отметок, допустимых нагрузок и дорожных габаритов;

- порядок эксплуатации гидротехнических сооружений при нормальных условиях работы, при пропуске паводков и половодий, в морозный период и в аварийных условиях;

- порядок подготовки и проведения ремонта гидротехнических сооружений;

- краткую гидрологическую характеристику используемых водных ресурсов (водотока) и водохозяйственную схему ГЭС;

- бытовые среднемноголетние даты (половодья - начало, пик и окончание; появления шуги; замерзания бьефа);

- значения характерных бытовых расходов воды при весеннем половодье в створе ГЭС (среднемноголетний из максимальных наблюденных, среднемесячные расходы воды, максимальный и минимальный из наблюденных расходов);

- значения максимальных расходов воды, трансформированных водохранилищем, обеспеченность которых по действующим нормативам является расчетной для сооружений данной ГЭС;

- значения максимальных расходов, пропускаемых через каждое сооружение, включая турбины ГЭС и шлюзы, при нормальном и форсированном подпорных уровнях;

- отметки предельных и рабочих уровней верхнего и нижнего бьефов ГЭС;

- зависимости объемов и площадей зеркала водохранилища от уровня верхнего бьефа с указанием полезного объема водохранилища при нормальном подпорном уровне;

- зависимости уровня нижнего бьефа от расходов в летнее и зимнее время с отметкой наименьшего судоходного уровня;

- тарировочные характеристики (графики или таблицы) водопропускных отверстий;

- расходные характеристики гидротурбин;

- состав и объем эксплуатационного контроля за состоянием и работой гидротехнических сооружений;

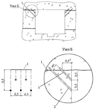
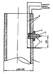
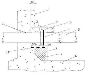
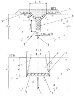
- ведомость и исполнительные схемы размещения всей контрольно-измерительной аппаратуры (КИА) для наблюдения за состоянием гидротехнических сооружений и контроля за режимом водотока;

- методику выполнения измерений по КИА;

- методику обработки и анализа данных наблюдений;

- графики осмотров гидротехнических сооружений, ведения наблюдений и измерений с указанием производящих их должностных лиц.

5.1.9 В стандарте ГЭС (производственной инструкции) для каждого напорного гидротехнического сооружения должны быть указаны ПДЗ показателей его состояния, с которыми должны сравниваться результаты наблюдений по контрольно-измерительной аппаратуре и визуальной оценке состояния сооружений. Перечень контролируемых показателей состояния гидротехнических сооружений приведен в приложении А.

5.1.10 При изменении условий эксплуатации или состояния гидротехнических сооружений в стандартом ГЭС (производственной инструкцией) вносятся соответствующие изменения и дополнения.

Стандарт ГЭС (производственная инструкция) должна пересматриваться не реже одного раза в 3 года.

5.1.11 Для каждого работника ГЭС составляется должностная инструкция, которая должна содержать четкие указания о подчиненности, правах, обязанностях и ответственности данного работника.

Должностные инструкции должны пересматриваться не реже одного раза в 3 года.

5.1.12 Технический паспорт гидротехнических сооружений составляется по типовой форме (приложение Б) и должен содержать:

- общую характеристику ГЭС и ее водно-энергетических режимов;

- подробные сведения о гидротехнических сооружениях, включая инженерно-геологические, гидрогеологические, сейсмометрические и другие данные;

- сведения о механическом оборудовании гидротехнических сооружений;

- данные по контролю их состояния.

В период эксплуатации в паспорт заносятся сведения о капитальных ремонтах и реконструкциях гидротехнических сооружений и их механического оборудования, о повреждениях, авариях и отказах в работе гидротехнических сооружений и их механического оборудования, о результатах обследования гидротехнических сооружений и НИР по повышению их надежности и безопасности, а также об экстраординарных условиях, возникающих при эксплуатации сооружений (землетрясение, пропуск высоких половодий, форсировка уровней воды, нарушение схемы пропуска половодий и паводков, чрезмерные осадки и т.п.).

5.1.13 Результаты визуальных наблюдений заносятся в журнал осмотров сооружений. Требования по организации и проведению визуальных наблюдений изложены в приложениях Б, В к Стандарту.

5.1.14 Результаты визуальных и инструментальных наблюдений подлежат оперативной обработке, анализу, обобщению и включаются в годовой технический отчет электростанции.

5.1.15 Ведение паспортов и эксплуатационной технической документации должно дублироваться в электронной форме, с целью организации оперативной обработки результатов и ускорения поиска необходимых данных при анализе результатов и разработке мероприятий по повышению надежности ГТС.

5.2 Приемка в эксплуатацию гидротехнических сооружений

5.2.1 Приемку гидротехнических сооружений в эксплуатацию осуществляет в объеме пускового комплекса по завершении строительства, а также после реконструкции и капитального ремонта, комиссия, назначаемая собственником, которая должна установить соответствие принимаемых сооружений:

- техническому проекту, прошедшему государственную экспертизу;

- Федеральному закону от 21.07.1997 г. № 117-ФЗ "О безопасности гидротехнических сооружений";

- Градостроительному кодексу РФ от 29.12.2004 года № 190-ФЗ;

- Постановлению Правительства РФ от 24.11.05 № 698 "О форме разрешения на строительство и форме разрешения на ввод объекта в эксплуатацию";

- стандартам [1-9];

- строительным нормам и правилам, оговоренным в подрядных договорах между заказчиком и проектными организациями, между заказчиком и подрядными строительно-монтажными организациями;

- техническим условиям на выполнение отдельных видов работ (бетонных, грунтовых, укрепительных и др.);

- требованиям органов государственного надзора по безопасности гидротехнических сооружений, охраны труда и пожарной безопасности;

- условиям и критериям безопасности, изложенным в декларации безопасности ГТС.

5.2.2 Перед приемкой в эксплуатацию гидротехнические сооружения должны быть проверены в соответствии с программой постановки под напор, разработанной проектной организацией, согласованной с техническим руководителем ГЭС и утвержденной заказчиком.

Проверка отдельных узлов и элементов гидротехнических сооружений должна проводиться в период их возведения, ремонта, реконструкции с составлением актов скрытых работ.

5.2.3 При возведении, ремонте, реконструкции гидротехнических сооружений в объеме, предусмотренном проектом, должны быть обеспечены:

- нормативные санитарно-бытовые условия и безопасность эксплуатационного и привлеченного персонала;

- защита окружающей среды;

- пожарная безопасность;

- готовность к предотвращению и ликвидации последствий повреждений сооружений как в нормальных, так и в чрезвычайных ситуациях.

5.2.4 Дефекты и несоответствия параметров объекта проектной документации, выявленные в ходе строительства, ремонта, реконструкции, а также при постановке гидротехнических сооружений под напор, должны быть устранены исполнителями работ до приемки сооружений в эксплуатацию.

Приемка в эксплуатацию гидротехнических сооружений с дефектами и невыполненными проектными решениями не допускается.

5.2.5 Комиссия по приемке в эксплуатацию гидротехнических сооружений должна оценить качество и полноту технической документации, подготовленной и исправленной в процессе строительства, ремонта, реконструкции ГТС в соответствии с Правилами организации технического обслуживания и ремонта оборудования, зданий и сооружений электростанций и сетей [10].

5.3 Требования к персоналу

5.3.1 Работа с персоналом, занятым эксплуатацией гидротехнических сооружений ГЭС и ГАЭС, должна быть организована в соответствии с правилами работы с персоналом в организациях электроэнергетики Российской Федерации [10].

5.3.2 К работе по эксплуатации гидротехнических сооружений допускаются лица с профессиональным техническим образованием: гидротехники, строители, геодезисты, гидрогеологи, специалисты по системам управления и диагностики, другие специалисты, в зависимости от сложности объекта и проекта эксплуатации.

Лица, не имеющие соответствующего специального образования и опыта работы, должны пройти обучение на курсах повышения квалификации по программе, утвержденной в порядке, установленном ОГК, ТГК.

5.3.3 В соответствии с перечнем опасных и вредных видов деятельности [11] работники, занятые на этих работах, в установленном порядке должны проходить предварительные (при поступлении на работу) и периодические медицинские осмотры.

5.3.4 Собственник или эксплуатирующая организация должны обеспечить возможность работникам, эксплуатирующим гидротехнические сооружения, повышать свои знания путем организации технических библиотек и периодическим обучением на курсах повышения квалификации не реже одного раза в 5 лет.

5.3.5 Персонал, занятый эксплуатацией гидротехнических сооружений, не реже одного раза в 3 года должен проходить проверку знаний Правил технической эксплуатации электрических станций и сетей, Стандарта и стандарта ГЭС (производственных инструкций), а также правил техники безопасности при выполнении работ, с выдачей по результатам проверки соответствующего удостоверения. Объем проверки знаний для каждой категории работников определяет технический руководитель ГЭС.

5.4 Технический контроль состояния гидротехнических сооружений

5.4.1.1 В соответствии с требованиями Федерального закона "О безопасности гидротехнических сооружений" (ст. 9) эксплуатационный контроль состояния и работы гидротехнических сооружений должен обеспечивать:

- проведение систематических наблюдений с целью получения достоверной информации о состоянии сооружений, оснований, береговых примыканий в процессе эксплуатации;

- своевременную разработку и принятие мер по предотвращению возможных повреждений и аварийных ситуаций;

- получение технической информации для определения сроков и наиболее эффективных и экономичных способов ремонтных работ и работ по реконструкции;

- проведение многофакторного анализа состояния сооружений, находящихся в эксплуатации более 25 лет;

- выбор оптимальных эксплуатационных режимов работы гидротехнических сооружений.

5.4.1.2 Наблюдения проводятся в соответствии с Программой наблюдений, в которой излагается схема размещения КИА, объем и состав КИА методика измерения и методика обработки данных. Программа разрабатывается при проектировании плотины, затем корректируется при строительстве и при сдаче сооружения в постоянную эксплуатацию в зависимости от состояния ГТС и новых проблем, возникающих при оценке надежности эксплуатируемых сооружений.

Требования к размещению, составу и характеристикам КИА изложены в стандарте [9].

Объем и периодичность наблюдений первоначально устанавливаются проектом и в дальнейшем могут быть изменены на основании результатов наблюдений, в зависимости от состояния гидротехнических сооружений и изменений технических требований к контролю. Эти изменения производятся по решению руководителя ГЭС, согласованному с проектной организацией, выполняющей функции генерального проектировщика.

5.4.1.3 При приемке гидротехнических сооружений в эксплуатацию строительно-монтажные организации передают эксплуатирующей организации контрольно-измерительную аппаратуру, паспорта приборов, тарирвочные аттестаты, исполнительные схемы на установку КИА и все данные наблюдений, включая нулевые отсчеты, а также инструкции по организации наблюдений, методики обработки и анализа данных измерений и результаты наблюдений.

5.4.1.4 Для каждого напорного гидротехнического сооружения в стандартах ГЭС должны быть приведены ПДЗ показателей его состояния, разработанные проектной или научно-исследовательской организацией, с которыми сравниваются результаты наблюдений по КИА и которые, в свою очередь, могут уточняться на основе результатов наблюдений.

5.4.1.5 Для повышения оперативности и достоверности контроля за ответственными гидротехническими сооружениями следует оснащать их автоматизированными системами контроля. Уровень автоматизации определяется составом, объемом КИА, условиями эксплуатации.

5.4.1.6 При организации и проведении наблюдений за гидротехническими сооружениями необходимо соблюдать следующие требования:

- регистрация уровней бьефов и среднесуточной температуры воздуха в створе гидроузла, измеряемых ежедневно;

- обеспечение достаточной частоты снятия отсчетов с приборов КИА в зависимости от интенсивности изменения нагрузок. При высокой скорости наполнения и опорожнения водохранилища, резких температурных изменениях частота отсчетов по приборам, откликающимся на эти изменения, должна быть повышена по сравнению с периодом медленно изменяющихся воздействий;

- осуществление наблюдений в одни и те же календарные сроки за параметрами, связанными между собой причинно-следственными зависимостями (раскрытие швов - температуры, уровень верхнего бьефа - фильтрационный расход и т.д.);

- обеспечение достоверности показаний КИА, квалификации операторов, поверки приборов и вторичной аппаратуры;

- осуществление осмотров сооружений по графику, учитывающему сезонность раскрытия трещин и швов, фильтрации и водопроявлений через бетон, специфику поведения конкретного сооружения (появление наледей, выход воды на низовую грань, зарастание откосов, влияние атмосферных осадков и т.д.).

5.4.1.7 Для выполнения сложных и ответственных работ по оценке состояния гидротехнических сооружений, разработке мероприятий по повышению их безопасности и надежности привлекаются проектные, специализированные и научно-исследовательские организации.

5.4.1.8 Все гидротехнические сооружения ГЭС должны регулярно подвергаться периодическим техническим осмотрам для оценки состояния сооружений, уточнения сроков и объемов работ по ремонту, разработки предложений по улучшению их технической эксплуатации, а также качества всех видов ремонтов.

Плановые технические осмотры сооружений могут быть общими и выборочными.

Общие осмотры следует проводить два раза в год - весной и осенью.

Общий весенний осмотр сооружений проводится для оценки их состояния и готовности к пропуску паводка после таяния снега или весенних дождей. При весеннем осмотре уточняются сроки и объемы работ по текущему ремонту перед пропуском паводка, а также определяются объемы работ по текущему ремонту сооружений на предстоящий летний период и по капитальному ремонту на текущий и следующий год.

Общий осенний осмотр проводится с целью проверки подготовки гидротехнических сооружений к зиме. К этому времени должны быть закончены все летние работы по ремонту.

При выборочном осмотре обследуются отдельные гидротехнические сооружения или отдельные их элементы. Периодичность выборочных осмотров определяется местными условиями эксплуатации.

5.4.1.9 Кроме плановых осмотров, должны проводиться внеочередные осмотры гидротехнических сооружений после чрезвычайных стихийных явлений или аварий.

5.4.1.10 Осмотр подводных частей гидротехнических сооружений и туннелей производится после первых двух лет их эксплуатации и в дальнейшем через каждые 5 лет.

5.4.1.11 Систематический комиссионный контроль состояния и эксплуатации гидротехнических сооружений осуществляется путем их технического освидетельствования не реже одного раза в 5 лет. Состав комиссии утверждается техническим руководителем ГЭС (каскада ГЭС); в состав комиссии должны быть включены специалисты проектных и научно-исследовательских организаций.

5.4.1.12 По результатам технического освидетельствования могут назначаться обследования гидротехнических сооружений, включающие в себя исследования отдельных вопросов специализированными организациями.

5.4.1.13 Результаты технического контроля (включая исследования) включаются в акт преддекларационного обследования, выполняемого в соответствии с Федеральным законом "О безопасности гидротехнических сооружений" и [13; 14, приложение № 3].

5.4.1.14 На всех гидротехнических сооружениях в сроки, установленные стандартом ГЭС (производственной инструкцией), и в предусмотренном им объеме должны проводиться наблюдения:

- за осадками и смещениями сооружений и их оснований;

- за деформациями, трещинами в сооружениях и облицовках; за состоянием деформационных и строительных швов; за состоянием креплений откосов грунтовых плотин, дамб, каналов и выемок; за состоянием напорных трубопроводов;

- за режимом уровней бьефов гидроузла, фильтрационным режимом в основании и теле сооружений и береговых примыканий, работой дренажных и противофильтрационных устройств, режимом грунтовых вод в зоне сооружений;

- за воздействием потока на сооружения, в частности, размывом водобоя и рисбермы, дна и берегов, за кавитационным разрушением водосливных граней, истиранием и коррозией облицовок, просадкой, оползневыми явлениями, заилением и зарастанием бассейнов, переработкой берегов водоемов;

- за воздействием льда на сооружения и их обледенением.

При необходимости, в соответствии с проектом, организуются специальные наблюдения за вибрацией сооружений, прочностью и температурным режимом конструкций, коррозией металла и бетона, состоянием сварных швов металлоконструкций, выделением газа на отдельных участках сооружений и другие наблюдения и исследования.

5.4.1.15 На гидротехнических сооружениях первого класса, расположенных в районах с сейсмичностью 7 баллов и выше, и на сооружениях второго класса - в районах с сейсмичностью 8 баллов и выше, должны проводиться следующие виды специальных наблюдений и испытаний:

- инженерно-сейсмометрические наблюдения за работой сооружений и береговых примыканий (сейсмометрический мониторинг);

- инженерно-сейсмологические наблюдения в зоне ложа водохранилища вблизи створа сооружений и на прилегающих территориях (сейсмологический мониторинг);

- тестовые испытания по определению динамических характеристик этих сооружений (динамическое тестирование) с составлением динамических паспортов.

Для проведения инженерно-сейсмометрических наблюдений гидротехнические сооружения должны быть оборудованы автоматизированными приборами и комплексами, позволяющими регистрировать кинематические характеристики в ряде точек сооружений и береговых примыканий во время землетрясений при сильных движениях земной поверхности, а также оперативно обрабатывать полученную информацию.

Для проведения инженерно-сейсмологических наблюдений вблизи гидротехнических сооружений и на берегах водохранилищ по проекту, разработанному специализированной организацией, должны быть размещены автономные регистрирующие сейсмические станции. Комплексы инженерно-сейсмометрических и инженерно-сейсмологических наблюдений каждого объекта должны быть связаны с единой службой сейсмологических наблюдений РФ.

Монтаж, эксплуатация систем и проведение инженерно-сейсмометрических, инженерно-сейсмологических наблюдений и динамического тестирования должны осуществляться собственником электростанции (эксплуатирующей организацией) с привлечением специализированных организаций.

После каждого сейсмического толчка интенсивностью 5 баллов и выше должны оперативно регистрироваться показания всех видов КИА, установленных в сооружении, с осмотром сооружения и анализом его прочности и устойчивости.

5.4.2 Бетонные и железобетонные гидротехнические сооружения

5.4.2.1 На бетонных и железобетонных сооружениях должны проводится следующие виды наблюдений (приложение В):

- за осадками;

- смещениями;

- температурным режимом высоких бетонных плотин;

- фильтрацией в основании и теле сооружений;

- монолитностью бетонных сооружений;

- состоянием бетона;

- динамикой сооружений.

5.4.2.2 Наблюдения за осадками бетонных и железобетонных гидротехнических сооружений следует проводить до их стабилизации - не реже одного раза в год, а после стабилизации частота наблюдений устанавливается с учетом опыта эксплуатации и исходя из анализа полученных данных.

Осадка бетонных сооружений считается стабилизированной при постоянном значении ее в пределах точности измерений.

Периодичность наблюдений должна быть установлена с учетом возможности фиксирования начала очередного активного этапа.

Нивелировка проводится в одно и то же время года, при относительно стабильной температуре воздуха и устойчивом уровне воды в бьефах.

5.4.2.3 Контроль горизонтальных перемещений гребней высоконапорных бетонных плотин является одной из важнейших характеристик их состояния. Контроль осуществляется путем сравнения измеренных горизонтальных перемещений с проектными или прогнозируемыми.

На основе результатов наблюдений в начальный период эксплуатации должен уточняться прогноз экстремальных перемещений.

5.4.2.4 Контроль горизонтальных смещений напорных бетонных гидротехнических сооружений высотой более 50 м является обязательным.

5.4.2.5 Наблюдения за температурным режимом высоких массивных плотин являются обязательными.

В тонких элементах бетонных сооружений (толщиной 3-4 м) измерения температуры должны проводиться по мере необходимости.

5.4.2.6 Геодезические наблюдения должны выполняться специализированной организацией или собственными силами эксплуатирующих организаций или энергокомпаний.

5.4.2.7 Для контроля напряженно-деформированного состояния высоких плотин и анализа процессов трещинообразования в массивном бетоне, а также при оценке общего состояния бетонных плотин должны проводиться измерения напряжений в бетоне и усилий в арматуре с помощью закладных преобразователей линейных деформаций, преобразователей силы, арматурных динамометров.

В состав наблюдений за бетонными плотинами на нескальных основаниях могут включаться измерения напряжений на контакте с основанием.

5.4.2.8 Наблюдения за вибрацией гидротехнических сооружений от воздействия потока воды, проходящего через них, следует проводить с целью определения нагрузок и прогнозирования прочности и долговечности сооружений (приложение Г).

Одновременно с измерениями вибрации необходимо вести наблюдения за пульсацией гидродинамического давления потока воды в глубинных водосбросных отверстиях, туннелях, на водобое, гасителях и расщепителях.

Проведение таких наблюдений и их сроки определяются местными условиями при наличии признаков повреждения сооружений.

5.4.2.9 Особое внимание должно быть уделено состоянию бетона напорных и водосливных граней сооружений и в зоне колебаний уровня воды. Если при осмотре обнаруживается разуплотненный бетон, раковины, трещины, то на этих участках следует определить прочность бетона.

В зонах, подверженных выщелачиванию, следует производить химический анализ профильтровавшейся воды и воды из верхнего бьефа, определять интенсивность и глубину выщелачивания, а также плотность пораженного бетона.

5.4.2.10 Состояние бетона в местах отрыва от него потока воды (пазах в водосбросных пролетах, шероховатых поверхностях на водосливах, гасителях энергии на водосбросных сооружениях), подверженных кавитационным повреждениям, должно проверяться после пропуска половодья (паводка).

5.4.2.11 При обнаружении трещин или повреждений бетона гидротехнических сооружений необходимо:

- зарисовать положение трещин и повреждений, выявить их характер и направление (продольные, наклонные), указать величину раскрытия, пронумеровать их, внести в соответствующий журнал с указанием даты обследования;

- при интенсивном развитии трещин и повреждений оценить степень опасности нарушения прочности и устойчивости сооружения, привлечь при необходимости организацию, имеющую право и опыт работы по определению состояния гидротехнических сооружений.

5.4.2.12 Расход воды, фильтрующейся через бетонные гидротехнические сооружения, следует измерять дифференцированно по участкам водопроявления на сооружении, разделяя фильтрацию через межсекционные швы, через тело плотины, по участкам и отметкам. Фильтрация через основание должна быть дифференцирована по источникам поступления: через дренаж, через скважины, через пол цементационной галереи, через цементационные трубки и т.д.

Расход воды может быть измерен в галереях путем установки в сборных кюветах мерных водосливов. Профильтровавшаяся вода во всех случаях должна отводиться непрерывно.

Фильтрационный расход воды допускается исчислять по числу включений дренажного насоса, автоматически включающегося в работу при достижении заданного уровня в сборных дренажных колодцах (приямках), где накапливается вода.

Фильтрационный расход воды допускается устанавливать по числу опорожнений колодца за определенный промежуток времени, что также является показателем состояния бетона и уплотнения швов.

5.4.2.13 Для определения расхода профильтровавшейся через основание гидротехнических сооружений воды, собираемой глубинным дренажом, необходимо регулярно производить его измерения в сборном коллекторе дренажной галереи с периодичностью, определяемой местными условиями.

5.4.2.14 В шпонках деформационных швов гидротехнических сооружений под наблюдением должно быть следующее:

- уровень герметизирующей мастики;

- деформации наружных элементов шпонок (брусья обшивки уплотнения, болтовые крепления и др.);

- фильтрация воды из шпонок;

- отсутствие посторонних предметов и мусора;

- состояние нагревательных элементов.

5.4.2.16 Для определения степени агрессивности воды по отношению к бетону должны браться пробы воды для химического анализа из обоих бьефов как с поверхности воды, так и с определенной глубины вблизи бетонных конструкций, а также из пьезометров в бетонных сооружениях и из больших трещин (при наличии фильтрации). Периодичность отбора проб воды для химического анализа из пьезометров в первые годы эксплуатации проводится в соответствии с проектом, а в последующие годы должна обосновываться по результатам многофакторного анализа данных наблюдений, проводимого один раз в 5 лет специализированной организацией.

5.4.2.16 Эксплуатирующая организация должна контролировать возникновение в железобетонных конструкциях трещин по причине электрокоррозии, фиксировать их количество и характер.

5.4.2.17 В необходимых случаях подлежат контролю загазованность галерей и шахт гидротехнических сооружений. Для контроля должны применяться газоанализаторы во взрывозащищенном исполнении.

5.4.3 Гидротехнические сооружения из грунтовых материалов

5.4.3.1 На гидротехнических сооружениях из грунтовых материалов должны выполняться следующие виды наблюдений:

- за осадками;

- смещениями;

- фильтрационным режимом сооружений;

- напряженным состоянием грунтов (для высоких плотин I и II классов);

- визуальные наблюдения за состоянием откосов и их креплений, путями отвода профильтровавшейся воды; отсутствием осадок просадок, трещин; наличием и характером растительности (приложения Д, Е).

5.4.3.2 Периодичность наблюдений за осадками и плановыми смещениями плотин устанавливается проектной организацией при составлении программы наблюдений индивидуально для каждой плотины с учетом ее конкретных особенностей в составе проекта.

Для высоких плотин I и II классов рекомендуется устанавливать следующую периодичность наблюдений:

- за осадкой основания плотины - от одного раза в месяц до одного раза в квартал в период строительства плотины и наполнения водохранилища, затем - один раз в год до практического затухания осадки;

- за осадкой гребня и берм плотины - один раз в квартал в течение первых двух лет наблюдений, затем - один раз в год до затухания осадки. В эти же сроки проводятся наблюдения за плановыми смещениями марок на гребне и бермах, а также за высотным положением и плановым смещением точек внутри тела плотины;

- после затухания осадки (до 2-5 мм в год - для грунтовых плотин, и до 10-20 мм в год - для каменнонабросных плотин) геодезические наблюдения всех видов должны проводиться с частотой, устанавливаемой на основе опыта эксплуатации, но не реже одного раза в 5 лет;

- в случае выявления в процессе эксплуатации плотины каких-либо неблагоприятных явлений (повышение уровня грунтовых вод, фильтрационных расходов, возникновение оползней просадок и т.п.) наблюдения, по согласованию с проектной организацией или по рекомендациям научно-исследовательской организации, должны проводиться чаще, в зависимости от прогнозируемой опасности обнаруженного явления.

5.4.3.3 Для оценки составляющих общей осадки гребня плотины, которая складывается из деформации сжатия ее тела и осадки основания, в случаях, предусмотренных проектом (высокие плотины, сжимаемые грунты), должны производиться наблюдения за послойной осадкой в толще грунтов основания и теле плотины.

5.4.3.4 Если при осмотре плотины отмечены местные деформации тела плотины, на этом участке (оползающем или проседающем) должны быть установлены временные марки для наблюдения за происходящей деформацией. Нивелировка марок производится более часто и продолжается до стабилизации деформаций.

5.4.3.5 При наличии в основании плотины слабых грунтов следует проводить наблюдения за выпором грунта - при помощи сети поверхностных марок, устанавливаемых в нижнем бьефе плотины.

5.4.3.6 На плотинах из грунтовых материалов состав наблюдений за фильтрационным режимом должен включать контроль следующих показателей:

- положение кривой депрессии в теле сооружения;

- градиенты напора на противофильтрационных элементах и в зонах разгрузки фильтрационного потока;

- величины фильтрационного расхода в дренажных выпусках и коллекторах, а также в местах выхода фильтрационного потока;

- поровое давление в водоупорных элементах, основаниях и в теле плотин, выполненных из суглинистых (глинистых) и моренных материалов.

5.4.3.7 Периодичность измерения фильтрационных расходов должна устанавливаться проектом, в дальнейшем - по результатам многофакторного анализа данных наблюдений, проводимого один раз в 5 лет специализированной организацией. Периодичность фильтрационных наблюдений устанавливается программой наблюдений в зависимости от конструкции и материала плотины, свойств основания, ответственности плотины. Следует устанавливать следующую периодичность наблюдений:

- за положением кривой депрессии - один раз в 5-30 дней, в зависимости от результатов наблюдений и опыта эксплуатации;

- за поровым давлением - в начальный период (строительство плотины, заполнение водохранилища) - один раз в 10-20 дней; по мере стабилизации давления частота измерений уменьшается и после стабилизации (консолидации грунта) наблюдения за поровым давлением могут быть прекращены.

5.4.3.8 Измерение фильтрационного расхода воды необходимо проводить одновременно с наблюдениями за положением кривой депрессии. Измеренное значение расхода фильтрации следует сравнивать с максимально допустимыми значениями расхода, указанными в стандарте ГЭС, и с данными предыдущих наблюдений.

5.4.3.9 При измерении фильтрационного расхода воды необходимо периодически (не реже одного раза в год) отбирать пробы для определения количества взвешенных частиц (мутности) и химического состава воды. При обнаружении суффозии материала тела плотины или ее основания следует организовать регулярные наблюдения, по результатам которых разрабатывать инженерные мероприятия по устранению суффозии.

5.4.3.10 Особое внимание должно уделяться местам сосредоточенного выхода фильтрационной воды на откос плотины. Обнаруженные выходы воды каптируются. Следует организовывать наблюдения за расходом воды с отбором проб для контроля мутности и химического состава, а также за температурой фильтрующей воды. Измерения сначала необходимо проводить ежедневно, а затем частота измерений назначается, исходя из развития или стабилизации процессов фильтрации.

5.4.3.11 Для определения параметров фильтрационного потока, характеризующих состояние различных участков плотины или изменение их состояния во времени, следует систематически измерять температуру воды в пьезометрах (с интервалом через 10-20 дней) и в водохранилище перед плотиной в сроки, определенные проектом и уточненные по результатам многофакторного анализа.

5.4.3.12 На высоких плотинах I и II классов должны проводиться наблюдения за напряженным состоянием грунта в теле и на контакте плотины с основанием с целью оценки ее прочности и устойчивости и контроля за процессом консолидации грунта, что, в свою очередь, обеспечивает контроль за напряжениями в скелете грунта и поровым давлением воды (приложение В).

5.4.3.13 В плотинах с грунтовыми ядрами (экранами) измеряются относительные деформации ядра (экрана) при помощи преобразователей линейных деформаций.

5.4.3.14 Наблюдения за напряженным состоянием грунта в плотине следует производить:

- во время заполнения водохранилища - один раз в 7-10 дней;

- в течение первого года эксплуатации - ежемесячно;

- в дальнейшем - 3-4 раза в год до полной стабилизации этих параметров.

5.4.3.15 Помимо наблюдений, проводимых при помощи КИА, на всех грунтовых плотинах должны проводиться регулярные визуальные наблюдения с целью выявления дефектов или повреждений, возникших во время эксплуатации. При визуальных наблюдениях должны контролироваться следующие параметры:

- состояние откосов и гребня плотины - просадки, подвижки, трещины, оползни, повреждение креплений;

- состояние креплений откосов дамб верхнего и нижнего бассейнов ГАЭС, особенно в зоне изменения уровней, и их обледенением в морозный период;

- состояние ливнеотводной сети на гребне, бермах и откосах плотины;

- выявление выходов фильтрационных вод на низовом откосе плотины и в нижнем бьефе из основания плотины, в примыкании к бетонным сооружениям и в береговых примыканиях;

- появление наледей у подошвы низового откоса плотины и на дренажных линиях;

- размывы откосов и берегов;

- состояние контрольно-измерительной аппаратуры;

- зарастание канав, отводящих дренажные воды.

5.4.3.16 Периодичность визуальных наблюдений устанавливается проектом в зависимости от класса и состояния плотины и уточняется по результатам многофакторного анализа состояния сооружений.

5.4.3.17 Грунтовые плотины мерзлого типа, их основания и сопряжения с берегами и встроенными в плотину сооружениями (водосбросы, туннельные водоводы, водоприемники и др.) должны постоянно поддерживаться в мерзлом состоянии. При наличии специальных установок режимы их работы определяются стандартом ГЭС (производственной инструкцией).

5.4.3.18 Суглинистые ядра и экраны грунтовых плотин должны предохраняться от морозного пучения и промерзания, а дренажные устройства и переходные фильтры - от промерзания.

Крупнообломочный материал упорных призм, подвергающийся сезонному замораживанию и оттаиванию, должен отвечать нормативным (проектным) показателям по морозостойкости и через каждые 10-15 лет эксплуатации должен испытываться на механическую и сдвиговую прочность.

5.4.3.19 При эксплуатации грунтовых плотин на многолетнемерзлых льдинистых основаниях должны быть организованы наблюдения за температурным режимом, а также за деформациями, связанными с переходом грунтов в талое состояние; за состоянием креплений откосов дамб верхнего и нижнего бассейнов ГАЭС, особенно в зоне изменения уровней, их обледенением в морозный период (приложение Ж).

На каменно-набросных плотинах Северной климатической зоны должен осуществляться контроль за льдообразованием в пустотах каменной наброски низовой призмы. Через каждые 10-15 лет должны проводиться испытания наброски на сдвиговую прочность с учетом степени заполнения ее пустот льдом.

5.4.4 Контроль деформации русла в нижнем бьефе, состояния водохранилища и режимов водотока

5.4.4.1 Для контроля развития русловых процессов, водохранилищами и режимом водотока проводятся следующие виды наблюдений:

- за размывами подводных частей сооружений, креплений дна и откосов;

- за состояниями берегов водохранилища и примыканий в зоне отчуждения;

- за процессами льдо- и шугообразования в зимний период, зажорными и заторными явлениями;

- за режимами водотока и расходами воды (приложение И).

5.4.4.2 Контроль за повреждениями подводных частей сооружений, креплений дна и откосов отводящих каналов в нижнем бьефе, их подмывом и размывами неукрепленной части русла должен проводиться с охватом 100% их поверхности при достоверности конечных результатов обследования не ниже 95% [15].

Особое внимание при проведении наблюдений следует уделять состоянию жесткой и гибкой рисберм, местам крепления каменной наброской концевых участков русла водопропускных сооружений.

5.4.4.3 Периодичность и объем наблюдений устанавливаются с учетом интенсивности процессов размыва, но не реже одного раза в 5 лет. Обязательным является проведение обследований состояния сооружений нижнего бьефа после пропуска через гидроузел значительных сбросных расходов и прохождения паводков.

В дальнейшем подводно-технические обследования водосбросных сооружений и примыкающих участков русла со стороны нижнего бьефа должны производиться после каждого пропуска расходов, приближающихся к расчетным, но не реже одного раза в 5 лет.

Со стороны верхнего бьефа подводно-технические обследования допускается производить при надлежащем обосновании с большей периодичностью, но не реже одного раза в 10 лет.

После капитального ремонта (или реконструкции) элементов подводных конструкций через один год после завершения этих работ следует произвести внеочередное подводно-техническое обследование с целью оценки качества и эффективности их выполнения и их влияния на примыкающие участки русла.

5.4.4.4 После штормов проверяется состояние крепления откосов грунтовых сооружений, а именно: состояние уплотнения между плитами крепления, а также вымыва подготовки из-под плит, их просадка и т.п.

5.4.4.5 Контроль состояния берегов и дна верхнего бьефа в зоне отчуждения земель на территории гидроузла должен начинаться с момента его заполнения и продолжаться в течение всего периода эксплуатации. Под наблюдением также должны быть:

- величина твердого стока;

- отложение наносов и зарастание мелководий, уменьшающих полную и регулирующую емкости водохранилища;

- всплытие торфяных масс в водохранилищах, имеющих залежи торфа;

- проявления процессов карстообразования в прибрежной и береговых зонах.

На участках с обнаруженными значительными размывами промеры должны производиться в дополнительных точках с таким расчетом, чтобы зафиксировать границы и местоположение всей зоны размывов.

5.4.4.6 Наблюдения за заилением верхнего бьефа проводятся в меженный период путем промера глубин на постоянных поперечниках. При необходимости определяется гранулометрический состав отложений.

Аналогично должны быть организованы наблюдения при отложениях наносов или размывах в нижнем бьефе за пределами креплений и возникновении подпора. В случае затруднений в эксплуатации к исследованию режимов отложения наносов и разработке мероприятий по борьбе с ними привлекаются специализированные организации.

5.4.4.7 На водохранилищах, расположенных в зонах многолетнемерзлых пород, следует вести наблюдения за криогенными процессами (оттаивание мерзлых пород, термокарстовые явления) и деформациями в ложе водохранилища, зоне сработки, береговых и прибрежных зонах. Разработка программы наблюдений и их проведение осуществляются силами эксплуатирующей организации по согласованию с проектной организацией.

5.4.4.8 В стандарте ГЭС (производственной инструкции) должны быть приведены перечень, сроки и способы ведения оперативного контроля режима водотока.

Измерениям подлежат:

- уровни воды в верхнем и нижнем бьефах;

- перепады уровней воды на сороудерживающих устройствах;

- перепады уровней в деривации;

- значения расходов воды, пропускаемых через гидротурбины и водосбросные сооружения;

- величины и длительность открытия водосбросных отверстий;

- температуры воды и воздуха.

5.4.4.9 Гидрометрические посты в верхнем и нижнем бьефах гидроузла, а также на деривационных каналах должны оборудоваться гидрометрическими устройствами с передачей данных на пульт управления ГЭС и систематической обработкой полученной информации.

5.4.4.10 На гидроэлектростанцию должна регулярно поступать гидрологическая и метеорологическая информация от организаций, осуществляющих гидрометеорологические наблюдения, в соответствии с соглашением (договором) на передачу следующих материалов:

- текущие гидрологические данные по водотоку и прогнозы по ним;

- текущие метеорологические данные и прогнозы по ним;

- предупреждения о возможных стихийных явлениях, их сроках и силе.

5.4.5 Критерии безопасности гидротехнических сооружений

5.4.5.1 Оценку состояния гидротехнических сооружений следует производить в соответствии со стандартом [16].

5.4.5.2 При организации технического контроля (проведении наблюдений) состояния гидротехнических сооружений эксплуатационный персонал, выполняющий указанные функции, должен руководствоваться показателями (критериями) состояния отдельных конструкций и элементов сооружения путем сравнения наблюдаемых величин (показателей) с их предельно-допустимыми значениями.

5.4.5.3 Критерии безопасности должны быть установлены для каждого гидротехнического сооружения, повреждения которого может привести к возникновению чрезвычайной ситуации.

Критерии безопасности гидротехнических сооружений должны быть установлены на стадии его проектирования. На стадиях строительства, эксплуатации, после капитальных ремонтов и (или) реконструкции гидротехнического сооружения, а также изменений условий его эксплуатации и норм, критерии безопасности подлежат пересмотру и уточнению. Уточнение критериев безопасности должно производиться на основе анализа данных наблюдений, показателей состояния сооружения, нагрузок и воздействий, изменений характеристик материалов сооружения и основания, изменений конструктивных решений и условий эксплуатации.

5.4.5.4 Перечень и состав критериев безопасности для каждого конкретного гидротехнического сооружения должен соответствовать составу его диагностических показателей, определяемому проектом. В процессе эксплуатации сооружения состав и значения критериев безопасности должны уточняться не реже, чем через каждые пять лет. Минимально необходимый для контроля безопасности гидротехнических сооружений состав диагностических показателей технического состояния и методы определения их критериальных значений приводится в приложении А.

Критерии безопасности гидротехнических сооружений должны устанавливаться в соответствии с методикой [14, приложение № 5].

5.5 Эксплуатация и техническое обслуживание гидротехнических сооружений

5.5.1 Общие требования

5.5.1.1 Задачами технического обслуживания являются:

- постоянный эксплуатационный уход за гидротехническими сооружениями (осмотры, устранение мелких дефектов, уборка мусора и растительности, расчистка канав, расчистка снега в зимнее время и т.д.);

- наблюдение за сооружениями, проведение необходимых наблюдений и обследований;

- выявление дефектов, устранение которых требует проведения ремонтных работ;

- ведение технической документации по оценке состояния сооружений.

5.5.1.2 Техническое обслуживание гидротехнических сооружений должно осуществляться специализированными производственными подразделениями эксплуатирующей организации или специализированной организацией на условиях договора (контракта).

5.5.2 Бетонные и железобетонные гидротехнические сооружения

5.5.2.1 При эксплуатации бетонных гидротехнических сооружений следует:

- при появлении необратимых процессов в работе плотины, проявляющихся в увеличении фильтрации, повышении напряжений, увеличении глубины раскрытий швов, в том числе - на контакте с основанием, следует установить причины этих явлений и обосновать необходимость ремонтных мероприятий по восстановлению монолитности тела плотины;

- при обнаружении трещин (особенно сквозных) в теле сооружения необходимо определить причины их появления (возможно, дополнительными исследованиями) и провести ремонтные работы по их ликвидации или локализации;

- при противодавлении в основании гидротехнических сооружений, превышающем установленные предельно-допустимые значения, необходимо принять меры по его снижению улучшением разгрузки фильтрационного потока путем прочистки старых скважин или пробуриванием новых дрен, направленных в сторону напорной грани.

Состояние дрен в теле плотины можно определять по степени их зарастания продуктами выщелачивания и промывками.

Принимаемые меры необходимо согласовывать со специализированной организацией.

5.5.2.2 При появлении необратимых процессов в работе плотины, проявляющихся в увеличении фильтрации, повышении напряжений, увеличении глубины раскрытий швов, в том числе - на контакте с основанием, следует установить причины этих явлений и обосновать необходимость ремонтных мероприятий по восстановлению монолитности тела плотины.

5.5.2.3 До наступления периода отрицательных температур следует провести осмотр температурных швов сооружений. Уровень битумной мастики в шпонках швов должен превышать максимальный расчетный уровень воды в бьефах.

Если уровень битумной мастики в шпонках ниже максимального УВБ, необходимо организовать своевременный прогрев шпонок с добавкой, при необходимости, мастики.

Контроль работы шпонок производится в смотровых колодцах, расположенных за шпонками. Смотровые колодцы должны поддерживаться в рабочем состоянии.

5.5.2.4 Смотровые галереи должны быть сухими, хорошо освещаться и вентилироваться.

5.5.3 Сооружения деривации

5.5.3.1 Регулирование уровней и расходов на головном узле деривации должно осуществляться с целью:

- обеспечить бесперебойную подачу воды в деривацию по заданному графику нагрузки ГЭС;

- предупредить опасные размывы в нижнем бьефе;

- использовать паводковые воды для удаления сора и промыва наносов;

- ускорить ледостав в верхнем бьефе на заданном уровне в целях аккумулирования шуги или обеспечения ее пропуска либо избегать ледостава в деривационных каналах и переохлаждения воды за счет увеличения ее скоростей;

- обеспечить нормальный режим забора воды потребителям, находящимся как ниже, так и выше гидроузла.

5.5.3.2 Забор воды в деривационный несаморегулирующийся канал должен обеспечиваться таким открытием затвора водоприемника, которое дает требуемое наполнение головного участка канала и пропуск необходимого расхода воды.

5.5.3.3 Забор воды в саморегулирующуюся деривацию следует производить при полностью поднятых затворах водоприемника.

5.5.3.4 В случае если расход воды в реке превышает максимальный расход ГЭС, необходимый уровень воды на головном узле деривации должен поддерживаться путем маневрирования затворами водосбросов, при этом в первую очередь используются водосбросные отверстия наименьшей пропускной способности.

5.5.3.5 Для предотвращения повреждения крепления деривационного канала или оползания откосов канала и земляных сооружений скорость изменения уровней не должна превышать расчетного значения.

Предельно допустимые скорости воды в деривационном канале должны быть указаны в стандарте ГЭС (производственной инструкции).

5.5.3.6 Не допускается эксплуатация безнапорных водоводов в напорном режиме.

5.5.4 Мероприятия по защите от воздействий наносов

5.5.4.1 Затруднения в эксплуатации гидроузлов, расположенных на реках с большим количеством твердого стока, возникают из-за заиления водохранилищ и значительного абразивного износа рабочих колес гидротурбин.

5.5.4.2 Основными мероприятиями по борьбе с наносами должны быть:

- эксплуатация ГЭС в режимах, обеспечивающих благоприятные условия максимального транзита поступающего твердого стока;

- проведение берегоукрепительных и мелиоративных работ для предотвращения разрушения и эрозии берегов водохранилища;

- периодические промывы водохранилища по специальным программам, согласованным со всеми водопользователями и обеспечивающим требования охраны окружающей среды;

- механическое удаление наносов с использованием землесосных или землечерпальных снарядов, а также механических рыхлителей с последующим гидравлическим промывом.

5.5.4.3 Наиболее благоприятные условия для транзитного пропуска наносов и промыва водохранилищ обеспечиваются при снижении уровня верхнего бьефа. Поскольку основное количество твердого стока проходит в паводковый период, к моменту прохождения паводка водохранилище должно быть опорожнено до минимальных отметок, при которых, согласно гидрологическому прогнозу, обеспечивается его последующее наполнение.

5.5.4.4 Промывы водохранилища должны осуществляться по специальным программам, исходя из условий экономической целесообразности, требований водопользователей и водопотребителей, а также условий охраны окружающей среды.

5.5.4.5 При удалении наносов, в зависимости от местных условий, следует сочетать гидравлический и механический способы их удаления.

5.5.4.6 Для защиты берегов, подверженных интенсивному разрушению, необходимо выполнение берегоукрепительных и мелиоративных работ, предусматривающих:

- сохранение лесного покрова и облесение склонов водохранилища, а также закрепление склонов растительностью;

- закрепление действующих оврагов и горных склонов, уменьшающее эрозийную деятельность водных потоков;

- борьбу с селевыми выносами устройством запруд и закреплением откосов.

5.5.4.7 Промыв порогов водоприемника с донными промывными отверстиями должен осуществляться путем сброса излишков воды. Для наиболее эффективного промыва зоны у водоприемника сброс излишков воды в начале паводка следует производить через донные промывные отверстия порога водоприемника, а затем, по мере увеличения расхода в реке, включить ближайшие к водоприемнику отверстия плотины.

5.5.4.8 При недостатке воды для промыва порога водоприемника одновременно всеми промывными отверстиями промыв следует производить поочередно, начиная с открытия промывного отверстия, ближайшего к водосбросному отверстию плотины, что обеспечит больший эффект промыва.

5.5.4.9 Мероприятия по борьбе с наносами, предварительно разработанные в проекте, должны корректироваться на основе опыта и конкретных условий эксплуатации. Они должны согласовываться с заинтересованными организациями (водопользователями).

5.5.5 Грунтовые сооружения

5.5.5.1 При обнаружении промоин, трещин, оползней, просадок, выпучивания грунта и вымыва его в дренаж, разрушений ливнеотводящих устройств необходимо определить причины их появления и провести соответствующие ремонтные работы.

5.5.5.2 Места возможного промерзания дренажной сети должны быть утеплены теплоизоляционными материалами, присыпкой грунта или подручными средствами. В случае малой эффективности этих мер необходима реконструкция дренажной сети на этом участке. Дренажная вода из выпусков должна выходить в непромерзаемую зону или на открытую поверхность без подпора (допускающую периодическую расчистку дренажного выхода).

5.5.5.3 Территория за низовым откосом плотины должна предохраняться от заболачивания путем поддержания в исправности системы отвода профильтровавшейся воды. В случае обнаружения ключей фильтрующейся воды, выбивающихся на поверхность вблизи основания низового откоса плотины, необходимо установить тщательный контроль за дебитом источника и попытаться установить причину появления грифонов; место выхода воды должно быть засыпано обратным фильтром с пригрузкой поверх него крупной щебенкой (камнем) для обеспечения непромерзания.

5.5.5.4 Размещение грузов и устройство каких-либо сооружений на гребнях, бермах и откосах плотин, дамб, каналов и у подпорных стенок допускается только после проектного обоснования.

5.5.5.5 Грунтовые плотины и дамбы должны быть предохранены от размывов и переливов воды через гребень. Крепления откосов, дренажная и ливнеотводящая сети должны поддерживаться в исправном состоянии. Грунтовые сооружения, каналы в насыпях, плотины и дамбы, должны предохраняться от повреждений животными.

5.5.5.6 Бермы и кюветы каналов должны регулярно очищаться от грунта осыпей и выносов; не должно допускаться зарастание откосов и гребня земляных сооружений деревьями и кустарниками, если оно не предусмотрено проектом.

5.5.6 Подводящие и отводящие воду сооружения

5.5.6.1 На каналах необходимо устранять все препятствия, стесняющие живое сечение и вызывающие местные потери напора по каналу: неубранные остатки свай, опоры временных мостов, остатки ремонтных заграждений, перемычек, несрезанные выступы берегов и т.п.

5.5.6.2 Если канал пересекает населенные пункты, необходимо иметь спуски для бытового забора воды, оснащенные дополнительными средствами по условиям техники безопасности. Выбор пунктов водозабора должен быть согласован с эксплуатирующей организацией и местными органами власти.

5.5.6.3 Сооружения по трассе деривации (селедуки, селепроводы, ливнесбросы, нагорные канавы и другие) должны своевременно очищаться от наносов и заилений и поддерживаться в работоспособном состоянии.

5.5.6.4 Безнапорные туннели должны периодически очищаться от наносов. Поврежденные места облицовки должны своевременно восстанавливаться. Отдельные вываливающиеся камни необлицованных туннелей должны убираться в период осмотра туннеля.

5.5.6.5 Аэрационные и вентиляционные отверстия туннелей должны постоянно находиться в рабочем состоянии. Запрещается закрывать решетки аэрационных и вентиляционных отверстий щитами и крышками.

В зимний период аэрационные и вентиляционные каналы должны быть защищены от обмерзания и обледенения.

5.5.6.6 Аэрационные устройства напорных водоводов должны быть надежно утеплены и при необходимости оборудованы системой обогрева. Систематически, в сроки, указанные местной инструкцией, должна проводиться проверка состояния аэрационных устройств.

5.5.6.7 Плановые остановы ГЭС должны использоваться для осмотра трубопроводов, туннелей и каналов ГЭС, очистки их от наносов и мусора, а также для проведения ремонтных работ.

5.5.7 Подземные гидротехнические сооружения

5.5.7.1 Подземные аванкамеры, подводящие и отводящие туннели должны осматриваться в соответствии с графиком осмотров, установленным стандартом ГЭС (производственной инструкцией), но не реже 1 раза в 5 лет.

При отсутствии показателей, свидетельствующих об ухудшении работы подводящих и отводящих подземных коммуникаций (повышенные потери напора, вывалы породы, повреждение облицовок) допускается производить осмотры без полного осушения.

5.5.7.2 При эксплуатации подземных сооружений, обслуживаемых эксплуатационным персоналом, должны быть обеспечены санитарные нормы воздухообмена в подземных помещениях, а также непрерывный отвод профильтровавшейся в подземные помещения воды.

5.5.7.3 Подземные необлицованные выработки должны систематически осматриваться, особое внимание необходимо обращать на состояние анкерных креплений. Если скальные поверхности покрыты торкрет-бетоном, необходимо следить за появлением трещин, которые могут свидетельствовать о подвижках и смещениях скальной породы как в своде, так и на стенах.

5.5.7.4 Скальные поверхности подземных выработок должны подвергаться оборке нависающих и плохо закрепленных камней и отдельностей.

Периодичность оборки должна быть определена стандартом ГЭС, но не реже одного раза в год.

5.5.7.5 Бетонные и железобетонные облицовки и несущие конструкции подземных сооружений должны систематически осматриваться и подвергаться ремонту (гидроизоляция, цементация трещин и др.).

5.5.8 Содержание и техническое обслуживание территории гидроузла

5.5.8.1 Границы отчуждения территории гидроузла (береговые примыкания, водное пространство верхнего и нижнего бьефов, участки поймы в нижнем бьефе) должны быть обозначены видимыми знаками.

Территория гидроузла должна содержаться в чистоте и порядке. В исправном состоянии должны находиться все ограждения, железнодорожные и автодорожные пути, переезды через них, подъезды, проходы и пр.

5.5.8.2 В зоне отчуждения гидроузла не допускается хозяйственная деятельность каких-либо организаций и физических лиц без разрешения собственника гидроузла и согласования с генеральным проектировщиком.

5.5.8.3 Отвод производственных и бытовых вод с территории гидроузла в бьефы допускается при условии их очистки. Ливневые воды и воды от таяния снега допускается сбрасывать в бьефы гидроузла при их соответствии санитарным нормам.

5.5.8.4 С целью недопущения камнепадов, угрожающих эксплуатации, должны регулярно обследоваться и очищаться от камней скальные откосы и борта каньонов. На откосах и бортах каньонов должны создаваться камнезащитные сооружения (тросовые сетки, ловушки, защитные стенки и т.д.), которые должны своевременно очищаться от накопившихся камней.

5.5.8.5 Необходимо проводить мероприятия по уменьшению объемов возможных селевых выносов, влияющих на безопасность и эксплуатацию гидротехнических сооружений. Эти мероприятия включают:

- устройство фильтрующих запруд (из местных материалов) или специальных селезащитных сооружений на участках селеопасных балок;

- изменения трассировки русел селеопасных балок;

- террасирование селеопасных склонов с последующим их залесением.

5.5.8.6 Для обеспечения надлежащего эксплуатационного и санитарно-технического состояния территории, зданий и сооружений энергопредприятия должны быть предусмотрены и содержаться в исправном состоянии:

- системы отвода поверхностных и грунтовых вод со всей территории гидроузла, от зданий и сооружений (дренажи, каптажи, канавы, водоотводящие каналы и др.);

- глушители шума выхлопных трубопроводов, а также другие устройства и сооружения, предназначенные для локализации источников шума и снижения его уровня до нормы;

- сети водопровода, канализации, дренажа;

- источники питьевой воды, водоемы и санитарные зоны охраны источников водоснабжения;

- железнодорожные пути и переезды, автомобильные дороги, пожарные проезды, подъезды к пожарным гидрантам, водоемам и градирням, мосты, пешеходные дороги, переходы и др.;

- противооползневые, противообвальные, берегоукрепительные, противолавинные и противоселевые сооружения;

- базисные и рабочие реперы и марки;

- пьезометры и контрольные скважины для наблюдения за режимом грунтовых вод;

- комплекс инженерно-технических средств охраны;

- системы молниезащиты и заземления.

Кроме того, должно систематически проводиться озеленение и благоустройство территории.

5.5.8.7 Скрытые под землей коммуникации водопровода, канализации, теплофикации, а также газопроводы, воздухопроводы и кабели должны быть обозначены на поверхности земли указателями.

5.5.8.8 Систематически, и особенно во время дождей, должен вестись надзор за состоянием откосов, косогоров, выемок, и при необходимости следует принимать меры к их укреплению.

5.5.8.9 Весной все отводящие сети и устройства должны быть осмотрены и подготовлены к пропуску талых вод; места прохода кабелей, труб, вентиляционных каналов через стены зданий должны быть уплотнены, а откачивающие механизмы приведены в состояние готовности к работе.

5.5.8.10 В случае обнаружения просадочных и оползневых явлений, пучения грунтов на территории энергопредприятия должны быть приняты меры к устранению причин, вызвавших нарушение нормальных грунтовых условий, и ликвидации их последствий.

5.5.8.11 Строительство зданий и сооружений на территории зоны отчуждения должно осуществляться только при наличии проекта. Выполнение всех строительно-монтажных работ в пределах зоны отчуждения допустимо только с разрешения руководителя гидроэлектростанции.

5.6 Ремонт и реконструкция гидротехнических сооружений

5.6.1 Задачами ремонтного обслуживания являются поддержание гидротехнических сооружений в работоспособном состоянии за счет проведения плановых и внеплановых ремонтных работ, выполняемых как собственными силами (хозспособом), так и силами подрядных организаций.

5.6.2 Проведение ремонтных работ на гидротехнических сооружениях должно осуществляться в соответствии с перспективными (многолетними), ежегодными и месячными планами работ.

Планы ремонтных работ составляются на основании результатов:

- систематических осмотров гидротехнических сооружений, в том числе после прохождения паводков;

- внеочередных осмотров после стихийных бедствий или аварий (отказов);

- систематического контроля состояния сооружений, включающего в себя инструментальные наблюдения, периодические и специальные обследования и испытания;

- предписаний органов государственного надзора.

5.6.3 На гидротехнических сооружениях, находящихся в предаварийном состоянии или имеющих повреждения, представляющие опасность для людей или создающие угрозу работоспособности напорных гидротехнических сооружений и технологического оборудования, ремонтные работы должны выполняться немедленно. Для этого заранее должны быть разработаны конструктивно-технологические решения по предотвращению развития возможных опасных повреждений и аварийных ситуаций, которые могут возникнуть в периоды строительства и эксплуатации сооружений.

5.6.4 Выполняемые ремонты могут быть текущими и капитальными. Текущие ремонты гидротехнических сооружений предусматривают выполнение работ по предохранению конструктивных элементов гидротехнических сооружений путем своевременного устранения повреждений от износа.

К капитальным ремонтам относятся работы, в процессе которых производится восстановление (замена) конструкций или отдельных элементов гидротехнических сооружений, повреждения которых снижают надежность и безопасность их эксплуатации или ограничивают их эксплуатационные возможности.

5.6.5 Выполнению капитального ремонта гидротехнического сооружения должно предшествовать составление проекта ремонта, обосновывающего принятое техническое решение, принятый способ организации ремонтных работ, намеченные сроки ремонта, затраты. Проекты капитальных ремонтов должны составляться независимо от способа ремонта (хозяйственный, подрядный).

К составлению проекта капитального ремонта наиболее ответственных элементов гидротехнических сооружений (дренажных и водоупорных элементов; поверхностей, подверженных воздействию высокоскоростных потоков; гасителей энергии потока в нижнем бьефе; контрольно-измерительной аппаратуры и т.п.), а также работ по укреплению их основания и береговых примыканий, должны привлекаться специализированные организации.

5.6.6 Запрещается применение неапробированных технологий и материалов при проведении ремонтных работ.

Применение новых материалов и технологий ремонтных работ допускается на опытных участках с целью определения и подтверждения полученных результатов по показателям качества, прочности и долговечности, предусмотренных проектом.

5.6.7 При выполнении ремонтов бетонных сооружений следует руководствоваться приложениями К, Л к Стандарту.

5.6.8 Реконструкция гидротехнических сооружений осуществляется в соответствии с требованиями настоящего Стандарта и стандарта [6].

6 Обеспечение безопасности гидротехнических сооружений при экстремальных условиях

6.1 Пропуск высоких паводков

6.1.1 Ежегодно до наступления паводкового периода на ГЭС должна быть образована паводковая комиссия под руководством технического руководителя. В задачу комиссии входит разработка плана мероприятий по обеспечению пропуска половодья (паводка) через гидроузел и защиты гидротехнических сооружений от повреждений.

6.1.2 Режим пропуска половодий должен осуществляться в соответствии с правилами использования водных ресурсов конкретного водохранилища, установленными Федеральным агентством водных ресурсов (ФАВР) и доведенными до сведения всех основных водопользователей.

6.1.3 Если для пропуска половодья предусматривается использование водопропускных сооружений, эксплуатируемых другими ведомствами, то необходимо до начала паводка составить согласованные мероприятия по подготовке их к работе и определить порядок включения в работу.

6.1.4 План мероприятий по пропуску половодья (паводка) должен разрабатываться заблаговременно, основываясь на предыдущих и текущем прогнозах Роскомгидромета, содержащих сроки начала и конца половодья, размер и характер его прохождения, а также максимальные величины приточного расхода половодья, и включает следующее:

- режим предварительной сработки водохранилища;

- режим работы гидроузла в период прохождения паводковых расходов, с учетом требований оперативного органа ФАВР;

- график маневрирования затворами;

- проверка работоспособности электроприводов затворов;

- перечень аварийного запаса строительных материалов и мест их нахождения (камень, песок, щебень, лесоматериалы, материалы для уплотнения и др.), необходимых для ликвидации возможных размывов и повреждений сооружений, а также перечень транспортных средств, спецодежды, инструментов и оборудования.

6.1.5 Готовность затворов водосбросов к маневрированию должна проверяться в соответствии со стандартами [4, 5].

- режим предварительной сработки водохранилища;

- режим работы гидроузла в период прохождения паводковых расходов;

- график маневрирования затворами;

- проверка работоспособности электроприводов затворов;

- перечень аварийного запаса строительных материалов и мест их нахождения (камень, песок, щебень, лесоматериалы, материалы для уплотнения и др.), необходимых для ликвидации возможных размывов и повреждений сооружений, а также перечень транспортных средств, спецодежды, инструментов и оборудования.

6.1.6 В подготовительные работы перед половодьем (паводком) включаются следующие мероприятия:

- общий осмотр паводковой комиссией состояния гидротехнических сооружений;

- проверка работоспособности КИА;

- завершение плановых ремонтов всех гидротехнических сооружений, в том числе устройств, обеспечивающих отвод талых и дренажных вод;

- проверка действия затворов и оборудования, работа которых связана с пропуском высоких вод; выполнение мероприятий по обеспечению надежной работы затворов и их подъемных устройств;

- разборка или удаление временных сооружений и конструкций, устанавливаемых на морозный период (запаней, тепляков, потокообразователей и др.);

- дополнительное укрепление откосов грунтовых сооружений и берегов в местах, подверженных размыву; защита линий электропередач, расположенных в пойменных участках, от подмыва оснований и воздействия льда во время ледохода; расчистка от снега и наледей нагорных канав у сооружений, кюветов на гребне и бермах плотин;

- вывоз до наступления высоких вод с затопляемых территорий оборудования, механизмов, материалов и др.;

- подготовка к возможному выполнению мероприятий по ослаблению ледяного покрова, в том числе, при необходимости, к производству взрывных работ;

- разработка и согласование с местными органами власти и другими организациями совместных планов действий в случае аварийных ситуаций при прохождении ледохода и высоких вод, в том числе по оказанию помощи эксплуатирующей организации;

- организация аварийных бригад на время пропуска половодья (паводков), обучение их производству работ, которые могут потребоваться при пропуске паводка (дробление льда и взрывные работы, подводная каменная наброска, фашинные крепления, механизированный и ручной водоотливы и т.п.), проведение инструктажа по технике безопасности;

- усиление электроосвещения акватории в зоне водосбросов;

- проверка и поддержание в исправном состоянии проездов и подъездов для автотранспорта к гидротехническим сооружениям и складам аварийного запаса с учетом неблагоприятных метеорологических условий (дождь, снежный покров, обледенение).

6.1.7 Срок окончания подготовительных работ должен устанавливаться в зависимости от местных условий, но не позднее чем за 15 дней до начала половодья, определенного прогнозом согласно информации от организаций, осуществляющих гидрометеорологические наблюдения. Должен осуществляться ежедневный контроль за своевременным выполнением мероприятий, предусмотренных планом по пропуску половодья.

6.1.8 В стандарте ГЭС (производственной инструкции), в разделе по эксплуатации гидротехнических сооружений, должен быть приведен перечень работ, выполняемых на гидроузле в период подготовки и прохождения паводка с распределением обязанностей эксплуатационного персонала на этот период.

6.1.9 Для каждой конкретной ГЭС должна быть разработана схема оптимального маневрирования затворами в зависимости от прохождения паводка, обеспечивающая наиболее благоприятные условия сопряжения потока в нижнем бьефе и не приводящая к повреждениям сооружений, разрушению креплений и подмывам дна, с учетом режима работы гидроагрегатов ГЭС.

При этом должны соблюдаться следующие требования:

- открытие водосбросных отверстий должно производиться ступенями с распределением расхода по всему водосбросному фронту;

- если водосливные отверстия имеют разные отметки водобоя, то первоочередной сброс воды следует осуществлять через отверстия, имеющие более низкую отметку водобоя;

- создавать симметричное направление потока из отверстий водосброса с распределением его по всей ширине нижнего бьефа;

- не допускать сосредоточенных сбросов воды, открывая отверстия подряд, особенно при низких уровнях нижнего бьефа.

6.1.11 Режим работы водосбросных сооружений устанавливается проектом с последующим уточнением по мере накопления опыта эксплуатации и заносится в стандартом ГЭС (производственной инструкцией). Возможные отступления от порядка работы водосбросных отверстий с целью сброса плавающего льда, шуги и мусора должны быть также отмечены в стандарте ГЭС (производственной инструкции).

6.1.11 Оповещение о сбросах воды в установленном порядке должно передаваться местным органам управления. Информация об этом населения и всех заинтересованных организаций осуществляется в установленном для каждой ГЭС порядке.

6.1.12 На гидроузлах, где для пропуска высоких паводков предусмотрена форсировка, повышение уровня воды выше отметки НПУ допустимо только при работающих турбинах (если работа турбин возможна) и полностью открытых всех водосбросных и водопропускных отверстиях. При снижении притока воды отметка уровня воды должна быть в кратчайшее время понижена до НПУ.

6.1.13 После прохождения половодья (паводка) все гидротехнические сооружения, особенно крепления нижнего бьефа, а также оборудование, должны быть осмотрены, выявлены повреждения и назначены сроки их устранения.

6.2 Эксплуатация гидротехнических сооружений в морозный период

6.2.1 При подготовке гидротехнических сооружений и гидроузла к эксплуатации в зимних условиях до начала периода с отрицательной температурой воздуха должен быть разработан план мероприятий по результатам комиссионных осмотров гидротехнических сооружений с учетом опыта эксплуатации ГЭС и гидрометеопрогнозов.

6.2.2 В план подготовки должны быть включены следующие мероприятия:

- проверка готовности к действию затворов, предназначенных для работы в зимний период, и механизмов, их обслуживающих, а также исправности уплотнений;

- проверка готовности шугосбросных устройств, решеткоочистительных механизмов;

- проверка действия воздухообдувной сети или потокообразователей (при их наличии);

- проверка исправности устройств для обогрева и утепления затворов, решеток, пазов, закладных частей и механизмов подъема;

- подготовка и проверка утепления аэрационных устройств, уравнительных резервуаров (башен), крышек дренажных люков, измерительных устройств и смотровых колодцев;

- подготовка к эксплуатации в зимний период помещений, подверженных промораживанию (утепление дверей, проверка отопительной системы и т.п.), причем в первую очередь - помещений дренажных устройств и помещений с контрольно-измерительной аппаратурой;

- подготовка контрольно-измерительной аппаратуры к работе в зимний период;

- проверка исправности освещения и связи, в первую очередь, на акватории, примыкающей к аванкамере и водосбросным сооружениям, в местах расположения аэрационных и дренажных устройств;

- подготовка инструментов и приспособлений (багров, граблей, пешней и т.п.);

- подготовка подъездов на сооружения;

- организация сменных бригад по сбросу льда, шуги и т.п.

6.2.3 Затворы и сооружения, не рассчитанные на эксплуатацию при давлении сплошного ледяного поля, в течение всего зимнего периода должны быть защищены устройством полыньи. Поддержание полыньи, как правило, осуществляется механическими средствами (потокообразователями и барботажными установками), а в отдельных случаях можно применять искусственное утепление (при достаточно стабильном верхнем бьефе).

6.2.4 Сооружения гидроузла и персонал ГЭС должны быть подготовлены к пропуску льда в период ледохода. Необходимость в пропуске льда через створ зависит от размеров водохранилища, характера вскрытия реки и сроков половодья. Желательно создать такие условия, при которых таяние льда происходит в водохранилище.

6.2.5 Пропуск льда должен производиться через поверхностные водосбросные отверстия с обеспечением достаточного слоя воды над порогом во избежание его повреждения. Открытие затворов должно составлять (0,2-0,4)Н (Н - максимальный напор на водосливе), что позволяет осуществлять наиболее успешный пропуск льда. При прогнозе тяжелого ледохода желательно до начала сброса льда принять меры по ослаблению ледового поля. К таким мерам относятся чернение ледяных полей, проведение ледокольных и взрывных работ.

6.2.6 При образовании заторов льда и больших ледяных масс, опасных для сооружения, ликвидация их должна осуществляться взрывным способом. Очередность взрывов льда в нижнем бьефе производится снизу вверх по течению реки. При этом должны быть обеспечены нормы безопасности при проведении взрывных работ.

6.2.7 Во избежание разрушения крепления в нижнем бьефе при сбросе льда надо, по возможности, обеспечивать поверхностный режим сопряжения потока. Целесообразно принятие мер по ускорению вскрытия реки в нижнем бьефе для предотвращения образования заторов.

6.2.8 Для предотвращения шугообразования в период ледостава необходимо выполнение мероприятий, способствующих ускорению образования льда.

6.2.9 Борьба с шугой должна вестись следующими способами:

- аккумуляция шуги в верхнем бьефе и водохранилище с целью создания благоприятных условий для быстрого льдообразования при приближении температуры воды к минусовым значениям;

- сброс шуги с помощью специальных шугосбросных устройств и водосбросных сооружений. При этом транспортирующая скорость воды в водопроводящих трактах должна быть достаточной для обеспечения транзита шуги и предотвращения возможности забивки тракта;

- сброс шуги через гидротурбины с частичным или полным удалением решеток при возникновении угрозы забивки шугой решеток и образования перепадов, превышающих проектные величины (при техническом обосновании в каждом случае) для обеспечения бесперебойной работы системы технического водоснабжения;

- установка в зимний период специальных решеток с большими пролетами между стержнями.

6.2.10 В период ледостава, при снижении температуры воздуха ниже 0 °С и охлаждении воды ниже +1 °С, необходима организация непрерывного контроля за температурой воды для установления момента ее переохлаждения. Для обнаружения появления шуги целесообразно использование шугосигнализаторов.

6.2.11 При использовании отстойника головного узла для сброса шуги необходимо тщательно следить за толщиной шугового слоя, оставляя нижнюю треть камеры свободной от шуги для предотвращения полного промерзания камеры отстойника на всю глубину и невозможности дальнейшего промыва.

6.2.12Камеры отстойника должны тщательно промываться с достаточным отгоном шуги в нижний бьеф во избежание закупорки отверстий грязеспуска со стороны нижнего бьефа.

6.2.13 При исчерпании или недостаточной аккумулирующей способности верхнего бьефа головного узла в целях экономии расхода воды и поддержания нормальных режимов работы деривации, транзит шуги может осуществляться через деривацию.

6.2.14Для беспрепятственного движения шуги в пределах сооружений головного узла и деривационного тракта необходимо выполнить следующие мероприятия:

- ГЭС должна быть выведена из работы в пиковом режиме;

- все препятствия, мешающие плавному и равномерному движению шуги, должны быть устранены;

- должны быть обеспечены скорости течения воды, транспортирующие шугу вдоль всей трассы посредством снижения уровня воды в верхнем бьефе и в деривационном канале;

- для предупреждения образования зажоров в деривации (в период прохождения шуги) в напорном бассейне должен поддерживаться уровень воды на отметках, обеспечивающих равномерный режим работы всего канала и работу шугосбросных отверстий;

- при прохождении через отстойник шуга должна пропускаться через приспособленную для этого камеру; при больших пропускаемых расходах возможно использование двух камер; затворы и решетки зимних камер отстойника должны быть полностью извлечены из воды;

- пропуск шуги через напорные водоводы должен осуществляться при скоростях течения воды, обеспечивающих транзит шуги.

6.2.15В стандарте ГЭС (производственной инструкции) должны быть указаны места на деривационном тракте, где могут образовываться забереги, для своевременного скалывания льдин в целях предупреждения увеличения их толщины.

6.2.16 Готовность сооружений к работе в зимних условиях проверяется комиссией по подготовке к зиме.

6.3 Обеспечение безопасности гидротехнических сооружений в чрезвычайных и аварийных ситуациях

6.3.1 В стандарте ГЭС (производственной инструкции) должен быть изложен план действий эксплуатационного персонала при возникновении на гидротехнических сооружениях аварийных и чрезвычайных ситуаций.

Действия персонала должны быть направлены на устранение возможных причин, создающих угрозу аварии, а в случае невозможности их устранения - на выполнение мероприятий по уменьшению ущерба от аварии.

Планом должны быть определены:

- меры по оповещению персонала и местного населения об угрозе возникновения аварийной ситуации, основные и резервные средства связи;

- места размещения и объемы аварийных материалов и инструментов;

- привлекаемые транспортные средства и основные маршруты их передвижения.

6.3.2 Немедленному устранению подлежат нарушения и процессы в работе гидротехнических сооружений и механического оборудования, представляющие опасность для людей и создающие угрозу устойчивости и работоспособности основных гидротехнических сооружений и технологического оборудования.

К таким нарушениям и процессам отнесены:

- резкое усиление фильтрационных процессов и суффозионных явлений с образованием просадочных зон и оползневых участков;

- неравномерная осадка гидротехнических сооружений и их оснований, превышающая предельно допустимые значения и создающая угрозу их устойчивости;

- забивка (заносы, завалы и т.п.) водопропускных и водосбросных сооружений, что может привести к переливу воды через гребень с последующим разрушением сооружения;

- выход из строя основных затворов или их подъемных механизмов, водосбросных и водопропускных устройств.

6.3.3 В стандарте ГЭС (производственной инструкции) должны быть отмечены наиболее вероятные причины и признаки возникновения аварийных ситуаций и составлен план действия персонала по их устранению.

Причинами возникновения аварийных ситуаций могут быть:

- прохождение высокого паводка с расходами, превышающими расчетную или фактическую пропускную способность водопропускных сооружений гидроузла;

- воздействие селевых потоков и лавин большой мощности;

- сейсмические явления;

- различного рода обвалы и оползания горных склонов, в том числе в водохранилище с образованием высоких волн;

- катастрофические атмосферные осадки (ливень, снегопад), ледовые и шуговые явления;

- ухудшение неблагоприятного фильтрационного режима в районе расположения гидроузла, оснований и примыканий гидротехнических сооружений;

- снижение прочности и устойчивости гидротехнических сооружений и их отдельных элементов, вызванные нарушениями правил эксплуатации, некачественным выполнением строительно-монтажных работ и вследствие ошибок, допущенных при проектировании;

- отказы в работе гидромеханического оборудования;

- террористические акты.

6.3.4 При угрозе возникновения аварийных ситуаций необходимо организовать усиленный контроль за состоянием возможных зон повышенной опасности, а также иметь постоянную информацию от соответствующих государственных органов об угрозе возникновения стихийных явлений.

6.3.5 При наличии информации об угрозе возникновения катастрофических явлений предупредительными мерами по ликвидации аварий и уменьшению ущерба могут быть:

- снижение уровня воды в водохранилище;

- наращивание гребней и укрепление откосов плотин;

- устройство "плавких вставок" в наиболее легко восстанавливаемых частях гидротехнических сооружений;

- устройство водоотбойных и струенаправляющих дамб и перемычек;

- перемещение в безопасное место оборудования и механизмов или обеспечение их защиты от возможных повреждений;

- обеспечение возможности открытия всех водосбросных отверстий; в случае необходимости - подрыв заклинившихся затворов.

6.3.6 К стандарту ГЭС (производственной инструкции) должна прилагаться заранее разработанная проектная документация по возможному предотвращению и ликвидации наиболее вероятных аварийных разрушений гидротехнических сооружений. Реализация мероприятий, предусмотренных проектной документацией, должна быть согласована с местными органами власти и подразделениями ГО и ЧС. Порядок реализации должен быть отражен в декларации безопасности.

6.3.7 Противоаварийные устройства, водоотливные и спасательные средства должны содержаться в исправном состоянии и периодически проверяться.

6.3.8 Во всех случаях, когда возникает угроза разрушения гидротехнических сооружений, необходимо срочное оповещение в установленном порядке всех населенных пунктов, расположенных ниже ГТС, и эвакуация населения из опасной зоны.

7 Экологические и природоохранные требования к организации эксплуатации гидротехнических сооружений

7.1 Гидротехнические сооружения должны оказывать минимальное влияние гидроузла на окружающую природную среду в соответствии с проектом, согласованным с органами природного и экологического государственного надзора.

7.2 При эксплуатации гидротехнических сооружений должен быть обеспечен технический контроль за:

- размывами берегов в нижних бьефах сооружений;

- режимом грунтовых вод на территории нижних бьефов;

- размывами русла реки в нижнем бьефе за сооружениями;

- заилением верхнего бьефа перед сооружениями;

- заилением (образованием баров) в нижнем бьефе сооружений.

7.3 При проведении технических мероприятий по эксплуатации гидротехнических сооружений (плановые и внеочередные ремонты, работы по устранению дефектов, капитальные ремонты) должна быть обеспечена защита от попадания загрязняющих веществ, в том числе минеральных масел, в верхний и нижний бьефы.

Ремонтные материалы не должны содержать веществ, опасных для здоровья людей и окружающей природной среды - как при проведении работ, так и при дальнейшей эксплуатации отремонтированных сооружений.

7.4 При обнаружении в процессе осмотров и проведения инструментальных наблюдений заболоченных участков в нижнем бьефе должны быть приняты меры по отводу воды и снижению уровня грунтовых вод за подпорным сооружением.

7.5 Воды, образовавшиеся в результате выпадения осадков на загрязненную территорию, системой дождевой канализации должны отводиться на очистные сооружения. Ливнестоки должны поддерживаться в работоспособном состоянии и периодически очищаться.

7.6 Эксплуатирующая организация должна обеспечить функционирование системы управления окружающей средой на основе программы и плана мероприятий в соответствии с требованиями международных стандартов серии ИСО 1400.

- оценку состояния предприятия и определение отсутствующих систем управления окружающей средой;

- разработку, описание и внедрение отсутствующих систем;

- прохождение сертификации системы управления окружающей средой, и т.п.

8 Требования безопасности при консервации и ликвидации гидротехнических сооружений

8.1 Собственник (эксплуатирующая организация) при консервации и ликвидации гидротехнических сооружений должен руководствоваться "Положением об эксплуатации гидротехнического сооружения и обеспечении безопасности гидротехнического сооружения, разрешение на строительство и эксплуатацию которого аннулировано, а также гидротехнического сооружения, подлежащего консервации, ликвидации либо не имеющего собственника" (Постановление Правительства от 22.02.1999 г. № 237).

8.2 Консервация эксплуатируемых гидротехнических сооружений может происходить в следующих случаях:

приостановка дальнейшего строительства сооружений после завершения пускового комплекса в силу разных причин (предписания органов государственного надзора, недостаток финансирования, изменение социально-экономической ситуации в регионе и др.);

отсутствие потребности в сооружениях на текущий момент, но их возможная востребованность в будущем.

8.3 Законсервированные сооружения подлежат техническому надзору и уходу со стороны собственника (эксплуатирующей организации) по программе, согласованной с органами надзора.

8.4 На период консервации гидротехнические сооружения должны удовлетворять проектным нормам безопасности по прочности, устойчивости и пропускной способности.

8.5 Консервация гидротехнических сооружений должна осуществляться в следующем порядке:

- в органы государственного надзора следует подать заявку на необходимость консервации гидротехнических сооружений с приложением проекта консервации (дополнительные укрытия от природных воздействий, меры по обеспечению безопасности и т.п.);

- органами надзора должна быть осуществлена проверка достаточности предлагаемых мероприятий по обеспечению безопасности гидротехнических сооружений;

- поданные документы следует согласовать с органами управления (муниципальным субъектом Российской Федерации);

- должна быть проведена комиссионная проверка гидротехнических сооружений, при участии органов государственного надзора, с составлением акта готовности к консервации.

8.5 Ликвидация сооружений осуществляется в аналогичном порядке, при соблюдении норм безопасности при пропуске паводков (отсутствие стеснения русла).

8.6 Отдельные элементы сооружений в соответствии с проектом ликвидации могут быть сохранены и использованы для иных целей: причалы, опоры мостов, фундаменты (основания) для промышленных и других зданий и сооружений.

8.7 После ликвидации сооружений должен быть оформлен акт о соответствии выполненных работ согласованному и утвержденному проекту ликвидации, с участием органов государственного надзора, органов управления и органов ГО и ЧС.

9 Подтверждение соответствия гидротехнических сооружений нормам и правилам безопасности

9.1 В соответствии с требованиями Федерального закона РФ "О безопасности гидротехнических сооружений" соответствие гидротехнического сооружения нормам и правилам безопасности подтверждается декларацией безопасности, оформляемой и утверждаемой согласно [13, 14].

9.2 Подтверждению соответствия подлежат:

- соблюдение норм и правил безопасности при эксплуатации гидротехнических сооружений;

- соответствие состояния гидротехнических сооружений критериям (показателям) безопасности, утвержденным или согласованным с органами государственного надзора;

- принимаемые собственником (эксплуатирующей организацией) меры по повышению безопасности гидротехнических сооружений;

- выполнение предписаний органов государственного надзора;

- квалификация эксплуатационного персонала;

- техническая и организационная готовность собственника (эксплуатирующей организации) к предотвращению и ликвидации аварийных ситуаций.

9.3 Собственник (эксплуатирующая организация) обязан(а) систематически предоставлять в органы государственного надзора (но не реже одного раза в 5 лет) декларацию безопасности гидротехнических сооружений (включающую акт преддекларационного обследования [14, приложение № 3]), прошедшую государственную экспертизу [17].

9.4 Декларация безопасности гидротехнических сооружений должна соответствовать требованиям нормативных документов [13, 14, 17], с учетом особенностей декларирования гидротехнических сооружений, предписанных в установленном порядке органами государственного надзора.

9.5 Одновременно с представлением декларации безопасности собственник (эксплуатирующая организация) должен(на) представить сведения о характеристиках гидротехнических сооружений для внесения в Российский Регистр гидротехнических сооружений, в соответствии с требованиями Постановления Правительства РФ от 23.05.1998 г. № 490 "О порядке формирования и ведения Российского регистра гидротехнических сооружений" и [18].

9.6 План мероприятий по повышению безопасности гидротехнических сооружений, изложенный в утвержденной декларации безопасности, является обязательным для собственника (эксплуатирующей организации).

9.7 Собственник (эксплуатирующая организация) обязан(а) оказывать содействие органам государственного надзора, осуществляющим проверки состояния и уровня эксплуатации гидротехнических сооружений.

10 Охрана труда при эксплуатации гидротехнических сооружений

10.1 Каждый работник службы эксплуатации гидротехнических сооружений должен быть обучен безопасным методам труда при эксплуатации гидротехнических сооружений, в том числе по электро-, пожаро-, взрывобезопасности, проведению подводно-технических работ, пройти проверку знаний, иметь удостоверение о проверке знаний по охране труда и документы, подтверждающие право проведения работ.

10.2 Персонал ремонтных, научно-исследовательских и специализированных организаций, прикомандированный для ремонта или оценки состояния гидротехнических сооружений, должен иметь соответствующий документ от командирующей организации на право проведения работ на гидротехнических сооружениях и должен пройти инструктаж с записью в журнале об особенностях работы на конкретном сооружении.

10.3 Эксплуатируемые гидротехнические сооружения должны быть оснащены следующими техническими средствами, обеспечивающими безопасность труда:

- проходы по сооружениям и на высоте, переходные мостки с одного сооружения к другому должны иметь ограждение;

- сооружения должны быть оборудованы спасательными средствами на случай падения персонала в воду;

- обслуживание сооружений без постоянного эксплуатационного персонала должно производиться группой не менее 2-х человек.

10.4 Для каждого сооружения и каждого рабочего места должна быть разработана инструкция по технике безопасности при проведении эксплуатационных работ.

10.5 Организация безопасного обслуживания гидротехнических сооружений (допуск к работам, контроль, содержание и форма документов) должны соответствовать стандарту [3].

Приложение А

(рекомендуемое)

Перечень контролируемых показателей состояния гидротехнических сооружений

Приведенный перечень является основой для проведения мониторинга состояния ГТС и может быть уточнен при постановке сооружений под напор или вводе в эксплуатацию.

В стандартах эксплуатирующих организаций на основе данного перечня должны быть установлены количественные и качественные показатели.

Контролируемые показатели

Класс ГТС

I - II

III - IV

Гидрология и гидравлика

 

 

уровни верхнего и нижнего бьефов

+

+

расходы воды как в целом по гидроузлу, так и по отдельным элементам (пропускаемые расходы, безвозвратные отборы)

+

+

скорости потока в каналах и отводящих руслах

+

+

скорость подъема и снижения уровней

+

+

давление льда (ледяных торосов) на сооружение, в том числе контроль за недопущением давления льда, если сооружение на давление льда не рассчитано

+

+

температурный режим водотока (особенно важный в шугоопасный период)

+

+

Основания сооружений

(в том числе береговых примыканий)

 

 

напряжения в различных точках оснований (в т.ч. на контакте с сооружениями)

+

-

деформации основания в пределах активной зоны

+

-

смещения (осадки и горизонтальные смещения) отдельных точек основания (особенно на контактах слоев, существенно отличающихся по прочности и деформируемости)

+

-

пьезометрические напоры в различных точках основания (в том числе на выходах фильтрационного потока в нижнем бьефе, на противофильтрационных завесах и т.д.)

+

-

избыточное поровое давление (особенно в первые годы эксплуатации грунтовых сооружений)

+

-

фильтрационные расходы (общие и на отдельных участках основания)

+

 

градиенты фильтрации

+

-

химический состав и мутность профильтровавшейся воды, наличие в ней твердых частиц

+

+

параметры трещин в основании (особенно в зоне верховой грани сооружения)

+

-

выпучивание грунтовой поверхности вблизи сооружения

+

+

неорганизованный выход фильтрационных вод (в т.ч. в береговых примыканиях)

+

+

температура в основаниях сооружений, особенно расположенных в зоне многолетнемерзлых грунтов

+

-

оползневые явления в береговых примыканиях (в верхнем и нижнем бьефах)

+

+

Грунтовые сооружения

 

 

напряжения в различных точках плотин, в т.ч. в упорных призмах, ядрах, экранах, диафрагмах, понурах, в местах примыкания к основанию и т.п.

+

-

деформации в различных точках сооружения

+

-

смещения (осадки и горизонтальные перемещения) отдельных точек сооружения

+

+

избыточное поровое давление и степень консолидации грунта в ядре плотин

+

-

фильтрационные градиенты и расходы (общие и на отдельных участках сооружения)

+

+

кривые депрессии

+

+

неорганизованный выход фильтрационных вод на откосы сооружений

+

+

химический состав профильтровавшейся воды и наличие в ней твердых частиц

+

+

параметры трещин в элементах сооружения и их примыканиях (раскрытие, глубина, протяженность, ориентация)

+

+

температурный режим для сооружений, фильтрующейся воды и водохранилища, а также сооружений, расположенных в северной строительно-климатической зоне

+

-

проявление оползневых процессов

+

+

локальные провалы, промоины, зоны размывов, ходы от землеройных животных и т.д.

+

+

деформации и нарушения грунтовых и бетонных креплений откосов

+

+

кальмотаж обратных фильтров и дренажей

+

+

физико-механические характеристики грунтов

+

-

Бетонные сооружения

 

 

Фильтрационный режим:

 

 

противодавление в монолитном бетоне и в строительных швах

+

-

противодавление воды по контакту с основанием

+

+

фильтрационный расход (суммарный через все тело сооружения, разделенный по горизонтам и отдельным локальным очагам)

+

+

Общие перемещения:

 

 

осадка подошвы

+

-

плановые перемещения сооружения

+

+

наклон контролируемых секций

+

+

Напряженное и деформированное состояние:

 

 

напряжения в характерных точках

+

+

эпюры напряжений в горизонтальных сечениях

+

-

степень монолитности плотины (раскрытие швов, образование и развитие трещин)

+

+

Свойства бетона:

 

 

физико-механические характеристики бетона, определяемые инструментально

+

-

деструкция бетонной кладки (вследствие механических повреждений, выщелачивания, попеременного замораживания и оттаивания, кавитации, воздействия агрессивных сред), оцениваемая по визуальным наблюдениям

+

+

Железобетонные (сталежелезобетонные) конструкции

 

 

В дополнение к показателям состояния, контролируемым в бетонных сооружениях, контролируются также:

 

 

толщина защитного слоя бетона, степень его сохранности и карбонизации

+

+

степень коррозии металла арматуры и листовой стали

+

+

плотность контакта листовой облицовки и окружающего бетона

+

+

механические повреждения арматуры и листовой облицовки

+

+

напряжения в арматуре и листовой облицовке

+

+

напряжения в анкерах и арматуре анкерных понуров, заанкеренных подпорных стен, предварительно напряженных плотин и др.

+

-

Водопропускные сооружения

(водосбросы, водоспуски, водовыпуски, водоводы, подводящие и отводящие каналы и т.д.)

 

 

качество поверхности водопропускных конструкций

+

+

наличие и развитие дефектов и повреждений обделок и облицовок

+

+

повреждения забральных балок, сороудерживающих решеток, шугосбросов, водозаборных сооружений и т.п.

+

+

повреждения конструкций водобоев, рисберм, креплений берегов, раздельных и сопрягающих стен

+

+

режим сопряжения бьефов

+

+

 

Приложение Б

(обязательное)

Технический паспорт гидротехнических сооружений гидроэлектростанций

Технический паспорт гидротехнических сооружений гидроэлектростанций разработан в соответствии с требованиями правил технической эксплуатации электрических станций и сетей и является основным документом, содержащим конструктивные и технико-экономические характеристики объекта. При оформлении паспорта следует руководствоваться прилагаемой инструкцией по заполнению и ведению технического паспорта гидротехнических сооружений ГЭС.

ПЕРЕЧЕНЬ ФОРМ*

_____________

* В приложении не приводятся формы, предназначенные для составления паспорта тепловых электростанций.

Номер формы

Наименование формы

 

А Общая характеристика ГЭС

1

Схема района расположения электростанции

2

Общие сведения об электростанции

3

План гидротехнических сооружений электростанции

4

Геологический профиль по оси сооружений

5

Общий вид гидротехнических сооружений головного узла

6

Общий вид гидротехнических сооружений станционного узла с нижнего бьефа

7

Общий вид гидротехнических сооружений станционного узла с верхнего бьефа

8

Графики зависимости объемов и площадей зеркала водохранилища от уровня верхнего бьефа

9

Характерные гидрографы в бытовых условиях

10

Графики зависимости отметки уровня воды в нижнем бьефе от расхода

 

Б Гидротехнические сооружения ГЭС

11

Бетонная глухая плотина

12

Бетонная водосливная (водосбросная) плотина

13

Плотина из местных материалов

14

Головной узел (для деривационных гидроэлектростанций)

15

Деривация

16

Сооружения для деривации

19

План головного узла сооружений гидроэлектростанций

20

План деривационного канала (туннеля) и сооружений на нем

21

План станционного узла сооружений гидроэлектростанций

22

Поперечный разрез по бетонной глухой плотине

23

Поперечный разрез по водосливной (водосбросной) плотине

24

Поперечные разрезы по земляной плотине

25

Поперечный разрез по глубинному водосбросу

26

Поперечный разрез по водоприемнику

27

Продольный разрез по напорному бассейну

28

Продольный разрез по трубопроводам

29

Поперечный разрез по агрегату (типовой)

30

Продольный разрез по зданию гидроэлектростанции

31

План подводной части здания гидроэлектростанции

32

План здания ГЭС на отметке пола машинного зала

33

Продольный и поперечный разрезы по отводящей деривации

34

Графики пропускной способности водосливных водосбросных отверстий

35

Дополнения

 

Д Организация эксплуатации гидротехнических сооружений ГЭС

52

Схема расположения контрольно-измерительной аппаратуры

53

Проектные графики фильтрационного противодавления в основании бетонных сооружений и максимальные расчетные значения

54

Проектные депрессионные кривые в земляных сооружениях и максимальные расчетные значения

55

Проектные графики осадок земляных сооружениях и максимальные расчетные значения

56

Проектные графики осадок и смещений бетонных сооружений и максимальные расчетные значения

57

Капитальный ремонт и реконструкция гидравлических сооружений

58

Капитальный ремонт и реконструкция гидромеханического оборудования гидротехнических сооружений

59

Недостатки и узкие места гидротехнических сооружений и гидромеханического оборудования

60

Отказы в работе, вызвавшие повреждения гидротехнических сооружений или гидромеханического оборудования

61

Лица, ответственные за эксплуатацию гидротехнических сооружений

62

Сведения о выполненных научно-исследовательских работах

63

Сведения о систематических централизованных обследованиях

64

Сведения об экстремальных паводках, землетрясениях, ураганах и др.

65

Дополнения

А ОБЩАЯ ХАРАКТЕРИСТИКА ГЭС

Форма 1 Схема района расположения ГЭС

Форма 2 Общие сведения о ГЭС

1 Тип

2 Класс постоянных сооружений:

- основных

- второстепенных

3 Установленная мощность, МВт:

4 Состав гидротехнических сооружений

5 Напор гидротурбин, м:

- максимальный (статический)

- расчетный

- минимальный

6 Среднемноголетняя выработка электроэнергии, тыс. кВт.ч

7 Ведущая проектная организация

8 Основная строительная организация

9 Год начала строительства

10 Дата приемки в эксплуатацию первой очереди ГЭС (пускового комплекса)

11 Дата приемки в эксплуатацию полностью законченного строительством гидроэнергетического узла государственной комиссией

12 Балансовая стоимость гидротехнических сооружений, тыс. руб.

Гидротехническое сооружение: __________________

Балансовая стоимость

Амортизационные отчисления на капитальный ремонт

на 01.01.20___г.

на 01.01.20___г.

на 01.01.20___г.

на 01.01.20___г.

на 01.01.20___г.

на 01.01.20___г.

 

 

 

 

 

 

Итого: _________________

13 Характеристика водостока

Водосборная площадь бассейна реки......................….. км2

Среднемноголетний расход................................……… м3

Среднегодовой сток за многолетний период................ м3

Среднемесячный летний минимальный расход за

многолетний период......................................………….. м3

Среднемесячный зимний минимальный расход за

многолетний период......................................………….. м3

Абсолютный суточный максимальный расход за

многолетний период (дата)……………………………. м3

Абсолютный суточный минимальный расход за

Многолетний период (дата)............................................. м3

Расчетный паводочный расход воды обеспеченностью

______ % ________ м3

______ % ________ м3

14 Пропускная способность гидротехнических сооружений

Водосборные сооружения

Расход (м3/с) при НПУ

проектный

фактический

Водосливная плотина

 

 

Холостые водосбросы

 

 

Турбины ГЭС

 

 

Расчетная срезка пика паводка

 

 

Всего

 

 

15 Среднемноголетний твердый сток реки........... т/год

Из них:

взвешенные наносы..........................……………… т/год

донные наносы..............................………………… т/год

16 Максимальная мутность во время паводка ....... кг/м3

17 Климат района электростанции:

Температура воздуха, °С:

максимальная

минимальная

среднегодовая

Количество безморозных дней

Начало ледостава

Толщина льда (в реке, каналах, деривации, водохранилище)........... см

Шуговые явления

18 Характеристика водохранилища

Отметки уровня верхнего бьефа, м:

нормального (НПУ)......................

наивысшего при форсировках (ПУ) ..................

наинизшего при предельной сработке в нормальных условиях (УМО) .............

Площадь зеркала водохранилища при НПУ................ км2

Обьем водохранилища

(проектный), м3, 20__ г. - ……….. 20__ г. - 20__ г. -

полный при НПУ

полезный

19 Характер регулирования бытового стока реки

20 Расчетная высота волны ............ м

21 Основные водопотребители, кроме ГЭС:

№ п/п

Водопотребитель

Норма и объем водопотребления и водоотведения

1.

 

 

2.

 

 

 

Всего:

 

22 Отметки уровня нижнего бьефа:

наивысшего............. м при Q = ............ м3

наинизшего............. м при Q = ............ м3

Форма 3 План гидротехнических сооружений

Форма 4 Геологический профиль по оси сооружений

Форма 5 Общий вид гидротехнических сооружений головного узла

Форма 6 Общий вид гидротехнических сооружений станционного узла с нижнего бьефа

Форма 7 Общий вид гидротехнических сооружений станционного узла с верхнего бьефа

Форма 8 Графики зависимости объемов и площадей зеркала водохранилища от уровня верхнего бьефа

Форма 9 Характерные гидрографы в бытовых условиях

Форма 10 Графики зависимости отметки уровня воды в нижнем бьефе от расхода

Б ГИДРОТЕХНИЧЕСКИЕ СООРУЖЕНИЯ ГЭС

Форма 11 Бетонная глухая плотина

1 Тип плотины

2 Материал плотины

3 Объем основных работ, м3

выемка мягких грунтов ____________________________

выемка скальных грунтов __________________________

бетон и железобетон ______________________________

4 Грунты основания

5 Максимальный напор на плотину при НПУ____________ м

6 Основные размеры плотины, м:

длина по гребню

ширина по гребню

наибольшая высота

отметка гребня

превышение гребня над НПУ

7 Основные особенности конструкции плотины

8 Противофильтрационные устройства плотины

Наименование и местоположение в плотине

Техническая характеристика

Длина по фронту, м

Отметка, м

 

 

 

верха

низа

 

 

 

 

 

9 Уплотнения деформационно-осадочных швов

Тип шпонки

Местоположение в сооружении

Краткая характеристика

 

 

 

10 Дренажные устройства

Назначение дренажа

Местоположение в плотине

Техническая характеристика

Место выпуска

Проектный расход, м3

 

 

 

 

 

Форма 12 Бетонная водосливная (водосбросная) плотина

1 Тип плотины

2 Материал плотины

3 Объем основных работ, м3

выемка мягких грунтов

выемка скальных грунтов

бетон и железобетон

4 Грунты основания

5 Максимальный напор на плотину при НПУ ____________ м

6 Основные размеры плотины, м:

длина по гребню

ширина по гребню

наибольшая высота

отметка гребня

превышение гребня над НПУ

7 Основные особенности конструкции плотины

8 Характеристика отверстий плотины

Наименование

Ширина пролета, м

 

 

 

 

 

Количество отверстий

Тип отверстия

Размер отверстия

Пропускная способность одного отверстия при пропуске расчетного расхода, куб. м/с

при НПУ

при ФПУ

Тип затвора

Тип подъемного механизма

Управление затвором

9 Противофильтрационные устройства плотины

Наименование и местоположение в плотине

Техническая характеристика

Длина по фронту, м

Отметка, м

 

 

 

верха

низа

 

 

 

 

 

10 Уплотнения деформационно-осадочных швов

Тип шпонки

Местоположение в сооружении

Краткая характеристика

 

 

 

11 Дренажные устройства

Назначение дренажа

Местоположение в плотине

Техническая характеристика

Место выпуска

Проектный расход, м3

 

 

 

 

 

12 Конструкция крепления нижнего бьефа

13 Конструкция гасителей энергии

Форма 13 Плотина из местных материалов

1 Наименование

2 Тип плотины

3 Материал плотины

4 Объем основных работ, м3

выемка мягких грунтов

выемка скальных грунтов

насыпь мягких грунтов

каменная наброска

намыв

5 Грунты основания

6 Максимальный напор на плотину при НПУ ____________ м

7 Основные размеры плотины, м:

длина по гребню

ширина по гребню

ширина по подошве

наибольшая высота

отметка гребня

превышение гребня над НПУ

8 Тип крепления напорного откоса

9 Толщина крепления

10 Заложение откосов, м:

верхового

низового

11 Основные особенности конструкции плотины

12 Противофильтрационные устройства плотины

Наименование и местоположение в плотине

Техническая характеристика

Длина по фронту, м

Отметка, м

 

 

 

верха

низа

 

 

 

 

 

13 Дренажные устройства

Назначение дренажа

Местоположение в плотине

Техническая характеристика

Место выпуска

Проектный расход, м3

 

 

 

 

 

14 Сопрягающие устройства

Форма 14 Головной узел (для деривационных гидроэлектростанций)

1 Плотина

Глухая часть

Тип

Материал

Объем основных работ, м3

выемка мягких грунтов

выемка скальных грунтов

бетон и железобетон

Грунты основания

Максимальный напор на плотину при НПУ ____________ м

Основные размеры плотины, м:

длина по гребню

ширина по гребню

ширина по подошве

наибольшая высота

отметка гребня

превышение гребня над НПУ

Краткая характеристика дренажных устройств

Противофильтрационные устройства

Водосбросная часть

Тип

Материал

Объем основных работ, м3

выемка мягких грунтов

выемка скальных грунтов

бетон и железобетон

Грунты основания

Максимальный напор на плотину при НПУ ____________ м

Основные размеры плотины, м:

длина по гребню

ширина по гребню

ширина по подошве

отметка гребня

отметка порога водослива

Характеристика отверстий плотины

Наименование

Ширина пролета, м

 

 

 

 

 

Количество отверстий

Тип отверстия

Размер отверстия

Пропускная способность одного отверстия при пропуске расчетного расхода, м3

при НПУ

при ФПУ

Тип затвора

Тип подъемного механизма

Управление затвором

Основные особенности конструкции плотины

2 Холостой водосброс

Тип

Материал

Строительный объем

Грунты основания

Основные размеры:

длина__________________________________ м

поперечное сечение_____________________ м

продольный уклон_______________________ %

Система гасителей энергии

Пропускная способность, м3/с:

при НПУ

при ФПУ

Основные особенности конструкции

Тип затвора

Тип подъемного механизма

3 Водозабор деривации

Тип

Материал

Объем основных работ, м3

выемка мягких грунтов

выемка скальных грунтов

бетон и железобетон

Грунты основания

Проектная пропускная способность, м3

при НПУ

при ФПУ

Фактическая пропускная способность, м3

при НПУ

при ФПУ

Число отверстий

Размеры отверстий___________________ м

Отметка порога______________________ м

Основные размеры, м:

длина

ширина

высота

Основные особенности конструкции

Тип затвора

Тип подъемного механизма

Управление затвором

4 Отстойник

Тип

Материал

Объем основных работ, м3

выемка мягких грунтов

выемка скальных грунтов

насыпь

бетон и железобетон

Грунты основания

Число камер

Число входных отверстий

Объем отстойника____________________________________ м3

Расчетный размер осаждаемых частиц__________________ мм

Расчетный объем промыва наносов за один промыв______ м3

Объем воды на один промыв___________________________ м3

Основные размеры, м:

длина

ширина камер

Отметка порога_______________________________________ м

Число промывных отверстий

Размеры промывных отверстий__________________________ м

Тип затвора

Тип подъемного механизма

Управление затвором

Особенности конструкции отстойника

Форма 15 Деривация

1 Тип

2 Общая длина

3 Расчетный расход

4 Характеристика водотока:

Наименование

Открытый канал

Туннель

Трубопровод

 

 

 

 

Грунты по трассе

Тип облицовки

Объем основных работ, м3

бетон

выемка

насыпь

Длина, м

Форма и размеры (м) поперечного сечения

Уклоны, %

Отметка дна, м:

в начале

в конце

Глубина воды при расчетном расходе, м:

в начале

в конце

Форма 16 Сооружения для деривации

1 Дюкер

Тип

Материал

Объем основных работ, м3

выемка мягких грунтов

выемка скальных грунтов

бетон и железобетон

насыпь

Грунты основания

Пропускная способность, м3

Длина, м

Форма и размеры (м) поперечного сечения

Основные особенности конструкции

2 Селепровод

Тип

Материал

Объем основных работ, м3

выемка мягких грунтов

бетон и железобетон

Грунты основания

Пропускная способность, м3

Основные размеры, м:

длина

ширина

Основные особенности конструкции

3 Акведук

Тип

Материал

Объем основных работ

насыпка

бетон и железобетон _________________________ м3

металлоконструкции _________________________ т

Грунты основания

Пропускная способность, м3

Длина, м

Форма и размеры (м) поперечного сечения

4 Глубинный водосброс

Тип

Материал

Объем основных работ, м3

выемка мягких грунтов

выемка скальных грунтов

бетон и железобетон

Грунты основания

Пропускная способность, м3

Число отверстий

Размеры отверстий___________________ м

Основные размеры, м:

длина___________________________ м

уклон___________________________ %

Тип затвора

Тип подъемного механизма

Управление затвором

5 Боковой водослив

Тип

Материал

Объем основных работ, м3

выемка мягких грунтов

выемка скальных грунтов

насыпь

бетон и железобетон

Грунты основания

Пропускная способность, м3

Отметка порога, м

Основные размеры, м:

длина

ширина порога

6 Водовыпуск

Тип

Материал

Объем основных работ, м3

выемка

насыпь

бетон и железобетон

Грунты основания

Пропускная способность, м3

Бассейн суточного регулирования (БСР)

Тип

Объем основных работ, м3

выемка мягких грунтов

выемка скальных грунтов

насыпь

бетон и железобетон

Грунты основания

Основные особенности компоновки и конструкции

Объем БСР__________________ м3

Основные размеры:

площадь при НПУ ______________ м

отметка дна __________________ м

Нормальный подпорный уровень_____________________ м

Уровень сработки _________________________________ м

Крепление откосов дамб

Тип затвора

Тип подъемного механизма

Управление затвором

7 Прочие сооружения на деривации

Наименование

Тип

Материал

Объем основных работ, м3

выемка мягких грунтов

выемка скальных грунтов

намыв

насыпь

бетон и железобетон

Грунты основания

Пропускная способность, м3

Основные размеры

Особенности компоновки и конструкции

Форма 20 План деривационного канала (туннеля) и сооружений на нем

Форма 21 План станционного узла сооружений гидроэлектростанций

Форма 22 Поперечный разрез по бетонной глухой плотине

Форма 23 Поперечный разрез по водосливной (водосбросной) плотине

Форма 24 Поперечные разрезы по земляной плотине

Форма 25 Поперечный разрез по глубинному водосбросу

Форма 26 Поперечный разрез по водоприемнику

Форма 27Поперечный разрез по напорному бассейну

Форма 33 Продольный и поперечные разрезы по отводящей деривации

Форма 34 Графики пропускной способности водосливных (водосбросных) отверстий

Форма 35 Дополнения

Д ОРГАНИЗАЦИЯ ЭКСПЛУАТАЦИИ ГИДРОТЕХНИЧЕСКИИХ
СООРУЖЕНИЙ ГЭС

Форма 52 Схема расположения контрольно-измерительной аппаратуры

Форма 53 Проектные графики фильтрационного противодавления в основании бетонных сооружений и максимальные расчетные значения

Форма 54 Проектные депрессионные кривые в земляных сооружениях и максимальные расчетные значения

Форма 55. Проектные графики осадок земляных сооружениях и максимальные расчетные значения

Форма 56. Проектные графики осадок и смещений бетонных сооружений и максимальные расчетные значения

Форма 57 Капитальный ремонт и реконструкция гидравлических сооружений

Объект

Состав работ

Время производства работ

Объем работ в сметных ценах, тыс. руб.

Физический объем работ, тыс. руб.

Год начала работ

Год окончания работ

1

2

3

4

5

6

 

 

 

 

 

 

Форма 58 Капитальный ремонт и реконструкция гидромеханического оборудования гидротехнических сооружений

Объект

Состав работ

Время производства работ

Объем работ в сметных ценах, тыс. руб.

Физический объем работ, тыс. руб.

Год начала работ

Год окончания работ

1

2

3

4

5

6

 

 

 

 

 

 

Форма 59 Недостатки и "узкие места" гидротехнических сооружений и гидромеханического оборудования

Наименование гидротехнического сооружения или гидромеханического оборудования

Характеристика недостатков и "узких мест"

Мероприятия по устранению

Дата обнаружения

Дата устранения

 

 

 

 

 

Форма 60 Отказы в работе, вызвавшие повреждения гидротехнических сооружений или гидромеханического оборудования

Дата

Место и краткая характеристика отказа в работе

Классификация

Мероприятия по устранению последствий и причин отказа

 

 

 

 

Форма 61 Лица, ответственные за эксплуатацию гидротехнических сооружений

Гидротехническое сооружение

Фамилия, имя, отчество лица, ответственного за эксплуатацию гидротехнического сооружения

Номер приказа о назначении и увольнении

 

 

 

Форма 62 Сведения о выполненных научно-исследовательских работах

Дата проведения работы

Организация - исполнитель

Наименование работы

 

 

 

Форма 63 Сведения о систематических централизованных обследованиях

Дата обследования

Состав комиссии

Основные выводы и рекомендации

 

 

 

Форма 64 Сведения об экстремальных паводках, землетрясениях, ураганах и др.

Форма 65 Дополнения

Настоящий паспорт составлен ______________________________________________

(число, месяц, год)

Паспорт содержит ________________________________________________________

(страниц, форм)

Директор (начальник) _____________________________________________________

(наименование электростанции, фамилия и инициалы)

Главный инженер_________________________________________________________

(фамилия, инициалы)

Технический паспорт составлен_____________________________________________

(кем, когда, какой организацией)

Паспорт дополнен

Дата

Номер формы

Номера страниц

Подпись главного инженера

 

 

 

 

Приложение В

(обязательное)

Правила проведения наблюдений за работой бетонных плотин

1 ОБЩИЕ ПОЛОЖЕНИЯ

1.1 Назначение Правил и область применения

1.1.1 Настоящие Правила регламентируют проведение наблюдений на эксплуатируемых гидротехнических сооружениях.

1.1.2 Правила предназначены для гидротехнических служб ГЭС, контролирующих текущее состояние сооружений гидроузла, проектных и научных организаций, разрабатывающих программы наблюдений и оценивающих безопасность сооружений.

1.1.3 Правила распространяются на все виды бетонных плотин, преимущественно I и II классов, входящих в состав гидроузлов Российской Федерации.

1.1.4 Правила содержат: основные указания по проведению наблюдений на эксплуатируемых плотинах; цели, виды и методы наблюдений; способы обработки данных и их анализа.

1.1.5 Целью настоящих Правил является установление единого подхода к эксплуатационному надзору за состоянием гидротехнических сооружений, включающего контроль перемещений, напряжений, деформаций, фильтрационного и температурного режимов системы плотина - основание.

1.2 Цели и задачи наблюдений и исследований

1.2.1 Основной целью проведения наблюдений на эксплуатируемой плотине является получение информации для оценки состояния плотины и ее элементов, необходимой для контроля надежности и безопасности гидроузла.

1.2.2 Результаты наблюдений должны использоваться:

- для определения специфики работы плотины и ее элементов;

- для анализа причин несовпадения контролируемых параметров с их расчетными значениями;

- для корректировки математических моделей работы сооружения;

- для определения диагностических показателей, определяющих состояние системы плотина - основание по условиям устойчивости, прочности и долговечности;

- для оценки влияния гидроузла на экологические условия района;

- для многофакторного анализа статической работы плотины и текущего контроля за изменением всех контролируемых параметров, характеризующих состояние плотины и геологической среды и обоснования критериев надежной работы плотины.

1.2.3 Обобщенные материалы наблюдений и исследований должны использоваться для определения резервов надежности плотины и обоснования необходимости ремонтных работ, совершенствования систем наблюдений, конструктивных решений при проектировании новых плотин, для ретроспективных расчетов, а также должны учитываться при пересмотре нормативных документов по проектированию бетонных плотин и правил их эксплуатации, при составлении деклараций безопасности сооружений.

1.3 Организация и состав наблюдений

1.3.1 На каждой эксплуатируемой бетонной плотине должны проводиться наблюдения, позволяющие оперативно следить за безопасностью гидроузла. Состав и объем наблюдений (табл. В.1) определяются указаниями проекта, нормативными документами в зависимости от класса сооружения, геолого-структурных особенностей основания, экологической ситуации и т.д. Программа наблюдений разрабатывается для строительного и эксплуатационного периодов.

Таблица В.1

Типовой состав наблюдений

Внешние воздействия и наблюдения

Виды измерений (наблюдений)

Способы и средства измерений

Рекомендуемая периодичность

Контролируемые показатели

1. Нагрузки и внешние воздействия на сооружение

Общие гидрометеорологические

Водомерные рейки, уровнемеры

Ежедневно

Уровни воды в ВБ, НБ

Термометры метеорологические

Ежедневно в одно время

Температура воздуха в створе ГЭС

Термометры родниковые, дистанционные

Ежедневно у поверхности, по глубине водохранилища 1 раз в месяц

Температура воды водохранилища и НБ

Промеры глубин водохранилища

Эхолот

1 раз в 5 лет

Высота отложения наносов

2. Фильтрационный режим в плотине, основании и береговых примыканиях

Пьезометрические

Пьезометрическая сеть

2 раза в месяц

Пьезометрические уровни (напоры)

Температурные

Термометры

1 раз в квартал

Температура фильтрационного потока

Расходомерные

Объемный, мерные водосливы

2 раза в месяц

Фильтрационные расходы через очаги фильтрации, дренаж основания, дебит ПЗ

Химические

Пробы воды

2 раза в год

Механический и химический составы фильтрующейся воды

Визуальные

Выявление водопроявлений в бетоне и скальных массивах

2 раза в год: летом - за высачиванием, зимой - для контроля за наледями. Проводятся в одно время.

Зарисовки очагов фильтрации, составление карт-разверток

3. Деформирование плотины и массивов, ее вмещающих (общие деформации плотины и основания)

Геодезические

Нивелирование (геометрическое, тригонометрическое, гидростатическое)

2 раза в год;

1 раз в квартал

Планово-высотные перемещения геодезических знаков; наклоны

Прямые и обратные отвесы

1-4 раза в месяц

Относительные горизонтальные смещения характерных точек плотины и скального основания

Створные измерения

1 раз в квартал

Абсолютные горизонтальные перемещения характерных точек плотины

Триангуляция (многократная засечка)

2 раза в год

Поверхностные щелемеры

3-4 раза в год

Раскрытие швов в галереях и на гребне плотины

Визуальные

Выявление трещин, местных деформаций

1 раз в год

Инвентаризация трещин

4. Температурный режим плотины и основания

Температурные

Телетермометры

2 раза в месяц

Температура в характерных точках плотины и основания

5. Напряжения (деформации) в бетоне, скальном основании, арматуре и металлоконструкциях

Тензометрические

Телетензометры, деформометры (ИДС)

2 раза в месяц

Напряжения (деформации) в бетоне, скале, трубопроводе

Арматурные динамометры

2 раза в месяц

Усилие (напряжения) в арматуре

6. Монолитность плотины

Тензометрические

Контактные тензометры

2 раза в месяц

Раскрытие контактных поверхностей бетон - скала

Телещелемеры

2 раза в месяц

Раскрытие межсекционных, межстолбчатых, межблочных швов, трещин

7. Свойства бетона как материала

Физико-механические, тензометрические

Лабораторные испытания бетонных образцов, кернов; испытания в сооружении

Проведены в строительный период и могут проводиться в эксплуатационный период

Прочность, модуль упруго-мгновенных деформаций, меры ползучести, к.л.р. при положительной и отрицательной температурах

Специальные исследования

Неразрушающие методы (пластических деформаций, акустический)

По мере необходимости

Статический и динамический модули упругости

Химический и биохимический анализы выщелачивания бетона

По мере необходимости

Химический и биохимический составы продуктов выщелачивания

Визуальные

Наблюдения за зонами деструктивного бетона, выщелачивания

1 раз в год

Зарисовки зон деструкции и выщелачивания бетона

1.3.2 В строительный период по данным наблюдений необходимо оценить технологию возведения, обосновать возможность ее оптимизации. В этот период контролируется трещиностойкость бетона, определяется влияние температурных трещин на формирование первоначального напряженно-деформированного состояния бетонных блоков, выявляются все виды нарушения монолитности тела плотины (некачественная цементация межстолбчатых швов, нарушение сплошности строительных швов в первом столбе, температурные трещины).

1.3.3 Программа наблюдений при постоянной эксплуатации корректируется с учетом выявленных в строительный период дефектных зон и предусматривает получение данных, позволяющих определить фактическую схему статической работы эксплуатируемого сооружения, основанную на определении связей между изменением контролируемых параметров и действующими нагрузками.

1.3.4 На бетонных плотинах I, II, III, а при соответствующем обосновании, IV классов проводятся инструментальные наблюдения. Визуальные наблюдения проводятся на каждой плотине, независимо от класса сооружения.

1.3.5 К обязательным инструментальным наблюдениям относятся: геодезические, контролирующие деформирование геологической среды, основания и тела плотины, фильтрационные, оценивающие фильтрационный режим в плотине и основании.

На высоких плотинах I и II классов обязательно осуществляются термические, тензометрические наблюдения за напряженным состоянием бетона и основания, контролируется раскрытие конструктивных и строительных швов. Типовой состав наблюдений должен быть откорректирован для каждого гидроузла с учетом конкретных проблем, возникающих при его эксплуатации, а также возможностей КИА.

1.3.6 Для плотин I класса необходимо получить данные об упругих и пластических свойствах бетона для фактических его составов. Модуль упруго-мгновенных деформаций и меры ползучести определяются в лабораторных условиях или в сооружении.

2 ОСНОВНЫЕ ПРИНЦИПЫ ПРОВЕДЕНИЯ НАБЛЮДЕНИЙ НА ЭКСПЛУАТИРУЕМЫХ ПЛОТИНАХ

2.1 Проверка достоверности, достаточности и представительности данных

2.1.1 Объективный анализ состояния плотины напрямую зависит от достоверности, достаточности и представительности данных.

Каждый вид наблюдений имеет свою специфику снятия отсчетов и характер погрешностей.

2.1.2 В общем случае достоверность данных измерений оценивается, исходя из состояния КИА того или иного типа, надежности применяемой методики измерений, реальной их точности и квалификации наблюдателей.

2.1.3 Проверка достоверности показаний КИА осуществляется в соответствии с инструкциями по проведению наблюдений и установке КИА, разрабатываемыми для каждого гидроузла проектными организациями, осуществляющими авторский надзор за работой сооружений, или научно-исследовательскими организациями, участвующими в разработке проекта.

2.1.4 Достаточность данных наблюдений определяется их объемом, составом, частотой измерений контролируемых параметров, необходимых для анализа и оценки поведения плотины. Параметры, указанные в проекте, могут быть изменены с учетом конкретных требований эксплуатационного надзора.

2.1.5 Частота отсчетов должна назначаться для каждого вида наблюдений с учетом специфики работы конкретной плотины.

В зависимости от контролируемых показателей (параметров) частота взятия отсчетов может изменяться в широких пределах: от ежедневных до одного раза в несколько лет.

2.1.6 Количество замеров должно быть достаточным для использования статистических методов обработки данных измерений при определении зависимостей между изменяющимися нагрузками, воздействиями и контролируемыми параметрами, периодичность отсчетов должна быть увязана со скоростью изменения УВБ и температуры. Критерием такой достаточности является шаг интерполяции, обеспечивающий приемлемую для данного контролируемого параметра погрешность измерения.

2.1.7 При назначении графика взятия отсчетов учитывается:

- сезонный характер изменения контролируемых параметров (частота измерений должна повышаться при приближении к их экстремальным значениям);

- наличие и интенсивность необратимых изменений контролируемого параметра. В случае необратимых изменений контролируемого параметра необходимо увеличить частоту отсчетов для выявления характера и величины необратимой компоненты;

- точность измерения параметра (при невысокой точности замеров требуется увеличить частоту для повышения достоверности данных);

- степень устойчивости параметра, обусловленная его физической природой. При наличии в измерениях колебаний и скачков замеры должны быть учащены, чтобы использовать статистические методы обработки данных с требуемой точностью;

- взаимосвязь различных измеряемых параметров, требующих одновременного взятия отсчетов. Например, фильтрационные напоры и деформации, измеряемые пьезометрами и контактными тензометрами под напорной гранью; измерение температуры и раскрытий швов; расходов через бетонную кладку и раскрытий строительных швов и т.п.

2.1.8 Программа всех видов наблюдений составляется с учетом приведенных выше позиций и изменяется по мере изменения схемы статической работы плотины и появления новых проблем.

2.1.9 Представительность данных наблюдений определяется объемом информации, на основании которой можно дать всестороннее заключение о работе сооружения и его элементов по условиям устойчивости, прочности и долговечности.

2.1.10 При проведении наблюдений на эксплуатируемой плотине необходимо учитывать, что система контроля, включающая программу наблюдений и схемы размещения КИА, не всегда удовлетворяет требованиям представительности данных вследствие:

- выхода части датчиков из работы;

- отсутствия наблюдений в отдельных секциях и частях плотины, оказавшихся наиболее чувствительными к эксплуатационным нагрузкам;

- появления новых проблем, связанных с суффозией, деструкцией бетона, неотектоническими явлениями в геологической среде и т.д.;

- противоречивости показаний отдельных групп датчиков.

Все вышеперечисленное требует дооснащения сооружения КИА и уточнения программы наблюдений.

2.1.11 Уточненная программа наблюдений и исследований, а также схемы дооснащения КИА разрабатываются на основе фактического состояния плотины и необходимости наблюдений в ее наиболее ослабленных и недостаточно оснащенных КИА частях (контактная зона, напорная грань и т.д.).

При составлении схемы дооснащения КИА и программы наблюдений с привлечением специальных исследований необходимо оценить достоинства и недостатки предыдущих наблюдений, максимально использовать накопленный материал и на основе его анализа усовершенствовать систему наблюдений.

2.2 Задачи различных видов наблюдений

2.2.1 Геодезические наблюдения позволяют определять деформированное состояние геологической среды, плановые и вертикальные перемещения тела плотины и скальных массивов, влияние техногенных воздействий на гидроузел.

2.2.2 Фильтрационные наблюдения проводятся для контроля:

- состояния подземного контура;

- противодавления на подошву плотины и его связи с УВБ и состоянием контактной зоны (разуплотнение, суффозия, кольматация основания и т.д.);

- фильтрационных расходов в теле плотины и основании.

2.2.3 Термометрические измерения позволяют определять активную зону влияния температуры наружного воздуха (зона промораживания бетона) и характер изменения температуры в теле плотины (изотермы).

2.2.4 Тензометрические измерения выявляют зону максимальных напряжений в плотине, характер их распределения по горизонтальным сечениям и изменение во времени.

2.2.5 Измерения по щелемерам позволяют оценить монолитность плотины (раскрытие конструктивных, строительных швов и трещин), а также разную деформативность основания под соседними секциями.

По дистанционным щелемерам, устанавливаемым между блоками, определяют раскрытие строительных швов. По трехосным щелемерам измеряют раскрытие температурно-осадочных швов, а также разность перемещений соседних секций.

2.2.6 Визуальные наблюдения осуществляются для оценки состояния бетона как материала (трещины, водопроявления, выщелачивание, деструкция), геологической среды (оползни, очаги фильтрации), а также состояния дренажных устройств в основании и теле плотины, состояния КИА и механического оборудования ГТС (пазы затворов, сороудерживающие решетки).

2.2.7 Специальные исследования проводятся для решения конкретных задач, возникающих при эксплуатации плотин (определение физико-механических характеристик бетона и основания, особенностей фильтрационного режима в скальном массиве, химического состава воды и т.д.).

Кроме основных целей наблюдений, позволяющих контролировать устойчивость и конструктивную прочность эксплуатируемых плотин, исследуются частные вопросы (влияние трубопровода на состояние станционных секций, конструктивных особенностей секций на их напряженно-деформированное состояние, технологии возведения на первоначальное состояние плотины и т.д.).

2.2.8 Экологические условия района гидроузла оцениваются по изменению уровня грунтовых вод, затоплению территории в зоне действия водохранилища, появлению оползней, изменению климата.

2.3 Специфика работы различных типов бетонных плотин

2.3.1 Гравитационные плотины

2.3.1.1 Особенностями работы гравитационных плотин в широком створе, как правило, являются:

- плоское напряженное состояние;

- невысокий уровень сжатия от расчетных нагрузок (за исключением температурных напряжений в зоне действия высоких температурных градиентов);

- возможность раскрытия контактного шва под напорной гранью;

- сезонная немонолитность рабочего профиля, связанная с температурным раскрытием строительных горизонтальных и межстолбчатых швов, выклинивающихся на низовую грань;

- существенное различие в напряженном и деформированном состоянии различного вида секций (водосливных, станционных и глухих);

- влияние некачественно омоноличенных столбов и трещин строительного периода на работу плотины во время эксплуатации;

- наибольшая чувствительность к температурному режиму бычков временных донных отверстий.

2.3.1.2 Особенностью статической работы гравитационных плотин, расположенных в узких ущельях, является объемное напряженное состояние бетона.

2.3.1.3 При плотинной компоновке гидроузла напорный фронт состоит из водосливных и станционных секций, которые отличаются конструктивно. Это отличие приводит к разному температурному режиму низовой грани, разной жесткости секций, что отражается на напряженно-деформированном состоянии сооружения.

2.3.1.4 При анализе данных следует иметь в виду, что влияние основных действующих факторов на перемещения и напряжения в гравитационной плотине взаимно компенсируют друг друга. При повышении УВБ напряжения сжатия на напорной грани начинают уменьшаться, но температурная составляющая напряжений от летнего разогрева их увеличивает. Увеличение напряжений сжатия на низовой грани из-за температурной составляющей в летнее время суммируется со сжатием от гидростатической нагрузки, но сама величина силового сжатия в гравитационной плотине существенно ниже, чем в арочной. В зимний период при сработке водохранилища напряжения сжатия на напорной грани возрастают, что компенсируется температурными напряжениями растяжения остывающей плотины.

Схема статической работы гравитационной плотины определяется степенью сезонной немонолитности, противодавлением по подошве, уровнем сработки водохранилища, свойствами геологической среды. Влияние температурного фактора зависит от климатических условий гидроузла и доли силовых нагрузок, определяемых уровнем сезонной сработки водохранилища.

2.3.1.5 Для оценки работы плотины необходимо располагать информацией, позволяющей проанализировать:

- состояние межстолбчатых швов (по изменению напряжений по обе стороны шва, по показаниям щелемеров в швах, по характеру распределения напряжений в горизонтальных сечениях);

- монолитность напорной грани (по визуальным наблюдениям за фильтрацией, выщелачиванием бетона, состояние строительных горизонтальных швов по показаниям контактных тензометров и по характеру изменения напряжений у напорной грани);

- влияние сезонного раскрытия швов на напряженно-деформированное состояние (НДС) плотины (по данным регрессионного анализа данных);

- глубину раскрытия контактного шва под напорной гранью и ее связь с сезонной немонолитностью, силовыми нагрузками, температурными воздействиями, а также перемещениями плотины и основания;

- характер изменения фильтрационного давления в основании;

- состояние зон сопряжения разных по составу бетонов и технологии для плотин с составного профиля;

- трещиностойкость бычков временных донных отверстий;

- влияние напряженного состояния низовой грани на напряжения трубопровода.

2.3.2 Контрфорсные плотины

2.3.2.1 Особенностями работы контрфорсных плотин по сравнению с гравитационными являются:

- объемное напряженное состояние в теле контрфорсов;

- двухмерное температурное поле;

- фильтрационная разгрузка в полости плотины;

- наличие внутренних замкнутых обогреваемых полостей и поддержание в них оптимального температурного режима для плотин, эксплуатируемых в суровом климате.

2.3.2.2 Для оценки работы контрфорсной плотины (в добавление к информации по п. 2.3.1.5) необходимо иметь следующую информацию:

- распределение температуры в контрфорсе вдоль и поперек потока; температурный режим в полостях;

- деформации (напряжения) в оголовке контрфорса по его оси и у межсекционных швов;

- деформации в теле контрфорса и у полостей;

- условия разгрузки фильтрационного потока в полости (по данным пьезометрических наблюдений);

- состояние контактного шва под напорной гранью.

2.3.3 Арочные плотины

2.3.3.1 Особенностями работы арочных плотин являются:

- пространственная работа бетона;

- высокий уровень напряжений сжатия;

- передача усилий на берега;

- незначительное влияние фильтрационного напора на подошву плотины (за исключением береговых секций).

2.3.3.2 При анализе данных наблюдений необходимо иметь в виду следующее.

Сезонная сработка водохранилищ, создаваемых арочными плотинами, обычно больше, чем изменение УВБ гравитационных плотин, что определяет и бóльшую роль сезонного влияния гидростатической нагрузки на сооружение по сравнению с температурными воздействиями.

Особенностью схемы работы арочной плотины является совпадение по направлению действия температурных и силовых факторов, определяющих арочные напряжения в плотине. Повышение УВБ приводит к росту арочных напряжений так же, как и нагрев плотины в летнее время. Эти основные факторы противоположным образом влияют на перемещения плотины, частично компенсируя друг друга. Нагрев плотины сопровождается поворотом ее в сторону верхнего бьефа, тогда как наполнение водохранилища приводит к перемещениям в нижний бьеф. В зимний период температурные составляющие напряжений и перемещений противоположны по знаку сезонному действию гидростатического давления.

2.3.3.3 При оценке работы арочной плотины необходимо анализировать следующие показатели:

- уровень напряжений на низовой грани (обязательно с учетом многолетней ползучести);

- усилия (деформации) в береговых примыканиях (скальных и бетонных);

- сезонное изменение радиальных и тангенциальных перемещений;

- состояние шва между арочной частью плотины и пробкой, периметрального шва;

- фильтрационное давление в берегах;

- степень асимметричности работы плотины (по сопоставлению параметров, характеризующих работу береговых секций);

- влияние геологической среды на работу плотины (наличие тектонических разломов, глинистых прослоек и т.д.).

При анализе напряженного состояния плотины следует оперировать главными напряжениями, как максимальными.

2.3.4 Особенности состояния плотин, эксплуатирующихся в суровом климате

2.3.4.1 Климатические условия определяют воздействие температурного фактора, которое проявляется в температурной составляющей контролируемых параметров, а также в изменении свойств бетона, подвергающегося сезонному замораживанию и оттаиванию.

Для гравитационных и контрфорсных плотин, возведенных в районах с суровым климатом и с небольшими уровнями сработки водохранилища, самое неблагоприятное напряженное и деформированное состояние связано с максимальными раскрытиями строительных швов на низовой грани, наступающими в конце февраля - начале марта при УВБ меньших НПУ. Именно в этот период может происходить максимальное раскрытие контактного шва под напорной гранью.

В условиях сурового климата наименее трещиностойкими оказываются бычки временных донных отверстий, в которых могут появляться сквозные трещины.

2.3.4.2 При анализе данных необходимо учитывать:

- изменение коэффициента линейного расширения замороженного бетона (замороженным бетоном следует считать бетон при температуре ниже -2 °C);

- необратимые структурные изменения бетона как материала, приводящие к накапливанию дополнительных деформаций (напряжений) в плотине;

- увеличение пластических деформаций бетона после его сезонного оттаивания;

- различный температурный зимний режим в станционных, глухих и водосливных секциях (из-за наличия наледей на водосливных поверхностях);

- температурный режим в полостях.

3 НАБЛЮДЕНИЯ ЗА РАБОТОЙ И СОСТОЯНИЕМ ПЛОТИН И ИХ ОСНОВАНИЙ

3.1 Общие перемещения плотины и основания

Геодезические наблюдения, являющиеся необходимой частью наблюдений на всех плотинах, дают информацию о пространственных перемещениях системы плотина - основание под действием нагрузок, о деформировании горных пород, вмещающих гидротехнические сооружения, вследствие влияния техногенных факторов. Измерения позволяют определить:

- горизонтальные и вертикальные перемещения тела плотины в различных точках и характер эпюр перемещений;

- осадку основания плотины;

- деформирование скальных массивов в зоне влияния гидроузла и водохранилища, состояние тектонических трещин, разломов в районе гидроузла.

3.1.1 Измерение осадки

3.1.1.1 Определение осадки бетонных плотин и их оснований производится нивелированием разного вида (в зависимости от конструктивных особенностей плотин) и разного класса в зависимости от допустимой погрешности измерений.

3.1.1.2 Могут применяться следующие методы нивелирования: геометрический - для измерений на гравитационных и контрфорсных плотинах; тригонометрический - для определения осадки марок арочных плотин, а также при контроле состояния берегов (оползни, обвалы); гидростатический - для измерения вертикальных перемещений в продольном и поперечном направлениях.

3.1.1.3 На бетонных плотинах, расположенных на скальном основании, осуществляется гидротехническое нивелирование, точность которого превышает I класс, на бетонных плотинах на нескальном основании - нивелирование II класса.

3.1.1.4 Размещение марок на плотине должно давать информацию о распределении осадки в продольном и поперечном направлениях. Количество марок определяется классом сооружения, его геометрическими размерами и конструктивными особенностями.

Если проектная схема размещения марок окажется недостаточной для контроля деформирования геологической среды и основания плотины, следует разработать и осуществить новую схему. Для определения наклонов плотины целесообразно использовать поперечные гидронивелиры.

3.1.1.5 Осадка основания обычно происходит за счет слоев, обладающих наибольшей деформативностью, которые могут располагаться на десятки метров ниже подошвы сооружения. Для контроля распределения осадки по глубине используют наблюдения по кустам глубинных реперов, располагающихся на глубине, соизмеримой с высотой плотины. Разная осадка основания в пределах соседних секций возможна при наличии тектонических разломов и трещин, глинистых прослоев, карстовых явлений, когда основание представляет собой систему блоков, имеющих определенную свободу перемещений под действием внешних нагрузок.

3.1.1.6 Измерение наклонов плотины, являющихся следствием действия силовых и температурных факторов, проводятся с помощью гидростатического нивелирования. Марки гидронивелира располагаются в поперечных галереях. По характеру распределения вертикальных перемещений можно определять степень монолитности горизонтальных сечений. Скачки в показаниях между соседними марками могут свидетельствовать о нарушении монолитности сечения.

3.1.1.7 Наблюдения за осадкой проводятся для контроля состояния геологической среды, изменения реакции основания плотины под действием сезонно меняющегося уровня воды водохранилища. В условиях стационарного эксплуатационного режима при стабилизировавшемся характере осадки на высоких (свыше 60,0 м) бетонных плотинах нивелирование следует проводить дважды в год в одинаковое календарное время, приурочивая его к экстремальным значениям УВБ или сезонному изменению температуры наружного воздуха в зависимости от преобладающей роли того или иного фактора.

На невысоких (до 60,0 м) плотинах нивелирование II и III класса проводится один раз в 3-4 года, но обязательно в одинаковое календарное время, по возможности, с одинаковыми значениями УВБ и температуры наружного воздуха.

При расположении марок на наружной поверхности плотины (например, в основании наклонной низовой грани) следует учитывать влияние температурных деформаций бетонного массива, на котором заложены марки. Осадка, измеренная по этим маркам, не может сопоставляться с осадкой, измеренной в галереях.

При необходимости создания новых створов для определения осадки следует использовать продольные гидронивелиры.

3.1.2 Измерение горизонтальных перемещений

3.1.2.1 Горизонтальные перемещения тела плотины и основания, измеряемые различными геодезическими методами (створный, триангуляция, полигонометрия) и с помощью системы прямых и обратных отвесов, используются в качестве показателей безопасной работы плотины.

В высоких плотинах целесообразно устанавливать систему из прямых и обратных отвесов, решая несколько задач контроля за перемещениями плотины и основания:

- определение характера эпюры горизонтальных перемещений плотины по ее высоте;

- определение плановых смещений основания на различных отметках по глубине;

- определение глубины активной зоны основания.

3.1.2.2 В гравитационных и контрфорсных плотинах плановые перемещения измеряются в поперечном (по потоку) и продольном (по оси плотины) направлениях, а в арочных - в радиальном и тангенциальном. Замеры перемещений рекомендуется учащать в период их экстремальных значений.

3.1.2.3 Отвесы устанавливаются в контролируемых секциях. Для определения относительных горизонтальных перемещений всей русловой части плотины по потоку применяются струнно-оптические створы (ИГС).

3.1.2.4 Перемещения основания контролируются обратными отвесами, устанавливаемыми на разной глубине.

3.2 Фильтрационный режим

3.2.1 Процессы фильтрации контролируются в теле плотины, в контактной зоне и основании, а также геологической среде, испытывающей изменение гидрогеологического режима под влиянием водохранилища.

В контактной зоне контролируются:

- противодавление по подошве сооружения и в зонах его сопряжения с берегами;

- эффективность средств инженерной защиты подземного контура.

В теле плотины наблюдаются:

- фильтрация через бетонную кладку, швы и трещины;

- противодавление в бетоне;

- выщелачивание бетона.

В геологической среде ведутся наблюдения:

- за границами зоны водонасыщения;

- за водопроявлениями и обходной фильтрацией;

- за выделением газа.

3.2.2 Основными измеряемыми параметрами, характеризующими фильтрационный режим, являются:

- пьезометрические напоры;

- расходы воды, фильтрующейся через бетонную кладку и породы основания;

- механический и химический составы фильтрующейся воды;

- температура воды фильтрационного потока.

3.2.3 Выбор методов контроля, видов и способов наблюдений за фильтрационным режимом определяется конкретными задачами контроля, зависящими от класса сооружения, гидрогеологических условий основания и скальных массивов, вмещающих плотину, особенностей подземного контура и т.д.

3.2.4 Инструментальный контроль за фильтрационным режимом осуществляется следующими методами:

- пьезодинамометрических измерений (в бетонной кладке);

- пьезометрических измерений (по подошве плотины, в скальных массивах основания и в береговых примыканиях);

- измерения фильтрационных расходов.

3.2.5 Для определения фильтрационного давления в теле плотины со стороны напорной грани используются пьезодинамометры, закладываемые при строительстве в массивном бетоне и строительных горизонтальных швах. Наблюдения за фильтрационными напорами необходимо совмещать с наблюдениями за раскрытием строительных швов.

3.2.6 Водопроявления в бетонной кладке фиксируются по показаниям тензометра в свободном объеме бетона - "конусе" (при насыщении бетона водой он набухает) и визуально (на стенах галерей, в дренажных системах напорной грани).

Фильтрация через бетонную кладку трудно прогнозируема, и по мере возникновения водопроявлений в ней следует установить контроль за фильтрационными расходами, процессами выщелачивания бетона и т.д.

3.2.7 Принцип сбора фильтрующейся через бетон воды заключается в организации дифференцированного измерения расходов, поступающих из конструктивных, строительных швов, трещин, дренажа напорной грани и т.д. в пределах каждой смотровой галереи, а, возможно, и отдельных участков.

3.2.8 Методы измерения расхода фильтрующейся через бетонную кладку воды зависят от ее объемов. Используются: объемный метод измерения (через швы, трещины), с помощью поплавков, мерных водосливов.

3.2.9 Область питания и разгрузки фильтрационного потока в основании и направление его движения могут быть определены термометрическими измерениями по распределению и изменению во времени температуры воды в пьезометрах.

3.2.10 Анализы проб фильтрующейся воды, изменение уровня ее минерализации и газовыделения позволяют судить о суффозионных процессах, вызываемых фильтрационным потоком.

3.2.11 Расходы фильтрационного потока через основание оцениваются по результатам измерения расходов воды в дренажных скважинах (полостях), в местах неорганизованного выхода грунтовых вод, излива из дренажных, геофизических скважин и т.д.

3.2.12 Местоположение и вид измерительных устройств для определения суммарных фильтрационных расходов увязываются со схемой сброса фильтрующейся воды в нижний бьеф. Выбор конкретных средств измерения расходов (мерные водосливы, поплавки, гидрометрические вертушки и т.д.) в основании определяется объемом, скоростями фильтрующейся воды при эксплуатации.

3.3 Температурный режим

3.3.1 Изменение температуры в эксплуатируемых высоких плотинах существенно сказывается на их напряженном и деформированном состоянии. Температурное воздействие включено в расчетные нагрузки. Для плотин высотой ниже 60 м расчет температурных напряжений проводится, если амплитуда сезонных колебаний температуры наружного воздуха превышает 17 °С. По температурным условиям практически для всех районов России необходим учет температурных воздействий.

3.3.12 Измерение температуры наружного воздуха необходимо проводить непосредственно в створе гидроузла, рассчитывая среднесуточную температуру по стандартной методике метеорологических служб. Данные гидрометеорологических станций, расположенных, как правило, в 2-3 км от створа, не могут быть использованы, так как они не соответствуют фактическому температурному режиму в створе, определяемому условиями эксплуатации гидроузла (влияние незамерзающего зимой нижнего бьефа, высокая влажность воздуха, сброс воды и т.д.).

3.3.3 Температурный контроль эксплуатируемой плотины должен быть информативным для решения следующих задач:

- установление температурного градиента по горизонтальным сечениям секций для определения температурной составляющей перемещений и напряжений;

- определение глубины сезонных изменений температуры у наружных поверхностей (низовая и напорная грани выше УВБ), глубины промораживания бетона;

- определение температурной составляющей в раскрытии межсекционных, межстолбчатых, радиальных, горизонтальных строительных швов и трещин.

3.3.4 Температурный режим контролируется по измерительным створам телетермометров, установленных в тело и основание контролируемых секций, в расширенных швах гравитационных плотин, полостях контрфорсных плотин, по глубине водохранилища (когда нет термометров на напорной грани).

3.3.5 Количество термометров и их размещение в профиле плотины должно быть достаточным для определения температурного поля, необходимого при математическом моделировании работы плотины, расчетов ее состояния по условиям прочности.

3.4 Напряженно-деформированное состояние плотины и ее элементов

3.4.1 Наблюдения за деформациями (напряжениями) проводятся:

- в теле бетонной плотины, отдельных ее элементах (трубопроводы, водосбросы и т.д.);

- в контактной зоне плотины и массивах пород, вмещающих ее.

3.4.2 Для определения деформированного и напряженного состояния плотины, ее элементов и основания используются тензометры, длиннобазные деформометры, щелемеры, арматурные динамометры, позволяющие контролировать:

- напряжения и деформации в различных точках отдельных бетонных массивов и плотины в целом;

- напряженное (деформированное) состояние контактной зоны бетона с основанием по опорному контуру плотины;

- раскрытие межсекционных, радиальных, межстолбчатых и строительных швов и трещин в бетоне;

- напряжения (усилия) в железобетонных и металлических оболочках водоводов, арматуре у низовой грани и верховой - в зоне переменного горизонта, анкерах, арматурных тяжах, скрепляющих бетонные элементы с основанием, берегами и т.д.;

- состояние сцепления между бетонами разных составов и технологию их укладки.

3.4.3 В строительный период могут возникать сезонно или постоянно неработающие участки блоков, которыми обычно является бетон в области незацементированных межстолбчатых швов, раскрытых строительных горизонтальных швов, сквозных трещин в блоках бетонирования. Эти дефектные зоны могут вносить искажения в характер передачи усилий, изменить величину напряжений на низовой и напорной гранях.

3.4.4 Основные требования к закладной тензометрической КИА, используемой при длительных измерениях деформаций, выбор типа тензометрических розеток, принципы их размещения в измерительных сечениях контролируемых секций бетонных плотин подробно изложены в стандарте организации ОАО РАО "ЕЭС России" СТО-108 "Контрольно-измерительные системы и аппаратура гидротехнических сооружений ГЭС. Условия создания. Нормы и требования".

3.4.5 В отечественной практике контроля напряженно-деформированного состояния плотины используется тензометрический метод определения деформаций, пересчитываемых в напряжения по зависимостям упруго-ползучего тела.

Для перевода деформаций в напряжения необходимо располагать данными об изменении модуля упруго-мгновенных деформаций и мер ползучести. Эти данные обычно получают по результатам испытаний образцов или непосредственно в сооружении еще в строительный период. При использовании этих данных следует иметь в виду: деформации ползучести накапливаются продолжительное время (в существенно более длительные сроки, чем проводятся испытания); знакопеременный температурный режим провоцирует увеличение ползучести после сезонного оттаивания.

3.4.6 В любой эксплуатируемой бетонной плотине существует определенная немонолитность профиля: расчетная и фактическая.

Расчетная немонолитность связана с сезонным раскрытием горизонтальных, строительных, радиальных швов, допустимым раскрытием контактного шва под напорной гранью гравитационной плотины.

Фактическая немонолитность сооружения возникает из-за неэффективности проведения цементации радиальных и межстолбчатых швов, температурных трещин, возникших в строительный период, возможных силовых трещин, которые могут появиться из-за конструктивных особенностей отдельных элементов плотины, а также непроектной работы сооружения.

3.4.7 Контроль за сезонным раскрытием швов, выходящих на низовую грань, осуществляется щелемерами и контактными тензометрами в зоне действия высоких температурных градиентов; состояние контакта бетон - скала контролируется контактными тензометрами, пьезометрами (пьезодинамометрами), длиннобазными деформометрами.

3.4.8 Контроль немонолитности плотины, возникшей вследствие неэффективности цементации радиальных и межстолбчатых швов, осуществляется по показаниям щелемеров, установленных для оценки качества омоноличивания плотины, и по тензометрам, размещаемым по обе стороны конструктивных и технологических швов, что дает возможность следить за условиями передачи усилий в продольном и поперечном направлениях.

О монолитности профиля плотины также судят по характеру распределения напряжений в его горизонтальных сечениях.

3.5 Визуальные наблюдения

3.5.1 Визуальные наблюдения являются основным методом контроля сооружений, на которых КИА либо отсутствует, либо имеется в ограниченном количестве. На сооружениях, оснащенных КИА, роль визуальных наблюдений не снижается, поскольку ряд признаков неблагополучного состояния сооружения, его основания, береговых примыканий или бетона как материала могут быть обнаружены только визуальными наблюдениями (проявление выходов фильтрации, выщелачивание, трещинообразование).

3.5.2 Визуальные наблюдения заключаются в систематических осмотрах сооружения и его элементов для оценки их состояния, выявления дефектов и неблагоприятных процессов, снижающих эксплуатационную надежность сооружения, а также определения видов и объемов ремонтных работ.

3.5.3 Состав визуальных наблюдений на сооружении назначается с учетом его конструктивных особенностей, природно-климатических, геологических и технологических условий, требований эксплуатации, наличия дефектов и неблагоприятных явлений в сооружении и его основании, береговых примыканиях.

3.5.4 В общем случае визуальные наблюдения на бетонных плотинах должны включать:

- контроль за трещинообразованием и состоянием швов;

- выявление и оценку выходов фильтрации через бетонную кладку, основание и берега;

- фиксирование зон ослабленного бетона;

- регистрацию и оценку фильтрационно-суффозионных выносов из бетона сооружений, основания и берегов;

- контроль состояния бетонных поверхностей, в особенности находящихся в зонах замораживания-оттаивания и в зоне переменного уровня, а также поверхностей водосливов;

- контроль состояния боковых поверхностей контрфорсов, для чего необходимо предусмотреть соответствующие мостики и другие приспособления;

- контроль за мутностью воды, профильтровавшейся через бетонную кладку (швы, трещины, собственно бетон), основание и берега;

- наблюдения за ледовым режимом бьефов;

- наблюдения за эрозией берегов водохранилища;

- наблюдения за размывами в нижнем бьефе.

3.5.5 Объектами визуальных наблюдений на бетонных плотинах в общем случае являются:

- верховая грань плотины выше НПУ, а также в зоне переменного уровня воды;

- низовая грань плотины;

- водосливы и глубинные водосбросы;

- водобойный колодец и водобойная стенка;

- турбинные водоводы;

- бычки и раздельные устои;

- зоны примыкания бетонных сооружений к грунтовым и берегам;

- стенки, своды и днища галерей, устроенных в теле плотины, а также на контакте с основанием;

- воронка размыва в нижнем бьефе (при отсутствии водобойных сооружений);

- берега со стороны верхнего и нижнего бьефов;

- зона водохранилища и вся территория в районе гидроузла;

- ледовые образования и майны в верхнем и нижнем бьефах.

3.5.6 Помимо перечисленного выше, визуальным осмотрам должны подвергаться:

- дренажные устройства в основании и теле плотины (дрены, шахты, колодцы);

- контрольно-измерительная аппаратура, установленная на плотине (марки, репера и т.п.);

- механическое оборудование ГТС (затворы, краны, сороудерживающие решетки, лебедки и т.п.), повреждения которых могут отразиться на состоянии плотины.

3.5.7 Систематические визуальные наблюдения сопровождаются описаниями наблюдаемых явлений, зарисовками, фотоснимками и простейшими замерами. Кроме этого, при проведении визуальных наблюдений следует фиксировать в журнале наблюдений уровни воды в бьефах, температуру воздуха и воды. После неординарных событий, таких как землетрясение, ураган, ливень, паводок с высоким расходом, гидравлический удар и т.п., следует проводить внеочередные визуальные обследования.

Визуальные наблюдения бетонных сооружений проводятся специалистами-гидротехниками, при этом должны выполняться следующие требования: систематичность наблюдений во времени, тщательность осмотров сооружений и сравнимость результатов, полученных на различных временных стадиях для различных этапов состояния и работы сооружения.

Периодичность осмотров рекомендуется принимать в пределах одного цикла в месяц. В случае развития неблагоприятных или не вполне объяснимых процессов, частота осмотров и сравнительных оценок увеличивается вплоть до ежедневных.

Выявленные и зарегистрированные визуальным способом повреждения или неблагоприятные явления на сооружении следует по возможности детально обследовать для установления причин их возникновения. Обследования проводятся как непосредственно на сооружении (путем постановки простейших опытов, регулярных измерений отдельных параметров, отбором и испытанием проб и т.п.), так и в камеральных условиях (путем изучения проектной документации, результатов инструментальных наблюдений и исследовательских работ, годовых отчетов о состоянии сооружения, дневника наблюдений и других документов).

В местах наиболее крупных повреждений и неблагоприятных явлений и процессов (трещины, выщелачивание бетона, значительная фильтрация через бетон или основание и т.п.) при необходимости устанавливаются простейшие средства измерений (маяки, марки) или контрольно-измерительная аппаратура (щелемеры) для наблюдений за развитием этих процессов и их влиянием на надежность сооружения.

Анализ результатов визуальных наблюдений и обследований, а также данных инструментальных наблюдений выполняется, как правило, одновременно. На основании этого анализа производится оценка состояния сооружения.

Визуальные наблюдения за поверхностью бетона выявляют трещины, очаги фильтрации, подтеки, налеты и напластования продуктов выщелачивания, раковины, пустоты, отслаивание и выкрашивание бетона, обнажение арматуры и др. Подводные части сооружения осматриваются водолазами, и результаты оформляются актами. При водолазных осмотрах следует использовать подводные телевизионные установки.

Обнаруженная при осмотре бетонной поверхности трещина должна быть заинвентаризирована: на трещину заводится специальная отдельная карточка (или журнал), ей присваивается порядковый номер, индекс, записывается дата появления (обнаружения). Трещина зарисовывается и делается ее привязка в плане и по высоте; указываются границы ее распространения, измеряется и записывается величина раскрытия трещины. Если трещина обнаружена в потерне, делается развертка по периметру потерны с зарисовкой на ней хода трещины.

Наблюдения за трещинами с применением простейших инструментов заключаются в изучении закономерности "жизни" трещины во времени, определении ее длины и ширины раскрытия. Длина трещин и их местоположение определяются с помощью рулетки с точностью 0,1 м. Простейшим методом качественного определения состояния трещины являются специальные гипсовые или стеклянные маяки, устанавливаемые на трещину.

Визуальные наблюдения за состоянием межсекционных и строительных швов сводятся к периодическим осмотрам швов в доступных для этого местах и фиксации их состояния: сухой, мокрый, имеется или отсутствует фильтрация (капельная, струйчатая), имеются или отсутствуют натеки, следы выщелачивания и т.п. Для количественной оценки состояния шва он может быть оборудован одноосным, двухосным или трехосным щелемером.

В эксплуатационный период визуальные наблюдения (осмотры) за трещинами и швами должны производиться не реже одного раза в месяц. При этом следует фиксировать также фильтрационные проявления и наличие или отсутствие коррозии бетона в зоне шва или трещины. Инструментальные наблюдения начинаются сразу же после установки соответствующей КИА и продолжаются весь период эксплуатации.

Если шов или трещина являются заметно фильтрующими, измерения их раскрытия должны одновременно сопровождаться измерениями фильтрационного расхода.

Визуальные наблюдения за фильтрацией воды через бетонную кладку проводятся для выявления участков дефектного бетона (трещиноватость и пористость), качества строительных швов, суффозионных процессов, интенсивности выщелачивания бетона фильтрующейся водой и других коррозионных воздействий окружающей среды (вода - воздух).

Систематические визуальные наблюдения, проводимые в зоне водохранилища, должны оценивать следующее:

- переработку берегов;

- засорение акватории вблизи гидроузла лесом, торфом и другим мусором;

- заиление и зарастание водохранилища;

- температурный и ледовый режимы;

- качество воды;

- соблюдение природоохранных требований в пределах водоохранных зон.

В прибрежной полосе контролируются места фильтрационных утечек воды из водохранилища и заболачивание прилегающей территории.

На водохранилищах, расположенных в зоне вечной мерзлоты, должны контролироваться также криогенные процессы, деформации ложа и берегов в зоне сработки водохранилища.

3.5.20 После сбора данных визуальных наблюдений и обследований в необходимом для оценки состояния сооружения количестве проводится ретроспективный (за весь период наблюдений) сравнительный анализ изменений во времени контролируемых показателей и параметров. На основании этого анализа делается вывод о динамике развития наблюдаемых процессов, периодичности повторения того или иного явления, изменении какой-либо дефектной зоны и т.п.

3.6 Старение плотин

3.6.1 Бетонные гидротехнические сооружения и их основания, находящиеся в длительной эксплуатации, подвергаются процессам старения. Эти процессы охватывают как системы плотина - основание в целом, так и материалы сооружений и их оснований, что может привести к снижению надежности и безопасности сооружений.

3.6.2 Старение сооружений как конструкций и их оснований в целом проявляется в изменении характера их статической работы, старение материалов сооружения и основания - в изменении их физических свойств, ведущих к потере прочности и несущей способности, уменьшении водонепроницаемости.

3.6.3 Основными признаками старения системы плотина - основание являются:

- возобновление осадки, горизонтальных перемещений плотины и каньона;

- увеличение фильтрационных расходов и пьезометрических напоров;

- увеличение немонолитности рабочего профиля плотины вследствие дополнительного раскрытия швов, трещинообразования, перераспределения напряжений;

- коррозионные процессы в бетоне, связанные с уменьшением его прочности, коррозионной стойкости;

- нарушение нормальной работы элементов инженерной защиты плотин (цементационная завеса и дренажные устройства), приводящее к снижению надежности плотины за счет изменения действующих нагрузок и схемы работы сооружения (повышение градиентов напора, противодавления);

- разрушения в зонах попеременного замораживания-оттаивания бетона (зоны переменного уровня, поверхности водосбросов).

3.6.4 Параллельно с деструктивными процессами в бетоне плотин могут развиваться и конструктивные, приводящие к упрочнению структуры бетона. Его прочность может намного увеличиться по сравнению с марочной. В практике эксплуатации плотин нет данных об обязательном ослаблении с возрастом структуры массивного бетона. Обычно разрушение наблюдается в поверхностных слоях бетона.

4 ОСНОВНЫЕ ПРИНЦИПЫ ОБРАБОТКИ И АНАЛИЗА ДАННЫХ НАБЛЮДЕНИЙ

4.1 Перемещения

4.1.1 Перемещения тела плотины являются одной из основных характеристик, позволяющей контролировать свободные деформации эксплуатируемой плотины.

Горизонтальные перемещения имеют сезонный характер, обусловленный влиянием колебания УВБ и температуры наружного воздуха, а также зависят от жесткости контролируемой секции, связанной с ее конструктивными особенностями, геологией основания и состоянием контактного шва под напорной гранью и т.д.

4.1.1.1 Анализ перемещений начинается с установления календарных сроков их экстремальных значений, величины размаха (амплитуды), характера изменения во времени (степень обратимости перемещений), сопоставления этих параметров для разного вида контролируемых секций.

4.1.1.2 По результатам регрессионного анализа следует определить влияние на перемещения:

- сезонных колебаний уровня воды водохранилища и температуры наружного воздуха;

- сезонной немонолитности (раскрытие строительных горизонтальных швов);

- вида секций (станционные, глухие, водосливные);

- состояния контактного шва под напорной гранью.

4.1.1.3 При наличии необратимой составляющей, используя методы статистического анализа, необходимо определить ее характер и причины появления необратимых явлений (геологическая среда, изменение действующих нагрузок, увеличение немонолитности контролируемой секции и т.д.).

4.1.1.4 В гравитационных и контрфорсных плотинах анализируются горизонтальные перемещения в направлениях по потоку и поперек потока, в арочных - радиальные и тангенциальные. По виду эпюр перемещений, построенных по результатам измерений радиальных и тангенциальных перемещений во всех контролируемых точках, можно судить о степени симметричности работы арочных плотин.

4.1.1.5 Перемещение гребня плотины обычно выбирается в качестве параметра, диагностирующего работу плотины. Для этой цели по многолетним данным наблюдений разрабатывается статистическая прогнозная модель, связывающая перемещения с действующими силами и состоянием системы плотина - основание.

4.1.1.6 По характеру распределения перемещений по высоте плотины можно судить о монолитности напорной грани. При ее нарушении наблюдается излом в эпюре горизонтальных перемещений по потоку.

4.1.1.7 При обработке данных измерений вертикальных перемещений (осадки) плотины, полученных разными способами (геометрическое, гидростатическое нивелирование), необходимо учитывать их соответствующие допустимые погрешности.

4.2 Фильтрационный режим

4.2.1 При анализе инструментальных и визуальных наблюдений за фильтрационным режимом (работа подземного контура плотины и водонепроницаемость ее тела) необходимо располагать информацией о наличии заиления водохранилища, влиянии скорости наполнения водохранилища на формирование фильтрационного потока в основании, взаимосвязи между состоянием контактного шва под напорной гранью и противодавлением в основании и фильтрационными расходами, зависимости фильтрации через тело плотины от ее напряженно-деформированного состояния.

4.2.2 На основании этих данных необходимо установить:

- основные закономерности сезонных изменений фильтрационного режима в основании и теле плотины;

- характер изменения пьезометрического напора в основании, его связь с УВБ и НДС плотины и основания;

- причины фильтрации через напорную грань;

- распределение фильтрации через бетонную кладку по отметкам;

- характер фильтрации (сезонный, постоянный).

4.3 Напряженное состояние

4.3.1 Перевод измеренных деформаций в напряжения следует выполнять после анализа показаний тензометра, установленного в свободном объеме бетона ("конус"). Этот анализ заключается в выявлении в зависимости "деформация-температура" наличия или отсутствия необратимой компоненты, не связанной с сезонными изменениями температуры.

4.3.1.1 По указанной зависимости определяется:

- коэффициент линейного расширения (к.л.р.) бетона при положительной и отрицательной температуре;

- температура замораживания бетона;

- наличие необратимой составляющей, обусловленной влажностными и структурными изменениями в бетоне как материале.

4.3.1.2 При анализе напряженного состояния плотины следует увязывать между собой напряжения в различных измерительных точках для оценки статической работы всего сооружения. Например, изменение напряжений по обе стороны межстолбчатых швов и характер эпюры напряжений в горизонтальных сечениях показывают степень монолитности профиля.

Сопоставление изменений напряжений на одном горизонте в арочных плотинах определяет схему работы сооружения. Сопоставление деформаций (напряжений) в прискальном бетоне и скале показывает условия работы береговых примыканий.

Сопоставление характера и значений напряжений в одинаково расположенных измерительных точках различного вида секций позволяет выявить специфику работы этих секций.

4.3.1.3 Итогом анализа НДС должно быть:

- выявление наиболее напряженных зон в плотине и выяснение причин их возникновения;

- определение фактической схемы НДС всего сооружения и его элементов;

- определение роли действующих факторов (гидростатическое давление, температурные воздействия, сезонная немонолитность тела плотины, влияние трещин и т.д.) в сезонных изменениях напряжений по результатам статистического анализа данных;

- составление прогнозных моделей для оценки напряжений в наиболее характерных измерительных точках;

- обоснование проведения новых наблюдений или исследований для уточнения схемы работы плотины;

- оценка конструкционной прочности плотины;

- корректировка критериальных значений диагностических показателей надежности.

4.3.1.4 При переводе измеренных деформаций в напряжения используют модуль упруго-мгновенных деформаций, полученный по результатам испытаний бетона плотины. В математических моделях определяют напряжения с учетом конструкционного модуля, величина которого всегда меньше. В расчетной практике следует использовать конкретные значения коэффициента линейного расширения бетона при положительной и отрицательной температуре, полученные по измерениям деформаций в свободном объеме бетона "конусе".

4.4 Общие требования к данным для контроля безопасности гидроузла

4.4.1 Кроме расчетных критериев надежности плотины, по которым оценивают устойчивость, конструктивную прочность сооружения, разрабатываются диагностические показатели фактической работы плотины, определяемые по данным наблюдений.

К таким критериальным показателям относятся зависимости между внешними воздействиями и контролируемыми параметрами, устанавливаемые статистической обработкой данных.

4.4.2 Диагностические показатели разрабатываются для строительного и эксплуатационного периодов.

В строительный период выявляются аномальные зоны бетона, устанавливаются их причины, и определяют возможные последствия. Нарушение монолитности в строительный период может быть переменной величиной, меняющейся при увеличении силовой нагрузки.

Диагностическими показателями могут быть:

- связь раскрытий строительных швов с напряжениями у напорной грани;

- напряжения по горизонтальным площадкам sy по обе стороны шва, определяемые условиями передачи нагрузки от столба к столбу;

- характер изменения напряжений на напорной и низовой гранях от наполняющегося водохранилища.

Выбранные диагностические показатели следует корректировать как по составу, так и по значениям в течение наполнения водохранилища.

Через год эксплуатации при проектном НПУ назначаются новые диагностические параметры, основанные на прогнозных моделях, связывающих изменение внешних воздействий с изменением параметров, выбранных в качестве критериальных (напряжений, перемещений, пьезометрических уровней и т.д.).

4.4.3 На каждой плотине должна быть информация о проектной и фактической схемах работы плотины, о причинах их несовпадения. Эти данные предоставляются организациями, проводящими анализ данных в первые годы эксплуатации сооружения. Предварительные критериальные значения параметров, определяющих безопасную работу плотины и основания, назначаются при наполнении водохранилища. По мере получения новых данных о работе сооружения и выявления зон, требующих постоянного контроля, программа наблюдений и критериальные значения диагностических показателей должны быть откорректированы.

4.4.4 Система контроля за работой эксплуатируемой плотины состоит из опроса датчиков, перевода замеров в физические величины, анализа данных, диагностики состояния плотины. Эти операции следует проводить с помощью системы компьютерных программ, содержащей информационный, аналитический и диагностический блоки.

Используемые информационно-диагностические системы (ИДС) должны быть универсальными для любых бетонных и грунтовых плотин.

Должен быть обеспечен удаленный авторизованный доступ пользователей, предусмотрена возможность иерархической интеграции отдельных ИДС в единую отраслевую информационную систему с автоматической синхронизацией, расширением функциональности последней за счет накопления общеотраслевых знаний, справочной информации, функций поддержки принятых решений.

Приложение Г

(рекомендуемое)

РЕКОМЕНДАЦИИ ПО ИССЛЕДОВАНИЯМ И ПОСТОЯННЫМ НАБЛЮДЕНИЯМ ЗА ВИБРАЦИЕЙ ГИДРОТЕХНИЧЕСКИХ СООРУЖЕНИЙ ЭЛЕКТРОСТАНЦИЙ

1 ОБЩИЕ ПОЛОЖЕНИЯ

1.1 Настоящие рекомендации распространяются на организацию исследований и постоянных наблюдений за вибрацией основных гидротехнических сооружений (бетонных плотин, зданий ГЭС, насосных станций, трубопроводов, напорных бассейнов, водозаборных башен и т.п.)и механического оборудования гидротехнических сооружений (затворы, сороудерживающие решетки, подъемные механизмы и др.).

Рекомендации предназначаются для эксплуатационного персонала гидравлических электростанций, а также научно-исследовательских и проектных организаций.

1.2 Рекомендации разработаны в соответствии с требованиями действующих нормативных документов:

Правила технической эксплуатации электрических станций и сетей Российской Федерации

ГОСТ 12327-66. Машины электрические. Остаточные неуравновешенности роторов. Нормы и методы измерений

ГОСТ 19185-73. Гидротехника. Основные понятия. Термины и их определения

1.3 Термины и их определения, использованные в настоящих рекомендациях, приняты в трактовке ГОСТ 19185-73.

1.4 Целью проведения исследований и постоянных наблюдений является:

- оценка вибрационного состояния основных конструктивных элементов сооружений;

- определение динамических характеристик сооружения для прогнозирования его поведения при возможном изменении динамических нагрузок вследствие реконструкции, смены оборудования и т.п.;

- оценка состояния сооружений и динамических воздействий для установления допустимости и надежности нормальной эксплуатации сооружений.

1.5 динамические исследования проводятся с привлечением специализированных организаций.

1.6 Ответственной за проведение и обработку постоянных наблюдений за вибрациями является администрация гидроузла, которая может своим приказом поручить эту работу подразделению эксплуатационной службы, ответственному за состояние сооружений.

2 ДИНАМИЧЕСКИЕ НАГРУЗКИ

2.1 Общие положения

2.1.1 Для гидросооружений каждого вида характерны те или иные динамические явления, связанные со специфическими для этих сооружений нагрузками.

2.1.2 Глухие бетонные и железобетонные плотины не требуют учета динамических явлений, если в них не встроены и не расположены в непосредственной близости от них какие-либо устройства или сооружения, являющиеся источниками динамических воздействий. В частности, таким источником может быть транспорт, если по плотине проходит шоссейная или железная дороги.

2.1.3 Водосливные плотины и механическое оборудование испытывают динамические воздействия от пульсаций гидродинамического давления со стороны пропускаемых через них потоков и возбуждение от колебаний основания, возникающих при гашении энергии в нижнем бьефе. Секции водосливной плотины, примыкающие к зданию ГЭС, испытывают от него возбуждение, передающееся через грунт или через сопрягающий устой.

2.1.4 Кроме перечисленных эксплуатационных динамических нагрузок сооружения испытывают динамические нагрузки от проходящего через сооружения автомобильного и железнодорожного транспорта, а также промышленных взрывов.

2.2 Динамические нагрузки от работы водосливов

Плотина и механическое оборудование при сбросе воды испытывают динамические воздействия от пульсаций гидродинамического давления со стороны пропускаемых через них потоков и возбуждение от колебаний грунта, возникающих при гашении энергии в нижнем бьефе. Кроме того, затворы и конструкции, несущие эти затворы, не только воспринимают нагрузки от потока, но и, совершая колебания, оказывают обратное влияние на кинематические характеристики потока, вследствие чего между ними возникает динамическое взаимодействие. Закономерности явлений, возникающих в процессе такого взаимодействия, определяются гидродинамическими характеристиками потока и характеристиками колеблющихся упругих конструкций.

2.3 Динамические нагрузки, вызываемые движением автомобильного и железнодорожного транспорта

2.3.1 При движении поезда главными факторами динамического воздействия подвижной нагрузки на сооружение являются следующие:

- скорость движения нагрузки (эффект скорости). Этот фактор определяет силы инерции, возникающие от движения поезда по криволинейной траектории;

- неуравновешенность локомотивов, которая определяет силы инерции, возникающие от периодического движения элементов локомотивов (противовесы, кривошипно-шатунные механизмы, поршни и т.п.);

- удары колес вследствие неровностей пути и на бандажах колес. Эти неровности можно разделить на закономерные и случайные. К закономерным неровностям относятся стыки рельсов, переломы профиля пути на опорах мостов или сопрягающих устоях плотин и выбоины на бандажах колес подвижного состава; к случайным - всякого рода неровности и выбоины на рельсах, возникающие в результате неравномерного износа;

- колебания надрессорного строения подвижного состава, которые приводят к периодическому изменению давления на ось. Эти колебания вызываются ударами колес о неровности пути;

- влияние подвижного состава, которое определяет горизонтальные силы воздействия подвижной нагрузки, возникающие от извилистого в плане движения вагонов и локомотивов из-за коничности бандажей.

2.3.2 Увеличение интенсивности движения автомобильного транспорта и веса подвижной нагрузки приводит к необходимости учета динамических явлений, вызванных движущимися автомобилями. В целом эти явления представляют собой сочетание вынужденных и сопровождающих их свободных колебаний. Степень проявления последних зависит в основном от неупругого сопротивления материала конструкций. Вынужденные колебания происходят преимущественно с частотами, близкими к частотам собственных колебаний автомобиля, которые возникают и поддерживаются при его движении по неровному пути.

2.5 Динамические нагрузки от взрывов

2.5.1 Наиболее регулярный характер имеют промышленные взрывы в карьерах камня, расположенных в окрестностях электростанций.

2.5.2 Взрывные волны действуют на конструкцию сооружения как кратковременные динамические нагрузки.

Характер этих нагрузок зависит от веса заряда взрывчатых веществ (ВВ) в одном взрыве, характеристик ВВ, времени задержки между отдельными взрывами, назначения взрыва (обрушение, рыхление, выброс, камуфлет и т.п.), характеристик взрываемых пород, расстояния от карьера до сооружения, геологических и физико-механических характеристик массива пород, через который передаются сейсмические волны от места взрыва к сооружению, от механических характеристик основания и самого сооружения.

3 МЕТОДИКА ПРОВЕДЕНИЯ ДИНАМИЧЕСКИХ ИССЛЕДОВАНИЙ

3.1 При разработке методики динамических исследований (далее - ДИ) необходимо различать следующие три группы сооружений по нагрузкам, рассчитанные:

- на воздействие эксплуатационных динамических нагрузок - I группа;

- на сейсмические и другие особые воздействия - II группа;

- на оба вида воздействий - III группа.

3.2 Работы по организации динамических испытаний выполняются в три этапа:

- подготовительный этап;

- испытания сооружений;

- обработка результатов, их анализ и выдача заключения.

3.3. Во время подготовительного этапа

- выявляются:

- диапазон частот динамических воздействий, которым подвергается сооружение во время эксплуатации или может подвергнуться в результате сейсмических или других особых воздействий;

- амплитуды, места приложения и линии действия сил, соответствующих этим частотам;

- амплитуды ожидаемых динамических напряжений, виброперемещений, виброускорений, либо других нормируемых кинематических параметров вибрации, вызываемых этими силами;

- намечается методика проведения испытаний;

- осуществляется подбор средств измерения вибраций;

- осуществляется подбор средств возбуждения вибраций.

3.4 Для сооружений I группы по нагрузкам оценка допустимости динамических явлений выполняется по шести критериям:

- общей устойчивости, прочности и деформативности сооружения (3 критерия);

- выносливости конструктивных элементов сооружения и оборудования;

- выполнения санитарных норм по воздействию вибраций на персонал;

- допустимости вибраций для технологического оборудования, особенно для средств автоматики и контроля режимов энергетического оборудования.

3.5 Для сооружений I группы по нагрузкам разработка методики ДИ сводится к определению мест измерения параметров динамических явлений, вызванных эксплуатационными динамическими нагрузками, к выявлению наиболее неблагоприятных по этим явлениям режимов работы эксплуатационного оборудования и других эксплуатационных устройств, являющихся источником динамических воздействий, к выбору методик измерения и обработки результатов измерения этих явлений и, наконец, к выбору методики оценки их допустимости.

3.6 Выбор методик по п. 3.5. должен выполняться отдельно для каждого из критериев, указанных в п. 3.4.

3.7 При отсутствии внешних признаков неблагополучия в напряженно-деформированном состоянии сооружения (трещин, отслоений бетона или штукатурки, протечек и т.п.) допускается заменить инструментальное исследование параметров динамических явлений по устойчивости, прочности и выносливости визуальным обследованием (с помощью оптических приборов) наиболее напряженных конструкций.

3.8 Для сооружений II группы по нагрузкам (см. п. 3.1) оценка допустимости динамических явлений выполняется по первым из двух критериев, указанных в п. 3.2. Если электростанция отнесена к группе объектов, обеспечивающих гарантированное энергоснабжение при природных бедствиях, то проверка выполняется также по последнему из критериев, указанных в п. 3.4.

3.9 Для сооружений II группы по нагрузкам разработка методики включает:

- определение элементов сооружения, которые предположительно будут находиться в наиболее неблагоприятном напряженно-деформированном состоянии при сейсмических либо других особых воздействиях;

- установление зависимости напряженно-деформированного состояния вышеуказанных элементов от нормируемых параметров сейсмических и других особых воздействий и динамических характеристик сооружения, которые могут быть выявлены в ходе ДИ (частоты и формы собственных колебаний, амплитудно-частотные характеристики и т.п.) и установление (на основе этой зависимости) границ допустимости изменения параметров динамических характеристик;

- при необходимости проверки последнего из критериев, указанных в п. 3.4, необходимо также установление зависимости уровней колебаний технологического оборудования, чувствительного к вибрациям, от нормируемых параметров сейсмических и других особых воздействий и динамических характеристик сооружения, которые могут быть выявлены в ходе ДИ;

- выбор мест установки виброизмерительной аппаратуры и средств возбуждения вибраций, исходя из возможности такой установки и обеспечения нормальной работы этих аппаратуры и средств, также из возможности определения необходимых динамических характеристик при таком выборе мест.

3.10 Для сооружений III группы по нагрузкам ДИ проводятся по объединенной методике, включающей все испытания, необходимые для сооружений I и II групп по нагрузкам.

4 ИЗМЕРИТЕЛЬНАЯ АППАРАТУРА

4.1 Подбор виброизмерительной аппаратуры является сложной инженерно-метрологической задачей, решение которой рекомендуется поручать специализированным организациям. При отсутствии такой возможности следует руководствоваться рекомендациями, приведенными ниже.

4.2 Подбор виброизмерительной аппаратуры начинают с определения диапазона частот, в пределах которых необходимо произвести измерение вибраций, точнее - низшей и верхней частот этого диапазона.

4.3 Низшую частоту диапазона измеряемых частот для сооружений первой группы по нагрузкам рекомендуется выбирать наименьшей из двух:

- равной половине низшей из частот вынужденных колебаний; для конструкций здания ГЭС низшая из частот вынужденных колебаний обычно равна жгутовой частоте, т.е. средней частоте соударений вихревого жгута в отсасывающей трубе со стенками; для конструкций водосбросных сооружений и гасителей энергии эта частота может определяться как частота первого максимума спектра пульсаций нагрузки;

- равной половине низшей из собственных частот сооружения.

4.4 Нижнюю частоту диапазона измеряемых частот для сооружений второй группы по нагрузкам рекомендуется выбирать равной половине низшей из собственных частот сооружения.

4.5 Верхнюю частоту диапазона измеряемых частот для сооружений всех групп по нагрузкам рекомендуется принимать равной удвоенной частоте самой высокочастотной составляющей из значимых частот спектра динамических нагрузок. Для зданий ГЭС, трансформаторных помещений, конструкций распредустройства и т.п. эту частоту рекомендуется принимать равной 200 Гц. Для конструкций водосбросных сооружений, гасителей энергии и т.п. эту частоту рекомендуется принимать не ниже 20 Гц.

Для сооружений, проверяемых на воздействие тектонических землетрясений, эту частоту допускается принимать равной 10 Гц.

4.6 Выбор измеряемого параметра динамических явлений, как правило, определяется нормируемым параметром или критерием допустимости. Так, например, для контроля напряженно-деформированного состояния рекомендуется измерять непосредственно деформации и виброперемещения для сопоставления их величин, определяемых также и через формы собственных колебаний. Для проверки допустимости вибраций по воздействию на персонал рекомендуется измерять виброскорости колебательного движения. А для проверки допустимости вибраций по воздействию на технологическое оборудование рекомендуется измерять виброперемещения, виброскорости или виброускорения в зависимости от критерия допустимости вибраций для каждого из типов оборудования.

При проведении ДИ с помощью вибраторов, равно как и в других случаях, когда колебания носят гармонический характер, допускается производить измерение одного, любого из параметров вибрации - виброперемещения, виброскорости или виброускорения, т.к. в этом случае между ними существует простая взаимно однозначная зависимость.

4.7 В качестве первичных измерительных вибропреобразователей для определения кинематических параметров вибраций используются индукционные и пьезоэлектрические датчики.

Для большинства случаев измерения вибрации гидросооружений (бетонные плотины, здания ГЭС и др.) пригодны вибрографы с рабочей полосой частот от 1 до 200 Гц и коэффициентом увеличения порядка 500-3000.

4.8 Для измерения динамических деформаций элементов строительных конструкций используются тензорезисторы.

4.9 Для многоканальной записи электрических сигналов от вибродатчиков широко применяются светолучевые осциллографы, магнитографы и быстродействующие самописцы. Наибольшие возможности дает регистрация выходных сигналов датчиков в цифровом коде в памяти ЭВМ с обработкой их по заданным программам и выдачей результатов в графической и табличной форме.

5 ВИБРОВОЗБУДИТЕЛЬНОЕ ОБОРУДОВАНИЕ

5.1 Одним из методов определения основных динамических характеристик сооружения (собственных частот, форм собственных колебаний, логарифмического декремента затухания) является возбуждение колебаний с помощью вибраторов.

5.2 При необходимости применения вибровозбудительных средств их параметры определяются по следующим рекомендациям:

- диапазон частот, в пределах которого должно быть обеспечено возбуждение вибраций, определяется по тем же правилам, что и для виброизмерительной аппаратуры (см. раздел 4);

- амплитуда силы, развиваемой вибратором, на нижней частоте определяется по формуле:

Pн = max (Pнi) = max (Aj/σji),                                                                                       (Г.1)

где Aj - амплитуда надежно регистрируемых колебаний в точке (на порядок больше порогового уровня датчика, установленного в этой точке и не менее, чем в 3 раза больше фонового уровня колебаний в этой точке);

σji - функция влияния, т.е. перемещение в точке j от единичной силы, приложенной в точке i, где установлен вибратор; при этом для определения силы выбирается наибольшее значение из полученных по всему множеству точек ji;

- амплитуда силы, развиваемой вибратором на верхней частоте, определяется по формуле:

Pв = max (Pвi) = max (miAj nji),                                                                               (Г.2)

где mi - масса сооружения, приведенная к точке i установки вибратора при прогнозируемой на основе расчетов форме колебаний, соответствующей круговой частоте ωв, являющейся верхней частотой диапазона частот, в котором проводятся ДИ с помощью этого вибратора;

nji -определяемое по прогнозируемой форме колебаний отношение амплитуды колебаний в точке i к амплитуде колебаний в точке j как и в предыдущем случае выбирается наибольшее значение по всему множеству точек ji.

Для ориентировки полезно иметь ввиду, что фоновые уровни вибраций на уровне гребня глухих бетонных плотин обычно характеризуются амплитудами виброперемещений от 1-2 до 3-4 мкм, на водосливных секциях при неработающих водосбросах - теми же амплитудами, а при работающих (в зависимости от режима) - в несколько раз большими; на конструкциях здания ГЭС уровни вибраций характеризуются амплитудами виброперемещений от нескольких до десятков микрометров.

Для надежной регистрации уровней вибрации, возбуждаемой вибраторами, необходимо возбуждать колебания с амплитудами не менее чем в три раза превосходящими фоновые.

5.3 Рекомендуется применение дебалансных вибраторов с электроприводом, допускающим регулирование частоты в пределах всего необходимого диапазона частот и с переменным дебалансом, чтобы получать требуемую амплитуду силы как на низких, так и на высоких частотах. Однако в ряде случаев для перекрытия всего диапазона частот оказывается необходимым применение двух и более вибраторов с разными параметрами.

5.4 Если необходимо испытание сооружения не только на горизонтальную, но и на вертикальную составляющую динамических нагрузок, то рекомендуется применение вибраторов, дающих такую возможность без замены и сложной переналадки, в частности, вибраторов с переключаемым направлением возбуждающей силы. Для крепления вибраторов на всех площадках, где необходимо возбуждение динамических нагрузок, устраиваются стальные закладные рамы требуемых размеров и несущей способности. При проектировании закладных рам рекомендуется обеспечить напряжение, не превышающее в их элементах, соприкасающихся с бетоном, 10 МПа.

5.5 Крепление вибратора к закладным рамам рекомендуется выполнять с помощью болтов, шпилек либо электросваркой. В последнем случае конструкция закладной рамы должна обеспечивать изоляцию бетона от высоких температур.

6 ПРОВЕДЕНИЕ ДИНАМИЧЕСКИХ ИССЛЕДОВАНИЙ

6.1 При проведении ДИ, в зависимости от вида сооружения и способа возбуждения его колебаний, рекомендуется использовать различные методики.

6.2 При проведении ДИ сооружений, содержащих источники эксплуатационных динамических нагрузок (здания ГЭС, водосбросы и т.п.), рекомендуется первоначально с использованием легкой переносной измерительной аппаратуры провести рекогносцировочное обследование уровней колебаний конструкций в различных точках сооружения при разных режимах источников динамических нагрузок. После этого по результатам рекогносцировки на наиболее неблагоприятных по уровням вибрации секциях сооружения проводятся детальные исследования с применением синхронной регистрации вибраций в необходимом количестве точек на всех наиболее неблагоприятных режимах.

6.3 Для выявления наиболее неблагоприятного источника вибраций рекомендуется проводить испытания поочередно при работе только одного источника динамических нагрузок, либо, если это невозможно, то при различных комбинациях этих источников, дающих возможность путем сопоставления установить наиболее неблагоприятный источник.

6.4 При проведении ДИ сооружений с помощью специальных средств возбуждения вибраций рекомендуется обследовать на каждом сооружении все характерные его секции. Например, при обследовании глухой бетонной плотины, имеющей большую протяженность, рекомендуется обследовать секции наибольшей, средней и наименьшей высоты.

6.5 Рекомендуется проводить каждое ДИ два раза в год - в начале весны и осени, в моменты минимального и максимального раскрытия межсекционных швов, а на подпорных сооружениях с водохранилищами годичного или многолетнего регулирования - в моменты минимального (желательно УМО) и максимального (НПУ или ФПУ) уровней воды в водохранилище.

В начале весны в допаводковый период минимального стока обычно удается, кроме того, в широких пределах маневрировать режимами каждого гидроагрегата от полной остановки до кратковременного набора полной мощности.

6.6 На водосбросных сооружениях рекомендуется проводить ДИ в паводковый период, когда складывается наиболее благоприятная возможность создавать различные сочетания работающих и неработающих водосбросов.

6.7 При проведении ДИ с целью прогнозирования наибольших уровней вибрации на рабочих местах персонала или в местах установки технологического оборудования, чувствительного к вибрациям, датчики устанавливаются на обследуемых конструкциях и вблизи источников динамических нагрузок для установления связи между их режимами.

6.8 При проведении ДИ с целью прогнозирования устойчивости сооружения и напряжений в его теле датчики необходимо разместить на сооружении так и в таком количестве, чтобы по их синхронно записанным показаниям можно было построить формы колебаний сооружения на каждой частоте, особенно - на резонансных частотах, либо характерных частотах вынужденных колебаний от эксплуатационных нагрузок.

6.9 Исследованию колебаний сооружения или строительной конструкции должно предшествовать составление программы испытаний. В программе указываются: объект и цель испытаний, типы виброизмерительной аппаратуры, точки и направление измерения вибраций, необходимые режимы источников вибрации, замеренные величины при испытании, необходимое время для испытаний, в какой форме должны быть выданы результаты испытаний. Программа утверждается администрацией, ответственной за эксплуатацию обследуемого сооружения.

6.10 При измерениях вибрации сооружения пользуются методикой ступенчатого изменения режимов источников вибрации.

6.11 При исследованиях колебаний, вызванных работой агрегатов, записи производятся при различных нагрузках и их сочетаниях на агрегатах.

6.12 При проведении ДИ сооружений, подверженных динамическим нагрузкам, особенно от гидроагрегатов, учитывая случайность соотношения фаз нагрузок от каждого агрегата при каждом его пуске, рекомендуется выполнять многократные измерения вибраций после остановок и повторных пусков агрегатов.

6.13 При исследовании колебаний водосливных плотин затворы исследуемой секции кратковременно поднимаются ступенями на определенную высоту. При каждом из положений производится запись колебаний.

7 ОРГАНИЗАЦИЯ ПОСТОЯННЫХ НАБЛЮДЕНИЙ ЗА ВИБРАЦИЕЙ

7.1 В соответствии с требованиями правил технической эксплуатации электрических станций и сетей [1 Стандарта] в зависимости от условий эксплуатации рекомендуется проводить постоянные динамические исследования на бетонных плотинах I класса, подвергающихся существенным динамическим воздействиям. Кроме того, при изменении условий эксплуатации и появлении повышенных вибраций на конструкциях гидросооружений проводятся наблюдения по специально разработанным программам.

7.2 На гидротехнических сооружениях I и II класса размещение аппаратуры для постоянного наблюдения за динамическими явлениями обычно предусматривается в техническом и рабочем проекте гидроузла.

7.3 Применяются следующие методы организации работ:

- установка "закладной" аппаратуры - датчики вместе с кабелем закладывают в бетон сооружения в строительный период; в дальнейшем их извлечение и замена практически невозможны;

- использование съемной аппаратуры - в строительный период закладывают в бетон только гнезда и приспособления, предназначенные для установки измерительной аппаратуры.

7.4 Состав применяемой аппаратуры, количество датчиков и размещение их на сооружении определяются целями исследований и конструктивными особенностями сооружения. Поэтому проект размещения аппаратуры требует каждый раз индивидуального подхода и должен составляться с привлечением специализированных организаций.

7.5 При составлении проекта размещения датчиков давления следует опираться на результаты модельных и исследований пульсации давления, выполненных на сооружениях, близких по конструкции.

7.6 Для определения количества датчиков каждого типа следует ограничиться разумным минимумом, достаточным для решения поставленных задач.

7.7 При выполнении подготовительных строительно-монтажных работ необходим постоянный авторский надзор со стороны представителей организации, выполняющей исследования.

7.8 При постоянных динамических исследованиях, как показывает опыт, более предпочтительной оказывается схема с использованием съемной аппаратуры.

7.9 При проведении исследований водосбросных сооружений и зданий ГЭС рекомендуется располагать аппаратуру в средней части сооружения для того, чтобы уменьшить влияние на исследуемые процессы боковых сопряжений с соседними сооружениями.

7.10 Количество вибродатчиков и их расположение на сооружении должны обеспечить возможность определения формы колебаний сооружения.

7.11 Тензодатчики монтируют в тех местах конструкции, где по расчетам должны наблюдаться наибольшие деформации. Некоторое количество их следует предусмотреть на участках возможных концентраций напряжений.

7.12 При производстве самих измерений ставится задача получить возможно более полную информацию с помощью созданной сети датчиков. Обычно измерения организуют в несколько циклов. При выполнении динамических исследований сооружений с применением приборов, смонтированных на сооружении, в целях охвата возможно большего диапазона изменения условий опыта, всегда стремятся проводить испытания, меняя режимы источников вибрации по определенной программе, составленной специализированной организацией и согласованной со службой эксплуатации сооружений.

7.13 Повторяя циклы измерений при изменяющихся динамических нагрузках, напоре, горизонтах бьефов и пр., получают данные о влиянии этих условий на динамическое состояние сооружений.

с-й

8 МЕТОДИКА ОБРАБОТКИ ДАННЫХ НАБЛЮДЕНИЙ

8.1 Обработка виброграмм периодических колебаний, определение частоты, амплитуды, фазового сдвига (относительно других гармонических колебаний)

Для повышения точности определения частоты рекомендуется брать для обработки участок осциллограммы, соответствующий нескольким периодам колебаний.

Амплитуда перемещения (скорости, ускорения) при частоте колебаний f определяется по формуле:

                                                                                                             (Г.3)

где 2Аосц - двойная амплитуда (размах) осциллографической кривой;

V(f) - значение амплитудно-частотной характеристики вибрографа (велосиграфа, акселерографа) на частоте f;

β - коэффициент заглубления.

Амплитуды двухкомпонентных колебаний определяются раздельно для каждой компоненты, для чего проводят огибающие колебания. В этом случае низкочастотная компонента имеет двойную амплитуду 2А1, а высокочастотная - 2А2.

При сложной форме кривой вибрации также проводятся огибающие кривые вибрации. Амплитуда основной гармоники здесь равна 2А1 ,а другой - 2А2.

Амплитуды трехкомпонентных колебаний можно установить методом огибающих: на основную гармонику с амплитудой 2А накладываются две компоненты, составляющие биения. Как известно, при биениях сумма амплитуд составляющих гармоник равна размеру "горба" кривой биения, а разность амплитуд - размеру суженной части, т.е.

C = 2A1+2A2; d = 2A1 - 2A2,                                                                                      (Г.4)

откуда

                                                                                          (Г.5)

8.2 Определение скорости и ускорения при вибрации

В ряде случаев необходимо знать скорость и ускорение смещения конструкции при вибрации, что позволяет оценить, например, по ускорению уровень вибрации (в децибелах), а также дополнительные усилия на конструкцию от ее действия, так как сила равна массе, умноженной на ускорение: Р=та, где т - масса; а - ускорение. Масса, нагружающая данную конструкцию, в большинстве случаев, известна, а ускорение определяется по кривой вибрации. В первом приближении ветвь интересующей нас кривой вибрации может быть заменена синусоидой, тогда скорость и ускорение определяются так:

V = Aωcosωt, a = -Aω2sinωt,                                                                                      (Г.6)

где А - амплитуда данной ветви кривой вибрации;

ω - круговая частота, 1/с; ω = 2π/Т;

Т - период колебания, с.

8.3 Обработка записей случайных процессов

8.3.1 Среднее по ансамблю значение случайной величины

                                                                                                    (Г.6)

Так как на осциллограмме амплитуды вибрации принимают положительные и отрицательные значения, то среднее значение функции в отрезке времени "-Т, +Т" принимают равным нулю. Размерность  такая же, как и размерность исследуемой величины.

8.3.2 Среднее квадратичное отклонение случайной величины σ или дисперсия σ2

                                                                                   (Г.7)

8.3.3 Корреляционная функция процесса

                                                                                   (Г.8)

При наличии двух случайных процессов х(t) и у(t) взаимная корреляционная функция Rxy(τ) определяется как

                                                                                  (Г.9)

Корреляционная функция характеризует степень связи между собой случайных функций в моменты t и t + τ. Очевидно, что Rх(0) =  = 2(t) . Размерность корреляционной функции соответствует квадрату размерности измеряемой величины.

Коэффициентом корреляции двух случайных величин х(t) и у(t) называется отношение их корреляционного момента к среднему геометрическому их дисперсий:

                                                                                                  (Г.10)

Коэффициент корреляции - безразмерная величина и модуль его не может быть больше единицы.

8.3.4 Спектральная плотность случайной функции, которую получают, применяя преобразование Фурье. Она является распределением по частотам мощности случайной функции:

                                                          (Г.11)

Значение спектральной плотности с частотой ω количественно характеризует долю возмущений с этой частотой в общем случайном процессе.

Обработка записей стационарных случайных процессов производится с привлечением методов корреляционного спектрального анализа.

9 КРИТЕРИИ ОЦЕНКИ ДОПУСТИМОГО УРОВНЯ КОЛЕБАНИЙ

9.1 Общие положения

Допустимый уровень колебаний сооружений, подвергающихся динамическим воздействиям, определяется:

- физиологическим воздействием колебаний на людей;

- несущей способностью (прочностью, устойчивостью и выносливостью конструктивных элементов колеблющихся конструкций);

- влиянием колебаний на технологическое оборудование.

9.2 Санитарные нормы на вибрацию

9.2.1 Действующие санитарные нормы на вибрацию приведены в ГОСТ 12.1.012-90 "Вибрационная безопасность. Общие требования".

9.2.2 В зависимости от категории вибрации нормируемыми показателями вибрационной нагрузки на оператора, находящегося на рабочем месте, являются одночисловые параметры или спектр вибрации, установленные нормами Минздрава СССР.

9.2.3 Для гидротехнических сооружений, находящихся в эксплуатации, рекомендуется вибрационную нагрузку, действующую на оператора, определять через спектр вибрации. В этом случае нормируемыми показателями общей вибрации являются среднеквадратичные значения виброускорения (виброскорости) или их логарифмические уровни в треть октавных полосах со среднегеометрическими частотами: 0,8; 1,0; 1,2; 1,6; 2,0; 2,5; 3,15; 4,0; 5,0; 6,3; 8,0; 10,0; 12,5; 16; 20; 25; 31,5; 40; 50;63; 80 Гц.

9.2.4 В соответствии с санитарными нормами на гидротехнических сооружениях следует рассматривать следующие категории вибраций:

- тип "а" - общая технологическая вибрация, воздействующая на операторов стационарных машин и оборудования или передающаяся на рабочие места, не имеющие источников вибрации;

- тип "б" - общая технологическая вибрация, передающаяся на рабочие места в складах, столовых, бытовых, дежурных и других производственных помещениях, где нет генерирующих вибрацию машин;

- тип "в" - вибрация на рабочих местах работников умственного труда и персонала, не занимающегося физическим трудом.

9.2.5 Нормы спектральных показателей вибрационной нагрузки на операторов для категорий вибрации "а" и 3"в" при длительности вибрационного воздействия 8 часов приведены в табл. Г.1, Г.2.

Для категории "б" нормой вибрационной нагрузки являются указанные в табл. Г.1 нормы, значения которых умножены на 0,4, а уровни уменьшены на 8 дБ.

9.2.6 Норму вибрационной нагрузки на оператора при длительности воздействия менее 8 часов (480 мин.) определяют по формуле

                                                                                                           (Г.12)

где и480 - норма вибрационной нагрузки для длительности вибрации 480 мин;

Т- длительность воздействия вибрации.

При Т < 30 мин в качестве нормы принимают значение, вычисленное для T = 30 мин.

9.2.7 При ремонте и реконструкции в проектировочных расчетах строительных конструкций на рабочих местах в производственных помещениях при гармонической и полигармонической вибрации, если в пределах каждой октавной полосы находится не более одной составляющей, используют амплитуду виброперемещения. Допустимые амплитуды виброперемещений для частот гармонических составляющих, соответствующих среднегеометрическим частотам октавных полос, приведены в табл. Г.2.

Для частот, отличных от указанных в таблице, допустимые амплитуды виброперемещения определяются интерполяцией. При полигармонической вибрации допустимые амплитуды виброперемещения находят по табл. Г.2 для каждой составляющей по ее частоте.

Таблица Г.1

Санитарные нормы спектральных показателей вибрационной нагрузки на оператора

Среднегеометрические частоты октавных полос, Гц

Нормативные значения

виброускорения

виброскорости

дБ

дБ

в 1/3 окт.

в 1/1 окт.

в 1/3 окт.

в 1/1 окт.

в 1/3 окт.

в 1/1 окт.

в 1/3 окт.

в 1/1окт.

Общая вибрация, тип "а"

1,6

0,09

 

99

 

0,9

 

105

 

2,0

0,08

0,14

98

103

0,64

1,3

102

108

2,5

0,071

 

97

 

0,46

 

99

 

3,15

0,063

 

96

 

0,32

0,45

96

 

4,0

0,056

0,1

95

100

0,23

 

93

99

5,0

0,056

 

95

 

0,18

 

91

 

6,3

0,056

 

95

 

0,14

 

89

 

8,0

0,056

0,11

95

101

0,12

0,22

87

93

10,0

0,071

 

97

 

0,12

 

87

 

12,5

0,09

 

99

 

0,12

 

87

 

16,0

0,112

0,20

101

106

0,12

0,20

87

92

20,0

0,140

 

103

 

0,12

 

87

 

25,0

0,18

 

105

 

0,12

 

87

 

31,5

0,22

0,40

107

112

0,12

0,20

87

92

40,0

0,285

 

109

 

0,12

 

87

 

50,0

0,355

 

111

 

0,12

 

87

 

63,0

0,445

0,80

113

118

0,12

0,20

87

92

80,0

0,56

 

115

 

0,12

 

87

 

Общая вибрация, тип "в"

1,6

0,0125

 

82

 

0,13

 

88

 

2,0

0,0112

0,02

81

86

0,09

0,18

85

91

2,5

0,01

 

80

 

0,063

 

82

 

3,15

0,009

 

79

 

0,045

 

79

 

4,0

0,008

0,014

78

83

0,032

0,063

76

82

5,0

0,008

 

78

 

0,025

 

74

 

6,3

0,008

 

78

 

0,02

 

72

 

8,0

0,008

0,014

78

83

0,016

0,032

70

75

10,0

0,01

 

80

 

0,016

 

70

 

12,5

0,0125

 

82

 

0,016

 

70

 

16,0

0,016

0,028

84

89

0,016

0,028

70

75

20,0

0,02

 

86

 

0,016

 

70

 

25,0

0,025

 

88

 

0,016

 

70

 

31,5

0,032

0,056

90

95

0,016

0,028

70

75

40,0

0,04

 

92

 

0,016

 

70

 

50,0

0,05

 

94

 

0,016

 

70

 

63,0

0,063

0,112

96

101

0,016

0,028

70

75

80,0

0,08

 

98

 

0,016

 

70

 

Таблица Г.2

Санитарные нормы спектральных показателей вибрационной нагрузки на оператора. Локальная вибрация

Среднегеометрические частоты октавных полос, Гц

Нормативные значения

виброускорения

виброскорости

дБ

дБ

8

1,4

123

2,8

115

16

1,4

123

1,4

109

31,5

2,7

129

1,4

109

63

5,4

135

1,4

109

125

10,7

141

1,4

109

250

21,3

147

1,4

109

500

42,5

153

1,4

109

1000

85,0

159

1,4

109

9.3. Оценка допустимости динамических явлений по их влиянию на общую устойчивость, прочность и выносливость конструктивных элементов

9.3.1 При обработке результатов измерений с целью прогнозирования устойчивости, прочности и выносливости сооружений рекомендуется по выявленным формам вынужденных колебаний определять силы инерции собственных масс сооружения и оборудования и проверять устойчивость и прочность сооружения при суммарном квазистатическом действии статических и динамических (в том числе инерционных) нагрузок в наиболее неблагоприятных сочетаниях.

9.3.2 При проверке общей устойчивости на сдвиг компоненты расчетных амплитуд динамических сил, параллельных равнодействующей статических сдвигающих сил, арифметически добавляют к статическим, а компоненты расчетных амплитуд динамических сил, параллельных равнодействующей нормальных к поверхности сдвига сил, арифметически вычитают из статических.

При проверке общей устойчивости на опрокидывание вокруг определенной точки моменты расчетных амплитуд всех динамических сил арифметически суммируют с моментом статических опрокидывающих сил.

При таком способе суммирования получается оценка коэффициента запаса устойчивости "снизу", т.е. этот коэффициент реально не может быть ниже вычисленного, а фактическая устойчивость всегда выше или равна расчетной.

Если расчетная устойчивость, вычисленная таким способом, оказывается менее нормативной, то необходимо выполнение второй стадии расчетов, с учетом реально возможных соотношений фаз динамических сил.

9.3.3 При оценке прочности и выносливости колеблющейся конструкции наиболее распространен метод, связанный с вычислением внутренних усилий по расчетной форме колебаний на основе измерения амплитуды в одной из точек конструкции и с использованием данных статического расчета конструкции на прочность.

9.3.4. Если амплитуды колебаний невелики, то нет необходимости в определении внутренних динамических усилий. Нижняя граница амплитуд колебаний, за пределами которой колебания можно считать безопасными, не прибегая к специальным расчетам, определяется отношением линейного размера конструктивного элемента к его динамическому перемещению.

Если наибольшее динамическое перемещение балки перекрытия и подобных конструкций, совершающих колебания, связанные с изгибом (за вычетом перемещений ее опор), не превышает 1/40000 длины пролета, то при проверке несущей способности конструкции можно не учитывать динамических нагрузок.

Если по результатам измерений выяснилось, что для колонн и стен здания разность горизонтальных динамических перемещений нижнего и верхнего концов колонны (стены) не превышает 1/40000 высоты, то динамические нагрузки можно не учитывать при проверке несущей способности этих конструкций.

9.3.5 Помимо ограничения колебаний по несущей способности предъявляются требования по ограничению динамических прогибов, которые основываются на необходимости обеспечения достаточной жесткости сооружения в его совместной работе на статические и динамические нагрузки.

В табл. Г.3 приводятся данные по ограничению колебаний строительных конструкций предельно допустимым динамическим прогибом.

Таблица Г.3

Амплитуды колебаний конструкций, соответствующие предельно-допустимому динамическому прогибу

Частота, Гц

Амплитуда, мм

Частота, Гц

Амплитуда, мм

1

10

10

0,1

2

2,5

15

0,067

3

1,111

20

0,05

4

0,626

25

0,04

5

0,4

50

0,02

6

0,278

75

0,013

7

0,156

100

0,01

Примечание. Для промежуточных значений частот колебаний амплитуды определяются формулами: а) для частот колебаний от 1 до 10Гц а0 = 10/n0; б) для частот колебаний от 10 до 100 Гц а0 = 1/n0. Здесь n0- частота вынужденных колебаний, Гц; а0 - допускаемая амплитуда колебаний конструкции от нагрузки, мм.

9.3.6 Для грубой оценки несущей способности конструкций, подверженных действию эксплуатационных динамических нагрузок, можно считать, что колебания, не опасные для людей, как правило, не опасны и для несущих конструкций.

Так, выполнение очень жестких санитарно-гигиенических и технологических требований по ограничению уровня колебаний конструкций, на которых находятся люди или чувствительное к вибрациям оборудование, является достаточным и для обеспечения несущей способности конструкций.

Приложение Д

(обязательное)

Правила организации и проведения наблюдений и исследований на плотинах из грунтовых материалов

1 ОБЩИЕ ПОЛОЖЕНИЯ

1.1 Назначение Правил и область их применения

1.1.1 Настоящие Правила следует применять в качестве норм и как практическое пособие при проектировании, организации и проведении контрольных наблюдений и диагностировании грунтовых плотин всех видов и классов.

1.1.2 Правила содержат указания по соблюдению общих положений по организации и проектированию наблюдений и исследований на грунтовых плотинах, по составу и методике проведения наблюдений, оценке технического состояния грунтовых плотин.

1.1.3 Правила имеют целью установить единый методический подход к проведению наблюдений и диагностированию грунтовых плотин.

1.1.4 Настоящие Правила должны применяться на стадии проектирования, строительства и эксплуатации плотин, при проведении наблюдений и исследований, при обработке и анализе их результатов, а также оценке состояния сооружений.

1.2 Общие требования к натурным наблюдениям

1.2.1 Основными задачами наблюдений за гидротехническими сооружениями являются: комплексное изучение их основных показателей работы; проверка соответствия этих показателей проектным предпосылкам, критериям безопасности и нормативным требованиям; объективная оценка эксплуатационной надежности и безопасности сооружений. Для решения указанных задач гидротехнические сооружения должны оснащаться контрольно-измерительной аппаратурой (КИА). В проектах плотин I, II, III классов соблюдение требования по установке КИА для проведения наблюдений и исследований является обязательным. На плотинах IV класса инструментальные наблюдения проводятся при соответствующем обосновании.

1.2.2 В составе контрольных наблюдений на грунтовых плотинах должны проводиться систематические визуальные наблюдения с целью фиксирования различных дефектов, явлений и процессов, влияющих на надежность сооружения.

1.2.3 Для ответственных плотин (I-III класс) наблюдения должны быть комплексными и выполняться по специальной для каждого сооружения программе. Их состав должен соответствовать составу объектов (элементов) диагностирования и отвечать требованию получения полной и достоверной информации по всем намеченным проектом диагностическим показателям состояния плотины и необходимым нагрузкам и воздействиям на нее.

1.2.4 В общем случае состав наблюдений, проводимых на грунтовых плотинах, типы и количество КИА, должен назначаться проектом.

1.2.5 наблюдения должны быть систематическими и обладать высокой оперативностью получения информации и проведения измерений (наблюдений). Регулярными наблюдениями должны охватываться все этапы работы плотины - строительный период, периоды постановки ее под напор, начальной и последующей (многолетней) эксплуатации при проектных нагрузках, период старения.

1.2.6 Рациональность выбора состава наблюдений и размещения КИА должна оцениваться возможностью дифференцированного контроля состояния элементов плотины, получения фактических значений диагностических показателей ее работы, являющихся наиболее важными для обеспечения надежности сооружения.

1.2.7 Контрольные наблюдения на плотинах должны проводиться с заданной проектом периодичностью производства измерений в режиме мониторинга.

1.2.8 Для эксплуатируемых грунтовых плотин должны быть установлены критериальные значения контролируемых показателей их состояния (критерии безопасности).

1.2.9 Проводимые контрольные наблюдения (инструментальные и визуальные) должны быть просты и доступны по исполнению для эксплуатационного персонала плотины.

2 ОРГАНИЗАЦИЯ НАБЛЮДЕНИЙ И ИССЛЕДОВАНИЙ

2.1 Контрольные наблюдения (а при необходимости по условиям обеспечения безопасности - специальные исследования) на сооружениях организуются в соответствии с требованиями Федерального закона от 21.07.1997 № 117-ФЗ "О безопасности гидротехнических сооружений", ст. 8, 9 и 13.

2.2 В организации и контроле обеспечения необходимых наблюдений и исследований на сооружениях в рамках своих полномочий участвуют: генпроектная, генподрядная строительная и специализированная научно-исследовательская организации, собственник (эксплуатирующая организация) и территориальные органы государственного надзора за безопасностью гидротехнических сооружений.

2.3 Генпроектная организация в рамках своих полномочий:

- разрабатывает проект наблюдений и размещения КИА в сооружениях;

- осуществляет авторский контроль за полнотой и качеством реализации проекта на сооружениях, за качеством монтажа и сохранностью КИА;

- назначает совместно с научно-исследовательской организацией предельно допустимые значения (критерии безопасности) контролируемых показателей работы и состояния для строящихся и эксплуатируемых сооружений;

- участвует в анализе результатов наблюдений, оценке состояния сооружений и соответствия их контролируемых показателей проектным и критериальным показателям (совместно с научно-исследовательской организацией);

- оперативно разрабатывает инженерные решения по предотвращению возможных аварийных ситуаций и (или) опасных повреждений сооружений;

- участвует в приемке в эксплуатацию КИА, установленной в сооружения, и соответствующей исполнительной документации.

2.4 Научно-исследовательская организация, привлекаемая к проведению наблюдений и исследований, в рамках своих полномочий:

- участвует в разработке и согласовании программы и проекта наблюдений и исследований на сооружениях (либо в их экспертизе);

- разрабатывает методику проведения наблюдений и специальных исследований на конкретных строящихся и эксплуатируемых сооружениях, методику обработки результатов наблюдений и оценки надежности и безопасности сооружений;

- назначает совместно с Генеральной проектной организацией предельно допустимые значения (критерии безопасности) контролируемых показателей работы и состояния эксплуатируемых сооружений;

- осуществляет научно-методическое руководство в проведении наблюдений и исследований, обработке их результатов и оперативной оценке состояния сооружений;

- выполняет на основе данных наблюдений и исследований многофакторный анализ эксплуатационной надежности и безопасности сооружений;

- разрабатывает методические рекомендации (инструкции) по проведению наблюдений на сооружениях в периоды их строительства, эксплуатации и консервации;

- осуществляет обучение эксплуатационного персонала методам и технике проведения наблюдений и ведения технической документации.

2.5 Генподрядная строительная организация в рамках своих обязанностей и полномочий:

- обеспечивает качественный монтаж в сооружения КИА в соответствии с проектом;

- обеспечивает в течение всего периода монтажа КИА, вплоть до сдачи ее эксплуатирующей организации, сохранность установленных приборов, кабельных линий, измерительных пультов, а также необходимый технический уход и ремонт.

2.6 Собственник (эксплуатирующая организация) в рамках своих обязанностей и полномочий:

- обеспечивает своевременное приобретение и изготовление необходимой КИА для наблюдений и исследований, осуществляет ее приемочный контроль и передачу в монтаж;

- обеспечивает экспертизу проекта наблюдений и исследований;

- своевременно создает и подготавливает специализированное подразделение по проведению систематических наблюдений (мониторинга) на гидротехнических сооружениях;

- проводит технический контроль качества монтажа КИА, приемку ее в эксплуатацию, уход и поддержание в работоспособном состоянии;

- обеспечивает проведение систематических наблюдений (мониторинга) и оценку работы и состояния гидротехнических сооружений в строительный и эксплуатационный периоды, вплоть до вывода их из эксплуатации.

2.7 Органы государственного надзора за безопасностью гидротехнических сооружений в рамках своих полномочий:

- согласовывают задание на проектирование и проект наблюдений за гидротехническими сооружениями;

- контролируют качество строительства сооружений и монтажа технических средств контроля их состояния;

- участвуют в приемке в эксплуатацию КИА для наблюдений за сооружениями;

- согласовывают правила эксплуатации гидротехнических сооружений, проверяют качество технического контроля за сооружениями и материалы оценки их безопасности;

- выдают и контролируют предписания по обеспечению контроля за безопасностью гидротехнических сооружений;

- проводят экспертизу и утверждают Декларации и критерии безопасности гидротехнических сооружений.

2.8 На строящихся объектах все работы по монтажу КИА и уходу за ней до сдачи сооружения в эксплуатацию выполняются специализированным подразделением генерального подрядчика.

На эксплуатируемых сооружениях установка КИА и уход за ней осуществляется подразделениями эксплуатирующей организации или привлекаемой на договорной основе специализированной организацией.

Авторский надзор за монтажом КИА осуществляет проектная организация, технический контроль - представители собственника сооружения, методическое и техническое руководство монтажом КИА и проведением наблюдений - головная научно-исследовательская организация.

2.9 При сдаче гидротехнического сооружения в эксплуатацию собственнику (эксплуатирующей организации) должны быть переданы:

- строительной организацией - контрольно-измерительная аппаратура в проектном объеме и в исправном состоянии, исполнительная документация на ее установку и ведомости начальных показаний КИА;

- проектной организацией - перечень контролируемых показателей сооружения и их предельно допустимые значения (критерии безопасности), данные сравнения фактических значений контролируемых показателей работы и состояния сооружения, полученные наблюдениями, с соответствующими проектными и предельно допустимыми показателями;

- научно-исследовательской организацией - данные многофакторного анализа надежности и безопасности сооружения по данным наблюдений, методические рекомендации (инструкции) по проведению наблюдений, методам обработки и анализа результатов, оценки состояния сооружения.

2.10 Контрольно-измерительная аппаратура и вся документация по натурным наблюдениям и сравнительной оценке фактических показателей работы и состояния сооружения с проектными, нормативными и критериальными показателями передаются собственнику (эксплуатирующей организации) по Акту приемки-сдачи.

3 ОСНОВНЫЕ ПРАВИЛА ПРОЕКТИРОВАНИЯ НАБЛЮДЕНИЙ И ИССЛЕДОВАНИЙ

3.1 Проектирование наблюдений и исследований проводится на стадии разработки проекта сооружения и технологии его возведения.

3.2 На первом этапе проектирования наблюдений и исследований проводится анализ конструктивных особенностей плотины, инженерно-геологических и физико-механических характеристик грунтов основания, природно-климатических условий, последовательности и технологических схем производства работ на всех стадиях строительства.

В результате анализа устанавливаются: основные конструктивные элементы плотины, определяющие ее прочность, надежность и безопасность; схемы силового взаимодействия конструктивных элементов между собой, с основанием и берегами; ожидаемые нагрузки и воздействия на элементы плотины и основание; характер строения основания по геологическим слоям, наличие в нем тектонических разломов, трещин, льда, слабых, сильнопроницаемых и неконсолидированных грунтов, резких изломов и перепадов поверхности по линии створа; размеры технологических карт и толщина слоев укладки грунта в плотину и др.

3.3 Исходя из конструктивных, технологических особенностей и класса сооружения, инженерно-геологических, гидрологических и природно-климатических условий створа, определяются основные задачи и состав наблюдений и исследований, выбираются конструктивные элементы сооружения и области основания для предстоящего контроля (элементы диагностирования), составляется перечень контролируемых (диагностических) показателей, характеризующих работу и состояние сооружения.

3.4 В состав элементов диагностирования грунтовой плотины должны включаться те из ее конструктивных элементов и областей основания, состояние которых предопределяет степень надежности и безопасности сооружения: противофильтрационные элементы (ядро, экран, диафрагма, инъекционная или мерзлотная завесы и т.п.); дренажные устройства, переходные слои и обратные фильтры; тело плотины; элементы и зоны сопряжения противофильтрационных устройств с основанием, берегами и встроенными в плотину бетонными сооружениями; защитные крепления откосов; слабо или сильноводопроницаемые прослойки грунтов, зоны тектонических разломов в основании, территория нижнего бьефа и др.

Для каждой конкретной плотины, в зависимости от ее конструктивных особенностей и условий эксплуатации, состав элементов диагностирования ее работы и состояния должен определяться индивидуально.

3.5 Контролируемые наблюдениями диагностические показатели грунтовой плотины должны быть представлены важнейшими количественными и качественными характеристиками работы и состояния элементов плотины, совокупность которых однозначно определяет эксплуатационную надежность и безопасность сооружения. В их число должны быть также включены все основные нагрузки и воздействия на данное сооружение и отдельные его элементы.

В общем случае состав контролируемых инструментальными и визуальными наблюдениями и исследованиями диагностических показателей, характеризующих состояние грунтовой плотины, должен назначаться с учетом требований программы наблюдений.

Для ответственных грунтовых плотин I-III классов в их число должны включаться:

- напряжения и деформации в различных элементах плотины, в основании и в зонах сопряжения;

- осадки и горизонтальные смещения сооружения и основания;

- положение поверхности депрессии, пьезометрические напоры в теле плотины, в основании и в берегах;

- фильтрационные расходы;

- мутность, температура (а в ряде случаев - химический состав) профильтровавшейся воды;

- градиенты напора в теле плотины и в основании;

- потери напора на противофильтрационных элементах;

- поровое давление в глинистых противофильтрационных элементах и в основании;

- температура грунта в теле плотины, в основании, в водохранилище и в дренажных устройствах;

- уровни верхнего и нижнего бьефа и скорости их сработки и др.

3.6 Состав проектируемых наблюдений и исследований на конкретной плотине, намечаемые виды инструментальных измерений и визуальных обследований, подлежащих контролю диагностических показателей работы и состояния сооружения и его элементов, нагрузок и воздействий заносятся в соответствующую Программу, являющуюся составной частью проекта наблюдений,

3.7 В соответствии с составом подлежащих контролю диагностических показателей работы и состояния грунтовой плотины и основания, нагрузок и воздействий осуществляется выбор типов, и технических характеристик контрольно-измерительной аппаратуры, нестандартных измерительных устройств, пультов, коммутаторов, вспомогательных устройств, материалов, кабельной продукции и т.п.

3.8 Количество измерительных приборов, подлежащих установке, зависит от состава наблюдений, количества контролируемых показателей, класса и размеров плотины, ее конструктивных особенностей и условий эксплуатации.

3.9 Приборы и устройства, закладываемые в тело плотины и в основание, следует располагать по всей ее длине в определенных поперечных или продольных сечениях сооружения с учетом его конструктивного оформления и геологических особенностей створа.

3.10 Количество контрольных сечений по длине сооружения назначается с таким расчетом, чтобы по показаниям установленной в них КИА можно было с достаточной подробностью характеризовать работу и состояние сооружения в целом и по отдельным наиболее ответственным участкам и элементам.

3.11 КИА размещают в наиболее "чувствительных" и напряженных точках таким образом, чтобы для каждого расчетного критерия безопасного состояния сооружения была получена путем измерений соответствующая численная величина контролируемого диагностического показателя.

3.12 На стадии проекта контрольные поперечные сечения для производства наблюдений, как правило, следует располагать:

- на русловом участке, где сооружение имеет максимальную высоту и, соответственно, максимальное нагружение;

- на границах сопряжения подруслового талика с мерзлыми береговыми участками;

- на участках выпуклостей плотины (в плане) и резкого (крутого) падения поверхности основания в створе сооружения;

- на границах сопряжения грунтовой плотины с бетонными сооружениями (устоями, трубами для пропуска строительных расходов, водоводами и др.);

- на границах сопряжения мерзлых и талых участков плотины;

- над тектоническими разломами и крупными трещинами в основании, над потенциальными зонами проявления термокарста;

- в зонах возможных ослаблений напряженно-деформированного состояния, фильтрационной прочности, устойчивости, трещинообразования (выявленных расчетами, специальными исследованиями или наблюдениями).

3.13 В контрольных сечениях КИА располагается в горизонтальных и вертикальных измерительных створах, в отдельных измерительных точках с привязкой их к осям сооружения в плане и по высоте, а также высотным отметкам. Измерительные пульты для телеметрической КИА следует размещать в специальных помещениях на гребне, бермах или в незатапливаемых потернах, штольнях, галереях.

3.14 Для исключения возможных ошибок при измерениях, а также для уменьшения разброса и повышения надежности полученных результатов измерительные сечения, створы, точки в ряде случаев следует дублировать.

3.15 Количество и состав приборов, устанавливаемых в измерительных сечениях, створах и точках, обуславливаются решаемыми задачами. Минимально необходимое количество измерительных приборов в створах диктуется также требованиями статистической обработки результатов, необходимостью построения эпюр, графиков, зависимостей и т.п.

3.16 После первичного наполнения водохранилища, начального периода эксплуатации при полном цикле смены внешних условий и выявления слабых мест в работе плотины проектное количество контрольных наблюдательных сечений или створов должно быть уточнено, а при необходимости увеличено. В процессе длительной эксплуатации плотины эти уточнения периодически должны проводиться с учетом показателей работы сооружения, в том числе процессов старения, изменения мерзлотной обстановки в сооружении и в основании, перераспределения нагрузок и других факторов.

3.17 Для обеспечения оперативного контроля (мониторинга) технического состояния плотин I-III классов в составе проектов наблюдений должны разрабатываться информационно-диагностические системы (ИДС) на основе современных компьютерных технологий. Информационно-диагностическая система должна обеспечивать: накопление и хранение данных наблюдений и базовой информации о сооружении и системе контроля; все виды обработки данных и их анализ; диагностирование технического состояния плотины и основания.

4 МЕТОДИКА И ТЕХНИКА НАБЛЮДЕНИЙ

4.1 Наблюдения за гидротехническими сооружениями должны проводиться в соответствии с требованиями и положениями нормативных и методических документов, утвержденных в установленном порядке, а также требованиями и положениями настоящих Правил.

4.2 Регулярные наблюдения за показателями, характеризующими эксплуатационную надежность и безопасность сооружения и основания, должны начинаться непосредственно после установки соответствующих средств измерений и продолжаться в течение нормируемого для каждого сооружения или отдельного его элемента срока с учетом их состояния, тенденций в процессах стабилизации режимов работы и старения, долговечности измерительной аппаратуры и возможностей ее замены по истечении рабочего ресурса и других обстоятельств.

4.3 Для каждого конкретного объекта сроки отсчетов по датчикам и другим измерительным устройствам для всех характерных этапов работы сооружения устанавливаются программой наблюдений или местными инструкциями.

4.4 Устанавливают частоту систематических отсчетов, выполняемых через определенные интервалы времени, и сроки специальных отсчетов, приуроченных к особым моментам режима эксплуатации сооружения (первоначальное наполнение водохранилища, превышение НПУ, резкое увеличение фильтрационного расхода, сильное землетрясение и т.п.).

4.5 Перед первоначальным наполнением водохранилища систематические отсчеты по всем видам закладных измерительных устройств производятся через 7-10 дней. Специальные отсчеты выполняют перед началом наполнения, в процессе наполнения (например, через каждые 0,5-3,0 м подъема уровня или при достижении им, например, 1/4, 1/2, 3/4 и полной величины напора), при проявлениях аномальных или настораживающих явлений (появление мутности в фильтрующейся воде, трещин и т.п.).

4.6 В общем случае периодичность специальных измерений следует назначать в пределах от одного до пяти дней. В исключительных случаях, когда наблюдается интенсивное развитие того или иного неблагоприятного процесса, отсчеты по приборам должны производиться по несколько раз в сутки, включая и ночное время (например, идет интенсивный вынос грунта фильтрационным потоком и т.п.).

4.7 Периодичность систематических отсчетов по приборам в начальный период эксплуатации сооружения, вплоть до проявления признаков установившегося режима его работы, назначается в интервале 5-15 дней. В дальнейшем, при отсутствии аномальных явлений частота отсчетов по некоторым датчикам и приборам при соответствующем обосновании может быть сокращена до 10-30 дней.

4.8 Наблюдения за напряженно-деформированным состоянием плотины и ее основания по полной программе и с использованием всех установленных средств измерений должны проводиться в течение периода, охватывающего полное наполнение водохранилища и такое количество циклов его сезонной сработки и наполнения в проектных пределах нормальной эксплуатации, которое соответствует стабилизации напряженно-деформированного состояния и переходу деформаций сооружения в упругую стадию.

4.9 Периодичность систематических наблюдений (отсчетов по приборам) за температурным режимом сооружения, его отдельных элементов и основания в строительный период назначается с интервалом 7-10 дней, в период первоначального наполнения водохранилища - 1-5 дней, в начальный период эксплуатации - 10-15 дней, а в последующем, при установившемся режиме работы сооружения - 15-30 дней. При пропуске паводков через встроенные в плотину бетонные водопропускные сооружения температурный режим контактных зон контролируется специальными отсчетами с периодичностью 1-5 дней.

4.10 Осадки и горизонтальные смещения гребня и берм плотин контролируются: в строительный период - в зависимости от условий, обусловленных технологией возведения, но с периодичностью не реже 4 циклов в год и дополнительно - по одному циклу перед и сразу после перемонтажа временных марок; один контрольный цикл наблюдений проводится перед наполнением водохранилища, по 2 цикла в месяц (а в отдельных случаях до 4 циклов в месяц) - в процессе наполнения водохранилища; по 2 цикла в год - в период эксплуатации в режиме сезонной сработки и подъема уровня (первый цикл проводится при самом низком сработанном уровне, второй - спустя 1-2 месяца после его подъема до НПУ). При проявлении процессов интенсификации осадки или горизонтальных смещений периодичность наблюдений может быть доведена до 1 цикла в сутки и сохраняется в этих пределах вплоть до принятия мер по их стабилизации.

4.11 Наблюдения по фильтрационной КИА (пьезометры, водосливы и др.) в период наполнения водохранилища проводятся через каждые 1-5 дней.

При нормальной работе сооружения и основания в период их начальной эксплуатации до выхода на установившийся режим периодичность отсчетов составляет 5-15 дней. В последующие годы нормальной эксплуатации она должна быть не реже 10-15 дней. При резких сработках или подъемах уровня верхнего бьефа или проявлении аномалий оперативность наблюдений должна быть повышена до 1-5 дней, причем в течение всего периода времени, необходимого для проявления реакции средств измерений на указанные изменения УВБ (этот период обуславливается "инерционностью" пьезометров и водосливов).

4.12 Вопрос о прекращении или снижении периодичности отдельных видов инструментальных наблюдений решается индивидуально для каждого сооружения. В случае, если состояние сооружения изучено достаточно подробно и имеет установившийся характер, поведение его в целом соответствует проектным предположениям и отсутствуют какие-либо аномальные явления, регулярные наблюдения по некоторой части КИА могут быть прекращены, а контрольные отсчеты по ней можно брать 2-4 раза в год (например, напряжения в теле грунтовой плотины или ее противофильтрационном элементе и др.).

Регулярные наблюдения с частотой 1-2 раза в месяц должны постоянно продолжаться по тем измерительным устройствам, которые дают наиболее важную информацию для оценки состояния и эксплуатационной надежности и безопасности сооружения и основания. Применительно к грунтовым плотинам, расположенным в криолитзоне, к таким наблюдениям следует отнести: наблюдения за температурным режимом плотины, ее элементов, основания, воды в водохранилище и наружного воздуха; наблюдения за фильтрационным режимом плотины, основания и береговых примыканий; наблюдения за осадками и смещениями.

4.13 Визуальные осмотры сооружения проводятся, как правило, еженедельно.

4.14 Первичная обработка данных наблюдений состоит в вычислении по показаниям измерительных устройств значений измеряемых величин контролируемых параметров сооружения (температуры, осадки, смещения, расхода, градиентов и т.д.), их систематизации и представлении в удобном для оперативного использования, анализа и хранения виде.

4.15 Первичная обработка результатов наблюдений должна оперативно производиться непосредственно на объекте персоналом подразделения наблюдений. Результаты обработки представляются в виде таблиц, графиков, эпюр, изолиний и в других формах, регламентируемых местной инструкцией.

Наиболее приемлемой и обязательной формой представления результатов наблюдений следует считать графики зависимостей основных контролируемых рабочих параметров сооружения (осадок, смещений, напряжений, расходов, пьезометрических напоров и др.) от действующих нагрузок и воздействий (гидростатического напора, собственного веса, температуры и др.), а также от временного фактора.

Некоторые примеры представления результатов наблюдений даются на рис. Д.1-Д.9.

а - в ядре плотины; б - в грунте на поверхности устоя; в - в стальной диафрагме; 1 - натурная эпюра; 2 - расчетная эпюра; 3 - эпюра смещений диафрагмы

Рисунок Д.1 - Натурные и расчетные эпюры нормальных сжимающих напряжений

П-11, П-12, П-23 - номера пьезометров

Рисунок Д.2 - Графики колебаний уровней воды в пьезометрах

Рисунок Д.3 - График изменения фильтрационного расхода во времени

МПГ-3 - поверхностная марка на гребне ядра; МВП-3 - поверхностная марка на верховой бровке

Рисунок Д.4 - График осадки гребня плотины

а - размещение марок М0, М1, М2, на гребне; б - эпюра деформаций гребня

Рисунок Д.5 - Эпюра продольных деформаций гребня плотины

П1, П2, П3, П4 - контрольные точечные пьезометры 1 - низивой откос; 2 - поверхность депрессии; 3 - дренаж; 4 - линии равных напоров

Рисунок Д.6 - Эпюра выходных градиентов напора (Jвых) в зоне разгрузки потока

а - в годичном интервале наблюдений; б - в многолетнем интервале наблюдений; в - продольная поверхность депрессии по измерениям в пьезометрических створах

Рисунок Д.7 - Кривые депрессии, полученные в результате обработки данных наблюдений

Рисунок Д.8 -Маршрутная карта-развертка грунтовой плотины

а - гребня; б - низового откоса и берм

Рисунок Д.9 - Пример маршрутных схем осмотров плотины

4.16 Способы и объемы анализа результатов наблюдений определяются характером и сложностью решаемых задач.

4.17 Визуальными наблюдениями контролируются:

- состояние откосов и гребня плотины (просадки, подвижки, оползни, трещины);

- состояние креплений откосов и гребня плотины (разрушение креплений, просадка, оползание, раскрытие швов и деформации плит креплений);

- состояние водосборных кюветов на низовом откосе, бермах и прилегающей территории (повреждение облицовок, заиление, зарастание, перемерзание);

- состояние водовыпусков из закрытых дренажных устройств (целостность, проточность, перемерзание);

- появление на низовом откосе плотины и в береговых ее примыканиях выходов фильтрационных вод или мокрых пятен;

- появление выходов воды или просадочных воронок в примыкании грунтовой плотины к бетонным сооружениям;

- появление выходов воды из основания в нижнем бьефе плотины;

- появление наледей у подошвы низового откоса плотины и на дренажных линиях;

- размывы откосов и берегов;

- появление морозного пучения грунта, конвективного льдообразования и морозного выветривания каменной наброски;

- появление мутности в фильтрующейся воде;

- солифлюкция (оползание) откосов плотины и береговых примыканий.

4.18 Визуальные наблюдения ведутся путем регулярных обходов и осмотров сооружения по заранее разработанной маршрутной схеме (рис. 4.8).

4.19 Выявленные дефектные участки сооружения оконтуриваются, фотографируются, наносятся на план в виде карты-развертки (рис. 4.8). Все материалы наблюдений заносятся в специальный журнал. Информация о выявленных дефектах передается главному инженеру объекта для принятия соответствующих решений.

4.20 В местах выявления дефектов или непредвиденных явлений организуются соответствующие инструментальные наблюдения.

4.21 При визуальных наблюдениях надлежит осуществлять проверку состояния контрольно-измерительной аппаратуры - оголовков пьезометров, геодезических знаков, мерных водосливов, измерительных пультов, кабельных линий и т.п.

4.22 Результаты визуальных наблюдений, также как и инструментальных, должны использоваться при оперативной оценке работы, состояния и диагностирования грунтовых плотин. Учет их производится, в основном, путем корректировки расчетных схем, граничных условий, выключения из работы сооружения (в расчетных схемах) отдельных его дефектных элементов, если таковые зафиксированы визуальными наблюдениями, и т.п.

5 АНАЛИЗ РЕЗУЛЬТАТОВ НАБЛЮДЕНИЙ И ОЦЕНКА СОСТОЯНИЯ ГРУНТОВЫХ ПЛОТИН

5.1 Оценка эксплуатационной надежности и безопасности грунтовой плотины (как и других сооружений) должна производиться, главным образом, на основе анализа результатов систематических инструментальных и визуальных наблюдений за ее работой и состоянием, представляемых в обработанном и обобщенном виде в форме графиков, эпюр, номограмм, числовых таблиц и т.п.

5.2 Главными задачами анализа результатов наблюдений за плотиной являются:

- оценка контролируемых показателей работы и состояния плотины и установление степени их соответствия (несоответствия) проектным и нормативным требованиям, соответствующим критериям безопасности;

- выявление и оценка опасностей для плотины, создаваемых неблагоприятными явлениями, процессами и тенденциями изменения контролируемых показателей, зарегистрированных наблюдениями;

- установления причин возникновения неблагоприятных процессов, явлений и тенденций в работе плотины и основания, отклонения фактических значений контролируемых параметров от соответствующих проектных или нормативных показателей;

- назначение технических мероприятий по обеспечению нормативной прочности и устойчивости плотины.

5.3 Данные всех видов наблюдений при их анализе и оценке состояния плотины должны рассматриваться по отдельности и в комплексе с учетом взаимного влияния отмеченных процессов в сооружении и в основании.

5.4 Анализ и оценка значений основных контролируемых показателей работы и состояния грунтовой плотины и основания должны производиться с учетом тенденций их изменения во времени за предшествующий период наблюдений. Сравнение изменяющихся во времени контролируемых показателей должно производиться при идентичных нагрузках и воздействиях на сооружение (уровнях бьефов, напорах, температурных и других воздействиях и т.п.)

5.5 На основании анализа конкретных данных систематических наблюдений за грунтовой плотиной и основанием должно быть установлено следующее:

- повышение, понижение или стабильность во времени положения поверхности депрессии при одних и тех же отметках уровней бьефов, наличие (отсутствие) выходов фильтрационного потока на поверхность низового откоса выше дренажа;

- закономерность изменения фильтрационного расхода через плотину и основание от действующего напора, наличие явлений изменения расходов, не мотивированных изменениями напора;

- значения действующих средних градиентов напора в области фильтрации, включая зоны разгрузки фильтрационного потока в дренаж, на дневную поверхность, в прослои грунтов относительно большей водопроницаемости в основании и др., соотношение значений градиентов напора с допустимыми;

- динамика изменения в действующих очагах фильтрации и в дренажах мутности профильтровавшейся воды во времени и в зависимости от действующего напора на плотину;

- закономерность хода осадки плотины и основания, наличие (отсутствие) тенденции к ее затуханию во времени, степень равнозначности относительной осадки сооружения по его длине (в различных наблюдательных створах), проявление резкой интенсификации хода осадки;

- закономерность горизонтальных смещений гребня плотины от действующего напора, наличие и характер затухания необратимой составляющей смещений;

- динамика развития во времени, а также в зависимости от действующего напора просадочных воронок, наметившихся оползней на откосах и берегах, трещин различных ориентации на гребне, откосах и бермах;

- уровень нормальных сжимающих напряжений в противофильтрационных элементах плотины (в ядре, экране, диафрагме и т.п.), соотношение их значений с величинами удельного геостатического и гидростатического давлений в контролируемых сечениях; наличие и местоположение в сооружении зон растягивающих напряжений, соотношение этих напряжений с показателями прочности материала на растяжение;

- характер и размеры повреждений волновых креплений откосов плотины, соответствие проекту крупности камня, толщины и конструкции крепления;

- работоспособность дренажных устройств плотины и основания, наличие признаков и явлений их засорения, зарастания, перемерзания;

- местоположение и размеры образующихся зимой наледей на низовом откосе, береговых склонах и на прилегающей территории нижнего бьефа, как следствие выхода на поверхность и замерзание профильтровавшейся воды.

5.6 Для оценки состояния плотины по результатам анализа данных наблюдений и исследований устанавливается степень соответствия или несоответствия фактических значений всех контролируемых диагностических показателей ее работы проектным, нормативным и критериальным показателям. Определяется адекватность реакции плотины и ее элементов на изменение нагрузок и воздействий.

5.7 В общем случае оперативную оценку эксплуатационного состояния и безопасности плотины и основания следует осуществлять сравнением (измеренных или вычисленных на основе измерений) количественных и качественных диагностических показателей с их критериальными значениями K1 и K2, а также с прогнозируемым интервалом изменения диагностических показателей.

5.8 Для диагностических показателей, достоверные расчетные значения которых получить сложно (из-за отсутствия исходных данных, сложности учета многочисленных факторов строительного периода и т.п.), критериальные прогнозные значения должны быть получены на основе статистической обработки данных многолетних наблюдений.

5.9 Назначение численных значений критериев K1 и K2 производится в соответствии с приложением 5 к приказу Ростехнадзора от 29.12.2006 г. № 1163.

5.10 Результаты контроля и анализа данных систематических наблюдений по оценке состояния грунтовых плотин (и других основных гидротехнических сооружений) должны ежегодно оформляться в виде технических отчетов, которые утверждаются руководителем эксплуатирующей организации (собственником).

Результаты оперативного контроля (мониторинга) оформляются службой наблюдений и утверждаются руководителем эксплуатирующей организации после каждого цикла измерений по установленной на плотине КИА.

Приложение Е

(рекомендуемое)

Рекомендации по проведению наблюдений и исследований креплений откосов грунтовых сооружений и береговых склонов

1 ОБЩИЕ ПОЛОЖЕНИЯ

1.1 Назначение рекомендаций и область их применения

1.1 Настоящими Рекомендациями следует пользоваться при организации и проведении контроля состояния креплений откосов грунтовых сооружений и береговых склонов в верхних бьефах гидроузлов. Рекомендации направлены на внедрение в практику единообразного подхода к проведению контроля на действующих гидроузлах.

1.2 Настоящие Рекомендации не исключают необходимость использования инструкций и правил, действующих на конкретном гидроузле, разработанных с учетом специфических особенностей его эксплуатации.

1.3 Рекомендации распространяются на крепления откосов грунтовых сооружений всех классов: подпорных плотин, дамб обвалования водохранилищ, берегозащитных сооружений, ограждающих молов судопропускных сооружений, а также береговых склонов водохранилищ.

1.4 Настоящими Рекомендациями надлежит пользоваться при наблюдениях за состоянием следующих видов креплений откосов:

- монолитные (бетонируемые на откосе) железобетонные плиты, уложенные на сплошном и ленточном обратных фильтрах;

- сборные железобетонные плиты с открытыми и омоноличенными стыками по периметру, соединенные между собой шарнирными петлевыми связями и свободно лежащие (не соединенные между собой);

- бесшовные сплошные асфальтобетонные крепления, выполняющие функции защиты грунта тела сооружения от размыва волнами и одновременно являющиеся противофильтрационным экраном;

- наброска однородного по крупности или разнозернистого камня из карьеров естественных скальных пород, а также упорядоченная укладка сортированного камня (каменная отмостка);

- бетонные блоки различной геометрической формы;

- берегозащитные банкеты из горной массы (карьерного несортированного каменного материала с большими значениями коэффициента разнозернистости - более 30).

1.5 Рекомендации следует использовать также при наблюдениях и обследованиях пологих неукрепленных откосов (откосов пляжного типа), а также береговых склонов, сложенных связными и несвязными размываемыми грунтами (глины, суглинки, пески, супеси, лессы и др.).

1.6 Настоящие Рекомендации предусматривают следующие виды контроля:

- визуальные наблюдения;

- обследования с проведением простейших инструментальных измерений, позволяющих не только зафиксировать дефекты, но и выяснить вызвавшие их причины;

- исследование грунтов в зоне сооружения, прилегающей к креплению, колебания кривой депрессии при волновых воздействиях, волнового давления на верхнюю поверхность крепления и противодавления под креплением, вибрации плит и обусловленной ею потери устойчивости водонасыщенных грунтов в теле сооружения, изменения прочностных и деформационных характеристик материала крепления вследствие длительных динамических знакопеременных волновых воздействий, колебаний температуры и др.

Исследования проводятся для определения числовых характеристик прочности и устойчивости крепления и сопоставления их с проектными требованиями, с целью установления причин, вызвавших появление повреждений и разрушений.

Исследования должны проводиться в тесной увязке с данными о волновом и ледовом режимах в водохранилище за длительный период времени, предшествовавший исследованиям.

1.7 Осмотры крепления являются обязательным систематическим видом контроля. Они должны проводиться на откосах по всему фронту сооружения независимо от сроков его эксплуатации с периодичностью, предусмотренной настоящими Рекомендациями.

1.8 Обследования крепления производятся па тех участках, где визуальными наблюдениями обнаружены признаки появления повреждений (трещины в плитах, смещение камня из слоя крепления, разрушение поверхности бетона, смещение плиты относительно смежной с ней в вертикальной плоскости, повреждения уплотнений стыков между плитами и т.п.). Основной целью обследований является установление причин появления повреждений, прогноз дальнейшего их развития и оценка степени опасности для надежности дальнейшей эксплуатации сооружения. Результаты обследования являются основой для решения вопроса о необходимости (или необязательности) более обстоятельного контроля состояния крепления - исследований.

1.9 исследования проводятся на участках крепления, состояние которых оценивается в результате предшествовавших обследований как угрожающее для надежности сооружений. Целью исследований является решение вопроса о ремонтно-восстановительных мероприятиях или реконструкции крепления.

1.10 Выводы по результатам всех трех указанных выше видов контроля должны производиться в тесной увязке с данными наблюдений за волновым, ледовым и температурным режимами как основными видами воздействия на крепление с учетом уровенного режима водохранилища, а также с исполнительной документацией строительной организации.

1.11 В исполнительной документации должны быть отражены отклонения от проектных решений в конструкции крепления и в технических характеристиках его элементов (материал плит, прочность камня, гранулометрический состав обратного фильтра, плотность фунта в теле сооружения, армирование плит и т.п.). Исполнительная документация должна содержать также расчетные и экспериментальные обоснования изменений проектных решений.

1.12 Рекомендации предназначены для использования при эксплуатации гидротехнических сооружений эксплуатационной службой, научными, проектными и другими организациями, которые участвуют в работах по контролю за состоянием креплений откосов грунтовых сооружений и береговых склонов.

2 ОРГАНИЗАЦИЯ РАБОТ ПО КОНТРОЛЮ СОСТОЯНИЯ КРЕПЛЕНИЯ ОТКОСОВ

2.1 Состояние грунтовых сооружений контролируется в соответствии с требованиями правил технической эксплуатации электрических станций и сетей [1 Стандарта] и Стандарта.

2.2 Контроль состояния креплений откосов является составной частью общего комплекса визуальных наблюдений, обследований и исследований грунтовых сооружений.

2.3 Визуальные наблюдения осуществляются с периодичностью и в объеме, предусмотренном настоящими Рекомендациями.

Непременным условием эффективности и информационной достоверности визуальных наблюдений является выполнение следующих требований:

- строгая периодичность осмотров;

- идентичность фиксации признаков повреждений и обнаруженных дефектов (последующие наблюдения по составу, правилам и методам проведения, табличной или графической форме регистрации результатов осмотра, фотоиллюстрациям, описаниям и т.п. должны проводиться так же, как и предыдущие, и быть их продолжением);

- наличие данных о волнении и уровнях воды в водохранилище и о ледовом режиме в период, предшествовавший проведению наблюдений;

- точная привязка места наблюдения к геодезической сети;

- соответствие квалификации персонала требованиям правил проведения осмотров, оформления их результатов и хранения в установленном порядке материалов наблюдений.

2.4 Подготовка технического персонала эксплуатационной службы для визуальных наблюдений (обучение, аттестация и стажировка) проводятся руководством гидроузла с привлечением специалистов соответствующих организаций. В программу обучения должны быть включены вопросы, касающиеся общих сведений о механизме воздействия волн и льда на крепления различных конструкциях, основных видов повреждений и разрушений креплений, степени их опасности для надежности сооружения.

2.4.1 Группа визуальных наблюдений эксплуатационной службы должна быть детально ознакомлена с проектом грунтового сооружения и с исполнительной документацией, отражающей отклонения от проектных решений.

2.4.2 В дополнение к исполнительной документации должна быть разработана маршрутная схема обхода откосов сооружения и берегов водохранилища, которая обеспечивала бы полный их осмотр. Для этого весь фронт сооружения со стороны верхнего и нижнего бьефов разбивается на участки осмотра, которые маркируются и привязываются к геодезической сети.

2.4.3 До начала систематических наблюдений следует выполнить несколько тренировочных осмотров креплений под руководством ответственного специалиста службы наблюдений гидроцеха. В программе подготовки наблюдателей целесообразно предусмотреть ознакомление с опытом проведения аналогичных осмотров на других гидроузлах.

2.4.4 Подразделение наблюдателей должно быть снабжено необходимым инвентарем и приборами:

- нивелир и теодолит с набором геодезических реек;

- фотоаппарат широкоугольный со вспышкой;

- рулетка 20-метровая;

- отвес строительный;

- масштабные линейки;

- секундомер;

- чертежные принадлежности;

- калькулятор;

- щупы, щелемеры гибкие;

- прибор механического действия для контроля прочности бетона (молоток К.Л. Кашкарова, эталонный молоток НИИМосстроя, маятниковый прибор ДПГ-4).

2.7 По результатам последовательных осмотров составляется заключение о состоянии креплений с отражением в нем, в случае необходимости, корректировок для последующих наблюдений, решения о необходимости (или необязательности) обследований, утверждаемое техническим руководством гидроузла. При необходимости к рассмотрению результатов осмотров и составлению заключения привлекаются специалисты проектных и научно-исследовательских организаций.

2.8 В тех же случаях, когда результаты визуальных осмотров дают основание для выводов о возможности дальнейшего развития зафиксированных повреждений до стадии, угрожающей безопасности дальнейшей эксплуатации сооружения, необходимо организовать периодические обследования с использованием контрольно-измерительной аппаратуры, позволяющей получать численные характеристики повреждений (осадки, размыв грунта под креплением, раскрытие стыков между плитами, изменение гранулометрического состава обратного фильтра, разрушение бетона на поверхности крепления, повышение кривой депрессии на низовом откосе и т.п.).

Обследования должны проводиться с обязательным привлечением представителей проектной организации и специалистов-гидротехников из научно-исследовательских организаций.

2.9 Выводы, вытекающие из результатов обследования, являются основанием для проведения исследований в условиях в сочетании с определением в лабораторных условиях прочностных и деформационных показателей материала крепления, конструктивного оформления его элементов, геотехнических характеристик грунта тела сооружения и обратных фильтров и др. Исследования проводятся службой контроля эксплуатируемого гидроузла с привлечением специалистов в области расчетов прочности и устойчивости креплений.

На основании результатов обследования должны быть сделаны выводы о возможности дальнейшей эксплуатации сооружений или необходимости проведения ремонтно-восстановительных работ.

3 ДИАГНОСТИЧЕСКИЕ ПРИЗНАКИ СОСТОЯНИЯ КРЕПЛЕНИЙ. РОЛЬ ВИЗУАЛЬНЫХ НАБЛЮДЕНИЙ. ПЕРИОДИЧНОСТЬ ПРОВЕДЕНИЯ И СОСТАВ ОСМОТРОВ, ОБСЛЕДОВАНИЙ И ИССЛЕДОВАНИЙ

3.1 Оценка состояния креплений откосов и береговых склонов осуществляется на основе анализа диагностических признаков, приведенных в таблице Е.1.

Таблица Е.1

№№ п/п

Фиксируемые параметры

Диагностические признаки

Примечание

1

Параметры волн: направление луча, высота, средняя длина и период

Высота волны в системе волн расчетного шторма нормативной обеспеченности

 

2

Продолжительность волнения и статистические характеристики шторма - средняя высота волн, стандарт отклонений высот в системе нерегулярного волнения

Уклон дна у основания сооружения и на прибрежном подводном склоне; расход вдольберегового перемещения продуктов размыва

Используется для оценки состояния берегов, склонов и дамб обвалования при малой глубине воды у их основания

3

Колебание уровня воды в водохранилище

Интенсивность (скорость) понижения и подъема уровня воды в водохранилище

 

4

Положение кривой депрессии под креплением при отсутствии волнения

Градиент давления воды в порах проницаемого крепления и грунта тела сооружения. Суффозия и фильтрационная прочность несвязных грунтов

 

5

То же, что и 4, при волнении в водохранилище

То же, что и 4, и дополнительно размыв грунта на контакте крепления с грунтом тела сооружения

 

6

Положение выхода кривой депрессии на низовом откосе сооружения

Выходной градиент давления фильтрационного потока, подъем кривой депрессии над верхом дренажа; вынос грунта и кольматаж дренажа; размеры зоны обледенения низового откоса

Размеры зоны обледенения используются при расчетах устойчивости массива смерзшегося грунта

7

Импульс силы гидродинамического воздействия волн в точке обрушения на откос

Предельно допустимая величина импульса по условию прочности крепления и ускорению колебаний, передаваемых на водонасыщенный грунт тела сооружения

 

8

Результирующая мгновенная эпюра волнового давления на крепление, соответствующая максимальной нагрузке на нижнюю поверхность крепления

Коэффициент запаса устойчивости бетонного и асфальтового крепления

Определяется как разность между давлением на верхнюю и нижнюю поверхности крепления

9

Напряжения в материале крепления

Допускаемые напряжения на сжатие и растяжение, модуль упругости. Ползучесть асфальтобетона

Определяются с учетом знакопеременной волновой нагрузки

10

Долговечность

Изменение прочностных и деформационных характеристик бетона и асфальтобетона во времени

Потеря прочности вследствие периодического замораживания и оттаивания, выщелачивания бетона, усталостных явлений и проч.

11

Раскрытие стыков между плитами

Размер фракций обратного фильтра, выносимых через стыки между смежными плитами

 

12

Деформация крепления (бетонные и асфальтобетонные плиты)

Смещение плит в вертикальной плоскости и в плоскости откоса

Нарушение контакта происходит, как правило, в зоне обрушения (удара) волны

13

Сплошность опирания плит на поверхность откоса

Размер зон отсутствия контакта крепления с поверхностью откоса (пустот под плитами)

Нарушение контакта происходит, как правило, в зоне обрушения (удара) волны

14

Глубина эрозии материала па поверхности крепления (сколы, отслаивание, образование микротрещин и др.)

Допускаемая глубина эрозии

Определяется толщиной защитного слоя

15

Вибрация плит

Экстремальное значение ускорения колебаний, возникающих в водонасыщенном грунте тела сооружения

Необходимо для оценки потери устойчивости водонасыщенного грунта откоса при динамических воздействиях

16

Площадь трещинообразования и размер (ширина и глубина) трещин

Развитие трещин во времени. Допустимые площади тpeщинообразования и размеры трещин

 

17

Температурные напряжения в материале крепления

Экстремальные значения температурных напряжений

 

18

Гранулометрический сослав материала обратного фильтра под креплением и дренажа низового откоса

Отклонение от гранулометрического состава, обеспечивающего фильтрационную прочность и отсутствие суффозии

Допустимые отклонения определяются на основании лабораторных исследований грунта

19

Гранулометрический состав каменной наброски

Размер фракций обратного фильтра, вынос которых возможен через поры каменной наброски

Определяется по скорости движения воды в сторону водоема при скатывании волны с откоса

20

Глубина воронки размыва каменного крепления

Предельно допустимая толщина слоя крепления по условию неразмываемости нижележащего слоя грунта (обратного фильтра или грунта тела сооружения при отсутствии фильтра)

 

21

Нагрузки от ледяного припая

Предельно допустимая нагрузка при изменении уровня воды в водохранилище (подъемная сила и изгибающий момент в полосе припая льда) но условию прочности и устойчивости крепления

 

22

Ширина размываемой вдольбереговой полосы размыва прибрежного участка суши

Стабильность (неизменяемость во времени) прибрежного подводного склона и основания берегового клифа

Клиф - береговой уступ, основание которого находится на отметке наибольшего наката волн

23

Ширина зоны оползня берегового склона

Размер оползневых трещин (разломов грунта) и их местоположение относительно края берегового уступа

 

24

Максимальная скорость волнового (колебательного) движения воды в придонном слое

Неразмывающая скорость фракций грунта расчетной крупности

За расчетную крупность принимается d70%¸d80% по кривой гранулометрического состава

3.2 Регистрация характеристик волнения в водохранилище - направления, высоты, длины и периода волн - должна проводиться независимо от класса капитальности сооружения, сроков их эксплуатации и состояния креплений. Регистрации подлежат все случаи волнения с высотой волн 0,5 ми более. При этом обязательно должна быть зарегистрирована продолжительность волнения.

Волнограммы должны содержать запись не менее 100 непрерывно следующих одна за другой волн. Указанное количество волн необходимо и достаточно для получения статистических характеристик волнения: математического ожидания (средних значений высоты, длины и периода волн), среднеквадратического отклонения, вероятности превышения зафиксированных параметров.

3.3 Отсутствие сведений о волновом режиме в водохранилище за длительный период исключает возможность установления причин появления повреждений и разрушений креплений, достоверной диагностики их состояния и прогноза на будущее.

3.4 Параметры волн измеряются непосредственно перед сооружением в створе АБ (рис. Е.1).

Одновременно с регистрацией волны надлежит определять: положение кривой депрессии (точка 7) и высоту наката волн на откос (положение точки 4).

Подъем кривой депрессии при волнении определяется путем фиксации уровня воды в пьезометрах.

1 - уровень спокойной воды до начала волнения; 2 - уровень воды при ветровом и волновом нагоне; 3 - урез воды при волнении; 4 - линия наката волн на откос; 5 - кривая депрессии до начала волнения; 6 - кривая депрессии при воздействии волн; 7 - положение кривой депрессии на нижней поверхности плит при волнении; АБ - створ измерения параметров волн; В - плиты крепления; абв - гидростатическое давление в подплитной области при отсутствии волнения; дбг - то же при волнении; авгд - повышение гидростатического давления при волнении

Рисунок Е.1 - Подъем кривой депрессии при волнении

Высота наката определяется визуальными наблюдениями по линиям, нанесенным на поверхности крепления параллельно урезу воды с интервалом 10-20 см. На каждой линии должны быть указаны их геодезические отметки. Для удобства наблюдений линии следует пронумеровать.

При нерегулярных волнах на подходе к сооружению накат их на откос является вероятностным, поэтому для численной оценки высоты наката следует фиксировать положение точки 4 при накатывании не менее 100 последовательных волн. По результатам измерения определяется средняя и максимальная высота наката, а также высота нормативной обеспеченности.

Разность отметок гребня сооружения и точки наката является нормируемым запасом его высоты, равным 0,1hрасч (hрасч - высота расчетной волны в системе волн нерегулярного волнения). Уменьшение величины Нзап по сравнению со значениями ее, принятыми в проекте, может быть следствием двух факторов: превышением высоты волны по сравнению с принятой в проекте и осадки сооружения.

3.5 На водохранилищах суточного регулирования должны производиться измерения уровня воды с целью определения скорости сработки в пределах от НПУ до УМО (или иного наинизшего уровня сработки).

Фиксацию уровней воды при суточном регулировании водохранилища следует проводить через интервалы времени T = (0,2 - 0,25)Т (Т - продолжительность сработки). При этом одновременно проводятся измерения положения уровня воды в подплитной области. По результатам измерения определяется подъемная сила, действующая на плиты крепления. Схема, иллюстрирующая возможное несовпадение положения уровней воды над креплением и под ним, приведена на рис. Е.2.

Наличие перепада Z свидетельствует об уменьшении коэффициента фильтрации грунта обратного фильтра вследствие его кольматажа.

Допустимая величина Z определяется двумя требованиями:

- должно быть соблюдено условие Z < 4δ (δ - толщина плиты);

- градиент гидростатического давления в слое I толщиной у = 1 - 1,5 м не должен превышать критический градиент, при котором начинается суффозия в обратном фильтре и грунте тела сооружения (должно соблюдаться условие i < iкр). Критический градиент определяется экспериментально или расчетным путем.

3.6 При значениях Z > 4δ должно быть проведено обследование подплитной области - определение гранулометрического состава обратного фильтра и его фильтрационно-суффозионных характеристик.

3.7 При наличии волнения на промежуточных уровнях сработки подъемная сила гидростатического давления Р суммируется с силой волнового противодавления, определяемой по эпюре ogm (рис. Е.2).

1, 2, 3, 4 - промежуточные положения уровня воды в водохранилище; Р - подъемная сила;

Z - перепад уровней воды под плитой и в водохранилище; авс - эпюра гидростатического давления на верхнюю поверхность крепления при уровне воды 2; ngk - то же, на нижнюю поверхность крепления; degk - разность между давлением под плитой и на ее верхней поверхности; ogm - эпюра волнового противодавления

Рисунок Е.2 - Сработка водохранилища

3.8 Наличие перепада Z может быть обнаружено визуально по фонтанированию воды из-под крепления в зоне наката-ската волны.

3.9 Плановые (обязательные) осмотры креплений и береговых склонов должны проводиться ежегодно один раз в квартал и в период наибольшей сработки водохранилища, внеплановые - в экстремальных случаях (землетрясения, катастрофические паводки, выбросы на откосы тяжелых плавающих тел и т.п.).

3.10 Визуальные наблюдения являются важной составной частью в общем комплексе работ по контролю состояния креплений откосов сооружений и береговых склонов. Результаты систематических (регулярных) осмотров в сочетании с данными о волновом и ледовом режимах являются основанием для приближенной оценки прочности и устойчивости креплений, ориентировочного прогноза развития зафиксированных повреждений и решения вопроса о необходимости (или необязательности) проведения обследований и исследований.

В состав визуальных наблюдений обязательно должно быть включено проведение осмотра креплений в подводной части откоса водолазами, прошедшими специальную подготовку.

3.11 Возможные виды повреждений креплений и разрушений показаны на рис. Е.3:

- схема а - осадки плит малых размеров (l/δ < 25), возникающие в результате выноса материала обратного фильтра и грунта тела сооружения через нарушенные стыки между плитами;

- схема б - осадки и изгиб плит больших размеров в плане (l > 10 м) с нарушением сплошности опирания на откос и образованием трещин и размывов бетона;

- схема в - локальная осадка плит без нарушения сплошности опирания, возникающая, как правило, вблизи от уреза воды на глубине (0,2-0,3)h (h - высота волны обеспеченностью 1% в системе);

- схема г - деформация асфальтобетонного крепления с образованием трещин на участках наибольших прогибов и расслоения асфальта в плоскости арматурной сетки;

- схема д - размыв каменной наброски в результате выноса мелких отдельностей через поры скелета и смещения отдельностей вниз по откосу;

- схема е - поворот плит от нагрузки примерзшего массива льда (припая) при сработке водохранилища;

- схема ж - размыв берега при уменьшении уклона и ширины прибрежной отмели, а также при повышении уровня грунтовых вод в грунте берегового надводного массива (уступа).

¯1 - уровень воды при ледоставе; ¯2 - уровень воды при разломе льда на краю консоли;

1 - исходная поверхность откоса; 2 - размыв грунта под креплением; 3 - расслоение асфальта в плоскости арматурной сетки

Рисунок Е.3 - Виды повреждений и разрушений креплений и береговых склонов

3.12 При проведении визуальных наблюдений следует фиксировать следующие повреждения:

- поверхностные и сквозные трещины в бетоне;

- разрушение бетона в защитном слое и места обнажения арматуры, ржавление арматуры;

- разломы в уплотнениях стыков по контуру плит, ширина открытых стыков, длина участков раскрытия, сколы бетона на боковых гранях плит;

- осадка плит, длина участков прогиба и стрела наибольшего прогиба δ2 (рис. Е.2, б);

- вертикальное смещение смежных плит относительно друг друга с образованием выступов δ1 (рис. Е.2, в);

- смещение плит вниз в плоскости откоса;

- размыв каменной наброски (размеры области размыва и отложения);

- смещение плит (поворот относительно нижнего ребра) в результате воздействия льда;

- размыв низового откоса ливневыми стоками воды, кольматаж дренажа и обусловленный им выпор грунта в зоне повышения выхода кривой депрессии на поверхность откоса;

- размыв берегового склона S (рис. Е.2, ж).

Кроме того, следует фиксировать толщину и длину консоли ледяного припая, а также размеры зоны припая ав (рис. Е.2, е).

3.13 Фиксация повреждений.

Трещины на поверхности крепления, разломы, сколы, места обнажения арматуры, каверны выщелачивания бетона, места нарушения герметичности стыков между плитами, разрушение боковых граней плит фиксируются путем зарисовки на заранее заготовленных схемах размещения плит на откосе с привязкой их к геодезической сети. При этом следует пользоваться едиными обозначениями каждого вида повреждений. Зарисовку повреждений при последующих осмотрах следует производить так, чтобы она являлась продолжением предыдущей. Для удобства сопоставления последовательных зарисовок их следует наносить на схемах разными обозначениями. Зафиксированные повреждения крепления должны быть окрашены тем же цветом, что и на схемах и чертежах.

Деформация крепления в вертикальной плоскости определяется путем нивелирования креплений. Смещение плит в плоскости откоса определяется теодолитной съемкой.

Нивелирование производится по маркам, заделанным в плиты по четырем углам и в центре. Нивелирование поверхности каменной наброски производится по маркам, нанесенным красителем на отдельностях, имеющих диаметр d > d70-80, определяемый по исходному гранулометрическому составу каменной наброски.

В дополнение к зарисовкам следует производить фотографирование повреждений. Последующие фотосъемки должны производиться с одних и тех же позиций и ракурса. При этом на объекте фотографирования необходимо обязательно располагать какой-либо масштабный знак (удобна для этой цели обыкновенная нивелировочная рейка).

Размер пустот под креплением при осмотрах может быть определен лишь в доступных для измерения местах - вблизи стыков между плитами. Измерение производится масштабной линейкой или гибким пластинчатым щупом. Данный способ фиксации пустот является весьма приблизительным и имеет целью, главным образом, обнаружение самого факта образования пустоты и лишь ориентировочную оценку ее размеров.

3.14 Достоверная оценка состояния креплений может быть проведена на основании инструментальных обследований и исследований, в состав которых помимо измерений параметров волн и положения кривой депрессии в подплитной области, предусмотренных пп. 3.2-3.4, должно входить:

- измерение волнового давления на верхнюю и нижнюю поверхности плит;

- определение интенсивности сработки водохранилища;

- измерение частоты и амплитуды колебаний плит при ударном воздействии волн с последующим определением ускорений колебания грунта под креплением с целью оценки его динамической устойчивости;

- определение характеристик физико-механических свойств бетона: модуля упругости и коэффициента Пуассона, прочности при растяжении и сжатии, предельной растяжимости, коэффициента линейного температурного расширения;

- определение морозостойкости бетона и камня;

- накопление данных для построения графиков изменения во времени осадок и деформации плит;

- определение гранулометрического состава обратного фильтра, каменной наброски и грунта тела сооружения в подплитной области, пористости, плотности, модуля деформации, коэффициента фильтрации, допустимого градиента давления по условию недопущения суффозии;

- определение размеров участков трещинообразования, обнаружение и измерение пустот под плитами;

- измерение или определение расчетным путем (на основе данных о параметрах воли) скорости волнового (колебательного) движения воды у поверхности откоса и на прибрежном подводном склоне с целью оценки размываемости каменного крепления и грунта берегового склона;

- определение размеров ледяного припая и прочностных характеристик льда с фиксацией средней, максимальной и минимальной температуры воздуха, продолжительности ледостава и уровней воды в водохранилище.

4 ПРИБОРЫ И КОНТРОЛЬНО-ИЗМЕРИТЕЛЬНАЯ АППАРАТУРА (КИА)

Примечание. Перечисленная аппаратура не указана в стандартах [7, 8].

4.1 Комплекс аппаратуры для измерения параметров воли (высоты, длины и периода) включает в себя первичные преобразователи (волнографы) и регистрирующую аппаратуру - систему многоканального сбора, регистрации и накопления измерительной информации с помощью аналого-цифровых преобразователей и магнитной записи.

4.2 В качестве первичных преобразователей рекомендуется использовать электродные и контактные волнографы, работающие на принципе изменения электропроводности или электрической емкости в зависимости от колебания уровня воды при волнении.

4.3 Показания волнографов могут регистрироваться также светолучевым осциллографом.

Волнографы электродного типа просты в исполнении и могут быть изготовлены службой электроцеха ГЭС. Конструкция контактного волнографа показана на рис. Е.4. Монтажные крепления волнографа должны предусматривать возможность демонтажа перед ледоставом.

Два волнографа следует устанавливать в одном створе непосредственно у сооружения по нормали к урезу воды с расстоянием между ними 4-5 м.

4.4 Для сбора и обработки информации о волнении, волновом давлении, изменении уровня воды в водохранилище и положении кривой депрессии в подплитной области рекомендуется использовать:

- автоматизированную систему обработки экспериментальных данных;

- метод стереофотограмметрической съемки. Преимущество данного метода перед другими заключается в том, что он позволяет получать характеристики поля волн без установки первичных преобразователей.

4.5 Положение кривой депрессии под креплением и на низовом откосе следует определять трубчатыми пьезометрами простейшей конструкции (рис. Е.5). Пьезометры следует устанавливать в шурфах на участке верхового откоса от гребня сооружения до наинизшего уровня сработки водохранилища, на низовом откосе - в полосе 2-3 м выше дренажа.

4.6 Для измерения волнового давления могут быть использованы индуктивные или тензометрические преобразователи механического воздействия на приемную мембрану в электрический сигнал (датчики давления). Датчики должны удовлетворять следующим основным требованиям:

- герметичность;

- собственная частота колебаний мембраны (в воздухе) - не менее 100 Гц;

- диаметр мембраны - не более 30 мм;

- максимальное измеряемое давление - 100 КПа.

 

1 - труба стальная; 2 - свеча автомобильная;

3 - центральный электрод; 4 - изолятор;

5 - провода

1 - отстойник; 2 - трубка 0-1190;

3 - перфорированная часть, диаметр отверстия 1 мм; 4 - трубка 0-Ц50; 5 - соединительная муфта; 6 - стояк

Рисунок Е.4 - Контактный волнограф

Рисунок Е.5 - Трубчатый пьезометр

4.7 Для измерения волнового давления в зоне обрушения волны датчики давления следует монтировать с интервалом 10-15 см в передвижной кассете, перемещаемой на откосе соответственно изменению уровня воды в водохранилище (рис. Е.6). Вне зоны обрушения волны расстояние между датчиками должно быть х < 0,1λ. (λ - средняя длина волны).

1 - направляющая обойма; 2 - корпус кассеты; 3 - датчик давления; 4 - вывод проводов к регистрирующей аппаратуре; 5 - колесо

Рисунок Е.6 - Передвижная кассета с датчиками давления

4.8 Съемка участков размыва береговых склонов осуществляется обычными геодезическими приборами (нивелир, теодолит, тахеометр, мензула), а в труднодоступных местах на крутых береговых обрывах - фототеодолитом. Размеры оползневых массивов определяются по удалению оползневых трещин от края берегового уступа.

5 ОБРАБОТКА И ОБОБЩЕНИЕ ДАННЫХ ИЗМЕРЕНИЙ

5.1 Обработка информации, полученной при осмотрах и инструментальном контроле, должна производиться в объеме, необходимом для получения сведений о масштабах повреждений и разрушений и о развитии их во времени. Результаты обработки следует представлять в виде соответствующих графических зависимостей в координатах "измеренная величина - время".

5.2 Обработка данных о волновом режиме сводится к построению кривой обеспеченности высот воли при нерегулярном волнении, определению средней и максимальной высоты волны, средней длины и среднеквадратического отклонения.

5.3 По волнограмме, записанной одиночным волнографом, могут быть получены два параметра: высота воли и период. Для определения длины волны необходимо иметь на одной ленте две волнограммы, записанные разными волнографами, расположенными на расстоянии I один от другого по направлению распространения волн. Пример такой записи приведен на рис. Е.7. Длина волны определяется по зависимости

                                                                                                                     (Е.1)

Рисунок Е.7 - Схема волнограммы

5.4 Обработка данных измерения волнового давления на плиты проводится в следующем порядке.

По осциллограммам давления, записанным в нескольких точках откоса, расположенных на расстоянии х от уреза воды, строятся мгновенные эпюры давления на верхнюю и нижнюю поверхности плит через интервалы времени t = 0,1t (t - период волны).

В результате суммирования указанных эпюр строятся результирующие эпюры в относительных координатах для данного момента времени

                                                                                                                    (Е.2)

где р - волновое давление в точке;

х - расстояние от уреза до точки измерения;

g - ускорение свободного падения;

ρ - плотность воды;

h - высота волны;

 - средняя длина волны.

5.5 По мгновенной эпюре давления, соответствующей моменту обрушения волны (рис. Е.8), определяется ударный импульс, используемый при определении максимального ускорения колебаний грунта под креплением.

Величина импульса, действующего на полосу единичной ширины, определяется по формуле:

Y = Fабвty,                                                                                                                     (Е.3)

где Fабв - площадь динамической части эпюры;

tу - продолжительность удара:

                                                                                           (Е.4)

где , h - средняя длина и расчетная высота волны (принимается hрасч = h1% в системе волн);

t - период волны.

абв - зона ударного воздействия; 0 - урез воды

Рисунок Е.8 - Результирующая эпюра волнового давления в момент обрушения (удара) волны

5.6 Приближенное значение критического ускорения колебаний акр, при котором начинается разжижение водонасыщенных песков и потеря устойчивости откоса (оплывание), определяется по графику, представленному на рис. Е.9 или путем экспериментальных исследований в лабораторных условиях.

А - зона отсутствия разжижения; Б - зона полного разжижения; В - зона частичной потери устойчивости; абв - зона ударного воздействия; 0 - урез воды

Рисунок Е.9 - Критическое значение ускорения (акр, см/с2) при различной пористости водонасыщенных мелкозернистых песков

5.7 Оценка устойчивости откоса производится из условия а > акр (а - ускорение колебаний грунта; акр - то же, критическое).

5.8 Устойчивость каменного крепления и грунта берегового склона оцениваются на основании неравенства Vмакс < v0, в котором Vмакс - максимальная скорость колебательного движения воды; v0- скорость трогания частиц грунта.

Скорость Vмакс определяется по измеренным параметрам волн по следующей формуле:

          (Е.5)

где п - коэффициент, учитывающий влияние пологости откоса (табл. Е.2);

h - расчетная высота волны;

Н - глубина воды у основания откоса или на краю прибрежного подводного склона;

g - ускорение свободного падения;

a0, ак -коэффициенты, определяемые по рис. Е.10: (a0, ак) =

Таблица Е.2

ctgφ

0,0

0,5

1,0

1,5

2,0

2,5

3,0

3

1,25

0,60

0,35

0,28

-

-

-

5

1,15

0,65

0,42

0,35

-

-

-

8

1,05

0,90

0,82

0,75

0,70

0,65

-

10

1,00

1,00

1,00

1,00

1,00

1,00

1,00

12

0,90

1,08

1,15

1,20

1,24

1,27

1,30

Рисунок Е.10 - Графики а0, ак для определения скорости

5.9 По совокупности диагностических признаков (табл. Е.1) и количественной оценке их на основе данных измерений делается вывод о состоянии крепления и берегового склона по критериям надежности, приводимым в табл. Е.3.

Таблица Е.3

Условия надежности работы

Диагностируемое состояние

Диагностические признаки, параметры

Критерии надежности

Запас высоты сооружения над отметкой НПУ

Накат волны на откос

Максимальная высота наката волн расчетной высоты в системе

Превышение гребня сооружения над отметкой НПУ не менее 0,1hрас

Допустимое повышение кривой депрессии при волнении

Положение кривой депрессии в подплитной области

Превышение кривой депрессии при волнении над кривой депрессии при отсутствии волн

Сила противодавления под креплением

Допустимая скорость сработки водохранилища

Положение кривой депрессии в подплитной области

Перепад Z, рис. 4

Z < 4d (d - толщина плиты)

Допустимый подъем кривой депрессии на низовом откосе

Превышение выхода кривой депрессии над верхом дренажа низового откоса

Средний выходной градиент давления

Критический градиент по условию недопущения суффозии для данного вида грунта

Устойчивость бетонного крепления

Деформация крепления

Осадки, прогибы, смещение плит в плоскости откоса. Экстремальное значение силы волнового противодавления

Осадка плит d < 0,2δ;

прогиб d2 < d

Устойчивость каменно-набросного крепления

Размыв откоса: нарушение скелета наброски

Смещение камня вниз по откосу, максимальная скорость колебательного движения воды у поверхности откоса vмакс

Глубина области размыва

<dрасч (dрасч - расчетный диаметр камня, принимаемый равным d70% по кривой гранулометрического состава. vmax < v0 (v0 - неразмывающая скорость)

Прочность бетона

Напряженное состояние

Экстремальная сила волнового давления на верхнюю поверхность крепления

Предельно допустимое значение напряжений сжатия и растяжения

Динамическая устойчивость грунта тела сооружения

Ускорение а колебаний грунта

Критическое значение ускорения колебаний водонасыщенного грунта акр

а < акр

Гашение энергии волн на прибрежном подводном склоне

Уклон и ширина подводного склона

Максимальная скорость колебательного движения воды у поверхности подводного склона vмакс

vmax < v0 (v0 - неразмывающая скорость)

Устойчивость берегового склона и прибрежной подводной отмели

Начало оползня, обвала и размыва прибрежной отмели

Оползневые трещины, уклон и ширина прибрежной отмели

Стабильность профиля прибрежного подводного склона (отмели) и условие: накат расчетной волны Ñнак Ñуст, (Ñнак - наивысшая отметка наката волны; Ñуст - отметка основания берегового уступа)

6 ХРАНЕНИЕ МАТЕРИАЛОВ КОНТРОЛЯ

6.1 Первичные материалы, сгруппированные по видам контроля, и результаты их обработки должны быть зарегистрированы в журнале учета и храниться в установленном на ГЭС порядке.

6.2 Схемы размещения КИА следует нанести на соответствующие чертежи сооружения с высотной и плановой привязкой к геодезической сети.

6.3 Ежегодно результаты контрольных наблюдений и измерений необходимо представлять в виде технического отчета с приложением к нему заключения о состоянии креплений и выводов о необходимых ремонтно-восстановительных мероприятиях.

Приложение Ж

(рекомендуемое)

Рекомендации по проведению наблюдений за температурным режимом грунтовых плотин в условиях сурового климата

1 ОБЩИЕ ПОЛОЖЕНИЯ

1.1 Назначение и область применения рекомендаций

1.1.1 Настоящие Рекомендации следует использовать при проведении наблюдений за температурным режимом грунтовых плотин в северной строительно-климатической зоне.

1.1.3 Рекомендации распространяются на грунтовые плотины мерзлого, талого и тало-мерзлого типов всех классов.

1.1.3 Рекомендации содержат основные положения по методике и технике измерений температуры воды, грунтов тела плотины, основания, противофильтрационных устройств и береговых массивов, по выбору и установке средств измерений, периодичности и продолжительности наблюдений, обработке, анализу и использованию их результатов.

1.2 Цель и задачи наблюдений и исследований

1.2.1 Основной целью организации и проведения наблюдений на строящихся и эксплуатируемых грунтовых плотинах является контроль за обеспечением их надежной работы и безопасного состояния.

1.2.2 Для надежной работы грунтовой плотины необходимо обеспечить устойчивость, фильтрационную прочность и долговечность каждого элемента системы плотина - основание при всех сочетаниях нагрузок и воздействий, предусмотренных проектом.

1.2.3 Фильтрационный режим, характер осадок и смещений, устойчивость откосов плотины и береговых примыканий определяются температурным режимом и криогенным состоянием системы плотина - основание.

1.2.4 Критерием надежности плотин мерзлого типа является температура тела и основания. Плотина работает надежно, когда ее тело или противофильтрационный элемент и основание имеют расчетную отрицательную температуру при эксплуатации в различные периоды времени. При этом особенно необходим оперативный контроль за эффективностью работы замораживающих устройств и за формированием и динамикой температурных полей в сооружении.

1.2.5 Для талых плотин, возводимых в северной строительно-климатической зоне, характерно формирование в упорных призмах в различные периоды строительства и эксплуатации областей отрицательных температур, а в пустотах грунтового материала - порового льда. Последующее оттаивание верховой призмы при наполнении водохранилища может вызвать неравномерные, быстропротекающие осадки большой величины, которые могут нарушить устойчивость откосов и целостность противофильтрационных элементов. Промерзание низовых переходных слоев и дренажей, а также перемещение нулевой изотермы к низовой грани ядра (экрана) могут вызвать повышение кривой депрессии в ядре плотины, снизить степень защиты противофильтрационных элементов от возможной суффозии материалов, нарушить фильтрационный режим плотины вследствие затруднения разгрузки фильтрационного потока в нижний бьеф. В особых условиях, когда отрицательная температура в низовой призме устанавливается близкой к нулевой и лед в пустотах (порах) грунта приобретает пластические свойства, возможно нарушение статической устойчивости откосов.

В связи с этим наблюдения за температурным режимом грунтов тела плотины и основания необходимо проводить в комплексе с наблюдениями за фильтрацией, деформациями откосов и гребня плотины.

Процессы попеременного сезонного замораживания и оттаивания грунтов тела плотины могут привести к ухудшению их прочностных характеристик. Поэтому необходимо периодически (раз в 10-15 лет) проводить контрольные определения гранулометрического состава, плотности, прочности и фильтрационных характеристик материала, проверку условий статической работы плотины и ее напряженно-деформированного состояния.

1.2.6 Организация комплекса наблюдений необходима для изучения динамики температурных полей в основании и теле плотин. При этом должны решаться следующие задачи:

- контроль за температурным режимом грунтовой плотины и основания в период строительства и начального наполнения водохранилища;

- контроль за температурным режимом в период постоянной эксплуатации плотины:

- установление областей талого и мерзлого грунтов в теле плотины и в основании, а также положения границ между этими областями;

- контроль температурного состояния противофильтрационных элементов, переходных зон, дренажных устройств и зон разгрузки фильтрационного потока в основании, на береговых склонах;

- контроль трещинообразования на гребне, обусловленного криогенным пучением, криогенным растрескиванием, термокарстом и другими процессами;

- контроль температурного состояния зон примыкания грунтовых плотин к бетонным сооружениям и береговым склонам;

- наблюдения за морозным выветриванием материала тела плотины (например, каменной наброски) и морозным пучением связных грунтов противофильтрационных элементов;

- изучение процессов льдообразования в пустотах материала упорных призм и влияния их на устойчивость плотины.

1.3 Организация и состав наблюдений

1.3.1 В северной строительно-климатической зоне инструментальные наблюдения за температурой воды в верхнем бьефе, включая температуру придонного слоя воды в водохранилище, и температурой грунтов тела и основания плотины в период строительства и эксплуатации обязательны на плотинах талого типа I, II и III классов, на плотинах мерзлого типа всех классов. Кроме того, необходимы наблюдения за работой и состоянием систем сезонных охлаждающих устройств. Состав и объем наблюдений должен обеспечить информацию о температурном режиме плотины и основания, достаточную для оценки надежности их работы.

1.3.2 Проект сооружений гидроузла должен включать и проект наблюдений и исследований. При составлении проекта размещения контрольно-измерительной аппаратуры (КИА) необходимо исходить из результатов расчета температурного режима тела и основания плотины, ложа и бортов водохранилища и приплотинной зоны в нижнем бьефе. В состав проекта входят:

- программа наблюдений с изложением цели, задач, состава, объема, методики и периодичности наблюдений, а также номенклатуры и технических характеристик КИА;

-рабочие чертежи размещения и монтажа КИА в плотине, основании, береговых примыканиях и отдельных элементах, схемы прокладки и коммутации кабельных линий и устройства измерительных пультов;

- рабочие чертежи закладных деталей и монтажных приспособлений для установки КИА;

- спецификации устанавливаемой КИА, вторичных приборов, вспомогательного оборудования, кабелей;

- инструкция по монтажу КИА, прокладке кабельных линий и оборудованию пультов для сбора информации;

- смета на приборы, вспомогательное оборудование, кабельную продукцию, проведение наблюдений, обработку и анализ результатов;

- инструкция по организации и производству наблюдений за плотиной.

Примеры размещения КИА для определения температурного режима плотин талого и мерзлого типов приведены на рис. Ж.1, Ж.2. Для плотин мерзлого типа (рис. Ж.2) измерители температуры в каждой из наблюдательных скважин устанавливаются на глубине 1, 2, 3, 5, 7, 10, 15 м и далее через каждые 5 м до забоя. Глубина и количество наблюдательных скважин определяются конструкцией плотины и особенностями инженерно-геологических условий.

· - преобразователь температуры;  - температурная скважина

Рисунок Ж.1 - Схема размещения преобразователей температуры в поперечном наблюдательном створе Колымской плотины

: - наблюдательный створ; • - температурная скважина

Рисунок Ж.2 - Схема расположения наблюдательных створов температурных скважин на плотине мерзлого типа Анадырской ТЭЦ

1.3.3 При составлении проекта наблюдений на строящихся и эксплуатируемых плотинах I, II и III классов необходимо назначать минимальное, но достаточное количество измерительных средств для решения поставленных задач. При этом в проекте необходимо предусматривать средства защиты КИА и кабельных линий от повреждений.

1.3.4 Наблюдения за температурным режимом возводимой плотины, основания и береговых примыканий должны быть начаты в строительный период и регулярно продолжаться в дальнейшем. Для этих целей на строительстве должно быть создано специализированное подразделение (группа).

В специализированное подразделение (группу) наблюдений должна входить мерзлотная служба, которая в период эксплуатации объекта преобразуется в мерзлотную лабораторию.

1.3.5 Наполнение водохранилища является первым испытанием сооружения в условиях постепенного нарастания основной гидростатической нагрузки и резких температурных изменений. Поэтому к началу наполнения водохранилища, даже при продолжающемся возведении плотины, должны быть подготовлены и смонтированы все необходимые измерительные устройства, по которым определяется температурный режим плотины и водохранилища, и выполнены серии (циклы) температурных наблюдений по ним.

1.3.6 В процессе постоянной эксплуатации систематическими наблюдениями контролируется температурное состояние плотины, основания, примыканий, берегов и приплотинной зоны в нижнем бьефе в соответствии с программой, утвержденной в проекте.

1.3.7 Эффективность контроля за температурным режимом тела плотины и ее подземного контура предопределяется частотой сетки размещения термометрической КИА и обеспечением ее сохранности в рабочем состоянии в строительный период и в последующие годы эксплуатации.

2 Организация наблюдательной сети

2.1 Вариант 1. Все кабельные выводы от термопреобразователей из отдельных скважин или створов скважин выводятся на специальный пульт сбора данных, с которого проводится опрос показаний датчиков. При оборудовании термоскважин особое внимание следует обратить на обеспечение теплоизоляции оголовков скважин.

Для сбора данных о сопротивлении датчиков могут быть использованы измерители сопротивления - мосты постоянного тока (например, МО-62, Р-333) или цифровые измерители сопротивления. При использовании в качестве датчиков терморезисторов применяемая аппаратура должна обеспечивать относительную погрешность измерения сопротивления 1-2% и менее. В случае использования термометров сопротивлений относительная погрешность измерений не должна превышать 0,1%.

Оборудование скважин по варианту 1 возможно силами технических служб объекта с привлечением специализированных организаций (обоснование сети, тарировка датчиков).

2.2 Вариант 2. Все кабельные выводы от преобразователей, задействованных на объекте, выводятся на специальный единый пульт сбора данных. Устройство пульта сбора данных позволяет единовременно провести опрос и сбор информации показателей датчиков температуры на объекте, а также перенести информацию в базу данных компьютера.

2.3 Вариант 3. Каждая из скважин наблюдательной сети оборудуется термокосой с устройством терминала сбора и хранения (накопления) информации о температуре грунтов. Терминал позволяет автоматически в заданное время опрашивать и запоминать показания датчиков в течение 6-9 месяцев. В любое удобное время с помощью полевого регистратора информация снимается с терминалов и переносится в базу данных для последующего хранения и обработки. В разработанных к настоящему времени автоматических системах используются электрические термометры сопротивлений.

Оборудование температурной сети по второму и третьему вариантам должно проводиться специализированными научно-исследовательскими организациями.

2.4 В рекомендациях приводятся примеры расположения наблюдательных температурных створов и скважин: на плотине мерзлого типа гидроузла Анадырской ТЭЦ (рис. Ж.2) и в поперечном наблюдательном створе плотины талого типа Колымской ГЭС (рис. Ж.1). Отметим, что при оборудовании наблюдательных створов на объекте следует стремиться к выбору одного типа датчиков.

На плотине мерзлого типа обязательным является заложение наблюдательных створов в левом и правом примыканиях плотины. Далее створы располагаются через 100-150 м перпендикулярно оси плотины. Каждый створ должен содержать не менее трех скважин (на верховом, низовом откосах и вблизи оси плотины). Между створами по оси плотины располагаются дополнительные скважины (как минимум одна на 100-150 м).

На участках сопряжения грунтового тела плотины с негрунтовыми элементами или сооружениями гидроузла (с бетонным водозабором и бетонным водосбросом) количество наблюдательных скважин и створов увеличивается. Так на участке водозабора помимо основного створа 4 появляются два дополнительных 4а и 4б (в теле плотины слева и справа от здания водозабора). Обязательным является оборудование скважин, контролирующих изменения температуры непосредственно под зданием водозабора. Кроме того сгущается шаг расположения наблюдательных скважин вдоль оси плотины до 10-20 м (створ 11). Закладывается также створ наблюдений из 3-5 скважин на расстоянии 10-20 м друг от друга вдоль оси плотины и пригребневой части низового откоса (створ 10). Аналогично закладываются наблюдательные створы на участке водосброса. Отметим как обязательное условие - наличие наблюдательных скважин, контролирующих изменения температурного режима непосредственно в потерне водосброса и ее основании.

3 МЕТОДИКА И ТЕХНИКА ПРОВЕДЕНИЯ НАБЛЮДЕНИЙ

3.1 Методика и техника проведения термонаблюдений определяются конструктивными особенностями плотины и прогнозируемым температурным режимом. На каждом гидротехническим сооружении термонаблюдения выполняются по конкретной методике, определяемой режимом опроса датчиков, применяемой аппаратурой и способом оборудования КИА.

3.2 При оборудовании КИА по варианту 1.

Измерения температуры проводятся переносным прибором на каждом створе или отдельной скважине сети. Измерения проводятся с частотой, определяемой программой наблюдений, но не реже одного раза в месяц. В общем случае частота измерений определяется ожидаемой скоростью изменения температурного режима на каждом конкретном участке плотины. Обязательными являются измерения в периоды максимального промерзания (конец марта - начало апреля) и максимального протаивания (конец сентября).

Результаты измерений регистрируются в специальных журналах, форма которых предварительно разрабатывается для данного сооружения (рис. Ж.3).

№ створа

№ скважины

№ термометра

Коэффициенты

Глубина измерения, м

Отсчет по вторичному прибору

Температура, °С

А

В

С

 

 

 

 

 

 

 

 

 

Рисунок Ж.3 - Форма журнала регистрации результатов измерений температур

3.3 При оборудовании КИА по варианту 2.

Измерение температуры проводится путем последовательного опроса всех датчиков сети. Результаты измерений поступают на специальное запоминающее устройство для последующей распечатки на печатающем устройстве или переписке информации в память ЭВМ. Периодичность измерений та же, что и в случае варианта 1.

При регистрации резких отклонений в изменении температуры (более чем на 1° от прогнозируемых критических значений в мерзлотной зоне или при угрозе ее протаивания и фильтрации) рекомендуется увеличить частоту замеров температуры до двух раз в месяц и чаще, если требуют обстоятельства.

3.4 При оборудовании КИА по варианту 3.

Скважинные терминалы настраиваются на регистрацию температуры 1 раз в месяц. Опрос терминалов проводится с частотой, определяемой мерзлотными и температурными условиями. Кроме того, он может быть выполнен при специальных контрольных обследованиях сооружения, комиссиях и в научных целях.

3.5 Температурные наблюдения по скважинам сети КИА дают возможность контролировать температурный режим плотины и ее основания лишь в местах заложения скважин. Поэтому для достоверного анализа температурного состояния сооружения (основания) по данным КИА необходимо проведение комплекса дополнительных исследований температурного режима плотины (электрозондирование, профилирование).

3.6 Методы электрозондирования и профилирования позволяют весьма эффективно выявлять участки талых пород в толще мерзлых. Электроразведочные исследования проводятся по гребню плотины и по низовому ее откосу. С этой же целью может быть использован метод георадиолокации.

3.7 Для выявления участков повышенной фильтрации из водохранилища используется комплекс измерения температуры и естественного электрического поля в подводной части верхового откоса плотины и на участке дна, примыкающего к плотине.

3.8 Перечисленные исследования должны проводиться в случае регистрации в теле плотины аномального развития температурных процессов, не предусмотренных проектом.

Кроме того этот комплекс рекомендуется в качестве режимных наблюдений, которые проводятся 1 раз в год в период максимального оттаивания грунтов (сентябрь - октябрь). Для проведения этих работ привлекаются специализированные научно-технические организации.

3.9 Визуальные наблюдения являются обязательной составной частью режимных наблюдений за температурным состоянием плотины. Сотрудники мерзлотной службы объекта должны внимательно следить за возникновением и динамикой развития трещин в теле плотины и выходов воды на низовом откосе и в нижнем бьефе.

3.10 При обнаружении водопроявлений должен быть проведен отбор гидрохимических проб. Путем сопоставления химического состава воды из источников и водохранилища определяется природа возникновения водопроявлений.

В зимний период необходимо проведение измерений мощности снежного покрова, наличия наледей, определение химического состава наледного льда, фиксация выходов воздушных потоков на низовом откосе каменно-набросных плотин ("продухов").

4 ОБРАБОТКА И АНАЛИЗ РЕЗУЛЬТАТОВ НАБЛЮДЕНИЙ, ОЦЕНКА СОСТОЯНИЯ ПЛОТИНЫ

4.1. По результатам режимных температурных наблюдений строятся:

- графики изменения температур пород во времени в контролируемых точках (рис. Ж.4.);

- эпюры температур (термограммы) по глубине скважин (рис. Ж.5);

- термоизоплеты - кривые распределения температур пород во времени по глубине контролируемой области (рис. Ж.6);

- изотермы - кривые, характеризующие температурное состояние пород в контролируемой области на определенную дату (рис. Ж.7-Ж.9).

Обработка и хранение результатов измерений должна проводиться в специальной базе данных ЭВМ. Для базы данных разрабатывается пакет программ, позволяющий проводить обработку любых блоков из базы данных и построение перечисленных графиков.

Рисунок Ж.4 - Графики изменения температуры в контролируемых точках

Рисунок Ж.5 - Термограммы ядра и низовой призмы плотины (пример)

Рисунок Ж.6 - Термоизоплеты по контрольной скважине в плотине (пример)

Рисунок Ж.7 - Изотермы в поперечном створе плотины на определенную дату (пример)

Рисунок Ж.8 - Изотермы в основании плотины на определенную дату (пример)

Рисунок Ж.9 - Изменение положения нулевой изотермы в створе плотины в период 1973 - 1984 гг. (пример)

4.2 Для анализа результатов наблюдений используются специальные теплофизические модели по наблюдательным створам объекта. Эти модели строятся на основе оценки состояния плотины в целом и каждого инженерно-геологического элемента конкретного створа, теплофизических свойств грунтов, наблюдений метеослужбы за температурой, влажностью воздуха, атмосферными осадками, ветром, снегомерной съемки и пр.

4.3 По разработанной теплофизической модели проводится расчет параметров температурного поля и динамика его развития, а также сравнение результатов наблюдений с данными прогнозного расчета температурного режима тела плотины и ее основания, выявление отклонений в динамике температурного поля от проектных предположений. В таких случаях должен проводиться анализ причин, вызвавших аномальное изменение температурного поля, а также разработка предложений по их устранению.

4.4 Прогнозные модели должны периодически уточняться с увеличением ряда наблюдений.

4.5 Анализ исходных данных и построение теплофизической и расчетной моделей должны проводиться специализированными научно-исследовательскими организациями.

4.6 Построение теплофизической и расчетной моделей, а также методика оценки соответствия температурного состояния проектному рассмотрены на примере плотины гидроузла Анадырской ТЭЦ. На основании систематизации имеющихся материалов по створу 2 была разработана модель теплофизических свойств системы "плотина - основание" по этому створу (рис. Ж.10).

Теплофизические свойства элементов модели приняты по данным теплофизических исследований в и лабораторных условиях (на образцах). Краевые условия назначались на основе результатов работ мерзлотной службы Анадырской ТЭЦ, а также по данным метеослужбы.

Рисунок Ж.10 - Модель показателей теплофизических свойств грунтов плотины и основания (пример)

На основе представленной модели разработана теплофизическая математическая модель для расчета температурного режима в теле плотины и ее основании при проектных условиях эксплуатации.

Распределение температуры в теле плотины и ее основании на момент максимального сезонного оттаивания (сентябрь) по данным режимных температурных наблюдений представлено на рис. 11, а. Результаты расчетов с использованием теплофизической математической моделей по этому же створу на тот же момент времени представлены на рис. 11, б.

Как видно, принципиальных отличий в расчетном и натурном распределении температур в теле плотины и ее основании не наблюдается. Можно отметить лишь незначительное отличие в абсолютных значениях температур.

Сравнение и расчетных данных свидетельствует о том, что аномалий в развитии температурного поля плотины и ее основания не наблюдается, и температурный режим сооружения на этом участке находится в соответствии с проектными условиями эксплуатации.

а) по данным наблюдений; б) по данным теплофизического моделирования

Рисунок Ж.11 - Распределение температур в теле плотины и в основании (фрагмент, пример)

4.7 Кроме построения теплофизических моделей, по результатам анализа данных температурных наблюдений за грунтовой плотиной должны быть даны оценки температурного состояния:

- противофильтрационных элементов (ядро, экран, диафрагма и др.);

- переходных фильтровых зон и обратных фильтров;

- дренажных устройств;

- областей разгрузки фильтрационного потока из тела плотины и основания;

- зон примыкания грунтовой плотины к устоям и стенкам бетонных сооружений, водосбросным и водоспускным трубам, проложенным внутри плотины;

- низовой упорной призмы;

- гребневых частей тела плотины и грунтового противофильтрационного элемента;

- основания плотины и береговых склонов в пределах активных областей фильтрации

4.8 Диагностические показатели температурного состояния элементов системы плотина - основание по п. 4.7. сравниваются с их предельными критериальными значениями (критериями безопасности), определяющими эксплуатационные состояния сооружения и условия его эксплуатации, соответствующие допустимому уровню риска аварии.

4.9 Эксплуатационные состояния плотины оцениваются как нормальное - при котором плотина соответствует всем требованиям норм и проекта, при этом значения диагностических показателей не превышают своих критериальных значений первого (предупреждающего) уровня K1; потенциально опасное - при котором значение хотя бы одного диагностического показателя стало большим (меньшим) своего первого (предупреждающего) уровня критериальных значений или вышло за пределы прогнозируемого при данном сочетании нагрузок интервала значений; предаварийное - при котором значение хотя бы одного диагностического показателя стало большим (меньшим) второго (предельного) уровня критериальных значений K2.

4.10 В целом анализ и оценка эксплуатационных состояний плотины должны производиться комплексно на основе результатов всех видов контрольных наблюдений, проводимых на сооружении.

Приложение И

(рекомендуемое)

Рекомендации по анализу данных и контролю состояния водосбросных сооружений и нижних бьефов гидроузлов

Предисловие

Главная задача проведения наблюдений за водосбросными сооружениями гидроузлов и прилегающими участками нижних бьефов - это получение материалов, необходимых для обеспечения их эксплуатационной надежности.

Получаемые в результате наблюдений данные позволяют контролировать надежность и безопасность сооружений, корректировать в отдельных случаях режимы их эксплуатации, оценивать состояние сооружений. Накопление и систематизация материалов наблюдений дает возможность совершенствовать проектирование и строительство новых объектов, совершенствовать правила эксплуатации гидроузлов.

Основными требующими контроля вопросами наблюдений за водосбросными сооружениями являются: пропускная способность водосброса, состояние его поверхностей, режимы потока в пределах водосброса, гидродинамические (в том числе кавитационные) воздействия на сооружение, условия гашения энергии и состояние энергогасящих устройств в нижнем бьефе, развитие местного размыва русла и берегов, изменение уровня нижнего бьефа при трансформации русла на большом удалении от сооружения.

В Рекомендациях излагается общий порядок организации и способов наблюдений. Особое внимание уделяется визуальному обследованию объектов.

1 ОБЩИЕ ПОЛОЖЕНИЯ

1.1 Назначение и область применения

1.1.1 В документе изложены рекомендации по контролю и анализу состояния водосбросных сооружений и нижних бьефов гидроузлов. Приводятся основные требования к организации системы контроля и к анализу получаемых в результате контроля данных.

1.1.2 Рекомендации предназначены для эксплуатационного персонала гидроузлов различного назначения, сотрудников научных, проектных и других организаций, участвующих в работах по контролю состояния водосбросов и нижних бьефов с целью обеспечения нормальной работы гидроузлов.

1.1.3 Использование рекомендаций требует от персонала, выполняющего работы по контролю и анализу, квалификации на уровне не ниже среднего специального образования.

1.1.4 Рассматриваются водосбросы, предназначенные для пропуска из верхнего в нижний бьеф или в бассейн соседней реки излишков воды в период прохождения паводков, а также режимных попусков по санитарным условиям, по обеспечению работы ГЭС в каскаде или по требованиям водного транспорта. При этом имеются ввиду как основные водосбросы, предназначенные для сброса расходов основного расчетного случая, так и резервные (вспомогательные) водосбросы, к которым предъявляются существенно меньшие требования по их сохранности (качеству обработки обтекаемых поверхностей, условиям возникновения неблагоприятных кавитационных явлений, креплению отводящего тракта, размывам в нижнем бьефе и т.п.) при пропуске расчетных расходов редкой повторяемости (поверочный случай). В основном, в Рекомендациях рассматриваются вопросы, связанные с эксплуатацией открытых водосбросов.

Специфические вопросы вибрации сооружений, влияния вибрации на эксплуатационные и прочностные свойства конструкции освещаются в "Рекомендациях по натурным исследованиям и постоянным наблюдениям за вибрацией гидротехнических сооружений электростанций" (приложение Г к Стандарту)

1.1.5 Рекомендации распространяются на водосбросы, сопрягающие сбросной поток с нижним бьефом как с помощью энергогасящих сооружений (водобой, водобойный колодец с различными гасителями, рисберма), так и по схеме отброшенной струи.

1.1.6 При оценке состояния нижнего бьефа рассматриваются два участка: участок местных деформаций русла ("ближний бьеф") и участок общих переформирований ("дальний бьеф"), в пределах которого происходит трансформация русла.

1.1.7Участок местных деформаций непосредственно примыкает к гидроузлу. На нем происходит дополнительное гашение избыточной энергии сбросного потока и его расширение, приближение режима течений к бытовому. На этом же участке гасится значительная часть избыточной энергии сбросного потока при сопряжении бьефов отброшенной струей.

1.1.8 Трансформация русла с изменением уровенного режима реки на значительном ее протяжении является следствием зарегулирования стока и осаждения наносов в водохранилище.

Дополнительно на уровенный режим реки в нижнем бьефе влияют землечерпательные работы, спрямления русла, берегоукрепительные работы, строительство мостовых и других переходов, набережных, причальных сооружений и т.п.

1.1.9 Отмеченные в пп. 1.1.7. и 1.1.8 обстоятельства, определяя положение уровня воды непосредственно у отсасывающих труб электростанции, влияют на выработку электроэнергии, могут (при существенном снижении или повышении уровней) привести к нарушению проектных условий работы ГЭС, водопропускных и напорных сооружений гидроузлов.

1.1.10 Исходным моментом начала наблюдений служит период, непосредственно предшествующий началу эксплуатации сооружения. При этом необходимо учитывать, что в строительный период из-за стеснения русла и использования различных схем пропуска расходов на участке ближнего бьефа могут произойти значительные деформации русла по сравнению с бытовым и проектным его состоянием. В дальнейшем, как правило, наблюдения проводятся при пропуске сбросных расходов и непосредственно после пропуска.

1.1.11 В состав работ по контролю состояния любых водосбросных сооружений и нижнего бьефа входят следующие наблюдения и исследования:

- измерение скоростей течения и определение расхода воды в нижнем бьефе, а при технической возможности - в пределах сооружения;

- определение уровней воды в пределах подходного участка, сооружения и в нижнем бьефе;

- изучение изменения связи расходов и уровней в нижнем бьефе;

- наблюдения за гидравлическим режимом в пределах водосбросного сооружения, на подходе к нему и в зоне нижнего бьефа, непосредственно прилегающей к сооружению;

- геодезические и гидрометрические съемки рельефа дна и берегов на участке местных деформаций русла, а при необходимости на большем удалении от гидроузла;

- осмотр обтекаемых потоком поверхностей, в том числе и скальных (без обделки), по всей трассе сооружения, включая и подводящий участок, и фиксация их состояния с помощью различных съемок (фотографическая, геодезическая, стереофотограмметрическая и т. п.);

- подводное обследование находящихся под водой участков сооружения;

- измерение осредненной и пульсационной составляющих давления;

- фиксация аэрации потока в пределах сооружения;

- оценка кавитационной и абразивной эрозии, а также иных повреждений бетонных поверхностей;

- наблюдения за образованием наледей в пределах водосбросных сооружений с фиксацией их нарастаний в течение морозного периода;

- наблюдения за состоянием ледяного покрова на подходе к водосбросу и на участке энергогасящих сооружений (водобойные колодцы различных типов).

1.1.12 Определение расходов воды необходимо для установления пропускной способности гидроузла; фиксация уровней нижнего бьефа, отвечающих определенным расходам, позволяет строить фактические кривые связи расходов и уровней, а также следить за изменением этой важной характеристики условий работы гидроузла. При этом створ измерения уровней, положение которого существенно зависит от конкретной компоновки сооружений, должен выбираться в зоне полного восстановления энергии суммарного потока от водосбросов и станции. Контроль положения кривой связи желательно проводить ежегодно.

1.1.13 Определение уровня воды и, в ряде случаев, воздухонасыщения (аэрации) потока в пределах сооружения необходимо, чтобы судить о степени его наполнения и соответствия работы водосброса проектным предпосылкам. С этой же целью производятся и измерения скорости течения. В отдельных случаях такие измерения позволяют уточнить пропускную способность водосбросов.

1.1.14 Измерение уровней и скоростей течения в нижнем бьефе должны проводиться также для сопоставления фактического режима с запроектированным и корректировки (при необходимости и возможности) режима работы водосбросного сооружения.

1.1.15 Наблюдения за гидравлическим режимом необходимы для того, чтобы установить его отклонения от предусмотренного проектом. Отклонения свидетельствуют о каких-то существенных изменениях в состоянии сооружения или нижнего бьефа или о нарушении правил эксплуатации.

1.1.16 Геодезические и гидрометрические съемки русла и берегов про изводятся для оценки их переформирований и сопоставления с прогнозируемыми, корректировки прогноза и, при необходимости, разработки мероприятий по снижению подпора ГЭС баром, образующимся в результате отложения продуктов размыва.

1.1.17 Осмотр сооружений, в том числе подводный, до и после пропуска паводков позволяет выявить наличие значительных вывалов скалы и повреждения бетонных поверхностей. Должна быть дана оценка общей динамики процесса повреждений. Следует различать дефекты производства работ (непроработанный или замороженный бетон, неровности, раковины, обнаженная арматура, выступы на стыках опалубки и т.п.) и повреждения и разрушения при силовом, абразивном и кавитационном воздействиях. Подводное обследование может своевременно установить наличие повреждений или подмывов, угрожающих целостности и устойчивости концевых участков сооружений.

1.1.18 Измерение осредненной и пульсационной составляющих гидродинамического давления позволяет оценить:

- потери напора;

- нагрузки на обтекаемые поверхности;

- осредненный уровенный режим (во многих случаях иные способы фиксации уровня крайне затруднительны).

1.1.19 Измерения концентрации воздуха в потоке у обтекаемых поверхностей необходимы для оценки надежности мероприятий, предпринятых для предотвращения кавитационной эрозии. Кавитационная эрозия, как и абразивная, может оцениваться непосредственно.

1.1.20 Наблюдения за состоянием ледяного покрова на подходе к водосбросу необходимы для организации пропуска льда через водосбросные сооружения.

1.1.21 Наблюдения за наледями должны производиться для своевременного принятия мер, предупреждающих опасные последствия их образования (силовое воздействие на конструкцию; заполнение водопроводящего тракта к моменту, когда он необходим для сброса паводковых расходов).

1.1.22 Наблюдения за состоянием ледяного покрова в пределах энергогасящих сооружений необходимы для принятия соответствующих мер, гарантирующих эффективную работу гасителей при пропуске паводка. Кроме того, в отдельных случаях эти наблюдения дают возможность прогнозировать статическое давление, оказываемое ледяным покровом на сооружение, и предупредить его повреждение.

2 ТИПЫ КИА

Примечание. Перечисленная аппаратура не указана в стандартах организации ОАО РАО "ЕЭС России" СТО-108 "Контрольно-измерительные системы и аппаратура гидротехнических сооружений ГЭС. Условия создания. Нормы и требования" и СТО-109 "Контрольно-измерительные системы и аппаратура гидротехнических сооружений ГЭС. Организация эксплуатации и технического обслуживания. Нормы и требования".

2.1 Некоторые данные об измерительных приборах (первичных преобразователях-датчиках и, частично, вторичных преобразователях и регистрирующих приборах), которыми пользовались в практике наблюдений за водосбросными сооружениями, приведены в табл. И.1. Этот перечень может служить ориентиром для предварительной оценки применяющейся в исследованиях аппаратуры. Эти приборы выпускались промышленностью малыми сериями или изготавливались непосредственно в научно-исследовательских организациях. При комплектации КИА их можно заменять на аналогичные, имеющиеся в наличии.

2.2 Для регистрации уровней воды могут применяться самописцы поплавкового типа.

Измерения осредненного давления на обтекаемых поверхностях могут выполняться пьезометром, представляющим собой отрезок трубы, устье которой заделано заподлицо с этой поверхностью. В устье трубы может быть заложен двух- или трехслойный фильтр. Для наблюдения за показаниями этих пьезометров трубы от них выводятся в пункты наблюдения, где производится снятие отсчетов по измерительным рейкам (в случае стеклянных трубок) или с помощью спускных приборов.

Для измерения гидродинамического давления используются, в основном, датчики индуктивного типа с чувствительным элементом в виде плоской мембраны, преобразующие механическое воздействие в электрические сигналы.

Начало кавитации регистрируется с помощью первичных преобразователей для фиксирования ультразвукового кавитационного излучения, чувствительными элементами которых являются пьезокерамические пластинки.

Таблица И.1

Измерительные приборы

№ № п/п

Вид наблюдений или измеряемая величина

Прибор

Тип прибора

Диапазон измерения, разрешающая способность ε, рабочая полоса частот, приведенная относительная погрешность γ

1

Уровень воды

Самописец уровня длительного действия.

ГР-38

до 6,0 м

ε = ±0,01м;

 

 

Ультразвуковой уровнемер*

ЭУС-ИУВ

0¸10 м

γ = ±0,02%;

 

 

Преобразователь уровня измерительный струнный*

ПУВС

0¸10 м

γ = ±1,0%

2

Осредненный пьезометрический напор (давление) воды и воздуха (вакуум)

Пьезометр

Пьезометр-вакуумометр

-

ПДС-II-0,1

ε = ±0,1 м (1 кПа);

ε = ±0,1 м (1 кПа);

Преобразователь давления измерительный струнный прецизионный*

 

0 ¸0,1 мПа,

γ = ±0,6%;

ε ≤ 0,1 м(1 кПа)

Пружинный манометр

-

 

3

Осредненный и пульсационный пьезометрический напор (давление)

Измеритель осредненного пьезометрического напора (давления)

Измеритель пьезометрического напора (индуктивный датчик давления)

ОПТ-С

ДД-10

ДД-20

 

0¸100 м,

ε = ±0,1 м (1кПа);

0¸2,9 мПа,

ε = ±0,1 м (1 кПа)

в диапазонах частот

0-1000 Гц,

0 - 10000 Гц**;

0¸6,9 мПа,

ε = ±0,1 м (1 кПа)

в диапазонах частот

0-1000 Гц,

0-10000 Гц**

4

Осредненный пьезометрический напор (давление) на площадке

Измеритель осредненного и пульсационного напора (давления) на площадке

ОПП-С

0¸30 м,

ε = ±0,04 м (0,4 кПа);

0¸150 м,

ε = ±0,1 м (1 кПа)

5

Кавитационное излучение

Ультразвуковой шумомер

ДУЗ

10¸500 кГц

6

Кавитационный и абразивный износ

Дистанционный измеритель эрозии металла

ДЭМ

0,5¸30 мм,

с шагом от 0,5 до 4 мм

7

Скорость течения воды и содержание в потоке воздуха

Измеритель скорости и содержания воздуха в пристенном слое

ИСА-7

Скорость ε = ±0,1 м/с,

аэрация γ = ±5%

8

Скорость течения воды

Трубка Пито

Вертушка

-

ГР-21

ГР-55

γ = ±2%;

0,04¸0,20 м/с

γ = ±6%.

0,2¸5,0 м/с

γ = ±2%

9

Содержание воздуха

Датчик аэрации

-

γ = ±5%

10

Аэрация на границе потока

Измеритель аэрации на границе потока

ИАГ

γ = ±2%

11

Скорость потока воздуха

Анемометр

-

γ = ±5%

12

Расход через подводящие напорные водоводы

Ультразвуковой расходомер*

ЭРУС

2,0¸300,0 м3/с,

γ = ±2%

Перепадный расходомер*

ЭРИС

2,0¸300,0 м3/с,

γ = ±2%

Ультразвуковой расходомер*

СПРИНТ

2,0¸300,0 м3/с,

γ = ±1,5%

_____________

* Прибор разработан в АО "ДИГЭС".

** В зависимости от типа используемого измерительного устройства - преобразователя давления.

Действие датчиков эрозии основано на размыкании при размыве токопроводящих элементов.

Принцип действия датчиков аэрации потока основан на измерении электрического сопротивления газожидкостной смеси для определения содержания в ней воздуха. Датчики могут устанавливаться в потоке вблизи обтекаемой поверхности или заподлицо с ней.

При производстве гидрометрических наблюдений используются вертушки.

2.3 Приборы регистрации позволяют контролировать соответствующий процесс, например, по стрелочному индикатору, фиксировать экстремальные и промежуточные значения измеряемых характеристик, а также записывать непрерывную реализацию процесса для последующей полной статистической обработки: определения математического ожидания, дисперсии, плотности распределения величины и т. п.

Регистрацию процесса пульсации давления следует осуществлять непосредственно на ЭВМ с определенным шагом, который должен быть выбран на основе методических опытов или прогноза частотного диапазона процесса. В некоторых случаях возможна регистрация процесса с помощью измерительного магнитофона с последующим воспроизведением и регистрацией на ЭВМ. Возможны и непосредственные измерения статистических характеристик пульсации давления с помощью аналоговых приборов. Аналогичным образом можно регистрировать информацию, полученную от датчиков других типов КИА.

2.4 КИА необходимо периодически калибровать, что значительно увеличивает время безотказной работы приборов и повышает достоверность измерительной информации. Периодичность калибровки зависит от назначения и типа прибора, условий его работы и должна определяться местной инструкцией.

3 ПЕРИОДИЧНОСТЬ НАБЛЮДЕНИЙ. РОЛЬ ВИЗУАЛЬНЫХ НАБЛЮДЕНИЙ. ХАРАКТЕРНЫЕ ПРИЗНАКИ СОСТОЯНИЯ СООРУЖЕНИЯ ИЛИ ЕГО ЧАСТИ

3.1 Пусковые испытания водосбросных сооружений выполняются по специальной программе с привлечением научно-исследовательских организаций и участием эксплуатационного персонала в процессе передачи ему объекта.

3.2 Эксплуатационные наблюдения за состоянием водосбросных сооружений ведутся в период пропуска расходов. Дежурный оператор периодически считывает данные от первичных датчиков. При наличии автоматизированной системы диспетчерского контроля (АСДК), если от системы не поступало сигналов о нарушении нормального режима эксплуатации, запись проверяется при передаче диспетчерской смены.

3.3 Визуальные наблюдения, в особенности при недостаточной оснащенности гидроузла системой КИА, необходимы для оценки работы и состояния водосбросных сооружений и нижнего бьефа. Желательно, что бы наблюдения проводила группа из одних и тех же работников. Важно приступить к ним с самого начала эксплуатации гидроузла. При соблюдении этих условий легче заметить отклонения от проектного режима и изменения в состоянии сооружений.

3.4 Визуальную оценку необходимо сопровождать обычной фотосъемкой. При этом съемка какого-либо участка при каждом осмотре должна проводиться с одной точки с идентичным расположением кадра и последующей печатью при одинаковом увеличении. Желательно, чтобы в кадре находились предметы, позволяющие судить о масштабе изображенного на снимке. Полезно также производить такую фотосъемку в одни и те же дни года, при одинаковом освещении, что позволяет, пользуясь эффектом теней, отмечать наличие деформаций и перемещений. При систематической фотосъемке русла и берегов в нижнем бьефе целесообразно установить постоянные, привязанные геодезически опознавательные знаки, что существенно облегчает сопоставление снимков.

3.5 При наблюдении за подводящими каналами, кроме видимых оползней или обрушений бортов, необходимо фиксировать появление хотя бы незначительных перепадов свободной поверхности в местах, где это не объясняется проектной формой канала. Такие перепады хорошо видны, если смотреть вдоль поверхности воды, расположив точку наблюдения как можно ближе к воде. Появление перепада свидетельствует о нарушении проектного очертания бортов и дна канала ниже уреза или сосредоточенном скоплении в канале каких-то затопленных тел. В этом случае после прекращения работы водосброса должно быть произведено подводное обследование канала.

На каналах со скоростями течения менее 0,5 м/с и грунтовыми необлицованными откосами следует обращать внимание на появление внутриводной растительности для предупреждения зарастания канала.

3.6 Наблюдения и осмотр водослива, водосливной плотины, быстротоков проводятся как в период пропуска расходов, так и после закрытия затворов. Целесообразно наблюдение за поведением потока сопровождать видеосъемкой.

3.7 При пропуске воды ее поверхность, как бы зеркальная в начале водослива, вследствие аэрации теряет прозрачность, становится "взлохмаченной" - это нормальное явление. Косые волны, возникающие на быстротоках, всплески ("петухи") в местах их пересечений или замыкания на стены также не свидетельствуют о ненормальности работы.

3.8 Появление бегущих волн, если это не оговорено в проектной документации как допустимое явление, должно расцениваться как ненормальность в работе водосброса.

3.9 Появление крупных всплесков и бурунов (за исключением указанных в п. 3.7), устойчиво находящихся на определенном месте в пределах водосбросного сооружения, следует рассматривать как свидетельство возможного крупного повреждения обтекаемой поверхности сооружения.

3.10 При сопряжении бьефов с помощью энергогасящих сооружений следует обращать внимание на положение донного гидравлического прыжка. Нормально, если он затоплен. Отгон прыжка свидетельствует об ухудшении условий работы сооружений по сравнению с проектными.

3.11 При сопряжении по типу отброшенной струи поток должен сходить с трамплина, не прилипая к его низовой грани. Сразу по включении водосброса струя должна отбрасываться от трамплина. При некоторых конструктивных решениях возможно и допустимо кратковременное затопление участка перед носком с переливом через него при малых начальных (не рабочих) открытиях затворов. Столкновение отдельных струй в воздухе, сопровождающееся их взлетами, не является дефектом в работе сооружения.

3.12 Скорость воздушного потока в аэрационных шахтах не должна превышать 60 м/с, как исключение, в специально оговоренных случаях - 90-100 м/с. Изменение расхода воздуха по сравнению с предусмотренным в проекте более, чем на 50% свидетельствует о необходимости анализа режима работы воздухоподводящих устройств в условиях.

3.13 При наличии отмеченных в п. 3.8-3.12 отклонений от нормальной работы водосброса следует устанавливать и устранять их причину, а при невозможности этого - обращаться к генеральному проектировщику и в специализированную научно-исследовательскую организацию.

3.14 При нахождении наблюдателя на головном участке или на быках и бортах водосброса при нормальном режиме работы им ощущается постоянная вибрация. В случае, если слышны глухие удары, сопровождающиеся сотрясением сооружения, необходимо выяснять их причину, обращаясь, если надо, в специализированную организацию.

3.15 При осмотре осушенного сооружения следует особое внимание обращать на места возможного снижения осредненного гидродинамического давления потока:

- перегибы в профиле при увеличении уклона водопроводящего тракта;

- поворот ограждающих водосброс бортов при расширении водовода;

- выпуклый участок стены при общем повороте водовода;

- места окончания облицовок или обделок водовода;

- гасители энергии (пирсы, шашки, водобойные стенки и т.п.);

- участки водобоя в районе расположения дренажных колодцев (одновременно следует обращать внимание на состояние самих колодцев: вынос дренажа, кольматаж).

Кроме того, внимательному осмотру подлежат стыки плит и блоков бетонирования и прочие местные неровности (дефекты производства строительных работ). В этих местах при скоростях течения, превышающих 15 м/с, возможно возникновение кавитационной эрозии бетона.

3.16 Кавитационная эрозия бетона в начальной стадии проявляется в виде мелких раковин, каверн, поверхность бетона приобретает ноздреватый, губчатый вид. При развитии эрозии площадь, затронутая ею, и глубина увеличиваются, обнажается крупный заполнитель и арматура, ниже по течению образуется цепочка вторичных каверн и т.д.

3.17 Абразивный износ сооружения проявляется в виде борозд, направленных по течению, в местах перегибов профиля с уменьшением уклона водовода, при подходе к трамплину, а также в местах интенсивных водоворотов в виде ям ("котлов"), что особенно характерно для водоворотных участков в пределах сопрягающих сооружений. Для абразивной эрозии характерна гладкая (отшлифованная) поверхность обнажившегося крупного заполнителя бетона.

3.18 В нижнем бьефе должны выполняться промеры за концом крепления с целью установления размеров размыва и предварительной оценки возможности подмыва сооружения.

3.19 Подводное обследование в пределах бетонных сооружений должно производиться с уделением особого внимания на зоны, упоминавшиеся в пп. 3.15-3.17. Кроме того, определяются размеры подмыва концевых участков бетонных сооружений.

3.20 В нижнем бьефе визуально оцениваются: общий характер размыва берегов, размеры и форма бара, вызывающего повышение уровня (подпор) у ГЭС, тенденция их изменений по сравнению с предыдущим осмотром. Желательно установить место и глубину наибольшего размыва.

3.21 Значения подпора при наличии бара или понижения уровней воды при общем размыве русла реки в нижнем бьефе могут быть установлены по изменению кривых связи расходов и уровней (приложение И.1).

3.22 Геодезические съемки в нижнем бьефе и гидрологические работы по определению расходов воды производятся специализированными организациями по соответствующим инструкциям.

3.23 В зимний период необходимо вести наблюдение за наледями в пределах водосбросного тракта. Можно считать допустимым состояние, когда наледи не перекрывают тракт по всей ширине и не затрудняют маневрирование затворами. При перекрытии всей ширины тракта наледи должны искусственно прорезаться, а при дальнейшей эксплуатации должны приниматься меры, не допускающие образования наледей такого размера.

3.24 В случае сплошной наледи, после полного ее оттаивания и размораживания конструкции, следует, если это возможно, провести осмотр борта водосброса с наружной стороны. Наличие волосяных трещин, рас положенных параллельно дну водотока, заметных по четкому увлажнению борта, свидетельствует о вероятном отколе бетонного массива под воз действием распирающего его льда.

3.25 В нижнем бьефе, в пределах сопрягающих сооружений, необходимо наблюдать за состоянием и толщиной ледяного покрова. В зависимости от результатов наблюдений принимаются меры, предусмотренные разработанными в проекте правилами эксплуатации гидроузла.

3.26 При проведении инструментальных наблюдений за водосбросными сооружениями фиксируется ряд параметров, характеризующих гидравлические условия их работы. По этим параметрам составляются диагностические признаки, приводимые в таблице И.1.

Таблица И.1

Гидравлические параметры работы водосбросных сооружений

Фиксируемые параметры

Диагностические признаки

Уровни (положение пьезометрической линии) и расходы воды

Коэффициент расхода и кривая пропускной способности сооружения

Кривая связи расходов и уровней воды в нижнем бьефе; степень затопления гидравлического прыжка

Гидродинамическое давление

Вероятность достижения значения, соответствующего давлению парообразования, а, следовательно, возможность возникновения кавитации; значения нагрузок на элементы сооружения и соотношения их преобладающих частот с частотами собственных колебаний рассматриваемого элемента (в конечном итоге экстремальные значения напряжений)

Колебания уровней воды

Экстремальные значения уровней воды

Пьезометрические напоры и распределение скоростей

Параметр кавитации рассматриваемых элементов или неровностей

Уровень ультразвукового шума при кавитации

Экстремальный уровень кавитационного шума

Глубина кавитационной или абразивной эрозии

Допускаемая глубина эрозии

Содержание воздуха в пристенном слое потока воды

Содержание воздуха в пристенном слое, позволяющее предотвратить кавитационные явления

Расход (скорость) воздуха в аэрационных устройствах

Необходимое количество воздуха, предотвращающее кавитацию; допускаемые скорости течения воздуха в аэрационных устройствах

Глубина размыва непосредственно за низовым концом крепления

Допускаемая глубина размыва

4 МЕТОДИКА ОБРАБОТКИ И АНАЛИЗ ДАННЫХ НАБЛЮДЕНИЙ. ОЦЕНКА СОСТОЯНИЯ ВОДОСБРОСНЫХ СООРУЖЕНИЙ И НИЖНЕГО БЬЕФА

4.1 По совокупности диагностических признаков (п. 3.26), на основе данных измерений оценивается состояние водосбросного сооружения, определяемое гидравлическими критериями надежности, приводимыми в таблице И.2. Основные этапы оценки надежности сооружения могут быть представлены в следующем виде:

- получение фиксируемых параметров;

- выбор диагностических признаков;

- определение состояния водосбросных трактов;

- выбор критериев надежности;

- сопоставление параметров состояния с критериями надежности;

- заключение о надежности и безопасности водосбросных трактов.

Таблица И.2

Гидравлические критерии надежности водосброса

Условия надежности

Диагностируемое состояние

Диагностические признаки (параметры)

Критерии надежности

Превышение гребня плотины над уровнем верхнего бьефа

Пропускная способность

Расчетные значения коэффициента расхода, кривая пропускной способности

Расчетный и поверочный расходы при проектных отметках УВБ

Прочность

Напряженное состояние (статические или динамические нагрузки)

Экстремальные значения напряжений, эпюры их распределения (экстремальные значения гидродинамических нагрузок)

Предельные значения напряжений в контролируемых точках (предельные значения нагрузок)

Устойчивость

Подмыв низового конца сооружения

Глубина размыва

Предельная допустимая глубина размыва

Допустимые режимы течения

Колебания уровней воды, наполнение

Затопление гидравлического прыжка

Экстремальные значения уровней воды и наполнения

Уровень воды в нижнем бьефе

Предельные (максимальные и минимальные) значения уровней воды и наполнения

Вторая сопряженная глубина

Долговечность

Начало кавитации

Экстремальный уровень ультразвукового шума

Повышение уровня ультразвукового шума

 

Кавитация

Экстремальное значение осредненного или мгновенного вакуума

Допустимое значение осредненного или мгновенного вакуума

 

Кавитация и кавитационная эрозия

Характерные пьезометрические напоры и скорости вблизи рассматриваемого элемента (параметры кавитационной эрозии)

Критические параметры кавитации и кавитационной эрозии

 

Кавитационная эрозия

Необходимое содержание воздуха в пристенном слое

Допустимое время работы при давлении парообразования по сравнению с инкубационным периодом материала

Допустимая глубина эрозии

 

Кавитационная эрозия

Содержание воздуха в пристенном слое потока воды

 

Кавитационная или абразивная эрозия

Время работы рассматриваемой зоны при мгновенном пьезометрическом напоре, соответствующем давлению парообразования

Максимальная глубина эрозии

4.2 При обработке данных наблюдений строятся графики, карты, зависимости изменения осредненных параметров во времени.

4.3 Кривые пропускной способности водосбросного сооружения, как его основная характеристика, строятся в зависимости от уровня верхнего бьефа и степени открытия затворов. В тех случаях, когда порог водосброса подтапливается со стороны нижнего бьефа, пропускная способность зависит также от его уровня и строится семейство кривых. Полученные кривые сопоставляются с данными лабораторных исследований. При этом открытие затвора должно быть определено с достаточной точностью. В ряде случаев для этого необходимо производить нивелировку затвора и строить графическую схему его перемещения [9]. Допустимо отклонение фактической кривой от проектной в пределах 5% по расходу. При большем отклонении необходимо выяснить его причину. Если при последующих периодических проверках пропускной способности (которые могут проводиться не во всем диапазоне пропускной способности, а по двум-трем точкам) она будет меняться, то должны устанавливаться и устраняться причины изменений. В отдельных случаях, по согласованию с проектной и/или научно-исследовательской организацией может быть изменен режим эксплуатации. Характерные формы кривых пропускной способности показаны на рис. И.1.

а - безнапорный поверхностный водосброс Вилюйских ГЭС-1 и 2; б - глубинный эксплуатационный водосброс Саяно-Шушенской ГЭС

Рисунок И.1 - Характерные формы кривых пропускной способности

4.4 Строятся кривые свободной поверхности воды (кривые наполнения водовода) при различных открытиях затворов и разных расходах или уровнях верхнего (нижнего) бьефа. При пропуске расходов близких к расчетным обязательно должны фиксироваться данные для этих кривых.

4.5 При наличии датчиков кавитационного излучения начальная стадия кавитации фиксируется по увеличению уровня ультразвукового шума.

4.6 Возникновение кавитации и возможность появления кавитационной эрозии могут быть установлены также на основе измерений осредненных или мгновенных значений пьезометрических напоров, зафиксированных пьезометрами или датчиками давлений. Кавитационная эрозия может возникнуть, если параметр (число, коэффициент) кавитации K меньше коэффициента начала кавитационной эрозии:

                                                        (И.1)

где pхар = γНxap - характерное абсолютное давление (как правило, осредненное по времени) вблизи обтекаемого элемента - возбудителя кавитации без учета вызванных им возмущений, причем рхар = ра + ризб или Нхар = На + hизб, ризб = γhизб - избыточное давление;

ра = γНа - атмосферное давление, определяемое в зависимости от высоты местности над уровнем моря (табл. И.3);

ркр и Нкр - абсолютное давление и пьезометрический напор, соответствующие давлению водяных паров (табл. И.4);

vxap - характерная скорость течения вблизи обтекаемого участка поверхности, определяемая, как правило, с учетом реальной эпюры скоростей на подходе; в некоторых случаях допустимо с запасом принимать среднюю по сечению скорость;

Kкр - критический параметр кавитации для различных элементов или форм неровностей бетонной поверхности (рис. И.2);

γ = ρg - удельный вес воды;

ρ - плотность воды;

g - ускорение свободного падения;

при ρ = 1 т/м3 и g = 9,81 м/с2 γ = 9,81 кН/м3.

Таблица И.3

Атмосферное давление для различных отметок местности над уровнем моря

Отметка местности, м

Атмосферное давление

Отметка местности, м

Атмосферное давление

На

ра

На

ра

м. вод. ст

кПа

м. вод. ст

кПа

0

10,88

101

800

9,38

92

100

10,23

100

900

9,28

91

200

10,09

99

1000

9,18

90

300

9,98

98

1200

8,95

88

400

9,84

97

1500

8,64

85

500

9,74

95

2000

8,14

80

600

9,62

94

2500

7,80

76

700

9,52

93

3000

7,37

72

Таблица И.4

Давление водяных паров

Температура воды t, °C

10

15

20

25

30

Давление водяных паров Нt, м. вод. ст.

0,13

0,17

0,24

0,32

0,44

Давление водяных паров рt, кПа

1,3

1,7

2,4

3,1

4,3

 

№№ пп

Вид неровности

Схема неровности

Kкр

1

Выступ навстречу потоку (стык облицовок, выступ бетона из-за смещения опалубки и т.п.)

0,125a0,65

(a - в град)

2

Уступ по потоку (происхождение такое же, как в п. 1)

1

При zн ³ d;

При zн < d

3

Равномерная естественная шероховатость поверхности со средней высотой выступов D

1

4

Плавный выступ на ровной поверхности (сварной шов, наплыв бетона и т.п.)

 

Z Lн/zн ≤ 500

2,24

5

Одиночный выступ с острой верхней кромкой (плохо зачищенный след от стыка опалубки)

2

6

Отдельные выступающие местные неровности (крупные камни, брызги сварки, стержни арматуры и. т.п)

2 - для округленных очертаний;

3,5 - для резких очертаний

Примечания.

1 Характерное давление Нхар всех случаях определяется как среднее давление невозмущенного потока в створе ожидаемого расположения соответствующей неровности.

2 Характерная скорость vхар во всех случаях определяется как скорость невозмущенного потока в створе ожидаемого расположения соответствующей неровности.

3 Высота неровности zн всюду отсчитывается от гребней выступов естественной равномерной шероховатости поверхности высотой ∆. Во всех случаях, кроме п. 3, значения Kкр могут применяться при zн > 2∆.

4 Для неровности вида 1 рекомендуется для пространственных выступов принимать Kкр = =2 sinα.

Рисунок И.2 - Значения Kкр для характерных видов неровностей поверхностей водосбросов

4.7 Содержание воздуха в пристенных слоях потока около 5-10% свидетельствует о надежной защите поверхности от кавитационной эрозии. Существенное уменьшение содержания воздуха в процессе эксплуатации требует выяснения причины происходящего и ее устранения.

4.8 Непосредственный контроль за кавитационной эрозией может осуществляться с помощью специальных датчиков эрозии.

4.9 По результатам визуального, в том числе и водолазного обследования сооружений, составляются карты и абрисы кавитационных, абразивных и прочих повреждений, подмыва и разрушений концевого участка крепления, раздельного и сопрягающего устоев.

4.10 Построение кривой связи расходов и уровней в нижнем бьефе, анализ ее изменения во времени и сопоставление с бытовой кривой позволяют судить о происходящих в бьефе процессах, подпоре ГЭС баром из продуктов размыва, или, наоборот, о снижении уровней, связанных, как правило, с трансформацией русла или карьерными разработками расположенных ниже гидроузла перекатов. Методика построения этой кривой приводится в Приложении И1.

4.11 Анализ изменения кривой связи расходов и уровней в нижнем бьефе в сочетании с топографической съемкой участка местного размыва позволяют уточнять проектный прогноз русловых переформирований, вносить требуемые коррективы в правила эксплуатации гидроузла, а также при необходимости, наметить ремонтные и др. мероприятия.

5 ХРАНЕНИЕ ДАННЫХ НАБЛЮДЕНИЙ

5.1 Первичная обработка показаний приборов производится по соответствующим инструкциям на месте службой наблюдений или привлекаемыми специалистами.

Служба наблюдений должна обеспечивать надежное хранение отчетно-исполнительной документации по КИА и всего первичного материала наблюдений.

5.2 Служба наблюдений обязана иметь журнал авторского надзора для внесения в него указаний об исправлении замеченных недостатков в установке КИА, проведения наблюдений и обработки результатов.

5.3 Показания приборов и визуальные оценки при проведении каждого вида наблюдений должны заноситься в память компьютера автоматизированной системы диагностического контроля (АСДК) и в базу данных. Кроме того, во избежание случайной утраты материала, должна производиться его распечатка для спецхранения. Запись и хранение материалов в журналах допустима на станциях, не оборудованных соответствующими системами.

5.4 Результаты наблюдений необходимо представлять ежегодно в виде технического отчета, в котором должны содержаться также рекомендации по режимам эксплуатации, организации ремонтных работ или выявленные на основе наблюдений вопросы для разрешения которых необходимо обращаться в специализированные организации.

Приложение И.1

Методика построения кривых Q = f (H) для нижнего бьефа гидроузла

Построение кривых связи расходов и уровней в нижних бьефах производится по данным эксплуатации. В результате анализа суточных ведомостей пульта управления гидроэлектростанции выбираются промежутки времени с постоянной нагрузкой и постоянным расходом холостого сброса в течение 6-8 часов и более. Если при этом в последние 2-3 часа такого промежутка времени отметки свободной поверхности нижнего и верхнего бьефов остаются неизменными или меняются медленнее, чем 1 - 2 см в час, то режим потока в нижнем бьефе к концу промежутка может считаться мало отличающимся от установившегося. Длительность установления стационарного режима потока зависит от "скачка" расходов, иными словами, от интенсивности изменения нагрузок ГЭС, а также от уклона реки: чем меньше уклон, тем дольше будет устанавливаться режим потока. Для уклонов русла 0,00005 - 0,00007 промежуток времени 6-8 часов можно полагать достаточным для стабилизации режима при изменении расхода попуска на 500 - 2000 м3/с.

После выборки из суточных ведомостей данных о мощности ГЭС и уровнях верхнего и нижнего бьефов в периоды установившегося движения вычисляется напор-брутто и по данным о перепаде на входных решетках - напор-нетто. Затем по известной мощности и напору-нетто с помощью эксплуатационных характеристик определяются расходы воды через ГЭС. Далее к этим расходам прибавляются расходы холостого сброса, шлюзования и фильтрации. Полученные таким образом данные о расходах, пропускаемых через створ гидроузла, и об уровнях в его нижнем бьефе являются основой построения кривых Q = f(H) в створе ГЭС.

Притоки, впадающие в нижнем бьефе, могут оказывать подпор на створ гидроузла. В случаях, когда подпор незначителен и длится недолго, соответствующие ему несколько точек "отскакивают" от основной группы точек, определяющих кривую Q = f(H), в сторону больших значений Н. Построение кривой Q = f(H) производится при этом по основной группе точек, а отскочившие "подпорные" точки во внимание не принимаются.

В случае, когда расположенный в нижнем бьефе приток соизмерим по расходам с главной рекой, подпор от него наблюдается почти постоянно. В этом случае для построения кривой Q = f(H) необходимо исключить влияние подпора. При этом может быть применен следующий условный прием. Определенные по эксплуатационным характеристикам расходы главной реки связываются с уровнями нижнего бьефа, уменьшенными на подпор Н от притока. Исходным материалом для учета и исключения подпора притока служат проектные кривые зависимости уровней воды в нижнем бьефе ГЭС от расходов главной реки при различных расходах воды в притоке. По этим данным строится семейство кривых, представляющих подпор Н в зависимости от расходов воды главной реки и притока, в предположении, что при одних и тех же сочетаниях расходов подпор от притока в зарегулированном русле остается таким же, как в бытовых условиях.

На рис. И.1.1 приводится пример построения графика Н для условий нижнего бьефа Нижегородской ГЭС на р. Волге, испытывающего практически постоянный подпор р. Оки.

Аналогичным образом должен учитываться подпор от нижележащего водохранилища при работе ГЭС в каскаде, а также в случае, когда ГЭС расположена на водотоке, находящемся в подпоре главной реки или водоема (озера, моря). При этом значения Н должны приниматься в зависимости от отметки воды в водоеме или водотоке, создающем подпор.

Рисунок И.1.1 - Кривые Q = f(H) в створе Нижегородской ГЭС в зависимости от расхода р. Оки (а) и графики подпора уровня ∆H при различных расходах Волги Qв и Оки Qo (á)

Приложение К

(рекомендуемое)

Рекомендации по восстановлению и ремонту уплотнений деформационных швов гидротехнических сооружений

1 ОБЩИЕ ПОЛОЖЕНИЯ

1.1 Рекомендации предназначаются для оценки состояния наиболее сложного элемента деформационных швов бетонных гидротехнических сооружений - их уплотнений, выявление необходимости их ремонта, выбор материалов и технологии ремонта.

1.2 При ремонте деформационного шва выполняются работы по восстановлению его водонепроницаемости при действующих на него расчетных гидростатических давлениях воды, по сохранению сплошности материала в шве во времени при деформациях шва и исключению возможности усталостного и коррозионного разрушения материала заполнения шва и его вытекания из шва.

1.3 При выборе технологии ремонта уплотнений деформационных швов бетонных сооружений на основе оценки их состояния учитываются: класс сооружения, назначение и конструкция шва; величины и скорость раскрытия шва; температурный режим работы шва; нагрузки, действующие на шов в период эксплуатации сооружения (статические, динамические, напор воды); режим эксплуатации шва, агрессивность среды (воды), в которой работает шов; свойства материала заполнения шва; последствия влияния разрушения шва на работу сооружения.

1.4 При обследовании деформационных швов и при принятии решения по их ремонту необходимо иметь в виду, что основными причинами фильтрации воды через уплотнения деформационных швов гидротехнических сооружений могут быть:

- разуплотнение материала, заполняющего шов, или уплотнение шва при неравномерном его нагружении (несоответствие свойств материала заполнения конструкции условиям работы шва и его уплотнения);

- неудовлетворительная конструкция контурных уплотнений в шве;

- неудовлетворительная конструкция уплотнений;

- неправильное расположение уплотнений в деформационном шве;

- некачественное проведение строительно-монтажных работ при устройстве уплотнений шва;

- старение и разрушение материалов заполнения и ограждающих конструкций.

1.5 В Рекомендациях использованы нормативные ссылки на следующие стандарты:

ГОСТ 6617-76. Битумы нефтяные строительные. Технические условия

ГОСТ 8736-93. Песок для строительных работ. Технические условия

ГОСТ 9128-97. Смеси асфальтобетонные дорожные, аэродромные и асфальтобетон. Технические условия

ГОСТ 10178-85 (СТСЭВ 5683-86). Портландцемент и шлакопортландцемент. Технические условия

ГОСТ 22245-90. Битумы нефтяные и дорожные вязкие. Технические условия

2 ТИПЫ И КОНСТРУКЦИИ ДЕФОРМАЦИОННЫХ ШВОВ

2.1 В бетонных и железобетонных плотинах предусматриваются постоянные (межсекционные и вертикальные швы, швы-надрезы) и временные (строительные) деформационные швы.

Конструкции швов определяются: назначением; условиями работы в сооружении; действующими нагрузками и воздействиями; величиной их деформации (раскрытия) в период эксплуатации сооружения; материалом, используемым для заполнения; доступностью при проведении ремонтных мероприятий.

2.2 По назначению постоянные деформационные швы бывают:

- температурные - шириной 0,5-1,0 см, располагаемые на расстоянии не более 5 м от лицевых граней и гребня, а внутри тела плотины - не более 0,1-0,3 см;

- температурно-осадочные - шириной 1- 2 см в пределах фундаментной плиты плотины и водобоя при любых нескальных и полускальных грунтах основания, выше фундаментной плиты плотины на нескальных грунтах основания - шириной не менее 5 см.

По геометрии швы делятся на плоские, штрабовидные и ломаные.

2.3 Конструкции постоянных деформационных швов включают:

уплотнение, обеспечивающее его водонепроницаемость;

дренажное устройство для отвода профильтровавшейся через уплотнение или в обход его воды;

смотровые шахты и галереи для наблюдения за состоянием шва и ремонта уплотнения.

2.4 Уплотнения постоянных деформационных швов плотин подразделяются:

- по расположению в шве - на вертикальные, горизонтальные и контурные (рис. К.1);

- по конструкции и материалам - на диафрагмы из металла, резины и пластических масс (рис. К.2, а); шпонки и прокладки из асфальтовых материалов (рис. К.2, б); инъекционные (уплотняющие, битумизация) (рис. Г.2, в); брусья и плиты из бетона и железобетона (рис. К.2, г).

 

1 - шов, t = 0,5 - 1 см; 2 - шов, t = 0,1 - 0,3 см; 3 - шов, t = 1 - 2 см; 4 - шов, t ³ 5 см; 5, 6, 7 - соответственно вертикальное, горизонтальное и контурное уплотнения; 8 - дренажное устройство; 9 - смотровая шахта; 10 - смотровая галерея

Рисунок К.1 - Схемы расположения уплотнений в постоянных деформационных швах плотин на скальном (а, б) и нескальном (в, г) основаниях

а - диафрагмы из металла, резины и пластических масс; б - шпонки и прокладки из асфальтовых материалов; в - инъекционные (цементация и битумизация) уплотнения; г - брусья и плиты из бетона и железобетона;

1 - металлические листы; 2 - профилированная резина; 3 - асфальтовая мастика; 4 - железобетонная плита; 5 - скважины для цементации; 6 - цементационные клапаны; 7 - железобетонный брус; 8 - асфальтовая гидроизоляционная прокладка

Рисунок К.2 -Схемы основных уплотнений деформационных швов бетонных и железобетонных плотин

2.5 При разработке проектов ремонта уплотнений деформационных швов следует соблюдать следующие требования:

- материал уплотнения должен непосредственно примыкать к бетону секций, образующих шов;

- величина напряжения на контакте асфальтового или иного материала уплотнения с бетоном в рассматриваемом сечении должна быть не менее величины внешнего гидростатического давления воды в том же сечении;

- средние градиенты напора фильтрационного потока через бетон по контуру уплотнений шва не должны превышать: для гравитационных и массивно-контрфорсных плотин - 25; для арочных и арочно-гравитационных плотин и для арочных напорных перекрытий многоарочных плотин - 50.

3 ОЦЕНКА РАБОТОСПОСОБНОСТИ ШВА И НЕОБХОДИМОСТИ РЕМОНТА ЕГО УПЛОТНЕНИЙ

3.1 Основными факторами, определяющими необходимость ремонта уплотнений деформационных швов, являются:

- появление и нарастание фильтрации воды через шов;

- разрушение уплотнений шва.

- Причинами фильтрации воды через шов могут быть:

- некачественное выполнение шва, его уплотнений или неудачная их конструкция, не отвечающая условиям работы шва;

- неудачный выбор материала уплотнения, не соответствующего условиям и требованиям надежной работы конструкции;

- старение, разрушение и вытекание (в случае мастичного) уплотнения шва и окружающего (формирующего) шов бетона.

3.2 Вода может фильтровать через бетон, поэтому прежде, чем принимать решение о ремонте уплотнений шва, необходимо выявить природу поступающей в него воды, степень водопроницаемости бетона в области шва, степень водопроницаемости уплотнений и самого шва.

Степень водонепроницаемости бетона и деформационных швов в тонкостенных бетонных конструкциях оценивается визуально или при помощи установок и приборов для определения водопроницаемости (воздухопроницаемости) элементов бетонных и железобетонных конструкций в производственных условиях.

Степень водонепрницаемости бетона в массивных сооружениях и доля в нем водонепрницаемости деформационных швов при решении о необходимости их ремонта может быть оценена: инструментально; путем сравнения расходов воды, вытекающей через соседние (аналогичной конструкции) швы сооружения.

4 МАТЕРИАЛЫ ДЛЯ РЕМОНТА УПЛОТНЕНИЙ ДЕФОРМАЦИОННЫХ ШВОВ И ТРЕБОВАНИЯ К НИМ

4.1 Общие требования

4.1.1 Для ремонта уплотнений деформационных швов обычно используются те же материалы, что и для их выполнения в период строительства:

горячие и холодные асфальтовые, полимербитумные, полимерные мастики и горячие и холодные асфальтовые полимербитумные и полимерные растворы;

инъекционные (заливочные) цементные, цементно-песчаные, полимерцементные, полимерминеральные и полимерные растворы;

металлические листовые материалы;

асфальтовые, полимербитумные и полимерные герметики;

профильные резиновые уплотнительные ленты и прокладки, листы из стеклопластиков, полимерные рулонные и листовые материалы;

жгуты (прокладки) из пороизола, гернита и др.

4.1.2 Материалы, выбранные для уплотнения деформационных швов при их ремонте, должны быть водонепроницаемы, долговечны, коррозионно стойки, водоустойчивы и работать в конструкции шва в обжатом состоянии.

4.1.3 Материалы, относящиеся к группе заливочных и инъекционных, должны быть достаточно подвижными, способными при заливке плотно заполнять заливаемые полости и щели.

4.1.4 Ремонтные материалы, относящиеся к группе полос, лент, листов, должны быть долговечными, обладать высокой механической прочностью, эластичностью и сопротивляемостью при многократных, часто повторяющихся деформациях.

4.2 Материалы для проведения инъекционных работ при ремонте деформационных швов.

4.2.1 Для инъекции фильтрующих деформационных швов или уплотняющих конструкций следует применять полимерные, цементные, цементно-глинистые и полимерцементные растворы на цементе марок "300" - "500" по ГОСТ 10178-85. При выборе цемента необходимо руководствоваться следующим положением: для ремонта уплотнений и бетона секций, образующих деформационный шов (металлических диафрагм, контурных уплотнений, выполняемых в бетонных секциях) предпочтение должно отдаваться цементам, которые были использованы в бетоне сооружения (портландцемент, пуццолановый, глиноземистый), причем как обычным, так и гидрофобным и пластифицированным.

4.2.2 Для регулирования технологических свойств цементных растворов, повышения их подвижности и проницаемости рекомендуется в состав вводить добавки, регулирующие подвижность и сроки их схватывания.

4.2.3 Для повышения стабильности и проникающей способности могут применяться: предварительный сухой домол, сепарация цемента, механическое диспергирование цемента в растворе с помощью специальных смесителей и диспергаторов.

4.2.4 Для уменьшения расслаиваемости и повышения однородности растворов, улучшения проникаемости растворов в пустоты применяется бентонит в количестве 0,5 - 5% от массы цемента.

4.2.5 Для замены части цемента в цементном или цементно-глинистом растворе при наличии значительных пустот на контакте ограждающее устройство - полость шпонки применяются глинистые материалы: активированный бентонит, бентонитовая глина (карьерная или в порошке), глина, суглинок тяжелый и песок с размером зерен не более 0,5 - 1 мм, применяемый в количестве до 200% от массы цемента.

4.2.6 Приготовленный раствор для инъектирования должен непрерывно находиться в движении до момента поступления в скважину или шов.

4.3 Материалы для проведения ремонта шпонок и заполнения деформационного шва на основе битумного вяжущего

4.3.1 Для восстановления водонепроницаемости деформационных швов и уплотняющих конструкций широко используются асфальтовые мастики и растворы, представляющие собой смесь нефтяных битумов (битумов в смеси с полимером), минерального наполнителя и песка.

4.3.2 В качестве минеральных наполнителей в асфальтовых смесях рекомендуются следующие материалы, удовлетворяющие требованиям ГОСТ 9128-97:

- естественные минеральные порошки - несцементированные тонкораздробленные известняки и доломиты, гажа, карбонатные лессы и другие. Глинистые грунты применять запрещено из-за их способности к набуханию в воде;

- искусственно измельченные порошки - асфальтовый, известняковый, доломитовый, шамотный, кирпичный и др. Кроме этого, применяются кислотостойкие - андезитовый, диабазовый, кислотоупорный цемент, молотый песок, маршалит; щелочестойкие - портландцемент, мел, тальк, магнезит и др.;

- пылевидные отходы промышленности - зола от сжигания пылевидного угля - зола ТЭС, сланцевая зола - кукурмит, коротковолокнистый асбест, асбестит, асбозурит и др., которые не должны содержать более 1% глинистых частиц, способных набухать в воде.

4.3.3 Песок для изготовления асфальтовых растворов должен удовлетворять требованиям ГОСТ 8736-93:

- должен состоять из зерен крепких пород марки не менее "600" с водопоглощением не более 1%;

- не должен содержать более 1% глинистых частиц, способных набухать в воде;

- не должен содержать водорастворимых соединений более 0,5%;

- гранулометрический состав должен иметь модуль крупности не более 2,5.

4.3.4 Для приготовления асфальтовых мастик и растворов используются вязкие битумы марок БНД 40/60; БНД 60/90; БНД 90/130, удовлетворяющие требованиям ГОСТ 22245-90, а также строительные битумы марок БН 50/50 и БН 70/30 по ГОСТ 6617-76.

Наиболее широкое применение для ремонта уплотняющих конструкций деформационных швов и их инъекции нашли следующие составы асфальтовых мастик:

- битум (БНД 40/60, 60/90, 90/130) - 30 - 35 %;

- порошок (известняковый, цемент низкомарочный) - 65 - 70 %;

- асфальтовых растворов:

- битум (БНД 40/60, 60/90, 90/130) - 18 - 22 %;

- порошок (известняковый, цемент низкомарочный) - 38 - 42 %;

- песок среднезернистый - 40-44 %.

5 ПРИГОТОВЛЕНИЕ РЕМОНТНЫХ МАТЕРИАЛОВ И ОБОРУДОВАНИЕ ДЛЯ РЕМОНТНЫХ РАБОТ

5.1 Дозирование материалов, предназначенных для цементных и цементно-глинистых, полимерцементных растворов, должно производиться с точностью до 3% для воды и цемента и до 5% для добавок к цементу.

5.2 Приготовление раствора производится на месте непосредственно перед началом нагнетания в растворомешалке или смесительном баке, оборудованном механическими приспособлениями для перемешивания.

5.3 Перемешивание цемента, воды и добавок должно производиться до получения однородной массы.

5.4 Приготовление асфальтовых мастик и растворов должно производиться на заводах по переработке гидроизоляционных материалов или на месте, непосредственно на объекте, при наличии необходимого оборудования (битумных котлов, смесителей, сушильных аппаратов).

5.5 В технологическую схему изготовления асфальтовых мастик и растворов для заполнения шпонок и швов входят следующие производственные операции:

- обезвоживание (выпаривание) битума в битумоплавильных котлах, нагрев их до рабочих температур 130 - 150 °С для вязких и 160 - 180 °С для строительных (при времени нагрева при данной температуре не более 5 часов); дозировка и заливка битума в смесительную установку;

- при необходимости приготовление полимербитумного вяжущего;

- просушка минерального порошкообразного наполнителя и песка при температуре 120 - 150 °С, их дозировка и загрузка в смесительную установку;

- перемешивание и варка мастики (раствора) в асфальтосмесительной установке до полной ее однородности (гомогенности);

- транспортировка горячей асфальтовой мастики (раствора) в котлах-термосах к месту заливки;

- заливка асфальтовой мастики (раствора) в полость шпонки или шва самотеком или под давлением через заливочные трубы.

5.6 Комплекс оборудования для ремонта уплотнений деформационных швов и самих швов должен включать буровые установки, дозировочные устройства, смесительные механизмы, насосы-нагнетатели, трубопроводы, измерительную и регулировочную аппаратуру.

5.7 Оборудование для инъекционных работ должно подбираться таким образом, чтобы обеспечить непрерывность ведения работ, однородность растворов и иметь возможность контроля за объемом поглощаемого материала.

5.8 Смесительные устройства должны обеспечивать непрерывное перемешивание растворов. Для приготовления цементных, цементно-глинистых, полимерцементных и цементно-песчаных растворов рекомендуется использовать серийно изготовленные смесители типа РМ. Для объемов менее 100 л рекомендуется использовать смеситель типа СБ-133.

5.9 Растворонасосы для нагнетания закрепляющих материалов (цементных и др. растворов) должны удовлетворять следующим основным требованиям:

- устойчиво и длительно работать на перекачке жидких и густых растворов;

- обеспечивать требуемое давление нагнетания и необходимую производительность.

5.10 Для нагнетания цементных, цементно-глинистых и цементно-песчаных растворов следует использовать диафрагменные насосы. Рекомендуется использовать насосы с регулируемым приводом. При использовании насосов с нерегулируемым приводом растворопроводы должны оборудоваться регуляторами, обеспечивающими плавное изменение расхода.

5.11 Растворопровод, подающий раствор от насоса к скважине или в шов, должен состоять из двух ниток: прямой и возвратной с регулятором расхода на возвратной нитке. Растворопровод должен быть снабжен краном для спуска воздуха, воды и раствора.

5.12 Манометры для измерения давления нагнетания следует устанавливать в двух точках цементационной системы: у насоса и устья скважины. Они должны быть снабжены специальными предохранителями, препятствующими поступлению раствора в трубку манометра.

5.13 Цементационные установки должны быть снабжены приспособлениями и аппаратурой для измерения расхода нагнетаемого раствора.

5.14 Для приготовления асфальтовых заливочных смесей рекомендуется использовать смесительный комплекс периодического действия (асфальтобетонный завод), например, типа Д-508-2А или ДС-117-2Е. Обезвоживание битума осуществлять в битумонагревательных агрегатах Д-506 (Д-506А), входящих в смесительный комплекс.

5.15 Минеральный порошок подается на холодный элеватор питателем и далее в сушильный барабан. При исправно работающей системе пылеулавливания выдуваемые в сушильном барабане частицы порошка перехватываются циклонами и возвращаются в тракт подачи порошка и далее в смеситель. Для уменьшения уноса порошка необходимо перед работой прогреть сушильный барабан до 250 °С, а затем уменьшать подачу топлива до минимальной величины. Температура порошка на выходе из сушильного барабана должна составлять 140 - 160 °С.

5.16 Порошок и битум (полимербитумное вяжущее) с помощью дозаторов порциями подаются в мешалку, причем битум (ввиду небольшой емкости мерного бачка смесителя) подается в 2-3 приема. Перемешивание должно производиться до момента получения однородного состава асфальтовой мастики. Готовая асфальтовая (полимербитумная) мастика выгружается в транспортное средство и доставляется в обогреваемых бадьях к месту заливки.

5.17 Асфальтовый раствор может быть приготовлен только на серийном смесителе, входящем в комплект асфальтобетонного завода. Для приготовления асфальтового раствора используются: обезвоженный битум, нагретый до температуры 130-150 °С, песок и минеральный порошок. Песок подается через сушильный барабан, где нагревается до температуры 200-220 °С. Порошок подается по тракту подачи непосредственно в смеситель холодным. Перед введением битума смесь песка с порошком перемешивается всухую в течение 25 - 30 с. Общее время перемешивания составляет 1,5 - 2 мин. Готовый асфальтовый раствор должен иметь температуру 140-160 °С.

5.18 Асфальтовая мастика может транспортироваться непосредственно в кузовах автосамосвалов. Для транспортировки может быть также применена бадья, установленная в кузове автомобиля (бортового или самосвала). При температуре окружающего воздуха ниже +5 °С и при атмосферных осадках кузов самосвала должен быть закрыт.

5.19 Зимой мастика должна транспортироваться в утепленной бадье, установленной в кузове автомобиля. Потери температуры смеси при транспортировке не должны превышать 10 - 20 °С. Если мастика готовится в специальных смесителях непосредственно на месте производства работ, то смесительная емкость с мастикой подается к месту заливки краном.

5.20 Для транспортировки асфальтового раствора необходимо использовать обогреваемые миксеры, представляющие собой емкости 3 - 6 м3, смонтированные на шасси автомобиля или автомобильного прицепа. Емкость оборудована лопастной мешалкой с вертикальным валом. Емкость имеет двойные стенки с теплоизоляцией, систему подогрева от газовых горелок с комплектом баллонов с пропаном.

5.21 Асфальтовый раствор, приготовленный на асфальтобетонном заводе, загружается в миксер и транспортируется к месту укладки при включенной мешалке.

5.22 Заливка асфальтовой мастики или асфальтового раствора осуществляется через бетонолитные трубы, оборудованные приемными бункерами или воронками. Бетонолитные трубы могут устанавливаться в полость деформационного шва, в полость вновь пробуренной скважины, в запасную шахту.

6 ТЕХНОЛОГИЯ РЕМОНТА ФИЛЬТРУЮЩИХ УПЛОТНЕНИЙ ДЕФОРМАЦИОННЫХ ШВОВ

6.1 Ремонт уплотнений деформационных швов в тонкостенных бетонных конструкциях

6.1.1 К деформационным швам тонкостенных бетонных конструкций относятся:

- деформационные и строительные швы в облицовках каналов и в экранах гидротехнических сооружений;

- деформационные и строительные швы в лотках и акведуках;

- строительные и деформационные швы в подземных резервуарах.

6.1.2 В состав работ по ремонту уплотнений деформационных швов тонкостенных бетонных конструкций входят:

- снятие со шва гидростатического давления воды и противодавления;

- тщательная очистка полости шва от имеющихся в нем отработавших свой срок уплотнений;

- высушивание полости шва;

- сплошная грунтовка в два слоя торцевых бетонных поверхностей шва;

- заливка шва герметикой с требуемыми условиями работы шва свойствами и сопряжением его с поверхностной гидроизоляцией бетона;

- ремонт бетона в зоне шва.

6.1.3 В качестве грунтовки поверхности бетона при герметизации швов асфальтовыми материалами используется катионная битумная эмульсия (битумная эмульсия на кислых эмульгаторах) или битумная эмульсионная паста (битумная эмульсия на твердом эмульгаторе - извести с активностью не менее 70%), если полость шва при проведении его ремонта окажется мокрой.

В других случаях в качестве грунтовки используется разжиженный в бензине (уайт-спирите, скипидаре, специальном растворителе) герметик, если полость шва при проведении ремонта окажется сухой. Соотношение между герметиком и растворителем и между битумом и водой в битумной эмульсии от 50:50 до 30:70, в зависимости от качества поверхности бетона, свойств герметика и битума.

При грунтовке поверхности бетона в шве битумной эмульсией заполнение его герметиком производится после того, как эмульсия распадется и вода, входящая в ее состав, вытечет из шва.

При грунтовке поверхности бетона в шве грунтовкой на основе герметика заполнение его герметиком производится после того, как грунтовка в шве высохнет (испарится растворитель) до потери липкости.

6.1.4 При заполнении шва полимерными герметиками грунтовка торцевых поверхностей бетона, образующих шов, производится обработкой (напылением, покраской) материалом герметика.

6.1.5 Герметик (герметизирующие полимерные и полимербитумные мастики, эластомеры), используемый для заполнения швов в тонкостенных бетонных конструкциях, не должен вытекать и выдавливаться из шва в эксплуатационный период работы сооружения, но должен:

- при технологических температурах иметь подвижность, позволяющую заполнять шов заливкой;

- быть водоустойчивым, морозоустойчивым и долговечным;

- иметь высокую длительную прочность сцепления с поверхностью бетона в шве;

- быть трещиноустойчивым на морозе;

- сохранять прочность и сплошность при всех расчетных деформациях шва и всех действующих на него в шве нагрузках и воздействиях;

- работать в шве в обжатом состоянии при величине обжатия, превышающем действующее на шов давление воды.

6.1.6. Для заполнения деформационных швов в тонкостенных бетонных конструкциях, расположенных в районах с суровыми климатическими условиями, рекомендуются полимербитумные герметики следующих составов (% по массе):

- битум БНД 60/90 - 80-90;

- каучук (эластомер) - 10-20.

В качестве полимеров (эластомеров) в составе герметика могут быть использованы:

- дивинилстирольный термоэластопласт ДСТ;

- дивинилстирольный синтетический каучук СКД;

- бутилкаучук марки А;

- этиленпропиленовый каучук СКЭПТ;

- сополимер этилена с пропиленом СЭП-1.

6.2 Ремонт шпонок малого сечения (рис. К.3)

6.2.1 В устье шпонки разбирается бетон под установку металлического оголовка.

6.2.2 Устанавливается металлический оголовок с анкерным креплением и заделывается разобранная полость бетона цементным раствором.

6.2.3 Через металлический оголовок разбуривается канал для удаления из шпонки асфальтового заполнителя (в том числе мусора) для установки в нем нагревательного прибора, состоящего из трубы диаметром 50 мм и арматурного стержня диаметром 16 мм с асбоцементными прокладками.

6.2.4 В пробуренный в шпонке канал устанавливается нагревательный прибор, который в процессе его погружения в шпонку наращивается.

6.2.5 После каждого цикла разогрева асфальтового материала заполнения шпонки нагревателем производится обжатие материала заполнения давлением сжатого воздуха и дозаливка полости шпонки новой порцией асфальтовой мастики. Этот процесс продолжается до тех пор, пока не прекратится фильтрация воды через шов.

Процесс уплотнения асфальтового материала сжатым воздухом можно заменить уплотнением за счет пригрузки его бетонным штампом. Размеры бетонного штампа определяются конфигурацией полости шпонки.

6.2.6 В случае, если опрессовка не дает необходимого эффекта, производится бурение дополнительной шахты под новую шпонку диаметром не менее 22 см с установкой в ней электронагревателя и заливкой полости шпонки асфальтовой мастикой с последующим ее прогревом.

а - создание дополнительного давления на торце шпонки; б - замена материала заполнения на более вязкий; в - устройство трубчатого электронагревателя; г - пригрузка бетонным штампом; д - устройство запасной шахты и заполнение асфальтовым материалом с заданной вязкостью;

1 - асфальтовая шпонка; 2 - бетон сооружения; 3 - опрессовка; 4 - электронагреватель; 5 - бетонный вкладыш; 6 - дополнительная шпонка

Рисунок К.3 - Ремонт шпонок малого сечения

6.2.7 Заливка полости шпонки может при этом производиться двумя способами:

- при возможности осушения пробуренной скважины ее полость заполняется самотеком асфальтовой мастикой, разогретой до 160 °С (при изготовлении на вязком строительном битуме) и до 180 °С (на строительном битуме);

- при невозможности осушения скважины ее заполнение может быть осуществлено: через трубу нагнетанием (через автоклав или насосом); самотеком через трубу, постоянно поднимаемую по мере заполнения скважины; заливкой под воду через верхний конец скважины.

6.2.8 При нагнетании асфальтовой мастики через трубу следует установить в полость вновь пробуренной шпонки по ее центру электронагреватель, а затем через нагнетательную трубу произвести заливку полости шпонки, одновременно включив трубчатый электронагреватель. После заполнения скважины питательная труба вынимается наружу. Заполнение производится поэтапно.

6.2.9 Время заполнения скважины асфальтовой мастикой через трубу нагнетанием определяется по времени проявления ее "отказа" при нагнетании.

6.2.10 При заливке разогретого до 160 °С асфальтового материала в воду происходит парообразование, что может привести к возникновению в нем неплотностей. Для уплотнения в полости шпонки пористого асфальтового материала необходимо произвести дополнительный его электрообогрев. В этом случае поры в асфальтовом материале, частично заполненные водой и паром, будут обезвожены, что даст возможность добиться необходимой водонепроницаемости новой шпонки.

6.3 Ремонт шпонок большого сечения

6.3.1 Одним из наиболее реальных способов ремонта шпонок большого сечения является их разогрев имеющимися в полости шпонок электронагревателями с последующей их дозаливкой асфальтовой мастикой.

6.3.2 В случае, если указанным в п. 6.3.1 способом невозможно прекратить фильтрацию воды через уплотнение, то необходимо перед фильтрующей шпонкой большого сечения пробурить временную шпонку малого сечения (по пп. 6.2.6 - 6.2.9) и под ее защитой произвести ремонт основного уплотнения, а именно:

- очистить шпонки и участок полости шва между ними от асфальтового материала и мусора;

- заделать швы и щели между плитами-оболочками и бетоном (рис. К.4, К.5);

- смонтировать и установить в полости шпонки трубчатый электронагреватель;

- залить шпонки асфальтовой мастикой (см. пп. 6.2.7 - 6.2.9).

1 - шов; 2 - железобетонное корыто; 3 - асфальтовая мастика; 4 - инъекционные скважины; 5 - напорная грань; 6 - инъекционное заполнение контактного шва

Рисунок К.4 - Восстановление водонепроницаемости уплотнения деформационного шва, выполненного неудаляемыми железобетонными корытами, при наличии обходной фильтрации по контакту железобетонные корыта - бетон сооружения

6.3.3 Переносной электронагреватель (рис. Г.6) представляет собой установленный в направляющей втулке трубчатый электронагреватель, снабженный на нижнем его конце конической насадкой, и крестовидной приставкой, на которую передается вертикальное давление от домкратов. До передачи усилия на нагреватель от домкратов его включают для разогрева ближайшего к нему слоя асфальтового материала заполнения шва. После этого электронагреватель при помощи домкратов вдавливают в материал заполнения шва и разогревают его. В ходе вдавливания в шов и разогрева в нем асфальта электронагреватель наращивают.

1 - деформационный шов; 2 - железобетонный короб; 3 - асфальтовая мастика; 4 - дополнительная асфальтовая шпонка; 5 - смотровой колодец; 6 - цементационные скважины; 7 - зона инъекционного заполнения асфальта

Рисунок К.5 - Усиленный вариант ремонта асфальтового уплотнения, выполненного в железобетонных коробах путем устройства дополнительного асфальтового уплотнения и цементации зоны контакта железобетонного короба и массива бетона

 

1 - секция первой очереди бетонирования; 2 - секция второй очереди бетонирования; 3 - асфальтовый материал заполнения; 4 - переносной трубчатый электронагреватель; 5 - направляющая втулка; 6 - крестовина, монтируемая на переносном электронагревателе; 7 - домкраты; 8 - жесткая опорная рама с направляющим отверстием; 9 -электропитание нагревателя; 10 - внутренний электрод d = 12 - 14 мм; 11 - наружный электрод в виде трубы d = 50 мм

Рисунок К.6 - Переносной электронагреватель

6.4 Ремонт фильтрующих уплотнений, выполненных из металлических диафрагм

6.4.1 При фильтрации воды в обход уплотнения, выполненного из металлических диафрагм, могут быть рекомендованы следующие ремонтные технологии (рис. К.7):

- цементация или битумизация деформационного шва, расположенного между уплотнением и смотровым колодцем;

- устройство дополнительной асфальтовой шпонки, пробуренной в шве между уплотнением и смотровым колодцем;

- заполнение асфальтовой мастикой смотрового колодца в целях образования нового асфальтового уплотнения;

- проведение инъекционных работ в зоне установки металлических диафрагм.

I - скважины первой очереди цементации; II - скважины второй очереди цементации

а - цементация шва между металлическими диафрагмами:

1 - металлическая диафрагма; 2 - инъекционное заполнение шва;

б - бурение и устройство дополнительной асфальтовой шпонки:

1 - металлическая диафрагма; 3 - дополнительная асфальтовая шпонка; 7 - смотровой колодец;

в - заполнение асфальтовой мастикой смотрового колодца:

1 - металлическая диафрагма; 4 - смотровой колодец, заполненный асфальтовой мастикой;

г - инъекция в зоне расположения металлических диафрагм:

1 - металлическая диафрагма; 5 - цементационные трубы; 6 - зона цементации; 7 - смотровой колодец

Рисунок К.7 - Варианты ремонта уплотнений из металлических диафрагм

6.4.2 Цементация или битумизация деформационного шва, расположенного между металлическими диафрагмами, производится по общим правилам проведения этих работ.

6.4.3 Устройство дополнительной асфальтовой шпонки, пробуренной перед первым рядом уплотнений или за последним рядом диафрагм, производится в соответствии с рекомендациями, изложенными в пп. 6.2.6 - 6.2.9.

6.4.4 При наличии за фильтрующим асфальтовым уплотнением, выполненным в виде шпонки большого сечения смотрового колодца, можно произвести его заполнение горячей асфальтовой мастикой или асфальтовым раствором (см. пп. 6.2.7 - 6.2.9).

6.4.5 При невозможности проведения ремонтных работ в соответствии с рекомендациями, приведенными в пп. 6.4.2 - 6.4.4, производится бурение инъекционных скважин диаметром не более 76 мм по контуру установки металлических диафрагм или наклонных скважин с последующим проведением инъекционных работ по омоноличиванию контакта бетон секций - металлическая диафрагма (рис. К.8). Бурение скважин и последующая цементация контакта производится по общим правилам проведения цементационных работ.

а - внешний компенсатор; б - шпонка на поверхности; в - шпонка внутри;

1 - бетон; 2 - шов; 3 - анкер; 4 - асфальтовый мат; 5 - накладки из листового железа; 6 - дополнительная асфальтовая шпонка; 7 - штрабной бетон; 8 - асфальтовая шпонка; 9 - ограждающая конструкция

Рисунок К.8 - Ремонт контурных уплотнений

6.5 Ремонт горизонтальных уплотнений

6.5.1 Горизонтальные уплотнения, предназначенные для преграждения пути фильтрации вод в шов из основания сооружения, практически не подлежат ремонту, за исключением следующих случаев:

- горизонтальное уплотнение соединено с вертикальным асфальтовым уплотнением;

- горизонтальное уплотнение проходит по днищу смотровой галереи.

6.5.2 Если горизонтальное асфальтовое уплотнение соединено с вертикальным асфальтовым уплотнением, то ремонт его возможен за счет опрессовки материала вертикального уплотнения и передачи дополнительного давления через него на асфальтовый материал заполнения горизонтального шва. Это приводит к дополнительному его уплотнению и ликвидации пустот и пор в асфальтовом материале заполнения горизонтального уплотнения. Работы проводятся в соответствии с рекомендациями, приведенными в пп. 6.2.1 - 6.2.5.

6.6 Ремонт контурных уплотнений

6.6.1 При невозможности сброса верхнего бьефа ремонт контурных уплотнений на напорной грани сводится к следующим операциям (рис. К.8):

- непосредственно за фильтрующим вертикальным контурным уплотнением бурятся две скважины. Первая скважина служит для устройства ремонтного уплотнения под асфальтовую шпонку, вторая - для выполнения ограждающего устройства. Диаметр бурения скважин и расстояние между ними назначаются в конкретных проектах на ремонт уплотнения; после бурения скважина меньшего диаметра выполняет роль ограждающей конструкции путем заполнения ее цементным или цементно-глинистым раствором в зависимости от назначения деформационного шва; в низконапорных сооружениях ограждающая конструкция может быть выполнена путем заполнения скважины просмоленным канатом, паклей или деревянным кругляком;

- при выполнении ограждающего устройства целесообразно предварительно установить в полости скважин пластмассовую или резиновую трубу, которая затем заполняется цементным раствором;

- существующее контурное уплотнение используется как ограждающая конструкция против вытекания асфальтовой мастики при заполнении ею скважины большего сечения;

- после выполнения ограждающего устройства производится заполнение полости шпонки асфальтовой мастикой в соответствии с рекомендациями, изложенными в пп. 6.2.6 - 6.2.9.

6.6.2 Если имеется возможность сброса воды верхнего бьефа или понижение отметки бьефа, то контурное уплотнение ремонтируется одним из следующих двух способов:

устройство внешних непроницаемых поверхностных компенсаторов;

устройство асфальтовых шпонок.

6.6.3 Внешние компенсаторы могут выполняться в виде резиновых лент, пластмассовых полос или рулонных асфальтовых материалов, например, асфальтовых матов. Для этого производятся следующие технологические операции:

- устраивается штрабная полость по шву путем вырубки бетона;

- бурятся скважины для установки анкерных болтов;

- производится установка анкерных болтов для крепления ограждающих конструкций;

- производится установка водонепроницаемого элемента (резинового, пластмассового или асфальтового);

- укладывается технический войлок;

- устанавливается металлический лист ограждения и производится крепление его к анкерным болтам.

6.6.4 Для создания асфальтовой шпонки выполняются следующие работы:

- вырубается штраба в бетоне в виде "ласточкина хвоста" размером не менее 20´20 см;

- бурятся скважины под анкерные болты и производится их установка;

- устанавливается металлический лист ограждения по уплотняющему слою просмоленного войлока;

- полость шпонки заливается асфальтовой мастикой в соответствии с рекомендациями, изложенными в пп. 6.2.6 - 6.2.9.

6.6.5 Ремонт контурных уплотнений, находящихся внутри сооружения (например, в машинном зале, потерне и др. служебных помещениях) и пересекающих деформационные швы, выполняется в соответствии с рекомендациями, изложенными в п. 6.6.2 (рис. К.9).

1 - асфальтовая шпонка; 2 - шов; 3 - металлический компенсатор; 4 - промасленный войлок; 5 - прижимные листы; 6 - анкерное крепление; 7 - пороизол; 8, 9 - секции бетонирования; 10 - уплотнение из цементной шпонки

Рисунок К.9 - Устройство контурных ремонтных уплотнений швов внутри сооружения (галереи, машинный зал, потерны)

7 КОНТРОЛЬ КАЧЕСТВА РЕМОНТНЫХ РАБОТ

7.1 При проведении цементационных работ при ремонте уплотняющих конструкций деформационных швов оценку результатов ремонта следует проводить на основе визуального осмотра состояния швов по смотровым колодцам или потернам.

7.2 Контроль качества включает в себя также и оперативную проверку качества используемых материалов, состава раствора, соответствие технологии ремонта проектным требованиям. С этой целью, при производстве ремонтных работ инъекционным способом, должны заполняться журналы цементации, акты, ведомости, отражающие соблюдение проектных требований к технологии и материалам.

7.3 При приемке ремонтных работ должны предъявляться следующие документы:

- исполнительные чертежи;

- результаты испытания цементов и добавок;

- журналы опытного гидроопробования;

- акты приемки скважин;

- акты испытания контрольных скважин;

- акты ликвидации скважин;

- сводный отчет по проведенным работам.

7.4 При приготовлении асфальтовых заливочных смесей должны контролироваться:

- качество применяемых исходных материалов;

- точность дозировки битума и минеральных материалов согласно принятому в проекте составу асфальтовых заливочных материалов (смесей);

- температурный режим приготовления смеси и температура ее при выдаче к заливке в полость шпонки или шва;

- качество готовой смеси и ее соответствие требованиям.

7.5 Состав асфальтовых заливочных смесей должен подбираться лабораторным способом в зависимости от их назначения и свойств исходных материалов для каждого конкретного объекта.

7.6 Температура асфальтовой мастики при заливке полости шпонки должна быть не выше 160 °С при приготовлении ее на вязком дорожном битуме и не выше 180 °С - на строительном битуме, соответственно не ниже 140 и 160 °С.

7.7 При использовании асфальтовых заливочных смесей контролируется их плотность, которая должна составлять 1,7 - 1,8 т/м3.

8 ТЕХНИКА БЕЗОПАСНОСТИ ПРИ РЕМОНТЕ УПЛОТНЕНИЙ ДЕФОРМАЦИОННЫХ ШВОВ

8.1 При производстве асфальтовых работ должны соблюдаться правила и нормы техники безопасности.

8.2 Цементационные установки и растворные узлы должны быть закрыты от ветра и дождя, а при работе в зимнее время помещения, где размещаются механизмы, должны быть утеплены и отапливаться.

8.3 Хранение в помещении цементационных установок и растворных узлов горюче-смазочных, воспламеняющихся и вредных химических веществ запрещается.

8.4 Все открытые и движущиеся части цементационных механизмов и машин должны быть снабжены ограждениями, исключающими возможность травмирования людей и попадания в механизмы и машины посторонних предметов.

8.5 Электронагреватели и пусковая аппаратура буровых и цементационных машин должны быть защищены от попадания на них воды и раствора.

8.6 После окончания монтажа все трубопроводы для цементного раствора и воды, работающие под давлением, должны быть испытаны при давлении, превышающем в 1,5 раза максимальное рабочее давление.

8.7 Наладка, смазка и ремонт буровых и цементационных механизмов без их остановки запрещается.

8.8 Пуск цементационных насосов должен производиться при полностью открытом кране растворовода.

8.9 Соединения напорных рукавов должны производиться с использованием быстроразъемных элементов.

8.10 При нагнетании раствора необходимо следить за стабильностью положения тампона, при обнаружении выдавливания тампона из скважины нагнетание должно быть приостановлено и тампон закреплен.

8.11 Разборка магистралей, насосов, установка тампона должны производиться только после полного снятия давления в системе.

8.12 В нерабочее время все механизмы и оборудование цементационных работ должны находиться в положении, исключающем возможность пуска механизмов посторонними лицами.

Приложение Л

(рекомендуемое)

Рекомендации по цементации трещин в бетоне гидротехнических сооружений

1 ОБЩИЕ ПОЛОЖЕНИЯ

1.1 Назначение и область применения

1.1.1 В Рекомендациях изложены основные мероприятия и требования по цементации трещин в бетоне гидротехнических сооружений.

1.1.2 Цементацию трещин в бетоне гидротехнических сооружений производят с целью восстановления монолитности, устранения фильтрации через трещины и повышения водонепроницаемости сооружения в целом.

1.1.3 Работы по укреплению и уплотнению бетона, имеющего трещины, должны осуществляться по проекту, составленному на основании проведенного обследования и согласованному с организациями, выполняющими ремонтные работы и эксплуатирующими сооружения.

1.1.4 Сущность способа цементации заключается в том, что в трещины бетона через пробуренные скважины или установленные на трещинах патрубки нагнетают инъекционный раствор, который после твердения превращается в плотный, водонепроницаемый и нерастворимый в воде материал, заполняющий трещины и пустоты и препятствующий фильтрации через них воды.

1.1.5 Для повышения водонепроницаемости, уменьшения усадочных явлений, улучшения проникаемости, регулирования сроков схватывания в цементные растворы следует вводить специальные добавки, использовать активированные растворы или домолотые и сепарированные цементы.

1.1.6 Положения Рекомендаций при использовании цементных растворов распространяются на уплотнение трещин в теле бетонных плотин, зданий гидроэлектростанций, насосных станций энергетических сооружений, каналов, туннелей с раскрытием трещин в бетоне не менее 0,3 мм. При более тонкой трещиноватости, а также при наличии высоких градиентов фильтрующейся воды следует применять специальные инъекционные композиции на полимерной основе.

1.1.7 Рекомендации не распространяются на цементацию строительных швов столбчатой разрезки в гравитационных и арочных плотинах, на ремонт кавернозного бетона и инъекцию трещин при отрицательных температурах бетонного массива.

1.1.8 В инструкции использованы нормативные ссылки на следующие стандарты:

ГОСТ 1581-96. Портландцементы тампонажные. Технические условия

ГОСТ 8735-88. Песок для строительных работ. Методы испытаний

ГОСТ 10178-85. Портландцемент и шлакопортландцемент. Технические условия

ГОСТ 22266-94. Цементы сульфатостойкие. Технические условия

ГОСТ 23732-79. Вода для бетонов и растворов. Технические условия.

2 НАБЛЮДЕНИЯ, ИССЛЕДОВАТЕЛЬСКИЕ РАБОТЫ

2.1 Наблюдения за состоянием эксплуатируемых гидротехнических сооружений должны вестись в соответствии со Стандартом и приложениями к нему.

2.2 При обнаружении повреждений бетона сооружения производится обследование сооружения для установления причин повреждений, анализа состояния бетона, степени опасности дефекта, предварительной оценки объемов ремонтных работ.

2.3 При обследовании сооружения необходимо руководствоваться действующими нормативными документами и расчетными исследованиями, определяющими эксплуатационную надежность сооружения. Принимая во внимание требования, предъявляемые к обследованию, в состав комиссии должны входить представители службы эксплуатации сооружения, проектной и научно-исследовательской организаций.

2.4 В ходе обследования производится регистрация повреждений бетона с указанием их характера, размеров и возможных причин появления. При обнаружении трещин, которые могут изменить условия статической работы сооружения или привести к недопустимой фильтрации, могут быть приняты особые решения, включающие перечень необходимых мер для наблюдения за поведением этих трещин в процессе эксплуатации. К таким мерам можно отнести: установку маяков, мессур, в случае недоступности для визуального наблюдения, щелемеров, использование ультразвуковых методов, дренирование трещин и т.п.

Результаты обследования оформляют в виде пояснительной записки с приложением журнала обследований и чертежей освидетельствованных сооружений с нанесением обнаруженных дефектов. На чертежах трещины зарисовывают с указанием мест установки маяков, марок, мессур (приложение Л.1).

2.5 При нарастании расхода фильтрации наблюдения учащаются. Организация, ведущая наблюдения, должна доводить сведения о процессе фильтрации до проектной и научно-исследовательской организаций.

2.6 При наличии зон дефектного бетона и фильтрующих трещин, находящихся в местах недоступных для визуального наблюдения, производится бурение специальных исследовательских скважин. Расположение скважин в пространстве, их диаметр, глубина и т.п. согласовываются с проектной организацией.

2.7 В общем случае расстояние между исследовательскими скважинами определяется характером трещиноватости бетона, а их глубина должна быть достаточной для испытания всей трещиноватой зоны бетона.

2.8 Бурение исследовательских скважин следует производить с отбором и описанием керна, а также с оценкой водопоглощения пробуренных зон с последующей привязкой обнаруженных трещин к высотным и плановым отметкам.

В дальнейшем исследовательские скважины используют как рабочие инъекционные. В случае, если исследованиями установлено, что инъекцию выполнять не следует, скважины необходимо зацементировать цементно-песчаным раствором.

2.9 При определении водопоглощения трещин следует использовать гидравлические тампоны (одинарные, двойные), позволяющие достаточно четко фиксировать местоположение трещин, зон разуплотнения и т.п.

2.10 При наличии напорных трещин рекомендуется для определения общего расхода воды через скважину использовать устройство, включающее манометр и расходомер. Для замера таким способом необходимо, чтобы скважина была оборудована устьевым тампоном с поворотным краном.

2.11 Результаты выполненных замеров давления и расхода наносятся на схему трещины с целью определения линий тока и получения картины распределения потока воды в трещине.

2.12 В общем случае водопроницаемость бетона определяется путем нагнетания воды в скважину или зону скважины и оценивается величиной удельного водопоглощения (q), вычисляемой по формуле:

 (л/мин×м2),                                                                                                    (Л.1)

где Q - расход воды, поглощаемый скважиной (зоной), л/мин;

l - длина опробуемой зоны, м;

Н - напор воды, м.

Следует заметить, что величина удельного водопоглощения является интегральной характеристикой и дает лишь качественную оценку фильтрационных свойств бетона тогда, как в большинстве случаев фильтрация происходит по отдельным трещинам, каналам, строительным швам и т.п. Это обстоятельство является определяющим при назначении концепции ремонта и поэтому при невозможности визуального или инструментального обнаружения мест крупных нарушений необходимо изучить исполнительную документацию по условиям укладки бетона, в частности, выяснить местоположение строительных швов, наличие закладных элементов и т.п., т.е. мест, провоцирующих повреждение бетона по зонам с различными составом и характеристиками бетона.

2.13 Опробование исследовательских скважин глубиной более 6-8 м следует производить по отдельным зонам. Протяженность зоны должна приниматься от 2 до 5 м, а в случае развитой трещиноватости (наличие системы трещин) бетона она уменьшается до 1 м.

2.14 На основании результатов обследования составляется дефектная ведомость и заключение, в котором делается вывод о возможных причинах появления повреждений и вырабатывается концепция выполнения работ.

2.15 По согласованию с эксплуатирующей и проектной организациями и исполнителем ремонтных работ определяется участок для проведения опытно-производственных исследований по проверке предложенной концепции ремонта. Опытные участки назначаются в местах, имеющих характерные для данного сооружения повреждения бетона.

2.16 Опытно-производственными исследованиями устанавливается порядок производства работ, пригодность выбранных материалов, отрабатывается технология бурения и нагнетания растворов, корректируется их рецептура.

2.17 В стадии подготовки к проведению работ по лечению трещин (в том числе на опытных участках) должны учитываться:

- тип сооружения, конструкция, состояние бетона;

- характер трещин, величина и глубина их раскрытия, влияние поведения трещин на опасность с точки зрения монолитности и водопроявлений;

- величина напора, скорость фильтрационного потока;

- температурный режим бетонной кладки,

а также рассматриваться следующие вопросы:

- необходимость и техническая возможность лечения трещин;

- технология инъектирования;

- используемые материалы;

- ориентировочный объем работ;

- последовательность инъектирования;

- перечень необходимого оборудования.

3 ПРОЕКТ ПРОИЗВОДСТВА РАБОТ

3.1 На основании результатов обследования и данных опытно-производственных исследований составляется проект производства работ.

Проект должен содержать:

- классификацию дефектов;

- объемы работ, смету, календарный график;

- схему организации работ;

- порядок производства работ;

- исходные данные для ведения журналов инъекций (приложение Л.2);

- типовые решения по устранению наиболее характерных повреждений, включающие:

- способы заделки выходов воды из трещины;

- план расположения, направление (угол) скважин для нагнетания и дренажа, их диаметр, последовательность обработки, тип бурения;

- данные о давлении, продолжительность нагнетания, критерий окончания инъекции;

- перечень и характеристики необходимого стандартного и нестандартного оборудования;

- требования к инъекционным материалам;

- контрольные мероприятия;

- расположение оборудования и трасс цементационных труб в плане и по высоте сооружения.

Типовые схемы лечения трещин в бетоне приведены в приложении Л.3.

4 ПОРЯДОК ПРОИЗВОДСТВА РАБОТ

4.1 Бурение скважин

4.1.1 Расположение скважин, их направление и глубина назначаются в проекте (по результатам опытно-производственных работ) и корректируются в процессе выполнения работ с таким расчетом, чтобы в результате инъекции достигались нормативные значения водопроницаемости.

4.1.2 В общем случае инъекционные скважины задаются с наклоном к плоскости трещин (как правило, при значительной глубине бурения). При ремонте тонкостенных железобетонных конструкций бурение может производиться непосредственно в плоскости трещины.

4.1.3 При наличии фильтрующих трещин, в которых затруднены разделка и поверхностное уплотнение их устья, необходимо бурение дренирующих скважин. Количество дренирующих скважин назначается, исходя из водопритока через трещину, таким образом, чтобы снизить градиенты скорости воды и обеспечить качественное уплотнение устья трещин, не допуская размыва материала уплотнения.

4.1.4 В сооружениях, имеющих дренаж в бетоне или по подошве основания, инъекционные скважины задаются с таким расчетом, чтобы в процессе нагнетания уплотняющих материалов была исключена возможность засорения дренажа или должны быть предусмотрены мероприятия по его восстановлению.

4.1.5 Скважины в массивном бетоне глубиной до 5 м и диаметром до 45 мм бурятся легкими ручными перфораторами, скважины большей глубины и большего диаметра - станками ударно-вращательного или колонкового бурения. Бурение исследовательских скважин следует производить только станками колонкового бурения с отбором керна.

4.1.6 Бурение скважин в бетоне должно выполняться с промывкой водой или продувкой воздухом. После окончания бурения скважины должны быть освобождены от бурового шлама посредством тщательной промывки водой.

4.1.7 Бурение скважин (шпуров) небольшой глубины (до 0,3 м) в железобетонных конструкциях допускается производить электроперфораторами.

4.2 Поверхностная изоляция трещин

4.2.1 Для предотвращения излива инъекционного раствора при его нагнетании в трещины, устья последних должны быть герметизированы. Наиболее распространенным является способ, предусматривающий расшивку устья трещин на глубину 3-5 см, желательно в "ласточкин хвост", с последующим заполнением полученной штрабы раствором на основе цемента с 1,5-2 частями мелкого песка и добавками ускорителей схватывания. Допускается выполнять герметизацию устья трещин специальными композициями на полимерной основе.

4.2.2 Наряду с разделкой устья трещин и уплотнением его цементно-песчаным раствором могут использоваться и другие варианты поверхностной изоляции трещин свинцовой проволокой, либо установка пластырей. Пластыри, представляющие собой деревянные брусья или швеллера с войлочными или резиновыми уплотнениями, должны устанавливаться на предварительно очищенную и выровненную поверхность бетона.

4.2.3 При уплотнении трещиноватой зоны небольших размеров целесообразно использование пластырей, устанавливаемых на предварительно подготовленный массив. Подготовка может включать в себя бурение в массиве неглубоких шпуров с тем, чтобы обеспечить по возможности полную обработку зоны инъекционным раствором.

4.2.4 При значительной площади дефектной зоны производится площадная цементация, включающая бурение шпуров, заделку (зачеканку) устья трещин и нагнетание инъекционного раствора в порядке очередности обработки скважин. Для такой обработки предусматривается использование специальных устьевых или глубинных тампонов-нагнетателей.

4.2.5 При ликвидации точечных очагов фильтрации также следует предусматривать обуривание очага фильтрации с последующим нагнетанием в скважины уплотняющего раствора.

4.2.6 Наряду с рекомендациями п. 4.2.5. ликвидацию малых точечных очагов фильтрации рекомендуется производить, используя тампон-нагнетатель с прижимной плитой.

4.3 Технология инъекционных работ

4.3.1 Нагнетание раствора сначала должно производиться в скважины первой очереди, задаваемые обычно для массивных бетонных сооружений на расстоянии 3 - 6 м (в зависимости от конфигурации и раскрытия трещин) и на расстоянии 1-2 м для железобетонных конструкций (обычно трещин, приуроченных к швам бетонирования).

Затем инъектируются скважины второй очереди. Если в результате проведенных работ не удается достигнуть требуемого по проекту снижения водопроницаемости бетона (проверяется гидравлическим опробованием промежуточных скважин между скважинами второй очереди), то инъектируются скважины третьей очереди и т.д.

4.3.2 При использовании цементных растворов для лечения трещин нагнетание следует начинать непосредственно после гидравлического опробования, не прерывая нагнетания воды.

4.3.3 Начальная консистенция подаваемого раствора (В/Ц) определяется величиной удельного водопоглощения и должна задаваться в проекте производства работ. Для ориентировочного назначения консистенции можно пользоваться таблицей Л.1.

Таблица Л.1

Удельное водопоглощение бетона (q) л/мин · м2

В/Ц

Менее 0,1

5 - 4

0,1 - 0,5

4 - 3

0,5 - 1,0

3 - 2

1,0 - 5,0

2 - 1

Более 5,0

1 - 0,6

В процессе инъекции и в зависимости от поглощения материала составы растворов могут уточняться.

4.3.4 При вертикальном или наклонном расположении трещин нагнетание раствора следует начинать снизу, используя вышерасположенные скважины для отвода воды и жидкого цементного раствора.

4.3.5 Давление нагнетания раствора должно назначаться таким, чтобы обеспечить подъем раствора от скважины первой очереди (нижнего ряда) до скважины второй очереди (вышерасположенный ряд). В этом случае при принудительном движении раствора снизу вверх можно рассчитывать на седиментацию частиц цемента из раствора и уплотнение части трещины, расположенной ниже скважины первой очереди. После появления из скважин вышерасположенного ряда раствора закачиваемой консистенции следует в течение 5-7 мин продолжать нагнетание, затем перекрыть подачу раствора, заглушить эти скважины и приступить к нагнетанию в скважины вышерасположенного ряда. Процесс нагнетания продолжают в том же порядке до заполнения всей геометрической емкости трещины и отказа в поглощении раствора, за который можно ориентировочно считать поглощение 1 л в течение 10 мин. После отказа в поглощении производят опрессовку скважины в течение 10 мин при предельном давлении нагнетания.

4.3.6 При цементации массива бетона с сетью трещин может наблюдаться выход раствора из рядом расположенных трещин. В этом случае, если В/Ц раствора выше, чем В/Ц нагнетаемого раствора, заделка выходов раствора из трещин не производится. При выходе из трещин раствора той же консистенции, что и нагнетаемого, давление нагнетания снижается до минимального, при котором еще наблюдается движение раствора по подводящим магистралям, и подается более густой раствор. Если эта мера не дает эффекта, т.е. по-прежнему продолжается выход густого раствора из трещины, места наиболее интенсивных выходов должны быть ликвидированы. Для ликвидации выходов рекомендуется использовать цементные растворы с ускорителями схватывания, деревянные клинья, пластыри и т.п.

4.3.7 При наличии зон дефектного бетона с пересекающими их трещинами после начала нагнетания в трещину иногда наблюдаются многочисленные выходы цементного раствора из локальных нарушений бетонной кладки, что не дает возможности поднять раствор в цементируемой трещине и произвести ее уплотнение. В этом случае рекомендуется остановить нагнетание, продуть сжатым воздухом инъекционные скважины и возобновить процесс цементации после загустевания цементного раствора в порах и локальных нарушениях дефектного бетона. Эта мера наиболее эффективна в случае, когда зона дефектного бетона располагается ниже цементируемой трещины

4.3.8 Одним из часто встречающихся отклонений от нормального хода цементации трещин является неконтролируемый выход раствора через сосредоточенные течи в труднодоступных местах, где невозможно применить традиционные методы заделки. Ликвидация таких выходов может быть выполнена подачей коагулянта (например, жидкого стекла) через специальные скважины, пробуренные до плоскости трещины к месту выхода раствора. При смешении раствора с коагулянтом происходит его быстрое загустевание и кольматация течи.

4.3.9 При невозможности устранения сосредоточенных течей по результатам гидравлического опробования и данным измерения давления и расхода в трещине (пп. 2.11. и 2.12.) назначаются барьерные ряды инъекционных скважин. Порядок расположения скважин и расстояние между ними назначаются, исходя из скоростей потока и вида применяемого инъекционного материала.

4.3.10 Барьерные ряды могут назначаться как со стороны напорного фронта, так и по фронту выхода воды (раствора) из трещины.

4.3.11 В качестве инъекционных композиций рекомендуется введение в их состав ускорителей твердения и коагулянта для сокращения сроков схватывания и твердения растворов. При значительных скоростях фильтрации часто возникает необходимость введения большого количества коагулянтов. В этих случаях для предотвращения схватывания раствора в нагнетательной линии рекомендуется введение раствора и коагулянта через рядом расположенные скважины. При использовании полимерных композиций для создания барьерных рядов предпочтение следует отдавать вязким, неразмывающимся композициям.

4.3.12 Учитывая, что работы по инъектированию трещин имеют свою специфику, заключающуюся в нетрадиционности решений, применяемых для каждого конкретного объекта, необходимо уделять особое внимание детальному обследованию сооружений, выяснению причин появления дефектов с тем, чтобы в проекте производства работ по возможности предусмотреть характерные отклонения от нормального хода инъекции и дать по ним обоснованные технические решения.

5 МАТЕРИАЛЫ

5.1 При выполнении ремонтных работ должны использоваться материалы, свойства которых устанавливаются соответственными техническими условиями и ГОСТ.

5.2 Для поверхностной изоляции трещин и их инъектирования следует применять цемент марки 400 по ГОСТ 10178-85.

5.3 Приемка цемента, его хранение и испытание должны производиться в соответствии с ГОСТ 10178-85. При поставке цемента на склад ведется запись в книге поступления и до получения данных о его испытании цемент расходованию не подлежит.

Полученный цемент должен иметь паспорт с указанием завода-изготовителя, названия и марки цемента, вида и количества добавок, номера партии, даты отправки цемента, а также минералогического и гранулометрического составов.

5.4 Все применяемые цементы должны удовлетворять требованиям ГОСТ 22266-94.

В случае большого водопритока рекомендуется применять тампонажный цемент, удовлетворяющий требованиям ГОСТ 1581-96.

При цементации бетонной кладки рекомендуется использовать цементы тех видов, которые были использованы при приготовлении бетона соответствующей конструкции.

5.5 Вода, применяемая для приготовления инъекционных растворов и химических добавок, должна соответствовать требованиям ГОСТ 23732-79.

5.6 Песок по содержанию органических примесей должен отвечать требованиям ГОСТ 8735-88. Перед употреблением песок должен быть просеян через сито с отверстиями 2,5 мм.

5.7 Для регулирования технологических свойств цементных растворов, повышения их подвижности и проникаемости рекомендуется вводить в их состав пластифицирующие добавки: лигносульфонат технический, суперпластификатор С-3, в количестве 0,2-0,4% от массы цемента.

5.8 При необходимости уменьшения сроков схватывания цементных растворов рекомендуется использовать ускорители схватывания: жидкое стекло, алюминат натрия, поташ (в виде водных растворов). Вид и количество добавок должны определяться в лаборатории с учетом влияния добавок на ремонтируемую конструкцию.

5.9 По требованию проекта для придания растворам особых свойств (повышения стабильности и проникающей способности) могут применяться: предварительный сухой домол, сепарация цемента, механическое диспергирование цемента в растворе с помощью специальных смесителей и диспергирующих устройств, введение в состав раствора микрокремнезема.

5.10 Способы обработки цемента и раствора, тип диспергатора должны указываться в проекте.

5.11 При высоких скоростях фильтрующей воды, а также для обеспечения прочного сцепления цементируемых массивов по трещинам рекомендуется использовать полимерные композиции, преимущественно на эпоксидной основе.

5.12 Приготовленный раствор для инъектирования конструкций должен непрерывно находиться в движении до момента его поступления в скважину.

5.13 Критерием завершения работ по цементации может быть величина расхода инъекционного раствора в зависимости от величины максимального давления нагнетания согласно данным табл. Л.2.

Таблица Л.2

Окончательная величина нагнетания, МПа

Время поддержания максимального давления, мин

Допустимый расход раствора (л/мин) за время поддержания

0,8 - 1,0

10

1,0

1,0 - 0,5

15

1,5

0,5 - 0,3

20

2,0

6 ОБОРУДОВАНИЕ ДЛЯ РЕМОНТНЫХ РАБОТ

6.1 Комплекс оборудования для ремонта бетонных сооружений должен включать буровые установки, дозировочные устройства, смесительные механизмы, насосы, нагнетатели, трубопроводы, измерительную и регулировочную аппаратуру.

6.2 Оборудование для инъекционных работ должно подбираться таким образом, чтобы обеспечить непрерывность ведения работ, однородность растворов и возможность контроля за объемом поглощаемого материала.

6.3 Смесительные устройства должны обеспечивать непрерывное перемешивание растворов. Полезная емкость растворосмесительных установок подбирается, исходя из предполагаемого поглощения (с учетом 20-30% запаса). Для приготовления цементных и цементно-песчаных растворов рекомендуется использовать серийно изготовляемые смесители типа РМ емкостью 350, 500, 700 л. Для объемов менее 100 л рекомендуется использовать смеситель СБ-133.

Для приготовления полимерных композиций используется специальная тара и миксеры.

6.4 Растворонасосы для нагнетания закрепляющих материалов (цементных и других растворов) должны удовлетворять следующим основным требованиям: устойчиво и длительно работать на перекачке жидких и густых растворов, обеспечивать требуемое давление нагнетания и необходимую производительность.

6.5 Для нагнетания цементных и цементно-песчаных растворов следует использовать поршневые и плунжерные насосы, например, типа НД 1000/10, СО-49Б, СО-50А и др. Рекомендуется использовать насосы с регулируемым приводом. При использовании насосов с нерегулируемым приводом растворопроводы должны оборудоваться регуляторами, обеспечивающими плавное изменение расхода.

При нагнетании полимерных растворов следует использовать насосы с малой рабочей емкостью.

6.6 Растворопровод, подающий раствор от насоса к скважине, должен состоять из двух ниток: прямой и возвратной с регулятором расхода на возвратной нитке. Растворопровод должен быть снабжен краном для спуска воздуха, воды или раствора.

6.7 Манометры для измерения давления нагнетания следует устанавливать в двух точках цементационной системы: у насоса и устья скважины. Они должны быть снабжены специальными предохранителями, препятствующими поступлению раствора в трубку манометра.

6.8 Цементационные установки должны быть снабжены приспособлениями и аппаратурой для измерения расхода нагнетаемого раствора.

6.9 При проведении инъекционных работ при давлении раствора, близком к предельному, рекомендуется на стенках трещины устанавливать индикаторы часового типа, чтобы не допустить деформаций бетона, способных привести к распространению трещины в глубину массива.

7 КОНТРОЛЬ КАЧЕСТВА

7.1 При сдаче работ оценку результатов ремонта следует проводить на основании визуального осмотра, гидравлического опробования, а также кернового бурения с испытанием кернов в лаборатории. Количество контрольных скважин и количество кернов определяется проектом.

7.2 Контроль качества включает в себя также и оперативную проверку качества используемых материалов, состава раствора и соответствие технологии проектным требованиям. С этой целью при производстве ремонтных работ должны заполняться журналы инъекций, акты, ведомости, отражающие соблюдение проектных требований к технологии и материалам (приложение Л.2).

7.3 При приемке работ должны предъявляться следующие документы:

- исполнительные чертежи;

- журналы инъекции;

- результаты испытаний материалов;

- журналы опытного гидроопробования;

- акты приемки скважин;

- акты испытаний контрольных скважин;

- данные обследования кернов;

- акты ликвидации скважин;

- сводный отчет по проведенным работам.

8 ПРАВИЛА БЕЗОПАСНОСТИ ПРИ РЕМОНТЕ УПЛОТНЕНИЙ ДЕФОРМАЦИОННЫХ ШВОВ

8.1 Рабочие и служащие, занятые на инъекционных и ремонтных работах, в обязательном порядке проходят предварительное обучение технике безопасности. Перед началом работ все рабочие должны получить вводный инструктаж от инженера по технике безопасности и на рабочем месте - от мастера или производителя работ.

8.2 Все рабочие и служащие, а также лица технического надзора в зависимости от выполняемой работы должны быть снабжены индивидуальными средствами защиты: непромокаемой спецодеждой и обувью, предохранительными поясами, касками, защитными очками, рукавицами, респираторами, перчатками.

8.3 Место производства работ должно быть очищено от мусора, освобождено от посторонних предметов. Места складирования бурового инструмента, цемента, резиновых рукавов, труб, химических реагентов и других материалов должны быть оборудованы в соответствии с правилами их безопасного хранения.

8.4 Электродвигатели и пусковая аппаратура буровых и цементационных установок должны быть защищены от попадания на них воды и инъекционного раствора.

8.5 Все открытые и движущиеся части цементационных установок должны быть снабжены ограждениями, исключающими возможность попадания в машины и механизмы посторонних предметов и травмирования людей.

8.6 После окончания монтажа все трубопроводы для инъекционного раствора и воды, работающие под давлением, должны быть испытаны при давлении, в 1,5 раза превышающем максимальное рабочее давление.

8.7 Наладка, смазка и ремонт буровых и инъекционных механизмов без их остановки запрещается.

8.8 Пуск инъекционных насосов должен производиться при полностью открытом кране растворопровода.

8.9 Соединение напорных шлангов должно производиться с использованием быстроразъемных элементов.

8.10 При нагнетании раствора необходимо следить за стабильностью положения тампона, при обнаружении выдавливания его из скважины нагнетание должно быть приостановлено и тампон закреплен.

8.11 Разборка магистралей, насосов, установка тампона должны производиться только после полного снятия давления в системе.

8.12 В нерабочее время все механизмы и оборудование инъекционных работ должны находиться в положении, исключающем возможность пуска механизмов посторонними людьми.

Приложение Л.1

Форма 1. Журнал по обследованию трещин в бетоне

Дата обсле­дования

Наиме­нование участка соору­жения

Место располо­жения трещин

Зарисовка трещин (геометри­ческие размеры), величина раскрытия, место установки маяков

Глубина трещины

Показания щелемера, маяков

Удельное водопогло­щение

Описание прибора и методика опреде­ления фильт­рации

Величина фильт­рации

Данные выбури­вания контроль­ных кренов

Резуль­таты испы­тания кренов

Приме­чание

1

2

3

4

5

6

7

8

9

10

11

12

 

 

 

 

 

 

 

 

 

 

 

 

Примечания.

1. Журнал заводится на определенный участок или сооружение.

2. Дополнительно на обратной стороне делаются зарисовки трещин.

3. Заполняется в процессе обследования в различные сроки техником, инженером и начальником цеха (сооружения).

Приложение Л.2

Форма 2. Журнал инъекций

Обложка журнала

Наименование организации, проводящей инъекционные работы

___________________________________________________________

Объект работ_________________________________________________________________

ЖУРНАЛ ИНЪЕКЦИИ

Скважина_____________________________________________________________________

Журнал №____________________________________________________________________

Всего журналов по инъекции скважины №______________________________________ шт.

Расположение_________________________________________________________________

Отм. устья скважины_________________________________________________________ м

Отм. забоя скважины_________________________________________________________ м

Конечная глубина скважины___________________________________________________ м

Количество зон_____________________________________________________________ шт.

Диаметр скважины__________________________________________________________ мм

Начат_________________________________________

Окончен ______________________________________

Прораб инъекционных работ ___________(     )

Техник участка _______________________(     )

Проверил:

Начальник технического отдела ___________________________________( )

Левая сторона разворота обложки журнала или вкладыша

Общие данные

Места цементации

В/Ц

Состав

Выход раствора, л

Остаток в баке, л

Поглощение

вода, л

цемент, кг

добавка, кг

раствора, л

цемента, кг

добавок в кг

 

 

 

 

 

 

 

 

 

 

 

Дата___________________________________________

Смена__________________________________________

Ф.И.О. мастера__________________________________

Скважина №____________________________________

Зона №_________________________________________

Мощность зоны, м_______________________________

Длина шлангов, м________________________________

Превыш. манометра над устьем скважины, м_________

Правая сторона разворота обложки журнала или вкладыша

Время

Расход раствора, л/мин

Израсходовано на сброс

Давление, МПа

 

часы

минуты

промежуток времени

цемента, кг

раствора, кг

добавок, кг

у насоса

у устья

в зоне

Примечание

 

 

 

 

 

 

 

 

 

 

 

Приложение Л.3

Типовые схемы лечения трещин в бетоне

Двусторонняя

Односторонняя

Односторонняя

I-I

II-II

III-III

1 - трещина; 2,  - скважины I очереди; 3, - скважины II очереди.

Размеры в метрах

Рисунок Л.3.1 - Схемы расположения скважин при уплотнении фильтрующих трещин и швов

а - вариант без бурения шпуров; б - вариант с бурением шпуров;

1 - цементно-песчаный раствор; 2 - скважина; 3 - патрубок

Рисунок Л.3.2 - Схема локализации угловых трещин (швов) с организацией сбора фильтрующей воды и последующим уплотнением инъектированием

Схема бурения и инъекции:

1 - трещина; 2, - скважины I очереди; 3, - скважины II очереди

Размеры в метрах

Рисунок Л.3.3 - Дренирование и уплотнение трещин инъекцией

Схема бурения и инъекции:

1 - трещина; 2, - скважины I очереди; 3, - скважины II очереди

Размеры в метрах

Рисунок Л.3.4 - Уплотнение температурных швов инъекцией

Схема бурения и инъекции:

1 - трещина; 2,  - скважины I очереди; 3,  - скважины II очереди

Размеры в метрах

Рисунок Л.3.5 - Уплотнение трещин стен галереи инъекцией

Схема бурения и инъекции:

1 - трещина; 2,  - скважины I очереди; 3,  - скважины II очереди

Размеры в метрах

Рисунок Л.3.6 - Уплотнение трещин стен галереи инъекцией

Схема бурения и инъекции:

1 - трещина; 2,  - скважины I очереди; 3,  - скважины II очереди

Размеры в метрах

Рисунок Л.3.7 - Уплотнение трещин сопряжения стен и потолка

Рисунок Л.3.8 - Схема устройства дренажа в стыках стен со сводом

1 - бетонный массив; 2 - скважины; 3 - тампон-нагнетатель;  - скважины I очереди;

 - скважины II очереди; - скважины III очереди

Размеры в сантиметрах

Рисунок Л.3.9 - Площадная инъекция бетона с использованием тампона
(при наличии развитой дефектной зоны)

1 - резиновый уплотнитель; 2 - труба распорная; 3 - труба нагнетательная; 4 - гайка прижимная; 5 - муфта; 6 - кран запорный; 7 - предохранитель; 8 - манометр; 9 - сбросная линия

Рисунок Л.3.10 - Тампон-нагнетатель для глубоких скважин

1 - бетонный массив; 2 - очаг фильтрации; 3 - скважины; 4 - разрушение;

* - скважины I очереди; - скважины II очереди

Рисунок Л.3.11 - Ликвидация точечного очага фильтрации (общий случай)

1 - резиновый уплотнитель; 2 - труба распорная; 3 - труба нагнетательная; 4 - муфта; 5 - гайка прижимная; 6 - кран запорный; 7 - предохранитель; 8 - манометр; 9 - сбросная линия; 10 - прижимная плита

Рисунок Л.3.12 - Тампон-нагнетатель с прижимной плитой

1 - арматура; 2 - цементно-песчаный раствор повышенной плотности + спец. добавки; 3 - цементно-песчаный раствор с пластифицирующими добавками

Рисунок Л.3.13 - Защита корродирующей арматуры

Схема бурения и инъекции: 1, - скважины I очереди; 2, - скважины II очереди;

3 - битумная шпонка

Размеры в метрах

Рисунок Л.3.14 - Уплотнение температурных швов инъекцией

1 - сквозная трещина; 2 - разделка трещины фрезой; 3 - полоса армоэластика; 4 - жгут пороизола или чернита; 5 - приклейка полимерным материалом; 6 - цементно-песчаный раствор; 7 - цементно-песчаный раствор с адгезионными добавками

Размеры в сантиметрах

Рисунок Л.3.15 - Схема уплотнения сквозных трещин со стороны напорной грани при отсутствии обратной засыпки

1 - цементно-песчаная пробка; 2 - откос; 3 - бетонная стяжка; 4 - бетонная подготовка пола (днища)

Рисунок Л.3.16 - Ликвидация очага фильтрации в днище

1 - внутренняя сторона стены; 2 - кольцевая ниша; 3 - среднее сборное стальное кольцо; 4 - большое сборное стальное кольцо; 5 - трубопровод; 6 - днище; 7 - опорный фундамент; 8, 9 - опалубочные шины; 10 - изолирующий куб; 11 - прокладка из рубероида.

Размеры в сантиметрах

Рисунок Л.3.17 - Восстановление водонепроницаемости сопряжения трубопровода со стеной подземной части насосной станции

1 - растворитель; 2 - бак-накопитель (необходим при отсутствии бункера в растворонасосе); 3 - труба нагнетательная; 4 - растворонасос; 5 - напорный растворопровод; 6 - манометр; 7 - инъектор; 8 - скважина; 9 - сливной растворопровод; 10 - запорная арматура

Рисунок Л.3.18 - Принципиальная схема установки для нагнетания цементного раствора

а - при наличии трещиноватой зоны:

1 - трещиноватый массив; 2 - скважины; 3 - прижимная планка; 4 - уплотнение (войлок, резина); 5 - уголок; 6 - анкер; 7 - патрубки для нагнетания и отвода раствора;

б - при наличии одиночной трещины:

1 - бетонный массив; 2 - фильтрующая трещина; 3 - скважины для нагнетания и отвода раствора; 4 - прижимная планка; 5 - уплотнение; 6 - анкер

Рисунок Л.3.19 - Технологические схемы уплотнения фильтрующего бетона

Приложение 2

к приказу ОАО РАО "ЕЭС России"

от 13.03.2008 № 106

ПЕРЕЧЕНЬ
нормативно-технических документов подлежащих отмене в связи с вступлением в действие стандарта организации "Гидротехнические сооружения ГЭС и ГАЭС. Организация эксплуатации и технического обслуживания. Нормы и требования"

№ в Реестре

Наименование документа

1

74

РД 34.03.102-94. Положение о системе отраслевого надзора за безопасностью гидротехнических сооружений электростанций (СО 153-34.03.102-94)

2

220

РД 34.04.502. Типовое положение о структурных подразделениях ГЭС и каскадов ГЭС (СО 153-34.04.502)

3

585

РД 34.20.162. Рекомендации по проектированию организации эксплуатации ГЭС и ГАЭС (СО 153-34.20.162)

4

691

РД 34.20.641. Руководящие указания по проектированию организации и механизации ремонтного обслуживания оборудовании и сооружений гидроэлектростанций (СО 153-34.20.641)

5

757

РД 34.21.301. Методические указания по организации визуальных контрольных наблюдений за состоянием гидротехнических сооружений электростанций (СО 153-34.21.301, № 757)

6

765

РД 34.21.341. Методические указания по составу и периодичности эксплуатационного контроля за состоянием гидротехнических сооружений гидравлических и тепловых электростанций (СО 153-34.21.301)

7

766

РД 153.34.2-21.342-00. Методика определения критериев безопасности гидротехнических сооружений (СО 34.21.342-00)

8

782

СО 34.21.542. Типовая инструкция по эксплуатации гидротехнических сооружений гидроэлектростанций

9

785

РД 153-34.2-21.545-2003. Правила проведения натурных наблюдений за работой бетонных плотин (СО 34.21.545-2003)

10

786

РД 153-34.2-21.546-2003. Правила организации и проведения натурных наблюдений и исследований на плотинах из грунтовых материалов (СО 34.21.546-2003)

11

795

РД 153-34.2-21.624-2003. Типовая инструкция по восстановлению и ремонту уплотнений гидротехнических сооружений (СО 34.21.624-2003)

12

796

РД 153-34.2-21.625-2003. Типовая инструкция по цементации трещин в бетоне гидротехнических сооружений (СО 34.21.625-2003)

Библиография

[1] Гидроэлектростанции. Условия создания. Нормы и требования (Стандарт организации ОАО РАО "ЕЭС России")

[2] Гидроэлектростанции. Организация эксплуатации и технического обслуживания. Нормы и требования (Стандарт организации ОАО РАО "ЕЭС России")

[3] Гидроэлектростанции. Охрана труда (правила безопасности) при эксплуатации и техническом обслуживании сооружений и оборудования ГЭС. Нормы и требования (Стандарт организации ОАО РАО "ЕЭС России")

[4] Механическое оборудование гидротехнических сооружений ГЭС. Условия создания. Типовые нормы и требования (Стандарт организации ОАО РАО "ЕЭС России")

[5] Механическое оборудование гидротехнических сооружений ГЭС. Организация эксплуатации и технического обслуживания. Нормы и требования (Стандарт организации ОАО РАО "ЕЭС России")

[6] Гидротехнические сооружения ГЭС и ГАЭС (кроме зданий и насосных станций). Условия создания. Типовые нормы и требования (Стандарт организации ОАО РАО "ЕЭС России")

[7] СТО 17230282.27.010.001-2007 Здания и сооружения объектов энергетики. Методика оценки технического состояния

[8] Контрольно-измерительные системы и аппаратура гидротехнических сооружений ГЭС. Условия создания. Нормы и требования (Стандарт организации ОАО РАО "ЕЭС России")

[9] Контрольно-измерительные системы и аппаратура гидротехнических сооружений ГЭС. Организация эксплуатации и технического обслуживания. Нормы и требования (Стандарт организации ОАО РАО "ЕЭС России")

[10] Правила организации технического обслуживания и ремонта оборудования, зданий и сооружений электростанций и сетей / Утв. ОАО РАО "ЕЭС России"

[11] Правила работы с персоналом в организациях электроэнергетики Российской Федерации (Приказ Минтопэнерго РФ от 19.02.2000 г. № 49)

[12] Перечень вредных и (или) опасных производственных факторов и работ, при выполнении которых проводятся предварительные и периодические медицинские осмотры (обследования), и порядок проведения этих осмотров (обследований) (Приказ Министерства здравоохранения и социального развития РФ от 16.08.2004 г. № 83)

[13] Положение о декларировании безопасности гидротехнических сооружений / Утв. Постановлением Правительства РФ от 06.11.1998 № 1303

[14] Дополнительные требования к содержанию декларации безопасности гидротехнических сооружений на объектах энергетики (Приказ Ростехнадзора от 29.12.2006 г. № 1163 / Зарегистрировано в Минюсте РФ 22 марта 2007 г. № 9138)

[15] Стандарт международной гидрографической организации на гидрографические съемки (JHO Standards for Hydrographic Surveys) / Специальная публикация № 44, 4-е изд. Монако. 1998

[17] РД 12-07-2007. Порядок формирования и регламент работы экспертных комиссий по проведению государственной экспертизы деклараций безопасности гидротехнических сооружений на объектах промышленности и энергетики (Приказ Ростехнадзора от 15.06.2007 г. № 418. Зарегистрирован в Минюсте РФ 13.07.2007 г. № 9832)

[18] Инструкция о ведении Российского регистра гидротехнических сооружений / Утв. МПР РФ, Минтопэнерго РФ, Минтрансом РФ, Госгортехнадзором РФ 12.07.1999 №№ 144, К-3357, К-14/367-ис, 01/229а

Ключевые слова: Гидроэлектростанция (ГЭС), гидроаккумулирующая электростанция (ГАЭС), гидротехнические сооружения (ГТС), эксплуатация, техническое обслуживание, стандарт организации (СТО), плотина бетонная, плотина из грунтовых материалов, деривация, водопропускные и водопроводящие сооружения.

Содержание

Введение

1 Область применения

2 Нормативные ссылки

3 Термины и определения

4 Обозначения и сокращения

5 Организация эксплуатации гидротехнических сооружений ГЭС и ГАЭС

5.1 Основные положения и задачи

5.2 Приемка в эксплуатацию гидротехнических сооружений

5.3 Требования к персоналу

5.4 Технический контроль состояния гидротехнических сооружений

5.5 Эксплуатация и техническое обслуживание гидротехнических сооружений

5.6 Ремонт и реконструкция гидротехнических сооружений

6 Обеспечение безопасности гидротехнических сооружений при экстремальных условиях

6.1 Пропуск высоких паводков

6.2 Эксплуатация гидротехнических сооружений в морозный период

6.3 Обеспечение безопасности гидротехнических сооружений в чрезвычайных и аварийных ситуациях

7 Экологические и природоохранные требования к организации эксплуатации гидротехнических сооружений

8 Требования безопасности при консервации и ликвидации гидротехнических сооружений

9 Подтверждение соответствия гидротехнических сооружений нормам и правилам безопасности

10 Охрана труда при эксплуатации гидротехнических сооружений

Приложение А Перечень контролируемых показателей состояния гидротехнических сооружений

Приложение Б Технический паспорт гидротехнических сооружений гидроэлектростанций

Приложение В Правила проведения наблюдений за работой бетонных плотин

Приложение Г РЕКОМЕНДАЦИИ ПО ИССЛЕДОВАНИЯМ И ПОСТОЯННЫМ НАБЛЮДЕНИЯМ ЗА ВИБРАЦИЕЙ ГИДРОТЕХНИЧЕСКИХ СООРУЖЕНИЙ ЭЛЕКТРОСТАНЦИЙ

Приложение Д Правила организации и проведения наблюдений и исследований на плотинах из грунтовых материалов

Приложение Е Рекомендации по проведению наблюдений и исследований креплений откосов грунтовых сооружений и береговых склонов

Приложение Ж Рекомендации по проведению наблюдений за температурным режимом грунтовых плотин в условиях сурового климата

Приложение И Рекомендации по анализу данных и контролю состояния водосбросных сооружений и нижних бьефов гидроузлов

Приложение К Рекомендации по восстановлению и ремонту уплотнений деформационных швов гидротехнических сооружений

Приложение Л Рекомендации по цементации трещин в бетоне гидротехнических сооружений

Приложение 2 ПЕРЕЧЕНЬ нормативно-технических документов подлежащих отмене в связи с вступлением в действие стандарта организации "Гидротехнические сооружения ГЭС и ГАЭС. Организация эксплуатации и технического обслуживания. Нормы и требования"

Библиография

Руководитель организации-разработчика

НП «Гидроэнергетика России»

Исполнительный директор                                                                     Р.М. Хазиахметов

Руководитель разработки

главный эксперт, к.т.н.                                                                           В.С. Серков

Соискатель

ОАО «ВНИИГ им. Б.Е. Веденеева»

Исполнительный директор                                                                    Е.Н. Белендир

Руководитель разработки

Директор экспертного центра, к.т.н.                                                   А.Г. Василевский

Исполнители

Главный научный сотрудник

д.т.н., проф.                                                                                             А.Л. Гольдин

Главный научный сотрудник д.т.н.                                                      В.Б. Судаков

 

 




ГОСТЫ, СТРОИТЕЛЬНЫЕ и ТЕХНИЧЕСКИЕ НОРМАТИВЫ.
Некоммерческая онлайн система, содержащая все Российские Госты, национальные Стандарты и нормативы.
В Системе содержится более 150000 файлов нормативно-технической документации, действующей на территории РФ.
Система предназначена для широкого круга инженерно-технических специалистов.

Рейтинг@Mail.ru Яндекс цитирования

Copyright © www.gostrf.com, 2008 - 2026