|
|
Система сертификации ГОСТ Р. Регистр систем качестваПОРЯДОК СЕРТИФИКАЦИИ СИСТЕМ МЕНЕДЖМЕНТА КАЧЕСТВА НА СООТВЕТСТВИЕ ГОСТ Р ИСО 9001-2008 (ИСО 9001:2008)
Предисловие Цели и принципы стандартизации в Российской Федерации установлены Федеральным законом
от 27 декабря Сведения о стандарте 1 РАЗРАБОТАН Открытым акционерным обществом Всероссийский научно-исследовательский институт сертификации (ОАО «ВНИИС») 2 ВНЕСЕН Управлением технического регулирования и стандартизации Федерального агентства по техническому регулированию и метрологии 3
УТВЕРЖДЕН И ВВЕДЕН В ДЕЙСТВИЕ Приказом Федерального агентства по техническому регулированию и метрологии от 17 декабря 4 ВЗАМЕН ГОСТ Р 40.003-2005 Информация об изменениях к настоящему стандарту публикуется в ежегодно издаваемом информационном указателе «Национальные стандарты», а текст изменений и поправок - в ежемесячно издаваемых информационных указателях «Национальные стандарты». В случае пересмотра (замены) или отмены настоящего стандарта соответствующее уведомление будет опубликовано в ежемесячно издаваемом информационном указателе «Национальные стандарты». Соответствующая информация, уведомление и тексты размещаются также в информационной системе общего пользования - на официальном сайте Федерального агентства по техническому регулированию и метрологии в сети Интернет Содержание Введение Целью настоящего стандарта является установление для органов по сертификации систем менеджмента качества единого порядка сертификации систем менеджмента качества организаций на соответствие требованиям ГОСТ Р ИСО 9001-2008 в Системе сертификации ГОСТ Р. В настоящем стандарте учтены положения следующих стандартов: ГОСТ Р ИСО/МЭК 17021-2008 Оценка соответствия. Требования к органам, проводящим аудит и сертификацию систем менеджмента; ГОСТ Р ИСО/МЭК 17030-2007 Общие требования к знакам соответствия при оценке, проводимой третьей стороной; ГОСТ Р ИСО 10002-2007 Менеджмент организации. Удовлетворенность потребителя. Руководство по управлению претензиями в организациях; ГОСТ Р ИСО/МЭК 17011-2008 Оценка соответствия. Общие требования к органам по аккредитации, аккредитующим органы по оценке соответствия.
Дата введения - 2009-12-01 1 Область примененияНастоящий стандарт устанавливает порядок сертификации систем менеджмента качества на соответствие требованиям ГОСТ Р ИСО 9001-2008 в Системе сертификации ГОСТ Р. Стандарт предназначен для применения органами по сертификации систем менеджмента качества (далее - органы по сертификации) Системы сертификации ГОСТ Р, организациями, претендующими на получение сертификата соответствия системы менеджмента качества, организациями - держателями таких сертификатов. 2 Нормативные ссылкиВ настоящем стандарте использованы нормативные ссылки на следующие стандарты: ГОСТ Р ИСО 9000-2008 Системы менеджмента качества. Основные положения и словарь ГОСТ Р ИСО 9001-2008 Системы менеджмента качества. Требования ГОСТ Р ИСО 9004-2001 Системы менеджмента качества. Рекомендации по улучшению деятельности ГОСТ Р ИСО 14001-2007 Системы экологического менеджмента. Требования и руководство по применению ГОСТ Р ИСО/МЭК 17021-2008 Оценка соответствия. Требования к органам, проводящим аудит и сертификацию систем менеджмента ГОСТ Р ИСО 19011-2003 Руководящие указания по аудиту систем менеджмента качества и/или систем экологического менеджмента Примечание - При пользовании настоящим стандартом целесообразно проверить действие ссылочных стандартов в информационной системе общего пользования - на официальном сайте Федерального агентства по техническому регулированию и метрологии в сети Интернет или по ежегодно издаваемому информационному указателю «Национальные стандарты», который опубликован по состоянию на 1 января текущего года, и по соответствующим ежемесячно издаваемым информационным указателям, опубликованным в текущем году. Если ссылочный стандарт заменен (изменен), то при пользовании настоящим стандартом следует руководствоваться заменяющим (измененным) стандартом. Если ссылочный стандарт отменен без замены, то положение, в котором дана ссылка на него, применяется в части, не затрагивающей эту ссылку. 3 Термины и определенияВ настоящем стандарте применены следующие термины с соответствующими определениями: 3.1
3.2 заказчик: Организация, обратившаяся в орган по сертификации с заявкой на проведение работ по сертификации системы менеджмента качества. 3.3
Примечания 1 Внутренние аудиты, называемые аудитами первой стороны, проводит для внутренних целей непосредственно данная организация или от ее имени другая организация. Результаты внутреннего аудита могут служить основанием для декларации о соответствии. 2 Внешние аудиты включают в себя аудиты, называемые аудитами второй стороны и аудитами третьей стороны. Аудиты второй стороны проводят стороны, заинтересованные в деятельности предприятия, например потребители или другие лица от их имени. Аудиты третьей стороны проводят внешние независимые организации. Эти организации проводят сертификацию или регистрацию на соответствие требованиям, например, ГОСТ Р ИСО 9001-2008 и ГОСТ Р ИСО 14001-2007. 3 Аудит систем менеджмента качества и систем экологического менеджмента, проводимый одновременно, называют комплексным аудитом. 5 Если аудит проверяемой организации проводят одновременно несколько организаций, такой аудит называют совместным. 3.4
3.5 производственная площадка: Географически обособленное подразделение организации. 3.6 программа аудита: Совокупность нескольких аудитов (проверок), запланированных на конкретный период времени и направленных на достижение конкретной цели. Примечание - Программа аудита включает в себя всю деятельность, необходимую для планирования, организации и проведения аудитов. 3.7
3.8
Примечание - Критерии аудита используют для сопоставления с ними свидетельств аудита, приведенных в ГОСТ Р ИСО 19011. 3.9
Примечание - Свидетельства аудита могут быть качественными или количественными в соответствии с требованиями ГОСТ Р ИСО 19011. 3.10
Примечание - Выводы аудита могут указывать на соответствие или несоответствие критериям аудита или на возможности улучшения по ГОСТ Р ИСО 19011. 3.11
Примечание - Область аудита обычно включает в себя процессы и виды деятельности организации, местонахождение, организационную структуру, а также охватываемый период времени в соответствии с ГОСТ Р ИСО 19011. 3.12
3.13 комиссия: Один или несколько аудиторов, проводящих аудит, и технические эксперты, привлекаемые при необходимости. Примечания 1 Одного из экспертов назначают председателем комиссии. 2 Председатель комиссии должен иметь опыт участия не менее чем в трех полных (не менее 15 дней) аудитах в качестве эксперта по сертификации систем менеджмента качества и обладать навыками, необходимыми для эффективного руководства комиссией в процессе аудита. 3 В комиссию допускается включать технических экспертов и стажеров. 3.14
Примечания 1 Специальные знания или опыт включают в себя знания или опыт применительно к организации, процессу или деятельности, подвергаемой аудиту, а также знания языка или культуры страны, в которой проводят аудит. 2 Технический эксперт не имеет полномочий эксперта в комиссии в соответствии с требованиями ГОСТ Р ИСО 19011. 3.15 держатель сертификата: Организация, на имя которой выдан сертификат соответствия. 3.16
3.17
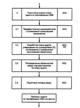
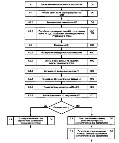
3.19 значительное несоответствие (категория 1): Несоответствие системы менеджмента качества, которое с большой вероятностью может повлечь невыполнение требований потребителей и/или обязательных требований к продукции. 3.20 малозначительное несоответствие (категория 2): Отдельное несистематическое упущение, ошибка, недочет в функционировании системы менеджмента качества или в документации, которые могут привести к невыполнению требований потребителя и/или обязательных требований к продукции, или к снижению результативности функционирования системы менеджмента качества. 3.21 уведомление: Свидетельство аудита, не носящее характер несоответствия и фиксируемое в целях предотвращения возможного несоответствия. 3.22 область применения системы менеджмента качества: Совокупность процессов жизненного цикла продукции (услуг), охватываемых системой менеджмента качества. 3.23 область сертификации: Область применения системы менеджмента качества, заявляемая организацией-заказчиком и подтверждаемая органом по сертификации с учетом допустимых исключений согласно 1.2 ГОСТ Р ИСО 9001-2008. 4 Цели проведения сертификации системы менеджмента качестваПри проведении/по результатам сертификации системы менеджмента качества (далее - СМК) определяют: - степень соответствия СМК проверяемой организации требованиям ГОСТ Р ИСО 9001-2008; - результативность СМК. 5 Требования к условиям проведения сертификации системы менеджмента качества5.1 Работы по сертификации СМК проводят в соответствии с ГОСТ Р ИСО/МЭК 17021-2008, ГОСТ Р ИСО 19011-2003 и настоящим стандартом аккредитованные в Системе сертификации ГОСТ Р органы по сертификации систем менеджмента качества. 5.2 Условием проведения сертификации СМК является наличие в организации документально оформленной и внедренной СМК. 5.3 К работе по сертификации СМК привлекают экспертов по сертификации систем менеджмента качества (далее - эксперты), зарегистрированных в Образовательной автономной некоммерческой организации (ОАНО) «Регистр Системы сертификации персонала» (РССП), и, при необходимости, технических экспертов. 5.4 Область применения СМК определяет и заявляет организация-заказчик, область сертификации СМК определяет орган по сертификации по результатам аудита. 6 Объекты аудита6.1 Объекты аудита при сертификации системы менеджмента качестваПри сертификации СМК объектами аудита являются: - область применения СМК; - качество продукции; - документы СМК; - процессы СМК. 6.2 Область применения системы менеджмента качестваПри проверке области применения СМК орган по сертификации анализирует: а) все ли виды продукции и процессы жизненного цикла, указанные в заявке проверяемой организации на сертификацию, охвачены СМК; б) правомерность исключений из требований к СМК организации требований раздела 7 ГОСТ Р ИСО 9001-2008 к процессам жизненного цикла продукции, если такие исключения указаны в заявке на сертификацию в соответствии с 1.2 ГОСТ Р ИСО 9001-2008. Анализ исключений проводят для каждого вида продукции, указанного в заявке на сертификацию. Подробное обоснование таких исключений должно быть приведено в соответствующем разделе Руководства по качеству. Неправомерное исключение требований раздела 7 ГОСТ Р ИСО 9001-2008 к СМК или исключение требований других разделов ГОСТ Р ИСО 9001-2008 должно быть рассмотрено как несоответствие. Проверка и анализ области применения СМК могут осуществляться на протяжении всего процесса сертификации. Примечание - Организация не должна исключать из области применения СМК процессы жизненного цикла продукции, влияющие на соответствие продукции установленным требованиям, или другие процессы, которые осуществляет данная организация или передает (поручает, закупает) другим организациям в соответствии с договорами (контрактами) или другими обязательствами. 6.3 Качество продукцииСоответствие качества продукции требованиям потребителей и обязательным требованиям оценивают на основе: - данных о требованиях, относящихся к продукции, которые организация должна выполнять, в том числе обязательных требований; - результатов анализа данных, касающихся удовлетворенности потребителей; - данных о качестве продукции, полученных от организаций, уполномоченных осуществлять государственный контроль и надзор за качеством продукции; - данных мониторинга и измерений продукции на стадиях ее жизненного цикла. Примечания 1 Сертификация СМК не предусматривает проведение специально запланированных испытаний, анализа или измерений показателей качества продукции. Если у членов комиссии возникают сомнения в качестве продукции или достоверности испытаний, эксперты могут участвовать в испытаниях продукции, проводимых проверяемой организацией. Если в соответствии с действующим в Российской Федерации законодательством продукция подлежит обязательной сертификации, то при сертификации и инспекционном контроле СМК в рамках оценки системы контроля и испытаний определяют, может ли эта система проверять обязательные требования к продукции. 6.4 Документы системы менеджмента качества6.4.1 Комплект документов СМК должен соответствовать требованиям 4.2.1 ГОСТ Р ИСО 9001-2008. 6.4.2 При проверке содержания документов анализируют, все ли требования ГОСТ Р ИСО 9001-2008 к документации учтены в СМК. 6.4.3 Орган по сертификации проверяет наличие документов, необходимых организации для обеспечения эффективного планирования, осуществления процессов и управления ими. 6.4.4 Проверяют наличие следующих обязательных документированных процедур и их соответствие требованиям следующих пунктов ГОСТ Р ИСО 9001-2008: - управление документацией - 4.2.3; - управление записями - 4.2.4; - внутренние аудиты - 8.2.2; - управление несоответствующей продукцией - 8.3; - корректирующие действия - 8.5.2; - предупреждающие действия - 8.5.3. Примечание - Допускается объединять процедуры по нескольким видам деятельности в один документ (например, процедуры управления документацией и записями, выполнения корректирующих и предупреждающих действий). 6.4.5 Орган по сертификации проверяет записи, указанные как обязательные в пунктах ГОСТ Р ИСО 9001-2008 требованием «должны» и ссылкой (4.2.4), с учетом допустимых исключений. Примечание - Орган по сертификации должен учитывать, что организации могут разрабатывать и применять дополнительно другие записи, необходимые для регистрации данных относительно результативности процессов системы менеджмента качества и соответствия качества продукции предъявляемым требованиям. 6.5 Процессы системы менеджмента качестваОбъектами аудита являются процессы СМК, обеспечивающие выполнение организацией требований потребителя и обязательных требований к выпускаемой продукции. При этом, как правило, аудит проводят по процессам СМК применительно к конкретно выбранному комиссией контракту (заказу), устанавливающему требования потребителя на продукцию, производимую на момент проверки, и контракту (заказу) на продукцию, поставленную потребителю. Если потребитель не выдвинул конкретных требований, то объектами аудита являются процессы СМК применительно к продукции, требования к которой установлены техническими регламентами, стандартами или другими нормативными или техническими документами. Орган по сертификации должен проверить и оценить идентифицированные организацией процессы, необходимые для СМК, их применение ко всей организации, представленные объективные свидетельства результативности этих процессов. Объективные свидетельства эксперт получает из источников информации, приведенных в 7.5.2.2. Модель системы менеджмента качества, основанная на процессном подходе, приведена в ГОСТ Р ИСО 9000. 7 Процесс сертификации системы менеджмента качества7.1 Общие требования7.1.1 Процесс сертификации СМК предусматривает организационный этап, двухэтапный первичный аудит по сертификации СМК, надзорные аудиты (инспекционный контроль) в течение срока действия сертификата и после трехлетнего цикла сертификации - ресертификацию до окончания срока действия сертификата. Трехлетний цикл сертификации начинается с принятия решения о сертификации. 7.1.2 Блок-схема деятельности по сертификации СМК приведена в приложении А (рисунки А. 1 - А. 6). 7.2 Организационный этап работ7.2.1 Основание для начала работ Основанием для начала работ служит заявка по форме, приведенной в приложении Б, направленная организацией-заказчиком в орган по сертификации. В заявку должна быть включена или к ней приложена следующая информация: - общая характеристика организации-заказчика, ее наименование, юридический и фактический адреса и адреса производственных площадок, юридический статус, сведения о человеческих и технических ресурсах; - заявляемая область сертификации (область применения СМК); - заявление о согласии организации-заказчика удовлетворять все требования к сертификации и предоставлять любую информацию, необходимую для проведения аудита; - наименование стандарта или других нормативных документов, на соответствие которым планируется сертификация СМК. Примечание - К техническим ресурсам относят: оборудование, программное обеспечение, транспортные средства и др. Орган по сертификации регистрирует заявку, проводит анализ заявки для определения возможности проведения сертификации с учетом: - оценки соответствия области применения СМК области аккредитации органа по сертификации; - наличия в органе по сертификации необходимой информации для планирования аудита (местоположение организации; численность работников; число производственных площадок и их местоположение; предпочтительные сроки проведения аудита; сведения по всем процессам, переданным организацией сторонним организациям; рабочий язык аудита и др.); - имеющиеся у органа по сертификации возможности проведения работ в сроки, предпочтительные для организации-заказчика (далее - заказчик), и наличие соответствующих ресурсов. Примечание - Основанием для начала работ может служить письмо-обращение, составленное в произвольной форме. При направлении в орган по сертификации письма-обращения и подтверждении возможности проведения сертификации заказчик оформляет заявку на сертификацию на официальном бланке и направляет ее в орган по сертификации. Орган по сертификации после проведения анализа заявки письменно - по форме, приведенной в приложении В, извещает заказчика о решении «принять/не принять» заявку на сертификацию СМК. В случае принятия заявки стоимость работ по анализу заявки должна быть включена в договор на проведение сертификации СМК. В случае отказа от принятия заявки орган по сертификации приводит в извещении основание для отрицательного решения. 7.2.2 Заключение договора на проведение сертификации СМК В случае положительного решения о принятии заявки на сертификацию СМК орган по сертификации и заказчик заключают договор. Перед заключением договора орган по сертификации проводит оценку трудозатрат на проведение сертификации по правилам, установленным в органе по сертификации. При оценке трудозатрат следует учитывать все производственные площадки заказчика. Рекомендуемые трудозатраты (в человеко-днях) на проведение аудита указаны в приложении Г. В связи с тем, что работы органа по сертификации должны быть оплачены в полном объеме независимо от результатов аудита, в договоре целесообразно предусмотреть предварительное поступление на счет органа по сертификации всей суммы оплаты до начала работ. Допускается возможность двухэтапной оплаты работ. 7.2.3 Формирование комиссии по сертификации После оплаты работ по договору орган по сертификации распоряжением руководства назначает председателя комиссии по сертификации (далее - комиссия) и формирует ее состав. Комиссия может состоять из одного или нескольких экспертов. Если аудит осуществляет один эксперт, он выполняет обязанности председателя комиссии. При определении численности и состава комиссии необходимо учитывать: - цели, область и критерии аудита; - сроки проведения аудита; - вид (виды) экономической деятельности проверяемой организации; - число структурных подразделений и филиалов проверяемой организации с различным местоположением; - численность работников проверяемой организации; - трудозатраты на проведение аудита; - необходимость обеспечения совокупной компетентности комиссии для достижения целей аудита; - требования законодательных и иных нормативных правовых актов, технических регламентов, применимых к проводимой оценке; - обеспечение независимости членов комиссии от сертифицируемой организации; - возможность членов комиссии результативно взаимодействовать с проверяемой организацией; - язык аудита. Для подтверждения совокупной компетентности комиссии необходимо назначать членов комиссии таким образом, чтобы комиссия в совокупности обладала знаниями критериев, процедур и методов аудита, а также специальными знаниями специфики производственных процессов. Состав комиссии должен быть сформирован с учетом требований ГОСТ Р ИСО 19011. Если эксперты в комиссии в совокупности не обладают необходимыми знаниями и опытом по конкретным видам экономической деятельности, то в комиссию должен(ны) быть включен(ы) технический(е) эксперт(ы). В состав комиссии не могут быть включены представители проверяемой организации, а также представители организаций, заинтересованных в результатах сертификации. В состав комиссии могут быть включены стажеры, работающие под руководством и наблюдением председателя комиссии. Состав комиссии утверждает руководство органа по сертификации. Примечания 1 Орган по сертификации по просьбе заказчика (проверяемой организации) может заменить конкретного члена комиссии по обоснованным мотивам, например, если предлагаемый член комиссии ранее работал в проверяемой организации или во время предыдущего аудита проявлял неэтичное поведение, и др. Возникающие претензии к составу комиссии должны быть разрешены до начала аудита «на месте». 2 Технические эксперты и стажеры при рассмотрении свидетельств и формировании выводов (наблюдений) аудита имеют только право совещательного голоса. 7.3 Проведение первого этапа аудита по сертификации системы менеджмента качестваПервый этап аудита по сертификации СМК проводят с целью определить соответствие документов системы требованиям ГОСТ Р ИСО 9001-2008. Председатель комиссии запрашивает у заказчика документы СМК для анализа: обязательные согласно приложению Д и дополнительные по своему усмотрению. Документы могут быть представлены как на бумажном носителе, так и в электронном виде. Порядок хранения документов устанавливает орган по сертификации. Полученные документы остаются в органе по сертификации в качестве контрольных документов. Орган по сертификации должен проверить соответствие Политики в области качества требованиям 5.3 ГОСТ Р ИСО 9001-2008. Орган по сертификации проводит анализ Руководства по качеству и всей документации, представленной заказчиком согласно разделу 6, на соответствие требованиям ГОСТ Р ИСО 9001-2008. При этом следует учитывать, что указанный стандарт содержит минимально необходимый объем требований к Руководству по качеству. Примечания 1 Объем, структура и содержание Руководства по качеству зависят от размера и специфики деятельности организации. Небольшие организации (малые предприятия) могут включать в Руководство по качеству описание всей системы менеджмента качества, а также все документированные процедуры, требуемые ГОСТ Р ИСО 9001-2008 или настоящим стандартом. Для крупных компаний, возможно, потребуется несколько Руководств по качеству, действующих по иерархии управления компанией (возможно, на национальном, региональном и других уровнях), а также для организаций, имеющих несколько производственных площадок с различным местоположением и/или отдельным юридическим статусом. 2 Заявку, запрошенные сведения и документы оформляют на русском языке или на языке, применяемом заказчиком и согласованном с органом по сертификации. Одновременно с анализом исходных документов, поступивших от проверяемой организации, комиссия запрашивает у этой организации сведения относительно проведения внутренних аудитов и анализа СМК со стороны руководства. Анализ должен быть завершен оформлением письменного отчета о предварительной проверке документов СМК, в котором наряду с указанием выявленных замечаний должно быть сформулировано (если это необходимо) заключение с обоснованием проведения частичного аудита «на месте» для снятия неясных вопросов или перехода ко второму этапу аудита. В случае частичной проверки СМК на «месте» председатель комиссии разрабатывает план проверки, в который включает проверку процессов и подразделений, вызвавших вопросы при анализе документов. Оплата проведения первого этапа аудита с выездом «на место» оговаривается с заказчиком включением этих работ в основной договор либо по дополнительному соглашению. Проведение первого этапа аудита без выезда «на место» возможно в случае, если заказчик представил в орган по сертификации документацию и информацию по СМК, полностью соответствующие 6.4 и не вызывающие у эксперта неясных (спорных) вопросов. Также на этом этапе возможно не выезжать на «место» в случае, если имеется длительный опыт взаимодействия с проверяемой организацией в рамках работ по оценке и сертификации СМК и орган по сертификации в достаточном объеме знаком с СМК данной организации. При положительном заключении о возможности перехода ко второму этапу аудита по сертификации СМК отчет, подписанный председателем комиссии и экспертом, проводившим анализ, орган по сертификации направляет проверяемой организации не позднее чем за две недели до начала второго этапа аудита. При этом к отчету должен быть приложен акт о частичном аудите «на месте» при его проведении с положительным заключением. При отрицательном заключении документы должны быть направлены заказчику на доработку. В случае если по результатам анализа документации и/или частичного аудита «на месте» выявлены несоответствия, организация-заказчик должна устранить их до начала проведения второго этапа аудита по сертификации СМК. Орган по сертификации проверяет факт устранения несоответствий, выявленных при анализе документации и/или частичном аудите, на втором этапе аудита по сертификации. Выполнение работ по повторному анализу документов и, в случае необходимости, проверки в организации устранения несоответствий, выявленных при частичном аудите, может быть предусмотрено в рамках дополнительного соглашения к договору. 7.4 Подготовка второго этапа аудита по сертификации системы менеджмента качества7.4.1 Общие положения Второй этап аудита по сертификации СМК (аудит на «месте») проводят непосредственно в организации заказчика в целях оценки внедрения и результативности СМК. До начала аудита председатель комиссии взаимодействуете проверяемой организацией в целях: - оценки условий местоположения проверяемой организации и размещения ее производственных площадок; - определения каналов обмена информацией с проверяемой организацией; - согласования порядка доступа к соответствующим документам; - согласования процедур обеспечения безопасности экспертов во время аудита; - определения представителей проверяемой организации, сопровождающих экспертов. Примечание - Орган по сертификации по договору подряда может поручить проведение на «месте» аудита системы менеджмента качества (или отдельных ее процессов) другому органу по сертификации. При этом орган по сертификации, передающий часть своей деятельности другому органу, несет полную ответственность за проведенный подрядчиком аудит. 7.4.2 Подготовка плана аудита Председатель комиссии подготавливает план аудита по форме приложения Е. При установлении сроков проведения аудита орган по сертификации учитывает: - требования ГОСТ Р ИСО 9001-2008; - размер организации и сложность производственных процессов; - технологические и обязательные требования; - аутсорсинг любой деятельности, охватываемой СМК; - число производственных площадок. Если в ходе аудита проверяют производственные площадки, находящиеся в различных местах и осуществляющие схожую деятельность, охватываемую СМК заказчика, орган по сертификации включает в план представительную выборку, позволяющую оценить СМК в полном объеме. Председатель комиссии, руководствуясь планом аудита по согласованию с членами комиссии, распределяет между ними обязанности по аудиту конкретных подразделений, видов деятельности, процессов и процедур СМК проверяемой организации. При распределении обязанностей учитывают необходимость соответствия компетентности экспертов и технических экспертов проверяемым видам деятельности организации согласно плану аудита. План аудита утверждает руководство органа по сертификации. Примечания 1 Если продукция подлежит обязательной сертификации, в план аудита должна быть включена проверка системы контроля и испытаний продукции, указанной в 6.3, примечание 2. 2 План аудита должен включать в себя указание на рабочий язык аудита в случае, если есть различия между языками, на которых говорят эксперты и персонал проверяемой организации. 3 План аудита формируют с учетом оцененной трудоемкости. 4 Аутсорсинг означает передачу заказчиком сторонней организации деятельности по выполнению отдельного процесса, являющегося неотъемлемой частью заявленной области сертификации системы менеджмента качества. План аудита должен быть доведен до сведения проверяемой организации до начала аудита «на месте». Любые возражения проверяемой организации должны быть разрешены до начала аудита председателем комиссии и представителем проверяемой организации, имеющим соответствующие полномочия. В ходе аудита председатель комиссии вправе вносить изменения в план аудита, которые должны быть согласованы с проверяемой организацией. При подготовке к аудиту могут быть использованы типовые формы, разработанные органом по сертификации. Состав типовых форм определяет орган по сертификации с учетом требований ГОСТ Р ИСО/МЭК 17021-2008. 7.5 Проведение второго этапа аудита по сертификации системы менеджмента качества (аудита «на месте»)7.5.1 Предварительное совещание Предварительное совещание проводят под руководством председателя комиссии с участием членов комиссии, руководства и ведущих специалистов проверяемой организации. Целями предварительного совещания являются: - подтверждение со стороны организации возможности реализации плана аудита; - краткое изложение используемых методов и процедур аудита; - установление официальных процедур взаимодействия между членами комиссии и сотрудниками проверяемой организации; - обсуждение возникших вопросов. На предварительном совещании председатель комиссии должен: - представить участников комиссии с указанием их роли в аудите; - сообщить график проведения работ по аудиту, дату и время заключительного совещания и других мероприятий, касающихся аудита, таких как промежуточные совещания, проводимые комиссией и руководством проверяемой организации; - кратко ознакомить с методами и процедурами аудита; - проинформировать организацию о том, что аудит выборочный и, следовательно, результаты оценки носят вероятностный характер; - сообщить о рабочем языке аудита, при необходимости; - сообщить о порядке информирования проверяемой организации о ходе аудита; - подтвердить соблюдение комиссией требований конфиденциальности; - проинформировать о правилах классификации наблюдений и принятия решений по результатам сертификации; - ознакомить с правилами составления акта; - проинформировать об условиях, при которых аудит может быть прекращен; - проинформировать организацию о возможности апелляции, при необходимости; - проинформировать о задачах проверяемой организации и последующих действиях органа по сертификации в случае, если акт будет содержать указания о несоответствиях. 7.5.2 Аудит СМК «на месте» 7.5.2.1 Общие положения Объекты аудита приведены в разделе 6. Председатель комиссии периодически информирует проверяемую организацию о ходе аудита. Члены комиссии должны периодически обмениваться информацией и оценивать результаты наблюдений. Председатель комиссии при необходимости может перераспределять выполняемые функции экспертов и технических экспертов. Ежедневно в конце рабочего дня председатель комиссии должен проводить рабочие совещания членов комиссии. Информацию, полученную в ходе аудита, свидетельствующую о наличии непосредственного риска нарушения требований к качеству продукции, к производственным процессам или производственной среде, немедленно доводят до сведения руководства проверяемой организации. Если свидетельства аудита указывают на то, что цели аудита недостижимы, председатель комиссии докладывает о причинах этого в орган по сертификации и руководству проверяемой организации для определения дальнейших действий: коррекции плана аудита, изменения области сертификации СМК или прекращения аудита. 7.5.2.2 Сбор, проверка и регистрация данных Комиссия собирает и проверяет информацию, касающуюся области и объектов аудита, включая информацию о взаимодействии структурных подразделений организаций и процессов СМК. Только проверенная информация может быть свидетельством аудита. В качестве источников информации используют: - интервью с работниками проверяемой организации; - собственные наблюдения экспертов за деятельностью персонала, функционированием процессов, условиями труда и состоянием рабочих мест; - данные обратной связи от потребителей; - документы СМК, такие как Политика и цели в области качества, Руководство по качеству, планы по качеству, стандарты организации (документированные процедуры), технологические регламенты (технологические процессы), положения, инструкции, внешние нормативные и технические документы, договоры, контракты и др.; - документы, содержащие данные о процессах СМК (записи), такие как акты (отчеты) по внутренним аудитам, отчеты об анализе со стороны руководства, протоколы испытаний продукции, решения совещаний по проблемам качества, информация по результатам мониторинга и измерений продукции и процессов, рабочие журналы, заполненные ведомости, формы, бланки и др.; - данные обзоров, анализов результативности функционирования СМК; - результаты оценки и рейтинги поставщиков. Информация, полученная из указанных источников, должна быть проверена на объективность. При проверке соответствия функционирования системы менеджмента качества требованиям, установленным в документах СМК и ГОСТ Р ИСО 9001-2008, организация должна предоставить объективные свидетельства постоянного повышения результативности СМК в соответствии с рекомендациями ГОСТ Р ИСО 9004-2001. 7.5.2.3 Формирование выводов аудита Полученная и проверенная информация по объектам аудита должна быть сопоставлена с критериями аудита для формирования выводов. Выводы аудита могут указывать на соответствие или несоответствие СМК проверяемой организации критериям аудита и на возможности улучшения. Выводы аудита могут касаться и предотвращения возможных отклонений, тогда эти выводы классифицируют как уведомления. Свидетельства аудита должны быть обобщены с указанием процессов и требований, которые были проверены, а также мест наблюдений. Несоответствия, уведомления и подтверждающие их свидетельства аудита должны быть зарегистрированы. Любые несоответствия или возможности улучшения должны быть доведены до сведения организации. При улучшении деятельности организация руководствуется принципами менеджмента качества, изложенными в ГОСТ Р ИСО 9000. Орган по сертификации обеспечивает сохранность рабочих документов и любых записей по аудиту в порядке, установленном органом по сертификации. 7.5.2.4 Классификация и регистрация выводов В ходе аудита СМК все обнаруженные несоответствия требованиям ГОСТ Р ИСО 9001-2008 и документам СМК организации должны быть тщательно рассмотрены и классифицированы комиссией согласно 3.18 - 3.21 в зависимости от степени несоответствия рассматриваемого объекта аудита. Выводы, сделанные в ходе аудита, классифицируют в целях оценки выполнения проверяемой организацией корректирующих действий (для устранения причин несоответствий), адекватных последствиям выявленных несоответствий, принятия органом по сертификации решения о выдаче или об отказе в выдаче сертификата, а также расширении или сужении области сертификации. Неоднократное повторение малозначительных несоответствий одного вида (связанных с одним и тем же элементом СМК) дает основание для перевода их в значительные несоответствия. Окончательное решение по отнесению несоответствий к несоответствиям определенных категорий принимает председатель комиссии. Обнаруженные несоответствия и уведомления регистрируют на бланках по формам, приведенным, соответственно, в приложениях Ж и И. Исправления на бланках не допускаются. Зарегистрированные несоответствия и уведомления официально представляют руководству проверяемой организации. Примечание - В случае разногласий с уполномоченным представителем проверяемой организации, касающихся выводов комиссии, председатель комиссии решает вопросы с руководством организации. 7.5.2.5 Действия с несоответствиями и уведомлениями Действия с несоответствиями и уведомлениями состоят из следующих этапов: - комиссия официально представляет руководству проверяемой организации зарегистрированные несоответствия и уведомления, при этом возможны обсуждение и рассмотрение аргументов организации по зарегистрированным несоответствиям и уведомлениям; - если организация устранит несоответствия и учтет уведомления, о чем представит убедительные свидетельства во время работы комиссии, комиссия снимает такое несоответствие или уведомление, что эксперт подтверждает своей подписью на бланке регистрации несоответствий или уведомлений. Число снятых несоответствий и учтенных уведомлений фиксируют в акте, но не учитывают при принятии решения о выдаче сертификата соответствия; - уполномоченный представитель руководства проверяемой организации ставит свою подпись на бланках регистрации несоответствий и уведомлений; - проверяемая организация проводит анализ причин несоответствий и уведомлений и планирует проведение корректирующих действий; - в случае возникновения затруднений у проверяемой организации при планировании корректирующих действий в период аудита орган по сертификации вправе предоставить дополнительно две недели (от даты проведения заключительного совещания) для завершения указанной работы. При наличии замечаний к плану корректирующих действий орган по сертификации извещает об этом проверяемую организацию, которая в течение двух недель проводит доработку плана. Срок, отводимый в плане корректирующих действий на их выполнение, не должен превышать: - 12 недель (от даты проведения заключительного совещания) при наличии одного и более значительного несоответствия; - пяти недель (от даты проведения заключительного совещания) при наличии только малозначительных несоответствий. Проверка учета уведомлений должна быть включена в план очередного инспекционного контроля. Если в орган по сертификации не будет представлен план корректирующих действий по устранению выявленных несоответствий, процесс сертификации должен быть прекращен. Возобновление процесса сертификации может быть осуществлено только после подачи повторной заявки на сертификацию (7.2). 7.5.3 Подготовка акта по результатам аудита «на месте», проведение заключительного совещания, утверждение и рассылка акта 7.5.3.1 Подготовка акта по результатам аудита Председатель комиссии несет ответственность за подготовку и содержание акта по результатам аудита. До заключительного совещания комиссия проводит следующую работу: - анализирует наблюдения, выводы аудита и любую другую информацию, собранную в ходе аудита и соответствующую его целям; - анализирует выявленные несоответствия и уведомления; - оформляет акт по результатам аудита, принимая во внимание выборочный характер рассмотрения объектов аудита; - подготавливает рекомендации органу по сертификации для принятия решения о выдаче (невыдаче) сертификата соответствия СМК организации; - информирует о периодичности проведения инспекционного контроля СМК. Результаты аудита, выводы и рекомендации комиссия оформляет в виде акта, форма и основные разделы которого приведены в приложении К. В акте необходимо отразить: - свидетельства соответствия всем требованиям ГОСТ Р ИСО 9001-2008; - подтверждение результативности внедрения, поддержания и улучшения СМК; - результаты внутренних аудитов и анализа СМК со стороны руководства; - обеспечение имеющейся системой контроля и испытаний проверки выполнения требований к продукции, в том числе обязательных; - информацию о проверенных процессах и документах СМК организации; - информацию о достигнутых улучшениях СМК за предшествующий аудиту период; - возможности улучшения СМК без рекомендаций готовых решений; - рекомендации комиссии органу по сертификации в отношении выдачи/невыдачи сертификата. Примечание - Не допускается идентифицировать несоответствия и уведомления как возможности для улучшения. К акту должны быть приложены: - план аудита СМК; - заполненные бланки регистрации несоответствий и уведомлений; - записи, подтверждающие устранение несоответствий в ходе аудита; - протоколы разногласий (при их наличии). К акту могут быть приложены: - протоколы испытаний продукции; - отчеты о качестве продукции за определенный период времени; - данные по анализу состояния производственной среды в организации за определенный период времени; - данные по анализу корректирующих действий, выполненных в период работы комиссии при сертификации СМК, и др.; - справка о поступивших рекламациях за предшествующий аудиту год. 7.5.3.2 Проведение заключительного совещания По результатам аудита председатель комиссии проводит заключительное совещание и представляет проект акта, включающий в себя описание всех несоответствий и уведомлений. На заключительном совещании должны присутствовать руководство, ведущие специалисты проверяемой организации и члены комиссии. На совещании председатель комиссии доводит до участников совещания результаты аудита, представляет выводы и заключения по аудиту СМК. Примечание - Любые разногласия по выводам аудита между комиссией и проверяемой организацией должны быть обсуждены и, по возможности, разрешены до заключительного совещания. Если согласие не достигнуто, оба мнения должны быть запротоколированы. Проверяемая организация при этом вправе обратиться в комиссию по апелляциям органа по сертификации. 7.5.3.3 Утверждение и рассылка акта по результатам аудита Акт подписывают председатель комиссии, члены комиссии и предоставляют для ознакомления и подписи руководителю проверяемой организации или его представителю. Акт печатают, как правило, в двух экземплярах, если не предусмотрено другое. Один экземпляр акта передают проверяемой организации-заказчику, другой - органу по сертификации. Экземпляры акта являются собственностью проверяемой организации и органа по сертификации, при этом члены комиссии и проверяемая организация должны строго соблюдать требования конфиденциальности. 7.6 Завершение сертификации, регистрация и выдача сертификата соответствия системы менеджмента качества7.6.1 Общие положения Сертификацию СМК не считают завершенной, пока не будут проведены все запланированные корректирующие действия и проверена результативность их выполнения. Работу комиссии считают завершенной, если выполнены все работы, предусмотренные планом аудита, акт по результатам аудита подписан сторонами и разослан, комиссии представлены план и отчет по выполнению корректирующих действий по устранению выявленных несоответствий. Документы, имеющие отношение к аудиту, хранят или уничтожают в соответствии с процедурами органа по сертификации и существующими законодательными, нормативными и контрактными требованиями. Комиссия и руководство органа по сертификации не должны раскрывать содержание документов и другую информацию, полученную во время аудита, а также содержание актов по результатам аудита любой другой стороне без согласия проверяемой организации (заказчика). 7.6.2 Контроль выполнения корректирующих действий по устранению несоответствий по результатам аудита «на месте» Контроль выполнения корректирующих действий по установленным несоответствиям орган по сертификации осуществляет после получения письменного отчета проверяемой организации об устранении несоответствий. В отчете заказчик указывает информацию о проведенном анализе причин выявленных несоответствий и конкретные предпринятые корректирующие действия по их устранению. Выполнение корректирующих действий по значительным несоответствиям контролируют при обязательном посещении экспертом(ами) органа по сертификации проверяемой организации. При контроле выполнения корректирующих действий по малозначительным несоответствиям допускается рассмотрение письменного отчета проверяемой организации, если содержание корректирующего действия не требует обязательной проверки «на месте». Во время аудита в целях контроля выполнения корректирующих действий эксперт проверяет фактическое выполнение и результативность корректирующих действий. Если корректирующие действия по несоответствиям при наличии соответствующих объективных свидетельств признаны неудовлетворительными, то результат аудита и оценки СМК организации признают отрицательным и орган по сертификации уведомляет организацию об отказе в выдаче сертификата. 7.6.3 Критерии для принятия решения о соответствии/несоответствии СМК установленным 7.6.3.1 Критерием для принятия решения о соответствии/несоответствии СМК установленным требованиям является отсутствие/присутствие несоответствий или выполнение/невыполнение проверяемой организацией корректирующих действий в согласованные сроки и признание/непризнание органом по сертификации их результативности. 7.6.3.2 Решение о выдаче или отказе в выдаче сертификата соответствия СМК принимает руководство органа по сертификации на основании рассмотрения акта по результатам аудита и отчета по выполнению корректирующих действий. Решение должны принимать лица, не принимавшие участия в аудите. Решение о выдаче сертификата может быть принято только после устранения всех зарегистрированных несоответствий и вызвавших их причин, т.е. после рассмотрения письменного отчета проверяемой организации органом по сертификации о проведенных корректирующих действиях и, если это необходимо, после рассмотрения результатов выполнения корректирующих действий «на месте» (7.6.2). Форма решения о выдаче сертификата соответствия СМК требованиям ГОСТ Р ИСО 9001-2008 приведена в приложении Л. В случае если орган по сертификации признает неудовлетворительными результаты выполнения корректирующих действий, должно быть принято решение об отказе в выдаче сертификата, о чем должна быть уведомлена организация-заказчик. Примечание - Все повторные аудиты (посещения) проверяемой организации и командировочные расходы экспертов проверяемая организация (заказчик) оплачивает сверх сумм за сертификацию СМК. 7.6.4 Оформление сертификата соответствия СМК 7.6.4.1 При положительном решении орган по сертификации оформляет сертификат соответствия СМК установленного образца. В приложении М приведены реквизиты и содержание сертификата, а также приложения к нему (формы 1 - 4) и образцы заполнения сертификата и приложения к нему (формы 5 - 10). Орган по сертификации присваивает сертификату регистрационный номер, затем сертификат регистрируют в Реестре органа по сертификации. Сертификат может иметь приложение. Решение об оформлении приложения к сертификату принимает руководство органа по сертификации по согласованию с заказчиком. В приложении к сертификату указывают все производственные площадки и их адреса, а также, при необходимости, уточняют информацию о продукции. 7.6.4.2 Руководитель органа по сертификации или его заместитель и председатель комиссии, проводившей аудит, подписывают сертификат. На сертификате ставят печать органа по сертификации. Учетный номер сертификата выдает технический центр Регистра систем качества по запросу органа по сертификации. Учетный номер проставляют под нижней рамкой сертификата. Учетный номер представляет собой порядковый номер сертификата, состоящий из пяти знаков в сводном перечне Регистра систем качества. После оформления сертификата соответствия СМК орган по сертификации представляет в технический центр Регистра систем качества копию сертификата для ведения сводного перечня и публикации официальной информации. Срок действия сертификата соответствия СМК - три года. 7.6.4.3 После оформления сертификата орган по сертификации и держатель сертификата в течение месяца заключают договор на проведение инспекционного контроля СМК на срок действия сертификата. Орган по сертификации передает проверяемой организации решение о выдаче сертификата, проект договора на проведение инспекционного контроля и вручает сертификат соответствия. Одновременно орган по сертификации дает письменное разрешение держателю сертификата на использование знака соответствия системы менеджмента качества, оформленное по приложению Н. 7.6.4.4 В случае отказа в выдаче сертификата заказчик имеет право в месячный срок после получения решения об отказе в выдаче сертификата направить в комиссию по апелляциям органа по сертификации или в комиссию по апелляциям Системы сертификации ГОСТ Р заявление о несогласии с заключением комиссии по аудиту. По результатам рассмотрения апелляции может быть назначен повторный аудит с другим составом комиссии, выполняемый за счет заказчика. 7.7 Инспекционный контроль сертифицированной системы менеджмента качества7.7.1 Инспекционный контроль может быть плановым и внеплановым. 7.7.2 Плановый инспекционный контроль должен проводиться, по крайней мере, один раз в год. Дата проведения первого инспекционного контроля не должна быть более поздней, чем через 12 месяцев после сертификации. Периодичность проведения инспекционного контроля устанавливается в договоре с организацией -держателем сертификата на инспекционный контроль. 7.7.3 Объекты аудита при плановом инспекционном контроле - по 6.1. 7.7.4 При плановом инспекционном контроле общий объем проверки должен включать в себя не менее 1/2 элементов системы менеджмента качества (пунктов ГОСТ Р ИСО 9001-2008). При этом при каждом инспекционном контроле проверяют: - внутренние аудиты и анализ со стороны руководства; - анализ действий, предпринятых в отношении несоответствий, выявленных в ходе предыдущей проверки; - обращение с жалобами; - результативность СМК в части достижения целей, установленных сертифицированным заказчиком; - развитие запланированных мероприятий, нацеленных на постоянное улучшение; - систему контроля и испытаний; - анализ изменений; - использование сертификата и знака соответствия. 7.7.5 Внеплановый инспекционный контроль проводят в случаях: - получения органом по сертификации информации о любых серьезных нарушениях в рамках сертифицированной СМК, в том числе информации о жалобах потребителей на качество продукции, выпускаемой держателем сертификата; - существенных изменений организационной структуры организации, технологии и условий производства, численности персонала, кадрового состава и т.п. 7.7.6 Объекты аудита при внеплановом инспекционном контроле определяют в зависимости от причины, вызвавшей необходимость инспекционного контроля. 7.7.7 После получения органом по сертификации предоплаты в рамках заключенного договора на проведение инспекционного контроля руководитель органа по сертификации назначает председателя комиссии, который формирует состав комиссии по инспекционному контролю. Определение численности комиссии проводят с учетом числа и сложности объектов проверки, а также с учетом трудоемкости аудита. 7.7.8 Председатель комиссии составляет план проведения инспекционного контроля сертифицированной СМК (см. приложение Е). 7.7.9 Проведение инспекционного контроля осуществляют в соответствии с 7.5. 7.7.10 Результаты инспекционного контроля, выводы и рекомендации комиссии оформляют в виде акта по форме, приведенной в приложении К, и представляют в орган по сертификации. 7.7.11 При положительных результатах инспекционного контроля (отсутствие несоответствий, отсутствие нарушения правил использования сертификата и применения знака соответствия) орган по сертификации принимает решение о подтверждении действия сертификата соответствия. Форма решения приведена в приложении П. Если при инспекционном контроле обнаруживают невыполнение запланированных корректирующих действий по устранению несоответствий по результатам предыдущего инспекционного контроля, то орган по сертификации принимает решение о приостановлении действия выданного сертификата на срок до трех месяцев, оформляемое по форме, приведенной в приложении Р. Если указанные корректирующие действия не выполнены по истечении трех месяцев, то это влечет за собой отзыв сертификата соответствия системы менеджмента качества. Решение об отмене действия сертификата оформляют по форме, приведенной в приложении Р. 7.7.12 Если при инспекционном контроле будут установлены значительные несоответствия, то они должны быть устранены в течение трех недель после завершения инспекционного контроля. В этот же срок проверяемая организация направляет в орган по сертификации отчет об устранении установленных несоответствий. Орган по сертификации должен проверить результаты выполнения корректирующих действий в течение не более двух недель после получения отчета. Проверка выполнения корректирующих действий по устранению значительных несоответствий по усмотрению органа по сертификации может быть проведена по представленным документам и, затем, при плановом инспекционном контроле, или с немедленным выездом в организацию. Если результаты корректирующих действий будут признаны органом по сертификации неудовлетворительными или проверяемая организация не предоставит органу по сертификации возможности проверки результатов корректирующих действий, то это должно повлечь за собой отзыв сертификата соответствия СМК. 7.7.13 Если при инспекционном контроле будут установлены малозначительные несоответствия, то они должны быть устранены в согласованные с проверяемой организацией сроки, но не позднее трех недель после завершения инспекционного контроля. Отчет об устранении установленных малозначительных несоответствий проверяемая организация направляет в орган по сертификации. Орган по сертификации должен проверить результаты корректирующих действий в период последующего инспекционного контроля. Если на основании анализа отчета результаты будут признаны неудовлетворительными, то орган по сертификации вправе осуществить проверку корректирующих действий «на месте». Примечание - Все повторные аудиты (посещения проверяемой организации) и командировочные расходы экспертов проверяемая организация (заказчик) оплачивает сверх сумм за инспекционный контроль системы менеджмента качества. 7.7.14 Орган по сертификации при необходимости, обусловленной загруженностью персонала органа, территориальной удаленностью держателя сертификата, форс-мажорными обстоятельствами, может передать право проведения инспекционного контроля другому органу по сертификации СМК (далее - субподрядчик). При выборе субподрядчика учитывают: - наличие аттестата аккредитации; - область аккредитации; - наличие сертифицированных экспертов СМК по проверяемой области экономической деятельности; - отсутствие прямого или косвенного участия в работах по проектированию, внедрению или сопровождению СМК. Для подтверждения взаимного соответствия процедур аудита и оценки орган по сертификации может проверить и оценить компетентность персонала субподрядчика, а также документально оформленные процедуры сертификации и используемые в ходе аудитов рабочие документы. Отношения между органом по сертификации и субподрядчиком должны быть построены на основе документально оформленного и подписанного обеими сторонами соглашения, предусматривающего все необходимые положения, в том числе касающиеся конфиденциальности и разрешения спорных вопросов. При этом орган по сертификации должен в течение месяца уведомить держателя сертификата о передаче работ по инспекционному контролю субподрядчику. Орган по сертификации должен получить согласие держателя сертификата на передачу работ по инспекционному контролю субподрядчику. Орган по сертификации заключает с субподрядчиком договор, в котором должны быть указаны сроки проведения инспекционного контроля, стоимость работ и обязательства сторон. По результатам инспекционного контроля субподрядчик в недельный срок (после завершения инспекционного контроля) должен представить в орган по сертификации первый экземпляр акта по результатам инспекционного контроля. Проведение внепланового инспекционного контроля субподрядчиком должно быть установлено в особых условиях договора или оформлено в виде отдельного договора. В случае принятия решения о проведении внепланового инспекционного контроля орган по сертификации должен в течение трех дней уведомить субподрядчика о сроках его проведения. Орган по сертификации несет полную ответственность за подтверждение, приостановление или отмену действия сертификата, а также за сужение или расширение области сертификации по результатам инспекционного контроля, проведенного субподрядчиком. 8 Ресертификация системы менеджмента качества8.1 Порядок ресертификации СМ К аналогичен порядку сертификации, указанному в 7.2 - 7.6. Анализ документов СМК (первый этап аудита по сертификации) должен быть проведен при значительных изменениях в СМК или в условиях функционирования СМК (например, юридических изменениях). Заявка от организации, желающей ресертифицировать СМК, должна быть направлена в орган по сертификации за три месяца до окончания срока действия сертификата. Состав представляемых заказчиком ресертификации СМК документов и материалов (см. приложение Д) может быть изменен по усмотрению органа по сертификации. 8.2 При аудите по ресертификации СМК должен быть проведен анализ функционирования СМК в течение периода действия сертификата, включая анализ актов предыдущих аудитов, жалоб, полученных от потребителей. Аудит по ресертификации должен включать в себя проверку: - результативности СМК относительно ее целостности с учетом внутренних и внешних изменений, а также ее постоянного соответствия и применимости для области сертификации; - продемонстрированного обязательства по улучшению СМК в течение периода действия сертификата; - положительного влияния функционирования сертифицированной СМК на достижение политики и целей организации. При выявлении в ходе аудита по ресертификации СМК несоответствий или отсутствия достаточных свидетельств соответствия орган по сертификации должен установить срок, до которого должны быть выполнены коррекции и корректирующие действия. 9 Расширение или сужение области сертификации, приостановление или отмена действия сертификата9.1 Расширение области сертификации9.1.1 Область сертификации расширяют при изменении (увеличении): - процессов жизненного цикла продукции в рамках однородной продукции, применительно к которой была сертифицирована СМК; - номенклатуры продукции, выпускаемой организацией; - производственных площадок организации. 9.1.1.1 Держатель сертификата, желающий расширить область сертификации, направляет заявку (письмо-обращение) в орган по сертификации. В случае обращения держателя сертификата относительно расширения области сертификации СМК при изменении процессов жизненного цикла продукции в рамках однородной продукции, изменении номенклатуры продукции, увеличении числа производственных площадок орган по сертификации после оплаты держателем сертификата договора проводит аудит и оценку дополнительных процессов и процедур СМК. 9.1.1.2 При положительных результатах аудита держателю сертификата выдают новый сертификат, включающий в себя указание расширенной области сертификации, при этом предыдущий сертификат отменяют, а держатель сертификата сдает отмененный сертификат в орган по сертификации. Срок действия выдаваемого вновь сертификата остается тем же, что указан в отмененном сертификате. 9.1.1.3 Аудит по расширению области сертификации может быть совмещен с очередным инспекционным контролем СМК. При этом оплата инспекционного контроля должна быть увеличена на стоимость работ по расширению области сертификации. 9.1.1.4 На основании акта по результатам проведенного аудита орган по сертификации оформляет решение о расширении области сертификации. Форма указанного решения приведена в приложении С. 9.1.1.5 Решение органа по сертификации о расширении области сертификации и копию сертификата (сертификатов) орган по сертификации направляет в технический центр Регистра систем качества для ведения сводного перечня сертифицированных СМК и публикации официальной информации. 9.2 Сужение области сертификации9.2.1 Орган по сертификации должен сузить область сертификации заказчика, если при инспекционном контроле или аудите по ресертификации СМК обнаружатся сокращение области сертификации СМК или изменения в СМК, которые могут повлиять на выполнение требований, предъявляемых при сертификации. Рекомендации о сужении области сертификации комиссия органа по сертификации включает в акт по результатам аудита. 9.2.2 Сужение области сертификации может быть проведено по инициативе организации -держателя сертификата, которая направляет в орган по сертификации письмо-обращение с указанием исключаемого вида продукции или процесса СМК. В этом случае орган по сертификации проводит дополнительный аудит. Оплату аудита осуществляют по отдельному договору. 9.2.3 Орган по сертификации принимает решение о сужении области сертификации, оформляет его по форме, приведенной в приложении Т, и направляет вместе с копией сертификата в технический центр Регистра систем качества. 9.2.4 Держателю сертификата выдают новый сертификат на суженную область сертификации с сохранением срока действия отмененного сертификата. Отмененный сертификат подлежит возврату в орган по сертификации. 9.3 Приостановление или отмена действия сертификата9.3.1 Орган по сертификации должен приостановить действие сертификата в случаях, если: - при инспекционном контроле выясняется, что заказчик не может выполнить требования, предъявляемые при сертификации, включая требования к результативности сертифицированной СМК; - заказчик - держатель сертификата отказывается от проведения инспекционного контроля или не позволяет проводить инспекционный контроль с требуемой периодичностью; - заказчик - держатель сертификата не выполнил запланированные корректирующие действия по устранению несоответствий по результатам предыдущего инспекционного контроля (7.7.11); - выявлены нарушения правил использования сертификата и применения знака соответствия; - заказчик - держатель сертификата добровольно сделал запрос о приостановлении действия сертификата. Период приостановления действия сертификата не должен превышать шести месяцев. Решение о приостановлении действия сертификата оформляют по форме, приведенной в приложении Р. В случае если в период работ по приостановлению действия сертификата орган по сертификации сочтет невозможным дальнейшее использование сертификата, должно быть принято решение об его отмене или сужении области сертификации. 9.3.2 Отмена действия сертификата осуществляется органом по сертификации в случаях, если заказчик не выполнил требования 9.3.1 после окончания срока приостановления действия сертификата или по запросу организации - держателя сертификата в связи с ликвидацией организации или прекращением производства продукции, на которую распространяется сертификат. Решение об отмене действия сертификата оформляют по форме приложении Р. Копию решения об отмене действия сертификата орган по сертификации направляет в организацию и в технический центр Регистра систем качества. Подлинник решения остается в деле органа по сертификации. Отмененный сертификат подлежит возврату в орган по сертификации. 9.3.3 При приостановлении или отмене действия сертификата заказчик не должен использовать его в рекламных целях. В случае нарушения этого требования заказчик несет ответственность по правилам, установленным в органе по сертификации, выдавшем сертификат. 9.3.4 Орган по сертификации по запросу любой стороны должен предоставлять сведения относительно области действия сертификации системы менеджмента качества: приостановлена, отменена или сужена. 10 Применение сертификата соответствия и знака соответствия системы менеджмента качества10.1 Одновременно с выдачей сертификата орган по сертификации предоставляет держателю сертификата письменное разрешение на использование знака соответствия СМК. 10.2 Орган по сертификации должен контролировать правильность использования сертификатов и знаков соответствия СМК. 10.3 Организация - обладатель сертификата и знака соответствия не должна:' - наносить знак соответствия на продукцию, упаковку продукции, отчеты лабораторных исследований, поверки или испытаний, или использовать его иным способом, который может быть истолкован как подтверждение соответствия качества продукции; - распространять использование знака соответствия на деятельность, не охваченную областью сертификации; - ссылаться на сертификат и использовать знак соответствия при приостановлении, отмене или окончании срока действия сертификата. 10.4 Орган по сертификации должен принимать соответствующие меры при неправильных ссылках на систему сертификации или вводящих в заблуждение случаях применения сертификатов и знаков соответствия, выявленных в рекламе, каталогах, на сайтах Интернета и т.п. Примечание - К таким мерам относят: принуждение держателя сертификата к проведению корректирующих действий, отмену действия сертификата, публикацию о допущенных нарушениях и иные правовые предусмотренные законодательством действия. 10.5 Форма разрешения на использование знака соответствия СМК, выдаваемого органом по сертификации держателю сертификата соответствия, приведена в приложении Н. 11 Конфиденциальность информации11.1 Информация, получаемая в процессе сертификации, за исключением той, которая была раскрыта заказчиком, является конфиденциальной. 11.2 К конфиденциальной информации, в частности, относят сведения: - о технологии и организации производства, перспективных разработках продукции, «ноу-хау», коммерческие и любые другие данные, которые могут представлять интерес для конкурентов заказчика или держателя сертификата; - о недостатках организации, несоответствиях, материальных, организационных и технических трудностях, а также любые другие сведения, которые могут подорвать престиж организации, нанести ей моральный и/или материальный ущерб; - об экономических взаимоотношениях между участниками сертификации. 11.3 Для обеспечения конфиденциальности не допускается передача информации о сертификации, включая документацию СМК, акты по результатам аудита, рабочие материалы, третьим лицам без согласия заказчика. Орган по сертификации должен заблаговременно уведомить заказчика о своем намерении раскрыть информацию. Любую другую информацию, за исключением той, которая была раскрыта заказчиком, следует рассматривать как конфиденциальную. О предоставлении конфиденциальной информации другим органам (например, органу по аккредитации, арбитражной группе в схеме взаимной оценки) орган по сертификации должен уведомить заказчика. 12 Порядок рассмотрения жалоб12.1 Порядок рассмотрения жалоб должен быть установлен документами органа по сертификации. Документация, содержащая требования к процессу рассмотрения жалоб, должна находиться в органе по сертификации в открытом доступе. 12.2 Поступившие жалобы могут относиться как к деятельности органа по сертификации, так и к деятельности организации-заказчика, система менеджмента качества которой сертифицирована. Если жалоба относится к заказчику, то при ее рассмотрении внимание должно быть уделено результативности сертифицированной системы качества. 12.3 Орган по сертификации должен в течение трех дней передать заказчику относящуюся к нему жалобу. 12.4 Установленный документацией органа по сертификации порядок рассмотрения жалоб должен содержать порядок получения, оценки и принятия решений, связанных с жалобами. К процессу рассмотрения жалоб должны быть применены требования конфиденциальности в части его отношения к предъявителю жалобы и ее предмету. 12.5 Процесс рассмотрения жалоб должен включать в себя следующие процедуры: - получение, проверку, исследование жалобы, а также принятие решения о том, какие ответные меры должны быть приняты; - сопровождение и регистрацию жалоб, включая принятые ответные меры; - обеспечение выполнения коррекции и корректирующих действий. 12.6 При получении жалобы орган по сертификации должен нести ответственность за сбор и верификацию всей информации, необходимой для проверки жалобы. 12.7 Орган по сертификации должен подтвердить получение жалобы и предоставить предъявителю информацию о результатах ее рассмотрения. 12.8 Решение, которое должно быть сообщено предъявителю жалобы, должно быть принято лицом (лицами), не имевшим(и) отношения к предмету жалобы. 12.9 Орган по сертификации должен официально уведомить предъявителя жалобы об окончании процесса ее рассмотрения. 12.10 Орган по сертификации совместно с заказчиком и предъявителем жалобы должен определить, необходимо ли и, если да, то в какой степени разглашать предмет жалобы и сделанное по ней заключение. 13 Порядок рассмотрения апелляций13.1 Порядок рассмотрения апелляций должен быть установлен документами органа по сертификации, которые должны находиться в органе по сертификации в открытом доступе. 13.2 Орган по сертификации должен нести ответственность за все решения, принятые на всех уровнях процесса рассмотрения апелляций. Орган по сертификации должен обеспечивать, чтобы лица, вовлеченные в процесс рассмотрения апелляций, не проводили аудиты и не принимали решения, связанные с сертификацией. 13.3 Деятельность по подтверждению, исследованию и принятию решений, связанных с апелляциями, не должна носить какой-либо дискриминационный характер по отношению к предъявителю апелляции. 13.4 Процесс рассмотрения апелляций должен включать в себя следующие процедуры: - получение, валидацию, исследование апелляций, а также принятие решений о том, какие ответные действия должны быть предприняты с учетом результатов предыдущих апелляций (если таковые имелись); - сопровождение и регистрацию апелляций, включая предпринятые ответные действия; - обеспечение выполнения соответствующих коррекций и корректирующих действий. 13.5 Орган по сертификации должен подтвердить получение апелляции и предоставить предъявителю информацию о результатах ее рассмотрения. 13.6 Решение, которое должно быть сообщено предъявителю апелляции, должно быть принято лицом (лицами), ранее не имевшим(и) отношения к предмету апелляции. 13.7 Орган по сертификации должен официально уведомить предъявителя апелляции об окончании процесса ее рассмотрения. 14 Оплата работОплату работ по сертификации систем менеджмента качества проводят на основе договора. Размер оплаты зависит от численности персонала организации, размера организации, сложности выпускаемой продукции, применяемых технологических процессов, числа мест расположения производств (филиалов, производственных площадок и /или дочерних предприятий). 15 Рабочий языкВсе документы, используемые, регистрируемые и выдаваемые в рамках Регистра систем качества Системы сертификации ГОСТ Р, а также переписку оформляют на русском языке. Пожеланию проверяемой организации сертификаты соответствия и другие документы могут быть выданы органом по сертификации на английском языке. Приложение А
|
|||||||||||||||||||||||||||||||||||||||||||||||||||||||||||||||||||||||||||||||||||||||||||||||||||||||||||||||||||||||||||||||||||||||||||||||||||||||||||||||
|
_____________________________________________________________________________ наименование организации-заказчика Юридический адрес ___________________________________________________________ Телефон _____________ Факс _______________________ E-mail _____________________ Банковские реквизиты _________________________________________________________ в лице _______________________________________________________________________ фамилия, имя, отчество руководителя просит провести сертификацию (ресертификацию) системы менеджмента качества применительно к ________________________________________________________________ область применения СМК на соответствие требованиям ГОСТ Р ИСО 9001-2008 (ИСО 9001:2008) Данные о внедрении системы менеджмента качества ______________________________ ____________________________________________________________________________ номер и дата распорядительного документа Данные о сертификате соответствия системы менеджмента качества* ________________ ____________________________________________________________________________ наименование системы сертификации, ____________________________________________________________________________________________ наименование органа по сертификации систем менеджмента качества, _____________________________________________________________________________ номер и дата выдачи сертификата Численность персонала, работающего в организации-заказчике ______________________ Сведения о производственных площадках, на которые распространяется СМК _____________________________________________________________________________ наименование производственных площадок, их адрес и численность персонала _____________________________________________________________________________ Заказчик обязуется выполнять правила сертификации в Системе сертификации ГОСТ Р Дополнительные сведения ______________________________________________________ географическое положение организации-заказчика, _____________________________________________________________________________ информация о привлечении консалтинговой организации при разработке СМК Примечание 1 Перечень организаций - основных потребителей продукции (услуг). 2 Сведения обо всех процессах, переданных организацией-заказчиком сторонним организациям. _____________________________________________________________________________ наименование процесса и организации - исполнителя процесса Руководитель организации_______________ _________________________________ Подпись инициалы, фамилия Главный бухгалтер _____________________ __________________________________ Подпись инициалы, фамилия М.П. Дата
|
* Заполняют при наличии ранее выданного сертификата на СМК.
|
Руководителю ______________________________________________________________ наименование организации-заказчика __________________________________________________________________________ инициалы, фамилия ИЗВЕЩЕНИЕ _______________________________________________________________________________ наименование организации-заказчика Орган по сертификации ________________________________________________________ наименование органа по сертификации рассмотрел заявку ____________________________________________________________ ____________________________________________________________________________ наименование организации-заказчика на сертификацию системы менеджмента качества в соответствии с требованиями ГОСТ Р ИСО 9001-2008 (ИСО 9001:2008) и принял решение ____________________________________________________________ принять/не принять заявку Основание для отрицательного решения* ________________________________________ ____________________________________________________________________________ Руководитель органа по сертификации систем менеджмента качества ________________ _____________________________ _______________ _________________________ наименование органа по сертификации подпись инициалы, фамилия Дата |
* Заполняется при отрицательном решении
Таблица Г.1*
|
Число работников в организации |
Аудит по сертификации СМК «на месте», чел.-дни |
Аудит по ресертификации СМК, чел.-дни |
|
1-15 |
2 |
2 |
|
16-30 |
4 |
2 |
|
31-60 |
5 |
3 |
|
61-100 |
6 |
4 |
|
101-250 |
8 |
5 |
|
251-500 |
10 |
7 |
|
501-1000 |
12 |
8 |
|
1001-2000 |
15 |
10 |
|
2001-4000 |
18 |
12 |
|
>4001 |
21 |
14 |
Примечания
1 Дни аудита «на месте» не включают в себя периоды предварительного аудита и/или анализа документов.
2 Если смен более одной, расчет трудоемкости проводят отдельно по каждой смене.
3 Трудозатраты на проведение инспекционного контроля составляют не менее 60 % трудозатрат на аудит по сертификации системы менеджмента качества «на месте».
* В таблице приведено минимальное число человеко-дней.
Г.1 Политика организации в области качества (если она выполнена в виде отдельного документа и не включена в Руководство по качеству).
Г.2 Руководство по качеству.
Г.3 Структурная схема проверяемой организации с указанием административных и инженерных служб, основных и вспомогательных подразделений (цехов, участков, производственных площадок).
Г.4 Структурная схема службы качества проверяемой организации (если она не включена в общую структурную схему организации).
Г.5 Перечень документов СМК.
Г.6 Документированные процедуры, установленные в ГОСТ Р ИСО 9001-2008:
- управление документацией,
- управление записями,
- внутренние аудиты,
- управление несоответствующей продукцией,
- корректирующие действия,
- предупреждающие действия.
Г.7 Документы, необходимые организации для обеспечения эффективного планирования, осуществления процессов и управления ими в соответствии с действующим перечнем документов СМК, включая записи (выборочно, по запросу органа по сертификации).
Примечания
1 Перечень необходимых документов, включая записи, представляемых проверяемой организацией в орган по сертификации, должен быть уточнен в каждом конкретном случае и определен органом по сертификации.
2 Орган по сертификации вправе потребовать от проверяемой организации дополнительные документы, включая записи, необходимые для анализа.
|
|
Приложение 1 к акту УТВЕРЖДАЮ Руководитель органа по сертификации __________________________________ наименование органа по сертификации ___________________________________ подпись инициалы, фамилия. «_____»___________________200___ г |
||||||||||||||||||||||||||||||
|
ПЛАН ____________________________________________________________________________ наименование проверяемой организации, город 1 Цель и область аудита Сертификация (ресертификация, инспекционный контроль) системы менеджмента качества, действующей в организации, применительно к ______________________________ ____________________________________________________________________________ область применения СМК (область сертификации) на соответствие (подтверждение соответствия) требованиям ГОСТ Р ИСО 9001-2008 (ИСО 9001:2008) 2 Нормативная база аудита ____________________________________________________ 3 Сроки проведения аудита ____________________________________________________ 4 Состав комиссии ____________________________________________________________ 5 Объекты аудита При аудите должны быть проверены процессы и обеспечивающие их выполнение подразделения в соответствии с контрактом (заказом), устанавливающим требования потребителя к продукции, производство которой осуществляется на момент проверки, и контрактом (заказом) на произведенную и поставленную потребителю продукцию. Если потребитель не выдвинул конкретных требований, то при аудите должны быть проверены процессы применительно к продукции, требования к которой установлены техническими регламентами, стандартами или другими нормативными или техническими документами.
6 Требования конфиденциальности Комиссия обязуется не разглашать конфиденциальную информацию, полученную в ходе аудита системы менеджмента качества ______________________________________________ _____________________________________________________________________________ наименование проверяемой организации и не передавать материалы оценки третьим лицам без согласия заказчика. |
|||||||||||||||||||||||||||||||
|
СОГЛАСОВАНО Представитель руководства __________________________________ наименование проверяемой организации _________ ____________ Подпись инициалы, фамилия |
Председатель комиссии ___________________________________ наименование органа по сертификации ___________ _____________ Подпись инициалы, фамилия |
||||||||||||||||||||||||||||||
Приложение 2 (3 и т.д.) к акту
СИСТЕМА СЕРТИФИКАЦИИ ГОСТ Р
РЕГИСТР СИСТЕМ КАЧЕСТВА
|
РЕГИСТРАЦИЯ НЕСООТВЕТСТВИЯ |
|
Наименование органа по сертификации систем качества |
|
Наименование проверяемой организации |
Номер акта |
|
|
Дата |
|
Номер несоответствия |
Категория несоответствия |
Наименование проверяемого подразделения |
Номер пункта ГОСТ Р ИСО 9001-2008 (ИСО 9001:2008) |
Номер пункта и обозначение документа СМК организации |
|
|
|
|
|
|
|
Описание несоответствия: Председатель комиссии ____________________________ Подпись инициалы, фамилия |
Эксперт ____________________________________ Подпись инициалы, фамилия
|
|
Планируемые корректирующие действия: Срок выполнения _______________________________ Дата |
Представитель проверяемой организации ____________________________________ Подпись инициалы, фамилия |
|
Оценка комиссией результативности корректирующих действий ________________________________ дата |
Председатель комиссии (эксперт) ____________________________________ Подпись инициалы, фамилия |
Приложение 2 (3 и т.д.) к акту
СИСТЕМА СЕРТИФИКАЦИИ ГОСТ Р
РЕГИСТР СИСТЕМ КАЧЕСТВА
|
РЕГИСТРАЦИЯ УВЕДОМЛЕНИЙ |
|
Наименование органа по сертификации систем качества |
|
Наименование проверяемой организации: |
Акт (№) |
|||
|
|
Дата |
|||
|
Номер по порядку |
Описание уведомлений |
Номер пункта ГОСТ Р ИСО 9001-2008 (ИСО 9001:2008) |
Номер пункта и обозначение документа СМК организации |
Подтверждение учета уведомлений |
|
|
|
|
|
|
|
Председатель комиссии _________________________________________________ Подпись инициалы, фамилия Эксперты _____________________________ _________________________________________________ Подпись инициалы, фамилия _________________________________________________ Подпись инициалы, фамилия |
Представитель проверяемой организации ________________________________________ Подпись инициалы, фамилия
|
|||
АКТ
ПО РЕЗУЛЬТАТАМ АУДИТА СИСТЕМЫ МЕНЕДЖМЕНТА КАЧЕСТВА НА СООТВЕТСТВИЕ
(ПОДТВЕРЖДЕНИЕ СООТВЕТСТВИЯ) ТРЕБОВАНИЯМ ГОСТ Р ИСО 9001-2008 (ИСО 9001:2008)
|
___________________________________________________________________________ наименование организации-заказчика (держателя сертификата) 1 Цель и область аудита Сертификация (ресертификация, инспекционный контроль) системы менеджмента качества (СМК) применительно к __________________________________________________ _____________________________________________________________________________ область применения СМК (область сертификации) на соответствие (подтверждение соответствия) требованиям ГОСТ Р ИСО 9001-2008 (ИСО 9001:2008) 2 Основание __________________________________________________________________ заявка, договор и пр. 3 Сроки проведения аудита _____________________________________________________________________________ 4 Состав комиссии по сертификации (ресертификации, инспекционному контролю) _____ _____________________________________________________________________________ Нормативная база аудита* ______________________________________________________ Результаты аудита-**- _________________________________________________________ Выводы комиссии _____________________________________________________________ Адреса рассылки ______________________________________________________________ * Указывают документы, в соответствии с которыми проводят аудит (ГОСТ Р ИСО 9001-2008) (ИСО 9001:2008), настоящий стандарт, а также документы системы менеджмента качества проверяемой организации). ** Указывают проверяемые документы и процессы СМК организации, а также обеспечивает ли система контроля проверку выполнения обязательных требований к продукции, подлежащей обязательной сертификации. 9 Дополнительные сведения (при необходимости) __________________________________ _____________________________________________________________________________ _____________________________________________________________________________
|
|
|
Председатель комиссии _________________________ наименование органа по сертификации Члены комиссии:
С актом ознакомлен Представитель руководства проверяемой организации ____________________________ наименование проверяемой организации
|
_____________________________ Подпись инициалы, фамилия ______________________________ Подпись инициалы, фамилия _______________________________ _______________________________
__________________________________ Подпись инициалы, фамилия Дата ______________________________ Город _____________________________ |
Примечание - К акту должны быть приложены:
- план аудита системы менеджмента качества (приложение 1);
- заполненные бланки регистрации несоответствий и уведомлений (приложения 2, 3 и т.д.);
- записи, подтверждающие устранение несоответствий в ходе аудита и учет уведомлений;
- протоколы разногласий (при их наличии).
РЕШЕНИЕ
О ВЫДАЧЕ СЕРТИФИКАТА СООТВЕТСТВИЯ
СИСТЕМЫ МЕНЕДЖМЕНТА КАЧЕСТВА
|
Орган по сертификации систем менеджмента качества ______________________________ _____________________________________________________________________________ наименование органа по сертификации рассмотрел акт по результатам аудита и оценки системы менеджмента качества (СМК) от _____________________________________________________________________________ дата утверждения акта, _____________________________________________________________________________ наименование проверяемой организации, город на соответствие требованиям ГОСТ Р ИСО 9001-2008 (ИСО 9001:2008) применительно к ______________________________________________________________ область сертификации СМК и принял решение _____________________________________________________________ выдать (не выдать) сертификат соответствия Основание для отрицательного решения* ________________________________________ Руководитель органа по сертификации систем менеджмента качества ________________________________________________________ Подпись инициалы, фамилия Дата М.П.
|
Форма 1
Реквизиты сертификата соответствия (на русском языке)

|
(13) |
|
Форма 2
Реквизиты сертификата соответствия (на английском языке)

|
(13) |
|
Содержание сертификата соответствия системы менеджмента качества
Прямоугольные поля на формате сертификата соответствия СМК (далее - сертификат), обозначенные цифрами в скобках, носят условный характер и должны содержать следующие данные:
1 - полное и сокращенное (если имеется) наименование органа по сертификации систем менеджмента качества, его адрес и регистрационный номер;
2 - учетный номер бланка сертификата;
3 - номер выпуска сертификата и информацию о годе первой сертификации СМК (например, Выпуск 2. СМК сертифицирована с 2003);
4 - слова: «Выдан...(указывают наименование, юридический адрес организации - держателя сертификата по документу о регистрации организации и, при наличии, указывают одну производственную площадку)».
При сертификации СМК организаций, имеющих более одной производственной площадки, наименования и юридические адреса этих площадок указывают в приложении к сертификату;
5 - характеристику области сертификации СМК «Система менеджмента качества организации, применительно к.... (указывают основные процессы жизненного цикла продукции, охватываемые системой менеджмента качества, например, проектирование, производство, поставка и т.п., и наименование продукции, выпускаемой организацией и включенной в область сертификации)».
Наименование продукции формулируют на основе наименования продукции в стандартах, технических условиях и других документах, устанавливающих технические требования к продукции. При необходимости уточнения продукции эту информацию помещают в приложении к сертификату.
Если сертификация проводилась в отношении системы менеджмента качества, охватывающей группу компаний (группу юридических лиц), то сертификат может быть оформлен на каждое лицо из этих юридических лиц с указанием в поле 5 его области сертификации. В этом же поле указывают состав всех юридических лиц, на которых распространяется система менеджмента качества.
Образцы заполнения сертификатов на юридические лица, входящие в группу компаний, для которой сертифицирована система менеджмента качества, приведены в формах 9,10;
6 - при оформлении приложения к сертификату в этом поле сертификата дают ссылку: «Приложение является неотъемлемой частью сертификата».
Если приложение к сертификату не оформляют, в данном поле делают запись: «Разъяснения, касающиеся области сертификации СМК, могут быть получены путем консультаций с ...» (указывают наименование организации - держателя настоящего сертификата;
7 - регистрационный номер сертификата;
8 - дату регистрации сертификата (число, месяц, год);
9 - дату, до которой действует сертификат (число, месяц, год);
10 - инициалы и фамилию руководителя органа по сертификации (или его заместителя) и место подписи;
11 - инициалы и фамилию председателя комиссии, проводившей сертификацию, и место подписи;
12 - место печати органа по сертификации;
13 - учетный номер сертификата в сводном перечне Регистра систем качества.
Форма 3
Форма приложения к сертификату соответствия (на русском языке)

Форма 4
Форма приложения к сертификату соответствия (на английском языке)

Содержание приложения к сертификату соответствия системы менеджмента качества
Прямоугольные поля на формате сертификата, обозначенные цифрами, носят условный характер и должны содержать следующие данные:
1 - область сертификации системы менеджмента качества;
2 - наименование производственных площадок организации, имеющих разное местоположение и охватываемых сертифицированной СМК, с указанием их адресов (в случае, если производственных площадок более одной).
Приводят информацию (если это необходимо) с уточнением продукции (услуг), применительно к которой сертифицирована СМК;
3 - инициалы, фамилию и место подписи руководителя органа по сертификации (или его заместителя) и председателя комиссии, проводившей аудит организации. В поле 3 должно быть предусмотрено место для печати органа по сертификации.
Форма 5
Образец сертификата соответствия (на русском языке)

Учетный номер Регистра систем качества №
Форма 6
Образец заполнения сертификата соответствия (на английском языке)

Registration number of Quality systems register №
Форма 7
Образец заполнения сертификата соответствия (на русском языке)

Учетный номер Регистра систем качества №
Форма 8
Образец заполнения приложения к сертификату соответствия (на русском языке)

Форма 9
Образец заполнения сертификата соответствия на юридическое лицо, входящее в группу компаний (пример 1)

Учетный номер Регистра систем качества №
Форма 10
Образец заполнения сертификата соответствия на юридическое лицо, входящее
в группу компаний (пример 2)

Учетный номер Регистра систем качества №
|
РАЗРЕШЕНИЕ Орган по сертификации систем менеджмента качества _________________________ ________________________________________________________________________ наименование органа по сертификации систем менеджмента качества на основании решения о выдаче сертификата соответствия системы менеджмента качества ________________________________________________________________________ наименование организации - держателя сертификата соответствия, город разрешает использовать знак соответствия системы менеджмента качества на период действия сертификата № ______________________________________________ регистрационный номер сертификата в любой форме, исключающей возможность толкования его как знака соответствия качества продукции. Допускается использовать знак соответствия в рекламных буклетах, проспектах, брошюрах, плакатах, бланках организационно-распорядительной документации организации - держателя сертификата. Не разрешается наносить знак соответствия на продукцию, упаковку продукции. Руководитель органа по сертификации систем менеджмента качества ____________________________________________________ Подпись инициалы, фамилия Дата М.П. |
|
РЕШЕНИЕ Орган по сертификации систем менеджмента качества ______________________________ _____________________________________________________________________________ наименование органа по сертификации рассмотрел акт № _____от «____» ________г. по результатам инспекционного контроля системы менеджмента качества _____________________________________________________________________________ наименование организации-держателя сертификата, город на соответствие требованиям ГОСТ Р ИСО 9001-2008 (ИСО 9001:2008) применительно к ______________________________________________________________ область сертификации СМК и принял решение подтвердить действие сертификата соответствия системы менеджмента качества № от «_______» _______________ Руководитель органа по сертификации систем менеджмента качества __________________________________________________ Подпись инициалы, фамилия Дата М.П. |
|
РЕШЕНИЕ Орган по сертификации систем менеджмента качества ____________________________ ____________________________________________________________________________ наименование органа по сертификации принял решение приостановить (отменить) действие сертификата соответствия системы менеджмента качества ________________________________________________________ ___________________________________________________________________________ наименование организации № ________________от«____» ____________________________г. требованиям ГОСТ Р ИСО 9001-2008 (ИСО 9001:2008) до «_______»_______________г. применительно к ____________________________________________________________ область сертификации СМК в связи с ____________________________________________________________________ основание приостановления (отмены) действия сертификата Руководитель органа по сертификации систем менеджмента качества __________________________________________________ Подпись инициалы, фамилия М.П. Дата
|
|
РЕШЕНИЕ Орган по сертификации систем менеджмента качества _____________________________ ____________________________________________________________________________ наименование органа по сертификации рассмотрел акт по результатам аудита системы менеджмента качества, от _____________ ____________________________________________________________________________ дата утверждения акта ____________________________________________________________________________ наименование организации- держателя сертификата, город на соответствие требованиям ГОСТ Р ИСО 9001-2008 (ИСО 9001:2008) применительно к _____________________________________________________________ область сертификации СМК и принял решение ____________________________________________________________ выдать (не выдать) сертификат соответствия ____________________________________________________________________________ область сертификации Основание для отрицательного решения* ________________________________________ ____________________________________________________________________________ Руководитель органа по сертификации систем менеджмента качества ________________________________________________________ Подпись инициалы, фамилия Дата М.П. * Заполняют при отрицательном решении. |
|
РЕШЕНИЕ Орган по сертификации систем менеджмента качества _____________________________ ____________________________________________________________________________ наименование органа по сертификации рассмотрел акт по результатам аудита системы менеджмента качества, ______________ ____________________________________________________________________________ дата утверждения акта ____________________________________________________________________________ наименование организации- держателя сертификата, город С указание исключаемой продукции (услуги)_____________________________________ ____________________________________________________________________________ Наименование исключаемой продукции и принял решение ____________________________________________________________ выдать (не выдать) сертификат соответствия ____________________________________________________________________________ область сертификации СМК Руководитель органа по сертификации систем менеджмента качества ________________________________________________________ Подпись инициалы, фамилия Дата М.П.
|
Ключевые слова: Регистр систем качества, система менеджмента качества, сертификация систем менеджмента качества, орган по сертификации систем менеджмента качества, порядок проведения сертификации систем менеджмента качества, сертификат соответствия системы менеджмента качества
|
ГОСТЫ, СТРОИТЕЛЬНЫЕ и ТЕХНИЧЕСКИЕ НОРМАТИВЫ. Некоммерческая онлайн система, содержащая все Российские Госты, национальные Стандарты и нормативы. В Системе содержится более 150000 файлов нормативно-технической документации, действующей на территории РФ. Система предназначена для широкого круга инженерно-технических специалистов. Copyright © www.gostrf.com, 2008 - 2026 |