|
|
Безопасность бытовых и аналогичных Часть 2.40 ЧАСТНЫЕ ТРЕБОВАНИЯ К ЭЛЕКТРИЧЕСКИМ IEC 60335-2-40:2005
Предисловие Цели и принципы стандартизации в Российской Федерации установлены Федеральным законом от 27 декабря 2002 г. № 184-ФЗ «О техническом регулировании», а правила применения национальных стандартов Российской Федерации - ГОСТ Р 1.0-2004 «Стандартизация в Российской Федерации. Основные положения» Сведения о стандарте 1 ПОДГОТОВЛЕН ООО «ТЕСТБЭТ» на основе собственного аутентичного перевода стандарта, указанного в пункте 4 2 ВНЕСЕН Техническим комитетом по стандартизации ТК 19 «Электрические приборы бытового назначения» 3 УТВЕРЖДЕН И ВВЕДЕН В ДЕЙСТВИЕ Приказом Федерального агентства по техническому регулированию и метрологии от 15 декабря 2008 г. № 400-ст 4 Настоящий стандарт является модифицированным по отношению к международному стандарту МЭК 60335-2-40:2005 «Бытовые и аналогичные электрические приборы. Безопасность. Часть 2-40. Частные требования к электрическим тепловым насосам, воздушным кондиционерам и осушителям» (IEC 60335-2-40:2005 «Household and similar electrical appliances - Safety - Part 2-40: Particular requirements for electrical heat pumps, air-conditioners and dehumidifiers», издание 4.2) путем внесения дополнительных требований, объяснение которых приведено во введении к настоящему стандарту. Наименование настоящего стандарта изменено относительно наименования указанного международного стандарта для приведения в соответствие с ГОСТ Р 1.5-2004 (подраздел 3.5) 5 ВЗАМЕН ГОСТ Р МЭК 60335-2-40-2000 Информация об изменениях к настоящему стандарту публикуется в ежегодно издаваемом информационном указателе «Национальные стандарты», а текст изменений и поправок - в ежемесячно издаваемых информационных указателях «Национальные стандарты». В случае пересмотра (замены) или отмены настоящего стандарта соответствующее уведомление будет опубликовано в ежемесячно издаваемом информационном указателе «Национальные стандарты». Соответствующая информация, уведомление и тексты размещаются также в информационной системе общего пользования - на официальном сайте Федерального агентства по техническому регулированию и метрологии в сети Интернет Содержание Введение Настоящий стандарт относится к группе стандартов, регламентирующих требования безопасности бытовых и аналогичных электрических приборов, состоящей из части 1 (ГОСТ Р 52161.1) - общие требования безопасности приборов, а также частей, устанавливающих частные требования к конкретным видам приборов. Настоящий стандарт содержит нормы, правила и методы испытаний, которые дополняют, изменяют или исключают соответствующие разделы и (или) пункты ГОСТ Р 52161.1. Стандарт применяют совместно с ГОСТ Р 52161.1. Методы испытаний выделены курсивом. Термины, применяемые в настоящем стандарте, выделены полужирным шрифтом. Номера пунктов настоящего стандарта, которые дополняют разделы ГОСТ Р 52161.1, начинаются со 101. Изменение наименования раздела 3 вызвано необходимостью приведения в соответствие с ГОСТ Р 1.5-2004. Текст Изменений № 1 и № 2 (2005) к международному стандарту МЭК 60335-2-40:2002 выделен сплошной вертикальной линией, расположенной справа от приведенного текста изменений. В настоящем стандарте раздел «Нормативные ссылки» изложен в соответствии с ГОСТ Р 1.5-2004 и выделен сплошной вертикальной линией, расположенной слева от приведенного текста. В тексте стандарта соответствующие ссылки выделены подчеркиванием сплошной горизонтальной линией. Сведения о соответствии ссылочных международных стандартов национальным стандартам Российской Федерации, использованным в настоящем стандарте в качестве нормативных ссылок, приведены в дополнительном приложении 2. НАЦИОНАЛЬНЫЙ СТАНДАРТ РОССИЙСКОЙ ФЕДЕРАЦИИ
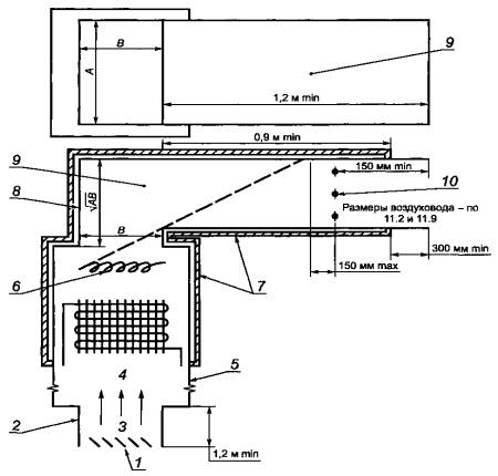
Дата введения - 2010-01-01 1 Область примененияЭтот раздел части 1 заменен следующим. Настоящий стандарт устанавливает требования безопасности электрических тепловых насосов, в том числе тепловых насосов для горячей воды коммунального водоснабжения, воздушных кондиционеров и осушителей, оснащенных мотор-компрессорами и жидкостными конвективными теплообменниками, бытового и аналогичного применения номинальным напряжением не более: 250 В - для однофазных приборов и 600 В - для других приборов. Приборы, не предназначенные для бытового использования, но которые, тем не менее, могут быть источником опасности для людей, например приборы, используемые неспециалистами в магазинах, в легкой промышленности и на фермах, входят в область распространения настоящего стандарта. В область применения настоящего стандарта также входят электрические тепловые насосы, воздушные кондиционеры и осушители, содержащие воспламеняющийся хладагент. Определение воспламеняющихся хладагентов приведено в 3.120. Приборы могут состоять из одного или более блоков заводского изготовления. Если в приборе содержится более одного блока, то отдельные блоки должны использоваться вместе, и требования стандарта применяют к прибору, укомплектованному соответствующими блоками. Примечания 101 Определение термина «мотор-компрессор» приведено в ГОСТ Р МЭК 60335-2-34, в котором имеется указание о том, что термин «мотор-компрессор» применяют как для герметичных мотор-компрессоров, так и для полугерметичных мотор-компрессоров. 102 Требования по безопасности охлаждения рассматриваются в ГОСТ Р 12.2.142, а требования к емкостям для хранения горячей воды в тепловых насосах для горячей воды коммунального водоснабжения рассматриваются в ГОСТ Р 52161.2.21. В настоящем стандарте не рассматривают иные химикаты, кроме химикатов групп А1, А2 или A3, указанных в 3.121. Примечание 103 - В настоящем стандарте приведены дополнительные требования к использованию воспламеняющихся хладагентов. Требования по безопасности охлаждения рассматриваются в ГОСТ Р 12.2.142, если они не приведены в настоящем стандарте, включая приложения. Особого внимания по отношению к настоящему стандарту требуют следующие разделы и пункты ГОСТ Р 12.2.142: - Раздел 3. Конструкция и исполнение оборудования применяются ко всем приборам и системам. - Раздел 4. Требования по использованию применяются ко всем приборам и системам, являющимся «аналогичными электрическими приборами», т.е. применяемыми в коммерческих целях и в легкой промышленности. - Раздел 5. Порядок эксплуатации применяется ко всем приборам и системам, являющимся «аналогичными электрическими приборами», т. е. применяемыми в коммерческих целях и в легкой промышленности. Дополнительные нагреватели или средства для их отдельной установки входят в область применения настоящего стандарта, но только те из них, которые сконструированы как часть комплекта прибора и их органы управления встроены в прибор. Примечания 104 Необходимо обратить внимание на следующее: - для приборов, предназначенных для использования в транспортных средствах, на борту кораблей и самолетов, могут быть необходимы дополнительные требования; - для приборов, работающих под давлением, могут быть необходимы специальные требования; - во многих странах национальные органы здравоохранения, охраны труда и местные органы власти, отвечающие за хранение, транспортирование, строительные и монтажные работы предъявляют к приборам дополнительные требования. 105 Настоящий стандарт не распространяется на: - увлажнители воздуха, используемые совместно с нагревательным или охлаждающим оборудованием (ГОСТ Р МЭК 60335-2-88); - приборы, сконструированные исключительно для промышленного использования; - приборы, предназначенные для применения в местах, где преобладают особые условия, например коррозионная или взрывоопасная среда (пыль, пар или газ). 2 Нормативные ссылкиЭтот раздел части 1 применяют, за исключением следующего. Дополнение ГОСТ Р 12.2.142-99 (ИСО 5149-93) Система стандартов безопасности труда. Системы холодильные холодопроизводительностью свыше 3,0 кВт. Требования безопасности ГОСТ Р 12.4.026-2001 Система стандартов безопасности труда. Цвета сигнальные, знаки безопасности и разметка сигнальная. Назначение и правила применения. Общие технические требования и характеристики. Методы испытаний ГОСТ Р 50537-93 (МЭК 127-1-88) Миниатюрные плавкие предохранители. Терминология для миниатюрных плавких предохранителей и общие требования к миниатюрным плавким вставкам ГОСТ Р 52161.1-2004 (МЭК 60335-1:2001) Безопасность бытовых и аналогичных электрических приборов. Часть 1. Общие требования ГОСТ Р 52161.2.21-2006 (МЭК 60335-2-21:2004) Безопасность бытовых и аналогичных электрических приборов. Часть 2.21. Частные требования для аккумуляционных водонагревателей ГОСТ Р 52350.14-2006 (МЭК 60079-14:2002) Электрооборудование для взрывоопасных газовых сред. Часть 14. Электроустановки во взрывоопасных зонах (кроме подземных выработок) ГОСТ Р 52350.15-2005 (МЭК 60079-15:2005) Электрооборудование для взрывоопасных газовых сред. Часть 15. Конструкция, испытания и маркировка электрооборудования с видом защиты «n» ГОСТ Р 52763-2007 Методы испытаний на стойкость к климатическим внешним воздействующим факторам машин, приборов и других технических изделий. Испытания на воздействие соляного тумана ГОСТ Р МЭК 60335-2-34-2000 Безопасность бытовых и аналогичных электрических приборов. Дополнительные требования к мотор-компрессорам и методы испытаний ГОСТ Р МЭК 60335-2-88-2001 Безопасность бытовых и аналогичных электрических приборов. Дополнительные требования к увлажнителям, используемым с нагревательными приборами, вентиляторами и системами кондиционирования воздуха, и методы испытаний ГОСТ Р МЭК 60384-14-2004 Конденсаторы постоянной емкости для электронной аппаратуры. Часть 14. Групповые технические условия на конденсаторы постоянной емкости для подавления электромагнитных помех и соединения с питающими магистралями ГОСТ Р МЭК 60598-1-2003 Светильники. Часть 1. Общие требования и методы испытаний ГОСТ Р МЭК 61032-2000 Защита людей и оборудования, обеспечиваемая оболочками. Щупы испытательные ГОСТ 7399-97 Провода и шнуры на номинальное напряжение до 450/750 В. Технические условия ГОСТ 8865-93 Системы электрической изоляции. Оценка нагревостойкости и классификация ГОСТ 14254-96 (МЭК 529-89) Степени защиты, обеспечиваемые оболочками (Код IP) Примечание - При пользовании настоящим стандартом целесообразно проверить действие ссылочных стандартов в информационной системе общего пользования - на официальном сайте Федерального агентства по техническому регулированию и метрологии в сети Интернет или по ежегодно издаваемому информационному указателю «Национальные стандарты», который опубликован по состоянию на 1 января текущего года, и по соответствующим ежемесячно издаваемым информационным указателям, опубликованным в текущем году. Если ссылочный стандарт заменен (изменен), то при пользовании настоящим стандартом следует руководствоваться заменяющим (измененным) стандартом. Если ссылочный стандарт отменен без замены, то положение, в котором дана ссылка на него, применяется в части, не затрагивающей эту ссылку. 3 Термины и определенияЭтот раздел части 1 применяют, за исключением следующего. 3.1.4 Дополнение Примечание 101 - Для прибора, содержащего электрические компоненты, включая вентиляторы, за номинальную потребляемую мощность принимают общую максимальную электрическую потребляемую мощность всего включенного оборудования при его длительной эксплуатации в определенных условиях окружающей среды. Для теплового насоса, который может эксплуатироваться в режимах нагрева и охлаждения, за номинальную потребляемую мощность принимают наибольшую потребляемую мощность в любом из режимов. 3.1.9 Замена пункта нормальная работа (normal operation): Условия, при которых прибор смонтирован как для нормальной эксплуатации и работает в наиболее жестких условиях, установленных изготовителем. 3.101 тепловой насос (heat pump): Прибор, который поглощает тепло при определенной температуре и выделяет тепло при более высокой температуре. Примечание - При выделении тепла (например при нагреве пространства или воды) прибор работает в режиме нагрева; при поглощении тепла (например при охлаждении пространства) прибор работает в режиме охлаждения. 3.102 тепловой насос для горячей воды коммунального водоснабжения (sanitary hot water heat pump): Тепловой насос, предназначенный для нагрева воды, используемой для бытовых нужд. 3.103 воздушный кондиционер (air conditioner): Прибор, размещенный в одном корпусе или в корпусах, предназначенный для кондиционирования воздуха в закрытом пространстве, комнате или зоне. В его состав входит электрическая охлаждающая система, предназначенная для охлаждения и, возможно, для осушения воздуха. Он может иметь средства для нагрева, циркуляции, очистки и увлажнения воздуха. 3.104 осушитель (dehumidifier): Прибор в корпусе, предназначенный для удаления влаги из окружающего воздуха. В его состав входит электрическая охлаждающая система и средства для циркуляции воздуха. Он также включает дренажную систему, позволяющую собирать, хранить и (или) удалять накопившийся конденсат. 3.105 бытовое осушение (dehumidification - comfort): Осушение воздуха для уменьшения влажности в помещении до уровня, соответствующего определенным требованиям. 3.106 технологическое осушение (dehumidification - process): Осушение воздуха в помещении для уменьшения влажности до уровня, необходимого для технологического процесса, хранения товаров и (или) материалов или высушивания материала здания. 3.107 тепловозвратное осушение (dehumidification - heat recovery): Осушение, при котором скрытое тепло, извлеченное из пространства, вместе с теплом компрессора используют повторно для других целей, кроме выброса наружу. 3.108 температура влажного термометра (ВТ) [wet-bulb temperature (WB)]: Температура, указываемая термочувствительным элементом во влажном материале при достижении постоянной температуры (равновесие испарения). 3.109 температура сухого термометра (СТ) [dry-bulb temperature (DB)]: Температура, указываемая сухим термочувствительным элементом, закрытым от воздействия прямого излучения. 3.110 испаритель (evaporator): Теплообменник, в котором хладагент испаряется с поглощением тепла. 3.111 теплообменник (heat exchanger): Устройство, специально сконструированное для передачи тепла между двумя физически разделенными текучими средами. 3.112 внутренний теплообменник (indoor heat exchanger): Теплообменник, сконструированный для передачи тепла внутренним частям здания или подводящий тепло к внутреннему водоснабжению (например коммунальному водоснабжению) или отводящий тепло от них. 3.113 внешний теплообменник (outdoor heat exchanger): Теплообменник, сконструированный для удаления или съема тепла от источника тепла (например грунтовых вод, внешнего воздуха, откачанного воздуха, воды или соляного раствора). 3.114 дополнительный нагреватель (supplementary heater): Электронагреватель, являющийся составной частью прибора и предназначенный для дополнения или замены работы охлаждающего контура прибора, работающий совместно или вместо охлаждающего контура. 3.115 устройство ограничения давления (pressure-limiting device): Устройство, которое автоматически реагирует на предварительно установленное давление, останавливая работу создающих давление элементов. 3.116 устройство сброса давления (pressure-relief device): Клапан или разрушающийся элемент, срабатывающий под давлением, который автоматически сбрасывает избыточное давление. 3.117 автономный прибор (self-contained unit): Прибор, размещенный в каркасе или корпусе, который производится и транспортируется в виде одной или более частей и не имеет частей, содержащих хладагент и присоединяемых на месте эксплуатации иначе, чем с помощью блокирующего или парного клапана. Примечания 1 Автономный прибор, размещенный в одном каркасе или корпусе, называется моноблочным. 2 Автономный прибор, размещенный в более чем одном каркасе или корпусе, называется раздельным. 3.118 приборы, доступные населению (appliances accessible to the general public): Приборы, предназначенные для размещения в жилых помещениях или торговых зданиях. 3.119 приборы, недоступные населению (appliances not accessible to the general public): Приборы, предназначенные для обслуживания квалифицированным персоналом и размещаемые в машинных залах и подобных местах или на высоте не ниже 2,5 м, или в безопасных местах под крышей. 3.120 воздушный конвективный теплообменник (fan coil air handling unit): Блок заводского изготовления, который обеспечивает одну или несколько из следующих функций - принудительная циркуляция воздуха, нагрев, охлаждение, осушение, фильтрование воздуха, но который не включает в себя источник охлаждения или нагрева. Примечание - Данное устройство обычно предназначается для свободного забора воздуха из помещения и подачи воздуха в то же помещение, но оно может применяться и с воздуховодами. Данное устройство может быть сконструировано для установки под обшивку стен или потолка или с корпусом для применения внутри кондиционируемого пространства. 3.121 воспламеняющийся хладагент (flammable refrigerant): Хладагент, принадлежащий к классу А2 или A3 согласно классификации ANSI (Американский национальный институт стандартов)/ASHRAE (Американское общество инженеров по отоплению, холодильной технике и кондиционированию воздуха) по стандартам [1], [2]. 3.122 охлаждающая система (refrigerating system): Сочетание взаимосвязанных, содержащих хладагент частей, составляющих один замкнутый контур хладагента, в котором осуществляется циркуляция хладагента с целью извлечения тепла на стороне низкой температуры для отдачи тепла на стороне высокой температуры с помощью изменения состояния хладагента. 3.123 максимально допустимое давление (maximum allowable pressure): Предел рабочего давления холодильной системы обычно равняется максимальному расчетному давлению оборудования, указываемому изготовителем. Примечание - Максимально допустимое давление составляет предел рабочего давления, независимо от того, находится ли оборудование в работе (см. раздел 21). 3.124 сторона низкого давления (low-pressure side): Часть (части) холодильной системы, работающая (ие) под давлением испарителя. 3.125 сторона высокого давления (high-pressure side): Часть (части) холодильной системы, работающая (ие) под давлением конденсатора. 3.126 сервисный вход (service port): Средство доступа к хладагенту в охлаждающей системе с целью зарядки или обслуживания этой системы, обычно в виде клапана, трубки или места для доступа. 4 Общие требованияЭтот раздел части 1 применяют. 5 Общие условия испытанийЭтот раздел части 1 применяют, за исключением следующего. 5.2 Дополнение Испытания по разделу 21 могут быть выполнены на разных образцах. Испытания по разделам 11, 19 и 21 требуют измерений давления в различных точках охлаждающей системы. Для испытаний по приложению FF (имитация утечки) необходим как минимум один специально подготовленный дополнительный образец, если выбирают этот вариант испытаний. Во время испытаний по разделу 11 следует выполнять измерения температуры трубопровода хладагента. Примечание - Из-за потенциально опасного характера испытаний по разделу 21 и приложениям ЕЕ и FF при их выполнении следует соблюдать особые меры предосторожности. 5.6 Дополнение Любые средства контроля, регулирующие температуру или влажность кондиционируемого помещения, при проведении испытаний отключают. 5.7 Замена Испытания и условия испытаний, приведенные в разделах 10 и 11, проводят при наиболее жестких условиях эксплуатации в пределах диапазона рабочих температур, заданных изготовителем. Примеры таких рабочих температур приведены в приложении АА. 5.10 Дополнение Для приборов раздельного типа линии охлаждения должны быть смонтированы в соответствии с инструкцией по монтажу и установке. Линия охлаждения должна иметь максимальную длину, указанную в этой инструкции, или 7,5 м, в зависимости от того, что меньше. Термоизоляция линии охлаждения должна выполняться в соответствии с инструкцией по монтажу и установке. 5.101 Мотор-компрессоры также подвергают испытаниям по ГОСТ Р МЭК 60335-2-34 (раздел 19). кроме мотор-компрессоров, соответствующих этому стандарту, в этом случае нет необходимости повторять испытание. 5.102 Нет необходимости дополнительно подвергать испытаниям по разделу 21 настоящего стандарта мотор-компрессоры, которые испытаны по ГОСТ Р МЭК 60335-2-34 и соответствуют ему. 6 КлассификацияЭтот раздел части 1 применяют, за исключением следующего. 6.1 Изменение Прибор должен быть классов I, II или III защиты от поражения электрическим током. 6.2 Дополнение Приборы должны иметь следующую степень защиты от опасного доступа воды в соответствии с ГОСТ 14254: - приборы или части приборов, предназначенные для размещения на открытом воздухе, должны соответствовать степени защиты не ниже IPX4; - приборы, предназначенные для использования только внутри помещений (за исключением прачечных), могут быть степени защиты IPX0; - приборы, предназначенные для использования в прачечных, должны соответствовать степени защиты не ниже IPX1. 6.101 Приборы должны быть классифицированы как приборы, доступные населению или как приборы, недоступные населению. Соответствие требованию проверяют осмотром и необходимыми испытаниями. 7 Маркировка и инструкцииЭтот раздел части 1 применяют, за исключением следующего. 7.1 Изменение Второй абзац заменить следующим текстом: - символ рода тока, включающий количество фаз источника питания, за исключением однофазного питания. Дополнение - номинальная частота; - масса хладагента или каждого компонента хладагента в смеси, за исключением смесей азеотропного типа; - идентификация хладагента: для однокомпонентного хладагента - одна из следующих идентификаций: химическая формула; номер хладагента; для смеси хладагентов - одна из следующих идентификаций: химическое название каждого компонента; химическая формула каждого компонента; номер каждого хладагента в смеси; номер смеси хладагентов; - допустимое избыточное рабочее давление в емкости для хранения воды (для тепловых насосов горячей воды коммунального водоснабжения); - максимальное рабочее давление теплообменника для жидкостных воздушных конвективных теплообменников; - для охлаждающих контуров в случае различий в допустимом избыточном рабочем давлении на входе и выходе требуется раздельная маркировка; - IP число в соответствии со степенью защиты от доступа воды, кроме IPХ0. Приборы должны иметь маркировку обозначений типов и номинальных потребляемых мощностей для дополнительных нагревателей, с которыми они могут использоваться; должны быть идентифицированы фактически установленные нагреватели. Если это не очевидно из конструкции, на кожухе прибора должна быть нанесена маркировка, словами или с помощью символов, направления потока жидкости. Символ W01 по ГОСТ Р 12.4.026 и символ по 7.6, указанный в руководстве по эксплуатации, должны быть видны в случае применения воспламеняющегося хладагента и при: - доступе к частям, которые подвергаются обслуживанию или ремонту; - осмотре прибора при продаже или после установки; - осмотре упаковки прибора, если прибор заполнен хладагентом. При использовании огнеопасного хладагента символы прочтения руководства пользователя Дополнительный предупреждающий символ W01 по ГОСТ Р 12.4.026 должен быть нанесен на заводскую табличку прибора рядом с указанием типа хладагента и информации о зарядке. Высота символа должна быть не менее 10 мм. Символ необязательно должен быть цветным. Примечание 101 - В установленном состоянии маркировка должна быть видна после удаления съемной части. При использовании воспламеняющегося хладагента на прибор должна быть также нанесена следующая предупредительная надпись: ВНИМАНИЕ! Прибор следует устанавливать, эксплуатировать и хранить в помещении площадью более Х м2 (применяют только для приборов, кроме закрепленных приборов). Для приборов, не являющихся закрепленными приборами, минимальный размер помещения X должен быть указан на приборе. Значение X в маркировке должно определяться в квадратных метрах согласно процедуре, описанной в GG.2 приложения GG для невентилируемых помещений. Значение X в маркировке должно равняться 4, если количество хладагента в приборе менее m1 (GG.1.1, приложение GG). Максимально допустимое давление для стороны низкого давления и стороны высокого давления должно быть указано на изделии. Примечание 102 - Для холодильной системы, если максимально допустимое давление для стороны низкого давления и стороны высокого давления одно и то же, допускается указывать одно значение. Если идентификация типа хладагента не видна при осуществлении доступа к сервисному входу, сервисный вход должен иметь соответствующую маркировку. В случае если хладагент воспламеняющийся, в маркировку включают символ W01 по ГОСТ Р 12.4.026, без соблюдения цвета. 7.6 Дополнение При использовании воспламеняющегося хладагента на прибор наносят неудаляемую маркировку символа W01 по ГОСТ Р 12.4.026, включая его цвет и форму. Высота треугольника, содержащего символ W01, должна быть не менее 30 мм. При использовании воспламеняющегося хладагента на прибор наносят неудаляемую маркировку символа 7.12 Дополнение Для приборов, недоступных населению, необходимо указание классификации по 6.101. Для приборов с использованием воспламеняющихся хладагентов должны быть представлены отдельные или комбинированные инструкции по монтажу, обслуживанию и эксплуатации, включающие информацию, указанную в приложении DD. 7.12.1 Дополнение В инструкции должна быть следующая информация: - прибор должен быть установлен в соответствии с национальными правилами по монтажу электроустановок; - размеры пространства, необходимого для правильной установки прибора, включая минимальные допустимые расстояния до соседних конструкций; - для приборов с дополнительными нагревателями минимальные зазоры между прибором и поверхностями из горючих материалов; - схемы соединений с четкими указаниями по подключению к внешнему управляющему устройству и питающему шнуру; - диапазон внешних статических давлений, при которых прибор испытан (только для тепловых насосов и приборов с дополнительными нагревателями); - способ подключений прибора к источнику питания и соединения отдельных компонентов между собой; - указания о том, какие части прибора пригодны для использования вне помещений, при наличии; - подробная информация о типе и параметрах защитных предохранителей; - подробная информация по дополнительным нагревательным элементам, которые могут быть использованы совместно с прибором, включая указания по подключению прибора и дополнительного нагревателя; - максимальная и минимальная рабочие температуры воды или соляного раствора; - максимальное и минимальное рабочее давление воды или соляного раствора. Открытые емкости тепловых насосов для нагрева воды должны быть оснащены инструкцией с предупреждением о недопустимости их перекрывания. 7.15 Дополнение Маркировка может быть расположена на панели, которую снимают при установке или сервисном обслуживании прибора, при условии, что она должна быть установлена на место для правильной эксплуатации прибора. 7.101 Должна быть нанесена маркировка заменяемого предохранителя или заменяемого защитного устройства, являющегося составной частью прибора или дистанционного пульта управления. Маркировка должна быть видна при открывании кожуха или дверцы отсека. Маркировка включает следующую информацию: - ток предохранителя в амперах, а также тип и номинальное напряжение, или - торговую марку изготовителя и тип заменяемого защитного устройства. Соответствие требованию проверяют осмотром. 7.102 Если прибор предназначен для подключения к стационарной проводке с алюминиевыми проводниками, это должно быть указано в маркировке. Соответствие требованию проверяют осмотром. 8 Защита от доступа к токоведущим частямЭтот раздел части 1 применяют. 9 Пуск электромеханических приборовЭтот раздел части 1 не применяют. 10 Потребляемая мощность и токЭтот раздел части 1 применяют. 11 НагревЭтот раздел части 1 применяют, за исключением следующего. 11.1 Приборы и окружающая их среда не должны чрезмерно перегреваться при нормальной эксплуатации. Соответствие требованию проверяют измерением температуры различных частей прибора, как указано в 11.2-11.7. Однако если температура обмоток электродвигателя выше значений, указанных в таблице 3, или возникают сомнения относительно классификации системы изоляции, применяемой в электродвигателе, соответствие проверяют дополнительными испытаниями по приложению С. 11.2 Приборы устанавливают в помещении для проведения испытаний в соответствии с указаниями изготовителя по установке. В частности: - необходимо соблюдать расстояния до соседних поверхностей в соответствии с указаниями изготовителя; - расход жидкости подающего и сливающего оборудования должен быть минимальным из указанного изготовителем, за исключением конвективных теплообменников, для которых расход и температура жидкости должны быть максимальными из указанных изготовителем; - выходной трубопровод, подсоединенный к прибору, должен подвергаться максимальному статическому давлению, указанному изготовителем; - для приборов, оснащенных средствами регулирования расхода жидкости, при испытании необходимо установить минимально допустимый расход; - регулирующие органы управления настраивают на максимальную уставку выключения и минимальный дифференциал, допускаемые средствами настройки. Для приборов, оснащенных дополнительными нагревателями, применяют дополнительную испытательную камеру по 11.9. 11.2.1 Для проведения испытаний на нагрев приборов с дополнительными нагревателями входной воздуховод подсоединяют к входному отверстию прибора (предполагается, что прибор предназначен для такого применения). Размер воздуховода должен совпадать с размерами фланцев, если они входят в комплект прибора. Если фланцы не входят в комплект прибора, воздуховод должен иметь такой же размер, как и входное отверстие прибора. Входной воздуховод оснащают регулируемым дросселем, с помощью которого можно уменьшить воздушный поток. Дроссель должен располагаться в сечении трубопровода равномерно, чтобы поверхность нагревательного элемента полностью обдувалась потоком воздуха, за исключением случаев, когда дроссель закрыт. 11.2.2 Прибор, который не содержит дополнительные нагреватели, соединяют с выходным воздуховодом, предназначенным для отвода воздуха, размер которого соответствует размерам фланцев или отверстию без фланцев, или местам, маркированным под фланцы. Прибор, который содержит или может содержать дополнительный нагреватель, оснащают металлическим выходным воздуховодом в соответствии с рисунками 101а или 101b, в зависимости от направления потока воздуха. Выходной воздуховод оснащают регулирующим дросселем для создания максимального статического давления, указанного изготовителем. 11.3 Температуру частей, за исключением обмоток, определяют с помощью тонкопроволочных термопар, расположенных так, чтобы они оказывали минимальное влияние на температуру испытуемой части. Примечание 101 - Термопары считают тонкопроволочными, если они имеют диаметр проволоки не более 0,3 мм.
а - Схема для восходящего потока 1 - регулируемый дроссель; 2 - входной воздуховод; 3 - воздушный поток; 4 - внутренний блок змеевика; 5 - внутренняя часть камеры; 6 - электрический нагреватель; 7 - испытательная камера; 8 - метка зазора или нулевая отметка; 9 - выходной воздуховод; 10 - термопарная сетка Рисунок 101 - Схема установки для проведения испытания на нагрев приборов с дополнительными нагревателями
b - Схема для нисходящего потока 1 - регулируемый дроссель; 2 - входной воздуховод; 3 - воздушный поток; 4 - внутренний блок змеевика; 5 - внутренняя часть камеры; 6 - электрический нагреватель; 7 - испытательная камера; 8 - метка зазора или нулевая отметка; 9 - выходной воздуховод; 10 - термопарная сетка Рисунок 101, лист 2 Термопары, используемые для определения температуры поверхностей стен, потолка и пола, заделывают в поверхности или прикрепляют к обратной стороне небольших зачерненных дисков из меди или латуни диаметром 15 мм и толщиной 1 мм, устанавливаемых заподлицо с поверхностью. По возможности прибор располагают так, чтобы диски оказались в зоне максимальных температур. При определении температуры ручек, рукояток, захватов и подобных частей требования распространяют на все части прибора, которые захватывают рукой при нормальной эксплуатации, и если материал части изолирующий, то температуру определяют для части, находящейся в контакте с горячим металлом. Температуру электрической изоляции, кроме обмоток, определяют на поверхности изоляции в местах, где повреждения могут привести к короткому замыканию, контакту между токоведущими частями и доступными металлическими частями, перекрытию по изоляции или уменьшению воздушных зазоров и путей утечки ниже значений, указанных в разделе 29. Температуру обмоток определяют методом сопротивления, за исключением случаев, когда обмотки являются неоднородными или возникают большие трудности при выполнении необходимых соединений; в таких случаях температуру определяют с помощью термопар. Температуру в воздуховодах измеряют с помощью сетки, состоящей из девяти термопар одинаковой длины, соединенных параллельно и размещенных по форме сетки так, что термопары располагаются равномерно в девяти точках воздуховода в плоскости, перпендикулярной к воздушному потоку. 11.4 Приборы работают в условиях нормальной работы в диапазоне напряжений от 0,94 минимального номинального напряжения до 1,06 максимального номинального напряжения. Испытания проводят при напряжении, которое обеспечивает наиболее неблагоприятные условия. Нагревательные элементы работают при напряжении, обеспечивающем 1,15 максимальной номинальной потребляемой мощности. 11.5 Для приборов, работающих как в режиме охлаждения, так и режиме нагрева, испытания проводят в каждом режиме. Для приборов с дополнительными нагревателями или возможностью установки дополнительных нагревателей проводят дополнительное испытание, при котором все нагревательные элементы работают с короткозамкнутыми терморегуляторами или, при необходимости, при понижении температуры воздуха до значения, которое вызывает включение всех элементов. 11.6 Приборы с режимом размораживания дополнительно подвергают испытанию на размораживание в наиболее неблагоприятных условиях. 11.7 Все приборы работают непрерывно до достижения установившегося состояния, кроме испытания на размораживание. 11.8 Во время испытаний температуру измеряют непрерывно, она не должна превышать значений, приведенных в таблице 3; защитные устройства не должны срабатывать, а заливочная масса не должна вытекать. Температура воздуха в выходном воздуховоде не должна превышать 90°С. Примечание 101 - Значение температуры обмотки вычисляют по формуле
где Т- температура медной обмотки в конце испытания, °С; R2 - сопротивление в конце испытания, Ом; R1 - сопротивление в начале испытания; k - коэффициент, равный 234,5 - для медных обмоток и 225 - для алюминиевых обмоток; Т1 - температура окружающей среды в начале испытания, °С. В начале испытания обмотки должны иметь температуру окружающего воздуха. Измерение сопротивления в конце испытания рекомендуется проводить как можно быстрее после отключения питания и затем через короткие интервалы времени для построения кривой зависимости сопротивления от времени с целью определения значения сопротивления на момент отключения. Таблица 3 - Допустимая температура
Примечания 102 Пределы температуры для металлов применяют к частям с металлическим покрытием толщиной не менее 0,1 мм и к металлическим частям с пластиковым покрытием толщиной менее 0,3 мм. 103 Температуру переключателей клемм измеряют, если выключатель испытывают по приложению Н. 11.9 Испытательная камера Испытательная камера должна быть выполнена из фанеры толщиной приблизительно 20 мм, окрашенной внутри в матовый черный цвет, места стыков должны быть герметично заделаны. Расстояния между поверхностями испытательной камеры и поверхностями прибора, а также выходным воздуховодом должны соответствовать минимальным зазорам, указанным изготовителем. Для приборов, у которых не указаны минимальные зазоры, вместо фанерной испытательной камеры для проведения испытаний можно использовать изолирующий материал из стекловолокна толщиной 25 мм и плотностью не менее 16 кг/м3, которым окружают прибор и выходной воздуховод, если это согласовано с изготовителем. В этом случае термопары устанавливают в непосредственном контакте с корпусом. 12 Свободен13 Ток утечки и электрическая прочность при рабочей температуреЭтот раздел части 1 применяют, за исключением следующего. 13.2 Изменение Для стационарных приборов класса I ток утечки не должен превышать 2 мА на 1 кВт номинальной потребляемой мощности, но не более 10 мА для приборов, доступных населению, и 30 мА для приборов, недоступных населению. 14 Динамические перегрузки по напряжениюЭтот раздел части 1 применяют. 15 ВлагостойкостьЭтот раздел части 1 заменен следующим. 15.1 Электрические компоненты приборов должны быть защищены от попадания воды, которая может проникать внутрь прибора во время дождя, в случае переполнения поддона или при размораживании. Соответствие требованию проверяют испытанием по 15.2, непосредственно за которым следуют испытания на перелив по 15.3, испытания на размораживание по 11.6 и испытания по разделу 16. После проведения испытаний выполняют осмотр внутри корпуса прибора. Вода, попавшая в прибор, не должна уменьшать воздушные зазоры и пути утечки ниже значений, указанных в разделе 29. Примечание - Приборы, предназначенные для размещения в помещении и не имеющие частей, располагаемых на открытом воздухе, по 15.2 не испытывают. Если в конструкции используют трубопроводы, выходящие из помещения на открытый воздух, испытание по 15.2 выполняют при расположении трубопроводов, имитирующем их установку в соответствии с инструкцией изготовителя. Для приборов, устанавливаемых в дверном или оконном проеме, или для приборов раздельного типа испытание по 15.2 выполняют для прибора или его части, который согласно инструкции изготовителя предназначен для установки на открытом воздухе. Мотор-компрессор не включают и съемные части удаляют при испытаниях по 15.2 и 15.3. 15.2 Приборы, кроме приборов степени защиты IPХ0, подвергают испытаниям по ГОСТ 14254: - приборы степени защиты IPX1, как указано в 14.2.1; - приборы степени защиты IPX2, как указано в 14.2.2; - приборы степени защиты IPX3, как указано в 14.2.3; - приборы степени защиты IPX4, как указано в 14.2.4; - приборы степени защиты IPX5, как указано в 14.2.5; - приборы степени защиты IPX6, как указано в 14.2.6; - приборы степени защиты IPX7, как указано в 14.2.7. При проведении этих испытаний прибор погружают в воду, содержащую 1 % NaCl. 15.3 Прибор устанавливают в положение, соответствующее его нормальной эксплуатации. Сливное отверстие поддона перекрывают, а поддон аккуратно, без разбрызгивания, до краев заполняют водой. Затем поддон подвергают переполнению со скоростью приблизительно 17 см3/с на 1 м3/с воздушного потока и включают вентилятор(ы). Испытание продолжается в течение 30 мин или до тех пор, пока вода не потечет из прибора. 15.101 Испытание на перелив Внутренние напольные или настенные приборы, доступные населению, подвергают следующему испытанию. Прибор устанавливают в соответствии с инструкцией по монтажу изготовителя, но не включают в работу. Крышки, которые необходимо открыть для ручного управления электрическими регуляторами, устанавливают в открытое положение, если только они не являются самозакрывающимися. На прибор выливают раствор 0,25 л воды, содержащий 0,25 г обычной поваренной соли, таким образом, чтобы была наибольшая вероятность попадания воды в электрические управляющие устройства или на них, или на неизолированные токоведущие части. После завершения перелива жидкости прибор должен выдержать испытания по разделу 16. Испытание на перелив жидкости не применяют к приборам, минимальный линейный размер горизонтальной или близкой к горизонтальной верхней поверхности корпуса которых составляет не более 75 мм. Нет необходимости подвергать этому испытанию прибор, высота которого в установленном виде составляет свыше 2 м. Примечание - Цель состоит в том, чтобы нельзя было поставить на поверхность прибора стакан диаметром 75 мм и разлить его. 16 Ток утечки и электрическая прочностьЭтот раздел части 1 применяют, за исключением следующего. 16.2 Изменение Для стационарных приборов класса I ток утечки не должен превышать 2 мА на 1 кВт номинальной потребляемой мощности, но не более 10 мА для приборов, доступных населению, и 30 мА для приборов, недоступных населению. 17 Защита от перегрузки трансформаторов и соединенных с ними цепейЭтот раздел части 1 применяют. 18 ИзносостойкостьЭтот раздел части 1 не применяют. 19 Ненормальная работаЭтот раздел части 1 применяют, за исключением следующего. 19.1 Приборы должны быть сконструированы таким образом, чтобы был, насколько возможно, исключен риск возгорания или механического повреждения, возникающего в результате ненормального или небрежного обращения, которое приведет к снижению безопасности или защиты от поражения электрическим током. Повреждения систем, по которым протекает хладагент, или любых контролирующих устройств не должны создавать опасности. Электронные цепи должны быть сконструированы и использованы так, чтобы неисправное состояние прибора не приводило к поражению электрическим током, опасности возгорания, получению механических травм или возникновению опасной работы в аварийном режиме. Приборы испытывают по 19.2-19.10. Приборы, содержащие нагревательные элементы с положительным температурным коэффициентом, испытывают также по 19.13. Приборы, содержащие электронные цепи, испытывают также по 19.11 и 19.12, в зависимости от применимости. В процессе и после испытаний прибор должен соответствовать требованиям 19.14. 19.2 Электродвигатели, кроме мотор-компрессоров, устанавливают на опору из дерева или подобного материала. Ротор электродвигателя блокируют, лопасти вентилятора и крепежные скобы не снимают. На электродвигатели подают напряжение питания, как при работе прибора при номинальном напряжении или верхнем значении диапазона номинальных напряжений, по схеме, приведенной на рисунке 102.
S - питание; Е - кожух электродвигателя; R - устройство защитного отключения (I∆n = 30 мА) (выключатель или выключатель с защитой от перегрузки); Р - защитное устройство (внешнее или внутреннее); М - электродвигатель Примечание - Для корректной работы устройства защитного отключения необходимо тщательно выполнить заземление системы. Рисунок 102 - Цепь питания для испытания однофазного электродвигателя при заторможенном роторе (для испытания трехфазного двигателя следует внести необходимые изменения) В таких условиях прибор в сборе работает 15 дней (360 ч) или пока защитное устройство окончательно не разомкнет цепь питания, в зависимости от того, какой период короче. При проведении испытания температуру окружающего воздуха поддерживают в пределах (23 ± 5)°С. Если температура обмоток электродвигателя не превышает 90°С при достижении установившегося состояния, испытание считают законченным. В процессе испытания температура корпуса не должна превышать 150°С, а температура обмоток не должна превышать значений, приведенных в таблице 8. Таблица 8 - Максимальная температура обмоток
Через три дня (72 ч) после начала испытания электродвигатель должен выдерживать испытания на электрическую прочность по 16.3. В процессе испытания устройство защитного отключения с током срабатывания 30 мА не должно срабатывать. В конце испытания ток утечки между обмотками и корпусом не должен превышать 2 мА при подаче удвоенного номинального напряжения. 19.3 Если мотор-компрессор не был испытан на соответствие ГОСТ Р МЭК 60335-2-34, необходим образец, ротор которого блокирован, заполнен маслом и хладагентом. Образец затем подвергают испытаниям по ГОСТ Р МЭК 60335-2-34 (19.101) и он должен удовлетворять требованиям 19.104 настоящего стандарта. 19.4 Приборы с трехфазными электродвигателями при номинальном напряжении или верхнем значении диапазона номинальных напряжений с одной отключенной фазой работают при условиях по разделу 11 до достижения установившегося состояния или до срабатывания защитного устройства. 19.5 Прибор испытывают при условиях, указанных в разделе 11, при номинальном напряжении или при верхнем значении диапазона номинальных напряжений при температуре (23 ± 5)°С. При достижении установившегося состояния поток, отводящий тепло хладагента от наружного теплообменника, ограничивается или перекрывается, в зависимости от того, что более неблагоприятно, без отключения прибора. После этого испытания защитные устройства, если они сработали, возвращают в исходное состояние, испытание повторяют, причем на этот раз поток, отводящий тепло хладагента (жидкости или воздуха) от внутреннего теплообменника, ограничивают или перекрывают, в зависимости от того, что более неблагоприятно, без отключения прибора. Для приборов с системой размораживания поток, отводящий тепло хладагента, дополнительно перекрывается в начале фазы размораживания. При проведении испытаний электродвигатель, который является общим для наружного и внутреннего теплообменников, отключают сразу после достижения установившегося состояния. 19.6 Внутренние теплообменники приборов, использующих воду для отвода тепла, подвергают следующим испытаниям. Прибор работает в условиях, указанных в разделе 10, при номинальном напряжении или верхнем значении диапазона номинальных напряжений и при максимальной температуре воды, указанной изготовителем. Температуру внутреннего теплообменника повышают на 15 К со скоростью 2 К/мин и поддерживают в течение 30 мин, после чего температуру воды снижают до исходного значения с этой же скоростью. 19.7 Приборы воздух - воздух работают в условиях, указанных в разделе 11. Затем температуру сухого термометра уменьшают на 5 К ниже минимального значения, указанного изготовителем. Испытание повторяют при показаниях сухого термометра, превышающих максимальную температуру, указанную изготовителем, на 10 К. Приборы работают при номинальном напряжении или при верхнем значении диапазона номинальных напряжений. 19.8 Все приборы, имеющие дополнительные нагреватели, подвергают следующим испытаниям при условиях, указанных в разделе 11. После достижения указанных параметров воздушного потока внутренний поток воздуха ограничивают до такой степени, чтобы температура воздуха на выходе, измеренная с помощью сетки из термопар (11.3), снизилась на 3 К ниже температуры, полученной при срабатывании ограничителя температуры или защитного устройства электродвигателя, или реле давления, или аналогичного устройства, сработавшего первый раз в результате постепенного ограничения свободной площади входа. Это достигается при росте температуры примерно на 1 К в минуту. Площадь входа необходимо ограничивать до первого срабатывания защитного устройства, затем работа возобновляется при таком ограничении, чтобы температура выходящего воздуха была на 3 К ниже температуры в момент отключения. Приборы работают при номинальном напряжении или при верхнем значении диапазона номинального напряжения. Примечание 101 - Для облегчения проведения этого испытания сработавшее защитное устройство может быть замкнуто накоротко после того, как будет измерена температура его срабатывания. 19.9 Если на электрические нагревательные элементы питание не подается при условиях испытаний по 19.8 для воздуха, входящего в испаритель, проводят дополнительное испытание при более низкой температуре входящего воздуха, эта температура должна быть выше значения, при котором питание подается на нагревательные элементы. Цель испытания - обеспечить работу непосредственно вблизи точки максимального ограничения воздуха, входящего в расположенный в помещении охлаждающий блок, что позволяет одновременно работать и мотор-компрессору, и электрическим нагревательным элементам. Если температура входящего в испаритель воздуха, которая позволяет оставаться включенными электрическим нагревательным элементам, менее необходимого значения, то температура может быть получена за счет уменьшения потока воздуха, проходящего через испаритель, блокировкой части испарителя или аналогичным методом с целью обеспечения рабочих условий при этой низкой температуре входящего в испаритель воздуха. Приборы работают при номинальном напряжении или при верхнем значении диапазона номинального напряжения. 19.10 Приборы работают в условиях, указанных в разделе 11, при номинальном напряжении при любом режиме работы или при любой неисправности, которая возможна при нормальной эксплуатации. Одновременно вводят только одну неисправность, испытания проводят последовательно. Примеры неисправностей: - программное управляющее устройство, при наличии, останавливается в любом положении; - отключение и повторное включение одной или более фаз источника питания; - размыкание контактов или короткое замыкание компонентов. Обычно испытания ограничиваются теми случаями, которые могут привести к наиболее неблагоприятным результатам. Блокировка во включенном состоянии контактов электрической сети, включающих и выключающих нагревательный(е) элемент(ы) при нормальной эксплуатации, является примером неисправного состояния, если только прибор не оснащен не менее чем двумя группами контактов, соединенных последовательно. Это достигается, например, при наличии двух контакторов, функционирующих независимо друг от друга, или установке одного контактора с двумя независимыми катушками, приводящими в действие две независимые группы контактов. 19.10.101 Испытание по 19.10 повторяют для приборов классов 0I и I, имеющих трубчатые или встроенные нагревательные элементы. При этом, однако, органы управления не закорачивают, но один из концов элемента соединяют с оболочкой нагревательного элемента. Испытание повторяют с обратной полярностью питания прибора и подключая другой конец элемента к оболочке. Испытание не проводят для приборов, предназначенных для постоянного подключения к стационарной электропроводке, и для приборов, в которых происходит отключение всех полюсов во время испытания по 19.10. Примечания 1 Приборы с нейтралью испытывают с подключенной к оболочке нейтралью. 2 Для встроенных нагревательных элементов оболочкой считают металлический кожух. 19.11 Соответствие требованиям электронных цепей проверяют оценкой неисправных состояний, указанных в 19.11.2 для всех цепей или частей цепей, если только они не соответствуют условиям, определенным в 19.11.1. Если безопасность прибора при любых неисправных состояниях зависит от срабатывания миниатюрной плавкой вставки, соответствующей требованиям ГОСТ Р 50537, проводят испытание по 19.12. В процессе испытания и после него температура обмоток не должна превышать значений, указанных в таблице 8. Однако эти ограничения не применяют к безопасным трансформаторам, соответствующим требованиям стандарта [3] (15.5). Прибор должен соответствовать требованиям 19.14. В частности, токоведущие части не должны быть доступны для испытательного щупа В и испытательного щупа 13 по ГОСТ Р МЭК 61032, как указано в разделе 8. Любой ток, протекающий через защитный импеданс, не должен превышать значений, указанных в 8.1.4. Если проводник печатной платы размыкается, считают, что прибор выдержал данное испытание при соблюдении следующих трех условий: - основной материал печатной платы выдерживает испытание согласно приложению Е; - никакие ослабленные проводники не уменьшают воздушные зазоры или пути утечки между токоведущими частями и доступными металлическими частями ниже значений, указанных в разделе 29; - прибор выдерживает испытание по 19.11.2 при замыкании разомкнутого проводника. 19.11.1 Неисправности, приведенные в 19.11.2 [перечисления а)-f)], не применяют к цепям или их частям при соответствии обоим следующим требованиям: - электронная цепь является маломощной, как описано ниже; - защита от поражения электрическим током, возгорания, механической или иной опасности, связанная с нарушением функционирования других частей прибора, не зависит от правильного функционирования электронной цепи. Маломощная цепь определяется следующим образом; пример приведен в ГОСТ Р 52161.1 (рисунок 7). На прибор подают номинальное напряжение и переменным резистором, установленным в положение максимального сопротивления, исследуемую точку соединяют с противоположным полюсом источника питания. Затем сопротивление резистора уменьшают до такого значения, чтобы потребляемая резистором мощность достигла максимума. Любая наиболее близкая к источнику питания точка, в которой потребляемая мощность по отношению к этому резистору не превышает 15 Вт по истечении 5 с, называется маломощной точкой. Часть цепи, расположенную от источника питания за маломощной точкой, считают маломощной цепью. Примечания 101 Измерения проводят только по отношению к одному полюсу источника питания, предпочтительно к тому, у которого наименьшее количество маломощных точек. 102 При определении маломощных точек рекомендуется начинать с точек, которые расположены ближе к источнику питания. 103 Мощность, потребляемую переменным резистором, измеряют ваттметром. 19.11.2 Рассматривают и, при необходимости, одну за другой вводят следующие неисправности. Последовательные неисправности принимают в расчет. a) Закорачивание функциональной изоляции, если воздушные зазоры или пути утечки менее значений, установленных в разделе 29. b) Размыкание контактов любого компонента. c) Короткое замыкание конденсаторов, если они не соответствуют ГОСТ Р МЭК 60384-14. d) Короткое замыкание двух любых контактов электронных комплектующих, кроме интегральных микросхем. Это повреждение не применяют между двумя цепями оптопары. e) Повреждение симистора в диодном режиме. f) Повреждение интегральной схемы. В этом случае дается оценка возможности возникновения опасности в приборе с целью проверки зависимости безопасности прибора от правильности функционирования данного компонента. Все возможные выходные сигналы внутри интегральной схемы рассматриваются при работе в условиях повреждения. Если возможно показать, что выходной сигнал маловероятен, то соответствующее повреждение не вводят. Примечания 101 Такие компоненты, как тиристоры или симисторы, не подвергают повреждению f). 102 Микропроцессоры испытывают как интегральные схемы. Кроме того, каждую маломощную цепь замыкают накоротко путем соединения маломощной точки с полюсом источника питания, от которого проводились измерения. Для имитации повреждений прибор включают в работу при условиях, указанных в разделе 11, но при номинальном напряжении. Когда введено любое повреждение, длительность испытания равна: - указанной в 11.7, но только для одного цикла работы и только в случае, если повреждение не может быть определено потребителем, например изменение температуры; - указанной в 19.2, если повреждение может быть определено потребителем, например остановка электродвигателя; - до достижения установившегося состояния - для цепей, постоянно подключенных к источнику питания, например для цепей режима ожидания. В каждом случае испытание считают законченным, если прерывается подача питания внутри прибора. Если прибор содержит электронные цепи, которые обеспечивают соответствие прибора требованиям раздела 19, соответствующее испытание повторяют, вводя одно из повреждений от а) до f). Повреждение f) применяют для компонентов, заключенных в капсулу, и аналогичных, если цепь не может быть оценена другим методом. Резисторы с положительным и отрицательным температурными коэффициентами и варисторы не замыкают накоротко, если они используются в условиях, указанных изготовителем. 19.12 Если при любом повреждении, указанном в 19.11.2, безопасность прибора зависит от срабатывания миниатюрной плавкой вставки, соответствующей требованиям ГОСТ Р 50537, испытание повторяют, но плавкую вставку заменяют амперметром. Если измеренный ток не превышает номинальный ток плавкой вставки более чем в 2,1 раза, цепь не считают в достаточной степени защищенной, а испытание проводят при закороченной плавкой вставке. Если измеренный ток превышает номинальный ток плавкой вставки не менее чем в 2,75 раза, цепь считают защищенной в достаточной степени. Если измеренный ток превышает номинальный ток плавкой вставки более чем в 2,1 раза, но менее чем в 2,75 раза, плавкую вставку закорачивают, а испытание проводят: - для быстродействующей плавкой вставки - в течение соответствующего периода или 30 мин, в зависимости от того, что короче; - для плавкой вставки с выдержкой времени - в течение соответствующего периода или 2 мин, в зависимости от того, что короче. Примечания 101 В сомнительных случаях при определении тока следует принять во внимание максимальное сопротивление плавкой вставки. 102 Проверка срабатывания плавкой вставки в качестве зашитого устройства основывается на характеристиках плавления, указанных в ГОСТ Р 50537, в котором приведена информация, необходимая для определения максимального сопротивления плавкой вставки. 19.13 Приборы, содержащие нагревательные элементы с положительным температурным коэффициентом, испытывают при номинальном напряжении до достижения установившегося состояния по потребляемой мощности и температуре. Затем рабочее напряжение увеличивают на 5 %, и прибор вновь работает до достижения установившегося состояния. Это испытание повторяют до повышения рабочего напряжения в 1,5 раза или до выхода из строя нагревательного элемента, в зависимости от того, что произойдет быстрее. 19.14 При проведении испытаний по 19.2-19.10.101 и 19.11, 19.12, 19.13 не должны появляться пламя, расплавленный металл, выделяться вредные или воспламеняющиеся газы в опасных количествах. Кожух прибора не должен деформироваться до такой степени, чтобы нарушилось соответствие требованиям настоящего стандарта, а температура не должна превышать значений, приведенных в модифицированной таблице 9. Таблица 9 - Максимальная ненормальная температура
После испытаний и охлаждения приблизительно до комнатной температуры изоляция, за исключением изоляции приборов класса III, должна выдерживать испытание на электрическую прочность в соответствии с 16.3, при указанных в таблице 4 значениях испытательного напряжения. 19.101 Все приборы, оснащенные дополнительными нагревателями и имеющие свободный выход воздуха, подвергают следующему испытанию в каждом из режимов эксплуатации. Приборы включают в работу при указанных в разделе 11 условиях, при этом закорачивают все управляющие устройства, ограничивающие температуру во время испытания по разделу 11, а прибор накрывают накидкой. Накидку изготовляют из войлочно-фетровых лент шириной 100 мм с однослойной подкладкой из ткани. Удельная масса войлока - (4 ± 0,4) кг/м2, толщина - 25 мм. Ткань - предварительно выстиранное хлопчатобумажное полотно с двойным подгибом и удельной массой 140-175 г/м2 в сухом состоянии. Термопары прикрепляют к обратной стороне небольших зачерненных дисков из меди или латуни диаметром 15 мм и толщиной 1 мм. Диски устанавливают на расстоянии 50 мм друг от друга между тканью и войлоком по вертикальной средней линии каждой ленты. Диски поддерживаются таким образом, чтобы они не погружались в войлок. Ленты укладывают таким образом, чтобы ткань соприкасалась с прибором, а ленты закрывали весь вертикальный размер передней части, проходили над верхней частью и спускались вниз по задней поверхности. Если конструкция прибора такова, что он должен находиться на некотором расстоянии от стены или его устанавливают на стену таким образом, что зазор между нагревателем и стеной превышает 30 мм и горизонтальные компоненты расстояния между любыми двумя точками крепления или прокладками или между такими точками и концом прибора превышают 100 мм, заднюю поверхность прибора закрывают полностью. В противном случае заднюю поверхность закрывают приблизительно на одну пятую вертикального размера нагревателя. Ленты накладывают на каждую половину прибора поочередно и затем на весь прибор. Во время испытания температура не должна превышать 150°С, однако в течение первого часа допускается превышение этого значения на 25°С. Примечание - Термозащитные устройства не отключают. 20 Устойчивость и механические опасностиЭтот раздел части 1 применяют. 21 Механическая прочностьЭтот раздел части 1 применяют, за исключением следующего. 21.1 Дополнение Должны применяться требования безопасности, указанные в ГОСТ Р 12.2.142. Должны применяться требования безопасности, указанные в приложении ЕЕ. Испытание давлением по приложению ЕЕ не применяют к сосудам, работающим под давлением. 22 КонструкцияЭтот раздел части 1 применяют, за исключением следующего. 22.6 Дополнение Электрическая изоляция не должна оказаться под воздействием снега, который может проникнуть в корпус прибора. Примечание 101 - Это требование может быть выполнено при помощи соответствующих дренажных отверстий. 22.24 Замена Неизолированные нагревательные элементы должны удерживаться таким образом, чтобы в случае разрыва или провисания нагревательный провод не мог соприкасаться с доступными металлическими частями. Неизолированный нагревательный элемент должен устанавливаться только в металлическом корпусе. Деревянные или комбинированные корпуса не допускаются. Соответствие требованию проверяют осмотром и, при необходимости, разрезанием элемента в самом неблагоприятном месте. Примечания 101 После разрезания элемента к проводнику не прикладывают никакого усилия. 102 Испытание проводят после проведения испытаний по разделу 29. 22.101 Приборы для стационарной установки должны иметь соответствующую конструкцию, обеспечивающую безопасную установку и обслуживание после установки. Соответствие требованию проверяют осмотром, который в сомнительных случаях проводят после монтажа прибора в соответствии с указаниями изготовителя. 22.102 Приборы, оснащенные дополнительными нагревателями 22.102.1 Приборы, оснащенные дополнительными нагревателями, должны иметь не менее чем два термовыключателя. Термовыключатель, предназначенный для срабатывания первым, должен быть термовыключателем с самовозвратом, другой - термовыключателем без самовозврата. Соответствие требованию проверяют осмотром и во время испытаний по разделу 19. Примечание - Если при проведении испытания по разделу 19 срабатывает управляющее устройство с самовозвратом, необходимо закоротить его, чтобы определить, срабатывает ли затем термовыключатель без самовозврата. 22.102.2 Приборы с дополнительными нагревателями для воды должны быть оснащены термовыключателем без самовозврата, обеспечивающим отключение всех полюсов и срабатывающим независимо от водных терморегуляторов. Однако для приборов, предназначенных для подключения к стационарной электропроводке, отключение нейтрального провода не требуется. Соответствие требованию проверяют осмотром и во время испытаний по разделу 19. Примечание - Противообледенительные нагреватели не считаются дополнительными нагревателями для воды, если вода не может быть нагрета до температуры выше 80°С на самой высокой рабочей температуре в течение 6 ч при закороченном термовыключателе и без протока воды. 22.102.3 Термовыключатели капиллярного типа должны иметь такую конструкцию, которая размыкает контакты в случае утечки из капиллярной трубки. Соответствие требованию проверяют осмотром и испытанием. 22.103 Выключатели без самовозврата должны функционировать независимо от других контролирующих устройств. Соответствие требованию проверяют осмотром. 22.104 Емкости тепловых насосов для горячей воды коммунального водоснабжения должны выдерживать давление воды, возникающее при нормальной эксплуатации. Соответствие требованию проверяют воздействием на емкости и теплообменники, при наличии, давлением воды, увеличенным до значений, указанных ниже. Увеличение давления осуществляют со скоростью 0,13 МПа/с и поддерживают в течение 5 мин. Давление воды должно быть равно: - удвоенному допустимому избыточному рабочему давлению - для закрытых емкостей; - 0,15 МП а - для открытых емкостей. После проведения испытания не должно быть утечки воды из емкости и повреждений. Примечание - Если емкость теплового насоса для горячей воды коммунального водоснабжения включает теплообменник, то емкость и теплообменник испытывают давлением и в соответствии с требованиями соответствующего стандарта. 22.105 В закрытых емкостях тепловых насосов для горячей воды коммунального водоснабжения скопившийся воздух или образовавшийся пар должны занимать более 2 % емкости, но не более 10 %. Соответствие требованию проверяют осмотром и, при необходимости, измерениями. 22.106 Устройство сброса давления, если оно установлено на емкости теплового насоса для горячей воды коммунального водоснабжения или поставляется отдельно, должно препятствовать созданию в емкости давления, превышающего допустимое избыточное эксплуатационное давление более чем на 0,1 МПа. Соответствие требованию проверяют путем медленного увеличения давления воды и измерением давления, при котором сработает устройство сброса давления. 22.107 Выходная система открытой емкости теплового насоса для горячей воды коммунального водоснабжения не должна иметь препятствий, ограничивающих выход воды до такой степени, что давление в емкости превышает допустимое эксплуатационное давление. Вентилируемая емкость теплового насоса для горячей воды коммунального водоснабжения должна иметь такую конструкцию, чтобы емкость всегда сообщалась с атмосферой через отверстие диаметром не менее 5 мм или отверстие площадью не менее 20 мм2 при ширине не менее 3 мм. Соответствие требованию проверяют осмотром и измерением. Примечание - Первое требование можно считать выполненным, если площадь выходного отверстия для воды нагретой части емкости теплового насоса для горячей воды коммунального водоснабжения равна или больше площади входного отверстия нагретой части. 22.108 Резервуар-хранилище теплового насоса для горячей воды коммунального водоснабжения должен быть устойчив к воздействию вакуумных ударов, возникающих при нормальной эксплуатации прибора. Соответствие требованию проверяют приложением к невентилируемым емкостям, соответствующим 22.104, вакуума 33 кПа в течение 15 мин. После испытания емкость не должна иметь опасных деформаций. Примечание - Антивакуумные клапаны, при наличии, во время испытаний не отключают. Это испытание может быть проведено на отдельной емкости. 22.109 Проводка, подключенная к термовыключателю без самовозврата, предназначенного для замены после срабатывания, должна быть настолько надежной, чтобы замена термовыключателя или узла нагревательного элемента, на котором он крепится, не повредила бы остальные соединения или внутреннюю проводку. Соответствие требованию проверяют осмотром и при необходимости испытанием вручную. 22.110 Термовыключатели без самовозврата, предназначенные для замены после срабатывания, должны размыкать цепь, не закорачивая токоведущие части с различным потенциалом и не приводя к образованию контакта между токоведущими частями и корпусом. Соответствие требованию проверяют следующим испытанием. Прибор включают пять раз, каждый раз с новым термовыключателем без самовозврата, любые другие термоуправляющие устройства закорачивают. Каждый раз термовыключатель должен срабатывать должным образом. Во время испытания корпус прибора заземляют через плавкую вставку с током срабатывания 3 А, которая не должна срабатывать. После проведения испытания дополнительные нагревательные элементы должны выдерживать испытание на электрическую прочность по 16.3. 22.111 В случае отключения подачи питания в процессе эксплуатации прибора не должно возникать необходимости ручной переустановки какого-либо терморегулятора. Соответствие требованию проверяют отключением и последующим включением подачи питания. Прибор должен возобновить свою работу без каких-либо переустановок. 22.112 Конструкция охлаждающей системы должна соответствовать требованиям ГОСТ Р 12.2.142 (раздел 3). 22.113 При использовании воспламеняющегося хладагента его трубопровод должен быть защищен или закрыт кожухом для предотвращения механических повреждений. Трубопровод должен быть защищен до такой степени, чтобы за него нельзя было браться или использовать его для переноски при перемещении изделия. Трубопровод, расположенный внутри корпуса, считается защищенным от механических повреждений. Соответствие требованию проверяют осмотром. 22.114 При использовании воспламеняющегося хладагента для соединения трубок не допускается применение низкотемпературных припоев, таких как припои на основе свинца/олова. 22.115 Общая масса хладагента М всех охлаждающих систем в приборе, использующих воспламеняющиеся хладагенты, не должна превышать m3, как указано в приложении GG. 22.116 Приборы с использованием воспламеняющихся хладагентов должны иметь такую конструкцию, которая исключает возможность того, что просочившийся хладагент создаст опасность возгорания или взрыва, стекая в такие места прибора или застаиваясь в таких местах прибора, где установлены электротехнические детали, которые могут быть источником возгорания и функционировать при нормальных условиях эксплуатации или в случае утечки хладагента. Считается, что утечка газа из отдельных компонентов с содержанием менее 0,5 г огнеопасного газа, таких как терморегуляторы, не представляет опасности возгорания или взрыва. Все электротехнические детали, которые могут служить источником возгорания и функционировать при нормальных условиях или в случае утечки, должны соответствовать одному из следующих условий: - требованиям ГОСТ Р 52350.15 (разделы 9-26) для используемых газов группы IIА или хладагента или применяемого стандарта, который определяет электротехнические компоненты, подходящие для использования в зонах 2, 1 или 0 согласно определению ГОСТ Р 52350.14; - не располагаться в месте скопления потенциально огнеопасной газовой смеси, как показано в испытании по приложению FF; - располагаться в корпусе. Корпус, в котором располагаются электротехнические детали, должен соответствовать требованиям ГОСТ Р 52350.15 для корпусов, пригодных для использования с газами группы IIА или с применяемым хладагентом. Примечание - Испытательный ток переключателя должен соответствовать его номинальному току или фактической переключаемой нагрузке, в зависимости от того, которое из этих значений больше. 22.117 Температура поверхностей, на которые может произойти утечка воспламеняющихся хладагентов, не должна превышать температуру самовозгорания хладагента, уменьшенную на 100 К. Некоторые типичные значения приведены в приложении ВВ. Соответствие требованию проверяют измерением температуры соответствующих поверхностей во время проведения испытаний по разделам 11 и 19, за исключением тех из них, которые во время испытаний по разделу 19 отключаются без самовозврата. 22.118 При использовании воспламеняющегося хладагента все приборы должны заправляться хладагентом на месте изготовления или на месте установки, как рекомендовано изготовителем. Часть прибора, заправляемая на месте установки, которая требует пайки или сварки при установке, не должна поставляться заправленной воспламеняющимся хладагентом. Выполняемые в процессе установки соединения частей охлаждающей системы, хотя бы одна часть которой заправлена, должны выполняться следующим образом: - паяные, сварные или механические соединения должны быть выполнены до открытия клапанов, обеспечивающих возможность перетекания хладагента между частями холодильной системы. Для удаления соединительной трубки и (или) любой незаправленной части холодильной системы должен быть вакуумный клапан; - не допускается использование внутри помещений механических соединителей многоразового применения и конических соединений; - трубопровод хладагента должен быть защищен или находиться в корпусе для предотвращения повреждений. Гибкие соединительные элементы хладагента (такие как соединительные линии между внутренним и внешним блоками), которые могут быть смещены при нормальной эксплуатации, должны быть защищены от механических повреждений. Соответствие требованию проверяют согласно инструкции по монтажу изготовителя, а в случае необходимости - пробной установкой. 23 Внутренняя проводкаЭтот раздел части 1 применяют. 24 Комплектующие изделияЭтот раздел части 1 применяют, за исключением следующего. 24.1 Дополнение Мотор-компрессоры не требуют соответствия всем требованиям и проведения испытаний по ГОСТ Р МЭК 60335-2-34, если они соответствуют всем требованиям настоящего стандарта. 24.1.4 Изменение Для количества циклов работы: - термовыключателей с самовозвратом - 3000; - термовыключателей без самовозврата - 300. Дополнение - терморегуляторов, управляющих мотор-компрессорами, - 100000; - пусковых реле мотор-компрессоров - 100000; - автоматических устройств термозащиты электродвигателя мотор-компрессоров герметичного и полугерметичного типов - не менее 2000 (но не менее числа пусков при испытании с заблокированным ротором); - перезапускаемых вручную устройств термозащиты электродвигателя мотор-компрессоров герметичного и полугерметичного типов - 50; - других автоматических устройств термозащиты электродвигателя - 2000; - других перезапускаемых вручную устройств термозащиты электродвигателя - 30. 24.101 Термоуправляющие устройства, содержащие заменяемые части, должны иметь маркировку, по которой эти заменяемые части могут быть идентифицированы. Заменяемые части также должны иметь соответствующую маркировку. Соответствие требованию проверяют осмотром маркировки. 25 Присоединение к источнику питания и внешние гибкие шнурыЭтот раздел части 1 применяют, за исключением следующего. 25.1 Дополнение Приборы могут комплектоваться шнуром питания с вилкой в случае: - если они предназначены только для использования внутри помещений; - если они имеют номинальный потребляемый ток не более 25 А; - если они соответствуют требованиям к приборам, подключаемым с помощью шнуров, в соответствии со спецификой стран, где они будут использоваться. Изменение Приборы не должны быть снабжены приборным вводом. 25.7 Дополнение Шнуры, входящие в комплект как часть прибора, используемого на открытом воздухе, не должны быть хуже, чем гибкий кабель в полихлоропреновой оболочке (кодовое обозначение 60245 IEC 57 или тип ПРМ по ГОСТ 7399). 26 Зажимы для внешних проводовЭтот раздел части 1 применяют. 27 ЗаземлениеЭтот раздел части 1 применяют. 28 Винты и соединенияЭтот раздел части 1 применяют. 29 Воздушные зазоры, пути утечки и непрерывная изоляцияЭтот раздел части 1 применяют, за исключением следующего. Дополнение Соответствие не проверяют для частей мотор-компрессоров, если мотор-компрессор соответствует ГОСТ Р МЭК 60335-2-34. Для мотор-компрессоров, не соответствующих ГОСТ Р МЭК 60335-2-34, применяют дополнения и изменения, указанные в ГОСТ Р МЭК 60335-2-34. 29.2 Дополнение Для изоляции, расположенной в любом воздушном потоке, окружающая микросреда имеет степень загрязнения 3, если только изоляция не ограждена либо расположена так, чтобы было маловероятным ее загрязнение при нормальной эксплуатации прибора. 30 Теплостойкость и огнестойкостьЭтот раздел части 1 применяют, за исключением следующего. 30.2.2 Не применяют. 31 Стойкость к коррозииЭтот раздел части 1 применяют, за исключением следующего. Дополнение Соответствие требованию проверяют испытанием в соляном тумане по ГОСТ Р 52763, степень 2. Перед проведением испытания покрытия царапают с помощью шпильки из закаленной стали, конец которой имеет форму конуса с углом 40°. Вершина конуса закруглена с радиусом (0,25 ± 0,02) мм. Шпильку нагружают таким образом, чтобы прилагаемая вдоль ее оси сила равнялась (10 ± 0,5) Н. Царапины наносят протягиванием шпильки по поверхности покрытия со скоростью приблизительно 20 мм/с. Наносят пять царапин на расстоянии не менее 5 мм друг от друга и не менее 5 мм от краев. После испытания прибор не должен иметь таких повреждений, которые могут уменьшить его соответствие требованиям настоящего стандарта, в частности, разделам 8 и 27. Покрытие не должно быть нарушено и отходить от поверхности металла. 32 Радиация, токсичность и подобные опасностиЭтот раздел части 1 не применяют. Приложения части 1 применяют, за исключением следующего. Приложение D
|
||||||||||||||||||||||||||||||||||||||||||||||||||||||||||||||||||||||||||||||||||||||||||||||||||||||||||||||||||||||||||||||||||||||||||||||||||||||||||||||||||||||||||||||||||||||||||||||||||||||||||||||||||||||||||||||||||||||||||||||||||||||||||||||||||||||||||||||||||||||||||||||||||||||||||||||||||||||||||||||||||||||||||||||||||||||||||||||||||||||||||||||||||||||||||||||||||||||||||||||||||||||||||||||||||||||||||||||||||||||||||||||||||||||||||||||||||||||||||||||||||||||||||||||||||||||||||||||||||||||||||||||||||||||||||||||||||||||||||||||||||||||||||||||||||||||||||||||||||||||||||||||||||||||||||||||||||||||||||||||||||||||||||||||||||||||||||||||||||||||||||||||||||||||||||||||||||||||||||||||||||||||||||||||||||||||||||||||||||||||||||||||||||||||||||||||||||||||||||||||||||||||||||||||||||||||||||||||||||||||||||||||||||||||||||||||||||||||||||||||||||||||||||||||||||||||||||||||||||||||||||||||||||||||||||||
|
Функции прибора |
Классификация |
Нагрев |
Охлаждение |
|||||||
|
Наружная |
Внутренняя |
Наружная |
Внутренняя |
|||||||
|
СТа) |
ВТb) |
СТа) |
ВТb) |
|||||||
|
Воздушный кондиционер: |
|
|
|
|
|
|
|
|
|
|
|
Внешний воздух/Циркулирующий воздух |
А7 |
А20 |
7 |
6 |
20 |
12 |
35 |
24 |
27 |
19 |
|
Отработанный воздух/Циркулирующий воздух |
А20 |
А20 |
20 |
12 |
20 |
12 |
- |
- |
- |
- |
|
Отработанный воздух/Свежий воздух |
А20 |
А7 |
20 |
12 |
7 |
6 |
- |
- |
- |
- |
|
Наружный воздух/Вода |
А7 |
W50 |
7 |
6 |
Вода |
50 |
35 |
24 |
Вода |
7 |
|
Отработанный воздух/Вода |
А20 |
W50 |
20 |
12 |
Вода |
50 |
- |
- |
- |
- |
|
Вода/Вода |
W10 |
W50 |
Вода |
10 0 |
Вода |
50 |
Вода |
15 |
Вода |
7 |
|
Соляной раствор/Вода |
В0 |
W50 |
Соляной |
|
Вода |
50 |
Соляной |
15 |
Вода |
7 |
|
Соляной раствор/Циркулирующий воздух |
В0 |
А20 |
Соляной |
0 |
20 |
12 |
- |
- |
- |
- |
|
Вода/Циркулирующий воздух |
W10 |
А20 |
Вода |
10 |
20 |
12 |
- |
- |
- |
- |
|
Вода/Циркулирующий воздух |
W20 |
А20 |
Вода |
20 |
20 |
12 |
- |
- |
- |
- |
|
Осушитель: |
|
|
|
|
|
|
|
|
|
|
|
Осушение |
Бытовое |
- |
- |
- |
- |
- |
- |
27 |
21 |
|
|
Технологическое |
- |
- |
- |
|
- |
- |
12 |
9 |
||
|
Тепловозвратное (воздушное охлаждение) |
- |
- |
- |
|
27 |
21 |
27 |
21 |
||
|
Тепловозвратное (водяное охлаждение) |
- |
- |
- |
- |
Вода |
24 |
27 |
21 |
||
|
Тепловой насос для горячей воды коммунального водоснабжения: |
|
|
|
|
|
|
|
|
|
|
|
Наружный воздух/Вода |
А7 |
W45 |
7 |
6 |
Вода |
45 |
- |
- |
- |
- |
|
Окружающий воздух/Вода |
А15 |
W45 |
15 |
12 |
Вода |
45 |
- |
- |
- |
- |
|
Отработанный воздух/Вода |
А20 |
W45 |
20 |
12 |
Вода |
45 |
- |
- |
- |
- |
|
Соляной раствор/Вода |
В0 |
W45 |
Соляной |
0 |
Вода |
45 |
- |
- |
- |
- |
|
a) СТ - сухой термометр. b) ВТ - влажный термометр. |
||||||||||
Примечание - Прибор может быть классифицирован в соответствии с выполняемыми функциями и температурой использования, как указано ниже:
|
Источник |
Приемник |
Классификация |
|
Наружный воздух |
Циркулирующий воздух |
А-А-* |
|
Отработанный воздух |
Циркулирующий воздух |
А-А- |
|
Отработанный воздух |
Наружный воздух |
А-А- |
|
Наружный воздух |
Вода |
A-W- |
|
Отработанный воздух |
Вода |
A-W- |
|
Вода |
Вода |
W-W- |
|
Вода |
Циркулирующий воздух |
W-A- |
|
Соляной раствор |
Циркулирующий воздух |
В-А- |
|
Соляной раствор |
Вода |
B-W- |
* Например, А7 А20 означает, что прибор предназначен для внешнего воздуха при рабочей температуре сухого термометра 7°С и для циркулирующего воздуха при рабочей температуре сухого термометра 20°С.
К обязательной части данного приложения относится графа «Нижний предел» таблицы ВВ.1.
Остальная часть приложения носит справочный характер.
Таблица ВВ.1
|
Назначение хладагента1) |
Наименование |
Формула |
Температура |
Плотность2), 5), |
Молярная масса3), кг/кмоль |
Нижний предел воспламеняемости2) |
|
|
кг/м3),4) |
Объемная доля, % |
||||||
|
R32 |
Дифторметан |
CH2F2 |
648 |
2,13 |
52,0 |
0,306 |
14,47) |
|
R50 |
Метан |
CH4 |
645 |
0,65 |
16,0 |
0,032 |
4,98) |
|
R143a |
1,1,1-Трифторэтан |
CF3CH3 |
750 |
3,43 |
84,0 |
0,282 |
8,27) |
|
R152a |
1,1-Дифторэтан |
CHF2CH3 |
455 |
2,70 |
66,0 |
0,130 |
4,87) |
|
R170 |
Этан |
СН3СН3 |
515 |
1,23 |
30,1 |
0,038 |
3,17) |
|
R290 |
Пропан |
СН3СН2СН3 |
470 |
1,80 |
44,1 |
0,038 |
2,17) |
|
R600 |
н-Бутан |
СН3СН2СН2СН3 |
365 |
2,37 |
58,1 |
0,043 |
1,89) |
|
R600a |
Изобутан |
СН(СН3)3 |
460 |
2,37 |
58,1 |
0,043 |
1,810) |
|
R1150 |
Этилен |
CH2=СH2 |
425 |
1,15 |
28,1 |
0,036 |
3,17) |
|
R1270 |
Пропилен |
СH2=СНСН3 |
455 |
1,72 |
42,1 |
0,040 |
2,311) |
|
Е170 |
Диметиловый эфир |
СН3-О-СН3 |
235 |
1,88 |
46,1 |
0,064 |
3,412) |
|
R142b |
1-Хлор-1,1-дифторэтан |
CH3CClF2 |
7506) |
4,11 |
100,5 |
0,329 |
8,07) |
|
1) Обозначения хладагентов согласно стандарту [2]. 2) Значения даны для температуры 25°С и давления 1013,2 мбар. 3) Для сравнения, молекулярная масса воздуха считается равной 28,8 кг/кмоль. 4) Для получения предела воспламенения в килограммах на кубический метр объемную долю следует умножить на соответствующую молярную массу 0,000409. 5) Для получения плотности в килограммах на кубический метр молярную массу следует разделить на 24,465. 6) Оценочное значение на основе молекулярной структуры. 7) Вильсон, ДП. (WILSON, DP.) и Ричард, РГ. (Richard, RG.) Определение нижних пределов воспламенения в соответствии с предлагаемым приложением р к стандарту 34. Труды ASHRAE. 2002 г. Т. 108, ч. 2. 8) БАРРЕЛ, ГА. (BURRELL, GA.) и ОБЕРФЕЛЛ, ГГ. (OBERFELL, GG.) Горное бюро США, Технический отчет 119 (1915). 9) ЛАФИТТ, П. (LAFFITTE, Р.) и ДЕЛБУРГО, P. (DELBOURGO, R.) 4-й симпозиум по вопросам горения, стр. 114(1953). 10) ЗАБЕТАКИС, МГ., СКОТТ, ГС, ДЖОНС, ГВ. Исследования в области промышленной химии, 43, 2120 (1951). 11) Оценочные значения по нижним пределам воспламенения для аналогов пропана и данным из ДЖАББУР, Т. (JABBOUR, Т.), КЛОДИК, Д. (CLODIC, D.) Классификация скорости горения и воспламеняемости хладагентов, Ecole de Mines, Париж, Франция, Труды ASHRAE 2004. 12) Обращение компании Atofina к ASHRAE о классификации безопасности R-E170, 13 декабря 2001 г. |
|||||||
СС.1 Транспортирование оборудования, содержащего воспламеняющиеся хладагенты
Необходимо обратить внимание на то, что могут иметься дополнительные нормативные требования по транспортированию оборудования, содержащего огнеопасный газ. Максимальное количество единиц оборудования или конфигурация оборудования, которое может перевозиться совместно, определяется соответствующими нормативными требованиями по транспортированию.
СС.2 Маркировка оборудования с использованием знаков
Знаки для аналогичных приборов, используемых в местах ведения работ, обычно устанавливаются местными нормативными требованиями, которые содержат минимальные требования по обеспечению мест ведения работ знаками безопасности и охраны здоровья.
Должно быть обеспечено наличие всех требуемых знаков. Работодатели должны обеспечить учебу работников и инструктаж по смысловому значению соответствующих знаков безопасности и по мероприятиям, которые должны выполняться применительно к этим знакам.
Эффективность знаков не должна снижаться за счет размещения слишком большого количества знаков в одном месте.
В случае использования символов (пиктограмм), они должны быть по возможности максимально простыми и содержать только самые существенные сведения.
СС.3 Ликвидация оборудования, в котором используются воспламеняющиеся хладагенты
Смотрите национальные нормативы.
СС.4 Хранение оборудования/приборов
Хранение оборудования должно осуществляться в соответствии с указаниями изготовителя.
СС.5 Хранение упакованного (непроданного) оборудования
Конструкция защиты упаковки для хранения должна быть такой, чтобы механические повреждения оборудования внутри упаковки не привели к утечке хладагента.
Максимальное количество единиц оборудования, которое допускается хранить совместно, определяется местными нормативами.
DD.1 Общие сведения
Для приборов с использованием воспламеняющихся хладагентов должны быть представлены отдельные или комбинированные руководства по монтажу, обслуживанию и эксплуатации, включающие следующую информацию.
DD.2 Символы
Упоминаемый в 7.6 символ (допускается его использование в нецветном виде) и информация предупредительной маркировки должны быть представлены следующим образом:
ВНИМАНИЕ!
Не применяйте никакие методы ускорения процесса размораживания или чистки, кроме рекомендованных изготовителем.
Прибор должен храниться в помещении без постоянно работающих источников возгорания (например открытое пламя, работающий газовый прибор или работающий электрический нагреватель).
Не протыкать и не поджигать.
Помните, что хладагенты могут быть без запаха.
Прибор должен устанавливаться, эксплуатироваться и храниться в помещении площадью более Х м2.
Примечание - Изготовитель может предоставить другие подходящие примеры или дополнительную информацию о запахе хладагента.
DD.3 Сведения в руководстве
DD.3.1 В соответствующих местах руководства должна быть указана следующая информация применительно к прибору:
- сведения относительно мест, в которых допускается размещение содержащих воспламеняющийся хладагент трубопроводов, включая следующие указания:
о том, что трубопроводы должны монтироваться в минимальных количествах;
о том, что трубопроводы должны быть защищены от физических повреждений и не должны устанавливаться в невентилируемом помещении, если размер помещения меньше Amin согласно приложению GG;
об обязательном соблюдении национальных нормативов по газам;
о выполнении механических соединений в соответствии с 22.118, а также о том, что эти соединения должны быть доступны для техобслуживания;
о том, что минимальная площадь помещения должна быть указана в виде таблицы или числа без ссылки на формулу;
- максимальный объем заправки хладагента М;
- минимальный нормированный воздушный поток, если это требуется по приложению GG;
- сведения об обращении с прибором, о его установке, чистке, обслуживании и удалении хладагента;
- минимальная площадь помещения или особые требования к помещению, в котором допускается размещение прибора согласно приложению GG, за исключением случаев, когда количество заправленного хладагента М меньше или равно m1 (М ≤ m1);
- предупреждение о недопустимости наличия преград перед вентиляционными отверстиями;
- предупреждение о том, что обслуживание должно выполняться только согласно рекомендациям изготовителя.
DD.3.2 Руководство должно содержать указание о том, что невентилируемая зона, в которой установлен прибор с использованием воспламеняющихся хладагентов, должна быть устроена таким образом, чтобы в случае утечки хладагента он не застаивался, создавая опасность возгорания или взрыва. Данное указание должно включать:
- предупреждение о том, что прибор должен храниться в хорошо вентилируемом месте, в котором площадь помещения соответствует указанной для эксплуатации площади помещения;
- предупреждение о том, что прибор должен храниться в помещении без постоянно работающих источников открытого пламени (например работающий газовый прибор) и источников возгорания (например работающий электрический нагреватель).
Примечание - Изготовитель должен указать другие потенциальные постоянно работающие источники, о которых известно, что они могут вызвать возгорание используемого хладагента.
Прибор должен храниться таким образом, чтобы предотвратить появление механических повреждений. I
DD.3.3 Руководство должно содержать следующие конкретные сведения о полномочиях квалифицированного обслуживающего персонала:
- любое лицо, осуществляющее работы с контуром хладагента или его вскрытие, должно иметь действительное удостоверение, выданное уполномоченным аттестационным органом, которое подтверждает компетенцию такого лица по безопасной работе с хладагентами в соответствии с принятыми в промышленности требованиями к аттестации;
- обслуживание должно выполняться только согласно рекомендациям изготовителя. Техобслуживание и ремонт, которые требуют помощи со стороны другого квалифицированного персонала, должны выполняться под руководством лица, имеющего право работы с огнеопасными хладагентами.
DD.4 Сведения по обслуживанию
Руководство должно содержать конкретные сведения для обслуживающего персонала, включающие указания о необходимости принятия следующих мер при обслуживании прибора с использованием огнеопасного хладагента.
DD.4.1 Проверка места работ
До начала работ над системами, содержащими огнеопасные хладагенты, необходимо выполнить проверку безопасности для сведения к минимуму риска возгорания. Для ремонта холодильной системы должны быть приняты следующие меры предосторожности до начала работы с системой.
DD.4.2 Порядок действий при работе
Работы должны выполняться в соответствии с контролируемым порядком действий, чтобы свести к минимуму риск присутствия огнеопасных газов или паров во время выполнения работ.
DD.4.3 Место ведения работ
Весь обслуживающий и другой персонал, находящийся в месте ведения работ, должен быть проинструктирован о характере выполняемых работ. Необходимо избегать работы в ограниченных пространствах. Место ведения работ должно быть отделено. Необходимо обеспечить безопасные условия в месте ведения работ, контролируя присутствие легковоспламеняющихся материалов.
DD.4.4 Проверка присутствия хладагента
Место работ необходимо проверять с помощью соответствующего детектора хладагента до начала и во время выполнения работ, чтобы выполняющий работы специалист был осведомлен о потенциально огнеопасной атмосфере в случае ее присутствия. Необходимо обеспечить, чтобы используемое оборудование для обнаружения утечек было пригодным для применения с огнеопасными хладагентами, т. е. безыскровым, с достаточной степенью герметичности или конструктивно искробезопасным.
DD.4.5 Наличие огнетушителя
В случае выполнения любых огневых работ на холодильном оборудовании или сопряженных узлах необходимо иметь под рукой соответствующие средства для тушения огня. Рядом с местом заправки должен находиться порошковый или углекислотный огнетушитель.
DD.4.6 Отсутствие источников возгорания
Лица, выполняющие работы в отношении холодильной системы, связанные с открытием любых частей трубопровода, содержащего или не содержащего огнеопасный хладагент, не должны использовать никакие источники возгорания таким образом, чтобы это могло создать опасность пожара или взрыва. Все возможные источники возгорания, включая курение сигарет, должны находиться на достаточном отдалении от места работ по монтажу, ремонту, демонтажу и удалению оборудования, во время которых существует возможность выделения огнеопасного хладагента в окружающее пространство. До начала выполнения работ место вокруг оборудования необходимо обследовать, чтобы убедиться в отсутствии опасности возгорания. Должно быть обеспечено наличие знаков «Курение запрещено».
DD.4.7 Вентилируемая зона
Необходимо обеспечить, чтобы место работ было открытым или в достаточной степени провентилированым до вскрытия системы или выполнения любых огневых работ. Некоторая степень вентиляции должна поддерживаться в течение периода выполнения работ. Вентиляция должна безопасным образом рассеивать хладагент в случае его утечки. Желательно, чтобы он удалялся наружу в атмосферу.
DD.4.8 Проверки холодильного оборудования
Заменяемые электротехнические детали должны соответствовать предназначению и надлежащим техническим условиям. Следование указаниям изготовителя по техническому обеспечению и обслуживанию всегда является обязательным. В сомнительных случаях следует обратиться за помощью в технический отдел изготовителя.
К установкам с использованием воспламеняющихся хладагентов применяют следующие виды проверок:
- соответствие количества хладагента размеру помещения, в котором установлены содержащие хладагент части;
- правильность функционирования вентиляционного оборудования и отверстий и отсутствие перекрывающих их препятствий;
- наличие хладагента во вторичном контуре при использовании контура с промежуточным хладагентом;
- видимость и читаемость маркировки оборудования. Необходимо исправить нечитаемые надписи и знаки;
- проверка установки холодильных трубопроводов или компонентов в положении, обеспечивающем малую вероятность попадания на них любых веществ, которые могут подвергать коррозии содержащие хладагент компоненты, если только эти компоненты не выполнены из материалов, являющихся коррозионно-стойкими по своей природе, или они должным образом не защищены от коррозии.
DD.4.9 Проверки электротехнических устройств
Ремонт и техобслуживание электротехнических компонентов должны включать первоначальные проверки безопасности и процедуры осмотра компонентов. В случае наличия неисправности, которая может негативно повлиять на безопасность, не допускается подключение цепи к электропитанию до надлежащего устранения этой неисправности. Если неисправность не может быть устранена в данный момент, но при этом необходимо продолжать эксплуатацию оборудования, необходимо использовать адекватное временное решение. Об этом необходимо уведомить собственника оборудования, чтобы были осведомлены все стороны.
Первоначальные проверки включают:
- проверку разряда конденсаторов; разряд должен выполняться безопасным способом, исключающим возможность искрообразования;
- проверку отсутствия открытых электротехнических деталей и проводки под напряжением во время заправки, восстановления или продувки системы;
- проверку целостности контура заземления.
DD.5 Ремонт герметизированных компонентов
DD.5.1 При ремонте герметизированных компонентов до снятия любых герметизирующих крышек и т. п. от ремонтируемого оборудования должны быть отключены все источники электропитания. В случае абсолютной необходимости подачи электропитания на оборудование во время техобслуживания необходимо установить постоянно функционирующее средство обнаружения утечек в наиболее опасном месте, чтобы обеспечить оповещение о потенциально опасной ситуации.
DD.5.2 Особое внимание необходимо обратить на следующие факторы, чтобы исключить при работе с электротехническими компонентами такие изменения кожуха, которые повлияют на уровень защиты. Такие факторы включают в себя повреждения кабелей, чрезмерное количество соединений, выполненные с нарушением оригинальных технических характеристик зажимы (выводы), повреждения уплотнений, неправильную установку сальников и т. д.
Необходимо обеспечить правильную установку прибора.
Необходимо убедиться в том, что характеристики уплотнений или изоляционных материалов не ухудшились до такой степени, при которой они уже не могут предотвращать проникновение огнеопасной атмосферы. Заменяемые детали должны соответствовать спецификациям изготовителя.
Примечание - Использование силиконовых герметиков может снизить эффективность работы некоторых видов оборудования для обнаружения утечек. Конструктивно искробезопасные компоненты необязательно отделять до начала работы с ними.
DD.6 Ремонт конструктивно искробезопасных компонентов
Прежде чем подавать в цепь какие-либо постоянные индуктивные или емкостные нагрузки, необходимо обеспечить, чтобы они не привели к превышению допустимых значений напряжения и силы тока для используемого оборудования.
Конструктивно искробезопасные компоненты являются единственным видом оборудования, с которым можно работать под напряжением в присутствии огнеопасной атмосферы. Испытательная аппаратура должна быть соответствующего класса.
Замену компонентов проводят только на указанные изготовителем детали. Использование других деталей может привести к возгоранию хладагента в атмосфере в случае утечки.
DD.7 Кабельная разводка
Необходимо проверить, чтобы кабельная разводка не подвергалась износу, коррозии, чрезмерному давлению, вибрации, воздействию острых углов или любым другим вредным воздействиям в месте установки. При выполнении этой проверки необходимо также принимать во внимание эффекты старения или постоянной вибрации от таких источников, как компрессоры или вентиляторы.
DD.8 Обнаружение воспламеняющихся хладагентов
Ни при каких обстоятельствах не допускается применение потенциальных источников возгорания при поиске или выявлении утечек хладагента. Запрещается использование галоидных течеискателей (или любых других средств обнаружения с использованием открытого пламени).
DD.9 Методы обнаружения утечек
Следующие методы обнаружения утечек считаются приемлемыми для систем, содержащих огнеопасные хладагенты.
Для обнаружения огнеопасных хладагентов используют электронные детекторы утечки, но их чувствительность может быть недостаточной или они могут требовать повторной поверки (эталонирования). (Поверку детекторов необходимо выполнять в свободном от хладагентов месте.) Необходимо убедиться, что детектор не является потенциальным источником возгорания и пригоден для использования с данным хладагентом. Детектор утечки устанавливают на некоторое процентное отношение нижнего предела воспламеняемости хладагента и эталонируют для используемого хладагента с подтверждением соответствующего процента газа (максимум 25 %).
Для использования с большинством хладагентов подходят специальные жидкости для обнаружения утечек, но при этом следует избегать использования хлористых моющих средств, поскольку хлор может вступать в реакцию с хладагентом и вызывать коррозию медных трубопроводов.
В случае подозрения на утечку необходимо удалить/погасить все источники открытого пламени.
В случае обнаружения утечки хладагента, для устранения которой требуется пайка, весь хладагент должен быть изъят из системы либо изолирован (с помощью отсечных клапанов) в удаленной от места утечки части системы. Затем проводят продувку системы азотом без примеси кислорода до начала и во время процесса пайки.
DD.10 Удаление хладагента и вакуумирование
При вскрытии контура хладагента для выполнения ремонтных работ или для любых других целей следует применять общепринятые методы. При этом должны использоваться самые передовые методы с учетом огнеопасности. Необходимо соблюдать следующую последовательность действий:
- удалить хладагент;
- выполнить продувку контура инертным газом;
- выполнить откачку;
- провести повторную продувку инертным газом;
- вскрыть контур резкой или пайкой.
Хладагент собирают в специальные баллоны. Систему «промывают» азотом без примеси кислорода, чтобы обезопасить установку. Может потребоваться повторение этого процесса несколько раз. Запрещается использовать для выполнения этой задачи сжатый воздух или кислород.
Для выполнения промывки вакуум в системе нарушают азотом без примеси кислорода и продолжают заполнение до достижения рабочего давления, затем проводят выпуск в атмосферу и снижают давление до вакуума. Этот процесс повторяют до полного удаления хладагента из системы. При выполнении последней продувки азотом без примеси кислорода давление в системе снижают до атмосферного, чтобы можно было выполнять работы. Эта операция является абсолютно необходимой для выполнения работ по пайке трубопровода.
Необходимо обеспечить, чтобы вблизи выхода вакуумного насоса не было источников возгорания, а также обеспечить наличие вентиляции.
DD.11 Порядок заправки
В сочетании с общепринятыми методами заправки необходимо соблюдать следующие требования.
- Обеспечить, чтобы не происходило загрязнение различных хладагентов при использовании заправочного оборудования. Шланги или линии должны быть как можно короче, чтобы свести к минимуму количество содержащегося в них хладагента.
- Баллоны должны использоваться в вертикальном положении.
- До заправки холодильной системы хладагентом необходимо обеспечить ее заземление.
- После завершения заправки прикрепить к системе ярлык (если это еще не сделано).
- Необходимо проявлять чрезвычайную осторожность, чтобы не переполнить холодильную систему.
Перед заправкой системы необходимо выполнить ее опрессовку азотом без примеси кислорода. После завершения заправки, но до пуска в эксплуатацию систему испытывают на отсутствие утечки. Еще одно дополнительное испытание на отсутствие утечки выполняют перед уходом с объекта.
DD.12 Снятие с эксплуатации
Чрезвычайно важно, чтобы специалист был полностью знаком с оборудованием и всеми его частями до выполнения этой операции. Рекомендуемой нормой является безопасный сбор всех хладагентов. До начала выполнения этой задачи необходимо взять пробу масла и хладагента на тот случай, если потребуется проведение анализа перед повторным использованием регенерированного хладагента. Необходимо обеспечить наличие электропитания до начала выполнения задачи.
a) Ознакомьтесь с оборудованием и его работой.
b) Выполните отключение электроцепей.
c) Перед началом выполнения процедуры необходимо обеспечить:
- наличие механического грузоподъемного оборудования, которое может потребоваться для перемещения баллонов с хладагентом;
- наличие индивидуальных средств защиты и их правильное использование;
- постоянный надзор за процессом сбора компетентным лицом;
- соответствие оборудования для сбора хладагента и баллонов применимым стандартам.
d) По возможности, выполните откачку хладагента из системы.
e) Если создание вакуума не представляется возможным, приготовьте коллектор для удаления хладагента из различных частей системы.
f) Установите баллон на весы до начала процесса сбора хладагента.
g) Запустите опорожняющий агрегат и действуйте в соответствии с указаниями изготовителя.
h) He переполняйте баллоны (не более 80 % объема жидкости).
i) He превышайте максимальное рабочее давление баллона, даже кратковременно.
j) После того, как будут надлежащим образом заполнены баллоны и процесс завершен, обеспечьте незамедлительное удаление баллонов и оборудования с объекта и закрытие всех отсечных клапанов на оборудовании.
k) Собранный хладагент не должен заправляться в другую холодильную систему без очистки и проверки.
DD.13 Прикрепление ярлыков
К оборудованию необходимо прикрепить ярлык с записью о том, что оно снято с эксплуатации и из него удален хладагент. На ярлыке должны быть дата и подпись. Необходимо, чтобы на оборудовании были ярлыки с записью о том, что оборудование содержит воспламеняющийся хладагент.
DD.14 Сбор хладагента
При удалении хладагента из системы, для ее техобслуживания или снятия с эксплуатации, рекомендуется применение безопасных методов удаления всех хладагентов.
При перемещении хладагента в сливные баллоны необходимо обеспечить использование только пригодных для этой цели баллонов. Необходимо обеспечить наличие нужного количества баллонов для вмещения всего заправочного объема системы. Все используемые баллоны предназначаются для собранного хладагента и имеют ярлыки для данного хладагента (т.е. специальные баллоны для сбора хладагента). Баллоны должны быть оснащены клапаном сброса давления и соответствующими отсечными клапанами в хорошем рабочем состоянии. В пустых сливных баллонах создают разрежение и, по возможности, их охлаждают перед началом процесса сбора хладагента.
Оборудование для сбора хладагента должно быть в хорошем состоянии. Необходимо обеспечить наличие комплекта инструкций по имеющемуся оборудованию, которое должно быть пригодно для сбора огнеопасных хладагентов. Кроме того, необходимо обеспечить наличие комплекта поверенных весов в хорошем состоянии. Шланги должны быть оснащены герметичными разъемными соединениями и должны быть в хорошем состоянии. Перед использованием опорожняющего агрегата необходимо убедиться в том, что он пригоден для работы, прошел необходимое техобслуживание и что все сопутствующие электротехнические детали герметически закрыты для предотвращения возгорания в случае выпуска хладагента. В сомнительных случаях необходимо проконсультироваться с изготовителем.
Собранный хладагент возвращают поставщику хладагента в надлежащем сливном баллоне с составлением соответствующей накладной на передачу отработанного материала. Не следует смешивать хладагенты в сливных установках и особенно в баллонах.
В случае удаления компрессоров или компрессорного масла необходимо обеспечить создание в них достаточного уровня разрежения, чтобы гарантировать, что в смазочном материале не останется огнеопасного хладагента. Перед возвратом компрессора поставщикам необходимо выполнить его вакуумирование. Для ускорения этого процесса можно применять только электрический нагрев корпуса компрессора. При сливе масла из системы необходимо соблюдать меры безопасности.
ЕЕ.1 Общие сведения
Все части охлаждающей системы должны выдерживать максимальное давление, которое может иметь место в условиях нормальной работы, при ненормальной работе и при остановке.
Компрессор, прошедший испытания согласно ГОСТ Р МЭК 60335-2-34, не требует проведения дополнительных испытаний.
Соответствие требованиям проверяют следующими испытаниями.
Для всех испытаний по разделу 21, если используется смесь хладагентов, испытание по ЕЕ.4.7 выполняют с наивысшим давлением при указанной температуре.
Для проведения испытаний по ЕЕ.4.1 используют максимальные значения давлений из разделов ЕЕ.2, ЕЕ.3 или ЕЕ.4, соответственно, для компонентов стороны высокого давления и стороны низкого давления.
ЕЕ.2 Значение для испытания давлением, определяемое при испытаниях по разделу 11
При проведении испытаний в условиях по разделу 11 проводят измерение максимального давления, создаваемого в охлаждающей системе, для подвергаемого давлению компонента охлаждающей системы.
Значение давления при испытании давлением должно равняться не менее чем трехкратному значению максимального давления, создаваемого во время работы по разделу 11.
ЕЕ.3 Значение для испытания давлением, определяемое при испытаниях по разделу 19
При проведении испытаний в условиях по разделу 19 проводят измерение максимального давления, создаваемого в холодильной системе, для подвергаемого давлению компонента холодильной системы.
Значение давления при испытании давлением должно равняться не менее чем трехкратному значению максимального давления, создаваемого во время ненормальной работы (раздел 19).
ЕЕ.4 Значение для испытания давлением, определяемое при испытаниях в условиях бездействия
Для определения давления в состоянии бездействия прибор выдерживают при наивысшей рабочей температуре, указанной изготовителем, в течение 1 ч с отключенным питанием.
Проводят измерение максимального давления, создаваемого в охлаждающей системе в условиях бездействия, для компонента охлаждающей системы, который подвергается только воздействию низкого давления.
Значение давления при испытании давлением должно равняться не менее чем трехкратному значению максимального давления, создаваемого в условиях бездействия.
Нет необходимости подвергать испытанию датчики давления и механизмы управления при условии, что их детали соответствуют требованиям к данному компоненту.
ЕЕ.4.1 Испытание давлением выполняют на трех образцах каждого компонента. Испытуемые образцы заполняют жидкостью, например водой, чтобы вытеснить воздух, и подключают к гидравлической насосной системе. Давление постепенно повышают до достижения требуемого давления опрессовки. Давление выдерживают не менее чем 1 мин. В течение этого периода образец не должен дать утечку.
Допускается утечка в местах применения прокладок для герметизации деталей под давлением при условии, что такая утечка будет иметь место только при значениях выше 120 % максимально допустимого давления и при этом давление опрессовки все же будет достигнуто и выдержано в течение указанного периода.
ЕЕ.5 Вариант испытания на износ для разделов ЕЕ.1 и ЕЕ.4.1
При условии, что компоненты пройдут испытание на износ по разделу ЕЕ.5, они должны быть подвергнуты испытанию давлением при значении давления, равном 2/3 значения, определенного по разделам ЕЕ.2, ЕЕ.3 или ЕЕ.4. Это испытание проводят на отдельном образце.
ЕЕ.5.1 Три образца каждой содержащей хладагент части должны быть подвергнуты испытаниям в режиме циклической подачи давления со значениями, указанными в ЕЕ.5.6 и ЕЕ.5.7, с количеством циклов согласно ЕЕ.5.5 и в соответствии с описанием в ЕЕ.5.3.
ЕЕ.5.2 По завершении испытания образцы будут считаться соответствующими требованиям ЕЕ.5.4, если не произойдет их разрыва, разрушения и утечки.
ЕЕ.5.3 Испытуемые образцы заполняют жидкостью и подключают к источнику нагнетания давления. Давление поднимают и снижают между верхним и нижним значениями циклов с указанной изготовителем скоростью. В каждом цикле давление должно достигать указанного верхнего и нижнего значений. Форма цикла изменения давления должна быть такой, чтобы верхние и нижние значения давления удерживались в течение не менее чем 0,1 с.
Примечание - В целях безопасности предлагается использовать несжимаемую жидкость. Жидкость должна заполнять весь объем части, вытеснив весь воздух.
Если рабочие температуры прибора при работе в установившемся состоянии по разделу 11 менее или равны 125°С для меди или алюминия или 200°С для стали, температура при проведении испытаний части или сборки компонента должна быть не ниже 20°С. Если непрерывная рабочая температура компонента превышает 125°С для меди или алюминия или 200°С для стали, температура при проведении испытаний частей или сборок компонента, которые находятся при этих температурах и подвергаются давлению, должна быть не менее чем на 25°С выше измеренной при испытании по разделу 11 температуры данной части для меди или алюминия и на 60°С выше для стали. Для других материалов влияние температуры на усталостные характеристики материала оценивают проведением испытания при более высоких значениях температур и принимая во внимание характеристики материала при более высоких значениях температур.
ЕЕ.5.4 Значение давления для первого цикла должно равняться максимальному давлению испарения для компонентов стороны низкого давления или максимальному давлению конденсации для компонентов стороны высокого давления.
ЕЕ.5.5 Общее количество циклов должно составлять 250000. Значения испытательных давлений определяют по 5.7 (за исключением первого и последнего циклов, как указано в ЕЕ.5.4 и ЕЕ.5.7).
ЕЕ.5.6 Значения давлений для циклов испытания устанавливают следующим образом:
a) Для компонентов, подверженных давлениям стороны высокого давления, верхнее значение давления должно быть не ниже давления насыщенных паров хладагента при 50°С, а нижнее значение давления должно быть не выше давления насыщенных паров хладагента при 5°С. Для тепловых насосов для горячей воды верхнее значение давления должно составлять не менее 80 % максимального значения давления при условиях по разделу 11.
b) Для компонентов, подверженных давлению только стороны низкого давления, верхнее значение давления должно быть не ниже давления насыщенных паров хладагента при 30°С, а нижнее значение давления должно быть между 0 бар и большей из следующих двух величин - 4,0 бар или давление насыщенных паров хладагента при минус 13°С.
ЕЕ.5.7 Для завершающего цикла испытания давление испытания должно быть повышено до двукратного значения минимального верхнего значения давления, оговоренного в ЕЕ.5.6.
Примечание - Целью является исключить отрицательное значение испытательного давления, но при этом установить требование наименьшего значения из значений давления насыщенных паров при минус 13°С и 4,0 бар, в зависимости от того, которое из этих значений выше.
FF.1 Общие сведения
Имитируют утечку хладагента в наиболее опасной точке охлаждающей системы. Метод имитации утечки в наиболее опасной точке - ввод паров хладагента через пригодную для этой цели капиллярную трубку в этой точке. Опасными точками могут быть соединения труб холодильной системы, колена с углами более 90° или другие точки системы с хладагентом, которые считаются слабыми из-за толщины металла, незащищенности от повреждений, остроты угла изгиба или способа изготовления. Количество хладагента равняется нормативному количеству заправки или количеству, установленному в результате испытания. Хладагент вводят в наиболее опасной точке и в наиболее неблагоприятном направлении при температуре окружающей среды 20°С-25°С.
FF.2 Методы испытаний
FF.2.1 Прибор модифицируют созданием имитируемой утечки через капиллярную трубку. Интенсивность утечки поддерживают на уровне (25 ± 5) % от общего количества заправки прибора за 1 мин.
FF.2.2 Во время этого испытания прибор находится в выключенном состоянии или работает в условиях нормальной работы при номинальном напряжении, в зависимости от того, какой из этих вариантов дает наиболее неблагоприятные результаты. Если же при подключении любых нагрузок приводится в действие предварительная очистка, то в этом случае испытание проводят на работающем приборе. В случае испытания с работающим прибором ввод газа хладагента начинают одновременно с включением прибора.
FF.2.3 В случае использования смеси хладагентов, которая может разделяться на фракции, испытание проводят с использованием наихудшего состава разделенной на фракции смеси, имеющего наименьший низший предел воспламеняемости согласно стандарту [1].
Примечание - В случае использования азеотропной смеси испытание проводят, поддерживая состав в разумных пределах. Жидкая фаза смеси может быть выделена из баллона и затем выпарена. Наилучшим методом для газообразной фазы является ее выпуск с помощью редукционного клапана из большого баллона для газовой смеси.
FF.2.4 Испытание проводят в достаточно просторном помещении без сквозняков. Минимальный объем V, м3 (принимая высоту потолка не менее 2,2 м), составляет
V = (4·m)/НПВ,
где m - масса заправки хладагента, кг;
НПВ - нижний предел воспламеняемости, кг/м3, по приложению ВВ.
Примечания
1 Количество вводимого газа предпочтительно измерять взвешиванием баллона.
2 Следует принять меры к тому, чтобы установка капиллярной трубки не оказывала ненадлежащего влияния на результаты испытания, а также чтобы на эти результаты не могло оказать ненадлежащее влияние устройство прибора.
3 Прибор, используемый для слежения за концентрацией газообразного хладагента, должен обладать малым временем отклика на концентрацию газа, обычно от 2 до 3 с, и находиться в таком месте, где он не будет оказывать ненадлежащего влияния на результаты испытания.
4 При использовании для измерения концентраций газообразного хладагента метода газовой хроматографии отбор проб газа в ограниченных пространствах должен осуществляться с интенсивностью, не превышающей 2 мл каждые 30 с.
FF.2.5 Измеренная концентрация окружающего компонент газообразного хладагента не должна превышать 75 % НПВ газообразного хладагента и не должна превышать 50 % НПВ газообразного хладагента в течение 5 мин или в течение периода выполнения испытания, если он менее 5 мин, во время и после ввода соответствующего количества хладагента. Измеренная концентрация газообразного хладагента, окружающего компонент, который не будет функционировать во время предварительной очистки, может превышать 75 % НПВ в течение времени предварительной очистки. Значения НПВ для используемого хладагента указаны в приложении ВВ.
GG.1 Требования для предельных количеств заправки в вентилируемых зонах
Для случаев использования воспламеняющегося хладагента требования к вентиляции прибора или пространства, в котором функционирует прибор, представлены в таблице GG.1 в зависимости от массы заправки М для данного прибора, зоны установки прибора и типа вентиляции зоны установки или прибора.
GG.1.1 Определяют применимый вариант на основании соотношения массы используемого количества заправки и m1, m2, m3, которые определяются следующим образом:
m1 = (4 м3)·НПВ; m2 = (26 м3)·НПВ; m3 = (130 м3)·НПВ,
где НПВ - нижний предел воспламеняемости, кг/м3, по приложению ВВ для используемого хладагента.
GG.1.2 Выбирают графу для внутренней или наружной установки. Требования к прибору и его монтажу указаны в соответствующей ячейке таблицы GG.1.
Примечания
1 Коэффициенты в формулах (4, 26, 130) приведены в кубических метрах и представляют возрастающие объемы помещения по отношению к возрастающим количествам заправки и разрешенному или требуемому типу вентиляции помещения, которые позволяют исключить достижение нижнего предела воспламеняемости в случае, если будет выпущено и смешается с воздухом в помещении все количество заправки. Формулы, устанавливающие количество заправки, основаны на принципе неравномерного смешивания, если хладагент тяжелее или легче воздуха.
2 Метод определения НПВ смеси хладагентов рассматривается в стандартах [1], [2]. НПВ хладагента, который не включен в приложение ВВ, должен быть указан в стандартах [1], [2].
Таблица GG.1 - Масса хладагентов
|
Максимальная масса хладагента |
Все наружные установки |
Внутренняя установка или установка под или над землей |
|
М ≤ m1 |
||
|
m1 < М ≤ m2 |
Соответствие требованиям 22.116 и 22.117. Установки в невентилируемых помещениях и помещениях с механической вентиляцией должны соответствовать требованиям GG.2 или GG.3, указанным ниже |
|
|
m2 < М < m3 |
Соответствие требованиям 22.116 и 22.117. Установки в помещениях с механической вентиляцией должны соответствовать требованиям GG.3, указанным ниже |
|
|
М > m3 |
Применяют национальные стандарты |
Применяют национальные стандарты |
|
Примечание - Требования, применяемые для более высокого количества заправки, допускаются для каждого диапазона в таблице GG.1. |
||
GG.2 Требования для предельных количеств заправки в невентилируемых зонах
Требования, применимые для приборов с количеством заправки m1 < М ≤ m2.
См. рисунок GG.1.
Для приборов с количеством заправки m1 < М ≤ m2 максимальное количество заправки в помещении должно соответствовать
mmax = 2,5(НПВ)(5/4)h0(A)1/2
или требуемая минимальная площадь помещения Amin для установки прибора с количеством заправки М (кг) должна определяться по формуле
Amin = (M/2,5(НПВ)(5/4)h0)2,
где mmax - допустимое максимальное количество заправки в помещении, кг;
М - количество заправки хладагента в приборе, кг;
Аmin - требуемая минимальная площадь помещения, м2;
А - площадь помещения, м2;
НПВ - нижний предел воспламеняемости, кг/м3;
h0 - высота установки прибора, м:
0,6 м - для установки на полу;
1,8 м - для монтажа на стене;
1,0 м - для монтажа в оконном проеме;
2,2 м - для монтажа на потолке.
НПВ дается в килограммах на кубический метр по приложению ВВ и молекулярный вес хладагента больше, чем 42.
Примечания
1 Эту формулу нельзя использовать для хладагентов легче, чем 42 кг/моль.
2 Некоторые результаты вычислений в соответствии с приведенной формулой представлены в таблицах GG.2 и GG.3.

1 - кожух; 2 - зона 2 или испытание; 3 - помещение
Рисунок GG.1 - Невентилируемая зона
Таблица GG.2 - Максимальное количество заправки (кг) (примечание 2 приложения GG.2)
|
Категория |
НПВ, кг/м3 |
h0, м |
Площадь помещения, м2 |
||||||
|
4 |
7 |
10 |
15 |
20 |
30 |
50 |
|||
|
R290 |
0,038 |
0,6 |
0,05 |
0,07 |
0,08 |
0,10 |
0,11 |
0,14 |
0,18 |
|
1,0 |
0,08 |
0,11 |
0,13 |
0,16 |
0,19 |
0,23 |
0,30 |
||
|
1,8 |
0,15 |
0,20 |
0,24 |
0,29 |
0,34 |
0,41 |
0,53 |
||
|
2,2 |
0,18 |
0,24 |
0,29 |
0,36 |
0,41 |
0,51 |
0,65 |
||
|
R32 |
0,306 |
0,6 |
0,68 |
0,90 |
1,08 |
1,32 |
1,53 |
1,87 |
2,41 |
|
1,0 |
1,14 |
1,51 |
1,80 |
2,20 |
2,54 |
3,12 |
4,02 |
||
|
1,8 |
2,05 |
2,71 |
3,24 |
3,97 |
4,58 |
5,61 |
7,24 |
||
|
2,2 |
2,50 |
3,31 |
3,96 |
4,85 |
5,60 |
6,86 |
8,85 |
||
|
R1270 |
0,040 |
0,6 |
0,05 |
0,07 |
0,08 |
0,10 |
0,12 |
0,15 |
0,19 |
|
1,0 |
0,09 |
0,12 |
0,14 |
0,17 |
0,21 |
0,24 |
0,32 |
||
|
1,8 |
0,16 |
0,21 |
0,25 |
0,31 |
0,36 |
0,44 |
0,57 |
||
|
2,2 |
0,20 |
0,26 |
0,31 |
0,38 |
0,44 |
0,54 |
0,70 |
||
Таблица GG.3 - Минимальная площадь помещения (м2) (примечание 2 приложения GG.2)
|
Категория |
НПВ, кг/м3 |
h0, м |
Количество заправки М, кг, для минимальной площади помещения, м2 |
||||||
|
R290 |
0,038 |
|
0,152 |
0,228 |
0,304 |
0,456 |
0,608 |
0,76 |
0,988 |
|
0,6 |
|
82 |
146 |
328 |
584 |
912 |
1541 |
||
|
1,0 |
|
30 |
53 |
118 |
210 |
328 |
555 |
||
|
1,8 |
|
9 |
16 |
36 |
65 |
101 |
171 |
||
|
2,2 |
|
6 |
11 |
24 |
43 |
68 |
115 |
||
|
R32 |
0,306 |
|
1,224 |
1,836 |
2,448 |
3,672 |
4,896 |
6,12 |
7,956 |
|
0,6 |
|
29 |
51 |
116 |
206 |
321 |
543 |
||
|
1,0 |
|
10 |
19 |
42 |
74 |
116 |
196 |
||
|
1,8 |
|
3 |
6 |
13 |
23 |
36 |
60 |
||
|
2,2 |
|
2 |
4 |
9 |
15 |
24 |
40 |
||
|
R1270 |
0,040 |
|
0,14 |
0,21 |
0,28 |
0,42 |
0,56 |
0,7 |
0,91 |
|
0,6 |
27 |
61 |
109 |
245 |
436 |
681 |
1150 |
||
|
1,0 |
10 |
22 |
39 |
88 |
157 |
245 |
414 |
||
|
1,8 |
3 |
7 |
12 |
27 |
48 |
76 |
128 |
||
|
2,2 |
2 |
5 |
8 |
18 |
32 |
51 |
86 |
||
GG.3 Требования для предельных количеств заправки в зонах с механической вентиляцией
Примечание - Требования применяют для приборов с количеством заправки m1 < М ≤ m3.
См. рисунок GG.2.

1 - кожух; 2 - зона 2 или испытание; 3 - помещение; 4 - воздушный поток наружу
Рисунок GG.2 - Механическая вентиляция
Механическую вентиляцию применяют только к стационарным приборам.
Механическая вентиляция означает, что в кожухе прибора или в помещении имеется система вентиляции, которая в случае утечки должна отвести хладагент в зону, где нет источников возгорания и где газ может быстро рассеяться. Кожух прибора должен иметь систему вентиляции, которая создает воздушный поток в кожухе прибора и соответствует требованиям 3.1 или предназначена для установки в помещении, которое соответствует требованиям 3.2.
GG.4 Требования для механической вентиляции в кожухе прибора
Холодильный контур снабжен отдельным кожухом, не имеющим сообщения с помещением. Кожух прибора должен иметь систему вентиляции, которая создает воздушный поток из внутреннего пространства кожуха наружу через вентиляционный ствол. Изготовитель должен указать ширину и высоту вентиляционного ствола, максимальную длину и количество изгибов. Конструкция прибора должна предусматривать создание воздушного потока между помещением и внутренним пространством кожуха прибора. Значение отрицательного давления во внутреннем пространстве кожуха прибора должно быть 20 Па или более, а расход воздушного потока наружу должен быть не менее Qmin. Вентиляционный воздуховод не содержит никаких компонентов.
Qmin = S 15 (mc/ρ) (с минимальным значением 2 м3/ч),
где Qmin - минимальный требуемый объемный расход вентиляции, м3/ч;
S = 4 - коэффициент безопасности;
mс - масса заправки хладагента, кг;
ρ - плотность хладагента при атмосферном давлении и температуре 25°С, кг/м3.
Примечание - Значение константы 15 основывается выше на допущениях, используемых в формулах количества заправки, т. е. на выпуске всего количества заправки в течение 4 мин.
Соответствие требованиям для вентиляционной системы прибора проверяют следующими испытаниями.
GG.4.1 Прибор должен быть установлен в соответствии с указаниями изготовителя. Максимальная длина и количество изгибов вентиляционного ствола не должны превышать значений, указанных изготовителем.
GG.4.2 Объем помещения должен быть не менее 10-кратного объема прибора, должен быть обеспечен достаточный объем компенсационного воздуха для замены воздуха, выпущенного во время испытания. Перепад давлений воздуха измеряют между внутренним пространством кожуха прибора и помещением. Расход воздушного потока измеряют на внешнем конце вентиляционного ствола.
GG.4.3 Вентиляция должна осуществляться наружу или в помещение с минимальным объемом в соответствии с указанным для варианта невентилируемой зоны.
GG.4.4 Осуществляют постоянное обнаружение или мониторинг воздушного потока. В случае снижения воздушного потока до величины ниже Qmin в течение 10 с после этого события отключают прибор или мотор-компрессор или действуют условия GG.4.5.
GG.4.5 Вентиляция включается датчиком газообразного хладагента до достижения 25 % от НПВ (нижнего предела воспламеняемости). Датчик должен быть надлежащим образом позиционирован с учетом плотности хладагента и должен проходить периодическую поверку в соответствии с указаниями изготовителя. Осуществляют постоянную проверку и обнаружение воздушного потока. В случае снижения воздушного потока до величины ниже Qmin, в течение 10 с после этого события отключают прибор или мотор-компрессор.
GG.5 Требования для механической вентиляции помещений, соответствующих ГОСТ Р 12.2.142
Конструкция прибора должна соответствовать требованиям ГОСТ Р 12.2.142.
GG.6 Требования для охлаждающих систем с использованием вторичных теплообменников
Если используют воспламеняющийся хладагент и система включает в себя вторичный теплообменник, не допускается выпуск хладагента из теплообменника в зоны, обслуживаемые текучей средой вторичного теплообменника, если эти зоны подпадают под описания приложения GG. Для обеспечения соответствия данному требованию может быть предусмотрено следующее:
- автоматический разделитель воздуха и хладагента во вторичном контуре на выпускной трубе испарителя или конденсатора. Такие устройства должны быть на высоком уровне по отношению к теплообменнику. Разделитель воздуха/хладагента должен выводить номинальное значение расхода, достаточного для вывода хладагента, который может быть выпущен через теплообменник. Разделитель воздуха должен выводить хладагент в машинное отделение, в кожух прибора, в специально предназначенное место или наружу; или
- теплообменник с двойной стенкой, или
- холодильная система, в которой давление вторичного контура всегда выше давления первичного контура в зоне контакта, или
- разрыв вторичного теплообменник предотвращается:
1) использованием устройства защиты от замерзания [испытание которого описывается в перечислении 2)], в котором учтены:
температура замерзания текучей среды;
распределение через теплообменник;
изменение температуры испаряющегося хладагента.
Примечание - Должны быть представлены предупреждения относительно действий, которые могут привести к повреждениям в результате замерзания, например добавление или удаление хладагента в жидкой фазе из теплообменника, содержащего непроточную воду;
2) указанием требований к специфическим свойствам текучей среды вторичного теплообменника для предотвращения коррозии, включая:
воду - изготовитель должен указать в руководстве по монтажу качество воды, которое необходимо для данного теплообменника;
соляной раствор - изготовитель должен указать в руководстве по монтажу вид соляного раствора и допустимые пределы его концентрации, которые можно использовать для данного теплообменника. Прибор, теплообменники которого могут быть повреждены в результате замерзания (т. е. тепловые насосы с передачей тепла от воды к воде, тепловые насосы с передачей тепла от воды к воздуху или холодильные машины систем кондиционирования), испытывают следующим образом.
a) Прибор работает в стабильных условиях. Следят за объемным расходом через испаритель.
b) Отключают циркуляционный насос.
c) Устройство защиты от замерзания должно отключить компрессор.
d) Через 1 мин циркуляционный насос вновь включают в работу и вновь включится в работу компрессор.
e) Действия перечислений b) и d) повторяют 10 раз.
f) После 10 повторов объемный расход через испаритель должен быть не ниже, чем расход, измеренный в перечислении а). Необходимо учитывать допуск на погрешность измерения.
g) Прибор должен быть испытан с минимальным расходом воды при номинальном напряжении и частоте и при следующем температурном режиме:
- слив воды устанавливают чуть выше нижней уставки отключения (с учетом допустимых отклонений) устройств защиты против замерзания испарителя;
- значения на стороне конденсатора устанавливают таким образом, чтобы получить самую низкую температуру конденсации в пределах нормального рабочего диапазона;
- испытательное оборудование устанавливают таким образом, чтобы не было автоматической регулировки расхода воды на стороне испарителя;
- прибор должен непрерывно работать в течение 6 ч. В течение 6 ч не должно появиться ни одного из следующих условий, указывающих на начало замерзания:
расход воды на стороне испарителя не должен снизиться более чем на 5 % по сравнению с первоначальным расходом;
температура испарения не должна снизиться более чем на 2 К;
разность между входной и выходной температурой воды испарителя не должна снизиться более чем на 30 % по сравнению с первоначальной разностью температур.
GG.7 Затем прибор испытывают с максимальным расходом воды при условиях, описанных в перечислении g).
Таблица 2.1
|
Обозначение ссылочного национального стандарта Российской Федерации |
Обозначение и наименование ссылочного международного стандарта и условное обозначение степени его соответствия ссылочному национальному стандарту |
|
ГОСТ Р 12.2.142-99 |
ИСО 5149:1993 «Механические холодильные системы, используемые для охлаждения или нагрева. Требования безопасности» (MOD) |
|
ИСО 3864:1984 «Цвета сигнальные и знаки безопасности» (MOD) |
|
|
ГОСТ Р 50537-93 |
МЭК 60127-1:1988 «Предохранители плавкие миниатюрные. Часть 1. Определения для миниатюрных плавких предохранителей и общие требования для миниатюрных плавких вставок» (MOD) |
|
ГОСТ Р 52161.1-2004 |
МЭК 60335-1:2001 «Бытовые и аналогичные электрические приборы. Безопасность. Часть 1. Общие требования» (MOD) |
|
ГОСТ Р 52161.2.21-2006 |
МЭК 60335-2-21:2005 «Бытовые и аналогичные электрические приборы. Безопасность. Часть 2.21. Частные требования для аккумуляционных водонагревателей» (MOD) |
|
ГОСТ Р 52350.14-2006 |
МЭК 60079-14:2002 «Электрооборудование для взрывоопасных газовых сред. Часть 14. Электроустановки во взрывоопасных зонах (кроме подземных выработок)» (IDT) |
|
ГОСТ Р 52350.15-2005 |
МЭК 60079-15:2005 «Электрооборудование для взрывоопасных газовых сред. Часть 15. Конструкция, испытания и маркировка электрооборудования с видом защиты «n» (IDT) |
|
ГОСТ Р 52763-2007 |
МЭК 60068-2-52:1996 «Испытания на воздействие внешних факторов. Часть 2. Испытания. Испытание Kb: Соляной туман, циклическое испытание (раствор хлорида натрия)» (MOD) |
|
ГОСТ Р МЭК 60335-2-34-2000 |
МЭК 60335-2-34:2004 «Бытовые и аналогичные электрические приборы. Безопасность. Часть 2-34. Частные требования для мотор-компрессоров» (IDT) |
|
ГОСТ Р МЭК 60335-2-88-2001 |
МЭК 60335-2-88:1997 «Бытовые и аналогичные электрические приборы. Безопасность. Часть 2-88. Частные требования для увлажнителей, используемых с нагревательными приборами, вентиляторов и систем кондиционирования воздуха» (IDT) |
|
ГОСТ Р МЭК 60384-14-2004 |
МЭК 60384-14:2003 «Конденсаторы постоянной емкости для электронной аппаратуры. Часть 14. Групповые технические условия на конденсаторы постоянной емкости для подавления электромагнитных помех и соединения с питающими магистралями» (IDT) |
|
МЭК 60598-1:1999 «Светильники. Часть 1. Общие требования и испытания» (IDT) |
|
|
ГОСТ Р МЭК 61032-2000 |
МЭК 61032:1997 «Защита людей и оборудования, обеспечиваемая оболочками. Щупы для проверки» (IDT) |
|
МЭК 60085:2004 «Электрическая изоляция. Термическая классификация» (NEQ) |
|
|
ГОСТ 14254-96 (МЭК 529-89) |
МЭК 60529:2003 «Степени защиты, обеспечиваемые оболочками (Код IP)» (NEQ) |
|
Примечание - В настоящей таблице использованы следующие условные обозначения степени соответствия стандартов: - IDT - идентичные стандарты; - MOD - модифицированные стандарты; - NEQ - неэквивалентные стандарты. |
|
|
[1] ANSI/ASHRAE 34:2001 |
Designation and safety classification of refrigerants |
|
Organic refrigerants - Number designation |
|
|
Safety of power transformers, power supplies, reactors and similar products - Part 1: General requirements and tests |
Ключевые слова: электрические тепловые насосы, кондиционеры, осушители, требования безопасности, методы испытаний
|
ГОСТЫ, СТРОИТЕЛЬНЫЕ и ТЕХНИЧЕСКИЕ НОРМАТИВЫ. Некоммерческая онлайн система, содержащая все Российские Госты, национальные Стандарты и нормативы. В Системе содержится более 150000 файлов нормативно-технической документации, действующей на территории РФ. Система предназначена для широкого круга инженерно-технических специалистов. Copyright © www.gostrf.com, 2008 - 2026 |