|
|
Нефтепродукты жидкие БЕНЗИН НЕЭТИЛИРОВАННЫЙ Определение органических кислородсодержащих соединений и общего содержания EN 13132:2000
Предисловие Цели и принципы стандартизации в Российской Федерации установлены Федеральным законом
от 27 декабря Сведения о стандарте 1 ПОДГОТОВЛЕН Техническим комитетом по стандартизации ТК 31 «Нефтяные топлива и смазочные материалы» (Открытым акционерным обществом «Всероссийский научно-исследовательский институт по переработке нефти» - ОАО «ВНИИНП») на основе собственного аутентичного перевода стандарта, указанного в пункте 4 2 ВНЕСЕН Управлением технического регулирования и стандартизации Федерального агентства по техническому регулированию и метрологии 3
УТВЕРЖДЕН И ВВЕДЕН В ДЕЙСТВИЕ Приказом Федерального агентства по техническому
регулированию и метрологии от 27 августа 4 Настоящий стандарт идентичен региональному стандарту ЕН 13132:2000 «Нефтепродукты жидкие. Бензин неэтилированный. Определение органических кислородсодержащих соединений и общего содержания органически связанного кислорода методом газовой хроматографии с использованием переключающихся колонок» (EN 13132:2000 «Liquid petroleum products - Unleaded petrol - Determination of organic oxygenate compounds and total organically bound oxygen content by gas chromatography using column switching». При применении настоящего стандарта рекомендуется использовать вместо ссылочных региональных стандартов соответствующие им национальные стандарты, сведения о которых приведены в дополнительном приложении С 5 ВВЕДЕН ВПЕРВЫЕ Информация об изменениях к настоящему стандарту публикуется в ежегодно издаваемом информационном указателе «Национальные стандарты», а текст изменений и поправок - в ежемесячно издаваемых информационных указателях «Национальные стандарты». В случае пересмотра (замены) или отмены настоящего стандарта соответствующее уведомление будет опубликовано в ежемесячно издаваемом информационном указателе «Национальные стандарты». Соответствующая информация, уведомление и тексты размещаются также в информационной системе общего пользования - на официальном сайте Федерального агентства по техническому регулированию и метрологии в сети Интернет Содержание НАЦИОНАЛЬНЫЙ СТАНДАРТ РОССИЙСКОЙ ФЕДЕРАЦИИ
Дата введения - 2009-07-01 1 Область примененияНастоящий стандарт устанавливает количественное определение индивидуальных органических кислородсодержащих соединений в диапазоне от 0,17 % масс, до 15,00 % масс, и общего органически связанного кислорода до 3,7 % масс, в неэтилированном бензине с температурой выкипания не выше 220°С методом газовой хроматографии с использованием переключающихся колонок. Примечания 1 Температуру конца кипения можно определять с использованием ЕН ИСО 3405. 2 В настоящем стандарте термины «% масс.» и «% об.» используются для обозначения массовой доли и объемной доли соответственно. Настоящий стандарт применяют для определения органических кислородсодержащих соединений и общего содержания органически связанного кислорода в неэтилированном бензине в соответствии с Директивами ЕС*. Предупреждение - Использование настоящего стандарта может включать опасные материалы, процедуры и оборудование. В настоящем стандарте не рассматриваются все требуемые меры техники безопасности, связанные с его применением. Перед использованием настоящего стандарта пользователь должен установить соответствующие правила техники безопасности и определить применимость нормативных ограничений. * Директива ЕС 85/210/ЕЕС, Директива Совета ЕС по сближению законодательных и регулирующих норм государств-членов ЕС по содержанию свинца в бензине. Директива ЕС 85/536/ЕЕС, Директива Совета ЕС по экономии сырой нефти путем использования заменителей топливных компонентов в бензине. 2 Нормативные ссылкиНастоящий стандарт содержит ссылки на датированные или недатированные документы и положения из других публикаций. Эти ссылки на нормативные документы приводятся в соответствующих разделах в тексте и далее указываются публикации. Для ссылок на датированные документы последующие поправки или изменения в любой из этих публикаций используются в настоящем стандарте только, если они включены в текст настоящего стандарта. Для ссылок на недатированные документы используются ссылки на самые последние издания. В настоящем стандарте использованы нормативные ссылки на следующие региональные стандарты: EH ИСО 3170 Нефтепродукты жидкие. Ручной отбор проб (ИСО 3170:1988, включая поправку 1:1998) ЕН ИСО 3171 Нефтепродукты жидкие. Автоматический отбор проб из трубопроводов (ИСО 3171:1998) ЕН ИСО 3405 Нефтепродукты. Определение фракционного состава при атмосферном давлении ЕН ИСО 3675 Сырая нефть и жидкие нефтепродукты. Лабораторное определение плотности. Метод с использованием ареометра (ИСО 3675:1998) ЕН ИСО 3696 Вода для использования в аналитических лабораториях. Технические требования и методы испытаний (ИСО 3696:1987) ЕН ИСО 3838 Нефть сырая и жидкие или твердые нефтепродукты. Определение плотности или относительной плотности. Методы с применением капиллярного пикнометра с пробкой и градуированного двухкапиллярного пикнометра (ИСО 3838:1983) ЕН 12177 Нефтепродукты жидкие. Неэтилированный бензин. Определение содержания бензола методом газовой хроматографии 3 Сущность методаОрганические кислородсодержащие соединения выделяются из образца с использованием первой капиллярной колонки. Во второй капиллярной колонке органические кислородсодержащие соединения разделяются и индивидуально детектируются с использованием пламенно-ионизационного детектора. Примечание - Руководство по методу испытаний с использованием переключающихся колонок приведено в приложении В. 4 Материалы и реактивыИспользуют только реактивы, степень чистоты которых соответствует требованиям, предъявляемым при аналитическом контроле. Вода должна соответствовать ЕН ИСО 3696 (квалификация 3). 4.1 Газ-носитель. Водород, гелий или азот, не содержащие углеводородов. Предупреждение - Водород является взрывоопасным в смеси с воздухом при концентрациях в диапазоне примерно от 4 % об. до 75 % об. Все соединения и линии подачи водорода должны быть герметичными для предотвращения утечки водорода в ограниченном пространстве. 4.2 Реактивы для приготовления калибровочных образцов. Реактивы должны иметь чистоту не менее 99,0 % масс. Калибровочные образцы могут быть составлены из следующих реактивов:
4.3 Внутренние стандарты. Используют один из реактивов, перечисленных в 4.2. Если в испытуемом образце присутствуют все соединения по 4.2, то для приготовления внутреннего стандарта используют другое органическое кислородсодержащее соединение идентичной чистоты и подобной летучести. 4.4 Бензин, не содержащий кислородсодержащих соединений, и н-гептан. Бензин, который был проверен на отсутствие органических кислородсодержащих соединений, детектируемых по настоящему методу, и н-гептан. 5 АппаратураИспользуют следующую аппаратуру и стеклянное оборудование: 5.1 Газохроматографическая аппаратура. 5.1.1 Газовый хроматограф с переключающимися колонками и контроллером для программирования температуры термостата или контроллерами в случае использования газового хроматографа с двойным термостатом и пламенно-ионизационным детектором (FID). Примечание - Рекомендуется использовать систему, которая от блока ввода пробы до системы детектора полностью собрана из стеклянных деталей, поскольку бензин может содержать кислородсодержащие соединения, которые могут вызывать коррозию и приводить к изменениям значений времени удерживания в системах, собранных с использованием металлических деталей. 5.1.2 Две капиллярные колонки. Примечание - Рекомендуемые колонки описаны в приложении В. Колонки должны иметь покрытие соответствующей фазой для того, чтобы требуемое разрешение между компонентами, а также между компонентами и матрицей анализируемого бензина составляло минимум 1 после элюирования из второй колонки. Разрешение R между пиками А и В (рисунок 1) вычисляют по формуле
где 1,18 - коэффициент, полученный из уравнения разрешения пика;
WA - ширина пика на половине высоты компонента А, с; WB - ширина пика на половине высоты компонента В, с.
Примечание - tN - нулевое время удерживания колонки, т.е. время, необходимое для прохождения инертного компонента, например метана, через колонку. 1 - старт; 2 - нулевая линия; 3 - базовая линия; 4,5 - ось времени Рисунок 1 - Расчет значения разрешения пиков А и В 5.1.3 Устройство для регулирования потока газа-носителя. 5.1.4 Самопишущий потенциометр (самописец) и/или интегратор. Усилитель и потенциометр записывающего устройства (самописец) или интегратор, или системы обработки данных, обеспечивающие получение значения площади соответствующих пиков. 5.2 Устройство ввода пробы. 5.3 Контейнер для образца обычно вместимостью от 10 до 100 см3, снабженный самоуплотняющейся резиновой прокладкой с тефлоновым покрытием (PTFE). 6 Отбор пробПробы должны отбираться в соответствии с ЕН ИСО 3170 или ЕН ИСО 3171 и (или) в соответствии с требованиями национальных стандартов или правил по отбору проб бензина, если иные требования не установлены в технических требованиях на продукт. 7 Проведение испытания7.1 Регулировка аппаратуры 7.1.1 Общие положения Подготавливают оборудование и устанавливают условия испытания в соответствии с инструкциями изготовителя. 7.1.2 Газ-носитель Регулируют давление и скорость потока газа-носителя до уровней, которые обеспечивают значения разрешения в соответствии с 5.1.2. Подготавливают калибровочные образцы, смешивая определенную массу органических кислородсодержащих соединений (4.2) с внутренним стандартом (4.3), и разбавляют их до необходимой массы бензином или н-гептаном (4.4). Примечание - Калибровочный образец должен содержать такие же органические кислородсодержащие соединения в тех же пропорциях, как испытуемый образец. Вводят соответствующее количество подготовленного калибровочного образца в газовый хроматограф, не допуская перегрузки колонок и не нарушая линейность сигнала детектора. Определяют и регистрируют значения времени удерживания ti для каждого i-го оцениваемого компонента. Вычисляют калибровочный коэффициент fi для всех оцениваемых компонентов по формуле
где mi - масса i-го компонента в калибровочном образце, г; Ast - площадь пика внутреннего стандарта, мкВ/с или мм2; Ai - площадь пика i-го компонента, мкВ/с или мм2; mst - масса внутреннего стандарта в калибровочном образце, г. Записывают калибровочный коэффициент для каждого компонента. Плотность образца ρs определяют при температуре 15°С в соответствии с ЕН ИСО 3675, ЕН ИСО 3838 или ЕН ИСО 12185* и записывают результат с точностью до 0,1 кг/м3. * ЕН ИСО 12185 «Сырая нефть и нефтепродукты. Определение плотности. Метод колебаний в U-образной трубке» (ИСО 12185:1996). 7.4 Подготовка образца для испытания Охлаждают пробу до температуры от 5°С до 10°С. Взвешивают контейнер для испытуемого образца (5.3) с резиновой прокладкой с точностью до 0,1 мг, не уплотняя контейнер. Переносят определенное количество внутреннего стандарта (4.3) в контейнер для образца и
взвешивают вместе с прокладкой с точностью до 0,1 мг. Масса внутреннего стандарта mst в граммах
должна составлять от 2 % масс, до 5 % масс, от массы образца ms, но должна быть не менее Переносят определенное количество, обычно от 5 см3 до 100 см3, охлажденной пробы в контейнер для образца и сразу же герметично закрывают прокладкой. Взвешивают контейнер с испытуемым образцом с точностью до 0,1 мг. Записывают массу отобранного образца ms в граммах с точностью до 0,1 мг. Записывают количество внутреннего стандарта в подготовленном образце для испытаний в процентах по массе. Перемешивают содержимое контейнера, встряхивая его, пока содержимое не будет однородным. 7.5 Ввод образца для испытаний Вводят соответствующее количество подготовленного образца для испытаний (7.4) в газовый хроматограф. Обеспечивают ввод такого объема образца, чтобы не допустить перегрузки колонок и не нарушить линейность сигнала детектора. 7.6 Проверка хроматограммы Проверяют хроматограмму и определяют компоненты испытуемой пробы по значениям времени удерживания (7.2). 8 Обработка результатов8.1 Расчет массы каждого компонента в образце для испытаний Вычисляют массу каждого i-го компонента mi, г, в испытуемом образце по формуле
где Ai - площадь пика i-го компонента, мкВ/с или мм2; fi - калибровочный коэффициент для i-го компонента; mst - масса внутреннего стандарта, добавленного в испытуемую пробу (7.4), г; Ast - площадь пика внутреннего стандарта, мкВ/с или мм2. 8.2 Расчет содержания каждого компонента в процентах по массе Вычисляют содержание каждого компонента в пробе ωi, % масс, по формуле
8.3 Расчет содержания каждого компонента в пробе в процентах по объему Вычисляют содержание каждого компонента в пробе φi, % об., по формуле
где Vi - объем i-го компонента, см3; Vs - объем отобранного для испытания образца, см3 (7.4). Объем i-го компонента Vi вычисляют по значениям массы каждого компонента, плотностей, приведенных в приложении А, и плотности образца (7.3) по формуле
Для i-го компонента данное уравнение приобретает следующий вид
где ρi - плотность i-го компонента при температуре 15°С, кг/м3. Объем отобранной пробы Vs вычисляют по формуле
8.4 Общее содержание органически связанного кислорода Вычисляют общее содержание органически связанного кислорода Ω, % масс, из значений содержания индивидуальных компонентов, % масс, после определения по формуле
где Wi - молекулярная масса i-го компонента. Пример - Если было определено, что проба содержит 2 % масс, метанола и 4% масс, этанола, тогда: ωi для метанола составляет 2 % масс, Wi составляет 32,04. ωi для этанола составляет 4 % масс, Wi составляет 46,07.
9 Оформление результатовЗаписывают содержание каждого компонента с точностью до 0,1 % масс, или % об. Записывают общее содержание органически связанного кислорода с точностью до 0,01 % масс. За отсутствие принимается концентрация метанола менее указанного минимального значения диапазона определяемых концентраций (раздел 1). (Поправка. ИУС 7-2009 г.) 10 Прецизионность10.1 Повторяемость Разность между двумя результатами испытания, полученными одним и тем же оператором на одной и той же аппаратуре при постоянных рабочих условиях на идентичном испытуемом материале в течение длительного времени при нормальном и правильном выполнении настоящего метода испытаний, может превышать значения в таблицах 1 и 2 только в одном случае из двадцати. 10.2 Воспроизводимость Разность между двумя единичными и независимыми результатами, полученными разными операторами в разных лабораториях на идентичном испытуемом материале в течение длительного времени при нормальном и правильном выполнении настоящего метода испытаний, может превышать значения в таблицах 1 и 2 только в одном случае из двадцати. Таблица 1 - Повторяемость и воспроизводимость определения органических кислородсодержащих соединений В процентах по массе или объему
Таблица 2 - Повторяемость и воспроизводимость определения общего содержания органически связанного кислорода В процентах по массе
11 Протокол испытанийПротокол должен включать следующие данные: a) тип и идентификацию испытуемого продукта; b) ссылку на настоящий стандарт; c) используемую процедуру отбора пробы (раздел 6); d) плотность пробы (7.3); e) результат испытания (раздел 9); f) любое отклонение от описанной процедуры; g) дату испытания. Приложение А
|
|||||||||||||||||||||||||||||||||||||||||||||||||||||||||||||||||||||||||||||||||||||||||||||||||||||||||||||||||||||||||||||||||||||||||||||||||||||||||||||||||||||||||||||||||||||||||||||||||||||||||||||||||||||||||||||||||||||||||||||||||||||||||||||||||||||||||||||||||||||||||||||||||||||||||||||||||||||||||||||||||||||||||||||||||||||||||||||||||||||||||||||||||||||||||||||||||||||||||||||||||||||||||||||||||||||||||||||||||||||||||||||||||||||||||||||||||||
Соединение |
Плотность при температуре 15°С, кг/м3 |
|
Метанол, СН3ОН |
795,8 |
|
Этанол, СН3СН2ОН |
794,8 |
|
Пропан-1-ол, СН3СН2СН2ОН |
813,3 |
|
Пропан-2-ол, (СН3)2СНОН |
789,5 |
|
Бутан-1-ол, СН3(СН2)3ОН |
813,3 |
|
Бутан-2-ол, СН3СН(ОН)СН2СН3 |
810,6 |
|
2-Метилпропан-2-ол, (СН3)3СОН |
791,0 |
|
2-Метилпропан-1-ол, (СН3)2СНСН2ОН |
805,8 |
|
Пентан-1-ол, СН3(СН2)4ОН |
818,5 |
|
Пентан-2-ол, СН3СН(ОН)СН2СН2СН3 |
813,5 |
|
Пентан-3-ол, СН3СН2СН(ОН)СН2СН3 |
824,6 |
|
2-Метилбутан-1-ол, С2Н5СН(СН3)СН2ОН |
823,5 |
|
3-Метилбутан-1-ол, СН3СН(СН3)С2Н4ОН |
816,3 |
|
2-Метилбутан-2-ол, (СН3)2С(ОН)СН2СН3 |
813,5 |
|
3-Метилбутан-2-ол, СН3С(СН3)СН(ОН)СН3 |
822,8 |
|
Гексан-1-ол, СН3(СН2)5ОН |
822,5 |
|
Гексан-2-ол, СН3(СН2)3СН(ОН)СН3 |
818,2 |
|
Гексан-3-ол, СН3СН2СН2СН(ОН)СН2СН3 |
822,7 |
|
2-Метилпентан-1-ол, СН3СН2СН2СН(СН3)СН2ОН |
827,9 |
|
3-Метилпентан-1-ол, СН3СН2СН(СН3)СН2СН2ОН |
826,1 |
|
4-Метилпентан-1-ол, СН3СН(СН3)СН2СН2СН2ОН |
816,6 |
|
2-Метилпентан-2-ол, СН3С(СН3)С(ОН)(СН2)3СН3 |
817,7 |
|
3-Метилпентан-2-ол, СН3СН(ОН)СН(СН3)СН2СН3 |
833,3 |
|
4-Метилпентан-2-ол, СН3СН(ОН)СН2(СН3)2 |
811,3 |
|
2-Метилпентан-3-ол, (СН3)2СНСН(ОН)СН2СН3 |
829,0 |
|
3-Метилпентан-3-ол, СН3СН2С(СН3)(ОН)СН2СН3 |
828,9 |
|
2-Этилбутан-1-ол, СН3СН2СН(СН2ОН)СН2СН3 |
837,4 |
|
2,2-Диметилбутан-1-ол, СН3СН2С(СН3)2СН2ОН |
832,6 |
|
2,3-Диметилбутан-2-ол, СН(СН3)СН(СН3)СН2ОН |
826,9 |
|
3,3-Диметилбутан-2-ол, С(СН3)С2Н4ОН |
823,1 |
|
Гептан-1-ол, СН3(СН2)6ОН |
825,9 |
|
Гептан-2-ол, СН3(СН2)4СН(ОН)СН3 |
821,7 |
|
Гептан-3-ол, СН3(СН2)3СН(ОН)СН2СН3 |
825,2 |
|
Гептан-4-ол, СН3СН2СН2СН(ОН)СН2СН2СН3 |
822,8 |
|
2-Метилгексан-2-ол, (СН3)С(ОН)СН3(СН2)3СН3 |
818,3 |
|
2-Метилгексан-3-ол, (СН3)2СНСН(ОН)СН2СН2СН3 |
827,9 |
|
3-Метилгексан-3-ол, СН3СН2С(СН3)(ОН)СН2СН2СН3 |
828,9 |
|
3-Этилпентан-3-ол, (СН3СН2)3СОН |
848,2 |
|
2,4-Диметилпентан-3-ол, (СН3)2СНСН(ОН)(СН3)2 |
835,1 |
|
Октан-1-ол, СН3(СН2)7ОН |
828,8 |
|
Октан-2-ол, СН3(СН2)5СНОНСН3 |
824,0 |
|
Октан-3-ол, СН3(СН2)4СНОНСН2СН3 |
824,5 |
|
Октан-4-ол, СН3(СН2)3СНОНСН2СН2СН3 |
823,5 |
|
2-Метилгептан-1-ол, СН3(СН2)4СН(СН3)СН2ОН |
805,7 |
|
3-Метилгептан-1-ол, СН3(СН2)3СН(СН3)СН2СН2ОН |
791,8 |
|
4-Метилгептан-1-ол, СН3СН2СН2СН(СН3)(СН2)2СН2ОН |
813,7 |
|
5-Метилгептан-1-ол, СН3СН2СН(СН3)(СН2)3СН2ОН |
822,3 |
|
6-Метилгептан-1-ол, СН3СН(СН3)(СН2)4СН2ОН |
824,4 |
|
2-Метилгептан-2-ол, СН3(СН2)4С(СН3)(ОН)СН3 |
811,0 |
|
3-Метилгептан-2-ол, СН3(СН2)3СН(СН3)СН(ОН)СН3 |
793,8 |
|
4-Метилгептан-2-ол, СН3СН(ОН)СН2СН(СН3)СН2СН2СН3 |
806,2 |
|
5-Метилгептан-2-ол, СН3СН2СН(СН3)СН2СН2СН(ОН)СН3 |
817,0 |
|
6-Метилгептан-2-ол,(СН3)2СН(СН2)3СН(ОН)СН3 |
810,7 |
|
2-Метилгептан-3-ол, СН3(СН2)3СН(ОН)СН(СН3)2 |
828,6 |
|
3-Метилгептан-3-ол, СН3(СН2)3С(ОН)(СН3)СН2СН3 |
833,3 |
|
4-Метилгептан-3-ол, СН3(СН2)2СН(СН3)СН(ОН)СН2СН3 |
803,1 |
|
5-Метилгептан-3-ол, СН3СН2СН(СН3)СН2СН(ОН)СН2СН3 |
822,0 |
|
6-Метилгептан-3-ол, СН3СН2СН(ОН)СН2СН2СН(СН3)2 |
784,9 |
|
2-Метилгептан-4-ол, (СН3)2СНСН2СН(ОН)СН2СН2СН3 |
817,2 |
|
3-Метилгептан-4-ол, СН3СН2СН(СН3)СН(ОН)СН2СН2СН3 |
841,2 |
|
4-Метилгептан-4-ол, СН3(СН2)2С(ОН)(СН3)СН2СН2СН3 |
828,0 |
|
2-Этилгексан-1-ол, СН3(СН2)3СН(СН2СН3)СН2ОН |
835,3 |
|
3-Этилгексан-3-ол, СН3(СН2)2С(ОН)(СН2СН3)СН2СН3 |
841,7 |
|
Нонан-1-ол, СН3(СН2)8ОН |
831,7 |
|
Нонан-2-ол, СН3(СН2)6СН(ОН)СН3 |
826,7 |
|
Нонан-3-ол, СН3(СН2)5СН(ОН)СН2СН3 |
830,2 |
|
2-Метилоктан-2-ол, СН3(СН2)5С(ОН)(СН3)2 |
821,5 |
|
2-Метилоктан-3-ол, СН3(СН2)4СН(ОН)СН(СН3)2 |
833,0 |
|
3-Метилоктан-3-ол, СН3(СН2)4С(ОН)(СН3)СН2СН3 |
836,7 |
|
4-Метилоктан-4-ол, СН3(СН2)3С(ОН)(СН3)(СН2)СН3 |
832,3 |
|
Декан-2-ол, СН3(СН2)7СН(ОН)СН3 |
829,0 |
|
Декан-3-ол, СН3(СН2)6СН(ОН)СН2СН3 |
831,0 |
|
Декан-5-ол, СН3(СН2)4СН(ОН)(СН2)3СН3 |
828,8 |
|
2-Метилнонан-1-ол, СН3(СН2)6СН(СН3)СН2ОН |
839,2 |
|
2-Метилнонан-3-ол, СН3(СН2)5СН(ОН)СН(СН3)2 |
832,0 |
|
Третбутилметиловый эфир, (СН3)3СОСН3 |
745,3 |
|
Метилтретпентиловый эфир, (СН3)2С(ОСН3)СН2СН3 |
775,2 |
|
Третбутилэтиловый эфир, (СН3)3СОСН2СН3 |
745,6 |
|
Этилтретпентиловый эфир, (СН3)2С(ОСН2СН3)СН2СН3 |
774,9 |
|
Метилпропиловый эфир, СН3OСН2СН2СН3 |
730,2 |
|
Изопропилметиловый эфир, (СН3)2СНОСН3 |
720,5 |
|
Диэтиловый эфир, СН3СН2ОСН2СН3 |
719,2 |
|
Бутилметиловый эфир, СН3O(СН2)3СН3 |
749,2 |
|
Изобутилметиловый эфир, (СН3)2СНСН2ОСН3 |
737,5 |
|
Бутил-2-метиловый эфир, СН3СН2СН(СН3)ОСН3 |
746,7 |
|
Этилпропиловый эфир, СН2СН2ОСН2СН2СН3 |
741,2 |
|
Этилизопропиловый эфир, (СН3)2СНОСН2СН3 |
728,1 |
|
Метилпентиловый эфир, СН3O(СН2)4СН3 |
764,2 |
|
Метилизопентиловый эфир, СН3СН2(СН3)2СОСН3 |
758,4 |
|
Бутилэтиловый эфир, СН3(СН2)3ОСН2СН3 |
754,3 |
|
Этилизобутиловый эфир, (СН3)2СНСН2ОСН2СН3 |
744,2 |
|
Вторбутилэтиловый эфир, (СН3)(СН3СН2)СОСН2СН3 |
748,2 |
|
Дипропиловый эфир, СН3СН2СН2ОСН2СН2СН3 |
751,6 |
|
Изопропилпропиловый эфир, (СН3)2СНОСН2СН2СН3 |
742,5 |
|
Диизопропиловый эфир, (СН3)2СНОСН(СН3)2 |
729,2 |
|
Гексилметиловый эфир, СН3O(СН2)5СН3 |
774,9 |
|
Этилпентиловый эфир, СН3СН2O(СН2)4СН3 |
765,9 |
|
Этилизопентиловый эфир, СН3СН2ОСН2СН2СН(СН3)2 |
761,3 |
|
Бутилпропиловый эфир, СН3(СН2)2O(СН2)3СН3 |
763,3 |
|
Изобутилпропиловый эфир, (СН3)2СНСН2ОСН2СН2СН3 |
753,3 |
|
Вторбутилпропиловый эфир, (СН3)(СН3СН2)СНОСН2СН2СН3 |
759,4 |
|
Третбутилпропиловый эфир, (СН3)3СОСН2СН2СН3 |
758,2 |
|
Бутилизопропиловый эфир, (СН3)2СНО(СН2)3СН3 |
755,4 |
|
Изобутилизопропиловый эфир, (СН3)2СНСН2ОСН(СН3)2 |
744,6 |
|
Вторбутилизопропиловый эфир, (СН3)(СН3СН2)СНОСН(СН3)2 |
749,0 |
|
Третбутилизопропиловый эфир, (СН3)3СОСН(СН3)2 |
746,0 |
|
Гептилметиловый эфир, СН3O(СН2)6СН3 |
783,8 |
|
Этилгексиловый эфир, СН3СН2O(СН2)5СН3 |
777,7 |
|
Пентилпропиловый эфир, СН3СН2СН2O(СН2)4СН3 |
774,0 |
|
Изопентилпропиловый эфир, СН3СН2СН2O(СН2)2СН(СН3)2 |
768,7 |
|
Изопропилпентиловый эфир, (СН3)2СНО(СН2)4СН3 |
768,1 |
|
Изопентилизопропиловый эфир, (СН3)2СНО(СН2)2СН(СН3)2 |
763,4 |
|
Дибутиловый эфир, СН3(СН2)3О(СН2)3СН3 |
772,5 |
|
Бутилизобутиловый эфир, (СН3)2СНСН2O(СН2)3СН3 |
764,0 |
|
Бутилвторбутиловый эфир, (СН3)(СН2Н5)СНО(СН2)3СН3 |
769,6 |
|
Бутилтретбутиловый эфир, (СН2)3СО(СН2)3СН3 |
767,2 |
|
Диизобутиловый эфир, (СН3)2СНСН2ОСН2СН(СН3)2 |
754,1 |
|
Вторбутилизобутиловый эфир, (СН3)(СН3СН2)СНОСН2СН(СН3)2 |
759,8 |
|
Третбутилизобутиловый эфир, (СН3)3СОСН2СН(СН3)2 |
757,4 |
|
Дивторбутиловый эфир, СН3СН2СН(СН3)ОСН(СН3)СН2СН3 |
767,5 |
|
Дитретбутиловый эфир, (СН3)3СОС(СН3)3 |
766,2 |
|
Вторбутилтретбутиловый эфир, (СН3)(СН3СН2)СНО(СН3)3 |
766,9 |
|
Метилоктиловый эфир, СН3O(СН2)7СН3 |
790,9 |
|
Этилгексиловый эфир, СН3СН2O(СН2)6СН3 |
783,8 |
|
Гексилпропиловый эфир, СН3СН2СН2O(СН2)5СН3 |
781,3 |
|
Гексилизопропиловый эфир, (СН3)2СНО(СН2)5СН3 |
775,9 |
|
Бутилпентиловый эфир, СН3(СН2)3O(СН2)4СН3 |
780,4 |
|
Бутил-2-метилбутиловый эфир, (СН3)(СН3СН2)СНСН2ОСН2СН2СН2СН3 |
775,8 |
|
Изобутилпентиловый эфир, (СН3)2СНСН2O(СН2)4СН3 |
774,0 |
|
Изобутилизопентиловый эфир, (СН3)2СНСН2O(СН2)2СН(СН3)2 |
787,7 |
|
Вторбутилпентиловый эфир, СН3СН2СН(СН3)O(СН2)4СН3 |
777,2 |
|
Вторбутилизопентиловый эфир, СН3СН2СН(СН3)O(СН2)2СН(СН3)2 |
772,9 |
|
Третбутилпентиловый эфир, (СН3)3СО(СН2)4СН3 |
775,1 |
|
Третбутилизопентиловый эфир, (СН3)СО(СН2)2СН(СН3)2 |
770,5 |
|
Метилнониловый эфир, СН3O(СН2)8СН3 |
796,6 |
|
Этилнониловый эфир, СН3СН2O(СН2)8СН3 |
790,2 |
|
Гептилпропиловый эфир, СН3(СН2)2O(СН2)6СН3 |
787,8 |
|
Гептилизопропиловый эфир, (СН3)2СНО(СН2)6СН3 |
781,7 |
|
Бутилгексиловый эфир, СН3(СН2)3O(СН2)5СН3 |
787,0 |
|
Гексилизобутиловый эфир, (СН3)2СНСН2O(СН2)5СН3 |
779,3 |
|
Вторбутилгексиловый эфир, СН3СН2СН(СН3)O(СН2)5СН3 |
783,9 |
|
Дипентиловый эфир, СН3(СН2)4O(СН2)4СН3 |
787,0 |
|
2-Метилбутилпентиловый эфир, (СН3)(СН3СН2)СНСН2ОСН2СН2СН2СН2СН3 |
783,1 |
|
Изопентил-2-метилбутиловый эфир, (СН3)(СН3СН2)СНСН2ОСН2СН2(СН3)2 |
779,4 |
|
Децилметиловый эфир, СН3O(СН2)9СН3 |
801,5 |
|
Этилнониловый эфир, СН3СН2O(СН2)8СН3 |
795,6 |
|
Октилпропиловый эфир, СН3СН2СН2O(СН2)7СН3 |
793,9 |
|
Изопропилоктиловый эфир, (СН3)2СНО(СН2)7СН3 |
787,9 |
|
Бутилгептиловый эфир, СН3(СН2)3O(СН2)6СН3 |
792,8 |
|
Гексилпентиловый эфир, СН3(СН2)4O(СН2)5СН3 |
792,3 |
|
Децилэтиловый эфир, СН3СН2O(СН2)9СН3 |
800,2 |
|
Нонилпропиловый эфир, СН3(СН2)2O(СН2)8СН3 |
798,6 |
|
Бутилоктиловый эфир, СН3(СН2)3O(СН2)7СН3 |
797,5 |
|
Гептилпентиловый эфир, СН3(СН2)4O(СН2)6СН3 |
797,4 |
|
Дигексиловый эфир, СН3(СН2)5O(СН2)5СН3 |
800,0 |
|
Ацетон, (СН3)2СО |
795,8 |
|
Бутанон, СН3СН2СОСН3 |
810,0 |
В.1 Введение
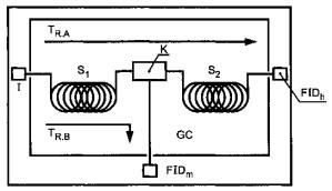
Метод газовой хроматографии с переключающимися колонками используют для повышения разделительной способности газохроматографической системы путем дополнительного разделения невыделенных компонентов с использованием дополнительных колонок (многомерный хроматограф). Краны для переключающихся колонок имеют низкий объем переключения относительно объемов пиков и не вызывают никакого взаимодействия с пробой. В качестве замены кранам поток газа через колонки может изменяться при изменении давления (система переключения Динса или переключение вне линий системы). Например, на рисунке В.1 показан принцип действия бесклапанной системы переключения потока. Центральным элементом системы является делитель потока, через который проходит газ-носитель и который может пневматически переключаться. Поток в делителе может свободно отделяться по объему и направлению. Проба может направляться из колонки 1 в колонку 2 или к специальным детекторам, не оказывая влияния на форму пика.
Примечание - Такой же базовый принцип используют для определения бензола в бензине в соответствии с ЕН 12177.

GC - газовый хроматограф с термостатом колонок; I - инжектор (устройство ввода пробы) с разделением потока; S1 - капиллярная разделительная колонка (первая колонка); S2 - капиллярная разделительная колонка (основная колонка); К - делитель потока в соответствии с методом Динса; ТR.A - поток газа-носителя во вторую колонку; Tr.B - поток газа-носителя в контрольный детектор; FIDm - контрольный пламенно-ионизационный детектор; FIDh - основной пламенно-ионизационный детектор
Рисунок В.1 - Схема пневматического переключения потока с помощью делителя потока в соответствии с методом Динса
В.2 Основные параметры аппаратуры для метода переключения потока
Следующие параметры аппаратуры были признаны приемлемыми. При использовании подобной аппаратуры могут возникать отклонения от полученных данных. В каждом случае параметры должны оптимизироваться в соответствии с инструкциями изготовителя.
|
Аппаратура: |
газовый хроматограф с системой переключения Динса |
|
Детектор: |
пламенно-ионизационный |
|
Температура блока ввода пробы: |
150°С |
|
Газ-носитель: |
азот |
|
Разделение: |
от 1 до 80 фракций |
|
Объем ввода пробы: |
0,5 мкдм3 |
|
Термостат 1: |
40°С |
|
Программирование температуры: |
40°С в течение 6 мин, затем повышение со скоростью 5°С/мин до 120°С |
|
Колонка 1: |
длина - |
|
Термостат 2 (дополнительный): |
40°С |
|
Программирование температуры: |
40°С в течение 9 мин, затем повышение со скоростью 5°С/мин до 120°С |
|
Колонка 2: |
длина - |
* Примером соответствующего выпускаемого промышленностью метилсилоксана является OV1. Эта информация дана для удобства пользователя настоящего стандарта и не требует одобрения CEN на использование данного продукта.
В.3 Газовые хроматограммы
На рисунках В.2 и В.3 приведены примеры газовых хроматограмм, полученных при определении кислородсодержащих соединений в бензине с использованием метода переключающихся колонок. Значения времен удерживания для индивидуальных компонентов могут определяться с использованием соответствующих стандартных образцов. На рисунке В.2 показано разделение на первой колонке. На рисунке В.3 показано разделение на второй колонке.

1 - окна (фракции)
Рисунок В.2 - Типовая хроматограмма бензина, полученная с использованием пламенно-ионизационного детектора

1 - МТВЕ; 2 - метанол; 3 - 2-метилпропан-2-ол; 4 - бензол; 5 - стандарт; 6 - толуол
Рисунок В.3 - Хроматограмма органических кислородсодержащих соединений в бензине, полученная с использованием переключающихся колонок
Таблица С.1
|
Обозначение ссылочного регионального стандарта |
Обозначение и наименование соответствующего национального стандарта |
|
ЕН ИСО 3170 |
* |
|
ЕН ИСО 3171 |
* |
|
ЕН ИСО 3405 |
ГОСТ Р ЕН ИСО 3405-2007 Нефтепродукты. Метод определения фракционного состава при атмосферном давлении |
|
ЕН ИСО 3675 |
ГОСТ Р ИСО 3675-2007 Нефть сырая и нефтепродукты жидкие. Лабораторный метод определения плотности с использованием ареометра |
|
ЕН ИСО 3696 |
* |
|
ЕН ИСО 3838 |
* |
|
ЕН 12177 |
ГОСТ Р ЕН ИСО 12177-2008 Жидкие нефтепродукты. Бензин. Определение содержания бензола газохроматографическим методом |
|
ЕН ИСО 12185 |
Сырая нефть и нефтепродукты. Определение плотности. Метод колебаний в U-образной трубке |
|
* Соответствующий национальный стандарт отсутствует. До его утверждения рекомендуется использовать перевод на русский язык данного регионального стандарта. Перевод данного регионального стандарта находится в Федеральном информационном фонде технических регламентов и стандартов. |
|
Ключевые слова: жидкие нефтепродукты, неэтилированный бензин, органические кислородсодержащие соединения, содержание органически связанного кислорода, метод газовой хроматографии, переключающиеся колонки
|
ГОСТЫ, СТРОИТЕЛЬНЫЕ и ТЕХНИЧЕСКИЕ НОРМАТИВЫ. Некоммерческая онлайн система, содержащая все Российские Госты, национальные Стандарты и нормативы. В Системе содержится более 150000 файлов нормативно-технической документации, действующей на территории РФ. Система предназначена для широкого круга инженерно-технических специалистов. Copyright © www.gostrf.com, 2008 - 2026 |