Крупнейшая бесплатная информационно-справочная система онлайн доступа к полному собранию технических нормативно-правовых актов РФ. Огромная база технических нормативов (более 150 тысяч документов) и полное собрание национальных стандартов, аутентичное официальной базе Госстандарта. GOSTRF.com - это более 1 Терабайта бесплатной технической информации для всех пользователей интернета. Все электронные копии представленных здесь документов могут распространяться без каких-либо ограничений. Поощряется распространение информации с этого сайта на любых других ресурсах. Каждый человек имеет право на неограниченный доступ к этим документам! Каждый человек имеет право на знание требований, изложенных в данных нормативно-правовых актах!

  


 

МЕЖГОСУДАРСТВЕННЫЙ СОВЕТ ПО СТАНДАРТИЗАЦИИ, МЕТРОЛОГИИ И СЕРТИФИКАЦИИ
(МГС)

INTERSTATE COUNCIL FOR STANDARDIZATION, METROLOGY AND CERTIFICATION
(ISC)

МЕЖГОСУДАРСТВЕННЫЙ
СТАНДАРТ

ГОСТ
31371.6-
2008
(ИСО 6974-6:2002)

Газ природный

ОПРЕДЕЛЕНИЕ СОСТАВА МЕТОДОМ
ГАЗОВОЙ ХРОМАТОГРАФИИ С ОЦЕНКОЙ НЕОПРЕДЕЛЕННОСТИ

Часть 6

ОПРЕДЕЛЕНИЕ ВОДОРОДА, ГЕЛИЯ, КИСЛОРОДА, АЗОТА, ДИОКСИДА
УГЛЕРОДА И УГЛЕВОДОРОДОВ
C1 - С8 С ИСПОЛЬЗОВАНИЕМ ТРЕХ КАПИЛЛЯРНЫХ КОЛОНОК

ISO 6974-6:2002
Natural gas - Determination of composition with defined uncertainty by gas
chromatography - Part 6; Determination of hydrogen, helium, oxygen, nitrogen,
carbon dioxide and C1 to C8 hydrocarbons using three capillary columns
(MOD)

Москва
Стандартинформ
2009

Предисловие

Цели, основные принципы и основной порядок проведения работ по межгосударственной стандартизации установлены ГОСТ 1,0-92 «Межгосударственная система стандартизации. Основные положения» и ГОСТ 1.2-97 «Межгосударственная система стандартизации. Стандарты межгосударственные, правила и рекомендации по межгосударственной стандартизации. Порядок разработки, принятия, применения, обновления и отмены»

Сведения о стандарте

1 ПОДГОТОВЛЕН Открытым акционерным обществом «Газпром» и Федеральным государственным унитарным предприятием «Всероссийский научно-исследовательский институт метрологии им. Д.И. Менделеева» (ФГУП «ВНИИМ им. Д.И. Менделеева») на основе собственного аутентичного перевода стандарта, указанного в пункте 4

2 ВНЕСЕН Федеральным агентством по техническому регулированию и метрологии

3 ПРИНЯТ Межгосударственным советом по стандартизации, метрологии и сертификации (протокол № 33 от 6 июня 2008 г.)

За принятие стандарта проголосовали:

Краткое наименование страны по МК (ИСО 3166) 004-97

Код страны по МК (ИСО 3166) 004-97

Сокращенное наименование национального органа по стандартизации

Азербайджан

AZ

Азстандарт

Беларусь

BY

Госстандарт Республики Беларусь

Казахстан

KZ

Госстандарт Республики Казахстан

Кыргызстан

KG

Кыргызстандарт

Молдова

MD

Молдова-Стандарт

Российская Федерация

RU

Федеральное агентство по техническому регулированию и метрологии

Таджикистан

TJ

Таджикстандарт

Туркменистан

TM

Главгосслужба «Туркменстандартлары»

Узбекистан

UZ

Узстандарт

Украина

UA

Госпотребстандарт Украины

4 Настоящий стандарт является модифицированным по отношению к международному стандарту ИСО 6974-6:2002 «Газ природный. Определение состава методом газовой хроматографии с оценкой неопределенности. Часть 6. Определение водорода, гелия, кислорода, азота, диоксида углерода и углеводородов С1 - С8 с использованием трех капиллярных колонок» (ISO 6974-6:2002 «Natural gas - Determination of composition with defined uncertainty by gas chromatography - Part 6: Determination of hydrogen, helium, oxygen, nitrogen, carbon dioxide and C1 to C8 hydrocarbons using three capillary columns»). При этом дополнительные положения, включенные в текст стандарта для учета потребностей национальной экономики и/или особенностей межгосударственной стандартизации, выделены курсивом

5 Приказом Федерального агентства по техническому регулированию и метрологии от 3 декабря 2008 г. № 340-ст межгосударственный стандарт ГОСТ 31371.6-2008 (ИСО 6974-6:2002) введен в действие в качестве национального стандарта Российской Федерации с 1 января 2010 г.

6 ВВЕДЕН ВПЕРВЫЕ

Информация о введении в действие (прекращении действия) настоящего стандарта публикуется в указателе «Национальные стандарты».

Информация об изменениях к настоящему стандарту публикуется в указателе «Национальные стандарты», а текст изменений - в информационных указателях «Национальные стандарты». В случае пересмотра или отмены настоящего стандарта соответствующая информация будет опубликована в информационном указателе «Национальные стандарты»

СОДЕРЖАНИЕ

Предисловие

Введение

1 Область применения

2 Нормативные ссылки

3 Принцип анализа

3.1 Анализ проб природного газа

3.2 Анализ имитаторов природного газа

4 Материалы

5 Аппаратура

6 Методика проведения анализа

6.1 Условия проведения анализа

6.2 Требования к аналитическим характеристикам газохроматографической системы

6.3 Выполнение измерений

7 Вычисление

8 Прецизионность

9 Протокол анализа

Приложение А (справочное) Типичные значения прецизионности

Приложение В (справочное) Сведения о соответствии ссылочных международных стандартов межгосударственным стандартам

 

Введение

Комплекс межгосударственных стандартов ГОСТ 31371.1-2008 (ИСО 6974-1:2000) - ГОСТ 31371.6-2008 (ИСО 6974-6:2002) и ГОСТ 31371.7-2008 под общим наименованием «Газ природный. Определение состава методом газовой хроматографии с оценкой неопределенности» (далее - комплекс стандартов) состоит из следующих частей:

- Часть 1. Руководство по проведению анализа;

- Часть 2. Характеристики измерительной системы и статистические оценки данных;

- Часть 3. Определение водорода, гелия, кислорода, азота, диоксида углерода и углеводородов до С8 с использованием двух насадочных колонок;

- Часть 4. Определение азота, диоксида углерода и углеводородов С1 - С5 и С6+ в лаборатории и с помощью встроенной измерительной системы с использованием двух колонок;

- Часть 5. Определение азота, диоксида углерода и углеводородов С1 - С5 и С6+ в лаборатории и при непрерывном контроле с использованием трех колонок;

- Часть 6. Определение водорода, гелия, кислорода, азота, диоксида углерода и углеводородов С1 - С8 с использованием трех капиллярных колонок;

- Часть 7. Методика выполнения измерений молярной доли компонентов.

Комплекс стандартов распространяется на измерения молярной доли компонентов природного газа хроматографическим методом с оценкой неопределенности измерений.

Части 1 - 6 являются модифицированными по отношению к соответствующим международным стандартам ИСО 6974-1 - ИСО 6974-6.

В части 7 приведена методика выполнения измерений молярной доли компонентов природного газа, адаптирующая положения международных стандартов ИСО 6974-1 - ИСО 6974-6 с учетом потребностей национальной экономики стран СНГ и особенностей межгосударственной стандартизации.

В настоящем стандарте описан прецизионный метод определения состава природного газа. Полученные данные по составу используют для вычисления теплоты сгорания, относительной плотности и числа Воббе.

Для реализации метода необходимо применение трех колонок, установленных в два газовых хроматографа.

Вследствие высокой разделительной способности используемых капиллярных колонок компоненты, обычно не присутствующие в природном газе, но присутствующие в некоторых имитаторах природного газа, также могут быть обнаружены с помощью этого метода. Дополнительно для анализа имитаторов природного газа используют метанатор.

В настоящем стандарте представлен один из методов, который можно использовать для определения состава природного газа в соответствии с ГОСТ 31371.1 и ГОСТ 31371.2.

МЕЖГОСУДАРСТВЕННЫЙ СТАНДАРТ

Газ природный

ОПРЕДЕЛЕНИЕ СОСТАВА МЕТОДОМ ГАЗОВОЙ ХРОМАТОГРАФИИ С ОЦЕНКОЙ НЕОПРЕДЕЛЕННОСТИ

Часть 6

ОПРЕДЕЛЕНИЕ ВОДОРОДА, ГЕЛИЯ, КИСЛОРОДА, АЗОТА, ДИОКСИДА
УГЛЕРОДА И УГЛЕВОДОРОДОВ
C1 - C8 С ИСПОЛЬЗОВАНИЕМ ТРЕХ КАПИЛЛЯРНЫХ КОЛОНОК

Natural gas. Determination of composition with defined uncertainty by gas chromatography
method. Part 8. Determination of hydrogen, helium, oxygen, nitrogen, carbon dioxide and C1 to C8
hydrocarbons using three capillary columns

Дата введения - 2010-01-01

1 Область применения

Настоящий стандарт устанавливает метод количественного газохроматографического определения содержания водорода, гелия, кислорода, азота, диоксида углерода и углеводородов С1 - С8 в пробах природного газа с использованием трех капиллярных колонок. Метод применим для анализа газов, содержащих компоненты в диапазонах молярной доли, приведенных в таблице 1, и обычно применяется в лабораторных условиях. Приведенные диапазоны ограничены областью, для которой оценена неопределенность, и могут быть уже, чем реализуемые на конкретных хроматографах. Метод может быть применен, даже если один или несколько компонентов в пробе этим методом не обнаруживаются.

Настоящий стандарт следует применять совместно с ГОСТ 31371.1 и ГОСТ 31371.2.

Метод также может быть применен к анализу имитаторов природного газа.

Примечание - Дополнительная информация по применению этого метода при определении состава имитаторов природного газа также приводится в настоящем стандарте,

Таблица 1 - Диапазоны молярной доли компонентов, на которые распространяется настоящий стандарт

Компонент

Формула

Молярная доля, %

Гелий

Не

0,002 - 0,5

Водород

Н2

0,001 - 0,5

Кислород

O2

0,007 - 5

Азот

N2

0,007 - 40

Метан

CH4

40 - 100

Оксид углерода a

СО

0,001 - 1

Диоксид углерода

СO2

0,001 - 10

Этин (ацетилен) a

С2Н2

0,001 - 0,5

Этилен a

С2Н4

0,001 - 0,5

Этан

С2Н6

0,002 - 15

Пропен а, b

С3Н6

0,001 - 0,5

Пропан b

С3Н8

0,001 - 5

Изобутан

С4Н10

0,0001 - 1

н-Бутан

C4H10

0,0001 - 1

2,2-Диметилпропан (неопентан)

С5Н12

0,0001 - 0,5

2-Метилбутан (изопентан)

C5H12

0,0001 - 0,5

н-Пентан

C5H12

0,0001 - 0,5

Циклопентан

С5Н10

0,0001 - 0,5

2,2-Диметилбутан

C6H14

0,0001 - 0,5

2,3-Диметилбутан

С6Н14

0,0001 - 0,5

2-Метилпентан

C6H14

0,0001 - 0,5

3-Метилпентан

С6Н14

0,0001 - 0,5

н-Гексан

C6H14

0,0001 - 0,5

Бензол

C6H6

0,0001 - 0,5

Циклогексан

C6H12

0,0001 - 0,5

Гептаны c

C7H16

0,0001 - 0,5

Метилциклогексан

C7H14

0,0001 - 0,5

Толуол

C7H8

0,0001 - 0,5

Октаны d

C8H18

0,0001 - 0,5

Ксилолы e

C8H10

0,0001 - 0,5

а Эти компоненты обычно отсутствуют в природном газе, но присутствуют в имитаторе природного газа.

b Раздельное определение пропана и пропена зависит от используемой колонки.

с Включают следующие компоненты: н-гептан, 2-метилгексан, 3-метилгексан, 3-эталпентан, 2,2-диметилпентан, 2,3-диметилпентан, 2,4-диметилпентан, 3,3-димвтилпентан, 2,2,3-триметилбутан. Не все изомеры могут быть отделены друг от друга.

d Включают следующие компоненты: н-октан, 2-метилгептан, 3-метилгептан, 4-метилгептан, диметилциклогексаны, 2,2-диметилгексан, 2,3-диметилгексан, 2,4-диметилгексан, 2,5-диметилгексан, 3,3-диметилгексан, 3,4-диметилгексан, 2,2,3-триметилпентан, 2,2,4-триметилпентан (изооктан), 2,3,3-триметалпентан, 2,3,4-триметилпентан, 2,2,3,3-тетраметилбутан. Не все изомеры могут быть отделены друг от друга.

e Включают следующие компоненты: о-ксилол, м-ксилол, п-ксилол; м- и п-ксилол, которые не отделяются друг от друга.

Примечание - Этот анализ можно распространить при определенных условиях (например, большем объеме пробы) на более тяжелые, чем С8, углеводороды, если их молярная доля превышает 1·10-6 (0,0001 %).

Настоящий стандарт следует применять как руководство для создания рабочих процедур в соответствии с ГОСТ 8.010 для конкретных измерительных задач с учетом норм точности, приведенных в ГОСТ 31371.7.

Примечание - Дополнительное положение направлено на обеспечение разработки нормативных документов по анализу компонентного состава природного газа в конкретных условиях применения, значительно отличающихся от условий, установленных в комплексе стандартов, и с учетом современного парка приборов.

2 Нормативные ссылки

В настоящем стандарте использованы нормативные ссылки на следующие межгосударственные стандарты:

ГОСТ 8.010-99 1) Государственная система обеспечения единства измерений. Методики выполнения измерений. Основные положения

1) На территории Российской Федерации действует ГОСТ Р 8.563-96.

ГОСТ 31371.1-2008 (ИСО 6974-1:2000, MOD) Газ природный. Определение состава газовой хроматографии с оценкой неопределенности. Часть 1. Руководство по проведению анализа

ГОСТ 31371.2-2008 (ИСО 8974-2:2001, MOD) Газ природный. Определение состава методом газовой хроматографии с оценкой неопределенности. Часть 2. Характеристики измерительной системы и статистические оценки данных

ГОСТ 31371.7-2008 Газ природный. Определение состава методом газовой хроматографии с оценкой неопределенности. Часть 7. Методики выполнения изменений молярной доли компонентов

Примечание - При пользовании настоящим стандартом целесообразно проверить действие ссылочных стандартов по указателю «Национальные стандарты», составленному по состоянию на 1 января текущего года, и по соответствующим информационным указателям, опубликованным в текущем году. Если ссылочный стандарт заменен (изменен), то при пользовании настоящим стандартом следует руководствоваться заменяющим (измененным) стандартом. Если ссылочный стандарт отменен без замены, то положение, в котором дана ссылка на него, применяется в части, не затрагивающей эту ссылку.

3 Принцип анализа

3.1 Анализ проб природного газа

Для определения водорода, гелия, кислорода, азота, диоксида углерода и углеводородов С1 - С8 используют метод газовой хроматографии с применением трех капиллярных колонок. Для разделения диоксида углерода (СО2) и этана (С2Н6) используют предварительную PLOT1) колонку.

1) Капиллярная колонка с пористым сорбентом, нанесенным на внутреннюю поверхность.

Для разделения постоянных газов гелия (Не), водорода (Н2), кислорода (O2), азота (N2) и метана (СН4) используют предварительную PLOT колонку с молекулярным ситом.

Для разделения углеводородов С1 - С8 (и более тяжелых) используют WCOT 2) колонку с неполярной фазой.

2) Капиллярная колонка с жидкой фазой, нанесенной на внутреннюю поверхность.

Постоянные газы: гелий (Не), водород (Н2), кислород (O2), азот (N2) и метан (СН4) определяют с помощью детектора по теплопроводности (ДТП). Углеводороды С2 - С8 определяют с помощью пламенно-ионизационного детектора (ПИД).

3.2 Анализ имитаторов природного газа

Оксид углерода (СО) и диоксид углерода (СO2) определяют с помощью ПИД после восстановления этих компонентов до метана с помощью метанатора. Использование этого устройства дает возможность обнаруживать указанные компоненты с молярной долей более 0,001%. Если пробы не содержат СО или СO2 или если их молярная доля превышает 0,02%, то метанатор не используют, и они могут быть определены с помощью ДТП.

При анализе имитаторов природного газа PLOT колонка, указанная в 3.1, может быть также применена для разделения ацетилена и этилена, a PLOT колонка с молекулярным ситом - для определения СО.

4 Материалы

4.1 Газы-носители

4.1.1 Аргон (Аr) с содержанием основного компонента не менее 99,999%, свободный от кислорода и воды.

4.1.2 Азот (N2) с содержанием основного компонента не менее 99,999% или гелий с содержанием основного компонента не менее 99,999%.

4.2 Вспомогательные газы

4.2.1 Вспомогательные газы для детектирования c помощью ПИД

4.2.1.1 Азот или гелий с содержанием основного компонента не менее 99,996%.

4.2.1.2 Воздух, свободный от примесей углеводородов, т.е. молярная доля углеводородов не более 1·10-4 %/

4.2.1.3 Водород с содержанием основного компонента не менее 99,999%, свободный от коррозионных газов и органических соединений.

4.2.2 Вспомогательные газы для метанатора при анализе имитаторов природного газа

4.2.2.1 Водород с содержанием основного компонента не менее 99,999% (также может использоваться как вспомогательный газ).

4.2.2.2 Сжатый синтетический воздух для обеспечения работы кранов.

4.3 Образцы сравнения

4.3.1 Рабочие эталонные газовые смеси (государственные стандартные образцы - ГСО), состав которых следует выбирать близким к ожидаемому составу пробы.

Молярные доли компонентов в ГСО и анализируемой пробе не должны отличаться более, чем на значения, приведенные в таблице 2.

Природный газ в баллоне, содержащий все компоненты, измеренные этим методом, также можно использовать в качестве ГСО. ГСО готовят гравиметрическим методом в соответствии с [1] и/или аттестуют в соответствии с [2]. В состав ГСО должны входить, по крайней мере, азот, диоксид углерода, метан, этан, пропан, изобутан, н-бутан. В случае косвенного определения компонентов ГСО должен содержать сравнительный компонент с молярной долей, соответствующей ожидаемому диапазону молярной доли. При этом может возникнуть необходимость использования нескольких ГСО.

Таблица 2 - Допускаемое относительное отклонение значений молярной доли компонента в градуировочном газе и пробе

В процентах

Значение молярной доли компонента в пробе

Относительное отклонение значений молярной доли компонента в градуировочной газовой смеси и пробе

От 0,001 до 0,1 включ.

± 100

Св. 0,1     »  1         »

± 50

»     1        »  10      »

± 10

»   10        »  50      »

± 5

»   50        »  100    »

± 3

4.3.2 Газы для проверки эффективности

4.3.2.1 Для работы метанатора (при необходимости при анализе имитаторов природного газа): газовые смеси, содержащие СН4, СО и СO2 с объемной долей каждого от 0,001% до 0,02% в гелии.

4.3.2.2 Газ, содержащий бензол и циклогексан, для применения при проверке разрешения пиков.

4.3.2.3 Газ, содержащий водород и гелий, для применения при проверке разрешения пиков.

5 Аппаратура

5.1 Газохроматографическая(ие) система(ы), содержащая(ие) следующие компоненты:

5.1.1 Термостаты для двух колонок для работы в режиме программирования температуры, обеспечивающие линейное изменение температуры с заданным градиентом (таблица 3).

Колонки могут быть помещены в один хроматограф с двумя термостатами или в два отдельных хроматографа. Температура в обоих термостатах колонок одного хроматографа должна контролироваться независимо.

5.1.1.1 Термостат для хроматографа 1, содержащий предварительную PLOT колонку и PLOT колонку с молекулярным ситом (рисунки 1 - 3).

В качестве альтернативы хроматограф 1 может иметь термостат шпонки для работы в изотермическом режиме в диапазоне температуры от 40°С до 140°С, который обеспечивает поддержание температуры в пределах ± 0,1°С в любой точке камеры термостата.

5.1.1.2 Термостат для хроматографа 2, содержащий WCOT колонку.

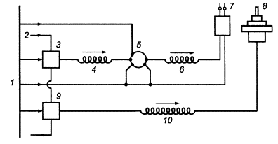
1 - предварительная PLOT колонка; 2 - PLOT колонка с молекулярным ситом; 3 - ДТП; 4 - метанатор; 5 - ПИД

Рисунок 1 - Схема соединения колонок во время ввода пробы

1 - предварительная PLOT колонка; 2 - PLOT колонка с молекулярным ситом; 3 - ДТП; 4 - метанатор, 5 - ПИД

Рисунок 2 - Схема соединения колонок для определения СO2 и С2

1 - предварительная PLOT колонка; 2 - PLOT колонка с молекулярным ситом; 3 - ДТП; 4 - метанатор; 5 – ПИД

Рисунок 3 - Схема соединения колонок для определения СО и обратной продувки углеводородов С3+

5.1.2 Регуляторы расхода, обеспечивающие требуемые скорости потоков для капиллярных колонок.

5.1.3 Краны для отбора проб газа, находящиеся при постоянной температуре с допустимым отклонением в пределах ± 0,5°С.

Дозирующие петли объемом около 0,5 мл можно использовать вместе с капиллярными устройствами деления проб. В качестве альтернативы могут быть использованы краны-микродозаторы с внутренними дозирующими петлями без применения устройств деления.

5.1.4 Система переключения колонок с кранами-микродозаторами или без кранов, используемая для обратной продувки.

Примеры возможных схем переключения колонок приведены на рисунках 4 и 5.

5.1.5 Детектор по теплопроводности (ДТП) и пламенно-ионизационный детектор (ПИД) с постоянной времени и внутренним объемом, пригодными для работы с капиллярными колонками. Используемые для анализов два газовых хроматографа должны быть оборудованы следующими детекторами.

5.1.5.1 Детекторы для хроматографа 1: ДТП и ПИД.

5.1.5.2 Детекторы для хроматографа 2: дополнительный ПИД.

5.1.6 Система сбора данных с соответствующими разрешающей способностью и постоянной времени, обеспечивающая автоматическую регистрацию результатов анализов.

5.1.7 Метанатор (при необходимости) для непрерывной каталитической конверсии оксида углерода (СО) и диоксида углерода (СO2) в метан при анализе проб имитаторов природного газа.

Эти компоненты в виде метана затем определяют с помощью ПИД, имеющего высокую чувствительность. Если пробы; не содержат СО, метанатор не используют.

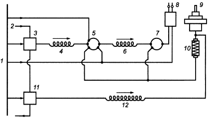
1 - газ-носитель; 2 - проба; 3 - кран 1 для пробы газа; 4 - предварительная PLOT колонка; 5 - кран 1; 6 - PLOT колонка с молекулярным ситом; 7 - кран 2; 8 - ДТП; 9 - ПИД; 10 - метанатор; 11 - кран 2 для пробы газа; 12 - WCOT колонка

Рисунок 4 - Схема газовых потоков в газовом хроматографе с использованием метанатора для конверсии СО (8-портовый кран-микродозатор с системой непрерывного переключения клапанов и метанатором)

1 - газ-носитель; 2 - проба; 3 - кран 1 для пробы газа; 4 - предварительная PLOT колонка; 5 - кран 1; 6 - PLOT колонка с молекулярным ситом; 7 - ДТП; 8 - ПИД; 9 - кран 2 для пробы газа; 10 - WCOT колонка

Рисунок 5 - Схема газовых потоков в газовом хроматографе без метанатора (8-портовый кран-микродозатор с системой непрерывного переключения клапанов)

Если метанатор не установлен, СO2 и С2Н6 определяют с помощью сравнительной ячейки ДТП (рисунок 5), получая при этом обратные (отрицательные) пики этих компонентов. Все другие компоненты при этом отдуваются из предварительной колонки.

Эффективность конверсии метанатора (никелевый катализатор) определяют посредством ввода контрольной пробы, содержащей известное количество метана, оксида углерода и диоксида углерода с объемной долей от 0,001% до 0,02%. При необходимости регулируют температуру катализатора, чтобы оптимизировать эффективность конверсии и симметричность пика. Кроме того, регулируют скорость подачи Н2, чтобы оптимизировать чувствительность. При оптимальных условиях работы метанатор обеспечивает эффективность конверсии, близкую к 100%. Рекомендуется определять стабильность метанатора.

Даже малые количества H2S и других серосодержащих соединений, достигающих метанатора, вызывают немедленную деактивацию частиц катализатора. По этой причине H2S следует отсекать с помощью соответствующего переключения колонки. Отравление катализатора проявляется в виде хвостов у пиков СО и СO2.

Рекомендуется периодическая проверка герметичности. Это можно осуществить с помощью ввода газа-носителя через кран-дозатор, при этом не должны появляться пики азота или кислорода.

5.2 Капиллярные колонки, состоящие из:

5.2.1 Предварительной капиллярной PLOT колонки из плавленого кварца для разделения воздуха, СO2, C2H2, С2Н4, C2H6 и C3H8.

Чтобы обеспечить возможность переключения колонок, требуется достаточное разделение СН4 и CO2.

Рекомендуется PoraPLOT U 1) колонка длиной 25 м, внутренним диаметром 0,53 мм, с толщиной фазы 20 мкм, поскольку она позволяет получить хорошее разделение этих компонентов.

1) Капиллярная колонка с пористым сорбентом Porapak U, нанесенным на внутреннюю поверхность. Она является примером коммерчески доступного продукта. Эта информация приводится для удобства потребителей настоящего стандарта и не представляет одобрение ИСО этого продукта.

5.2.2 Капиллярная PLOT колонка из плавленого кварца с молекулярным ситом для разделения Не, Н2, O2, N2, СН4 и СО.

Эффективность разделения этой колонки проверяют, вводя контрольную пробу водорода с молярной долей 4% и Не с молярной долей 0,05%. Эффективность разделения должна быть достаточной для количественного определения обоих компонентов и должна удовлетворять требованию к разрешению пиков, приведенному в 6.2.1.

Рекомендуется колонка с молекулярным ситом 5 Ǻ, длиной 25 м, внутренним диаметром 0,53 мм, с толщиной слоя 50 мкм.

5.2.3 Капиллярная WCOT колонка из плавленого кварца с неполярной фазой для разделения углеводородов С3 - С8.

Эффективность разделения этой колонки достаточна, если разрешение пиков бензола и циклогексана удовлетворяет требованиям, приведенным в 6.2.1.

Рекомендуется капиллярная колонка с метилсиликоном длиной 50 м, внутренним диаметром 0,32 мм, с толщиной слоя 5 мкм.

Можно использовать другие разделяющие колонки, если они обладают сопоставимой эффективностью разделения.

6 Методика проведения анализа

6.1 Условия проведения анализа

6.1.1 Газовый хроматограф

Подготовку газового хроматографа к работе (колонки, расходы газа-носителя и вспомогательных газов, температурные программы для термостатов, температуры детектора и инжектора, программы переключения кранов) проводят в соответствии с инструкциями изготовителя. Пример задания параметров работы газового хроматографа приведен в таблице 3. Эти условия предназначены только для информации и могут быть легко адаптированы для условий конкретного применения.

6.1.2 Регенерация колонок

Молекулярное сито активно адсорбирует следы воды, что приводит к ухудшению разделения. Если разделение проводят в изотермическом режиме, настоятельно рекомендуется частая регенерация PLOT колонок в соответствии с рекомендациями изготовителя колонки. Если термостат колонки может работать в режиме программирования температуры, то в конце каждого цикла измерений желательно поднимать температуру термостата для регенерации колонки.

Этот подъем температуры так же, как регенерация, обеспечивает более острый пик СО при анализе имитаторов природного газа.

Максимальная рабочая температура хроматографа 1 ограничивается инструкциями изготовителя предварительной PoraPLOT U колонки.

Таблица 3 - Пример задания условий работы газового хроматографа

Газовый хроматограф

Прибор-1

Прибор 2

Колонки:

 

 

 

Фаза

PoraPLOT U а

Молекулярное сито 5 Ǻа

Метилсиликон

Длина, м

25

50

50

Внутренний диаметр, мм

0,53

0,53

0,32

Толщина фазы, мкм

20

50

5

Максимальная температура, °С

190

300

320

Газ-носитель (чистота)

Ar (99,399%)

Ar (99,999%)

N2 (99,999%)

Скорость потока, мл/мин

4

-

-

Программа термостата

 

 

Начальная температура, °С

30

35

Время выдержки, мин

31

12

Скорость подъема, °С/мин

12

8

Конечная температура, °С

120

240

Время выдержки, мин

10

6

Детекторы:

 

 

 

Тип детектора

ДТП

ПИД

ПИД

Температура, °С

140

240

280

Поток вспомогательного газа:

1,5

0

30

к сравнительной ячейке

16

-

-

к метанатору

-

35

-

Устройство ввода пробы:

 

 

 

Объем дозы, мл

0,25

-

0,25

Отделяемый поток, мл/мин

0

-

40

Метанатор (при необходимости)

-

Ni катализатор

-

Температура, °С

-

375

-

а Колонка с молекулярным ситом должна кондиционироваться отдельно от PoraPLOT U колонки, поскольку они кондиционируются при различной температуре.

6.1.3 Ввод пробы

Пробу вводят одинаковым и воспроизводимым способом в оба крана ввода пробы (рисунок 4). Краны ввода и дозирующие петли должны находиться при постоянной температуре, при которой не происходит конденсация компонентов пробы,

Объем продувочного газа должен быть не менее 20-кратного общего объема кранов, петель и связанных с ними газовых линий. Недостаточная продувка этих узлов приводит к эффектам памяти от предыдущих проб или к разбавлению объема пробы воздухом.

Перед вводом давление пробы выравнивают с давлением окружающей среды.

Если используют газовый хроматограф с двумя термостатами, используют задержку переключения крана 2 газовой пробы (рисунок 4) относительно времени переключения крана 1 газовой пробы, чтобы задержать выход первого пика (СН4) из предварительной PLOT колонки. Такой прием предотвратит маскировку этого пика на хроматограмме другими компонентами, т.е. СO2, С2Н2, С2Н4 и С2Н6, выходящими из предварительной колонки. При этом необходимо убедиться, что эта задержка не влияет на целостность пробы (разбавление попадающим воздухом).

Во время ввода пробы контролируют время продувки и расход пробы.

Выравнивание давления достигается путем выжидания известного и точно контролируемого времени после продувки или путем измерения давления внутри дозирующей петли.

6.2 Требования к аналитическим характеристикам газохроматографической системы

6.2.1 Оценка эффективности колонки

Разрешение пиков проверяют при выполнении каждого аналитического цикла.

Для каждого индивидуально количественно определяемого компонента разрешение двух соседних пиков должно превышать 1,5. Разрешение пиков оценивают как наименьшую разность для идентифицируемого компонента между показаниями регистрирующего или отображающего устройства, которая может быть достоверно различена. Если необходимого разрешения не удается достичь, то эти конкретные компоненты не должны быть количественно оценены и представлены по отдельности.

Типичное разрешение пиков приведено в таблице 4.

Примечание - Применяемый способ обработки недостаточно разделенных пиков зависит от характеристик используемых процессора данных и интегратора.

Таблица 4 - Типичное разрешение пиков

Компонент 1

Компонент 2

Типичное разрешение

Метан (СН4)

Диоксид углерода (СO2)

18,8

Водород (Н2)

Гелий (Не)

5,5

Бензол (С6Н6)

Циклогексан (С6Н12)

5,6

Пропен (С3Н6)

Пропан (С3Н8)

0,7

6.2.2 Относительные коэффициенты чувствительности

Относительные коэффициенты чувствительности определяют в соответствии с ГОСТ 31371.2.

6.2.3 Градуировочные зависимости

Градуировочные зависимости определяют в соответствии с ГОСТ 31371.2 не реже одного раза в год.

6.3 Выполнение измерений

6.3.1 Компоненты: Не, Н2, O2, N2, CH4, СО, СO2, С2Н2, С2Н4 и С2Н6

Расположение колонок хроматографа 1 на разных стадиях анализа приведено на рисунках 1 - 3.

Пробу вводят в предварительную PLOT колонку, в которой постоянные газы, СО и СН4 удерживаются слабо и, таким образом, отделяются от С2 и более тяжелых углеводородов. Переводят выходящие первыми компоненты, а именно Не, Н2, O2, N2, CH4 и СО в колонку с молекулярным ситом для разделения. Для определения постоянных газов и метана используют ДТП. Для определения СО, выходящего последним из колонки с молекулярным ситом, переключают колонку на линию с метанатором и ПИД.

Не переведенные в колонку с молекулярным ситом СO2 и углеводороды дополнительно разделяют на предварительной PLOT колонке, затем их определяют с помощью метанатора и ПИД. После выхода этана фракцию С3+ отдувают на сброс. Примеры типичных хроматограмм приведены на рисунках 6 и 7.

Разделение может быть достигнуто как на колонке с молекулярным ситом, так и на предварительной колонке в изотермическом режиме.

Водород и гелий могут быть определены косвенным методом с использованием относительных коэффициентов чувствительности, хотя проблема с выбором правильных коэффициентов для ДТП хорошо известна. В общем случае, в качестве сравнительного компонента можно использовать азот (N2).

Поскольку ДТП дает слабый отклик для оксида углерода при использовании аргона в качестве газа-носителя, рекомендуется для определения СО с молярной долей менее 0,2% применять ПИД. С этой целью СО через кран 2 направляют в метанатор и ПИД.

6.3.2 С3 и более тяжелые углеводороды

Соединяют WCOT колонку, заполненную метилсиликоном, непосредственно с краном газовой пробы и ПИД (рисунок 5). Проводят разделение с использованием соответствующей температурной программы (например, от 35°С до 240°С со скоростью 8°С/мин). Применяют бутан в качестве сравнительного компонента для определения пентанов и более тяжелых углеводородов.

Устанавливают скорость нагрева для температурной программы так, чтобы отделить СО от других пиков на хроматограмме, полученной с ПИД.

1 - гелий; 2 - водород; 3 - кислород; 4 - азот; 5 - метан

Рисунок 6 - Хроматограмма анализа смеси гелия, водорода, кислорода, азота и метана на колонке с молекулярным ситом

1 - диоксид углерода; 2 - этилен; 3 - ацетилен; 4 - этан; 5 - оксид углерода; 6 - метан; 7 - этан (этилен, ацетилен); 8 - пропилен; 9 - пропан; 10 - изобутан; 11 - н-бутан; 12 - неопентан; 13 - изопентан; 14 - н-пентан; 15 - 2,2-диметил-бутан; 16 - 2-метилметан; 2,3-диметилбутан и цикпопентан; 17 - 3-мвтаяпентан; 18 - н-гексан; 19 - бензол; 20 - циклогексан; 21 - н-гептан; 22 - толуол; 23 - н-октан; 24 - ксилолы

Рисунок 7 - Хроматограмма анализа смеси СO2 и компонентов С1 - С8 на PoraPLOT U, WCOT колонках и колонке с молекулярным ситом

6.3.3 Детектирование

6.3.3.1 ДТП

Для определения Не, Н2, O2, N2 и СН4 используют ДТП,

СО можно определять при молярной доле > 0,2%, а СO2 - при молярной доле > 0,02%.

6.3.3.2 ПИД

Для определения С2Н2, С2Н4 и С2Н6, выходящих из предварительной PoraPLOT U колонки, и всех углеводородов выше С3Н6, выходящих из WCOT капиллярной колонки с метилсиликоном, используют ПИД.

При анализе имитаторов природного газа, а также для определения СO2 (после конверсии до СН4 в метанаторе), С2Н2 и С2Н4, выходящих из предварительной PoraPLOT U колонки и СО (после конверсии до СН4 в метанаторе), используют ПИД.

Пики СН4, С2Н2, С2Н4 и С2Н6, которые только частично разделены на WCOT колонке с метилсиликоном, не могут быть использованы для количественного определения.

6.3.4 Сбор данных

Начинают сбор данных по каналам обоих детекторов одновременно с временем первого ввода пробы.

7 Вычисление

Вычисляют значения молярной доли компонентов в соответствии с ГОСТ 31371.1.

8 Прецизионность

Типичные значения прецизионности, которые могут быть достигнуты этим методом, приведены в приложении А.

9 Протокол анализа

Протокол анализа оформляют в соответствии с ГОСТ 31371.1, раздел 14.

Приложение А
(справочное)
Типичные значения прецизионности

Типичные значения прецизионности приведены в таблице А.1. Эти значения были получены на практике и указывают на эффективность метода. Их нельзя сравнивать со значениями прецизионности, указанными в приложениях других частей комплекса ГОСТ 31371, поскольку они получены, исходя из качества ГСО и опыта участвовавших лабораторий.

Таблица А.1 - Сходимость и воспроизводимость результатов измерений

В процентах

Молярная доля компонента в пробе х, %

Сходимость

Воспроизводимость

абсолютная

относительная

абсолютная

относительная

x < 0,1

0,002

-

0,002

-

0,1 < x ≤ 1

-

2

-

4

1 < x ≤ 50

-

0,8

-

1,6

50 < x ≤ 100

-

0,08

-

0,16

Приложение В
(справочное)
Сведения о соответствии ссылочных международных стандартов межгосударственным стандартам

Таблица В.1

Обозначение и наименование международного стандарта

Степень соответствия

Обозначение и наименование соответствующего межгосударственного стандарта

ИСО 6974-1:2000

«Газ природный. Определение состава методом газовой хроматографии с оценкой неопределенности. Часть 1. Руководство по проведению анализа»

MOD

ГОСТ 31371.1-2008

«Газ природный. Определение состава методом газовой хроматографии с оценкой неопределенности. Часть 1. Руководство по проведению анализа»

ИСО 6974-2:2001

«Газ природный. Определение состава методом газовой хроматографии с оценкой неопределенности. Часть 2. Характеристики измерительной системы и статистические оценки данных»

MOD

ГОСТ 31371.2-2008

«Газ природный. Определение состава методом газовой хроматографии с оценкой неопределенности. Часть 2. Характеристики измерительной системы и статистические оценки данных»

Ключевые слова: природный газ, компонентный состав, хроматографический метод анализа, капиллярные колонки, водород, гелий, кислород, азот, диоксид углерода, углеводороды, метанатор, имитатор природного газа

 

 




ГОСТЫ, СТРОИТЕЛЬНЫЕ и ТЕХНИЧЕСКИЕ НОРМАТИВЫ.
Некоммерческая онлайн система, содержащая все Российские Госты, национальные Стандарты и нормативы.
В Системе содержится более 150000 файлов нормативно-технической документации, действующей на территории РФ.
Система предназначена для широкого круга инженерно-технических специалистов.

Рейтинг@Mail.ru Яндекс цитирования

Copyright © www.gostrf.com, 2008 - 2026