Крупнейшая бесплатная информационно-справочная система онлайн доступа к полному собранию технических нормативно-правовых актов РФ. Огромная база технических нормативов (более 150 тысяч документов) и полное собрание национальных стандартов, аутентичное официальной базе Госстандарта. GOSTRF.com - это более 1 Терабайта бесплатной технической информации для всех пользователей интернета. Все электронные копии представленных здесь документов могут распространяться без каких-либо ограничений. Поощряется распространение информации с этого сайта на любых других ресурсах. Каждый человек имеет право на неограниченный доступ к этим документам! Каждый человек имеет право на знание требований, изложенных в данных нормативно-правовых актах!

  


 

ФЕДЕРАЛЬНОЕ АГЕНТСТВО
ПО
ТЕХНИЧЕСКОМУ РЕГУЛИРОВАНИЮ И МЕТРОЛОГИИ

НАЦИОНАЛЬНЫЙ
СТАНДАРТ
российской
ФЕДЕРАЦИИ

ГОСТ Р
53255-
2009

ТЕХНИКА ПОЖАРНАЯ.

АППАРАТЫ ДЫХАТЕЛЬНЫЕ СО СЖАТЫМ
ВОЗДУХОМ С ОТКРЫТЫМ ЦИКЛОМ ДЫХАНИЯ

Общие технические требования.
Методы испытаний

Москва

Стандартинформ

2009

Предисловие

Цели и принципы стандартизации в Российской Федерации установлены Федеральным законом от 27 декабря 2002 г. 184-ФЗ «О техническом регулировании», а правила применения национальных стандартов Российской Федерации - ГОСТ Р 1.0-2004 «Стандартизация в Российской Федерации. Основные положения».

Сведения о стандарте

1 РАЗРАБОТАН Федеральным государственным учреждением «Всероссийский ордена «Знак Почета» научно-исследовательский институт противопожарной обороны» Министерства Российской Федерации по делам гражданской обороны, чрезвычайным ситуациям и ликвидации последствий стихийных бедствий (ФГУ ВНИИПО МЧС России)

2 ВНЕСЕН Техническим комитетом по стандартизации ТК 274 «Пожарная безопасность»

3 УТВЕРЖДЕН И ВВЕДЕН В ДЕЙСТВИЕ Приказом Федерального агентства по техническому регулированию и метрологии от 18 февраля 2009 г. 26-ст

В настоящем стандарте учтены требования международного стандарта EN 137:2006 «Защитные дыхательные устройства. Автономный дыхательный аппарат открытого цикла со сжатым воздухом с полнолицевой лицевой частью. Требования, испытания, маркировка»

4 ВВЕДЕН ВПЕРВЫЕ

Информация об изменениях к настоящему стандарту публикуется в ежегодно издаваемом информационном указателе «Национальные стандарты», а текст изменений и поправок - в ежемесячно издаваемых информационных указателях «Национальные стандарты». В случае пересмотра (замены) или отмены настоящего стандарта соответствующее уведомление будет опубликовано в ежемесячно издаваемом информационном указателе «Национальные стандарты». Соответствующая информация, уведомление и тексты размещаются также в информационной системе общего пользования - на официальном сайте Федерального агентства по техническому регулированию и метрологии в сети Интернет.

Содержание

1 Область применения

2 Нормативные ссылки

3 Термины, определения и сокращения

4 Общие технические требования

4.1 Требования назначения

4.2 Требования надежности

4.3 Требования стойкости к внешним воздействиям

4.4 Требования эргономики

4.5 Конструктивные требования

4.6 Требования к баллонам

4.7 Требования к вентилю баллона

4.8 Требования к манометру (устройству) для контроля давления воздуха в баллоне

4.9 Требования к сигнальному устройству

4.10 Требования к основной лицевой части

4.11 Требования к воздуховодной системе аппарата

4.12 Требования к редуктору

4.13 Требования к спасательному устройству

4.14 Требования к штуцеру (quick fill) для проведения быстрой дозаправки баллонов воздухом

4.15 Комплектность

4.16 Маркировка

4.17 Требования к содержанию эксплуатационной документации на аппарат

5 Требования безопасности

6 Правила приемки

6.1 Стадии и этапы разработки и приемки

6.2 Виды испытаний

6.2.1 Предварительные испытания

6.2.2 Приемочные испытания

6.2.3 Квалификационные испытания

6.2.4 Приемосдаточные испытания

6.2.5 Периодические испытания

6.2.6 Типовые испытания

7 Методы испытаний

7.1 Проверка нормативно-технической документации на аппарат

7.2 Проверка внешнего вида, комплектности и маркировки аппарата

7.3 Проверка массы аппарата

7.4 Проверка усилия срабатывания органов управления

7.5 Определение избыточного давления воздуха в подмасочном пространстве лицевой части при нулевом расходе

7.6 Проверка герметичности и износостойкости вентиля баллона

7.7 Проверка работоспособности сигнального устройства

7.8 Проверка резьбы в штуцере легочного автомата для соединения с основной лицевой частью

7.9 Проверка резьбы в штуцере легочного автомата для соединения с лицевой частью спасательного устройства

7.10 Проверка прочности соединения легочного автомата и основной лицевой части

7.11 Проверка расхода воздуха при работе устройства дополнительной подачи воздуха

7.12 Проверка герметичности систем высокого и редуцированного давления

7.13 Проверка работоспособности спасательного устройства с избыточным давлением воздуха под лицевой частью (капюшоном)

7.14 Проверка герметичности воздуховодной системы спасательного устройства с легочно-автоматической подачей и нормальным давлением воздуха под лицевой частью

7.15 Проверка герметичности воздуховодной системы спасательного устройства с постоянной подачей воздуха

7.16 Проверка герметичности систем высокого и редуцированного давления аппарата со спасательным устройством с легочно-автоматической подачей и нормальным давлением воздуха под лицевой частью

7.17 Проверка герметичности систем высокого давления аппарата после проведения дозаправки воздуха с использованием штуцера (quick fill)

7.18 Испытания на стойкость аппарата к механическим и климатическим воздействиям

7.18.1 Проверка сохранения работоспособности аппарата после вибронагрузки

7.18.2 Проверка сохранения работоспособности аппарата после воздействия на него климатических факторов

7.19 Проверка сохранения работоспособности аппарата после пребывания в среде с температурой 200°С

7.20 Проверка устойчивости аппарата к воздействию открытого пламени с температурой (800 ± 50)°С

7.21 Проверка устойчивости лицевой части (капюшона) спасательного устройства аппарата к воздействию открытого пламени с температурой (800 ± 50)°С

7.22 Проверка устойчивости легочного автомата и лицевой части аппарата (спасательного устройства) к воздействию теплового потока плотностью (8,5 ± 0,5) кВт/м2

7.23 Проверка устойчивости лицевой части, легочного автомата и спасательного устройства к воздействию дезинфицирующих растворов

7.24 Проверка влагонепроницаемости манометра

7.25 Испытания аппарата на стенде-имитаторе внешнего дыхания человека

7.26 Лабораторные испытания аппарата с участием испытателей-добровольцев

7.26.1 Испытания в эргометрическом зале, климатической камере

7.26.2 Испытания в теплодымокамере и на свежем воздухе

7.26.3 Проверка коэффициента подсоса масляного тумана в подмасочное пространство лицевой части спасательного устройства с легочно-автоматической подачей и нормальным давлением воздуха

7.27 Испытания на надежность

7.27.1 Проверка конструкции предохранительного клапана редуктора

7.27.2 Проверка вероятности безотказной работы аппарата за время защитного действия

Приложение А (обязательное) Методика испытаний по определению устойчивости аппарата дыхательного к воздействию открытого пламени с температурой (800 ± 50)°С на стенде «Термоманекен»

Приложение Б (рекомендуемое) Стенд-имитатор внешнего дыхания человека

Приложение В (обязательное)

Приложение Г (обязательное)

НАЦИОНАЛЬНЫЙ СТАНДАРТ РОССИЙСКОЙ ФЕДЕРАЦИИ

ТЕХНИКА ПОЖАРНАЯ.

АППАРАТЫ ДЫХАТЕЛЬНЫЕ СО СЖАТЫМ ВОЗДУХОМ
С ОТКРЫТЫМ ЦИКЛОМ ДЫХАНИЯ

Общие технические требования.
Методы испытаний

Fire equipment. Self-contained open-circuit compressed air breathing apparatus.
General technical requirements. Test methods

Дата введения - 2009-05-01

1 Область применения

Настоящий стандарт распространяется на аппараты дыхательные со сжатым воздухом с открытым циклом дыхания для защиты органов дыхания и зрения пожарных от вредного воздействия непригодной для дыхания токсичной и задымленной газовой среды при тушении пожаров в зданиях, сооружениях и на производственных объектах различного назначения.

Настоящий стандарт устанавливает общие технические требования и методы испытаний.

Стандарт может быть рекомендован для целей сертификации.

2 Нормативные ссылки

В настоящем стандарте использованы ссылки на следующие стандарты:

ГОСТ 9909-81 Основные нормы взаимозаменяемости. Резьба коническая вентилей и баллонов для газов

ГОСТ 9150-2002 Основные нормы взаимозаменяемости. Резьба метрическая. Профиль

ГОСТ Р 15.201-2000 Система разработки и постановки продукции на производство. Продукция производственно-технического назначения. Порядок разработки и постановки продукции на производство

ГОСТ 2.103-68 ЕСКД. Стадии разработки

ГОСТ 12.4.005-85 ССБТ. Средства индивидуальной защиты органов дыхания. Метод определения величины сопротивления дыханию

ГОСТ 12.4.061-88 ССБТ. Метод определения работоспособности человека в средствах индивидуальной защиты

ГОСТ 12.4.157-75 ССБТ. Противогазы и респираторы промышленные фильтрующие. Нефелометрические методы определения коэффициента подсоса масляного тумана под лицевую часть

ГОСТ Р 12.4.216-99 Система стандартов безопасности труда. Средства индивидуальной защиты органов дыхания. Резьба для лицевых частей. Резьбовое соединение М 45´3

ГОСТ 27.410-87 Надежность в технике. Методы контроля показателей надежности и планы контрольных испытаний на надежность

ГОСТ 8762-75 Резьба круглая диаметром 40 мм для противогазов и калибры к ней. Основные размеры

ГОСТ 15150-69 Машины, приборы и другие технические изделия. Исполнения для различных климатических районов. Категории, условия эксплуатации, хранения и транспортирования в части воздействия климатических факторов внешней среды

ГОСТ 16504-81Система государственных испытаний продукции. Испытания и контроль качества продукции. Основные термины и определения

ГОСТ 24997-2004 Калибры для метрической резьбы. Допуски

Примечание - При пользовании настоящим стандартом целесообразно проверить действия ссылочных стандартов и классификаторов в информационной системе общего пользования - на официальном сайте национального органа Российской Федерации по стандартизации в сети Интернет или по ежегодно издаваемому информационному указателю «Национальные стандарты», который опубликован по состоянию на 1 января текущего года, и по соответствующим ежемесячно издаваемым информационным указателям, опубликованным в текущем году Если ссылочный документ заменен (изменен), то при пользовании настоящим стандартом следует руководствоваться замененным (измененным) документом. Если ссылочный документ отменен без замены, то положение, в котором дана ссылка на него, применяется в части, не затрагивающей эту ссылку.

3 Термины, определения и сокращения

В настоящем стандарте применяются следующие термины с соответствующими определениями.

3.1 аппарат дыхательный со сжатым воздухом с открытым циклом дыхания: Автономный изолирующий резервуарный аппарат, в котором запас воздуха хранится в баллонах в сжатом состоянии. При работе аппарата вдох осуществляется из баллонов, а выдох в атмосферу.

3.2 подвесная система аппарата: Составная часть аппарата, предназначенная для фиксации аппарата на теле человека, состоящая, как правило, из спинки (основания), системы ремней (плечевых, поясных, концевых) с пряжками для регулировки и фиксации аппарата.

3.3 внешнее дыхание или легочное дыхание: Совокупность процессов, при которых осуществляется обмен воздуха между внешней средой и легкими, а также обмен газов между поступившим в легкие воздухом и кровью, т.е. процессы, происходящие непосредственно в органах дыхания человека.

3.4 время защитного действия аппарата (ВЗД): Период, в течение которого сохраняется защитная способность аппарата при испытании на стенде-имитаторе внешнего дыхания человека и с участием испытателей-добровольцев.

3.5 номинальное время защитного действия аппарата (номинальное ВЗД): Период, в течение которого сохраняется защитная способность аппарата при испытании на стенде-имитаторе внешнего дыхания человека в режиме выполнения работы средней тяжести (легочная вентиляция 30 дм3/мин) и температуре окружающей среды (25 ± 5)°С.

3.6 фактическое время защитного действия аппарата (фактическое ВЗД): Период, в течение которого сохраняется защитная способность аппарата при испытании на стенде-имитаторе внешнего дыхания человека в режиме выполнения работы средней тяжести и тяжелой работы (легочная вентиляция 60 дм3/мин) при температуре окружающей среды от минус 40°С до плюс 60°С.

3.7 фактическое сопротивление дыханию на выдохе: Разница между сопротивлением дыханию на выдохе, зарегистрированным прибором, и средним значением избыточного давления в подмасочном пространстве лицевой части при нулевом расходе воздуха.

3.8 среднее значение избыточного давления в подмасочном пространстве лицевой части: Среднеарифметическое значение величин избыточного давления воздуха в подмасочном пространстве лицевой части при нулевом расходе воздуха при давлениях воздуха в аппарате (29,4-0,5) МПа, (15,0 ± 0,5) МПа и (1,0+0,5) МПа.

3.9 дыхательный режим: Совокупность взаимосвязанных значений следующих параметров: легочной вентиляции (дм3/мин), частоты дыхания (мин-1) и дыхательного объема (дм3).

3.10 легочная вентиляция: Объем воздуха, прошедший при дыхании через легкие человека за одну минуту.

3.11 дыхательный объем: Объем воздуха, прошедший через легкие человека за один вдох (глубина одного вдоха).

3.12 сигнальное устройство: Устройство, предназначенное для подачи звукового сигнала работающему о том, что основной запас воздуха в аппарате израсходован и остался только резервный запас.

3.13 резервный запас воздуха: Оставшийся запас воздуха в баллоне (баллонах) после срабатывания сигнального устройства, необходимый для выхода из непригодной для дыхания среды.

3.14 аппаратосмена: Период, в течение которого человек в ходе выполнения установленного комплекса упражнений расходует запас воздуха, находящийся в баллоне аппарата.

4 Общие технические требования

Аппараты дыхательные в зависимости от климатического исполнения должны подразделяться на:

- аппараты дыхательные общего назначения - аппараты, рассчитанные на применение при температуре окружающей среды от минус 40°С до 60°С, относительной влажности до 95 % (при температуре 35°С).

- аппараты дыхательные специального назначения - аппараты, рассчитанные на применение при температуре окружающей среды от минус 50°С до 60°С, относительной влажности до 95 % (при температуре 35°С).

4.1 Требования назначения

4.1.1 Аппарат дыхательный общего назначения должен быть работоспособным в режимах дыхания, характеризующихся выполнением нагрузок от работы средней тяжести (легочная вентиляция 30 дм3/мин) до очень тяжелой работы (легочная вентиляция 100 дм3/мин), в диапазоне температур окружающей среды от минус 40°С до 60°С и влажности до 95 % (при температуре 35°С).

Испытания следует проводить в соответствии с положениями 7.25 и 7.26.

4.1.2. Аппарат дыхательный специального назначения должен быть работоспособным в режимах дыхания, характеризующихся выполнением нагрузок, указанных в 4.1.1, в диапазоне температур окружающей среды от минус 50°С до 60°С и влажности до 95 % (при температуре 35°С).

Испытания следует проводить в соответствии с положениями 7.25 и 7.26.

4.1.3 В состав аппарата должны входить:

- подвесная система;

- баллон (баллоны) с вентилем (вентилями);

- редуктор с предохранительным клапаном;

- легочный автомат;

- воздуховодный шланг;

- устройство дополнительной подачи воздуха (байпас);

- звуковое сигнальное устройство;

- манометр (устройство) контроля давления воздуха в баллоне;

- лицевая часть с переговорным устройством;

- клапан выдоха;

- спасательное устройство;

- быстроразъемное соединение для подключения спасательного устройства;

- сумка (футляр) для основной лицевой части.

Примечание - В состав аппарата может входить штуцер quick fill для подключения устройства быстрой дозаправки баллонов воздухом.

Проверку следует проводить в соответствии с положениями 7.1 и 7.2.

4.1.4 Номинальное время защитного действия аппарата должно составлять не менее 60 мин.

Испытания следует проводить в соответствии с положениями 7.25.

4.1.5 Фактическое время защитного действия аппарата, в зависимости от температуры окружающей среды и степени тяжести выполняемой работы, должно соответствовать значениям, указанным в таблице 1.

Таблица 1

Температура окружающего воздуха, °С

Отношение фактического ВЗД к номинальному ВЗД, %, не менее

Легочная вентиляция, дм3/мин

30

60

минус (50 ± 2)*

70

30

минус (40 ± 2)

75

35

(25 ± 5)

100

50

(60 ± 2)

90

-

* Для аппарата специального назначения

Испытания следует проводить в соответствии с положениями 7.26

4.2 Требования надежности

4.2.1 Вероятность безотказной работы аппарата за время защитного действия должна быть не менее 0,98.

Испытания следует проводить в соответствии с положениями 7.27.2.

4.2.2 Срок службы аппарата должен быть не менее 10 лет.

Проверку следует проводить в соответствии с положениями 7.1.

4.3 Требования стойкости к внешним воздействиям

4.3.1 Аппарат должен сохранять работоспособность после вибронагрузки с перегрузкой 3 g (где g - ускорение свободного падения) при частоте от 2 до 3 Гц:

- при имитации транспортирования к потребителю в транспортной упаковке;

- при имитации транспортирования к месту применения.

Испытания следует проводить в соответствии с положениями 7.18.1.

4.3.2 Аппарат должен сохранять работоспособность после воздействия климатических факторов:

- температуры (50 ± 3)°С в течение (24 ± 1) ч;

- температуры минус (50 ± 3)°С в течение (4,0 ± 0,1) ч;

- температуры (35 ± 2)°С при относительной влажности (90 ± 5) % в течение (24 ± 1) ч.

Испытания следует проводить в соответствии с положениями 7.18.2.

4.3.3 Аппарат должен сохранять работоспособность после пребывания в воздушной среде с температурой (200 ± 20)°С в течение (60 ± 5) с.

Испытания следует проводить в соответствии с положениями 7.19.

4.3.4 Аппарат должен выдерживать воздействие открытого пламени с температурой (800 ± 50)°С в течение (5,0 ± 0,2) с.

Испытания следует проводить в соответствии с положениями 7.20.

4.3.5 Легочный автомат и лицевая часть аппарата должны выдерживать воздействие теплового потока плотностью (8,5 ± 0,5) кВт/м2 в течение (20,0 ± 0,1) мин.

Испытания следует проводить в соответствии с положениями 7.22.

4.3.6 Лицевая часть, легочный автомат и спасательное устройство аппарата должны быть устойчивыми к воздействию дезинфицирующих растворов, рекомендованных изготовителем, а также ректификованного этилового спирта.

Испытания следует проводить в соответствии с положениями 7.23.

4.4 Требования эргономики

4.4.1 Подвесная система должна быть выполнена таким образом, чтобы аппарат удобно располагался на спине, прочно фиксировался, не вызывая потертостей и ушибов при работе. Подвесная система должна предотвращать воздействие на человека нагретой или охлажденной поверхности баллона (баллонов).

Испытания следует проводить в соответствии с положениями 7.26.

4.4.2 Подвесная система должна позволять человеку быстро, просто и без посторонней помощи надеть аппарат и отрегулировать его крепление. Система ремней аппарата должна быть снабжена устройствами для регулировки их длины и степени натяжения. Все приспособления для регулировки положения аппарата (пряжки, карабины, застежки и др.) должны быть выполнены таким образом, чтобы ремни после регулировки прочно фиксировались. Регулировка ремней подвесной системы не должна нарушаться в течение всей аппаратосмены.

Испытания следует проводить в соответствии с положениями 7.26.

4.5 Конструктивные требования

4.5.1 Аппарат в рабочем положении должен располагаться на спине человека.

Испытания следует проводить в соответствии с положениями 7.26.

4.5.2 Форма и габаритные размеры аппарата должны соответствовать строению человека, сочетаться с защитной одеждой, каской и снаряжением пожарного, обеспечивать удобство при выполнении всех видов работ при пожаре (в том числе при передвижении через узкие люки и лазы диаметром (800 ± 50) мм, передвижении ползком, на четвереньках и т.д.).

Испытания следует проводить в соответствии с положениями 7.26.

4.5.3 Аппарат должен быть выполнен таким образом, чтобы имелась возможность его надевания после включения, а также снятия и перемещения аппарата без выключения из него при передвижении человека по тесным помещениям.

Испытания следует проводить в соответствии с положениями 7.26.

4.5.4 Масса снаряженного аппарата без вспомогательных устройств, применяющихся эпизодически (спасательное устройство, устройство быстрой дозаправки баллонов воздухом и др.), укомплектованного 1 баллоном, должна быть не более 16,0 кг.

Проверку следует проводить в соответствии с положениями 7.3.

4.5.5 Масса снаряженного аппарата, укомплектованного 2 баллонами, должна быть не более 18,0 кг.

Проверку следует проводить в соответствии с положениями 7.3.

4.5.6 Все органы управления аппаратом (вентили, рычаги, кнопки и др.) должны быть легко доступны, удобны для приведения их в действие и надежно защищены от механических повреждений и от случайного срабатывания.

Испытания следует проводить в соответствии с положениями 7.26.

4.5.7 Органы управления аппаратом должны приводиться в действие при усилии не более 80 Н.

Проверку следует проводить в соответствии с положениями 7.4.

4.5.8 В аппарате должна быть применена система воздухоснабжения, при которой в процессе дыхания в подмасочном пространстве лицевой части должно постоянно поддерживаться избыточное давление воздуха в режимах дыхания, характеризующихся выполнением нагрузок от работы средней тяжести (легочная вентиляция 30 дм3/мин) до очень тяжелой работы (легочная вентиляция 100 дм3/мин) в диапазонах температур окружающей среды от минус 40°С до 60°С (для аппарата общего назначения) и от минус 50°С до 60°С (для аппарата специального назначения).

Испытания следует проводить в соответствии с положениями 7.25

4.5.9 Избыточное давление в подмасочном пространстве лицевой части аппарата при нулевом расходе воздуха должно быть не более 400 Па.

Испытания следует проводить в соответствии с положениями 7.5.

4.5.10 Фактическое сопротивление дыханию на выдохе в аппарате в течение всего времени защитного действия должно быть не более значений, указанных в таблице 2.

Таблица 2

Легочная вентиляция, дм3/мин

Фактическое сопротивление дыханию на выдохе, Па, не более

30

350 (450*)

60

400 (500*)

100

600

* При температуре окружающей среды минус (40 ± 2)°С и минус(50 ± 2)°С

Испытания следует проводить в соответствии с положениями 7.25.

4.6 Требования к баллонам

4.6.1 Баллоны, входящие в состав аппарата, должны соответствовать ГОСТ Р «Техника пожарная. Баллоны малолитражные для аппаратов дыхательных и самоспасателей со сжатым воздухом. Общие технические требования. Методы испытаний»

Проверку следует проводить в соответствии с положениями 7.1.

4.6.2 В аппарате должны использоваться баллоны вместимостью до 12 л, рассчитанные на рабочее давление не более 31 МПа (316 кгс/см2), имеющие «Разрешение на применение баллонов», выданное Федеральной службой по экологическому, технологическому и атомному надзору, оформленное в установленном порядке.

Проверку следует проводить в соответствии с положениями 7.1.

4.6.3 В составе аппарата дыхательного должны использоваться малолитражные баллоны, прошедшие комплекс необходимых испытаний, соответствующие требованиям нормативных документов по пожарной безопасности и имеющие экспертное заключение специализированных организаций Федеральной службы по экологическому, технологическому и атомному надзору, подготовленное по результатам испытаний баллонов на соответствие требованиям ГОСТ Р «Техника пожарная. Баллоны малолитражные для аппаратов дыхательных и самоспасателей со сжатым воздухом. Общие технические требования. Методы испытаний».

Проверку следует проводить в соответствии с положениями 7.1.

4.7 Требования к вентилю баллона

4.7.1 Конструкция вентиля должна обеспечивать удобство приведения его в действие и защиту от возможных внешних механических воздействий.

Примечание - Рекомендуется включать в конструкцию вентиля следующие узлы:

- фильтр;

- устройство, исключающее возможность случайного закрытия вентиля из положения «Открыто»;

- индикатор для контроля величины давления воздуха;

- предохранительное устройство, предназначенное для защиты баллона от разрушения вследствие увеличения давления в нем при нагреве или неправильной заправке;

- отсечной клапан, предназначенный для предотвращения чрезмерного выброса сжатого воздуха при обламывании вентиля или его резком открытии.

Проверку следует проводить в соответствии с положениями 7.1 и 7.2.

4.7.2 В штуцере вентиля для соединения с баллоном должна применяться коническая резьба W 19,2 по ГОСТ 9909 или метрическая резьба М 18´1,5 по ГОСТ 9150.

Проверку следует проводить в соответствии с положениями 7.1.

4.7.3 Вентиль должен быть выполнен таким образом, чтобы нельзя было полностью вывернуть его шпиндель во время эксплуатации.

Испытания следует проводить в соответствии с положениями 7.6.

4.7.4 Вентиль должен сохранять герметичность в положениях «Открыто» и «Закрыто».

Испытания следует проводить в соответствии с положениями 7.6.

4.7.5 Соединение «вентиль-баллон» должно быть герметичным.

Испытания следует проводить в соответствии с положениями 7.6.

4.7.6 Вентиль должен выдерживать не менее чем 3000 циклов открытия и закрытия.

Испытания следует проводить в соответствии с положениями 7.6.

4.7.7 Для приведения вентиля в крайнее положение «Открыто», а также в положение «Закрыто» должно быть выполнено не менее одного полного оборота шпинделя вентиля.

Испытания следует проводить в соответствии с положениями 7.6.

4.7.8 В штуцере вентиля для присоединения к редуктору должна применяться внутренняя резьба диаметром 5/8".

Проверку следует проводить в соответствии с положениями 7.1.

4.7.9 На корпусе вентиля должна быть нанесена маркировка со следующими данными:

- товарный знак предприятия-изготовителя;

- дата изготовления (год и месяц).

Проверку следует проводить в соответствии с положениями 7.1.

4.8 Требования к манометру (устройству) для контроля давления воздуха в баллоне

4.8.1 Манометр должен быть выполнен со стрелочной индикацией показаний.

Устройство должно быть выполнено с цифровой индикацией показаний.

Проверку следует проводить в соответствии с положениями 7.2.

4.8.2 Продолжительность постоянной работы (без их замены) элементов питания устройства с цифровой индикацией показаний должна быть не менее 24 ч.

Проверку следует проводить в соответствии с положениями 7.1.

4.8.3 Манометр должен быть влагонепроницаемым.

Испытания следует проводить в соответствии с положениями 7.24.

4.8.4 Стекло манометра (устройства) не должно разрушаться во время эксплуатации аппарата.

Проверку следует проводить в соответствии с положениями 7.26.

4.8.5 Начало отсчета шкалы манометра должно начинаться от 0 МПа, а ее верхний предел должен превышать величину рабочего давления в баллоне не менее чем на 5,0 МПа.

4.8.6 На шкале манометра должен быть указан серийный номер манометра.

Проверку следует проводить в соответствии с положениями 7.1 и 7.2.

4.8.7 Класс точности манометра должен быть не ниже 1,6.

Проверку следует проводить в соответствии с положениями 7.1 и 7.2.

4.8.8 Конструкция манометра (устройства) должна обеспечивать возможность видеть и контролировать его показания при работе в аппарате.

Проверку следует проводить в соответствии с положениями 7.26.

4.8.9 Манометр должен иметь защитный кожух из эластичного материала для защиты его от возможных ударов.

Проверку следует проводить в соответствии с положениями 7.2.

4.8.10 Конструкция манометра (устройства) должна позволять контролировать его показания при солнечном свете, слабом освещении и в темноте.

Проверку следует проводить в соответствии с положениями 7.26.

4.9 Требования к сигнальному устройству

4.9.1 Сигнальное устройство должно автоматически срабатывать при снижении запаса воздуха в баллоне в диапазоне от 5,0 до 6,0 МПа.

Испытания следует проводить в соответствии с положениями 7.7; 7.25 и 7.26.

4.9.2 Сигнальное устройство после срабатывания не должно оказывать влияния на дыхание человека.

Испытания следует проводить в соответствии с положениями 7.26.

4.9.3 Сигнальное устройство (за исключением расположения его в легочном автомате) должно обеспечивать подачу сигнала с уровнем звукового давления от 90 до 120 дБ в диапазоне частот от 2000 до 4000 Гц.

Сигнальное устройство (при расположении его в легочном автомате) должно обеспечивать подачу сигнала с уровнем звукового давления от 40 до 90 дБ в диапазоне частот от 2000 до 4000 Гц.

Испытания следует проводить в соответствии с положениями 7.7.

4.9.4 Продолжительность работы сигнала должна быть не менее 60 с.

Испытания следует проводить в соответствии с положениями 7.25.

4.10 Требования к основной лицевой части

4.10.1 Лицевая часть, входящая в состав аппарата, должна соответствовать ГОСТ Р «Техника пожарная. Лицевые части средств индивидуальной защиты органов дыхания. Общие технические требования. Методы испытаний».

Проверку следует проводить в соответствии с положениями 7.1.

4.10.2 Материалы, применяемые для изготовления лицевой части и непосредственно соприкасающиеся с кожей пользователя и вдыхаемым воздухом, не должны оказывать раздражающего или иного вредного влияния на человека. Эти материалы должны иметь санитарно-эпидемиологическое заключение органов Санэпиднадзора, определяющее возможность использования лицевой части в качестве индивидуального средства защиты органов дыхания и зрения человека.

Проверку следует проводить в соответствии с положениями 7.1

4.10.3 Лицевая часть должна иметь сумку (футляр) для ее хранения и переноски.

Проверку следует проводить в соответствии с положениями 7.1

4.11 Требования к воздуховодной системе аппарата

4.11.1 Легочный автомат должен соединяться с основной лицевой частью следующими способами:

- с использованием штуцера с резьбой М 45´3 по ГОСТ Р 12.4.216-99;

- с использованием штекерного (байонетного) узла;

- закреплением легочного автомата на лицевой части.

Проверку следует проводить в соответствии с положениями 7.1 и 7.8.

4.11.2 На легочном автомате должен быть нанесен его серийный номер, который указывают в паспорте на аппарат.

Проверку следует проводить в соответствии с положениями 7.1 и 7.2.

4.11.3 Соединение легочного автомата и основной лицевой части должно выдерживать осевое растягивающее усилие 150 Н.

Испытания следует проводить в соответствии с положениями 7.10.

4.11.4 Соединение для подключения спасательного устройства должно быть быстроразъемным.

Соединение должно быть легкодоступным и не мешать в работе. Самопроизвольное отключение спасательного устройства должно быть исключено. Свободные разъемы должны иметь защитные колпачки.

Проверку следует проводить в соответствии с положениями 7.1 и 7.26.

4.11.5 Расход воздуха при работе устройства дополнительной подачи воздуха (байпаса) должен составлять не менее 70 дм3/мин в диапазоне давлений в баллоне от рабочего до 5,0 МПа.

Испытания следует проводить в соответствии с положениями 7.11.

4.11.6 Герметичность систем высокого и редуцированного давления аппарата должна быть такой, чтобы после закрытия вентиля баллона изменение давления в системе не превышало 2,0 МПа в минуту.

Испытания следует проводить в соответствии с положениями 7.12.

4.11.7 Воздуховодный шланг, подключаемый к легочному автомату, должен сохранять работоспособность после изгиба его на 180° при температуре окружающей среды минус 40°С (минус 50°С - для аппарата специального назначения).

Испытания следует проводить в соответствии с положениями 7.26.

4.11.8 Шланг высокого давления, подключаемый к манометру, должен сохранять работоспособность после изгиба его на 90° при температуре окружающей среды минус 40°С (минус 50°С - для аппарата специального назначения).

Испытания следует проводить в соответствии с положениями 7.26.

4.12 Требования к редуктору

4.12.1 Отрегулированный изготовителем редуктор должен быть опломбирован для предотвращения несанкционированного доступа в него.

Величина редуцированного давления в пределах допустимых отклонений должна сохраняться не менее 3 лет с момента регулировки и проверки.

Проверку следует проводить в соответствии с положениями 7.1.

4.12.2 Предохранительный клапан должен исключать поступление воздуха под высоким давлением в полости редуцированного давления в случае неисправности редуктора.

Проверку следует проводить в соответствии с положениями 7.27.1.

4.12.3 На редукторе аппарата должен быть нанесен его серийный номер, который указывают в паспорте на аппарат.

Проверку следует проводить в соответствии с положениями 7.1 и 7.2.

4.13 Требования к спасательному устройству

4.13.1 В спасательном устройстве должен применяться один из следующих способов воздухоснабжения:

- с постоянной подачей воздуха;

- с легочно-автоматической подачей воздуха.

Проверку следует проводить в соответствии с положениями 7.1.

4.13.2 В спасательном устройстве должен применяться один из следующих систем воздухоснабжения:

- с избыточным давлением воздуха под лицевой частью (капюшоном);

- с нормальным давлением воздуха под лицевой частью.

Проверку следует проводить в соответствии с положениями 7.1.

4.13.3 В состав спасательного устройства аппарата должны входить: шланг со штуцером для подключения к воздуховодной системе аппарата, легочный автомат (для спасательного устройства с легочно-автоматической подачей воздуха), лицевая часть (капюшон) и сумка (футляр).

Примечание - Запрещается использовать шлем-маску в качестве лицевой части спасательного устройства.

Проверку следует проводить в соответствии с положениями 7.2.

4.13.4 Сумка (футляр) спасательного устройства должна надёжно закрываться и иметь ремни для ее переноски.

Проверку следует проводить в соответствии с положениями 7.2.

4.13.5 При использовании спасательного устройства с легочно-автоматической подачей с избыточным давлением воздуха под лицевой частью (капюшоном) к нему предъявляются требования 4.5.8 (при легочной вентиляции от 35 до 50 дм3/мин, в диапазоне температур окружающей среды от минус 10°С до 60°С), 4.5.9; 4.11.1; 4.11.5 и 4.11.6.

Фактическое сопротивление дыханию на выдохе под лицевой частью (капюшоном) должно составлять:

- при легочной вентиляции 35 дм3/мин - не более 400 Па;

- при легочной вентиляции 50 дм3/мин - не более 450 Па.

Испытания следует проводить в соответствии с положениями 7.13.

4.13.6 В спасательном устройстве с постоянной подачей воздуха на вдохе должно постоянно поддерживаться избыточное давление воздуха при легочной вентиляции от 35 до 50 дм3/мин, в диапазоне температур окружающей среды от минус 10°С до 60°С.

Испытания следует проводить в соответствии с положениями 7.25 и 7.26.

4.13.7 Сопротивление дыханию на выдохе в спасательном устройстве с постоянной подачей воздуха при легочной вентиляции от 35 до 50 дм3/мин, в диапазоне температур окружающей среды от минус 10°С до 60°С должно быть не более 600 Па.

Испытания следует проводить в соответствии с положениями 7.25 и 7.26.

4.13.8 Герметичность воздуховодной системы спасательного устройства с постоянной подачей воздуха должна быть такой, чтобы после создания в системе избыточного давления 1000 Па изменение давления не превышало 30 Па в минуту.

Испытания следует проводить в соответствии с положениями 7.15.

4.13.9 Сопротивление дыханию спасательного устройства с легочно-автоматической подачей и нормальным давлением воздуха под лицевой частью, в диапазоне температур окружающей среды от минус 10°С до 60°С должно быть:

при легочной вентиляции 35 дм3/мин:

- на вдохе - не более 400 Па;

- на выдохе - не более 350 Па;

при легочной вентиляции 50 дм3/мин:

- на вдохе - не более 500 Па;

- на выдохе - не более 400 Па.

Испытания следует проводить в соответствии с положениями 7.25 и 7.26.

4.13.10 Легочный автомат спасательного устройства с легочно-автоматической подачей и нормальным давлением воздуха под лицевой частью для соединения с лицевой частью спасательного устройства должен иметь штуцер с резьбой круглой 40´4 по ГОСТ 8762.

Испытания следует проводить в соответствии с положениями 7.9.

4.13.11 Герметичность систем высокого и редуцированного давления аппарата со спасательным устройством с легочно-автоматической подачей и нормальным давлением воздуха под лицевой частью должна быть такой, чтобы после закрытия вентиля баллона при рабочем давлении в нем изменение давления в воздуховодной системе аппарата не превышало 1,0 МПа в минуту.

Испытания следует проводить в соответствии с положениями 7.16.

4.13.12 Подсос масляного тумана в подмасочное пространство лицевой части спасательного устройства с легочно-автоматической подачей и нормальным давлением воздуха под лицевой частью при ее испытании в комплекте с аппаратом не должен превышать 0,05 %.

Испытания следует проводить в соответствии с положениями 7.26.3.

4.13.13 Герметичность воздуховодной системы спасательного устройства с легочно-автоматической подачей и нормальным давлением воздуха под лицевой частью должна быть такой, чтобы после создания вакуумметрического давления 1000 Па изменение давления не должно превышать 150 Па в минуту.

Испытания следует проводить в соответствии с положениями 7.14.

4.13.14 Содержание диоксида углерода на вдохе в лицевой части (капюшоне) спасательного устройства должно быть не более 3,0 % (об.).

Испытания следует проводить в соответствии с положениями 7.26.

4.13.15 Материалы, применяемые для изготовления лицевой части (капюшона) спасательного устройства и непосредственно соприкасающиеся с кожей пользователя и вдыхаемым воздухом, не должны оказывать раздражающего или иного вредного влияния на человека. Эти материалы должны иметь санитарно-эпидемиологическое заключение органов Санэпиднадзора, определяющее возможность использования лицевой части (капюшона) в качестве индивидуального средства защиты органов дыхания и зрения человека.

Проверку следует проводить в соответствии с положениями 7.1.

4.13.16 Лицевая часть спасательного устройства должна выдерживать воздействие открытого пламени с температурой (800 ± 50)°С в течение (5,0 ± 0,2) с.

Капюшон спасательного устройства должен выдерживать воздействие открытого пламени с температурой (850 ± 50)°С в течение (3,0 ± 0,2) с.

Испытания следует проводить в соответствии с положениями 7.21.

4.13.17 Легочный автомат, лицевая часть (капюшон) спасательного устройства должны выдерживать воздействие теплового потока плотностью (8,5 ± 0,5) кВт/м2 в течение (3,0 ±0,1) мин.

Испытания следует проводить в соответствии с положениями 7.22.

4.14 Требования к штуцеру (quick fill) для проведения быстрой дозаправки баллонов воздухом

4.14.1 Штуцер (quick fill) должен обеспечивать проведение быстрой дозаправки баллонов воздухом в диапазоне температур окружающего воздуха от минус 40°С до 40°С (от минус 50°С до 40°С - для аппарата специального назначения).

Испытания следует проводить в соответствии с положениями 7.26.

4.14.2 Герметичность систем высокого давления аппарата после проведения дозаправки воздухом и расстыковки разъема штуцера (quick fill) должна быть такой, чтобы после закрытия вентиля баллона аппарата изменение давления в воздуховодной системе аппарата не превышало 2,0 МПа в минуту.

Испытания следует проводить в соответствии с положениями 7.17.

4.14.3 Штуцер (quick fill) должен закрываться защитным колпачком и не мешать человеку в работе.

Проверку следует проводить в соответствии с положениями 7.2.

4.15 Комплектность

В комплект аппарата должны входить:

- аппарат;

- спасательное устройство;

- комплект ЗИП;

- эксплуатационная документация на аппарат (руководство по эксплуатации и паспорт);

- эксплуатационная документация на баллон (руководство по эксплуатации и паспорт, инструкция по техническому освидетельствованию);

- паспорт на манометр (устройство) контроля давления воздуха в баллоне;

- инструкция по эксплуатации лицевой части.

- инструкции по эксплуатации дополнительных устройств, подключаемых к аппарату (при их наличии).

Примечания - Допускается оформлять инструкцию по эксплуатации лицевой части в виде раздела руководства по эксплуатации аппарата, а руководство по эксплуатации и паспорт на баллон в виде единого документа.

Проверку следует проводить в соответствии с положениями 7.2.

4.16 Маркировка

4.16.1 Каждый аппарат должен иметь табличку со следующими данными:

- условным обозначением аппарата;

- номером технических условий или номером стандарта, в соответствии с которым он изготовлен;

- наименованием предприятия-изготовителя или его товарным знаком;

- серийным номером изделия;

- датой изготовления (год и месяц);

- знаком специального исполнения аппарата (для аппаратов специального назначения).

Примечание - Знак специального исполнения аппарата представляет собой круг диаметром 10 мм с вписанной в него буквой С.

Проверку следует проводить в соответствии с положениями 7.2.

4.16.2 Табличка с маркировкой должна быть прикреплена к спинке в месте, защищенном от механических повреждений.

Проверку следует проводить в соответствии с положениями 7.2.

4.17 Требования к содержанию эксплуатационной документации на аппарат

4.17.1 В руководстве по эксплуатации аппарата должны содержаться следующие сведения:

- назначение аппарата;

- условия эксплуатации;

- климатическое исполнение;

- комплектность;

- основные технические характеристики (время защитного действия, избыточное давление воздуха в подмасочном пространстве лицевой части при нулевом расходе воздуха, масса снаряженного аппарата, срок службы аппарата до списания);

- состав аппарата;

- устройство и принцип действия составных частей;

- проверка, регулировка и обслуживание аппарата;

- установки (приборы), которыми изготовитель рекомендует осуществлять проверки аппарата;

- требования безопасности;

- правила пользования аппаратом;

- возможные неисправности аппарата и методы их устранения;

- необходимые указания по обучению пользователей аппарата.

Проверку следует проводить в соответствии с положениями 7.1.

4.17.2 В паспорте на аппарат должны содержаться следующие сведения:

- данные об изготовителе;

- основные технические характеристики;

- комплектность;

- отметка о приемке изделия;

- гарантийные обязательства изготовителя на аппарат, которые должны быть не менее 18 месяцев;

- гарантийные обязательства изготовителя на редуктор, которые должны быть не менее 3 лет.

Примечание - Эксплуатационная документация на аппарат должна быть на русском языке.

Проверку следует проводить в соответствии с положениями 7.1.

5 Требования безопасности

5.1 Требования безопасности к аппарату должны быть изложены в соответствующих разделах руководства по эксплуатации аппарата и баллона.

5.2 Сжатый воздух, предназначенный для заполнения баллонов аппарата, должен удовлетворять требованиям, приведенным в таблице 3.

Таблица 3

Наименование показателя

Значение

Содержание окиси углерода, мл/м3, не более

15

Содержание масла, мг/м3, не более

0,5

Содержание двуокиси углерода, мл/м3, не более

500

Влагосодержание, мг/м3, не более (при давлении от 19,6 до 29,4 МПа)

25

6 Правила приемки

6.1 Стадии и этапы разработки и приемки

Аппарат должен пройти все стадии и этапы разработки и приемки, предусмотренные ГОСТ Р 15.201 и ГОСТ 2.103.

6.2 Виды испытаний

Для контроля качества аппаратов проводятся следующие виды испытаний:

- предварительные (заводские);

- приемочные;

- квалификационные;

- приемосдаточные;

- периодические;

- типовые.

Определения видов испытаний по ГОСТ 16504.

6.2.1 Предварительные испытания

6.2.1.1 Предварительные испытания аппаратов проводит предприятие-изготовитель с целью предварительной оценки соответствия опытных образцов аппарата требованиям технического задания, а также определения готовности опытных образцов к приемочным испытаниям.

6.2.1.2 Программа и методика предварительных и приемочных испытаний должна включать в себя проверку всех показателей и характеристик, указанных в настоящем стандарте, а также другие требования и методы испытаний в соответствии с техническим заданием на конкретный тип аппарата.

6.2.1.3 К лабораторным испытаниям с участием испытателей-добровольцев допускаются только те аппараты, которые прошли испытания с использованием приборов, испытания на стенде-имитаторе внешнего дыхания человека и по результатам испытаний рекомендованы для участия в испытаниях с участием испытателей-добровольцев.

6.2.2 Приемочные испытания

6.2.2.1 Приемочные испытания аппаратов проводит предприятие-изготовитель с целью оценки всех определенных техническим заданием характеристик аппарата, а также для принятия решения вопроса о возможности постановки аппарата на серийное производство.

6.2.2.2 Приемочным испытаниям подвергают опытные образцы аппарата.

6.2.3 Квалификационные испытания

6.2.3.1 Квалификационные испытания аппаратов проводит предприятие-изготовитель с целью определения готовности предприятия к серийному производству аппаратов.

6.2.3.2 Квалификационные испытания проводят по отдельной программе и методике испытаний, утвержденной предприятием-изготовителем.

6.2.4 Приемосдаточные испытания

6.2.4.1 Приемосдаточные испытания проводят в порядке и объеме, установленном в технической документации изготовителя.

6.2.4.2 Приемосдаточным испытаниям подвергают каждый аппарат

6.2.5 Периодические испытания

6.2.5.1 Периодические испытания аппаратов проводят один раз в 2 года с целью контроля стабильности качества аппаратов.

6.2.5.2 Периодические испытания проводят в порядке и объеме, установленном в технической документации изготовителя.

6.2.6 Типовые испытания

6.2.6.1 Типовые испытания аппаратов проводят с целью оценки эффективности и целесообразности внесения изменений в конструкцию аппаратов.

6.2.6.2 Программа и методика типовых испытаний должна содержать проверку тех характеристик и параметров, на которые могут повлиять данные изменения.

6.2.6.3 Программа и методика типовых испытаний разрабатывается предприятием-изготовителем.

6.2.6.4 Результаты типовых испытаний оформляются протоколом с заключением о целесообразности внесения изменений.

7 Методы испытаний

Испытания проводят при нормальных климатических условиях по ГОСТ 15150; относится ко всем пунктам методов, за исключением специально оговоренных.

Проверку по каждому виду испытаний проводят на одном аппарате, за исключением специально оговоренных случаев. В отдельных видах испытаний допускается увеличивать количество испытываемых аппаратов.

7.1 Проверка нормативно-технической документации на аппарат

Результат проверки считают положительным, если при рассмотрении нормативно-технической документации на аппарат установлено соответствие ее содержания требованиям настоящего стандарта.

7.2 Проверка внешнего вида, комплектности и маркировки аппарата

Результат проверки считают положительным, если при визуальном осмотре аппарата установлено его соответствие требованиям настоящего стандарта.

7.3 Проверка массы аппарата

7.3.1 Средства измерения:

- весы с погрешностью не более ± 3 %.

7.3.2 Проведение испытаний

Определяют массу полностью укомплектованного и снаряженного аппарата, без вспомогательных устройств, применяющихся эпизодически (спасательное устройство, устройство быстрой дозаправки баллонов воздухом и др.) с погрешностью не более 0,1 кг.

Результат проверки считают положительным, если выполняются требования 4.5.4 и 4.5.5.

7.4 Проверка усилия срабатывания органов управления

Определяют усилие, которое необходимо приложить к органам управления аппаратом (кнопки, рычаги, маховики и др.) для их включения (выключения).

Усилие создают и измеряют оборудованием с погрешностью измерений не более ± 5 %.

7.4.1 Проведение испытаний

Усилие для вентилей прикладывают в точке, лежащей на маховике вентиля и максимально удаленной от оси маховика вентиля.

Усилие для включения (выключения) кнопок прикладывают вдоль оси кнопок.

Усилие для включения (выключения) рычагов прикладывают в направлении их движения.

Результат проверки считают положительным, если значение усилия, необходимого для включения (выключения) органов управления аппаратом, не превышает 80 Н.

7.5 Определение избыточного давления воздуха в подмасочном пространстве лицевой части при нулевом расходе

Проверку проводят при нормальной температуре окружающего воздуха.

Регистрируют величины избыточного давления воздуха в подмасочном пространстве лицевой части при давлении воздуха в аппарате (29,4-0,5) МПа, (15,0 ± 0,5) МПа, (1,0+0,5) МПа.

7.5.1 Оборудование и средства измерения:

- муляж головы человека;

- манометр с диапазоном измерений от 0 до 1000 Па с погрешностью не более ± 20 Па.

7.5.2 Проведение испытаний

Надевают на муляж головы человека лицевую часть аппарата. Муляж подключают к манометру, открывают вентиль баллона аппарата. Легочный автомат присоединяют к лицевой части. Из подмасочного пространства лицевой части делают вдох, при этом легочный автомат переключается в режим работы с избыточным давлением (это действие выполняют для легочных автоматов, включающихся при создании вакуумметрического давления). По манометру определяют избыточное давление воздуха в подмасочном пространстве лицевой части при нулевом расходе воздуха.

Результат проверки считают положительным, если при значениях давления воздуха в баллоне аппарата (29,4-0,5), (15,0 ± 0,5) и (1,0+0,5) МПа в подмасочном пространстве лицевой части поддерживается избыточное давление, не превышающее 400 Па.

7.6 Проверка герметичности и износостойкости вентиля баллона

Проверку проводят на одном вентиле, установленном в баллоне аппарата.

7.6.1 Оборудование:

- емкость вместимостью не менее 0,25 м3, заполненная водой для погружения в нее вентиля баллона.

7.6.2 Проведение испытаний

Для определения количества оборота шпинделя вентиля на маховичке вентиля делают отметку и поворачивают вентиль в крайнее положение «Открыто», а также в положение «Закрыто».

Результат проверки считают положительным, если для приведения вентиля в крайнее положение «Открыто», а также в положение «Закрыто» требуется более одного полного оборота шпинделя вентиля.

Проверку герметичности вентиля баллона в положениях «Открыто» (с установленной в штуцере вентиля заглушкой) и «Закрыто» проводят при давлении воздуха в баллоне 29,4 и 2,0 МПа. Проверку проводят путем опускания вентиля баллона в воду.

Результат проверки считают положительным, если при погружении вентиля баллона в воду не наблюдается выделение пузырьков воздуха из вентиля и соединения «вентиль-баллон».

Проверку вентиля баллона (заполненного воздухом до давления 29,4 МПа) на износостойкость проводят методом открытия-закрытия вентиля из крайнего положения вентиля «Открыто» в крайнее положение «Закрыто» и обратно. После каждых 500 циклов наработки проверяют герметичность вентиля в положениях «Открыто» и «Закрыто» путем опускания вентиля баллона в воду, а также усилие открытия (закрытия) вентиля в соответствии с 7.4.

Наработку вентиля прекращают в случаях: негерметичности вентиля (определяется при проверках после каждых 500 циклов), достижения усилия открытия (закрытия) вентиля более 80 Н, достижения 3000 циклов наработки вентиля или его поломки.

Результат проверки считают положительным, если после 3000 циклов открытия-закрытия вентиля отсутствуют его поломки, при погружении вентиля баллона в воду не наблюдается выделение пузырьков воздуха из вентиля, а усилие открытия (закрытия) вентиля не превышает 80 Н.

7.7 Проверка работоспособности сигнального устройства

7.7.1 Аппаратура:

- шумомер с диапазоном измерения уровня звукового давления до 130 дБ и погрешностью не более ± 2 дБ.

7.7.2 Подготовка к испытаниям

Устанавливают диапазон частотной характеристики шумомера от 2000 до 4000 Гц.

Если сигнальное устройство в аппарате выносное, то микрофон шумомера устанавливают на расстоянии (10 ± 5) мм от сигнального устройства.

Если сигнальное устройство в аппарате находится на редукторе аппарата (невыносное устройство), то микрофон шумомера устанавливают на расстоянии (1000 ± 10) мм от сигнального устройства.

7.7.3 Проведение испытаний

Открывают вентиль баллона аппарата и, убедившись, что давление воздуха в баллоне не менее 25,0 МПа, закрывают вентиль. Байпасом понижают давление в системе аппарата и по манометру аппарата определяют давление, при котором срабатывает сигнальное устройство, а по шумомеру определяют уровень звукового давления, создаваемый сигнальным устройством.

Результат проверки считают положительным, если выполняются требования 4.9.1 и 4.9.3.

7.8 Проверка резьбы в штуцере легочного автомата для соединения с основной лицевой частью

Проверку резьбы проводят с использованием калибров для резьбы метрической по ГОСТ 24997.

7.9 Проверка резьбы в штуцере легочного автомата для соединения с лицевой частью спасательного устройства

Проверку резьбы проводят с использованием калибров для резьбы круглой по ГОСТ 8762.

7.10 Проверка прочности соединения легочного автомата и основной лицевой части

7.10.1 Оборудование и средства измерения:

- муляж головы человека;

- система дополнительных ремней, снимающих нагрузку с наголовника лицевой части;

- секундомер с погрешностью не более ± 0,2 с;

- динамометр для создания и измерения усилия с погрешностью не более ± 5 %.

7.10.2 Подготовка к испытаниям

Лицевую часть надевают на муляж головы человека (рисунок 1).

1 - муляж головы человека; 2 - система дополнительных ремней, снимающих нагрузку с наголовника лицевой части; 3 - лицевая часть; 4 - легочный автомат

Рисунок 1 - Установка для определения прочности соединения легочного автомата и основной лицевой части

Поверх лицевой части надевают дополнительную систему ремней, снимающих нагрузку с наголовника. Соединяют лицевую часть и легочный автомат. Используя приспособление, одним концом динамометр закрепляют за легочный автомат.

7.10.3 Проведение испытаний

Динамометром в осевом направлении создают растягивающее усилие, равное (150 ± 10) Н, в течение (10,0 ± 0,2) с. Проверку проводят 10 раз с интервалом (10 ± 2) с.

После окончания проверки осматривают соединение легочного автомата и лицевой части, проверяют аппарат на герметичность в соответствии с 7.12.

Результат проверки считают положительным, если после ее окончания установлено, что отсутствуют визуально наблюдаемые изменения внешнего вида соединения легочного автомата и лицевой части, а также выполнены требования 4.11.6.

7.11 Проверка расхода воздуха при работе устройства дополнительной подачи воздуха

7.11.1 Средства измерения:

- ротаметр газовый с пределом измерения не менее 150 дм3/мин по воздуху, с погрешностью не более ± 5 дм3/мин;

- секундомер с погрешностью не более ± 0,2 с.

7.11.2 Проведение испытаний

Проверку аппарата проводят при давлении воздуха в баллоне 29,4 и 5,0 МПа. Легочный автомат аппарата присоединяют к ротаметру, открывают вентиль баллона, включают устройство дополнительной подачи воздуха (байпас) и по ротаметру определяют расход воздуха за (1,0 ± 0,1) мин.

Результат проверки считают положительным, если выполняются требования 4.11.5.

7.12 Проверка герметичности систем высокого и редуцированного давления

7.12.1 Оборудование и средства измерения:

- муляж головы человека;

- секундомер с погрешностью не более ± 0,2 с.

7.12.2 Проведение испытаний

Лицевую часть аппарата надевают на муляж головы человека, открывают вентиль баллона, наполненного воздухом до давления 29,4 МПа, включают (в соответствии с инструкцией по эксплуатации на конкретный аппарат) легочный автомат на работу в режим с избыточным давлением и закрывают вентиль баллона. По манометру аппарата регистрируют изменение давления в воздуховодной системе за (1,0 ±0,1) мин.

Результат проверки считают положительным, если выполняются требования 4.11.6.

7.13 Проверка работоспособности спасательного устройства с избыточным давлением воздуха под лицевой частью (капюшоном)

Проверку проводят по методикам, изложенным в 7.5; 7.11; 7.12 и 7.25.

7.14 Проверка герметичности воздуховодной системы спасательного устройства с легочно-автоматической подачей и нормальным давлением воздуха под лицевой частью

7.14.1 Оборудование и средства измерения:

- вакуумметр с диапазоном измерений до минус 1200 Па с погрешностью не более ± 20 Па;

- насос, создающий давление до 1200 Па;

- муляж головы человека;

- секундомер с погрешностью не более ± 0,2 с.

7.14.2 Проведение испытаний

Лицевую часть с легочным автоматом надевают на муляж головы человека. Заглушают шланг легочного автомата. Насосом создают в воздуховодной системе вакуумметрическое давление 1000 Па, которое контролируют по вакуумметру. Затем включают секундомер и через (1,0 ± 0,1) мин регистрируют изменение давления в воздуховодной системе спасательного устройства.

Результат проверки считают положительным, если выполняются требования 4.13.13.

7.15 Проверка герметичности воздуховодной системы спасательного устройства с постоянной подачей воздуха

7.15.1 Оборудование и средства измерения:

- манометр с диапазоном измерений до 1200 Па с погрешностью не более ± 20 Па;

- насос, создающий давление до 1200 Па;

- секундомер с погрешностью не более ± 0,2 с.

7.15.2 Порядок проведения испытаний

К воздуховодной системе спасательного устройства (исключая капюшон) присоединяют последовательно манометр и насос. Насосом создают в воздуховодной системе спасательного устройства избыточное давление 1000 Па. Делают выдержку (1,0 ± 0,1) мин для стабилизации давления в системе. Включают секундомер и через (1,0 ± 0,1) мин регистрируют изменение давления в воздуховодной системе спасательного устройства.

Результат проверки считают положительным, если выполняются требования 4.13.8

7.16 Проверка герметичности систем высокого и редуцированного давления аппарата со спасательным устройством с легочно-автоматической подачей и нормальным давлением воздуха под лицевой частью

Проверку проводят на аппарате с давлением воздуха в баллоне 29,4 МПа с выключенным основным легочным автоматом и подключенным спасательным устройством.

7.16.1 Проведение испытания

Открывают вентиль баллона и закрывают его. Включают секундомер и по манометру аппарата регистрируют изменение давления в воздуховодной системе за (1,0 ± 0,1) мин.

Результат проверки считают положительным, если изменение давления в системе не превышает 1,0 МПа в минуту.

7.17 Проверка герметичности систем высокого давления аппарата после проведения дозаправки воздуха с использованием штуцера (quick fill)

Испытания проводятся при нормальной температуре, а также после выдержки при температуре минус 40°С.

При испытаниях должно выполняться условие, что в баллоне аппарата давление воздуха составляет не более 3,0 МПа, а в баллоне системы дозаправки воздуха давление составляет 29,4 МПа.

После проведения дозаправки воздуха и выравнивания давления в системах закрывают вентили баллона аппарата и системы дозаправки. Разъединяют разъем штуцера (quick fill) и в течение (1,0 ± 0,1) мин по манометру (устройству для контроля давления воздуха в баллоне) контролируют давление в аппарате.

Результат проверки считают положительным, если выполняются требования 4.14.2.

7.18 Испытания на стойкость аппарата к механическим и климатическим воздействиям

Испытания проводят последовательно на одном аппарате.

Испытания заключаются в том, что аппарат последовательно подвергают внешним воздействиям с параметрами, изложенными в 7.18.1 и 7.18.2, и после каждого вида воздействия визуально определяют отсутствие механических повреждений аппарата, влияющих на его работоспособность, а также определяют соответствие аппарата требованиям 4.5.9; 4.9.1 и 4.11.6.

7.18.1 Проверка сохранения работоспособности аппарата после вибронагрузки

7.18.1.1 Оборудование:

- вибростенд, обеспечивающий поддержание требуемых параметров, установленных в 4.3.1;

- контейнер, имитирующий ячейку для перевозки аппарата в отсеке пожарного автомобиля.

7.18.1.2 Проведение испытания

Для проверки работоспособности аппарата после вибронагрузки (при имитации транспортирования к потребителю в транспортной упаковке) аппарат в неснаряженном состоянии в транспортной упаковке жестко крепят в центре платформы стенда в положении, определяемом надписью или условным знаком на упаковке «Верх». Проверку проводят с перегрузкой 3 g при частоте от 2 до 3 Гц. Продолжительность испытания (60 ± 1) мин.

Для проверки работоспособности аппарата после вибронагрузки (при имитации транспортирования к месту применения) аппарат в снаряженном виде закрепляют в контейнере, имитирующем ячейку для перевозки аппарата в отсеке пожарного автомобиля. Контейнер в вертикальном положении жестко закрепляют в центре платформы стенда. Испытание проводят с перегрузкой 3 g при частоте от 2 до 3 Гц. Продолжительность испытания (30 ± 1) мин.

7.18.2 Проверка сохранения работоспособности аппарата после воздействия на него климатических факторов

Испытания проводят в климатической камере, обеспечивающей поддержание заданных параметров, установленных в 4.3.2.

Испытания проводят в такой последовательности:

- аппарат выдерживают в климатической камере при температуре (50 ± 3)°С в течение (24 ± 1) ч. После этого аппарат выдерживают при температуре окружающего воздуха (25 ± 5)°С в течение (4,0 ± 0,1) ч;

- аппарат в транспортной упаковке выдерживают в климатической камере при температуре минус (50 ± 3)°С в течение (4,0 ± 0,1) ч. После этого аппарат выдерживают при температуре окружающего воздуха (25 ± 5)°С в течение (4,0 ± 0,1) ч;

- аппарат выдерживают в камере тепла и влаги при температуре (35 ± 2)°С и относительной влажности (90 ± 5) % в течение (24 ± 1) ч. После этого аппарат выдерживают при температуре окружающего воздуха (25 ± 5)°С в течение (4,0 ± 0,1) ч.

7.19 Проверка сохранения работоспособности аппарата после пребывания в среде с температурой 200°С

7.19 Оборудование:

- камера тепла, обеспечивающая поддержание температуры до 220°С с погрешностью не более ±5°С.

7.19.1 Порядок проведения испытаний

Аппарат помещают в камеру тепла с температурой (200 ± 20)°С. Время выдержки аппарата в камере должно составлять (60 ± 5) с.

Результат проверки считают положительным, если после ее окончания выполняются требования 4.11.6.

7.20 Проверка устойчивости аппарата к воздействию открытого пламени с температурой (800 ± 50)°С

7.20.1 Оборудование и средства измерений:

- стенд «Термоманекен», описание которого приведено в приложении А;

- прибор для измерения температуры пламени с диапазоном измерения от 0°С до 1000°С с погрешностью ± 10°С;

- секундомер с погрешностью измерений не более ± 0,1 с.

7.20.1.1 Подготовка к испытаниям

Определяют место в центре стенда, где будет находиться специальный манекен с аппаратом. Включают прибор для измерения температуры пламени. Открывают запорные вентили баллонов с пропаном и воспламеняют газ. Проводят замеры температуры пламени. При необходимости регулируют подачу пропана к каждой из 4 горелок таким образом, чтобы температура пламени в центре стенда составляла (800 ± 50)°С.

Надевают на манекен боевую одежду пожарного (БОП). Затем надевают аппарат на манекен. Застегивают поясной ремень и подтягивают плечевые ремни аппарата. На голову манекена надевают пожарную каску. Манекен устанавливается на передвижном устройстве.

7.20.1.2 Проведение испытаний

Включают огневую установку. С помощью передвижного устройства манекен вводится в рабочую зону. Одновременно с 4 сторон воздействуют открытым пламенем на аппарат. Время выдержки аппарата в зоне пламени должно составлять (5,0 ± 0,2) с. По истечении этого времени манекен с аппаратом выводят из зоны пламени и проверяют состояние аппарата.

Составные части аппарата не должны поддерживать горение или тление более (5,0 ± 0,2) с, а пряжки должны оставаться работоспособными.

После этого аппарат подключают к «искусственным легким» и определяют в течение 5 мин сопротивление дыханию аппарата при легочной вентиляции 30 дм3/мин.

Результат проверки считают положительным, если после ее окончания отсутствуют разрушения составных частей подвесной системы аппарата, составные части не поддерживали горение или тление более (5,0 ± 0,2) с, пряжки выполняют свои функции, а также выполняются требования 4.5.9 и 4.5.10.

7.21 Проверка устойчивости лицевой части (капюшона) спасательного устройства аппарата к воздействию открытого пламени с температурой (800 ± 50)°С

В испытании используют 1 лицевую часть (капюшон).

7.21.1 Оборудование и средства измерения:

- металлический муляж головы человека;

- баллон с пропаном;

- горелка с форсунками площадью (450 ± 20) см2;

- прибор для измерения давления газа с верхним пределом измерений до 5,0 кПа, с погрешностью ± 0,2 кПа;

- прибор для измерения температуры пламени с погрешностью ± 10°С;

- стойка с кронштейном для подвода лицевой части (капюшона) к пламени;

- секундомер с погрешностью не более ± 0,1 с.

7.21.2 Подготовка к испытаниям

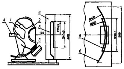
Лицевую часть (капюшон) надевают на металлический муляж головы человека, закрепленный на поворотной стойке (рисунок 2).

1 - стойка с ложементом для подвода самоспасателя в зону пламени; 2 - металлический муляж головы человека; 3 - капюшон (лицевая часть); 4 - горелка с форсунками; 5, 7 - вентили; 6 - редуктор; 8 - баллон с пропаном; 9 - прибор для измерения давления газа

Рисунок 2 - Схема огневой установки по определению устойчивости лицевой части (капюшона) спасательного устройства аппарата к воздействию открытого пламени

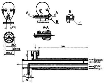
Включают прибор для измерения температуры пламени. Открывают запорный вентиль баллона с пропаном. Подносят запальное устройство к горелке с целью воспламенения газа.

Устанавливают с помощью вентиля рабочее давление газа перед горелкой (2,4 ± 0,2) кПа. Проводят замеры температуры пламени, определяют зону над горелкой, в которой температура пламени составляет (800 ± 50)°С.

7.21.3 Порядок проведения испытаний

Включают огневую установку. Подводят лицевую часть (капюшон) в зону открытого пламени, замеряют время по секундомеру. Время выдержки лицевой части в зоне пламени должно составлять (5,0 ± 0,2) с. Время выдержки капюшона в зоне пламени должно составлять (3,0 ± 0,2) с.

Во время проведения испытания лицевую часть однократно поворачивают над пламенем на 180°. Через (5,0 ± 0,2) с лицевую часть и через (3,0 ± 0,2) с капюшон выводят из зоны пламени и проверяют состояние лицевой части (капюшона). Лицевая часть (капюшон) не должен поддерживать горение или тление более (5,0 ± 0,2) с.

Результат испытания считают положительным, если после его окончания капюшон (лицевая часть) не поддерживает горение или тление более (5,0 ± 0,2) с, отсутствует разрушение материалов лицевой части (капюшона), а также выполняются требования 4.11.6; 4.13.8; 4.13.11 и 4.13.13 (в зависимости от типа спасательного устройства).

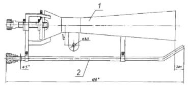
7.22 Проверка устойчивости легочного автомата и лицевой части аппарата (спасательного устройства) к воздействию теплового потока плотностью (8,5 ± 0,5) кВт/м2

7.22.1 Оборудование

Установка (рисунок 3), включающая в себя:

- муляж головы человека;

- насос «искусственные легкие», создающие легочную вентиляцию 30 дм3/мин (20 циклов в минуту по 1,5 дм3 за 1 цикл) - для испытания легочного автомата и лицевой части аппарата и создающие легочную вентиляцию 35 дм3/мин (20 циклов в минуту по 1,75 дм3 за 1 цикл) - для испытания легочного автомата и лицевой части (капюшона) спасательного устройства.

1 - металлический муляж головы человека; 2 - лицевая часть; 3 - легочный автомат; 4 - патрубок для подключения насоса «искусственные легкие»; 5 - источник теплового излучения; 6- рефлектор

Рисунок 3 - Схема установки по определению устойчивости легочного автомата и лицевой части аппарата (спасательного устройства) к тепловому излучению

7.22.2 Средства измерения:

- датчик для измерения плотности теплового потока, диапазон измерений от 2 до 100 кВт/м2 с погрешностью не более ± 5 %;

- мановакуумметр с диапазоном измерений от минус 1000 до 1000 Па с погрешностью не более ± 20 Па;

- секундомер с погрешностью не более ± 0,1 с .

7.22.3 Подготовка к испытаниям

Надевают на муляж головы человека лицевую часть аппарата и каску пожарную (на лицевую часть (капюшон) спасательного устройства каска не надевается). Подключают снаряженный аппарат к насосу «искусственные легкие».

Включают источник теплового потока и с помощью датчика теплового потока определяют место, в котором плотность теплового потока составляет (8,5 ± 0,5) кВт/м2.

Устанавливают на подставку разделительный экран. В границах определенной зоны теплового потока ставят муляж головы человека с надетой лицевой частью (капюшоном) и подключенным к ней легочным автоматом.

7.22.4 Проведение испытаний

Включают насос «искусственные легкие» при легочной вентиляции 30 дм3/мин (35 дм3/мин). Убирают разделительный экран. Испытания проводят в течение (20,0 ± 0,1) мин (для легочного автомата и лицевой части аппарата) и (3,0 ±0,1) мин (для легочного автомата и лицевой части (капюшона) спасательного устройства). В процессе испытаний контролируют сопротивление дыханию на вдохе и выдохе.

По окончании испытаний проводят визуальный осмотр легочного автомата и лицевой части (капюшона), а также проводят испытания аппарата и спасательного устройства на герметичность.

Результат проверки считают положительным:

для легочного автомата и основной лицевой части аппарата - если в процессе испытаний в подмасочном пространстве лицевой части аппарата поддерживается избыточное давление воздуха; значения фактического сопротивления дыханию на выдохе не превышают значений, указанных в 4.5.10; по окончании испытаний отсутствуют разрушения легочного автомата и лицевой части, а также выполняются требования 4.11.6;

для спасательного устройства - если в процессе испытаний в подмасочном пространстве лицевой части (под капюшоном) спасательного устройства с легочно-автоматической подачей с избыточным давлением воздуха и постоянной подачей воздуха поддерживается избыточное давление воздуха; значения фактического сопротивления дыханию на выдохе не превышают значений, указанных в 4.5.10; сопротивление дыханию на вдохе и выдохе соответствует требованиям 4.13.7 и 4.13.9; по окончании испытаний отсутствуют разрушения легочного автомата и лицевой части (капюшона), а также выполняются требования 4.11.6; 4.13.8; 4.13.11 и 4.13.13 (в зависимости от типа спасательного устройства).

7.23 Проверка устойчивости лицевой части, легочного автомата и спасательного устройства к воздействию дезинфицирующих растворов

7.23.1 Материалы:

- марлевые салфетки размером 100´100 мм;

- ректификованный этиловый спирт.

7.23.2 Проведение испытаний

Марлевую салфетку смачивают в спирте, отжимают ее и пятикратно обтирают поверхности лицевой части, легочного автомата и спасательного устройства. Интервал между протирками (15 ± 1) мин.

Перед каждой протиркой марлевую салфетку необходимо смачивать заново. Объем спирта должен быть не менее 50 мл.

Результат проверки считают положительным, если после протирок спиртом отсутствуют визуально наблюдаемые разрушения поверхностных слоев обработанных составных частей аппарата.

7.24 Проверка влагонепроницаемости манометра

Манометр погружается в воду на глубину (0,2 ± 0,05) м на (24,0 ± 0,5) ч.

Результат проверки считают положительным, если после ее окончания визуально установлено отсутствие влаги под стеклом манометра.

7.25 Испытания аппарата на стенде-имитаторе внешнего дыхания человека

7.25.1 Оборудование:

стенд-имитатор внешнего дыхания человека, описание которого дано в приложении Б.

7.25.2 Подготовка к испытаниям

При подготовке аппарата к испытаниям допускается вмешательство в его конструкцию, необходимое для определения некоторых параметров, при условии, что это не нарушит нормальной работы аппарата. Допускается присоединение к лицевой части (капюшона) приспособления для отбора проб газовоздушной смеси.

Аппарат снаряжают и проверяют в соответствии с инструкцией по эксплуатации. Вносят в протокол испытания (приложение В) параметры аппарата по В.2.1 - В.2.3 (до испытания) и заданные значения показателей работы стенда по В.3.1 - В.3.3.

Стенд настраивают на дыхательный режим, соответствующий условиям конкретного испытания, и фиксируют в разделе 3 протокола испытаний полученные фактические значения.

Значения показателей режимов работы стенда во время испытаний должны соответствовать значениям, приведенным в таблице 4, с учетом допусков, приведенных в приложении Б.

Таблица 4

Наименование показателя

Работа

средней тяжести

тяжелая

очень тяжелая

Легочная вентиляция (ЛУ), дм3/мин

30

35

50

60

100

Дыхательный объем (ЛУ), дм3

1,5

1,75

2,0

2,4

2,5

Частота дыхания, мин-1

20

20

25

25

40

Примечание - При легочных вентиляциях 35 и 50 дм3/мин проводятся испытания спасательного устройства

Аппарат помещают в климатическую камеру в вертикальном положении, лицевую часть (капюшон) надевают на муляж головы человека (рисунок 4), подключенный к стенду, и закрывают камеру.

1 - патрубок для измерения сопротивления дыхания; 2 - патрубок для измерения диоксида углерода

Рисунок 4 - Муляж головы человека (голова «Шеффилда»)

7.25.3 Проведение испытаний

Испытания проводят при различных условиях дыхания и значениях температуры воздуха в климатической камере.

Испытания аппарата проводят при каждом из трех дыхательных режимов, характеризующихся совокупностью показателей, приведенных в таблице 4.

Количество испытаний для каждого режима, определяемого совокупностью дыхательного режима и значения температуры, приведено в таблице 5.

Таблица 5

Температура в климатической камере, °С

Легочная вентиляция, дм3/мин

30

60

100

(25 ± 2)

1

1

1

(60 ± 2)

1

-

-

минус (40 ± 2)

1

1

-

минус 50 ± 2)

1*

1*

-

* Испытания аппарата специального назначения

Испытания спасательного устройства аппарата проводят при каждом из двух дыхательных режимов, характеризующихся совокупностью показателей, приведенных в таблице 5.

Количество испытаний для каждого режима, определяемого совокупностью дыхательного режима и значения температуры, приведено в таблице 6.

Таблица 6

Температура в климатической камере, °С

Легочная вентиляция, дм3/мин

35

50

(25 ± 2)

1

1

(60 ± 2)

1

-

минус (10 ± 2)

1

1

Перед испытанием аппарат выдерживают в климатической камере при соответствующей температуре в течение (30 ± 1) мин.

При испытаниях аппарата при температуре минус 40°С (минус 50°С) предварительная выдержка в климатической камере проводится без лицевой части. Лицевую часть надевают на муляж головы человека и подключают ее к аппарату после его выдержки в климатической камере при соответствующей температуре.

После предварительной выдержки аппарата в климатической камере открывают вентиль баллона аппарата и включают стенд.

При работе стенда через равные промежутки времени, но не реже чем через 10 минут регистрируют в протоколе следующие параметры работы проверяемого аппарата:

- давление воздуха в баллоне;

- давление воздуха в подмасочном пространстве лицевой части (капюшона) на вдохе и выдохе (сопротивление дыханию).

По окончании испытания в протоколе регистрируется:

- работоспособность аппарата;

- условное или фактическое время защитного действия;

- давление воздуха, при котором срабатывает сигнальное устройство;

- продолжительность работы сигнального устройства при легочной вентиляции 30 дм3/мин и температуре в климатической камере 25°С;

- фактическое сопротивление дыханию на выдохе.

Испытания проводят до исчерпания защитной способности аппарата, которое определяется наступлением одного из нижеперечисленных событий:

- уменьшением давления воздуха в баллоне до 1,0 МПа;

- отсутствием избыточного давления воздуха в подмасочном пространстве лицевой части;

- превышением значений фактического сопротивления дыханию на выдохе, указанных в 4.5.10.

При испытании аппарата при легочной вентиляции 100 дм3/мин проводят проверку величины избыточного давления в подмасочном пространстве лицевой части, фактического сопротивления дыханию на выдохе, давления срабатывания сигнального устройства.

Испытания аппарата при легочной вентиляции 100 дм3/мин и спасательного устройства при легочных вентиляциях 35 дм3/мин и 50 дм3/мин проводят в течение (10 ± 1) мин.

7.25.4 Обработка результатов

Определяют и фиксируют в протоколе испытаний максимальные и минимальные значения показателей давления воздуха в подмасочном пространстве лицевой части на вдохе, сопротивление дыханию на выдохе.

Рассчитывают и фиксируют в протоколе фактическое сопротивление дыханию на выдохе, получаемое как разность между сопротивлением дыханию на выдохе, зарегистрированным прибором, и средним значением избыточного давления в подмасочном пространстве лицевой части при нулевом расходе.

Результаты проверок исполнения системы воздухоснабжения аппарата считают положительными, если при всех проверках поддерживается избыточное давление воздуха в подмасочном пространстве лицевой части (при различных значениях легочной вентиляции и температуры окружающего воздуха).

Результаты проверок (при соответствующих значениях легочной вентиляции и температуры окружающего воздуха) условного времени защитного действия, фактического времени защитного действия, фактического сопротивления дыханию на выдохе, давления срабатывания сигнального устройства, сопротивления дыханию спасательного устройства считают положительными, если при всех проверках выполняются требования 4.1.4; 4.1.5; 4.5.8 - 4.5.10; 4.13.5 - 4.13.7; 4.13.9 и 4.13.14.

Результат проверки работоспособности аппарата считают положительным, если при всех проверках (при различных температурах окружающего воздуха) выполняются следующие требования:

- в подмасочном пространстве лицевой части поддерживается избыточное давление воздуха;

- значения фактического сопротивления дыханию на выдохе не превышают значений, указанных 4.5.10;

- отсутствует замерзание смотрового стекла лицевой части.

7.26 Лабораторные испытания аппарата с участием испытателей-добровольцев

Испытания с участием испытателей-добровольцев проводят в соответствии с ГОСТ 12.4.061.

Испытания аппарата с участием испытателей-добровольцев дополняют основную оценку аппарата, полученную при испытаниях на приборах и на стенде-имитаторе дыхания. Испытания проводят с целью определения:

- защитных свойств аппарата;

- условий дыхания в аппарате;

- физиологических реакций людей на работу в аппарате;

- особенностей работы составных частей и систем аппарата;

- удобства пользования аппаратом.

Испытания должны проводиться под руководством лица, ответственного за испытания аппаратов, с участием испытателей-добровольцев.

Ответственный за испытания аппаратов с участием испытателей-добровольцев привлекает для участия в испытаниях испытателей, ответственного за подготовку аппаратов, врача или физиолога.

К испытаниям допускаются испытатели, имеющие регулярный практический опыт в использовании дыхательных аппаратов, допущенные к испытаниям врачом и изучившие руководство по эксплуатации аппарата. Испытатели не должны в течение 24 часов перед испытанием выполнять тяжелую физическую работу и принимать алкоголь. Испытатели должны получить полную информацию о характере и объеме опытов.

Перед началом каждого испытания должна быть проведена проверка аппарата в соответствии с руководством по его эксплуатации.

Допуск аппаратов к испытаниям осуществляет лицо, назначенное ответственным за испытания.

Испытания проводят в эргометрическом зале, климатической камере, на открытом воздухе, в теплодымокамере и камере масляного тумана.

7.26.1 Испытания в эргометрическом зале, климатической камере

7.26.1.1 Помещения, оборудование и средства измерения:

- эргометрический зал площадью (20 ± 1) м2 и высотой (2,7 ± 0,2) м;

- климатическая камера с диапазоном температур от минус 50°С до 60°С с погрешностью не более ± 3°С;

- движущаяся дорожка со скоростью движения ленты (6,0 ± 0,1) км/ч;

- помост площадью (9,0 ± 1,5) дм2 и высотой (3,0 ± 0,1) дм;

- вертикальный эргометр с грузами (10,00 ± 0,25) кг и (20,00 ± 0,25) кг и высотой подъема (1,20 ± 0,05) м;

- груз (ящик или гиря) массой (20 ± 0,1) кг;

- мановакуумметр с диапазоном измерений от минус 1000 до 1000 Па с погрешностью не более ± 20 Па;

- термометры для измерения температуры воздуха с диапазоном измерений от 0 до 100°С и от минус 50 до 0°С с погрешностью измерений не более ± 1°С;

- термометр для измерения температуры тела с погрешностью не более ±0,1°С;

- тонометр медицинский манометрический с погрешностью не более ± 1 мм рт.ст.;

- газоанализатор для измерения концентрации диоксида углерода в диапазоне от 0 до 5 % (об.);

- секундомер с погрешностью не более ± 0,2 с.

7.26.1.2 Подготовка к испытаниям

Основную лицевую часть аппарата оборудуют штуцером для подключения мановакуумметра в соответствии с ГОСТ 12.4.005.

7.26.1.3 Условия проведения испытаний

В испытаниях должно участвовать не менее двух испытателей.

Испытания проводят путем выполнения испытателями комплекса упражнений, имитирующих реальную работу, выполняемую человеком при проведении аварийно-спасательных работ (тушении пожаров).

Комплекс упражнений выполняется в лабораторных условиях.

Лабораторные испытания аппарата на людях проводят при следующих условиях окружающей среды:

- при температуре окружающей среды (25 ± 2)° С, относительной влажности от 40 до 80 %;

- при температуре окружающей среды (40 ± 2) °С, относительной влажности от 15 до 60 %;

- при температуре окружающей среды минус (40 ± 2)°С;

- при температуре окружающей среды минус (50 ± 2)°С (для аппарата специального исполнения).

Испытатели должны быть одеты в штатную одежду, сапоги, каску, соответствующие температурным условиям испытания, а при работе в камерах тепла и холода, кроме того, должны быть надеты рукавицы и шерстяной подшлемник.

7.26.1.4 Проведение испытаний

Перед началом испытаний и после их завершения у испытателя измеряют и фиксируют в протоколе испытания (приложение Г) массу тела, частоту пульса, артериальное давление, температуру тела (аксилярную) и жизненную емкость легких.

При выполнении испытателем комплекса упражнений в лабораторных условиях контролируются параметры аппарата по 4.5.8 и 4.9.1, а также сопротивление дыханию на выдохе.

Результаты записываются в протокол.

После завершения испытаний рассчитывается фактическое сопротивление дыханию на выдохе по 4.5.10. Результаты записываются в раздел 4 протокола.

Продолжительность и последовательность выполнения упражнений представлена в таблице 7.

Таблица 7

Наименование упражнений

Продолжительность выполнения упражнений и отдыха, мин

Температура окружающей среды, °С

минус 40
(минус 50)1)

25

40

1 Ходьба по движущейся дорожке со скоростью 6 км/ч

-

10/32)

5/33)

2 Ползание на четвереньках по полу со скоростью 10 м/мин

-

5/3

-

3 Работа на вертикальном эргометре, груз 20 кг, высота подъема - 1,2 м, темп 20 раз в минуту

-

5/3

10/3

4 Ходьба по движущейся дорожке со скоростью 3 км/ч с грузом массой 20 кг

 

5/3

 

5 Вползание в узкий проход (длиной 4,0 м) со снятием аппарата и перемещением его перед собой

 

3/3

 

6 Подъем на помост высотой 3,0 дм и спуск с него в темпе 20 раз в минуту

5/2

-

5/3

7 Переноска груза массой 20 кг на расстояние 5 м

10/3

-

10/3

8 Подъем груза массой 20 кг до высоты 1,0 м с интенсивностью 15 раз/мин

10/3

-

10/3

1) При температуре минус 50°С проводят испытания аппарата специального назначения.

2) В числителе указана продолжительность выполнения упражнения, а в знаменателе продолжительность отдыха после выполнения упражнения.

3) Во время испытания аппарата при температуре 40°С вводная и заключительная ходьба проводится при температуре окружающей среды 25°С.

Если давление воздуха в баллоне аппарата по завершении комплекса упражнений оказывается более 2,0 МПа, то упражнения повторяются до исчерпания запаса воздуха.

Перед испытанием аппарат выдерживают при заданной температуре в течение (30 ± 2) мин.

При температуре минус 40°С (минус 50)°С включение испытателя в аппарат проводится в следующем порядке: аппарат без лицевой части помещают в камеру холода с температурой минус 40°С (минус 50)°С. Через (30 ± 2) мин после помещения аппарата в камеру холода испытатель надевает лицевую часть в помещении лаборатории с нормальной температурой окружающего воздуха и входит в камеру холода, надевает аппарат, включается в него и проводит проверку работоспособности воздуховодного шланга, подключаемого к легочному автомату, и шланга высокого давления, подключаемого к манометру. Воздуховодный шланг сгибается на 180° вокруг цилиндра диаметром 80 мм, после чего шланг выпрямляется в исходное положение (рисунок 5).

Рисунок 5 - Схема определения работоспособности воздуховодного шланга

Затем шланг высокого давления сгибается на 90° вокруг цилиндра диаметром 80 мм, после чего шланг выпрямляется в исходное положение (рисунок 6).

Рисунок 6 - Схема определения работоспособности шланга высокого давления

Результат данной проверки считают положительным, если не произошло разрывов, трещин в шлангах. При положительных результатах проверки работоспособности воздуховодного шланга, подключаемого к легочному автомату, и шланга высокого давления, подключаемого к манометру, испытатель начинает выполнять комплекс упражнений.

При выполнении комплекса упражнений в камере холода испытатель также оценивает эргономические показатели воздуховодного шланга, выполняя головой движения влево-вправо, вверх-вниз в крайние положения.

Все упражнения выполняются каждым испытателем последовательно, без выключения из аппарата как во время работы, так и во время отдыха.

При испытании аппарата со спасательным устройством заключительная ходьба проводится с имитацией вывода пострадавшего, т.е. к аппарату с помощью спасательного устройства подключается еще один человек.

После завершения заключительной ходьбы определяют объемную долю диоксида углерода на вдохе в лицевой части (капюшоне).

При наличии в составе аппарата штуцера (quick fill) по окончании выполнения комплекса упражнений при температурах минус 40°С (минус 50°С) и 40°С, при достижении давления воздуха в баллоне 3,0 МПа определяют возможность быстрой заправки воздухом баллонов дыхательного аппарата, используя штуцер (quick fill).

До начала испытания баллон, из которого проводят перепуск воздуха, должен находиться при соответствующей температуре в климатической камере в течение (30 ± 2) мин.

Перепуск воздуха проводят без выключения аппарата и без снятия лицевой части с человека. После проведения перепуска воздуха продолжают выполнять комплекс упражнений в течение (15 ± 1)мин.

Во время испытаний по окончании каждого упражнения измеряют и фиксируют в протоколе частоту пульса испытателя.

По окончании каждого опыта испытатели сообщают о самочувствии, степени усталости и дают субъективную оценку аппарата. Результаты заносятся в протокол.

Испытания аппарата проводят до наступления одного из событий:

- уменьшения давления воздуха в баллоне до 2,0 МПа;

- достижения частоты пульса 170 мин-1;

- невозможности испытателем продолжать дальнейшую работу.

После испытаний на основании мнения испытателя в протокол заносят данные о его самочувствии, удобстве пользования аппаратом и условиях дыхания.

Результат проверки работоспособности аппарата считают положительным, если при всех проверках (при различных температурах окружающего воздуха) выполняются следующие требования:

- в подмасочном пространстве лицевой части поддерживается избыточное давление воздуха;

- значения фактического сопротивления дыханию на выдохе не превышают значений, указанных 4.5.10;

- отсутствует запотевания смотрового стекла лицевой части;

- отсутствует замерзание клапанов вдоха (выдоха) и смотрового стекла лицевой части.

7.26.2 Испытания в теплодымокамере и на свежем воздухе

Два звена газодымозащитников, в составе трех человек каждое, в боевой одежде со снаряжением выполняют комплекс упражнений.

Испытания включают следующие этапы:

- изучение конструкции аппарата;

- изучение правил пользования и подготовки аппарата;

- снаряжение и проверка аппарата;

- работа в аппарате.

Перед началом испытаний и после их завершения у испытателя измеряют частоту пульса, артериальное давление, температуру тела (аксилярную). Результаты фиксируются в протоколе в произвольной форме.

Перечень упражнений, выполняемых при испытаниях в теплодымокамере и на свежем воздухе, и их длительность приведены в таблице 8. Детальное содержание каждого вида упражнений определяется лицом, ответственным за проведение испытаний. Порядок и продолжительность выполнения упражнений может корректироваться в зависимости от типа аппарата, срока его защитного действия и местных условий.

Таблица 8

Наименование упражнений

Продолжительность упражнений, мин

на свежем воздухе

в дымокамере

в теплокамере

1 Медленная и быстрая ходьба по горизонтальной поверхности (скорость от 3,0 до 6,0 км/ч)

5/-

-

-

2 Работа с ручным немеханизированным пожарным инструментом (лом, топор)

10/3

-

-

3 Подъем и спуск по лестнице (маршевой, вертикальной, штурмовой)

5/2

-

-

4 Проведение разведки с отысканием человека (чучела) и вынос его на свежий воздух

-

10/3

-

5 Разгрузка помещений от имущества (вынос ящиков от 30 до 40 кг)

-

10/3

-

6 Проведение разведки с отысканием человека, включение его в спасательное устройство и вывод на свежий воздух

-

10/3

-

7 Переноска груза массой 10 кг

-

-

8/3

8 Работа на вертикальном эргометре

-

-

5

Примечание - В числителе указана продолжительность выполнения упражнения, а в знаменателе продолжительность отдыха после выполнения упражнения

Во время испытаний аппарата после каждого вида работы (упражнения) регистрируют следующие параметры:

- продолжительность упражнения (работа и отдых);

- показания устройства (прибора) контроля давления воздуха;

- частоту пульса.

Испытания аппарата проводят до наступления одного из событий:

- уменьшения давления кислорода в баллоне до 1,0 МПа;

- увеличения частоты пульса испытателя свыше 150 мин-1, если она не уменьшается в течение 5 мин отдыха;

- появления субъективных ощущений, препятствующих продолжению испытаний (высокое сопротивление дыханию, ухудшение самочувствия и др.);

- нарушения нормальной работы аппарата (неисправность какого-либо устройства, утечка кислорода и др.).

После окончания каждого испытания проводят опрос газодымозащитников о самочувствии, условиях дыхания в аппарате и удобстве пользования им при выполнении различных работ.

Результаты опроса фиксируют в протоколе.

7.26.3 Проверка коэффициента подсоса масляного тумана в подмасочное пространство лицевой части спасательного устройства с легочно-автоматической подачей и нормальным давлением воздуха

7.26.3.1 Аппаратура и материалы

Комплект аппаратуры и материалов в соответствии с ГОСТ 12.4.157 (2.1).

7.26.3.2 Проведение испытаний

Испытания проводятся в соответствии с ГОСТ 12.4.157, раздел 2 и 3.

В испытаниях должно участвовать не менее 3 человека с различными антропометрическими размерами головы (по вертикальному обхвату - длины круговой линии, проходящей по подбородку и щекам через высшую точку головы (макушки) - от 610 до 720 мм и морфологической высоты лица - расстояния от наиболее углубленной точки спинки носа (переносицы) до наиболее выступающей точки подбородка - от 110 до 140 мм).

Результат проверки считают положительным, если при всех проверках подсос масляного тумана в подмасочное пространство лицевой части не превышает 0,05 %.

7.27 Испытания на надежность

7.27.1 Проверка конструкции предохранительного клапана редуктора

Проверку проводит разработчик аппарата по методикам, разработанным в инициативном порядке.

7.27.2 Проверка вероятности безотказной работы аппарата за время защитного действия

Проверку проводят по ГОСТ 27.410.

Исходными данными для проверки являются:

- браковочный уровень надежности (R β = 0,98);

- приемочный уровень надежности (R α = 0,998);

- риск поставщика (изготовителя) (α = 0,2);

- риск потребителя (заказчика) ((β = 0,2).

Проверку проводят на одном аппарате на протяжении всего комплекса его приемочных испытаний.

Для подтверждения заданного показателя вероятности безотказной работы аппарата за время защитного действия необходимо провести не менее 80 проверок. Во время проведения проверок аппарата не допускается ни одного отказа.

К отказам при проведении испытания аппарата на стендовом оборудовании относятся:

- отсутствие избыточного давления воздуха в подмасочном пространстве лицевой части;

- превышение значений фактического сопротивления дыханию на выдохе, указанных в 4.5.10.

Отказы при проведении испытаний аппарата при лабораторных и полигонных испытаниях на людях определяет работающий в аппарате по результатам проверки перед началом работы и в течение всей аппаратосмены. К ним относится, например, значительное, но переносимое повышенное сопротивление дыханию, возникшее вследствие нарушения нормальной работы легочного автомата или клапана выдоха и др.

Общим признаком отказов на людях является потеря способности аппарата защищать органы дыхания и зрения человека и невозможность продолжать дальнейшую работу.

Результат проверки считают положительным, если при проведении 80 аппаратосмен аппаратов (продолжительностью не менее 60 мин каждая) не обнаружено ни одного отказа аппарата.

Приложение А
(обязательное)
Методика испытаний по определению устойчивости аппарата дыхательного к воздействию открытого пламени с температурой (800 ± 50)°С на стенде «Термоманекен»

А.1 Введение

А.1.1 Настоящая методика устанавливает:

- объем и порядок проведения испытаний аппарата;

- общие требования техники безопасности при проведении испытаний.

А.1.2 Испытания проводит испытательная лаборатория, имеющая соответствующую аккредитацию.

А.1.3 Все средства измерения должны пройти метрологический контроль и быть поверены.

А.2 Цель испытаний

Определение соответствия устойчивости аппарата дыхательного к воздействию открытого пламени с температурой (800 ± 50)°С.

А.3 Условия проведения испытаний

При проведении испытаний в помещении должны соблюдаться нормальные климатические условия по ГОСТ 15150.

А.4 Порядок проведения испытаний

А.4.1 Испытания включают в себя:

- рассмотрение эксплуатационной документации на аппарат дыхательный;

- проверку внешнего вида, комплектности аппарата;

- испытания на стенде «Термоманекен».

А.4.2 При визуальном осмотре определяется комплектность, наличие маркировки, общий внешний вид изделия. По результатам проверки делается вывод о соответствии изделия эксплуатационной документации и готовности изделия к испытаниям.

А.4.3 Описание стенда «Термоманекен»

А.4.3.1 Испытания должны проводиться на специальном стенде для термических испытаний (рисунок А.1.).

А.4.3.2 Стенд должен размещаться в специально отведенном для него помещении с габаритными размерами не менее 6000´9000´3000 мм. Стены и потолок помещения должны быть сделаны из негорючих материалов.

А.4.3.3 Помещение должно иметь смотровое окно из термостойкого стекла и входную металлическую дверь.

А.4.3.4 В помещении должны располагаться:

- манекен тела человека, изготовленный из негорючих материалов;

- передвижное устройство для крепления манекена, а также автоматического ввода и вывода его в рабочую зону и из нее;

1 - баллоны газовые; 2 - редуктор; 3 - горелки газовые; 4 - клапан электромагнитный; 5 - манекен с аппаратом дыхательным; 6 - система поджига

Рисунок А.1 - Схема стенда по определению устойчивости аппарата к воздействию пламени

- газовая система для моделирования очага возгорания, включающая в себя 4 горелки (рисунок А.2), автоматическую систему поджига, подводку из труб и гибких шлангов, газовые баллоны;

- принудительная система вентиляции, располагающаяся над испытательным стендом и предназначенная для удаления продуктов горения.

1 - диффузор; 2 - трубка поджига; 3 - сопло

Рисунок А.2 - Горелка

А.5 Требования безопасности и охраны окружающей среды

А.5.1 Все участники испытаний проходят общий инструктаж по правилам техники безопасности и расписываются в специальном журнале инструктажа по технике безопасности.

А.5.2 Ответственность за организацию работ по обеспечению техники безопасности при проведении испытаний несет руководитель испытаний.

Перед началом испытаний он обязан:

- проинструктировать личный состав о порядке проведения испытаний и уточнить функции всех участников испытаний;

- установить единый сигнал оповещения людей об опасности;

- проверить исправность технологического и измерительного оборудования, а также средств пожаротушения.

А.5.3 Во время испытаний газовые баллоны должны находиться вне зоны испытаний на открытом воздухе.

А.5.4 Обслуживающий персонал и регистрирующая аппаратура должны находиться в безопасной зоне.

А.5.5 Страховщики занимают, возможно, близкую позицию (вне опасной зоны) и наблюдают за проведением испытания. При необходимости безотлагательно приступают к тушению манекена.

А.5.6 Для общей страховки в непосредственной близости от манекена должны находиться первичные средства пожаротушения (рукавная линия со стволом от пожарного крана и огнетушитель объемом не менее 5 л). Перед испытаниями пожарный кран должен быть проверен на работоспособность.

А.5.7 Исполнение электрического оборудования должно быть огнезащищенным.

Приложение Б
(рекомендуемое)
Стенд-имитатор внешнего дыхания человека

Стенд-имитатор внешнего дыхания человека предназначен для объективной оценки аппарата при работе с различной дыхательной нагрузкой и в различных внешних микроклиматических условиях.

Принципиальная схема стенда показана на рисунке Б.1.

При испытании аппарата на стенде определяют время защитного действия, условия дыхания, параметры основных систем и устройств.

Стенд имитирует вентиляционную функцию легких. Для имитации вентиляционной функции легких стенд создает пульсирующий поток газа с изменением объемного расхода, близким к синусоидальному, и равной продолжительностью фаз вдоха и выдоха.

Стенд имитирует температурно-влажностный режим выдоха путем нагревания и увлажнения выдыхаемой газовоздушной смеси.

Мгновенные значения объемного расхода не должны отличаться от синусоидальных более чем на ± 4 %.

Объем дыхательного цикла должен быть от 1,5 до 2,5 дм3, частота дыхания должна быть от 20 до 40 мин -1.

Температура и относительная влажность газовоздушной смеси на выдохе из муляжа должны соответствовать (36,5 ± 0,5)°С и (95 ± 3) %.

В состав стенда должна входить климатическая камера, где поддерживается температура в пределах от минус 50°С до 60°С с отклонением от заданной величины не более ± 2°С.

Стенд должен быть укомплектован контрольно-измерительными приборами и устройствами, позволяющими устанавливать и контролировать параметры дыхательной нагрузки и регистрировать сопротивление дыханию в аппарате в диапазоне от минус 1000 до 1000 Па с погрешностью не более ± 20 Па.

1 - привод насоса «искусственные легкие»; 2 - насос «искусственные легкие»; 3 - клапанная коробка с клапанами вдоха и выдоха; 4 - осушитель; 5 - датчики температуры и влажности; 6 - климатическая камера; 7 - «Шеффилдский» муляж головы человека; 8 - дыхательный аппарат; 9 - датчики сопротивления дыханию; 10 - термостат с увлажнителем

Рисунок Б.1 - Принципиальная схема стенда-имитатора внешнего дыхания человека

При включении стенда на холостой ход трехходовые краны устанавливают в положение, при котором имитатор дыхания соединяется по воздуховодной системе стенда с окружающей средой. В этом положении испытываемый аппарат отключен от имитатора дыхания. Подключение мановакуумметра проводят к штуцеру на муляже. Избыточное давление воздуха под лицевой частью измеряют в подмасочном пространстве лицевой части (полумаске).

Приложение В
(обязательное)

Протокол №___
испытания аппарата на стенде-имитаторе внешнего
дыхания человека

____________________________________________________

(наименование организации, проводившей испытания, подразделение)

____________________________________________________

(место проведения испытания, организация, подразделение, город, дата)

В.1 Общие сведения

В.1.1 Наименование аппарата и его обозначение______________________________________

В.1.2 Изготовитель_______________________________________________________________

В.1.3 Обозначение нормативного документа, в соответствии
с
которым изготовлен аппарат______________________________________________________

В.1.4 Номер аппарата_____________________________________________________________

В.1.4.1 Номер редуктора___________________________________________________________

В.1.4.2 Тип и номер легочного автомата______________________________________________

В.1.5 Дата изготовления аппарата___________________________________________________

В.1.6 Рабочее давление в баллоне, МПа ______________________________________________

В.1.7 Вместимость баллона (баллонов), дм3 __________________________________________

В.1.8 Лицевая часть_______________________________________________________________

В.2 Параметры аппарата до испытания

Наименование параметра

Значение параметра

В.2.1 Герметичность магистралей высокого и редуцированного давления (падение давления за 1 мин), МПа

 

B.2.2 Избыточное давление под лицевой частью при нулевом расходе, Па (среднее)

 

B.2.3 Давление воздуха, при котором срабатывает сигнальное устройство, МПа

 

В.3 Условия испытаний

Наименование показателя

Заданное
значение

Фактическое
значение

B.3.1 Температура воздуха в камере, °С

 

 

В.3.2 Легочная вентиляция, дм3/мин

 

 

B.3.3 Частота дыхания, мин-1

 

 

В.4 Запись наблюдений в процессе испытания

Время от начала опыта, мин

Давление воздуха в баллоне, МПа

Давление воздуха под лицевой частью на вдохе, Па*

Сопротивление дыханию на выдохе,
Па

Фактическое сопротивление дыханию на выдохе,
Па

 

 

 

 

 

 

min

 

 

 

 

среднее

 

 

 

 

max

 

 

 

* При испытании спасательного устройства сопротивление дыханию на вдохе

Давление воздуха в баллоне, при котором сработало сигнальное
устройство
, МПа _______________________________________________

Продолжительность работы сигнального устройства, мин_____________

Условное время защитного действия аппарата, мин__________________

Фактическое время защитного действия аппарата, мин_______________

Дополнительные данные_________________________________________

В.5 Замечания_________________________________________________

______________________________________________________________

Ответственный за испытание______________   ____________________

                                                                     (подпись),                              (Ф.И.О.)

 

Приложение Г
(обязательное)

Протокол №___
лабораторных испытаний аппарата
с участием испытателей-добровольцев

______________________________________________________

(наименование организации, проводившей испытания, подразделение)

______________________________________________________

(место проведения испытания, организация, подразделение, город, дата)

Г.1 Общие сведения

Г.1.1 Наименование аппарата и его обозначение________________________________________

Г.1.2 Изготовитель_________________________________________________________________

Г.1.3 Обозначение нормативного документа, в соответствии
с
которым изготовлен аппарат_______________________________________________________

Г.1.4 Номер аппарата_______________________________________________________________

Г.1.4.1 Номер редуктора____________________________________________________________

Г.1.4.2 Тип и номер легочного автомата_______________________________________________

Г.1.5 Дата изготовления аппарата____________________________________________________

Г.1.6 Рабочее давление в баллоне, МПа_______________________________________________

Г.1.7 Вместимость баллона (баллонов), дм3____________________________________________

Г.1.8 Лицевая часть________________________________________________________________

Г.2 Условия испытаний

Г.2.1 Температура окружающей среды, °С_____________________________________________

Г.2.2 Относительная влажность, %___________________________________________________

Г.2.3 Барометрическое давление, мм рт. ст.____________________________________________

Г.3 Данные об испытателе-добровольце

Г.3.1 Фамилия, имя, отчество________________________________________________________

Г.3.2 Возраст, лет__________________________________________________________________

Г.3.3 Стаж работы в СИЗОД, лет_____________________________________________________

Г.3.4 Жизненная емкость легких, л___________________________________________________

Г.3.5 Антропометрическими размеры головы:

вертикальный обхват, мм; __________________________________________________________

морфологическая высоты лица, мм___________________________________________________

 

До испытания

После испытания

Г.3.6 Масса, кг

 

 

Г.3.7 Температура тела, °С

 

 

Г.3.8 Частота пульса, мин-1

 

 

Г.3.9 Артериальное давление, мм рт. ст.

 

 

Г.4 Запись наблюдений в процессе испытания

Время
от начала
опыта,
мин

Вид
упражнения

Режим работы,
мин

Давление
воздуха
в баллоне,

МПа

Избыточное
давление
воздуха
на вдохе,
Па

Сопротивление
дыханию
на выдохе,
Па

Фактическое
сопротивление
на выдохе,
Па

Частота
пульса,
мин-1

работа

отдых

 

 

 

 

 

 

 

 

 

 

 

 

 

 

 

 

 

 

 

 

 

 

 

 

 

 

 

 

 

 

 

 

 

 

 

 

 

 

 

 

 

 

 

 

 

Давление воздуха в баллоне, при котором сработало
сигнальное
устройство, МПа________________________________________________________

Дополнительные данные___________________________________________________________

Замечания испытателя:

_________________________________________________________________________________

_______________________________________________________________________________________

_______________________________________________________________________________________

Замечания ведущего испытания:

_________________________________________________________________________________

_______________________________________________________________________________________

Г.5 Параметры аппарата до испытания

Наименование параметра

Значение параметра

Г.5.1 Герметичность магистралей высокого и редуцированного давления
(падение давления за 1 мин), МПа

 

Г.5.2 Избыточное давление воздуха под лицевой частью при нулевом расходе,
Па (среднее)

 

Г.5.3 Давление воздуха, при котором срабатывает сигнальное устройство, МПа

 

Испытатель___________   ___________________

                             (подпись),                       (Ф.И.О.)

Ответственный за испытание ___________   ____________________

                                                                   (подпись),                       (Ф.И.О.)

 

 

Ключевые слова: аппарат дыхательный, сопротивление дыханию, избыточное давление, время защитного действия, спасательное устройство, легочная вентиляция, общие технические требования, методы испытаний.

 

 




ГОСТЫ, СТРОИТЕЛЬНЫЕ и ТЕХНИЧЕСКИЕ НОРМАТИВЫ.
Некоммерческая онлайн система, содержащая все Российские Госты, национальные Стандарты и нормативы.
В Системе содержится более 150000 файлов нормативно-технической документации, действующей на территории РФ.
Система предназначена для широкого круга инженерно-технических специалистов.

Рейтинг@Mail.ru Яндекс цитирования

Copyright © www.gostrf.com, 2008 - 2026