|
|
|
МИНИСТЕРСТВО ТРАНСПОРТНОГО СТРОИТЕЛЬСТВА ТЕХНОЛОГИЧЕСКИЕ КАРТЫ УСТРОЙСТВО ОСНОВАНИЙ И ПОКРЫТИЙ АВТОМОБИЛЬНЫХ МОСКВА 1980 Содержание ВВЕДЕНИЕТехнологические карты разработаны на основе применения принципов научной организации труда и предназначены для использования при составлении проектов производства работ и при организации труда на объекте. Сборник состоит из тринадцати технологических карт: Карта № 1. Установка копирных струн (шнура). Карта № 2. Планировка земляного полотна профилировщиком ДС-97. Карта № 3. Приготовление цементогрунтовой смеси на смесительной установке ДС-50А. Карта № 4. Устройство цементогрунтового основания профилировщиком ДС-97 из смеси, приготовленной в смесительной установке. Карта № 5. Приготовление цементобетонной смеси в смесительной установке непрерывного действия СБ-109. Карта № 6. Распределение цементобетонной смеси распределителем ДС-99. Карта № 7. Устройство цементобетонного покрытия бетоноукладчиком ДС-101. Карта № 8. Нарезка контрольных швов в свежеуложенном бетоне нарезчиком швов ДНШС-60. Карта № 9. Окончательная отделка поверхности бетонного покрытия бетоноотделочной машиной (трубным финишером) ДС-104. Карта № 10. Уход за бетоном нанесением пленкообразующих материалов машиной ДС-105. Карта № 11. Нарезка поперечных швов нарезчиком ДС-112 и продольного шва нарезчиком ДС-115. Карта № 12. Заполнение швов бетонных покрытий мастиками с применением заливщика швов ДС-67. Карта № 13. Устройство бетонных укрепительных полос машиной ДС-76. В настоящих технологических картах предусмотрен сменный темп устройства основания-600 м, покрытия-800 м. Однослойное цементобетонное покрытие имеет толщину 22 см, ширину 7,5 м и укладывается на цементогрунтовое основание толщиной 17 см и шириной 9,6 м. Швы сжатия устраиваются через 5 м (без армирования штырями), контрольные швы - через 15 м; шов расширения устраивают в конце рабочего дня по типу шва коробления. Продольный шов армирован штырями через 1 м. Цементобетонную смесь приготовляют в двух смесительных установках непрерывного действия СБ-109 производительностью по 880 м3 в смену и доставляют к месту укладки большегрузными автомобилями-самосвалами. При производстве работ следует руководствоваться следующей технической литературой: 1. СНиП III-40-77 «Автомобильные дороги. Правила производства и приемки работ. Приемка в эксплуатацию», М., «Транспорт», 1978. 2. «Инструкция по применению грунтов, укрепленных вяжущими материалами, для устройства оснований и покрытий автомобильных дорог и аэродромов», СН 25-74, М., «Стройиздат», 1975. 3. «Инструкция
по устройству цементобетонных покрытий автомобильных дорог», 4. «Технические указания по
устройству деформационных швов в цементобетонных дорожных покрытиях», 5. «Технические указания по
уходу за свежеуложенным бетоном дорожных и аэродромных покрытий с применением
пленкообразующих материалов», 6. «Временное руководство по заполнению деформационных швов бетонных покрытий новыми герметизирующими материалами», М., Союздорнии, 1971. 7. «Методические рекомендации по конструкции и технологии строительства дорожных одежд с цементобетонным покрытием, устраиваемых высокопроизводительным комплектом машин со скользящими формами», М., Союздорнии, 1976. При выполнении работ по устройству оснований и покрытий автомобильных дорог с применением комплекта ДС-100 со скользящими формами рабочие должны строго соблюдать требования и указания по технике безопасности, изложенные в СНиП III-A.11-70 «Техника безопасности в строительстве», М., Стройиздат, 1970, и «Правилах техники безопасности при строительстве, ремонте и содержании автомобильных дорог», М., «Транспорт», 1978. Основные положения правил техники безопасности при скоростном строительстве автомобильных дорог приведены в последнем разделе настоящего сборника. Карты технологии операционного контроля, качества работ по приготовлению цементогрунтовой и цементобетонной смесей, устройству основания и покрытия отражены в VII разделе каждой технологической карты настоящего сборника. Каждая технологическая карта сборника предусматривает состав звеньев рабочих и перечень технических средств (машин, оборудования и др.), необходимых для выполнения работ на участке. Рабочие и машины, занятые на доставке материалов (автомобили-самосвалы, поливомоечные машины и др.), в состав рабочих звеньев не включены; их потребность определяют по расчету в зависимости от дальности возки материалов и объектов работ. Количество электростанций для освещения участков работ и количество заправочных машин определяют по потребности. При привязке технологических карт к местным условиям необходимо учитывать конструкцию покрытия и основания, способы нарезки и заполнения температурных швов и способы ухода за свежеуложенным бетоном. ТЕХНОЛОГИЧЕСКАЯ КАРТА №
1
|
|||||||||||||||||||||||||||||||||||||||||||||||||||||||||||||||||||||||||||||||||||||||||||||||||||||||||||||||||||||||||||||||||||||||||||||||||||||||||||||||||||||||||||||||||||||||||||||||||||||||||||||||||||||||||||||||||||||||||||||||||||||||||||||||||||||||||||||||||||||||||||||||||||||||||||||||||||||||||||||||||||||||||||||||||||||||||||||||||||||||||||||||||||||||||||||||||||||||||||||||||||||||||||||||||||||||||||||||||||||||||||||||||||||||||||||||||||||||||||||||||||||||||||||||||||||||||||||||||||||||||||||||||||||||||||||||||||||||||||||||||||||||||||||||||||||||||||||||||||||||||||||||||||||||||||||||||||||||||||||||||||||||||||||||||||||||||||||||||||||||||||||||||||||||||||||||||||||||||||||||||||||||||||||||||||||||||||||||||||||||||||||||||||||||||||||||||||||||||||||||||||||||||||||||||||||||||||||||||||||||||||||||||||||||||||||||||||||||||||||||||||||||||||||||||||||||||||||||||||||||||||||||||||||||||||||||||||||||||||||||||||||||||||||||||||||||||||||||||||||||
|
Расстояние нивелирных колышков от кромки покрытия (основания), м |
Поперечный уклон покрытия (основания), % |
|||||
|
15 |
20 |
25 |
30 |
35 |
40 |
|
|
Превышения, мм |
||||||
|
1 |
15 |
20 |
25 |
30 |
35 |
40 |
|
1,5 |
23 |
30 |
38 |
45 |
53 |
60 |
|
2 |
30 |
40 |
50 |
60 |
70 |
80 |
|
2,5 |
38 |
50 |
63 |
75 |
88 |
100 |
|
3 |
45 |
60 |
75 |
90 |
105 |
120 |
|
3,25 |
49 |
65 |
81 |
98 |
114 |
130 |
|
3,5 |
54 |
70 |
88 |
105 |
123 |
140 |
|
4 |
60 |
80 |
100 |
120 |
140 |
160 |
Примечание. При односкатном профиле покрытия дли определения отметки верхнего нивелирного колышка к отметке верхней кромки покрытия (основания) прибавляют превышение Для получения отметки нижнего колышка от отметки нижней кромки покрытия (основания) отнимают превышение
Ввиду симметричности двускатного профиля кромки покрытия имеют одну и ту же отметку, поэтому отметки верха нивелирных колышков, противостоящих друг другу на поперечнике, должны быть строго одинаковы.
Высота установки нивелирных колышков принимается равной высоте отметок планируемого земляного полотна, морозозащитного слоя, основания, покрытия.
В зависимости от производственных условий уровень установки колышков можно повысить или понизить, но при соблюдении следующих условий:
- линия, соединяющая вершины двух противоположных колышков на поперечнике должна быть параллельна линии, соединяющей кромки покрытия (основания);
- изменение уровня должно быть одинаковым для всего участка установки струн.
При односкатном профиле покрытия нивелирные колышки устанавливают так, чтобы их отметки находились в одной плоскости с поверхностью покрытия (рис. 2). Для этого по данным продольного профиля определяют отметки кромок покрытия, после чего, в зависимости от поперечного уклона покрытия и расстояния нивелирных колышков от него, определяют отметки, по которым они должны быть установлены.
Превышения отметок кромок покрытия и нивелирных колышков, в зависимости от уклона покрытия и расстояния колышков от него, приведены в табл. 1.

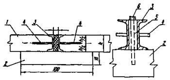
Рис. 2. Схема установки нивелирных колышков при односкатном поперечном профиле:
a - расстояние от нивелирных колышков до кромки покрытия; 1 - покрытие (основание); 2 - нивелирные колышки; 3 - общая плоскость, проходящая через поверхность покрытия и нивелирные колышки
Пример определения отметок нивелирных колышков при односкатном профиле
Ширина односкатного покрытия 7,5 м, поперечный уклон 15 ‰, отметки кромок покрытия: нижней (левой) - 100520, верхней (правой) - 100632, расстояние от нивелирных реек до кромок покрытия а = 3,25 м.
По табл. 1 превышение для расстояния 3,25 м и поперечного уклона 15 ‰ равно 49 мм. Отметки нивелирных реек будут равны: нижней – 100520 - 49 = 100471; верхней-100632 + 49 = 100681.
Вычисленные аналогичным способом отметки всех остальных нивелирных колышков сводят в таблицу, которой пользуются при производстве работ.
Установка нивелирных колышков на виражах
На виражах покрытие имеет односкатный поперечный профиль.
При разбивке виража за нулевую отметку и за ось покрытия в вертикальной плоскости принимают нижнюю кромку покрытия. Величина превышения нивелирного колышка пропорциональна расстоянию колышка от края покрытия (рис. 3).

Рис. 3. Схема вертикальной разбивки виража для вычисления отметок нивелирных колышков:
1 - нижняя кромка покрытия - ось поворота; 2 - верхняя кромка покрытия
Рис. 4. Расположение нивелирных колышков в плане на кривой виража:
1 - ось покрытия; 2 - кромки покрытия; 3 - линия установки нивелирных колышков; 4 - нивелирные колышки; 5 - колышки разбивки кривой
Нивелирные колышки каждого поперечника устанавливают так, чтобы их отметки находились в одной плоскости с внешней и внутренней кромками покрытия, то есть если они будут находиться точно параллельно линии кромки покрытия. При этом важно, чтобы колышки в каждом поперечнике ставились по линии радиуса кривой и находились на принятом расстоянии от края покрытия (рис. 4).
Для большинства виражей расстояние между стойками и колышками принимают таким же, как и на прямолинейных участках, но для виражей с малыми радиусами и большими уклонами это расстояние рекомендуется принимать в пределах 7 м.
На виражах нивелирные колышки устанавливают в следующем порядке:
- по принятому расстоянию между колышками (стойками) вдоль линии установки струн намечают точки установки нивелирных колышков;
- по данным отметкам продольного профиля вычисляют отметки нижней кромки покрытия для каждой точки установки нивелирных колышков;
- вычисляют отметки нивелирных колышков в зависимости от поперечного уклона и удаления колышков от кромки покрытия, используя значения превышений в табл. 1 и схемы вертикальной разбивки виража (см. рис. 3). Данные вычисления сводят в таблицу.
На участке установки струны делают разбивку кривой и устанавливают нивелирные колышки так, чтобы противостоящие на поперечнике рейки находились на линии радиуса кривой и на принятом расстоянии от кромки покрытия (см. рис. 4). Затем колышки устанавливают под нивелир.
Пример вычисления отметок нивелирных колышков на вираже
Ширина покрытия 7,5 м, поперечный уклон односкатного профиля на вираже 20 ‰, расстояние нивелирных колышков от кромки покрытия - 3,25 м.
Превышение верхнего нивелирного колышка над внутренней кромкой покрытия будет равно: (7,5 + 3,25) ´ 0,02 = 0,215 м = 215 мм. Отметка нижнего нивелирного колышка меньше отметки внутренней кромки покрытия на: 3,25 ´ 0,02 = 0,065 м = 65 мм.
Если, например, вычисленная отметка внутренней кромки покрытия на данном поперечнике будет равна 100800, то отметка верхнего нивелирного колышка будет равна 100800 + 215 = 101015, а нижнего - 100800 - 65 = 100735.
Установка стоек с поперечными штангами
Стойки представляют собой металлические стержни, на которые надевают струбцины с поперечными штангами. Струбцины имеют два отверстия (одно для стойки, другое для поперечной штанги) и два зажимных винта. На конце поперечной штанги имеется прорезь для струны.
Перед установкой стоек производят их сборку. На стойки надевают струбцины с поперечными штангами прорезями вверх. Затем струбцины опускают от верха стоек на 15 см, поперечные штанги выдвигают из струбцин на 30 см. В таком положении струбцину закрепляют обоими винтами. Проверяют прорези на штангах. Если в них имеются заусенцы и острые края, то их необходимо отшлифовать. Затем стойки аккуратно погружают на автомобиль, вывозят на трассу и раскладывают около нивелирных колышков по всей длине участка.
Работы выполняют в следующем порядке (см. рис. 1).
Стойки ставят на внешней стороне от струны в 30 см от нивелирного колышка и прочно забивают в грунт. Винты струбцины ослабляют и устанавливают поперечную штангу перпендикулярно линии натяжения струны так, чтобы прорезь находилась точно над центром нивелирного колышка и на 6 мм выше принятой высоты установки струны. Необходимо следить за тем, чтобы не было перекосов поперечной штанги (чтобы острые края прорезей не резали струну).
Высоту расположения прорези над колышками измеряют линейкой (шаблоном), а совмещение прорезей со створом нивелирных колышков проверяют по теодолиту. В таком положении струбцины временно закрепляют винтами.
Натяжение и снятие копирных струн
После установки стоек производят натяжение струны. Перед первой стойкой на расстоянии 10-12 м устанавливают барабан, который закрепляют якорем. В конце участка за последней стойкой на таком же расстоянии устанавливают натяжную лебедку. Барабан и лебедка в плане должны находиться точно на линии установки нивелирных колышков, иначе произойдет смещение струны. Высота их закрепления принимается удобной для вращения рукоятки.
Струны наматывают с катушки на барабан с запасом 10-12 м на возможный обрыв и раскладывают вдоль линии натяжения. Сначала струну натягивают вручную, насколько это возможно, и прикрепляют к натяжной лебедке, оставляя запас струны 10-12 м. Затем струну натягивают натяжной лебедкой и в натянутом состоянии вставляют в прорези поперечных штанг. Струна должна лежать в них свободно, но не выскакивать из них без приложения усилия. После того, как струна вставлена в прорези и видно, что она натянута хорошо, т. е. на глаз незаметно провисание струны, лебедку стопорят. Расположение струны на одно- и двускатном профиле показано на рис. 5.
После натяжения струны на одном участке приступают к натяжению струны на следующем участке, устанавливая на нем нивелирные колышки и стойки. Для обеспечения непрерывности в установке струны смежных участков и точности выполняемых работ на последующих соседних участках струну устанавливают следующим образом. В прорезь поперечной штанги последней стойки предыдущего участка вставляют струну того участка (последующего), на котором намечена ее установка. За этой стойкой, как и на предыдущем участке, устанавливают барабан, а в конце следующего участка - натяжную лебедку, затем натягивают струну вышеописанным способом.

Рис. 5. Расположение струн:
a - при двускатном профиле; б - при односкатном профиле; 1 - металлическая стоика; 2 - поперечная штанга; 3 - нивелирный колышек; 4 - верх устраиваемого покрытия (основания); 5 - линия, проходящая через кромки покрытия и нивелирные колышки; h - превышение струны над нивелирным колышком
Таким образом получается, что через поперечную штангу стойки, соединяющей предыдущую и последующую захватки, проходит две струны (рис. 6), которые, во избежание срыва, закрепляют на поперечной штанге. Для того чтобы избежать переналадки машины, высота натяжения струн смежных участков должна быть одинаковой.
После натяжения струны ее окончательно выправляют в плане и профиле. Выправку копирной струны в профиле осуществляют с помощью линейки (деревянного шаблона), которую устанавливают вертикально на нивелирный колышек и, ослабляя зажимной винт, перемещают струбцину вдоль стойки на высоту шаблона до тех пор, пока поперечная штанга не упрется в шаблон, и закрепляют струбцину в этом положении. Затем струну выправляют в плане по теодолиту.
После окончательной выверки положения струны в плане и в профиле струбцины закрепляют обоими винтами.
Не рекомендуется натягивать вставленную в прорези струну, это может привести к ее обрыву или перекосу поперечных штанг.
При обрыве струну снимают, за счет имеющегося запаса на барабане или лебедке оборванные концы связывают, после чего струну снова натягивают и вставляют в прорези. Узел должен прочно соединять струну.

Рис. 6. Схема прохождения струн через поперечную штангу, соединяющую две захватки:
1 - натяжной барабан и лебедка; 2 - поперечная штанга; 3 - металлическая стойка
После окончания работ по устройству основания или покрытия струны снимают. Для этого ослабляют натяжение струны, вынимают ее из прорезей и наматывают на специальную катушку. Снимают стойки, все оборудование погружают на автомобиль и перевозят на другой участок работ.
Особые случаи установки копирной струны
Иногда по условиям местности, в которой ведется строительство, установка копирных струн этим способом либо невозможна, либо сопряжена с большими трудностями. В этих случаях пользуются другими способами установки струн, применение которых требует переналадки датчиков, что приводит к остановке машин комплекта. Кроме того, после переналадки датчиков требуется регулировка рабочих органов машин. Некоторые из этих способов применяются часто, другие редко, но неизбежны хотя бы и в незначительных объемах, поэтому применение этих способов должно быть оправдано. Особые способы установки копирных струн необходимо согласовывать с руководителем работ по устройству покрытия.
Иногда при переходе на следующий участок приходится изменять уровень установки струн. Изменение уровня расположения струн желательно производить на одну и ту же величину. В этом случае при переходе машин на участок с измененным уровнем расположения струн должен быть соответственно изменен уровень установки укосин с датчиками на машинах комплекта, а датчики должны быть настроены на новый уровень. Технические возможности машин комплекта ДС-100 допускают установку правой и левой струн в разных уровнях (рис. 7), при которых плоскость, проведенная через струны, не параллельна плоскости, проходящей через кромки покрытия.
При переходе машин на такой участок должно быть изменено положение укосин с датчиками и датчики настраивают на новые уровни: правые датчики - на уровень правой струны, левые - на уровень левой струны. При таком способе установки струн высота каждой струны над нивелирными колышками должна быть на всем протяжении одинаковой.

Рис. 7. Установка копирных струн в разных уровнях:
1 - металлическая стойка; 2 - поперечная штанга; 3 - датчик уровня с копиром; 4 - нивелирный колышек, 5 - рама профилировщика; h1 - постоянная высота левой струны; h2 - постоянная высота правой струны
Установку струны на нарощенных стойках применяют при недостаточной ширине земляного полотна для расположения струн, когда стойки приходится ставить в зоне откосов земляного полотна. В этом случае необходимо увеличивать длину стойки приваркой к ней (в нижней части) дополнительных стержней и непременно уменьшать расстояния между ними с тем, чтобы обеспечить необходимое натяжение струны и ее устойчивость.
II. УКАЗАНИЯ ПО ОРГАНИЗАЦИИ ТРУДА
До начала работ по установке струн должно быть проведено восстановление оси дороги с выноской и закреплением кольев на пикетах.
Эту работу выполняет отдельное звено рабочих в составе: геодезист - 1; рабочих - 4; примерная выработка - 2-2,5 км в смену. Вследствие того что для обслуживания всего комплекса работ струны устанавливают 2-3 раза (например, для работы профилировщика на профилировании верха земляного полотна, то же при устройстве основания для работы бетоноукладочного комплекта), а восстановление оси дороги проводят один раз, -звено рабочих по восстановлению оси дороги в настоящую технологическую карту не включено, в графике производственного процесса и в калькуляции затраты труда на восстановление оси дороги не отображены.
Для обеспечения высокого темпа работы по установке струн геодезисту-руководителю звена должны заранее выдаваться ведомости нивелировочных отметок пикетных и плюсовых точек, вычисленных двойным машинным счетом.
Работы по установке копирных струн выполняет звено рабочих следующего состава:
Дорожные рабочие:
4 разр.-1
3 разр.-1
2 разр.-1
1 разр.-1
Работой звена руководит инженер-геодезист. Он же выполняет работу с геодезическим инструментом (теодолитом, нивелиром, эккером).
Перед началом работ он проводит осмотр участка и принимает решение о способе установки струн. В конце рабочей смены делает окончательную выправку струн.
Дорожные рабочие 3 и 4 разр. провешивают линию установки струны, выполняют разметку мест установки нивелирных колышков, устанавливают нивелирные колышки под теодолит и нивелир, стойки и поперечные штанги-по шаблону, контролируют и выправляют положение струны в плане и профиле.
Дорожные рабочие 1 и 2 разр. забивают стойки, работают с лентой и нивелирными рейками, переносят геодезические инструменты по участку работ, разматывают и раскладывают струну, сматывают ее на катушку, выполняют все работы по переноске инвентаря (стоек, нивелирных колышков, вешек и др.), снимают стойки и выполняют другие вспомогательные подсобные работы.
Все рабочие звена участвуют в погрузке и выгрузке инвентарных принадлежностей.
Для обслуживания звена выделяется грузовой автомобиль.
III. ГРАФИК
ПРОИЗВОДСТВЕННОГО ПРОЦЕССА ПО УСТАНОВКЕ
КОПИРНЫХ СТРУН
(сменная выработка звена-800 м струны в одну нитку)

Примечания.
1. В трудоемкость работ включено время отдыха рабочих в размере 10 % времени работы в течение смены.
2. Цифры указывают: над линиями - число рабочих, под линиями - продолжительность операций в минутах,
3. В состав звена не включены инженер-геодезист (ИТР) и водитель автомобиля, обслуживающего звено по установке струн.
IV. КАЛЬКУЛЯЦИЯ ЗАТРАТ ТРУДА НА УСТАНОВКУ КОПИРНЫХ СТРУН
(сменная выработка звена-800 м струны в
одну нитку)
|
Шифр норм |
Наименование работ |
Состав звена |
Единица измерения |
Объем работ |
Норма затрат труда, чел-ч |
Расценка, |
Норма- |
Стои- |
|
|
ВНиР-57, |
Разбивка пикетажа и установка нивелирных колышков по теодолиту, перенос инструментов |
Дорожные 4 разр.-1 |
100 м |
8 |
1,05 |
0-55,4 |
8,4 |
4-43 |
|
|
ВНиР-57, |
Установка копирной струны, забивка нивелирных колышков под отметку, контрольное нивелирование нивелирных колышков, установка и забивка металлических стоек с поперечными штангами, установка поперечных штанг над нивелирными колышками по теодолиту и шаблону (линейке), раскладка, натяжение струны и укладка ее в прорези поперечных штанг, проверка правильности установки струны в плане и профиле |
То же |
То же |
8 |
3,5 |
1-85 |
28,0 |
14-80 |
|
|
ВНиР-57, |
Снятие копирных струн, намотка их на катушки, демонтаж стоек |
Дорожные 2 разр.-1 |
То же |
8 |
0,65 |
0-30,3 |
5,2 |
2-42- |
|
|
|
Итого: |
на 800 м |
|
|
|
|
|
41,6 |
21-65 |
|
|
на 1000 м |
|
|
|
|
|
52,0 |
27-06 |
|
V. ОСНОВНЫЕ ТЕХНИКО-ЭКОНОМИЧЕСКИЕ ПОКАЗАТЕЛИ
|
Наименование показателей |
Единица измерения |
По |
По |
На
сколько процентов показатель по графику больше (+) или меньше (-), чем по
калькуляции |
|
Трудоемкость работ на установку 1000 м струны |
чел.-дн. |
6,5 |
5,0 |
-23 |
|
Средний разряд рабочих |
- |
2,5 |
2,5 |
- |
VI. МАТЕРИАЛЬНО-ТЕХНИЧЕСКИЕ РЕСУРСЫ
а) Основные материалы на установку 800 м струны в одну линию
|
Наименование |
Единица измерения |
Количество |
|
Натяжные барабаны и лебедки |
шт. |
4 |
|
Катушки для струн |
шт. |
2 |
|
Струна полиэтиленовая |
м |
850 |
|
Металлические стойки в сборе с поперечными штангами и струбцинами |
шт. |
58 |
|
Нивелирные колышки |
шт. |
58 |
б) Машины, оборудование, инструмент
|
Наименование |
Марка, ГОСТ |
Количество, шт. |
|
Бортовой автомобиль |
УАЗ-451 ДМ |
1 |
|
Теодолит |
ГОСТ 10529-70 |
1 |
|
Нивелир |
ГОСТ 10528-76 |
1 |
|
Рейки нивелирные |
ГОСТ 11158-76 |
2 |
|
Вешки |
- |
10 |
|
Деревянные шаблоны (линейки) |
- |
2 |
|
Рулетка металлическая измерительная |
ГОСТ 7502-74 |
1 |
|
Лом |
ГОСТ 1405-72 |
1 |
|
Лопаты стальные строительные |
ГОСТ 3620-76 |
2 |
|
Топоры |
- |
2 |
|
Сигнальные знаки для ограждения участка работ |
ГОСТ 10807-71 |
1 компл. |
|
Аптечка |
- |
1 |
VII. КАРТА ОПЕРАЦИОННОГО КОНТРОЛЯ КАЧЕСТВА РАБОТ ПО УСТАНОВКЕ КОПИРНЫХ СТРУН
|
Контролируемые показатели |
Предельные отклонения |
Примечания. 1. Расстояние от нивелирных колышков до оси дороги должно быть одинаковым, и нивелирные колышки должны находиться строго в створе этой линии. 2. Стойки должны стоять вертикально и прочно, прорези на поперечных штангах должны находиться точно над нивелирными колышками. Поперечные штанги не должны иметь перекосов. 3. Высота струны над нивелирными колышками должна быть везде одинаковой. 4. Струна должна быть натянута так, чтобы не было провисания. |
|
Положение струны и колышков в профиле и плане, мм |
±5 |
Проект СНиП III-40-78
|
I |
Основные операции, подлежащие контролю |
Установка нивелирных колышков |
Установка стоек |
Натяжение струн |
|
II |
Состав контроля |
Отметки нивелирных колышков, положение нивелирных колышков в плане |
Правильность установки стоек, положение стоек в плане, положение поперечных штанг над нивелирными колышками |
Высота установки струны, натяжение струны |
|
III |
Метод и средства контроля |
Измерительный |
Измерительный, визуальный |
|
|
IV |
Режим и объем контроля |
На каждом нивелирном колышке |
Постоянно |
|
|
V |
Лицо, контролирующее операцию |
Инженер-геодезист, мастер |
||
|
VI |
Лицо, ответственное за организацию и осуществление контроля |
Прораб |
||
|
VII |
Привлекаемые для контроля подразделения |
- |
||
|
VIII |
Где регистрируются результаты контроля |
Акт на скрытые работы. Журнал геодезических работ |
Журнал геодезических работ |
|
Настоящая технологическая карта применяется при окончательной планировке верха земляного полотна или песчаного морозозащитного слоя перед устройством дорожного основания.
До начала работ по планировке земляное полотно должно быть полностью отсыпано и уплотнено в соответствии с требованиями «Инструкции по сооружению земляного полотна автомобильных дорог», ВСН 97-63, М., «Транспорт», 1964, освидетельствовано и принято технической инспекцией.
Для работы профилировщика на обочине земляного полотна должна быть натянута копирная струна в соответствии с указаниями технологической карты № 1 настоящего сборника.
I. УКАЗАНИЯ ПО ТЕХНОЛОГИИ ПРОИЗВОДСТВЕННОГО ПРОЦЕССА
Краткая техническая характеристика профилировщика ДС-97
Профилировщик ДС-97 (рис. 8) является универсальной автоматизированной машиной, предназначенной для планировки земляного полотна, распределения и планировки грунтов, укрепленных вяжущими при устройстве оснований, а также для чистовой планировки этих оснований.
|
Тип машины |
Самоходная на четырех гусеничных тележках с автоматической следящей системой для контроля курса и уровня |
|
Мощность двигателя, л. с. |
425 |
|
Число об/мин |
2000 |
|
Рабочая скорость, м/мин |
0-36 |
|
Транспортная скорость, м/мин |
0-72 |
|
Масса, кг |
36000 |
|
Ширина обрабатываемой полосы, м |
8,5 |
|
Продольная база, м |
9,150 |
|
Колея передних и задних гусениц, м |
8,070 |
|
Радиус поворота, м |
45,5 |
|
Габаритные размеры, мм: |
|
|
длина |
11582 |
|
ширина |
8534-10058 |
|
высота |
3680 |
|
Рабочие органы: |
|
|
число фрез |
2 |
|
число оборотов фрезы в минуту |
0-75 |
|
число шнеков |
2 |
|
число оборотов шнека в минуту |
0-75 |
|
число отвалов |
4 |
|
высота подъема и опускания фрез, шнеков, отвалов, мм |
250 |
|
Максимальное рабочее давление, кгс/см2 |
320 |
|
Источники питания электросистемы |
Аккумуляторные батареи |
|
Напряжение |
24 В (пост. ток) |

Рис. 8. Основные части профилировщика ДС-97:
1 - датчик уровня с копиром; 2 - укосина; 3 - натяжное колесо гусеницы; 4 - гидроцилиндр подъема ноги; 5 - нога рамы; 6 - погрузочный гидроцилиндр; 7 - узел привода фрезы; 8 - фреза; 9 - дверца фрезы; 10 - отвал фрезы; 11 - узел привода шнека; 12 - шнек; 13 - заслонка; 14 - отвал шнека; 15 - гидроцилиндр заслонки; 16 - уширитель отвала; 17 - гидроцилиндр отвала; 18 - проушина для подъема ноги; 19 - кожух привода гусеницы; 20 - датчик направления с копиром; 21 - регулировочная рукоятка датчика уровня; 22 - регулировочный винт фрезы; 23 - стопорный винт отвала шнека; 24 - механический индикатор уровня; 25 - решетка платформы; 26 - топливный бак: 27 - бак рабочей жидкости; 28 - силовая установка; 29 - пульт управления; 30 - гидроцилиндр механизма поворота; 31 - стойка ноги; 32 - вилка стойки; 33 - гидромотор привода гусеницы; 34 - тяга механизма поворота
Двигатель мощностью 425 л.с. приводит в движение 5 гидронасосов, которые создают давление рабочей жидкости в пяти гидросистемах, питающих энергией гидромоторы гусениц и вращающихся рабочих органов, а также гидроцилиндры поворота гусениц, подъема главной рамы, подъема рабочих органов, погрузочных цилиндров и др.
Профилировщик оборудован автоматической системой выдерживания курса и стабилизации уровня. При работе на автоматическом режиме машина точно выдерживает направление и уровень, заданные копирными струнами, натянутыми с одной стороны дороги, так как профилировщик снабжен системой поперечной стабилизации уровня.
Профилировщик имеет и ручное управление.
К главной раме профилировщика подвешены четыре рабочих органа, состоящие из двух частей каждый:
- фреза, имеющая стальные режущие зубья для рыхления и лопасти шнека для перемещения и распределения грунта;
- отвал фрезы с грейдерными ножами для срезки и предварительного разравнивания грунта;
- шнек, предназначенный для равномерного распределения грунта и перемещения излишков грунта в различных направлениях;
- отвал шнека с грейдерными ножами для окончательной планировки грунта и удаления его излишка либо на обочины, либо на питатель конвейера-перегружателя.
Длина каждой половины рабочего органа - 4,26 м. К отвалу шнека при необходимости подвешивают удлинители (уширители) отвала.
Фреза и шнек приводятся в движение гидромоторами (по два мотора на каждый рабочий орган).
Все рабочие органы поднимаются и опускаются гидроцилиндрами (по три гидроцилиндра на каждый рабочий орган). Отвалы и фреза для точной установки по высоте имеют установочные винты и ограничители уровня.
Подготовительные работы
В состав подготовительных работ входят подготовка участка земляного полотна к работе и установка в рабочее положение профилировщика.
На участке земляного полотна, предназначенном для планировки, прежде всего необходимо установить шлагбаумы, а движение автотранспорта направить по объездам, проверить правильность натяжения копирных струн, а также убрать все посторонние предметы на пути движения профилировщика (оборудование, валы грунта, строительные материалы и т.п.). На виражах устанавливают знаки, обозначающие начало и конец отгонов виража, границы зон досыпки грунта обозначают особыми знаками. Подготовляют расчетные данные для работы оператора на отгонах виража.
Установка профилировщика в рабочее положение
Профилировщик устанавливают в начале участка земляного полотна на ровной горизонтальной площадке. Если площадка имеет неровности, то сначала ее выравнивают профилировщиком.
При установке машины в рабочее положение выполняют следующие операции:
- проверяют точность показаний механических индикаторов рабочих органов - фрезы, шнека, отвалов;
- проверяют ровность режущей кромки грейдерных ножей отвала шнека;
- устанавливают машину относительно оси дороги;
- устанавливают главную раму относительно поперечного уклона;
- устанавливают профилировщик на струну.
Проверку правильности показаний механических индикаторов рабочих органов делают в такой последовательности.
Главную раму гидроцилиндрами ног поднимают в верхнее положение. Все рабочие органы - фрезу, шнек, отвалы - поднимают в верхнее положение заподлицо с нижними гранями боковой обшивки. Шнуром, натянутым по нижним граням боковой обшивки (поперек машины), поочередно проверяют положение всех рабочих органов - низ рабочего органа должен находиться на линии шнура.
В таком положении рабочих органов все механические индикаторы должны показывать «0». Если какой-нибудь индикатор показывает другой отсчет, то стрелку индикатора поставить на «0» (предварительно проверить, не погнут ли шток индикатора. Если погнут - выправить шток, и стрелку индикатора поставить на «0»).
Проверку ровности режущей кромки грейдерных ножей отвала шнека делают особо точно, так как отвалом шнека выполняют завершающую операцию по планировке верха земляного полотна - чистовую или прецезионную планировку.
Отвал опускают примерно на 15 см и шнуром, натянутым вдоль отвала по режущей кромке грейдерных ножей, проверяют ее ровность. Если нижняя кромка ножей неровная, то, ослабив болты крепления, ножи выравнивают, а затем болты снова затягивают.
После этого отвал поднимают до уровня нижних граней боковой обшивки и проверяют, нет ли перекоса отвала относительно низа главной рамы. Низ отвала должен быть параллельным горизонтальной плоскости главной рамы.
Для установки профилировщика относительно оси земляного полотна делают следующее.
По оси земляного полотна в нескольких метрах впереди машины и позади нее забивают колышки, между колышками натягивают шнур. Профилировщик устанавливают так, чтобы средняя подшипниковая подвеска фрезы и середина средней подвески отвала шнека точно находились на линии натянутого шнура.
Установку главной рамы профилировщика относительно поперечного уклона делают по двум копирным струнам, установленным но обеим сторонам машины. Если для работы профилировщика натянута одна струна, то дополнительно устанавливают струну с другой стороны машины на отрезке длиной примерно 30 м (два промежутка между стойками). Плоскость, проходящая через линию струн, должна быть параллельна плоскости поперечного уклона земляного полотна.
Главную раму опускают в позицию, удобную для работы.
Перед передней стенкой главной рамы поперек струн натягивают базовый шнур, и линейкой замеряют расстояние от базового шнура до верха углов главной рамы. С помощью передних гидроцилиндров ног выравнивают главную раму так, чтобы расстояние от базового шнура до каждого верхнего угла главной рамы стало одинаковым.
Затем базовый шнур натягивают по струнам у задней стенки главной рамы и задними гидроцилиндрами выравнивают углы главной рамы относительно базового шнура.
При установке профилировщика на струну последовательно выполняют следующие операции.
На стороне машины, обращенной к струне, на узлы стоек ног устанавливают консоли (рис. 9) в монтажные кронштейны так, чтобы наружные концы консолей не доходили до струны на 22-23 см. Монтажные гайки завинчивают, но не затягивают.
К концу консоли прикрепляют поперечину. Устанавливают тягу, слегка закрепляют ее на рулевом фитинге фланца вилки стойки и на фитинги поперечины.
Устанавливают коробки датчиков с копирными стержнями выдерживания курса на передние концы поперечин, а коробки датчиков стабилизации на нижние концы подъемных винтов. Подключают вилки проводки к штепселям датчиков стабилизации уровня.
Ставят выключатель питания панели рулевого управления и подъема в положение «Вкл.». Ставят рулевой переключатель в положение «Вперед» и переключатели копирных стержней в положение «Включ.».
С помощью подъемных винтов датчиков стабилизации уровня опускают (поднимают) главную раму в необходимое рабочее положение. Медленно поднимают наружные концы консолей (передней, а потом задней) до тех пор, пока копирные стержни не придут в соприкосновение со струной и не погаснут сигнальные лампы подъема и опускания. После этого датчики стабилизации уровня будут в нулевом положении.
Закрепляют монтажные гайки консоли и одновременно следят за тем, чтобы положение коробок датчиков не было изменено. Операцию регулировки датчиков проверяют.
Регулируют положение датчиков выдерживания курса. Для этого ползун консоли выдвигают до тех пор, пока копирный стержень датчика не придет в контакт со струной и пока не погаснут сигнальные лампы рулевого управления.

Рис. 9. Схема устройства консолей и датчиков:
1 - укосины (консоли), 2 - подъемный винт, 3 - тяга; 4 - датчик стабилизации уровня, 5 - поперечина; 6 - датчик выдерживания курса, 7 - копирные стержни датчиков
Устанавливают на круглой шкале системы поперечной стабилизации необходимый поперечный уклон. По истечении нескольких секунд, когда главная рама примет заданное положение по поперечному уклону, проверить, соответствует ли превышение одного конца заднего отвала над другим заданному уклону (проверяют шнуром, натянутым поперек струн).
Планировка земляного полотна
Планировку земляного полотна делают одним из следующих способов:
- без фрезерования грунта;
- с фрезерованием (рыхлением грунта).
Планировка земляного полотна без фрезерования грунта
Такую планировку делают в случаях, когда земляное полотно отсыпано в точном соответствии с проектом, поверхность его не деформирована проездом автотранспорта или когда на земляном полотне отсыпан и уплотнен песчаный морозозащитный слой.
Перед планировкой земляного полотна принимают решение, куда сбрасывать лишний грунт - на одну обочину, на две обочины или на питатель конвейера-перегружателя.
При сбросе грунта на питатель конвейера-перегружателя снимают заслонки центрального окна отвала шнека и делают перестановку звеньев шнека на интенсивный выброс грунта.

Рис. 10. Схема установки рабочих органов при планировке земляного полотна без фрезерования грунта:
1 - главная рама; 2 - фреза; 3 - отвал фрезы; 4 - шнек; 5 - отвал шнека, 6 - линия (О-О) низа боковых стенок главной рамы; 7 - линия (А-А) проектных отметок верха земляного полотна
Планировку земляного полотна делают, как правило, за один-два прохода профилировщика при рабочей скорости порядка 15 м/мин.
Профилировщик устанавливают в начале участка, готовят его к работе, а затем устанавливают рабочие органы в рабочее положение (рис. 10).
Отвал фрезы поднимают, отвал шнека устанавливают по механическим индикаторам так, чтобы режущая кромка была на проектной отметке земляного полотна.
Точную установку отвала делают с помощью установочных винтов, а затем ставят нижние ограничители.
Величину опускания отвала по механическим индикаторам определяют по разности отметок низа боковых стенок главной рамы и проектной отметки земляного полотна.
Установку отвала на проектную отметку можно произвести также по забитым колышкам по концам отвала, верх которых должен иметь отметки земляного полотна в данных точках. Отвал опускают режущей кромкой на уровень колышков, делают доводку регулировочными винтами и ставят нижние ограничители. Запоминают показания индикаторов.
Шнек устанавливают выше отвала на 2-2,5 см.
При тяжелых грунтах фрезу устанавливают на проектную отметку земляного полотна, затем ее поднимают на 0,5-1 см и в таком положении ставят нижние ограничители. При легких грунтах фрезу поднимают.
Если планируют земляное полотно с двускатным поперечным профилем, то середину рабочих органов по механическим индикаторам поднимают на величину стрелы подъема профиля.
Для сброса лишнего грунта на обочины открывают соответствующее дверцы и заслонки фрезы и шнека, на отвал шнека ставят удлинители (при этом учитывают положение струн).
Рычаги управления шнеком и фрезой ставят в нужную позицию: разводят рычаги - для сброса грунта на обе стороны, ставят рычаги рядом - для сброса грунта в одну сторону.
Сначала пускают в работу фрезу и шнек и прорабатывают грунт на месте, а затем включают гусеницы.
После обработки участка протяжением 20-30 м проверяют отметки спланированного земляного полотна и поперечный уклон. Если необходимо, делают дорегулировку рабочих органов и приступают к планировке земляного полотна.
В процессе работы машинист профилировщика по механическим индикаторам наблюдает за положением рабочих органов, а через решетки - за правильной работой фрезы и шнека.
Управляя фрезой и шнеком, машинист, при необходимости, перераспределяет грунт и только лишний грунт сбрасывает на обочины или на питатель конвейера-перегружателя.
Перед отвалом шнека всегда должен поддерживаться небольшой равномерный валик грунта, необходимый для заполнения впадин.
При значительных скоплениях грунта у отвала шнека машинист снижает скорость движения профилировщика и увеличивает скорость вращения шнека и фрезы или опускает отвал фрезы для сброса части грунта фрезой.
Шнеком не срезают грунт, а только перемещают его. Если после прохода отвала шнека будут заметны следы от зубьев фрезы или от лопастей шнека, фрезу или шнек несколько поднимают.
Необходимую рабочую скорость движения профилировщика машинист устанавливает по числу оборотов двигателя и по показаниям манометров о давлении рабочей жидкости в гидросистеме; рабочее давление по манометрам не должно превышать 295 кгс/см2. Если давление превышает этот предел, машинист снижает число оборотов двигателя и уменьшает скорость движения профилировщика.
Скорость вращения фрезы и шнека не должна быть больше, чем это необходимо для перемещения грунта.
При сбросе лишнего грунта на питатель конвейера-перегружателя (с погрузкой грунта в автомобили-самосвалы) центральное окно отвала шнека открывают, а отвал фрезы поднимают.
Для более эффективной переброски грунта делают некоторую перестановку секций лопастей шнека. Осмотром определяют, где находятся укороченные секции лопастей (22,86 см) на боковых концах шнека или в середине шнека.
Если укороченные секции расположены на боковых концах (рис. 11), то поступают следующим образом:
- секции лопастей (45,72 см) снимают с внутренних (центральных) концов шнека и ставят на боковые концы шнеков;
- укороченную секцию, снятую с бокового (внешнего) конца левого шнека, ставят на внутренний конец правого шнека, а укороченную секцию, снятую с бокового конца правого шнека, ставят на внутренний конец левого шнека.
Если укороченные секции расположены на внутренних концах шнеков, то их следует поменять местами.
Перестановка секций лопастей шнека будет способствовать более интенсивному сбросу грунта через центральное окно отвала шнека.
Скорость движения профилировщика поддерживают такой, какая необходима для сброса грунта. При увеличенных объемах грунта скорость профилировщика снижают.

Рис. 11. Схема перестановки секций лопастей для центральной выгрузки грунта:
a - положение лопастей до перестановки секций; б - положение лопастей после перестановки секций; 1 - промежуток; 2 - укороченные секции 22.86 см; 3 - секция 45,72 см
При правильно отсыпанном земляном полотне, как правило, одного прохода профилировщика достаточно. Если же после первого прохода обнаружатся места с недосыпкой грунта, то на эти места вывозят необходимое количество грунта и разравнивают автогрейдером.
Окончательную планировку всего участка (или части его) делают профилировщиком за второй проход. Для этого рабочие органы поднимают в транспортное положение, датчики выдерживания курса переставляют на противоположные концы поперечин (датчики выдерживания курса должны находиться на передних по ходу концах поперечин) и профилировщик на транспортной скорости возвращают к началу участка.
Для второго прохода отвал шнека и шнек устанавливают в такое же положение, как и при первом проходе (см. рис. 4), а фрезу поднимают на 2-2,5 см над поверхностью земляного полотна.
Проход профилировщика делают при рабочей скорости 15-20 м/мин.
После окончания планировки земляного полотна профилировщиком сброшенный грунт на обочины планируют автогрейдером за 1-2 прохода, а затем, если необходимо, земляное полотно укатывают катками на пневматических шинах за 2-3 прохода по одному месту.
Планировка земляного полотна с фрезеровкой (рыхлением) грунта
Планировку земляного полотна с фрезеровкой грунта делают в тех случаях, когда по земляному полотну происходило движение автотранспорта и поверхность земляного полотна значительно деформирована.
В процессе фрезеровки, перераспределения и последующей укатки грунта создают равнопрочное грунтовое основание.
При планировке земляного полотна с фрезеровкой грунта выполняют следующие операции:
- «прочерчивание» (разметку) за первый проход профилировщика;
- фрезерование грунта при обратном ходе;
- планировку земляного полотна с распределением грунта;
- уплотнение грунта катками;
- чистовую (прецезионную) планировку земляного полотна.
«Прочерчивание» делают за первый проход профилировщика. Оба отвала и фрезу устанавливают несколько выше проектной отметки земляного полотна с таким расчетом, чтобы произвести срезку бугров и выровнять вчерне поверхность земляного полотна.
«Прочерчивание» даст полную картину мест, где необходимо делать срезку или досыпку грунта.
Фрезеруют грунт на глубину 10-12 см при обратном ходе профилировщика.
Так как этот процесс наиболее энергоемкий, выполняют его только фрезой при поднятых остальных рабочих органах. Рабочую скорость профилировщика выдерживают в пределах 10-15 м/мин.
Если давление в гидростатической трансмиссии превысит 295 кгс/см2, следует снизить скорость движения. Если и после этого давление будет превышать указанный предел, необходимо уменьшить глубину зарезания фрезы.
В тех случаях, когда грунт необходимо увлажнять, воду распределяют через распределительную систему, дополнительно смонтированную на профилировщике. Норму розлива воды устанавливает представитель лаборатории.
И перед фрезеровкой грунта, и после этой операции делают досыпку грунта на тех участках, где эта досыпка необходима, и предварительно планируют грунт автогрейдером или бульдозером.
Планировку с распределением грунта выполняют за один проход при рабочей скорости профилировщика порядка 15 м/мин.
Если необходимо, то с помощью регулировочных винтов-датчиков меняют положение главной рамы - переводят на новый уровень, а затем рабочие органы профилировщика устанавливают в следующее положение:
- отвалы устанавливают на отметку земляного полотна плюс запас на уплотнение грунта, плюс запас на срезку грунта при чистовой планировке 0,5-1 см. Запас на уплотнение ориентировочно принимают для супесчаных грунтов 15-20 % толщины рыхлого слоя грунта, для суглинков - 25-30 %. Величины запасов уточняют опытом;
- шнек устанавливают на 2-2,5 см выше режущей кромка отвала;
- фрезу устанавливают на 2-2,5 см выше кромки отвала шнека.
Для сброса грунта открывают соответствующие заслонки и дверцы окон шнека и фрезы.
Задачей этой операции является распределение, планировка и сброс лишнего грунта, поэтому стремятся к тому, чтобы наиболее эффективно распределить грунт и только лишний грунт сбросить на обочины.
Фрезой и отвалом фрезы делают предварительное распределение грунта и поддерживают поступление оптимального количества грунта к отвалу шнека для окончательной планировки.
При сбросе лишнего грунта на обочины центральное окно отвала шнека закрывают заслонкой.
Если грунт сбрасывают на питатель конвейера-перегружателя, то центральное окно отвала шнека открывают, отвал фрезы поднимают в верхнее положение, заслонки шнека и дверцы фрезы закрывают.
После планировки земляного полотна грунт, сброшенный на обочины, планируют автогрейдером за 1-2 прохода.
Уплотнение грунта
Грунт уплотняют катками на пневматических шинах Д-627, Д-624, Д-551.
Укатку начинают с обочин с постепенным перемещением проходов к оси земляного полотна и с перекрытием проходов на 30-50 см.
Первые два прохода катков делают на малых скоростях, при последующих проходах скорость движения катков увеличивают до 12-15 км/ч.
Ориентировочное количество проходов катка по одному месту - 4-6. Окончательно необходимое число проходов катка по одному месту уточняют опытным путем на месте работ в зависимости от требуемой степени уплотнения.
Рекомендуемое давление в шинах при первых проходах 2-3 кгс/см2, при завершающих проходах - 4-5 кгс/см2.
Если влажность грунта ниже оптимальной, то грунт увлажняют водой с помощью водополивочных машин.
Норму розлива воды определяет представитель лаборатории.
В сухую и ветреную погоду для сохранения влаги полив и уплотнение грунта ведут на небольших участках.
Уплотнение грунта заканчивают при достижении коэффициента уплотнения 1,0. Контроль за степенью уплотнения грунта ведет лаборант.
После уплотнения земляного полотна производят чистовую (прецезионную) планировку профилировщиком.
Чистовая планировка является завершающей операцией, после которой поверхность земляного полотна должна быть ровной, иметь проектные отметки и поперечный профиль. Поэтому настройку и регулировку рабочих органов делают особенно точно.
Если необходимо изменить положение главной рамы, то регулировочными винтами датчиков стабилизации уровня переводят главную раму на требуемый уровень.
В работу включают все рабочие органы (рис. 12):
- фрезу устанавливают на проектную отметку земляного полотна, а затем поднимают на 0,5-1 см и ставят нижние ограничители;
- отвал фрезы устанавливают на проектную отметку земляного полотна и поднимают на 0,5-1 см;
- шнек устанавливают выше отметки земляного полотна на 2-2,5 см;
- отвал шнека опускают на проектную отметку земляного полотна, делают точную доводку регулировочными винтами и ставят нижние ограничители.
При планировке земляного полотна двускатного профиля гидроцилиндрами по показаниям механических индикаторов поднимают середину рабочих органов на стрелу подъема поперечного профиля планируемой части земляного полотна. Если, например, поперечный уклон земляного полотна 20 ‰, длина половины отвала шнека 4,2 м, то середину рабочих органов надо поднять на 4,2 ´ 0,02 = 0,084 м, или на 8,4 см.
После настройки и регулировки рабочих органов решают вопрос о направлениях сброса лишнего грунта.
При сбросе грунта на обочины открывают соответствующие дверцы фрезы и заслонки шнека. Окно в центре заднего отвала закрывают заслонкой.

Рис. 12. Схема установки рабочих органов при чистовой планировке земляного полотна:
1 - главная рама, 2 - фреза; 3 - передний отвал, 4 - шнек, 5 - задний отвал, 6 - линия (О-О) низа боковых стенок главной рамы, 7 - линия (А-А) проектных отметок верха земляного полотна
При сбросе грунта на питатель конвейера-перегружателя центральное окно отвала шнека открывают, а отвал фрезы поднимают.
Чистовую планировку выполняют за один проход при скорости движения профилировщика 10-15 м/мин. В зависимости от характера грунта и толщины срезаемого слоя скорость может быть повышена, но при этом давление в гидростатической системе не должно превышать 295 кгс/см2.
После планировки участка протяжением 20-30 м проверяют качество планировки - ровность поверхности, отметки, поперечный уклон. Если необходимо, регулируют положение рабочих органов.
В процессе планировки машинист фрезой и шнеком сбрасывает лишний грунт и поддерживает оптимальное количество грунта у отвала шнека, необходимое для выравнивания впадин.
Грунт, сброшенный на обочины, планируют автогрейдерами. Обочину, на которой натянута струна, планируют после снятия струны.
После чистовой планировки земляное полотно укатывают катками на пневматических шинах за 2 прохода катка по одному следу.
Работа профилировщика на виражах
Земляное полотно на вираже должно иметь односкатный профиль, а на отгонах виража - переходный от профиля на прямом участке дороги к профилю на вираже.
Для более точного выполнения планировочных работ на вираже рекомендуется устанавливать струны с двух сторон.
При земляном полотне, имеющем на прямом участке односкатный профиль, прохождение отгонов и основной кривой виража особых затруднений не вызовет, так как движение профилировщика осуществляют по струнам в автоматическом режиме.
При этом нижняя плоскость главной рамы, а с нею и плоскость низа рабочих органов будет всегда параллельна плоскости верха земляного полотна.
При двускатном профиле земляного полотна на первой половине отгона виража l1 (рис. 13) постепенно опускают середину отвала шнека с таким расчетом, чтобы к концу этого участка превышение середины было равно 0 (δ = 0), т.е. чтобы отвал шнека выровнялся в одну прямую линию, параллельную поверхности земляного полотна.
Далее участок l2 на первом отгоне виража, основную кривую виража L2, участок l2 на втором отгоне виража проходят в автоматическом режиме, не меняя положения рабочих органов.
На участке l2 второго отгона виража начинают постепенно поднимать середину отвала шнека, чтобы к концу этого участка на примыкании к прямому участку дороги получить нормальный двускатный поперечный профиль.
Элементы отгонов виража и число ступеней изменения поперечного профиля заранее определяют расчетами.
Пример.
Земляное полотно на примыканиях к виражу имеет двускатный профиль с поперечным уклоном 20 ‰, участки отгона виража, на которых постепенно меняют поперечный профиль, l1 = 56 м, наименьшее деление шкалы механического индикатора равно 3 мм.
Определяем стрелу подъема заднего отвала на подходе к виражу при длине половины отвала, равной 4,2 м: δ = 4,2 ´ 0,02 = 0,084 м, или 84 мм. Число ступеней (участков) изменения поперечного профиля на участке l1 при цене деления шкалы механического индикатора 3 мм будет равно 84:3 = 28.
Длина отрезка пути (ступени), на котором будут изменять профиль на каждые 3 мм, равна 56:28 = 2 м.
Участки отгонов виража l1 разбивают на 28 отрезков длиной по 2 м каждый.
В процессе планировки оператор на участке первого отгона виража l1 через каждые 2 м опускает середину отвала шнека на одно деление шкалы индикатора 3 мм так, чтобы к концу участка превышение середины отвала над краями было равно 0.
Затем на автоматическом режиме без изменения положения рабочих органов проходят участок l2 на первом отгоне виража, основную кривую виража L2 и участок l2 на втором отгоне виража.

Рис. 13. Схема разбивки виража перед планировкой земляного полотна:
1 - линия границ планируемой полосы; 2 - линии кромок покрытия; 3 - знак «Начало отгона виража»; 4 - знак «односкатный профиль»; 5 - знак «Начало кривой»; 6 - знак «Конец кривой»; 7 - знак «Переход к двускатному профилю»; L1 - отгон виража; l1 - участки переходного профиля от двускатного к односкатному; l2 - участки переходного односкатного профиля; А1, А2,…, А5 - левые точки отвала; В1, В2, …, В5 - средние точки отвала; С1, С2, …, С5 - правые точки отвала; δ - величина подъема середины отвала
На участке l1 (второго отгона виража) машинист поднимает середину отвала шнека на одно деление шкалы индикатора (3 мм) через каждые 2,0 м так, чтобы на примыкании с прямым участком дороги получить полный двускатный профиль со стрелой подъема δ = 84 мм.
Для успешной работы на вираже заранее готовят все расчетные данные, на участке делают разбивку и обозначают переходные точки виража знаками, видными и понятными машинисту.
II. ОРГАНИЗАЦИЯ ТРУДА
Вследствие высокого темпа работ должны быть тщательно проведены подготовительные работы на участке.
На участке работ полоса движения профилировщика должна быть свободной (убраны строительные материалы и посторонние предметы). Струны устанавливают с заделом на одну сменную захватку и качество натяжения струн проверяют. При работе профилировщика (оборудованного специальной системой стабилизации уровня) от одной струны начинать каждую смену рекомендуется на участке длиной 30-50 м со струнами, натянутыми с обеих сторон. Это необходимо для установки машины в рабочее положение, наладки рабочих органов, контроля системы поперечной стабилизации уровня и контроля качества планировки.
К началу работы сосредоточивают необходимые инструменты, инвентарь, оборудование (см. раздел VI настоящей карты).
Участок ограждают шлагбаумами и сигнальными знаками, а движение автомобилей направляют по объезду. Объездную дорогу подготавливают заранее и содержат в хорошем состоянии.
Заранее готовят необходимые расчеты для работы на виражах, знаки обозначения точек виража.
На участке работ обозначают начало и конец виража и отгонов, а также разбивают отрезки для постепенного изменения поперечного профиля.
Также подготавливают данные для высотной установки рабочих органов профилировщика и принимают решение о порядке сброса излишков грунта (на обочины или на питатель конвейера-перегружателя).
При планировке земляного полотна фрезеровкой грунта сменную захватку делят на 2-3 участка и работы на них ведут поочередно. Это необходимо для обеспечения катков фронтом работ.
Работу по планировке, как правило, ведут в две смены.
Для выполнения работ организуют звено рабочих (на каждую смену) следующего состава:
Машинист профилировщика 6 разр.-1
Помощник машиниста 5 разр.-1
Машинисты пневмокатков 6 разр.-1 - 2
Машинист профилировщика в начале смены получает указания от мастера, знакомится с участком работ. Машинист с помощником готовят машину к работе, заправляют горючим, смазывают узлы и агрегаты, регулируют рабочие органы и ставят машину на струны.
В процессе работы машинист управляет профилировщиком, а помощник машиниста, следуя за профилировщиком, контролирует качество работы: проверяет поперечный уклон и ровность поверхности, замеряет глубину рыхления.
В конце рабочей смены они проводят уборку и мойку машины, сдают датчики на хранение в кладовую. Машинист сдает участок работ мастеру.
На участке работ должны быть вагончики для мастера и кладовой, вагончики для рабочих, в которых должны быть питьевая вода, умывальники, медицинская аптечка.
III. ГРАФИК ПРОИЗВОДСТВЕННОГО ПРОЦЕССА
а) Планировка земляного полотна профилировщиком ДС-97 без фрезеровки грунта. Длина сменной захватки 2000 м, ширина планировки 8,5 м

Примечания.
1. В графике цифры указывают: над линиями число рабочих, под линиями - продолжительность операций в минутах.
2. В трудоемкость работ включено время для отдыха рабочих в течение смены в размере 10 % времени работы.
3. Работы по досыпке грунта, увлажнению грунта дополнительно включаются в график при необходимости.
б) Планировка земляного полотна с фрезерованием грунта.
Длина сменной захватки 1000 м. Ширина планировки 8,5 м

Примечания.
1. В графике цифры указывают: над линиями числе рабочих, под линиями - продолжительность операций в минутах. Римскими цифрами в скобках обозначены номера участков.
2. В трудоемкость работ включено время для отдыха рабочих в течение смены в размере 10 % времени работы.
3. Работы по досыпке и увлажнению грунта в график включаются дополнительна при необходимости.
IV. КАЛЬКУЛЯЦИЯ ЗАТРАТ ТРУДА НА ПЛАНИРОВКУ ЗЕМЛЯНОГО ПОЛОТНА ПРОФИЛИРОВЩИКОМ ДС-97
а) Планировка земляного полотна без фрезерования грунта. Длина сменной захватки 2000 м (17000 м2)
|
Шифр норм |
Состав звена |
Наименование работ |
Единица измерения |
Объем |
Норма времени, чел-ч |
Расценка, |
Норма- |
Стои- |
|
Местная норма СУ-936 треста «Бел- |
Машинист про- 6 разр.-1 Помощник машиниста 6 разр.-1 |
Планировка грунтового основания профилировщиком ДС-97 с установкой профилировщика на струну и перегонами по участку работ |
100 м2 |
170 |
0,112 |
0-09,3 |
19,0 |
15-81 |
|
ЕНиР, |
Машинист 5 разр.-1 |
Уплотнение земляного полотна за два прохода катка на пневматических шинах по одному следу |
100 м2 |
170 |
0,078 |
0-05,4 |
13,3 |
9-18 |
|
|
|
Итого: на сменную захватку 2000 м (17000 м2) |
|
|
|
|
32,3 |
24-99 |
|
|
|
на 1000 м2 |
|
|
|
|
1,9 |
1-47 |
б) Планировка земляного полотна с фрезерованием грунта.
Длина сменной захватки 1000 м (8500 м2)
|
Шифр норм |
Состав звена |
Наименование работ |
Единица измерения |
Объем |
Норма времени, чел-ч |
Расценка, руб.-коп. |
Норма- |
Стоимость затрат труда на полный объем работ, руб.-коп. |
|
ТНиР, |
Машинист профилировщика 6 разр.-1 Помощник машиниста 5 разр.-1 |
Грубая планировка поверхности земляного полотна и фрезерование грунта. Планировка поверхности земляного полотна. Чистовая планировка |
100 м2 |
85 |
0,22 |
0-18,2 |
18,7 |
15-47 |
|
ЕНиР, |
Машинист катка 5 разр.-1 |
Уплотнение грунта катком на пневматических шинах за четыре прохода после фрезерования грунта и за два прохода после чистовой планировки. Всего за 6 проходов по одному следу |
100 м2 |
85 |
0,232 |
0-16,4 |
19,7 |
13-94 |
|
|
|
Итого: на сменную захватку 1000 м (8500 м2) |
|
|
|
|
38,4 |
29-41 |
|
|
|
на 1000 м2 |
|
|
|
|
4,51 |
3-46 |
V. ОСНОВНЫЕ ТЕХНИКО-ЭКОНОМИЧЕСКИЕ ПОКАЗАТЕЛИ
|
Наименование показателей |
Единица измерения |
По |
По |
На сколько процентов показатель по графику больше (+) или меньше (-), чем по калькуляции
|
|
Трудоемкость работ на 1000 м2: |
|
|
|
|
|
планировка без фрезерования грунта |
чел-ч |
1,9 |
1,41 |
-26 |
|
планировка с фрезерованием грунта |
чел-ч |
4,52 |
3,77 |
-17 |
|
Средний разряд рабочих: |
|
|
|
|
|
планировка с фрезерованием |
- |
5,7 |
5,7 |
- |
|
планировка без фрезерования |
- |
5,7 |
5,7 |
- |
|
Средняя заработная плата одного рабочего в день: |
|
|
|
|
|
планировка с фрезерованием |
- |
6-18 |
8-33 |
+35 |
|
планировка без фрезерования |
- |
6-12 |
7-35 |
+20 |
VI. МАТЕРИАЛЬНО-ТЕХНИЧЕСКИЕ РЕСУРСЫ
Машины, оборудование, инструмент, инвентарь
|
Наименование |
ГОСТ |
Количество, шт. |
|
Профилировщик ДС-97 |
- |
1 |
|
Автогрейдер ДЗ-98 |
- |
1 |
|
Конвейер-перегружатель ДС-98 (при необходимости) |
- |
1 |
|
Катки на пневматических шинах ДУ-31, Д-627 |
8544-74 |
1 2 |
|
Поливомоечные машины (при необходимости) |
- |
по расчету |
|
Автомобили-самосвалы (при необходимости) |
- |
по расчету |
|
Нивелир |
10528-76 |
1 |
|
Рейки нивелирные |
11158-76 |
2 |
|
Рулетка измерительная металлическая |
7502-74 |
1 |
|
Шнур льнопеньковый крученый (трассировочный) длиной 20 м |
5107-70 |
1 |
|
Линейка мерная сантиметровая длиной 100 см |
- |
1 |
|
Рейка металлическая трехметровая |
- |
1 |
|
Мерник зазоров клиномерный |
- |
1 |
|
Лопаты стальные строительные |
3620-76 |
2 |
|
Кувалда кузнечная |
11401-71 |
1 |
|
Шлагбаум переносной |
- |
1 |
|
Дорожные сигнальные знаки для ограждения участка работ |
10807-71 |
1 компл. |
VII. КАРТА ОПЕРАЦИОННОГО КОНТРОЛЯ КАЧЕСТВА РАБОТ ПРИ ПЛАНИРОВКЕ ЗЕМЛЯНОГО ПОЛОТНА ПРОФИЛИРОВЩИКОМ ДС-97
|
№ |
Контролируемые параметры |
Предельные отклонения |
|
1 |
Отметки по оси |
±10 мм |
|
2 |
Поперечный уклон |
±0,005 |
|
3 |
Плотность грунтового слоя |
-4 % |
Примечания.
1. Поперечные уклоны в пределах допускаемых отклонений должны составлять не менее 80 %, при этом для остальных 20 % измерений значения не должны выходить за пределы: -0,10 и +0,015.
2. Плотность верхнего слоя грунта после укатки его катками должна быть не менее 0,98 плотности этого же грунта, уплотненного стандартным методом.
3. Число замеров плотности грунта с максимальными отклонениями не должно превышать 10 % от общего числа замеров.
СНиП III-40-78
|
I |
Основные операции, подлежащие контролю |
Планировка земляного полотна |
Уплотнение грунта после фрезерования |
|
II |
Состав контроля |
1. Отметки по оси. |
Плотность грунта |
|
III |
Метод и средства контроля |
Измерительный. 1, 2. Нивелир, рулетка |
Измерительный. Влагомер-плотномер системы Ковалева |
|
IV |
Режим и объем контроля |
В начале смены и далее через каждые 100 м |
Через каждые 50 м в трех точках на каждом поперечнике |
|
V |
Лицо, контролирующее операцию |
Мастер |
Мастер, лаборант |
|
VI |
Лицо, ответственное за организацию и осуществление контроля |
Прораб |
|
|
VII |
Привлекаемые для контроля подразделения |
- |
Лаборатория |
|
VIII |
Где регистрируются результаты контроля |
Общий журнал работ |
Общий журнал работ, журнал лабораторных работ, акт на скрытые работы |
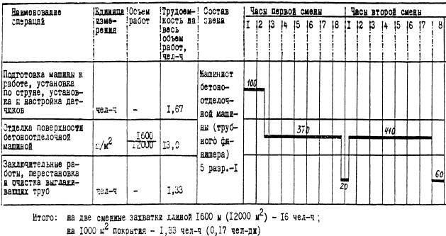
В технологической карте принята производительность смесительной установки ДС-50А-350 м3 (700 т)в смену.
I. УКАЗАНИЯ ПО ТЕХНОЛОГИИ ПРОИЗВОДСТВЕННОГО ПРОЦЕССА
Смесительная установка ДС-50А предназначена для приготовления в притрассовых карьерах смесей из малосвязных грунтов с многокомпонентными вяжущими.
Смесительная установка применяется при работе на несвязных грунтах (до супесей с числом пластичности 3-5), а при работе с измельчителем применяется и при связных грунтах (до легких суглинков с числом пластичности до 12).
В оборудование смесительной установки ДС-50А входят агрегат питания, дозатор цемента, агрегат смесительный, конвейер, водяной насос, кабина (пульт) управления с тележкой (рис. 14).
Техническая характеристика передвижной смесительной установки непрерывного действия ДС-50А
|
Производительность установки, т/ч |
100 |
|
Масса установки, т |
28 |
|
Установленная мощность, кВт: |
|
|
электродвигателей |
117 |
|
электронагревателей |
3 |
|
Напряжение силовой сети, В |
380 |
|
Габаритные размеры установки в рабочем положении, мм: |
|
|
длина |
21200 |
|
ширина |
12400 |
|
высота |
7450 |
|
Максимальная скорость транспортирования смесительной установки ДС-50А, км/ч |
20 |
|
Агрегат питания |
|
|
Геометрическая емкость бункера, м3 |
10 |
|
Число бункеров |
1 |
|
Тип питателя |
Ленточный, объемного дозирования |
|
Регулирование производительности |
Дистанционное, ручное (заслонкой) |
|
Дозатор цемента |
|
|
Тип |
Объемный, роторный |
|
Емкость расходного бункера, м3 |
7,8 (два отсека по 3,9 м3) |
|
Пределы дозирования, т/ч |
2-11 |
|
Габаритные размеры, мм: |
|
|
длина |
4470 |
|
ширина |
1900 |
|
высота |
7450 |
|
Масса, т |
3,89 |
|
Транспортер |
|
|
Тип |
С-989А |
|
Производительность, м3/ч |
235 |
|
Ширина ленты, мм |
800 |
|
Скорость движения ленты, м/с |
1,58 |
|
Мощность привода, кВт |
13 |
|
Расстояние между центрами барабанов, мм |
15000 |
|
Максимальный угол наклона, град. |
20 |
|
Масса, т |
4,3 |
|
Агрегат смесительный |
|
|
1. Дозатор воды |
|
|
Тип |
Объемный |
|
Пределы дозирования, т/ч |
1-16 |
|
Изменение дозы |
Регулировочным краном |
|
Привод регулировочного крана: |
|
|
исполнительный механизм, тип |
МЭО 25/100 |
|
номинальное время одного оборота, с |
100 |
|
мощность, кВт |
0,1 |
|
2. Смеситель |
|
|
Тип |
Двухвальный, лопастной непрерывного действия |
|
Загрузочная емкость, т |
2,3 |
|
Максимальное время перемешивания, мин |
1,5 |
|
Число лопастей |
48 |
|
3. Бункер накопительный |
|
|
Полезный объем, м3 |
2,86 |
|
Привод затвора, тип |
Привод-толкатель винтовой ПТВ-4 |
|
Мощность, кВт |
3,8 |
|
Габаритные размеры смесительного агрегата: |
|
|
в рабочем положении, мм: |
|
|
длина |
10000 |
|
ширина |
3540 |
|
высота |
5240 |
|
в транспортном положении, мм: |
|
|
длина |
8300 |
|
ширина |
2900 |
|
высота |
3785 |
|
Масса, т |
14,5 |
|
Пульт управления с тележкой |
|
|
Ходовая часть: |
|
|
число осей |
1 |
|
число колес |
2 |
|
колея, мм |
1800 |
|
Рекомендуемый тягач |
Автомобиль ЗИЛ-130 |
|
Скорость транспортирования, км/ч |
20 |
|
Габаритные размеры пульта управления (внутренние), мм: |
|
|
длина |
2935 |
|
ширина |
2100 |
|
высота |
2125 |
|
Масса, т |
2,06 |
Перед началом работ по приготовлению цементогрунтовой смеси необходимо тщательно проверить все оборудование, а также надежность всех болтовых и электрических соединений.
Настройка систем дозирования и загрузка смесительной установки материалами
Согласно полученному из лаборатории рецепту смеси и намеченной производительности установки системы дозирования грунта, цемента и воды настраивают в такой последовательности.
Шиберную заслонку агрегата питания устанавливают от ленты питания на расстоянии, мм:
- 122 - при производительности 80-100 т/ч;
- 97 - при производительности 60-80 т/ч.
Устанавливают максимальное число оборотов выходного вала вариатора. Бункер агрегата питания загружают грунтом, а под открытый накопительный бункер устанавливают автомобиль-самосвал. Последовательно включают (при предварительно опущенной заслонке) смеситель, конвейер и привод агрегата питания, и грунт пропускается через накопительный бункер в автомобиль-самосвал в течение 2-3 мин (до достижения установившегося режима подачи грунта в автомобиль-самосвал).
После этого закрывают затвор накопительного бункера и включают секундомер.
Автомобиль-самосвал с грунтом отъезжает, а пустой, взвешенный, устанавливается под накопительный бункер. Время замены автомобилей-самосвалов должно составлять не более 1,5 мин.

Рис 14. Технологическая схема работы смесительной установки ДС-50А:
1 - бункер агрегата питания; 2 - приемный бункер конвейера; 3 - ленточный питатель; 4 - конвейер; 5 - лоток; 6 - дозаторы цемента; 7 - ворошители; 8 - шланг для цемента; 9 - бункеры цемента; 10 - течка; 11 - распределительные трубы воды; 12 - смеситель; 13 - накопительный бункер; 14 - водяной насос; 15 - труба для подачи воды
Открывают затвор накопительного бункера и после заполнения кузова автомобиля-самосвала грунтом закрывают его и выключают секундомер. После этого автомобиль-самосвал взвешивают и определяют массу грунта в нем.
Фактическую производительность определяют по формуле:
т/ч,
где G-масса грунта в автомобиле-самосвале, кг;
t-время по секундомеру, с.
Настраивают дозатор цемента изменением числа оборотов ротора вариатором или при помощи сменных звездочек, при этом число оборотов выходного вала вариатора определяют по формулам:
для дозатора цемента при звездочках z1 = 32 и z2 = 12
Пц1 = 53,2·Qз.ц·iц,
для дозатора цемента при установке сменных звездочек z1 = 29 и z2 = 15
Пц2 = 38,62·Qз.ц·iц,
где
Пц1 и Пц2 - число оборотов выходного вала вариатора цемента при соответствующих звездочках;
Qз.ц - заданная производительность дозатора цемента, т/ч;
iц - объемная масса насыпного цемента, т/м3.
Систему дозирования воды настраивают поворотом пробки регулировочного крана дозатора воды три помощи исполнительного механизма МЭО по показаниям счетчика холодной воды ВКОС-6,3 в следующем порядке.
Устанавливают краны дозатора так, чтобы вода проходила через счетчик ВКОС-6,3. Открывают все три вентиля на распределительной трубе, обеспечивая заполнение насоса и трубопроводов водой выше уровня насоса, после чего включают смеситель, конвейер и ленточный питатель. При подаче грунта в смеситель включают дозатор воды и по счетчику ВКОС-6,3 устанавливают необходимую производительность, при этом давление в магистрали подачи воды должно быть не менее 1,5-2,0 кгс/см2. При меньшем давлении необходимо закрыть один или два вентиля распределительной трубы.
После настройки системы дозирования воды краны устанавливают так, чтобы вода в распределительной трубе не проходила через счетчик ВКОС-6,3.
Оптимальное количество воды в цементогрунтовой смеси при данной производительности смесительной установки ориентировочно определяют по внешним признакам согласно «Инструкции по применению грунтов, укрепленных вяжущими материалами, для устройства оснований и покрытий автомобильных дорог и аэродромов» (СН 25-74), а затем уточняют лабораторными анализами.
Образцы цементогрунтовой смеси для испытания в лаборатории берут при установившемся режиме работы смесительной установки.
При наличии в грунте глинистых частиц рекомендуется при перемешивании смеси вводить воду неполностью, а лишь 50-60 %, во избежание прилипания смеси к лопастям смесители и для повышения производительности установки. Остальные 40-50 % воды, требуемой для доведения смеси до оптимальной влажности, вводят на месте укладки поливомоечными машинами.
Цемент со склада подают в расходный бункер при помощи пневмонагнетательной системы при давлении в воздушной магистрали 1,5 кгс/см2.
Для устранения зависания цемента в бункере имеется ворошитель, который работает от того же привода, что и агрегат питания.
Промежуточную емкость для цемента (склад цемента) загружают из цементовозов при помощи компрессорных установок цементовозов.
Заполнение цистерны водой из водоема производят насосом по трубопроводу, соединяющему насос с цистерной.
Включение и выключение насоса осуществляется с пульта управления.
После настройки смесительной установки на заданную производительность приготовление смеси осуществляется в такой последовательности:
- бункер агрегата питания загружают грунтом, а бункер цемента до верхнего уровня - цементом;
- включают последовательно смеситель, конвейер, а затем ленточный питатель агрегата питания и дозатор цемента для подачи материалов;
- при установившемся режиме работы ленточного питателя и дозатора цемента включают водяной насос;
- вибраторы на агрегате питания и электромагниты встряхивающих фильтров и бункер цемента включают периодически.
До настройки всех агрегатов в установленном режиме выпускаемая смесь не соответствует нормам, поэтому первые 2-3 тонны смеси погружают в автомобиль-самосвал и отвозят в отвал для повторной переработки.
Во время работы установки по приготовлению цементогрунтовой смеси необходимо соблюдать следующие правила:
- не допускать перерывов в работе смесительной установки и в подаче материалов, а также переполнения накопительного бункера и колебаний отклонения уровней цемента от заданных (нижнего и верхнего);
- следить за чистотой загружаемых материалов, не допуская попадания с грунтом камней, металла или других посторонних предметов;
- следить за давлением воды в системе дозирования и показаниями амперметра и вольтметров на пульте управления. При установившемся режиме работы установки эти показания не должны иметь значительного отклонения, в особенности показания амперметра, так как увеличение тока свидетельствует о работе электродвигателя привода мешалки с перегрузкой и требует немедленного ее устранения;
- следить за нагревом редукторов и подшипников, вовремя смазывать и доливать масло, поддерживая его уровень не ниже отметок на маслоуказателе;
- следить за тем, чтобы к моменту окончания работы в бункерах установки материал не оставался.
По окончании работы смесительную установку останавливают в следующем порядке:
- выключают дозатор цемента и водяной насос;
- выключают ленточный питатель агрегата питания после освобождения бункера агрегата питания и ленты конвейера;
- опускают вниз заслонку смесителя;
- выключают электродвигатель смесителя и закрывают затвор накопительного бункера после полного освобождения смесителя и накопительного бункера.
Остаток грунта (после отключения подачи воды через смеситель и накопительный бункер) подают в автомобиль-самосвал и вывозят в отвал.
После выключения всех агрегатов смесительной установки выключают общий рубильник, а ящик, в котором он находится, закрывают на замок.
Отключив установку, необходимо очистить от остатков материалов все рабочие площадки, протереть манометры, шкалы дозаторов, осмотреть установку и устранить выявленные при этом неисправности.
Технология приготовления цементогрунтовой смеси
Грунт, освобожденный от крупных (более 80 мм) каменистых включений, погрузчиком, экскаватором или другими погрузочными машинами подают в бункер агрегата питания, откуда через дозатор грунт поступает в приемный бункер конвейера.
Цемент по шлангам подают из склада цемента в оба отсека расходного бункера, а затем в дозаторы, где он определенными дозами в соответствии с рецептурой подается на слой грунта, перемещаемого конвейером. При последующем продвижении происходит частичное перемешивание грунта с цементом. Отдозированные компоненты (грунт и цемент) конвейером подаются в смеситель.
После кратковременного «сухого» перемешивания грунт и цемент попадают в зону подачи воды.
Вода из промежуточной емкости (цистерны) поступает по шлангам к насосу, установленному на раме полуприцепа. Насос подает воду к регулировочному крану, настроенному на нужную дозу, и далее через распределительные трубы в смеситель.
После тщательного перемешивания готовая смесь из смесителя поступает в накопительный бункер, откуда смесь выгружается в автомобили-самосвалы.
Цементогрунтовую смесь приготовляют в соответствии с требованиями СНиП III-Д.5-73, М., Стройиздат, 1973, и «Инструкции по применению грунтов, укрепленных вяжущими материалами, для устройства оснований и покрытий автомобильных дорог и аэродромов», СН 25-74, М., Стройиздат, 1975.
Требования к качеству
Качество материалов для приготовления смеси и качество цементогрунтовой смеси должны отвечать требованиям СН 25-74.
Цементогрунтовая смесь должна быть хорошо перемешана, равномерно окрашена и иметь однородный состав.
Окончательно физико-механические свойства цементогрунтовой смеси определяют испытанием в лаборатории проб смеси, взятых один-два раза в смену из смесителя.
II. УКАЗАНИЯ ПО ОРГАНИЗАЦИИ ТРУДА
Смесительная установка устанавливается либо в карьере, либо около водоема (рис. 15).
Для высокопроизводительной работы смесительной установки хорошие подъездные дороги должны обеспечить кольцевое движение автомобилей в зоне смесительной установки.

Рис. 15. Организация рабочей площадки в зоне расположения смесительной установки ДС-50А:
1 - погрузчик ТО-18; 2 - бульдозер ДЗ-17 (Д-492А); 3 - место складирования грунта; 4 - бункер агрегата питания; 5 - конвейер; 6 - расходный бункер цемента; 7 - емкость для воды; 8 - водяной насос; 9 - смеситель; 10 - накопительный бункер; 11 - пульт управления; 12 - склад цемента; 13 - компрессор; 14 - вагончик-лаборатория; 15 - вагончик-душевая; 16 - передвижная электростанция; 17 - площадка для маневра автомобилей-самосвалов; 18 - подъездная грунтовая дорога.
Кружками с цифрами обозначены расстановка и разряд рабочих: I - машинист бульдозера; II - машинист погрузчика; III - слесарь строительный; IV - электромонтажник; V - машинист смесительной установки; VI - помощник машиниста смесительной установки; VII - машинист компрессора; VIII - подсобные рабочие
Подъездные дороги должны содержаться в исправном состоянии, а в жаркую и ветреную погоду обязательно поливаться водой.
Грунт для приготовления смеси доставляют автомобилями-самосвалами, сгружают около приемного бункера смесительной установки.
Цемент подвозят цементовозами и загружают в склад цемента.
Вода подается в цистерну из водоема, расположенного на расстоянии 80-100 м от смесительной установки.
Территория смесительной установки должна быть обеспечена хорошим водоотводом и освещением.
Смесительная установка должна быть обеспечена основными и вспомогательными материалами, полными комплектами инструмента, ремонтной мастерской, средствами и помещениями для питания и кратковременного отдыха рабочих, душевой, средствами транспорта для доставки рабочих к месту работы и обратно, питьевой водой, водой для технических и бытовых целей, аптечкой, противопожарным инвентарем. На территории смесительной установки должны поддерживаться чистота и порядок.
На рабочих местах не должны находиться посторонние предметы. Кабина пульта управления смесительной установки должна обеспечивать машинисту (приготовителю цементогрунтовой смеси) обзор всех агрегатов установки и площадки для подъезда и маневра автомобилей-самосвалов.
Работы по приготовлению цементогрунтовой смеси ведутся в две смены.
Смесительную установку обслуживает бригада в составе 9 чел., в том числе: машинист погрузчика 5 разр.-1; машинист бульдозера 5 разр.-1; машинист компрессора 5 разр.-1; приготовители цементогрунтовой смеси - машинист смесительной установки 5 разр.-1 и помощник машиниста смесительной установки 4 разр.-1; электромонтажник 4 разр.-1; слесарь строительный 4 разр.-1; подсобные рабочие 2 разр.-2.
Машинист погрузчика 5 разр загружает агрегат питания грунтом.
Машинист бульдозера 5 разр. производит надвижку грунта в штабель.
Машинист компрессора 5 разр. заполняет расходный бункер установки цементом, подаваемым со склада.
Машинист смесительной установки 5 разр. управляет установкой с пульта управления, участвует в настройке систем дозирования, следит за подходом, загрузкой и отправкой автомобилей-самосвалов, подает звуковой сигнал водителям под погрузку.
Помощник машиниста смесительной установки 4 разр. следит за работой механизмов, подачей материалов, их наличием в расходных бункерах, производит смазку узлов установки, вместе с машинистом настраивает системы дозирования, проверяет наличие воды в резервуаре, осматривает смеситель.
Перед началам работы машинист смесительной установки и помощник машиниста должны проверить отсутствие посторонних предметов около вращающихся деталей или на ленте конвейера.
Электромонтажник 4 разр. проверяет работу электродвигателей при холостом ходе, а также заземление электродвигателей, подключает смесительную установку к электросети, следит за работой автоматической системы управления. В процессе работы электродвигателей он периодически контролирует режим их работы, нагрев и состояние контактов.
Строительный слесарь 4 разр. производит мелкий ремонт агрегатов установки, перед началом работ проверяет работу пневмонагнетательной системы, смазывает узлы и заливает масло в редукторы.
Один подсобный рабочий 2 разр. ведет учет автомобилей-самосвалов, занятых на вывозке цементогрунтовой смеси, и контролирует их подъезд на загрузку и отъезд к месту укладки, другой подсобный рабочий 2 разр. присоединяет и отсоединяет шланги при перекачке цемента из цементовозов на склад и со склада в расходный бункер.
В обязанности бригады входит ежедневное техническое обслуживание смесительной установки, мелкий текущий ремонт, обслуживание в процессе приготовления смеси.
III. ГРАФИК ПРОИЗВОДСТВЕННОГО ПРОЦЕССА
(ПРИГОТОВЛЕНИЕ ЦЕМЕНТОГРУНТОВОЙ СМЕСИ НА УСТАНОВКЕ ДС-50А,
СМЕННАЯ ПРОИЗВОДИТЕЛЬНОСТЬ УСТАНОВКИ-350 м3)

Примечание. Цифры над линией указывают продолжительность операций в минутах.
х) Включено время на мелкий крепежный ремонт в размере 15-20 мин в каждую смену.
IV. КАЛЬКУЛЯЦИЯ ЗАТРАТ ТРУДА НА ПРИГОТОВЛЕНИЕ ЦЕМЕНТОГРУНТОВОЙ СМЕСИ В СМЕСИТЕЛЬНОЙ УСТАНОВКЕ ДС-50А, СМЕННАЯ ПРОИЗВОДИТЕЛЬНОСТЬ УСТАНОВКИ - 350 м3 СМЕСИ
|
Шифр норм и расценок |
Состав бригады |
Описание работ |
Единица измерения |
Объем |
На единицу измерения |
На весь объем работ |
||
|
Норма времени, |
Расценка, |
Норма- |
Сумма заработной платы, руб.-коп. |
|||||
|
ТНиР, |
Машинист погрузчика 5 разр.-1 Машинист бульдозера разр.-1 Машинист компрессора 5 разр.-1 Приготовители смеси: 5 разр.-1 4 разр.-1 Электро- Слесарь строительный 4 разр.-1 Подсобные рабочие 2 разр.-2 |
Приготовление цементогрунтовой смеси: 1. Осмотр и регулировка дозаторов грунта, цемента, воды. 2. Загрузка погрузчиком агрегата питания грунтом. 3. Надвижка бульдозером грунта в штабель. 4. Управление установкой в процессе работы (контроль за работой конвейеров и дозаторов, наличием цемента и грунта в расходных бункерах, количеством воды в расходной емкости). 5. Техническое обслуживание агрегатов установки в течение смены |
100 м3 |
3,5 |
22,5 |
14-17 |
78,75 |
49-60 |
|
|
|
Итого: на 390 м3 смеси |
|
|
|
|
78,75 |
49-60 |
|
|
|
на 100 м3 смеси |
|
|
|
|
22,5 |
14-17 |
V. ОСНОВНЫЕ ТЕХНИКО-ЭКОНОМИЧЕСКИЕ ПОКАЗАТЕЛИ
|
Наименование показателей |
Единица измерения |
По |
По |
На
сколько процентов показатель по графику больше (+) или меньше (-), чем по
калькуляции |
|
Трудоемкость работ на 100 м3 смеси |
чел-ч |
22,5 |
20,57 |
-8,5 |
|
Средний разряд рабочих |
- |
4,0 |
4,1 |
+2,5 |
|
Среднедневная заработная плата одного рабочего |
руб.-коп. |
5-03 |
5-50 |
+9,3 |
VI. МАТЕРИАЛЬНО-ТЕХНИЧЕСКИЕ РЕСУРСЫ
А. Основные материалы
Потребность материалов на приготовление 100 м3 цементогрунтовой смеси (для планирования и ориентировочных расчетов). Состав цементогрунтовой смеси определяется лабораториями.
|
Наименование материалов |
гост |
Единица измерения |
Количество |
|
|
на
100 м3 |
на
смену |
|||
|
Цемент марки 400 |
10178-76 |
т |
20 |
70 |
|
Грунт (песок мелкий) |
8736-77 |
т |
161,8 |
566,3 |
|
Вода |
2874-73 |
т |
18,2 |
63,8 |
Б. Машины, оборудование, инструмент, инвентарь
|
Наименование |
Марка, ГОСТ |
Количество, |
|
Смесительная установка |
ДС-50А |
1 |
|
Погрузчик одноковшовый емкостью 1,5 м3 |
ТО-18 |
1 |
|
Передвижные склады цемента вместимостью 250 т |
СБ-74 |
2 |
|
Компрессор передвижной |
ДК-9М или |
1 |
|
Бульдозер |
ДЗ-17 |
1 |
|
Цистерна для воды емкостью 70 м3 |
- |
1 |
|
Лопаты стальные строительные |
3620-76 |
3 |
|
Гаечные ключи |
2841-71 |
1 комплект |
|
Молоток слесарный стальной |
2310-70 |
1 |
|
Кувалда (кузнечная тупоносая) |
11401-75 |
1 |
|
Ломы стальные строительные |
1405-72 |
2 |
|
Ведра железные |
- |
2 |
|
Секундомер механический |
5072-72 |
1 |
Примечание. Потребность в автомобилях-самосвалах определяется в зависимости от расстояния возки смеси и от состояния дорог.
VII. КАРТА ОПЕРАЦИОННОГО КОНТРОЛЯ КАЧЕСТВА РАБОТ ПРИ ПРИГОТОВЛЕНИИ ЦЕМЕНТОГРУНТОВОЙ СМЕСИ
|
№ |
Контролируемые параметры |
Предельные |
|
1 |
Дозирование составляющих: |
|
|
|
цемента |
±1 % |
|
|
песка (грунта) |
±2 % |
|
2 |
Прочность бетона: |
|
|
|
на изгиб |
-5 % |
|
|
на сжатие |
-10 % |
|
3 |
Подвижность смеси |
±1 см |
Примечание. При сухой погоде и температуре воздуха выше +20°С влажность готовой смеси должна быть на 2-3 % выше оптимальной; при пониженной температуре воздуха ниже -10°С и влажной погоде влажность готовой смеси должна быть оптимальной или на 1-2 % меньше ее.
СП 25-74
|
I |
Основные операции, подлежащие контролю |
Приготовление цементогрунтовой смеси |
|
II |
Состав контроля |
1. Дозирование составляющих. |
|
2. Влажность смеси. |
||
|
3. Прочность на сжатие и изгиб. |
||
|
4. Осадка конуса |
||
|
III |
Метод и средства контроля |
Измерительный. |
|
1. Показания дозаторов. |
||
|
2, 3. Отбор образцов. |
||
|
4. Конус стандартный, виброплощадка |
||
|
IV |
Режим и объем контроля |
1. Один раз в смену. |
|
2, 3. Одна проба на каждые 100 м3 смеси. |
||
|
4. Два раза в смену |
||
|
V |
Лицо, контролирующее операцию |
Мастер, лаборант |
|
VI |
Лицо, ответственное за организацию и осуществление контроля |
Прораб |
|
VII |
Привлекаемые для контроля подразделения |
Лаборатория ЦБЗ |
|
VIII |
Где регистрируются результаты контроля |
Журнал приготовления смеси, журнал лабораторных работ |
Обязательным условием применения настоящей технологической карты является ознакомление с основными положениями технологической карты № 2 настоящего сборника.
До устройства цементогрунтового основания земляное полотно или морозозащитный слой должны быть уплотнены, спрофилированы под проектные отметки и приняты представителями технической инспекции. Для работы профилировщика в автоматическом режиме на одной из обочин должна быть натянута струна в соответствии с указаниями технологической карты № 1 настоящего сборника.
В настоящей технологической карте приняты:
- ширина цементогрунтового основания 9,6 м с учетом последующей работы на нем комплекта бетоноукладочных машин ДС-100;
- толщина основания в плотном теле 17 см;
- сменная выработка профилировщика 600 м основания;
- мощность трех грунтосмесительных установок типа ДС-50А 1200 м3 смеси в смену.
Во всех случаях применения технологической карты необходима привязка ее к конкретным условиям производства работ.
I. УКАЗАНИЙ ПО ТЕХНОЛОГИИ ПРОИЗВОДСТВЕННОГО ПРОЦЕССА
При устройстве цементогрунтового основания выполняют следующие работы (рис. 16):
- подготовку участка и профилировщика к работе;
- завоз, распределение и предварительную планировку цементогрунтовой смеси;
- планировку смеси профилировщиком ДС-97;
- уплотнение смеси пневмокатками;
- чистовую профилировку основания профилировщиком под проектные отметки;
- уход за основанием пленкообразующими материалами.

Рис. 16. Технологическая схема устройства цементогрунтового основания профилировщиком ДС-97 из смеси, приготовленной в грунтосмесительных установках:
1-автомобиль-самосвал с цементогрунтовой смесью; 2-автогрейдер; 3-профилировщик ДС-97; 4-самоходные катки на пневматических шинах; 5-автогудронатор; 6-копирная струна; 7-участок готового основания
Подготовка участка работ и профилировщика к работе
На участке работ должны быть убраны все посторонние предметы и строительные материалы, мешающие работе профилировщика. Для въезда автомобилей-самосвалов на земляное полотно устраивают съезды.
На одной из обочин устанавливают копирную струну и проверяют ее натяжение. В начале участка рекомендуется натягивать струну с обеих сторон на протяжении 25-30 м для проверки показаний механических индикаторов, положения главной рамы и рабочих органов профилировщика.
Другую обочину подготавливают для проезда технологического транспорта.
До начала работы по распределению смеси профилировщик готовят к работе, устанавливают в начале участка на ось проезжей части, устанавливают главную раму и рабочие органы в рабочее положение и устанавливают профилировщик на струну (подробно о подготовке профилировщика к работе и установке его на струну см. в технологической карте № 2 настоящего сборника).
Завоз, распределение и предварительная планировка цементогрунтовой смеси
Цементогрунтовую смесь доставляют автомобилями-самосвалами и выгружают по расчету на земляное полотно (морозозащитный слой).
Для более точного дозирования смеси автоколонну, доставляющую смесь, формируют из автомобилей-самосвалов одной марки или одинаковой грузоподъемности и загружают автомобили-самосвалы одинаковым количеством смеси.
При расчете потребности смеси учитывают запас на ее уплотнение катками.
В особых случаях (переувлажненный песчаный морозозащитный слой) для облегчения работы профилировщика и повышения его производительности на более точных планировочных операциях вывезенную цементогрунтовую смесь предварительно разравнивают и планируют тяжелым автогрейдером типа ДЗ-98 или бульдозером.
Планировка смеси профилировщиком ДС-97 под укатку
Планировку смеси профилировщиком под укатку выполняют, как правило, за один проход при скорости движения профилировщика 10-15 м/мин.
В тех случаях, когда после первого прохода профилировщика обнаружится значительное количество участков с недосыпками цементогрунтовой смеси, на эти участки дополнительно завозят смесь и разравнивают автогрейдером. Профилировщик возвращают на транспортной скорости к началу участка и делают второй рабочий проход - повторную планировку.
На выполнение операции рабочие органы профилировщика устанавливают в следующее положение (рис. 17):

Рис. 17. Установка рабочих органов профилировщика при планировке смеси:
1 - главная рама; 2 - фреза; 3 - отвал фрезы; 4 - шнек; 5 - отвал шнека; h-толщина слоя неуплотненной смеси; h1 - толщина основания (в плотном теле); h-h1 - припуск на уплотнение
- отвал шнека с удлинителями устанавливают на проектную отметку основания плюс запас на уплотнение (20-30 %), плюс запас на срезку при чистовой профилировке (0,5-1 см) и устанавливают нижние ограничители;
- шнек устанавливают на 2-2,5 см выше режущей кромки отвала;
- фрезу устанавливают в такое же положение, как и шнек;
- отвал фрезы устанавливают на 2-2,5 см выше фрезы.
Если основание имеет двускатный поперечный профиль, то середину рабочих органов поднимают по механическим индикаторам на величину стрелы подъема профиля.
В процессе планировки машинист профилировщика по механическим индикаторам наблюдает за положением рабочих органов, а через решетки - за правильной работой фрезы и шнека.
При необходимости, управляя фрезой и шнеком, он перераспределяет цементогрунтовую смесь и излишки смеси сбрасывает на обочину для заполнения полос уширения основания. Скорость вращения фрезы и шнека не должна быть больше, чем это необходимо для распределения смеси.
Перед отвалом шнека всегда должен поддерживаться непрерывный валик смеси, необходимый для заполнения впадин.
При значительных скоплениях цементогрунтовой смеси у отвала машинист снижает скорость профилировщика и увеличивает число оборотов шнека.
Необходимую рабочую скорость профилировщика устанавливают по числу оборотов двигателя с учетом показаний манометров о давлении в гидросистеме - давление не должно превышать 295 кгс/см2.
Если давление превышает 295 кгс/см2 - снижают скорость движения профилировщика.
В тех случаях, когда цементогрунтовую смесь необходимо увлажнять (например, когда в смесь при ее приготовлении вводят уменьшенное количество воды), добавочную воду вводят через распределительную систему, дополнительно смонтированную на профилировщике.
Норму розлива добавочной воды устанавливают представители лаборатории.
Для увлажнения смеси используют обратный проход профилировщика после первого прохода по планировке смеси.
Для выполнения операции рабочие органы профилировщика поднимают, а фрезу опускают до подошвы основания, а затем поднимают на 1-2 см и устанавливают нижние ограничители.
При скорости движения профилировщика 5-10 м/мин и вращении фрезы по ходу движения производят распределение воды с одновременным перемешиванием смеси фрезой.
Уплотнение смеси катками
Уплотнение смеси катками начинают сразу же после планировки ее профилировщиком и заканчивают не позднее 3-5 ч после приготовления смеси на смесительных установках.
Для уплотнения смеси применяют катки па пневматических шинах типа ДУ-31 (Д-627), ДУ-29 (Д-624), загруженные балластом.
Начинают укатку двумя-тремя проходами катка по краям основания. Последующие проходы смещают к середине основания с перекрытием полос на 25-30 см.
Рекомендуемое число проходов катка по одному следу для достижения относительной плотности 0,98 ориентировочно составляет:
Для песчаных грунтов - 10
Для суглинистых - 12 (для плотности 0,96)
Окончательно необходимое число проходов катка по одному следу устанавливают после пробной укатки и определения относительной плотности смеси представителем лаборатории.
Первые два-три прохода по одному следу делают на меньшей скорости движения катка. При последующих проходах скорость катков увеличивают до 12-15 км/ч.
Завершающие два прохода катка по одному следу делают на пониженной скорости-7,5 км/ч.
Если катки имеют систему регулирования давления воздуха в шинах, то рекомендуется поддерживать следующее давление:
- при первых проходах - 4-5 кгс/см2;
- при последующих проходах давление увеличивать на 1 кгс/см2 на каждый проход.
В жаркую и ветреную погоду, когда при укатке верхний слой смеси высыхает, делают дополнительное увлажнение смеси (орошение) до оптимальной влажности и продолжают укатку.
Уплотнение смеси заканчивают после достижения относительной плотности 0,98, которую определяет представитель лаборатории.
Чистовая (прецезионная) профилировка основания
Чистовую (прецезионную) профилировку лучше делать на следующий день, когда основание наберет некоторую прочность. В этом случае поверхность основания после прохода профилировщика получается более ровной, гладкой. В необходимых случаях профилировку основания делают сразу же после укатки.
Чистовая профилировка основания профилировщиком является завершающей операцией по устройству цементогрунтового основания, в результате которой основание должно быть тщательно спрофилировано под проектные отметки и поперечный профиль.
Поэтому установку и регулировку рабочих органов профилировщика для выполнения этой операции делают с особой точностью, а профилировку выполняют, как правило, в светлое время рабочего дня.
Профилировщик устанавливают в начале участка работ, ориентируют его относительно продольной оси основания, проверяют правильность показаний механических индикаторов (при поднятых рабочих органах заподлицо с низом боковых стенок главной рамы стрелки индикаторов должны показывать «0»), отрезком струны проверяют ровность грейдерных ножей отвала шнека.
Профилировщик ставят на струну и по системе поперечной стабилизации ориентируют главную раму относительно поперечного профиля (в горизонтальное положение при двускатном профиле и параллельно линии уклона при односкатном профиле).
По шкалам датчиков стабилизации уровня главную раму устанавливают в положение, удобное для выполнения профилировки.
Рабочие органы профилировщика по механическим индикаторам устанавливают в следующее положение (рис. 18):

Рис. 18. Установка рабочих органов профилировщика для чистовой планировки основания:
1 - главная рама; 2 - фреза; 3 - отвал фрезы; 4 - шнек; 15 - отвал шнека; h1 - проектная толщина основания
- отвал шнека с удлинителями устанавливают на проектную отметку поверхности основания, делают доводку установочными винтами и ставят нижние ограничители (при установке удлинителей отвала учитывают положение струны);
- шнек поднимают на 2-2,5 см выше режущей кромки отвала;
- фрезу устанавливают на проектную отметку основания и поднимают на 0,5-1 см. В таком положении фрезы ставят нижние ограничители;
- отвал фрезы поднимают примерно на 2 см выше низа фрезы.
Если профилируют основание, имеющее двускатный профиль, середину рабочих органов поднимают по механическим индикаторам на величину стрелы подъема профиля.
Перед чистовой профилировкой основания решают вопрос о направлении перемещения срезанной смеси - на края основания или в валик по середине основания (то же на питатель конвейера перегружателя) для перевозки и использования этой смеси.
При перемещении срезанной смеси на края основания боковые дверцы фрезы и заслонки шнека открывают.
Если срезанную смесь отсыпают в валик по середине основания или на питатель конвейера-перегружателя и далее в автомобили-самосвалы, то заслонки центрального окна отвала шнека снимают, а отвал фрезы поднимают.
Сначала профилируют участок основания длиной 20-30 м и делают на нем контрольную проверку проектных отметок, поперечного уклона, толщины слоя, ровности поверхности основания.
При необходимости делают дорегулировку рабочих органов.
Если на поверхности основания остаются следы от зубьев фрезы или геликоидных лопастей шнека, то фрезу и шнек несколько поднимают и переставляют нижние ограничители.
Чистовую профилировку выполняют за один проход профилировщика на скорости 10-15 м/мин.
Рабочую скорость профилировщика устанавливают с учетом величины срезки смеси и давления рабочей жидкости в гидросистеме. Давление это не должно превышать 295 кгс/см2. Если давление превышает 295 кгс/см2, скорость профилировщика снижают.
В процессе профилировки машинист наблюдает за положением рабочих органов профилировщика по механическим индикаторам и визуально через смотровые решетки, сочетая рабочую скорость профилировщика со скоростью вращения шнека, поддерживает равномерный валик срезанной смеси перед задним отвалом, необходимый для выравнивания впадин.
После чистовой профилировки края основания в отдельных местах поправляют вручную и дополнительно уплотняют катками за 2-3 прохода по одному месту.
Если чистовую профилировку делают непосредственно после уплотнения катками, возможно появление трещин в верхнем слое после прохода отвала (вертикальное расслоение). В этом случае рекомендуется основание подкатать катками за 2-3 прохода по одному следу.
Уход за основанием пленкообразующими материалами
Уход за основанием с применением пленкообразующих материалов организуют сразу же после чистовой профилировки основания профилировщиком.
До выполнения чистовой профилировки основание увлажняют, чтобы оно не высыхало.
Распределение пленкообразующих материалов выполняют автогудронатором. Для равномерного распределения пленкообразующих материалов обработку основания производят полосами - сначала обрабатывают одну половину основания, а затем - другую.
Пленкообразующие материалы должны быть распределены равномерно, без пропусков.
Норма распределения лака этиноль - 0,8-1 л/м2. Цементогрунтовое основание охраняют от проезда по нему машин в течение 7-10 дней, после чего на нем устраивают бетонное покрытие.
II. УКАЗАНИЯ ПО ОРГАНИЗАЦИИ ТРУДА
Вследствие высокого темпа работ должны быть тщательно проведены подготовительные работы на участке.
На участке работ полоса движения профилировщика должна быть свободной (убраны строительные материалы и посторонние предметы). Струны устанавливают с заделом на одну сменную захватку и проверяют качество натяжения струн.
К началу работы сосредоточивают необходимые инструменты, инвентарь, оборудование (см. раздел VI настоящей карты).
Участок работ ограждают шлагбаумами и сигнальными знаками, а движение автомобилей направляют по объезду. Объездную дорогу подготавливают заранее и содержат в хорошем состоянии.
Заранее готовят необходимые расчеты для работы на виражах, знаки обозначения точек виража.
На участке работ обозначают начало и конец виража и отгонов, а также разбивают отрезки для постепенного изменения поперечного профиля, подготавливают данные для высотной установки рабочих органов профилировщика и принимают решение о порядке сброса излишков цементогрунтовой смеси (на обочины или на питатель перегрузочного конвейера).
Так как цементогрунтовую смесь необходимо уложить в основание и укатать в ограниченное время - через 3-5 ч после приготовления смеси, сменную захватку делят па участки и работы по устройству основания выполняют на них поочередно.
Длину участков назначают в зависимости от состояния погоды и интенсивности доставки цементогрунтовой смеси. Ориентировочная длина участков - 200-300 м.
Работу профилировщика в течение смены организуют в таком порядке.
В начале смены выполняют чистовую профилировку основания на участке предыдущего дня, предоставляя время для завоза смеси.
Затем профилировщиком выполняют планировочные работы последовательно на каждом внутрисменном участке, предоставляя фронт работы каткам.
Для повышения производительности смесительных установок (уменьшения налипания смеси на лопасти смесителя) и повышения темпа устройства основания рекомендуется готовить смеси с уменьшенным количеством воды. Остальное количество воды добавлять на месте укладки смеси.
Устройство цементогрунтового основания ведут, как правило, в две смены.
Для каждой смены организуют звено рабочих следующего состава:
Машинист профилировщика 6 разр.-1
Помощник машиниста 5 разр.-1
Машинист автогрейдера 6 разр.-1
Машинисты катков 6 разр.-2
Дорожные рабочие: 3 разр.-2
2 разр.-1
Этому звену для кратковременной работы придают машиниста автогудронатора 5 разр. и помощника машиниста 4 разр.
Машинист профилировщика и его помощник в начале смены готовят машину к работе. В процессе работы машинист управляет машиной, а помощник ведет контроль за качеством работы и натяжением струны.
III. ГРАФИК ПРОИЗВОДСТВЕННОГО ПРОЦЕССА ПО УСТРОЙСТВУ ЦЕМЕНТОГРУНТОВОГО ОСНОВАНИЯ ПРОФИЛИРОВЩИКОМ ДС-97. СМЕННАЯ ЗАХВАТКА 600 м ШИРИНОЙ 9,6 м

Примечание.
1. В графике цифры указывают: над линиями число рабочих, под линиями - продолжительность операций в минутах.
2. В трудоемкость работ включено время на отдых рабочих в течение смены.
3. В графике не учтена трудоемкость работ по доставке цементогрунтовой смеси, воды для дополнительного ее увлажнения, пленкообразующих материалов. Затрата труда на эти работы определяют с учетом действительных объемов и условий доставки.
4. Дорожный рабочий 3 разр. на участке выгрузки смеси и машинист автогрейдера на разравнивании смеси работу начинают до начала смены и заканчивают соответственно перед концом смены.
Машинист профилировщика и его помощник в конце рабочего дня снимают и сдают в кладовую датчики, а затем с помощью рабочих очищают, моют машину, смазывают и заправляют горючим.
В конце работы машинист сдает выполненную работу мастеру.
Машинист автогрейдера выполняет работы по разравниванию и предварительной планировке смеси, планировке смеси в местах досыпок. Он также может привлекаться для планировки съездов с земляного полотна и объездных дорог и обочин.
Дорожные рабочие 3 разр.-1 и 2 разр.-1 выполняют работу по ручной планировке смеси в отдельных местах, делают частичную оправку смеси на кромках основания, удаляют из смеси случайные предметы, в необходимых случаях навешивают струну на кронштейны на отдельных участках или снимают с них, помогают машинистам профилировщика в очистке машины.
Дорожный рабочий 3 разр.-1 руководит выгрузкой цементогрунтовой смеси, визуально определяет ее качество, ведет учет доставки смеси на участок работ и в необходимых случаях очищает кузов автомобиля-самосвала от смеси.
Все дорожные рабочие в начале рабочего дня устанавливают ограждения участка работ и сигнальные знаки, а также выполняют другие вспомогательные работы по указанию мастера.
Для создания необходимого задела к началу смены смесительные установки начинают работу по приготовлению смеси на 1,5-2 часа раньше начала смены.
Автомобили-самосвалы КрАЗ-256Б, доставляющие цементогрунтовую смесь, должны быть оборудованы задними бортами.
Количество потребных автомобилей-самосвалов, водополивочных машин для доставки воды определяют расчетом и уточняют в процессе работы.
На участке работы должны быть вагончики для приема пищи, кратковременного отдыха, для укрытия рабочих во время дождя, вагончик для мастера с кладовой.
IV. КАЛЬКУЛЯЦИЯ ЗАТРАТ ТРУДА НА УСТРОЙСТВО ЦЕМЕНТОГРУНТОВОГО ОСНОВАНИЯ ПРОФИЛИРОВЩИКОМ ДС-97. ДЛИНА ЗАХВАТКИ 600 м, ШИРИНА - 9.6 м
|
Шифр норм |
Наименование работ |
Состав звена |
Единица измерения |
Объем работ |
Норма времени, чел-ч |
Расценка, руб.-коп. |
Норма- |
Стоимость затрат труда на полный объем работ, руб.-коп. |
|
ТНиР, |
Разравнивание смеси с планировкой автогрейдером |
Машинист автогрейдера 6 разр.-1 |
100 м2 |
57,6 |
0,17 |
0-13,4 |
9,8 |
7-72 |
|
То же, |
Прием цементогрунтовой смеси с очисткой кузовов автомобилей-самосвалов, планировка основания профилировщиком под укатку, частичная планировка отдельных мест вручную, чистовая планировка основания профилировщиком |
Машинист профилировщика 6 разр.-1 Помощник машиниста 5 разр.-1 Дорожные рабочие: 4 разр.-1 3 разр.-1 2 разр.-1 |
100 м2 |
57,6 |
0,85 |
0-56,6 |
49 |
32-60 |
|
То же, |
Укатка основания катками на пневматических шинах |
Машинист катка 6 разр.-1 |
100 м2 |
57,6 |
0,34 |
0-26,9 |
19,0 |
15-49 |
|
ЕНиР, |
Распределение пленкообразующих материалов автогудронатором с наполнением автогудронатора, присоединением труб и шлангов, розливом пленкообразующих материалов и очисткой труб и шлангов автогудронатора |
Машинист автогудронатора 5 разр.-1 Помощник машиниста 4 разр.-1 |
1 т |
5,8 |
0,48 |
0-31,8 |
2,8 |
1-84 |
|
|
Итого: на сменную захватку 600 м (5760 м2) |
|
|
|
|
|
81,2 |
57-65 |
|
|
на 1000 м |
|
|
|
|
|
14,1 |
10-01 |
V. ТЕХНИКО-ЭКОНОМИЧЕСКИЕ ПОКАЗАТЕЛИ
|
Наименование показателей |
Единица измерения |
По |
По |
На сколько
процентов показатель по графику больше (+) или меньше (-) чем по калькуляции |
|
Трудоемкость на 1000 м2 основания |
чел-ч |
14,1 |
11,54 |
-18,1 |
|
Средний разряд рабочих |
- |
4,6 |
4,6 |
- |
VI МАТЕРИАЛЬНО-ТЕХНИЧЕСКИЕ РЕСУРСЫ
А. Основные материалы
|
Наименование материалов |
ГОСТ |
Единица измерения |
Количество |
|
|
на 1000 м2 |
на смену |
|||
|
Смесь цементогрунтовая |
- |
м3 |
209 |
1201 |
|
Лак этиноль |
|
л |
1000 |
5760 |
Примечание Количество цементогрунтовой смеси подсчитано с учетом коэффициента уплотнения ку = 12 и потерь смеси в размере 3 %
Б. Машины, оборудование, инструмент, инвентарь
|
Наименование |
Марка, ГОСТ |
Количество, |
|
Профилировщик ДС-97 |
- |
1 |
|
Автогрейдер ДЗ 98 |
- |
1 |
|
Катки самоходные на пневматических шинах Д-627 |
- |
1 |
|
Автомобиль КрАЗ 256Б |
- |
по расчету |
|
Поливомоечная машина для доставки воды |
- |
то же |
|
Вагон для мастера с кладовой |
ВО-8 |
1 |
|
Вагон столовая |
ВО-8 |
1 |
|
Вагон душевая |
ВО-8 |
1 |
|
Цистерна на тележке для воды (для технических целей) |
- |
1 |
|
Нивелир с треногой |
10528-76 |
1 |
|
Рейки нивелирные |
11158-76 |
2 |
|
Рулетка измерительная металлическая длиной 20 м |
7502-69 |
1 |
|
Шнур льнопеньковый крученый длиной 20 м |
5102-70 |
1 |
|
Линейка деревянная длиной 80 см |
17435-72 |
1 |
|
Лопаты строительные стальные |
3620-76 |
2 |
|
Кувалда кузнечная тупоносая |
11401-75 |
1 |
|
Прибор Ковалева для измерения плотности основания |
- |
1 |
|
Рейка металлическая трехметровая |
- |
1 |
|
Мерник зазоров клиновидный |
- |
1 |
|
Комплект сигнальных знаков для ограждения участка работ |
10807-71 |
1 |
|
Медицинская аптечка |
- |
1 |
VII. КАРТА ОПЕРАЦИОННОГО КОНТРОЛЯ КАЧЕСТВА РАБОТ ПРИ УСТРОЙСТВЕ ЦЕМЕНТОГРУНТОВОГО ОСНОВАНИЯ ПРОФИЛИРОВЩИКОМ ДС-97 ИЗ СМЕСИ, ПРИГОТОВЛЕННОЙ В УСТАНОВКЕ
|
№ |
Контролируемые параметры |
Предельные отклонения |
Примечания. 1. Коэффициент плотности должен быть не менее 0,98 значения максимальной стандартной плотности. 2. Число промеров поперечных уклонов в пределах допускаемых отклонений должно составлять не менее 80 %. В отдельных случаях предельные значения уклонов не должны превышать -0,010 и +0,015 проектных значений. 3. Число промеров с предельными отклонениями по ширине основания, толщине слоя, отметкам по оси, ровности основания не должны превышать 10 % общего числа промеров данного параметра. 4. Равномерность распределения пленкообразующего материала контролируют розливом по пленке раствора фенолфталеина или соляной кислоты. Количество точек вспенивания или покраснения на площади 100 см2 должно быть не более 2. |
|
1 |
Ширина основания |
±10 см |
|
|
2 |
Толщина слоя |
±5 % |
|
|
3 |
Отметки по оси |
±10 мм |
|
|
4 |
Поперечный уклон |
0,005 |
|
|
5 |
Ровность поверхности основания |
5 мм (просвет под трехметровой рейкой) |
СНиП III-40-78
|
1 |
Основные операции, подлежащие контролю |
Планировка смеси профилировщиком под укатку и чистовая профилировка - после укатки |
Уплотнение смеси катком |
Уход за цементогрунтовым основанием |
|
II |
Состав контроля |
1. Ширина основания. |
Плотность цементогрунтового слоя |
Равномерность распределения пленкообразующего материала по основанию |
|
III |
Метод и средства контроля |
Измерительный. 1. Рулетка. |
Измерительный. Влагомер-плотномер системы Ковалева |
Визуальный, измерительный. Розлив по пленке раствора фенолфталеина или соляной кислоты на площади 20´20 см |
|
IV |
Режим и объем контроля |
1-5. В начале смены и не реже чем через каждые 100 м |
Два измерения на каждые 100 м |
Одно испытание в смену |
|
V |
Лицо, контролирующее операцию |
Мастер, геодезист |
Мастер, лаборант |
|
|
VI |
Лицо, ответственное за организацию и осуществление контроля |
Прораб |
||
|
VII |
Привлекаемые для контроля подразделения |
Геодезическая служба |
Лаборатория |
|
|
VIII |
Где регистрируются результаты контроля |
Общий журнал работ |
Общий журнал работ, журнал лабораторных работ, акт на скрытые работы |
|
Технологическая карта предусматривает приготовление цементобетонной смеси на автоматизированном цементобетонном заводе с одной смесительной установкой непрерывного действия СБ-109 производительностью до 120 м3/ч.
При принятом темпе устройства покрытий 800 м в смену для приготовления цементобетонной смеси используют две смесительные установки.
В карте приняты следующие основные условия.
Расходный склад песка и фракционированного щебня открытого типа с разделительными стенками располагают рядом со смесительной установкой. На складе должен быть создан неснижаемый запас материалов, достаточный для работы установки при максимальной производительности как минимум в течение 10 дней.
Песок и фракционированный щебень к расходному складу доставляют в железнодорожных вагонах или автомобильным транспортом.
В случае доставки нефракционированного или загрязненного щебня должна быть организована мойка и сортировка материала на фракции.
Песок и щебень в приемные бункера питателей загрузочных конвейеров подают ковшовыми погрузчиками ТО-18.
В смесительную установку цемент поступает из инвентарного расходного склада вместимостью 300 т. К расходному складу цемент доставляют автоцементовозами.
Площадка завода имеет твердое покрытие, обеспечен водоотвод. Территория завода ограждена временным забором К заводу подведена вода и электроэнергия.
К смесительной установке проложена подъездная дорога с твердым покрытием.
Движение машин организовано по кольцевой схеме.
Для вывоза цементобетонной смеси за заводом закреплена колонна автомобилей-самосвалов КрАЗ-256Б. Число машин корректируют в зависимости от дальности возки смеси и дорожных условий.
В технологической карте предусмотрена производительность установки СБ-109 880 м3 в смену.
I. УКАЗАНИЯ ПО ТЕХНОЛОГИИ ПРОИЗВОДСТВЕННОГО ПРОЦЕССА
Автоматизированный цементобетонный завод (ЦБЗ) со смесительной установкой СБ-109 (рис. 19) предназначен для приготовления малоподвижных и пластичных смесей с крупностью заполнителя до 70 мм.
Краткая техническая характеристика смесительной установки СБ-109
|
Производительность, м3/ч |
120 |
|
Тип бетоносмесителя |
гравитационный, непрерывного действия |
|
Максимальная крупность заполнителя, мм |
70 |
|
Количество фракции заполнителя |
3 |
|
Вместимость расходных бункеров: |
|
|
для цемента, т |
40 |
|
для заполнителей, м3 |
70 |
|
Тип дозаторов цемента, заполнителей |
автоматические, весовые, непрерывного действия |
|
Марки дозаторов: |
|
|
цемента |
СБ-90 |
|
заполнителей |
СБ-114 |
|
Мощность электродвигателей (без учета |
135 |
|
Масса установки, т |
132 |
Установка имеет следующие основные блоки:
бетоносмеситель непрерывного действия гравитационного перемешивания, в цилиндрическом барабане которого установлены прямые лопасти из износоустойчивой листовой стали. Внутри барабан также облицован листовой сталью. Выдача готовой смеси из бетоносмесителя происходит по раздаточному конвейеру. Конвейер совершает возвратно-поступательное движение вдоль продольной оси бетоносмесителя по специальным направляющим, что позволяет производить поочередную выдачу бетонной смеси в два стоящие рядом автомобиля-самосвала;
расходный бункер для цемента, оборудованный автоматическими указателями нижнего и верхнего уровня цемента.

Рис. 19. Технологическая схема работы ЦБЗ со смесителем СБ-109:
1 - смеситель; 2 - дозатор воды; 3 - привод смесителя; 4 - установка для приготовления добавок; 5 - раздаточный конвейер, 6 - наклонный конвейер; 7 - дозатор цемента; 8 - дозаторы заполнителей; 9 - сборный конвейер; 10 - расходные бункера заполнителей; 11 - загрузочные конвейеры; 12 - приемные бункера (питатели); 13 - тарировочный дозатор; 14 - расходный бункер цемента; 15 - труба для закачки цемента; 16 - склад цемента; 17 - пневмоподъемники цемента; 18 - емкость для воды; 19 - пульт управления установкой СБ-109; 20 - пульт управления складом цемента
Цемент из расходного бункера поступает в дозатор СБ-90 непрерывного действия, а затем - по наклонному конвейеру в бетоносмеситель. Полная загрузка бункера рассчитана на 30-60 мин работы установки;
дозировочный узел завода, состоящий из расходных бункеров для заполнителей (щебня и песка) с тремя дозаторами СБ-114 непрерывного действия. Дозаторы установлены над горизонтальным сборным конвейером, при помощи которого материалы подают к наклонному конвейеру, с него они попадают в бетоносмеситель. Расходные бункера имеют верхний и нижний указатели уровня, которые соответственно выключают или включают загрузочные конвейеры и дают световой или звуковой сигнал о накоплении материала и опорожнении бункера;
загрузочные конвейеры, подающие материалы на дозировочный узел. Они имеют приемные бункера (питатели). В приемные бункера материалы подают погрузчиками ТО-18;
расходный бак постоянного уровня, предназначенный для питания установки водой с комплексными добавками с помощью насоса-дозатора, служит и для регулировки расхода жидкости, а также корректировки расхода ее в зависимости от влажности заполнителей;
пульт управления, представляющий собой вагончик, где в одной части размещена силовая и пускорегулирующая аппаратура, в другой - пульт управления и система автоматического управления установкой.
Установка с пульта управления переводится на автоматический режим работы по заданной программе или, при необходимости, на дистанционное управление.
Подготовка смесительной установки к работе
До начала выпуска цементобетонной смеси выполняют следующие работы:
- проверяют техническое состояние всех узлов установки, наличие цемента, воды, добавок и заполнителей в расходных емкостях;
- проводят тарировку дозаторов цемента, воды и заполнителей;
- включают пульт управления;
- в зависимости от грузоподъемности автомобилей-самосвалов устанавливают реле на нужное время переключения раздаточного конвейера;
- выдают машинисту установки данные о составе цементобетонной смеси, подобранные лабораторией в соответствии с влажностью материалов;
- устанавливают весовые устройства дозаторов в соответствии с составом смеси.
Перед включением в работу агрегатов установки машинист подает два предупредительных звуковых сигнала. Первый - продолжительный, второй - короткий, с перерывом в одну минуту.
После этого включают в работу агрегаты установки в следующем порядке: сначала бетоносмеситель, затем насос-дозатор, наклонный конвейер, сборный конвейер, дозаторы заполнителей и цемента и трехходовый кран с подачей воды в бетоносмеситель.
Во время пуска механизмов (после работы агрегатов вхолостую в течение 1-2 мин) контролируют величину пускового тока по амперметрам.
Вначале делают пробные замесы при полуавтоматическом режиме работы установки. В этот момент машинист и лаборант определяют подвижность смеси (осадку конуса) путем отбора проб. Если осадка конуса отличается от заданной, то производят корректировку работы дозатора воды.
Добившись заданной осадки конуса и убедившись в правильной дозировке составляющих материалов, машинист переводит установку на автоматический режим работы.
Приготовление смеси
Завод работает по следующей схеме. Одноковшовыми погрузчиками ТО-18 щебень двух фракций и песок подают из штабелей на открытой площадке в приемные бункера питателей. Из них материалы конвейерами подают в расходные бункера дозировочного узла, при этом песок загружают в средний бункер, оборудованный электромагнитными обрушителями сводов зависания песка.
Щебень двух фракций и песок через дозаторы поступает на горизонтальный сборный конвейер, находящийся под дозаторами.
На ленту конвейера сначала поступает щебень фракции 5-20 мм, затем песок и после этого щебень фракции 20-40 мм. Со сборного конвейера материалы поступают на наклонный конвейер. Цемент из расходного бункера через дозатор также подается на наклонный конвейер, который подает заполнители и цемент через распределительное устройство и загрузочную воронку в бетоносмеситель.
Одновременно в мешалку поступают вода и поверхностно-активные добавки, повышающие количество вовлеченного воздуха, подвижность и удобоукладываемость бетонной смеси, а также уменьшающие потребность бетонной смеси в воде и расход цемента.
Для приготовления комплексных добавок используют двухкамерную цистерну с двумя цилиндрическими резервуарами, содержащими жидкие добавки.
Ориентировочно добавки вводят в следующем количестве: пластифицирующую добавку СДБ (сульфитно-дрожжевую бражку) в количестве 0,2-0,25 % массы цемента на 1 м3 смеси, воздухововлекающую добавку СНВ (смолу воздухововлекающую нейтрализованную) в количестве 0,02-0,03 % массы цемента на 1 м3 смеси (определяется по сухому веществу).
Заданное количество добавок направляется в одну из полостей цистерны, где приготовляется раствор необходимой концентрации.
Вода из бака дозируется и подается насосом-дозатором в смеситель одновременно с подачей комплексных добавок.
В смесителе составляющие бетона интенсивно перемешиваются и транспортируются лопастными валами к выходному отверстию. Через направляющую воронку или с помощью раздаточного конвейера смесь выгружают в кузов автомобиля-самосвала КрАЗ-256Б и доставляют к месту укладки.
Работы, выполняемые по окончании смены
В конце дня по окончании выпуска бетонной смеси и остановки завода весь состав бригады приступает к очистке узлов завода от просыпавшихся материалов.
Машинист переводит работу узлов на ручное управление, отключает дозаторы мелкого щебня, песка и цемента, пропускает через бетоносмеситель щебень фракции 20-40 мм с водой и очищает смеситель от остатков бетонной смеси.
После очистки смесителя останавливают все агрегаты и отключают подачу воды, после чего обесточивают всю установку.
Все узлы завода очищают от пыли сжатым воздухом. В течение смены и в конце работы подъездную дорогу и территорию завода периодически поливают водой для осаждения пыли. Из-под мешалки бульдозером удаляют остатки бетонной смеси.
Требования к качеству цементобетонной смеси
Приготовленная цементобетонная смесь должна иметь хорошо подобранный гранулометрический состав, обладать необходимой подвижностью или жесткостью и отвечать требованиям ГОСТ 8424-72 «Бетон дорожный».
Качество цементобетонной смеси, получаемой в смесительной установке СБ-109, в первую очередь зависит от непрерывности работы установки, так как при каждой остановке расчетное соотношение компонентов бетонной смеси, в особенности цемента и воды, изменяется.
Исправность дозаторов проверяется ежедневно в начале смены представителем лаборатории ЦБЗ. Весовое устройство устанавливается в соответствии с составом бетонной смеси и влажностью заполнителей. Доступ к весовым шкафам и дозировочным устройствам разрешается только работникам лаборатории.
Качество составляющих бетонной смеси проверяется немедленно после их поступления на бетонный завод лабораторией ЦБЗ и центральной лабораторией СУ внешним осмотром и путем отбора и испытания проб.
Для приготовления цементобетонной смеси разрешается применять материалы только высокого качества, отвечающие требованиям соответствующих ГОСТов.
Цементы должны отвечать требованиям ГОСТ 10178-76, пески природные, кварцевые или кварцево-полевошпатные-ГОСТ 8736-77, щебень-ГОСТ 8267-75.
При выпуске цементобетонной смеси подвижность смеси (осадку конуса) контролируют не менее 5 раз в смену (через каждый час и каждый раз при резком изменении осадки конуса).
Контроль за качеством цементобетонной смеси и составляющих материалов осуществляет заводская лаборатория раз в смену.
II. УКАЗАНИЯ ПО ОРГАНИЗАЦИИ ТРУДА
Работы по приготовлению цементобетонной смеси ведут в две смены. В каждую смену смесительную установку обслуживает бригада рабочих в составе 12 человек, в том числе:
Приготовители смеси: 5 разр.-1
4 разр.-1
Машинисты погрузчиков 5 разр.-2
Машинист бульдозера 5 разр.-1
Дозировщик компонентов 2 разр.-1
Подсобный рабочий 2 разр.-1
Электрослесарь 5 разр.-1
Слесарь строительный 5 разр.-1
Машинист компрессора 5 разр.-1
Помощник машиниста компрессора 4 разр.-1
Рабочий по обслуживанию склада цемента 2 разр.-1
Приготовитель смеси 5 разр. управляет установкой в процессе работы с пульта управления. Перед включением установки он подает предупредительные звуковые сигналы, включает в работу агрегаты установки.
Приготовитель смеси 4 разр. следит за наличием материалов в расходных бункерах, при необходимости на короткое время заменяет машиниста у пульта управления.
Электрослесарь осуществляет контроль за техническим состоянием и устраняет все неисправности силового электрооборудования.
Слесарь строительный производит текущий ремонт и техническое обслуживание установки: смазывает узлы, проверяет состояние шлангов, следит за исправностью агрегатов и узлов установки.
Оба машиниста погрузчиков ТО-18 подготавливают машины к работе, обеспечивают бесперебойную подачу материалов в питатели конвейеров и производят техническое обслуживание погрузчиков.
Машинист бульдозера пододвигает щебень и песок к рабочей площадке погрузчиков, а также выполняет (при необходимости) мелкие планировочные работы на рабочей площадке и подъездах. В конце смены он убирает остатки просыпавшейся под смеситель смеси.
Дозировщик компонентов дозирует добавки согласно рецепту, подает сигнал машинисту о начале подачи раствора добавок в смеситель.
Машинист, помощник машиниста компрессора и один рабочий по обслуживанию склада цемента обеспечивают бесперебойную подачу цемента в расходный бункер и прием цемента из автоцементовозов в емкости цементного склада.
Подсобный рабочий руководит очередностью подхода автомобилей-самосвалов под погрузку, ведет учет приготовленной смеси.
Руководит работами сменный механик завода.
В состав бригады не входят машинисты автоцементовозов, доставляющие цемент к смесительной установке. Их труд оплачивается отдельно.
III. ГРАФИК
ВЫПОЛНЕНИЯ ПРОИЗВОДСТВЕННОГО ПРОЦЕССА ПРИГОТОВЛЕНИЯ ЦЕМЕНТОБЕТОННОЙ
СМЕСИ
(сменная производительность 880 м3 смеси)

Примечания.
1. Цифры над линиями указывают продолжительность операций в минутах.
2. В трудоемкость включено время на отдых в размере 10 % времени работы,
3. Ежедневный профилактический ремонт производится в ночное время специальной ремонтной бригадой.
IV. КАЛЬКУЛЯЦИЯ ЗАТРАТ ТРУДА ПО ПРИГОТОВЛЕНИЮ
ЦЕМЕНТНОБЕТОННОЙ СМЕСИ
(сменная производительность 80 м3)
|
Шифр норм и расценок |
Описание работ |
Состав звена |
Единица измерения |
Объем работ |
Норма времени, чел-ч |
Расценка, руб.-коп. |
Норма- |
Стоимость затрат труда на полный объем работ, руб.-коп. |
|
Т92-3, |
Осмотр и регулировка дозаторов щебня, песка, воды. Подача песка и щебня бульдозером к рабочей площадке погрузчиков. Подача песка и щебня в питатели погрузчиками. Дозировка добавок и введение их в воду. Управление установкой с пульта управления. Техническое обслуживание агрегатов установки в течение смены |
Приготовители смеси: 5 разр.-1 4 разр.-1 Машинисты погрузчиков 5 разр.-2 Машинист бульдозера 5 разр.-1 Дозировщик компонентов 2 разр.-1 Подсобный рабочий 2 разр.-1 Электрослесарь 5 разр.-1 Слесарь строительный 5 разр.-1 |
100 м3 |
8,8 |
10,8 |
6-99 |
95,04 |
61-51 |
|
ЕНиР, |
Прием цемента из автоцементовозов в емкости цементного склада, бесперебойная подача цемента в расходный бункер, обслуживание склада цемента |
Машинист компрессора 5 разр.-1 Помощник машиниста компрессора 4 разр.-1 Рабочий по
обслуживанию склада цемента |
чел-ч |
24 |
1 |
0-60,7 |
24 |
14-57 |
|
|
Итого: на 880 м3 |
1 |
|
|
|
|
119,04 |
76-08 |
|
|
на 100 м3 |
|
|
|
|
|
13.52 |
8-65 |
V. ТЕХНИКО-ЭКОНОМИЧЕСКИЕ ПОКАЗАТЕЛИ
|
Наименование показателей |
Единица измерения |
По |
По |
На сколько процентов показатель по графику больше (+) или
меньше (-), чем по калькуляции |
|
Трудоемкость работ на 100 м3 смеси |
чел-дн |
1,69 |
1,36 |
-19,5 |
|
Выработка на одного рабочего в смену |
м3 |
59,1 |
73,3 |
+24 |
|
Средний разряд рабочих |
- |
4,2 |
4,2 |
- |
|
Среднедневная заработная плата одного рабочего |
руб.-коп. |
5-12 |
6-36 |
+24,2 |
VI. МАТЕРИАЛЬНО-ТЕХНИЧЕСКИЕ РЕСУРСЫ
А. Основные материалы
|
Наименование материалов |
Марка, ГОСТ |
Единица измерения |
Количество материалов |
|
|
на
100 м3 |
на
880 м3 |
|||
|
Цемент М-400 |
10178-76 |
т |
35,6 |
313,3 |
|
Песок |
8736-77 |
м3 |
42 |
369,6 |
|
Щебень фракции 5-20 мм |
8267-75 |
м3 |
33 |
290,4 |
|
Щебень фракции 20-40 мм |
8267-75 |
м3 |
33 |
290,4 |
|
Вода |
2874-73 |
т |
15,3 |
134,6 |
|
Добавка СДБ |
- |
кг |
53 |
466,4 |
|
Добавка СНВ |
- |
кг |
1,8 |
15,8 |
Примечание. Расход материалов определяется по рецепту цементобетонной смеси. В данной таблице приведен усредненный расход материалов.
Б. Машины, оборудование, инструменты, инвентарь
|
Наименование |
Марка, гост |
Количество, шт. |
|
Смесительная установка с пультом управления |
СБ-109 |
1 |
|
Склад цемента вместимостью 300 т, инвентарный, с пультом управления |
- |
1 |
|
Погрузчики |
ТО-18 |
2 |
|
Бульдозер |
Д-271, |
1 |
|
Компрессор |
СО-7А |
1 |
|
Автоцементовозы |
С-570, |
по
рас- |
|
Установка для приготовления добавок |
- |
1 |
|
Емкости (50 м3)для воды |
- |
2 |
|
Вагончик для мастера с кладовой |
ВО-8 |
1 |
VII. КАРТА ОПЕРАЦИОННОГО КОНТРОЛЯ КАЧЕСТВА ПРИГОТОВЛЕНИЯ ЦЕМЕНТОБЕТОННОЙ СМЕСИ
|
№ |
Контролируемые показатели |
Предельные отклонения |
|
1 |
Состав смеси, %: |
|
|
|
цемента |
±1 |
|
|
песка и каменных материалов |
±2 |
|
|
воды и добавок |
±1 |
|
2 |
Подвижность смеси, см |
+1 -2 |
|
3 |
Объемная масса бетонной смеси, % |
±1 |
|
4 |
Влажность песка и каменных материалов, % |
+1 |
Примечание. Бетон соответствует требованиям по прочности, если ни одна из испытанных в возрасте 28 суток партии по прочности на изгиб не будет ниже 95 % проектной марки и по прочности на сжатие-ниже 90 % проектной марки.
ВСН 139-63; СНиП III-40-78
|
I |
Основные операции, подлежащие контролю |
Приготовление цементобетонной смеси |
|
II |
Состав контроля |
1. Дозирование составляющих. |
|
2. Подвижность смеси. |
||
|
3. Состав бетонной смеси. |
||
|
4. Объемная масса бетонной смеси. |
||
|
5. Прочность бетона. |
||
|
6. Влажность песка и каменных материалов |
||
|
III |
Метод и средства контроля |
Измерительный. |
|
1. Показания дозаторов, весы, секундомер. |
||
|
2, 4. Отбор проб. |
||
|
3. Методом мокрого рассева. |
||
|
5, 6. Отбор проб |
||
|
IV |
Режим и объем контроля |
1. Один раз в смену. |
|
2. Не реже 2 раз в смену и в случае явного изменения свойств бетонной смеси. |
||
|
3. Не менее раза в неделю. |
||
|
4. Не реже раза в смену и каждый раз после дождя, изменение дозировки состава смеси. |
||
|
5. На каждые 200 м3. |
||
|
6. Не реже раза в смену и каждый раз после дождя |
||
|
V |
Лицо, контролирующее операцию |
Мастер, лаборант |
|
VI |
Лицо, ответственное за организацию и осуществление контроля |
Прораб |
|
VII |
Привлекаемые для контроля подразделения |
Лаборатория ЦБЗ |
|
VIII |
Где регистрируются результаты контроля |
Журнал выпуска смеси, журнал лабораторных испытаний |
Технологическая карта разработана на распределение цементобетонной смеси распределителем ДС-99 с приемом смеси только через бункер-конвейер распределителя при устройстве цементобетонных покрытий для тех случаев, когда невозможна выгрузка цементобетонной смеси непосредственно на основание впереди бетоноукладчика ДС-101 или в случае устройства армированных цементобетонных покрытий.
В настоящей технологической карте предусмотрены:
- сменная производительность-650 м покрытия (4875 м2);
- состав звена-5 чел;
- скорость распределения цементобетонной смеси-6,5 м/мин;
- ширина полосы раскладываемой смеси-7,0-7,2 м (в зависимости от пластичности смеси);
- толщина слоя покрытия в плотном теле-22 см.
Во всех случаях применения технологическая карта должна быть увязана с местными условиями с учетом привязки максимальной производительности распределителя к объему цементобетонной смеси, выпускаемой имеющимися в наличии смесительными установками.
При устройстве цементобетонных покрытий распределитель ДС-99 выполняет только одну промежуточную операцию-распределение нужного количества смеси по основанию для последующей ее обработки и формирования покрытия. Поэтому использование такой универсальной машины при устройстве цементобетонных покрытий по возможности следует исключать. Ее включение в комплект всегда должно быть технически и экономически оправдано.
I. УКАЗАНИЯ ПО ТЕХНОЛОГИИ ПРОИЗВОДСТВЕННОГО ПРОЦЕССА
Распределитель бетона ДС-99 (рис. 20) предназначен для приема и распределения цементобетонной смеси по основанию на заданную ширину и высоту с учетом ее дальнейшей обработки бетоноукладочной машиной ДС-101.
Техническая характеристика распределителя бетона ДС-99
Тип машины |
Самоходная на четырех гусеничных тележках |
|
Мощность двигателя, л. с. |
235 |
|
Скорости (вперед и назад), м/мин: |
|
|
1-й диапазон-рабочий |
0-18 |
|
2-й диапазон-транспортный |
0-36 |
|
3-й диапазон-транспортный |
0-72 |
|
Емкость бункера, м3 |
6,1 |
|
Ширина распределения, м |
до 8,53 |
|
Толщина распределяемого слоя, м |
до 0,4 |

Рис. 20. Общий вид распределителя бетонной смеси:
1 - рама распределителя; 2 - бункер для приема смеси; 3 - транспортер; 4 - гусеничная тележка; 5 - силовая установка; 6 - пульт управления; 7 - топливный бак; 8 - датчик уровня с копиром; 9 - датчик направления с копиром
Распределитель ДС-99 состоит из главной рамы и блока выдвижного конвейера, которые через кронштейны рамы и поворотные вилки опираются на четыре гусеничные тележки.
Блок конвейера состоит из рамы, выдвижного конвейера и гидро-тросового механизма выдвижения конвейера на обочину. Нижняя часть конвейера, образующая приемный бункер, выдвигается на обочину за габарит машины на 2,7 м для приема цементобетонной смеси из автомобиля-самосвала. Снизу к основной раме крепятся рабочие органы: фреза, шнек и отвал.
В передней части рамы распределителя расположена балка (брус) для обрушения и разравнивания выгруженных на основание куч смеси (в случае, когда выгрузку смеси осуществляют непосредственно на основание впереди распределителя).
Шнеко-фрезерный рабочий орган служит для распределения смеси по всей ширине бетонируемой полосы покрытия, а отвал обеспечивает необходимую толщину слоя распределяемой цементобетонной смеси.
Шнеко-фрезерный рабочий орган и отвал состоят из двух частей. Каждая из частей может изменять свое положение в вертикальной плоскости, обеспечивая необходимый профиль бетонируемого ряда.
Для ограничения ширины распределения цементобетонной смеси распределитель оборудован боковыми формами.
Для осуществления контроля за установкой рабочих органов и их точной регулировки на машине установлены механические индикаторы уровня. Стержни индикаторов закреплены у нижнего конца установочными винтами в кронштейнах. Эти кронштейны крепятся в верхней части рабочего органа по концам каждой его половины. При подъеме или опускании рабочего органа поднимается или опускается стержень индикатора, и его стрела перемещается по шкале. Всегда необходимо проверять надежность закрепления и прямолинейность стержня.
Распределитель может работать как в автоматическом режиме по натянутой копирной струне, так и на ручном управлении.
При укладке цементобетонной смеси распределителем выполняют следующие работы:
- подготовка распределителя к укладке бетона;
- укладка цементобетонной смеси распределителем.
Подготовка распределителя к укладке смеси
До начала укладки смеси распределителем должны быть выполнены следующие работы:
- устроено цементогрунтовое основание и принято технической инспекцией;
- установлены копирные струны для работы распределителя на автоматическом режиме выдерживания курса и уровня;
- спланирована обочина для возможности движения по ней автомобилей-самосвалов;
- устроены въезды на земляное полотно и съезды с него;
- сооружены временные подъездные пути для доставки цементобетонной смеси и обеспечен водоотвод с них;
- смонтированы, отлажены и подготовлены к работе смесительные установки СБ-109.
Перед началом работы распределителя необходимо подготовить место примыкания начального участка бетонирования к конечному участку ранее устроенного покрытия (рис. 21).
Для этого необходимо осторожно отделить от бетона две деревянные боковые опалубки-упоры и деревянную конструкцию рабочего шва - угольник-шаблон. Затем производят обмазку торца бетонной плиты битумной эмульсией (или любым пленкообразующим материалом, применяемым для ухода за бетоном). При этом не допускается обмазка выступающих с торцевой части бетонной плиты штырей более чем на 5-8 см от торца плиты.
После снятия боковой опалубки и доски рабочего шва распределитель подводят к началу участка бетонирования так, чтобы задний край конвейера был расположен над торцом ранее устроенного бетонного покрытия.
На распределитель устанавливают копиры-датчики и боковые формы и производят регулировку рабочих органов - установку их в рабочее положение (рис. 22).

Рис. 21. Вид конечного участка покрытия с затвердевшим бетоном перед началом бетонирования следующей захватки:
1 - участок примыкания бетонируемого ряда покрытия к существующему покрытию; 2 - копирная струна; 3 -конструкция рабочего шва (по типу шва коробления); 4 - боковая опалубка - доски упора; 5 - конечный участок покрытия с затвердевшим бетоном
Шнеко-фрезерный рабочий орган (его самую нижнюю точку) устанавливают на 5 см ниже верха проектной отметки устраиваемого покрытия.
Отвал регулируют в процессе распределения смеси. В начальный период распределения смеси высоту распределяемого слоя по основанию делают на 5-7 см больше толщины покрытия. Этот запас на уплотнение выдерживают на протяжении 10-15 м, а затем уменьшают до 3-4 см. Такая установка отвала обеспечивает набор бетоноукладчиком бетонной смеси с образованием валиков перед рабочими органами. Окончательный припуск и регулировку положения шнеко-фрезерного рабочего органа и отвала по высоте уточняют в процессе работ в зависимости от формования покрытия бетоноукладчиком ДС-101.

Рис. 22. Схема установки рабочих органов машины ДС-99 при распределении бетонной смеси:
1 - цементогрунтовое основание; 2 - слой распределенной цементобетонной смеси; 3 - бункер-конвейер; 4 - рама распределителя; 5 - шнеко-фрезерный рабочий орган; 6 - отвал (положение в установившемся потоке); 7 - отвал (положение в начале работы)
При определении запаса на уплотнение необходимо учитывать и то обстоятельство, что ширина раскладываемой распределителем полосы смеси должна быть немного меньше ширины бетонируемого ряда (в пределах 7,0-7,2 м).
При настройке систем автоматического управления следует отрегулировать: скорости перемещения штоков гидроцилиндров подъема-опускания главной рамы распределителя в пределах 0,25-0,3 м/мин, скорости перемещения штоков гидроцилиндров рулевого управления в пределах 0,3-0,4 м/мин, величину свободного хода щупа датчиков положения на расстоянии 25-30 см от оси качания, которая должна быть в пределах 3-10 мм.
Установка машины на ось бетонируемого ряда, наладка боковых форм и установка распределителя относительно струны для обеспечения автоматического выдерживания курса и высотных отметок производятся аналогично технологическим операциям при укладке цементобетонной смеси бетоноукладчиком ДС-101 (см. технологическую карту № 7 настоящего сборника).
Укладка цементобетонной смеси распределителем
Цементобетонную смесь доставляют к месту укладки большегрузными автомобилями-самосвалами и выгружают непосредственно в перегружающее оборудование распределителя - бункер-конвейер.
Для подъезда к бункеру-конвейеру автотранспорта со смесью используют примыкающую к бетонируемому ряду спланированную обочину.
Работу организуют в такой последовательности.
Автомобиль-самосвал со смесью проезжает чуть вперед распределителя (на 5-10 м, в это время у распределителя бункер-конвейер расположен внутри рамы) и останавливается. Выдвигают бункер-конвейер, и автомобиль-самосвал задним ходом подъезжает к нему для выгрузки смеси. По мере поднятия кузова смесь постепенно сползает в бункер, где с помощью ленточного конвейера перемещается на основание.
После окончания очистки дна и стенок кузова от налипшей цементобетонной смеси автомобиль-самосвал отходит, а бункер-конвейер убирают внутрь рамы для возможности подъезда следующего автомобиля-самосвала.
Для более четкой организации выгрузки смеси с наименьшими затратами времени на подход автомобиля-самосвала к бункеру-конвейеру необходимо на передней стенке бункера нанести краской черту-точку соприкосновения левого заднего колеса автомобиля-самосвала с бункером распределителя.
После разгрузки двух автомобилей-самосвалов распределитель приступает к распределению цементобетонной смеси шнеко-фрезерным рабочим органом и выравниванию поверхности уложенной смеси отвалом. Затем вышеописанную технологическую операцию повторяют.
Во время распределения цементобетонной смеси необходимо постоянно получать информацию о наличии смеси (высоте валика) перед рабочими органами бетоноукладчика. В случае образования большого валика смеси перед рабочими органами бетоноукладчика необходимо опустить отвал распределителя, снизить тем самым толщину распределения смеси. При нехватке смеси перед рабочими органами бетоноукладчика отвал распределителя приподнимают, создавая большую величину запаса на уплотнение.
Частота вращения шнека по возможности должна быть минимальной, так как она обеспечивает более равномерное распределение смеси. Большая частота вращения шнека может способствовать расслоению смеси, отбрасыванию материала назад через отвал, создавая неравномерное ее распределение.
Необходимо организовать четкую работу автотранспорта, так как простои распределителя из-за отсутствия автотранспорта вызовут простои и бетоноукладчика, что приведет к ухудшению ровности поверхности покрытия.
В конце рабочего дня после окончания укладки цементобетонной смеси распределитель переводят на ручное управление, отгоняют вперед и готовят его к работе в следующую смену.
II. УКАЗАНИЯ ПО ОРГАНИЗАЦИИ ТРУДА
Работу распределителя бетона организуют в две смены на одной захватке с работами по укладке и уплотнению смеси бетоноукладчиком ДС-101, нарезке контрольных швов в свежеуложенном бетоне, окончательной отделке поверхности бетонного покрытия бетоноотделочной машиной ДС-104 и уходу за свежеуложенным бетоном машиной ДС-105.
Длина каждой сменной захватки, равная 650 м, определена по сменной производительности распределителя бетона (см. циклограмму).
Перед началом работ необходимо составить почасовой график доставки цементобетонной смеси и определить расчетное количество автомобилей-самосвалов в зависимости от дальности возки и скорости их движения.
Работы по распределению цементобетонной смеси выполняет звено в следующем составе:
Машинист распределителя 6 разр.-1
Помощник машиниста 5 разр.-1
Бетонщики 2 разр.-3
В начале смены машинист и помощник готовят распределитель к работе: устанавливают копиры-датчики, заправляют машину горючим, устанавливают рабочие органы в рабочее положение, проверяют вхолостую работу бункера-конвейера и шнеко-фрезерного рабочего органа.
Во время распределения смеси они контролируют работу распределителя на автоматическом режиме, при необходимости переводят его работу на ручное управление и осуществляют дозаправку машины горючим. Помощник машиниста руководит выгрузкой смеси из автомобилей-самосвалов в бункер-конвейер.
В конце рабочего дня машинист отводит распределитель вперед и вместе с помощником осуществляет уход за машиной: очищают рабочие органы от налипшей цементобетонной смеси, промывая их сильной струей воды, снимают копиры-датчики и т.п.
Два бетонщика 2 разр. осуществляют прием цементобетонной смеси и очищают лопатами на длинных ручках кузова автомобилей-самосвалов от остатков цементобетонной смеси. Во время распределения смеси они следят за тем, чтобы на пути гусениц не было препятствий (крупные камни и другие неровности создают неравномерную дозировку смеси по высоте).
Во время остановок распределителя один из бетонщиков очищает гусеницы от налипшей растворной части бетона.
Третий бетонщик 2 разр. ведет учет цементобетонной смеси, поступающей к месту укладки.
ЦИКЛОГРАММА РАСПРЕДЕЛЕНИЯ ЦЕМЕНТОБЕТОННОЙ СМЕСИ РАСПРЕДЕЛИТЕЛЕМ ДС-99 ПРИ ВЫГРУЗКЕ СМЕСИ В БУНКЕР-КОНВЕЙЕР (емкость кузова автомобиля-самосвала 5 м3)

III. ГРАФИК ВЫПОЛНЕНИЯ ПРОИЗВОДСТВЕННОГО ПРОЦЕССА НА РАСПРЕДЕЛЕНИЕ ЦЕМЕНТОБЕТОННОЙ СМЕСИ РАСПРЕДЕЛИТЕЛЕМ ДС-99 НА ДВУХ ЗАХВАТКАХ ДЛИНОЙ 1300 м (9750 м2 покрытия)

IV. КАЛЬКУЛЯЦИЯ ЗАТРАТ ТРУДА И ЗАРАБОТНОЙ ПЛАТЫ НА РАСПРЕДЕЛЕНИЕ ЦЕМЕНТОБЕТОННОЙ СМЕСИ РАСПРЕДЕЛИТЕЛЕМ ДС-99 НА СМЕННУЮ ЗАХВАТКУ 650 м (4875 м2 покрытия)
|
Шифр норм и расценок |
Описание работ |
Состав звена |
Единица измерения |
Объем |
На единицу измерения |
На весь объем работ |
||
|
Норма времени, чел-ч |
Расценка, руб.-коп. |
Норма- |
Сумма зарплаты, руб.-коп. |
|||||
|
Местная норма
СУ-862 треста «Центро- |
Распределение цементобетонной смеси распределителем: подготовка начального участка и распределителя к укладке цементобетонной смеси, прием смеси в бункер распределителя с очисткой кузовов автомобилей-самосвалов, учет поступающей смеси, распределение смеси, подготовка распределителя к работе на следующий день (заключительные работы) |
Машинист
распределителя Помощник машиниста 5 разр.-1 Бетонщики 2 разр.-3 |
1000 м2 |
4,875 |
12 |
7-53 |
58,5 |
36-71 |
|
|
Итого: на 650 м (4875 м2 покрытия) |
|
|
|
|
|
58,5 |
36,71 |
|
|
на 1000 м2 покрытия |
|
|
|
|
|
12 |
7-53 |
V. ОСНОВНЫЕ ТЕХНИКО-ЭКОНОМИЧЕСКИЕ ПОКАЗАТЕЛИ
|
Наименование показателей |
Единица измерения |
По |
По |
На сколько процентов показатель по графику больше (+) или
меньше (-), чем по калькуляции |
|
Трудоемкость на 1000 м2 покрытия |
чел-дн |
1,5 |
1,03 |
-30,7 |
|
Средний разряд рабочих |
- |
3,4 |
3,4 |
- |
VI. МАТЕРИАЛЬНО-ТЕХНИЧЕСКИЕ РЕСУРСЫ
А. Основные материалы
|
Наименование материалов |
гост |
Единица измерения |
Количество |
|
|
на 1000 м2 покрытия |
на сменную захватку (4875 м2) |
|||
|
Цементобетонная смесь |
8424-72 |
м3 |
226,6 |
1105 |
Б. Машины, оборудование, инструменты, инвентарь
|
Наименование |
Марка, ГОСТ |
Количество |
|
Распределитель бетона |
ДС-99 |
1 |
|
Лопаты на длинной ручке |
ГОСТ 3620-76 |
2 |
|
Лопаты стальные строительные |
ГОСТ 3620-76 |
2 |
|
Кисти плоские мягкие |
ГОСТ 10597-70 |
2 |
|
Рулетка измерительная |
ГОСТ 7602-69 |
1 |
|
Мерник толщины слоя |
- |
1 |
VII. КАРТА ОПЕРАЦИОННОГО КОНТРОЛЯ КАЧЕСТВА РАБОТ РАСПРЕДЕЛЕНИЯ ЦЕМЕНТОБЕТОННОЙ СМЕСИ РАСПРЕДЕЛИТЕЛЕМ БЕТОНА ДС-99 ПРИ УСТРОЙСТВЕ ЦЕМЕНТОБЕТОННЫХ ПОКРЫТИЙ АВТОМОБИЛЬНЫХ ДОРОГ
|
№ |
Контролируемые параметры |
Предельные отклонения |
|
1 |
Содержание воздуха в бетонной смеси по объему |
±1 % |
|
2 |
Ширина распределяемого слоя смеси |
±5 см |
|
3 |
Толщина слоя бетона |
±5 % |
Примечания.
1. Превышение проектных отметок при распределении смеси назначается лабораторией с учетом осадки смеси при уплотнении и ориентировочно принимается 16-20 % толщины слоя.
2. Подвижность цементобетонной смеси на месте укладки не должна превышать 2 см.
СНиП III-40-718; СН 121-73; ВСН 139-68
|
I |
Основные операции, подлежащие контролю |
Прием цементобетонной смеси |
Распределение цементобетонной смеси |
|
II |
Состав контроля |
1. Подвижность смеси. |
1. Ширина распределяемого слоя. 2. Толщина слоя |
|
III |
Метод и средства контроля |
Измерительный. 1. Стандартный конус. |
Измерительный. 1. Рулетка стальная. |
|
IV |
Режим и объем контроля |
1. На 100 м - не менее одного раза. 2. На 200 м - не менее одного раза |
1. Через 100 м одни замер. |
|
V |
Лицо, контролирующее операцию |
Мастер, лаборант |
Мастер |
|
VI |
Лицо, ответственное за организацию и осуществление контроля |
Прораб |
|
|
VII |
Привлекаемые для контроля подразделения |
Строительная лаборатория |
- |
|
VIII |
Где регистрируются результаты контроля |
Общий журнал работ |
|
Технологическая карта разработана на строительство дорожных монолитных цементобетонных покрытий толщиной 22 см, шириной 7,5 м с использованием бетоноукладчика ДС-101 комплекта машин ДС-100 и выгрузкой цементобетонной смеси на основание впереди бетоноукладчика.
В настоящей технологической карте предусмотрены:
- сменная производительность - 800 м покрытия (6000 м2);
- состав звена при бетоноукладчике - 12 чел.;
- рабочая скорость бетоноукладчика - 2 м/мин.
Расстояние между швами сжатия - 5 м (без армирования штырями), шов расширения устраивают в конце рабочего дня по типу шва коробления. При температуре воздуха ниже +5°С швы расширения устраивают в соответствии с ВСН 139-68.
Продольный шов армирован штырями (диаметром 16 мм, длиной 75 см) через 1 м.
Работу бетоноукладчика ДС-101 ведут на автоматическом режиме выдерживания курса и уровня от копирной струны.
I. УКАЗАНИЯ ПО ТЕХНОЛОГИИ ПРОИЗВОДСТВЕННОГО ПРОЦЕССА
До устройства цементобетонного покрытия должны быть выполнены следующие подготовительные работы:
- спрофилировано под проектные отметки профилировщиком ДС-97 цементогрунтовое основание, которое должно набрать необходимую прочность, достаточную для заезда груженых автомобилей-самосвалов для разгрузки смеси на основание;
- натянута копирная струна для работы бетоноукладчика в автоматическом выдерживании курса и уровня;
- организована автоколонна автомобилей-самосвалов с расчетным количеством машин для подвоза бетона;
- устроено достаточное количество въездов на земляное полотно и съездов с него;
- подготовлены временные пути подвоза бетона;
- укреплена обочина для проезда груженых автомобилей-самосвалов. Эта обочина должна иметь достаточную ширину (4,5-5 м);
- смонтированы, отлажены и подготовлены к работе смесительные установки СБ-109.
К устройству цементобетонного покрытия приступают после набора цементогрунтовым основанием необходимой прочности, к моменту открытия по нему автомобильного движения.
Краткая характеристика бетоноукладчика ДС-101
Бетоноукладчик со скользящими формами (рис. 23) отличается от профилировщика ДС-97 тем, что расположенные под рамой рабочие органы профилировщика заменены рабочими органами для укладки смеси и в правом заднем углу платформы главной рамы установлен водяной бак.

Рис. 23. Схема бетоноукладчика ДС-101:
1 - водяной бак; 2 - главная силовая установка; 3 - масляный бак гидросистемы; 4 - топливный бак; 5 - вспомогательная силовая установка; 6 - пульт управления; 7 - пульт управления водораспределительной системы; 8 - индикатор уровня бетоноукладочного оборудования; 9 - кожух гусеницы; 10 - скользящие формы (опалубка); 11 - шнек; 12 - рама
В основе работы бетоноукладчика лежит семиступенчатая обработка цементобетонной смеси, обеспечивающая ее равномерное распределение и уплотнение.
На машине установлена гидростатическая трансмиссия, обеспечивающая бесступенчатую регулировку скорости привода гусеничных тележек, шнека и качающихся отделочных брусьев.
Высота подъема рамы бетоноукладчика точно контролируется гидроцилиндрами.
Использование в бетоноукладчике автоматических систем контроля позволяет производить работы с точностью ±3 мм в продольном и поперечном профилях.
Техническая характеристика бетоноукладчика
|
Мощность двигателя, л.с. |
425 |
|
Масса машины (незаправленной), т |
41,8 |
|
Габаритные размеры, м: |
|
|
ширина |
9,57 |
|
длина |
12,58 |
|
колея |
9,12 |
|
база |
9,665 |
|
Ширина укладки, м |
7,0 и 7,5 |
|
Скорости (вперед и назад), м/мин: |
|
|
1-й диапазон - рабочий |
0-18 |
|
2-й диапазон - транспортный |
0-36 |
|
3-й диапазон - транспортный |
0-72 |
Рабочие органы бетоноукладчика ДС-101
Бетоноукладочное оборудование состоит из семи основных узлов, расположенных на трех секциях рамы: передней, средней (главной) и задней (рис. 24).
Бетоноукладчик оборудован боковыми скользящими формами, шарнирно прикрепленными к нижней кромке передней и средней частей рамы. Подъем и опускание форм осуществляются тремя гидроцилиндрами. Боковые формы служат скользящей опалубкой для укладываемой цементобетонной смеси.
На внутренней поверхности боковых форм имеется углубление в виде паза. Это углубление предназначено для прохождения опалубки над Г-образными стержнями, погружаемыми в край покрытия для последующего сопряжения со смежным рядом.
При устройстве однорядового цементобетонного покрытия (как предусмотрено в настоящей технологической карте) с внутренней стороны боковых форм устанавливают стальные полосы для создания гладкой вертикальной кромки плиты покрытия.

Рис. 24. Характеристики рабочих органов бетоноукладчика ДС-101
|
Наименование рабочих органов |
Шнек |
Отвал шнека и глубинные вибраторы |
Вибробрус-дозатор |
Качающиеся отделочные брусья |
Кромко- |
Плавающая выглаживающая плита |
|
Наименование элементов рабочих органов |
1-лопасть; |
3-отвал шнека; 4 – амортизи- |
7-брус; 8 – электро- |
9-первичный брус; 10-шатун; 11-кронштейн крепления шатуна к брусу; 12-вторичный брус |
13-разравнивающая плита; 14-рама; 15-опорная плита; 16-регулировочная рукоятка; 17-регулируемая опорная рама |
18-тяга; 19-выглаживающая плита; 20-цепь, соединяющая выглаживающую плиту со штоком цилиндра |
|
Назначение рабочего органа и краткое его описание |
Шнек перемешивает
и распределяет бетонную смесь. Состоит из двух половин длиной 3,65 м и
диаметром по виткам 457 мм. Конструкция шнека-сварная, лопасти на каждой
половине направлены в противо- |
Отвал шнека
регулирует толщину бетонного слоя. Состоит из двух независимых половин длиной
3,75 м и высотой 600 мм и прикреплен к четырем гидро- |
Окончательно
дозирует цементо- |
Оба бруса первоначально формуют профиль плиты. Каждый брус выполнен в виде массивной стальной балки коробчатого сечения. Качание в противофазе-до 85 качаний в мин. |
Предназначен для образования и отделки кромки бетонного покрытия. Расположен непосредственно сзади каждой боковой формы |
Выглаживающая плита окончательно отделывает поверхность покрытия. Состоит из двух половин по 3,75 м и шириной 61 см сварных стальных плит с гладкой нижней поверхностью и слегка выгнутой выглаживающей кромкой |
Индикаторы уровня
Для осуществления контроля за установкой рабочих органов и их точной регулировки на машине установлены механические индикаторы уровня (рис. 25).

Рис. 25. Механический индикатор уровня:
1 - стержень индикатора; 2 - шкала; 3 - монтажная полка; 4 - стрелка-указатель
Индикаторы уровня расположены на отвале шнека, вибробрусе-дозаторе и обоих качающихся отделочных брусьях.
Все индикаторы уровня хорошо видны с операторского пульта управления.
Шкала индикатора проградуирована вверх и вниз от «0», который находится в середине шкалы. Стрелка прикреплена к стержню индикатора установочным винтом и может перемещаться в пределах шкалы.
Стержни индикатора прикреплены снизу установочными винтами к кронштейнам, которые крепятся в верхней части рабочих органов бетоноукладчика (по концам каждой половины рабочего органа). При подъеме или опускании рабочего органа поднимается или опускается стержень индикатора, и его стрелка перемещается по шкале. Всегда необходимо проверять надежность закрепления и прямолинейность стержня.
Если рабочий орган был выровнен под рабочую отметку и стержень индикатора не поврежден, необходимо ослабить установочный винт стрелки и расположить ее на стержне так, чтобы она указывала на «0». Это необходимо проделать с каждым индикатором на каждом рабочем органе бетоноукладчика.
Технология производственного процесса
При устройстве цементобетонного покрытия бетоноукладчиком выполняют следующие работы:
- подготовка бетоноукладчика к работе;
- подготовка участка к бетонированию;
- укладка цементобетонной смеси бетоноукладчиком;
- заключительные (немеханизированные) работы.
1. ПОДГОТОВКА БЕТОНОУКЛАДЧИКА К РАБОТЕ
При подготовке бетоноукладчика к работе необходимо выбрать ровный участок дороги не ближе 15-20 м от места начала устройства покрытия.
Для установки бетоноукладчика по заданному курсу, а его рабочих органов на заданную рабочую отметку необходимо обеспечить установку шнура (копирной струны) за 20-25 м от места начала производства работ. Такая установка позволит вывести бетоноукладчик на необходимый автоматический режим работы в момент его подхода к начальному участку укладки смеси.
Наладка рамы бетоноукладчика
При работе в автоматическом режиме главная рама бетоноукладчика представляет собой подвижной горизонтальный шаблон, проходящий на заданной высоте над основанием. Поэтому она должна быть установлена точно в той же плоскости, что и плоскость устраиваемого покрытия.
Перед тем как установить раму бетоноукладчика на требуемую высоту, необходимо при помощи гидроцилиндров и ограничителей хода установить левую и правую боковые рамы на одинаковое расстояние от оси машины (на 3,75 м). Боковые рамы должны быть строго параллельны или отрегулированы так, чтобы ширина передней ее части была равна или немного больше задней.
Затем устанавливают раму бетоноукладчика так, чтобы ее нижняя плоскость находилась на отметке устраиваемого покрытия.
Для этого по двум выставленным нивелирным колышкам (реперам) натягивают поперек бетонируемого ряда тросик.
Располагая поочередно переднюю и заднюю части рамы непосредственно над тросиком, измеряют расстояние между нижней плоскостью рамы и тросиком и выравнивают положение рамы.
После этого раму опускают так, чтобы нижняя плоскость рамы касалась натянутого троса, и окончательно выравнивают низ рамы по проектной отметке поверхности бетонного покрытия.
Наладка рабочих органов бетоноукладчика
Наладку рабочих органов бетоноукладчика осуществляют в два этапа.
На первом этапе производят предварительную наладку рабочих органов относительно низа рамы бетоноукладчика. На втором этапе осуществляют окончательную наладку рабочих органов - установку их в рабочее положение.
Предварительная наладка рабочих органов бетоноукладчика
Шнек бетоноукладчика не требует наладки, поскольку он жестко соединен с боковыми рамами и его положение по высоте и в плане зависит от положения боковых рам. Поэтому достаточно лишь выровнять низ рамы бетоноукладчика под проектную отметку покрытия для того, чтобы шнек принял рабочее положение.
Отвал шнека и вибробрус-дозатор выравнивают по струне, натянутой между нижними краями боковых частей рамы.
Для установки внутренних вибраторов необходимо полностью выпустить шток гидроцилиндра, вращающий подъемную поперечину, и освободить зажимы кронштейнов двух крайних вибраторов. Установив два крайних вибратора на высоту 2/3 покрытия, т. е. на расстояние 16 см от самой нижней точки вибратора до нижней поверхности рамы, закрепляют зажимы и по натянутой между ними струне устанавливают остальные вибраторы.
Качающиеся отделочные брусья выравнивают по струне (шнуру), натянутой между нижними краями боковых рам. При этом проверяют отсутствие искривления нижней поверхности бруса, которая на всем протяжении должна соприкасаться со струной.
Передний край бруса настраивают так, чтобы он был приподнят относительно заднего (или натянутой струны). Величина подъема («угол атаки») определяется лабораторией в зависимости от свойств цементобетонной смеси и колеблется в пределах 1-2°.
Для настройки выглаживающей плиты при помощи регулировочных винтов выравнивают ее задний край по струне, натянутой между нижними краями боковых рам. Переднюю кромку выглаживающей плиты приподнимают на 3-5 мм, после чего поднимают плиту до отметки поверхности бетонного покрытия.
Окончательную наладку выглаживающей плиты осуществляют в процессе работы бетоноукладчика.
После предварительной наладки рабочих органов относительно низа рамы все индикаторы уровня устанавливают на «0».
Наладка боковых скользящих форм
После наладки и установки всех рабочих органов бетоноукладчика необходимо установить боковые формы в шарниры боковых рам.
Верхний конец формы тщательно подгоняют к краям боковой рамы, чтобы не было утечки цементобетонной смеси. Для этого необходимо проделать следующие операции:
- выпустить гидроцилиндры управления боковыми формами до конца, закрепить шток гидроцилиндра на шарнире боковой формы и затянуть болты;
- ослабить стопорный винт регулировочного винта фланца и посредством последнего подтянуть форму вплотную к фланцу боковой рамы, затем затянуть стопорные винты регулировочных винтов;
- ослабить стопорный винт и отрегулировать винт откоса так, чтобы в каждой шарнирной точке форма была расположена на 1,2 см от шарнира, а затем затянуть стопорный винт.
Нижняя кромка каждой боковой формы оборудована резиновой лентой для предотвращения повреждения нижних кромок при устройстве покрытия на основании из абразивного материала. Перед началом работы необходимо проверять износ резиновой ленты.
Наладка кромкообразователя
Передний край кромкообразователя первоначально должен быть установлен на 1-3 см выше поверхности укладываемой смеси. Точная настройка кромкообразователя осуществляется при помощи четырех регулировочных болтов.
Расстояние между боковыми формами (опалубкой) кромкообразователя должно быть на 2-4 см меньше проектной ширины покрытия.
Высота опалубки кромкообразователя должна быть на 5 мм меньше толщины укладываемого слоя смеси.
В процессе укладки смеси в зависимости от ее подвижности требуется постоянная регулировка кромкообразователя.
Установка бетоноукладчика относительно струны
После предварительной настройки рабочих органов к установки бетоноукладчика на дорожное основание (т. е. установки низа рамы на отметку поверхности покрытия) необходимо поставить механические индикаторы в нулевое положение.
Впереди и сзади бетоноукладчика на осевой линии дороги вбивают два колышка и устанавливают бетоноукладчик так, чтобы центры шнека и качающегося отделочного бруса находились на линии, проведенной между этими колышками.
На главную раму устанавливают укосины (консоли) так, чтобы их внешние концы находились на расстоянии 20-25 см от струны (шнура). На конец укосины устанавливают поперечину, после чего осуществляют установку датчика выдерживания курса и датчика уровня.
На панели пульта управления ставят выключатель поворота гусеничных двигателей и поворота рамы в положение «Вкл.». Затем переключатель поворота ставят в положение «Вперед», а переключатели копиров - в положение «Вкл.», медленно поднимают внешний конец укосины до соприкосновения со струной. При этом обе сигнальные лампочки (подъема и опускания) выключаются. Это означает, что поворотный выключатель стоит в нулевом положении.
После этого затягивают гайки крепления укосины и выдвигают скользящий стержень укосины до соприкосновения копиpa со струной и выключения лампочек левого и правого поворота.
Машина готова к работе. Осталось лишь произвести настройку датчиков и окончательную настройку рабочих органов непосредственно с пульта управления.
Настройку датчиков осуществляют в такой последовательности:
- включают двигатель для создания давления в гидросистеме;
- ставят переключатель «Копир выдерживания курса и копир уровня» в положение для работы в автоматическом режиме;
- поворачивают регулировочный винт датчика по часовой стрелке для уменьшения свободного хода штока гидроцилиндра. Регулировочный винт датчика плавно поворачивают до достижения плавного хода штока гидроцилиндра. Это положение будет наилучшим для данной скорости работы гидроцилиндров подъема и поворота рамы.
Необходимо помнить, что в конце каждого рабочего дня и во время непогоды датчики нужно снимать и хранить в сухом месте.
Окончательная наладка рабочих органов
Окончательную наладку рабочих органов бетоноукладчика осуществляют по индикаторам уровня с пульта управления следующим образом:
- отвал шнека поднимают на 3-4 см выше низа боковых рам (проектной отметки поверхности покрытия); вибробрус-дозатор поднимают на 0,5-1 см выше низа боковых рам;
- первичный качающийся отделочный брус устанавливают на 0,3-0,4 см выше проектной отметки поверхности покрытия с «углом атаки» 1-2°;
- вторичный качающийся отделочный брус устанавливают на 0,1-0,3 см выше отметки поверхности покрытия с «углом атаки» 1°.
В каждом конкретном случае величину поднятия рабочих органов относительно низа боковой рамы следует корректировать в зависимости от пластичности цементобетонной смеси.
При устройстве покрытия с односкатным профилем величины поднятия рабочих органов относительно проектной отметки поверхности покрытия будут постоянны в любом поперечнике дороги. Внутренние и внешние концы рабочих органов будут приподняты на одну и ту же величину, т.е. будут параллельны поверхности основания и покрытия.
Если профиль дороги двускатный, то внутренние концы рабочих органов дополнительно поднимают на разность отметок оси и кромки покрытия в данном поперечнике (рис. 26).

Рис. 26. Окончательная установка отвала шнека в рабочее положение по механическим индикаторам уровня при двускатном профиле дороги:
а - положение отвала шнека перед окончательной установкой: низ отвала выровнен со струной, все четыре индикатора уровня показывают «0»; б - положение отвала после первого этапа окончательной установки: весь отвал поднят на 5 (или 6) см относительно струны, все четыре индикатора показывают «5» (или «6»); в - положение отвала после окончательной установки: внутренние концы отвала дополнительно подняты еще на 6 см (на величину разности отметок покрытия оси дороги и ее кромки в данном поперечнике), крайние индикаторы показывают «5» (или «6»), внутренние-5 + 6 = «11» (или 6 + 6 = «12»); 1 - отвал шнека; 2 - цементогрунтовое основание; 3 - земляное полотно; 4 - струна, натянутая поверх нивелирных колышков (реперов); 5 - нивелирные колышки (реперы) с отметкой поверхности бетонного покрытия; 6 - стержни крайних механических индикаторов уровня; 7 - стержни внутренних механических индикаторов уровня
2. ПОДГОТОВКА УЧАСТКА К БЕТОНИРОВАНИЮ
Перед началом распределения цементобетонной смеси бетоноукладчиком необходимо подготовить место примыкания к ранее устроенному покрытию (см. рис. 21), т. е. место сопряжения участка дороги с затвердевшим бетоном с бетоном, который предстоит укладывать.
Для этого необходимо осторожно отделить от бетона две деревянные боковые опалубки-упоры и деревянную конструкцию рабочего шва - угольник-шаблон, выполненную по типу шва коробления.
Затем производят обмазку торца бетонной плиты битумной эмульсией (или любым пленкообразующим материалом, применяемым для ухода за бетоном). При этом не допускается обмазка выступающих с торцевой части бетонной плиты штырей более чем на 5-8 см от торца плиты.
Перед началом работы бетоноукладчика впереди него вручную бетонируют плиту шириной 7,5 м и длиной 2-3 м. Для этого по краям покрытия по высотным отметкам устанавливают деревянную опалубку и завозят цементобетонную смесь (достаточно одного автомобиля-самосвала), которую распределяют вручную. Распределенную смесь уплотняют глубинными вибраторами и выравнивают поверхность бетонного покрытия. Затем деревянную опалубку снимают и насыпают впереди устроенного участка и на него достаточное количество смеси для того, чтобы перед рабочими органами бетоноукладчика образовывался валик из смеси.
Для предотвращения попадания цементобетонной смеси на гусеницы их защищают с внутренней стороны специальными бортами.
Перед пуском бетоноукладчика приподнимают его боковые формы, кромкообразователи и глубинные вибраторы, затем включают передний ход бетоноукладчика. При этом шнек, проходя над готовым участком покрытия, подхватывает валик смеси и создает небольшой «горб».
Убедившись, что пространство под вибраторами заполнено смесью, опускают вибраторы на 15 см относительно низа рамы. Такое положение вибраторы примут при полностью выпущенном штоке гидроцилиндра (см. раздел «Наладка рабочих органов бетоноукладчика»).
После прохода вибраторами бетоноукладчика участка ручной укладки бетонной плиты опускают боковые формы и кромкообразователи в нужное положение и в процессе работы машины осуществляют окончательную наладку рабочих органов. До окончания полной наладки бетоноукладчика он должен двигаться на низкой скорости.
3 УКЛАДКА ЦЕМЕНТОБЕТОННОЙ СМЕСИ БЕТОНОУКЛАДЧИКОМ
Укладка цементобетонной смеси на прямых участках дороги
После окончательной наладки машины в начальной стадии ее работы оператор переводит работу бетоноукладчика на повышенную скорость и автоматический режим работы. Один машинист легко управляет всеми операциями, выполняемыми машиной. Сигнальные лампы, установленные на панелях пульта управления, позволяют машинисту контролировать управление операциями автоматически и вручную. Пульт управления служит машинисту для дистанционного регулирования положения всех частей машины и содержит все контрольно-измерительные приборы, необходимые для контроля и управления работой двигателя, гидросистемы и электрооборудования.
Индикаторы уровня, хорошо видимые из любого положения на платформе главной рамы, показывают машинисту относительное положение режущих, уплотняющих и профилирующих органов.
Таким образом, при укладке смеси на прямых участках дороги все процессы автоматизированы, необходим лишь постоянный контроль за работой отдельных узлов машины.
В процессе работы необходимо контролировать величину валика смеси перед качающимися отделочными брусьями: перед первичным брусом высота валика смеси должна находиться в пределах 20-25 см, перед вторичным - 10-15 см.
Необходимо строго следить за тем, чтобы глубинные вибраторы были всегда погружены в смесь. Характерным признаком процесса уплотнения (в зоне глубинных вибраторов) является интенсивное «кипение» цементобетонной смеси, сопровождающееся выделением пузырьков воздуха. При выходе из строя глубинных вибраторов крайние вибраторы при замене устанавливают на расстоянии не более 15-20 см от боковой скользящей опалубки.
В конце каждого рабочего дня глубинные вибраторы необходимо очищать снаружи для предотвращения затвердевания бетонной смеси на их поверхности.
Во время работы бетоноукладчика необходимо следить за тем, чтобы на выглаживающей плите не находились посторонние предметы, плита должна давить на смесь только своей массой.
На пути движения гусениц бетоноукладчика не должно быть никаких препятствий. Крупные камни, строительный мусор поднимают раму машины и создают тем самым на поверхности бетонного покрытия наплывы.
Ровность бетонного покрытия проверяют рейкой длиной 3 м, просвет под которой не должен превышать ±3 мм.
Укладка цементобетонной смеси на виражах
Перед началом укладки смеси на отгонах виража и самом вираже необходимо произвести точную разбивку элементов виража.
Оператор бетоноукладчика должен точно знать все характерные переходные точки виража для того, чтобы регулировать высотное положение внутренних концов рабочих органов. На отгонах виража он должен переводить работу бетоноукладчика на ручное управление, а на вираже-на автоматическое.
Предположим, что в начале отгона виража превышение отметки оси покрытия над кромками составляет 60 мм. Следовательно, в точке В (рис. 27) превышение внутренних концов рабочих органов над внешними также составляет 60 мм.

Рис. 27. Схема разбивки виража перед началом укладки смеси:
1 - кромки цементогрунтового основания; 2 - линия будущей кромки покрытия; 3 - знак «Начало отгона виража»; 4 - знак «Переход от двускатного профиля к односкатному»; 5 - знак «Конец отгона виража-начало виража»; 6 - знак «Конец виража»; 7 - знак «Переход от односкатного профиля к двускатному»; L1 - длина отгона виража (ручное управление); L2 - длина виража (автоматическое управление); l1 - участки отгона виража с двускатным профилем; l2 - участки отгона виража с односкатным профилем; А1, A2, ..., A5 - левые крайние точки рабочих органов; В1, В2,…, В5 - внутренние концы рабочих органов; C1, С2,…, С5 - правые крайние точки рабочих органов; δ - превышение внутренних концов рабочих органов над внешними
Так как цементогрунтовое основание выполнено с учетом высотных отметок виража, то крайние точки рабочих органов (точки A, A1,..., A5 и С, С1,..., С5) будут отстоять от основания на всех участках виража и отгона виража на одну и ту же величину-величину, принятую при окончательной настройке рабочих органов.
Внутренние концы рабочих органов будут менять свое высотное положение только на участках отгона виража l1 с двускатным поперечным профилем.
При движении бетоноукладчика от точки В к точке В1 превышение δ должно постепенно уменьшаться, и в точке В1 рабочие органы будут параллельны раме бетоноукладчика, подошве гусениц и поверхности цементогрунтового основания. Таким образом, превышение внутренних концов рабочих органов над внешними δ = 60 мм необходимо уменьшать пропорционально пройденному расстоянию так, чтобы в точке В1 оно было сведено к нулю.
Это проверяют по индикаторам уровня, установленным на рабочих органах бетоноукладчика.
Когда рабочие органы будут выпрямлены в одну линию параллельно раме, работа оператора (машиниста) сведется лишь к выдерживанию направления без регулировки высотного положения внутренних концов рабочих органов. В этом случае нет необходимости пользоваться индикаторами уровня до тех пор, пока производится укладка смеси на участках виража с односкатным профилем, когда бетоноукладчик копирует поверхность цементогрунтового основания.
Там, где односкатный профиль переходит в двускатный (т.е. в точке B4), необходимо при движении бетоноукладчика к точке В5 изменять высотное положение внутренних концов рабочих органов так, чтобы превышение их над внешними концами рабочих органов увеличивалось пропорционально пройденному расстоянию.
При движении по виражу оператору необходимо изменять подачу цементобетонной смеси к верхнему краю виража. Это в свою очередь потребует изменения положения рабочих органов бетоноукладчика для того, чтобы увеличить подачу смеси к верхнему краю виража с учетом ее сползания. Поэтому помощник оператора (машиниста) должен постоянно контролировать толщину покрытия виража и состояние ее кромки и сообщать об этом оператору.
Необходимо также учитывать, что осадка краев покрытия будет меняться, поэтому необходимо постоянно регулировать положение кромкообразующего узла для получения необходимой формы краев.
Если кромкообразователь не обеспечивает устойчивость и вертикальность кромки покрытия, необходимо изменить положение боковых форм.
После окончания работ по укладке смеси на вираже (точка В5) оператор переводит работу бетоноукладчика на автоматический режим.
Укладка цементобетонной смеси на примыканиях к мосту
а) Подготовительные работы
Перед началом раскладки цементобетонной смеси на примыкании к мосту необходимо устроить по обе стороны моста по три компенсационных шва расширения (рис. 28). Первый шов располагают в месте примыкания дорожного покрытия к настилу искусственного сооружения, второй через четыре плиты от первого шва и третий через шесть плит от второго.

Рис. 28. Конструкция шва расширения (компенсационного шва) и схема крепления швеллеров к подшовной плите:
1 - плита покрытия; 2 - подшовная плита; 3 - швеллер, 4 - стержень, приваренный к швеллеру; 5 - клинья, 6 - болт
Компенсационный шов расширения устраивают в виде сквозного паза шириной 6 см. Стенки шва создаются швеллерами, номер которых соответствует толщине покрытия. Для связи швеллеров с бетоном к их стенкам приварены штыри диаметром 14 мм, длиной 40 см через 1 м по длине швеллера.
Конструкцию компенсационного шва устанавливают на подшовную бетонную плиту размером 7,5 ´ 1 ´ 0,14 м и прикрепляют к ней болтами и клиньями.
Технология устройства компенсационных швов следующая.
В цементогрунтовом основании в месте расположения шва производят выборку грунтоцемента под размер подшовной плиты. Затем приступают к бетонированию плиты так, чтобы отметки верха плиты соответствовали отметкам ранее устроенного на этом месте цементогрунтового основания.
Поверхность свежеуложенного бетона плиты укрывают двумя слоями битумированной бумаги и закрепляют швеллеры на подшовной плите.
Крепление швеллера к плите осуществляют при помощи болтов, связывающих два клина, которые располагают через 2 м один от другого с целью создания фиксированной ширины шва. Между собой швеллеры связывают вязальной проволокой. Болты и клинья извлекают после окончания отделки шва (для свободного извлечения болты перед установкой обмазывают маслом).
б) Укладка цементобетонной смеси
При подходе к компенсационному шву бетоноукладчик останавливают, отключают внутренние вибраторы и поднимают их в верхнее положение, приподнимают боковые формы, кромкообразователи и раму бетоноукладчика, а затем перемещают бетоноукладчик вперед за шов на 7-8 м и останавливают.
Участок примыкания к шву устраивают вручную. Для этого выставляют деревянную опалубку по высотным отметкам покрытия, распределяют бетон и уплотняют его глубинными и поверхностными вибраторами с питанием их от нарезчика швов в свежеуложенном бетоне ДНШС-60.
После окончания уплотнения смеси производят отделку поверхности участков покрытия у двух компенсационных швов, не примыкающих к настилу моста, бетоноотделочной машиной ДС-104.
На подходе к мосту за 7,5-8 м бетоноукладчик останавливают. Сигналом для остановки машины должен служить выставленный на обочине сигнальный флажок.
Остановив бетоноукладчик у флажка, машинист отключает рабочие органы машины, поднимает их и раму в верхнее положение, переводит работу бетоноукладчика на ручное управление, после чего перемещает бетоноукладчик по мосту на другую его сторону. Для въезда на покрытие моста и съезда с него необходимо укладывать щиты или устраивать пандусы.
Участок примыкания к мосту (7,5-8 м) устраивают вручную. После окончания уплотнения смеси производят отделку поверхности выглаживающей дюралевой трубой длиной 3 м и диаметром 4 см. Рукоятку крепят с раскосами для жесткости к середине трубы. При указанных размерах трубы легко обеспечить требуемую ровность поверхности покрытия-просвет под рейкой длиной 3 м должен быть не более 3 мм.
По ту сторону моста бетоноукладчик устанавливают в рабочее положение, проделывая все подготовительные работы, описанные в разделах «Окончательная наладка рабочих органов» и «Подготовка участка к бетонированию», а участок примыкания к мосту устраивают вручную.
Устройство кромки цементобетонного покрытия
Для создания вертикальной кромки плиты покрытия бетоноукладчик оборудован четырьмя рабочими органами: боковыми формами, открылками качающихся экструзионных брусьев, кромкообразователем и выглаживающей плитой.
Боковые формы образуют первоначальную кромку плиты в соответствии с требуемой толщиной цементобетонного покрытия.
Открылки экструзионных брусьев создают излишек цементобетонной смеси у края покрытия. Этот излишек необходим для компенсации просадки кромок и для работы кромкообразователя.
Кромкообразователь создает окончательную (устойчивую, гладкую, вертикальную) кромку покрытия. Выглаживающая плита выглаживает участок покрытия у кромки под проектную отметку покрытия.
При применении очень подвижных цементобетонных смесей необходимо настраивать кромкообразователь с учетом допустимой осадки кромки после прохождения выглаживающей плиты (рис. 29).

Рис. 29. Вид плиты после прохода кромкообразователя и плавающей выглаживающей плиты:
1 - плита цементобетонного покрытия; 2 - кромка покрытия после прохода кромкообразователя, 3 - кромка покрытия после прохода выглаживающей плиты, h - толщина плиты, а - допускаемая осадка кромки по вертикали, β - допускаемая осадка кромки по горизонтали
Поскольку величина осадки меняется в процессе работы бетоноукладчика, кромкообразователь требует постоянной регулировки.
Если все же в некоторых местах кромки будут оплывать, то после прохода бетоноукладчика необходимо установить опалубку и проверить подвижность смеси.
Раскладка стержней в продольном шве
Механизм вдавливания стержней расположен в передней части рамы бетоноукладчика и приводится в действие гидроцилиндром.
В механизме используются две штанги с прорезями (пазами) на концах для вдавливания стержней, обслуживается механизм одним рабочим.
Механизм вдавливания стержней приводится в действие автоматически. Рабочий только помещает стержни в пазы на концах вдавливающих штанг перед погружением их в смесь. При движении бетоноукладчика вперед стержень выходит из паза на конце вдавливающей штанги, а штанга отводится назад для приема очередного штыря.
Панель управления механизмом вдавливания штырей установлена непосредственно над механизмом. Автоматическое управление работой механизма осуществляется при помощи велосипедного колеса, двух переключателей, соленоидного клапана управления и соответствующей электрической цепи.
Велосипедное колесо установлено в вилке, прикрепленной к стойке ноги, и вращается по мере движения гусеницы. При этом прикрепленный к ободу колеса упор воздействует на переключатель, установленный на вилке колеса. Когда упор нажимает на переключатель, электрические сигналы передаются ко второму переключателю, установленному на вдавливающей штанге. Этот переключатель воздействует - на соленоидный клапан, который направляет рабочую жидкость к выходному отверстию силового цилиндра. Таким образом, при шаге раскладки стержней 1 м за четверть оборота велосипедного колеса совершается цикл «выдвижение вперед - отведение назад» силового цилиндра механизма вдавливания стержней.
При ручном управлении механизмом велосипедное колесо отключают.
Для исключения остановки работы бетоноукладчика из-за отсутствия штырей последние должны находиться в необходимом количестве на полную смену работ или постепенно пополняться.
Устройство швов расширения
В случае устройства швов расширения (если они предусмотрены в каком-нибудь конкретном случае) применяется следующая технология устройства швов и укладки цементобетонной смеси в зоне шва.
Перед выгрузкой цементобетонной смеси на цементогрунтовое основание производят разбивку мест установки конструкции шва расширения, устанавливая колышки с обеих сторон бетонируемого ряда. Эти колышки являются ориентиром для водителей при выгрузке смеси на основание (на этот участок основания цементобетонная смесь не выгружается) и для рабочих, устанавливающих конструкцию шва до подхода бетоноукладочной машины.
Конструкцию шва расширения устанавливают в период после выгрузки цементобетонной смеси до начала ее обработки бетоноукладчиком.
Закладная доска шва расширения состоит из двух частей, каждая из которых имеет высоту 18 см и длину 3,72 м, т. е. общая длина доски на 6 см меньше ширины бетонируемого ряда.
При устройстве покрытия с применением распределителя ДС-99 закладную доску следует обрезать с обоих концов на 15 см. Зазор между закладными досками по оси покрытия не допускается.
Обе части закладной доски со штырями и каркасами-корзинками устанавливают на цементогрунтовое основание строго перпендикулярно оси покрытия и с обеих сторон закрепляют штырями (по 10-12 штырей с каждой стороны доски).
При подходе бетоноукладчика к конструкции шва расширения скорость укладки смеси снижают до 1-1,5 м/мин.
Как только до доски останется 30-40 см, глубинные вибраторы поднимают в крайнее верхнее положение, а после прохода конструкции шва расширения их вновь заглубляют в смесь на требуемую глубину (т.е. на 15 см от низа рамы) и переводят работу бетоноукладчика на обычный режим.
После прохода бетоноукладчика к шву расширения подводят нарезчик швов ДНШС-60 и с его мостика производят расчистку бетона над закладной доской и у ее торцов. К торцам закладной доски прибивают вкладыши (стоечки) высотой 18 см и шириной 5 см с тем, чтобы довести размеры закладной доски до ширины бетонируемого ряда. Сверху к закладной доске на всю ширину покрытия прибивают планку толщиной 4 см так, чтобы верх закладной доски был заподлицо с поверхностью покрытия.
С обеих сторон покрытия в зоне расположения шва расширения устанавливают упоры - опалубку и уплотняют бетон глубинными вибраторами.
Поверхность бетонного покрытия отделывают сначала вручную, а затем бетоноотделочной машиной (трубным финишером).
После схватывания бетона нашивную деревянную планку извлекают, а паз шва впоследствии заполняют мастикой или герметиком.
4 ЗАКЛЮЧИТЕЛЬНЫЕ (НЕМЕХАНИЗИРОВАННЫЕ) РАБОТЫ
В конце рабочей смены после окончания укладки смеси бетоноукладчик переводят на ручное управление, отгоняют вперед на расстояние 30-40 м и готовят его к работе в следующую смену.
В конце участка покрытия устанавливают конструкцию шва коробления.
Для этого кромке покрытия придают прямолинейную форму со строго перпендикулярной продольной оси покрытия стенкой и устанавливают на основание впритык к торцу покрытия шаблон-угольник так, чтобы верхняя грань вертикальной полки шаблона точно совпадала с поверхностью покрытия.
Шаблон-угольник крепят к основанию штырями-костылями, забиваемыми через 1-1,5 м.
Одновременно с установкой шаблона-угольника устанавливают и крепят вдоль обоих краев конечного участка покрытия доски (боковую опалубку).
Пространство между шаблоном-угольником и боковой опалубкой заполняют смесью и уплотняют глубинным вибратором, который приводят в действие от нарезчика швов в свежеуложенном бетоне.
После уплотнения цементобетонной смеси в отверстия шаблона-угольника вбивают штыри-анкеры, а затем поверхность конечного участка покрытия отделывают вручную с окончательной отделкой бетоноотделочной машиной (трубным финишером).
II. УКАЗАНИЯ ПО ОРГАНИЗАЦИИ ТРУДА
Работу бетоноукладчика по обработке цементобетонной смеси организуют в две смены на одной захватке с работами нарезчика швов в свежеуложенном бетоне, бетоноотделочной машины (трубного финишера) ДС-104 и машины по нанесению жидкого пленкообразующего материала ДС-105.
Укладка цементобетонной смеси должна быть увязана по времени с работой смесительных установок СБ-109 (начало укладки смеси сдвинуто на время доставки смеси первым автомобилем-самосвалом).
Для бесперебойной работы смесительных установок и машин бетоноукладочного комплекта необходима четкая организация работы автомобилей-самосвалов. Для этого необходимо определить расчетное число автомобилей-самосвалов и составить почасовой график доставки цементобетонной смеси к месту укладки.
Расчетное число автомобилей-самосвалов определяют по формуле:
![]()
где Тр - полное время одного рейса, мин;
t - время загрузки смесью, мин;
Б - поправка к расчетному числу автомобилей-самосвалов на неравномерность движения (Б = 1 - 2 автомобиля-самосвала).
Обслуживает работу бетоноукладчика звено в составе:
Машинист бетоноукладчика 6 разр.-1
Помощник машиниста 5 разр.-1
Бетонщики: 4 разр.-3
3 разр.-2
2 разр.-3
Подсобный рабочий 1 разр.-1
Слесарь строительный 5 разр.-1
В начале смены все бетонщики устраивают вручную участок бетонной плиты длиной 2-3 м для возможности ввода в работу бетоноукладчика.
Машинист бетоноукладчика в начале смены проверяет готовность машин к работе, устраняет мелкие неисправности, заправляет машину горючим и водой, налаживает рабочие органы относительно высотных отметок покрытия, устанавливает датчики.
Помощник машиниста вместе с машинистом готовит бетоноукладчик к работе, а в процессе работы бетоноукладчика осуществляет контроль за работой и исправностью рабочих органов, толщиной (с помощью специального щупа) и шириной укладываемой полосы смеси, следит за тем, чтобы на пути гусениц бетоноукладчика не было препятствий, при необходимости подменяет машиниста в его работе.
Один бетонщик 4 разр., находясь на бетоноукладчике (на ее передней части рамы), погружает стержни в цементобетонную смесь при помощи механизма вдавливания центральных стержней. В конце смены он тщательно протирает концы вдавливающих штанг для удаления налипшей растворной части бетона.
Два бетонщика 4 разр. (по одному с каждой стороны бетонируемой полосы дороги) проверяют ровность цементобетонного покрытия контрольной рейкой, исправляют дефектные места с помощью гладилок на длинных ручках, в начале смены при работе бетоноукладчика на пониженной скорости помогают машинисту осуществлять контроль за работой кромкообразователя и производить его регулировку. В конце второй смены они устанавливают деревянную конструкцию шва коробления.
Два бетонщика 3 разр. (по одному с каждой стороны бетонируемой полосы дороги) исправляют дефекты кромок после прохода бетоноукладчика и бетоноотделочной машины (трубного финишера) с помощью капроновых щеток на длинных ручках; в случае оплывания смеси на кромках устанавливают боковую опалубку и исправляют кромку фигурной металлической гладилкой.
Один бетонщик 2 разр. осуществляет учет поступающей к месту укладки цементобетонной смеси.
Два бетонщика 2 разр. руководят разгрузкой автомобилей-самосвалов и очищают лопатами на длинных ручках кузова от остатков цементобетонной смеси. В случае затруднения очистки кузова (при увеличении расстояния транспортировки смеси и жаркой погоде) к двум бетонщикам 2 разр. привлекают третьего.
Один подсобный рабочий 1 разр. осуществляет мойку кузовов автомобилей-самосвалов перед отъездом их на ЦБЗ для очередной загрузки цементобетонной смесью.
В конце рабочего дня все бетонщики отделывают вручную конечный участок у шва коробления и устанавливают предупреждающие и запрещающие знаки, ограждающие участок со свежеуложенным бетоном.
III. ГРАФИК ПРОИЗВОДСТВЕННОГО ПРОЦЕССА НА УСТРОЙСТВО ЦЕМЕНТОБЕТОННОГО ПОКРЫТИЯ ТОЛЩИНОЙ 22 см БЕТОНОУКЛАДОЧНОЙ МАШИНОЙ ДС-101 НА ДВУХ ЗАХВАТКАХ ДЛИНОЙ 1600 м (12000 м2 покрытия)

Примечание. Цифры указывают: над линиями число рабочих, под линиями - продолжительность операции.
IV. КАЛЬКУЛЯЦИЯ ЗАТРАТ ТРУДА И ЗАРАБОТНОЙ ПЛАТЫ НА УСТРОЙСТВО ЦЕМЕНТОБЕТОННОГО ПОКРЫТИЯ БЕТОНОУКЛАДОЧНОЙ МАШИНОЙ ДС-101 НА СМЕННУЮ ЗАХВАТКУ ДЛИНОЙ 800 м (6000 м2 покрытия)
|
Шифр норм |
Состав звена |
Описание работ |
Единица измерения |
Объем |
На единицу измерения |
На весь объем работ |
||
|
Норма времени, чел-ч |
Расценка, руб.-коп. |
Норма- |
Сумма зарплаты, руб.-коп. |
|||||
|
ТНиР-92, |
Машинист бетоноукладчика 6 разр.-1 Помощник машиниста 5 разр.-1 Бетонщики: 4 разр.-3 3 разр.-2 2 разр.-3 Подсобный рабочий 1 разр.-1 Слесарь строительный 5 разр.-1 |
Устройство цементобетонного покрытия: прием бетонной смеси с очисткой и мойкой кузовов автомобилей-самосвалов; перестановка указателей для въезда автомобилей-самосвалов на основание; распределение смеси, погружение штырей, уплотнение смеси, откидка смеси от боковой скользящей опалубки вручную; проверка ровности цементобетонного покрытия с исправлением небольших дефектов вручную; укладка смеси вручную в начальной части покрытия; устройство рабочего шва и отделка покрытия в начале и в конце смены |
1000 м2 |
6 |
18,6 |
11-25 |
111,6 |
67-50 |
|
|
|
Итого: на 800 м (6000 м2 покрытия) |
|
|
|
|
111,6 |
67-50 |
|
|
|
на 1000 м2 покрытия |
|
|
|
|
18,6 |
11,25 |
V. ОСНОВНЫЕ ТЕХНИКО-ЭКОНОМИЧЕСКИЕ ПОКАЗАТЕЛИ
|
Наименование показателей |
Единица измерения |
По |
По |
На сколько
процентов показатель по графику больше (+) или меньше (-), чем по калькуляции
|
|
Трудоемкость на 1000 м2 покрытия |
чел-дн |
2,33 |
2 |
-14,1 |
|
Средний разряд рабочих |
- |
3,4 |
3,4 |
- |
VI. МАТЕРИАЛЬНО-ТЕХНИЧЕСКИЕ РЕСУРСЫ
А. Основные материалы
|
Наименование материалов |
гост |
Единица измерения |
Количество |
|
|
на 1000 м2 |
на сменную |
|||
|
Цементобетонная смесь |
8424-72 |
м3 |
226,6 |
1359,6 |
|
Штыри (диаметром 16 мм, длиной 75 см) |
- |
шт. |
133 |
800 |
|
Конструкция шва коробления |
- |
шт. |
1 на две захватки |
|
|
Доски 40 мм (для устройства опалубки-упора на конечном участке второй смены) |
- |
м3 |
0,04 на две захватки |
|
|
Штыри для крепления опалубки-упора и конструкции шва коробления на конечном участке второй смены |
- |
шт. |
20 на две захватки |
|
Б. Машины, оборудование, инвентарь
|
Наименование |
Марка, ГОСТ |
Количество, шт. |
|
Бетоноукладчик |
ДС-101 |
1 |
|
Вибраторы глубинные |
ИВ-79 |
2 |
|
Лопаты на длинной ручке |
ГОСТ 3620-76 |
2 |
|
Лопаты стальные строительные |
ГОСТ 3620-76 |
2 |
|
Гладилки с длинной ручкой |
- |
2 |
|
Щетки капроновые на длинной ручке |
- |
2 |
|
Гладилки фигурные металлические для отделки кромок бетонного покрытия |
- |
2 |
|
Терки |
- |
2 |
|
Мерник толщины строя |
- |
1 |
|
Рулетка измерительная |
ГОСТ 7502-69 |
1 |
|
Шаблон с уровнем |
- |
1 |
|
Полиэтиленовый шнур (или стальная проволока) |
- |
20 м |
|
Комплект ограждения и сигнальных знаков |
ГОСТ 10807-71 |
1 |
|
Кисти плоские мягкие |
ГОСТ 10597-70 |
2 |
VII. КАРТА ОПЕРАЦИОННОГО КОНТРОЛЯ КАЧЕСТВА РАБОТ УКЛАДКИ ЦЕМЕНТОБЕТОННОЙ СМЕСИ БЕТОНОУКЛАДЧИКОМ ДС-101 ПРИ УСТРОЙСТВЕ ЦЕМЕНТОБЕТОННЫХ ПОКРЫТИЙ АВТОМОБИЛЬНЫХ ДОРОГ
|
№ |
Контролируемые показатели |
Предельные отклонения |
|
1 |
Содержание воздуха в бетонной смеси по объему |
±1 % |
|
2 |
Ширина покрытия |
±10 см |
|
3 |
Толщина покрытия |
±5 % |
|
4 |
Поперечный уклон |
±0,005 |
|
5 |
Ровность поверхности |
±3 мм (просвет под 3-метровой рейкой) |
Примечания.
1. Подвижность цементобетонной смеси на месте укладки не должна превышать 4 см.
2. Измерения ровности следует производить на расстоянии 0,75-1 м от каждой кромки покрытия.
СНиП III-40-78, ВСН 139-68
|
I |
Основные операции, подлежащие контролю |
Прием цементобетонной смеси |
Укладка цементобетонной смеси |
|
II |
Состав контроля |
1. Подвижность смеси. 2. Объем вовлеченного в смесь воздуха |
1. Ширина покрытия. 2. Толщина покрытия. 3. Поперечный уклон. 4. Ровность |
|
III |
Метод и средства контроля |
Измерительный. 1. Стандартный конус. 2. Воздухомер конструкции ЦНИИС |
Измерительный. 1. Рулетка стальная. 2. Мерник толщины слоя. 3. Шаблон с уровнем. 4. Рейка длиной 3 м |
|
IV |
Режим и объем контроля |
1. На 100 м покрытия - не менее одного раза. 2. На 200 м покрытия - не менее одного раза |
1. На 100 м покрытия - один замер. |
|
V |
Лицо, контролирующее операцию |
Мастер, лаборант |
Мастер |
|
VI |
Лицо, ответственное за организацию и осуществление контроля |
Прораб |
|
|
VII |
Привлекаемые для контроля подразделения |
Строительная лаборатория |
- |
|
VIII |
Где регистрируются результаты контроля |
Общий журнал работ |
|
Технологическая карта предусматривает нарезку в свежеуложенном бетоне пазов контрольных швов с одновременным введением эластичной прокладки модернизированным нарезчиком швов ДНШС-60.
Пазы контрольных швов нарезают в свежеуложенном бетоне через 15 м.
I. УКАЗАНИЯ ПО ТЕХНОЛОГИИ ПРОИЗВОДСТВЕННОГО ПРОЦЕССА
В условиях континентального климата при суточном перепаде температур менее 12°С в покрытиях, устраиваемых во второй половине дня, и при суточном перепаде температур более 12°С во всех покрытиях пазы контрольных швов устраивают комбинированным способом. При этом вначале в свежеуложенном бетоне машиной ДНШС-60 нарезают паз шва и закладывают в него эластичную ленту, а затем по заложенной ленте в затвердевшем покрытии нарезают верхнюю часть паза шва, с последующим заполнением мастикой. Настоящей картой предусмотрен первый этап нарезки шва - нарезка паза шва в свежеуложенном бетонном покрытии.
Модернизированный нарезчик швов в свежеуложенном бетоне ДНШС-60, поставленный на колесный ход, располагают в комплекте машин следом за бетоноукладочной машиной.
До нарезки пазов контрольных швов производят разбивку расположения их на покрытии. Пазы швов устраивают до начала схватывания бетона не позднее 10-30 мин (в зависимости от температуры воздуха) после обработки покрытия бетоноукладочной машиной.
Для нарезки паза поперечного шва рабочий орган нарезчика подводят к краю бетонируемого ряда и поворотом колонки устанавливают его так, чтобы хвостовик вибропластины был обращен наружу, а режущая кромка располагалась по линии шва. Бухту ленты надевают на стержень держателя так, чтобы она разматывалась по часовой стрелке.
Для установки ленты в шов ее заправляют в прорезь вибропластины и немного протягивают. Конец ленты на длине 2-3 см обрезают, складывают вдвое - втрое и сложенный конец снизу вверх заводят в прорезь фиксатора (рис. 30).
Фиксатор с заправленной лентой устанавливают вплотную к кромке покрытия так, чтобы головка фиксатора легла на поверхность смеси. Вибропластину подводят к фиксатору, выправляют ленту, наматывая ее на бухту. Включают вибратор рабочего органа, погружают вибропластину с лентой в смесь и включают механизм передвижения каретки. Фиксатор придерживают рукой, пока не прорежут 1,5-2 м шва, затем ленту у фиксатора обрезают ножницами или ножом, конец ленты выпрямляют и поверхность смеси отделывают гладилкой.

Рис. 30 Фиксатор ленты
В конце нарезаемого шва вплотную к кромке смеси устанавливают металлический щиток с прорезью (переносную опалубку) так, чтобы вибропластина с лентой прошла через прорезь (рис. 31). Механизм передвижения каретки останавливают, выключают привод лебедки, а затем вибратор.
Ленту обрезают и вытягивают из прорези вибропластины крючком, вибропластину поднимают, очищают от смеси и холостым ходом возвращают к началу шва для нарезки следующего паза контрольного шва. Поверхность смеси у шва заглаживают гладилками.
В качестве прокладки для швов применяют эластичную ленту толщиной 0,2-2 мм, смотанную в бухты (можно полиэтиленовую ленту ГОСТ 10354-73), которые на месте работ хранят в специальных ящиках, установленных на раме нарезчика. Ширина ленты должна быть на 10 мм больше глубины прорези шва (т.е. 60-65 мм). После устройства шва полиэтиленовая лента должна возвышаться над покрытием на 0,5-1 см.

Рис. 31. Переносная опалубка

Рис. 32. Вибропластина
Если начался процесс схватывания, нарезчик перемещают на свежеуложенный бетон, а на пропущенном участке пазы контрольных швов нарезают в затвердевшем бетоне.
При нарезке пазов швов в свежеуложенном бетоне необходимо выполнять следующие требования:
а) вибропластина должна периодически (обязательно при перерывах в работе и в конце смены) очищаться от бетона и промываться водой. По мере износа вибропластина должна заменяться новой (рис. 32);
б) резиновая гладилка должна быть эластичной. В процессе работы ее необходимо периодически очищать и промывать водой, а изношенную заменять новой, изготовленной из списанного диэлектрического коврика толщиной 6-10 мм;
в) электровибратор рабочего органа должен работать на расчетном напряжении. Работа на пониженном напряжении не допускается;
г) при работе в холодную погоду полиэтиленовую ленту надо подогревать до температуры +10°С.
Дефекты в работе рабочего органа нарезчика и способы их устранения
|
Дефекты |
Возможные причины |
Способы устранения |
|
Лента рвется при ее закладке в бетон |
Прорезь вибропластины имеет заусенцы или забита засохшим бетоном |
Очистить прорезь, устранить заусенцы |
|
Ширина ленты больше прорези |
Заправить пластину лентой требуемой ширины |
|
|
Лента неправильно заправлена в прорезь вибропластины |
Ленту заправить с правой стороны; разматывание ленты с катушки должно происходить по часовой стрелке |
|
|
Лента плохо омоноличивается с бетоном |
Недостаточная вибрация вибропластины вследствие неисправности электромотора вибратора, обрыва гибкого шланга, недостаточного напряжения тока, неправильной установки резиновых амортизаторов на валу колонки |
Устранить неисправности в моторе или гибком шланге; отрегулировать напряжение, исправить установку резиновых амортизаторов |
|
Чрезмерно высокая скорость перемещения рабочего органа |
Снизить рабочую скорость перемещения рабочего органа |
|
|
Бетон разрыхляется рабочим органом, происходит скалывание и разрушение бетона, лента не омоноличивается |
Упущено время нарезки шва, началось схватывание бетона |
На участке, на котором началось схватывание бетона, нарезку швов нарезчиком ДНШС-60 прекратить, а нарезчик переместить на участок со свежеуложенным бетоном |
|
Вибропластина перекошена или загрязнена затвердевшим бетоном |
Пластину установить так, чтобы ее плоскость совпадала с вертикальной плоскостью шва, очистить ее от затвердевшего бетона |
|
|
При включении электродвигатель не работает |
Загрязнились или истерлись щетки кольца |
Зачистить щетки и притереть их к плоскости кольца, при необходимости поставить новые щетки |
|
При включении электродвигатель гудит, а вал ротора не вращается или вращается медленно |
Нет напряжения в одной из фаз. Ослаб контакт в выключателе |
Проверить сеть и контактные соединения |
|
Сильно греется рубильник электромотора вибратора |
Изношены шарикоподшипники, отсутствует или загрязнена смазка вибратора |
Сменить подшипники, проверить состояние смазки, добавить или заменить ее |
|
Корпус вибратора под напряжением |
Замыкание токоведущих частей на корпус |
Найти и устранить замыкание |
|
Гибкий вал скручивается |
Нарушена центровка между электродвигателем и вибратором |
Исправить центровку электродвигателя с вибратором |
К качеству швов предъявляются следующие требования:
а) шов должен быть ровным и прямолинейным;
б) лента должна быть заделана в бетон вертикально и хорошо омоноличена с бетоном на всю глубину;
в) глубина заложения эластичной ленты должна быть не менее 1/4 толщины покрытия. Лента должна выступать из шва над поверхностью бетона на 1 см.
При производстве работ по нарезке пазов контрольных швов в свежеуложенном бетоне с закладкой в шов эластичной ленты мастер должен руководствоваться картой операционного контроля качества работ (раздел VII).
II. УКАЗАНИЯ ПО ОРГАНИЗАЦИИ ТРУДА
Работы по нарезке пазов контрольных швов в свежеуложенном бетоне ведут, как правило, в две смены.
В каждую смену нарезчик швов ДНШС-60 обслуживают машинист нарезчика 4 разр. и бетонщик 4 разр.
Машинист нарезчика отвечает за качество устраиваемых швов. Он управляет машиной, следит за работой рабочего органа и за хорошим сцеплением ленты с бетоном, а также заправляет ленту в прорезь вибропластины. В начале смены машинист готовит машину к работе, а в конце смены очищает ее.
Бетонщик заправляет конец ленты в фиксатор и придерживает его рукой при нарезке в начале шва, приставляет и придерживает металлическую приставную опалубку к кромке покрытия в конце шва в месте выхода вибропластины, обрезает ленту и убирает фиксатор, очищает фиксатор от бетонной смеси и отделывает поверхность в начале и в конце шва, а также периодически очищает и промывает водой вибропластину и резиновую гладилку. В начале и в конце смены помогает машинисту в подготовке машины к работе, уборке рабочего места, нарезает полиэтиленовую пленку на ленты и скручивает ее в бухты.
III. ГРАФИК ВЫПОЛНЕНИЯ ПРОИЗВОДСТВЕННОГО ПРОЦЕССА НА УСТРОЙСТВО КОНТРОЛЬНЫХ ШВОВ В СВЕЖЕУЛОЖЕННОМ БЕТОНЕ АВТОДОРОГ МАШИНОЙ ДНШС-60 НА ЗАХВАТКЕ ДЛИНОЙ 800 м (390 м швов глубиной 5-6 см)

Примечания.
1. Цифрами над линией показана продолжительность операции в минутах.
2. Время на отдых (6 раз по 8 мин после каждого часа работы) включено в продолжительность операции.
ЦИКЛОГРАММА НАРЕЗКИ КОНТРОЛЬНЫХ ШВОВ В СВЕЖЕУЛОЖЕННОМ БЕТОНЕ МОДЕРНИЗИРОВАННЫМ НАРЕЗЧИКОМ ШВОВ ДНШС-60

IV. КАЛЬКУЛЯЦИЯ ЗАТРАТ ТРУДА НА УСТРОЙСТВО КОНТРОЛЬНЫХ ШВОВ В СВЕЖЕУЛОЖЕННОМ БЕТОНЕ МОДЕРНИЗИРОВАННЫМ НАРЕЗЧИКОМ ШВОВ ДНШС-60 НА ЗАХВАТКЕ ДЛИНОЙ 800 м (390 м ШВОВ)
|
Шифр норм и расценок |
Описание работ |
Состав звена |
Единица измерения |
Объем работ |
Норма времени, чел-ч |
Расценка, руб.-коп. |
Норма- |
Стоимость затрат руда на полный объем работ, руб.-коп. |
|
ТНиР, |
Нарезка поперечных контрольных швов сжатия |
Машинист нарезчика 4 разр.-1 Бетонщик 4 разр.-1 |
100
м |
3,9 |
4,6 |
2-88 |
17,94 |
11-23 |
|
Местная норма СУ-921 треста «Дондорстрой» |
Нарезка полиэтиленовых прокладок на ленты и свертывание их в бухты |
Бетонщики: 4 разр.-1 3 разр.-1 |
100 м |
4,05 |
0,97 |
0-60 |
3,93 |
2-43 |
|
|
Итого: на захватку длиной 800 м |
|
|
|
|
|
21,87 |
13-66 |
|
|
на 1000 м шва в чел-ч |
|
|
|
|
|
56,07 |
35-02 |
|
|
на 1000 м шва в чел-дн |
|
|
|
|
|
7,0 |
|
V. ОСНОВНЫЕ ТЕХНИКО-ЭКОНОМИЧЕСКИЕ ПОКАЗАТЕЛИ
|
Наименование показателей |
Единица измерения |
По |
По |
На сколько процентов показатель по графику больше (+) или меньше (-), чем по калькуляции
|
|
Затраты труда на устройство 1000 м швов в свежеуложенном бетоне |
чел-дн |
7,0 |
5,13 |
-26,7 |
|
Средний разряд рабочих |
- |
3,93 |
4 |
+1,2 |
VI. МАТЕРИАЛЬНО-ТЕХНИЧЕСКИЕ РЕСУРСЫ
А. Основные материалы
|
Наименование |
гост |
Единица измерения |
Количество |
|
|
на смену |
на 100 м |
|||
|
Полиэтиленовая лента шириной 65 мм |
10354-73 |
м2 м |
26,4 |
6,8 |
Б. Машины, оборудование, инвентарь
|
Наименование |
ГОСТ, марка |
Количество, шт. |
|
Модернизированный нарезчик швов на колесном ходу |
ДНШС-60 |
1 |
|
Станок для резки полиэтиленовой пленки на ленты |
- |
1 |
|
Нож для резания полиэтиленовой ленты |
1897-5-73 |
1 |
|
Крючки для извлечения полиэтиленовой ленты (изготовляются в мастерских) |
- |
2 |
|
Гладилка с прорезью |
- |
1 |
|
Фиксатор |
- |
1 |
|
Приставная опалубка |
- |
1 |
|
Металлические лопаточки |
9533-71 |
2 |
VII. КАРТА ОПЕРАЦИОННОГО КОНТРОЛЯ КАЧЕСТВА РАБОТ ПРИ УСТРОЙСТВЕ ПАЗОВ ПОПЕРЕЧНЫХ КОНТРОЛЬНЫХ ШВОВ В СВЕЖЕУЛОЖЕННОМ БЕТОНЕ ПОКРЫТИЙ АВТОМОБИЛЬНЫХ ДОРОГ
|
№ |
Контролируемые параметры |
Предельные
отклонения, |
Рис. 33. Схема устройства шва с указанием предельных отклонений |
|
1 |
Прямолинейность шва на длине 1 м |
∆1 = ±3 |
|
|
2 |
Совпадение положения кромок швов |
∆2 = 2 |
|
|
3 |
Высота выступающей над покрытием части пленки |
∆3 = ±5 |
Примечания.
1. Глубина нарезаемых швов должна быть не менее 1/4 толщины покрытия.
2. Полиэтиленовая лента должна быть омоноличена с бетоном по всей глубине шва.
3. Не допускаются наплывы бетона у ленты и отклонения ленты от вертикального положения более чем на 10°.
СНиП III-40-78; ВСН 159-69; «Методические рекомендации по конструкции и технологии строительства дорожных одежд с цементобетонным покрытием, устраиваемых высокопроизводительным комплектом машин со скользящими формами». М., Союздорнии, 1976.
|
I |
Основные операции, подлежащие контролю |
Нарезка контрольных швов в свежеуложенном бетоне |
|
II |
Состав контроля |
Прямолинейность швов. Глубина шва и вертикальность заложения ленты. Отклонение кромок швов. Омоноличивание ленты с бетоном |
|
III |
Метод и средства контроля |
Измерительный. Визуальный. Угольник с делениями, линейка длиной 1 м |
|
IV |
Режим и объем контроля |
Каждый шов |
|
V |
Лицо, контролирующее операцию |
Мастер |
|
VI |
Лицо, ответственное за организацию и осуществление контроля |
Прораб |
|
VII |
Привлекаемые для контроля подразделения |
- |
|
VIII |
Где регистрируются результаты контроля |
Общий журнал работ |
Технологическая карта предусматривает окончательную отделку поверхности бетонного покрытия выглаживающими трубами и полотном машины ДС-104 после устройства швов в свежеуложенном покрытии нарезчиком швов ДНШС-60.
I. УКАЗАНИЯ ПО ТЕХНОЛОГИИ ПРОИЗВОДСТВЕННОГО ПРОЦЕССА
Бетоноукладочная машина (трубный финишер) ДС-104-полуавтоматическая дорожно-строительная машина применяется для высококачественной отделки бетонных покрытий и входит в состав комплекта высокопроизводительных машин ДС-100.
Техническая характеристика бетоноукладочной машины (трубного финишера) ДС-104
|
Тип машины |
Самоходная,
на |
|
Ширина обрабатываемой полосы, м |
3,65-7,92 |
|
Мощность силовой установки, л. с. |
47 |
|
Рабочие органы: |
|
|
а) диагональная выглаживающая труба |
2 шт. |
|
длина трубы, м |
6,08 |
|
диаметр трубы, м |
0,243 |
|
б) выглаживающая лента (брезент); |
|
|
в) устройство для смачивания труб и ленты |
|
|
Управление: |
|
|
рабочими органами |
Дистанционное, с пульта управления |
|
заданием отметок |
Ручное |
|
заданием курса |
Автоматическое и ручное |
|
Ходовая часть: тип привода |
Гидростатический, переменной производительности, индивидуальный |
|
Скорости передвижения вперед и назад, м/мин |
от 0 до 71,3 |
|
Баки для воды, л |
2´512 |
|
Масса машины, т: |
|
|
рабочая, заправленная |
5,2 |
|
транспортная |
4,6 |
Подвешенные под главной рамой две трубы выполняют функции выглаживающих брусьев, которые заполняют пониженные и срезают повышенные части покрытия, и профилирующих брусьев, обеспечивающих точный профиль отделанной поверхности.
Две выглаживающие трубы подвешены параллельно и концы их заходят один за другой (рис. 34). Трубы могут быть подняты, опущены или повернуты на любой угол относительно продольной оси покрытия.

Рис. 34. Схема положения выглаживающих труб при работе бетоноотделочной машины (трубного финишера) ДС-104 (размеры указаны в см):
А - предварительная отделка; б - окончательная отделка; 1 - выглаживающие трубы; 2 - покрытие; 3 - кромка покрытия
Вдоль выглаживающих труб расположена оросительная труба с быстровыключающимися разбрызгивающими форсунками.
Выглаживающая лента (брезент) применяется для удаления излишков влаги и создания однородной поверхности покрытия. Она крепится сзади к раме машины шарнирно на двух кронштейнах с поперечиной. Выглаживающая лента поднимается и опускается двумя гидравлическими цилиндрами. Вдоль выглаживающей ленты закреплены трубопровод с запираемыми соплами для смачивания ткани.
Выдерживание курса машины осуществляется механизмом автоматического выдерживания курса по копирной струне или вручную с пульта управления машины.
При окончательной отделке бетонного покрытия бетоноотделочной машиной ДС-104 выполняют следующие операции:
- подготовка машины к работе, настройка датчиков и установка машины по струне;
- предварительная отделка поверхности покрытия;
- окончательная отделка поверхности покрытия.
Подготовка машины к работе, настройка датчиков и установка машины по струне
В системе автоматического выдерживания курса применяют четыре датчика: два - при движении машины вперед и два - при движении назад, что позволяет оператору изменять направление хода машины только изменением положения селекторного переключателя выдерживания курса. Каждый датчик оборудован копиром, выступающим из корпуса датчика примерно на 46 см.
Кронштейн-укосина для крепления датчика может быть поднят или опущен для установки датчика на одном уровне с натянутой копирной струной.
Установку и настройку датчиков на автоматическое выдерживание курса выполняют в начале смены в такой последовательности:
- устанавливают машину точно по оси бетонируемого покрытия параллельно натянутой копирной струне;
- устанавливают кронштейны-укосины с удлинительными рычагами так, чтобы наружные концы укосин не доходили до струны на 22-23 см. Болты крепления оставляют достаточно свободными:
на концах удлинительных рычагов устанавливают поперечины так, чтобы они были параллельны рулевым тягам колесных стоек;
- устанавливают датчики на передние концы поперечин и соединяют разъемы кабелей;
- руководствуясь показаниями индикаторных лампочек на пульте управления, перемещают в ту или другую сторону удлинительный рычаг до тех пор, пока поворотный переключатель датчиков не займет нулевое положение, на что укажет погасание индикаторных лампочек. Проверяют настройку передней и задней позиций управления с помощью селекторного переключателя датчиков на пульте управления;
- после правильной установки датчиков относительно копирной струны закрепляют кронштейны-укосины и удлинительные рычаги;
- регулируют длину раздвижных кронштейнов тяг между поворотными рычагами и поперечинами, после чего закрепляют поперечины и датчики.
После установки и настройки датчиков на автоматическое выдерживание курса селекторный переключатель рулевого управления ставят в положение «Автоматическое управление». К регулированию чувствительности датчиков приступают только в том случае, если машина стоит строго параллельно копирной струне.
Чувствительность датчиков определяют величиной свободного хода щупа до момента отработки штока гидроцилиндра. Величина свободного хода щупа, измеренная на расстоянии 25-30 см от оси качания щупа, должна составлять не более 3-10 мм.
Регулирование чувствительности датчиков производят в следующем порядке:
- запускают двигатель для обеспечения в гидравлической системе постоянного давления;
- регулируют клапаны расхода гидравлической жидкости переднего и заднего гидравлических рулевых цилиндров так, чтобы выдвижение и втягивание штоков гидроцилиндров происходило со скоростью 0,5-0,6 м/мин;
- поворачивают селекторный переключатель рулевого управления в положение «вперед»;
- поворачивают регулировочный винт датчика по часовой стрелке (для уменьшения свободного хода щупа) до появления колебаний на штоке гидроцилиндра;
- медленно поворачивают винт в обратном направлении на 0,2-0,5 оборота так, чтобы колебания штока гидроцилиндра прекратились.
При такого положении работа датчиков будет наиболее чувствительной. Если такая настройка не будет обеспечивать требуемую скорость реагирования рулевого управления, то следует изменить настройку регулирования клапана расхода гидравлической жидкости с целью ускорения или замедления скорости движения штока гидроцилиндра и повторно отрегулировать чувствительность датчиков.
Гидроцилиндры системы выдерживания курса могут быть включены и с пульта управления, при этом включение с пульта управления прекращает действие соответствующего датчика.
В конце рабочего дня и во время непогоды датчики снимают и хранят в сухом месте.
В начале каждой смены устанавливают машину относительно струны и регулируют чувствительность датчиков, после чего с помощью натянутого шнура или струны проверяют прямолинейность нижней кромки выглаживающей трубы и приступают к установке рабочих органов в рабочее положение.
Предварительная отделка поверхности покрытия
Предварительную отделку бетонного покрытия делают на небольших участках длиной 20-40 м челночными проходами бетоноотделочной машины ДС-104 и начинают не позднее чем через 20 мин после укладки смеси (в жаркое время - через 10 мин).
Перед началом отделки покрытия устанавливают выглаживающие трубы так, чтобы их низ находился на отметке верха покрытия. В таком положении выглаживающие трубы поднимают и поворотом в горизонтальной плоскости устанавливают их под углом 35-45° к оси бетонируемого покрытия. При этом внешние концы труб в плане не должны доходить до кромок покрытия на 10-20 см (см. рис. 1а), это предотвратит повреждение кромок покрытия при отделке поверхности.
После установки выглаживающих труб бетоноотделочную машину подводят к началу участка с уложенной смесью и при малой скорости движения машины (2-4 м/мин) опускают трубы в рабочее положение. После касания трубами поверхности смеси переводят машину на более высокую скорость движения.
Протаскивая подвешенные выглаживающие трубы по поверхности покрытия, срезают излишки раствора с поверхности и перемещают их к краю бетонируемого покрытия.
В конце участка трубы поднимают, направление движения машины меняют на обратное, трубы поворачивают на 90° относительно оси бетонируемого покрытия и при движении назад плавно опускают па поверхность смеси.
В зависимости от погодных условий и свойств смеси предварительную отделку поверхности выполняют за два или четыре прохода бетоноотделочной машины.
По четырехпроходной схеме первый проход (вперед) делают на скорости 13-15 м/мин, второй (назад) - 16-20 м/мин, третий (вперед) и четвертый (назад) - на скорости 24-27 м/мин.
В жаркую ветреную погоду выглаживающие трубы орошают водой через распылительное устройство, включаемое только для орошения труб, а не для полива поверхности смеси водой.
Окончательная отделка поверхности бетонного покрытия
Окончательную отделку поверхности бетонного покрытия делают за один проход бетоноотделочной машины ДС-104. При этом в работу включают диагональные выглаживающие трубы и выглаживающую ленту (брезент).
Машину, находящуюся в начале участка, готовят к выполнению окончательной отделки поверхности бетонного покрытия, для чего поднимают выглаживающие трубы, поворотом в горизонтальной плоскости устанавливают их под углом 50-70° к оси покрытия и выдвигают внешние концы труб за кромки покрытия на 15-20 см. Опускают выглаживающую ленту на поверхность покрытия и начинают движение машины на малой скорости. При малой скорости движения (2-4 м/мин) опускают на покрытие выглаживающие трубы, после чего увеличивают скорость движения до 15-16 м/мин.
В процессе этого прохода излишки смеси сбрасывают с поверхности покрытия на основание.
Выглаживающей лентой, перемещающейся по поверхности покрытия, удаляют излишки влаги и создают однородную матовую поверхность бетонного покрытия. В случае необходимости выглаживающую ленту смачивают водой при помощи специального устройства.
После окончательной отделки бетонного покрытия поверхность должна быть ровной, зазор под трехметровой рейкой не должен превышать 3 мм.
При отделке поверхности бетонного покрытия бетоноотделочной машиной ДС-104 обязательна соблюдение следующих правил:
- при остановках бетоноотделочной машины выглаживающие трубы поднимают чтобы не деформировать поверхность бетона;
- для равномерного износа труб в конце рабочего дня трубы поворачивают в кронштейнах вокруг их горизонтальной оси на 30-40° (рис. 35).

Рис. 36 Закрепление выглаживающих труб:
1 - цепь (подвеска), 2 - кронштейн; 3 - крепежный болт, 4 - выглаживающая труба, 30-40°-угол поворота трубы в кронштейне в конце каждой рабочей смены
При выполнении работ по окончательной отделке поверхности бетонного покрытия мастер должен руководствоваться картой операционного контроля качества работ (раздел VII).
II. УКАЗАНИЯ ПО ОРГАНИЗАЦИИ ТРУДА
Отделку покрытия выполняет машинист бетоноотделочной машины (трубного финишера) 5 разр. Выполняют работу на одной захватке по укладке цементобетонной смеси.
Всю сменную захватку длиной 800 м разбивают на небольшие участки длиной по 20-40 м и ведут отделку последовательно на каждом из них. Длину участка назначают с учетом скорости ветра, температуры и влажности воздуха. При этом окончательную отделку поверхности необходимо произвести не позднее 30 мин после укладки бетонной смеси.
В начале смены машинист готовит машину к работе: проверяет перед начальным пуском двигателя уровень жидкости в радиаторе, при холостых оборотах - уровень масла в двигателе, доступ воздуха к теплообменнику, индикатор воздушного фильтра, а также устанавливает датчики, ставит машину по копирной струне и налаживает рабочие органы.
Во время работы машинист управляет машиной, следит за наличием воды в баках.
В конце смены машинист отводит бетоноотделочную машину вперед за пределы захватки, отсоединяет и снимает выглаживающие трубы и очищает их шлифовальной бумагой или металлической щеткой, ставит трубы на место с поворотом на 30-40° в кронштейнах и моет машину.
В подготовке машины к работе и осуществлении ее ремонта машинисту помогает строительный слесарь 4 разр.
III. ГРАФИК ВЫПОЛНЕНИЯ ПРОИЗВОДСТВЕННОГО ПРОЦЕССА НА ОКОНЧАТЕЛЬНУЮ ОТДЕЛКУ ПОВЕРХНОСТИ БЕТОННОГО ПОКРЫТИЯ АВТОДОРОГ НА ДВЕ СМЕННЫЕ ЗАХВАТКИ ДЛИНОЙ ПО 800 м КАЖДАЯ (12000 м2)

Примечание.
1. Цифрами показана продолжительность операций, мин.
2. Время на отдых (6 раз по 8 мин) в течение смены включено в продолжительность операций.
ЦИКЛОГРАММА РАБОТЫ БЕТОНООТДЕЛОЧНОЙ МАШИНЫ ДС-101 НА УЧАСТКЕ ДЛИНОЙ 30 м (225 м2)

IV. КАЛЬКУЛЯЦИЯ ЗАТРАТ ТРУДА НА ОКОНЧАТЕЛЬНУЮ ОТДЕЛКУ ПОВЕРХНОСТИ БЕТОННОГО ПОКРЫТИЯ БЕТОНООТДЕЛОЧНОЙ МАШИНОЙ (ТРУБНЫМ ФИНИШЕРОМ) ДС-104 НА ДВУХ СМЕННЫХ ЗАХВАТКАХ ДЛИНОЙ ПО 800 м (12000 м2) ПОКРЫТИЯ
|
Шифр норм и расценок |
Описание работ |
Состав звена |
Единица измерения |
Объем работ |
Норма времени, чел-ч |
Расценка, руб.-коп. |
Норма- |
Стоимость затрат труда на полный объем работ, руб.-коп. |
|
ВНиР, |
Заглаживание поверхности бетонного покрытия и удаление цементного молока бетоноотделочной машиной ДС-104 |
Машинист бетоноотделочной машины (трубного финишера) 5 разр.-1 |
1000 м2 |
12,0 |
2 |
1-40,4 |
24 |
16-85 |
|
|
Итого: на 2 захватки длиной 1600 м, чел-ч |
|
|
|
|
|
24 |
16-85 |
|
|
на 1000 м2 покрытия, чел-ч |
|
|
|
|
|
2 |
1-40 |
|
|
на 1000 м2 покрытия, чел-дн |
|
|
|
|
|
0,25 |
|
V. ОСНОВНЫЕ ТЕХНИКО-ЭКОНОМИЧЕСКИЕ ПОКАЗАТЕЛИ
|
Наименование показателей |
Единица измерения |
По |
По |
На сколько процентов показатель по графику больше (+) или меньше (-), чем по калькуляции
|
|
Затраты труда на окончательную отделку 1000 м2 бетонного покрытия |
чел-дн |
0,25 |
0,17 |
-32,0 |
VI. МАТЕРИАЛЬНО-ТЕХНИЧЕСКИЕ РЕСУРСЫ
А. Основные материалы
|
Наименование материалов |
Количество |
|
|
на 1000 м2 |
на две смены |
|
|
Вода, л |
310 |
3720 |
Б. Машины, оборудование, инструмент, инвентарь
|
Наименование |
Марка |
Количество, шт. |
|
Бетоноотделочная машина (трубный финишер) |
ДС-104 |
1 |
|
Металлическая контрольная рейка длиной 3 м с клином |
- |
1 |
VII. КАРТА ОПЕРАЦИОННОГО КОНТРОЛЯ КАЧЕСТВА ОКОНЧАТЕЛЬНОЙ ОТДЕЛКИ ПОВЕРХНОСТИ БЕТОННОГО ПОКРЫТИЯ АВТОДОРОГ БЕТОНООТДЕЛОЧНОЙ МАШИНОЙ ДС-104
|
Контролируемые параметры |
Предельные отклонения, мм |
|
Ровность поверхности |
3 (просвет под трехметровой рейкой) |
СНиП III-40-78; ВСН 139-68; «Методические рекомендации по конструкции и технологии строительства дорожных одежд с цементобетонным покрытием, устраиваемых высокопроизводительным комплектом машин со скользящими формами» (М., Союздорнии, 1976).
|
I |
Основные параметры, подлежащие контролю |
Окончательная отделка поверхности |
|
II |
Состав контроля |
Ровность поверхности |
|
III |
Метод и средства контроля |
Измерительный. Металлическая контрольная рейка длиной 3 м с клином |
|
IV |
Режим и объем контроля |
100-130 замеров просветов на захватке на расстоянии 0,75-1 м от кромок бетонируемого покрытия |
|
V |
Лицо, контролирующее операцию |
Мастер |
|
VI |
Лицо, ответственное за организацию и осуществление контроля |
Прораб |
|
VII |
Привлекаемые для контроля подразделения |
- |
|
VIII |
Где регистрируются результаты контроля |
Общий журнал работ |
Технологическая карта предусматривает создание шероховатости на поверхности покрытия после окончательной отделки его бетоноотделочной машиной (трубным финишером) ДС-104 и нанесение жидкого пленкообразующего материала машиной ДС-105 для ухода за бетоном. Пленкообразующий материал наносят за два раза, для ухода за бетоном используют жидкий пленкообразующий материал типа «Помароль».
I. УКАЗАНИЯ ПО ТЕХНОЛОГИИ ПРОИЗВОДСТВЕННОГО ПРОЦЕССА
Краткая техническая характеристика распределителя пленкообразующих материалов ДС-105
|
Мощность силовой установки, л.с. |
47 |
|
Скорость передвижения вперед и назад, м/мин |
от 0 до 71,9 |
|
Ширина обрабатываемой полосы, м |
3,65-7,92 |
|
Емкость бака для пленкообразующем жидкости, л |
1140 |
|
Тип привода ходовой части |
Гидростатический, переменной производительности, индивидуальный на каждое колесо |
|
Управление курсом |
Автоматическое и ручное |
|
Масса машины, т |
5,6 |
Распределитель пленкообразующих материалов ДС-105 предназначен для создания повышенной шероховатости поверхности свежеуложенного бетона и нанесения пленкообразующих материалов при уходе за свежеуложенным бетоном и пескоцементом.
Шероховатость на поверхность покрытия наносят поперечной щеткой, подвешенной под главной рамой на двух направляющих. Щетка перемещается при помощи гидроцилиндра вправо и влево, вертикальное ее положение регулируется двумя гидроцилиндрами.
Пленкообразующие материалы на поверхность свежеуложенного бетона наносят при помощи распределительной трубы с распределительными соплами, подвешенной сзади к раме на двух шарнирных кронштейнах. Труба имеет два выносных сопла для обработки боковых поверхностей покрытия.
Спереди к раме машины на двух кронштейнах подвешен барабан для намотки готовой полиэтиленовой пленки, применяемой при уходе за покрытием. При выпадании осадков пленкой закрывают свежеуложенный бетон. С барабана пленку разматывают за счет движения машины, а наматывают обратно механически, за счет привода от гидросистемы машины.
При работе с распределителем пленкообразующих материалов ДС-105 выполняют следующие операции:
- подготовка машины к началу работы, настройка датчиков и установка машины по струне;
- создание шероховатости на поверхности бетонного покрытия;
- уход за свежеуложенным бетоном нанесением пленкообразующих материалов.
Подготовка машины к работе, настройка датчиков и установка машины по струне
В начале смены устанавливают машину относительно струны, устанавливают датчики и регулируют их чувствительность аналогичным образом, как и для бетоноотделочной машины ДС-104 (см. технологическую карту № 9 данного сборника), заполняют емкости пленкообразующим материалом и настраивают рабочие органы на заданный расход пленкообразующего материала.
Создание шероховатости на поверхности бетонного покрытия
В том случае, если предусмотрено нанесение поперечных полос шероховатости на поверхности свежеуложенного бетона, то наносят их до розлива пленкообразующего материала.
Предварительно проверяют прямолинейность направляющих, по которым перемещается щетка, и устанавливают их параллельно поверхности покрытия.
Щетку устанавливают так, чтобы она отстояла от кромки покрытия на 3-4 см, и с помощью обоих гидроцилиндров опускают щетку так, чтобы концы ее были на 3-4 мм ниже поверхности бетона. После перемещения щетки до противоположной кромки покрытия машину продвигают вперед на ширину щетки. Затем процесс нанесения шероховатости повторяют при перемещении щетки в обратном направлении.
Если после пробного прохода щетки кромки покрытия разрушаются, то эту операцию выполняют через некоторое время.
Шероховатость на поверхность свежеуложенного бетона наносят участками длиной 100-150 м за один проход машины ДС-105. Длину участков выбирают с учетом возможности ухода за бетоном в течение не более 30 мин, в зависимости от температуры воздуха и скорости ветра. Затем машину возвращают со скоростью 25-30 м/мин к началу участка для выполнения работ по уходу за бетоном.
Если нет плотного и ровного основания для колес машины ДС-105, в этом случае наносить шероховатость на поверхность бетона не следует в связи с тем, что просадка пневмоколес приведет к разрушению кромки и нарушению ровности покрытия.
Уход за свежеуложенным бетоном нанесением пленкообразующего материала
Уход за свежеуложенным бетоном осуществляют участками длиной 100-150 м нанесением на их поверхность пленкообразующего материала типа помароль ПМ-100А или ПМ-100АМ за один-два прохода машины ДС-105. Время нанесения пленкообразующего материала определяют по отсутствию влаги на поверхности бетона (поверхность становится матовой).
В случае задержки с нанесением пленкообразующего материала более чем на 20 мин, свежеуложенный бетон сначала закрывают рулонными пароводонепроницаемыми материалами или влажной мешковиной. Для этой цели используют полиэтиленовую пленку, имеющуюся на барабане машины ДС-105.
Пленкообразующий материал завозят в металлических бочках емкостью 200 л и раскладывают по обочине вдоль захватки со стороны натянутой струны по 3-4 бочки через 150-200 м. Из бочек пленкообразующий материал перекачивают в бак машины ДС-105 насосом, установленным на машине.
Перед началом работы машину готовят: подбирают распылительные сопла по диаметру выходного отверстия, опускают раму устройства орошения так, чтобы расстояние от распылителя до бетона (высота факела) было 45-50 см. Давление в системе распределителя при нанесении пленкообразующего материала должно быть 4-6 кгс/см2. Скорость перемещения распределителя пленкообразующих материалов ДС-105 выбирают в зависимости от заданной нормы розлива следующим образом:
- в системе распределителя пробным путем подбирают такое давление (в пределах 4-6 кгс/см2), при котором получается качественное распыливание жидкости, т.е. образуются мелкие капли без струй и туманообразования;
- весовым способом определяют фактический расход жидкости в минуту из одного сопла, кроме бокового. Измерения повторяют не менее трех раз из разных сопел, за результат принимают среднюю величину;
- подсчитывают общий расход жидкости в минуту Q (кг/мин) из всех сопел, включая боковые;
- по заданной норме расхода С (кг/м2) и ширине покрытия (в метрах) вычисляют рабочую скорость движения V (м/мин):
![]()
где h - толщина покрытия, м.
Расход пленкообразующих материалов назначают при температуре ниже 25°С - не менее 400 г/м2 и при температуре воздуха 25°С и выше - не менее 600 г/м2.
При норме розлива 0,4 кг/м2 и нанесении пленкообразующего материала в один слой скорость машины назначают ориентировочно 14-16 м/мин, при нанесении материала в два слоя скорость составляет 28-32 м/мин; при норме розлива 0,6 кг/м2 и нанесении пленкообразующею материала в один слой скорость машины назначают 8-10 м/мин, в два слоя-16-20 м/мин.
Перемещая машину вперед с рассчитанной скоростью, на поверхность покрытия и на боковые грани наносят ровным слоем половину нормы розлива пленкообразующего материала. В конце участка подачу материала прекращают и машину возвращают к началу участка со скоростью 25-30 м/мин. Розлив повторяют при движении вперед с принятой скоростью.
Места, пропущенные при нанесении пленкообразующего материала машиной ДС-105, заделывают пистолетом-распылителем, имеющимся при машине.
В конце работы машину выводят вперед за пределы готового покрытия, тщательно очищают и промывают керосином распределительную систему, моют щетку и машину.
Для повышения производительности машины ДС-105 рекомендуется закачивать пленкообразующий материал в расходный бак не насосом машины, а специальным заправщиком.
В условиях сухого и жаркого климата после сформирования защитной пленки на цементобетонном покрытии поверх нее устраивают термозащитный слой из песка толщиной не менее 5 см с последующим его увлажнением. Делают это по указанию проекта.
После завершения работ по уходу за бетоном выставляют ограждающие дорожные знаки, запрещающие заезд на неокрепшее покрытие. Движение построечных транспортных средств по покрытию разрешают после достижения бетоном проектной прочности.
При выполнении работ но созданию шероховатости и нанесению пленкообразующего материала мастер должен руководствоваться картой операционного контроля качества работ (раздел VII).
II. УКАЗАНИЯ ПО ОРГАНИЗАЦИИ ТРУДА
Работы по устройству шероховатости и нанесению пленкообразующих материалов производят на одной захватке с укладкой цементобетонной смеси после отделки бетонной поверхности бетоноотделочной машиной ДС-104.
В связи с тем, что с момента отделки поверхности бетона и до момента нанесения пленкообразующего материала необходим промежуток времени не более 30 мин, всю сменную захватку разбивают на участки длиной около 100 м и работу ведут поочередно на каждом из них по мере готовности предыдущих работ.
Работу выполняет машинист распределителя пленкообразующих материалов 5 разр. В начале смены машинист готовит машину к работе: проверяет уровень жидкости в радиаторе перед первоначальным пуском двигателя, уровень масла в двигателе при холостых оборотах, доступ воздуха к теплообменнику, налаживает рабочие органы машины, устанавливает датчики и ставит машину по копирной струне.
Во время работы машинист с пульта управления управляет рабочими органами машины, размешивает и перекачивает в бак пленкообразующий материал, проверяет визуально качество нанесения пленкообразующего материала и с мостика машины пистолетом-распылителем покрывает пропущенные места.
В конце смены машинист отводит машину вперед за пределы захватки, прочищает и промывает рабочие органы, снимает датчики и моет машину.
III. ГРАФИК ВЫПОЛНЕНИЯ ПРОИЗВОДСТВЕННОГО ПРОЦЕССА НА СОЗДАНИЕ ШЕРОХОВАТОСТИ И УХОД ЗА БЕТОНОМ НАНЕСЕНИЕМ ПЛЕНКООБРАЗУЮЩЕГО МАТЕРИАЛА НА ДВУХ СМЕННЫХ ЗАХВАТКАХ ДЛИНОЙ ПО 800 м

Примечание.
1. Отдых машинисту 6 раз по 8 мин в течение смены включен в продолжительность операций.
2. Цифрами на графике показана продолжительность операций в минуту.
ЦИКЛОГРАММА РАБОТЫ РАСПРЕДЕЛИТЕЛЯ ПЛЕНКООБРАЗУЮЩИХ МАТЕРИАЛОВ ДС-104 НА УЧАСТКЕ ДЛИНОЙ 100 м (750 м2) ПОКРЫТИЯ

Примечание. Заполнение бака машины пленкообразующим материалом производят по мере необходимости.
IV. КАЛЬКУЛЯЦИЯ ЗАТРАТ ТРУДА НА СОЗДАНИЕ ШЕРОХОВАТОСТИ И УХОД ЗА БЕТОНОМ МАШИНОЙ ДС-105 НА ДВУХ СМЕННЫХ ЗАХВАТКАХ ДЛИНОЙ ПО 800 м
|
Шифр норм и расценок |
Описание работ |
Состав звена |
Единица измерения |
Объем работ |
Норма времени, чел-ч |
Расценка, руб.-коп. |
Норма- |
Стоимость затрат труда на полный объем работ, руб.-коп. |
|
ВНиР, |
Нанесение шероховатости. Загрузка расходного бака пленкообразующим материалом, нанесение пленкообразующего материала за два раза. Промывка рабочих органов |
Машинист
распределителя пленко- 5 разр.-1 |
1000 м2 |
12 |
2,0 |
1-40,4 |
24 |
16-85 |
|
|
Итого: на две захватки длиной 1600 м (12000 м2) покрытия, чел-ч |
|
|
|
|
|
24 |
16-85 |
|
|
на 1000 м2 покрытия, чел-ч |
|
|
|
|
|
2 |
1-40 |
|
|
на 1000 м2 покрытия, чел-дн. |
|
|
|
|
|
0,25 |
|
V. ОСНОВНЫЕ ТЕХНИКО-ЭКОНОМИЧЕСКИЕ ПОКАЗАТЕЛИ
|
Наименование показателей |
Единица измерения |
По |
По |
На сколько процентов показатель по графику больше (+) или
меньше (-), чем по калькуляции |
|
Затраты труда на создание шероховатости и уход за бетоном пленкообразующими материалами на площади 1000 м2 покрытия |
чел-дн |
0,25 |
0,17 |
-32 % |
VI. МАТЕРИАЛЬНО-ТЕХНИЧЕСКИЕ РЕСУРСЫ
А. Основные материалы
|
Наименование материалов |
Количество |
|
|
на 1000 м2 |
на смену |
|
|
Пленкообразующий материал типа помароль, кг |
612 |
3672 |
Примечание. Потребность пленкообразующего материала определена для нормы розлива 600 г/м2.
Б. Машины, оборудование, инструменты, инвентарь
|
Наименование |
Марка |
Количество, шт. |
|
Распределитель пленкообразующих материалов |
ДС-105 |
1 |
|
Ведро оцинкованное |
- |
1 |
|
Щетка металлическая |
- |
1 |
VII. КАРТА ОПЕРАЦИОННОГО КОНТРОЛЯ КАЧЕСТВА СОЗДАНИЯ ШЕРОХОВАТОСТИ И НАНЕСЕНИЯ НА БЕТОН ПЛЕНКООБРАЗУЮЩИХ МАТЕРИАЛОВ МАШИНОЙ ДС-105
Указания по качеству работ
1. Пленкообразующий материал должен покрывать ровным слоем всю поверхность свежеуложенного бетона.
2. Равномерность распределения слоя контролируют розливом по пленке раствора фенолфталеина или соляной кислоты. Количество точек вспенивания или покраснения на площади 100 м2 должно быть не более 2.
ВСН 139-68; ВСН 159-69; СНиП III-40-78
|
I |
Основные операции, подлежащие контролю |
Нанесение пленкообразующих материалов с помощью машины ДС-105 |
|
II |
Состав контроля |
Равномерность распределения пленкообразующего материала |
|
III |
Метод и средства контроля |
Визуальный, измерительный. Раствор фенолфталеина или соляной кислоты |
|
IV |
Режим и объем контроля |
Одно испытание в смену |
|
V |
Лицо, контролирующее операцию |
Мастер, лаборант |
|
VI |
Лицо, ответственное за организацию и осуществление контроля |
Прораб |
|
VII |
Привлекаемые для контроля подразделения |
Строительная лаборатория |
|
VIII |
Где регистрируются результаты контроля |
Общий журнал работ. Журнал лабораторных работ |
Технологическая карта предусматривает нарезку прорезей контрольных швов нарезчиком ДС-112 в бетоне ранней стадии твердения, нарезку поперечных швов сжатия нарезчиком ДС-112 в затвердевшем бетоне и нарезку продольного шва нарезчиком ДС-115 в затвердевшем бетоне.
Поперечные швы сжатия ступенчатого сечения глубиной 5,5 см устраивают через 5 м, контрольные швы - через 15 м, швы расширения устраивают в соответствии с указаниями проекта.
Алмазные диски охлаждают смазывающе-охлаждающей жидкостью (СОЖ).
I. УКАЗАНИЯ ПО ТЕХНОЛОГИИ ПРОИЗВОДСТВЕННОГО ПРОЦЕССА
Нарезчик ДС-112 предназначен для нарезки поперечных швов в затвердевшем бетоне алмазно-сегментными кругами в односкатных и двускатных покрытиях шириной до 7,5 м, имеющих продольный уклон не более 2 %.
Техническая характеристика нарезчика ДС-112 (рис. 36)
|
Тип машины |
самоходная |
|
База машины, мм |
2700 |
|
Ширина колеи, мм |
4900 |
|
Габаритные размеры, мм: |
|
|
длина |
3240 |
|
ширина |
7600 |
|
высота |
2950 |
|
Дорожный просвет, мм |
160 |
|
Скорость передвижения от шва к шву, м/мин |
до 30 |
|
Масса машины, кг |
5500 ±80 |
|
Количество шпинделей, шт |
4 |
|
Диаметр применяемых режущих кругов, мм |
250 и 320 |
|
Глубина резания, мм |
50-80 |
|
Длина шва, нарезаемого кругами одного шпинделя, мм |
1875 |
|
Ширина паза нарезаемого шва, мм |
3,2-4 |
|
Скорость подачи режущих кругов, м/мин |
0,6-1,3 |
|
Число оборотов режущих кругов, об/мин |
3100 |
|
Расход воды па один шпиндель, л/мин |
8-15 |
|
Расход топлива на двигатель, л/ч |
9,5 |
|
Емкость топливных баков, л |
2´75 |
|
Производительность в смену, м шва |
до 1000 |

Рис. 36. Нарезчик швов ДС-112
Нарезчик швов ДС-115, имеющий рабочие органы в виде трех алмазных сегментных кругов, расположенных друг за другом по продольной оси, служит для нарезки продольного шва в затвердевшем бетоне.
Техническая характеристика нарезчика ДС-115 (рис. 37)
|
Тип |
самоходный, |
|
Сменная производительность при нарезании шва глубиной 60 мм, м |
до 1000 |
|
Параметры нарезаемого шва, мм: |
|
|
прямоугольного: |
|
|
глубина |
до 80 |
|
ширина |
до 4 |
|
ступенчатого: |
|
|
глубина верхней части |
20 |
|
ширина верхней части |
10 |
|
общая глубина |
до 60 |
|
Число кругов (шпинделей), шт. |
3 |
|
Глубина нарезки шва одним диском |
1/3 общей глубины шва |
|
Тип кругов |
алмазные, сегментные |
|
Диаметр кругов, мм |
250 и 320 |
|
Скорость передвижения: |
|
|
рабочая, м/мин |
от 1 до 3 |
|
транспортная, км/ч |
до 5 |
|
Двигатель внутреннего сгорания: |
|
|
модель |
Д-37Е-СЗ-1 |
|
мощность, л. с. |
50 |
|
Габаритные размеры, мм: |
|
|
длина (без указателя курса) |
3300 |
|
ширина |
2080 |
|
высота |
2300 |
|
Масса, кг |
2150 |

Рис. 37. Общий вид нарезчика швов ДС-115:
1 - рулевое колесо; 2 - защитный тент; 3 - сиденье машиниста; 4 - защитный кожух; 5 - указатель курса; 6 - рабочий орган; 7 - режущие диски; 8 - штурвал поднятия и опускания рабочего органа
Нарезку швов в затвердевшем бетоне производят при достижении бетоном прочности 80-100 кгс/см2.
Для набора бетоном такой прочности ориентировочно необходимо следующее время:
Средняя температура твердения бетона, °С |
25-30 |
15-25 |
5-15 |
5 |
|
Время, необходимое для набора прочности бетоном до 80-100 кгс/см2, ч |
6-8 |
10-12 |
15-20 |
24-30 |
Время начала нарезки пазов швов определяют лабораторно и уточняют на месте пробной нарезкой. При пробной нарезке не должно быть выкрашивания кромок швов более 2-3 мм.

Рис. 38. Технологическая схема нарезки швов нарезчиками ДС-112 и ДС-115:
1 - нарезчик швов ДС-115; 2 - продольный шов; 3 - нарезчик швов ДС-112, 4 - линия движения колес нарезчика швов ДС-112; 5 - каретки с режущими кругами, 6 - поливомоечная машина; 7 - нарезанные швы сжатия
Для предотвращения появления трещин, возникающих в бетоне при суточном перепаде температур более 12°С, устраивают контрольные швы сжатия через три-четыре плиты. Если прорези контрольных швов не нарезаны в свежеуложенном бетоне нарезчиком ДНШС-60, контрольные швы устраивают по двухстадийному способу: при достижении бетоном прочности при сжатии 50-70 кгс/см2 (ранняя стадия твердения) нарезчиком ДС-112 нарезают узкий паз шва с последующей нарезкой верхней части шва до проектных размеров в бетоне прочностью более 100 кгс/см2.
При нарезке швов в затвердевшем бетоне нарезчиками ДС-112 и ДС-115 выполняют следующие операции (рис. 38):
- разметку швов и подготовку нарезчиков;
- нарезку нарезчиком ДС-112 прорезей контрольных швов в бетоне ранней стадии твердения;
- нарезку нарезчиком ДС-112 поперечных швов сжатия и дорезание верхней части контрольных швов;
- нарезку продольных швов нарезчиком ДС-115.
Разметка швов и подготовка нарезчиков
На цементобетонном покрытии намечают линии продольного и поперечных швов, руководствуясь требованиями «Инструкции по устройству цементобетонных покрытий автомобильных дорог» ВСН 139-68, М., «Транспорт», 1968.
На одной стороне покрытия (правой или левой) намечают линию движения колес нарезчики ДС-112 на расстоянии 1,52 м от кромки покрытия. Посередине покрытия намечают линию продольного шва, для чего натягивают шнур и закрепляют его дюбелем или отбивают линию шнуром, натертым мелом.
Если цементобетонное покрытие засыпано песчаным термоизоляционным слоем, то линии движения колес нарезчиков ДС-112 и ДС-115 очищают от песка на ширину 0,5-0,6 м, причем очистку от песка делают постепенно, по мере продвижения нарезчиков. Линии швов очищают от песка на ширину 15-20 см. В тех случаях, когда на цементобетонное покрытие нанесен пленкообразующий материал и колеса нарезчиков пробуксовывают, по линии движения колес рассыпают песок.
Каретки нарезчиков регулируют так, чтобы режущие круги находились точно на одной прямой линии.
На обочине около нарезчика располагают поливомоечную машину, заправленную водой. При нарезке швов, с целью повышения скорости резания и сохранения алмазных кругов, рекомендуется вместо воды применять смазывающе-охлаждающую жидкость (СОЖ) следующего состава: гудрон от хлопкового масла - 10 кг, каустическая сода - 0,35 кг, вода - 1000 л. В качестве СОЖ можно также применять мыльную воду, содержащую 0,3-0,5 % мыльного порошка «Лотос» (или «Донбасс», «Кристалл», «Мылолит» с изменением в его дозировке). СОЖ готовят на месте работ.
Нарезка нарезчиком ДС-112 прорезей контрольных швов в бетоне ранней стадии твердения
Если в свежеуложенном бетоне не нарезаны прорези контрольных швов, то при достижении бетоном прочности на сжатие 50-70 кгс/см2 в нем нарезчиком ДС-112 делают прорези контрольных швов на глубину 1/4-1/3 толщины покрытия.
Для нарезки контрольных швов на нарезчик необходимо предварительно установить вариатор для увеличения частоты вращения режущих алмазных, кругов до 4600 об/мин. Скорость подачи алмазных кругов при нарезании прорезей в бетоне ранней степени твердения должна быть не менее 1 м/мин Образующиеся при этом сколы кромок шва незначительны и устраняются при дорезании шва после набора бетоном прочности 80-100 кгс/см2 и выше.
При суточном перепаде температур 10-15°С прорези контрольных швов делают на 1 см больше глубины других поперечных швов.
На каждый шпиндель нарезчика ставят по одному алмазному кругу диаметром 320 мм. Нарезчик устанавливают так, чтобы режущие круги разместились точно над линией шва.
Для этого каретки центрируют над швом поочередно: под левые колеса нарезчика швов ставят подкладки и передвижением правых колес наводят правую каретку на линию шва.
Затем подкладки ставят под правые колеса и движением колес левой стороны устанавливают на линии шва левую каретку.
Для облегчения установки нарезчика на шов на стойках управляемых колес нарезчика закрепляют указатели. С помощью механизма наводки окончательно выправляют положение в плане кареток с режущими кругами и опускают их к поверхности бетонного покрытия. Включают механизм вращения кругов, и, когда просвет между режущими кругами и бетонным покрытием достигнет 50-70 мм, у модернизированных нарезчиков автоматически включается подача воды или охлаждающей жидкости. Шов нарезают в автоматическом режиме: когда алмазные круги заглубятся до крайнего нижнего положения, срабатывает выключатель конечный нижний и каретки изменяют движение на рабочий ход. После нарезки шва при извлечении кругов срабатывает выключатель конечный верхний, и каретки изменяют направление на обратный ход, автоматически переключается подача воды, поднимают аутригеры, и нарезчик швов перемещают к следующему шву.
Первый нарезанный шов осматривают, делают промеры глубины и ширины шва и по этим данным окончательно регулируют положение режущих кругов. Уширение шва на стыках участков каждой пары кругов указывает на отклонение положения кругов от прямой линии.
Нарезанный шов промывают водой из шланга, при необходимости укрывают пергамином и засыпают песком.
Не рекомендуется длительная (более 5 мин) работа нарезчика с закрытым клапаном подачи охлаждающей жидкости, т.е. с поднятыми в транспортное положение и вращающимися вхолостую режущими кругами, в этом случае необходимо выключить сцепление двигателя, приводящего центробежный насос.
Для повышения производительности нарезчика ДС-112 рекомендуется прорези контрольных швов в бетоне ранней стадии твердения нарезать однодисковыми нарезчиками швов типа Д-136 или Д-133.
Нарезка нарезчиком ДС-112 поперечных швов сжатия и дорезание верхней части контрольных швов
После достижения бетоном прочности не менее 80-100 кгс/см2 нарезчиком ДС-112 нарезают поперечные швы сжатия ступенчатого сечения и дорезают верхнюю уширенную часть пазов контрольных швов.
На каждый шпиндель нарезчика ставят пакет алмазных режущих кругов, состоящий из одного круга диаметром 320 мм и одного-двух кругов диаметром 250 мм для нарезки поперечного шва сжатия или из двух-трех алмазных кругов одного диаметра для дорезания верхней части контрольных швов.
Нарезчик устанавливают так, чтобы режущие круги разместились над линией шва, и нарезают паз шва по аналогии с нарезкой прорезей контрольных швов, при этом скорость вращения режущих кругов должна быть 3100 об/мин. Подачу режущих кругов устанавливают в зависимости от прочности бетона и глубины шва, ориентировочно она составляет 0,8-1 м/мин.
В случае устройства швов расширения нарезку верхней части шва производят точно над заложенной в бетон доской, при этом ширину паза делают на 2 мм больше толщины доски. Нарезку паза производят одним из двух способов: делают две параллельные прорези двумя кругами с дистанционной прокладкой между ними или две прорези поочередно одним кругом. Рекомендуется использовать однодисковые нарезчики Д-136 и Д-133.
Нарезка продольных швов нарезчиком ДС-115
Продольный шов ступенчатого сечения нарезают при достижении бетоном прочности 80-100 кгс/см2.
На передний шпиндель нарезчика устанавливают пакет из двух-трех алмазных кругов диаметром 250 мм, на второй шпиндель - один круг диаметром 320 мм.
Нарезчик устанавливают так, чтобы режущие круги и указатель курса разместились точно над линией шва.
После этого подключают шланг поливомоечной машины и приступают к нарезке шва: пускают СОЖ, включают в работу режущие круги и заглубляют их в бетон. Подачу нарезчика вперед устанавливают в зависимости от прочности бетона и глубины шва, ориентировочно она равна 1,5-1,7 м/мин.
Шов нарезают на глубину не менее 1/4 толщины покрытия.
Первый отрезок нарезанного шва осматривают, промеряют глубину и ширину шва и по этим данным окончательно регулируют положение режущих кругов.
Если на кромках шва образуется много сколов, причиной появления которых может быть малая прочность бетона, работу по нарезке шва временно прекращают до набора бетоном достаточной прочности.
Нарезанный шов промывают водой из шланга и при необходимости укрывают пергамином или восстанавливают засыпку песком.
Заключительные работы
В конце работы алмазные круги снимают со шпинделей нарезчиков ДС-112 и ДС-115 и сдают на хранение.
Если шов заполняют мастиками или тиоколовыми герметиками не вслед за нарезкой шва, а со значительным разрывом по времени, принимают меры по защите шва от загрязнения и выветривания. Для этого шов покрывают пергамином и засыпают песком.
Участок покрытия с нарезанными швами ограждают шлагбаумом и дорожными знаками.
При производстве работ по нарезке швов нарезчиками ДС-112 и ДС-115 мастеру следует руководствоваться указаниями карты операционного контроля качества работ (раздел VII).
II. УКАЗАНИЯ ПО ОРГАНИЗАЦИИ ТРУДА
Работы по нарезке швов в затвердевшем цементобетонном покрытии выполняют, как правило, в две смены. Для работы в каждую смену организуют звено рабочих следующего состава:
Машинист нарезчика ДС-112 5 разр.-1
Помощник машиниста ДС-112 4 разр.-1
Машинист нарезчика ДС-115 4 разр.-1
Помощник машиниста ДС-115 3 разр.-1
При наличии на покрытии песчаного термоизоляционного слоя в состав звена включают одного-двух дорожных рабочих 1 разр.
Звену рабочих придают поливомоечные машины по расчету в зависимости от расстояния и условий подвоза воды.
При выполнении основных операций по нарезке швов машинисты н помощники машинистов руководствуются циклограммами.
В процессе нарезки швов машинисты управляют нарезчиками, а помощники машинистов подключают и переносят шланги, промывают швы водой, готовят СОЖ, посыпают песком линии движения колес, помогают машинистам в установке нарезчиков на линии швов и в уходе за ними.
Участок работ обеспечивают вагончиками для мастера и кладовой, а также для отдыха рабочих.
III. ГРАФИК ВЫПОЛНЕНИЯ ПРОИЗВОДСТВЕННОГО ПРОЦЕССА ПО НАРЕЗКЕ ШВОВ В ЗАТВЕРДЕВШЕМ ЦЕМЕНТОБЕТОННОМ ПОКРЫТИИ НАРЕЗЧИКОМ ДС-112 НА ЗАХВАТКЕ ДЛИНОЙ 500 м (750 м поперечных швов сжатия) И НАРЕЗЧИКОМ ДС-115 НА ЗАХВАТКЕ ДЛИНОЙ 600 м (600 м продольного шва)
а) Для нарезчика ДС-112

б) Для нарезчика ДС-115

Примечания.
1. Цифры над линией - продолжительность операции, мин.
2. Затраты труда на доставку воды в график не включены и определяются в зависимости от расстояния и условий подвоза воды.
3. Затраты времени на отдых (6 раз по 8 мин) после каждого часа работы включены в продолжительность операции.
ЦИКЛОГРАММА НАРЕЗКИ ПРОРЕЗИ КОНТРОЛЬНОГО ШВА ДЛИНОЙ 7,5 м НАРЕЗЧИКОМ ШВОВ ДС-112

ЦИКЛОГРАММА НАРЕЗКИ ПОПЕРЕЧНОГО ШВА СЖАТИЯ СТУПЕНЧАТОГО СЕЧЕНИЯ НАРЕЗЧИКОМ ШВОВ ДС-112

IV. КАЛЬКУЛЯЦИЯ ЗАТРАТ ТРУДА НА НАРЕЗКУ ШВОВ В ЗАТВЕРДЕВШЕМ ЦЕМЕНТОБЕТОННОМ ПОКРЫТИИ НАРЕЗЧИКОМ ДС-112 НА ЗАХВАТКЕ ДЛИНОЙ 500 м (750 м поперечных швов сжатия) И НАРЕЗЧИКОМ ДС-115 НА ЗАХВАТКЕ ДЛИНОЙ 600 м (600 м продольного шва)
а) Для нарезчика ДС-112
|
Шифр норм и расценок |
Описание работ |
Состав звена |
Единица измерения |
Объем работ |
Норма времени, чел-ч |
Расценка, руб.-коп. |
Норма- |
Стоимость затрат труда на полный объем работ, руб.-коп. |
|
ТНиР, |
Нарезка поперечных швов с разметкой, установка нарезчика на линию шва, переезд к следующему шву, подключение и отключение шлангов для подачи воды |
Машинист нарезчика 4 разр.-1 Помощник машиниста 3 разр.-1 |
100
м |
7,5 |
3,4 |
2-01 |
25,5 |
15-07 |
|
|
Итого: на 750 м швов, чел-ч |
|
|
|
|
|
25,5 |
15-07 |
|
|
на 1000 м швов, чел-ч |
|
|
|
|
|
34,0 |
20-40 |
|
|
на 1000 м швов, чел-дн |
|
|
|
|
|
4,25 |
|
б) Для нарезчика ДС-115
|
Шифр норм и расценок |
Описание работ |
Состав звена |
Единица измерения |
Объем работ- |
Норма времени, чел-ч |
Расценка, руб.-коп. |
Норма- |
Стоимость затрат труда на полный объем работ, руб.-коп. |
|
ТНиР, |
Нарезка продольного шва с разметкой линии шва, подключение и отключение шлангов для подачи воды |
Машинист нарезчика 4 разр.-1 Пом. машиниста 3 разр.-1 |
100
м |
6 |
4,6 |
2-71 |
27,6 |
16-26 |
|
|
Итого: на 600 м швов, чел-ч |
|
|
|
|
|
27,6 |
16-26 |
|
|
на 1000 м швов, чел-ч |
|
|
|
|
|
46,0 |
27-10 |
|
|
на 1000 м швов, чел-дн |
|
|
|
|
|
5,75 |
|
V. ОСНОВНЫЕ ТЕХНИКО-ЭКОНОМИЧЕСКИЕ ПОКАЗАТЕЛИ
|
Наименование показателей |
Единица измерения |
По |
По |
На сколько процентов показатель по графику больше (+) или меньше (-), чем по калькуляции
|
|
Затраты труда на нарезку 1000 м швов в затвердевшем бетоне: |
|
|
|
|
|
а) нарезчиком ДС-112 |
чел-дн |
4,25 |
2,67 |
-37,2 |
|
б) нарезчиком ДС-115 |
чел-дн |
5,75 |
3,33 |
-42.1 |
|
Средний разряд рабочих: |
|
|
|
|
|
а) на нарезчике ДС-112 |
- |
3,5 |
4,5 |
+28,6 |
|
б) на нарезчике ДС-115 |
- |
3,5 |
3,5 |
- |
|
Среднедневная зарплата одного рабочего: |
|
|
|
|
|
а) на нарезчике ДС-112 |
руб.-коп. |
4-73 |
7-52 |
+59,0 |
|
б) на нарезчике ДС-115 |
руб.-коп. |
4-71 |
8-13 |
+72,6 |
VI. МАТЕРИАЛЬНО-ТЕХНИЧЕСКИЕ РЕСУРСЫ
А. Основные материалы
|
Наименование материалов |
ГОСТ |
Единица измерения |
Количество для нарезчика ДС-112 |
Количество для нарезчика ДС-115 |
||
|
на |
на |
на |
на |
|||
|
Круги отрезные сегментные алмазные |
16115-70 |
шт. |
4 |
3 |
5 |
3 |
|
Вода или смазывающе-охлаждающая жидкость |
- |
л |
3000 |
2250 |
3000 |
1800 |
Примечание. При необходимости укрытия швов пергамином или пленкой потребность этих материалов определяют отдельно.
Б. Машины, оборудование, инструмент и приспособления
|
Наименование |
ГОСТ, марка |
Количество, шт. |
|
Нарезчик швов |
ДС-112 |
1 |
|
Нарезчик швов |
ДС-115 |
I |
|
Шланги резиновые диаметром 50 мм, длиной 20 м |
2342-50 |
2 |
|
Рулетки измерительные металлические |
7502-69 |
2 |
|
Шнур капроновый диаметром 5 мм, длиной 20 м |
- |
2 |
|
Шаблоны для замеров ширины и глубины шва |
- |
2 |
|
Комплект средств для ограждения участка работ |
10807-71 |
1 |
VII. КАРТА ОПЕРАЦИОННОГО КОНТРОЛЯ КАЧЕСТВА НАРЕЗКИ ШВОВ ЦЕМЕНТОБЕТОННЫХ ПОКРЫТИЙ НАРЕЗЧИКАМИ ШВОВ ДС-112 И ДС-115
|
№ |
Контролируемые параметры |
Предельные отклонения, |
Рис. 39. Схема поперечных |
|
1 |
Глубина верхней уширенной части шва |
∆1 = ±5 |
|
|
2 |
Ширина верхней уширенной части шва |
∆2 = ±1 |
Примечание. Общая глубина шва должна быть не менее 1/4 толщины покрытия, уменьшение глубины не допускается. Увеличение глубины не нормируется.
СНиП III-40-78; ВСН 139-68; ВСН 159-69.
|
I |
Основные операции, подлежащие контролю |
Установка режущих кругов |
Установка нарезчика на линию шва |
Заглубление режущих кругов |
|
II |
Состав контроля |
Проверка положения всех кругов |
Проверка положения режущих кругов на линии шва |
Промер глубины и ширины шва |
|
III |
Метод и средства контроля |
Визуальный. Капроновый шнур |
Визуальный. Пробное опускание всех кругов на линию шва |
Измерительный. Мерник глубины и ширины шва (шаблон) |
|
IV |
Режим и объем контроля |
Перед началом работ и периодически в течение смены |
Перед началом нарезки шва |
Периодически |
|
V |
Лицо, контролирующее операцию |
Мастер |
||
|
VI |
Лицо, ответственное за организацию и осуществление контроля |
Прораб |
||
|
VII |
Привлекаемые для контроля подразделения |
- |
||
|
VIII |
Где регистрируются результаты контроля |
- |
Общий журнал работ |
|
Карта предусматривает заполнение температурных швов готовыми мастиками при помощи заливщика ДС-67 после нарезки их в затвердевшем бетоне нарезчиками ДС-112 и ДС-115. Швы заполняются резино-битумными, битумно-полимерными мастиками или мастиками на основе резино-битумного вяжущего (РБВ).
I. УКАЗАНИЯ ПО ТЕХНОЛОГИИ ПРОИЗВОДСТВЕННОГО ПРОЦЕССА
Швы заполняют изоляционными материалами немедленно после нарезки, но не позднее чем через 30 суток. Заливщик ДС-67 представляет собой навесное оборудование на автомобиль УАЗ-452Д. В комплект оборудования входят емкость для мастики, две системы подогрева мастики, рабочий орган, промывочная емкость, компрессор и оборудование для подготовки швов (красконагнетательный бак для разжиженного битума и удочки с наконечниками и распылителями).
Техническая характеристика заливщика швов ДС-67
|
Тип машины |
Навесная на автомобиле |
|
Объем емкости для мастики, л |
150 |
|
Объем рабочего органа, л |
25 |
|
Объем бака для грунтовочной смеси, л |
40 |
|
Давление воздуха для продувки и грунтовки швов, кгс/см2 |
6 700 |
|
Техническая производительность заливщика швов в смену, м |
|
|
Полная масса машины, кг |
2620 |
|
Количество обслуживающего персонала, чел |
3 |
|
Габаритные размеры в транспортном положении, мм: |
4510 |
|
ширина |
2100 |
|
высота |
2070 |
В процесс заполнения швов входят следующие операции:
- подготовка швов;
- подгрунтовка стенок и дна швов;
- заполнение швов мастикой.
Подготовка швов
Сразу после нарезки швы тщательно промывают водой от пульпы, просушивают и содержат в чистом состоянии до заполнения мастиками или герметиками.
Если швы заполняют через несколько суток после нарезки, тогда прочищают швы стальным крючком и ершом, а затем при помощи удочки и специального наконечника прочищают и одновременно продувают стенки шва сжатым воздухом, при этом очищают прилегающие к шву полосы покрытия шириной 15-20 см. При продувке используют полную мощность компрессора (0,5 м3/мин). Управляют продувкой при помощи воздушного крана на удочке.
Продувку швов производят в следующем порядке: вначале продувают участок продольного шва между поперечными швами, а затем - поперечные швы сжатия, начиная от очищенного продольного шва.
Для того чтобы изоляционный материал не вытекал из шва, по краям покрытия у торцов шва вплотную к покрытию забивают колышки (нащельники). На дно паза шва укладывают хлопчатобумажный шнур (для предотвращения протекания мастики). Сверху на паз прочищенного шва накладывают веревку толщиной в 1,5-2,0 раза больше ширины шва, затем поверхность бетона вдоль шва посыпают (припудривают) тонким слоем минерального порошка. Веревку после посыпки порошком убирают.
Подгрунтовка стенок и дна швов
Подгрунтовку стенок и дна швов производят по указанию технического проекта в зависимости от применяемой мастики. Осуществляют подгрунтовку холодным разжиженным битумом при помощи удочки с надетым специальным наконечником. Разжиженный бензином или керосином битум до вязкости не более 60 сек заливают в красконагнетательный бак заливщика.
Сжатым воздухом через трехходовой кран разжиженный битум вытесняется в удочку. Давление в баке регулируют по манометру на редукторе в пределах от 0,5 до 4,0 кгс/см2. Для распыления разжиженного битума к удочке подводится воздух под давлением 6 кгс/см2. Управляют подгрунтовкой с помощью воздушного и битумного кранов, расположенных на удочке. Конструкция красконагнетательного бака предусматривает возможность перемешивания разжиженного битума с одновременным сбросом давления в баке.
Вначале грунтуют продольный шов, а затем поперечный, начиная от загрунтованного продольного шва.
Заполнение швов мастикой
Работу по заполнению швов мастикой производят только в сухую погоду (не менее ±5°C). Мастику, как правило, готовят на заводе или на строительной базе. В исключительных случаях, когда место производства работ находится на значительном расстоянии от завода или базы, мастику готовят или разогревают на трассе. Для этого используют битумный котел, оборудованный мешалкой.
Разогретую на базе до рабочей температуры мастику (160-180°С) загружают в емкость для мастики заливщика и доставляют к месту работ, поддерживая температуру в период транспортирования при помощи системы подогрева выхлопными газами. Поддержание рабочей температуры мастики в процессе работы осуществляют жидкостно-топливной горелкой. Можно разогревать брикеты мастики на месте работ в емкости для мастики заливщика ДС-67 при помощи системы подогрева жидкостно-топливной горелки. Поддержание рабочей температуры мастики во время работы осуществляется также жидкостно-топливной горелкой.
Топливо (керосин) к топливной горелке подается сжатым воздухом от компрессора, рабочее давление в топливном баке не должно превышать 3 кгс/см2. Контроль за давлением осуществляют по манометру.
Разжигают горелку следующим образом:
- проверяют наличие топлива в бачке - его должно быть не более 7,5 л;
- воздушным насосом поднимают давление в бачке до 3 кгс/см2;
- через окно корпуса закладывают ветошь внутрь горелки и открывают вентиль тройника бачка до тех пор, пока через сопло горелки не пойдет горючее;
- закрывают вентиль тройника бачка, поджигают ветошь и нагревают змеевик горелки;
- медленно открывают вентиль тройника бачка до появления из сопла паров керосина и воспламенения их от догорающей ветоши;
- если пары керосина, вылетающие из сопла, не загорелись, необходимо повторить процесс зажигания;
- регулируют полноту сгорания керосина вентилем, обеспечив подачей керосина длинный стабильный факел без копоти.
Контролируют работу системы подогрева по приборам, установленным в кабине автомобиля УАЗ-452Д. При достижении мастикой необходимой температуры вентиль тройника бачка закрывают, перекрывая доступ керосина к горелке. Температуру мастики в емкости для мастики объемом 150 л проверяют по температурным датчикам: температура не должна превышать 180°С.
Швы заполняют мастикой через 2-3 часа после подгрунтовки стенок швов. Заполняют швы горячей мастикой при помощи рабочего органа, состоящего из емкости для мастики объемом 25 л, масляной рубашки с подогревающей трубой, сопла с клапаном, рычажного механизма управления соплом, рукояти и опорной пяты.
Вначале выхлопными газами автомобиля или лампой разогревают масло в масляной рубашке, затем из основной емкости для мастики битумным насосом в рабочий орган подают горячую мастику. Для этого ставят кран управления битумным насосом в положение «выдача», затем из кабины автомобиля включают привод битумного насоса и сливным шлангом через заливную горловину заполняют рабочий орган. Горловину закрывают и во время заполнения швов поддерживают лампой Б-1 температуру масла в масляной рубашке в пределах 130-160°С. Сопло рабочего органа вводят в паз на 3/4 глубины, нажимом рукоятки на клапан открывают выходное отверстие сопла и, перемещая рабочий орган, заполняют шов мастикой выше уровня покрытия на 2-3 мм. В момент заполнения швов температура резино-битумной мастики должна быть в пределах 160-180°С, битумно-полимерной-130-160°С.
После остывания мастики в швах все ее наплывы срезают металлической лопаточкой. Прослойка минерального порошка способствует легкому отделению мастики и приданию шву нормального вида.
Перед каждой заправкой рабочего органа обязательно нужно включать битумный насос на режим циркуляции для перемешивания мастики.
Для обеспечения нормальной работы системы подогрева заливщика необходимо своевременно очищать сопло горелки от нагара или попадания твердых частиц при помощи загнутой под углом 90° проволочной иглы, своевременно очищать змеевик горелки от нагара, для чего легким постукиванием по змеевику сбить нагар, промыть змеевик керосином, отвинтить сопло горелки и продуть змеевик сжатым воздухом. Зажигать горелку нужно только во время стоянки, подогревать мастику в емкости только с циркуляцией. Необходимо своевременно очищать каналы емкости от нагара, сажи и пыли.
В конце смены оставшуюся мастику сливают в другую емкость, а емкость для мастики, битумный насос, мастикопровод и рабочий орган не позднее чем через 3 мин промывают керосином. Для промывки емкости для мастики 20-30 л керосина прокачивают насосом не менее 12 мин. Для хранения и перевозки керосина на заливщике швов смонтирована промывочная емкость объемом 50 л. Подачу керосина в емкость для мастики осуществляют под давлением 0,5 кгс/см2.
В случае дождя, а также если по участку происходит движение автомобилей, заполненные швы укрывают битуминизированной бумагой или полиэтиленовой пленкой. Снимать укрытие со швов разрешается после начала вулканизации мастики, но не ранее чем через 6 часов после заполнения шва.
II. УКАЗАНИЯ ПО ОРГАНИЗАЦИИ ТРУДА
Заполнение пазов швов горячими резино-битумными или битумно-полимерными мастиками производят, как правило, в дневное время. Для выполнения работ организуют звено из 3 человек в следующем составе:
Машинист заливщика швов 4 разр.-1
Машинист заливщика швов выполняет обязанности водителя машины, следит за работой систем подогрева, смонтированных на автомобиле УАЗ-452Д, обеспечивает подачу сжатого воздуха.
Один дорожный рабочий 3 разр. заливает швы мастикой при помощи рабочего органа заливщика, следит за подогревом масла в масляной рубашке, заполняет рабочий орган горячей мастикой.
Второй дорожный рабочий 3 разр. очищает швы и готовит их к заполнению мастикой, помогает при заполнении швов мастикой.
После окончания работ рабочие промывают все оборудование керосином.
III. ГРАФИК ВЫПОЛНЕНИЯ ПРОИЗВОДСТВЕННОГО ПРОЦЕССА НА ЗАПОЛНЕНИЕ МАСТИКАМИ ШВОВ ЦЕМЕНТОБЕТОННЫХ ПОКРЫТИЙ ЗАЛИВЩИКОМ ДС-67 НА СМЕННУЮ ЗАХВАТКУ ДЛИНОЙ 250 м (625 м швов)

Примечания.
1. Цифры над линией - количество рабочих, занятых в операции, под линией - продолжительность операции, мин;
2. Время на отдых-6 раз по 8 мин после каждого часа работы включено в продолжительность операций-
IV. КАЛЬКУЛЯЦИЯ ЗАТРАТ ТРУДА НА ЗАПОЛНЕНИЕ МАСТИКОЙ ШВОВ ЦЕМЕНТОБЕТОННЫХ ПОКРЫТИЙ ЗАЛИВЩИКОМ ШВОВ НА СМЕННОЙ ЗАХВАТКЕ ДЛИНОЙ 250 м (625 м швов)
|
Шифр норм и расценок |
Описание работ |
Состав звена |
Единица измерения |
Объем работ |
Норма времени, чел-ч |
Расценка, руб.-коп. |
Норма- |
Стоимость затрат труда на полный объем работ, руб.-коп. |
|
ТНиР, |
Заполнение мастикой поперечных швов с разогреванием мастики, прочисткой и продувкой швов, заделкой пазов концов швов, прогрунтовкой стенок швов разжиженным битумом, удалением излишков мастики скребками |
Машинист компрессора 4 разр.-1 Дорожные рабочие 3 разр.-2 |
100
м |
3,75 |
4,9 |
2-83 |
18,37 |
10-61 |
|
ТНиР, |
Заполнение продольного шва с разогреванием мастики, прочисткой и продувкой шва, прогрунтовкой стенок шва, удалением излишков мастики скребком |
То же |
То же |
2,50 |
4,1 |
2-37 |
10,25 |
5-92 |
|
|
Итого: на сменную захватку длиной 250 м (625 м швов) |
|
|
|
|
|
28,62 |
16,53 |
|
|
на 1000 м швов, чел-ч |
|
|
|
|
|
45,79 |
26-45 |
|
|
на 1000 м швов, чел-дн |
|
|
|
|
|
5,72 |
|
Примечание. Приготовление и доставка готовой мастики и грунтовки калькуляцией не учтены и оплачиваются отдельно.
V. ОСНОВНЫЕ ТЕХНИКО-ЭКОНОМИЧЕСКИЕ ПОКАЗАТЕЛИ
|
Наименование показателей |
Единица измерения |
По |
По |
На сколько процентов показатель по графику больше (+) или меньше (-), чем по калькуляции
|
|
Трудоемкость работ на заполнение 1000 м швов мастикой |
чел-дн |
5,72 |
4,8 |
-16,1 |
|
Среднедневная заработная плата одного рабочего |
руб.-коп. |
4-62 |
5-51 |
+19,2 |
VI. МАТЕРИАЛЬНО-ТЕХНИЧЕСКИЕ РЕСУРСЫ
А. Основные материалы
|
Наименование материалов |
Марка, ГОСТ |
Единица измерения |
Потребное количество |
|
|
на
смену |
на
1000 м |
|||
|
Битумно-полимерная мастика |
БПМ |
кг |
187,5 |
300 |
|
Грунтовочный материал (битумы вязкие, разжиженные бензином или зеленым маслом) |
ГОСТ на битумы |
кг |
1,35 |
2,1 |
|
Хлопчатобумажный шнур |
ГОСТ 18403-73 |
м |
644 |
1030 |
|
Минеральный порошок |
ГОСТ 16557-71 |
кг |
42 |
66,5 |
Б. Машины, оборудование, инструменты, инвентарь
|
Наименование |
ГОСТ, марка |
Количество, шт. |
|
Заливщик швов на автомобиле УАЗ-452Д |
ДС-67 |
1 |
|
Крючки стальные |
- |
2 |
|
Щетки (ерши) стальные |
- |
2 |
|
Шпатели (скребки) |
10778-76 |
3 |
|
Лопаты стальные строительные |
3620-76 |
1 |
|
Метлы |
- |
1 |
|
Термометры со шкалой до 200°С |
2823-73 |
1 |
|
Колышки (нащельники) |
- |
100-120 |
|
Веревка (диаметром 15-16 мм) |
- |
16-18 м |
|
Комплект знаков и ограждений |
10807-71 |
1 |
VII. КАРТА ОПЕРАЦИОННОГО КОНТРОЛЯ КАЧЕСТВА ЗАПОЛНЕНИЯ ШВОВ ЦЕМЕНТОБЕТОННЫХ ПОКРЫТИЙ МАСТИКАМИ
Указания по качеству работ
1. Пазы швов должны быть прямыми, без наплывов мастики, полностью заполненными мастикой.
2. Грунтовка на стенки и дно паза шва должна быть нанесена равномерно, без сгустков и пропусков.
3. В момент заполнения швов температура мастики должна быть в пределах: резино-битумной 160-180°С, битумно-полимерной 120-130°С.
4. Мастика должна иметь сцепление с боковыми гранями шва на всем протяжении.
СНиП III-40-78; ВСН 139-68; ВСН 159-69
|
I |
Основные операции, подлежащие контролю |
Подгрунтовка стенок и дна пазов швов |
Заполнение швов мастикой |
|
II |
Состав контроля |
Равномерность нанесения грунтовки |
1. Чистота
пазов швов после прочистки. |
|
III |
Метод и средства контроля |
Визуальный |
Визуальный,
измерительный. |
|
IV |
Режим и объем контроля |
Постоянно, каждый шов |
Каждый шов |
|
V |
Лицо, контролирующее операцию |
Мастер |
|
|
VI |
Лицо, ответственное за организацию и осуществление контроля |
Прораб |
|
|
VII |
Привлекаемые для контроля подразделения |
- |
|
|
VIII |
Где регистрируются результаты контроля |
Общий журнал работ |
|
В технологической карте приняты следующие основные условия:
- цементобетонная укрепительная полоса имеет ширину 0,75 м и толщину 0,24 м, устраивается из цементобетона того же состава и той же марки, что и цементобетонное покрытие дороги;
- швы сжатия и швы расширения устраивают в свежеуложенном бетоне с помощью закладных реек. Расположение швов такое же, как в покрытии дороги;
- уход за бетоном осуществляют распределителем пленкообразующих материалов;
- сменная выработка звена-800 м бетонной полосы.
Для обеспечения машины ДС-76 цементобетонной смесью на ЦБЗ должна быть смонтирована бетоносмесительная установка типа СБ-37 (С-780) или С-543 производительностью 25 м3/ч.
При доставке цементобетонной смеси от бетоносмесительных установок меньшей производительности длину сменной захватки определяют по формуле:
![]()
где L-длина сменной захватки, м;
Q-сменная производительность бетоносмесительной установки, м3;
b-ширина полосы, м;
h-толщина полосы, м.
Во всех случаях применения технологической карты необходима привязка ее к местным условиям работы.

Рис. 40. Технологическая схема устройства бетонной укрепительной полосы машиной ДС-76 (цифры в кружках обозначают разряд рабочих и их расстановку по рабочим местам):
1 - бетонное покрытие дороги; 2 - основание для бетонной полосы; 3 - автомобиль-самосвал; 4 - укладчик ДС-76; 5 - уложенная бетонная полоса; 6 - передвижной распределитель пленкообразующих материалов; 7 - котел для разогрева мастики
I. УКАЗАНИЯ ПО ТЕХНОЛОГИИ ПРОИЗВОДСТВЕННОГО ПРОЦЕССА
Машиной ДС-76 бетонные укрепительные полосы устраивают после того, как бетон покрытия дороги наберет полную прочность, необходимую для проезда машин.
При этом выполняют следующие работы (рис. 40):
- подготовку основания дороги к укладке смеси;
- укладку смеси машиной ДС-76;
- отделку поверхности бетона и устройство пазов швов;
- уход за бетоном;
- заполнение швов мастиками.
Подготовка основания дороги к укладке смеси
Основание очищают автогрейдером или автомобильной щеткой за 1-2 прохода по одному следу. Остаток грунта у грани бетонного покрытия убирают вручную лопатой и основание проверяют шаблоном (рис. 41).
После этого грань бетонного покрытия обрабатывают отработанным машинным маслом с помощью передвижного распределителя.

Рис. 41. Шаблон для измерения ширины основания и превышения кромки покрытия дороги над основанием
На основании устраивают и закрепляют штырями конструкции швов расширения. Их устанавливают в тех же местах, где расположены швы расширения бетонного покрытия дороги. Высота доски шва расширения должна быть на 3-4 см меньше толщины бетонной полосы.
После установки доски шва расширения на бетонном покрытии дороги делают риску мелом или карандашом, обозначающую местонахождение доски.
Укладка смеси машиной ДС-76
Краткая техническая характеристика машины ДС-76 (рис. 42)
|
Производительность (при размерах полосы 0,75´0,22 м): |
|
|
м/ч |
120 |
|
м3/ч |
20 |
|
Ширина укладываемой полосы, м |
0,5; 0,75; 1,0 |
|
Толщина укладываемого слоя, мм |
до 24 |
|
Вместимость бункера, т |
5 |
|
Тип двигателя |
Д37Е-С1 |
|
Скорости движения: |
|
|
рабочие, м/мин |
1-4 |
|
транспортные, км/ч |
4,74; 6,79; |
|
Частота вращения вибратора виброплиты, об/мин |
до 4000 |
|
Габаритные размеры, мм: |
|
|
длина |
5150 |
|
ширина |
4000 |
|
высота |
1320 |
|
Масса машины с комплектом оборудования и ЗИП, кг |
6900 |
Машину готовят к работе и устанавливают на бетонном покрытии дороги в начале участка так, чтобы внутренняя скользящая опалубка находилась над кромкой бетонного покрытия. Затем устанавливают визирку и острие отвеса наводят на линию кромки покрытия.
Раму с выглаживающим брусом опускают в рабочее положение так, чтобы внешняя скользящая опалубка соприкоснулась с основанием, а нижняя плоскость выглаживающего бруса совместилась с плоскостью верха покрытия. После такой установки поперечный уклон укладываемой бетонной полосы будет таким же, как и поперечный уклон бетонного покрытия дороги. Точную доводку положения рамы и скользящей опалубки делают с помощью регулировочных винтов точной установки опалубки. После этого устанавливают фиксаторы.
Укладку смеси производят в такой последовательности: автомобиль-самосвал со смесью задним ходом подают к бункеру машины до упора колесами в упорные валики и выгружают смесь в бункер равномерно за два приема. Конвейером смесь подают на основание, уплотняют глубинными вибраторами и отделывают поверхность бетонной полосы выглаживающим брусом.
Заслонкой на транспортере регулируют подачу смеси.

Рис. 42. Общий вид укладчика ДС-76:
1 - двигатель Д-37Е; 2 - защитный тент; 3 - сиденье; 4 - рычаг включения движения машины; 5 - регулятор подачи топлива; 6 - рычаг опускания и подъема рельс-формы; 7 - рычаг подъема и опускания заслонки подачи цементобетонной смеси; 8 - рычаг включения подъема и опускания днища; 9 - рычаг коробки передач; 10 - штурвал; 11 - пульт управления; 12 - генератор; 13 - трансформатор; 14 - гидроцилиндр подъема и опускания заслонки; 15 - днище бункера; 16 - гидроцилиндр подъема и опускания днища; 17 - визирки с отвесом; 18 - упорный валик; 19 - конвейер; 20 - заслонка; 21 - гидропривод; 22 - глубинные вибраторы; 23 - гидроцилиндры подъема и опускания рамы скользящей опалубки; 24 - ручные регуляторы точной установки опалубки с фиксаторами; 25 - скользящая опалубка; 26 - выглаживающий брус; 27 - полоса цементобетонного покрытия
В процессе работы автомобиль-самосвал перемещают машиной ДС-76.
После выгрузки смеси кузов автомобиля-самосвала очищают, днище бункера поднимают для подачи остатков смеси на конвейер и подают очередной автомобиль-самосвал со смесью.
После прохода машины ДС-76 с поверхности бетонной полосы капроновой щеткой (рис. 43) удаляют цементный раствор. В отдельных местах раковины затирают теркой. Кромку внешней грани укрепительной полосы затирают и закругляют теркой с закругленной гранью.
У конструкции шва расширения глубинные вибраторы поднимают и опускают их снова на другой стороне шва. После прохода машины смесь в зоне шва расширения уплотняют штыковкой, очищают верхнюю грань доски от смеси, устанавливают закладной шаблон и затирают поверхность бетонной полосы.
Для создания устойчивой вертикальной грани бетонной полосы рабочая скорость машины должна сочетаться с жесткостью смеси. Эти параметры подбирают опытным путем. Ориентировочно можно принимать: рабочая скорость машины - 2 м/мин, осадка конуса смеси на месте укладки - 1,5-2 см.

Рис. 43. Инструмент для производства бетонных работ:
a - капроновая щетка; б - терка с гребнем для отделки паза шва, в - закладной деревянный шаблон (h - толщина покрытия, в - величина превышения шаблона над бетоном); г - гладилка с прорезью для отделки швов; д - мерка деревянная; е - фигурная металлическая гладилка для отделки кромки бетона
Отделка поверхности бетона и устройство пазов швов
Пазы швов устраивают в свежеуложенном бетоне сразу же после прохода машины ДС-76 и не позднее чем через 20-40 мин после укладки смеси. На поперечных швах сжатия в бетон на глубину не менее 1/4 толщины бетонной полосы погружают закладные шаблоны, предварительно замоченные в воде в течение не менее 24 часов и смазанные отработанным машинным маслом.
Наружную грань укрепительной полосы поддерживают временной опалубкой (доской).
Поверхность бетона затирают теркой с прорезью так, чтобы кромки паза были на одном уровне. По истечении 20-40 мин, когда бетон потеряет подвижность, закладные шаблоны осторожно извлекают, очищают и смазывают для повторного применения.
Кромки паза закругляют при помощи терки с гребнем так, чтобы радиус закругления был 5-10 мм. При обработке кромок паза применять воду запрещается.
Устроенные пазы швов оберегают от загрязнения - укрывают полосками битуминизированной бумаги и присыпают песком.
Закладные шаблоны делают из чисто остроганных деревянных реек. Размеры шаблонов: высота-1/4 толщины бетонной полосы плюс 2-4 см на возвышение над поверхностью бетона; толщина - по низу 5-8 мм, по верху - 8-12 мм.
Уход за бетоном
После отделки поверхности уложенной полосы и нарезки пазов швов на поверхность бетона наносят осветленные пленкообразующие материалы - помароль ПМ-100АМ.
Для этого используют передвижной распределитель.
Помароль распределяют за два приема - первый раз после исчезновения с поверхности бетона водной пленки, второй раз - через 30-60 мин в зависимости от температуры воздуха и скорости ветра. Полная норма распределения - 0,4-0,6 кг/м2.
Заполнение швов мастиками
Швы (пазы), устроенные в свежеуложенном бетоне, заполняют мастикой не ранее семи и не позднее тридцати суток после укладки смеси.
Пазы прочищают щеткой с жестким ворсом, а затем мягкой волосяной кистью и грунтуют разжиженным битумом. Через два часа после грунтовки швы заполняют горячей битумной мастикой при помощи леек за два приема: за первый прием швы заполняют на 2/3 их глубины; за второй прием заполняют с недоливом на 2 мм до верха.
Отдельные наплывы мастики срезают специальной лопаточкой и возвращают в битумный котел.
Мастику на месте работ разогревают в передвижном битумном котле до температуры: резино-битумную-160-180°, полимерно-битумную - до 140°С и расходуют в течение не более 1-2 часов. В момент заполнения швов температура мастики должна быть в пределах: резино-битумных - 160-180°, полимерно-битумных - 120-130°С.
Для улучшения внешнего вида швов используют следующий прием: после прочистки паза на него укладывают веревку, толщина которой в 1,5 раза больше ширины паза; поверхность бетона по обеим сторонам веревки слегка посыпают минеральным порошком; веревку снимают и паз заполняют мастикой; отдельные наплывы счищают лопаточкой.
При таком способе заполнения пазов мастикой швы получаются ровными, одинаковой ширины и без наплывов.
Требования к качеству работ
Бетонные укрепительные полосы должны иметь правильные проектные геометрические форму и размеры, ровную поверхность, покрытую пленкообразующими материалами, нарезанные и заполненные мастиками швы. В процессе работ качество контролируют в соответствии с картой технологии операционного контроля (раздел VII).
II. УКАЗАНИЯ ПО ОРГАНИЗАЦИИ ТРУДА
Работы по устройству бетонных укрепительных полос ведут на двух обособленных захватках:
№ 1 - длиной 1600 м (две сменные захватки по 800 м) для укладки смеси;
№ 2 - длиной 1600 м для заполнения швов.
Для выполнения работ организуют следующие звенья рабочих:
Звено по устройству
бетонной полосы
(на каждую смену)
Машинист машины ДС-76 6 разр.-1
Бетонщики: 4 разр.-2
3 разр.-1
2 разр.-2
Машинист распределителя пленкообразующих материалов 4 разр.-1
Звено по заполнению швов мастикой
Асфальтобетонщики 3 разр.-2
Укладку смеси производят машинист машины ДС-76 и бетонщик 2 разр. Бетонщик принимает смесь и очищает кузов автомобиля-самосвала от остатков смеси.
Бетонщики 4 разр.-1 и 3 разр.-1 в отдельных местах затирают раковины на поверхности бетонной полосы, отделывают кромку гладилкой, погружают закладные шаблоны для создания паза швов и заглаживают поверхность бетона гладилкой с прорезью.
Второй бетонщик 4 разр. извлекает закладные шаблоны и гладилкой с гребнем отделывает паз. В необходимых случаях он устанавливает доски на швах расширения и проверяет поперечный уклон основания шаблоном.
Бетонщик 2 разр.-1 накрывает пазы швов полосками битуминизированной бумаги и присыпает песком. Он также в отдельных местах очищает основание после очистки его автогрейдером или автомобильной щеткой.
Машинист распределителя за два раза наносит пленкообразующие материалы на поверхность и боковую грань бетонной полосы. Он также обрабатывает грань бетонного покрытия дороги отработанным машинным маслом.
По указанию мастера рабочие устанавливают и снимают дорожные знаки ограждения участка работ.
Звено по заполнению швов мастикой ведет работу в одну смену на отдельном участке, где бетон выдержан не менее 7 дней.
Асфальтобетонщики организуют работы в такой последовательности.
В начале смены очищают и грунтуют пазы в течение не менее двух часов. В это же время в котле разогревают мастику.
После этого заполняют пазы мастикой с помощью леек.
В таком же порядке они чередуют грунтовку пазов и заполнение их мастикой с таким расчетом, чтобы разрыв между этими операциями был не менее двух часов.
Брикеты мастики должны быть доставлены заранее и разложены по фронту работ в нескольких местах для сокращения расстояния подноски их к котлу.
По указанию мастера рабочие устанавливают, а в конце работы снимают дорожные знаки ограждения участка работ.
III. ГРАФИК ВЫПОЛНЕНИЯ ПРОИЗВОДСТВЕННОГО ПРОЦЕССА ПО УСТРОЙСТВУ БЕТОННОЙ УКРЕПИТЕЛЬНОЙ ПОЛОСЫ С ПРИМЕНЕНИЕМ МАШИНЫ ДС-76 (на выработку двух смен 1600 м)

Примечания.
1. Цифры над чертой - количество рабочих, цифры под чертой - продолжительность операции в минутах.
2. В трудоемкость работ включен отдых рабочих в течение смены.
IV. КАЛЬКУЛЯЦИЯ ЗАТРАТ ТРУДА НА УСТРОЙСТВО БЕТОННОЙ УКРЕПИТЕЛЬНОЙ ПОЛОСЫ ШИРИНОЙ 75 см И ТОЛЩИНОЙ 24 см С ПРИМЕНЕНИЕМ МАШИНЫ ДС-76 (на сменную выработку 800 м)
|
Шифр норм и расценок |
Описание работ |
Состав звена |
Единица измерения |
Объем работ |
Норма времени, чел-ч |
Расценка, руб.-коп. |
Норма- |
Стоимость затрат труда на полный объем работ, руб.-коп. |
|
ЕНиР-20, |
Очистка основания и обочины механической щеткой |
Машинист 4 разр.-1 |
100 м2 |
20 |
0,025 |
0-01,6 |
0,5 |
0-32 |
|
ТНиР-1, |
Обработке грани бетонного покрытия отработанным машинным маслом или жидким битумом с помощью передвижного малогабаритного распределителя |
Машинист компрессора 4 разр.-1 Дорожный рабочий 3 разр.-1 |
100 м2 |
2 |
1,25 |
0-73,8 |
2,5 |
1-48 |
|
Местная |
Устройство бетонной укрепительной полосы шириной 75 и толщиной 24 см машиной ДС-76 с затиркой поверхности бетона вручную с устройством пазов поперечных швов в свежеуложенном бетоне с помощью закладных шаблонов и укрытием пазов битуминизированной бумагой, установкой досок швов расширения |
Машинист 6 разр.-1 Бетонщики: 4 разр.-1 3 разр.-2 2 разр.-2 |
100 м |
8 |
7,98 |
4-67 |
63,84 |
37-36 |
|
ТНиР-1, |
Распределение пленкообразующих материалов на поверхности бетонной полосы с помощью передвижного малогабаритного распределителя |
Машинист компрессора 4 разр.-1 Дорожный рабочий 3 разр.-1 |
100 м |
8 |
1,25 |
0-73,8 |
10 |
5-90 |
|
ЕНиР-20, |
Заполнение швов мастикой с прочисткой швов и грунтовкой их разжиженным битумом |
Асфальто- 3 разр.-1 1 разр.-1 |
100 м |
1 |
8,4 |
4-17 |
8,4 |
4-17 |
|
ЕНиР-20, |
Разогревание мастики в битумном котле с подноской брикетов мастики, загрузкой их в котел и отоплением котла |
То же |
То же |
1 |
0,8 |
0-39,7 |
0,8 |
0-39,7 |
|
|
Итого: на сменную выработку 800 м |
|
|
|
|
|
86 |
49-63 |
|
|
на 1000 м полосы |
|
|
|
|
|
107,5 |
62-04 |
V. ОСНОВНЫЕ ТЕХНИКО-ЭКОНОМИЧЕСКИЕ ПОКАЗАТЕЛИ
|
Наименование показателей |
Единица измерения |
По |
По |
На сколько процентов показатель по графику больше (+) или
меньше (-), чем по калькуляции |
|
Трудоемкость работ на 1000 м полосы |
чел-ч |
107,5 |
80,6 |
-25 |
|
Средний разряд рабочих |
- |
3,3 |
3,4 |
+3 |
|
Средняя заработная плата одного рабочего в день |
руб.-коп. |
4-61 |
6-15 |
+33 |
Примечание. Коэффициент использования машины ДС-76 по времени в течение смены Кв = 0,92.
VI. МАТЕРИАЛЬНО-ТЕХНИЧЕСКИЕ РЕСУРСЫ
А. Основные материалы
|
Наименование материалов |
ГОСТ, марка |
Единица измерения |
Количество |
|
|
на
1000 м |
на
смену |
|||
|
Цементобетонная смесь марки 350 |
8424-72 |
м3 |
181,5 |
145,2 |
|
Мастика полимерно-битумная |
БПМ-1 или |
кг |
80 |
64 |
|
Разжиженный битум |
- |
л |
8 |
6,4 |
|
Отработанное машинное масло |
- |
л |
10 |
8 |
|
Помароль |
ПМ-100АМ |
л |
450 |
360 |
|
Доски для швов расширения размером 75´19´2 см |
- |
шт. |
17 |
14 |
Б. Машины, оборудование, инструмент, инвентарь
|
Наименование |
Марка, ГОСТ |
Количество, шт. |
|
Укладчик бетона |
ДС-76 |
1 |
|
Агрегат для распределения пленкообразующих материалов передвижной |
- |
1 |
|
Котел для разогревания мастики |
- |
1 |
|
Черпак для налива мастики |
- |
1 |
|
Лейки для заливки швов вручную |
- |
2 |
|
Ведра для разжиженного битума |
- |
2 |
|
Комплект терок для отделки поверхности бетона и пазов |
- |
1 |
|
Закладные деревянные шаблоны размером 75´10´1 см |
- |
20 |
|
Молоток деревянный |
- |
1 |
|
Лопата стальная строительная |
3620-76 |
1 |
|
Шаблон для контроля основания |
- |
1 |
|
Щетка капроновая размером 70´8 см |
- |
1 |
|
Щетки капроновые с жестким ворсом для прочистки пазов |
- |
2 |
|
Кисти малярные плоские с мягким ворсом для очистки пазов |
10597-70 |
2 |
VII. КАРТА ОПЕРАЦИОННОГО КОНТРОЛЯ КАЧЕСТВА УСТРОЙСТВА БЕТОННЫХ УКРЕПИТЕЛЬНЫХ ПОЛОС С ПРИМЕНЕНИЕМ МАШИНЫ ДС-76
|
№ |
Контролируемые параметры |
Предельные |
Рис. 44. Схема конструкции бетонной |
|
1 |
Ширина укрепительной полосы |
∆1 = ±5 см |
|
|
2 |
Толщина укрепительной полосы |
∆2 = ±5 % |
|
|
3 |
Поперечный уклон |
∆3 = 0,5 % |
|
|
4 |
Ровность поверхности |
∆4 = ±5 мм (про- |
|
|
5 |
Отметки кромок паза швов |
∆5 = ±3 мм |
Примечания.
1. Перед устройством укрепительных полос основание должно быть чистым и сухим.
2. Поверхность бетонной полосы должна быть ровной, без раковин. Кромка должна быть ровной и закругленной (радиус закругления 5-10 мм).
3. Пазы швов должны быть прямыми, ровными, без наплывов мастики, полностью заполненными мастикой с недоливом на 2 мм.
4. Пленкообразующие материалы должны покрывать поверхность бетонной полосы и боковую грань ровно, без пропусков.
5. Глубина паза шва должна быть не менее 1/4 толщины укрепительной полосы. Пазы перед заполнением мастикой должны быть чистыми.
6. Смесь должна иметь подвижность, при которой осадка конуса на месте работ должна быть в пределах 1-3 см.
7. В момент заполнения швов температура мастики должна быть в пределах: резино-битумных - 160-180°С, полимерно-битумных-120-130°С.
СНиП III-Д.5-73; ВСН 139-68
|
I |
Основные операции, подлежащие контролю |
Укладка смеси, отделка поверхности, нарезка пазов швов |
Распределение пленкообразующих материалов |
Заполнение пазов швов мастикой |
|
II |
Состав контроля |
1. Ширина полосы. 2. Толщина. 3. Поперечный уклон. 4. Ровность поверхности. 5. Глубина пазов швов. 6. Отметки кромок паза швов. 7. Подвижность бетонной смеси |
Равномерность распределения пленкообразующих материалов |
1. Чистота пазов после прочистки. 2. Наличие грунтовки. 3. Температура нагрева мастики. 4. Заливка паза швов |
|
III |
Метод и средства контроля |
Измерительный. 1. Рулетка стальная. 2. Мерник толщины слоя. 3. Шаблон. 4. Рейка 3-метровая с клином. 5, 6. Линейка стальная. 7. Конус стандартный |
Визуальный |
Измерительный, визуальный. 1, 2. Внешний осмотр. 3. Термометр. 4. Линейка стальная |
|
IV |
Режим и объем контроля |
1-4. Не реже чем один раз на 100 м полосы. 5, 6. Не менее трех раз на 100 м. 7. Выборочный |
Выборочный. Один раз в смену |
Выборочный |
|
V |
Лицо, контролирующее операцию |
Мастер, лаборант |
Мастер |
|
|
VI |
Лицо, ответственное за организацию и осуществление контроля |
Прораб |
||
|
VII |
Привлекаемые для контроля подразделения |
Строительная лаборатория |
- |
- |
|
VIII |
Где регистрируются результаты контроля |
Журнал работ |
||
ОБЩИЕ ПОЛОЖЕНИЯ ТЕХНИКИ БЕЗОПАСНОСТИ ПРИ СКОРОСТНОМ СТРОИТЕЛЬСТВЕ
Особенности техники безопасности при скоростном строительстве дорожных одежд машинами комплектов ДС-100 заключаются в следующем:
- машины линейного комплекта ДС-100, смесительные установки, оборудование складов и погрузочные средства представляют собой высокопроизводительные мощные и чрезвычайно сложные машины, оснащенные современными системами электро-, гидро- и пневмоуправления, мощными дизелями и многочисленными рабочими органами, требующими квалифицированных регулировок, постоянного технического обслуживания и особого внимания в работе;
- машины линейного комплекта и погрузочные средства для минеральных материалов в процессе работы непрерывно перемещаются, что представляет особую опасность как для рабочих, непосредственно занятых на технологических процессах, так и для посторонних лиц, которые могут попасть в зону работы машин;
- скоростное строительство определяет высокую интенсивность подачи минеральных материалов и цемента от прирельсовой базы к притрассовому цементобетонному заводу и смесителям для приготовления смесей, что предъявляет особые требования к состоянию путей движения автомобилей, организации их движения и обеспечению безопасности.
Важнейшими общими мерами обеспечения безопасности работ при скоростном строительстве являются следующие:
1. К работам на машинах для скоростного строительства допускаются лица, достигшие 18 лет, прошедшие курсовое обучение по соответствующим программам, сдавшие экзамены и имеющие удостоверения на право управления именно этими машинами. Рекомендуется подбирать для работы на машинах комплекта ДС-100, одноковшовых фронтальных пневмоколесных погрузчиках, смесительных установках, компрессорах и электростанциях особенно грамотных, квалифицированных и внимательных рабочих.
Все рабочие должны быть закреплены за определенными машинами или оборудованием.
Рабочие допускаются к выполнению работ только после прохождения вводного (общего) инструктажа по технике безопасности и производственной санитарии, проводимого инженером по технике безопасности, и инструктажа по технике безопасности на рабочем месте, проводимого непосредственным руководителем рабочего (прорабом, мастером, механиком).
Не реже раза в 3 месяца рабочие должны проходить периодический инструктаж по безопасным приемам выполнения работ, проводимый непосредственным (руководителем.
2. Непосредственные руководители (производители) работ должны обращать особое внимание на исправности машин и оборудования, наличие инструкций по технике безопасности для отдельных машин и рабочих мест, достаточность освещения мест работы в ночное время, исправность звуковой сигнализации и отличимость сигналов разных типов машин и оборудования, исправность ограждений опасных зон и общих ограждений площадок АБЗ и складов, наличие и исправность защитных приспособлений и наличие предупредительных знаков, табличек и защитных решеток и кожухов, наличие заземлений металлических частей машин с электроприводом и пусковых устройств, исправность и чистоту мест, проходов и проездов, наличие питьевой воды, необходимых санитарных средств, наличие и исправность средств пожаротушения, исправность спецодежды и индивидуальных средств защиты.
3. К работе по обслуживанию электрических сетей и установок допускаются лица, сдавшие экзамены по основам эксплуатации таких сетей и установок и имеющие IV группу по электробезопасности.
4. Предохранительные клапаны гидро- и пневмосистем управления и компрессорных станций должны быть опломбированы. Самостоятельная регулировка их машинистами запрещается.
5. Все работы должны вестись только в соответствии с проектами организации строительства и выполнения работ.
6. Категорически запрещается ведение погрузочных работ при нахождении в зоне работ посторонних лиц.
7. Ходовая часть линейных машин ДС-100 должна иметь ограждение, исключающее попадание людей под гусеницы и колеса. Запрещается находиться вблизи гусениц и колес самоходных машин (ближе 3 м).
8. Подъездные пути на территории ЦБЗ и прирельсовой базы должны обеспечивать доступ транспортных средств ко всем объектам. Ширина проезжей части должна быть не менее 6 м для двустороннего движения. Пути движения автомобилей должны иметь твердое покрытие, достаточную ровность и плотность.
9. Организация движения должна исключать пересечение путей автомобилей. Если пересечение путей движения автомобилей неизбежно, то пересечение должно быть отмечено дорожными знаками.
10. Проходы на территории ЦБЗ и базы должны иметь ширину не менее 1,5 м, в местах прохода через канавы, траншеи и ленточные конвейеры должны быть устроены переходные мостики шириной не менее 0,8 м с перилами высотой 1 м
11. Территория ЦБЗ и базы должна быть ограждена. Въезд на территорию ЦБЗ и базы посторонним автомобилям должен быть запрещен дорожными знаками.
12. В закрытых помещениях ЦБЗ и базы должно быть предусмотрено аварийное освещение с самостоятельным питанием.
|
ГОСТЫ, СТРОИТЕЛЬНЫЕ и ТЕХНИЧЕСКИЕ НОРМАТИВЫ. Некоммерческая онлайн система, содержащая все Российские Госты, национальные Стандарты и нормативы. В Системе содержится более 150000 файлов нормативно-технической документации, действующей на территории РФ. Система предназначена для широкого круга инженерно-технических специалистов. Copyright © www.gostrf.com, 2008 - 2026 |