Крупнейшая бесплатная информационно-справочная система онлайн доступа к полному собранию технических нормативно-правовых актов РФ. Огромная база технических нормативов (более 150 тысяч документов) и полное собрание национальных стандартов, аутентичное официальной базе Госстандарта. GOSTRF.com - это более 1 Терабайта бесплатной технической информации для всех пользователей интернета. Все электронные копии представленных здесь документов могут распространяться без каких-либо ограничений. Поощряется распространение информации с этого сайта на любых других ресурсах. Каждый человек имеет право на неограниченный доступ к этим документам! Каждый человек имеет право на знание требований, изложенных в данных нормативно-правовых актах!

  


 

ЦЕНТРАЛЬНЫЙ ИНСТИТУТ НОРМАТИВНЫХ ИССЛЕДОВАНИЙ И НАУЧНО-ТЕХНИЧЕСКОЙ ИНФОРМАЦИИ "ОРГТРАНССТРОЙ"
МИНИСТЕРСТВА ТРАНСПОРТНОГО СТРОИТЕЛЬСТВА

ТЕХНОЛОГИЧЕСКАЯ КАРТА

УСТРОЙСТВО ДОЩАТЫХ ПОЛОВ В 60-КВАРТИРНОМ КРУПНОПАНЕЛЬНОМ ДОМЕ СЕРИИ 1-467А

Содержание

I. ОБЛАСТЬ ПРИМЕНЕНИЯ

Технологическая карта составлена на основе применении методов научной организации труда и предназначена для использования при разработке проекта производства работ и организации работ и труда на объекте.

Карта составлена на устройство полов в крупнопанельном доме серии 1-467А и может быть использована при устройстве подобного типа полов в других зданиях. При этом должны быть уточнены объемы работ, затраты труда и расход материалов.

В технологическую карту включены работы по укладке лаг и подкладок под них, по настилке дощатого покрытия со сплачиванием и острожкой досок.

II. УКАЗАНИЯ ПО ТЕХНОЛОГИИ ПРОИЗВОДСТВЕННОГО ПРОЦЕССА

1. Конструкция пола (рис. 1) должна соответствовать чертежам, помещенным в альбоме II «Типовые детали для проектов жилых домов серии 1-467А».

Рис. 1. Конструкция пола:
1
- звукоизоляционная прокладка; 2 - лага; 3 - дощатое покрытие; 4 - плита перекрытия

2. Все элементы пола (лаги, доски, плинтусы и звукоизоляционные материалы) должны отвечать требованиям ГОСТ 8242-63. На рабочее место их необходимо доставлять заготовленными по размерам помещений и уложенными в пакеты.

3. Лаги и прокладки должны быть антисептированы, плинтусы - проолифлены.

4. Пакеты с деталями дощатых полов на строительной площадке следует складировать на прокладки в штабеля, располагая по маркам в зоне действия башенного крана. Для предохранения от увлажнения их следует хранить под навесом или укрывать толем или брезентом.

5. Пакеты с материалами и изделиями следует подавать на этажи башенным краном до монтажа вышележащего перекрытия.

6. Устройство полов необходимо выполнять в следующей технологической последовательности:

а) очистка основания;

б) разметка мест укладки лаг;

в) укладка лаг и звукоизоляционных прокладок на готовое основание;

г) выверка лаг и закрепление их;

д) устройство дощатого покрытия со сплачиванием и прибивкой досок гвоздями;

е) сверление отверстий и постановка деревянных пробок;

ж) острожка провесов полов;

з) установка плинтусов.

7. Влажность лаг и прокладок не должна превышать 18%, а досок - 12%.

8. Лаги на перекрытие укладывают перпендикулярно направлению света из окон, в коридорах - перпендикулярно направлению движения людей с тем, чтобы доски покрытия располагались вдоль этого направления.

9. Места укладки лаг и звукоизоляционных прокладок на готовом основании рекомендуется размечать при помощи шаблонов.

10. Горизонтальность лаг проверяют по уровню, установленному на рейке длиной не менее 2 м, перекрывающей не менее трех лаг.

Особое внимание следует уделять выверке лаг в смежных помещениях, полы в которых должны быть на одном уровне, без уступов и порогов.

11. Между лагами и стенами следует оставлять зазоры шириной 20-30 мм, а между настилом пола и стенами или перегородками - 15 мм. Эти зазоры перекрывают плинтусами.

Зазоры между досками допускаются только в отдельных местах и не более 1 мм.

12. Ровность пола проверяют двухметровой рейкой. Просвет между полом и рейкой не должен превышать 2 мм.

13. Остроганный пол не должен иметь отколов, царапин и шероховатостей. Пропуски при острожке не допускаются.

14. Доски рекомендуется сплачивать винтовым домкратом.

15. Полы следует строгать паркетно-строгальной машиной О-1А, а в местах, недоступных для машины, - электрорубанком.

16. До начала острожки необходимо тщательно очистить полы от пыли и мусора и проверить исправность механизмов и приспособлений.

17. Доски следует прибивать к каждой лаге гвоздями длиной в 2-2,5 раза больше толщины доски. Гвозди забивают наклонно с утапливанием шляпок добойником.

18. Все работы должны выполняться в полном соответствии с требованиями СНиП III-B.14-72. «Полы» и СНиП III-A.11-70. «Техника безопасности в строительстве».

19. К работе ручным электроинструментом допускаются рабочие, которые прошли специальное обучение и имеют удостоверение на право работы с ним.

III. УКАЗАНИЯ ПО ОРГАНИЗАЦИИ ТРУДА

Устройство полов производится поточно-расчлененным методом, посекционно, начиная с первого этажа.

Работы выполняет специализированная бригада плотников в количестве 12 человек из 6 звеньев. В состав каждого звена входят плотники 4 и 2 разр. по 1 человеку.

В звеньях № 1 и 2 плотники 4 разр. размечают места укладки лаг, проверяют правильность укладки их, раскрепляют путем прибивки первой доски пола на расстоянии 2 см от стены, размечают места сверления отверстий для пробок, устанавливают пробки для крепления плинтусов: плотники 2 разр. распаковывают пакеты, укладывают прокладки и лаги, сверлят отверстия для пробок.

В звеньях № 3, 4, 5 и 6 плотники 4 разр. сплачивают и прибивают гвоздями доски, проверяют правильность настилки полов, строгают паркетно-строгальной машиной и электрорубанком, устанавливают и крепят плинтуса; плотники 2 разр. раскладывают доски по лагам, помогают плотникам 4 разр. сплачивать и прибивать их, устанавливать и крепить плинтуса.

Бригада плотников работает одновременно на одном этаже и в одной секции, но звенья № 1, 3 и 4 по одну сторону лестничной клетки, а звенья № 2, 5 и 6 по другую (рис. 2).

Рис. 2. Схема организации работ

После раскрепления лаг вплотную к первой прибитой доске укладывают еще восемь, заводя гребни последующей доски в паз предыдущей. Затем, на расстоянии 10 см от стены, устанавливают винтовые домкраты: два при длине досок до 4 м и три - более 4 м (рис. 3).

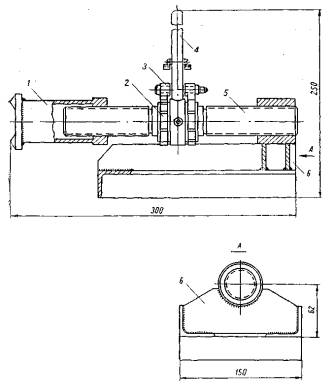
Рис. 3. Винтовой домкрат:
1 - наконечник; 2 - храповое колесо; 3 - «собачка»; 4 - рукоятка; 5 - винт; 7 - рама

Винтовым домкратом сплачивают одновременно 8 досок. Домкрат упирается в лагу отрезком уголка рамы, а в ребро сплачиваемой доски - наконечником винта. При вращении рукоятки с храповым механизмом возникает усилие, вследствие чего происходит сплачивание досок. После этого прибивают гвоздями доску, расположенную ближе к сжиму, а потом все остальные.

Последние две-четыре доски сплачивают при помощи деревянных клиньев, которые забивают между стеной и доской пола (рис. 4).

Рис. 4. Последовательность укладки замыкающей доски:
1 - фанерная подкладка; 2 - деревянный клин

В графике заложено повышение производительности труда на 9,6 %, которое достигается благодаря применению передового, поточно-расчлененного метода организации труда, правильному и четкому распределению обязанностей в бригаде, применению рациональных механизмов, приспособлений и инвентаря.

IV. ГРАФИК ВЫПОЛНЕНИЯ ПРОИЗВОДСТВЕННОГО ПРОЦЕССА (НА ТИПОВОМ ЭТАЖЕ)

V. КАЛЬКУЛЯЦИЯ ЗАТРАТ ТРУДА (НА ОДИН ЭТАЖ ТИПОВОЙ СЕКЦИИ)

№ пп

Шифр норм

Наименование работ

Состав бригады (звена)

Единица измерения

Объем работ

На единицу измерения

На весь объем работ

Норма затрат труда на единицу измерения, чел-ч

Расценка, руб.-коп.

Количество чел-ч на полный объем работ

Стоимость затрат труда на полный объем работ, руб.-коп.

1

§ 6-1-7, а Применительно

Укладка под лаги звукоизоляционных прокладок из отдельных полос древесно-волокнистых плит

Изолировщики

4 разр.-1

3 разр.-2

1 разр.-1

1 м2 покрытия

27

0,084

0-04,6

2,27

1-24

2

§ 19-1, № 1

Укладка лаг из брусков

Плотники:

4 разр.-1

2 разр.-1

1 м2 пола

124,1

0,3

0-16,8

37-23

20-85

3

§ 19-3, табл. 2, № 1,а

Настилка дощатых полов с раскладкой и пригонкой досок, приторцовкой их и прибивкой всех досок гвоздями с утапливанием шляпок

То же

100 м2

1,241

46

25-71

57,09

31-89

4

§ 19-14 Примечание

Пробивка гнезд под пробки и установка пробок

Плотники:

3 разр.-1

2 разр.-1

100 м2

1,241

4,4

2-31

5,46

2-87

5

§ 19-3, табл. 2, № 3

Острожка провесов паркетно-строгальной машиной

Плотники:

4 разр.-1

2 разр.-1

То же

1,064

2,7

1-51

2,87

1-60

6

§ 19-3, табл. 2, № 4

Острожка провесов у плинтусов электрорубанком

Плотник

4 разр.-1

То же

0,177

4

2-50

0,71

0-44

7

§ 19-14, № 1,а

Установка готовых плинтусов -с пригонкой и креплением их к стенам

Плотники:

3 разр.-1

2 разр.-1

100 м2

1,241

11

5-76

13,65

7-15

 

 

Итого по одному этажу секций

 

 

 

 

 

119,28 (14,9 чел-дн)

66-04

 

 

Итого по типовому этажу

 

 

 

 

 

596,4 (74,5 чел-дн)

330-20

VI. ОСНОВНЫЕ ТЕХНИКО-ЭКОНОМИЧЕСКИЕ ПОКАЗАТЕЛИ

Наименование показателей

Единица измерения

По калькуляции

По графику

На сколько процентов показатель по графику больше (+) или меньше (-), чем по калькуляции

Трудоемкость работ на 1 м2 пола

чел-дн

2,76

2,49

-9,8

Средний разряд рабочих

разр.

3,45

2,7

-17

Среднедневная заработная плата на одного рабочего

руб.

4,43

4,90

+10,6

VII. ПОТРЕБНОСТЬ МАТЕРИАЛЬНО-ТЕХНИЧЕСКИХ РЕСУРСОВ (НА ДОМ)

а) Изделия, конструкции, материалы (см. приложение)

Наименование

Марка

Единица измерения

Количество

Пакет № 1

-

шт.

10

Пакет № 2

-

»

10

Пакет № 3

-

»

30

Пакет № 4

-

»

10

Пакет № 5

-

»

10

Пакет № 6

-

»

10

Гвозди 70 мм

-

кг

421

б) Машины, оборудование, механизированный инструмент и инвентарь

Наименование

Марка

Единица измерения

Количество

Паркетно-строгальная машина

О-1А

шт.

2

Электрическая сверлильная машина

ГОСТ 8524-63

»

2

Электрорубанок

И-144

»

2

Брусок (для заточки и заправки) шлифовальный

ГОСТ 4786-64

»

1

 

 

 

 

Винтовой домкрат* для сплачивания досок конструкции Главсредневолжскстроя Минпромстроя СССР

-

»

12

* Рабочие чертежи домкрата (Р4-426-69) можно приобрести в ЦБТИ ЦНИИОМТП по адресу: Москва, К-12, ул. Куйбышева, 3/8.

Топор

ГОСТ 1399-56

шт.

12

Плотничный молоток

ГОСТ 11042-72

»

12

Пила-ножовка

ЦБ Горьковского

металлургического

завода Минчермета СССР

»

12

Клещи

КБ треста

«Росинструмент»

Минместпрома

РСФСР

»

6

Добойник

ГОСТ 11617-65

»

12

Строительный уровень

ГОСТ 9416-67

»

6

Рейка деревянная

-

»

6

Трехгранный напильник

Гипрооргсельстрой Минсельстроя СССР

»

12

Рулетка измерительная металлическая РЖ-2

ГОСТ 7502-69

»

6

Угольник стальной

ГОСТ 10920-64

»

6

Шнур разметочный в корпусе l = 15 м

-

»

6

Приложение

Пакет № 1

Пакет № 2

Пакет № 3

Пакет № 5

Доски (0,99 м3)

Лаги (0,19 м3)

Доски (1,42 м3)

Лаги (0,26 м3)

Доски (1,11 м3)

Лаги (0,23 м3)

Доски (1,2 м3)

Лаги (0,22 м3)

пог. м

шт.

пог. м

шт.

пог. м

шт.

пог. м

шт.

пог. м

шт.

пог. м

шт.

пог. м

шт.

пог. м

шт.

3,93

34

3,4

11

4,75

61

3,03

7

5,73

31

3,05

27

4,75

61

3,0

13

3,03

31

3,12

9

2,38

30

3,0

13

3,93

31

2,99

6

2,91

8

3,1

13

2,67

11

2,67

6

2,17

14

3,1

13

2,91

8

1,07

3

2,17

14

2,99

6

2,85

8

1,97

3

2,91

8

2,99

6

1,97

8

0,77

2

1,97

8

0,95

3

2,17

14

1,4

1

1,97

8

0,95

3

2,17

14

1,93

3

2,19

2

0,77

2

1,97

5

1,2

1

2,99

10

0,77

2

2,99

11

1,28

1

2,99

10

1,81

3

1,9

5

1,07

3

2,19

6

1,81

3

2,19

3

1,49

1

0,77

3

1,16

1

0,77

5

0,77

2

0,77

3

1,37

1

0,77

3

1,7

1

0,97

2

1,37

1

-

-

-

-

0,93

2

1,16

1

-

-

-

-

1,15

2

1,58

1

-

-

-

-

1,15

2

1,58

1

-

-

-

-

-

-

-

-

Итого

113

-

36

-

144

-

50

-

109

-

44

-

110

-

43

Пакет № 4. Прокладки из древесно-волокнистых плит 120´25 мм 342,5 пог. м, плинтусы 143 пог. м.

Пакет № 6. Прокладки из древесно-волокнистых плит 120´25 мм 349 пог. м, плинтусы 140 пог. м.

Примечание. Ширина досок - 100 мм, лаг - 80 мм. Толщина досок - 29 мм, лаг - 25 мм.

 

 




ГОСТЫ, СТРОИТЕЛЬНЫЕ и ТЕХНИЧЕСКИЕ НОРМАТИВЫ.
Некоммерческая онлайн система, содержащая все Российские Госты, национальные Стандарты и нормативы.
В Системе содержится более 150000 файлов нормативно-технической документации, действующей на территории РФ.
Система предназначена для широкого круга инженерно-технических специалистов.

Рейтинг@Mail.ru Яндекс цитирования

Copyright © www.gostrf.com, 2008 - 2026