|
|
БЕЗОПАСНОСТЬ АТТРАКЦИОНОВ Общие требования
ПредисловиеЦели и принципы стандартизации в Российской Федерации установлены Федеральным законом от 27 декабря 2002 г. № 184-ФЗ «О техническом регулировании», а правила применения национальных стандартов Российской Федерации - ГОСТ Р 1.0-2004 «Стандартизация в Российской Федерации. Основные положения» Сведения о стандарте 1 РАЗРАБОТАН Обществом с ограниченной ответственностью «Компания «Мир», Российской Ассоциацией парков и производителей аттракционов (РАППА) с участием Общества с ограниченной ответственностью «Центр по безопасности аттракционов» (раздел 7) 2 ВНЕСЕН Техническим комитетом по стандартизации ТК 427 «Аттракционы и другие устройства для развлечений» 3 УТВЕРЖДЕН И ВВЕДЕН В ДЕЙСТВИЕ Приказом Федерального агентства по техническому регулированию и метрологии от 18 декабря 2008 г. № 552-ст 4 Настоящий стандарт гармонизирован с европейским стандартом ЕН 13814 «Механизмы и конструкции передвижных и стационарных парков. Безопасность» (EN 13814 «Fairground and amusement park machinery and structures - Safety»), а также со стандартом США АСТМ Ф 2291 «Стандартная практика проектирования аттракционов и других устройств для развлечений» (ASTM F 2291 Standard practice for design of amusement rides and devices) 5 ВВЕДЕН ВПЕРВЫЕ Информация об изменениях к настоящему стандарту публикуется в ежегодно издаваемом информационном указателе «Национальные стандарты», а текст изменений и поправок - в ежемесячно издаваемых информационных указателях «Национальные стандарты». В случае пересмотра (замены) или отмены настоящего стандарта соответствующее уведомление будет опубликовано в ежемесячно издаваемом информационном указателе «Национальные стандарты». Соответствующая информация, уведомление и тексты размещаются также в информационной системе общего пользования - на официальном сайте Федерального агентства по техническому регулированию и метрологии в сети Интернет СОДЕРЖАНИЕ НАЦИОНАЛЬНЫЙ СТАНДАРТ РОССИЙСКОЙ ФЕДЕРАЦИИ
Дата введения - 2010 - 07- 01 1 Область примененияНастоящий стандарт устанавливает общие требования безопасности, которые необходимо соблюдать при проектировании, изготовлении, проверке и испытаниях; эксплуатации и утилизации таких аттракционов, как механизированные, немеханизированные, аттракционы для детей, а также вспомогательных устройств для развлечений, используемых в парках аттракционов или совместно с аттракционами, например, такими, как платформы, лестницы, настилы, ограждения, временные трибуны, палатки, шатры, навесы, рекламные стойки и подобные им аттракционы, и устанавливаемых в парках, торгово-развлекательных центрах, ярмарках и других общественных местах. Требования настоящего стандарта не распространяются на аттракционы, изготовленные или запущенные в производство до введения в действие настоящего стандарта, а также на строительные объекты, фундаменты, постоянные трибуны, строительные мостки, устройства для содержания животных, тиры, надувные аттракционы (батуты), простое детское оборудование и игровые автоматы, использующие жетоны, оборудование для зоопарков, кинотеатры, театры, цирки, спортивные сооружения, детские площадки, оборудование для казино, боулинги и иные аналогичные устройства, бассейны, аквапарки, аквариумы и океанариумы, канатные дороги и подъемники, лифты, тренажеры, картинги, лодки, в том числе моторные, авто- и авиатранспортные средства. Требования настоящего стандарта могут быть использованы при создании других подобных, непосредственно не упомянутых в нем, аттракционов. 2 Нормативные ссылкиВ настоящем стандарте использованы нормативные ссылки на следующие стандарты: ГОСТ Р ЕН 1177-2006 Покрытия игровых площадок ударопоглощающие. Требования безопасности и методы испытаний ГОСТ Р ИСО 12100-1-2007 Безопасность машин. Основные понятия, общие принципы конструирования. Часть 1. Основные термины, методология ГОСТ Р ИСО 12100-2-2007 Безопасность машин. Основные понятия, общие принципы конструирования. Часть 2. Технические принципы ГОСТ Р ИСО 13849-1-2003 Безопасность оборудования. Элементы систем управления, связанные с безопасностью. Часть 1. Общие принципы конструирования ГОСТ Р 50030.1-2007 (МЭК 60947-1:2004) Аппаратура распределения и управления низковольтная. Часть 1. Общие требования ГОСТ Р 50030.2-99 (МЭК 60947-2-98) Аппаратура распределения и управления низковольтная. Часть 2. Автоматические выключатели ГОСТ Р 50030.3-99 (МЭК 60947-3-99) Аппаратура распределения и управления низковольтная. Часть 3. Выключатели, разъединители, выключатели-разъединители и комбинации их с предохранителями ГОСТ Р 50030.4.1-2002 (МЭК 60947-4-1-2000) Аппаратура распределения и управления низковольтная. Часть 4-1. Контакторы и пускатели. Электромеханические контакторы и пускатели ГОСТ Р 50030.5.1-2005 (МЭК 60947-5-1:2003) Аппаратура распределения и управления низковольтная. Часть 5. Аппараты и коммутационные элементы цепей управления. Глава 1. Электромеханические аппараты для цепей управления ГОСТ Р 50030.5.2-99 (МЭК 60947-5-2-97) Аппаратура распределения и управления низковольтная. Часть 5-2. Аппараты и коммутационные элементы цепей управления. Бесконтактные датчики ГОСТ Р 50030.5.5-2000 (МЭК 60947-5-5-97) Аппаратура распределения и управления низковольтная. Часть 5-5. Аппараты и элементы коммутации для цепей управления. Электрические устройства срочного останова с функцией механического защелкивания ГОСТ Р 50030.6.1-99 (МЭК 60947-6-1-89) Аппаратура распределения и управления низковольтная. Часть 6. Аппаратура многофункциональная. Раздел 1. Аппаратура коммутационная автоматического переключения ГОСТ Р 50030.6.2-2000 (МЭК 60947-6-2- 92) Аппаратура распределения и управления низковольтная. Часть 6. Аппаратура многофункциональная. Раздел 2. Коммутационные устройства (или оборудование) управления и защиты ГОСТ Р 50571.5-94 (МЭК 364-4-43-77) Электроустановки зданий. Часть 4. Требования по обеспечению безопасности. Защита от сверхтока ГОСТ Р 50571.10-96 (МЭК 364-5-54-80) Электроустановки зданий. Часть 5. Выбор и монтаж электрооборудования. Глава 54. Заземляющие устройства и защитные проводники ГОСТ Р 50571.27-2003 (МЭК 60364-7-740-2000) Электроустановки зданий. Часть 7-740. Требования к специальным установкам или местам их расположения. Временные электрические установки для сооружений, устройств для развлечений и павильонов на ярмарках, в парках развлечений и цирках ГОСТ Р 50599-93 Сосуды и аппараты стальные сварные высокого давления. Контроль неразрушающий при изготовлении и эксплуатации ГОСТ Р 51057-2001 Техника пожарная. Огнетушители переносные. Общие технические требования. Методы испытаний ГОСТ Р 51334-99 Безопасность машин. Безопасные расстояния для предохранения верхних конечностей от попадания в опасную зону ГОСТ Р 51336-99 Безопасность машин. Установки аварийного выключения. Функции. Принципы проектирования ГОСТ Р 51343-99 Безопасность машин. Предотвращение неожиданного пуска ГОСТ Р 51344-99 Безопасность машин. Принципы оценки и определения риска ГОСТ Р 51345-99 Безопасность машин. Блокировочные устройства, связанные с защитными устройствами. Принципы конструирования и выбора ГОСТ Р 51885-2002 (ИСО 7001:90) Знаки информационные для общественных мест ГОСТ Р 52170-2003 Безопасность аттракционов механизированных. Основные положения по проектированию стальных конструкций ГОСТ Р МЭК 60204-1-2007 Безопасность машин. Электрооборудование машин и механизмов. Часть 1. Общие требования ГОСТ 2.601-2006 Единая система конструкторской документации. Эксплуатационные документы ГОСТ 2.610-2006 Единая система конструкторской документации. Правила выполнения эксплуатационных документов ГОСТ 8.207-76 Государственная система обеспечения единства измерений. Прямые измерения с многократными наблюдениями. Методы обработки результатов наблюдений. Основные положения ГОСТ 8.395-80 Государственная система обеспечения единства измерений. Нормальные условия измерений при поверке. Общие требования ГОСТ 12.1.012-2004 Система стандартов безопасности труда. Вибрационная безопасность. Общие требования ГОСТ 12.2.085-2002 Сосуды, работающие под давлением. Клапаны предохранительные. Требования безопасности ГОСТ 27.002-89 Надежность в технике. Основные понятия. Термины и определения ГОСТ 27.310-95 Надежность в технике. Анализ видов, последствий и критичности отказов. Основные положения ГОСТ ЕН 1070-2003 Безопасность оборудования. Термины и определения ГОСТ 6627-74 Крюки однорогие. Заготовки. Типы. Конструкция и размеры ГОСТ 14254-96 Степени защиты, обеспечиваемые оболочками (код IP) ГОСТ 16504-81 Система государственных испытаний продукции. Испытания и контроль качества продукции. Основные термины и определения ГОСТ 19919-74 Контроль автоматизированный технического состояния изделий авиационной техники. Термины и определения ГОСТ 23118-99 Конструкции стальные строительные. Общие технические условия ГОСТ 24297-87 Входной контроль продукции. Основные положения ГОСТ 27259-2006 (ИСО 7096:2000) Вибрация. Лабораторный метод оценки вибрации, передаваемой через сиденье оператора машины. Машины землеройные ГОСТ 27331-87 Пожарная техника. Классификация пожаров ГОСТ 27751-88 Надежность строительных конструкций и оснований. Основные положения по расчету ГОСТ 30030-93 (МЭК 742-83) Трансформаторы разделительные и безопасные разделительные трансформаторы. Технические требования ГОСТ 30869-2003 (ЕН 983:1996) Безопасность оборудования. Требования безопасности к гидравлическим и пневматическим системам и их компонентам. Пневматика ГОСТ 31177-2003 (ЕН 982:1996) Безопасность оборудования. Требования безопасности к гидравлическим и пневматическим системам и их компонентам. Гидравлика Примечание - При пользовании настоящим стандартом целесообразно проверить действия ссылочных стандартов в информационной системе общего пользования и по соответствующему указателю стандартов, составленному по состоянию на 1 января текущего года, и по соответствующим информационным указателям, опубликованным в текущем году. Если ссылочный стандарт заменен (изменен), то при пользовании настоящим стандартом следует руководствоваться заменяющим (измененным) стандартом. Если ссылочный стандарт отменен без замены, то положение, в котором дана ссылка на него, применяется в части, не затрагивающей эту ссылку. 3 Термины и определенияВ настоящем стандарте применены термины по ГОСТ ЕН 1070, ГОСТ 19919, ГОСТ 2.601 и [1], а также следующие термины с соответствующими определениями. 3.1 администратор: Официально назначенное эксплуатантом лицо, ответственное за организацию безопасной эксплуатации аттракциона. 3.2 аттракцион: Устройство для развлечений в общественных местах, создающее для посетителей развлекательный эффект за счет психоэмоциональных или биомеханических воздействий. 3.3 вспомогательные устройства (для развлечений): Устройства, обеспечивающие возможность и безопасность развлечений, зрелищ и используемые в местах развлечений или на (в) аттракционах. 3.4 дети: Посетители, в том числе пассажиры, ростом от 90 до 160 см (в возрасте от двух до 14 лет). 3.5 детский аттракцион: Аттракцион, специально разработанный для развлечения детей ростом от 90 до 160 см. Примечание - Конструкция детского аттракциона должна учитывать антропометрические данные детей. 3.6 изготовитель: Юридическое лицо или индивидуальный предприниматель, производящий продукцию. 3.7 контрольный пуск: Испытательный пуск аттракциона без пассажиров, но с имитацией полной нагрузки от пассажиров там, где это предусмотрено эксплуатационными документами. 3.8 контур безопасности: Ограничение части пространства, внутри которого перемещается пассажир, обеспечивающее отсутствие риска получения травм в результате соприкосновения с подвижными и неподвижными элементами конструкций. 3.9 критичный компонент: Часть конструкции, узел или деталь аттракциона или вспомогательного устройства для развлечений, отказ которых в отношении рисков для пассажиров или рисков материального ущерба является недопустимым и требует специальных мер для снижения вероятности отказа. 3.10 критичный параметр: Существенная характеристика аттракциона или его критичного компонента, нарушение которой в отношении рисков для пассажиров и риска материального ущерба является недопустимым и требует принятия специальных мер для снижения вероятности их возникновения. 3.11 крупная модификация: Любое изменение оборудования или программного обеспечения аттракциона, включая введение или изменение критичного компонента или критичного параметра, или их замену, результатом которого является отступление от проектных технических характеристик, указанных в формуляре. 3.12 мелкая модификация: Любое изменение оборудования или программного обеспечения развлекательного устройства, не затрагивающее критичных компонентов и параметров, в результате которого его расчетные технические характеристики и надежность не ухудшаются. 3.13 механизированный аттракцион: Аттракцион, на котором пассажиров перемещают по заданной траектории или в пределах ограниченного пространства, используя энергию различных видов, за исключением мускульной энергии людей. 3.14 механик аттракциона: Лицо, имеющее необходимую профессиональную подготовку, назначенное администратором и несущее ответственность за техническое состояние аттракциона и его полное техническое обслуживание в соответствии с требованиями эксплуатационных документов. 3.15 ограничение пользования: Запрет на пользование аттракционом посетителями с отклонениями здоровья от нормы и (или) по возрасту, росту, весу (массе), а также при плохом самочувствии. 3.16 оператор аттракциона: Лицо, назначенное администратором, отвечающее за правильное управление аттракционом в соответствии с эксплуатационными документами, когда аттракцион разрешен для доступа посетителей. 3.17 парк развлечений: Открытая территория или помещение, используемая(ое) преимущественно как постоянное место установки аттракционов и вспомогательных устройств для развлечений. 3.18 пассажир: Человек, перемещаемый аттракционом. 3.19 пассажирский модуль: Часть аттракциона, предназначенная для перемещения в ней пассажиров (тележка катальной горы, кабина колеса обозрения, гондола качелей). Модуль может включать в себя одно или несколько посадочных мест, устройства фиксации и иные необходимые средства обеспечения безопасности. 3.20 платформа: Горизонтальная или слегка наклонная поверхность, приподнятая над уровнем смежного участка или площадкой установки аттракциона, предназначенная для посадки и высадки пассажиров. 3.21 полная проверка: Проверка технического состояния критичных компонентов, критичных параметров и других частей и параметров, включая разборку и осмотр компонентов, если это необходимо, проведение испытаний и контрольных пусков. 3.22 посадочное место: Сиденье (кресло) или площадка, предназначенное(ая) для размещения на аттракционе одного посетителя. 3.23 посетитель: Человек, находящийся в зоне аттракционов или вспомогательных устройств для развлечений. 3.24 правила для оператора: Требования к оператору по управлению аттракционом, размещению и закреплению посетителей в пассажирских модулях в соответствии с эксплуатационными документами. 3.25 правила пользования аттракционом: Требования к посетителям, установленные проектировщиком или эксплуатантом в соответствии с техническими регламентами и стандартами Российской Федерации для безопасного пользования аттракционом. 3.26 проверка компонентов: Проверка технического состояния отдельного компонента или группы компонентов, подвергнутых крупной модификации, с последующим проведением контрольных пусков. 3.27 проектировщик: Компетентное в проектировании аттракционов юридическое лицо или дипломированный инженер, спроектировавшее аттракцион (выпустившее проектно-конструкторскую документацию и эксплуатационные документы) в соответствии с требованиями нормативных документов (НД). 3.28 риск: Вероятность причинения вреда жизни или здоровью посетителей аттракционов или имуществу с учетом тяжести этого вреда. 3.29 темный аттракцион: Аттракцион, расположенный в помещении, в котором для создания одного из развлекательных эффектов полностью или частично выключают освещение. 3.30 устройства для удерживания (пассажиров): Компоненты аттракциона (например, сиденья, подножки, перила, дуги безопасности, штанги, ремни и т.п.), предназначенные для предотвращения недопустимых перемещений пассажиров в опасную зону на аттракционе. 3.31 устройство (для) фиксации: Устройство в виде дуги, перекладины, ремня, экрана и т.п., оснащенное одним или несколькими запирающими устройствами, надежно фиксирующее положение тела пассажира в кресле пассажирского модуля для безопасного восприятия ускорений и ограничивающее его недопустимые перемещения. 3.32 формуляр (аттракциона): Документ, идентифицирующий аттракцион и содержащий необходимые сведения о нем. 3.33 эксплуатант: Юридическое лицо или индивидуальный предприниматель, законно эксплуатирующий аттракцион и несущий ответственность за выполнение требований эксплуатационных документов. 3.34 электрик аттракциона: Ответственное лицо, имеющее необходимую профессиональную подготовку, назначенное администратором и несущее ответственность за техническое состояние электрооборудования аттракциона и его техническое обслуживание в соответствии с требованиями эксплуатационных документов. 3.35 эксплуатационные документы: Комплект документов, разработанных проектировщиком в соответствии с ГОСТ 2.601 и ГОСТ 2.610, позволяющий обеспечить безопасность всех процессов эксплуатации и утилизации аттракционов в соответствии с техническими регламентами и национальными стандартами Российской Федерации. 4 Общие принципы обеспечения безопасности аттракционов и вспомогательных устройств для развлечений4.1 Исключение или минимизация рисковНазначение аттракционов, особенно механизированных, заключается в создании для посетителей, в том числе и пассажиров, различных по воздействию и уровню психоэмоциональных и биомеханических эффектов, обусловленных в частности большими скоростями и ускорениями и связанными с ними рисками. Риски при проектировании, изготовлении, эксплуатации и утилизации аттракционов могут быть снижены или исключены следующими мерами: - информированием посетителей об уровнях экстремальных воздействий аттракционов; - ограничением пользования аттракционом отдельными посетителями (ограничение пользования); - надлежащим проектированием и производством конструкций и систем управления посредством выявления критичных параметров и компонентов (выбор мер безопасности для каждого вида аттракционов по ГОСТ Р ИСО 12100-1) в соответствии с требованиями технических регламентов, национальных стандартов и принятием мер по снижению рисков; - обеспечением аттракционов устройствами для аварийной остановки, если это необходимо; - обеспечением доступности узлов и деталей для осмотра и ремонта; - созданием соответствующих условий работы для операторов, обеспечивающих безопасность управления аттракционом, в частности достаточного обзора с рабочего места оператора; - разработкой и использованием эксплуатационных документов, позволяющих администраторам и операторам исключить или минимизировать риски от неправильной установки, наладки и технического обслуживания и эксплуатации аттракционов и вспомогательных устройств для развлечений; - организацией способов и путей возможной эвакуации пассажиров и обслуживающего персонала. 4.2 Дополнительные риски, связанные с использованием аттракционовНеобходимо учитывать особенности конструкции и использования аттракциона, а также дополнительные риски, отличающиеся от указанных в общемашиностроительных стандартах и технических регламентах, вызванные психоэмоциональными и биомеханическими эффектами, значительными скоростями и ускорениями, создаваемыми для пассажиров, движущихся в пассажирских модулях. Помимо рисков, приведенных в ГОСТ Р 51344, таблица А.1 (за исключением пунктов 8.5, 8.6 и 37), необходимо учитывать также риски, связанные с непосредственным использованием аттракционов (см. таблицу 1). Таблица 1 - Риски, связанные непосредственно с использованием аттракционов
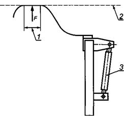
4.3 Критичные параметрыПри проектировании, производстве и эксплуатации аттракционов необходимо обратить особое внимание на следующие критичные параметры: ускорения, действующие на пассажиров (см. 4.4); контуры безопасности (см. 5.8.4, 5.8.6), зазоры, опасные в отношении возможного падения посетителей или предметов (см. 5.8.4, 5.8.5), управляющие безопасной работой аттракциона алгоритмы и компьютерные программы, правильность крепления и соединения критичных компонентов, устойчивость аттракционов от опрокидывания. 4.4 Ускорения, действующие на пассажиров4.4.1 Предельно допустимые значения линейных ускорений, действующих на пассажиров аттракционов, назначает проектировщик в соответствии с приложением А 1). 1) Дополнительный информационный материал по ускорениям - см. приложение Б. 4.4.2 Аппаратура для измерения и регистрации ускорений должна соответствовать требованиям [2]. 4.4.3 Установку датчиков и их крепление производят по ГОСТ 12.1.012 и ГОСТ 27259. Определение ускорений, действующих на пассажира аттракциона, проводят расчетом или экспериментально в точке, лежащей на уровне плоскости сиденья, а также в точке кресла, расположенной на расстоянии 60 см от плоскости сиденья, при этом определяют полные ускорения с учетом воздействия результирующих инерционных и гравитационных сил. Для позы пассажира «стоя» или «лежа» точку измерения ускорений выбирают с участием специалиста по биомеханике. 4.4.4 Поверку аппаратуры для измерения и регистрации ускорений проводят по ГОСТ 8.395. 4.4.5 Обработку результатов измерений ускорений проводят по ГОСТ 8.207. 4.5 Критичные компоненты4.5.1 При проектировании и производстве аттракционов необходимо обращать особое внимание на следующие критичные компоненты (по принципу «безопасность от пассажира - к конструкции аттракциона»): - устройства фиксации; посадочные места; пассажирские модули и их надежное крепление к направляющим движения и (или) к другим пассажирским модулям; - блокирующие, тормозные и защитные устройства; - электрические устройства и их заземления; - направляющие устройства и их крепления. Проектировщику аттракциона необходимо выявить критичные компоненты, особенно имеющие ограниченный ресурс, включить их перечень в формуляр и эксплуатационные документы, а также передать их перечень изготовителю вместе с проектно-конструкторской документацией. Критичные компоненты должны иметь маркировку. 4.5.2 Критичные компоненты должны быть резервированы, предпочтительным способом является резервирование замещением (по ГОСТ 27.002). Резервный элемент должен обладать не меньшей надежностью, чем основной элемент с учетом характера и условий его нагружения. В случае если резервирование способом замещения невозможно, оно должно быть обеспечено достаточным снижением расчетных напряжений в элементах критичного компонента (узла аттракциона). При этом должны быть указаны способ и периодичность неразрушающего контроля критичного компонента. Наибольшие значения коэффициента надежности при расчетах должны быть у тех элементов, которые недоступны для прямого контроля в процессе эксплуатации в соответствии с ГОСТ Р 52170, подраздел 9.9 и таблица 8. 4.5.3 Перечень критичных компонентов должен быть приведен в формуляре аттракциона (см. приложение В). Администратор обязан вносить записи, учитывающие ремонты, замены, утилизацию критичных компонентов, в соответствующий перечень формуляра. 4.6 Информация для лиц, эксплуатирующих аттракционИнформация для лиц, эксплуатирующих аттракцион, должна включать в себя все необходимые требования, обеспечивающие безопасную эксплуатацию, а также способы выполнения и проверки этих требований. Основные требования к функциям оператора должны быть размещены на рабочем месте оператора или у пульта управления аттракционом. На рабочем месте механика (электрика) аттракциона должна быть табличка с требованиями по ежедневным проверкам критичных компонентов. Табличка изготовителя, содержащая основные технические характеристики аттракциона, должна быть закреплена у пульта управления аттракциона. 4.7 Информация для персонала и посетителей (правила)Информация, подготовленная проектировщиком для лиц, эксплуатирующих аттракционы, и посетителей должна содержаться в эксплуатационных документах. В случае необходимости дополнительные указания (текстовые предупреждения, знаки, сигналы, символы) должны быть нанесены непосредственно на конструкцию. Администратор может разработать дополнительные требования и указания для посетителей в соответствии с 7.4. Дополнительные требования безопасности, разработанные администратором, не должны противоречить требованиям, разработанным проектировщиком (изготовителем). Информация для посетителей должна быть представлена в одной или нескольких информационных табличках: 4.7.1 Разрешение на эксплуатацию аттракциона (если требуется); 4.7.2 Информация об ограничениях пользования аттракционом, в том числе с использованием пиктограмм; 4.7.3 Правила пользования аттракционом для посетителей; 4.7.4 Информация об адресах и телефонах экстренных служб. Указанные таблички, надписи, рисунки, пиктограммы должны быть расположены перед входом на аттракцион и доступны для чтения посетителями. 5 Общие требования к содержанию проектно-конструкторской документации, расчетам и эксплуатационным документам5.1 Проектная документацияПроектная документация должна включать в себя всю необходимую информацию, требуемую для оценки безопасности на всех стадиях жизненного цикла аттракционов, и охватывать все проектные требования к производству и эксплуатации аттракционов и их частей или конструкций. Для этого в ней должно содержаться описание критичных компонентов и параметров конструкции, а также принцип работы аттракциона, чертежи, расчет напряженно-деформированного состояния критичных компонентов аттракциона с учетом требований настоящего раздела и ГОСТ Р 52170. 5.1.2 Описание проекта и принципа действия аттракциона В описании должны быть разъяснены конструкция и принцип действия аттракциона, указаны критичные компоненты и параметры, выбранные в результате проведения анализа видов, последствий и критичности отказов по ГОСТ 27.310. Критичные компоненты и параметры должны быть разделены по уровням рисков с учетом тяжести вреда в соответствии с проведенным анализом рисков по ГОСТ Р 51344. Должны быть указаны основные технические характеристики аттракциона и основных его частей, а также перечислены характеристики механического, пневматического, гидравлического, электрического и электронного оборудования, включая системы управления и другого используемого оборудования. Описание должно включать в себя информацию о специфических особенностях аттракциона и способах его установки, габаритных размерах и перемещениях, выходящих за эти размеры, ограничениях, конструктивных особенностях и использованных материалах, системах движения, типах приводов, скоростях, ускорениях, электрическом оборудовании, рабочем цикле и порядке управления, а также ограничениях возможного круга пользователей. 5.1.3 Конструкторская документация Конструкторская документация должна быть разработана в соответствии с действующими правилами и стандартами единой системы конструкторской документации (ЕСКД). В конструкторской документации должны быть указаны критичные компоненты и параметры. Чертежи должны включать в себя все размеры и значения поперечных сечений деталей, сварных швов и крепежных соединений, характеристики материалов, сборочных единиц и деталей, креплений и соединений, требуемые для проверки прочности, а также значения основных скоростей движения частей аттракциона. Чертежи должны содержать, как минимум: - общий вид в плане, вертикальную проекцию и сечения в удобном масштабе в зависимости от размера устройства; - указание безопасных расстояний для движущихся частей с учетом контуров безопасности; - детальные чертежи всех узлов, не видимых отчетливо на чертежах общего вида, а также подробные чертежи соединений и отдельных деталей, которые могут повлиять на безопасность развлекательного оборудования и его работу, выполненные в увеличенном масштабе; - указание всех сварных швов критичных компонентов с назначением швов в соответствии с ГОСТ 23118, подраздел 4.10; - указание предельно-допустимых значений износа деталей, критичных компонентов, подверженных износу. Должны быть представлены чертежи и схемы следующих технических устройств аттракциона: - механизмов подъема и поворота, включая их опоры, приводы и системы управления, амплитуды подъема и поворота; - пассажирских модулей в требуемых видах и поперечных сечениях с указанием общих размеров, внутренних размеров, важных для пассажиров (сиденья, боковые и задние упоры, пространство для рук и ног), упоры для рук и ног, запирающие и предохранительные устройства, поручни и пр.; - ходовых механизмов с указанием нагрузок, подробным изображением передаточных колес и колес безопасности, подшипников, осей, валов, их подсоединения и возможности смещения относительно пассажирского модуля, устройств управления и контроля, противооткатных устройств, устройств, предохраняющих от схода с рельсов и переворачивания, бамперов, трейлеров, предохранительных устройств, приводов и тормозов, креплений на фундаменте; - электрических/электронных, пневматических и гидравлических схем. В расчетной записке и отчете для подтверждения соответствия в ответственных соединениях критичных компонентов аттракциона, в том числе сварных соединениях, необходимо указывать уровень напряжения и коэффициенты запасов надежности по ГОСТ Р 52170. Должны быть приведены необходимые расчеты. Расчет конструкций аттракционов проводят в соответствии с ГОСТ 27751 и ГОСТ Р 52170. Указанные расчеты должны содержать, по крайней мере: - расчетные нагрузки с учетом возможных неблагоприятных условий эксплуатации или вариантов установки аттракциона. Для подвижных частей аттракционов необходимо указывать скорость их вращения и ускорение. Следует учитывать нагрузки, действующие во время возведения аттракциона (например, вес (массу) рабочих-монтажников) и нагрузки, действующие в процессе транспортировки аттракционов или их частей; - основные размеры, включая поперечные сечения всех несущих элементов конструкций, с учетом допустимых износов несущих элементов и критичных компонентов, а также оценку их несущей способности; - подробные сведения об использованных материалах и комплектующих изделиях; - параметры переменных напряжений в наиболее ответственных местах конструкции и оценку усталостной прочности элементов конструкций, узлов и соединений. В случае если для оценки несущей способности расчетов недостаточно, следует провести дополнительные испытания. Испытания должны быть проведены компетентной испытательной лабораторией в достаточном объеме и согласно требованиям действующих нормативных документов; - упругую деформацию (растяжение, сжатие, изгиб, кручение) в той степени, в которой она влияет на устойчивость или эксплуатационную безопасность аттракциона; - подробности о тех структурных компонентах, которые требуют специального изучения и проверки согласно ГОСТ Р 52170, подраздел 9.8 и таблица 8. Для аттракционов высоких уровней рисков следует разрабатывать специальные технические условия и применять повышенные коэффициенты надежности по ГОСТ 27751. 5.2 Выбор материалов5.2.1 Общие положения Для изготовления критичных компонентов и деталей аттракционов следует использовать только те конструкционные материалы, технические данные о которых имеются в действующих нормативных документах. Другие материалы допускается использовать при условии, что их пригодность официально подтверждена в установленном порядке. Следует уделять особое внимание сварным соединениям и свариваемости выбранных металлов. 5.2.2 Рекомендуемые стали Выбор стали для конструкций аттракционов - согласно ГОСТ Р 52170, раздел 6. Выбор стали для деталей машин и механизмов - согласно соответствующим действующим нормативным документам. 5.2.3 Выбор алюминиевых сплавов Выбор алюминиевых сплавов - согласно соответствующим действующим нормативным документам. При этом следует применять алюминиевые сплавы, в которых отношение предела текучести к пределу прочности σ0,2/σВ ≤ 0,85 и относительное удлинение δ5 > 8%. 5.2.4 Выбор древесины - согласно [3]. 5.2.5 Выбор пластиковых композиционных материалов - согласно соответствующим действующим нормативным документам. 5.2.6 Выбор материалов для железобетонных конструкций - согласно [4]. 5.2.7 Выбор материалов для сварных и болтовых соединений - согласно ГОСТ Р 52170. 5.3 Расчетные нагрузкиРасчетные нагрузки приведены в ГОСТ Р 52170, раздел 5.5. 5.4 Принципы расчета конструкций (разного вида) и их узлов5.4.1 Общие положения Общие принципы расчета конструкции - в соответствии с ГОСТ Р 52170, раздел 7. Принципы расчета конструкции отдельных видов аттракционов приведены в приложении Г. 5.4.2 Принципы расчета аттракционов разного вида 5.4.2.1 Условия расчетов аттракционов вращающегося типа - в соответствии с ГОСТ Р 52170, раздел 7. 5.4.2.2 Принципы проектирования и расчета пассажирских модулей Прочность и размеры сидений и кабин аттракционов определяют с учетом действия результирующих сил, создаваемых всеми приложенными нагрузками, связями и условиями движения. Сиденья, закрепляемые при помощи пальцевых, болтовых и иных соединений, должны быть надежно закреплены с учетом резервирования. Крепления сидений на консолях должны быть также спроектированы с учетом указанных выше сил. Устройства фиксации, подлокотники, спинки, ремни безопасности, цепи, тросы и соответствующие запорные устройства должны быть в состоянии выдерживать нагрузки от пассажиров с учетом действующих динамических нагрузок. Устройства фиксации должны исключать возможность их открывания самим зафиксированным пассажиром, а также другими пассажирами аттракциона. 5.4.2.3 Карусели с несколькими видами движения необходимо рассчитывать с учетом всех сил, возникающих при вращении (центробежных, кориолисовых, гироскопических, торможения, удара и др.). Примеры определения таких нагрузок и расчетов приведены в ГОСТ Р 52170, приложение В, подраздел В. 1.2. 5.4.3 Принципы проектирования и расчета рельсового пути и опорного каркаса катальных гор с тележками на рельсах приведены в ГОСТ Р 52170, приложение В, раздел В.2. 5.4.3.1 Тележки на рельсах и направляющих Все силы, возникающие в шасси и других частях конструкции тележки аттракциона (от места возникновения вплоть до узлов опирания), должны быть учтены в расчетах. Например, у тележек с одной поворачивающейся и одной неподвижной осью моменты от поперечных сил, приложенные выше поворачивающейся оси тележки, могут восприниматься только жесткой (закрепленной) осью. Силы, действующие в поперечном направлении относительно тележки, например, могут компенсироваться только через колеса, катящиеся сбоку по рельсовому пути. Если ходовые колеса спроектированы так, что не компенсируют боковые силы, то эти силы должны компенсироваться специальными боковыми роликами. Тележки должны быть оборудованы устройствами для предотвращения отрыва и схода с рельсов. Защищающие от схода и отрыва устройства (ролики или захваты) должны быть спроектированы с учетом реально действующих на них сил. Но в любом случае при расчетах значение сил отрыва должно быть не менее 50% массы полностью загруженной тележки, даже если отрыва не происходит. Скорость, ускорения и силы для центра масс тележек могут быть определены по формулам, приведенным в ГОСТ Р 52170, приложение В, раздел В.2. В случае нескольких тележек, соединенных между собой, необходимо также определять ускорения на крайних тележках. 5.4.3.2 Противооткатные устройства (антискаты) Аттракционы, на которых пассажирские модули (тележки) или поезда перемещаются вверх по наклонной плоскости с помощью цепей, канатов, фрикционных колес или самостоятельно, должны быть снабжены защитными устройствами или автоматическими тормозами для предотвращения скатывания назад. Если на отрезке пути, расположенном между верхним концом подъемника и вокзалом или тормозом, расположенным перед вокзалом, предполагается размещать одновременно несколько тележек или поездов, то участки подъема оснащают устройствами, предохраняющими от скатывания. Однако если для тележки или поезда предполагается движение назад по трассе или мимо вокзала, то противооткатные устройства на участке подъема допускается не устанавливать. Если на трассе с несколькими одновременно находящимися на ней тележками или поездами участки подъема оснащены системой блокировки с автоматически управляемыми тормозами, то иные противооткатные устройства допускается не устанавливать. Высота подъема центра тяжести поезда Н до противооткатного устройства или скорость v, которую может набрать пассажирский модуль во время скатывания назад, не должны превышать некоторых предельных значений: должно быть соблюдено, по крайней мере, одно из следующих условий: Н ≤ 7 м, v ≤ 42 км/ч - для участка скатывания без поперечного наклона рельса; Н ≤ 5 м, v ≤ 35 км/ч - для скатывания по кривой большого радиуса при поперечном наклоне рельса до 20°; Н ≤ 3,5 м, v ≤ 30 км/ч - для участка скатывания при поперечном наклоне рельса более 20°. Должны быть учтены обе величины Н и v, поскольку Н - это высота подъема центра тяжести поезда, которая может не совпадать с высотой подъема самого поезда. Если согласно проекту в любой момент времени на трассе находится только одна тележка или один поезд, то участки подъема после ровных участков допускается не оборудовать противооткатными устройствами. Противооткатные устройства не требуется проверять на усталостную прочность. Если при остановке тележка ударяется о противооткатное устройство, то при расчете его размеров должен быть учтен ударный коэффициент φ. Значение этого коэффициента должно быть принято равным не менее половины высоты скатывания h, см, и в любом случае должно быть не менее 2,0. Должны быть выполнены оба, указанных выше, условия:
При расчете установки только одного противооткатного устройства без резервирования для одного пассажирского модуля допускается рассчитывать его по формуле
где δ0 - общее смещение центра масс вдоль уклона; α -угол наклона (см. рисунок 1).
Рисунок 1 - Схема, поясняющая определение ударного коэффициента для противооткатного устройства 5.4.4 Прочие железные дороги с тележками на рельсах 5.4.4.1 Обычные железные дороги (детские железные дороги, дороги в «домах ужаса» и подобных аттракционах как с обычными, так и с подвесными пассажирскими модулями) Требования в отношении определения размеров и эксплуатационной безопасности обычных железных дорог должны максимально соответствовать 5.4.3. Если опоры и балки пути являются неотъемлемой частью конструкции крыши, то во время проектирования необходимо учитывать циклическое нагружение, вызванное вибрацией. 5.4.4.2 Катальные горы с подвесными пассажирскими модулями Должен быть выполнен расчет динамического поведения рельсовых дорог с подвесными тележками, имеющими одну (или более) степень свободы раскачивания или вращения. Для подвесных пассажирских модулей должны быть предусмотрены свободные пространства, соответствующие амплитуде свободного раскачивания, плюс дополнительный зазор в добавление к зазору между пассажирскими модулями на рельсах, согласно 5.8.6. Дополнительный зазор должен составлять не менее 20% расчетного угла размаха с минимальным значением 10°. При расчете угла размаха следует учитывать характер колебания. Ускорения, возникающие при колебаниях пассажирского модуля, необходимо учитывать при расчете тележки, рельсов и опор. Если предусмотрены амортизаторы боковых колебаний подвесных пассажирских модулей и если зазор недостаточен для недемпфированного колебания, то необходимо предусмотреть ограничения раскачивания. Это могут быть дополнительные амортизаторы специальной конструкции. В начале участков траектории, где движение подвесных пассажирских модулей регулируют (например, в местах пересадки пассажиров), должны быть предусмотрены соответствующие направляющие средства, которые способны стабилизировать пассажирские модули при, по крайней мере, двойном расчетном угле раскачивания и насколько возможно плавно в соответствии со скоростью движения направлять их. Фиксирование подвесных пассажирских модулей для пересадки пассажиров может быть заменено другими средствами, (например, подходящими амортизаторами) только при условии, что пассажиры не подвергаются опасности и не испытывают неудобств от использования других средств. 5.4.5 Трибуны Трибуны аттракционов подвергают обычной проверке предельных состояний согласно 5.1.4. Особое внимание необходимо уделять защите от опрокидывания, если над трибунами сооружена крыша или установлены флаги или транспаранты. 5.5 Проверка устойчивости элементов конструкций и аттракционов5.5.1 Расчет на устойчивость, проводимый с целью исключить или уменьшить риск достижения предельных состояний - потери устойчивости положения и потери устойчивости формы, - выполняют в соответствии с ГОСТ Р 52170, раздел 8. Должны быть выполнены расчеты для исключения опрокидывания, скольжения и приподнимания конструкций как видов потери устойчивости положения (если только отсутствие такой опасности не очевидно). 5.5.2 Потеря устойчивости формы как предельное состояние конструкций аттракционов особенно характерна для металлических конструкций. Основные положения расчетов на устойчивость формы приведены в [5] и ГОСТ Р 52170, раздел 8. 5.5.3 Наземное закрепление анкерами - согласно ГОСТ Р 52170. 5.6 Проверка прочности элементов конструкций5.6.1 При расчетах аттракциона на прочность необходимо обращать особое внимание на усталостные напряжения и пластические деформации конструктивных элементов аттракционов. 5.6.2 Правила расчета на прочность стальных конструкций аттракционов - согласно ГОСТ Р 52170. 5.6.3 При расчете на усталостную прочность основных несущих конструкций экстремальных аттракционов (направляющих, опор, корпусов тележек, устройств фиксации пассажиров и др.) расчетное число циклов нагружения следует принимать, исходя из того, что их ресурс должен быть не менее 35 000 ч. При расчетном определении ресурса аттракциона время его нормальной работы включает в себя пуск, собственно работу, а также посадку /высадку пассажиров, продолжительность которой принимают равной не более 30% всего времени работы. Если на стадии проектирования выясняется, что продолжительность посадки/высадки превышает 30%, то при расчете ресурса необходимо учитывать эту большую продолжительность. Ресурс заменяемых компонентов может быть менее 35 000 ч, в этом случае сведения об этих компонентах должны содержаться в руководстве по техническому обслуживанию, а для критичных компонентов - в формуляре на аттракцион. Примечание - Расчетное определение ресурса аттракциона предназначено только для определения числа циклов нагружения при расчете на усталость и должно быть представлено в проектной документации. 5.6.4 Расчет устройств фиксации пассажиров Расчет устройств фиксации пассажиров должен быть произведен на нагрузки, определяемые весом (массой) пассажиров с учетом действующих ускорений согласно ГОСТ Р 52170. 5.7 Специальные требования к некоторым элементам конструкций5.7.1 Детали конструкций и механизмов, к которым при их расчетах на усталость согласно ГОСТ Р 52170 предъявляют требования доступности для контроля, должны допускать возможность контроля, по крайней мере, в разобранном состоянии. 5.7.2 Приборы для измерения скорости ветра Для некоторых элементов конструкций или аттракционов, где велик риск эксплуатации аттракциона при порывах ветра, необходимо предусмотреть в конструкции аттракциона прибор для измерения скорости ветра (или какой-либо другой адекватный индикатор), а соответствующая инструкция по применению этого прибора должна быть включена в руководство по эксплуатации. 5.7.3 Для болтов, гаек, клиньев и прочих крепежных деталей, подвергаемых воздействию вибрации, необходимо предусмотреть меры, не допускающие самоотвинчивания и саморасклинивания согласно ГОСТ Р 52170. При этом предварительное натяжение болтов не может считаться достаточной мерой, особенно на начальных стадиях эксплуатации аттракциона. Поэтому в эксплуатационных документах должно быть указано место расположения крепежных деталей, натяжение которых следует регулярно контролировать. 5.7.4 Применение упругих стопорных шайб (пружинных, стопорных с зубьями, фасонных, с лапкой или носком и аналогичных) в качестве меры предупреждения самоотвинчивания для болтов классов прочности 8.8 и 10.9 не допускается. 5.7.5 В случае применения открытых крюков по ГОСТ 6627 необходимо принимать меры, предупреждающие их отцепление. Крюки с предохранительной защелкой не относятся к открытым. 5.7.6 Требования к стальным проволочным канатам и цепям, применяемым в аттракционах, а также к их расчетам, приведены в ГОСТ Р 52170, разделы 6 и 9. Канаты не должны соприкасаться с деталями с острыми кромками. 5.7.7 При использовании телескопических опор и домкратов должны быть предусмотрены меры, исключающие их падение, опрокидывание или нерасчетное боковое перемещение аттракциона. 5.7.8 Для изготовления центральных мачт, подвергающихся действию переменных напряжений, применение древесины не допускается. 5.7.9 Защита от коррозии стальных элементов аттракционов должна соответствовать [6] и стандартам Единой системы защиты от коррозии и старения. 5.8 Снижение рисков при использовании вспомогательных устройств аттракционов5.8.1 Общие положенияВ настоящем разделе большинство аттракционов и их вспомогательных устройств представлено по категориям для того, чтобы унифицировать меры минимизации рисков. Любой конкретный аттракцион может быть включен более чем в одну категорию, например, темные аттракционы могут быть включены в категорию аттракционов на рельсах. 5.8.2 Анализ рисковОбщие принципы анализа рисков - согласно ГОСТ Р 51344, приложение А, таблица А.1, за исключением 8.5, 8.6 и 37. Перечень основных рисков, связанных с аттракционами, приведен в таблице 1. 5.8.3 Уменьшение риска получения травм на платформах, трапах, полах, лестницах и проходах5.8.3.1 Общие положения Поверхности платформ, проходов, трапов и лестниц, доступных посетителям, должны быть нескользкими при любых погодных условиях. На них не должно быть выступов, заостренных частей и неровностей, о которые можно споткнуться, и отверстий, в которые может провалиться круглый предмет диаметром более 12 мм. Любой перепад высот платформ должен быть наглядно обозначен и не должен представлять опасности для посетителей. Следует также соблюдать требования для лестниц (см. 5.8.3.3). Это не относится к сооружениям, специально разработанным для развлечений, которые не соответствуют требованиям 5.8, а меры предосторожности для которых принимаются в соответствии с 5.9.5. 5.8.3.2 Платформы Уклон любых видов платформ аттракционов должен быть не более 1 : 8. Уклон входных и выходных трапов для посетителей - не более 1 : 6. Если есть поперечные рейки по всей ширине спуска, расположенные на расстоянии не более 0,40 м, то уклон может быть увеличен до 1 : 4. Высота поперечных реек должна быть не более 5 мм, ширина - не более 50 мм. При отсутствии трапов или лестниц допустимый перепад высот между платформами должен быть от 0,10 до 0,24 м. Ширина лестниц, по которым перемещаются посетители, должна быть не менее 0,90 м; ширина аварийных лестниц и рабочих мостков, предназначенных для небольшого числа посетителей, должна быть не менее 0,60 м. Ширина лестниц должна быть не более 2,5 м, за исключением случаев, если они окружают аттракцион, или лестницы имеют не более 10 ступенек, или перепад высот не более 2 м, или есть возможность установить перила с интервалом 2,5 м между ними. Минимальное расстояние между перилами или между перилами и внутренним краем лестницы должно быть 0,90 или 0,60 м в зависимости от ширины лестницы. При ширине лестницы 0,90 м и более перила должны быть с обеих сторон. Глубина ступеней лестницы должна быть не менее 0,24 м, за исключением винтовых лестниц. Допустимая высота ступеней - от 0,14 до 0,24 м. Размеры ступеней спиральных или винтовых лестниц (см. рисунок 2) должны быть: - для лестниц, обеспечивающих переход с одного уровня на другой или предназначенных для эвакуации посетителей при помощи обслуживающего персонала, - в соответствии с рисунком 2а); - для лестниц, предназначенных для аварийных ситуаций, - в соответствии с рисунком 2б) (см. также 5.8.6). Наклонные ступени не допускаются. Ширина и высота ступеней должны быть одинаковыми по всей длине лестницы. Наклон лестницы, предназначенной для посетителей, определенный по ее средней линии, должен быть не более 45°. Рисунок 2 - Размеры спиральных и винтовых лестниц Каждый лестничный пролет, предназначенный для посетителей, должен иметь не более 15 ступеней. Между пролетами, следующими друг за другом, должны быть предусмотрены площадки длиной не менее 0,80 м. Допускается не встраивать площадки на аварийных лестницах, где это технически невозможно, например, на подъемниках катальных гор. 5.8.3.4 Движущиеся дорожки, тротуары и подобные устройства Полотно движущейся дорожки или движущиеся тротуары должны быть бесшовными или иметь не более одного невыступающего стыка. С обеих сторон движущихся дорожек должны быть предусмотрены перила, промежуточные перила и ограничительный бортик согласно 5.8.4. Перила только с одной стороны разрешаются, если движущаяся дорожка используется для посадки в пассажирские модули и выхода из них. Максимальный зазор между полотном дорожки и ограничительным бортиком должен быть не более 4 мм. Уклон движущейся дорожки должен быть не более 1 : 6, если есть движущиеся перила - не более 1 : 4. В случае бокового выхода с движущейся дорожки ее конец должен быть огорожен специальными перилами и иметь вспомогательную направляющую под углом 45° к направлению движения. Кроме того, необходимо предусмотреть возможность отключения питания, если посетитель натолкнется на эти перила. Доступ на такие дорожки должен контролироваться автоматически или вручную с тем, чтобы предотвратить давку. Конец движущейся дорожки должен быть тщательно заделан, чтобы исключить возможность захвата или зацепления частей тела, одежды и вещей посетителей или обслуживающего персонала. Должны быть защищены концевые, возвратные и натягивающие ролики. Если покрытие дорожки не позволяет этого сделать, то должен быть предусмотрен боковой выход. Максимальная относительная скорость движения дорожки - не более 0,7 м/с при переднем выходе на стационарную платформу и 0,5 м/с - при боковом выходе. На обоих концах дорожки должны быть установлены кнопки аварийного останова. Надежные (нормально-замкнутые) тормоза должны останавливать и удерживать движущуюся дорожку в случае любого отказа питания. 5.8.4 Уменьшение риска посредством использования перил, ограждений, безопасных расстояний и т.п.5.8.4.1 Защита от падения с одного уровня на другой 5.8.4.1.1 В тех местах, где посетитель может упасть с высоты 0,40 м или более из-за разницы высот смежных уровней, необходимо предусмотреть ограждения или перила. Примеры таких ограждений приведены в 5.8.4.5. Перила должны состоять не менее чем из двух частей (верхних и промежуточных перил). При использовании ограждений для защиты от падений с высоты 2 м и более разрешается использовать только обычные ограждения согласно 5.8.4.5. 5.8.4.1.2 Платформы, трапы и лестницы, находящиеся выше 0,40 м над землей и доступные посетителям, должны быть снабжены поручнями на высоте 1,1 м и промежуточными перилами на меньшей высоте с учетом роста детей. 5.8.4.1.3 Платформы, трапы, лестницы и т.п., относительная высота которых превышает 1,0 м, предназначенные преимущественно для посетителей, должны быть дополнительно снабжены бортиками или поперечинами высотой не менее 25 мм для предотвращения скатывания и падения предметов. 5.8.4.1.4 Если платформы, трапы, лестницы, проходы и т.п. предназначены только или преимущественно для обслуживающего персонала, то они должны быть снабжены бортиками высотой 100 мм. 5.8.4.2 Защита от ударов, сдавливания и зацепления 5.8.4.2.1 Конструкция аттракциона должна обеспечивать сведение к минимуму риска получения травмы посетителями от ударов, сдавливания и зацепления при движении аттракциона или его частей. Если это нельзя обеспечить, то необходимо предотвратить доступ посетителей в опасные зоны. 5.8.4.2.2 Если требуется ограждение опасных зон внутри или снаружи аттракциона (см. рисунок 3), оно должно быть спроектировано и размещено на таком расстоянии, чтобы никто не мог из-за ограждения коснуться какой-либо движущейся части аттракциона. Это расстояние зависит от: - наличия (отсутствия) навеса над зоной перемещения посетителей; - высоты источника опасности над поверхностью пола; - высоты ограждения; - кратчайшего расстояния от ограждения до источника опасности. Минимальное безопасное расстояние должно быть не менее 0,50 м. Если вероятность серьезной травмы велика, то безопасные расстояния выбирают по ГОСТ Р 51334, таблица 2. Контуры безопасности посетителей относительно движущихся пассажирских модулей показаны на рисунках 3а) и 3б). 5.8.4.3 Классификация систем ограничения доступа Системы ограничения доступа (ОД) классифицируют следующим образом: ОД-К1 - системы ограничения, рассчитанные исключительно на визуальное восприятие: цветные полосы на полу или ограничивающие выступы, столбики, конусы и т.п.; ОД-К2 - системы физического ограничения доступа, состоящие из гибких элементов, например, цепочек, лент и т.п., рассчитанные на визуальное восприятие, а не на физическое сдерживание; ОД-К3 - системы, физически ограничивающие доступ, - жесткие конструкции (барьеры, ограждения и т.п.), способные воспринимать горизонтальные силы. 5.8.4.4 Классификация проходов в ограждениях и барьерах для входа/выхода Для обеспечения безопасности движения и/или размещения посетителей на аттракционе должны быть выбраны необходимое число и требуемая ширина проходов в ограждениях и барьерах. Ширина любого прохода для входа/выхода не должна превышать 2,5 м между перилами. Проходы для входа/выхода классифицируют следующим образом: ОД-Л1 - проходы без какого-либо прямого контроля входа/выхода; ОД-Л2 - проходы, контролируемые персоналом; ОД-Л3 - проходы с барьерами или воротами, обозначающими проход в специальную зону и ограничивающими поток посетителей (например, с помощью механических ворот или турникетов); ОД-Л4 - проходы с барьерами или воротами, открывающимися и закрывающимися оператором или обслуживающим персоналом; ОД-Л5 - проходы с барьерами или воротами, при несанкционированном открытии требующие блокировки пуска аттракциона. Для каждой выделенной группы или для отдельных аттракционов, включенных в ту же группу и имеющих те же характерные признаки, минимальные требования к проходам для входа/выхода должны быть указаны согласно классификации по 5.9. а) Без учета навесов
б) С учетом навесов 1 - контур безопасности пассажирского модуля; 2 - навес Рисунок 3 - Контуры безопасности посетителей относительно движущихся пассажирских модулей 5.8.4.5 Типы ограждений Ограждения должны быть спроектированы с учетом требований к нагрузкам, приведенным в ГОСТ Р 52170, таблица 1. Высота ограждений должна быть не менее 1,1м относительно поверхности, на которой стоят посетители, и с промежуточными перилами на меньшей высоте с учетом роста детей. Конструкция ограждений должна быть такой, чтобы взрослые посетители и дети не могли пролезть сквозь них или под ними. Если ограждаемый объект представляет собой значительную опасность, то застревание головы человека между элементами ограждения должно быть исключено. На аттракционах, предназначенных исключительно для детей до 10 лет, огораживаемые зоны которых расположены на одном уровне, допускается использовать барьеры высотой 0,85 м. Допускается использовать ограждения двух типов: а) обычные ограждения - с преимущественно вертикальными внутренними элементами [см. рисунок 4а)], при этом расстояние между двумя соседними элементами не должно превышать 100 мм. К ограждениям данного типа относятся ограждения, в качестве внутреннего элемента которых используется сетка [размеры см. на рисунке 4б)]; б) ограждения с внутренними декоративными элементами [см. рисунок 4в)]. Расстояние между двумя смежными элементами должно соответствовать приведенному на рисунке 4в). Элементы ограждений не должны иметь острых краев.
а) Ограждение с наклонным расположением внутренних элементов
б) Ограждение с сеткой
в) Ограждение с декоративными элементами Рисунок 4 - Типы ограждений 5.8.4.6 Ограждение опасных частей машин и механизмов Любая часть машин и механизмов аттракциона, представляющая собой опасность, к которой могут иметь доступ посетители или обслуживающий персонал, должна быть защищена ограждением согласно ГОСТ Р ИСО 12100-1 и ГОСТ Р ИСО 12100-2. Для обеспечения надежной защиты от падения ограждения должны иметь бортики и защитные перила согласно 5.8.4.1. 5.8.5 Уменьшение риска при входе и выходе5.8.5.1 Посадка/высадка в пассажирские модули Пассажирские модули должны быть спроектированы и изготовлены так, чтобы свести к минимуму риск падения пассажиров при посадке в пассажирские модули и высадке из них. Посадка в пассажирские модули и высадка из них на платформы и трапы - согласно 5.8.3. Использование лестниц для посадки и высадки допустимо, если их размеры и положение таковы, что пассажиры не могут поскользнуться или упасть при посадке/высадке. Перепад высот между пассажирским модулем и поверхностью, с которой производят посадку/высадку, должен быть не более 0,40 м. Если самопроизвольное движение пассажирских модулей во время посадки/высадки может представлять собой опасность, то необходимо предусмотреть способ их удерживания в безопасном положении. Модули должны быть удержаны даже в случае прекращения энергоснабжения. При посадке/высадке, проводимых во время движения пассажирского модуля, максимальная скорость модуля относительно площадки или платформы должна быть не более 0,7 м/с, если посадку/высадку осуществляют по ходу движения, и 0,5 м/с - при боковом выходе. Посадка/высадка на движущиеся дорожки или подобные устройства допускаются, если: - относительная скорость пассажирского модуля и дорожки не более 0,7 м/с - при посадке/высадке по ходу движения и 0,5 м/с - при боковом выходе при штатной работе либо в нештатной ситуации; - полотно движущейся дорожки выдерживает поперечную нагрузку, вызванную движением пассажиров при посадке/высадке; - минимальная ширина дорожки не менее 0,80 м. При аварийной посадке/высадке должны быть обеспечены средства безопасной эвакуации пассажиров, застрявших вне зоны штатной высадки. Также необходимо обеспечить безопасный доступ персонала, проводящего эвакуацию. 5.8.5.2 Вход и выход из замкнутых помещений Каждое замкнутое помещение должно быть снабжено эвакуационными выходами, обеспечивающими безопасную эвакуацию максимального числа посетителей, на которое рассчитано это помещение. Расчет необходимого числа выходов, их ширина и высота и допустимые максимальные расстояния, которые должен преодолеть посетитель при эвакуации из помещения, - согласно [7] (для зданий культурно-просветительных и зрелищных учреждений) и [8]. При этом высота аварийных выходов должна быть не менее 2,0, а ширина - не менее 1,0 м. Расчетную площадь помещения, приходящуюся на одного посетителя, принимают равной 0,5 м2. По крайней мере один вход и один выход должны быть предназначены для инвалидных колясок, если аттракцион (замкнутое помещение) допускает присутствие инвалидов. Необходимое число выходов должно быть равномерно распределено по периметру помещения так, чтобы для выхода из любого места помещения были альтернативные пути. Расстояние, которое необходимо пройти для выхода из любого места помещения (измеренное по реальной траектории движения человека к выходу), не должно быть более 35 м, причем после прохождения первых 6,5 м должна существовать равная возможность выйти через другой выход. В помещениях с одним выходом указанное расстояние не должно превышать 24 м. Если помещение рассчитано на группу с числом посетителей более 150 человек, то число выходов должно быть кратно или более числа групп посетителей. Требования указанного пункта к аварийным и эвакуационным выходам замкнутых помещений, шоу и пр. должны быть не ниже требований, предусмотренных [8]. Должен быть предусмотрен выход для инвалидов. 5.8.6 Уменьшение риска, связанного с использованием контуров безопасностиУстанавливают три типа контуров безопасности (КБ) для относительных скоростей движения пассажиров или конструкций более 3 м/с: - для пассажиров, едущих сидя, - КБ 1,5 м (см. рисунок 5); - для пассажиров, едущих стоя, - КБ 2,5 м (см. рисунок 6); - для пассажиров, едущих лежа или наклонно, - КБ 1,0 м (см. рисунок 7). Контур каждого типа подразделяют на обязательный контур - I, нормальный контур - II и максимальный контур - III. Антропометрические данные пассажира на рисунках соответствуют данным взрослого мужчины 95-го перцентиля (Р95) 1). КБ 1,5 м-I - обязательный; КБ 1,5 м-II - нормальный; КБ 1,5 м-III - максимальный
* Размеры для справок ** с = а(Р 95)/2, а(Р 95) = 545 мм (см. 4.2.10) 1 - уровень сиденья; 2 - возможный защитный ограничитель; 3 – дополнительный зазор; 4 - платформа; 5 - для подвешенной тележки; б - пол кабины; 7 - дополнительный контур для деревьев, веток и других смещаемых препятствий Рисунок 5 - Контуры безопасности для пассажиров, едущих сидя 1) Перцентиль - часть упорядоченного набора наблюдений (вариационного ряда, частотного распределения), разделенного на 100 интервалов так, что в каждый интервал входит 1/100 часть (т.е. 1%) наблюдений. Например, 5-й перцентиль разделяет частотное распределение на две части, в одной из которых находится 5%, а в другой - 95% наблюдений. КБ 2,5 м-I - обязательный; КБ 2,5 м-II - нормальный; КБ 2,5 м-III - максимальный
*Размеры для справок 1 - уровень пола;2 - возможный защитный ограничитель;3 - дополнительный зазор;4 - платформа; 5 - пол кабины; б - дополнительный контур для деревьев, веток и других смещаемых препятствий Рисунок 6 - Контуры безопасности для пассажиров, едущих стоя КБ 1,0 м-I - обязательный; КБ 1,0 м-II - нормальный; КБ 1,0 м-III - максимальный
* Размеры для справок 1 - дополнительный контур для деревьев, веток и других смещаемых препятствий; 2 - дополнительный зазор; 3 – возможный защитный ограничитель; 4 - дополнительный зазор КБ 1,0 м-I - обязательный; КБ 1,0 м-II - нормальный; КБ 1,0 м-III - максимальный
* Размеры для справок 1 - дополнительный зазор; 2 - дополнительный возможный ограничитель; 3 - дополнительный зазор; 4 - дополнительный возможный ограничитель; 5 - упор Рисунок 7 - Контуры безопасности для пассажиров, едущих лежа или под наклоном 5.8.6.1 Контуры безопасности для пассажиров, едущих сидя Обязательный контур КБ 1,5 м-I гарантирует травмобезопасность головы, но не гарантирует травмобезопасности конечностей. Для скоростей менее 3 м/с размер 500 мм заменяют размером 300 мм, при этом необходимо анализировать опасность травмирования головы и конечностей. Нормальный контур КБ 1,5 м-II гарантирует травмобезопасность головы и конечностей для больших скоростей при условии надежности устройств фиксации для пассажиров 95-го перцентиля. Контур КБ 1,5 м-II может быть уменьшен по усмотрению проектировщика, если имеются ограничивающие устройства для конечностей или если аттракцион рассчитан на детей с ограничением роста, что гарантировано контролируют в процессе эксплуатации. Максимальный контур КБ 1,5 м-III, который превышает нормальный контур на 200 мм, учитывает индивидуальные отклонения размеров людей или попытки пассажира дотянуться до частей аттракциона, в том числе при ослабленной фиксации. Применение контура КБ 1,5 м-I обязательно, при этом пассажиры аттракциона обязательно должны быть предупреждены о недопустимости высовывания рук за пределы тележки. Применение нормального или максимального контура - на усмотрение проектировщика. Рекомендуется уведомлять покупателей и пассажиров о типе применяемого контура. 5.8.6.2 Контуры безопасности для пассажиров, едущих стоя Для пассажиров, едущих стоя, устанавливают три аналогичных контура безопасности: КБ 2,5 м-I, КБ 2,5 м-II и КБ 2,5 м-III (см. рисунок 6), рассчитанных по принципам, аналогичным тем, в соответствии с которыми рассчитаны контуры для сидящих людей. Контур КБ 2,5 м соответствует размеру высоты до опасной зоны 2,5 м по ГОСТ Р 51334, пункт 4.2.1. Для скоростей менее 3 м/с проектировщик вправе применить уменьшенные контуры в соответствии с 5.8.6.1. 5.8.6.3 Контуры безопасности для пассажиров, едущих лежа Для пассажиров, едущих лежа (например, на животе), также устанавливают три контура безопасности КБ 1,0 м-I, КБ 1,0 м-II и КБ 1,0 м-III (см. рисунок 7), рассчитанные с учетом ограничений углов поворота конечностей в суставах и наличия дополнительных защитных ограничителей. Проектировщик вправе применить уменьшенные контуры в соответствии с 5.8.6.1. Контур КБ-III рекомендуется применять при движении тележек вблизи конструкций, декораций, деревьев и т.п., то есть в условиях, когда конструкции могут смещаться или деформироваться, дополнительно к этому контуру необходимо добавлять зазор 500 мм. В случаях использования на аттракционах других положений едущих пассажиров проектировщик должен применять контуры безопасности по аналогии с вышеуказанными. Если пассажирские модули не являются свободно перемещающимися, а двигаются по направляющим, их контуры безопасности не должны пересекаться. Кроме того, для пассажирских модулей, двигающихся во встречном направлении, рекомендуется применять дополнительный зазор между их контурами безопасности [см. рисунки 8а) и 8б)]. Если пассажирские модули перемещаются свободно и управляются пассажиром, то дополнительно должно быть соблюдено следующее расстояние: 120 мм от наружной поверхности одного пассажирского модуля до любой ближайшей детали другого пассажирского модуля на уровне сиденья второго пассажирского модуля в самом неблагоприятном положении во время эксплуатации (см. рисунок 9) при максимальной деформации бамперов.
а) Движение в одном (попутном) направлении
б) Встречное движение 1 - дополнительный зазор 0,5 м Рисунок 8 - Контуры безопасности для движущихся пассажирских модулей
Рисунок 9 - Минимальный зазор для свободно перемещающихся пассажирских модулей 5.8.7 Уменьшение риска, связанного с использованием устройств фиксации5.8.7.1 Общие положения Конструкция устройств фиксации должна препятствовать выпадению или выбросу пассажира из пассажирского кресла и при этом должна предотвращать травмы частей тела, в том числе от воздействия вертикальных, боковых и продольных ускорений. Устройства фиксации должны иметь такую форму, чтобы чувствительные или хрупкие части тела пассажиров не подвергались чрезмерным воздействиям. Устройства фиксации с приводом не должны создавать дополнительную опасность для пассажиров. Движения таких устройств должны быть медленными, а максимальная действующая сила, измеренная в зоне контакта с телом пассажира, должна быть не более 0,15 кН (0,08 кН для детей). Конструкция замков устройства фиксации не должна допускать случайного отпирания. Замки устройств фиксации не должны открываться в случае неполадки или аварийной остановки аттракциона, если только это не предусмотрено для немедленной эвакуации пассажиров. 5.8.7.2 Устройства фиксации пассажиров Каждый пассажирский модуль оборудуют средствами, удерживающими пассажиров внутри модуля на своих местах, если это необходимо, учитывая характер движения модуля и высоту возможного падения пассажира. Выбранные устройства фиксации должны быть такими, чтобы позволяли избежать (или свести их к минимуму) следующих видов риска: - повреждение опорно-двигательного аппарата и позвоночника посетителя вследствие воздействия ускорений; - удар о части аттракциона или застревания между ними; - получение травмы при внезапном начале движения; - удар о части посадочного места или пассажирского модуля; - удар о других пассажиров при движении аттракциона; - выпадение или выброса из пассажирского модуля. Следует анализировать и возможные риски при намеренно опасном поведении пассажиров. В случае поломки или аварийной остановки, когда пассажиры удерживаются на своих местах устройствами фиксации, необходимо предусмотреть возможность подготовленному персоналу освободить пассажиров от устройств фиксации, обеспечив безопасную эвакуацию каждого пассажира. 5.8.7.3 Классификация устройств фиксации пассажиров Устройства фиксации (УФ) классифицируют следующим образом: - по числу пассажиров, фиксируемых одним устройством: УФ-А1 - коллективное устройство для двух или более пассажиров, УФ-А2 - индивидуальное устройство для каждого пассажира; - по возможности регулирования фиксирующего положения: УФ-Б1 -с нерегулируемым фиксирующим положением (дуги, штанги), УФ-Б2 - с индивидуально регулируемым фиксирующим положением, УФ-Б3 - с автоматическим контролем запирания; - по способу запирания: УФ-В1 - незапираемое, УФ-В2 - запираемое вручную пассажиром, УФ-В3 - запираемое вручную оператором, УФ-В4 - автоматически запирающееся при достижении фиксирующего положения, УФ-В5 - автоматически запирающееся и контролируемое при достижении фиксирующего положения; - по способу отпирания: УФ-Г1 - отпираемое вручную пассажиром, УФ-Г2 - отпираемое вручную оператором, УФ-Г3 - отпираемое оператором централизованно; - по типу сигнализации о срабатывании/несрабатывании запирающего устройства: УФ-Д1 -без сигнализации, УФ-Д2 - со световой и/или акустической сигнализацией, УФ-Д3 - со световой и/или акустической сигнализацией и блокировкой пуска/останова аттракциона; -по типу привода: УФ-Е1 -ручной, УФ-Е2 - механический; - по типу конструкции устройства фиксации и его запорных устройств: УФ-Ж1 - резервирование необязательно, УФ-Ж2 - необходимо резервирование в отношении запорных устройств, УФ-Ж3 - необходимо резервирование устройства фиксации и запорных устройств; - по способу обеспечения безопасности пассажиров: УФ-И1 - без устройства фиксации, но для упора имеются подножки, поручни и подобные приспособления, воспринимающие нагрузку, УФ-И2 - с одним устройством фиксации (плечевым, поясным или другим), УФ-И3 - с одним устройством фиксации (индивидуальным или коллективным) и общей кабиной или гондолой для всех пассажиров, УФ-И4 - с двумя устройствами фиксации, одно из которых является дублирующим (например, плечевое или поясное), или с одним, но безотказным устройством. Дублирование в данном случае предполагает установку двух независимых устройств фиксации для того, чтобы в случае отказа одного из них второе (например, защитная дуга, кабина и т.п.) обеспечивало безопасность пассажира. На основе упомянутой выше классификации каждое устройство фиксации должно быть идентифицировано согласно классификации по 5.8.6, которая описывает их основные особенности. Для каждого типа аттракциона, каждой группы или отдельного аттракциона, имеющих одинаковые характерные особенности в рамках одного типа, указаны минимальные требования по основным характеристикам устройств фиксации. 5.8.7.4 Критерии применения устройств фиксации Основное требование, на котором основаны приведенные далее критерии, заключается в том, чтобы устройства фиксации применяли в тех случаях, когда пассажиры могут быть приподняты и выброшены с занимаемых мест динамическими силами либо могут выпасть, в том числе при намеренно опасном поведении пассажиров. Выбирая для разных случаев перечисленные ниже устройства фиксации, исходя из критериев, приведенных на рисунке 11 для направлений ускорений, показанных на рисунке 10, необходимо использовать соответствующую интерполяцию для различных аналогичных случаев.
Рисунок 10 - Система координат для ускорений Если ускорения малы, но вследствие значительной скорости или высоты движения пассажирского модуля необходимо применить фиксацию, то следует применять тип фиксации, исключающий возможность выпадения пассажира из пассажирского кресла.
Рисунок 11 -Диаграмма ускорений, действующих на пассажиров, для назначения устройств фиксации Для зоны 1 устройство фиксации не требуется, если исходить из значений действующих ускорений (по другим критериям фиксация может быть необходима). Для зоны 2 необходим, по меньшей мере, следующий тип устройства фиксации: УФ-А1 - коллективное устройство для двух или более пассажиров; УФ-Б1 - с нерегулируемым фиксирующим положением (например, дуги, штанги и т.п.); УФ-В2 - запираемое вручную пассажиром; УФ-Г1 - отпираемое вручную пассажиром; УФ-Д1 - без сигнализации; УФ-Е1 - с ручным приводом; УФ-Ж1 - не обязательно резервирование. УФ-И1/И2 - требуется одно устройство фиксации или можно обойтись без него, если пассажиры, при условии, что они не могут быть выброшены из пассажирского модуля под действием возникающих при движении сил, могут адекватно реагировать на действующие на них силы, опираясь на поручни, подножки и подобные приспособления. Для зоны 3 необходимо, по крайней мере, одно устройство фиксации со следующими признаками: УФ-А1 - коллективное, для двух или более пассажиров; УФ-Б2 - с индивидуально регулируемым фиксирующим положением; УФ-В3 - запираемое вручную оператором; УФ-Г1 - отпираемое вручную пассажиром; УФ-Д1 -без сигнализации; УФ-Е1 - с ручным приводом; УФ-Ж2 - с безотказно функционирующим замком; УФ-И2 - с одним устройством фиксации на каждого пассажира. Для зоны 4 необходимо, по крайней мере, одно устройство фиксации со следующими признаками: УФ-А2 - индивидуальное для каждого пассажира; УФ-Б2 - с индивидуально регулируемым фиксирующим положением; УФ-В4 - запирающееся автоматически при достижении фиксирующего положения; УФ-Г2 - отпираемое вручную оператором; УФ-Д1 - без сигнализации; УФ-Е1 - с ручным приводом; УФ-Ж2 - с безотказно функционирующим замком; УФ-И2 - с каким-либо одним устройством фиксации для каждого пассажира. Для зоны 5 необходимо, по крайней мере, одно устройство фиксации со следующими признаками: УФ-А2 - индивидуальное для каждого пассажира; УФ-Б3 - с автоматическим контролем запирания; УФ-В5 - автоматически запирающееся и контролируемое при достижении фиксирующего положения; УФ-Г3 - отпираемое оператором централизованно; УФ-Д3 - со световой и/или акустической сигнализацией и блокировкой пуска; УФ-Е1 - с ручным приводом; УФ-Ж3 - с безотказными (конструктивно и функционально) устройством фиксации и замком; УФ-И3/И4 - с двумя устройствами фиксации, одно из которых является дублирующим. В пограничных случаях можно выбирать более низкую категорию. Диаграмма ускорений, приведенная на рисунке 11, служит общим руководством и не содержит информации о допустимых пределах ускорений, приведенных в приложении А. При конструировании устройств фиксации должны быть учтены конкретные условия, например, длительность действия ускорения. В частности, если боковые ускорения превышают ±0,5 g, то сиденья, спинки и устройства фиксации должны быть оборудованы боковыми упорами. Необходимо также проанализировать возможность остановки пассажирских модулей в неожиданных положениях (например, вверх ногами). Наличие других рисков (см. также 5.8.2) может потребовать использования устройств фиксации других типов. Если устройство фиксации выбрано по диаграмме (см. рисунок 11), а дополнительно к нему требуется установить дублирующее устройство, то это второе устройство должно иметь следующий набор признаков: УФ-А1 - коллективное; УФ-Б1 - с нерегулируемым фиксирующим положением; УФ-В2 - запираемое вручную пассажиром; УФ-Г2 - отпираемое вручную оператором; УФ-Д1 - без сигнализации; УФ-Ж2 - только с функционально безотказным запирающим устройством или второе устройство фиксации может быть заменено кабиной в соответствии с УФ-И3. 5.8.8 Уменьшение риска, связанного с использованием пассажирских модулей5.8.8.1 Двери Двери пассажирских модулей не должны самопроизвольно открываться во время работы аттракциона, а также в аварийных ситуациях. Двери должны быть оборудованы запорными устройствами (например, предохранительными крючками), предотвращающими случайное открывание во время поездки. В общем случае двери должны быть оборудованы замками, отпираемыми только снаружи. Двери с приводом от внешнего источника энергии должны быть безопасными для пассажиров. Их движение должно быть медленным, а максимальная сила их воздействия, измеренная на краю двери, не должна превышать 150 Н. 5.8.8.2 Сиденья Сиденья должны быть надежно закреплены на конструкции пассажирского модуля, и при проектировании должен быть проведен расчет нагрузок для сидений и их креплений. Пассажир должен иметь достаточную опору для тела на сиденье, спинку, подлокотники и подножки, чтобы быть в состоянии противостоять силам, возникающим во время движения. При проектировании следует выбирать размеры и форму сидений и прочих компонентов в зависимости от размеров тел пассажиров, для которых предназначен данный аттракцион. Сиденья, если требуется, должны быть снабжены спинкой высотой не менее 0,4 м, а поверхность сиденья должна иметь обоснованный уклон к спинке. Высота спинки может быть уменьшена до 0,25 м на аттракционах, предназначенных только для детей ростом до 120 см. Такие параметры, как размер и форма сиденья, значение силы трения между поверхностью сиденья и одеждой пассажира, а также наличие полной или частичной обшивки, могут сильно повлиять на эффективность всей системы фиксации. Система подвески сидений на стальных проволочных канатах или цепях из звеньев должна быть такой, чтобы в случае отказа одного элемента подвески не возникало опасных ситуаций. 5.8.9 Проектирование пассажирских модулейРекомендации по проектированию пассажирских модулей - согласно приложению Д. 5.8.9.1 Тормоза пассажирских модулей и аттракционов Каждый останавливающий и замедляющий тормоз, предназначенный для регулирования скорости движения пассажирского модуля в штатном режиме работы, должен быть рассчитан на замедление движения с ускорением не более 5 м/с2. В случае если на трассе катальной горы одновременно перемещается несколько тележек (или поездов), между соседними тележками (поездами) в любой момент времени должен находиться аварийный тормоз. Аварийный тормоз должен обеспечивать замедление движения с ускорением не более 7 м/с2. Примечание - Значения ускорений при торможении более указанных выше для останавливающих, замедляющих и аварийных тормозов допускаются при использовании на пассажирском модуле фиксирующих устройств. Останавливающие и замедляющие тормоза должны быть рассчитаны на усталостную прочность. Для аварийных тормозов расчет на усталость не требуется. Максимальное ускорение при торможении должно быть определено для максимального значения коэффициента трения, свойственного трущимся материалам, использованным в тормозах. Расчет тормозного пути следует проводить с коэффициентом надежности по нагрузке, равным 1,2, с учетом коэффициента трения, при этом значения коэффициентов трения должны быть приняты с учетом их снижения из-за погодных условий, износа и увлажнения. Следует избегать применения единого источника усилия для сжатия тормозов и взведения их в нормально замкнутое состояние. Конструкция тормозов должна обеспечивать остановку пассажирского модуля в заданном месте трассы как для случая незагруженного пассажирского модуля, так и при его загрузке посетителями. При этом нагрузка на посадочные места должна соответствовать данным, приведенным в таблице 2. Таблица 2 - Нагрузки на пассажирские места пассажирского модуля
5.8.10 Уменьшение рисков, связанных с особенностями пассажиров5.8.10.1 Классификация пассажиров по возрасту и росту Некоторые пассажиры в зависимости от их возраста или физических данных могут подвергаться опасности на некоторых пассажирских местах аттракционов из-за особенностей аттракциона. Классификация пассажиров может быть проведена по возрасту: М0 - дети ростом от 0,90 до 1,05 м, что приблизительно соответствует возрасту от 2 до 4 лет; М1 -дети ростом от 0,92 до 1,20 м, что приблизительно соответствует возрасту от 4 до 6 лет; М2 - дети ростом от 1,20 до 1,30 м, что приблизительно соответствует возрасту от 6 до 8 лет; М3 - дети ростом от 1,30 до 1,40 м, что приблизительно соответствует возрасту от 8 до 10 лет; М4 - дети ростом от 1,40 до 1,60 м, что приблизительно соответствует возрасту от 10 до 14 лет; М5 - взрослые. 5.8.10.2 Пассажиры-инвалиды Аттракционы, которыми могут пользоваться пассажиры-инвалиды, должны иметь средства для их безопасного размещения и фиксирующие устройства, ограничивающие движения пассажиров и соответствующие, как минимум, требованиям УФ-В1, УФ-Г1, УФ-Д3, УФ-Е2 согласно 5.8.7, для обеспечения их безопасности. 5.9 Дополнительные требования безопасности для отдельных видов аттракционов и их устройств5.9.1 Карусели с горизонтальным и/или вертикальным движениемДанные требования распространяются на аттракционы, пассажирский модуль или рамная конструкция которых движется вокруг вертикальной и/или наклонной оси вращения с одной или несколькими степенями свободы. Приводы таких аттракционов позволяют варьировать наклон осей вращения вплоть до вращения в вертикальной плоскости. Некоторые виды таких аттракционов представлены на рисунке 12.
а) С вертикальной осью и одной степенью свободы
б) С вертикальной и горизонтальной осями и более чем одной степенью свободы
в) С изменяющимся наклоном оси вращения и более чем одной степенью свободы Рисунок 12 - Карусели с вертикальным и/или горизонтальным движением, лист 1
г) С периодически изменяемым наклоном оси вращения, реализующим циклоидальное движение Рисунок 12, лист 2 5.9.1.1 Системы ограничения доступа в опасные зоны и прохода для входа/выхода Если карусель, вращающаяся в горизонтальной плоскости, имеет хотя бы одну дополнительную ось вращения, то она должна быть ограждена по периметру согласно требованиям ОД-К3. Ограждения, соответствующие требованиям ОД-К3, должны быть на всех аналогичных аттракционах. Промежуточная зона, специально предназначенная для посетителей, ожидающих посадки, должна быть отделена от опасной зоны согласно требованиям ОД-К1. Проемы для входа/выхода посетителей при наличии промежуточной зоны выполняют в соответствии с ОД-Л1, при отсутствии такой зоны - по ОД-Л2. Если платформа аттракциона имеет круглую форму без выступающих частей и совершает только вращательное движение вокруг вертикальной оси с частотой вращения, не превышающей 8 об/мин (линейной скорости на краю платформы - не более 3 м/с), то ограждение не требуется. В случае превышения этого значения устанавливают ограждение, соответствующее требованиям ОД-К1. Если круглая вращающаяся платформа аттракциона имеет выступающие части или оснащена закрытыми пассажирскими модулями, а ее скорость не выходит за пределы, указанные выше, то необходимо ограждение в соответствии с требованиями ОД-К1. Если к вращению вокруг вертикальной оси добавляется медленное перемещение по вертикали параллельно оси вращения со скоростью, не превышающей 0,5 м/с, требования к ограждениям устанавливают по ОД-К1. На цепочных каруселях и подобных аттракционах с периодическим плавным подъемом отдельных сидений расстояние по вертикали от поверхности площадки, доступной публике, до нижней части движущегося сиденья в любой момент движения должно быть не менее 2,7 м. Границы зоны, где эта высота менее 2,7 м, ограждают согласно требованиям ОД-К1. Если высота подъема сидений менее 2,7 м, следует предусмотреть огражденную зону для посетителей согласно требованиям ОД-К3. Расстояние от этой зоны до наружного края сидений должно быть не менее 0,5 м по горизонтали. Входы и выходы должны соответствовать требованиям ОД-Л 1. Горизонтальное расстояние от наружной границы, внутри которой движутся подвешенные (качающиеся) кресла или гондолы, до неподвижных объектов должно быть не менее 0,5 м. 5.9.1.2 Пассажирские модули каруселей Посадочные места детских каруселей должны быть установлены на сплошной вращающейся платформе, если только для пассажиров не предусмотрены устройства фиксации и защита для ног. Двери должны быть снабжены замками, отпирающимися только снаружи. Входные двери на аттракционах вида «вращающихся барабанов» должны полностью изолировать пространство внутри и открываться только внутрь; замок должен отпираться только снаружи. Система подвески пассажирских модулей на стальных проволочных канатах или на плоскозвенных цепях должна быть такой, чтобы в случае отказа одного элемента не создавать опасной ситуации. 5.9.1.3 Устройства фиксации каруселей Устройства фиксации для этой категории аттракционов при частоте вращения более 8 об/мин и линейной скорости v, превышающей 3 м/с, должны соответствовать, как минимум, следующим требованиям: УФ-А1 - коллективное; УФ-В2 - с индивидуально регулируемым фиксирующим положением; УФ-Г2 - отпираемое вручную оператором; УФ-Д1 - без сигнализации; УФ-Ж1 - резервирование не обязательно. Устройства фиксации для этой категории аттракционов, предназначенные только для детей, должны соответствовать, как минимум, следующим требованиям: УФ-А1 - коллективное; УФ-Б2 - с индивидуально регулируемым фиксирующим положением; УФ-В3 - запираемое вручную оператором; УФ-Г2 - отпираемое вручную оператором; УФ-Д1 - без сигнализации; УФ-Ж1 - резервирование не обязательно. 5.9.2 Колеса обозрения, качели (с приводом и без него)Требования этого пункта распространяются на аттракционы, вращающиеся только вокруг одной главной горизонтальной оси (с механическим приводом или без механического привода). Конструктивные схемы таких аттракционов представлены на рисунке 13.
а) Вращение вокруг горизонтальной главной оси с фиксированными или вращающимися пассажирскими модулями
б) Вращение пассажирского модуля, жестко закрепленного на балке, вокруг горизонтальной оси (с механическим приводом)
в) Вращение пассажирского модуля вокруг горизонтальной оси (без механического привода) Рисунок 13 - Вращение пассажирского модуля 5.9.2.1 Системы ограничения доступа в опасные зоны и проходы для входа/выхода Общие положения Системы ограждения опасных для посетителей зон в общем случае должны соответствовать требованиям ОД-К3. Проходы входа/выхода должны соответствовать требованиям ОД-Л2 и быть физически закрытыми (например, запертой калиткой) во время работы аттракциона. Системы ограждения опасных зон для качелей, раскачиваемых самими посетителями, должны соответствовать требованиям ОД-К3, при этом должны быть выполнены следующие условия: - выдержано расстояние до пассажирского модуля в любой точке траектории движения согласно требованиям 5.8.6.1, внутри огражденной зоны должно быть достаточно места для оператора; - ближайшие параллельные качели должны быть отделены дополнительным ограждением; - выполнены проходы для входа/выхода по требованиям ОД-Л2; - закрыт доступ посетителей к качелям во время сеанса. 5.9.2.2 Пассажирские модули качелей Пассажирские модули качелей, если это необходимо, должны иметь поручни на высоте 1,1 м от пола. Если расстояние по вертикали между верхним краем боковой стенки и поручнем более 0,4 м, то следует установить дополнительные промежуточные поручни. На качелях для детей ростом до 120 см эти размеры составляют 0,7 и 0,25 м соответственно. Если пассажирские модули колеса обозрения не полностью закрыты, то должны быть приняты меры, исключающие контакт пассажиров, частей их тел (особенно, длинных волос) и одежды с движущимися относительно пассажиров частями аттракциона. Ограждения входных проходов к полуоткрытым кабинам должны быть высотой не менее 1,1 м, если высота подъема более 12 м. Для колес обозрения для детей до восьми лет при высоте подъема менее 6 м высота ограждения входных проходов полуоткрытых кабин должна быть не менее 0,7 м. 5.9.2.3 Устройства фиксации колес обозрения и качелей В пассажирских модулях аттракционов, приводимых в движение самими пассажирами, должны быть предусмотрены ремни безопасности или аналогичные средства, если во время движения пассажиры переворачиваются вниз головой. Пассажирские модули, приводимые в движение внешним источником энергии, на которых во время катания пассажиры переворачиваются вниз головой, а ускорение, направленное от головы к ногам, может быть менее 0,2 g, должны быть снабжены дублирующим устройством фиксации согласно 5.8.7.3. 5.9.2.4 Тормоза качелей Качели должны быть оборудованы тормозами, которые плавно останавливают пассажирские модули и не блокируют их. Если оператор может остановить качели вручную, то вышеупомянутые тормоза не требуются. 5.9.2.5 Качели исключительно для детей младше 10 лет Расстояние между полом пассажирского модуля и осью подвески качелей должно быть не более 3 м, подъем детей выше горизонтальной линии, проведенной через ось вращения, должен быть исключен. 5.9.3 Катальные горы, темные аттракционы, железные дороги и другие аттракционы с пассажирскими модулями, перемещающимися по направляющим (рельсам, желобам и т.п.)5.9.3.1 Системы ограничения доступа в опасные зоны и проемы для входа и выхода Защитные ограждения опасных зон должны соответствовать требованиям ОД-К3. Проемы для входа и выхода должны соответствовать требованиям ОД-Л3, чтобы препятствовать движению пассажиров через них до полной остановки пассажирского модуля. Детские рельсовые аттракционы с механическим приводом, скорость которых не более 2,0 м/с, а тормозной путь при остановке их оператором не более 2 м должны быть оборудованы защитными ограждениями, соответствующими требованиям ОД-К3. Проемы для входа и выхода должны соответствовать требованиям ОД-Л1. Малые железные дороги в парках не требуют дополнительных защитных ограждений при выполнении следующих условий: - колея железной дороги надежно ограждена от других аттракционов, мест пребывания посетителей, торговых точек и пр.; - поездом управляет оператор; - скорость поезда не более 5 м/с; - на поезде есть система звукового предупреждения; - на перекрестках имеется звуковая и световая сигнализация. Защитные ограждения вокзала - согласно требованиям ОД-К3.
а) Аттракцион с направляющими
б) Аттракцион с желобом или каналом Рисунок 14 - Защита от схода пассажирских модулей с направляющих (выхода из желоба) 5.9.3.2 Пассажирские модули катальных гор Пассажирские модули должны быть спроектированы так, чтобы: - пассажиры как внутри, так и снаружи, не соприкасались с движущимися частями устройства для развлечения; - пассажиры, находящиеся в тележке, не могли получить травмы кистей или предплечий при соприкосновении с тележками, идущими впереди или позади; - шасси и верхняя часть тележек имели достаточное число степеней свободы и просвет для прохождения участков, имеющих кривизну, боковые наклоны, горки и ямы, с учетом допустимого износа. Бамперы устанавливают на равной высоте спереди и/или сзади в тех местах тележки, где она может контактировать с другими тележками или с какими-либо направляющими элементами тележки. Если при контакте возможно смещение бамперов относительно друг друга, например, из-за продольного или бокового покачивания, высота бамперов должна быть достаточной, чтобы обеспечить их перекрытие. Как минимум, один бампер на каждой тележке должен быть снабжен демпфирующим устройством для смягчения ударов, причем демпфирующая способность должна быть рассчитана для номинальной скорости. Демпферы можно не устанавливать, если тележки защищены от столкновения системой зон блокировки. 5.9.3.3 Системы фиксации На пассажирских модулях, если это необходимо, оборудуют устройства фиксации согласно 5.8.7. 5.9.3.4 Защита пассажирских модулей катальных гор от схода с рельсов, выхода из желоба Ведущие элементы пассажирских модулей должны обеспечивать постоянный контакт с рельсами (желобами) в любых условиях посредством соответствующих ходовых колес, боковых роликов, обратных роликов или эквивалентных систем. Конструкция ведущих элементов должна гарантировать, чтобы даже при потере одного колеса или ролика пассажирские модули не сошли с рельсов (из желоба) (см. рисунок 14). Поверхность качения ходовых колес, боковых и обратных роликов подвержена износу. Предельные нормы износа должны быть указаны в эксплуатационных документах. 5.9.3.5 Исключение боковых столкновений Боковые движения тележек и кабин должны быть ограничены, чтобы предотвратить столкновение с тележками и кабинами на соседних путях или с неподвижными объектами. Безопасные расстояния отсчитывают между ближайшими друг к другу точками тележек или кабин по линии их максимального сближения. Раскачивающиеся пассажирские модули должны быть оборудованы устройствами для блокирования боковых или продольных колебаний во время посадки и высадки пассажиров (см. также 5.4.4 и ГОСТ Р 52170). 5.9.3.6 Рельсовый путь 5.9.3.6.1 Траектория При проектировании катальных гор траекторию рельсового пути выбирают так, чтобы мгновенные теоретические изменения ускорения для пассажиров не превышали абсолютного значения 2 g. 5.9.3.6.2 Система зон блокировки Если на устройстве для развлечений одновременно могут двигаться несколько тележек или поездов, то должна быть установлена автоматическая безотказная (нормально замкнутая) система управления, не позволяющая им сталкиваться. Дополнительную информацию о системах управления см. в приложении Е. Система с зонной блокировкой должна быть основана на полном контроле трассы, разделенной на зоны блокировки, в каждой из которых может находиться одновременно только одна тележка или поезд. Зоны блокировки отделяют друг от друга аварийными тормозами (устройствами). Подъемник можно рассматривать как зону блокировки, не требующую аварийного тормоза на конце, если тележка или поезд может быть безопасно остановлена перед входом в следующую зону блокировки. Не требуется, чтобы оборудование зоны блокировки было безотказным (нормально замкнутым) в месте посадки/высадки, если максимальная скорость тележки или поезда там не превышает 1,0 м/с и модуль оборудован амортизаторами. 5.9.3.6.3 Предохранительные устройства вдоль трассы; тормоза Тележки должны останавливаться рабочими тормозами в конце спуска после каждой поездки. На случай задержки во время посадки/высадки пассажиров необходимо надежно предотвратить любой риск столкновения с движущимися следом тележками. Аварийные тормоза на спуске должны быть расположены на минимальном запланированном расстоянии, рассчитанном так, чтобы между следующими друг за другом тележками или поездами всегда находился хотя бы один тормоз. Аварийные тормоза должны быть безотказными (нормально замкнутыми) и останавливать тележку или поезд так, чтобы условия торможения были в пределах установленных стандартом норм. Рабочие тормоза должны обеспечивать автоматическую остановку пассажирского модуля на возможно кратчайшем тормозном пути, длина которого определяется значением допустимых ускорений (см. приложение В, раздел В.2 настоящего стандарта и ГОСТ Р 52170). Тормоза не должны блокироваться или заедать и должны использоваться под контролем. Возможно использование двух типов тормозов: - тип 1 - срабатывающих от пружин и других механических устройств и возвращаемые в исходное положение пневматическими или другими аналогичными устройствами (нормально замкнутые); - тип 2 - срабатывающих от пневматических или других аналогичных устройств и возвращаемые в исходное положение пружинами или другими аналогичными механическими устройствами (нормально разомкнутые). Тормоза типа 1 могут считаться безотказными. Использование небезотказных тормозов типа 2 в качестве аварийных тормозов допускается: - при наличии дублирующего независимого тормоза для наиболее неблагоприятного случая или возможности трехкратного срабатывания тормоза после падения давления в тормозной системе; - если механические части тормозов спроектированы с учетом воздействия расчетных нагрузок согласно ГОСТ Р 52170; - при наличии безотказной системы управления тормозами; - при наличии автоматического регулирования давления рабочей жидкости во всей системе и в каждом тормозном устройстве. 5.9.4 Сталкивающиеся автомобили, скоростные дороги, спуски и другие аттракционы5.9.4.1 Сталкивающиеся автомобили Общие положения Для автомобилей с бамперами следует обеспечить минимально безопасные расстояния, приведенные в таблице 3. Таблица 3 - Безопасные расстояния для сталкивающихся автомобилей
1 - зона 1; 2- зона 2 Рисунок 15 - Сталкивающиеся автомобили, лист 1
1 - зона 1; 2 - зона 2 Рисунок 15, лист 2 Системы ограничения опасных зон и входы/выходы Системы ограждения опасных зон в местах движения автомобилей должны соответствовать требованиям ОД-К1. Входы и выходы должны соответствовать требованиям ОД-Л1. Зона катания должна быть окружена барьером достаточной высоты для предотвращения выезда машин за пределы зоны. Барьер должен выдерживать удары машин на максимальной скорости. Пассажирские модули Конструкция сталкивающихся автомобилей должна не допускать выпадения пассажиров. По периметру автомобили должны быть оборудованы бамперами из мягкого материала или надувными шинами, выступающими настолько, чтобы обеспечить требования минимальных расстояний, указанных в таблице 3. Бамперы у всех машин одного аттракциона устанавливают на одинаковой высоте, равной высоте ограждения (барьера) дороги аттракциона. Все движущиеся и опасные детали и узлы автомобилей должны быть спроектированы и изготовлены так, чтобы устранить риск получения травмы, или защищены так, чтобы свести к минимуму риск получения травмы от ударов. Устройства фиксации Сталкивающиеся автомобили должны быть оснащены ремнями безопасности или иными эквивалентными по эффективности устройствами, защищающими детей от получения травм при столкновении с другими автомобилями. В случае установки ремней безопасности их ширина должна быть не менее 25 мм. Автомобили на скоростных трассах должны быть оборудованы соответствующими ремнями безопасности. Разное Покрытие зоны вождения должно быть гладким и ровным, а материал покрытия должен выдерживать расчетные нагрузки. Сталкивающиеся автомобили должны быть спроектированы и изготовлены так, чтобы риск опрокидывания был минимальным. Максимальная скорость автомобилей должна быть не более 12 км/ч. На автодромах, предназначенных для детей до восьми лет, катающихся без сопровождения взрослых, скорость автомобилей не должна превышать 4 км/ч. При наличии высокоэффективных амортизаторов скорость можно увеличить до 14 км/ч, если силы воздействия на пассажиров при соударении не превышают силы на обычных сталкивающихся автомобилях, двигающихся со скоростью до 12 км/ч. Максимальные скорости всех автомобилей, двигающихся по одной трассе, не должны отличаться более чем на 15%, а масса - на 30%. На аттракционе должен быть установлен выключатель, позволяющий оператору со своего рабочего места останавливать все электромобили одновременно. Требования к электромеханическому оборудованию Токопроводящие детали сталкивающихся автомобилей, доступные для касания пассажирами, могут находиться под напряжением не более 25 В переменного тока или 60 В постоянного тока (максимальный уровень пульсаций - не более 10%), подаваемым от разделительного трансформатора, по ГОСТ 30030 или от эквивалентного генератора. В случае если расположение разнополярных токоведущих частей исключает прикосновение человека к двум токоведущим частям одновременно, токоведущие части могут находиться под максимальным напряжением не более 50 В переменного тока или 120 В постоянного тока с максимальным уровнем пульсаций не более 10%, подаваемым от разделительного трансформатора по ГОСТ 30030 или от эквивалентного генератора постоянного или переменного тока. Открытые, незащищенные токопроводящие устройства должны быть расположены на высоте не менее 2,5 м от пола кабины электромобиля. Верхняя питающая сетка или пластина, подающая питание, а также токосъемники на машинах и колее должны быть спроектированы и изготовлены так, чтобы свести к минимуму риск травмирования глаз летящими искрами или частицами. Необходимо принять следующие меры: а) для зон катания площадью до 200 м2 питающая сетка или пластина должна быть надежно соединена с источником питания минимум в двух точках. Для больших площадей необходимы, как минимум, три точки соединения. Питающая сеть должна представлять собой проволочную сетку (желательно с шестиугольными ячейками) с проволокой диаметром от 1,2 до 3,0 мм и размером ячеек не более 40 мм. Допускается использовать оцинкованную сталь или другие подходящие материалы (например, медь, латунь, алюминий). Сетки должны быть натянуты, а пластины - закреплены настолько, чтобы под давлением токосъемников не происходило значительных деформаций или смещений; б) питающая сетка должна быть закреплена равномерно на высоте не менее 2,5 м над напольным лотком автомобиля; в) автомобили должны быть оборудованы стальными или бронзовыми контактными щетками, подпружиненными с силой не менее 10 Н (см. рисунки 16 и 17); г) токосъемники должны иметь максимально возможный радиус кривизны для того, чтобы токосъемник касался питающей сетки, как минимум, в трех точках. Токосъемники должны легко вращаться, оказывая на сеть постоянное давление усилием не менее 10 Н. Допускается использовать для токосъемников сталь или цветные металлы (медь, латунь, алюминий); д) места подключения к источнику питания должны быть расположены равномерно по периметру токопроводящей сети или пластины. Образующие зону контакта пластины должны быть гладкими; должен быть обеспечен хороший электрический контакт с пластинами на их краях или иным способом. Пластины подключают к полюсу «минус» источника питания в двух противоположных точках для того, чтобы избежать возникновения опасных разностей потенциалов. Пластины зоны контакта должны быть соединены со всеми ближайшими металлическими элементами конструкции.
5.9.4.2 Скоростные дороги Системы ограничения доступа в опасные зоны и проемы для входа и выхода Для того чтобы предотвратить хождение посетителей по трассе, вдоль нее должно быть ограждение высотой не менее 0,5 м относительно барьера трассы, но в любом случае не менее 1,1 м от уровня поверхности, на которой располагаются посетители (система ограничения опасных зон, соответствующая требованиям ОД-К3). Входы и выходы должны соответствовать требованиям ОД-Л2. Зона движения автомобилей должна быть окружена барьером, высота которого достаточна для предотвращения выезда автомобилей из зоны. Подпружиненные барьеры не допускаются. Барьер должен выдерживать наезд автомобиля на максимальной скорости. Пассажирские модули Трасса и автомобили должны быть такими, чтобы свести к минимуму риск опрокидывания. Следует учесть такие характеристики аттракциона, как скорость, наклон, радиусы виражей и ширину трассы. Там, где возможен обгон, ширина трассы должна в три раза превышать максимальную ширину автомобиля. Продольные и поперечные уклоны трассы не должны вызвать скольжение или занос автомобиля на мокрой трассе при торможении. Скоростные автомобили должны быть оборудованы бамперами для предотвращения ударов по колесам или корпусам машин. Устройства фиксации Скоростные автомобили должны быть оборудованы на каждом сиденье регулируемыми диагональными ремнями безопасности шириной минимум 25 мм, соответствующими следующим минимальным требованиям к устройствам фиксации: УФ-А2 - индивидуальное для каждого пассажира; УФ-Б2 - с индивидуально регулируемым фиксирующим положением; УФ-Д1 - без сигнализации; УФ-Е1 - ручное; УФ-Ж1 - резервирование не обязательно. Разное Максимальная скорость автомобилей на скоростных трассах должна быть не более 30 км/ч. Максимальная скорость автомобилей, которыми пользуются дети младше восьми лет без сопровождения взрослых, на скоростной трассе не должна превышать 4 км/ч. Автомобили с двигателями внутреннего сгорания должны быть оборудованы лотком под двигателем и трубками, подающими топливо. Двигатель должен быть размещен так, чтобы посетители не подвергались опасности в случае его возгорания. Зона вождения должна быть гладкой, ровной и изготовленной из подходящего материала, обеспечивающего необходимое сцепление. Система управления аттракциона должна позволять оператору останавливать все автомобили одновременно. 5.9.4.3 Мини-мопеды для детей Системы ограничения доступа в опасные зоны и проемы для входа и выхода Для предотвращения несанкционированного выхода посетителей на площадку ограждение опасных зон должно соответствовать требованиям ОД-К3. Входы и выходы - согласно ОД-Л1. Зона катания должна быть обнесена барьером достаточной высоты, препятствующим выезду мопедов за ее пределы. Барьер должен выдерживать удары мини-мопедов, движущихся на максимальной скорости. Барьер должен быть оборудован соответствующими обмягчениями. Пружинящие барьеры недопустимы. Пассажирские модули Мини-мопеды должны быть спроектированы так, чтобы свести к минимуму риск опрокидывания. На мини-мопеды должны быть установлены бамперы, выступающие за габаритные размеры не менее чем на 10 см. Бамперы на всех мопедах одного аттракциона устанавливают на равной от пола высоте, совпадающей с высотой кромки порога или барьера, ограждающего аттракцион. Необходимо обеспечить устойчивость мини-мопедов во время движения или столкновений. Необходимо обеспечить безопасное размещение и защиту пассажиров. Седло мини-мопеда должно быть снабжено жесткой спинкой и подходящим ограждением или аналогичными устройствами. Сплошная опора должна обеспечивать защиту ног от ударов и предотвращать падения. Устройства фиксации Специальные требования не предъявляют. Разное Максимальная скорость мини-мопедов должна быть не более 3,5 км/ч. 5.9.4.4 Спиральные горки и спуски Системы ограничения пространства и проемы для входа/выхода В местах, где посетители могут подходить к спуску или покидать аттракцион, системы ограничения опасных зон для посетителей должны соответствовать, как минимум, требованиям ОД-К3. Для предотвращения давки проходы к месту посадки и выходу с аттракциона должны соответствовать требованиям ОД-Л2. Выходы должны соответствовать требованиям ОД-Л1. Пассажирские модули Должны быть предусмотрены средства (мешки, маты, санки и пр.), на которых пассажиры будут сидеть во время спуска, где требуется дополнительная защита от заноз и ожогов. Устройства фиксации Специальных требований нет. Разное Каналы или желоба должны быть гладкими по всей длине. Соединение внахлест разрешается только в направлении движения. Высота боковых стенок одиночных каналов должна быть не менее 0,45 м, а верхняя часть их - скруглена. Нижняя часть спуска должна быть такой, чтобы пассажир мог завершить поездку без посторонней помощи. Уклоны каналов должны быть такими, чтобы действующее на пассажиров ускорение оставалось в пределах нормы и не требовалось слишком большого расстояния для торможения. Риск отрыва от поверхности должен быть сведен к минимуму. Если несколько каналов расположены рядом, то расстояние между ними должно быть не менее 0,1 м. 5.9.5 Шатры, палатки, призовые аттракционы, лабиринты, комнаты смеха, помещения для развлечений, силомеры, имитаторы и другие подобные вспомогательные устройства5.9.5.1 Шатры, палатки и другие помещения для развлечений, «кривые зеркала» Шатры, палатки и другие помещения для развлечений Устройства для развлечений, на которые посетители могут влезать, должны быть установлены с учетом риска при падении с них. В тех случаях, когда падения являются частью развлечения, например, с манежей, сеток и конструкций для лазания, необходимо не только устранить травмоопасные части конструкции, но и обеспечить ударопоглощающие покрытия соответствующих участков. Требования к ударопоглощающим покрытиям - по ГОСТ Р ЕН 1177. В тех случаях, когда падения являются частью развлечения, например, на наклонных веревочных лестницах, особенно с шарнирными удерживающими устройствами, необходимо настелить покрытия с высокой амортизирующей способностью, например, толстые поролоновые, резиновые или надувные маты. Для сведения к минимуму риска получения травмы поверхности должны быть гладкими, без острых выступов (при необходимости отшлифованными, если они деревянные). Для исключения травм, особенно там, где части тела тесно соприкасаются с поверхностями, например, на спусках, для изготовления таких поверхностей выбирают наиболее подходящие материалы, например, избегают использования легко расщепляющихся или расслаивающихся материалов. Все гвозди, винты, арматура и фурнитура должны быть заглублены, утоплены или защищены каким-либо иным способом. Необходимо, чтобы крепления, удерживающие подвесные груши, канаты для лазания и сетки на уровне пола, были закрыты. На устройствах для развлечений не допускаются любые выступающие предметы или места, где возможно защемление частей тела. Везде, где возможно, необходимо обеспечить гладкость поверхностей. Вращающиеся устройства, с приводом или без него, должны быть отрегулированы так, чтобы они не могли превысить максимальную допустимую скорость. Также необходимо, чтобы все поверхности скольжения на них были гладкими, а в конечной точке движения обеспечено наличие амортизирующих материалов, например, на таких устройствах, как вращающиеся горизонтальные колеса и кабины, а также на колесах с наклонной осью. В тех местах, где посетители приседают, например, готовясь к спуску по горке или в наклонной трубе, необходимо установить поручни так, чтобы они сами не могли служить причиной получения травм. Следует проверить все имеющие приводы устройства на возможность захвата или сдавливания. При необходимости должно быть установлено устройство аварийной остановки и обеспечено наблюдение оператора. Необходимо свести к минимуму риск получения травмы при переходе с движущейся поверхности на неподвижную, например, используя рифленую поверхность, как у эскалатора. Устройства без привода, например, роликовые дорожки, горизонтальные многоярусные ролики, роликовые пирамиды, а также поднимающиеся и опускающиеся участки пола, часто оборудуют пружинным механизмом для возврата. Они должны быть оснащены дополнительными опорами для посетителей, например, параллельными поручнями. На них также должно быть установлено ограждение, для того чтобы человек не смог бы провалиться в отверстия в полу, в лестничный колодец или упасть под ограждающие балкон поручни. Необходимо исключить любую возможность для захвата ступней или пальцев ног, особенно на устройствах для развлечений, движущихся под действием массы посетителей. Необходимо исключить доступ (установить ограждения) к участкам, где движение частей аттракциона может представлять собой опасность, например, раскачивающимся платформам, качелям и т.п. или ввести обмягчение травмоопасных частей аттракциона. Трамплины и другие прыжковые аттракционы необходимо располагать в местах, где посетители не смогли бы получить травму от объектов, окружающих аттракцион. Следует уделить особое внимание зазорам между боковыми стенками и движущимися краями шарнирных дверей, в том числе приводимых в действие посетителями, чтобы предотвратить падение посетителей, особенно детей. Для предотвращения травм предупреждающие надписи должны четко указывать на требование находиться в обуви на таких аттракционах, как деревянные дорожки, качающиеся мостики, камни через водоем, стальные ролики и пр. Предупреждающие надписи должны четко указывать, какими аттракционами нужно пользоваться без обуви (например, спуски, трубы, вращающиеся бочки и т.п., чтобы не ударить жесткой обувью других посетителей). На аттракционах, где от посетителей требуются определенные физические данные, следует при входе помещать хорошо различимые предупреждения, например: «Этим аттракционом могут пользоваться только люди в хорошей физической форме». В замкнутых помещениях, используемых для развлечений, должно быть обеспечено наблюдение за посетителями. Операторы должны предпринимать незамедлительные меры для предотвращения травм, например, выключая аттракцион. Оператор должен пресекать недисциплинированное поведение посетителей и предупреждать об опасности их поведения. Наблюдение может быть дополнено дистанционными средствами, например, телевизионными камерами, дисплеями или зеркалами. Необходимо расположить точки наблюдения так, чтобы обеспечить полный контроль всего происходящего в помещении. «Кривые зеркала» В помещениях, где установлены «кривые зеркала», не должно быть ступеней. Стеклянные панели должны быть изготовлены из небьющегося стекла. Не допускается наличие каких-либо выступающих предметов или мест, где возможно защемление. Везде, где возможно, необходимо обеспечить гладкость поверхностей. 5.9.5.2 Призовые аттракционы Все аттракционы площадью более 50 м2 должны быть оборудованы не менее чем двумя выходами шириной не менее 1,0 м каждый. Для площадей свыше 100 м2 должны быть оборудованы, как минимум, два выхода с противоположных сторон. Аттракционы с бросанием или забиванием мяча должны быть снабжены предохранительными сетками или стенками достаточной прочности для защиты посетителей от травм во время эксплуатации. Рабочее место оператора должно быть защищено аналогичным образом. 5.9.5.3 Силомеры и другие подобные аттракционы Подобные аттракционы должны быть прочно закреплены на земле (см. ГОСТ Р 52170). Части, по которым наносят удары, должны быть прочно закреплены так, чтобы они не могли оторваться. Силомеры типа «молот» - с круговой траекторией движения снаряда - должны быть ограждены по периметру. Безопасные расстояния до пластин, по которым наносят удары, - согласно 5.8.4. Молот должен быть надежно закреплен на рукоятке. При использовании разбивающихся устройств необходима защита от разлетающихся фрагментов. 5.9.6 Временные трибуныЕсли на временной трибуне под открытым небом к ряду сидений имеется проход только с одного конца, число сидений в ряду должно быть не более 16, при двух проходах с двух концов ряда число сидений должно быть не более 32. Если перепад высот между рядами более 0,32 м, то в одном ряду может быть не более 11 и 22 мест соответственно. Ширина аварийного прохода и выхода должна быть не менее 1 м, если на трибунах располагается не более 450 посетителей на открытом воздухе и 150 посетителей в случае эвакуации из тентовой конструкции. Проход от каждого ряда должен быть на одном уровне со смежной ступенькой. Если предусмотрены только стоячие места, то ширина места на одного посетителя должна быть не менее 0,50 м, а максимальная глубина ряда - 0,45 м. Если места только стоячие, число посетителей (например, для определения ширины требуемых выходов) должно быть рассчитано по площади трибун. Плита основания трибуны должна прочно крепиться на опорной конструкции с тем, чтобы предотвратить ее скольжение (см. ГОСТ Р 52170). Если под трибуной есть доступное для посетителей пространство, оно должно быть защищено от падающих предметов. Конструкция трибуны должна препятствовать накоплению мусора. Ширина сидений сидячих мест - не менее 0,44 м. Сиденья должны быть надежно закреплены на опорной конструкции. Сиденья внутри ряда крепят друг к другу или к земле. Минимальное расстояние между рядами сидений - 0,45 м. 5.9.7 Гидро- и пневмоприводы, подъемники5.9.7.1 Гидравлические и пневматические устройства Общие требования Безопасность гидравлических и пневматических устройств должна быть подтверждена расчетами, чертежами, схемами и описанием работы устройства. В случае отказа гидравлические и пневматические устройства должны занять безопасное положение. Первый отказ системы должен быть обнаруживаемым. В этом случае допускается последующие отказы не рассматривать (см. также ГОСТ 30869 и ГОСТ 31177). Конструкция Все цилиндры, плунжеры, трубопроводы и другая арматура, на которую действует давление, должны быть спроектированы и изготовлены так, чтобы выдерживать без разрушения и деформаций давление, в два раза превышающее максимальное статическое рабочее давление для гидравлических устройств и в 1,5 раза - для пневматических устройств. Использование хрупких материалов для цилиндров или соединений не допускается. Плунжеры и цилиндры устанавливают так, чтобы на них действовали только осевые нагрузки. Ограничение перемещений Должны быть предусмотрены средства, предотвращающие движение плунжеров за пределы цилиндров. Трубопроводы Трубопроводы следует крепить так, чтобы исключить чрезмерные напряжения. Особенное внимание следует уделять стыкам, изгибам, арматуре и любой части системы, испытывающей вибрацию. Трубопроводы должны быть установлены так, чтобы их можно было проверять по всей длине. Рукава Рукава, работающие под давлением, должны выдерживать пятикратное максимальное рабочее давление. Материал гидравлических рукавов должен соответствовать химическим свойствам рабочей жидкости, используемой в системе. Рукава должны быть установлены так, чтобы не было изгибов под острыми углами, износа от трения или возможности зацепления движущимися частями механизмов. Изготовитель должен указать периодичность замены рукавов. Резервуар Резервуар для рабочей жидкости должен иметь жесткую конструкцию и эффективную систему вентиляции в атмосферу. Внутреннее покрытие резервуара должно выдерживать химические и тепловые воздействия рабочей жидкости. Должны быть предусмотрены воздушный фильтр, фильтр для жидкости и индикатор уровня. Емкость резервуара для штатной работы должна быть на 10% больше той, которая гарантирует непрерывный приток жидкости к насосу. На установке должна быть четкая маркировка с указанием типа рабочей жидкости. Выпуск Гидравлические системы должны иметь систему вентиляции в атмосферу. Необходимо, чтобы в гидравлических или пневматических системах был предусмотрен предохранительный клапан, который должен быть установлен между насосом и обратным клапаном. Предохранительный клапан должен быть отрегулирован на срабатывание при значении давления, превышающем максимальное рабочее давление в системе не более чем на 10% для пневматических систем или на 20%-для гидравлических систем; при этом клапан не должен срабатывать при обычных условиях работы системы. Устойчивость системы шток-цилиндр должна быть рассчитана на нагрузку, в 1,4 раза превышающую рабочую статическую нагрузку. Для цилиндров необходимо проводить расчет усталости. Случай отказа Если существует вероятность возникновения опасной ситуации из-за разрушения трубопроводов или рукавов, то необходимо установить обратный клапан, клапан, регулирующий поток жидкости, или перекрывающий клапан непосредственно на цилиндре. Проверка В гидравлической системе необходимо установить датчик давления для облегчения контроля значения рабочего давления и установки предохранительного клапана. Опускание В случае неисправной работы или выхода из строя гидравлической или пневматической системы максимальная скорость опускания любого узла оборудования, перемещающего пассажиров, должна быть не более 0,5 м/с, за исключением случаев, когда установлены амортизаторы для предотвращения воздействия чрезмерных ударных нагрузок на пассажиров. Защита Все клапаны должны быть защищены от переустановки посторонними лицами. Аварийное электропитание Там, где это необходимо, для ускорения эвакуации пассажиров из опасного положения при отказе энергоснабжения должна быть подключена система аварийного электроснабжения с ручным управлением. Чистота Все фильтры должны обеспечивать достаточную степень очистки. Фильтры должны быть установлены с той стороны насоса, где осуществляется сжатие. В случаях, если безопасное состояние системы зависит от свободного притока рабочей жидкости в резервуар по обратным магистралям, не следует устанавливать на них фильтры. До заливки в систему все рабочие жидкости должны быть отфильтрованы. На поверхности деталей любой вводимой в эксплуатацию системы должны отсутствовать какие-либо загрязнения или дефекты. 5.9.7.2 Подъемные устройства. Подъемники Тормоза подъемников Подъемники (тросовые и цепные) должны быть оборудованы тормозами или другим устройством, способным останавливать движение нагруженной системы при заданной скорости и удерживать ее в неподвижном состоянии. Тормоза должны срабатывать автоматически при любом отказе энергопитания. Расположение подъемника должно быть таким, чтобы механическая связь между тормозом, барабаном или звездочкой не могла быть прервана. Ограничение подъема и опускания Для защиты от сбоев в системе управления согласно требованиям ГОСТ Р МЭК 60204-1 необходимо установить следующие устройства: - предварительные переключатели, предназначенные для перехода на режим управляемого торможения на верхнем и нижнем участках траектории движения подъемника; - ограничительные концевые выключатели, не допускающие движения подъемника в непредусмотренном направлении в конечных точках траектории; - концевые стопорные выключатели, срабатывающие при механическом воздействии и разрывающие основную электрическую цепь питания подъемника; приводы этих переключателей должны быть независимыми; - концевые упоры в верхних и нижних точках траектории, механически препятствующие движению. Защита от перегрузки При наличии опасности перегрузки оборудования должны быть предусмотрены соответствующие устройства защиты. Это требование не применяют, если число пассажиров ограничено числом имеющихся сидений или мест. Защита от ослабления натяжения тросов и цепей Должны быть установлены устройства, срабатывающие при ослаблении натяжения троса или цепи и исключающие при этом возможность любого перемещения механизма, кроме медленного подъема. Защитные системы На всех аттракционах, где осуществляется подъем пассажиров на высоту более 1,5 м, должны быть установлены специальные защитные системы, которые: - снижают скорость пассажирского модуля, если ее значение превышает номинальное значение более чем в 1,4 раза; - при наличии нескольких систем защиты устройства, обеспечивающих их срабатывание, должны быть соединены механически; - при срабатывании отключают энергопитание подъемников; - отключают энергоснабжение при ослаблении или разрыве каната/цепи, а также при неисправности ограничителей скорости. Подъемники, использующие зубчатые, шестеренчатые или гидравлические приводы непосредственного действия, должны быть снабжены аналогичным защитным оборудованием. Элементы подвески Характеристики канатных или цепных подъемников должны соответствовать рабочим нагрузкам и продолжительности эксплуатации. Для подъемников, предназначенных для подъема посетителей, отношение минимальной разрушающей нагрузки каната или цепи к максимальной прилагаемой к ним силе, должно быть не менее 6, а для других подъемных устройств - не менее 5. Все канаты или цепи одного подъемника должны быть одинакового размера, качества и конструкции. Предел прочности проволок канатов на растяжение должен быть не менее 1570 Н/мм2. Барабаны для навивки каната должны иметь спиральную канавку. При самом нижнем положении подъемного устройства на барабане должно оставаться не менее двух витков каната. Отношение диаметров шкивов и барабанов, измеренных по геометрической оси каната, к номинальному диаметру каната выражают как D/d. Существующими стандартами для проволочных канатов можно пользоваться только в том случае, если их назначение соответствует условиям эксплуатации. В иных случаях для определения отношения D/d проводят расчет на усталость с учетом: скорости движения каната, типа каната, динамических характеристик, диапазона напряжений и числа циклов нагружения. Должны быть предусмотрены устройства, уравнивающие натяжение канатов и цепей там, где в одной точке подвески закреплено более одного каната или одной цепи. Шкивы проволочных канатов, цепочные колеса или зубчатые колеса должны быть оборудованы предохранительными устройствами, предотвращающими сход канатов или цепей с зубьев звездочек или из ручьев блоков. Растягивающая нагрузка, которую должна выдерживать концевая заделка каната или цепи, должна составлять не менее 95% их минимальной разрушающей нагрузки. Гидравлические приводы Гидравлические приводы должны соответствовать требованиям 5.9.7.1. Их конструкция должна быть такой, чтобы в случае утечки рабочей жидкости не могло возникнуть опасных ситуаций. Для подъемников, непосредственно управляемых цилиндрами, должны быть оборудованы клапаны, предотвращающие нерегулируемое опускание в случае разрыва трубы или шланга. Приводы с ходовыми винтами Для оценки проектных напряжений в ходовых червяках и гайках необходимо провести расчет переменных и статических нагрузок. Конструкция ходового винтового механизма должна исключать отделение пассажирского модуля от подъемного механизма во время нормального режима эксплуатации. На каждом ходовом винте должна быть предохранительная гайка соответствующего размера. Материал гайки выбирают так, чтобы ходовой винт имел более высокое сопротивление износу, чем гайка. Предохранительная гайка должна нагружаться только при отказе несущей гайки. Пассажирский модуль не должен двигаться, если предохранительная гайка нагружена. Должна существовать возможность проверки износа несущих гаек без крупного демонтажа. Ходовые винты должны быть оборудованы на обоих концах устройствами, не допускающими самопроизвольного схода несущих и предохранительных гаек. Шестеренчато-реечные приводы Для того, чтобы оценить напряжения на шестеренчато-реечных приводах, необходимо провести расчет переменных и статических нагрузок. Любая ведущая шестерня и/или шестерня, обеспечивающая безопасность, должна быть всегда зацеплена с рейкой, по крайней мере, на 2/3 ширины зуба и 1/3 его высоты. Должен быть обеспечен визуальный осмотр шестерен без их снятия и крупного демонтажа компонентов. 5.10 Уменьшение рисков для операторов аттракционовПроектировщик должен предусмотреть, а изготовитель аттракциона должен изготовить все необходимые устройства для защиты, такие как ограждения и кожухи, защищающие от опасных частей машин и механизмов, подобных приводам и трансмиссиям. Рабочее место оператора должно быть спроектировано и изготовлено так, чтобы обеспечивать простое и безопасное управление аттракционом. Необходимо учитывать, что оператор должен иметь свободный обзор всего аттракциона. Рабочее место оператора должно быть оборудовано удобными и безопасными средствами управления, а также достаточным освещением. В конструкторской документации должно быть предусмотрено оборудование рабочего места оператора с учетом эргономических требований для положений «стоя» и «сидя» с учетом обзорности критичных компонентов аттракциона, возможности громкой связи с посетителями, защита оператора от атмосферных осадков и прямых солнечных лучей. Для всех деталей аттракциона, нуждающихся в техническом обслуживании и/или в проведении проверок, необходимо обеспечить удобные и безопасные средства доступа, а также организовать безопасное рабочее место для обслуживающего персонала. 5.11 Эксплуатационные документыИзготовитель (проектировщик) должен передать покупателю вместе с аттракционом эксплуатационные документы, включая формуляр. Эксплуатационные документы должны быть разработаны в соответствии с требованиями ГОСТ 2.601 и ГОСТ 2.610. В эксплуатационных документах должны быть приведены требования к квалификации обслуживающего персонала. Эксплуатационные документы должны быть написаны на русском языке и приложены к формуляру аттракциона. Минимально необходимый состав эксплуатационных документов: 1) формуляр (см. 6.3, приложение В); 2) обоснование безопасности (см. приложение Ж); 3) руководство по эксплуатации; 4) журнал администратора - учет допусков аттракциона к эксплуатации (см. приложение И); 5) руководство по техническому обслуживанию; 6) инструкция по упаковке, перевозке и хранению; 7) инструкция по монтажу и демонтажу; 8) журнал учета технического обслуживания и ремонта. Руководство по эксплуатации должно включать в себя: - описание работы аттракциона, в том числе подробное описание основных систем, механизмов и систем управления и их работы; - описание систем управления аттракциона и их работы; - рекомендуемый порядок посадки и высадки пассажиров, включая их размещение на посадочных местах, а также необходимые ограничения для предотвращения перегрузки аттракциона; - установленные ограничения пользования (при их наличии) для посетителей, ограничения значения рабочей скорости устройства, длительность рабочего цикла и максимальное число посетителей, допускаемых для одновременного пользования; - возможные ограничения неполной или асимметричной загрузки аттракциона; - максимальное число и общую массу пассажиров в одном пассажирском модуле и/или аттракционе в целом; - данные об устройствах фиксации для пассажиров, описание их работы и правила пользования аттракционом; - описание процедур аварийной эвакуации, включая эвакуацию при отказе питания; - погодные условия, при которых не допускается эксплуатировать аттракционы, например, ветер, дождь; - информацию (с учетом требований 4.7) для разработки правил или сами правила поведения для посетителей, включая требования к физическим и антропометрическим данным посетителей, на которых рассчитан аттракцион, максимальную скорость движения, время катания, необходимые перерывы между сеансами; - действия обслуживающего персонала при простое и в особых условиях; - действия обслуживающего персонала при аварийных ситуациях. Руководство по техническому обслуживанию должно включать в себя: - требования к техническому состоянию составных частей аттракциона; - процедуры ежедневной проверки перед открытием и после окончания работы аттракциона; - перечень деталей и узлов, требующих регулярной смазки, ее периодичность, типы используемых смазок; - порядок разборки, сборки основных узлов, регулировки механизмов; - подробное описание средств управления аттракционом и их работы с указанием способов проведения необходимых проверок и технического обслуживания; - перечень критичных компонентов и параметров, требующих регулярных проверок (в том числе зон конструкций и механизмов, опасных в отношении появления усталостных повреждений из-за возникающих при эксплуатации высоких напряжений), рекомендуемую их периодичность (предпочтительно, в часах эксплуатации), а также рекомендуемые методы проверки, например визуальный осмотр или неразрушающий контроль. Необходимо отдельно указать детали и узлы с ограниченным сроком службы - перечень, описание и сроки проведения обязательных испытаний, необходимых для данного аттракциона; - перечень видов обслуживания и ремонта, которые может проводить квалифицированный персонал владельца аттракциона, с указанием необходимых требований. Необходимо подробно описать все виды технического обслуживания аттракциона (ежедневное, еженедельное, ежегодное), порядок проведения ежегодной полной проверки; - рекомендации по испытаниям электрооборудования. Примечание - Такие рекомендации должны включать в себя проверку сопротивления изоляции, целости цепей, целости заземляющего контура и проверку работоспособности устройств автоматического отключения (УЗО) (если установлены); - рекомендации по техническому обслуживанию электрического оборудования; - требования электробезопасности в соответствии с действующим законодательством. Чертежи и схемы должны включать в себя: - общий чертеж аттракциона с указанием его основных размеров после монтажа и рекомендуемых безопасных расстояний; - схемы всех систем управления (гидравлических, пневматических, электрических/электронных), изображенные с использованием стандартных обозначений. Инструкция по упаковке, перевозке и хранению должна включать в себя: - описание конструкции и порядка использования тары, упаковочных материалов и т.п.; - порядок пломбирования и распломбирования; - порядок погрузки и выгрузки; - способы крепления изделия при транспортировании; - условия хранения; - предельные сроки хранения. Инструкция по монтажу и демонтажу должна включать в себя: - характеристики специального оборудования, инструментов, материалов, деталей или узлов, необходимых для проведения безопасного монтажа и демонтажа; - проект производства монтажных работ; - требования к площадкам размещения, несущей способности грунта при бесфундаментной конструкции аттракциона, рекомендации по выполнению подходящих подкладок под опоры. При необходимости использования пригружений для опор аттракциона должны быть даны рекомендации по их применению; - в случае если аттракцион фундаментный, должны быть указаны требования по фундаментам под опоры. Эти требования должны включать в себя подробный план расположения фундаментов с указанием максимальных расчетных нагрузок на них. Примечание - При необходимости в инструкции по монтажу приводят способы отсыпки грунтовых подушек, уплотнения грунта и укладки плит для облегчения выравнивания, допуски на отклонения от горизонтальности; - последовательность проведения монтажных работ, обеспечивающая устойчивость конструкций; - значения моментов затяжки для ответственных резьбовых соединений; - способы правильного подключения электрических систем к источнику питания и соединения между собой; - схемы заземления для молниезащиты. Специальная информация должна включать в себя: - требования о недопустимости замены критичных компонентов, в отношении которых нет уверенности, что они соответствуют установленным техническим требованиям; - специальные требования по подготовке аттракциона к работе с посетителями, в том числе методы проверки; - подробное описание работ по техническому обслуживанию, уходу или ремонту, которые могут быть проведены пользователем или квалифицированными специалистами, а также перечень необходимых для этого приспособлений и/или деталей; - требования к обслуживающему персоналу; - обязанности обслуживающего персонала; - спецификации изготовителя по применению запасных крепежных и котировочных деталей; - критерии работоспособности ослабленных и подтянутых креплений; - критерии работоспособности и перечень деталей критичных компонентов, подвергающихся износу; - указания о необходимости приобретения запасных частей у изготовителя аттракциона или у иных подрядчиков по спецификации изготовителя, а также о возможности производства запасных частей по чертежам изготовителя; - инструкции по поиску неисправностей; - схему размещения знаков безопасности и предупреждающих табличек на аттракционе; - требования безопасности при проведении работ по техническому обслуживанию. 6 Производство (изготовление), приемо-сдаточные испытания6.1 Требования к изготовлению6.1.1 Приемо-сдаточные испытанияИзготовитель должен обеспечить и гарантировать соответствие критичных компонентов и параметров изготовленного аттракциона и качество их производства требованиям проектно-конструкторской документации. Соответствие должно быть официально подтверждено результатами промежуточных и приемо-сдаточных испытаний, оформлено свидетельство о приемке в соответствии с ГОСТ 2.601. Испытания должны проводиться по программе и методике испытаний с указанием типов применяемых приборов и метрологических характеристик. Если это требуется, аттракцион должен успешно пройти процедуру подтверждения соответствия. Примечание - Термин «приемо-сдаточные испытания» - по ГОСТ 16504. 6.1.2 Требования к персоналуИзготовитель должен гарантировать, что персонал, участвующий в производстве аттракционов, имеет необходимую квалификацию и опыт, сварщики, производящие сварку ответственных деталей и узлов несущих конструкций и критичных компонентов, должны быть аттестованы по [9]. Сборку, модификации, регулировку или переделку частей может проводить только квалифицированный персонал, имеющий соответствующий опыт. 6.1.3 Обеспечение качества - система менеджмента качестваДля исключения ошибок проектирования и производства должна быть создана система документов, в которой каждый исполнитель должен фиксировать своей подписью ответственность за проведенную работу, а руководитель - проверять и при необходимости подтверждать подписью результат работы. Должен быть назначен ответственный специалист, который обязан проверить, по крайней мере, соответствие критичных компонентов и всего аттракциона требованиям технических регламентов или национальных стандартов и проектно-конструкторской документации. 6.1.4 Контроль материалов и комплектующихЛюбые материалы, детали, устройства и узлы, от которых зависит безопасность аттракциона, должны соответствовать техническим требованиям, расчетным характеристикам и требованиям к качеству, содержащимся в соответствующих технических регламентах, национальных стандартах или договорах. Критичные компоненты должны иметь отчетливую маркировку изготовителя или подрядчика с тем, чтобы обеспечить их последующую идентификацию. Изготовитель должен хранить декларацию соответствия или сертификаты соответствия материалов и/или спецификации компонентов (элементов), в том числе поставленных его подрядчиками, в течение назначенного срока службы компонента (элемента). В процессе производства необходимо постоянно контролировать материалы (включая расходные) и компоненты (элементы), произведенные как самим изготовителем, так и его подрядчиками. Если в проектной документации или спецификации указано, что для критичных компонентов (элементов) необходимо провести испытания в процессе производства, изготовитель должен обеспечить их проведение. В случаях, если при проверке проекта или в технических требованиях установлено, что данные детали или узлы являются важными для обеспечения безопасности и для них необходимы специальные испытания, изготовитель должен обеспечить проведение этих испытаний. Неразрушающий контроль должен быть проведен в отношении критичных компонентов и соединений элементов, например, ответственных сварных швов, осей колес пассажирских модулей, и т.п. Изготовитель должен обеспечить соответствие основных характеристик безопасности и показателей качества для каждого материала и каждого компонента тем требованиям, которые указаны в проектной документации, и предусмотреть соответствующие процедуры изготовления. Все поставляемые материалы и комплектующие должны пройти входной контроль изготовителя с оформлением необходимых документов. Материалы, используемые для изготовления критичных компонентов, необходимо подвергать специальным методам входного контроля (физическим испытаниям и т.п.). Основные положения по входному контролю продукции - по ГОСТ 24297. Качество материалов и компонентов должно быть подтверждено документами соответствия производителя, оформленными в установленном порядке по крайней мере для: - стального проката для несущих элементов конструкции; - стандартных деталей механизмов, если отсутствует общепринятый или согласованный метод расчета, позволяющий провести их проверку. Гидравлические и пневматические шланги, цилиндры, плунжеры, крюки, карабины, скобы и т.п. должны иметь маркировку согласно действующим нормативным документам. Сосуды высокого давления должны соответствовать ГОСТ 12.2.085, ГОСТ Р 50599 и [10]. Канаты и цепи должны иметь сертификаты, указывающие гарантированную минимальную разрушающую нагрузку, тип и размер. 6.1.5 Защита от коррозии и гниенияПроектировщик должен указать способ защиты конструктивных элементов аттракциона от коррозии и гниения и периодичность их проверок. Все компоненты аттракциона должны быть защищены от коррозии или гниения апробированными способами (в соответствии с требованиями стандартов единой системы защиты от коррозии и старения). При использовании полых открытых конструкций из конструкционной стали следует учитывать необходимость предотвращения внутренней коррозии. При применении полых профилей, которые должны быть закрыты от попадания атмосферных осадков, необходимо контролировать отсутствие пор в сварных швах или отверстиях, или нарушения уплотнений. 6.1.6 Сварка металловСварные швы критичных компонентов выполняются и проверяются в соответствии с ГОСТ 23118, подраздел 4.10. Сварка должна быть выполнена по разработанному технологическому процессу, оформленному в виде типовых или специальных технологических инструкций, или по проекту производства сварочных работ. Процедура сварки утверждается согласно [11] - [14]. Руководство сварочными работами должно осуществлять лицо, имеющее документ о специальном образовании или подготовке в области сварки. Сварочные работы должны проводить сварщики, имеющие удостоверение на право выполнения сварки, выданное в соответствии с [9]. К сварке конструкций, испытывающих циклические нагружения, допускаются только сварщики, предварительно выполнившие сварку пробных образцов, которые удовлетворительно прошли контрольные испытания. Все несущие сварные соединения, в первую очередь соединения, воспринимающие переменные нагрузки, должны соответствовать категории качества «высокое» по ГОСТ 23118. Ответственные сварные швы и категория их качества для критичных компонентов должны быть указаны в эксплуатационных документах для контроля их состояния. Около таких сварных швов должно быть поставлено клеймо сварщика. 6.1.7 Пластиковые композиционные материалыОтветственные несущие элементы из композитов (стекловолокнистых пластиков) могут быть произведены только изготовителями, имеющими оборудование и квалифицированный персонал, необходимые для обеспечения надлежащего качества. Подрядчики должны предоставлять достаточную информацию в виде документов соответствия или результатов испытаний конкретных пластиков, которые указаны в проекте и должны быть использованы при изготовлении. Технология производственного процесса должна быть достаточно подробно изложена и проконтролирована для обеспечения требуемых характеристик конечной продукции. Необходимо вести регулярную регистрацию следующих основных данных, относящихся к производству несущих конструкций из композитов: - армирующих материалов, волокон, присадок и смол; - температуры, влажности и других условий изготовления; - типа производственного процесса, числа слоев, типа волокон и пр.; - отобранных для испытаний образцов композиционных материалов. 6.1.8 Электрические установкиЭлектрические установки и компоненты должны соответствовать требованиям действующих нормативных документов и приложению Е. Требования к временным электрическим установкам для сооружений и аттракционов на ярмарках и в парках развлечений - по ГОСТ Р 50571.27. Требования к электрооборудованию аттракционов - по ГОСТ Р МЭК 60204-1. 6.2 Маркировка аттракционаНа каждом аттракционе должна быть установлена информационная табличка изготовителя, содержащая следующие сведения: а) наименование и адрес изготовителя и/или импортера/поставщика; б) тип/номер модели; в) заводской номер изделия; г) месяц и год изготовления; д) дату выдачи документа о приемке; е) безопасную рабочую нагрузку/число посетителей. Маркировка для закрытых сооружений, стендов, палаток (киосков) должна содержать: а) наименование и адрес изготовителя/поставщика/импортера; б) месяц и год изготовления. 6.3 Формуляр аттракциона6.3.1 Идентификация Формуляр аттракциона должен точно идентифицировать аттракцион и содержать подробную историю эксплуатации, зарегистрированные данные обо всех ремонтах, модификациях, испытаниях и проверках, а также их подробные протоколы, в том числе выборки из проектной документации, в которых содержатся данные, необходимые для идентификации и проверок аттракциона. 6.3.2 Содержание В формуляре аттракциона должны быть приведены, как минимум, следующие сведения, необходимые для безопасной эксплуатации и использования: - обозначение изготовителя; - описание основных частей конструкции и работы аттракциона; - ограничения по скорости движения пассажирских модулей; - перечень критичных компонентов с ограниченным ресурсом, их основные технические характеристики; - перечень покупных критичных компонентов; - эксплуатационные нагрузки и параметры, предельно допустимые эксцентриситеты загрузок; - общие ограничения для посетителей при пользовании аттракционом по показаниям вреда для здоровья; - общие ограничения для пользователей по возрасту, росту и массе; - предельная эксплуатационная и ураганная скорость ветра для данного аттракциона; - требования к фундаменту или площадке основания; - возможные ограничения по снеговой нагрузке; - требования по сейсмостойкости; - другие имеющиеся ограничения. Для немеханизированных аттракционов невысокого биомеханического риска при скорости перемещения пассажиров менее 3 м/с допускается разработка объединенного упрощенного документа - руководства по эксплуатации, а вместо формуляра - паспорт. 6.3.3 Состав документов К формуляру аттракциона должны быть приложены следующие документы: - документ о подтверждении соответствия (если требуется); - свидетельство о приемке; - перечень эксплуатационных документов аттракциона; - чертежи опор с указанием нагрузок на них; - отчеты о проведенных модификациях; - реестр проверок с использованием методов неразрушающего контроля; - сведения об опасных происшествиях и несчастных случаях; - протоколы испытаний и технического контроля; - список эксплуатантов. К формуляру аттракциона должны прилагаться также следующие документы: - чертежи для определения основных размеров аттракциона; - планы расположения запасных выходов с указанием необходимых размеров и проверкой соответствия требованиям для закрытых помещений, предназначенных для 400 посетителей и более; - копии сертификатов поставщиков на критичные компоненты; - образец формуляра (приведен в приложении В). 7 Эксплуатация аттракционов7.1 ВведениеДанный раздел, содержащий требования и рекомендации по безопасной установке, сборке и разборке, перевозке, эксплуатации, обслуживанию и проверке аттракционов, предназначен для администраторов, операторов и другого обслуживающего персонала, а также для контролирующих организаций. 7.2 Комплект документацииЛюбой аттракцион должен обязательно иметь все необходимые эксплуатационные документы, включая формуляр (см. приложение В), выполненные в соответствии с 5.11. 7.3 Требования к персоналуВозраст операторов механизированных аттракционов должен быть не менее 18 лет. 7.4 Обязанности администратора7.4.1 Общие положения Администратор обязан: - своевременно обеспечить аттракцион необходимой документацией, при этом необходимо соблюдение установленной процедуры согласно 7.4.2; - организовать подбор, обучение и допуск к работе операторов и других служащих; - обеспечить безопасную сборку и разборку аттракциона (см. 7.4.4); - обеспечить безопасную эксплуатацию (см. 7.4.6, 7.4.7) в полном соответствии с требованиями законов, нормативных и эксплуатационных документов; - обеспечить безопасность обслуживания, ремонта и проведения модификаций (см. 7.4.9); - иметь в наличии, вести и обновлять по мере необходимости формуляр аттракциона и журнал администратора (см. приложения В, И), а также выпускать необходимые документы. Администратор должен разрабатывать и обеспечивать аттракцион всеми необходимыми инструкциями для работы с системами управления и связи, включая систему условных сигналов, используемых в данный момент на рабочих местах. 7.4.2 Покупка и продажа Поставляемый аттракцион должен иметь эксплуатационные документы. Перед началом эксплуатации каждого аттракциона администратор должен получить необходимые разрешения, если этого требует законодательство. 7.4.3 Подбор и обучение персонала 7.4.3.1 Привлечение к работе компетентного персонала включает его подбор, обучение, контроль за его работой, проверку подготовки и ведение учета. Администратор должен подбирать сотрудников, способных обеспечить безопасную эксплуатацию аттракциона в соответствии с эксплуатационными документами. 7.4.3.2 Персонал, участвующий в эксплуатации аттракционов, должен быть, соответственно должностям, проинформирован и обучен безопасным способам эксплуатации, включая: - безопасную эксплуатацию и обслуживание аттракционов; - безопасное размещение аттракционов и посетителей; - способы разрешения возникающих проблем, в том числе, действия при экстремальных ситуациях (возникновение поломок и неисправностей оборудования, несчастные случаи, пожар, неблагоприятные погодные условия, возникновение угроз взрывов и других чрезвычайных ситуаций). 7.4.3.3 Персонал (в зависимости от своих служебных обязанностей) должен быть проинформирован в необходимом объеме и пройти необходимую подготовку для работы на конкретных аттракционах, включая: - принципы работы систем обеспечения безопасной эксплуатации, в том числе устройства ограничения скорости, и другие конкретные меры безопасности; - порядок оповещения о неисправностях, дефектах или чрезвычайных происшествиях; - порядок посадки/высадки пассажиров; - ограничения в пользовании аттракционами для посетителей по их психофизическим данным; - порядок размещения и фиксации пассажиров, включая проверку запирания устройств фиксации; - порядок осуществления аварийной остановки; - действия в аварийной ситуации, включая отключение энергопитания и эвакуацию пассажиров. 7.4.4 Сборка и разборка аттракциона Общие положения Аттракционы должны возводиться (монтироваться) в соответствии с действующим законодательством Российской Федерации. Должна соблюдаться требуемая периодичность проверок. Необходимо (если это требуется действующим законодательством) известить соответствующий орган и представить формуляр аттракциона и эксплуатационные документы. 7.4.4.1 Площадка для установки аттракциона Состояние грунта и площадки Администратор или уполномоченное им лицо должны убедиться, что аттракцион размещается на площадке, соответствующей требованиям, указанным в формуляре или руководстве по эксплуатации, а именно: - площадка должна быть достаточно плоская и ровная, чтобы возводимый на ней аттракцион можно было безопасно эксплуатировать. После возведения аттракциона состояние грунта необходимо регулярно контролировать, чтобы убедиться в отсутствии ухудшения его несущей способности, особенно после неблагоприятных погодных условий. В случае необходимости должен быть обеспечен дренаж. Администратор должен также установить расположение подземных коммуникаций или надземных кабелей, которые могут представлять опасность при возведении и эксплуатации аттракциона; при необходимости следует получить информацию в соответствующих государственных или муниципальных органах. Если коммуникации могут представлять опасность для персонала или посетителей, необходимо принять все возможные меры для защиты от этой опасности посредством установки надежных и правильно расположенных ограждений либо иным способом. Необходимо предотвратить повреждение подземных коммуникаций при возведении аттракциона. Для этого необходимо применять специальные меры защиты коммуникаций, если только заранее не установлено, что их нет. Расположение аттракциона и безопасные расстояния до объектов При размещении аттракциона администратор должен руководствоваться следующими принципами: - минимальные расстояния до других постоянных или передвижных конструкций или коммуникаций должны соответствовать требованиям 5.8.4, 5.8.6; - следует учитывать возможность опасного приподнимания конструкции аттракциона под действием ветра; - аттракцион должен быть расположен так, чтобы обеспечить безопасный вход/выход посетителей и избежать давки в опасных ситуациях; - на главных проходах между аттракционами должно быть создано свободное пространство, позволяющее двигаться служебным машинам и обеспечивающее доступ к стационарным пожарным гидрантам даже во время эвакуации посетителей; - между соседними аттракционами, зданиями и другими местами пребывания посетителей должны быть достаточные расстояния, чтобы свести к минимуму риск распространения огня; - если в часть пространства, ограниченного габаритными размерами одного аттракциона, входят части другого аттракциона, то контуры безопасности двух аттракционов не должны пересекаться (см. 5.8.4, 5.8.6). Администратор должен гарантировать соблюдение безопасных расстояний как для пассажиров, так и для посетителей. 7.4.4.2 Транспортирование на площадку, сборка и разборка Контроль персонала Транспортирование аттракционов на площадку, их сборка и разборка должны проводиться под непосредственным контролем администратора или уполномоченного им лица, имеющего соответствующую подготовку или опыт такой работы. Все устройства аттракциона должны быть собраны согласно инструкциям проектировщика (изготовителя) по сборке или инструкциям по техническому обслуживанию. Сборка/разборка При сборке и разборке аттракциона должны соблюдаться требования безопасности труда согласно инструкциям проектировщика (изготовителя), формуляру и руководству по эксплуатации. Аттракционы должны транспортироваться так, чтобы свести к минимуму риск повреждения критичных компонентов, и все транспортируемое оборудование во время движения должно быть надежно закреплено. Если при сборке аттракциона использовались технологические приспособления, попадающие в контур безопасности, необходимо перед пуском аттракциона проверить их отсутствие в контурах безопасности. Перед пуском аттракциона необходимо исключить доступ к нему посторонних лиц через проемы и любые отверстия в конструкциях, используемые для доступа только тогда, когда аттракцион находится в неподвижном состоянии или не эксплуатируется. Такие отверстия и проемы должны быть надежно закрыты крышками или снабжены ограждениями с надежно запертыми дверями. После завершения сборки все компоненты, влияющие на безопасность (части конструкции, соединения, крепления, устройства безопасности, электрические системы, тормоза и т.п.), должны быть проверены на предмет правильности их установки (см. 7.5). При необходимости нужно обеспечить достаточное освещение, позволяющее безопасно проводить работы. При обнаружении недопустимых повреждений или износа поврежденные части аттракциона должны быть заменены перед сборкой или эксплуатацией на соответствующие требованиям производителя. При необходимости все части должны быть должным образом смазаны перед установкой в аттракцион. Если рельсы являются частью аттракциона, они должны быть правильно уложены и выровнены так, чтобы движение по ним было плавным и безопасным. Безопасность Посторонние лица не допускаются в зону, где возводится аттракцион. Администратор или уполномоченное им лицо должны (там, где это необходимо) предусмотреть средства, предотвращающие проникновение посторонних лиц в зону проведения работ, например ограждения или предупреждающие знаки. 7.4.4.3 Уплотнение грунта, обеспечение устойчивости и крепление анкерами В процессе сборки должны быть приняты все необходимые меры для обеспечения устойчивости аттракциона во время эксплуатации. Установка аттракциона на наклонной и/или неровной поверхности без необходимого уплотнения грунта не допускается. В процессе сборки аттракцион должен быть выровнен, занимать устойчивое положение, создавать равномерное давление на грунт и быть прочно закрепленным. Все материалы подставок должны быть качественными, подходящими для этих целей и расположенными так, чтобы предотвратить скольжение, смещение и просадку опор аттракциона. Динамические нагрузки при работе аттракциона могут привести к ослаблению уплотнений и креплений, поэтому необходимо регулярно проводить повторные проверки уплотнений и анкеров. 7.4.5.1 Механическое оборудование Особое внимание следует уделить критичным компонентам аттракциона. Их необходимо тщательно проверить перед установкой. Любые детали или узлы, имеющие неприемлемый износ, поломки или другие повреждения, должны быть заменены до начала использования аналогичными работоспособными. Компоненты оборудования должны соответствовать требованиям эксплуатационных документов, за соблюдение которых несет ответственность механик аттракциона. При использовании подъемного оборудования необходимо соблюдать все требования в части производства работ, включая технику безопасности. Подъемное оборудование должно быть проверено и испытано в соответствии с требованиями к этому оборудованию либо (если оно является неотъемлемой частью аттракциона) в соответствии с требованиями, распространяющимися на весь аттракцион. Все прецизионные механические соединения должны осуществляться без приложения излишних усилий. 7.4.5.2 Гидравлическое и пневматическое оборудование Трубы, шланги, предохранительные клапаны и т.п. не должны применяться, если они повреждены. Не должно быть утечек. 7.4.5.3 Электрическое/электронное оборудование 1) Сборка оборудования аттракционов должна свести к минимуму риск получения электротравм. Люди должны быть защищены от контакта с проводниками под напряжением, превышающим 25 В переменного тока или 60 В постоянного тока, посредством изолированных должным образом кабелей, соединителей и прочего оборудования, защищенного от механических повреждений и размещенного вне досягаемости или в закрытых шкафах. 2) Открытые металлические конструкции аттракционов должны быть защищены от электрического напряжения в аварийных ситуациях: для переменного тока - системой заземления и автоматического отключения, для постоянного тока - изоляцией от земли. 3) Устройства защитного отключения (УЗО) и изоляция источника питания аттракциона должны быть предусмотрены на всех фазах, находящихся под напряжением, для цепей переменного тока и на положительном и отрицательном проводах в цепях постоянного тока. Такие устройства, как переключатели и реле, пускатели электродвигателей не должны применяться в качестве средства отключения электропитания. Должны быть предусмотрены меры предотвращения несанкционированного включения электропитания. 4) В цепях переменного тока, питающих осветительные приборы и розетки аттракциона с напряжением свыше 110 В, необходимо предусмотреть в качестве дополнительной защиты устройства защитного отключения. 5) Генераторы аттракционов должны размещаться так, чтобы свести к минимуму риски от горячих поверхностей, опасных частей, перегрева и продуктов сгорания. Связанное с ними электрическое оборудование должно быть установлено так, чтобы свести к минимуму воздействие вибрации. На генераторах переменного тока мощностью более 5 кВт нейтраль или, при трехфазном соединении звездой, общая точка должна подсоединяться к корпусу генератора. Корпус генератора обязательно должен быть подключен к заземлителю проводом с сечением, равным или более сечения фазного проводника, но не менее 4 мм2. Если это возможно, сопротивление заземления корпуса должно быть не более 20 Ом. Такое же соединение нейтрали с корпусом должно выполняться на маломощных генераторах переменного тока, если длина силового кабеля превышает 5 м. 6) Обогреватели и осветительная арматура аттракционов должны быть размещены вне досягаемости, так, чтобы свести к минимуму риск пожара. Они должны быть надежно закреплены на опорах, достаточно прочных, чтобы противостоять ветрам, и защищены от дождя, если только они не рассчитаны на такие воздействия и не являются переносными. Если напряжение превышает 25 В переменного тока, то кабели, которые ранее использовались с патронами контактного зажима, прокалывающими изоляцию для соединения, не должны применяться. 7) Все электрические шкафы или контейнеры аттракционов должны быть закрыты для доступа посторонних лиц. Если шкафы доступны для посетителей, то двери и крышки на них должны иметь запирающиеся замки. Источник питания и выключатель освещения должны быть защищены от несанкционированного доступа. 8) Высокие, изолированные и прочие уязвимые конструкции аттракционов должны быть защищены от удара молнии. 9) Должны использоваться такие рабочие системы, которые позволяют избежать рисков получения электротравм и прочих опасностей. К работе с электрооборудованием аттракционов должен допускаться компетентный персонал. 10) Необходимо проводить профилактические испытания оборудования и проверки исправности разъемов, кабелей и розеток. 7.4.5.4 Топливные системы, работающие на жидком и газообразном топливе Подсоединение систем, работающих на жидком и газообразном топливе, должно соответствовать требованиям действующих нормативных документов. Специальные защитные устройства, перечисленные в руководстве по эксплуатации, должны быть предметом особенно тщательного постоянного ухода. 7.4.6 Начало эксплуатации и проверки 7.4.6.1 Допуск к эксплуатации после сборки или длительного простоя После сборки должны быть проведены приемо-сдаточные испытания с оформлением соответствующего акта. В процессе и по окончании сборки аттракциона администратор должен организовать проведение контрольной проверки, руководствуясь инструкциями изготовителя и действующим законодательством Российской Федерации. Полную проверку необходимо провести, если аттракцион долго не эксплуатировался или был частично или полностью разобран, а затем вновь собран. Эта проверка должна проводиться на соответствие требованиям эксплуатационных документов. Администратор должен проверить также работоспособность средств блокировки, с помощью которых персонал может блокировать пуск аттракциона. После полной проверки аттракцион может быть допущен к эксплуатации с посетителями. Администратор должен зарегистрировать такие проверки и сделать соответствующую запись в формуляре (паспорте). 7.4.6.2 Ежедневная проверка и контрольный пуск Аттракционы в соответствии с руководством по эксплуатации должны ежедневно проверяться перед началом эксплуатации. При необходимости, дополнительные проверки должны проводиться и во время эксплуатации. Они должны включать в себя обязательный контрольный пуск с тем, чтобы убедиться, что органы управления, обеспечивающие безопасность, тормоза и другие защитные и аварийные устройства функционируют в соответствии с эксплуатационными документами. Испытания тормозов должны проводиться на мокром рельсовом пути, создающем условия для минимального трения, а поверхности тормозов должны быть при этом смочены водой. Конструкция тормозов должна обеспечивать остановку пассажирского модуля в заданном месте трассы как для случая незагруженного пассажирского модуля, так и при его загрузке посетителями. При этом нагрузка на каждое посадочное место должна быть в соответствии с таблицей 2 (см. 5.8.9.1). Проверка технического состояния стальных канатов должна проводиться в соответствии с [15]. Проверку проводит комиссия, состоящая из администратора, механика и оператора аттракциона, либо администратор и специализированная организация в соответствии с записанной процедурой проверки. Лица, выполняющие проверку, должны иметь соответствующую подготовку и/или опыт по проведению процедур проверки. Такие ежедневные проверки, внесенные в общий перечень проверок, составленный на основании эксплуатационных документов, касаются работы и состояния критичных компонентов аттракциона. Проверки должны включать в себя контроль соблюдения установленных допусков для скоростей и ускорений, проверку работоспособности пневматических и гидравлических систем, оценку износа конструкции и механизмов, проверки устройств фиксации и систем блокировки, выявление недопустимых деформаций, проверку барьеров, ограждений, проходов, аварийных выходов, запорных устройств и крепежных элементов, а также безопасности другого потенциально опасного оборудования. Результаты ежедневных проверок с подписями членов комиссии заносят в «Журнал администратора. Учет допусков аттракциона к эксплуатации», который должен находиться в сейфе у администратора аттракциона. Рекомендуемая форма журнала приведена в приложении И. На аттракционе ведется также «Журнал учета технического обслуживания и ремонта». Рекомендуемая форма журнала приведена в приложении К. Пассажиров можно допускать на аттракцион только после удовлетворительного выполнения всех регулировок или ремонта. 7.4.7.1 Посадка и высадка пассажиров Каждый пассажирский модуль должен загружаться согласно схеме, указанной в руководстве по эксплуатации, включая случаи неполной загрузки. Помощник оператора или оператор аттракциона должны убедиться в том, что каждый пассажир правильно размещен на посадочном месте, используемое устройство фиксации находится в требуемом положении и замок заперт. Необходимо убедиться в том, что на аттракционе нет пассажиров, для которых устройства фиксации или сиденья не подходят по их антропометрическим данным или другим причинам. Указанные проверки необходимо провести до пуска аттракциона и перед подачей сигнала о готовности к пуску. Если у оператора нет полного обзора всех мест посадки и высадки, необходимо предусмотреть четкие и однозначные средства, посредством которых оператор может определить вместе со служащими, можно ли запускать аттракцион. Пассажиров запрещается сажать на посадочные места, оборудование или устройство фиксации которых неисправны. Пассажиров необходимо четко и ясно проинструктировать о необходимости соблюдать правила поведения во время поездки. Перед пуском аттракциона необходимо убедиться, что никто, находящийся рядом, не подвергнется опасности при пуске аттракциона. Администратор должен периодически анализировать эффективность и достаточность мер обеспечения безопасности с учетом имеющегося опыта и изменяющихся обстоятельств, и в случае необходимости, изменять или улучшать применяемые меры. Администратор не может модифицировать защитные устройства или изменять процедуру обеспечения безопасности без одобрения изготовителя. Если есть вероятность, что пассажиры аттракциона могут застрять вне зоны высадки, необходимо подготовить инструкции, подробно описывающие процедуру их безопасной и быстрой эвакуации, желательно в том же пассажирском модуле, в котором они находятся. Для темных аттракционов должна быть подробно описана процедура доставки посетителей к выходу. Эта процедура должна подходить для всех лиц, которым разрешено пользоваться данным аттракционом, и должна быть понятна оператору и помощникам оператора, обслуживающим этот аттракцион. Часть территории аттракциона или около него, на которой посетителям находиться опасно, должна быть огорожена либо ее границы должны быть четко обозначены, чтобы предотвратить проникновение посетителей в опасную зону. 7.4.7.2 Рабочий цикл Все пассажирские модули (за исключением специально предназначенных для использования без наблюдения персонала) во время пользования ими пассажирами должны постоянно находиться под контролем оператора. Оператор должен правильно управлять аттракционом, уделяя внимание безопасности пассажиров и находясь у пульта управления на протяжении всего сеанса. Число служащих на аттракционе должно быть необходимым для обеспечения его безопасной работы. Каждый оператор может управлять одновременно только одним действующим аттракционом, перевозящим пассажиров. При эксплуатации аттракциона скорость его движения и его подвижных частей не должна выходить за пределы, указанные в формуляре или в эксплуатационных документах. Аттракционы не должны эксплуатироваться при неблагоприятных погодных условиях, которые могут повлиять на условия работы, устойчивость положения или безопасность пассажиров, при этом в руководстве по эксплуатации должны быть указаны ограничения, связанные с изменением погодных условий. Особое внимание следует уделять экстремальным условиям, которые могут быть вызваны порывистым ветром или усилением его силы, чему может способствовать эффект «аэродинамической трубы», создаваемый соседними конструкциями. При необходимости следует использовать устройства для измерения скорости ветра. 7.4.7.3 Наблюдение за посетителями Необходимо принимать все меры, включая остановку аттракциона, для пресечения недопустимых действий пассажиров в отношении оборудования, предназначенного для обеспечения их безопасности. Если очевидно, что некоторые посетители из-за своих физических данных могут подвергнуться опасности при пользовании конкретными аттракционами, то их нельзя допускать на эти аттракционы, если нет возможности обеспечить их дополнительными средствами защиты. Запрет пользования аттракционом для развлечений на основании медицинских показаний или соображений безопасности не является дискриминацией. Число посетителей, допускаемых на платформы и трибуны, не должно превышать указанное в формуляре, и в любом случае должна быть обеспечена безопасная эксплуатация. Аварийные проходы должны быть свободными. При необходимости платформы следует освободить от посетителей перед пуском тележек или пассажирских модулей. Если части аттракциона или пассажиры раскачиваются на высоте менее 3 м над землей, доступ посетителей к этим зонам должен быть исключен. При необходимости, для ожидающих посетителей должны быть предусмотрены безопасные места, доступ на которые регулируется перилами, турникетами или другими средствами. На темных аттракционах необходимо обеспечить аварийные проходы и выходы, которые должны быть свободны от препятствий и иметь хорошее аварийное освещение. На аттракционах с рельсовыми путем места его перехода посетителями должны быть четко обозначены и приняты меры для предупреждения риска споткнуться и упасть. 7.4.7.4 Правила пользования аттракционом для посетителей На видных местах должны размещаться понятные и четко читаемые таблички, указывающие ограничения для пассажиров в пользовании данным аттракционом. Необходимость размещения подобных табличек и их содержание должны быть указаны в руководстве по эксплуатации данного аттракциона. На табличке должно быть указано максимальное число пассажиров, на которое рассчитан данный аттракцион и каждый пассажирский модуль. Если ввиду заложенных при проектировании соображений (размеров контуров безопасности, пассажирских модулей и пр.) аттракцион предназначен только для детей, рост которых менее 120 см (что примерно соответствует возрасту восемь лет или младше), то необходимо известить об этом посетителей соответствующими табличками. Согласно требованиям эксплуатационных документов, возле каждого действующего аттракциона необходимо разместить следующие, хорошо читаемые, таблички с указанием: - минимального возраста или минимального/максимального роста посетителей, на которых рассчитан аттракцион; - запрета брать с собой острые, длинные и объемные предметы (трости, зонтики и пр.), а также животных; - опасности, которую представляют свободно свисающие шарфы и длинные волосы; - необходимости сохранять предписанное положение (т.е. не высовывать руки и ноги или не вставать во время движения); - запрета курить; - запрета кататься в состоянии алкогольной или наркотической интоксикации; - запрета сидеть, стоять на ногах или на коленях на перилах и боковых стенках; - запрета запрыгивать на аттракцион или спрыгивать с аттракциона во время движения. На платформах и трибунах необходимо разместить таблички, запрещающие раскачиваться вместе в такт, взявшись за руки, или ритмично топать ногами. Оператор и помощники оператора аттракциона обязаны добиваться от пассажиров выполнения этих требований. Должны быть предусмотрены эффективные средства, позволяющие оператору сообщать необходимые для посетителей сведения. Такие средства должны обеспечивать возможность подачи дополнительных звуковых или световых сигналов, особенно в случае аварии. Эти средства необходимо поддерживать в работоспособном состоянии и проверять ежедневно перед началом эксплуатации. Знаки информационные для общественных мест - по ГОСТ Р 51885. 7.4.7.5 Действия во время простоя Главный переключатель и все прочие переключатели должны быть отключены, а пусковой ключ - вынут. Кабина оператора должна быть надежно заперта, чтобы предотвратить доступ посторонних лиц. Движущиеся части должны быть зафиксированы, ограждения должны быть заперты. Если у аттракциона предусмотрено общее ограждение, то посетители и посторонние лица должны быть удалены за ограждение, а входы - контролироваться. 7.4.8 Особые обязанности по контролю за эксплуатацией аттракционов 7.4.8.1 Механизированные аттракционы Общие положения Число посетителей, одновременно находящихся на посадочной платформе, не должно превышать допустимое по нормам безопасной эксплуатации. Во время остановки пассажирских модулей для высадки/посадки пассажиров необходимо принять меры для удержания этих модулей в неподвижном положении до тех пор, пока все пассажиры не выйдут или не займут свои места, устройства фиксации не будут переведены в рабочее положение и не будет освобождена зона посадки. Если на аттракционах есть сиденья, то во время сеанса катания пассажирам, находящимся в тележках или пассажирских модулях, запрещается вставать на ноги или опускаться на колени. Если несоблюдение этого требования может представлять опасность, то аттракцион должен быть остановлен. В случаях, когда аттракционы оборудованы индивидуальными посадочными местами, на каждом из них должен находиться только один пассажир. При размещении пассажиров на посадочных местах оператор должен соблюдать требования, изложенные в инструкции по эксплуатации. В виде исключения, сиденья, рассчитанные на двух взрослых, могут быть заняты не более чем тремя детьми, если этому не препятствуют перегородки между сиденьями, позволяют устройства фиксации и правила эксплуатации аттракциона. На аттракционах, предназначенных исключительно для детей, могут кататься только дети соответствующих антропометрических данных. Катальные горы Поезд из тележек не должен трогаться из зоны посадки/высадки до тех пор, пока пассажиры не разместятся на своих местах в порядке, установленном инструкцией, и индивидуальные устройства фиксации пассажиров не будут переведены в рабочее положение и проверены оператором. Расстояние между поездами должно быть таким, чтобы в случае неисправности обеспечить своевременную остановку всех поездов. Во время эксплуатации необходимо регулярно осматривать механическое оборудование и конструкции с тем, чтобы убедиться в их исправности. В случае обнаружения неисправности аттракцион должен быть закрыт до ее устранения. Эксплуатация аттракциона прекращается при сильном ветре (более 15 м/с), плохой видимости или иных неблагоприятных погодных условиях, если они мешают безопасной остановке тележек с помощью тормозов или их движению по колее. Эти требования распространяются также на темные аттракционы (см. следующий абзац), подвергающиеся неблагоприятным воздействиям погоды. Темные аттракционы Если темный аттракцион имеет многоуровневую конструкцию, где по колее движется несколько тележек одновременно, помощник оператора или оператор должны иметь возможность немедленно остановить аттракцион в случае какой-либо неполадки, согласно требованиям безопасной эксплуатации и инструкциям проектировщика. Сталкивающиеся автомобили, скоростные дороги Одновременно могут эксплуатироваться только автомобили, имеющие однотипные приводы. Оператор аттракциона должен находиться на определенном рабочем месте с хорошим обзором зоны катания, иметь возможность подавать необходимые сигналы и пользоваться громкоговорящей связью. Если оператор не может наблюдать за всеми ответственными зонами катания, наблюдение за ними может быть поручено помощнику оператора, который должен иметь средства связи с оператором. Для наблюдения допускается применение технических средств, например видеокамер (локальной телевизионной сети). Необходимо сигнализировать о начале и конце сеанса катания, за исключением случаев, когда посадка/высадка пассажиров происходит в непосредственной близости от оператора или в случае безостановочного цикла работы аттракциона. Пассажирам разрешается занимать места в автомобилях с двигателями внутреннего сгорания только во время остановки автомобилей. Если на автомобилях с двигателями внутреннего сгорания обнаружена утечка масла или топлива, то автомобили должны быть немедленно удалены из зоны движения, а пролитые жидкости - убраны. Не допускается дозаправка маслом и топливом автомобилей, находящихся в зоне катания. Во избежание получения травм при эксплуатации сталкивающихся автомобилей необходимо принять все возможные меры безопасности. До начала работы аттракциона и (в случае необходимости) в перерывах следует удалять из зоны катания мусор и посторонние предметы. Любые следы коррозии на поверхности контактной сети, возникающие от атмосферных воздействий, должны удаляться. Состояние токосъемников должно проверяться ежедневно, а обнаруженные при этом дефекты должны быть устранены. Необходимо ежедневно чистить контактные щетки автомобилей. Качели Один помощник оператора должен обслуживать не более шести расположенных подряд пассажирских модулей. На качелях с полным оборотом без электрического привода, на которых пассажиры находятся вниз головой в течение короткого времени, в пассажирском модуле должен находиться только один человек. Карусели с горизонтальным и/или вертикальным направлением движения На каруселях со стрелами, обеспечивающими вертикальное перемещение, и управляемых самими пассажирами, включение подъема и центральной конструкции не должно происходить до включения привода вращения карусели. В конце работы аттракциона режим «опускание» должен осуществляться так, чтобы все пассажирские модули и центральная конструкция находились в своих низших точках к моменту выключения привода вращения карусели. На каруселях, сидячие или стоячие места которых поднимаются или наклоняются, а пассажирам приходится крепко держаться, чтобы противостоять центробежным силам, подъем или наклон не должен начинаться до тех пор, пока скорость не достигнет необходимого значения. Опускание должно заканчиваться до того, как скорость снизится ниже указанного значения. На каруселях с подвесными сиденьями необходимо следить за тем, чтобы пассажиры не раскачивались, не сталкивались, не вращали сиденья и не нарушали исходную штатную позу. Работа аттракциона должна быть прекращена, если пассажиры нарушают любое из упомянутых выше требований. На каждом сиденье должен находиться только один пассажир. На каруселях с тележками, предназначенными для детей, оператор и его помощники должны находиться вокруг карусели, чтобы немедленно принять меры в любой опасной ситуации. Колеса обозрения Пассажиров следует рассаживать в таком порядке, чтобы обеспечить равномерную нагрузку на колесо. Следует учитывать, что неравномерность загрузки (односторонняя загрузка) посадочных мест не должна превышать 1/6 и 5/6 периметра вращающейся части колеса. Для обеспечения этого условия проектировщиком или администратором должен быть разработан порядок посадки (высадки) пассажиров. При посадке в свободнокачающиеся или свободновращающиеся пассажирские модули или при высадке из них помощники оператора должны удерживать пассажирские модули до тех пор, пока пассажиры безопасно не разместятся в гондолах или не выйдут из них. 7.4.8.2 Немеханизированные аттракционы, шатры Общие положения Необходимо, чтобы было выставлено всем понятное предупреждение «НЕ КУРИТЬ!». Операторы и их помощники должны обеспечить соблюдение посетителями установленных правил поведения и ограничений в пользовании аттракционами. Вращающиеся платформы Вращающиеся платформы необходимо проверять на отсутствие каких-либо неисправностей как до начала эксплуатации, так и периодически в процессе ее проведения. При наличии неисправностей эксплуатация должна быть прекращена. Неисправности должны немедленно устраняться. Во время работы аттракциона необходимо, чтобы посетителей не было на краю платформы. Пассажиры, соскользнувшие с вращающейся платформы, должны немедленно покинуть зону скольжения между вращающейся платформой и краем аттракциона. На аттракцион не допускаются посетители в обуви на высоких каблуках или с металлическими набойками. Не разрешается проносить на аттракцион животных, зонтики, трости и другие громоздкие или острые предметы. Горки (спуски) Горки необходимо проверять на предмет выявления возможных неисправностей как до начала эксплуатации, так и периодически во время эксплуатации. В случае обнаружения неисправностей эксплуатация должна быть прекращена. Повреждения должны устраняться немедленно. Помощники операторов должны внимательно следить за поведением посетителей. Посетители могут спускаться с горок только на специальных подстилках. На горки не допускаются посетители в обуви с металлическими набойками или на высоких каблуках. Не разрешается проносить на аттракцион животных, зонтики, трости и другие громоздкие или острые предметы. Дети ростом до 120 см, а другие посетители - по их просьбе, всегда должны сопровождаться помощником по проходу до начала спуска. В начале прохода должно быть вывешено соответствующее предупреждение. Наверху и в конце горки должны находиться помощники, число которых должно быть достаточным для оказания помощи скатывающимся посетителям. Помощники должны обеспечивать соблюдение посетителями правил пользования аттракционом и, в первую очередь, достаточной дистанции между посетителями. Лабиринты, комнаты «кривых зеркал» Не разрешается проносить животных, зонтики, трости и другие громоздкие или острые предметы. Силомеры с молотами Во время работы аттракциона не допускается присутствие посетителей в зоне, огороженной в соответствии с требованиями 5.8.4, 5.8.6. Помощник должен следить за правильностью пользования аттракционом и чистотой территории. Игровые аттракционы с призами В местах установки игровых аттракционов с призами должна постоянно поддерживаться чистота территории. Снятый упаковочный материал должен храниться вдали от проходов так, чтобы исключить опасность возгорания. 7.4.8.3 Платформы и трибуны Число посетителей, допущенных на платформы и трибуны, не должно превышать числа мест, указанных в формуляре. Необходимо, чтобы на маршрутах эвакуации отсутствовали какие-либо препятствия. 7.4.9 Техническое обслуживание, ремонт и модификации 7.4.9.1 Общие положения Все работы по техническому обслуживанию аттракциона должны проводиться лицами, прошедшими специальное обучение или имеющими опыт проведения процедур технического обслуживания таких аттракционов, или техническое обслуживание должно проводиться под их непосредственным контролем. В состав этих процедур должно входить профилактическое обслуживание и контроль отдельных частей. В них должны быть учтены инструкции или рекомендации изготовителя (проектировщика) аттракциона и проверяющего органа. Все щиты, ограждения, закрывающие оборудование, кожухи, а также крышки смотровых люков, снимаемые для осмотра и проведения работ по техническому обслуживанию, перед пуском аттракциона должны быть установлены на место и надежно закреплены. 7.4.9.2 Техническое обслуживание Периодичность проведения работ по техническому обслуживанию должна соответствовать требованиям руководства по техническому обслуживанию. Не следует увеличивать рекомендованные интервалы между работами по техническому обслуживанию, кроме тех случаев, когда это письменно согласовано и одобрено проектировщиком. В инструкциях по техническому обслуживанию должны быть указаны все узлы, которые подлежат проверке, испытанию, смазке, регулировке или замене через указанные в эксплуатационных документах промежутки времени. В зависимости от необходимости инструкции включают в себя: - схемы механической, электрической, гидравлической, пневматической систем, а также системы обеспечения безопасности; - порядок работ, которые необходимо провести при проверке, испытаниях, смазке, регулировке или замене, а также при разборке или сборке узлов; - технические условия на рассматриваемые детали и допустимые отклонения; - технические условия на материалы узлов; - характеристики смазочных материалов. Администратор аттракциона должен обеспечить соответствие деталей, заменяемых в процессе технического обслуживания, требованиям эксплуатационных документов. В случаях, когда необходимо использовать детали, отличающиеся от деталей, рекомендованных проектировщиком, администратор аттракциона должен считать такие изменения модификацией и выполнить действия, указанные в 7.4.9.4. 7.4.9.3 Ремонт При проведении ремонта поврежденных деталей следует уделять особое внимание тому, чтобы ремонт не приводил к отклонению технических характеристик от первоначального проекта. Например, увеличение жесткости или прочности одного элемента конструкции может привести к росту напряжений в соседних элементах конструкции, что, в свою очередь, может привести к их повреждению. Сварка должна производиться в соответствии с требованиями 6.1.6. 7.4.9.4 Крупная модификация Крупная модификация должна проводиться только с согласия проектировщика. Если после консультации будет принято решение о крупной модификации, необходимо получить письменное согласие проектировщика на проведение модификации, а также провести соответствующую проверку качества выполнения работ, которая подтвердила бы, что проведенная модификация соответствует согласованному и утвержденному плану проведения модификации. Прежде чем аттракцион будет вновь введен в эксплуатацию после модификации, затронутые ею детали должны пройти полную проверку или проверку компонентов. Утвержденная документация должна быть включена в формуляр, и в нее должны быть внесены необходимые изменения. Протокол проверки технического состояния аттракциона, проведенной после ремонта или модификации, должен быть включен в формуляр. Вся информация по проведению технического обслуживания (см. 7.4.9.2), ремонта (см. 7.4.9.3) и крупных модификаций должна быть отражена в «Журнале учета технического обслуживания и ремонта» (см. приложение К), при этом должно быть указано, что сделано, по чьему указанию (документу), фамилия и должность исполнителя и принявшего работу, с подписью и указанием даты и часа приемки. Все записи в журнал должны быть занесены непосредственно после выполнения работы. Место нахождения журнала устанавливает администратор. 7.5 Обязанности механика и электрика аттракционаКаждый аттракцион должны обслуживать закрепленный механик и электрик аттракциона. В обязанности механика и электрика аттракциона входит: - проводить своевременное и качественное техническое обслуживание аттракциона; - ежедневно до начала работы аттракциона проводить проверку оборудования и механизмов; - проводить своевременное устранение неисправностей и текущий ремонт; - проводить своевременную замену изнашивающихся частей и материалов; - ежедневно передавать администратору в эксплуатацию исправный аттракцион с записью в «Журнале администратора». 7.6 Обязанности оператора аттракционаКаждый аттракцион должен находиться под непосредственным контролем оператора на протяжении всего цикла его работы, а также все время, пока он открыт для посетителей. Перед открытием аттракциона для посетителей оператор должен убедиться в том, что он полностью понял инструкции по его эксплуатации и порядок действий в аварийной ситуации. Каждый оператор должен выполнять свои обязанности в соответствии с данными ему инструкциями, уделяя необходимое внимание как безопасности посетителей и своих сотрудников, так и своей личной безопасности. Оператор должен обеспечить, чтобы средства, предусмотренные для защиты опасных деталей машин, силовых агрегатов и приводных механизмов, находились в должном состоянии перед открытием аттракциона для посетителей, а также всякий раз при приведении его в движение или при эксплуатации. Никто, кроме оператора, помощника или лица, проходящего обучение, при условии непосредственного контроля за ним со стороны оператора, не должен управлять аттракционом или вмешиваться в его работу в момент эксплуатации. Оператор не должен эксплуатировать аттракцион со скоростями, выходящими за пределы, установленные в формуляре и/или в руководстве по эксплуатации. В тех случаях, когда при неполной загрузке пассажирского модуля посетителями предъявляются особые требования к их размещению по определенной схеме, оператор, ответственный за данный аттракцион, должен обеспечить проведение посадки посетителей в надлежащем порядке. Во время эксплуатации аттракциона оператор должен контролировать отсутствие механических повреждений. Необходимо незамедлительно принимать решения при возникновении тех неисправностей или дефектов, которые могут привести к возникновению опасной ситуации для посетителей. В этом случае необходимо прекратить эксплуатацию аттракциона и уведомить администратора. Во время эксплуатации аттракциона не допускается проведение ремонтных работ, которые могут поставить под угрозу безопасность посетителей. Оператор должен предпринять все возможные меры для того, чтобы заставить посетителей соблюдать правила, установленные администратором, например, в отношении ограничений в пользовании аттракционом по антропометрическим данным. Если оператор полагает, что посетитель не может безопасно пользоваться аттракционом, например, по состоянию здоровья или из-за неадекватного поведения, он не должен допускать посетителя к пользованию аттракционом. Перед началом рабочего цикла аттракциона или подачей сигнала в любой форме о начале рабочего цикла оператор должен обеспечить: - надежную фиксацию всех посетителей в надлежащем положении, при этом устройства фиксации должны быть должным образом подогнаны, отрегулированы и (если это предусмотрено) надежно заблокированы; - отсутствие посетителей в той части аттракциона, где неисправны устройства размещения и/или устройства фиксации посетителей; - уведомление посетителей обо всем, что им необходимо знать для безопасного пользования аттракционом; - отсутствие посетителей или служащих в опасной зоне. В случае если невозможно непосредственное наблюдение за всеми местами посадки или высадки посетителей и для того, чтобы удостовериться в безопасности запуска аттракциона, необходимо использовать систему сигналов; - однозначное восприятие помощниками каждого сигнала; - надежную фиксацию пассажиров и отсутствие посетителей в тех зонах, где движение аттракциона может представлять для них опасность. В случаях, когда это целесообразно, для подачи сигналов следует использовать громкоговорящую связь. В случае если кто-либо из посетителей оказался в опасности, необходимо как можно быстрее остановить аттракцион при условии, что это можно сделать безопасно, или иным способом устранить возникшую опасность. Оператор не должен перемещаться на аттракционе в опасном положении, запрыгивать или соскакивать с него при опасных обстоятельствах. Оператор аттракциона должен обеспечить, чтобы его помощник выполнял свои обязанности с соблюдением правил техники безопасности. Оператор должен остановить аттракцион и предпринять меры по предотвращению доступа посетителей всякий раз, когда аттракцион не эксплуатируется. Оператор обязан ежедневно и своевременно делать все необходимые записи в «Журнале оператора» в соответствии со своей должностной инструкцией и инструкцией по ведению журнала. При этом должны быть указаны фамилия оператора, подпись, дата, время (час). Оператор обязан также записывать в журнал все, что касается любых отклонений от нормальной работы аттракциона согласно «Руководству по эксплуатации аттракциона», которые могут повлиять на безопасность посетителей, и все, что касается поведения посетителей, которое также может повлиять на их безопасность. 7.7 Обязанности помощника оператораКаждый помощник оператора аттракциона должен выполнять свои обязанности в соответствии с данными ему инструкциями, уделяя должное внимание безопасности посетителей, своих коллег и своей личной безопасности. Помощник оператора должен выполнять инструкции оператора и/или администратора, касающиеся загрузки пассажирских модулей и контроля за поведением посетителей. Например, он должен: - проводить загрузку пассажирских модулей по заранее предусмотренной схеме, размещая максимальное/минимальное число пассажиров в надлежащем положении; - правильно обеспечивать равномерную загрузку пассажирских модулей; - не допускать пользования аттракционом посетителями, которым не разрешается им пользоваться по физическим показателям; - принимать все надлежащие меры для недопущения к пользованию аттракционом тех посетителей, чье поведение вызывает опасение, что они не смогут безопасно им пользоваться; - не разрешать посетителям пользоваться той частью аттракциона, на которой неисправны устройства фиксации; - обеспечивать, чтобы до подачи оператору заранее оговоренного сигнала о готовности аттракциона к пуску все пассажиры были безопасно и надлежащим образом размещены и зафиксированы в надлежащем положении, уведомлены обо всем, что им необходимо знать для безопасного пользования аттракционом, и чтобы никто из зрителей не находился в опасной зоне. Помощник оператора не должен перемещаться на аттракционе в рискованном положении, запрыгивать или соскакивать с него при опасных обстоятельствах. В течение рабочего цикла аттракциона помощник оператора должен постоянно внимательно следить за тем, чтобы пассажиры оставались локализованными устройством фиксации и чтобы посетители не заходили в опасную зону. Он должен пресекать опасные действия посетителей или их попытки принять опасное положение. Если помощник оператора увидит, что какой-либо пассажир может упасть, рискует быть выброшенным или нечаянно соприкоснуться с какой-либо частью аттракциона, то он должен об этом немедленно сообщить оператору. Помощник оператора должен обеспечить безопасную высадку пассажиров с аттракциона. 7.8 Проверки7.8.1 Полная проверка Общие положения Администратор должен организовать проведение полных проверок технического состояния каждого находящегося в эксплуатации аттракциона. Для сезонно эксплуатируемых аттракционов полные проверки технического состояния должны проводиться, если это возможно, до начала очередного сезона, но в любом случае до истечения срока, указанного в протоколе предыдущей проверки технического состояния, зарегистрированной в формуляре аттракциона. Требования к объему проверки технического состояния Для того чтобы выявить критичные компоненты аттракциона и выбрать метод проверки технического состояния, необходимо получить формуляр аттракциона от его администратора (владельца) и эксплуатационные документы. Проверяющие должны: - исследовать сам аттракцион по его чертежам и другим документам для того, чтобы установить, полностью ли укомплектован данный аттракцион, не подвергался ли он крупной модификации, надлежащим ли образом проведена его сборка; - выявить критичные компоненты аттракциона; - выяснить у владельца или администратора, не проявлялись ли в критичных компонентах износ, повреждения и другие неисправности, влияющие на безопасность эксплуатации аттракциона; - провести проверку критичных компонентов аттракциона с выполнением разборки в том случае, если того требует формуляр или руководство по эксплуатации. Разборка может производиться при подозрении на наличие неисправности; - проверить узлы на наличие чрезмерного механического износа, коррозии или трещин, если результаты вышеперечисленных проверок указывают на возможность подобных дефектов; - в тех случаях, когда, по мнению экспертов, недостаточно проведения только визуального контроля, необходимо провести обследование с использованием физических методов неразрушающего контроля до начала следующего эксплуатационного периода либо после более длительного промежутка времени; - проверить деревянные детали на наличие неокрашенных участков поверхности или участков с поврежденной краской; проверить наличие излишней влажности, особенно в тех случаях, когда может иметь место поглощение влаги или затруднение стока воды, а также в случае применения деревянных деталей в конструкциях фундаментов; выявить участки с гнилой древесиной; - проверить соединения деревянных деталей, в которых может иметь место коррозия гвоздей или болтов, приводящая к порче деревянных деталей, и, следовательно, к неработоспособности их соединения; - проверить, есть ли недостающие деревянные детали, а также имеются ли на деревянных деталях трещины или повреждения, которые могли бы снизить несущую способность конструкции; - проверить на наличие утечек гидравлические и пневматические устройства, служащие для подъема каких-либо секций аттракциона или в качестве их опоры, а также не выходят ли значения давлений за установленные в технической документации пределы. Проверить предохранительные клапаны, клапаны сброса и регулирования давления, а также шланги на наличие повреждений; - проверить техническое состояние и правильность работы всех устройств фиксации посетителей и систем их запирания; - обследовать и испытать электроустановки в соответствии с ГОСТ Р МЭК 60204-1; - провести необходимые испытания и контрольные пуски; - если проведенная сборка аттракциона и его состояние признаны экспертами удовлетворительными, провести пуск аттракциона без нагрузки с максимальными скоростями вращения, подъема или значениями других характеристик, указанных в формуляре при проведении приемочных испытаний или предыдущего обследования; - провести пуск аттракциона с нагрузкой [не более (75 ±5) кг на одно посадочное место] с максимальными скоростями вращения, подъема или значениями других характеристик, зафиксированных в формуляре при проведении приемочных испытаний или предыдущего обследования; - провести проверку тормозов в соответствии с 5.8.9.1; - провести наблюдения во время пусков аттракциона и, в случае если все параметры будут соответствовать установленным, подписать и выдать документ, констатирующий результаты и предоставляющий свидетельства о выполненных работах. Внести в формуляр аттракциона соответствующие записи. Визуальный контроль Инструментальный контроль должен включать в себя: - осмотр конструкции аттракциона на наличие трещин и деформаций, т.е. выявление коробленых, изогнутых или помятых элементов, а также ослабленных креплений или отсутствующих деталей; - обследование элементов конструкции на наличие таких дефектов, как коррозия стали, гниение древесины, расслоение или разрыв армирующих волокон композитных материалов, ухудшение свойств тканевых мембран и т.п.; - тщательную экспертизу устройств фиксации пассажиров на предмет износа, точности регулировки, надлежащего функционирования и крепления; - тщательное обследование разъемных соединений (болтов, штифтов и др.) на наличие повреждений или чрезмерного износа; - визуальный контроль сварных соединений на наличие трещин, вызванных эксплуатацией аттракциона. Примечание - Контроль качества сварных соединений, выполненных при изготовлении, сборке, модификации или ремонте аттракциона, должен проводиться при производстве сварочных работ в процессе перечисленных выше операций; - исследование электрических и электронных устройств на предмет выявления модификаций или признаков повреждения. Визуальный контроль должен обязательно проводиться при независимой проверке технического состояния любого аттракциона. При проведении визуального контроля может потребоваться проведение дополнительных исследований с использованием инструментальных методов неразрушающего контроля. 7.9 Пожарная безопасность7.9.1 Общие положения Положения настоящего пункта представляют собой общие требования, относящиеся к площадкам аттракционов и паркам, где должны соблюдаться законодательные нормативные документы Российской Федерации в области пожарной безопасности. 7.9.2 Процедуры обеспечения пожарной безопасности Операторы и их помощники должны получить инструкции по действиям в случае пожара и быть обучены пользованию огнетушителями профессиональными пожарными (если возможно). Необходимо, чтобы около каждого закрытого помещения находилось достаточное число сотрудников, которые будут направлять посетителей в безопасные места в случае пожара. Необходимо назначить конкретного сотрудника ответственным за конкретное сооружение. Все сотрудники и помощники оператора должны пройти инструктаж о действиях в случае пожара или ином аварийном случае. Необходимо, чтобы в инструкции по пожарной безопасности был включен порядок применения предусмотренного противопожарного оборудования, требование о немедленном оповещении аварийных служб, а также способ их оповещения. Инструкции по действиям при пожаре должны быть вывешены на всеобщее обозрение в местах, указанных противопожарной службой. 7.9.3 Мероприятия на случай пожара Необходимо предусмотреть средства для подачи сигнала о пожаре в палатки, павильоны и закрытые сооружения. Палатки, павильоны и закрытые помещения, предназначенные для размещения более 2000 человек, должны быть оборудованы системой аварийной сигнализации для подачи сигнала об эвакуации. Сигнал должен быть слышен по всему помещению и четко отличаться от любых других звуков. Средства подачи сигнала тревоги должны быть устроены так, чтобы избежать возникновения паники среди посетителей, но моментально мобилизовать ответственных служащих. На каждой площадке аттракционов и в каждом парке аттракционов необходимо иметь и поддерживать в исправном состоянии средства пожаротушения (например, переносные огнетушители), которые должны быть размещены так, чтобы их можно было быстро привести в состояние готовности к применению. Рекомендации по выбору противопожарного оборудования приведены в 7.8.4.3. Мероприятия по проверке и техническому обслуживанию противопожарного оборудования должны проводиться через установленные интервалы времени. Для каждой единицы оборудования необходимо получить сертификат испытаний и эксплуатационной пригодности. Техническое обслуживание и расположение систем аварийной сигнализации и противопожарного оборудования должно соответствовать требованиям действующих нормативных документов. В течение всего времени, отведенного посетителям для пользования устройствами для развлечения, не допускается создание препятствий в проходах, обеспечивающих доступ к устройствам для развлечения или выход из них. Расположение устройств для развлечений должно обеспечивать удобную и быструю эвакуацию с территории аттракциона. При недостаточности естественного освещения в какой-либо части территории аттракциона, а также в темное время суток необходимо обеспечить искусственное освещение, чтобы посетители могли без каких-либо затруднений перемещаться по территории аттракциона. Особое внимание следует обратить на проходы, ведущие к выходам, лестничные пролеты и закрытые сооружения. Если освещение обеспечивается несколькими переносными генераторами с раздельными цепями питания, для обеспечения аварийного освещения в случае выхода из строя одного из них необходимо использовать соседние генераторы. Скопление горючих материалов и мусора на аттракционах и вспомогательных устройствах не допускается. На проходах, ведущих к безопасному месту, не допускается размещение канатных растяжек, клиньев и стоек для натяжения палаток. Подходы к устройствам пожаротушения, пожарным гидрантам и другим источникам воды для пожаротушения должны быть всегда свободны. Также не допускается заслонение чем-либо табличек, указывающих на местоположение гидранта, без согласования с противопожарными службами. В случае возведения крупных модульных сооружений, возможно, окажется необходимым принятие особых мер для минимизации риска распространения пожара. В случае если допускается установка палаток, павильонов и других видов модульных конструкций в нескольких различных конфигурациях, необходимо принять меры по обеспечению выполнения минимальных проектных требований, предъявляемых к числу выходов и ширине проездов, обеспечивающих подъезд транспортных средств. Необходимо принять аналогичные меры по обеспечению выполнения минимальных проектных требований, предъявляемых к обеспечению временными местами для сидения. 7.9.4 Обеспечение доступа аварийным службам Постройки на площадке аттракционов в парке должны быть расположены так, чтобы обеспечить удобный доступ к противопожарному оборудованию в пределах 50 м в любой части территории. В случае если обеспечить такой доступ невозможно, необходимо получить рекомендации противопожарной службы. Ширина основных подъездных путей должна быть не менее 4 м. Необходимо, чтобы ширина ворот была достаточной для удобного проезда противопожарного оборудования, а также автомобилей других аварийных служб. В случае если на территории находится более 15 крупных устройств для развлечений или огороженная площадь превышает 200 м2, необходимо составить общий укрупненный план территории с указанием расположения устройств для развлечений, автомобилей и фургонов. По мере возможности, в данный план должны своевременно вноситься произошедшие изменения. План должен быть готов для представления противопожарной службе до начала работы аттракционов. 7.9.4.1 Средства эвакуации Выходы и ведущие к ним проходы должны быть четко обозначены с помощью подсвечиваемых объявлений и указателей, знаков, которые должны соответствовать требованиям [16]. Необходимо, чтобы интенсивность аварийного освещения в закрытых сооружениях была достаточной для подсветки проходов, ведущих к выходам, лестничных клеток, ступеней и знаков. В случае необходимости аварийное освещение должно входить в состав обязательных мероприятий по обеспечению безопасной эвакуации людей из устройств для развлечений в случае нарушения электроснабжения. Двери сооружения и любого помещения внутри сооружения, через которые проводится эвакуация, не должны запираться или блокироваться так, чтобы их невозможно было открыть изнутри до тех пор, пока хотя бы один человек находится внутри сооружения. Все двери на проходах, ведущих к выходу, должны открываться наружу так, чтобы в случае аварии люди могли беспрепятственно покинуть сооружение. В тех случаях, когда входные двери необходимо запирать для предотвращения проникновения снаружи безбилетных посетителей, они должны быть оборудованы исключительно запорами, рассчитанными на случай паники. Выходы, закрытые створками из панелей или аналогичных деталей, должны быть четко отмечены по краям и должны быть устроены так, чтобы их легко можно было открыть изнутри. 7.9.4.2 Дополнительные противопожарные мероприятия Огнеопасные жидкости, например, бензин и дизельное топливо, должны храниться в подходящих для этого закрытых емкостях. Необходимо также обеспечить их надежную защиту от несанкционированного доступа. Емкости должны иметь четкую маркировку с указанием содержимого. Огнеопасные жидкости нельзя хранить в неплотно закрывающихся емкостях под грузовиками, прицепами или фургонами, вблизи находящихся под напряжением кабелей и электрооборудования. За рекомендациями по хранению огнеопасных жидкостей можно обратиться к работникам противопожарной службы. Необходимо соблюдать особые меры предосторожности при заправке топливных баков автомобилей и генераторных установок из канистр и бочек. Проведение дозаправки при работающем двигателе или генераторе не допускается. Дозаправка должна проводиться при достаточной интенсивности воздухообмена, предпочтительно на открытом воздухе. Не допускается использовать пространства под устройствами для развлечений, автомобилями, фургонами и между ними под хранилища горюче-смазочных материалов. Необходимо скашивать и удалять под оборудованием сухую траву и кусты. Любой мусор необходимо складывать в подходящие несгораемые емкости. Необходимо организовать периодический вывоз мусора. Емкости со сжиженным горючим газом должны быть защищены от несанкционированного доступа и образования случайной течи. Емкости для сжиженных горючих газов как заполненные, так и пустые, должны храниться в безопасных местах на открытом воздухе. В случаях, когда это целесообразно, они должны храниться в помещении с достаточной вентиляцией, построенном из негорючих материалов. Такое помещение для хранения должно находиться в безопасном месте либо в сооружении с огнестойкостью, равной 2 ч. Такое помещение можно использовать только для хранения сжиженных горючих газов и ацетиленовых баллонов. В сооружениях, открытых для доступа посетителей, не допускается нахождение переносного нагревательного оборудования и/или нагревателей, в которых используется открытое пламя. Если такое оборудование применяется во время отсутствия посетителей, оно должно находиться под постоянным контролем и затем, после применения, должно быть выключено или погашено и вынесено из помещения. Применение легковоспламеняющихся жидкостей, горючих материалов или открытого пламени для создания специальных эффектов во время представления без принятия специальных мер по предотвращению выхода процесса горения из-под контроля запрещается. Не допускается применение горючего газа для наполнения воздушных шариков независимо от того, предназначены ли они для продажи или для украшения. Горючие материалы должны храниться в надежном месте. Инструкции по действиям при пожаре должны быть вывешены на всеобщее обозрение в местах, указанных противопожарной службой. 7.9.4.3 Огнетушители Огнетушители должны находиться в общедоступных местах в соответствии с ГОСТ 27331, ГОСТ Р 51057. Помимо огнетушителей можно применять более мощные средства пожаротушения (например, песок, передвижное пожарное оборудование). 7.9.4.4. Должен быть назначен сотрудник, ответственный за противопожарные мероприятия в парке, на площадке, на аттракционе. Операторы и их помощники должны быть обучены действиям по инструкции на случай пожара. 8 Вывод из эксплуатации и утилизация аттракционов8.1 Общие требования После истечения срока службы аттракциона, если его продление невозможно, его эксплуатация должна быть прекращена, аттракцион должен быть утилизирован. Порядок обеспечения безопасности аттракционов при выводе из эксплуатации, разборке и утилизации должен быть разработан при проектировании и отражен в инструкции по утилизации или в специальном разделе инструкции по эксплуатации. Инструкция по утилизации должна охватывать все части и детали аттракциона, а также материалы и вещества, использованные и отработанные во время эксплуатации. Лицо, которое проводит выведение из эксплуатации, разборку и утилизацию аттракциона, несет ответственность за безопасность при проведении этих работ. Персонал, проводящий все этапы утилизации аттракциона, должен иметь необходимую квалификацию, пройти соответствующее обучение и соблюдать все требования безопасности труда. 8.2 Учет утилизации критичных компонентов 8.2.1 Критичные компоненты аттракциона могут быть демонтированы и использованы повторно, если их собственный ресурс не исчерпан. При этом необходимо подтверждать (учитывать) их ресурс. 8.2.2 Критичные компоненты с выработанным ресурсом, если их восстановление невозможно, подлежат утилизации. 8.2.3 Дата утилизации каждого критичного компонента должна быть проставлена в соответствующих перечнях формуляра. Приложение
А
|
|||||||||||||||||||||||||||||||||||||||||||||||||||||||||||||||||||||||||||||||||||||||||||||||||||||||||||||||||||||||||||||||||||||||||||||||||||||||||||||||||||||||||||||||||||||||||||||||||||||||||||||||||||||||||||||||||||||||||||||||||||||||||||||||||||||||||||||||||||||||||||||||||||||||||||||||||||||||||||||||||||||||||||||||||||||||||||||||||||||||||||||||||||||||||||||||||||||||||||||||||||||||||||||||||||||||||||||||||||||||||||||||||||||||||||||||||||||||||||||||||||||||||||||||||||||||||||||||||||||||||||||||||||||||||||||||||||||||||||||||||||||||||||||||||||||||||||||||||||||||||||||||||||||||||||||||||||||||||||||||||||||||||||||||||||||||||||||||||||||||||||||||||||||||||||||||||||||||||||||||||||||||||||||||||||||||||||||||||||||||||||||||||||||||||||||||||||||||||||||||||||||||||||||||||||||||||||||||||||||||||||||||||||||||||||||||||||||||||||||||||||||||||||||||||||||||||||||||||||||||||||||||||||||||||||||||||||||||||||||||||||||||||||||||||||||||||||||||||||||||
|
|
Схема воздействия ускорений |
Ускорение |
|
|
«Таз - голова» |
|
|
|
«Голова - таз» |
|
|
|
«Спина - грудь» |
|
|
|
«Грудь - спина» |
|
|
|
«Бок - бок» |
Fr -равнодействующая внешних сил

Рисунок А.2 - Длительность предельно допустимых линейных ускорений «таз - голова» az(g)max для пассажира аттракциона, зафиксированного в кресле в позе «сидя», при единичном воздействии импульса
|
Время воздействия ускорения, с
|
Рисунок А.3 - Длительность предельно допустимых линейных ускорений «голова -таз» -az(g) для пассажира аттракциона, зафиксированного в кресле в позе «сидя», при единичном воздействии импульса

Рисунок А.4 - Длительность предельно допустимых линейных ускорений «спина - грудь» +ах(g) для пассажира аттракциона, зафиксированного в кресле в позе «сидя», при единичном воздействии импульса
А.2.4 Кривая 1 (см. рисунок А.5) относится к позе пассажира «сидя» при использовании системы фиксации таза и опор для рук. Скорость нарастания ускорения - не более 7 g/с.
Кривая 2 - относится к позе пассажира «сидя» при использовании системы фиксации плеч в дополнение к системе фиксации таза и опорам для рук. Скорость нарастания ускорения - не более 15 g/с.
Кривая 3 - относится к позе пассажира «лежа» на специальной опоре с использованием мягких прокладок. Скорость нарастания ускорения - не более 15 g/с.
Время действия ускорения «грудь - спина» (-ах) для случаев, соответствующих кривым 1 и 2, не должно превышать 40 с.

Рисунок А.5 - Длительность предельно допустимых линейных ускорений «грудь - спина» -ах(g) для пассажира аттракциона, зафиксированного в кресле в позе «сидя» (кривые 1, 2) или в позе «лежа» (кривая 3), при единичном воздействии импульса
А.2.5 Скорость нарастания ускорений, приведенных на рисунке Б.6, не должна превышать 15 g/с.
При воздействии значительных ускорений ±аy(g) (см. рисунок А.6) рекомендуется применять систему фиксации плеч и грудной клетки в дополнение к системе фиксации таза (см. рисунок А.7).

Рисунок А.6 - Длительность предельно допустимых линейных ускорений «бок - бок» ±аy(g) для пассажира аттракциона, зафиксированного в кресле в позе «сидя» или «лежа», при единичном воздействии импульса
|
|
|
|
а) Удовлетворительная |
б) Хорошая |

в) Предпочтительная
Рисунок А.7 - Системы фиксации для пассажира аттракциона при воздействии линейных ускорений ±ay(g)
А.2.6 Если применяют коллективную систему фиксации таза пассажиров аттракциона, сидящих на общей скамейке, при ускорении аy(g) > 0,7, пассажиров располагают на скамейке от «меньшего» (наиболее легкого пассажира) к «большему» (наиболее тяжелому пассажиру) по направлению действия инерционной силы.
Ускорения по оси ±ау могут вызвать дискомфорт у пассажира аттракциона, поэтому не рекомендуется широко использовать их для создания развлекательных эффектов.
Б.1 Общие медицинские допущения
Приведенные ниже предельные значения ускорений установлены так, чтобы предохранить от повреждений шейные позвонки пассажиров при поездках на катальных горах в транспортных средствах с заданным направлением движения.
Б.2 Оценка допустимых значений ускорений
Б.2.1 Общие положения
Все транспортные средства на аттракционах должны быть оснащены соответствующими сиденьями (обмягчение, подголовники, учет боковых воздействий и т.п.) и устройствами фиксации. Рекомендуемые в настоящем приложении значения ускорений нельзя применять в отношении лиц, имеющих проблемы со здоровьем.
Исходная точка для расчета или измерения ускорения, воздействующего на пассажира, расположена на 60 см выше уровня сиденья.
При обработке графиков ускорения во времени допускается фильтровать участки с высокой частотой, применяя нижнюю границу частоты 10 Гц.
На стадии проектирования при наличии ударных воздействий рекомендуется уменьшать допустимые значения ускорений не менее чем на 10%.
Б.2.2 Ускорение «бок - бок»
Допустимые значения ускорения во времени для воздействий в боковом направлении определяют в соответствии с графиком, представленным на рисунке Б.1.

1 - зона, расположенная выше границы 10 Гц; ∆t- длительность импульса, с
Рисунок Б.1 - Допустимое ускорение сиденья |ау| в зависимости от длительности импульса
Б.2.3 Ускорение «таз - голова»
Допустимые значения ускорения «таз - голова» представлены на рисунке Б.2.
Б.2.4 Сочетания ускорений
При одновременном воздействии ускорений «бок - бок» (ау) и «таз - голова» (az) необходимо дополнительно учитывать отношения |ау|/ау.доп и az.доп в соответствии с рисунком Б.3, где аy и az - максимальные значения ускорений в интервале времени 0,3 с. Таким образом учитывают одновременное воздействие максимальных ускорений, происходящее с интервалом не более 0,3 с.
Допустимые значения ускорений ау и az, полученные в результате наложения ускорений, действующих в разных направлениях, представлены на рисунке Б.4.
В связи с необходимостью соблюдать временной интервал 0,3 с допустимые крайние значения ускорений составляют az = -1,7 g и az = + 6,0 g.
* Настоящее приложение соответствует [1], приложение G.

∆t - длительность импульса, с
Рисунок Б.2 - Допустимое ускорение аz в зависимости от длительности импульса

1 - область допустимых значений ускорения
Рисунок Б.3 - Совместное воздействие ускорений |ау| и |аz|

Рисунок Б.4 - Допустимые ускорения ау и az при их совместном воздействии
|
ФОРМУЛЯР |
||
|
АТТРАКЦИОН |
_______________________________________________________________________ |
|
|
|
(наименование аттракциона, дата выпуска) |
|
|
ИЗГОТОВИТЕЛЬ |
_______________________________________________________________________ |
|
|
|
(наименование, адрес, тел., e-mail) |
|
|
|
______________________________________________________________________ |
|
|
Запрещается удалять страницы из этого документа |
|
|
|
Число страниц. __________ |
|
|
|
Содержание |
||
|
1 Наименование и идентифицирующая информация |
12 Учет технического обслуживания |
|
|
2 Комплектность, описание, анализ рисков |
13 Авторский надзор за эксплуатацией |
|
|
3 Технические данные и требования |
14 Перечень критичных компонентов |
|
|
4 Прилагаемая документация |
15 Перечень компонентов с ограниченным ресурсом |
|
|
5 Свидетельство о приемке |
16 Сведения об авариях/ происшествиях |
|
|
6 Ведомость запасных частей и принадлежностей |
17 Движение аттракциона при эксплуатации |
|
|
7 Сведения о владельцах |
18 Реестр актов и протоколов |
|
|
8 Данные о регистрации |
19 Срок службы, гарантии изготовителя (поставщика), консервация, хранение |
|
|
9 Неразрушающий контроль (НК) |
20 Правила ведения формуляра |
|
|
10 Сведения о проведении и результатах экспертиз, проводимых независимыми проверяющими органами испытаний и технического контроля |
Пустые страницы для замечаний, вставки/прикрепления сертификатов и т.п. |
|
|
11 Сведения по ремонту, внеплановым мероприятиям ям, влияющим на безопасность устройства модификациям, влияющим на безопасность устройства |
|
|
1 Наименование и идентификационная информация
|
Наименование устройства, данное изготовителем: |
|
Серия или тип: |
|
Идентификационный (серийный) номер изготовителя: |
|
Наименование изготовителя: |
|
Адрес изготовителя: |
|
Наименование поставщика или импортера (если отличается от наименования изготовителя): |
|
Адрес поставщика или импортера: |
|
Дата выпуска: |
|
Дата поставки первоначальному покупателю: |
|
Наименование устройства (если отличается от наименования, данного изготовителем): |
2 Комплектность, описание, анализ рисков
Привести описание аттракциона на этой странице.
3 Технические данные и требования
|
1) Основные габаритные размеры: |
|
|
|
Диаметр |
|
|
|
Длина |
|
|
|
Ширина |
|
|
|
Максимальная высота: |
|
|
|
Вес (вместе с любыми дополнительными устройствами /без них): |
|
|
|
2) Занимаемая площадь - минимальные размеры: |
|
|
|
Длина |
|
|
|
Ширина |
|
|
|
Высота (минимальный просвет): |
|
|
|
3) Требования к электропитанию: |
|
|
|
Напряжение: |
|
|
|
Число фаз: |
|
|
|
Число проводов: |
|
|
|
Номинальная мощность в кВ-А или кВт |
|
|
|
Максимальный ток при пуске |
|
|
|
Частота: |
|
|
|
4) Допустимое одновременное число посетителей, помещающихся на устройстве или в нем: |
|
|
|
5) Допустимое одновременное число посетителей, помещающихся в одном пассажирском модуле: |
|
|
|
6) Ограничения (при наличии) для посетителей или сопровождающих, например, возраст, состояние здоровья, рост и т.п. |
|
|
|
7) Максимальная рабочая скорость (при наличии) (об/мин или м/с) |
|
|
|
8) Рекомендуемая рабочая скорость (при наличии) |
|
|
|
9) Направление вращения (если необходимо) |
|
|
|
10) Максимальная продолжительность рабочего цикла (мин) |
|
|
|
11) Максимальная допустимая скорость ветра для работающего аттракциона (м/с) |
|
|
|
12) Максимальная допустимая скорость ветра для неработающего аттракциона (м/с) |
|
|
|
13) Минимальная несущая способность грунта (для рекомендуемого уплотнения грунта или размещения основания) (кг/см2) |
|
|
|
14) Минимальное число, объем и характеристика переносных огнетушителей, шт. |
|
|
|
15) Условия или требования, которые должны соблюдаться в процессе эксплуатации |
|
|
|
16) Испытательная нагрузка на одно посадочное место (кН) |
|
|
Примечание - Отдельные требования могут быть необходимым условием государственной регистрации.
4 Прилагаемая документация
(Здесь указывается, какая информация поставляется вместе с аттракционом и остается вместе с ним)
|
а) Инструкция по монтажу/демонтажу |
Да |
Нет |
Примечание |
|
б) Руководство или инструкция по эксплуатации |
|
|
|
|
в) Руководство или инструкция по техническому обслуживанию |
|
|
|
|
г) Контрольный перечень периодических проверок |
|
|
|
|
д) Чертежи: |
|
|
|
|
- монтажные |
|
|
|
|
- чертежи элементов |
|
|
|
|
- монтажные электросхемы |
|
|
|
|
- принципиальные электросхемы |
|
|
|
|
- принципиальные схемы пневмо-, гидросистем |
|
|
|
|
е) Сертификат (декларация) |
|
|
|
|
ж) Перечень стандартов |
|
|
|
|
и) Другие документы |
|
|
|
5 Свидетельство о приемке
|
1. Аттракцион _________________ заводской №___________ изготовлен в соответствии с требованиями конструкторской документации |
|||
|
________________________________________ |
|||
|
2 Примененные материалы полностью соответствуют стандартам и конструкторской документации_____________________________ |
|||
|
3 Изготовленные или купленные детали и узлы полностью соответствуют стандартам и конструкторской документации ____________________________________________________________________________________________________________________ |
|||
|
__________________________________________________________________________________ |
|||
|
4 Аттракцион прошел приемочные испытания в соответствии с программой и методикой испытаний ___________________________________ и допущен к отгрузке покупателю. |
|||
|
Дата изготовления ________________________________. |
|||
|
Руководитель предприятия |
Начальник службы качества |
||
|
__________________ |
__________________ |
____________________ |
_________________ |
|
подпись |
фамилия |
подпись |
фамилия |
|
М.П. |
|||
6 Ведомость запасных частей и принадлежностей
|
Обозначение запасной части |
Наименование запасной части |
Применяемость |
Число в изделии, шт. |
Число в комплекте ЗИП, шт. |
Примечание |
|
|
|
|
|
|
|
|
|
|
|
|
|
|
|
|
|
|
|
|
|
|
|
|
|
|
|
|
|
|
|
|
|
|
|
|
|
|
|
|
|
|
|
|
|
|
|
|
|
|
|
|
|
|
|
|
|
|
|
|
|
|
|
|
|
|
|
|
|
|
|
|
|
|
|
|
|
|
|
|
|
|
|
|
|
|
|
|
|
|
|
|
|
|
|
|
|
|
|
|
|
|
|
|
|
7 Сведения о владельцах
|
Наименование и адрес владельца |
Дата передачи собственности |
Примечание |
|
Первоначальный владелец: |
|
|
|
|
|
|
|
По договору собственность передана (адрес и наименование нового владельца): |
|
|
|
|
|
|
|
Следующий владелец: |
|
|
|
|
|
|
|
|
|
|
|
Условия передачи |
|
|
|
|
|
|
8 Данные о регистрации
Примечание - Сведения о регистрации необходимо указывать в соответствии с действующим законодательством.
|
Независимый проверяющий орган |
Номер регистрации |
Дата |
Условия регистрации |
Комментарий, подпись |
|
|
|
|
|
|
|
|
|
|
|
|
|
|
|
|
|
|
|
|
|
|
|
|
|
|
|
|
|
|
|
|
|
|
|
|
|
|
|
|
|
|
|
|
|
|
|
|
|
|
|
|
|
|
|
|
|
|
|
|
9 Неразрушающий контроль (НК)
(не менее двух страниц)
|
Перечень требований изготовителя или органа власти к неразрушающему контролю или проверки любых компонентов и периодичности таких проверок |
||
|
Дата первого неразрушающего контроля:_____________________________________________________________ |
||
|
Место хранения и количество документации по НК |
||
|
Подпись организации, с которой согласован НК:_______________________________________________________ |
||
|
Зоны НК или визуального осмотра, методы НК, нормы дефектов |
Периодичность |
Контроль провел (должность, подпись, дата) |
|
|
|
|
|
|
|
|
|
|
|
|
|
|
|
|
|
|
|
|
|
|
|
|
|
|
|
|
|
|
|
|
|
|
|
|
|
|
|
|
|
|
|
|
|
|
|
|
10 Сведения о проведении и результатах экспертиз, испытаний и технического контроля, проводимых независимыми проверяющими органами
(не менее 10 страниц)
|
Характер проверки, (например, общая проверка, проверка электрической и механической систем, испытания конструкции, неразрушающий контроль и т.д.) |
Наименование организации, адрес (прописными печатными буквами) и подпись лица, проводившего проверку |
Дата |
Место |
Выдано уведомлений о наличии дефектов |
Эксплуатация |
Сроки действия разрешения |
№ акта |
|||
|
Разрешена |
Не разрешена |
|||||||||
|
Да |
Нет |
|||||||||
|
|
|
|
|
|
|
|
|
|
|
|
|
|
|
|
|
|
|
|
|
|
|
|
|
|
|
|
|
|
|
|
|
|
|
|
|
|
|
|
|
|
|
|
|
|
|
|
|
|
|
|
|
|
|
|
|
|
|
|
|
|
|
|
|
|
|
|
|
|
|
|
|
|
|
|
|
|
|
|
|
|
|
|
|
|
|
|
|
|
|
|
|
|
|
|
|
|
|
|
|
|
|
|
|
|
|
|
|
|
|
|
|
|
|
|
|
|
|
|
|
|
|
|
|
|
|
|
|
|
|
|
|
|
|
|
|
|
|
|
|
|
|
|
|
|
|
|
|
|
|
|
|
|
|
|
11 Сведения по ремонту, внеплановым мероприятиям, модификациям, влияющим на безопасность устройства
(не менее 10 страниц)
|
Дата |
Подробности выполнения работ |
Имя или наименование и адрес лица или компании, обязавшейся провести работы |
Проведена ли предварительная оценка ремонтных работ, кем |
Замена критичных компонентов, влияющих на безопасность |
Поставщик критичных компонентов |
№ акта |
|
|
|
|
|
|
|
|
|
|
|
|
|
|
|
|
|
|
|
|
|
|
|
|
|
|
|
|
|
|
|
|
|
|
|
|
|
|
|
|
|
|
|
|
|
|
|
|
|
|
|
|
|
|
|
|
|
|
|
|
|
|
|
|
|
|
|
|
|
|
|
|
|
|
|
|
|
|
|
|
|
|
|
|
|
|
|
|
|
|
|
|
|
|
|
|
|
|
|
|
|
|
|
|
|
|
|
|
|
|
|
|
|
|
|
|
|
|
|
|
12 Учет технического обслуживания
(не менее 10 страниц)
Отчеты хранить в течение не менее 3 лет.
Бланк отчета о проведенном техническом обслуживании |
|||
|
Дата |
Подробности проведения операций или ссылки на приложенный акт, или ссылки на эксплуатационную документацию |
Фамилия, имя, отчество ответственного лица, дата, подпись |
№ отчета и дата составления |
|
|
|
|
|
|
|
|
|
|
|
|
|
|
|
|
|
|
|
|
|
|
|
|
|
|
|
|
|
|
|
|
|
|
|
|
|
|
|
|
|
|
|
|
|
|
|
|
|
|
|
|
|
|
|
|
|
|
|
|
|
|
|
|
|
|
|
|
|
|
13 Авторский надзор за эксплуатацией
Рекомендуется, чтобы устройство для развлечений или его части проходили проверку изготовителем (проектировщиком) или уполномоченной им сервисной службой в соответствии со следующей таблицей:
|
Бланк учета авторского надзора |
||||
|
Группа |
Часть |
Вид проверки |
Периодичность |
Примечания |
|
|
|
|
|
|
|
|
|
|
|
|
|
|
|
|
|
|
|
|
|
|
|
|
|
|
|
|
|
|
|
|
|
|
|
|
|
|
|
|
|
|
|
|
|
|
|
|
|
|
|
|
|
|
|
|
|
|
|
|
|
|
|
|
|
|
|
|
|
|
|
|
|
|
|
|
|
|
При ненадлежащем функционировании устройства для развлечений или его частей может потребоваться проведение внеплановых проверок изготовителем (проектировщиком).
14 Перечень критичных компонентов
|
№ |
Наименование |
Обозначение |
Идентификационный № изготовителя |
Дата утилизации |
Примечание |
|
|
|
|
|
|
|
|
|
|
|
|
|
|
|
|
|
|
|
|
|
|
|
|
|
|
|
|
|
|
|
|
|
|
|
|
|
|
|
|
|
|
|
|
|
|
|
|
|
|
|
|
|
|
|
|
|
|
|
|
|
|
|
|
|
|
|
|
|
|
|
|
|
|
|
|
|
|
|
|
|
|
|
|
|
|
|
|
|
|
|
|
|
|
|
|
|
|
|
|
|
|
|
|
|
|
|
|
|
|
|
|
15 Перечень компонентов с ограниченным ресурсом
|
№ |
Наименование |
Обозначение |
Идентификационный номер изготовителя |
Назначенный ресурс, ч |
Учет работы |
Примечание |
|
|
Дата установки |
Дата снятия или утилизации |
||||||
|
|
|
|
|
|
|
|
|
|
|
|
|
|
|
|
|
|
|
|
|
|
|
|
|
|
|
|
|
|
|
|
|
|
|
|
|
|
|
|
|
|
|
|
|
|
|
|
|
|
|
|
|
|
|
|
|
|
|
|
|
|
|
|
|
|
|
|
|
|
|
|
|
|
|
|
|
|
|
|
|
|
|
|
|
|
|
|
|
|
16 Сведения об авариях / происшествиях
(не менее двух страниц)
Регистрируйте любые происшествия. Регистрация происшествия не является признанием ответственности.
Сохраняйте следующие формы до утилизации аттракциона.
|
Дата |
Место |
Описание происшествия |
Предположительная причина |
Потерпевшие |
Меры, принятые по результатам происшествия |
Фамилия, имя, отчество и подпись |
Номер акта |
|
|
|
|
|
|
|
|
|
|
|
|
|
|
|
|
|
|
|
|
|
|
|
|
|
|
|
|
|
|
|
|
|
|
|
|
|
|
|
|
|
|
|
|
|
|
|
|
|
|
|
|
|
|
|
|
|
|
|
|
|
|
|
|
|
|
|
|
|
|
|
|
|
|
|
|
|
|
|
|
|
|
|
|
|
|
|
|
|
|
|
|
|
|
|
|
|
|
|
|
|
|
|
|
|
|
|
|
|
|
|
|
|
|
|
|
|
|
|
|
|
|
|
|
|
|
17 Движение аттракциона при эксплуатации
(не менее 10 страниц)
|
Место |
С ... по ... |
Зарегистрирован |
Место |
С … по ... |
Зарегистрирован |
|
|
|
|
|
|
|
|
|
|
|
|
|
|
|
|
|
|
|
|
|
|
|
|
|
|
|
|
|
|
|
|
|
|
|
|
|
|
|
|
|
|
|
|
|
|
|
|
|
|
|
|
|
|
|
|
|
|
|
|
|
|
|
|
|
|
|
|
|
|
|
|
|
|
|
|
|
|
|
|
|
|
|
|
|
|
|
|
|
|
|
|
|
|
|
|
|
|
|
|
|
|
|
|
|
|
|
|
|
|
|
|
18 Реестр актов и протоколов
(не менее четырех страниц)
|
№ |
№ акта |
Дата |
Кем составлен |
№ |
№ акта |
Дата |
Кем составлен |
|
1) |
|
|
|
16) |
|
|
|
|
2) |
|
|
|
17) |
|
|
|
|
3) |
|
|
|
18) |
|
|
|
|
4) |
|
|
|
19) |
|
|
|
|
5) |
|
|
|
20) |
|
|
|
|
6) |
|
|
|
21) |
|
|
|
|
7) |
|
|
|
22) |
|
|
|
|
8) |
|
|
|
23) |
|
|
|
|
9) |
|
|
|
24) |
|
|
|
|
10) |
|
|
|
25) |
|
|
|
|
11) |
|
|
|
26) |
|
|
|
|
12) |
|
|
|
27) |
|
|
|
|
13) |
|
|
|
28) |
|
|
|
|
14) |
|
|
|
29) |
|
|
|
|
15) |
|
|
|
30) |
|
|
|
19 Срок службы, гарантии изготовителя (поставщика), консервация, хранение
20 Правила ведения формуляра
(Пустые страницы для замечаний, вставки/прикрепления сертификатов и т.п.)
Г.1 Аттракционы с автомобилями
Г.1.1 Аттракционы с трассами одностороннего движения (например, гоночными на нескольких уровнях)
Г.1.1.1 Автомобильные трассы
Уклоны трассы должны быть спроектированы с учетом радиусов ее кривизны и максимальной скорости автомобиля.
Продольные и поперечные уклоны трассы должны быть такими, чтобы не вызывать скольжение и занос автомобиля на мокрой дороге во время торможения.
На трассах не должно быть горок, которые могут вызвать отрыв колес.
В зоне посадки трасса должна быть ровной. Поверхность трассы должна быть изготовлена так, а сама трасса иметь такие размеры, чтобы не допускать вибрации. Допускаются только легкие толчки. Относительный прогиб трассы должен быть не более 1/500.
Г.1.1.2 Ограждение трасс
Для предотвращения аварий трассы должны быть ограждены с двух сторон барьерами.
Нагрузку при столкновении определяют по ГОСТ Р 52170 для углов столкновения а не менее 30°.
Г.1.1.3 Опоры трасс
При определении размеров опорных конструкций автомобильных трасс силы, возникающие при разгоне автомобилей, заносе и на поворотах должны быть учтены как горизонтально приложенные силы и компенсированы соответствующими стяжками или рамами. Если не проведена более точная оценка, для расчетов этих сил можно максимальную скорость автомобилей принять равной 30 км/ч.
Опорные рамы трасс, подвергаемые вибрационным воздействиям, должны быть рассчитаны на усталость.
Транспортные средства должны быть спроектированы и изготовлены так, чтобы воздействия, возникающие во время работы (например, ускорения при торможении), столкновения и удары, а также давление, оказываемое пассажирами на детали автомобиля (сиденье, подголовник, подлокотники, спинка, передняя панель, рулевое колесо), были безопасны для пассажиров.
Бамперы, снабженные пружинами и амортизаторами на случай столкновений, должны быть спроектированы так, чтобы воздействия на пассажиров были допустимыми.
Бамперы на всех автомобилях должны быть расположены на одинаковой высоте, которая должна совпадать с высотой барьеров ограждения на трассах.
Г.1.1.5 Приложенные нагрузки
При расчете автомобильных трасс следует учитывать нагрузки от полностью загруженных автомобилей, находящихся рядом друге другом или позади друг друга в наиболее неблагоприятном положении. При этом любое уменьшение нагрузки за счет снижения силы давления колес не принимают во внимание.
При расчете трассы и опор должна быть также учтена равномерно распределенная по поверхности трассы сила давления 2,5 кН/м2 и 3,5 кН/м2 - в зоне вокзала.
При расчете размеров элементов трассы во внимание следует принимать значение приведенных сил, оказывающее наиболее неблагоприятное воздействие.
Г.1.2 Аттракционы с автомобилями, двигающимися в произвольных направлениях (сталкивающиеся автомобили)
Г.1.2.1 Конструкция навеса
Помимо статических и ветровых нагрузок навес автодрома должен выдерживать силы, вызванные натяжением контактной сетки.
Если нет более точной оценки, то для этой цели принимают силу, равную 0,3 кН/м2.
Опоры конструкции навеса допускается крепить к автомобильной трассе, которая может частично поглощать подъемные силы, действующие на опоры.
Опоры должны быть надежно защищены от наездов автомобилей.
Г.1.2.2 Поверхность трассы
На поверхности трассы автодрома зазор между плитами покрытия должен быть не более 3 мм.
Толщина плит, покрывающих трассу, должна быть такой, чтобы выдерживать равномерно распределенную силу 3,5 кН/м2, а также давление колес автомобилей при полной загрузке трассы.
Плиты должны быть закреплены неподвижно по краям на продольных и/или поперечных кронштейнах.
Относительный прогиб плит должен быть не более 1/500 их длины.
Г.1.2.3 Столкновения с ограждением трасс
Нагрузку при столкновениях с ограждением определяют по ГОСТ Р 52170 для угла α = 90°.
Г.1.2.4 Опоры трасс
Деревянные подкладки, с помощью которых точно устанавливают продольные и поперечные балки, должны быть отмечены на чертежах.
Расстояния между ними рассчитывают так, чтобы прогиб балок был не более 1/500.
Лестницы и платформы автодромов должны быть рассчитаны на равномерно распределенную силу 5 кН/м2.
Г.1.2.5 Транспортные средства
Транспортные средства должны соответствовать требованиям Г.1.1.4.
Г.2 Роторы (вращающиеся аттракционы)
Для роторов должны быть учтены равномерные и локальные нагрузки.
Цилиндр ротора должен быть рассчитан на статические и динамические нагрузки с учетом собственной массы конструкции аттракциона, нагрузки от людей, распределенных равномерно по периметру (не менее двух человек на погонном метре), с нагрузкой р = 1,2 кН от каждого человека и с учетом неравномерной загрузки аттракциона людьми - на четверть или три четверти посадочных мест.
Кроме того, необходимо также учитывать случай, когда нагружены два квадранта аттракциона, расположенные друг против друга, при этом два оставшихся квадранта не нагружены.
При проведении расчетов можно принять, что центробежные силы от пассажиров приложены на высоте 1,2 м от пола. Если опорная стена несимметрична, например, из-за наличия двери, то дисбаланс массы должен быть учтен в расчетах. Необходимо также проверить воздействие опорных и ведущих колес на конструкции аттракциона.
При расчете прочности пола необходимо учесть случай, когда все пассажиры могут находиться в секторе с углом в 120°. Запоры и крепления дверей цилиндра должны быть также проверены расчетом.
Г.3 Тобогганы (устройства для спуска на тележках в желобах)
Помимо статических и ветровых нагрузок части тобогганов должны быть рассчитаны с учетом следующих сил, действующих на:
- ленту конвейера подъемника - 2,0 кН/м2;
- трассу для катания, ступеньки, платформы - 5,0 кН/м2;
- каждый желоб - 1,5 кН/м2;
- одновременно на верхний край желоба (на наружной стороне изгиба трассы) - 0,25 кН/м2;
Г.4 Движущиеся платформы
Движущиеся платформы должны быть рассчитаны на нагрузку равную 3,5 кН/м2.
Помимо проверки на полную нагрузку, движущиеся платформы также должны быть проверены для случаев наиболее неблагоприятных локальных нагрузок, в особенности это касается консольных частей платформы. В этих случаях их необходимо считать нагруженными. Также необходимо проверить их устойчивость.
Перила и ограды движущихся платформ должны быть рассчитаны на горизонтальную боковую нагрузку, равную 1,5 кН/м, приложенную на высоте поручней.
Г.5 Вращающиеся платформы, диски
В добавление к статической нагрузке вращающиеся платформы должны быть рассчитаны на нагрузку, равную 3,5 кН/м2 в неподвижном состоянии и 2,0 кН/м2 - при движении с максимальной скоростью вращения. Необходимо учесть, что эти нагрузки могут быть приложены к сектору с углом 90°.
Неподвижные полы, прилегающие к вращающимся платформам, должны быть рассчитаны на нагрузку 5 кН/м2.
Амортизаторы для остановки посетителей, соскальзывающих с вращающихся платформ, должны быть рассчитаны на локальную горизонтальную нагрузку, равную 2,5 кН, приложенную в самом неблагоприятном месте, или на равномерно распределенную горизонтальную нагрузку 2 кН/м.
* Настоящее приложение является дополнением аналогичного приложения В ГОСТ Р 52170.
Д.1 Конструкция устройств фиксации пассажиров должна обеспечивать безопасность всех, кто может, согласно эксплуатационным документам, пользоваться данным аттракционом. Ниже приведены рекомендации по проектированию безопасных систем размещения пассажиров.
Д.2 Системы размещения должны обеспечивать надежное и безопасное удержание пассажиров на всех стадиях рабочего цикла аттракциона и при всех эксплуатационных ситуациях, указанных в настоящем стандарте, например, при использовании аварийных тормозов.
Д.3 Безопасное и надежное размещение включает в себя предотвращение травм (при условии надлежащего соблюдения правил эксплуатации аттракциона) вызванных следующими причинами:
а) воздействующие ускорения;
б) выброс пассажира наружу;
в) перемещение в опасное положение, например, при котором пассажиры могли бы выпасть и получить травмы из-за контакта с неподвижными или подвижными частями аттракциона;
г) физическая травма в пределах пассажирского модуля;
д) травмы от устройств фиксации;
е) травмы при посадке/высадке.
Д.4 Системы размещения проектируют по принципу «вокруг пассажира». Проектировщик должен:
а) учесть антропометрические данные пассажиров, для которых предназначен аттракцион, например, максимальные и минимальные размеры и массу тела;
б) принять во внимание значение и направление ускорений, воздействующих на пассажиров;
в) учесть части тела пассажиров, для которых требуются опоры для уравновешивания действия учитываемых при проектировании сил;
г) использовать статистические данные о размерах тел подходящей группы населения при определении минимальных и максимальных размеров системы локализации, обеспечивающей безопасное размещение пассажиров. Некоторые основные размеры приведены в таблицах Д.1 и Д.2;
д) спроектировать систему, в которой могут безопасно размещаться все пассажиры, которым в соответствии с эксплуатационными документами разрешается пользоваться аттракционом.
Д.5 Любую часть аттракциона, предназначенную для защиты пассажира от рисков, указанных в Д.3, следует рассматривать как часть пассажирского модуля.
Д.6 Все пассажиры, пределы размеров тела которых соответствуют указанным в формуляре аттракциона, должны комфортно пользоваться всеми частями пассажирского модуля. Основные части пассажирского модуля должны соответствовать следующим требованиям:
- сиденья должны быть сконструированы с учетом эргономических требований и обеспечивать опору частям тела, которые могут подвергаться опасности;
- ножные колодцы должны позволять упор ногами, если это требуется, исходя из оценки риска;
- поручни должны быть легкодоступными, удобными для пользования и не представлять собой дополнительный источник опасности, например, при нештатных ситуациях;
- устройства фиксации пассажиров должны быть спроектированы как неотъемлемая часть пассажирского модуля.
Д.7 Требования к физическим параметрам и состоянию здоровья пассажиров должны быть указаны в эксплуатационных документах.
|
|
Таблица Д.1 - Размеры тела пассажиров |
|
|
Мера |
Размеры тела |
|
|
a |
Плечо - макушка |
|
|
b |
Высота плеча в положении сидя |
|
|
с |
Подколенная высота |
|
|
d |
Ягодица - подколенная высота |
|
|
е |
Ширина плеча (би-дельтоид) |
|
|
f |
Ширина головы |
|
|
g |
Высота плеча в положении сидя |
|
|
h |
g/2 |
|
|
i |
Ягодица - подколенная высота |
|
|
J |
Ширина плеча (би-дельтоид) |
|
|
k |
Глубина живота |
|
|
l |
Зазор бедер |
|
|
|
m |
Размах руки вперед |
|
n |
Диаметр захвата |
|
|
o |
Высота колена |
|
|
p |
Ширина стопы, ширина бедра |
|
|
q |
Высота бедра |
|
|
r |
Высота плеча в положении сидя |
|
|
s |
Высота плеча в положении сидя |
|
|
t |
Глубина грудной клетки |
|
|
v |
Ширина головы |
|
|
w |
Интеракромион |
|
|
x |
Длина плеча (до акромиона) |
|
|
1 |
Рост |
|
|
b - 1 |
Высота плеча в положении сидя - зазор бедер |
|
Рисунок Д.1 - Размеры тела пассажиров
Таблица Д.2 - Компоненты транспортного средства
|
Компонент |
Рисунок |
Описание |
|
Сиденье |
|
а - высота подголовника; b - высота спинки сиденья; с - высота лотка сиденья; d - глубина лотка сиденья; е - ширина спинки сиденья; f - ширина подголовника |
|
|
g - высота верхней боковой опоры; h - высота нижней боковой опоры; i - глубина боковой опоры; j - расстояние между боковыми опорами (на каждого пассажира) |
|
|
Устройство поясной фиксации |
|
k - расстояние от спинки сиденья до заднего края устройства поясной фиксации; l - расстояние от лотка сиденья до нижнего края устройства поясной фиксации |
|
Поручень |
|
т - расстояние от спинки сиденья до переднего края поручня; п - диаметр поручня |
|
Ножной колодец |
|
о - длина горизонтального пола от сиденья до передней части тележки; р - длина подножки; q - расстояние от спинки сиденья до переднего края подножки; r - ширина ножного колодца (на каждого пассажира) |
|
Устройство плечевой фиксации |
|
s - расстояние от лотка сиденья до нижнего края опор для плеч; t - расстояние от спинки сиденья до задней части опоры для корпуса; и - общая длина опоры для корпуса; v - расстояние между внутренними краями опор для плеч; w - расстояние между внешними краями опор для плеч; х - ширина опоры для плеч |
Е.1 Электрические установки
Е.1.1 Общие положения
В настоящем приложении приведены требования, призванные минимизировать риск поражения электрическим током и ошибок функционирования систем управления.
Электрические установки должны соответствовать требованиям ГОСТ Р 50571.5, ГОСТ Р МЭК 60204-1, [19], [20], за исключением тех положений, которые изменены или расширены и приведены ниже.
* Настоящее приложение гармонизировано с [1], приложение D.
Е.1.2 Класс защиты кабельных коллекторов и фитингов
Класс защиты кабельных коллекторов и комплектующих изделий, таких как распределительные шкафы, устройства коммутации, кабельные соединения и т.п., должен быть не ниже IP2X в закрытых помещениях и IP65 - при прямом воздействии атмосферных осадков снаружи по ГОСТ 14254.
Е.1.3 Скользящие контакты
В помещениях с повышенной опасностью, особо опасных и наружных установках для защиты от поражения электрическим током в нормальном режиме применяют меры защиты от непосредственного контакта (см. [19], подпункт 1.7.50).
В помещениях без повышенной опасности защита от непосредственного контакта токопроводящих рельсов, полов и потолков, подключенных к источникам, максимальное напряжение которых 25 В переменного тока или 60 В постоянного тока при максимальной остаточной пульсации не более 10%, не требуется.
Скользящие контакты, например контактные кольца, токопроводящие рельсы и токосъемники, должны быть минимально защищены по IP2X, за исключением сталкивающихся автомобилей (при условии выполнения требований 6.2.4.1).
При необходимости дополнительной защиты токопроводящие рельсы должны быть расположены так, чтобы токосъемники касались их сбоку или снизу с целью предотвратить скопление пыли и влаги.
Е.1.4 Системы заземления
Система заземления должна быть выполнена в соответствии с требованиями ГОСТ Р 50571.10 и [19], глава 1.7.
Е.1.5 Защита от поражения электрическим током
Для передвижных устройств для развлечений допускаются только следующие меры безопасности по ГОСТ Р 50571.10 и [19]:
- защита с использованием автоматического отключения электроэнергии с помощью устройства защитного отключения (УЗО) в системах TN и ТТ ([19], глава 1.7) с максимальным током утечки 0,03 А и общим сопротивлением цепи заземления не более 2; 4; 8 Ом соответственно при линейных напряжениях 660; 380; 220 В источника трехфазного тока;
- защита с использованием оборудования класса II безопасности или с эквивалентной изоляцией.
Заземление рассчитывают и устанавливают в соответствии с требованиями ГОСТ Р 50571.10 и [19], глава 1.7.
Кроме того, механические соединения частей конструкции аттракциона болтами, пальцами и т.п. могут быть использованы для обеспечения электрического контакта при условии, что эти механические соединения не содержат изолирующих вкладышей. Следует измерить сопротивление таких частей конструкции аттракциона и, при необходимости, предусмотреть дополнительные соединительные провода.
Подшипник не может быть использован как единственный электрический контакт между двумя вращающимися относительно друг друга частями аттракциона. При использовании скользящего контактного кольца для обеспечения постоянного защитного контакта между частями аттракциона, вращающимися друг относительно друга, должен быть предусмотрен надежный электрический контакт с каждой из вращающихся частей.
Е.1.6 Защита от ударов молнии
Молниезащита выполняется в соответствии с действующими нормативными документами, если она необходима в местных условиях.
Е.1.7 Освещение и аварийное освещение
Если осветительные приборы находятся в зоне досягаемости посетителей и это может привести к поражению электрическим током (см. 5.8.6.1), возгоранию или аварии, необходима установка дополнительной защиты (например, пластмассовых колпаков).
Все части аттракционов, к которым посетители или персонал могут иметь доступ, а также все пути к выходам, если они предназначены для использования без естественного освещения, должны быть оборудованы осветительными приборами, создающими освещенность, достаточную для того, чтобы безопасно покинуть аттракцион.
Если устройства для развлечений специально предназначены для эксплуатации в закрытом помещении, следует предусмотреть аварийное освещение, соответствующее требованиям [19], раздел 6.
При выходе из строя обычного освещения в любое время суток затемненные части устройства для развлечения, в том числе все указатели выходов, должны быть немедленно освещены альтернативными источниками, что позволило бы посетителям безопасно покинуть устройство.
Питание аварийного освещения может быть от того же источника, что и обычно, но должна быть предусмотрена возможность переключения на независимый источник питания, работающий достаточно продолжительное время. В закрытых помещениях, рассчитанных более чем на 30 человек, независимый источник питания должен включаться автоматически сразу после выхода из строя основного источника питания. Если есть неогражденные выходы и аварийные площадки, то необходимо соответствующее число переносных аварийных источников освещения.
Е.1.8 Защита от перегрузок и коротких замыканий
Системы защиты от перегрузок и коротких замыканий должны соответствовать требованиям ГОСТ Р 50571.5 и [19].
Е.2 Системы управления
Е.2.1 Общие положения
В данном подразделе приведены требования к проектированию и изготовлению систем управления, обеспечивающих безопасную работу аттракциона.
Данные требования должны быть применены ко всем системам управления: ручным, электрическим, электронным, гидравлическим, пневматическим, механическим, с сенсорным управлением, включая устройства пуска.
Системы управления аттракционом, обеспечивающие безопасность, представляют собой устройства:
- обеспечивающие выполнение требуемых защитных функций, необходимых для достижения или поддержания безопасного состояния на аттракционе;
- предназначенные для достижения самостоятельно или вместе с другими связанными системами безопасности необходимого уровня защиты.
Е.2.2 При проектировании систем управления аттракционов рекомендуется пользоваться ГОСТ Р 51336, ГОСТ Р 51343, ГОСТ Р 51344, ГОСТ Р ИСО 13849-1, ГОСТ Р МЭК 60204-1, [21] - [29].
Е.2.3 Элементы систем управления, обеспечивающие безопасность
Е.2.3.1 Общие требования
Системы управления, включающие в себя пневматические, гидравлические или механические элементы, должны соответствовать ГОСТ Р ИСО 13849-1, а оценка риска - ГОСТ Р 51344.
Рекомендуется, чтобы системы, в которые входят электрические, электронные и программируемые электронные приборы, соответствовали [25].
Е.2.3.2 Низковольтная коммутационная и управляющая аппаратура
Низковольтная коммутационная аппаратура и аппаратура управления, а также соединения низковольтных распределительных устройств должны соответствовать требованиям ГОСТ Р 50030.1, ГОСТ Р 50030.2, ГОСТ Р 50030.3, ГОСТ Р 50030.4.1, ГОСТ Р 50030.5.1, ГОСТ Р 50030.5.2.
Контрольные выключатели, отключающие «плюс» источника питания, должны соответствовать требованиям ГОСТ Р 50030.5.5, ГОСТ Р 50030.6.1, ГОСТ Р 50030.6.2.
Е.2.3.3 Электрочувствительное защитное оборудование
Рекомендуется, чтобы электрочувствительное защитное оборудование (ЭЧЗО), используемое для обеспечения безопасности, соответствовало требованиям соответствующих разделов [22], [23] или имело необходимый уровень работоспособности, обеспечиваемый иными способами.
Е.2.4 Функции останова
Если это требуется, исходя из оценки риска, в системах управления должны быть предусмотрены соответствующие функции останова: «рабочий останов», «аварийный останов» и «аварийное полное отключение». Эти функции должны быть продублированы и отличаться друг от друга. Функции останова должны иметь приоритет перед соответствующими функциями пуска.
Функции останова должны соответствовать следующим требованиям:
- «рабочий останов» - ГОСТ Р МЭК 60204-1, подпункт 9.2.7.3;
- «аварийный останов» - ГОСТ Р МЭК 60204-1, подпункт 9.2.5.4.2;
- «аварийное полное отключение» - ГОСТ Р МЭК 60204-1, подпункт 9.2.5.4.3.
Е.2.5 Параметры, влияющие на безопасность
В системе управления аттракциона должны быть предусмотрены средства, обеспечивающие поддержание в заданных пределах значения параметров, определяющих безопасность и установленных на основе анализа риска.
Одним из важнейших критичных параметров, определяющих безопасность, является скорость для тех аттракционов, ускорения которых и, соответственно, силы зависят от скоростей его частей. Следовательно, регулирование скорости должно предотвращать возникновение опасных ситуаций для пассажиров и устройств аттракциона.
Должны быть приняты во внимание следующие скорости:
- минимальная рабочая скорость, т.е. минимальная скорость, при которой обеспечиваются безопасность пассажиров, нормальная работа и сохранность аттракциона при эксплуатации;
- максимальная рабочая скорость, т.е. максимальная скорость, при которой обеспечиваются безопасность пассажиров, режим нормальной работы и сохранность аттракциона при повторном или длительном пользовании;
- максимальная скорость, которую может развить отдельная часть аттракциона в отсутствие ограничений.
Необходимо предусмотреть средства управления, позволяющие удерживать значение скорости аттракциона в пределах между минимальной и максимальной рабочими с учетом того, что для каждого участка траектории движения эти значения могут быть разными.
Должен быть проведен анализ риска воздействий на пассажиров и конструкцию аттракциона при движении с предельными скоростями и ускорениями.
Если при эксплуатации возможно движение аттракциона со скоростью менее минимальной рабочей, то в системе управления должны быть предусмотрены регулирующие устройства, увеличивающие скорость либо выполняющие останов аттракциона. Необходимость таких устройств и требования к их работе определяют по результатам анализа риска.
При превышении максимальной рабочей скорости система управления должна также останавливать аттракцион.
В случае если по конструктивным особенностям аттракцион не может превысить максимальную рабочую скорость, включение дополнительных регулирующих устройств в систему управления не требуются.
Если значение максимально достижимой скорости выше максимальной рабочей, то могут потребоваться дополнительные устройства в системе управления для необходимого снижения скорости.
Е.2.6 Статус устройства фиксации пассажиров
Если система управления аттракционом включает в себя регулирование, блокировку и мониторинг устройств фиксации пассажиров, то требования к работе этих систем должны быть определены на основе анализа риска. Требования к выбору блокировочных устройств - по ГОСТ Р 51345. В дополнение к требованиям 5.8.7 необходимо принимать в расчет следующие приведенные ниже указания:
а) состояние перед пуском.
Состояние устройств фиксации (открытое или закрытое) перед запуском должно быть определено и подтверждено (не обязательно автоматически);
б) возможность освобождения от фиксации.
Открытие устройств фиксации не должно допускаться до тех пор, пока не будет достигнуто безопасное эксплуатационное состояние, и риск для пассажиров не будет сведен к минимуму;
в) сигнализация и предупреждение.
Если непосредственное управление аттракционом проводит оператор, определяющий факт запирания устройства фиксации по звуковым сигналам или с помощью оптической индикации, то средства подачи этих сигналов (аппаратура и программное обеспечение) должны быть безотказными, если это следует из критериев их применения, приведенных в 5.8.6.2);
г) отключение от энергопитания.
Отключение источника энергии, приводящего в движение аттракцион, не должно вызывать:
- нарушение действия устройств фиксации, если такое нарушение не будет более безопасным для пассажиров или одновременно не используется подходящая альтернативная система обеспечения безопасности;
- возникновение помех намеренному освобождению от устройств фиксации, если это требуется для обеспечения безопасности пассажиров или выполнения рабочих операций, например, ручного отпирания;
д) контроль положения.
Необходимость контроля за состоянием устройств фиксации пассажиров и запорных элементов этих устройств должна определяться критериями, приведенными в 5.8.7.
Любые отступления от данных требований должны быть приведены в технической документации и обоснованы.
Е.2.7 Запрет или обход функций безопасности
Запрет или обход функций безопасности, требуемых для работы в ручном или автоматическом режиме, должны быть проведены в соответствии с ГОСТ Р ИСО 13849-1, подраздел 5.10.
Е.2.8 Режимы управления
Общее число режимов работы системы управления определяется ее назначением.
Обязательно должны быть предусмотрены следующие режимы:
- технологические (перед эксплуатацией) - используемые на стадии монтажа, обслуживания и ремонта;
- эксплуатационные - ручной, полуавтоматический и автоматический режимы работы с пассажирами; возможны также их различные вариации и комбинации.
Е.2.8.1 Изменение режима управления
Любые изменения режима управления не должны служить причиной возникновения опасных ситуаций. Необходимо предусмотреть возможность:
- остановки аттракциона, после чего может потребоваться изменить режим управления и дать команду на повторный пуск;
- предотвращения случайного изменения режима управления или привлечения внимания оператора к изменению режима управления.
Соответствующий переключатель режимов должен быть установлен так, чтобы обеспечить его надежную и, в частности, безаварийную работу.
Для электрического оборудования см. также ГОСТ Р МЭК 60204-1, пункт 9.2.3.
Е.2.8.2 Технологические режимы (перед эксплуатацией)
Технологические режимы (перед эксплуатацией) могут осуществляться только под управлением оператора при выполнении следующих условий:
а) одно лицо должно осуществлять полный контроль;
б) одновременное управление более чем одной системой, определенное как опасное по результатам анализа риска, должно быть предотвращено системой управления, обеспечивающей безопасность, либо управление должно быть полностью сосредоточено в руках одного оператора;
в) системы управления, обеспечивающие безопасность, в зависимости от результатов анализа риска должны продолжать работать в обычном режиме либо перейти под контроль одного лица;
г) системы, осуществляющие аварийный останов, должны функционировать в течение всего времени работы в этом режиме.
Е.2.8.3 Эксплуатационные режимы
Могут быть осуществлены несколько эксплуатационных режимов. Любой из этих режимов управления аттракционом должен быть реализован только по команде оператора или под его надзором. При этом следует привести в действие все системы безопасности.
Основные эксплуатационные режимы включают в себя:
- ручной режим, когда все функции управления осуществляются оператором;
- полуавтоматический, когда часть функций управления реализуется автоматически по заданным программам;
- автоматический, когда все функции управления реализуются автоматически по заданным программам.
При работе в эксплуатационном режиме должны быть выполнены следующие требования:
а) аттракцион всегда запускается оператором, за исключением непрерывной посадки и высадки, если это разрешается, исходя из оценки риска;
б) предусмотрена возможность известить оператора, если у пассажира возникли проблемы со здоровьем, и сократить время катания (если возможно);
в) допускаются другие эксплуатационные режимы, но только если они не увеличивают риск.
На аттракционах, где не требуется периодический пуск, т.е. посадка и высадка происходят без останова, должен быть обеспечен постоянный контроль оператора.
Е.2.8.4 Режим простоя
Устройство для развлечений считают неработающим, например, при выполнении одного из следующих условий:
- отключение энергопитания;
- восстановление энергопитания после аварии;
- действие аварийного останова;
- осуществление защитного останова.
Обеспечение безопасности соответствующей системой управления означает, что:
- в любой момент времени нерабочего состояния аттракциона должны быть исключены опасные ситуации;
- после аварийного или экстренного останова или аналогичного события во время простоя устройства для развлечений необходимо в системе управления проверить и восстановить все параметры и данные, имеющие отношение к обеспечению безопасности, и затем перейти в нормальный режим эксплуатации.
Во время торможения и останова аттракциона необходимо:
- соблюдать безопасную последовательность действий;
- не допускать падения значения скорости ниже минимально допустимых рабочих значений в любой момент времени.
Если внезапное отключение источника энергии, приводящего в движение аттракцион, опасно, то необходим дополнительный источник энергии для поддержания работоспособности системы управления и приводов, обеспечивающих безопасный останов аттракциона и предотвращающих самопроизвольный запуск.
В нештатном режиме должны быть выполнены требования, установленные для режима перед эксплуатацией, а также следующие дополнительные требования:
а) команды, сочетание которых могло бы имитировать рабочий режим и привести к опасным ситуациям, допускаются системой управления, обеспечивающей безопасность, только как набор строго определенных отдельных шагов; при этом необходимо гарантировать, что каждая отдельная команда выполняется целенаправленно;
б) несмотря на требования подпункта а) все устройства обеспечения безопасности должны функционировать во время выполнения тех операций, для которых их блокировка более опасна;
в) если единственным способом освобождения пассажиров в случае нештатного останова является предусмотренная блокировка функций безопасности, то эта специальная процедура должна выполняться оператором и контролироваться визуально им самим или его помощником, соединенным с оператором надежным каналом связи.
Е.2.9 Работа систем управления по предотвращению столкновений
Е.2.9.1 Общие положения
Необходимо предусмотреть средства предупреждения непреднамеренных столкновений пассажирских модулей, если опасность этих столкновений подтверждена результатами анализа риска.
Такие средства, например, зоны блокировки, указаны в Е.2.9.2 - Е.2.9.4.
Е.2.9.2 Система управления зонами блокировки
Зоны блокировки представляют собой участки, на которые полностью или частично делится рельсовый путь или канал, на каждом из которых может находиться только один пассажирский модуль или поезд в любой момент времени.
Число зон блокировки, на которые делится рельсовый путь или канал, должно быть достаточным для предотвращения опасных столкновений.
Для некоторых устройств для развлечений, в зависимости от результатов оценки риска, на одном или нескольких участках может быть разрешено более тесное расположение пассажирских модулей при условии, что безопасность обеспечивается другими способами. Например, может быть ограничена скорость для того, чтобы пассажирские модули могли соприкасаться друг с другом в зоне посадки или сразу перед подъемником, как на аттракционе «Спуск по каньону на бревне».
Система управления зонами блокировок должна включать в себя:
- средства индикации занятости зоны, т.е. датчики занятости;
- средства индикации освобождения зоны, т.е. датчики освобождения зоны;
- логические схемы управления;
- устройства, способные остановить пассажирский модуль, например, систему тормозов.
Головная часть каждого пассажирского модуля при входе в зону должна подавать в системы управления сигнал, означающий, что зона занята.
За исключением вышеописанных случаев, пассажирский модуль или поезд может покидать зону блокировки, в которой он находится, только если свободна следующая зона.
При выходе из зоны блокировки последняя секция каждого пассажирского модуля должна подавать в систему управления сигнал, означающий, что зона свободна.
При включении любой из функций «Останов» система управления аттракционом должна обеспечить безопасный останов пассажирских модулей для последующей высадки и эвакуации пассажиров.
Пуск аттракциона в процессе посадки/высадки пассажиров должен быть исключен элементами конструкции.
Система управления должна осуществлять аварийный останов пассажирского модуля при любом отказе, который увеличивает риск для пассажиров, например, при отказе одного датчика из комплекта резервных датчиков или при отключении питания.
При восстановлении работоспособности после останова электрических, гидравлических и пневматических устройств, в случае если отсутствует автоматическое обеспечение безопасного повторного пуска, системы управления зонами блокировок должны предотвращать выключение тормозов, за исключением работы в ручном режиме. Если предусмотрена система автоматического повторного запуска, она должна включаться вручную.
Е.2.9.3 Требования к размещению датчиков и устройств останова
Устройства предотвращения столкновений в системе управления зонами блокировки должны работать постоянно.
Устройства останова должны быть расположены так, чтобы после останова ими пассажирского модуля в нормальных условиях можно было осуществить безопасный повторный пуск.
В каждой зоне блокировки расположение датчиков интервалов должно быть таким, чтобы предотвратить столкновение пассажирского модуля, покидающего зону после останова по любой причине (в штатных и предусмотренных нештатных случаях), со следующим за ним модулем.
Датчики занятости зоны и датчики интервала должны быть расположены так, чтобы до полного освобождения зоны они показывали, что она занята.
Системы контроля и управления, независимо от того, являются они электрическими, электронными, пневматическими или гидравлическими, при отключении энергопитания должны быть в состоянии управлять устройствами останова.
Е.2.9.4 Требования к устройствам останова
Имеющиеся на аттракционе устройства подъема и перемещения достаточной мощности могут быть использованы как устройства останова при выполнении следующих условий:
- отключение любого устройства от источника энергии любой системой останова не должно повлиять на работу других устройств.
Электронные устройства могут быть использованы для снижения скорости вращения электромотора до нуля. Привод должен отключаться согласно требованиям ГОСТ Р МЭК 60204-1, подраздел 5.5;
- электрические, электронные, пневматические или гидравлические управляющие и командные цепи должны иметь такую конструкцию, чтобы в случае неисправности их компонентов энергопитание отключалось.
Если устройство, регулирующее скорость пассажирского модуля, используется для останова и его работа связана с обеспечением безопасности, то схема управления, датчики и другие компоненты этого устройства считают частью системы обеспечения безопасности и конструируют с учетом соответствующих требований.
В случае если эта регулировка (скорости) не влияет на безопасность, соответствующее устройство контроля не имеет отношения к системе безопасности.
Ж.1 Общие положения
Проектировщику рекомендуется для проведения подтверждения соответствия проекта аттракциона оформить технический отчет о проекте, содержащий техническую документацию в объеме, необходимом для предоставления проверяющей организации достаточных сведений о безопасности аттракциона, его критичных компонентах и критичных параметрах и связанных с ними расчетах, методе возведения, инструкций и сведений об эксплуатации и техническом обслуживании, По крайней мере, один экземпляр должен храниться у проектировщика и один - у проверяющей организации. В технический отчет должны быть включены все протоколы и акты об экспертизах и испытаниях изготовленного аттракциона и его частей, подтверждающие качество проекта в соответствии с требованиями безопасности.
Ж.2 Содержание
Технический отчет должен, как минимум, содержать:
- чертежи общего вида аттракциона;
- описание и основные технические характеристики аттракциона;
- оценку риска для работающего аттракциона;
- описание конструкции и работы аттракциона, его критичных компонентов и параметров;
- чертежи критичных компонентов в удобном для чтения формате и масштабе с указанием размеров, имеющих значение для обеспечения требований безопасности;
- чертежи или спецификации заменяемых критичных компонентов с указанием размеров и материалов;
- основные размеры, включая поперечные сечения всех несущих элементов конструкций, с учетом допустимых износов несущих элементов и критичных компонентов, а также оценку их несущей способности;
- расчет напряжений, включая анализ усталостного нагружения (все документы с расчетами), с указанием точек максимальных расчетных нагружений для критичных компонентов;
- принципиальные схемы электрического, гидравлического или пневматического оборудования или узлов;
- планы с изображением запасных выходов и их размеров с проверкой расчетов для закрытых помещений, предназначенных для более 400 посетителей, специальные инструкции на случай пожара;
- сертификаты на покупные критичные компоненты;
- руководство по эксплуатации на русском языке с описанием монтажа и демонтажа, технического обслуживания и эксплуатации аттракциона, а также перечень всех деталей, требующих периодической замены;
- копии протоколов и актов об экспертизах, а также протоколов и актов о техническом контроле и заводских испытаниях у изготовителя, подтверждающие качество проекта и надежность и безопасность аттракциона и его частей.
|
АТТРАКЦИОН ___________________________________ |
||
|
|
(наименование аттракциона) |
|
|
___________________________________________ |
||
|
(владелец аттракциона) |
||
|
ЖУРНАЛ АДМИНИСТРАТОРА |
||
|
УЧЕТ ДОПУСКОВ АТТРАКЦИОНА К ЭКСПЛУАТАЦИИ |
||
|
Журнал начат «___»_____________200 _ г. _________________ |
||
|
(фамилия, подпись) |
||
|
Журнал окончен «___»_____________200 _ г._______________ |
||
|
(фамилия, подпись) |
||
|
1 Сведения об аттракционе и владельце |
||
|
Наименование __________________________________________________ |
||
|
Изготовитель___________________________________________________ |
||
|
Заводской №___________________________________________________ |
||
|
Дата изготовления______________________________________________ |
||
|
Дата ввода в эксплуатацию_______________________________________ |
||
|
Владелец аттракциона, место установки |
Администратор (фамилия, имя, отчество, паспортные данные) |
|
|
|
|
|
|
|
|
|
|
|
|
|
|
|
|
|
|
|
|
|
2 Инструкция по ведению журнала
2.1 Общие положения
Настоящая инструкция устанавливает правила заполнения всех разделов журнала и обязательна для выполнения всем персоналом, заполняющим соответствующие формы журнала в соответствии с требованиями Руководства по эксплуатации.
Журнал ведется с момента передачи аттракциона Изготовителем Владельцу для эксплуатации. Все графы журнала заполняются аккуратно, четко, чернилами или шариковой ручкой. Подчистки не допускаются. Исправления заверяются подписью Администратора.
Журнал постоянно хранится у Администратора в недоступном для посторонних месте. Ответственным за сохранность, правильность и своевременность заполнения журнала является Администратор.
В разделе журнала «Общие сведения об аттракционе» указываются все сведения об изделии и, в обязательном порядке, о Владельце и Администраторе.
Если Владельцем аттракциона является юридическое лицо, то в графе «Владелец аттракциона» указывается полное наименование предприятия, владеющего аттракционом, его адрес, телефон и Администратор, отвечающий за эксплуатацию аттракциона.
Если Владельцем аттракциона является физическое лицо, то в графе «Владелец аттракциона» указывается полностью фамилия, имя, отчество Владельца, его адрес, телефон, наименование и регистрационный номер документа на право эксплуатации аттракциона и Администратор, отвечающий за эксплуатацию аттракциона.
2.2 Правила заполнения раздела «Учет обучения персонала»
Раздел «Учет обучения персонала» заполняется Администратором аттракциона при положительных результатах проведения аттестации.
В разделе должны содержаться сведения об аттестации всего персонала аттракциона, в том числе и нанятого сверх минимально необходимого числа (указанного в руководстве по эксплуатации) для выполнения вспомогательных функций (продажи билетов, поддержания порядка в очереди и т.п.).
В колонку «Дата» записывается дата проведения инструктажа.
В колонке «Вид аттестации» записывают «первично», если аттестация проводится при приеме на работу и «вторично», если проводится аттестация сотрудника, работающего на аттракционе, для подтверждения знаний правил эксплуатации, техники безопасности, а также проверки его квалификации.
В колонке «Содержание» записывают предмет аттестации и документ (документы), по которым проводится аттестация. Допускается запись в несколько строк.
Запись на каждого аттестуемого отделяют друг от друга пустой строкой.
2.3 Правила заполнения раздела «Учет допуска персонала к работе с аттракционом»
В соответствии с формой указываются сведения о назначении и снятии лиц, ответственных за техническую эксплуатацию аттракциона.
2.4 Правила заполнения раздела «Учет ежедневного допуска аттракциона к эксплуатации»
Бланк заполняется Администратором, механиком, электриком и оператором (старшим оператором) или лицами, официально их заменяющими.
Раздел 1 бланка заполняется Администратором при допуске персонала к работе. Администратор распределяет работников по рабочим местам, вписывает их фамилии в графы, соответствующие рабочим местам, и инструктирует работников, о чем Администратор и работник расписываются в соответствующих графах. На работников, должности которых не предусмотрены бланком, Администратор заполняет графу в соответствии со штатным расписанием аттракциона.
Раздел 2 бланка заполняют механик и Администратор после включения аттракциона и подготовки его к работе в соответствии с требованиями Руководства по эксплуатации. В графе «Состояние аттракциона при открытии» делают отметку о проведенном техническом обслуживании и техническом состоянии аттракциона (его работоспособности) при открытии и вносят, при необходимости, замечания о дефектах конструкции, не препятствующих нормальной эксплуатации аттракциона.
2.5 Правила заполнения «Талона предупреждений»
При нарушении обслуживающим персоналом правил Администратор заполняет и предъявляет ему талон предупреждения, корешки талонов Администратор подшивает к «Журналу администратора».
3 Учет обучения персонала для работы с аттракционом
|
№ |
Дата |
Вид аттестации (первичная, вторичная) |
Содержание (что проверялось, по какому документу) |
Прошел аттестацию |
Провел аттестацию |
||||
|
Должность |
Фамилия |
Подпись |
Должность |
Фамилия |
Подпись |
||||
|
|
|
|
|
|
|
|
|
|
|
|
|
|
|
|
|
|
|
|
|
|
|
|
|
|
|
|
|
|
|
|
|
|
|
|
|
|
|
|
|
|
|
|
|
|
|
|
|
|
|
|
|
|
|
|
|
|
|
|
|
|
|
|
|
|
|
|
|
|
|
|
|
|
|
|
|
|
|
|
|
|
|
|
|
|
|
|
|
|
|
|
|
|
|
|
|
|
|
|
|
|
|
|
|
|
|
|
|
|
|
|
|
|
|
|
|
|
|
|
|
|
|
|
|
|
|
|
|
|
|
|
|
|
|
|
|
|
|
|
|
|
|
|
|
|
|
|
|
|
|
|
|
|
|
|
|
|
|
|
|
|
|
|
|
|
|
|
|
|
|
|
|
|
|
|
|
|
|
|
|
|
|
|
|
|
|
|
|
|
|
|
|
|
|
|
|
|
|
|
|
|
|
|
|
|
|
|
|
|
|
|
|
|
|
|
|
|
|
|
|
|
|
|
|
|
|
|
|
|
|
4 Учет допуска персонала к работе с аттракционом
|
Наименование, номер и дата документа о назначении |
Наименование, номер и дата документа об отстранении |
Механик |
Электрик |
Оператор |
Администратор |
||||
|
Фамилия |
Подпись |
Фамилия |
Подпись |
Фамилия |
Подпись |
Фамилия |
Подпись |
||
|
|
|
|
|
|
|
|
|
|
|
|
|
|
|
|
|
|
|
|
|
|
|
|
|
|
|
|
|
|
|
|
|
|
|
|
|
|
|
|
|
|
|
|
|
|
|
|
|
|
|
|
|
|
|
|
|
|
|
|
|
|
|
|
|
|
|
|
|
|
|
|
|
|
|
|
|
|
|
|
|
|
|
|
|
|
|
|
|
|
|
|
|
|
|
|
|
|
|
|
|
|
|
|
|
|
|
|
|
|
|
|
|
|
|
|
|
|
|
|
|
|
|
|
|
|
|
|
|
|
|
|
|
|
|
|
|
|
|
|
|
|
|
|
|
|
|
|
|
|
|
|
|
|
|
|
|
|
|
|
|
|
|
|
|
|
|
|
|
|
|
|
|
|
|
|
5 Учет ежедневного допуска аттракциона к эксплуатации
Оформляется до начала работы или после простоя
|
Дата и время |
Аттракцион прошел необходимые проверки, проведены контрольные пуски |
Аттракцион допущен к работе |
Замечания администратора к оператору и механику |
Аттракцион сдал в эксплуатацию |
Аттракцион принял в эксплуатацию |
||||
|
Число контрольных пусков |
Замечания |
Администратор |
Механик/электрик |
Ст. оператор |
|||||
|
Фамилия |
Подпись |
Фамилия |
Подпись |
Фамилия |
Подпись |
||||
|
|
|
|
|
|
|
|
|
|
|
|
|
|
|
|
|
|
|
|
|
|
|
|
|
|
|
|
|
|
|
|
|
|
|
|
|
|
|
|
|
|
|
|
|
|
|
|
|
|
|
|
|
|
|
|
|
|
|
|
|
|
|
|
|
|
|
|
|
|
|
|
|
|
|
|
|
|
|
|
|
|
|
|
|
|
|
|
|
|
|
|
|
|
|
|
|
|
|
6 Форма талона предупреждений
|
КОПИЯ Предупреждение № ___ |
Линия отрыва |
Предупреждение № ___ |
|
Оператору (механику) |
Оператору (механику) |
|
|
Вы допускаете ______________________ |
Вы допускаете ______________________ |
|
|
___________________________________
|
__________________________________ |
|
|
___________________________________
|
__________________________________ |
|
|
___________________________________
|
___________________________________ |
|
|
Этим Вы нарушаете правила безопасной эксплуатации и создаете опасность для жизни людей.
|
Этим Вы нарушаете правила безопасной эксплуатации и создаете опасность для жизни людей. |
|
|
Администратор _____________________ |
Администратор _____________________ |
|
|
фамилия, дата, подпись |
фамилия, дата, подпись |
|
|
Оператор (механик)__________________ |
Оператор (механик)_________________ |
|
|
фамилия, дата, подпись
|
фамилия, дата, подпись |
ЖУРНАЛ УЧЕТА ТЕХНИЧЕСКОГО ОБСЛУЖИВАНИЯ И РЕМОНТА
ЭКЗ. №___
АТТРАКЦИОН___________________________
Заводской номер___________________
Ведется в 2-х экземплярах.
Передается от механика к механику под подпись.
Все журналы хранятся до полного списания аттракциона
Журнал начат«___»____________200 _ г.___________________
(фамилия, подпись)
Журнал окончен «___»____________200 _ г.___________________
(фамилия, подпись)
|
Содержание |
|
1 Общие сведения об аттракционе |
|
2 Инструкция по ведению журнала |
|
3 Учет технического обслуживания |
|
4 Учет внеплановых работ |
|
5 Особые замечания по эксплуатации и аварийным случаям |
|
6 Сведения о замене составных частей |
|
7 Сведения о хранении |
|
8 Сведения о консервации и расконсервации при эксплуатации |
|
9 Сведения о ремонте |
|
10 Сведения о технических проверках аттракциона |
|
1 Общие сведения об аттракционе |
|
Наименование ______________________________________ |
|
Изготовитель _______________________________________ |
|
Заводской номер ____________________________________ |
|
Дата изготовления ___________________________________ |
|
Дата ввода в эксплуатацию ___________________________ |
|
Гарантийный срок ___________________________________ |
|
Место установки изделия _____________________________ |
|
Владельцы аттракциона |
|
|
|
|
|
|
|
|
|
|
|
|
|
|
|
|
|
|
|
|
|
|
2 Инструкция по ведению журнала
2.1 Общие положения
1 Механик аттракциона, за которым закреплено ведение технического обслуживания, о чем должна иметься запись в «Журнале администратора» и настоящем журнале, ведет журнал и отвечает за правильность его заполнения и сохранность.
2 Журнал ведется с момента передачи аттракциона Продавцом Владельцу (покупателю) для эксплуатации. Все графы журнала заполняются аккуратно, четко, чернилами или шариковой ручкой. Подчистки не допускаются. Исправления заверяются подписью администратора.
3 Настоящая инструкция устанавливает правила заполнения всех разделов, помещенных в журнале, обязательна для выполнения лицами (механиками), ответственными за техническое обслуживание аттракциона в соответствии с требованиями Руководства по техническому обслуживанию ____________________________________ (наименование документа).
2.2 Правила заполнения раздела 3 «Учет технического обслуживания»
1 Разделы заполняются каждый на соответствующий вид технического обслуживания аттракциона в соответствии с установленной периодичностью.
2 Запись о проведенном техническом обслуживании удостоверяется подписями механика, проводившего работу, и администратора, принявшего ее, с указанием даты проведения работ.
3 При проведении работ, связанных с определением конкретного значения некоторой технической характеристики аттракциона, в журнал записывается фактическое значение характеристики.
4 Если значение технической характеристики выходит за рамки, определяемые техническими требованиями, или выявляется какое-либо отклонение от технических требований, необходимо сделать запись в разделе 7 данного журнала.
2.3 Правила заполнения раздела 4 «Учет внеплановых работ»
1 В раздел вносят сведения о техническом обслуживании аттракциона, проводимом при необходимости сверх работ, предусмотренных утвержденным графиком технического обслуживания.
2 В графе «Причина проведения» указывают отклонения от работоспособного состояния, приведшие к необходимости проведения работ.
3 В графе «Наименование агрегата» кратко описывают содержание проведенных работ и приводят ссылку на документ или запись в «Журнале администратора», подтверждающие необходимость проведения работ.
4 Если в процессе работы израсходованы какие-либо расходные материалы или запасные части из ЗИП, то об этом делается соответствующая запись.
5 Записи о проводимых работах удостоверяются подписями проводившего и проверившего правильность их проведения с указанием должности и фамилии.
2.4 Правила заполнения раздела 5 «Особые замечания по эксплуатации и аварийным случаям»
1 В раздел вносятся замечания, связанные с особенностями технического состояния аттракциона, не предусмотренные эксплуатационными документами и необходимостью привлечения для их устранения Изготовителя. В раздел вносятся в обязательном порядке замечания о техническом состоянии, приведшем к аварийному случаю.
2 Замечания и меры, принятые для их устранения, записываются в произвольной форме, кратко, но достаточно подробно для их анализа и оценки д правильности принятых мер.
3 Записи удостоверяются подписями механика и администратора.
2.5 Правила заполнения раздела 6 «Сведения о замене составных частей»
1 В раздел вносятся сведения обо всех заменах составных частей, узлов, деталей и комплектующих изделий, проводимых на аттракционе.
2 В разделе указывают дату замены, наименование агрегата, часть которого заменяется, причину замены, наименование, обозначение и заводской номер снятой части, число отработанных часов, обозначение и заводской номер установленной части, фамилии и подписи механика, проводившего работу по замене, и администратора, проверившего выполнение работы.
3 При записи причины замены должна быть сделана ссылка на запись, устанавливающую необходимость проведения работ по замене. Как правило, после замены основных составных частей аттракциона необходимо проводить полную или частичную техническую проверку. Указание об объеме испытаний при технической проверке должно содержаться в документе, по которому проведена замена.
2.6 Правила заполнения раздела 7 «Сведения о хранении»
В соответствии с формой в разделе указывают сведения о сроках и условиях хранения изделия.
2.7 Правила заполнения раздела 8 «Сведения о консервации и расконсервации при эксплуатации»
В соответствии с формой в разделе указывают дату консервации или расконсервации, причину проведения работ и наименование документа, в соответствии с которым проводилась работа, наименование организации, проводившей работу, фамилию и подпись ответственного лица.
2.8 Правила заполнения раздела 9 «Сведения о ремонте»
1 В разделе указывают причины сдачи в ремонт аттракциона или его составной части, вид ремонта, дату сдачи в ремонт, дату поступления из ремонта, наименование организации, проводившей ремонт, краткое содержание ремонтных работ, фамилии и подписи лиц, проводившего ремонт и принявшего изделие или его часть из ремонта.
2 Как правило, после ремонта изделия и его основных составных частей необходимо проводить полную или частичную техническую проверку. Указание об объеме испытаний при технической проверке должно содержаться в документе, в соответствии с которым проведен ремонт.
2.9 Правила заполнения раздела 10 «Сведения о технических проверках аттракциона»
1 В разделе приводят сведения обо всех технических проверках аттракциона или его основных составных частей.
2 Технические проверки проводятся перед началом каждого сезона эксплуатации (ежегодно), после изменения в конструкции аттракциона или его основных частей, после замены составных частей, после ремонта.
3 Учет технического обслуживания
Техническое обслуживание аттракциона носит планово-предупредительный характер, проводится по утвержденному администратором аттракциона графику и включает в себя ежедневное техническое обслуживание (ТО-1), периодическое техническое обслуживание (ТО-2), ежегодное (предсезонное) техническое обслуживание (ТО-3), а также ресурсное техническое обслуживание (ТО-Р). Запись о проведении ежедневного технического обслуживания производится в «Журнале администратора».
3.1 Учет периодического технического обслуживания
1 Периодическое техническое обслуживание рекомендуется проводить перед началом и после окончания наиболее интенсивной эксплуатации аттракциона (например, недельное техническое обслуживание при интенсивной эксплуатации в выходные дни рекомендуется проводить в четверг и понедельник соответственно).
2 Работы выполняются совместно с работами по ежедневному техническому обслуживанию (ТО-1) аттракциона в соответствии с разделом _________ Руководства по техническому обслуживанию (далее - РТО) ______________________________________
Бланк на 5 недель
|
№ |
Содержание работ по техническому обслуживанию (заполняется в соответствии с РТО) |
Технические требования (заполняется в соответствии с РТО) |
Подписи и дата |
|||||||||
|
Провел |
Проверил |
Провел |
Проверил |
Провел |
Проверил |
Провел |
Проверил |
Провел |
Проверил |
|||
|
|
|
|
|
|
|
|
|
|
|
|
|
|
|
|
|
|
|
|
|
|
|
|
|
|
|
|
|
|
|
|
|
|
|
|
|
|
|
|
|
|
|
|
|
|
|
|
|
|
|
|
|
|
|
|
|
|
|
|
|
|
|
|
|
|
|
|
|
|
|
|
|
|
|
|
|
|
|
|
|
|
|
|
|
|
|
|
|
|
|
|
|
|
|
|
|
|
Окончание
|
№ |
Содержание работ по техническому обслуживанию (заполняется в соответствии с РТО) |
Технические требования (заполняется в соответствии с РТО) |
Подписи и дата |
|||||||||
|
Провел |
Проверил |
Провел |
Проверил |
Провел |
Проверил |
Провел |
Проверил |
Провел |
Проверил |
|||
|
|
|
|
|
|
|
|
|
|
|
|
|
|
|
|
|
|
|
|
|
|
|
|
|
|
|
|
|
|
|
|
|
|
|
|
|
|
|
|
|
|
|
|
|
|
|
|
|
|
|
|
|
|
|
|
|
|
|
|
|
|
|
|
|
|
|
|
|
|
|
|
|
|
|
|
|
|
|
|
|
|
|
|
|
|
|
|
|
|
|
|
|
|
|
|
|
|
|
|
|
|
|
|
|
|
|
|
|
|
|
|
|
|
|
|
|
|
|
|
|
|
|
|
|
|
|
|
|
|
|
|
|
|
|
|
|
|
|
|
|
|
|
|
|
|
|
|
|
|
|
|
|
|
3.2 Учет ежегодного технического обслуживания
1 Перед пуском аттракциона после длительной остановки (свыше 30 суток) произведите работы согласно разделу ______ РТО ____________________________________ (обозначение документа)
2 Работы по ежегодному техническому обслуживанию проводятся совместно с работами по ежедневному (ТО-1) и периодическому (ТО-2) техническим обслуживаниям аттракциона согласно разделу _______ РТО _________________________________ (обозначение документа)
Содержание и методы проведения работ при ежегодном техническом обслуживании
и технические требования к узлам
200_ г.
|
№ |
Содержание работ по техническому обслуживанию (заполняется в соответствии с РТО) |
Технические требования (заполняется в соответствии с РТО) |
Замечания по техническому состоянию узла, агрегата |
Меры, принятые для устранения замечаний |
Подпись |
и дата |
|
Провел |
Проверил |
|||||
|
|
|
|
|
|
|
|
|
|
|
|
|
|
|
|
|
|
|
|
|
|
|
|
|
|
|
|
|
|
|
|
|
|
|
|
|
|
|
|
|
|
|
|
|
|
|
|
|
|
|
|
|
|
|
|
|
|
|
|
|
|
|
|
|
|
|
|
|
|
|
|
4 Учет внеплановых работ
|
Дата |
Причина проведения |
Наименование агрегата. Содержание выполненной работы. Основание для проведения (документ) |
Расход материалов |
Расход ЗИП |
Провел механик. Фамилия, подпись |
Проверил администратор. Фамилия, подпись |
||
|
Наименование |
Число |
Наименование |
Число |
|||||
|
|
|
|
|
|
|
|
|
|
|
|
|
|
|
|
|
|
|
|
|
|
|
|
|
|
|
|
|
|
|
|
|
|
|
|
|
|
|
|
|
|
|
|
|
|
|
|
|
|
|
|
|
|
|
|
|
|
|
|
|
|
|
|
|
|
|
|
|
|
|
|
|
|
|
|
|
|
|
|
|
|
|
|
|
|
|
|
|
|
|
|
|
|
|
|
|
|
|
|
|
|
|
|
|
|
|
|
|
|
|
|
|
|
|
|
|
|
|
|
|
|
|
|
|
|
|
|
|
|
|
|
|
|
|
|
|
|
|
|
|
|
|
|
|
|
|
|
|
|
|
|
|
|
|
|
|
|
|
|
|
|
|
|
|
|
|
|
|
|
|
|
|
|
|
|
|
|
|
|
|
|
|
|
|
|
|
|
|
|
|
|
|
|
|
|
|
|
|
|
|
|
|
|
|
|
|
|
|
|
|
|
|
|
|
|
|
|
|
|
5 Особые замечания по эксплуатации и аварийным случаям
|
Дата |
Особые замечания о техническом состоянии |
Принятые меры |
Механик |
Администратор |
||
|
Фамилия |
Подпись |
Фамилия |
Подпись |
|||
|
|
|
|
|
|
|
|
|
|
|
|
|
|
|
|
|
|
|
|
|
|
|
|
|
|
|
|
|
|
|
|
|
|
|
|
|
|
|
|
|
|
|
|
|
|
|
|
|
|
|
|
|
|
|
|
|
|
|
|
|
|
|
|
|
|
|
|
|
|
|
|
|
|
|
|
|
|
|
|
|
|
|
|
|
|
|
|
|
|
|
|
|
|
|
|
|
|
|
|
|
|
|
|
|
|
|
|
|
|
|
|
|
|
|
|
|
|
|
|
|
|
|
|
|
|
|
|
|
|
|
|
|
|
|
|
|
|
|
|
|
|
|
|
|
|
|
|
|
|
|
|
|
|
|
|
|
|
|
|
|
|
|
|
|
|
|
|
|
|
|
|
|
|
|
|
|
|
|
|
|
|
|
|
6 Сведения о замене составных частей
|
Дата |
Наименование агрегата |
Снятая часть |
Установленная часть |
Провел механик |
Проверил администратор |
|||
|
Причина замены |
Наименование и обозначение |
Заводской номер |
Число отработанных часов |
Наименование и обозначение |
Заводской номер |
Фамилия, подпись |
Фамилия, подпись |
|
|
|
|
|
|
|
|
|
|
|
|
|
|
|
|
|
|
|
|
|
|
|
|
|
|
|
|
|
|
|
|
|
|
|
|
|
|
|
|
|
|
|
|
|
|
|
|
|
|
|
|
|
|
|
|
|
|
|
|
|
|
|
|
|
|
|
|
|
|
|
|
|
|
|
|
|
|
|
|
|
|
|
|
|
|
|
|
|
|
|
|
|
|
|
|
|
|
|
|
|
|
|
|
|
|
|
|
|
|
|
|
|
|
|
|
|
|
|
|
|
|
|
|
|
|
|
|
|
|
|
|
|
|
|
|
|
|
|
|
|
|
|
|
|
|
|
|
|
|
|
|
|
|
|
|
|
|
|
|
|
|
|
|
|
|
|
|
|
|
|
|
|
|
|
|
|
|
|
|
|
|
|
|
|
|
|
|
|
|
|
|
|
|
|
|
|
|
|
|
|
|
|
|
|
|
|
|
|
|
|
|
|
|
|
|
|
|
|
|
|
7 Сведения о хранении
|
Дата |
Условия хранения |
Должность, фамилия и подпись лица, ответственного за хранение |
||
|
постановки на хранение |
снятия с хранения |
Принято на хранение |
Снято с хранения |
|
|
|
|
|
|
|
|
|
|
|
|
|
|
|
|
|
|
|
|
|
|
|
|
|
|
|
|
|
|
|
|
|
|
|
|
|
|
|
|
|
|
|
|
|
|
|
|
|
|
|
|
|
|
|
|
|
|
|
|
|
|
|
|
|
|
|
|
|
|
|
|
|
|
|
|
|
|
|
|
|
|
|
|
|
|
|
|
|
|
|
8 Сведения о консервации и расконсервации при эксплуатации
|
Дата консервации |
Дата расконсервации |
Причина проведения работ и наименование документа, по которому проводилась работа. Краткое содержание работы |
Наименование или условное обозначение предприятия (организации), проводившего(ей) консервацию (расконсервацию) изделия |
Дата, должность и подпись лица, ответственного за консервацию (расконсервацию) |
|
|
|
|
|
|
|
|
|
|
|
|
|
|
|
|
|
|
|
|
|
|
|
|
|
|
|
|
|
|
|
|
|
|
|
|
|
|
|
|
|
|
|
|
|
|
|
|
|
|
|
|
|
|
|
|
|
|
|
|
|
|
|
|
|
|
|
|
|
|
|
|
|
|
|
|
|
|
|
|
|
|
|
|
|
|
|
|
|
|
|
|
|
|
|
|
|
|
|
|
|
|
|
|
|
|
|
|
|
|
|
|
|
|
|
|
|
|
|
|
|
|
|
|
|
|
|
|
|
|
|
|
9 Сведения о ремонте
|
Наименование и обозначение составной части изделия. Заводской номер |
Основания для сдачи в ремонт |
Дата поступления в ремонт |
Дата выхода из ремонта |
Наименование организации, проводившей ремонт |
Вид ремонта. Краткое содержание проведенных работ |
Должность, фамилия и подпись ответственного лица |
|
|
проводившего ремонт |
принявшего изделие из ремонта |
||||||
|
|
|
|
|
|
|
|
|
|
|
|
|
|
|
|
|
|
|
|
|
|
|
|
|
|
|
|
|
|
|
|
|
|
|
|
|
|
|
|
|
|
|
|
|
|
|
|
|
|
|
|
|
|
|
|
|
|
|
|
|
|
|
|
|
|
|
|
|
|
|
|
|
|
|
|
|
|
|
|
|
|
|
|
|
|
|
|
|
|
|
|
|
|
|
|
|
|
|
|
|
|
|
|
|
|
|
|
|
|
|
|
|
|
|
|
|
|
|
|
|
|
|
|
|
|
|
|
|
|
|
|
|
|
|
|
|
|
|
|
|
|
|
|
|
|
|
|
|
|
|
|
|
|
|
|
|
|
|
|
|
|
|
|
|
|
|
|
|
|
|
|
|
|
|
|
|
|
|
|
|
|
|
|
|
|
|
|
|
|
|
|
|
|
|
|
|
|
10 Сведения о технических проверках аттракциона
Ежегодно перед открытием сезона проводить техническую проверку аттракциона согласно разделу _____ РТО _______________ обозначение документа)
|
Дата технической проверки |
Наименование узла или механизма |
Результат технической проверки |
Основания для проверки |
Должность, фамилия, подпись проверяющего |
Примечания |
|
|
|
|
|
|
|
|
|
|
|
|
|
|
|
|
|
|
|
|
|
|
|
|
|
|
|
|
|
|
|
|
|
|
|
|
|
|
|
|
|
|
|
|
|
|
|
|
|
|
|
|
|
|
|
|
|
|
|
|
|
|
|
|
|
|
|
|
|
|
|
|
|
|
|
|
|
|
|
|
|
|
|
|
|
|
|
|
|
|
|
|
|
|
|
|
|
|
|
|
|
|
|
|
|
|
|
|
|
|
|
|
|
|
|
|
|
|
|
|
|
|
|
|
|
|
|
|
|
|
|
|
|
|
|
|
|
|
|
|
|
|
|
|
|
|
|
МП.
________
подпись
В журнале пронумеровано и прошнуровано ____________________ листов.
«____» ________________________ 200_ г.
__________________________________________________________________________
(должность, фамилия, инициалы руководителя организации, выдавшего журнал)
|
[1] EH 13814:2004 |
Механизмы и конструкции передвижных и стационарных парков. Безопасность |
|
|
[2] ИСО 6487:2002 |
Транспорт дорожный. Методы измерений при ударных испытаниях. Контрольно-измерительные приборы |
|
|
Деревянные конструкции |
||
|
Основания зданий и сооружений |
||
|
Стальные конструкции |
||
|
Защита строительных конструкций от коррозии |
||
|
Общественные здания и сооружения |
||
|
Пожарная безопасность зданий и сооружений |
||
|
Правила аттестации сварщиков и специалистов сварочного производства Госгортехнадзора |
||
|
[10] Правила Госгортехнадзора «Промышленная безопасность при эксплуатации паровых и водогрейных котлов, сосудов, работающих под давлением, трубопроводов пара и горячей воды» |
||
|
Спецификация и квалификация процедур сварки металлических материалов. Общие правила |
|
|
|
Технические требования и оценка процедур сварки металлических материалов. Технические требования к процедуре сварки. Часть 1. Дуговая сварка |
|
|
|
[13] ИСО 15614-1:2004 |
Технические требования и оценка процедур сварки металлических материалов. Испытание процедур сварки. Часть 1. Дуговая и газовая сварка сталей, дуговая сварка никеля и никелевых сплавов |
|
|
Технические требования и оценка процедур сварки металлических материалов. Испытание процедур сварки. Часть 2. Дуговая сварка алюминия и алюминиевых сплавов |
|
|
|
Правила устройства и безопасной эксплуатации лифтов, Госгортехнадзор России |
|
|
|
Цвета сигнальные. Знаки пожарной безопасности |
|
|
|
Стандартная практика проектирования аттракционов и других устройств для развлечений |
|
|
|
Вибрация и удар механические. Оценка воздействия вибрации всего тела на организм человека. Часть 1. Общие требования |
|
|
|
[19] Правила устройства электроустановок (ПУЭ), 2007 г. |
||
|
[20] Правила технической эксплуатации электроустановок потребителей (ПТЭЭП), 2007 г. |
||
|
Аппаратура коммутационная и механизмы управления низковольтные комплектные |
||
|
Безопасность механизмов. Защитная электрочувствительная аппаратура. Часть Общие требования и испытания |
||
|
Безопасность механизмов. Электрочувствительные средства защиты. Часть 2. Частные требования к средствам защиты, использующим активные оптоэлектронные защитные приборы (AOPD) |
||
|
Транспорт дорожный. Методы измерений при ударных испытаниях. Контрольно-измерительные приборы |
||
|
Системы электрические/электронные/программируемые электронные, связанные с функциональной безопасностью |
||
|
Микроконтроллеры программируемые. Часть 3: Языки программирования |
||
|
Системы силовых электроприводов с регулируемой скоростью. Часть 1. Общие требования. Номинальные технические характеристики низковольтных систем силовых электроприводов постоянного тока с регулируемой скоростью |
||
|
Системы силовых электроприводов с регулируемой скоростью. Часть 2. Общие требования. Номинальные технические характеристики низковольтных систем силовых электроприводов переменного тока с регулируемой частотой |
||
|
Системы электроприводов с регулируемой скоростью. Часть 3. Стандартные требования к электромагнитной совместимости продукции и специальные методы испытаний |
||
Ключевые слова: аттракционы, устройства для развлечений, безопасность посетителей и обслуживающего персонала, стадии жизненного цикла
|
ГОСТЫ, СТРОИТЕЛЬНЫЕ и ТЕХНИЧЕСКИЕ НОРМАТИВЫ. Некоммерческая онлайн система, содержащая все Российские Госты, национальные Стандарты и нормативы. В Системе содержится более 150000 файлов нормативно-технической документации, действующей на территории РФ. Система предназначена для широкого круга инженерно-технических специалистов. Copyright © www.gostrf.com, 2008 - 2026 |