Крупнейшая бесплатная информационно-справочная система онлайн доступа к полному собранию технических нормативно-правовых актов РФ. Огромная база технических нормативов (более 150 тысяч документов) и полное собрание национальных стандартов, аутентичное официальной базе Госстандарта. GOSTRF.com - это более 1 Терабайта бесплатной технической информации для всех пользователей интернета. Все электронные копии представленных здесь документов могут распространяться без каких-либо ограничений. Поощряется распространение информации с этого сайта на любых других ресурсах. Каждый человек имеет право на неограниченный доступ к этим документам! Каждый человек имеет право на знание требований, изложенных в данных нормативно-правовых актах!

  


 

ТИПОВЫЕ ТЕХНОЛОГИЧЕСКИЕ КАРТЫ НА ПРОИЗВОДСТВО ОТДЕЛЬНЫХ ВИДОВ РАБОТ

ТИПОВАЯ
ТЕХНОЛОГИЧЕСКАЯ КАРТА НА МОНТАЖ СТРОИТЕЛЬНЫХ КОНСТРУКЦИЙ

6310030014

43014

МОНТАЖ СТЕН ГОРИЗОНТАЛЬНОЙ РАЗРЕЗКИ ИЗ АСБЕСТОЦЕМЕНТНЫХ
ЭКСТРУЗИОННЫХ ПАНЕЛЕЙ С ПРЕДВАРИТЕЛЬНОЙ УКРУПНИТЕЛЬНОЙ
СБОРКОЙ ДЛЯ ГРАЖДАНСКИХ И ПРОМЫШЛЕННЫХ ЗДАНИЙ

РАЗРАБОТАНА

 

СОГЛАСОВАНО

Центральным научно-исследовательским и проектно-экспериментальным институтом организации, механизации и технической помощи строительству (ЦНИИОМТП)

 

Отделом механизации и технологии, строительства Госстроя СССР

Зам. директора института, д.т.н.

В.Д. ТОПЧИЙ

Письмо от 11.07.09 № 13-423

Начальник отдела экспериментального проектирования

Ю.А. ЯРЫМОВ

Введена в действие 11 июля 1989 г.

Зав. лабораторией монтажа эффективных конструкций, канд. техн. наук

Л.П. БАБАЯН

МОСКВА - 1990

СОДЕРЖАНИЕ

1. ОБЛАСТЬ ПРИМЕНЕНИЯ

Типовая технологическая карта разработана на измеритель конечной продукции - 100 м2 наружных стен из асбестоцементных экструзионных панелей (ПЭА) с предварительной укрупнительной сборкой их в блок-картины.

Карта рекомендуется для применения при устройстве стенового ограждения из асбестоцементных экструзионных панелей длиной 6 м при возведении общественных каркасных одноэтажных и многоэтажных зданий.

Картой предусматривается монтаж стеновых блок-картин из ПЭА краном на гусеничном ходу МКГ-25, Сборка блок-картин из ПЭА производится автомобильным краном МКА-10. Размер укрупнительной блок-картины 6,0×6,0 м. Толщина панелей 120 мм.

2. ОРГАНИЗАЦИЯ И ТЕХНОЛОГИЯ ВЫПОЛНЕНИЯ РАБОТ

Транспортирование и складирование ПЭА

Ответственность за правильность укладки ПЭА на транспортные средства при отпуске с завода несет предприятие-изготовитель. Ответственность за их сохранность в пути от завода-изготовителя на стройплощадку несет транспортная организация. За правильность разгрузки изделий, складирование и их хранение на приобъектном складе несет ответственность строительная организация.

Перевозку ПЭА следует производить в горизонтальном положении пакетами, скрепленными стяжками. Стяжки для крепления панелей при пакетной доставке состоят из двух металлических резьбовых стержней, верхних и нижних накладок. Стягивание пакета производится завинчиванием гаек.

Накладки изготовляют из металлических швеллеров и оборудуют грузоподъемными петлями. Между швеллерами и панелями предусмотрены деревянные прокладки.

Пакеты, сформированные с помощью стяжек, имеют следующие габаритные размеры, мм..

длина                                            6000 (3000)

ширина                                         740

высота до                                     1170

Перевозка ПЭА может производиться на автотранспортных средствах общего назначения или на специализированных средствах в соответствии с Временной инструкцией по пакетной доставке асбестоцементных панелей автомобильным транспортом, разработанной ВНИИпроектасбестоцемент НПО "Асбестоцемент" Минстройматериалов СССР.

Из автотранспортных средств общего назначения рекомендуется использовать бортовой ЗИЛ-133 Г1 и полуприцеп с бортовой платформой ОДАЗ-885, позволяющий перевозить до трех пакетов. Кузов автомобиля должен быть оборудован специальными устройствами для крапления груза растяжками или другими средствами, обеспечивающими сохранность панелей при перевозке, с учетом максимального использования грузоподъемности к вместимости транспортных средств.

Асбестоцементные экструзионные панели, поступающие на строительную площадку, должны быть снабжены паспортами, выдаваемыми потребителю предприятием-изготовителем при отпуске изделий, должны иметь хорошо видимую маркировку и клеймо ОТК, нанесенное несмываемой краской, либо наклеенную этикетку. Асбестоцементные экструзионные панели поставляются предприятием-изготовителем на строительную площадку по спецификации в комплекте с пористой упругой прокладкой.

При приемке ПЭА монтирующая организация проверяет соответствие паспортных данных требованиям ТУ 21-24-82-81, производит внешний осмотр изделий и контрольные измерения.

Контрольным измерениям подлежат основные габаритные размеры панелей в соответствии с требованиями ТУ 21-24-82-81 и рабочими чертежами ограждающих конструкций из ПЭА данного объекта.

При хранении ПЭА на приобъектном складе необходимо соблюдать следующие требования:

площадку для склада тщательно выровнять и спланировать;

с площадки должен быть обеспечен отвод поверхностных вод;

раскладку и размещение ПЭА производить в условиях, исключающих возможность их деформирования и разрушения;

пакеты укладывать в штабель на деревянные прокладки, располагаемые поперек панелей строго по вертикали одна над другой;

нижний пакет должен опираться на подкладки сечением 80×80 мм, вышележащий - на прокладки сечением 40×80 мм;

длина прокладки должна составлять не менее 750 мм;

проходы устраивать в продольном направлении через каждый ряд штабеля, а в поперечном направлении - через каждые 12 м. Ширина проходов - не менее 0,7 м, а зазоры между смежными штабелями не менее 0,2 м;

на территории склада установить указатели проездов и проходов;

панели, не имеющие поверхностной гидрофобизации, в процессе хранения должны быть защищены от увлажнения (укрыты водонепроницаемой тканью, полиэтиленовой пленкой и т.п.).

Транспортирование и складирование ПЭА приведено на стр. 6.

Монтаж ПЭА

Монтаж стен укрупненными блоками-картинами на объекте предусматривает предварительную сборку асбестоцементных экструзионных панелей в картины и их установку в проектное положение.

При монтаже стен с предварительной укрупнительной сборкой рекомендуется применять комплект монтажной, оснастки в составе:

поворотные вилки - 1 пара;

вилочные подхваты - 1 пара;

"Блок-Г" (сборочный стенд - 1 шт.; монтажная траверса - 2 шт.).

Поворотные вилки предназначены для разворота верхней панели в пакете перед ее строповкой.

Вилочный подхват предназначен для строповки панелей при укрупнительной сборке с применением двухветвевого стропа.

Подхват представляет собой сварную металлическую конструкцию П-образной формы, на верхней стойке которого расположен подвижной прижимной рычаг, имеющий строповочную петлю.

Сборочный стенд предназначен для сборки панелей в горизонтальном положении и изоляции стыков между ними. Стенд состоит из двух секций, которые представляют собой пространственные конструкции, сваренные из уголков и соединенные между собой по торцам фермами жесткости. Расстояние между секциями равно ширине монтажной траверсы, которая устанавливается в горизонтальном положении между секциями на два швеллера до начала сборки картины. Каждая секция оборудована продольными балками и струбцинами-домкратами для сплачивания панелей.

Монтажная траверса предназначена для перевода картины из горизонтального положения в вертикальное, транспортирование картины к месту монтажа и установки в проектное положение.

Крепление картины к траверсе осуществляется прижимными балками, которые оборудованы винтовыми ключами.

Процесс монтажа стен горизонтальной разрезки из ПЭА с предварительной укрупнительной сборкой состоит из следующих основных операций:

подготовка к укрупнительной сборке картин; укрупнительная сборка картины с одновременной герметизацией швов между панелями мастичным герметиком;

подготовка укрупненной картины к монтажу; кантовка картины из горизонтального положения в вертикальное и подача к месту установки в здании;

выверка и закрепление картины в проектное положение; снятие траверсы и ее возврат на площадку укрупнительной сборки.

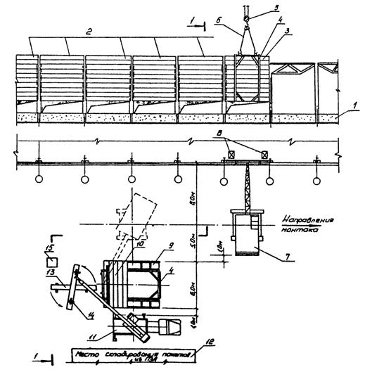
Технологией монтажа предусмотрено выполнение работ двумя звеньями монтажников; первое звено с помощью вспомогательного автомобильного крана КС-3571 осуществляет подготовку и укрупнительную сборку картин из панелей, закрепление картины к монтажной траверсе. Параллельно с укрупнением монтажники-герметики этого же звена осуществляют работы по герметизации швов между панелями картин; второе звено монтажников с помощью основного монтажного крана МКГ-25 осуществляет кантовку траверсы с картиной в вертикальное положение, подачу к месту установки, выверку и постоянное закрепление картины в проектное положение, снятие траверсы со смонтированной картины и ее возврат на площадку укрупнительной сборки. Схемы организации монтажа стен приведены на стр. 7-10.

В процессе подготовки и укрупнительной сборки пакет панелей подается с временного склада и укладывается на прокладках рядом со сборочным стендом.

На сборочный стенд укладывается монтажная траверса. При сборке картин панели подают на сборочный стол поштучно в горизонтальном положении при помощи вилочного подхвата. Строповку панелей производят в последовательности, указанной на стр. 11.

Сборку картины начинают с укладки базовой панели, положение которой определяется путем прижатия ее боковой грани к фиксирующим упорам стенда. Последующие панели поштучно с помощью вилочного подхвата вспомогательным краном подаются на сборочный стенд и укладываются на несущие элементы монтажной траверсы с одновременной установкой крепежных пластинчатых элементов (КЭП). Сплачивание панелей между собой производят с помощью двух струбцин-домкратов, закрепляемых на балках стола и переставляемых по ходу укрупнительной сборки. Проектное положение панелей определяют путем совмещения продольной оси панели с разбивочными рисками, нанесенными на обрамляющие элементы сборочного стенда. Одновременно со сплачиванием происходит заполнение стыка между панелями мастичным герметиком, уже без участия монтажников. После сплачивания панелей в картину на нее укладывают два обвязочных несущих элемента из швеллера № 10 и с помощью электросварки осуществляют крепление их к крепежным пластинчатым элементам (КЭП). После проверки геометрических параметров картины монтажники первого звена приступают к закреплению монтажной траверсы с укрупненной картиной.

Работы по изоляции стыков между панелями производят в соответствии с рекомендациями по монтажу ограждающих конструкций из асбестоцементных экструзионных панелей.

Установка панелей в пакеты со стяжкой и их транспортировка

Схема разгрузки и складирования панелей при доставке их пакетами, скрепленными инвентарными стяжками

Схема монтажа стен горизонтальной разрезки из ПЭА с предварительной укрупнительной сборкой

Схема организации монтажа стен горизонтальной разрезки из ПЭА с предварительной укрупнительной сборкой

Схема строповки панелей при сборке блок-картины

1 - пакет из панелей; 2 - асбестоцементная экструзионная панель; 3 - поворотная вилка; 4 - подхват для транспортировки панелей; 5 - двухветвевой строп; 6 - крюковая обойма крана

Перевод картины на горизонтального положения в вертикальное производят за две грузовые петли путем подъема крюка с одновременным поворотом стрелы крана. При этом картина с траверсой поворачивается вокруг двух опор, расположенных на сборочном стенде. Затем картину подают к месту установки в здании и устанавливают на опорные столики, приваренные заранее к колоннам каркаса здания. Производят выверку картины, а затем приступают к проектному закреплению.

После установки и закрепления картины монтажники освобождают траверсу от смонтированной картины и возвращают ее к месту укрупнительной сборки. Монтажная оснастка, очередность укрупнения картин приведена на стр. 15 - 21.

Рекомендуемые машины и оборудование для монтажа приводятся в табл. 1.

Таблица 1

Наименование комплекта машин и оборудования

Вариант (фасет-код)

Техническая характеристика

Марка

Количество

Кран монтажный

-

Кран гусеничный грузоподъемностью 25 т

МКГ-25

1

Кран для укрупнительной сборки картин

-

Кран автомобильный грузоподъемностью 5 т

МКА-10

1

Сборочный стенд

-

Для укрупнительной сборки панелей в блок-картины

ЦНИИОМТП

328-2.01.000

1

Вышка строительная ВС-23-МС

-

Обеспечение рабочего места монтажника на высоте до 23,5 м

"Спецстальконс-трукция" ЛатвССР

2

Изоляция стыков между ПЭА

В состав изоляционных работ входят следующие операции:

подготовка основания под герметизирующие и уплотняющие материалы;

установка уплотняющих прокладок;

нанесение герметиков.

Операции по подготовке основания под уплотняющие прокладки и герметик выполняют на панелях, находящихся в пакетах на земле, непосредственно перед их укрупнительной сборкой в блок-картины. Грунтовочное покрытие наносят на поверхности боковых продольных граней панелей.

Поверх грунтовочного покрытия после высыхания до "отлипа" наносят мастики КН-2, КН-3 или 51-Г-18 волосяной кистью за два раза. Повторно наносят мастику через 10 - 20 мин после высыхания первого слоя.

Наносить грунтовое покрытие на влажные поверхности запрещается. Зимой снег и лед счищают с основания малярными шпателями и волосяными кистями. Удаление остатков льда и сушку выполняют е помощью инжекционной газовой горелки.

Операция по установке уплотняющих прокладок выполняют на панелях, находящихся в пакетах на земле, непосредственно перед их укрупнительной сборкой.

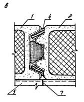
Упругие прокладки приклеивают мастиками КН-2, КН-3 или 51-Г-18 в зазоры между гребнями панелей. При этом стыкование уплотняющих прокладок выполняют, срезая сопрягаемые части на "ус" под углом 45° и склеивая их мастиками КН-2, КН-3 или 51-Г-I8 после подсыхания приклеивающего слоя без потери липкости в течение 5 - 10 мин. Стык уплотняющей прокладки должен быть расположен не ближе 0,4 м от торца панели.

Операции по нанесению мастичного герметика производят электрогерметизатором, с помощью которого валик мастичного герметика наносится на боковые продольные грани панели, лежащей в штабеле, непосредственно перед укрупнительной сборкой в блок-картину. При этом валик мастичного герметика должен иметь площадь сечения не менее 2,5 см2.

Обжатие валиков мастичного герметика и упругой прокладки горизонтальных стыков панелей производится в процессе сборки блок-картины при помощи струбцины.

Изоляцию вертикальных стыков выполняют после монтажа стенового ограждения самостоятельным потоком. При этом звено монтажников осуществляет установку вкладышей из минераловатных плит, нащельников, уплотняющих прокладок в зазоре между колонками и панелями, а также нанесение мастичного герметика электрогерметизатором, используя при этом специальные средства подмащивания. Изоляция стыков панелей в процессе укрупнительной сборки приведена на стр. 22.

3. ТРЕБОВАНИЯ К КАЧЕСТВУ И ПРИЕМКЕ РАБОТ

До начала работ по монтажу картин оформляют акт на скрытые работы, проверяют наличие закладных деталей колонн для крепления картин. При монтаже конструкций стен из ПЭА должен быть обеспечен пооперационный контроль за качеством монтажных работ.

Установка панелей по высоте должна выполняться путем совмещения установочных рисок, нанесенных на монтируемых и опорных конструкциях. Верх панелей необходимо выверять относительно разбивочных осей.

Смонтированные конструкции стен из ПЭА рекомендуется принимать поэтажно, посекционно или по пролетам.

При приемке следует проверять надежность закрепления панелей. Промежуточному контролю подлежит изоляция стыков между картинами.

Технические критерии, средства контроля операций и процессов приведены в табл. 2,

Таблица 2

Наименование процессов, подлежащих контролю

Предмет контроля

Инструмент и способ контроля

Периодичность контроля

Ответственный контролер

Технические критерии оценки качества

Подготовительные предмонтажные работы

Соответствие геометрических размеров проектным, наличке внешних дефектов

Рулетка металлическая. Визуальный осмотр

До начала монтажа

Мастер

Отклонение размеров:

по длине ±10 мм: ширине 2-8 мм; высоте ±3 мм.

Уступ между смежными гранями панели из их плоскости 4 мм. Толщина шва между смежными панелями по их длине ±4 мм.

Отклонение панелей от вертикали.

Монтаж картин

Установка опорных столиков

Нивелир, линейка измерительная

То же

То же

Разность отметки верха стеновых панелей в пределах выверяемого участка ±10 мм. Отклонение высоты столиков 5 мм.

Выверка положения стеновой панели в плане

Визуально. Линейка измерительная

В процессе монтажа

Мастер

Смещение осей или граней картины в нижнем сечении ±5 мм.

Выверка панелей по вертикали

Рейка, отвес

То же

-"-

Отклонение плоскости картины в верхнем сечении от вертикали ±10 мм.

Сварочные работы

Контроль сварных соединений в процессе их выполнения

Визуально. Линейка измерительная

Два раза в смену

Мастер

Для обмера швов выбирают три соединения самые плохие по внешнему виду. Приемка по ГОСТ 10922-75

Подготовка к заделке стыков между картинами

Наличие огрунтовки. Очистка кромок картин в плоскости стыка от грязи, пыли и льда. Просушка стыка

Визуально

До герметизации

Мастер

Внешний осмотр

Герметизация стыка

Соответствие материалов герметизации ГОСТ и требованиям проекта

Визуально. Лабораторный контроль (адгезиометром)

До использования материалов

Прораб, лаборант

Паспортные данные заводов-изготовителей, лабораторный контроль из партии герметиков

Качество приклейки, обжатие и непрерывность жгутов

Пробная выборочная проверка

В процессе герметизации

Мастер

Внешний осмотр, пробный осмотр.

Проверка толщины и непрерывности мастичного слоя

Визуально. Линейка измерительная, щуп

После нанесения мастики

Толщина слоя В должна равняться ширине стыка С (В = С), но не менее

Приемосдаточные работы

Внешний вид стыка, наличие защитного слоя

Визуально

После выполнения работ

Прораб, заказчик

Акты на скрытые работы

Сборочный стенд

1 - секция;
2 - балка;
3 - ферма жесткости;

4 - связь;
5 - опоры;
6 - струбцина-домкрат;
Масса стола - 800 кг

Монтажная /траверса

Масса траверсы – 690 кг

Грузоподъемность -3000 кг

Поворотная вилка

Вилочный подхват

Габаритные размеры - 100×644×133 мм

Масса вилки - 6,8 кг

1, 2 - боковины; 2 - связь; 3 - ребра; 4 - ручка

Грузоподъемность - 450 кг;

Габаритные размеры - 450×289×325 мм

Масса (одного подхвата) - 7 кг

1 - скоба; 2 - прижим

Установка монтажной траверсы на сборочный стенд

Укладка панели на сборочный стенд с помощью вилочного подхвата

Укладка на укрупненную картину обвязочных элементов ОЭ-1 ÷ ОЭ-6 и приварка к ним крепежных элементов КЭП-1 и КЭП-2

Подготовка картины к монтажу
Установка откидного несущего элемента траверсы в рабочее положение

Перевод картины с траверсой из горизонтального положения в вертикальное с помощью основного монтажного крана и подача к месту установки в здании

Изоляция стыков панелей в процессе их укрупнительной сборки в блок-картины

а - нанесение валиков мастичного герметика с помощью электрогерметизатора в процессе подготовки панели к монтажу на выступы паза и гребня панели;

б - герметизация швов между панелями укрупненной картины в процессе ее укрупнительной сборки (положение панелей до их сплачивания);

в - то же (после сплачивания панелей с помощью струбцин-домкратов);

1 – панель, ранее установленная на сборочный стенд;

2 - панель, устанавливаемая  на сборочный стенд;

3 – упругая прокладка, приклеенная в зазоре между выступами верхней продольной грани панели в процессе ее подготовки к монтажу;

4 – валик мастичного герметика;

5 – балка сборочного стенда, предназначенная для сплачивания панелей;

6 – струбцина-домкрат;

7 – риска установочная;

8 – деревянная подкладка;

9 - электрогерметизатор

 


4. КАЛЬКУЛЯЦИЯ ЗАТРАТ ТРУДА, МАШИННОГО ВРЕМЕНИ, ЗАРАБОТНОЙ ПЛАТЫ НА МОНТАЖ СТЕН УКРУПНЕННЫМИ КАРТИНАМИ

Таблица 3

Наименование процесса

Номер фасета для пересчета показателей

Единица измерения

Объем работ

Обоснование (ЕНиР и др. нормы)

Норма времени

Расценка, р.-к.

Затраты труда

Заработная плата, р.-к.

Время пребывания машины на объекте,

маш.-ч

Заработная плата машиниста с учетом пребывания машины,

р.-к.

рабочих,

чел.-ч

машиниста, чел.-ч

(маш.-ч)

рабочих

машиниста

рабочих,

чел.-ч

машиниста, чел.-ч

(маш.-ч)

рабочих

машиниста

Укрупнительная сборка панелей ПЭА в блок-картины с изоляцией стыков между панелями автомобильным краном МКА-10

 

На 1 картину

6

По данным ЦНИИОМТП

7,092

1,42

(1,42)

5-66

1-51

42,55

8-52

(8-52)

33-96

9-06

10,27

10-89

Монтаж цокольных панелей гусеничным краном МКГ-25

01

На 1 панель

6

§ E 4-1-8.

табл. 2, № 2a

3,0

0,75

(0,75)

2-28

0-80

18,00

4,50

(4,50)

13-68

4-80

4,50

4-80

Монтаж блок-картин гусеничным краном МКГ-25

01, 02

На 1 картину

6

По данным ЦНИИОМТП

4,11

1,02

(1,02)

3-06

1-10

24,66

6,12

(6,12)

18-36

6-60

6,12

6-60

Итого

 

 

 

 

 

 

 

 

85,21

19,14

(19,14)

66-00

20-46

20,89

22-29


5. ГРАФИК ПРОИЗВОДСТВА РАБОТ НА МОНТАЖ СТЕН УКРУПНЕННЫМИ КАРТИНАМИ

Таблица 4

6. МАТЕРИАЛЬНО-ТЕХНИЧЕСКИЕ РЕСУРСЫ

Потребность в инструменте, инвентаре и приспособлениях приведена в табл. 5.

Таблица 5

Наименование

Марка, техническая характеристика, ГОСТ, чертежа

Количество

Назначение

Строп четырехветвевой

ГОСТ 25573-82

1

Для разгрузки и складирования пакетов

Строп двухветвевой

ГОСТ 25573-82

1

Подача панели на укрупнительный стенд для монтажа картины

Подхват вилочный

ЦНИИОМТП,

935-2.00.000

1

Для подачи панелей из штабеля к месту укрупнительной сборки

Вилка поворотная

ЦНИИОМТП,

772-2.02.000

2

Для разворота панелей при строповке из штабеля

Траверса монтажная

ЦНИИОМТП,

328-2.02.000

2

Для кантовки и подачи блок-картины к месту монтажа

Машина для резки панелей

ЦНИИОМТП,

799-2.00.000

1

Для поперечной и продольной резки панелей в зоне монтажа

Электрогерметизатор

Конаковский завод

ИЭ-6602

2

Герметизация стыков панелей при укрупнительной сборке

Пистолет-распылитель

Вильнюсский завод строительных машин

1

Для нанесения грунтовочных составов

Трансформатор сварочный

ТД-500 завод Ташэлектромаш

1

Для сварки закладных деталей

Преобразователь частоты тока

ИЭ-9401 А завод Выборгский "Электроинструмент"

1

Для преобразования тока

Электротермос

ЦНИИОМТП, 608-76

1

Для подогрева гильз с мастикой

Компрессор передвижной

СО-7А

1

Подача воздуха

Ключ гаечный с открытыми зевами двухсторонние

ГОСТ 2839-80*Е

6

Дня монтажных работ

Скребок

Рабочие черт. № 10 ВНИСМИ Минстройдормаш

1

Для очистки конструкций

Щетка стальная прямоугольная

ТУ 494-01-104-76

2

То же

Чертилка с твердосплавным наконечником

СТД 697/2

ТУ 36-1633-73

ЦКБ треста "Сантехдеталь" Главпроммосвентиляция

1

Для разметки конструкций

Рулетка измерительная

РЗ-20

1

Измерение линейных величин

Уровень строительный

УС-3, l = 500

1

Проверка горизонтальности строительных конструкций

Отвес строительный

ОТ-600

ГОСТ 7948-80

1

Проверка вертикальности монтируемых конструкций

Кисть-ручник

КР

ГОСТ 10597-87

2

 

Потребность в материалах и полуфабрикатах для выполнения работ по монтажу 100 м2 стен приведена в табл. 6.

Таблица б

Наименование материала, полуфабриката, конструкций (марка, ГОСТ)

Вариант

(фасет-код)

Исходные данные

Потребное количество

Единица измерения по нормам и черт.

Объем работ в нормативных единицах

Принятая норма расхода материала на единицу измерения

Панели экструзионные ПЭА 6,0×6,0×0,12

(ТУ 24-21-81-00)

-

100 м2

1,0

28 шт.

28 шт.

Приспособления крепежные

-

1000 м2

0,1

15?6 кг

157,6 кг

Прокладки утепляющие

-

1000 м2

0,1

2280 м

228,0 м

Герметик 51-Г-18

(ТУ 400-1-137-73)

-

1000 м2

0,1

150 кг

15 кг

Мастика герметизирующая нетвердеющая {ГОСТ 14791-79)

-

1О00 м2

0,1

3500 кг

350 кг

Пакет полужесткий минераловатный (ГОСТ 9573-82*)

-

1000 м2

0,1

240 кг

24 кг

Нащельник

-

1000 м2

0,1

198 м

19,8 м

Электроды

-

 

 

 

 

7. ТЕХНИКА БЕЗОПАСНОСТИ

Руководить монтажом ограждающих конструкций из ПЭА должны инженеры, технические работники, хорошо знающие специфику этих конструкций и несущие ответственность за безопасную организацию монтажных работ и исправное состояние монтажных механизмов и приспособлений.

Рабочие комплексных бригад должны быть проинструктированы и обучены безопасным приемам по всем видам выполняемых работ.

К работе со строительно-монтажным инструментом могут быть допущены рабочие, прошедшие обучение по утвержденной программе, сдавшие экзамены и имеющие соответствующие удостоверения.

Работающие с ручными электрическими машинами должны иметь первую квалификационную группу по технике безопасности.

К работе с механизированным инструментом допускаются лица, прошедшие производственное обучение и имеющие соответствующие удостоверения на право пользоваться им.

Все грузозахватные приспособления для монтажа ПЭА должны быть оборудованы страховочными (аварийными) устройствами.

Применять захватные устройства без страховочных приспособлений категорически запрещается.

Необходимо соблюдать правила СНиП 3.01.01-85 "Организация строительного производства".

8. ТЕХНИКО-ЭКОНОМИЧЕСКИЕ ПОКАЗАТЕЛИ НА 100 м2 СТЕН

Нормативные затраты труда рабочих, чел.-ч                                                 - 40,88

Нормативные затраты машинного времени, маш.-ч                                     - 8,05

Заработная плата рабочих, р.-к.                                                                       - 9-17

Заработная плата механизаторов, р.-к.                                                            - 8-60

Продолжительность выполнения работ, смен                                                           - 2,2

Выработка на одного рабочего в смену, м2                                                     - 20,08

Условные затраты на механизация, р.-к.                                                        - 52-33

Сумма изменяемых затрат, р.-к.                                                                       - 61-50

9. ФАСЕТНЫЙ КЛАССИФИКАТОР ФАКТОРОВ

ФАСЕТ 01
Тип крана на монтажных работах

Наименование фактора

Обоснование

Код

Значение фактора

Кран автомобильный на пневмоколесном ходу

Местная норма автора-разработчика

1

По калькуляции

Кран гусеничный

ЕНиР, Е 4,

выпуск 1, (техническая часть)

2

Н.вр. и Расц. умножать на 0,91

ФАСЕТ 02
Высота от уровня

Наименование фактора

Обоснование

Код

Значение фактора

Высота, м; до:

 

 

 

15

Местная норма автора-разработчика

1

По калькуляции

20

ЕНиР, Е 4, выпуск 1, (вводная часть)

2

Н.вр. и Расц. умножать на 1,05

30

То же

3

Н.вр. и Расц. умножать на 1,1

40

-"-

4

Н.вр. и Расц. умножать на 1,2

свыше 40

-"-

5

Н.вр. и Расц. умножать на 1,3

 

 




ГОСТЫ, СТРОИТЕЛЬНЫЕ и ТЕХНИЧЕСКИЕ НОРМАТИВЫ.
Некоммерческая онлайн система, содержащая все Российские Госты, национальные Стандарты и нормативы.
В Системе содержится более 150000 файлов нормативно-технической документации, действующей на территории РФ.
Система предназначена для широкого круга инженерно-технических специалистов.

Рейтинг@Mail.ru Яндекс цитирования

Copyright © www.gostrf.com, 2008 - 2026