Крупнейшая бесплатная информационно-справочная система онлайн доступа к полному собранию технических нормативно-правовых актов РФ. Огромная база технических нормативов (более 150 тысяч документов) и полное собрание национальных стандартов, аутентичное официальной базе Госстандарта. GOSTRF.com - это более 1 Терабайта бесплатной технической информации для всех пользователей интернета. Все электронные копии представленных здесь документов могут распространяться без каких-либо ограничений. Поощряется распространение информации с этого сайта на любых других ресурсах. Каждый человек имеет право на неограниченный доступ к этим документам! Каждый человек имеет право на знание требований, изложенных в данных нормативно-правовых актах!

  


 

ФЕДЕРАЛЬНОЕ АГЕНТСТВО
ПО ТЕХНИЧЕСКОМУ РЕГУЛИРОВАНИЮ И МЕТРОЛОГИИ

НАЦИОНАЛЬНЫЙ
СТАНДАРТ
РОССИЙСКОЙ
ФЕДЕРАЦИИ

ГОСТ Р МЭК
60079-30-1-
2009

Взрывоопасные среды

РЕЗИСТИВНЫЙ РАСПРЕДЕЛЕННЫЙ ЭЛЕКТРОНАГРЕВАТЕЛЬ

Часть 30-1

Общие технические требования и методы испытаний

IEC 60079- 30-1: 2007
Explosive atmospheres - Electrical resistance trace heating -
Part 30-1: General and testing requirements
(IDT)

Москва

Стандартинформ

2010

Предисловие

Цели и принципы стандартизации в Российской Федерации установлены Федеральным законом от 27 декабря 2002 г. № 184-ФЗ «О техническом регулировании», а правила применения национальных стандартов Российской Федерации - ГОСТ Р 1.0-2004 «Стандартизация в Российской Федерации. Основные положения»

Сведения о стандарте

1 ПОДГОТОВЛЕН Автономной некоммерческой национальной организацией «Ех-стандарт» (АННО «Ех-стандарт»)

2 ВНЕСЕН Техническим комитетом по стандартизации ТК 403 «Оборудование для взрывоопасных сред (Ех-оборудование)»

3 УТВЕРЖДЕН И ВВЕДЕН В ДЕЙСТВИЕ Приказом Федерального агентства по техническому регулированию и метрологии от 18 ноября 2009 г. № 508-ст

4 Настоящий стандарт идентичен международному стандарту МЭК 60079-30-1:2007 «Взрывоопасные среды. Резистивный распределенный электронагрев. Часть 30-1. Общие технические требования и методы испытаний» (IEC 60079-30-1:2007 «Explosive atmospheres - Electrical resistance trace heating - Part 30-1: General and testing requirements»)

5 ВВЕДЕН ВПЕРВЫЕ

Информация об изменениях к настоящему стандарту публикуется в ежегодно издаваемом информационном указателе «Национальные стандарты», а текст изменений и поправок - в ежемесячно издаваемых информационных указателях «Национальные стандарты». В случае пересмотра (замены) или отмены настоящего стандарта соответствующее уведомление будет опубликовано в ежемесячно издаваемом информационном указателе «Национальные стандарты». Соответствующая информация, уведомление и тексты размещаются также в информационной системе общего пользования - на официальном сайте Федерального агентства по техническому регулированию и метрологии в сети Интернет

Содержание

1 Область применения

2 Нормативные ссылки

3 Термины и определения

4 Общие технические требования

4.1 Общие требования

4.2 Концевые заделки и соединения

4.3 Требования к защите параллельных цепей

4.4 Требования к ограничению температуры нагрева

5 Испытания

5.1 Типовые испытания

5.2 Контрольные испытания

6 Маркировка

6.1 Маркировка электронагревателей

6.2 Маркировка компонентов электронагревателей для сборки на месте

6.3 Инструкции по монтажу

Приложение А (справочное) Сведения о соответствии ссылочных международных стандартов национальным стандартам Российской Федерации

Библиография

Введение

В настоящем стандарте представлены общие технические требования и методы испытаний электрооборудования поверхностного нагрева, используемого во взрывоопасных газовых средах. Требования настоящего стандарта рассматриваются как минимальные требования для зон класса 1 или 2. Настоящий стандарт следует применять совместно со стандартом МЭК 60079-30-2:2007 «Взрывоопасные среды. Часть 30-2. Резистивный распределенный электронагреватель. Руководство по проектированию, установке и техническому обслуживанию».

ГОСТ Р МЭК 60079-30-1-2009

НАЦИОНАЛЬНЫЙ СТАНДАРТ РОССИЙСКОЙ ФЕДЕРАЦИИ

Взрывоопасные среды

РЕЗИСТИВНЫЙ РАСПРЕДЕЛЕННЫЙ ЭЛЕКТРОНАГРЕВАТЕЛЬ

Часть 30-1

Общие технические требования и методы испытаний

Explosive atmospheres. Electrical resistance trace heating. Part 30-1.
General technical requirements and test methods

Дата введения - 2011-01-01

1 Область применения

Настоящий стандарт устанавливает общие технические требования и требования к испытаниям резистивных распределенных электронагревателей, применяемых во взрывоопасных газовых средах. Стандарт распространяется на электронагреватели, которые могут включать в себя смонтированные на заводе или рабочей площадке устройства, представляющие собой последовательные нагревательные кабели, параллельные нагревательные кабели или прокладки и нагревательные панели, смонтированные и/или заделанные в соответствии с инструкциями изготовителя.

Настоящий стандарт также устанавливает требования к концевым заделкам и методам регулирования, используемым с электронагревателями. Взрывоопасные зоны, указанные в стандарте, - это зоны согласно определению в МЭК 60079-10.

В случае, если требования настоящего стандарта вступают в противоречие с требованиями МЭК 60079-0, то выполняются требования настоящего стандарта.

2 Нормативные ссылки

Приведенные ниже документы являются обязательными для применения настоящего стандарта. Для документов с указанной датой опубликования применяют только указанное издание. Если дата опубликования не указана, то применяют последнее издание приведенного документа (со всеми поправками).

МЭК 60050-151 Международный электротехнический словарь (МЭС). Глава 151. Электрические и магнитные устройства

МЭК 60079-0:2004* Электрооборудование для взрывоопасных газовых сред. Часть 0. Общие требования

МЭК 60079-7:2001** Электрооборудование для взрывоопасных газовых сред. Часть 7. Повышенная защита вида «е»

МЭК 60079-10:2002*** Электрооборудование для взрывоопасных газовых сред. Часть 10. Классификация опасных зон

* Заменен на МЭК 60079-0:2007.

** Заменен на МЭК 60079-7:2006.

*** Заменен на МЭК 60079-10:2008.

МЭК 60079-30-2 Взрывоопасные среды. Часть 30-2. Резистивный распределенный электронагреватель. Требования по проектированию, установке и техническому обслуживанию

МЭК 60364-5-55 Электрические установки зданий. Часть 5-55. Выбор и монтаж электрооборудования. Другое оборудование

3 Термины и определения

В настоящем стандарте используются термины и определения по МЭК 60079-0 и МЭК 60079-7, а также следующие термины с соответствующими определениями.

Примечание - Дополнительные термины и определения, относящиеся к взрывоопасным средам, приведены в МЭК 60050 (426).1)

1) МЭК 60050 (426) Международный электротехнический словарь (МЭС). Глава 426. Электрооборудование для взрывоопасных сред.

3.1 температура окружающей среды (ambient temperature): Температура вокруг рассматриваемого объекта. Если электронагреватели заключены в теплоизоляцию, то температурой окружающей среды считают температуру с внешней стороны такой изоляции.

3.2 параллельная цепь (branch circuit): Часть цепи между автоматическим выключателем, защищающим цепь, и электронагревательным(и) устройством(ами).

3.3 соединения (концевые заделки) (connections (terminations))

3.3.1 холодный вывод (cold lead): Электрически изолированный провод или провода, используемые для подсоединения электронагревателя к параллельной цепи, конструктивно выполненные таким образом, что они не являются источниками нагрева.

3.3.2 концевая заделка (end termination): Заделка конца электронагревателя, которая может выделять тепло и находится на противоположной стороне от источника питания.

3.3.3 заделка ввода питания (power termination): Заделка ввода проводов для подачи питания к электронагревателю.

3.4 тройник (tee): Устройство для последовательного или параллельного соединения электронагревателей.

3.5 тупиковый отвод (dead leg): Секция технологического трубопровода, отделенная от нормальной структуры потока с целью определения значения тепловых потерь.

3.6 расчетная нагрузка (design loading): Минимальное значение мощности исходя из расчетных требований к конструкции в наихудших условиях работы с учетом допустимого отклонения напряжения и допусков по сопротивлению и соответствующих коэффициентов безопасности.

3.7 распределенные электронагреватели заводского изготовления (factory fabricated): Электронагреватели, в том числе необходимые концевые заделки и соединения, смонтированные в устройства или агрегаты.

3.8 распределенные электронагреватели, собранные в эксплуатационных условиях (field assembled): Электронагреватели, поставляемые вместе с компонентами концевой заделки и собираемые на объекте.

3.9 тепловые потери (heat loss): Часть тепловой энергии от трубопровода, резервуара или оборудования, выделяемая в окружающую среду.

3.10 устройство теплоотвода (heat sink): Компонент, проводящий и рассеивающий тепло от объекта.

Примечание - Типичные теплоотводы - опорные конструкции трубопроводов и их компоненты с большой массой, например вентильные приводы или корпуса насосов.

3.11 средства, способствующие теплообмену (heat-transfer aids): Теплопроводящие материалы, такие как металлическая фольга или теплопередающие соединения, используемые для повышения эффективности теплообмена между электронагревателями и объектом.

3.12 прокладка (heating pad): Электронагреватель, состоящий из последовательно или параллельно подсоединенных термоэлементов, которые имеют достаточную гибкость, чтобы принимать форму нагреваемой поверхности.

3.13 нагревательная панель (heating panel): Негибкий электронагреватель, состоящий из последовательно или параллельно подсоединенных термоэлементов, изготовленных в соответствии с общей формой нагреваемой поверхности.

3.14 предельная температура (high-limit temperature): Значение максимальной допустимой температуры системы, содержащей трубопровод, технологическую среду и нагревательную систему.

3.15 максимальная допустимая температура (maximum withstand temperature): Значение максимальной рабочей температуры или температуры окружающей среды, не оказывающей отрицательного влияния на теплостойкость электронагревателя и его компонентов.

3.16 металлическая оболочка (metallic covering): Оболочка или оплетка из металла, обеспечивающая защиту электронагревателя и цепи заземления от механических повреждений.

3.17 минимальная температура окружающей среды (minimum ambient temperature): Значение нижнего диапазона температуры окружающей среды, при которой электронагреватель работает в соответствии с указанными требованиями (и которая взята за основу при расчетах тепловых потерь).

3.18 рабочее напряжение (operating voltage): Значение фактического напряжения, подаваемого на действующий электронагреватель.

3.19 внешний кожух (overjacket): Сплошной слой изолирующего материала, наносимого на внешнюю сторону металлической оболочки, экрана или брони для защиты от коррозии.

3.20 параллельные распределенные электронагреватели (parallel trace heater(s): Нагревательные элементы, электрически соединенные параллельно и установленные по всей длине рабочего объекта или на его отдельных участках таким образом, чтобы поддерживалась определенная удельная мощность на погонную длину, независимо от изменения длины сплошного электронагревателя или числа участков.

3.21 удельная мощность (power density): Значение выходной мощности, Вт/м для кабелей и кабельных блоков электронагревателя и Вт/м2 для прокладок, нагревательных панелей и блоков из прокладок и нагревательных панелей.

3.22 номинальная тепловая мощность (rated output): Значение общей мощности, мощности на единицу длины или единицу площади поверхности электронагревателя при номинальных значениях напряжения, температуры и длины, выражаемое в Вт/м и Вт/м2.

3.23 номинальное напряжение (rated voltage): Значение напряжения, на которое рассчитаны рабочие и эксплуатационные характеристики распределенных электронагревателей.

3.24 контрольные испытания (routine test): Испытания, которым подвергают каждое устройство во время или после изготовления. [Международный электротехнический словарь 151-16-17].

3.25 последовательные распределенные электронагреватели (series trace heaters): Нагревательные элементы, электрически соединенные последовательно, с одной линией тока и одинаковым удельным сопротивлением при данной температуре для данной длины.

3.26 оболочка (sheath): Однородное и сплошное металлическое или неметаллическое внешнее покрытие, внутри которого размещен электронагреватель, используемое для обеспечения его защиты от воздействия окружающей среды (коррозии, влаги и др.). См. статью 3.19.

3.27 температура оболочки (sheath temperature): Значение температуры нагрева внешнего покрытия, которое может быть подвержено воздействию окружающей атмосферы.

3.28 стабилизированная конструкция (stabilized design): Конструкция, при которой температура электронагревателя, в зависимости от исполнения и использования, стабилизируется на уровне ниже предельной температуры в самых неблагоприятных условиях без использования защитной системы ограничения температуры.

3.29 пусковой ток (start-up current): Значение тока электронагревателя в момент его включения.

3.30 документация по системе (распределенного электронагрева) (system documentation): Информация, предоставляемая изготовителем для ознакомления и обеспечения правильной установки и безопасного использования системы распределенного электронагрева.

3.31 сигнализатор перегрева (temperature alarm device): Устройство для подачи аварийного сигнала, когда температура теплового датчика превышает установленный предел.

3.32 термостат (temperature control device): Устройство для поддержания температуры в установленном диапазоне.

3.33 регулятор температуры (temperature controller): Устройство или сочетание устройств, включающее средства измерения температуры и регулирования мощности, подаваемой на электронагреватель.

3.34 устройство ограничения температуры (temperature limiting device): Устройство, предотвращающее превышение максимальной допустимой температуры поверхности электронагревателя посредством отключения его питания, например, при неисправности.

3.35 теплоизоляция (thermal insulation): Материал, содержащий в своей структуре воздушные или газовые карманы, пустоты и его теплоотражающие поверхности, которые при соблюдении условий применения задерживает передачу тепла.

3.36 резистивный распределенный электронагреватель (trace heater): Устройство, предназначенное для выделения тепла по принципу электрического сопротивления и состоящее из одного или более металлических проводников или электропроводящего материала, соответствующим образом электрически изолированного и защищенного.

3.37 блок резистивного распределенного электронагревателя (trace heater unit, trace heater set): Последовательный кабель электронагревателя, параллельный кабель электронагревателя, прокладка или нагревательная панель с концевой заделкой согласно инструкциям изготовителя.

3.38 резистивный распределенный электронагрев (trace heating): Использование электрических резистивных нагревательных кабелей, удлинителей, щитков и опорных компонентов, применяемых снаружи для повышения или поддержания температуры содержимого трубопроводов, резервуаров и сопряженного оборудования.

3.39 коэффициент, учитывающий длину трассы (trace ratio): Значение отношения длины распределенного электронагревателя к длине трубопровода.

3.40 испытания типа (type test): Испытание, проводимое на одном или более устройствах определенной конструкции для проверки ее соответствия определенным требованиям.

3.41 погодный барьер (weather barrier): Материал, нанесенный на внешнюю поверхность теплоизоляции, защищающий ее от воды и других жидкостей, от воздействий мокрого снега, ветра, солнечных лучей, атмосферных загрязнений, а также от механических повреждений.

3.42 рабочий объект (workpiece): Объект, на котором используется распределенный электронагреватель.

Примечание - Например технологическое оборудование, такое как трубопроводы, резервуары, баки, задвижки, инструменты и подобное оборудование.

4 Общие технические требования

4.1 Общие требования

Резистивные распределенные электронагреватели согласно области применения настоящего стандарта должны быть сконструированы и изготовлены таким образом, чтобы гарантировались их электрическая, термическая и механическая прочность и надежность в работе и чтобы при нормальном использовании они не представляли опасности для обслуживающего персонала или окружающей среды. Резистивные распределенные электронагреватели и встроенные элементы должны соответствовать требованиям МЭК 60079-0, а также требованиям настоящего стандарта. Концевые заделки резистивных распределенных электронагревателей, являющиеся самостоятельными элементами, должны соответствовать требованиям к одному или нескольким видам взрывозащиты, указанным в МЭК 60079-0, в зависимости от применения, а также требованиям настоящего стандарта.

Распределенные электронагреватели должны быть снабжены металлической оплеткой или металлической оболочкой, которая должна покрывать не менее 70 % поверхности.

Распределенные электронагреватели, предназначенные только для применения на участках с низкой степенью риска механического повреждения, испытывают с уменьшенной нагрузкой во время испытания на удар по 5.1.5 и меньшим усилием в испытании на деформацию по 5.1.6. Их четко маркируют в соответствии с требованиями раздела 6.3.

Электронагреватели могут быть оборудованы дополнительной защитой от механических повреждений, чтобы соответствовать требованиям настоящего стандарта, если они поставляются как целый агрегат (предварительно смонтированный) и в инструкциях содержится следующее предупреждение: «Не разрешается снимать обшивку и эксплуатировать электронагреватели без установленной обшивки».

Изготовитель должен указать максимальную допустимую температуру в градусах Цельсия. Материалы, используемые в электронагревателе, должны выдерживать температуру не ниже максимальной допустимой, указанной изготовителем, плюс 20 К при проведении испытаний в соответствии с 5.1.11.

В настоящем стандарте требования МЭК 60079-0 (раздел 7) в отношении электроизоляционных материалов электронагревателей не учитывают.

4.2 Концевые заделки и соединения

Концевые заделки и соединения могут быть неотъемлемой частью распределенного электронагревателя или самостоятельными изделиями. В последнем случае их считают взрывозащищенными компонентами (Ex-компонентами) в соответствии с МЭК 60079-0 (раздел 13). Концевые заделки и соединения испытывают как части представительного блока распределенного электронагревателя (см. 5.1.1).

4.3 Требования к защите параллельных цепей

Минимальные требования к системам резистивного распределенного электронагрева для использования во взрывоопасных газовых средах следующие:

a) наличие средств изоляции от питания всех заземленных проводников;

b) наличие защиты от сверхтока для каждой параллельной цепи;

c) наличие средств защиты от замыканий на землю, которые зависят от типа заземления системы (см. определения в МЭК 60364-5-55).

Для систем ТТ (с раздельным заземлением сети и открытых проводящих частей) и TN (с раздельными нулевым рабочим (N) и защитным (РЕ) проводниками), использующих устройства защиты, срабатывающие при замыкании на землю;

d) защита параллельной цепи прерывает замыкание на землю с высоким сопротивлением в точке замыкания, а также короткие замыкания. Это должно осуществляться устройством защиты от замыкания на землю или регулятором со способностью прерывания короткого замыкания, используемым совместно с соответствующей защитой цепи. Предпочтительный уровень отключения для регулируемых устройств - на 30 мА выше характеристики емкостной утечки электронагревателя, указанной поставщиком электронагревателя. Если условия обслуживания и надзора гарантируют обслуживание систем только квалифицированным персоналом и непрерывная работа цепи необходима для безопасной работы оборудования или процессов, допустимо не отключать цепь при коротком замыкании, обнаруженном таким образом, чтобы обеспечить подтвержденную реакцию.

Примечание - Требования перечислений а), b), с) и d) могут быть реализованы в одном устройстве.

Для систем IT (нейтраль, изолированная от земли или заземленная через сопротивление);

e) наличие устройства контроля сопротивления электрической изоляции для отключения питания во всех случаях, когда электрическое сопротивление не превышает 50 Ом/В номинального напряжения.

4.4 Требования к ограничению температуры нагрева

4.4.1 Общие требования

Электронагревательная система должна быть конструктивно выполнена таким образом, чтобы при всех условиях температура поверхности нагревательного устройства соответствовала температурному классу электрооборудования или температуре воспламенения взрывоопасной смеси минус 5 К для температур, ниже или равных 200 °С, или минус 10 К для температур свыше 200 °С. Это достигается за счет стабилизированной конструкции согласно 4.4.2 или за счет использования термостатов по 4.4.3 для ограничения максимальной температуры оборудования.

Если несколько распределенных электронагревателей (особенно на трубопроводах с различными условиями потока) контролируют одним устройством регулирования температуры поверхности, то каждый из них следует рассматривать как стабилизированный участок.

4.4.2 Конструкция электронагревателей для применения в зонах классов 1 и 2

При применении стабилизированной конструкции, в которой максимальную температуру поверхности распределенного электронагревателя определяют без термостатического контроля, используют метод, определенный в 5.1.13.2, или метод согласно 5.1.13.3.

4.4.3 Регулируемая конструкция

Регулируемая конструкция, в которой необходимо использование термостата для ограничения максимальной температуры поверхности электронагревателя, должна соответствовать следующим требованиям:

а) применение в зоне класса 1: необходимо предусмотреть защитное устройство (ограничитель температуры), которое будет отключать систему для предотвращения превышения максимально допустимой температуры поверхности. В случае отказа системы регулирования температуры нагревательная система должна автоматически отключаться от источника питания до замены неисправного оборудования. Защитное устройство должно функционировать независимо от термореле. Защитное устройство должно иметь следующие характеристики:

1) только ручной сброс;

2) возможность сброса только после восстановления нормальных рабочих условий или постоянный контроль состояния переключения;

3) необходимость применения для сброса специального инструмента или защелки с ключом;

4) температурная настройка защищена для предупреждения ее изменения;

5) отключение питания цепи при отказе датчика;

b) применение в зоне класса 2: допускается использовать одно термореле с индикатором неисправности. В этом случае необходимо принять все соответствующие меры слежения за такой индикацией, например осуществлять круглосуточное наблюдение.

Примечание - Если устройства контроля не поставляются изготовителем, он должен предоставить необходимую информацию для их выбора и монтажа.

5 Испытания

5.1 Типовые испытания

5.1.1 Общие требования

Требования стандарта МЭК 60079-0 (пункт 26.1) применяют со следующими дополнениями.

Для испытаний отбирают образцы распределенных электронагревателей длиной не менее 3 м, если не указано иное. Испытания проводят при температуре от 10 °С до 40 °С, если не указано иное. Концевые заделки и соединения, являющиеся неотъемлемой частью распределенного электронагревателя, независимо от того, будет ли он смонтирован на заводе или на объекте, проходят такие же испытания, как распределенный электронагреватель, если не указано иное. Эти соединения должны содержать концевые заделки, тройники, линейные заделки и силовые выводы, а также сальники, фитинги и уплотнения в месте ввода нагревательного кабеля в клеммную коробку.

5.1.2 Испытание электрической прочности изоляции

Эти испытания проводят на испытательных образцах, подготовленных по 5.1.1 согласно таблице 1.

Таблица 1 - Испытательное напряжение

Номинальное напряжение, В

Напряжение испытания - эффективное значение напряжения переменного тока, В

Менее 30 В действующего значения напряжения переменного тока и менее 60 В напряжения постоянного тока

500

Не менее 30 В действующего значения напряжения переменного тока

2Uном + 1°00

Не менее 60 В напряжения постоянного тока

2Uном + 1000

Испытательное напряжение согласно таблице 1, где Uном - номинальное напряжение, должно быть приложено между проводниками и металлической оплеткой или оболочкой со скоростью повышения не менее 100 В/с, но не более 200 В/с, и выдержано в течение 1 мин. Пробой и повреждение изоляции не допускаются. Форма волны испытательного напряжения должна быть, в основном, синусоидальной с частотой от 45 до 65 Гц.

При определении Uном следует правильно использовать уровни напряжения между фазами и между фазой и нейтралью.

5.1.3 Испытание сопротивления электрической изоляции

Испытание сопротивления электрической изоляции следует проводить после испытания электрической прочности изоляции по 5.1.2 на тех же испытуемых образцах. Сопротивление электрической изоляции измеряют между проводниками и внешней металлической оболочкой или специально установленной проводящей металлической лентой или оплеткой приложением напряжения (номинального) 500 В постоянного тока. Измеренное значение должно быть не менее 50 МОм.

5.1.4 Испытание на воспламеняемость

Испытанию подвергают образцы всех электронагревателей, включая те, что поставляются предварительно смонтированными. Испытание проводят в комнате без сквозняков. Образец электронагревателя длиной не менее 450 мм закрепляют в вертикальном положении. Для прокладок, панелей и других распределенных электронагревателей ширина образца должна составлять 80 мм.

Образец обматывают одним слоем гуммированной бумаги таким образом, чтобы она выступала на 20 мм за образец. Этот бумажный индикатор устанавливают на 250 мм выше точки контакта внутреннего голубого конуса пламени с образцом. Слой сухой чистой хирургической ваты толщиной не более 6 мм подкладывают под образец таким образом, чтобы расстояние от ваты до точки приложения пламени составляло 250 мм.

Высоту пламени природного газа в горелке устанавливают на 130 мм, при этом высота внутреннего синего конуса пламени составляет 40 мм, как показано на рисунке 1а. Горелку наклоняют под углом 20° к вертикальной оси, а пламя направляют на кабель таким образом, чтобы конец внутреннего голубого конуса пламени касался образца в точке примерно на 150 мм выше его нижнего конца. Пламя подводят к электронагревателю таким образом, чтобы вертикальная плоскость, на которой находится главная ось трубки горелки, располагалась под прямым углом к плоскости испытуемого образца, как показано на рисунке 1b. Пламя воздействует на образец в течение 15 с, затем его удаляют на 15 с и весь цикл повторяют пять раз.

Рисунок 1 - Испытание на воспламеняемость

Результаты испытания считают удовлетворительными, если распределенный электронагреватель поддерживает горение не более 1 мин после пятого воздействия пламенем, сжигает не более 25 % выступающей гуммированной бумаги и не воспламеняет вату падающими горящими частицами.

5.1.5 Испытание на удар

Примечание - Распределенные электронагреватели в большинстве случаев покрыты теплоизоляцией, которая обеспечивает некоторую механическую защиту. Однако в ряде случаев монтаж электронагревателей может осуществляться в условиях, при которых они не всегда будут защищены теплоизоляцией, например, когда монтаж электронагревателя осуществляют до установки теплоизоляции или распределенный электронагреватель выходит за пределы теплоизоляции у соединительной коробки.

Образец длиной около 200 мм размещают на жесткой плоской стальной пластине и устанавливают под промежуточной деталью из закаленной стали в форме горизонтального цилиндра диаметром 25 мм. Длина цилиндра должна составлять 25 мм, края цилиндра должны быть гладкими и закругленными до радиуса около 5 мм, если испытывают прокладки и нагревательные панели (рисунок 2). При испытании цилиндр размещают на образце горизонтально, а если это нагревательный кабель, его ось проходит поперек образца. Нагревательный кабель с некруглым поперечным сечением располагают таким образом, чтобы наносить удар вдоль меньшей оси (то есть нагревательный кабель размещают плоской поверхностью на стальной пластине).

1 - боек массой 1 кг; 2 - цилиндр диаметром 25 мм; 3 - меньшая поперечная ось нагревательного кабеля некруглого сечения; 4 - цилиндр длиной 25 мм и радиусом скругления кромок 5 мм, используемый для испытания нагревательных панелей и прокладок; 5 - высота падения бойка (700 или 400 мм)

Рисунок 2 - Испытание на удар

При испытаниях, кроме испытаний распределенных электронагревателей, предназначенных для применения в условиях низкого риска механического повреждения, боек массой 1 кг должен упасть один раз на горизонтальный цилиндр с высоты 700 мм (то есть с ударной нагрузкой 7 Дж).

Для распределенного электронагревателя, предназначенного для использования в условиях низкого риска механического повреждения в соответствии с 4.2, высота падения бойка может быть снижена до 400 мм (то есть ударная нагрузка составит 4 Дж). Электронагреватель, подвергшийся такому испытанию, должен быть промаркирован в соответствии с требованиями раздела 6.3, чтобы предупредить потребителя о его меньшей механической прочности.

Немедленно после испытания на ударную прочность проводят испытания электрической изоляции в соответствии с 5.1.2 и 5.1.3, при этом стальной цилиндр и боек все еще находятся на образце. Для кабелей с минеральной изоляцией необходимое испытательное напряжение по 5.1.2 снижают до 2U + 500 В переменного тока для кабелей с номинальным напряжением свыше 30 В переменного тока, или до  В постоянного тока для кабелей с номинальным напряжением свыше 60 В постоянного тока.

5.1.6 Испытание на деформацию

Образец размещают на неподвижно закрепленной плоской стальной пластине. К нему плавно прикладывают усилие 1500 Н в течение 30 с через стальной стержень диаметром 6 мм с полусферическими концами и общей длиной 25 мм. При испытании стержень устанавливают плоской стороной на образец, а если это нагревательный кабель, то стержень устанавливают перпендикулярно к образцу. Если это прокладка, то необходимо следить за тем, чтобы цилиндр располагался перпендикулярно к активному элементу.

Для распределенных электронагревателей, предназначенных для использования в условиях низкого риска механического повреждения, разрушающее усилие может быть снижено до 800 Н. Электронагреватель, подвергающийся такому испытанию, должен быть промаркирован в соответствии с требованиями 6.3, чтобы предупредить потребителя о его недостаточной механической прочности.

После приложения деформирующей нагрузки в течение 30 с соответствие проверяют путем испытания электрической изоляции согласно 5.1.2 и 5.1.3. При этом стальной стержень должен находиться на образце в условиях, соответствующих приложению нагрузки. Для кабелей с минеральной изоляцией необходимое испытательное напряжение по 5.1.2 снижают до 2U + 500 В переменного тока для кабелей с номинальным напряжением свыше 30 В переменного тока или до  В постоянного тока для кабелей с номинальным напряжением свыше 60 В постоянного тока.

Примечание - Образцы нагревательного кабеля должны быть длиной около 200 мм.

5.1.7 Испытание на холодный изгиб

Это испытание применяют только к электронагревателям, имеющим установленный минимальный радиус изгиба менее 300 мм.

Испытательная установка, предназначенная для проведения испытаний на холодный изгиб, показана на рисунке 3. Радиус стальной оправы - в соответствии с рисунком 3 или равен минимальному радиусу изгиба, указанному изготовителем. Образец электронагревателя без встроенных кабельных вводов или соединителей закрепляют в испытательной установке, как показано на рисунке 3. Установку и образец помещают в охлаждаемый отсек и выдерживают при минимальной рекомендованной изготовителем температуре установки в течение не менее 4 ч. После этого образец сгибают на 90° вокруг одной из оправок, затем на 180° в противоположном направлении вокруг второй оправки и затем выпрямляют, возвращая в первоначальное положение. Все операции сгибания выполняют в одной плоскости. Такой цикл сгибания повторяют трижды.

1 - образец резистивного распределенного электронагревателя; 2 - стальное основание; 3 - металлическая оправка; d - диаметр распределенного электронагревателя или первичная плоскость изгиба, если изготовитель не указал иное

Рисунок 3 - Испытание на холодный изгиб. Испытание типа

Соответствие проверяют испытанием электрической изоляции по 5.1.2 и 5.1.3. Для кабелей с минеральной изоляцией необходимое испытательное напряжение по 5.1.2 снижают до 2U + 500 В переменного тока для кабелей с номинальным напряжением свыше 30 В переменного тока или до  В постоянного тока для кабелей с номинальным напряжением свыше 60 В постоянного тока.

5.1.8 Испытание на влагостойкость

Образец электронагревателя (кроме кабельных вводов или концов с оголенными проводниками) погружают в водопроводную воду при температуре от 10 ° С до 25 °С на 14 дней.

Соответствие проверяют испытанием электрической изоляции по 5.1.2 и 5.1.3. Для кабелей с минеральной изоляцией необходимое испытательное напряжение по 5.1.2 снижают до 2U + 500 В переменного тока для кабелей с номинальным напряжением свыше 30 В переменного тока или до  В постоянного тока для кабелей с номинальным напряжением свыше 60 В постоянного тока.

5.1.9 Испытание встроенных компонентов на влагостойкость

Образец электронагревателя со всеми встроенными компонентами помещают в поток водопроводной воды в устройстве циркуляции и слива воды, как показано на рисунке 4. Для прокладок или нагревательных панелей используют устройство с холодными выводами. Включают воду и полностью погружают в нее образец. Затем воду выключают и включают электронагреватель. После этого воду сливают. Полное время от подачи воды до окончания слива должно быть не более 4,5 мин и не менее 2,5 мин. Электронагреватель должен оставаться включенным в течение 30 с после слива воды. Затем электронагреватель выключают и пускают воду для следующего цикла. Испытание должно продолжаться в течение 24 ч. После чего должно быть проведено испытание электрической прочности изоляции по 5.1.2.

Для кабелей с минеральной изоляцией необходимое испытательное напряжение по 5.1.2 снижают до 2U + 500 В переменного тока для кабелей с номинальным напряжением свыше 30 В переменного тока или до  В постоянного тока для кабелей с номинальным напряжением свыше 60 В постоянного тока. Погруженные в воду соединения электронагревателя необходимо осмотреть для проверки отсутствия признаков попадания воды.

А - встроенный соединитель питания; В - встроенное соединение холодной пайкой; С - встроенный тройник; D - встроенное концевое устройство

Рисунок 4 - Испытание встроенных компонентов на влагостойкость

5.1.10 Проверка номинальной выходной мощности

Номинальную выходную мощность нагревательного кабеля или нагревательной панели/прокладки следует проверять одним из двух следующих методов по выбору изготовителя:

а) метод сопротивления. Удельное сопротивление постоянному току при заданной температуре должно быть в пределах допусков, указанных изготовителем;

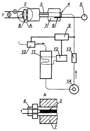
b) термический метод. Для измерения тепловой мощности нагревательных кабелей образец нагревательного кабеля длиной 3-6 м размещают на трубе из углеродистой стали диаметром не менее 50 мм, как показано на рисунке 5. Образец размещают согласно инструкциям изготовителя. Испытательный аппарат полностью покрыт теплоизоляцией толщиной 25 мм. Для прокладок или нагревательных панелей испытание проводят на плоской металлической пластине с жидкостным охлаждением и изоляцией толщиной 25 мм, нанесенной поверх нагревательной прокладки или панели.

Теплообменную жидкость направляют через трубопровод со скоростью, достаточной для установления турбулентного потока таким образом, чтобы разница температур жидкости и трубопровода была пренебрежимо мала. Поддерживают постоянной температуру теплообменной жидкости. Контроль осуществляют термопарами на входе и выходе трубопровода. Скорость потока должна быть такой, чтобы температура жидкости между концами трубопровода не различалась более чем на 2 К.

Тепловую мощность нагревательного кабеля измеряют при трех значениях температуры трубопровода, являющихся представительными для всего рабочего диапазона. На нагревательный кабель подают номинальное напряжение, затем позволяют кабелю достичь состояния стабилизации температуры. Напряжение, ток и температуру жидкости, а также длину образца регистрируют для каждого значения температуры испытания. Три измерения выполняют на трех испытуемых образцах. Полученные результаты должны быть в пределах допусков, указанных изготовителем.

1 - источник регулируемого напряжения; 2 - см. узел А; 3 - резистивный распределенный электронагреватель; 4 - испытательная труба с внешним диаметром 50 мм или более; 5 - температурный индикатор; 6 - термопара; 7 - изоляция из стекловолокна минимальной толщиной 25 мм и плотностью примерно 3,25 кг на куб. м; 8 - электрические выводы; 9 - регулятор температуры; 10 - подключенный нагреватель; 11 - теплообменник; 12 - охладитель; 13 - расходомер; 14 - насос

Рисунок 5 - Проверка номинальной выходной мощности

5.1.11 Термостойкость электроизоляционного материала

Термостойкость электроизоляционных материалов резистивных распределенных электронагревателей должна быть проверена на образце или опытном образце после того, как он будет выдержан при заявленной изготовителем максимальной допустимой температуре плюс 20 К, но не ниже 80 °С в течение не менее четырех недель. Соответствие образца или прототипа проверяют испытанием его электрической изоляции в соответствии с 5.1.2 и 5.1.3. Для кабелей с минеральной изоляцией необходимое испытательное напряжение по 5.1.2 снижают до 2U + 500 В переменного тока для кабелей с номинальным напряжением свыше 30 В переменного тока или до  В постоянного тока для кабелей с номинальным напряжением свыше 60 В постоянного тока.

Концевые заделки, которые обеспечивают паронепроницаемость резистивных распределенных электронагревателей, изготовленных из гигроскопических материалов (например, уплотнения холодного конца комплектов кабеля с минеральной изоляцией), подвергают воздействию температуры (80 ± 2) °С в течение четырех недель при относительной влажности не менее 90 %. Соответствие образца или опытного образца проверяют испытанием его электрической изоляции в соответствии с 5.1.2 и 5.1.3. Для кабелей с минеральной изоляцией необходимое испытательное напряжение по 5.1.2 снижают до 2U + 500 В переменного тока для кабелей с номинальным напряжением свыше 30 В переменного тока или до  В постоянного тока для кабелей с номинальным напряжением свыше 60 В постоянного тока.

5.1.12 Требования к тепловой безопасности

Во взрывоопасной газовой среде должна быть обеспечена максимальная температура поверхности электронагревателя ниже нижнего предела температуры воспламенения взрывоопасной среды. Система обеспечения качества изготовителя должна подтверждать тепловую безопасность распределенных электронагревателей в течение длительного времени.

5.1.13 Определение максимальной температуры оболочки

5.1.13.1 Общие требования

Примечание - Во взрывоопасной газовой среде должна быть обеспечена максимальная температура оболочки распределенных электронагревателей ниже нижнего предела температуры воспламенения взрывоопасной газовой среды. Максимальная температура оболочки зависит от удельной мощности нагревателя, коэффициента теплопередачи и максимально возможной температуры нагреваемой поверхности. Эти факторы изготовитель использует для определения температуры оболочки резистивных распределенных электронагревателей.

Для обеспечения безопасной эксплуатации резистивных распределенных электронагревателей определяют максимальную температуру нагрева их оболочки, которая не должна превышать значений температуры соответствующего температурного класса для материала изделия, материала распределенного электронагревателя и теплоизоляции.

Максимально допустимая удельная мощность и температура оболочки, заявленные изготовителем, должны быть испытаны одним из двух следующих методов:

a) на основе системного подхода (см. 5.1.13.2), применяемого для подтверждения методологии проектирования и расчетов, использованной изготовителем, распределенный электронагреватель подвергают испытанию, во время которого изготовитель демонстрирует способность рассчитывать и прогнозировать температуры оболочки с помощью проведения специальных испытаний;

b) классификацией изделия (см. 5.1.13.3), согласно которой максимальные температуры оболочки имеют место в искусственной среде, моделирующей наихудшие условия эксплуатации.

5.1.13.2 Системный подход или метод проверки конструкции

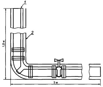
5.1.13.2.1 Для электронагревателей испытательный аппарат (см. рисунок 6) состоит из горизонтального трубопровода длиной 3 м, вертикального трубопровода длиной 1,5 м диаметром от 50 до 150 мм. В центре горизонтального отрезка устанавливают фланцевую или подобную задвижку (поворотную заслонку, проходной запорный вентиль и т.д.). Вертикальный отрезок трубопровода устанавливают таким образом, чтобы концы трубы с фланцами находились в центре. Электронагреватель устанавливают согласно инструкциям изготовителя. Для контроля температуры поверхности трубопровода и задвижки, а также температуры оболочки распределенного электронагревателя используют термопары. Термопары устанавливают на предполагаемых участках местного перегрева. Трубопровод изолируют теплоизоляцией минимальной толщиной 25 мм и устанавливают в соответствии с инструкциями изготовителя. На концах трубопровода устанавливают заглушки и теплоизоляцию. Если не указана более высокая температура, температура окружающей среды не должна превышать 40 °С. Питание резистивного распределенного электронагревателя должно составлять 110 % номинального напряжения. После стабилизации температуры системы следует записать показания термопары. Измеренная температура оболочки не должна превышать расчетное значение, указанное изготовителем, более чем на 10 К, и температуру, определенную в соответствии с 4.4.1.

1 - номинальное сечение трубы от 50 до 150 мм; 2 - изоляция из стекловолокна минимальной толщиной 25 мм, плотностью около 3,25 кг/м3

Рисунок 6 - Проверка температуры оболочки с помощью системного подхода

5.1.13.2.2 Для прокладок, панелей и других резистивных распределенных электронагревателей поверхности испытуемый образец следует разместить на 6 мм стальной пластине согласно инструкциям изготовителя. Стальная пластина не должна выступать за любой край нагревателя больше чем на 25 мм. Термопары устанавливают на предполагаемых участках местного перегрева. Нагреваемую сторону пластины изолируют теплоизоляцией минимальной толщиной 25 мм. Затем пластину с испытуемыми нагревателями помещают в среду с устойчивой комнатной температурой, ориентируя ее вертикально. Питание нагревателя для поверхностного нагрева должно составлять 110 % номинального напряжения.

После стабилизации необходимо снять показания термопары, включая температуру окружающей среды. Измеренная температура поверхности не должна превышать расчетные данные изготовителя более чем на 10 К.

5.1.13.2.3 Альтернативные и/или дополнительные смоделированные рабочие условия могут быть согласованы между испытательной организацией и изготовителем.

5.1.13.3 Метод классификации изделия

Образец электронагревателя длиной не менее 1,5 м, свитый в спираль, устанавливают в печь с принудительной воздушной вентиляцией.

Тепловая мощность образца должна находиться в пределах верхней части допустимых значений. Представительные термопары используют для контроля температуры оболочки и устанавливают на расстоянии 500 мм от каждого конца. Одну дополнительную термопару используют для контроля температуры в печи. Напряжение питания распределенного электронагревателя составляет 110 % номинального напряжения. Температуру печи повышают ступенями по 15 К. При каждом повышении температуры необходимы паузы для стабилизации температуры печи и оболочки распределенного электронагревателя и достижения теплового равновесия. Температуру печи и оболочки электронагревателя следует регистрировать после каждого повышения, пока разность (DT) между ними не составит 5 К или менее. На основании данных испытаний строят кривую, а касательную к кривой в точке разницы температуры на 5 К продлевают до 0 К. Температуру в точке пересечения считают максимальной температурой оболочки согласно рисунку 7.

1 - температура образца минус температура воздуха в печи (Ts – Тo), К; 2 - температура в печи Тo, °С; 3 - зарегистрированное значение температуры Ts, °С

Рисунок 7 - Максимальная температура оболочки, определяемая методом классификации изделия

5.1.14 Проверка пускового тока

Пусковой ток резистивного распределенного электронагревателя измеряют при минимальной температуре окружающей среды, указанной изготовителем. Образец электронагревателя длиной не менее 1 м устанавливают согласно инструкциям изготовителя на стальной трубе, заполненной жидкостью, или на монолитном стержне минимальным диаметром 50 мм, а нагревательные панели или прокладки - на плоском металлическом теплоотводе. Испытательный аппарат должен быть полностью покрыт теплоизоляцией и выдержан при минимальной температуре окружающей среды не менее 4 ч.

Примечание - В этом испытании можно использовать аппарат, описанный в 5.1.10.

По истечении времени выдержки подают номинальное напряжение и в диапазоне времени от 0 до 300 с выполняют запись характеристики «время/действующее значение переменного тока». Регистрируют наибольший пусковой ток для трех образцов. Эта ампер/секундная характеристика не должна превышать значение, указанное изготовителем.

5.1.15 Проверка сопротивления металлической оболочки

Сопротивление металлической оболочки резистивного распределенного электронагревателя длиной не менее 3 м измеряют при температуре от 10 °С до 40 °С. Используют представительный образец нагревательной панели или прокладки.

Сопротивление должно быть равно или ниже значения, указанного изготовителем.

5.2 Контрольные испытания

5.2.1 Испытания электрической прочности изоляции

Каждое поставляемое изделие или секция, независимо от вида поставки, подвергают испытаниям электрической прочности изоляции согласно 5.1.2, за исключением того, что испытательное напряжение для кабелей с минеральной изоляцией должно составлять 2U + 500 В переменного тока для кабелей с номинальным напряжением свыше 30 В переменного тока или  В постоянного тока для кабелей с номинальным напряжением свыше 60 В постоянного тока.

Полимерная оболочка (внешний кожух), используемая для защиты от коррозии поверх металлической оплетки или сплошной металлической оболочки, должна пройти испытание электрической прочности изоляции при 1000 В переменного тока, будучи погруженной в воду. В качестве альтернативы погружению в воду электрическая изоляция распределенных электронагревателей может быть подвергнута испытанию сухим искрением при минимальном действующем напряжении 3000 В переменного тока с синусоидальной волной частотой 2500-3500 Гц. Для частоты 3000 Гц скорость перемещения электронагревателя через устройство для испытания сухим искрением в метрах в секунду не должна превышать более чем в 3,3 раза длину электрода, измеренную в сантиметрах.

5.2.2 Определение номинальной мощности

Номинальную мощность каждого отрезка параллельного распределенного электронагревателя необходимо проверить на стабильность выхода непрерывным или статистическим методом испытания. Выходную мощность каждого отрезка последовательного распределенного электронагревателя или стационарного распределенного электронагревателя определяют измерением сопротивления постоянному току, проводимости или измерением тока при номинальном напряжении и данной температуре. Условия измерения должны соответствовать условиям испытаний для определения номинальной мощности по 5.1.10. При использовании статистических методов результаты должны показывать общую надежность изделия 95 % или выше. Измеренная выходная мощность должна находиться в пределах допусков, заявленных изготовителем, с достоверностью 95 %.

6 Маркировка

6.1 Маркировка электронагревателей

На поверхность электронагревателей наносят разборчивую и стойкую маркировку в соответствии с МЭК 60079-0. Для резистивных распределенных электронагревателей с заводскими элементами электрического подключения или с поверхностями, на которые нельзя нанести разборчивую маркировку, ее наносят на устойчивую этикетку/ярлык, постоянно установленную на расстоянии 75 мм от соединительного фитинга для подачи питания или от сальника.

Маркировка дополнительно должна содержать следующую информацию:

a) обозначение вида взрывозащиты, используемого для электронагревателя, должно быть «е» - повышенная защита, что не исключает использование дополнительных видов взрывозащиты для компонентов, которые предполагается поставить или рекомендовать для применения с электронагревателями;

b) серийный номер или номер партии (можно заменить месяцем и годом изготовления, датой маркирования или равноценными данными);

c) номинальное или рабочее напряжение для параллельного кабеля или максимальное рабочее напряжение для последовательного кабеля;

d) номинальную выходную мощность на единицу длины при номинальном напряжении (и при указанной исходной температуре для устройств, выходная мощность которых изменяется с температурой) или сопротивление, Ом, для единичной длины последовательно подключаемого кабеля, или рабочий ток или полную мощность.

6.2 Маркировка компонентов электронагревателей для сборки на месте

Собираемые на месте компоненты, которые остаются доступными после монтажа, маркируют в соответствии с МЭК 60079-0. Если площадь поверхности компонентов мала или поверхность не позволяет нанести на нее разборчивую маркировку, маркировку можно нанести на тару малого компонента, а не на компонент.

Маркировка дополнительно должна содержать следующую информацию:

a) месяц и год изготовления, дату маркирования, серийный номер или эквивалентные данные;

b) применяемые требования к окружающей среде, например, степень защиты от внешних воздействий IP, класс взрывоопасной зоны.

6.3 Инструкции по монтажу

Изготовитель должен предоставить специальные инструкции по монтажу для электронагревателя и компонентов. Инструкции для разных компонентов и электронагревателя могут быть общими, если инструкции по заделке/монтажу идентичны. В инструкциях должно быть четко указано, к каким изделиям и местам монтажа они относятся.

Любые специальные условия безопасного применения, включая условие из перечисления f) ниже, должны быть указаны в инструкциях по монтажу и сертификате соответствия, а маркировка изделия и сертификат должны содержать знак «X».

Инструкции должны включать следующую информацию:

a) назначение электронагревателя;

b) предупредительную надпись: «Пригоден для применения с...» (или эквивалентное) и перечисление приемлемых электронагревателей или соединительных фитингов, по обстоятельствам;

c) предупредительную надпись: «Для каждой цепи необходима защита от замыкания на землю»;

d) предупредительную надпись: «Отключить все силовые цепи перед монтажом или обслуживанием»;

e) предупредительную надпись: «Концы электронагревателей и компоненты комплекта должны быть сухими до и во время монтажа»;

f) для электронагревателей, предназначенных для использования в условиях низкого риска ударных нагрузок и (или) деформации, предупредительную надпись: «Предупреждение! Не применять в условиях высокого риска механических повреждений»;

g) для электронагревателей предупредительную надпись: «Подключить металлическую оболочку/оплетку этого электронагревателя к соответствующему зажиму заземления»;

h) предупредительную надпись: «О применении электронагревателей необходимо предупреждать установкой предупредительных знаков или маркировок в соответствующих местах и (или) с небольшими интервалами вдоль цепи».

Приложение А
(справочное)

Сведения о соответствии ссылочных международных стандартов национальным стандартам Российской Федерации

Таблица А.1

Обозначение ссылочного международного стандарта

Обозначение и наименование соответствующего национального стандарта

МЭК 60050-151

*

МЭК 60050-426

ГОСТ Р МЭК 60050-426-2006 Международный электротехнический словарь. Часть 426. Электрооборудование для взрывоопасных сред

МЭК 60079-0:2004

ГОСТ Р 52350.0-2005 Электрооборудование для взрывоопасных газовых сред. Часть 0. Общие требования

МЭК 60079-7:2001

ГОСТ Р 52350.7-2005 Электрооборудование взрывозащищенное. Часть 7. Повышенная защита вида «е»

МЭК 60079-10:2002

ГОСТ Р 52350.10-2005 Электрооборудование для взрывоопасных газовых сред. Часть 10. Классификация взрывоопасных зон

МЭК 60079-30-2:2007

ГОСТ Р МЭК 60079-30-2-2007 Взрывоопасные среды. Часть 30-2. Резистивный распределенный электронагреватель. Руководство по проектированию, установке и техническому обслуживанию

МЭК 60364-3

ГОСТ Р 50571.2-94 Электроустановки зданий. Часть 3. Основные характеристики

* Соответствующий национальный стандарт отсутствует. До его утверждения рекомендуется использовать перевод на русский язык данного международного стандарта. Перевод данного международного стандарта находится в Федеральном информационном фонде технических регламентов и стандартов.

Библиография

МЭК 60079-0:1998

Электрооборудование для взрывоопасных газовых сред. Часть 0. Общие требования

МЭК 60079-7:2001

Электрооборудование для взрывоопасных газовых сред. Часть 7. Повышенная защита вида «е»

МЭК 60079-10:1995

Электрооборудование для взрывоопасных газовых сред. Часть 10. Классификация взрывоопасных зон

Ключевые слова: взрывоопасные среды, резистивный распределенный электронагреватель, нагревательная панель, температура оболочки, сигнализатор перегрева, устройство ограничения температуры, теплоизоляция

 

 




ГОСТЫ, СТРОИТЕЛЬНЫЕ и ТЕХНИЧЕСКИЕ НОРМАТИВЫ.
Некоммерческая онлайн система, содержащая все Российские Госты, национальные Стандарты и нормативы.
В Системе содержится более 150000 файлов нормативно-технической документации, действующей на территории РФ.
Система предназначена для широкого круга инженерно-технических специалистов.

Рейтинг@Mail.ru Яндекс цитирования

Copyright © www.gostrf.com, 2008 - 2026