|
|
Автомобильные транспортные средства ФИЛЬТРЫ И ЭЛЕМЕНТЫ ФИЛЬТРУЮЩИЕ
ОЧИСТКИ Общие технические требования
Предисловие Цели и принципы стандартизации в Российской Федерации установлены Федеральным законом от 27 декабря Сведения о стандарте 1 РАЗРАБОТАН Федеральным государственным унитарным предприятием «Центральный ордена Трудового Красного Знамени научно-исследовательский автомобильный и автомоторный институт «НАМИ» (ФГУП «НАМИ») 2 ВНЕСЕН Техническим комитетом по стандартизации ТК 56 «Дорожный транспорт» 3 УТВЕРЖДЕН И ВВЕДЕН В ДЕЙСТВИЕ Приказом Федерального агентства по техническому
регулированию и метрологии от 15 декабря 4 ВВЕДЕН ВПЕРВЫЕ Информация об изменениях к настоящему стандарту публикуется в ежегодно издаваемом информационном указателе «Национальные стандарты», а текст изменений и поправок - в ежемесячно издаваемых информационных указателях «Национальные стандарты». В случае пересмотра (замены) или отмены настоящего стандарта соответствующее уведомление будет опубликовано в ежемесячно издаваемом информационном указателе «Национальные стандарты». Соответствующая информация, уведомление и тексты размещаются также в информационной системе общего пользования - на официальном сайте Федерального агентства по техническому регулированию и метрологии в сети Интернет Содержание НАЦИОНАЛЬНЫЙ СТАНДАРТ РОССИЙСКОЙ ФЕДЕРАЦИИ
Дата введения - 2010-06-01 1 Область примененияНастоящий стандарт распространяется на фильтры с фильтрующими элементами объемного и поверхностного типов, предназначенные для тонкой очистки топлива в двигателях с принудительным зажиганием. 2 Нормативные ссылкиВ настоящем стандарте использованы нормативные ссылки на следующие стандарты: ГОСТ Р 8.568-97 Государственная система обеспечения единства измерений. Аттестация испытательного оборудования. Основные положения ГОСТ 2.601-2006 Единая система конструкторской документации. Эксплуатационные документы ГОСТ 9.014-78 Единая система защиты от коррозии и старения. Временная противокоррозионная защита изделий. Общие требования ГОСТ 9.301-86 Единая система защиты от коррозии и старения. Покрытия металлические и неметаллические неорганические. Общие требования ГОСТ 12.1.004-91 Система стандартов безопасности труда. Пожарная безопасность. Общие требования ГОСТ 12.1.010-76 Система стандартов безопасности труда. Взрывобезопасность. Общие требования ГОСТ 33-2000 Нефтепродукты. Прозрачные и непрозрачные жидкости. Определение кинематической вязкости и расчет динамической вязкости ГОСТ 2084-77 Бензины автомобильные. Технические условия ГОСТ 2405-88 Манометры, вакуумметры, мановакуумметры, напорометры, тягометры и тягонапорометры. Общие технические условия ГОСТ 8002-74 Двигатели внутреннего сгорания поршневые. Воздухоочистители. Методы стендовых безмоторных испытаний ГОСТ 10577-78 Нефтепродукты. Метод определения содержания механических примесей ГОСТ 17479.1-85 Масла моторные. Классификация и обозначение Примечание - При пользовании настоящим стандартом целесообразно проверить действие ссылочных стандартов в информационной системе общего пользования - на официальном сайте Федерального агентства по техническому регулированию и метрологии в сети Интернет или по ежегодно издаваемому информационному указателю «Национальные стандарты», который опубликован по состоянию на 1 января текущего года, и по соответствующим ежемесячно издаваемым информационным указателям, опубликованным в текущем году. Если ссылочный стандарт заменен (изменен), то при пользовании настоящим стандартом следует руководствоваться заменяющим (измененным) стандартом. Если ссылочный стандарт отменен без замены, то положение, в котором дана ссылка на него, применяется в части, не затрагивающей эту ссылку. 3 Термины и определенияВ настоящем стандарте применены следующие термины с соответствующими определениями: 3.1 фильтр
тонкой очистки топлива: Фильтр, обладающий средней тонкостью отсева не
более 3.2 гидравлическая характеристика фильтра (фильтрующего элемента): Зависимость изменения расхода топлива от перепада давления не загрязненном фильтре при определенной температуре топлива. 3.3 начальное сопротивление фильтра (фильтрующего элемента): Перепад давления на фильтре (фильтрующем элементе) при максимальном расходе топлива двигателем. 3.4 коэффициент отсева фильтром (фильтрующим элементом): Отношение разности концентрации загрязнителя до и после фильтра к его концентрации до фильтра. 3.5 фракционный коэффициент отсева фильтром (фильтрующим элементом): Коэффициент отсева для монодисперсных частиц. 3.6 номинальная тонкость отсева фильтром (фильтрующим элементом): Размер монодисперсных частиц, для которых фракционный коэффициент отсева равен 95%. 3.7 средняя тонкость отсева фильтром (фильтрующим элементом): Размер монодисперсных частиц, для которых фракционный коэффициент отсева равен 50%. 4. Технические требования4.1 Фильтры тонкой очистки топлива и сменные фильтрующие элементы изготавливают в соответствии с требованиями настоящего стандарта по конструкторской документации (КД), утвержденной в установленном порядке. 4.2 Основные размеры фильтров и сменных фильтрующих элементов должны соответствовать требованиям КД. Таблица 1
4.4 Детали фильтров и фильтрующих элементов не должны иметь вмятин, забоин, трещин, заусенцев, коррозионных повреждений и других дефектов, влияющих на их качество и внешний вид. Защитные покрытия металлических деталей фильтра и фильтрующих элементов должны соответствовать требованиям ГОСТ 9.301. 4.5 Поверхности фильтра и фильтрующих элементов, резиновые уплотнения и другие детали должны быть маслобензоводостойкими. 4.6 Конструкция и технология изготовления фильтрующих элементов должны обеспечивать целостность фильтрующей шторы и ее соединений. 4.7 Фильтр должен быть герметичным при давлении воздуха, превышающем рабочее давление в системе питания двигателя в 2 раза. 4.8 Одноименные детали и узлы фильтра данного типоразмера, включая фильтрующие элементы, должны быть взаимозаменяемыми. 4.9 Присоединительные отверстия, связанные с рабочими полостями фильтров, должны быть заглушены. Повреждение резьбы и отверстий, а также попадание в них посторонних частиц и материалов заглушек не допускаются. 4.10 Ресурс корпуса разборного фильтра со сменным фильтрующим элементом должен быть не менее ресурса двигателя, для которого он предназначен. 5 Правила приемки5.1 Фильтры и фильтрующие элементы подлежат контролю и периодическим испытаниям службой технического контроля (СТК) предприятия-изготовителя. 5.2 СТК проверяет: а) у фильтров: - внешний вид - 100%; - герметичность - 100%; б) у фильтрующих элементов: - внешний вид - 100%; - целостность фильтрующей шторы и ее соединений в объеме, установленном в КД на изделие. 5.3 При периодических испытаниях фильтры и фильтрующие элементы (число - по КД) проверяют на соответствие требованиям настоящего стандарта не реже одного раза в год: а) основные размеры; б) герметичность; в) гидравлическая характеристика; г) начальное сопротивление; д) коэффициент отсева и номинальная тонкость отсева; е) допустимый перепад давления, не вызывающий разрушения фильтрующего элемента. 5.4 В случае несоответствия хотя бы одного изделия требованиям настоящего стандарта должна быть проведена повторная проверка удвоенного числа изделий. Результаты повторных испытаний являются окончательными. 6 Методы испытаний6.1 Требования к средствам испытаний и измерений 6.1.1 Испытания следует проводить на стендах, имеющих формуляры и технические описания по ГОСТ 2.601. 6.1.2 Средства измерения, применяемые при испытаниях, должны иметь паспорта с отметкой метрологических служб, подтверждающих их пригодность к работе. 6.1.3 Средства измерения для определения расхода топлива через фильтр и перепада давления на нем должны иметь погрешность не более ±2,5 %. 6.1.4 Весы для взвешивания, применяемые при испытаниях, должны иметь погрешность измерения не более ±2,5 %. 6.1.5 Класс точности линейных средств измерения, применяемых при контроле параметров фильтров и фильтрующих элементов, устанавливают в КД предприятия. 6.2 Методы испытаний 6.2.1 Внешний вид, маркировку, консервацию и упаковку проверяют внешним осмотром, комплектность - по КД. Габаритные и присоединительные размеры фильтров и фильтрующих элементов следует проверять средствами линейных и угловых измерений. 6.2.2 Испытания фильтров на герметичность проводят на гидравлическом или пневматическом стенде, аттестованном в соответствии с ГОСТ Р 8.568, путем создания давления в соответствии с 4.7. 6.2.3 Гидравлическую характеристику, начальное сопротивление, коэффициент и тонкость отсева фильтрами и фильтрующими элементами проверяют по методикам, изложенным в приложении А. 6.2.4 Проверку допустимого перепада давления на фильтре, не вызывающего разрушения фильтрующего элемента, проводят по методике, изложенной в приложении Б. 6.2.5 Проверку фильтрующего элемента на целостность фильтрующей шторы и ее соединений проводят по методике, изложенной в приложении В. 6.2.6 Требования безопасности при проведении испытаний изложены в ГОСТ 12.1.004 и ГОСТ 12.1.010. 7 Комплектность7.1 Комплектность фильтра и фильтрующего элемента определяют по КД. 7.2 Сменный фильтрующий элемент должен быть комплектным изделием. 8 Маркировка8.1 Каждый фильтр и фильтрующий элемент должны иметь четко выполненную маркировку. Маркировка должна содержать следующие данные: а) на фильтре: - товарный знак предприятия-изготовителя; - указание мест подвода и отвода топлива; б) на фильтрующем элементе: - товарный знак предприятия-изготовителя; - обозначение по чертежу. 9 Упаковка, транспортирование и хранение9.1 Консервацию фильтров и фильтрующих элементов, предназначенных в запасные части, следует выполнять с соблюдением требований ГОСТ 9.014 для изделий группы П-2. Срок действия средств защиты - по КД, но не менее 24 мес. Требования к консервации фильтров и фильтрующих элементов, предназначенных для комплектации двигателей, выполняют по согласованию с потребителем. 9.2 Фильтры и элементы упаковывают для транспортирования в групповую тару или контейнеры. 9.3 В транспортную тару должна быть вложена следующая сопроводительная документация: а) упаковочный лист со штампом СТК, датой упаковки, наименованием и числом изделий, обозначением технических условий, наименованием предприятия-изготовителя; б) указания по хранению изделий. 9.4 Транспортирование фильтров и фильтрующих элементов допускается транспортом любого вида при условии обеспечения защиты их от воздействия влаги и механических повреждений. 10 Указания по эксплуатации10.1 Установку и эксплуатацию фильтров и фильтрующих элементов проводят в соответствии с КД и руководством по эксплуатации двигателя, для которого они предназначены. 11 Гарантии изготовителя11.1 Изготовитель должен гарантировать соответствие фильтров и фильтрующих элементов требованиям настоящего стандарта при условии соблюдения правил хранения, транспортирования и эксплуатации, установленных в КД на фильтры конкретного типа. 11.2 Гарантийный срок хранения фильтров и фильтрующих элементов должен быть не менее гарантийного срока хранения двигателей, для которых они предназначены. 11.3 Гарантийную наработку фильтров и фильтрующих элементов, которая должна быть не менее ресурса, указанного в 4.3, устанавливают в КД на фильтры конкретного типа. Гарантийная наработка корпусов разборных фильтров должна быть не менее ресурса двигателей, для которых они предназначены. Приложение А
|
|||||||||||||||||||||||||||||||||||||||||
|
Т = 10V/q. |
(А.1) |
где V - максимальная емкость фильтра, заполненная топливом, л;
q - расход топлива через фильтр, л/мин.
А.4.6 Пробы топлива, отобранные в соответствии с А.4.5 г) и д), подвергают анализу на содержание механических примесей по ГОСТ 10577.
Результаты испытаний считают действительными при получении концентрации загрязнителя в пробе 1, не отличающейся от заданной (0,04 %) в пределах ±10 %.
А.4.7 Допускается определять коэффициент отсева фильтром с использованием фотоколориметра; методика проведения испытаний приведена в разделе А.6.
А.5 Обработка результатов испытаний
А.5.1 Результаты испытаний, расчетов и анализов проб заносят в протокол испытаний, в котором указывают следующие данные:
а) обозначение фильтра и фильтрующего элемента, присвоенные в установленном порядке;
б) температуру топлива перед фильтром в процессе испытаний;
г) расход топлива через фильтр;
д) количество используемого загрязнителя;
е) номер протокола испытаний;
ж) дату испытаний.
А.5.2 Обработку результатов определения характеристик (гидравлической, коэффициента отсева) следует проводить по формулам:
а) перепад давления топлива Δρ на фильтре, кПа (мм вод. ст.)
|
Δρ = ρ2 – ρ1. |
(А.2) |
где ρ1 - давление на входе в фильтр, кПа (мм вод. ст.);
ρ2 - давление на выходе из фильтра, кПа(мм вод. ст.);
б) средний расход топлива Q через фильтр, кг/ч
|
|
(А.3) |
где ΔQ - масса топлива, кг, прошедшего через фильтр за время Δt, с.
При определении расхода топлива через фильтр ротаметром средний расход топлива определяют по тарировочной кривой.
Гидравлическую характеристику Q = f(p) представляют в виде графика.
в) коэффициент отсева φ вычисляют по формуле
|
|
(А.4) |
где X1, X2 - концентрация загрязнителя соответственно в пробе 1 (до фильтра) и в пробе 2 (после фильтра);
г) по полученным коэффициентам отсева определяют среднюю тонкость отсева δ0 (рисунок А.2).

Рисунок А.2 - Зависимость средней тонкости отсева δ0,50 от коэффициента отсева ф фильтра (фильтрующего элемента)
Номинальную тонкость отсева δ0,95 вычисляют по формуле
|
lg δ0,95 = 0,689 lg δ0,50 + 0,825. |
(А.5) |
А.6 Методика определения коэффициента отсева фильтром с использованием фотоколориметра
А.6.1 Испытание фильтра проводят согласно разделам А.1 - А.4. Пробы топлива, отобранные в соответствии с А.4.5, подвергают анализу на содержание механических примесей с помощью фотоэлектрического концентрационного колориметра КФК-2 или его модификаций. Допускается применение других приборов, позволяющих определить оптическую плотность исследуемых проб с аналогичной погрешностью.
А.6.2 При испытаниях применяют следующую дополнительную аппаратуру:
- магнитную мешалку типа ММ3;
- секундомер (или часы с секундомером);
- термометр.
А.6.3 Подготовка и проведение испытаний
А.6.3.1 Перед проведением испытаний необходимо ознакомиться с техническим описанием и инструкцией по эксплуатации колориметра.
А.6.3.2 При испытании применяют кюветы длиной 30 или
Применение при испытании кювет разной длины не допускается.
Наличие загрязнений и капель жидкости на рабочих поверхностях кювет не допускается. Проверку чистоты рабочих поверхностей кювет проводят на приборе путем измерения их коэффициента пропускания (оптической плотности).
Показание прибора для какой-либо кюветы не должно отличаться от значений для чистых кювет. Проверку чистоты кювет проводят перед каждым испытанием. Если рабочие поверхности кювет окажутся загрязненными, то их необходимо очистить (протереть).
А.6.3.3 До проведения испытаний фильтра по А.6.1 берут пробу чистого (незагрязненного) топлива объемом не менее 100 мл.
А.6.3.4 Испытания проводят с применением светофильтра № 540 (возможно применение также светофильтра № 590); для этого ручки переключения светофильтров прибора устанавливают в соответствующее положение.
Замена светофильтра во время испытания не допускается.
А.6.3.5 Определение относительной (по отношению к пробе чистого топлива) оптической плотности D1 и D2 проб топлива, отобранных соответственно до и после испытываемого фильтра, проводят в следующем порядке:
а) пробу чистого топлива по А.6.1 наливают в кювету, которую закрывают крышкой, устанавливают в кюветодержатель прибора, в дальней позиции и оставляют там, в течение всего испытания;
б) при помощи ручки прибора кювету с пробой чистого топлива вводят в световой пучок, закрывают крышку кюветодержателя;
в) проверяемую пробу топлива перемешивают на магнитной мешалке в течение не менее 10 мин и без промедления (для предотвращения осаждения частиц загрязнителя) наливают в кювету, установленную на приборе в ближней позиции. Наличие пузырьков воздуха и подтекания жидкости на рабочих поверхностях кюветы не допускается. В течение не более 15 с после наливания пробы закрывают крышку кюветодержателя, проверяемую пробу вводят в световой пучок и определяют относительную оптическую плотность D по шкале прибора.
А.6.3.6 Значения температуры проверяемой и очищаемой проб топлива не должны различаться более чем на 5°; эти значения должны находиться в пределах (23 ±5) °С.
А.6.3.7 По значениям относительной оптической плотности D1 и D2 для проб топлива, отобранных соответственно до и после фильтра, рассчитывают соотношение D2/D1 и при помощи графика на рисунке А.3 определяют коэффициента отсева этим фильтром.

Рисунок А.3 - Зависимость коэффициента φ отсева от соотношения D2/D1 относительных оптических плотностей до и после фильтра (фильтрующего элемента)
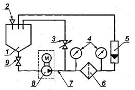
Б.1 Аппаратура и материалы
Б.1.1 Допустимый перепад давления на фильтре, не вызывающий разрушения фильтрующего элемента, проверяют на установке, принципиальная схема которой приведена на рисунке Б.1.

Рисунок Б.1 Схема установки для проверки допустимого перепада давления на фильтре, не вызывающего разрушения фильтрующего элемента
Б.1.2 Установка для испытаний состоит из:
а) расходного бака 1 цилиндрической формы емкостью
б) воронки 2 для залива жидкости;
в) крана3 для регулирования расхода жидкости;
г) манометров 4 не ниже класса 0,6 по ГОСТ 2405 с ценой деления не более 0,005 МПа (0,05 кгс/см2);
д) расходомера 5;
е) фильтра 6 с испытываемым фильтрующим элементом;
ж) трубопровода 7;
з) насоса 8 для подачи жидкости с приводом от электродвигателя;
и) крана 9 для слива испытательной жидкости из бака.
Б.1.3 В качестве рабочей жидкости можно использовать моторное масло по ГОСТ 17479.1.
Б.2 Подготовка и проведение испытаний
Б.2.1 Для создания на фильтре требуемого перепада давления через него прокачивают испытательную жидкость.
Б.2.2 После включения фильтра с испытываемым элементом в контур циркуляции установки осуществляют непрерывный контроль за давлением масла на входе ρ1 в фильтр и на выходе ρ2 из него. Требуемый перепад давления Δ = ρ1 - ρ2 поддерживают, изменяя расход жидкости, проходящей через фильтр.
Допускается проводить оценку перепада давления на фильтре, не вызывающего разрушения фильтрующего элемента, путем загрязнения фильтра искусственным загрязнителем.
Б.3 Оценка результатов испытаний
Б.3.1 Фильтрующий элемент считают выдержавшим испытания на проверку допустимого перепада давления на фильтре, если в течение 5 мин не наблюдалось снижения перепада давления на фильтре и при визуальном осмотре фильтрующего элемента после испытаний не обнаружено его разрушений или заметных остаточных деформаций.
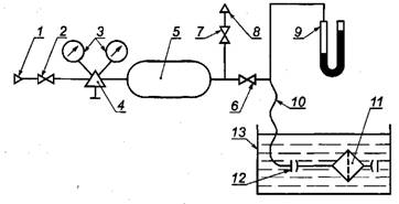
В.1 Аппаратура и материалы
В.1.1 Целостность фильтрующей шторы и герметичность фильтрующих элементов проверяют на установке, схема которой приведена на рисунке В.1.

Рисунок В.1 - Схема установки для проверки целостности фильтрующей шторы и герметичности фильтрующих элементов
В.1.2 Установка для испытаний состоит из:
а) источника сжатого воздуха 1;
б) вентилей 2, 6 и 7;
в) манометра 3;
г) редуктора 4;
д) ресивера 5;
е) выпуска излишков воздуха в атмосферу 8;
ж) пьезометра 9;
з) гибкого трубопровода (шланга) 10 для подвода сжатого воздуха;
и) испытываемого фильтрующего элемента 11;
к) заглушки 12 в отверстии крышки фильтрующего элемента;
л) ванны 13 емкостью не менее
Для определения целостности фильтрующей шторы и герметичности фильтрующих элементов используют бензин БР-1 «Галоша»; допускается применять автомобильные неэтилированные бензины по ГОСТ 2084 или другие жидкости такой же вязкости.
В.2 Проведение испытаний
В.2.1
Фильтрующий элемент погружают в ванну с бензином в горизонтальном положении так, чтобы расстояние от поверхности бензина до фильтрующего элемента составляло 10 -
В.2.2 Отверстия в крышках фильтрующего элемента плотно закрывают заглушками, одну из которых соединяют с трубкой, подводящей сжатый воздух.
В.2.3 К фильтрующему элементу подводят воздух под давлением, равным 0,0006 МПа (0,006 кгс/см2); затем фильтрующий элемент поворачивают на 360° с частотой вращения не более 20 мин-1.
В.3 Оценка результатов испытаний
В.3.1 Фильтрующий элемент считают выдержавшим испытание на проверку целостности фильтрующей шторы и герметичности фильтрующих элементов, если воздух проходит равномерно через поры фильтрующей шторы, появляясь на поверхности жидкости в виде мелких, равномерно распределенных на ней пузырьков.
В.3.2 Появление на поверхности или из-под крышек фильтрующего элемента непрерывных струй воздуха не допускается.
Ключевые слова: фильтры, фильтрующие элементы
|
ГОСТЫ, СТРОИТЕЛЬНЫЕ и ТЕХНИЧЕСКИЕ НОРМАТИВЫ. Некоммерческая онлайн система, содержащая все Российские Госты, национальные Стандарты и нормативы. В Системе содержится более 150000 файлов нормативно-технической документации, действующей на территории РФ. Система предназначена для широкого круга инженерно-технических специалистов. Copyright © www.gostrf.com, 2008 - 2026 |