Крупнейшая бесплатная информационно-справочная система онлайн доступа к полному собранию технических нормативно-правовых актов РФ. Огромная база технических нормативов (более 150 тысяч документов) и полное собрание национальных стандартов, аутентичное официальной базе Госстандарта. GOSTRF.com - это более 1 Терабайта бесплатной технической информации для всех пользователей интернета. Все электронные копии представленных здесь документов могут распространяться без каких-либо ограничений. Поощряется распространение информации с этого сайта на любых других ресурсах. Каждый человек имеет право на неограниченный доступ к этим документам! Каждый человек имеет право на знание требований, изложенных в данных нормативно-правовых актах!

  


 

Государственный всесоюзный дорожный
научносследовательский институт
(СО
ЮЗДОРНИИ) Минтрансстроя СССР

ПОСОБИЕ
ПО ПРОЕКТИРОВАНИЮ
ЗЕМЛЯНОГО ПОЛОТНА
АВТОМОБИЛЬНЫХ ДОРОГ
НА СЛАБЫХ ГРУНТАХ
(
к СНиП 2.05.02-85)

Одобрено Главтранспроектом Минтрансстроя СССР
21.05.86 № 30-04/15-14-178

Москва Стройиздат 1989

Рекомендовано к изданию секцией Ученого совета СОЮЗДОРНИИ Минтрансстроя СССР.

Рассмотрены основные вопросы изысканий, проектирования и строительства земляного полотна на участках распространения слабых грунтов. Даны методы оценки устойчивости насыпи и прогноза осадки насыпи.

Для инженерно-технических работников проектнозыскательских организаций.

ПРЕДИСЛОВИЕ

Настоящее Пособие разработано к СНиП 2.05.02-85. В Пособии рассмотрены вопросы изысканий, проектирования и строительства земляного полотна на участках распространения слабых грунтов. Уточнены стадии изысканий автомобильных дорог. Даны таблицы физико-механических характеристик наиболее часто встречающихся видов слабых грунтов. Изложены методики полевых и лабораторных испытаний слабых грунтов. Рассматриваются наиболее рациональные конструкции насыпей на слабых грунтах и методы их расчета. В приложениях приведены примеры расчетов на основе данных лабораторных испытаний, выполненных в полном и в сокращенном объеме.

Пособие составили доктора техн. наук В. Д. Казарновский (разд. 1 - 6, прил. 6, 15), И. Е. Евгеньев (разд. 5); кандидаты техн. наук А. Г. Полуновский (разд. 5, прил. 10, 13 - 15), Э. К. Кузахметова (разд. 4, прил. 2, 3, 5, 7, 9, 11, 12), инж. М. В. Ледина (прил. 13) (СОЮЗДОРНИИ), В. Н. Яромко (прил. 1, 4, 16) (научно-производственное объединение Дорстройтехника); канд. техн. наук В. Д. Браславский (разд. 2, прил. 8) (Союздорпроект).

Учитывались наряду с разработками СОЮЗДОРНИИ разработки разных лет в данной области Омского и Казахского филиалов СОЮЗДОРНИИ, Калининского политехнического института, Тюменского инженерно-строительного института, Московского автомобильно-дорожного института и других учебных и научно-исследовательских организаций, а также опыт ведущих организаций: проектных (Союздорпроект, Гипротюменнефтегаз, Ленгипротранс) и строительных (Тюмендорстрой, Пермдорстрой, УС Москва - Рига, Севзапдорстрой и др.).

Пособие разработано под общей редакцией канд. техн. наук Э. К. Кузахметовой.

1. ОБЩИЕ ПОЛОЖЕНИЯ

1.1. К слабым грунтам следует относить связные грунты, имеющие прочность на сдвиг в условиях природного залегания менее 0,075 МПа (при испытании прибором вращательного среза) или модуль осадки при нагрузке 0,25 МПа более 50 мм/м (модуль деформации ниже 5 МПа). При отсутствии данных испытаний к слабым грунтам следует относить: торф и заторфованные грунты, илы, сапропели, глинистые грунты с коэффициентом консистенции более 0,5, иольдиевые глины, грунты мокрых солончаков.

1.2. В основу проектного решения на участке залегания слабых грунтов может быть положен один из двух принципов:

удаление слабого грунта и замена его или применение эстакад;

использование слабого грунта в качестве основания насыпи с применением мероприятий, обеспечивающих устойчивость основания и ускорение его осадки, а также прочность дорожной одежды, сооружаемой на таком земляном полотне.

1.3. Принцип и конкретное проектное решение по конструкции насыпи выбираются на основе технико-экономического сравнения вариантов с учетом:

категории автомобильной дороги и типа дорожной одежды;

требуемой высоты насыпи и качества имеющегося для ее отсыпки грунта;

протяженности участка со слабыми грунтами;

вида и особенностей свойств слабых грунтов, залегающих на участке, и особенностей строения слабой толщи (мощность, наличие переслаивания, уклона кровли подстилающих пород и т.д.);

условий производства работ, в том числе сроков завершения строительства, климата района, времени года, в которое будут выполняться земляные работы, дальности возки грунта, возможности строительной организации (обеспеченность транспортом, наличие специального оборудования и т.п.).

1.4. Использование слабого грунта во многих случаях существенно снижает стоимость и трудоемкость работ, повышает темпы строительства, поэтому отказ от его использования должен быть обоснован технико-экономическим анализом с учетом конкретных условий. Такой анализ осуществляется на основе прогнозов устойчивости, конечной величины и длительности осадки слабой толщи при возведении на ней насыпи.

1.5. Земляное полотно на участках слабых грунтов проектируют в виде насыпей. Требования к грунтам верхней части насыпи, а также необходимое возвышение низа дорожной одежды над расчетным уровнем поверхностных и грунтовых вод определены СНиП 2.05.02-85 «Автомобильные дороги» применительно к соответствующему типу местности (слабые грунты обычно залегают в пределах III типа местности) по характеру и условиям увлажнения.

Примечание. При назначении высоты насыпи, сооружаемой на торфяном основании, кроме обычных требований, связанных с водно-тепловым режимом и снегозаносимостью, необходимо учитывать требования п. 1.9 настоящего Пособия.

Нижнюю часть насыпи следует устраивать из дренирующих грунтов с толщиной слоя на 0,5 м больше суммарной величины расчетной осадки основания и мощности удаляемого слоя (если применяется частичное или полное удаление).

Глинистые грунты допускается использовать в нижней части насыпей только при специальном технико-экономическом обосновании.

1.6. К земляному полотну, сооружаемому с использованием слабых грунтов в основании насыпи, кроме общих требований, изложенных в действующих нормативных документах, предъявляются дополнительные требования:

должна быть исключена возможность выдавливания оставляемого слабого грунта из-под насыпи в процессе ее возведения и эксплуатации (обеспечена устойчивость основания);

интенсивная часть осадки должна завершиться до сооружения покрытия (обеспечена стабильность, см. п. 1.8);

упругие колебания земляного полотна, возникающие при наличии торфяных грунтов в основании насыпи, не должны превышать величину, допускаемую для принятого типа покрытия (см. п. 1.9).

1.7. На насыпях, в основании которых оставлены слабые грунты, капитальные покрытия можно устраивать после завершения не менее 90 % расчетной осадки или при условии, что средняя интенсивность осадки за месяц, предшествующий устройству покрытия, не превышает 1,5 - 2 см/г. Для устройства облегченных покрытий требуется достижение не менее 80 % конечной осадки или интенсивности осадки не более 3 - 5 см/г.

1.8. Для исключения недопустимых упругих колебаний толщина насыпей, сооружаемых на торфяных основаниях, должна быть не менее указанной в табл. 1. Для насыпей на торфяном основании, толщина которых по статическому расчету менее значений, приведенных в табл. 1. необходимо провести динамический расчет с целью проверки допустимости ускорений колебаний земляного полотна по условиям вибрационной прочности покрытия. Методика динамического расчета насыпей на торфяных грунтах изложена в прил. 1.

Таблица 1. Минимальная толщина насыпного слоя, м

Начальная мощность слабого слоя, м

Тип дорожной одежды

капитальный

облегченный

переходный

1

2

1,5

1,2

2

2,5

2

1,5

4

3

2,5

2

6

3

3

2,5

Примечания: 1. Для промежуточных значений начальной мощности сжимаемого слоя требуемая толщина устанавливается линейной интерполяцией. 2. Толщина насыпи в данном случае определяется разностью отметок поверхности проезжей части и просевшей подошвы насыпи по оси земляного полотна. При наличии погребенного слоя торфа (слоя, перекрытого сверху слоем песчаного или глинистого грунта) толщина перекрывающего слоя включается в толщину насыпи. Допускается для конструктивных слоев, обладающих прочностью на растяжение, учитывать эквивалентную толщину.

Когда невозможно или нецелесообразно обеспечить требуемую толщину насыпи, можно устроить насыпь меньшей толщины. При этом необходимо выполнить проверочный расчет дорожной одежды на динамическую устойчивость и при необходимости изменить (усилить) в соответствии с его результатами конструкцию дорожной одежды.

1.9. При расчете дорожной одежды по ВСН 46-83 величину расчетного эквивалентного модуля упругости на поверхности земляного полотна, сооруженного на слабом грунте, следует определять по формуле

,

где Есл - модуль упругости слабого грунта в его расчетном состоянии под насыпью; hн - толщина насыпи; Нсл - мощность слабой толщи; D - расчетный диаметр отпечатка колеса; Ен - модуль упругости грунта насыпи.

1.10. Земляное полотно на участках залегания слабых грунтов следует проектировать не менее чем в две стадии, которые могут быть назначены после технико-экономического обоснования проекта дороги.

На первой стадии выделяют участки, для которых дальнейшая проработка варианта с использованием слабого грунта в основании нецелесообразна, и участки, где этот вариант может быть целесообразным.

Применительно к первым участкам принимается окончательное решение (за исключением особо сложных случаев, где удаление слабых грунтов связано с применением специальных методов).

Для участков, где использование слабых грунтов представляется целесообразным, принимают предварительное решение, которое затем подлежит уточнению на следующей стадии проектирования. Все уточнения на последующей стадии не должны увеличивать смету строительства. В особо сложных случаях, когда требуются специальные обследования и опытные работы, следует проектировать в три стадии.

1.11. Конструкция земляного полотна на участках слабых грунтов назначается на основе технико-экономических расчетов и сравнения вариантов.

Для обоснования выбора конструкции земляного полотна проект должен содержать:

материалы подробного инженерно-геологического обследования грунтовой толщи на участках залегания слабых грунтов, включая данные по мощности и расположению их в плане, по глубине отдельных слоев и расчетным значениям физико-механических характеристик грунтов этих слоев, положению уровня грунтовых вод и т.п.;

исходные данные по проектируемой насыпи (высота и другие геометрические параметры, а также свойства грунтов, укладываемых в насыпь) и расчетные условия движения;

результаты инженерных расчетов, обосновывающие принятую конструкцию;

указания по порядку сооружения запроектированной конструкции.

1.12. Объем, состав и методы получения данных, необходимых для обоснования конструкции земляного полотна, так же как и методы расчетов, зависят от стадии проектирования. Рекомендации по инженерно-геологическому обследованию участков, на которых залегают слабые грунты, а также по расчету и конструированию земляного полотна на этих участках изложены в разделах 2 - 4 настоящего Пособия.

Земляное полотно на участке залегания слабых грунтов в общем случае проектируют в следующем порядке:

на основе результатов инженерно-геологических обследований намечают расчетные участки и устанавливают расчетные параметры слабой толщи и характеристик слагающих ее грунтов;

устанавливают минимально допустимую высоту насыпи на данном участке, руководствуясь условиями водно-теплового режима, снегозаносимости и исключения упругих колебаний (см. п. 1.9);

с учетом минимально допустимой высоты наносят красную линию, устанавливают расчетную высоту насыпи и намечают расчетные поперечники;

определяют расчетом величину осадки;

проверяют устойчивость основания;

прогнозируют длительность завершения осадки;

намечают варианты конструктивно-технологических решений, обеспечивающих в случае необходимости повышение устойчивости, ускорение осадки или снижение ее величины;

выполняют расчеты по этим вариантам и выбирают оптимальный;

дают рекомендации по наиболее рациональной технологии, механизации и организации работ;

выполняют наблюдения в процессе строительства и вносят коррективы в расчеты по фактическим данным (в случае необходимости) с целью уточнения объемов земляных работ, режима возведения насыпи, сроков устройства дорожной одежды и т.д.

1.13. В целях оптимизации проектных решений и процесса инженерно-геологических изысканий последние необходимо вести в тесной увязке с проектированием как единый комплексный процесс.

2. ОСОБЕННОСТИ ИЗЫСКАНИЙ ДОРОГ НА УЧАСТКАХ ЗАЛЕГАНИЯ СЛАБЫХ ГРУНТОВ

Общий порядок проведения инженерно-геологических обследований на участках слабых грунтов

2.1. Целью инженерно-геологического обследования является получение данных, необходимых для обоснования положения трассы и назначения конструкции и технологии сооружения земляного полотна.

2.2. При инженерно-геологическом обследовании необходимо:

установить границы участка со слабыми грунтами в пределах зоны возможного расположения трассы;

выявить строение слабой толщи (ее стратиграфические особенности), в том числе наличие включений (валуны, пни и т.п.), а также характер подстилающих пород и рельеф их кровли;

установить физико-механические характеристики грунтов, слагающих слабую толщу, необходимые для определения их строительного типа, типа основания по устойчивости и расчета конструкции насыпи;

выявить особенности гидрогеологического режима толщи.

2.3. Для получения требуемых данных выполняются:

топографическая съемка участка;

проходка зондировочных и опорных скважин с отбором проб грунтов нарушенного и ненарушенного сложения и испытания грунтов в условиях их природного залегания (без отбора монолитов);

лабораторные испытания проб грунтов нарушенного сложения с определением основных показателей состава и состояния грунтов и испытания монолитов для определения характеристик механических свойств грунтов (параметров, характеризующих сопротивляемость сдвигу, сжимаемость и скорость уплотнения грунта и показателей плотности);

камеральная обработка материалов обследования, включающая составление отчетной документации.

2.4. Отчетная документация оформляется в виде паспорта, включающего:

план участка с изолиниями мощности слабой толщи (рис. 1);

Рис. 1. План болота. Масштаб 1:2000 (Линии мощности торфа проведены через 0,5 м.)

о - Скважина - 2/83,95 (4,15) - опорная скважина, ее номер, отметка устья, мощность (в скобках, м); · 83,80 (5,0) - зондированная скважина, отметка устья и мощность торфа (в скобках, м)

геологические разрезы по оси вариантов трассы и по характерным поперечникам с нанесенными на них результатами определения основных показателей состава и состояния грунтов и механических испытаний грунтов в условиях природного залегания полевыми приборами (рис. 2);

результаты лабораторных испытаний грунтов слабой толщи;

пояснительную записку.

Пояснительная записка должна содержать: подробное описание участка, включая его происхождение; источники питания грунтовых вод; состав и состояние грунтов слабой толщи; данные о растительно-корневом покрове, пнистости, наличии поверхностного водоотвода; данные о постоянных водотоках и о проходе весенних вод; данные о характере пород, слагающих дно толщи и о рельефе последнего. В пояснительной записке дают оценку строительных свойств слабых грунтов; выделяют расчетные (однотипные) участки, расчетные слои (т.е. слои единообразные по инженерно-геологическим свойствам) и дают расчетные значения механических характеристик грунтов для этих слоев.

На основе количественной оценки механических свойств грунтов слабой толщи должна быть проведена предварительная оценка слабой толщи как основания насыпи.

Пояснительная записка должна содержать также сведения о поведении и состоянии существующих дорог, расположенных в пределах данного участка, состоянии земляного полотна, конфигурации основания насыпи по данным бурения, качественной оценке грунтов тела насыпи, сведения о резервах грунта, намечаемых для использования при возведении насыпи на участке залегания слабых грунтов с указанием характеристик этих грунтов.

2.5. В результате обобщения всех данных обследования должно быть сделано заключение о принципиальной возможности или невозможности (нецелесообразности) использования слабой толщи в качестве основания и указаны конструкции, которые могут рассматриваться в качестве конкурирующих вариантов при дальнейшей разработке проекта.

2.6. Состав и объем работ, выполняемых при обследовании, методика их выполнения, применяемые способы определения свойств грунтов и аппаратура зависят от стадии проектирования и этапа изысканий.

2.7. Инженерно-геологическое обследование следует выполнять поэтапно. Этапы обследования различаются методикой определений и составом работ. При этом каждый последующий этап как по методике определений, так и по применяемому оборудованию и составу определений более сложен и трудоемок, чем предыдущий.

В общем случае целесообразно выделять три этапа обследования: на первом (рекогносцировочном) лабораторных определений не выполняют; на втором лабораторные исследования ограничиваются определением показателей состава и состояния грунтов в полевой (нестационарной) лаборатории; на третьем выполняют испытания в стационарной лаборатории для определения показателей механических свойств грунтов.

2.8. В зависимости от конкретных условий проектирования указанные этапы могут быть распределены по стадиям проектирования. При двухстадийном проектировании (проект и рабочая документация) целесообразно первые два этапа обследований проводить на первой стадии, а третий этап - на второй стадии проектирования.


Рис. 2. Геологические разрезы по трассе:

а - продольный разрез по оси дороги; б - поперечный разрез на ПК 44; в - поперечный разрез на ПК 45; Расстояние между скважинами 25 м


2.9. Необходимость последующего этапа обследования и состав работ выявляют и уточняют по мере обобщения результатов предшествующего этапа.

2.10. Во всех случаях при изысканиях дороги следует стремиться обойти участки со слабыми грунтами или, при невозможности обхода, пересечь их в наиболее узком месте и с меньшей мощностью слабых грунтов. Варианты трассы намечают по картам масштаба 1:25000 (1:10000) или по материалам аэрофотосъемки с последующим осмотром на месте назначенных вариантов.

2.11. На пересечении трассой участков слабых грунтов должны быть сняты план масштаба 1:2000 с сечением рельефа через 0,25 - 0,5 м, продольные и поперечные профили и проведен первый этап инженерно-геологического обследования.

Реперы на участках слабых грунтов закладывают на возвышенных местах, на болотах в плотных минеральных грунтах, где исключается возможность их осадки или смещения.

Первый этап обследования

2.12. На первом этапе обследования до проведения полевых инженерно-геологических работ изучают карты и предварительно полученные аэрофотоматериалы. Использование аэрофотоматериалов особенно важно при пересечении значительных по площади заболоченных территорий. В этом случае целесообразно дополнять камеральное дешифрирование фотосхем и аэрофотоснимков визуальными наблюдениями с вертолета или тихоходного самолета.

2.13. Оптимальными масштабами материалов аэрофотосъемки являются: 1:10000 - 1:17000. Можно также использовать масштабы 1:6000 и 1:25000. Наибольший эффект достигается при использовании аэрофотоснимков масштаба 1:12000 - 1:17000 в сочетании с 1:6000 - 1:8000.

Для детального дешифрирования пригодны материалы плановой панхроматической (черно-белой) аэрофотосъемки, но наибольший эффект достигается в сочетании со спектрозональной.

По указанным аэрофотоматериалам можно установить границы болота, относительную, а в ряде случаев и абсолютную мощность торфяной толщи, приблизительный рельеф дна болота, генезис болота, источник его водного питания, направление и интенсивность внутреннего и поверхностного стока в болоте, относительное увлажнение его отдельных частей, геоморфологический тип болота, его микрорельеф и растительность.

При изучении строения толщи болотных отложений, мощности и расположения отдельных слоев, физико-механических свойств торфа материалы аэрофотосъемки дают возможность предварительно делить участки болот на характерные типы. Это позволяет более рационально организовать полевое обследование болот и сократить объемы полевых работ за счет меньшей детальности исследования повторных участков каждого типа.

2.14. Полевые работы по инженерно-геологическому обследованию участков со слабыми грунтами, выполняемые на первом (рекогносцировочном) этапе, включают зондировочное бурение скважин в зоне, примыкающей к трассе, положение которой намечено по данным аэрофотосъемки или по карте. Скважины бурят по сетке от 50 × 50 м до 150 × 150 м в зависимости от размеров территории, занятой слабыми грунтами, и с учетом данных аэрофотосъемки. При этом захватывается зона шириной примерно 300 м (по 150 м в каждую сторону от оси трассы).

Зондировочные скважины проходят с помощью бура геолога, торфяного бура или двухдюймового бурового комплекта без обсадки. Кроме того, может быть применена переносная буровая установка с бензиновым двигателем.

При проходке зондировочных скважин отбирают пробы через 0,5 - 1 м по глубине для установления наименования грунтов и оценки в первом приближении их физико-механических свойств с помощью визуальных методов и классификационных таблиц. На этом же этапе изучают особенности гидрологического режима толщи.

Лабораторных испытаний на данном этапе не проводят и образцы для этих целей не отбирают.

Параллельно с зондировочным бурением или непосредственно вслед за ним по той же сетке выполняют статическое зондирование толщи с помощью вдавливания конусных наконечников (см. прил. 2).

Результаты статического зондирования позволяют уточнить границы отдельных слоев слабой толщи, общую ее мощность и получить предварительную информацию о механических свойствах слагающих ее грунтов.

2.15. В выводах по результатам первого этапа обследования дают:

рекомендации по расположению трассы исходя из наиболее благоприятных условий пересечения участка с точки зрения строения, рельефа дна и особенностей гидрологического режима слабой толщи;

предварительное определение типа основания;

предварительное заключение о целесообразности или нецелесообразности проработки варианта, предусматривающего использование слабой толщи в качестве основания.

Второй этап обследования

2.16. Второй этап обследования назначают лишь в том случае, если в результате первого этапа предварительно установлена целесообразность проработки варианта, предусматривающего использование слабой толщи в качестве основания.

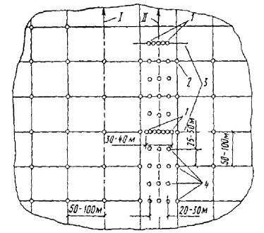
На этом этапе бурят зондировочные скважины на возможных конкурирующих вариантах трассы, положение которых уточнено по результатам первого этапа обследования. Скважины располагают по оси и на поперечниках. При этом захватывается полоса, равная полутора-двум ширинам насыпи понизу.

Расстояние между скважинами по оси трассы принимают примерно 25 - 50 м в зависимости от протяженности заболоченного участка и особенностей строения слабой толщи, выявленных на первом этапе обследования.

Поперечники подразделяют на основные и промежуточные. На основных проходят пять - семь скважин, на промежуточных - одну - три (рис. 3).

Рис. 3. Схема расположения скважин при инженерно-геологическом обследовании болот

1 - основные скважины; 2 - зондировочные скважины; 3 - основные (опорные) поперечники; 4 - промежуточные; I - первоначальный вариант положения оси трассы; II - уточненный вариант

2.17. При проходке скважин отбирают пробы грунтов в основном с нарушенным сложением и определяют основные показатели их состава и состояния в полевой (нестационарной) лаборатории. Пробы отбирают через 0,5 - 1 м по глубине (но не менее трех проб из каждого характерного слоя).

Параллельно с проходкой зондировочных скважин или непосредственно вслед за ней выполняют зондирование слабой толщи конусным наконечником, а также примерно через каждые 0,5 м по глубине толщи испытывают грунты на сдвиг с помощью крыльчатки. Методики зондирования конусным наконечником и испытания крыльчаткой изложены в прил. 2.

2.18. В лаборатории определяют следующие основные показатели состава и состояния грунтов: влажность, содержание органических веществ (для некарбонатных пород - потери при прокаливании или зольность); степень волокнистости или степень разложения (только для торфяных грунтов); пределы пластичности (только для илов и глинистых грунтов); плотность частиц грунта (выборочно для характерных слоев); плотность грунта (выборочно); ботанический состав (дополнительно для торфяных грунтов); содержание CaCO3 (для карбонатных пород).

Методики определения указанных характеристик изложены в прил. 3.

2.19. По результатам испытаний выделяют расчетные слои и определяют расчетные значения основных показателей состава и состояния грунтов в пределах каждого слоя.

Методику определения см. в прил. 3.

В качестве основы для выделения расчетных слоев, т.е. слоев, однородных с точки зрения основных показателей инженерно-геологических свойств, используют результаты описания грунтов при зондировочном бурении и материалы статического зондирования конусным наконечником.

Границы слоев устанавливают предварительно по визуальным признакам. Далее детально расчленяют толщу по результатам статического зондирования на отдельные расчетные слои, в пределах которых физико-механические свойства грунта могут считаться постоянными.

2.20. Для выделенных расчетных слоев путем статистической обработки результатов испытаний определяют расчетные значения основных показателей состава и состояния грунтов и сопротивляемость зондированию и вращательному срезу (см. прил. 4).

2.21. По расчетным значениям основных показателей состава и состояния грунтов, используя табл. 2 - 9, ориентировочно определяют расчетные значения показателей механических свойств грунтов в пределах каждого расчетного слоя.

По этим данным, а также по результатам испытаний крыльчаткой уточняют границы расчетных участков и определяют тип основания по устойчивости или строительный тип болота, а также уточняют место расположения расчетных поперечников и границы наиболее неблагоприятных по своим механическим свойствам слоев.

2.22. По результатам второго этапа обследования уточняют предварительный вывод о целесообразности дальнейшей проработки варианта с использованием слабой толщи в качестве основания. При положительном выводе осуществляют третий этап обследования.

Третий этап обследования

2.23. На третьем этапе обследования проводятся следующие работы:

дополнительная проходка зондировочных скважин и испытание крыльчаткой (при необходимости);

проходка опорных скважин на расчетных поперечниках с отбором монолитов грунтов;

лабораторные испытания монолитов;

определение динамических характеристик торфяной толщи (при необходимости).

2.24. Места расположения опорных скважин и места отбора монолитов определяют на основании обобщения результатов второго этапа обследования с таким расчетом, чтобы основные показатели состава и состояния отбираемых монолитов в возможно большей степени отвечали расчетным значениям этих показателей для выделенных слоев в пределах расчетных участков.

Количество отбираемых монолитов зависит от состава испытаний, определяемого типом основания по устойчивости или строительным типом болота (см. пп. 2.49 - 2.50).

2.25. Если основание относится к типу I, то проводят компрессионные и консолидационные испытания. Количество монолитов и их размеры определяют исходя из того, чтобы для каждого вида испытаний можно было получить не менее шести образцов для каждого расчетного слоя на каждом расчетном участке.

При основаниях II и III типов, кроме компрессионных и консолидационных испытаний, проводят испытания на сдвиг грунта из наиболее слабых слоев (за исключением грунтов, которые неизбежно будут выдавлены). Количество монолитов, отбираемых для сдвиговых испытаний, должно обеспечить возможность получения не менее 9 - 12 образцов для каждого расчетного слоя на каждом расчетном участке.

К требуемому количеству монолитов необходимо добавлять 25 % запасных на случай порчи монолитов при транспортировке, подготовке и проведении испытаний.

2.26. Монолиты отбирают из скважин с помощью оборудования (см. прил. 2), а в некоторых случаях, например при маломощной слабой толще - из шурфов. Правила отбора образцов, транспортировки и хранения их изложены в прил. 5.

2.27. Испытания на компрессию, консолидацию и сдвиг проводят в стационарных лабораториях по специальным методикам (см. прил. 3).

2.28. Оценку динамических свойств грунтов слабой толщи выполняют для обеспечения выбора оптимальной толщины насыпи при заданном типе покрытия по специальной методике.

Классификация слабых грунтов и их свойства

2.29. В зависимости от состава, фациальноенетических и петрографических особенностей, а также состояния слабые грунты следует подразделять на:

виды по содержанию органических веществ;

виды по фациально-генетическим и петрографическим особенностям;

подвиды по особенностям состава;

разновидности по особенностям состояния (плотности и влажности).

Количественные критерии для выделения указанных классификационных единиц и их наименование приведены в табл. 2 для основных видов слабых грунтов.

В пределах разновидности физико-механические свойства каждого слабого грунта изменяются в относительно узких пределах, что позволяет использовать табличные данные для ориентировочной оценки расчетных показателей.

Таблица 2. Классификация торфяных грунтов

Группа по содержанию органических веществ

Вид по генетико-фациальным и петрографическим особенностям

Подвид по составу

Разновидность по состоянию

Наименование

Определяющий признак

Наименование

Определяющий признак

Наименование

Определяющий признак

Органические (П > 60 %)

Торф малозольный

П ³ 95 %

Волокнистый

Ф >75 %

Сухой

ωпр < 300 %

95 % > П ³ 80 %

Маловолокнистый

75 % Ф ≥ 60 %

Маловлажный

300 - 600 %

Торф средней зольности

Средней влажности

600 - 900 %

Торф высокозольный

80 > П > 60 %

Неволокнистый

Ф < 60 %

Избыточно влажный

1200 - 2500 %

Органосапропель

П > 60 %

 

 

Маловлажный

ωпр < 200 %

Средней влажности

200 - 500 %

Очень влажный

500 - 1000 %

Избыточно влажный

ωпр > 1000 %

Органо-минеральные (10 ≤ П ≤ 60 %)

Органо-минеральный сапропель

60 % ≥ П > 10

-

-

Маловлажный

ωпр < 150 %

Средней влажности

150 - 400 %

Очень влажный

400 - 900 %

Избыточно влажный

ωпр > 900 %

Болотный мергель

10 % П ≤ 60 %

-

-

Маловлажный

ωпр < 100 %

CaCO3 > 25 %

 

 

Средней влажности

100 - 300 %

Очень влажный

ωпр > 300 %

Торфянистые грунты

30 % < П ≤ 60 %

Супесь

1 ≤ ωпл < 7

А

0,5 < B < 0,75

Сильно заторфованные

20 % < П30

Суглинок

7 - 17

Б

0,75 - 1

 

 

В

1 - 1,5

Тощая глина

17 - 27

Г

1,5 - 2

Заторфованный

10 % < П ≤ 20 %

Жирная глина

> 27

Д

2 - 2,5

Е

2,5 - 3

Ж

3 - 3,5

Минеральные П ≤ 10 %

Ил морской

-

-

-

А

0,5 ≤ B < 0,75

» озерный

-

-

-

Б

0,75 - 1

» аллювиальный

Комплекс фациальноенетических и петрографических характеристик П < 10

Супесь

1 ≤ ωпл < 7

В

1 - 1,5

Мокрый солончак

-

Суглинок

7 - 17

Г

1,5 - 2

Д

2 - 2,5

Е

2,5 - 3

Переувлажненный глинистый грунт

-

Глина

> 17

Ж

3 - 3,5

Иольдиевая глина

-

-

-

А

ωотн < 1

Б

1 ≤ ωотн < 1,5

В

1,5 ≤ ωотн < 2,5

Примечания: 1. Для отделения болотного мергеля от органо-минерального сапропеля необходимо определить содержание CaCO3. 2. Наряду с указанным в гр. 3 определяющим признаком для установления вида слабого грунта используется комплекс данных по фациально-генетическим и петрографическим особенностям, устанавливаемым в процессе изысканий. 3. П - потери при прокаливании, %; Ф - степень волокнистости, %; ωпл. - число пластичности; ωпр. - природная влажность, %; B - коэффициент консистенции; ωотн = ωпр. / ωт. - относительная влажность; ωт - влажность на границе текучести, %. 4. Степень волокнистости Ф вычисляется через степень разложения Rм, определимую с помощью микроскопа по формуле: Ф = 100 - Rм, %. При определении степени разложения весовым методом Rв степень волокнистости следует устанавливать по формулам: Ф = 88 - 0,42Rв при Rв < 50 %; Ф = 118 - 0,32Rв при Rв > 50 %. При определении Rв используется сито 0,25 мм.

2.30. Торф - органогенная осадочная горная порода, формирующаяся в результате отмирания болотной растительности при избыточном количестве влаги и недостаточном доступе воздуха.

Для торфа характерна высокая влагоемкость и влажность в естественном состоянии (обычно в пределах 150 - 3000 %).

Твердое вещество высушенного торфа состоит из не вполне разложившихся растительных остатков - растительного волокна, продуктов разложения растительных остатков - темного бесструктурного вещества (гумуса) и неорганических примесей. Волокнистая часть торфа при достаточном ее содержании может образовывать своеобразный структурный каркас, ячейки которого заполнены аморфной массой из продуктов разложения и неорганических примесей.

Механические свойства торфов зависят от их структурных особенностей, определяемых степенью волокнистости, плотностью, влажностью и составом торфообразователей, косвенно отражаемым величиной конституционной зольности торфа.

При зольности менее 5 % состав торфообразователей соответствует условиям формирования верхового болота. Торф в этом случае следует называть малозольным (верховым). При зольности от 5 до 20 % состав торфообразователей соответствует условиям формирования низинного болота и торф следует называть средней зольности (низинный), при зольности 20 - 40 % - относить к высокозольным (минерализованным).

Значения показателей механических свойств торфяных грунтов ориентировочно можно установить по основным показателям состава и состояния, используя табл. 3. Способы определения влажности, зольности и волокнистости изложены в прил. 3.

Таблица 3. Значения показателей механических свойств торфяных грунтов

Разновидность

Природная влажность, %

Вид по

Подвид

Сопротивляемость сдвигу по крыльчатке сусл, МПа

Сжимаемость

 

степени разложенияR, %

степени волокнистости, Ф, %

Модуль деформации e при нагрузке p, МПа

Модуль осадки ep, мм/м, при нагрузке p, МПа

в природном залегании

после уплотнения под нагрузкой (p = 0,05 МПа)

0,05

0,1

0,05

0,1

 

Осушенный (или уплотненный)

< 300

< 25

> 75

мз

> 0,049

> 0,250

> 0,25

> 0,33

< 200 (< 100)

< 300 (< 200)

 

 

 

сз

> 0,042

> 0,172

 

25 - 40

75 - 60

мз

> 0,030

> 0,125

 

 

 

 

> 0,033

> 0,105

 

> 40

< 60

мз

> 0,019

> 0,080

 

 

 

сз

> 0,026

> 0,073

 

Маловлажный

300 - 600

< 25

> 75

мз

0,049 - 0,026

0,250 - 0,136

0,25 - 0,15

0,33 - 0,23

200 - 350 (100 - 250)

300 - 420 (200-370)

 

 

 

сз

0,042 - 0,022

0,172 - 0,090

 

25 - 40

75 - 60

мз

0,030 - 0,017

0,125 - 0,060

 

 

 

сз

0,033 - 0,016

0,105 - 0,056

 

> 40

< 60

мз

0,019 - 0,008

0,080 - 0,036

 

 

 

сз

0,026 - 0,013

0,073 - 0,036

 

Средней влажности

600 - 900

< 25

> 75

мз

0,026-0,016

0,136 - 0,087

0,15 - 0,11

0,23 - 0,190

350 - 450 (250 - 400)

420 - 530 (370 - 500)

 

 

 

сз

0,022 - 0,016

0,090 - 0,066

 

25 - 40

75 - 60

мз

0,017 - 0,010

0,060 - 0,042

 

 

 

сз

0,016 - 0,011

0,056 - 0,035

 

40

60

мз

0,008 - 0,005

0,036 - 0,021

 

 

 

сз

0,013 - 0,008

0,036 - 0,022

 

Очень влажный

900 - 1200

< 25

> 75

мз

0,016 - 0,011

0,087-0,062

0,11 - 0,090

0,190 - 0,170

450 - 550 (400 - 470)

530 - 600 (500 - 550)

 

 

 

сз

0,016 - 0,011

0,062-0,046

 

25 - 40

75 - 60

мз

0,010 - 0,006

0,042-0,028

 

 

 

сз

-

-

 

> 40

< 60

мз

0,005 - 0,003

0,021 - 0,015

 

 

 

сз

-

-

 

Избыточно влажный

> 1200

25

75

мз

0,011 - 0,007

0,062 - 0,038

0,090 - 0,085

0,170 - 0,150

550 - 600 (470 - 490)

600 - 650 (550 - 570)

 

 

 

сз

0,011 - 0,006

0,046 - 0,020

 

25 - 40

75 - 60

мз

-

-

 

 

 

сз

-

-

 

> 40

< 60

мз

-

-

 

 

 

сз

-

-

 

Примечания: 1. В скобках даны средние значения модулей осадки, без скобок - максимальные. 2. мз - малозольный торф (потери при прокаливании ≥ 95 %), сз - торф средней зольности (95 % > П ≥ 80 %). 3. Величины показателей механических свойств при промежуточных значениях влажности определяются интерполяцией.

2.31. Сапропели представляют собой озерные отложения, образующиеся в водоемах в результате отмирания животных и растительных организмов и оседания минеральных частиц, заносимых водой и ветром.

Механические свойства сапропелей зависят от их структурных особенностей, состава и плотности (влажности) в природном состоянии. Значения показателей механических свойств сапропелевых грунтов ориентировочно можно установить по табл. 4.

Таблица 4. Значения показателей механических свойств сапропелевых грунтов

Группа грунта

Содержание органических веществ, %

Разновидность по

Сопротивляемость сдвигу по крыльчатке, сусл, МПа

Сжимаемость

влажности

ω, %

в природном залегании

после уплотнения нагрузкой, p = 0,05 МПа

Модуль деформации e, МПа, при нагрузке p = 0,05 МПа

Модуль осадки e, мм/м, при нагрузке p = 0,05 МПа

Органический

П > 60 (z < 40 %)

Маловлажный

< 200

> 0,02

> 0,03

> 0,3

> 150

Средней влажности

200 - 500

0,02 - 0,01

0,030 - 0,015

0,3 - 0,1

150 - 400

Сильно влажный

500 - 1000

0,01 - 0,001

0,015 - 0,003

< 0,1

> 400

Избыточно влажный (жидкий)

> 1000

< 0,001

< 0,003

-

-

Органо-минеральный

П = 10 - 60 (40 < z < 90)

Маловлажный

< 150

> 0,02

> 0,03

> 0,5

< 100

Средней влажности

150 - 400

0,02 - 0,01

0,030 - 0,015

0,5 - 0,2

100 - 250

Сильно влажный

400 - 900

0,01 - 0,001

0,015 - 0,003

0,2

260

Избыточно влажный

> 900

< 0,001

< 0,003

-

-

Примечание. Величины показателей механических свойств при промежуточных значениях влажности определяются интерполяцией.

2.32. Болотный мергель представляет собой рыхлую осадочную породу, образовавшуюся в озерно-болотных условиях при поступлении в водоемы воды, содержащей в растворенном виде кислый углекислый кальций Ca(HCO3). По мере испарения воды и удаления из нее CO2 из раствора выпадает углекислый кальций CaCO3. Болотный мергель может подстилать торфяную толщу или переслаиваться с торфяными пластами.

Мергель содержит от 25 до 50 % карбоната кальция. Остальная часть состоит из песчаных, глинистых, илистых частиц и растительных остатков различной степени разложения.

Механические свойства болотного мергеля в зависимости от величины природной влажности ориентировочно можно определить по табл. 5.

Таблица 5. Значения показателей механических свойств болотного мергеля

Разновидность

Природная влажность, %

Содержание CaCO3, %

Сопротивляемость сдвигу по крыльчатке сусл, МПа

Сжимаемость

в природном состоянии

после уплотнения под нагрузкой p = 0,05 МПа

Модуль деформации, Е, МПа, при нагрузке p = 0,05 МПа

Модуль осадки ep, мм/м, при нагрузке p = 0,05 МПа

Маловлажный

< 100

 

> 0,02

> 0,03

> 0,125

< 400

Средней влажности

100 - 300

25 - 50

0,02 - 0,01

0,03 - 0,015

< 0,125

> 400

Очень влажный

> 300

-

< 0,01

< 0,015

-

-

2.33. Илы представляют собой глинистые горные породы в начальной стадии формирования, которые образовались в виде структурного осадка в воде при наличии микробиологических процессов и обладают в природном залегании влажностью, превышающей влажность на границе текучести, и коэффициентом пористости ε > 1 для супесей и суглинков и ε > 1,5 - для глин.

Развитие в этих грунтах микробиологических процессов, связанных с органическими составляющими грунтов, является одним из важнейших факторов, отличающих илы от других грунтов. Однако в данном случае речь идет о грунтах, содержащих не более 10 % органических веществ.

Для илов характерно наличие ярко выраженного предела структурной прочности при компрессионном сжатии (аналогично иольдиевым глинам).

Частные классификации следует разрабатывать для илов примерно одного генезиса и фации и примерно одного возраста (т.е. стадии диагенеза). По фациально-генетическим признакам могут быть выделены три основных вида илов: морские, озерные и аллювиальные. Однако такая классификация илов целесообразна главным образом с точки зрения различия в условиях залегания. Если морские илы залегают пластами большой мощности и в значительной степени однородны, то аллювиальные илы отличаются значительной неоднородностью в силу условий осадконакопления.

Механические свойства илов определяются не столько генетико-фациальным условиям, сколько их составом и состоянием (в котором могут непосредственно отражаться фациально-генетические особенности). В связи с этим ориентировочные значения физико-механических характеристик для илов можно устанавливать независимо от их вида, учитывая только состав и состояние в соответствии с табл. 6.


Таблица 6. Значения показателей механических свойств илов

Подвид ила

Число пластичности

Модуль деформации E в зависимости от коэффициента консистенции B, МПа

Сопротивляемость сдвигу в природном состоянии сусл в зависимости от коэффициента консистенции B, МПа

Коэффициент фильтрации Кф в зависимости от коэффициента консистенции B, см/с

0,75-1

1-1,5

1,5-2

2-2,5

2,5-3

0,5 - 1

1 - 1,5

1,5 - 2

2 - 2,5

2,5 - 3

1 - 2

2 - 3

Супесчаный

1 ≤ ωпл < 7

 

 

 

 

 

 

 

 

 

 

 

 

3

4,6 - 4,4

4,4 - 3,9

3,9 - 3,6

3,6 - 3,3

3,3 - 3,1

0,040 - 0,035

0,035

0,026 - 0,021

0,021 - 0,018

0,018

2 · 10-5

-

5

4

3,6

3,3

≤ 3,1

2,9

 

0,026

 

 

0,017

1 · 10-4

 

Суглинистый

7 £ ωпл < 17

 

 

 

 

 

 

 

 

 

-

 

 

11

1,6 - 1,4

1,4 - 1,2

1,2 - 1,1

1,1 - 1,05

1,05 - 1

 

 

 

 

 

 

 

12

1,9 - 1,6

1,6 - 1,3

1,3 - 1,2

1,2 - 1,05

1,05 - 0,95

0,030 - 0,027

0,077 - 0,022

0,022 - 0,017

1,017 - 0,013

0,013 - 0,011

1 · 10-6

3 · 10-6

13

2,6 - 2,3

2,3 - 1,8

1,8 - 1,4

1,4 - 1,1

1,1 - 0,8

 

 

 

 

 

3 · 10-6

14 · 10-6

14

5 - 4

4 - 2,5

2,5 - 1,8

1,8 - 1,1

1,1 - 0,6

 

 

 

 

 

 

 

Глинистый

ωпл17 ≤ 26

1,3 - 1,2

1,2 - 0,9

0,9 - 0,5

0,5 - 0,3

-

0,014 - 0,013

0,013 - 0,011

0,011 - 0,009

0,009 - 0,008

-

 

 

30

1,4 - 0,8

0,8 - 0,5

0,5 - 0,35

0,35 - 0,3

-

0,020 - 0,016

0,016 - 0,012

0,012 - 0,01

-

-

0,5 · 10-7

4 · 10-7

35

1 - 0,65

0,66 - 0,4

0,4 - 0,32

0,32 - 0,3

-

0,03 - 0,021

0,021 - 0,008

0,008 - 0,002

-

-

4 · 10-7

8 · 10-7

45

0,45 - 0,4

0,4 - 0,35

0,35 - 0,3

0,3  -0,25

-

0,032 - 0,024

0,024 - 0,014

0,014 - 0,012

-

-

-

-


2.34. Иольдиевые глины - особая разновидность морских илов ледникового возраста. Верхние слои иольдиевых глин мощностью 0,3 - 2 м имеют сравнительно высокую плотность и прикрывают нижележащую толщу отложений, характеризующихся высокой влажностью (> 60 %), резкой потерей прочности при перемятии, малой упрочняемостью при уплотнении, низкой водопроницаемостью. Иольдиевые глины обладают пределом структурной прочности при компрессионном сжатии. Они делятся на разновидности по относительной влажности

,

где ωпр - природная влажность; ωт - влажность на границе текучести.

Значения механических характеристик для иольдиевых глин приведены в табл. 7.

Таблица 7. Значения показателей механических свойств иольдиевых глин

Разновидность

Относительная влажность, ωотн

Полное сцепление, сω, МПа

Угол внутреннего трения, φ°ω

Структурное сцепление сс, МПа

Предел структурной прочности при компрессии, МПа

Модуль осадки, мм/м, при нагрузке p

0,02 МПа

0,1 МПа

Текучепластичная

< 1

0,015

> 7

> 0,01

-

7 - 9

15 - 40

Скрыто-текучая А

1 - 1,5

0,02 - 0,01

7 - 3

0,015 - 0,007

> 0,05

9 - 11

40 - 120

Скрыто-текучая Б

1,5 - 2,5

0,015 - 0,005

3 - 0

0,007 - 0,003

0,05 - 0,018

11 - 14

120 - 250

2.35. Грунты мокрых солончаков представляют собой специфическую разновидность минеральных слабых грунтов.

Они отличаются от солончаков других типов избыточным увлажнением в течение всего года. Постоянному их переувлажнению способствует близкий уровень минерализованных грунтовых вод, увеличенный приток поверхностных вод, обусловленный расположением мокрых солончаков в понижениях рельефа, слабая испаряемость воды из солевых растворов.

Основные характеристики механических свойств мокрых солончаков при одном и том же составе, отражаемом числом пластичности, хорошо коррелируются с коэффициентом консистенции независимо от содержания солей. По величине коэффициента консистенции грунты мокрых солончаков делятся на пять разновидностей (А, Б, В, Г, Д). Значения механических характеристик мокрых солончаков представлены в табл. 8.

Таблица 8. Значения показателей механических свойств, мокрых солончаков

Разновидность грунта

Коэффициент консистенции В

Подвид (по пластичности)

Показатели механических свойств

Сцепление, с, МПа

Угол внутреннего трения, φ°, град.

Модуль деформации, E, МПа, при p = 0,05 МПа

А

0,5 - 0,75

Супесчаный

0,07 - 0,04

35 - 25

4,6 - 3,2

Суглинистый

0,04 - 0,025

25 - 17

2,5 - 1,6

Б

0,75 - 1

Супесчаный

0,04 - 0,02

25 - 18

3,2 - 2,5

Суглинистый

0,025 - 0,015

17 - 13

1,6 - 1,3

В

1 - 1,5

Супесчаный

0,02 - 0,01

18 - 10

2,5 - 1,9

Суглинистый

0,015 - 0,005

13 - 7

1,3 - 0,9

Г

1,5 - 2

Супесчаный

0,01 - 0

10 - 8

1,9 - 1,6

Суглинистый

0,005 - 0

7 - 5

0,9 - 0,8

Д

> 2

Супесчаный

0

< 8

< 1,6

Суглинистый

0

< 5

< 0,8

Примечание. К супесчаному грунту относить при 1 ≤ Ip < 7, к суглинистому при 7 ≤ Iр < 17, Ip - число пластичности.

2.36. Переувлажненные глинистые грунты. Наряду с перечисленными выше специфичными категориями к числу слабых могут относиться и обычные глинистые грунты различного возраста, имеющие в природном состоянии повышенную влажность.

Анализ зависимости механических характеристик глинистых грунтов от показателей их состава (число пластичности) и состояния (коэффициент консистенции) показывает, что при влажности, соответствующей мягкопластичной консистенции и выше (B > 0,5), глинистые грунты в соответствии с принятыми выше условиями (см. п. 1.2) должны быть отнесены к слабым грунтам. Ориентировочные значения механических характеристик переувлажненных грунтов представлены в табл. 9.

Таблица 9. Значения показателей механических свойств переувлажненных глин

Разновидность грунта

Подвид (по пластичности)

Показатели механических свойств

Плотность, ρ, т/м3

наименование

коэффициент консистенции B

сцепление, с, МПа

угол внутреннего трения, φ, град.

модуль деформации, E, МПа

Мягкопластичный

0,5 - 0,75

Супесь

0,005

20

38

1,9

Суглинок

0,015

17

19

1,9

Глина

0,020

14

2

1,95

Текучепластичный

0,75 - 1

Супесь

0,002

18

19

1,85

Суглинок

0,010

13

12,5

1,85

Глина

0,010

8

3

1,9

Текучий

1

Супесь

0,000

14

12,5

1,85

Суглинок

0,005

10

6

1,8

Глина

0,005

6

3

1,8

Примечание. К супеси относить 1 ≤ Ip < 7, к суглинку при 7 ≤ Ip17, к глине при Ip ≥ 17.

2.37. Органо-минеральные слабые грунты. Наряду с органно-минеральными сапропелями имеется целая группа грунтов, представляющих собой переходную категорию от органических к минеральным. Свойства этих грунтов прежде всего зависят от содержания органических веществ и по мере увеличения содержания органики свойства их меняются от характерных для минеральных слабых грунтов (илов, глин и т.п.) до свойств высокозольных торфов.

Механические свойства органо-минеральных грунтов в значительной степени зависят от условий формирования породы. Чаще всего органо-минеральные грунты встречаются на переходах через поймы рек, староречья и т.п. В этих случаях минеральная часть грунта обычно имеет аллювиальное происхождение. Органо-минеральные грунты могут перекрываться слоями минеральных или органических грунтов или переслаиваться с ними в соответствии со сменой условий осадконакопления. В связи с указанными особенностями эти грунты могут иметь широкий диапазон изменения состава, плотности, а следовательно, прочности и сжимаемости.

Чрезвычайное разнообразие условий формирования органо-минеральных грунтов не позволяет в настоящее время дать их детальную строительную классификацию, включающую данные о физико-механических свойствах. Свойства подобных грунтов исследуют обычно применительно к некоторым региональным условиям.

Классификацию органо-минеральных грунтов следует строить по схеме: вид (по содержанию органики); подвид (по числу пластичности); разновидность (по коэффициенту консистенции).

При этом целесообразно выделять три вида органо-минеральных грунтов: торфянистый с содержанием органики от 60 до 30 %; сильно заторфованный с содержанием органики от 30 до 20 %; заторфованный с содержанием органики от 20 до 10 %.

Внутри каждого вида выделяют четыре подвида по числу пластичности (супесь, суглинок, тощая глина, жирная глина), которые делятся на пять разновидностей по состоянию с коэффициентом консистенции: 0,5 - 0,75; 0,75 - 1; 1 - 1,5; 1,5 - 2 и 2 - 2,5.

Ориентировочные значения основных показателей механических свойств для некоторых органо-минеральных грунтов представлены в табл. 10.

Таблица 10. Значения показателей механических свойств органо-минеральных грунтов в зависимости от разновидности по коэффициенту консистенции

Вид грунта

Подвид

Сцепление, МПа

Угол внутреннего трения, град.

Модуль осадки, мм/м, при p = 0,25 МПа

А

Б

В

Г

А

Б

В

Г

А

Б

В

Г

Торфянистый (30 % < П60 %)

Глина тощая

(17 ≤ Ip < 27)

-

0,055

-

0,03

-

15

-

10

-

100

-

180

Глина жирная

(Ip27)

-

-

0,070

-

-

-

6

-

-

-

150

-

Заторфованный (10 % < П < 20)

Суглинок

(7 ≤ Ip < 17)

0,06

-

-

-

20

-

-

-

55

-

-

-

Глина тощая

(17 < Ip < 27)

0,043

-

-

-

11

-

-

-

70

-

-

-

Примечание. Разновидности грунта соответствуют следующим значениям коэффициента консистенции: А - 0,5 - 075; Б - 0,75 - 1; В - 1 - 1,5; Г - 1,5 - 2.

Определение расчетных характеристик слабых грунтов

2.38. Для назначения конструкции земляного полотна на участках слабых грунтов необходимо в результате инженерно-геологического обследования получить расчетные значения показателей механических свойств грунтов, характеризующих прочность (сопротивляемость сдвигу), деформативность (сжимаемость) и скорость уплотнения грунта во времени под статической нагрузкой.

В зависимости от цели и степени детальности расчета, определяемых стадией проекта, могут использоваться различные показатели:

прочностные характеристики: полная сопротивляемость грунта сдвигу при испытании крыльчаткой, cусл, МПа; параметры сопротивляемости грунта сдвигу в заданном состоянии его плотности и влажности (угол внутреннего трения φω, град; сцепление cω, МПа);

характеристики деформативности: штамповой модуль деформации Ештр, МПа; компрессионный модуль деформации, отвечающий проектной нагрузке, Е0р, МПа; модуль осадки ep, мм/м; коэффициент Пуассона μ (при расчете по двухмерной схеме);

характеристики уплотняемости грунтов во времени: коэффициент консолидации сk, см2/год; консолидационные параметры: aλp, мин; bλp, мин/см2 (или aλ, мин · Н; bλ, мин · МПа и pλ · Н); mp; tλ, мин, λt.

2.39. Механические характеристики грунтов, непосредственно входящие в расчет, следует, как правило, определять путем прямых испытаний грунтов в условиях природного залегания.

При предварительных расчетах на стадиях ТЭО и составления проекта допускается при отсутствии или недостаточном количестве данных непосредственных испытаний использовать значения механических характеристик, приведенные в табл. 2 - 10.

2.40. Перед непосредственным определением в лаборатории или по таблицам показателей механических свойств слабых грунтов необходимо установить их основные классификационные характеристики (показатели состава и состояния): содержание органических веществ, %; содержание CaCO3 (при наличии реакции грунта с HCl), %; степень волокнистости Ф или разложения R для торфяных грунтов, %; пределы пластичности ωp и ωL для минеральных и органо-минеральных слабых грунтов (за исключением сапропелем и болотного мергеля) или только граница текучести (для иольдиевых глин), %; природную влажность ωпр, %.

Дополнительно следует определять плотность частиц грунта ρs, г/см3, содержание песчаных частиц (последнее для минеральных грунтов), а также плотность грунта ρ, г/см3. На основе этих данных дополнительно вычисляют: коэффициент консистенции грунта B (для минеральных или органо-минеральных грунтов) или относительную влажность ωотнля иольдиевых глин); число пластичности Ip, %; плотность сухого грунта ρd, г/см3; коэффициент пористости грунта в природном состоянии ε0. Методики определения основных классификационных характеристик приведены в прил. 3.

2.41. Расчетные значения основных классификационных характеристик (показателей состава и состояния) для каждого предварительно выделенного литологически однородного слоя устанавливают путем статистической обработки полученных значений этих показателей.

При обработке данных по составу и состоянию грунта в пределах каждого слоя оценивается однородность данного слоя и уточняются границы однородных слоев в плане и по глубине. При этом за однородный принимается такой слой, в пределах которого значения основных классификационных показателей не выходят за рамки одной разновидности, определяемой по таблицам.

2.42. Однородность слоя оценивают путем построения графика рассеяния значений того или иного показателя, на который наносят границы классификационной группы (см. прил. 4). Слой считается однородным, если не менее 90 % экспериментальных точек укладываются в пределах, допускаемых для данной разновидности.

2.43. Для каждого однородного слоя устанавливают нормативные и расчетные значения всех основных классификационных показателей, а затем и каждого показателя механических свойств. Одновременно определяют нормативные и расчетные значения этих же показателей для отдельных расчетных поперечников, на которых отмечают более неблагоприятные значения показателей, чем средние значения для всего слоя.

2.44. Нормативные и расчетные значения показателей грунтов можно устанавливать упрощенным графо-аналитическим способом или уточненным способом статистической обработки.

При упрощенном способе за нормативное значение характеристики принимается ее среднемедианное значение, устанавливаемое непосредственно по графику рассеяния. Расчетной характеристикой служит гарантированное значение, зависящее от числа опытных определений этой характеристики по предварительно построенной с помощью графика рассеяния интегральной кривой частостей ее отдельных значений в общем числе определений. При определении гарантированных значений следует руководствоваться графиком (рис. 4).

Рис. 4. График для определения гарантировочной частоты Σгар в зависимости от числа определений n показателей физико-механических свойств грунтов

При применении уточненного способа обработки результатов расчетная характеристика Ap грунта определяется по формуле

Ap = Aн ± εα,                                                          (1)

где Aн - нормативное значение показателя; εα - отклонение нормативного значения (полуширина доверительного интервала).

Величина εα определяется по формуле

,

где tα - коэффициент Стьюдента, принимаемый по графику (рис. 5) в зависимости от заданной доверительной вероятности (коэффициента надежности) α и числа измерений; σ - среднее квадратическое отклонение; N - число измерений.

Рис. 5. График для определения коэффициента Стьюдента tα при различной надежности α и количестве определений п

При определении расчетных значений показателей состава и состояния величины tα, рекомендуется устанавливать при следующих коэффициентах надежности:

Категория дороги

I

II

III

IV, V

Коэффициент надежности α

0,95

0,9

0,8

0,7

Методика определения расчетных значений характеристик свойств грунтов изложена в прил. 4.

2.45. Для характеристики физических свойств грунта, а также в динамических расчетах оснований используются величины плотности. Плотность грунта ρ и плотность частиц грунта ρs определяются опытным путем в соответствии с методиками, изложенными в прил. 2, 3; плотность сухого грунта ρd - по известной формуле

ρd = ρ / (l + ω).                                                     (2)

Для расчетов конструкции земляного полотна, в частности при определении природного давления, нагрузки от веса насыпи и т.д., используются величины удельных весов.

Удельный вес грунта γω может быть определен с использованием величины плотности по формуле

γω = gρ.                                                               (3)

Удельный вес сухого грунта γск может быть определен по формуле

γск = gρs.                                                             (4)

Удельный вес частиц грунта γуд может быть определен по формуле

γуд = gρd,                                                            (5)

где g - ускорение свободного падения.

2.46. В целях повышения точности оценки свойств грунтов и сокращения объемов трудоемких испытаний для их проведения следует выбирать образцы, показатели состава и состояния которых наиболее близки к расчетным для выделенного расчетного слоя, принимаемого за однородный (инженерно-геологический элемент).

2.47. При непосредственных испытаниях показатели сопротивляемости грунтов сдвигу определяют на лабораторных приборах прямого сдвига и трехосного сжатия (φω и сω), а также путем испытаний грунтов в условиях природного залегания с помощью крыльчатки сусл.

Сопротивляемость слабых грунтов сдвигу следует во всех случаях оценивать с учетом возможности их работы под нагрузкой от насыпи в течение того или иного времени в условиях незавершившейся консолидации. Незавершившуюся консолидацию проще всего учесть, проводя испытания образцов грунта по методу «плотность - влажность» (см. прил. 3).

Окончательный выбор расчетных значений показателей сопротивляемости грунтов сдвигу φω и сω надо производить на основе общего анализа результатов лабораторных и полевых опытов по изучению сопротивляемости сдвигу грунтов слабой толщи с обязательным учетом инженерно-геологической обстановки и наиболее вероятных условий сооружения земляного полотна.

2.48. Характеристики деформируемости грунтов для расчета осадок определяют из опытов на лабораторных компрессионных приборах (или в стабилометрах) в соответствии с указаниями прил. 3.

Для получения расчетной компрессионной кривой выделенного литологического однородного слоя следует испытывать образцы, показатели состава и состояния которых наиболее близки к расчетным значениям для данного слоя.

Показатели длительности уплотнения определяют по результатам испытаний на консолидацию, проведенных на лабораторных компрессионных приборах, в соответствии с рекомендациями прил. 3.

2.49. При проектировании насыпей с расчетной высотой до 3 м на торфяных болотах глубиной не более 6 - 8 м, когда расчетная нагрузка на основание насыпи не превышает 0,055 МПа при учете эффекта взвешивания и 0,075 МПа без учета взвешивания, оценку прочности слабых грунтов допускается вести укрупненно на основе их типизации по прочности.

Следует различать три строительных типа болотных грунтов по прочности:

1 - грунты, которые обладают достаточной прочностью в природном состоянии и при передаче на них нагрузки от насыпи указанных выше параметров, могут только сжиматься независимо от скорости передачи нагрузки;

2 - грунты, не обладающие в природном состоянии достаточной прочностью, вследствие чего при быстрой передаче на них нагрузки от насыпи они выдавливаются, при медленной передаче нагрузки они успевают уплотниться и упрочниться настолько, что не выдавливаются, а сжимаются;

3 - грунты, которые при передаче на них указанной нагрузки в любом случае выдавливаются из-за недостаточной прочности в природном состоянии и недостаточной упрочняемости при уплотнении.

2.50. Строительный тип болотного грунта по прочности можно установить следующим образом.

1. По основным показателям состава и состояния: торфяных грунтов, используя табл. 11, сапропелевых грунтов - табл. 12, болотного мергеля - табл. 13.

Таблица 11. Определение строительного типа торфяных грунтов

Разновидности грунта

Природная влажность, %

Степень разложения (волокнистости), %

< 25 (> 75)

25 - 40 (75 - 60)

> 40 (< 60)

Осушенный

< 300

1

1

1

Маловлажный

300 - 600

1

1, 2*

1, 2**

Средней влажности

600 - 900

1

2

2

Очень влажный

900 - 1200

1

2

2

Избыточно влажный

> 1200

1 - 2

2

3

* К 1 типу следует относить торф при влажности менее 500 %

** К 1 типу следует относить торф средней зольности (5 - 20 %) с влажностью менее 400 %.

Таблица 12. Определение строительного типа сапропелевых грунтов

Разновидность грунта

Природная влажность грунта, %

Строительный тип грунта

органического

органо-минерального

Маловлажный

≤ 350

≤ 150

1, 2*

Средней влажности

350 - 600

150 - 400

2

Сильно влажный

600 - 1200

400 - 900

2, 3**

Избыточно влажный

> 1200

> 900

3

* Для уточнения типа необходимы лабораторные испытания на сдвиг и компрессию. К 1 типу относить органический сапропель при ωпр < 200 % и органо-минеральный при ωпр < 50 %.

** К 3 типу относить органический сапропель при ωпр > 1000 % и органо-минеральный при ωпр > 550 %.

Таблица 13. Определение строительного типа болотного мергеля

Разновидность грунта

Природная влажность, %

Строительный тип грунта

Маловлажный

< 70

1, 2*

Средней влажности

70 - 150

2

Очень влажный

> 150

3

* К 1-му типу относится болотный мергель при ω < 60 %.

2. По величине сопротивляемости сдвигу, устанавливаемой путем испытаний с помощью крыльчатки в условиях природного залегания. Для определения строительного типа болотного грунта в этом случае можно использовать данные табл. 14.

Таблица 14. Определение строительного типа болотного грунта по результатам испытаний крыльчаткой

Сопротивляемость сдвигу по крыльчатке, МПа

Вид болотных грунтов

торф

сапропель, ил, мергель

> 0,02

1

1

0,02 - 0,01

1, 2*

2

0,01 - 0,003

2

2, 3**

< 0,003

3

3

* К 1-му типу относить болотный грунт при R < 25 %.

** Для уточнения типа грунта необходимы лабораторные испытания на компрессию и сдвиг.

2.51. Наряду с типизацией по прочности допускается использовать типизацию по деформативности. Учитывая, что оценка деформативности должна обеспечить достаточную точность прогноза осадки, типизацию по деформативности следует разрабатывать применительно к региональным условиям. Типизация по деформативности может оказаться полезной при проектировании с помощью ЭВМ.

Условия залегания слабых грунтов. Типы слабой толщи по условиям залегания

2.52. Характер поведения слабого грунта в основании насыпи зависит не только от свойств слабого грунта, но и от условий залегания. Последние характеризуются особенностями строения слабой толщи.

При оценке особенностей строения слабой толщи следует учитывать:

мощность слабой толщи, от которой могут зависеть: характер расчетного распределения по глубине напряжений от сооружения, конечная величина осадки и ее длительность, а также степень устойчивости основания;

наличие и характер слоистости слабой толщи (наличие различных по физико-механическим свойствам слабых грунтов в пределах толщи, переслаивание с прочными грунтами, выдержанность отдельных слоев по мощности и т.п.);

условия отжатия воды из толщи при ее уплотнении (условия дренирования толщи), от которых может зависеть длительность осадки и уплотнения;

очертание кровли пород, подстилающих слабую толщу, от которого может зависеть устойчивость основания и равномерность осадки;

расположение слабой толщи по геологическому разрезу (наличие перекрывающих прочных грунтов), от которого зависит степень устойчивости основания, величина осадки и ее длительность;

положение уровня грунтовых вод, учитываемое в расчетах.

По особенностям строения (стратиграфии) слабые толщи следует классифицировать в соответствии с табл. 15.

Таблица 15. Классификация особенностей строения слабой толщи

Тип толщи

Характеристика толщи

Подтип толщи (по условиям отжатия из нее воды под нагрузкой)

Вид толщи (по общей местности)

Разновидность (по наличию перекрывающего слоя)

I

Выдержанная по мощности однослойная

А. С односторонним дренированием

а. Маломощная

б. Большой мощности

1. Свободная

2. Погребенная

II

Выдержанная по мощности слоев многослойная

Б. С двусторонним дренированием

-

-

III

Не выдержанная по мощности однослойная

В. Со сложным дренированием

-

-

IV

Не выдержанная по мощности многослойная

-

-

-

Примечания: 1. Выдержанной по мощности следует называть слабую толщу, мощность которой в пределах поперечника земляного полотна меняется не более чем на 10 %. В противном случае толща называется невыдержанной по мощности. 2. Однослойной называется толща, сложенная слабым грунтом одного подвида (одного наименования). 3. При наличии недренирующих подстилающих толщу пород дренирование толщи считается односторонним, при наличии дренирующих подстилающих толщу грунтов - двусторонним, а при наличии в пределах толщи дренирующих прослоек - сложным. 4. Маломощной называется слабая толща, мощность которой не превышает полуширины насыпи на подошве.

2.53. Торфяные болота по стратиграфическим особенностям допускается классифицировать укрупненно в соответствии с табл. 16.

Таблица 16. Укрупненная классификация болот по стратиграфическим особенностям

Стратиграфический

Характеристика

тип

подтип

I

а

Болота, заполненные торфом, перекрытым сверху слоем минерального грунта (аллювием)

б

Болота, сплошь заполненные торфом

II

а

Болота, включающие слой торфа, подстилаемый слоем сапропеля, мергеля или ила и перекрытый сверху слоем минерального грунта

б

Болота, включающие слой торфа, подстилаемый слоем сапропеля, мергеля или ила

III

-

Болота с торфяным слоем, плавающим на поверхности воды (сплавинное болото)

3. ОЦЕНКА УСТОЙЧИВОСТИ ОСНОВАНИЯ НАСЫПИ (ОПРЕДЕЛЕНИЕ ТИПА ОСНОВАНИЯ ПО УСТОЙЧИВОСТИ)

Общие положения. Расчетная нагрузка

3.1. В задачу расчета устойчивости основания насыпи входит выявление возможности и степени опасности бокового выдавливания слабого грунта из-под подошвы. На основе результатов расчета устойчивости должен быть сделан вывод о возможности использования слабых грунтов основания.

3.2. Для предварительного суждения о характере специальных мероприятий, необходимых для использования слабого грунта в качестве основания проектируемой насыпи, по результатам расчета определяют тип основания по устойчивости.

3.3. В зависимости от характера и степени устойчивости различают три типа основания:

I - основания, не требующие специальных мероприятий по обеспечению устойчивости;

II - основания, для обеспечения устойчивости которых достаточно только технологических мер (ограничение режима отсыпки насыпи);

III - основания, которые требуют специальных конструктивных мер по обеспечению устойчивости (изменение конструкции насыпи, усиление основания, или удаление слабого слоя).

3.4. В общем случае тип основания устанавливают по результатам расчета устойчивости. При определенных условиях (см. п. 3.21) допускается тип основания определять без расчета на основе типизации слабых грунтов (п. 2.49).

3.5. В качестве критерия обеспеченной устойчивости основания на слабых грунтах следует принимать отсутствие областей разрушения, т.е. областей, где сопротивляемость грунта сдвигу ниже величины опасных касательных напряжений.

Примечание. Для грунтов типа иольдиевых глин, мало упрочняющихся и мало увеличивающих вязкость при уплотнении в обычном диапазоне нагрузок, в качестве критерия обеспеченной устойчивости следует принимать отсутствие областей ползучести, т.е. областей, в которых касательные напряжения τ превышают порог ползучести: τlim = p tg φω + cc, где cc - необратимая часть сцепления.

3.6. Степень устойчивости устанавливается по величине коэффициента безопасности

,                                                             (6)

где pбез - безопасная нагрузка, т.е. предельная нагрузка, отвечающая условию устойчивости и определяемая по пп. 3.11 и 3.17; pрасч - расчетная (проектная) нагрузка.

Устойчивость основания считается обеспеченной при условии kбез1.

3.7. Величины pбез и pрасч зависят не только от параметров возводимой насыпи и свойств слабых грунтов в их природном залегании, но и от режима возведения насыпи. В связи с этим величина kбез может устанавливаться применительно к условиям:

быстрой (условно мгновенной) отсыпки насыпи k(нач)без,

медленной (в соответствии со скоростью уплотнения и упрочнения слабой толщи) отсыпки насыпи kконбез.

Кроме того, степень устойчивости может оцениваться применительно к любому заданному моменту t процесса уплотнения kбезt.

3.8. При простом (трапецеидальном) очертании насыпи эпюру расчетной нагрузки на основание следует принимать в виде равнобочной трапеции (рис. 6). При этом величина максимальных напряжений на поверхности основания определяется по формулам:

при расчете на быструю отсыпку

pрасч = γн (hрасч + Sкон);                                                  (7)

при расчете на медленную отсыпку

pрасч = γн (hрасч + zг.в) + γвзвн(Sкон - zг.в);                                   (8)

где γн - удельный вес грунта насыпи; hрасч - расчетная высота насыпи; γвзвн - удельный вес грунта насыпи ниже уровня грунтовых вод; zг.в - расстояние от поверхности земли до расчетного уровня грунтовых вод; Sкон - конечная осадка основания насыпи.

При наличии на поверхности толщи постоянного уровня воды hп.в, для определения pрасч следует соответственно использовать зависимости:

pрасч = γн (hрасч + Sкон) - (γн - γвзвн)hп.в,                                    (9)

pрасч = γн (hрасч + zг.в) + γвзвн(Sкон - zг.в) - (γн - γвзвн)hп.в,                     (10)

Примечания: 1. При расчете устойчивости на промежуточный момент процесса осадки следует использовать вторую формулу с подстановкой в нее вместо Sкон величины St - осадки на рассматриваемый момент t и с увеличением hрасч на разность Sкон - St.

2. Если осадка S меньше zг.в, то расчетная нагрузка определяется по первой формуле.

3. В качестве расчетных уровней воды zг.в и hп.в необходимо принимать их наинизшие значения за весь период службы дороги до капитального ремонта (с обеспеченностью 90 %).

Рис. 6. Эпюра расчетной нагрузки

3.9. Расчетная высота насыпи hрасч определяется по формуле

,                                                       (11)

где h0 - фактическая высота насыпи (проектная), включая дорожную одежду, по оси над первоначальным уровнем земли; σ0 - удельная нагрузка на поверхности проезжей части от колеса расчетного автомобиля (или гусеницы при расчете на гусеничные машины); Кэус - коэффициент приведения подвижной нагрузки к эквивалентной статической при расчете устойчивости; γн.ср - средневзвешенный удельный вес грунта насыпи.

Величина коэффициента приведения устанавливается по формулам:

при                                 ;                                      (12)

при                                  ,                                      (13)

где h - толщина насыпи (по оси, считая от поверхности покрытия); D - диаметр отпечатка расчетного колеса или ширина гусеницы; Н - мощность слабой толщи (или активная зона); B - ширина насыпи поверху; n - показатель, принимаемый равным 1 при расчете на гусеничную нагрузку и 2 - при расчете на колесную нагрузку.

Примечание. В практических расчетах устойчивости подвижную нагрузку можно не учитывать в расчете при толщине насыпного слоя h ≥ 2,5 м.

Определение типа основания расчетом

3.10. Для определения типа основания расчетом необходимо установить величины коэффициентов безопасности для условий быстрой kначбез и медленной kконбез отсыпки насыпи.

Таблица 17. Тип основания по устойчивости

Тип основания

Определяющий признак

Характеристика устойчивости

Преобладающие деформации грунта наиболее опасного слоя

Возможность использования слабой толщи в качестве основания

I

kначбез ≥ 1

Устойчивость обеспечена при любой скорости отсыпки насыпи

Сжатие

Можно использовать в качестве основания

II

kначбез < 1

kконбез ≥ 1

Устойчивость при быстрой отсыпке не обеспечена, но обеспечена при медленной отсыпке

При быстрой отсыпке - сдвиг (выдавливание), при медленной - сжатие

Можно использовать в качестве основания при медленной отсыпке насыпи

III

kконбез < 1

Устойчивость не обеспечена ни при каких режимах отсыпки

Сдвиг (выдавливание)

Без конструктивных мероприятий в качестве основания использовать нельзя. Нужно удалить слабый слой или изменить конструкцию насыпи

Примечания: 1. Требуемый (допустимый) режим отсыпки при II типе основания устанавливается расчетом (см. п. 5.36). 2. При приближенном определении типа основания на стадии ТЭО и на первой стадии проектирования при расчете kконбез повышение в результате уплотнения не учитывается, а учитывается только проявление эффекта взвешивания. В этом случае тип II делится на два подтипа IIи II-Б. К подтипу II-Б основание следует относить при 0,2 ≤ kконбез < 1, а при kконбез < 0,2 основание следует относить к III типу. Основание подтипа II-Б после уточнения расчета с использованием лабораторных данных по сдвигу и компрессии окончательно относят либо к типу II, либо к типу III.

В зависимости от значения kначбез и kконбез основание может быть отнесено к I, II и III типам по устойчивости в соответствии с табл. 17.

Определение безопасной нагрузки для условий быстрой отсыпки насыпи (безопасная нагрузка в природном состоянии плотности-влажности грунта основания)

3.11. Безопасная нагрузка для условий быстрой отсыпки насыпи определяется по формуле

,                                              (14)

где снач и φнач - сцепление и угол внутреннего трения грунта при природной плотности-влажности; γср - средневзвешенный удельный вес толщи (в необходимых случаях - с учетом взвешивания), расположенной выше горизонта z; z - глубина расположения рассматриваемого горизонта от поверхности земли; β - функция φнач, формы эпюры нагрузки 2a/B и относительной глубины z/b, устанавливаемая по графикам рис. 7.

Рис. 7. График функции β при:

а - φ = 0°; б - φ = 5°; в - φ = 10°; г - φ = 15°; д - φ = 20°; е - φ = 30°; 1 - 2a/B = 10; 2 - 2a/B = 3,0; 3 - 2a/B = 1,0; 4 - 2a/B = 0,6; 5 - 2a/B = 0,2

3.12. В общем случае, в том числе и при слоистой слабой толще, а также при геологически однородной толще, но при наличии изменения cωнач и φωнач по глубине, определение pначбез ведется графоаналитическим способом. Для этого строят графики функций  и снач + γсрztgφнач. Затем с выбранным шагом по z определяют отношение значений этих функций, т.е. определяют pначбез как функцию от z и строят график этой функции. Минимум этого графика определит искомое значение pначбез (рис. 8).

Рис. 8. Графический способ определения pбез

а - при однородной толще; б - при слоистой толще

3.13. Упрощенные расчеты можно вести по формулам, представленным в табл. 18 и основанным на тех или иных допущениях. При этом следует учитывать, что получаемые решения содержат тем больший запас, чем проще формула и чем ниже она расположена в таблице. В связи с этим в ряде случаев может применяться метод последовательного уточнения расчета, при котором расчет начинают с наиболее простой формулы, переходя к более сложным только в том случае, если kначбез, вычисленный с использованием простой формулы, окажется меньше единицы.

Таблица 18. Расчетные формулы для определения pбез

Расчетная формула

Принятые при ее выводе допущения

1

2

pбез = 3,14спрнач

Эпюра нагрузки в виде прямоугольника

φ = 0

Слабая толща в виде однородного полупространства

c - постоянно по глубине

Эпюра нагрузки в виде прямоугольника

Слабая толща в виде полупространства

c - постоянно по глубине

Слабая толща в виде полупространства

φ = 0

c - постоянно по глубине

Слабая толща в виде полупространства

φ и c - постоянны по глубине

γср = 0

φ = 0

c - постоянно в пределах слоя

Толща выше слабого слоя и в его пределах имеет

γср = 0

c и φ - постоянны в пределах слоя

3.14. Значения приведенного сцепления спрнач при применении формул табл. 17 следует установить по выражению

cпрнач = cнач(1 + siнач) = cнач(1 + 0,0172φнач).                               (15)

В расчет можно также вводить значение cпрнач, вычисленное по формуле

,                                        (16)

где pрасч - расчетная нагрузка.

Приведенное сцепление, вычисляемое по формуле (16), можно использовать в расчете при условии

,                                                              (17)

где kmφ - функция, определяемая по графику (рис. 9); m - максимально допустимый процент отклонения расчетной сопротивляемости грунта сдвигу от фактической в сторону завышения, принимаемый равным 5 - 10 %.

Рис. 9. График зависимости kmφ = f(φ) при различных значениях m

3.15. При использовании в расчете полной условной сопротивляемости грунта сдвигу, устанавливаемой с помощью крыльчатки, для расчета pначбез в зависимости от условий, может использоваться любая формула табл. 18, относящаяся к случаю φ = 0.

3.16. При сложном поперечном сечении насыпи (насыпь с бермами, откосами разной крутизны и т.п.) определение pначбез следует вести путем анализа соблюдения условия прочности в различных точках основания по формуле

,                                       (18)

где σ1 и σ2 - значения главных напряжений в рассматриваемой точке от внешней нагрузки; kст - коэффициент стабильности.

Для определения σ1 и σ2 сложную эпюру разбивают на ряд простых (проще всего - треугольных). В каждой рассматриваемой точке определяют нормальные и касательные напряжения по вертикальным и горизонтальным площадкам zi, σyi, τyzi) от каждой эпюры нагрузки, пользуясь формулами прил. 6. Затем определяют суммарные напряжения в точке от всех выделенных эпюр нагрузки (σz, σy, τzy). Далее вычисляют главные напряжения по формулам:

;                                       (19)

.                                       (20)

Если kст в какой-либо точке окажется меньше 1, то устойчивость считается необеспеченной. Расчеты следует выполнять с помощью ЭВМ.

Определение безопасной нагрузки для случая медленной отсыпки насыпи

3.17. Для случая медленной отсыпки насыпи расчет безопасной нагрузки при простой эпюре осуществляется аналогичным образом по формуле

,                                                   (21)

где cи φ- кажущиеся сцепление и угол внутреннего трения, получаемые в опыте с полной консолидацией образцов (консолидированные испытания с дренажем); β - та же функция, что и при расчете на быструю отсыпку (см. рис. 7), но принимаемая в зависимости от значения φ′.

3.18. Для приближенных расчетов допускается при определении pконбез использовать те же формулы, что и для pначбез, с подстановкой в них вместо значения φначcнач и cпрнач величин φкон, cкон и cпркон, соответствующих конечной плотности - влажности грунта, ωкон на данном горизонте, которую он будет иметь после завершения процесса уплотнения под расчетной нагрузкой (влияние подвижной нагрузки в данном случае не учитывается).

3.19. При необходимости определения безопасной нагрузки на любой заданный момент процесса уплотнения толщи следует вести расчет по точкам, используя формулу

,                                                 (22)

где cωt и φωt - сцепление и угол внутреннего трения, отвечающие влажности ω грунта в заданный момент t; D и θ - разность и сумма главных напряжений в данной точке, определяемые по графикам прил. 6.

Значения cωt и φωt можно устанавливать по графикам cω = f(ω), φω = f(ω), получаемым в результате испытаний грунта на сдвиг по методу плотности и влажности. При этом расчетная влажность грунта в момент t определяется по формуле

ωt = ωнач - (ωнач - ωкон)U,                                                  (23)

где ωнач и ωкон - начальная и конечная влажности; U - степень консолидации в момент t, устанавливаемая по решениям плоской задачи теории консолидации.

Для определения U и расчета kстt следует использовать специальную программу для ЭВМ. В этом случае применяют следующие аналитические выражения для функций cωt = f(ω) и φωt = f(ω):

;                                                     (24)

,                                       (25)

где cнач и φнач - сцепление и угол внутреннего трения при начальной влажности грунта ωнач; А0 и δ - параметры упрочняемости, устанавливаемые при испытаниях на сдвиг по методу плотности-влажности; ae и θ0 - параметры уплотняемости (параметры компрессионной кривой с учетом двухмерности задачи); θ - сумма главных напряжений; U - степень консолидации, соответствующая заданному t.

3.20. Во многих случаях вследствие небольшого диапазона интересующих нас нагрузок вместо приведенных выше зависимостей можно использовать линейные выражения:

cωt = cнач + a0нач - ωt);                                                 (26)

tgφωt = tgφнач + δ0нач - ωt),                                             (27)

где a0 и δ0 - параметры упрочняемости, устанавливаемые экспериментально путем спрямления зависимостей cωt = f(ω) и tgφωt = f(ω) в интересующем диапазоне влажностей.

Пример расчета устойчивости слабого основания при быстрой и медленной отсыпке насыпи приведен в прил. 7.

Упрощенная оценка устойчивости основания на основе типизации

3.21. При проектировании насыпей на торфяных болотах, если расчетная нагрузка на основание насыпи не превышает 0,055 МПа (0,55 кгс/см2) при учете эффекта взвешивания нижней части насыпи и 0,075 МПа (0,75 кгс/см2) без учета взвешивания, при мощности слабой толщи не более 6 - 8 м и простом (трапецеидальном) поперечном профиле насыпи, допускается тип основания (строительный тип болота) определять по строительным типам слабых грунтов, слагающих слабую толщу (см. пп. 2.49 - 2.51).

3.22. В зависимости от строительных типов грунтов, слагающих слабую толщу, различают три строительных типа болот:

I - болота, слабая толща которых представлена только грунтами 1-го строительного типа;

II - болота, слабая толща которых представлена грунтами 1-го и 2-го типов;

III - болота, слабая толща которых включает хотя бы один слой 3-го строительного типа.

Примечание. Если толщина наиболее слабого пласта не превышает 5 % общей мощности слабой толщи, то его наличие при определении типа болота не учитывается.

Тип болота соответствует типу основания по устойчивости.

4. ПРОГНОЗ ОСАДКИ ОСНОВАНИЯ НАСЫПИ

Общие положения. Расчетная нагрузка

4.1. При обеспеченной устойчивости основания осадка его обусловливается сжатием (уплотнением) слабого грунта под воздействием внешних нагрузок, а также некоторым боковым расширением.

4.2. Осадка слабой толщи всегда растянута во времени, поэтому при прогнозе осадки решаются две самостоятельные, но взаимосвязанные задачи: определение конечной величины осадки и определение хода осадки во времени.

4.3. При прогнозе осадки форма эпюры расчетной нагрузки от веса насыпи принимается аналогичной принятой при расчете устойчивости (см. п. 3.8).

Величина расчетной нагрузки вычисляется по формулам, приведенным в п. 3.8 для случая медленной отсыпки. При этом входящая в эти формулы величина расчетной высоты насыпи устанавливается по выражению

,                                                            (28)

где σ0 - величина расчетных напряжений от подвижной нагрузки на уровне подошвы насыпи; Кэос - коэффициент приведения подвижной нагрузки к эквивалентной статической при расчете осадки.

,                           (29)

где B - ширина земляного полотна поверху; H - расчетная мощность сжимаемой толщи; D - диаметр отпечатка колеса или ширина расчетной гусеницы; n - показатель степени, принимаемый равным 1 при расчете на гусеничную нагрузку и равным 2 при расчете на колесную нагрузку.

Примечание. При толщине насыпи (высота + осадка) св. 2 м подвижная нагрузка в расчете может не учитываться.

4.4. Осадка основания насыпи определяется как суммарная вертикальная деформация по оси всей слабой толщи в пределах активной зоны.

4.5. Величина активной зоны устанавливается в каждом конкретном случае с учетом фактической мощности слабых слоев и условий их расположения. В качестве нижней границы активной зоны принимают:

кровлю прочного и малосжимаемого грунта, подстилающего слабую толщу при относительно небольшой ее мощности;

горизонт, на котором вертикальные нормальные напряжения от внешней нагрузки σz и собственного веса σс.в не превышают величины структурной прочности при компрессионном сжатии σстр*

σz + σс.в ≤ σстр.                                                          (30)

* Определение σстр изложено в прил. 3.

При этом величина σс.п определяется в необходимых случаях с учетом взвешивания.

При однородной слабой толще и постоянной по глубине разности σстр - σс.в глубина активной зоны по второму критерию может быть ориентировочно вычислена по формуле

,                                               (31)

где bср - полуширина насыпи по средней линии; pрасч - расчетная нагрузка на поверхности основания насыпи.

Примечание. При приближенных расчетах и отсутствии данных о величине σстр за глубину активной зоны допускается принимать ординату горизонта, на котором сжимающие напряжения от расчетной нагрузки не превышают 20 % напряжений от собственного веса (σz ≤ 0,2 σс.в).

4.6. При наличии неоднородной слабой толщи, переменности по глубине σстр - σс.в и т.п. глубину активной зоны следует устанавливать графическим способом.

Прогноз конечной величины осадки

4.7. В зависимости от стадии проектирования и наличия исходных данных расчет осадки может выполняться по более строгим или упрощенным решениям. При этом упрощенные решения дают запас в отношении конечной осадки (завышают ее величину) по сравнению с уточненными решениями.

4.8. В общем случае конечная величина осадки определяется методом послойного суммирования с использованием зависимости:

для условия одномерной задачи

;                                                         (32)

для условий двухмерной задачи

;                                   (33)

где Hi - мощность отдельного слоя; epzi - модуль осадки грунта этого слоя в вертикальном направлении, устанавливаемый по компрессионной кривой при нагрузке, отвечающей нормальному напряжению на уровне середины расчетного слоя и с учетом срока службы дорожной конструкции (см. прил. 7); epxi - то же, в горизонтальном направлении; μi - коэффициент бокового расширения грунта i-го слоя.

4.9. Для определения расчетного значения модуля осадки необходимо:

установить расчетные напряжения от внешней нагрузки на данном горизонте по формуле

σz = αpрасч,                                                               (34)

где pрасч - расчетная нагрузка на поверхности основания; α - безразмерный коэффициент, зависящий от относительной глубины расположения рассматриваемого горизонта и определяемый в соответствии с прил. 6;

определить расчетные напряжения от собственного веса толщи на данном горизонте

σс.в = γсрz,                                                                (35)

где γср - средневзвешенный удельный вес толщи, расположенный выше данного горизонта z; определить по компрессионной кривой вида epz = f(p) величину модуля осадки epz при нагрузке pz + σс.в; определить по той же компрессионной кривой модуль осадки е″pz при величине p, отвечающей структурной прочности σстр;

вычислить расчетный модуль осадки как разность

epz = epz - epz.                                                          (36)

4.10. Если осадка насыпи превышает 10 % высоты насыпи, то необходимо учитывать в расчете нагрузку от просевшей части насыпи. В этом случае расчет приходится вести методом последовательного приближения. Наиболее удобно этот расчет выполнять графическим способом в следующем порядке:

задавшись величиной нагрузки p0 на поверхности толщи, определяют, пользуясь таблицами и графиками прил. 6, напряжения (pz - при одномерной задаче, pz и px - при двухмерной) в расчетных слоях по оси насыпи;

по соответствующим компрессионным кривым находят модули осадки, отвечающие установленным напряжениям в соответствии с п. 4.9;

по формулам п. 4.8 определяют осадки слоев и суммарную осадку;

повторяют расчеты еще для двух-трех значений нагрузки p;

по результатам строят графики осадки отдельных слоев и общей осадки в зависимости от нагрузки на поверхности;

на этом же графике строят прямую, выражающую зависимость нагрузки на поверхности от осадки (по формулам п. 3.8).

Точка пересечения построенных кривых полной осадки и прямой определит расчетную величину полной осадки и нагрузки на поверхности, точки пересечения с кривыми, построенными для отдельных слоев, определяют их частные осадки.

4.11. Если общая мощность слабой толщи не более 1,5bср (где bср - полуширина насыпи по средней линии), то при расчете осадки изменение по глубине сжимающих напряжений можно не учитывать.

4.12. Для приближенных расчетов при невысоких насыпях (до 5 м) и мощности слабой толщи не более 2b, когда отсутствуют данные непосредственных компрессионных испытаний, можно использовать значимость

,                                               (37)

где hрасч - расчетная высота насыпи; γн и γвзвн - удельный вес грунта насыпи над и под уровнем грунтовых вод; zг.в - расстояние от поверхности основания до расчетного уровня грунтовых вод, Ешт - штамповый модуль деформации слабой толщи, принимаемый приближенно по табл. 3 основного текста; Hрасч - расчетная мощность слабой толщи.

Величина расчетной мощности слабой толщи принимается в зависимости от отношения фактической мощности H к полуширине насыпи bср по средней линии:

H/bср....................

≤ 1,5

1,5 - 2

2 - 4,5

> 4,5

Hрасч.....................

H

0,9H + 0,5bср

0,4H + bср

0,18H + 2bср

При слоистой толще или при значительной зависимости модуля деформации от напряжений средний штамповый модуль следует определять по формуле

,                                                         (38)

где Hi и Ei - мощность и модуль деформации i-го слоя.

4.13. При расчете осадок насыпей на торфяных болотах, слабая толща которых включает слои жидких образований, не упрочняющиеся при сжатии, величину осадки устанавливают с учетом ликвидации этих слоев в результате отжатия жидких образований.

При этом используют зависимость

S = Sсж + ΣHот,                                                       (39)

где Sсж - осадка сжимающихся слоев, устанавливаемая указанными выше методами; ΣHот - сумма мощностей отдавливаемых слоев.

Таблица 19. Ориентировочные значения величины осадки, %

Толщина обжимаемого слоя, м

Высота насыпи, м

до 3

3 - 4

До 2

50

60

От 2 до 4

40

50

4.14. При проектировании дорог на торфяных болотах I типа глубиной до 4 м в порядке первого приближения величину осадки можно устанавливать по табл. 19.

Прогноз хода осадки по времени

4.15. При мощности активной зоны Habср (где bср - ширина насыпи по средней линии) прогноз длительности осадки может осуществляться по схеме одномерного сжатия. Прогноз хода осадки во времени целесообразно вести раздельно для двух участков кривой консолидации, называемых участками первичной и вторичной осадок (рис. 10).

Рис. 10. Общий вид кривой консолидации

λ0 - мгновенная осадка, λI - первичная осадка, λII - вторичная осадка

4.16. На участке первичной осадки время достижения реальным слоем относительной деформации λ при нагрузке p осуществляют упрощенным или более точным способом. В первом случае время интенсивной части деформации определяется (на основе неполного объема испытаний слабого грунта) по формуле

,                                                         (40)

где Ck - коэффициент консолидации, определяемый непосредственно путем консолидационных испытаний (см. прил. 3); KU - коэффициент, величина которого зависит от степени консолидации (или от относительной деформации) и определяется по табл. 20;

,

(где λI - относительная деформация образца грунта при расчетной нагрузке, отвечающая завершению первичной осадки); Hф - расчетный путь фильтрации воды, отжимаемой из слоя, принимаемый равным мощности слоя при одностороннем дренировании и половине мощности при двухстороннем дренировании.

Таблица 20. Определение коэффициента KU

U, %

KU

U, %

KU

20

0,03

70

0,40

30

0,07

80

0,57

40

0,12

85

0,69

50

0,20

90

0,85

60

0,29

95

1,13

4.17. Если в силу геологического строения толщи или различий в напряженном состоянии слоев по глубине слабое основание приходится рассматривать как слоистое, то время практической стабилизации деформации основания в целом определяется в зависимости от расположения и свойств грунтов в отдельных слоях временем стабилизации деформации слоя, для которого значения Тстаб будут наибольшими.

4.18. Уточненный прогноз первичной осадки осуществляется на основе полного объема испытаний слабого грунта по формуле

Tλp = bλpH2ф,                                                           (41)

где bλp - консолидационный параметр, величина которого зависит от расчетной нагрузки p и относительной деформации λi и определяется по результатам консолидационных испытаний образцов с различными условиями дренирования по формуле (см. прил. 3):

,                                                         (42)

где t1 - время достижения заданной относительной деформации при уплотнении под нагрузкой p образца высотой h1 при двухстороннем дренировании h = hобр/2; t2 - то же, образца высотой h = hобр при одностороннем дренировании.

4.19. На участке вторичной консолидации прогноз осадки во времени осуществляют по формуле

,                                                      (43)

где mp - параметр консолидационной кривой, определяемый экспериментально при полном объеме испытаний, как тангенс угла наклона участка вторичной осадки (см. прил. 3); TI - время окончания участка первичной осадки при реальном слое, устанавливаемое по формулам п. 4.16 (при λ = λI).

4.20. По результатам расчетов строят график осадки основания во времени, анализируя который, выявляют условия соблюдения требований п. 1.8 и решают вопрос о необходимости ускорения осадки (см. разд. 5).

4.21. В случае сложного очертания поперечного сечения насыпи, а также при мощности активной зоны более 1,5bср расчет ведут по условиям двухмерной задачи, используя специальные программы для ЭВМ.

5. КОНСТРУКТИВНО-ТЕХНОЛОГИЧЕСКИЕ РЕШЕНИЯ ПРИ СООРУЖЕНИИ ЗЕМЛЯНОГО ПОЛОТНА НА УЧАСТКАХ ЗАЛЕГАНИЯ СЛАБЫХ ГРУНТОВ

Общие положения

5.1. При проектировании дороги на участках залегания слабых грунтов по результатам предварительно выполненных прогнозов устойчивости основания, величины и длительности осадки, с учетом особенностей проектируемой дороги, местных условий и технологических возможностей строительной организации прорабатывают несколько конкурентоспособных вариантов, каждый из которых удовлетворяет требованиям обеспечения устойчивости, стабильности и динамической прочности (см. пп. 1.7 - 1.9). Наиболее предпочтительный вариант выбирают путем технико-экономического сравнения.

5.2. Принципиальной основой выбора технических решений является выявление факторов, представляющих наибольшую опасность для работы дорожной конструкции в данном конкретном случае, и установление мероприятий, нейтрализующих эти факторы или снижающих их влияние (табл. 21).


Таблица 21. Конструктивно-технологические решения при сооружении земляного полотна на слабом основании

Мероприятия

Группа решений

А

Б

В

Назначение мероприятий

повышение устойчивости

сокращение времени достижения безопасной интенсивности осадки

уменьшение влияния динамического воздействия нагрузки

снижение величины конечной осадки

ускорение процесса осадки

Результат мероприятий

уменьшение нагрузки

улучшение характера напряженного состояния толщи

увеличение сопротивляемости сдвигу

уменьшение нагрузки

улучшение характера напряженно-деформативного состояния толщи

уменьшение мощности сжимаемой толщи (активной зоны)

снижение сжимаемости грунта

увеличение уплотняющей нагрузки

улучшение условий удаления поровой воды из сжимаемого слоя

снижение напряжений от транспортной нагрузки

повышение динамической устойчивости основания насыпи

Технологические

-

-

Предварительная консолидация; промораживание оснований (для I зоны)

-

-

-

Предварительное осушение дорожной полосы

Временная пригрузка; временное водопонижение

Отсос воды из толщи в процессе консолидации

-

-

Конструктивные

Снижение высоты насыпи; насыпи из легких материалов; замена грунтовой насыпи специальными пустотными конструкциями; насыпи на сваях

Уположение откосов; боковые пригрузочные бермы; грунтовые сваи; уменьшение мощности слабой толщи; распределяющая плита (настил) в основании насыпи

Грунтовые сваи; вертикальные дрены; дренажные прорези; замена слабых грунтов

Снижение высоты насыпи; насыпи из легких материалов; насыпи на сваях

Грунтовые сваи; распределяющая плита (настил) в основании насыпи

Частичная замена слабых грунтов

Грунтовые сваи-дрены; замена слабых грунтов

-

Вертикальные дрены; дренажные прорези; частичное удаление слабого грунта; устройство фильтрующих прослоек

Увеличение высоты насыпи; увеличение толщины дорожной одежды; армирование насыпи; распределяющая плита (настил) в основании насыпи

Грунтовые сваи в основании насыпи; вертикальные сваи-дрены; полная или частичная замена слабого грунта


5.3. Целью различных конструктивных решений и технологических мероприятий может быть: повышение устойчивости основания насыпи (группа А); ускорение достижения допустимой интенсивности осадки (группа Б); исключение недопустимых упругих колебаний (группа В). Некоторые мероприятия имеют комплексный характер и могут выполнять одновременно несколько назначений.

5.4. При предварительном отборе вариантов в первую очередь рассматривают соблюдение требования устойчивости основания.

Для типа I оснований (по устойчивости) могут применяться решения групп Б и В. Для оснований II типа применяют решения групп А (возможно только технологические), Б и В. Для оснований III типа применяют решения групп А, Б и В.

Примечание. При использовании метода временной пригрузки тип основания по устойчивости следует уточнять с учетом увеличения высоты насыпи на толщину пригрузочного слоя.

5.5. По результатам прогноза протекания осадки во времени определяют целесообразность применения мероприятий группы Б, которые становятся необходимыми при невыполнении условия п. 1.8.

5.6. По данным проверки прочности дорожной конструкции на динамическое воздействие транспортных средств в случаях, если толщина насыпи меньше величин, установленных табл. 1, назначают конструктивные мероприятия группы В.

Конструктивно-технологические решения, предусматривающие использование в основании слабых грунтов

5.7. Независимо от наличия и вида мероприятий, направленных на повышение устойчивости, стабильности и прочности, при определении толщины насыпи, возведенной на слабом грунте, следует учитывать погружение ее подошвы, т.е. осадку. Схема конструкции земляного полотна, возведенного на поверхности слабой толщи, показана на рис. 11.

Рис. 11. Типовая схема земляного полотна, возведенного на поверхности слабой толщи

5.8. При определении требуемого объема грунта для возведения насыпи сечение погруженной части Fпогр принимают в виде трапеции с высотой, равной расчетной величине осадки, и меньшим основанием, равным ширине земляного полотна поверху (см. рис, 11), т.е.

Fпогр = SB + S(h - S)m.

Ориентировочно объем земляных работ может быть определен в соответствии с прил. 8.

5.9. Если дополнительными мероприятиями не предусмотрено каких-либо изменений, крутизну откосов насыпи и боковые водоотводные канавы принимают по общим правилам проектирования земляного полотна в обычных условиях.

5.10. Для насыпей, сооружаемых на слабых грунтах, следует, как правило, применять дренирующие грунты. Недренирующие грунты допускается использовать для дорог с облегченными, переходными и низшими типами покрытий при условии обеспечения устойчивости и прочности конструкции.

Для дорог с переходными и низшими типами покрытий, а также сборными покрытиями при стадийном строительстве на переходах через торфяные болота допускается использовать в нижней части насыпи торф с показателем волокнистости не менее 50 % и влажностью не более 800 %. Верхнюю часть насыпи при этом устраивают из минерального грунта (рис. 12). Толщина верхнего слоя от границы торфяной части до низа одежды для различных грунтов насыпи устанавливается расчетом и должна составлять не менее, м:

песок, супесь легкая пылеватая................................................................ 0,7

песок пылеватый, супесь легкая............................................................... 1,2

супесь пылеватая и тяжелая пылеватая, суглинки, глины..................... 1,6

При проектировании насыпи необходимо учитывать сжатие торфяного слоя от давления вышележащей конструкции.

Рис. 12. Схема использования торфа в нижней части насыпи

а - устройство нижнего слоя; б - устройство верхнего слоя

5.11. При строительстве дороги на мокрых солончаках допускается применение для насыпей солончаковых грунтов при глубине уровня грунтовых вод не менее 0,5 - 0,6 м от поверхности. При этом коэффициент переувлажнения грунтов, используемых для насыпи, должен быть не выше допустимого по СНиП 2.05.02-85.

Переувлажненные грунты, предназначенные для применения в земляном полотне, могут подсушиваться или обезвоживаться химическими добавками в соответствии с указаниями СНиП 3.06.03-85 (при соответствующем технико-экономическом обосновании).

Крутизна откосов насыпей из солончаковых грунтов должна быть не более 1:3.

5.12. В случаях, когда требование стабильности не обеспечивается в установленные сроки строительства, при соответствующем технико-экономическом обосновании допускается стадийный метод строительства с открытием временной эксплуатации до окончательного устройства покрытия.

Для стадийного строительства из капитальных типов наиболее пригодно покрытие из сборных железобетонных плит на песчаном подстилающем слое. Омоноличивание с устранением возникших неровностей путем перекладки части плит с планировкой поверхности основания производят после фактического окончания консолидации основания. При использовании черных или щебеночных покрытий движение открывают по нижнему щебеночному или гравийному слою. Верхний слой покрытия устраивают после фактического окончания консолидации слабого основания, планировки и очистки поверхности подстилающего слоя.

Временная пригрузка

5.13. Наиболее простым и достаточно эффективным методом ускорения осадки насыпей на основании I типа является метод обжатия слабого слоя с помощью временной пригрузки. При увеличении давления на основание осадка заданной величины может быть достигнута за более короткий срок. Возможные варианты временной пригрузки показаны на рис. 13.

Рис. 13. Варианты временной пригрузки

а - удаляемый пригрузочный слой; б - эквивалентная нагрузка; этапы производства работ: 1 - возведение насыпи; 2 - технологический перерыв на период консолидации; 3 - удаление пригрузки; 4 - устройство одежды; 5 - эксплуатационный период

5.14. Пригрузку в виде дополнительного слоя насыпи на всю ширину земляного полотна (см. рис. 13, а) устраивают на дорогах с усовершенствованными покрытиями. Толщину пригрузочного слоя принимают 0,2 - 1 от проектной толщины насыпи в зависимости от несущей способности основания и требуемого срока ускорения осадки (обычно 1 - 2 м). Уплотнение грунта в пригрузочном слое предусматривают только при необходимости обеспечения временного проезда. После окончания расчетного срока консолидации пригрузочный слой снимают и грунт перемещают на следующие участки дороги или используют в других элементах конструкции в соответствии с проектом.

5.15. Для дорог всех категорий, когда одежда устраивается после окончания консолидации основания и других видов пригрузки не предусмотрено, в целях предупреждения дополнительной осадки от приращения давления за счет одежды рекомендуется применять эквивалентный пригрузочный слой (см. рис. 13, б). Толщина эквивалентного слоя может быть принята равной толщине одежды с коэффициентом 1,5. Грунт пригрузочного слоя снимают непосредственно перед устройством одежды.

5.16. При предварительной оценке целесообразности применения временной пригрузки вместо замены грунта в основании следует учитывать необходимость соблюдения условия

,                                                   (44)

где hпр - требуемая по расчету толщина пригрузочного слоя; Cв - средняя стоимость удаления 1 м3 слабого грунта; Сн - средняя стоимость 1 м3 насыпного грунта (в деле); Суд - средняя стоимость удаления 1 м3 грунта пригрузки; H - мощность слабого слоя; 2b - ширина земляного полотна понизу; B - ширина земляного полотна поверху.

5.17. Расчет временной пригрузки сводится к определению требуемой толщины пригрузочного слоя, обеспечивающего достижение полной расчетной осадки насыпи принятых размеров в заданный срок.

Для расчета необходимо иметь следующие исходные данные:

консолидационные и компрессионные характеристики грунтов слабой толщи;

данные о геологическом строении и мощности слабой толщи;

схему отжатия воды из толщи при ее уплотнении нагрузкой (одностороннее или двустороннее);

показатели сопротивляемости сдвигу грунтов слабой толщи.

5.18. Требуемая величина временной пригрузки, обеспечивающая возможность достижения реальным слоем Hф заданной осадки за требуемое время Tтр, устанавливается по формуле

,                                            (45)

где bλ и pλ - консолидационные параметры, устанавливаемые в соответствии с прил. 3 и 7; pрасч - расчетная (проектная) нагрузка насыпи на основание.

5.19. Толщина слоя временной пригрузки устанавливается по формуле

,                                                             (46)

где γср.пр - средневзвешенный удельный вес грунта пригрузки.

5.20. Ориентировочно величину требуемой временной пригрузки pприг можно определить на основе решения теории фильтрационной консолидации по формуле

,                                     (47)

где Ск - коэффициент консолидации, определяемый опытным путем при испытаниях на консолидацию.

5.21. Для обеспечения устойчивости основания необходимо соблюдать условие: суммарная величина проектной нагрузки и требуемой временной пригрузки не должна превышать величину безопасной нагрузки

pприг + pрасч < pначбез.                                                      (48)

Если это условие нарушено, то временную пригрузку следует прикладывать по частям (как в методе предварительной консолидации) (см. п. 5.36) или принимать дополнительно специальные конструктивные меры по повышению устойчивости основания.

Возможность сохранения устойчивости основания только путем ограничения режима отсыпки временной пригрузки имеется при условии

pначбез < pприг + pрасч < pконбез,                                             (49)

где pначбез - безопасная нагрузка, вычисленная по условию быстрой отсыпки слоя временной пригрузки применительно к степени консолидации основания, достигнутой к моменту приложения временной пригрузки; pконбез - безопасная нагрузка при медленной отсыпке слоя временной пригрузки.

При этом, если pрасч < pначбез, то режим отсыпки самой насыпи не ограничивается, устанавливаются только время начала и режим отсыпки временной пригрузки. Если pприг + pрасч > pконбез, то временная пригрузка может быть осуществлена лишь с принятием специальных конструктивных мер по обеспечению устойчивости основания (уположение откосов, устройство боковых берм, свай и т.д.). Пример расчета величины временной пригрузки приведен в прил. 9.

Вертикальное дренирование

5.22. Вертикальные дрены устраивают в слабых водонасыщенных грунтах с целью ускорения консолидации основания за счет сокращения пути фильтрации воды, отжимаемой из слабой толщи при консолидации. Вертикальные дрены способствуют ускорению уплотнения слабого грунта с соответствующим повышением его сопротивляемости сдвигу, поэтому их можно устраивать также в целях повышения устойчивости основания (рис. 14).

Рис. 14. Схема земляного полотна с вертикальными дренами

а - подготовка основания; б - вид после устройства насыпи

5.23. Вертикальные дрены эффективны в водонасыщенных органических и минеральных сильносжимаемых грунтах мощностью не менее 4 м с коэффициентом фильтрации не менее 1 · 10-4 м/сут. Устраивать вертикальные дрены в плотных глинистых грунтах, а также в малоразложившемся неуплотненном слое торфа нецелесообразно. Эффективность дрен повышается в случаях, когда дренируемая толща имеет более высокую горизонтальную проницаемость, например вследствие наличия прослоек дренирующего грунта.

6.24. Вертикальные дрены, как правило, следует совмещать с временной пригрузкой, обеспечивающей необходимый гидравлический градиент для полного сжатия заданной нагрузкой.

Толщина пригрузочного слоя (при обеспеченной устойчивости основания) в этом случае определяется требованием создания напора в поровой воде, величина которого по всей дренируемой толще в любой момент расчетного времени консолидации должна быть выше начального градиента фильтрации грунта

,                                              (50)

где D - эффективный диаметр дренирования (принимается равным расстоянию между дренами); γв - удельный вес воды в порах; I0 - начальный градиент фильтрации грунта с учетом уплотнения весом насыпи (при отсутствии лабораторных данных принимают для торфа I0 = 2; для ила и глины I0 = 5); pрасч - нагрузка на основание от насыпи проектного сечения; γпр - удельный вес грунта, используемого для пригрузки.

5.25. Вертикальные дрены выполняют в виде скважин, заполняемых песком. Диаметр скважин должен быть от 40 до 60 см с учетом технических параметров применяемого оборудования. Для заполнения вертикальных дрен применяют песок с коэффициентом фильтрации 6 м/сут.

Эффективность вертикальных дрен значительно повышается при добавке к материалу заполнения 5 - 18 % (по массе) извести. При применении вертикальных дрен насыпь или ее нижнюю часть толщиной не менее 50 см следует устраивать из дренирующих грунтов с коэффициентом фильтрации не менее 3 м/сут.

В зависимости от водопроницаемости грунта и требуемого срока стабилизации осадки расстояние между дренами изменяется от 2 до 4,5 м.

5.26. Предварительную оценку влияния дрен на срок стабилизации осадки можно провести по формуле

,                                                      (51)

где T0 и Tдр - сроки стабилизации осадки для слабого слоя соответственно без дрен и с дренами; Hф - расчетный путь фильтрации воды, отжимаемой из уплотняемого слоя при отсутствии дрен, принимаемый равным фактической мощности слабой толщи (при ее одностороннем дренировании) или половине этой мощности (при двухстороннем дренировании); l - расстояние между дренами.

В случае отсутствия песчаного материала в нижней части насыпи с Kф не менее 3 м/сут следует применять прослой из геотекстиля.

5.27. При индивидуальном проектировании земляного полотна с вертикальными дренами расстояние между ними определяют расчетом исходя из заданного срока достижения полной осадки.

Для расчета оснований с вертикальными дренами необходимы следующие исходные данные:

результаты компрессионных и консолидационных испытаний грунтов слабой толщи;

расчетная мощность слабого слоя (с учетом условий односторонней или двусторонней фильтрации);

расчетные величины нагрузки и полной осадки слабой толщи.

Требуемая степень консолидации и срок ее достижения задаются с учетом капитальности дорожной одежды (см. п. 1.8) и установленного проектом организации строительства срока окончания отсыпки земляного полотна.

5.28. Расчет основания с вертикальными дренами выполняется в виде проверки правильности предварительно назначенного расстояния между дренами. Степень консолидации основания (отношение его осадки, достигнутой за время T, к полной осадке от проектной нагрузки) с вертикальными дренами определяют по формуле

Uобщ = 100 - 0,01(100 - Uг)(100 - Uв),                                    (52)

где Uв - степень консолидации основания без дрен при вертикальной фильтрации воды из основания; Uг - то же, при горизонтальной фильтрации к дренам.

Величины Uв и Uг устанавливают по графикам (рис. 15). Величину фактора времени, необходимую для определения Uв (см. рис. 15, а), рассчитывают по формуле

,                                                               (53)

где Cв - коэффициент консолидации для вертикальной фильтрации; Hф - расчетный путь вертикальной фильтрации, равный полной толщине сжимаемого слоя H, если нижележащий слой состоит из недренирующих грунтов и H/2 - при подстилающем слое из дренирующего грунта; T - требуемый срок консолидации.

Рис. 15. График для определения степени консолидации

а - при вертикальной фильтрации; б - при горизонтальной фильтрации; n = l / d, где l - расстояние между дренами (в свету); d - диаметр дрен

Фактор времени, необходимый для определения Uг (см. рис. 15, б), определяют по формуле

,                                                               (54)

где Сг - коэффициент консолидации грунта при горизонтальной фильтрации; l асстояние между дренами.

При расчете дрен можно также использовать номограмму (рис. 16).

Рис. 16. Номограмма для расчета консолидации оснований с вертикальными дренами

Если при назначенном расстоянии между дренами не может быть достигнуто требуемое сокращение срока консолидации, то шаг дрен уменьшают и расчет повторяют. Пример расчета основания с вертикальными дренами приведен в прил. 10.

5.29. В случаях значительной мощности слабой толщи (10 м и более), когда невозможно устроить вертикальные дрены доходящими до подстилающих их плотных грунтов, допускается устройство висячих дрен. Расчет висячих дрен выполняют по Методическим рекомендациям по проектированию и технологии сооружения вертикальных песчаных дрен и песчаных свай при возведении земляного полотна на слабых грунтах (СОЮЗДОРНИИ. - М., 1974. - 57 с.).

5.30. Для устройства вертикальных дрен используют самоходный агрегат типа ВВПС 20/11 или ВВПС 32/19. Может также применяться комплект оборудования с краном или экскаватором в качестве ведущей машины. Рабочим органом служит труба с самораскрывающимся наконечником и отверстием для загрузки (лидер). Если при вдавливании лидера происходит значительное уплотнение грунта по периферии дрены и уплотнение резко уменьшает проницаемость грунта, то дрены следует устраивать выбуриванием скважин. Более высокую производительность имеет оборудование для погружения обсадной трубы гидроподмывом с удалением из нее грунта по принципу Эрлифта.

Для вертикального дренирования слабых водонасыщенных грунтов могут применяться ленточные дрены в виде полос из геотекстильного материала. Ширина полос не менее 100 мм, толщина с учетом бокового обжатия слабым грунтом не менее 5 мм, минимальная водопроницаемость вдоль полотна в обжатом состоянии 50 м/сут, шаг дрен принимают в пределах 1 - 2 м по расчету. Расчет проводят с учетом особенностей слабого грунта, заданных сроков строительства и характеристик геотекстильного материала.

Для вертикальных дрен можно использовать специальные ленты из многослойного картона или пластмассы с продольными капиллярами. Картон пропитывается антисептирующим составом. Специальная технология предусматривает транспортирование картонных полос в рулонах, погружение с помощью лидера кинжального типа и обрезание ленты на уровне поверхности.

5.31. Упрощенной разновидностью вертикального дренирования являются продольные дренажные прорези. Их устройство целесообразно при мощности слабого слоя до 4 м и возможности сохранения в слабом грунте вертикальных откосов в течение времени, необходимого для заполнения прорези дренирующим грунтом.

Расстояние между дренажными прорезями ориентировочно назначают в пределах 1,5 - 3 м и проверяют расчетом. Ширина прорезей назначается в зависимости от параметров рабочего органа применяемого оборудования и составляет обычно 0,6 - 1 м.

Для заполнения прорезей используют песок, с коэффициентом фильтрации не менее 3 м/сут.

Расчет дренажных прорезей выполняют по аналогии с расчетом вертикальных дрен (см. пп. 5.27 - 5.29), но для определения степени консолидации при горизонтальной фильтрации используют графики, приведенные на рис. 17, где величина Uг дана в зависимости от величины Tг для различных значений l/H (где l - расстояние между боковыми поверхностями прорезей).

Рис. 17. График для расчета консолидации слоя водонасыщенного грунта с дренажными прорезями

Частичное удаление слабого грунта

5.32. Удаление верхней части слабой толщи с заполнением траншеи дренирующим грунтом дает комплексный эффект повышения прочности и ускорения достижения стабильности основания.

Частичное удаление слабого грунта из основания насыпи целесообразно в случаях:

необходимости жесткого ограничения отметки проезжей части, когда соблюдение условия прочности требует устройства массивной насыпи определенной толщины;

если верхние слои слабой толщи имеют значительно меньшую прочность, чем нижние;

для ускорения стабилизации осадки, если по каким-либо причинам нецелесообразно применение временной пригрузки или вертикального дренирования.

Типовая схема конструкции с частичной заменой слабого слоя показана на рис. 18.

Рис. 18. Схема частичного удаления грунта

а - подготовка траншеи; б - вид после устройства насыпи

Расчет конструкции с частичным удалением слабого грунта проводят общими методами, описанными в разд. 1, 3, 4 исходя из требований устойчивости, стабилизации осадки и прочности.

При расчете устойчивости необходимо учитывать заглубление подошвы насыпи относительно поверхности грунта.

Расчет глубины замены слабого грунта из условия ускорения осадки выполняют по формуле

,                                            (55)

где H - полная толщина сжимаемого слоя; tтр - требуемый срок достижения осадки допускаемой интенсивности; tрасч - расчетный срок достижения полной осадки без замены слабого грунта (см. прил. 3 и 7).

Предварительное осушение слабой толщи

5.33. Существенное улучшение свойств водонасыщенных органических грунтов, в том числе сокращение величины и длительности осадки, повышение несущей способности и проходимости в период строительства достигаются предпостроечным осушением открытыми канавами. Обязательным условием эффективности осушения является достаточное время действия и обеспечение непрерывного стока воды из канавы.

Как правило, сооружения для предпостроечного осушения дорожной полосы в период эксплуатации дороги должны служить водоотводными сооружениями.

Осушение дорожной полосы следует выполнять не позднее, чем за год до строительства дорожной одежды (при стадийном строительстве земляное полотно можно устраивать одновременно с осушением). При необходимости повышения проходимости болотных залежей в зоне производства работ их осушение выполняют за 1 - 2 года до начала строительства.

5.34. Осушительные канавы устраивают симметрично по обеим сторонам земляного полотна на расстоянии 2 - 3 м от подошвы насыпи с максимально возможной по условиям стока и производства работ глубиной.

Продольный уклон по дну осушительных канав должен быть не менее 5 ‰ (в начальных участках длиной до 200 м - 3 ‰). Крутизна откосов осушительных канав составляет от 1:0,25 для малоразложившихся торфов до 1:1 - для слабых органо-минеральных и минеральных грунтов.

Метод предварительной консолидации

5.35. Наиболее простым и достаточно эффективным методом повышения устойчивости насыпи на слабом основании является метод постепенного загружения (предварительной консолидации).

Постепенное загружение применяется на основаниях II типа, а также на основаниях I типа при использовании временной пригрузки в случаях, когда устойчивость слабой толщи в природном состоянии недостаточна для восприятия прикладываемой нагрузки.

Принцип метода постепенного загружения заключается в назначении определенного режима возведения насыпи, соответствующего повышения прочности грунта слабого слоя при уплотнении его давлением насыпи. Требуемый режим возведения насыпи определяется исходя из условия pфакт < pбез, которое должно соблюдаться в любой момент сооружения насыпи.

Схема метода предварительной консолидации показана на рис. 19. Существенное значение в данном случае имеет упрочняемость слабого грунта при уплотнении; применение метода постепенного загружения будет тем эффективнее, чем интенсивнее упрочняется слабый грунт. В этом отношении наиболее благоприятными являются торфяные грунты. Грунты типа иольдиевых глин упрочняются мало, в связи с чем применение рассматриваемого метода при таких грунтах оказывается малооправданным.

Рис. 19. Схема возведения насыпи методом постепенного загружения (предварительной консолидации)

5.36. Расчет режима постепенного загружения производят на основе учета взаимосвязи показателей влажности, прочности и осадки слабой толщи. При этом расчетную влажность толщи, соответствующую той или иной величине осадки St, устанавливают по формуле

,                                    (56)

где ωнач и ωкон - соответственно начальная и конечная (т.е. эквивалентная заданной нагрузке) влажность грунта; St - осадка за любой отрезок времени; Sкон - расчетная (полная) осадка при данной нагрузке.

Примечание. Формула применима при St / Sкон ≥ 0,4.

Расчет следует выполнять графо-аналитическим методом в следующем порядке:

задавшись тремя-четырьмя значениями осадки St и зная расчетную (конечную) осадку Sкон, вычисляют значения расчетной влажности, отвечающие этим осадкам, по приведенной формуле;

по экспериментальным расчетным кривым φω = f(ω) и сω = f(ω) определяют значения φω и cω для полученных значений влажности;

при найденных φω и cω вычисляют значения pбез по выражению (14) и строят зависимость pбез = f(S);

полученную кривую заменяют некоторой ступенчатой линией, отображающей реальный характер процесса отсыпки насыпи; ступенчатую линию проводят таким образом, чтобы ее абсциссы не отличались более чем на 10 % от абсцисс заменяемых криволинейных участков (что обеспечит примерное постоянство фактической нагрузки). Построенная линия представляет собой допустимый режим отсыпки, представленный в функции от осадки;

определяют расчетные значения вертикальных сжимающих напряжений в слое при принятых ступенях нагрузки на поверхности и строят консолидационные кривые для этих ступеней в виде зависимости осадки основания от времени при различных нагрузках на поверхности;

используя график реального режима отсыпки и построенные графики консолидации, строят график осадки во времени с учетом режима нагружения. График дает возможность получить искомую зависимость режима нагружения в зависимости от времени. Эту зависимость можно перестроить непосредственно в технологический график зависимости толщины насыпного слоя от времени.

При расчете метода предварительной консолидации ее величина определяется без детального учета вторичной консолидации (пример расчета приведен в прил. 11).

При слоистой толще расчет осложняется, однако принцип сохраняется такой же. Здесь необходимо только учитывать, что на разных этапах консолидации опасным может быть не один и тот же слой.

5.37. Для упрощения практических расчетов целесообразно выполнять их в обратном порядке: задавшись режимом нагружения, наиболее реальным для конкретных условий производства работ, проверяют возможность его осуществления, определив величины безопасной нагрузки на несколько моментов времени и сравнив ее с фактической нагрузкой в эти моменты. Если безопасная нагрузка окажется в какой-либо момент меньше действующей, то необходимо изменить режим отсыпки и вновь выполнить проверку.

Величины ступеней нагружения следует принимать кратными толщинам слоев, принимаемым по условиям технологии послойного уплотнения насыпи.

Устройство боковых пригрузочных призм (берм)

5.38. При наличии достаточной полосы отвода и небольшом расстоянии перевозки грунта эффективным способом обеспечения устойчивости основания являются боковые пригрузочные призмы (бермы)

Для устройства пригрузочных призм пригодны любые грунты за исключением переувлажненных. Ширина призм для удобства планировочных работ должна быть не менее 4 м. Поверхность призм должна иметь поперечный уклон 20 - 30 ‰ (рис. 20).

При проектировании боковых пригрузочных призм расчетом определяют их высоту и ширину.

Рис. 20. Повышение устойчивости основания насыпи с помощью постоянной боковой пригрузки

5.39. Эффективность боковых пригрузочных призм определяется возможностью повышения безопасной нагрузки. При достаточно большой ширине призм их можно рассматривать как бесконечную боковую пригрузку, при наличии которой безопасная нагрузка определяется выражением

                                                    (57)

где βоп - величина функции β, отвечающая самой опасной точке в основании, расположенной на горизонте zоп; pб.п - величина боковой пригрузки.

Эффект применения боковой пригрузки можно рассматривать как снижение расчетной величины действующей нагрузки p0

pрасч = p0 - pб.п.                                                            (58)

Требуемая толщина пригрузочных призм определяется выражением

,                                                           (59)

где p - проектная нагрузка на основание насыпи; pбез - безопасная нагрузка для проектируемой насыпи без боковых пригрузочных призм; γпр - средневзвешенный удельный вес грунта пригрузочных призм.

Толщина пригрузочных призм ограничивается условием обеспечения устойчивости основания под нагрузкой от самих призм. Допускаемая нагрузка от боковых призм на основание ориентировочно может быть определена по формуле

pдоп = Mφc,                                                               (60)

где Mφ - функция угла внутреннего трения грунта; c - сцепление грунта.

.                                                  (61)

Отсюда максимальная толщина призм

.                                                            (62)

Необходимая ширина пригрузочных призм устанавливается из условия активного воздействия в точках и зонах, в которых напряженное состояние от веса самой насыпи оказывается наиболее опасным по условию нарушения прочности.

При мощности слабой толщи H > Hmax ширина призмы должна быть не менее

.                                                (63)

При H < Hmax соответственно имеем

,                                        (64)

где bср - полуширина проектной насыпи (без пригрузочных призм) по средней линии.

Величина Hmax устанавливается по выражению

.                                                    (65)

Значения угла видимости α определяются из выражения

.                                                  (66)

Для графического определения угла видимости строится зависимость y1 = sinα / π - левая часть выражения (66). Затем на ту же сетку координат наносят прямую y2 = m + nα (m = (c / cosφ) / p0; n = sinφ / π), представляющую собой правую часть выражения (66). Абсцисса первой от начала координат точки пересечения построенных функций определит искомое значение угла α (пример расчета пригрузочных призм дан в прил. 12).

Снижение веса насыпи

5.40. В целях уменьшения нагрузки на недостаточно устойчивое основание при соответствующем технико-экономическом обосновании можно устраивать насыпь из материалов с плотностью меньше, чем у обычного грунта.

Наиболее пригодными для этой цели являются шлаки, искусственные гранулированные материалы (аглопорит, керамзит), золошлаковые смеси - отходы тепловых электростанций и т.п.

Для временных сельскохозяйственных и промышленных дорог с переходными и низшими покрытиями можно использовать опилки.

Конструирование и расчет насыпей из негрунтовых материалов выполняются по общим правилам, изложенным выше. Насыпи из опилок и других органических материалов независимо от конструкции дорожной одежды должны быть полностью (включая откосы) закрыты слоем минерального грунта толщиной 20 - 30 см.

Применение геотекстильных материалов

5.41. При строительстве автомобильных дорог на участках залегания слабых грунтов прослойки из геотекстиля целесообразно укладывать для следующих целей:

приближения сроков устройства покрытия за счет ускорения осадки насыпи и снижения ее неравномерности;

повышения устойчивости насыпи;

устройства временных дорог, подъездов и площадок;

улучшения условий отсыпки и уплотнения насыпи;

разделения слоев различных грунтов в теле насыпи;

устройства вертикальных ленточных дрен.

Прослойка из геотекстиля в дорожной конструкции выполняет роль:

фильтра, препятствующего перемешиванию слоев несвязных и связных грунтов между собой при динамических воздействиях и задерживающего взвешенные в воде грунтовые частицы;

дрены, способствующей отводу воды из окружающего грунта с малым коэффициентом фильтрации, снижению порового давления и повышению плотности и прочности грунта;

армирующего элемента, перераспределяющего возникающие в грунтовом массиве напряжения и частично воспринимающего растягивающие напряжения.

5.42. При проектировании дорожных конструкций с прослойками из геотекстиля необходимо учитывать, что они одновременно могут выполнять несколько функций. Так, прослойка в основании насыпи может быть применена как технологическая мера - для улучшения условий проезда построечного транспорта и уплотнения грунта в нижней части насыпи, одновременно выполнять роль дрены, способствующей ускорению осадки слабого грунта в основании насыпи, и армирующего элемента, повышающего устойчивость насыпи.

5.43. Сроки консолидации насыпей и устройства покрытий постоянных дорог могут быть ускорены с помощью прослойки из геотекстиля, предназначенной для:

снижения порового давления в любом слое путем ускоренного отвода воды из основания;

улучшения условий сброса отжатой из основания воды в поперечном направлении за пределами насыпи;

перераспределения осадки по поперечному сечению насыпи с уменьшением ее по оси;

уменьшения неравномерности осадок основания насыпи, связанной с переменной глубиной болота;

вывода воды из тела насыпи, сооружаемой из переувлажненного грунта.

Одновременно с этим прослойка из геотекстиля может улучшать условия отсыпки и уплотнения насыпи.

Толщина прослойки из геотекстиля, используемой в качестве дрены, под расчетной нагрузкой от вышележащих слоев должна быть не меньше 2 мм. В большинстве случаев этому условию удовлетворяют геотекстиль толщиной в ненагруженном состоянии не менее 3,5 - 4 мм. Толщину геотекстиля под расчетной нагрузкой устанавливают предварительно путем лабораторных испытаний геотекстиля на сжимаемость.

5.44. Дренирующую прослойку следует укладывать на тщательно спланированную поверхность. При отсыпке слоя поверх прослойки должны быть приняты меры, исключающие местное обжатие геотекстиля при укатке насыпи или движении построечного транспорта и резкое уменьшение толщины прослойки, особенно под колеями, что может вызвать нарушение процесса дренирования.

Количество воды Q, которое может отвести прослойка из геотекстиля, определяют по формуле

Q = KфdI(1 - λp),                                                         (67)

где Kф - коэффициент фильтрации геотекстиля в продольном направлении, уплотненного нагрузкой от веса насыпи p; d - толщина материала в ненагруженном состоянии; I - гидравлический градиент; λp - относительная осадка материала под действием нагрузки p.

При использовании в роли самостоятельной дрены, устраиваемой в теле насыпи из слабодренирующих грунтов, полотна геотекстиля укладывают в виде сплошных прослоек, располагаемых в один или несколько рядов по всей ширине насыпи с поперечным уклоном 40 ‰ и выводом краев прослоек на откос.

5.45. При использовании для ускорения осадки основания дренирующие прослойки из геотекстиля укладывают непосредственно на естественный слабый грунт на ширину подошвы насыпи с запасом по 0,5 м в каждую сторону (рис. 21). Полотна сшивают между собой либо укладывают внахлестку с перекрытием соседних полотен на величину

b = 15 + 0,2S,                                                        (68)

где S - расчетная осадка, см.

Сварка или склеивание полотен не допускаются.

Рис. 21. Конструкция насыпи на слабом основании

а - прослойка из геотекстильного материала в основании насыпи; б - над нижней частью насыпи из местного грунта; 1 - песчаная насыпь; 2 - прослойка; 3 - местный насыпной грунт; 4 - слабый грунт

Конструкцию с дренирующей прослойкой из геотекстиля рекомендуется применять в случае, если насыпь или ее нижняя часть отсыпаны из грунта с коэффициентом фильтрации менее 1 м/сут.

Прослойка из геотекстиля в этом случае может также выполнять роль фильтра, предотвращающего заиление песка в нижней части насыпи и обеспечивающего сохранение его фильтрационной способности на протяжении всего периода консолидации.

При использовании прослойки из геотекстиля для ускорения и снижения неравномерности осадки основания расчетную степень консолидации основания Up, при достижении которой разрешается устраивать покрытие, можно снизить на величину понижающего коэффициента Ky по сравнению с требуемой нормами величиной Uн в соответствии с условием

Up = KyUн.                                                             (69)

Для дорог не выше III категории, на которых нижняя часть насыпи отсыпана из песчаного грунта с коэффициентом фильтрации менее 1 м/сут, допускается принимать Ky = 0,95; для дорог I и II категорий величину Ky определяют специальным расчетом.

5.46. Для ускорения и снижения неравномерности осадки насыпи на болоте, сооружаемой в зимнее время на мерзлом слое торфа, целесообразно применять конструкцию (рис. 22) с устройством по обеим сторонам насыпи прорезей шириной не менее 10 см на глубину мерзлого слоя с перекрытием прорезей геотекстильными полотнами и последующей теплоизоляцией снегом. В этом случае достигается уплотнение основания насыпи в зимний период, не дожидаясь оттаивания. Одновременно исключаются неравномерные осадки насыпи и повышается ее устойчивость. Влияние мерзлой корки на устойчивость учитывается условно как боковая пригрузка бермы, высота которой равна тройной толщине мерзлого слоя торфа. Требуемая степень консолидации торфяного основания до устройства покрытия при толщине мерзлой корки от 0,5 до 1 м и величине осадки до 2 м может быть уменьшена на 10 %.

Рис. 22. Конструкция насыпи с прорезями, перекрытыми прослойкой из геотекстильного материала, проложенной

а - на всю ширину насыпи; б - над прорезями с выпуском за пределы прорези не менее чем на три ее ширины; 1 - насыпь; 2 - берма; 3 - прослойка; 4 - прорезь шириной > 0,1 м; 5 - мерзлый торф; 6 - талый торф

5.47. Армирующие прослойки в основании насыпей повышают устойчивость последних за счет увеличения жесткости нижней части насыпи и соответствующего снижения напряжений в основании. Прослойки укладывают в одном или двух уровнях, причем нижнюю прослойку укладывают непосредственно на естественное основание, а вторую на 50 - 100 см выше. В некоторых случаях обе прослойки объединяют в одну конструкцию - обойму, плотно охватывающую нижний слой насыпи. Различают замкнутую и разомкнутую обоймы (рис. 23). Разомкнутая обойма представляет собой однослойное армирование основания насыпи с усиленной анкеровкой полотен и двойным армированием откосных частей.

Рис. 23. Конструкция насыпи

а - с замкнутой; б - с разомкнутой обоймами из геотекстильного материала

Конструкция насыпи с обоймой эффективна при условии тщательного выполнения - высококачественного уплотнения грунта и плотного прилегания геотекстиля к грунту. При устройстве обоймы необходимо обеспечить равнопрочность полотна в поперечном направлении по всей ширине обоймы, что может быть достигнуто при поперечной раскатке рулонов геотекстиля с соединением полотен сшивкой или склеиванием.

5.48. Армирующий эффект прослойки из геотекстиля, предназначенной для повышения устойчивости откосов, учитывается увеличением коэффициента запаса устойчивости Kз путем введения дополнительного удерживающего усилия, возникающего при перерезании прослойки геотекстиля поверхностью скольжения

,                                                       (70)

где ΣPy - удерживающие силы без учета прослойки; n - количество прослоек, перерезаемых поверхностью скольжения; Pp - прочность 1 см ширины полосы геотекстиля; ΣTcдв - сдвигающие силы.

Армирующий эффект прослойки проявляется только при защемлении ее в грунте (при исключении проскальзывания). Для этого полотно должно быть защемлено в грунте на длину lз, определяемую из условия

,                                                           (71)

где γн - удельный вес насыпного грунта; hн - глубина заложения прослойки от верха насыпи; φ - угол внутреннего трения насыпного грунта. Если прослойка уложена на контакте двух видов грунта, то в расчет принимают полусумму их углов внутреннего трения; g - ускорение свободного падения.

При устройстве армирующих прослоек должны быть обеспечены сплошность и равнопрочность полотна на ширине дороги в пределах защемленной полосы, т.е. не должно быть ослабляющих прослойку стыков полотен.

5.49. При необходимости сооружения насыпей, в которых верхняя часть отсыпана из песка, а нижняя - из торфа (см. рис. 21, б) или местного переувлажненного суглинка, при устройстве подстилающих или морозозащитных слоев на переувлажненном глинистом грунте, т.е. в случаях, когда зернистый материал должен быть уложен на грунт с низкой несущей способностью, на границе зернистого слоя с подстилающим грунтом целесообразно устраивать прослойку из геотекстиля. Прослойка исключает вдавливание зернистого материала в слабый грунт, их взаимное перемешивание и потери песка в процессе отсыпки и уплотнения слоя. Толщина зернистого слоя при укладке геотекстиля может быть уменьшена на 20 - 25 % при условии, что такое уменьшение допустимо по остальным условиям работы дорожной конструкции (устойчивость к пучению, динамическим воздействиям, снегозаносимости).

Наличие прослойки в основании зернистого слоя положительно сказывается на возможности уплотнения зернистого материала на слабом грунте. При обеспечении режима укатки с увеличением массы катков по мере уплотнения от легких до средних, коэффициент уплотнения зернистого материала может быть доведен до 0,92 - 0,95. Категорически запрещается применять тяжелые катки, что может привести к выпору грунта и разрыву геотекстиля. Подбор массы катка и режима укатки следует вести методом пробной укатки.

5.50. Геотекстиль целесообразно использовать при устройстве временных автомобильных дорог, подъездов, площадок, построечных дорог с низшими типами покрытий, а также постоянных дорог с пиком интенсивности в период строительства или в начале эксплуатации, проектируемых как временные дороги. В конструкциях временных дорог на слабых грунтах геотекстиль служит в качестве прослойки, укладываемой на границе между насыпным дренирующим (песком, щебнем, песчано-гравийной смесью) и подстилающим грунтом. Применение геотекстиля способствует улучшению условий движения транспортных средств вследствие снижения колееобразования при заданной толщине насыпного слоя, приводит к снижению толщины слоя зернистых материалов, отказу от применения в основании насыпи хворостяной выстилки, лежневого настила или от укладки сборных покрытий из инвентарных деревянных щитов. Прослойки из геотекстиля рекомендуется устраивать при строительстве временных дорог на основаниях, сложенных слабыми минеральными, органо-минеральными и органическими грунтами (торфами).

Конструкции насыпей с прослойками из геотекстиля предусматривают их укладку в основание или тело насыпи, а также под насыпь, поверх лежневого настила. Соответственно различают три типа конструкции насыпей (рис. 24). Тип насыпи назначается в зависимости от строительного типа основания и физико-механических свойств слабого и насыпного грунтов. Минимальную толщину насыпного слоя hп в конструкциях I - II типа, обеспечивающую проезд транспорта, определяют специальным расчетом. Ориентировочно толщину насыпного слоя принимают по табл. 22.

Рис. 24. Три типа конструкции насыпей

а, б, в - временных дорог с прослойками из геотекстильного материала; 1 - насыпь; 2 - прослойка; 3 - грунт; 4 - нижняя часть насыпи из торфа; 5 - лежневой настил

Указанные в табл. 22 толщины рекомендуются для иглопробивных геотекстилей (типа дорнит) с условным модулем деформации 50 - 100 Н/см. Меньшие значения толщин принимают для насыпей из песчано-гравийных смесей оптимального состава, большие - для насыпей из мелких непылеватых песков.

Таблица 22. Ориентировочные значения толщины насыпи с прослойкой из геотекстиля

Среднемесячная интенсивность движения в одном направлении, автомобиль/сутки

Требуемая толщина насыпи с прослойкой из геотекстиля, см, обеспечивающая проезд транспорта на основании, сложенном

осушенным торфом

маловлажным торфом

глинистым грунтом

е < 0,9ωт)

заторфованным или глинистым грунтом

е > 0,9ωт)

Одиночные автомобили

40 - 60

50 - 70

25 - 40

40 - 60

До 50*

50 - 80

60 - 90

40 - 60

50 - 80

Св. 50*

60 - 90

70 - 100

50 - 80

60 - 90

Сверхтяжелые нагрузки (разовый проезд)

60 - 80

60 - 90

40 - 60

60 - 90

* Общая продолжительность периодов эксплуатации дороги с указанной интенсивностью не должна превышать одного года.

Интенсивность движения условно приводят к расчетной нагрузке Н-10 в соответствии с табл. 23.

Таблица 23. Коэффициент приведения к расчетной нагрузке

Марка автомобиля

Коэффициент приведения к нагрузке Н-10

Расчетные характеристики автомобилей

диаметр отпечатка колеса, см

удельное давление, МПа

диаметр колеса, см

ЗИЛ-130

0,2

30

0,5

102,5

ЗИЛ-555

0,2

28

0,53

102,5

КРАЗ-256Б

2

46

0,55

114,6

Урал 377

1,5

28

0,43

114,6

МАЗ-503А

1

30

0,72

114,6

КамАЗ-53202

1,5

26

0,50

102,5

5.51. На участках болот глубиной до 4 м, сложенных плотным торфом и относящихся к I строительному типу, а также на слабых глинистых и заторфованных грунтах устраивают насыпь I типа (см. рис. 24).

Применение конструкции I типа на торфяных болотах целесообразно при условии

hnSt + hв + Δh,                                                          (72)

где hn - толщина насыпного слоя по условию проезда; St - осадка подошвы насыпи за период службы дороги t; hв - глубина поверхностных вод на участках подтопления*; Δh - резервное возвышение бровки насыпи над горизонтом подтопления или над поверхностью земли на неподтопляемых участках, принимаемое равным 0,2 м.

* К подтопляемым относятся участки, на которых в период движения по дороге возможно стояние поверхностных вод св. 3 сут.

Осадку основания St на заданный период времени в случае, когда уровень воды совпадает с поверхностью земли, вычисляют по формуле

,                                                        (73)

где g - ускорение свободного падения; ρн - плотность насыпного грунта; Ut - степень консолидации основания за время службы дороги, t; Ut ориентировочно принимают по табл. 24; Ee - модуль деформации слабого грунта под нагрузкой от веса насыпи; Еe принимают по табл. 25; He - расчетная мощность слабого слоя, принимаемая равной фактической, но не более половины ширины насыпи понизу.

Таблица 24. Ориентировочные значения степени консолидации основания за время службы дороги

t, мес

1

3

6

12

Ut

0,4

0,5

0,6

0,8

Таблица 25. Модуль деформации торфа

Характеристика торфа

Влажность торфа, %

Модуль деформации торфа, МПа, при нагрузке, МПа

0,015

0,05

Очень влажный

900 - 1200

0,09 - 0,065

0,20 - 0,18

Средней влажности

600 - 900

0,12 - 0,09

0,25 - 0,2

Маловлажный

300 - 600

0,18 - 0,12

0,50 - 0,25

Осушенный (уплотненный)

< 300

0,18

0,5

При определении степени консолидации из срока службы дороги исключается время, когда основание находится в промерзшем состоянии. При наличии слоистых оснований осадку основания рассчитывают исходя из средневзвешенного модуля деформации слабой толщи Eср, определяемого из выражения

,                                                                (74)

где Hi - мощность отдельного слоя с модулем деформации Ei.

Целесообразность сооружения насыпи I типа толщиной больше hn следует обосновывать технико-экономическим расчетом.

В конструкциях насыпей I типа (прежде всего на однопутных дорогах) при использовании прослойки из геотекстиля с условным модулем деформации св. 100 Н/см и относительной деформацией при разрыве до 50 % рекомендуется предусматривать боковую анкеровку прослойки и присоединять материал к жестким продольным упорам. В качестве жесткого упора можно использовать круглый лес или специальные элементы. В насыпях с жесткими упорами необходима равнопрочность конструкции в поперечном направлении, в том числе в стыках полотен и соединении прослоек с упором. Частично работу жестких упоров можно компенсировать повторным заведением концов полотна в тело насыпи по типу разомкнутой обоймы при условии плотного контакта заведенных концов с грунтом.

При устройстве насыпей I типа геотекстиль укладывают непосредственно на слабый грунт, соединяя полотна путем сшивки, сварки, склейки или укладывая их внахлестку. В последнем случае величина нахлеста принимается по формуле (68), но не менее 20 см для насыпей на основании из минеральных или органоминеральных (заторфованных) грунтов и 30 - 40 см для насыпей на торфяном основании.

При наличии поверхностных вод или плохом состоянии естественной поверхности земли (пни, колеи, лужи) необходимо отсыпать выравнивающий рабочий слой из местного грунта толщиной 20 - 30 см, но не менее глубины подтопления, по которому затем укладывают геотекстиль (см. рис. 24, тип I). Толщину насыпного слоя поверх прослойки из геотекстиля в этом случае можно снизить по сравнению с приведенной в табл. 22 на 30 % толщины рабочего слоя при глубине подтопления до 20 см.

На болотах преимущественно II типа, а также на участках глубоких болот I типа, сложенных торфами малой или средней влажности, когда не обеспечено условие (см. формулу 72), устраивают насыпи II типа, которые позволяют уменьшить расход песчаных грунтов, приблизить прослойку из геотекстиля к поверхности проезжей части и ввести тем самым ее в зону действия напряжений от колеса автомобиля. Нижнюю часть насыпи отсыпают из местного торфяного грунта с обязательным его уплотнением (промятием).

В насыпях II типа геотекстиль помещают на границе между нижней торфяной и верхней минеральной частями насыпи. Полотна геотекстиля укладывают внахлестку, с величиной перекрытия не менее 0,2 м.

5.52. На болотах II - III типа, заполненных сильносжимаемым слаборазложившимся торфом, и на болотах сплавинного типа устраивают насыпи III типа. Распределение напряжений от временной нагрузки достигается устройством основания из лежневого настила или фашинной (хворостяной) выстилки с засыпкой песчаным грунтом толщиной 0,6 - 0,7 м. Для повышения эксплуатационной надежности конструкции поверх лежневого настила или выстилки укладывают прослойку из геотекстиля, исключающую утечку песка сквозь щели в настиле.

Временное понижение грунтовых вод

5.53. В индивидуальных случаях существенного ускорения осадки на ответственных объектах можно добиться путем временного понижения уровня грунтовых вод. Наибольший эффект этот метод дает в комплексе с временной пригрузкой. Снижение уровня грунтовых вод в слабой толще обеспечивает временное увеличение нагрузки на нижние слои толщи за счет исключения взвешивания верхних слоев (см. п. 3.8), а также способствует ускорению консолидации за счет обеспечения дополнительного градиента фильтрации.

Временное понижение уровня грунтовых вод производят иглофильтрами и другим специализированным оборудованием, предназначенным для глубокого осушения.

Грунтовые сваи

5.54. Для повышения устойчивости и снижения осадки слабого основания могут устраиваться песчаные сваи. Эффект от работы песчаных свай проявляется за счет восприятия ими части нормальных напряжений от веса насыпи с разгрузкой и боковым обжатием слабого грунта в межсвайном пространстве. При заполнении дренирующим грунтом песчаные сваи одновременно выполняют функцию вертикальных дрен.

В грунтах, обладающих структурной прочностью (иольдиевые глины и т.п.), применение песчаных свай особенно эффективно, поскольку они позволяют ограничить напряжения в слабом грунте величиной структурной прочности, резко уменьшить осадку и повысить устойчивость основания насыпи.

Песчаные сваи могут быть опертыми, доходящими до подстилающих слабую толщу прочных пород, и висячими, не достигающими подстилающих слоев. Висячие песчаные сваи устраивают при большой мощности слабого слоя, когда устройство опертых свай оказывается технически сложным.

Коэффициент фильтрации песчаного грунта, используемого для устройства грунтовых свай, должен быть 1 - 3 м/сут, содержание пылеватых частиц не более 5 %.

Песчаные сваи устраивают специальным оборудованием с обсадными трубами (лидер) диаметром 0,4 - 0,8 м, аналогичным оборудованию для устройств вертикальных дрен. В плане сваи располагают по квадратной или ромбической сетке.

5.55. Если грунтовые сваи предназначаются для обеспечения устойчивости (прочности) основания насыпи, то расчетом определяется минимальная величина сближения свай m (отношение диаметра свай d к расстоянию между сваями в свету l), при которой соблюдается условие Kс1, где Kс - коэффициент запаса.

При мощности слабой толщи не более ширины насыпи по подошве расчет может осуществляться по упрощенной расчетной схеме (рис. 25). При этом Kс вычисляют по формуле

,                                 (75)

где cω - сцепление слабого грунта при расчетной плотности - влажности; φω - угол внутреннего трения слабого грунта при расчетной плотности - влажности; pz - вертикальные напряжения в грунте межсвайного пространства; рx - горизонтальные напряжения от бокового обжатия слабого грунта сваями в ходе осадки основания; р′ - предварительное обжатие слабого грунта, возникающее при внедрении свай.

Рис. 25. Схема для расчета оснований с песчаными сваями

H - мощность слабой толщи; l - расстояние между песчаными сваями в свету; d - диаметр песчаной сваи; S0 - осадка основания без сваи; St - осадка основания со сваями; Sx/2 - боковая деформация свай; pz - нагрузка на межсвайное пространство; p0 - нагрузка от веса насыпи; pc - нагрузка на сваи

Величину pопределяют по компрессионной кривой как напряжение, необходимое для уменьшения коэффициента пористости грунта в природном залегании ε0 до величины ε1, отвечающей пористости грунта, уплотненного в результате внедрения свай, и определяемой из выражения

.                                                    (76)

Вертикальные pz и горизонтальные px напряжения в основании со сваями определяют по таблицам*. Значения переменных pz и px даны в таблицах* в долях от давления на основание без свай p0 = pрасч и в зависимости от величины коэффициента бокового давления материала сваи ξ и коэффициента поперечной деформации слабого грунта μг.

* Методические рекомендации по проектированию и технологии сооружения вертикальных песчаных дрен и песчаных свай при возведении земляного полотна на слабых грунтах / СОЮЗДОРНИИ. - М., 1974. - 57 с.

Коэффициент бокового давления материала свай принимают для песка крупного - 0,33; средней крупности - 0,34; мелкого и пылеватого - 0,36. При известном угле внутреннего трения φс

.                                                      (77)

Коэффициент поперечной деформации можно определить, принимая величину коэффициента бокового давления для торфа ξ = 0,761,

,                                                         (78)

для глинистого грунта пластичной консистенции ξ = (0,3 - 0,4), текучей консистенции ξ = (0,4 - 0,45).

В случае возможного нарушения устойчивости основания с песчаными сваями в форме сдвига по фиксированной поверхности скольжения сопротивляемость грунта сдвигу S определяют по формуле

,                                 (79)

где pc и pг - давление от насыпи на сваю и слабый грунт; φc и cc - угол внутреннего трения и сцепление грунта, образующего сваю; m - сближение свай. Пример расчета насыпи с песчаными сваями дан в прил. 14.

5.56. Грунтовые сваи могут предназначаться для уменьшения осадки основания. В этом случае подбирается сближение свай, обеспечивающее снижение осадки до заданной величины.

Уменьшение осадки основания учитывается также при применении грунтовых свай для обеспечения устойчивости.

При мощности слабой толщи не более ширины насыпи по подошве осадку вычисляют по схеме компрессионного сжатия, принимая за расчетное значение вертикальных нормальных напряжений давление, передаваемое на слабый грунт pt, уменьшенное на величину давления предварительного обжатия слабого грунта внедрением свай p.

Дорожные конструкции с заменой слабого грунта в основаниях

5.57. При соответственном технико-экономическом обосновании могут применяться способы устройства земляного полотна, при которых слабый грунт не используется в качестве основания, а заменяется искусственным основанием в виде насыпи из привозного грунта или иной конструкции. Как правило, конструкции с удалением слабого грунта предусматривают в случаях, когда предварительные расчеты показывают невозможность или высокую технологическую сложность выполнения хотя бы одного из основных требований к земляному полотну, возводимому на слабом грунте (см. п. 1.7). Экономически удаление слабого грунта может оправдываться при сравнительно малой мощности слоя и небольшом протяжении участка, возможности полезного использования удаленного грунта, высокой стоимости мероприятий по обеспечению устойчивости, прочности и стабильности.

5.58. При проектировании конструкции земляного полотна с заменой в основании слабого грунта следует проводить технико-экономическое обоснование принятого способа производства строительных работ.

При замене слабых грунтов конструкция нижней части земляного полотна в значительной мере зависит от технологии удаления слабого грунта, поэтому в проекте следует рассматривать и сравнивать варианты конструктивно-технологических решений. В практике дорожного строительства применяют механические, взрывные и гидромеханические способы удаления слабого грунта, а также способ погружения с выдавливанием слабого слоя весом насыпи с предварительным рыхлением или без него. Выбор варианта удаления грунта производится путем технико-экономического сравнения.

5.59. Проектное сечение траншеи при удалении слабого грунта определяется необходимостью обеспечения устойчивости и стабильности краевых частей насыпи при минимальном объеме работ. Ширину траншеи по дну для дорог с усовершенствованными капитальными покрытиями принимают равной ширине земляного полотна с учетом заложения откосов, для дорог с переходными и низшими типами - равной ширине земляного полотна поверху (рис. 26). Крутизну откосов в траншее следует назначать по расчету устойчивости при требуемом коэффициенте запаса, равном единице. Для предварительного подсчета объемов работ заложение откосов в траншее следует принимать для торфа малой и средней степени разложения (0,25 - 0,5)H; для других слабых грунтов нетекучей консистенции (0,5 - 1,25)H.

Рис. 26. Схема земляного полотна с удалением слабых грунтов в основании

а - для усовершенствованных покрытий; б - для переходных и низших покрытий

При взрывном или гидромеханическом удалении слабого грунта крутизна откосов траншеи определяется технологией производства работ, но не должна быть больше приведенной.

5.60. При определении потребного объема привозного грунта следует учитывать изменение сечения траншеи от активного давления насыпи.

Коэффициент увеличения объема заполнения для грунтов различных типов составляет:

торф влажностью до 600 %................................................................................ 1,15

то же, св. 600 %................................................................................................... 1,25

органо-минеральный грунт................................................................................ 1,2

минеральный слабый грунт................................................................................ 1,15

При посадке насыпи на кровлю более прочного подстилающего пласта методом выдавливания крутизну откосов погруженной части можно принимать равной углу естественного откоса грунта насыпи.

5.61. При поперечном уклоне кровли пластов, подстилающих слабую толщу, более 1:10 во избежание возникновения деформаций сдвига выполняют следующие конструктивные мероприятия:

если подстилающий слой представлен песком или супесью, устраивают упорную траншею или призму из глыбового грунта с низовой стороны (рис. 27, а, б);

если подстилающий слой сложен глинистыми грунтами, осуществляют сплошное выравнивание дна траншеи (см. рис. 27, в).

Для насыпи из песчаного грунта сплошное выравнивание допускается заменять ступенчатым.

Рис. 27. Схемы устройства для предотвращения сползания насыпи по наклонному дну

а - упорная траншея; б - каменная призма; в - выравнивание дна

5.62. Грунт, извлеченный из траншеи, укладывают в банкеты непосредственно за водоотводными канавами (рис. 28, а). Торф высокой волокнистости допускается использовать для уположивания откосов земляного полотна на высоту насыпи до отметки низа дорожной одежды (см. рис. 28, б). Вывозка торфа и органо-минеральных грунтов допускается в случае использования в других сооружениях или для целей сельского хозяйства.

На осушенных болотах банкеты из торфа во избежание возгорания закрывают слоем минерального грунта толщиной 20 - 30 см.

Рис. 28. Варианты размещения удаленного грунта

а - в банкетах (защитный слой минерального грунта устраивают при складировании в банкеты торфа); б - в присыпные призмы

5.63. При использовании метода выдавливания слабого слоя из-под насыпи толщина насыпного слоя, обеспечивающая выдавливание слабого грунта, ориентировочно может быть определена по формуле

,                                                         (80)

однако во всех случаях она не должна быть менее

,                                                         (81)

где cусл - величина сопротивляемости грунта сдвигу, определяемая крыльчаткой; bср - полуширина насыпи по средней линии; γн - удельный вес грунта насыпи; H - мощность слабого слоя.

В случае технической сложности или нецелесообразности единовременного возведения насыпи требуемой толщины применяют механическое или взрывное рыхление, либо гидроразмыв слоя. В этом случае в расчет по формулам (80 и 81) вводят cусл для разрыхленного грунта.

5.64. Поэтапное погружение насыпи, отсыпаемой сначала на меньшую ширину, но большей высоты (метод перегрузки) допускается при условии, если после посадки средней части образовавшиеся по сторонам продольные валы выпирания будут перед расширением насыпи удалены или разрыхлены (рис. 29).

Рис. 29. Схема посадки насыпи на дно болота методом перегрузки

1 - временное сечение отсылаемой насыпи; 2 - проектное сечение земляного полотна; 3 - реальное сечение земляного полотна после завершения работы

5.65. При наличии в составе слабой толщи более прочных слоев у поверхности (например, при мощном дерновом покрове, а также при частичном осушении торфяных болот) для облегчения выдавливания применяют торфоприемники. Глубина торфоприемников должна быть равна толщине верхнего прочного слоя, а ширина - не менее половины мощности слоя, подлежащего выдавливанию (рис. 30).

Рис. 30. Схема посадки насыпи в залежи II типа с использованием торфоприемников

При использовании торфоприемников верхний дерново-растительный слой не выдавливается и следует учитывать его сохранение в основании насыпи.

5.66. Использование свайных оснований исключает восприятие слабым грунтом нагрузки от дорожной конструкции и транспорта.

Эстакады устраивают из сборных железобетонных элементов по правилам проектирования мостовых сооружений. Влияние слабого слоя на устойчивость опор и их несущую способность учитывать не следует. Рациональную величину пролетов свайных эстакад определяют в зависимости от мощности слабого слоя.

Ориентировочно можно считать, что при толще слабого слоя до 5 м наиболее экономичны простые свайные опоры и пролетные строения длиной 6 м, при глубине до 8 м - свайные опоры и пролетные строения длиной до 18 м, при большей глубине - опоры из свай-оболочек и унифицированных пролетных строений длиной 24 м и более.

5.67. При проектировании железобетонных опор в торфяных болотах следует учитывать агрессивность болотной воды. Агрессивность слабой или средней степени, как правило, общекислотного и углекислотного характера, вызывает коррозию типа И.

Общая кислотность болотной воды может изменяться от pH = 7 для низинных болот до pH = 3 для болот атмосферного питания. Защитные меры принимают в соответствии с действующими указаниями по антикоррозионной защите строительных конструкций.

5.68. Для оснований I и II типов при затруднении удаления грунта или других осложняющих факторах (например, значительном уклоне) можно применять конструкции земляного полотна в виде насыпи на свайном ростверке (рис. 31).

Рис. 31. Насыпь на сваях ростверкового типа

1 - насыпь; 2 - бетонные наголовники; 3 - деревянные сваи; 4 - торф; 5 - иольдиевая глина

По оголовкам железобетонных свай на уровне поверхности грунта укладывают квадратные наголовники в виде плит, перекрывающих не менее половины расстояния между сваями. Свободное расстояние между плитами-наголовниками в плане должно быть не более 1, а толщина вышележащего насыпного слоя - не менее 2 м. Надежность конструкции повышается при укладке в нижней части насыпи армирующей прослойки из синтетических волокнистых материалов.

Сваи ростверковой конструкции рассчитывают на нагрузку от насыпи, дорожной одежды и эквивалентную транспортную нагрузку.

Для ориентировочных расчетов конструкций насыпи земляного полотна, перечисленных в разд. 5, могут быть использованы номограммы. Методики расчета даны в прил. 15.

6. КОНТРОЛЬНЫЕ НАБЛЮДЕНИЯ В ПРОЦЕССЕ СТРОИТЕЛЬСТВА

6.1. При сооружении земляного полотна на слабых грунтах, кроме обусловленного общими нормативными документами контроля качества строительства, необходимы специальные наблюдения за деформациями основания. Большинство конструктивных решений предусматривают определенный технологический режим возведения земляного полотна, который невозможно правильно осуществить без систематических наблюдений, поэтому мероприятия по наблюдению за деформациями земляного полотна в период строительства до момента сдачи объекта в эксплуатацию должны быть включены в строительную смету.

6.2. Основными задачами наблюдений являются контроль за величиной осадки и затухание ее во времени, фиксирование возможных горизонтальных смещений, выявление образования бугров выпирания. Основные наблюдения выполняются силами производственной лаборатории.

Дополнительно проектом организации строительства по специальным методикам могут быть установлены наблюдения за изменением порового давления, послойными осадками толщи, изменением гидрологического режима, упругими прогибами покрытия, а также длительными осадками в период эксплуатации дороги.

6.3. Наблюдения за вертикальными перемещениями выполняют по осадочным маркам. Простейшая конструкция марки состоит из квадратной стальной плиты толщиной 4 - 6 мм размером не менее 0,5 × 0,5 м с приваренными с нижней стороны по центру заостренным штырем длиной 30 см для фиксирования и с верхней стороны мерной штанги из трубы диаметром 50 мм (рис. 32). Длина мерной штанги принимается равной проектной толщине насыпного слоя в целях предохранения от повреждения при возведении насыпи. Ее можно составлять из отдельных соединяемых резьбой или сваркой элементов длиной по 30 - 40 см.

Рис. 32. Марка для наблюдения за осадкой

Плиту закладывают на поверхности слабой толщи непосредственно перед отсыпкой первого слоя насыпи. Вертикальная отметка плиты фиксируется нивелированием с установкой рейки на обрез мерной штанги.

Поперечники для наблюдения за осадкой назначают в самом глубоком месте и далее через каждые 50 м.

Осадочные марки устанавливают по три на каждом поперечнике - осевую и две боковые - в 1 м от бровки насыпи.

6.4. Наблюдения за горизонтальными перемещениями и возможным выпором ведут по боковым маркам, установленным в одном створе, а также по дополнительным, установленным на каждом наблюдательном поперечнике на расстоянии 3 - 5 м от подошвы насыпи. Замеры горизонтальных смещений ведутся с помощью теодолитной съемки или измерений отклонения от створа мерной лентой.

6.5. Наблюдения за осадкой и горизонтальными смещениями ведутся в период возведения насыпи ежедневно, первые три месяца после полного возведения насыпи - еженедельно, в дальнейшем - до сдачи дороги в эксплуатацию - 2 раза в месяц.

При обнаружении резкого увеличения осадки или смещений в плане отсыпку насыпи немедленно прекращают для выявления причин деформаций. В случае фиксирования симптомов потери устойчивости основания назначают мероприятия по ликвидации опасного состояния и предупреждения дальнейшего развития деформации.

6.6. При наличии четырех-пяти измерений осадки в первый месяц после возведения насыпи дальнейшую осадку можно прогнозировать по формуле

,                                                        (82)

где Sn - полная расчетная осадка, определенная компрессионными испытаниями; t - время с начала загружения; Ти - параметр, характеризующий интенсивность затухания осадки.

Для использования формулы (82) график консолидации строят в координатах t и t/S (рис. 33), что дает возможность спрямить кривую осадки в виде уравнения t/S = at + b, пo которой не трудно найти величину параметра Tи = bSn, где b - отрезок, отсекаемый графиком на оси t/S. Тангенс угла наклона графика есть величина, обратная стабилизированной осадке a = 1/Sn.

Рис. 33. Построение графика осадки во времени в координатах t, t/S.

Точками показаны данные натурных наблюдений, пунктиром - экстраполяционные зависимости S от t

6.7. В случаях, если данные наблюдений существенно отличаются от расчетного прогноза протекания осадки, в рабочем проекте следует уточнить расчетные характеристики (коэффициенты консолидации и сжимаемости) путем обратного пересчета по фактическим данным.

6.8. В процессе возведения насыпи на слабом грунте необходимо систематически контролировать толщину насыпного слоя, определяющую величину нагрузки на основание в заданный момент времени. Для этой цели можно использовать те же осадочные марки с наращиваемыми штангами, на которых должна быть нанесена разметка. Контроль может быть осуществлен также с помощью легкого динамического зонда или путем бурения зондировочных скважин.

ПРИЛОЖЕНИЕ 1

ДИНАМИЧЕСКИЙ РАСЧЕТ ЗЕМЛЯНОГО ПОЛОТНА

Динамический расчет производят только для насыпей, в основании которых залегает торф, если толщина насыпного слоя, рассчитанного статическим методом, менее 3 м.

Динамический расчет сводится к удовлетворению следующего условия:

aфакт aдоп,                                                              (1)

где aфакт - ускорение колебаний проектируемой насыпи на торфе; aдоп - предельно допустимое ускорение колебаний насыпи на торфе, определяемое в зависимости от типа проектируемого покрытия и частоты собственных колебаний насыпиис. 1).

Рис. 1. Предельно допустимые ускорения колебаний земляного полотна для

I - усовершенствованных капитальных покрытий; II - усовершенствованных облегченных покрытий; III - переходных покрытий

Ускорение колебаний проектируемой насыпи на торфе определяют по формуле

aфакт = Aω2,                                                              (2)

где A - амплитуда колебаний насыпи; ω - круговая частота собственных колебаний насыпи.

Динамический расчет необходимо производить в такой последовательности:

определить частоту собственных колебаний насыпи на торфяном основании;

определить амплитуду колебаний насыпи;

вычислить ускорение колебаний проектируемой насыпи;

определить предельно допустимые ускорения колебаний;

проверить допустимость ускорений колебаний проектируемой насыпи;

наметить мероприятия по уменьшению ускорений колебаний, если они превышают предельно допустимые величины.

Определение частот собственных колебаний насыпей на торфяном основании

При определении частот собственных колебаний в зависимости от отношения толщины насыпи к толщине оставляемого слоя торфа следует рассматривать два расчетных случая: 1-й - hн : hт > 0,5 и 2-й - hн : hт < 0,5 для hн < 100 см.

Частоты собственных колебаний насыпей на торфяном основании для 1-го случая определяют по номограмме (рис. 2), которая составлена на основе решения задачи о колебаниях насыпи на упругом торфяном основании.

Рис. 2. Номограмма для определения частот собственных колебаний насыпей на торфяном основании (1-й расчетный случай)

Частоты собственных колебаний насыпей на торфяном основании для 2-го расчетного случая определяют по формуле

.                                                 (3)

В формуле (3) Eпр - приведенный модуль упругости торфа, учитывающий отсутствие боковых перемещений колеблющейся призмы торфяного основания

,                                                          (4)

где μ - среднее значение коэффициента Пуассона для торфа.

При отсутствии данных испытаний допускается принять μ = 0,35.

В этом случае Eпр = 1,41Eт.

;

.

Здесь hн - общая толщина насыпного слоя; hт - толщина слоя торфа под насыпью; γн, γт - соответственно средние плотности грунта насыпи и торфа.

Общая толщина насыпного слоя (рис. 3).

hn = h + Sобщ = Нод + hн.                                                    (5)

Рис. 3. Расчетная схема

а - системы дорожная одежда - насыпь - болотный грунт, б - дорожной одежды

Определение амплитуды колебаний (динамических перемещений) насыпи

Амплитуду колебаний насыпи на торфе при воздействии на дорожную конструкцию транспортной нагрузки (расчетная, нагрузка группы А) определяют по формуле

А = l(Kдин - 1),                                                           (6)

где l - упругий прогиб торфяного основания, вызываемый статической нагрузкой от колеса расчетного автомобиля; Kдин - динамический коэффициент, характеризующий увеличение прогиба за счет эффекта подвижности нагрузки.

Упругий прогиб торфяного основания

,                                                           (7)

где P и D - параметры расчетной нагрузки.

Коэффициент К определяют по графику (рис. 4) в зависимости от отношений hl/D и hт/D (hl - толщина однородного песчаного слоя, эквивалентного по распределению напряжений многослойной системе дорожная одежда - насыпь).

hl = h + Sобщ - Hод + hэкв = hн + hэкв,                                      (8)

где hэкв - эквивалентная толщина дорожной одежды.

,                                                       (9)

где Hод - толщина слоев дорожной одежды, расположенных выше песчаного слоя (см. рис. 3); Eн - модуль упругости грунта насыпи; Eср - средний модуль упругости дорожной одежды;

,                                     (10)

где E1, E2, E3, ..., Ei - расчетные модули упругости отдельных конструктивных слоев, толщина которых равна h1, h2, h3, ..., hi.

Рис. 4. Графики для определения коэффициентов k и η

Динамический коэффициент Kдин, равный отношению максимального динамического прогиба торфяного основания, вызываемого движущимся автомобилем, к величине статического прогиба определяют по графику (рис. 5) в зависимости от коэффициента демпфирования ψ. Для 1-го расчетного случая он равен 8,6/ω, для 2-го - 0,33/Eт, МПа (3,3/Eт, кгс/см2).

Рис. 5. График для определения динамического коэффициента

Мероприятия по снижению ускорений колебаний земляного полотна

В случаях, когда не выполняется требование формулы (4), обеспечивающее допустимые колебания насыпи на торфе, находящейся под действием динамической нагрузки, необходимо наметить мероприятия по снижению колебаний.

Основным и наиболее простым способом снижения ускорений колебаний земляного полотна на торфяном основании является увеличение толщины насыпного слоя, что обеспечивает уменьшение частот и амплитуд колебаний, и, в конечном счете, снижает ускорения колебаний.

Если по условиям продольного профиля поднятие насыпи нежелательно, для увеличения толщины насыпного слоя можно пользоваться методами перегрузки или частичного выторфовывания.

ПРИЛОЖЕНИЕ 2

МЕТОДИКИ ПОЛЕВЫХ ИССЛЕДОВАНИЙ ФИЗИКО-МЕХАНИЧЕСКИХ СВОЙСТВ СЛАБЫХ ГРУНТОВ

Исследование слабой толщи методом статического зондирования

Метод статического зондирования основан на том, что грунты в зависимости от их структурных особенностей, состава и состояния оказывают различное сопротивление прониканию зонда с рабочим наконечником, имеющим обычно форму конуса. При зондировании глубина погружения наконечника всегда превышает его высоту.

Применительно к болотным грунтам наиболее удобен метод статического зондирования, так как для вдавливания зонда в толщу болотных грунтов достаточно усилия 200 - 500 Н (20 - 50 кгс), т.е. вдавливание зондового пенетрометра могут производить 1 - 2 чел.

Зондирование позволяет получать непрерывную информацию о строении залежи по глубине, наличии слабых слоев, что не всегда удается при обычном бурении.

Для болотных грунтов рекомендуется применять пенетрометр П-4 конструкции Калининского политехнического института (рис. 1). Пенетрометр П-4 включает конусный наконечник, состоящий из двух частей, стержень для оценки трения штанг о грунт, соединительные штанги, упор и рукоятку, витую пружину и индикатор часового типа. Штанги прибора П-4 унифицированы со штангами сдвигомера крыльчатки СК-8 и взаимозаменяемы.

Рис. 1. Конструкция пенетрометра П-4

1 - конусный наконечник; 2 - стержень; 3 - штанга; 4 - упор; 5 - направляющая втулка; 6 - рукоятка; 7 - индикатор; 8 - упругая пружина; 9 - винт

Задавливание конуса в грунт производят вручную. Оператор на определенных глубинах фиксирует показание индикатора Δl. Скорость вдавливания должна быть умеренной и по возможности стабильной (≈ 1,5 - 2,5 см/с).

Для учета возможного трения штанг о грунт (которое иногда бывает при большой глубине зондирования, например, из-за кривизны штанг и т.п.) следует перед каждым последующим погружением зонда слегка приподнимать прибор (на 20 - 30 мм), тогда стержень 2 выдвигается из конуса 1. При последующем погружении в пределах этих 20 - 30 мм индикатор будет фиксировать только величину трения штанг по грунту.

Усиление зондирования вычисляют по формуле

,                                                        (1)

где Δl - показание индикатора (общее); Δlтр - показание индикатора при отключении конуса (для учета трения); n - постоянная характеристика упругой пружины силоизмерителя.

Тарировка прибора и правила его эксплуатации изложены в инструкции, прилагаемой к прибору.

В качестве показателя статического зондирования принято удельное сопротивление зондированию q, равное отношению усилия зондирования P к квадрату высоты конического наконечника h2k

.                                                             (2)

По результатам испытаний строят график изменения по глубине усилия зондирования, удельного сопротивления зондированию (рис. 2).

Рис. 2. Пример обработки результатов статического зондирования болотных грунтов

а - график; б - эпюра (цифры - слои и прослойки); в - геологический разрез; 1 - древесно-осоковый торф; 2 - тростниковый торф; 3 - сапропель; 4 - мергель; 5 - мелкий песок.

Испытание грунтов на сдвиг в условиях природного залегания приборами лопастного типа

Испытание заключается в измерении максимального крутящего момента, возникающего при срезе грунта во время вращения в нем крестообразной лопасти.

Для массовых испытаний при зондировании торфяных залежей, пластов сапропелей и илов рекомендуется использовать прибор сдвигомер-крыльчатку конструкции Калининского политехнического института СК-8 или сдвигомер-крыльчатку БЕЛДОРНИИ.

Методика испытаний грунтов сдвигомером-крыльчаткой СК-8 (рис. 3) заключается в следующем. Измерительная головка надевается на переходник, в отверстие переходника и упора завинчивается стопорный винт. Затем при помощи рукояток крыльчатка задавливается в грунт до полной ее высоты. Перед поворотом проверяется положение стрелки индикатора и циферблат устанавливается на нуль. После указанных операций и проверки вертикального положения штанги обеими руками осуществляется поворот измерительной головки по часовой стрелке. По мере роста угла поворота отклонение стрелки индикатора возрастает. В процессе поворота следят за стрелкой индикатора до тех пор, пока не прекратится ее отклонение и не начнется спад. Положение стрелки, соответствующее началу ее обратного движения, представляет собой искомое значение. Эта величина записывается в журнал. Обычно разрушение грунта происходит при углах поворота от 20 до 60°.

Рис. 3. Конструкция сдвигомера СК-8

1 - крыльчатка; 2 - устройство для учета трения штанг; 3 - 4 - штанги, соединенные резьбовыми переходниками; 5 - измерительная головка с рукояткой; 6 - индикатор часового типа

Влияние трения по штангам учитывается следующим образом. После задавливания крыльчатки до заданной глубины прибор слегка поднимают (на 10 - 15 мм) при помощи ручек. При этом лопасти отключаются от штанг. Далее осуществляется поворот штанг с фиксацией по индикатору усилия, идущего на преодоление трения штанг о грунт. После этого штанги опускаются и приводятся в зацепление с крыльчаткой. Далее осуществляется поворот с включенной крыльчаткой.

По окончании испытания прибор извлекается из грунта. Для отвинчивания штанг можно пользоваться стопорным винтом. При задавливании и извлечении прибора необходимо следить за тем, чтобы движение штанг осуществлялось по вертикали. Если при задавливании и повороте крыльчатки встречаются пни или камни, то необходимо извлечь прибор из грунта и попытаться задавить прибор в другом месте.

Крыльчатки имеют следующие размеры: H = 100, D1 = 54 и D2 = 75 мм.

Сдвигомер-крыльчатка БЕЛДОРНИИ (рис. 4) состоит из трех основных узлов: рабочего наконечника (крыльчатки), комплекта штанг и динамометрического устройства.

Рис. 4. Лопастной прибор БЕЛДОРНИИ для определения сопротивления сдвигу торфяных грунтов

1 - рукоятка; 2 - верхняя штанга; 3 - полумуфта; 4 - нижняя штанга; 5 - лопасть

Прибор комплектуется двумя крыльчатками одинаковой высоты (100 мм), но с различными диаметрами - 54 и 75 мм. Четырехлопастная крыльчатка является сварной деталью, состоящей из металлических лопастей толщиной 2,5 мм, приваренных к штанге. Для обеспечения процесса задавливания и извлечения крыльчатки из грунта верхние и нижние торцы лопастей затачивают. Длина наконечника в сборе (с крыльчаткой и полумуфтой) составляет 400 мм.

В качестве гарнитуры, несущей крыльчатку, используют стандартные штанги ручного бура с конусными резьбовыми соединениями. Диаметр штанг 34 мм. Рабочая длина штанги составляет 2 м.

Динамометрическое устройство предназначено для создания и измерения крутящих моментов. Оно состоит из следующих основных узлов (рис. 5): пружинного динамометра, ведущего рычага, ведомого рычага.

Рис. 5. Динамометрическое устройство

1 - рычаг в сборе; 2 - трубка; 3 - вилка; 4 - вороток; 5 - рукоятка; 6 - серьга; 7 - шкала; 8 - указатель; 9 - пружина; 10 - стержень

Пружинный динамометр состоит из одной пружины 9, шкалы 7 и указателя 8. Пружина шарнирно крепится между ведомым и ведущими рычагами. В комплект к прибору входят три пружины, усилие на растяжение которых составляет соответственно 300, 400 и 500 Н.

Ведущий рычаг 1 свободно вращается на оси. Ведомый рычаг жестко укреплен на штанге независимо от ведущего рычага. Рычаги связаны только пружинным динамометром.

В качестве ведомого рычага могут использоваться жимки бурового комплекта. Ведомый рычаг служит также для задавливания гарнитуры с крыльчаткой в торф и их извлечения после окончания испытаний. Благодаря наличию зажимного устройства он легко перемещается по штанге вместе со всем динамометрическим устройством и может устанавливаться на любой высоте в процессе работы. Для определения величины деформации пружины имеются указатель и шкала.

Крыльчаткой ЦНИИС (рис. 6) могут быть обследованы небольшие участки, когда верхние слои слабой толщи осушены и уплотнены или перекрыты пластами более плотных и прочных грунтов и уплотнены их весом, что требует больших усилий при задавливании крыльчатки, и проводить испытания без бурения невозможно. Испытания указанным прибором ведут в скважинах.

Рис. 6. Лопастной прибор конструкции ЦНИИС

1 - лопасть крыльчатки; 2 - штанга; 3 - соединительная муфта; 4 - центрирующая муфта; 5 - стопка прибора; 6 - головка прибора

Бурение скважины заканчивают выше отметки очередного испытания с таким расчетом, чтобы крыльчатка при испытании находилась ниже забоя скважины не менее чем на 5D (D - ширина лопастей крыльчатки).

Крыльчатку, опущенную на забой скважины на штангах, вдавливают в грунт до заданной отметки, вращают с помощью головки, установленной над устьем скважины и соединенной с крыльчаткой штангами. Вращая крыльчатку со скоростью 0,1 - 0,2 град/с, срезают грунт и фиксируют значения максимального крутящего момента. Затем производят два-три полных оборота крыльчатки и фиксируют крутящий момент, соответствующий прочности грунта нарушенной структуры на сдвиг.

По окончании испытания на заданной глубине прибор снимают, крыльчатки и штанги извлекают, а скважину углубляют для испытания.

Для вычисления сопротивляемости грунта сдвигу в измеренный крутящий момент вносят поправку из тарировочной таблицы прибора. Лопастной прибор конструкции ЦНИИС комплектуют крыльчатками четырех размеров:

Д, мм.............................................................................

55

75

75

100

H, мм............................................................................

110

150

200

200

По результатам испытаний вычисляют сопротивляемость грунта сдвигу, именуемую условным сцеплением,

,                                                           (3)

где Mкр - значение крутящего момента, устанавливаемого по тарировочной кривой (по оси ординат откладывают показания индикатора Δl, а по оси абсцисс Mкр в зависимости от значения Δl = Δlполн - Δlтр; Δlполн - показания индикатора (максимальное число делений в процессе поворота крыльчатки в грунте ненарушенной структуры); Δlтр - максимальное число делений при отклонении стрелки индикатора в процессе поворота штанг без крыльчатки (при необходимости учета трения грунта о штанги); K - постоянная прибора, определяемая по выражениям: K1 = πD2 / 2(D / 6 + H) при повороте крыльчатки у поверхности толщи или на дне скважины (при срезе одной торцовой поверхностью крыльчатки); K2 = πD2 / 2(D / 3 + H) при срезе в толще грунта обеими торцовыми поверхностями крыльчатки; H, D - высота и диаметр крыльчатки.

Результаты испытаний представляют в виде эпюр изменения сопротивляемости сдвигу по глубине (рис. 7). Количество точек испытаний по глубине назначают с учетом слабой толщи и особенностей ее геологического строения.

Рис. 7. Эпюра изменения сопротивляемости сдвигу по глубине

Обычно испытания проводят через 0,5 - 1 м по глубине; при этом в каждом слое мощностью не менее 1 м следует назначать не менее трех точек по глубине в пределах одной скважины.

ПРИЛОЖЕНИЕ 3

МЕТОДИКИ ЛАБОРАТОРНЫХ ОПРЕДЕЛЕНИЙ ПОКАЗАТЕЛЕЙ ФИЗИКО-МЕХАНИЧЕСКИХ СВОЙСТВ СЛАБЫХ ГРУНТОВ

Отбор проб

Целью лабораторных испытаний грунтов является определение классификационных показателей, используемых для установления по таблицам расчетных характеристик грунтов и идентификации слоев слабой толщи, а также непосредственное получение расчетных показателей сжимаемости и сопротивляемости сдвигу. Однако надо иметь в виду, что результаты лабораторных исследований будут достоверны лишь в случае принятия строжайших мер предосторожности при отборе, транспортировании и хранении монолитов слабых грунтов (ГОСТ 12071-84).

Конструкции пробоотборников для отбора проб слабых грунтов приведены на рис. 1 - 5.

Рис. 1. Торфяной бур ТБ-5

1 - винт; 2 - полуконус; 3 - нож; 4 - сердечник; 5 - ложка

Рис. 2. Грунтонос конструкции Игумнова для взятия монолитов илов и других глинистых грунтов мягкопластичной и скрытотекучей консистенции

1 - башмак; 2 - направляющая; 3 - резцы; 4 - нижний стакан; 5 - гильза; 6 - верхний стакан; 7 - диафрагма; 8 - головка с конусным переходом

Рис. 3. Грунтонос конструкции Фурса для взятия монолитов илов и других глинистых грунтов мягкопластичной и скрытотекучей консистенции

1 - тормозная лопасть; 2 - башмак; 3 - лепесток; 4 - нижний стакан; 5 - гильза; 6 - верхний стакан; 7 - головка

Рис. 4. Универсальный грунтонос конструкции ЦНИИСа со сменными коронками для отбора монолитов торфов и других болотных отложений

I - для слаборазложившихся торфов; II - для хорошо разложившихся торфов; III, IV - для минерализованных торфов и пластичных грунтов; V - для сапропелей и илов

Рис. 5. Поршневой грунтосос конструкции БЕЛДОРНИИ для отбора проб слабых грунтов

1 - рукоятка поршневой штанги; 2 - рукоятка наружной штанги; 3 - поршневая штанга; 4 - наружная штанга; 5 - корпус; 6 - кольца; 7 - запирающее кольцо; 8 - поршень; 9 - сальник; 10, 11 - отверстия

Показатели физических свойств

В лаборатории определяют следующие характеристики грунтов: влажность, плотность и плотность частиц грунта, гранулометрический (механический) состав, зольность торфа, степень разложения торфа, пластичность, сжимаемость, сопротивляемость сдвигу.

Влажность слабых грунтов определяют в соответствии с ГОСТ 5180-84.

Торфяные грунты высушивают при температуре не более 110 - 105 °С. После высушивания масса сухой навески должна быть не менее 2 - 3 г. Для обеспечения этого условия навеска сырого грунта должна составлять не менее 20 - 30 г.

Для неоднородных торфов и илов высокой естественной влажности рекомендуется проводить не менее трех параллельных определений влажности. За окончательный результат принимают среднее арифметическое полученных значений.

При работе с монолитами для контроля влажности следует отбирать одну пробу порядка 100 г для получения среднего контрольного значения.

Влажность определяют по отношению массы воды в данной навеске торфа к массе сухой навески

, %,                                                   (1)

где q - масса сухого бюкса; q0 - масса бюкса с сухим грунтом; q1 - масса бюкса с влажным грунтом.

Допускается определять влажность ускоренным методом на приборе типа S 10/V для скоростного определения влажности сухого вещества.

При определении плотности частиц грунта и зольности воздушно-сухого грунта необходимо вводить поправки на гигроскопическую влажность, представляющую собой содержание воды в воздушно-сухом образце, удаляемой при 100 - 105 °С, выраженные в процентах от веса воздушно-сухого грунта.

Гигроскопическая влажность определяется также методом высушивания (ГОСТ 5180-84).

Зольность торфа - это масса золы, оставшейся от сжигания торфа, отнесенная к массе сухой пробы и выраженная в процентах.

Зольность определяют в соответствии с ГОСТ 11306-83. Сущность метода заключается в следующем: навеску (1 - 2 г сухого торфа) сжигают в муфельной печи, а остаток прокаливают при температуре 800 ± 25 °С до постоянной массы (с допустимой разницей с последующей массой до 0,006 г).

Зольность торфа определяют по формуле

, %,                                                  (2)

где z - процент золы к абсолютно сухому веществу; p - масса тигля с золой, г; p1 - масса пустого прокаленного тигля, г; p0 - масса сухого торфа, г.

При определении зольности разница двух параллельных определений не должна составлять более 2 %.

При использовании навески сухого грунта параллельно с сжиганием торфа определяют влажность и затем пересчитывают массу влажной навески на сухую.

Потерю при прокаливании (или содержании органических веществ для некарбонатных грунтов) вычисляют по формуле

П = 100 - z, %.                                                          (3)

Содержание органических веществ в мергелистых грунтах следует определять в соответствии с методикой, изложенной в Методическом пособии по определению физико-механических свойств грунтов (СОЮЗДОРНИИ. - М.: Недра, 1975. - 177 с.).

Степень разложения торфа - это процентное содержание бесструктурной массы и мельчайших негумифицированных остатков, имеющихся в данной навеске, к величине всей навески.

Степень разложения торфа определяют химическими и физическими методами.

В полевых и лабораторных условиях применяют следующие физические методы: микроскопический, весовой, глазомерно-макроскопический, центрифугирование.

В отчетной документации по обследованию болота необходимо указывать способ определения степени разложения, так как от него зависят результаты.

Микроскопический метод. Пробу торфа 30 - 40 г помещают на листке картона, тщательно перемешивают и разравнивают тонким слоем. Из 10 мест пробы отбирают 3 пробы по 0,5 см3 торфа, помещают их на предметные стекла, разравнивают тонким слоем, добавляют несколько капель воды и покрывают покровным стеклом.

Затем рассматривают на каждом стекле (в равных его частях) до 10 зон под микроскопом (при увеличении в 100 раз) и в процентах оценивают площадь, занятую частицами размером 0,25 мм, относительно всей площади зоны, занятой торфом.

Степень разложения определяют как среднее арифметическое из всех 30 определений с округлением до 5 %.

Весовой метод. Навеску 50 г делят на две равные части, одну из которых высушивают в термостате при температуре 105 °С и взвешивают с точностью до второго знака, а вторую отмучивают струей воды на сито с диаметром отверстий 0,25 мм. Отмучивание продолжают до тех пор, пока из сита не будет вытекать прозрачная вода. Оставшиеся на сите промытые растительные частицы высушивают в термостате до сухого состояния при t = 105 °С и взвешивают.

Степень разложения определяют по формуле

,                                                    (4)

где a - масса сухого волокна из отмученной навески; b - то же, неотмученной навески.

При необходимости пересчет степени разложения, определенной весовым методом, на степень разложения по микроскопическому методу приближенно может быть осуществлен с помощью графика (рис. 6).

Рис. 6. График для приближенного пересчета степени разложения, определенной весовым методом, на степень разложения по микроскопическому методу

Степень разложения торфа центрифугированием определяют по ГОСТ 10650-72 с изм.

Глазомерно-макроскопический метод. Пользуясь табл. 1, на глаз оценивают структурно-механические свойства торфа при сжатии его в руке и по цвету отжимаемой из него воды. Комплекс признаков визуального определения дополняют еще одним показателем - мазком торфа. Для этого из нескольких мест торфяного образца, вынутого из залежи, отбирают среднюю пробу объемом 0,5 - 1 см3 и помещают на листке плотной бумаги или на странице полевого дневника. Нажимая указательным пальцем на пробу, делают горизонтальный мазок на 5 - 10 см.

Для оценки степени разложения мазки сравнивают со стандартной шкалой (см. табл. 1).

Таблица 1. Оценка свойств торфяных грунтов

Степень разложения

Растительные остатки

Пластично-упругие свойства

Отжимаемая вода

Мазок

До 10

Хорошо сохранились и составляют почти всю массу торфа, различные мхи, остатки осоковой растительности

Торф не мажет руку, отжатая масса пружинит и быстро принимает первоначальный объем

Отжимается легко, бесцветная или слабо окрашенная

Бесцветный или слабо-желтый с большим количеством налипшего волокна

10 - 20

Хорошо сохранились, но измельчены в большей степени

При сжатии в кулаке не продавливается между пальцами; в сжатом торфе заметна упругость

Отжимается легко, мутная, желтая; коричневая или светло-серая

Желтый или слегка коричневый, светло-серый, имеются налипшие волокна

20 - 35

Сохранились, но определить затруднительно, часть из них гумифицирована

Несколько пластичен, при сжатии в кулаке часть торфа продавливается между пальцами, при растирании мажет руку

Отжимается с некоторым усилием, мутная, коричневая или бурая

Коричневый или серовато-коричневый, налипшего волокна нет

35 - 50

Заметны, но распознаются трудно, много гумифицированных частиц

Пачкает руку, продавливается значительная часть торфа

Отжимается со значительным усилием, мутная, бурая или коричневая

От коричневого до темно-коричневого с серым и черным оттенком и с гладкой поверхностью

Более 50

Мало заметны или почти незаметны, преобладает гумифицированная масса

Большая часть полностью продавливается между пальцами, пачкает руку

Почти или совсем не отжимается

Темно- или черно-коричневый, хорошо сохраняет отпечатки пальцев

Степень волокнистости - это содержание в твердой фазе торфа волокнистых остатков размером более 0,25 мм, выраженное в процентах от объема твердой фазы. Степень волокнистости можно определять через степень разложения. Если степень разложения устанавливают микроскопическим способом, то степень волокнистости можно вычислить по формуле

Ф = 100 - Rм, %.                                                       (5)

Если степень разложения определяют весовым методом Rв, то для вычисления Ф необходимо степень разложения в весовых процентах пересчитать на степень разложения в процентах объема, для чего нужно знать плотность частиц, волокнистой и гумусной фракций.

Для упрощенных расчетов можно использовать график (см. рис. 6), с помощью которого Rв можно пересчитать на Rм, после чего степень волокнистости определяют по формуле (5).

Пределы пластичности определяют для минеральных и органо-минеральных болотных грунтов. Границу текучести грунта определяют с помощью «балансирного конуса» по ГОСТ 5180-84.

Определение нижней границы пластичности производят раскатыванием в шнур по указанному ГОСТ 5180-84.

Результаты определения пределов пластичности заторфованных грунтов следует сопровождать указанием процентного содержания (по массе) растительных остатков, если масса их составляет более 5 % массы сухой минеральной части грунта.

Плотность частиц грунта может быть определена различными методами.

Пикнометрический метод. Плотность частиц грунта определяют как отношение массы частиц грунта, высушенного при t = 100 - 105 °С до постоянной массы, к объему этих частиц в соответствии с ГОСТ 5180-84.

Грунт, высушенный до воздушно-сухого состояния, растирают пестиком в фарфоровой ступке и просеивают через сито с диаметром отверстий 1 мм. Частицы крупнее 1 мм механически дробят и добавляют к пробе.

Из просеянного грунта (100 - 200 г) отбирают среднюю пробу 15 г для минеральных грунтов и 5 г для торфов на каждые 100 см3 вместимости пикнометра. При этом дополнительно отбирают две пробы для определения гигроскопической влажности.

В пикнометр наливают дистиллированную воду (1/3 вместимости) и взвешивают. При помощи воронки вводят пробу грунта в пикнометр и снова взвешивают. Разница первого и второго взвешивания равна массе введенного грунта. Содержимое пикнометра кипятят в течение 1 ч с момента закипания суспензии. Кипячение должно быть спокойным, без разбрызгивания по стенкам пикнометра. После кипячения пикнометр с суспензией охлаждают до 20 °С, а затем доливают кипяченую воду до отмеченного уровня таким образом, чтобы вогнутая часть мениска касалась уровня.

Пикнометр с грунтом и водой взвешивают, затем освобождают его от грунта и воды, тщательно моют, наполняют дистиллированной водой (той же температуры, что и вода в пикнометре) и вновь взвешивают.

Плотность частиц грунта вычисляют по формуле

,                                                      (6)

где q0 - масса сухого грунта, введенного в пикнометр, г;

,                                                           (7)

q1 - масса пикнометра с грунтом и водой, г; q2 - масса пикнометра с водой, г; ω - влажность воздушно-сухого грунта, %; q - масса воздушно-сухого грунта, г.

За расчетную плотность частиц грунта принимают среднее арифметическое из результатов двух параллельных определений; расхождение допускается не более 0,02 г/см3.

Метод высоких давлений. Плотность твердой фазы органических грунтов можно определить с помощью уплотнителя УВД-3 конструкции Калининского политехнического института (рис. 7). Торф в воздушно-сухом состоянии (влажность 10 - 25 %) подвергают сжатию в закрытой камере под давлением 350 - 400 МПа (3500 - 4000 кгс/см2). В сжатом состоянии определяют его объем с последующим пересчетом и вычислением плотности минеральной части.

Порядок определения следующий. Втулки (см. рис. 7) с верхним штоком снимают с нижнего штока и переворачивают при вставленном штоке. В свободное пространство втулки засыпают навеску исследуемого грунта, затем во втулку вставляют нижний шток с индикатором.

Рис. 7. Конструкция уплотнителя УВД-3

1 - подставка; 2 - индикатор; 3 - нижний шток; 4 - втулка; 5 - верхний шток; 6 - испытываемый грунт; 7 - зажимный болт

Собранный прибор устанавливают на подставку и затем на нижнюю плиту пресса. Далее образец нагружают до 10 кН и выдерживают под этой нагрузкой в течение 2 - 3 мин. При этом деформация образца, регистрируемая индикатором, должна прекратиться. Затем записывают максимальное показание индикатора, по которому вычисляют толщину образца при заданной нагрузке.

Далее нагрузку снимают, вынимают втулку вместе с верхним штоком, и взвешивают шток. Контролируют массу остающегося на штоке уплотненного образца кольцевой формы.

Плотность минеральной части при данной влажности вычисляют по формуле

,                                                     (8)

где G - навеска грунта (масса образца), г; D - наружный диаметр образца, см; d - диаметр (внутренний) образца, см; h - толщина образца после уплотнения под давлением, см.

Плотность твердой фазы грунта за вычетом объема влаги определяют по формуле

,                                                        (9)

где ω - влажность, % (по массе); Δ - плотность адсорбционной воды (г/см3).

Плотностью грунта называется его масса в единице объема. Определяют методом режущего кольца или методом гидростатического взвешивания образца, покрытого пленкой парафина (ГОСТ 5180-84).

Метод режущего кольца применяют в тех случаях, когда объем и форма отбираемого образца могут быть сохранены только с помощью жесткой обоймы. Метод гидростатического взвешивания можно применять при образцах неправильной формы. Для определения плотности можно рекомендовать также волюменометрический метод.

Метод режущих колец. Режущим кольцом отбирают образец в лаборатории из монолита или в шурфе. Остаток грунта, выступающий из гильзы, срезают ножом. Кольцо с грунтом взвешивают. Плотность вычисляют по формуле

,                                                             (10)

где q - масса образца грунта при данной влажности, г; V - объем грунта, заключенного внутри кольца, см3.

При малоразложившихся торфах метод режущих колец не обеспечивает достаточной точности, так как трудно правильно обработать отобранный образец ножом и, кроме того, он деформируется при перерезании неразложившихся растительных остатков.

Метод парафинирования. Образец грунта многократно опускают на несколько секунд в парафин, чтобы нарастить слой не менее 0,6 мм. Пузырьки воздуха, обнаруженные в застывшей парафиновой оболочке, удаляют, прокалывая иглой и заглаживая образовавшиеся отверстия.

Охлажденный запарафинированный образец взвешивают (q2). Затем подвешивают к серьге коромысла весов и погружают в стакан с водой для взвешивания в воде (q3). Контролируют массу в воздухе, чтобы убедиться, что в грунт не попала вода (предварительно обтерев запарафинированный образец). Тщательно удалив парафин с образца, берут пробы для определения влажности. Проводят не менее двух параллельных определений.

Плотность грунта определяют по следующим формулам:

                                                          (11)

;                                                         (12)

V = V2 - V1;                                                            (13)

,                                                              (14)

где V1 - объем парафина, см3; q1 - масса образца при данной влажности, г; V2 и q2 - объем и масса запарафинированного образца, см3, г; q3 - масса запарафинированного образца в воде, г; γn - удельный вес парафина 9 мН/см3 (0,9 г/см3); γв - удельный вес воды 10 мН/см3 (1 г/см3); V - объем образца без парафина, см3; ρ - плотность образца, г/см3.

Волюменометрический метод. Образец торфа взвешивают, а затем помещают в сетчатый каркас и погружают в волюменометр. При этом по трубке устанавливают изменение уровня воды и вычисляют объем исследуемого образца. Делению шкалы трубки соответствует определенный объем вытесненной воды.

Ботанический состав торфа определяют с помощью микроскопа по характеру неразложившихся растительных остатков в соответствии с описанием различных видов торфа*.

* При определении ботанического состава торфа, кроме того, следует пользоваться классификацией видов торфа и торфяных залежей, а также соответствующими атласами и руководствами.

Предварительно гумус отделяют методом отмучивания, пропуская взвесь через сито с диаметром отверстий 0,10 мм при торфе, сильно разложившемся, и через сито с диаметром отверстий 0,25 мм при торфе с меньшей степенью разложения. Из отмученной массы навеску торфа переносят пинцетом на стекло стандартного размера и под микроскопом (с увеличением не менее, чем в 90 раз) устанавливают процентное содержание растений - торфообразователей).

Название ботанического вида торфу дается по остаткам, которых в данном образце более 15 %. Если, например, в составе образца осоки 30, древесных остатков 40, гипнума 20 и сфагнума 10 %, то торф называют гипново-осоково-древесным.

Показатели механических свойств

Сжимаемость - изменение объема под влиянием сжатия (компрессии) от действующей внешней нагрузки в условиях невозможности бокового расширения - характеризует компрессионные свойства слабых грунтов.

Слабые грунты относятся к сильносжимаемым из-за высокой пористости. Объем грунта под нагрузкой изменяется за счет удаления из пор воды и воздуха (влияние воздуха на компрессионные свойства невелико).

Сжимаемость слабого грунта должна определяться вслед за отбором образцов, пока не претерпели изменения их естественные свойства (структура, пористость и влажность в естественном состоянии).

Общий объем компрессионных, а также консолидационных испытаний зависит от числа выделенных литологически однородных слоев и стадии проектирования. При этом исходят из того, что при выполнении испытаний в полном объеме количество образцов должно быть таким, чтобы для каждого расчетного слоя можно было получить стандартную компрессионную кривую и консолидационные кривые для трех-четырех различных нагрузок при двух разных путях фильтрации.

Под стандартной компрессионной кривой понимается кривая, получаемая при следующих условиях: начальная высота образца 2 см; отношение диаметра к высоте образца близко к 3; дренирование - двухстороннее; нагружение осуществляется с последовательным увеличением, ступенями; за конечную деформацию образца под данной ступенью нагрузки принимается деформация, достигнутая к моменту, когда интенсивность осадки стандартного образца vстаб станет равной 0,02 мм/сут (или интенсивность относительной деформации составит 0,001 1/сут).

Стандартную компрессионную кривую строят по результатам испытаний двух параллельных образцов.

Слабые грунты испытывают на компрессию в приборах, используемых для испытаний обычных грунтов, с рабочим кольцом диаметром 7, 14 и высотой 2 см. Для испытаний могут быть использованы также компрессионные приборы с максимальной площадью 60 см2, высотой 2,5 см, с двумя мессурами на штампе, не требующими перестановки нуля. Приборы должны быть протарированы до испытаний.

Сжимаемость образцов слабых грунтов определяют при ненарушенной структуре с принятием мер, исключающих подсушивание образца в процессе опыта (например, под водой).

Ход определения

Перед опытом замеряют штангенциркулем диаметр и высоту кольца с точностью до 0,1 мм и взвешивают его на технических весах с точностью до 0,01 г.

Монолит грунта очищают от парафина и подсохшего верхнего слоя.

Кольцо устанавливают режущим краем на выровненную поверхность монолита (или стенку выработки), медленно вдавливают в грунт (для торфов с небольшим поворотом кольца) и срезают грунт по наружному диаметру кольца. При этом необходимо следить, чтобы кольцо погружалось вертикально, без перекосов, которые могут вызвать нарушение структуры грунта и исказить величину плотности грунта. Следует обратить особое внимание на качество вырезки образца, так как от ее тщательности зависит точность определения свойств грунта и замера осадки.

С этой целью в процессе вырезки и подготовки образца к испытанию необходимо следить, чтобы грунт не выкрашивался, а также, чтобы образец вплотную прилегал к стенкам кольца. При нарушении естественной структуры образец бракуется.

После заполнения кольца грунтом на него устанавливают насадку и вдавливают в монолит (или в грунт) с превышением на 3 - 4 мм. Затем насадку снимают и осторожно срезают грунт в уровень с краями кольца.

Под кольцом грунт подрезают на конус, и отделяют кольцо с грунтом от монолита (или грунтового массива). В случае мягкопластичных грунтов кольцо с грунтом отделяют от монолита стальной упругой тугонатянутой проволокой. Образец кладут на стеклянную пластину и зачищают грунт вровень с кольцом. Кольцо с грунтом взвешивают с точностью до 0,01 г.

При испытаниях при двухсторонней фильтрации верхний и нижний торцы образца грунта покрывают влажными кружками фильтровальной бумаги, вырезанными строго по внутреннему диаметру кольца. При проведении опыта при односторонней фильтрации воды из образца нижний кружок фильтровальной бумаги заменяют резиновой прокладкой.

Кольцо с образцом ставят на днище прибора, одометр собирают и устанавливают под пресс компрессионной установки. Далее устанавливают индикаторы на нулевой отсчет. При показаниях, отличных от нуля, их записывают в журнале, как начальные. Одновременно из грунта монолита, непосредственно прилегающего к образцу, отбирают две-три пробы для определения влажности и плотности частиц грунта.

Для предотвращения высыхания грунта в местах контакта деталей прибора, где может испариться влага, прокладывают влажную вату или марлю. При испытании образца грунта в водном окружении спустя 2 мин после приложения первой ступени нагрузки через отверстие в нижней части одометра с помощью бюретки прибор заполняют водой до появления ее в отверстиях штампа. Для удаления воздуха из прибора второе отверстие должно быть открыто до появления в нем воды. Уровень воды в бюретке устанавливают по верхней грани рабочего кольца и поддерживают на протяжении всего опыта.

При предварительном насыщении грунта водой прибор с образцом ставят под пресс и опускают винт арретира так, чтобы грунт не мог набухать или доводят арретирное кольцо прибора до соприкосновения с верхним штампом. Если индикаторы показали набухание образца, то арретиром возвращают показания индикатора на начальный отсчет. Насыщать образец лучше грунтовой водой, взятой из места отбора образцов, или грунтовой вытяжкой. При небольшой минерализации можно пользоваться водопроводной водой.

Далее к грунту прикладывают нагрузку возрастающими ступенями.

Для образцов глинистых грунтов текучей консистенции и сапропелей рекомендуются следующие ступени нагрузок: 0,002; 0,003; 0,005; 0,01; 0,02; 0,03; 0,05; 0,075; 0,10; 0,15; 0,2 МПа (0,02; 0,03; 0,05; 0,1; 0,2; 0,3; 0,5; 0,75; 1,0; 1,5; 2 кгс/см2) и далее до заданной максимальной нагрузки. Для образцов глинистых грунтов пластичной консистенции и торфов рекомендуются следующие ступени нагрузок: 0,01; 0,02; 0,03; 0,05; 0,075; 0,10; 0,20 МПа (0,1; 0,2; 0,3; 0,5; 0,75; 1; 2 кгс/см2) и т.

В зависимости от состояния грунта количество ступеней может быть сокращено. Величину груза, которую необходимо приложить к подвеске рычага компрессионной установки, определяют по формуле

,                                                       (15)

где σ - задаваемая ступень нагрузки (нормальное напряжение) на образец грунта, МПа (кгс/см2); F - площадь поперечного сечения образца, см2; a - масса рамы и поршня одометра с шариком, кг; N - передаточное число системы рычагов; g - ускорение свободного падения.

Каждую ступень выдерживают до условной стабилизации деформации образца. При высоте образца h и двусторонней фильтрации воды интенсивность осадки, принимаемую за условную стабилизацию, вычисляют по формуле vстаб = 0,001h, мм/сут. Если дренирование одностороннее, то следует пользоваться формулой vстаб = 0,002h мм/сут. В зависимости от вида грунта и условий опыта указанный критерий может быть несколько изменен. Однако во всех случаях, принимаемая за завершение деформации интенсивность относительной осадки не должна превышать 0,003 1/сут для супесей, 0,002 1/сут - для песков и 0,001 1/сут - для суглинков и глин.

При больших осадках образца, приводящих к сильному опусканию рычага пресса, следует выравнивать рычажную систему после завершения осадки от каждой ступени нагрузки, брать нулевой отчет по индикаторам, после чего прикладывать следующую ступень нагрузки.

Одометр с образцом необходимо защищать от сотрясений и температурных колебаний.

По окончании деформации образца грунта от наибольшей нагрузки удаляют воду (если образец находится под водой), и снимают нагрузку с рычажной системы. Далее разбирают одометр, извлекают рабочее кольцо с образцом и снимают фильтрационную бумагу, удаляют сухой фильтровальной бумагой влагу с торцов образца и взвешивают его с указанной выше точностью. Затем образец высушивают для определения конечной влажности. Все данные измерений и взвешивания записывают в журнал.

После опыта определяют объем образца, для чего площадь поперечного сечения образца умножают на его конечную высоту, равную разности между начальной высотой образца (высота рабочего кольца) и его осадкой, определяют плотность и коэффициент пористости образца до и после опыта. Форма записи наблюдений при компрессионных испытаниях приведена ниже.

Журнал компрессионных испытаний

Объект ____________________________________________________________________

Место отбора образца ________________________________________________________

Проба № ___________________________________________________________________

Наименование выработки _____________________________________________________

Глубина отбора _____________________________________________________________

Исходные данные для расчетов

Высота кольца h0 ____________________________________________________________

Площадь кольца F ___________________________________________________________

Объем кольца V _____________________________________________________________

Масса кольца q0 _____________________________________________________________

Масса грунта до опыта q1 _____________________________________________________

Масса грунта после опыта q2 __________________________________________________

Плотность грунта ρ __________________________________________________________

Влажность грунта до опыта ωнач _______________________________________________

Влажность грунта после опыта ωкон ____________________________________________

Коэффициент пористости до опыта, рассчитанный по влажности εнач.вл ______________

___________________________________________________________________________

То же, после опыта εкон.вл _____________________________________________________

Обработка результатов. Деформацию образца грунта определяют под каждой ступенью нагрузки, выдержанной до условной стабилизации деформации, вычитая начальные показания индикаторов из показаний при нагрузке.

Из общей деформации образца вычитают значения собственной деформации одометра и кружков фильтровальной бумаги, которые определяют по тарировочной кривой, и получают действительные деформации Δh образца. Затем вычисляют относительные деформации образца грунта по формуле

,                                                               (16)

где h0 - начальная высота образца. По вычисленным значениям относительной деформации строят компрессионную кривую вида λ = f(p).

Пример записи показателей состава и состояния испытываемого грунта приведен в табл. 2. Первый этап обработки на этом заканчивается.

Таблица 2. Показатели состава и состояния грунта

Потеря при прокаливании

Плотность частиц грунта

Волокнистость

Степень разложения

Зольность

Плотность

Содержание CaCO3

Природная влажность

Степень водонасыщения

Граница текучести

Граница раскатывания

Число пластичности

Наименование грунта по классификации

 

 

 

 

 

 

 

 

 

 

 

 

При испытаниях слабых, практически полностью водонасыщенных грунтов, может происходить выдавливание грунта в зазоры в приборе.

Показания мессур могут оказаться искаженными, в этом случае рекомендуется уточнять величину деформации сжатия по изменению влажности грунта в процессе испытания. С этой целью после завершения всего опыта и определения конечных влажности и плотности грунта вносят поправки в компрессионную кривую. Второй этап обработки, заключающийся в уточнении компрессионной кривой, заключается в следующем. Вычисляют величины:

коэффициент пористости образца в конечном состоянии уплотнения

,                                              (17)

где ρs - плотность частиц грунта;

коэффициент пористости грунта в начальном состоянии (до опыта) εн, используя ту же зависимость с подстановкой вместо конечных значений - начальные;

изменение коэффициента пористости грунта для каждой ступени нагрузки по показанию мессур

,                                                  (18)

где Δhpiм - конечная деформация образца под данной нагрузкой, фиксируется по мессурам, мм;

коэффициент пористости для каждой ступени нагрузки

εpiм = ε0 - Δεpiм.                                                       (19)

Величины Δεpiм и εpiм определяют, начиная с конечных значений, соответствующих последней нагрузке.

Уточнение компрессионной кривой заключается во введении в вычисленные по показаниям мессур величины Δεpiм и εpiм поправки получаемой по результатам контрольного определения конечной влажности грунта.

Коэффициент рассчитывают по формуле

,                                                            (20)

где εконω - конечный коэффициент пористости, рассчитанный по влажности; εкон.м - то же, по деформации.

Если 1,05 < α < 0,95, то необходимо значения деформации образца на различные моменты времени и при различных ступенях нагрузок, установленные по показаниям мессур, уточнить по формуле Δhиспр = Δhмα.

По исправленным значениям Δhиспр строят кривую λ = f(p), затем определяют значения λ, соответствующие условной стабилизации деформации, и строят исправленную стандартную компрессионную кривую.

Для построения зависимости ω = f(р) следует использовать формулу ωкон = ωнач - λ(0,01ρs + ωнач).

На рис. 8 приведена стандартная компрессионная кривая торфа, начальная влажность которого равна 628, степень разложения 40, зольность 7 %. По стандартной компрессионной кривой определяют и рассчитывают следующие параметры: структурную прочность, коэффициент уплотнения, модуль осадки.

Рис. 8. Графики для обработки результатов испытаний на компрессию

а - построение компрессионных кривых; б - определение структурной прочности; 1 - стандартная компрессионная кривая; 2 - компрессионная кривая первичной осадки; 3 - зависимость расчетного модуля от нагрузки

Модуль осадки численно равен величине сжатия, мм, столба грунта высотой 1 м в условиях компрессионного опыта

.                                               (21)

Коэффициент уплотнения равен тангенсу угла наклона спрямленного участка в заданном диапазоне нагрузок стандартной компрессионной кривой

,                                                               (22)

где Δε - изменение коэффициента пористости в диапазоне изменения нагрузок Δp.

Для определения структурной прочности кривую перестраивают в виде ε = f(lgp). Определяют точку перегиба A указанной зависимости (см. рис. 8). Через эту точку проводят касательную АВ и горизонтальную линию АД, затем биссектрису АМ угла ВАД. Прямолинейный участок компрессионной кривой экстраполируют до пересечения с биссектрисой AM и получают точку N; значение р, соответствующее точке N, принимают за структурную прочность.

Испытания на консолидацию проводят на тех же приборах, что и на компрессию. Подготовка приборов и образцов аналогична подготовке к компрессионным испытаниям.

Испытания на консолидацию могут быть выполнены при одинаковом пути фильтрации и на образцах-близнецах при различных путях фильтрации, кроме того, могут быть выполнены в специальных одометрах с различными размерами рабочих колец. При этом отношение диаметра к его высоте сохраняют постоянным.

Консолидационные испытания выполняются в полном или сокращенном объемах. При испытаниях в полном объеме должны быть получены шесть-восемь консолидационных кривых: для трех-четырех нагрузок и двух путей фильтрации.

При сокращенных испытаниях ограничиваются получением консолидационных кривых для одной нагрузки (заданной) и двух путей фильтрации.

При описании процесса консолидации зависимостями tλp = aλp + bλph2ф и tλ = [b/p - pλ)]h2ф для определения консолидационных параметров при полном объеме испытаний необходимы три-четыре пары образцов, в каждой из которых образцы с различными условиями дренирования уплотняются одной из трех-четырех заданных нагрузок. При этом минимальная нагрузка должна быть не менее σстр, а максимальная не должна вызывать выдавливание грунта в зазоры прибора. При сокращенных испытаниях и описании консолидации указанными зависимостями необходимо уплотнять под одной заданной нагрузкой не менее двух параллельных образцов при одном пути фильтрации и столько же при другом.

При полном объеме испытаний в случае использования выражения tλp = kλph2ф необходимо шестьосемь образцов: два параллельных образца испытывают под каждой из трех-четырех нагрузок (путь фильтрации один и тот же). При сокращенном объеме испытывают не менее двух параллельных образцов, уплотненных под одной нагрузкой.

Ход определения

Каждый из подготовленных образцов нагружают заданной ступенью нагрузки, и ведут замеры деформации по индикаторам через определенные промежутки времени.

Рекомендуемые интервалы между замерами 5; 10; 30 с, 1; 2; 3; 5; 10; 15; 30 мин., 1; 2; 4 ч и далее 3 раза в сутки. Данные наблюдений заносят в журнал (см. табл. 3).

Таблица 3. Данные компрессионных испытаний

Дата

Время

Нагрузка на образец. Н/(кгс); МПа/(кгс/см2)

Отчеты по мессуре

Деформация образца

Средняя деформация

Относительная деформация

Модуль осадки

Приращение коэффициента пористости

Коэффициент пористости

 

 

 

 

 

 

 

 

 

 

Одновременно результаты испытаний наносят на график в виде λ = f(lgt). Испытание считается законченным при достижении интенсивности деформации образца, принятой за условную стабилизацию деформации.

Для сокращения времени испытания опыт может быть закончен, когда экспериментальные точки кривой λ = f(lgt), построенные в полулогарифмической зависимости, укладываются на прямую. Далее указанную прямую экстраполируют до тех пор, пока интенсивность деформации не будет менее 0,02 мм/сут. Осадку, соответствующую моменту достижения этой интенсивности, принимают за конечную. Время достижения интенсивности 0,02 мм/сут может быть определено не только графическим путем, но и рассчитано по формуле

,                                                       (23)

где 0,43 - коэффициент перехода от десятичного логарифма к натуральному; mp - консолидационный параметр; h0 - начальная высота образца; 0,02 - заданная интенсивность осадки.

По окончании испытания разгрузку образцов и дальнейшие операции выполняют так же, как и при компрессионных испытаниях.

В качестве примера на рис. 9 нанесены консолидационные кривые торфяного грунта, свойства которого даны выше.

Рис. 9. Кривые консолидации

x - точка выхода кривой консолидации на прямую; 1 - hф = hобр / 2; 2 - hф = hобр

Обработка результатов. Обработка опытных кривых консолидации может быть выполнена двумя способами: упрощенным; уточненным.

При первом способе по осредняющей кривой консолидации двух параллельных испытаний устанавливают точку, отвечающую интенсивности деформации 0,001h мм/сут, при двухсторонней и 0,002h мм/сут при односторонней фильтрации воды. Для этой точки определяют величину относительной деформации λкон. Определяют точку, отвечающую выходу зависимости λ = f(t) на прямолинейный участок в полулогарифмическом масштабе, и устанавливают величины λ1 и t1, отвечающие этой точке. Основываясь на этих параметрах, проводят дальнейшие расчеты.

При втором способе обработки для каждой кривой находят отношение λ1/λкон. Значения, полученные для образцов с двухсторонней фильтрацией, наносят на сетку координат λ1кон - p, и проводят осредняющие кривые (рис. 10). Значения t1, полученные для всех образцов, наносят на сетку координат t1 - p и через точки, отвечающие одинаковому пути фильтрации, проводят осредняющие кривые. При этом следует учитывать, что кривые для различных путей фильтрации должны быть параллельны.

Рис. 10. График для обработки результатов испытаний на консолидацию

1 - зависимость  при hф = hобр; 2 - зависимость tI = f(p) при hф = hобр; 3 - зависимость tI = f(p) при ; 4 - зависимость λI = f(p); 5 - зависимость mp = f(p); 6 - зависимость ;

а - зависимость отношения первичной осадки к конечной и времени их достижения от нагрузки; б - зависимость относительной первичной осадки и коэффициента от нагрузки; в - зависимость отношения заданной относительной деформации к относительной первичной осадке от разности логарифма времени достижения относительной первичной осадки и заданной относительной осадки

Значения λ1, полученные для всех образцов, наносят на сетку координат λ1 - p и проводят осредняющую кривую (см. рис. 10). При этом исходят из того, что кривая λ1 = f(p) должна быть одной для образцов с различными путями фильтрации.

Далее определяют параметр mp как тангенс угла наклона прямолинейного участка к оси абсцисс

,                                                           (24)

где λi - относительная осадка, соответствующая произвольно выбранному моменту ti > tI.

Наносят значения mp для всех образцов на сетку координат mp - p и проводят осредняющую кривую, позволяющую установить для любого значения p. Принимая λ1 за единицу, берут 5 - 6 точек на кривой консолидации при λ < λ1 и определяют для этих точек величины λi/λ1 и lgt1 - lgti.

Для образцов, уплотненных одной нагрузкой, но имеющих различный путь фильтрации, строят осредненный график (рис. 10) зависимости λi/λ1 = f(lgti - lgt1) для участка первичной осадки t < t1. Полученные графики позволяют установить для любой заданной нагрузки (в пределах заданного диапазона) значения консолидационных параметров λ1; t1; mp, а также осредненные значения ординат точек кривой консолидации для участка первичной осадки. По этим данным строят осредненные расчетные консолидационные кривые для рассматриваемой нагрузки и двух путей фильтрации (рис. 11).

Рис. 11. Построение исправленных кривых консолидации

1 - опытные кривые; 2 - исправленные кривые

По исправленной кривой консолидации для заданной нагрузки получают коэффициенты δ = λ1 / λк, осредняющие долю первичной осадки в условной общей (стандартной) осадке.

Далее, взяв стандартную компрессионную кривую и значение δ, относящиеся к образцам стандартного размера при одних и тех же условиях дренирования, умножают ординаты стандартной компрессионной кривой, отвечающие нагрузкам при консолидационных испытаниях, на соответствующие нагрузки при консолидационных испытаниях, на соответствующие значения δ.

Полученные значения наносят на график и проводят кривую первичной осадки (см. рис. 8).

По опытным кривым консолидации (при первом способе обработки) или по исправленным кривым консолидации (при втором способе обработки) определяют консолидационные параметры в зависимости от принятой для прогноза времени уплотнения слабого основания формулы пп. 4.16 и 4.18 основного текста.

Параметры консолидационной зависимости вида tλp = aλp + bλph2ф определяют:

графическим методом - по кривым консолидации двух образцов с различными условиями дренирования, уплотненными под расчетной нагрузкой, находят t1 и t2 для нескольких значений λ (см. рис. 11). Далее строят график зависимости tλ = f(h2ф) (рис. 12). Параметр aλp при заданной относительной деформации λ определяют по оси абсцисс. Параметр bλp определяют как угловой коэффициент прямой tλ = f(h2ф);

Рис. 12. График зависимости tλ = f(h2ф)

по аналитической зависимости - по кривым консолидации двух образцов с различными условиями дренирования, уплотненными под расчетной нагрузкой, - находят время t1 и t2 достижения заданной относительной деформации. Далее определяют aλp и bλp из системы уравнений:

t1λ = aλp + bλph21ф;                                                      (25)

t2λ = aλp + bλph22ф.

Если испытывают образцы одной высоты с различными условиями дренирования, то h2ф = 2h. В этом случае параметры aλp и bλp можно вычислить по формулам:

 при λ = 0,35;  мин;

,  мин/см2.

Коэффициент консолидации Cк определяют с использованием кривой консолидации образца грунта, уплотненного под расчетной нагрузкой, по формуле

 см2/мин.                                 (26)

где KU - коэффициент, величина которого зависит от степени консолидации, устанавливаемый по табл. 20; tU - время завершения заданной степени уплотнения.

По кривой консолидации образца торфяного грунта, уплотненного под нагрузкой p 0,1 МПа (1 кгс/см2) (см. рис. 11), время достижения степени консолидации U = 50 % составляет t = 3,3 мин. Параметр KU по табл. 20 при U = 50 % равен 0,2.

Коэффициент фильтрации слабых грунтов Kф следует определять по результатам консолидационных испытаний с использованием зависимости

,                                                          (27)

где a - коэффициент уплотнения, определяемый по компрессионной кривой; εср - средний коэффициент пористости, равный1 + ε2)/2; ε1 - коэффициент пористости грунта, соответствующий нагрузке p1; ε2 - соответствующий нагрузке p2.

По компрессионной кривой (см. рис. 1) находим a и εср в интервале нагрузок p1 = 0,1 МПа (1 кгс/см2) и p2 = 0,2 МПа (2 кгс/см2), ε1 = 4,52; ε2 = 3,75; εср = 4,135.

 см2/кгс;

cк = 0,06 см2/мин (см. ниже). Kф = 0,06 · 0,0077 / (1 + 4,135) = 0,00008 см/мин = 0,11 см/сут.

Характеристики определяются расчетом по следующим формулам

Плотность сухого грунта определяют по формуле

,                                                            (28)

где ρ - плотность грунта, г/см3, ω - весовая влажность, %.

Пористость грунта определяют по формуле

,                                                  (29)

где ρs - плотность частиц грунта, г/см3.

Коэффициент пористости рассчитывают по формуле

,                                                      (30)

или

.

Коэффициент водонасыщения определяют по формуле

,                                                         (31)

где Δ - удельный вес воды 10 мН/см3 (1 г/см3).

Сопротивляемость сдвигу слабых грунтов в лаборатории оценивается путем испытаний в стандартных приборах прямого сдвига или трехосного сжатия.

При оценке сопротивляемости слабых грунтов сдвигу в лаборатории следует исходить из теории плотности - влажности, в соответствии с которой сопротивляемость сдвигу практически полностью водонасыщенного грунта в общем виде выражается как

Spω = ptgφω + cω,                                                       (32)

где p - полное нормальное давление на площадке сдвига, МПа (кгс/см2); φω - угол внутреннего трения, зависящий от плотности - влажности грунта в момент сдвига; cω - сцепление, также зависящее от плотности - влажности грунта в момент сдвига, МПа (кгс/см2).

При этом

cω = Σω + cc,                                                            (33)

где Σω - часть полного сцепления, имеющая водно-коллоидную природу; cc - часть полного сцепления, обусловленная наличием невосстанавливающихся связей.

Задача испытаний сводится к установлению зависимости угла внутреннего трения φω и сцепления сω от влажности в зоне сдвига, что достигается в результате сдвига под несколькими (не менее трех) нормальными нагрузками нескольких образцов, имеющих различные плотности - влажности.

Ход определения. Выбирают величины нормальных нагрузок, под которыми должен производиться сдвиг, исходя из следующих основных условий: минимальная нагрузка должна быть такой, чтобы сопротивляемость грунта сдвигу не оказалась больше этой нагрузки; максимальная нагрузка не должна вызывать выдавливания образца в зазоре сдвигового кольца. При выборе нормальных нагрузок следует учитывать также возможную величину напряжений в грунте в реальных условиях. Интервал между минимальной и максимальной нормальными нагрузками делят пополам. Таким образом, получают три величины нормальной нагрузки, при которых производят сдвиг. Под каждой из нормальных нагрузок производят сдвиг, как правило, не менее четырех образцов, имеющих различную влажность. В ряде случаев можно выполнять и по два сдвига на одном образце под двумя разными нагрузками, что позволяет сократить количество образцов. Для этого начальная высота образца должна быть не менее 2 см.

Различия по влажности образцов в момент сдвига можно достигать следующими путями.

1. Выдерживанием каждого из образцов, предназначенных для сдвига при одной и той же нормальной нагрузке, при которой производится сдвиг. В этом случае первый образец сдвигается немедленно после приложения заданной нормальной нагрузки, второй образец сдвигается только после выдерживания его под данной нагрузкой до практически полного завершения консолидации, а два других образца перед сдвигом выдерживаются под нагрузкой с таким расчетом, чтобы их влажность в момент сдвига имела два различных промежуточных значения в интервале между влажностями первого и второго образца.

При испытании в сдвиговых приборах предварительное выдерживание образцов под нагрузкой может проводиться как в самих сдвиговых приборах (до установки зазора), так и в приборах предварительного уплотнения.

2. Выдерживанием образцов различное время под одной достаточно большой по величине нагрузкой, величина которой должна быть не менее максимальной нормальной нагрузки при сдвиге. Предельное значение уплотняющей нагрузки определяется возможностью передать ее на образец без выдавливания грунта в щели. Чем больше нагрузка (в пределах возможного), тем меньше времени будет затрачено на испытание. В этом случае к одному образцу под каждой нормальной нагрузкой испытывается без предварительного выдерживания под уплотняющей нагрузкой.

3. Выдерживанием образцов до практически полной консолидации под различными нагрузками, наибольшая из которых должна быть примерно вдвое больше максимальной нормальной нагрузки при сдвиге. Четыре образца из серии в этом случае также не подвергаются предварительному уплотнению.

Контроль за изменением влажности грунта в процессе его уплотнения под нагрузкой в любом из указанных случаев может осуществляться по осадке образца, фиксируемой мессурами.

Каждый из четырех образцов с различной влажностью испытывают на сдвиг под одной и той же нормальной нагрузкой. Аналогично проводят испытания под остальными двумя нагрузками.

Если предварительное уплотнение образца проводилось в приборе предварительного уплотнения, то после загрузки образца в сдвиговой прибор и приложения к нему заданной нормальной нагрузки сдвиг следует производить немедленно, не дожидаясь завершения вертикальной деформации. При этом, если предварительное уплотнение осуществлялось под водой, необходимо перед разгрузкой образца в приборе предварительного уплотнения откачать воду из стакана, чтобы исключить набухание грунта. Сдвиг связных грунтов следует проводить без воды. Интенсивность сдвигающей нагрузки должна быть такой, чтобы сдвиг произошел не более чем за 1 - 3 мин.

При ступенчатом приложении нагрузки (гирями) очередную ступень следует прикладывать, не дожидаясь прекращения деформации от предыдущей ступени. Достаточно убедиться, что деформация сдвига, регистрируемая мессурой, носит затухающий характер. Это устанавливается путем сопоставления четырех-пяти отсчетов по мессуре, взятых с интервалом 3 - 5 с.

При использовании ступенчатой нагрузки целесообразно принимать небольшие ступени - 100 - 200 г на рычаг в зависимости от консистенции грунта. Сдвиг считается завершенным в случае получения незатухающей деформации, заканчивающейся срывом образца. При применении автоматического записывающего устройства момент сдвига определяется непосредственно по диаграмме.

Немедленно после завершения сдвига и извлечения образца из зоны сдвига отбирают пробы грунта на влажность. Если произошел срыв, то пробы следует отбирать из обеих половинок образца.

Для замедления отжатия воды из образцов, испытываемых в приборах прямого сдвига без предварительного уплотнения или под нагрузками, превышающими нагрузки предварительного уплотнения, торцы образца следует закрывать резиновыми кружками.

В случае применения для испытаний грунта приборов трехосного сжатия принципы подготовки образцов и проведения испытаний остаются теми же. Различие заключается в том, что по результатам стабилометрических испытаний строят зависимости вертикального напряжения р1 в момент разрушения образца от величины влажности для двух-трех значений бокового давления р2. Далее с полученного графика p1 = f) для нескольких значений влажности снимают значения p1, соответствующие тому или иному значению p2; по полученным значениям строят круги Мора и, проводя к ним касательные, определяют величины сцепления и угла трения обычным порядком, после чего строят искомые зависимости

cω = f(ω) и φω = f(ω).

Для получения ориентировочных данных о сопротивляемости слабых грунтов сдвигу в состоянии, соответствующем их природной плотности и заданной влажности, при недостаточном количестве образцов на первой стадии проектирования может применяться методика быстрых сдвигов.

Обработка результатов испытаний на сдвиг. Результаты испытаний наносят в виде точек на сетку координат, где по оси абсцисс откладывают влажность грунта ω в зоне сдвига, а по оси ординат - сопротивляемость сдвигу Spω. Точки, отвечающие одной и той же нормальной нагрузке при сдвиге, обозначают одинаково. Далее через точки с одинаковыми обозначениями проводят осредняющие кривые, каждая из которых представляет собой зависимость сопротивляемости грунта сдвигу при данной нормальной нагрузке S = f(ω) (рис. 13, а). Построенные по точкам графики необходимо проэкстраполировать до значения исходной влажности. Для построения указанного графика рекомендуется использовать полулогарифмическую сетку координат: влажность откладывается в линейном масштабе, а сопротивляемость сдвигу - в логарифмическом. В этом случае зависимости представляют собой прямые линии.

Рис. 13. Пример обработки сдвиговых испытаний

Полученный график перестраивают в зависимость сопротивляемости от нормальной нагрузки для различных влажностей S = f(ω). Через точки проводят осредненные прямые, соответствующие двучленной линейной зависимости Spω = f(ω) (см. рис. 13, б). Параметры их соответствуют искомым сдвиговым характеристикам грунта φω, cω и определяются графически. Затем строят искомые зависимости cω = f(ω) и φω = f(ω), также прибегая к осредняющим кривым (см. рис. 13, в). Последние зависимости являются конечным результатом обработки экспериментальных данных.

Значение φω следует устанавливать с точностью до 30 мин, а cω - до второго знака после запятой в МПа (кгс/см2). Зависимости cω = f(ω) и φω = f(ω) для торфяного грунта даны на рис. 14.

Рис. 14. Графики зависимости cω = f(ω) и φω = f(ω) для торфяного грунта

Определение параметров Σω и cc при G ≥ 0,9. Существуют два метода разделения полного сцепления cω на соответствующие Σω и cc: повторного сдвига и сдвига «плашки по плашке».

В соответствии с первым методом испытывают две серии образцов: первую - обычным порядком, а во второй каждый образец предварительно сдвигается в срезывателе прибора любым способом по возможности быстро. После сдвига подвижную каретку прибора возвращают в исходное положение и осуществляют повторный сдвиг образца. Предварительный срез образцов следует выполнять при минимальной нагрузке, принятой для испытания. Обработку результатов повторного сдвига ведут так же, как и при первом сдвиге. Величину cc находят как разность между cω, получаемой при однократном сдвиге, и cω, получаемой при повторном сдвиге.

В методе сдвига «плашки по плашке» вместо серии с повторным сдвигом проводят серию испытаний образцов, разрезанных по плоскости сдвига (в срезывателе прибора или в специальной обойме с помощью проволоки). При этом необходимо обеспечить горизонтальность поверхности среза (строгую ориентацию ее по направлению сдвигающего усилия).

Каждый из разрезанных образцов помещают в сдвиговой прибор (предварительно соединив половники), прикладывают выбранную нормальную нагрузку, и немедленно осуществляют сдвиг.

Обработку результатов ведут обычным методом. Величину cс устанавливают по разности сцепления, определенного для неразрезанных cω и для разрезанных Σω образцов.

Определение условных показателей сопротивляемости сдвигу φ и c′ (консолидированный сдвиг). Обобщенные условные показатели сопротивляемости сдвигу φ′ и cимеют сложный физический смысл и отвечают не плотности грунта в момент его сдвига, а условию 100 %-ной консолидации грунта под действием заданного напряженного состояния.

Определение показателей φ′ и c′ регламентируется ГОСТ 12248-78*. Основные особенности методики этого испытания по сравнению с методикой установления истинных параметров сдвига cω и φω заключаются в следующем. cи φ определяют по результатам испытания на сдвиг образцов после предварительного уплотнения под нагрузками, обычно превышающими 0,1 МПа (1 кгс/см2).

Для испытания выбирают не менее трех нагрузок предварительного уплотнения, являющихся одновременно и нормальными нагрузками при сдвиге. Каждую нагрузку предварительного уплотнения передают на грунт ступенями, величина и количество которых зависят от исходной консистенции грунта и величины нагрузки.

Для глинистых грунтов, имеющих консистенцию 0,75 ≤ B ≤ 1, следует принимать ступени 0,01; 0,03 (0,1; 0,3) и далее по 0,05 МПа (0,5 кгс/см2), а имеющих B < 0,75 и для песчаных грунтов - ступени по 0,05 МПа (0,5 кгс/см2) до нагрузки 0,3 МПа (3 кгс/см2) и далее по 0,1 МПа (1 кгс/см2). Каждую ступень нагрузки выдерживают не менее 5 мин для песчаных грунтов и 30 мин для глинистых грунтов. Конечную ступень нагрузки выдерживают до момента, когда интенсивность сжатия образца не будет превышать 0,01 мм за 30 мин для песчаных грунтов, 3 ч для супесей и 12 ч для суглинков и глин.

Сдвигающую нагрузку можно прикладывать ступенями или непрерывно; в первом случае каждая ступень не должна превышать 5 % величины нормального напряжения. Следующую ступень прикладывают, если скорость деформации сдвига не превышает 0,01 мм/мин. При непрерывном нагружении скорость деформации сдвига должна быть равна 0,01 мм/мин. При каждой нормальной нагрузке должно быть не менее двух параллельных определений.

При ступенчатом нагружении деформацию сдвига фиксируют с помощью мессуры. За величину сопротивляемости грунта сдвигу принимают нагрузку, вызывающую срыв образца по поверхности скольжения.

Если срыв происходит при деформации сдвига более 5 мм, то за сопротивляемость сдвигу принимают нагрузку, при которой в опыте была достигнута деформация сдвига, равная 5 мм.

Рис. 15. График для определения cи φ′ торфяного грунта

Результаты испытаний (в данном случае торфяного образца) наносят на график с осями «нормальная нагрузка» - абсцисса; «сопротивляемость сдвигу» - ордината (рис. 15). Через экспериментальные точки проводят осредняющую прямую. Угол наклона ее к оси абсцисс определяет φ′, а отрезок, отсекаемый на оси ординат - c. После сдвига из зоны сдвига следует брать контрольные пробы на влажность.

ПРИЛОЖЕНИЕ 4

ВЫДЕЛЕНИЕ РАСЧЕТНЫХ СЛОЕВ И ОПРЕДЕЛЕНИЕ РАСЧЕТНЫХ ЗНАЧЕНИЙ ФИЗИКО-МЕХАНИЧЕСКИХ ХАРАКТЕРИСТИК ГРУНТОВ

Предварительно слабую толщу разделяют на отдельные расчетные слои на основе геологического разреза, получаемого по результатам бурения с визуальной оценкой грунтов по качественным признакам.

Для уточнения границ выделенных слоев и дальнейшей детализации расчленения толщи необходимо использовать данные статического зондирования, а также всю совокупность полученных данных о свойствах грунтов в пределах слабой толщи.

С этой целью на геологический разрез наносят кривые удельного сопротивления зондированию, сопротивляемости сдвигу по крыльчатке и основные показатели состава и состояния грунтов (рис. 1). В качестве последних для болотных грунтов целесообразно использовать природную влажность.

Рис. 1. Графики изменения по глубине удельного сопротивления зондированию и сопротивляемости сдвигу по крыльчатке

а - геологический разрез; б - удельное сопротивление зондированию; в - сопротивляемость сдвигу; 1 - древесно-осоковый торф; 2 - тростниковый торф; 3 - сапропель; 4 - мергель; 5 - мелкий песок

После выделения расчетных слоев по полученным графикам определяют расчетные значения физико-механических свойств грунтов в пределах того или иного слоя, оценивают однородность выделенных расчетных слоев с точки зрения инженерно-геологических свойств грунтов этих слоев и при необходимости уточняют их границы.

Обработку материалов начинают с построения для выделенного расчетного слоя графиков рассеяния показателей физико-механических свойств грунта.

График рассеяния имеет одну ось, на которой в произвольно выбранном, но удобном для нанесения точек масштабе, нанесена шкала обрабатываемого показателя свойств (рис. 2).

Рис. 2. Пример статистической обработки показателей физико-механических свойств болотных грунтов

а - графики рассеяния; б - полигон распределения

Графическая обработка показателей и методы математических расчетов разбираются на примере обработки сопротивляемости торфа сдвигу по результатам испытаний крыльчаткой на одном из болот, данные по которому представлены в табл. 1.

Таблица 1. Данные испытаний на участке болота

Местоположение, км + м

№ поперечника

Глубина, м

Сопротивление сдвигу болотного грунта в скважинах по испытаниям крыльчаткой, МПа

С-1

С-2

С-2

1037 + 275

2

0,2

0,015

0,015

0,0161

0,3

0,018

0,0178

0,0171

0,4

0,0231

0,0236

0,0215

0,5

0,0265

0,026

0,0268

0,6

0,0242

0,0248

0,0272

0,7

0,023

0,024

0,0293

0,8

0,0252

0,026

0,0281

0,9

0,024

0,0241

0,0254

1

0,022

0,021

0,285

1,1

0,0217

0,0195

0,0277 (2)

1,2

0,0186

0,0184

0,0217

1,3

0,0178

0,0175

0,0206

1,4

0,018

0,0184

0,0189

1,5

0,0188

0,0182

0,0175

1,6

0,019

0,0194

0,0187

1,7

0,0184

0,0192

0,0238

1,8

0,0196

0,0196

0,0171

1,9

0,0191

0,019

0,0169

2

0,0196

0,0194

0,0164

2,1

0,0185

0,0187

0,0196

2,2

0,0175

0,0195

0,0292 (3)

2,3

0,0189

0,0179

0,0157

2,4

0,0211

0,0201

0,016

2,5

0,0205

0,0191

0,0147

2,6

0,021

0,0203

0,0256 (1)

2,7

0,023

0,0235

0,0268

2,8

0,0234

0,0241

0,024

2,9

0,0237

0,0242

0,0248

3

0,025

0,0269

0,0237

Примечания: 1. Жирной чертой выделены границы слоев. 2. Цифры в скобках - номера точек на графике рассеяния (см. рис. 2, а).

Частные значения сопротивления сдвигу торфа показаны на графике точками (см. рис. 2, а).

График рассеяния служит основой для построения полигона распределения (см. рис. 2, б) показателей в частотах или частостях. Ось графика рассеяния делят на 8 - 10 равных по величине интервалов (классов) с таким расчетом, чтобы в каждый интервал (за исключением крайних) попали точки, т.е. чтобы не было пустых классов. Число точек, попавших в отдельные классы, носит название «частоты». Частоты выписывают в специальную графу (см. рис. 2, а) над графиком рассеяния. Точки, попавшие на границы классов, делятся поровну и при подсчетах частот разносятся по соседним классам, а в случае нечетного их количества «лишнюю» точку следует отнести в класс, тяготеющий к центру графика рассеяния.

Сумма частот должна быть равна количеству определений обрабатываемого показателя; она записывается над графиком рассеяния.

Точкам, попавшим в один класс, присваивают одинаковые значения, равные среднему значению данного класса.

При построении полигона распределения частоты наблюдений данного показателя откладывают напротив середины интервалов и полученные точки соединяют прямыми (см. рис. 2, б). Для удобства полигон распределения строят ниже графика рассеяния.

Четко выраженный максимум в центре полигона распределения и закономерное симметрическое изменение показателя в обе стороны от максимума свидетельствуют о нормальном законе распределения (законе Гаусса) показателей свойств грунтов. При резком нарушении симметрии графика распределения необходимо проводить проверку нормальности распределения. Однако многочисленные проверки показывают, что распределение показателей свойств грунта за редким исключением подчиняется закону нормального распределения и отклонения от него свидетельствуют об ошибках, допущенных при выделении единообразных инженерно-геологических слоев.

Дальнейшая обработка результатов заключается в оценке однородности слоя с точки зрения данной характеристики (оценка разброса значений рассматриваемой характеристики), в установлении значения, характеризующего всю совокупность экспериментально полученных результатов определения этой характеристики (нормативное значение), и в установлении расчетного значения рассматриваемого показателя.

Обработку можно вести подробным или упрощенным способом в зависимости от конкретных условий.

Подробный способ обработки результатов и определение расчетных значений характеристик

Определение числовых характеристик статистического распределения. Любое значение искомого показателя, вычисленное на основе ограниченного числа опытов, всегда содержит элемент случайности. В качестве оценки истинного значения измеряемой величины при нормальном законе распределения принимают среднее арифметическое значение результатов измерений х

,                                                (1)

где х1, x2, ..., хn - частные значения измеряемой величины; п - число измерений.

Для ускорения вычислений x используют график рассеяния. В этом случае среднее арифметическое значение показателя вычисляют упрощенным методом по формулам:

,                                                            (2)

,                                                           (3)

,                                                             (4)

где h - ширина интервалов; α - условная средняя величина, близкая к .

Обычно за α принимают середину какого-либо интервала вблизи от центра распределения; di - количество интервалов между xi и di; m - количество интервалов (классов) на графике рассеяния; xi - среднее значение показателя в i-м интервале; Ni - частота в iинтервале; N - сумма частот, которая равна общему числу измерений данного показателя.

Среднее арифметическое значение рассчитывают под полигоном распределения в следующей последовательности:

выбирают в качестве условного начала α среднюю точку одного из интервалов вблизи от центра распределения;

вычисляют отклонение di от условного начала;

умножают отклонение каждого интервала di на частоту Ni с учетом знаков (Ni, di);

находят алгебраическую сумму ΣNidi;

делят эту сумму на общую сумму частот и получают поправку dn, выраженную в терминах интервалов;

определяют величину среднего арифметического x по формуле (2).

Для контроля повторно вычисляют среднее арифметическое при другом значении условного среднего α, взятого в соседнем интервале.

Вторая важная статистическая характеристика - мера рассеяния показателей относительно среднего арифметического значения. При одном и том же значении последнего может быть совершенно различный разброс данных. О степени неоднородности грунта по какому-либо показателю дают представление характеристики рассеяния - среднее квадратичное отклонение и коэффициент вариации. Чем больше значения этих характеристик, тем разнороднее грунт по данному показателю.

Среднее квадратичное отклонение σ для ограниченного числа опытных данных вычисляют по формуле

,                                                        (5)

где m - число интервалов; xi - среднее значение показателя в iинтервале; Ni - частота в i-м интервале.

Квадрат среднего квадратичного отклонения σ2 называется дисперсией. Для облегчения вычисления σ можно воспользоваться условной средней α и расчетами, выполненными при вычислении среднего арифметического . В этом случае дисперсию вычисляют по формуле

,                                                    (6)

где μ1 и μ2 - условные начальные моменты, равные:

;                                                       (7)

,                                                        (8)

где h - ширина интервала; N - число измерений.

Пример вычисления среднего арифметического и среднего квадратичного отклонения (см. рис. 2) приведен ниже.

Чтобы оценить относительную степень изменчивости показателя, среднее квадратичное отклонение сопоставляют со средним арифметическим значением. Такой показатель относительной изменчивости называется коэффициентом вариации и представляет собой отношение среднего квадратичного отклонения к среднему арифметическому значению, выраженное в процентах,

.                                                              (9)

В практике исследования болотных грунтов обычно считают, что при Kв ≤ 20 % грунт по прочностным показателям является однородным, а при Kв > 20 % еоднородным.

Среднее квадратичное отклонение σ является мерой рассеяния отдельного измерения. Очевидно, важнее знать, насколько может уклоняться от истинного значения x среднее арифметическое x данных измерений. Ошибку, допущенную при измерении среднего арифметического , можно определить по формуле

,                                                                (10)

где  - средняя квадратическая ошибка серии измерений (ошибка среднего арифметического).

Вычисление характеристик статистического распределения

Скважина 1

класса.............

1

2

3

4

5

6

7

8

9

10

Частоты Ni..........

1

2

3

4

2

1

1

2

1

1

Отклонение di....

-2

-1

0

1

2

3

4

5

6

7

Nidi.......................

-2

-2

0

4

4

3

4

10

6

7

Nid2i......................

4

2

0

4

8

9

16

100

36

49

ΣNidi = 34; α = 0,185; h = 0,005; dn = 34 / 18 = 1,89; d = 1,89 · 0,005 = 0,009;

 = 0,185 + 0,009 = 0,194; ΣNid2i = 228; μ1 = 34 / 18 = 1,89; μ2 = 228 / 18 = 12,7;

σ21 = (12,7 - 1,892) · 0,0052 · 18 / (18 - 1) = 0,000235; σ1 = 0,015;

Kв = 0,015 / 0,194 · 100 = 7,7 %;  %

Скважина 2

№ класса...................

1

2

3

4

5

6

7

8

Частоты Ni................

1

2

3

3

5

1

1

1

Отклонение di..........

-3

-2

-1

0

1

2

3

4

Nidi.............................

-3

-4

-3

0

5

2

3

4

Nid2i...........................

9

8

3

0

5

4

9

10

Σidi = 4; α = 0,19; h = 0,005; dn = 4 / 17 = 0,236; d = 0,235 · 0,005 = 0,0001;

 = 0,19 + 0,0008 = 0,89; ΣNid2i = 54; μ1 = 4 / 17 = 0,235; μ2 = 54 / 17 = 3,17;

σ22 = (3,17 - 0,2352) · 0,0052 · 17 / (17 - 1) = 0,000077; σ2 = 0,0009,

Kв = 0,009 / 0,19 · 100 = 4,7 %;  %

Скважина 3

№ класса...........................

1

2

3

4

5

6

Частоты Ni.........................

1

4

4

2

1

1

Отклонение di...................

-2

-1

0

1

2

3

Nidi.....................................

-2

-4

0

2

2

3

Nid2i....................................

4

4

0

2

4

9

ΣNidi = 1; α = 0,18; h = 0,02; dn = 1 / 13 = 0,077; d = 0,077 · 0,02 = 0,002;

 = 0,18 + 0,002 = 0,182; ΣNid2i = 23; μ1 = 0,077; μ2 = 23 / 13 = 1,77;

σ2 = (1,77 - 0,0772) · 13 / 12 · 0,022 = 0,00077; σ = 0,028, Kв = 0,028 / 0,182 · 100 = 15,4 %;

 %; N2 = 16; Kв = 23,5 %.

Определение расчетных показателей

Средневзвешенное значение сопротивляемости сдвигу и дисперсии слоя на поперечнике

σ2ср = (18 · 0,000235 + 17 · 0,000077 + 13 · 0,00077) / (18 + 17 + 13) = 0,00032;

σср = 0,0018 МПа (0,018 кгс/см2).

Средневзвешенное значение коэффициента вариации сопротивляемости сдвигу слоя

Kв = 0,018 / 0,19 · 100 = 9,5 %.

Зная среднее арифметическое и размер его ошибки, можно судить о достоверности вычисленного среднего значения  по величине показателя точности

.                                         (11)

Учитывая выражение (11), получим зависимость для определения показателя точности

.                                                          (12)

Точность вычисления среднего арифметического зависит от числа измерений (количества частных показателей). Точность вычисления можно считать достаточной, если  = 15 %.

Выявление и исключение грубых ошибок

Если серия из небольшого числа измерений содержит грубую погрешность - промах, то наличие этого промаха может сильно исказить среднее значение измеряемой величины и границы доверительного интервала. Поэтому из окончательного результата необходимо исключить этот промах. Обычно промах имеет резко отличающееся от других измерений значение. Но пока не проверено, не является ли это отклонение следствием статистического разброса, определить это измерение как промах нельзя. Для определения грубых ошибок, полученных вследствие нарушенности структуры образцов, каких-либо включений, а в ряде случаев описок в журнале испытаний, можно использовать коэффициент вариации показателя.

При Kв > 20 % выскакивающее значение следует подвергнуть анализу с целью выяснения, относятся ли они к грубым ошибкам измерений (промахам) или характеризуют другой слой.

В условиях данного примера коэффициент вариации сопротивляемости сдвигу не выходит за пределы 20 %, поэтому все измерения должны быть приняты при вычислении статистических характеристик. Результаты испытаний крыльчаткой (скважина 3) в трех случаях выходят за доверительные пределы, в связи с чем их исключают и при расчете средних значений данного слоя не учитывают. Анализ показал, что точка 3 является промахом, а точки 1 и 2 относятся к другим слоям, иначе результаты среднего значения сопротивляемости сдвигу и погрешности измерения будут искажены. В частности, при учете выскакивающих значений получены следующие статистические характеристики прочности торфа:  = 0,02 МПа (0,201 кгс/см3); σ3 = 0,0047 МПа (0,047 кгс/см2), Kв = 23,5 %, а после исключения выскакивающих значений  = 0,0182 МПа (0,182 кгс/см2); σ3 = 0,0028 МПа (0,028 кгс/см2), Kв = 15,4 %, т.е. Kв ≤ 20 %, и слой торфа можно считать однородным по прочности.

Только при более или менее симметричном характере распределения значений изучаемого показателя отскоки можно не принимать в расчет. В противном случае выяснить причины отскоков: не относятся ли они к какому-либо пропущенному (не подвергнутому детальному исследованию) слою, имеющему важное значение для оценки устойчивости сооружения.

Числовые характеристики статистического распределения показателей слабых грунтов

Для однородного слоя в целом

Выше был рассмотрен вопрос определения статистических характеристик физико-механических показателей грунта, значения которых определены с одинаковой точностью (равноточные измерения). Применительно к грунтам это значит, что приведенные формулы можно использовать для вычисления характеристик статистического распределения того или иного показателя грунта, который получен по результатам испытаний образцов в пределах однородного слоя из одной выработки (скважины, шурфа).

Результаты испытаний грунтов, отобранных из нескольких выработок, нельзя считать равноточными в силу возможной неоднородности грунта по простиранию. В этом случае в качестве оценки истинного значения показателя грунта всего слоя принимают средневзвешенное значение

,                                         (13)

где pi = 1 / σ2i - веса измерений; x - средневзвешенное значение показателя для однородного слоя; xi - среднеарифметические значения показателя отдельных выработок.

Средневзвешенное значение дисперсии однородного слоя определяют по формуле

σ2ср = (n1σ21 + n2σ22 + n3σ23) / (n1 + n2 + n3),                                (14)

где n1, n2, n3 - количество измерений показателя для отдельных скважин в пределах рассматриваемого слоя; σ1, σ2, σ3 - дисперсии соответствующих показателей.

В рассматриваемом примере средневзвешенное значение сопротивляемости сдвигу слоя в пределах поперечника равно:

x = (4250 · 0,194 + 1300 · 0,19 + 1300 · 0,182) / (4250 + 13000 + 1300) = 0,019 МПа (0,19 кгс/см2);

x1 = 0,194; x2 = 0,19; x3 = 0,0182 МПа (0,182 кгс/см2); p1 = 1 / σ21 = 4250; р2 = 1 / σ22 = 13000; p3 = 1 / σ23 = 1300; σcp = 0,0018 МПа (0,018 кгс/см2).

Kв = 0,018 / 0,19 · 100 = 9,5 %.

Средневзвешенное значение показателей болотных грунтов, найденное по формуле (14), можно использовать как оценку истинного значения показателя механических свойств грунтов, характеризующих прочность (сопротивляемость сдвигу), деформативность (сжимаемость) и скорость уплотнения грунта во времени.

Для слоистой толщи в целом

Толща болотных грунтов, как правило, не бывает однородной, а состоит из нескольких слоев. Каждый слой грунта характеризуется своими физико-механическими показателями. В некоторых случаях возникает необходимость осреднять значения того или иного параметра для толщи в целом.

Опыт показывает, что с достаточной для практических целей точностью слоистую толщу можно характеризовать общим средневзвешенным значением показателя, приписывая каждому значению xсл в качестве веса его толщину Hi

.                             (15)

В качестве примера рассмотрим поперечный профиль болота, представленного тремя слоями: каждый слой характеризуется средневзвешенной плотностью сухого грунта (торфа)  = 0,14 г/см3,  = 0,15 г/см3,  = 0,16 г/см3 и мощностью слоев H1 = 1,8, H2 = 1,2, H3 = 1,6 м.

Средневзвешенное значение плотности торфяной толщи в целом определим по формуле (15)

 г/см3.

Вероятностно-статистический метод назначения расчетных характеристик болотных грунтов

Для определения расчетных значений характеристик грунтов целесообразно применять непосредственно вероятностно-статистические методы определения расчетных характеристик, назначая надежность расчетных показателей (доверительную вероятность) в зависимости от категории автомобильной дороги.

Расчетные характеристики болотных грунтов определяют по формуле

Aр = Aн ± εα,                                                             (16)

где Aр - расчетное значение показателя; Aн - нормативное значение показателя; εα - отклонение нормативного значения показателя от его истинного значения (половина ширины доверительного интервала);

,                                                         (17)

где tα - коэффициент Стьюдента, определяемый по графику (см. рис. 5 основного текста) в зависимости от заданной доверительной вероятности (коэффициента надежности) α и числа измерений; σ - среднее квадратичное отклонение; N - число измерений.

При измерении расчетных характеристик состава и состояния грунтов - коэффициент надежности α назначают по п. 2.44 (основного текста) в зависимости от категории проектируемой дороги.

При определении расчетных значений прочностных характеристик грунтов (сцепления и угла внутреннего трения, сопротивляемости сдвигу по крыльчатке и т.п.) коэффициент надежности принимают равным 0,99 независимо от категории проектируемой дороги.

Из формулы (16) видно, что расчетное значение показателя зависит от заданного коэффициента надежности и будет принимать значения в интервале с доверительными границами (Aн - εα; Aн + εα). В качестве расчетного значения следует принимать наименее выгодное значение показателя.

Так, например, для сопротивляемости сдвигу следует принимать значение Aн - εα, а для влажности Aн + εα.

Пример 1. Определим расчетное значение сопротивляемости грунта сдвигу cn = 0,019 МПа (0,19 кгс/см2); σ = 0,0018 МПа (0,018 кгс/см2); N = 48. Принимаем коэффициент надежности α = 0,99; tα = 2,68 (рис. 5 основного текста). По формуле (17) находим

 МПа (0,07 кгс/см2).

Доверительный интервал значений сопротивляемости сдвигу равен 0,019 - 0,0077 МПа (0,19 - 0,007 кгс/см2) или 0,0183 - 0,0197 МПа (0,183 - 0,197 кгс/см2). В качестве расчетного значения следует принять наименьшее значение, т.е. cрасч = 0,0183 МПа, (0,183 кгс/см2).

Пример 2. Требуется определить расчетную влажность слабого грунта, используемого в качестве основания дорог III категории. Все расчеты характеристик статистического распределения приведены на рис. 3.

Рис. 3. График для определения расчетной влажности болотных грунтов вероятностно-статистическим методом

а - график рассеяния; б - полигон распределения

Вычисление характеристики статического распределения:

№ класса......................

1

2

3

4

5

6

7

Частоты Ni....................

1

1

4

9

3

1

1

Отклонение di..............

-2

-1

0

1

2

3

4

Nidi................................

-2

-1

0

9

6

3

4

Nid2i...............................

4

1

0

9

12

9

16

ΣNidi = 19; α = 550 %; h = 10 %; dn = 19 / 20 = 0,95; d = 0,95 · 10 = 9,5;  = 550 + 9,5 = 559,5 ≈ 560; ΣNid2i = 48; μ1 = 19 / 20 = 0,95; μ2 = 48 / 20 = 2,40; σ2 = (2,40 - 0,952) · 102 · 20 / (20 - 1) = 152; σ = 12,3 ≈ 12; Kв = 12 / 560 · 100 = 2,14 %;  %.

Расчетная влажность:

α = 0,80; tα = 1,328; εα = 4 %; ωрасч = 564 %;

α = 0,90; tα = 1,729; εα = 5 %; ωрасч = 565 %;

α = 0,95; tα = 2,09; εα = 6 %; ωрасч = 566 %.

В результате этих расчетов получено: ωпр = 560 %; σ = 12 %; N = 20. Для дороги III категории α = 0,8, следовательно, tα = 1,328.

По формуле (17) определяем

 %.

Доверительный интервал значений влажности равен 556 - 564 %. В качестве расчетного значения следует принять менее выгодное, т.е. ωрасч = 564 %.

Принимая соответственно коэффициент надежности α = 0,9 и α = 0,95, получим следующие значения расчетной влажности:

 %; ωрасч = 565 %;

 %; ωрасч = 566 %.

Определим расчетное значение влажности, предполагая, что испытано не 20, а 6 образцов. В этом случае получим:

 %; ωрасч = 567 %;

 %; ωрасч = 570 %;

 %; ωрасч = 573 %.

Расчеты свидетельствуют о влиянии числа испытаний на размеры доверительного интервала. Чем меньше число измерений, тем больше доверительный интервал при данном коэффициенте надежности, одно из граничных значений которого принимают в качестве расчетного значения показателя.

Упрощенный способ обработки и определения расчетных значений показателей физико-механических свойств грунтов

При упрощенном способе слой считают однородным, если не менее 90 % значений рассматриваемой характеристики лежит в пределах условно устанавливаемых границ. Последние можно назначать, например, с учетом составленных таблиц физико-механических свойств для данного вида болотного грунта. Например, применительно к торфяным грунтам допустимый диапазон измерения природной влажности в однородном слое можно принять равным диапазону изменения влажности в пределах одной разновидности грунта (см. табл. 2 основного текста).

В качестве природной влажности определяют среднемедианное значение ее непосредственно по графику рассеяния (рис. 4), соответствующее экспериментальной точке, расположенной в середине ряда, считая снизу или сверху. Например, при 15 экспериментальных точках среднемедианное значение будет соответствовать восьмой точке, отсчитываемой снизу (или сверху). При четном количестве точек за среднемедианное принимают среднее значение между двумя точками в середине ряда. Например, при 16 точках среднее значение будет между 8-й и 9-й точками.

Рис. 4. График рассеяния значений природной влажности торфяного слоя

При определении среднемедианного значения графики рассеяния предварительно подвергают анализу и при наличии явно отскакивающих точек их в расчет не принимают (если таких точек не более 10 % от общего количества). Среднемедианное значение принимают за нормативную величину данной характеристики.

Рис. 5. График для определения гарантированной частости Σгар в зависимости от числа определений п показателей физико-механических свойств грунтов

Рис. 6. График накопленной частости значений природной влажности торфяного слоя

За расчетное значение данной характеристики принимают величину, зависящую от так называемой гарантированной частости Σгар, определяемой по графику (рис. 5). По величине Σгар, используя интегральный график накопленной частости (рис. 6), определяют расчетное значение характеристики. При этом необходимо учитывать характер определяемого параметра, чтобы расчетное значение в одних случаях оказалось больше (влажность), а в других меньше (прочность) среднемедианного значения.

ПРИЛОЖЕНИЕ 5

ОТБОР ОБРАЗЦОВ, УПАКОВКА, ТРАНСПОРТИРОВАНИЕ И ХРАНЕНИЕ

Образцы грунта (нарушенной и ненарушенной структуры) отбирают из скважины или шурфов.

Образцы с ненарушенным сложением (монолиты) отбирают из буровых скважин в специальные жесткие гильзы, располагаемые внутри грунтоноса. Гильзы изготовляют из металла (жести) или из плотного картона, пропитанного парафином.

Открытые поверхности образца грунта закрывают крышками или марлей, пропитанной парафином. Перед изоляцией открытых поверхностей образца на верхнюю поверхность кладут этикетку, кроме того, этикетку кладут на боковую поверхность в процессе парафинирования монолита.

Если гильза изготовлена из картона, то после отбора образца следует обернуть гильзу с образцом несколькими слоями марли и запарафинировать. Нарушенные образцы грунтов, в которых требуется сохранить естественную влажность, укладывают в металлические или пластмассовые банки (бюксы) с герметически закрывающимися крышками. Для сохранения влажности образца грунта горловинную часть банки, закрытую крышкой, следует запарафинировать. Для герметизации по стыку крышки бюкса с корпусом приклеивают также хлорвиниловую изоляционную ленту.

При заложении шурфов на поверхности земли намечают лопатой прямоугольник следующих размеров: 80 × 170 см - при отборе образцов с глубины 1 - 2 м и 40 × 60 см с глубины 50 - 70 см.

Затем по абрису прямоугольника копают яму так, чтобы не испортить «лицевой» стенки (одна из коротких стенок); на противоположной стороне шурфа делают ступени. Воду, поступающую в шурф, удаляют. Каждый заложенный шурф регистрируют в полевом журнале.

На лицевой стенке шурфа вырезают образцы грунта ненарушенной структуры в форме прямоугольного параллелепипеда или куба с размерами сторон не менее 100 и не более 250 мм и сразу отмечают «верх».

В целях сохранения естественной влажности грунта монолита на месте отбора его немедленно изолируют от наружного воздуха парафинированием. С этой целью образец обматывают двумя слоями марли (пористый образец заворачивают в целлофан или полиэтиленовую пленку) и парафинируют. Первый слой парафина рекомендуется наносить щеткой, а затем образец несколько раз погружают в расплавленный парафин до тех пор, пока толщина оболочки парафина будет не менее 2 - 3 мм; до завертывания образца в марлю на верхнюю его поверхность кладут этикетку, пропитанную парафином, второй экземпляр этикетки, смоченный парафином, наклеивают сверху запарафинированного образца.

В целях увеличения пластичности в парафин желательно добавлять воск (20 - 25 % по массе), канифоль (5 - 10 %) и минеральное масло (3 - 5 %).

Для отбора монолитов в шурфах могут быть применены специальные металлические ящики (см. рисунок), которые состоят из металлического корпуса толщиной 1,5 - 2 мм, съемных крышек с уплотнительными прокладками и стяжных болтов.

Рис. Тара для образцов слабых грунтов

а - ящик для отбора монолитов; б - цилиндр для отбора монолитов.

К стенкам ящика приварены две ручки для удобства переноса и извлечения ящика с монолитом из шурфа.

Процесс отбора монолита с помощью металлического ящика. На устроенный выступ (на заданной глубине отбора) к узкой стенке шурфа ставят ящик, который залавливают в торфяной грунт таким образом, чтобы верх ящика оказался ниже поверхности грунта.

Затем осторожно острым ножом или лопатой монолит с ящиком подрезают и извлекают из шурфа.

Излишки торфа сверху и снизу срезают заподлицо со стенками ящика, кладут этикетку монолита и закрывают ящик крышками с уплотнительными прокладками.

Образцы грунтов для отправки в лаборатории, расположенные на значительном расстоянии от места отбора образцов, упаковывают в деревянные ящики, вмещающие не более 30 кг. Образцы укладывают плотно, заполняя свободное пространство древесными опилками, стружками и т.п. Образцы хранят в помещении при температуре воздуха не ниже 2 и не выше 20 °С. При этом срок хранения, как правило, не должен превышать 30 сут, считая со дня отбора образца до производства лабораторных испытаний.

ПРИЛОЖЕНИЕ 6

ГРАФИКИ ДЛЯ ОПРЕДЕЛЕНИЯ НАПРЯЖЕНИЙ В ОСНОВАНИИ НАСЫПИ ТРАПЕЦЕИДАЛЬНОГО ОЧЕРТАНИЯ

Графики (рис. 1 - 15) позволяют определить величину большего и меньшего главных напряжений, возникающих в заданной точке грунтового массива от нагрузки, приложенной к поверхности и распределенной по закону равнобочной трапеции.

Рис. 1. Расчетная схема нагрузки

Рис. 2. Графики значений α1 = σ1 / p0 при 2a/B = 0,2

Рис. 3. Графики значений α2 = σ2 / p0 при 2a/B = 0,2

Рис. 4. Графики значений α1 = σ1 / p0 при 2a/B = 1

Рис. 5. Графики значений α2 = σ2 / p0 при 2a/B = 1

Рис. 6. Графики значений α1 = σ1 / p0 при 2a/B = 1,6

Рис. 7. Графики значений α2 = σ2 / p0 при 2a/B = 1,6

Рис. 8. Графики значений α1 = σ1 / p0 при 2a/B = 3

Рис. 9. Графики значений α2 = σ2 / p0 при 2a/B = 3

Рис. 10. Графики значений α1 = σ1 / p0 при 2a/B = 6

Рис. 11. Графики значений α2 = σ2 / p0 при 2a/B = 6

Рис. 12. Графики значений α1 = σ1 / p0 при 2a/B = 10

Рис. 13. Графики значений α2 = σ2 / p0 при 2a/B = 10

Рис. 14. Графики значений α1 = σ1 / p0 при 2a/B = 30

Рис. 15. Графики значений α2 = σ2 / p0 при 2a/B = 30

Для точки с заданными относительными координатами - U = z/b и ω = x/b (где z и x - соответственно вертикальная и горизонтальная координаты точки в абсолютных единицах) при заданной характеристике очертания эпюры нагрузки 2a/B по графикам устанавливают значения главных напряжений σ1 и σ2 в долях от нагрузки на поверхности p0

α1 = σ1 / p0 и α2 = σ2 / p0

Значения α1 и α2 определяют непосредственно по изолиниям или по интерполяции.

ПРИЛОЖЕНИЕ 7

ПРИМЕР РАСЧЕТА КОНСТРУКЦИИ НАСЫПИ НА СЛАБОМ ОСНОВАНИИ

Исходные данные. Насыпь (рис. 1): расчетная высота 4 м; ширина поверху 12 м; откосы 1:1,5; плотность грунта насыпи 2 т/м3; то же, во взвешенном состоянии - 1 т/м3.

Основание насыпи: торф средней зольности, слабоволокнистый, средней влажности, мощностью 4 м; плотность торфа 0,94 т/м3. Горизонт грунтовых вод совпадает с поверхностью толщи.

Слабая толща подстилается глиной твердой консистенции, т.е. дренирование одностороннее.

Рис. 1. Расчетный поперечник

Компрессионные и консолидационные кривые, а также зависимость сцепления и угла внутреннего трения от влажности торфяного грунта представлены в прил. 3.

Расчетный срок службы автомобильной дороги Tсл = 20 лет, покрытие капитального типа.

Расчет конструкции насыпи на слабом основании может быть выполнен по упрощенной методике и по уточненной в зависимости от категории дороги и сложности инженерно-геологических условий.

В первом случае при прогнозе устойчивости, величины осадки слабого основания и времени завершения ее интенсивной части расчетные показатели механических свойств грунтов основания определяются непосредственно по опытным кривым, полученным по результатам испытаний в лаборатории представительных образцов на компрессию, консолидацию и сдвиг при уплотнении их под расчетными нагрузками.

Во втором случае при проектировании конструкции насыпи на слабом основании расчетные показатели механических свойств грунтов основания определяются по уточненным компрессионным и консолидационным кривым, полученным в результате дополнительной обработки опытных кривых, с учетом характера изменения их за период срока службы дорожной конструкции.

Расчет конструкции насыпи на слабом основании по упрощенной методике

1. Расчет конечной величины осадки

Расчет конечной осадки слоя торфа проводим исходя из условий одномерной задачи по формуле

 или S = 0,001epzH,                                      (1)

где S - осадка, м; epzi - модуль осадки по компрессионной кривой, соответствующей расчетной нагрузке, мм/м (для расчетных слоев); H - мощность торфа, м (H1 - мощность отдельных слоев).

Проверим, есть ли необходимость делить слой торфа на несколько слоев, отличающихся по величине вертикальных нормальных напряжений и деформативности. С этой целью сравним величины нормальных напряжений на верхней и нижней границах слоя торфа.

Нагрузка от насыпи заданной высоты на поверхности слоя торфа составит p0 = 4 · 2 · 9,8 = 0,08 МПа (0,8 кгс/см2).

При ширине насыпи поверху 12, высоте 4 м и откосах 1:1,5 a = 1,5 · 4 = 6 м; 2a/B = 1.

Для слоя торфа, для которого z/B/2 = 4/6 = 0,67 по оси симметрии по прил. 6 находим α = pz/p0 = 0,97, таким образом pz = 0,97 × 0,08 = 0,0766 МПа (0,776 кгс/см2).

По напряженному состоянию слой торфа однороден.

Выделим три различных нагрузки: соответствующую половине нагрузки от насыпи заданной высоты, полную и в два раза большую, а именно 0,04; 0,08; 0,16 МПа (0,4; 0,8; 1,6 кгс/см2).

Если на поверхность слоя торфа приложить указанные нагрузки, то на нижней грани слоя по оси симметрии вертикальные нормальные напряжения составят: 0,04 · 0,97 = 0,039 МПа (0,39 кгс/см2); 0,08 · 0,97 = 0,078 МПа (0,78 кгс/см2); 0,16 · 0,97 = 0,155 МПа (1,55 кгс/см2).

По расчетной компрессионной кривой ep = f(p) находим ep, соответствующие расчетным нагрузкам (см. кривая 1, рис. 8 прил. 3).

Из таблицы видно, что модули осадки для верхней и нижней грани слоя торфа в принятом диапазоне нагрузок практически не меняются, так как различия составляют менее 10 %, т.е. слой торфа однороден и его можно не делить на расчетные слои. Для расчета величины осадки применяется графоаналитический метод. С этой целью определяем величину осадки слоя торфа при нескольких (ранее выбранных) значениях p:

p = 0,04 МПа (0,4 кгс/см2); S = cpziH = 295 · 4 = 118 см;

p = 0,08 МПа (0,8 кгс/см2); S = 447 · 4 = 178,8 см;

p = 0,16 МПа (1,6 кгс/см2); S = 544 · 4 = 217,6 см;

pz, МПа (кгс/см2)

ep, мм/м

еp среднее, мм/м

0,04 (0,4)

300

295

0,039 (0,39)

290

0,08 (0,8)

450

447

0,078 (0,78)

445

0,16 (1,6)

545

544

0,155 (1,55)

542

Полученные значения наносим на сетку координат S = f(p) (рис. 2).

Рис. 2. Определение расчетной осадки и нагрузки

На ту же сетку координат необходимо нанести линию, выражающую зависимость нагрузки на основание от величины осадки p = f(S).

Определим эту зависимость. Поскольку в данном случае уровень грунтовых вод совпадает с поверхностью земли, то зависимость p = f(S) выражается формулой

p0 = γнh + γвзвнS,                                                               (2)

где γн - удельный вес грунта насыпи; γвзвн - то же, с учетом взвешивания; S - осадка; h - высота насыпи.

p0 = (2 · 4 + 0,1 · S) · 9,8 МПа;

при S = 0 м p0 = 0,08 МПа (0,8 кгс/см2);

S = 1 м p0 = 0,09 МПа (0,9 кгс/см2).

Наносим эту зависимость на график на рис. 2. По точке пересечения зависимостей S = f(p) и p = f(S) определяем конечную нагрузку и расчетную осадку: Sрасч = 1,8 м, pрасч = 0,098 МПа (0,98 кгс/см2).

2. Проверка устойчивости основания

Устойчивость основания оцениваем по величине коэффициента безопасности в соответствии с п. 3.6 основного текста.

kбез = pбез / pрасч.                                                      (3)

Расчет на быструю отсыпку проводим следующим образом. Расчетная нагрузка составит pрасч = γн(hрасч + sкон) = 2 · 9,8(4 + 1,8) = 0,116 МПа (1,16 кгс/см2). Безопасная нагрузка для условий быстрой отсыпки исходя из прочностных свойств грунта равна

pначбез = (cнач + γztgφнач) / β.                                           (4)

Так как плотность торфа во взвешенном состоянии близка к нулю, то в данном случае формула упрощается

pначбез = cнач / β.                                                       (5)

Для определения β необходимо рассчитать 2a/B и z/b. В данном случае величина 2a/B = 2 · (4 · 1,5) / 12 = 1; z/b = 4 / 12 = 0,33.

В природном состоянии влажность торфа составляет ω = 600 %. По графикам рис. 14 (прил. 3) значения сцепления и угла внутреннего трения, соответствующие указанной влажности, составляют: cωнач = 0,017 МПа (0,17 кгс/см2); φωнач = 7°.

Далее по графикам 6 и 7 основного текста определяем для 2a/B = 1 и z/b = 0,33 коэффициент β, который составляет 0,275. За расчетный коэффициент β может быть принят β = 0,275 для z = 4 м, так как эта величина максимальная для всего слоя.

Безопасная нагрузка для слоя торфа составит pбез = 0,017 / 0,275 = 0,062 МПа (0,62 кгс/см3).

Коэффициент безопасности в данном случае равен kбез = 0,062 / 0,116 < 1.

Следовательно, устойчивость насыпи при быстрой отсыпке не обеспечена. В этом случае необходимо проверить устойчивость основания при медленной отсыпке.

При медленной отсыпке насыпи за расчетные значения прочностных характеристик cω и φω принимают значения, соответствующие влажности грунта при полном уплотнении под нагрузкой от веса насыпи.

Расчетная величина нагрузки, определенная при расчете конечной осадки, составляет 0,098 МПа (0,98 кгс/см2).

По компрессионной кривой вида ω = f(p) (см. рис. 8, прил. 3) находим влажность грунта, соответствующую расчетной нагрузке, ω = 350 %. По графику рис. 14 (прил. 3) определяем расчетные значения cконω и φконω, соответствующие этой влажности: cконω = 0,041 МПа (0,41 кгс/см2) и φконω = 13,7°.

Далее определяем значения функции β для слоя торфа при φ = 13,7 %. При V = 4 / 12 = 0,33 и 2a/B = 1 по графикам рис. 6 и 7 основного текста, интерполируя значения β для φ = 10° и φ = 15°, находим β = 0,171. Безопасная нагрузка составит pконбез = 0,041 / 0,171 = 0,24 МПа (2,4 кгс/см2).

Коэффициент безопасности в данном случае равен kбез = 0,24 / 0,098 > 1.

Таким образом, при медленной отсыпке насыпи устойчивость основания обеспечена.

Слабый грунт может быть использован в качестве основания, но необходимо решить вопрос о режиме отсыпки насыпи и времени завершения интенсивной части осадки.

3. Расчет осадки во времени

Время завершения первичной осадки, как было отмечено, может быть рассчитано по нескольким расчетным формулам, предопределяющим объем испытаний образцов грунта основания на консолидацию.

Для расчета по формуле T1 = bλpH2ф по опытной консолидационной кривой находим, что завершение первичной осадки соответствует λ = 0,4. По графику tλ = f(h2ф) см2 (см. рис. 12, прил. 3) определяем консолидационный параметр bλp = 5 мин/см2.

По вышеприведенной формуле T1 = 5(400)2 = 853930 мин = 1,6 г.

Таким образом, время завершения первичной осадки составляет 1,6 года.

Определим время завершения заданной степени консолидации, например, U = 70 %. Осадка, соответствующая U = 70 %, составляет 1,26 м, а относительная осадка λ = 1,26 / 4 = 0,31.

По графику рис. 12, прил. 3 находим консолидационный параметр bλp для λ = 0,31; bλp = 1 мин/см2. Отсюда TU = 70 % = 1,1 · 4002 = 176000 мин =133 сут.

Для ориентировочных расчетов прогноз хода осадки во времени (в данном примере времени завершения первичной осадки) может быть осуществлен по формулам теории фильтрационной консолидации.

С этой целью определяем коэффициент консолидации по опытным кривым консолидации образца грунта основания, уплотненного под расчетной нагрузкой (см. рис. 11, прил. 3) по формуле

Ck = 1,13h2ф / tстаб,                                                          (6)

где tстаб - время завершения первичной осадки.

 см2/ч.

Время завершения фильтрационной осадки слоя торфа мощностью 4 м при односторонней фильтрации составит Tстаб = 1,13 · 4002 / 14,16 = 1,13 · 160000 / 14,16 = 1360,4 ч = 1,45 г.

Расчет конструкции насыпи на слабом основании по уточненной методике

1. Расчет конечной величины осадки

По компрессионным и консолидационным зависимостям определяем расчетное значение модуля осадки eрасчр с учетом срока службы дорожной конструкции по формуле

eрасчp = eI + 1000mplg(tрасч / tI),                                             (7)

где eI - модуль первичной осадки; mp - консолидационный параметр; tI - время завершения первичной осадки; tрасч - расчетное время, определенное по формуле

tpacч = Tсл(hф / Hф)2,                                                   (8)

где hф и Hф - путь фильтрации воды соответственно из образца и из слоя.

В данном случае tрасч = 20 · 525200 · (2 / 400)2 = 262 мин.

Задаваясь несколькими величинами нагрузок, рассчитаем eрасчр. При p = 0,05 МПа (0,5 кгс/см2) eрасчр =290 + 1000 · 0,04lg(262) / 50 = 318 мм/м; p = 0,10 МПа (1,0 кгс/см2); eрасчp = 390 + 1000 × 0,056lg(262/50) = 430 мм/м; p = 0,15 МПа (1,5 кгс/см2) eрасчp = 440 + 1000 · 0,05lg(262 / 50) = 476 мм/м.

Полученные значения наносят на сетку «e - p» и получают зависимость расчетного модуля осадки от нагрузки, т.е. расчетную компрессионную кривую (кривая 3, рис. 8, прил. 3).

Величину осадки определяем по формуле (32) основного текста.

S = 0,001ΣepziHi.

При имеющемся соотношении ширины подошвы насыпи понизу к мощности слабого слоя можно принять, что слой однороден по глубине по напряженному состоянию, т.е. расчет следует вести в соответствии с указанным выше пунктом по формуле

S = 0,001epzH.

Для расчета осадки насыпи применяем также графоаналитический метод, согласно которому необходимо определить расчетную нагрузку в зависимости от осадки насыпи p = f(S) и зависимость осадки от нагрузки S = f(p).

Расчетную нагрузку определяем по формуле (см. п. 3.8):

p = γнh + γвзвнS,

где γн - удельный вес грунта насыпи; γвзвн - то же, с учетом взвешивания; h - высота насыпи; S - осадка. При S = 0 p = 2 · 4 = 8 т/м2 = 0,08 МПа (0,8 кгс/см2). При S = 1 и p = (2 · 4) + (2 - 1) · 19,8 = 0,09 МПа (0,9 кгс/см2).

Далее определяем осадку слабого основания под различной нагрузкой от веса насыпи с использованием расчетного модуля осадки торфа.

При p = 0,05 МПа (0,5 кгс/см2) eрасчp = 318 мм/м, S = 0,001 · 318 · 4 = 1,27 м; p = 0,1 МПа (1 кгс/см2); eрасчp = 430 мм/м, S = 0,001 · 430 · 4 = 1,72 м; p = 0,15 МПа (1,5 кгс/см2); eрасчp = 476 мм/м, S = 0,001 · 476 · 4 = 1,9 м.

Рис. 3. Расчет осадки графоаналитическим методом

Результаты наносят на сетку координат «S - p» ис. 3), получая кривую S = f(p) и прямую p = f(S). Точка пересечения указанных зависимостей определит расчетные осадку и нагрузку: Sрасч = 1,68 м и pрасч = 0,097 МПа (0,97 кгс/см2).

2. Расчет устойчивости основания

Расчет устойчивости основания может быть выполнен по аналогии с вышеизложенным. Однако при оценке устойчивости основания при медленной отсыпке в качестве расчетных показателей прочностных свойств грунтов могут быть приняты величины «кажущиеся» сцепления и угла внутреннего трения грунта, полученные в опыте с полной консолидацией, соответствующие состоянию грунта при полном уплотнении под расчетной нагрузкой. В данном примере c′ = 0,011 МПа (0,11 кгс/см2), φ = 30°.

По графикам рис. 6, 7 основного текста находим при V = 0,33 коэффициент β = 0,108, отсюда pконбез = 0,011 / 0,108 = 0,102 МПа (1,02 кгс/см2).

Определяем

kбез = pконбез / pрасч = 0,102 / 0,097 = 1,05.

Таким образом, расчет устойчивости показал, что в данном случае торфяной слой может быть использован в качестве основания принятой конструкции при условии медленной отсыпки насыпи.

3. Прогноз осадки во времени

Прогноз осадки по времени слабого основания под нагрузкой от веса насыпи осуществляем по перечисленным выше формулам, но расчетные показатели следует определять по исправленным кривым консолидации, полученным после соответствующей обработки опытных кривых (см. рис. 12, прил. 3).

Дальнейший расчет выполняется по аналогии с вышеприведенным.

В тех случаях, когда необходимо оценить интенсивность осадки к моменту окончания строительного перерыва и началу устройства дорожной одежды, выполняется следующий расчет.

Задаемся несколькими значениями λi (λ1, λ2, λ3, λ4) и определяем по кривой консолидации для данного грунта соответствующее время ti (t1, t2, t3, t4).

Если прогноз осадки во времени осуществляется по теории фильтрационной консолидации, то время завершения реальным слоем Ti заданных величин относительной деформации λi определяем по формуле

Ti = ti(Hф / hф)2.                                                         (9)

По полученным значениям строим кривую осадки во времени.

Если прогноз осадки во времени осуществляется, с учетом вторичной осадки, то время завершения реальным слоем Ti заданных величин относительной деформации λi определяем по формуле

lgT = (λ - λI) / mp + lgTI.                                                (10)

По найденным парам значений λi - Ti строится кривая осадки реального слоя во времени.

По полученной кривой Ti = f(λi) может быть определена интенсивность уплотнения на заданный период времени ΔT по формуле

v = (λ2 - λ1)H / ΔT.                                                     (11)

ПРИЛОЖЕНИЕ 8

ОРИЕНТИРОВОЧНЫЙ РАСЧЕТ ОБЪЕМА ЗЕМЛЯНЫХ РАБОТ С УЧЕТОМ ОСАДКИ НАСЫПИ

Увеличение объема земляных работ за счет осадки слабого основания под нагрузкой от веса насыпи может быть определено по графику на рисунке.

Рис. Номограмма для расчета объема земляных работ

ПРИЛОЖЕНИЕ 9

ПРИМЕР РАСЧЕТА ВЕЛИЧИНЫ ВРЕМЕННОЙ ПРИГРУЗКИ

Исходные данные. Насыпь: расчетная высота 2, ширина поверху 12 м - откосы 1:1,5; плотность грунта насыпи 2 т/м3; расчетная нагрузка на основание от насыпи после завершения осадки 0,05 МПа (0,5 кгс/см2).

Основание насыпи: слабая толща сложена торфом средней зольности, слабоволокнистым, средней влажности.

Мощность слабой толщи 3 м. Слабая толща подстилается мелкозернистым песком (т.е. отжатие воды при уплотнении - двухстороннее).

Консолидационные кривые торфяного грунта представлены на рис. 9 и 11, прил. 3.

Требуется рассчитать величину временной пригрузки, которая обеспечит достижение относительной осадки слабого слоя, λкон = 0,3 (что соответствует степени уплотнения основания U = 90 %) за время Tстаб = 7 мес.

По кривым консолидации образца высотой h = 2 см устанавливаем время tрасч, достижения расчетной относительной осадки λрасч = 0,3 при различных нагрузках и двух путях фильтрации; строим графики зависимости lgtрасч = f(p) (рис. 1).

Рис. 1. Зависимость времени достижения λрасч = 0,3 от нагрузки

По графикам устанавливаем величины tрасч = 650 мин и tрасч = 1350 мин, отвечающие расчетной нагрузке pрасч = 0,05 МПа (0,5 кгс/см2) соответственно при двух- и одностороннем отжатии воды.

Затем строим график зависимости времени достижения расчетной относительной деформации λ = 0,3 от квадрата высоты образца tрасч = f(h2ф) (рис. 2). По этому графику находим значения параметров aλp = 417 мин и bλp = 233 мин/см2, отвечающие расчетной осадке λрасч = 0,3 и расчетной нагрузке pрасч = 0,05 МПа (0,5 кгс/см2).

Рис. 2. Зависимость времени достижения расчетной относительной деформации от квадрата высоты образца

Время достижения относительной осадки λрасч = 0,3 лабораторного образца (путь фильтрации hф = h / 2 = 1 см), соответствующие требуемому времени Ттреб = 7 мес достижения расчетной осадки (λрасч = 0,3) реальным слоем, определим по формуле

 мин.           (1)

По графику tрасч = f(p) для h = hф / 2 = 1 см (см. рис. 1) устанавливаем величину уплотняющей нагрузки pтреб = 0,07 МПа (0,7 кгс/см2), отвечающую найденному времени tтреб = 37,6 мин.

Величина временной нагрузки

pприг = pтреб - pрасч = 0,07 - 0,05 = 0,02 МПа (0,2 кгс/см2).

Графоаналитический способ. Для определения величины временной пригрузки используем приближенную зависимость T = f(p)

T = (aλ + bλH2ф) / (p - pλ).                                            (2)

Определим параметры aλ, bλ, pλ.

По кривой консолидации образца высотой 2 см под расчетной нагрузкой pрасч = 0,05 МПа (0,5 кгс/см2) при двухстороннем отжатии воды устанавливаем время, соответствующее λрасч = 0,3, tрасч = 650 мин.

По кривой консолидации образца под нагрузкой p1 = 0,1 МПа (1 кгс/см2) при двухстороннем отжатии воды устанавливаем время, соответствующее λрасч = 0,3, t1 = 14 мин.

Из уравнения находим

 МПа (0,488 кгс/см2).       (3)

По кривой консолидации образца (см. рис. 1) под нагрузкой pрасч = 0,05 МПа (0,5 кгс/см2) при одностороннем отжатии воды устанавливаем время t2 = 1350 мин достижения λрасч = 0,3.

Параметры aλ и bλ находим из выражений:

aλ = (pрасч - pλ) · (4tрасч - t2) / 3 = (0,05 - 0,0488) · (4 · 650 - 1350) / 3 = 0,5 мин · МПа,   (4)

bλ = [(t2 - tрасч)(pрасч - pλ)] / 0,75h2 = [(1350 - 650)(0,05 - 0,0483)] / 3 = 0,28 мин/см2 · МПа.                                                                                                                                     (5)

Устанавливаем величину временной пригрузки

pприг = [(aλ + bλH2ф) / Tтреб] + (pλ - pрасч) = (0,5 + 0,28 · 1502) / 303100 + 0,0488 - 0,05 = 0,0196 МПа.

Таким образом, согласно расчету нагрузка от временной пригрузки на основание должна быть равна 0,02 МПа (0,2 кгс/см2). При плотности грунта насыпи 2 т3 для обеспечения этой нагрузки должен быть отсыпан слой грунта толщиной 1 м.

ПРИЛОЖЕНИЕ 10

ПРИМЕР РАСЧЕТА ОСНОВАНИЯ С ОПЕРТЫМИ ВЕРТИКАЛЬНЫМИ ДРЕНАМИ

Исходные данные. Автомобильная дорога III категории с асфальтобетонным покрытием.

Насыпь: высота 2, ширина поверху 12 м; заложение откосов m = 2:3; плотность грунта насыпи 2 т/м3.

Основание насыпи: слабая толща сложена шестиметровым слоем торфа средней зольности, слабоволокнистым, средней влажности. Слабая толща подстилается моренной супесью с коэффициентом фильтрации Kф = 0,01 м/сут.

Условия отжатия воды - односторонняя фильтрация. Горизонт грунтовых вод совпадает с поверхностью. Компрессионные и консолидационные кривые торфа даны на рисунке, а, б. Фильтрационная способность торфа при вертикальной и горизонтальной фильтрации одинакова.

Рис. График для определения

а - расчетной нагрузки и осадки; б - хода осадки во времени

Требуется рассчитать диаметр и шаг дрен, обеспечивающих достижение расчетной осадки или требуемой степени консолидации основания 90 % за 9 мес.

Расчет. Расчетную нагрузку на основание определяем по формуле

pрасч = γнhрасч + (γн - γвзв)Sрасч.                                            (1)

Величина нагрузки на основание при S = 0 и S = 2 м составит соответственно 0,04 и 0,06 МПа (0,4 и 0,6 кгс/см2).

Точка пересечения графиков зависимостей S = f(p) и p = f(S) (см. рисунок) отвечает расчетной нагрузке pрасч = 0,054 МПа (0,54 кгс/см2) и расчетной осадке Sрасч = 1,4 м. Расчет проводим, задавшись диаметром обсадной трубы d = 0,4 м и расположением дрен по квадратной сетке с шагом l = 3 м.

Эффективный диаметр дрены D = 1,13, l = 3,4 м. Величина сближения n = D / d = 3,4 / 0,4 = 8,5.

Согласно результатам испытаний на консолидацию, время завершения 90 %-ной фильтрационной осадки образца высотой 20 мм при одностороннем оттоке воды под нагрузкой 0,06 МПа (0,6 кгс/см2) составит 30 мин.

Определяем коэффициент консолидации торфа (см. рис. 1, б)

C = KUH2 / tU = 0,85 · 6 / 30 = 0,17 см2/мин = 10,2 см2/ч.                       (2)

Фактор времени при горизонтальной фильтрации

Tг = CT / l2 = 10,2 · 9 · 30 · 24 / 3402 = 0,57.                                     (3)

Фактор времени при вертикальной фильтрации

Tв = CT / H2 = 10,2 · 9 · 24 / 6002 = 0,18.                                        (4)

По графику (см. рис. 16 основного текста) при n = 8,5 Uг = 88, Uв = 37 %.

Общую степень консолидации основания определяем по формуле Uобщ= 100 - 0,01 (100 - Uг)(100 - Uв) = 100 - 0,01(100 - 88)(100 - 37) = 92 %, что достаточно близко к заданному значению Uтр = 90 %.

Следовательно, устройство вертикальных дрен диаметром 400 мм, с шагом 3 м позволяет за 9 мес достигнуть 92 %-ной консолидации слоя торфа.

ПРИЛОЖЕНИЕ 11

РАСЧЕТ РЕЖИМА ВОЗВЕДЕНИЯ НАСЫПИ

Выражение, связывающее расчетную влажность слабой толщи (влажность на горизонте z = нф, где нф - максимальный путь фильтрации отжимаемой воды) с осадкой ее поверхности, имеет вид

ωt = ωн - (1,57St / Sкон - 0,57)(ωнач - ωкон),                                   (1)

где St - осадка поверхности основания на момент t; Sкон - конечная осадка при расчетной нагрузке; ωнач - ωкон - начальная и конечная влажность грунта под расчетной нагрузкой.

Расчет режима возведения насыпи с использованием указанной зависимости осуществляют графоаналитическим способом в следующей последовательности.

Задаются четырьмя значениями осадки St:

St1 = 0,67 м; St2 = 0,84 м; St3 = 1,17 м; St4 = 1,51 м.

По вышеприведенному выражению вычисляют влажность, соответствующую моменту достижения осадок:

ωt1 = [6,28 - (1,57 · 0,67 / 1,68 - 0,57)(6,28 - 3,62)] · 100 = 612 %;

ωt2 = [6,28 - (1,57 · 0,84 / 1,68 - 0,57)(6,28 - 3,62)] · 100 = 571 %;

ωt3 = [6,28 - (1,57 · 1,17 / 1,68 - 0,57)(6,18 - 3,62)] · 100 = 487 %;

ωt4 = [6,28 - (1,57 · 1,51 / 1,68 - 0,57)(6,28 - 3,62)] · 100 = 405 %.

Для данного примера формула для расчета безопасной нагрузки имеет вид

pбезz = cω / β.                                                            (2)

По кривой cω = f(ω) (см. рис. 14, прил. 3) определяют cω для полученных влажностей.

При 2a/B = 1 V = 0,33 и β = 0,275.

pбезt1 = 0,019 / 0,275 = 0,066 МПа (0,66 кгс/см2);

pбезt2 = 0,02 / 0,275 = 0,07 МПа (0,7 кгс/см2);

pбезt3 = 0,027 / 0,275 = 0,09 МПа (0,9 кгс/см2);

pбезt4 = 0,036 / 0,275 = 0,13 МПа (1,3 кгс/см2);

pбезt5 = 0,04 / 0,275 = 0,145 МПа (1,45 кгс/см2).

Наносят зависимость S = f(pбез) на график (см. рисунок, а) и получают кривую АВСДЕ.

Рис. График для определения

а - ступеней нагрузки при наиболее рациональном режиме отсыпки насыпи; б - времени выдерживания различных ступеней нагрузки по кривым осадки во времени в зависимости от нагрузки p, МПа

Величина фактически действующей нагрузки не должна быть ниже безопасной более чем на 10 %, и нагрузка в процессе осадки слоя должна снижаться не более чем на 10 %. Для того, чтобы удобнее было контролировать эти условия, строят кривую, абсциссы точек которой не отличаются более чем на 10 % от кривой S = f(pбез). Получают кривую А′В′С′Д′Е¢.

Безопасная нагрузка на основание в его природном состоянии с учетом расположения расчетного горизонта на нижней грани слоя равна 0,062 МПа (0,62 кгс/см2). При удельном весе грунта насыпи γн = 2 · 9,8 Н/м3 на основание можно отсыпать сразу слой толщиной

hнач = pначбез / γн = 0,062 / 2 · 9,8 = 3,1 м.                                   (3)

Нагрузка от насыпного слоя по мере уплотнения (роста осадки) будет снижаться вследствие проявления эффекта взвешивания в соответствии с линейной зависимостью

p = hначγн - Sγвзвн.                                                       (4)

При S1 = 0 p1 = 3,1 · 2 · 9,8 = 0,062 МПа (0,62 кгс/см2); S2 = 0,5 м p2 = (3,1 · 2 - 0,5 · 1) · 9,8 = 0,057 МПа (0,57 кгс/см2); S3 = 1 м p3 = (3,1 · 2 - 1 · 1) · 9,8 = 0,052 МПа (0,52 кгс/см2).

Полученные значения наносят на график, получают прямую АМ.

В соответствии с расчетом осадки конечная осадка слоя торфа мощностью 4 м составляет 1,68 м и нагрузка 0,096 МПа (0,96 кгс/см2). Эту точку наносят на график. Получают точку F, которая является конечной точкой графика зависимости нагрузки, действующей на основание в процессе осадки после отсыпки полного объема грунта.

Эта зависимость выражается в данном случае формулой р = pнач - Sγвзвн. Наносим эту зависимость на график, для чего через точку F проводим прямую, параллельную прямой AM. Отрезок FpN представляет собой конечный участок искомой фактической зависимости нагрузки от осадки при наиболее рациональном режиме загружения.

Нагрузка от первоначально отсыпанного слоя составит 90 % безопасной нагрузки при осадке 0,48 м (точка p1). В этот момент необходимо повысить нагрузку до величины безопасной нагрузки p3. После этого нагрузка будет снова постепенно снижаться в процессе осадки (линия p2M1) и достигнет величины 90 % безопасной при осадке 0,76 м. Рассуждая аналогично, получают ломаную линию p1p1, p2p2, p3p3, ..., p8p8, представляющую собой искомую реальную зависимость нагрузки от осадки.

Полученный график показывает, какими ступенями можно прикладывать нагрузку на основание из условия обеспечения устойчивости на наиболее опасном горизонте. Далее определяют толщину слоев (см. таблицу).

№ слоя

Нагрузка, МПа (кгс/см2)

Толщина слоев, м

Общая толщина, м

1

0,062 (0,62)

3,1

-

2

0,064 (0,64)

0,4

3,5

3 и т.д.

0,069 (0,69)

0,5

3,9

Насыпь из условия обеспечения устойчивости может отсыпаться рассчитанными слоями.

Далее определяют время выдерживания каждого слоя, используя кривые консолидации (см. рисунок, б). Первая ступень должна быть выдержана до достижения осадки 0,48 м. Откладывают на оси ординат S = 0,48 м и проводят горизонтальную пунктирную линию до пересечения с кривой, отвечающей нагрузке p = 0,06 МПа (0,6 кгс/см2). Получают точку, которой соответствует время примерно 3 мес. Это и будет необходимое время выдерживания первой ступени нагрузки. Далее можно отсыпать второй слой, повысить нагрузку до 0,064 МПа (0,64 кгс/см2). При этом грунт основания будет уже консолидироваться в соответствии с кривой, отвечающей нагрузке p = 0,07 МПа (0,7 кгс/см2) до достижения осадки 0,76 м. Время воздействия этой ступени составит 5 - 3 = 2 мес. После достижения осадки 0,76 м нагрузка может быть увеличена до 0,075 МПа (0,75 кгс/см2). Грунт основания будет уплотняться в соответствии с кривой, отвечающей нагрузке p = 0,08 МПа (0,8 кгс/см2). Время достижения этой осадки составит 6 мес. Аналогично строят график далее до достижения величины первичной осадки.

ПРИЛОЖЕНИЕ 12

ПРИМЕР ОРИЕНТИРОВОЧНОГО ОПРЕДЕЛЕНИЯ РАЗМЕРОВ БОКОВЫХ ПРИГРУЗОЧНЫХ БЕРМ

Исходные данные. Насыпь: высота 6 м; ширина поверху 12 м; крутизна откосов 1:1,5; плотность грунта насыпи 2 т3. Основание насыпи представлено двухметровым слоем торфа средней зольности, слабоволокнистым средней влажности и восьмиметровым слоем иольдиевых глин III разновидности, подстилаемых плотной супесью (рис. 1). Сопротивляемость сдвигу торфяного грунта в природном состоянии cусл = 0,02 МПа (0,2 кгс/см2), а в состоянии полного уплотнения под нагрузкой от веса насыпи сцепление составляет cω = 0,03 МПа (0,3 кгс/см2) и угол внутреннего трения φω = 12°. Сопротивляемость сдвигу иольдиевых глин в природном состоянии cусл = 0,01 МПа (0,1 кгс/см2), а в состоянии полного уплотнения под воздействием нагрузки от насыпи cω = 0,018 МПа (0,18 кгс/см2) и φω = 10°. Супесь, подстилающая иольдиевую глину, имеет сопротивляемость сдвигу в природном состоянии более 0,1 МПа (1,0 кгс/см2). Расчеты показали, что безопасная нагрузка для основания при быстрой отсыпке pбез = 0,035 МПа (0,35 кгс/см2) и регламентируется слоем иольдиевой глины, расчетная осадка насыпи составляет 1 м, а безопасная нагрузка при медленной отсыпке pбез - 0,08 МПа (0,8 кгс/см2).

Рис. 1. Расчетный поперечник

1 - торф; 2 - иольдиевая глина; 3 - супесь

При осадке в 1 м фактическая нагрузка на основание при быстрой отсыпке составит p = (6 + 1) · 2 · 9,8 = 0,14 МПа (1,4 кгс/см2) и при медленной отсыпке (считая горизонт грунтовых вод совпадающим с поверхностью земли) p = (6 · 2 + 1 · 1) · 9,8 = 0,13 МПа (1,3 кгс/см2).

Отсюда коэффициент безопасности при быстрой отсыпке kначбез = 0,035 / 0,14 = 0,25, а при медленной отсыпке kконбез = 0,08 / 0,13 = 0,69 < 1, т.е. устойчивость основания при заданной конструкции насыпи не обеспечена.

Требуется обеспечить устойчивость основания путем устройства боковых пригрузочных берм и определить ориентировочно размеры берм, полагая, что плотность грунта берм выше уровня воды равна 1,8 т/м3, при расчете на медленную отсыпку.

Расчет. Устанавливаем ориентировочно требуемую высоту пригрузочных берм, используя формулу

hтреб = (p0 - pбезпрср = (0,13 - 0,08) / (1,8 · 9,8) = 2,8 м.

Полагая приближенно, что увеличение сцепления и угла внутреннего трения при уплотнении грунта основания нагрузкой от веса насыпи пропорционально величине этой нагрузки (т.е. толщине насыпного слоя), получаем, что сцепление грунта основания под бермами при полном уплотнении от их веса составит (учитывая, что при высоте насыпи 6 м cкон = 0,018 МПа (0,18 кгс/см2) cкон = 0,01 + [(0,018 - 0,01) / 6] 2,8 = 0,014 МПа (0,14 кгс/см2).

При высоте насыпи 6 м конечная величина угла внутреннего трения равна 10°. Полагая аналогично, что величина угла внутреннего трения пропорциональна толщине насыпного слоя, получаем при толщине 2,8 м (считая φнач = 0).

φкон = [(10 - 0) / 6] · 2,8  5°.

При полученных значениях φкон и cкон определяем по формуле (62 основного текста) максимальную высоту пригрузочных берм, допустимую с точки зрения устойчивости основания под самими бермами hmax = 3,27 · 0,14 / 1,8 = 2,9 м, что больше требуемой высоты (2,8 м). Таким образом, конструкция с пригрузочными бермами высотой 2,8 м может быть осуществлена.

Определяем требуемую длину пригрузочных берм. Для этого предварительно вычислим величину bср и определим α: bср = 2 · 12 + 2 · 6 · 1,5 / 2 · 2 = 10,5 м.

Величину α устанавливаем по формуле (66) основного текста. При этом в расчет вводим значения φ и c, соответствующие грунту, расположенному под бермами в состоянии полного уплотнения под нагрузкой от их веса, т. принимаем c = 0,014 МПа (0,14 кгс/см2) и φ = 5°. Вычисляем c / p0cosφ = 0,108 и sinφ / π = 0,0873 / 3,14 = 0,0278.

Наносим зависимость у1 = α sin φ / π + c / p0cos φ = α · 0,0278 + 0,108 на график рис. 2 и по первой слева точке пересечения построенных прямой и кривой y2 = sinα / π определяем величину α = 22°.

Рис. 2. График зависимостей y1 = f1(α), y2 = f2(α)

Вычисляем величину Hmax

Hmax = bcp · (cos α + 0,8) / sin α = 10,5[(0,925 + 0,8) / 0,375] = 10,5 · 4,6 = 48,5 м.      (1)

Так как H = 10 м < 48,5 м, то для определения длины берм используем формулу

 м.                               (2)

Таким образом, устройство пригрузочных берм высотой 2,8 и длиной 26 м должно обеспечить устойчивость насыпи проектной высоты при условии медленной отсыпки.

Полученные результаты следует проверить и при необходимости уточнить, применяя метод расчета устойчивости по круглоцилиндрическим поверхностям скольжения.

ПРИЛОЖЕНИЕ 13

МЕТОДИКА РАСЧЕТА ДРЕН ИЗ ГЕОТЕКСТИЛЬНОГО МАТЕРИАЛА

Вертикальные текстильные дрены представляют собой ленты из текстильного материала, вертикально помещаемые в грунт. Они применяются в тех же условиях, что и вертикальные песчаные дрены, и также в комплексе с временной пригрузкой.

Исходными данными для расчета консолидации слабого основания с вертикальными текстильными дренами являются:

коэффициент фильтрации дрен в продольном направлении;

размеры и площадь поперечного сечения дрены;

мощность слабого основания или, в случае многослойного основания, мощность каждого из слагающих его слоев в отдельности;

условия отжатия воды из основания (односторонняя или двусторонняя фильтрация);

результаты испытаний грунтов основания на компрессию и консолидацию;

физико-механические характеристики грунтов основания;

требуемая степень консолидации основания и время ее достижения (задается исходя из сроков строительства).

До начала расчета необходимо выделить слои слабого основания по составу и состоянию слагающих их грунтов на основании геологического разреза, полученного по результатам бурения. Для каждого слоя определяют расчетные значения физико-механических характеристик грунтов в пределах того или иного слоя, оценивают однородность выделенных слоев и назначают расчетные слои.

Для определения коэффициентов консолидации и фильтрации необходимо провести компрессионные и консолидационные испытания. Эти испытания проводятся по стандартной методике для каждого слабого слоя отдельно (см. прил. 2, 3). При приближенном расчете достаточно определения коэффициентов консолидации и фильтрации только при вертикальном потоке во всей консолидируемой области. Более точный расчет требует определения данных коэффициентов при радиальном потоке. Они определяются по данным консолидационных испытаний, при этом грунт в кольцо компрессионного прибора должен отбираться поперек слоя.

Коэффициенты консолидации определяются по выражению

Cn = (T90h2i)t90,                                                        (1)

где hi - половина высоты образца грунта при двухсторонней фильтрации и высота образца - при односторонней; Т - фактор времени, соответствующий 90 % консолидации грунта; t90 - время 90 % фильтрационной консолидации грунта.

Для расчета слоистого основания рекомендуется использовать приведенные коэффициенты консолидации и фильтрации, определяемые по следующим формулам

,                                                   (2)

где Cв - коэффициент консолидации при вертикальном фильтрационном потоке по всей консолидируемой области; n - число направлений вертикального дренирования (n = 1 при одностороннем дренировании и n = 2 при двухстороннем дренировании); hi - толщина каждого i-го слабого слоя основания; Cвi - коэффициент консолидации каждого слабого слоя.

,                                                  (3)

где Kв - коэффициент фильтрации при вертикальном фильтрационном потоке по всей консолидируемой области; Kвi - коэффициент фильтрации каждого i-го слабого слоя основания.

Расчет ведется следующим образом.

Дрены располагаются по треугольной или квадратной сетке. Расстояние между дренами (шаг дрен) назначается сначала ориентировочно в пределах 1 - 2 м, а затем окончательно устанавливается подбором, исходя из заданного срока консолидации. Предварительно определяется диаметр зоны влияния дрены: dв = l,05l - треугольная сетка, dв = 1,13l - квадратная сетка,

где l - расстояние между дренами (шаг дрен).

Затем определяется параметр n, равный

n = de / dω,                                                               (4)

где dω - эквивалентный диаметр дрены.

dω = b / π,                                                                (5)

где b - ширина дрены.

После этого определяются отношения Kг/Kн и lgKг/Kп

Kг = Cгaγв / (1 + eср),                                                     (6)

где Kг - коэффициент фильтрации грунта основания в радиальном направлении (горизонтальном); Kп - коэффициент фильтрации синтетического текстильного материала в продольном направлении; γв - удельный вес воды; a и eср - коэффициент сжимаемости и средний коэффициент пористости в диапазоне уплотняющих нагрузок, определяемые по результатам компрессионных испытаний; Cг - коэффициент консолидации грунта при радиальной фильтрации.

По графику (рис. 1) и известным значениям l и lgKг/Kп определяют значение β, а затем вычисляют значение βH, где H - мощность слабого основания.

Рис. 1. Зависимость  от β для различных значений l

Затем вся слабая толща разбивается на 10 равных отрезков (0, 0,1H, 0,2H ... 1,0). По графику (рис. 2) и значению βH определяют значение функции f(z) на глубинах от 0 до 1,0H, после чего рассчитывают значение фактора времени Tг, равное

Tг = Cгt / d2l,                                                              (7)

где Cг - коэффициент консолидации грунта при радиальной фильтрации; t - время от момента приложения нагрузки (в натуре).

Рис. 2. График зависимости βH от f(z) для различных значений z

Исходя из полученного значения Tг и значений функции f(z) средняя степень консолидации основания определяется по формуле

.                                              (8)

Параметр F(n) рассчитывается по формуле

F(n) = [n2 / (n2 - 1)] ln(n) - (3n2 - l) / 4n2.                               (9)

В случае, если Qг окажется меньше требуемой, расчет повторяется с самого начала, при этом шаг дрен уменьшается и варьируется до получения требуемой степени консолидации основания.

Технология сооружения текстильных дрен соответствует технологии сооружения песчаных дрен.

Установку дрен осуществляют с помощью установок, оборудованных механизмом для погружения обсадной трубы и катушками для дрен. В качестве базовой машины могут быть использованы сваебойный агрегат, экскаватор или кран.

После установки дрен необходимо установить наблюдательные марки, по которым должен проводиться контроль для определения сроков снятия пригрузки и устройства покрытия.

Все работы по устройству дрен и установке наблюдательных марок необходимо оформлять актом на скрытые работы.

ПРИЛОЖЕНИЕ 14

ПРИМЕР РАСЧЕТА НАСЫПИ С ПЕСЧАНЫМИ СВАЯМИ

Исходные данные. Автомобильная дорога IV категории с асфальтобетонным покрытием. Насыпь: рабочая отметка 3; ширина поверху 12 м; заложение откосов 2:3; плотность грунта насыпи ρн = 2 т/м3.

Основание насыпи: иольдиевые глины III разновидности скрытотекучей консистенции; мощность H = 7 м.

Прочностные характеристики глин в условиях природного залегания: полное сцепление cω = 0,015 МПа (0,15 кгс/см2); угол внутреннего трения φω = 0°, структурное сцепление cc = 0,01 МПа (0,1 кгс/см2).

Предел структурной прочности при компрессионном сжатии pстр = 0,04 МПа (0,4 кгс/см2). Относительная осадка под нагрузкой 0,06 МПа (0,6 кгс/см2) составляет λ0 = 0,1. Коэффициент поперечной деформации μг = 0,45.

Устойчивость необходимо проверить исходя из двух условий:

pрасч < pбез - исключение деформации сдвига;

pрасч < pстр - исключение осадки.

Расчетная нагрузка на основание

pрасч = γнh = 9,8 · 2 · 3 = 0,06 МПа (0,6 кгс/см2).

Безопасная нагрузка при φ = 0.

pбез = cc / β = 0,04 / 0,31 = 0,032 МПа (0,32 кгс/см2),

т.е. pрасч > pбез и устойчивость по первому условию не обеспечена. Поскольку, pрасч > pстр, то устойчивость основания по второму условию также не обеспечена.

Для обеспечения устойчивости основания предлагается устроить песчаные сваи диаметром d = 0,3 м. Коэффициент бокового давления песка ξ = 0,3.

Условие обеспечения устойчивости при φ = 0 имеет вид pz - px = 2 · cс = 2 · 0,01 = 0,02 МПа (0,2 кгс/см2).

В долях от расчетной нагрузки допустимая разность главных напряжений составит

(pz - px) / p0 = 0,02 / 0,06 = 0,3.

По таблицам при λ0 = 0,1 этой величине отвечает сближение m = d / l = 0,2.

Для обеспечения второго условия давление на слабый слой должно быть ограничено 0,04 МПа (0,4 кгс/см2). В долях от p0 это составит 0,04 / 0,06 = 0,66.

По таблице* этой величине соответствует сближение 0,2.

* Методические рекомендации по проектированию и технологии сооружения вертикальных песчаных дрен и песчаных свай при возведении земляного полотна на слабых грунтах / СОЮЗДОРНИИ, - М., 1974. - 57 с.

Из расчета по обоим условиям принимаем m = 0,2 и шаг свай l + d =1,8 м.

ПРИЛОЖЕНИЕ 15

РАСЧЕТ КОНСТРУКЦИИ НАСЫПИ С ИСПОЛЬЗОВАНИЕМ НОМОГРАММ

Прогноз конечной величины осадки

Величину погружения насыпи в болотную залежь (осадку насыпи) определяют по формуле

Sобщ = Sсж + Sот,                                                        (1)

где Sобщ - общая осадка насыпи; Sсж - осадка сжимающихся (уплотняющихся) слоев болотной залежи; Sот - осадка отдавливаемых слоев болотной залежи, происходящая за счет выдавливания (выпора) слабых грунтов (3б типа) при любой скорости отсыпки, частичного выдавливания грунтов (3а типа) при невозможности их предварительного уплотнения в течение строительного периода вследствие того, что в силу их высокой сжимаемости и низкой прочности нагрузка от возводимой насыпи растет быстрее чем упрочнение слабого грунта, боковых деформаций слабых грунтов (2 строительного типа) при интенсивности отсыпки насыпи в первые десять суток более 2 м.

Осадку Sот вычисляют по формуле

,                                                    (2)

где Sот - осадка i-го отдавливаемого слоя; λiот - относительная деформация i-го отдавливаемого слоя толщиной hi; n - количество расчетных слоев болотной залежи.

Относительную деформацию λiот определяют по табл. 1 в зависимости от величины сопротивления сдвигу τ по крыльчатке расчетного слоя в природном залегании.

Таблица 1

τ, МПа

λот

τ, МПа

λот

τ, МПа

λот

0,001

1

0,006

0,56

0,011

0,2

0,002

1

0,007

0,45

0,012

0,15

0,003

1

0,008

0,37

0,013

0,1

0,004

0,82

0,009

0,3

0,014

0,05

0,005

0,67

0,01

0,25

0,015

0

Осадку Sсж определяют по формуле

,                                                    (3)

где λiсж - относительная вертикальная деформация расчетного слоя, полученная по данным испытаний в компрессионном приборе для нагрузки, действующей на этот слой.

При расчете осадки слабое основание разбивают на расчетные слои в соответствии с геологическим строением, прочностными и деформативными свойствами слабых грунтов и величиной действующих вертикальных напряжений по глубине.

При относительной мощности слабого основания H / B1 < 0,5 (H - мощность слабых грунтов, B1 - ширина насыпи по подошве) вертикальные напряжения по глубине можно считать постоянными. Величину напряжений для всей мощности залежи в этом случае принимают равной величине расчетной нагрузки pрасч. При H / B1 > 0,5 величину напряжений следует рассчитывать с учетом изменения по глубине (см. основной текст).

Расчетную нагрузку pрасч, действующую на болотную залежь от массы возводимой насыпи, определяют с учетом положения уровня грунтовых вод

pрасч = k0λсж + p0,                                                          (4)

где λсж - относительная осадка сжатия основания.

λсж = Sсж / (H - Sот),                                                       (5)

Параметры нагрузки k0 и p0 определяют по следующим формулам:

k0 = γвзвнH (1 - λот);                                                        (6)

p0 = γн(h + hг.в) + γвзвн(Hλот - hг.в),                                           (7)

где γн и γвзвн - соответственно удельный вес грунта насыпи, расположенного выше и ниже уровня грунтовых вод; h - проектная высота насыпи (рабочая отметка); hг.в - расстояние от поверхности болота до горизонта грунтовых вод (рис. 1) λот = Sот / H.

Рис. 1. Расчетная схема

а - системы дорожная одежда - насыпь - болотный грунт; б - дорожной одежды

Если hг.в > Sобщ, то в формулах (6) и (7) принимают γвзвн = γн.

Параметры сжимаемости λiсж определяют по результатам компрессионных испытаний и расчет осадки ведут графоаналитическим методом. При отсутствии данных компрессионных испытаний допускается пользоваться номограммой (рис. 2), построенной на основе обобщения результатов обработки многочисленных компрессионных кривых. В качестве характеристики сжимаемости болотной залежи принят коэффициент пористости e0.

Рис. 2. Номограмма для определения осадки (цифры на кривых - коэффициент пористости торфа e0)

Номограмма связывает четыре параметра k0, p0, λсж и e0 (e0 - средневзвешенное значение коэффициента пористости для болотной залежи) и позволяет путем одного наложения линейки, соединяющей две точки на шкалах k0 и p0 в точке пересечения линии с заданным e0 найти искомое значение λсж.

Прогноз осадки во времени

Продолжительность осадки t для достижения требуемой степени консолидации U слабого основания определяют по номограмме (рис. 3) в зависимости от режима возведения насыпи, характеризуемого величиной нагрузки p1, допускаемой по условиям устойчивости основания и длительностью строительного периода t0, в течение которого нагрузка на основание возрастет от p1 до pрасч.

Рис. 3. Номограмма для расчета продолжительности осадки (цифры на кривых - отношение t0/T)

Номограмма связывает четыре комплексных параметра: t0/T, t/Т, (λ1/λ)/(1 - λ1/λ) и U/(1 - λ1/λ),

где t0 - продолжительность строительного периода; t - время, необходимое для достижения требуемой степени консолидации U слабой толщи; λ1 - конечная относительная деформация сжатия (уплотнения) основания для нагрузки p1; λ - конечная относительная деформация сжатия (уплотнения) основания для нагрузки pрасч; T - консолидационный параметр, имеющий размерность времени, характеризует интенсивность затухания осадки.

По любым трем известным параметрам, обозначенным на шкалах номограммы, с помощью одного наложения линейки определяют искомый четвертый параметр.

Консолидационный параметр T определяют по следующим зависимостям:

для оснований I типа по устойчивости

T = (2,5 · 10-5Sсж) / (λсжp)2,                                              (8)

для оснований II и III А типа по устойчивости

,                                                 (9)

где T - консолидационный параметр, сут; p - нагрузка от массы насыпи, действующая на основание, МПа; λсж - относительная деформация сжатия слабого основания от действия нагрузки p; Sсж - осадка сжимающихся слоев слабого основания.

Расчет деятельности осадки оснований I типа по устойчивости при быстрой отсыпке насыпи можно вести также по следующей формуле

t / T = U / (1 - U).                                                    (10)

Расчет режима возведения насыпи

При расчете режима возведения насыпи с помощью номограмм следует соблюдать следующий порядок расчета.

Назначают толщину насыпи (величину нагрузки p1), которую можно отсыпать сразу (в один прием). Величину нагрузки p1 принимают равной p1 = γнh1,

где γн - удельный вес грунта насыпи; h1 - толщина насыпи, отсыпаемой сразу, которая принимается равной

h1 = pначбезн при pначбез / γн > Sот;

h1 = Sот при pначбез / γнSот.

Устанавливают продолжительность строительного периода t0, в течение которого необходимо возводить насыпь до проектной толщины, чтобы основание успело приобрести необходимое упрочнение в процессе консолидации. Для этого определяют параметры λ1 / λрасч / (1 - λ1 / λрасч) и U0 / (1 - λ1 / λрасч). Допускается принимать λ1 / λрасч = p1 / pрасч и U0 по табл. 2 (где U0 - степень консолидации основания, достигаемая в течение строительного периода t0).

Таблица 2

λсж

< 0,05

0,05 - 0,15

0,15 - 0,3

0,3 - 0,4

> 0,4

U0

0,25

0,33

0,5

0,6

0,65

Затем на вертикальных шкалах номограммы (рис. 4) находят точки, отвечающие заданным значениям переменных λ1 / λрасч / (1 - λ1 / λрасч) и U0 / (1 - λ1 / λрасч) и соединяют их линией наложением линейки. Точка пересечения этой линии со шкалами t0/T и t/T при условии t0/T = t/Т дает искомое значение t0/T.

Рис. 4. Номограмма для расчета продолжительности строительного периода (цифры на кривых - отношение f0/T)

Устанавливают допустимую интенсивность отсыпки насыпи q в расчете на месяц

q = 30(hн - h1) / t0,                                                   (11)

где hн - проектная толщина насыпи.

Устанавливают длительность консолидации основания t, необходимую для достижения заданной степени консолидации U. Для этого по известным параметрам λ1 / λрасч / (1 - λ1 / λрасч), U / (1 - λ1 / λрасч) и t0/T по номограмме (см. рис. 3) определяют искомый параметр t/T. При значениях t0/T и t/Т, не превышающих 7, следует пользоваться номограммой, приведенной на рис. 2, которая является деталью номограммы, изображенной на рис. 3.

Расчет временной пригрузки

При строительстве дорог на болотных грунтах применяют следующие конструктивно-технологические решения временной пригрузкиис. 5):

в виде дополнительного слоя насыпи на всю ширину земляного полотна - схема а;

в виде суженной насыпи (насыпи-пригрузки) - схема б.

При использовании схемы а грунт пригрузки после завершения консолидации используют на следующих участках дороги или в других элементах конструкции в соответствии с проектом организации строительства; при использовании схемы б - грунт распределяют на откосы.

Толщина слоя временной пригрузки принимается исходя из требуемых сроков достижения заданной степени консолидации при одновременном обеспечении устойчивости основания.

Следует соблюдать следующий порядок расчета.

Определяют величину временной пригрузки Δp для схемы а по формуле

Δp = dpрасч.                                                            (12)

где d - коэффициент перегрузки, минимальные значения которого следует принимать по графику (рис. 6).

Рис. 5. Конструктивные решения земляного полотна с временной пригрузкой

а - в виде дополнительного слоя насыпи; б - в виде суженной насыпи (насыпь-пригрузка)

Рис. 6. График для определения минимального коэффициента перегрузки

Коэффициент перегрузки d для пригрузки, выполняемой по схеме б, определяют методом последовательного приближения в зависимости от требуемых сроков консолидации основания по следующей формуле:

d = 2h / B(m - m1),                                                       (13)

где h - высота проектируемой насыпи; B - ширина проектируемой насыпи поверху; m - показатель крутизны заложения откоса проектируемой насыпи; m1 - показатель крутизны заложения откоса суженной насыпи (насыпи-пригрузки).

При проектировании насыпи-пригрузки варьирование значений крутизны откосов осуществляют в пределах: m = 1,5 - 4; m1 = 1 - 2.

Коэффициенты перегрузки d, вычисленные по формуле (13), должны быть не менее минимальных значений, полученных из графика на рис. 6. В противном случае пригрузка по схеме неэффективна, и для получения требуемого коэффициента перегрузки необходимо применять временную пригрузку по схеме.

Определяют консолидационный параметр Tпр для насыпи с пригрузкой по формулам (8) или (9). При этом параметры λ, Sсж и p. Для насыпи с пригрузкой вычисляют по формулам:

                                                (14)

где b - коэффициент, определяемый по формуле

b = 1 / [1 + 1,52(1 + e0) / pрасч],                                        (15)

где pрасч - расчетная нагрузка на основание, МПа; e0 - средневзвешенное значение коэффициента пористости основания.

Проверяют устойчивость слабого основания при возведении насыпи с временной пригрузкой. Коэффициент безопасности основания вычисляют по формуле

kначбез пр = pначбез / pпр.                                                  (16)

Если kначбез пр ≥ 1, допускается быстрая отсыпка насыпи и временной пригрузки и расчет длительности консолидации производят по формуле

t = UTпр / bd.                                                             (17)

При kначбез пр < 1 определяют коэффициент безопасности основания с учетом его упрочнения при медленной отсыпке насыпи

,                                                 (18)

где U0 - степень консолидации основания, достигаемая за время строительного периода t0. Определяется по табл. 2 в зависимости от величины λсж.пр.

Если kначбез пр ≥ 1, допускается медленная отсыпка насыпи и пригрузки.

Назначение строительной высоты насыпи

Для приложения заданной расчетной нагрузки на основание (hн - при отсыпке насыпи без пригрузки или hпр - при отсыпке с пригрузкой) насыпь в течение строительного периода необходимо отсыпать выше проектных отметок на высоту Δx. Строительную высоту насыпи h0 определяют по формуле

h0 = h + Δx,                                                               (19)

где h - проектная высота насыпи (рабочая отметка).

Толщину слоя насыпи Δx, отсыпаемого сверх проектных отметок для компенсации длительно протекающих осадок консолидации, определяют по формуле

Δx = Δh + Sсж.расч[1 - U0(1 + bd)],                                         (20)

где Δh - толщина слоя пригрузки; Sсж.расч - осадка за счет сжатия торфа от насыпи проектной толщины; U0 - степень консолидации, определяемая по табл. 2; b, d - коэффициенты.

СОДЕРЖАНИЕ

Предисловие. 1

1. Общие положения. 1

2. Особенности изысканий дорог на участках залегания слабых грунтов. 4

Общий порядок проведения инженерно-геологических обследований на участках слабых грунтов. 4

Классификация слабых грунтов и их свойства. 11

Определение расчетных характеристик слабых грунтов. 19

Условия залегания слабых грунтов. Типы слабой толщи по условиям залегания. 23

3. Оценка устойчивости основания насыпи (определение типа основания по устойчивости) 24

Общие положения. Расчетная нагрузка. 24

Определение типа основания расчетом.. 26

Упрощенная оценка устойчивости основания на основе типизации. 32

4. Прогноз осадки основания насыпи. 32

Общие положения. Расчетная нагрузка. 32

Прогноз конечной величины осадки. 34

Прогноз хода осадки по времени. 36

5. Конструктивно-технологические решения при сооружении земляного полотна на участках залегания слабых грунтов. 37

Общие положения. 37

Конструктивно-технологические решения, предусматривающие использование в основании слабых грунтов. 39

Дорожные конструкции с заменой слабого грунта в основаниях. 60

6. Контрольные наблюдения в процессе строительства. 64

Приложение 1. Динамический расчет земляного полотна. 65

Приложение 2. Методики полевых исследований физико-механических свойств слабых грунтов. 70

Приложение 3. Методики лабораторных определений показателей физико-механических свойств слабых грунтов. 76

Приложение 4. Выделение расчетных слоев и определение расчетных значений физико-механических характеристик грунтов. 99

Приложение 5. Отбор образцов, упаковка, транспортирование и хранение. 110

Приложение 6. Графики для определения напряжений в основании насыпи трапецеидального очертания. 111

Приложение 7. Пример расчета конструкции насыпи на слабом основании. 116

Приложение 8. Ориентировочный расчет объема земляных работ с учетом осадки насыпи. 122

Приложение 9. Пример расчета величины временной пригрузки. 123

Приложение 10. Пример расчета основания с опертыми вертикальными дренами. 125

Приложение 11. Расчет режима возведения насыпи. 126

Приложение 12. Пример ориентировочного определения размеров боковых пригрузочных берм.. 129

Приложение 13. Методика расчета дрен из геотекстильного материала. 130

Приложение 14. Пример расчета насыпи с песчаными сваями. 133

Приложение 15. Расчет конструкции насыпи с использованием номограмм.. 134

 

 




ГОСТЫ, СТРОИТЕЛЬНЫЕ и ТЕХНИЧЕСКИЕ НОРМАТИВЫ.
Некоммерческая онлайн система, содержащая все Российские Госты, национальные Стандарты и нормативы.
В Системе содержится более 150000 файлов нормативно-технической документации, действующей на территории РФ.
Система предназначена для широкого круга инженерно-технических специалистов.

Рейтинг@Mail.ru Яндекс цитирования

Copyright © www.gostrf.com, 2008 - 2026