Крупнейшая бесплатная информационно-справочная система онлайн доступа к полному собранию технических нормативно-правовых актов РФ. Огромная база технических нормативов (более 150 тысяч документов) и полное собрание национальных стандартов, аутентичное официальной базе Госстандарта. GOSTRF.com - это более 1 Терабайта бесплатной технической информации для всех пользователей интернета. Все электронные копии представленных здесь документов могут распространяться без каких-либо ограничений. Поощряется распространение информации с этого сайта на любых других ресурсах. Каждый человек имеет право на неограниченный доступ к этим документам! Каждый человек имеет право на знание требований, изложенных в данных нормативно-правовых актах!

  


 

РОССИЙСКОЕ АКЦИОНЕРНОЕ ОБЩЕСТВО ЭНЕРГЕТИКИ И ЭЛЕКТРИФИКАЦИИ
«ЕЭС РОССИИ»

ТИПОВАЯ ИНСТРУКЦИЯ
ПО ЗАЩИТЕ ТЕПЛОВЫХ СЕТЕЙ
ОТ НАРУЖНОЙ КОРРОЗИИ

РД 34.20.518-95

СЛУЖБА ПЕРЕДОВОГО ОПЫТА ОРГРЭС

Москва 1997

Разработано Акционерным обществом «Фирма по наладке, совершенствованию технологии и эксплуатации электростанций и сетей ОРГРЭС» и Академией коммунального хозяйства (АКХ) им. К.Д. Памфилова

Исполнители Р.М. Соколов (АО «Фирма ОРГРЭС»), М.А. Сурис (АКХ им. К.Д. Памфилова) и В.М. Левин

Утверждено Департаментом науки и техники РАО «ЕЭС России» 29.06.95 г. Начальник А.П. БЕРСЕНЕВ

ТИПОВАЯ ИНСТРУКЦИЯ ПО ЗАЩИТЕ
ТЕПЛОВЫХ СЕТЕЙ ОТ НАРУЖНОЙ КОРРОЗИИ

РД 34.20.518-95

Вводится в действие

с 01.01.96 г.

Настоящая Типовая инструкция устанавливает порядок применения и эксплуатации антикоррозионных защитных покрытий и устройств электрохимической защиты (ЭХЗ), предназначенных для защиты от наружной коррозии трубопроводов тепловых сетей, а также порядок приемки и ремонта антикоррозионных защитных покрытий и устройств ЭХЗ тепловых сетей электроэнергетической отрасли.

На основании настоящей Типовой инструкции по усмотрению руководства энергоснабжающих организаций должны быть составлены местные инструкции, учитывающие конкретные условия эксплуатации средств защиты тепловых сетей от наружной коррозии, применяемые методы работы и формы собственности.

Настоящая Типовая инструкция предназначена для персонала предприятий, осуществляющих эксплуатацию тепловых сетей в составе организаций и предприятий электроэнергетической отрасли России, а также может быть использована персоналом, эксплуатирующим тепловые сети, не входящие в эту отрасль, и проектными организациями, имеющими подразделения по проектированию ЭХЗ.

Настоящая Типовая инструкция составлена на основании действующих в электроэнергетической отрасли «Правил технической эксплуатации электрических станций и сетей Российской Федерации: РД 34.20.501-95» (ПТЭ) (М.: СПО ОРГРЭС, 1996), «Правил техники безопасности при эксплуатации тепломеханического оборудования электростанций и тепловых сетей» (ПТБ) (М.: СПО ОРГРЭС, 1991), «Правил устройства электроустановок» (ПУЭ) (М.: Энергоатомиздат, 1985), а также других руководящих документов

С выходом настоящей Типовой инструкции утрачивает силу «Инструкция по защите тепловых сетей от электрохимической коррозии» (М.: Стройиздат, 1975).

1. ОРГАНИЗАЦИЯ РАБОТ ПО ЗАЩИТЕ ТЕПЛОВЫХ СЕТЕЙ ОТ НАРУЖНОЙ КОРРОЗИИ

1.1. Для организации и выполнения работ по защите тепловых сетей от наружной и внутренней коррозии на предприятии, эксплуатирующем тепловые сети (ПТС), должно быть организовано специализированное подразделение по защите тепловых сетей от коррозии (ПЗК).

В зависимости от местных условий и производственной необходимости таким подразделением может быть служба, отдел, производственная лаборатория, группа.

1.2. Основными задачами ПЗК при защите тепловых сетей от наружной коррозии1 являются:

контроль коррозионного состояния трубопроводов тепловых сетей;

проведение электрических измерений в полевых и лабораторных условиях для определения коррозионной агрессивности грунтов по трассе тепловой сети2;

________

1 В данной Типовой инструкции вопросы внутренней коррозии тепловых сетей не затрагиваются.

2 Термины и определения приведены в приложении 20.

проведение электрических измерений для определения характера влияния блуждающих токов на трубопроводы тепловых сетей;

проведение наружного осмотра трубопроводов при их техническом освидетельствовании;

участие в проведении плановых и аварийных вскрытий тепловых сетей;

эксплуатационное обслуживание устройств ЭХЗ с проведением регламентных работ в сроки и в объемах, определенных производственными нормативно-техническими документами, разработанными на основании данной Типовой инструкции;

выдача технического задания на проектирование защиты от наружной коррозии действующих, реконструируемых и вновь сооружаемых тепловых сетей;

согласование проектов защиты тепловой сети от наружной коррозии, разработанных проектной организацией;

осуществление технического надзора за строительно-монтажными работами по защите тепловых сетей от наружной коррозии;

участие в пусконаладочных работах устройств ЭХЗ;

приемка в эксплуатацию защитных покрытий и устройств ЭХЗ трубопроводов тепловых сетей;

организация работ по ремонту защитных покрытий и устройств ЭХЗ тепловых сетей с привлечением специализированных подразделений ПТС или сторонних специализированных организаций, имеющих лицензии на проведение соответствующих работ;

регистрация и анализ причин коррозионных повреждений тепловых сетей;

ведение и хранение технической документации по защите тепловых сетей от наружной коррозии.

1.3. Каждое ПЗК должно быть оснащено специальными контрольно-измерительными приборами и аппаратурой, необходимыми для проведения коррозионных измерений в полевых и лабораторных условиях, перечни которых приведены в соответствующих разделах данной Типовой инструкции. На крупных предприятиях рекомендуется иметь специальные передвижные лаборатории по защите подземных сооружений от коррозии.

1.4. Подразделение по защите тепловых сетей от коррозии составляет для специализированной проектной организации, имеющей лицензию, техническое задание на проектирование защиты тепловых сетей от наружной коррозии, а в отдельных случаях самостоятельно разрабатывает проект защиты при наличии лицензии на проведение соответствующих работ.

1.5. Техническое задание на проектирование защиты тепловых сетей от наружной коррозии должно включать следующие данные:

характеристику трубопровода тепловой сети, подлежащего защите: диаметр, способ прокладки, протяженность защищаемого участка, границы защиты, наличие средств ЭХЗ в данном районе (указываются характеристики и зоны действия);

основание для проектирования защиты: наличие коррозионных повреждений (указываются адреса, даты выявления повреждений, причины коррозионных разрушений); сведения о коррозионной активности грунта по трассам трубопроводов тепловой сети (для бесканальных прокладок тепловых сетей); данные электрических измерений (данные сводятся в таблицу и прикладываются к технической характеристике); сведения об установках ЭХЗ;

особые требования к разработке проекта ЭХЗ.

1.6. Запрещается согласование проекта или раздела «Защита от электрохимической коррозии тепловых сетей», не отвечающего требованиям настоящей Типовой инструкции.

1.7. Технический надзор за строительством средств ЭХЗ тепловых сетей осуществляется ПТС в лице ПЗК.

К производству строительно-монтажных работ может привлекаться строительная организация, имеющая соответствующую лицензию. Приступать к строительно-монтажным работам можно только при наличии утвержденной проектной документации на ЭХЗ тепловых сетей.

1.8. Приемка скрытых работ по защите тепловых сетей от наружной коррозии должна осуществляться в процессе производства работ с оформлением акта при обязательном присутствии представителя ПТС (заказчика).

1.9. К моменту окончания строительно-монтажных работ ПТС с установками ЭХЗ должно обеспечить заключение договора на потребление электроэнергии и (при отсутствии возможности обслуживания) передачу на обслуживание электроснабжающей организации силового участка до отключающего устройства на установке ЭХЗ.

1.10. После выполнения строительно-монтажных работ и проверки документации ПТС как заказчик средств защиты тепловых сетей от наружной коррозии созывают комиссию для приемки строительно-монтажных работ.

1.11. Строительная организация должна передать ПТС исполнительно-техническую документацию и оформленный акт на приемку строительно-монтажных работ по защите тепловых сетей от наружной коррозии.

1.12. Все проектные, строительно-монтажные, пусконаладочные работы по защите тепловых сетей от наружной коррозии и связанные с ними электрические измерения должны выполняться организациями, имеющими соответствующие лицензии.

2. КРИТЕРИИ ОПАСНОСТИ НАРУЖНОЙ КОРРОЗИИ ТРУБОПРОВОДОВ ТЕПЛОВЫХ СЕТЕЙ

2.1. Критерии опасности коррозии трубопроводов тепловых сетей обусловлены способом их прокладки.

Для тепловых сетей бесканальной прокладки критериями опасности коррозии являются:

высокая коррозионная агрессивность грунтов;

опасное влияние постоянного и переменного блуждающих токов.

Критерием опасности коррозии для тепловых сетей канальной прокладки является наличие воды в канале или занос канала грунтом, когда вода или грунт достигают изоляционной конструкции.

Увлажнение теплоизоляционной конструкции капельной влагой, достигающей поверхности труб, также является критерием опасности наружной коррозии.

Примечание. Опасное действие постоянного и переменного блуждающих токов (при наличии воды в канале или грунта, которые достигают изоляционной конструкции) увеличивает скорость коррозии наружной поверхности трубопроводов, контактирующей с водой или грунтом в канале.

2.2. Коррозионная агрессивность грунта по отношению к углеродистой и низколегированной стали, из которой изготавливаются трубы тепловых сетей, характеризуется значением удельного электрического сопротивления грунта (УЭС) и оценивается в соответствии с табл. 1.

Таблица 1

Коррозионная агрессивность грунта по отношению к углеродистой и низколегированной стали

Коррозионная агрессивность грунта

Удельное электрическое сопротивление грунта, Ом м

Низкая

Св. 50

Средняя

От 20 до 50

Высокая

До 20

2.3. Опасным влиянием постоянных блуждающих токов на подземные тепловые сети считается наличие знакопеременного (знакопеременная зона) или изменяющегося во времени смещения разности потенциалов между трубопроводами тепловых сетей и электродом сравнения от стационарного потенциала (см. приложение 20) в сторону положительных значений (анодная зона).

2.4. Опасное действие переменного тока на подземные тепловые сети характеризуется смещением среднего значения разности потенциалов между трубопроводами тепловой сети и медносульфатным электродом сравнения в отрицательную сторону не менее чем на 10 мВ по сравнению с разностью потенциалов, измеренной при отсутствии влияния переменного тока.

3. ОПРЕДЕЛЕНИЕ ОПАСНОСТИ НАРУЖНОЙ КОРРОЗИИ

3.1. Для определения опасности наружной коррозии трубопроводов тепловых сетей должны систематически производиться осмотры трубопроводов подземных тепловых сетей и электрические измерения для определения коррозионной агрессивности грунтов и опасного действия блуждающих токов.

Осмотры и электрические измерения проводятся в целях:

выявления состояния каналов и теплофикационных камер для установления наличия и уровня их затопления водой или заноса грунтом3;

____________

3 Выявление участков затопления и заиливания каналов и оценка интенсивности коррозионных разрушений труб могут осуществляться любыми методами, в том числе путем вскрытий.

оценки интенсивности коррозионных разрушений труб тепловых сетей на участках, где зафиксирована опасность наружной коррозии трубопроводов;

выявления участков тепловых сетей бесканальной прокладки, находящихся в зоне с высокой агрессивностью грунта;

выявления участков тепловых сетей, находящихся в зоне опасного влияния постоянных и переменных блуждающих токов с определением основных источников блуждающих токов;

определения характера влияния установок ЭХЗ смежных подземных сооружений на тепловые сети, а также возможности совместной защиты тепловых сетей и смежных сооружений;

проверки эффективности мероприятий по уменьшению утечки тока с рельсовых путей электрифицированного транспорта, работающего на постоянном токе.

3.2. Электрические измерения в тепловых сетях, находящихся в эксплуатации, должны производиться ПЗК ПТС. К этим работам могут привлекаться также специализированные организации.

3.3. Электрические измерения на трассах вновь сооружаемых и реконструируемых тепловых сетей должны производиться, как правило, организациями, разрабатывающими проект прокладки или реконструкции тепловых сетей, или специализированными организациями, разрабатывающими технические решения по защите тепловых сетей от наружной коррозии.

3.4. Измерения УЭС грунтов производятся по мере необходимости для выявления участков трассы тепловых сетей бесканальной прокладки в грунтах с высокой коррозионной агрессивностью, а также для выбора типа, конструкции и расчета анодного заземлителя при необходимости ЭХЗ (катодной защиты) трубопроводов тепловых сетей.

3.5. Коррозионная агрессивность грунтов по их УЭС может определяться в полевых или лабораторных условиях.

3.6. Измерение УЭС грунтов в полевых условиях на трассах действующих тепловых сетей для определения их коррозионной агрессивности должно производиться вдоль трассы тепловой сети через каждые 100-200 м на расстоянии 2-4 м от ее оси.

На трассах проектируемых тепловых сетей измерение УЭС грунтов производится вдоль оси предполагаемой трассы через каждые 100-200 м.

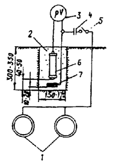
3.7. Измерение УЭС должно производиться в период отсутствия промерзания грунтов на глубине заложения трубопроводов тепловых сетей по четырехэлектродной схеме (рис. 1), с помощью измерителей сопротивления заземления М-416, Ф-416, МС-08 или других приборов. В качестве электродов применяются стальные стержни длиной 250-350 и диаметром 15-20 мм (технические и метрологические характеристики приборов даны в приложении 1).

Рис. 1. Схема определения удельного электрического сопротивления грунта:

1 - стальной электрод, 2 - измерительный прибор

Расстояния между смежными электродами принимаются одинаковыми, глубина забивки электродов в грунт должна быть не более 1/20 расстояния между смежными электродами

3.8. Удельное электрическое сопротивление грунта r (Ом×м) вычисляется по формуле

r = 2pRа,                                                                       (1)

где R - измеренное по прибору элегическое сопротивление, Ом;

а - расстояние между смежными электродами, принимаемое равным глубине прокладки трубопроводов, м.

Результаты измерений и расчетов заносятся в протокол (форма 1 приложения 2).

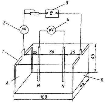
3.9. Определение коррозионной агрессивности грунтов в лабораторных условиях производится на установке, схема которой приведена на рис. 2, согласно методическим рекомендациям, приведенным в приложении 3. Форма протокола измерения УЭС грунта дана в приложении 4.

3.10. Коррозионные измерения для определения опасного действия блуждающих токов на трубопроводы подземных тепловых сетей должны производиться в зонах влияния блуждающих токов один раз в 6 мес, а также после каждого значительного изменения режима работы систем электроснабжения электрифицированного транспорта, изменения условий, связанных с развитием сети подземных сооружений и источников блуждающих токов, введения средств ЭХЗ на смежных подземных сооружениях. В остальных случаях измерения должны производиться один раз в 2 года.

Рис. 2. Схема установки для определения удельного электрического сопротивления грунта в лабораторных условиях:

1 - измерительная ячейка; 2 - миллиамперметр; 3 - регулируемый источник постоянного тока; 4 - вольтметр

3.11. Для выявления опасного действия блуждающих токов определяется смешение разности потенциалов между трубопроводами подземных тепловых сетей и электродом сравнения. Измерения потенциалов выполняются в контрольно-измерительных пунктах (КИП), тепловых камерах, на вводах тепловых сетей к потребителям контактным методом с применением показывающих или регистрирующих приборов, имеющих входное сопротивление не менее 200 кОм на 1 В шкалы прибора. Рекомендуемые для измерения потенциалов приборы и их технические характеристики приведены в приложении 5.

3.12. При измерениях потенциалов применяются стационарные или переносные медносульфатные электроды сравнения, приведенные на рис. 3 и 4.

3.13. При проведении измерений соединительные проводники от трубопровода я электрода сравнения присоединяются соответственно к положительному и отрицательному зажимам вольтметра.

3.14. В отсутствие КИП переносные электроды сравнения устанавливаются на минимальном расстоянии от трубопроводов, при установке электрода на поверхности земли или в камере его рекомендуется располагать между подающим и обратным трубопроводами.

Поверхность грунта перед установкой электрода должна быть разрыхлена и увлажнена.

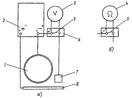
Рис. 3. Неполяризующийся стационарный электрод сравнения типа ЭНЕС-1:

1 - датчик; 2 - наконечник; 3 - проводник; 4 - труба; 5 - емкость; 6 - электролит; 7 - стержень; 8 и 10 - шайбы; 9 - гайка; 11 - мембрана; 12 - диафрагма

3.15. При измерениях в зоне влияния блуждающих токов трамвая продолжительность измерений должна быть не менее 10 мин. Измерения необходимо производить в периоды утренней или вечерней пиковых нагрузок электротранспорта.

При измерениях в зоне блуждающих токов электрифицированных железных дорог период измерений должен охватывать пусковые моменты и время прохождения электропоездов в обе стороны между двумя ближайшими станциями.

Рис. 4. Неполяризующийся переносной медносульфатный электрод сравнения:

1 - полый цилиндр; 2 - стержень из красной меди; 3 - крышка для крепления стержня; 4 - наконечник провода; 5 - контактный зажим; 6 - полость, наполняемая насыщенным раствором сернокислой меди; 7 - нижняя крышка; 8 - пористое дно

3.16. При измерениях разности потенциалов с помощью показывающих приборов (в том числе с цифровым отсчетным устройством) интервал между отсчетами принимается равным 5 с. Результаты измерений заносятся в протокол измерений (форма 3 приложения 6).

3.17. Значение смещения разности потенциалов между трубопроводом тепловой сети и электродом сравнения от стационарного потенциала определяется по формуле

DU = Uизм - Uс,                                                              (2)

где Uизм - наименее отрицательная или наиболее положительная за период измерений мгновенная разность потенциалов между трубопроводом и медносульфатным электродом сравнения, В;

Uс - стационарный потенциал стального трубопровода в грунте относительно медносульфатного электрода сравнения, В.

При отсутствии возможности измерения Uс его значение следует принимать согласно ГОСТ 9.602-89 равным (относительно медносульфатного электрода сравнения) минус 0,7 В.

В тех случаях, когда наибольший размах колебаний потенциала трубопровода тепловой сети, измеренного относительно медносульфатного электрода сравнения (абсолютные значения разности потенциалов между наибольшим и наименьшим значением этого потенциала), не превышает 0,04 В, смещение потенциала не характеризует опасного действия блуждающих токов.

Действие блуждающих токов признается опасным при наличии за период измерений мгновенного положительного смещения потенциала.

3.18. Опасное действие переменного тока должно определяться на участках бесканальной прокладки тепловых сетей, а также на участках канальной прокладки тепловых сетей при затоплении каналов или заносе их грунтом, на которых зафиксированы значения напряжения переменного тока между трубопроводами и землей, превышающие 0,3 В.

3.19. Измерение смещения потенциалов трубопроводов тепловой сети, вызываемого переменным током, производится на вспомогательном электроде (ВЭ) относительно переносного медносульфатного электрода сравнения (МЭС) до и после подключения ВЭ к трубопроводу через конденсатор емкостью 4 мкФ (рис. 5).

Вспомогательный электрод представляет собой пластину квадратной формы из стали Ст3 размером 25´25 и толщиной 1,5-2,0 мм. К одной из сторон пластины припаивается изолированный проводник. Сторона крепления проводника изолируется эпоксидной смолой. Перед установкой ВЭ зачищается шкуркой шлифовальной зернистостью 40 и меньше, обезжиривается ацетоном, промывается дистиллированной водой.

Рис. 5. Схема измерения смещения потенциала трубопровода, вызываемого переменным током:

1 - стальной трубопровод; 2 - шурф; 3 - вольтметр; 4 - конденсатор; 5 выключатель; 6 - медносульфатный электрод сравнения; 7 - вспомогательный электрод

3.20. Вспомогательный электрод и МЭС устанавливаются в специальном шурфе над трубопроводами (см. рис. 5). Вспомогательный электрод устанавливается таким образом, чтобы его рабочая (неизолированная) поверхность была обращена к трубопроводам. Предварительно из части грунта, контактирующего с ВЭ, должны быть удалены твердые включения размером более 3 мм. Грунт над ВЭ утрамбовывается с усилием 3-4 кг на площадь ВЭ. При наличии атмосферных осадков предусматриваются меры от попадания влаги в грунт.

3.21. Для измерения смещения потенциала собирается схема, приведенная на рис. 5, при разомкнутой цепи между ВЭ и трубопроводами. Для измерений следует применять вольтметры с входным сопротивлением не менее 10 мОм и пределами измерения напряжения 0,2-0,5 В.

3.22. Измерения выполняются в следующем порядке: через 10 мин после установки ВЭ в грунт измеряется его стационарный потенциал относительно МЭС; ВЭ подключается к трубопроводам, и через 10 мин снимается первое показание вольтметра; следующие показания снимаются через каждые 5 с. Общая продолжительность измерений должна быть не менее 10 мин.

Результаты измерений заносятся в протокол измерений (форма 4 приложения 7).

3.23. Среднее значение смещения потенциала ВЭ (мВ) за период измерений определяется по формуле

,                                                        (3)

где  - сумма мгновенных значений потенциала ВЭ при подключении ВЭ к трубопроводу, мВ;

U - стационарный потенциал ВЭ, мВ;

т - общее число измерений.

3.24. Действие переменного тока признается опасным при среднем смещении потенциала ВЭ в сторону отрицательных значений не менее чем на 10 мВ от стационарного потенциала ВЭ.

4. АНТИКОРРОЗИОННЫЕ ПОКРЫТИЯ ДЛЯ ЗАЩИТЫ ТРУБ ТЕПЛОВЫХ СЕТЕЙ ОТ НАРУЖНОЙ КОРРОЗИИ

4.1. Требования к защите труб тепловых сетей антикоррозионными покрытиями

4.1.1. Все стальные трубопроводы тепловых сетей должны быть защищены от наружной коррозии с помощью антикоррозионных защитных покрытий, наносимых на наружную поверхность труб.

В зависимости от способа прокладки тепловых сетей, вида и температуры теплоносителя рекомендуется применять покрытия, приведенные в приложении 8.

При применении для тепловых сетей теплоизоляционных конструкций и материалов, исключающих возможность коррозии наружной поверхности трубопроводов, защитные покрытия могут не применяться.

4.1.2. Защитные покрытия должны наноситься на стальные трубы, как правило, механизированным способом, в стационарных условиях на трубозаготовительных заводах или производственных базах строительно-монтажных организаций.

Нанесение антикоррозионных покрытий в полевых условиях допускается только при защите сварных соединений трубопроводов и арматуры, мелких фасонных частей, исправлении повреждений покрытия, а также при малых объемах ремонтных работ.

При нанесении покрытий необходимо обеспечить качественную подготовку поверхности трубопроводов.

4.1.3. Для обеспечения заданных свойств защитных покрытий на всех этапах строительно-монтажных работ по изоляции труб, прокладке и ремонту тепловых сетей должен проводиться контроль нормируемых показателей качества покрытий.

4.2. Стеклоэмалевые покрытия

4.2.1. Нанесение стеклоэмалевых покрытий на трубы - эмалирование должно производиться на заводах или в мастерских на эмалировочных установках.

4.2.2. Трубы со стеклоэмалевым наружным покрытием должны транспортироваться к месту строительства на специально оборудованных трубовозах, оснащенных крепежными устройствами, исключающими повреждения стеклоэмали.

4.2.3. Стыковые соединения эмалированных труб и места с поврежденным покрытием эмалируются на трассе тепловой сети с использованием специальных передвижных эмалировочных установок.

Для трубопроводов водяных тепловых сетей с температурой теплоносителя до 150 °С допускается изоляция участков сварных стыковых соединений органосиликатным покрытием ОС 51-03 (с отвердителем, естественной сушки) или покрытием из двух слоев изола на холодной изольной мастике.

4.3. Органосиликатные покрытия

4.3.1. Для органосиликатных покрытий ОС 51-03 используются: органосиликатная краска ОС 51-03 ТУ 84-725-83; толуол ГОСТ 5789-78 (как растворитель); бутиловый эфир ортотитановой кислоты - тетрабутоксититан (ТБТ) в качестве отвердителя (для покрытия холодного отверждения).

4.3.2. Наружная поверхность труб перед нанесением покрытия должна быть очищена от окалины, продуктов коррозии, жиров. Методы очистки: пескоструйный, дробеструйный, механический. Обезжиривание производится толуолом. После обезжиривания, перед покраской, поверхность должна быть высушена в течение 30 мин при температуре помещения.

4.3.3. Перед употреблением органосиликатная краска должна быть подвергнута тщательному перемешиванию в таре завода-изготовителя до получения полной однородной массы по всему объему.

Перемешивание производится в течение 3-4 ч (до полного растворения осадка) с применением мешалки типа «пьяная бочка» с частотой вращения 100-120 об/мин. После перемешивания определяется вязкость краски, которая должна находиться в пределах 18-24 с по вискозиметру ВЗ-4 при температуре воздуха 20 °С. В случае, если вязкость выше указанной, в краску добавляется толуол и производится дополнительное перемешивание в течение 1 ч.

4.3.4. Краска ОС 51-03 горячего отверждения наносится на поверхность труб краскораспылителем при давлении подаваемого воздуха 0,9-1,5 кгс/см2. Сопло должно быть настроено на круглую струю. Диаметр сопла 1,5-2 мм. Расстояние сопла краскораспылителя от окрашиваемой поверхности при покраске должно быть в пределах 150-300 мм в зависимости от давления воздуха.

Для нанесения покрытия трубы устанавливаются на специальную установку, обеспечивающую им вращательное движение. Частота вращения выбирается в зависимости от диаметра труб.

Краска наносится на окрашиваемую поверхность в три слоя с послойной сушкой в течение 1 ч при температуре воздуха 20-25 °С.

Отверждение покрытия на трубах производится термической обработкой в сушильных камерах по следующему режиму:

подъем температуры до 60 °С, выдержка 2 ч;

подъем температуры до 100 °С, выдержка 2 ч;

подъем температуры до 150 °С, выдержка 2 ч;

подъем температуры до 200 °С, выдержка 2 ч.

Скорость подъема температуры не должна превышать 30 °С в 1 ч. Толщина трехслойного покрытия после термообработки должна быть не менее 250 мкм.

4.3.5. Для нанесения краски ОС 51-03 холодного отверждения производятся очистка и обезжиривание поверхности труб и первоначальная подготовка краски, как указано в пп. 4.3.2 и 4.3.3.

4.3.6. После доведения краски до рабочей вязкости в нее вводится отвердитель, количество которого определяется следующим образом. В паспорте на органосиликатную краску ОС 51-03 указывается масса «нетто» для данной тары завода-изготовителя и фактический сухой остаток в процентах. По этим данным рассчитывается количество отвердителя, необходимое для введения в данную емкость.

Количество отвердителя принимается равным 1 % массы сухого остатка Пример расчета:

Масса краски «нетто» по паспорту в тарном месте 20 кг:

Сухой остаток по паспорту 55 %.

Масса сухого остатка в тарном месте:

 кг.

Масса отвердителя, вводимого в тарное место:

 кг.

4.3.7. Перед нанесением на трубы краска с введенным отвердителем должна быть перемешана с помощью пропеллерной мешалки, вальцов или других приспособлений в течение 2-3 ч. (Это связано с тем, что после введения отвердителя краска свертывается, превращаясь в комкообразную студенистую массу).

В процессе перемешивания производится контроль вязкости, которая должна составлять 18-25 с по вискозиметру ВЗ-4 при температуре воздуха 20 °С.

В случае необходимости в краску добавляется толуол и производится дополнительное перемешивание в течение 1 ч.

Для поддержания однородной консистенции краска должна периодически перемешиваться.

4.3.8. Краска должна наноситься на поверхность труб краскораспылителем аналогично изложенному в п. 4.3.4.

Покрытие наносится в четыре слоя. Перед нанесением каждого последующего слоя должна быть произведена сушка предыдущего слоя при температуре помещения в течение 1 ч.

Суммарная толщина четырехслойного покрытия должна быть не менее 250 мкм. Расход краски около 400 г/м2.

4.3.9. Защита участков монтажных соединений труб с органосиликатным покрытием производится краской ОС 51-03 холодного отверждения, наносимой кистевым способом на предварительно очищенную и обезжиренную поверхность этих участков.

4.3.10. После нанесения покрытия из краски ОС 51-03 должна быть произведена проверка на сплошность с помощью дефектоскопа.

4.3.11. Органосиликатная краска ОС 51-03 должна храниться в сухом помещении в закрытой таре, защищенной от прямого воздействия солнечных лучей и попадания влаги, при температуре 4-20 °С. Срок годности органосиликатных красок при хранении в складских условиях 1 год. По истечении указанного срока органосиликатная краска должна быть подвергнута испытаниям в соответствии с ТУ 84-725-83.

4.4. Изоловое покрытие

4.4.1. Механизированное нанесение на трубы тепловых сетей изолового покрытия (два слоя изола по холодной изольной мастике) в заводских условиях выполняется с помощью изолировочной машины путем навивки ленты изола по винтовой линии на вращающуюся трубу.

4.4.2. При малых объемах работ нанесение изолового покрытия должно производиться, как правило, в ремонтных цехах в соответствии с технологическими указаниями, приведенными ниже.

4.4.3. Процесс нанесения изолового покрытия на трубы включает очистку и обезжиривание поверхности трубы, нанесение грунтовки, оклейку труб изолом на холодной изольной мастике, оклейку мешочной бумагой, контроль сплошности, исправление обнаруженных дефектов.

Нанесение покрытия осуществляется на специальной установке с механическим приводом для вращения труб.

4.4.4. Наружная поверхность предварительно просушенных труб должна быть очищена механически или вручную стальными щетками от грязи, продуктов коррозии, окалины и жировых загрязнений до металлического блеска. После очистки необходимо обдуть трубы сжатым воздухом.

Обезжиривание производится на вращающейся трубе волосяной щеткой или ветошью, смоченными в уайт-спирите.

4.4.5. На поверхность труб наносится битумная грунтовка, которая способствует образованию прочной связи покрытия с металлом трубы. Грунтовка изготовляется из битума БНИ-IV по ГОСТ 9812.74 (или БН-70/30 по ГОСТ 6617-76) и неэтилированного авиационного бензина Б-70 или автомобильного А-72 и А-76. Битум растворяется в бензине в массовом отношении 1:2,5 или в объемном отношении одной части битума и трех частей бензина (плотность 0,82-0,85 г/мл по ареометру).

Отмеренное количество битума предварительно разогревается в котле до жидкого состояния (160-180 °С). Расплавленный битум сливается в железный сосуд, где он охлаждается до 60-70 °С, после чего переливается тонкой струёй в сосуд с бензином. При этом ведется непрерывное энергичное перемешивание смеси деревянной мешалкой до тех пор, пока весь битум не растворится. Готовая грунтовка (она огнеопасна) сливается в герметичный сосуд с пробкой.

4.4.6. При работах по приготовлению грунтовки необходимо соблюдать все требования правил техники безопасности и пожарной безопасности.

4.4.7. Грунтовку следует наносить непосредственно после очистки поверхности труб. Нанесение грунтовки на влажную, загрязненную или плохо очищенную поверхность не допускается. Грунтовка наносится в один слой методом воздушного распыления или кистью (без пропусков, сгустков и «сосулек» по низу трубы), сушка воздушная при температуре помещения. Толщина слоя грунтовки должна быть 0,1-0,2 мм.

4.4.8. Подготовленная для оклейки труба, покрытая грунтовкой, укладывается на ролики установки, обеспечивающей вращение трубы. При вращении трубы на ее поверхность наносится холодная изольная мастика МРБ-ХТ-15 слоем толщиной не более 0,5-1,0 мм.

Перед нанесением проверяется вязкость изольной мастики.

Нанесение мастики на защищаемую поверхность при больших диаметрах труб производится краскораспылителем с соплом для штукатурных работ. При малых диаметрах труб применяются окрасочные овчинные валики или волосяные кисти.

4.4.9. После подсыхания мастики «до отлипа» (в течение примерно 5 мин) на трубу спирально наклеивается лента изола.

Для получения двухслойного покрытия за одну операцию лента изола навивается на трубу с нахлесткой 55 % по ширине. При этом на наружную поверхность изола, попадающего под верхний слой, наносится изольная мастика.

4.4.10. Трубы в зависимости от их диаметра оклеиваются лентами изола шириной 200-400 мм. Разрезку рулонов рекомендуется выполнять дисковой механической пилой. Перед оклейкой рулон изола развертывается на ровной поверхности и с него с помощью волосяной щетки или ветоши, смоченных в бензине, удаляется с двух сторон тальковая присыпка.

4.4.11. Наружная поверхность изола оклеивается в один слой мешочной бумагой по мастике. Бумага выполняет защитные функции, а также облегчает нахождение мест повреждения покрытия во время транспортировки. Нанесение мастики при этом производится спиральной полосой шириной 20-80 см с шагом 0,5 м.

4.4.12. Концы труб длиной 10-15 см должны оставаться без изоляции.

4.4.13. Ориентировочный расход материалов на изоляцию 1 м2 поверхности труб изоловым покрытием составляет:

изол                                                 2,5 м2

холодная изольная мастика          1,5 кг

мешочная бумага                           1,5 м2

4.4.14. Изольная мастика должна поставляться с завода в закрытых металлических бочках или бидонах и в этой таре должна храниться на складе горюче-смазочных материалов. При хранении и транспортировке мастика должна быть защищена от прямых солнечных лучей.

4.4.15. Плотность изольной мастики должна находиться в пределах 1,07-1,13 г/мл (при температуре 25 °С).

Плотность мастики измеряется денсиметром (ареометром). Для определения вязкости может применяться воронка объемом 500 см3 высотой 160 мм с диаметром отверстия 8 мм; время истечения мастики при температуре 20 °С должно составлять 60-65 с.

4.4.16. Количество изола и других материалов должно быть подтверждено сертификатами заводов-поставщиков. При отсутствии сертификатов качество изола и мастики должно быть проверено в лаборатории согласно методикам испытаний, приведенным в соответствующих ГОСТ и ТУ (см. приложение 8).

4.4.17. Качество нанесения изолового покрытия должно проверяться наружным осмотром: изол должен прилегать к трубе плотно, без пропусков, складок, морщин, вздутий или отслоений краев ленты и последнего витка.

Плотность прилегания покрытия к трубе проверяется простукиванием деревянным молотком массой 500 г. При этом должен быть слышен чистый звон, подтверждающий отсутствие пустот.

4.4.18. Покрытие на 5 % труб должно быть проверено на качество адгезии. Проверка должна производиться согласно п. 4.10.4 настоящей Типовой инструкции.

4.4.19. Покрытие из изола должно быть подвергнуто контролю на сплошность с помощью электрического дефектоскопа при напряжении на щетках прибора 20 кВ (см. п. 4.10.3).

Контроль сплошности должен проводиться дважды: после оклейки труб (перед оклейкой мешочной бумагой) вне зависимости от того, где эта работа производилась, и на трассе после сварки и заделки мест стыков труб.

4.4.20. Все дефекты покрытия должны быть устранены путем дополнительной оклейки изолом. При этом места дефектов должны быть предварительно надрезаны и проклеены, а бумага на ремонтируемом участке удалена.

4.4.21. Изоляция труб изоловым покрытием в местах стыковых соединений должна выполняться после сварки стыков и опрессовки трубопровода.

4.4.22. Неизолированные участки труб вблизи стыков должны быть тщательно очищены от жировых пятен, грязи, продуктов коррозии, грата сварки. Лента оберточной бумаги должна быть удалена от краев изолового покрытия на 10-5 см.

Поверхности стыков и прилегающих к ним участков труб покрываются битумной грунтовкой и оклеиваются в два слоя изолом на холодной изольной мастике по технологии, аналогичной изложенной выше.

На конец ленты длиной около 1,5 окружности трубы наносится изольная мастика, лента изола накладывается на трубу, закрепляется затягиванием витка и наматывается по всей длине внахлест (на 55 % ширины ленты для получения двухслойного покрытия). Обмотка производится с нахлестом 10-15 см на изоляцию самой трубы. Конец ленты прижимается к трубе пеньковым шпагатом.

Изол можно также наклеивать в виде полотнищ, нарезанных в соответствии с диаметром трубы и шириной изолируемого участка.

4.4.23. Рулоны изола для изоляции стыков должны быть нарезаны на ленты и скручены в катушки. Ширину лент рекомендуется принимать 20-25 см для труб диаметром до 300 мм и 40-50 см для труб диаметром свыше 300 мм.

4.4.24. Для работы при отрицательных температурах наружного воздуха изол должен быть нарезан на ленты, скатан в катушки в теплом помещении и прогрет при температуре не ниже плюс 10 °С. Изольная мастика должна быть нагрета до 50 °С (но не на открытом огне). Катушки изола необходимо доставлять к месту работ в утепленном контейнере, а мастику - в термосе.

4.4.25. Защитное покрытие на стыках должно также подвергаться контролю на сплошность (см. п. 4.4.19).

4.4.26. На строительных площадках изолированные изоловым покрытием трубы крупных диаметров (от 159 до 1420 мм) должны храниться в штабелях высотой 1,2 м с прокладками и концевыми упорами, трубы мелких диаметров - в стеллажах высотой до 2,2 м.

4.4.27. Изолированные трубы должны перевозиться на специальных автомашинах с резиновыми прокладками для труб и специальными крепежными устройствами.

Погрузочно-разгрузочные операции с изолированными трубами должны выполняться краном с использованием специальных строповочных устройств, в частности трубы больших диаметров стропятся захватами только за торцы. Не допускается перехватывать трубы тросами, а также разгружать трубы, сбрасывая их или опрокидывая кузов машины.

4.5. Эпоксидное покрытие

4.5.1. Для эпоксидного покрытия ЭП-969 применяется эмаль ЭП-969 (салатовая) по ТУ 6-10-1985-84, которая выпускается и поставляется комплектно в виде двух компонентов: полуфабриката эмали и отвердителя №3 (ТУ 10-1091-76) из расчета 73 части полуфабриката и 27 частей отвердителя (по массе).

4.5.2. Перед применением в полуфабрикат эмали вводится отвердитель № 3 в соотношении 27 частей отвердителя на 73 части полуфабриката (по массе)

После введения отвердителя и тщательного перемешивания эмаль перед нанесением на трубы должна быть выдержана в течение 30 мин при температуре 20 ± 2 °С и в случае необходимости разбавлена растворителем Р-5 ГОСТ 7827-74 до рабочей вязкости не более 20-22 с по вискозиметру ВЗ-4 при температуре 20 °С.

Приготовленная эмаль должна быть использована в течение 8 ч.

4.5.3. Наружная поверхность труб перед нанесением покрытия должна быть очищена от окалины, продуктов коррозии и обезжирена. Очистка производится пескоструйным или дробеструйным способом; обезжиривание - первоначально толуолом, а затем ацетоном.

4.5.4. Покрытие наносится на трубы в три слоя, причем каждый последующий слой может наноситься без выдержки на полимеризацию («мокрый по мокрому»). Сушка покрытия производится после нанесения всех слоев. Время высыхания покрытия - 20 мин при температуре 20 ± 2 °С.

Методы нанесения: пневмораспыление, кистевой, полив, окунание.

4.5.5. Эпоксидное покрытие ЭП-969 может наноситься на наружную поверхность труб как в заводских условиях, так и в полевых для защиты монтажных соединений трубопроводов тепловых сетей.

4.5.6. Эпоксидное покрытие ЭП-969 является взрывоопасным, пожароопасным и токсичным материалом, что обусловлено свойствами растворителей, входящих в его состав, и свойствами исходного сырья.

Высушенное покрытие не оказывает вредного влияния на организм человека.

4.6. Кремнийорганическое покрытие

4.6.1. Для кремнийорганического покрытия применяется кремнийорганическая (КО) композиция, представляющая собой суспензию измельченных окислов в растворе кремнийорганического полимера с добавлением растворителей и отвердителя, которая должна соответствовать требованиям ТУ 88. УССР 088.001-91. Композиция КО поставляется в комплекте с отвердителем АГМ-9 по ТУ 6-02-724-77.

4.6.2. Перед применением композиция КО разбавляется до рабочей вязкости толуолом (ГОСТ 9880-76Е или ГОСТ 14710-78Е). Для нанесения покрытия краскораспылителем в электростатическом поле композиция КО разбавляется до рабочей вязкости разбавителем РЭ-4В (ГОСТ 18187-72).

4.6.3. При применении покрытия КО должны соблюдаться правила техники безопасности и промышленной санитарии по ГОСТ 12.3.005-75 и «Санитарные и гигиенические требования к производственному оборудованию 1042-73».

В помещениях, где покрытие наносится на трубы, должна быть обеспечена пожарная безопасность согласно ГОСТ 12.1.004-91, которая предусматривает систему предотвращения пожара и систему пожарной защиты.

4.6.4. Нанесение покрытия КО на трубы в заводских условиях производится методом электростатического распыления в закрытой камере, автоматически, без присутствия человека.

4.6.5. Наружная поверхность труб перед нанесением покрытия должна быть очищена механически от грязи, продуктов коррозии, окалины и жировых загрязнении до металлического блеска.

4.6.6. Перед покраской композиция КО должна быть тщательно перемешана и разбавлена до рабочей вязкости 40-60 с по вискозиметру ВЗ-246 при температуре 20 °С толуолом или разбавителем РЭ-4В.

4.6.7. Окраска труб производится краскораспылителем в окрасочной камере при температуре 15-35 °С и относительной влажности 45-75 %.

Покрытие из композиции КО наносится в три слоя. Струя должна быть направлена перпендикулярно поверхности трубы.

При покраске должно быть обеспечено перекрестное нанесение композиции путем перемещения краскораспылителя вдоль и поперек поверхности трубы.

4.6.8. Отверждение покрытия производится на воздухе после введения отвердителя при температуре 15-35 °С в течение 24 ч.

4.6.9. Для защиты участков монтажных соединений труб в полевых условиях покрытие из композиции КО наносится кистевым способом на предварительно очищенную и обезжиренную поверхность этих участков.

4.7. Металлизационное алюминиевое покрытие

4.7.1. Металлизационное алюминиевое покрытие наносится на трубы в заводских условиях газотермическим методом с помощью газопламенных или электродуговых металлизационных аппаратов, в которых алюминиевая проволока расплавляется и разбивается на частицы размером 0,02-0,4 мм струей сжатого воздуха со скоростью 100-200 м/с и напыляется на предварительно подготовленную поверхность труб.

4.7.2. Подготовка наружной поверхности труб перед металлизацией должна производиться дробеструйной или дробеметной обработкой. Подготовленная поверхность труб должна иметь равномерную шероховатость для обеспечения хорошего сцепления напыляемого металла с поверхностью стальной трубы. Оптимальная шероховатость поверхности должна находиться в пределах 12,5-25 мкм.

4.7.3. Перерыв между началом металлизации и окончанием подготовки поверхности трубы в закрытых помещениях не должен превышать 6 ч.

4.7.4. Металлизационное алюминиевое покрытие наносится в два слоя, суммарная толщина которых должна составлять 0,25-0,30 мм.

4.7.5. Поверх двух слоев алюминиевого покрытия для перекрытия пористости наносится один слой пропиточного материала толщиной 30 мкм. В качестве такого материала могут использоваться: органосиликатный материал ОС 51-03 (с отвердителем, естественной сушки), эпоксидная эмаль ЭП-969, кремнийорганический материал КО-198М и КО-921.

4.7.6. Для металлизационного алюминиевого покрытия должна использоваться алюминиевая проволока технической чистоты не менее 99,5 %, чему соответствует проволока марок AT, АПТ, AM (ТУ 16.К71-088-90); СВ-А5С (ГОСТ 7871-75), диаметр проволоки 1,5-2,5 мм.

4.7.7. Защита участков монтажных соединений труб с металлизационным алюминиевым покрытием в трассовых условиях производится ручными газопламенными или электродуговыми металлизаторами. Перед металлизацией сварной шов и прилегающая к нему зона с металлизационным покрытием шириной 30-40 мм подвергается механической очистке (с помощью шлифовальной машины или механических щеток) до металлического блеска. Разрыв во времени между подготовкой поверхности труб и нанесением покрытия должен быть минимальным и составлять не более 3 ч при работе в сухую погоду и не более 30 мин при работе в сырую погоду. Участки монтажных соединений труб, на которые металлизационное покрытие наносится в трассовых условиях, должны быть защищены от атмосферных осадков.

В случаях, когда работы по защите монтажных соединений ведутся при температурах окружающего воздуха ниже 5 °С или при отрицательных температурах, поверхность металлизируемого участка трубы необходимо предварительно прогреть до температуры 80-100 °С открытым (некоптящим) пламенем горелки.

4.7.8. Защиту участков монтажных соединений труб с металлизационным алюминиевым покрытием допускается производить органосиликатным покрытием ОС 51-03 холодного отверждения или эпоксидным покрытием ЭП-969.

4.8. Стеклоармированное битумопропиленовое покрытие

4.8.1. Стеклоармированное битумопропиленовое покрытие (СБП-А) должно наноситься на стальные трубы тепловых сетей в соответствии с ТУ 400-2-401-93. Структура покрытия по слоям приведена в приложении 8.

4.8.2. Изоляция наружной поверхности стальных труб для тепловых сетей должна осуществляться с применением битумопропиленовой мастики следующего состава (по массе):

битум БН 90/10 по ГОСТ 6617-76 - 82-75 % (допускается замена половины битума БН 90/10 на битум БН 70/30);

изоатактический полипропилен - 15-20 %;

индустриальное масло по ГОСТ 20799-88 - 3-5 %.

4.8.3. Для армирования покрытия применяется стеклохолст ВВ-К по ТУ 21-33-43-79 или ВВ-Г по ТУ 21-33-44-79.

4.8.4. В качестве наружной обертки используется бумага ГОСТ 2228-81Е, ГОСТ 8273-75*.

Качество материалов должно быть подтверждено сертификатами заводов-поставщиков.

4.8.5. Грунтовка должна быть нанесена равномерным слоем на сухую поверхность трубы, очищенную от грязи, слабосцепленных с поверхностью окалины и ржавчины.

4.8.6. Лента стеклохолста шириной 150-200 мм должна спирально наклеиваться на трубу, имеющую поступательное и вращательное движение и политую расплавленной битумопропиленовой мастикой. Затем производится вторичное нанесение мастики и обмотка вторым слоем стеклохолста.

4.8.7. Бумагой наружная поверхность трубы оклеивается спирально в один слой по мастике, нанесенной поливом на изолирующий трубу стеклохолст.

4.8.8. Концы трубы длиной 100-250 мм должны быть свободны от стеклобитумопропиленового покрытия. Допускается покрывать эти участки слоем битумной грунтовки.

4.8.9. В местах соединения ленты стеклохолста не должно быть выступов, избытка мастики или ленты стеклохолста и непроклеенных концов.

4.8.10. Стеклобитумопропиленовое покрытие должно иметь удовлетворительное сцепление с поверхностью трубы, быть сплошным, ровным, с равномерной намоткой стеклохолста и бумаги по всей длине трубы, без пропусков, морщин, вздутий, отслоений краев и концов последнего витка.

4.8.11. Приемка изолирующего трубы стеклобитумопропиленового покрытия должна производиться не ранее чем через 6 ч после нанесения покрытия при хранении труб на складе.

При приемке проверяется: наличие внешних дефектов, толщина и сплошность защитного покрытия, адгезия.

Все обнаруженные дефекты должны быть устранены.

4.8.12. На каждую партию труб с защитным покрытием, отправляемую на объекты строительства, должен быть составлен сертификат, в котором указываются данные по теплостойкости, толщине и сплошности покрытия и адгезии его к стальной поверхности труб.

4.8.13. Складирование и перемещение труб разрешается только механическим путем, исключающим повреждение покрытия: специальными полотенцами (труб диаметром от 57 до 133 мм) или стропкой за концы труб (диаметром от 159 до 1420 мм).

4.8.14. Транспортировка труб производится автомашинами, снабженными инвентарными прокладками и специальными крепежными устройствами.

4.8.15. На трубы со стеклобитумопропиленовым покрытием не позднее чем через 30 дн. после нанесения его должна быть нанесена тепловая изоляция.

4.9. Покрытие на основе оксида алюминия

4.9.1. Покрытие на основе оксида алюминия наносится на трубы в заводских условиях методом плазменного напыления. В качестве исходного материала используется механическая смесь порошков алюминия - 85 % (по массе) и природного материала ильменита (включающего TiO2, Fe2О3 и другие компоненты) - 15 %. Порошковая смесь с помощью транспортирующего газа подается в высокоскоростную газовую струю продуктов сгорания природного газа с воздухом, где частицы порошка нагреваются до температуры плавления при скорости потока около 300 м/с.

4.9.2. Наружная поверхность перед нанесением покрытия должна быть очищена от продуктов коррозии, окалины и обезжирена. Очистка производится пескоструйным или дробеструйным способом.

Продолжительность периода между окончанием подготовки поверхности и началом нанесения покрытия не должна превышать 6 ч.

4.9.3. Покрытие на основе оксида алюминия наносится в один слой толщиной не менее 0,2 мм.

4.9.4. Защита участков сварных стыковых соединений труб с покрытием на основе оксида алюминия производится органосиликатной краской ОС 51-03 (с отвердителем, естественной сушки) или эпоксидным покрытием ЭП-969.

4.10. Контроль качества защитных покрытий

4.10.1. Качество защитных покрытий должно проверяться дважды: на заводе после окончания работ по нанесению покрытия и на трассе после опрессовки трубопровода и нанесения покрытия на стыки.

Контроль качества включает наружный осмотр, проверку сплошности и адгезии, измерение толщины покрытия.

Все обнаруженные дефекты должны быть устранены.

4.10.2. Наружным осмотром определяются видимые дефекты покрытия (отслоения, трещины, сколы и др.), допущенные при его нанесении или в процессе транспортировки труб и конструкций и монтажа.

4.10.3. Сплошность рулонных и лакокрасочных покрытий контролируется электрическим методом с помощью специально предназначенных для этого дефектоскопов (для изолового и стеклоармированного битумопропиленового покрытий применяется искровой дефектоскоп «Крона-1р» с напряжением на щупе до 20 кВ).

Покрытия должны выдерживать следующие напряжения: рулонные при толщине 5 мм и более - 20 кВ; прочие покрытия при толщине соответственно 200 мкм - 2 кВ, 300 мкм - 3 кВ, 400 мкм - 4 кВ и 500 мкм - 5 кВ.

Для лакокрасочных покрытий толщиной до 0,5 мм рекомендуется применять переносной электроконтактный дефектоскоп ЛКД-1, питание которого осуществляется от аккумуляторной батареи.

Электрический дефектоскоп не может быть использован для покрытий, включающих в качестве наполнителя электропроводные материалы. Сплошность этих покрытий определяется визуально.

4.10.4. Адгезия лакокрасочных покрытий определяется методом решетчатых надрезов по ГОСТ 15140-78. На испытуемом покрытии с помощью игольчатого адгезиометра процарапываются до металла крест-накрест (взаимно перпендикулярно) по пять полос, дающих 16 квадратов со сторонами 1 мм. Оценка адгезии производится по проценту выкрошившихся при этой операции квадратов. Отсутствие выпавших квадратов указывает на хорошую адгезию.

Адгезия рулонных покрытий проверяется надрезкой изоляции до металла по двум сходящимся под углом 45-50° линиям и определением усилия отрыва с помощью динамометра. Покрытие должно отделяться от трубы с усилием не менее 2 кгс (» 20 Н).

4.10.5. Для проверки толщины лакокрасочных и стеклоэмалевых покрытий применяются толщиномеры: МТ41 НЦ, магнитный измеритель толщины пленки ИТП-1, магнитный измеритель толщины покрытия МИП-10 (в диапазоне от 0 до 3 мм). Для измерения толщины более 3 мм используются штангенциркули с погрешностью измерения 0,05 мм.

5. РАЗРАБОТКА ТЕХНИЧЕСКИХ РЕШЕНИЙ ПО ЭХЗ ДЕЙСТВУЮЩИХ, ВНОВЬ СООРУЖАЕМЫХ И РЕКОНСТРУИРУЕМЫХ ТЕПЛОВЫХ СЕТЕЙ МЕТОДОМ КАТОДНОЙ ПОЛЯРИЗАЦИИ. КОНТРОЛЬ ЭФФЕКТИВНОСТИ ЭХЗ

5.1. Требования к ЭХЗ тепловых сетей при бесканальной прокладке

5.1.1. Катодная поляризация трубопроводов тепловых сетей при бесканальной прокладке в грунтах высокой коррозионной агрессивности в отсутствие опасного влияния блуждающих токов должна осуществляться таким образом, чтобы значения разности потенциалов между трубопроводами и медносульфатным электродом сравнения находились в пределах от минус 1,1 до минус 2,5 В.

Примечания: 1. Для тепловых сетей с пенополиуретановой теплоизоляцией и трубой-оболочкой из жесткого полиэтилена (система «труба в трубе») и аналогичной изоляционной конструкцией на стыках труб, отводах и углах поворотов ЭХЗ не применяется.

2. Для трубопроводов тепловых сетей бесканальной и канальной прокладок с алюминиевым антикоррозионным покрытием средства ЭХЗ необходимо применять лишь при опасном действии блуждающих токов.

3. При отсутствии антикоррозионного покрытия на наружной поверхности трубопроводов значения разности потенциалов между трубопроводами и медносульфатным электродом сравнения могут находиться в пределах от минус 1,1 до минус 3,5 В.

5.1.2. Катодная поляризация трубопроводов тепловых сетей при бесканальной прокладке только при наличии опасного влияния блуждающих токов (в грунтах низкой и средней коррозионной агрессивности) должна осуществляться таким образом, чтобы обеспечивалось отсутствие на трубопроводах анодных и знакопеременных зон.

5.1.3. При защите трубопроводов тепловых сетей при бесканальной прокладке в грунтах высокой коррозионной агрессивности с одновременным опасным влиянием блуждающих токов средние значения разности потенциалов должны соответствовать установленным в п. 5.1.1 значениям.

При этом мгновенные (абсолютные) значения потенциалов должны быть не менее значения стационарного потенциала, а при отсутствии возможности его определения - не менее 0,7 В.

Подсчет, средних значений (В) производится по формуле

,                                                               (4)

где Ui - мгновенные значения измеренной разности потенциалов, В;

п - общее число измерений.

5.2. Требования к ЭХЗ тепловых сетей при канальной прокладке в случае затопления или заноса каналов грунтом

5.2.1. Катодная поляризация трубопроводов тепловых сетей при канальной прокладке в отсутствие опасного влияния блуждающих токов при расположении анодных заземлителей за пределами канала должна осуществляться таким образом, чтобы значения разности потенциалов между трубопроводами и медносульфатным электродом сравнения находились в пределах от минус 1,1 до минус 2,5 В (см примечание 3 к п. 5.1.1).

При одновременном опасном влиянии блуждающих токов средние значения разности потенциалов должны соответствовать указанным в данном пункте значениям. При этом мгновенные (абсолютные) значения потенциалов должны быть не менее значения стационарного потенциала, а при отсутствии возможности его определения - не менее 0,7В.

5.2.2. Катодная поляризация трубопроводов тепловых сетей при канальной прокладке независимо от наличия (или отсутствия) опасного влияния блуждающих токов при расположении анодных заземлителей в канале должна осуществляться таким образом, чтобы значения смещения разности потенциалов между трубопроводом и измерительным электродом сравнения в сторону отрицательных значений находились в пределах 0,3-0,8 В.

5.3. Средства ЭХЗ тепловых сетей

5.3.1. Катодная поляризация подземных трубопроводов тепловых сетей осуществляется с помощью установок катодной и электродренажной защиты, а также протекторов.

Установки катодной защиты применяются при всех показателях опасности коррозии на трубопроводах тепловой сети, а при опасном воздействии постоянных блуждающих токов в случаях, когда смещения потенциалов трубопроводов могут быть скомпенсированы токами установок катодной защиты.

Катодная поляризация трубопроводов тепловых сетей при увлажнении теплоизоляционной конструкции капельной влагой, достигающей поверхности труб, а также трубопроводов на участках прокладки в стальных футлярах может осуществляться с помощью протекторов стержневого типа.

Электродренажная защита (с помощью поляризованных или усиленных электродренажей) применяется при защите от опасного воздействия на трубопроводы тепловых сетей постоянных блуждающих токов.

5.3.2. Катодная поляризация подземных тепловых сетей должна осуществляться так, чтобы исключить вредное влияние ее на смежные подземные металлические сооружения.

Примечание. Вредным влиянием катодной поляризации защищаемых трубопроводов тепловых сетей на смежные подземные металлические сооружения считаются:

уменьшение по абсолютному значению минимального или увеличение по абсолютному значению максимального защитного потенциала на смежных сооружениях, имеющих катодную поляризацию;

появление опасности электрохимической коррозии на смежных подземных металлических сооружениях, ранее не требовавших защиты от нее.

В случае, когда при осуществлении ЭХЗ возникает вредное влияние на смежные сооружения, необходимо применить меры к устранению вредного влияния или осуществить совместную защиту этих сооружений.

5.4. Разработка технических решений по ЭХЗ действующих тепловых сетей

5.4.1. Решение о необходимости ЭХЗ действующих подземных тепловых сетей должно приниматься организацией, эксплуатирующей тепловые сети, на основании результатов их обследования, выявившего опасность наружной коррозии по критериям, указанным в разд. 2 настоящей Типовой инструкции. На основании принятого решения проектной организации выдается техническое задание на проектирование ЭХЗ тепловых сетей на заданном участке с указанием координат защитной зоны.

Примечание. Электрохимическая защита тепловых сетей, длительное время эксплуатировавшихся в коррозионно-опасных условиях и имеющих коррозионные повреждения, осуществляется после оценки их технического состояния в соответствии с «Методическими указаниями по проведению шурфовок в тепловых сетях: МУ 34-70-149-86» (М.: СПО Союзтехэнерго, 1987).

5.4.2. Определение параметров ЭХЗ действующих подземных тепловых сетей производится на основе результатов опытного включения установок катодной или электродренажной защиты.

Допускается применение расчетного метода определения параметров ЭХЗ в случаях применения катодной защиты тепловых сетей канальной прокладки диаметром от 300 мм и более при возможности расположения анодных заземлителей непосредственно в канале.

5.4.3. На основе результатов опытного включения определяются тип ЭХЗ (электродренажная, катодная) и основные ее параметры, пункты присоединения дренажных кабелей к трубопроводам тепловых сетей и источникам блуждающих токов или места установки анодных заземлителей; зона действия защиты; характер влияния защиты на смежные сооружения, необходимость и возможность осуществления совместной защиты.

5.4.4. При небольшом удалении тепловых сетей от источника блуждающих токов для защиты от коррозии, вызываемой блуждающими токами, следует применять электродренажную защиту (поляризованные или усиленные электродренажи). Усиленные дренажи применяются в тех случаях, когда применение поляризованных дренажей неэффективно.

5.4.5. В тех случаях, когда включением электродренажей не удается обеспечить защиту тепловых сетей в пределах опасной зоны (обычно периферийных участков), то в комплексе с электродренажной защитой применяются установки катодной защиты.

5.4.6. При значительном удалении тепловых сетей от источника блуждающих токов, а также на участках затопления или заиливания каналов или при прокладке тепловых сетей в грунтах высокой коррозионной агрессивности (при бесканальной прокладке) применяется ЭХЗ с помощью установок катодной защиты.

5.4.7. Опытное включение установок ЭХЗ может производиться с помощью специальных передвижных лабораторий по защите подземных сооружений от коррозии. При отсутствии лабораторий могут быть использованы стандартные установки ЭХЗ, перечень которых приведен в приложении 9.

5.4.8. При защите от блуждающих токов с помощью электродренажей пункт подключения кабеля к трубопроводам выбирается на участке, где средние значения положительных потенциалов по отношению к земле максимальны.

Кроме того, пункт подключения дренажного кабеля к трубопроводу выбирается с учетом наименьшего расстояния от пункта присоединения к источнику блуждающих токов (рельсам, дроссель-трансформаторам, отсасывающим пунктам, тяговым подстанциям) и возможности доступа к трубопроводу без его вскрытия (в тепловых камерах, смотровых колодцах и т.п.).

При возможности выбора нескольких мест присоединения предпочтение отдается участкам сетей с возможно большими диаметрами при прочих равных условиях.

5.4.9. Дренажный кабель присоединяется к рельсам трамвая или к отсасывающим пунктам. Не допускается непосредственное присоединение установок дренажной защиты к отрицательным шинам тяговых подстанций трамвая, а также к сборке отрицательных линий этих подстанций.

5.4.10. При влиянии на тепловые сети нескольких источников блуждающих токов (электрифицированная железная дорога, трамвай, метрополитен и др.) необходимо выявить источник преимущественного влияния, на который следует осуществлять дренирование блуждающих токов.

5.4.11. При опытном включении в качестве дренажного кабеля могут быть использованы шланговые кабели сечением 16-120 мм2.

При присоединении дренажного кабеля к трубопроводам и элементам отсасывающей сети электротранспорта должен быть обеспечен надежный электрический контакт.

Подключение к рельсам трамвая и железных дорог может выполняться с помощью специальной струбцины, обжимающей подошву рельса или болтовых соединений. При сварных стыках на рельсах используются отверстия, имеющиеся в шейках рельсов.

Подключение дренажного кабеля к отсасывающему пункту, сборке отсасывающих кабелей и средней точке путевого дросселя выполняется с использованием существующего болтового соединения с применением дополнительной гайки.

5.4.12. На опытное включение дренажной установки должно быть получено разрешение организации, в чьем ведении находится данный вид транспорта.

5.4.13. Объем измерений, выполняемых при опытном включении защиты, определяется организацией, проектирующей защиту. Порядок измерений излагается в программе, которая должна быть составлена перед началом работ. В программе указываются режимы работы защиты при опытном включении, пункты измерений на тепловых сетях и смежных сооружениях, продолжительность измерений в каждом пункте с указанием размещения самопишущих и показывающих приборов.

5.4.14. Продолжительность работы опытной дренажной защиты зависит от местных условий и может составлять от нескольких десятков минут до нескольких часов. При этом, как правило, должен быть охвачен период максимальных нагрузок электротранспорта.

5.4.15. Измерение тока дренажа, потенциалов на защищаемой тепловой сети, смежных подземных сооружениях и рельсах электротранспорта производится в соответствии с намеченными программой режимами работ защиты.

5.4.16. Если в результате измерений установлено, что зона эффективного действия поляризованной дренажной установки не распространяется на весь район выявленной опасности, пункт дренирования перемещается или одновременно включается несколько дренажных установок в различных пунктах.

При недостаточной эффективности принятых мер производится опытное включение усиленных дренажных установок или комплекс дренажных установок с катодной станцией.

В последнем случае опытное включение катодной станции производится после окончательного выбора параметров дренажных установок.

5.4.17. Измерения потенциалов на смежных сооружениях в период опытного включения дренажной защиты, как правило, выполняются организациями, эксплуатирующими эти сооружения.

5.4.18. При проведении испытаний ЭХЗ должны быть приняты меры к исключению вредного влияния на смежные сооружения.

5.4.19. При опытном включении катодной защиты для установки временных заземлений, как правило, выбираются участки, на которых впоследствии предполагается разместить и стационарные заземления.

5.4.20. Временный анодный заземлитель представляет собой ряд металлических электродов, помещенных вертикально в грунт на расстоянии 2-3 м один от другого в один или два ряда. В качестве электродов применяются винтовые (шнековые) электроды или некондиционные трубы диаметром 25-50 мм и длиной 1,5-2 м, которые забиваются в землю на глубину 1-1,5 м.

5.4.21. При ЭХЗ тепловых сетей при бесканальной прокладке анодный заземлитель следует относить от трубопроводов тепловой сети на максимально возможное в городских условиях расстояние. В отдельных случаях при отсутствии достаточной площади для размещения анодного заземлителя применяются распределенные заземлители, состоящие из двух групп электродов и более, расположенных на отдельных участках. Группы электродов соединяются кабелем между собой либо индивидуально подключаются к катодной станции.

Для повышения эффективности действия катодной защиты целесообразно выбирать участки, на которых между защищаемыми тепловыми сетями и анодным заземлителем отсутствуют прокладки других подземных металлических сооружений.

По возможности анодный заземлитель следует размещать на участках % минимальным удельным электрическим сопротивлением грунта (газонах, скверах, пойменных участках рек, прудов и т.п.).

5.4.22. При ЭХЗ тепловых сетей при канальной прокладке анодный заземлитель следует располагать в зонах затопления (заноса грунтом) канала на расстоянии 15-20 м от трубопроводов. Группы электродов соединяются между собой или индивидуально подключаются к установке катодной защиты.

5.4.23. Электрические измерения по определению эффективности действия катодной защиты и характера ее влияния на смежные подземные сооружения аналогичны измерениям при опытном включении электродренажей.

5.4.24. Как правило, при опытном включении ЭХЗ определяется основной ее параметр - среднее значение силы тока в цепи электрозащиты.

Остальные параметры защиты (сопротивление дренажного кабеля, сопротивление растеканию анодного заземления, напряжение на зажимах катодной станции или вольтодобавочного устройства усиленного электродренажа) либо рассчитываются, либо выбираются с учетом технико-экономических показателей различных вариантов соотношения параметров

5.4.25. Значение сопротивления кабеля Rдк (Ом) проектируемого электродренажа может быть определено по формуле

,                                                   (5)

где DUт-р - среднее значение разности потенциалов между точками присоединения дренажа к трубопроводам тепловой сети и рельсам за время опытного дренирования, В;

Iод - среднее значение дренажного тока при опытном дренировании, А;

Rду - сопротивление проектируемого дренажного устройства, определяемое по вольтамперной характеристике (с включением 20-30 % сопротивления дренажного реостата), Ом.

Сечение дренажного кабеля S (мм2) определяется по формуле

,                                                                    (6)

где r - удельное электрическое сопротивление металла токопроводящих жил кабеля, Ом×мм2/м;

L - общая длина проектируемого дренажного кабеля, м.

5.4.26. Сопротивление дренажного кабеля (Ом) при усиленном электродренаже может быть определено по формуле

,                                                         (7)

где Rодк - сопротивление дренажного кабеля при опытном дренировании, Ом;

Iоуд - среднее значение тока усиленного дренажа при опытном дренировании, А;

Uоуд - напряжение на зажимах усиленного дренажа при опытном дренировании, В;

Uуд - напряжение на зажимах проектируемого усиленного дренажа (принимается равным 6 или 12 В в зависимости от требуемой мощности дренажа), В.

Для наиболее экономически выгодного соотношения капитальных и эксплуатационных затрат определяется оптимальное значение сопротивления дренажного кабеля, которое не должно быть выше значения Rдк, рассчитанного по формуле (5).

5.4.27. Исходными данными для выбора анодного заземлителя являются значение тока катодной защиты и среднее значение удельного сопротивления грунта на площадке, где предполагается разместить анодное заземление.

Выбор оптимальных параметров анодного заземлителя, расположенного за пределами канала, может производиться в соответствии с методикой, изложенной в «Сборнике нормативных документов для работников строительных и эксплуатационных организаций газового хозяйства РСФСР. Защита подземных трубопроводов от коррозии» (Л.: Недра, 1991).

5.4.28. Совместная защита от коррозии подземных металлических сооружений может осуществляться:

подсоединением отдельных электрических дренажей различных сооружений к общей дренажной сборке, соединенной с отсасывающими пунктами рельсового электротранспорта;

подсоединением ряда различных сооружений непосредственно к общим защитным установкам;

подсоединением ряда различных сооружений к общим защитным установкам с одновременным устройством металлических соединений между отдельными сооружениями.

5.4.29. Для включения в систему совместной защиты трубопроводов тепловых сетей в целях улучшения их электрической проводимости следует применять шунтирующие перемычки на фланцах, задвижках и т.п.

5.4.30. Включение в систему совместной защиты с помощью перемычек трубопроводов тепловых сетей и силовых кабелей не допускается.

5.4.31. Катодную поляризацию тепловых сетей диаметром 300 мм и более при затоплении или заносе каналов грунтом рекомендуется осуществлять с использованием распределенных анодных заземлителей, располагаемых непосредственно в каналах (при наличии возможности полного или частичного вскрытия каналов для их установки).

Применение распределенных анодных заземлителей позволяет обеспечить:

равномерное распределение тока защиты вдоль требующих ЭХЗ участков тепловых сетей;

снижение в два-три раза потребления электроэнергии на единицу длины защищаемой тепловой сети;

локализацию образования дополнительных полей блуждающих токов и вместе с этим устранение вредного влияния ЭХЗ на смежные подземные сооружения;

исключение необходимости в отводе земельной площади для установки анодных заземлителей.

5.4.32. Для распределенных анодных заземлителей рекомендуется использовать электроды стержневого (штыревого) типа из токопроводящих эластомеров или ферросилидов либо кабельного типа из токопроводящих эластомеров.

Технические характеристики анодов из токопроводящих эластомеров приведены в приложении 10.

5.4.33. Схема установки электродов штыревого типа анодного заземлителя на дне канала с узлами присоединения токовводов к распределительному кабелю от положительного зажима станции катодной защиты, а также пункт установки измерительного блока на обратном трубопроводе тепловой сети приведены на рис. 6.

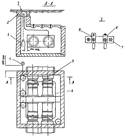
Рис. 6. Электрохимическая защита трубопроводов тепловой сети с использованием распределенных анодов, расположенных в канале:

1 - катодная станция; 2 - распределительный кабель; 3 - отвод от распределительного кабеля; 4 - отвод от анода; 5 - электрод анодного заземлителя; 6 - измерительный блок; 7 - контрольный щиток; 8 - обратный трубопровод; 9 - уровень заноса или затопления

Электроды штыревого типа располагаются на дне канала перпендикулярно его оси, кабельного типа - вдоль оси канала.

5.4.34. Определение параметров ЭХЗ с использованием распределенных анодов штыревого или кабельного типа производится расчетным методом.

5.4.35. Значение требуемого тока защиты Iзащ (А) на участке тепловой сети, подлежащем ЭХЗ, может быть получено исходя из общей площади поверхности трубопроводов, контактирующей с водой (грунтом) в канале:

Iзащ = 1,25jS = 1,25jpДнLK,                                                  (8)

где j - требуемая плотность тока, А/м2;

S -  суммарная площадь поверхности подающего и обратного трубопроводов, подверженных затоплению (заносу грунтом), м2;

Дн - наружный диаметр трубопроводов, м;

L - длина трубопроводов на участке затопления (заноса грунтом) в однотрубном исчислении, м;

К - коэффициент, учитывающий максимально возможную глубину погружения в воду (грунт) трубопроводов (от нижней образующей трубы до уровня затопления или заноса грунтом). Например при полном затоплении трубопровода К принимается равным 1, при затоплении до оси трубопровода 0,5.

При расчете общей площади поверхности трубопроводов, подлежащих защите, должен учитываться максимально возможный на данном объекте уровень затопления (заноса грунтом) канала.

Требуемая плотность тока защиты должна быть не ниже значений, принимаемых при ЭХЗ стальных непокрытых (без защитных покрытий) поверхностей во влажных грунтах, т.е. j ³ 0,05 А/м2.

5.4.36. Количество электродов п анодного заземлителя при использовании электродов штыревого типа рассчитывается по формуле

,                                                                        (9)

где i - допустимая токовая нагрузка на один электрод, А.

5.4.37. Расстояние l (м) между электродами штыревого типа определяется из соотношения

.                                                                       (10)

При ЭХЗ тепловых сетей диаметром 700 мм и более вместо одного штыревого электрода укладываются два электрода в одну линию. В этом случае количество штыревых электродов n в соотношении (10) уменьшается в два раза.

Расстояние l при Дн ³ 500 мм не должно превышать 3,0 м, а при Дн < 500 мм не должно превышать 2,7 м.

5.4.38. Напряжение (В) постоянного тока на выходе преобразователя (выпрямителя) для катодной защиты определяется по формуле

Uвых = Iзащ(R + R),                                                       (11)

где R - сопротивление растеканию тока с анодного заземлителя, Ом,

R - сопротивление растеканию тока с трубопровода тепловой сети, Ом.

Если учесть, что R < R, значением R можно пренебречь и Uвых (В) определять по формуле

Uвых = IзащR.                                                                 (12)

Значение Uвых не должно превышать 12 В. В случае получения больших значений необходимо снизить R путем увеличения количества электродов анодного заземлителя.

5.4.39. Сопротивление (Ом) растеканию тока с горизонтального электрода анодного заземлителя, расположенного на дне канала (рис. 7), рассчитывается по формуле

,                                                               (13)

где r - удельное электрическое сопротивление грунта (воды), Ом×м. Значение r определяется из отобранной пробы грунта (воды) на участке тепловой сети, подлежащем ЭХЗ;

а - длина электрода анодного заземлителя, м;

d - диаметр электрода, м.

В тех случаях, когда два электрода штыревого типа в анодном заземлителе устанавливаются в одну линию, длина электрода а удваивается.

Рис. 7. Схема для расчета электрода анодного заземлителя штыревого типа, расположенного на дне канала

5.4.40. Сопротивление (Ом) растеканию тока со всего анодного заземлителя определяется по формуле

,                                                               (14)

где F - коэффициент взаимовлияния;

п - количество электродов в анодном заземлителе (уменьшается в два раза при установке двух электродов в одну линию).

,                                                    (15)

где l - расстояние между смежными электродами (или группами электродов), м.

Если два электрода устанавливаются в одну линию, то п равно половине общего количества электродов в заземлителе.

5.4.41. При использовании для анодного заземлителя анодов кабельного типа количество кабельных линий заземлителя определяется (см. приложение 10) из условий требуемого тока защиты и допустимой токовой нагрузки анода кабельного типа (А/м). При ЭХЗ тепловых сетей диаметром 300 мм и менее может быть применена одна кабельная линия, прокладываемая по дну канала между трубопроводами. При больших диаметрах труб прокладывается не менее двух кабельных линий заземлителя под каждым из защищаемых трубопроводов.

5.4.42. Параметры преобразователей для катодной защиты определяются из условий токовой нагрузки, равной 1,3 Iзащ, при напряжении на выходе преобразователя Uвых £ 12 B.

5.4.43. Исходными данными, необходимыми для разработки технических решений на ЭХЗ действующих тепловых сетей, являются:

а) техническое задание организации, эксплуатирующей тепловые сети, на проектирование ЭХЗ;

б) совмещенный план трассы тепловой сети (М 1:500 или 1:2000) и смежных подземных металлических сооружений с указанием диаметров трубопроводов. расположения тепловых камер и смотровых колодцев в тепловой сети;

в) данные о расположении тяговых подстанций электрифицированного рельсового транспорта, пунктов присоединения отрицательных питающих линий к рельсам, путевых дросселей;

г) данные о расположении установок ЭХЗ и КИП на смежных подземных сооружениях;

д) результаты коррозионных измерений: данные о коррозионной агрессивности грунта (для тепловых сетей при бесканальной прокладке) или удельном электрическом сопротивлении воды1 (или грунта-заноса в каналах); координаты участков, протяженность и уровень затопления или заноса грунтом каналов; данные измерения потенциалов на тепловых сетях и смежных сооружениях;

_________

1 Методика определения удельного электрического сопротивления воды аналогична методике, приведенной в приложении 3.

е) результаты опытного включения установок ЭХЗ в тепловой сети.

5.4.44. В состав документации по разработке технических решений на ЭХЗ действующих тепловых сетей входят:

а) пояснительная записка, содержащая: основание для разработки технических решений, характеристику защищаемых тепловых сетей, сведения об источниках блуждающих токов, результаты проведенных коррозионных электрических измерений и опытного включения средств ЭХЗ, обоснование выбора типа установок ЭХЗ, расчет количества и параметров установок;

б) совмещенный план трассы тепловой сети (М 1:500 или 1:2000) и смежных подземных сооружений с привязками существующих установок ЭХЗ в зоне действия проектируемых установок ЭХЗ; КИП; рельсовой сети электрифицированного транспорта;

в) план трассы тепловой сети (М 1:500) с привязками мест размещения проектируемых установок ЭХЗ, пунктов присоединения дренажных кабелей, трасс дренажных и питающих кабелей, перемычек, изолирующих фланцевых соединений, КПП с согласованием соответствующих организаций на производство земляных, строительных и монтажных работ;

г) схема размещения электродов анодного заземления, токовводов и распределительных кабелей в канале, расположения измерительных блоков, присоединения кабелей к установкам катодной защиты и КИП;

д) функциональная схема ЭХЗ, в том числе схемы подключения установок ЭХЗ к сети переменного тока;

е) установочные чертежи оборудования ЭХЗ - типовые и повторного применения, спецификация оборудования и ведомость материалов;

ж) сметная документация.

5.4.45. Контрольно-измерительные пункты следует предусматривать (при расположении анодных заземлителей за пределами каналов) на участках тепловой сети, где ожидается минимально и максимально допустимые значения защитных потенциалов; участках трубопроводов, ограничивающих зону защиты; на участках максимального сближения трубопроводов с анодными заземлителями и в пунктах подключения дренажного кабеля; в местах пересечения тепловых сетей с рельсами электрифицированного транспорта.

5.4.46. Конструкции КИП, предназначенные для установки в камерах и между камерами, конструкции диэлектрических опор, продольных и поперечных электроперемычек следует применять по действующим типовым чертежам («Рабочие чертежи. Серия 5.905-6. Узлы и детали электрозащиты подземных инженерных сетей от коррозии». Мосгазниипроект).

5.5. Разработка технических решений по ЭХЗ вновь сооружаемых и реконструируемых тепловых сетей

5.5.1. Для вновь сооружаемых и реконструируемых тепловых сетей при бесканальной прокладке решение о необходимости ЭХЗ принимается организацией, проектирующей тепловые сети, по критериям, указанным в разд. 2 настоящей Типовой инструкции.

5.5.2. Для вновь сооружаемых тепловых сетей при канальной прокладке ЭХЗ не предусматривается. При канальной прокладке тепловых сетей в зоне влияния блуждающих токов должно предусматриваться применение диэлектрических опор и КИП.

5.5.3. Для реконструируемых тепловых сетей при канальной прокладке решение о необходимости ЭХЗ принимается организацией, эксплуатирующей тепловые сети, на основании опыта эксплуатации тепловых сетей до реконструкции и прогнозирования возможности их сезонного или постоянного затопления или заноса грунтом.

5.5.4. Определение параметров ЭХЗ вновь сооружаемых и реконструируемых тепловых сетей при бесканальной прокладке производится проектной организацией или ПЗК организации, эксплуатирующей тепловые сети, расчетным методом при наличии лицензии на проведение соответствующих работ (приложение 11).

5.5.5. Электрохимическая защита наружной поверхности трубопроводов тепловых сетей на участках их прокладки в футлярах, а также при увлажнении изоляционной конструкции капельной влагой осуществляется с помощью протекторов стержневого типа, устанавливаемых непосредственно на поверхности трубопроводов в тепловой изоляции.

5.5.6. В целях ограничения натекания блуждающих токов на трубопроводы тепловых сетей на вводах их в трамвайные и железнодорожные депо, тяговые подстанции, ремонтные базы на трубопроводах тепловых сетей следует предусматривать установку электроизолирующих фланцевых соединений.

5.6. Контроль эффективности установок ЭХЗ тепловых сетей

5.6.1. Контроль эффективности установок ЭХЗ в зонах их действия на трубопроводах тепловых сетей должен производиться не реже двух раз в год на специально выделенных для этих целей опорных КИП.

5.6.2. Измерение разности потенциалов производится с поверхности земли на стационарных или временных опорных КИП, размещенных, как правило, на концах необходимой зоны защиты в пункте (пунктах) максимального сближения тепловых сетей с анодными заземлителями, расположенными за пределами канала.

Стационарные КИП, как правило, должны размещаться в непосредственной близости к теплофикационным камерам. Контактные выводы от медносульфатного электрода длительного действия и трубопроводов располагаются в горловине люка камеры. Электрод сравнения устанавливается на уровне нижней образующей трубопроводов на расстоянии 150-200 мм от стенки канала (со стороны анодного заземлителя) или на таком же расстоянии от горизонтальной проекции стенки трубы (при бесканальной прокладке). Схема стационарного КИП в тепловой камере тепловой сети при канальной прокладке приведена на рис. 8.

При отсутствии в тепловой сети стационарных КИП переносной медносульфатный электрод сравнения устанавливается на поверхности земли между трубопроводами. Перед установкой электрода грунт должен быть разрыхлен на глубину 2-3 см и из него должны быть удалены твердые включения размером более 3 мм. Если грунт сухой, его следует увлажнить до полного водонасыщения водопроводной водой.

5.6.3. Продолжительность измерений при отсутствии блуждающих токов должна составлять не менее 10 мин. Продолжительность и режимы измерительных работ при наличии блуждающих токов изложены в пп. 3.15 и 3.16 настоящей Типовой инструкции. Подсчет средних значений разности потенциалов производится по формуле (4). Результаты измерений и расчетов заносятся в протокол (форма 5 приложения 12). Результаты измерений, полученные при автоматической регистрации разности потенциалов, заносятся в протокол (форма 5а приложения 13).

5.6.4. Контроль эффективности ЭХЗ трубопроводов тепловых сетей канальной прокладки при расположении анодных заземлителей в канале осуществляется по смещению разности потенциалов между трубопроводом и измерительным электродом в сторону отрицательных значений, приведенных в п. 5.2.2 настоящей Типовой инструкции.

Рис. 8. Схема стационарного контрольно-измерительного пункта в тепловой камере тепловой сети при канальной прокладке:

1 - медносульфатный электрод сравнения длительного действия; 2 - люк; 3 и 4 - поперечная и продольная электроперемычки; 5 и 6 - контактные зажимы от электрода и трубопровода; 7 - контактная панель

5.6.5. Измерение смещения разности потенциалов трубопроводов производится относительно медно-титанового электрода ЭДБ-1 (электрод длительного действия биметаллический) или электрода, изготовленного из СтЗ. Измерительный электрод устанавливается на поверхности изоляционной конструкции в пункте, равноудаленном от электродов анодного заземлителя на участке «шесть часов» (см. рис. 6). Измерительный электрод должен быть изолирован от изоляционной конструкции диэлектрической прокладкой. Стальной электрод через контрольный щиток с помощью тумблера присоединяется к отрицательному полюсу преобразователя для катодной защиты (рис. 9). Электрод ЭДБ-1 к отрицательному полюсу преобразователя не присоединяется.

5.6.6. Количество устанавливаемых измерительных блоков обусловлено длиной участков защитной зоны трубопроводов тепловых сетей (табл. 2).

Таблица 2

Количество измерительных электродов на участке защитной зоны

Длина участка с ЭХЗ, м

Количество измерительных электродов

До 40

1

Св. 40 до 80 вкл.

2

Св. 80 до 150 вкл.

3

5.6.7. До начала измерений смещения разности потенциалов между трубопроводом и измерительным электродом проверяется наличие воды в канале на уровне установки измерительного блока путем измерения электрического сопротивления между датчиком и трубопроводом. Измерения производятся с помощью мегаомметра (см. рис. 9, б).

Измерения должны производиться при выключенном преобразователе для катодной защиты!

При выключенном на контрольном щитке тумблере 5 между зажимами «минус» (обратный трубопровод 1) и датчиком 7 (см. рис. 9, а) измеряется электрическое сопротивление R. Значение R £ 3,0 кОм указывает на наличие воды в канале на уровне установки измерительного блока.

Рис. 9. Схема измерения смещения разности потенциалов между трубопроводом и измерительным электродом (а); схема контроля наличия воды в канале (б):

1 - обратный трубопровод; 2 - преобразователь, 3 - вольтметр; 4 - мегаомметр; 5 - тумблеры; 6 - контрольный щиток-, 7 - датчик, 8 - электрод анодного заземлителя

5.6.8. Для измерений смещения разности потенциалов используется вольтметр с входным сопротивлением не ниже 200 кОм на 1 В шкалы прибора.

5.6.9. При выключенном преобразователе вольтметр 3 подключается к Зажимам контрольного щитка 6: положительный зажим вольтметра - к зажиму «минус» (обратный трубопровод 1), отрицательный - к датчику 7. Тумблер 5 между зажимами «минус» и датчиком 7 должен быть разомкнут.

5.6.10. Не менее чем через 10 мин после подготовки схемы по п. 5.6.9 фиксируется исходное значение разности потенциалов DUисх с учетом полярности (знака).

5.6.11. Включается преобразователь и устанавливается режим его работы при минимальных значениях напряжения и силы тока.

5.6.12. Увеличением силы тока устанавливается разность потенциалов между обратной трубой-1 и датчиком 7 U¢т-д в пределах от минус 600 до минус 900 мВ.

5.6.13. Вычисляется значение смещения разности потенциалов между обратным трубопроводом 1 и датчиком 7 Uт-д (мВ) с учетом DUисх.

Uт-д = U¢т-д - DUт-д.                                                           (16)

Если полученные значения Uт-д на всех измерительных блоках зоны действия защиты (на участках затопления или заноса канала грунтом) не находятся в пределах значений, приведенных в п. 5.2.2, производится регулировка силы тока преобразователя.

5.6.14. По окончании измерительных работ при использовании стального измерительного электрода оба тумблера 5 должны находиться в положении «замкнуто».

6. МОНТАЖ И НАЛАДКА УСТАНОВОК ЭХЗ ТЕПЛОВЫХ СЕТЕЙ

6.1. Общие положения

6.11. Монтаж установок ЭХЗ в тепловых сетях должен выполняться в соответствии с проектной документацией на ЭХЗ.

6.1.2. Строительно-монтажные работы должны выполняться, как правило, специализированными организациями, имеющими соответствующие лицензии. Допускается выполнение строительно-монтажных работ организацией, эксплуатирующей средства ЭХЗ, также при наличии лицензии.

6.1.3. При производстве строительно-монтажных работ должны быть соблюдены требования ПУЭ.

6.1.4. При монтаже установок ЭХЗ следует руководствоваться типовыми чертежами («Рабочие чертежи. Серия 5.905-6. Узлы и детали электрозащиты подземных инженерных сетей от коррозии». Мосгазниипроект).

6.2. Монтаж и наладка дренажных и катодных установок

6.2.1. В объем работ по монтажу установок дренажной защиты входят установка дренажного устройства; прокладка и подключение дренажных кабелей к защищаемым трубопроводам тепловой и рельсовой сети; устройство защитного заземления.

6.2.2. В объем работ по монтажу установок катодной защиты входят, установка катодной станции (преобразователя); установка анодного и защитного заземлений, подключение катодной станции к защищаемым трубопроводам и анодному заземлению.

6.2.3. Исполнительные чертежи на построенные установки ЭХЗ составляются строительно-монтажной организацией в процессе выполнения строительно-монтажных работ.

6.2.4 Предприятие, эксплуатирующее тепловые сети, при выполнении технического надзора за монтажом ЭХЗ должно привлечь проектную организацию для авторского надзора. Представители этих организаций обязаны контролировать выполняемые работы в процессе строительства, делать соответствующие записи в журнале технического надзора и после завершения работ подписать акт на строительно-монтажные работы (форма 6 приложения 14). При обнаружении серьезных отступлений от проекта или низком качестве строительно-монтажных работ официальным предписанием останавливаются работы и о выявленных дефектах составляется акт.

6.2.5. Строительно-монтажная организация, получив официальное предписание, обязана в намеченный срок устранить допущенные дефекты, после чего вызвать представителей эксплуатационной и проектной организаций для повторной приемки объекта.

6.2.6. После окончания строительства и монтажа установок ЭХЗ подрядная строительно-монтажная организация должна передать ПТС (заказчику):

исполнительные чертежи;

оформленные акты на строительно-монтажные работы (на каждую установку ЭХЗ в отдельности);

справку городской электрической сети о разрешении эксплуатации установки.

6.2.7. Наладка установок ЭХЗ производится специализированной строительно-монтажной организацией или ПЗК ПТС (при наличии лицензии). В случае недостаточной эффективности работы установок ЭХЗ (зона действия меньше установленной проектом, недостаточный защитный потенциал и т.д.) наладка их должна выполняться совместно с представителями проектной организации.

Наладка установок ЭХЗ должна выполняться также после проведения их капитального ремонта.

Рис. 10. Электроизолирующее фланцевое соединение для тепловых сетей:

1 - труба, 2 - диэлектрическое антикоррозионное покрытие; 3 - фланец, 4 - изолирующая прокладка; 5 - изолирующая шайба; 6 - изолирующая втулка

6.2.8. В результате наладки установок ЭХЗ значения потенциалов в пределах защитной зоны должны соответствовать требованиям пп. 5.1.1; 5.2.1 и 5.2.2 и настоящей Типовой инструкции. По результатам наладки составляется справка установленной формы (форма 7 приложения 15).

6.2.9. Влияние установки ЭХЗ на смежные подземные сооружения при расположении анодного заземлителя за пределами канала должно определяться представителями организаций, эксплуатирующих эти сооружения (газопроводы, водопроводы и др.).

6.2.10. Если запроектированные средства ЭХЗ оказались недостаточно эффективными, должен быть составлен акт, в котором указываются причины этого и даются рекомендации по повышению эффективности ЭХЗ. Акт составляется специализированной строительно-монтажной организацией и подписывается представителями проектной организации и ПТС (заказчика). Проектная организация разрабатывает дополнительный проект защиты, который должен быть подготовлен в сроки, согласованные с заказчиком.

6.3. Установка электроизолирующих фланцевых соединений (ЭФС)

6.3.1. На тепловых сетях должны применяться ЭФС, имеющие на внутренней поверхности участков труб, примыкающих к фланцевому соединению, диэлектрическое изоляционное покрытие (рис. 10).

6.3.2. Определение мест установки ЭФС для вновь сооружаемых тепловых сетей осуществляет эксплуатационная организация совместно с организацией, проектирующей тепловые сети, а для действующих тепловых сетей ПТС.

6.3.3. Установку ЭФС должны выполнять специализированные строительно-монтажные организации.

7. ЭКСПЛУАТАЦИЯ УСТАНОВОК ЭХЗ ТЕПЛОВЫХ СЕТЕЙ

7.1. Установки ЭХЗ тепловых сетей вводятся в эксплуатацию после завершения пусконаладочных работ и комплексного опробования в течение 72 ч.

7.2. Установки ЭХЗ принимаются в эксплуатацию приемочной комиссией, назначаемой заказчиком. В состав комиссии входят представители заказчика (ПТС), на баланс которого будут переданы построенные установки ЭХЗ, строительно-монтажной организации и проектной организации.

7.3. Заказчик (ПТС) предъявляет приемочной комиссии: проектную документацию на устройства ЭХЗ; акты на приемку выполненных строительно-монтажных работ (форма 6 приложения 14); исполнительные чертежи и схемы с нанесением зоны действия защитных установок; справку о результатах наладки установок ЭХЗ (форма 7 приложения 15), справку о влиянии защитных установок на смежные подземные сооружения; паспорта установок ЭХЗ; разрешение на подключение мощности к электрической сети; документацию о сопротивлении изоляции кабелей и сопротивлении растеканию тока с защитного заземления.

7.4. Приемочная комиссия после ознакомления с исполнительной документацией проверяет соответствие проекту выполненных работ по средствам и узлам ЭХЗ, в том числе ЭФС, КИП, перемычкам и другим узлам, а также эффективность действия установок ЭХЗ. Для этого измеряются электрические параметры установок и потенциалы трубопровода относительно земли на участках, где в соответствии с проектом зафиксированы минимальный и максимальный защитные потенциалы, а при защите только от блуждающих токов проверяется отсутствие положительных потенциалов.

Установки ЭХЗ, не соответствующие проектным параметрам, приемке не подлежат.

7.5. Установки ЭХЗ вводятся в эксплуатацию только после подписания комиссией акта о приемке (форма 8 приложения 16).

7.6 Каждой принятой установке ЭХЗ присваивается порядковый номер, на нее заводится специальный паспорт (форма 9 приложения 17), в который заносятся все данные приемочных испытаний.

7.7. Профилактическое обслуживание устройств ЭХЗ включает периодический технический осмотр установок, проверку эффективности их работы, а также контрольные измерения потенциалов на защищаемых трубопроводах в КИП.

Для каждой установки ЭХЗ необходимо иметь журнал контроля ее работы (форма 10 приложения 18), в который должны заноситься результаты технического осмотра и измерений.

7.8. Обслуживание установок ЭХЗ в процессе эксплуатации должно осуществляться в соответствии с графиком профилактических технических осмотров и планово- предупредительных ремонтов, который должен включать в себя определение видов и объемов технических осмотров и ремонтных работ, сроки их проведения, указания по организации учета и отчетности о выполненных работах.

Основным назначением работ по профилактическим осмотрам и планово-предупредительным ремонтам является содержание устройств ЭХЗ в состоянии полной работоспособности, предупреждение их преждевременного износа и отказов в работе.

7.9. Технический осмотр установок ЭХЗ включает: осмотр всех элементов установки в целях выявления внешних дефектов; проверку плотности контактов и исправности монтажных соединений; проверку отсутствия механических повреждений отдельных элементов, подгаров и следов перегревов, отсутствия раскопок на трассе дренажных кабелей и анодных заземлителей; проверку исправности предохранителей; очистку корпуса дренажного и катодного преобразователей и блока совместной защиты снаружи и внутри; измерение тока и напряжения на выходе преобразователя; измерение потенциала трубопровода в точке подключения установки; производство записи в журнале установки о результатах выполненной работы.

7.10. Технический осмотр с проверкой эффективности действия защиты включает: все работы по техническому осмотру и измерения потенциалов в постоянно закрепленных контрольных пунктах.

7.11. Технические осмотры и планово-предупредительные ремонты должны производиться в следующие сроки:

технический осмотр - 2 раза в месяц для катодных установок, 4 раза в месяц для дренажных и 1 раз в 6 мес для протекторных установок (при отсутствии средств телемеханического контроля);

технический осмотр с проверкой эффективности действия ЭХЗ - 1 раз в 6 мес;

текущий ремонт - 1 раз в год;

капитальный ремонт - в зависимости от условий эксплуатации (рекомендуется 1 раз в 5 лет).

7.12. В целях оперативного выполнения неплановых ремонтов и сокращения перерывов в работе установок ЭХЗ на ПТС с устройствами ЭХЗ целесообразно иметь резервный фонд преобразователей для катодной и дренажной защиты из расчета 1 резервный преобразователь на 10 действующих.

7.13. Эффективность работы дренажных и катодных установок должна проверяться 2 раза в год, а также при каждом изменении режима работы установок ЭХЗ и при изменениях, связанных с развитием сети подземных сооружений и источников блуждающих токов.

7.14. При обнаружении недостаточной эффективности действия защиты (сокращения зоны ее действия) или превышения потенциалов, установленных проектом защиты, необходимо произвести регулирование режима работы защиты.

7.15. Сопротивление растеканию тока с анодного заземлителя следует измерять во всех случаях, когда режим работы катодной станции резко меняется, но не реже 1 раза в год.

8. ТРЕБОВАНИЯ БЕЗОПАСНОСТИ ПРИ ПРОВЕДЕНИИ РАБОТ ПО ЗАЩИТЕ ТЕПЛОВЫХ СЕТЕЙ ОТ НАРУЖНОЙ КОРРОЗИИ

8.1. К выполнению работ по защите тепловых сетей от наружной коррозии допускаются лица, обученные безопасным методам работы, прошедшие инструктаж и сдавшие экзамены в установленном порядке.

8.2. Персонал, выполняющий изыскательные, строительно-монтажные, наладочные и эксплуатационные работы по защите тепловых сетей от коррозии, должен периодически проходить проверку знаний правил техники безопасности в установленные сроки.

Во всех случаях нарушения правил техники безопасности должна проводиться внеочередная проверка знаний.

8.3. На каждом рабочем месте должны быть инструкции по технике безопасности и промышленной санитарии, а также журнал проведения инструктажа рабочих.

8.4. Персонал должен быть осведомлен о степени токсичности применяемых веществ, способах защиты от их воздействия и мерах оказания первой помощи при отравлениях.

8.5. Уровень вредных примесей на рабочем месте при нанесении на трубы защитных покрытий не должен превышать санитарных норм, утвержденных в установленном порядке.

8.6. При выполнении работ по защите тепловых сетей от наружной коррозии работающий персонал должен быть обеспечен средствами индивидуальной защиты и спецодеждой в соответствии с требованиями действующих правил.

8.7. Работы с пожаро- и взрывоопасными материалами должны выполняться с соблюдением требований пожарной безопасности ГОСТ 12.1.004-91.

Рабочие места должны быть обеспечены противопожарными средствами (песком, огнетушителями и др.).

8.8. Уровень звукового давления и уровень звука на рабочих местах не должен превышать требований санитарных норм ГОСТ 12.1.003-83.

8.9. Рабочие места по нанесению защитных покрытий на трубы должны быть оборудованы соответствующими вентиляционными устройствами.

8.10. При производстве на тепловых сетях работ, связанных с электрическими измерениями, монтажом, ремонтом и наладкой установок ЭХЗ, следует соблюдать требования ПТБ и ПУЭ.

8.11. В течение всего периода технического осмотра установок ЭХЗ должно быть отключено напряжение питающей сети и разомкнута цепь дренажа. На рукоятках всех отключающих аппаратов, с помощью которых может быть подано напряжение к месту работы персонала, при производстве отключения должны быть вывешены предупредительные плакаты «Не включать - работают люди».

8.12. Все работы на тяговых подстанциях и отсасывающих пунктах электротранспорта должны осуществляться в присутствии персонала подстанции.

8.13. Установка опытного анодного заземлителя допускается лишь в присутствии представителя кабельной сети.

8.14. В течение всего периода работы опытной станции катодной защиты у контура анодного заземлителя должен находиться дежурный, не допускающий посторонних лиц к анодному заземлителю, и должны быть установлены предупредительные знаки в соответствии с ГОСТ 124 026-76.

Приложение 1

ХАРАКТЕРИСТИКИ ПРИБОРОВ, РЕКОМЕНДУЕМЫХ ДЛЯ ИЗМЕРЕНИЯ ЭЛЕКТРИЧЕСКОГО СОПРОТИВЛЕНИЯ ГРУНТОВ

Наименование и тип прибора

Назначение

Класс точности

Пределы измерений, Ом

Питание

Условия эксплуатации

Габаритные размеры, мм

Масса, кг

Температура, °С

Относительная влажность, %

Измеритель сопротивления заземления М-416

Измерение сопротивления заземления и удельного сопротивления грунта

2.5

0-10;

0-50;

0-200;

0-1000

Автономное, от сухих батарей типа 373 -

-25¸+60

95 (при температуре 35 °С)

245´140´160

3

Измеритель сопротивления заземления Ф-416

Измерение сопротивления заземляющих устройств, удельного сопротивления грунта, активных сопротивлений

1,5

0-5;

0-10;

0-100;

0-1000

От встроенного генератора с ручным приводом (частота вращения рукоятки генератора 120-145 об/мин)

-50¸+60

98 (при температуре 30 °С)

230´170´215

6

Измеритель сопротивления заземления МС-08

Измерение сопротивления проводников, заземлений и удельного сопротивления грунта

1,5

0-10;

0-100;

0-1000

От встроенного генератора с ручным приводом

+5¸+40

80 (при температуре 30 °С)

390´195´205

10,5

Приложение 3

МЕТОДИЧЕСКИЕ РЕКОМЕНДАЦИИ ПО ОПРЕДЕЛЕНИЮ КОРРОЗИОННОЙ АГРЕССИВНОСТИ ГРУНТА В ЛАБОРАТОРНЫХ УСЛОВИЯХ

1. Для определения УЭС грунта в лабораторных условиях необходимо произвести отбор и обработку проб грунта.

Методика отбора проб грунта заключается в следующем: пробы грунта отбираются в шурфах, скважинах или траншеях из слоев, расположенных на глубине прокладки трубопровода тепловой сети вдоль трассы через каждые 100-200 м на расстоянии 0,7-1,0 м от боковой стенки одной из труб. Для пробы берутся 1,5-2,0 кг грунта, удаляются твердые включения размером более 3 мм. В целях обеспечения естественного влагосодержания отобранная проба помещается, в двойной полиэтиленовый пакет и снабжается паспортом, в котором указываются: данные объекта; номер пробы, обозначенный на плане трассы; глубина отбора пробы.

2. Определение УЭС грунта в лабораторных условиях производится по четырехэлектродной схеме на постоянном токе. Принципиальная схема установки приведена на рис. 2.

Измерительная ячейка 1 имеет прямоугольную форму и изготавливается из материала с диэлектрическими свойствами (например, оргстекла). Ее внутренние размеры длина 100, ширина 45 и высота 45 мм.

Внешние электроды А и В представляют собой прямоугольные пластины (из углеродистой или нержавеющей стали) с ножками, к которым крепятся или припаиваются проводники-токоподводы. Размеры электродов 44´40 мм, где 40 мм - высота электрода.

Внутренние электроды М и N изготавливаются из медной проволоки или стержня диаметром 1-3 мм и длиной более высоты ячейки.

3. Внешние электроды А и В зачищаются шлифовочной шкуркой зернистостью 40 и меньше, обезжириваются ацетоном, промываются дистиллированной водой и устанавливаются вплотную к торцевым поверхностям внутри ячейки. Ячейка заполняется грунтом до уровня на 4 мм ниже верхнего края.

Электроды М и N, предварительно подготовленные, как и электроды А и В, устанавливают в грунт вертикально, опуская их до дна по центральной линии ячейки на расстоянии 50 мм один от другого и 25 мм от торцевых стенок ячейки. Целесообразно фиксировать положение электродов М и N с помощью пластины - крышки, имеющей отверстия для пропуска указанных электродов. Пластина должна быть изготовлена из материала с диэлектрическими свойствами.

4. Электроды А и В подключаются к регулируемому источнику постоянного тока. Устанавливается определенное значение силы тока (I) и измеряется падение напряжения между электродами М и N (U). Измерения производятся при трех различных значениях силы тока I1 < I2 < I3, например 1×10-3, 2×10-3, 3×10-3 А.

Затем меняется полярность электродов А и В, и измерения повторяются. Сопротивление (Ом) грунта вычисляется по формуле

,                                                                     (17)

определяется среднее значение сопротивления (Ом) грунта

,                                                                 (18)

где п - число измерений.

Примечание. При отсутствии тока разность потенциалов между электродами М и N (Uo) может отличаться от нуля на 10-30 мВ. В этом случае при расчетах используется формула

,                                                                     (19)

5. Удельное электрическое сопротивление грунта r (Ом×м) вычисляется по формуле

,                                                                  (20)

где S - площадь поверхности одной стороны электродов А и В, м2;

l - расстояние между электродами М и N, м.

Результаты лабораторных испытаний заносятся в протокол (форма 2 приложения 4).


Приложение 4

Форма 2

ПРОТОКОЛ ИЗМЕРЕНИЯ УДЕЛЬНОГО ЭЛЕКТРИЧЕСКОГО СОПРОТИВЛЕНИЯ ГРУНТА В ЛАБОРАТОРНЫХ УСЛОВИЯХ

Город ________________________________________

Дата производства работ «__» _____________ 199 __ г.

Дата отбора проб «___» __________________ 199 __ г.

№ п.п.

Адрес отбора проб

Номер пункта по плану

Условное направление измерительного тока

Сила тока I, напряжение U и сопротивление R

Среднее значение сопротивления Rср, Ом

Размеры ячейки, м

Удельное электрическое сопротивление, r, Ом

Коррозионная агрессивность грунта

I1, А

U1, В

R1, Ом

I2, А

U2, В

R2, Ом

I3, А

U3, В

R3, Ом

 

 

 

+

 

 

 

 

 

 

 

 

 

 

 

 

 

 

 

 

-

 

 

 

 

 

 

 

 

 

 

 

 

 

Анализ проверил                                                                                                   «____» ___________________ 199 г.

Приложение 5

ХАРАКТЕРИСТИКИ ПРИБОРОВ, РЕКОМЕНДУЕМЫХ ДЛЯ ИЗМЕРЕНИЯ ЭЛЕКТРИЧЕСКИХ ПОТЕНЦИАЛОВ И ТОКОВ

Наименование и тип прибора

Назначение

Класс точности

Пределы измерений

Входное сопротивление, Ом/В

Время успокоения стрелки, с

Условия эксплуатации

Габаритные размеры, мм

Масса, кг

Питание

по току, А

по напряжению, В

Температура, °С

Относительная влажность, %

Мультиметр цифровой специализированный 43313.1

Измерение постоянного и переменного тока и напряжения

-

1×10-7-20,0

Постоянного напряжения 2×10-4-200

Переменного напряжения 1×10-3-600

Поляризационного потенциала 0,01-2,0

1×107

-

-10¸+40

98 (при температуре 25 °С)

250´120´125

1,8

Автономное

Вольтамперметр ЭВ 2234

Измерение постоянного тока и напряжения

-

0,005-0-0,005, 0,05-0-0,05, 0,1-0-0,1, 1-0-1, 10-0-10

0,5-0-0,5; 1-0-1; 5-0-5; 10-0-10; 50-0-50; 100-0-100

2×105

3

-30¸+50

90 (при температуре 30 °С)

200´106´100

1,4

-

Милливольтметр Н-399

Измерение и регистрация тока и напряжения в цепях постоянного тока

1,5

Определяется используемым шунтом 75 ШС или 75 РИ

0,001; 0,005; 0,01; 0,025; 0,5; 0,075; 0,25; 1; 2,5; 5; 10; 25; 50; 100

10×106 на пределах до 250 мВ; 2×105 на пределах 1-100 В

2

0¸+50

95 (при температуре 30 °С)

230´180´315

10

От сети и автономное от преобразователей П-39


Приложение 6

Форма 3

ПРОТОКОЛ ИЗМЕРЕНИЙ СМЕЩЕНИЯ РАЗНОСТИ ПОТЕНЦИАЛОВ МЕЖДУ ТРУБОПРОВОДОМ И ЭЛЕКТРОДОМ СРАВНЕНИЯ ПРИ ОПРЕДЕЛЕНИИ ОПАСНОСТИ ПОСТОЯННЫХ БЛУЖДАЮЩИХ ТОКОВ

Город ___________________________________________________________________

Вид подземного сооружения, адрес и номер пункта измерения _____________________

_________________________________________________________________________

Дата _______________________

Время измерения: начало ____________________, конец _________________________

Тип и номер прибора _______________________________________________________

Данные измерений, мВ

Время, мин

Параметр

Время, с

0

5

10

15

20

25

30

35

40

45

50

55

1

Uизм

 

 

 

 

 

 

 

 

 

 

 

 

DU

 

 

 

 

 

 

 

 

 

 

 

 

2

Uизм

 

 

 

 

 

 

 

 

 

 

 

 

DU

 

 

 

 

 

 

 

 

 

 

 

 

3

Uизм

 

 

 

 

 

 

 

 

 

 

 

 

DU

 

 

 

 

 

 

 

 

 

 

 

 

10

Uизм

 

 

 

 

 

 

 

 

 

 

 

 

DU

 

 

 

 

 

 

 

 

 

 

 

 

Приложение 7

Форма 4

ПРОТОКОЛ ИЗМЕРЕНИЙ СМЕЩЕНИЯ ПОТЕНЦИАЛА ТРУБОПРОВОДА ПРИ ОПРЕДЕЛЕНИИ ОПАСНОГО ВЛИЯНИЯ ПЕРЕМЕННОГО ТОКА

Город _______________________________

Вид подземного сооружения, адрес и номер пункта измерения _____________________

_________________________________________________________________________

Дата ________________________________ Время измерения:

Тип и номер прибора __________________ начало _______________________________

____________________________________ конец _______________________________

Измеренное значение стационарного потенциала вспомогательного электрода ВЭ относительно МЭС ________________________________________________________

Результаты измерений, мВ

Время, мин

Время, с

0

5

10

15

20

25

30

35

40

45

50

55

1

 

 

 

 

 

 

 

 

 

 

 

 

2

 

 

 

 

 

 

 

-

 

 

 

 

10

 

 

 

 

 

 

 

 

 

 

 

 

Обработка результатов измерений

Число измерений

Сумма мгновенных значений

Среднее значение смещения

 

 

 

Измерил __________________________ Проверил ____________________________

Обработал _________________________


Приложение 8

АНТИКОРРОЗИОННЫЕ ПОКРЫТИЯ ДЛЯ ЗАЩИТЫ ТРУБ ТЕПЛОВЫХ СЕТЕЙ ОТ НАРУЖНОЙ КОРРОЗИИ

Вид покрытия

Структура покрытия по слоям, ГОСТ, технические условия ни материалы

Общая толщина покрытия, мм

Область применения (способ прокладки, вид теплоносителя)

Вид тепловой изоляции

Максимально допустимая температура теплоносителя, °С

1. Стеклоэмалевое покрытие из безгрунтовой эмали марки 155Т*

Два покровных слоя из эмали 155Т. ТУ 251. БССР 273-86 (ТУ 34-31-89. Трубы стальные эмалированные для тепловых сетей)

0,5-0,6

Подземная прокладка в непроходных каналах и бесканальная (для воды и пара)

Все виды тепловой изоляции

300

2. Стеклоэмалевое покрытие из эмали марки МК-5 или МК-5Р*

Два покровных слоя из эмали МК-5 или МК-5Р ТУ 33-275-88 (ТУ 33. РСФСР-33-92. Трубы стальные гладкие одношовные с двусторонним стеклоэмалевым покрытием)

0,5-0,6

Подземная прокладка в непроходных каналах и бесканальная (для воды и пара)

Все виды тепловой изоляции

300

3. Органосиликатное покрытие типа ОС-51-03 (с термообработкой)*

Три слоя органосиликатной краски ОС-51-03 ТУ 84-725-83. Термообработка при температуре 200 °С

0,25-0,30

Подземная прокладка в непроходных каналах водяных тепловых сетей

Все виды тепловой изоляции

180

4. Органосиликатное покрытие типа ОС-51-03 (с отвердителем естественной сушки)

Четыре слоя органосиликатной краски ОС-51-03 ТУ 84-725-83 с отвердителем естественной сушки

0,45

Подземная прокладка водяных тепловых сетей в непроходных каналах

Все виды тепловой изоляции

150

5. Изоловое покрытие

1. Битумная грунтовка (1 вес ч. битума БНИ-IV ГОСТ 9812-74 на 2 1/2 вес. ч. бензина)

2. Холодная изольная мастика МРБ-Х-Т15. ТУ 21-27-37-74

3. Изол ГОСТ 10296-79

4. Холодная изольная мастика

5. Изол

6 Бумага мешочная ГОСТ 2228-81Е

5-6

Подземная прокладка в непроходных каналах водяных тепловых сетей

Все виды подвесной тепловой изоляции

150

6. Эпоксидное покрытие ЭП-969

Три покровных слоя эпоксидной эмали ЭП-969 ТУ 6-10-1985-84. Изменение № 1. Утверждено НИИсельстроем

0,1

Подземная прокладка в непроходных каналах водяных тепловых сетей

Все виды подвесной тепловой изоляции

150

7. Кремнийорганическое покрытие на основе композиции КО*

Три покровных слоя покрытия из композиции КО (естественной сушки) по ТУ 88. УССР 0.88.001-91

0,25

Подземная прокладка водяных тепловых сетей в непроходных каналах

Все виды подвесной тепловой изоляции

150

8. Металлизационное алюминиевое покрытие

Два покровных слоя металлизационного алюминиевого покрытия ГОСТ 9.304-88. Один слой пропитки толщиной 30 мкм одним из следующих материалов: ОС 51-03; ЭП-969; КО-198М ТУ 6-02-841-74; КО-921

0,25-0,30

Подземная прокладка водяных тепловых сетей в непроходных каналах и бесканальная

Все виды подвесной тепловой изоляции и теплоизоляционные конструкции бесканальной прокладки

150

9 Стеклоармированное битумопропиленовое покрытие типа СБП(А)

Четырехслойное покрытие СБП(А) ТУ 400-2-401-93

1. Битумная грунтовка или лак БТ-577 (толщиной 0,05-0,20 мм)

2. Битумопропиленовая мастика и армирующий стеклохолст (1,5-2,0 мм)

3. Битумопропиленовая мастика и армирующий стеклохолст (1,5-2,0 мм)

4. Битумопропиленовая мастика и обертка бумагой мешочной ГОСТ 2228-81Е (1,5-2,0 мм)

4-6

Подземная прокладка водяных тепловых сетей в непроходных каналах и бесканальная

Все виды подвесной тепловой изоляции и теплоизоляционные конструкции бесканальной прокладки с битумоперлитом, битумовермикулитом и битумокерамзитом

1501

10. Покрытие на основе оксида алюминия*

Один слой покрытия плазменного напыления из смеси порошков алюминия ПА-4 (ГОСТ 6058-73) - 85 % по массе и ильменита (месторождений Иршанского ТУ 48-4-236-72 или Гремяхо-Вырмесского) - 15 %

0,2-0,3

Подземная прокладка водяных тепловых сетей в непроходных каналах и бесканальная

Все виды подвесной тепловой изоляции и теплоизоляционные конструкции бесканальной прокладки

150

Примечания: 1. При применении теплоизоляционных материалов или конструкций, исключающих возможность коррозии наружной поверхности труб, защитное покрытие может не применяться.

2. Металлизационное алюминиевое покрытие следует применять для сред с рН не ниже 4,5 и не выше 9,5.

3. Покрытия, отмеченные знаком *, наносятся на трубы в заводских условиях.


Приложение 9

ТЕХНИЧЕСКИЕ ХАРАКТЕРИСТИКИ ПРЕОБРАЗОВАТЕЛЕЙ ДЛЯ КАТОДНОЙ ЗАЩИТЫ

Tип устройства

Номинальная выходная мощность, кВт

Номинальный выходной ток, А

Номинальное выходное напряжение, В

Масса, кг

Размеры, мм

Примечание

В-ОПЕД-1-20-12-VI

0,24

20

12

90

600´400´800

Ступенчатое изменение выходного напряжения от нуля до номинального ступенями по 1-2 В. Имеется возможность переключения для работы с выходным напряжением 2 Uном при токе 0,5 Iном

В-ОПЕД-1-25-24-VI

0,60

25

24

100

600´400´800

В-ОПЕД-1-42-24-VI

1,00

42

24

115

600´400´1000

В-ОПЕД-1-42-48-VI

2,00

42

48

135

600´400´1000

В-ОПЕД-1-63-48-VI

3,00

63

48

160

600´400´1200

В-ОПЕД-1-100-48-VI

4,80

100

48

195

600´400´1200

ОПС-50-24-VI

1,20

50

24

115

600´400´900

Три режима работы:

1) автоматическое поддержание разности потенциалов;

2) автоматическое поддержание поляризационного потенциала;

3) ручная регулировка

Преобразователь имеет выходные напряжения Uном и 2 Uном при токе Iном и 0,5 Iном соответственно

ОПС-63-48-VI

3,00

63

48

155

600´400´1100

ОПС-100-48-VI

5,40

100

48

205

600´400´1100

В-ОПЕ-1-20-12-VI

0,26

20

12

100

800´400´600

Четыре режима работы:

1) автоматическое поддержание измеряемой разности потенциалов;

2) ручное регулирование выходного напряжения;

3) стабилизация выходного тока;

4) неуправляемое выпрямление (номинальный ток)

Имеется возможность переключения для работы с выходным напряжением 2 Uном при токе 0,5 Iном

Учет потребляемой электроэнергии электронным счетчиком

В-ОПЕ-1-25-24-VI

0,6

25

24

110

800´400´600

В-ОПЕ-1-42-24-VI

1,0

42

24

140

1000´400´600

В-ОПЕ-1-42-48-VI

2,0

42

48.

160

1000´400´600

В-ОПЕ-1-63-48-VI

3,0

63

48

180

1200´400´600

В-ОПЕ-1-100-48-VI

4,8

100

48

200

1200´400´600

Приложение 10

ТЕХНИЧЕСКАЯ ХАРАКТЕРИСТИКА ТОКОПРОВОДЯЩИХ ЭЛАСТОМЕРОВ ДЛЯ РАСПРЕДЕЛЕННЫХ ЗАЗЕМЛИТЕЛЕЙ

Параметр

Электрод штыревого типа ЭР-1

Электрод кабельного типа ЭР-5

Электрод кабельного типа ЭР-А

Скорость анодного растворения, кг/(А×год)

0,5

0,3

0,1

Допустимая токовая нагрузка, А

0,5-0,8 на 1 электрод

0,7-0,9 на 1 м погонной длины

0,4 на 1 м погонной длины

Длина, м

1,67

56

120

Диаметр, мм

47

45

30

Масса, кг

5

 

-

Приложение 11

РЕКОМЕНДАЦИИ ПО ОПРЕДЕЛЕНИЮ РАСЧЕТНЫМ МЕТОДОМ ПАРАМЕТРОВ ЭХЗ ВНОВЬ СООРУЖАЕМЫХ И РЕКОНСТРУИРУЕМЫХ ТЕПЛОВЫХ СЕТЕЙ ПРИ БЕСКАНАЛЬНОЙ ПРОКЛАДКЕ

1. При определении параметров ЭХЗ за основной расчетный параметр принимается средняя плотность защитного тока, представляющая собой отношение значения тока защитной установки к суммарной площади поверхности трубопроводов, защищаемых данной установкой.

2. Исходными данными для расчета параметров катодной защиты являются технические характеристики (диаметр, протяженность) защищаемых подземных сооружений, а также удельное электрическое сопротивление грунта по трассе проектируемых тепловых сетей.

3. Площадь поверхности (м2) каждого из трубопроводов, которые имеют между собой соединения, обеспечивающие электрический контакт либо соединяемые специальными перемычками, определяется по формуле

,                                                                 (21)

где di - диаметр трубопровода, мм;

li - длина участка трубопровода, имеющего диаметр di.

По формуле (21) определяются площади поверхности трубопроводов тепловых сетей, проложенных в каналах, Smen, газопроводов Sг, водопроводов Sв. Площадь поверхности трубопроводов тепловых сетей бесканальной прокладки суммируется с площадью поверхности водопроводов, поэтому здесь и ниже величина Smen относится к действующим трубопроводам тепловых сетей канальной прокладки.

Суммарная площадь поверхности всех совместно защищаемых трубопроводов, в том числе вновь сооружаемых (или реконструируемых трубопроводов тепловых сетей бесканальной прокладки), электрически связанных между собой, равна

SS = Smen + Sг + Sв.                                                      (22)

4. Доля площади поверхности каждого из трубопроводов в общей массе подземных сооружений, %, определяется по формулам:

трубопроводов тепловых сетей:

;                                                              (23)

водопроводов:

;                                                              (24)

газопроводов:

.                                                               (25)

5. Плотность поверхности каждого из сооружений, приходящуюся на единицу поверхности территории (зоны защиты), м2/га, определяется по формулам:

трубопроводов тепловых сетей:

;                                                             (26)

газопроводов:

;                                                              (27)

водопроводов:

,                                                              (28)

где Smep - площадь территории, занимаемой защищаемыми сооружениями, га.

6. Средняя плотность тока (мА/м2), необходимая для защиты трубопроводов, определяется по формуле

j = 30 - (100b + 128c + 34d + 3e + 0,6f + 5r)×10-3,                                 (29)

где r - удельное электрическое сопротивление грунта, Ом×м.

7. Если значение средней плотности защитного тока, полученное по формуле (29), менее 6 мА/м2, то в дальнейших расчетах следует принимать j = 6 мА/м2.

8. Значение суммарного защитного тока (А), который необходим для обеспечения катодной поляризации подземных сооружений, расположенных в данной зоне, равно

Iзащ = 1,3jSS.                                                                 (30)

9. Выбор способа ЭХЗ производится из условий наличия опасности коррозии S вновь сооружаемых трубопроводов тепловых сетей бесканальной прокладки и смежных сооружений. При прокладке тепловых сетей в грунтах высокой коррозионной агрессивности и при значительном удалении (более 200 м) от рельсовой сети электрифицированного транспорта, работающего на постоянном токе, ЭХЗ целесообразно осуществлять с помощью преобразователей для катодной защиты.

Число преобразователей определяется из соотношения

,                                                                     (31)

где Iзащ - значение тока защиты, найденное по формуле (30), А;

Iпр - номинальное значение выходного тока преобразователя, А.

При определении числа преобразователей следует учитывать условия оптимального размещения анодных заземлителей (наличие площадок, удобных для размещения заземлителей), наличие источников питания и т.д.

10. После размещения преобразователей на совмещенном плане необходимо произвести расчет зоны действия каждого из них.

Радиус (м) действия преобразователя определяется по формуле

,                                                                 (32)

где Inp - ток преобразователя, для которого определяется радиус действия, А;

j - плотность защитного тока, А/м2;

К - удельная плотность подземных сооружений:

.                                                                (33)

11. Если площади кругов, радиусы которых соответствуют радиусам действия преобразователей, формула (32), а центры находятся в точках размещения анодных заземлителей, не охватывают всей необходимой зоны защиты, следует изменить либо места расположения катодных установок, либо значения их токов защиты и вновь выполнить проверку, указанную в п. 9.

12. Тип преобразователя для катодной установки (см. приложение 9) выбирается с таким расчетом, чтобы допустимое значение напряжения было на 30 % выше расчетного с учетом перспективного развития сети трубопроводов, старения защитных покрытий и анодных заземлителей.

13. Выбор оптимальных параметров анодного заземлителя следует производить согласно рекомендациям п. 5.4.27 настоящей Типовой инструкции.

14. В случаях сближения подземных трубопроводов с рельсовой сетью электрифицированных железных дорог, работающих на постоянном токе (на участках с устойчивыми отрицательными потенциалами рельсов относительно земли), или с рельсовой сетью трамвая (имеющей устойчивый отрицательный или знакопеременный потенциал) применяется усиленный автоматический электродренаж.

15. Радиус (м) действия одного усиленного дренажа может быть ориентировочно определен по формуле

,                                                                 (34)

где Iдp - среднее значение тока усиленного дренажа, А;

j - плотность защитного тока, А/м2;

К - удельная плотность подземных сооружений, определяемая по формуле (33).

16. Ток (А) электродренажа определяется по формуле

,                                                            (35)

где Uдр - номинальное напряжение на выходе дренажной установки, В;

Rкаб - сопротивление дренажного кабеля, Ом;

0,05 - входное сопротивление защищаемых трубопроводов, Ом.

17. Участки трубопроводов за пределами радиуса действия усиленного дренажа защищаются с помощью преобразователей для катодной защиты.

Приложение 12

Форма 5

ПРОТОКОЛ ИЗМЕРЕНИЙ ПОТЕНЦИАЛОВ ПОКАЗЫВАЮЩИМИ ПРИБОРАМИ ПРИ ОЦЕНКЕ ЭФФЕКТИВНОСТИ ЭХЗ

Город _________________________________________________

Вид подземного сооружения и пункта измерения ________________________________

Дата: «__» _____________ 199 __ г.

Время измерений: начало __ ч __ мин, конец __ ч __ мин

Адрес пункта измерений ____________________________________________________

Вид измерения (разность потенциалов) ________________________________________

_________________________________________________________________________

_________________________________________________________________________

Режим измерения __________________________________________________________

(без защиты, с включенной защитой)

Тип и номер прибора ______________________ Предел измерений _________________

Тип электрода сравнения ____________________________________________________

Данные измерений, В

Время, мин

Время, с

0

5

10

15

20

25

30

35

40

45

50

55

1

 

 

 

 

 

 

 

 

 

 

 

 

2

 

 

 

 

 

 

 

 

 

 

 

 

10

 

 

 

 

 

 

 

 

 

 

 

 

Приложение 13

Форма 5а

ПРОТОКОЛ ИЗМЕРЕНИЯ ПОТЕНЦИАЛОВ РЕГИСТРИРУЮЩИМИ ПРИБОРАМИ ПРИ ОЦЕНКЕ ЭФФЕКТИВНОСТИ ЭХЗ

Город _________________________________

Вид подземного сооружения ________________________________________________

Дата _____________________

Адрес пункта измерения ____________________________________________________

Время измерения: начало _____ ч _____ мин, конец ____ ч ______ мин

Вид измерения ____________________________________________________________

Тип и номер прибора ____________________ Предел измерений ___________________

Тип электрода ____________________________________________________________

Камеральная обработка лент автоматической записи

Знак

Отсчитанная площадь, см2

Длина обработанного участка ленты, см

Среднее значение регистрируемой величины, см

(+)

 

 

 

(-)

 

 

 

Разность потенциалов, В

Положительный (+)

Отрицательный (-)

Максимальный

Средний

Минимальный

Максимальный

Средний

Минимальный

 

 

 

 

 

 

 

 

 

 

"

 

 

 

 

 

 

 

Камеральная обработка измерений

Разность потенциалов, В

Сумма

Максимум

Среднее значение

Минимум

Число измерений

Положительная (+)

 

 

 

 

 

Отрицательная (-)

 

 

 

 

 

Измерил ___________________ Обработал __________________

Проверил ___________________

Приложение 14

Форма 6

АКТ
НА ПРИЕМКУ СТРОИТЕЛЬНО-МОНТАЖНЫХ РАБОТ ПО УСТРОЙСТВАМ ЭХЗ

Город _____________________________ «___» ____________ 19 __ г.

По улице _______________________ работы выполнены по проекту ________________

_________________________________________________________________________

(наименование организаций и номер проекта)

Мы, нижеподписавшиеся:

от организации, эксплуатирующей тепловые сети (заказчик)

_________________________________________________________________________

(должность, фамилия)

от строительно-монтажной организации _______________________________________

(должность, фамилия)

от проектной организации ___________________________________________________

(должность, фамилия)

составили настоящий акт в том, что ___________________________________________

выполнено в соответствии с проектом.

Комиссии были предъявлены следующие узлы строительно-монтажных работ:

Кабельные прокладки

Кабель марки _______________________ уложен в траншее на глубине ____ м

длиной ________ м и защищен _______________________________________________

(покрыт кирпичом, в трубах и т.д.)

Анодный заземлитель

Электроды заземлителя выполнены из _________________________________________

(материал, профиль, сечение)

длиной __________________ м, числом ____________________ шт. _______________

_________________________________________________________________________

(с обсыпкой, без обсыпки)

расстояние между электродами ______ м, диаметр скважины ______ м; соединительная полоса (шина) выполнена из _________________________________________________

(материал, профиль, сечение)

____________________ длиной ___________________ м, на глубине _____________ м

Места приварки соединительной полосы к электродам изолированы ________________

Общее сопротивление растеканию ___________ Ом.

Контактные устройства

на __________________ выполнены из ________________________________________

(вид, сооружения)                                                                    (материал, сечение, профиль)

_______________________________________ по чертежу № _____________________

Контакт с защищаемым сооружением осуществлен путем _________________________

_________________________________________________________________________

(сварки или болтового соединения)

Контрольно-измерительные пункты

выполнены в количестве _______________ шт. по чертежу № _____________________

Электромонтажные работы

Установка ___________________________________ питается от сети переменного тока

(вид оборудования)

напряжением __________ В, размещена ________________________________________

_________________________________________________________________________

(место, метод крепления)

Электропроводка переменного тока выполнена __________________________________

_________________________________________________________________________

(марка, сечение, длина кабеля)

Монтаж проводки осуществлен ______________________________________________

(по фасаду, в подвале, земле и т.п.)

Отключающее устройство выполнено _________________________________________

Защитное заземление выполнено _____________________________________________

_________________________________________________________________________

(указать способ и сопротивление растеканию тока)

Сопротивление изоляции кабеля ________ Ом

Прочие устройства ________________________________________________________

________________________________________________________________________

Замечания по монтажно-строительным работам _________________________________

________________________________________________________________________

________________________________________________________________________

Подписи:

Приложение 15

Форма 7

СПРАВКА О РЕЗУЛЬТАТАХ НАЛАДКИ УСТАНОВКИ ЭХЗ

_______________________________________________________ произведена наладка

(организация, производившая наладку)

вновь построенной установки ________________________________________________

в г. ______________ по адресу ______________________________________________

протяженность защищаемых сооружений ______________________________________

Тип электрода сравнения ____________________________________________________

Дата проведения работ _____________________________________________________

В результате пусконаладочных работ выбран режим работы установки:

сила тока в цепи _________________ А, напряжение ___________________________ В

сопротивление ___________ цепи ___________ Ом, при котором зафиксированы следующие потенциалы на контрольно-измерительных пунктах ____________________

________________________________________________________________________

(сооружение)

по отношению к земле.

№ п. п.

Номер пункта измерения

Место измерения

Потенциал сооружения относительно земли, В

Примечание

без защиты

с включенной защитой

 

 

 

 

 

 

Замечания: _______________________________________________________________

________________________________________________________________________

Выводы: _________________________________________________________________

________________________________________________________________________

Подписи:

Приложение 16

Форма 8

АКТ
НА ПРИЕМКУ УСТАНОВКИ ЭЛЕКТРОХИМИЧЕСКОЙ ЗАЩИТЫ В ЭКСПЛУАТАЦИЮ

г. _____________________________ «____» _______________ 19__ г.

Комиссия в составе представителей:

организации, эксплуатирующей тепловые сети (заказчика) ________________________

строительно-монтажной организации _________________________________________

проектной организации _____________________________________________________

ознакомилась с технической документацией, осмотрела все узлы установки электрохимической защиты, смонтированной на _________________________________

(стене, опоре, фундаменте)

по адресу ________________________________________________________________

1. ______________________________________________ защита выполнена по проекту

(дренажная, катодная и др.)

2. Общая протяженность защищаемых тепловых сетей ____________________________

3. Характеристика узлов защиты:

оборудование __________________________________________________________

(тип, количество)

кабель ________________________________________________________________

(марка, длина)

анодный заземлитель _____________________________________________________

(характеристика, значение сопротивления растеканию)

контрольно-измерительные пункты _________________________________________

(количество и на каких сооружениях)

перемычки между _______________________________________________________

Подписи:

Приложение 17

Форма 9

ПАСПОРТ УСТАНОВКИ ЭЛЕКТРОХИМИЧЕСКОЙ ЗАЩИТЫ

________________________________________________________________________

(преобразователь катодной защиты, преобразователь дренажной защиты)

№ _________________

Адрес ___________________________________________________________________

1. Тип установки __________________________________________________________

(дата выпуска, заводской номер)

2. Способ крепления _______________________________________________________

3. Дата ввода в эксплуатацию ________________________________________________

4. Характеристика узлов защиты:

кабель _________________________________________________________________

(марка, сечение, длина)

анодный заземлитель ____________________________________________________

(материал, конструкция, число электродов)

сопротивление растеканию тока ____________________________________________

место подключения дренажа защитное заземление прочие устройства _____________

5. Проектные параметры защиты:

напряжение источника питания установки ____________________________________

сила выходного тока _____________________________________________________

выходное напряжение ____________________________________________________

сопротивление цепи _____________________________________________________

разность потенциалов на контактном устройстве КУ:

максимальная _________________________ средняя __________________________

срок службы анодного заземлителя _________________________________________

6. Протяженность защищаемых сооружений ____________________________________

Перечень контрольно-измерительных пунктов

Номер п. п.

Вид контрольно-измерительного пункта

Электрод сравнения

Адрес

Дата установки

Сведения о техническом состоянии

 

 

 

 

 

 

Составил _________________

«___» ____________________ 19 __ г.

Приложение 18

Форма 10

ЖУРНАЛ ПРОВЕРКИ ЭФФЕКТИВНОСТИ РАБОТЫ УСТАНОВКИ ЭХЗ

________________________________________________________________________

Дата измерения ________________________ Электрод сравнения __________________

Номер контрольного пункта

Время измерения

Параметры установки

Потенциал трубопровода относительно земли. В

Примечание

Ток, А

Напряжение, В

суммарный

максимальный

средний

минимальный

 

 

 

 

 

 

 

 

Проверил _______________

Приложение 19

ПЕРЕЧЕНЬ
НОРМАТИВНО-ТЕХНИЧЕСКИХ ДОКУМЕНТОВ, НА КОТОРЫЕ ИМЕЮТСЯ ССЫЛКИ В ТЕКСТЕ ТИПОВОЙ ИНСТРУКЦИИ

Обозначение НТД

Наименование НТД

Пункт, в котором имеется ссылка

ГОСТ 9.602-89

ЕСЗКС. Сооружения подземные. Общие требования к защите от коррозии

3.17, приложение 20

ТУ 84-725-83

Органосиликатные материалы

4.3.1; 4.3.11; приложение 8

ГОСТ 5789-78

Толуол. Технические условия

4.3.1

ГОСТ 9812-74

Битумы нефтяные изоляционные. Технические условия

4.4.5; приложение 8

ГОСТ 6617-76

Битумы нефтяные строительные Технические условия

4.4.5; 4.8.2

ТУ 6-10-1985-84

Эмаль ЭП-969

4.5.1; приложение 8

ТУ 10-1091-76

Отвердители

4.5.1

ГОСТ 7827-74

Растворители марок Р-4, Р-4А, Р-5, Р-5А, Р-12, Р-24 для лакокрасочных материалов. Технические условия

4.5.1

ТУ 88. УССР 088.001-91

Композиция кремнийорганическая. Технические условия

4.6.1; приложение 8

ТУ 6-02-724-77

Продукт АГМ-9. Технические условия

4.6.1

ГОСТ 9880-76Е

Толуол каменноугольный сланцевый. Технические условия

4.6.2

ГОСТ 14710-78Е

Толуол нефтяной. Технические условия

4.6.2

ГОСТ 18187-72

Разбавители для электрокраски РЭ. Технические условия

4.6.2

ГОСТ 12.3.005-75

ССБТ. Работы окрасочные. Общие требования безопасности

4.6.3

1042-73

Санитарные и гигиенические требования к производственному оборудованию

4.6.3

ГОСТ 12.1.004.91

ССБТ. Пожарная безопасность. Общие требования

4.6.3; 8.7

ТУ 16.К71-088-90

Проволока алюминиевая AT, АПТ, АМ

4.7.6

ГОСТ 7871-75

Проволока сварочная из алюминия и алюминиевых сливов. Технические условия

4.7.6

ТУ 400-2-401-93

Покрытие стеклоармированное битумопропиленовое для тепловых сетей

4.8.1; приложение 8

ГОСТ 20799-88

Масла индустриальные. Технические условия

4.8.2

ТУ 21-33 43-79

Стеклохолст ВВ-К

4.8.3

ТУ 21-33-44-79

Стеклохолст ВВ-Г

4.8.3

ГОСТ 8273-75*

Бумага оберточная. Технические условия

4.8.4

ГОСТ 15140-78

Материалы лакокрасочные. Методы определения адгезии

4.10.4

МУ 34-70-149-86

Методические указания по проведению шурфовок в тепловых сетях

5.4.1

ПУЭ

Правила устройства электроустановок

6.1.3

ГОСТ 12.1.003-83

ССБТ. Шум. Общие требования безопасности

8.8

ГОСТ 12.1.004-91

ССБТ. Пожарная безопасность. Общие требования

8.7

ГОСТ 12.4.026-76

ССБТ. Цвета сигнальные и знаки безопасности

8.14

IS0.8044

Международный стандарт. Коррозия металлов и сплавов

Приложение 20

ТУ 251. БССР 273-86

Стеклоэмаль марки 155Т

Приложение 8

ТУ 34-31-89

Трубы стальные эмалированные для тепловых сетей

Приложение 8

ТУ 33-275-88

Стеклоэмали марок МК-5 и МК-5Р

Приложение 8

ТУ 33 РСФСР-33-92

Трубы стальные гладкие одношовные с двусторонним стеклоэмалевым покрытием

Приложение 8

ТУ 21-27-37-74

Холодная изольная мастика МРБ-Х-Т15

Приложение 8

ГОСТ 10296-79

Изол. Технические условия

Приложение 8

ГОСТ 2228-81Е

Бумага мешочная. Технические условия

4.8.4; приложение 8

ГОСТ 9.304-87

ЕСЗКС. Покрытия газотермические. Общие требования и методы контроля

Приложение 8

ТУ 6-02-841-74

Кремнийорганическая композиция КО-198М

Приложение 8

ГОСТ 6058-73

Порошок алюминиевый. Технические условия

Приложение 8

ТУ 48-4-236-72

Концентраты ильменитовые

Приложение 8

Приложение 20

ТЕРМИНЫ И ОПРЕДЕЛЕНИЯ

Термины

Определения

1. Адгезия

Сцепление антикоррозионного покрытия с металлическим основанием (поверхностью трубы)

2. Анодный заземлитель (анод)

Электрический проводник, погруженный в грунт или раствор электролита. Через анод подводится ток защиты в землю или раствор электролита

3. Антикоррозионное (защитное) покрытие

Слой или система слоев веществ, наносимых на наружную поверхность труб в целях защиты от коррозии (ISO.8044)

4. Анодная зона

Участок подземного металлического сооружения, на котором потенциал коррозии смещается относительно стационарного потенциала данного сооружения в сторону положительных значений

5. Блуждающий ток

Электрический ток, протекающий вне предназначенной для него цепи

6. Защитный потенциал

Значение потенциала коррозии, при котором достигается коррозионная стойкость металла труб (ISО.8044)

7. Знакопеременная зона

Участок подземного стального трубопровода, на котором потенциал коррозии смещается относительно стационарного потенциала данного сооружения в сторону положительных и отрицательных значений

8. Изолирующее фланцевое соединение

Конструктивный элемент для прерывания электрической проводимости трубопровода

9. Исполнительная документация

Комплект рабочих чертежей, разработанных проектной организацией, с надписями о соответствии выполненных в натуре работ этим чертежам или внесенным в них изменениям, сделанным лицами, ответственными за производство работ

10. Катодная зона

Участок подземного металлического трубопровода, на котором потенциал коррозии смещается относительно стационарного потенциала данного трубопровода в сторону отрицательных значений

11. Катодная поляризация

Электрохимическая защита стального трубопровода путем смещения потенциала коррозии в сторону отрицательных значений

12. Критерии опасности наружной коррозии

Признаки, определяющие опасность наружной коррозии трубопровода тепловой сети

13. Коррозия металла труб

Разрушение металла труб вследствие химического или электрохимического взаимодействия их с коррозионной средой

14. Коррозионная агрессивность грунтов

Совокупность свойств грунта, которые влияют на коррозию металла труб, находящихся в грунте

15. Коррозионная стойкость

Способность металла труб противостоять коррозии в данной коррозионной системе (ISО.8044)

16. Лакокрасочное антикоррозионное покрытие

Покрытие, получаемое при нанесении на поверхность труб лакокрасочных материалов

17. Металлизационное антикоррозионное покрытие

Металлическое покрытие, полученное напылением расплавленного металла на поверхность труб

18. Медносульфатный электрод сравнения

Электрод сравнения, представляющий собой медный стержень, помещенный в насыщенный раствор сульфата меди. Это наиболее часто применяемый электрод сравнения для измерения потенциала между подземными металлическими трубопроводами и грунтом (ISО.8044)

19. Протекторная (гальваническая) защита

Электрохимическая защита, при которой ток защиты создается коррозионным элементом, образованным с помощью протектора (гальванического анода), подключенного к защищаемому металлическому трубопроводу

20. Протектор

Гальванический анод из металла с более отрицательным или более положительным потенциалом, чем защищаемый стальной трубопровод. Непосредственно присоединяется к защищаемому трубопроводу

21. Потенциал коррозии

Электродный потенциал металла в данной коррозионной системе независимо от того, течет или не течет электрический ток к поверхности металла или от нее (ISO.8044)

22. Разность потенциалов между трубой и грунтом

Напряжение между трубопроводом и окружающим его грунтом или электролитом, измеренное с помощью электрода сравнения

23. Смещение разности потенциалов

Значение изменения разности потенциалов между трубопроводом и электродом сравнения до и после воздействия внешнего источника тока

24. Стационарный потенциал

Потенциал стального трубопровода, измеренный при отсутствии блуждающих токов и воздействия других внешних источников тока (ГОСТ 9.602-89)

25. Стеклоэмалевое покрытие

Покрытие, получаемое на поверхности трубопроводов путем расплавления неметаллического порошка, состоящего преимущественно из силикатных продуктов

26. Тепловая сеть

Совокупность устройств, предназначенных для транспорта и распределения тепловой энергии потребителям

27. Техническое обслуживание

Комплекс операций или операция по поддержанию работоспособности или исправности установки (изделия) при использовании ее (его) по назначению, хранении или транспортировке

28. Установка катодной защиты

Совокупность устройств, требуемых для ЭХЗ от коррозии методом катодной поляризации с питанием от постороннего источника тока (преобразователь для катодной защиты. анодный заземлитель, кабель)

29. Эксплуатация средств защиты от коррозии

Систематическое использование, техническое обслуживание и ремонт средств защиты тепловых сетей от наружной коррозии

30. Электрохимическая защита

Защита трубопроводов от наружной коррозии, осуществляемая поляризацией от внешнего источника тока (преобразователя) или путем соединения с металлом (протектором), имеющим более отрицательный потенциал, чем у защищаемого трубопровода

31. Электродренажная защита

Электрохимическая защита трубопроводов тепловых сетей от наружной коррозии, вызываемой блуждающими токами, путем осуществления отвода от защищаемых трубопроводов блуждающих токов к их источнику

СОДЕРЖАНИЕ

1. Организация работ по защите тепловых сетей от наружной коррозии. 1

2. Критерии опасности наружной коррозии трубопроводов тепловых сетей. 3

3. Определение опасности наружной коррозии. 4

4. Антикоррозионные покрытия для защиты труб тепловых сетей от наружной коррозии. 8

4.1. Требования к защите труб тепловых сетей антикоррозионными покрытиями. 8

4.2. Стеклоэмалевые покрытия. 9

4.3. Органосиликатные покрытия. 9

4.4. Изоловое покрытие. 10

4.5. Эпоксидное покрытие. 12

4.6. Кремнийорганическое покрытие. 13

4.7. Металлизационное алюминиевое покрытие. 14

4.8. Стеклоармированное битумопропиленовое покрытие. 14

4.9. Покрытие на основе оксида алюминия. 15

4.10. Контроль качества защитных покрытий. 15

5. Разработка технических решений по эхз действующих, вновь сооружаемых и реконструируемых тепловых сетей методом катодной поляризации. Контроль эффективности ЭХЗ. 16

5.1. Требования к ЭХЗ тепловых сетей при бесканальной прокладке. 16

5.2. Требования к ЭХЗ тепловых сетей при канальной прокладке в случае затопления или заноса каналов грунтом.. 17

5.3. Средства ЭХЗ тепловых сетей. 17

5.4. Разработка технических решений по ЭХЗ действующих тепловых сетей. 17

5.5. Разработка технических решений по ЭХЗ вновь сооружаемых и реконструируемых тепловых сетей. 24

5.6. Контроль эффективности установок ЭХЗ тепловых сетей. 24

6. Монтаж и наладка установок ЭХЗ тепловых сетей. 27

6.1. Общие положения. 27

6.2. Монтаж и наладка дренажных и катодных установок. 27

6.3. Установка электроизолирующих фланцевых соединений (ЭФС) 28

7. Эксплуатация установок ЭХЗ тепловых сетей. 28

8. Требования безопасности при проведении работ по защите тепловых сетей от наружной коррозии. 30

Приложение 1. Характеристики приборов, рекомендуемых для измерения электрического сопротивления грунтов. 30

Приложение 3. Методические рекомендации по определению коррозионной агрессивности грунта в лабораторных условиях. 31

Приложение 4. Протокол измерения удельного электрического сопротивления грунта в лабораторных условиях (форма 2) 33

Приложение 5. Характеристики приборов, рекомендуемых для измерения электрических потенциалов и токов. 33

Приложение 6. Протокол измерений смещения разности потенциалов между трубопроводом и электродом сравнения при определении опасности постоянных блуждающих токов (форма 3) 34

Приложение 7. Протокол измерений смещения потенциала трубопровода при определении опасного влияния переменного тока (форма 4) 34

Приложение 8. Антикоррозионные покрытия для защиты труб тепловых сетей от наружной коррозии. 35

Приложение 9. Технические характеристики преобразователей для катодной защиты.. 37

Приложение 10. Техническая характеристика токопроводящих эластомеров для распределенных заземлителей. 37

Приложение 11. Рекомендации по определению расчетным методом параметров эхз вновь сооружаемых и реконструируемых тепловых сетей при бесканальной прокладке. 38

Приложение 12. Протокол измерений потенциалов показывающими приборами при оценке эффективности ЭХЗ (форма 5) 40

Приложение 13. Протокол измерения потенциалов регистрирующими приборами при оценке эффективности ЭХЗ (форма 5а) 40

Приложение 14. Акт на приемку строительно-монтажных работ по устройствам ЭХЗ (форма 6) 41

Приложение 15.................................................................................................................... 42

Справка о результатах наладки установки ЭХЗ (форма 7) 42

Приложение 16. Акт на приемку установки электрохимической защиты в эксплуатацию (форма 8) 42

Приложение 17. Паспорт установки электрохимической защиты (форма 9) 43

Приложение 18. Журнал проверки эффективности работы установки ЭХЗ (форма 10) 43

Приложение 19. Перечень нормативно-технических документов, на которые имеются ссылки в тексте Типовой инструкции. 43

Приложение 20. Термины и определения. 44

 

 




ГОСТЫ, СТРОИТЕЛЬНЫЕ и ТЕХНИЧЕСКИЕ НОРМАТИВЫ.
Некоммерческая онлайн система, содержащая все Российские Госты, национальные Стандарты и нормативы.
В Системе содержится более 150000 файлов нормативно-технической документации, действующей на территории РФ.
Система предназначена для широкого круга инженерно-технических специалистов.

Рейтинг@Mail.ru Яндекс цитирования

Copyright © www.gostrf.com, 2008 - 2026